ORÇAMENTO

                                       E

           CONTABILIDADE PÚBLICA


TEORIA

Material para diversos concursos públicos, tais como:


TRE (Analista Judiciário);
TCU (Analista de Controle Externo);
CGU (Analista de Finanças e Controle);
STN (Analista de Finanças e Controle);
TCM/RJ (Técnico de Controle Externo e Auxiliar de Controle Externo);
CGM/RJ (Técnico de Controle Interno);
Contador (diversos órgãos públicos).




PROF. FABIO FURTADO
APRESENTAÇÃO
Esta apostila foi elaborada com o intuito de auxiliar os concursandos no
estudo das disciplinas de Orçamento e Contabilidade Pública.

Estão contidos, na apostila, os principais assuntos cobrados nos editais de
concursos públicos. O conteúdo está dividido por tópicos para facilitar o
entendimento da matéria.

Na parte final, temos um Resumão que deve ser lido sempre ao final de
cada tópico para facilitar a fixação dos conceitos e classificações dos
elementos que compõem a Contabilidade aplicada à Administração
Pública;

Esta apostila não tem a função de substituir os livros indicados pelo
professor. Ela deverá ser usada como uma ferramenta de auxílio no estudo
das disciplinas de Orçamento e Contabilidade Pública.

NOTA SOBRE O PROFESSOR:

Nome: Fabio Furtado de Azevedo.
Graduado em Ciências Contábeis.
Emprego Atual: Técnico de Controle Externo do TCMRJ, lotado na Divisão
de Contabilidade, do Departamento Geral de Finanças.

Aprovado e classificado nos seguintes concursos:

- 10º colocado no concurso para Contador da Eletrobrás Termonuclear -
      ELETRONUCLEAR, em 2003;

- 1º colocado no concurso para Contador da Companhia Municipal de Limpeza
       Urbana - COMLURB, em 2003;

- 13º colocado no concurso para Técnico de Controle Externo do Tribunal de
      Contas do Município do Rio de Janeiro, em 2003.

Autor, juntamente com o colega Rafael Cabral, também Técnico de
Controle Externo do TCMRJ, do livro Contabilidade Pública – Questões
Comentadas de Provas Elaboradas pelo CESPE/UnB, publicado pela
Editora Ferreira, em novembro de 2004.

Autor do livro Administração Financeira e Orçamentária para
concursos – Direito Financeiro simplificado, publicado pela Editora
Ferreira, em abril de 2008.



Apostila de Orçamento e Contabilidade Pública   1         Prof. Fabio Furtado
ÍNDICE

Principais diferenças entre a Contabilidade                               5
Pública e a Contabilidade Geral

Contabilidade Pública                                                 12

- Conceito
- Campo de Atuação
- Objeto
- Finalidade
- Exercício Financeiro
- Regime Contábil


Orçamento Público                                                     14

- Conceito
- Leis Orçamentárias
- Prazos de Envio e Devolução dos Projetos
- Princípios Orçamentários
- Ciclo Orçamentário
- Processo Legislativo Orçamentário
- Tipos de Orçamento


Créditos Adicionais                                                   28

- Conceito
- Classificação
- Quadro Resumo dos Créditos Adicionais
- Recursos para Abertura

Receita Pública
                                                                      31
- Conceito
- Classificaçõe
- Estágios




Apostila de Orçamento e Contabilidade Pública   2   Prof. Fabio Furtado
Dívida Ativa                                                          37

- Conceito
- Classificações
- Apuração

Despesa Pública                                                       38

- Conceito
- Classificações
- Estágios

Suprimento de Fundos                                                  54

- Conceito
- Concessão
- Proibição

Restos a Pagar
                                                                      55
- Conceito
- Classificação
- Inscrição
- Pagamento
- Cancelamento
- Prescrição

Despesas de Exercícios Anteriores
                                                                      56
- Conceito
- Prescrição

Anulação de Operações Orçamentárias
                                                                      57
- Anulação da Receita
- Anulação da Despesa




Apostila de Orçamento e Contabilidade Pública   3   Prof. Fabio Furtado
Dívida Pública                                                        58

- Conceito
- Classificação

Patrimônio Público                                                    61

- Conceito

Bens Públicos
                                                                      61
- Conceito
- Classificação

                                                                      63
Demonstrações Contábeis

- Balanço Orçamentário
- Balanço Financeiro
- Demonstração das Variações Patrimoniais
- Balanço Patrimonial



Exemplos de Registros de Operações Típicas                            75


Resumão                                                               80




Bibliografia                                                          97




Apostila de Orçamento e Contabilidade Pública   4   Prof. Fabio Furtado
PRINCIPAIS DIFERENÇAS ENTRE
  A CONTABILIDADE PÚBLICA E A CONTABILIDADE GERAL

        Aspectos                 Contabilidade Pública             Contabilidade Geral
Legislação                      Lei 4.320/64 e LRF               Lei 6.404/76
Princípios                      PFC e Princípios                 PFC
                                Orçamentários
Registro                        Atos e Fatos Administrativos     Fatos Administrativos
Regime de Escrituração          Regime Misto, sendo:             Regime de Competência
Contábil                        Regime de Caixa para as          tanto para as receitas quanto
                                receitas e Regime de             para as despesas.
                                Competência para as
                                despesas.
Resultado                       Superávit ou déficit de gestão
                                                           Lucro ou prejuízo do
                                                           Exercício
Demonstrações Financeiras       Balanço Orçamentário;      Balanço Patrimonial; DRE;
                                Balanço Financeiro;        DLPA e DMPL; DFC e
                                Demonstração das Variações DVA
                                Patrimoniais e Balanço
                                Patrimonial.
Sistemas de Escrituração        4 sistemas independentes.  Um só sistema onde são
                                São eles: Sistema          registradas as contas
                                Orçamentário; Sistema      patrimoniais e de resultado.
                                Financeiro; Sistema
                                Patrimonial e Sistema de
                                Compensação.


Lei 4.320/64 – estatui normas de direito financeiro para elaboração e
controle dos orçamentos e balanços da União, dos Estados, dos Municípios
e do Distrito Federal.

Lei 6.404/76 – Dispõe sobre as Sociedades por Ações.
_________________________________________________________________________
_________________________________________________________________________

PFC = Princípios Fundamentais de Contabilidade. São eles:

   -   Entidade
   -   Continuidade
   -   Oportunidade
   -   Competência
   -   Prudência
   -   Registro pelo Valor Original
   -   Atualização Monetária


Apostila de Orçamento e Contabilidade Pública    5                        Prof. Fabio Furtado
Princípios Orçamentários:

Legalidade              Publicidade
Universalidade         Equilíbrio
Periodicidade          Não Afetação da Receita
Exclusividade           Especificidade
Orçamento Bruto        Unidade
_________________________________________________________________________
_________________________________________________________________________


Fato Administrativo:

Fato administrativo ou fato de gestão é qualquer negócio realizado pela
administração que modifique o patrimônio da empresa, em termos de
qualidade ou quantidade.

Exemplos: as compras à vista ou a prazo de bens; as vendas à vista ou a
prazo de mercadorias e serviços; os pagamentos e recebimentos etc.


Fato Contábil:

Fato administrativo é a mesma coisa que fato contábil?

Em sentido estrito, não. Fato contábil é qualquer ocorrência que modifique
o patrimônio, seja decorrente ou não de negócio realizado pela
administração. A expressão fatos contábeis é mais abrangente, pois inclui
os fatos administrativos. Todo fato administrativo é necessariamente
um fato contábil. Entretanto, existem fatos contábeis que não são
fatos administrativos. Por exemplo: se um incêndio provoca a perda de
mercadorias, o patrimônio sofre redução. Este fato não é decorrente da
gestão, mas produz variação patrimonial. È um fato contábil.


Ato Administrativo:

É qualquer negócio realizado pela administração que não modifique o
patrimônio.

Alguns atos administrativos têm como conseqüência fatos administrativos.
Quando a empresa, por intermédio de seus diretores, é fiadora num
contrato de aluguel, ocorre um ato administrativo. Todavia, se o valor da
locação não for honrado pelo locatário, a empresa poderá ter de pagar o
aluguel. Tratar-se-á de um fato administrativo. A consulta de preços a um



Apostila de Orçamento e Contabilidade Pública   6        Prof. Fabio Furtado
fornecedor é um ato administrativo. No entanto,          a   compra       das
mercadorias, se houver, será um fato administrativo.

Algumas empresas mantêm o controle dos atos administrativos relevantes
por meio de contas de compensação.

As contas de compensação não se confundem com as contas patrimoniais
ou de resultado, que são destinadas ao registro dos fatos contábeis.

Os atos administrativos que possam provocar efeitos relevantes sobre o
patrimônio devem se indicados em notas explicativas. As notas
explicativas são esclarecimentos que acompanham as demonstrações
contábeis e têm como objetivo facilitar o entendimento e a análise da
situação patrimonial da empresa.
_________________________________________________________________________
_________________________________________________________________________


Regime Misto:

De acordo com o art. 35 da Lei 4.320/64, pertencem ao exercício
financeiro:

I – as receitas nele arrecadadas; e
II – as despesas nele legalmente empenhadas.

Assim sendo, é adotado o regime de caixa para as receitas e o regime de
competência para as despesas. O regime de caixa para as receitas significa
que são reconhecidas somente as receitas cujo numerário já foi
arrecadado. O regime de competência para as despesas significa que não
importa se a despesa já foi ou não paga, mas sim se o fato gerador já
ocorreu, isto é, se a despesa já foi devidamente empenhada (autorizada
pelo ordenador da despesa).


Regime Contábil

Processo de registro em Contabilidade; normas que orientam o controle e o
registro dos fatos patrimoniais.

Regime de Caixa:

Norma contábil pela qual os ingressos são atribuídos ao exercício em que
são recebidos e os custos ao exercício em que são pagos.




Apostila de Orçamento e Contabilidade Pública   7        Prof. Fabio Furtado
Regime de Competência:

Norma contábil pela qual os ingressos e os custos são atribuídos ao
exercício a que pertencem, embora recebidos e pagos em outros exercícios.
_________________________________________________________________________
_________________________________________________________________________


Resultados:

Nas entidades públicas, os resultados são apurados nos Balanços
Orçamentário, Financeiro e na Demonstração das Variações Patrimoniais.
O resultado econômico do exercício é somado ou diminuído (depende do
caso) do saldo da conta Saldo Patrimonial, no Balanço Patrimonial.

O resultado quando é positivo, é denominado superávit.

O resultado quando é negativo, é denominado déficit.


Superávit: excesso de receita sobre a despesa; saldo credor que representa
a supremacia dos ganhos sobre os custos; “lucro”; redito positivo.

Déficit: deficiência de receita sobre a despesa, ou ainda, insuficiência das
operações da entidade, demonstrada por comparação entre as receitas e as
despesas, onde estas são maiores que aquelas.

--------------------------------------------------------------------------------------------
--------------------------------------------------------------------------------------------

Não devemos chamar de lucro ou prejuízo. Lucro ou prejuízo é a
denominação que utilizamos na Contabilidade Privada (também conhecida
como Contabilidade Geral; Contabilidade Básica; Contabilidade Financeira
etc.).

Lucro: resultado da atividade aziendal que representa o “acréscimo”
patrimonial através daquela.

Prejuízo: resultado da atividade aziendal que representa o “decréscimo”
patrimonial através daquela.




Apostila de Orçamento e Contabilidade Pública   8                      Prof. Fabio Furtado
Azienda: são sistemas organizados que visam atingir um fim qualquer.

São aziendas: a casa de comércio, a indústria, o nosso lar, a Prefeitura, os
hospitais etc.


É o patrimônio considerado juntamente com a pessoa que tem sobre ele
poderes de administração e disponibilidade. O conceito azienda reúne o
patrimônio e a pessoa que o administra:

Azienda = Patrimônio + Gestão


Empresa e azienda são conceitos diferentes. Empresa é uma espécie de
azienda. Empresa é uma azienda com finalidade lucrativa.

_________________________________________________________________________
_________________________________________________________________________

Demonstrações Contábeis ou Demonstrações Financeiras:

Na área pública:

Balanço Orçamentário:

Art. 102. O Balanço Orçamentário demonstrará as receitas e despesas
previstas em confronto com as realizadas.


Balanço Financeiro:

Art. 103. O Balanço Financeiro demonstrará a receita e despesa
orçamentárias, bem como os recebimentos e os pagamentos de natureza
extra-orçamentária, conjugados com os saldos em espécie provenientes do
exercício anterior, e os que se transferem para o exercício seguinte.


Demonstração das Variações Patrimoniais:

Art. 104. A Demonstração das Variações Patrimoniais evidenciará as
alterações verificadas no patrimônio, resultantes ou independentes da
execução orçamentária, e indicará o resultado patrimonial do exercício.




Apostila de Orçamento e Contabilidade Pública   9         Prof. Fabio Furtado
Balanço Patrimonial:

Art. 105. O Balanço Patrimonial demonstrará:

I - o Ativo Financeiro;
II - o Ativo Permanente;
III - o Passivo Financeiro;
IV - o Passivo Permanente;
V - o Saldo Patrimonial;
VI - as Contas de Compensação.

=============================================================
=============================================================

Sistemas de Escrituração na área pública:

Os serviços de Contabilidade serão organizados de forma a permitir o
acompanhamento da execução orçamentária, o conhecimento da
composição patrimonial, a determinação dos custos dos serviços
industriais, o levantamento dos balanços gerais, a análise e a
interpretação dos resultados econômicos e financeiros (art. 85 da Lei nº
4.320/64).

Com o intuito de atender ao disposto na legislação, os lançamentos na
Contabilidade Pública são efetuados em quatro Sistema de Contas, que
são: Sistema Orçamentário, Sistema Financeiro, Sistema Patrimonial e
Sistema de Compensação.


Sistema Orçamentário: O sistema de contas orçamentário registra a
receita prevista e as autorizações legais da despesa constantes da Lei
Orçamentária Anual e dos créditos adicionais, demonstrando a despesa
fixada e a realizada no exercício, comparando, ainda, a receita prevista
com a arrecadada.

Sistema Financeiro: Nesse sistema são registrados a arrecadação da
receita e o pagamento da despesa orçamentária e extra-orçamentária.
Tudo o que movimenta o disponível (entrada e saída de numerário) deve
ser registrado no sistema financeiro.

Sistema Patrimonial: No Sistema Patrimonial são registrados os bens
patrimoniais do Estado, os créditos e os débitos suscetíveis de serem
classificados como permanentes ou que sejam resultado do movimento
financeiro, as variações patrimoniais provocadas pela execução do
orçamento ou que tenham outras origens e o resultado econômico do
exercício.


Apostila de Orçamento e Contabilidade Pública   10      Prof. Fabio Furtado
Sistema de Compensação: No Sistema de Compensação são efetuados os
registros dos valores que direta ou indiretamente possam vir a afetar o
patrimônio. No Sistema de Compensação serão registrados, entre outros,
as responsabilidades contratuais do Estado e os bens e valores em poder
de terceiros.
O Sistema de Compensação é representado pelos atos praticados pelo
administrador que não afetam ao Patrimônio de imediato, mas que
poderão vir afetá-lo. No quadro abaixo temos exemplos de alguns desses
atos:


CONVÊNIOS;
CONTRATOS;
ACORDOS;
CAUÇÕES EM TÍTULOS;
GARANTIAS;
BENS E VALORES SOB RESPONSABILIDADE.

Como se pode observar, o Sistema de Compensação compreende, apenas,
as contas com função específica de controle, relacionadas com as
situações não compreendidas no patrimônio, mas que possam vir a afetá-
lo.


_________________________________________________________________________

Atenção: Na área privada, não temos essa separação em 4 sistemas, visto
que os registros nas contas patrimoniais e de resultado são efetuados em
um só sistema.




Apostila de Orçamento e Contabilidade Pública   11        Prof. Fabio Furtado
Contabilidade Pública
1 - Conceito

A Contabilidade Pública é um ramo da ciência contábil e tem o objetivo de
captar, registrar e interpretar os fenômenos que afetam as situações
orçamentárias, financeiras e patrimoniais das entidades que compõem a
Administração Direta e Indireta dos entes públicos (União, Estados,
Municípios e Distrito Federal).

2 - Campo de Atuação

O campo de atuação da contabilidade pública abrange:

    •   A Administração Direta (Poderes Executivo, Legislativo e Judiciário),
        Autárquica e Fundacional da União, Estados, Distrito Federal e
        Municípios;

    •   Empresas Públicas e Sociedade de Economia Mista da União,
        Estados, Distrito Federal e Municípios, quando utilizam recursos à
        conta do Orçamento Público.

        Essas entidades (empresas públicas e sociedade de economia mista)
        passam a fazer parte do campo de aplicação da contabilidade
        pública quando utilizam recursos à conta do orçamento público para
        despesas com pessoal ou de custeio em geral ou de capital,
        excluídos no último caso, aqueles provenientes de aumento de
        participação acionária (art. 2º, III, da LRF). Quando utilizam
        recursos do orçamento público para os fins supracitados, essas
        entidades passam a ser conhecidas como EMPRESAS ESTATAIS
        DEPENDENTES.

3 - Objeto

O objeto da Contabilidade Pública é o patrimônio público, que vem a ser os
bens, direitos e obrigações de propriedade do Estado.

4 - Finalidade

A finalidade da Contabilidade Pública é fornecer informações sobre a
execução orçamentária, financeira e sobre o patrimônio público e suas
variações aos diversos usuários. Esses usuários podem ser os gestores,
cidadãos, fornecedores etc.




Apostila de Orçamento e Contabilidade Pública   12          Prof. Fabio Furtado
5 – Exercício Financeiro

O período durante o qual o orçamento é executado denomina-se exercício
financeiro. No Brasil sempre coincide com o ano civil.

6 – Regime Contábil

O regime contábil adotado pela Contabilidade Pública no Brasil é o
chamado regime misto, isto é, regime de competência para as despesas e
regime de caixa para as receitas.

______________________________________________________________________
Regime de Competência para as Despesas

Total de Despesas Empenhadas = Total de Despesas Realizadas
______________________________________________________________________
Regime de Caixa para as Receitas

Total de Receitas Arrecadadas = Total de Receitas Executadas




Apostila de Orçamento e Contabilidade Pública   13        Prof. Fabio Furtado
Orçamento Público


1. Conceito

->   Lei de iniciativa do Chefe do Poder Executivo,
->   aprovada pelo Poder Legislativo,
->   que estime Receitas e fixa Despesas
->   para um determinado exercício financeiro.


2. Leis Orçamentárias

A Constituição Federal de 1988, em seu art. 165, prevê 03 (três) leis
orçamentárias:

PPA – Plano Plurianual.
LDO – Lei de Diretrizes Orçamentárias.
LOA – Lei Orçamentária Anual.


A LOA, por sua vez, nos termos do art. 165, § 5º, compreenderá:

OF – Orçamento Fiscal.
OI – Orçamento de Investimentos.
OSS – Orçamento da Seguridade Social.


                               PPA

Leis Orçamentárias             LDO
                                                OF
                               LOA              OI
                                                OSS




Apostila de Orçamento e Contabilidade Pública    14       Prof. Fabio Furtado
PPA – PLANO PLURIANUAL

Art. 165, § 1º da CF/88 – “A lei que instituir o plano plurianual
estabelecerá, de forma regionalizada, as diretrizes, objetivos e metas da
administração pública federal para as despesas de capital e outras delas
decorrentes e para as relativas aos programas de duração continuada”.

Diretrizes- são as orientações e os macro objetivos que indicam o caminho
definido pelo Plano de Governo responsável pela elaboração do PPA. Como
exemplos podemos citar “ A melhoria das condições de Saúde no Município
do Rio de Janeiro”.

Objetivos- sempre mensuráveis por um indicador, expressa um resultado
sobre o público alvo, descrevendo a finalidade de um programa, com
concisão e precisão. O enunciado de um objetivo é sempre caracterizado
pela presença de um verbo de ação, no infinitivo, que complete a assertiva
“Este programa deverá ser capaz de ...” Exemplo: “Diminuir a mortalidade
infantil na localidade X”.

Ações (Metas)– são um conjunto de operações cujos produtos contribuem
para os objetivos do programa. Por exemplo: Para se reduzir a mortalidade
infantil no bairro X, serão necessárias as realizações de diversas ações,
tais como “Execução da rede de esgoto do bairro”; “executar campanha de
vacinação em massa em crianças de 0 a 5 anos”; “Promover a construção
de moradias dignas e extinção de palafitas”, etc.

LDO – LEI DE DIRETRIZES ORÇAMENTÁRIAS

Art. 165, § 2º da CF/88 – “A lei de diretrizes orçamentárias compreenderá
as metas e prioridades da administração pública federal, incluindo as
despesas de capital para o exercício financeiro subseqüente, orientará a
elaboração da lei orçamentária anual, disporá sobre as alterações na
legislação tributária e estabelecerá a política de aplicação das agencias
financeiras oficiais de fomento”.

LOA – LEI ORÇAMENTÁRIA ANUAL

Art. 165, § 5º da CF/88 – “a lei orçamentária anual compreenderá:

I – o orçamento fiscal referente aos Poderes da União, seus fundos, órgãos
e entidades da administração direta e indireta, inclusive fundações
instituídas e mantidas pelo Poder Público;

II – o orçamento de investimento das empresas em que a União, direta ou
indiretamente, detenha a maioria do capital social com direito a voto;



Apostila de Orçamento e Contabilidade Pública   15        Prof. Fabio Furtado
III – o orçamento da seguridade social, abrangendo todas as entidades e
órgãos a ela vinculados, da administração direta ou indireta, bem como os
fundos e fundações instituídos e mantidos pelo Poder Público.”

--------------------------------------------------------------------------------------------
--------------------------------------------------------------------------------------------

Segue abaixo algumas considerações extraídas do livro Direito Financeiro e
Controle Externo, do Prof. Valdecir Pascoal, editora Impetus, relativas à
LOA:

-      A LOA deverá estar compatível com o PPA e com a LDO.

-   A respectiva lei corresponde, na verdade, a 03 (três) suborçamentos
         (CF, artigo 165, 5º):

a) orçamento fiscal de toda a Administração Pública, Direta e Indireta
(todos os Poderes, Ministério Público, Tribunal de Contas, órgãos,
Autarquias, Fundações Públicas, Empresas Públicas e Sociedades de
economia Mista), englobando a despesa e a receita de toda a
Administração Pública para um exercício financeiro, menos os
investimentos de empresas estatais e as receitas e despesas relativas à
seguridade social;

b) orçamento de investimentos das empresas em que o Poder Público,
direta ou indiretamente, detenha a maioria do capital social com direito
a voto (empresas públicas e sociedades de economia mista);

c) orçamento da seguridade social (saúde, previdência e assistência
social), que abrangerá todas as entidades e órgãos a ela vinculados, da
Administração Direta ou Indireta, bem como os fundos e fundações
instituídos e mantidos pelo Poder Público. A razão da desvinculação
dessas ações do orçamento fiscal para um suborçamento especifico da
seguridade social é a garantia de que esses recursos não serão desviados
para qualquer fim, como aconteceu durante muitos anos no Brasil,
gerando o déficit na previdência pública. Visa, pois, a conferir
transparência à gestão da seguridade social.




Apostila de Orçamento e Contabilidade Pública   16                      Prof. Fabio Furtado
3- Prazos:

Os prazos para a União, conforme art. 35, § 2º, do ADCT – Ato das
Disposições Constitucionais Transitórias - são:

Projeto                   Prazo de envio                Prazo de devolução
                               (até)                             (até)
PPA          4 meses antes do encerramento do 1º encerramento da sessão
             exercício financeiro. Na prática, deve legislativa. Na prática, deve
             ser encaminhado até 31/08.             ser devolvido até 22/12.

LDO          8,5 meses (Oito meses e meio) antes do                      encerramento do primeiro
             encerramento do exercício financeiro.                       período       da      sessão
             Na prática, deve ser encaminhado até                        legislativa. Na prática, deve
             15/04.                                                      ser devolvido até 17/07.

LOA          4 meses antes do encerramento do encerramento da sessão
             exercício financeiro. Na prática, deve legislativa. Na prática, deve
             ser encaminhado até 31/08.             ser devolvido até 22/12.


Onde:
PPA: Projeto de Plano Plurianual
LDO: Lei de Diretrizes Orçamentárias
LOA: Lei Orçamentária Anual
Prazo de envio: prazo limite para o Poder Executivo encaminhar ao Poder
Legislativo os projetos acima citados.
Prazo de devolução: prazo limite para o Poder Legislativo devolver ao
Poder Executivo os projetos, acima citados, para sanção.

--------------------------------------------------------------------------------------------------------------
----------------------------------------------------------------------------------------------

MACETE:

Geralmente, nas provas de concursos públicos, são cobrados os prazos de
envio ou de devolução dos projetos ao Poder Legislativo. Os prazos de
envio e de devolução do projeto de Lei de Diretrizes Orçamentárias são:




Apostila de Orçamento e Contabilidade Pública             17                           Prof. Fabio Furtado
Envio:

L D Oito meses e meio antes do encerramento do exercício financeiro.

Devolução:

Até o encerramento da primeira sessão legislativa. Assim sendo, o projeto
deve ser devolvido até 17/07.
Obs.: O PPA e a LOA têm o mesmo prazo tanto para envio quanto para
devolução. Envio: 4 meses antes do encerramento do exercício financeiro
(lembrando que para o PPA existe a expressão ... antes do encerramento do
primeiro exercício financeiro, em virtude deste ser elaborado somente
uma vez a cada mandato, ou seja, é elaborado no primeiro exercício
financeiro do mandato e tem duração até o primeiro exercício financeiro do
mandato subseqüente). Devolução: até o encerramento da sessão
legislativa. Sendo assim, os projetos devem ser devolvidos até 22/12.

Com base no exposto, fica claro que o único projeto que tem prazos de
encaminhamento e de devolução diferentes é o da LDO.

Vale ressaltar que os prazos para encaminhamento e para devolução
utilizados nos estados e municípios devem estar assinalados nas
respectivas Constituições Estaduais e Leis Orgânicas.


4. Princípios Orçamentários

Legalidade                    Publicidade
Universalidade                Equilíbrio
Periodicidade                 Não Afetação da Receita
Exclusividade                 Especificidade
Orçamento Bruto               Unidade

      LEGALIDADE – a lei orçamentária e a lei que instituir créditos
suplementares e especiais, aprovados pelo legislativo, são os instrumentos
legais que autorizam a aplicação dos recursos públicos. Não pode haver
despesa pública sem a autorização legislativa prévia.

      UNIVERSALIDADE – o orçamento deve conter todas as receitas e
todas as despesas da Administração. Este princípio está positivado na
CF/88, artigo 165, § 5º, quando o legislador estatuiu a abrangência da lei
orçamentária: orçamento fiscal de todos os Poderes, órgãos ou fundos;
orçamento de investimentos das empresas estatais; orçamento da
seguridade social de todos os Poderes, órgãos ou fundos, bem como nos
artigos 3º e 4º da Lei nº 4.320/64.



Apostila de Orçamento e Contabilidade Pública   18        Prof. Fabio Furtado
PERIODICIDADE (ANUALIDADE) – o orçamento deve ter vigência
limitada a um período anual.

      EXCLUSIVIDADE – a lei de meios (LOA) não poderá conter
dispositivo estranho à fixação das despesas e previsão das receitas,
ressalvada a autorização para abertura de créditos suplementares e
contratação de operações de crédito, ainda que por antecipação de receita.

       ORÇAMENTO BRUTO – todas as receitas e despesas constarão da
Lei Orçamentária pelos seus TOTAIS, vedadas quaisquer deduções. Isso
quer dizer que a União, por exemplo, que arrecada o Imposto de Renda e o
IPI, deve colocar a sua estimativa integral no seu orçamento (lado das
receitas) e a parte que constitucionalmente se destina a Estados e
Municípios (FPE e FPM) deve constar integralmente no orçamento (lado
das despesas). Não poderá, pois, a União colocar no seu orçamento apenas
o valor líquido do IR e IPI.

      PUBLICIDADE – uma das bases essenciais dos governos
democráticos e uma de suas características como forma de organização da
autoridade dentro do Estado é a publicidade dos atos relativos à condução
da coisa pública. Esse princípio está contido no art. 37 da Constituição,
como um princípio geral da Administração Pública.

      EQUILÍBRIO – estabelece que o total da despesa orçamentária não
pode ultrapassar o da receita orçamentária prevista para cada exercício
financeiro.

       NÃO-AFETAÇÃO DA RECEITA – o principio da não-afetação ou da
não-vinculação da receita significa que o legislador não poderá vincular
receitas públicas a determinadas despesas, órgãos ou fundos. No Brasil,
este principio está previsto apenas em relação às receitas de impostos. É o
principio que postula o recolhimento de todos os recursos a uma caixa
única do Tesouro, sem discriminação quanto a sua destinação. Entretanto,
a norma constitucional (art. 167, IV e § 4º) só consagrou esse principio
para as receitas provenientes de impostos, vedando sua vinculação a
determinado órgão, fundo ou despesa, ressalvadas as seguintes:


   a) repartição do produto da arrecadação dos seguintes impostos

                   Imposto    de Renda incidente na fonte sobre rendimentos;
                   Imposto    sobre a Propriedade Territorial Rural;
                   Imposto    sobre a Propriedade de veículos Automotores;
                   Imposto    sobre a Circulação de Mercadorias e serviços;
                   Imposto    de Renda;
                   Imposto    sobre Produtos Industrializados.


Apostila de Orçamento e Contabilidade Pública   19             Prof. Fabio Furtado
b) destinação de recursos para a manutenção e desenvolvimento do
      ensino;

   c) prestação de garantias às operações de credito por antecipação de
      receita;

   d) destinação de recursos para aplicação na área de saúde;

   e) para realização de atividades da administração tributária (EC nº
      42/2003)


      ESPECIFICIDADE OU ESPECIFICAÇÃO – também chamado de
princípio da especialização ou discriminação. Previsto no art. 5º da Lei
nº 4.320/64, estatui que o orçamento não consignará dotações globais
para atender às despesas. No artigo 15 a lei estabelece que a
discriminação das despesas far-se-á, no mínimo por elementos,
entendendo-se elementos, como desdobramento da despesa com pessoal,
material, serviços, obras etc. Pode-se dizer também que a exigência de
especificar, na LOA, as receitas e as despesas, segundo a categoria
econômica, as fontes, as funções e os programas, é uma conseqüência do
princípio da especificação.

       Exceção: Reserva de Contingência – dotação global, genérica ,
       colocada na LOA, destinada a atender passivos contingentes e
       outras despesas imprevistas; outra exceção são os programas
       especiais de trabalho, nos termos do artigo 20, parágrafo único da
       Lei nº 4.320/64.

       UNIDADE – o princípio da unidade estabelece que todas as receitas e
despesas devem estar contidas numa só lei orçamentária. Os orçamentos
devem, por conseguinte, estar integrados num só ato político do Poder
Legislativo, sempre com o objetivo maior de satisfazer às necessidades
coletivas.

A CF estabeleceu o princípio da unidade quando definiu que a lei
orçamentária anual compreenderá o orçamento fiscal referente aos
poderes públicos, seus fundos, órgãos e entidades da administração direta
e indireta, inclusive fundações, e ainda o orçamento de investimentos das
empresas e o orçamento de seguridade social.




Apostila de Orçamento e Contabilidade Pública   20        Prof. Fabio Furtado
5. Ciclo Orçamentário

O orçamento percorre diversas etapas desde o surgimento de uma
proposta que se transformará em projeto de lei a ser apreciado, emendado,
aprovado, sancionado e publicado, passando pela sua execução, quando
se observa a arrecadação da receita e a realização da despesa, dentro do
ano civil, até o acompanhamento e avaliação da execução caracterizada
pelo exercício dos controles interno e externo.

Portanto, é possível agrupar               as   atividades   relacionadas   ao    ciclo
orçamentário da seguinte forma:

       -   elaboração do projeto de lei orçamentária;
       -   apreciação, votação, sanção e publicação da lei orçamentária;
       -   execução da lei orçamentária; e
       -   acompanhamento e avaliação da execução orçamentária.

                                  (1) Elaboração do Projeto



(4) Acompanhamento e            CICLO ORÇAMENTÁRIO              (2) Apreciação, Aprovação,
       Avaliação                                                    Sanção e Publicação


                                          (3) Execução



Podemos concluir, portanto, que o ciclo orçamentário não se confunde com
o exercício financeiro, pois este corresponde a uma das fases do ciclo, ou
seja, à execução do orçamento, isto porque a fase de preparação da
proposta orçamentária e sua elaboração legislativa precedem o exercício
financeiro, e a fase de avaliação e prestação de contas (controle interno e
externo) ultrapassa-o.

EXERCÍCIO FINANCEIRO = 1 ANO [COINCIDE COM O ANO CIVIL (01/01
A 31/12)] – é o período no qual o orçamento é executado.

CICLO ORÇAMENTÁRIO – MAIS DE 1 ANO (COMEÇA DESDE A
ELABORAÇÃO DO PROJETO DE LEI ORÇAMENTÁRIA E TERMINA
SOMENTE QUANDO DA AVALIAÇÃO DA GESTÃO DO ORDENADOR DE
DESPESA). O exercício financeiro ou execução orçamentária está dentro do
ciclo orçamentário.




Apostila de Orçamento e Contabilidade Pública   21                  Prof. Fabio Furtado
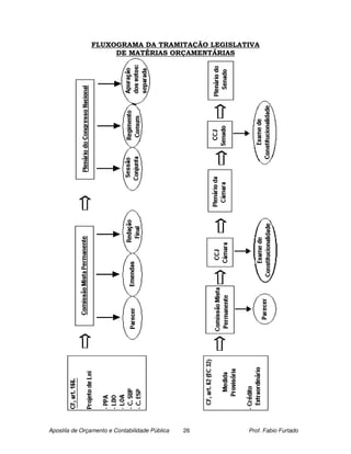
6. Processo Legislativo Orçamentário

_________________________________________________________________________
Art. 166 – Os projetos de lei relativos ao PPA, LDO, LOA e aos CRÉDITOS
ADICIONAIS serão apreciados pelas duas Casas do Congresso Nacional,
na forma do regimento comum.

•      Iniciativa – Chefe do Poder Executivo. (Art. 84, XXIII da CF/88)

* Caso ocorra omissão do Chefe do Poder Executivo, constituirá CRIME DE
RESPONSABILIDADE (Art. 85, VI da CF/88)

Obs.: O Chefe do executivo envia o projeto de lei para o legislativo. No
legislativo, esse projeto de lei é encaminhado para a Comissão Mista
Permanente (Comissão Mista de Planos, Orçamentos Públicos e
Fiscalização) (Art. 166, §1º, I da CF/88).
_________________________________________________________________________

•     Emendas – Os Parlamentares podem propor emendas aos projetos
de leis orçamentárias. As emendas devem ser apresentadas à Comissão
Mista Permanente de Deputados e Senadores (são 63 Deputados e 21
Senadores)

Obs.: A Comissão Mista emite um parecer sobre as emendas. A apreciação
das emendas é feita de forma conjunta no Plenário.

A Comissão Mista fica incumbida da REDAÇÃO FINAL do projeto de lei.

As emendas apresentadas pelos Parlamentares deverão obedecer a 2
requisitos:

1º - deverão ser compatíveis com o PPA e com a LDO; e
2º - terão de indicar os recursos necessários, admitidos APENAS:

-   Anulação de outras despesas (dotações), EXCLUÍDAS:

1- as DESPESAS DE PESSOAL e seus encargos;
2- SERVIÇOS DA DÍVIDA (amortização + juros da dívida pública);
3- TRANSFERENCIAS TRIBUTÁRIAS CONSTITUCIONAIS.

Pode haver emendas também para:

a) correção de erros e omissões na estimativa da receita;
b) dar maior clareza e precisão ao texto da lei (EMENDAS DE REDAÇÃO).




Apostila de Orçamento e Contabilidade Pública   22          Prof. Fabio Furtado
_________________________________________________________________________
•     Apreciação – de forma CONJUNTA pelas duas Casas do Congresso
Nacional (Câmara e Senado).

* a apuração dos votos é feita de forma separada (maioria simples em cada
uma das Casas).

_________________________________________________________________________

-      MENSAGEM RETIFICADORA DO EXECUTIVO

O Poder Executivo poderá encaminhar MENSAGEM RETIFICADORA DA
PROPOSTA ao Congresso Nacional, propondo modificações nos projetos
referentes ao PPA, LDO, LOA e aos CRÉDITOS ADICIONIAIS, enquanto
não iniciada a votação, na comissão mista, da parte cuja alteração é
proposta.


                       NÃO-ENVIO DA LOA
(O Poder Executivo não enviar ao Poder Legislativo o projeto de lei
orçamentária anual)

Caracteriza CRIME DE RESPONSABILIDADE do Chefe do Poder Executivo.

- A CF/88 não menciona o que deve ser feito, caso não seja enviado ao
Poder Legislativo, o Projeto de LOA.

- O Art. 32 da Lei 4.320/64 estabelece que caso não receba a proposta no
prazo fixado, o Poder Legislativo considerará como proposta a LOA vigente.
_________________________________________________________________________

                      NÃO-DEVOLUÇÃO DA LOA
(O Poder Legislativo não devolver ao Poder Executivo o projeto de lei
orçamentária anual para SANÇÃO)

- Nem a CF/88, nem a Lei 4.320/64 mencionam nada a respeito.

Na falta de uma regra permanente que regule essa situação, tanto na
União com em alguns Estados, a LDO vem tratando dessa questão, na
medida em que estabelece que o Poder Executivo fica autorizado a gastar
determinada proporção (X/12) da proposta que ainda está tramitando.
_________________________________________________________________________




Apostila de Orçamento e Contabilidade Pública   23        Prof. Fabio Furtado
_________________________________________________________________________

                    REJEIÇÃO DAS LEIS ORÇAMENTÁRIAS

PPA e LDO – De acordo com a doutrina, o Poder Legislativo não pode
rejeitar.

Art. 35 dos ADCT (Atos das Disposições Constitucionais Transitórias)
prevê que ambas as leis devem ser devolvidas ao Poder Executivo para
SANÇÃO.

Sendo assim, não cabe sancionar o que foi rejeitado.
______________________________________________________________________

LOA – De acordo com o art. 166, § 8º pode haver rejeição da LOA.

OBS.: Obedecidas essas regras especiais as leis orçamentárias serão
apreciadas à luz das demais normas do processo legislativo (Art. 66 da
CF/88)

A elaboração da lei orçamentária configura um processo legislativo
especial, compreendendo as seguintes fases: iniciativa, discussão, sanção,
veto, promulgação e publicação.

Iniciativa – traduz a responsabilidade, pela apresentação do projeto de lei
orçamentária ao Legislativo. No Brasil, diz-se que a lei orçamentária é de
iniciativa vinculada, ou seja, embora a iniciativa seja do titular do Poder
Executivo o mesmo está obrigado ao prazo focado. Se o titular da iniciativa
não a exercer ou não cumprir o tempo determinado pela Constituição,
ocorre o crime de responsabilidade.

Discussão:

É a fase dos trabalhos consagrada a debate em plenário. A fase da
discussão é subdividida nas seguintes etapas:

-      emendas;
-      voto do relator;
-      redação final;
-      votação em plenário.




Apostila de Orçamento e Contabilidade Pública   24         Prof. Fabio Furtado
Sanção – é definida como a aquiescência do titular do Poder Executivo ao
projeto de lei aprovado pelo Poder Legislativo, assim o titular do Poder
Executivo somente sancionará o projeto se estiver de acordo com o mesmo.

Veto – se o titular do Poder Executivo não estiver de acordo, poderá vetar
total ou parcialmente o projeto de lei, dentro de 15 dias úteis contados do
recebimento do projeto, comunicando ao Legislativo (Câmara de
Vereadores, Assembléia Legislativa ou Senado Federal) os motivos do veto.

Promulgação:

O projeto de lei é transformado em lei:

-      quando aprovado pelo Legislativo, é sancionado expressa ou
tacitamente pelo Executivo.
-      quando aprovado pelo Legislativo, é vetado pelo Executivo e o veto é
rejeitado na forma constitucional.

Entretanto, embora acabada a lei não é ainda executável e obrigatória.
Para tanto precisa ser promulgada e publicada no órgão de imprensa
oficial da esfera governamental interessada (Diário Oficial).

Promulgação é o atestado da existência de uma lei. É um ato declaratório.
Mostra que uma lei é executável, mas ainda não é obrigatória, pois precisa
para tanto ser publicada.

Quando o Executivo aquiesce (concorda) com o projeto de lei, também o
está promulgando. Os atos são simultâneos, pois o ato de sancionar já
imprime caráter de executoriedade à lei.

Há casos em que a promulgação assume caráter legislativo, ou seja,
quando decorrido o prazo de 15 dias úteis, há o silencio do Executivo, e
alei não pe promulgada, dentro de 48 horas, ocorre a sua promulgação
pelo presidente da casa legislativa.

Publicação – é o ato pelo qual é dado a conhecer que uma lei nova está em
vigor. Ao contrário da promulgação, que revela a executoriedade de uma
lei, a publicação impõe a sua obrigatoriedade. Antes a lei existia, mas não
obrigava o seu cumprimento; agora, existe e o obriga.




Apostila de Orçamento e Contabilidade Pública   25         Prof. Fabio Furtado
FLUXOGRAMA DA TRAMITAÇÃO LEGISLATIVA
                    DE MATÉRIAS ORÇAMENTÁRIAS




Apostila de Orçamento e Contabilidade Pública   26   Prof. Fabio Furtado
7. Tipos de Orçamento

É a característica que determina a maneira pela qual o orçamento é
elaborado, dependendo do regime político vigente; daí dizer-se que os
orçamentos variam segundo a forma de Governo e podem ser classificados
em três tipos:

       Legislativo – é o orçamento cuja elaboração, votação e aprovação é
       da competência do Poder Legislativo, cabendo ao Executivo sua
       execução. Esse tipo é utilizado em países parlamentaristas;

       Executivo – é o orçamento cuja elaboração, aprovação, execução e
       controle é da competência do Poder Executivo. É utilizado em países
       onde impera o poder absoluto;

       Misto – é o orçamento elaborado e executado pelo Poder Executivo,
       cabendo ao Poder Legislativo sua votação e controle. Esse tipo é
       utilizado pelos países em que as funções legislativas são exercidas
       pelo Congresso ou Parlamento, sendo sancionado pelo Chefe do
       Poder Executivo. Esse é o tipo utilizado no Brasil.




Apostila de Orçamento e Contabilidade Pública   27        Prof. Fabio Furtado
Tipos de Créditos Orçamentários


Créditos Orçamentários

Os recursos para execução dos programas de trabalho do governo são
especificados por meio dos Créditos Orçamentários aprovados pelo Poder
Legislativo no orçamento anual.



Créditos Adicionais

1 – Conceito

São CRÉDITOS ADICIONAIS as autorizações de despesas não previstas
ou insuficientemente previstas no Orçamento Público. São abertos
durante a execução do orçamento para a efetivação de ajustes ou adição
de novas dotações orçamentárias não-consignadas na LOA. A iniciativa
das leis referentes a créditos adicionais é privativa do Chefe do Executivo,
que deverá, obrigatoriamente, justificar as razões das novas adições ao
orçamento. Só passam a constituir efetivas dotações de despesas após o
ato executivo (Decreto) que lhes defina a natureza, estabeleça a destinação
e fixe o valor.


2 – Classificação

Os créditos adicionais podem ser classificados como:

       Créditos Suplementares
       Créditos Especiais
       Créditos Extraordinários




Apostila de Orçamento e Contabilidade Pública   28         Prof. Fabio Furtado
RESUMO DOS CRÉDITOS ADICIONAIS
      TIPOS        FINALIDADE         AUTORIZAÇÃ         ABERTURA E         VIGÊNCIA       PRORROGAÇÃ      INDICAR
                                              O        INCORPORAÇÃ                              O           FONTE
                                     LEGISLATIVA                O                                          (recursos)
SUPLEMENTARES      Reforçar          Necessidade de    Decreto              No exercício Improrrogável.   SIM
                   despesas já       autorização       (Executivo):         em que foi
                   previstas no      legislativa na    incorporam-se ao     aberto (até
                   orçamento.        própria LOA ou    orçamento            31/12).
                                     em lei            adicionando-se à
                                     específica.       dotação
                                                       orçamentária a
                                                       que se destinou
                                                       reforçar.
ESPECIAIS          Atender a         Necessidade de    Decreto              No exercício Só para o          SIM
                   despesas não      autorização em    (Executivo):         em que foi   exercício
                   previstas no      lei específica.   incorporam-se ao     aberto (até  seguinte quando
                   orçamento.                          orçamento, mas       31/12).      o ato de
                                                       conservam sua                     autorização tiver
                                                       especificidade                    sido
                                                       demonstrando-se                   PROMULGADO
                                                       a conta dos                       nos últimos 04
                                                       mesmos,                           (quatro) meses
                                                       separadamente.                    do exercício.
                                                                                         Nesse caso, os
                                                                                         saldos são
                                                                                         incorporados, por
                                                                                         decreto, ao
                                                                                         orçamento
                                                                                         seguinte (créditos
                                                                                         com vigência
                                                                                         plurianual).
EXTRAORDINÁRIOS    Atender a         Independe         Na União,            No exercício Só para o          NÃO
                   despesas                            abertura se dá por   em que foi   exercício
                   imprevisíveis e                     meio de Medida       aberto (até  seguinte quando
                   urgentes (ex:.                      Provisória; Nos      31/12).      o ato de abertura
                   guerra,                             Estados, DF e                     (MP ou Decreto)
                   comoção                             Municípios, a                     tiver sido editado
                   interna ou                          abertura se dá por                nos últimos 04
                   calamidade).                        Decreto do                        (quatro) meses
                                                       Executivo ou por                  do exercício.
                                                       Medida                            Nesse caso, os
                                                       Provisória, se                    saldos são
                                                       houver previsão                   incorporados, por
                                                       na Constituição                   decreto, ao
                                                       do Estado ou na                   orçamento
                                                       Lei Orgânica do                   seguinte (créditos
                                                       Município. Se                     com vigência
                                                       abertura ocorrer                  plurianual).
                                                       por meio de
                                                       Decreto, este
                                                       deverá ser
                                                       enviado
                                                       imediatamente ao
                                                       Legislativo.
                                                       Incorporam-se ao
                                                       orçamento, mas
                                                       conservam sua
                                                       especificidade,
                                                       demonstrando-se
                                                       a conta dos
                                                       mesmos
                                                       separadamente.




Apostila de Orçamento e Contabilidade Pública               29                              Prof. Fabio Furtado
IMPORTANTE

A CF, em seu artigo 167, V, veda a abertura de crédito suplementar ou
especial sem prévia autorização legislativa ou sem indicações dos
recursos correspondentes. A Lei nº 4.320/64 estabelece os recursos que
servirão para abertura dos créditos suplementares e especiais, desde que
não estejam comprometidos (art. 43, § 1º). São eles:



1 - SUPERÁVIT FINANCEIRO apurado em balanço patrimonial do
exercício anterior; superávit financeiro é a diferença positiva entre o ativo
financeiro e o passivo financeiro, conjugando-se, ainda:

           -   os saldos dos créditos adicionais transferidos e as operações
               de crédito a eles vinculadas; e, se já houver, o valor dos
               créditos adicionais abertos no próprio exercício, tendo como
               fonte o superávit financeiro, ou seja:


2 – EXCESSO DE ARRECADAÇÃO: excesso de arrecadação é o saldo
positivo das diferenças acumuladas mês a mês entre a arrecadação
prevista e a realizada, considerando-se, ainda, a tendência do exercício.
Para o fim de apurar os recursos utilizáveis, provenientes de excesso de
arrecadação, deduzir-se-á a importância dos créditos extraordinários
abertos no exercício.


3 – ANULAÇÃO PARCIAL OU TOTAL DE DOTAÇÕES orçamentárias ou
de créditos adicionais, autorizados em Lei. Nessa fonte, inclui-se a
Reserva de Contingência, que também é uma dotação orçamentária.


4 – OPERAÇÕES DE CRÉDITO autorizadas, em forma que, juridicamente,
possibilite ao Poder Executivo realizá-las. Neste caso, não basta a
indicação de que as novas despesas serão financiadas por operações de
créditos. É necessário que o Executivo demonstre a viabilidade jurídica e
financeira para a realização do empréstimo (ex: demonstrar que a operação
de crédito está cumprindo os requisitos estabelecidos pelas Resoluções do
Senado Federal).




Apostila de Orçamento e Contabilidade Pública   30          Prof. Fabio Furtado
Receita Pública

1 - Conceito

De acordo com o livro Contabilidade Pública, do mestre João Angélico,
ingresso, embolso, entrada ou receita pública são expressões
sinônimas. Receita Pública, em seu sentido mais amplo, é o recolhimento
de bens aos cofres públicos.


2 - Classificação

A receita pública pode ser classificada sob diversos aspectos. Dentre os
quais podemos destacar:

Quanto    à natureza;
Quanto    ao poder de tributar;
Quanto    à coercitividade;
Quanto    às categorias econômicas;
Quanto    à afetação patrimonial;



Quanto à natureza

- Orçamentária: corresponde à arrecadação de recursos financeiros
autorizados pela Lei Orçamentária e que serão aplicados na realização dos
gastos públicos.

   Ex.: Receitas Correntes e Receitas de Capital

- Extra-orçamentária: é um ingresso financeiro de caráter temporário,
pois refere-se a uma entrada de dinheiro pertencente a terceiros onde o
Estado é um simples depositário. É também denominada Ingressos Extra-
orçamentários.

   Ex.: cauções em dinheiro;
        retenções na fonte;
        consignações em folha de pagamento a favor de terceiros etc.




Apostila de Orçamento e Contabilidade Pública   31       Prof. Fabio Furtado
Quanto ao poder de tributar

•     Federal – quando de competência da União.
•     Estadual – quando de competência dos estados.
•     Municipal – quando de competência dos municípios.
______________________________________________________________________

Quanto à coercitividade

- Derivada: receita proveniente do poder de império do Estado, isto é, do
exercício da competência ou do poder de tributar os rendimentos ou o
patrimônio da coletividade.

    Ex.:   as receitas de tributos,             de   empréstimos   e   contribuições
           compulsórias etc.

- Originária: proveniente de bens pertencentes ao patrimônio do Estado.

    Ex.: venda de bens;
         prestação de serviços públicos: água, luz etc.


Quanto às categorias econômicas

•   Receitas Correntes

     -   Tributárias;
     -   Contribuições;
     -   Patrimoniais;
     -   Agropecuárias;
     -   Industriais;
     -   Serviços;
     -   Transferências Correntes;
     -   Outras Receitas Correntes.


         Tributárias – é a resultante da cobrança de tributos pagos pelos
         cidadãos em razão de suas atividades, suas rendas, suas
         propriedades e dos benefícios diretos e imediatos recebidos do
         Estado.

         Contribuições – são as provenientes de contribuições sociais e
         econômicas.




Apostila de Orçamento e Contabilidade Pública   32                 Prof. Fabio Furtado
Patrimoniais – são as rendas obtidas na exploração do patrimônio do
         Estado, tais como: aluguéis, juros de aplicações financeiras,
         dividendos etc.

         Agropecuárias – são receitas que resultam da exploração direta, por
         parte do Estado, de operações comerciais decorrentes de atividades
         agropecuárias.

         Industriais - são receitas que resultam da exploração direta, por
         parte do Estado, de operações comerciais decorrentes de atividades
         industriais.

         Serviços – são receitas provenientes de serviços executados pelo
         Estado.

         Transferências Correntes – são recursos financeiros recebidos de
         outras pessoas de direito público ou privado, destinados ao
         atendimento de despesas correntes.

         Outras Receitas Correntes – são provenientes de multas e juros de
         mora, cobranças da dívida ativa, restituições e indenizações etc. e
         outras que não tenham classificação específica.


•   Receitas de Capital

     -   Alienações de Bens;
     -   Operações de Crédito;
     -   Amortização de Empréstimos (concedidos);
     -   Transferências de Capital;
     -   Outras Receitas de Capital.

         Alienações de Bens – representa a conversão em espécie de bens e
         direitos.

         Operações de Crédito – são receitas de capital provenientes de
         empréstimos e financiamentos, tais como: emissão de títulos da
         dívida interna ou externa, bem como de contratos com organismos
         financeiros nacionais e internacionais. Objetivam a cobertura do
         déficit orçamentário.

         Amortização de Empréstimos – constitui receitas decorrentes do
         retorno de valores anteriormente emprestados a outras entidades de
         direito público.




Apostila de Orçamento e Contabilidade Pública   33          Prof. Fabio Furtado
Transferências de Capital – indicam os recursos recebidos de outras
        pessoas de direito público ou privado, quando destinados a atender
        a despesas de capital.

        Outras Receitas de Capital – trata-se de classificação que englobará
        as demais receitas de capital não previstas nos itens anteriores.

______________________________________________________________________

Quanto à afetação patrimonial

• Receitas efetivas – são aquelas que se integram ao patrimônio sem
qualquer contrapartida de aumento do passivo ou diminuição do ativo,
contribuindo, assim, para o aumento do patrimônio líquido.

   Ex.: recebimento de impostos, aluguéis, dividendos etc.

•     Receitas por mutação patrimonial – são as oriundas de mutações
que nada acrescem ao patrimônio líquido, constituindo simples entradas
ou alterações nos elementos que o compõem.

   Ex.: venda de bens (veículos, ações etc.), obtenção de um empréstimo
         etc.


Obs.: Geralmente, as receitas correntes são consideradas receitas
efetivas e as receitas de capital são consideradas receitas por mutação
patrimonial.

Logo,

RECEITAS CORRENTES = RECEITAS EFETIVAS

RECEITAS DE CAPITAL = RECEITAS POR MUTAÇÃO PATRIMONIAL

* Exceção: Cobrança (recebimento) de Dívida Ativa – é uma receita
corrente, classificada como “Outras Receitas Correntes”, porém não é uma
receita efetiva, visto que neste caso ocorre um fato permutativo, isto é,
recebe-se o valor da dívida, mas baixa-se o direito de recebê-la creditando
a rubrica de “Dívida Ativa” no Sistema Patrimonial.

Obs.: Nesse caso de recebimento de Dívida Ativa, efetuam-se lançamentos
nos Sistemas Orçamentário, Financeiro e Patrimonial.

* Exceção: Transferências de Capital – é uma receita de capital, porém
não é considerada uma receita por mutação patrimonial, visto que ocorre a


Apostila de Orçamento e Contabilidade Pública   34           Prof. Fabio Furtado
entrada de um numerário transferido de outro ente, com o propósito de
aplicação em despesas de capital, debitando-se a conta Bancos, por
exemplo, e creditando-se a conta de Receitas de Capital Arrecadada (Conta
de Resultado). Assim, não ocasiona um fato permutativo, pois o patrimônio
é aumentado por um valor (debitado na conta Bancos) sem a contrapartida
de um crédito em conta patrimonial, que diminua um outro ativo ou
aumente um passivo.

É válido ressaltar que as exceções aqui apresentadas são bastante
cobradas em provas de concursos públicos.
______________________________________________________________________

3 – Estágios
De acordo com o capítulo II, artigos 51 a 57, da Lei 4.320/64, as receitas
percorrem três estágios até chegarem efetivamente aos cofres públicos. São
eles:
•   Lançamento;
•   Arrecadação;
•   Recolhimento.
Lançamento – é o ato da repartição competente que verifica a procedência
do crédito fiscal, a pessoa que lhe é devedora e inscreve o débito desta.
Cabe ressaltar que não devemos confundir a expressão “lançamento” aqui
apresentada com lançamento contábil. O lançamento em questão vem a
ser um controle extra-contábil para identificar quanto o Estado terá a
cobrar de terceiros, como por exemplo, referente a impostos, taxas etc.
Arrecadação – Neste estágio, o Estado recebe os tributos, multas e demais
créditos a ele devidos. Tais recebimentos são promovidos pelos agentes da
arrecadação, que recebem os recursos dos contribuintes e os entregam ao
Tesouro Público.
Esses agentes podem ser divididos em dois grupos:
•   agentes públicos (tesourarias, coletorias, postos fiscais etc.)
•   agentes privados (bancos autorizados, loterias etc.)

Recolhimento – O recolhimento é constituído da entrega do numerário
arrecadado pelos agentes públicos ou privados às repartições ou ao Banco
Oficial. É o momento a partir do qual o valor está disponível para o
Tesouro do Estado. É nesse estágio que se verifica o princípio da unidade
de tesouraria, segundo o qual todas as receitas orçamentárias e extra-
orçamentárias devem ser englobadas em um caixa único, sendo vedada,
portanto, qualquer fragmentação para criação de caixas especiais,
conforme o artigo 56 da Lei 4.320/64.



Apostila de Orçamento e Contabilidade Pública   35             Prof. Fabio Furtado
É importante ressaltar que muitos autores, dentre os quais o mestre Lino
Martins da Silva, consideram que a receita, na verdade, percorre quatro
estágios, que são:
•   Previsão;
•   Lançamento;
•   Arrecadação;
•   Recolhimento.
O estágio da previsão vem a ser o estudo que a Fazenda Pública faz
visando indicar o quanto se pretende arrecadar no exercício financeiro com
o objetivo de custear os serviços públicos programados para o mesmo
período.




Apostila de Orçamento e Contabilidade Pública   36        Prof. Fabio Furtado
Dívida Ativa
1 – Conceito
É a inscrição que se faz em conta de devedores, relacionadas a tributos,
multas e créditos da Fazenda Pública, lançados, mas não arrecadados no
exercício de origem.

2 - Classificação
O artigo 39 da Lei 4.320/64 classifica a Dívida Ativa em dois grupos:
Dívida Ativa Tributária e Dívida Ativa não Tributária.
Dívida Ativa Tributária – reúne somente aos créditos relativos a tributos
(impostos, taxas e contribuições) lançados e não arrecadados.
Ex.: IPTU de 2004 lançado contra o contribuinte José Silva, mas não pago
por este. No dia 31 de dezembro de 2004, teoricamente, foi inscrito como
dívida ativa, isto é, crédito a receber.
Dívida Ativa não Tributária – engloba todos os demais créditos, líquidos e
certos, da Fazenda Pública. Como exemplos podemos destacar: dividendos,
aluguéis etc.

3 - Apuração
Conforme já mencionado, a dívida ativa é apurada através da seguinte
fórmula:
Total lançado (-) total arrecadado = valor inscrito como dívida ativa.

Ex. 1:

- Foram emitidos, no ano de 2004, carnês de IPTU num total de R$
10.000,00.
- Foram arrecadados até 31/12/2004 apenas R$ 7.000,00.
O total de Dívida Ativa Tributária inscrita foi de R$ 3.000,00 (10.000,00 –
7.000,00).

Ex. 2:

- O controle financeiro da Administração discrimina que há um total de
multas a receber no exercício de 2004, no valor de R$ 8.000,00.
-   Até o final do exercício financeiro foi arrecadado um total de 7.000,00.
O total de Dívida Ativa Não-Tributária inscrita no exercício foi de R$
1.000,00 (8.000,00 – 7.000,00).
Logo, o total de Dívida Ativa inscrita no exercício foi de R$ 4.000,00
(corresponde a soma da Dívida Ativa Tributária com a Não-Tributária).


Apostila de Orçamento e Contabilidade Pública   37           Prof. Fabio Furtado
Despesa Pública

1 - Conceito

De acordo com o livro Contabilidade Pública do mestre João Angélico,
desembolsos, dispêndios ou despesa pública são expressões sinônimas
consagradas pela prática. Constitui despesa pública todo pagamento
efetuado a qualquer título pelos agentes pagadores.


2 - Classificação

A despesa pode ser classificada nos seguintes aspectos:

       quanto    à   natureza;
       quanto    à   competência político-institucional;
       quanto    à   afetação patrimonial;
       quanto    à   regularidade.

______________________________________________________________________

a)     Quanto à natureza

Segundo a natureza, a despesa pode ser dividida em:

- Orçamentária – é a aplicação de recursos públicos na realização dos
gastos necessários à manutenção e expansão dos serviços públicos. Trata-
se de despesas que integram o orçamento, ou seja, derivam da lei
orçamentária ou dos créditos adicionais e, por isso, sofrem rigorosa
disciplina nos arts. 12 e 13 da Lei Federal nº 4.320/64 e alterações
posteriores editadas pelo órgão central do orçamento.

Exemplo:

Despesas Correntes

       -   Pessoal e Encargos Sociais;
       -   Juros e Encargos da Dívida;
       -   Outras Despesas Correntes.

Despesas de Capital

       -   Investimentos;
       -   Inversões Financeiras;
       -   Amortização da Dívida;



Apostila de Orçamento e Contabilidade Pública   38         Prof. Fabio Furtado
- Extra-orçamentária – constitui uma saída financeira decorrente da
devolução dos recursos recebidos anteriormente a título de ingresso extra-
orçamentário. Na realidade, é mais bem denominada de dispêndio extra-
orçamentário. É uma despesa que não consta da lei do orçamento e
compreende as diversas saídas de numerário decorrentes de devolução de
cauções, pagamentos de Restos a Pagar, resgate de operações de
crédito por antecipação de receita, bem como de quaisquer valores que
se revistam de características de simples transitoriedade, recebidos
anteriormente e que, na oportunidade, constituíram receitas extra-
orçamentárias.


b) Quanto à competência político-institucional

Quanto a esse aspecto, a despesa é assim classificada:

       federal – quando de responsabilidade da União, que a realiza para
       atendimento de seus serviços e encargos por força da Constituição,
       das leis e dos contratos;

       estadual – quando de responsabilidade dos Estados;

       municipal – quando de responsabilidade dos Municípios.


c) Quanto à regularidade

Quanto à regularidade, a despesa pode ser desdobrada em:

- Ordinárias – são despesas constantes, ou seja, que são gastas na
manutenção dos serviços públicos. São despesas que se repetem em todos
os exercícios.

Exemplo: pessoal, material de consumo, serviços de terceiros e encargos
etc.


- Extraordinárias – são despesas esporádicas provocadas por
circunstâncias de caráter excepcional e que, por isso, nem todos os anos
aparecem nos orçamentos.

Exemplo: despesas extraordinárias decorrentes de guerras, enchentes etc.




Apostila de Orçamento e Contabilidade Pública   39          Prof. Fabio Furtado
AS DESPESAS PÚBLICAS QUANTO ÀS CATEGORIAS ECONÔMICAS:


De acordo com a Lei 4.320/64:

A Lei nº 4.320/64, em seu art. 12, dispõe que a despesa será classificada
nas seguintes categorias econômicas:

•   Despesas Correntes

       -   Despesas de Custeio
       -   Transferências Correntes

•   Despesas de Capital

       -   Investimentos
       -   Inversões Financeiras
       -   Transferências de Capital


Despesa Corrente – classificam-se nessa categoria todas as despesas que
não contribuem, diretamente, para a formação ou aquisição de um bem de
capital. Representam encargos que não produzem acréscimos no
patrimônio, respondendo assim, pela manutenção das atividades de cada
órgão/atividade.

Excluindo-se as aquisições de materiais para formação de estoques, todos
os demais dispêndios correntes provocam a diminuição patrimonial
(Despesa Efetiva).


- Classificam-se como Despesas de Custeio as dotações para manutenção
de serviços anteriormente criados, inclusive as destinadas a atender a
obras de conservação e adaptação de bens imóveis.

- Classificam-se como Transferências Correntes as dotações para
despesas às quais não corresponda contraprestação direta em bens ou
serviços, inclusive para contribuições e subvenções destinadas a atender à
manifestação de outras entidades de direito público ou privado.

       - Consideram-se subvenções, para os efeitos desta Lei, as
       transferências destinadas a cobrir despesas de custeio das entidades
       beneficiadas, distinguindo-se como:




Apostila de Orçamento e Contabilidade Pública   40         Prof. Fabio Furtado
I - subvenções sociais, as que se destinem a instituições públicas
       ou privadas de caráter assistencial ou cultural, sem finalidade
       lucrativa;

       II - subvenções econômicas, as que se destinem a empresas
       públicas ou privadas de caráter industrial, comercial, agrícola ou
       pastoril.



Despesa de Capital – classificam-se nesta categoria aquelas despesas que
contribuem, diretamente, para a formação ou aquisição de um bem de
capital, resultando no acréscimo do patrimônio do órgão ou entidade que a
realiza, aumentando, dessa forma, sua riqueza patrimonial.

À exceção das transferências de recursos financeiros repassados a outras
instituições, para realizarem Despesas de Capital, os gastos desta
natureza constituem fatos permutativos nos elementos patrimoniais
(Despesa por Mutações).


- Classificam-se como investimentos as dotações para o planejamento e a
execução de obras, inclusive as destinadas à aquisição de imóveis
considerados necessários à realização destas últimas, bem como para os
programas especiais de trabalho, aquisição de instalações, equipamentos e
material permanente e constituição ou aumento do capital de empresas
que não sejam de caráter comercial ou financeiro.

- Classificam-se como Inversões Financeiras as dotações destinadas a:

I - aquisição de imóveis, ou de bens de capital já em utilização;

II - aquisição de títulos representativos do capital de empresas ou
entidades de qualquer espécie, já constituídas, quando a operação não
importe aumento do capital;

III - constituição ou aumento do capital de entidades ou empresas que
visem a objetivos comerciais ou financeiros, inclusive operações bancárias
ou de seguros.

- São Transferências de Capital as dotações para investimentos ou
inversões financeiras que outras pessoas de direito público ou privado
devam realizar, independentemente de contraprestação direta em bens ou
serviços, constituindo essas transferências auxílios ou contribuições,
segundo derivem diretamente da Lei de Orçamento ou de lei especialmente
anterior, bem como as dotações para amortização da dívida pública.


Apostila de Orçamento e Contabilidade Pública   41           Prof. Fabio Furtado
_________________________________________________________________________

Obs.: A despesa pública também pode ser classificada sob diversos
aspectos, dentre os quais temos:


a) Quanto ao enfoque                  econômico      (também   conhecida      como
classificação econômica):

•   c    -   Categoria econômica;
•   g    -   Grupo de natureza da despesa;
•   mm   -   Modalidade de aplicação;
•   ee   -   Elemento de despesa;
•   dd   -   Desdobramento, facultativo, do elemento de despesa.


Categoria Econômica – a classificação econômica possibilita analisar o
impacto das ações governamentais em toda a economia. As despesas são
classificadas nas seguintes categorias econômicas: despesas correntes e
despesas de capital.


Grupos de Natureza de Despesa – entende-se por grupos de natureza de
despesa a agregação de elementos de despesa que apresentem as mesmas
características quanto ao objeto do gasto.


Modalidade de Aplicação – indica por meio de quem se realiza o gasto.
Destina-se a indicar se os recursos serão aplicados diretamente pela
unidade detentora do crédito orçamentário, ou transferidos a outros entes
públicos, órgãos, entidades etc.


Elemento de Despesa – tem por finalidade discriminar os grupos em nível
mais detalhado de agregação, identificando o objeto do gasto.



Essa classificação foi instituída pela PORTARIA INTERMINISTERIAL Nº.
163, de 04 de MAIO de 2001.




Apostila de Orçamento e Contabilidade Pública   42               Prof. Fabio Furtado
Categorias Econômicas

3 - Despesas Correntes
4 - Despesas de Capital

Despesa Corrente – classificam-se nessa categoria todas as despesas que
não contribuem, diretamente, para a formação ou aquisição de um bem de
capital. Representam encargos que não produzem acréscimos no
patrimônio, respondendo assim, pela manutenção das atividades de cada
órgão/atividade.

Excluindo-se as aquisições de materiais para formação de estoques, todos
os demais dispêndios correntes provocam a diminuição patrimonial
(Despesa Efetiva).


Despesa de Capital – classificam-se nesta categoria aquelas despesas que
contribuem, diretamente, para a formação ou aquisição de um bem de
capital, resultando no acréscimo do patrimônio do órgão ou entidade que a
realiza, aumentando, dessa forma, sua riqueza patrimonial.

À exceção das transferências de recursos financeiros repassados a outras
instituições, para realizarem Despesas de Capital, os gastos desta
natureza constituem fatos permutativos nos elementos patrimoniais
(Despesa por Mutações).


Grupos de Natureza da Despesa

1   –   Pessoal e Encargos Sociais
2   –   Juros e Encargos da Dívida
3   –   Outras Despesas Correntes
4   –   Investimentos
5   –   Inversões Financeiras
6   –   Amortização da Dívida


Despesa Corrente

Pessoal e Encargos Sociais – despesas com o pagamento pelo efetivo
exercício do cargo ou do emprego ou de função de confiança no setor
público, quer civil ou militar; ativo ou inativo, bem como as obrigações de
responsabilidade do empregador.




Apostila de Orçamento e Contabilidade Pública   43         Prof. Fabio Furtado
Juros e Encargos da Dívida – despesas com pagamento de juros,
comissões e outros encargos de operações de crédito internas e externas
contratadas.

Outras Despesas Correntes – despesas com aquisição de material de
consumo, pagamento de serviços prestados por pessoa física sem vínculo
empregatício ou pessoa jurídica independente de forma contratual, e
outras da categoria econômica “Despesas Correntes”, não classificáveis
nos três grupos acima.


Despesa de Capital

Investimentos – são as aplicações diretas em programas que visem ao
desenvolvimento ou aprimoramento dos serviços prestados pelo Estado,
através de construções, inclusive a aquisição de terrenos para este fim e
aquisição de materiais permanentes novos, bem como para aquisição de
títulos representativos do capital de empresas ou entidades que impliquem
aumento do PIB (Produto Interno Bruto).

Inversões Financeiras – são as aplicações para aquisição de bens imóveis,
quando não destinados a edificações, ou outros bens patrimoniais já em
utilização, constituição e/ou aumento de capital de empresas comerciais
e/ou financeiras.

Amortização da Dívida – despesas com o pagamento do principal e da
atualização monetária ou cambial referente a operações de crédito
contratadas.


Modalidades de Aplicação

20   –   Transferências à União
30   –   Transferências a Estados e ao Distrito Federal
40   –   Transferências a Municípios
50   –   Transferências a Instituições Privadas sem Fins Lucrativos
60   –   Transferências a Instituições Privadas com Fins Lucrativos
70   –   Transferências a Instituições Multigovernamentais Nacionais
80   –   Transferências ao Exterior
90   –   Aplicações Diretas
99   –   A Definir

Elementos da Despesa (apenas alguns dos elementos de despesa
constantes na Portaria 163/2001)

01 – Aposentadorias e Reformas


Apostila de Orçamento e Contabilidade Pública   44           Prof. Fabio Furtado
03 – Pensões
14 – Diárias-Civil
15 – Diárias-Militar
30 – Material de Consumo
36 – Outros Serviços de Terceiros – Pessoa Física
39 – Outros Serviços de Terceiros – Pessoa Jurídica
92 – Despesas de Exercícios Anteriores
______________________________________________________________________

b) Quanto à afetação patrimonial

Quanto à afetação patrimonial, as despesas são divididas em:

Despesas efetivas – conjunto de despesas que contribuem para o
decréscimo do patrimônio líquido do Estado. As despesas efetivas são,
pois, aquelas cuja responsabilidade de pagamento o Estado
obrigatoriamente assume, fixando dotações orçamentárias anuais, tais
como:

        despesas com pessoal e encargos sociais;
        juros e encargos da dívida;
        outras despesas correntes.


Despesas por mutações patrimoniais – são as despesas oriundas de
mutações que em nada diminuem o patrimônio líquido, constituindo
simples saídas ou alterações compensatórias nos elementos que o
compõem. Assim, temos:

        investimentos;
        inversões financeiras;
        amortização da dívida;


Obs.: Geralmente, as despesas correntes são consideradas despesas
efetivas e as despesas de capital são consideradas despesas por
mutação patrimonial.

Logo,

DESPESAS CORRENTES = DESPESAS EFETIVAS

DESPESAS DE CAPITAL = DESPESAS POR MUTAÇÃO PATRIMONIAL

•   Exceção: Aquisição de Material de Consumo para Estoque – é uma
    despesa corrente, classificada como “Outras Despesas Correntes”,


Apostila de Orçamento e Contabilidade Pública   45        Prof. Fabio Furtado
porém não é uma despesa efetiva, visto que neste caso ocorre um fato
   permutativo, isto é, recebe-se o material, CONTABILIZANDO A DÉBITO
   NO SISTEMA PATRIMONIAL, mas em contrapartida contabiliza-se a
   saída de numerário (CAIXA ou BANCOS) para quitação da compra ou o
   reconhecimento da OBRIGAÇÃO (FORNECEDORES), NO SISTEMA
   FINANCEIRO.


Obs.: Nesse caso, efetuam-se lançamentos nos Sistemas Orçamentário,
Financeiro e Patrimonial.

Obs. 2 : A compra de material para consumo imediato é classificada como
despesa corrente (custeio) e despesa efetiva

* Exceção: Transferências de Capital – é uma despesa de capital, porém
não é considerada uma despesa por mutação patrimonial, visto que ocorre
a saída de um numerário transferido para outro ente, com o propósito de
aplicação, por parte deste outro ente, em despesas de capital. Credita-se a
conta Bancos, por exemplo, pela saída de numerário e debita-se a conta de
Despesa de Capital Realizada (Conta de Resultado). Assim, não ocasiona
um fato permutativo, pois o patrimônio é diminuído por um valor
(creditado na conta Bancos) sem a contrapartida de um débito em conta
patrimonial, que aumente um outro ativo ou diminua um passivo.

È válido ressaltar que as exceções aqui apresentadas são bastante
cobradas em provas de concursos públicos.


c) Classificação Funcional-Programática

A classificação        funcional     é   constituída    das    seguintes     funções         e
subfunções:

      FUNÇÕES E SUBFUNÇÕES DE GOVERNO
      FUNÇÕES                                   SUBFUNÇÕES
01 - Legislativa            031 – Ação Legislativa
                            032 – Controle Externo
02 - Judiciária             061 – Ação Judiciária
                            062 – Defesa do Interesse Público no Processo Judiciário
03 – Essencial à Justiça    091 – Defesa da Ordem Jurídica
                            092 – Representação Judicial e Extrajudicial
04 - Administração          121 – Planejamento e Orçamento
                            122 – Administração Geral
                            123 – Administração Financeira



Apostila de Orçamento e Contabilidade Pública   46                     Prof. Fabio Furtado
124 – Controle Interno
                            125 – Normalização e Fiscalização
                            126 – Tecnologia da Informação
                            127 – Ordenamento Territorial
                            128 – Formação de Recursos Humanos
                            129 – Administração de Receitas
                            130 – Administração de Concessões
                            131 – Comunicação Social
05 – Defesa Nacional        151 – Defesa Aérea
                            152 – Defesa Naval
                            153 – Defesa Terrestre


06 – Segurança Pública      181 – Policiamento
                            182 – Defesa Civil
                            183 – Informação e Inteligência
07 – Relações Exteriores    211 – Relações Diplomáticas
                            212 – Cooperação Internacional
08 – Assistência Social     241 – Assistência ao Idoso
                            242 – Assistência ao Portador de Deficiência
                            243 – Assistência à Criança e ao Adolescente
                            244 – Assistência Comunitária
09 – Previdência Social     271 – Previdência Básica
                            272 – Previdência do Regime Estatutário
                            273 – Previdência Complementar
                            274 – Previdência Especial
10 – Saúde                  301 – Atenção Básica
                            302 – Assistência Hospitalar e Ambulatorial
                            303 - Suporte Profilático e Terapêutico
                            304 – Vigilância Sanitária
                            305 – Vigilância Epidemiológica
                            306 – Alimentação e Nutrição
11 – Trabalho               331 – Proteção e Benefício ao Trabalhador
                            332 – Relações de Trabalho
                            333 – Empregabilidade
                            334 – Fomento ao Trabalho
12 - Educação               361 – Ensino Fundamental
                            362 – Ensino Médio
                            363 – Ensino Profissional
                            364 – Ensino Superior
                            365 – Educação Infantil
                            366 – Educação de Jovens e Adultos
                            367 – Educação Especial
13 - Cultura                391 – Patrimônio Histórico, Artístico e Arqueológico
                            392 – Difusão Cultural




Apostila de Orçamento e Contabilidade Pública   47                     Prof. Fabio Furtado
14 – Direitos da            421 – Custódia e Reintegração Social
Cidadania                   422 – Direitos Individuais, Coletivos e Difusos
                            423 – Assistência aos Povos Indígenas
15 - Urbanismo              451 – Infra – Estrutura Urbana
                            452 – Serviços Urbanos
                            453 - Transportes Coletivos e Urbanos
16 – Habitação              481 – Habitação Rural
                            482 – Habitação Urbana
17 - Saneamento             511- Saneamento Básico Rural
                            512 – Saneamento Básico Urbano
18 – Gestão Ambiental       541 – Preservação e Conservação Ambiental
                            542 – Controle Ambiental
                            543 – Recuperação de Áreas Degradadas
                            544 – Recursos Hídricos
                            545 – Meteorologia


19 - Ciência e Tecnologia 571 – Desenvolvimento Científico
                          572 – Desenvolvimento Tecnológico
                          573 – Difusão do Conhecimento Científico e Tecnológico
20 – Agricultura          601 – Promoção da Produção Vegetal
                          602 – Promoção da Produção Animal
                          603 – Defesa Sanitária Vegetal
                          604 - Defesa Sanitária Animal
                          605 – Abastecimento
                          606 – Extensão Rural
                          607 - Irrigação
21 – Organização Agrária 631 – Reforma Agrária
                          632 - Colonização
22 - Indústria            661 – Promoção Industrial
                          662 - Produção Industrial
                          663 – Mineração
                          664 – Propriedade Industrial
                          665 – Normalização e Qualidade
23 – Comércio e Serviços 691 –Promoção Comercial
                          692 – Comercialização
                          693 – Comércio Exterior
                          694 - Serviços Financeiros
                          695 - Turismo
24 – Comunicações         721 – Comunicações Postais
                          722 -Telecomunicações
25 – Energia              751 – Conservação de Energia
                          752 – Energia Elétrica
                          753 – Petróleo
                          754 – Álcool



Apostila de Orçamento e Contabilidade Pública   48                      Prof. Fabio Furtado
26 – Transporte             781 – Transporte Aéreo
                            782 – Transporte Rodoviário
                            783 – Transporte Ferroviário
                            784 – Transporte Hidroviário
                            785 – Transportes Especiais
27 – Desporto e Lazer       811 – Desporto de Rendimento
                            812 – Desporto Comunitário
                            813 - Lazer
28 – Encargos Especiais     841 – Refinanciamento da Dívida Interna
                            842 - Refinanciamento da Dívida Externa
                            843 – Serviço da Dívida Interna
                            844 – Serviço da Dívida Externa
                            845 – Transferências
                            846 – Outros Encargos Especiais

Art. 1º (...)

§1º Como função, deve entender-se o maior nível de agregação das diversas áreas de
despesa que competem ao setor público.

§2º A função “Encargos Especiais” engloba as despesas em relação às quais não se possa
associar um bem ou serviço a ser gerado no processo produtivo corrente, tais como:
dívidas, ressarcimentos, indenizações e outras afins, representando, portanto uma agregação
neutra.

§3º A subfunção representa uma partição da função, visando a agregar determinado
subconjunto de despesa do setor público.

§4º As subfunções poderão ser combinadas com funções diferentes daquelas a que
estejam vinculadas, na forma do Anexo a esta Portaria.




Apostila de Orçamento e Contabilidade Pública   49                     Prof. Fabio Furtado
Classificação ou Estrutura Programática


Programas, Projetos/Atividades/Operações Especiais

       Programas – são instrumentos de organização da ação
       governamental visando à concretização dos objetivos pretendidos,
       sendo mensurado por indicadores estabelecidos no Plano Plurianual.

       Projetos – são instrumentos de programação para alcançar o
       objetivo de um programa, envolvendo um conjunto de operações que
       se realizam num período limitado de tempo, das quais resulta um
       produto que concorre para a expansão ou o aperfeiçoamento da ação
       de governo. Exemplo: a) construção de escola; b) construção de
       hospital etc.

       Atividades – são instrumentos de programação para alcançar o
       objetivo de um programa, envolvendo um conjunto de operações que
       se realizam de modo contínuo e permanente, das quais resulta um
       produto necessário à manutenção da ação do governo. Exemplo: a)
       contratação de professores para a escola construída; b) contratação
       de profissionais de saúde para o hospital construído etc.

       Operações Especiais – são despesas que não contribuem para a
       manutenção das ações de governo, das quais não resulta um
       produto e não gera contraprestação direta sob a forma de bens ou
       serviços. Representam, basicamente, o detalhamento da função
       Encargos Especiais. São exemplos típicos: amortizações e encargos,
       pagamento de sentenças judiciais, indenizações etc.

Resumindo, segundo a Portaria nº 42/99, do Ministério do Planejamento,
Orçamento e Gestão, temos:

Classificação Funcional: Funções e Subfunções

Classificação Programática:Programas, Projetos/Atividades/Operações
Especiais.




Apostila de Orçamento e Contabilidade Pública   50        Prof. Fabio Furtado
3 - Estágios

De acordo com o capítulo III, da Lei 4.320/64, os estágios da despesa
pública são três:

•   Empenho;
•   Liquidação;
•   Pagamento

Cabe ressaltar que segundo o professor Lino Martins da Silva, a despesa
pública percorre quatro estágios, que são:

•   Fixação;
•   Empenho;
•   Liquidação;
•   Pagamento

Fixação – esse estágio refere-se à estimativa, pelo Poder Público, de
quanto irá ser alocado em cada dotação, sendo o montante o limite a ser
gasto, visando o atendimento das necessidades coletivas.


Empenho – é o ato emanado de poder competente que cria para o Estado
uma obrigação de pagamento pendente ou não de implemento de condição
que será cumprido com a entrega do material, a medição da obra ou a
prestação dos serviços.

O empenho é prévio, ou seja, precede à realização da despesa e tem de
respeitar o limite do crédito orçamentário.

______________________________________________________________________
O empenho compreende três fases, que são:

Licitação ou sua dispensa;
Autorização
Formalização

A licitação ou dispensa precede ao empenho da despesa e tem por
objetivo verificar, entre vários fornecedores, quem oferece condições mais
vantajosas à administração. Existem seis modalidades de licitação:
concorrência, tomada de preços, convite, concurso, leilão e o pregão.

A autorização constitui a decisão, manifestação ou despacho do
Ordenador, isto é, a permissão dada pela autoridade competente para




Apostila de Orçamento e Contabilidade Pública   51        Prof. Fabio Furtado
realização da despesa. Geralmente, nessa fase é emitida a NAD - Nota de
Autorização da Despesa.


A formalização corresponde à dedução do valor da despesa feita no saldo
disponível da dotação, e é comprovada pela emissão da Nota de Empenho
que em determinadas situações previstas na legislação específica poderá
ser dispensada, como nos casos das despesas relativas a: Pessoal e
Encargos Sociais, Juros e Encargos da Dívida etc.
______________________________________________________________________

Os empenhos são classificados nas seguintes modalidades:

•     Ordinário – quando destinado a atender a despesa cujo pagamento
se processe de uma só vez;

           Ex.: Compra de um veículo à vista.

•     Estimativa – quando destinado a atender despesas para as quais
não se possa previamente determinar o montante exato;

           Ex.: Despesas com água, luz, telefone etc.

•     Global – quando destinado a atender a despesas contratuais e
outras, sujeitas a parcelamento, cujo montante exato possa ser
determinado.

           Ex.: Despesas com serviços de limpeza executado por uma
                empresa contratada;

              Aquisição de um bem cujo pagamento será de forma
               parcelada etc.
______________________________________________________________________

Liquidação – Consiste na verificação do direito adquirido pelo credor,
tendo por base os títulos e documentos comprobatórios do respectivo
crédito.

Cabe observar que essa verificação tem por finalidade apurar:

I – a origem e o objeto do que se tem que pagar;
II – a importância exata a pagar;
III – a quem se deve pagar a importância, para extinguir a obrigação.

A liquidação da despesa por fornecimentos feitos ou serviços prestados
terá por base:


Apostila de Orçamento e Contabilidade Pública   52         Prof. Fabio Furtado
I – o contrato, ajuste ou acordo respectivo;
II – a nota de empenho;
III – os comprovantes da entrega do material ou da prestação do serviço.

Esses documentos comprobatórios podem ser a Nota fiscal ou o Cupom
Fiscal emitidos pelo fornecedor. Deve-se verificar se na Nota ou no Cupom
constam as assinaturas e matrículas de dois servidores atestando que a
mercadoria foi devidamente entregue ou o serviço foi executado a contento.

É nesse estágio que é emitida a Ordem de Pagamento.

A Ordem de Pagamento é o despacho exarado por autoridade competente,
determinando que a despesa seja paga.

A Ordem de Pagamento só poderá ser exarada em documentos
processados pelos serviços de contabilidade. É nesse documento que o
ordenador da despesa autoriza o pagamento. È nele que vem apresentado
o famoso termo “PAGUE-SE”.

Pagamento – É o último estágio da despesa. O pagamento da despesa será
efetuado por tesouraria ou pagadoria regularmente instituídas, por
estabelecimentos bancários credenciados e, em casos excepcionais, por
meio de adiantamento ou suprimento de fundos. O pagamento pode ser
realizado da seguinte forma:

       -   cheque nominativo – mediante recibo do beneficiário;

       -   ordem bancária – o órgão transfere ao banco a responsabilidade
           de finalizar o pagamento, mediante débito em sua conta.
           O meio de pagamento mais utilizado atualmente é a transmissão
           de arquivo ao banco contendo a relação dos credores, nºs das
           respectivas contas correntes para crédito e valores a serem
           creditados nas contas de cada credor.

       -   adiantamento ou suprimento de fundos – consiste na liberação de
           numerário a um servidor para realizar determinada despesa e
           posterior prestação de contas.

Aproveitando que estamos comentando sobre o regime de adiantamento,
segue o disposto nos artigos 68 e 69 da Lei 4.320/64:

Art. 68 - O regime de adiantamento é aplicável aos casos de despesas
expressamente definidos em lei e consiste na entrega de numerário a
servidor, sempre precedida de empenho na dotação própria para o fim de



Apostila de Orçamento e Contabilidade Pública   53          Prof. Fabio Furtado
realizar despesas que não possam subordinar-se ao processo normal de
aplicação.

Art. 69 - Não se fará adiantamento a servidor em alcance nem a
responsável por dois adiantamentos.

O regime de adiantamento também é conhecido como SUPRIMENTO DE
FUNDOS.

Suprimento de Fundos

É a modalidade de realização de despesa por meio de adiantamento
concedido a servidor, para prestação de contas posterior, quando não for
realizável o pagamento utilizando-se os serviços da rede bancária.

O ordenador pode conceder suprimentos:

   •   para atender a despesas eventuais, inclusive em viagens e com
       serviços especiais, que exijam pronto pagamento em espécie;

   •   quando a despesa deve ser feita em caráter sigiloso, conforme se
       classificar em regulamento;

   •   para atender a despesas de pequeno vulto, assim entendidas
       aquelas cujo valor, em cada caso, não ultrapassar limite estabelecido
       em Portaria do Ministro da Fazenda.


A legislação proíbe expressamente a concessão de suprimentos:

   •   a responsável por dois suprimentos;

   •   a servidor que tenha a seu cargo a guarda ou a utilização do
       material a adquirir, salvo quando não houver na repartição outro
       servidor;

   •   a responsável por suprimento de fundos que, esgotado o prazo, não
       tenha prestado contas de sua aplicação; e

   •   a servidor declarado em alcance (que teve suas contas impugnadas).




Apostila de Orçamento e Contabilidade Pública   54          Prof. Fabio Furtado
Restos a Pagar

1 - Conceito

De acordo com o art. 36 da Lei nº 4.320/64, consideram-se Restos a Pagar
as despesas empenhadas, mas não-pagas, até 31 de dezembro,
distinguindo-se as processadas das não-processadas.

A despesa está processada quando já transcorreu o estágio da liquidação,
ou seja, quando o credor/fornecedor já cumpriu sua obrigação.

2 – Classificação

Os Restos a Pagar são classificados em: PROCESSADOS e NÃO-
PROCESSADOS, como segue:

RESTOS A PAGAR PROCESSADOS

Entendem-se como Restos a Pagar Processados, as despesas, legalmente
empenhadas, cujo objeto do empenho já foi recebido, ou seja, já ocorreu o
estágio da liquidação, mas não houve o pagamento.

RESTOS A PAGAR NÃO-PROCESSADOS

Entendem-se como Restos a Pagar Não-Processados, as despesas,
legalmente empenhadas, que não foram liquidadas e não-pagas até 31 de
dezembro do mesmo exercício.

3 – Inscrição

A inscrição em Restos a Pagar é feita na data do encerramento do exercício
financeiro de emissão da nota de empenho, e terá validade até 31 de
dezembro do ano subseqüente, vedada a reinscrição. É considerada receita
extra-orçamentária.

4 – Pagamento

O pagamento de Restos a Pagar, seja Processado ou Não-Processado, é
feito no ano seguinte ao da sua inscrição. É considerado despesa extra-
orçamentária.

RESTOS A PAGAR PROCESSADOS

Basta pagar o valor inscrito como Restos a Pagar Processados ao
fornecedor, visto que a despesa já foi devidamente liquidada.


Apostila de Orçamento e Contabilidade Pública   55        Prof. Fabio Furtado
RESTOS A PAGAR NÃO-PROCESSADOS

Primeiro, deve-se efetuar a liquidação da despesa e depois deve-se realizar
o pagamento ao fornecedor.

5 – Cancelamento

Os Restos a Pagar não-pagos até 31 de dezembro do ano subseqüente ao
de sua inscrição serão cancelados.

Obs.: Sendo o pagamento reclamado após o cancelamento da inscrição,
uma vez reconhecido o direto do credor, deverá (o pagamento) ser efetuado
à conta do orçamento vigente, isto é, sendo enquadrada como Despesas de
Exercícios Anteriores.

6 – Prescrição

Os Restos a Pagar só prescrevem após 05 (cinco) anos a partir da data de
inscrição.

A prescrição relativa ao direito do credor ocorre em cinco anos, contados a
partir da data de inscrição, excetuando-se os casos em que haja
interrupções decorrentes de atos judiciais.

Despesas de Exercícios Anteriores

Essas despesas resultam de compromissos gerados em                 exercícios
anteriores, sendo pagas à conta do próprio orçamento vigente.
Enquadram-se nessa condição:


   •   as despesas de exercícios encerrados, para as quais o orçamento
       respectivo consignava crédito próprio, com saldo suficiente para
       atendê-las, que não se tenham processado na época própria, assim
       entendidas aquelas cujo empenho tenha sido considerado
       insubsistente     e   anulado    no   encerramento    do    exercício
       correspondente, mas cuja obrigação tenha sido cumprida pelo
       credor no prazo estabelecido;
   •   os Restos a Pagar com prescrição interrompida, assim considerada a
       despesa cuja inscrição em Restos a Pagar tenha sido cancelada,
       ainda vigendo o direito do credor;
   •   os compromissos decorrentes de obrigação de pagamento criada em
       virtude de lei e reconhecidos após o encerramento do exercício.



Apostila de Orçamento e Contabilidade Pública   56          Prof. Fabio Furtado
Prescrição - As dívidas de exercícios anteriores, que dependem de
requerimento do favorecido, prescrevem em 05 (cinco) anos, contados da
data do ato ou fato que tiver dado origem ao respectivo direito.

O início do período da dívida corresponde à data constante do fato gerador
do direito, não sendo considerado, para a prescrição qüinqüenal, o tempo
de tramitação burocrática e o de providências administrativas a que estiver
sujeito o processo.

Segue abaixo o art. 37 da Lei 4.320/64 que trata deste item (Despesas de
Exercícios Anteriores)

“Art. 37 - As despesas de exercícios encerrados, para as quais o orçamento
respectivo consignava crédito próprio, com saldo suficiente para atendê-
las, que não se tenham processado na época própria, bem como os Restos
a Pagar com prescrição interrompida e os compromissos reconhecidos
após o encerramento do exercício correspondente poderão ser pagos à
conta de dotação específica consignada no orçamento, discriminada por
elementos, obedecida, sempre que possível, a ordem cronológica.”

Anulação de Operações Orçamentárias

Durante o exercício, pode ocorrer devolução de receita motivada por
pagamento efetuado a maior, ou indevidamente, por parte do contribuinte,
ou restituição de despesa decorrente de recebimento a maior, ou
indevidamente, por parte do beneficiário. Essas operações podem ser
realizadas durante o exercício em que ocorram ou em exercícios futuros.

1 – Anulação da Receita

   a) Acontecendo no exercício de sua arrecadação, faz-se o estorno da
      receita realizada;

   b) Ocorrendo a restituição após o encerramento do exercício de sua
      realização, constitui Despesa Orçamentária.

2 – Anulação da Despesa

   a) Acontecendo no exercício da emissão do empenho correspondente,
      faz-se o estorno revertendo o valor ao saldo da dotação
      correspondente;

   b) Ocorrendo a restituição após o encerramento do exercício de seu
      empenho e pagamento, constitui Receita Orçamentária.




Apostila de Orçamento e Contabilidade Pública   57         Prof. Fabio Furtado
Dívida Pública

1 - Conceito

Significa o conjunto de compromissos, de curto ou longo prazos,
assumidos pelo Estado com terceiros.


2 – Classificação


Dívida Flutuante

O artigo 92 da Lei nº 4.320/64 trata da dívida flutuante.


- A dívida flutuante compreende:

I - os restos a pagar, excluídos os serviços da dívida;

II - os serviços da dívida a pagar (parcelas de amortização e de juros da
dívida fundada);

III - os depósitos (consignações ou cauções e garantias recebidas em
função de execução de obra pública, por exemplo);

IV - os débitos de tesouraria (ARO – operações de crédito por antecipação
de receita destinadas a cobrir insuficiências de caixa ou tesouraria).


OBS.: ARO – OPERAÇÕES DE CRÉDITO POR ANTECIPAÇÃO DA
RECEITA (artigo 38-LRF) = DÉBITOS DE TESOURARIA

A operação de crédito por antecipação de receita destina-se a atender
insuficiência de caixa durante o exercício financeiro e só será válida se
cumprir as seguintes exigências:

   •   existência de prévia e expressa autorização para a contratação, no
       texto da lei orçamentária, em créditos adicionais ou lei específica
       (ver artigo 165, § 8º da CF);

   •   observância dos limites e condições fixados pelo Senado Federal;

   •   atendimento do disposto no inciso III do art. 167 da Constituição
       (regra de ouro);



Apostila de Orçamento e Contabilidade Pública   58          Prof. Fabio Furtado
•   observância das           demais         restrições   estabelecidas   nesta     Lei
       complementar;

   •   realização somente a partir do décimo dia do inicio do exercício;

   •   liquidação, com juros e outros encargos incidentes, até o dia dez de
       dezembro de cada ano;

   •   autorização negada se forem cobrados outros encargos que não a
       taxa de juros da operação, obrigatoriamente prefixada ou indexada à
       taxa básica financeira, ou à que vier a esta substituir;

   •   proibição da realização de ARO:

       a)      enquanto existir operação anterior da mesma natureza não
               integralmente resgatada;

       b)      no último ano de mandato do Presidente, Governador ou
               Prefeito Municipal.


Dívida Fundada

O artigo 98 da Lei nº 4.320/64 trata da dívida fundada.


- A dívida fundada compreende os compromissos de exigibilidade superior
a 12 (doze) meses, contraídos para atender a desequilíbrio orçamentário ou
a financiamento de obras e serviços públicos.

A lei 4.320/64 estabelece, ainda, que a dívida fundada será escriturada
com individuação e especificações que permitam verificar, a qualquer
momento, a posição dos empréstimos, bem como os respectivos serviços de
amortização e juros.

_________________________________________________________________________




Apostila de Orçamento e Contabilidade Pública      59                  Prof. Fabio Furtado
OBS.: A DÍVIDA PÚBLICA NA LRF:

A LRF, além de alterar o conceito legal de dívida pública assinalado na Lei
nº 4.320/64, estabeleceu uma série de regras restritivas e controladoras
para o endividamento público. Essas regras estão assinaladas ao longo dos
artigos 29 a 40.


Novas definições da Dívida Pública, segundo a LRF:

I – dívida pública consolidada ou fundada: montante total, apurado sem
duplicidade, das obrigações financeiras do ente da Federação, assumidas
em virtude de leis, contratos, convênios ou tratados e da realização de
operações de crédito, para amortização em prazo superior a doze meses,
bem como as operações de crédito de prazo inferior a doze meses , cujas
receitas tenham constado do orçamento e os precatórios judiciais não-
pagos durante a execução do orçamento em que houverem sido incluídos;


II – dívida pública mobiliária: dívida pública representada por títulos
emitidos pela União, inclusive os do Banco Central do Brasil, dos Estados
e dos Municípios;


III – operação de crédito: compromisso financeiro assumido em razão de
mútuo, abertura de crédito, emissão e aceite de título, aquisição
financiada de bens, recebimento antecipado de valores provenientes da
venda a termo de bens e serviços, arrendamento mercantil e outras
operações assemelhadas, inclusive com o uso de derivativos financeiros;


IV – concessão de garantia: compromisso de adimplência de obrigação
financeira ou contratual assumida por ente da Federação ou entidade a ele
vinculadas;


V – refinanciamento da dívida mobiliária: emissão de títulos para
pagamento do principal acrescido da atualização monetária.




Apostila de Orçamento e Contabilidade Pública   60         Prof. Fabio Furtado
Patrimônio Público

O patrimônio é conceituado como sendo um conjunto de bens, direitos
e obrigações pertencentes a uma pessoa física ou jurídica.

O Patrimônio Público pode ser conceituado como segue:

   •   Patrimônio Público é o conjunto de bens, direitos e obrigações de
       propriedade do Estado.

                                                OU

   •   O Patrimônio do Estado constitui o conjunto de bens, valores,
       créditos e obrigações de conteúdo econômico e avaliáveis em moeda
       que a Fazenda Pública possui e utiliza na consecução dos seus
       objetivos.



Bens Públicos

1 - Conceito

Conjunto de meios pelos quais o Estado desenvolve suas atividades de
prestação de serviços à comunidade.


2 – Classificação

Os bens públicos podem ser classificados da seguinte forma:

   •   Bens de Uso Comum;
   •   Bens de Uso Especial;
   •   Bens Dominiais ou Dominicais.

Bens de Uso Comum

São imóveis de domínio público e não são apropriados contabilmente ao
Patrimônio Estatal, constituindo, assim o Patrimônio Comunitário ou
Social. Podem ser:

   a) naturais – praias, rios, lagos etc.

   b) artificiais (construídos pela ação do homem) – ruas, estradas, pontes,
   praças etc.


Apostila de Orçamento e Contabilidade Pública        61    Prof. Fabio Furtado
São, portanto, de uso comum todos os bens destinados ao uso da
comunidade, quer individual ou coletivamente, e por isso apresentam as
seguintes características:
   • não são contabilizados como Ativo, embora as obrigações
      decorrentes sejam incluídas no Passivo;
   •   não são inventariados ou avaliados;
   •   não podem ser alienados;
   •   são impenhoráveis e imprescritíveis;
   •   o uso pode ser oneroso ou gratuito;
   •   estão excluídos do patrimônio da instituição.


Bens de Uso Especial

Também podem ser denominados Bens do Patrimônio Administrativo – são
os destinados à execução dos serviços públicos, como os edifícios ou
terrenos utilizados pelas repartições ou estabelecimentos públicos, bem
como os móveis e materiais indispensáveis a seu funcionamento. Tais bens
têm uma finalidade pública permanente, razão pela qual são denominados
bens patrimoniais indispensáveis.

Esses bens têm as seguintes características:

   •   são contabilizados;
   •   são inventariados e avaliados;
   •   são inalienáveis quando empregados no serviço público; nos demais
       casos, são alienáveis, mas sempre nos casos e na forma que a lei
       estabelecer;
   •   estão incluídos no patrimônio da instituição.


Bens Dominiais ou Dominicais

Também podem ser denominados Bens do Patrimônio Disponível – são os
que integram o patrimônio público com características diferentes, pois
podem ser utilizados em qualquer fim, ou mesmo alienados se a
administração julgar conveniente.

Os bens dominiais possuem as seguintes características:

   •   estão sujeitos à contabilização;


Apostila de Orçamento e Contabilidade Pública   62        Prof. Fabio Furtado
•   são inventariados e avaliados;
              •   podem ser alienados nos casos e na forma que a lei estabelecer;
              •   estão incluídos no patrimônio da instituição;
              •   dão e podem produzir renda.

          Demonstrações Contábeis utilizadas na Contabilidade Pública

          Os resultados gerais do exercício serão demonstrados no Balanço
          Orçamentário, no Balanço Financeiro, no Balanço Patrimonial e na
          Demonstração das Variações Patrimoniais.

          Balanço Orçamentário (BO)

          O Balanço Orçamentário demonstrará as receitas e despesas previstas em
          confronto com as realizadas.
          Dessa forma demonstra:

              •   a economia orçamentária: que ocorre quando a despesa realizada é
                  menor que a despesa fixada;
              •   o superávit orçamentário: que ocorre quando a despesa realizada é
                  menor que a receita arrecadada;
              •   o déficit orçamentário: que ocorre quando a despesa realizada é
                  maior que a receita arrecadada;
              •   o excesso de arrecadação: que ocorre quando a receita arrecadada
                  é maior que a receita estimada;
              •   a insuficiência de arrecadação: que ocorre quando a receita
                  arrecadada é menor que a receita estimada.

                                          Balanço Orçamentário
Receita                                                                       Despesa
    Títulos         Previsão Execução Diferença               Títulos        Fixação Execução Diferença
                       $        $         $                                     $       $         $
Rec. Correntes                                            Créd.Orçament.
Rec. Tributária                                           e Suplementar
Rec. Patrimonial                                          Desp.Correntes
Rec. Industrial        (A)        (B)         (B-A)       Desp. de Capital     (C)        (D)        (D-C)
Transf. Correntes
                                                          Créd. Especiais
Rec. de Capital                                           Créd. Extraord.
Op. de Crédito
Alienação bens

Soma                                                      Soma
Déficit                         (B < D)                   Superávit                     (D < B)
Total                                                     Total




          Apostila de Orçamento e Contabilidade Pública       63                     Prof. Fabio Furtado
Balanço Financeiro (BF)

O Balanço Financeiro demonstrará a receita e despesa orçamentárias, bem
como os recebimentos e os pagamentos de natureza extra-orçamentária,
conjugados com os saldos em espécie provenientes do exercício anterior, e
os que se transferem para o exercício seguinte.

O Balanço Financeiro representa ao final do exercício o produto da
contabilidade financeira, cuja função é a de registrar as operações
relativas à movimentação de valores, especialmente numerário.


Os Restos a Pagar do exercício serão computados na receita extra-
orçamentária para compensar sua inclusão na despesa orçamentária.


                                   Balanço Financeiro
        Receita                                           Despesa
              Títulos                 $          Títulos             $
        Orçamentária                        Orçamentária

        Rec. Correntes                      Legislativa
        Rec. Tributária                     Judiciária
        Rec. Patrimonial                    Administração
        Rec. Industrial                     Segurança Pública
        Transf. Correntes                   Trabalho
                                            Educação
        Rec. de Capital                     Cultura
        Op. de Crédito
        Alienação bens


        Extra-Orçamentária                  Extra-Orçamentária

        Restos      a      Pagar            Restos a Pagar (pagos
        (inscritos no exercício)            no exercício)

        Depósitos de Terceiros              Depósitos           de
        (cauções recebidas)                 Terceiros     (cauções
                                            devolvidas)

        SEA                                 SES

        Total                               Total

Onde:

S E A = Saldo do Exercício Anterior
S E S = Saldo para o Exercício Seguinte



Apostila de Orçamento e Contabilidade Pública    64                  Prof. Fabio Furtado
Obs.: No Balanço Financeiro, a receita orçamentária é demonstrada por
categoria econômica, enquanto a despesa é apresentada por função de
governo.

Então,

Receita                 categoria econômica

Despesa                 função

O Balanço Financeiro funciona da seguinte forma:

                              SI + E – S = SF

Onde:

SI = Saldo inicial dos recursos, que é o mesmo que SEA (Saldo do Exercício
Anterior);

E = Entradas de recursos, que vem a ser o mesmo que as receitas;

S = Saídas de recursos, que vem a ser o mesmo que as despesas.

SF = Saldo final dos recursos, que é o mesmo que SES (Saldo para o
Exercício Seguinte);


Logo, podemos demonstrar da seguinte forma:

                              SEA + R – D = SES




Apostila de Orçamento e Contabilidade Pública   65        Prof. Fabio Furtado
Demonstração das Variações Patrimoniais (DVP)

A DVP evidenciará as alterações verificadas no patrimônio, resultantes ou
independentes da execução orçamentária, e indicará o resultado
patrimonial do exercício.

                   Demonstração das Variações Patrimoniais
                Variações Ativas                                       Variações Passivas


Resultantes do Orçamento               1.070.000 Resultantes do Orçamento                          850.000




 Receitas Orçamentárias                   670.000         Despesas Orçamentárias                   680.000
  Receitas Correntes                      500.000          Despesas Correntes                      280.000
  Receitas de Capital                     170.000          Despesas de Capital                     400.000



 Mutação Patrimonial da Despesa           400.000         Mutação Patrimonial da Receita            170.000



Independentes da Execução Orçamentária 10.000 Independentes da Execução Orçamentária                   -


 Superveniência Ativa                       10.000        Superveniência Passiva                        -
 Insubsistência Passiva                        -          Insubsistência Ativa                          -

Soma das Variações Ativas               1.080.000 Soma das Variações Passivas                       850.000

Resultado Patrimonial – Déficit                 -        Resultado Patrimonial – Superávit         230.000

Total                                  1.080.000         Total                                    1.080.000

A DVP, como se pode verificar, apresenta-se basicamente dividida em três
grupos de contas: Resultantes da Execução Orçamentária (REO),
Independente da Execução Orçamentária (IEO) e Resultado Patrimonial
(RP).
O grupo Resultante da Execução Orçamentária (REO) subdivide-se em
receita orçamentária ou despesa orçamentária e em mutações
patrimoniais. Como o próprio nome explicita, nesse grupo está registrado
o saldo final da execução do orçamento por categoria econômica. As
mutações patrimoniais decorrem de variações positivas e negativas no
ativo e passivo permanente, resultantes da execução das receitas (exceto
Transferências de Capital recebidas) e das despesas de capital (exceto
Transferências de Capital concedidas) ou de algumas receitas (recebimento
ou cobrança da Dívida Ativa) e despesas correntes (aquisição de material a
ser estocado).


Apostila de Orçamento e Contabilidade Pública       66                      Prof. Fabio Furtado
As Variações Independentes da Execução Orçamentária (IEO)
apresentam os acréscimos ou as reduções no patrimônio do Estado não
originados da execução do orçamento, bem como os fatos supervenientes e
insubsistentes ativos e passivos.

As Superveniências representam aumentos patrimoniais de origem extra-
orçamentários não originados do orçamento, já as Insubsistências são
diminuições patrimoniais de origem extra-orçamentárias, também não
originadas do orçamento. Sendo assim, as superveniências e as
insubsistências classificam-se em ativas e passivas, a saber:

       a) superveniências ativas (incorporação de bens e direitos):
          aumentos de valores representativos de ativos de origens extra-
          orçamentárias;

       b) superveniências    passivas   (incorporação    de  dívidas   e
          obrigações): aumentos de valores representativos do passivo de
          origem extra-orçamentária;

       c) insubsistências ativas (desincorporação de bens e direitos):
          diminuições de valores representativos de ativos de origens extra-
          orçamentárias;

       d) insubsistências passivas (desincorporação de dívidas e
          obrigações): diminuições de valores representativos do passivo de
          origens extra-orçamentárias.

São vários os exemplos de superveniência e insubsistências ativas e
passivas, entre os quais se têm:

   •   superveniência ativa: registro (inscrição) da dívida ativa, doação
       recebida, nascimento de animais nas criações pecuárias do Estado,
       reavaliação de ativos, entre outros;

   •   insubsistências passivas: cancelamento de restos a pagar e dívidas,
       entre outros;

   •   superveniência passiva: encampação de uma dívida, entre outros;

   •   insubsistências ativas: a morte de animais nas criações pecuárias do
       Estado, extravio (roubo devidamente comprovado), cancelamento de
       dívida ativa, doação efetuada, entre outros.




Apostila de Orçamento e Contabilidade Pública   67          Prof. Fabio Furtado
Toda receita de capital é uma receita por mutação patrimonial, exceto
a decorrente de transferências de capital, e todo recebimento (também
pode vir denominado na prova como COBRANÇA) de dívida ativa, apesar
de ser classificado como outras receitas correntes, também é considerado
receita por mutação patrimonial.

Toda receita por mutação patrimonial é uma mutação passiva,
conforme segue:

Toda despesa de capital é uma despesa por mutação patrimonial,
exceto a decorrente de transferências de capital, e toda aquisição de
material para estoque (almoxarifado), apesar de ser classificado como
despesas correntes, também é considerada despesa por mutação
patrimonial.

Toda despesa por mutação patrimonial é uma mutação ativa, conforme
segue:
                                               Corrente
                                 Receitas
                                               Capital
              Result. Exec. Orç.

Variação
    Ativa                                       Mutação Patrim. Despesa


                                                Superveniência Ativa
                   Indep. Exec. Orç.             (incorporação de ativo)

                                                Insubsistência Passiva *
                                                 (desincorporação de passivo)

                                                                Corrente
                                                Despesas
                                                                Capital
                   Result. Exec. Orç.

Variação
 Passiva                                        Mutação Patrim. Receita


                                                Superveniência Passiva
                   Indep. Exec. Orç.             (incorporação de passivo)

                                                Insubsistência Ativa **
                                                 (desincorporação de ativo)


Apostila de Orçamento e Contabilidade Pública    68                 Prof. Fabio Furtado
* Denominação utilizada pela maioria dos autores, todavia, é válido
destacar que o professor Lino Martins da Silva, em sua obra Contabilidade
Governamental – Um Enfoque Administrativo, da editora Atlas, adota a
seguinte nomenclatura: “Insubsistência Ativa”, concordando o termo
“Ativa” com a natureza da variação que é ativa. A STN e o CFC concorda
com Lino Martins.

** Denominação utilizada pela maioria dos autores, todavia, também é
válido destacar que o professor Lino Martins da Silva, em sua obra
Contabilidade Governamental – Um Enfoque Administrativo, da editora
Atlas, adota a seguinte nomenclatura: “Insubsistência Passiva”,
concordando o termo “Passiva” com a natureza da variação que é passiva.
A STN e o CFC concorda com Lino Martins.


Diante do exposto, concluímos que:

Em relação à variação ativa:

A maioria dos autores utiliza a expressão “Insubsistência Passiva”
indicando que está ocorrendo uma variação ativa em virtude de uma
perda de passivo. O professor Lino Martins, adota a expressão
“Insubsistência Ativa” indicando que a perda ocorrida (de passivo) é uma
coisa positiva.

Em relação à variação passiva:

A maioria dos autores utiliza a expressão “Insubsistência Ativa”
indicando que está ocorrendo uma variação passiva em virtude de uma
perda de ativo. O professor Lino Martins, adota a expressão
“Insubsistência Passiva” indicando que a perda ocorrida (de ativo) é uma
coisa negativa.
_________________________________________________________________________
___________________________________________________________________

A DVP, atualmente, inclui novos elementos não previstos na Lei nº
4.320/64.

Esses novos elementos são as interferências ativas e interferências
passivas.

De acordo com o livro Contabilidade Aplicada à Administração Pública, do
Prof: Fernando Glauber Lima Mota, da editora Vestcon, “... em decorrência
da evolução ocorrida na área pública, com a implementação de novos
procedimentos e conceitos, proporcionada com a utilização de sistemas de


Apostila de Orçamento e Contabilidade Pública   69       Prof. Fabio Furtado
informática (Siafi e Siafem), encontramos novos conteúdos na
demonstração das variações patrimoniais, destacados em negrito a seguir,
que não foram previstos na Lei nº 4.320/64, senão vejamos:

VARIAÇÕES ATIVAS:

       -   Variações   ativas   orçamentárias:     receitas   orçamentárias,
           interferências ativas (transferências financeiras recebidas) e
           as mutações ativas de bens, direitos e obrigações, decorrentes da
           despesa.

       -   Variações    ativas     extra-orçamentárias: receitas    extra-
           orçamentárias,      interferências    ativas   (transferências
           financeiras e patrimoniais recebidas) e os acréscimos
           patrimoniais decorrentes de incorporação de bens e direitos e
           desincorporação de obrigações.

VARIAÇÕES PASSIVAS:

       -   Variações passivas orçamentárias: despesas orçamentárias,
           interferências     passivas       (transferências financeiras
           concedidas) e as mutações passivas de bens, direitos e
           obrigações, decorrentes da receita.

       -   Variações passivas extra-orçamentárias: despesas extra-
           orçamentárias,    interferências    passivas    (transferências
           financeiras e patrimoniais concedidas) e os decréscimos
           patrimoniais decorrentes de desincorporação de bens e direitos e
           incorporação de obrigações.

... As variações ativas orçamentárias representadas pelas interferências
ativas apresentam valores oriundos da movimentação financeira
decorrente da execução orçamentária (cotas, repasses e sub-repasses
recebidos etc.). As variações passivas orçamentárias representadas pelas
interferências passivas apresentam valores que têm origem na
movimentação financeira pela execução do orçamento (cotas, repasses e
sub-repasses concedidos etc.)...

... As variações ativas extra-orçamentárias podem ser representadas pelas
interferências ativas, que apresentam valores oriundos da movimentação
financeira extra-orçamentária e de bens entre unidades gestoras do
mesmo órgão/gestão. As variações passivas extra-orçamentárias podem
ser representadas pelas interferências passivas, que apresentam valores
oriundos também da movimentação financeira extra-orçamentária e de
bens entre unidades gestoras do mesmo órgão/gestão”.



Apostila de Orçamento e Contabilidade Pública   70          Prof. Fabio Furtado
De acordo com o livro Contabilidade Pública de Diana Vaz de Lima e Róbison
Gonçalves de Castro, da editora Atlas, temos:

 interferências passivas, correspondentes ao resultado orçamentário,
representam as transferências financeiras concedidas, na forma de cota,
repasse e sub-repasse concedidos.

interferências passivas, correspondentes ao resultado extra-
orçamentário, representam as transferências financeiras concedidas para
atender a restos a pagar (que pertencem ao orçamento do exercício
anterior) e as transferências de bens e valores concedidos.


interferências ativas, correspondentes ao resultado orçamentário,
representam as transferências financeiras recebidas, na forma de cota,
repasse e sub-repasse recebidos.

interferências     ativas,    correspondentes      ao   resultado extra-
orçamentário, representam as transferências financeiras recebidas para
atender a restos a pagar (que pertencem ao orçamento do exercício
anterior) e as transferências de bens e valores recebidos.


De acordo com o livro acima, temos ainda:

“MOVIMENTAÇÃO DE RECURSOS FINANCEIROS

Com base na Programação Financeira Aprovada (PFA), o Órgão Central de
Programação Financeira (STN/Cofin) procede à liberação de cota para a Setorial de
Orçamentos e Finanças (COF). A partir desse momento, a Setorial dá início à
movimentação dos recursos financeiros até o limite de sua cota, transferindo-os às
unidades gestoras para a realização de despesas com projetos/atividades/operações
especiais durante determinado período (geralmente um mês).

A movimentação de recursos entre as unidades do sistema de
programação financeira é executada através de liberações de cotas,
repasses e sub-repasses:

       a) cota: é a primeira fase da movimentação dos recursos, realizada
          em consonância com o cronograma de desembolso aprovado pela
          STN. Esses recursos são colocados à disposição dos órgãos
          setoriais de programação financeira mediante movimentação
          intra-Siafi dos recursos da Conta Única do Tesouro Nacional;

       b)     repasse: é a liberação dos recursos realizada pelos órgãos
            setoriais de programação financeira para entidades da


Apostila de Orçamento e Contabilidade Pública   71              Prof. Fabio Furtado
Administração Indireta e entre elas; e, ainda, da entidade da
           Administração Indireta para órgãos da Administração Direta, ou
           entre eles, se de órgãos diferentes;

       c) sub-repasse: é a liberação de recursos dos órgãos setoriais de
          programação financeira para as unidades gestoras de um mesmo
          Ministério, órgão ou entidade.”

Obs.: Diante do exposto, a DVP conterá o termo “Interferências Ativas” nos
grupos Resultantes da Execução Orçamentária e Independentes da
Execução Orçamentária na coluna das variações ativas e conterá também
o termo “Interferências Passivas” nos grupos Resultantes da Execução
Orçamentária e Independentes da Execução Orçamentária na coluna das
variações passivas.
_________________________________________________________________________
___________________________________________________________________


Balanço Patrimonial (BP)

O Balanço Patrimonial demonstrará:

o Ativo Financeiro;
o Ativo Permanente;
o Passivo Financeiro;
o Passivo Permanente;
o Saldo Patrimonial;
as Contas de Compensação.

O Ativo Financeiro compreenderá os créditos e valores realizáveis
independentemente da autorização orçamentária e os valores numerários.

O Ativo Permanente compreenderá os bens, créditos e valores cuja
mobilização ou alienação dependa da autorização legislativa.

A soma desse dois grupos (Ativo Financeiro e Ativo Permanente ou Ativo
Não-Financeiro) corresponde ao Ativo Real.

O Passivo Financeiro compreenderá os compromissos exigíveis cujo
pagamento independa de autorização orçamentária.

O Passivo Permanente compreenderá as dívidas fundadas e outras que
dependam de autorização legislativa para amortização ou resgate.

A soma desse dois grupos (Passivo Financeiro e Passivo Permanente ou
Passivo Não-Financeiro) corresponde ao Passivo Real.


Apostila de Orçamento e Contabilidade Pública   72        Prof. Fabio Furtado
O Saldo Patrimonial resulta do confronto entre Ativo Real e Passivo Real e
será assim demonstrado:

       saldo patrimonial positivo ou Ativo Real Líquido: ocorre quando o
       Ativo Real for maior que o Passivo Real;

       saldo patrimonial negativo ou Passivo a Descoberto: ocorre quando o
       Passivo Real for maior que o Ativo Real;

       saldo patrimonial nulo: decorre da igualdade entre os elementos do
       ativo e do Passivo.


Nas Contas de Compensação (Ativo Compensado e Passivo Compensado)
serão registrados os bens, valores, obrigações e situações não
compreendidas nos parágrafos anteriores e que, mediata ou indiretamente,
possam vir a afetar o patrimônio.


Cabe observar que a avaliação dos elementos patrimoniais obedecerá às
normas seguintes (Art. 106 da Lei 4.320/64):

- os débitos, créditos bem como os títulos de renda, pelo seu valor
  nominal, feita a conversão, quando em moeda estrangeira, à taxa de
  câmbio vigente na data do balanço;

- os bens móveis e imóveis, pelo valor de aquisição ou pelo custo de
  produção ou de construção;

- os bens de almoxarifado, pelo preço médio ponderado das compras;


- os valores em espécie, assim como os débitos e créditos, quando em
  moeda estrangeira, deverão figurar ao lado das correspondentes
  importâncias em moeda nacional;

As variações resultantes da conversão dos débitos, créditos e valores serão
apropriadas às variações patrimoniais ativas ou passivas, conforme o caso,
podendo ainda ser efetuadas reavaliações dos bens móveis e imóveis.




Apostila de Orçamento e Contabilidade Pública   73         Prof. Fabio Furtado
Balanço Patrimonial

Ativo                                           Passivo

Ativo Financeiro               28.000,00        Passivo Financeiro            20.000,00
 Caixa                          2.000,00          Restos a Pagar              12.000,00
 Bancos                        26.000,00          INSS a recolher              8.000,00


Ativo Permanente               80.000,00        Passivo Permanente            30.000,00
 Bens Imóveis                  60.000,00         Operações de Crédito         30.000,00
 Bens Móveis                   20.000,00

Ativo Real                     108.000,00       Passivo Real                  50.000,00

                                                Saldo Patrimonial             58.000,00
                                                (Ativo Real Líquido)

Ativo Compensado                      -         Passivo Compensado                   -

Total                           108.000,00 Total                              108.000,00



_________________________________________________________________________
___________________________________________________________________

IMPORTANTE:

Segundo § 2º do art. 15 da Lei 4.320/64, para efeito de classificação da
despesa, considera-se material permanente o de duração superior a 2(dois)
anos.

Isto quer dizer o seguinte:

-        se o material adquirido tiver a duração superior a 2 anos, deve ser
    classificado como material permanente;

- se o material adquirido tiver a duração igual ou inferior a 2 anos, deve
  ser classificado como material de consumo.


_________________________________________________________________________
_________________________________________________________________________




Apostila de Orçamento e Contabilidade Pública    74                    Prof. Fabio Furtado
ALGUNS EXEMPLOS DE CONTABILIZAÇÕES DE OPERAÇÕES TÍPICAS:

S   Conforme a maioria dos Doutrinadores                 Conforme livros ref. SIAFI

    Previsão da Receita Orçamentária:                    Previsão da Receita Orçamentária:

SO D – Receita Prevista                                  D – Receita a Realizar
   C – Orçamento da Receita                              C – Previsão Inicial da Receita

    Arrecadação de Receita Corrente:                     Arrecadação de Receita Corrente:
    - Receita Efetiva - Tributos                         - Receita Efetiva - Tributos

SO D – Execução da Receita                               D – Receita Realizada
   C – Receita Prevista                                  C – Receita a Realizar

SF D – Bancos                                            D – Bancos Conta Movimento
   C – Receita Corrente Arrecadada                       C – Receitas Correntes


    Arrecadação de Receita de Capital:                   Arrecadação de Receita de Capital:
    - Alienação de Bens Móveis                           - Alienação de Bens Móveis

SO D – Execução da Receita                               D – Receita Realizada
   C – Receita Prevista                                  C – Receita a Realizar

SF D – Bancos                                            D – Bancos Conta Movimento
   C – Receita de Capital Arrecadada                     C – Receita de Capital

SP D – Variações Passivas/MPR/Alienação D – Desincorporação de Ativos
   de Bens Móveis
   C – Bens Móveis                      C – Ativo


    Arrecadação de Receita Corrente      Arrecadação de Receita Corrente
    - Receita por Mutações – Cobrança da - Receita por Mutações – Cobrança da
    Dívida Ativa                         Dívida Ativa

SO D – Execução da Receita                               D – Receita Realizada
   C – Receita Prevista                                  C – Receita a Realizar

SF D – Bancos                                            D – Bancos Conta Movimento
   C – Receita Corrente Arrecadada                       C – Receita Corrente

SP D – Variações Passivas/MPR/Cobrança D – Desincorporação de Ativos
   da Dívida Ativa
   C – Dívida Ativa                    C – Ativo


    Apostila de Orçamento e Contabilidade Pública   75                    Prof. Fabio Furtado
Fixação da Despesa Orçamentária                      Fixação da Despesa Orçamentária

SO D – Orçamento da Despesa                              D – Crédito Inicial
   C – Créditos Disponíveis                              C – Crédito Disponível

    Pelo comprometimento               da    despesa Pelo comprometimento da despesa
    (Empenho)                                        (Empenho)

SO D – Créditos Disponíveis                              D – Créditos Disponível
   C – Despesa Empenhada                                 C – Crédito Empenhado a Liquidar
                                                         D – Emissão de Empenhos
                                                         C – Empenhos a Liquidar
                                                         D – Valores Comprometidos
                                                         C – Valores em Liquidação

    Pelas despesas liquidadas a Pagar        Pelas despesas liquidadas a Pagar
    - Correntes – Despesa Efetiva – Serviços - Correntes – Despesa Efetiva                     –
    de Terceiros                             Serviços de Terceiros

SO D – Despesa Empenhada                                 D – Crédito Empenhado a Liquidar
   C – Execução da Despesa                               C – Crédito Empenhado Liquidado
                                                         D – Empenhos a Liquidar
                                                         C – Empenhos Liquidados
                                                         D – Valores em Liquidação
                                                         C – Valores Liquidados a Pagar

SF D – Despesa Realizada                                 D – Despesas Correntes
   C – Despesa Liquidada a Pagar                         C – Fornecedores
    Pelas despesas liquidadas a Pagar   Pelas despesas liquidadas a Pagar
    - Capital – Despesas por Mutações – - Capital – Despesas por Mutações –
    Compras de Bens Móveis              Compras de Bens Móveis
SO D – Despesa Empenhada                                 D – Crédito Empenhado a Liquidar
   C – Execução da Despesa                               C – Crédito Empenhado Liquidado
                                                         D – Empenhos a Liquidar
                                                         C – Empenhos Liquidados
                                                         D – Valores em Liquidação
                                                         C – Valores Liquidados a Pagar

SF D – Despesa Realizada                                 D – Despesas de Capital
   C     –     Despesa    Liquidada    a                 C – Fornecedores
   Pagar/Fornecedores
SP
   D – Bens Móveis                                       D – Ativo/ Bens Móveis
   C – Variações Ativas/MPD/Aquisição de                 C – Mutações Ativas
   Bens Móveis


    Apostila de Orçamento e Contabilidade Pública   76                   Prof. Fabio Furtado
Pelo   pagamento           de     despesas      já Pelo pagamento            de    despesas   já
    liquidadas                                         liquidadas

SF D – Despesa Liquidada a Pagar/Fornecedores D – Fornecedores
   C – Bancos                                 C – Banco Conta Movimento

    Inscrição de Dívida Ativa                            Inscrição de Dívida Ativa

SP D – Dívida Ativa                        D – Dívida Ativa
   C – VAISA – Variação Ativa/Independente C – Acréscimo Patrimonial ou
   da        Execução        Orçamentária/ Incorporação de Ativos
   Superveniência Ativa

    Cancelamento da Dívida Ativa                         Cancelamento da Dívida Ativa

SP D – Variação Passiva/Independente da                  D – Decréscimo Patrimonial ou
   Execução Orçamentária/Insubsistência                  Desincorporação de Ativos
   Passiva **
   C – Dívida Ativa                                      C – Dívida Ativa

    Cobrança ou Recebimento da Dívida Cobrança ou Recebimento da Dívida
    Ativa                             Ativa

SO D – Execução da Receita                               D – Receita Realizada
   C – Receita Prevista/Outras Receitas                  C – Receita a Realizar
   Correntes

SF D – Bancos                                            D – Bancos Conta Movimento
   C – Receita Arrecadada                                C – Receita corrente

SP D – Variação Passiva/Resultante da                    D – Mutação Passiva
   Execução Orçamentária/MPR                             C – Dívida Ativa
   C – Dívida Ativa

    Inscrição de Restos a Pagar                          Inscrição de Restos a Pagar
    Processados                                          Processados

SF D – Despesa Liquidada a Pagar                         D – Fornecedores
   C – Restos a Pagar                                    C – Restos a Pagar
         Processados                                           Processados
           Nome do Fornecedor                                    Nome do Fornecedor




    Apostila de Orçamento e Contabilidade Pública   77                      Prof. Fabio Furtado
Inscrição de Restos a Pagar                             Inscrição de Restos a Pagar
     Não-Processados                                         Não-Processados

SO D – Despesa Empenhada                                     D – Crédito Empenhado a Liquidar
   C – Execução da Despesa                                   C – Crédito Empenhado Liquidado
                                                             D – Empenhos a Liquidar
                                                             C – Empenhos Liquidados
                                                             D – Valores em Liquidação
                                                             C – Empenhos Inscritos em Restos a
                                                             Pagar

SF D – Despesa Realizada                                     D – Despesa Orçamentária
   C – Restos a Pagar                                        C – Restos a Pagar Não-Processados
         Não-Processados
           Nome do Fornecedor

SC                                                           D – Inscrição de Restos a Pagar
                                                             C – Restos a Pagar a Liquidar


     - Pagamento         dos     Restos      a       Pagar - Pagamento dos Restos a Pagar
     Processados                                           Processados

SF D – Restos a Pagar                                        D – Restos a Pagar
        Processados                                               Processados
   C – Bancos                                                C – Banco Conta Movimento


     Registro das Variações Ativas                      e Registro das Variações Ativas                 e
     Passivas Extra-Orçamentárias                         Passivas Extra-Orçamentárias

     - Incorporação de Bem Imóvel recebido - Incorporação de                           Bem         Imóvel
     em doação                             recebido em doação

SP D – Bens Imóveis                        D – Bens Imóveis
   C – VAISA – Variação Ativa/Independente C – Acréscimos Patrimoniais
   Execução Orçamentária/Superveniência
   Ativa

     - Desincorporação de Bens Móveis por - Desincorporação de Bens Móveis
     destruição                           por destruição

SP D – Variação Passiva/Independente da                      D – Decréscimos Patrimoniais
   Execução Orçamentária/Insubsistência                      C – Bens Móveis
   Ativa **
   C – Bens Móveis


     Apostila de Orçamento e Contabilidade Pública      78                   Prof. Fabio Furtado
Onde:

SO – Sistema Orçamentário;
SF – Sistema Financeiro
SP – Sistema Patrimonial

Obs.: Podemos verificar que na maioria das vezes, os lançamentos
referentes ao sistema orçamentário, na coluna destinada a demonstrar os
lançamentos conforme o sistema SIAFI, possuem três registros. Isto ocorre
pelo seguinte motivo:

A execução orçamentária da despesa é controlada pelo Siafi desde o
empenho até seu pagamento, em quatro modalidades: controle por Célula
da Despesa (esfera orçamentária, unidade orçamentária, programa de
trabalho, fonte de recursos e natureza de despesa); controle por Nota de
Empenho; controle por Favorecido (fornecedor) e controle por Modalidade
de Licitação.

O controle por Célula da Despesa objetiva verificar a execução dos
programas de trabalho atribuídos pelo orçamento às unidades gestoras. O
controle por Nota de Empenho permite o monitoramento dos valores dos
empenhos emitidos, o montante dos empenhos de reforço e eventuais
anulações. O controle por Favorecido, permite conhecer as relações do
setor público, bem como suas subdivisões com seus fornecedores. O
controle por Modalidade de Licitação permite constatar o montante
realizado mediante dispensa ou inexigibilidade de licitação, bem como
quanto é adquirido por modalidade de licitação prevista na legislação.

O primeiro lançamento do sistema orçamentário de cada fato contabilizado
efetua o controle por programa de trabalho (célula da despesa), o segundo
por nota de empenho e o último por favorecido do empenho.




Apostila de Orçamento e Contabilidade Pública   79       Prof. Fabio Furtado
RESUMÃO

Contabilidade Pública

                         A Contabilidade Pública é um ramo da ciência
                         contábil e tem o objetivo de captar, registrar e
                         interpretar os fenômenos que afetam as situações
Conceito                 orçamentárias, financeiras e patrimoniais das
                         entidades que compõem a Administração Direta e
                         Indireta dos entes públicos (união, Estados,
                         Municípios e Distrito Federal)

                         •   Administração Direta dos entes públicos;

                         •   Administração Indireta (Autarquias, Fundações,
                             Empresas Públicas e Sociedades de Economia
Campo de Atuação             Mista) dos entes públicos.

                         Obs.: As empresas públicas e sociedades de
                         economia mista utilizam a contabilidade pública
                         quando recebem recursos à conta do Orçamento
                         Público para despesas com pessoal ou de custeio em
                         geral ou de capital, excluídos no último caso, aqueles
                         provenientes de aumento de participação acionária
                         (art. 2º, III, da LRF). Quando utilizam recursos do
                         orçamento público para os fins supracitados, essas
                         entidades passam a ser conhecidas como EMPRESAS
                         ESTATAIS DEPENDENTES.
                         Patrimônio Público (conjunto de bens, direitos e
Objeto                   obrigações pertencentes ao Estado)

Finalidade               Fornecer informações sobre a execução orçamentária,
                         financeira e sobre o patrimônio público e suas
                         variações aos diversos usuários.

Usuários                 Gestores Públicos; Cidadãos; Fornecedores etc.

Exercício                Coincide com o ano civil (1º de janeiro a 31 de
Financeiro               dezembro).

Regime Contábil          Regime Misto, sendo regime de competência para as
                         despesas e de caixa para as receitas.
Sistemas de              Sistema Orçamentário, Sistema Financeiro, Sistema
Contas                   Patrimonial e Sistema de Compensação.
       (4)


Apostila de Orçamento e Contabilidade Pública   80             Prof. Fabio Furtado
Receita Pública


Conceito                 É todo recolhimento de bens aos cofres públicos.


                         •   Quanto à natureza (orçamentária e extra-
                             orçamentária);
                         •   Quanto ao poder de tributar (Federal, Estadual e
                             Municipal);
Classificação            •   Quanto à coercitividade (Derivada e Originária);
                         •   Quanto às categorias econômicas (Receitas
                             Correntes e Receitas de Capital);
                         •   Quanto à afetação patrimonial (Receitas Efetivas e
                             Receitas por Mutação Patrimonial)

                                           CATEGORIA ECONÔMICA
Receitas
Orçamentárias            Receitas Correntes e Receitas de Capital


                   Receitas Tributárias;
                   Receitas de Contribuições;
Receitas Correntes Receitas Patrimoniais;
                   Receitas Agropecuárias;
                   Receitas Industriais;
                   Receitas de Serviços;
         (8)       Transferências Correntes;
                   Outras Receitas Correntes.



                    Alienação de Bens;
                    Operações de Crédito;
Receitas de Capital Amortização de Empréstimos (concedidos);
                    Transferências de Capital;
                    Outras Receitas de Capital.
         (5)




Apostila de Orçamento e Contabilidade Pública   81             Prof. Fabio Furtado
De acordo com a Lei 4.320/64:

                         Lançamento;
                         Arrecadação;
                         Recolhimento.
Estágios
                         De acordo com o Professor Lino Martins da Silva,
                         entre outros:

                         Previsão;
                         Lançamento;
                         Arrecadação;
                         Recolhimento.


Previsão                 Estudo feito pela Fazenda Pública visando indicar o
                         quanto se pretende arrecadar no exercício financeiro.


                         É o ato da repartição competente que verifica a
Lançamento               procedência do crédito fiscal, a pessoa que lhe é
                         devedora e inscreve o débito desta.


Lançamento –             Lançamento Direto ou de Ofício;
Modalidades              Lançamento por Declaração;
                         Lançamento por Homologação

                         Recebimentos de tributos, multas e demais créditos
                         promovidos pelos agentes de arrecadação para
Arrecadação              posterior recolhimento aos cofres do Estado.

                         É constituído da entrega do numerário arrecadado
                         pelos agentes de arrecadação às repartições ou ao
                         Banco Oficial.

Recolhimento             Momento no qual o valor está disponível para o
                         Tesouro do Estado.




Apostila de Orçamento e Contabilidade Pública   82            Prof. Fabio Furtado
Despesa Pública


Conceito                 É todo pagamento efetuado a qualquer título pelos
                         agentes pagadores.


                         •   Quanto ao enfoque econômico (c, g, mm, ee, dd)
                         •   Quanto às categorias econômicas (Despesas
Classificação                Correntes e Despesas de Capital);
                         •   Quanto à afetação patrimonial (Despesas Efetivas e
                             Despesas por Mutação Patrimonial)

                                           CATEGORIA ECONÔMICA
Despesas
Orçamentárias            Despesas Correntes e Despesas de Capital


                         classificam-se nessa categoria todas as despesas que
                         não contribuem, diretamente, para a formação ou
Despesas                 aquisição de um bem de capital. Representam
Correntes                encargos que não produzem acréscimos no
                         patrimônio, respondendo assim, pela manutenção das
                         atividades de cada órgão/atividade.

                         Excluindo-se as aquisições de materiais para
                         formação de estoques, todos os demais dispêndios
                         correntes provocam a diminuição patrimonial
                         (Despesa Efetiva).

Despesas
Correntes                - Despesas de Custeio

Classificação,           - Transferências Correntes
segundo a Lei
4.320/64
                                   GRUPOS DE NATUREZA DE DESPESA
Despesas
Correntes                - Pessoal e Encargos Sociais

Classificação,     - Juros e Encargos da Dívida
segundo a Portaria
163/2001           - Outras Despesas Correntes



Apostila de Orçamento e Contabilidade Pública   83             Prof. Fabio Furtado
classificam-se nesta categoria aquelas despesas que
                         contribuem, diretamente, para a formação ou
                         aquisição de um bem de capital, resultando no
                         acréscimo do patrimônio do órgão ou entidade que a
Despesas de
                         realiza, aumentando, dessa forma, sua riqueza
Capital
                         patrimonial.

                         À exceção das transferências de recursos financeiros
                         repassados a outras instituições, para realizarem
                         Despesas de Capital, os gastos desta natureza
                         constituem fatos permutativos nos elementos
                         patrimoniais (Despesa por Mutações).

Despesas de              - Investimentos
Capital
                         - Inversões Financeiras
Classificação,
segundo a Lei            - Transferências de Capital
4.320/64
                                   GRUPOS DE NATUREZA DE DESPESA
Despesas de
Capital                  - Investimentos

Classificação,     - Inversões Financeiras
segundo a Portaria
163/2001           - Amortização da Dívida

                         De acordo com a Lei 4.320/64:

                         Empenho;
                         Liquidação;
                         Pagamento.
                         De acordo com o Professor Lino Martins da Silva,
Estágios                 entre ouros:

                         Fixação;
                         Empenho;
                         Liquidação;
                         Pagamento.

                         esse estágio refere-se à estimativa, pelo Poder Público,
Fixação                  de quanto irá ser alocado em cada dotação, sendo o
                         montante o limite a ser gasto, visando o atendimento
                         das necessidades coletivas.


Apostila de Orçamento e Contabilidade Pública   84              Prof. Fabio Furtado
é o ato emanado de poder competente que cria para o
Empenho                  Estado uma obrigação de pagamento pendente ou não
                         de implemento de condição que será cumprido com a
                         entrega do material, a medição da obra ou a prestação
                         dos serviços.


                 Licitação ou sua dispensa;
Fases do Empenho Autorização
                 Formalização

                         Obs.: Formalização - corresponde à dedução do valor
                         da despesa feita no saldo disponível da dotação, e é
                         comprovada pela emissão da Nota de Empenho que
                         em determinadas situações previstas na legislação
                         específica poderá ser dispensada, como nos casos das
                         despesas relativas a: Pessoal e Encargos Sociais,
                         Juros e Encargos da Dívida etc.


                         Os empenhos            são   classificados   nas     seguintes
                         modalidades:

                         •    Ordinário – quando destinado a atender a
                         despesa cujo pagamento se processe de uma só vez;

                                     Ex.: Compra de um veículo à vista.

                 •     Estimativa – quando destinado a atender
Modalidades ou   despesas para as quais não se possa previamente
Tipos de Empenho determinar o montante exato;

                                     Ex.: Despesas com água, luz, telefone etc.

                         •     Global – quando destinado a atender a despesas
                         contratuais e outras, sujeitas a parcelamento, cujo
                         montante exato possa ser determinado.

                                     Ex.: Despesas com serviços de limpeza
                                          executado   por   uma    empresa
                                          contratada;

                                            Aquisição de um bem cujo pagamento
                                             será de forma parcelada etc.



Apostila de Orçamento e Contabilidade Pública   85                    Prof. Fabio Furtado
consiste na verificação do direito adquirido pelo
                         credor, tendo por base os títulos e documentos
                         comprobatórios do respectivo crédito.

Liquidação               Cabe observar que essa verificação tem por finalidade
                         apurar:

                         I – a origem e o objeto do que se tem que pagar;
                         II – a importância exata a pagar;
                         III – a quem se deve pagar a importância, para
                         extinguir a obrigação.


                         É o último estágio da despesa. O pagamento da
                         despesa será efetuado por tesouraria ou pagadoria
Pagamento                regularmente   instituídas,  por   estabelecimentos
                         bancários credenciados e, em casos excepcionais, por
                         meio de adiantamento ou suprimento de fundos.




Apostila de Orçamento e Contabilidade Pública   86            Prof. Fabio Furtado
Suprimento de Fundos


                         É a modalidade de realização de despesa por meio de
Conceito                 adiantamento concedido a servidor, para prestação de
                         contas posterior, quando não for realizável o
                         pagamento utilizando-se os serviços da rede bancária.


                             •   para atender a despesas eventuais, inclusive em
                                 viagens e com serviços especiais, que exijam
                                 pronto pagamento em espécie;

                             •   quando a despesa deve ser feita em caráter
                                 sigiloso, conforme se classificar em regulamento;
Concessão
                             •   para atender a despesas de pequeno vulto, assim
                                 entendidas aquelas cujo valor, em cada caso,
                                 não ultrapassar limite estabelecido em Portaria
                                 do Ministro da Fazenda.


                             •   a responsável por dois suprimentos;
Proibição         para
concessão                    •   a servidor que tenha a seu cargo a guarda ou a
                                 utilização do material a adquirir, salvo quando
                                 não houver na repartição outro servidor;

                             •   a responsável por suprimento de fundos que,
                                 esgotado o prazo, não tenha prestado contas de
                                 sua aplicação; e

                             •   a servidor declarado em alcance (que teve suas
                                 contas impugnadas).




Apostila de Orçamento e Contabilidade Pública   87               Prof. Fabio Furtado
Dívida Pública

Conceito                 Significa o conjunto de compromissos, de curto ou
                         longo prazos, assumidos pelo Estado com terceiros.

Classificação,                   •   Dívida Flutuante
segundo a Lei                    •   Dívida Fundada
4.320/64

                         O artigo 92 da Lei nº 4.320/64 trata da dívida
                         flutuante.

                         - A dívida flutuante compreende:

                         I - os restos a pagar, excluídos os serviços da dívida;

Dívida Flutuante         II - os serviços da dívida a pagar (parcelas de
                         amortização e de juros da dívida fundada);

                         III - os depósitos (consignações ou cauções e garantias
                         recebidas em função de execução de obra pública, por
                         exemplo);

                         IV - os débitos de tesouraria (ARO – operações de
                         crédito por antecipação de receita destinadas a cobrir
                         insuficiências de caixa ou tesouraria).


                         O artigo 98 da Lei nº 4.320/64 trata da dívida
                         fundada.

                         - A dívida fundada compreende os compromissos de
Dívida Fundada           exigibilidade superior a 12 (doze) meses, contraídos
                         para atender a desequilíbrio orçamentário ou a
                         financiamento de obras e serviços públicos.

                         A lei 4.320/64 estabelece, ainda, que a dívida fundada
                         será escriturada com individuação e especificações que
                         permitam verificar, a qualquer momento, a posição dos
                         empréstimos, bem como os respectivos serviços de
                         amortização e juros.
                         I – dívida pública consolidada ou fundada
Classificação,           II – dívida pública mobiliária
segundo a LRF            III – operação de crédito
                         IV – concessão de garantia
                         V – refinanciamento da dívida mobiliária


Apostila de Orçamento e Contabilidade Pública   88               Prof. Fabio Furtado
Dívida Ativa


                         É a inscrição que se faz em conta de devedores,
Conceito                 relacionadas a tributos, multas e créditos da Fazenda
                         Pública, lançados, mas não arrecadados no exercício
                         de origem.


Classificação                    •   Dívida Ativa Tributária
                                 •   Dívida Ativa Não-Tributária


Dívida Ativa             reúne somente os créditos relativos a tributos
Tributária               (impostos, taxas e contribuições) lançados e não
                         arrecadados.


Dívida Ativa Não- engloba todos os demais créditos, líquidos e certos, da
Tributária        Fazenda Pública.
                  a dívida ativa é apurada através da seguinte fórmula:
Apuração
                  Total lançado (-) total arrecadado = valor inscrito como
                  dívida ativa.




Apostila de Orçamento e Contabilidade Pública   89                 Prof. Fabio Furtado
Créditos Adicionais


                         São as autorizações de despesas não previstas ou
Conceito                 insuficientemente previstas no Orçamento Público.

                         Os créditos adicionais podem ser classificados como:
Classificação
                                 Créditos Suplementares
                                 Créditos Especiais
                                 Créditos Extraordinários

Créditos                 se destinam ao reforço de dotação orçamentária já
Suplementares            existentes.


                         se destinam a atender a despesas para as quais não
Créditos Especiais       haja dotação orçamentária específica.
                         são destinados ao atendimento de despesas
Créditos                 imprevisíveis e urgentes, como as decorrentes de
Extraordinários          guerra, comoção interna ou calamidade pública.

Recursos para                    -   Superávit Financeiro, apurado no balanço
abertura de                          patrimonial do exercício anterior;
créditos
suplementares e                  -   Excesso de Arrecadação;
especiais
                                 -   Anulação parcial ou total de dotações
                                     orçamentárias ou créditos adicionais
                                     (incluindo Reserva de Contingência);

                                 -   Operações de Crédito;




Apostila de Orçamento e Contabilidade Pública   90             Prof. Fabio Furtado
Restos a Pagar


                         De acordo com o art. 36 da Lei nº 4.320/64,
                         consideram-se    Restos    a   Pagar   as   despesas
                         empenhadas, mas não-pagas, até 31 de dezembro,
                         distinguindo-se as processadas das não-processadas.
Conceito
                         A despesa está processada quando já transcorreu o
                         estágio   da   liquidação,  ou    seja,  quando o
                         credor/fornecedor já cumpriu sua obrigação.


                                 Restos a Pagar Processados
Classificação                    Restos a Pagar Não-Processados


                         A inscrição em Restos a Pagar é feita na data do
                         encerramento do exercício financeiro de emissão da
Inscrição                nota de empenho, e terá validade até 31 de dezembro
                         do ano subseqüente, vedada a reinscrição.
                          RECEITA EXTRA-ORÇAMENTÁRIA
Pagamento                O pagamento de Restos a Pagar, seja Processado ou
                         Não-Processado, é feito no ano seguinte ao da sua
                         inscrição.
                          DESPESA EXTRA-ORÇAMENTÁRIA

                         Os Restos a Pagar não-pagos até 31 de dezembro do
Cancelamento             ano subseqüente ao de sua inscrição serão cancelados.


                         Os Restos a Pagar só prescrevem após 05 (cinco) anos
                         a partir da data de inscrição.

                         A prescrição relativa ao direito do credor ocorre em
Prescrição               cinco anos, contados a partir da data de inscrição,
                         excetuando-se os casos em que haja interrupções
                         decorrentes de atos judiciais.




Apostila de Orçamento e Contabilidade Pública   91                Prof. Fabio Furtado
Despesas de Exercícios Anteriores

                         “Art. 37 da Lei 4.320/64 - As despesas de exercícios
                         encerrados, para as quais o orçamento respectivo
                         consignava crédito próprio, com saldo suficiente para
                         atendê-las, que não se tenham processado na época
Conceito                 própria, bem como os Restos a Pagar com prescrição
                         interrompida e os compromissos reconhecidos após o
                         encerramento do exercício correspondente poderão ser
                         pagos à conta de dotação específica consignada no
                         orçamento, discriminada por elementos, obedecida,
                         sempre que possível, a ordem cronológica.”

Patrimônio Público


                         O Patrimônio Público pode ser conceituado como
                         segue:

                             •   Patrimônio Público é o conjunto de bens, direitos
Conceito                         e obrigações de propriedade do Estado.

                                                     OU

                             •   O Patrimônio do Estado constitui o conjunto de
                                 bens, valores, créditos e obrigações de conteúdo
                                 econômico e avaliáveis em moeda que a Fazenda
                                 Pública possui e utiliza na consecução dos seus
                                 objetivos.


Bens Públicos


Conceito                 Conjunto de meios pelos quais o Estado desenvolve
                         suas atividades de prestação de serviços à
                         comunidade.


                         Os bens públicos podem ser classificados da seguinte
                         forma:

Classificação                •   Bens de Uso Comum;
                             •   Bens de Uso Especial;
                             •   Bens Dominiais ou Dominicais.


Apostila de Orçamento e Contabilidade Pública   92               Prof. Fabio Furtado
Demonstrações Contábeis


                                 -   Balanço Orçamentário
        Tipos                    -   Balanço Financeiro
         (4)                     -   Balanço Patrimonial
                                 -   Demonstração das Variações Patrimoniais


     Balanço             O Balanço Orçamentário demonstrará as receitas e
   Orçamentário          despesas previstas em confronto com as realizadas.
       (BO)

                   O Balanço Financeiro demonstrará a receita e despesa
                   orçamentárias, bem como os recebimentos e os
Balanço Financeiro pagamentos      de    natureza  extra-orçamentária,
       (BF)        conjugados com os saldos em espécie provenientes do
                   exercício anterior, e os que se transferem para o
                   exercício seguinte.

     Balanço             O Balanço Patrimonial demonstrará:
    Patrimonial
        (BP)             o Ativo Financeiro;
                         o Ativo Permanente;
                         o Passivo Financeiro;
                         o Passivo Permanente;
                         o Saldo Patrimonial;
                         as Contas de Compensação.


Demonstração das         A DVP evidenciará as alterações verificadas no
   Variações             patrimônio, resultantes ou independentes da execução
  Patrimoniais           orçamentária, e indicará o resultado patrimonial do
     (DVP)               exercício.




Apostila de Orçamento e Contabilidade Pública   93              Prof. Fabio Furtado
Orçamento Público


                            Lei de iniciativa do Chefe do Poder Executivo,
Conceito                    aprovada pelo Poder Legislativo,
                            que estime Receitas e fixa Despesas
                            para um determinado exercício financeiro.


                         A Constituição Federal de 1988, em seu art. 165, prevê
Leis                     03 (três) leis orçamentárias:
Orçamentárias
                         PPA – Plano Plurianual.
                         LDO – Lei de Diretrizes Orçamentárias.
                         LOA – Lei Orçamentária Anual.



                         Art. 165, § 1º da CF/88 – “A lei que instituir o plano
PPA                      plurianual estabelecerá, de forma regionalizada, as
                         diretrizes, objetivos e metas da administração pública
                         federal para as despesas de capital e outras delas
                         decorrentes e para as relativas aos programas de
                         duração continuada”.




                         Art. 165, § 2º da CF/88 – “A lei de diretrizes
                         orçamentárias compreenderá as metas e prioridades
LDO                      da administração pública federal, incluindo as
                         despesas de capital para o exercício financeiro
                         subseqüente,    orientará   a    elaboração      da   lei
                         orçamentária anual, disporá sobre as alterações na
                         legislação tributária e estabelecerá a política de
                         aplicação das agencias financeiras oficiais de fomento”.




Apostila de Orçamento e Contabilidade Pública   94              Prof. Fabio Furtado
Art. 165, § 5º da CF/88 – “a lei orçamentária anual
                         compreenderá:

                         I – o orçamento fiscal referente aos Poderes da União,
                         seus fundos, órgãos e entidades da administração
                         direta e indireta, inclusive fundações instituídas e
                         mantidas pelo Poder Público;
                         II – o orçamento de investimento das empresas em
                         que a União, direta ou indiretamente, detenha a
LOA                      maioria do capital social com direito a voto;
                         III – o orçamento da seguridade social, abrangendo
                         todas as entidades e órgãos a ela vinculados, da
                         administração direta ou indireta, bem como os fundos
                         e fundações instituídos e mantidos pelo Poder Público.”

                         A LOA, nos termos do art. 165, § 5º, compreenderá:

                         OF – Orçamento Fiscal.
                         OI – Orçamento de Investimentos.
                         OSS – Orçamento da Seguridade Social.

                                                      PPA
Esquema ref. Leis
Orçamentárias            Leis Orçamentárias           LDO
                                                                     OF
                                                      LOA            OI
                                                                     OSS

                           Projeto          Prazo de envio          Prazo de devolução
                                                 (até)                     (até)
Os prazos de envio        PPA        4     meses     antes     do   encerramento         da
e devolução do                       encerramento do 1º exercício   sessão legislativa. Na
                                     financeiro. Na prática, deve   prática,    deve    ser
projeto de lei para
                                     ser encaminhado até 31/08.     devolvido até 22/12.
a União são:
                          LDO        8,5 meses (Oito meses e        encerramento         do
                                     meio) antes do encerramento    primeiro período da
                                     do exercício financeiro. Na    sessão legislativa. Na
                                     prática,      deve       ser   prática,    deve    ser
                                     encaminhado até 15/04.         devolvido até 17/07.


                          LOA        4     meses     antes     do   encerramento         da
                                     encerramento do exercício      sessão legislativa. Na
                                     financeiro. Na prática, deve   prática,    deve    ser
                                     ser encaminhado até 31/08.     devolvido até 22/12.



Apostila de Orçamento e Contabilidade Pública   95                     Prof. Fabio Furtado
Legalidade                  Publicidade
Princípios               Universalidade              Equilíbrio
Orçamentários            Periodicidade               Não Afetação da Receita
                         Exclusividade               Especificidade
                         Orçamento Bruto             Unidade


                         É a característica que determina a maneira pela qual o
                         orçamento é elaborado, dependendo do regime político
Tipos de                 vigente; daí dizer-se que os orçamentos variam
Orçamento                segundo a forma de Governo e podem ser classificados
                         em três tipos:

                                 -   Legislativo;
                                 -   Executivo;
                                 -   Misto.


      Exercício          EXERCÍCIO FINANCEIRO = 1 ANO [COINCIDE COM
     Financeiro          O ANO CIVIL (01/01 A 31/12)] – é o período no qual o
                         orçamento é executado.


           X
                         CICLO ORÇAMENTÁRIO – MAIS DE 1 ANO (COMEÇA
                         DESDE A ELABORAÇÃO DO PROJETO DE LEI
       Ciclo             ORÇAMENTÁRIA E TERMINA SOMENTE QUANDO DA
   Orçamentário          AVALIAÇÃO DA GESTÃO DO ORDENADOR DE
                         DESPESA). O exercício financeiro ou execução
                         orçamentária está dentro do ciclo orçamentário.




Apostila de Orçamento e Contabilidade Pública   96                 Prof. Fabio Furtado
ADMINISTRAÇÃO FINANCEIRA DO GOVERNO FEDERAL - SIAFI:


CONCEITO, OBJETIVOS, PRINCIPAIS DOCUMENTOS

Foi definido e desenvolvido em 1986 e implantado em janeiro de 1987 o
Sistema Integrado de Administração Financeira do Governo Federal -
SIAFI, visando a suprir o Governo Federal de instrumento moderno e eficaz
do controle dos gastos públicos.

O Sistema Integrado de Administração Financeira do Governo Federal
(SIAFI) é o principal instrumento de administração orçamentária e
financeira da União, que oferece suporte aos órgãos centrais, setoriais e
executores da gestão pública, tornando absolutamente segura a
contabilidade da União.

O SIAFI é o principal instrumento de gestão da STN, que, por seu
intermédio realiza o acompanhamento e controle de toda a execução
orçamentária e financeira do Governo Federal. É utilizado pelas Unidades
Gestoras (UG) de todos os Ministérios e dos demais órgãos e entidades
como instrumento de administração financeira, com o objetivo de
processar, de forma integrada e on line, a execução orçamentária,
financeira, patrimonial e contábil. As UG registram seus documentos
(empenho, ordem bancária etc.) e o SIAFI efetua automaticamente todos os
lançamentos contábeis necessários para se ter o conhecimento atualizado
das receitas, despesas e disponibilidades financeiras do Tesouro Nacional.

Por meio do SIAFI obtêm-se as informações que subsidiam o Balanço Geral
da União e os relatórios de execução do orçamento e de administração
financeira, que compõem a demonstração das contas apresentadas ao
Congresso Nacional pelo Presidente da República, de acordo com a
Constituição Federal. Encontra-se disponível, ainda, um serviço de troca
de mensagens, agilizando a comunicação entre as Unidades Gestoras. Aos
órgãos e entidades integrantes da Conta Única é oferecida a opção de "Darf
Eletrônico", que elimina o trâmite da arrecadação e recolhimento dos
tributos federais.

A Instrução Normativa n° 08, de 14.12.1999, complementada pela Norma
de Execução n° 03, de 30.12.1999, traz a regulamentação do acesso e uso
do SIAFI, com os formulários necessários para cadastro e habilitação no
SIAFI. O SIAFI tem um módulo gerencial cujo conteúdo são informações
gerenciais das áreas que possuem atribuições de gerência orçamentária,
financeira e controle nos órgãos e entidades da Administração Federal. O
Módulo Gerencial do SIAFI é composto das seguintes aplicações: Controle
de Acesso; Consulta de Tabelas; Consulta a Saldos Orçamentários;
Migração de Dados.


Apostila de Orçamento e Contabilidade Pública   97        Prof. Fabio Furtado
O Sistema Integrado de Administração Financeira do Governo Federal -
SIAFI tem como objetivos:

1; prover de mecanismos adequados ao registro e controle diário da gestão
orçamentária, financeira e patrimonial, os órgãos central, setorial e
seccional do Sistema de Controle Interno e órgãos executores;

2. fornecer meios para agilizar a programação financeira, com vistas a
otimizar a utilização dos recursos do Tesouro Nacional;

3. permitir que a contabilidade pública seja fonte segura e tempestiva de
informações gerenciais destinadas a todos os níveis da administração
pública federal;

4. integrar e compatibilizar as informações disponíveis nos diversos órgãos
e entidades participantes do sistema;

5. permitir aos segmentos da                    sociedade   obterem     a   necessária
transparência dos gastos públicos;

6. permitir a programação e acompanhamento físico-financeiro do
orçamento, a nível analítico;

7. permitir o registro contábil dos balancetes dos Estados, Municípios e de
suas supervisionadas; e

8. permitir o controle da dívida interna e externa, bem assim o das
transferências negociadas.




Apostila de Orçamento e Contabilidade Pública    98                   Prof. Fabio Furtado
Os principais documentos do SIAFI são:

• Nota de Dotação - ND: Destina-se ao registro dos créditos previstos no
Orçamento Geral da União, bem como ao Detalhamento destes créditos.

• Nota de Movimentação de Crédito - NC: Destina-se ao Registro das
transferências de créditos orçamentários, entre Unidades Gestoras de um
mesmo órgão e entre Unidades Gestoras de Órgãos distintos.

• Nota de Empenho - NE: Destina-se a registrar os eventos vinculados ao
comprometimento do orçamento, bem como aos casos em que se faça
necessário o reforço ou a anulação de empenho.

• Nota de Lançamento - NL: Destina-se ao registro da
apropriação/liquidação de receitas e despesas, bem como ao de outros
eventos, inclusive os relativos a Entidades Supervisionadas. É utilizada
também para o registro das previsões de Receita, para a arrecadação de
receitas próprias, para o recolhimento de devoluções de despesas, para o
acolhimento de depósitos de diversas origens, para acertos contábeis, etc.;

• Ordem Bancária - OB: Destina-se ao pagamento de compromissos, bem
como à liberação e à transferência de recursos, tais como Cota, Repasse e
Sub-repasse entre as unidades gestoras.

• Guia de Recebimento - GR: Destina-se a registrar os eventos vinculados
ao recolhimento de numerário à conta bancária da Unidade Gestora.

• Documento de Arrecadação de Receitas Federais- DARF: Destina-se à
arrecadação por processo eletrônico, sem a utilização da rede bancária, de
tributos federais que tenham como contribuintes os órgãos e entidades
integrantes da Conta Única do Tesouro Nacional.

• Nota de Programação Financeira - PF: Destina-se ao registro da
programação financeira no SIAFI, pelas unidades gestoras executoras,
pelas unidades gestoras setoriais de programação financeira e pelo órgão
central de programação financeira (COFIN/STN).

(Fonte: Manual SIAFI da Secretaria do Tesouro Nacional)




Apostila de Orçamento e Contabilidade Pública   99         Prof. Fabio Furtado
EXERCÍCIOS
1.     Numere as colunas abaixo, observando sua adequada correlação e aponte a
       alternativa que contém a seqüência correta.

       1 – Previsão de receita.                     (    ) Nota de Lançamento.
       2 – Recolhimento de Tributos                 (    ) Ordem bancária.
       3 – Lançamento de créditos adicionais.       (    ) Nota de Empenho.
       4 – Concessão de Provisão.                   (    ) Nota de Movimentação de
       5 – Anulação de empenhos.                           Crédito.
       6 – Pagamento de despesa.                    (    ) DARF – Eletrônico.
                                                    (    ) Nota de Dotação.

       a)      1, 3, 2, 4, 5, 6
       b)      1, 6, 5, 3, 2, 4
       c)      2, 1, 3, 5, 4, 6
       d)      1, 2, 3, 4, 5, 6
       e)      1, 6, 5, 4, 2, 3
       f)      2, 1, 3, 5, 4, 6
       g)      1, 3, 2, 5, 4, 6
       h)      2, 3, 1, 4, 5, 6

2.     A NC – Nota de Movimentação de Crédito é um documento de entrada de dados
       do Siafi utilizado para registrar a descentralização oriunda da lei orçamentária e
       das leis de créditos adicionais por meio do repasse e do sub-repasse.

       (    ) Falso                   (   ) Verdadeiro

3.     Em relação aos objetivos do Siafi, julgue as opções abaixo:

       a)     Prover de mecanismos adequados ao registro e controle diário da gestão
          orçamentária, financeira e patrimonial os órgãos e entidades da Administração
          Federal.
       b)     Fornecer meios para agilizar a programação financeira, com vistas a
          otimizar a utilização dos recursos do Tesouro Nacional.
       c)     Integrar e compatibilizar as informações disponíveis nos diversos órgãos e
          entidades participantes do sistema.
       d)     Permitir que a Contabilidade Pública seja fonte segura e tempestiva de
          informações gerenciais destinadas a todos os níveis da Administração Pública
          Federal.

4.     As repartições públicas nominalmente contempladas com dotação específica no
       orçamento chamam-se

       a)   unidade de caixa.
       b)   órgãos autônomos.
       c)   unidade administrativa.
       d)   unidade orçamentária.




Apostila de Orçamento e Contabilidade Pública    100                     Prof. Fabio Furtado
5.     Dentre as opções abaixo, marque a que não representa uma característica do Siafi
       – Sistema Integrado de Administração Financeira Federal.

       a)      Elaboração orçamentária descentralizada.
       b)      Processamento centralizado.
       c)      Unificação dos recursos financeiros.
       d)      Automatização da escrituração.

6.     De acordo com os conceitos utilizados no Siafi, aponte a opção que caracteriza
       uma unidade administrativa.

       a) São os Ministérios, o Ministério Público, as Entidades Supervisionadas, os
          Tribunais do Poder Judiciário, as Casas do Poder Legislativo e as Secretarias
          da Presidência da República.
       b) É a unidade investida do poder de gerir recursos orçamentários e financeiros,
          próprios ou sob descentralização.
       c) É a repartição da Administração Federal a quem o orçamento da União
          consigna dotações específicas, para a realização de seus programas de
          trabalho.
       d) É aquela que para a execução de suas tarefas depende de descentralização
          de créditos de outra unidade.

7.     Evento é o código que identifica os atos ou fatos administrativos que são
       escriturados através do Siafi.

       (    ) Falso                   (   )Verdadeiro

8.     Qual o documento utilizado para registro dos créditos orçamentários?

       a)      ND – Nota de Dotação.
       b)      NC – Nota de Movimentação de Crédito.
       c)      NE – Nota de Empenho.
       d)      NL – Nota de Lançamento.

9.     Para se fazer o registro da assinatura de um contrato, que documento seria
       utilizado no Siafi?

       a)      Nota de Lançamento – NL.
       b)      Nota de Movimentação de Crédito – NC.
       c)      Nota de Empenho – NE.
       d)      Ordem Bancária – OB.

10.    O documento utilizado para emissão de empenho chama-se

       a)   Nota de Lançamento.
       b)   Nota de Empenho.
       c)   Nota de Movimentação de Crédito.
       d)   Nota de Dotação.




Apostila de Orçamento e Contabilidade Pública    101                  Prof. Fabio Furtado
11) Correlacione as transações aos documentos utilizados para registro:

(a) Darf Eletrônico           (    ) Comprometimento da despesa.
(b) Nota de Sistema           (    ) Pagamento dos compromissos.
(c) Ordem Bancária            (    ) Registro dos eventos contábeis automaticamente.
(d) Nota de Empenho           (    ) Apropriação e liquidação de despesas.
(e) Nota de Lançamento        (    ) Arrecadação de tributos e outras receitas.


12) Palavras Cruzadas:

Horizontais:
a) A criação desse órgão viabilizou a implantação do SIAFI no Governo Federal (sigla).
b) Órgão responsável em avaliar as condições para implantação do SIAFI Gerencial.
c) Permite o uso autorizado dos recursos do SIAFI.

Verticais:
d) Sistema integrado de administração financeira para estados e municípios.
e) Fundamento lógico do SIAFI.

                 e)
                                                                    d)
                                                             a)
 b)
                                  c)




                                       GABARITO

   1      E                             7       Verdadeiro
   2      Falso                         8       A
   3      V, V, V, V.                   9       A
   4      D                            10       B
   5      A                            11       D, C, B, E, A
   6      D                            12       a)    STN
                                                b)    SERPRO
                                                c)    SENHA
                                                d)    SIAFEM
                                                e)    EVENTO




Apostila de Orçamento e Contabilidade Pública      102                    Prof. Fabio Furtado
QUESTÕES COMENTADAS

(Controlador de Recursos Públicos – TCE/ES 2004 CESPE UnB)

Com referência ao SIAFI, julgue os itens subseqüentes.

01 - Um dos objetivos do SIAFI é possibilitar aos segmentos da sociedade a
necessária transparência dos gastos públicos.

02 - A ND destina-se a descentralizar os créditos para dotar as unidades
com os recursos necessários à realização das despesas.


Comentários:

01. C – Assertiva correta, pois o SIAFI tem como objetivos:

       prover de mecanismos adequados ao registro e controle diário da
       gestão orçamentária, financeira e patrimonial, os órgãos e entidades
       da Administração Federal;

       fornecer meios para agilizar a programação financeira, com vistas a
       otimizar a utilização dos recursos do Tesouro Nacional;

       permitir que a Contabilidade Pública seja fonte segura e tempestiva
       de informações gerenciais destinadas a todos        os níveis    da
       administração pública federal;

       integrar e compatibilizar as informações disponíveis nos diversos
        Órgãos e Entidades participantes do Sistema;

       permitir os segmentos da sociedade             obter   a   necessária
       transparência dos gastos públicos;

       permitir a programação e o acompanhamento físico-financeiro do
       orçamento, em nível analítico;

       permitir o registro contábil dos balancetes dos Estados, Municípios e
       de suas supervisionadas; e

       permitir o controle da dívida interna e externa, do Governo Federal,
       bem como das transferências negociadas da gestão pública de



Apostila de Orçamento e Contabilidade Pública   103           Prof. Fabio Furtado
mecanismos adequados para o controle diário          da    execução
       orçamentária, financeira, patrimonial e contábil.


02. E – Assertiva incorreta. O documento utilizado para descentralizar os
créditos é a Nota de Movimentação de Créditos (NC) e não a Nota de
Dotação (ND) descrita na questão.


(Consultor de Orçamentos Senado Federal 2002 CESPE UnB)

03- O SIAFI foi implantado pelo governo federal com o objetivo de
promover a modernização e a integração dos sistemas de programação
financeira, de execução orçamentária e de contabilidade nos seus
órgãos e entidades públicas. No SIAFI, diferentemente da
contabilidade comercial, que procede os registros desses documentos
em livros próprios, a contabilidade pública registra a entrada de dados
necessários à execução orçamentária, financeira e contábil por meio
de documentos constantes no próprio sistema, cuja instrução de
preenchimento está contida na transação correspondente. Com base
nesse contexto, julgue os itens abaixo.

   1. A guia de recebimento (GR) destina-se a registrar a arrecadação
      dos tributos e outras receitas efetivadas pelos órgãos e
      entidades, por meio de transferências de recursos intra-SIAFI
      entre a unidade gestora recolhedora e a conta única do Tesouro
      Nacional.
   2. A nota de lançamento (NL) destina-se a registrar os eventos
      vinculados ao recolhimento de numerário à conta bancária da
      unidade gestora.
   3. A nota de sistema destina-se ao registro de detalhamento dos
      créditos previstos no orçamento geral da União, bem como a
      inclusão desses créditos.
   4. A nota de empenho destina-se a registrar os eventos vinculados
      ao comprometimento de despesa, bem como os casos em que se
      faça necessário o reforço ou a anulação da despesa
      compromissada.
   5. A nota de movimentação de crédito destina-se ao registro dos
      eventos  vinculados    à   transferência   de    disponibilidade
      orçamentária entre as unidades gestoras e entre órgãos.




Apostila de Orçamento e Contabilidade Pública   104        Prof. Fabio Furtado
Comentários:

Os principais documentos de entrada de dados do SIAFI são:
DARF eletrônico, GRPS eletrônica, guia de recebimento, nota de
apropriação físico-financeiro, nota de programação financeira, nota de
dotação, nota de pré-empenho, nota de empenho, nota de lançamento,
nota de movimentação de crédito, nota de sistema, ordem bancária.

Apresentaremos aqui a utilidade dos documentos mencionados nesta
questão.

       Guia de recebimento – destina-se a registrar os eventos vinculados
       ao recolhimento de numerário à conta bancária da unidade
       gestora. A conta única do tesouro somente pode ser movimentada
       por ordem bancária e documentos especiais;

       Nota de lançamento – usada para os mais diversos fins, como por
       exemplo: registros das previsões de receitas, recolhimento de
       devoluções de despesas, apropriações de despesas e receitas, acertos
       contábeis, assinatura de contratos etc. Basicamente é utilizada em
       todos os fatos que não envolvam movimentação financeira;

       Nota de sistema – destina-se a registrar os eventos contábeis
       automaticamente. Também é denominada nota de lançamento de
       sistema. São lançamentos feitos de forma automática pelo SIAFI;

       Nota de empenho – destina-se a registrar os eventos vinculados ao
       comprometimento de despesa (empenho), bem como os casos que se
       faça necessário o reforço ou a anulação da despesa;

       Nota de movimentação de crédito – destina-se ao registro dos eventos
       vinculados à transferência de créditos entre as UG (Unidades
       Gestoras) e entre órgãos.

Com base no exposto acima, julgaremos as opções:

        1. E – Assertiva incorreta, tendo em vista que, como podemos
           verificar, a guia de recolhimento é utilizada para registrar os
           eventos vinculados ao recolhimento de numerário à conta
           bancária da unidade gestora e não à conta única do Tesouro
           Nacional, que somente pode ser movimentada por ordem
           bancária e documentos especiais.


Apostila de Orçamento e Contabilidade Pública   105         Prof. Fabio Furtado
2. E – Afirmativa incorreta, pois o documento utilizado para
           registrar os eventos vinculados ao recolhimento de numerário à
           conta bancária da unidade gestora á guia de recebimento. A nota
           de lançamento basicamente é utilizada em fatos que não
           envolvam movimentação financeira, sendo considerado um
           documento extracaixa. Alguns exemplos de sua utilização estão
           descritos no início dos comentários desta questão.

        3. E – A nota de sistemas consiste em lançamentos efetuados
           automaticamente pelo sistema SIAFI. O documento que é
           utilizado para registro de detalhamento dos créditos previstos
           no orçamento geral da União, bem como a inclusão desses
           créditos é a nota de dotação.

        4. C – Assertiva correta, pois de acordo com o descrito no início dos
           comentários desta questão, a nota de empenho deve realmente
           registrar os eventos de emissão, reforço ou anulação de
           empenhos.

        5. C – Assertiva correta, pois também já foi comentado que a nota
           de movimentação de crédito é utilizada para os registros dos
           eventos vinculados à transferência de disponibilidades
           orçamentárias entre as unidades gestoras e entre órgãos.




Apostila de Orçamento e Contabilidade Pública   106          Prof. Fabio Furtado
PLANO DE CONTAS DA ADMINISTRAÇÃO FEDERAL

Conceito

O Plano de Contas é o conjunto de títulos, previamente definidos,
representativos de um estado patrimonial e de suas variações, organizados
e codificados com o objetivo de sistematizar e uniformizar o registro
contábil dos atos e fatos de uma gestão devendo permitir, de forma precisa
e clara, a obtenção dos dados relativos ao patrimônio.

A Contabilidade da Administração Federal obedecerá a um plano de
contas, elaborado inicialmente conforme Instrução Normativa nº. 23, de
23-12-86, da Secretaria do Tesouro Nacional – STN, atualizado
periodicamente, tendo como parte integrante a Relação das Contas, a
Tabela de Eventos e os Indicadores Contábeis.

A reformulação do Plano de Contas foi efetuada visando a proporcionar
maior flexibilidade no gerenciamento e consolidação de dados e atender,
em todos os níveis da Administração Federal, as necessidades de
informações. Portanto, de acordo com seu propósito, deve permitir o Plano
de Contas:

• a identificação, a classificação e a escrituração contábil, pelo método das
 partidas dobradas, dos atos e fatos de uma gestão, de maneira
 padronizada, uniforme e sistematizada;

•     a evidenciação da situação de todos quantos arrecadarem receitas,
    efetuem despesas e administrem ou guardem bens pertencentes ou
    confiados a uma gestão;

•    o conhecimento da composição e situação do patrimônio;

•    a determinação dos custos dos serviços industriais;

•    o acompanhamento e         o controle da execução orçamentária,
     evidenciando a receita prevista, lançada, realizada e a realizar, bem
     como a despesa autorizada, empenhada, realizada e as dotações
     disponíveis;

•    o levantamento de Balanços Orçamentário, Financeiro e Patrimonial e
     da Demonstração das Variações Patrimoniais;

•    a análise e a interpretação dos resultados econômicos e financeiros;




Apostila de Orçamento e Contabilidade Pública   107           Prof. Fabio Furtado
•   a individualização dos devedores e credores, com a especificação
    necessária ao controle contábil do direito ou obrigação; e

•   o controle contábil dos direitos e obrigações oriundos de ajustes ou
    contratos de interesse da gestão.

A utilização do Plano de Contas será no âmbito da Administração Direta,
inclusive pelos órgãos autônomos e fundos especiais, e as entidades da
Administração Indireta (inclusive as fundações públicas) que participam
do SIAFI na modalidade de uso total.

A Coordenação Geral de Contabilidade da Secretaria do Tesouro Nacional é
o órgão autorizado a baixar normas e instruções complementares sobre o
Plano de Contas, tendo em vista a evolução tecnológica e dos serviços, e
criar, extinguir, especificar, desdobrar, detalhar, codificar contas, eventos
e indicadores contábeis. É o que estabelece a IN/STN nº. 8, de 14-11-96,
que revogou a IN/STN nº. 8, de 5-11-93.

Estrutura do Plano de Contas

O Plano de Contas compreende sete níveis de desdobramento, classificados
e codificados de acordo com a seguinte estrutura:

1º. Nível – CLASSE -------------------------X
2º. Nível – GRUPO ------------------------- X
3º. Nível – SUBGRUPO -------------------- X
4º. Nível – ELEMENTO -------------------- X
5º. Nível – SUBELEMENTO -------------- X
6º. Nível – ITEM ---------------------------- XX
7º. Nível – SUBITEM ----------------------- XX
CONTA CORRENTE ------------------código variável

Exemplo: 1.1.1.12.01.02

Código    Classificação
1         Classe           Ativo
1         Grupo            Ativo Circulante
1         Subgrupo         Disponível
1         Elemento         Disponível em moeda nacional
2         Subelemento      Bancos Conta Movimento
01        Item             Conta Única do Tesouro Nacional
02        Subitem          Banco do Brasil
A consolidação de balanços é efetuada no 3º. Nível (SUBGRUPO), de
acordo com a estrutura a seguir:




Apostila de Orçamento e Contabilidade Pública   108          Prof. Fabio Furtado
1 ATIVO                                                  2 PASSIVO
  1.1 Ativo Circulante                                     2.1 Passivo circulante
      1.1.1 Disponível                                         2.1.1 Depósitos
      1.1.2 Créditos em Circulação                             2.1.2 Obrigações em Circulação
      1.1.3 Bens e Valores em Circulação                       2.1.3 Empréstimos e Financ. Em Circulação
      1.1.4 Valores Pendentes a Curto Prazo                    2.1.4 Valores Pendentes a Curto Prazo

  1.2 Ativo Realizável a Longo Prazo                        2.2 Passivo Exigível a Longo Prazo
      1.2.1 Depósitos Realizáveis a Longo Prazo                2.2.1 Depósitos Exigíveis a Longo Prazo
     1.2.2 Créditos Realizáveis a Longo Prazo                  2.2.2 Obrigações Exigíveis a Longo Prazo
                                                               2.2.9 Outras Exigibilidades

                                                            2.3 Resultado de Exercícios Futuros
                                                               2.3.1 Receitas de Exercícios Futuros
                                                               2.3.9 Custos ou Despesas Correspondentes às Receitas

  1.4 Ativo Permanente                                      2.4 Patrimônio Líquido
      1.4.1 Investimentos                                      2.4.1 Patrimônio/Capital
      1.4.2 Imobilizado                                        2.4.2 Reservas
      1.4.3 Diferido                                           2.4.3 Resultado Acumulado
                                                               2.4.9 Ajuste do Patrimônio/Capital

  1.9 Ativo Compensado                                      2.9 Passivo Compensado
     1.9.1 Execução Orçamentária da Receita                    2.9.1 Previsão Orçamentária da Receita
     1.9.2 Fixação Orçamentária da Despesa                     2.9.2 Execução Orçamentária da Despesa
     1.9.3 Execução da Programação Financeira                  2.9.3 Execução da Programação Financeira
     1.9.4 Despesas e Dívidas dos Estados e Municípios         2.9.4 Despesas e Dívidas dos Estados e Municípios
     1.9.5 Execução de Restos a Pagar                          2.9.5 Execução de Restos a Pagar
     1.9.9 Compensações Ativas Diversas                        2.9.9 Compensações Passivas Diversas

3 DESPESA                                                4 RECEITA
  3.3 Despesas Correntes                                    4.1 Receitas Correntes
  3.4 Despesas de Capital                                   4.2 Receitas de Capital
                                                            4.9 (*) Deduções da Receita



5 RESULTADO DO EXERCÍCIO                                 6 RESULTADO DO EXERCÍCIO
  5.1 Resultado Orçamentário                                6.1 Resultado Orçamentário
     5.1.1 Despesa Orçamentária                                6.1.1 Receita Orçamentária
     5.1.2 Interferências Passivas                             6.1.2 Interferências Ativas
     5.1.3 Mutações Passivas                                   6.1.3 Mutações Ativas
  5.2 Resultado Extra-Orçamentário                          6.2 Resultado Extra-Orçamentário
     5.2.1 Despesa Extra-Orçamentária                          6.2.1 Receita Extra-Orçamentária
     5.2.2 Interferências Passivas                             6.2.2 Interferências Ativas
     5.2.3 Mutações Passivas                                   6.2.3 Mutações Ativas
                                                            6.3 Resultado Apurado


*O asterisco indica que as contas são redutoras ou retificadoras.
Como podemos observar, o Plano de Contas utilizado pela Administração
Federal é bem semelhante ao utilizado pelas empresas privadas. Podemos
até afirmar que esse Plano de Contas compreende rubricas apresentadas
tanto na Lei 6.404/76 quanto na Lei 4.320/64.



Apostila de Orçamento e Contabilidade Pública        109                         Prof. Fabio Furtado
Evento

As entidades públicas que fazem uso do Sistema Siafi, ou de sistema
informatizado com a mesma plataforma, efetuam lançamentos contábeis
através de eventos codificados. Esses eventos representam os registros de
débitos e créditos dos atos e fatos administrativos da Contabilidade
Pública por meio de um código específico.

                                 Estrutura do Evento

O evento tem seu código composto por seis números (XX.X.XXX), dispostos
da seguinte maneira:

        XX                    X                      XXX
       Classe                Tipo               Código Seqüencial


Classe (XX)

A Classe representa o conjunto de eventos de uma mesma natureza. Assim
sendo, a Tabela de eventos é constituída pelas seguintes Classes:

(10)   Evento de Previsão da Receita
(20)   Dotação da Despesa
(30)   Movimento de Crédito
(40)   Empenho da Despesa
(50)   Apropriações de Retenções, Liquidações e Outros
(51)   Apropriações de Despesas
(52)   Retenções de Obrigações
(53)   Liquidações de Obrigações – extinção das obrigações
(54)   Registros Diversos
(55)   Apropriações de Direitos
(56)   Liquidações de Direitos
(60)   Restos a Pagar
(61)   Liquidação de Restos a Pagar
(70)   Transferências Financeiras
(80)   Receita

Como podemos observar, a ordem dessa classificação dos eventos segue
uma certa lógica da execução orçamentária e financeira.




Apostila de Orçamento e Contabilidade Pública      110              Prof. Fabio Furtado
Tipo de utilização (X)

O TIPO de utilização do evento representa a situação do registro, podendo
ser codificado, conforme segue:

(0)   Evento de utilização direta pelo gestor
(1)   Evento de utilização interna pelo sistema
(2)   Evento complementar ao de utilização direta do gestor
(3)   Evento complementar ao de utilização interna pelo sistema
(5)   Estorno de evento de utilização direta do gestor
(6)   Estorno de evento de utilização interna pelo sistema
(7)   Estorno de evento complementar ao de utilização direta pelo gestor
(8)   Estorno de evento complementar ao de utilização interna pelo sistema

Código Seqüencial (XXX)

O Código seqüencial representa a variação seqüencial de 001 a 999,
dentro de cada classe. A combinação desses números representa o registro
de um fato ou ato administrativo.

 Classe                     Especificação                            Documento          Sinal
                                                                      utilizado

10.X.XXX    Previsão da Receita       (inicial,     adicional    e      NL              DeC
            anulações de previsão)

20.X.XXX    Dotação da Despesa         (inicial,     adicional   e      ND              DeC
            anulações de dotação)

30.X.XXX    Movimentação de Crédito (destaque, provisão e               NC              DeC
            anulações)

40.X.XXX    Empenho da Despesa (emissão, reforço e                    NE e PE           DeC
            anulação e pré-empenho)

51.X.XXX    Apropriação de Despesas (corresponde à etapa              NL e OB             D
            da liquidação da despesa)

52.X.XXX    Retenções    de    Obrigações          (consignações,       NL                C
            fornecedores etc.)

53.X.XXX    Liquidação de Obrigações            (corresponde     à      OB                D
            extinção de obrigações)

54.X.XXX    Registros Diversos (doações, consumo, baixa,                NL              DeC
            incorporações etc.)

55.X.XXX    Apropriação de Direitos (saldo em bancos etc.)            NL e OB             D

56.X.XXX    Liquidação de Direitos (corresponde à extinção            NL e GR             C
            de direitos)


Apostila de Orçamento e Contabilidade Pública         111                       Prof. Fabio Furtado
61.X.XXX    Liquidação   de    Restos  a  Pagar  (não-      NL e OB             D
            processados) referentes a empenhos do ano
            anterior

70.X.XXX    Desembolsos e Transferências Financeiras        NL e OB             D
            (devolução de cauções, cota, repasse etc.

80.X.XXX    Embolsos e Receitas (recebimento de depósitos   NL e GR             C
            de terceiros, arrecadação/recolhimento de
            receita)



Onde:

NL – Nota de Lançamento
ND – Nota de Dotação
NC – Nota de movimento de Crédito
NE – Nota de Empenho
PE – Nota de Pré-Empenho
OB – Ordem Bancária
GR – Guia de Recebimento

D - Sinal devedor
C - Sinal Credor

Tabelas de Eventos

A tabela de eventos é o instrumento utilizado pelas unidades gestoras para
preenchimento das telas e documentos de entrada no Siafi, transformando
os atos e fatos administrativos em registros contábeis automáticos. Como
codifica os lançamentos contábeis, a tabela de eventos é parte integrante
do Plano de Contas da Administração Federal, e, periodicamente, sofre
atualizações, cuja responsabilidade é da Secretaria do Tesouro Nacional.

A tabela de eventos completa e atualizada pode ser obtida via internet no
site www.Tesouro.Fazenda.gov.br.




Apostila de Orçamento e Contabilidade Pública   112                   Prof. Fabio Furtado
EXERCÍCIOS
13) Correlacione:
(1) Registro do gestor         (   ) Anula total ou parcialmente o lançamento registrado
(2) Registro de sistema              indevidamente.
(3) Registro de estorno        (   ) Registro rotineiro, sem características incomuns.
                               (   ) Registro apresentado pelo próprio sistema.

14) Complete:
a) O ______________________________ representa o registro contábil de determinado
ato ou fato administrativo.
b) A _______________________________ representa o conjunto de eventos de uma
mesma natureza.
c) O      tipo      de    utilização   do       evento   representa    a      situação     do
___________________________ .
d) O _______________________________ representa a variação seqüencial de 001 a
999, dentro de cada classe.
e) A _______________________________ é o instrumento utilizado pelas unidades
gestoras para preenchimento das telas e documentos de entrada do SIAFI.

15) Marque V se a alternativa foi Verdadeira e F se for Falsa:
(    ) Os registros efetuados por meio de eventos podem ser classificados como
       registro de gestor, registro de sistema e registro de estorno.
(    ) Não há necessidade de os usuários fornecerem o código do evento a ser
       utilizado na transação.
(    ) O código do evento é composto por cinco números, dispostos em classe, tipo e
       código seqüencial.
(    ) As atualizações da Tabela de Eventos são de responsabilidade da Secretaria de
       Orçamento Federal.
(    ) A tabela de indicadores contábeis é o mecanismo pelo qual o SIAFI e o SIAFEM
       fazem a ligação entre a tabela de eventos e o roteiro contábil de cada evento.

16) (AFC/STN 1998) A assinatura de contrato de serviço não afeta o patrimônio mas, no
futuro, poderá afetá-lo. Dessa forma, seu registro no SIAFI será procedido com um
evento da seguinte classe:
a)   51.x.xxx – apropriação de despesas.
b)   52.x.xxx – retenções e obrigações.
c)   53.x.xxx – liquidação de obrigações.
d)   54.x.xxx – registros diversos.
e)   40.x.xxx – empenho da despesa.



17) (AFC/STN 1999) A classe constante da Tabela de Eventos que serve para registrar
concessão de créditos orçamentários por meio de provisão é:


Apostila de Orçamento e Contabilidade Pública      113                     Prof. Fabio Furtado
a)   10.x.xxx – previsão de receita.
b)   20.x.xxx – dotação da despesa.
c)   30.x.xxx – movimentação de crédito.
d)   40.x.xxx – empenho da despesa.
e)   54.x.xxx – registros diversos.

18) (APO/MPO 1990) Indique o instrumento utilizado pelos entidades para identificar
códigos a serem inseridos nos documentos de entrada no SIAFI para transformar os atos
e fatos administrativos rotineiros em registros contábeis automáticos:
a)   Plano de contas do governo federal.
b)   Tabela de unidades gestoras.
c)   Tabela de órgãos e gestões.
d)   Tabela de eventos.
e)   Tabela de código de tributo.

19) (APO/MPO 1990) O grupo constante da tabela de eventos que enquadraria a baixa de
estoque para consumo através de requisição seria o de eventos:
a)   54.0.xxx registros diversos.
b)   52.0.xxx de retenções de obrigações.
c)   70.0.xxx de desembolsos.
d)   51.0.xxx de apropriações de despesas.
e)   60.0.xxx de restos a pagar.

20) (CONSULTOR DE ORÇAMENTO DO SENADO FEDERAL – CESPE/1996) O SIAFI
baseia-se na utilização de eventos contábeis, ordenados em uma tabela, na qual são
organizados por classes. Como o evento representa o registro contábil de um
determinado ato ou fato administrativo, na sua composição é determinado um roteiro
contemplando todos os lançamentos que se fizerem necessários para que esse registro
seja efetuado por completo. Os eventos contemplam tanto os lançamentos da unidade
onde está sendo efetuado o registro, como os lançamentos da unidade receptora da ação
efetuada. Com base nessa conceituação, marque a alternativa CORRETA.
a) A apropriação da liquidação de direitos da administração pública utiliza-se de eventos
da classe 60.
b) A apropriação da previsão da receita aprovada na lei orçamentária utiliza-se de
eventos da classe 80.
c) A apropriação da liquidação de obrigações da administração pública utiliza-se de
eventos da classe 53.
d) A apropriação de empenhos da despesa autorizada utiliza-se de eventos da classe
20.
e) A apropriação da liquidação de restos a pagar utiliza-se de eventos da classe 63.




GABARITO

 13      3, 1, 2                                17     C


Apostila de Orçamento e Contabilidade Pública        114               Prof. Fabio Furtado
14     a)   Evento                             18     D
        b)   Classe
        c)   Registro
        d)   Código seqüencial
        e)   Tabela de eventos
 15     V,   F, F, F, V.                        19     A
 16     D                                       20     C

QUESTÕES COMENTADAS

(Analista de Controle Externo – TCU 1996 CESPE UnB)

01- O Plano de Contas Único da Administração Federal

(1) não mais possibilitou a elaboração dos Balanços Orçamentário,
   Financeiro e Patrimonial e da Demonstração das Variações
   Patrimoniais, na forma da Lei n.º 4.320/64.

(2) tem como uma de suas partes integrantes a Tabela de Eventos, que
    consiste em uma relação de ocorrências, às quais ficam vinculadas
    as contas que deverão ser sensibilizadas, quando do registro da
    operação.

(3) possibilitou a individualização dos devedores e credores, com a
   especificação necessária ao controle contábil do direito ou da
   obrigação.

(4) não foi implantado de modo a tornar exeqüível o pronto
   conhecimento dos custos dos serviços industriais.

Comentários:

(1) E – O Plano de Contas Único da Administração Federal deve permitir o
    levantamento de Balanços Orçamentário, Financeiro e Patrimonial e da
    Demonstração das Variações Patrimoniais.

(2) C – Assertiva correta, pois é parte integrante do Plano de Contas a
    tabela de eventos, que é o instrumento utilizado no preenchimento das
    telas e/ou documentos de entrada do Sistema Integrado de
    Administração Financeira do Governo Federal – SIAFI.

(3) C – OPlano de contas Único da Administração Federal possibilitou a
    individualização dos devedores e credores, com a especificação
    necessária ao controle contábil do direito ou obrigação.



Apostila de Orçamento e Contabilidade Pública        115   Prof. Fabio Furtado
(4) E – Assertiva incorreta, pois o Plano de Contas Único da Administração
    Federal deve permitir a determinação dos custos dos serviços
    industriais.


(Contador – TJDF 1997 CESPE UnB)

02- Na contabilidade pública, a conta créditos em circulação, do plano
de contas da administração pública federal, pertence, na estrutura da
consolidação de balanço, ao

A - realizável a longo prazo.
B - permanente.
C - compensado.
D - passivo circulante.
E - ativo circulante.

Resposta correta: E

Comentários:

O Plano de Contas compreende sete níveis de desdobramento, classificados
e codificados de acordo com a seguinte estrutura:

1º. Nível – CLASSE -------------------------X
2º. Nível – GRUPO ------------------------- X
3º. Nível – SUBGRUPO -------------------- X
4º. Nível – ELEMENTO -------------------- X
5º. Nível – SUBELEMENTO -------------- X
6º. Nível – ITEM ---------------------------- XX
7º. Nível – SUBITEM ----------------------- XX
CONTA CORRENTE ------------------código variável

A consolidação de balanços é efetuada no 3º. Nível (SUBGRUPO), de
acordo com a estrutura a seguir:




Apostila de Orçamento e Contabilidade Pública   116        Prof. Fabio Furtado
1 ATIVO                                                  2 PASSIVO
  1.1 Ativo Circulante                                     2.1 Passivo circulante
      1.1.1 Disponível                                         2.1.1 Depósitos
      1.1.2 Créditos em Circulação                             2.1.2 Obrigações em Circulação
      1.1.3 Bens e Valores em Circulação                       2.1.3 Empréstimos e Financ. Em Circulação
      1.1.4 Valores Pendentes a Curto Prazo                    2.1.4 Valores Pendentes a Curto Prazo

  1.2 Ativo Realizável a Longo Prazo                        2.2 Passivo Exigível a Longo Prazo
      1.2.1 Depósitos Realizáveis a Longo Prazo                2.2.1 Depósitos Exigíveis a Longo Prazo
     1.2.2 Créditos Realizáveis a Longo Prazo                  2.2.2 Obrigações Exigíveis a Longo Prazo
                                                               2.2.9 Outras Exigibilidades

                                                            2.3 Resultado de Exercícios Futuros
                                                               2.3.1 Receitas de Exercícios Futuros
                                                               2.3.9 Custos ou Despesas Correspondentes às Receitas

  1.4 Ativo Permanente                                      2.4 Patrimônio Líquido
      1.4.1 Investimentos                                      2.4.1 Patrimônio/Capital
      1.4.2 Imobilizado                                        2.4.2 Reservas
      1.4.3 Diferido                                           2.4.3 Resultado Acumulado
                                                               2.4.9 Ajuste do Patrimônio/Capital

  1.9 Ativo Compensado                                      2.9 Passivo Compensado
     1.9.1 Execução Orçamentária da Receita                    2.9.1 Previsão Orçamentária da Receita
     1.9.2 Fixação Orçamentária da Despesa                     2.9.2 Execução Orçamentária da Despesa
     1.9.3 Execução da Programação Financeira                  2.9.3 Execução da Programação Financeira
     1.9.4 Despesas e Dívidas dos Estados e Municípios         2.9.4 Despesas e Dívidas dos Estados e Municípios
     1.9.5 Execução de Restos a Pagar                          2.9.5 Execução de Restos a Pagar
     1.9.9 Compensações Ativas Diversas                        2.9.9 Compensações Passivas Diversas

3 DESPESA                                                4 RECEITA
  3.3 Despesas Correntes                                    4.1 Receitas Correntes
  3.4 Despesas de Capital                                   4.2 Receitas de Capital
                                                            4.9 (*) Deduções da Receita



5 RESULTADO DO EXERCÍCIO                                 6 RESULTADO DO EXERCÍCIO
  5.1 Resultado Orçamentário                                6.1 Resultado Orçamentário
     5.1.1 Despesa Orçamentária                                6.1.1 Receita Orçamentária
     5.1.2 Interferências Passivas                             6.1.2 Interferências Ativas
     5.1.3 Mutações Passivas                                   6.1.3 Mutações Ativas
  5.2 Resultado Extra-Orçamentário                          6.2 Resultado Extra-Orçamentário
     5.2.1 Despesa Extra-Orçamentária                          6.2.1 Receita Extra-Orçamentária
     5.2.2 Interferências Passivas                             6.2.2 Interferências Ativas
     5.2.3 Mutações Passivas                                   6.2.3 Mutações Ativas
                                                            6.3 Resultado Apurado


*O asterisco indica que as contas são redutoras ou retificadoras.


Logo, como podemos verificar na estrutura acima, a conta créditos em
circulação pertence ao ativo circulante.



Apostila de Orçamento e Contabilidade Pública        117                         Prof. Fabio Furtado
(Contador – TJDF 1997 CESPE UnB)

03- Na contabilidade pública, a conta execução orçamentária da
receita, do plano de contas da administração pública federal,
pertence, na estrutura da consolidação de balanço, ao

A - resultado de exercício.
B - patrimônio líquido.
C - compensado.
D - ativo circulante.
E - resultado de exercícios futuros.

Resposta correta: C

Comentários:

Com base na estrutura de consolidação apresentada no comentário da
questão anterior, a conta execução orçamentária da receita pertence ao
compensado. A referida conta pode figurar nos grupos do Ativo
Compensado ou do Passivo Compensado.


(Controlador de Recursos Públicos – TCE/ES 2004 CESPE UnB)

Quanto ao plano de contas do Sistema Integrado de Administração
Financeira do Governo Federal (SIAFI), julgue os itens seguintes.

04 - As contas contábeis estão estruturadas nos níveis de classe,
grupo, subgrupo, alínea, subalínea, item e subitem.

05 - As contas do ativo compreendem os grupos de código 1 =
circulante; 2 = realizável a longo prazo e 9 = compensado.

06 - As contas de mutações passivas e interferências passivas
pertencem ao grupo resultado orçamentário — aumentativo.

07 - As contas receita realizada e receita a realizar pertencem ao
sistema financeiro.




Apostila de Orçamento e Contabilidade Pública   118     Prof. Fabio Furtado
Comentários:

04. E – Assertiva incorreta, pois, de acordo com o plano de contas do
SIAFI, as contas contábeis estão estruturadas nos níveis de classe, grupo,
subgrupo, elemento, subelemento, item e subitem. O erro na questão está
em ter substituído os termos elemento e subelemento por alínea e
subalínea.

05. C – afirmativa correta, conforme podemos observar na estrutura de
balanços, apresentada até o 3º nível (SUBGRUPO), que é utilizada para
consolidação de balanços, a seguir:




Apostila de Orçamento e Contabilidade Pública   119        Prof. Fabio Furtado
1 ATIVO                                                  2 PASSIVO
  1.1 Ativo Circulante                                     2.1 Passivo circulante
      1.1.1 Disponível                                         2.1.1 Depósitos
      1.1.2 Créditos em Circulação                             2.1.2 Obrigações em Circulação
      1.1.3 Bens e Valores em Circulação                       2.1.3 Empréstimos e Financ. Em Circulação
      1.1.4 Valores Pendentes a Curto Prazo                    2.1.4 Valores Pendentes a Curto Prazo

  1.2 Ativo Realizável a Longo Prazo                        2.2 Passivo Exigível a Longo Prazo
      1.2.1 Depósitos Realizáveis a Longo Prazo                2.2.1 Depósitos Exigíveis a Longo Prazo
     1.2.2 Créditos Realizáveis a Longo Prazo                  2.2.2 Obrigações Exigíveis a Longo Prazo
                                                               2.2.9 Outras Exigibilidades

                                                            2.3 Resultado de Exercícios Futuros
                                                               2.3.1 Receitas de Exercícios Futuros
                                                               2.3.9 Custos ou Despesas Correspondentes às Receitas

  1.4 Ativo Permanente                                      2.4 Patrimônio Líquido
      1.4.1 Investimentos                                      2.4.1 Patrimônio/Capital
      1.4.2 Imobilizado                                        2.4.2 Reservas
      1.4.3 Diferido                                           2.4.3 Resultado Acumulado
                                                               2.4.9 Ajuste do Patrimônio/Capital

  1.9 Ativo Compensado                                      2.9 Passivo Compensado
     1.9.1 Execução Orçamentária da Receita                    2.9.1 Previsão Orçamentária da Receita
     1.9.2 Fixação Orçamentária da Despesa                     2.9.2 Execução Orçamentária da Despesa
     1.9.3 Execução da Programação Financeira                  2.9.3 Execução da Programação Financeira
     1.9.4 Despesas e Dívidas dos Estados e Municípios         2.9.4 Despesas e Dívidas dos Estados e Municípios
     1.9.5 Execução de Restos a Pagar                          2.9.5 Execução de Restos a Pagar
     1.9.9 Compensações Ativas Diversas                        2.9.9 Compensações Passivas Diversas

3 DESPESA                                                4 RECEITA
  3.3 Despesas Correntes                                    4.1 Receitas Correntes
  3.4 Despesas de Capital                                   4.2 Receitas de Capita
                                                            4.9 (*) Deduções da Receita



5 RESULTADO DO EXERCÍCIO                                 6 RESULTADO DO EXERCÍCIO
  5.1 Resultado Orçamentário                                6.1 Resultado Orçamentário
     5.1.1 Despesa Orçamentária                                6.1.1 Receita Orçamentária
     5.1.2 Interferências Passivas                             6.1.2 Interferências Ativas
     5.1.3 Mutações Passivas                                   6.1.3 Mutações Ativas
  5.2 Resultado Extra-Orçamentário                          6.2 Resultado Extra-Orçamentário
     5.2.1 Despesa Extra-Orçamentária                          6.2.1 Receita Extra-Orçamentária
     5.2.2 Interferências Passivas                             6.2.2 Interferências Ativas
     5.2.3 Mutações Passivas                                   6.2.3 Mutações Ativas
                                                            6.3 Resultado Apurado


*O asterisco indica que as contas são redutoras ou retificadoras.

Os códigos solicitados na questão significam:

1 - Classe do Ativo, 1 – Grupo do Circulante;
1 - Classe do Ativo, 2 – Grupo do Realizável a Longo Prazo;


Apostila de Orçamento e Contabilidade Pública        120                         Prof. Fabio Furtado
1 - Classe do Ativo, 9 – Grupo do Compensado.

Lembrando que no plano de contas do SIAFI, as contas contábeis estão
estruturadas em sete níveis de desdobramento, que são: classe, grupo,
subgrupo, elemento, subelemento, item e subitem.

A questão ora comentada está solicitando que se observe o código utilizado
no segundo nível que vem a ser o de GRUPO.


06. E – Assertiva incorreta, tendo em vista que de acordo com o plano de
contas do SIAFI, as contas de mutações passivas e interferências passivas
pertencem ao grupo resultado orçamentário diminutivo.

07. E – afirmativa falsa, visto que estas duas contas pertencem ao sistema
orçamentário.


(Controlador de Recursos Públicos – TCE/ES 2004 CESPE UnB)

Acerca da tabela de eventos constante do plano de contas do SIAFI,
julgue os itens que se seguem.

08 - O tipo de utilização 3, na estrutura do código de evento
XX.3.XXX, especifica um evento complementar ao de utilização
interna pelo sistema.

09 - Os eventos da classe 53 (53. 0. XXX) são responsáveis pelos
lançamentos a crédito nas contas de obrigações.

10 - Os eventos da classe 70.X.XXX são utilizados para liquidar
despesas inscritas em restos a pagar não-processados ao final do
exercício anterior.

11 - Os eventos da classe 30.X.XXX são utilizados no documento
denominado nota de dotação (ND).


Comentários:

Estrutura do Evento:

O evento tem seu código composto por seis números (XX.X.XXX), dispostos
da seguinte maneira:




Apostila de Orçamento e Contabilidade Pública   121        Prof. Fabio Furtado
XX                    X                      XXX
       Classe                Tipo               Código Seqüencial


Classe (XX)

A Classe representa o conjunto de eventos de uma mesma natureza. Assim
sendo, a Tabela de eventos é constituída pelas seguintes Classes:

(10)   Evento de Previsão da Receita
(20)   Dotação da Despesa
(30)   Movimento de Crédito
(40)   Empenho da Despesa
(50)   Apropriações de Retenções, Liquidações e Outros
(51)   Apropriações de Despesas
(52)   Retenções de Obrigações
(53)   Liquidações de Obrigações – extinção das obrigações
(54)   Registros Diversos
(55)   Apropriações de Direitos
(56)   Liquidações de Direitos
(60)   Restos a Pagar
(61)   Liquidação de Restos a Pagar
(70)   Transferências Financeiras
(80)   Receita

Como podemos observar, a ordem dessa classificação dos eventos segue
uma certa lógica da execução orçamentária e financeira.


Tipo de utilização (X)

O TIPO de utilização do evento representa a situação do registro, podendo
ser codificado, conforme segue:

(4)    Evento de utilização direta pelo gestor
(5)    Evento de utilização interna pelo sistema
(6)    Evento complementar ao de utilização direta do gestor
(7)    Evento complementar ao de utilização interna pelo sistema
(9)    Estorno de evento de utilização direta do gestor
(10)   Estorno de evento de utilização interna pelo sistema
(11)   Estorno de evento complementar ao de utilização direta pelo gestor
(12)   Estorno de evento complementar ao de utilização interna pelo sistema




Apostila de Orçamento e Contabilidade Pública      122              Prof. Fabio Furtado
Código Seqüencial (XXX)

O Código seqüencial representa a variação seqüencial de 001 a 999,
dentro de cada classe. A combinação desses números representa o registro
de um fato ou ato administrativo.

Com base no que expomos acima, julgaremos a questão de número 73.

08. C – Assertiva correta, conforme podemos verificar nas codificações
correspondentes ao tipo de utilização do evento, onde, fica claro que o tipo
de utilização 3 especifica um evento complementar ao de utilização interna
pelo sistema.

09. E – Assertiva incorreta, pois os eventos da classe 53 (53.0.XXX) são
responsáveis pela liquidação (extinção) das obrigações retidas pelos
eventos da classe 52. Os eventos da classe 52 são utilizados toda vez que
houver retenção da obrigação para pagamento posterior, isto é, são os
responsáveis pelos lançamentos a crédito nas contas de obrigações.

10. E - Afirmativa falsa, tendo em vista que os eventos da classe 70. X.
XXX são utilizados para a realização de transferências financeiras, como:
devolução de cauções; repasse etc. Os eventos responsáveis pela
liquidação de restos a pagar não-processados inscritos no exercício
anterior, são os da classe 61.X.XXX.

11. E – afirmativa incorreta, visto que os eventos da classe 30.X.XXX, que
são responsáveis pela movimentação dos créditos orçamentários, tais como
destaques, provisões etc., são utilizados no documento denominado nota
de crédito (NC).

Para melhor compreensão, apresentamos o quadro abaixo:




Apostila de Orçamento e Contabilidade Pública   123         Prof. Fabio Furtado
Classe                     Especificação                            Documento          Sinal
                                                                      utilizado

10.X.XXX    Previsão da Receita       (inicial,     adicional    e      NL              DeC
            anulações de previsão)

20.X.XXX    Dotação da Despesa         (inicial,     adicional   e      ND              DeC
            anulações de dotação)

30.X.XXX    Movimentação de Crédito (destaque, provisão e               NC              DeC
            anulações)

40.X.XXX    Empenho da Despesa (emissão, reforço e                    NE e PE           DeC
            anulação e pré-empenho)

51.X.XXX    Apropriação de Despesas (corresponde à etapa              NL e OB             D
            da liquidação da despesa)

52.X.XXX    Retenções    de    Obrigações          (consignações,       NL                C
            fornecedores etc.)

53.X.XXX    Liquidação de Obrigações            (corresponde     à      OB                D
            extinção de obrigações)

54.X.XXX    Registros Diversos (doações, consumo, baixa,                NL              DeC
            incorporações etc.)

55.X.XXX    Apropriação de Direitos (saldo em bancos etc.)            NL e OB             D

56.X.XXX    Liquidação de Direitos (corresponde à extinção            NL e GR             C
            de direitos)

61.X.XXX    Liquidação   de    Restos  a  Pagar  (não-                NL e OB             D
            processados) referentes a empenhos do ano
            anterior

70.X.XXX    Desembolsos e Transferências Financeiras                  NL e OB             D
            (devolução de cauções, cota, repasse etc.

80.X.XXX    Embolsos e Receitas (recebimento de depósitos             NL e GR             C
            de terceiros, arrecadação/recolhimento de
            receita)

Onde:
NL – Nota de Lançamento
ND – Nota de Dotação
NC – Nota de movimento de Crédito
NE – Nota de Empenho
PE – Nota de Pré-Empenho
OB – Ordem Bancária
GR – Guia de Recebimento
D - Sinal devedor
C - Sinal credor


Apostila de Orçamento e Contabilidade Pública         124                       Prof. Fabio Furtado
REFERÊNCIAS BIBLIOGRÁFICAS
ANGÉLICO, João. Contabilidade Pública. 8. ed. São Paulo: Atlas, 1994.

GIACOMONI, James. Orçamento público. 7. ed. São Paulo: Atlas, 1997.

KOHAMA, Heilio. Balanços públicos: teoria e prática. 5. ed. São Paulo:
Atlas, 1999.

KOHAMA, Heilio. Contabilidade pública: teoria e prática. 5. ed. São Paulo:
Atlas, 1996.

LIMA, Diana Vaz de; CASTRO, Róbison Gonçalves de. Contabilidade
pública: integrando União, Estados e Municípios (Siafi e Siafem). 2. ed.
São Paulo: Atlas, 2003.

MACHADO JR., J. Teixeira; REIS, Heraldo da Costa. A Lei 4.320
comentada. 31. ed. Rio de Janeiro: IBAM, 2002/2003.

MOTA, Francisco Glauber Lima. Contabilidade aplicada á administração
pública. 6. ed. Brasília: Vestcon, 2003.

PASCOAL, Valdecir Fernandes. Direito financeiro e controle externo. 3. ed.
Rio de Janeiro: Impetus, 2003.

PISCITELLI, Roberto Bocaccio; TIMBÓ, Maria Zulene Farias; ROSA, Maria
Berenice. Contabilidade pública: uma abordagem da administração
financeira pública. 7. ed. São Paulo: Atlas, 2002.

SILVA, Lino Martins da. Contabilidade governamental: um enfoque
administrativo. 5. ed. São Paulo: Atlas, 2002.

BEZERRA FILHO, João Eudes. Contabilidade pública: teoria, técnica de
elaboração de balanços e 300 questões. Niterói: Impetus, 2004.

FIGUEIRÊDO,      Carlos    Maurício;  NÓBREGA,      Marcos.    Lei   de
responsabilidade fiscal para concursos. 3. ed. Rio de Janeiro: Impetus,
2002.

EQUIPE DE PROFESSORES DO DEPARTAMENTO DE CIÊNCIAS
CONTÁBEIS E ATUARIAIS DA UNIVERSIDADE DE BRASÍLIA – UnB.;
Exame de suficiência em contabilidade: livro – texto e exercícios adaptados
às exigências do CFC; organizadores Jorge Katsumi Niyama, César
Augusto Tibúrcio Silva; Roberto Bocaccio Piscitelli. – São Paulo: Atlas,
2001.


Apostila de Orçamento e Contabilidade Pública   125         Prof. Fabio Furtado

Contabeis publica

  • 1.
    ORÇAMENTO E CONTABILIDADE PÚBLICA TEORIA Material para diversos concursos públicos, tais como: TRE (Analista Judiciário); TCU (Analista de Controle Externo); CGU (Analista de Finanças e Controle); STN (Analista de Finanças e Controle); TCM/RJ (Técnico de Controle Externo e Auxiliar de Controle Externo); CGM/RJ (Técnico de Controle Interno); Contador (diversos órgãos públicos). PROF. FABIO FURTADO
  • 2.
    APRESENTAÇÃO Esta apostila foielaborada com o intuito de auxiliar os concursandos no estudo das disciplinas de Orçamento e Contabilidade Pública. Estão contidos, na apostila, os principais assuntos cobrados nos editais de concursos públicos. O conteúdo está dividido por tópicos para facilitar o entendimento da matéria. Na parte final, temos um Resumão que deve ser lido sempre ao final de cada tópico para facilitar a fixação dos conceitos e classificações dos elementos que compõem a Contabilidade aplicada à Administração Pública; Esta apostila não tem a função de substituir os livros indicados pelo professor. Ela deverá ser usada como uma ferramenta de auxílio no estudo das disciplinas de Orçamento e Contabilidade Pública. NOTA SOBRE O PROFESSOR: Nome: Fabio Furtado de Azevedo. Graduado em Ciências Contábeis. Emprego Atual: Técnico de Controle Externo do TCMRJ, lotado na Divisão de Contabilidade, do Departamento Geral de Finanças. Aprovado e classificado nos seguintes concursos: - 10º colocado no concurso para Contador da Eletrobrás Termonuclear - ELETRONUCLEAR, em 2003; - 1º colocado no concurso para Contador da Companhia Municipal de Limpeza Urbana - COMLURB, em 2003; - 13º colocado no concurso para Técnico de Controle Externo do Tribunal de Contas do Município do Rio de Janeiro, em 2003. Autor, juntamente com o colega Rafael Cabral, também Técnico de Controle Externo do TCMRJ, do livro Contabilidade Pública – Questões Comentadas de Provas Elaboradas pelo CESPE/UnB, publicado pela Editora Ferreira, em novembro de 2004. Autor do livro Administração Financeira e Orçamentária para concursos – Direito Financeiro simplificado, publicado pela Editora Ferreira, em abril de 2008. Apostila de Orçamento e Contabilidade Pública 1 Prof. Fabio Furtado
  • 3.
    ÍNDICE Principais diferenças entrea Contabilidade 5 Pública e a Contabilidade Geral Contabilidade Pública 12 - Conceito - Campo de Atuação - Objeto - Finalidade - Exercício Financeiro - Regime Contábil Orçamento Público 14 - Conceito - Leis Orçamentárias - Prazos de Envio e Devolução dos Projetos - Princípios Orçamentários - Ciclo Orçamentário - Processo Legislativo Orçamentário - Tipos de Orçamento Créditos Adicionais 28 - Conceito - Classificação - Quadro Resumo dos Créditos Adicionais - Recursos para Abertura Receita Pública 31 - Conceito - Classificaçõe - Estágios Apostila de Orçamento e Contabilidade Pública 2 Prof. Fabio Furtado
  • 4.
    Dívida Ativa 37 - Conceito - Classificações - Apuração Despesa Pública 38 - Conceito - Classificações - Estágios Suprimento de Fundos 54 - Conceito - Concessão - Proibição Restos a Pagar 55 - Conceito - Classificação - Inscrição - Pagamento - Cancelamento - Prescrição Despesas de Exercícios Anteriores 56 - Conceito - Prescrição Anulação de Operações Orçamentárias 57 - Anulação da Receita - Anulação da Despesa Apostila de Orçamento e Contabilidade Pública 3 Prof. Fabio Furtado
  • 5.
    Dívida Pública 58 - Conceito - Classificação Patrimônio Público 61 - Conceito Bens Públicos 61 - Conceito - Classificação 63 Demonstrações Contábeis - Balanço Orçamentário - Balanço Financeiro - Demonstração das Variações Patrimoniais - Balanço Patrimonial Exemplos de Registros de Operações Típicas 75 Resumão 80 Bibliografia 97 Apostila de Orçamento e Contabilidade Pública 4 Prof. Fabio Furtado
  • 6.
    PRINCIPAIS DIFERENÇAS ENTRE A CONTABILIDADE PÚBLICA E A CONTABILIDADE GERAL Aspectos Contabilidade Pública Contabilidade Geral Legislação Lei 4.320/64 e LRF Lei 6.404/76 Princípios PFC e Princípios PFC Orçamentários Registro Atos e Fatos Administrativos Fatos Administrativos Regime de Escrituração Regime Misto, sendo: Regime de Competência Contábil Regime de Caixa para as tanto para as receitas quanto receitas e Regime de para as despesas. Competência para as despesas. Resultado Superávit ou déficit de gestão Lucro ou prejuízo do Exercício Demonstrações Financeiras Balanço Orçamentário; Balanço Patrimonial; DRE; Balanço Financeiro; DLPA e DMPL; DFC e Demonstração das Variações DVA Patrimoniais e Balanço Patrimonial. Sistemas de Escrituração 4 sistemas independentes. Um só sistema onde são São eles: Sistema registradas as contas Orçamentário; Sistema patrimoniais e de resultado. Financeiro; Sistema Patrimonial e Sistema de Compensação. Lei 4.320/64 – estatui normas de direito financeiro para elaboração e controle dos orçamentos e balanços da União, dos Estados, dos Municípios e do Distrito Federal. Lei 6.404/76 – Dispõe sobre as Sociedades por Ações. _________________________________________________________________________ _________________________________________________________________________ PFC = Princípios Fundamentais de Contabilidade. São eles: - Entidade - Continuidade - Oportunidade - Competência - Prudência - Registro pelo Valor Original - Atualização Monetária Apostila de Orçamento e Contabilidade Pública 5 Prof. Fabio Furtado
  • 7.
    Princípios Orçamentários: Legalidade Publicidade Universalidade Equilíbrio Periodicidade Não Afetação da Receita Exclusividade Especificidade Orçamento Bruto Unidade _________________________________________________________________________ _________________________________________________________________________ Fato Administrativo: Fato administrativo ou fato de gestão é qualquer negócio realizado pela administração que modifique o patrimônio da empresa, em termos de qualidade ou quantidade. Exemplos: as compras à vista ou a prazo de bens; as vendas à vista ou a prazo de mercadorias e serviços; os pagamentos e recebimentos etc. Fato Contábil: Fato administrativo é a mesma coisa que fato contábil? Em sentido estrito, não. Fato contábil é qualquer ocorrência que modifique o patrimônio, seja decorrente ou não de negócio realizado pela administração. A expressão fatos contábeis é mais abrangente, pois inclui os fatos administrativos. Todo fato administrativo é necessariamente um fato contábil. Entretanto, existem fatos contábeis que não são fatos administrativos. Por exemplo: se um incêndio provoca a perda de mercadorias, o patrimônio sofre redução. Este fato não é decorrente da gestão, mas produz variação patrimonial. È um fato contábil. Ato Administrativo: É qualquer negócio realizado pela administração que não modifique o patrimônio. Alguns atos administrativos têm como conseqüência fatos administrativos. Quando a empresa, por intermédio de seus diretores, é fiadora num contrato de aluguel, ocorre um ato administrativo. Todavia, se o valor da locação não for honrado pelo locatário, a empresa poderá ter de pagar o aluguel. Tratar-se-á de um fato administrativo. A consulta de preços a um Apostila de Orçamento e Contabilidade Pública 6 Prof. Fabio Furtado
  • 8.
    fornecedor é umato administrativo. No entanto, a compra das mercadorias, se houver, será um fato administrativo. Algumas empresas mantêm o controle dos atos administrativos relevantes por meio de contas de compensação. As contas de compensação não se confundem com as contas patrimoniais ou de resultado, que são destinadas ao registro dos fatos contábeis. Os atos administrativos que possam provocar efeitos relevantes sobre o patrimônio devem se indicados em notas explicativas. As notas explicativas são esclarecimentos que acompanham as demonstrações contábeis e têm como objetivo facilitar o entendimento e a análise da situação patrimonial da empresa. _________________________________________________________________________ _________________________________________________________________________ Regime Misto: De acordo com o art. 35 da Lei 4.320/64, pertencem ao exercício financeiro: I – as receitas nele arrecadadas; e II – as despesas nele legalmente empenhadas. Assim sendo, é adotado o regime de caixa para as receitas e o regime de competência para as despesas. O regime de caixa para as receitas significa que são reconhecidas somente as receitas cujo numerário já foi arrecadado. O regime de competência para as despesas significa que não importa se a despesa já foi ou não paga, mas sim se o fato gerador já ocorreu, isto é, se a despesa já foi devidamente empenhada (autorizada pelo ordenador da despesa). Regime Contábil Processo de registro em Contabilidade; normas que orientam o controle e o registro dos fatos patrimoniais. Regime de Caixa: Norma contábil pela qual os ingressos são atribuídos ao exercício em que são recebidos e os custos ao exercício em que são pagos. Apostila de Orçamento e Contabilidade Pública 7 Prof. Fabio Furtado
  • 9.
    Regime de Competência: Normacontábil pela qual os ingressos e os custos são atribuídos ao exercício a que pertencem, embora recebidos e pagos em outros exercícios. _________________________________________________________________________ _________________________________________________________________________ Resultados: Nas entidades públicas, os resultados são apurados nos Balanços Orçamentário, Financeiro e na Demonstração das Variações Patrimoniais. O resultado econômico do exercício é somado ou diminuído (depende do caso) do saldo da conta Saldo Patrimonial, no Balanço Patrimonial. O resultado quando é positivo, é denominado superávit. O resultado quando é negativo, é denominado déficit. Superávit: excesso de receita sobre a despesa; saldo credor que representa a supremacia dos ganhos sobre os custos; “lucro”; redito positivo. Déficit: deficiência de receita sobre a despesa, ou ainda, insuficiência das operações da entidade, demonstrada por comparação entre as receitas e as despesas, onde estas são maiores que aquelas. -------------------------------------------------------------------------------------------- -------------------------------------------------------------------------------------------- Não devemos chamar de lucro ou prejuízo. Lucro ou prejuízo é a denominação que utilizamos na Contabilidade Privada (também conhecida como Contabilidade Geral; Contabilidade Básica; Contabilidade Financeira etc.). Lucro: resultado da atividade aziendal que representa o “acréscimo” patrimonial através daquela. Prejuízo: resultado da atividade aziendal que representa o “decréscimo” patrimonial através daquela. Apostila de Orçamento e Contabilidade Pública 8 Prof. Fabio Furtado
  • 10.
    Azienda: são sistemasorganizados que visam atingir um fim qualquer. São aziendas: a casa de comércio, a indústria, o nosso lar, a Prefeitura, os hospitais etc. É o patrimônio considerado juntamente com a pessoa que tem sobre ele poderes de administração e disponibilidade. O conceito azienda reúne o patrimônio e a pessoa que o administra: Azienda = Patrimônio + Gestão Empresa e azienda são conceitos diferentes. Empresa é uma espécie de azienda. Empresa é uma azienda com finalidade lucrativa. _________________________________________________________________________ _________________________________________________________________________ Demonstrações Contábeis ou Demonstrações Financeiras: Na área pública: Balanço Orçamentário: Art. 102. O Balanço Orçamentário demonstrará as receitas e despesas previstas em confronto com as realizadas. Balanço Financeiro: Art. 103. O Balanço Financeiro demonstrará a receita e despesa orçamentárias, bem como os recebimentos e os pagamentos de natureza extra-orçamentária, conjugados com os saldos em espécie provenientes do exercício anterior, e os que se transferem para o exercício seguinte. Demonstração das Variações Patrimoniais: Art. 104. A Demonstração das Variações Patrimoniais evidenciará as alterações verificadas no patrimônio, resultantes ou independentes da execução orçamentária, e indicará o resultado patrimonial do exercício. Apostila de Orçamento e Contabilidade Pública 9 Prof. Fabio Furtado
  • 11.
    Balanço Patrimonial: Art. 105.O Balanço Patrimonial demonstrará: I - o Ativo Financeiro; II - o Ativo Permanente; III - o Passivo Financeiro; IV - o Passivo Permanente; V - o Saldo Patrimonial; VI - as Contas de Compensação. ============================================================= ============================================================= Sistemas de Escrituração na área pública: Os serviços de Contabilidade serão organizados de forma a permitir o acompanhamento da execução orçamentária, o conhecimento da composição patrimonial, a determinação dos custos dos serviços industriais, o levantamento dos balanços gerais, a análise e a interpretação dos resultados econômicos e financeiros (art. 85 da Lei nº 4.320/64). Com o intuito de atender ao disposto na legislação, os lançamentos na Contabilidade Pública são efetuados em quatro Sistema de Contas, que são: Sistema Orçamentário, Sistema Financeiro, Sistema Patrimonial e Sistema de Compensação. Sistema Orçamentário: O sistema de contas orçamentário registra a receita prevista e as autorizações legais da despesa constantes da Lei Orçamentária Anual e dos créditos adicionais, demonstrando a despesa fixada e a realizada no exercício, comparando, ainda, a receita prevista com a arrecadada. Sistema Financeiro: Nesse sistema são registrados a arrecadação da receita e o pagamento da despesa orçamentária e extra-orçamentária. Tudo o que movimenta o disponível (entrada e saída de numerário) deve ser registrado no sistema financeiro. Sistema Patrimonial: No Sistema Patrimonial são registrados os bens patrimoniais do Estado, os créditos e os débitos suscetíveis de serem classificados como permanentes ou que sejam resultado do movimento financeiro, as variações patrimoniais provocadas pela execução do orçamento ou que tenham outras origens e o resultado econômico do exercício. Apostila de Orçamento e Contabilidade Pública 10 Prof. Fabio Furtado
  • 12.
    Sistema de Compensação:No Sistema de Compensação são efetuados os registros dos valores que direta ou indiretamente possam vir a afetar o patrimônio. No Sistema de Compensação serão registrados, entre outros, as responsabilidades contratuais do Estado e os bens e valores em poder de terceiros. O Sistema de Compensação é representado pelos atos praticados pelo administrador que não afetam ao Patrimônio de imediato, mas que poderão vir afetá-lo. No quadro abaixo temos exemplos de alguns desses atos: CONVÊNIOS; CONTRATOS; ACORDOS; CAUÇÕES EM TÍTULOS; GARANTIAS; BENS E VALORES SOB RESPONSABILIDADE. Como se pode observar, o Sistema de Compensação compreende, apenas, as contas com função específica de controle, relacionadas com as situações não compreendidas no patrimônio, mas que possam vir a afetá- lo. _________________________________________________________________________ Atenção: Na área privada, não temos essa separação em 4 sistemas, visto que os registros nas contas patrimoniais e de resultado são efetuados em um só sistema. Apostila de Orçamento e Contabilidade Pública 11 Prof. Fabio Furtado
  • 13.
    Contabilidade Pública 1 -Conceito A Contabilidade Pública é um ramo da ciência contábil e tem o objetivo de captar, registrar e interpretar os fenômenos que afetam as situações orçamentárias, financeiras e patrimoniais das entidades que compõem a Administração Direta e Indireta dos entes públicos (União, Estados, Municípios e Distrito Federal). 2 - Campo de Atuação O campo de atuação da contabilidade pública abrange: • A Administração Direta (Poderes Executivo, Legislativo e Judiciário), Autárquica e Fundacional da União, Estados, Distrito Federal e Municípios; • Empresas Públicas e Sociedade de Economia Mista da União, Estados, Distrito Federal e Municípios, quando utilizam recursos à conta do Orçamento Público. Essas entidades (empresas públicas e sociedade de economia mista) passam a fazer parte do campo de aplicação da contabilidade pública quando utilizam recursos à conta do orçamento público para despesas com pessoal ou de custeio em geral ou de capital, excluídos no último caso, aqueles provenientes de aumento de participação acionária (art. 2º, III, da LRF). Quando utilizam recursos do orçamento público para os fins supracitados, essas entidades passam a ser conhecidas como EMPRESAS ESTATAIS DEPENDENTES. 3 - Objeto O objeto da Contabilidade Pública é o patrimônio público, que vem a ser os bens, direitos e obrigações de propriedade do Estado. 4 - Finalidade A finalidade da Contabilidade Pública é fornecer informações sobre a execução orçamentária, financeira e sobre o patrimônio público e suas variações aos diversos usuários. Esses usuários podem ser os gestores, cidadãos, fornecedores etc. Apostila de Orçamento e Contabilidade Pública 12 Prof. Fabio Furtado
  • 14.
    5 – ExercícioFinanceiro O período durante o qual o orçamento é executado denomina-se exercício financeiro. No Brasil sempre coincide com o ano civil. 6 – Regime Contábil O regime contábil adotado pela Contabilidade Pública no Brasil é o chamado regime misto, isto é, regime de competência para as despesas e regime de caixa para as receitas. ______________________________________________________________________ Regime de Competência para as Despesas Total de Despesas Empenhadas = Total de Despesas Realizadas ______________________________________________________________________ Regime de Caixa para as Receitas Total de Receitas Arrecadadas = Total de Receitas Executadas Apostila de Orçamento e Contabilidade Pública 13 Prof. Fabio Furtado
  • 15.
    Orçamento Público 1. Conceito -> Lei de iniciativa do Chefe do Poder Executivo, -> aprovada pelo Poder Legislativo, -> que estime Receitas e fixa Despesas -> para um determinado exercício financeiro. 2. Leis Orçamentárias A Constituição Federal de 1988, em seu art. 165, prevê 03 (três) leis orçamentárias: PPA – Plano Plurianual. LDO – Lei de Diretrizes Orçamentárias. LOA – Lei Orçamentária Anual. A LOA, por sua vez, nos termos do art. 165, § 5º, compreenderá: OF – Orçamento Fiscal. OI – Orçamento de Investimentos. OSS – Orçamento da Seguridade Social. PPA Leis Orçamentárias LDO OF LOA OI OSS Apostila de Orçamento e Contabilidade Pública 14 Prof. Fabio Furtado
  • 16.
    PPA – PLANOPLURIANUAL Art. 165, § 1º da CF/88 – “A lei que instituir o plano plurianual estabelecerá, de forma regionalizada, as diretrizes, objetivos e metas da administração pública federal para as despesas de capital e outras delas decorrentes e para as relativas aos programas de duração continuada”. Diretrizes- são as orientações e os macro objetivos que indicam o caminho definido pelo Plano de Governo responsável pela elaboração do PPA. Como exemplos podemos citar “ A melhoria das condições de Saúde no Município do Rio de Janeiro”. Objetivos- sempre mensuráveis por um indicador, expressa um resultado sobre o público alvo, descrevendo a finalidade de um programa, com concisão e precisão. O enunciado de um objetivo é sempre caracterizado pela presença de um verbo de ação, no infinitivo, que complete a assertiva “Este programa deverá ser capaz de ...” Exemplo: “Diminuir a mortalidade infantil na localidade X”. Ações (Metas)– são um conjunto de operações cujos produtos contribuem para os objetivos do programa. Por exemplo: Para se reduzir a mortalidade infantil no bairro X, serão necessárias as realizações de diversas ações, tais como “Execução da rede de esgoto do bairro”; “executar campanha de vacinação em massa em crianças de 0 a 5 anos”; “Promover a construção de moradias dignas e extinção de palafitas”, etc. LDO – LEI DE DIRETRIZES ORÇAMENTÁRIAS Art. 165, § 2º da CF/88 – “A lei de diretrizes orçamentárias compreenderá as metas e prioridades da administração pública federal, incluindo as despesas de capital para o exercício financeiro subseqüente, orientará a elaboração da lei orçamentária anual, disporá sobre as alterações na legislação tributária e estabelecerá a política de aplicação das agencias financeiras oficiais de fomento”. LOA – LEI ORÇAMENTÁRIA ANUAL Art. 165, § 5º da CF/88 – “a lei orçamentária anual compreenderá: I – o orçamento fiscal referente aos Poderes da União, seus fundos, órgãos e entidades da administração direta e indireta, inclusive fundações instituídas e mantidas pelo Poder Público; II – o orçamento de investimento das empresas em que a União, direta ou indiretamente, detenha a maioria do capital social com direito a voto; Apostila de Orçamento e Contabilidade Pública 15 Prof. Fabio Furtado
  • 17.
    III – oorçamento da seguridade social, abrangendo todas as entidades e órgãos a ela vinculados, da administração direta ou indireta, bem como os fundos e fundações instituídos e mantidos pelo Poder Público.” -------------------------------------------------------------------------------------------- -------------------------------------------------------------------------------------------- Segue abaixo algumas considerações extraídas do livro Direito Financeiro e Controle Externo, do Prof. Valdecir Pascoal, editora Impetus, relativas à LOA: - A LOA deverá estar compatível com o PPA e com a LDO. - A respectiva lei corresponde, na verdade, a 03 (três) suborçamentos (CF, artigo 165, 5º): a) orçamento fiscal de toda a Administração Pública, Direta e Indireta (todos os Poderes, Ministério Público, Tribunal de Contas, órgãos, Autarquias, Fundações Públicas, Empresas Públicas e Sociedades de economia Mista), englobando a despesa e a receita de toda a Administração Pública para um exercício financeiro, menos os investimentos de empresas estatais e as receitas e despesas relativas à seguridade social; b) orçamento de investimentos das empresas em que o Poder Público, direta ou indiretamente, detenha a maioria do capital social com direito a voto (empresas públicas e sociedades de economia mista); c) orçamento da seguridade social (saúde, previdência e assistência social), que abrangerá todas as entidades e órgãos a ela vinculados, da Administração Direta ou Indireta, bem como os fundos e fundações instituídos e mantidos pelo Poder Público. A razão da desvinculação dessas ações do orçamento fiscal para um suborçamento especifico da seguridade social é a garantia de que esses recursos não serão desviados para qualquer fim, como aconteceu durante muitos anos no Brasil, gerando o déficit na previdência pública. Visa, pois, a conferir transparência à gestão da seguridade social. Apostila de Orçamento e Contabilidade Pública 16 Prof. Fabio Furtado
  • 18.
    3- Prazos: Os prazospara a União, conforme art. 35, § 2º, do ADCT – Ato das Disposições Constitucionais Transitórias - são: Projeto Prazo de envio Prazo de devolução (até) (até) PPA 4 meses antes do encerramento do 1º encerramento da sessão exercício financeiro. Na prática, deve legislativa. Na prática, deve ser encaminhado até 31/08. ser devolvido até 22/12. LDO 8,5 meses (Oito meses e meio) antes do encerramento do primeiro encerramento do exercício financeiro. período da sessão Na prática, deve ser encaminhado até legislativa. Na prática, deve 15/04. ser devolvido até 17/07. LOA 4 meses antes do encerramento do encerramento da sessão exercício financeiro. Na prática, deve legislativa. Na prática, deve ser encaminhado até 31/08. ser devolvido até 22/12. Onde: PPA: Projeto de Plano Plurianual LDO: Lei de Diretrizes Orçamentárias LOA: Lei Orçamentária Anual Prazo de envio: prazo limite para o Poder Executivo encaminhar ao Poder Legislativo os projetos acima citados. Prazo de devolução: prazo limite para o Poder Legislativo devolver ao Poder Executivo os projetos, acima citados, para sanção. -------------------------------------------------------------------------------------------------------------- ---------------------------------------------------------------------------------------------- MACETE: Geralmente, nas provas de concursos públicos, são cobrados os prazos de envio ou de devolução dos projetos ao Poder Legislativo. Os prazos de envio e de devolução do projeto de Lei de Diretrizes Orçamentárias são: Apostila de Orçamento e Contabilidade Pública 17 Prof. Fabio Furtado
  • 19.
    Envio: L D Oitomeses e meio antes do encerramento do exercício financeiro. Devolução: Até o encerramento da primeira sessão legislativa. Assim sendo, o projeto deve ser devolvido até 17/07. Obs.: O PPA e a LOA têm o mesmo prazo tanto para envio quanto para devolução. Envio: 4 meses antes do encerramento do exercício financeiro (lembrando que para o PPA existe a expressão ... antes do encerramento do primeiro exercício financeiro, em virtude deste ser elaborado somente uma vez a cada mandato, ou seja, é elaborado no primeiro exercício financeiro do mandato e tem duração até o primeiro exercício financeiro do mandato subseqüente). Devolução: até o encerramento da sessão legislativa. Sendo assim, os projetos devem ser devolvidos até 22/12. Com base no exposto, fica claro que o único projeto que tem prazos de encaminhamento e de devolução diferentes é o da LDO. Vale ressaltar que os prazos para encaminhamento e para devolução utilizados nos estados e municípios devem estar assinalados nas respectivas Constituições Estaduais e Leis Orgânicas. 4. Princípios Orçamentários Legalidade Publicidade Universalidade Equilíbrio Periodicidade Não Afetação da Receita Exclusividade Especificidade Orçamento Bruto Unidade LEGALIDADE – a lei orçamentária e a lei que instituir créditos suplementares e especiais, aprovados pelo legislativo, são os instrumentos legais que autorizam a aplicação dos recursos públicos. Não pode haver despesa pública sem a autorização legislativa prévia. UNIVERSALIDADE – o orçamento deve conter todas as receitas e todas as despesas da Administração. Este princípio está positivado na CF/88, artigo 165, § 5º, quando o legislador estatuiu a abrangência da lei orçamentária: orçamento fiscal de todos os Poderes, órgãos ou fundos; orçamento de investimentos das empresas estatais; orçamento da seguridade social de todos os Poderes, órgãos ou fundos, bem como nos artigos 3º e 4º da Lei nº 4.320/64. Apostila de Orçamento e Contabilidade Pública 18 Prof. Fabio Furtado
  • 20.
    PERIODICIDADE (ANUALIDADE) –o orçamento deve ter vigência limitada a um período anual. EXCLUSIVIDADE – a lei de meios (LOA) não poderá conter dispositivo estranho à fixação das despesas e previsão das receitas, ressalvada a autorização para abertura de créditos suplementares e contratação de operações de crédito, ainda que por antecipação de receita. ORÇAMENTO BRUTO – todas as receitas e despesas constarão da Lei Orçamentária pelos seus TOTAIS, vedadas quaisquer deduções. Isso quer dizer que a União, por exemplo, que arrecada o Imposto de Renda e o IPI, deve colocar a sua estimativa integral no seu orçamento (lado das receitas) e a parte que constitucionalmente se destina a Estados e Municípios (FPE e FPM) deve constar integralmente no orçamento (lado das despesas). Não poderá, pois, a União colocar no seu orçamento apenas o valor líquido do IR e IPI. PUBLICIDADE – uma das bases essenciais dos governos democráticos e uma de suas características como forma de organização da autoridade dentro do Estado é a publicidade dos atos relativos à condução da coisa pública. Esse princípio está contido no art. 37 da Constituição, como um princípio geral da Administração Pública. EQUILÍBRIO – estabelece que o total da despesa orçamentária não pode ultrapassar o da receita orçamentária prevista para cada exercício financeiro. NÃO-AFETAÇÃO DA RECEITA – o principio da não-afetação ou da não-vinculação da receita significa que o legislador não poderá vincular receitas públicas a determinadas despesas, órgãos ou fundos. No Brasil, este principio está previsto apenas em relação às receitas de impostos. É o principio que postula o recolhimento de todos os recursos a uma caixa única do Tesouro, sem discriminação quanto a sua destinação. Entretanto, a norma constitucional (art. 167, IV e § 4º) só consagrou esse principio para as receitas provenientes de impostos, vedando sua vinculação a determinado órgão, fundo ou despesa, ressalvadas as seguintes: a) repartição do produto da arrecadação dos seguintes impostos Imposto de Renda incidente na fonte sobre rendimentos; Imposto sobre a Propriedade Territorial Rural; Imposto sobre a Propriedade de veículos Automotores; Imposto sobre a Circulação de Mercadorias e serviços; Imposto de Renda; Imposto sobre Produtos Industrializados. Apostila de Orçamento e Contabilidade Pública 19 Prof. Fabio Furtado
  • 21.
    b) destinação derecursos para a manutenção e desenvolvimento do ensino; c) prestação de garantias às operações de credito por antecipação de receita; d) destinação de recursos para aplicação na área de saúde; e) para realização de atividades da administração tributária (EC nº 42/2003) ESPECIFICIDADE OU ESPECIFICAÇÃO – também chamado de princípio da especialização ou discriminação. Previsto no art. 5º da Lei nº 4.320/64, estatui que o orçamento não consignará dotações globais para atender às despesas. No artigo 15 a lei estabelece que a discriminação das despesas far-se-á, no mínimo por elementos, entendendo-se elementos, como desdobramento da despesa com pessoal, material, serviços, obras etc. Pode-se dizer também que a exigência de especificar, na LOA, as receitas e as despesas, segundo a categoria econômica, as fontes, as funções e os programas, é uma conseqüência do princípio da especificação. Exceção: Reserva de Contingência – dotação global, genérica , colocada na LOA, destinada a atender passivos contingentes e outras despesas imprevistas; outra exceção são os programas especiais de trabalho, nos termos do artigo 20, parágrafo único da Lei nº 4.320/64. UNIDADE – o princípio da unidade estabelece que todas as receitas e despesas devem estar contidas numa só lei orçamentária. Os orçamentos devem, por conseguinte, estar integrados num só ato político do Poder Legislativo, sempre com o objetivo maior de satisfazer às necessidades coletivas. A CF estabeleceu o princípio da unidade quando definiu que a lei orçamentária anual compreenderá o orçamento fiscal referente aos poderes públicos, seus fundos, órgãos e entidades da administração direta e indireta, inclusive fundações, e ainda o orçamento de investimentos das empresas e o orçamento de seguridade social. Apostila de Orçamento e Contabilidade Pública 20 Prof. Fabio Furtado
  • 22.
    5. Ciclo Orçamentário Oorçamento percorre diversas etapas desde o surgimento de uma proposta que se transformará em projeto de lei a ser apreciado, emendado, aprovado, sancionado e publicado, passando pela sua execução, quando se observa a arrecadação da receita e a realização da despesa, dentro do ano civil, até o acompanhamento e avaliação da execução caracterizada pelo exercício dos controles interno e externo. Portanto, é possível agrupar as atividades relacionadas ao ciclo orçamentário da seguinte forma: - elaboração do projeto de lei orçamentária; - apreciação, votação, sanção e publicação da lei orçamentária; - execução da lei orçamentária; e - acompanhamento e avaliação da execução orçamentária. (1) Elaboração do Projeto (4) Acompanhamento e CICLO ORÇAMENTÁRIO (2) Apreciação, Aprovação, Avaliação Sanção e Publicação (3) Execução Podemos concluir, portanto, que o ciclo orçamentário não se confunde com o exercício financeiro, pois este corresponde a uma das fases do ciclo, ou seja, à execução do orçamento, isto porque a fase de preparação da proposta orçamentária e sua elaboração legislativa precedem o exercício financeiro, e a fase de avaliação e prestação de contas (controle interno e externo) ultrapassa-o. EXERCÍCIO FINANCEIRO = 1 ANO [COINCIDE COM O ANO CIVIL (01/01 A 31/12)] – é o período no qual o orçamento é executado. CICLO ORÇAMENTÁRIO – MAIS DE 1 ANO (COMEÇA DESDE A ELABORAÇÃO DO PROJETO DE LEI ORÇAMENTÁRIA E TERMINA SOMENTE QUANDO DA AVALIAÇÃO DA GESTÃO DO ORDENADOR DE DESPESA). O exercício financeiro ou execução orçamentária está dentro do ciclo orçamentário. Apostila de Orçamento e Contabilidade Pública 21 Prof. Fabio Furtado
  • 23.
    6. Processo LegislativoOrçamentário _________________________________________________________________________ Art. 166 – Os projetos de lei relativos ao PPA, LDO, LOA e aos CRÉDITOS ADICIONAIS serão apreciados pelas duas Casas do Congresso Nacional, na forma do regimento comum. • Iniciativa – Chefe do Poder Executivo. (Art. 84, XXIII da CF/88) * Caso ocorra omissão do Chefe do Poder Executivo, constituirá CRIME DE RESPONSABILIDADE (Art. 85, VI da CF/88) Obs.: O Chefe do executivo envia o projeto de lei para o legislativo. No legislativo, esse projeto de lei é encaminhado para a Comissão Mista Permanente (Comissão Mista de Planos, Orçamentos Públicos e Fiscalização) (Art. 166, §1º, I da CF/88). _________________________________________________________________________ • Emendas – Os Parlamentares podem propor emendas aos projetos de leis orçamentárias. As emendas devem ser apresentadas à Comissão Mista Permanente de Deputados e Senadores (são 63 Deputados e 21 Senadores) Obs.: A Comissão Mista emite um parecer sobre as emendas. A apreciação das emendas é feita de forma conjunta no Plenário. A Comissão Mista fica incumbida da REDAÇÃO FINAL do projeto de lei. As emendas apresentadas pelos Parlamentares deverão obedecer a 2 requisitos: 1º - deverão ser compatíveis com o PPA e com a LDO; e 2º - terão de indicar os recursos necessários, admitidos APENAS: - Anulação de outras despesas (dotações), EXCLUÍDAS: 1- as DESPESAS DE PESSOAL e seus encargos; 2- SERVIÇOS DA DÍVIDA (amortização + juros da dívida pública); 3- TRANSFERENCIAS TRIBUTÁRIAS CONSTITUCIONAIS. Pode haver emendas também para: a) correção de erros e omissões na estimativa da receita; b) dar maior clareza e precisão ao texto da lei (EMENDAS DE REDAÇÃO). Apostila de Orçamento e Contabilidade Pública 22 Prof. Fabio Furtado
  • 24.
    _________________________________________________________________________ • Apreciação – de forma CONJUNTA pelas duas Casas do Congresso Nacional (Câmara e Senado). * a apuração dos votos é feita de forma separada (maioria simples em cada uma das Casas). _________________________________________________________________________ - MENSAGEM RETIFICADORA DO EXECUTIVO O Poder Executivo poderá encaminhar MENSAGEM RETIFICADORA DA PROPOSTA ao Congresso Nacional, propondo modificações nos projetos referentes ao PPA, LDO, LOA e aos CRÉDITOS ADICIONIAIS, enquanto não iniciada a votação, na comissão mista, da parte cuja alteração é proposta. NÃO-ENVIO DA LOA (O Poder Executivo não enviar ao Poder Legislativo o projeto de lei orçamentária anual) Caracteriza CRIME DE RESPONSABILIDADE do Chefe do Poder Executivo. - A CF/88 não menciona o que deve ser feito, caso não seja enviado ao Poder Legislativo, o Projeto de LOA. - O Art. 32 da Lei 4.320/64 estabelece que caso não receba a proposta no prazo fixado, o Poder Legislativo considerará como proposta a LOA vigente. _________________________________________________________________________ NÃO-DEVOLUÇÃO DA LOA (O Poder Legislativo não devolver ao Poder Executivo o projeto de lei orçamentária anual para SANÇÃO) - Nem a CF/88, nem a Lei 4.320/64 mencionam nada a respeito. Na falta de uma regra permanente que regule essa situação, tanto na União com em alguns Estados, a LDO vem tratando dessa questão, na medida em que estabelece que o Poder Executivo fica autorizado a gastar determinada proporção (X/12) da proposta que ainda está tramitando. _________________________________________________________________________ Apostila de Orçamento e Contabilidade Pública 23 Prof. Fabio Furtado
  • 25.
    _________________________________________________________________________ REJEIÇÃO DAS LEIS ORÇAMENTÁRIAS PPA e LDO – De acordo com a doutrina, o Poder Legislativo não pode rejeitar. Art. 35 dos ADCT (Atos das Disposições Constitucionais Transitórias) prevê que ambas as leis devem ser devolvidas ao Poder Executivo para SANÇÃO. Sendo assim, não cabe sancionar o que foi rejeitado. ______________________________________________________________________ LOA – De acordo com o art. 166, § 8º pode haver rejeição da LOA. OBS.: Obedecidas essas regras especiais as leis orçamentárias serão apreciadas à luz das demais normas do processo legislativo (Art. 66 da CF/88) A elaboração da lei orçamentária configura um processo legislativo especial, compreendendo as seguintes fases: iniciativa, discussão, sanção, veto, promulgação e publicação. Iniciativa – traduz a responsabilidade, pela apresentação do projeto de lei orçamentária ao Legislativo. No Brasil, diz-se que a lei orçamentária é de iniciativa vinculada, ou seja, embora a iniciativa seja do titular do Poder Executivo o mesmo está obrigado ao prazo focado. Se o titular da iniciativa não a exercer ou não cumprir o tempo determinado pela Constituição, ocorre o crime de responsabilidade. Discussão: É a fase dos trabalhos consagrada a debate em plenário. A fase da discussão é subdividida nas seguintes etapas: - emendas; - voto do relator; - redação final; - votação em plenário. Apostila de Orçamento e Contabilidade Pública 24 Prof. Fabio Furtado
  • 26.
    Sanção – édefinida como a aquiescência do titular do Poder Executivo ao projeto de lei aprovado pelo Poder Legislativo, assim o titular do Poder Executivo somente sancionará o projeto se estiver de acordo com o mesmo. Veto – se o titular do Poder Executivo não estiver de acordo, poderá vetar total ou parcialmente o projeto de lei, dentro de 15 dias úteis contados do recebimento do projeto, comunicando ao Legislativo (Câmara de Vereadores, Assembléia Legislativa ou Senado Federal) os motivos do veto. Promulgação: O projeto de lei é transformado em lei: - quando aprovado pelo Legislativo, é sancionado expressa ou tacitamente pelo Executivo. - quando aprovado pelo Legislativo, é vetado pelo Executivo e o veto é rejeitado na forma constitucional. Entretanto, embora acabada a lei não é ainda executável e obrigatória. Para tanto precisa ser promulgada e publicada no órgão de imprensa oficial da esfera governamental interessada (Diário Oficial). Promulgação é o atestado da existência de uma lei. É um ato declaratório. Mostra que uma lei é executável, mas ainda não é obrigatória, pois precisa para tanto ser publicada. Quando o Executivo aquiesce (concorda) com o projeto de lei, também o está promulgando. Os atos são simultâneos, pois o ato de sancionar já imprime caráter de executoriedade à lei. Há casos em que a promulgação assume caráter legislativo, ou seja, quando decorrido o prazo de 15 dias úteis, há o silencio do Executivo, e alei não pe promulgada, dentro de 48 horas, ocorre a sua promulgação pelo presidente da casa legislativa. Publicação – é o ato pelo qual é dado a conhecer que uma lei nova está em vigor. Ao contrário da promulgação, que revela a executoriedade de uma lei, a publicação impõe a sua obrigatoriedade. Antes a lei existia, mas não obrigava o seu cumprimento; agora, existe e o obriga. Apostila de Orçamento e Contabilidade Pública 25 Prof. Fabio Furtado
  • 27.
    FLUXOGRAMA DA TRAMITAÇÃOLEGISLATIVA DE MATÉRIAS ORÇAMENTÁRIAS Apostila de Orçamento e Contabilidade Pública 26 Prof. Fabio Furtado
  • 28.
    7. Tipos deOrçamento É a característica que determina a maneira pela qual o orçamento é elaborado, dependendo do regime político vigente; daí dizer-se que os orçamentos variam segundo a forma de Governo e podem ser classificados em três tipos: Legislativo – é o orçamento cuja elaboração, votação e aprovação é da competência do Poder Legislativo, cabendo ao Executivo sua execução. Esse tipo é utilizado em países parlamentaristas; Executivo – é o orçamento cuja elaboração, aprovação, execução e controle é da competência do Poder Executivo. É utilizado em países onde impera o poder absoluto; Misto – é o orçamento elaborado e executado pelo Poder Executivo, cabendo ao Poder Legislativo sua votação e controle. Esse tipo é utilizado pelos países em que as funções legislativas são exercidas pelo Congresso ou Parlamento, sendo sancionado pelo Chefe do Poder Executivo. Esse é o tipo utilizado no Brasil. Apostila de Orçamento e Contabilidade Pública 27 Prof. Fabio Furtado
  • 29.
    Tipos de CréditosOrçamentários Créditos Orçamentários Os recursos para execução dos programas de trabalho do governo são especificados por meio dos Créditos Orçamentários aprovados pelo Poder Legislativo no orçamento anual. Créditos Adicionais 1 – Conceito São CRÉDITOS ADICIONAIS as autorizações de despesas não previstas ou insuficientemente previstas no Orçamento Público. São abertos durante a execução do orçamento para a efetivação de ajustes ou adição de novas dotações orçamentárias não-consignadas na LOA. A iniciativa das leis referentes a créditos adicionais é privativa do Chefe do Executivo, que deverá, obrigatoriamente, justificar as razões das novas adições ao orçamento. Só passam a constituir efetivas dotações de despesas após o ato executivo (Decreto) que lhes defina a natureza, estabeleça a destinação e fixe o valor. 2 – Classificação Os créditos adicionais podem ser classificados como: Créditos Suplementares Créditos Especiais Créditos Extraordinários Apostila de Orçamento e Contabilidade Pública 28 Prof. Fabio Furtado
  • 30.
    RESUMO DOS CRÉDITOSADICIONAIS TIPOS FINALIDADE AUTORIZAÇÃ ABERTURA E VIGÊNCIA PRORROGAÇÃ INDICAR O INCORPORAÇÃ O FONTE LEGISLATIVA O (recursos) SUPLEMENTARES Reforçar Necessidade de Decreto No exercício Improrrogável. SIM despesas já autorização (Executivo): em que foi previstas no legislativa na incorporam-se ao aberto (até orçamento. própria LOA ou orçamento 31/12). em lei adicionando-se à específica. dotação orçamentária a que se destinou reforçar. ESPECIAIS Atender a Necessidade de Decreto No exercício Só para o SIM despesas não autorização em (Executivo): em que foi exercício previstas no lei específica. incorporam-se ao aberto (até seguinte quando orçamento. orçamento, mas 31/12). o ato de conservam sua autorização tiver especificidade sido demonstrando-se PROMULGADO a conta dos nos últimos 04 mesmos, (quatro) meses separadamente. do exercício. Nesse caso, os saldos são incorporados, por decreto, ao orçamento seguinte (créditos com vigência plurianual). EXTRAORDINÁRIOS Atender a Independe Na União, No exercício Só para o NÃO despesas abertura se dá por em que foi exercício imprevisíveis e meio de Medida aberto (até seguinte quando urgentes (ex:. Provisória; Nos 31/12). o ato de abertura guerra, Estados, DF e (MP ou Decreto) comoção Municípios, a tiver sido editado interna ou abertura se dá por nos últimos 04 calamidade). Decreto do (quatro) meses Executivo ou por do exercício. Medida Nesse caso, os Provisória, se saldos são houver previsão incorporados, por na Constituição decreto, ao do Estado ou na orçamento Lei Orgânica do seguinte (créditos Município. Se com vigência abertura ocorrer plurianual). por meio de Decreto, este deverá ser enviado imediatamente ao Legislativo. Incorporam-se ao orçamento, mas conservam sua especificidade, demonstrando-se a conta dos mesmos separadamente. Apostila de Orçamento e Contabilidade Pública 29 Prof. Fabio Furtado
  • 31.
    IMPORTANTE A CF, emseu artigo 167, V, veda a abertura de crédito suplementar ou especial sem prévia autorização legislativa ou sem indicações dos recursos correspondentes. A Lei nº 4.320/64 estabelece os recursos que servirão para abertura dos créditos suplementares e especiais, desde que não estejam comprometidos (art. 43, § 1º). São eles: 1 - SUPERÁVIT FINANCEIRO apurado em balanço patrimonial do exercício anterior; superávit financeiro é a diferença positiva entre o ativo financeiro e o passivo financeiro, conjugando-se, ainda: - os saldos dos créditos adicionais transferidos e as operações de crédito a eles vinculadas; e, se já houver, o valor dos créditos adicionais abertos no próprio exercício, tendo como fonte o superávit financeiro, ou seja: 2 – EXCESSO DE ARRECADAÇÃO: excesso de arrecadação é o saldo positivo das diferenças acumuladas mês a mês entre a arrecadação prevista e a realizada, considerando-se, ainda, a tendência do exercício. Para o fim de apurar os recursos utilizáveis, provenientes de excesso de arrecadação, deduzir-se-á a importância dos créditos extraordinários abertos no exercício. 3 – ANULAÇÃO PARCIAL OU TOTAL DE DOTAÇÕES orçamentárias ou de créditos adicionais, autorizados em Lei. Nessa fonte, inclui-se a Reserva de Contingência, que também é uma dotação orçamentária. 4 – OPERAÇÕES DE CRÉDITO autorizadas, em forma que, juridicamente, possibilite ao Poder Executivo realizá-las. Neste caso, não basta a indicação de que as novas despesas serão financiadas por operações de créditos. É necessário que o Executivo demonstre a viabilidade jurídica e financeira para a realização do empréstimo (ex: demonstrar que a operação de crédito está cumprindo os requisitos estabelecidos pelas Resoluções do Senado Federal). Apostila de Orçamento e Contabilidade Pública 30 Prof. Fabio Furtado
  • 32.
    Receita Pública 1 -Conceito De acordo com o livro Contabilidade Pública, do mestre João Angélico, ingresso, embolso, entrada ou receita pública são expressões sinônimas. Receita Pública, em seu sentido mais amplo, é o recolhimento de bens aos cofres públicos. 2 - Classificação A receita pública pode ser classificada sob diversos aspectos. Dentre os quais podemos destacar: Quanto à natureza; Quanto ao poder de tributar; Quanto à coercitividade; Quanto às categorias econômicas; Quanto à afetação patrimonial; Quanto à natureza - Orçamentária: corresponde à arrecadação de recursos financeiros autorizados pela Lei Orçamentária e que serão aplicados na realização dos gastos públicos. Ex.: Receitas Correntes e Receitas de Capital - Extra-orçamentária: é um ingresso financeiro de caráter temporário, pois refere-se a uma entrada de dinheiro pertencente a terceiros onde o Estado é um simples depositário. É também denominada Ingressos Extra- orçamentários. Ex.: cauções em dinheiro; retenções na fonte; consignações em folha de pagamento a favor de terceiros etc. Apostila de Orçamento e Contabilidade Pública 31 Prof. Fabio Furtado
  • 33.
    Quanto ao poderde tributar • Federal – quando de competência da União. • Estadual – quando de competência dos estados. • Municipal – quando de competência dos municípios. ______________________________________________________________________ Quanto à coercitividade - Derivada: receita proveniente do poder de império do Estado, isto é, do exercício da competência ou do poder de tributar os rendimentos ou o patrimônio da coletividade. Ex.: as receitas de tributos, de empréstimos e contribuições compulsórias etc. - Originária: proveniente de bens pertencentes ao patrimônio do Estado. Ex.: venda de bens; prestação de serviços públicos: água, luz etc. Quanto às categorias econômicas • Receitas Correntes - Tributárias; - Contribuições; - Patrimoniais; - Agropecuárias; - Industriais; - Serviços; - Transferências Correntes; - Outras Receitas Correntes. Tributárias – é a resultante da cobrança de tributos pagos pelos cidadãos em razão de suas atividades, suas rendas, suas propriedades e dos benefícios diretos e imediatos recebidos do Estado. Contribuições – são as provenientes de contribuições sociais e econômicas. Apostila de Orçamento e Contabilidade Pública 32 Prof. Fabio Furtado
  • 34.
    Patrimoniais – sãoas rendas obtidas na exploração do patrimônio do Estado, tais como: aluguéis, juros de aplicações financeiras, dividendos etc. Agropecuárias – são receitas que resultam da exploração direta, por parte do Estado, de operações comerciais decorrentes de atividades agropecuárias. Industriais - são receitas que resultam da exploração direta, por parte do Estado, de operações comerciais decorrentes de atividades industriais. Serviços – são receitas provenientes de serviços executados pelo Estado. Transferências Correntes – são recursos financeiros recebidos de outras pessoas de direito público ou privado, destinados ao atendimento de despesas correntes. Outras Receitas Correntes – são provenientes de multas e juros de mora, cobranças da dívida ativa, restituições e indenizações etc. e outras que não tenham classificação específica. • Receitas de Capital - Alienações de Bens; - Operações de Crédito; - Amortização de Empréstimos (concedidos); - Transferências de Capital; - Outras Receitas de Capital. Alienações de Bens – representa a conversão em espécie de bens e direitos. Operações de Crédito – são receitas de capital provenientes de empréstimos e financiamentos, tais como: emissão de títulos da dívida interna ou externa, bem como de contratos com organismos financeiros nacionais e internacionais. Objetivam a cobertura do déficit orçamentário. Amortização de Empréstimos – constitui receitas decorrentes do retorno de valores anteriormente emprestados a outras entidades de direito público. Apostila de Orçamento e Contabilidade Pública 33 Prof. Fabio Furtado
  • 35.
    Transferências de Capital– indicam os recursos recebidos de outras pessoas de direito público ou privado, quando destinados a atender a despesas de capital. Outras Receitas de Capital – trata-se de classificação que englobará as demais receitas de capital não previstas nos itens anteriores. ______________________________________________________________________ Quanto à afetação patrimonial • Receitas efetivas – são aquelas que se integram ao patrimônio sem qualquer contrapartida de aumento do passivo ou diminuição do ativo, contribuindo, assim, para o aumento do patrimônio líquido. Ex.: recebimento de impostos, aluguéis, dividendos etc. • Receitas por mutação patrimonial – são as oriundas de mutações que nada acrescem ao patrimônio líquido, constituindo simples entradas ou alterações nos elementos que o compõem. Ex.: venda de bens (veículos, ações etc.), obtenção de um empréstimo etc. Obs.: Geralmente, as receitas correntes são consideradas receitas efetivas e as receitas de capital são consideradas receitas por mutação patrimonial. Logo, RECEITAS CORRENTES = RECEITAS EFETIVAS RECEITAS DE CAPITAL = RECEITAS POR MUTAÇÃO PATRIMONIAL * Exceção: Cobrança (recebimento) de Dívida Ativa – é uma receita corrente, classificada como “Outras Receitas Correntes”, porém não é uma receita efetiva, visto que neste caso ocorre um fato permutativo, isto é, recebe-se o valor da dívida, mas baixa-se o direito de recebê-la creditando a rubrica de “Dívida Ativa” no Sistema Patrimonial. Obs.: Nesse caso de recebimento de Dívida Ativa, efetuam-se lançamentos nos Sistemas Orçamentário, Financeiro e Patrimonial. * Exceção: Transferências de Capital – é uma receita de capital, porém não é considerada uma receita por mutação patrimonial, visto que ocorre a Apostila de Orçamento e Contabilidade Pública 34 Prof. Fabio Furtado
  • 36.
    entrada de umnumerário transferido de outro ente, com o propósito de aplicação em despesas de capital, debitando-se a conta Bancos, por exemplo, e creditando-se a conta de Receitas de Capital Arrecadada (Conta de Resultado). Assim, não ocasiona um fato permutativo, pois o patrimônio é aumentado por um valor (debitado na conta Bancos) sem a contrapartida de um crédito em conta patrimonial, que diminua um outro ativo ou aumente um passivo. É válido ressaltar que as exceções aqui apresentadas são bastante cobradas em provas de concursos públicos. ______________________________________________________________________ 3 – Estágios De acordo com o capítulo II, artigos 51 a 57, da Lei 4.320/64, as receitas percorrem três estágios até chegarem efetivamente aos cofres públicos. São eles: • Lançamento; • Arrecadação; • Recolhimento. Lançamento – é o ato da repartição competente que verifica a procedência do crédito fiscal, a pessoa que lhe é devedora e inscreve o débito desta. Cabe ressaltar que não devemos confundir a expressão “lançamento” aqui apresentada com lançamento contábil. O lançamento em questão vem a ser um controle extra-contábil para identificar quanto o Estado terá a cobrar de terceiros, como por exemplo, referente a impostos, taxas etc. Arrecadação – Neste estágio, o Estado recebe os tributos, multas e demais créditos a ele devidos. Tais recebimentos são promovidos pelos agentes da arrecadação, que recebem os recursos dos contribuintes e os entregam ao Tesouro Público. Esses agentes podem ser divididos em dois grupos: • agentes públicos (tesourarias, coletorias, postos fiscais etc.) • agentes privados (bancos autorizados, loterias etc.) Recolhimento – O recolhimento é constituído da entrega do numerário arrecadado pelos agentes públicos ou privados às repartições ou ao Banco Oficial. É o momento a partir do qual o valor está disponível para o Tesouro do Estado. É nesse estágio que se verifica o princípio da unidade de tesouraria, segundo o qual todas as receitas orçamentárias e extra- orçamentárias devem ser englobadas em um caixa único, sendo vedada, portanto, qualquer fragmentação para criação de caixas especiais, conforme o artigo 56 da Lei 4.320/64. Apostila de Orçamento e Contabilidade Pública 35 Prof. Fabio Furtado
  • 37.
    É importante ressaltarque muitos autores, dentre os quais o mestre Lino Martins da Silva, consideram que a receita, na verdade, percorre quatro estágios, que são: • Previsão; • Lançamento; • Arrecadação; • Recolhimento. O estágio da previsão vem a ser o estudo que a Fazenda Pública faz visando indicar o quanto se pretende arrecadar no exercício financeiro com o objetivo de custear os serviços públicos programados para o mesmo período. Apostila de Orçamento e Contabilidade Pública 36 Prof. Fabio Furtado
  • 38.
    Dívida Ativa 1 –Conceito É a inscrição que se faz em conta de devedores, relacionadas a tributos, multas e créditos da Fazenda Pública, lançados, mas não arrecadados no exercício de origem. 2 - Classificação O artigo 39 da Lei 4.320/64 classifica a Dívida Ativa em dois grupos: Dívida Ativa Tributária e Dívida Ativa não Tributária. Dívida Ativa Tributária – reúne somente aos créditos relativos a tributos (impostos, taxas e contribuições) lançados e não arrecadados. Ex.: IPTU de 2004 lançado contra o contribuinte José Silva, mas não pago por este. No dia 31 de dezembro de 2004, teoricamente, foi inscrito como dívida ativa, isto é, crédito a receber. Dívida Ativa não Tributária – engloba todos os demais créditos, líquidos e certos, da Fazenda Pública. Como exemplos podemos destacar: dividendos, aluguéis etc. 3 - Apuração Conforme já mencionado, a dívida ativa é apurada através da seguinte fórmula: Total lançado (-) total arrecadado = valor inscrito como dívida ativa. Ex. 1: - Foram emitidos, no ano de 2004, carnês de IPTU num total de R$ 10.000,00. - Foram arrecadados até 31/12/2004 apenas R$ 7.000,00. O total de Dívida Ativa Tributária inscrita foi de R$ 3.000,00 (10.000,00 – 7.000,00). Ex. 2: - O controle financeiro da Administração discrimina que há um total de multas a receber no exercício de 2004, no valor de R$ 8.000,00. - Até o final do exercício financeiro foi arrecadado um total de 7.000,00. O total de Dívida Ativa Não-Tributária inscrita no exercício foi de R$ 1.000,00 (8.000,00 – 7.000,00). Logo, o total de Dívida Ativa inscrita no exercício foi de R$ 4.000,00 (corresponde a soma da Dívida Ativa Tributária com a Não-Tributária). Apostila de Orçamento e Contabilidade Pública 37 Prof. Fabio Furtado
  • 39.
    Despesa Pública 1 -Conceito De acordo com o livro Contabilidade Pública do mestre João Angélico, desembolsos, dispêndios ou despesa pública são expressões sinônimas consagradas pela prática. Constitui despesa pública todo pagamento efetuado a qualquer título pelos agentes pagadores. 2 - Classificação A despesa pode ser classificada nos seguintes aspectos: quanto à natureza; quanto à competência político-institucional; quanto à afetação patrimonial; quanto à regularidade. ______________________________________________________________________ a) Quanto à natureza Segundo a natureza, a despesa pode ser dividida em: - Orçamentária – é a aplicação de recursos públicos na realização dos gastos necessários à manutenção e expansão dos serviços públicos. Trata- se de despesas que integram o orçamento, ou seja, derivam da lei orçamentária ou dos créditos adicionais e, por isso, sofrem rigorosa disciplina nos arts. 12 e 13 da Lei Federal nº 4.320/64 e alterações posteriores editadas pelo órgão central do orçamento. Exemplo: Despesas Correntes - Pessoal e Encargos Sociais; - Juros e Encargos da Dívida; - Outras Despesas Correntes. Despesas de Capital - Investimentos; - Inversões Financeiras; - Amortização da Dívida; Apostila de Orçamento e Contabilidade Pública 38 Prof. Fabio Furtado
  • 40.
    - Extra-orçamentária –constitui uma saída financeira decorrente da devolução dos recursos recebidos anteriormente a título de ingresso extra- orçamentário. Na realidade, é mais bem denominada de dispêndio extra- orçamentário. É uma despesa que não consta da lei do orçamento e compreende as diversas saídas de numerário decorrentes de devolução de cauções, pagamentos de Restos a Pagar, resgate de operações de crédito por antecipação de receita, bem como de quaisquer valores que se revistam de características de simples transitoriedade, recebidos anteriormente e que, na oportunidade, constituíram receitas extra- orçamentárias. b) Quanto à competência político-institucional Quanto a esse aspecto, a despesa é assim classificada: federal – quando de responsabilidade da União, que a realiza para atendimento de seus serviços e encargos por força da Constituição, das leis e dos contratos; estadual – quando de responsabilidade dos Estados; municipal – quando de responsabilidade dos Municípios. c) Quanto à regularidade Quanto à regularidade, a despesa pode ser desdobrada em: - Ordinárias – são despesas constantes, ou seja, que são gastas na manutenção dos serviços públicos. São despesas que se repetem em todos os exercícios. Exemplo: pessoal, material de consumo, serviços de terceiros e encargos etc. - Extraordinárias – são despesas esporádicas provocadas por circunstâncias de caráter excepcional e que, por isso, nem todos os anos aparecem nos orçamentos. Exemplo: despesas extraordinárias decorrentes de guerras, enchentes etc. Apostila de Orçamento e Contabilidade Pública 39 Prof. Fabio Furtado
  • 41.
    AS DESPESAS PÚBLICASQUANTO ÀS CATEGORIAS ECONÔMICAS: De acordo com a Lei 4.320/64: A Lei nº 4.320/64, em seu art. 12, dispõe que a despesa será classificada nas seguintes categorias econômicas: • Despesas Correntes - Despesas de Custeio - Transferências Correntes • Despesas de Capital - Investimentos - Inversões Financeiras - Transferências de Capital Despesa Corrente – classificam-se nessa categoria todas as despesas que não contribuem, diretamente, para a formação ou aquisição de um bem de capital. Representam encargos que não produzem acréscimos no patrimônio, respondendo assim, pela manutenção das atividades de cada órgão/atividade. Excluindo-se as aquisições de materiais para formação de estoques, todos os demais dispêndios correntes provocam a diminuição patrimonial (Despesa Efetiva). - Classificam-se como Despesas de Custeio as dotações para manutenção de serviços anteriormente criados, inclusive as destinadas a atender a obras de conservação e adaptação de bens imóveis. - Classificam-se como Transferências Correntes as dotações para despesas às quais não corresponda contraprestação direta em bens ou serviços, inclusive para contribuições e subvenções destinadas a atender à manifestação de outras entidades de direito público ou privado. - Consideram-se subvenções, para os efeitos desta Lei, as transferências destinadas a cobrir despesas de custeio das entidades beneficiadas, distinguindo-se como: Apostila de Orçamento e Contabilidade Pública 40 Prof. Fabio Furtado
  • 42.
    I - subvençõessociais, as que se destinem a instituições públicas ou privadas de caráter assistencial ou cultural, sem finalidade lucrativa; II - subvenções econômicas, as que se destinem a empresas públicas ou privadas de caráter industrial, comercial, agrícola ou pastoril. Despesa de Capital – classificam-se nesta categoria aquelas despesas que contribuem, diretamente, para a formação ou aquisição de um bem de capital, resultando no acréscimo do patrimônio do órgão ou entidade que a realiza, aumentando, dessa forma, sua riqueza patrimonial. À exceção das transferências de recursos financeiros repassados a outras instituições, para realizarem Despesas de Capital, os gastos desta natureza constituem fatos permutativos nos elementos patrimoniais (Despesa por Mutações). - Classificam-se como investimentos as dotações para o planejamento e a execução de obras, inclusive as destinadas à aquisição de imóveis considerados necessários à realização destas últimas, bem como para os programas especiais de trabalho, aquisição de instalações, equipamentos e material permanente e constituição ou aumento do capital de empresas que não sejam de caráter comercial ou financeiro. - Classificam-se como Inversões Financeiras as dotações destinadas a: I - aquisição de imóveis, ou de bens de capital já em utilização; II - aquisição de títulos representativos do capital de empresas ou entidades de qualquer espécie, já constituídas, quando a operação não importe aumento do capital; III - constituição ou aumento do capital de entidades ou empresas que visem a objetivos comerciais ou financeiros, inclusive operações bancárias ou de seguros. - São Transferências de Capital as dotações para investimentos ou inversões financeiras que outras pessoas de direito público ou privado devam realizar, independentemente de contraprestação direta em bens ou serviços, constituindo essas transferências auxílios ou contribuições, segundo derivem diretamente da Lei de Orçamento ou de lei especialmente anterior, bem como as dotações para amortização da dívida pública. Apostila de Orçamento e Contabilidade Pública 41 Prof. Fabio Furtado
  • 43.
    _________________________________________________________________________ Obs.: A despesapública também pode ser classificada sob diversos aspectos, dentre os quais temos: a) Quanto ao enfoque econômico (também conhecida como classificação econômica): • c - Categoria econômica; • g - Grupo de natureza da despesa; • mm - Modalidade de aplicação; • ee - Elemento de despesa; • dd - Desdobramento, facultativo, do elemento de despesa. Categoria Econômica – a classificação econômica possibilita analisar o impacto das ações governamentais em toda a economia. As despesas são classificadas nas seguintes categorias econômicas: despesas correntes e despesas de capital. Grupos de Natureza de Despesa – entende-se por grupos de natureza de despesa a agregação de elementos de despesa que apresentem as mesmas características quanto ao objeto do gasto. Modalidade de Aplicação – indica por meio de quem se realiza o gasto. Destina-se a indicar se os recursos serão aplicados diretamente pela unidade detentora do crédito orçamentário, ou transferidos a outros entes públicos, órgãos, entidades etc. Elemento de Despesa – tem por finalidade discriminar os grupos em nível mais detalhado de agregação, identificando o objeto do gasto. Essa classificação foi instituída pela PORTARIA INTERMINISTERIAL Nº. 163, de 04 de MAIO de 2001. Apostila de Orçamento e Contabilidade Pública 42 Prof. Fabio Furtado
  • 44.
    Categorias Econômicas 3 -Despesas Correntes 4 - Despesas de Capital Despesa Corrente – classificam-se nessa categoria todas as despesas que não contribuem, diretamente, para a formação ou aquisição de um bem de capital. Representam encargos que não produzem acréscimos no patrimônio, respondendo assim, pela manutenção das atividades de cada órgão/atividade. Excluindo-se as aquisições de materiais para formação de estoques, todos os demais dispêndios correntes provocam a diminuição patrimonial (Despesa Efetiva). Despesa de Capital – classificam-se nesta categoria aquelas despesas que contribuem, diretamente, para a formação ou aquisição de um bem de capital, resultando no acréscimo do patrimônio do órgão ou entidade que a realiza, aumentando, dessa forma, sua riqueza patrimonial. À exceção das transferências de recursos financeiros repassados a outras instituições, para realizarem Despesas de Capital, os gastos desta natureza constituem fatos permutativos nos elementos patrimoniais (Despesa por Mutações). Grupos de Natureza da Despesa 1 – Pessoal e Encargos Sociais 2 – Juros e Encargos da Dívida 3 – Outras Despesas Correntes 4 – Investimentos 5 – Inversões Financeiras 6 – Amortização da Dívida Despesa Corrente Pessoal e Encargos Sociais – despesas com o pagamento pelo efetivo exercício do cargo ou do emprego ou de função de confiança no setor público, quer civil ou militar; ativo ou inativo, bem como as obrigações de responsabilidade do empregador. Apostila de Orçamento e Contabilidade Pública 43 Prof. Fabio Furtado
  • 45.
    Juros e Encargosda Dívida – despesas com pagamento de juros, comissões e outros encargos de operações de crédito internas e externas contratadas. Outras Despesas Correntes – despesas com aquisição de material de consumo, pagamento de serviços prestados por pessoa física sem vínculo empregatício ou pessoa jurídica independente de forma contratual, e outras da categoria econômica “Despesas Correntes”, não classificáveis nos três grupos acima. Despesa de Capital Investimentos – são as aplicações diretas em programas que visem ao desenvolvimento ou aprimoramento dos serviços prestados pelo Estado, através de construções, inclusive a aquisição de terrenos para este fim e aquisição de materiais permanentes novos, bem como para aquisição de títulos representativos do capital de empresas ou entidades que impliquem aumento do PIB (Produto Interno Bruto). Inversões Financeiras – são as aplicações para aquisição de bens imóveis, quando não destinados a edificações, ou outros bens patrimoniais já em utilização, constituição e/ou aumento de capital de empresas comerciais e/ou financeiras. Amortização da Dívida – despesas com o pagamento do principal e da atualização monetária ou cambial referente a operações de crédito contratadas. Modalidades de Aplicação 20 – Transferências à União 30 – Transferências a Estados e ao Distrito Federal 40 – Transferências a Municípios 50 – Transferências a Instituições Privadas sem Fins Lucrativos 60 – Transferências a Instituições Privadas com Fins Lucrativos 70 – Transferências a Instituições Multigovernamentais Nacionais 80 – Transferências ao Exterior 90 – Aplicações Diretas 99 – A Definir Elementos da Despesa (apenas alguns dos elementos de despesa constantes na Portaria 163/2001) 01 – Aposentadorias e Reformas Apostila de Orçamento e Contabilidade Pública 44 Prof. Fabio Furtado
  • 46.
    03 – Pensões 14– Diárias-Civil 15 – Diárias-Militar 30 – Material de Consumo 36 – Outros Serviços de Terceiros – Pessoa Física 39 – Outros Serviços de Terceiros – Pessoa Jurídica 92 – Despesas de Exercícios Anteriores ______________________________________________________________________ b) Quanto à afetação patrimonial Quanto à afetação patrimonial, as despesas são divididas em: Despesas efetivas – conjunto de despesas que contribuem para o decréscimo do patrimônio líquido do Estado. As despesas efetivas são, pois, aquelas cuja responsabilidade de pagamento o Estado obrigatoriamente assume, fixando dotações orçamentárias anuais, tais como: despesas com pessoal e encargos sociais; juros e encargos da dívida; outras despesas correntes. Despesas por mutações patrimoniais – são as despesas oriundas de mutações que em nada diminuem o patrimônio líquido, constituindo simples saídas ou alterações compensatórias nos elementos que o compõem. Assim, temos: investimentos; inversões financeiras; amortização da dívida; Obs.: Geralmente, as despesas correntes são consideradas despesas efetivas e as despesas de capital são consideradas despesas por mutação patrimonial. Logo, DESPESAS CORRENTES = DESPESAS EFETIVAS DESPESAS DE CAPITAL = DESPESAS POR MUTAÇÃO PATRIMONIAL • Exceção: Aquisição de Material de Consumo para Estoque – é uma despesa corrente, classificada como “Outras Despesas Correntes”, Apostila de Orçamento e Contabilidade Pública 45 Prof. Fabio Furtado
  • 47.
    porém não éuma despesa efetiva, visto que neste caso ocorre um fato permutativo, isto é, recebe-se o material, CONTABILIZANDO A DÉBITO NO SISTEMA PATRIMONIAL, mas em contrapartida contabiliza-se a saída de numerário (CAIXA ou BANCOS) para quitação da compra ou o reconhecimento da OBRIGAÇÃO (FORNECEDORES), NO SISTEMA FINANCEIRO. Obs.: Nesse caso, efetuam-se lançamentos nos Sistemas Orçamentário, Financeiro e Patrimonial. Obs. 2 : A compra de material para consumo imediato é classificada como despesa corrente (custeio) e despesa efetiva * Exceção: Transferências de Capital – é uma despesa de capital, porém não é considerada uma despesa por mutação patrimonial, visto que ocorre a saída de um numerário transferido para outro ente, com o propósito de aplicação, por parte deste outro ente, em despesas de capital. Credita-se a conta Bancos, por exemplo, pela saída de numerário e debita-se a conta de Despesa de Capital Realizada (Conta de Resultado). Assim, não ocasiona um fato permutativo, pois o patrimônio é diminuído por um valor (creditado na conta Bancos) sem a contrapartida de um débito em conta patrimonial, que aumente um outro ativo ou diminua um passivo. È válido ressaltar que as exceções aqui apresentadas são bastante cobradas em provas de concursos públicos. c) Classificação Funcional-Programática A classificação funcional é constituída das seguintes funções e subfunções: FUNÇÕES E SUBFUNÇÕES DE GOVERNO FUNÇÕES SUBFUNÇÕES 01 - Legislativa 031 – Ação Legislativa 032 – Controle Externo 02 - Judiciária 061 – Ação Judiciária 062 – Defesa do Interesse Público no Processo Judiciário 03 – Essencial à Justiça 091 – Defesa da Ordem Jurídica 092 – Representação Judicial e Extrajudicial 04 - Administração 121 – Planejamento e Orçamento 122 – Administração Geral 123 – Administração Financeira Apostila de Orçamento e Contabilidade Pública 46 Prof. Fabio Furtado
  • 48.
    124 – ControleInterno 125 – Normalização e Fiscalização 126 – Tecnologia da Informação 127 – Ordenamento Territorial 128 – Formação de Recursos Humanos 129 – Administração de Receitas 130 – Administração de Concessões 131 – Comunicação Social 05 – Defesa Nacional 151 – Defesa Aérea 152 – Defesa Naval 153 – Defesa Terrestre 06 – Segurança Pública 181 – Policiamento 182 – Defesa Civil 183 – Informação e Inteligência 07 – Relações Exteriores 211 – Relações Diplomáticas 212 – Cooperação Internacional 08 – Assistência Social 241 – Assistência ao Idoso 242 – Assistência ao Portador de Deficiência 243 – Assistência à Criança e ao Adolescente 244 – Assistência Comunitária 09 – Previdência Social 271 – Previdência Básica 272 – Previdência do Regime Estatutário 273 – Previdência Complementar 274 – Previdência Especial 10 – Saúde 301 – Atenção Básica 302 – Assistência Hospitalar e Ambulatorial 303 - Suporte Profilático e Terapêutico 304 – Vigilância Sanitária 305 – Vigilância Epidemiológica 306 – Alimentação e Nutrição 11 – Trabalho 331 – Proteção e Benefício ao Trabalhador 332 – Relações de Trabalho 333 – Empregabilidade 334 – Fomento ao Trabalho 12 - Educação 361 – Ensino Fundamental 362 – Ensino Médio 363 – Ensino Profissional 364 – Ensino Superior 365 – Educação Infantil 366 – Educação de Jovens e Adultos 367 – Educação Especial 13 - Cultura 391 – Patrimônio Histórico, Artístico e Arqueológico 392 – Difusão Cultural Apostila de Orçamento e Contabilidade Pública 47 Prof. Fabio Furtado
  • 49.
    14 – Direitosda 421 – Custódia e Reintegração Social Cidadania 422 – Direitos Individuais, Coletivos e Difusos 423 – Assistência aos Povos Indígenas 15 - Urbanismo 451 – Infra – Estrutura Urbana 452 – Serviços Urbanos 453 - Transportes Coletivos e Urbanos 16 – Habitação 481 – Habitação Rural 482 – Habitação Urbana 17 - Saneamento 511- Saneamento Básico Rural 512 – Saneamento Básico Urbano 18 – Gestão Ambiental 541 – Preservação e Conservação Ambiental 542 – Controle Ambiental 543 – Recuperação de Áreas Degradadas 544 – Recursos Hídricos 545 – Meteorologia 19 - Ciência e Tecnologia 571 – Desenvolvimento Científico 572 – Desenvolvimento Tecnológico 573 – Difusão do Conhecimento Científico e Tecnológico 20 – Agricultura 601 – Promoção da Produção Vegetal 602 – Promoção da Produção Animal 603 – Defesa Sanitária Vegetal 604 - Defesa Sanitária Animal 605 – Abastecimento 606 – Extensão Rural 607 - Irrigação 21 – Organização Agrária 631 – Reforma Agrária 632 - Colonização 22 - Indústria 661 – Promoção Industrial 662 - Produção Industrial 663 – Mineração 664 – Propriedade Industrial 665 – Normalização e Qualidade 23 – Comércio e Serviços 691 –Promoção Comercial 692 – Comercialização 693 – Comércio Exterior 694 - Serviços Financeiros 695 - Turismo 24 – Comunicações 721 – Comunicações Postais 722 -Telecomunicações 25 – Energia 751 – Conservação de Energia 752 – Energia Elétrica 753 – Petróleo 754 – Álcool Apostila de Orçamento e Contabilidade Pública 48 Prof. Fabio Furtado
  • 50.
    26 – Transporte 781 – Transporte Aéreo 782 – Transporte Rodoviário 783 – Transporte Ferroviário 784 – Transporte Hidroviário 785 – Transportes Especiais 27 – Desporto e Lazer 811 – Desporto de Rendimento 812 – Desporto Comunitário 813 - Lazer 28 – Encargos Especiais 841 – Refinanciamento da Dívida Interna 842 - Refinanciamento da Dívida Externa 843 – Serviço da Dívida Interna 844 – Serviço da Dívida Externa 845 – Transferências 846 – Outros Encargos Especiais Art. 1º (...) §1º Como função, deve entender-se o maior nível de agregação das diversas áreas de despesa que competem ao setor público. §2º A função “Encargos Especiais” engloba as despesas em relação às quais não se possa associar um bem ou serviço a ser gerado no processo produtivo corrente, tais como: dívidas, ressarcimentos, indenizações e outras afins, representando, portanto uma agregação neutra. §3º A subfunção representa uma partição da função, visando a agregar determinado subconjunto de despesa do setor público. §4º As subfunções poderão ser combinadas com funções diferentes daquelas a que estejam vinculadas, na forma do Anexo a esta Portaria. Apostila de Orçamento e Contabilidade Pública 49 Prof. Fabio Furtado
  • 51.
    Classificação ou EstruturaProgramática Programas, Projetos/Atividades/Operações Especiais Programas – são instrumentos de organização da ação governamental visando à concretização dos objetivos pretendidos, sendo mensurado por indicadores estabelecidos no Plano Plurianual. Projetos – são instrumentos de programação para alcançar o objetivo de um programa, envolvendo um conjunto de operações que se realizam num período limitado de tempo, das quais resulta um produto que concorre para a expansão ou o aperfeiçoamento da ação de governo. Exemplo: a) construção de escola; b) construção de hospital etc. Atividades – são instrumentos de programação para alcançar o objetivo de um programa, envolvendo um conjunto de operações que se realizam de modo contínuo e permanente, das quais resulta um produto necessário à manutenção da ação do governo. Exemplo: a) contratação de professores para a escola construída; b) contratação de profissionais de saúde para o hospital construído etc. Operações Especiais – são despesas que não contribuem para a manutenção das ações de governo, das quais não resulta um produto e não gera contraprestação direta sob a forma de bens ou serviços. Representam, basicamente, o detalhamento da função Encargos Especiais. São exemplos típicos: amortizações e encargos, pagamento de sentenças judiciais, indenizações etc. Resumindo, segundo a Portaria nº 42/99, do Ministério do Planejamento, Orçamento e Gestão, temos: Classificação Funcional: Funções e Subfunções Classificação Programática:Programas, Projetos/Atividades/Operações Especiais. Apostila de Orçamento e Contabilidade Pública 50 Prof. Fabio Furtado
  • 52.
    3 - Estágios Deacordo com o capítulo III, da Lei 4.320/64, os estágios da despesa pública são três: • Empenho; • Liquidação; • Pagamento Cabe ressaltar que segundo o professor Lino Martins da Silva, a despesa pública percorre quatro estágios, que são: • Fixação; • Empenho; • Liquidação; • Pagamento Fixação – esse estágio refere-se à estimativa, pelo Poder Público, de quanto irá ser alocado em cada dotação, sendo o montante o limite a ser gasto, visando o atendimento das necessidades coletivas. Empenho – é o ato emanado de poder competente que cria para o Estado uma obrigação de pagamento pendente ou não de implemento de condição que será cumprido com a entrega do material, a medição da obra ou a prestação dos serviços. O empenho é prévio, ou seja, precede à realização da despesa e tem de respeitar o limite do crédito orçamentário. ______________________________________________________________________ O empenho compreende três fases, que são: Licitação ou sua dispensa; Autorização Formalização A licitação ou dispensa precede ao empenho da despesa e tem por objetivo verificar, entre vários fornecedores, quem oferece condições mais vantajosas à administração. Existem seis modalidades de licitação: concorrência, tomada de preços, convite, concurso, leilão e o pregão. A autorização constitui a decisão, manifestação ou despacho do Ordenador, isto é, a permissão dada pela autoridade competente para Apostila de Orçamento e Contabilidade Pública 51 Prof. Fabio Furtado
  • 53.
    realização da despesa.Geralmente, nessa fase é emitida a NAD - Nota de Autorização da Despesa. A formalização corresponde à dedução do valor da despesa feita no saldo disponível da dotação, e é comprovada pela emissão da Nota de Empenho que em determinadas situações previstas na legislação específica poderá ser dispensada, como nos casos das despesas relativas a: Pessoal e Encargos Sociais, Juros e Encargos da Dívida etc. ______________________________________________________________________ Os empenhos são classificados nas seguintes modalidades: • Ordinário – quando destinado a atender a despesa cujo pagamento se processe de uma só vez; Ex.: Compra de um veículo à vista. • Estimativa – quando destinado a atender despesas para as quais não se possa previamente determinar o montante exato; Ex.: Despesas com água, luz, telefone etc. • Global – quando destinado a atender a despesas contratuais e outras, sujeitas a parcelamento, cujo montante exato possa ser determinado. Ex.: Despesas com serviços de limpeza executado por uma empresa contratada; Aquisição de um bem cujo pagamento será de forma parcelada etc. ______________________________________________________________________ Liquidação – Consiste na verificação do direito adquirido pelo credor, tendo por base os títulos e documentos comprobatórios do respectivo crédito. Cabe observar que essa verificação tem por finalidade apurar: I – a origem e o objeto do que se tem que pagar; II – a importância exata a pagar; III – a quem se deve pagar a importância, para extinguir a obrigação. A liquidação da despesa por fornecimentos feitos ou serviços prestados terá por base: Apostila de Orçamento e Contabilidade Pública 52 Prof. Fabio Furtado
  • 54.
    I – ocontrato, ajuste ou acordo respectivo; II – a nota de empenho; III – os comprovantes da entrega do material ou da prestação do serviço. Esses documentos comprobatórios podem ser a Nota fiscal ou o Cupom Fiscal emitidos pelo fornecedor. Deve-se verificar se na Nota ou no Cupom constam as assinaturas e matrículas de dois servidores atestando que a mercadoria foi devidamente entregue ou o serviço foi executado a contento. É nesse estágio que é emitida a Ordem de Pagamento. A Ordem de Pagamento é o despacho exarado por autoridade competente, determinando que a despesa seja paga. A Ordem de Pagamento só poderá ser exarada em documentos processados pelos serviços de contabilidade. É nesse documento que o ordenador da despesa autoriza o pagamento. È nele que vem apresentado o famoso termo “PAGUE-SE”. Pagamento – É o último estágio da despesa. O pagamento da despesa será efetuado por tesouraria ou pagadoria regularmente instituídas, por estabelecimentos bancários credenciados e, em casos excepcionais, por meio de adiantamento ou suprimento de fundos. O pagamento pode ser realizado da seguinte forma: - cheque nominativo – mediante recibo do beneficiário; - ordem bancária – o órgão transfere ao banco a responsabilidade de finalizar o pagamento, mediante débito em sua conta. O meio de pagamento mais utilizado atualmente é a transmissão de arquivo ao banco contendo a relação dos credores, nºs das respectivas contas correntes para crédito e valores a serem creditados nas contas de cada credor. - adiantamento ou suprimento de fundos – consiste na liberação de numerário a um servidor para realizar determinada despesa e posterior prestação de contas. Aproveitando que estamos comentando sobre o regime de adiantamento, segue o disposto nos artigos 68 e 69 da Lei 4.320/64: Art. 68 - O regime de adiantamento é aplicável aos casos de despesas expressamente definidos em lei e consiste na entrega de numerário a servidor, sempre precedida de empenho na dotação própria para o fim de Apostila de Orçamento e Contabilidade Pública 53 Prof. Fabio Furtado
  • 55.
    realizar despesas quenão possam subordinar-se ao processo normal de aplicação. Art. 69 - Não se fará adiantamento a servidor em alcance nem a responsável por dois adiantamentos. O regime de adiantamento também é conhecido como SUPRIMENTO DE FUNDOS. Suprimento de Fundos É a modalidade de realização de despesa por meio de adiantamento concedido a servidor, para prestação de contas posterior, quando não for realizável o pagamento utilizando-se os serviços da rede bancária. O ordenador pode conceder suprimentos: • para atender a despesas eventuais, inclusive em viagens e com serviços especiais, que exijam pronto pagamento em espécie; • quando a despesa deve ser feita em caráter sigiloso, conforme se classificar em regulamento; • para atender a despesas de pequeno vulto, assim entendidas aquelas cujo valor, em cada caso, não ultrapassar limite estabelecido em Portaria do Ministro da Fazenda. A legislação proíbe expressamente a concessão de suprimentos: • a responsável por dois suprimentos; • a servidor que tenha a seu cargo a guarda ou a utilização do material a adquirir, salvo quando não houver na repartição outro servidor; • a responsável por suprimento de fundos que, esgotado o prazo, não tenha prestado contas de sua aplicação; e • a servidor declarado em alcance (que teve suas contas impugnadas). Apostila de Orçamento e Contabilidade Pública 54 Prof. Fabio Furtado
  • 56.
    Restos a Pagar 1- Conceito De acordo com o art. 36 da Lei nº 4.320/64, consideram-se Restos a Pagar as despesas empenhadas, mas não-pagas, até 31 de dezembro, distinguindo-se as processadas das não-processadas. A despesa está processada quando já transcorreu o estágio da liquidação, ou seja, quando o credor/fornecedor já cumpriu sua obrigação. 2 – Classificação Os Restos a Pagar são classificados em: PROCESSADOS e NÃO- PROCESSADOS, como segue: RESTOS A PAGAR PROCESSADOS Entendem-se como Restos a Pagar Processados, as despesas, legalmente empenhadas, cujo objeto do empenho já foi recebido, ou seja, já ocorreu o estágio da liquidação, mas não houve o pagamento. RESTOS A PAGAR NÃO-PROCESSADOS Entendem-se como Restos a Pagar Não-Processados, as despesas, legalmente empenhadas, que não foram liquidadas e não-pagas até 31 de dezembro do mesmo exercício. 3 – Inscrição A inscrição em Restos a Pagar é feita na data do encerramento do exercício financeiro de emissão da nota de empenho, e terá validade até 31 de dezembro do ano subseqüente, vedada a reinscrição. É considerada receita extra-orçamentária. 4 – Pagamento O pagamento de Restos a Pagar, seja Processado ou Não-Processado, é feito no ano seguinte ao da sua inscrição. É considerado despesa extra- orçamentária. RESTOS A PAGAR PROCESSADOS Basta pagar o valor inscrito como Restos a Pagar Processados ao fornecedor, visto que a despesa já foi devidamente liquidada. Apostila de Orçamento e Contabilidade Pública 55 Prof. Fabio Furtado
  • 57.
    RESTOS A PAGARNÃO-PROCESSADOS Primeiro, deve-se efetuar a liquidação da despesa e depois deve-se realizar o pagamento ao fornecedor. 5 – Cancelamento Os Restos a Pagar não-pagos até 31 de dezembro do ano subseqüente ao de sua inscrição serão cancelados. Obs.: Sendo o pagamento reclamado após o cancelamento da inscrição, uma vez reconhecido o direto do credor, deverá (o pagamento) ser efetuado à conta do orçamento vigente, isto é, sendo enquadrada como Despesas de Exercícios Anteriores. 6 – Prescrição Os Restos a Pagar só prescrevem após 05 (cinco) anos a partir da data de inscrição. A prescrição relativa ao direito do credor ocorre em cinco anos, contados a partir da data de inscrição, excetuando-se os casos em que haja interrupções decorrentes de atos judiciais. Despesas de Exercícios Anteriores Essas despesas resultam de compromissos gerados em exercícios anteriores, sendo pagas à conta do próprio orçamento vigente. Enquadram-se nessa condição: • as despesas de exercícios encerrados, para as quais o orçamento respectivo consignava crédito próprio, com saldo suficiente para atendê-las, que não se tenham processado na época própria, assim entendidas aquelas cujo empenho tenha sido considerado insubsistente e anulado no encerramento do exercício correspondente, mas cuja obrigação tenha sido cumprida pelo credor no prazo estabelecido; • os Restos a Pagar com prescrição interrompida, assim considerada a despesa cuja inscrição em Restos a Pagar tenha sido cancelada, ainda vigendo o direito do credor; • os compromissos decorrentes de obrigação de pagamento criada em virtude de lei e reconhecidos após o encerramento do exercício. Apostila de Orçamento e Contabilidade Pública 56 Prof. Fabio Furtado
  • 58.
    Prescrição - Asdívidas de exercícios anteriores, que dependem de requerimento do favorecido, prescrevem em 05 (cinco) anos, contados da data do ato ou fato que tiver dado origem ao respectivo direito. O início do período da dívida corresponde à data constante do fato gerador do direito, não sendo considerado, para a prescrição qüinqüenal, o tempo de tramitação burocrática e o de providências administrativas a que estiver sujeito o processo. Segue abaixo o art. 37 da Lei 4.320/64 que trata deste item (Despesas de Exercícios Anteriores) “Art. 37 - As despesas de exercícios encerrados, para as quais o orçamento respectivo consignava crédito próprio, com saldo suficiente para atendê- las, que não se tenham processado na época própria, bem como os Restos a Pagar com prescrição interrompida e os compromissos reconhecidos após o encerramento do exercício correspondente poderão ser pagos à conta de dotação específica consignada no orçamento, discriminada por elementos, obedecida, sempre que possível, a ordem cronológica.” Anulação de Operações Orçamentárias Durante o exercício, pode ocorrer devolução de receita motivada por pagamento efetuado a maior, ou indevidamente, por parte do contribuinte, ou restituição de despesa decorrente de recebimento a maior, ou indevidamente, por parte do beneficiário. Essas operações podem ser realizadas durante o exercício em que ocorram ou em exercícios futuros. 1 – Anulação da Receita a) Acontecendo no exercício de sua arrecadação, faz-se o estorno da receita realizada; b) Ocorrendo a restituição após o encerramento do exercício de sua realização, constitui Despesa Orçamentária. 2 – Anulação da Despesa a) Acontecendo no exercício da emissão do empenho correspondente, faz-se o estorno revertendo o valor ao saldo da dotação correspondente; b) Ocorrendo a restituição após o encerramento do exercício de seu empenho e pagamento, constitui Receita Orçamentária. Apostila de Orçamento e Contabilidade Pública 57 Prof. Fabio Furtado
  • 59.
    Dívida Pública 1 -Conceito Significa o conjunto de compromissos, de curto ou longo prazos, assumidos pelo Estado com terceiros. 2 – Classificação Dívida Flutuante O artigo 92 da Lei nº 4.320/64 trata da dívida flutuante. - A dívida flutuante compreende: I - os restos a pagar, excluídos os serviços da dívida; II - os serviços da dívida a pagar (parcelas de amortização e de juros da dívida fundada); III - os depósitos (consignações ou cauções e garantias recebidas em função de execução de obra pública, por exemplo); IV - os débitos de tesouraria (ARO – operações de crédito por antecipação de receita destinadas a cobrir insuficiências de caixa ou tesouraria). OBS.: ARO – OPERAÇÕES DE CRÉDITO POR ANTECIPAÇÃO DA RECEITA (artigo 38-LRF) = DÉBITOS DE TESOURARIA A operação de crédito por antecipação de receita destina-se a atender insuficiência de caixa durante o exercício financeiro e só será válida se cumprir as seguintes exigências: • existência de prévia e expressa autorização para a contratação, no texto da lei orçamentária, em créditos adicionais ou lei específica (ver artigo 165, § 8º da CF); • observância dos limites e condições fixados pelo Senado Federal; • atendimento do disposto no inciso III do art. 167 da Constituição (regra de ouro); Apostila de Orçamento e Contabilidade Pública 58 Prof. Fabio Furtado
  • 60.
    observância das demais restrições estabelecidas nesta Lei complementar; • realização somente a partir do décimo dia do inicio do exercício; • liquidação, com juros e outros encargos incidentes, até o dia dez de dezembro de cada ano; • autorização negada se forem cobrados outros encargos que não a taxa de juros da operação, obrigatoriamente prefixada ou indexada à taxa básica financeira, ou à que vier a esta substituir; • proibição da realização de ARO: a) enquanto existir operação anterior da mesma natureza não integralmente resgatada; b) no último ano de mandato do Presidente, Governador ou Prefeito Municipal. Dívida Fundada O artigo 98 da Lei nº 4.320/64 trata da dívida fundada. - A dívida fundada compreende os compromissos de exigibilidade superior a 12 (doze) meses, contraídos para atender a desequilíbrio orçamentário ou a financiamento de obras e serviços públicos. A lei 4.320/64 estabelece, ainda, que a dívida fundada será escriturada com individuação e especificações que permitam verificar, a qualquer momento, a posição dos empréstimos, bem como os respectivos serviços de amortização e juros. _________________________________________________________________________ Apostila de Orçamento e Contabilidade Pública 59 Prof. Fabio Furtado
  • 61.
    OBS.: A DÍVIDAPÚBLICA NA LRF: A LRF, além de alterar o conceito legal de dívida pública assinalado na Lei nº 4.320/64, estabeleceu uma série de regras restritivas e controladoras para o endividamento público. Essas regras estão assinaladas ao longo dos artigos 29 a 40. Novas definições da Dívida Pública, segundo a LRF: I – dívida pública consolidada ou fundada: montante total, apurado sem duplicidade, das obrigações financeiras do ente da Federação, assumidas em virtude de leis, contratos, convênios ou tratados e da realização de operações de crédito, para amortização em prazo superior a doze meses, bem como as operações de crédito de prazo inferior a doze meses , cujas receitas tenham constado do orçamento e os precatórios judiciais não- pagos durante a execução do orçamento em que houverem sido incluídos; II – dívida pública mobiliária: dívida pública representada por títulos emitidos pela União, inclusive os do Banco Central do Brasil, dos Estados e dos Municípios; III – operação de crédito: compromisso financeiro assumido em razão de mútuo, abertura de crédito, emissão e aceite de título, aquisição financiada de bens, recebimento antecipado de valores provenientes da venda a termo de bens e serviços, arrendamento mercantil e outras operações assemelhadas, inclusive com o uso de derivativos financeiros; IV – concessão de garantia: compromisso de adimplência de obrigação financeira ou contratual assumida por ente da Federação ou entidade a ele vinculadas; V – refinanciamento da dívida mobiliária: emissão de títulos para pagamento do principal acrescido da atualização monetária. Apostila de Orçamento e Contabilidade Pública 60 Prof. Fabio Furtado
  • 62.
    Patrimônio Público O patrimônioé conceituado como sendo um conjunto de bens, direitos e obrigações pertencentes a uma pessoa física ou jurídica. O Patrimônio Público pode ser conceituado como segue: • Patrimônio Público é o conjunto de bens, direitos e obrigações de propriedade do Estado. OU • O Patrimônio do Estado constitui o conjunto de bens, valores, créditos e obrigações de conteúdo econômico e avaliáveis em moeda que a Fazenda Pública possui e utiliza na consecução dos seus objetivos. Bens Públicos 1 - Conceito Conjunto de meios pelos quais o Estado desenvolve suas atividades de prestação de serviços à comunidade. 2 – Classificação Os bens públicos podem ser classificados da seguinte forma: • Bens de Uso Comum; • Bens de Uso Especial; • Bens Dominiais ou Dominicais. Bens de Uso Comum São imóveis de domínio público e não são apropriados contabilmente ao Patrimônio Estatal, constituindo, assim o Patrimônio Comunitário ou Social. Podem ser: a) naturais – praias, rios, lagos etc. b) artificiais (construídos pela ação do homem) – ruas, estradas, pontes, praças etc. Apostila de Orçamento e Contabilidade Pública 61 Prof. Fabio Furtado
  • 63.
    São, portanto, deuso comum todos os bens destinados ao uso da comunidade, quer individual ou coletivamente, e por isso apresentam as seguintes características: • não são contabilizados como Ativo, embora as obrigações decorrentes sejam incluídas no Passivo; • não são inventariados ou avaliados; • não podem ser alienados; • são impenhoráveis e imprescritíveis; • o uso pode ser oneroso ou gratuito; • estão excluídos do patrimônio da instituição. Bens de Uso Especial Também podem ser denominados Bens do Patrimônio Administrativo – são os destinados à execução dos serviços públicos, como os edifícios ou terrenos utilizados pelas repartições ou estabelecimentos públicos, bem como os móveis e materiais indispensáveis a seu funcionamento. Tais bens têm uma finalidade pública permanente, razão pela qual são denominados bens patrimoniais indispensáveis. Esses bens têm as seguintes características: • são contabilizados; • são inventariados e avaliados; • são inalienáveis quando empregados no serviço público; nos demais casos, são alienáveis, mas sempre nos casos e na forma que a lei estabelecer; • estão incluídos no patrimônio da instituição. Bens Dominiais ou Dominicais Também podem ser denominados Bens do Patrimônio Disponível – são os que integram o patrimônio público com características diferentes, pois podem ser utilizados em qualquer fim, ou mesmo alienados se a administração julgar conveniente. Os bens dominiais possuem as seguintes características: • estão sujeitos à contabilização; Apostila de Orçamento e Contabilidade Pública 62 Prof. Fabio Furtado
  • 64.
    são inventariados e avaliados; • podem ser alienados nos casos e na forma que a lei estabelecer; • estão incluídos no patrimônio da instituição; • dão e podem produzir renda. Demonstrações Contábeis utilizadas na Contabilidade Pública Os resultados gerais do exercício serão demonstrados no Balanço Orçamentário, no Balanço Financeiro, no Balanço Patrimonial e na Demonstração das Variações Patrimoniais. Balanço Orçamentário (BO) O Balanço Orçamentário demonstrará as receitas e despesas previstas em confronto com as realizadas. Dessa forma demonstra: • a economia orçamentária: que ocorre quando a despesa realizada é menor que a despesa fixada; • o superávit orçamentário: que ocorre quando a despesa realizada é menor que a receita arrecadada; • o déficit orçamentário: que ocorre quando a despesa realizada é maior que a receita arrecadada; • o excesso de arrecadação: que ocorre quando a receita arrecadada é maior que a receita estimada; • a insuficiência de arrecadação: que ocorre quando a receita arrecadada é menor que a receita estimada. Balanço Orçamentário Receita Despesa Títulos Previsão Execução Diferença Títulos Fixação Execução Diferença $ $ $ $ $ $ Rec. Correntes Créd.Orçament. Rec. Tributária e Suplementar Rec. Patrimonial Desp.Correntes Rec. Industrial (A) (B) (B-A) Desp. de Capital (C) (D) (D-C) Transf. Correntes Créd. Especiais Rec. de Capital Créd. Extraord. Op. de Crédito Alienação bens Soma Soma Déficit (B < D) Superávit (D < B) Total Total Apostila de Orçamento e Contabilidade Pública 63 Prof. Fabio Furtado
  • 65.
    Balanço Financeiro (BF) OBalanço Financeiro demonstrará a receita e despesa orçamentárias, bem como os recebimentos e os pagamentos de natureza extra-orçamentária, conjugados com os saldos em espécie provenientes do exercício anterior, e os que se transferem para o exercício seguinte. O Balanço Financeiro representa ao final do exercício o produto da contabilidade financeira, cuja função é a de registrar as operações relativas à movimentação de valores, especialmente numerário. Os Restos a Pagar do exercício serão computados na receita extra- orçamentária para compensar sua inclusão na despesa orçamentária. Balanço Financeiro Receita Despesa Títulos $ Títulos $ Orçamentária Orçamentária Rec. Correntes Legislativa Rec. Tributária Judiciária Rec. Patrimonial Administração Rec. Industrial Segurança Pública Transf. Correntes Trabalho Educação Rec. de Capital Cultura Op. de Crédito Alienação bens Extra-Orçamentária Extra-Orçamentária Restos a Pagar Restos a Pagar (pagos (inscritos no exercício) no exercício) Depósitos de Terceiros Depósitos de (cauções recebidas) Terceiros (cauções devolvidas) SEA SES Total Total Onde: S E A = Saldo do Exercício Anterior S E S = Saldo para o Exercício Seguinte Apostila de Orçamento e Contabilidade Pública 64 Prof. Fabio Furtado
  • 66.
    Obs.: No BalançoFinanceiro, a receita orçamentária é demonstrada por categoria econômica, enquanto a despesa é apresentada por função de governo. Então, Receita categoria econômica Despesa função O Balanço Financeiro funciona da seguinte forma: SI + E – S = SF Onde: SI = Saldo inicial dos recursos, que é o mesmo que SEA (Saldo do Exercício Anterior); E = Entradas de recursos, que vem a ser o mesmo que as receitas; S = Saídas de recursos, que vem a ser o mesmo que as despesas. SF = Saldo final dos recursos, que é o mesmo que SES (Saldo para o Exercício Seguinte); Logo, podemos demonstrar da seguinte forma: SEA + R – D = SES Apostila de Orçamento e Contabilidade Pública 65 Prof. Fabio Furtado
  • 67.
    Demonstração das VariaçõesPatrimoniais (DVP) A DVP evidenciará as alterações verificadas no patrimônio, resultantes ou independentes da execução orçamentária, e indicará o resultado patrimonial do exercício. Demonstração das Variações Patrimoniais Variações Ativas Variações Passivas Resultantes do Orçamento 1.070.000 Resultantes do Orçamento 850.000 Receitas Orçamentárias 670.000 Despesas Orçamentárias 680.000 Receitas Correntes 500.000 Despesas Correntes 280.000 Receitas de Capital 170.000 Despesas de Capital 400.000 Mutação Patrimonial da Despesa 400.000 Mutação Patrimonial da Receita 170.000 Independentes da Execução Orçamentária 10.000 Independentes da Execução Orçamentária - Superveniência Ativa 10.000 Superveniência Passiva - Insubsistência Passiva - Insubsistência Ativa - Soma das Variações Ativas 1.080.000 Soma das Variações Passivas 850.000 Resultado Patrimonial – Déficit - Resultado Patrimonial – Superávit 230.000 Total 1.080.000 Total 1.080.000 A DVP, como se pode verificar, apresenta-se basicamente dividida em três grupos de contas: Resultantes da Execução Orçamentária (REO), Independente da Execução Orçamentária (IEO) e Resultado Patrimonial (RP). O grupo Resultante da Execução Orçamentária (REO) subdivide-se em receita orçamentária ou despesa orçamentária e em mutações patrimoniais. Como o próprio nome explicita, nesse grupo está registrado o saldo final da execução do orçamento por categoria econômica. As mutações patrimoniais decorrem de variações positivas e negativas no ativo e passivo permanente, resultantes da execução das receitas (exceto Transferências de Capital recebidas) e das despesas de capital (exceto Transferências de Capital concedidas) ou de algumas receitas (recebimento ou cobrança da Dívida Ativa) e despesas correntes (aquisição de material a ser estocado). Apostila de Orçamento e Contabilidade Pública 66 Prof. Fabio Furtado
  • 68.
    As Variações Independentesda Execução Orçamentária (IEO) apresentam os acréscimos ou as reduções no patrimônio do Estado não originados da execução do orçamento, bem como os fatos supervenientes e insubsistentes ativos e passivos. As Superveniências representam aumentos patrimoniais de origem extra- orçamentários não originados do orçamento, já as Insubsistências são diminuições patrimoniais de origem extra-orçamentárias, também não originadas do orçamento. Sendo assim, as superveniências e as insubsistências classificam-se em ativas e passivas, a saber: a) superveniências ativas (incorporação de bens e direitos): aumentos de valores representativos de ativos de origens extra- orçamentárias; b) superveniências passivas (incorporação de dívidas e obrigações): aumentos de valores representativos do passivo de origem extra-orçamentária; c) insubsistências ativas (desincorporação de bens e direitos): diminuições de valores representativos de ativos de origens extra- orçamentárias; d) insubsistências passivas (desincorporação de dívidas e obrigações): diminuições de valores representativos do passivo de origens extra-orçamentárias. São vários os exemplos de superveniência e insubsistências ativas e passivas, entre os quais se têm: • superveniência ativa: registro (inscrição) da dívida ativa, doação recebida, nascimento de animais nas criações pecuárias do Estado, reavaliação de ativos, entre outros; • insubsistências passivas: cancelamento de restos a pagar e dívidas, entre outros; • superveniência passiva: encampação de uma dívida, entre outros; • insubsistências ativas: a morte de animais nas criações pecuárias do Estado, extravio (roubo devidamente comprovado), cancelamento de dívida ativa, doação efetuada, entre outros. Apostila de Orçamento e Contabilidade Pública 67 Prof. Fabio Furtado
  • 69.
    Toda receita decapital é uma receita por mutação patrimonial, exceto a decorrente de transferências de capital, e todo recebimento (também pode vir denominado na prova como COBRANÇA) de dívida ativa, apesar de ser classificado como outras receitas correntes, também é considerado receita por mutação patrimonial. Toda receita por mutação patrimonial é uma mutação passiva, conforme segue: Toda despesa de capital é uma despesa por mutação patrimonial, exceto a decorrente de transferências de capital, e toda aquisição de material para estoque (almoxarifado), apesar de ser classificado como despesas correntes, também é considerada despesa por mutação patrimonial. Toda despesa por mutação patrimonial é uma mutação ativa, conforme segue: Corrente Receitas Capital Result. Exec. Orç. Variação Ativa Mutação Patrim. Despesa Superveniência Ativa Indep. Exec. Orç. (incorporação de ativo) Insubsistência Passiva * (desincorporação de passivo) Corrente Despesas Capital Result. Exec. Orç. Variação Passiva Mutação Patrim. Receita Superveniência Passiva Indep. Exec. Orç. (incorporação de passivo) Insubsistência Ativa ** (desincorporação de ativo) Apostila de Orçamento e Contabilidade Pública 68 Prof. Fabio Furtado
  • 70.
    * Denominação utilizadapela maioria dos autores, todavia, é válido destacar que o professor Lino Martins da Silva, em sua obra Contabilidade Governamental – Um Enfoque Administrativo, da editora Atlas, adota a seguinte nomenclatura: “Insubsistência Ativa”, concordando o termo “Ativa” com a natureza da variação que é ativa. A STN e o CFC concorda com Lino Martins. ** Denominação utilizada pela maioria dos autores, todavia, também é válido destacar que o professor Lino Martins da Silva, em sua obra Contabilidade Governamental – Um Enfoque Administrativo, da editora Atlas, adota a seguinte nomenclatura: “Insubsistência Passiva”, concordando o termo “Passiva” com a natureza da variação que é passiva. A STN e o CFC concorda com Lino Martins. Diante do exposto, concluímos que: Em relação à variação ativa: A maioria dos autores utiliza a expressão “Insubsistência Passiva” indicando que está ocorrendo uma variação ativa em virtude de uma perda de passivo. O professor Lino Martins, adota a expressão “Insubsistência Ativa” indicando que a perda ocorrida (de passivo) é uma coisa positiva. Em relação à variação passiva: A maioria dos autores utiliza a expressão “Insubsistência Ativa” indicando que está ocorrendo uma variação passiva em virtude de uma perda de ativo. O professor Lino Martins, adota a expressão “Insubsistência Passiva” indicando que a perda ocorrida (de ativo) é uma coisa negativa. _________________________________________________________________________ ___________________________________________________________________ A DVP, atualmente, inclui novos elementos não previstos na Lei nº 4.320/64. Esses novos elementos são as interferências ativas e interferências passivas. De acordo com o livro Contabilidade Aplicada à Administração Pública, do Prof: Fernando Glauber Lima Mota, da editora Vestcon, “... em decorrência da evolução ocorrida na área pública, com a implementação de novos procedimentos e conceitos, proporcionada com a utilização de sistemas de Apostila de Orçamento e Contabilidade Pública 69 Prof. Fabio Furtado
  • 71.
    informática (Siafi eSiafem), encontramos novos conteúdos na demonstração das variações patrimoniais, destacados em negrito a seguir, que não foram previstos na Lei nº 4.320/64, senão vejamos: VARIAÇÕES ATIVAS: - Variações ativas orçamentárias: receitas orçamentárias, interferências ativas (transferências financeiras recebidas) e as mutações ativas de bens, direitos e obrigações, decorrentes da despesa. - Variações ativas extra-orçamentárias: receitas extra- orçamentárias, interferências ativas (transferências financeiras e patrimoniais recebidas) e os acréscimos patrimoniais decorrentes de incorporação de bens e direitos e desincorporação de obrigações. VARIAÇÕES PASSIVAS: - Variações passivas orçamentárias: despesas orçamentárias, interferências passivas (transferências financeiras concedidas) e as mutações passivas de bens, direitos e obrigações, decorrentes da receita. - Variações passivas extra-orçamentárias: despesas extra- orçamentárias, interferências passivas (transferências financeiras e patrimoniais concedidas) e os decréscimos patrimoniais decorrentes de desincorporação de bens e direitos e incorporação de obrigações. ... As variações ativas orçamentárias representadas pelas interferências ativas apresentam valores oriundos da movimentação financeira decorrente da execução orçamentária (cotas, repasses e sub-repasses recebidos etc.). As variações passivas orçamentárias representadas pelas interferências passivas apresentam valores que têm origem na movimentação financeira pela execução do orçamento (cotas, repasses e sub-repasses concedidos etc.)... ... As variações ativas extra-orçamentárias podem ser representadas pelas interferências ativas, que apresentam valores oriundos da movimentação financeira extra-orçamentária e de bens entre unidades gestoras do mesmo órgão/gestão. As variações passivas extra-orçamentárias podem ser representadas pelas interferências passivas, que apresentam valores oriundos também da movimentação financeira extra-orçamentária e de bens entre unidades gestoras do mesmo órgão/gestão”. Apostila de Orçamento e Contabilidade Pública 70 Prof. Fabio Furtado
  • 72.
    De acordo como livro Contabilidade Pública de Diana Vaz de Lima e Róbison Gonçalves de Castro, da editora Atlas, temos: interferências passivas, correspondentes ao resultado orçamentário, representam as transferências financeiras concedidas, na forma de cota, repasse e sub-repasse concedidos. interferências passivas, correspondentes ao resultado extra- orçamentário, representam as transferências financeiras concedidas para atender a restos a pagar (que pertencem ao orçamento do exercício anterior) e as transferências de bens e valores concedidos. interferências ativas, correspondentes ao resultado orçamentário, representam as transferências financeiras recebidas, na forma de cota, repasse e sub-repasse recebidos. interferências ativas, correspondentes ao resultado extra- orçamentário, representam as transferências financeiras recebidas para atender a restos a pagar (que pertencem ao orçamento do exercício anterior) e as transferências de bens e valores recebidos. De acordo com o livro acima, temos ainda: “MOVIMENTAÇÃO DE RECURSOS FINANCEIROS Com base na Programação Financeira Aprovada (PFA), o Órgão Central de Programação Financeira (STN/Cofin) procede à liberação de cota para a Setorial de Orçamentos e Finanças (COF). A partir desse momento, a Setorial dá início à movimentação dos recursos financeiros até o limite de sua cota, transferindo-os às unidades gestoras para a realização de despesas com projetos/atividades/operações especiais durante determinado período (geralmente um mês). A movimentação de recursos entre as unidades do sistema de programação financeira é executada através de liberações de cotas, repasses e sub-repasses: a) cota: é a primeira fase da movimentação dos recursos, realizada em consonância com o cronograma de desembolso aprovado pela STN. Esses recursos são colocados à disposição dos órgãos setoriais de programação financeira mediante movimentação intra-Siafi dos recursos da Conta Única do Tesouro Nacional; b) repasse: é a liberação dos recursos realizada pelos órgãos setoriais de programação financeira para entidades da Apostila de Orçamento e Contabilidade Pública 71 Prof. Fabio Furtado
  • 73.
    Administração Indireta eentre elas; e, ainda, da entidade da Administração Indireta para órgãos da Administração Direta, ou entre eles, se de órgãos diferentes; c) sub-repasse: é a liberação de recursos dos órgãos setoriais de programação financeira para as unidades gestoras de um mesmo Ministério, órgão ou entidade.” Obs.: Diante do exposto, a DVP conterá o termo “Interferências Ativas” nos grupos Resultantes da Execução Orçamentária e Independentes da Execução Orçamentária na coluna das variações ativas e conterá também o termo “Interferências Passivas” nos grupos Resultantes da Execução Orçamentária e Independentes da Execução Orçamentária na coluna das variações passivas. _________________________________________________________________________ ___________________________________________________________________ Balanço Patrimonial (BP) O Balanço Patrimonial demonstrará: o Ativo Financeiro; o Ativo Permanente; o Passivo Financeiro; o Passivo Permanente; o Saldo Patrimonial; as Contas de Compensação. O Ativo Financeiro compreenderá os créditos e valores realizáveis independentemente da autorização orçamentária e os valores numerários. O Ativo Permanente compreenderá os bens, créditos e valores cuja mobilização ou alienação dependa da autorização legislativa. A soma desse dois grupos (Ativo Financeiro e Ativo Permanente ou Ativo Não-Financeiro) corresponde ao Ativo Real. O Passivo Financeiro compreenderá os compromissos exigíveis cujo pagamento independa de autorização orçamentária. O Passivo Permanente compreenderá as dívidas fundadas e outras que dependam de autorização legislativa para amortização ou resgate. A soma desse dois grupos (Passivo Financeiro e Passivo Permanente ou Passivo Não-Financeiro) corresponde ao Passivo Real. Apostila de Orçamento e Contabilidade Pública 72 Prof. Fabio Furtado
  • 74.
    O Saldo Patrimonialresulta do confronto entre Ativo Real e Passivo Real e será assim demonstrado: saldo patrimonial positivo ou Ativo Real Líquido: ocorre quando o Ativo Real for maior que o Passivo Real; saldo patrimonial negativo ou Passivo a Descoberto: ocorre quando o Passivo Real for maior que o Ativo Real; saldo patrimonial nulo: decorre da igualdade entre os elementos do ativo e do Passivo. Nas Contas de Compensação (Ativo Compensado e Passivo Compensado) serão registrados os bens, valores, obrigações e situações não compreendidas nos parágrafos anteriores e que, mediata ou indiretamente, possam vir a afetar o patrimônio. Cabe observar que a avaliação dos elementos patrimoniais obedecerá às normas seguintes (Art. 106 da Lei 4.320/64): - os débitos, créditos bem como os títulos de renda, pelo seu valor nominal, feita a conversão, quando em moeda estrangeira, à taxa de câmbio vigente na data do balanço; - os bens móveis e imóveis, pelo valor de aquisição ou pelo custo de produção ou de construção; - os bens de almoxarifado, pelo preço médio ponderado das compras; - os valores em espécie, assim como os débitos e créditos, quando em moeda estrangeira, deverão figurar ao lado das correspondentes importâncias em moeda nacional; As variações resultantes da conversão dos débitos, créditos e valores serão apropriadas às variações patrimoniais ativas ou passivas, conforme o caso, podendo ainda ser efetuadas reavaliações dos bens móveis e imóveis. Apostila de Orçamento e Contabilidade Pública 73 Prof. Fabio Furtado
  • 75.
    Balanço Patrimonial Ativo Passivo Ativo Financeiro 28.000,00 Passivo Financeiro 20.000,00 Caixa 2.000,00 Restos a Pagar 12.000,00 Bancos 26.000,00 INSS a recolher 8.000,00 Ativo Permanente 80.000,00 Passivo Permanente 30.000,00 Bens Imóveis 60.000,00 Operações de Crédito 30.000,00 Bens Móveis 20.000,00 Ativo Real 108.000,00 Passivo Real 50.000,00 Saldo Patrimonial 58.000,00 (Ativo Real Líquido) Ativo Compensado - Passivo Compensado - Total 108.000,00 Total 108.000,00 _________________________________________________________________________ ___________________________________________________________________ IMPORTANTE: Segundo § 2º do art. 15 da Lei 4.320/64, para efeito de classificação da despesa, considera-se material permanente o de duração superior a 2(dois) anos. Isto quer dizer o seguinte: - se o material adquirido tiver a duração superior a 2 anos, deve ser classificado como material permanente; - se o material adquirido tiver a duração igual ou inferior a 2 anos, deve ser classificado como material de consumo. _________________________________________________________________________ _________________________________________________________________________ Apostila de Orçamento e Contabilidade Pública 74 Prof. Fabio Furtado
  • 76.
    ALGUNS EXEMPLOS DECONTABILIZAÇÕES DE OPERAÇÕES TÍPICAS: S Conforme a maioria dos Doutrinadores Conforme livros ref. SIAFI Previsão da Receita Orçamentária: Previsão da Receita Orçamentária: SO D – Receita Prevista D – Receita a Realizar C – Orçamento da Receita C – Previsão Inicial da Receita Arrecadação de Receita Corrente: Arrecadação de Receita Corrente: - Receita Efetiva - Tributos - Receita Efetiva - Tributos SO D – Execução da Receita D – Receita Realizada C – Receita Prevista C – Receita a Realizar SF D – Bancos D – Bancos Conta Movimento C – Receita Corrente Arrecadada C – Receitas Correntes Arrecadação de Receita de Capital: Arrecadação de Receita de Capital: - Alienação de Bens Móveis - Alienação de Bens Móveis SO D – Execução da Receita D – Receita Realizada C – Receita Prevista C – Receita a Realizar SF D – Bancos D – Bancos Conta Movimento C – Receita de Capital Arrecadada C – Receita de Capital SP D – Variações Passivas/MPR/Alienação D – Desincorporação de Ativos de Bens Móveis C – Bens Móveis C – Ativo Arrecadação de Receita Corrente Arrecadação de Receita Corrente - Receita por Mutações – Cobrança da - Receita por Mutações – Cobrança da Dívida Ativa Dívida Ativa SO D – Execução da Receita D – Receita Realizada C – Receita Prevista C – Receita a Realizar SF D – Bancos D – Bancos Conta Movimento C – Receita Corrente Arrecadada C – Receita Corrente SP D – Variações Passivas/MPR/Cobrança D – Desincorporação de Ativos da Dívida Ativa C – Dívida Ativa C – Ativo Apostila de Orçamento e Contabilidade Pública 75 Prof. Fabio Furtado
  • 77.
    Fixação da DespesaOrçamentária Fixação da Despesa Orçamentária SO D – Orçamento da Despesa D – Crédito Inicial C – Créditos Disponíveis C – Crédito Disponível Pelo comprometimento da despesa Pelo comprometimento da despesa (Empenho) (Empenho) SO D – Créditos Disponíveis D – Créditos Disponível C – Despesa Empenhada C – Crédito Empenhado a Liquidar D – Emissão de Empenhos C – Empenhos a Liquidar D – Valores Comprometidos C – Valores em Liquidação Pelas despesas liquidadas a Pagar Pelas despesas liquidadas a Pagar - Correntes – Despesa Efetiva – Serviços - Correntes – Despesa Efetiva – de Terceiros Serviços de Terceiros SO D – Despesa Empenhada D – Crédito Empenhado a Liquidar C – Execução da Despesa C – Crédito Empenhado Liquidado D – Empenhos a Liquidar C – Empenhos Liquidados D – Valores em Liquidação C – Valores Liquidados a Pagar SF D – Despesa Realizada D – Despesas Correntes C – Despesa Liquidada a Pagar C – Fornecedores Pelas despesas liquidadas a Pagar Pelas despesas liquidadas a Pagar - Capital – Despesas por Mutações – - Capital – Despesas por Mutações – Compras de Bens Móveis Compras de Bens Móveis SO D – Despesa Empenhada D – Crédito Empenhado a Liquidar C – Execução da Despesa C – Crédito Empenhado Liquidado D – Empenhos a Liquidar C – Empenhos Liquidados D – Valores em Liquidação C – Valores Liquidados a Pagar SF D – Despesa Realizada D – Despesas de Capital C – Despesa Liquidada a C – Fornecedores Pagar/Fornecedores SP D – Bens Móveis D – Ativo/ Bens Móveis C – Variações Ativas/MPD/Aquisição de C – Mutações Ativas Bens Móveis Apostila de Orçamento e Contabilidade Pública 76 Prof. Fabio Furtado
  • 78.
    Pelo pagamento de despesas já Pelo pagamento de despesas já liquidadas liquidadas SF D – Despesa Liquidada a Pagar/Fornecedores D – Fornecedores C – Bancos C – Banco Conta Movimento Inscrição de Dívida Ativa Inscrição de Dívida Ativa SP D – Dívida Ativa D – Dívida Ativa C – VAISA – Variação Ativa/Independente C – Acréscimo Patrimonial ou da Execução Orçamentária/ Incorporação de Ativos Superveniência Ativa Cancelamento da Dívida Ativa Cancelamento da Dívida Ativa SP D – Variação Passiva/Independente da D – Decréscimo Patrimonial ou Execução Orçamentária/Insubsistência Desincorporação de Ativos Passiva ** C – Dívida Ativa C – Dívida Ativa Cobrança ou Recebimento da Dívida Cobrança ou Recebimento da Dívida Ativa Ativa SO D – Execução da Receita D – Receita Realizada C – Receita Prevista/Outras Receitas C – Receita a Realizar Correntes SF D – Bancos D – Bancos Conta Movimento C – Receita Arrecadada C – Receita corrente SP D – Variação Passiva/Resultante da D – Mutação Passiva Execução Orçamentária/MPR C – Dívida Ativa C – Dívida Ativa Inscrição de Restos a Pagar Inscrição de Restos a Pagar Processados Processados SF D – Despesa Liquidada a Pagar D – Fornecedores C – Restos a Pagar C – Restos a Pagar Processados Processados Nome do Fornecedor Nome do Fornecedor Apostila de Orçamento e Contabilidade Pública 77 Prof. Fabio Furtado
  • 79.
    Inscrição de Restosa Pagar Inscrição de Restos a Pagar Não-Processados Não-Processados SO D – Despesa Empenhada D – Crédito Empenhado a Liquidar C – Execução da Despesa C – Crédito Empenhado Liquidado D – Empenhos a Liquidar C – Empenhos Liquidados D – Valores em Liquidação C – Empenhos Inscritos em Restos a Pagar SF D – Despesa Realizada D – Despesa Orçamentária C – Restos a Pagar C – Restos a Pagar Não-Processados Não-Processados Nome do Fornecedor SC D – Inscrição de Restos a Pagar C – Restos a Pagar a Liquidar - Pagamento dos Restos a Pagar - Pagamento dos Restos a Pagar Processados Processados SF D – Restos a Pagar D – Restos a Pagar Processados Processados C – Bancos C – Banco Conta Movimento Registro das Variações Ativas e Registro das Variações Ativas e Passivas Extra-Orçamentárias Passivas Extra-Orçamentárias - Incorporação de Bem Imóvel recebido - Incorporação de Bem Imóvel em doação recebido em doação SP D – Bens Imóveis D – Bens Imóveis C – VAISA – Variação Ativa/Independente C – Acréscimos Patrimoniais Execução Orçamentária/Superveniência Ativa - Desincorporação de Bens Móveis por - Desincorporação de Bens Móveis destruição por destruição SP D – Variação Passiva/Independente da D – Decréscimos Patrimoniais Execução Orçamentária/Insubsistência C – Bens Móveis Ativa ** C – Bens Móveis Apostila de Orçamento e Contabilidade Pública 78 Prof. Fabio Furtado
  • 80.
    Onde: SO – SistemaOrçamentário; SF – Sistema Financeiro SP – Sistema Patrimonial Obs.: Podemos verificar que na maioria das vezes, os lançamentos referentes ao sistema orçamentário, na coluna destinada a demonstrar os lançamentos conforme o sistema SIAFI, possuem três registros. Isto ocorre pelo seguinte motivo: A execução orçamentária da despesa é controlada pelo Siafi desde o empenho até seu pagamento, em quatro modalidades: controle por Célula da Despesa (esfera orçamentária, unidade orçamentária, programa de trabalho, fonte de recursos e natureza de despesa); controle por Nota de Empenho; controle por Favorecido (fornecedor) e controle por Modalidade de Licitação. O controle por Célula da Despesa objetiva verificar a execução dos programas de trabalho atribuídos pelo orçamento às unidades gestoras. O controle por Nota de Empenho permite o monitoramento dos valores dos empenhos emitidos, o montante dos empenhos de reforço e eventuais anulações. O controle por Favorecido, permite conhecer as relações do setor público, bem como suas subdivisões com seus fornecedores. O controle por Modalidade de Licitação permite constatar o montante realizado mediante dispensa ou inexigibilidade de licitação, bem como quanto é adquirido por modalidade de licitação prevista na legislação. O primeiro lançamento do sistema orçamentário de cada fato contabilizado efetua o controle por programa de trabalho (célula da despesa), o segundo por nota de empenho e o último por favorecido do empenho. Apostila de Orçamento e Contabilidade Pública 79 Prof. Fabio Furtado
  • 81.
    RESUMÃO Contabilidade Pública A Contabilidade Pública é um ramo da ciência contábil e tem o objetivo de captar, registrar e interpretar os fenômenos que afetam as situações Conceito orçamentárias, financeiras e patrimoniais das entidades que compõem a Administração Direta e Indireta dos entes públicos (união, Estados, Municípios e Distrito Federal) • Administração Direta dos entes públicos; • Administração Indireta (Autarquias, Fundações, Empresas Públicas e Sociedades de Economia Campo de Atuação Mista) dos entes públicos. Obs.: As empresas públicas e sociedades de economia mista utilizam a contabilidade pública quando recebem recursos à conta do Orçamento Público para despesas com pessoal ou de custeio em geral ou de capital, excluídos no último caso, aqueles provenientes de aumento de participação acionária (art. 2º, III, da LRF). Quando utilizam recursos do orçamento público para os fins supracitados, essas entidades passam a ser conhecidas como EMPRESAS ESTATAIS DEPENDENTES. Patrimônio Público (conjunto de bens, direitos e Objeto obrigações pertencentes ao Estado) Finalidade Fornecer informações sobre a execução orçamentária, financeira e sobre o patrimônio público e suas variações aos diversos usuários. Usuários Gestores Públicos; Cidadãos; Fornecedores etc. Exercício Coincide com o ano civil (1º de janeiro a 31 de Financeiro dezembro). Regime Contábil Regime Misto, sendo regime de competência para as despesas e de caixa para as receitas. Sistemas de Sistema Orçamentário, Sistema Financeiro, Sistema Contas Patrimonial e Sistema de Compensação. (4) Apostila de Orçamento e Contabilidade Pública 80 Prof. Fabio Furtado
  • 82.
    Receita Pública Conceito É todo recolhimento de bens aos cofres públicos. • Quanto à natureza (orçamentária e extra- orçamentária); • Quanto ao poder de tributar (Federal, Estadual e Municipal); Classificação • Quanto à coercitividade (Derivada e Originária); • Quanto às categorias econômicas (Receitas Correntes e Receitas de Capital); • Quanto à afetação patrimonial (Receitas Efetivas e Receitas por Mutação Patrimonial) CATEGORIA ECONÔMICA Receitas Orçamentárias Receitas Correntes e Receitas de Capital Receitas Tributárias; Receitas de Contribuições; Receitas Correntes Receitas Patrimoniais; Receitas Agropecuárias; Receitas Industriais; Receitas de Serviços; (8) Transferências Correntes; Outras Receitas Correntes. Alienação de Bens; Operações de Crédito; Receitas de Capital Amortização de Empréstimos (concedidos); Transferências de Capital; Outras Receitas de Capital. (5) Apostila de Orçamento e Contabilidade Pública 81 Prof. Fabio Furtado
  • 83.
    De acordo coma Lei 4.320/64: Lançamento; Arrecadação; Recolhimento. Estágios De acordo com o Professor Lino Martins da Silva, entre outros: Previsão; Lançamento; Arrecadação; Recolhimento. Previsão Estudo feito pela Fazenda Pública visando indicar o quanto se pretende arrecadar no exercício financeiro. É o ato da repartição competente que verifica a Lançamento procedência do crédito fiscal, a pessoa que lhe é devedora e inscreve o débito desta. Lançamento – Lançamento Direto ou de Ofício; Modalidades Lançamento por Declaração; Lançamento por Homologação Recebimentos de tributos, multas e demais créditos promovidos pelos agentes de arrecadação para Arrecadação posterior recolhimento aos cofres do Estado. É constituído da entrega do numerário arrecadado pelos agentes de arrecadação às repartições ou ao Banco Oficial. Recolhimento Momento no qual o valor está disponível para o Tesouro do Estado. Apostila de Orçamento e Contabilidade Pública 82 Prof. Fabio Furtado
  • 84.
    Despesa Pública Conceito É todo pagamento efetuado a qualquer título pelos agentes pagadores. • Quanto ao enfoque econômico (c, g, mm, ee, dd) • Quanto às categorias econômicas (Despesas Classificação Correntes e Despesas de Capital); • Quanto à afetação patrimonial (Despesas Efetivas e Despesas por Mutação Patrimonial) CATEGORIA ECONÔMICA Despesas Orçamentárias Despesas Correntes e Despesas de Capital classificam-se nessa categoria todas as despesas que não contribuem, diretamente, para a formação ou Despesas aquisição de um bem de capital. Representam Correntes encargos que não produzem acréscimos no patrimônio, respondendo assim, pela manutenção das atividades de cada órgão/atividade. Excluindo-se as aquisições de materiais para formação de estoques, todos os demais dispêndios correntes provocam a diminuição patrimonial (Despesa Efetiva). Despesas Correntes - Despesas de Custeio Classificação, - Transferências Correntes segundo a Lei 4.320/64 GRUPOS DE NATUREZA DE DESPESA Despesas Correntes - Pessoal e Encargos Sociais Classificação, - Juros e Encargos da Dívida segundo a Portaria 163/2001 - Outras Despesas Correntes Apostila de Orçamento e Contabilidade Pública 83 Prof. Fabio Furtado
  • 85.
    classificam-se nesta categoriaaquelas despesas que contribuem, diretamente, para a formação ou aquisição de um bem de capital, resultando no acréscimo do patrimônio do órgão ou entidade que a Despesas de realiza, aumentando, dessa forma, sua riqueza Capital patrimonial. À exceção das transferências de recursos financeiros repassados a outras instituições, para realizarem Despesas de Capital, os gastos desta natureza constituem fatos permutativos nos elementos patrimoniais (Despesa por Mutações). Despesas de - Investimentos Capital - Inversões Financeiras Classificação, segundo a Lei - Transferências de Capital 4.320/64 GRUPOS DE NATUREZA DE DESPESA Despesas de Capital - Investimentos Classificação, - Inversões Financeiras segundo a Portaria 163/2001 - Amortização da Dívida De acordo com a Lei 4.320/64: Empenho; Liquidação; Pagamento. De acordo com o Professor Lino Martins da Silva, Estágios entre ouros: Fixação; Empenho; Liquidação; Pagamento. esse estágio refere-se à estimativa, pelo Poder Público, Fixação de quanto irá ser alocado em cada dotação, sendo o montante o limite a ser gasto, visando o atendimento das necessidades coletivas. Apostila de Orçamento e Contabilidade Pública 84 Prof. Fabio Furtado
  • 86.
    é o atoemanado de poder competente que cria para o Empenho Estado uma obrigação de pagamento pendente ou não de implemento de condição que será cumprido com a entrega do material, a medição da obra ou a prestação dos serviços. Licitação ou sua dispensa; Fases do Empenho Autorização Formalização Obs.: Formalização - corresponde à dedução do valor da despesa feita no saldo disponível da dotação, e é comprovada pela emissão da Nota de Empenho que em determinadas situações previstas na legislação específica poderá ser dispensada, como nos casos das despesas relativas a: Pessoal e Encargos Sociais, Juros e Encargos da Dívida etc. Os empenhos são classificados nas seguintes modalidades: • Ordinário – quando destinado a atender a despesa cujo pagamento se processe de uma só vez; Ex.: Compra de um veículo à vista. • Estimativa – quando destinado a atender Modalidades ou despesas para as quais não se possa previamente Tipos de Empenho determinar o montante exato; Ex.: Despesas com água, luz, telefone etc. • Global – quando destinado a atender a despesas contratuais e outras, sujeitas a parcelamento, cujo montante exato possa ser determinado. Ex.: Despesas com serviços de limpeza executado por uma empresa contratada; Aquisição de um bem cujo pagamento será de forma parcelada etc. Apostila de Orçamento e Contabilidade Pública 85 Prof. Fabio Furtado
  • 87.
    consiste na verificaçãodo direito adquirido pelo credor, tendo por base os títulos e documentos comprobatórios do respectivo crédito. Liquidação Cabe observar que essa verificação tem por finalidade apurar: I – a origem e o objeto do que se tem que pagar; II – a importância exata a pagar; III – a quem se deve pagar a importância, para extinguir a obrigação. É o último estágio da despesa. O pagamento da despesa será efetuado por tesouraria ou pagadoria Pagamento regularmente instituídas, por estabelecimentos bancários credenciados e, em casos excepcionais, por meio de adiantamento ou suprimento de fundos. Apostila de Orçamento e Contabilidade Pública 86 Prof. Fabio Furtado
  • 88.
    Suprimento de Fundos É a modalidade de realização de despesa por meio de Conceito adiantamento concedido a servidor, para prestação de contas posterior, quando não for realizável o pagamento utilizando-se os serviços da rede bancária. • para atender a despesas eventuais, inclusive em viagens e com serviços especiais, que exijam pronto pagamento em espécie; • quando a despesa deve ser feita em caráter sigiloso, conforme se classificar em regulamento; Concessão • para atender a despesas de pequeno vulto, assim entendidas aquelas cujo valor, em cada caso, não ultrapassar limite estabelecido em Portaria do Ministro da Fazenda. • a responsável por dois suprimentos; Proibição para concessão • a servidor que tenha a seu cargo a guarda ou a utilização do material a adquirir, salvo quando não houver na repartição outro servidor; • a responsável por suprimento de fundos que, esgotado o prazo, não tenha prestado contas de sua aplicação; e • a servidor declarado em alcance (que teve suas contas impugnadas). Apostila de Orçamento e Contabilidade Pública 87 Prof. Fabio Furtado
  • 89.
    Dívida Pública Conceito Significa o conjunto de compromissos, de curto ou longo prazos, assumidos pelo Estado com terceiros. Classificação, • Dívida Flutuante segundo a Lei • Dívida Fundada 4.320/64 O artigo 92 da Lei nº 4.320/64 trata da dívida flutuante. - A dívida flutuante compreende: I - os restos a pagar, excluídos os serviços da dívida; Dívida Flutuante II - os serviços da dívida a pagar (parcelas de amortização e de juros da dívida fundada); III - os depósitos (consignações ou cauções e garantias recebidas em função de execução de obra pública, por exemplo); IV - os débitos de tesouraria (ARO – operações de crédito por antecipação de receita destinadas a cobrir insuficiências de caixa ou tesouraria). O artigo 98 da Lei nº 4.320/64 trata da dívida fundada. - A dívida fundada compreende os compromissos de Dívida Fundada exigibilidade superior a 12 (doze) meses, contraídos para atender a desequilíbrio orçamentário ou a financiamento de obras e serviços públicos. A lei 4.320/64 estabelece, ainda, que a dívida fundada será escriturada com individuação e especificações que permitam verificar, a qualquer momento, a posição dos empréstimos, bem como os respectivos serviços de amortização e juros. I – dívida pública consolidada ou fundada Classificação, II – dívida pública mobiliária segundo a LRF III – operação de crédito IV – concessão de garantia V – refinanciamento da dívida mobiliária Apostila de Orçamento e Contabilidade Pública 88 Prof. Fabio Furtado
  • 90.
    Dívida Ativa É a inscrição que se faz em conta de devedores, Conceito relacionadas a tributos, multas e créditos da Fazenda Pública, lançados, mas não arrecadados no exercício de origem. Classificação • Dívida Ativa Tributária • Dívida Ativa Não-Tributária Dívida Ativa reúne somente os créditos relativos a tributos Tributária (impostos, taxas e contribuições) lançados e não arrecadados. Dívida Ativa Não- engloba todos os demais créditos, líquidos e certos, da Tributária Fazenda Pública. a dívida ativa é apurada através da seguinte fórmula: Apuração Total lançado (-) total arrecadado = valor inscrito como dívida ativa. Apostila de Orçamento e Contabilidade Pública 89 Prof. Fabio Furtado
  • 91.
    Créditos Adicionais São as autorizações de despesas não previstas ou Conceito insuficientemente previstas no Orçamento Público. Os créditos adicionais podem ser classificados como: Classificação Créditos Suplementares Créditos Especiais Créditos Extraordinários Créditos se destinam ao reforço de dotação orçamentária já Suplementares existentes. se destinam a atender a despesas para as quais não Créditos Especiais haja dotação orçamentária específica. são destinados ao atendimento de despesas Créditos imprevisíveis e urgentes, como as decorrentes de Extraordinários guerra, comoção interna ou calamidade pública. Recursos para - Superávit Financeiro, apurado no balanço abertura de patrimonial do exercício anterior; créditos suplementares e - Excesso de Arrecadação; especiais - Anulação parcial ou total de dotações orçamentárias ou créditos adicionais (incluindo Reserva de Contingência); - Operações de Crédito; Apostila de Orçamento e Contabilidade Pública 90 Prof. Fabio Furtado
  • 92.
    Restos a Pagar De acordo com o art. 36 da Lei nº 4.320/64, consideram-se Restos a Pagar as despesas empenhadas, mas não-pagas, até 31 de dezembro, distinguindo-se as processadas das não-processadas. Conceito A despesa está processada quando já transcorreu o estágio da liquidação, ou seja, quando o credor/fornecedor já cumpriu sua obrigação. Restos a Pagar Processados Classificação Restos a Pagar Não-Processados A inscrição em Restos a Pagar é feita na data do encerramento do exercício financeiro de emissão da Inscrição nota de empenho, e terá validade até 31 de dezembro do ano subseqüente, vedada a reinscrição. RECEITA EXTRA-ORÇAMENTÁRIA Pagamento O pagamento de Restos a Pagar, seja Processado ou Não-Processado, é feito no ano seguinte ao da sua inscrição. DESPESA EXTRA-ORÇAMENTÁRIA Os Restos a Pagar não-pagos até 31 de dezembro do Cancelamento ano subseqüente ao de sua inscrição serão cancelados. Os Restos a Pagar só prescrevem após 05 (cinco) anos a partir da data de inscrição. A prescrição relativa ao direito do credor ocorre em Prescrição cinco anos, contados a partir da data de inscrição, excetuando-se os casos em que haja interrupções decorrentes de atos judiciais. Apostila de Orçamento e Contabilidade Pública 91 Prof. Fabio Furtado
  • 93.
    Despesas de ExercíciosAnteriores “Art. 37 da Lei 4.320/64 - As despesas de exercícios encerrados, para as quais o orçamento respectivo consignava crédito próprio, com saldo suficiente para atendê-las, que não se tenham processado na época Conceito própria, bem como os Restos a Pagar com prescrição interrompida e os compromissos reconhecidos após o encerramento do exercício correspondente poderão ser pagos à conta de dotação específica consignada no orçamento, discriminada por elementos, obedecida, sempre que possível, a ordem cronológica.” Patrimônio Público O Patrimônio Público pode ser conceituado como segue: • Patrimônio Público é o conjunto de bens, direitos Conceito e obrigações de propriedade do Estado. OU • O Patrimônio do Estado constitui o conjunto de bens, valores, créditos e obrigações de conteúdo econômico e avaliáveis em moeda que a Fazenda Pública possui e utiliza na consecução dos seus objetivos. Bens Públicos Conceito Conjunto de meios pelos quais o Estado desenvolve suas atividades de prestação de serviços à comunidade. Os bens públicos podem ser classificados da seguinte forma: Classificação • Bens de Uso Comum; • Bens de Uso Especial; • Bens Dominiais ou Dominicais. Apostila de Orçamento e Contabilidade Pública 92 Prof. Fabio Furtado
  • 94.
    Demonstrações Contábeis - Balanço Orçamentário Tipos - Balanço Financeiro (4) - Balanço Patrimonial - Demonstração das Variações Patrimoniais Balanço O Balanço Orçamentário demonstrará as receitas e Orçamentário despesas previstas em confronto com as realizadas. (BO) O Balanço Financeiro demonstrará a receita e despesa orçamentárias, bem como os recebimentos e os Balanço Financeiro pagamentos de natureza extra-orçamentária, (BF) conjugados com os saldos em espécie provenientes do exercício anterior, e os que se transferem para o exercício seguinte. Balanço O Balanço Patrimonial demonstrará: Patrimonial (BP) o Ativo Financeiro; o Ativo Permanente; o Passivo Financeiro; o Passivo Permanente; o Saldo Patrimonial; as Contas de Compensação. Demonstração das A DVP evidenciará as alterações verificadas no Variações patrimônio, resultantes ou independentes da execução Patrimoniais orçamentária, e indicará o resultado patrimonial do (DVP) exercício. Apostila de Orçamento e Contabilidade Pública 93 Prof. Fabio Furtado
  • 95.
    Orçamento Público Lei de iniciativa do Chefe do Poder Executivo, Conceito aprovada pelo Poder Legislativo, que estime Receitas e fixa Despesas para um determinado exercício financeiro. A Constituição Federal de 1988, em seu art. 165, prevê Leis 03 (três) leis orçamentárias: Orçamentárias PPA – Plano Plurianual. LDO – Lei de Diretrizes Orçamentárias. LOA – Lei Orçamentária Anual. Art. 165, § 1º da CF/88 – “A lei que instituir o plano PPA plurianual estabelecerá, de forma regionalizada, as diretrizes, objetivos e metas da administração pública federal para as despesas de capital e outras delas decorrentes e para as relativas aos programas de duração continuada”. Art. 165, § 2º da CF/88 – “A lei de diretrizes orçamentárias compreenderá as metas e prioridades LDO da administração pública federal, incluindo as despesas de capital para o exercício financeiro subseqüente, orientará a elaboração da lei orçamentária anual, disporá sobre as alterações na legislação tributária e estabelecerá a política de aplicação das agencias financeiras oficiais de fomento”. Apostila de Orçamento e Contabilidade Pública 94 Prof. Fabio Furtado
  • 96.
    Art. 165, §5º da CF/88 – “a lei orçamentária anual compreenderá: I – o orçamento fiscal referente aos Poderes da União, seus fundos, órgãos e entidades da administração direta e indireta, inclusive fundações instituídas e mantidas pelo Poder Público; II – o orçamento de investimento das empresas em que a União, direta ou indiretamente, detenha a LOA maioria do capital social com direito a voto; III – o orçamento da seguridade social, abrangendo todas as entidades e órgãos a ela vinculados, da administração direta ou indireta, bem como os fundos e fundações instituídos e mantidos pelo Poder Público.” A LOA, nos termos do art. 165, § 5º, compreenderá: OF – Orçamento Fiscal. OI – Orçamento de Investimentos. OSS – Orçamento da Seguridade Social. PPA Esquema ref. Leis Orçamentárias Leis Orçamentárias LDO OF LOA OI OSS Projeto Prazo de envio Prazo de devolução (até) (até) Os prazos de envio PPA 4 meses antes do encerramento da e devolução do encerramento do 1º exercício sessão legislativa. Na financeiro. Na prática, deve prática, deve ser projeto de lei para ser encaminhado até 31/08. devolvido até 22/12. a União são: LDO 8,5 meses (Oito meses e encerramento do meio) antes do encerramento primeiro período da do exercício financeiro. Na sessão legislativa. Na prática, deve ser prática, deve ser encaminhado até 15/04. devolvido até 17/07. LOA 4 meses antes do encerramento da encerramento do exercício sessão legislativa. Na financeiro. Na prática, deve prática, deve ser ser encaminhado até 31/08. devolvido até 22/12. Apostila de Orçamento e Contabilidade Pública 95 Prof. Fabio Furtado
  • 97.
    Legalidade Publicidade Princípios Universalidade Equilíbrio Orçamentários Periodicidade Não Afetação da Receita Exclusividade Especificidade Orçamento Bruto Unidade É a característica que determina a maneira pela qual o orçamento é elaborado, dependendo do regime político Tipos de vigente; daí dizer-se que os orçamentos variam Orçamento segundo a forma de Governo e podem ser classificados em três tipos: - Legislativo; - Executivo; - Misto. Exercício EXERCÍCIO FINANCEIRO = 1 ANO [COINCIDE COM Financeiro O ANO CIVIL (01/01 A 31/12)] – é o período no qual o orçamento é executado. X CICLO ORÇAMENTÁRIO – MAIS DE 1 ANO (COMEÇA DESDE A ELABORAÇÃO DO PROJETO DE LEI Ciclo ORÇAMENTÁRIA E TERMINA SOMENTE QUANDO DA Orçamentário AVALIAÇÃO DA GESTÃO DO ORDENADOR DE DESPESA). O exercício financeiro ou execução orçamentária está dentro do ciclo orçamentário. Apostila de Orçamento e Contabilidade Pública 96 Prof. Fabio Furtado
  • 98.
    ADMINISTRAÇÃO FINANCEIRA DOGOVERNO FEDERAL - SIAFI: CONCEITO, OBJETIVOS, PRINCIPAIS DOCUMENTOS Foi definido e desenvolvido em 1986 e implantado em janeiro de 1987 o Sistema Integrado de Administração Financeira do Governo Federal - SIAFI, visando a suprir o Governo Federal de instrumento moderno e eficaz do controle dos gastos públicos. O Sistema Integrado de Administração Financeira do Governo Federal (SIAFI) é o principal instrumento de administração orçamentária e financeira da União, que oferece suporte aos órgãos centrais, setoriais e executores da gestão pública, tornando absolutamente segura a contabilidade da União. O SIAFI é o principal instrumento de gestão da STN, que, por seu intermédio realiza o acompanhamento e controle de toda a execução orçamentária e financeira do Governo Federal. É utilizado pelas Unidades Gestoras (UG) de todos os Ministérios e dos demais órgãos e entidades como instrumento de administração financeira, com o objetivo de processar, de forma integrada e on line, a execução orçamentária, financeira, patrimonial e contábil. As UG registram seus documentos (empenho, ordem bancária etc.) e o SIAFI efetua automaticamente todos os lançamentos contábeis necessários para se ter o conhecimento atualizado das receitas, despesas e disponibilidades financeiras do Tesouro Nacional. Por meio do SIAFI obtêm-se as informações que subsidiam o Balanço Geral da União e os relatórios de execução do orçamento e de administração financeira, que compõem a demonstração das contas apresentadas ao Congresso Nacional pelo Presidente da República, de acordo com a Constituição Federal. Encontra-se disponível, ainda, um serviço de troca de mensagens, agilizando a comunicação entre as Unidades Gestoras. Aos órgãos e entidades integrantes da Conta Única é oferecida a opção de "Darf Eletrônico", que elimina o trâmite da arrecadação e recolhimento dos tributos federais. A Instrução Normativa n° 08, de 14.12.1999, complementada pela Norma de Execução n° 03, de 30.12.1999, traz a regulamentação do acesso e uso do SIAFI, com os formulários necessários para cadastro e habilitação no SIAFI. O SIAFI tem um módulo gerencial cujo conteúdo são informações gerenciais das áreas que possuem atribuições de gerência orçamentária, financeira e controle nos órgãos e entidades da Administração Federal. O Módulo Gerencial do SIAFI é composto das seguintes aplicações: Controle de Acesso; Consulta de Tabelas; Consulta a Saldos Orçamentários; Migração de Dados. Apostila de Orçamento e Contabilidade Pública 97 Prof. Fabio Furtado
  • 99.
    O Sistema Integradode Administração Financeira do Governo Federal - SIAFI tem como objetivos: 1; prover de mecanismos adequados ao registro e controle diário da gestão orçamentária, financeira e patrimonial, os órgãos central, setorial e seccional do Sistema de Controle Interno e órgãos executores; 2. fornecer meios para agilizar a programação financeira, com vistas a otimizar a utilização dos recursos do Tesouro Nacional; 3. permitir que a contabilidade pública seja fonte segura e tempestiva de informações gerenciais destinadas a todos os níveis da administração pública federal; 4. integrar e compatibilizar as informações disponíveis nos diversos órgãos e entidades participantes do sistema; 5. permitir aos segmentos da sociedade obterem a necessária transparência dos gastos públicos; 6. permitir a programação e acompanhamento físico-financeiro do orçamento, a nível analítico; 7. permitir o registro contábil dos balancetes dos Estados, Municípios e de suas supervisionadas; e 8. permitir o controle da dívida interna e externa, bem assim o das transferências negociadas. Apostila de Orçamento e Contabilidade Pública 98 Prof. Fabio Furtado
  • 100.
    Os principais documentosdo SIAFI são: • Nota de Dotação - ND: Destina-se ao registro dos créditos previstos no Orçamento Geral da União, bem como ao Detalhamento destes créditos. • Nota de Movimentação de Crédito - NC: Destina-se ao Registro das transferências de créditos orçamentários, entre Unidades Gestoras de um mesmo órgão e entre Unidades Gestoras de Órgãos distintos. • Nota de Empenho - NE: Destina-se a registrar os eventos vinculados ao comprometimento do orçamento, bem como aos casos em que se faça necessário o reforço ou a anulação de empenho. • Nota de Lançamento - NL: Destina-se ao registro da apropriação/liquidação de receitas e despesas, bem como ao de outros eventos, inclusive os relativos a Entidades Supervisionadas. É utilizada também para o registro das previsões de Receita, para a arrecadação de receitas próprias, para o recolhimento de devoluções de despesas, para o acolhimento de depósitos de diversas origens, para acertos contábeis, etc.; • Ordem Bancária - OB: Destina-se ao pagamento de compromissos, bem como à liberação e à transferência de recursos, tais como Cota, Repasse e Sub-repasse entre as unidades gestoras. • Guia de Recebimento - GR: Destina-se a registrar os eventos vinculados ao recolhimento de numerário à conta bancária da Unidade Gestora. • Documento de Arrecadação de Receitas Federais- DARF: Destina-se à arrecadação por processo eletrônico, sem a utilização da rede bancária, de tributos federais que tenham como contribuintes os órgãos e entidades integrantes da Conta Única do Tesouro Nacional. • Nota de Programação Financeira - PF: Destina-se ao registro da programação financeira no SIAFI, pelas unidades gestoras executoras, pelas unidades gestoras setoriais de programação financeira e pelo órgão central de programação financeira (COFIN/STN). (Fonte: Manual SIAFI da Secretaria do Tesouro Nacional) Apostila de Orçamento e Contabilidade Pública 99 Prof. Fabio Furtado
  • 101.
    EXERCÍCIOS 1. Numere as colunas abaixo, observando sua adequada correlação e aponte a alternativa que contém a seqüência correta. 1 – Previsão de receita. ( ) Nota de Lançamento. 2 – Recolhimento de Tributos ( ) Ordem bancária. 3 – Lançamento de créditos adicionais. ( ) Nota de Empenho. 4 – Concessão de Provisão. ( ) Nota de Movimentação de 5 – Anulação de empenhos. Crédito. 6 – Pagamento de despesa. ( ) DARF – Eletrônico. ( ) Nota de Dotação. a) 1, 3, 2, 4, 5, 6 b) 1, 6, 5, 3, 2, 4 c) 2, 1, 3, 5, 4, 6 d) 1, 2, 3, 4, 5, 6 e) 1, 6, 5, 4, 2, 3 f) 2, 1, 3, 5, 4, 6 g) 1, 3, 2, 5, 4, 6 h) 2, 3, 1, 4, 5, 6 2. A NC – Nota de Movimentação de Crédito é um documento de entrada de dados do Siafi utilizado para registrar a descentralização oriunda da lei orçamentária e das leis de créditos adicionais por meio do repasse e do sub-repasse. ( ) Falso ( ) Verdadeiro 3. Em relação aos objetivos do Siafi, julgue as opções abaixo: a) Prover de mecanismos adequados ao registro e controle diário da gestão orçamentária, financeira e patrimonial os órgãos e entidades da Administração Federal. b) Fornecer meios para agilizar a programação financeira, com vistas a otimizar a utilização dos recursos do Tesouro Nacional. c) Integrar e compatibilizar as informações disponíveis nos diversos órgãos e entidades participantes do sistema. d) Permitir que a Contabilidade Pública seja fonte segura e tempestiva de informações gerenciais destinadas a todos os níveis da Administração Pública Federal. 4. As repartições públicas nominalmente contempladas com dotação específica no orçamento chamam-se a) unidade de caixa. b) órgãos autônomos. c) unidade administrativa. d) unidade orçamentária. Apostila de Orçamento e Contabilidade Pública 100 Prof. Fabio Furtado
  • 102.
    5. Dentre as opções abaixo, marque a que não representa uma característica do Siafi – Sistema Integrado de Administração Financeira Federal. a) Elaboração orçamentária descentralizada. b) Processamento centralizado. c) Unificação dos recursos financeiros. d) Automatização da escrituração. 6. De acordo com os conceitos utilizados no Siafi, aponte a opção que caracteriza uma unidade administrativa. a) São os Ministérios, o Ministério Público, as Entidades Supervisionadas, os Tribunais do Poder Judiciário, as Casas do Poder Legislativo e as Secretarias da Presidência da República. b) É a unidade investida do poder de gerir recursos orçamentários e financeiros, próprios ou sob descentralização. c) É a repartição da Administração Federal a quem o orçamento da União consigna dotações específicas, para a realização de seus programas de trabalho. d) É aquela que para a execução de suas tarefas depende de descentralização de créditos de outra unidade. 7. Evento é o código que identifica os atos ou fatos administrativos que são escriturados através do Siafi. ( ) Falso ( )Verdadeiro 8. Qual o documento utilizado para registro dos créditos orçamentários? a) ND – Nota de Dotação. b) NC – Nota de Movimentação de Crédito. c) NE – Nota de Empenho. d) NL – Nota de Lançamento. 9. Para se fazer o registro da assinatura de um contrato, que documento seria utilizado no Siafi? a) Nota de Lançamento – NL. b) Nota de Movimentação de Crédito – NC. c) Nota de Empenho – NE. d) Ordem Bancária – OB. 10. O documento utilizado para emissão de empenho chama-se a) Nota de Lançamento. b) Nota de Empenho. c) Nota de Movimentação de Crédito. d) Nota de Dotação. Apostila de Orçamento e Contabilidade Pública 101 Prof. Fabio Furtado
  • 103.
    11) Correlacione astransações aos documentos utilizados para registro: (a) Darf Eletrônico ( ) Comprometimento da despesa. (b) Nota de Sistema ( ) Pagamento dos compromissos. (c) Ordem Bancária ( ) Registro dos eventos contábeis automaticamente. (d) Nota de Empenho ( ) Apropriação e liquidação de despesas. (e) Nota de Lançamento ( ) Arrecadação de tributos e outras receitas. 12) Palavras Cruzadas: Horizontais: a) A criação desse órgão viabilizou a implantação do SIAFI no Governo Federal (sigla). b) Órgão responsável em avaliar as condições para implantação do SIAFI Gerencial. c) Permite o uso autorizado dos recursos do SIAFI. Verticais: d) Sistema integrado de administração financeira para estados e municípios. e) Fundamento lógico do SIAFI. e) d) a) b) c) GABARITO 1 E 7 Verdadeiro 2 Falso 8 A 3 V, V, V, V. 9 A 4 D 10 B 5 A 11 D, C, B, E, A 6 D 12 a) STN b) SERPRO c) SENHA d) SIAFEM e) EVENTO Apostila de Orçamento e Contabilidade Pública 102 Prof. Fabio Furtado
  • 104.
    QUESTÕES COMENTADAS (Controlador deRecursos Públicos – TCE/ES 2004 CESPE UnB) Com referência ao SIAFI, julgue os itens subseqüentes. 01 - Um dos objetivos do SIAFI é possibilitar aos segmentos da sociedade a necessária transparência dos gastos públicos. 02 - A ND destina-se a descentralizar os créditos para dotar as unidades com os recursos necessários à realização das despesas. Comentários: 01. C – Assertiva correta, pois o SIAFI tem como objetivos: prover de mecanismos adequados ao registro e controle diário da gestão orçamentária, financeira e patrimonial, os órgãos e entidades da Administração Federal; fornecer meios para agilizar a programação financeira, com vistas a otimizar a utilização dos recursos do Tesouro Nacional; permitir que a Contabilidade Pública seja fonte segura e tempestiva de informações gerenciais destinadas a todos os níveis da administração pública federal; integrar e compatibilizar as informações disponíveis nos diversos Órgãos e Entidades participantes do Sistema; permitir os segmentos da sociedade obter a necessária transparência dos gastos públicos; permitir a programação e o acompanhamento físico-financeiro do orçamento, em nível analítico; permitir o registro contábil dos balancetes dos Estados, Municípios e de suas supervisionadas; e permitir o controle da dívida interna e externa, do Governo Federal, bem como das transferências negociadas da gestão pública de Apostila de Orçamento e Contabilidade Pública 103 Prof. Fabio Furtado
  • 105.
    mecanismos adequados parao controle diário da execução orçamentária, financeira, patrimonial e contábil. 02. E – Assertiva incorreta. O documento utilizado para descentralizar os créditos é a Nota de Movimentação de Créditos (NC) e não a Nota de Dotação (ND) descrita na questão. (Consultor de Orçamentos Senado Federal 2002 CESPE UnB) 03- O SIAFI foi implantado pelo governo federal com o objetivo de promover a modernização e a integração dos sistemas de programação financeira, de execução orçamentária e de contabilidade nos seus órgãos e entidades públicas. No SIAFI, diferentemente da contabilidade comercial, que procede os registros desses documentos em livros próprios, a contabilidade pública registra a entrada de dados necessários à execução orçamentária, financeira e contábil por meio de documentos constantes no próprio sistema, cuja instrução de preenchimento está contida na transação correspondente. Com base nesse contexto, julgue os itens abaixo. 1. A guia de recebimento (GR) destina-se a registrar a arrecadação dos tributos e outras receitas efetivadas pelos órgãos e entidades, por meio de transferências de recursos intra-SIAFI entre a unidade gestora recolhedora e a conta única do Tesouro Nacional. 2. A nota de lançamento (NL) destina-se a registrar os eventos vinculados ao recolhimento de numerário à conta bancária da unidade gestora. 3. A nota de sistema destina-se ao registro de detalhamento dos créditos previstos no orçamento geral da União, bem como a inclusão desses créditos. 4. A nota de empenho destina-se a registrar os eventos vinculados ao comprometimento de despesa, bem como os casos em que se faça necessário o reforço ou a anulação da despesa compromissada. 5. A nota de movimentação de crédito destina-se ao registro dos eventos vinculados à transferência de disponibilidade orçamentária entre as unidades gestoras e entre órgãos. Apostila de Orçamento e Contabilidade Pública 104 Prof. Fabio Furtado
  • 106.
    Comentários: Os principais documentosde entrada de dados do SIAFI são: DARF eletrônico, GRPS eletrônica, guia de recebimento, nota de apropriação físico-financeiro, nota de programação financeira, nota de dotação, nota de pré-empenho, nota de empenho, nota de lançamento, nota de movimentação de crédito, nota de sistema, ordem bancária. Apresentaremos aqui a utilidade dos documentos mencionados nesta questão. Guia de recebimento – destina-se a registrar os eventos vinculados ao recolhimento de numerário à conta bancária da unidade gestora. A conta única do tesouro somente pode ser movimentada por ordem bancária e documentos especiais; Nota de lançamento – usada para os mais diversos fins, como por exemplo: registros das previsões de receitas, recolhimento de devoluções de despesas, apropriações de despesas e receitas, acertos contábeis, assinatura de contratos etc. Basicamente é utilizada em todos os fatos que não envolvam movimentação financeira; Nota de sistema – destina-se a registrar os eventos contábeis automaticamente. Também é denominada nota de lançamento de sistema. São lançamentos feitos de forma automática pelo SIAFI; Nota de empenho – destina-se a registrar os eventos vinculados ao comprometimento de despesa (empenho), bem como os casos que se faça necessário o reforço ou a anulação da despesa; Nota de movimentação de crédito – destina-se ao registro dos eventos vinculados à transferência de créditos entre as UG (Unidades Gestoras) e entre órgãos. Com base no exposto acima, julgaremos as opções: 1. E – Assertiva incorreta, tendo em vista que, como podemos verificar, a guia de recolhimento é utilizada para registrar os eventos vinculados ao recolhimento de numerário à conta bancária da unidade gestora e não à conta única do Tesouro Nacional, que somente pode ser movimentada por ordem bancária e documentos especiais. Apostila de Orçamento e Contabilidade Pública 105 Prof. Fabio Furtado
  • 107.
    2. E –Afirmativa incorreta, pois o documento utilizado para registrar os eventos vinculados ao recolhimento de numerário à conta bancária da unidade gestora á guia de recebimento. A nota de lançamento basicamente é utilizada em fatos que não envolvam movimentação financeira, sendo considerado um documento extracaixa. Alguns exemplos de sua utilização estão descritos no início dos comentários desta questão. 3. E – A nota de sistemas consiste em lançamentos efetuados automaticamente pelo sistema SIAFI. O documento que é utilizado para registro de detalhamento dos créditos previstos no orçamento geral da União, bem como a inclusão desses créditos é a nota de dotação. 4. C – Assertiva correta, pois de acordo com o descrito no início dos comentários desta questão, a nota de empenho deve realmente registrar os eventos de emissão, reforço ou anulação de empenhos. 5. C – Assertiva correta, pois também já foi comentado que a nota de movimentação de crédito é utilizada para os registros dos eventos vinculados à transferência de disponibilidades orçamentárias entre as unidades gestoras e entre órgãos. Apostila de Orçamento e Contabilidade Pública 106 Prof. Fabio Furtado
  • 108.
    PLANO DE CONTASDA ADMINISTRAÇÃO FEDERAL Conceito O Plano de Contas é o conjunto de títulos, previamente definidos, representativos de um estado patrimonial e de suas variações, organizados e codificados com o objetivo de sistematizar e uniformizar o registro contábil dos atos e fatos de uma gestão devendo permitir, de forma precisa e clara, a obtenção dos dados relativos ao patrimônio. A Contabilidade da Administração Federal obedecerá a um plano de contas, elaborado inicialmente conforme Instrução Normativa nº. 23, de 23-12-86, da Secretaria do Tesouro Nacional – STN, atualizado periodicamente, tendo como parte integrante a Relação das Contas, a Tabela de Eventos e os Indicadores Contábeis. A reformulação do Plano de Contas foi efetuada visando a proporcionar maior flexibilidade no gerenciamento e consolidação de dados e atender, em todos os níveis da Administração Federal, as necessidades de informações. Portanto, de acordo com seu propósito, deve permitir o Plano de Contas: • a identificação, a classificação e a escrituração contábil, pelo método das partidas dobradas, dos atos e fatos de uma gestão, de maneira padronizada, uniforme e sistematizada; • a evidenciação da situação de todos quantos arrecadarem receitas, efetuem despesas e administrem ou guardem bens pertencentes ou confiados a uma gestão; • o conhecimento da composição e situação do patrimônio; • a determinação dos custos dos serviços industriais; • o acompanhamento e o controle da execução orçamentária, evidenciando a receita prevista, lançada, realizada e a realizar, bem como a despesa autorizada, empenhada, realizada e as dotações disponíveis; • o levantamento de Balanços Orçamentário, Financeiro e Patrimonial e da Demonstração das Variações Patrimoniais; • a análise e a interpretação dos resultados econômicos e financeiros; Apostila de Orçamento e Contabilidade Pública 107 Prof. Fabio Furtado
  • 109.
    a individualização dos devedores e credores, com a especificação necessária ao controle contábil do direito ou obrigação; e • o controle contábil dos direitos e obrigações oriundos de ajustes ou contratos de interesse da gestão. A utilização do Plano de Contas será no âmbito da Administração Direta, inclusive pelos órgãos autônomos e fundos especiais, e as entidades da Administração Indireta (inclusive as fundações públicas) que participam do SIAFI na modalidade de uso total. A Coordenação Geral de Contabilidade da Secretaria do Tesouro Nacional é o órgão autorizado a baixar normas e instruções complementares sobre o Plano de Contas, tendo em vista a evolução tecnológica e dos serviços, e criar, extinguir, especificar, desdobrar, detalhar, codificar contas, eventos e indicadores contábeis. É o que estabelece a IN/STN nº. 8, de 14-11-96, que revogou a IN/STN nº. 8, de 5-11-93. Estrutura do Plano de Contas O Plano de Contas compreende sete níveis de desdobramento, classificados e codificados de acordo com a seguinte estrutura: 1º. Nível – CLASSE -------------------------X 2º. Nível – GRUPO ------------------------- X 3º. Nível – SUBGRUPO -------------------- X 4º. Nível – ELEMENTO -------------------- X 5º. Nível – SUBELEMENTO -------------- X 6º. Nível – ITEM ---------------------------- XX 7º. Nível – SUBITEM ----------------------- XX CONTA CORRENTE ------------------código variável Exemplo: 1.1.1.12.01.02 Código Classificação 1 Classe Ativo 1 Grupo Ativo Circulante 1 Subgrupo Disponível 1 Elemento Disponível em moeda nacional 2 Subelemento Bancos Conta Movimento 01 Item Conta Única do Tesouro Nacional 02 Subitem Banco do Brasil A consolidação de balanços é efetuada no 3º. Nível (SUBGRUPO), de acordo com a estrutura a seguir: Apostila de Orçamento e Contabilidade Pública 108 Prof. Fabio Furtado
  • 110.
    1 ATIVO 2 PASSIVO 1.1 Ativo Circulante 2.1 Passivo circulante 1.1.1 Disponível 2.1.1 Depósitos 1.1.2 Créditos em Circulação 2.1.2 Obrigações em Circulação 1.1.3 Bens e Valores em Circulação 2.1.3 Empréstimos e Financ. Em Circulação 1.1.4 Valores Pendentes a Curto Prazo 2.1.4 Valores Pendentes a Curto Prazo 1.2 Ativo Realizável a Longo Prazo 2.2 Passivo Exigível a Longo Prazo 1.2.1 Depósitos Realizáveis a Longo Prazo 2.2.1 Depósitos Exigíveis a Longo Prazo 1.2.2 Créditos Realizáveis a Longo Prazo 2.2.2 Obrigações Exigíveis a Longo Prazo 2.2.9 Outras Exigibilidades 2.3 Resultado de Exercícios Futuros 2.3.1 Receitas de Exercícios Futuros 2.3.9 Custos ou Despesas Correspondentes às Receitas 1.4 Ativo Permanente 2.4 Patrimônio Líquido 1.4.1 Investimentos 2.4.1 Patrimônio/Capital 1.4.2 Imobilizado 2.4.2 Reservas 1.4.3 Diferido 2.4.3 Resultado Acumulado 2.4.9 Ajuste do Patrimônio/Capital 1.9 Ativo Compensado 2.9 Passivo Compensado 1.9.1 Execução Orçamentária da Receita 2.9.1 Previsão Orçamentária da Receita 1.9.2 Fixação Orçamentária da Despesa 2.9.2 Execução Orçamentária da Despesa 1.9.3 Execução da Programação Financeira 2.9.3 Execução da Programação Financeira 1.9.4 Despesas e Dívidas dos Estados e Municípios 2.9.4 Despesas e Dívidas dos Estados e Municípios 1.9.5 Execução de Restos a Pagar 2.9.5 Execução de Restos a Pagar 1.9.9 Compensações Ativas Diversas 2.9.9 Compensações Passivas Diversas 3 DESPESA 4 RECEITA 3.3 Despesas Correntes 4.1 Receitas Correntes 3.4 Despesas de Capital 4.2 Receitas de Capital 4.9 (*) Deduções da Receita 5 RESULTADO DO EXERCÍCIO 6 RESULTADO DO EXERCÍCIO 5.1 Resultado Orçamentário 6.1 Resultado Orçamentário 5.1.1 Despesa Orçamentária 6.1.1 Receita Orçamentária 5.1.2 Interferências Passivas 6.1.2 Interferências Ativas 5.1.3 Mutações Passivas 6.1.3 Mutações Ativas 5.2 Resultado Extra-Orçamentário 6.2 Resultado Extra-Orçamentário 5.2.1 Despesa Extra-Orçamentária 6.2.1 Receita Extra-Orçamentária 5.2.2 Interferências Passivas 6.2.2 Interferências Ativas 5.2.3 Mutações Passivas 6.2.3 Mutações Ativas 6.3 Resultado Apurado *O asterisco indica que as contas são redutoras ou retificadoras. Como podemos observar, o Plano de Contas utilizado pela Administração Federal é bem semelhante ao utilizado pelas empresas privadas. Podemos até afirmar que esse Plano de Contas compreende rubricas apresentadas tanto na Lei 6.404/76 quanto na Lei 4.320/64. Apostila de Orçamento e Contabilidade Pública 109 Prof. Fabio Furtado
  • 111.
    Evento As entidades públicasque fazem uso do Sistema Siafi, ou de sistema informatizado com a mesma plataforma, efetuam lançamentos contábeis através de eventos codificados. Esses eventos representam os registros de débitos e créditos dos atos e fatos administrativos da Contabilidade Pública por meio de um código específico. Estrutura do Evento O evento tem seu código composto por seis números (XX.X.XXX), dispostos da seguinte maneira: XX X XXX Classe Tipo Código Seqüencial Classe (XX) A Classe representa o conjunto de eventos de uma mesma natureza. Assim sendo, a Tabela de eventos é constituída pelas seguintes Classes: (10) Evento de Previsão da Receita (20) Dotação da Despesa (30) Movimento de Crédito (40) Empenho da Despesa (50) Apropriações de Retenções, Liquidações e Outros (51) Apropriações de Despesas (52) Retenções de Obrigações (53) Liquidações de Obrigações – extinção das obrigações (54) Registros Diversos (55) Apropriações de Direitos (56) Liquidações de Direitos (60) Restos a Pagar (61) Liquidação de Restos a Pagar (70) Transferências Financeiras (80) Receita Como podemos observar, a ordem dessa classificação dos eventos segue uma certa lógica da execução orçamentária e financeira. Apostila de Orçamento e Contabilidade Pública 110 Prof. Fabio Furtado
  • 112.
    Tipo de utilização(X) O TIPO de utilização do evento representa a situação do registro, podendo ser codificado, conforme segue: (0) Evento de utilização direta pelo gestor (1) Evento de utilização interna pelo sistema (2) Evento complementar ao de utilização direta do gestor (3) Evento complementar ao de utilização interna pelo sistema (5) Estorno de evento de utilização direta do gestor (6) Estorno de evento de utilização interna pelo sistema (7) Estorno de evento complementar ao de utilização direta pelo gestor (8) Estorno de evento complementar ao de utilização interna pelo sistema Código Seqüencial (XXX) O Código seqüencial representa a variação seqüencial de 001 a 999, dentro de cada classe. A combinação desses números representa o registro de um fato ou ato administrativo. Classe Especificação Documento Sinal utilizado 10.X.XXX Previsão da Receita (inicial, adicional e NL DeC anulações de previsão) 20.X.XXX Dotação da Despesa (inicial, adicional e ND DeC anulações de dotação) 30.X.XXX Movimentação de Crédito (destaque, provisão e NC DeC anulações) 40.X.XXX Empenho da Despesa (emissão, reforço e NE e PE DeC anulação e pré-empenho) 51.X.XXX Apropriação de Despesas (corresponde à etapa NL e OB D da liquidação da despesa) 52.X.XXX Retenções de Obrigações (consignações, NL C fornecedores etc.) 53.X.XXX Liquidação de Obrigações (corresponde à OB D extinção de obrigações) 54.X.XXX Registros Diversos (doações, consumo, baixa, NL DeC incorporações etc.) 55.X.XXX Apropriação de Direitos (saldo em bancos etc.) NL e OB D 56.X.XXX Liquidação de Direitos (corresponde à extinção NL e GR C de direitos) Apostila de Orçamento e Contabilidade Pública 111 Prof. Fabio Furtado
  • 113.
    61.X.XXX Liquidação de Restos a Pagar (não- NL e OB D processados) referentes a empenhos do ano anterior 70.X.XXX Desembolsos e Transferências Financeiras NL e OB D (devolução de cauções, cota, repasse etc. 80.X.XXX Embolsos e Receitas (recebimento de depósitos NL e GR C de terceiros, arrecadação/recolhimento de receita) Onde: NL – Nota de Lançamento ND – Nota de Dotação NC – Nota de movimento de Crédito NE – Nota de Empenho PE – Nota de Pré-Empenho OB – Ordem Bancária GR – Guia de Recebimento D - Sinal devedor C - Sinal Credor Tabelas de Eventos A tabela de eventos é o instrumento utilizado pelas unidades gestoras para preenchimento das telas e documentos de entrada no Siafi, transformando os atos e fatos administrativos em registros contábeis automáticos. Como codifica os lançamentos contábeis, a tabela de eventos é parte integrante do Plano de Contas da Administração Federal, e, periodicamente, sofre atualizações, cuja responsabilidade é da Secretaria do Tesouro Nacional. A tabela de eventos completa e atualizada pode ser obtida via internet no site www.Tesouro.Fazenda.gov.br. Apostila de Orçamento e Contabilidade Pública 112 Prof. Fabio Furtado
  • 114.
    EXERCÍCIOS 13) Correlacione: (1) Registrodo gestor ( ) Anula total ou parcialmente o lançamento registrado (2) Registro de sistema indevidamente. (3) Registro de estorno ( ) Registro rotineiro, sem características incomuns. ( ) Registro apresentado pelo próprio sistema. 14) Complete: a) O ______________________________ representa o registro contábil de determinado ato ou fato administrativo. b) A _______________________________ representa o conjunto de eventos de uma mesma natureza. c) O tipo de utilização do evento representa a situação do ___________________________ . d) O _______________________________ representa a variação seqüencial de 001 a 999, dentro de cada classe. e) A _______________________________ é o instrumento utilizado pelas unidades gestoras para preenchimento das telas e documentos de entrada do SIAFI. 15) Marque V se a alternativa foi Verdadeira e F se for Falsa: ( ) Os registros efetuados por meio de eventos podem ser classificados como registro de gestor, registro de sistema e registro de estorno. ( ) Não há necessidade de os usuários fornecerem o código do evento a ser utilizado na transação. ( ) O código do evento é composto por cinco números, dispostos em classe, tipo e código seqüencial. ( ) As atualizações da Tabela de Eventos são de responsabilidade da Secretaria de Orçamento Federal. ( ) A tabela de indicadores contábeis é o mecanismo pelo qual o SIAFI e o SIAFEM fazem a ligação entre a tabela de eventos e o roteiro contábil de cada evento. 16) (AFC/STN 1998) A assinatura de contrato de serviço não afeta o patrimônio mas, no futuro, poderá afetá-lo. Dessa forma, seu registro no SIAFI será procedido com um evento da seguinte classe: a) 51.x.xxx – apropriação de despesas. b) 52.x.xxx – retenções e obrigações. c) 53.x.xxx – liquidação de obrigações. d) 54.x.xxx – registros diversos. e) 40.x.xxx – empenho da despesa. 17) (AFC/STN 1999) A classe constante da Tabela de Eventos que serve para registrar concessão de créditos orçamentários por meio de provisão é: Apostila de Orçamento e Contabilidade Pública 113 Prof. Fabio Furtado
  • 115.
    a) 10.x.xxx – previsão de receita. b) 20.x.xxx – dotação da despesa. c) 30.x.xxx – movimentação de crédito. d) 40.x.xxx – empenho da despesa. e) 54.x.xxx – registros diversos. 18) (APO/MPO 1990) Indique o instrumento utilizado pelos entidades para identificar códigos a serem inseridos nos documentos de entrada no SIAFI para transformar os atos e fatos administrativos rotineiros em registros contábeis automáticos: a) Plano de contas do governo federal. b) Tabela de unidades gestoras. c) Tabela de órgãos e gestões. d) Tabela de eventos. e) Tabela de código de tributo. 19) (APO/MPO 1990) O grupo constante da tabela de eventos que enquadraria a baixa de estoque para consumo através de requisição seria o de eventos: a) 54.0.xxx registros diversos. b) 52.0.xxx de retenções de obrigações. c) 70.0.xxx de desembolsos. d) 51.0.xxx de apropriações de despesas. e) 60.0.xxx de restos a pagar. 20) (CONSULTOR DE ORÇAMENTO DO SENADO FEDERAL – CESPE/1996) O SIAFI baseia-se na utilização de eventos contábeis, ordenados em uma tabela, na qual são organizados por classes. Como o evento representa o registro contábil de um determinado ato ou fato administrativo, na sua composição é determinado um roteiro contemplando todos os lançamentos que se fizerem necessários para que esse registro seja efetuado por completo. Os eventos contemplam tanto os lançamentos da unidade onde está sendo efetuado o registro, como os lançamentos da unidade receptora da ação efetuada. Com base nessa conceituação, marque a alternativa CORRETA. a) A apropriação da liquidação de direitos da administração pública utiliza-se de eventos da classe 60. b) A apropriação da previsão da receita aprovada na lei orçamentária utiliza-se de eventos da classe 80. c) A apropriação da liquidação de obrigações da administração pública utiliza-se de eventos da classe 53. d) A apropriação de empenhos da despesa autorizada utiliza-se de eventos da classe 20. e) A apropriação da liquidação de restos a pagar utiliza-se de eventos da classe 63. GABARITO 13 3, 1, 2 17 C Apostila de Orçamento e Contabilidade Pública 114 Prof. Fabio Furtado
  • 116.
    14 a) Evento 18 D b) Classe c) Registro d) Código seqüencial e) Tabela de eventos 15 V, F, F, F, V. 19 A 16 D 20 C QUESTÕES COMENTADAS (Analista de Controle Externo – TCU 1996 CESPE UnB) 01- O Plano de Contas Único da Administração Federal (1) não mais possibilitou a elaboração dos Balanços Orçamentário, Financeiro e Patrimonial e da Demonstração das Variações Patrimoniais, na forma da Lei n.º 4.320/64. (2) tem como uma de suas partes integrantes a Tabela de Eventos, que consiste em uma relação de ocorrências, às quais ficam vinculadas as contas que deverão ser sensibilizadas, quando do registro da operação. (3) possibilitou a individualização dos devedores e credores, com a especificação necessária ao controle contábil do direito ou da obrigação. (4) não foi implantado de modo a tornar exeqüível o pronto conhecimento dos custos dos serviços industriais. Comentários: (1) E – O Plano de Contas Único da Administração Federal deve permitir o levantamento de Balanços Orçamentário, Financeiro e Patrimonial e da Demonstração das Variações Patrimoniais. (2) C – Assertiva correta, pois é parte integrante do Plano de Contas a tabela de eventos, que é o instrumento utilizado no preenchimento das telas e/ou documentos de entrada do Sistema Integrado de Administração Financeira do Governo Federal – SIAFI. (3) C – OPlano de contas Único da Administração Federal possibilitou a individualização dos devedores e credores, com a especificação necessária ao controle contábil do direito ou obrigação. Apostila de Orçamento e Contabilidade Pública 115 Prof. Fabio Furtado
  • 117.
    (4) E –Assertiva incorreta, pois o Plano de Contas Único da Administração Federal deve permitir a determinação dos custos dos serviços industriais. (Contador – TJDF 1997 CESPE UnB) 02- Na contabilidade pública, a conta créditos em circulação, do plano de contas da administração pública federal, pertence, na estrutura da consolidação de balanço, ao A - realizável a longo prazo. B - permanente. C - compensado. D - passivo circulante. E - ativo circulante. Resposta correta: E Comentários: O Plano de Contas compreende sete níveis de desdobramento, classificados e codificados de acordo com a seguinte estrutura: 1º. Nível – CLASSE -------------------------X 2º. Nível – GRUPO ------------------------- X 3º. Nível – SUBGRUPO -------------------- X 4º. Nível – ELEMENTO -------------------- X 5º. Nível – SUBELEMENTO -------------- X 6º. Nível – ITEM ---------------------------- XX 7º. Nível – SUBITEM ----------------------- XX CONTA CORRENTE ------------------código variável A consolidação de balanços é efetuada no 3º. Nível (SUBGRUPO), de acordo com a estrutura a seguir: Apostila de Orçamento e Contabilidade Pública 116 Prof. Fabio Furtado
  • 118.
    1 ATIVO 2 PASSIVO 1.1 Ativo Circulante 2.1 Passivo circulante 1.1.1 Disponível 2.1.1 Depósitos 1.1.2 Créditos em Circulação 2.1.2 Obrigações em Circulação 1.1.3 Bens e Valores em Circulação 2.1.3 Empréstimos e Financ. Em Circulação 1.1.4 Valores Pendentes a Curto Prazo 2.1.4 Valores Pendentes a Curto Prazo 1.2 Ativo Realizável a Longo Prazo 2.2 Passivo Exigível a Longo Prazo 1.2.1 Depósitos Realizáveis a Longo Prazo 2.2.1 Depósitos Exigíveis a Longo Prazo 1.2.2 Créditos Realizáveis a Longo Prazo 2.2.2 Obrigações Exigíveis a Longo Prazo 2.2.9 Outras Exigibilidades 2.3 Resultado de Exercícios Futuros 2.3.1 Receitas de Exercícios Futuros 2.3.9 Custos ou Despesas Correspondentes às Receitas 1.4 Ativo Permanente 2.4 Patrimônio Líquido 1.4.1 Investimentos 2.4.1 Patrimônio/Capital 1.4.2 Imobilizado 2.4.2 Reservas 1.4.3 Diferido 2.4.3 Resultado Acumulado 2.4.9 Ajuste do Patrimônio/Capital 1.9 Ativo Compensado 2.9 Passivo Compensado 1.9.1 Execução Orçamentária da Receita 2.9.1 Previsão Orçamentária da Receita 1.9.2 Fixação Orçamentária da Despesa 2.9.2 Execução Orçamentária da Despesa 1.9.3 Execução da Programação Financeira 2.9.3 Execução da Programação Financeira 1.9.4 Despesas e Dívidas dos Estados e Municípios 2.9.4 Despesas e Dívidas dos Estados e Municípios 1.9.5 Execução de Restos a Pagar 2.9.5 Execução de Restos a Pagar 1.9.9 Compensações Ativas Diversas 2.9.9 Compensações Passivas Diversas 3 DESPESA 4 RECEITA 3.3 Despesas Correntes 4.1 Receitas Correntes 3.4 Despesas de Capital 4.2 Receitas de Capital 4.9 (*) Deduções da Receita 5 RESULTADO DO EXERCÍCIO 6 RESULTADO DO EXERCÍCIO 5.1 Resultado Orçamentário 6.1 Resultado Orçamentário 5.1.1 Despesa Orçamentária 6.1.1 Receita Orçamentária 5.1.2 Interferências Passivas 6.1.2 Interferências Ativas 5.1.3 Mutações Passivas 6.1.3 Mutações Ativas 5.2 Resultado Extra-Orçamentário 6.2 Resultado Extra-Orçamentário 5.2.1 Despesa Extra-Orçamentária 6.2.1 Receita Extra-Orçamentária 5.2.2 Interferências Passivas 6.2.2 Interferências Ativas 5.2.3 Mutações Passivas 6.2.3 Mutações Ativas 6.3 Resultado Apurado *O asterisco indica que as contas são redutoras ou retificadoras. Logo, como podemos verificar na estrutura acima, a conta créditos em circulação pertence ao ativo circulante. Apostila de Orçamento e Contabilidade Pública 117 Prof. Fabio Furtado
  • 119.
    (Contador – TJDF1997 CESPE UnB) 03- Na contabilidade pública, a conta execução orçamentária da receita, do plano de contas da administração pública federal, pertence, na estrutura da consolidação de balanço, ao A - resultado de exercício. B - patrimônio líquido. C - compensado. D - ativo circulante. E - resultado de exercícios futuros. Resposta correta: C Comentários: Com base na estrutura de consolidação apresentada no comentário da questão anterior, a conta execução orçamentária da receita pertence ao compensado. A referida conta pode figurar nos grupos do Ativo Compensado ou do Passivo Compensado. (Controlador de Recursos Públicos – TCE/ES 2004 CESPE UnB) Quanto ao plano de contas do Sistema Integrado de Administração Financeira do Governo Federal (SIAFI), julgue os itens seguintes. 04 - As contas contábeis estão estruturadas nos níveis de classe, grupo, subgrupo, alínea, subalínea, item e subitem. 05 - As contas do ativo compreendem os grupos de código 1 = circulante; 2 = realizável a longo prazo e 9 = compensado. 06 - As contas de mutações passivas e interferências passivas pertencem ao grupo resultado orçamentário — aumentativo. 07 - As contas receita realizada e receita a realizar pertencem ao sistema financeiro. Apostila de Orçamento e Contabilidade Pública 118 Prof. Fabio Furtado
  • 120.
    Comentários: 04. E –Assertiva incorreta, pois, de acordo com o plano de contas do SIAFI, as contas contábeis estão estruturadas nos níveis de classe, grupo, subgrupo, elemento, subelemento, item e subitem. O erro na questão está em ter substituído os termos elemento e subelemento por alínea e subalínea. 05. C – afirmativa correta, conforme podemos observar na estrutura de balanços, apresentada até o 3º nível (SUBGRUPO), que é utilizada para consolidação de balanços, a seguir: Apostila de Orçamento e Contabilidade Pública 119 Prof. Fabio Furtado
  • 121.
    1 ATIVO 2 PASSIVO 1.1 Ativo Circulante 2.1 Passivo circulante 1.1.1 Disponível 2.1.1 Depósitos 1.1.2 Créditos em Circulação 2.1.2 Obrigações em Circulação 1.1.3 Bens e Valores em Circulação 2.1.3 Empréstimos e Financ. Em Circulação 1.1.4 Valores Pendentes a Curto Prazo 2.1.4 Valores Pendentes a Curto Prazo 1.2 Ativo Realizável a Longo Prazo 2.2 Passivo Exigível a Longo Prazo 1.2.1 Depósitos Realizáveis a Longo Prazo 2.2.1 Depósitos Exigíveis a Longo Prazo 1.2.2 Créditos Realizáveis a Longo Prazo 2.2.2 Obrigações Exigíveis a Longo Prazo 2.2.9 Outras Exigibilidades 2.3 Resultado de Exercícios Futuros 2.3.1 Receitas de Exercícios Futuros 2.3.9 Custos ou Despesas Correspondentes às Receitas 1.4 Ativo Permanente 2.4 Patrimônio Líquido 1.4.1 Investimentos 2.4.1 Patrimônio/Capital 1.4.2 Imobilizado 2.4.2 Reservas 1.4.3 Diferido 2.4.3 Resultado Acumulado 2.4.9 Ajuste do Patrimônio/Capital 1.9 Ativo Compensado 2.9 Passivo Compensado 1.9.1 Execução Orçamentária da Receita 2.9.1 Previsão Orçamentária da Receita 1.9.2 Fixação Orçamentária da Despesa 2.9.2 Execução Orçamentária da Despesa 1.9.3 Execução da Programação Financeira 2.9.3 Execução da Programação Financeira 1.9.4 Despesas e Dívidas dos Estados e Municípios 2.9.4 Despesas e Dívidas dos Estados e Municípios 1.9.5 Execução de Restos a Pagar 2.9.5 Execução de Restos a Pagar 1.9.9 Compensações Ativas Diversas 2.9.9 Compensações Passivas Diversas 3 DESPESA 4 RECEITA 3.3 Despesas Correntes 4.1 Receitas Correntes 3.4 Despesas de Capital 4.2 Receitas de Capita 4.9 (*) Deduções da Receita 5 RESULTADO DO EXERCÍCIO 6 RESULTADO DO EXERCÍCIO 5.1 Resultado Orçamentário 6.1 Resultado Orçamentário 5.1.1 Despesa Orçamentária 6.1.1 Receita Orçamentária 5.1.2 Interferências Passivas 6.1.2 Interferências Ativas 5.1.3 Mutações Passivas 6.1.3 Mutações Ativas 5.2 Resultado Extra-Orçamentário 6.2 Resultado Extra-Orçamentário 5.2.1 Despesa Extra-Orçamentária 6.2.1 Receita Extra-Orçamentária 5.2.2 Interferências Passivas 6.2.2 Interferências Ativas 5.2.3 Mutações Passivas 6.2.3 Mutações Ativas 6.3 Resultado Apurado *O asterisco indica que as contas são redutoras ou retificadoras. Os códigos solicitados na questão significam: 1 - Classe do Ativo, 1 – Grupo do Circulante; 1 - Classe do Ativo, 2 – Grupo do Realizável a Longo Prazo; Apostila de Orçamento e Contabilidade Pública 120 Prof. Fabio Furtado
  • 122.
    1 - Classedo Ativo, 9 – Grupo do Compensado. Lembrando que no plano de contas do SIAFI, as contas contábeis estão estruturadas em sete níveis de desdobramento, que são: classe, grupo, subgrupo, elemento, subelemento, item e subitem. A questão ora comentada está solicitando que se observe o código utilizado no segundo nível que vem a ser o de GRUPO. 06. E – Assertiva incorreta, tendo em vista que de acordo com o plano de contas do SIAFI, as contas de mutações passivas e interferências passivas pertencem ao grupo resultado orçamentário diminutivo. 07. E – afirmativa falsa, visto que estas duas contas pertencem ao sistema orçamentário. (Controlador de Recursos Públicos – TCE/ES 2004 CESPE UnB) Acerca da tabela de eventos constante do plano de contas do SIAFI, julgue os itens que se seguem. 08 - O tipo de utilização 3, na estrutura do código de evento XX.3.XXX, especifica um evento complementar ao de utilização interna pelo sistema. 09 - Os eventos da classe 53 (53. 0. XXX) são responsáveis pelos lançamentos a crédito nas contas de obrigações. 10 - Os eventos da classe 70.X.XXX são utilizados para liquidar despesas inscritas em restos a pagar não-processados ao final do exercício anterior. 11 - Os eventos da classe 30.X.XXX são utilizados no documento denominado nota de dotação (ND). Comentários: Estrutura do Evento: O evento tem seu código composto por seis números (XX.X.XXX), dispostos da seguinte maneira: Apostila de Orçamento e Contabilidade Pública 121 Prof. Fabio Furtado
  • 123.
    XX X XXX Classe Tipo Código Seqüencial Classe (XX) A Classe representa o conjunto de eventos de uma mesma natureza. Assim sendo, a Tabela de eventos é constituída pelas seguintes Classes: (10) Evento de Previsão da Receita (20) Dotação da Despesa (30) Movimento de Crédito (40) Empenho da Despesa (50) Apropriações de Retenções, Liquidações e Outros (51) Apropriações de Despesas (52) Retenções de Obrigações (53) Liquidações de Obrigações – extinção das obrigações (54) Registros Diversos (55) Apropriações de Direitos (56) Liquidações de Direitos (60) Restos a Pagar (61) Liquidação de Restos a Pagar (70) Transferências Financeiras (80) Receita Como podemos observar, a ordem dessa classificação dos eventos segue uma certa lógica da execução orçamentária e financeira. Tipo de utilização (X) O TIPO de utilização do evento representa a situação do registro, podendo ser codificado, conforme segue: (4) Evento de utilização direta pelo gestor (5) Evento de utilização interna pelo sistema (6) Evento complementar ao de utilização direta do gestor (7) Evento complementar ao de utilização interna pelo sistema (9) Estorno de evento de utilização direta do gestor (10) Estorno de evento de utilização interna pelo sistema (11) Estorno de evento complementar ao de utilização direta pelo gestor (12) Estorno de evento complementar ao de utilização interna pelo sistema Apostila de Orçamento e Contabilidade Pública 122 Prof. Fabio Furtado
  • 124.
    Código Seqüencial (XXX) OCódigo seqüencial representa a variação seqüencial de 001 a 999, dentro de cada classe. A combinação desses números representa o registro de um fato ou ato administrativo. Com base no que expomos acima, julgaremos a questão de número 73. 08. C – Assertiva correta, conforme podemos verificar nas codificações correspondentes ao tipo de utilização do evento, onde, fica claro que o tipo de utilização 3 especifica um evento complementar ao de utilização interna pelo sistema. 09. E – Assertiva incorreta, pois os eventos da classe 53 (53.0.XXX) são responsáveis pela liquidação (extinção) das obrigações retidas pelos eventos da classe 52. Os eventos da classe 52 são utilizados toda vez que houver retenção da obrigação para pagamento posterior, isto é, são os responsáveis pelos lançamentos a crédito nas contas de obrigações. 10. E - Afirmativa falsa, tendo em vista que os eventos da classe 70. X. XXX são utilizados para a realização de transferências financeiras, como: devolução de cauções; repasse etc. Os eventos responsáveis pela liquidação de restos a pagar não-processados inscritos no exercício anterior, são os da classe 61.X.XXX. 11. E – afirmativa incorreta, visto que os eventos da classe 30.X.XXX, que são responsáveis pela movimentação dos créditos orçamentários, tais como destaques, provisões etc., são utilizados no documento denominado nota de crédito (NC). Para melhor compreensão, apresentamos o quadro abaixo: Apostila de Orçamento e Contabilidade Pública 123 Prof. Fabio Furtado
  • 125.
    Classe Especificação Documento Sinal utilizado 10.X.XXX Previsão da Receita (inicial, adicional e NL DeC anulações de previsão) 20.X.XXX Dotação da Despesa (inicial, adicional e ND DeC anulações de dotação) 30.X.XXX Movimentação de Crédito (destaque, provisão e NC DeC anulações) 40.X.XXX Empenho da Despesa (emissão, reforço e NE e PE DeC anulação e pré-empenho) 51.X.XXX Apropriação de Despesas (corresponde à etapa NL e OB D da liquidação da despesa) 52.X.XXX Retenções de Obrigações (consignações, NL C fornecedores etc.) 53.X.XXX Liquidação de Obrigações (corresponde à OB D extinção de obrigações) 54.X.XXX Registros Diversos (doações, consumo, baixa, NL DeC incorporações etc.) 55.X.XXX Apropriação de Direitos (saldo em bancos etc.) NL e OB D 56.X.XXX Liquidação de Direitos (corresponde à extinção NL e GR C de direitos) 61.X.XXX Liquidação de Restos a Pagar (não- NL e OB D processados) referentes a empenhos do ano anterior 70.X.XXX Desembolsos e Transferências Financeiras NL e OB D (devolução de cauções, cota, repasse etc. 80.X.XXX Embolsos e Receitas (recebimento de depósitos NL e GR C de terceiros, arrecadação/recolhimento de receita) Onde: NL – Nota de Lançamento ND – Nota de Dotação NC – Nota de movimento de Crédito NE – Nota de Empenho PE – Nota de Pré-Empenho OB – Ordem Bancária GR – Guia de Recebimento D - Sinal devedor C - Sinal credor Apostila de Orçamento e Contabilidade Pública 124 Prof. Fabio Furtado
  • 126.
    REFERÊNCIAS BIBLIOGRÁFICAS ANGÉLICO, João.Contabilidade Pública. 8. ed. São Paulo: Atlas, 1994. GIACOMONI, James. Orçamento público. 7. ed. São Paulo: Atlas, 1997. KOHAMA, Heilio. Balanços públicos: teoria e prática. 5. ed. São Paulo: Atlas, 1999. KOHAMA, Heilio. Contabilidade pública: teoria e prática. 5. ed. São Paulo: Atlas, 1996. LIMA, Diana Vaz de; CASTRO, Róbison Gonçalves de. Contabilidade pública: integrando União, Estados e Municípios (Siafi e Siafem). 2. ed. São Paulo: Atlas, 2003. MACHADO JR., J. Teixeira; REIS, Heraldo da Costa. A Lei 4.320 comentada. 31. ed. Rio de Janeiro: IBAM, 2002/2003. MOTA, Francisco Glauber Lima. Contabilidade aplicada á administração pública. 6. ed. Brasília: Vestcon, 2003. PASCOAL, Valdecir Fernandes. Direito financeiro e controle externo. 3. ed. Rio de Janeiro: Impetus, 2003. PISCITELLI, Roberto Bocaccio; TIMBÓ, Maria Zulene Farias; ROSA, Maria Berenice. Contabilidade pública: uma abordagem da administração financeira pública. 7. ed. São Paulo: Atlas, 2002. SILVA, Lino Martins da. Contabilidade governamental: um enfoque administrativo. 5. ed. São Paulo: Atlas, 2002. BEZERRA FILHO, João Eudes. Contabilidade pública: teoria, técnica de elaboração de balanços e 300 questões. Niterói: Impetus, 2004. FIGUEIRÊDO, Carlos Maurício; NÓBREGA, Marcos. Lei de responsabilidade fiscal para concursos. 3. ed. Rio de Janeiro: Impetus, 2002. EQUIPE DE PROFESSORES DO DEPARTAMENTO DE CIÊNCIAS CONTÁBEIS E ATUARIAIS DA UNIVERSIDADE DE BRASÍLIA – UnB.; Exame de suficiência em contabilidade: livro – texto e exercícios adaptados às exigências do CFC; organizadores Jorge Katsumi Niyama, César Augusto Tibúrcio Silva; Roberto Bocaccio Piscitelli. – São Paulo: Atlas, 2001. Apostila de Orçamento e Contabilidade Pública 125 Prof. Fabio Furtado