CURSO: ____________________________UNIDADE CURRICULAR_____________________________

TURMA: ___________________________ DOCENTE: _________________________________________

ALUNO: ____________________________________________________________DATA: ____/____/___


      Exercício de coordenadas absolutas
      Calcular as coordenadas dos pontos indicados na figura abaixo




                        CORDENAS ABSOLUTAS
           PONTOS               X                            Z
     01
     02
     03
     04
     05
     06
     07
     08
     09
CURSO: ____________________________UNIDADE CURRICULAR_____________________________
     10
TURMA: ___________________________ DOCENTE: _________________________________________

ALUNO: ____________________________________________________________DATA: ____/____/___

                                               1
Exercício de coordenadas incrementais
      Calcular as coordenadas dos pontos indicados na figura abaixo




                  CORDENAS INCREMENTAIS
           PONTOS           X                                Z
     01
     02
     03
     04
     05
     06
     07
     08
     09
CURSO: ____________________________UNIDADE CURRICULAR_____________________________
     10
TURMA: ___________________________ DOCENTE: _________________________________________

ALUNO: ____________________________________________________________DATA: ____/____/___


                                               2
Exercício 01 de programação com coordenadas lineares
Utilizar somente uma ferramenta para desbaste e acabamento
Pastilha : CNMG 12 04 08 VC : 400 m/min Av : 0.25 mm/rpm
Operações: Facear, desbastar e acabar, com a mesma ferramenta.
Obs.: Para facear utilizar 1mm por passada e no desbaste no máximo 4mm por
passada.




                                       3
4
CURSO: ____________________________UNIDADE CURRICULAR_____________________________

TURMA: ___________________________ DOCENTE: _________________________________________

ALUNO: ____________________________________________________________DATA: ____/____/___



      Exercício 02 de programação com coordenadas lineares, circulares e
      compensação de raio de corte da ferramenta G00 G01 G40 G42.
      Utilizar uma ferramenta para desbaste e outra para acabamento
      Pastilhas : CNMG 12 04 08 VC : 400 m/min Av : 0.25 mm/rpm
      DNMG 15 04 04 VC : 500 m/min Av : 0.18 mm/rpm
      Operações: Facear, desbastar deixando 1mm de sobre metal no diâmetro e 0,2mm
      para acabamento
      Obs.: Para facear utilizar 1mm por passada e no desbaste no máximo 4mm por
      passada.




                                             5
6
CURSO: ____________________________UNIDADE CURRICULAR_____________________________

TURMA: ___________________________ DOCENTE: _________________________________________

ALUNO: ____________________________________________________________DATA: ____/____/___



      Exercício 03 de programação com Ciclo de desbaste longitudinal G71 e ciclo de
      acabamento G70.
      Utilizar uma ferramenta para desbaste e outra para acabamento
      Pastilhas : CNMG 12 04 08 VC : 400 m/min Av : 0.25 mm/rpm
      DNMG 15 04 04 VC : 500 m/min Av : 0.18 mm/rpm
      Operações: Facear, desbastar deixando 1mm de sobre metal no diâmetro e 0,2mm
      nas faces para acabamento.
      Obs.: Para facear utilizar 1mm por passada e no desbaste no máximo 4mm por
      passada.




                                            7
8
CURSO: ____________________________UNIDADE CURRICULAR_____________________________

TURMA: ___________________________ DOCENTE: _________________________________________

ALUNO: ____________________________________________________________DATA: ____/____/___



      Exercício 03 de programação com Ciclo de desbaste e acabamento longitudinal
      CYCLE 95.
      Utilizar uma ferramenta para desbaste e outra para acabamento
      Pastilhas : CNMG 12 04 08 VC : 400 m/min Av : 0.25 mm/rpm
      DNMG 15 04 04 VC : 500 m/min Av : 0.18 mm/rpm
      Operações: Facear, desbastar deixando 1mm de sobre metal no diâmetro e 0,2mm
      para acabamento
      Obs.: Para facear utilizar 1mm por passada e no desbaste no máximo 4mm por
      passada.




                                            9
10
CURSO: ____________________________UNIDADE CURRICULAR_____________________________

TURMA: ___________________________ DOCENTE: _________________________________________

ALUNO: ____________________________________________________________DATA: ____/____/___



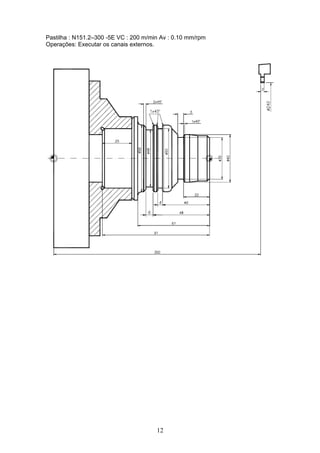
      Exercício 04 de programação com Tempo de permanência G04.
      Utilizar uma ferramenta para canal externo



                                         11
Pastilha : N151.2–300 -5E VC : 200 m/min Av : 0.10 mm/rpm
Operações: Executar os canais externos.




                                       12
13
CURSO: ____________________________UNIDADE CURRICULAR_____________________________

TURMA: ___________________________ DOCENTE: _________________________________________

ALUNO: ____________________________________________________________DATA: ____/____/___



      Exercício 05 programação com Ciclo automático de roscamento G76.
      Utilizar uma ferramenta para desbaste, acabamento, canal e rosca
      Pastilhas : CNMG 12 04 08 VC : 400 m/min Av : 0.25 mm/rpm
      DNMG 15 04 04 VC : 500 m/min Av : 0.18 mm/rpm
      N151.2–300 -5E VC : 200 m/min Av : 0.10 mm/rpm
      R166 0G-16 MM01 – 250
      Operações: Desbastar e acabar diâmetro de 35mm ; fazer canal e executar rosca
      M35 x 1,5mm ( 2 entradas) utilizar 12 passadas e 500 RPM.




                                             14
15
CURSO: ____________________________UNIDADE CURRICULAR_____________________________

TURMA: ___________________________ DOCENTE: _________________________________________

ALUNO: ____________________________________________________________DATA: ____/____/___



      Exercício 05 programação com Ciclo automático de roscamento CYCLE 97.
      Utilizar uma ferramenta para desbaste, acabamento, canal e rosca
      Pastilhas : CNMG 12 04 08 VC : 400 m/min Av : 0.25 mm/rpm
      DNMG 15 04 04 VC : 500 m/min Av : 0.18 mm/rpm
      N151.2–300 -5E VC : 200 m/min Av : 0.10 mm/rpm
      R166 0G-16 MM01 – 250
      Operações: Desbastar e acabar diâmetro de 35mm ; fazer canal e executar rosca
      M35 x 1,5mm ( 2 entradas) utilizar 12 passadas e 500 RPM.




                                             16
17
18

Exercício de CNC

  • 1.
    CURSO: ____________________________UNIDADE CURRICULAR_____________________________ TURMA:___________________________ DOCENTE: _________________________________________ ALUNO: ____________________________________________________________DATA: ____/____/___ Exercício de coordenadas absolutas Calcular as coordenadas dos pontos indicados na figura abaixo CORDENAS ABSOLUTAS PONTOS X Z 01 02 03 04 05 06 07 08 09 CURSO: ____________________________UNIDADE CURRICULAR_____________________________ 10 TURMA: ___________________________ DOCENTE: _________________________________________ ALUNO: ____________________________________________________________DATA: ____/____/___ 1
  • 2.
    Exercício de coordenadasincrementais Calcular as coordenadas dos pontos indicados na figura abaixo CORDENAS INCREMENTAIS PONTOS X Z 01 02 03 04 05 06 07 08 09 CURSO: ____________________________UNIDADE CURRICULAR_____________________________ 10 TURMA: ___________________________ DOCENTE: _________________________________________ ALUNO: ____________________________________________________________DATA: ____/____/___ 2
  • 3.
    Exercício 01 deprogramação com coordenadas lineares Utilizar somente uma ferramenta para desbaste e acabamento Pastilha : CNMG 12 04 08 VC : 400 m/min Av : 0.25 mm/rpm Operações: Facear, desbastar e acabar, com a mesma ferramenta. Obs.: Para facear utilizar 1mm por passada e no desbaste no máximo 4mm por passada. 3
  • 4.
  • 5.
    CURSO: ____________________________UNIDADE CURRICULAR_____________________________ TURMA:___________________________ DOCENTE: _________________________________________ ALUNO: ____________________________________________________________DATA: ____/____/___ Exercício 02 de programação com coordenadas lineares, circulares e compensação de raio de corte da ferramenta G00 G01 G40 G42. Utilizar uma ferramenta para desbaste e outra para acabamento Pastilhas : CNMG 12 04 08 VC : 400 m/min Av : 0.25 mm/rpm DNMG 15 04 04 VC : 500 m/min Av : 0.18 mm/rpm Operações: Facear, desbastar deixando 1mm de sobre metal no diâmetro e 0,2mm para acabamento Obs.: Para facear utilizar 1mm por passada e no desbaste no máximo 4mm por passada. 5
  • 6.
  • 7.
    CURSO: ____________________________UNIDADE CURRICULAR_____________________________ TURMA:___________________________ DOCENTE: _________________________________________ ALUNO: ____________________________________________________________DATA: ____/____/___ Exercício 03 de programação com Ciclo de desbaste longitudinal G71 e ciclo de acabamento G70. Utilizar uma ferramenta para desbaste e outra para acabamento Pastilhas : CNMG 12 04 08 VC : 400 m/min Av : 0.25 mm/rpm DNMG 15 04 04 VC : 500 m/min Av : 0.18 mm/rpm Operações: Facear, desbastar deixando 1mm de sobre metal no diâmetro e 0,2mm nas faces para acabamento. Obs.: Para facear utilizar 1mm por passada e no desbaste no máximo 4mm por passada. 7
  • 8.
  • 9.
    CURSO: ____________________________UNIDADE CURRICULAR_____________________________ TURMA:___________________________ DOCENTE: _________________________________________ ALUNO: ____________________________________________________________DATA: ____/____/___ Exercício 03 de programação com Ciclo de desbaste e acabamento longitudinal CYCLE 95. Utilizar uma ferramenta para desbaste e outra para acabamento Pastilhas : CNMG 12 04 08 VC : 400 m/min Av : 0.25 mm/rpm DNMG 15 04 04 VC : 500 m/min Av : 0.18 mm/rpm Operações: Facear, desbastar deixando 1mm de sobre metal no diâmetro e 0,2mm para acabamento Obs.: Para facear utilizar 1mm por passada e no desbaste no máximo 4mm por passada. 9
  • 10.
  • 11.
    CURSO: ____________________________UNIDADE CURRICULAR_____________________________ TURMA:___________________________ DOCENTE: _________________________________________ ALUNO: ____________________________________________________________DATA: ____/____/___ Exercício 04 de programação com Tempo de permanência G04. Utilizar uma ferramenta para canal externo 11
  • 12.
    Pastilha : N151.2–300-5E VC : 200 m/min Av : 0.10 mm/rpm Operações: Executar os canais externos. 12
  • 13.
  • 14.
    CURSO: ____________________________UNIDADE CURRICULAR_____________________________ TURMA:___________________________ DOCENTE: _________________________________________ ALUNO: ____________________________________________________________DATA: ____/____/___ Exercício 05 programação com Ciclo automático de roscamento G76. Utilizar uma ferramenta para desbaste, acabamento, canal e rosca Pastilhas : CNMG 12 04 08 VC : 400 m/min Av : 0.25 mm/rpm DNMG 15 04 04 VC : 500 m/min Av : 0.18 mm/rpm N151.2–300 -5E VC : 200 m/min Av : 0.10 mm/rpm R166 0G-16 MM01 – 250 Operações: Desbastar e acabar diâmetro de 35mm ; fazer canal e executar rosca M35 x 1,5mm ( 2 entradas) utilizar 12 passadas e 500 RPM. 14
  • 15.
  • 16.
    CURSO: ____________________________UNIDADE CURRICULAR_____________________________ TURMA:___________________________ DOCENTE: _________________________________________ ALUNO: ____________________________________________________________DATA: ____/____/___ Exercício 05 programação com Ciclo automático de roscamento CYCLE 97. Utilizar uma ferramenta para desbaste, acabamento, canal e rosca Pastilhas : CNMG 12 04 08 VC : 400 m/min Av : 0.25 mm/rpm DNMG 15 04 04 VC : 500 m/min Av : 0.18 mm/rpm N151.2–300 -5E VC : 200 m/min Av : 0.10 mm/rpm R166 0G-16 MM01 – 250 Operações: Desbastar e acabar diâmetro de 35mm ; fazer canal e executar rosca M35 x 1,5mm ( 2 entradas) utilizar 12 passadas e 500 RPM. 16
  • 17.
  • 18.