Exercício de coordenadas absolutas
Calcular as coordenadas dos pontos indicados na figura abaixo
CORDENAS ABSOLUTAS
PONTOS X Z
01
02
03
04
05
06
07
08
09
10
1
CURSO: ____________________________UNIDADE CURRICULAR_____________________________
TURMA: ___________________________ DOCENTE: _________________________________________
ALUNO: ____________________________________________________________DATA: ____/____/___
CURSO: ____________________________UNIDADE CURRICULAR_____________________________
TURMA: ___________________________ DOCENTE: _________________________________________
ALUNO: ____________________________________________________________DATA: ____/____/___
Exercício de coordenadas incrementais
Calcular as coordenadas dos pontos indicados na figura abaixo
CORDENAS INCREMENTAIS
PONTOS X Z
01
02
03
04
05
06
07
08
09
10
2
CURSO: ____________________________UNIDADE CURRICULAR_____________________________
TURMA: ___________________________ DOCENTE: _________________________________________
ALUNO: ____________________________________________________________DATA: ____/____/___
Exercício 01 de programação com coordenadas lineares
Utilizar somente uma ferramenta para desbaste e acabamento
Pastilha : CNMG 12 04 08 VC : 400 m/min Av : 0.25 mm/rpm
Operações: Facear, desbastar e acabar, com a mesma ferramenta.
Obs.: Para facear utilizar 1mm por passada e no desbaste no máximo 4mm por
passada.
3
4
Exercício 02 de programação com coordenadas lineares, circulares e
compensação de raio de corte da ferramenta G00 G01 G40 G42.
Utilizar uma ferramenta para desbaste e outra para acabamento
Pastilhas : CNMG 12 04 08 VC : 400 m/min Av : 0.25 mm/rpm
DNMG 15 04 04 VC : 500 m/min Av : 0.18 mm/rpm
Operações: Facear, desbastar deixando 1mm de sobre metal no diâmetro e 0,2mm
para acabamento
Obs.: Para facear utilizar 1mm por passada e no desbaste no máximo 4mm por
passada.
5
CURSO: ____________________________UNIDADE CURRICULAR_____________________________
TURMA: ___________________________ DOCENTE: _________________________________________
ALUNO: ____________________________________________________________DATA: ____/____/___
6
Exercício 03 de programação com Ciclo de desbaste longitudinal G71 e ciclo de
acabamento G70.
Utilizar uma ferramenta para desbaste e outra para acabamento
Pastilhas : CNMG 12 04 08 VC : 400 m/min Av : 0.25 mm/rpm
DNMG 15 04 04 VC : 500 m/min Av : 0.18 mm/rpm
Operações: Facear, desbastar deixando 1mm de sobre metal no diâmetro e 0,2mm
nas faces para acabamento.
Obs.: Para facear utilizar 1mm por passada e no desbaste no máximo 4mm por
passada.
7
CURSO: ____________________________UNIDADE CURRICULAR_____________________________
TURMA: ___________________________ DOCENTE: _________________________________________
ALUNO: ____________________________________________________________DATA: ____/____/___
8
Exercício 03 de programação com Ciclo de desbaste e acabamento longitudinal
CYCLE 95.
Utilizar uma ferramenta para desbaste e outra para acabamento
Pastilhas : CNMG 12 04 08 VC : 400 m/min Av : 0.25 mm/rpm
DNMG 15 04 04 VC : 500 m/min Av : 0.18 mm/rpm
Operações: Facear, desbastar deixando 1mm de sobre metal no diâmetro e 0,2mm
para acabamento
Obs.: Para facear utilizar 1mm por passada e no desbaste no máximo 4mm por
passada.
9
CURSO: ____________________________UNIDADE CURRICULAR_____________________________
TURMA: ___________________________ DOCENTE: _________________________________________
ALUNO: ____________________________________________________________DATA: ____/____/___
10
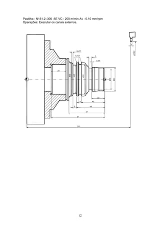
Exercício 04 de programação com Tempo de permanência G04.
Utilizar uma ferramenta para canal externo
11
CURSO: ____________________________UNIDADE CURRICULAR_____________________________
TURMA: ___________________________ DOCENTE: _________________________________________
ALUNO: ____________________________________________________________DATA: ____/____/___
Pastilha : N151.2–300 -5E VC : 200 m/min Av : 0.10 mm/rpm
Operações: Executar os canais externos.
12
13
Exercício 05 programação com Ciclo automático de roscamento G76.
Utilizar uma ferramenta para desbaste, acabamento, canal e rosca
Pastilhas : CNMG 12 04 08 VC : 400 m/min Av : 0.25 mm/rpm
DNMG 15 04 04 VC : 500 m/min Av : 0.18 mm/rpm
N151.2–300 -5E VC : 200 m/min Av : 0.10 mm/rpm
R166 0G-16 MM01 – 250
Operações: Desbastar e acabar diâmetro de 35mm ; fazer canal e executar rosca
M35 x 1,5mm ( 2 entradas) utilizar 12 passadas e 500 RPM.
14
CURSO: ____________________________UNIDADE CURRICULAR_____________________________
TURMA: ___________________________ DOCENTE: _________________________________________
ALUNO: ____________________________________________________________DATA: ____/____/___
15
Exercício 05 programação com Ciclo automático de roscamento CYCLE 97.
Utilizar uma ferramenta para desbaste, acabamento, canal e rosca
Pastilhas : CNMG 12 04 08 VC : 400 m/min Av : 0.25 mm/rpm
DNMG 15 04 04 VC : 500 m/min Av : 0.18 mm/rpm
N151.2–300 -5E VC : 200 m/min Av : 0.10 mm/rpm
R166 0G-16 MM01 – 250
Operações: Desbastar e acabar diâmetro de 35mm ; fazer canal e executar rosca
M35 x 1,5mm ( 2 entradas) utilizar 12 passadas e 500 RPM.
16
CURSO: ____________________________UNIDADE CURRICULAR_____________________________
TURMA: ___________________________ DOCENTE: _________________________________________
ALUNO: ____________________________________________________________DATA: ____/____/___
17
18

Exercícios de Coordenadas Torno à C.N.C

  • 1.
    Exercício de coordenadasabsolutas Calcular as coordenadas dos pontos indicados na figura abaixo CORDENAS ABSOLUTAS PONTOS X Z 01 02 03 04 05 06 07 08 09 10 1 CURSO: ____________________________UNIDADE CURRICULAR_____________________________ TURMA: ___________________________ DOCENTE: _________________________________________ ALUNO: ____________________________________________________________DATA: ____/____/___ CURSO: ____________________________UNIDADE CURRICULAR_____________________________ TURMA: ___________________________ DOCENTE: _________________________________________ ALUNO: ____________________________________________________________DATA: ____/____/___
  • 2.
    Exercício de coordenadasincrementais Calcular as coordenadas dos pontos indicados na figura abaixo CORDENAS INCREMENTAIS PONTOS X Z 01 02 03 04 05 06 07 08 09 10 2 CURSO: ____________________________UNIDADE CURRICULAR_____________________________ TURMA: ___________________________ DOCENTE: _________________________________________ ALUNO: ____________________________________________________________DATA: ____/____/___
  • 3.
    Exercício 01 deprogramação com coordenadas lineares Utilizar somente uma ferramenta para desbaste e acabamento Pastilha : CNMG 12 04 08 VC : 400 m/min Av : 0.25 mm/rpm Operações: Facear, desbastar e acabar, com a mesma ferramenta. Obs.: Para facear utilizar 1mm por passada e no desbaste no máximo 4mm por passada. 3
  • 4.
  • 5.
    Exercício 02 deprogramação com coordenadas lineares, circulares e compensação de raio de corte da ferramenta G00 G01 G40 G42. Utilizar uma ferramenta para desbaste e outra para acabamento Pastilhas : CNMG 12 04 08 VC : 400 m/min Av : 0.25 mm/rpm DNMG 15 04 04 VC : 500 m/min Av : 0.18 mm/rpm Operações: Facear, desbastar deixando 1mm de sobre metal no diâmetro e 0,2mm para acabamento Obs.: Para facear utilizar 1mm por passada e no desbaste no máximo 4mm por passada. 5 CURSO: ____________________________UNIDADE CURRICULAR_____________________________ TURMA: ___________________________ DOCENTE: _________________________________________ ALUNO: ____________________________________________________________DATA: ____/____/___
  • 6.
  • 7.
    Exercício 03 deprogramação com Ciclo de desbaste longitudinal G71 e ciclo de acabamento G70. Utilizar uma ferramenta para desbaste e outra para acabamento Pastilhas : CNMG 12 04 08 VC : 400 m/min Av : 0.25 mm/rpm DNMG 15 04 04 VC : 500 m/min Av : 0.18 mm/rpm Operações: Facear, desbastar deixando 1mm de sobre metal no diâmetro e 0,2mm nas faces para acabamento. Obs.: Para facear utilizar 1mm por passada e no desbaste no máximo 4mm por passada. 7 CURSO: ____________________________UNIDADE CURRICULAR_____________________________ TURMA: ___________________________ DOCENTE: _________________________________________ ALUNO: ____________________________________________________________DATA: ____/____/___
  • 8.
  • 9.
    Exercício 03 deprogramação com Ciclo de desbaste e acabamento longitudinal CYCLE 95. Utilizar uma ferramenta para desbaste e outra para acabamento Pastilhas : CNMG 12 04 08 VC : 400 m/min Av : 0.25 mm/rpm DNMG 15 04 04 VC : 500 m/min Av : 0.18 mm/rpm Operações: Facear, desbastar deixando 1mm de sobre metal no diâmetro e 0,2mm para acabamento Obs.: Para facear utilizar 1mm por passada e no desbaste no máximo 4mm por passada. 9 CURSO: ____________________________UNIDADE CURRICULAR_____________________________ TURMA: ___________________________ DOCENTE: _________________________________________ ALUNO: ____________________________________________________________DATA: ____/____/___
  • 10.
  • 11.
    Exercício 04 deprogramação com Tempo de permanência G04. Utilizar uma ferramenta para canal externo 11 CURSO: ____________________________UNIDADE CURRICULAR_____________________________ TURMA: ___________________________ DOCENTE: _________________________________________ ALUNO: ____________________________________________________________DATA: ____/____/___
  • 12.
    Pastilha : N151.2–300-5E VC : 200 m/min Av : 0.10 mm/rpm Operações: Executar os canais externos. 12
  • 13.
  • 14.
    Exercício 05 programaçãocom Ciclo automático de roscamento G76. Utilizar uma ferramenta para desbaste, acabamento, canal e rosca Pastilhas : CNMG 12 04 08 VC : 400 m/min Av : 0.25 mm/rpm DNMG 15 04 04 VC : 500 m/min Av : 0.18 mm/rpm N151.2–300 -5E VC : 200 m/min Av : 0.10 mm/rpm R166 0G-16 MM01 – 250 Operações: Desbastar e acabar diâmetro de 35mm ; fazer canal e executar rosca M35 x 1,5mm ( 2 entradas) utilizar 12 passadas e 500 RPM. 14 CURSO: ____________________________UNIDADE CURRICULAR_____________________________ TURMA: ___________________________ DOCENTE: _________________________________________ ALUNO: ____________________________________________________________DATA: ____/____/___
  • 15.
  • 16.
    Exercício 05 programaçãocom Ciclo automático de roscamento CYCLE 97. Utilizar uma ferramenta para desbaste, acabamento, canal e rosca Pastilhas : CNMG 12 04 08 VC : 400 m/min Av : 0.25 mm/rpm DNMG 15 04 04 VC : 500 m/min Av : 0.18 mm/rpm N151.2–300 -5E VC : 200 m/min Av : 0.10 mm/rpm R166 0G-16 MM01 – 250 Operações: Desbastar e acabar diâmetro de 35mm ; fazer canal e executar rosca M35 x 1,5mm ( 2 entradas) utilizar 12 passadas e 500 RPM. 16 CURSO: ____________________________UNIDADE CURRICULAR_____________________________ TURMA: ___________________________ DOCENTE: _________________________________________ ALUNO: ____________________________________________________________DATA: ____/____/___
  • 17.
  • 18.