BASES PARA O CÁLCULO
Aplicação de uma força: 0 até a ruptura da peça
ESTÁDIOS
ESTÁDIO 1
•Início do carregamento;
•Tensões atuantes menores que a resistência à tração do concreto;
•Diagrama linear de tensões – Vale Lei de Hooke;
•Momento de fissuração – limite entre Estádio 1 e 2.
ESTÁDIO 2
•Seção fissurada – concreto não resiste mais à tração;
•Concreto comprimido – diagrama linear – Lei de Hooke;
•Verificações de Estados Limites de Serviço (fissuração e flechas);
•Aumento do carregamento – aumento das fissuras;
•Plastificação do concreto comprimido – Término do Estádio 2.
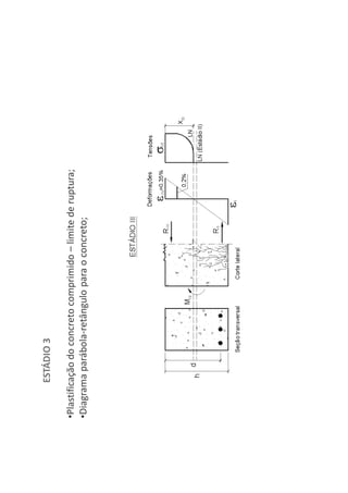
ESTÁDIO 3
•Plastificação do concreto comprimido – limite de ruptura;
•Diagrama parábola-retângulo para o concreto;
ESTÁDIO 3
•Para cálculo – simplificação para diagrama retangular do concreto comprimido;
•É neste estádio que se realiza o dimensionamento das estruturas.
•Tensão de 0,85fcd – Seção constante paralela à LN;
•Tensão de 0,80fcd – Caso contrário.
•Aço ou concreto atinge o seu limite de deformação:
•Alongamento último do aço (ruína por deformação plástica excessiva do
aço):
•Encurtamento último do concreto (ruína por ruptura do concreto):
Flexão
Compressão simples
DOMÍNIOS DE DEFORMAÇÃO NA RUÍNA
%0,11SUSU
%20,0
%35,0
0
0
CU
CU
CU
CU
Considerações:
•Perfeita aderência entre o aço e o concreto;
•Seções planas permanecem planas.
Limites de deformação dos materiais:
•Alongamento máximo do aço: 1,0%;
•Encurtamento máximo do concreto: 0,35%.
Ruína por deformação plástica excessiva:
•Tração simples: alongamento constante e igual a 1,0%;
•O alongamento se dá de forma uniforme na seção.
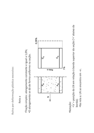
•Notação:
•‘x’ = posição da LN em relação à borda superior da seção (‘+’ abaixo da
borda);
•Na reta a: LN se encontra em - .
Reta a
Domínio 1
•Tração em toda a seção, mas não uniforme (Tração excêntrica);
•As com =1,0%;
•Borda superior com 0 < 1,0%;
•LN - < x ≤ 0.
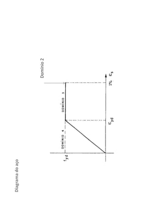
Domínio 2
•Flexão simples ou composta;
•Último caso de ruína por deformação plástica excessiva da armadura;
•As com =1,0%;
•Borda superior: 0 < c < 0,35%.
Domínio 3
•Flexão simples ou composta;
•Concreto na ruptura e aço tracionado em escoamento;
•Seção subarmada (aço e concreto trabalham com suas resistências de cálculo);
•Aproveitamento máximo dos materiais – ruína com aviso;
•As com yd s 1,0%;
•Borda comprimida: cu = 0,35%.
Ruína por ruptura do concreto na flexão:
•Flexão: LN dentro da seção.
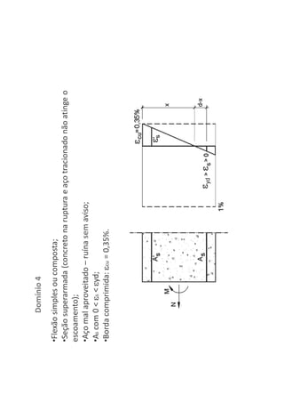
Domínio 4
•Flexão simples ou composta;
•Seção superarmada (concreto na ruptura e aço tracionado não atinge o
escoamento);
•Aço mal aproveitado – ruína sem aviso;
•As com 0 < s < yd;
•Borda comprimida: cu = 0,35%.
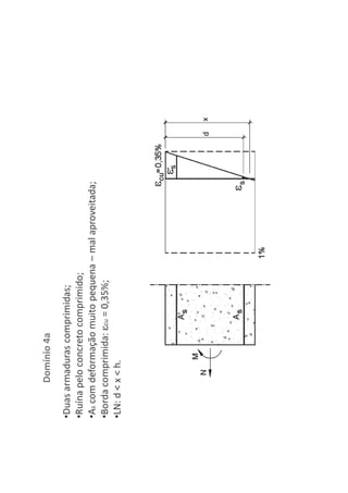
Domínio 4a
•Duas armaduras comprimidas;
•Ruína pelo concreto comprimido;
•As com deformação muito pequena – mal aproveitada;
•Borda comprimida: cu = 0,35%;
•LN: d < x < h.
•Seção inteiramente comprimida: x > h;
• cu = 0,20% - na linha distante 3/7 h;
•Compressão excêntrica;
•Borda comprimida: 0,35% < cu < 0,20%.
Domínio 5
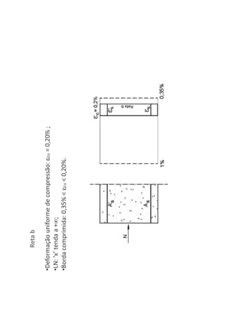
Ruína da seção inteiramente comprimida:
•Deformação uniforme de compressão: cu = 0,20% ;
•LN: ‘x’ tenda a + ;
•Borda comprimida: 0,35% < cu < 0,20%.
Reta b
•LN: definição da posição por semelhança de triângulos.
Diagrama único
•Da reta a para domínios 1 e 2: diagrama gira em torno do ponto A (Armadura
como limite com deformação de 1,0%);
•Nos domínios 3, 4 e 4a: diagrama gira em torno do ponto B (ruptura do concreto
na borda comprimida com deformação de 0,35%);
•Domínios 5 e reta b: diagrama gira em torno do ponto C (Concreto com 0,2%).
FLEXÃO SIMPLES NA RUÍNA - EQUAÇÕES
•Momento fletor separado da força cortante;
•Perfeita aderência entre concreto e armadura: c = s;
•Resistência à tração do concreto é desprezada;
•Manutenção da forma plana da seção transversal são proporcionais à
distância em relação à LN
Hipóteses
Diagramas de tensão do concreto
•Flexão: tração resistida pela armadura;
•LN: 0 < x < d Domínios 2, 3 e 4.
Domínios possíveis
•Ruína por deformação plástica excessiva do aço;
•Definindo:
Domínio 2
d
x
x
x
x ou
sc
c
x
sc
c
x
%35,00
%0,1
0
1
c
s
c
s ydsd ffsd
259,0
135,0
35,0
3,2 0
1sc
c
x
sc
c
x 259,00 0xx
•Ruína por ruptura do concreto com deformação máxima de 0,35%;
•Definindo:
Domínio 3
%35,0
%0,1
0
1
c
syd
c
sy
ydsd ffsd
ydydc
c
x
yyc
c
x
35,0
35,0
4,3
4,3259,0 xx xx
s
yd
yd
E
ff
y
628,0)4,3(%207,0
21000015,1
500
lim,)( 00
2
xAyd xy
•Ruína por ruptura do concreto com deformação máxima de 0,35%;
•Definindo:
Domínio 4
%35,0
0
0c
yds
c
ys
ydsd ffsd
•Solução antieconômica, além de perigosa – ruptura brusca (sem aviso);
•Alternativas:
•Aumentar a altura h;
•Adotar armadura dupla;
•Aumentar a resistência do concreto.
0,14,4 1
sc
c
ax
sc
c
x
00ss
Diagrama do aço
Domínio 2

Estadios e domínios

  • 1.
    BASES PARA OCÁLCULO Aplicação de uma força: 0 até a ruptura da peça ESTÁDIOS ESTÁDIO 1 •Início do carregamento; •Tensões atuantes menores que a resistência à tração do concreto; •Diagrama linear de tensões – Vale Lei de Hooke; •Momento de fissuração – limite entre Estádio 1 e 2.
  • 2.
    ESTÁDIO 2 •Seção fissurada– concreto não resiste mais à tração; •Concreto comprimido – diagrama linear – Lei de Hooke; •Verificações de Estados Limites de Serviço (fissuração e flechas); •Aumento do carregamento – aumento das fissuras; •Plastificação do concreto comprimido – Término do Estádio 2.
  • 3.
    ESTÁDIO 3 •Plastificação doconcreto comprimido – limite de ruptura; •Diagrama parábola-retângulo para o concreto;
  • 4.
    ESTÁDIO 3 •Para cálculo– simplificação para diagrama retangular do concreto comprimido; •É neste estádio que se realiza o dimensionamento das estruturas. •Tensão de 0,85fcd – Seção constante paralela à LN; •Tensão de 0,80fcd – Caso contrário.
  • 5.
    •Aço ou concretoatinge o seu limite de deformação: •Alongamento último do aço (ruína por deformação plástica excessiva do aço): •Encurtamento último do concreto (ruína por ruptura do concreto): Flexão Compressão simples DOMÍNIOS DE DEFORMAÇÃO NA RUÍNA %0,11SUSU %20,0 %35,0 0 0 CU CU CU CU Considerações: •Perfeita aderência entre o aço e o concreto; •Seções planas permanecem planas.
  • 6.
    Limites de deformaçãodos materiais: •Alongamento máximo do aço: 1,0%; •Encurtamento máximo do concreto: 0,35%.
  • 7.
    Ruína por deformaçãoplástica excessiva: •Tração simples: alongamento constante e igual a 1,0%; •O alongamento se dá de forma uniforme na seção. •Notação: •‘x’ = posição da LN em relação à borda superior da seção (‘+’ abaixo da borda); •Na reta a: LN se encontra em - . Reta a
  • 8.
    Domínio 1 •Tração emtoda a seção, mas não uniforme (Tração excêntrica); •As com =1,0%; •Borda superior com 0 < 1,0%; •LN - < x ≤ 0.
  • 9.
    Domínio 2 •Flexão simplesou composta; •Último caso de ruína por deformação plástica excessiva da armadura; •As com =1,0%; •Borda superior: 0 < c < 0,35%.
  • 10.
    Domínio 3 •Flexão simplesou composta; •Concreto na ruptura e aço tracionado em escoamento; •Seção subarmada (aço e concreto trabalham com suas resistências de cálculo); •Aproveitamento máximo dos materiais – ruína com aviso; •As com yd s 1,0%; •Borda comprimida: cu = 0,35%. Ruína por ruptura do concreto na flexão: •Flexão: LN dentro da seção.
  • 11.
    Domínio 4 •Flexão simplesou composta; •Seção superarmada (concreto na ruptura e aço tracionado não atinge o escoamento); •Aço mal aproveitado – ruína sem aviso; •As com 0 < s < yd; •Borda comprimida: cu = 0,35%.
  • 12.
    Domínio 4a •Duas armadurascomprimidas; •Ruína pelo concreto comprimido; •As com deformação muito pequena – mal aproveitada; •Borda comprimida: cu = 0,35%; •LN: d < x < h.
  • 13.
    •Seção inteiramente comprimida:x > h; • cu = 0,20% - na linha distante 3/7 h; •Compressão excêntrica; •Borda comprimida: 0,35% < cu < 0,20%. Domínio 5 Ruína da seção inteiramente comprimida:
  • 14.
    •Deformação uniforme decompressão: cu = 0,20% ; •LN: ‘x’ tenda a + ; •Borda comprimida: 0,35% < cu < 0,20%. Reta b
  • 15.
    •LN: definição daposição por semelhança de triângulos. Diagrama único •Da reta a para domínios 1 e 2: diagrama gira em torno do ponto A (Armadura como limite com deformação de 1,0%); •Nos domínios 3, 4 e 4a: diagrama gira em torno do ponto B (ruptura do concreto na borda comprimida com deformação de 0,35%); •Domínios 5 e reta b: diagrama gira em torno do ponto C (Concreto com 0,2%).
  • 16.
    FLEXÃO SIMPLES NARUÍNA - EQUAÇÕES •Momento fletor separado da força cortante; •Perfeita aderência entre concreto e armadura: c = s; •Resistência à tração do concreto é desprezada; •Manutenção da forma plana da seção transversal são proporcionais à distância em relação à LN Hipóteses Diagramas de tensão do concreto
  • 17.
    •Flexão: tração resistidapela armadura; •LN: 0 < x < d Domínios 2, 3 e 4. Domínios possíveis •Ruína por deformação plástica excessiva do aço; •Definindo: Domínio 2 d x x x x ou sc c x sc c x %35,00 %0,1 0 1 c s c s ydsd ffsd 259,0 135,0 35,0 3,2 0 1sc c x sc c x 259,00 0xx
  • 18.
    •Ruína por rupturado concreto com deformação máxima de 0,35%; •Definindo: Domínio 3 %35,0 %0,1 0 1 c syd c sy ydsd ffsd ydydc c x yyc c x 35,0 35,0 4,3 4,3259,0 xx xx s yd yd E ff y 628,0)4,3(%207,0 21000015,1 500 lim,)( 00 2 xAyd xy
  • 19.
    •Ruína por rupturado concreto com deformação máxima de 0,35%; •Definindo: Domínio 4 %35,0 0 0c yds c ys ydsd ffsd •Solução antieconômica, além de perigosa – ruptura brusca (sem aviso); •Alternativas: •Aumentar a altura h; •Adotar armadura dupla; •Aumentar a resistência do concreto. 0,14,4 1 sc c ax sc c x 00ss
  • 20.