PRESENÇA DE MDA (3,4-ETILENODIOXIANFETAMINA)
EM CADÁVER DE TRIPULANTE À BORDO DE NAVIO
            NA COSTA BRASILEIRA
                            (RELATO DE UM CASO)




       ALESANDRO F. SANTANA, FERNANDO S. FILHO, MARISA F. SOUZA,
            ANA CECILIA C. BANDEIRA e CRISTÓVÃO M. DANTAS

    Departamento de Polícia Técnica - Laboratório Central

               e-mail:<labins@compos.com.br>
INTRODUÇÃO :
      Foi solicitado ao Laboratório Central de Polícia Técnica, em Salvador, exames toxicológicos no
material biológico (amostras de sangue, urina e vísceras) retirado de um cadáver mantido congelado
durante aproximadamente seis dias após o óbito, ocorrido à bordo de um navio próximo à costa do Estado
da Bahia.
      Segundo informações da Seção Regional de Polícia Técnica de Itabuna, a vítima fora, a menos de um
ano, submetida a exames médicos (para ingresso no navio) os quais não indicaram a existência de doença
infecto - contagiosa ou de natureza cardíaca. Os demais tripulantes, após exames médicos na Unidade
Sanitária de Ilhéus, não apresentaram sinais de cólera ou outro tipo de doença. Alem disso, os exames
necroscópicos não evidenciaram quaisquer alterações em órgãos ou tecidos que pudessem apontar a causa
da morte.
   Sabia - se que a vítima trabalhava no navio como cozinheiro e que, alguns dias antes de falecer em sua
cabine, apresentava diarréia constante, fazendo inclusive, uso de medicamento anti-diarréico. A análise
toxicológica do material biológico revelou a presença, na urina, da anfetamina MDA (3,4-
metilenodioxianfetamina.), droga sintética de propriedades alucinógenas com uso proscrito no Brasil. O
MDA, que possui estrutura química similar ao MDMA (ecstasy), atua na destruição dos neurônios
responsáveis pela produção da serotonina, afetando diretamente a atividade sexual, sono, sensibilidade a
dor, humor e comportamento. Embora pesquisas apontem uma crescente procura e utilização (não apenas
entre estudantes e jovens entre 19 e 28 anos mas, tambem entre os usuários de cocaína), a ocorrência deste
tipo de droga não havia, ainda, sido registrada em nenhum caso envolvendo material biológico neste
Laboratório.
      Portanto, este trabalho objetiva expor todo o procedimento analítico adotado, utilizando-se as técnicas
de imunoensaio, TLC,HPTLC e GC/MS para a conclusão da pesquisa.
MATERIAL :
•   Amostras : sangue, urina e vísceras do cadáver periciado; urina de paciente comprovadamente sem
    histórico de uso de drogas.
• Imunoensaio : Aparelho Merck VITALAB Eclair (FPIA), com reagentes específicos para cocaína,
  canabinóides, anfetaminas e barbitúricos; kit multicontrole.
• Cromatografia em camada delgada:
      - CCD: placa de vidro, 20 X 20 cm, Merck.
      - CCDAE: placa de vidro, 10x10 cm Merck.
      - Reveladores:
           Iodoplatinado acidificado;
           Nitroprussiato de sódio 5%, Acetaldeído 10%, Carbonato de Sódio 2%, (1:1:1)
• Extração em fase sólida : cartuchos de extração Spe-ed Scan ABN Aplied Separations
• Cromatografia gasosa acoplada à espectrometria de massas com ionização eletrônica (GC/MS-IE):
  Cromatógrafo à gás SHIMADZU modelo 17-A com detetor espectrométrico de massa modelo QP-
  5000; coluna capilar em silica fundida com fase estacionaria metil silicone com 5% de fenil; banho de
  glicerina termostatizado.
• Soluções de referência: MDA, efedrina, fenproporex e dietilpropiona em metanol.
MÉTODOS :
     Afastadas as hipóteses de envenenamento por arsênio, monóxido de carbono, cianeto (testes químicos),
voláteis (“Head-Space”/GC) e inseticidas (CCD) no material enviado, passou-se à etapa de triagem na
amostra de urina através de imunoensaio onde foram testadas as presenças de cocaína, Barbitúricos,
canabinóides e anfetamínicos sendo que para este último grupo os resultados se apresentaram positivos.
      Em outra etapa, procedeu-se extração líquido - líquido (fluxograma 1) na amostra de urina do
periciado e realizou-se a eluição do extrato junto com aplicações das soluções de referência em placas
20 x 20 cm num percurso de 10 cm em sistema eluente metanol : amônia (100:1,5). A placa foi revelada
com o agente cromogênico Iodoplatinado acidificado. Para a obtenção de uma melhor comparação, os
extratos de : 1- urina do periciado, 2- urina - branco, 3- urina - branco adicionada de solução de MDA , 4-
urina do periciado adicionada de solução de MDA e a própria solução de MDA foram aplicadas em
nanoplacas (HPTLC) no mesmo sistema eluente em percurso de 8 cm e revelados ora com iodoplatinado
acidificado, ora com mistura de partes iguais de nitroprussiato de sódio a 5% , acetaldeido a 10% e
carbonato de sódio a 2%.
      Numa última etapa, alíquotas das urinas 1 e 3 foram submetidas a extração em fase sólida. Os
resíduos obtidos, bem como a solução de MDA, foram derivatizados com anidrido pentafluorpropiônico
(fluxograma2), para posterior análise em cromatógrafo à gás acoplado à espectrômetro de massa (figura 1).
DISCUSSÃO e CONCLUSÃO :
     Os testes de imunoensaio (FPIA) foram decisivos no direcionamento dos exames toxicológicos para a
pesquisa de derivados anfetamínicos. Foram encontrados valores de milipolarização da ordem de 92,8 para
a amostra da urina periciada , contra valores da ordem de 119,9 mp para o controle negativo, 87,2 mp para
o controle positivo e 106,9 mp para o “cut-off”. Buscando uma confirmação do resultado obtido no
imunoensaio e visando também a possibilidade da identificação da anfetamina, foram utilizadas as técnicas
de CCD e CCDAE. Nas placas de CCD, observou-se compatibilidade (Rf e coloração marrom) entre as
manchas do extrato da urina (pericia) e as da solução de MDA. Comparando-se as manchas nas placas de
CCDAE, observou-se que o extrato1 (periciado) apresentou Rf um pouco abaixo do Rf do extrato 3
(branco-adicionado) e do Rf da solução de MDA. Além disso, o extrato 4 apresentou duas manchas
discretamente separadas, sugerindo que o MDA proveniente da amostra periciada (excretado) possui Rf
ligeiramente inferior ao Rf do MDA adicionado.
      A confirmação do resultado foi feita através de GC/MS por comparação dos tempos de retenção nos
cromatogramas de íon total (TIC) e cromatogramas de multi-íons (MIC) dos extratos 1 e 3 e pelo
monitoramento dos íons selecionados (135 , 163 e 325) para o MDA-PFP (figuras 2, 3 e 4).
      Como parâmetro estatístico para garantia do resultado, foram efetuados cálculos da relação entre a
intensidade dos íons monitorados para o extrato 1 e extrato 3, obtendo-se volores satisfatórios.
EXTRAÇÃO EM FASE SÓLIDA E DERIVATIZAÇÃO
                   DE ANFETAMINAS

                                 5mL de urina

                                                  4,0mL de Tampão Fosfato
                                                    pH da amostra ≅ 6,0

                                 Agitar em vortex



                                   Condicionar
                                  cartucho (ABN)
   2,0mL de Metanol
   2,0 mL de H2O
   2,0mL Tampão Fosfato          Aspirar amostra
                                  no cartucho
   2,0 mL de H2O
   1,0mL de Ac. Acético 1,0N
   2,0mL de Metanol              Secar Cartucho
                                   sob vácuo



                                  Eluir c/ 3mL de
                                 solvente de coca
                                                         µ
                                                       50µL de HCl / Me-OH 0,1%

                                   Evaporar o
                                 Solvente sob N2
                                                         µ
                                                       50µL de Acetato de etila
                                                        µ
                                                      50µL de Ag. Derivatrizante
Obs.
      Solvente de Coca              Selar c/ N2
                                             o
                                   15min 80 C
Hidróxido de Amônia 2,0% em                                             Fragmentos
Pesquisados:
Dicloro Metano : Isopropanol
             (80:20)                                                M+ 325,2u.m.a. (MDA-PFP)
                                                                    m/z 163 u.m.a.
                                                                    m/z 135 u.m.a.
      Ag. Derivatizante
( Anid. Pentafluorpropiônico )     Secar sob N2
                                            o
                                    Temp. 50 C
(ABN) =Cartucho de Extração
          em fase sólida                                   µ
                                                         50µL de Acetato de etila

                                              µ
                                   Injetar 1,0µL
                                   modo(SIM)

                                     Fluxograma - 2
Fragmentos Típicos do MDA-PFP
                   (Dioximetilenloanfetamina-Pentafluorpropil)




C13H12F5NO3                                              C8H7O2
 +
M = 325,2u.m.a.                                        M/Z= 135,1u.m.a.
                    -




                                                              _




                         C10H1102
                        M/Z=163,1u.m.a.




                                          Figura - 4
Espectro de massa do MDA-PFP




            C13H12F5NO3
    M+=325,2u.m.a.




               Figura - 3
Condições Cromatograficas




          Figura - 1
5mL de urina

                             Ajustar o pH c/ NH4OH P.A. (pH = 10)
       Agitação manual       Adicionar 15mL de Clorofórmio
        30 segundos


          Centrifugar
        2500rpm 10 min

                               Separar e desprezar a fase aquosa,
       Filtrar f. organica      usando pipeta de Pasteur
          Na2SO4 And.

                               Lavar o papel de filtro e o Na2SO4
         Evaporar em             com clorofórmio
                     o
       banho-maria 55 C

                              50uL sol. 0,1% Hclem Metanol

           Residuo


                             Resuspender com 50uL de clorofórmio

              CCD
           (Triagem)




CCD                           CCDAE
      Fluxograma - 1
CROMATOGRAMA PADRÃO DE (MDA-PFP)




CROMATOGRAMAS DO CASO PERICIADO




              Figura - 2

Identificação de ecstasy (mdma)

  • 1.
    PRESENÇA DE MDA(3,4-ETILENODIOXIANFETAMINA) EM CADÁVER DE TRIPULANTE À BORDO DE NAVIO NA COSTA BRASILEIRA (RELATO DE UM CASO) ALESANDRO F. SANTANA, FERNANDO S. FILHO, MARISA F. SOUZA, ANA CECILIA C. BANDEIRA e CRISTÓVÃO M. DANTAS Departamento de Polícia Técnica - Laboratório Central e-mail:<labins@compos.com.br>
  • 2.
    INTRODUÇÃO : Foi solicitado ao Laboratório Central de Polícia Técnica, em Salvador, exames toxicológicos no material biológico (amostras de sangue, urina e vísceras) retirado de um cadáver mantido congelado durante aproximadamente seis dias após o óbito, ocorrido à bordo de um navio próximo à costa do Estado da Bahia. Segundo informações da Seção Regional de Polícia Técnica de Itabuna, a vítima fora, a menos de um ano, submetida a exames médicos (para ingresso no navio) os quais não indicaram a existência de doença infecto - contagiosa ou de natureza cardíaca. Os demais tripulantes, após exames médicos na Unidade Sanitária de Ilhéus, não apresentaram sinais de cólera ou outro tipo de doença. Alem disso, os exames necroscópicos não evidenciaram quaisquer alterações em órgãos ou tecidos que pudessem apontar a causa da morte. Sabia - se que a vítima trabalhava no navio como cozinheiro e que, alguns dias antes de falecer em sua cabine, apresentava diarréia constante, fazendo inclusive, uso de medicamento anti-diarréico. A análise toxicológica do material biológico revelou a presença, na urina, da anfetamina MDA (3,4- metilenodioxianfetamina.), droga sintética de propriedades alucinógenas com uso proscrito no Brasil. O MDA, que possui estrutura química similar ao MDMA (ecstasy), atua na destruição dos neurônios responsáveis pela produção da serotonina, afetando diretamente a atividade sexual, sono, sensibilidade a dor, humor e comportamento. Embora pesquisas apontem uma crescente procura e utilização (não apenas entre estudantes e jovens entre 19 e 28 anos mas, tambem entre os usuários de cocaína), a ocorrência deste tipo de droga não havia, ainda, sido registrada em nenhum caso envolvendo material biológico neste Laboratório. Portanto, este trabalho objetiva expor todo o procedimento analítico adotado, utilizando-se as técnicas de imunoensaio, TLC,HPTLC e GC/MS para a conclusão da pesquisa.
  • 3.
    MATERIAL : • Amostras : sangue, urina e vísceras do cadáver periciado; urina de paciente comprovadamente sem histórico de uso de drogas. • Imunoensaio : Aparelho Merck VITALAB Eclair (FPIA), com reagentes específicos para cocaína, canabinóides, anfetaminas e barbitúricos; kit multicontrole. • Cromatografia em camada delgada: - CCD: placa de vidro, 20 X 20 cm, Merck. - CCDAE: placa de vidro, 10x10 cm Merck. - Reveladores: Iodoplatinado acidificado; Nitroprussiato de sódio 5%, Acetaldeído 10%, Carbonato de Sódio 2%, (1:1:1) • Extração em fase sólida : cartuchos de extração Spe-ed Scan ABN Aplied Separations • Cromatografia gasosa acoplada à espectrometria de massas com ionização eletrônica (GC/MS-IE): Cromatógrafo à gás SHIMADZU modelo 17-A com detetor espectrométrico de massa modelo QP- 5000; coluna capilar em silica fundida com fase estacionaria metil silicone com 5% de fenil; banho de glicerina termostatizado. • Soluções de referência: MDA, efedrina, fenproporex e dietilpropiona em metanol.
  • 4.
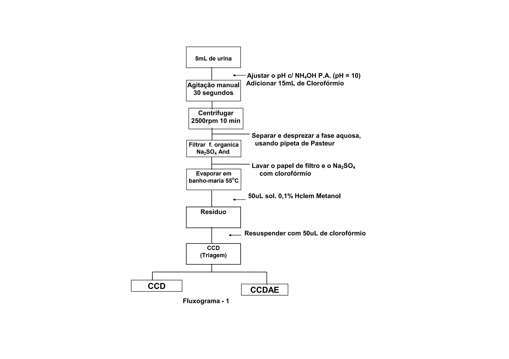
    MÉTODOS : Afastadas as hipóteses de envenenamento por arsênio, monóxido de carbono, cianeto (testes químicos), voláteis (“Head-Space”/GC) e inseticidas (CCD) no material enviado, passou-se à etapa de triagem na amostra de urina através de imunoensaio onde foram testadas as presenças de cocaína, Barbitúricos, canabinóides e anfetamínicos sendo que para este último grupo os resultados se apresentaram positivos. Em outra etapa, procedeu-se extração líquido - líquido (fluxograma 1) na amostra de urina do periciado e realizou-se a eluição do extrato junto com aplicações das soluções de referência em placas 20 x 20 cm num percurso de 10 cm em sistema eluente metanol : amônia (100:1,5). A placa foi revelada com o agente cromogênico Iodoplatinado acidificado. Para a obtenção de uma melhor comparação, os extratos de : 1- urina do periciado, 2- urina - branco, 3- urina - branco adicionada de solução de MDA , 4- urina do periciado adicionada de solução de MDA e a própria solução de MDA foram aplicadas em nanoplacas (HPTLC) no mesmo sistema eluente em percurso de 8 cm e revelados ora com iodoplatinado acidificado, ora com mistura de partes iguais de nitroprussiato de sódio a 5% , acetaldeido a 10% e carbonato de sódio a 2%. Numa última etapa, alíquotas das urinas 1 e 3 foram submetidas a extração em fase sólida. Os resíduos obtidos, bem como a solução de MDA, foram derivatizados com anidrido pentafluorpropiônico (fluxograma2), para posterior análise em cromatógrafo à gás acoplado à espectrômetro de massa (figura 1).
  • 5.
    DISCUSSÃO e CONCLUSÃO: Os testes de imunoensaio (FPIA) foram decisivos no direcionamento dos exames toxicológicos para a pesquisa de derivados anfetamínicos. Foram encontrados valores de milipolarização da ordem de 92,8 para a amostra da urina periciada , contra valores da ordem de 119,9 mp para o controle negativo, 87,2 mp para o controle positivo e 106,9 mp para o “cut-off”. Buscando uma confirmação do resultado obtido no imunoensaio e visando também a possibilidade da identificação da anfetamina, foram utilizadas as técnicas de CCD e CCDAE. Nas placas de CCD, observou-se compatibilidade (Rf e coloração marrom) entre as manchas do extrato da urina (pericia) e as da solução de MDA. Comparando-se as manchas nas placas de CCDAE, observou-se que o extrato1 (periciado) apresentou Rf um pouco abaixo do Rf do extrato 3 (branco-adicionado) e do Rf da solução de MDA. Além disso, o extrato 4 apresentou duas manchas discretamente separadas, sugerindo que o MDA proveniente da amostra periciada (excretado) possui Rf ligeiramente inferior ao Rf do MDA adicionado. A confirmação do resultado foi feita através de GC/MS por comparação dos tempos de retenção nos cromatogramas de íon total (TIC) e cromatogramas de multi-íons (MIC) dos extratos 1 e 3 e pelo monitoramento dos íons selecionados (135 , 163 e 325) para o MDA-PFP (figuras 2, 3 e 4). Como parâmetro estatístico para garantia do resultado, foram efetuados cálculos da relação entre a intensidade dos íons monitorados para o extrato 1 e extrato 3, obtendo-se volores satisfatórios.
  • 6.
    EXTRAÇÃO EM FASESÓLIDA E DERIVATIZAÇÃO DE ANFETAMINAS 5mL de urina 4,0mL de Tampão Fosfato pH da amostra ≅ 6,0 Agitar em vortex Condicionar cartucho (ABN) 2,0mL de Metanol 2,0 mL de H2O 2,0mL Tampão Fosfato Aspirar amostra no cartucho 2,0 mL de H2O 1,0mL de Ac. Acético 1,0N 2,0mL de Metanol Secar Cartucho sob vácuo Eluir c/ 3mL de solvente de coca µ 50µL de HCl / Me-OH 0,1% Evaporar o Solvente sob N2 µ 50µL de Acetato de etila µ 50µL de Ag. Derivatrizante Obs. Solvente de Coca Selar c/ N2 o 15min 80 C Hidróxido de Amônia 2,0% em Fragmentos Pesquisados: Dicloro Metano : Isopropanol (80:20) M+ 325,2u.m.a. (MDA-PFP) m/z 163 u.m.a. m/z 135 u.m.a. Ag. Derivatizante ( Anid. Pentafluorpropiônico ) Secar sob N2 o Temp. 50 C (ABN) =Cartucho de Extração em fase sólida µ 50µL de Acetato de etila µ Injetar 1,0µL modo(SIM) Fluxograma - 2
  • 7.
    Fragmentos Típicos doMDA-PFP (Dioximetilenloanfetamina-Pentafluorpropil) C13H12F5NO3 C8H7O2 + M = 325,2u.m.a. M/Z= 135,1u.m.a. - _ C10H1102 M/Z=163,1u.m.a. Figura - 4
  • 8.
    Espectro de massado MDA-PFP C13H12F5NO3 M+=325,2u.m.a. Figura - 3
  • 9.
  • 10.
    5mL de urina Ajustar o pH c/ NH4OH P.A. (pH = 10) Agitação manual Adicionar 15mL de Clorofórmio 30 segundos Centrifugar 2500rpm 10 min Separar e desprezar a fase aquosa, Filtrar f. organica usando pipeta de Pasteur Na2SO4 And. Lavar o papel de filtro e o Na2SO4 Evaporar em com clorofórmio o banho-maria 55 C 50uL sol. 0,1% Hclem Metanol Residuo Resuspender com 50uL de clorofórmio CCD (Triagem) CCD CCDAE Fluxograma - 1
  • 12.
    CROMATOGRAMA PADRÃO DE(MDA-PFP) CROMATOGRAMAS DO CASO PERICIADO Figura - 2