Molas e Coxins de
Borracha
Dimensionamento estático
Valdemir José Garbim
www.cenne.com.br Página 2
1) DEFORMAÇÕES ESTÁTICAS
Um corpo de borracha, quando submetido a forças externas,
comporta-se como um sólido viscoelástico, onde as deformações elásticas
instantâneas sobrepõem-se às deformações plásticas, em que, esta
segunda é dependente do tempo em que a carga solicitante fica atuando.
Este típico comportamento reológico é evidenciado em um
gráfico tensão x deformação unitária à tração conforme mostrado na figura 5
abaixo, determinado a partir de corpos de prova construídos de borracha
natural (goma-pura) vulcanizada.
Como podemos observar no gráfico “Fig 5”, a área achurada
compreendida entre a curva de tração e a curva de relaxe da tensão,
representa a quantidade de energia mecânica perdida devido a atritos
intermoleculares da borracha, a essa quantidade de energia chamamos de
“Histerése”.
www.cenne.com.br Página 3
Na realidade, boa parte da energia histerética transforma-se
em calor (energia térmica).
Comparemos, por exemplo, dois corpos de prova, sendo um,
de borracha natural com carga de negro de fumo, e outro de borracha
natural em forma de goma-pura, submetidos ao ensaio de tensão x
deformação.
Para uma mesma deformação, por exemplo de 200%,
observa-se uma “Histerese” muito maior no corpo de prova construído da
borracha natural com carga de negro de fumo, do que para o corpo de
prova construído de borracha natural tipo goma-pura, isto porque, os atritos
intermoleculares são bem superiores, no primeiro caso.
A viscoelasticidade ainda é responsável por outras
propriedades particulares mostradas pelos materiais elastoméricos, algumas
das quais são citadas abaixo.
- Relaxação da Tensão
A relaxação da tensão, ou seja, a redução em função do
tempo, das tensões internas desenvolvidas instantaneamente devido à
imposição de uma deformação constante de, tração, compressão ou
cisalhamento.
- Fluência
Que é a deformação em função do tempo que se segue à
deformação instantânea, resultante das solicitações constantes de trabalho.
www.cenne.com.br Página 4
- Deformação Permanente à Compressão
A deformação permanente à compressão é a deformação
residual após um determinado tempo de repouso, a partir da remoção da
força externa, ou deformação imposta. (Ver norma ABNT – NBR – 10025).
2) Comportamento Estático Básico
O comportamento estático básico de uma mola de borracha
submetida a esforços solicitantes de tração, compressão ou cisalhamento
simples, na região de pequenas deformações em que, a curva tensão x
deformação é essencialmente linear, seja, deformações puramente
elásticas, evitando-se ainda as complicações acarretadas pela cristalização
e escoamento da borracha, ver fig. 6, a seguir:
Nota: - A figura 6, mostra a curva tensão x deformação de uma mola de
borracha submetida à solicitação de tração, porém, para solicitações
de compressão e cisalhamento, na região de pequena deformação,
o comportamento é análogo.
www.cenne.com.br Página 5
Na região de pequenas deformações, cuja qual é
compreendida como máximo de 15% de deformação relativo ao
comprimento inicial, trabalhamos sem riscos de maiores erros, e temos
plenas condições de aplicar a teoria clássica da elasticidade (lei de Hook)
nos desenvolvimentos dos cálculos de dimensionamento.
3) Fator de Forma
A rigidez de uma mola de borracha é função não só do módulo
de elasticidade (tipo de borracha), como também da oposição à deformação
existente na construção ou na montagem, de tal mola.
Podemos exprimir como oposição à deformação, a relação
entre a superfície carregada e as superfícies livres da mola, esta relação é
chamada de Fator de Forma “Ff “.
O fator de forma “Ff” de uma mola com forma geométrica bem
definida, é dada pela equação a seguir:
= ADMENSIONAL EQ. 1
onde: Ff = Fator de forma = admensional
AS = Área superficial solicitada por uma ou mais forças = cm2
AL = Somatória das Áreas livres da mola = cm 2
Ff = _ AS__
AL
www.cenne.com.br Página 6
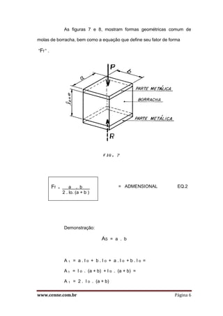
As figuras 7 e 8, mostram formas geométricas comum de
molas de borracha, bem como a equação que define seu fator de forma
“Ff “ .
= ADMENSIONAL EQ.2
Demonstração:
AS = a . b
A 1 = a . l o + b . l o + a . l o + b . l o =
A 1 = l o . (a + b) + l o . (a + b) =
A 1 = 2 . l o . (a + b)
Ff = a , b .
2 . lo. (a + b )
www.cenne.com.br Página 7
Assim:
Ff = AS = a . b .
AL 2 . l o . (a + b)
Onde:
AS = áreas superficiais solicitadas pela força = cm2
AF = áreas livres de solicitação direta = cm2
a = lado da mola = cm
b = lado da mola = cm
l o = comprimento da mola antes da deformação = cm
ADMENSIONAL EQ. 3Ff = d .
4 . l o
www.cenne.com.br Página 8
Onde:
d = diâmetro da borracha da mola = cm
l o = comprimento da borracha da mola = cm
Obs.: Para outras formas geométricas, usar sempre a relação da eq. 1.
No dimensionamento de uma mola, muitas são as variáveis
que temos que considerar, para se conseguir uma boa performance da mola.
O módulo de elasticidade e a rigidez, são dependentes do tipo
de borracha e da composição desta, porém, o fator de forma é dependente
da forma geométrica da mola, assim, quando do projeto de uma mola ou
coxim não for possível variar com o tipo de borracha para atender uma
específica aplicação, podemos variar o fator de forma de tal mola ou coxim,
não inviabilizando todavia o projeto.
A prática de mudar o fator de forma “Ff “ de uma mola, dá
liberdade de alguns artifícios para alterar seu valor absoluto. Mantendo-se a
mesma forma geométrica da mola determinada no projeto, porém, mudando
suas dimensões consegue-se valores diferentes de fator de forma.
Mudando-se a forma geométrica da mola, também é mudado o valor do fator
da forma, ou ainda, uma prática que também pode ser usada é, a subdivisão
da dita mola pela inserção de placas metálicas nesta, conforme mostrado na
figura 9 a e 9 b a seguir.
www.cenne.com.br Página 9
Somente para ilustrar, o gráfico tensão x deformação à
compressão da Figura 10 abaixo, mostra o comportamento de diversos
blocos de borracha com a mesma forma geométrica, mas com fator de forma
variando de 0,25 a 5,0.
As curvas foram obtidas a partir de blocos de borracha com
dureza de 70 shore A . (adaptação da referência 1).
Obs.: - Ref. 1 - Meyer, Da and Welch J. A . “Design and Enginneering with
Natural Rubber”
Rubber Chemistry and Technology 50 p 145 (1977).
Fig. 10 – Comportamento da Tensão e deformação percentual para
corpos de borracha com “F f” variável, de 0,25 a 5,0.
www.cenne.com.br Página 10
4) Solicitação de Tração
Analisemos um corpo de prova de borracha submetido a
ensaios de tração, tracemos seu diagrama tensão x deformação e
levantemos suas relações fundamentais Fig. 11 e 12.
Fig. 11 – Corpo de Prova submetido à ação da força “ P “
Fig 12 – Gráfico tensão x deformação do corpo de prova ensaiado
www.cenne.com.br Página 11
Portanto, pela teoria clássica dos materiais, definimos as
seguintes relações:
4.1 – Tensão de Tração = “ t “
= Kgf/cm 2
EQ. 4
= Kgf/cm2
EQ. 5
4.2 – Deformação devido à força de Solicitação = “  “
= ADMENSIONAL EQ. 6
4.3 – Coeficiente de Poisson = “  “
= ADMENSIONAL EQ 7
t = P .
Ao
t = E. 
 = f .
ll o
 =  LATERAL

www.cenne.com.br Página 12
Nota 1. Com analogia das equações eq. 4; eq. 5 e eq.6, ainda podemos
mostrar:
4.4 – Módulo de Elasticidade (Módulo de Young) = “E”
= Kgf / cm2
EQ. 8
4.5 - Alongamento devido a solicitação = “ f ”
= cm EQ. 9
4.6 - Coeficiente de Rigidez = (Constante de Mola) = “ K “
= Kgf/ cm EQ.10
= Kgf/ cm EQ 11
E = P. l o .
f. A o
f = P . l o
E . A o
K = P
f
K = E . AO
l o
www.cenne.com.br Página 13
TERMINOLOGIA
 t = tensão de tração = Kgf/cm2
P = carga solicitante = Kgf
A O = área da secção transversal da peça antes da carga = cm2
 = deformação devido à solicitação da carga = admen-
sional.
f = alongamento devido à solicitação da carga = cm
l o = comprimento inicial da peça antes da ação da carga = cm
E = módulo de elasticidade (módulo de Young) = Kgf/cm2
K = coeficiente de rigidez = Kg/cm
 = coeficiente de Poisson = admen-
sional
 LATERAL = contração lateral devido à solicitação da carga = admen-
sional.
Assim, as equações acima nos permitem dimensionar alguns
tipos de mola à tração, solicitadas estaticamente.
Em projetos de engenharia, normalmente não se aplica mola
de borracha sob solicitação de tração, entre outras razões, porque, a
fluência e a deformação permanente à tração, são maiores que quando as
molas são submetidas a trabalho de compressão ou cisalhamento.
www.cenne.com.br Página 14
Nota 2 - É muito importante frisar que o coeficiente de rigidez “K“, bem
como os módulos de elasticidade “E“, e o módulo de
elasticidade tangencial “G“, de uma mola de borracha, quando
esta sofre solicitação de algum tipo; (compressão, cisalhamento
ou tração) dependem também do formato da peça.
Por esta razão, para simplificar os cálculos, o que fazemos é,
considerar os valores de “E“ e “G“, para material sem a
solicitação da carga e depois, ter-se em conta o fator de forma e
carga, por meio de coeficientes de correção.
Nota 3 - No apêndice, são encontrados tabelas com alguns valores que
podem ser utilizados nos cálculos, porém, é sempre aconselhável
usar-se os valores reais obtidos nos aparelhos de ensaio de
laboratório, para cada tipo específico de borracha.
Também temos no apêndice uma formulação de borracha típica
para fabricação de coxins ou molas que ilustra e esclarece um
pouco mais o assunto.
5) Solicitação de Compressão
Seja uma mola de borracha conforme mostrado na figura 13
abaixo, submetida à solicitação de carga de compressão:
www.cenne.com.br Página 15
Fig. 13 – Solicitação da mola à compressão
Na solicitação de compressão, basicamente as equações são
análogas as que já conhecemos, para tração, porém, com algumas
considerações que veremos adiante
5.1. Tensão de Compressão = “c“
= Kgf/cm EQ. 12
= Kgf/cm EQ.13
c = P .
A o
c = Ec . c
www.cenne.com.br Página 16
5.2 Área de Atuação da Carga = “Ao“
= cm 2
EQ. 14
5.3 Módulo de Elasticidade à Compressão = “Ec”
= Kgf/cm2
EQ. 15
5.4 Encurtamento Devido a Solicitação da Carga = “ f “
= cm EQ. 16
5.5 Deformação Devida a Solicitação da Carga = “c “
= ADMENSIONAL EQ.17
Ec = P . eo
Ao . f
Ao = a . b
f = P . eo
Ao . Ec
c = ___f____
eo
www.cenne.com.br Página 17
5.6 Coeficiente de Rigidez = “K”
= Kgf/cm EQ. 18
= Kgf/cm EQ. 19
5.7 Fator de Forma = “Ff”
= ADMENSIONAL EQ. 20
5.8 Energia Absorvida na Deformação = “Tp”
= Kgf. cm EQ. 21
K = P .
f
K = Ec . Ao .
eo
Ff = As .
A l
Tp = P2
. eo .
2 . Ec. Ao
www.cenne.com.br Página 18
TERMINOLOGIA
c = Tensão de compressão = Kgf/cm2
P = Carga solicitante = Kgf
AO = Área inicial antes da solicitação = cm2
Ec = Módulo de Elasticidade à compressão = admenssional
c = Deformação devido à solicitação = admenssional
eo = Comprimento inicial antes da solicitação = cm
f = Encurtamento devido a solicitação = cm
f f = Fator de forma = admenssional
K = Coeficiente de rigidez = Kgf/cm
Tp = Energia absorvida na deformação = Kgf/cm
a = Lado da forma geométrica da mola = cm
b = Lado da forma geométrica da mola = cm
Obs.: Ff = 0,25 quando a = b = eo
Ff = 1,0 quando a = b; e, eo = 0,25 . a
Ff = 5,0 quando a = b; e, eo = 0,05 . a
Quando a mola ou coxim de borracha estiver solicitado à
compressão, e a borracha for impedida de deslizar sobre o substrato
ou base em que estiver montada, seja por meio de uma superfície
www.cenne.com.br Página 19
rugosa com elevado coeficiente de atrito, ou por meio de adesivação
vulcanizada ao metal, sua forma afeta extraordinariamente o módulo
de elasticidade à compressão “Ec”, pois, o fato da ligação da borracha
ao metal, no instante da solicitação de compressão, produz certas
tensões internas que provocam tais alterações.
O gráfico da fig. 14 abaixo (adaptado da ref. 2) ilustra o efeito
da variação das tensões e deformações sob solicitação de compressão de
um bloco de borracha medindo 20 x 15 x 3 cm com dureza de 40 shore A,
apoiado sobre diversas superfícies diferentes durante o ensaio.
Obs.: Ref. 2 - Kimmich E.G., “Rubber in Compression”
ASTM Bulletin n o. 106 p. 9 (1940)
Fig. 14 - Gráfico tensão x deformação à compressão do bloco de borracha
acima descrito, submetido à compressão com a superfície de
www.cenne.com.br Página 20
apoio da borracha sob diferentes condições de deslizamento
sendo:
Curva 1 - Ligação vulcanizada borracha/metal
Curva 2 - Bloco de borracha sobre lixa de papel
Curva 3 - Superfície limpa e pegajosa de borracha com placa de
aço polida.
Curva 4 - Superfície de aço polida com polvilhamento de talco
industrial.
Curva 5 - Borracha friccionando sobre grafite
Curva 6 - Superfície de aço polida untada de vaselina.
6) Solicitação de Cisalhamento Simples
Analisemos agora uma mola ou coxim de borracha sob
solicitação de cisalhamento simples, conforme mostrado na fig. 15 abaixo, e
demonstremos suas equações fundamentais para dimensionamento.
Fig. 15 - Mola de Borracha Solicitada ao Cisalhamento
www.cenne.com.br Página 21
As equações abaixo nos fornecem dados dimensionais para
molas solicitadas ao cisalhamento simples.
6.1 - Tensão de Cisalhemento “c“
= Kgf/cm2
EQ. 22
6.2 - Módulo de Elasticidade Tangencial “Ge”
= Kgf/cm2
EQ. 23
= Kgf/cm2
EQ. 24
6.3 Deslocamento Devido a Carga = “f”
= cm EQ. 25
c = P .
Ao
Ge = P . eo .
Ao . f
f = P. eo .
Ao . Ge
Ge = c .

www.cenne.com.br Página 22
= cm EQ. 26
= cm EQ. 27
6.4 - Deflexão Unitária Devido a Carga = ““
= ADMENSIONAL EQ. 28
( em radianos)
6.5 - Área de Cisalhamento “Ao”
= cm2
EQ. 29
f = eo . 
f = eo . c
G
 = f .

Ao = a . b
www.cenne.com.br Página 23
6.6. Fator de Forma “Ff”
= ADMENSIONAL EQ. 30
6.7 Coeficiente de Rigidez “K”
= Kgf/cm EQ. 31
= Kgf/cm EQ. 32
6.8 – Energia Absorvida na Deflexão “Tp”
K = P .
f
TP = P . f .
2
K = Ge . Ao .
eo
Ff = AS .
AL
www.cenne.com.br Página 24
TERMINOLOGIA
c = Tensão de cisalhamento = Kgf/cm2
P = Carga solicitante = Kgf
AO = Área da superfície de cisalhamento = cm2
Ge = Módulo de elasticidade tangencial estático = Kgf/cm2
 = Deflexão unitária devido a solicitação = admen-
sional.
eo = Altura da mola (parte de borracha) inicial = cm
f = Deslocamento devido à solicitação = cm
Ff = Fator de forma = admen-
sional
K = Coeficiente de rigidez = Kgf/cm
Tp = Energia absorvida na deflexão = kgf/cm
TP = AO . c2
. eo .
2 . Ge
TP = Vol. c2
.
2 . Ge
www.cenne.com.br Página 25
Vol = Volume útil da borracha da mola = cm3
 = Ângulo de inclinação ou torção devido solicitação = radianos
Nota 1: - A forma geométrica, fator de forma, de uma mola ou coxim de
borracha solicitada ao cisalhamento, tem influência significativa,
afetando sobremaneira o módulo de elasticidade “Ge”; (estático),
principalmente quando o “Ff” se apresenta como:
Ff < 1 ( = fator de forma menor que 1)
ou seja quando:
eo > 0,25, sendo: H = a = b
H
Assim sendo, é aconselhável quando for se dimensionar uma
mola ou coxim de borracha, ao cisalhamento, observar que a altura eo,
nunca seja superior a ¼ do lado ou diâmetro da base da mola (ou coxim).
Nota 2: - Observemos no gráfico tensão x deformação unitária ao
cisalhamento, (adaptado da ref.3) mostrado na fig. 16 abaixo,
veremos a linearidade existente entre as curvas para borracha
com dureza variando de 45 a 75 Shore A nas regiões de
trabalho mais freqüentes, de molas submetidas a cargas que
www.cenne.com.br Página 26
provocam deformações geralmente menores que 50% da
condição original.
Fig. 16 - Gráfico tensão x deform. ao cisalh. mostrando a linearidade
entre as curvas para borrachas com dureza variada.
7) Dureza da Borracha (ASTM – D – 1415/88)
Contrariamente do que ocorre com as molas construídas de
aço, as de borracha, tem suas próprias curvas características, isto é, o
coeficiente de rigidez “K”, o módulo de elasticidade (Módulo de Young) “E”,
e o Módulo de Elasticidade Tangencial “G”, são dependentes da dureza e
do tipo de composto o qual será confeccionada a mola.
www.cenne.com.br Página 27
A dureza da borracha, medição largamente usada na indústria
manufatureira, para classificação técnica do material, permite uma estimativa
rápida e satisfatória dos módulos de elasticidade “E” e “G” da borracha.
O método para determinação da dureza com unidade IRHD
(international Rubber Hardness Degree) avalia por meio da penetração “p”
de uma ponta esférica de raio “r” , sob a ação de uma força “P” , está
relacionado de forma aproximada com o módulo de elasticidade “E” ( em
Mpa), através da equação abaixo:
EQ. 36
Onde: -
P = Força para penetração da ponta esférica = N
= (Força da mola do durometro)
E = Módulo de Elasticidade = MPa
r = Raio da Ponta Esférica = mm
p = Profundidade de Penetração da Ponta Esférica = mm
Nota 1: - Convém lembrar que a dureza “IRHD” coincide praticamente com
a dureza “Shore-A”, sendo esta última a mais comumente usada.
Ex. : 30 IRHD = 30 SHORE A
1,35
P . = 1,9 . r2
. P .
E r
www.cenne.com.br Página 28
O gráfico da figura 17 a seguir, relaciona a dureza “Shore–A” com
o “log E” (sendo “E” em Mpa).
Também, no apêndice, podemos observar pela Tabela 3, a
relação entre a dureza variando de 30 a 75 SHORE – A, com o módulo de
elasticidade “E” da borracha, sendo “E” calculado através da equação eq.
36.
Fig. 17 – Gráfico relacionando a Dureza da Borracha
( Gráfico conforme demonstrado pela ASTM D 1415 )
www.cenne.com.br Página 29
Nota 2: -No apêndice também é mostrado a tabela 4 que determina, em
função da profundidade de penetração de uma haste padrão, sob
a ação de uma força pré-definida, num corpo de prova de
borracha, qual a dureza correlativa.
8) Relações Fundamentais
Teoricamente, o Módulo de Elasticidade “E”, o Módulo de
Elasticidade Tangencial “G”, e o Coeficiente de Poisson “” , estão
relacionados entre si, através da seguinte expressão: (teoria clássica dos
materiais).
EQ. 37
O Coeficiente de Poisson “”, para um material isotrópico,
isto é, um material em que suas características mecânicas são
independentes da direção considerada, e que não sofre variação de volume,
é igual a:  = 0,5
Assim sendo, transportando este valor para a equação eq. 37
deduzimos que:
= Kgf/cm2
EQ. 38
E . = 1 + 
2 G
E = 3 . G
www.cenne.com.br Página 30
Uma composição de borracha natural sem cargas reforçantes
vulcanizada, e estirada a alongamentos abaixo de 150%, não sofre variação
do volume, assim, satisfazendo a equação eq. 38. isto é confirmado
experimentalmente.
Como já foi visto anteriormente, para molas e coxins de
borracha, é conveniente sempre se dimensionar para deformações
dinâmicas máximas de 15% do comprimento (altura) inicial, então nesta
condição, a equação 38 é sempre plenamente satisfeita.
Um corpo de prova de borracha natural, sem cargas
reforçantes vulcanizada, e estirada a um alongamento de 500% relativo ao
comprimento inicial, apresenta uma redução de volume de 1,87%, isto
ocorre devido a cristalização por estiramento, o que eleva o coeficiente de
Poisson “” para 0,527, não mais atendendo a relação da eq. 38, portanto
não aconselhável para um bom desempenho como mola.
Quando solicitamos à compressão, um corpo de prova de
borracha, vulcanizada, o módulo de elasticidade à compressão, “Ec”,
também satisfaz a equação eq. 38, para o coeficiente de Poisson  = 0,5.
Isto também é verificado experimentalmente, quando se lubrifica
convenientemente as superfícies de carga de borracha.
Como é comum, em molas ou coxins de borracha,
normalmente, as superfícies de carga da mola, são ligadas ou vulcanizadas
solidariamente à substratos metálicos, neste caso, a curva tensão x
deformação à compressão, desvia-se significativamente comparando-se aos
casos de superfícies de carga lubrificadas; ver ilustração no gráfico fig. 14.
www.cenne.com.br Página 31
Uma condição muito importante a ser observada é a forma de
solicitação da mola, seja, se a solicitação comporta-se estática ou
dinamicamente.
Como o Módulo de Elasticidade “E”, e o Módulo de
Elasticidade Tangencial “G”, aumentam quando a mola é solicitada
dinamicamente, existe então uma diferença significativa entre E est. e G
est., e, E din. e G din., sendo assim, os valores de E din e G din, é melhor
que seja determinado experimentalmente em laboratórios equipados para
encontrar tais dados.
É importante, quando se quer dimensionar uma mola ou coxim
para trabalho dinâmico e severo, sempre consultar o fabricante especialista
em molas de borracha, para se obter o valor mais objetivo possível da
relação abaixo:
E din ou G din
-------- --------
E est. G est.
Porém, se considerarmos sempre os dimensionamentos
baseados em deformações máximas de 15%, como mencionado
anteriormente, existirá grande segurança de trabalho perfeito da mola, tanto
sob solicitações estatísticas como dinâmicas.

Molas coxins - Dimensionamento Estático

  • 1.
    Molas e Coxinsde Borracha Dimensionamento estático Valdemir José Garbim
  • 2.
    www.cenne.com.br Página 2 1)DEFORMAÇÕES ESTÁTICAS Um corpo de borracha, quando submetido a forças externas, comporta-se como um sólido viscoelástico, onde as deformações elásticas instantâneas sobrepõem-se às deformações plásticas, em que, esta segunda é dependente do tempo em que a carga solicitante fica atuando. Este típico comportamento reológico é evidenciado em um gráfico tensão x deformação unitária à tração conforme mostrado na figura 5 abaixo, determinado a partir de corpos de prova construídos de borracha natural (goma-pura) vulcanizada. Como podemos observar no gráfico “Fig 5”, a área achurada compreendida entre a curva de tração e a curva de relaxe da tensão, representa a quantidade de energia mecânica perdida devido a atritos intermoleculares da borracha, a essa quantidade de energia chamamos de “Histerése”.
  • 3.
    www.cenne.com.br Página 3 Narealidade, boa parte da energia histerética transforma-se em calor (energia térmica). Comparemos, por exemplo, dois corpos de prova, sendo um, de borracha natural com carga de negro de fumo, e outro de borracha natural em forma de goma-pura, submetidos ao ensaio de tensão x deformação. Para uma mesma deformação, por exemplo de 200%, observa-se uma “Histerese” muito maior no corpo de prova construído da borracha natural com carga de negro de fumo, do que para o corpo de prova construído de borracha natural tipo goma-pura, isto porque, os atritos intermoleculares são bem superiores, no primeiro caso. A viscoelasticidade ainda é responsável por outras propriedades particulares mostradas pelos materiais elastoméricos, algumas das quais são citadas abaixo. - Relaxação da Tensão A relaxação da tensão, ou seja, a redução em função do tempo, das tensões internas desenvolvidas instantaneamente devido à imposição de uma deformação constante de, tração, compressão ou cisalhamento. - Fluência Que é a deformação em função do tempo que se segue à deformação instantânea, resultante das solicitações constantes de trabalho.
  • 4.
    www.cenne.com.br Página 4 -Deformação Permanente à Compressão A deformação permanente à compressão é a deformação residual após um determinado tempo de repouso, a partir da remoção da força externa, ou deformação imposta. (Ver norma ABNT – NBR – 10025). 2) Comportamento Estático Básico O comportamento estático básico de uma mola de borracha submetida a esforços solicitantes de tração, compressão ou cisalhamento simples, na região de pequenas deformações em que, a curva tensão x deformação é essencialmente linear, seja, deformações puramente elásticas, evitando-se ainda as complicações acarretadas pela cristalização e escoamento da borracha, ver fig. 6, a seguir: Nota: - A figura 6, mostra a curva tensão x deformação de uma mola de borracha submetida à solicitação de tração, porém, para solicitações de compressão e cisalhamento, na região de pequena deformação, o comportamento é análogo.
  • 5.
    www.cenne.com.br Página 5 Naregião de pequenas deformações, cuja qual é compreendida como máximo de 15% de deformação relativo ao comprimento inicial, trabalhamos sem riscos de maiores erros, e temos plenas condições de aplicar a teoria clássica da elasticidade (lei de Hook) nos desenvolvimentos dos cálculos de dimensionamento. 3) Fator de Forma A rigidez de uma mola de borracha é função não só do módulo de elasticidade (tipo de borracha), como também da oposição à deformação existente na construção ou na montagem, de tal mola. Podemos exprimir como oposição à deformação, a relação entre a superfície carregada e as superfícies livres da mola, esta relação é chamada de Fator de Forma “Ff “. O fator de forma “Ff” de uma mola com forma geométrica bem definida, é dada pela equação a seguir: = ADMENSIONAL EQ. 1 onde: Ff = Fator de forma = admensional AS = Área superficial solicitada por uma ou mais forças = cm2 AL = Somatória das Áreas livres da mola = cm 2 Ff = _ AS__ AL
  • 6.
    www.cenne.com.br Página 6 Asfiguras 7 e 8, mostram formas geométricas comum de molas de borracha, bem como a equação que define seu fator de forma “Ff “ . = ADMENSIONAL EQ.2 Demonstração: AS = a . b A 1 = a . l o + b . l o + a . l o + b . l o = A 1 = l o . (a + b) + l o . (a + b) = A 1 = 2 . l o . (a + b) Ff = a , b . 2 . lo. (a + b )
  • 7.
    www.cenne.com.br Página 7 Assim: Ff= AS = a . b . AL 2 . l o . (a + b) Onde: AS = áreas superficiais solicitadas pela força = cm2 AF = áreas livres de solicitação direta = cm2 a = lado da mola = cm b = lado da mola = cm l o = comprimento da mola antes da deformação = cm ADMENSIONAL EQ. 3Ff = d . 4 . l o
  • 8.
    www.cenne.com.br Página 8 Onde: d= diâmetro da borracha da mola = cm l o = comprimento da borracha da mola = cm Obs.: Para outras formas geométricas, usar sempre a relação da eq. 1. No dimensionamento de uma mola, muitas são as variáveis que temos que considerar, para se conseguir uma boa performance da mola. O módulo de elasticidade e a rigidez, são dependentes do tipo de borracha e da composição desta, porém, o fator de forma é dependente da forma geométrica da mola, assim, quando do projeto de uma mola ou coxim não for possível variar com o tipo de borracha para atender uma específica aplicação, podemos variar o fator de forma de tal mola ou coxim, não inviabilizando todavia o projeto. A prática de mudar o fator de forma “Ff “ de uma mola, dá liberdade de alguns artifícios para alterar seu valor absoluto. Mantendo-se a mesma forma geométrica da mola determinada no projeto, porém, mudando suas dimensões consegue-se valores diferentes de fator de forma. Mudando-se a forma geométrica da mola, também é mudado o valor do fator da forma, ou ainda, uma prática que também pode ser usada é, a subdivisão da dita mola pela inserção de placas metálicas nesta, conforme mostrado na figura 9 a e 9 b a seguir.
  • 9.
    www.cenne.com.br Página 9 Somentepara ilustrar, o gráfico tensão x deformação à compressão da Figura 10 abaixo, mostra o comportamento de diversos blocos de borracha com a mesma forma geométrica, mas com fator de forma variando de 0,25 a 5,0. As curvas foram obtidas a partir de blocos de borracha com dureza de 70 shore A . (adaptação da referência 1). Obs.: - Ref. 1 - Meyer, Da and Welch J. A . “Design and Enginneering with Natural Rubber” Rubber Chemistry and Technology 50 p 145 (1977). Fig. 10 – Comportamento da Tensão e deformação percentual para corpos de borracha com “F f” variável, de 0,25 a 5,0.
  • 10.
    www.cenne.com.br Página 10 4)Solicitação de Tração Analisemos um corpo de prova de borracha submetido a ensaios de tração, tracemos seu diagrama tensão x deformação e levantemos suas relações fundamentais Fig. 11 e 12. Fig. 11 – Corpo de Prova submetido à ação da força “ P “ Fig 12 – Gráfico tensão x deformação do corpo de prova ensaiado
  • 11.
    www.cenne.com.br Página 11 Portanto,pela teoria clássica dos materiais, definimos as seguintes relações: 4.1 – Tensão de Tração = “ t “ = Kgf/cm 2 EQ. 4 = Kgf/cm2 EQ. 5 4.2 – Deformação devido à força de Solicitação = “  “ = ADMENSIONAL EQ. 6 4.3 – Coeficiente de Poisson = “  “ = ADMENSIONAL EQ 7 t = P . Ao t = E.   = f . ll o  =  LATERAL 
  • 12.
    www.cenne.com.br Página 12 Nota1. Com analogia das equações eq. 4; eq. 5 e eq.6, ainda podemos mostrar: 4.4 – Módulo de Elasticidade (Módulo de Young) = “E” = Kgf / cm2 EQ. 8 4.5 - Alongamento devido a solicitação = “ f ” = cm EQ. 9 4.6 - Coeficiente de Rigidez = (Constante de Mola) = “ K “ = Kgf/ cm EQ.10 = Kgf/ cm EQ 11 E = P. l o . f. A o f = P . l o E . A o K = P f K = E . AO l o
  • 13.
    www.cenne.com.br Página 13 TERMINOLOGIA t = tensão de tração = Kgf/cm2 P = carga solicitante = Kgf A O = área da secção transversal da peça antes da carga = cm2  = deformação devido à solicitação da carga = admen- sional. f = alongamento devido à solicitação da carga = cm l o = comprimento inicial da peça antes da ação da carga = cm E = módulo de elasticidade (módulo de Young) = Kgf/cm2 K = coeficiente de rigidez = Kg/cm  = coeficiente de Poisson = admen- sional  LATERAL = contração lateral devido à solicitação da carga = admen- sional. Assim, as equações acima nos permitem dimensionar alguns tipos de mola à tração, solicitadas estaticamente. Em projetos de engenharia, normalmente não se aplica mola de borracha sob solicitação de tração, entre outras razões, porque, a fluência e a deformação permanente à tração, são maiores que quando as molas são submetidas a trabalho de compressão ou cisalhamento.
  • 14.
    www.cenne.com.br Página 14 Nota2 - É muito importante frisar que o coeficiente de rigidez “K“, bem como os módulos de elasticidade “E“, e o módulo de elasticidade tangencial “G“, de uma mola de borracha, quando esta sofre solicitação de algum tipo; (compressão, cisalhamento ou tração) dependem também do formato da peça. Por esta razão, para simplificar os cálculos, o que fazemos é, considerar os valores de “E“ e “G“, para material sem a solicitação da carga e depois, ter-se em conta o fator de forma e carga, por meio de coeficientes de correção. Nota 3 - No apêndice, são encontrados tabelas com alguns valores que podem ser utilizados nos cálculos, porém, é sempre aconselhável usar-se os valores reais obtidos nos aparelhos de ensaio de laboratório, para cada tipo específico de borracha. Também temos no apêndice uma formulação de borracha típica para fabricação de coxins ou molas que ilustra e esclarece um pouco mais o assunto. 5) Solicitação de Compressão Seja uma mola de borracha conforme mostrado na figura 13 abaixo, submetida à solicitação de carga de compressão:
  • 15.
    www.cenne.com.br Página 15 Fig.13 – Solicitação da mola à compressão Na solicitação de compressão, basicamente as equações são análogas as que já conhecemos, para tração, porém, com algumas considerações que veremos adiante 5.1. Tensão de Compressão = “c“ = Kgf/cm EQ. 12 = Kgf/cm EQ.13 c = P . A o c = Ec . c
  • 16.
    www.cenne.com.br Página 16 5.2Área de Atuação da Carga = “Ao“ = cm 2 EQ. 14 5.3 Módulo de Elasticidade à Compressão = “Ec” = Kgf/cm2 EQ. 15 5.4 Encurtamento Devido a Solicitação da Carga = “ f “ = cm EQ. 16 5.5 Deformação Devida a Solicitação da Carga = “c “ = ADMENSIONAL EQ.17 Ec = P . eo Ao . f Ao = a . b f = P . eo Ao . Ec c = ___f____ eo
  • 17.
    www.cenne.com.br Página 17 5.6Coeficiente de Rigidez = “K” = Kgf/cm EQ. 18 = Kgf/cm EQ. 19 5.7 Fator de Forma = “Ff” = ADMENSIONAL EQ. 20 5.8 Energia Absorvida na Deformação = “Tp” = Kgf. cm EQ. 21 K = P . f K = Ec . Ao . eo Ff = As . A l Tp = P2 . eo . 2 . Ec. Ao
  • 18.
    www.cenne.com.br Página 18 TERMINOLOGIA c= Tensão de compressão = Kgf/cm2 P = Carga solicitante = Kgf AO = Área inicial antes da solicitação = cm2 Ec = Módulo de Elasticidade à compressão = admenssional c = Deformação devido à solicitação = admenssional eo = Comprimento inicial antes da solicitação = cm f = Encurtamento devido a solicitação = cm f f = Fator de forma = admenssional K = Coeficiente de rigidez = Kgf/cm Tp = Energia absorvida na deformação = Kgf/cm a = Lado da forma geométrica da mola = cm b = Lado da forma geométrica da mola = cm Obs.: Ff = 0,25 quando a = b = eo Ff = 1,0 quando a = b; e, eo = 0,25 . a Ff = 5,0 quando a = b; e, eo = 0,05 . a Quando a mola ou coxim de borracha estiver solicitado à compressão, e a borracha for impedida de deslizar sobre o substrato ou base em que estiver montada, seja por meio de uma superfície
  • 19.
    www.cenne.com.br Página 19 rugosacom elevado coeficiente de atrito, ou por meio de adesivação vulcanizada ao metal, sua forma afeta extraordinariamente o módulo de elasticidade à compressão “Ec”, pois, o fato da ligação da borracha ao metal, no instante da solicitação de compressão, produz certas tensões internas que provocam tais alterações. O gráfico da fig. 14 abaixo (adaptado da ref. 2) ilustra o efeito da variação das tensões e deformações sob solicitação de compressão de um bloco de borracha medindo 20 x 15 x 3 cm com dureza de 40 shore A, apoiado sobre diversas superfícies diferentes durante o ensaio. Obs.: Ref. 2 - Kimmich E.G., “Rubber in Compression” ASTM Bulletin n o. 106 p. 9 (1940) Fig. 14 - Gráfico tensão x deformação à compressão do bloco de borracha acima descrito, submetido à compressão com a superfície de
  • 20.
    www.cenne.com.br Página 20 apoioda borracha sob diferentes condições de deslizamento sendo: Curva 1 - Ligação vulcanizada borracha/metal Curva 2 - Bloco de borracha sobre lixa de papel Curva 3 - Superfície limpa e pegajosa de borracha com placa de aço polida. Curva 4 - Superfície de aço polida com polvilhamento de talco industrial. Curva 5 - Borracha friccionando sobre grafite Curva 6 - Superfície de aço polida untada de vaselina. 6) Solicitação de Cisalhamento Simples Analisemos agora uma mola ou coxim de borracha sob solicitação de cisalhamento simples, conforme mostrado na fig. 15 abaixo, e demonstremos suas equações fundamentais para dimensionamento. Fig. 15 - Mola de Borracha Solicitada ao Cisalhamento
  • 21.
    www.cenne.com.br Página 21 Asequações abaixo nos fornecem dados dimensionais para molas solicitadas ao cisalhamento simples. 6.1 - Tensão de Cisalhemento “c“ = Kgf/cm2 EQ. 22 6.2 - Módulo de Elasticidade Tangencial “Ge” = Kgf/cm2 EQ. 23 = Kgf/cm2 EQ. 24 6.3 Deslocamento Devido a Carga = “f” = cm EQ. 25 c = P . Ao Ge = P . eo . Ao . f f = P. eo . Ao . Ge Ge = c . 
  • 22.
    www.cenne.com.br Página 22 =cm EQ. 26 = cm EQ. 27 6.4 - Deflexão Unitária Devido a Carga = ““ = ADMENSIONAL EQ. 28 ( em radianos) 6.5 - Área de Cisalhamento “Ao” = cm2 EQ. 29 f = eo .  f = eo . c G  = f .  Ao = a . b
  • 23.
    www.cenne.com.br Página 23 6.6.Fator de Forma “Ff” = ADMENSIONAL EQ. 30 6.7 Coeficiente de Rigidez “K” = Kgf/cm EQ. 31 = Kgf/cm EQ. 32 6.8 – Energia Absorvida na Deflexão “Tp” K = P . f TP = P . f . 2 K = Ge . Ao . eo Ff = AS . AL
  • 24.
    www.cenne.com.br Página 24 TERMINOLOGIA c= Tensão de cisalhamento = Kgf/cm2 P = Carga solicitante = Kgf AO = Área da superfície de cisalhamento = cm2 Ge = Módulo de elasticidade tangencial estático = Kgf/cm2  = Deflexão unitária devido a solicitação = admen- sional. eo = Altura da mola (parte de borracha) inicial = cm f = Deslocamento devido à solicitação = cm Ff = Fator de forma = admen- sional K = Coeficiente de rigidez = Kgf/cm Tp = Energia absorvida na deflexão = kgf/cm TP = AO . c2 . eo . 2 . Ge TP = Vol. c2 . 2 . Ge
  • 25.
    www.cenne.com.br Página 25 Vol= Volume útil da borracha da mola = cm3  = Ângulo de inclinação ou torção devido solicitação = radianos Nota 1: - A forma geométrica, fator de forma, de uma mola ou coxim de borracha solicitada ao cisalhamento, tem influência significativa, afetando sobremaneira o módulo de elasticidade “Ge”; (estático), principalmente quando o “Ff” se apresenta como: Ff < 1 ( = fator de forma menor que 1) ou seja quando: eo > 0,25, sendo: H = a = b H Assim sendo, é aconselhável quando for se dimensionar uma mola ou coxim de borracha, ao cisalhamento, observar que a altura eo, nunca seja superior a ¼ do lado ou diâmetro da base da mola (ou coxim). Nota 2: - Observemos no gráfico tensão x deformação unitária ao cisalhamento, (adaptado da ref.3) mostrado na fig. 16 abaixo, veremos a linearidade existente entre as curvas para borracha com dureza variando de 45 a 75 Shore A nas regiões de trabalho mais freqüentes, de molas submetidas a cargas que
  • 26.
    www.cenne.com.br Página 26 provocamdeformações geralmente menores que 50% da condição original. Fig. 16 - Gráfico tensão x deform. ao cisalh. mostrando a linearidade entre as curvas para borrachas com dureza variada. 7) Dureza da Borracha (ASTM – D – 1415/88) Contrariamente do que ocorre com as molas construídas de aço, as de borracha, tem suas próprias curvas características, isto é, o coeficiente de rigidez “K”, o módulo de elasticidade (Módulo de Young) “E”, e o Módulo de Elasticidade Tangencial “G”, são dependentes da dureza e do tipo de composto o qual será confeccionada a mola.
  • 27.
    www.cenne.com.br Página 27 Adureza da borracha, medição largamente usada na indústria manufatureira, para classificação técnica do material, permite uma estimativa rápida e satisfatória dos módulos de elasticidade “E” e “G” da borracha. O método para determinação da dureza com unidade IRHD (international Rubber Hardness Degree) avalia por meio da penetração “p” de uma ponta esférica de raio “r” , sob a ação de uma força “P” , está relacionado de forma aproximada com o módulo de elasticidade “E” ( em Mpa), através da equação abaixo: EQ. 36 Onde: - P = Força para penetração da ponta esférica = N = (Força da mola do durometro) E = Módulo de Elasticidade = MPa r = Raio da Ponta Esférica = mm p = Profundidade de Penetração da Ponta Esférica = mm Nota 1: - Convém lembrar que a dureza “IRHD” coincide praticamente com a dureza “Shore-A”, sendo esta última a mais comumente usada. Ex. : 30 IRHD = 30 SHORE A 1,35 P . = 1,9 . r2 . P . E r
  • 28.
    www.cenne.com.br Página 28 Ográfico da figura 17 a seguir, relaciona a dureza “Shore–A” com o “log E” (sendo “E” em Mpa). Também, no apêndice, podemos observar pela Tabela 3, a relação entre a dureza variando de 30 a 75 SHORE – A, com o módulo de elasticidade “E” da borracha, sendo “E” calculado através da equação eq. 36. Fig. 17 – Gráfico relacionando a Dureza da Borracha ( Gráfico conforme demonstrado pela ASTM D 1415 )
  • 29.
    www.cenne.com.br Página 29 Nota2: -No apêndice também é mostrado a tabela 4 que determina, em função da profundidade de penetração de uma haste padrão, sob a ação de uma força pré-definida, num corpo de prova de borracha, qual a dureza correlativa. 8) Relações Fundamentais Teoricamente, o Módulo de Elasticidade “E”, o Módulo de Elasticidade Tangencial “G”, e o Coeficiente de Poisson “” , estão relacionados entre si, através da seguinte expressão: (teoria clássica dos materiais). EQ. 37 O Coeficiente de Poisson “”, para um material isotrópico, isto é, um material em que suas características mecânicas são independentes da direção considerada, e que não sofre variação de volume, é igual a:  = 0,5 Assim sendo, transportando este valor para a equação eq. 37 deduzimos que: = Kgf/cm2 EQ. 38 E . = 1 +  2 G E = 3 . G
  • 30.
    www.cenne.com.br Página 30 Umacomposição de borracha natural sem cargas reforçantes vulcanizada, e estirada a alongamentos abaixo de 150%, não sofre variação do volume, assim, satisfazendo a equação eq. 38. isto é confirmado experimentalmente. Como já foi visto anteriormente, para molas e coxins de borracha, é conveniente sempre se dimensionar para deformações dinâmicas máximas de 15% do comprimento (altura) inicial, então nesta condição, a equação 38 é sempre plenamente satisfeita. Um corpo de prova de borracha natural, sem cargas reforçantes vulcanizada, e estirada a um alongamento de 500% relativo ao comprimento inicial, apresenta uma redução de volume de 1,87%, isto ocorre devido a cristalização por estiramento, o que eleva o coeficiente de Poisson “” para 0,527, não mais atendendo a relação da eq. 38, portanto não aconselhável para um bom desempenho como mola. Quando solicitamos à compressão, um corpo de prova de borracha, vulcanizada, o módulo de elasticidade à compressão, “Ec”, também satisfaz a equação eq. 38, para o coeficiente de Poisson  = 0,5. Isto também é verificado experimentalmente, quando se lubrifica convenientemente as superfícies de carga de borracha. Como é comum, em molas ou coxins de borracha, normalmente, as superfícies de carga da mola, são ligadas ou vulcanizadas solidariamente à substratos metálicos, neste caso, a curva tensão x deformação à compressão, desvia-se significativamente comparando-se aos casos de superfícies de carga lubrificadas; ver ilustração no gráfico fig. 14.
  • 31.
    www.cenne.com.br Página 31 Umacondição muito importante a ser observada é a forma de solicitação da mola, seja, se a solicitação comporta-se estática ou dinamicamente. Como o Módulo de Elasticidade “E”, e o Módulo de Elasticidade Tangencial “G”, aumentam quando a mola é solicitada dinamicamente, existe então uma diferença significativa entre E est. e G est., e, E din. e G din., sendo assim, os valores de E din e G din, é melhor que seja determinado experimentalmente em laboratórios equipados para encontrar tais dados. É importante, quando se quer dimensionar uma mola ou coxim para trabalho dinâmico e severo, sempre consultar o fabricante especialista em molas de borracha, para se obter o valor mais objetivo possível da relação abaixo: E din ou G din -------- -------- E est. G est. Porém, se considerarmos sempre os dimensionamentos baseados em deformações máximas de 15%, como mencionado anteriormente, existirá grande segurança de trabalho perfeito da mola, tanto sob solicitações estatísticas como dinâmicas.