Incorporar apresentação



























































































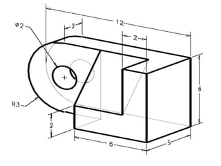
O documento discute a perspectiva isométrica, um tipo de representação gráfica tridimensional em um plano. Ele explica os princípios e tipos de perspectiva, como a isométrica deforma menos as medidas do objeto, e fornece exemplos de construção de circunferências em três posições principais com e sem instrumentos de desenho.

























































































