Gestão
Ambiental
Pela
ISO 14001
C o l e ç ã o d e T e x t o s e A r t i g o s D i v e r s o s
p o r
M á r c i o J o s é d e C a m p o s H o s k e n
N ã o h á q u a l q u e r i n t e n ç ã o c o m e r c i a l o u l i t e r á r i a n e s t e d o c u m e n t o
PREFÁCIO
Ultimamente, têm sido significativa a preocupação das empresas com a preservação e
conservação do meio ambiente, em função de uma série de exigências, como cumprimento da
legislação, desenvolvimento sustentável e consumidores cada vez mais exigentes.
A preocupação ambiental não pode ser mais um legado que deixaremos às gerações futuras. Ela
deve estar presente em nosso dia a dia, pois é fruto de nosso procedimento, bem como do que
recebemos e dos que nos antecederam.
Neste contexto, o modelo proposto pela ISO 14001, contribui decisivamente para o entendimento
e gerenciamento das interfaces ambientais, inclusive possibilitando controlar e minimizar os
riscos ambientais de suas atividades.
Porém, muitos utilizam como justificativa para implantar um SGA, a facilidade de obtenção de
empréstimos, a redução no custo de contratação de um seguro, entre outras justificativas,
demonstrando uma abordagem voltada quase que exclusivamente para grandes empresas
exportadoras. E as empresas que não exportam? E as pequenas e médias empresas como ficam?
Elas não podem ter um SGA implantado? Será que é tão complicado e caro implantar que somente
as grandes têm condições de fazê-lo?
Mas, segundo a Norma ISO 14001:2004 em sua Introdução:
O nível de detalhe e complexidade do sistema de gestão ambiental, a extensão de sua documentação e dos
recursos dedicados a ele irá depender de alguns fatores, tais como: o escopo do sistema, o porte da
organização e a natureza de suas atividades, produtos e serviços. Este pode ser em particular, o caso das
pequenas e médias empresas.
A falta de uma informação melhor estruturada e melhor interpretada quanto a estas e outras
questões têm levado inúmeras empresas a adiar ou pelo menos, não implantar integralmente um
Sistema de Gestão Ambiental.
Também a literatura existente em geral, não trata do sistema de gestão ambiental de maneira
explicativa em relação a ISO 14001: ou não entra no mérito do POR QUE deve ser feito e O QUE
pode acontecer se não o fizer; ou simplesmente interpretam os requisitos da norma, sem entrar
em questões relevantes à gestão ambiental, tais como coleta seletiva, reciclagem e reutilização.
Comparando a ferramenta de gestão 5W1H (O QUÊ? COMO? POR QUÊ? ONDE? QUANDO? QUEM?), nos
cursos de interpretação da Norma ISO 14001:2004, é comum sermos agraciados com uma cópia
xérox das apresentações que o instrutor vai apresentar (O QUÊ?), qualquer questão mais
específica (COMO? e POR QUÊ?) ou detalhada em relação a um requisito as respostas sempre se
encaminham a apresentação de uma consultoria, nos faltando as respostas a ONDE? QUANDO?
QUEM?
Uma primeira resposta as questões aqui levantadas, é a de que a ISO 14001 pode ser implantada
por qualquer organização, quer seja uma indústria, uma prestadora de serviços, de tamanho
grande ou pequeno.
Outra questão importante é o fato de que a ISO 14001 não é um atestado de excelência
ambiental, mas sim, um modelo gerencial em busca da melhoria contínua de suas questões
ambientais, não necessariamente, do desempenho ambiental.
Este trabalho tem como objetivo geral analisar a Norma ISO 14001 em sua versão 2004,
identificando os fatores relevantes associados à praticidade e aplicabilidade de seu uso nas
empresas, trazendo uma leitura da norma para uma maior facilidade no entendimento de seus
requisitos e para que seja aplicável a qualquer tipo de organização.
Muito mais do que “modelos de procedimentos e formulários” (que podem facilmente ser obtidos
pela internet), procurei juntar o que existe de melhor em termos de interpretações, objetivos e
conceitos de cada seção que compõe a ISO 14001:2004 com a intenção de facilitar o
entendimento e a aplicação no dia-a-dia dentro das empresas.
Aliás, cada seção, item e subitem são analisados profundamente com o objetivo de não deixar
dúvidas sobre o que precisa ser feito.
Boa Leitura!
Márcio J. C. Hosken
Engenheiro Civil,
Pós-graduado em Gestão da Qualidade e,
Pós-graduado em Gestão Ambiental.
e-mail: mhosken@onda.com.br
SUMÁRIO
CAPITULO UM
PROBLEMAS NA IMPLANTAÇÃO DE QUALQUER GESTÃO
OS PARADIGMAS QUE PODEM IMPEDIR O SUCESSO DE UMA ORGANIZAÇÃO ..................... 1
FATORES DE INSUCESSO NA IMPLANTAÇÃO DE SISTEMAS ORGANIZACIONAIS ..................... 2
O NOVO PAPEL DO GERENTE .................................................................................... 6
CAPITULO DOIS
CONCEITOS DE GESTÃO AMBIENTAL
O QUE É GESTÃO AMBIENTAL?.................................................................................... 9
Breve Histórico da Gestão Ambiental ............................................................................ 9
A Gestão Ambiental e as Organizações .......................................................................... 11
Instrumentos ou Ferramentas de Gestão ........................................................................ 13
Sistemas de Gestão Ambiental .................................................................................... 14
A família de normas ISO 14000 ................................................................................... 15
CAPITULO TRÊS
SISTEMA DE GESTÃO AMBIENTAL
O SISTEMA DE GESTÃO AMBIENTAL ............................................................................. 18
Elementos Básicos de um SGA .....................................................................................19
Definindo Quem são as Partes Interessadas (STAKEHOLDERS) ................................................ 20
PRINCÍPIOS DO SISTEMA DE GESTÃO AMBIENTAL (SGA) .................................................. 22
MELHORIA CONTÍNUA E O CICLO PDCA ......................................................................28
A ABORDAGEM POR PROCESSO ................................................................................ 29
CAPITULO QUATRO
INTERPRETANDO A ISO 14001:2004
O SISTEMA DE GESTÃO AMBIENTAL BASEADO NA ISO 14001:2004 .................................. 33
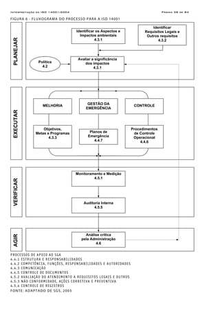
0INTRODUÇÃO ................................................................................................... 34
1OBJETIVO E CAMPO DE APLICAÇÃO .....................................................................40
2REFERÊNCIAS NORMATIVAS ................................................................................. 41
3DEFINIÇÕES ..................................................................................................... 41
4REQUISITOS DO SISTEMA DE GESTÃO AMBIENTAL .................................................... 43
4.1 Requisitos gerais ...................................................................................... 43
4.2 POLÍTICA AMBIENTAL .................................................................................. 45
4.3 PLANEJAMENTO ......................................................................................... 48
4.3.1 Aspectos ambientais .............................................................................. 48
4.3.2 Requisitos legais e outros ........................................................................ 52
4.3.3 Objetivos, Metas e Programa(s) ................................................................. 53
4.4 IMPLEMENTAÇÃO E OPERAÇÃO .................................................................... 58
4.4.1 Recursos, funções, responsabilidades e autoridades ........................................58
4.4.2 Competência, treinamento e conscientização ............................................... 60
4.4.3 Comunicação ...................................................................................... 62
4.4.4 Documentação .................................................................................... 64
4.4.5 Controle de documentos ......................................................................... 66
4.4.6 Controle operacional ............................................................................. 68
4.4.7 Preparação e resposta a emergência ......................................................... 71
4.5 VERIFICAÇÃO E AÇÃO CORRETIVA ............................................................... 74
4.5.1 Monitoramento e medição ....................................................................... 74
4.5.2 Avaliação do atendimento a requisitos legais e outros ..................................... 75
4.5.3 Não conformidade, ações corretiva e preventiva ........................................... 76
4.5.4 Controle de registros ............................................................................. 79
4.5.5 Auditoria interna .................................................................................. 80
4.6 ANÁLISE CRÍTICA PELA ADMINISTRAÇÃO ........................................................ 83
ANEXOS
5 R'S - REDUCE, RE-USE, RECYCLE, RECOVER AND RESIDUAL MANAGEMENT ...................... A1
O PROBLEMA DO LIXO ............................................................................................. A3
O QUE É COLETA SELETIVA? ...................................................................................... A6
O QUE É RECICLAGEM? ........................................................................................... A7
Problemas
na
Implantação
de
Qualquer Gestão
Interpretação da ISO 14001:2004 Página 1 de 84
OS PARADIGMAS QUE PODEM IMPEDIR O SUCESSO DE UMA ORGANIZAÇÃO
Paradigmas são um conjunto de regras, regulamentos, padrões ou rotinas, nem sempre
reconhecíveis, que mostra como resolver problemas dentro de certos limites.
Paradigmas influenciam fortemente a maneira de ver e analisar problemas, afetando
sensivelmente as decisões. Impedem a previsão do futuro, bloqueiam a criatividade. Com isso
todo mundo tende a buscar, nas experiências do passado, soluções para novos problemas,
apoiadas em “velhos paradigmas”.
Os paradigmas filtram novas experiências. As pessoas vêem o mundo, o tempo todo, através de
seus paradigmas. Constantemente, selecionam informações do que de melhor se ajusta a suas
regras e regulamentos, e tentam ignorar o resto.
Por isso há tantas divergências na interpretação de um mesmo fato. A versão que cada pessoa
dá a um acontecimento está condicionada o seu paradigma particular.
O fenômeno chamado de “efeito paradigma” pode cegar empresários diante de novas
oportunidades, fazer com que vendedores não percebam novos mercados e que gerentes não
considerem novas formas mais eficazes de administrar negócios e pessoas. O efeito paradigma
também tem o seu lado positivo: concentra a atenção e aumenta a confiança em resolver
problemas. Mas pode bloquear a visão de futuro.
As pessoas de aprisionam a uma maneira específica de resolver problemas. E tentam fazer isso
usando os seus próprios paradigmas. Ao surgir uma nova maneira de fazer as coisas, tendem a
rejeitá-las por não se enquadrar aos padrões sempre utilizados (e que são tão bons).
A mudança de paradigma representa um novo e revolucionário modo de se pensar nos velhos
problemas. Por exemplo: de “a Terra é chata” para “a Terra é redonda”, do “Muro de Berlin” à
“glasnost”. A mudança de paradigma ocorre geralmente quando as regras do jogo estabelecidas
não conseguem oferecer soluções eficazes para os problemas. Quando uma nova visão, uma
explicação diferente ou uma descoberta oferecem perspectivas que revolucionam a
compreensão. Quando a velha estrutura de percepção cede lugar à nova.
Os Paradigmas nas Empresas
Lidamos com paradigmas o tempo todo. Na vida das organizações não é diferente. Entretanto,
pode-se observar na cultura das empresas uma série de paradigmas que, quando presentes,
dificultam muito a implantação de uma Gestão da Qualidade. É necessário que todos da
organização estejam conscientes das implicações destes paradigmas, para que possam mudá-
los.
A seguir, você vai ver alguns paradigmas famosos. Mas você pode identificar outros, que por
certo estão dificultando a implantação de uma nova mentalidade em sua empresa. Convoque
seu pessoal e faça com eles uma reflexão sobre o assunto. Você verá quanto ainda há por mudar.
Mãos à obra.
a) Errar é humano
Quando as pessoas de uma organização partem da premissa que errar é humano, cria-se
permanentemente uma justificativa para todos os erros, falhas, desperdícios, não-qualidades
cometidos, já que estes erros são tidos como de natureza humana.
Ora, as pessoas acertam muito mais do que erram. Se isso não fosse verdade, o homem já teria
desaparecido da face da Terra. Conseqüentemente, este ditado popular pode muito bem ser
alterado para outro mais próximo da natureza humana: acertar é humano. Aceitando isto,
valorizamos os acertos de todos na organização, reconhecendo a contribuição de cada um, que
certamente, é infinitamente superior aos erros cometidos.
b) Santo de Casa não Faz Milagres
Quando não se reconhece a capacidade do pessoal da organização em transformar a realidade,
em identificar e resolver problemas ou inventar uma solução criativa para um problema difícil
está havendo um desperdício de toda uma experiência de vida organizacional.
Se as pessoas não tiverem a capacidade de criar e transformar seu próprio destino, ninguém o
fará. Na Gestão da Qualidade, a valorização e o maciço investimento na formação e
aperfeiçoamento de todos é o caminho que leva à satisfação dos clientes e se constitui em
princípio fundamental. Portanto, para a Gestão da Qualidade, santo de casa é quem faz milagres.
c) Cachorro Velho não Aprende Novos Truques
As pessoas costumam acreditar que fazem as coisas como fazem porque sempre fizeram assim. A
capacidade de sobrevivência de uma empresa é diretamente proporcional a sua capacidade de
se transformar. Organizações com colaboradores abertos às próprias transformações mudam
rápido. Sua capacidade de adaptação (da empresa) depende da percepção de seu pessoal sobre
as transformações no ambiente. A palavra chave dos tempos de hoje é mudança. Os velhos
modos de fazer as coisas já não satisfazem os clientes, que querem satisfazer suas expectativas.
Investir na transformação do pessoal é urgente e importante.
Como ser criativo, fazendo as mesmas coisas, da mesma forma, durante anos? Quem pensa que
as pessoas preferem a segurança da rotina a novas formas de trabalhar este redondamente
Interpretação da ISO 14001:2004 Página 2 de 84
enganado. Ao investir na capacitação dos colaboradores, a empresa perceberá como são ávidos
pela transformação, pela novidade, por fugir da rotina.
Independentemente do tempo de empresa ou cargo ocupado, cachorro velho aprende novos
truques. É só dar oportunidade e colher os resultados.
d) Em Casa de Ferreiro, Espeto de Pau
Muitas organizações priorizam a qualidade de seus produtos e serviços, mas se esquecem que os
processos que geram estes mesmos produtos e serviços também têm que ter qualidade. Caso
contrário, perceberão, e bem cedo, que a qualidade foi embora.
Para que se consiga obter a qualidade desejada, a organização deve mudar este paradigma,
adotando outro muito mais eficaz: casa de ferro, espeto de ferro. E verá que a grande mudança
esta em mudar a si próprio em primeiro lugar. Está na coerência entre as palavras e as ações dos
executivos ou em praticar aquilo que prega.
FATORES DE INSUCESSO NA IMPLANTAÇÃO DE SISTEMAS ORGANIZACIONAIS
“Tão importante quanto fornecer recursos é neutralizar as forças negativas que geram
desmotivação para o projeto” (Moreira, 2004).
Quando uma empresa pretende implantar um sistema organizacional, raramente está preparada
para lidar com os aspectos comportamentais inerentes a um processo dessa envergadura.
As considerações aqui apresentadas se aplicam à implantação de qualquer programa
organizacional que envolva a empresa como um todo, como por exemplo, Sistema da Qualidade
ou Sistema de Gestão Ambiental.
Muitas vezes a alta administração provê os recursos necessários, mas o processo se arrasta
devido a diversos problemas, inclusive falta de motivação.
O que está por trás disso?
Mais do que buscar fatores externos, um olhar para dentro da organização pode ajudar. Para
aquelas empresas que nunca passaram pela experiência, implantar um sistema pode parecer
algo eminentemente técnico, que se efetiva mediante consultoria, documentação e alguns
programas informatizados.
Nem sempre está muito claro que implantar um sistema de gestão é, na essência, mudar o
comportamento das pessoas.
Em Administração é conhecida a "Teoria do Campo de Forças", conforme ilustração. Consiste na
percepção óbvia de que, dado um processo rumo a um objetivo, existe as forças positivas, que
contribuem para o sucesso, e as forças negativas, que agem em sentido contrário ao que se
pretende.
O resultado favorável vai depender não somente das forças positivas, mas também da
eliminação ou neutralização das negativas.
Fonte: CAMPOS, 1999
O que geralmente ocorre, entretanto, é que as forças positivas são claramente percebidas
(precisamos fazer isso e aquilo, precisamos deste e daquele recurso), mas as negativas se
infiltram sorrateiramente, minando os esforços daqueles que estão comprometidos com o
objetivo, e seguem seu caminho destruidor nos bastidores da cena.
Interpretação da ISO 14001:2004 Página 3 de 84
Identificando as Forças Negativas
O processo de implantação de um sistema organizacional, devido à sua abrangência, duração,
esforço exigido e potencial de mudanças, sempre provoca inúmeros focos de turbulência. Os
egos se exaltam, os problemas comportamentais eclodem com maior evidência, ocorre
praticamente uma revolução (mais ou menos) silenciosa.
Todo cuidado será pouco para lidar com o que Freud denominou de "narcisismo das pequenas
diferenças", que certamente estarão à flor da pele. Identificar as forças negativas, ou até mesmo
antevê-las, é imprescindível para que se possa ao menos neutralizá-las.
Vejamos algumas fontes de forças negativas internas que representam graves fatores de
insucesso:
a) Falta de consenso na decisão
Qualquer programa que dependa do comprometimento de toda a empresa deve contar com o
apoio decisivo de todos os integrantes da alta administração.
Um único elemento que não tenha se convencido da necessidade do programa pode colocar
tudo a perder, dependendo de sua importância na organização. E muitas vezes ele se esconde
atrás de uma aparente aceitação.
Quando se trata da ISO 9000 e ISO 14000, o mercado tem deixado cada vez mais claro sua
exigência, fazendo constar até mesmo dos editais de licitação.
Mas isto pode trazer o problema de tomar a decisão pela pressão, sem conhecer mais
profundamente o que representa para a empresa adotar este ou aquele sistema.
Portanto, buscar esclarecimento antes de decidir e debater o assunto à exaustão constituem
atitudes que podem evitar uma força negativa já no nascedouro do processo.
b) Pessoa inadequada como coordenador
Nada melhor para começar mal um projeto do que escolher a pessoa errada como coordenador,
sob diversos aspectos, tais como:
Perfil
Desorganização, pouca habilidade interpessoal, ausência de traços de liderança, baixo tônus
vital, pouca tenacidade, etc., são características a serem evitadas na escolha de um
coordenador.
Posição Hierárquica
Fonte: CAMPOS, 1999
O coordenador de implantação de um sistema de gestão que afete toda a empresa não
necessariamente deve ser uma pessoa da área técnica pertinente. Coordenar um sistema
organizacional significa garantir sua implantação e seu funcionamento ao longo do tempo;
garantir que o conteúdo técnico seja inserido pela área de competência cabível; garantir que as
responsabilidades técnicas e administrativas estejam adequadamente estabelecidas.
Com isso queremos dizer que o coordenador do Sistema de Gestão Ambiental, por exemplo, não
necessariamente deve ser o responsável pela área de Meio Ambiente.
Interpretação da ISO 14001:2004 Página 4 de 84
A função de coordenar implica estabelecer procedimentos, responsabilidades, fluxos
administrativos, cronograma, etc.... O mais importante é que o coordenador esteja ligado
diretamente à alta administração, num posicionamento de assessoria e não de gerência, porém
com delegação de autoridade suficiente para garantir a realização de sua tarefa.
O recado a ser dado a todos é que a implantação do sistema é de interesse direto da alta
administração e não é exclusividade de nenhum departamento em especial. Isto evitará
retaliações devido a rivalidades porventura existentes entre setores.
c) Recursos inadequados ou insuficientes
Se para compor a equipe de trabalho forem arrebanhados elementos sabidamente pouco
capazes, dolentes ou de relacionamento difícil, trata-se de um indício claro de que o programa
não está sendo levado a sério pelas gerências.
O mesmo se pode dizer quando não se dispõem de computadores para o trabalho, sala de
reunião e outros tipos de recursos, inclusive tempo.
É importante salientar que todos os empregados estão, conscientes ou inconscientemente,
avaliando o quanto esse processo é ou não importante para a empresa.
Em virtude disto, destinar uma sala de trabalho bem equipada para o grupo de implantação é
uma providência que confere status ao programa.
d) Não neutralizar comportamentos negativos
Comportamentos negativos característicos já foram identificados e são facilmente reconhecidos
por qualquer pessoa que tenha participado de um processo de implantação de programas
organizacionais. Sua percepção e neutralização podem evitar entraves prejudiciais ao processo.
Eis alguns exemplos:
Indiferença
O indiferente é um elemento neutro. Não tem entusiasmo, não se esforça, mas também não
atrapalha. Talvez lhe falte motivação (fator a ser analisado adiante). Trata-se de um
elemento que pode contribuir para o esforço global, desde que bem orientado e
incentivado.
Sabotagem
O sabotador pode apresentar comportamentos diversos, tais como:
Mostra-se envolvido no processo, assume compromissos, mas na hora de fazer, deixa
para depois ou para nunca;
Faz comentários debochados em surdina, sobre tudo que se relaciona ao projeto;
Critica o coordenador veladamente, às vezes por inveja ou para abalar a confiança das
pessoas no processo de implantação;
Não sabe fazer críticas construtivas;
Não se dispõe a fazer esforços que extrapolem sua rotina.
E como lidar com o sabotador? Se todos os envolvidos estiverem atentos para identificar o
sabotador, deve-se manifestar com assertividade o reconhecimento de uma postura
contrária aos interesses do grupo, ou seja, "cortar-lhe as asas" ao primeiro sintoma, em vez
de consentir suas atitudes insidiosas ou de se deixar influenciar.
Oposição Aberta
Embora negativa para o processo, é melhor do que o anterior, pois é preferível lidar com um
inimigo declarado do que com um dissimulado. Trata-se de um comportamento raro, pois
um opositor tão visível corre sério risco de ser eliminado, até mesmo por demissão. É
possível, entretanto, que o elemento tenha motivos para não se sentir ameaçado. Portanto,
todo cuidado é pouco.
E como lidar com o opositor? Sempre existe a possibilidade de buscar o entendimento de
seus motivos e, quem sabe mediante um diálogo bem conduzido e esclarecedor, conseguir
convencê-lo dos pontos positivos da implantação do sistema ou pelo menos negociar uma
atitude que não prejudique o processo.
Insegurança
Diante da mudança organizacional que começa a tomar corpo, certos indivíduos podem se
sentir ameaçados de várias maneiras, como, por exemplo, temer a perda de posição na
empresa, achar que não são capazes de arcar com as novas responsabilidades ou que
determinada deficiência pessoal se tornará de alguma forma mais evidente.
O inseguro é um perigo em potencial, pois sua reação é às vezes imprevisível. Ele pode, por
exemplo, tornar-se um sabotador, atacar para se defender, colocar defeito em tudo e em
todos, criando uma nuvem de fumaça em torno de si para encobrir sua insegurança.
Como lidar com o inseguro? Não é uma tarefa simples, mas ao reconhecer os sintomas
característicos, seria necessária a busca de uma conversa esclarecedora, procurando
identificar, e se possível neutralizar, os pontos de insegurança.
Interpretação da ISO 14001:2004 Página 5 de 84
Muitas vezes o inseguro "vê chifre em cabeça de cavalo", pois sua imaginação é uma fonte
de ameaças inexistentes.
O coordenador de implantação deve estar atento aos comportamentos inadequados e
procurar sempre o diálogo, antes que os efeitos negativos ocupem espaço e contaminem
outras pessoas.
e) Falta de motivação
Certos comportamentos negativos podem ser conseqüência da falta de motivação. A palavra
motivação é composta de dois núcleos de significado:
MOTIVO + AÇÃO
Ou seja, não há ação sem motivo.
Ninguém faz esforço algum se não houver um motivo claro e justo e se a relação custo/benefício
não compensar a ação.
Muito menos quando se trata de uma mudança, que sempre traz o desconforto da alteração de
um status quo.
A implantação de um sistema organizacional é uma tarefa penosa e de longa duração, que vai
exigir de todos um esforço extra por muito tempo.
Se não houver motivação e uma prioridade muita bem estabelecida, o programa será colocado
em último plano.
Alguma coisa terá que ser sacrificada para que o sistema vença a difícil fase de implantação.
Horas-extras, por exemplo, serão indispensáveis.
Portanto, uma pergunta deve ser feita: que motivo as pessoas terão para suportar por um longo
tempo uma carga de responsabilidade e trabalho que vai muito além de suas atividades
normais?
O que Favorece a Motivação
Sabe-se que não é possível motivar alguém, uma vez que motivação é um processo intrínseco de
cada pessoa.
Alguns fatores, desde que adequadamente explorados, podem servir de facilitadores da
motivação.
Eis alguns exemplos:
A compreensão dos objetivos
A maneira como o programa é lançado pode contribuir para a motivação.
É conveniente uma reunião de todos os empregados e terceiros envolvidos, para que sejam
explicados os motivos da implantação do novo programa, o esforço extra necessário, os
resultados esperados e os benefícios para a empresa.
O envolvimento da alta administração nesse momento é crucial.
A postura Gerencial
Complementando o que foi dito no item “Recursos inadequados ou Insuficientes”, o
empregado avalia a cada momento se a sua dedicação ao programa é ou não valorizada, em
especial, pelo seu gerente.
Nada passa despercebido, sejam atitudes, omissões ou mensagens subliminares da chefia.
Uma postura gerencial adequada implica demonstrar interesse pelo desenvolvimento do
trabalho, alocar as pessoas adequadas, prover recursos e procurar equacionar com
Interpretação da ISO 14001:2004 Página 6 de 84
racionalidade o andamento da rotina com as atividades excepcionais inerentes à
implantação do programa.
Quando o empregado percebe que seu gerente está levando a sério o programa, sua
dedicação será praticamente irrestrita.
Infelizmente a figura do gerente "sabotador" não é rara. Perante a alta administração sua
postura é de apoio à implantação do sistema. Diante de seus subordinados, entretanto, mal
consegue disfarçar seu desinteresse pelo assunto, que nunca merece prioridade em sua
área. Esta situação será objeto de um tópico à parte.
Recompensa ou reconhecimento?
Muita cautela deve-se tomar no que diz respeito a recompensas. Um bônus apenas para o
coordenador, por exemplo, seria desastroso e desnecessário.
Se todos souberem que apenas o coordenador receberá um bônus, a maioria não terá
motivação para cooperar.
Um bônus para o grupo de implantação também não seria indicado, pois o processo vai
envolver todos da empresa, em maior ou menor grau.
Talvez o melhor caminho seja o estabelecimento de uma competição saudável entre as
diversas áreas, prevendo-se um reconhecimento da alta administração para aquelas que
melhor estiverem cumprindo o cronograma, sem conotação material.
Obtendo-se o certificado, uma comemoração geral será indispensável, ocasião em que o
coordenador e o grupo de implantação devem merecer destaques especiais, em função do
esforço mais intensivo desses elementos.
Valorização Profissional
Embora não muito explorado como fator de motivação, a valorização do currículo
profissional é um dos mais contundentes.
Numa época em que emprego vitalício é uma situação fora de contexto, aumentar o grau de
empregabilidade é um incentivo que merece destaque.
Ao final do processo de implantação de um sistema organizacional é inquestionável o
desenvolvimento profissional de todos aqueles que se dedicaram com seriedade à tarefa e
sem dúvida alguma este é um diferencial para qualquer currículo, caso o empregado venha
a ter necessidade de se colocar novamente no mercado, seja por decisão da empresa ou por
decisão própria.
O drama do Gerente
Algumas vezes encarado como um dificultador na implantação de sistemas organizacionais,
o gerente enfrenta uma situação nada confortável, que precisa ser compreendida.
Durante todo o período de implantação, parte de seu pessoal terá uma parcela de tempo
comprometida com tarefas que extrapolam a atividade fim da gerência. E, no entanto, os
resultados serão cobrados pela alta direção como se nada estivesse acontecendo.
É compreensível, portanto, a postura do gerente que aparentemente apóia o projeto, mas
para os seus subordinados demonstra o contrário. O que ele precisa compreender é que essa
postura negativa não vai mudar a situação e só terá como resultados aumentar e prolongar
o sofrimento.
Uma vez que a diretoria decidiu implantar o novo sistema, isto ocorrerá de qualquer forma,
num período maior ou menor de tempo, com maior ou menor dificuldade. Portanto, a
melhor escolha para o gerente é apoiar o projeto da melhor maneira, para que o processo
termine o mais rápido possível. Sem dúvida a manutenção do sistema é bem menos
trabalhosa.
A implantação de um sistema organizacional é uma tarefa desafiadora.
Avaliar cada passo, planejar a alocação de cada recurso e, principalmente, não negligenciar o
fator humano são fatores decisivos para o sucesso do empreendimento.
O NOVO PAPEL DO GERENTE
A figura do administrador ou chefe que apenas da ordens e exige obediência esta ultrapassada.
O moderno conceito de gerência esta associado à capacidade de fazer acontecer, mobilizar,
motivar, debater, transmitir informações, buscar o consenso e orientar os funcionários. Quando
o gerente se expõe à crítica, passa a sentir o pulso da organização e a pressão por mudanças. É
difícil enfrentar a mesma platéia sem que os problemas detectados tenham sido resolvidos ou
encaminhados.
Fundamentalmente os Líderes:
a) Influenciam as outras pessoas do grupo, multiplicando iniciativas e comportamentos
positivos;
b) Colocam o cliente em primeiro lugar;
Interpretação da ISO 14001:2004 Página 7 de 84
c) Investem tempo com os clientes e são seus porta-vozes;
d) Promovem e divulgam a Visão de Futuro da organização;
e) Admitem o que não sabem e procuram aprender;
f) Acreditam e investem no pessoal. Treinam, educam, preparam e ajudam as pessoas a obter
desempenho sempre melhor;
g) Fazem a equipe funcionar. Reúnem pessoas de diferentes setores da organização em
Times da Qualidade;
Líderes praticam o que dizem, dão o exemplo. Estão sempre dispostos a “por a mão na massa” e
estimulam a criação de novos líderes.
A MODERNA GERÊNCIA
QUESITO GESTÃO TRADICIONAL GESTÃO PARTICIPATIVA
Autoridade
O gerente é visto como O
CHEFE, a encarnação da
autoridade.
Visto como Líder/Facilitador,
aquele que faz com que as coisas
aconteçam.
Postura
Encarna a figura de um
burocrata, apegado a regras e
regulamentos, com a visão
voltada para dentro da
organização.
Identifica-se com a figura de
empreendedor, que se preocupa
com a inovação. Possui sempre
projetos em desenvolvimento.
Responsabilidade
Julga-se o único responsável
pelo setor.
Quando as coisas vão bem
atribuía si os méritos. Caso
contrário, sai em busca de um
“culpado”.
Tem a visão de que o trabalho é
feito em equipe.
Por isso compartilha com os
subordinados as
responsabilidades pelos
resultados alcançados.
Foco de ação
Voltado para o superior
hierárquico a quem julga ser
o seu “cliente”.
Voltado para o cliente, interno
ou externo.
Tem consciência de ser um
“fornecedor” da equipe.
Tomada de
decisão
É sempre aquele que decide
que dá a última palavra, o
“dono do poder”.
Acredita na decisão por
consenso.
Facilita a decisão do grupo. Não
impõe a sua opinião.
Cadeia Cliente-
Fornecedor
Julga-se o cliente.
Acha que todos os
subordinados devem
trabalhar em função dele.
Vê-se como fornecedor.
Preocupa-se com a equipe e
procura supri-la do que
necessita.
Comunicação
Centraliza as informações que
passam pelo setor.
Funciona como censor, não
divulgando aquilo que julga
que a equipe não deve
receber.
Dissemina todas as informações
que recebe.
Municia sua equipe com dados e
informações sobre os resultados
obtidos.
Negociação
Entende que, como gerente,
tem sempre que ganhar algo,
mesmo que para isso alguém
perca, ainda que seja alguém
de sua equipe.
Procura estabelecer uma relação
ganha-ganha entre os membros
da equipe.
Acredita que todos precisam
ganhar.
Delegação
Centraliza poder o mais que
pode.
Vive em dilema se deve abrir
mão de parte desse poder aos
subordinados, pois nunca os
julga preparados.
Delega poder aos subordinados.
Possui um programa de
capacitação, para que todos
estejam aptos a assumir
desafios.
Substituto
Vê os subordinados como
ameaça.
Julga estratégico esconder
informações que considera
fundamental para torná-lo
imprescindível.
Sabe que sem formar substitutos
dificilmente poderá ascender a
posto mais alto.
Na equipe, sempre existem
pessoas aptas a lhe substituir.
Informação
Julga ser a pessoa que deve
receber toda e qualquer
informação na empresa.
Monitora as informações
necessárias à sua área de
trabalho.
Interpretação da ISO 14001:2004 Página 8 de 84
Aprendendo a Transferir Responsabilidades
Delegar significa colocar o poder de decisão o mais próximo possível de onde ocorre a ação, o
que ainda não é comum nas empresas.
Quem atende clientes não costuma ter poder de decisão, recebe salário mais baixo, não é
treinado e pode ser malvisto internamente, quando repassa a “bronca” do cliente. A imagem que
o cliente faz do serviço, porém, é formada através desses contatos.
Decisão Onde Está a Ação
É fundamental que exista capacidade de decisão, especialmente no contato com o cliente, para
que a credibilidade da empresa não seja colocada em dúvida e sua imagem não seja arranhada.
A velocidade de decisão é uma exigência dos clientes. A capacidade e o desejo de fornecer
pronto serviço determinam aproximação ou afastamento do cliente.
Respaldo para as Ações
Delegar não se resume a “mandar alguém fazer o trabalho” ou entregar um setor a alguém de
confiança e “fechar os olhos”. É necessário transferir parcela do poder e da responsabilidade e
respaldar ações delegadas.
A Gestão pela Qualidade pressupõe mudanças no comportamento das chefias intermediárias,
retirando-lhes a função de “intermediários da delegação”.
REGRAS PARA DELEGAR MAIS E MELHOR
1. Não delegue as tarefas ruins, preservando as boas para si mesmo;
2. Divida o poder com os subordinados;
3. Conheça bem os subordinados;
4. Caso delegue tarefas que não constem da rotina de trabalho do subordinado, explique a ele
muito bem o porquê;
5. Delegue tarefas, de forma equilibrada, entre todos os subordinados;
6. Delegue a tarefa, acompanhe-a para ter certeza de que foi executada adequadamente, mas
tome cuidado para não “super supervisionar”;
7. Delegue somente o que tiver segurança de que o subordinado é capaz de realizar;
8. Todos devem saber as responsabilidades definidas para cada um;
9. Delegue de maneira que o subordinado receba instruções somente de uma pessoa e preste
contas somente a ela;
10. Defenda seu subordinado quando a autoridade que você atribuiu a ele for questionada;
11. Deixe bem claro as questões sobre as quais os subordinados devem decidir e delegue as
decisões até o menor nível hierárquico possível;
12. Delegue com consciência. Não superestime nem subestime os subordinados;
13. Delegue somente tarefas que os subordinados possam realizar até o fim. Garanta o tempo
necessário para a realização;
14. Na hora de delegar, insista na comunicação clara e precisa;
15. Valorize o bom desempenho dos subordinados;
16. Incentive os subordinados a fazer perguntas sobre as tarefas a eles delegadas, de forma a
esclarecê-las;
17. Esteja certo de que uma tarefa delegada possa ser realizada. Tarefas impossíveis
desmotivam;
18. Explique a importância da delegação e a importância das tarefas delegadas;
19. Aprenda a conviver com resultados de trabalhos diferentes daqueles que você obteria se
realizasse pessoalmente a tarefa. Duas pessoas realizam o mesmo trabalho de forma
diferente;
20. Evite delegar tarefas de sua exclusiva responsabilidade e de seu exclusivo interesse, de
ordem pessoal ou privada, triviais ou mesquinhas;
21. Faça a sua parte: execute as tarefas que são de sua responsabilidade, delegue tanta
responsabilidade quanto possível para subordinados competentes, despreze tarefas não
importantes.
Conceitos
de
Gestão
Ambiental
Interpretação da ISO 14001:2004 Página 9 de 84
O QUE É GESTÃO AMBIENTAL?
Breve Histórico da Gestão Ambiental
A Gestão Ambiental surgiu da necessidade do ser humano organizar melhor suas diversas formas
de se relacionar com o meio ambiente (MORALES, 2006).
Segundo a Enciclopédia Britânica: “gestão ambiental é o controle apropriado do meio ambiente
físico, para propiciar o seu uso com o mínimo de abuso, de modo a manter as comunidades
biológicas, para o benefício continuado do ser humano.” Ou ainda, a Gestão Ambiental consiste
na administração do uso dos recursos ambientais, por meio de ações ou medidas econômicas,
investimentos e potenciais institucionais e jurídicos, com a finalidade de manter ou recuperar a
qualidade de recursos e desenvolvimento social (CAMPOS, 2002).
(SEBRAE, 2004) Inicialmente, nos anos 70 e começo dos anos 80 na Europa, os esforços
concentraram-se no desenvolvimento das estruturas legislativas e regulamentares, reforçados
por uma estrutura de licenciamento ambiental.
A resposta da indústria foi amplamente reacionária. A indústria investiu em soluções
tecnológicas superficiais para assegurar que estava de acordo com as regulamentações, sempre
mais restritivas, e com as licenças de operação relacionadas a condicionantes ambientais, na
busca de atender ao comando-controle da legislação ambiental cada vez mais rigorosa.
A combinação de negócios com aspectos ambientais em âmbito internacional começou depois
da Conferência das Nações Unidas de 1972 (Conferência de Estocolmo), quando uma comissão
independente foi criada: a Comissão Mundial de Desenvolvimento e Meio Ambiente (Brundtland
Comission). Esta Comissão encarregou-se da tarefa de reavaliar o meio ambiente no contexto do
desenvolvimento e publicou seu relatório Nosso Futuro em Comum em 1987, que hoje é
considerado um marco. Esse relatório introduziu o termo Desenvolvimento Sustentável e incitou
as indústrias a desenvolverem sistemas de gestão ambiental eficientes. O relatório foi assinado
por mais de 50 líderes mundiais, que agendaram uma conferência geral para discutir a
necessidade do estabelecimento de ações a serem implementadas.
A ONU, conseqüentemente, decidiu organizar a Conferência de Desenvolvimento e Meio
Ambiente das Nações Unidas (Unced), também conhecida como ECO 92, realizada no Rio de
Janeiro em junho de 1992. Líderes de governos, próceres comerciais, representantes de mais de
cinco mil organizações não-governamentais, jornalistas internacionais e grupos privados de
várias partes do globo se reuniram para discutir como o mundo poderia mudar em direção ao
desenvolvimento sustentável.
O resultado da ECO 92 foi a Agenda 21, um “consenso global e compromisso político do mais
alto nível”, mostrando como os governos, as empresas, as organizações não governamentais e
todos os setores da ação humana podem cooperar para resolver os problemas ambientais
cruciais que ameaçam a vida no planeta.
O Secretário-Geral da Unced queria assegurar-se de que as corporações comerciais participariam
no processo da discussão e da decisão final. Ele, então, pediu a um líder industrial suíço para ser
seu conselheiro nas questões comerciais. Esse industrial fez seu papel, estabelecendo o
Conselho Empresarial de Desenvolvimento Sustentável (CEBDS).
Este Conselho publicou um relatório importante intitulado Mudança de Rumo, mas também
decidiu aproximar-se da ISO para discutir o desenvolvimento de padrões ambientais.
Paralelamente a esses acontecimentos, a Câmara do Comércio Internacional (ICC) desenvolveu a
Carta Empresarial de Desenvolvimento Sustentável em 1990, que foi lançado no ano seguinte na
Segunda Conferência Mundial de Gestão Ambiental das Indústrias (Wicem). A Carta Empresarial
da ICC contém 16 princípios de gestão ambiental.
Em outra iniciativa, a indústria química, preocupada com sua imagem pública deteriorada,
lançou seu Programa de Atuação Responsável, começando no Canadá em 1984, cujos critérios
condicionam à participação como membro na Associação das Indústrias Químicas. Sua
abordagem é firmemente baseada nos princípios de controle ambiental e de qualidade total,
incluindo avaliação da saúde potencial e real, segurança e impactos ambientais das atividades e
produtos, e do fornecimento de informações para as partes interessadas.
Desde a metade dos anos 80, e mais recentemente nas economias emergentes e dinâmicas do
Oriente e do Ocidente, o segmento empresarial está tomando uma atitude mais proativa e
reconhecendo que a gestão ambiental, como iniciativa voluntária, pode intensificar a imagem
de corporação, aumentar os lucros e a competitividade, reduzir os custos e prevenir a
necessidade de proposição de emendas legislativas a serem tomadas pelas autoridades.
Uma evidência disso é vista na mudança para “produtos verdes”, com o aumento da “avaliação
do ciclo de vida” – identificar os impactos ambientais de um produto do “berço ao berço”.
Também têm sido produzidas inúmeras ferramentas de gestão ambiental, tais como auditoria
ambiental e sistemas de gestão ambiental. Essas ferramentas, em sua maioria, começaram como
iniciativas voluntárias dentro das companhias, mas agora afetam as políticas e regulamentações
governamentais na União Européia, e põem em risco as políticas administrativas nacionais e
internacionais de bancos e companhias de seguro.
Interpretação da ISO 14001:2004 Página 10 de 84
A implementação de sistemas de gestão ambiental em empresas permanece voluntária. No
entanto, organizações em todo o mundo estão estimando cuidadosamente não só os benefícios
financeiros (identificação e redução de desperdícios, melhora na eficiência da produção, novo
potencial de marketing etc.) que podem surgir de tais atividades, mas também os riscos de não
empregar soluções organizacionais e técnicas para problemas ambientais (acidentes,
incapacidade de obter crédito bancário e investimento privado, perda de mercado e da
clientela).
Uma das atividades mais importantes nos últimos anos talvez seja o desenvolvimento de
padrões no campo ambiental, principalmente daqueles estabelecidos pela ISO. Essas atividades
são essenciais se um SGA (e ações relacionadas) tem que ser aplicado no contexto de “campo de
atuação nivelado”, como exigido por acordos internacionais de exportação e importação,
incluindo a União Européia e a Mundial. Padrões desenvolvidos em nível nacional e europeu
também afetam indústrias no mundo todo, sendo mais reconhecidos a BS 7750, da Grã-Bretanha
desde outubro de 1996, substituída pela ISO 14001, e o EMAS (Environmental Management and
Auditing Scheme), da União Européia.
Neste início do século 21, o homem passa a assumir a mea culpa pelo passado de uso predatório
dos recursos naturais. Fala de desenvolvimento sustentável, como forma de redimir-se dos
danos causados ao meio ambiente em que vive.
Passar do discurso do desenvolvimento sustentável para a prática das ações ambientais diárias é
um caminho que envolve mudanças de comportamento, de procedimentos; demora tempo e
custa dinheiro, que nem sempre está disponível para essa finalidade.
Falar de desenvolvimento sustentável é falar de coisas novas, é rever conceitos. É falar de
biotecnologia, de tecnologias limpas, de mudanças de padrões de produção e consumo, de
reciclagem, de reuso, de reaproveitamento e de outras formas de diminuir a pressão sobre
matérias-primas, e ao mesmo tempo reduzir os impactos causados pelos descartes de
substâncias e objetos no meio ambiente.
É importante ressaltar que cada cidadão tem o dever de exercitar procedimentos de gestão
ambiental onde quer que exerça suas atividades: no lar, no trabalho, nas instituições de ensino,
nos ambientes de lazer e, também, nas ruas por onde passa. Dê sua contribuição de forma
coerente e envide esforços para que as crianças sigam rumo certo no caminho da
sustentabilidade ambiental, como condição para a sobrevivência da própria espécie humana no
planeta Terra.
Conceito de Desenvolvimento Sustentável: “É o desenvolvimento que satisfaz as necessidades
do presente sem comprometer a capacidade de as futuras gerações satisfazerem suas próprias
necessidades” (Relatório Brundtland – Nosso Futuro Comum, da Comissão Mundial de Meio
Ambiente e Desenvolvimento – ONU).
Formas de Abordagem das Empresas em Relação às Questões Ambientais
Dependendo de como a empresa atua em relação aos problemas ambientais decorrentes das
suas atividades, ela pode desenvolver três diferentes abordagens e, também podem ser vistas
como fases de um processo de implementação de práticas de gestão ambiental numa dada
empresa.
FIGURA 1 – EVOLUÇÃO DAS EMPRESAS EM RELAÇÃO A QUESTÃO AMBIENTAL
FONTE: ADAPTADO DE BARBIERI, 2006
De modo análogo à evolução da gestão da qualidade, a fase inicial da gestão ambiental também
é de caráter corretivo, as exigências estabelecidas pela legislação ambiental são vistas como
problemas a serem resolvidos pelos órgãos técnicos e operacionais da empresa sem autonomia
decisória e esse trabalho é visto como um custo interno adicional. Do ponto de vista ambiental,
as práticas de controle da poluição apresentam-se como soluções pobres por estarem focadas
nos efeitos e não nas causas da poluição e alcançam poucos efeitos sobre o montante de
recursos que a empresa utiliza. Na fase seguinte, as soluções para tais problemas ambientais são
vistas como meios para aumentar a produtividade da empresa, sendo necessário rever os
produtos e processos para reduzir a poluição na fonte, reutilizar e reciclar o máximo de
resíduos. Essa abordagem permite reduzir a poluição e o consumo de recursos para a mesma
quantidade de bens e serviços produzida. Por fim, numa etapa mais avançada, a empresa passa a
CONTROLE
DE POLUIÇÃO
Postura reativa
Ação corretiva
É um custo adicional
Práticas ambientais
Atender aos requisitos
Restrito a produção
PREVENÇÃO
DA POLUIÇÃO
Postura reativa e proativa
Ação corretiva e preventiva
Procura pela redução de custos
Uso eficiente dos insumos
Uso de tecnologias mais limpas
Restrito a algumas áreas
POSTURA ESTRATÉGICA
Postura reativa e proativa
Ação corretiva, preventiva e antecipatória
É uma vantagem competitiva
Uso eficiente dos insumos
Uso de tecnologias mais limpas
Disseminada na organização
Interpretação da ISO 14001:2004 Página 11 de 84
considerar as questões ambientais como questões estratégicas, minimizando problemas que
podem comprometer a competitividade da empresa, capturando oportunidades mercadológicas
(BARBIERI, 2006).
TABELA 2 – TIPOS DE ABORDAGENS À QUESTÃO AMBIENTAL
CARACTERÍSTICAS
CONTROLE DA
POLUIÇÃO
PREVENÇÃO DA
POLUIÇÃO
ESTRATÉGICA
Preocupação básica
Cumprimento da legislação
e resposta às pressões da
comunidade
Uso eficiente dos insumos Competitividade
Postura típica Reativa Reativa e proativa Reativa e proativa
Ações típicas
Corretivas;
Tecnologias de remediação
e de controle no final do
processo (end-of-pipe);
Aplicação de norma de
segurança.
Corretivas e preventivas;
Conservação e
substituição de insumos;
Uso de tecnologias limpas.
Corretivas, preventivas e
antecipatórias;
Antecipação de problemas
e captura de
oportunidades utilizando
soluções de médio e longo
prazo;
Uso de tecnologias limpas.
Percepção dos
empresários e
administradores
Custo adicional
Redução de custo e
aumento da produtividade
Vantagens competitivas
Envolvimento da alta
administração
Esporádico Periódico Permanente e sistemático
Áreas envolvidas
Ações ambientais
confinadas nas áreas
produtivas.
As principais ações
ambientais continuam
confinadas nas áreas
produtivas, mas há
envolvimento de ouras
áreas.
Atividades ambientais
disseminadas pela
organização;
Ampliação das ações
ambientais para toda a
cadeia produtiva.
FONTE: BARBIERI, 2006
A Gestão Ambiental e as Organizações
(SEBRAE, 2004) Os negócios são estabelecidos com alguns propósitos definidos, mas
fundamentalmente visam o LUCRO. E é saudável que tenham lucros, bons lucros.
Não há incompatibilidade alguma entre um empreendimento rentável e uma GESTÃO
AMBIENTAL adequada.
Muito pelo contrário, a experiência tem demonstrado que as empresas mais bem controladas
têm seus custos reduzidos por que:
Consomem menos água, pelo uso racional;
Consomem menos energia, pela redução do desperdício;
Utilizam menos matéria-prima, pela racionalização do seu uso;
Geram menos sobras e resíduos, pela adequação do uso de insumos;
Reutilizam, reciclam ou vendem resíduos, quando possível;
Gastam menos com controle de poluição.
Ao reduzir seus custos, as empresas elevam sua competitividade, pois podem cobrar preços
menores. Além disso, conquistam novos consumidores pela demonstração de responsabilidade
social, já que hoje o consumidor, cada vez mais consciente e bem informado a respeito dos
efeitos ambientais e processos produtivos ecologicamente saudáveis, está disposto a pagar mais
caro por marcas associadas a uma atitude positiva em relação à proteção do meio ambiente.
É comum pensar que as indústrias, inclusive as agroindústrias, são as grandes poluidoras do
meio ambiente, porque lidam com recursos naturais, consomem muita água e energia, emitem
poeiras e gases tóxicos e geram efluentes e resíduos sólidos de difícil tratamento.
Mas, na realidade, qualquer atividade humana está intimamente envolvida com aspectos
ambientais importantes.
Os setores de comércio e serviços têm grande responsabilidade ambiental, pois são
consumidores, vendedores e repassadores de produtos industrializados. Podem desenvolver, por
Interpretação da ISO 14001:2004 Página 12 de 84
exemplo, programas especiais de conservação de energia e água, de reutilização de embalagens,
de reciclagem de papel ou de qualificação de consumo para produtos ambientalmente mais
saudáveis, visando melhorar seu desempenho ambiental.
Além disso, comércio e serviços são grandes empregadores de mão-de-obra qualificada. Essa
conscientização é muito importante para o aperfeiçoamento de processos produtivos e o
desenvolvimento da consciência ambiental de produtores e consumidores.
A gestão ambiental é uma abordagem sistêmica em que a preocupação ambiental está em todos
os aspectos dos negócios das organizações. A implementação de sistema de gestão ambiental é,
normalmente, um processo voluntário. Ao optar pela sua implantação, porém, as companhias
não estão visando apenas os benefícios financeiros (economia de matéria-prima, eficiência na
produção e marketing). Estão também, estimando os riscos de não gerenciar adequadamente
seus aspectos ambientais (acidentes, descumprimento da legislação ambiental, incapacidade de
obter crédito bancário e outros investimentos de capitais, e perda de mercados por
incapacidade competitiva).
Uma gestão ambiental adequada, expressa numa política ambiental, obviamente, é o marco
inicial para que as empresas integrem seus aspectos ambientais às suas operações. As
ferramentas para assegurar atenção sistemática e atingir a política ambiental e os objetivos
ambientais incluem, entre outras, sistema de gestão ambiental e auditorias ambientais. Essas
ajudam a controlar e aperfeiçoar o desempenho ambiental de acordo com a política ambiental
da companhia. Ferramentas adicionais também estão à disposição, como metodologias para
avaliação do ciclo de vida dos produtos, programas de rotulagem ambiental e métodos para
avaliação de desempenho.
Esses instrumentos têm sido reputados em vários países, pelas corporações governamentais,
como instrumentos convenientes para que as organizações adotem um SGA e o usem com livre
arbítrio, sem pressão legislativa. Ao mesmo tempo, organizações nacionais e internacionais vêm
adotando esses instrumentos como ferramentas úteis.
Organizações de todos os tipos estão cada vez mais preocupadas em atingir e demonstrar um
desempenho ambiental correto, controlando os impactos de suas atividades, produtos ou
serviços no meio ambiente, levando em consideração sua política e seus objetivos ambientais.
Esse comportamento se insere no contexto de uma legislação cada vez mais exigente, do
desenvolvimento de políticas econômicas, de outras medidas destinadas a estimular a proteção
ao meio ambiente e de uma crescente preocupação das partes interessadas em relação às
questões ambientais e ao desenvolvimento sustentável.
Modelos de Gestão Ambiental
Os modelos de gestão ambiental incorporam a idéia de prevenção da poluição e encaram os
problemas ambientais a partir de uma visão mais ampla que pode ser alinhada à estratégia da
empresa.
Esses modelos, embora representem de modo simplificado a realidade empresarial, permitem
orientar as decisões sobre como, quando, onde e com quem abordar os problemas e como essas
decisões se relacionam com as demais questões empresariais.
Como cada modelo apresenta pontos fortes e fracos, é possível combinar seus elementos para
criar um modelo próprio, uma vez que eles não são mutuamente exclusivos. Esses modelos ou
suas variações permitem implementações isoladas, ou seja, uma dada empresa com seu próprio
esforço podem-se adotar um desses modelos, embora sempre haja a necessidade de articulação
com fornecedores, transportadores, recicladores, entidades apoiadoras e outros agentes
(BARBIERI, 2006).
TABELA 3 – MODELOS DE GESTÃO AMBIENTAL
MODELO
CARACTERÍSTICAS
BÁSICAS
PONTOS FORTES PONTOS FRACOS
GESTÃO DA
QUALIDADE
AMBIENTAL TOTAL
(TQEM)
EXTENSÃO DOS
PRINCÍPIOS E DAS
PRÁTICAS DA QUALIDADE
TOTAL ÀS QUESTÕES
AMBIENTAIS
MOBILIZAÇÃO DA
ORGANIZAÇÃO, SEUS
CLIENTES E PARCEIROS
PARA AS QUESTÕES
AMBIENTAIS
DEPENDE DE UM ESFORÇO
CONTÍNUO PARA MANTER A
MOTIVAÇÃO INICIAL.
PRODUÇÃO
MAIS LIMPA
(CLEAN PRODUCTION)
ESTRATÉGIA AMBIENTAL
PREVENTIVA APLICADA DE
ACORDO COM UMA
SEQÜÊNCIA DE
PRIORIDADES CUJA
PRIMEIRA É A REDUÇÃO
DE RESÍDUOS E EMISSÕES
NA FONTE
ATENÇÃO CONCENTRADA
SOBRE A EFICIÊNCIA
OPERACIONAL, A
SUBSTITUIÇÃO DE
MATERIAIS PERIGOSOS E A
MINIMIZAÇÃO DE
RESÍDUOS
DEPENDE DE
DESENVOLVIMENTO
TECNOLÓGICO E DE
INVESTIMENTOS PARA A
CONTINUIDADE DO
PROGRAMA NO LONGO PRAZO
Interpretação da ISO 14001:2004 Página 13 de 84
MODELO
CARACTERÍSTICAS
BÁSICAS
PONTOS FORTES PONTOS FRACOS
ECOEFICIÊNCIA
(ECO EFFICIENCY)
EFICIÊNCIA COM QUE OS
RECURSOS ECOLÓGICOS
SÃO USADOS PARA
ATENDER ÀS
NECESSIDADES HUMANAS
ÊNFASE NA REDUÇÃO DA
INTENSIDADE DE
MATERIAIS DE ENERGIA EM
PRODUTOS E SERVIÇOS, NO
USO DE RECURSOS
RENOVÁVEIS E NO
ALONGAMENTO DA VIDA
ÚTIL DOS PRODUTOS
DEPENDE DE
DESENVOLVIMENTO
TECNOLÓGICO, DE POLÍTICAS
PÚBLICAS APROPRIADAS E DE
CONTINGENTES
SIGNIFICATIVOS DE
CONSUMIDORES
AMBIENTALMENTE
RESPONSÁVEIS
PROJETO PARA
O MEIO AMBIENTE
(DESIGN FOR
ENVIRONMENT)
PROJETAR PRODUTOS E
PROCESSOS
CONSIDERANDO OS
IMPACTOS SOBRE O MEIO
AMBIENTE
INCLUSÃO DAS
PREOCUPAÇÕES
AMBIENTAIS DESDE A
CONCEPÇÃO DO PRODUTO
OU PROCESSO
OS PRODUTOS CONCORREM
COM OUTROS SIMILARES QUE
PODEM SER MAIS ATRATIVOS
EM TERMOS DE PREÇO,
CONDIÇÕES DE PAGAMENTO E
OUTRAS CONSIDERAÇÕES NÃO
AMBIENTAIS
FAMÍLIA
DE
NORMAS
ISO 14.000
UMA GESTÃO AMBIENTAL
ATRAVÉS DE UMA SÉRIE DE
NORMAS SOBRE: SISTEMAS
DE GESTÃO AMBIENTAL,
AUDITORIA AMBIENTAL,
AVALIAÇÃO DO
DESEMPENHO AMBIENTAL,
AVALIAÇÃO DO CICLO DE
VIDA DO PRODUTO,
ROTULAGEM AMBIENTAL E
ASPECTOS AMBIENTAIS EM
NORMAS DE PRODUTOS.
POSSUI A NORMA SOBRE
SISTEMA DE GESTÃO
AMBIENTAL MAIS
UTILIZADA NO MUNDO;
PODE SER UTILIZADA EM
CONJUNTO COM OUTRAS
NORMAS DE GESTÃO
AMBIENTAL;
COMPATIBILIDADE COM
OUTRAS NORMAS DE
GESTÃO.
NORMAS PROTEGIDAS POR
DIREITO AUTORAL;
ALTO CUSTO (acima de US$
370.00) DE AQUISIÇÃO DE
TODAS AS NORMAS;
NEM TODAS AS NORMAS
FORAM PUBLICADAS.
FONTE: ADAPTADO DE BARBIERI, 2006
Instrumentos ou Ferramentas de Gestão
A adoção de qualquer modelo de gestão requer o uso de instrumentos, aqui entendemos como
meios ou ferramentas para alcançar objetivos em uma matéria ambiental (BARBIERI, 2006).
Auditoria ambiental, avaliação do ciclo de vida, estudos de impactos ambientais, sistema de
gestão ambiental, relatórios ambientais, rotulagem ambiental, gerenciamento de riscos
ambientais, educação ambiental são alguns entre muitos instrumentos de que as empresas
podem se valer para alcançar objetivos ambientais.
FIGURA 2 – INSTRUMENTOS DE GESTÃO AMBIENTAL
FONTE: ADAPTADO DE BARBIERI, 2006
AUDITORIA
AMBIENTAL
AVALIAÇÃO
DE IMPACTOS
AMBIENTAIS
EDUCAÇÃO
AMBIENTAL
AVALIAÇÃO DO
DESEMPENHO
AMBIENTAL
ANÁLISE
DO
CICLO DE VIDA
GESTÃO AMBIENTAL
SISTEMA DE
GESTÃO
AMBIENTAL
Interpretação da ISO 14001:2004 Página 14 de 84
Muitos também são instrumentos de política pública, como, em certos casos, o estudo de
impactos ambientais e a auditoria ambiental.
Outros são de caráter horizontal, isto é, são instrumentos que podem ser aplicados em qualquer
empresa independente de seu porte e setor de atuação, como sistemas de gestão ambiental.
Alguns se aplicam diretamente aos produtos, como a rotulagem ambiental e a avaliação do ciclo
de vida; outros na empresa como um todo ou em parte dela, como o sistema de gestão, a
auditoria e a avaliação do desempenho ambiental.
Há instrumentos, como esses últimos, que são aplicados em situações, operações ou ativos
existentes para a melhoria do desempenho ambiental, enquanto outros visam encontrar
soluções antes que os problemas apareçam, como o estudo prévio de impacto ambiental e os
projetos para o meio ambiente.
A lista de instrumentos de gestão ambiental pode ser ampliada com a inclusão dos instrumentos
convencionais utilizados nas empresas para fins de qualidade e produtividade, tais como análise
de valor, listas de verificação, cartas de controle, diagrama de relações, diagrama de cause-
efeito, ciclo PDCA, análise de falhas, manutenção preventiva, gestão eficiente de materiais,
práticas correntes de housekeeping, etc.
Avaliação de Impacto Ambiental: Este é um procedimento formal para avaliar os efeitos sobre o
meio ambiente de uma nova atividade ou instalação, que pode ser usado tanto para avaliar os
impactos ambientais de grandes indústrias ou obras públicas, quanto para examinar políticas,
programas e planos. Normalmente avaliam-se os impactos econômicos e ambientais nos
projetos, mas cada vez mais estão sendo incluídos os impactos sociais.
Auditorias: A auditoria é um processo de avaliar a efetividade de um sistema para alcançar seus
objetivos declarados, inclusive às exigências legais e reguladoras. Apesar de ser mais
freqüentemente aplicada a sistemas financeiros, as auditorias ambientais e energéticas estão se
tornando cada vez mais comuns. Auditorias ambientais podem ser aplicadas a estruturas
organizacionais, procedimentos administrativos e operacionais, áreas de trabalho, operações,
processos ou documentação.
Uma auditoria pode envolver o uso de questionários, entrevistas, medições e observações
diretas, dependendo da natureza da função a ser auditada. As pessoas que realizam a auditoria
devem ser independentes das atividades ou áreas sendo auditadas. Os relatórios de auditoria
podem incluir detalhes sobre infrações ou outras deficiências, as possíveis razões de tais
problemas, recomendações para ações corretivas e avaliações da efetividade das melhorias
resultantes de outras auditorias.
A Auditoria Ambiental avalia as condições e o impacto ambiental das atividades de um projeto
ou instituição. Em uma cidade, este processo pode ser dividido nos níveis 'interno' (avaliação
das práticas e políticas utilizadas) e 'externo' (relatório das condições ambientais).
Avaliação do desempenho ambiental: A ADA é a avaliação evolutiva do desempenho ambiental
de uma determinada organização. É um método que permite medir e melhorar os resultados da
gestão ambiental praticada numa dada organização ou atividade econômica. Exista ou não um
sistema de gestão ambiental formal implementado na entidade em causa, este instrumento
poderá ser aplicado, ainda que, tal como sugere o mesmo autor, será mais vantajoso se pelo
menos alguns aspectos do SGA estiverem implementados.
Análise do ciclo de vida: A Análise do Ciclo de Vida (ACV) é um método técnico para avaliação
dos aspectos ambientais e dos impactos potenciais associados a um produto, compreendendo
etapas que vão desde a retirada dos recursos da natureza até a disposição do produto final. Esta
técnica auxilia na identificação de prioridades e afasta-se do enfoque tradicional de end-of-pipe
(tratamento no final do processo) para a proteção ambiental.
Educação ambiental: A educação ambiental tem como objetivo fundamental lograr que os
indivíduos e a coletividade compreendam a natureza complexa do meio ambiente natural e do
meio ambiente criado pelo homem, resultante da integração de seus aspectos biológicos,
físicos, sociais, econômicos e culturais, e adquiram os conhecimentos, os valores, os
comportamentos e as habilidades práticas para participar responsável e eficazmente da
prevenção e solução dos problemas ambientais, e da gestão da qualidade do meio ambiente.
Sistemas de Gestão Ambiental
Segundo o SEBRAE (2004) Sistemas de Gestão Ambiental podem ser aplicados a qualquer
atividade econômica, em organizações públicas ou privadas, especialmente naqueles
empreendimentos que apresentam riscos de provocar impactos negativos ao meio ambiente. Um
Sistema de Gestão Ambiental possibilita a uma organização controlar e minimizar os riscos
ambientais de suas atividades. Além disso, a adoção de um Sistema de Gestão Ambiental
representa uma importante vantagem competitiva, o mercado reconhece e valoriza as
organizações ecologicamente corretas. Também é crescente o nível de exigências legais para
que os bens produzidos sejam ambientalmente adequados em todo o seu ciclo de vida: que não
agridam o meio ambiente desde a origem de sua matéria-prima, durante sua produção e
entrega, até sua obsolescência e disposição final.
Interpretação da ISO 14001:2004 Página 15 de 84
Um Sistema de Gestão Ambiental é parte do sistema administrativo geral de uma empresa. Ele
inclui a estrutura organizacional, atividades de planejamento, responsabilidades, treinamentos,
procedimentos, processos e recursos para a implementação e manutenção da gestão ambiental.
Também inclui aqueles aspectos de administração que planejam, desenvolvem, implementam,
atingem, revisam, mantêm e melhoram a política ambiental, os objetivos e metas da empresa.
Dentre as características de um SGA, este ajuda a empresa a:
a) Identificar e controlar os aspectos, impactos e riscos ambientais relevantes para a
organização.
b) Atingir sua política ambiental, seus objetivos e metas, incluindo o cumprimento da
legislação ambiental.
c) Definir uma série básica de princípios que guiem a abordagem da sua organização em
relação a suas futuras responsabilidades ambientais.
d) Estabelecer metas de curto, médio e longo prazos para o desempenho ambiental,
assegurando o equilíbrio de custos e benefícios, para a organização e para seus vários
acionistas e interessados.
e) Determinar que recursos são necessários para atingir tais metas, garantir
responsabilidades por elas e comprometer os recursos necessários.
f) Definir e documentar tarefas, responsabilidades, autoridades e procedimentos
específicos para assegurar que cada empregado aja no curso de seu trabalho diário para
ajudar a minimizar ou eliminar o impacto negativo da empresa no meio ambiente.
g) Comunicar tudo isso à organização e treinar pessoal para cumprir eficazmente seus
compromissos.
h) Medir o desempenho em relação a padrões e metas preestabelecidos e modificar a
abordagem, se necessário (NBR ISO 14001:2004, p. 11; NBR ISO 14004:2004, p. vi; SEBRAE,
2004, p. 57; SGS, 2003, p. 10).
A família de normas ISO 14000
A “International Organisation for Standardisation” (ISO) é uma federação de organismos de
normalização de 130 países, um por país. A ISO é uma organização não governamental e foi
estabelecida em 1947. A sua missão consiste na promoção do desenvolvimento da normalização
e atividades relacionadas, em todo o mundo, como elemento facilitador das trocas comerciais de
bens e serviços, dentro dos princípios da Organização Mundial do Comércio (APCER, 2003).
O British Standards Institution iniciou a criação de uma norma sobre SGA no final dos anos
1980s, resultando daí a BS 7750 em 1991. Seguindo o exemplo desse órgão, em vários países
foram criadas normas para o mesmo fim, gerando restrições ao comércio internacional. A ISO
entra em cena e em 1992 criou um grupo de assessoria denominado Strategic Advisory Group on
the Environment (SAGE) para estudar as questões decorrentes da diversidade crescente de
normas ambientais e seus impactos sobre o comércio internacional. O SAGE recomendou a
criação de um comitê específico para a elaboração de normas sobre gestão ambiental, o Comitê
Técnico 207 (TC 207). Em 1.996 são editadas as primeiras normas sobre gestão ambiental a cargo
do Subcomitê 1 (SC1): a ISO 14.001 e 14.004, ambas sobre SGA. Desde então outras foram
editadas sobre outros tópicos da gestão, tais como, auditoria ambiental, rotulagem ambiental,
avaliação do ciclo do produto etc. Essas normas que em outubro de 2.006 eram 30 formam um
sistema de normas, de acordo com um ciclo PDCA ampliado, como mostra a Figura 3 (CAJAZEIRA;
BARBIERI, 2005).
A série ISO 14000 lida com sistemas e métodos gerenciais e não com normas técnicas ou relativas ao produto,
focalizam o estabelecimento de um sistema para alcançar internamente o estabelecimento de políticas, objetivos e
alvos. Além disso, requerem que essas políticas incluam elementos que cumpram as leis e regulamentações e que
evitem a poluição. Mas os padrões não ditam como a organização alcançará essas metas nem descrevem o tipo ou
nível de desempenho exigido. Assim como a série ISO 9000, focaliza-se nos processos necessários para alcançar
resultados e não nos próprios resultados, o objetivo é aumentar a confiança de todos os interessados em que a
organização possui um sistema que provavelmente levará a um melhor desempenho ambiental (BOGO, 1998).
As normas citadas na Figura 3 são autônomas, podendo ser implementadas de modo isolado.
Porém há uma expectativa de que os melhores resultados venham a ser obtidos na medida em
que as normas sejam usadas de modo articulado, como será mostrado a seguir em relação à
implantação e manutenção de um SGA com base na ISO 14001 e ISO 14004. A norma ISO 14004
não é um guia para a ISO 14001, um equívoco muito comum observado inclusive na literatura
acadêmica, mas um guia para um sistema de gerenciamento ambiental genérico e, portanto,
mais abrangente que os próprios requisitos da ISO 14001 (CAJAZEIRA; BARBIERI, 2005).
O núcleo desse ciclo é a ISO 14001, uma norma também concebida como um ciclo PDCA (Plan-
Do-Check-Act). Todas as normas da gestão têm como base o ciclo PDCA, criado na década de
1930 por Walter A. Shewart para efeito da gestão da qualidade, e que passou a ser utilizado para
outros propósitos tornando-se uma espécie de modelo padrão de gestão para implementar
qualquer melhoria de modo sistemático e contínuo.
Interpretação da ISO 14001:2004 Página 16 de 84
FIGURA 3 – Modelo ISO 14001 e suas correlações com as demais normas da série 14000
FONTE: ADAPTADO DE CAJAZEIRA; BARBIERI, 2005 E ISO/TC207, 2002
ISO 14001 e ISO 14004
Sistema
de
Gestão Ambiental
Priorização
dos aspectos
ambientais
Série ISO 14040
Análise do
ciclo de vida
Descrição do
desempenho
ambiental dos
produtos
Integração
dos
aspectos ambientais
no
projeto e
desenvolvimento
ISO 14062
Projeto para o
meio ambiente
(Design for environment)
Melhoria do
desempenho
ambiental dos
produtos
ISO 14063
Comunicações
ambientais
Série ISO 14020
Selos e declarações
ambientais
Comunicação
do
desempenho
ambiental
Informações sobre
aspectos
ambientais dos
produtos
Comunicação do
desempenho
ambiental
Monitoramento
do desempenho
ambiental
Série ISO 14030
Avaliação do
desempenho ambiental
Descrição do
desempenho
ambiental
ISO 19011
Auditoria do
sistema de
gestão ambiental
Monitoramento
da performance
do SGA
Informações sobre
o desempenho do
SGA
Avaliação
de locais e
organizações
ISO 14015
Avaliação ambiental de
locais e organizações
Avaliação das
questões
ambientais
associadas a locais
e /ou atividades
Interpretação da ISO 14001:2004 Página 17 de 84
TABELA 4 APLICAÇÕES DAS NORMAS DA SÉRIE ABNT NBR ISO 14000 NO NÍVEL ORGANIZACIONAL
IMPLEMENTAÇÃO
DE
SISTEMAS
DE
GESTÃO
AMBIENTAL
(SGA)
ABNT NBR ISO
14001:2004
ABNT NBR ISO
14004:2005
Ajuda a
organização a
estabelecer um
SGA novo ou
melhorar um SGA
existente
ABNT NBR ISO
14001:2004
Especifica os
requisitos para
que o SGA possa
ser objetivamente
auditado para fins
de certificação de
primeira, segunda
ou terceira parte
ABNT NBR ISO
14004:2005
Fornece
diretrizes para
ajudar a
organização a
estabelecer e
implementar um
SGA, incluindo
orientações que
vão além dos
requisitos da
ABNT NBR ISO
14001
ABNT NBR ISO
14005
Fornece diretrizes
para uma execução
gradual de um
sistema de gestão
ambiental,
incluindo o uso da
avaliação de
desempenho
ambiental
ABNT NBR ISO/TR
14061:1998
Contém
informações que
auxiliam na
implementação da
ABNT NBR ISO
14001 e da ABNT
NBR ISO 14004 em
organizações de
gestão florestal e
na indústria de
produtos
florestais
REALIZAÇÃO
DE
AUDITORIAS
AMBIENTAIS
E
DE
OUTRAS
INVESTIGAÇÕES
RELACIONADAS
ABNT NBR ISO
14010:1996
Fornece diretrizes
sobre os princípios
gerais comuns à
realização de
qualquer auditoria
ambiental
(norma
cancelada)
ABNT NBR ISO
14011:1996
Fornece diretrizes
sobre os
procedimentos
para a realização
de auditorias de
SGA, incluindo os
critérios para
seleção e formação
de equipes de
auditoria
(norma
cancelada)
ABNT NBR ISO
14012:1996
Fornece
diretrizes sobre
as qualificações
de auditores e
auditores líderes
ambientais
internos e
externos
(norma
cancelada)
ABNT NBR ISO
14015:2003
Ajuda a
organização a
identificar e
avaliar os aspectos
ambientais e suas
conseqüências
para a empresa, a
fim de dar suporte
à transferência de
propriedades,
responsabilidades
e obrigações de
uma parte para
outra
ABNT NBR ISO
19011:2002
(substitui as
normas ABNT NBR
ISO 14010, 14011 e
14012) Fornece
diretrizes sobre os
princípios de
auditoria; a gestão
de programas de
auditoria; a
realização de
auditorias de
sistemas de
gestão; e a
competência de
auditores
ABNT NBR
ISO GUIA
66:2001
Requisitos
gerais para
organismos
que operam
avaliação e
certificação
/registro de
sistemas de
gestão
ambiental (SGA).
AVALIAÇÃO
DO
DESEMPENHO
AMBIENTAL
ABNT NBR ISO
14031:2004
Fornece diretrizes
sobre a seleção e
o uso de
indicadores para
avaliar o
desempenho
ambiental da
organização
ABNT NBR
ISO/TR
14032
Fornece
exemplos de
organizações
reais para
ilustrar o uso
das orientações
da ABNT NBR
ISO 14031
COMUNICAÇÃO
DE
RESULTADOS
ABNT NBR ISO
14063
Fornecerá
diretrizes sobre
a comunicação
referente ao
desempenho
ambiental e aos
aspectos
ambientais da
organização
COMPREENSÃO
DE
TERMOS
E
DEFINIÇÕES
ABNT NBR
ISO
14050
Ajuda a
organização
a
compreender
os termos
usados nas
normas da
série ABNT
NBR ISO
14000
USO
DE
RÓTULOS
E
DECLARAÇÕES
AMBIENTAIS
ABNT NBR ISO
14020:2002
Fornece princípios
gerais que servem
como base para o
desenvolvimento
de diretrizes e
normas ABNT NBR
ISO sobre rótulos
e declarações
ambientais
ABNT NBR ISO
14021:2004
Fornece diretrizes
sobre a
terminologia, os
símbolos e as
metodologias de
ensaio e
verificação que a
organização deve
usar para auto-
declarar os
aspectos
ambientais de
seus produtos e
serviços
(Rotulagem
Ambiental
Tipo II)
ABNT NBR ISO
14024:2004
Fornece os
princípios e
procedimentos
guias para
programas de
certificação de
terceira parte
(Rotulagem
Ambiental
Tipo I)
ABNT NBR ISO/TR
14025
Identifica e
descreve elementos
e questões para
serem considerados
ao se fazer
declarações de
informações
quantificadas sobre
o produto, baseadas
em dados do
Inventário do Ciclo
de Vida (Declarações
Ambientais
Tipo III)
COMPREENSÃO
DE
TERMOS
E
DEFINIÇÕES
ABNT NBR
ISO
14050
Ajuda a
organização a
compreender
os termos
usados nas
normas da
série ABNT
NBR ISO
14000
Interpretação da ISO 14001:2004 Página 18 de 84
REALIZAÇÃO
DE
AVALIAÇÕES
DO
CICLO DE VIDA
(ACV)
ABNT NBR ISO
14040:2001
Fornece os
princípios
gerais, a
estrutura e os
requisitos
metodológicos
para a ACV de
produtos e
serviços
ABNT NBR ISO
14041:2004
Fornece
diretrizes para
se determinar o
objetivo e o
escopo de um
estudo ACV e
realizar um
inventário do
ciclo de vida
ABNT NBR
ISO
14042:2004
Fornece
diretrizes para
se realizar a
fase de
avaliação do
impacto no
ciclo de vida
de um estudo
ACV
ABNT NBR
ISO/TR
14043:2005
Fornece diretrizes
para a
interpretação dos
resultados de um
estudo ACV
ABNT NBR
ISO/TS
14048
Fornece
informações
com relação à
formatação de
dados para dar
suporte à
avaliação do
ciclo de vida
ABNT NBR
ISO/TR
14049/14
047
Fornece
exemplos
que
ilustram
como
aplicar as
diretrizes
da ABNT
NBR ISO
14041 e da
ABNT NBR
ISO 14042
INCLUSÃO
DE
ASPECTOS
AMBIENTAIS
EM
PRODUTOS
E
EM NORMAS
DE
PRODUTOS
ABNT NBR
ISO GUIA
64:2002
Ajuda os
escritores de
normas de
produtos a
incluir os
aspectos
ambientais
nessas normas
(em revisão)
ABNT NBR
ISO/TR
14062:2004
Fornece
conceitos e
práticas atuais
relacionadas
com a
integração de
aspectos
ambientais no
projeto e
desenvolviment
o de produtos
ABNT NBR
ISO
17422:2002
Plásticos -
Aspectos
ambientais -
Diretrizes
gerais para sua
inclusão em
normas
COMPREENSÃO
DE
TERMOS
E
DEFINIÇÕES
ABNT NBR ISO
14050:2004
Ajuda a
organização a
compreender os
termos usados
nas normas da
série ABNT NBR
ISO 14000-
ABNT NBR: Normas Brasileiras ISO: International Organization for Standardization
TR: Relatório Técnico TS:Especificação Técnica
FONTE: ADAPTADO DE ABNT/CB-38 – COMITÊ BRASILEIRO DE GESTÃO AMBIENTAL E ISO/TC207, 2002
Sistema de
Gestão
Ambiental
ISO 14001 e ISO 14004
Sistema
de
Gestão Ambiental
Interpretação da ISO 14001:2004 Página 18 de 84
O SISTEMA DE GESTÃO AMBIENTAL
Segundo Bogo (1998) a finalidade básica da ISO 14001 é a de fornecer às organizações os
requisitos básicos de um sistema de gestão ambiental eficaz. A norma não estabelece "requisitos
absolutos de desempenho ambiental" sendo possível que duas organizações que desempenhem
atividades similares e alcancem desempenhos ambientais diferentes podem estar ambas em
conformidade com a ISO 14001.
Estes requisitos básicos formam um processo de cinco etapas:
a) Compromisso e política: Nesta fase a organização define uma política ambiental e assegura
seu comprometimento com ela.
b) Planejamento: A organização formula um plano que satisfaça às políticas.
c) Implementação: A organização coloca um plano em ação, fornecendo os recursos e
mecanismos de apoio.
d) Medição e avaliação: A organização mede, monitora e avalia seu desempenho ambiental
contra objetivos e alvos.
e) Análise crítica e melhoria: A organização realiza uma análise crítica e implementa
continuamente melhorias em seu SGA para alcançar melhorias no desempenho ambiental
total.
Em 15 de novembro de 2004, a ISO (International Organization for Standardization) publicou as
segundas edições das Normas ISO 14001 e 14004. Esta revisão é parte do compromisso da ISO de
periodicamente revisar e atualizar as normas citadas, concluindo um trabalho de mais de 3 anos
efetuado pelo TC 207 da ISO, o qual é responsável pelo desenvolvimento e manutenção das
Normas da série ISO 14000 (SGS, 2005).
Conforme descrito na introdução da ISO 14001:2004:
A segunda edição desta Norma busca o esclarecimento da primeira edição, para auxiliar o seu
entendimento, e leva em consideração as disposições da ABNT NBR ISO 9001:2000, de maneira a
aumentar a compatibilidade entre as duas normas, para benefício da comunidade de usuários.
Genericamente a segunda versão da ISO 14001 tem como objetivos:
Esclarecimento da primeira edição;
Aumento da compatibilidade com a ISO 9001:2000.
A estrutura da norma (muito mais de que uma harmonização em termos de nomenclatura com a
ISO 9001:2000) manteve-se em grande parte, existindo apenas duas alterações substanciais:
Integração dos subitens 4.3.3 Objetivos e metas e 4.3.4 Programa de gestão ambiental da
versão 1996 no subitem 4.3.3 Objetivos, metas e programas na versão 2004;
Inclusão do subitem 4.5.2 – Avaliação do atendimento a requisitos legais e outros.
Também o Anexo A foi revisado e agora têm melhor direcionamento, esclarecimento e
orientação para a implementação e manutenção do SGA nas organizações. As partes de especial
interesse são: requisitos gerais (A.1), aspectos ambientais (A.3.1), objetivos, metas e
programa(s) (A.3.3), documentação (A.4.4) e monitoramento e medição (A.5.1).
Esta última alteração traduz o espírito que norteou a revisão da ISO 14001. A versão 2004
apresenta um enfoque bastante significativo nos aspectos ambientais e na importância que este
processo representa para todo o Sistema de gestão Ambiental.
Todos os procedimentos e processos devem ter em consideração os aspectos ambientais,
representando efetivamente o cerne do Sistema.
Nota-se também explicitamente a importância dada ao cumprimento de todos os requisitos
legais nas organizações que pretendem obter a certificação de acordo com o referencial
ambiental.
Os críticos da ISO 14001 se referiam muitas vezes o fato da Norma impor a melhoria contínua do
sistema de gestão ambiental e não do desempenho ambiental. Argumentavam, com se tal fosse
possível, que uma organização poderia melhorar o desempenho do seu sistema sem que tal
correspondesse a uma melhoria efetiva do seu desempenho ambiental e complementarmente a
uma diminuição do seu impacte sobre o meio envolvente.
Com esta nova versão toda a estrutura da norma baseia-se na gestão dos aspectos ambientais e
no seu controle. O procedimento de levantamento dos aspectos ambientais assume uma posição
de destaque para quem procede à implementação de um sistema de gestão ambiental.
Esta versão da norma que aparentemente não apresentaria alterações significativas mostra-se
mais exigente, mais transparente e muito mais alinhada com a ISO 9001:2000.
Reflexo disso mesmo é o referido na Introdução “… como o PDCA é aplicável a todos os
processos, é considerado que as duas metodologias são compatíveis" (APCER, 2005).
Interpretação da ISO 14001:2004 Página 19 de 84
Elementos Básicos de um SGA
Os Sistemas de Gestão Ambiental serão diferentes para diferentes tipos de organizações,
dependendo da natureza, tamanho e complexidade das atividades, produtos e serviços de cada
uma (AEP, 1988).
Os elementos básicos incluem:
a) Uma política ambiental expressando o compromisso da direção da empresa de incorporar a
gestão ambiental. Compreende-se a política ambiental como sendo uma declaração pública
das intenções e princípios de ação da empresa em relação ao meio ambiente. A declaração
deve orientar a definição dos objetivos gerais que a organização quer alcançar.
b) Um programa ambiental ou um plano de ação, descrevendo medidas que a empresa tomará
na vigência do SGA. O programa ambiental ou o plano de ação traduz a política ambiental da
organização em objetivos e metas e identifica as ações para atingi-lo. Define as
responsabilidades dos colaboradores internos e aloca os recursos humanos e financeiros
necessários para a sua implementação. Além disso, o programa deve levar em consideração
os aspectos ambientais da organização, uma visão geral das exigências legais e outros
requisitos aplicáveis.
c) Uma estrutura organizacional estabelecendo tarefas, delegando autoridades e definindo
responsabilidades para implementar as ações. No caso de empresas com locações múltiplas
ou diferentes atividades comerciais, estão incluídas estruturas organizacionais para a
empresa como um todo, assim como para as unidades de operação separadas. O
representante da alta administração tem uma típica relação de comunicação direta com os
executivos (direção) da empresa.
d) A integração da gestão ambiental com as operações comerciais, que inclui procedimentos
para incorporar as medidas ambientais em outros aspectos das operações da empresa, tais
como a saúde e segurança ocupacional, compras, desenvolvimento de produtos, associações
e aquisições, marketing, finanças, etc.
e) Inclui o desenvolvimento de procedimentos ambientais especiais, geralmente especificados
em manuais e outras instruções de trabalho, descrevendo medidas e ações a serem tomadas
na implementação do programa ambiental ou plano de ação. Os procedimentos ambientais
podem abranger:
Documentação do SGA e controle dos documentos;
Controle operacional: procedimentos e critérios para as operações e atividades, assim
como para os bens e serviços, fornecedores e contratados da organização;
Cálculo dos riscos e planos de ação de emergência, para identificar acidentes em
potencial e evitar que se tornem catástrofes.
Procedimentos para monitoramento, medição e manutenção de registros para
documentar e monitorar os resultados de ações e programas específicos, assim como os
efeitos globais das melhorias ambientais.
f) Ações corretivas e preventivas para eliminar causas reais ou potenciais de não cumprimento
dos objetivos, metas, critérios e especificações.
g) Auditorias para verificar a adequação e eficiência da implementação e funcionamento do
SGA.
h) Análises críticas para a avaliação formal pela alta direção visando a adequação do SGA à luz
das mudanças de circunstâncias.
i) Comunicação (interna e externa) – recebendo e respondendo a comunicação das partes
interessadas internas e externas, assim como comunicação em todos os níveis da
organização e no nível externo as relações com a comunidade para comunicar a postura e as
metas ambientais da organização às pessoas interessadas de fora da empresa, e mantê-las
informadas sobre questões, dificuldades ou outros assuntos ambientais específicos que
possam afetá-las, mantendo uma postura de transparência.
j) Treinamentos para assegurar que todos os empregados entendam onde estão insertos no
contexto do SGA e em relação a suas atividades de trabalho, além da conscientização das
questões ambientais relevantes, à política ambiental, os objetivos, metas e o papel de cada
empregado no sistema de gestão ambiental.
Interpretação da ISO 14001:2004 Página 20 de 84
FIGURA 4 – ELEMENTOS DE UM SISTEMA DE GESTÃO AMBIENTAL
FONTE: ADAPTADO DE AEP, 1998
Definindo Quem são as Partes Interessadas (STAKEHOLDERS)
Segundo MIYASSHITA (2004) o termo stakeholder é um neologismo que se contrapõe
conceitualmente ao termo acionista, que em inglês é denominado de shareholder, ou de
stockholder. Ao longo do tempo, o termo foi adquirindo sucessivos aperfeiçoamentos, em razão
de uma melhor compreensão do fenômeno envolvendo a relação empresa-sociedade.
Sua origem é de 1963, e foi originalmente formulado pelo Standford Research Institute para
indicar todos aqueles que possuem um interesse em jogo na atividade da empresa e seu nome
deriva de stake que significa aposta, promessa.
Uma definição considerada clássica no meio, apresentada por Freeman (1984) segundo a qual
“stakeholder é todo indivíduo bem identificável que pode influenciar ou ser influenciado pela
atividade da organização em termos de produtos, políticas e processos de trabalho”. Segundo
este significado mais amplo, tanto grupos de interesse público, quanto movimentos de defesa,
comunidades locais, entidades governamentais, associações, concorrentes, sindicatos e
imprensa podem ser todas consideradas stakeholders. Todos estes grupos possuem um interesse
“em jogo” (at. stake) nas decisões realizadas pela empresa.
As relações da empresas com seus stakeholders podem ser expressas também na forma de um
quadro em que são apresentadas as contribuições e demandas de cada grupo social para com a
empresa, como mostra a tabela 6.
A compreensão de quais os principais stakeholders envolvidos especificamente com cada
empresa constitui uma base importante em seu processo decisório. Cabe a cada empresa mapear
quais são os seus públicos de interesse e realizar um planejamento adequado para o
gerenciamento estratégico dos seus stakeholders tendo em vista a criação de valor.
AUDITORIA
AVALIAÇÃO
DE
IMPACTOS
AMBIENTAIS
INTEGRAÇÃO
COM A
GESTÃO
ESTRUTURA
INTERNA
DO SGA
PROGRAMA
AMBIENTAL
SISTEMA DE
GESTÃO AMBIENTAL
POLÍTICA
AMBIENTAL
PROCEDIMENTOS
AMBIENTAIS
(DE NORMA)
ANÁLISES
CRÍTICAS
AÇÕES
CORRETIVAS
E
PREVENTIVAS
TREINAMENTOS
COMUNICAÇÕES
INTERNAS
E
EXTERNAS
PROCEDIMENTOS
OPERACIONAIS
(monitoramento, medição e
manutenção de registros)
Interpretação da ISO 14001:2004 Página 21 de 84
TABELA 6 – RELAÇÃO ENTRE OS STAKEHOLDERS E A EMPRESA
Parceiros Contribuições Demandas Básicas
Acionistas Capital
Lucros e dividendos
Preservação do patrimônio
Empregados Mão-de-obra Criatividade Idéias
Salários justos
Segurança no emprego
Realização pessoal
Condições de trabalho
Fornecedores Mercadorias Respeito aos contratos
Negociação leal
Clientes Dinheiro
Segurança e boa qualidade dos
Produtos
Preço acessível
Propaganda honesta
Concorrentes Competição; referencial de mercado Lealdade na concorrência
Governo Suporte institucional, jurídico e político
Obediência às leis
Pagamentos de tributos
Grupos e
movimentos
Aportes sócio-culturais diversos
Proteção ambiental
Respeito aos direitos de minorias
Respeito aos acordos salariais
Comunidade Infra-estrutura
Respeito ao interesse comunitário
Contribuição à melhoria da qualidade de vida na
comunidade
Conservação dos recursos naturais
FONTE: DUARTE (1985: 84)
Interpretação da ISO 14001:2004 Página 22 de 84
PRINCÍPIOS DO SISTEMA DE GESTÃO AMBIENTAL (SGA)
Um sistema de gestão ambiental (SGA) é definido pela ISO 14001 como a estrutura
organizacional, responsabilidade, práticas, procedimentos, processos e recursos para
implementação e manutenção da gestão ambiental.
O modelo de sistema de gestão ambiental proposto pela ISO baseia-se numa visão
organizacional que adota os seguintes princípios:
Princípio 1 – Comprometimento e política
Texto da Norma ISO 14004:2004
É recomendado que uma organização defina sua política ambiental e assegure o
comprometimento com o seu SGA.
A Organização deve definir a sua política ambiental e assegurar um compromisso perante o
SGA, é o documento base do julgamento da organização onde deve estar garantida a intenção
real de cumprir as afirmações nele contidas e deve ser redigido pela administração.
A Obtenção do Compromisso dos gestores do topo da organização é um dos passos iniciais
para assegurar o sucesso do SGA. Este compromisso é fundamental para o desenrolar do
sistema. Depois os gestores intermediários terão que implementá-la e providenciar os
necessários inputs para formulação e alterações da política.
Antes de ser elaborada a Política Ambiental da organização, deve ser feita uma revisão inicial,
ou levantamento inicial da posição da organização perante o ambiente, nomeadamente:
− Identificação dos requisitos legais e legislação;
− Identificação dos aspectos ambientais relativos ás suas atividades, produtos ou serviços por
forma a determinar aqueles que têm impactos ambientais significativos;
− Avaliação do desempenho ambiental, comparada com critérios internos, externos,
regulamentares, ou outros;
− Procedimentos e práticas de gestão ambiental correntemente usadas;
− Feedback resultante da investigação de incidentes anteriores de não cumprimento;
− Oportunidades para ganhar vantagens competitivas:
− As opiniões dos parceiros interessados;
− Funções ou atividades de outros sistemas organizacionais que podem por em causa o
desempenho ambiental.
A Política Ambiental definida deve:
− Conter a missão, a os valores e as crenças da organização;
− Ser apropriada à natureza e escala da organização e aos impactes decorrentes da sua
atividade, produtos ou serviços;
− Refletir o compromisso dos gestores de topo da organização no cumprimento da legislação e
outros requisitos que a organização subscreva, na melhoria continua do sistema e pela
prevenção da poluição;
− Servir de base para a formulação dos objetivos e metas ambientais atingir;
− Ser devidamente documentada, implementada, mantida e comunicada a todos os
funcionários e colaboradores da organização;
− Ser suficientemente clara por forma a ser compreendida por parceiros internos e externos
ser periodicamente revista de modo a incorporar alterações nas condições;
− Estar disponível para o público em geral.
Princípio 2 – Planejamento
Texto da Norma ISO 14004:2004
É recomendado que uma organização formule um plano para cumprir sua política ambiental.
A ORGANIZAÇÃO deve formular um plano que satisfaça a política ambiental concebida
anteriormente.
Para tal o planejamento deve incluir:
− A identificação dos aspectos ambientais e avaliação dos impactes ambientais associados;
− A legislação ambiental e regulamentação aplicável;
− Os objetivos e metas ambientais;
− O programa de gestão ambiental.
Interpretação da ISO 14001:2004 Página 23 de 84
a) Identificação dos aspectos ambientais e a avaliação dos impactes ambientais
A organização deve estabelecer e manter procedimentos que identifiquem os aspectos
ambientais associados as suas atividades, produtos ou serviços, por forma a determinar aqueles
que podem ter impactes ambientais significativos. A organização deve assegurar que os
aspectos relacionados com os impactes relevantes sejam considerados no estabelecimento dos
objetivos ambientais.
A identificação dos aspectos ambientais é um processo contínuo que deve considerar os
impactos passados, correntes e futuros (positivos e negativos) das atividades de urna
organização no ambiente.
O processo de identificação dos aspectos ambientais tem como objetivo encontrar prioridades
em termos de intervenção do SGA.
− Os aspectos ambientais referem-se aos elementos da atividade, produtos e serviços da
organização que podem interagir com o ambiente.
− Os impactos ambientais referem-se às alterações que tomarão lugar no ambiente como
resultado de um aspecto ambiental.
Deve-se começar por selecionar uma atividade, produto ou serviço; em seguida identificam-se
todos os aspectos ambientais que poderão estar adjacentes a essa atividade, produto ou serviço;
identificam-se os potenciais impactos ambientais e avalia-se a sua importância.
Na identificação dos diferentes aspectos ambientais, deve-se ter em conta as emissões para a
atmosfera, as descargas de águas residuais, a gestão dos resíduos, a contaminação dos solos, a
utilização de matérias-primas e recursos naturais e outros aspectos ambientais locais e assuntos
que digam respeito às comunidades locais.
O processo deve considerar o normal funcionamento da organização, bem como as situações de
arranque e fecho, nomeadamente em alturas de férias, e ainda atender aos potenciais impactos
ambientais resultantes de casos de emergência.
A importância de determinados impactos é diferente de organização para organização. Por
forma a que a avaliação seja facilitada, podemos ter em conta os seguintes fatores:
− Escala do impacto;
− Severidade do impacte;
− Probabilidade de ocorrência:
− Duração do impacte;
− Legislação;
− Incomodo para as populações vizinhas;
− Preocupação internacional;
− Falta de informação.
b) Legislação ambiental e regulamentação aplicável
A organização deve estabelecer e atualizar procedimentos de modo a identificar, ter acesso e
compreender toda a legislação ambiental e regulamentação aplicável que a organização
subscreva como diretamente aplicáveis aos aspectos ambientais decorrentes das suas
atividades, produtos ou serviços.
c) Objetivos e metas ambientais
Os objetivos devem ser estabelecidos de encontro com a política ambiental da organização.
Quando a organização estabelecer os objetivos, devem ter em conta os requisitos legais
constantes da legislação, os aspectos relevantes encontrados nas revisões ambientais e na
identificação dos aspectos ambientais e respectivos impactos.
As metas ambientais devem ser então atingidas num espaço de tempo determinado.
Os objetivos e metas ambientais definidos devem:
− Refletir a política ambiental da organização e ainda os impactos associados com as
atividades, produtos e serviços da organização;
− Ser específicos para cada situação;
− Ser claramente definidos e compreendidos;
− Aceites por todos os parceiros envolvidos;
− Flexíveis, mensuráveis, motivadores e atingíveis.
Os objetivos e metas ambientais devem incluir ainda compromissos na redução da produção de
resíduos e poluentes; na redução do consumo de recursos naturais; na concepção de produtos
de modo a que tenham um impacto ambiental reduzido; e na promoção de uma cultura
ecológica junto de todos os colaboradores da organização.
Esses indicadores podem ser usados numa avaliação do desempenho ambiental e ainda fornecer
informação sobre o SGA e os sistemas operativos.
Interpretação da ISO 14001:2004 Página 24 de 84
Os objetivos e metas devem ser revistos periodicamente e devem ser tidas em conta as
considerações dos parceiros interessados por forma a introduzir melhoramentos no desempenho
ambiental da organização.
d) Programa ambiental
A organização deve estabelecer e manter um programa por forma atingir os objetivos e metas
propostos. Com efeito, a criação de um ou mais programas ambientais é uma peça chave para a
implementação bem sucedida do SGA.
O programa deve descrever como os objetivos e metas ambientais da organização devem ser
atingidas, incluindo uma calendarização e a atribuição de competências e responsabilidades, em
cada nível e funções relevantes da organização, pela implementação da política ambiental da
organização.
Princípio 3 – Implementação
Texto da Norma ISO 14004:2004
Para uma efetiva implementação, é recomendado que uma organização desenvolva a capacitação
e os mecanismos de apoio necessários para atender sua política, seus objetivos e metas
ambientais.
Para que haja uma correta implementação, a organização deve desenvolver as capacidades e
mecanismos de suporte necessários por forma a satisfazer a política ambiental, bem como os
objetivos e metas ambientais.
a) Recursos humanos, físicos e financeiros
A organização deve identificar e designar os recursos humanos, técnicos e financeiros
necessários a satisfazer os seus objetivos e metas ambientais. A organização deve ser capaz de
calcular os custos e benefícios das suas atividades ambientais.
A responsabilidade pelo controle do SGA deve ser conferida a alguém cuja função garanta
suficiente autoridade, competência e recursos. Os gestores devem definir claramente as
responsabilidades do pessoal e serem responsáveis pela implementação do SCA e pelo
desempenho ambiental da organização. De resto, todos os funcionários devem ter
responsabilidades e contribuir para o desempenho ambiental global da organização.
O pessoal responsável pela implementação do SGA deve:
− Ter a formação e os recursos necessários;
− Antecipar e registrar todos os incidentes ambientais;
− Recomendar soluções para os problemas e verificar a implementação dessas soluções;
− Controlar atividades posteriores até que a eficiência ambiental tenha sido corrigida;
− Saber atuar em situações de emergência.
Os gestores de topo devem desempenhar um papel fundamental em motivar os seus
funcionários explicando-lhes os valores ambientais e comunicando-lhes a política ambiental da
organização.
Todos os membros da organização devem compreender e ser encorajados a aceitar a
importância da obtenção dos objetivos e metas ambientais, para os quais eles são diretamente
responsáveis.
A motivação para a melhoria contínua pode ser alcançada quando os funcionários são
reconhecidos pelo seu papel na obtenção de determinados objectivos e metas ambientais e são
encorajados a introduzir alterações (melhoramentos) no SGA.
Os responsáveis pela implementação, designados pelos gestores de topo, devem assegurar que
o SGA está estabelecido, implementado e mantido de acordo com as normas ISO 14001, e devem
comunicar regularmente o desempenho do SGA aos gestores de topo numa base de melhoria
contínua.
b) Formação
Deve ser feita a identificação das necessidades de formação e a sensibilização de todo o pessoal
para as questões ambientais. Deve ser definido um plano de formação por forma a satisfazer as
suas necessidades, acompanhado de documentação e avaliação da formação.
Deve ser considerado o recrutamento de pessoal e formação. Todo o pessoal de uma
organização deve ter a formação e treinos apropriados para que os objetivos, metas e política
ambiental sejam atingidos. Os funcionários devem ter uma correta formação de base, incluindo
métodos e treino que os levarão a executar as suas tarefas de uma forma mais eficiente e
competentes, causando por isso menores impactes no ambiente. Da mesma forma, a organização
deve exigir aos seus fornecedores que atuem dentro da organização com sentido de
responsabilidade de modo a não beliscar o SGA da organização. A educação e o treino são ainda
necessários para assegurar que os funcionários possuem os conhecimentos suficientes sobre a
regulamentação, legislação, critérios internos, política e objetivos da organização.
Interpretação da ISO 14001:2004 Página 25 de 84
Devem ser estabelecidos procedimentos de modo a que se consiga sensibilizar todos os
funcionários e colaboradores da organização para:
− A importância de atuar em conformidade com a política ambiental e os requisitos do SGA;
− Os impactos ambientais significativos ou potenciais resultantes das suas atividades e os
benefícios resultantes do melhoramento do desempenho do pessoal;
− As regras e responsabilidades na obtenção da conformidade com a política ambiental e
procedimentos, e com os requasitos do SGA. incluindo os requistos de resposta em casos de
acidentes e os planos de emergência;
− As potenciais conseqüências provenientes dos procedimentos operacionais.
e) Comunicação
Devem ser estabelecidos procedimentos para uma comunicação interna entre os vários níveis e
funções da organização; e ainda procedimentos para receber, documentar e responder a
comunicação relevante a partir de parceiros interessados.
d) Documentação
As operações unitárias e os procedimentos relativos a cada uma delas devem estar definidos e
documentados. A organização deve definir claramente os diferentes tipos de documentos que
são necessários para o controlo e estabelecimento de procedimentos apropriados. A existência
de documentação ajuda a informar os funcionários de tudo aquilo que é necessário para atingir
os objetivos ambientais propostos e possibilita a avaliação do sistema e do desempenho
ambiental.
A natureza da documentação varia conforme a dimensão e complexidade da organização. De
qualquer das maneiras a organização deve manter organizada documentação sobre:
− A política ambiental, os objetivos e metas;
− Programa ambiental que possibilite atingir os objetivos e metas propostos;
− Os procedimentos ambientais;
− A demonstração de que os elementos do SGA estão implementados;
− As informações dos processos e os gráficos organizacionais, os procedimentos operacionais
e as normas internas, e os planos de emergência.
A documentação referente ao SGA deve estar articulada com outros tipos de documentação já
existentes. O acesso dos funcionários à documentação do SGA deve ser definido. Toda a
documentação deve ser legível, datada, facilmente identificável, organizada e conservada por
períodos de tempo definidos. Os documentos devem estar identificados relativamente à
organização, divisão, função, atividade e pessoa a que se referem. Os documentos devem ser
periodicamente revistos bem como aprovados pelos respectivos responsáveis. As versões
atualizadas relevantes devem estar disponíveis nos locais onde as operações relacionadas são
executadas e os documentos obsoletos devem ser eliminados.
e) Procedimentos
A implementação é conseguida através do estabelecimento e manutenção de procedimentos
operacionais e controles por forma a assegurar o cumprimento da política, objetivos e metas
ambientais propostos. A organização deve considerar e identificar as operações e atividades que
estão ou possam estar associadas com os aspectos ambientais identificados, de acordo com a
política, objetivos e metas ambientais estabelecidos quando do desenvolvimento dos
procedimentos.
As atividades podem estar agrupadas em três categorias:
− Atividades que previnam a poluição e a conservação de recursos em novos projetos, ou
alterações de processos, e ainda em novos produtos;
− Atividades de gestão diárias por forma a assegurar conformidade com os requisitos internos
e externos, e assegurar a sua eficiência:
− Atividades estratégicas de gestão por forma a antecipar e responder a alterações dos
requisitos ambientais.
f) Planos de emergência
Os planos de emergência devem ser estabelecidos por forma a que haja uma resposta
apropriada em caso de existência de acidentes inesperados. A organização deve definir
procedimentos a lidar com acidentes ambientais ou potenciais situações de emergência. Os
procedimentos de operação e controlo devem incluir considerações relativas a emissões
acidentais para a atmosfera, acidentais descarga para os leitos de água e solo e os efeitos
ambientais específicos a partir de descargas acidentais.
Os planos de emergência devem incluir:
− Uma organização e responsabilidades em caso de uma situação de emergência:
− Uma lista das pessoas chave;
Interpretação da ISO 14001:2004 Página 26 de 84
− Detalhes dos serviços de emergência;
− Planos de comunicação internos e externos;
− Ações tomadas em caso de vários tipos de emergências;
− Informação sobre materiais perigosos, incluindo materiais que causem potenciais impactes
ambientais e medidas a tomar em caso de eventuais descargas acidentais;
− Planos de treino e testes para averiguar a sua eficiência.
Princípio 4 – Medição e avaliação
Texto da Norma ISO 14004:2004
É recomendado que uma organização mensure, monitore e avalie seu desempenho ambiental.
a) Monitorização (Medição)
As medições, monitorizações e avaliações são atividades chave no SGA, pois asseguram que o
desempenho ambiental da organização está de acordo com o programa ambiental definido.
Deve existir um sistema montado que permita a monitorização do desempenho atual em
confronto com os objetivos e metas da organização. Naturalmente que isto envolve a
obrigatoriedade do cumprimento da legislação ambiental e regulamentação aplicável. Os
resultados devem ser analisados e utilizados para determinar as áreas de sucesso e identificar as
atividades que requerem ações corretivas e melhoramentos.
A organização deve estabelecer uma série de procedimentos por forma a monitorizar, numa base
regular, as características chave das suas operações e atividades que possam ter um impacto
significativo no ambiente. O equipamento de monitorização deve ser calibrado e mantido e os
registros deste processo devem ser guardados de acordo com os procedimentos da organização.
Devem ser estabelecidos indicadores ambientais que permitam averiguar se os objetivos e
metas ambientais da organização estão a ser cumpridos. A identificação de indicadores
ambientais apropriados para a organização deve ser um processo dinâmico. Tais indicadores
devem ser objetivos, verificáveis e reproduzíveis. Devem ser relevantes para as atividades da
organização, consistentes com a sua política ambiental, práticos, com baixos custos e
tecnicamente viáveis.
b) Identificação de não-conformidades e ações corretivas e preventivas
A organização deve estabelecer e manter procedimentos para definir as responsabilidades e
competências para lidar com situações de não-conformidade, e tomar ações por forma a mitigar
quaisquer impactes causados e por iniciar as ações corretivas e preventivas.
Qualquer ação corretiva ou preventiva tomada para eliminar as causas de não conformidade
deve ser apropriada para a amplitude dos problemas e comensurável com os impactes
ambientais encontrados. A organização deve implementar e guardar alterações nos
procedimentos resultantes das ações corretivas e preventivas.
c) Registros
Os registros são as evidências do dinamismo a que um SGA deve corresponder e devem incluir:
− A legislação ambiental e a regulamentação aplicável;
− Os aspectos ambientais e respectivos Impactos;
− As atividades de formação ambiental;
− As atividades de inspeção, calibração e manutenção;
− Os registros da monitorização;
− As não conformidades, os acidentes, as queixas;
− Informação relativa aos produtos, fornecedores e clientes;
− As revisões e auditorias ao SGA.
Os registros ambientais devem ser legíveis, facilmente identificados com a atividade, produto
ou serviço envolvido. Devem ser guardados e mantidos de forma que se mantenham protegidos
contra possíveis danos. Os seus tempos de retenção devem ser determinados e cumpridos.
d) Auditorias ao SGA
A organização deve estabelecer e manter programas e procedimentos que permitam a auditoria
regular do SGA, por forma a determinar se o SGA está conforme os planejamentos operados
segundo as normas 150 14001, se tem sido corretamente implementado e mantido. O programa
de auditorias, incluindo a sua calendarização, deve ser baseado na importância ambiental da
atividade relativa e nos resultados de auditorias anteriores. Estas auditorias distinguem-se pois
das auditorias ambientais que se preocupam com o cumprimentos da legislação e
regulamentação aplicável. Neste caso, as auditorias ao SGA centram-se exclusivamente no SGA.
Interpretação da ISO 14001:2004 Página 27 de 84
Princípio 5 – Análise crítica e melhoria
Texto da Norma ISO 14004:2004
É recomendado que uma organização analise criticamente e aperfeiçoe continuamente seu
sistema de gestão ambiental, com o objetivo de aprimorar seu desempenho ambiental global.
Com isto em mente, o SGA é melhor visto como uma estrutura organizacional, que se recomenda
ser continuamente monitorada e periodicamente analisada criticamente, a fim de que se possam
dirigir da organização, em resposta à mudança de fatores internos e externos. É recomendado
que cada pessoa da organização aceite sua responsabilidade quanto a melhorias ambientais.
A ORGANIZAÇÃO deve analisar e melhorar de uma forma contínua o seu SGA, com o objetivo de
melhorar o seu desempenho ambiental global. A revisão deve ser devidamente documentada. A
gestão da organização deve, com intervalos regulares considerados apropriados, conduzir uma
revisão ao SGA por forma a garantir a sua eficiência. A revisão do SGA deve ser suficientemente
alargada de modo a englobar as atividades, produtos e serviços da organização, seus impactes
no desempenho financeiro e posição competitiva.
O objetivo desta revisão deve ser compreensivo e nem todos os elementos do SGA poderão
necessitar de ser revistas ao mesmo tempo. A revisão das políticas, objetivos, metas e
procedimentos ambientais devem ser conduzidos pelo nível organizativo que os definiu. As
revisões devem incluir os resultados das auditorias, a extensão dos objetivos e metas que foram
conseguidos e preocupações de parceiros interessados.
O conceito de melhoria contínua está imbuído ao SGA. E é atingido pela regular avaliação do
desempenho ambiental do SGA em confrontação com as políticas, objetivos e metas ambientais
traçadas com o objetivo de serem identificadas oportunidades de melhoramentos.
O processo de melhoramento contínuo deve:
− Identificar áreas de oportunidade para melhoramentos no SGA que levarão a um melhor
desempenho ambiental;
− Determinar as causas das não-conformidades ou deficiências do sistema;
− Desenvolver e implementar um plano com ações corretivas e preventivas por forma por
cobro a essas não-conformidades;
− Registrar alterações nos procedimentos resultantes do processo de melhoria;
− Estabelecer comparações com os objetivos e metas ambientais.
− A revisão deve advertir para possíveis necessidades para alterações na política, objetivos e
outros elementos do SGA, como resultado da auditoria ao sistema com o compromisso de se
obter uma melhoria contínua.
Interpretação da ISO 14001:2004 Página 28 de 84
MELHORIA CONTÍNUA E O CICLO PDCA
A gestão ambiental permite o reconhecimento das interações dos produtos e serviços da
organização com o ambiente, bem como o desenvolvimento e melhoria contínua do seu
desempenho ambiental, sendo que a ISO 14001 rege-se pelos princípios de melhoria contínua
com base em quatro pilares: Planear, Executar, Verificar e Atuar.
Buscando fazer uma comparação entre os princípios acima apresentados e uma das ferramentas
introduzida por Deming, conhecida como Círculo de Deming ou Ciclo PDCA, pode se observar
algumas semelhanças claras.
O segundo princípio do modelo de sistema de gestão ambiental proposto pela ISO corresponde
ao P (Plan) do ciclo PDCA, ou seja, a fase de planejar, ou formular um plano, visando o objetivo a
ser alcançado.
O terceiro princípio D (Do), a fase de execução, desenvolvendo capacidade e mecanismos
necessários à realização dos objetivos.
Já os quatro princípios correspondem por analogia, ao C (Check), fase esta onde a organização
mede e avalia seu desempenho, ou seja, checa.
O quinto e último princípio do modelo de sistema de gestão ambiental da ISO, corresponde ao A
(Action) do ciclo onde ocorre a ação propriamente dita, visando uma melhoria contínua.
A comparação realizada anteriormente mostra de forma clara a relação existente entre os
princípios da qualidade e qualidade ambiental. Mostrando ainda que trabalhar sob a ótica do
sistema de gestão ambiental é antes de mais nada trabalhar sob a ótica de gestão da qualidade.
4.2 Política Ambiental
4.3 Planejamento
4.4 Implementação e
Operação
4.5 Verificação
e Ação Corretiva
4.6 Análise Crítica pela
Administração
Interpretação da ISO 14001:2004 Página 29 de 84
A ABORDAGEM POR PROCESSO
Como qualquer auditor, consultor ou gestor sabe, este conceito relativamente simples é difícil
de definir por palavras ou imagens e ainda mais difícil de implementar de uma forma coerente
numa Organização.
No entanto, a identificação de tais processos internos e as interações entre eles e o mundo
exterior é fundamental para conceber e implementar um sistema de gestão eficiente e eficaz,
que seja da qualidade ou ambiental.
As Organizações devem deixar de pensar nas suas operações como um "fluxo linear" desde a
recepção dos requisitos dos Clientes até a entrega dos produtos aos Clientes, e encarem as
atividades relacionadas com o meio ambiente como um ciclo permanente de melhorias
contínuas.
Os Processos possuem tipicamente as seguintes características:
Fornecem atividades de valor agregado que utilizam recursos para converter entradas em
saídas;
Têm fontes de entradas – internas ou externas, clientes, fornecedor, etc;
Têm saídas que podem ser produtos, serviços, informação – tangível ou intangível – que
podem ir para um ou mais clientes internos ou externos;
Convém que todos os processos tenham um responsável;
Todos os componentes (entradas, atividades de processo, recursos e saídas) devem ser
controlados;
Todos os processos em uma organização necessitam ser controlados desta maneira.
Os processos nas organizações podem variar baseados na natureza dos seus negócios,
complexidade de produtos, processos, etc.
Os processos podem ser agrupados em:
Processos de realização;
Processos de suporte;
Processos do SGA;
De uma maneira simples, uma organização existe para transformar “inputs (entradas)” (por
exemplo, materiais, energia, informação, etc.) em “outputs (saídas)” (produtos, serviços) que são
fornecidos aos seus clientes, e ao fazê-lo, acrescentam valor.
Texto da Norma ISO 14004:2004
4.1.1 O modelo do sistema de gestão ambiental
Ajuda prática – O modelo do sistema de gestão ambiental
O PDCA é um processo contínuo iterativo e que possibilita a uma organização estabelecer,
implementar e manter sua política ambiental (ver 4.2), com base na liderança e
comprometimento da alta administração em relação ao sistema de gestão ambiental (ver 4.1.2).
Após a organização ter avaliado sua posição atual em relação ao meio ambiente (ver 4.1.4), os
passos deste processo contínuo são:
a) Planejar: estabelecer um processo contínuo de planejamento (ver 4.3) que possibilite a uma
organização:
1)identificar os aspectos ambientais e os impactos ambientais associados (ver 4.3.1);
2)identificar e monitorar os requisitos legais aplicáveis e outros requisitos subscritos pela
organização, e estabelecer critérios internos de desempenho, onde apropriado (ver 4.3.2);
3) estabelecer objetivos e metas ambientais e formular programa (s) para atingi-los (ver
4.3.3.1 e 4.3.3.2);
4)desenvolver e utilizar indicadores de desempenho (ver 4.3.3.3).
b) Executar: implementar e operar o sistema de gestão ambiental (ver 4.4):
1)criar estruturas de gestão, atribuir funções e responsabilidades com suficiente autoridade;
2)prover recursos adequados (ver 4.4.1);
3) treinar o pessoal que trabalha para a organização ou em seu nome e assegurar sua
conscientização e competência (ver 4.4.2);
4) estabelecer processos para comunicação interna e externa (ver 4.4.3);
5) estabelecer e manter a documentação (ver 4.4.4);
6) estabelecer e implementar controle (s) de documento (s) (ver 4.4.5);
7) estabelecer e manter controle (s) operacional (is) (ver 4.4.6);
8) assegurar prontidão e atendimento a emergências (ver 4.4.7).
Interpretação da ISO 14001:2004 Página 30 de 84
c) Verificar: avaliar os processos do sistema de gestão ambiental (ver 4.5):
1) conduzir monitoramento e medição de forma contínua (ver 4.5.1);2) avaliar a situação de
atendimento dos requisitos legais e outros (ver 4.5.2);
3) identificar não-conformidades e tomar ações corretivas e preventivas (ver 4.5.3);
4) gerenciar os registros (ver 4.5.4);
5) conduzir auditorias internas periódicas (ver 4.5.5).
d) Agir: analisar e empreender ações para melhorar o sistema de gestão ambiental (ver 4.6):
conduzir análises do sistema de gestão ambiental pela administração em intervalos apropriados
(ver 4.6.1); identificar áreas para melhoria (ver 4.6.2).
Este processo contínuo possibilita à organização melhorar continuamente seu sistema de gestão
ambiental e seu desempenho ambiental global.
É importante que uma organização adote uma abordagem do tipo PLAN-DO-CHECK-ACT (PDCA)
(planejar – executar – verificar – agir) aos seus processos, e que inclua o retorno obtido do
controle de processos, avaliações de produto e indicadores da satisfação de clientes, a fim de
determinar a necessidade de um maior ou menor controle.
Ao nível de estratégia dá-se o seguinte exemplo:
Plan (planejar)
Estabelecer os objetivos e os processos necessários para apresentar resultados de acordo com:
os requisitos das partes interessadas, os requisitos legais, as políticas internas da organização e
a definição de objetivos e metas ambientais.
Necessitando para tanto:
Fazer uma Avaliação Ambiental Inicial: Para compreender a posição ambiental atual da
empresa, as exigências legais impostas a ela, os aspectos ambientais relevantes, suas
práticas e posturas, além de identificar os seus pontos fortes e fracos;
Obter uma visão clara do futuro próximo: compreender os prováveis aspectos e impactos
ambientais futuros e suas implicações na empresa, a fim de identificar os riscos e as
oportunidades ambientais; e
Estabelecer uma Política Ambiental: definir como a empresa irá reagir às questões
ambientais atuais e futuras, se antecipado a elas.
Do (executar)
É a faze de implementar os processos, ou seja, é a fase de execução das ações definidas
anteriormente, onde são feitas a educação e o treinamento para capacitar as pessoas a
realizarem as atividades, desenvolvendo capacidades e mecanismos necessários à realização dos
objetivos.
Check (verificar)
Monitorar e medir os processos e produtos em comparação com padrões ou requisitos legais,
políticas, objetivos e reportar os resultados;
Também se realiza a avaliação da eficácia da sua implantação e maturidade do Sistema de
Gestão Ambiental.
Estes resultados são analisados junto à direção da empresa, que promove uma análise crítica e
determina mudanças de rumo, quando necessário, e/ou melhorias e ajustes ao sistema.
Act (agir)
Empreender ações para melhorar continuamente o desempenho do processo;
Esta faze busca a melhoria contínua dos processos e serviços da organização no que tange a sua
relação com o meio ambiente e, conseqüentemente, o desempenho ambiental da empresa;
Envolve a busca de soluções para eliminar o problema, a escolha da solução mais efetiva e o
desenvolvimento desta solução, com a devida normalização, quando invade o ciclo P do ciclo
PDCA;
Quaisquer deficiências ou imprevistos identificados devem ser corrigidos, o plano de ação deve
ser revisado e adaptado às novas circunstâncias, e os procedimentos são melhorados ou
reorientados, se necessário.
Se não há problema, quando se atinge um objetivo além do que tinha sido planejado ou se
igualam metas e resultados, novas metas mais audaciosas devem ser estabelecidas e o ciclo
recomeçado.
Interpretação da ISO 14001:2004 Página 31 de 84
A cada volta do ciclo PDCA sempre acontece um progresso, mesmo pequeno, por isso nunca se
volta ao mesmo ponto. Cada mudança dá início a um novo ciclo que tem como base o ciclo
anterior, caracterizando desta forma a espiral da Melhoria Contínua.
A seguir é fornecida uma orientação sobre como uma organização pode optar por contemplar
estes requisitos, embora se deva salientar se tratar apenas de exemplos, e não o único caminho
para cumprir os requisitos:
FIGURA X – CICLO PDCA
ACT
IMPLEMENTAÇÃO
DE MELHORIA
(f)*
PLAN
SEQÜÊNCIA DE
IDENTIFICAÇÃO DE
CRITÉRIOS E
MÉTODOS DE
INTERAÇÃO
(a, b, c)*
CHECK
CÁLCULO
E
ANÁLISE
(e)*
DO
IMPLEMENTAÇÃO
DO
PLANO
(d)*
* Veja o texto abaixo para obter mais detalhes
FONTE: APCER, 2003
a) Identificar os processos necessários para o Sistema de Gestão Ambiental e para a sua
aplicação em toda a organização:
Atribuir “nomes” aos processos, incluindo os que serão obtidos no exterior;
Definir entradas e saídas para cada processo;
Definir clientes dos processos e respectivos requisitos (incluindo necessidades e
expectativas);
Definir quem é o gestor ou “dono” do processo.
b) Determinar a seqüência e interação destes processos:
Apresentar a rede de processos;
Definir interfaces entre processos;
Documentar os processos conforme necessário.
Interpretação da ISO 14001:2004 Página 32 de 84
A representação esquemática a seguir dá uma idéia de como uma organização pode utilizar
fluxos ou mapas de processo, de modo a compreender melhor a interação dos vários processos
que compõem o SGQ.
FIGURA X – MAPA DE PROCESSO
Processo
input
recursos
controle
output
Processo A
input A
recursos B
controle A
output A / controle B
Processo B
output C
Processo C
output B
input C
controle C
input B
FONTE: APCER, 2003
TABELA X – MODELO DE PROCESSO
PROCEDIMENTO *
(“Forma especificada de executar uma
atividade ou um processo” - pode ser
documentado ou não)
PRODUTO
(“Resultado de um processo”)
MONITORAMENTO E
MEDIÇÃO DE OPORTUNIDADES
(Antes, durante e depois do processo)
SaídaEntrada
PROCESSO
(“Conjunto de atividades
inter-relacionadas ou
interação de processos)
EFICÁCIA
DO PROCESSO =
Habilidade para alcançaros
resultados desejados
(Foco na ISO 9001:2000)
Requisitos
Especificados
(Inclui Recursos)
*Nota : Esta é a definição de procedimento dada pela ISO 9000:2000.
Este não é necessariamente um dos 6 procedimentos documentados
exigidos pela ISO 9001:2000
Requisitos
Satisfeitos
EFICIÊNCIA
DO PROCESSO =
Resultadoalcançado
X
Recursos usados
(Foco na ISO 9004:2000)
FONTE: ISO/TC 176/SC2 N524R Process
Interpretação da ISO 14001:2004 Página 33 de 84
c) Determinar critérios e métodos necessários para assegurar que, tanto a
operacionalidade quanto os controles destes processos são eficazes:
Especificar características de resultados pretendidos e não pretendidos;
Especificar métodos de medição, monitoramento e análise de critérios (Programa Ambiental);
Considerar questões econômicas (custo, tempo, perda,…);
Definir métodos para coleta de dados.
d) Assegurar a disponibilidade de recursos e informação necessários para suportar o
desempenho e monitoramento desses processos:
Alocar recursos para cada processo;
Estabelecer canais de comunicação;
Disponibilizar informação externa e interna;
Obter retorno (resposta);
Coletar dados;
Manter registros.
e) Medir, monitorar e analisar estes processos:
Medir processos e monitorar o seu desempenho (capacidade do processo, indicadores de
desempenho, satisfação de clientes,...);
Analisar informação recolhida (técnicas de estatística);
Avaliar resultados da análise.
f) Implementar ações necessárias para atingir resultados planejados e a melhoria contínua
destes processos:
Implementar ações corretivas e preventivas (melhoria do processo);
Verificar implementação e eficácia das ações corretivas e preventivas;
Promover melhorias.
Interpretando
a
ISO 14001:2004
MELHORIA CONTÍNUA
4.2 POLÍTICA AMBIENTAL
4.5 VERIFICAÇÃO E
AÇÕES CORRETIVAS
4.5.1 Monitoramento e medição
4.5.2 Avaliação do Atendimento
a Requisitos Legais e Outros
4.5.3 Não-conformidade,
ação corretiva
e ação preventiva
4.5.4 Controle de registros
4.5.5 Auditoria interna
4.6 ANÁLISE CRÍTICA PELA
ADMINISTRAÇÃO
4.3 PLANEJAMENTO
4.3.1 Aspectos ambientais
4.3.2 Requisitos legais e outros
4.3.3 Objetivos, metas e programa
4.4 IMPLEMENTAÇÃO E OPERAÇÃO
4.4.1 Recursos, funções,
responsabilidades e autoridades.
4.4.2 Competência, treinamento e
conscientização.
4.4.3 Comunicação.
4.4.4 Documentação
4.4.5 Controle de Documentos.
4.4.6 Controle operacional
4.4.7 Preparação e
resposta a emergências.
Interpretação da ISO 14001:2004 Página 33 de 84
O SISTEMA DE GESTÃO AMBIENTAL BASEADO NA ISO 14001:2004
Apesar dos textos das normas estarem disponíveis, este documento não substitui o texto
normativo, sendo necessário que o leitor consulte a ISO 14001:2004, a ISO 14004:2004 quando
utilizar este documento.
O texto das normas é apresentado entre bordas conforme a seguir:
ISO 14001:2004 Borda Azul sem Sombreamento
1. Cada item e subitem da ISO 14001:2004 são abordados em ordem seqüencial.
2. Para efeitos deste Manual é utilizada a seguinte terminologia:
a) Item normativo (ex: 4.4 – “Implementação e operação”)
b) Subitem normativo (ex: 4.4.2 – “Competência, treinamento e conscientização”)
c) Requisito normativo (ex: “… deve conduzir auditorias internas em intervalos … ” ou “Deve
ser planeado um programa de auditoria … ”)
3. O texto apresenta as seguintes marcações:
a) Os requisitos desta norma foram identificados marcando as frases Deve ou Devem com
amarelo significando obrigação em atender ao requisito;
b) Os procedimentos documentados exigidos pela norma foram identificados marcando a
frase Procedimento com verde;
c) Os registros exigidos pela norma foram identificados marcando a frase Registro com
vermelho;
d) As frases quando, quando necessário ou quando apropriado estão marcados em azul por
significar, na maioria das vezes, um requisito somente se adotado, porém, é recomendável
justificar a não adoção do requisito;
4. Mudanças entre a ISO 14001:1996 e ISO 14001:2004
Este documento procura diferenciar os requisitos da ISO 14001:2004 face aos da anterior
versão. Para tanto se codificou os requisitos em função da sua natureza, recorrendo-se à
utilização de cores da seguinte forma:
a) Requisitos Novos ou modificados: Verde
b) Requisitos Reescritos, mas cujo conteúdo não foi alterado: Laranja
c) Requisitos inalterados: Preto
ISO 14004:2004 Borda Azul e Sombreamento Amarelo
A interpretação de cada seção, item e subitem da norma, estão divididos em cinco aspectos
fundamentais:
Objetivo: Qual o propósito de cada conjunto de requisitos agrupados no item ou subitem; o que a
norma pretende alcançar;
Principais mudanças na versão 2004: Quais as mudanças e suas implicações nos sistemas já
implantados;
Interpretação: Qual a interpretação sobre cada conjunto de requisitos, suportada em exemplos,
quando aplicável;
Gerando Evidência: Necessária e/ou requerida para evidenciar a implementação, realização e
controle das atividades/processos associados ao cumprimento do conjunto de requisitos em
análise; o que seria importante para demonstrar o comprometimento com os requisitos;
Não Conformidades mais freqüentes: Ressalva às situações que, de acordo com experiência, são
constatadas com mais freqüência em auditoria.
Interpretação da ISO 14001:2004 Página 34 de 84
0 INTRODUÇÃO
Texto da Norma ISO 14001:2004
Organizações de todos os tipos estão cada vez mais preocupadas com o atingimento e
demonstração de um desempenho ambiental correto, por meio do controle dos impactos de suas
atividades, produtos e serviços sobre o meio ambiente, coerente com sua política e seus
objetivos ambientais. Agem assim dentro de um contexto de legislação cada vez mais exigente,
do desenvolvimento de políticas econômicas, e outras medidas visando adotar a proteção ao
meio ambiente e de uma crescente preocupação expressa pelas partes interessadas em relação
às questões ambientais e ao desenvolvimento sustentável.
Muitas organizações têm efetuado “análises” ou “auditorias” ambientais para avaliar seu
desempenho ambiental. Por si só, entretanto, tais “análises” ou “auditorias” podem não ser
suficientes para proporcionar a uma organização a garantia de que seu desempenho não apenas
atenda, mas continuará a atender, aos requisitos legais e aos de sua política. Para que sejam
eficazes, é necessário que esses procedimentos sejam conduzidos dentro de um sistema de
gestão estruturado que seja integrado na organização.
As normas de gestão ambiental têm por objetivo prover às organizações de elementos de um
sistema de gestão ambiental (SGA) eficaz, que possam ser integrados a outros requisitos da
gestão, e auxiliá-las a alcançar seus objetivos ambientais e econômicos. Não se pretende que
estas Normas, tais como outras Normas, sejam utilizadas para criar barreiras comerciais não-
tarifárias, nem para ampliar ou alterar as obrigações legais de uma organização.
Esta Norma especifica os requisitos para que um sistema de gestão ambiental capacite uma
organização a desenvolver e implementar política e objetivos que elevem em consideração
requisitos legais e informações sobre aspectos ambientais significativos. Pretende-se que se
aplique a todos os tipos e portes de organizações e para adequar-se a diferentes condições
geográficas, culturais e sociais. A base desta abordagem é representada na figura 1. O sucesso
do sistema depende do comprometimento de todos os níveis e funções, especialmente da alta
administração.
Um sistema deste tipo permite a uma organização desenvolver uma política ambiental,
estabelecer objetivos e processos para atingir os comprometimentos da política, conforme
necessário, para melhorar seu desempenho e demonstrar a conformidade do sistema com os
requisitos desta Norma. A finalidade geral desta Norma é equilibrar a proteção ambiental e a
prevenção de poluição com as necessidades socioeconômicas. deve-se notar que muitos desses
requisitos podem ser abordados simultaneamente ou reapreciados a qualquer momento.
A segunda edição desta Norma busca o esclarecimento da primeira edição, para auxiliar o seu
entendimento, e leva em consideração as disposições da ABNT NBR ISO 9001:2000, de maneira a
aumentar a compatibilidade entre as duas normas, para benefício da comunidade de usuários.
Para facilidade de uso, as subseções da seção 4 desta norma e do anexo A possuem números
correlatados. Por exemplo, a 4.3.3 e A.3.3 tratam de objetivos, metas e programa(s), e 4.5.5 e
A.5.5 tratam de auditoria interna. Adicionalmente, o Anexo B identifica as correspondências
técnicas abrangentes entre a ABNT NBR ISO 1004:2004 e a ABNT NBR ISO 9001:2000 e vice versa.
Existe uma importante distinção desta norma, a qual descreve os requisitos para
certificação/registro e/ou autodeclaração do sistema de gestão ambiental de uma organização,
e uma diretriz não-certificável destinada a prover orientação genérica a uma organização para
estabelecer, implementar ou melhorar seu sistema de gestão ambiental. A gestão ambiental
abrange uma vasta gama de questões, inclusive aquelas com implicações estratégicas e
competitivas. A demonstração de um processo bem-sucedido de implementação desta Norma
pode ser utilizada por uma organização para assegurar às partes interessadas que ela possui um
sistema de gestão ambiental apropriado em funcionamento.
Orientação sobre técnicas de apoio à gestão ambiental faz parte de outras Normas, em especial
àquelas sobre gestão ambiental em documentos estabelecidos pela ISO/TC 207. Qualquer
referência a outras Normas tem caráter meramente informativo.
Interpretação da ISO 14001:2004 Página 35 de 84
Melhoria Contínua
Análise pela
Administração
Política
Planejamento
Implementação e
operaçãoVerificação e
ação corretiva
NOTA: Esta Norma é baseada na metodologia conhecida como Plan-Do-Check-Act (PDCA) / Planejar-Executar-
Verificar-Agir (PDCA). O PDCA pode ser brevemente descrito da seguinte forma:
− Planejar: estabelecer os objetivos e processos necessários para atingir os resultados em concordância com a
política ambiental da organização.
− Executar: implementar os processos.
− Verificar: monitorar e medir os processos em conformidade com a política ambiental, objetivos, metas,
requisitos legais e outros, e relatar os resultados.
− Agir: Agir para continuamente melhorar o desempenho do sistema de gestão ambiental.
Muitas organizações gerenciam suas operações através da aplicação de um sistema de processo e suas interações, o
que podem ser referenciadas como “abordagem do processo”. A ABNT ISO 9001:2000 promove a utilização da
abordagem do processo. Como o PDCA pode ser aplicado a todos os processos, as duas metodologias são
consideradas compatíveis.
Esta Norma contém apenas aqueles requisitos que podem ser objetivamente auditados. É
recomendado àquelas organizações que necessitem de orientação adicional que utilizem como
referência a ABNT NBR ISO 14004.
Esta Norma não estabelece requisitos absolutos para o desempenho ambiental, além dos
comprometimentos, expressos na política ambiental, de estar em conformidade com requisitos
legais e outros requisitos aos quais a organização tenha subscrito, com a prevenção da poluição
e com a melhoria contínua. Assim, duas organizações que desenvolvem atividades similares, mas
que tenham níveis de desempenho ambiental, podem ambas estar em conformidade com seus
requisitos.
A adoção e a implementação, de forma sistemática, de um conjunto de técnicas de gestão
ambiental podem contribuir para a obtenção de resultados ótimos para todas as partes
interessadas. Contudo, a adoção desta Norma por si só não garantirá resultados ambientais
ótimos. Para atingir os objetivos ambientais e a política ambiental, pretende-se que os
sistemas de gestão estimulem as organizações a considerarem a implementação das melhores
técnicas disponíveis, onde apropriado e economicamente viável, e que a relação custo-benefício
de tais técnicas seja levada integralmente em consideração.
O nível de detalhe e complexidade do sistema de gestão ambiental, a extensão de sua
documentação e dos recursos dedicados a ele irão depender de alguns fatores, tais como: o
escopo do sistema, o porte da organização e a natureza de sua atividades, produtos e serviços.
Este pode ser, em particular, o caso das pequenas e médias empresas.
Interpretação da ISO 14001:2004 Página 36 de 84
Esta Norma não inclui requisitos específicos de outros sistemas de gestão, tais como aqueles
para qualidade, saúde ocupacional e segurança, finanças, gerenciamento de risco, muito embora
seus elementos possam ser alinhados ou integrados com os outros sistemas de gestão. è
possível a uma organização adaptar seu(s) sistema(s) de gestão existente(s) de maneira a
estabelecer um sistema de gestão ambiental que esteja em conformidade com os requisitos
desta Norma. Deve-se notar, contudo, que a aplicação de vários elementos do sistema de gestão
ambiental podem diferir, dependendo dos objetivos pretendidos e das partes interessadas
envolvidas.
Objetivo
A intenção desta seção é a de esclarecer que a Norma ISO 14001:2004 possibilita a organização
opte pela autodeclaração, não precisando necessariamente da certificação para demonstrar o
atendimento aos requisitos da norma.
Principais mudanças na versão 2004
Indica a metodologia PDCA para compatibilidade entre as normas ISO 9001:2000 e a ISO
14001:2004 ver exemplo na figura 5.
FIGURA 5 – MODELO DE UM SISTEMA DE GESTÃO AMBIENTAL BASEADO EM PROCESSO
FONTE: ADAPTADO DA ISO 9000:2000
Interpretação
A Norma ISO 14001:2004 especifica um modelo de sistema de gestão ambiental (SGA) que pode
ser aplicado a qualquer tipo de empresa, independentemente da sua dimensão.
É baseado num modelo de implementação PDCA (PLANEJAR-EXECUTAR-VERIFICAR-AGIR) e segue
uma seqüência simples e lógica.
É importante que uma organização adote uma abordagem do tipo PDCA aos seus processos, e
que inclua o retorno obtido do controle de processos, avaliações de produto e indicadores da
Interpretação da ISO 14001:2004 Página 37 de 84
satisfação das partes interessadas, a fim de determinar a necessidade de um maior ou menor
controle.
PLAN (planejar): Estabelecer os objetivos e os processos necessários para apresentar resultados
de acordo com: os requisitos das partes interessadas, os requisitos legais, as políticas internas
da organização e a definição de objetivos e metas ambientais.
Necessitando para tanto:
Fazer uma Avaliação Ambiental Inicial: Para compreender a posição ambiental atual da
empresa, as exigências legais impostas a ela, os aspectos ambientais relevantes, suas
práticas e posturas, além de identificar os seus pontos fortes e fracos;
Obter uma visão clara do futuro próximo: Compreender os prováveis aspectos e impactos
ambientais futuros e suas implicações na empresa, a fim de identificar os riscos e as
oportunidades ambientais; e
Estabelecer uma Política Ambiental: Definir como a empresa irá reagir às questões
ambientais atuais e futuras, se antecipado a elas.
DO (executar): É a fase de implementar os processos, ou seja, é a fase de execução das ações
definidas anteriormente, onde são feitas a educação e o treinamento para capacitar as pessoas a
realizarem as atividades, desenvolvendo capacidades e mecanismos necessários à realização dos
objetivos.
Todos os impactos significativos devem agora ser gerenciados. Para isso, existem as opções:
podem ser agendados como projetos de melhoria e submetidos a Objetivos, Metas e Programas
de Gestão, ou podem ser controlados por procedimentos de Controle Operacional (em
determinadas situações, podem e devem ser aplicados ambos os mecanismos).
Adicionalmente, as questões identificadas como potenciais situações de emergência
necessitarão de ser geridas por processos de prevenção de emergências e, possivelmente, por
planos e procedimentos de emergência.
CHECK (verificar): Monitorar e medir os processos e produtos em comparação com padrões ou
requisitos legais, políticas, objetivos e reportar os resultados;
Também se realiza a avaliação da eficácia da sua implantação e da maturidade do Sistema de
Gestão Ambiental.
Estes resultados são analisados junto à direção da empresa, que promove uma análise crítica e
determina mudanças de rumo, quando necessário, e/ou melhorias e ajustes ao sistema.
Inclui procedimentos de medição, monitoramento e calibração, para garantir que os controles e
os programas estão a funcionar, como se pretende.
Inclui ainda a verificação do cumprimento da legislação.
Um outro processo da verificação é a Auditoria Interna do SGA onde o sistema desenvolvido é
auditado em pormenor, para verificar se está implementando o que se pretende e se tal
continua adequado à "realidade ambiental" da organização.
ACT (agir): Empreender ações para melhorar continuamente o desempenho do processo;
Consiste na busca da melhoria contínua dos processos e serviços da organização no que tange a
sua relação com o meio ambiente e, conseqüentemente, o desempenho ambiental da empresa;
Envolve a busca de soluções para eliminar o problema, a escolha da solução mais efetiva e o
desenvolvimento desta solução, com a devida normalização, quando invade o ciclo P do PDCA;
Quaisquer deficiências ou imprevistos identificados devem ser corrigidos, o plano de ação deve
ser revisado e adaptado às novas circunstâncias, e os procedimentos são melhorados ou
reorientados, se necessário.
É acima de tudo uma revisão do processo, pois todo o sistema é revisto, para se garantir que
está funcionando, fornecendo os resultados pretendidos e que continua atualizado e adequado
à empresa.
Se não há problema, quando se atinge um objetivo além do que tinha sido planejado ou se
igualam metas e resultados, novas metas mais audaciosas devem ser estabelecidas e o ciclo é
recomeçado voltando ao ciclo P do PDCA.
A cada volta do ciclo PDCA sempre acontece um progresso, mesmo que pequeno por isso nunca
se volta ao mesmo ponto. Cada mudança dá início a um novo ciclo que tem como base o ciclo
anterior, caracterizando desta forma a espiral da Melhoria Contínua.
Estes elementos, quando adequadamente aplicados, irão dar origem a uma boa gestão
ambiental (SGS,2003; APCER, 2001).
Interpretação da ISO 14001:2004 Página 38 de 84
FIGURA 6 - FLUXOGRAMA DO PROCESSO PARA A ISO 14001
PROCESSOS DE APOIO AO SGA
4.4.1 ESTRUTURA E RESPONSABILIDADES
4.4.2 COMPETÊNCIA, FUNÇÕES, RESPONSABILIDADES E AUTORIDADES
4.4.3 COMUNICAÇÃO
4.4.5 CONTROLE DE DOCUMENTOS
4.5.2 AVALIAÇÃO DO ATENDIMENTO A REQUISITOS LEGAIS E OUTROS
4.5.3 NÃO CONFORMIDADE, AÇÕES CORRETIVA E PREVENTIVA
4.5.4 CONTROLE DE REGISTROS
FONTE: ADAPTADO DE SGS, 2003
Monitoramento e Medição
4.5.1
Auditoria Interna
4.5.5
VERIFICARAGIR
MELHORIA GESTÃO DA
EMERGÊNCIA
CONTROLE
Objetivos,
Metas e Programas
4.3.3
Planos de
Emergência
4.4.7
Procedimentos
de Controle
Operacional
4.4.6
EXECUTARPLANEJAR
Identificar
Requisitos Legais e
Outros requisitos
4.3.2
Identificar os Aspectos e
Impactos ambientais
4.3.1
Avaliar a significância
dos impactos
4.3.1
Política
4.2
Análise crítica
pela Administração
4.6
Interpretação da ISO 14001:2004 Página 39 de 84
Também indica esta metodologia (PDCA) para compatibilidade entre as normas ISO 9001:2000 e
a ISO 14001:2004.
PDCA Para uso no Dia-a-Dia
Sonhar nos leva a pensar em nossos objetivos e isso nos leva a ação para realizá-los... mas nem
sempre é tão fácil assim! Que tal criar um ciclo positivo para você, capaz de gerar melhorias na sua
vida e te aproximar cada vez mais dos resultados que você busca?
Pense diferente! Pense com Qualidade!
Este Ciclo Positivo têm o nome de PDCA e a seguir o apresentamos para uso no seu dia-a-dia
tanto no trabalho quanto em casa!
PLAN (PLANEJAR), ou seja, PENSAR
1. Identifique sua atual situação e aonde quer chegar;
2. Defina seus objetivos e prioridades;
3. Estabeleça suas metas e prazos para alcançá-los;
4. Defina quais serão os indicadores, ou melhor, como você irá medir seus avanços e
conquistas (esses indicadores são fundamentais para sua jornada);
5. Planeje (ou melhor, Pense) as ações para realizar suas metas e objetivo;
6. Coloque tudo por escrito, para facilitar sua visualização;
7. Aprenda se necessário, e ensine / treine / comunique as pessoas envolvidas;
Este será seu Plano de Ação para alcançar o que deseja (metas e objetivos, inclusive os indicadores).
DO (EXECUTAR), ou seja, DESENVOLVA
1. Coloque em prática seu Plano de Ação;
2. Proceda conforme o planejado;
3. Cumpra cada meta de sua jornada;
4. Registre as informações para que você possa medir seus avanços;
5. Gerencie seu tempo com foco nas suas metas e objetivo;
6. Seja pró-ativo;
CHECK (VERIFICAR), ou seja, CONFERIR
O segredo do PDCA esta aqui!
1. Verifique se as metas planejadas estão sendo cumpridas, através dos seus indicadores.
(Lembre-se: sem informações confiáveis, não é possível prosseguir);
2. Analise os pontos fortes de suas ações e as suas oportunidades de melhorias;
3. Caso não tenha obtido os resultados esperados, identifique as causas reais que geraram
isso;
4. Sempre se lembre que o foco não é em problemas, é sim em soluções!
Aplique esta etapa periodicamente!
ACT (AGIR), ou seja, APERFEIÇOAR
1. Com as informações medidas e analisadas. Se não há problema, quando se atinge um
objetivo além do que tinha sido planejado ou se igualam metas e resultados, novas metas
mais audaciosas devem ser estabelecidas e o ciclo recomeçado. Aperfeiçoe o que já era
bom e incorpore as melhorias ao seu Plano de Ação.
2. Caso contrário, crie ações de melhorias capazes de resolver e, conseqüentemente,
prevenir as causas dos problemas, para que eles não voltem a ocorrer;
3. Quaisquer deficiências ou imprevistos identificados devem ser corrigidos, o plano de
ação deve ser revisado e adaptado às novas circunstâncias, e os procedimentos são
melhorados ou reorientados, se necessário. Coloque as ações de melhoria em prática!
Esta fase envolve a busca de soluções para eliminar o problema, a escolha da solução mais efetiva e
o desenvolvimento desta solução, com a devida normalização, quando invade o ciclo P do ciclo
PDCA;
E volte novamente ao começo do ciclo!
A cada volta do ciclo PDCA sempre acontece um progresso, mesmo pequeno, por isso nunca se
volta ao mesmo ponto. Cada mudança dá início a um novo ciclo que tem como base o ciclo
anterior, caracterizando desta forma a espiral da Melhoria Contínua.
Interpretação da ISO 14001:2004 Página 40 de 84
1 OBJETIVO E CAMPO DE APLICAÇÃO
Texto da Norma ISO 14001:2004
Esta Norma especifica os requisitos relativos a um sistema de gestão ambiental, permitindo a
uma organização desenvolver e implementar uma política e objetivos que levem em conta os
requisitos legais e outros por ela subscritos e informações referentes aos aspectos ambientais
significativos. Aplica-se aos aspectos ambientais que a organização identifica como aqueles
que possam controlar e aqueles que possam influenciar. Em si, esta norma não estabelece
critérios específicos de desempenho ambiental.
Esta Norma se aplica a qualquer organização que deseje:
a) Estabelecer, implementar, manter e aprimorar um sistema de gestão ambiental;
b) Assegurar-se de sua conformidade com sua política ambiental definida;
c) Demonstrar conformidade com esta Norma ao:
1) Fazer uma auto-avaliação ou autodeclaração; ou
2) Buscar confirmação de sua conformidade por partes que tenham interesse na organização,
tais como os clientes, ou
3) Buscar confirmação de sua autodeclaração por meio de uma organização externa; ou
4) Buscar certificação/registro de seu sistema de gestão ambiental por uma organização
externa.
Todos os requisitos desta Norma se destinam a ser incorporados em qualquer sistema de gestão
ambiental. A extensão de aplicação dependerá de fatores tais como a política ambiental da
organização, a natureza de suas atividades, produtos e serviços e as condições nas quais o
sistema funciona. Esta Norma provê no anexo A, diretrizes informativas sobre o uso da
especificação.
Objetivo
Mostrar que a ISO 14001 especifica requisitos relativos a um sistema de gestão ambiental e
aplica-se aos aspectos ambientais que possam ser controlados pela organização.
Principais mudanças na versão 2004
Segundo a APCER (2005) não existem alterações significativas.
Interpretação
Um SGA de acordo com a ISO 14001 proporciona um sistema de processos interligados. É um
simples e eficaz conjunto de mecanismos para gerir questões ambientais dentro de uma
empresa. A norma só é prescritiva em termos de estipular o que deve assegurar, deixando à
empresa a liberdade de escolher, por ela própria, como deve fazer.
Esta abordagem significa que a ISO 14001 pode ser aplicada a qualquer tipo de organização em
qualquer escala, e isso também explica porque é que, de tempos a tempos, há mal-entendidos
nas suas intenções e nas suas aplicações.
Um sistema de gestão de acordo com a ISO 14001 significa que:
São identificados todos os maus (e bons) impactos que a sua empresa tem sobre o ambiente;
Tem conhecimento do que está a sendo feito para gerenciar e melhorar esses impactos;
Vai implementar uma boa gestão ambiental em todos os planos futuros e no seio da sua
empresa; e
Terá a certeza que identificou e compreendeu todos os requisitos legais relacionados com o
seu negócio e que os vai cumprir.
(SGS, 2003)
Interpretação da ISO 14001:2004 Página 41 de 84
2 REFERÊNCIAS NORMATIVAS
Texto da Norma ISO 14001:2004
Não há referências normativas citadas.
Esta seção foi incluída para manter uma numeração de secções idênticas à edição anterior (ABNT
NBR ISO 14001:1996).
3 DEFINIÇÕES
Texto da Norma ISO 14001:2004
Para os efeitos desta Norma, aplicam-se as seguintes definições.
3.1 Auditor
Pessoa com competência para realizar uma auditoria [ABNT NBR ISO 9000:2000, 3.9.9].
3.2 Melhoria contínua
Processo recorrente de se avançar o sistema de gestão ambiental (3.8), com propósito de
atingir aprimoramento do desempenho ambiental (3.10) coerente com a política ambiental
(3.11) da organização (3.16).
NOTA: Não é necessário que o processo seja aplicado simultaneamente a todas as áreas de atividade.
3.3 Ação Corretiva
Ação para eliminar a causa de uma não conformidade (3.15) identificada.
3.4 Documento
Informação e o meio no qual esta contida.
NOTA 1: O meio físico pode ser papel, magnético, disco de computador de leitura ótica ou eletrônica, fotografia
ou amostra padrão, ou uma combinação destes.
NOTA 2: Adaptado da ABNT NBR ISO 9000:2000, 3.7.2.
3.5 Meio ambiente
Circunvizinhança em que uma organização (3.16) opera, incluindo ar, água, solo, recursos
naturais, flora, fauna, seres humanos e suas inter-relações.
NOTA: Neste contexto, circunvizinhança estende-se do interior de uma organização (3.16) para o sistema global.
3.6 Aspecto ambiental
Elemento das atividades ou produtos ou serviços de uma organização (3.16) que pode interagir
com o ambiente (3.5).
NOTA: Um aspecto ambiental significativo é aquele que tem ou pode ter um impacto ambiental (2.7) significativo.
3.7 Impacto ambiental
Qualquer alteração no meio ambiente (3.5), seja adversa ou benéfica, que resulte, no todo ou
em parte, dos aspectos ambientais (3.6) de uma organização (3.16).
3.8 Sistema de gestão ambiental - SGA
À parte do sistema de gestão de uma organização (3.16) uzada para desenvolver e implementar
a política ambiental (3.11) e gerenciar seus aspectos ambientais (3.6).
NOTA 1: Um sistema de gestão é um conjunto de elementos inter-relacionados usado para estabelecer a política e
os objetivos e para atingir esses objetivos.
NOTA 2: Um sistema de gestão inclui estrutura organizacional, atividades de planejamento, responsabilidades,
práticas, procedimentos (3.19), processos e recursos.
3.9 Objetivo ambiental
Propósito ambiental geral, decorrente da política ambiental (3.11), que uma organização
(3.16) se propõe a atingir.
3.10 Desempenho ambiental
Resultados mensuráveis da gestão de uma organização sobre seus aspectos ambientais (3.6).
NOTA: No contexto dos sistemas de gestão ambiental (3.8), os resultados podem ser medidos com base na
política ambiental (3.11), objetivos ambientais (3.9) e metas ambientais (3.12) da organização (3.16) e outros
requisitos de desempenho ambiental.
3.11 Política ambiental
Intenções e princípios gerais de uma organização (3.16), em relação ao seu desempenho
ambiental (3.10) conforme formalmente expresso pela Alta Administração.
NOTA: A política ambiental provê uma estrutura de ação e definição de seus objetivos ambientais (3.9) e metas
ambientais (3.12).
3.12 Meta ambiental
Requisito de desempenho detalhado, aplicável à organização (3.16) ou a partes dela, resultante
dos objetivos ambientais (3.9) e que precisa ser estabelecido e atendido que tais objetivos
sejam atingidos.
Interpretação da ISO 14001:2004 Página 42 de 84
3.13 Parte interessada
Indivíduo ou grupo interessado ou afetado pelo desempenho ambiental (3.10) de uma
organização (3.16).
3.14 Auditoria interna
Processo sistemático, independente e documentado para obter de evidência e avaliá-la
objetivamente para determinar a extensão na qual os critérios de auditoria ao sistema de
gestão ambiental estabelecidos pela organização (3.16) são atendidos.
NOTA: Em muitos casos, em especial nas organizações menores, a independência pode ser demonstrada pela isenção
de responsabilidade em relação à atividade auditada.
3.15 Não conformidade
Não atendimento de um requisito [ABNT NBR ISO 9000:2000, 3.6.2].
3.16 Organização
Empresa, corporação, firma, empreendimento, autoridade ou instituição, ou parte de uma
combinação desses, incorporada ou não, pública ou privada, que tenha funções e administração
próprias.
NOTA: Para organizações que tenham mais de uma unidade operacional, uma única unidade operacional pode ser
definida como uma organização.
3.17 Ação Preventiva
Ação para eliminar a causa de uma potencial não conformidade (3.15).
3.18 Prevenção de poluição
Uso de processos, práticas, técnicas, materiais, produtos, serviços ou energia para evitar,
reduzir ou controlar (de forma separada ou combinada) a geração, emissão ou descarga de
qualquer tipo de poluente ou rejeito, para reduzir os impactos ambientais (3.17) adversos.
NOTA: A prevenção da poluição pode incluir redução ou eliminação de fontes de poluição, alterações de processo,
produto ou serviço, uso eficiente de recursos, materiais e substituição de energia, reutilização, recuperação,
reciclagem, regeneração e tratamento.
3.19 Procedimento
Forma especifica para executar uma atividade ou um processo.
NOTA 1: Os procedimentos podem ser documentados ou não.
NOTA 2: Adaptado da ABNT NBR ISO 9000:2000, 3.4.5.
3.20 Registro
Documento (3.4) que apresenta resultados obtidos ou fornece evidências de atividades
realizadas.
NOTA: Adaptado da ABNT NBR ISO 9000:2000, 3.7.6.
Interpretação da ISO 14001:2004 Página 43 de 84
4 REQUISITOS DO SISTEMA DE GESTÃO AMBIENTAL
Esta seção estabelece uma visão geral do sistema a ser implantado.
4.1 Requisitos gerais
Texto da Norma ISO 14001:2004
A organização deve estabelecer, documentar, implementar, manter e melhorar continuamente um
sistema de gestão ambiental em conformidade com os requisitos da desta Norma, e determinar
como irá cumprir tais requisitos.
A organização deve definir e documentar o âmbito do seu sistema de gestão ambiental
Texto do Anexo A da Norma ISO 14001:2004
A.1 Requisitos gerais
O texto adicional fornecido neste anexo tem caráter estritamente informativo e tem por
objetivo prevenir uma interpretação errônea dos requisitos contidos na seção 4 desta Norma.
Embora estas informações refiram-se e sejam consistentes com os requisitos da seção 4, não se
pretende adicionar, subtrair ou, de nenhuma forma, alterar esses requisitos.
A implementação de um sistema da gestão ambiental especificado por esta Norma tem como
intenção o aprimoramento do desempenho ambiental. Por esta razão, esta Norma baseia-se na
premissa de que a organização irá, periodicamente, analisar e avaliar seu sistema da gestão
ambiental, para identificar oportunidades de melhoria e implementá-las. A velocidade, extensão
e temporalidade deste processo de melhoria contínua são determinados pela organização, à luz
das circunstâncias econômicas, entre outras.
Melhorias no sistema da gestão ambiental têm como objetivo resultar em novas melhorias em
seu desempenho ambiental
Esta Norma requer que uma organização:
a) estabeleça uma política ambiental apropriada,
b) identifique os aspectos ambientais decorrentes de atividades passadas, existentes ou
planejadas da organização, produtos e serviços, para determinar os impactos ambientais
significativos,
c) identifique os requisitos legais aplicáveis e outros requisitos subscritos pela organização,
d) identifique prioridades e estabeleça objetivos e metas ambientais apropriados,
e) estabeleça uma estrutura e programa(s) para implementar a política e atingir objetivos e
metas,
f) facilite as atividades de planejamento, controle, monitoramento, ação preventiva e
corretiva, auditoria e análise, de forma a assegurar que a política seja obedecida e que o
sistema da gestão ambiental permaneça apropriado,
g) seja capaz de adaptar-se à mudança de circunstâncias.
Recomenda-se que uma organização que não tenha um sistema da gestão ambiental estabeleça
inicialmente sua situação presente em relação ao meio ambiente por meio de uma análise. O
objetivo desta análise deve ser considerar todos os aspectos ambientais da organização, como
uma base para estabelecer seu sistema da gestão ambiental.
Recomenda-se que a análise cubra quatro áreas principais:
- identificação de aspectos ambientais, incluindo aqueles associados às condições normais de
operação e condições anormais, incluindo partida e parada, situações de emergência e acidentes
- identificação de requisitos legais aplicáveis e outros subscritos pela organização;
- exame de todas as práticas e procedimentos da gestão ambiental existentes, incluindo
aqueles associados com as atividades de aquisição e de contratação de serviços;
- avaliação de situações de emergência e acidentes anteriores.
Ferramentas e métodos para a realização da análise podem incluir listas de verificação,
entrevistas, inspeção e medição direta, resultados de auditorias anteriores ou outras análises,
dependendo da natureza das atividades.
Uma organização tem a liberdade e flexibilidade para definir seus limites e pode optar pela
implementação desta Norma para toda a organização ou para unidades operacionais específicas
da mesma. Recomenda-se que a organização defina e documente o escopo de seu sistema da
gestão ambiental. Pretende-se que a definição do escopo esclareça os limites da organização
até onde será aplicado o sistema da gestão ambiental, especialmente se a organização fizer
parte de uma organização maior numa dada localização.
Uma vez definido o escopo, todas as atividades, produtos e serviços da organização dentro
desse escopo têm que ser incluídos no sistema da gestão ambiental. Ao se estabelecer o escopo,
Interpretação da ISO 14001:2004 Página 44 de 84
recomenda-se que se observe que a credibilidade do sistema da gestão ambiental irá depender
da escolha dos limites organizacionais. Se uma parte da organização for excluída do escopo de
seu sistema da gestão ambiental, recomenda-se que a organização seja capaz de explicar essa
exclusão. Se esta Norma for implementada em uma unidade operacional específica, as políticas e
procedimentos desenvolvidos por outras partes da organização podem ser utilizados para
atender aos requisitos desta Norma, desde que sejam aplicáveis à unidade operacional
específica.
Objetivo
Um Sistema de Gestão Ambiental pode ser definido como um conjunto de procedimentos e
instruções usados para gerir ou administrar uma organização de modo a alcançar o melhor
relacionamento possível com o meio ambiente (SEBRAE, 2004).
Principais mudanças na versão 2004
Necessidade de demonstrar a melhoria contínua do SGA;
Necessidade da organização de esclarecer qual será o escopo do Sistema de Gestão
Ambiental (SGS, 2003; APCER, 2001).
Interpretação
A organização deve estabelecer e manter um sistema de gestão ambiental que cubra todos os
requisitos da norma, não sendo aceitável a não aplicabilidade de algum deles.
Também precisa definir o escopo do seu sistema de gestão ambiental. Ou seja, recomenda-se
que a alta administração determine os limites da organização onde o sistema de gestão
ambiental se aplica. Uma vez definido o escopo do sistema de gestão ambiental, recomenda-se
que todas as atividades, produtos e serviços da organização, dentro do escopo definido, sejam
incluídos no sistema de gestão ambiental.
O sistema deve basear-se em dois princípios fundamentais:
Melhoria contínua do sistema de gestão ambiental;
Melhoria contínua do desempenho ambiental.
Cada organização tem a liberdade de adotar as formas que entender como mais adequadas para
cumprir os requisitos desta norma; contudo, quatro aspectos devem ser salientados como
relevantes, para que as formas adotadas possam ser as mais eficazes:
A possível integração do sistema de gestão ambiental com os restantes subsistemas da
gestão global, como o sistema da qualidade ou o sistema de higiene e segurança;
A adoção de medidas adequadas às características da organização (dimensão, complexidade
da estrutura, atividades, produtos, serviços, mercados, sensibilidade do meio circundante,
etc.) e à natureza das suas atividades (maior ou menor impacto no ambiente);
As soluções técnicas encontradas para os problemas ambientais devem permitir o
cumprimento da legislação e da política da organização, com custos associados equilibrados;
e
A análise periódica do sistema de gestão ambiental, no sentido de que a avaliação daí
resultante permita identificar novas oportunidades de melhorar o sistema e/ou o
desempenho ambiental (APCER, 2001).
Gerando evidência
Escopo definido e documentado contendo referência ao local dentro da organização em que
o SGA esta implantado;
Documentação complementar: Política Ambiental, Manual do Meio Ambiente, Matriz de
Responsabilidades, Procedimentos, Instruções de Trabalho, Planos e Registros gerados a
partir do SGA (SEBRAE, 2004).
Não conformidades mais freqüentes
Não existem não conformidades a este item da norma, pelo fato da mesma não incluir requisitos.
Interpretação da ISO 14001:2004 Página 45 de 84
4.2 POLÍTICA AMBIENTAL
Texto da Norma ISO 14001:2004
A alta administração deve definir a política ambiental da organização e assegurar que, dentro
do escopo definido de seu sistema de gestão ambiental, a política:
a) Seja apropriada à natureza, escala e impactos ambientais de suas atividades, produtos ou
serviços;
b) Inclua o comprometimento com a melhoria contínua e com a prevenção de poluição;
c) Inclua o comprometimento em atender aos requisitos legais aplicáveis, e demais requisitos
subscritos pela organização que se relacionem a seus aspectos ambientais;
d) Forneça a estrutura para o estabelecimento e revisão dos objetivos e metas ambientais;
e) Seja documentada, implementada, mantida;
f) Comunicada a todos que trabalhem na organização ou que atuem em seu nome;
g) Esteja disponível para o público.
Texto do Anexo A da Norma ISO 14001:2004
A.2 Política ambiental
A política ambiental é a força motriz para a implementação e aprimoramento do sistema da
gestão ambiental de uma organização, permitindo que seu desempenho ambiental seja mantido e
potencialmente aperfeiçoado. Recomenda-se, portanto, que esta política reflita o
comprometimento da alta administração com o atendimento aos requisitos legais aplicáveis e
outros requisitos, com a prevenção de poluição e com a melhoria contínua. A política ambiental
constitui a base sobre a qual a organização estabelece seus objetivos e metas. Recomenda-se
que a política ambiental seja suficientemente clara para seu entendimento pelas partes
interessadas internas e externas e que ela seja periodicamente analisada e revisada, para
refletir as mudanças nas condições e informações. É recomendado que sua área de aplicação (ou
seja, seu escopo) seja claramente identificável e reflita sua natureza singular, escala e os
impactos ambientais das atividades, produtos e serviços, dentro do escopo definido do sistema
da gestão ambiental.
É recomendado que a política ambiental seja comunicada a todas as pessoas que trabalham para
a organização ou que atuem em seu nome, incluindo os prestadores de serviço que trabalhem na
instalação da organização. A comunicação com os prestadores de serviço pode ser de formas
alternativas à própria declaração da política, tais como regras, diretrizes, procedimentos e
podem, portanto, somente incluir as seções pertinentes da política. É recomendado que a
política ambiental da organização seja definida e documentada pela Alta Administração, dentro
do contexto da política ambiental de uma organização corporativa maior e da qual faça parte,
com o endosso desta.
NOTA A alta administração usualmente é constituída de um indivíduo ou de um grupo de indivíduos que orientam e
controlam uma organização em seu mais alto nível.
Objetivo
A política ambiental deve ser entendida como o conjunto das grandes linhas de orientação,
estabelecidas pela alta administração (ou gestão de topo ou simplesmente diretoria) da
empresa, para todos os processos do negócio com potencial impacto no ambiente.
Neste sentido, devem ser orientações de caráter permanente, apesar de alteráveis em função da
legislação e regulamentação aplicável, do mercado, da concorrência, da sociedade, dos clientes,
ou das necessidades de outras partes interessadas (SGS, 2003 E APCER, 2001).
Principais mudanças na versão 2004
A política deve ser consistente com o escopo de SGA e não poderá mais ser ampla como na
versão 1996;
A necessidade de que as partes interessadas estejam de acordo com a política ambiental
para se ter um melhor entendimento do escopo do SGA e também entender o que
atualmente está coberto pelo SGA da organização (alínea c) além do compromisso de
cumprimento de todos os requisitos legais aplicáveis, de natureza ambiental ou outra, com
incidência nos aspectos ambientais. Na versão anterior a legislação e regulamentação
limitavam-se à ambiental sob o ponto da relevância; e
A alteração do conceito de Trabalhador/empregado (alínea f). Conceito mais abrangente. Na
versão ISO 14004:2004 este conceito abrange todas as pessoas que trabalham para ou em
nome da organização, incluindo neste domínio os subcontratados, prestadores de serviços,
temporários, trabalho domiciliário… (SGS, 2005; APCER, 2005).
Interpretação da ISO 14001:2004 Página 46 de 84
Interpretação
A Política Ambiental é normalmente competência da Direção, que a estabelece, cabendo aos
demais sua implementação. Os responsáveis pelas atividades da organização providenciam os
elementos que servirão de base para a formulação da Política e sua evolução.
A política deve incluir obrigatoriamente o compromisso da alta administração com:
g) Cumprimento da legislação, regulamentação e outros requisitos aplicáveis: A norma ISO
14001:2004 impõe o cumprimento da legislação, dos regulamentos ambientais aplicáveis e
de outros requisitos (Ver 4.3.2) que a organização tenha que aplicar. Para o cumprimento
deste requisito é necessário que se proceda, em primeiro lugar, à identificação e a um
exaustivo estudo de todos os documentos aplicáveis à organização; em segundo lugar, que a
organização demonstre o seu conhecimento e, em terceiro lugar, que se cumpra de uma
forma consistente com o que estes estabelecem.
h) Melhoria contínua: O sistema de gestão ambiental, tal como outros sistemas, é baseado
numa linha de progresso contínuo que pode ser descrita da seguinte maneira:
Num primeiro momento, uma organização define os objetivos a atingir;
Num segundo momento, disponibilizados os meios humanos, técnicos e financeiros, são
reunidos esforços para atingi-los; e
Num terceiro momento, através de auditorias do sistema de gestão ambiental, é realiza-
se esta avaliação. Os resultados das auditorias são comunicados à direção que estabelece
as novas prioridades de atuação e modifica, caso seja necessário, a sua política
ambiental.
A melhoria contínua de um sistema de gestão ambiental vai permitir um progresso no
desempenho ambiental global da organização e diz respeito tanto aos impactos ambientais
como à estrutura organizacional.
i) Prevenção da poluição: A prevenção da poluição é um aspecto muito importante e que não
pode ser descuidado na implementação de um sistema de gestão ambiental. Deve ser
assegurado que o sistema a ser implementado leve em conta este princípio através da
utilização de processos, técnicas, práticas, materiais ou produtos que eliminam, reduzem ou,
no mínimo, controlam a poluição. Para o cumprimento deste requisito pode ser necessário
alterar os processos e as tecnologias utilizadas, recorrer à reciclagem, à valorização
energética, ao tratamento de efluentes, a processos mais econômicos (quer em relação ao
consumo de matéria-prima, quer de energia e recursos naturais), etc.
Ou seja, a organização deverá recorrer às melhores tecnologias disponíveis com o objetivo
de reduzir ou eliminar a poluição na fonte e, só quando tal não é possível, recorrer a
processos de tratamento dos diferentes efluentes gerados.
j) Comunicação: A política ambiental deve ser documentada e divulgada a nível interno e
disponibilizada a nível externo.
Ao nível interno destina-se essencialmente aos colaboradores e deve fornecer
orientações aos diversos setores da organização, inclusive àqueles que atuam em seu
nome (ex.: representantes comerciais). Para isto, deve ser suficientemente explícita para
poder ser entendida e seguida;
No nível externo destina-se a estabelecer a base de entendimento entre a organização e
as outras partes interessadas devendo, por isso, estar definidos os canais e as formas de
disponibilizar da política para o exterior da organização.
A política deve ser adequada à natureza das atividades, ou dito de outro modo, uma organização
com grande impacto no ambiente e/ou em que eventuais falhas tenham conseqüências
econômicas graves a nível de segurança e/ou da saúde pública, não pode ter uma política
ambiental de uma empresa de serviços, onde aqueles aspectos assumem dimensões
radicalmente menores.
Assim, a política ambiental deve ser inequívoca quanto ao compromisso da organização para o
cumprimento dos requisitos especificados por esta norma internacional e deve constituir uma
base adequada para o estabelecimento de objetivos e metas (ver subitem 4.3.3).
Por esses motivos, a política ambiental deve ser estabelecida pela alta administração que possui
funções executivas na organização (SGS, 2003; SEBRAE, 2004; APCER, 2001).
Gerando evidência
Manual do Meio Ambiente; Política Ambiental; e
Outras evidências (Comunicações Internas, memorandos, registros de treinamento, cartazes
etc.) de que a Política Ambiental foi amplamente disseminada e compreendida por todos os
colaboradores da organização (SEBRAE, 2004).
Interpretação da ISO 14001:2004 Página 47 de 84
Não conformidades mais freqüentes
Ao entrevistar elementos da empresa, como por exemplo, recepcionistas ou vendedores,
para verificar o que acontece se alguém pedir uma cópia da Política, ao telefonar e
perguntar à mesma coisa é comum verificar que estes primeiros elementos de contacto
dentro da empresa não foram esclarecidos sobre esta questão. Isto significa que, na prática,
a Política não está disponível;
Compromisso de Prevenção da Poluição e de Melhoria Contínua, ocasionalmente estes
compromissos estão mais implícitos do que explicitamente declarados na Política. Isto pode
levar a confusão, já que a Política deverá ser compreensível e clara. É correto mostrar este
compromisso de uma forma clara e é perfeitamente aceitável a utilização das palavras exatas
da norma na sua Política - esta situação fornece uma clara orientação para o Sistema de
Gestão Ambiental (SGA). É uma parte das bases da gestão ambiental; e
Podem surgir problemas quando a Política é escrita com boas intenções ou com expectativas
exageradas relativamente ao que a empresa pode fazer. Por exemplo, a sua Política pode
incluir um comprometimento com a redução de resíduos e o consumo de energia, tendo
assim o SGA que cumprir estas promessas. Estes compromissos têm assim que ser refletidos
em Objetivos, Metas e Programas (SGS,2003; APCER, 2001).
Interpretação da ISO 14001:2004 Página 48 de 84
4.3 PLANEJAMENTO
Este requisito exige que as empresas identifiquem seus aspectos ambientais, determinem quais
causam impactos significativos, assegurando que elas estabeleçam e tenham objetivos e metas
de melhoria, bem como processos para alcançá-las. Este item esta dividido em três subitens
perfeitamente encadeados e que servem de base para todo o sistema de gestão ambiental
(ORTIZ; PIRERI, 2002).
4.3.1 Aspectos ambientais
Texto da Norma ISO 14001:2004
A organização deve estabelecer e manter procedimento(s) para:
a) Identificar os aspectos ambientais de suas atividades, produtos e serviços dentro do escopo
definido do seu sistema de gestão ambiental, que a organização possa controlar e aqueles
que ela possa influenciar, levando em consideração os desenvolvimentos novos ou
planejados, as atividades, produtos e serviços novos ou modificados; e
b) Determinar os aspectos que tenham ou possam ter impacto(s) significativo sobre o meio
ambiente (isto é, aspectos ambientais significativos).
A organização deve documentar essas informações e mantê-las atualizadas.
A organização deve assegurar que os aspectos ambientais significativos sejam cobertos no
estabelecimento, implementação e manutenção do sistema de gestão ambiental.
Texto do Anexo A da Norma ISO 14001:2004
A.3 Planejamento
A.3.1 Aspectos ambientais
A subseção 4.3.1 visa prover um processo que permita a uma organização identificar os aspectos
ambientais significativos, recomendando-se que sejam tratados prioritariamente pelo sistema
da gestão ambiental da organização.
É recomendado que uma organização identifique os aspectos ambientais dentro do escopo de
seu sistema da gestão ambiental, levando-se em consideração as entradas e saídas (tanto
intencionais quanto não-intencionais) associadas às suas atividades, produtos e serviços
relevantes presentes, passados, planejados ou de novos desenvolvimentos, ou associadas a
atividades, produtos e serviços novos ou modificados. Recomenda-se que este processo
considere as condições operacionais normais e anormais, condições de parada e partida, assim
como situações de emergência razoavelmente previsíveis.
As organizações não têm que considerar cada entrada de produto, componente ou matéria-prima
individualmente. Elas podem selecionar categorias de atividades, produtos e serviços para
identificar seus aspectos ambientais.
Muito embora não exista uma abordagem única para se identificar aspectos ambientais, a
abordagem poderia, por exemplo, considerar
a) emissões atmosféricas,
b) lançamentos em corpos d’água,
c) lançamentos no solo,
d) uso de matérias-primas e recursos naturais,
e) uso da energia,
f) energia emitida, por exemplo, calor, radiação, vibração,
g) resíduos e subprodutos,
h) atributos físicos, por exemplo, tamanho, forma, cor, aparência.
i) atributos físicos;
Adicionalmente aos aspectos ambientais que pode controlar diretamente, a organização deve
também considerar aspectos que possa influenciar, como, por exemplo, aqueles associados a
bens e serviços por ela utilizados e produtos e serviços que ela forneça. Algumas diretrizes
para avaliar controle e influência são fornecidas abaixo. Porém, em todas as circunstâncias, é a
organização que determina o grau de controle, bem como os aspectos que ela possa influenciar.
Recomenda-se que sejam considerados aspectos associados às atividades, produtos e serviços da
organização, tais como
- projeto e desenvolvimento,
- processos de fabricação,
- embalagem e transporte,
- desempenho ambiental e práticas de prestadores de serviços e fornecedores,
- gerenciamento de resíduo,
Interpretação da ISO 14001:2004 Página 49 de 84
- extração e distribuição de matérias-primas e recursos naturais,
- distribuição, uso e fim de vida de produtos, e
- vida selvagem e biodiversidade.
O controle e a influência sobre os aspectos ambientais dos produtos fornecidos à uma
organização podem variar significativamente, dependendo da situação de mercado e dos seus
fornecedores. Uma organização que é responsável pelo projeto de seu próprio produto pode
influenciar tais aspectos significativamente através da alteração, por exemplo, de um único
material de entrada, enquanto que uma organização que necessite fornecer de acordo com
especificações de produto externamente determinadas, pode ter pouca escolha.
Em relação aos produtos fornecidos, reconhece-se que as organizações podem ter controle
limitado sobre o uso e a disposição final de seus produtos, por exemplo, pelos usuários.
Contudo, as organizações podem considerar, quando exeqüível, a comunicação de mecanismos
adequados de manuseio e disposição a esses usuários, de modo a exercer influência.
Mudanças no meio ambiente, prejudiciais ou benéficas, que resultem total ou parcialmente dos
aspectos ambientais, são chamadas de impactos ambientais. A relação entre aspectos e impactos
é uma relação de causa e efeito.
Em alguns locais, a herança cultural pode ser um elemento importante da circunvizinhança na
qual opera uma organização e, portanto, recomenda-se que isso seja levado em consideração no
entendimento de seus aspectos ambientais.
Uma vez que uma organização pode ter muitos aspectos ambientais e impactos associados, é
recomendado que ela estabeleça critérios e um método para determinar aqueles impactos que
serão considerados significativos. Não há um método único para que os aspectos ambientais
significativos sejam determinados.
Contudo, recomenda-se que o método utilizado forneça resultados coerentes e inclua o
estabelecimento e a aplicação dos critérios de avaliação, tais como aqueles relativos às
questões ambientais, questões legais e às preocupações das partes interessadas internas e
externas.
Ao desenvolver as informações relativas aos aspectos ambientais significativos, recomenda-se
que a organização considere a necessidade de se reter a informação para fins de histórico, bem
como a forma de utilizá-la no projeto e implementação de seu sistema da gestão ambiental.
É recomendado que o processo de identificação e avaliação dos aspectos ambientais leve em
conta o local das atividades, o custo e o tempo para realização da análise e a disponibilidade
de dados confiáveis.
A identificação dos aspectos ambientais não requer uma avaliação detalhada do ciclo de vida.
As informações já desenvolvidas para fins regulamentares ou outros podem ser utilizadas nesse
processo.
Não se pretende que este processo de identificação e avaliação de aspectos ambientais altere
ou aumente as obrigações legais da organização.
Objetivo
O princípio da melhoria contínua impõe a existência de um sistema de avaliação objetivo em
relação aos resultados da organização.
Este sistema baseia-se no levantamento dos aspectos e impactos ambientais associados às
atividades, produtos e serviços e na posterior determinação dos impactos ambientais
significativos. Este levantamento deve ser o mais exaustivo possível e não ter a preocupação de
hierarquizar os aspectos, mas apenas de identificá-los (APCER, 2001).
Principais mudanças na versão 2004
Mudanças principalmente na identificação dos aspectos que agora cobre todas as atividades,
de "produtos ou serviços“ mudou para "produtos e serviços" que deverá estar de acordo com
o escopo do SGA;
Aspectos associados a projetos agora fazem parte dos requisitos estabelecidos nesta norma;
A identificação dos aspectos ambientais deve ter em consideração o planejado, os novos
desenvolvimentos, atividades novas ou modificadas, produtos e serviços (e não atividades,
produtos ou serviços como se refere a versão anterior). A nova norma esclarece a
necessidade de 2 etapas para o cumprimento deste requisito: 1.º - Identificação dos aspectos
ambientais; 2.º - Avaliação dos aspectos de forma a determinar os significativos;
Os aspectos ambientais significativos devem ser tidos em consideração para a definição,
implementação e manutenção de todo o sistema de gestão ambiental e não só na definição
de objetivos ambientais como era referida na versão anterior; e
Registros Documentados do processo de levantamento de aspectos ambientais (SGS, 2005 E
APCER, 2005).
Interpretação da ISO 14001:2004 Página 50 de 84
Interpretação
O conhecimento dos aspectos ambientais que aparecem nas atividades de uma organização é
uma tarefa difícil, mas extremamente importante, pois vai possibilitar a identificação dos
impactos ambientais decorrentes e a conseqüente definição de seus procedimentos de controle.
O levantamento consiste numa análise ambiental que vai abordar sucessivamente a situação da
organização, tendo em consideração os seguintes aspectos:
As características do local onde a organização está implantada;
Os fluxos de entrada: consumo de água, de energia, de produtos intermédios e de matérias-
primas;
O planejamento dos produtos e processos e a influência dos seus eventuais impactos sobre o
ambiente; e
A poluição e os danos causados pela atividade da empresa em situação normal de
funcionamento, em paragens e arranques e em situação de risco.
A informação obtida, bem como as conclusões retiradas devem ser mantidas atualizadas. Para
isso, a organização deve estabelecer procedimentos documentados que permitam que a
identificação dos aspectos ambientais e a avaliação dos respectivos impactos se façam duma
forma sistemática.
Lembre-se de que:
O primeiro passo de progresso da gestão ambiental consiste na passagem de um estado de
não conhecimento para um estado de conhecimento.
A identificação dos aspectos ambientais pode ser efetuada a partir de:
Dados históricos, acumulados pela organização, decorrentes da sua atividade e de
monitoramentos ambientais efetuados;
Dados confiáveis disponíveis em outras organizações (governamentais e não
governamentais); e
Medições, análises e inspeções efetuadas para esta identificação, podendo incluir: emissões
(quer atmosféricas, quer para o meio hídrico), gestão dos resíduos (desde a sua produção até
à eliminação), contaminação do solo, controle sobre o uso de matérias primas e recursos
naturais, bem como outros requisitos emergentes da comunidade local. Obs.: Quando da
realização das medições, análises e inspeções deve-se ter especial cuidado em garantir a
representatividade das amostras e a qualidade dos resultados (por exemplo, calibração dos
equipamentos de medida, utilização de métodos normalizados e reconhecidos, etc.). A
concepção de soluções, baseadas apenas em medidas, análises e inspeções pontuais, pode
conduzir a resultados inadequados, onerosos e ineficazes.
A identificação dos aspectos ambientais deve ser feita antes de se iniciar uma atividade (na fase
de projeto) e antes do seu abandono (fase de desmantelamento). Os impactos ambientais
decorrentes de um desmantelamento podem ser de eliminação/minimização complexa e
acarretar custos bastante elevados (Exemplos: descontaminação de solos, tratamento de
produtos químicos armazenados em grandes quantidades, cuidados especiais na demolição de
edifícios com amianto) pelo que devem ser avaliados e estudados com antecedência.
Deve cobrir as seguintes situações:
Normal - o que acontece na maioria das vezes;
Anormal - planejado mas menos freqüente;
Potenciais acidentes e situações de emergência - as situações negativas que podem ocorrer;
Históricos - legados do negócio ou do local, por ex.: solos contaminados;
Operações atuais;
Alterações planejadas - a parte de 'manutenção' do requisito;
Aspectos Diretos - as coisas sobre as quais a empresa pode exercer controle;
Aspectos Indiretos - as coisas que são mais difíceis de controlar, cujo controle não depende da
empresa, mas que podem ser influenciadas, por ex.: clientes e fornecedores;
Aspectos que originam impactos negativos no ambiente - poluição; e
Aspectos que originam impactos positivos no ambiente - ex.: melhorar ecossistemas, auxiliar
outros a melhorar a sua atuação.
O levantamento ambiental poderá levar em conta, as ações executadas pela organização em
matéria de sensibilização, formação, informação, comunicação interna e comunicação externa
no domínio do ambiente. Esta análise deverá também permitir avaliar o grau de cumprimento da
regulamentação ambiental aplicável à organização. O levantamento ambiental constitui a base
de todo o sistema de gestão ambiental pelo que se for mal elaborado, todas as fases seguintes
poderão ser ineficazes! Por outro lado, este levantamento não dá soluções para os problemas;
apenas os identifica para posterior definição de ações.
Interpretação da ISO 14001:2004 Página 51 de 84
A análise ambiental identifica os diferentes aspectos ambientais, mas terá de ser
complementada por uma avaliação dos respectivos impactos.
Há muitas formas de se decidir a significância, mas há muito poucos indicadores comuns.
Tomemos em consideração alguns critérios simples:
a) Se a Legislação (ou qualquer outro requisito semelhante) se refere a um aspecto e ao
impacto que ele tem - este deve ser considerado 'significativo'. (Transgredir a lei seria
"significativo"!);
b) Se lhe faltam dados ou conhecimentos sobre o impacto, é melhor identificar como
'significativo', até que tenha dados para decidir de outra forma (A abordagem cautelosa); e
c) Se a magnitude do impacto no 'meio ambiente' é suficiente, o aspecto é 'significativo'. Nesta
situação, são necessários bons conhecimentos acerca das interações do seu processo com o
meio ambiente.
Também pode escolher incluir outros critérios apropriados ao seu negócio, como por exemplo:
Custos;
Quantidade;
Opinião das partes interessadas; e
Avaliação de risco.
Qualquer que seja o método, este deve ser claramente definido com procedimentos, testado e
reprodutível. Também é necessário manter registros do processo para ajudar em revisões futuras
e para as auditorias internas.
A norma não estabelece nem impõe nenhum método de avaliação de impactos ambientais.
Convém, no entanto, utilizar uma metodologia que evite, ou pelo menos diminua, a
subjetividade e a excessiva formalidade.
De posse dos resultados da avaliação de impactos ambientais há que, de forma prioritária,
assegurar o controle operacional de todos os que forem considerados significativos (ver subitem
4.4.6).
Dentre os aspectos ambientais significativos (e após ter garantido o seu controle), devem ser
selecionados aqueles em que são identificáveis oportunidades de melhoria contínua. Para estes,
levando-se em conta os meios técnicos, humanos e financeiros de que se dispõe, a organização
definirá os objetivos e metas ambientais (ver subitem 4.3.3), incluindo-os no seu programa de
gestão ambiental (ver subitem 4.3.4) (SEBRAE, 2004; SGS, 2003; APCER, 2001).
Gerando evidência
Procedimento para Identificação dos Aspectos e avaliação dos Impactos Ambientais para
definição de Objetivos e Metas; e
Análise dos aspectos e impactos ambientais (SEBRAE, 2004).
Não conformidades mais freqüentes
Nem todas as fontes de aspectos foram consideradas Ex.: os impactos potenciais dos
fornecedores ou a utilização e eliminação de produtos por parte do cliente, foram ignorados;
As situações anormais não foram reconhecidas e, portanto, não foram avaliadas; ex.:
arranque ou paragem do processo, operações de manutenção;
Potenciais situações de emergência não foram consideradas no que se refere aos
conseqüentes impactos no ambiente, tendo apenas sido dada atenção às questões
relacionadas com a Higiene, Saúde e Segurança; ex.: não são considerados os efeitos que um
potencial incêndio pode ter no ambiente;
Os aspectos positivos relevantes foram ignorados, falhando assim a oportunidade de usar o
seu SGA para melhorar os elementos positivos e minimizar os negativos;
Partes relevantes do negócio não foram consideradas; ex.: a hipótese de solos contaminados
no local; os serviços de apoio duma empresa, tais como gestão de instalações; extintores de
Halon (BFC's) que não foram reconhecidos como um elemento a avaliar;
As alterações no processo, produto ou na empresa não foram previstas para impactos
potenciais, ex.: uma fábrica ou um processo novo. Uma boa ligação entre o SGA e o processo
de aprovação da Política de Investimentos podem ser realmente úteis nestes casos;
O sistema falhou na identificação de um aspecto obviamente significativo, por ex.: grandes
probabilidades de contaminação do solo no local foram ignoradas;
Área do local ou negócio não foram avaliadas, por ex.: Fornecedores, impactos indiretos no
cliente, transporte, gestão das instalações;
O processo não é reprodutível ou a razão para um aspecto ter sido considerado significativo
não é clara;
O sistema de pontuação (se for usado) não tem suficiente fundamento para ser consistente;
Interpretação da ISO 14001:2004 Página 52 de 84
Os impactos no meio ambiente não são realmente compreendidos, portanto, não são
devidamente classificados;
Um bom controle operacional 'mascarou' o fato de que está se lidando com um risco para o
meio ambiente - assim, um impacto significativo é classificado como 'não significativo'; e
Os registros não mostram realmente a forma como os aspectos foram identificados ou
avaliados (classificados) (SGS, 2003).
4.3.2 Requisitos legais e outros
Texto da Norma ISO 14001:2004
A organização deve estabelecer e manter procedimento(s) para:
a) Identificar e ter acesso requisitos legais aplicáveis e a outros requisitos subscritos pela
organização, relacionados aos seus aspectos ambientais, e
b) Determinar como estes requisitos se aplicam aos seus aspectos ambientais.
A organização deve assegurar que estes requisitos legais aplicáveis e outros requisitos
subscritos pela organização sejam levados em consideração no estabelecimento, implementação,
e manutenção do seu sistema de gestão ambiental.
Texto do Anexo A da Norma ISO 14001:2004
A.3.2 Requisitos legais e outros
A organização necessita identificar os requisitos legais que são aplicáveis aos seus aspectos
ambientais.
Estes podem incluir
a) requisitos legais nacionais e internacionais,
b) requisitos legais estaduais/municipais/departamentais,
c) requisitos legais do governo local.
Exemplos de outros requisitos que uma organização pode subscrever incluem, se aplicável
- acordos com autoridades públicas,
- acordos com clientes,
- diretrizes de natureza não-regulamentar,
- princípios voluntários ou códigos de prática,
- etiquetagem ambiental voluntária ou compromissos de administração do produto,
- requisitos de associações de classe,
- acordos com grupos comunitários ou organizações não-governamentais,
- compromissos públicos da organização ou de sua matriz,
- requisitos corporativos/da empresa.
A determinação de como os requisitos legais e outros se aplicam aos aspectos ambientais de
uma organização é usualmente realizada no processo de identificação desses mesmos requisitos.
Portanto, não se faz necessário ter um procedimento em separado ou adicional para fazer esta
determinação.
Objetivo
Uma organização, para atender aos regulamentos pertinentes a suas atividades, sejam eles
legais ou acordos por ela subscritos, precisa ter mecanismos de identificação destes
regulamentos junto aos órgãos competentes e criar meios para que todos os envolvidos em suas
atividades tenham a plena compreensão deles (SEBRAE, 2004).
Principais mudanças na versão 2004
Mudanças de "leis, regulamentos e outros requisitos" para "requisitos legais aplicáveis" que
é muito mais amplo e cobre regulamentações, decisões judiciais e outros que agora está
vinculado aos aspectos ambientais da organização (aspectos ambientais e não somente aos
aspectos ambientais significativos), devendo ser identificados os requisitos legais para todos
aspectos ambientais da organização;
Muito mais do que ser necessário proceder à instituição de um procedimento (requisito já
existente) que permita ter acesso e identificar os requisitos legais e outros, a organização
deve determinar como estes são aplicáveis aos seus aspectos ambientais;
Como já foi dito anteriormente no item 4.2, a legislação aplicável é toda aquela que
influencie sobre os aspectos ambientais, independentemente da sua natureza; e
Os requisitos legais aplicáveis devem ser tidos em consideração para definição,
implementação e manutenção do Sistema de gestão ambiental (SGS, 2005; APCER, 2001).
Interpretação da ISO 14001:2004 Página 53 de 84
Interpretação
Uma organização que pretenda garantir a implementação desta norma deverá identificar as
exigências legais, e outras que se aplicam aos aspectos ambientais das suas atividades, produtos
ou serviços, que tem de cumprir.
O cumprimento da norma exige o estabelecimento de um procedimento que garanta a
sistematização dos requisitos legais e outros que sejam aplicáveis à organização.
Salienta-se que a documentação legal pode apresentar-se de diferentes formas: leis, decretos-
lei, regulamentos, portarias, despachos de aplicação nacional, resoluções ministeriais ou
municipais, etc. Os outros requisitos poderão ser documentos do tipo: políticas do grupo,
códigos de boa conduta ambiental, contratos com clientes, etc.
A identificação da legislação aplicável junto à organização poderá ser feita internamente ou
recorrendo à prestação de um serviço externo. Em qualquer caso, é necessário o conhecimento
dos aspectos ambientais relacionados com as atividades, produtos e serviços da organização de
forma a permitir uma análise eficaz da sua aplicabilidade. Deve ser mantida uma listagem
atualizada de todos os documentos.
A identificação dos requisitos poderá realizar-se tendo como base assinaturas disponibilizadas
pelos organismos de normalização, publicações especializadas, subscrição de revistas, dados de
associações setoriais, profissionais, ou outras.
A norma não exige apenas a identificação da legislação. Exige ainda que a organização
demonstre o seu conhecimento e tenha acesso, em qualquer situação, a esses mesmos
documentos, podendo mantê-los em arquivo interno ou acessível através de outro meio
(Internet, bases de dados, etc.).
Outra questão fundamental para a garantia da aplicação deste requisito no funcionamento
adequado do sistema de gestão ambiental, prende-se a análise dos conteúdos dos documentos
aplicáveis. Mais do que conhecer a existência de um documento legal, é fundamental que a
organização saiba exatamente o que tem de cumprir. Assim, não será suficiente possuir uma
mera listagem de documentos legais aplicáveis, já que a organização precisa conhecer
exatamente o que tem de cumprir, assim como avaliar como poderá fazê-lo e decidir da
necessidade de investimentos, de alteração de práticas e procedimentos ou outras ações.
Para tanto, a organização deverá manter registros (lista, tabela, base de dados, etc.)
permanentemente sistematizados da legislação aplicável; estes registros podem ser organizados
por temas (ar, água, solo, resíduos...) e/ou subtemas (captação de água, efluentes...); podem
ainda assumir a forma de uma tabela em que, por atividade, se identifica, não só a legislação,
mas também as obrigações daí resultantes (registros a gerar, relatórios a enviar as entidades
públicas, etc.) (SGS,2003; APCER, 2001).
Gerando Evidência
Procedimentos para identificar e acessar as leis e regulamentos aplicáveis;
Procedimentos de controle da atualização das leis e regulamentos aplicáveis;
Legislação Federal, estadual e municipal aplicável;
Lista das leis e regulamentos pertinentes às suas atividades, produtos e serviços; e
Lista das fontes das leis e regulamentos pertinentes etc. (SEBRAE, 2004).
Não conformidades mais freqüentes
O procedimento não inclui pormenores do processo de manutenção dos dados - assim, não
existe um processo repetitivo nem auditável;
Os "outros requisitos" não estão identificados nem incluídos, por ex.: Políticas do Grupo,
Códigos de Boa Prática, requisitos relativos a Aluguéis e Seguros, acordos locais ou setoriais.
Ou então foram identificados, mas não existe forma de mantê-los atualizados;
Não existe acesso à legislação de base; e
A listagem contém muitos dados irrelevantes, não aplicáveis à organização em questão, e
não fornece pormenores ou explicações dos requisitos legais relevantes. (Por vezes
encontra-se uma lista que é só isso mesmo e que não fornece nenhuma informação
compreensível ou útil para a gestão) (SGS, 2003).
4.3.3 Objetivos, Metas e Programa(s)
Texto da Norma ISO 14001:2004
A organização deve estabelecer, implementar e manter objetivos e metas ambientais
documentados, nas funções e níveis relevantes dentro da organização.
Os objetivos e metas devem ser mensuráveis, quando exeqüível, e coerentes com a política
ambiental, incluindo-se os comprometimentos com a prevenção de poluição, com o atendimento
aos requisitos legais e outros requisitos subscritos pela organização e com a melhoria contínua.
Interpretação da ISO 14001:2004 Página 54 de 84
Ao estabelecer e analisar seus objetivos e metas, uma organização deve considerar os requisitos
legais e outros requisitos por ela subscritos, e seus aspectos ambientais significativos. Deve
também considerar suas opções tecnológicas, seus requisitos financeiros, operacionais,
comerciais e a visão das partes interessadas.
A organização deve estabelecer, implementar e manter programa(s) para atingir seus objetivos e
metas. O(s) programa(s) deve(m) incluir:
a) Atribuição de responsabilidade para atingir os objetivos e metas em níveis em cada função e
nível pertinente da organização, e
b) Os meios e o prazo no qual eles devem ser atingidos.
Texto do Anexo A da Norma ISO 14001:2004
A.3.3 Objetivos, metas e programa(s)
É recomendado que os objetivos considerem questões de curto e de longo prazo.
Ao avaliar suas opções tecnológicas, uma organização pode levar em consideração o uso das
melhores técnicas disponíveis, onde for economicamente viável, onde a relação custo-benefício
for favorável e onde julgado apropriado.
A referência aos requisitos financeiros da organização não implica necessariamente que as
organizações sejam obrigadas a utilizar metodologias de contabilidade de custos ambientais.
A criação e o uso de um ou mais programas são importantes para a implementação bem-sucedida
de um sistema da gestão ambiental. É recomendado que cada programa descreva como os
objetivos e metas da organização serão atingidos, incluindo-se cronogramas, recursos
necessários e pessoal responsável pela implementação do(s) programa(s). Este(s) programa(s)
pode(m) ser subdividido(s) para abordar elementos específicos das operações da organização.
Recomenda-se que o programa inclua, quando apropriado e exeqüível, considerações de
planejamento, projeto, produção, comercialização e estágios da disposição final. Isto pode ser
efetuado tanto para as atividades, produtos ou serviços atuais quanto para os futuros. No caso
de produtos, podem ser abordados projetos, materiais, processos produtivos, uso e disposição
final. Para instalações ou modificações significativas de processos, podem ser abordados o
planejamento, projeto, construção, comissionamento, operação e, na ocasião apropriada
determinada pela organização, o descomissionamento.
Para os efeitos desta norma, “comissionamento” é o processo durante o qual os componentes e
sistemas de uma instalação são tornados operacionais e verificados quanto à sua conformidade
em relação aos critérios de projeto e de desempenho.
Para os efeitos desta norma, “descomissionamento” é o processo pelo qual os componentes e
sistemas de uma instalação são retirados de operação, de forma planejada, controlada e
documentada.
Objetivo
Os objetivos são comprometimentos globais para o desempenho ambiental da organização,
identificados na política ambiental. Para definir seus objetivos é importante que a organização
considere as verificações feitas nas suas análises ambientais preliminares, seus aspectos
ambientais identificados e os impactos ambientais significativos. Para atingir os objetivos,
devem ser estipuladas metas específicas e mensuráveis com prazos predeterminados.
Este requisito deve permitir o surgimento de oportunidades de melhoria e a definição das ações
prioritárias e consistem também na definição de ações, atribuição de responsabilidades,
disponibilização de recursos financeiros necessários e definição de prazos para que se atinjam
os objetivos e metas ambientais definidos (SEBRAE, 2004; APCER, 2001).
Principais mudanças na versão 2004
Integração dos subitens 4.3.3 e 4.3.4 da versão de 1996. Nesta versão, assume-se que o
estabelecimento de objetivos e metas relacionadas com o cumprimento da legislação como
sendo um requisito, antes era pratica comum quando da obrigação do cumprimento da
legislação que tal não deveria ser contemplado no Programa de Gestão Ambiental, agora deve
figurar no mesmo. Desta forma é reforçada a importância dos requisitos legais no
estabelecimento dos objetivos e metas ambientais (APCER, 2005).
Interpretação
Os objetivos e metas ambientais deverão ser coerentes com a política ambiental definida pela
organização, tendo como base os temas e os eixos de ações prioritárias nela definidas. Devem
ser periodicamente definidos e documentados, por exemplo, em conjunto com a revisão do
sistema de gestão ambiental.
Os objetivos ambientais devem ser entendidos como mais gerais do que as metas. Enquanto os
primeiros resultam diretamente da política, as segundas decorrem dos objetivos, podendo ser
entendidas como desdobramentos dos mesmos.
Interpretação da ISO 14001:2004 Página 55 de 84
Um objetivo é uma intenção ambiental geral que, se possível, deve ser quantificada, enquanto
que a meta é uma exigência de desempenho pormenorizada, quantificada, e sempre relativa a
um determinado objetivo (ver Exemplo 1).
A fixação dos objetivos e metas deve ter em conta as seguintes considerações:
As exigências legais e outras (para que não sejam estabelecidos objetivos que ponham em
causa o cumprimento de limites legais ou outros aceites pela organização);
Os aspectos e impactos significativos;
As opções tecnológicas, as exigências financeiras, operacionais e comerciais; e
A opinião das partes interessadas.
Exemplo 1
POLÍTICA DO AMBIENTE DA YYY
...A YYY compromete-se a reduzir as emissões para o ar e para a água, assim como a reduzir o
volume de resíduos sólidos produzidos...
Porto, 21 de Fevereiro de 2000
Assinatura: A Administração da YYY
OBJETIVOS E METAS (associados a esta Política)
Objetivo Meta
Baixar em 80% as emissões de diclorometano
(um COV) no ano de 2000Reduzir as emissões de Compostos Orgânicos
Voláteis (COV’s) no ar em 10%, no ano de 2000 Baixar em x% as emissões de “xpto” (um COV)
no ano de 2000
Reduzir em 50% o CQO das águas residuais
provenientes da planta fabril 1Baixar o valor da Carência Química de
Oxigênio (CQO) nas águas residuais em 30%, no
ano de 2000 Reduzir em y% o CQO das águas residuais
provenientes da Seção “xpto”
Diminuir o volume de resíduos para aterro em
45%, no ano de 2000
Reciclar a totalidade dos resíduos de
embalagem de papel e cartão produzidos pela
empresa
FONTE: APCER, 2001
Assim, para o estabelecimento dos objetivos e metas ambientais, e para que não sejam fixados
objetivos e metas impossíveis de cumprir por parte da organização, é necessário proceder a
diferentes avaliações:
Dos meios tecnológicos, com o intuito de se identificar os meios necessários ao controle,
redução ou eliminação dos impactos das atividades da organização sobre o ambiente, não
esquecendo a utilização da melhor tecnologia disponível sempre que técnica e
economicamente viável;
Dos aspectos financeiros associados a esses meios tecnológicos;
Dos meios humanos necessários.
Em suma, a definição das metas e eventualmente dos objetivos, implica em uma quantificação
(indicadores) que possibilitem o seu acompanhamento e avaliação final do respectivo
cumprimento.
Esta quantificação pode significar um indicador numérico (%, Kg, ...) e uma data (ver Exemplo 1)
ou apenas uma data (quando se pretende a introdução ou eliminação de qualquer aspecto, por
exemplo, “passar a usar o produto menos poluente X.P.T.O, num dado processo, a partir de ...”).
Estes indicadores poderão ser acompanhados em conjunto com o programa de gestão
ambiental, evidenciando a eficácia das ações realizadas e o atingir dos objetivos e metas
ambientais.
PROGRAMA(S) DE GESTÃO AMBIENTAL
Consistem na definição de ações, atribuição de responsabilidades, disponibilização de recursos
financeiros necessários e definição de prazos para que se atinjam os objetivos e metas
ambientais definidos.
Para o cumprimento da norma é obrigatória a elaboração de um programa de gestão ambiental
não existindo, no entanto, nenhum modelo pré-definido a ser cumprido. O programa pode ser
aplicado a atividades, produtos ou serviços já em execução ou novos.
Interpretação da ISO 14001:2004 Página 56 de 84
EXEMPLO 2
PROGRAMA DE GESTÃO AMBIENTAL DA YYY PARA 2001
Objetivo Meta Ações Meios Responsáveis Prazos
Ligar todos os condutos de
exaustão das estufas que
secam produtos lavados com
diclorometano a um só
conduto de saída
R$ xxx.xxx,00
(materiais +
mão de obra)
Chefe de
manutenção
Até Out
2001
Adquirir um lavador de
gases para tratar os gases
deste conduto de saída
R$ xxx.xxx,00
(inclui o
transporte
internacional)
Diretor
Técnico
Executivo
Até Out
2001
Instalar o lavador de gases
adquirido
R$ xxx.xxx,00
(inclui mão de
obra + mais
vinda do
técnico
instalador)
Chefe de
Manutenção
Até Dez
2001
Reduzir as
emissões de
compostos
voláteis (COV)
no ar em 10%
em relação ao
ano 2000
Baixar em
80% as
emissões de
diclorometa
no em
relação ao
ano 2000
Fazer ligação do esgoto dos
lavadores na ETA para
tratamento do efluente
R$ xxx.xxx,00
(materiais +
mão de obra)
Chefe de
Manutenção
Até Dez
2001
FONTE: APCER, 2001
A amplitude do programa vai depender, em particular, das capacidades financeiras, tecnológicas
e humanas da organização.
Deve-se, no entanto, ter especial atenção na prioridade que tem que de ser dada aos aspectos
ambientais significativos e ainda atender à seguinte linha de raciocínio:
Uma meta está associada a um objetivo, que, por sua vez está associado a um
ou mais aspectos ambientais e, para cada meta, deverão ser respondidas as
quatro questões: Quem? Faz o quê? Com que meios? Em que prazos? (Ver
Exemplo 2)
O programa de gestão ambiental deve ser continuamente acompanhado quanto ao seu grau de
concretização, devendo ser periodicamente reexaminado e, em caso de necessidade, reajustado.
Adicionalmente, e dado que muitas empresas necessitam de realizar investimentos e
implementar projetos de alguma dimensão, pode ser útil o estabelecimento de procedimentos
específicos para o que poderíamos chamar de planos/projetos de investimento e
desenvolvimento ambiental. Deste modo, fica assegurado que, nos novos projetos, são
identificados os aspectos ambientais que, eventualmente, estejam em causa (ver 4.3.1).
O(s) programa(s) de gestão ambiental podem, ainda, ser elaborados por projeto, instalação,
produto, processo ou atividade elementar.
Tal como os objetivos e metas ambientais, o programa de gestão ambiental deve ser aprovado
pela Direção de forma a garantir que os meios e recursos necessários à sua concretização sejam
previamente assegurados (SGS, 2003; APCER, 2001).
Gerando Evidência
Política Ambiental e Programa de Gestão Ambiental com objetivos e metas;
Cronograma das metas ambientais;
Análise do desempenho para atingir os objetivos através dos indicadores ambientais;
Ações corretivas para os desvios detectados.
Objetivos e metas ambientais quantificados, indicadores definidos e monitorados; e
Programas de Gestão Ambiental com cronogramas de implantação (SEBRAE, 2004).
Não conformidades mais freqüentes
Demasiados Objetivos ou muito poucos. (Devem ser suficientes para que do SGA possam
resultar melhorias reais, mas não tantos que levem a uma dispersão de esforços).
Objetivos e metas não estabelecidos para cada função e nível da organização. Por exemplo,
não abrangeram um determinado setor fabril, com a justificação de que a melhoria contínua
estava a ser assegurada pelos outros setores.
Objetivos e Metas sem dimensão suficiente para serem medidos – pelo menos, deve ser
estabelecida uma data limite prevista.
Objetivos que não levam a melhorias - por ex.: uma empresa cujo negócio é ajudar a
melhorar o desempenho ambiental dos seus clientes, decide que o seu principal objetivo
Interpretação da ISO 14001:2004 Página 57 de 84
ambiental é ' ter mais clientes'. Esta intenção necessita claramente de mais medições, de
modo a permitir a monitorização das melhorias relevantes - medições relacionadas com as
melhorias realmente atingidas pelos clientes, relativamente ao número total de clientes.
A pessoa nomeada para executar o programa não está consciente das suas
responsabilidades.
Os Programas não fornecem suficientes dados mensuráveis, de modo a demonstrar que
existe uma melhoria.
Falta de registros que demonstrem a progressão do programa.
Os recursos são insuficientes para executar um programa e não foram assinalados como um
problema.
Falhar uma meta e não se tomarem quaisquer medidas.
Novos desenvolvimentos em larga escala não detectados pelo processo, por ex.: nova linha
de produção, novos produtos.
'Promessa' feita na Política não executada pelos programas, por ex.: compromisso para
redução do consumo de energia.
Programas associados às questões de implementação de um SGA, por ex.: compromisso para
redução do consumo de energia (SGS, 2003).
Interpretação da ISO 14001:2004 Página 58 de 84
4.4 Implementação e operação
Este item procura definir:
As necessidades de recursos para a equipe de implantação e operação do sistema;
Quem faz o que;
As necessidades de treinamento;
A comunicação de modo eficaz tanto interna quanto externamente;
A documentação e controle do sistema de gestão.
Implica também na necessidade de um controle eficaz sobre as atividades operacionais
relevantes e seus impactos ambientais significativos, considerando também situações acidentais
ou emergenciais ocasionadas por impactos ambientais associados.
É preciso ter em mente que implantar um sistema que agregue valor ao negócio, não agregando
apenas mais trabalho, é sempre bastante complicado. Porém, um sistema bem montado tem sua
implantação de maneira natural e não traumática, sendo bem visto pela maioria dos
funcionários (ORTIZ; PIRERI, 2002).
4.4.1 Recursos, funções, responsabilidades e autoridades
Texto da Norma ISO 14001:2004
A administração deve assegurar a disponibilidade de recursos essenciais para estabelecer,
implementar, manter e melhorar o sistema de gestão ambiental. Esses recursos incluem recursos
humanos e habilidades especializadas, infra-estrutura organizacional, tecnológica e recursos
financeiros.
As funções, responsabilidades e autoridades devem ser definidas, documentadas e comunicadas
visando facilitar uma gestão ambiental eficaz.
A alta administração da organização deve indicar representante(s) específico(s) da
administração, o(s) qual(is), independentemente de outras responsabilidades, deve(m) ter
função, responsabilidade e autoridade definidas para
a) Assegurar que um sistema de gestão ambiental seja estabelecido, implementado e mantido
com os requisitos desta Norma;
b) Relatar à alta administração o desempenho do sistema de gestão ambiental, para análise,
incluindo recomendações de melhoria.
Texto do Anexo A da Norma ISO 14001:2004
A.4 Implementação e operação
A.4.1 Recursos, funções, responsabilidade e autoridades
A implementação bem-sucedida de um sistema da gestão ambiental requer o
comprometimento de todos os empregados da organização ou que atuem em seu nome.
Recomenda-se que as funções e responsabilidades ambientais não sejam vistas como
confinadas à função da gestão ambiental, mas que também cubram outras áreas de uma
organização, tais como a gerência operacional ou outras funções de apoio de cunho não
ambiental.
É recomendado que o comprometimento comece nos níveis mais elevados da administração.
Da mesma forma, é recomendado que a alta administração estabeleça a política ambiental da
organização e assegure que o sistema da gestão ambiental seja implementado. É recomendado
que, como parte deste comprometimento, a alta administração designe seu(s) representante(s)
específico(s), com responsabilidade e autoridade definidas para a implementação do sistema
da gestão ambiental.
No caso de organizações grandes ou complexas, pode existir mais de um representante
designado. Em pequenas e médias empresas, essas responsabilidades podem ser assumidas por
apenas um indivíduo.
Recomenda-se que a administração também assegure que recursos apropriados, tais como,
infra-estrutura organizacional, sejam fornecidos para garantir que o sistema da gestão
ambiental seja estabelecido, implementado e mantido.
Exemplos de infra-estrutura organizacional incluem: edifícios, linhas de comunicação, tanques
subterrâneos, drenagem etc.
É também importante que as principais funções e responsabilidades do sistema da gestão
ambiental sejam bem definidas e comunicadas a todas as pessoas que trabalhem para a
organização ou atuem em seu nome.
Objetivo
Tal como em todos os sistemas de gestão, a ISO 14001 reconhece a necessidade de assegurar
que o pessoal envolvido no SGA está consciente das suas responsabilidades e autoridade
(APCER, 2001).
Interpretação da ISO 14001:2004 Página 59 de 84
Principais mudanças na versão 2004
Mudança da palavra “fornecer” para “assegurar a viabilidade” pode ser significativo para a
organização com alto nível de “turn over”, isto é, significa mais auditorias internas;
O novo título desta clausula enfatiza a importância dos recursos, atribuições e autoridade na
mesma medida que a responsabilidade;
Verifica-se existir igualmente uma alteração ao nível dos vocábulos utilizados. A mais
significativa prende-se com a substituição da palavra “providenciar” utilizado em “A direção
deve providenciar os recursos necessários”. Na versão 2004 verifica-se que “a gestão deve
garantir a disponibilidade de recursos”. Esta alteração significa que as organizações devem
prevenir situações de falta de meios humanos, técnicos ou de outra índole, recorrendo a
planos de contingência de substituição desses meios;
Refere-se ainda que no nível dos recursos foram acrescentadas as infra-estruturas da
organização; e
Muito mais do que reportar à direção o desempenho do SGA, é igualmente suposto, com esta
versão, que o representante da alta administração apresente igualmente recomendações
para a melhoria do SGA (SGS, 2005; APCER, 2005).
Interpretação
Para dar cumprimento a este requisito da norma, é necessária uma definição clara das
responsabilidades (as atividades que têm de desempenhar) e da autoridade (o que as pessoas
podem decidir autonomamente) para as funções dos que gerenciam (todos os níveis
hierárquicos), executam (funções mais relacionadas com as áreas produtivas e/ou executantes) e
verificam (funções mais relacionadas com o controle ambiental), desde que referenciadas ao
nível de procedimentos e outros documentos do sistema de gestão ambiental.
A definição das qualificações mínimas para desempenhar adequadamente uma função é
particularmente importante quando a atividade desenvolvida está de alguma forma, relacionada
com aspectos ambientais significativos ou com o controle e gestão ambiental. Esta definição de
qualificações não tem de ser feita por pessoa, mas sim por função. A flexibilidade, polivalência
ou critérios de substituição devem ser definidos respeitando as qualificações mínimas definidas
para as funções.
A Alta Administração, em seu mais alto nível, deve designar um representante com
responsabilidades e autoridade definidas para a implementação do sistema de gestão ambiental.
Deve ainda disponibilizar os recursos necessários para que o mesmo seja implementado e
mantido (Exemplos: equipamentos, instalações, meios tecnológicos, meios financeiros e
recursos humanos).
O Representante da Administração, com responsabilidades executivas, é um elemento de 1ª
linha que gere a organização na sua atividade corrente, ou outro elemento que não sendo de 1ª
linha reporte a este diretamente, tendo funções executivas na área ambiental (Exemplos:
gerente, diretor geral, diretor do ambiente, diretor da qualidade e ambiente).
Este elemento da direção executiva, além de outras funções, deve ser o principal responsável
pelo estabelecimento, implementação e manutenção do sistema de gestão ambiental e por
fornecer informação à Alta Administração sobre o seu desempenho para efeitos de revisão do
mesmo e para desencadear as ações de melhoria.
Este enunciado não significa que o Representante da Administração tenha que ser um diretor,
mas sim um “elemento da direção”. Isto implica que a organização defina os “limites” do que
considera ser a equipa de direção (grupo de indivíduos com responsabilidades executivas). O
que é essencial é o entrosamento deste elemento na “equipa de direção” e a sua liberdade e
autoridade organizacional para poder assegurar as tarefas acima referidas.
Quando existirem órgãos coletivos e/ou colegiados de decisão e/ou análise (Exemplos:
Comissão/Conselho do Ambiente, Comissão/Conselho da Qualidade e Ambiente), a composição,
responsabilidades e modos de decisão devem estar igualmente definidos (SGS, 2003; APCER,
2001).
Gerando evidência
Matriz de Responsabilidades; e
Memorandos, comunicações internas (CI’s), circulares etc. que mostrem as nomeações das
pessoas, a alocação dos recursos, à disponibilização de equipamentos e instalações etc.
(SEBRAE, 2004).
Interpretação
Pode não ser sempre claro quem é responsável pelo quê.
Esta pode ser uma falha comum na documentação do sistema que está apenas baseado em
fluxogramas sem definição clara de responsabilidades;
Podem não ter sido disponibilizados os recursos humanos suficientes (por exemplo, uma
situação em que o gestor do SGA foi demitido e a nova pessoa incumbida não estava
adequadamente formada para preencher o posto, uma situação onde não há recursos
Interpretação da ISO 14001:2004 Página 60 de 84
humanos suficientes ou capazes para garantir determinadas monitoramento ou controle de
operações, não haver recursos para a realização de auditorias internas);
Numa outra ocasião, a 'administração' decidiu não financiar o programa, que estava a tratar
com o aspecto mais significativo da empresa (um estudo para estabelecer se o local estava
contaminado);
As funções de Representante da Administração são partilhadas por dois indivíduos sem haver
uma definição clara das responsabilidades, de modo a assegurar a cobertura de todas as
funções; e
As funções de Representante da Administração encontram-se atribuídas a uma pessoa sem os
conhecimentos suficientes para a função e sem autoridade reconhecida pelos elementos da
organização (SGS, 2003; APCER, 2001).
4.4.2 Competência, treinamento e conscientização
Texto da Norma ISO 14001:2004
A organização deve assegurar que qualquer pessoa(s) que para ela ou em seu nome, realize
tarefas que tenham o potencial de causar impactos ambientais significativos identificados pela
organização, seja competente com base em formação apropriada, treinamento ou experiência,
devendo reter os registros associados.
A organização deve identificar as necessidades de formação associadas aos seus aspectos e ao
seu sistema de gestão ambiental. Ela deve prover treinamento ou tomar alguma ação para
atender a essas necessidades, devendo reter os registros associados.
A organização deve estabelecer, implementar e manter procedimentos para fazer com que as
pessoas que trabalham para ela ou em seu nome, estejam conscientes:
a) Da importância de estar em conformidade com a política ambiental, procedimentos e
requisitos do sistema de gestão ambiental;
b) Dos aspectos ambientais significativos e respectivos impactos reais ou potenciais,
associados com seu trabalho e dos benefícios ambientais provenientes da melhoria do seu
desempenho pessoal;
c) De suas funções e responsabilidades em atingir a conformidade com os requisitos do sistema
de gestão ambiental;
Das potenciais conseqüências da inobservância de procedimento(s) especificado(s).
Texto do Anexo A da Norma ISO 14001:2004
A.4.2 Competência, Treinamento e Conscientização
É recomendado que a organização identifique a conscientização, o conhecimento, a compreensão
e as habilidades necessárias a qualquer indivíduo com responsabilidade e autoridade para
realizar tarefas em seu nome.
Esta Norma requer que
a) as pessoas cujo trabalho possa causar impacto(s) ambiental(is) significativo(s)
identificado(s) pela organização sejam competentes para realizar as tarefas para as quais foram
designadas,
b) as necessidades de treinamento sejam identificadas e ações sejam tomadas para assegurar
que o treinamento seja fornecido,
c) todas as pessoas estejam conscientes da política ambiental, do sistema da gestão ambiental
e dos aspectos ambientais das atividades, produtos e serviços da organização que possam ser
afetados pelo seu trabalho.
Conscientização, conhecimento, compreensão e competência podem ser obtidos ou melhorados
por meio de treinamento, formação educacional ou experiência de trabalho.
É recomendado que a organização requeira que seus prestadores de serviço demonstrem que seus
empregados possuem o requisito competência e/ou treinamento apropriado.
É recomendado que a administração determine o nível de experiência, competência e
treinamento necessários para assegurar a capacitação do pessoal, especialmente daqueles que
desempenham funções especializadas da gestão ambiental.
Objetivo
Conscientizar de que de nada serve ter um SGA definido se o pessoal que deveria fazê-lo
funcionar não tem as competências necessárias, não estão treinados ou não estão conscientes
da política da organização (SGS, 2003).
Principais mudanças na versão 2004
Mudanças na ordem dos parágrafos em função da sua ordem de importância;
Interpretação da ISO 14001:2004 Página 61 de 84
Mais que os funcionários – cuidados especiais devem ser tomados para assegurar que
pessoas executem tarefas relevantes, por exemplo, em termos de ter competência;
Indicação explicita que é a organização quem cabe assegurar-se que cada pessoa que
desempenhe uma determinada função, com um determinado potencial impacto no ambiente,
para ou em nome da organização (alteração já referida), seja competente;
Substituição do termo “educação” por “escolaridade”; e
A nova norma é também mais explícita quanto à identificação das necessidades de formação
associadas aos seus aspectos ambientais e ao seu sistema de gestão ambiental (SGS, 2005;
APCER, 2005).
Interpretação
O essencial deste requisito não é a elaboração de um plano de formação, mas sim a identificação
das necessidades de formação. O plano é uma conseqüência das necessidades e um meio para
satisfazê-las.
É igualmente essencial a definição clara das qualificações (por exemplo, formação escolar e
profissional, experiência profissional e treinamento) que a organização considera como mínima
para um colaborador poder desempenhar uma função sem pôr em risco o desempenho
ambiental e os compromissos legais e voluntários assumidos, mesmo que o perfil definido não
corresponda ao perfil do atual detentor da função. Não se esquecer de que perfis inadequados,
principalmente em relação aos requisitos definidos, devem ter associados planos de formação e
treinamento.
A identificação das necessidades de formação pode ser feita através de duas fontes principais:
A primeira é a definição das qualificações mínimas exigidas para todas as funções com
potencial para causar impactos ambientais significativos. Como já foi afirmado no subitem
4.4.1, a descrição de funções deve incluir os requisitos mínimos para as funções.
Esta identificação das necessidades é de alguma forma, automática. Por exemplo, se um
funcionário vai passar a executar outra tarefa para a qual estão definidas qualificações que
ele não possui então essa é uma necessidade identificada e deve estar contemplada no plano
de formação.
A segunda é a análise das necessidades de formação nos diversos níveis da organização que
desempenham funções com incidência ambiental, que poderá ser feita das mais variadas
formas, mas garantindo sempre a justificação das necessidades apontadas.
A identificação de uma formação específica para um grupo de operários, por exemplo, pelo
seu superior hierárquico, deve estar devidamente fundamentada, por exemplo, em
problemas existentes na área (número de vezes que valores limites de emissão são
ultrapassados), na introdução de novas tecnologias (por exemplo, eletrofiltros), na
introdução de novos métodos de trabalho (por exemplo, novo equipamento), na introdução
de novos procedimentos/alteração aos existentes (por exemplo, quando da implementação
do sistema), na alteração da implantação duma linha, no estabelecimento/alteração de
circuitos documentais, na introdução da informatização de alguma atividade, etc.
Caso as atividades com impacto ambiental significativo sejam desenvolvidas por colaboradores
subcontratados, o levantamento de necessidades deverá ser igualmente assegurado.
Para o levantamento de necessidades podem ser consideradas, além do conhecimento direto,
outras fontes de informação:
Constatações de auditorias realizadas;
Não conformidades detectadas;
Ocorrência de acidentes ou situações de emergência;
Ações corretivas desencadeadas;
Reclamações;
Análises efetuadas quando da revisão do sistema de gestão ambiental.
Situações que podem igualmente ser consideradas são:
Novos métodos de trabalho;
Realocação de pessoas (transferências internas);
Admissão de novos colaboradores, a título permanente ou temporário; e
A obrigatoriedade de cumprimento de requisitos específicos sejam eles internos,
contratuais, regulamentares ou legais.
Considerando o que foi exposto, não é normalmente aceitável que o plano de formação seja
elaborado apenas a partir dos catálogos comerciais disponíveis, sem uma adequada
identificação das necessidades nos termos já referidos.
Segundo o enunciado deste requisito, os planos de formação devem incluir formas de
conscientização dos elementos da organização ou subcontratados para:
Os requisitos do sistema de gestão ambiental;
Interpretação da ISO 14001:2004 Página 62 de 84
Os impactos ambientais significativos (atuais ou potenciais) das suas atividades;
Os seus papéis e responsabilidades nas situações de resposta à emergência; e
As conseqüências de não respeitar os procedimentos operacionais estabelecidos.
O plano deve prever a revisão de forma a incluir as ações não previstas quando da elaboração do
plano inicial ou para reprogramar ações.
Devem ser mantidos registros apropriados (ver subitem 4.5.3) das atividades afetas à formação
(Exemplos: identificação das necessidades de formação, plano de formação, sumários das ações
de formação, lista de presenças, certificados de participação, escolaridade etc.).
A formação de cada colaborador deve ser evidenciável individualmente.
Quando a formação inclui uma experiência prática importante, por exemplo, seis meses no posto
de trabalho, deve existir um relatório comprovando que a pessoa em questão está em condições
de desempenhar as funções previstas. Esta é uma forma de evidenciar que a formação foi
efetuada.
Quando a empresa está implementando os procedimentos de formação, na maioria das
situações, muitos funcionários não freqüentaram cursos de formação necessários à sua
qualificação. Nestes casos, é aconselhável que a empresa efetue a “recuperação” possível da
qualificação, nem que seja a partir do conhecimento dos responsáveis com maior antiguidade
(SGS, 2003; APCER, 2001).
Gerando evidência
Planos de treinamento;
Avaliações/atas de reunião para levantamento das necessidades;
Registros de educação (escolaridade);
Registros de treinamento, listas de presença; e
Avaliações da eficácia de treinamentos (SEBRAE, 2004).
Não conformidades mais freqüentes
Por vezes uma empresa pode "comprar conhecimento ambiental", isto é, recorrer à
consultoria. Isto é perfeitamente aceitável, mas, precisa ser reconhecido e mantido pelo SGA,
incluindo qualquer formação relevante ou registro de competência, relacionados com esse
fato. Mais, a empresa necessita de identificar o que deverá ser feito em termos de formação,
quando já não possuir o apoio dos consultores, caso seja essa a opção;
Como se verá posteriormente é necessário haver um conhecimento da ISO 14001 até como
base para as auditorias internas. Esta questão pode não ser coberta e os auditores internos
podem saber muito bem como auditar por forma a verificar o cumprimento dos
procedimentos, mas, podem não ser capazes de verificar se os próprios procedimentos e o
sistema estão em concordância com a ISO 14001;
Em várias ocasiões, descobre-se que o pessoal não tem conhecimento nem está treinado
para os procedimentos de emergência relevantes;
O conhecimento e conscientização dos critérios de não conformidade e dos procedimentos
podem ser insuficientes. Esta circunstância leva a que não sejam reportados problemas e,
mais tarde, à repetição desses mesmos problemas, em vez da sua prevenção;
Ocasionalmente, a avaliação dos Aspectos falha ou não capta questões importantes, devido à
falta de formação ou de competência por parte dos que executam este processo vital. Por
exemplo, não se aperceberam que os extintores de Halon, contêm substâncias nocivas a
camada de ozônio (BFC's ); e
Para a certificação é exigido que todo o pessoal tenha consciência da Política, dos Objetivos
e dos Aspectos Significativos associados às suas funções. Descobre-se frequentemente que a
localização e o conteúdo da Política são desconhecidos e as pessoas não têm consciência de
quais os aspectos e os impactos significativos relacionados com a sua atividade do dia-a-dia
(SGS, 2003; APCER, 2001).
4.4.3 Comunicação
Texto da Norma ISO 14001:2004
Com relação aos seus aspectos ambientais e sistema de gestão ambiental, a organização deve
estabelecer, implementar e manter procedimento(s) para
a) Comunicação interna entre vários níveis e funções da organização;
b) Recebimento, documentação e resposta a comunicações pertinentes oriundas de partes
interessadas externas.
A organização deve decidir se realizará comunicação externa sobre seus aspectos ambientais
significativos, devendo documentar sua decisão. Se a decisão for comunicar, a organização deve
estabelecer e implementar método(s) para esta comunicação externa.
Interpretação da ISO 14001:2004 Página 63 de 84
Texto do Anexo A da Norma ISO 14001:2004
A.4.3 Comunicação
A comunicação interna é importante para assegurar a eficaz implementação do sistema da
gestão ambiental. Os métodos de comunicação interna podem incluir reuniões regulares de
grupos de trabalho, boletins informativos, quadros de aviso e intranet.
Recomenda-se que as organizações implementem um procedimento para receber, documentar e
responder às comunicações das partes interessadas. Este procedimento pode incluir um diálogo
com as partes interessadas e a consideração de suas preocupações pertinentes. Em certas
circunstâncias, o atendimento às preocupações das partes interessadas pode incluir
informações relevantes sobre os aspectos e impactos ambientais associados às operações das
organizações. Recomenda-se que esses procedimentos também tratem da comunicação
necessária com as autoridades públicas relativamente ao planejamento de emergência e a outras
questões pertinentes.
A organização pode planejar sua comunicação, levando em consideração as decisões sobre
grupos-alvo pertinentes, as mensagens e temas apropriados e a escolha dos meios de
comunicação.
Ao considerar a comunicação externa sobre aspectos ambientais, recomenda-se que as
organizações levem em consideração os pontos de vista e as necessidades de informação de
todas as partes interessadas. Se a decisão for por comunicar externamente sobre seus aspectos
ambientais, a organização pode estabelecer um procedimento para este fim. Este procedimento
poderia se alterar dependendo de vários fatores, inclusive o tipo de informação a ser
comunicada, o grupo-alvo e as circunstâncias individuais de cada organização. Os métodos para
comunicação externa podem incluir relatórios anuais, boletins informativos, páginas na
Internet e reuniões da comunidade.
Interpretação
A norma reconhece a necessidade da organização se certificar que a informação é efetivamente
comunicada, tanto dentro da empresa, como a entidades externas, como por exemplo, as
autoridades competentes, a comunidade local ou "grupos de pressão", ou seja, as partes
interessadas (SGS, 2003).
Principais mudanças na versão 2004
Esclarece como organizações devem proceder, se elas decidirem comunicar externamente,
seus aspectos ambientais significativos;
Estabelece métodos e procedimentos para comunicação externa; e
Muitas organizações realizam comunicação externa – todavia, se a organização escolher uma
condição que ela não deva comunicar externamente, ela deverá documentar essa decisão
(SGS, 2005; APCER, 2005).
Interpretação
Este requisito inclui dois tipos de comunicação no que diz respeito aos aspectos ambientais e ao
próprio sistema de gestão ambiental, a comunicação interna e a comunicação externa.
A comunicação interna, entre os diversos níveis e funções relacionados com o ambiente, tem
como objetivo facilitar o entendimento e a cooperação mútua de todo o pessoal envolvido no
desempenho ambiental. Deverá ser elaborado um procedimento onde sejam estabelecidos os
meios de comunicação internas formais (ordens de serviço, memorandos, etc.) e informais
(jornais internos, intranet, placar, etc.) e respectivos registros.
A comunicação externa deverá ser entendida em duas vertentes, o tratamento das exigências
das partes interessadas externas e a comunicação externa voluntária.
No primeiro caso, deverá ser dado especial destaque:
Às comunicações obrigatórias com os órgãos oficiais, principalmente, no que diz respeito à
informação do autocontrole dos aspectos ambientais (Exemplo registro anual de resíduos
industriais e hospitalares, relatórios bianuais do monitoramento dos efluentes gasosos ou
trimestrais do monitoramento em contínuo, relatórios do monitoramento dos efluentes
líquidos conforme respectiva licença de descarga, etc.);
Em relação às informações periódicas e obrigatórias a fornecer aos órgãos oficiais, é
recomendável a elaboração de uma tabela, ou quadro, com indicação da base legal, do
conteúdo, forma e periodicidade da informação, bem como das responsabilidades pela
recolha, tratamento, envio e controle; e
Às formas de tratar os pedidos de informação provenientes das partes interessadas externas,
assegurando a resposta a reclamações e a formalização dos processos adotados para a sua
recepção, tratamento, resposta e respectivos registros.
Em relação à comunicação externa voluntária, a norma não exige que a organização a adote.
Caso esta pretenda fazê-lo deverá ser cautelosa, procedendo a uma análise dos prós e contras
Interpretação da ISO 14001:2004 Página 64 de 84
de tal divulgação e, depois, estabelecê-la formalizando os moldes em que deverá ser realizada.
Podem ser usados como veículos para transmitir os aspectos relevantes das atividades e do
sistema de gestão ambiental, bem como dar resposta às preocupações de partes interessadas
jornais internos, relatórios ambientais, publicações externas (jornais, revistas) e a Internet.
Em particular, a comunicação através das suas diversas formas, deve traduzir-se, efetivamente,
na possibilidade de os empregados e as partes interessadas poderem manifestar as suas
preocupações (incluindo eventuais respostas a reclamações ambientais).
Em todas as comunicações devem ser mantidos registros/evidências (ver subitem 4.5.3) (SGS,
2003; APCER, 2001).
Gerando evidência
Memorandos, boletins, cartas, comunicações internas (CIs), circulares etc. sobre fatos
ambientais da organização;
Panfletos, cartazes, jornais e outras formas de comunicação interna e externa sobre o
desempenho ambiental da organização; e
Relatórios e outras formas de informação às partes interessadas internas e externas (SEBRAE,
2004).
Não conformidades mais freqüentes
Por vezes não existe nenhum procedimento documentado que cubra esse requisito;
As comunicações internas, juntamente com a formação, são os mecanismos que garantem a
conscientização do pessoal relativamente ao SGA e às questões ambientais relacionadas com
a empresa e com o trabalho individual de cada um. Os problemas nesta área manifestam-se
muitas vezes na falta de conhecimento de alterações da legislação e nas suas conseqüências;
Comunicações Externas - são testadas por vezes em entrevistas com o pessoal, normalmente
os que representam o primeiro contato com a empresa (ex.: recepcionistas, vendedores,
pessoal de marketing), para garantir que eles estão conscientes da necessidade de assegurar
que as questões ambientais, reclamações e esclarecimentos são devidamente tratados e
direcionados à pessoa certa, que irá iniciar desencadear a eventual ação necessária. Não é
incomum estas pessoas não terem conhecimento das suas responsabilidades no
encaminhamento destes esclarecimentos, reclamações ou pedidos, para o receptor correto; e
Decisão acerca da disponibilidade de informações do SGA - muitas vezes não é registrada.
Algumas vezes são registradas nas minutas da Revisão pela Direção, outras nos
procedimentos da comunicação (SGS, 2003; APCER, 2001).
4.4.4 Documentação
Texto da Norma ISO 14001:2004
A documentação do sistema de gestão ambiental deve incluir:
a) Política, objetivos e metas ambientais;
b) Descrição do escopo do sistema de gestão ambiental;
c) Descrição dos principais elementos do sistema de gestão ambiental e sua interação e
referência a documentos associados;
d) Documentos, incluindo registros, requeridos por esta Norma, e
e) Documentos, incluindo registros, determinados pela organização como sendo necessários
para assegurar o planejamento, operação e controle eficazes dos processos que sejam
associados com seus aspectos ambientais significativos.
Texto do Anexo A da Norma ISO 14001:2004
A.4.4 Documentação
Recomenda-se que o nível de detalhamento da documentação seja suficiente para descrever os
elementos principais do sistema da gestão ambiental e sua interação, fornecendo orientação
sobre fontes de informação mais detalhadas sobre o funcionamento de partes específicas do
sistema da gestão ambiental. Essa documentação pode ser integrada com as de outros sistemas
implementados pela organização, não precisando estar na forma de um único manual.
A extensão da documentação do sistema da gestão ambiental pode diferir de uma organização
para outra, dependendo
a) do porte e tipo de organização e suas atividades, produtos ou serviços,
b) da complexidade dos processos e suas interações, e
c) da competência do pessoal.
Exemplos de documentos incluem
- declarações das políticas, objetivos e metas,
Interpretação da ISO 14001:2004 Página 65 de 84
- informações sobre os aspectos ambientais significativos,
- procedimentos,
- informações de processo,
- organogramas,
- normas internas e externas,
- planos locais de emergência,
- registros.
Recomenda-se que qualquer decisão de documentar procedimento(s) seja baseada em questões
tais como
- as conseqüências, inclusive aquelas relativas ao meio ambiente, de não fazê-lo,
- a necessidade de demonstrar o atendimento a requisitos legais e outros requisitos subscritos
pela organização,
- a necessidade de se assegurar que a atividade seja realizada de forma constante,
- as vantagens de agir assim, que podem incluir a implementação facilitada por meio da
comunicação e treinamento, manutenção e revisão facilitada, menor risco de ambigüidades e
desvios, capacidade de demonstração e visibilidade,
- os requisitos desta Norma.
Os documentos originalmente criados para fins outros que não o sistema da gestão ambiental
podem ser utilizados como parte deste sistema e, se assim utilizados, terão que ser
referenciados no sistema.
Objetivo
Neste requisito a norma pretende que se forneça um "roteiro" que esclareça como é que o SGA
da sua organização se encontra relacionado com a ISO 14001 e como é que esse sistema, ou
outro sistema de gestão, dá resposta aos requisitos da norma (SGS, 2003).
Principais mudanças na versão 2004
Alteração do nome do subitem. O articulado deste subitem acrescenta uma série de documentos
que embora o articulado da versão anterior não contemplasse, já eram necessários. Apenas as
necessidades de documentar o âmbito e os aspectos ambientais aparecem como novidade.
Deixam de serem obrigatoriamente documentados os procedimentos relacionados com o
monitoramento e medição (subitem 4.5.1) e a avaliação do atendimento a requisitos legais e
outros (subitem 4.5.2) ainda que sejam obrigatórios os registros deste processo (SGS, 2005;
APCER, 2005).
Interpretação
Um sistema de gestão ambiental pode ser entendido como o conjunto da estrutura
organizacional, dos procedimentos, dos processos e dos recursos necessários para implementar
a gestão ambiental. Assim sendo, a sua documentação deve contemplar todas as funções e
atividades que contribuem para o cumprimento dos requisitos especificados, constituindo um
retrato fiel da realidade da empresa.
A definição do sistema de gestão ambiental e da sua estrutura documental deve adequar-se às
características de cada organização (estrutura orgânica, dimensão, recursos, cultura), aos seus
processos, produtos, serviços, clientes, mercados, fornecedores e sensibilidade do meio
envolvente.
A abrangência da documentação do sistema de gestão ambiental deve ser suficiente para
contemplar todas as funções aplicáveis da norma de referência podendo, no entanto, ser mais
abrangente em função de situações contratuais específicas.
A estrutura documental não passa obrigatoriamente pela elaboração de um manual de gestão
ambiental. No entanto, deve ser estabelecida de uma forma lógica, hierarquizada, coerente (sem
omissões nem sobreposições) e permitindo a integração de todos os documentos relevantes do
sistema. Por hierarquização entendem-se como sendo a classificação por ordem de importância
dos documentos (com níveis) e a sua interligação objetiva.
Caso a organização opte pela elaboração do manual de gestão ambiental poderá ter em conta os
seguintes elementos:
Indicação do objetivo e campo de aplicação do sistema de gestão ambiental;
Descrição, história, atividades e locais da organização;
Política ambiental;
Apresentação da sua estrutura orgânica, de forma a ser perceptível o funcionamento da
organização, com particular ênfase na função de gestão ambiental; e
Inclusão ou referência a procedimentos do sistema de gestão ambiental, relacionando-os
com os requisitos de cada uma das funções aplicáveis da norma de referência.
Interpretação da ISO 14001:2004 Página 66 de 84
Caso não seja esta a opção, é importante a elaboração de uma matriz que demonstre o modo
como às funções da norma são respondidas.
Considera-se que os procedimentos são uma parte relevante do sistema documental já que
constituem a documentação de base para todo o planejamento, execução e verificação das
atividades relevantes para a gestão ambiental. O conjunto dos procedimentos documentados
deve responder a todas as funções/requisitos da norma de referência, em especial quando
formalmente especificado nos próprios requisitos.
Os procedimentos determinam “quem” faz “o quê”, “quando”, “onde”, “por quê” e “como”.
Poderá ser conveniente a descrição do “como” num tipo diferente de documentos (Exemplos:
instrução de trabalho, procedimento operativo) desde que seja clara a sua ligação com os
anteriores. Os procedimentos podem, igualmente, remeter para documentos de origem externa
(Exemplos: normas, especificações de clientes, legislação) ou interna (por exemplo, impressos).
Estes procedimentos escritos devem ter atualização permanente, correspondendo de fato às
práticas seguidas na realização das atividades a que dizem respeito.
O conteúdo, extensão e detalhe dos procedimentos devem ter em atenção:
A complexidade do trabalho (necessidade de pormenorização);
A formação dos utilizadores (qualificação necessária para a realização das tarefas).
A documentação considerada pode ainda incluir: informação sobre o processo, organogramas,
normas internas e planos de emergência das instalações (SGS, 2003; APCER, 2001).
Gerando evidência
Manual do Meio Ambiente, Procedimentos e Instruções, leis e regulamentos aplicáveis (SEBRAE,
2004).
Não conformidades mais freqüentes
Não é feita a referência cruzada com os procedimentos do Sistema da Qualidade ou de outro
sistema de gestão, que executam ou apóiam parte do SGA (ex.: manuseamento de químicos,
controle de registros, planos de emergência);
Os meios para a realização de parte dos requisitos da ISO 14001 não são claros,
normalmente, os meios de confirmação dos cumprimentos legais e comunicações externas,
relacionadas com os Aspectos Significativos; e
Procedimento não auditável - não define como são feitas as coisas (SGS, 2003; APCER, 2001).
4.4.5 Controle de documentos
Texto da Norma ISO 14001:2004
Os documentos requeridos pelo sistema de gestão ambiental e por esta Norma devem ser
controlados. Registros são um tipo especial de documento e devem ser controlados de acordo
com os requisitos estabelecidos em 4.5.4.
A organização deve estabelecer, implementar e manter procedimento(s) para:
a) Aprovar os documentos quanto à sua adequação antes do uso;
b) Analisar e atualizar, conforme necessário, e reaprovar os documentos;
c) Assegurar que as alterações e a situação atual de revisão dos documentos sejam
identificadas;
d) Assegurar que as versões relevantes de documentos aplicáveis estão disponíveis em seu
ponto de uso;
e) Assegurar que os documentos permanecem legíveis e prontamente identificáveis;
f) Assegurar que os documentos de origem externa determinados pela organização como sendo
necessários ao planejamento e operação do sistema de gestão ambiental sejam identificados
e a sua distribuição seja controlada, e
g) Prevenir a utilização não intencional de documentos obsoletos, e utilizar identificação
adequada nestes, se forem retidos para quaisquer fins.
Texto do Anexo A da Norma ISO 14001:2004
A.4.5 Controle de documentos
A intenção de 4.4.5 é assegurar que as organizações criem e mantenham documentos de forma
adequada à implementação do sistema da gestão ambiental. Entretanto, é recomendado que o
foco primordial das organizações seja na efetiva implementação do sistema da gestão ambiental
e no desempenho ambiental e não em um complexo sistema de controle de documentação.
Interpretação da ISO 14001:2004 Página 67 de 84
Objetivo
O SGA, quando documentado, será o guia para a 'melhor prática' correntemente conhecida da
sua empresa. Pela sua importância, torna-se assim necessária a sua aprovação, atualização e
disponibilização para os que dele necessitam (SGS, 2003; APCER, 2001).
Principais mudanças na versão 2004
Alinhamento com a ISO 9001:2000. Controle de documentos de origem externa necessários para
o planejamento e operação do SGA, identificando-os e controlando a sua distribuição (SGS,
2005; APCER, 2005).
Interpretação
O controle dos documentos está estreitamente relacionado com o requisito anterior. Trata-se de
controlar os tipos de documentos previstos na estrutura documental, incluindo os impressos
(máscaras, formatos ou outras designações equivalentes).
Além dos documentos, devem também ser considerados, e adequadamente controlados, os
dados suscetíveis de alteração, exemplos:
Listas de fornecedores de serviços ou produtos com implicações ambientais;
Lista de clientes com exigências ambientais;
Lista de equipamentos de medição e monitoramento a calibrar;
Lista de funcionários qualificados para exercer atividades com potencial para causar impacto
ambiental significativo;
Listagens ou extratos dos anteriores;
Os dados com suporte informatizado; e
Os dados resultantes do tratamento de outros contemplados em registros ou documentos e
apresentados, por exemplo, em relatórios (Exemplos: produção média mensal de resíduos,
consumo médio mensal de água e energia por unidade de produção).
São também documentos a serem controlados os que tenham origem no exterior da empresa tais
como boletins de análises ou relatórios de medições realizadas no exterior, informação técnica
de clientes ou fornecedores, normas, regulamentos, legislação, códigos de boa prática, licenças
e pareceres de entidades oficiais.
Os documentos considerados como parte integrante do sistema de gestão ambiental, têm de ser
objetivamente identificados, para que se possam se adotadas metodologias adequadas para o
seu controle. Para efeitos de controle, os documentos devem ter uma designação, podendo
ainda ter um código/referência.
Os sistemas de codificação dos documentos e impressos devem ser concebidos de modo a
permitirem uma identificação fácil, pelo menos, dos níveis da estrutura da documentação. Estes
sistemas de codificação devem estar documentados de modo a garantir a sua coerência e
adoção por todas as funções envolvidas no controle dos documentos e dados.
É recomendável que a empresa identifique todos os tipos de documentos e todas as
responsabilidades associadas aos aspectos de controle (elaboração, verificação, aprovação,
emissão, lista de distribuição, original, arquivo histórico) sob a forma de uma matriz ou outra
equivalente.
A verificação deve ser feita por quem tenha competência técnica e/ou de gestão pelo menos
igual a quem elaborou o documento. Esta verificação deve consistir na análise da coerência
entre este e os restantes do mesmo tipo (e/ou com tipos de documentos com objetivos
complementares), assim como a salvaguarda da sua adequabilidade face aos requisitos da norma
de referência ou outros.
Atentando para o fato de que os documentos são elaborados com o objetivo de transmitir
metodologias, orientações, instruções ou informações a alguém, então deve ser definida a sua
fonte emissora (quem os faz) e os destinatários para quem distribuir.
A distribuição dos documentos deve garantir que estes estão disponíveis, na versão atualizada,
onde são necessários. Devem existir evidências desta distribuição.
Os documentos uma vez alterados (revisados) e/ou extintos (obsoletos) devem ser removidos
dos locais de utilização e, sempre que previsto, arquivado um exemplar de cada documento
substituído, devidamente identificado. As responsabilidades por estas atividades devem estar
estabelecidas.
As alterações/modificações devem respeitar os circuitos estabelecidos para todos os aspectos
do controle dos documentos, anteriormente definidos.
A natureza das alterações deve ser registrada de forma a facilitar o seu entendimento e
aplicação pelos utilizadores.
Só são aceitáveis alterações manuscritas nos documentos distribuídos (por exemplo, “desenho
da rede de águas residuais industriais”) se forem efetuadas pelas funções autorizadas e
cumprirem os circuitos estabelecidos, assegurando que os originais são posteriormente
alterados, bem como as outras cópias existentes.
Interpretação da ISO 14001:2004 Página 68 de 84
O controle de documentos, dados e impressos gerados e controlados eletronicamente, obriga o
estabelecimento de procedimentos adicionais de validação e, ainda, de segurança, integridade e
acesso aos mesmos.
Os documentos devem ter formas (assinaturas digitalizadas, siglas, símbolos ou outras soluções)
de indicar aos utilizadores, quem são os responsáveis pelo controle dos documentos.
Os documentos em suporte eletrônico (Exemplos: disquetes / bandas magnéticas e outros)
devem estar incluídos nos sistemas de controle (SGS, 2003; APCER, 2001).
Gerando evidência
Procedimento de controle dos documentos da organização;
Documentos validados (em uso), com as devidas evidências de emissão, aprovação e
implementação; e
Listas de distribuição dos documentos (SEBRAE, 2004).
Não conformidades mais freqüentes
O problema mais comum encontrado é que os documentos e os procedimentos não estão
disponíveis nos locais onde são necessários. Este é por vezes o caso em que os sistemas de
gestão têm os documentos apenas em formato eletrônico;
As publicações mais recentes não estão disponíveis para todos os utilizadores, devido a falta
de atualização e a procedimentos de controle;
Por vezes o mecanismo de aprovação dos procedimentos não é claro, nem existe um plano
de revisão dos procedimentos para confirmar se eles ainda são relevantes e se refletem com
exatidão os requisitos dos processos que descrevem (SGS, 2003; APCER, 2001).
4.4.6 Controle operacional
Texto da Norma ISO 14001:2004
A organização deve identificar e planejar aquelas operações que estejam associadas aos
aspectos ambientais significativos, identificados de acordo com sua política, objetivos e metas
ambientais para assegurar que elas sejam realizadas sob condições específicas por meio de:
a) Estabelecimento, implementação e manutenção de procedimento(s) documentado(s) para
controlar situações onde sua ausência possa acarretar desvios em relação à sua política e
aos objetivos e metas ambientais;
b) Determinação de critérios operacionais no(s) procedimento(s); e
c) Estabelecimento, implementação e manutenção de procedimento(s) associados(s) aos
aspectos ambientais significativos identificados de produtos e serviços utilizados pela
organização e da comunicação de procedimentos e requisitos para pertinentes a
fornecedores, incluindo-se prestadores de serviço.
Texto do Anexo A da Norma ISO 14001:2004
A.4.6 Controle operacional
Recomenda-se que uma organização avalie quais de suas operações estão associadas com seus
aspectos ambientais significativos identificados e assegure que elas sejam conduzidas de modo
a controlar ou reduzir os impactos ambientais adversos associados, para atender aos requisitos
de sua política ambiental e atingir seus objetivos e metas. Recomenda-se que sejam
consideradas todas as partes de suas operações, incluindo as atividades de manutenção.
Como esta parte do sistema da gestão ambiental fornece orientação de como levar os requisitos
do sistema para as operações do dia-a-dia, 4.4.6 a) requer o uso de procedimento(s)
documentado(s) para controlar situações onde sua ausência possa levar a desvios em relação à
política ambiental, aos objetivos e às metas.
Objetivo
Os mecanismos da ISO 14001 para gerir processos que estão relacionados com os impactos da
empresa no meio ambiente são os procedimentos de controle operacional. Estes são instruções
pormenorizadas para processos como, por exemplo: gestão de resíduos, gestão de consumos
energéticos (não somente monitoramento), armazenamento de químicos.
Os aspectos mais significativos serão sujeitos à gestão através de procedimentos de controle
operacional (muitos destes procedimentos já existem como parte dos Sistemas de Gestão da
Qualidade ou de Gestão da Segurança) (SGS, 2003).
Principais mudanças na versão 2004
Segundo a APCER (2005) não existem alterações significativas.
Interpretação da ISO 14001:2004 Página 69 de 84
Interpretação
Este requisito da norma está diretamente relacionado com a identificação dos aspectos
ambientais significativos.
É necessário remontar à origem ou à fonte do impacto significativo e documentar os processos
necessários para o seu controle. A documentação pode ser feita através da elaboração de modos
operatórios, instruções, etc. (Ver Exemplo 3). Posteriormente, deve ser assegurado que estas
atividades são efetuadas de acordo com as condições específicas estabelecidas nos
procedimentos.
Na verdade, têm de ser elaborados procedimentos/instruções de trabalho para as atividades,
onde a sua ausência possa afetar negativamente o ambiente ou o resultado esperado.
Estes documentos devem definir os recursos humanos e materiais, as responsabilidades e os
critérios de execução e de controle do processo. Devem ser escritos, tendo em vista o utilizador,
devendo apenas conter a informação que ele possa necessitar e entender. Por exemplo: não
adianta explicar, em uma instrução de como operar um equipamento de despoeiramento, as
implicações das partículas ao nível da flora, se o operador não as entende, nem vai tirar dessa
informação qualquer vantagem.
Em qualquer caso, as instruções têm de ser precisas. Por exemplo, não deve ser aceitável que se
diga apenas “não ultrapassar os limites”, sem se definir qualquer parâmetro (temperatura,
caudal, pressão, etc.) com relevância para o sucesso do controle do poluente em causa.
Os procedimentos/instruções podem ser elaborados no sentido de permitir estabelecer regras
conjuntas para o controle ambiental, da qualidade e da segurança, já que muitas vezes os
operadores têm de operar os equipamentos de modo a alcançar aqueles três objetivos
simultaneamente.
Sempre que a sua ausência possa afetar a correta execução do trabalho e provocar um
agravamento dos impactos ambientais da atividade em causa, a manutenção deve ser planejada
e as intervenções executadas de acordo com instruções escritas. Estas intervenções devem gerar
registros que permitam planejar novamente as intervenções em função do histórico dos
equipamentos.
Quando alguma parte dos planos seja executada pelos próprios operadores dos equipamentos,
os mesmos devem ser adequadamente treinados e devem dispor dos meios necessários.
Salienta-se que o controle operacional também deve ser usado quando há necessidade de
assegurar características anunciadas/especificadas para os produtos (por exemplo, % de
material reciclado incorporado, não utilização de CFC’s, etc.).
Por último, a organização deve selecionar os seus fornecedores de bens e serviços com base nas
suas capacidades (técnicas e organizativas) para respeitar os requisitos da organização, da
legislação aplicável e da sociedade. Para o efeito, a empresa deve ter procedimentos para
transmitir aos fornecedores às especificações completas dos bens e serviços a prestar, sempre
que tenha sido detectada a influência da atividade dos fornecedores e das empresas
subcontratadas nos impactos ambientais significativos da organização.
Embora o enunciado da norma não seja explícito quanto à necessidade de avaliar e selecionar os
fornecedores, a empresa deve integrar os fornecedores de serviços com potencial impacto
ambiental significativo dentro ou fora da organização (Exemplo: transportadores, destinatários
de resíduos, laboratórios de ensaios de efluentes líquidos ou gasosos, etc.), no seu sistema de
gestão ambiental.
Assim, a organização deve analisar a influência do produto/serviço a comprar no seu
desempenho ambiental, já que existem produtos/serviços fornecidos por terceiros que são
relevantes e outros que o não são de forma determinante, pelo que a avaliação dos fornecedores
poderá ser de exigência variável em função da importância dos seus fornecimentos/serviços
para o cumprimento da política ambiental da organização.
A avaliação e seleção de potenciais fornecedores na vertente ambiental podem considerar o
conhecimento dos meios humanos e materiais, do sistema organizacional e do sistema de gestão
ambiental, o cumprimento de obrigações legais e regulamentares, os resultados de análises de
amostras, de ensaios na produção, ensaios finais e outros realizados com os seus produtos para
os quais existam requisitos ambientais.
Esta informação poderá ser obtida, por exemplo, através de inquéritos, auditorias ambientais
e/ou visitas de avaliação.
Exemplo 3
PROCEDIMENTOS / INSTRUÇÕES TÍPICOS DE CONTROLE OPERACIONAL
Gestão de resíduos (por exemplo, estabelecendo as regras e responsabilidades da separação,
identificação de contentores, movimentação, armazenagem temporária e seleção de destinos
finais) - Operação da Estação de Tratamento de Águas Residuais (ETAR) (por exemplo,
estabelecendo quais os parâmetros de funcionamento que devem ser verificados para
garantir, ainda que indiretamente, que os valores da qualidade do efluente tratado
descarregado são mantidos dentro dos limites legais);
Interpretação da ISO 14001:2004 Página 70 de 84
Operação dos equipamentos de despoeiramento (por exemplo, para controlar
caudais/pressões, periodicidade de substituição de filtros de forma a controlar as emissões
gasosas dentro dos valores desejados e/ou a evitar rupturas);
Operação da estufa de secagem do produto final (por exemplo, para controlar
temperaturas/caudais de forma a controlar as emissões gasosas dentro dos valores
desejados);
Gestão de energia (por exemplo, identificando os principais equipamentos responsáveis
pelos consumos energéticos e estabelecendo condições de operação que minimizem esses
mesmos consumos, tais como períodos de paragem, formas de arranque, adaptação a
períodos de vazio, etc.);
Gestão da água (por exemplo, identificando os principais equipamentos responsáveis pelos
consumos e estabelecendo condições de operação que minimizem esses mesmos consumos,
como fecho de circuitos, reutilização da água para fins menos exigentes, etc.);
Manutenção de equipamentos críticos para o ambiente (por exemplo, identificando os
equipamentos cujo estado de manutenção pode influenciar o seu potencial para causar
impactos ambientais significativos: rolamentos gripados podem aumentar substancialmente
o ruído emitido para o exterior, fugas em bombas e tubagens de líquidos ou gases perigosos
podem causar danos ambientais graves, etc.);
Aprovisionamento de produtos e serviços com potenciais impactos ambientais significativos
(identificando quais são os produtos/serviços e estabelecendo as regras e responsabilidades
para a sua aquisição, manuseamento/acompanhamento e avaliação de fornecedores);
Controle do impacto ambiental de novos projetos (estabelecendo como são identificados os
aspectos ambientais com impactos significativos a esperar para esse novo projeto e a
obrigatoriedade de definir os meios para controlar os aspectos e minimizar os impactos)
(SGS, 2003; APCER, 2001).
Gerando evidência
Procedimentos operacionais, procedimentos de controle de impactos ambientais adversos;
Resultados das verificações e inspeções dos processos; e
Resultados dos testes e ensaios etc. (SEBRAE, 2004).
Não conformidades mais freqüentes
Deve existir uma ligação clara entre os Aspectos Significativos e os procedimentos de
controle operacional. De fato, cada aspecto significativo identificado deve estar ligado a um
controle operacional ou a um objetivo e meta (às vezes deve estar ligado a ambos);
Por vezes, há Aspectos Significativos que não estão ligados nem a Objetivos, nem sujeitos a
Controle Operacional, como por exemplo, parte da gestão de resíduos ou o compromisso da
Política em reduzir o consumo de energia, que não é apoiado por processos para efetivar
essa redução. A tarefa do auditor é não só verificar se os procedimentos são adequados,
como também identificar em que processos estão em falta procedimentos de controle;
É muito comum verificar a falta de detalhe nos procedimentos em casos relevantes. Por
exemplo, num procedimento de gestão de resíduos devem estar incluídos todos os
pormenores necessários para este processo estar conforme, o que inclui a verificação da
existência e validade das licenças e autorizações necessárias (para as entidades que vão dar
destino aos resíduos), a identificação e controle dos resíduos, os documentos a serem
preenchidos e o pessoal responsável por essas ações. Se isto não estiver suficientemente
pormenorizado, a auditoria interna pode não ser eficaz na verificação da conformidade da
gestão dos resíduos;
As bacias de retenção dos tanques são frequentemente uma questão do SGA, e por vezes é
comum encontrarem-se bacias que são ineficazes devido a fugas, buracos, falta de
impermeabilização (se aplicável) ou válvulas abertas. Caso existam estes sistemas, tem lógica
existir um procedimento para verificar que funcionam de acordo com o seu propósito que é a
contenção secundária e prevenção da poluição;
Outra área de controle operacional que também falha frequentemente é a gestão de
químicos líquidos. Normalmente, não existem procedimentos bem definidos para a sua
recepção, armazenamento, distribuição e transporte;
Se forem inflamáveis, há outras questões a ter em consideração como, por exemplo, eventual
incêndio no processo de armazenamento e distribuição, medidas de prevenção de incêndios
e procedimentos de emergência relevantes;
O armazenamento de depósitos também pode ser um problema. Se forem tanques, os meios
de enchimento e os cuidados com o excesso de enchimento precisam ser verificados e
documentados através de procedimentos. Também poderá existir a necessidade de
calibração e teste e possíveis ligações terra, para prevenir eletricidade estática;
Frequentemente as empresas entendem que os procedimentos para simples monitoramento
de consumos (água, eletricidade, gás, etc.), são procedimentos de controle operacional,
Interpretação da ISO 14001:2004 Página 71 de 84
quando afinal só constatam gastos e não estabelecem condições que, de algum modo,
procurem otimizar/reduzir esses gastos (como por exemplo, instruções para a operação
adequada de uma caldeira); e
Comunicação com Fornecedores e Subcontratados: Esta é uma área de problemas comum.
Com freqüência, as autorizações para laboração não existem, são inadequadas ou pouco
implementadas. A empresa deve garantir que são adequadamente selecionados os seus
fornecedores e subcontratados e que eles conhecem os procedimentos relevantes da
empresa, relacionados com a atividade que está a ser contratada (SGS, 2003; APCER, 2001).
4.4.7 Preparação e resposta a emergência
Texto da Norma ISO 14001:2004
A organização deve estabelecer, implementar e manter procedimento(s) para identificar
potenciais situações de emergência e potenciais acidentes que possam ter impacto(s) sobre o
meio ambiente e sobre como a organização responderá a estes.
A organização deve responder às situações reais de emergência a aos acidentes e prevenir ou
mitigar os impactos ambientais adversos associados.
A organização deve periodicamente analisar e, quando necessário, revisar seus procedimentos de
preparação e resposta à emergência, em particular após a ocorrência de acidentes ou situações
emergenciais.
A organização deve também testar periodicamente tais procedimentos, quando exeqüível.
Texto do Anexo A da Norma ISO 14001:2004
A.4.7 Preparação e resposta a emergência
É da responsabilidade de cada organização desenvolver procedimento(s) de preparação e
resposta a emergências que atenda(m) às suas próprias necessidades específicas. No
desenvolvimento deste(s) procedimento(s), recomenda-se que a organização considere:
a) a natureza dos perigos locais, por exemplo, líquidos inflamáveis, tanques de armazenamento,
gases comprimidos e medidas a serem tomadas no caso de vazamento e lançamentos acidentais,
b) o tipo e a escala mais prováveis de uma situação de emergência ou acidente,
c) o método mais apropriado para responder a um acidente ou a uma situação de emergência,
d) planos de comunicação interna e externa,
e) a(s) ação(ões) requerida(s) para minimizar o dano ambiental,
f) ação(ões) de mitigação e resposta(s) a ser(em) tomada(s) em diferentes tipos de acidente ou
situação de emergência,
g) a necessidade de processos para avaliação pós-acidente para estabelecer e implementar
ações corretivas e preventivas,
h) teste periódico do(s) procedimento(s) de resposta a emergências,
i) treinamento do pessoal de resposta a emergências,
j) uma lista de pessoas-chave e de órgãos de atendimento, incluindo detalhes de contato (por
exemplo, corpo de bombeiros, serviços de remediação),
k) rota(s) de evacuação e ponto(s) de encontro,
l) o potencial de situação(ões) de emergência ou acidente(s) em instalações próximas (por
exemplo, planta, estrada, linha férrea), e
m) a possibilidade de assistência mútua entre organizações vizinhas.
Objetivo
As condições de emergência são uma fonte de potenciais impactos ambientais extremos - o fogo
e as suas conseqüências, derrames de químicos, inundações. Estes impactos potenciais precisam
ser identificados e deve ser planejada a forma de lidar com eles, de modo a minimizá-los (SGS,
2003).
Principais mudanças na versão 2004
Alteração de nome do subitem;
Substituição do advérbio “onde” para “quando” no que concerne à concretização dos
simulados (APCER, 2005).
Interpretação
A norma exige que sejam identificados os riscos e as potenciais situações de emergência
associados às atividades da organização. Esta identificação deverá ocorrer na fase de
levantamento e avaliação de aspectos e impactos ambientais (ver subitem 4.3.1), devendo ser
atualizada sempre que ocorrer a introdução de um novo produto, alterações no processo de
fabrico, etc.
Interpretação da ISO 14001:2004 Página 72 de 84
Em termos gerais, as principais situações de emergência previsíveis e suscetíveis de provocar
impactos ambientais significativos são os seguintes:
Riscos tecnológicos:
Incêndio;
Explosão;
Derrame de produtos químicos perigosos;
Fuga de gases ou líquidos perigosos;
Riscos naturais:
Inundações;
Sismos;
Abatimento de terrenos;
Tempestades;
Identificadas as potenciais causas de acidentes e situações de emergência, a organização deve
preparar as respostas a dar para prevenir as causas e as situações de risco e atuar caso os
acidentes e situações de emergência ocorram, minimizando os seus efeitos no ambiente.
A análise anterior deve conduzir a um(s) plano(s) de resposta à emergência. Os planos de
resposta à emergência devem ser baseados na probabilidade de ocorrência das falhas ou das
suas causas, na gravidade dos efeitos e probabilidade de detecção das falhas, ou das suas
causas, antes delas acontecerem, o que está estreitamente ligado aos meios disponíveis e sua
eficácia.
Estes planos devem:
Definir a organização e as responsabilidades e atribuir funções;
Listar o pessoal treinado;
Definir as medidas a tomar em caso de acidente8 (Exemplos: combate ao fogo, controle de
derrames, limpezas);
Estabelecer o tipo de coordenação com serviços internos e externos de segurança;
Definir o sistema de registro dos acidentes;
Estabelecer a realização de simulações dos meios de prevenção e de intervenção.
As ações definidas devem ser proporcionais aos riscos e conseqüências dos acidentes e
situações de emergência.
Os planos de resposta à emergência devem ser revistos, de acordo com critérios definidos pela
organização. Esta revisão deverá ocorrer após qualquer acidente, situação de emergência, ou
qualquer outra alteração que os possa eventualmente afetar (por exemplo, desenvolvimentos
tecnológicos, novas infra-estruturas e instalações, alterações de layout, novos produtos, etc.).
Para a eficácia dos planos contribui fortemente a formação e treino do pessoal envolvido, que
poderá ser assegurada através de exercícios de simulação, executados periodicamente.
Finalmente, as conseqüências de todas as emergências reais e de todos os testes devem ser
revistas para se verificar se tudo decorreu de acordo com o planejado ou se os planos e
procedimentos necessitam de ser alterados. Esta situação deve ser registrada, na forma mais
básica pode ser um registro de não conformidade devido a um pequeno derrame, ou pode ser
uma investigação em grande escala devido a uma falha ou a uma grande situação de emergência
(SGS, 2003; APCER, 2001).
Gerando evidência
Planos e procedimentos especiais para acidentes e situações potenciais de emergência;
Procedimentos especiais para comunicação e alerta de situações perigosas ao meio
ambiente;
Avaliações e revisões destes procedimentos especiais; e
Resultados e análises críticas de treinamento e simulações (SEBRAE, 2004).
Não conformidades mais freqüentes
A norma exige que sejam identificados os riscos e as potenciais situações de emergência
associados às atividades da organização. Esta identificação deverá ocorrer na fase de
levantamento e avaliação de aspectos e impactos ambientais (ver subitem 4.3.1), devendo ser
atualizada sempre que ocorrer a introdução de um novo produto, alterações no processo de
fabrico, etc.
Não conformidades mais freqüentes
Muitas vezes, não existem procedimentos para identificar todas as potenciais situações de
emergência. As empresas têm tendência a basear este seu planejamento em procedimentos
de saúde e segurança já existentes como, por exemplo, os utilizados em caso de incêndio ou
em caso de derrames. Esta situação pode ser incompleta, pois pode levar a uma falha na
Interpretação da ISO 14001:2004 Página 73 de 84
identificação de todas a potenciais emergências, como por exemplo, se determinado
equipamento de controle de poluição falhar em caso de corte de energia. Isto também pode
significar que as conseqüências ambientais não estão previstas e, portanto, não existe
nenhum plano para geri-las ou minimizar.
O potencial derrame de produtos químicos é normalmente um assunto na maioria dos SGA,
contudo, muitas empresas não identificam o local mais passível de ocorrerem
derramamentos, nem equipam ou treinam apropriadamente o seu pessoal. Em três empresas,
verificou-se que os "kits" de material para conter os derrames estavam fechados à chave!
Frequentemente, os "kits" não estão localizados em pontos estratégicos e onde possam ser
mais necessários, por exemplo, movimentação dos armazéns, áreas de decantação ou áreas
de recepção. Muitas vezes, as Fichas de Dados de Segurança dos Produtos não estão
facilmente disponíveis para fornecer informações acerca do modo forma como se deve
proceder no caso de um determinado derrame. Por vezes os "kits" estão no local, mas não
foram novamente completados após a última utilização.
Se os "kits" estão no seu lugar e operacionais, o problema potencial em seguida, serão a
competência e a confiança do pessoal na sua utilização. É muito comum verificar que o
pessoal desconhece o conteúdo dum "kit" ou a forma de utilizá-lo. A formação e o treino são
essenciais nesta situação, incluindo a forma de eliminar os resíduos, após a limpeza da área
de derramamento.
A Norma exige que os planos de emergência sejam testados periodicamente (quando
praticável). Isto implica que deve haver uma freqüência de teste planeada, e que, sempre
que possível, os planos devem ser testados. Nem sempre existe um plano que indique datas
dos testes futuros e, por vezes, os procedimentos nunca foram testados, mesmo quando essa
ação é obviamente praticável (SGS, 2003; APCER, 2001).
Interpretação da ISO 14001:2004 Página 74 de 84
4.5 Verificação e ação corretiva
Neste item, as empresas são levadas a: utilizar métodos precisos de medição para assegurar que
estão no rumo certo em direção aos objetivos e metas; garantir o comprimento contínuo da
legislação; tomar as ações correspondentes ao problema, identificar o local da não
conformidade; registrar a operação de seu sistema de gestão ambiental e conduzir auditorias
para comprovar que estão em conformidade com seus propósitos (ORTIZ; PIRERI, 2002).
4.5.1 Monitoramento e medição
Texto da Norma ISO 14001:2004
A organização deve estabelecer, implementar e manter procedimento(s) para monitorar e medir
regularmente as características principais de suas operações possam ter um impacto ambiental
significativo. O(s) procedimento(s) deve(m) incluir a documentação de informações para
monitorar o desempenho, os controles operacionais pertinentes e as conformidades com os
objetivos e metas ambientais da organização.
A organização deve assegurar que equipamentos de monitoramento e medição calibrados ou
verificados sejam utilizados e mantidos, devendo-se reter os registros associados.
Texto do Anexo A da Norma ISO 14001:2004
A.5 Verificação
A.5.1 Monitoramento e medição
As operações de uma organização podem ter uma variedade de características. Por exemplo, as
características relativas ao monitoramento e medição de descarga de esgoto podem incluir
demanda biológica e química por oxigênio, temperatura e acidez.
Os dados coletados a partir do monitoramento e medição podem ser analisados para identificar
padrões e obter informações. O conhecimento adquirido com essas informações pode ser
utilizado para implementar ações corretivas e preventivas.
As características principais são aquelas que a organização necessita considerar para
determinar como ela está gerenciando seus aspectos ambientais significativos, atingindo seus
objetivos e metas e aprimorando seu desempenho ambiental.
Quando for necessário assegurar resultados válidos, recomenda-se que os equipamentos de
medição sejam calibrados ou verificados a intervalos especificados ou antes do uso, contra
padrões de medição rastreáveis, a padrões de medição internacionais ou nacionais. Se não
existirem tais padrões, recomenda-se que a base utilizada para calibração seja registrada.
Objetivo
Este requisito da norma leva a organização a realizar o monitoramento dos impactos
significativos, permitindo simultaneamente a verificação da conformidade com os objetivos e
metas estabelecidos e com a regulamentação legal aplicável (APCER, 2001).
Principais mudanças na versão 2004
O Subitem não requer um procedimento para informação documentada más requer para
desempenho do monitoramento, aplicação dos controles operacionais, e conformidade com
os objetivos e metas;
Deixou de ser um procedimento documentado obrigatório. Para além do requisito de
calibração dos equipamentos de monitoramento e medição, foi acrescentada a verificação; e
Foi retirado o parágrafo da avaliação periódica da conformidade com as disposições legais
que deu lugar ao subitem 4.5.2 (SGS, 2005; APCER, 2005).
Interpretação
Apesar de não ser mais obrigatório, é recomendável que a organização estabeleça um
procedimento para o monitoramento e medição das principais características das diferentes
operações e atividades que poderão ter impacto significativo sobre o ambiente.
As características a monitorar e a medir podem ser distinguidas em:
Características de natureza regulamentar/legal;
Características de natureza voluntária, resultantes da política, objetivos e metas ambientais
da organização.
As atividades de monitoramento e medição (equivalentes às de inspeção e ensaio previstas no
sistema da qualidade) e os respectivos registros podem ser discriminados num plano de
monitoramento ambiental ou introduzidos em procedimentos documentados.
Nos procedimentos ou no plano de monitoramento ambiental devem ser identificados, pelo
menos, os parâmetros a medir, os métodos a usar, a periodicidade das medições, as
responsabilidades e o sistema de registro.
Interpretação da ISO 14001:2004 Página 75 de 84
Para a identificação dos parâmetros a medir há que atender:
Aos requisitos legais de monitoramento e medição aplicáveis (por exemplo, se a organização
tem processos de combustão há que identificar os parâmetros para caracterizar as emissões
gasosas – ex. partículas, CO, CO2, NOx, SO2, metais pesados);
Às ações de controle operacional (ver 4.4.6) e aos objetivos e metas (ver 4.2.3) que foram
definidos pela organização (por exemplo, se a empresa definiu um procedimento de controle
operacional para minimização de ruído através de manutenção preditiva há que identificar o
parâmetro a monitorar para verificar o seu cumprimento – ex. vibração; se a organização
definiu objetivos de redução de consumos de água há que identificar o parâmetro a
monitorar – ex. m3 de água consumida por unidade de produto).
Os registros gerados devem evidenciar que as medições ou monitoramento previstos foram
efetuados. Estes resultados podem estar relacionados com limites legais e regulamentares,
limites de controle internos e objetivos e metas ambientais estabelecidos.
A norma exige que o equipamento de monitoramento e medição seja sujeito à manutenção e
esteja calibrado.
Devem ser identificados quais os equipamentos que servem para medir características e
parâmetros essenciais para a adequada condução e controle dos processos com aspectos
ambientais significativos.
Para os equipamentos selecionados é necessário estabelecer procedimentos que identifiquem
onde e por quem serão calibrados, qual o intervalo entre calibrações e ainda a forma de gestão
dos intervalos de calibração que depende de fatores diversos.
Convém salientar que as organizações recorrem muitas vezes a serviços externos para a medição
de parâmetros de monitoramento (por exemplo, emissão de poluentes atmosféricos, análises
químicas de efluentes líquidos, avaliações acústicas, análises de perigosidade de resíduos, etc.).
E, neste caso, devem estabelecer procedimentos que garantam que os fornecedores deste tipo
de serviço evidenciam o cumprimento deste requisito, quanto ao estado de manutenção e
calibração dos equipamentos usados, à adequabilidade dos métodos e à competência dos
executantes (SGS, 2003; APCER, 2001).
Gerando evidência
Procedimentos de monitoração dos indicadores do desempenho ambiental; resultados de
testes e medições, gráficos e relatórios de análises críticas etc.;
Procedimentos de medição de grandezas relacionadas aos indicadores ambientais;
Planos e procedimentos de identificação e controle dos instrumentos de medição;
Planos e procedimentos de calibração dos instrumentos de medição; e
Análise das incertezas dos instrumentos e dos processos de medição (SEBRAE, 2004).
Não conformidades mais freqüentes
Características Chave - estas incluem muitas vezes valores limite permitidos ou autorizados.
São verificadas cuidadosamente na auditoria e conclui-se frequentemente que as medições
não foram efetuadas com a freqüência requerida, no local requerido, na data requerida, ou
não foram mesmo efetuadas!
Acompanhamento de Objetivos e Metas - é necessário recolher dados suficientes para provar
e acompanhar os progressos. Esta é a chave para atingir os Objetivos e executar os
programas de gestão. Com freqüência, os dados não são recolhidos, ou não são recolhidos e
revistos o suficiente para garantir que o objetivo está acompanhado e, se necessário, alterar
a meta para a tornar mais realista; e
Calibração - a norma é suave nas palavras que descrevem este requisito, mas os requisitos da
ISO 9001 são um conjunto de critérios efetivos e de senso-comum relativos à gestão da
calibração. Não existe sempre a necessidade de uma calibração no SGA, mas, onde existem
valores limite permitidos ou autorizados, há normalmente a necessidade de medir e de fazê-
lo com instrumentos que tenham um estado de calibração adequado e conhecido. Os
problemas encontrados têm sido: contadores de água na extração não calibrados, medidores
de pH pouco claros, laboratórios de testes utilizados para verificar níveis de emissão e
nenhum conhecimento das suas capacidades de medição (ao nível de alcance e de
incertezas), ligações-terra não testadas (SGS, 2003; APCER, 2001).
4.5.2 Avaliação do atendimento a requisitos legais e outros
Texto da Norma Iso 14001:2004
4.5.2.1 De maneira coerente com o seu comprometimento a requisitos, a organização deve
estabelecer, implementar e manter procedimento(s) para avaliar periodicamente o atendimento
aos requisitos legais aplicáveis.
A organização deve manter registros dos resultados das avaliações periódicas.
Interpretação da ISO 14001:2004 Página 76 de 84
4.5.2.2 A organização deve avaliar o atendimento a outros requisitos por ela subscritos. A
organização pode combinar esta avaliação com a avaliação referida em 4.5.2.1 ou estabelecer
um procedimento em separado.
A organização deve manter registros dos resultados das avaliações periódicas
Texto do Anexo A da Norma ISO 14001:2004
A.5.2 avaliação do atendimento a requisitos legais e outros
Recomenda-se que a organização seja capaz de demonstrar que ela tenha avaliado o atendimento
aos requisitos legais identificados,incluindo autorizações ou licenças aplicáveis.
Recomenda-se que a organização seja capaz de demonstrar que ela tenha avaliado o atendimento
a outros requisitos subscritos identificados.
Objetivo
Este requisito da norma juntamente com o requisito anterior, leva a organização a realizar o
monitoramento e a verificação da conformidade com a regulamentação legal aplicável (SGS,
2003; APCER, 2001).
Principais mudanças na versão 2004
Ao último parágrafo do subitem 4.5.1 de 1996, relativo à avaliação de conformidade, foi dado,
na versão 2004, o destaque de um subitem específico. Partindo do pressuposto que a melhoria
do desempenho ambiental resulta em grande medida do bom cumprimento do acervo legal, a
existência de um subitem específico subordinada à avaliação da conformidade legal confirma
isso mesmo. Esta avaliação não se resume, contudo, à verificação do cumprimento do acervo
legal aplicável, incluindo também todos os outros requisitos que a organização subscreva. A
avaliação de conformidade deve ser registrada.
NOTA: A avaliação de conformidade não é o mesmo que uma auditoria ainda que uma
auditoria/diagnóstico de conformidade legal cumpra com o estipulado neste requisito (SGS,
2005; APCER, 2005).
Interpretação
A máxima "Não consegue gerir o que não consegue medir", aplica-se tanto ao SGA como a
qualquer outro sistema de gestão. Assim, existem algumas especificações sobre o que deve ser
medido, para garantir uma atuação e melhorias adequadas (SGS, 2003; APCER, 2001).
Gerando evidência
Procedimentos de monitoração dos indicadores do desempenho ambiental; resultados de
testes e medições, gráficos e relatórios de análises críticas etc.;
Procedimentos de medição de grandezas relacionadas aos indicadores ambientais (SEBRAE,
2004).
Não conformidades mais freqüentes
Avaliação periódica do cumprimento da legislação relevante - Infelizmente, é muito comum ver
este requisito falhar. A intenção é que, uma vez identificadas à legislação e a regulamentação
relevante para o negócio, com uma freqüência determinada deve ser verificado se elas estão a
ser cumpridas. Isto pode ser feito através duma auditoria, através da verificação dos registros de
monitoramento e medição, revisão dos registros monitorados, por uma auditoria de
conformidade ou, através duma mistura destes mecanismos. O ideal é que cada requisito legal
identificado possua o tipo de uma "declaração de cumprimento" apoiada por registros efetivos
(SGS, 2003; APCER, 2001).
4.5.3 Não conformidade, ações corretiva e preventiva
Texto da Norma ISO 14001:2004
A organização deve estabelecer, implementar e manter procedimento(s) para tratar a(s) não-
conformidade(s) real(is) e potencial(is), e para executar ações corretivas e preventivas. O(s)
procedimento(s) deve(m) definir requisitos para:
a) Identificação e corrigir não conformidades e executar ações para mitigar seus impactos
ambientais;
b) Investigar não conformidades, determinando suas causas e executar ações para evitar a sua
repetição;
c) Avaliar a necessidade de ações para prevenir não-conformidades e implementar ações
apropriadas para evitar a sua ocorrência;
d) Registrar os resultados das ações corretivas e preventivas executadas, e
e) Analisar a eficácia das ações corretivas e preventivas executadas.
As ações executadas devem ser adequadas à magnitude dos problemas e aos impactos ambientais
encontrados.
Interpretação da ISO 14001:2004 Página 77 de 84
A organização deve assegurar que sejam feitas as mudanças necessárias na documentação do
sistema de gestão ambiental.
Texto do Anexo A da Norma ISO 14001:2004
A.5.3 Não conformidade, ação corretiva e ação preventiva
Dependendo da natureza da não-conformidade, ao se estabelecerem procedimentos para lidar
com esses requisitos, as organizações podem elaborá-los com um mínimo de planejamento formal
ou por meio de uma atividade mais complexa e de longo prazo. É recomendado que a
documentação associada seja apropriada ao nível da ação.
Objetivo
Quando as coisas vão mal, antes de qualquer coisa, precisa-se reconhecer esse fato, descobrir
porque é que correu mal e, depois, identificar a causa do problema e os seus efeitos. Este
processo de aprendizagem a partir dos erros cometidos é um verdadeiro benefício para qualquer
sistema de gestão (SGS, 2003).
Principais mudanças na versão 2004
Investigação e determinação das causas das atuais não-conformidades para evitar seus
recursos;
Procedimento para lidar com potenciais de não conformidades e avaliação das necessidades
para implementação de ações preventivas.
Revisão das efetividades das ações tomadas;
Conceito de “potencial” de não-conformidade esclarecido, isto é, “prevenção de não
conformidade” e “evitar ocorrência”; e
Alinhamento com a ISO 9001:2000. Definição de um conjunto de requisitos que o
procedimento deve conter similar ao exigido com a ISO 9001:2000 incluindo a verificação da
eficácia das ações corretivas e preventivas (SGS, 2005; APCER, 2005).
Interpretação
Este requisito da norma exige a identificação das não-conformidades, a sua eliminação através
da definição de ações corretivas e o estabelecimento de ações preventivas para que não haja
repercussão em outros níveis.
Uma não-conformidade pode ser:
Um valor de emissão superior ao limite legal;
A não retirada de resíduos;
Não conformidade detectada pelos auditores quando de uma auditoria no sistema de gestão
ambiental; etc.
Consideram-se como ações corretivas às tomadas para eliminar as causas de não
conformidades, evitando que estas não voltem a ocorrer.
Em essência são ações tipicamente reativas.
Assim, em caso de não-conformidade é necessário:
Agir sobre os efeitos produzidos;
Analisar as causas e estabelecer ações corretivas para evitar o ressurgimento;
Definir ações preventivas para evitar o seu aparecimento a outros níveis.
As ações corretivas não podem ser confundidas com a simples correção de uma não
conformidade específica.
Consideram-se como ações preventivas, as tomadas para eliminar causas potenciais evitando a
ocorrência de potenciais não conformidades, ou seja, aplicadas a causas que nunca tenham
gerado não conformidades ou causas de não conformidades potenciais que possam
previsivelmente vir a acontecer. Em essência são ações tipicamente pró-ativas.
Para a determinação das ações corretivas e preventivas devem ser tomadas em consideração as
conseqüências da ocorrência das não conformidades. O tipo e profundidade das ações tomadas
devem eliminar ou reduzir o risco a valores aceitáveis.
Ações corretivas
A tomada de ações corretivas eficazes pressupõe uma adequada investigação e identificação das
causas raiz dos problemas. Esta é uma atividade determinante na eficácia de todo o processo.
Uma vez identificada a causa da não conformidade, devem ser determinadas quais as ações a
desencadear bem como responsabilidades, meios e prazos associados.
A autoridade pela aprovação da ação corretiva deve estar claramente definida. A
responsabilidade pela coordenação das ações corretivas deve estar definida a níveis adequados,
incluindo o controle do seu estado (em análise, em implementação, atrasado, fechada) e que
foram realizadas de acordo com os circuitos previstos nos procedimentos. Este controle deve
Interpretação da ISO 14001:2004 Página 78 de 84
contemplar, não apenas a implementação, mas também os métodos para avaliar se as mesmas
foram, ou não, eficazes.
Os diferentes passos de uma ação corretiva devem ser registrados. Estes registros devem
permitir evidenciar o estado em que se encontra cada ação corretiva.
A análise das ações corretivas, principalmente a sua eficácia, deve ser levada à Direção para
efeitos de revisão do sistema de gestão ambiental (ver subitem 4.6).
Ações preventivas
A organização deve estabelecer uma metodologia que permita identificar as causas potenciais
de não conformidades.
As ações preventivas devem ser tomadas, tendo em conta as previsíveis conseqüências
potenciais das não conformidades, com particular atenção para as questões relacionadas com o
cumprimento da legislação.
Deve estar definida a responsabilidade pela coordenação a níveis adequados, incluindo o
controle do seu estado, a responsabilidade pelo desenvolvimento e implementação e avaliação
de cada ação, incluindo os circuitos definidos e a autoridade para a sua aprovação.
Os diferentes passos de uma ação preventiva devem ser registrados. Estes registros devem
permitir evidenciar o estado em que se encontra cada ação preventiva.
A análise das ações preventivas, principalmente a sua eficácia, deve ser levada à Direção para
efeitos de revisão do sistema de gestão ambiental (item 4.6).
Resumindo, a organização deve elaborar procedimentos onde se definam responsabilidades por:
Identificar não conformidades ou potenciais não conformidades;
Tratar as não-conformidades e os seus efeitos sobre o ambiente;
Investigar as causas das não-conformidades ou potenciais não conformidades;
Estabelecer e implementar as ações corretivas ou preventivas;
Estabelecer um sistema de registro das alterações aos procedimentos que advêm da
implementação das ações corretivas e preventivas (SGS, 2003; APCER, 2001).
Gerando evidência
Existência de procedimento documentado que inclua a metodologia para identificação,
implementação, controle e revisão de não conformidades, ações corretivas e preventivas;
Práticas documentadas no relativo ao tratamento da não-conforme;
Registros da natureza das não conformidades e ações tomadas;
Autorizações (aceitação, permissão, derrogação);
Registro de resultados de reverificação quando o produto não-conforme for corrigido,
reparado ou retocado;
Meios de segregação ou de identificação;
Procedimento documentado que inclua a metodologia para identificação, implementação,
controle e revisão de ações corretivas;
Registros dos resultados das ações corretivas empreendidas e outros eventualmente
relevantes para demonstrar a conformidade da prática com os requisitos normativos;
Registros dos resultados das ações preventivas empreendidas e outros eventualmente
relevantes, para demonstrar a conformidade da prática com os requisitos normativos
associados à tomada, realização, controle e revisão de ações preventivas;
Evidência de coleta e tratamento de dados para efeito de ações preventivas, mesmo que a
organização tenha concluído não serem necessárias ações (SEBRAE, 2004; SGS, 2003; APCER,
2001).
Não conformidades mais freqüentes
Durante uma auditoria de certificação, é muito comum ouvir falar de derrames de químicos
ou de petróleo, de exceder os limites de poluição e outras não conformidades do tipo. Os
auditores externos verificam, então, se estes acontecimentos foram registrados e se efetuou
algum tipo de ação na tentativa de que eles não voltassem a acontecer. Infelizmente, nem
sempre é o caso;
Não reconhecer um acontecimento como uma 'não conformidade' é um problema comum.
Porém, se foi reconhecido e registrado, pode-se então introduzi-lo no processo que,
investiga a causa, planeja a solução e certifica-se de que ela esta implementada e é eficaz,
incluindo quaisquer medidas preventivas identificadas;
As empresas vão demasiadas vezes das causas para as soluções sem fazerem uma
investigação cuidada; isto não só é contra os princípios da ISO 14001, como também pode
levar à repetição do problema, se a sua verdadeira causa não foi identificada e tratada;
Interpretação da ISO 14001:2004 Página 79 de 84
É também importante que as ações sejam decididas e implementadas de uma forma
apropriada (dentro do prazo). Numa ocasião, foram detectados grandes problemas na
auditoria interna em uma empresa e foi dado um período de 6 meses para a correção dos
problemas, quando o mais apropriado teriam sido 2 semanas;
Por vezes as empresas reagem às situações de não conformidade através da ação imediata de
mitigação ou correção (o que, como primeiro passo, não é inadequado), sem considerarem as
ações de fundo necessárias para eliminar as causas que originaram aquele problema - as
verdadeiras ações corretivas; e
Outras vezes as empresas definem a necessidade de implementar determinadas ações
corretivas ou preventivas (sobre potenciais problemas), mas depois não verificam se foram
de fato implementadas e se foram eficazes (SGS, 2003; APCER, 2001).
4.5.4 Controle de registros
Texto da Norma ISO 14001:2004
A organização deve estabelecer e manter registros, conforme necessário, para demonstrar
conformidade com os requisitos de seu sistema de gestão ambiental e desta Norma, bem como os
resultados obtidos.
A organização deve estabelecer, implementar e manter procedimento(s) para identificação,
armazenagem, proteção, recuperação, retenção e descarte de registros.
Os registros devem permanecer legíveis, identificáveis e rastreáveis.
Texto do Anexo A da Norma ISO 14001:2004
A.5.4 Controle de registros
Os registros ambientais podem incluir, entre outros
a) registros de reclamações,
b) registros de treinamento,
c) registros de monitoramento de processo,
d) registros de inspeção, manutenção e calibração,
e) registros pertinentes de prestadores de serviço e de fornecedores,
f) relatórios de incidentes,
g) registros de testes de preparo a emergências,
h) resultados de auditoria,
i) resultados de análise pela Alta Administração,
j) decisão sobre comunicação externa,
k) registros de requisitos legais ambientais aplicáveis,
l) registros de aspectos ambientais significativos,
m) registros de reuniões ambientais,
n) informações sobre desempenho ambiental,
o) registros de conformidade legal,
p) comunicação com partes interessadas.
Recomenda-se que tratamento adequado seja dado a informações confidenciais.
NOTA Registros não são a única fonte de evidência para demonstrar conformidade com esta
Norma.
Interpretação
Os registros são a prova de que o que foi planejado aconteceu efetivamente. São a base das
auditorias e, em alguns casos, podem ser exigidos por lei (SGS, 2003).
Principais mudanças na versão 2004
Alteração de nome do subitem.
O conteúdo deste subitem não sofreu alterações significativas. No entanto e apesar de nesta
versão só existir um procedimento documentado obrigatório (4.4.6 – Controle Operacional)
existem um conjunto de requisitos que agora são solicitados e dos quais se destacam:
− Registro da avaliação da conformidade;
− Revisão pela gestão (SGS, 2005; APCER, 2005).
Interpretação
Do sistema de gestão ambiental faz parte um conjunto de registros que permitem controlar a
eficiência do sistema (registros de formação, de revisão do sistema, das auditorias, etc.) e
Interpretação da ISO 14001:2004 Página 80 de 84
verificar o cumprimento dos objetivos e metas ambientais e da legislação aplicável (registros de
monitoramento, do controle operacional, das situações de emergência, etc.).
Entende-se por “registro” toda a evidência, em qualquer suporte (papel ou informático), das
atividades previstas no sistema de gestão ambiental, incluindo os de origem externa (relatórios
de caracterização de emissões gasosas, boletins de análises de efluentes líquidos, etc.).
A organização tem de identificar individualmente todos os registros, de forma a permitir o seu
controle.
Deve ser estabelecido um procedimento para controlar os registros, onde sejam definidos
critérios e responsabilidades para:
Compilação - recolhimento e agregação dos registros;
Indexação - referência cruzada de cada registro;
Acesso - consulta e utilização por cada registro ou tipo em função da confidencialidade e/ou
acordado contratualmente;
Arquivo - forma de procura;
Armazenamento - local suporte e condições de armazenamento;
Manutenção - cuidados a ter para garantir a integridade;
Inutilização - forma de eliminação em função do grau de confidencialidade associado a cada
registro, da organização ou dos clientes;
Retenção - tempos de retenção por cada registro ou tipo em função da legislação aplicável,
condições contratuais.
Os tempos de retenção devem ser estabelecidos tendo em conta a legislação ou regulamentação
aplicável e, adicionalmente, os períodos de tempo eventualmente necessários para que os
efeitos ambientais se venham a manifestar (SGS, 2003; APCER, 2001).
Gerando evidência
Procedimento de controle dos registros da organização;
Registros validados (em uso), com as devidas evidências de emissão, aprovação e
implementação (SEBRAE, 2004; SGS, 2003; APCER, 2001).
Não conformidades mais freqüentes
Num determinado local, o cliente mandou fazer uma 'limpeza' aos registros antigos antes da
auditoria. Infelizmente, os registros estavam num recipiente fora do arquivo para serem
levados para um aterro. Esses registros eram altamente confidenciais e deveriam ter sido
sujeitos a uma eliminação segura;
Os dados informatizados são muitas vezes os registros relevantes para o SGA. Por vezes, os
sistemas informatizados não têm cópias de segurança ou estas se encontram ao lado do
computador. Não se pode considerar que estejam totalmente 'protegidas';
Os auditores pedem muitas vezes para ver cópias das Fichas de Dados de Segurança de
Produtos (seriam extremamente necessárias em caso de um derrame). Geralmente não estão
disponíveis, mas, de vez em quando, levam tanto tempo a aparecer que qualquer derrame se
tornaria num incidente muito sério enquanto se aguardam os dados para escolher o método
mais apropriado para se lidar com o problema; e
Os registros são necessários para provar o cumprimento dos valores limites permitidos ou
autorizados. Ocasionalmente, os auditores descobrem que, apesar de haver limites
especificados nos documentos, não existe nenhum registro que prove que eles são
cumpridos - isto está relacionado com a monitoração e medição (SGS, 2003; APCER, 2001).
4.5.5 Auditoria interna
Texto da Norma ISO 14001:2004
A organização deve assegurar que as auditorias internas do sistema de gestão ambiental sejam
conduzidas em intervalos planejados para:
a) Determinar se o sistema de gestão ambiental:
1) está em conformidade com os arranjos planejados para a gestão ambiental, inclusive os
requisitos desta Norma, e
2) foi adequadamente implementado e é mantido, e
b) Fornecer informações à administração sobre os resultados das auditorias.
Programa(s) de auditoria deve(m) ser planejado(s), estabelecido(s), implementado(s) e
mantido(s) pela organização levando-se em consideração a importância ambiental das operações
pertinentes e os resultados de auditorias anteriores.
Procedimento(s) de auditoria deve(m) ser estabelecido(s), implementado(s) devem ser
mantido(s) para tratar:
Interpretação da ISO 14001:2004 Página 81 de 84
− Das responsabilidades e requisitos para se planejar e conduzir as auditorias, para relatar os
resultados e manter os registros associados;
− Da determinação dos critérios de auditoria, escopo freqüência e métodos.
A seleção de auditores e a realização de auditorias devem assegurar a objetividade e
imparcialidade do processo de auditoria.
Texto do Anexo A da Norma ISO 14001:2004
A.5.5 Auditoria interna
As auditorias internas do sistema da gestão ambiental podem ser realizadas por pessoas que
trabalhem para a própria organização ou por pessoas externas selecionadas pela organização
que trabalhem em seu nome.
Em ambos os casos, recomenda-se que as pessoas que realizam a auditoria sejam competentes e
em condições de atuarem de forma imparcial e objetiva.
Em organizações menores, a independência dos auditores pode ser demonstrada por auditores
que sejam isentos de responsabilidade pela atividade sendo auditada.
NOTA 1 Se uma organização desejar combinar as auditorias de sistema da gestão ambiental com auditorias de
conformidade ambiental, é recomendado que a intenção e o escopo de cada uma delas sejam claramente definidos.
Auditorias ambientais não são cobertas por esta Norma.
NOTA 2 Diretrizes de auditorias de sistemas da gestão ambiental são fornecidas na ABNT NBR ISO 19011.
Objetivo
O objetivo é assegurar que o SGA implementado está de acordo com as suas intenções
ambientais e com os requisitos da ISO 14001.
É a ferramenta chave para garantir que o sistema da sua empresa está a funcionar de acordo
com o planeado e que contribui de fato para a melhoria do desempenho ambiental, é a auditoria
interna.
Quando abordado como mecanismo de melhoria em vez de "caça às bruxas", será o processo de
manutenção do SGA (SGS, 2003).
Principais mudanças na versão 2004
Alteração de nome do subitem;
Alinhamento com a ISO 9001:2000;
Reforço da importância da seleção dos auditores principalmente através da objetividade e
imparcialidade do processo de auditoria que deverá ser assegurado (SGS, 2005; APCER,
2005).
Interpretação
Este requisito da norma permite verificar se o sistema implementado é o adequado à
organização e se estão a ser cumpridos:
Os requisitos da norma ISO 14001:2004;
As exigências legais;
Os compromissos assumidos;
Os procedimentos estabelecidos.
Saliente-se que se trata de verificar atividades e procedimentos associados, incluindo a
respectiva eficácia de cada uma e do seu conjunto, compreendendo pelo menos os seguintes
aspectos:
Se as atividades estão adequadamente documentadas;
Se as instruções transmitidas pela documentação estão a ser entendidas e postas em prática;
Se forem eficazes e promovem, de forma sistemática, o cumprimento da política, objetivos e
metas e o desempenho ambiental da organização (de acordo com os procedimentos
estabelecidos).
Deve ser elaborado um procedimento onde é descrito o método a usar nas auditorias, a
qualificação que os auditores devem ter e como é estabelecido o plano de auditorias.
As auditorias podem abranger a totalidade do sistema de gestão ambiental ou partes deste. No
caso da organização apenas prever auditorias parciais, o seu conjunto tem de permitir, num
período de tempo adequado, avaliar a totalidade do sistema.
O planejamento das auditorias deve identificar os recursos a utilizar (por exemplo, nomeação de
equipas auditoras), as atividades a auditar e os períodos de tempo em que está prevista a
realização das auditorias.
As equipes auditoras podem utilizar listas de verificação/comprovação que permitam a
sistematização e uniformização da abrangência e dos critérios. Estas devem ser elaboradas
tendo por base a documentação aplicável (por exemplo, manual de gestão ambiental,
Interpretação da ISO 14001:2004 Página 82 de 84
procedimentos, requisitos legais, etc.), isto é, devem ser compatíveis com o sistema de gestão
ambiental implementado e com os seus requisitos.
A organização deve constituir uma bolsa de auditores, fornecendo-lhes a formação necessária.
Caso as auditorias sejam subcontratadas, a organização deve desenvolver um processo de
avaliação prévia da qualificação dos auditores, devendo ser garantido que estes cumprem os
procedimentos da organização e/ou outros documentos contratuais.
A formação dos auditores deve estar definida e documentada (ver subitem 4.4.2). Atendendo à
natureza e especificidade desta função, é relevante que a formação compreenda uma parte
teórica e uma prática:
A componente teórica deve garantir conhecimentos da norma de referência, das técnicas
específicas de auditoria e das tecnologias e legislação ambiental aplicáveis;
A componente prática deve incluir a realização de auditorias (preparação, realização e
relatório) como auditor efetivo.
Se bem que não esteja explícito neste requisito da norma, os auditores devem ser
independentes das áreas/atividades a auditar.
Qualquer auditoria realizada deve dar origem a um relatório que indique no mínimo: âmbito ou
abrangência da auditoria data de realização, constituição da equipa auditora, o que foi
efetivamente verificado e as constatações observadas. O relatório pode conter também
recomendações ou apontar áreas de melhoria.
A identificação de causas, proposta, aprovação, seguimento, fechamento e avaliação da eficácia
das ações corretivas decorrentes das auditorias devem ser efetuadas de acordo com os
procedimentos estabelecidos para as ações corretivas previstos no subitem 4.5.2.
Os resultados das auditorias devem ser levados ao conhecimento das áreas auditadas e da
Direção, constituindo uma informação importante para efeitos da revisão do sistema de gestão
ambiental (ver item 4.6) (SGS, 2003; APCER, 2001).
Gerando evidência
Procedimento documentado para descrever as responsabilidades e metodologias para
realizar auditorias internas;
Uma boa medida de que o programa de auditoria interna está ou não tendo sucesso, pode
ser obtida pela comparação dos resultados obtidos em auditorias internas recentes com as
observações da auditoria de segunda ou terceira parte;
É essencial que os processos/áreas com um histórico de problemas em auditorias internas,
estejam sujeitos a uma maior freqüência de auditorias internas, do que aqueles com um bom
desempenho;
Em algumas situações, pode ser necessário subcontratar todo ou parte do processo de
auditoria interna se, por exemplo, não existirem recursos apropriados na organização. Este
fato pode, ainda, ser especialmente útil, por exemplo, na auditoria à Alta Direção ou à
própria função de gestão da qualidade;
Plano de auditoria abrangendo todo o escopo;
Relatórios de auditoria; e
Relatórios de acompanhamento das não conformidades encontradas (SEBRAE, 2004; SGS,
2003; APCER, 2001).
Não conformidades mais freqüentes
A freqüência ou periodicidade das auditorias deve estar baseada na significância ambiental.
Por outro lado é também importante que todos os requisitos do SGA sejam auditados
regularmente, como por exemplo, a identificação dos aspectos e a avaliação da sua
significância;
É muito comum encontrar um plano de auditorias que omite os procedimentos do 'sistema' e
assim, executa um conjunto de 'auditorias ambientais', em vez de auditar o Sistema de
Gestão Ambiental e os seus controles sobre as questões ambientais. Por vezes encontra-se
previsto auditar "tudo" uma vez por ano; o que muito dificilmente pode ser relacionado com
a significância ambiental das atividades (é improvável que tudo tenha a mesma importância
em termos ambientais);
Se o plano global das auditorias é utilizado como uma ferramenta de planejamento ativo,
também deve ser sujeito a controle de documentação e aprovação. (Se for usado como tal,
será o primeiro ponto de referência para o estado de execução das auditorias e, assim,
necessita de ser atualizado);
Um problema muitas vezes encontrado é que as auditorias internas da empresa não testaram
todos os procedimentos antes de pedirem uma auditoria externa - isto significa que o
primeiro teste real é a auditoria de certificação; e
Outro problema comum são as auditorias que foram planejadas, mas que nunca foram
executadas, o que é muitas vezes sintoma da falta de recursos (SGS, 2003; APCER, 2001).
Interpretação da ISO 14001:2004 Página 83 de 84
4.6 Análise crítica pela administração
Texto da Norma ISO 14001:2004
A alta administração deve analisar o sistema de gestão ambiental, em intervalos planejados
para assegurar sua contínua pertinência e eficácia. Análises devem incluir a avaliação de
oportunidades de melhoria e a necessidade de alterações no sistema de gestão ambiental,
inclusive da política ambiental e dos objetivos e metas ambientais. Os registros das análises
pela administração devem ser mantidos.
As entradas para análise crítica pela administração devem incluir:
a) Resultados de auditorias internas e das avaliações do atendimento aos requisitos legais e
outros subscritos pela organização;
b) Comunicação(ões) proveniente(s) de partes interessadas externas, incluindo reclamações;
c) O desempenho ambiental da organização;
d) Extensão na qual foram atendidos os objetivos e metas;
e) Situação das ações corretivas e preventivas;
f) Ações de acompanhamento das análises anteriores;
g) Mudança de circunstâncias, incluindo desenvolvimentos em requisitos legais e outros
requisitos relacionados aos aspectos ambientais, e
h) Recomendações para melhoria.
As saídas das revisões pela administração devem incluir quaisquer decisões e ações relacionadas
a possíveis mudanças na política ambiental, nos objetivos, metas e em outros elementos do
sistema de gestão ambiental, consistentes com o comprometimento de melhoria contínua.
Texto do Anexo A da Norma ISO 14001:2004
A.6 Análise pela administração
É recomendado que a análise pela administração cubra o escopo do sistema da gestão ambiental,
embora nem todos os elementos do sistema da gestão ambiental necessitem ser analisados de
uma só vez, podendo o processo de análise se estender por um período de tempo.
Objetivo
É o momento em que os elementos da Administração de Topo da empresa analisam e refletem
sobre o SGA, verificando as suas orientações, o seu desempenho, os seus resultados e ponderam
se o sistema ainda reflete na totalidade a forma como a empresa pretende endereçar as suas
questões ambientais (SGS, 2003; APCER, 2001).
Principais mudanças na versão 2004
Alteração de nome do subitem;
Deverá ser providenciado uma lista de verificação para itens de entrada e saída do SGA;
Análise pela administração deverá incluir:
a.Decisões e ações relativas as possibilidades de mudanças;
b. Política do SGA;
c.Objetivos;
d. Metas;
e. Outros elementos do SGA.
Deverá estar consistente com o comprometimento para melhorias contínuas;
O processo de revisão pela direção proposto nesta versão é praticamente coincidente com o
exposto na ISO 9001:2000, principalmente no que concerne às entradas do processo (vide
subitem 5.6.2 da ISO 9001:2000). Também o conceito de periodicidade foi alterado. O novo
texto apresenta esta questão da seguinte forma: “Intervalos planejados” enquanto que na
versão anterior “com a periodicidade por si determinada” (SGS, 2005; APCER, 2005).
Interpretação
Este requisito visa à definição de uma metodologia capaz de suportar uma análise crítica do
mais alto nível, global e integrada, do desempenho, adequação e eficácia do sistema de gestão
ambiental.
Esta deve ser efetuada a intervalos de tempo definidos e ter um âmbito suficientemente
alargado para avaliar:
A adequação de todo o sistema de gestão ambiental;
O cumprimento da política e dos objetivos ambientais;
O cumprimento dos requisitos da norma de referência; e
Interpretação da ISO 14001:2004 Página 84 de 84
A garantia da melhoria contínua da satisfação de todos os interesses envolvidos, em especial
da sociedade e do ambiente.
A revisão deve basear-se num conjunto de informação, previamente definida.
Exemplos:
Resultados de auditorias e análise de ações corretivas e preventivas;
Reclamações;
Indicadores relativos a atividades de monitoramento e medição.
A análise da informação indicada deverá gerar ações conducentes à melhoria da adequação e
eficiência do sistema de gestão ambiental e do desempenho ambiental da organização.
Esta revisão deve permitir verificar se a política ambiental se mantém adequada, se os objetivos
e metas ambientais foram atingidos e avaliar o grau de desempenho ambiental. Deve ainda
permitir verificar a necessidade de se estabelecerem novos objetivos e metas.
No caso de se verificar o não cumprimento dos objetivos e metas devem ser definidos novos
meios técnicos, humanos e financeiros para atingi-los, o que poderá implicar a revisão do
programa de gestão ambiental (ver subitem4.3.4).
As revisões do sistema de gestão ambiental devem ser evidenciadas através de registros
apropriados, que tornem visíveis quais as informações analisadas, quais as conclusões sobre a
adequação do sistema de gestão ambiental e, ainda, quais as ações desencadeadas (SGS, 2003;
APCER, 2001).
Gerando evidência
A ISO 14001:2004 não requer que a organização disponha de um procedimento escrito para as
análises críticas pela administração, mas a organização deve, através da manutenção dos
registros adequados, demonstrar que planejou esta atividade em intervalos definidos, e que
estes são suficientes para assegurar o enquadramento, adequação e eficácia contínuos do SGA.
A organização deverá demonstrar evidência das ações (tanto planejadas, como concluídas)
relacionadas com a melhoria contínua da eficácia do SGA e seus processos.
A organização deverá evidenciar as ações (tanto planejadas, como concluídas) relacionadas com
a melhoria contínua da eficácia do SGA e seus processos.
De modo a demonstrar a conformidade com a ISO 14001:2004, é interessante que a organização
conduza, pelo menos, um ciclo completo de auditorias internas e uma revisão pela
administração do SGA para contemplar os requisitos da ISO 14001:2004 (SGS, 2003; APCER,
2001).
Não conformidades mais freqüentes
As ações resultantes da reunião não terem sido executadas dentro das datas programadas,
por ex.: pode muito bem haver trabalho urgente e importante a ser executado que não vai
ser revisto até à próxima reunião de revisão pela Direção, dentro de 6 ou 12 meses;
Numa determinada ocasião à revisão foi feita por e-mail. Pelos resultados, conclui-se ser
aceitável, apesar de pouco convencional;
Algumas vezes as minutas ou as notas tiradas numa reunião não dão uma indicação clara do
que aconteceu; isto é um problema se o Representante da Direção não apresenta um
relatório por escrito para discussão; e
As reuniões raramente acontecem na data programada, normalmente porque não há
disponibilidade do pessoal estratégico - possivelmente, um indicador de falta de
compromisso (SGS, 2003; APCER, 2001).
Anexos
Anexos Página A1 de A14
5 R's - Reduce, Re-use, Recycle, Recover and Residual Management
A preservação do meio ambiente é um fator que atrai as atenções no mundo inteiro. Existe uma
pressão muito forte por Partidos Verdes, Organismos Não Governamentais, Legislações, normas
e regulamentos relativos ao meio ambiente.
O tratamento correto das questões ambientais é visto em todo mundo como uma grande
vantagem competitiva, pois gera redução de custos através da minimização da produção e
disposição de resíduos. A empresa ambientalmente correta melhora sua imagem no mercado,
garante o atendimento às regulamentações cada vez mais rígidas e não ficam suscetíveis a
eventuais processos de Responsabilidade Civil.
Em função da demanda mundial por modelos internacionalmente reconhecidos para gestão
ambiental, em 1992 foi criada a norma inglesa BS 7750 que tratava da adoção de um sistema de
gestão ambiental. Em setembro de 1996 foi emitida pela International Organization for
Standardization a ISO 14001 como norma internacional e em outubro foi emitida pela ABNT a
tradução da mesma e denominada NBR ISO 14001/96.
A ISO 14001 determina os elementos para um Sistema de Gestão Ambiental (SGA) eficaz, aplica-
se a todos os tipos e tamanhos de organizações. Esta norma permite o estabelecimento de
procedimentos de trabalho que visam o alcance dos objetivos, metas e da Política Ambiental. O
grande objetivo desta norma é conciliar a "proteção ambiental" com as necessidades sócio-
econômicas da população e empresa.
O Sistema de Gestão Ambiental deve trabalhar com foco nos impactos ambientais significativos,
maximizando seus efeitos benéficos e minimizando os efeitos adversos.
Dentre os impactos ambientais, o que mais preocupa as organizações e a sociedade é a redução
acelerada das fontes de recursos naturais e a disposição dada aos resíduos gerados na natureza.
As organizações estão sempre à busca de soluções que auxiliem a economizar os recursos
naturais, minimizar a produção de resíduos e no tratamento dos impactos ambientais
resultantes.
A Solução: Utilização do Sistema 5 R's alinhado ao SGA
Os 5R's são um sistema internacionalmente reconhecido por administrar desperdício, também
conhecido como 'Hierarquia da Administração do Desperdício'. Dentro desta hierarquia, a
organização deve em primeiro lugar procurar a Redução (Reduce) e Reutilização (Re-use) dos
seus recursos. Caso não consiga reduzir ou re-utilizar, então a Reciclagem (Recycle) dos resíduos
pode ser um bom meio de diminuir os impactos ambientais. Caso ainda sobrem resíduos, um
caminho pode ser a Recuperação (Recover) dos resíduos ou de seu conteúdo energético. O
último recurso, caso ainda existam resíduos, seria o Gerenciamento de Resíduos (Residual
Management). A figura a seguir mostra esta hierarquia.
Reduce (Reduzir)
Reduzir a quantidade de lixo é um compromisso importante e permanente. Cada pessoa produz
cerca de 180 quilos de lixo num ano, então é fácil perceber que diminuir o desperdício depende
muito da atitude de cada um de nós. É a melhor opção, porque significa que haverá menos
resíduos a administrar. Caso seja realmente necessário adquirir algo, é importante pensar se
podemos reduzir a quantidade de resíduos resultantes de sua utilização.
Algumas atitudes contribuem para a redução de resíduos para o meio ambiente, como otimizar a
utilização de folhas de papel, pesquisar e desenvolver novos produtos e processos fabris,
evoluir o "ecodesign" de produtos, promover a regulagem/manutenção de máquinas e
equipamentos, etc.
Re-use (Reutilizar)
Depois de reduzir o que nós usamos e conseqüentemente o lixo, o próximo passo é pensar em
reutilizar materiais. Trocar, doar à caridade, usar novamente de outra forma são modos efetivos
para reutilização de materiais.
Algumas atitudes contribuem para a se reutilizar materiais, como encaminhar de volta ao
fornecedor, quando possível, bombonas, tonéis, barris, vidros, entre outros materiais
reutilizáveis, reutilizar papéis de fotocópias como rascunho, encaminhar cartuchos de
impressora e de toners para empresas licenciadas pelos órgãos ambientais que possam
recarregá-los etc.
Recycle (Reciclar)
Todo o material descartado e que se transforma em lixo nas cidades, em grande parte, deveriam
ser retirados do lixo comum para serem recuperados como matéria-prima, podendo assim ser
reutilizados na fabricação de um novo produto.
Reciclar é aproveitar o material de que foi feito um objeto, uma embalagem ou qualquer coisa
fabricada e que já tenha sido usada. Dessa maneira evita-se que o material acabe no lixo.
Implantar ou utilizar programas de coleta seletiva de resíduos existente nas cidades é uma
ótima opção, pois pode-se economizar na utilização dos recursos naturais e dar destino
adequado aos resíduos que levarão muitos anos para serem decompostos pelo solo.
Anexos Página A2 de A14
Os símbolos abaixo identificam os materiais recicláveis mais comuns.
Recover (Recuperar)
Esta é a recuperação de materiais ou conteúdo de energia de um resíduo. Pode ser recuperada
muita energia através dos materiais e biomassas residuais. Energia também pode ser gerada
recuperando gás metano de aterros sanitários. É possível recuperar materiais para reutilização
como óleos lubrificantes, solvente, ácidos, pneus de carros, areia de molde de fundição, água
etc.
Residual Management (Gerenciamento de Resíduos)
Esta é a disposição final do tratamento de um resíduo, uma vez que o material não pode ser
mais usado de qualquer outro modo, devendo ser visto como última opção de recurso. Faz-se
necessário criar ou terceirizar processos de tratamento que mudam o volume ou caráter do
resíduo para minimizar seu impacto no meio ambiente.
A estocagem de materiais recicláveis e resíduos deve seguir rígidos padrões de segurança e
higiene. Recomenda-se que a área de estocagem seja distinta do lixo comum gerado.
São várias as formas possíveis para a classificação do lixo: em razão de sua natureza (seco e
molhado), por sua composição química (matéria orgânica e matéria inorgânica) etc. A
classificação que adotamos no Brasil é regulada pela NBR 10004 - Classificação de Resíduos
Sólidos, que segue o critério dos riscos potenciais ao meio ambiente subdivididos em Resíduos
Classe I (Perigosos), Classe II (Não Inertes) e os de Classe III (Inertes).
Clebson Lopes de Farias
cfarias@keyassociados.com.br
Engenheiro de Produção Mecânica
Revisão: Engenheiros Fernando Giachini Lopes, Alexandre Lopez Hernandez e Angela Cardoso
Consultor de Empresas da KEYASSOCIADOS
publicado em: 07/04/03
Anexos Página A3 de A14
O PROBLEMA DO LIXO
De uma forma generalizada, chamamos de lixo (ou resíduos sólidos em termos técnicos) o
conjunto de materiais inservíveis originados das atividades humanas,
Nos primórdios, o lixo era constituído de restos de alimentos, ossos, cinzas, metais, papeis e
outros materiais que a natureza podia assimilar facilmente. O desenvolvimento produziu novos
materiais, como couro, panos, cerâmica, cujo destino final, hoje são os aterros nas periferias das
cidades.
Com o acelerado crescimento das cidades e da industrialização, o lixo se tornou um grave
problema. Inúmeros produtos químicos entraram nas residências – plásticos, produtos de
limpeza e higiene, e em seguida, mistura de diferentes materiais num mesmo produto, o que
acarreta problemas cada vez maiores de destinação para o lixo. A complexidade não para por aí.
Hoje temos os rejeitos nucleares, os agrotóxicos, e já se fala até do lixo espacial: os rejeitos das
viagens e pesquisas no espaço.
Cada brasileiro gera diariamente em média. de 5OOg a 2kg de lixo. Nos países industrializados
esta quantidade pode ser até quatro vezes superior.
Parte do lixo doméstico, constituído de produtos químicos, materiais infectados, pilhas, tintas,
inseticidas, mercúrio, chapas fotográficas, entre outros é nociva á saúde, requerendo maiores
cuidados na sua coleta e destinação.
Nas residências, o lixo é normalmente acumulado em recipientes de plástico rígido, havendo
ainda a utilização de latas, sacos plásticos e embrulhos Nos locais de maior produção, ele é
acumulado em galões ou containeres.
Os recipientes, nos dias estipulados, são colocados nas calçadas, para serem esvaziados pelos
trabalhadores da limpeza urbana nos veículos de coleta. O tipo de veículo a ser adotado
depende basicamente da quantidade de lixo gerado e das condições viárias da cidade. Nas
pequenas cidades e áreas de menor densidade populacional, são utilizadas carroças manuais ou
de tração animal, micro-tratores ou caminhões-baús Para as áreas de alta densidade
populacional e zonas comerciais, com maior geração de lixo. é adotado o caminhão
compactador.
A entidade responsável pela limpeza urbana executa ainda a varredura das ruas, praças e outros
equipamentos urbanos, a limpeza de redes de drenagem, praias e canais. a capinação, a remoção
de veículos e objetos abandonados e a coleta do lixo nos recipientes e caçambas públicas. Na
maioria das ruas das cidades se observa enorme quantidade de papeis, pontas de cigarros e
plásticos, jogados indiscriminadamente pelas pessoas por falta de informação e civilidade. Nem
mesmo o elevado número de varredores reverte o quadro de sujeira de nossas ruas.
As últimas estatísticas indicam que 40 % do lixo gerado nas cidades sequer é coletado. Dai é
fácil deduzir, então, que o lixo é lançado em córregos, rios, valas, terrenos vazios, encostas e
ruas, o que, na época das fortes chuvas, contribui para deslizamentos, obstruções da rede de
drenagem e soterramentos.
As prefeituras brasileiras, em sua maioria, vêm depositando os resíduos coletados em
vazadouros, comumente localizados próximos das margens de rios, lagos ou outras áreas de
preservação ambiental. Eles são reconhecidamente provocadores de problemas ambientais e de
saúde pública.
Outros métodos para a destinação do lixo, empregados em menor escala, são o aterro, a usina
de reciclagem e com postagem e a Incineração. Na usina, tem-se duas etapas distintas: a
separação, manual ou mecânica de materiais, tais como papeis, papelão, vidros, plásticos, latas,
metais, madeira, panos, borracha e outros, que são, então, encaminhados às indústrias
recicladoras; e a compostagem, quando o lixo não selecionado é disposto em montes (leiras) no
solo, á céu aberto, para a transformação em composto orgânico, empregado normalmente na
agricultura, na jardinagem e no reflorestamento.
Os métodos de incineração e aterro sanitário ainda não foram empregados no Brasil, devido aos
seus altos custos de implantação e operação.
Mudança de comportamento e de atitude quanto ao lixo urbano é papel de toda a sociedade:
indústrias gerando menos embalagens; controle de desperdícios no transporte e
armazenamento de alimentos, a população conscientizada de que deve reduzir o lixo revertendo
hábitos alimentares e de consumo.
Tipos de Lixo
Definem-se resíduos sólidos como o conjunto dos produtos não aproveitados das atividades
humanas (domésticas, comerciais, industriais, de serviços de saúde) ou aqueles gerados pela
natureza, como folhas, galhos, terra, areia, que são retirados das ruas e logradouros pela
operação de varrição e enviados para os locais de destinação ou tratamento. Também podemos
definir lixo como: os restos das atividades humanas, considerados pelos geradores como inúteis,
indesejáveis ou descartáveis. Normalmente, apresentam-se sob estado sólido, semi-sólido ou
semilíquido (com conteúdo líquido insuficiente para que este líquido possa fluir livremente).
Anexos Página A4 de A14
Como classificar o lixo?
São várias as formas possíveis de se classificar o lixo.
− Por sua natureza física: seco e molhado;
− Por sua composição química: matéria orgânica e matéria inorgânica;
− Pelos riscos potenciais ou meio ambiente:
− Perigosos, não-inertes (NBR-100004).
Normalmente, os resíduos são definidos segundo sua origem e classificados de acordo com o
seu risco em relação ao homem e ao meio ambiente em resíduos urbanos e resíduos especiais.
Os resíduos urbanos, também conhecidos como lixo doméstico, são aqueles gerados nas
residências, no comércio ou em outras atividades desenvolvidas nas cidades. Incluem-se neles
os resíduos dos logradouros públicos, como ruas e praças, denominado lixo de varrição ou
público. Nestes resíduos encontram-se: papel, papelão, vidro, latas, plásticos, trapos, folhas,
galhos e terra, restos de alimentos, madeira e todos os outros detritos apresentados à coleta nas
portas das casas pelos habitantes das cidades ou lançados nas ruas.
Os resíduos especiais são aqueles gerados em indústrias ou em serviços de saúde, como
hospitais, ambulatórios, farmácias, clínicas que, pelo perigo que representam à saúde pública e
ao meio ambiente, exigem maiores cuidados no seu acondicionamento, transporte, tratamento e
destino final. Também se incluem nesta categoria os materiais radioativos, alimentos ou
medicamentos com data vencida ou deteriorados, resíduos de matadouros, inflamáveis,
corrosivos, reativos, tóxicos e dos restos de embalagem de inseticida e herbicida empregados na
área rural.
De acordo com a norma NBR-10004 da ABNT - Associação Brasileira de Normas Técnicas, estes
resíduos são classificados em:
Classe I - Perigosos: são os que apresentam riscos ao meio ambiente e exigem tratamento e
disposição especiais, ou que apresentam riscos à saúde pública. Classe II - Não-Inertes: são
basicamente os resíduos com as características do lixo doméstico.
Classe III - Inertes: são os resíduos que não se degradam ou não se decompõem quando
dispostos no solo, são resíduos como restos de construção, os entulhos de demolição, pedras e
areias retirados de escavações.
Os resíduos compreendidos nas Classes II e III podem ser incinerados ou dispostos em aterros
sanitários, desde que preparados para tal fim e que estejam submetidos aos controles e
monitoramento ambientais. Os resíduos Classe I - Perigosos, somente podem ser dispostos em
aterros construídos especialmente para tais resíduos, ou devem ser queimados em incineradores
especiais. Nesta classe, inserem-se os resíduos da área rural, basicamente, as embalagens de
pesticidas ou de herbicidas e os resíduos gerados em indústrias químicas e farmacêuticas.
Uma outra classificação dos resíduos pela origem, pode ser também apresentada: o lixo
domiciliar, comercial, de varrição e feiras livres, serviços de saúde e hospitalares; portos,
aeroportos e terminais ferro e rodoviários, industriais, agrícolas e entulhos. A descrição destes
tipos é apresentada na seqüência e a responsabilidade pelo seu gerenciamento é apresentada
na Tabela a seguir.
Domiciliar
Aquele originado da vida diária das residências, constituído por setores de alimentos (tais como,
cascas de frutas, verduras etc.), produtos deteriorados, jornais e revistas, garrafas, embalagens
em geral, papel higiênico, fraldas descartáveis e uma grande diversidade de outros itens.
Contém, ainda, alguns resíduos que podem ser tóxicos.
Comercial
Aquele originado dos diversos estabelecimentos comerciais e de serviços, tais como,
supermercados, estabelecimentos bancários, lojas, bares, restaurantes etc. O lixo destes
estabelecimentos e serviços tem um forte componente de papel, plásticos, embalagens diversas
e resíduos de asseio dos funcionários, tais como, papel toalha, papel higiênico etc.
Público
São aqueles originados dos serviços:
− de limpeza pública urbana, incluindo todos os resíduos de varrição das vias públicas,
limpeza de praias, de galerias, de córregos e de terrenos, restos de podas de árvores etc.;
− de limpeza de áreas de feiras livres, constituídos por restos vegetais diversos, embalagens
etc.
Serviços de saúde e hospitalar
Constituem os resíduos sépticos, ou seja, que contêm ou potencialmente podem conter germes
patogênicos.São produzidos em serviços de saúde, tais como: hospitais, clínicas, laboratórios,
farmácias, clínicas veterinárias, postos de saúde etc. São agulhas, seringas, gazes, bandagens,
algodões, órgãos e tecidos removidos, meios de culturas e animais usados em testes, sangue
Anexos Página A5 de A14
coagulado, luvas descartáveis, remédios com prazos de validade vencidos, instrumentos de
resina sintética, filmes fotográficos de raios X etc.
Resíduos assépticos destes locais, constituídos por papéis, restos da preparação de alimentos,
resíduos de limpezas gerais (pós, cinzas etc.), e outros materiais que não entram em contato
direto com pacientes ou com os resíduos sépticos anteriormente descritos, são considerados
como domiciliares.
Portos, aeroportos, terminais rodoviários e ferroviários
Constituem os resíduos sépticos, ou seja, aqueles que contêm ou potencialmente podem conter
germes patogênicos, trazidos aos portos, terminais rodoviários e aeroportos. Basicamente,
originam-se de material de higiene, asseio pessoal e restos de alimentação que podem veicular
doenças provenientes de outras cidades, estados e países. Também neste caso, os resíduos
assépticos destes locais são considerados como domiciliares.
Industrial
Aquele originado nas atividades dos diversos ramos da indústria, tais como, metalúrgica,
química, petroquímica, papelaria, alimentícia etc. O lixo industrial é bastante variado, podendo
ser representado por cinzas, lodos, óleos, resíduos alcalinos ou ácidos, plásticos, papel, madeira,
fibras, borracha, metal, escórias, vidros e cerâmicas etc. Nesta categoria, inclui-se a grande
maioria do lixo considerado tóxico.
Agrícola
Resíduos sólidos das atividades agrícolas e da pecuária, como embalagens de adubos,
defensivos agrícolas, ração, restos de colheita etc. Em várias regiões do mundo, estes resíduos já
constituem uma preocupação crescente, destacando-se as enormes quantidades de esterco
animal geradas nas fazendas de pecuária intensiva. Também as embalagens de agroquímicos
diversos, em geral altamente tóxicos, têm sido alvo de legislação específica, definindo os
cuidados na sua destinação final e, por vezes, co-responsabilizando a própria indústria
fabricante destes produtos.
Entulho
Resíduos da construção civil: demolições e restos de obras, solos de escavações etc. O entulho é,
geralmente, um material inerte, passível de reaproveitamento.
Obs.: (*) a Prefeitura é co-responsável por pequenas quantidades (geralmente menos que 50 kg
ou 100 lts), e de acordo com a legislação municipal específica da lei 13.478/02.
http://www.compam.com.br/
Anexos Página A6 de A14
O QUE É COLETA SELETIVA?
É um sistema de recolhimento de materiais recicláveis, tais como papéis, plásticos, vidros,
metais e orgânicos, previamente separados na fonte geradora. Estes materiais são vendidos às
indústrias recicladoras ou aos sucateiros.
As quatro principais modalidades de coleta seletiva são: domiciliar, em postos de entrega
voluntária, em postos de troca e por catadores.
A coleta seletiva domiciliar assemelha-se ao procedimento clássico de coleta normal de lixo.
Porém, os veículos coletores percorrem as residências em dias e horários específicos que não
coincidam com a coleta normal.
A coleta em PEV - Postos de Entrega Voluntária ou em LEV - Locais de Entrega Voluntária utiliza
normalmente contêineres ou pequenos depósitos, colocados em pontos fixos, onde o cidadão,
espontaneamente, deposita os recicláveis.
A modalidade de coleta seletiva em postos de troca se baseia na troca do material entregue por
algum bem ou benefício.
O sucesso da coleta seletiva está diretamente associado aos investimentos feitos para
sensibilização e conscientização da população. Normalmente, quanto maior a participação
voluntária em programas de coleta seletiva, menor é seu custo de administração. Não se pode
esquecer também a existência do mercado para os recicláveis.
O que separar
Alguns produtos e embalagens recicláveis já possuem o símbolo de reciclagem para facilitar na
hora de saber o que vai ou não para a coleta seletiva:
5 6
Importante: mesmo que o produto não contenha o símbolo de reciclagem ele pode ser
reciclável.
É importante saber que tipos de material estarão sendo recolhidos e encaminhados, qual a
forma de armazenamento e qual a quantidade mínima a ser destinada à cooperativa/empresa.
Pode-se começar com apenas alguns tipos de materiais e ampliar gradativamente.
Em se tratando de um condomínio, escola ou empresa é importante haver uma pessoa ou grupo
responsável pela coordenação do programa de coleta seletiva. É fundamental fazer a divulgação
explícita e permanente dos preços obtidos com a venda dos materiais e das quantidades
coletadas por tipo de material.
Anexos Página A7 de A14
O QUE É RECICLAGEM?
Reciclagem é um conjunto de técnicas que tem por finalidade aproveitar os detritos e reutiliza-
los no ciclo de produção de que saíram. E o resultado de uma série de atividades, pela qual
materiais que se tornariam lixo, ou estão no lixo, são desviados, coletados, separados e
processados para serem usados como matéria-prima na manufatura de novos produtos.
Reciclagem é um termo originalmente utilizado para indicar o reaproveitamento (ou a
reutilização) de um polímero no mesmo processo em que, por alguma razão foi rejeitado.
Reciclar outro termo usado, é na verdade fazer a reciclagem.
O retorno da matéria-prima ao ciclo de produção é denominado reciclagem, embora o termo já
venha sendo utilizado popularmente para designar o conjunto de operações envolvidas. O
vocábulo surgiu na década de 1970, quando as preocupações ambientais passaram a ser tratadas
com maior rigor, especialmente após o primeiro choque do petróleo, quando reciclar ganhou
importância estratégica. As indústrias recicladoras são também chamadas secundárias, por
processarem matéria-prima de recuperação. Na maior parte dos processos, o produto reciclado é
completamente diferente do produto inicial.
Como Reciclar
Com a colaboração do consumidor, podemos facilitar ainda mais o processo de reciclagem. A
reciclagem do material é muito importante, não apenas para diminuir o acúmulo de dejetos,
como também para poupar a natureza da extração inesgotável de recursos. Veja como fazer a
coleta seletiva e dar a sua parcela de contribuição na preservação do meio ambiente.
Passo a passo:
1. Procure o programa organizado de coleta de seu município ou uma instituição, entidade
assistencial ou catador que colete o material separadamente. Veja primeiro o que a
instituição recebe. Não adianta separar, por exemplo: plástico, se a entidade só recebe
papel.
2. Para uma coleta de maneira ideal, separe os resíduos em não-recicláveis e recicláveis e
dentro dos recicláveis separe papel, metal, vidro e plástico.
3. Veja exemplo de materiais recicláveis:
a. Papel: jornais, revistas, formulários contínuos, folhas de escritório, caixas, papelão,
etc.
b. Vidros: garrafas, copos, recipientes.
c. Metal: latas de aço e de alumínio’, clipes, grampos de papel e de cabelo, papel
alumínio.
d. Plástico: garrafas de refrigerantes e água, copos, canos, embalagens de material de
limpeza e de alimentos, sacos.
4. Escolha um local adequado para guardar os recipientes com os recicláveis até a hora da
coleta. Antes de guardá-los, limpe-os para retirar os resíduos e deixe-os secar naturalmente.
Para facilitar o armazenamento, você pode diminuir o volume das embalagens de plástico e
alumínios amassando-as. As caixas devem ser guardadas desmontadas.
Atenção:
Os objetos reciclados não serão transformados nos mesmos produtos. Por exemplo, garrafas
recicláveis não serão transformadas em outras garrafas, mas em outros materiais, como solados
de sapato.
Porque Reciclar?
A quantidade de lixo produzida diariamente por um ser humano é de aproximadamente 5 Kg.
• Se somarmos toda a produção mundial, os números são assustadores.
• Só o Brasil produz 240 000 toneladas de lixo por dia.
• O aumento excessivo da quantidade de lixo se deve ao aumento do poder aquisitivo e
pelo perfil de consumo de uma população. Além disso, quanto mais produtos
industrializados, mais lixo é produzido, como embalagens, garrafas, etc.
Tipos de lixo:
− Doméstico (alimentos);
− Industrial (carvão mineral, lixo químico, fumaças);
− Agrícola (esterco, fertilizantes);
− Hospitalar;
− Materiais Radioativos (indústria medicina...);
− Tecnológico (TV, rádios).
Em torno de 88% do lixo doméstico vai para o aterro sanitário. A fermentação produz dois
produtos: o chorume e o gás metano.
Anexos Página A8 de A14
Menos de 3% do lixo vai para as usinas de compostagem(adubo).
O lixo hospitalar, por exemplo, deve ir para os incineradores.
Apenas 2% do lixo de todo o Brasil é reciclado!!
Por quê?
Porque reciclar é 15 vezes mais caro do que jogar o lixo em aterros.
Nos países desenvolvidos como a França e Alemanha, a iniciativa privada é encarregada do lixo.
Fabricantes de embalagens são considerados responsáveis pelo destino do lixo e o consumidor
também tem que fazer sua parte. Por exemplo, quando uma pessoa vai comprar uma pilha nova,
é preciso entregar a usada.
Uma garrafa plástica ou vidro pode levar 1 milhão de anos para decompor-se. Uma lata de
alumínio, de 80 a 100 anos. Porém todo esse material pode ser reaproveitado, transformando-se
em novos produtos ou matéria prima, sem perder as propriedades.
Separando todo o lixo produzido em residências, estaremos evitando a poluição e impedindo
que a sucata se misture aos restos de alimentos, facilitando assim seu reaproveitamento pelas
indústrias. Além disso, estaremos poupando a meio ambiente e contribuindo para o nosso bem
estar no futuro, ou você quer ter sua água racionada, seus filhos com sede, com problemas
respiratórios.
Algumas Vantagens:
− Cada 50 quilos de papel usado, transformado em papel novo, evita que uma árvore seja
cortada. Pense na quantidade de papel que você já jogou fora até hoje e imagine quantas
árvores você poderia ter ajudado a preservar.
− Cada 50 quilos de alumínio usado e reciclado, evita que sejam extraídos do solo cerca de
5.000 quilos de minério, a bauxita.
− Quantas latinhas de refrigerantes você já jogou até hoje?
− Com um quilo de vidro quebrado, faz-se exatamente um quilo de vidro novo. E a grande
vantagem do vidro é que ele pode ser reciclado infinitas vezes.
Agora imagine só os aterros sanitários: quanto material que está lá, ocupando espaço, e poderia
ter sido reciclado!
− Economia de energia e matérias-primas. Menos poluição do ar, da água e do solo.
− Melhora a limpeza da cidade, pois o morador que adquire o hábito de separar o lixo,
dificilmente o joga nas vias públicas.
− Gera renda pela comercialização dos recicláveis. Diminui o desperdício.
− Gera empregos para os usuários dos programas sociais e de saúde da Prefeitura.
− Dá oportunidade aos cidadãos de preservarem a natureza de uma forma concreta, tendo
mais responsabilidade com o lixo que geram.
Onde Reciclar?
No Brasil existem unidades industriais com capacidade instalada para reciclar resíduos, e
qualquer outro material que possa ser reciclado. Distribuídas de norte a sul do país, estas
unidades são empresas transformadoras de matérias-primas, fabricantes de embalagens,
retomadores e recicladores.
O que Reciclar
Temos diversos tipos de materiais, que podem ser reciclados, devemos tomar cuidado pois
alguns materiais existentes não podem ser reciclados.
Anexos Página A9 de A14
Saiba o que pode e o que não pode ser reciclado:
Anexos Página A10 de A14
RECICLAR PAPEL
Significa fazer papel empregando como matéria-prima papéis, cartões, cartolinas e
papelões, provenientes de:
Rebarbas geradas durante os processos de fabricação destes materiais, ou de sua
conversão em artefatos, ou ainda geradas em gráficas;
Artefatos destes materiais pré ou pós-consumo
Atualmente, a matéria-prima vegetal mais utilizada na fabricação do papel é a madeira, embora
outras também possam ser empregadas. Estas matérias-primas são hoje processadas química ou
mecanicamente, ou por uma combinação dos dois modos, gerando como produto o que se
denomina de pasta celulósica, que pode ainda ser branqueada, caso se deseje uma pasta de cor
branca. A pasta celulósica, branqueada ou não, nada mais é do que as fibras celulósicas
liberadas, prontas para serem empregadas na fabricação do papel.
A pasta celulósica também pode prover do processamento do papel, ou seja, da reciclagem do
papel. Neste caso, os papéis coletados para esse fim recebem o nome de aparas. O termo apara
surgiu para designar as rebarbas do processamento do papel em fábricas e em gráficas e passou
a ter uma abrangência maior, designando, como já foi dito, todos os papéis coletados para
serem reciclados.
As aparas provém de atividades comerciais, e em menor quantidade de residências e de outras
fontes, como instituições e escolas.
As aparas de papel podem ser recolhidas por um sistema de coleta seletiva, ou por um sistema
comercial, utilizado há anos, que envolve o catador de papel e o aparista.
Hoje, a força que propulsiona a reciclagem de papel ainda é econômica, mas o fator ambiental
tem servido também como alavanca.
A preocupação com o meio ambiente criou uma demanda por "produtos e processos amigos do
meio ambiente" e reciclar papel é uma forma de responder a esta demanda.
Assim, os principais fatores de incentivo à reciclagem de papel, além dos econômicos, são:
- A preservação de recursos naturais (matéria-prima, energia e água),
- A minimização da poluição e a diminuição da quantidade de lixo que vai para os aterros.
Dentre estes, certamente o último é o que tem tido maior peso nos países que adotam medidas
legislativas em prol da reciclagem.
RECICLAR PLÁSTICO
Plásticos são artefatos fabricados a partir de resinas (polímeros), geralmente sintéticos e
derivados do petróleo.
Quando o lixo é depositado em lixões, os problemas principais relacionados ao material
plástico provêm da queima indevida e se controle. Quando a disposição é feita em
aterros, os plásticos dificultam sua compactação e prejudicam a decomposição dos materiais
biologicamente degradáveis, pois criam camadas impermeáveis que afetam as trocas de líquidos
e gases gerados no processo de biodegradação da matéria orgânica.
Sendo assim, sua remoção, redução ou eliminação do lixo são metas que devem ser perseguidas
com todo o empenho. A separação de plásticos do restante do lixo traz uma série de benefícios
à sociedade, como, por exemplo, o aumento da vida útil dos aterros, geração de empregos,
economia de energia, etc.
Divisão dos Plásticos
Os plásticos são divididos em duas categorias importantes: termofixos e termoplásticos.
Os termofixos, que representam cerca de 20% do total consumido no país, são plásticos que ,
uma vez moldados por um dos processos usuais de transformação, não podem mais sofrer mais
novos ciclos de processamento pois não fundem novamente, o que impede nova moldagem.
Os termoplásticos, mais largamente utilizados, são materiais que podem ser reprocessados
várias vezes pelo mesmo ou por outro processo de transformação. Quando submetidos ao
aquecimento a temperaturas adequadas, esses plásticos amolecem, fundem e podem ser
novamente moldados. Como exemplos, podem ser citados: polietileno de baixa densidade
(PEBD); Polietileno de alta densidade (PEAD); poli(cloreto de vinila) (PVC); poliestireno (PS);
polipropileno (PP); poli(tereftalato de etileno) (PET); poliamidas (náilon) e muitos outros.
Anexos Página A11 de A14
Identificação dos Tipos de Plásticos
Essa metodologia é baseada em algumas características físicas e de degradação térmica dos
plásticos.
Polietilenos de baixa e de alta densidade:
− Baixa densidade (flutuam na água);
− Amolecem à baixa temperatura (PEBD = 85°C; PEAD = 120°C)
− Queimam como vela, liberando cheiro de parafina;
− Superfície lisa e "cerosa".
Polipropileno:
− Baixa densidade (flutuam na água);
− Amolece à baixa temperatura (150°C);
− Queima como vela, liberando cheiro de parafina;
− Filmes, quando apertados nas mãos, fazem barulho semelhante ao celofane.
Poli(cloreto de vinila):
− Alta densidade (afunda na água);
− Amolece à baixa temperatura (80°C);
− Queima com grande dificuldade, liberando um cheiro acre de cloro;
− É solubilizado com solventes (cetonas).
Poliestireno:
− Alta densidade (afunda na água);
− Quebradiço;
− Amolece à baixa temperatura (80 a 100°C);
− Queima relativamente fácil, liberando fumaça preta com cheiro de "estireno";
− É afetado por muitos solventes.
Poli (tereftalato de etileno):
− Alta densidade (afunda na água);
− Muito resistente;
− Amolece à baixa temperatura (80°C);
− Utilizado no Brasil em embalagens de refrigerantes gasosos, óleos vegetais, água
mineral, etc.
Outros
Anexos Página A12 de A14
Reciclagem primária ou pré-consumo:
É a conversão de resíduos plásticos por tecnologia convencionais de processamento em
produtos com caraterísticas de desempenho equivalentes às daqueles produtos fabricados a
partir de resinas virgens. A reciclagem pré-consumo é feita com os materiais termoplásticos
provenientes de resíduos industriais, os quais são limpos e de fácil identificação, não
contaminados por partículas ou substâncias estranhas.
Reciclagem secundária ou pós-consumo:
É a conversão de resíduos plásticos de lixo por um processo ou por uma combinação de
operações. Os materiais que se inserem nesta classe provêm de lixões, sistemas de coleta
seletiva, sucatas, etc. são constituídos pelos mais diferentes tipos de material e resina, o que
exige uma boa separação, para poderem ser aproveitados.
Reciclagem terciária:
É a conversão de resíduos plásticos em produtos químicos e combustíveis, por processos
termoquímicos (pirólise, conversão catálica). Por esses processos, os materiais plásticos são
convertidos em matérias-primas que podem originar novamente as resinas virgens ou outras
substâncias interessantes para a indústria, como gases e óleos combustíveis.
RECICLAR METAIS
Os metais são materiais de elevada durabilidade, resistência mecânica e facilidade de
conformação, sendo muito utilizados em equipamentos, estruturas e embalagens em
geral.
Quanto à sua composição, os metais são classificados em dois grande grupos: os ferrosos
(compostos basicamente de ferro e aço) e os não-ferrosos. Essa divisão justifica-se pela grande
predominância do uso dos metais à base de ferro, principalmente o aço.
Entre os metais não-ferrosos, destacam-se o alumínio, o cobre e suas ligas (como latão e o
bronze), o chumbo, o níquel e o zinco. Os dois últimos, junto como o cromo e o estanho, são
mais empregados na forma de ligas com outros metais, ou como revestimento depositado sobre
metais, como, por exemplo, o aço.
A grande vantagem da reciclagem de metais é evitar as despesas da fase de redução do minério
a metal. Essa fase envolve um alto consumo de energia, e requer transporte de grandes volumes
de minério e instalações caras, destinadas à produção em grande escala.
Embora seja maior o interesse na reciclagem de metais não-ferrosos, devido ao maior valor de
usa sucata, é muito grande a procura pela sucata de ferro e de aço, inclusive pelas usinas
siderúrgicas e fundições.
A sucata é matéria-prima das empresas produtoras de aço que não contam como o processo de
redução, e que são responsáveis por cerca de 20% da produção nacional de aço. A sucata
representa cerca de 40% do total de aço consumido no País, valor próximo aos valores de outros
países, como os Estados Unidos, onde atinge 50% do total da produção. Ressalta-se que o Brasil
exporta cerca de 40% da sua produção de aço.
É importante, ainda, observar que a sucata pode, sem maiores problemas, ser reciclada mesmo
quando enferrujada. Sua reciclagem é também facilitada pela sua simples identificação e
separação, principalmente no caso da sucata ferrosa, em que se empregam eletroímãs, devido às
suas propriedades magnéticas. Através deste processo é possível retirar até 90% do metal
ferroso existente no lixo (IBS, 1994).
RECICLAR VIDRO
O vidro é obtido pela fusão de componentes inorgânicos a altas temperaturas, e
resfriamento rápido da massa resultante até um estado rígido, não-cristalino.
O processo de produção do vidro do tipo sodacal utiliza como matérias-primas,
basicamente, arreia, barrilha, calcário e feldspato. Um procedimento comum do processo
é adicionar-se à mistura das matérias-primas cacos de vidro gerados internamente na fábrica ou
adquiridos, reduzindo sensivelmente os custos de produção.
O vidro é um material não-poroso que resiste a temperaturas de até 150°C (vidro comum) sem
perda de suas propriedades físicas e químicas. Esse fato faz com que os produtos possam ser
reutilizados várias vezes para a mesma finalidade.
A reciclagem de vidro significa enviar ao produtos de embalagens o vidro usado para que este
seja reutilizado como matéria-prima para a produção de novas embalagens.
O vidro é 100% reciclável, não ocorrendo perda de material durante o processo de fusão. Para
cada tonelada de caco de vidro limpo, obtém-se uma tonelada de vidro novo. Além disso, cerca
de 1,2 tonelada de matéria-prima deixa de ser consumida.
Além da redução do consumo de matérias-primas retiradas da natureza, a adição do caco à
mistura reduz o tempo de fusão na fabricação do vidro, tendo como conseqüência uma redução
significativa no consumo energético de produção. Também proporciona a redução de custos de
limpeza urbana e diminuição do volume do lixo em aterros sanitários.
Anexos Página A13 de A14
RECICLAR PNEUS
Os pneus usados podem ser reutilizados após sua recauchutagem. Esta consiste na
remoção por raspagem da banda de rodagem desgastada da carcaça e na colocação de
uma nova banda. Após a vulcanização, o pneu "recauchutado" deverá ter a mesma
durabilidade que o novo. A economia do processo favorece os pneus mais caros, como os
de transporte (caminhão, ônibus, avião), pois neste segmentos os custos são melhor
monitorados.
Há limites no número de recauchutagem que um pneu suporta sem afetar seu desempenho.
Assim sendo, mais cedo ou mais tarde, os pneus são considerados inservíveis e descartados.
Os pneus descartados podem ser reciclados ou reutilizados para diversos fins. Neste caso, são
apresentadas, a seguir, várias opções:
Na engenharia civil:
O uso de carcaças de pneus na engenharia civil envolve diversas soluções criativas, em
aplicações bastante diversificadas, tais como, barreira em acostamentos de estradas, elemento
de construção em parques e playgrounds, quebra-mar, obstáculos para trânsito e, até mesmo,
recifes artificiais para criação de peixes.
Na regeneração da borracha:
O processo de regeneração de borracha envolve a separação da borracha vulcanizada dos
demais componentes e sua digestão com vapor e produtos químicos, tais como, álcalis,
mercaptanas e óleos minerais. O produto desta digestão é refinado em moinhos até a obtenção
de uma manta uniforme, ou extrudado para obtenção de material granulado.
A moagem do pneu em partículas finas permite o uso direto do resíduo de borracha em
aplicações similares às da borracha regenerada.
Na geração de energia
O poder calorífico de raspas de pneu eqüivale ao do óleo combustível, ficando em torno de 40
Mej/kg. O poder calorífico da madeira é por volta de 14 Mej/kg.
Os pneus podem ser queimados em fornos já projetados para otimiza a queima. Em fábricas de
cimento, sua queima já é uma realidade em outros países. A Associação Brasileira de Cimento
Portland (ABCP) informa que cerca de 100 milhões de carcaças de pneus são queimadas
anualmente nos Estados Unidos com esta finalidade, e que o Brasil já está experimentando a
mesma solução.
No asfalto modificado com borracha
O processo envolve a incorporação da borracha em pedaços ou em pó. Apesar do maior custo, a
adição de pneus no pavimento pode até dobrar a vida útil da estrada, porque a borracha confere
ao pavimento maiores propriedades de elasticidade ante mudanças de temperatura. O uso da
borracha também reduz o ruído causado pelo contato dos veículos com a estrada. Por causa
destes benefícios, e também para reduzir o armazenamento de pneus velhos, o governo
americano requer que 5% do material usado para pavimentar estradas federais seja de borracha
moída.
RECICLAR ENTULHO
Entulho é o conjunto de fragmentos ou restos de tijolo, concreto, argamassa, aço,
madeira, etc., provenientes do desperdício na construção, reforma e/ou demolição de
estruturas, como prédios, residências e pontes.
O entulho de construção compõe-se, portanto, de restos e fragmentos de materiais,
enquanto o de demolição é formado apenas por fragmentos, tendo por isso maior potencial
qualitativo, comparativamente ao entulho de construção.
O processo de reciclagem do entulho, para a obtenção de agregados, basicamente envolve a
seleção dos materiais recicláveis do entulho e a trituração em equipamentos apropriados.
Os resíduos encontrados predominantemente no entulho, que são recicláveis para a produção
de agregados, pertencem a dois grupos:
− Grupo I - materiais compostos de cimento, cal, areia e brita: concretos, argamassa, blocos
de concreto.
− Grupo II - materiais cerâmicos: telhas, manilhas, tijolos, azulejos.
− Grupo III - materiais não-recicláveis: solo, gesso, metal, madeira, papel, plástico, matéria
orgânica, vidro e isopor. Desses materiais, alguns são passíveis de serem selecionados e
encaminhados para outros usos. Assim, embalagens de papel e papelão, madeira e mesmo
vidro e metal podem ser recolhidos para reutilização ou reciclagem.
RECICLAR BATERIAS e PILHAS
As pilhas e baterias, quando descartadas em lixões ou aterros sanitários, liberam
componentes tóxicos que contaminam o solo, os cursos d'água e os lençóis freáticos,
afetando a flora e a fauna das regiões circunvizinhas e o homem, pela cadeia alimentar.
Devido a seus componentes tóxicos, as pilhas podem também afetar a qualidade do
Anexos Página A14 de A14
produto obtido na compostagem de lixo orgânico. Além disso, sua queima em incineradores
também não consiste em uma boa prática, pois seus resíduos tóxicos permanecem nas cinzas e
parte deles pode volatilizar, contaminando a atmosfera.
Os componentes tóxicos encontrados nas pilhas são: cádmio, chumbo e mercúrio. Todos afetam
o sistema nervoso central, o fígado, os rins e os pulmões, pois eles são bioacumulativos. O
cádmio é cancerígeno, o chumbo pode provocar anemia, debilidade e paralisia parcial, e o
mercúrio pode também ocasionar mutações genéticas.
Considerando os impactos negativos causados ao meio ambiente pelo descarte inadequado das
pilhas e baterias usadas e a necessidade de disciplinar o descarte e o gerenciamento
ambientalmente adequado (coleta, reutilização, reciclagem, tratamento ou disposição final) de
pilhas e baterias usadas, a Resolução n° 257/99 do CONAMA resolve em seu artigo primeiro:
"As pilhas e baterias que contenham em suas composições chumbo, cádmio, mercúrio e seus
compostos, necessário ao funcionamento de quaisquer tipos de aparelhos, veículos ou sistemas,
móveis ou fixos, bem como os produtos eletroeletrônicos que os contenham integrados em sua
estrutura de forma não substituível, após seu esgotamento energético, serão entregues pelos
usuários aos estabelecimentos que as comercializam ou à rede de assistência técnica autorizada
pelas respectivas indústrias, para repasse aos fabricantes ou importadores, para que estes
adotem diretamente, ou por meio de terceiros, os procedimentos de reutilização, reciclagem,
tratamento ou disposição final ambientalmente adequado".
RECICLAR MATÉRIA ORGÂNICA
A matéria orgânica é definida biologicamente como matéria de origem animal ou vegetal
e geologicamente como compostos de origem orgânica, encontrados sob a superfície do
solo. Os papéis, que são feitos com fibra vegetal, também são considerados matéria
orgânica, porém, trataremos dele separadamente.
Falaremos aqui do aproveitamento de restos de comida (cascas de frutas e verduras, folhas, talo,
etc) para a fertilização do solo, num processo conhecido como COMPOSTAGEM.
A compostagem é um processo de transformação que pode ser executado com parte do nosso
lixo doméstico resultando em um excelente adubo para ser utilizado em hortas, vasos de
plantas, jardins ou algum terreno que você tenha disponível. Este é um dos métodos mais
antigos de reciclagem onde imitamos os processos da natureza para melhorarmos a terra.
Simbologias e Cores na Reciclagem
As cores características dos containers apropriados para a coleta seletiva de lixo:
Papel/Papelão Metais
Plásticos Vidros
Até hoje, não se sabe onde e com que critério foi criado o padrão de cores dos containers
utilizados para a coleta seletiva voluntária em todo o mundo. No entanto, alguns países já
reconhecem esse padrão como um parâmetro oficial a ser seguido por qualquer modelo de
gestão de programas de coleta seletiva.

Gestão Ambiental pela ISO 14001

  • 1.
    Gestão Ambiental Pela ISO 14001 C ol e ç ã o d e T e x t o s e A r t i g o s D i v e r s o s p o r M á r c i o J o s é d e C a m p o s H o s k e n N ã o h á q u a l q u e r i n t e n ç ã o c o m e r c i a l o u l i t e r á r i a n e s t e d o c u m e n t o
  • 3.
    PREFÁCIO Ultimamente, têm sidosignificativa a preocupação das empresas com a preservação e conservação do meio ambiente, em função de uma série de exigências, como cumprimento da legislação, desenvolvimento sustentável e consumidores cada vez mais exigentes. A preocupação ambiental não pode ser mais um legado que deixaremos às gerações futuras. Ela deve estar presente em nosso dia a dia, pois é fruto de nosso procedimento, bem como do que recebemos e dos que nos antecederam. Neste contexto, o modelo proposto pela ISO 14001, contribui decisivamente para o entendimento e gerenciamento das interfaces ambientais, inclusive possibilitando controlar e minimizar os riscos ambientais de suas atividades. Porém, muitos utilizam como justificativa para implantar um SGA, a facilidade de obtenção de empréstimos, a redução no custo de contratação de um seguro, entre outras justificativas, demonstrando uma abordagem voltada quase que exclusivamente para grandes empresas exportadoras. E as empresas que não exportam? E as pequenas e médias empresas como ficam? Elas não podem ter um SGA implantado? Será que é tão complicado e caro implantar que somente as grandes têm condições de fazê-lo? Mas, segundo a Norma ISO 14001:2004 em sua Introdução: O nível de detalhe e complexidade do sistema de gestão ambiental, a extensão de sua documentação e dos recursos dedicados a ele irá depender de alguns fatores, tais como: o escopo do sistema, o porte da organização e a natureza de suas atividades, produtos e serviços. Este pode ser em particular, o caso das pequenas e médias empresas. A falta de uma informação melhor estruturada e melhor interpretada quanto a estas e outras questões têm levado inúmeras empresas a adiar ou pelo menos, não implantar integralmente um Sistema de Gestão Ambiental. Também a literatura existente em geral, não trata do sistema de gestão ambiental de maneira explicativa em relação a ISO 14001: ou não entra no mérito do POR QUE deve ser feito e O QUE pode acontecer se não o fizer; ou simplesmente interpretam os requisitos da norma, sem entrar em questões relevantes à gestão ambiental, tais como coleta seletiva, reciclagem e reutilização. Comparando a ferramenta de gestão 5W1H (O QUÊ? COMO? POR QUÊ? ONDE? QUANDO? QUEM?), nos cursos de interpretação da Norma ISO 14001:2004, é comum sermos agraciados com uma cópia xérox das apresentações que o instrutor vai apresentar (O QUÊ?), qualquer questão mais específica (COMO? e POR QUÊ?) ou detalhada em relação a um requisito as respostas sempre se encaminham a apresentação de uma consultoria, nos faltando as respostas a ONDE? QUANDO? QUEM? Uma primeira resposta as questões aqui levantadas, é a de que a ISO 14001 pode ser implantada por qualquer organização, quer seja uma indústria, uma prestadora de serviços, de tamanho grande ou pequeno. Outra questão importante é o fato de que a ISO 14001 não é um atestado de excelência ambiental, mas sim, um modelo gerencial em busca da melhoria contínua de suas questões ambientais, não necessariamente, do desempenho ambiental. Este trabalho tem como objetivo geral analisar a Norma ISO 14001 em sua versão 2004, identificando os fatores relevantes associados à praticidade e aplicabilidade de seu uso nas empresas, trazendo uma leitura da norma para uma maior facilidade no entendimento de seus requisitos e para que seja aplicável a qualquer tipo de organização. Muito mais do que “modelos de procedimentos e formulários” (que podem facilmente ser obtidos pela internet), procurei juntar o que existe de melhor em termos de interpretações, objetivos e conceitos de cada seção que compõe a ISO 14001:2004 com a intenção de facilitar o entendimento e a aplicação no dia-a-dia dentro das empresas. Aliás, cada seção, item e subitem são analisados profundamente com o objetivo de não deixar dúvidas sobre o que precisa ser feito. Boa Leitura! Márcio J. C. Hosken Engenheiro Civil, Pós-graduado em Gestão da Qualidade e, Pós-graduado em Gestão Ambiental. e-mail: mhosken@onda.com.br
  • 5.
    SUMÁRIO CAPITULO UM PROBLEMAS NAIMPLANTAÇÃO DE QUALQUER GESTÃO OS PARADIGMAS QUE PODEM IMPEDIR O SUCESSO DE UMA ORGANIZAÇÃO ..................... 1 FATORES DE INSUCESSO NA IMPLANTAÇÃO DE SISTEMAS ORGANIZACIONAIS ..................... 2 O NOVO PAPEL DO GERENTE .................................................................................... 6 CAPITULO DOIS CONCEITOS DE GESTÃO AMBIENTAL O QUE É GESTÃO AMBIENTAL?.................................................................................... 9 Breve Histórico da Gestão Ambiental ............................................................................ 9 A Gestão Ambiental e as Organizações .......................................................................... 11 Instrumentos ou Ferramentas de Gestão ........................................................................ 13 Sistemas de Gestão Ambiental .................................................................................... 14 A família de normas ISO 14000 ................................................................................... 15 CAPITULO TRÊS SISTEMA DE GESTÃO AMBIENTAL O SISTEMA DE GESTÃO AMBIENTAL ............................................................................. 18 Elementos Básicos de um SGA .....................................................................................19 Definindo Quem são as Partes Interessadas (STAKEHOLDERS) ................................................ 20 PRINCÍPIOS DO SISTEMA DE GESTÃO AMBIENTAL (SGA) .................................................. 22 MELHORIA CONTÍNUA E O CICLO PDCA ......................................................................28 A ABORDAGEM POR PROCESSO ................................................................................ 29 CAPITULO QUATRO INTERPRETANDO A ISO 14001:2004 O SISTEMA DE GESTÃO AMBIENTAL BASEADO NA ISO 14001:2004 .................................. 33 0INTRODUÇÃO ................................................................................................... 34 1OBJETIVO E CAMPO DE APLICAÇÃO .....................................................................40 2REFERÊNCIAS NORMATIVAS ................................................................................. 41 3DEFINIÇÕES ..................................................................................................... 41 4REQUISITOS DO SISTEMA DE GESTÃO AMBIENTAL .................................................... 43 4.1 Requisitos gerais ...................................................................................... 43 4.2 POLÍTICA AMBIENTAL .................................................................................. 45 4.3 PLANEJAMENTO ......................................................................................... 48 4.3.1 Aspectos ambientais .............................................................................. 48 4.3.2 Requisitos legais e outros ........................................................................ 52 4.3.3 Objetivos, Metas e Programa(s) ................................................................. 53 4.4 IMPLEMENTAÇÃO E OPERAÇÃO .................................................................... 58 4.4.1 Recursos, funções, responsabilidades e autoridades ........................................58 4.4.2 Competência, treinamento e conscientização ............................................... 60 4.4.3 Comunicação ...................................................................................... 62 4.4.4 Documentação .................................................................................... 64 4.4.5 Controle de documentos ......................................................................... 66 4.4.6 Controle operacional ............................................................................. 68 4.4.7 Preparação e resposta a emergência ......................................................... 71 4.5 VERIFICAÇÃO E AÇÃO CORRETIVA ............................................................... 74 4.5.1 Monitoramento e medição ....................................................................... 74 4.5.2 Avaliação do atendimento a requisitos legais e outros ..................................... 75 4.5.3 Não conformidade, ações corretiva e preventiva ........................................... 76 4.5.4 Controle de registros ............................................................................. 79 4.5.5 Auditoria interna .................................................................................. 80 4.6 ANÁLISE CRÍTICA PELA ADMINISTRAÇÃO ........................................................ 83 ANEXOS 5 R'S - REDUCE, RE-USE, RECYCLE, RECOVER AND RESIDUAL MANAGEMENT ...................... A1 O PROBLEMA DO LIXO ............................................................................................. A3 O QUE É COLETA SELETIVA? ...................................................................................... A6 O QUE É RECICLAGEM? ........................................................................................... A7
  • 7.
  • 9.
    Interpretação da ISO14001:2004 Página 1 de 84 OS PARADIGMAS QUE PODEM IMPEDIR O SUCESSO DE UMA ORGANIZAÇÃO Paradigmas são um conjunto de regras, regulamentos, padrões ou rotinas, nem sempre reconhecíveis, que mostra como resolver problemas dentro de certos limites. Paradigmas influenciam fortemente a maneira de ver e analisar problemas, afetando sensivelmente as decisões. Impedem a previsão do futuro, bloqueiam a criatividade. Com isso todo mundo tende a buscar, nas experiências do passado, soluções para novos problemas, apoiadas em “velhos paradigmas”. Os paradigmas filtram novas experiências. As pessoas vêem o mundo, o tempo todo, através de seus paradigmas. Constantemente, selecionam informações do que de melhor se ajusta a suas regras e regulamentos, e tentam ignorar o resto. Por isso há tantas divergências na interpretação de um mesmo fato. A versão que cada pessoa dá a um acontecimento está condicionada o seu paradigma particular. O fenômeno chamado de “efeito paradigma” pode cegar empresários diante de novas oportunidades, fazer com que vendedores não percebam novos mercados e que gerentes não considerem novas formas mais eficazes de administrar negócios e pessoas. O efeito paradigma também tem o seu lado positivo: concentra a atenção e aumenta a confiança em resolver problemas. Mas pode bloquear a visão de futuro. As pessoas de aprisionam a uma maneira específica de resolver problemas. E tentam fazer isso usando os seus próprios paradigmas. Ao surgir uma nova maneira de fazer as coisas, tendem a rejeitá-las por não se enquadrar aos padrões sempre utilizados (e que são tão bons). A mudança de paradigma representa um novo e revolucionário modo de se pensar nos velhos problemas. Por exemplo: de “a Terra é chata” para “a Terra é redonda”, do “Muro de Berlin” à “glasnost”. A mudança de paradigma ocorre geralmente quando as regras do jogo estabelecidas não conseguem oferecer soluções eficazes para os problemas. Quando uma nova visão, uma explicação diferente ou uma descoberta oferecem perspectivas que revolucionam a compreensão. Quando a velha estrutura de percepção cede lugar à nova. Os Paradigmas nas Empresas Lidamos com paradigmas o tempo todo. Na vida das organizações não é diferente. Entretanto, pode-se observar na cultura das empresas uma série de paradigmas que, quando presentes, dificultam muito a implantação de uma Gestão da Qualidade. É necessário que todos da organização estejam conscientes das implicações destes paradigmas, para que possam mudá- los. A seguir, você vai ver alguns paradigmas famosos. Mas você pode identificar outros, que por certo estão dificultando a implantação de uma nova mentalidade em sua empresa. Convoque seu pessoal e faça com eles uma reflexão sobre o assunto. Você verá quanto ainda há por mudar. Mãos à obra. a) Errar é humano Quando as pessoas de uma organização partem da premissa que errar é humano, cria-se permanentemente uma justificativa para todos os erros, falhas, desperdícios, não-qualidades cometidos, já que estes erros são tidos como de natureza humana. Ora, as pessoas acertam muito mais do que erram. Se isso não fosse verdade, o homem já teria desaparecido da face da Terra. Conseqüentemente, este ditado popular pode muito bem ser alterado para outro mais próximo da natureza humana: acertar é humano. Aceitando isto, valorizamos os acertos de todos na organização, reconhecendo a contribuição de cada um, que certamente, é infinitamente superior aos erros cometidos. b) Santo de Casa não Faz Milagres Quando não se reconhece a capacidade do pessoal da organização em transformar a realidade, em identificar e resolver problemas ou inventar uma solução criativa para um problema difícil está havendo um desperdício de toda uma experiência de vida organizacional. Se as pessoas não tiverem a capacidade de criar e transformar seu próprio destino, ninguém o fará. Na Gestão da Qualidade, a valorização e o maciço investimento na formação e aperfeiçoamento de todos é o caminho que leva à satisfação dos clientes e se constitui em princípio fundamental. Portanto, para a Gestão da Qualidade, santo de casa é quem faz milagres. c) Cachorro Velho não Aprende Novos Truques As pessoas costumam acreditar que fazem as coisas como fazem porque sempre fizeram assim. A capacidade de sobrevivência de uma empresa é diretamente proporcional a sua capacidade de se transformar. Organizações com colaboradores abertos às próprias transformações mudam rápido. Sua capacidade de adaptação (da empresa) depende da percepção de seu pessoal sobre as transformações no ambiente. A palavra chave dos tempos de hoje é mudança. Os velhos modos de fazer as coisas já não satisfazem os clientes, que querem satisfazer suas expectativas. Investir na transformação do pessoal é urgente e importante. Como ser criativo, fazendo as mesmas coisas, da mesma forma, durante anos? Quem pensa que as pessoas preferem a segurança da rotina a novas formas de trabalhar este redondamente
  • 10.
    Interpretação da ISO14001:2004 Página 2 de 84 enganado. Ao investir na capacitação dos colaboradores, a empresa perceberá como são ávidos pela transformação, pela novidade, por fugir da rotina. Independentemente do tempo de empresa ou cargo ocupado, cachorro velho aprende novos truques. É só dar oportunidade e colher os resultados. d) Em Casa de Ferreiro, Espeto de Pau Muitas organizações priorizam a qualidade de seus produtos e serviços, mas se esquecem que os processos que geram estes mesmos produtos e serviços também têm que ter qualidade. Caso contrário, perceberão, e bem cedo, que a qualidade foi embora. Para que se consiga obter a qualidade desejada, a organização deve mudar este paradigma, adotando outro muito mais eficaz: casa de ferro, espeto de ferro. E verá que a grande mudança esta em mudar a si próprio em primeiro lugar. Está na coerência entre as palavras e as ações dos executivos ou em praticar aquilo que prega. FATORES DE INSUCESSO NA IMPLANTAÇÃO DE SISTEMAS ORGANIZACIONAIS “Tão importante quanto fornecer recursos é neutralizar as forças negativas que geram desmotivação para o projeto” (Moreira, 2004). Quando uma empresa pretende implantar um sistema organizacional, raramente está preparada para lidar com os aspectos comportamentais inerentes a um processo dessa envergadura. As considerações aqui apresentadas se aplicam à implantação de qualquer programa organizacional que envolva a empresa como um todo, como por exemplo, Sistema da Qualidade ou Sistema de Gestão Ambiental. Muitas vezes a alta administração provê os recursos necessários, mas o processo se arrasta devido a diversos problemas, inclusive falta de motivação. O que está por trás disso? Mais do que buscar fatores externos, um olhar para dentro da organização pode ajudar. Para aquelas empresas que nunca passaram pela experiência, implantar um sistema pode parecer algo eminentemente técnico, que se efetiva mediante consultoria, documentação e alguns programas informatizados. Nem sempre está muito claro que implantar um sistema de gestão é, na essência, mudar o comportamento das pessoas. Em Administração é conhecida a "Teoria do Campo de Forças", conforme ilustração. Consiste na percepção óbvia de que, dado um processo rumo a um objetivo, existe as forças positivas, que contribuem para o sucesso, e as forças negativas, que agem em sentido contrário ao que se pretende. O resultado favorável vai depender não somente das forças positivas, mas também da eliminação ou neutralização das negativas. Fonte: CAMPOS, 1999 O que geralmente ocorre, entretanto, é que as forças positivas são claramente percebidas (precisamos fazer isso e aquilo, precisamos deste e daquele recurso), mas as negativas se infiltram sorrateiramente, minando os esforços daqueles que estão comprometidos com o objetivo, e seguem seu caminho destruidor nos bastidores da cena.
  • 11.
    Interpretação da ISO14001:2004 Página 3 de 84 Identificando as Forças Negativas O processo de implantação de um sistema organizacional, devido à sua abrangência, duração, esforço exigido e potencial de mudanças, sempre provoca inúmeros focos de turbulência. Os egos se exaltam, os problemas comportamentais eclodem com maior evidência, ocorre praticamente uma revolução (mais ou menos) silenciosa. Todo cuidado será pouco para lidar com o que Freud denominou de "narcisismo das pequenas diferenças", que certamente estarão à flor da pele. Identificar as forças negativas, ou até mesmo antevê-las, é imprescindível para que se possa ao menos neutralizá-las. Vejamos algumas fontes de forças negativas internas que representam graves fatores de insucesso: a) Falta de consenso na decisão Qualquer programa que dependa do comprometimento de toda a empresa deve contar com o apoio decisivo de todos os integrantes da alta administração. Um único elemento que não tenha se convencido da necessidade do programa pode colocar tudo a perder, dependendo de sua importância na organização. E muitas vezes ele se esconde atrás de uma aparente aceitação. Quando se trata da ISO 9000 e ISO 14000, o mercado tem deixado cada vez mais claro sua exigência, fazendo constar até mesmo dos editais de licitação. Mas isto pode trazer o problema de tomar a decisão pela pressão, sem conhecer mais profundamente o que representa para a empresa adotar este ou aquele sistema. Portanto, buscar esclarecimento antes de decidir e debater o assunto à exaustão constituem atitudes que podem evitar uma força negativa já no nascedouro do processo. b) Pessoa inadequada como coordenador Nada melhor para começar mal um projeto do que escolher a pessoa errada como coordenador, sob diversos aspectos, tais como: Perfil Desorganização, pouca habilidade interpessoal, ausência de traços de liderança, baixo tônus vital, pouca tenacidade, etc., são características a serem evitadas na escolha de um coordenador. Posição Hierárquica Fonte: CAMPOS, 1999 O coordenador de implantação de um sistema de gestão que afete toda a empresa não necessariamente deve ser uma pessoa da área técnica pertinente. Coordenar um sistema organizacional significa garantir sua implantação e seu funcionamento ao longo do tempo; garantir que o conteúdo técnico seja inserido pela área de competência cabível; garantir que as responsabilidades técnicas e administrativas estejam adequadamente estabelecidas. Com isso queremos dizer que o coordenador do Sistema de Gestão Ambiental, por exemplo, não necessariamente deve ser o responsável pela área de Meio Ambiente.
  • 12.
    Interpretação da ISO14001:2004 Página 4 de 84 A função de coordenar implica estabelecer procedimentos, responsabilidades, fluxos administrativos, cronograma, etc.... O mais importante é que o coordenador esteja ligado diretamente à alta administração, num posicionamento de assessoria e não de gerência, porém com delegação de autoridade suficiente para garantir a realização de sua tarefa. O recado a ser dado a todos é que a implantação do sistema é de interesse direto da alta administração e não é exclusividade de nenhum departamento em especial. Isto evitará retaliações devido a rivalidades porventura existentes entre setores. c) Recursos inadequados ou insuficientes Se para compor a equipe de trabalho forem arrebanhados elementos sabidamente pouco capazes, dolentes ou de relacionamento difícil, trata-se de um indício claro de que o programa não está sendo levado a sério pelas gerências. O mesmo se pode dizer quando não se dispõem de computadores para o trabalho, sala de reunião e outros tipos de recursos, inclusive tempo. É importante salientar que todos os empregados estão, conscientes ou inconscientemente, avaliando o quanto esse processo é ou não importante para a empresa. Em virtude disto, destinar uma sala de trabalho bem equipada para o grupo de implantação é uma providência que confere status ao programa. d) Não neutralizar comportamentos negativos Comportamentos negativos característicos já foram identificados e são facilmente reconhecidos por qualquer pessoa que tenha participado de um processo de implantação de programas organizacionais. Sua percepção e neutralização podem evitar entraves prejudiciais ao processo. Eis alguns exemplos: Indiferença O indiferente é um elemento neutro. Não tem entusiasmo, não se esforça, mas também não atrapalha. Talvez lhe falte motivação (fator a ser analisado adiante). Trata-se de um elemento que pode contribuir para o esforço global, desde que bem orientado e incentivado. Sabotagem O sabotador pode apresentar comportamentos diversos, tais como: Mostra-se envolvido no processo, assume compromissos, mas na hora de fazer, deixa para depois ou para nunca; Faz comentários debochados em surdina, sobre tudo que se relaciona ao projeto; Critica o coordenador veladamente, às vezes por inveja ou para abalar a confiança das pessoas no processo de implantação; Não sabe fazer críticas construtivas; Não se dispõe a fazer esforços que extrapolem sua rotina. E como lidar com o sabotador? Se todos os envolvidos estiverem atentos para identificar o sabotador, deve-se manifestar com assertividade o reconhecimento de uma postura contrária aos interesses do grupo, ou seja, "cortar-lhe as asas" ao primeiro sintoma, em vez de consentir suas atitudes insidiosas ou de se deixar influenciar. Oposição Aberta Embora negativa para o processo, é melhor do que o anterior, pois é preferível lidar com um inimigo declarado do que com um dissimulado. Trata-se de um comportamento raro, pois um opositor tão visível corre sério risco de ser eliminado, até mesmo por demissão. É possível, entretanto, que o elemento tenha motivos para não se sentir ameaçado. Portanto, todo cuidado é pouco. E como lidar com o opositor? Sempre existe a possibilidade de buscar o entendimento de seus motivos e, quem sabe mediante um diálogo bem conduzido e esclarecedor, conseguir convencê-lo dos pontos positivos da implantação do sistema ou pelo menos negociar uma atitude que não prejudique o processo. Insegurança Diante da mudança organizacional que começa a tomar corpo, certos indivíduos podem se sentir ameaçados de várias maneiras, como, por exemplo, temer a perda de posição na empresa, achar que não são capazes de arcar com as novas responsabilidades ou que determinada deficiência pessoal se tornará de alguma forma mais evidente. O inseguro é um perigo em potencial, pois sua reação é às vezes imprevisível. Ele pode, por exemplo, tornar-se um sabotador, atacar para se defender, colocar defeito em tudo e em todos, criando uma nuvem de fumaça em torno de si para encobrir sua insegurança. Como lidar com o inseguro? Não é uma tarefa simples, mas ao reconhecer os sintomas característicos, seria necessária a busca de uma conversa esclarecedora, procurando identificar, e se possível neutralizar, os pontos de insegurança.
  • 13.
    Interpretação da ISO14001:2004 Página 5 de 84 Muitas vezes o inseguro "vê chifre em cabeça de cavalo", pois sua imaginação é uma fonte de ameaças inexistentes. O coordenador de implantação deve estar atento aos comportamentos inadequados e procurar sempre o diálogo, antes que os efeitos negativos ocupem espaço e contaminem outras pessoas. e) Falta de motivação Certos comportamentos negativos podem ser conseqüência da falta de motivação. A palavra motivação é composta de dois núcleos de significado: MOTIVO + AÇÃO Ou seja, não há ação sem motivo. Ninguém faz esforço algum se não houver um motivo claro e justo e se a relação custo/benefício não compensar a ação. Muito menos quando se trata de uma mudança, que sempre traz o desconforto da alteração de um status quo. A implantação de um sistema organizacional é uma tarefa penosa e de longa duração, que vai exigir de todos um esforço extra por muito tempo. Se não houver motivação e uma prioridade muita bem estabelecida, o programa será colocado em último plano. Alguma coisa terá que ser sacrificada para que o sistema vença a difícil fase de implantação. Horas-extras, por exemplo, serão indispensáveis. Portanto, uma pergunta deve ser feita: que motivo as pessoas terão para suportar por um longo tempo uma carga de responsabilidade e trabalho que vai muito além de suas atividades normais? O que Favorece a Motivação Sabe-se que não é possível motivar alguém, uma vez que motivação é um processo intrínseco de cada pessoa. Alguns fatores, desde que adequadamente explorados, podem servir de facilitadores da motivação. Eis alguns exemplos: A compreensão dos objetivos A maneira como o programa é lançado pode contribuir para a motivação. É conveniente uma reunião de todos os empregados e terceiros envolvidos, para que sejam explicados os motivos da implantação do novo programa, o esforço extra necessário, os resultados esperados e os benefícios para a empresa. O envolvimento da alta administração nesse momento é crucial. A postura Gerencial Complementando o que foi dito no item “Recursos inadequados ou Insuficientes”, o empregado avalia a cada momento se a sua dedicação ao programa é ou não valorizada, em especial, pelo seu gerente. Nada passa despercebido, sejam atitudes, omissões ou mensagens subliminares da chefia. Uma postura gerencial adequada implica demonstrar interesse pelo desenvolvimento do trabalho, alocar as pessoas adequadas, prover recursos e procurar equacionar com
  • 14.
    Interpretação da ISO14001:2004 Página 6 de 84 racionalidade o andamento da rotina com as atividades excepcionais inerentes à implantação do programa. Quando o empregado percebe que seu gerente está levando a sério o programa, sua dedicação será praticamente irrestrita. Infelizmente a figura do gerente "sabotador" não é rara. Perante a alta administração sua postura é de apoio à implantação do sistema. Diante de seus subordinados, entretanto, mal consegue disfarçar seu desinteresse pelo assunto, que nunca merece prioridade em sua área. Esta situação será objeto de um tópico à parte. Recompensa ou reconhecimento? Muita cautela deve-se tomar no que diz respeito a recompensas. Um bônus apenas para o coordenador, por exemplo, seria desastroso e desnecessário. Se todos souberem que apenas o coordenador receberá um bônus, a maioria não terá motivação para cooperar. Um bônus para o grupo de implantação também não seria indicado, pois o processo vai envolver todos da empresa, em maior ou menor grau. Talvez o melhor caminho seja o estabelecimento de uma competição saudável entre as diversas áreas, prevendo-se um reconhecimento da alta administração para aquelas que melhor estiverem cumprindo o cronograma, sem conotação material. Obtendo-se o certificado, uma comemoração geral será indispensável, ocasião em que o coordenador e o grupo de implantação devem merecer destaques especiais, em função do esforço mais intensivo desses elementos. Valorização Profissional Embora não muito explorado como fator de motivação, a valorização do currículo profissional é um dos mais contundentes. Numa época em que emprego vitalício é uma situação fora de contexto, aumentar o grau de empregabilidade é um incentivo que merece destaque. Ao final do processo de implantação de um sistema organizacional é inquestionável o desenvolvimento profissional de todos aqueles que se dedicaram com seriedade à tarefa e sem dúvida alguma este é um diferencial para qualquer currículo, caso o empregado venha a ter necessidade de se colocar novamente no mercado, seja por decisão da empresa ou por decisão própria. O drama do Gerente Algumas vezes encarado como um dificultador na implantação de sistemas organizacionais, o gerente enfrenta uma situação nada confortável, que precisa ser compreendida. Durante todo o período de implantação, parte de seu pessoal terá uma parcela de tempo comprometida com tarefas que extrapolam a atividade fim da gerência. E, no entanto, os resultados serão cobrados pela alta direção como se nada estivesse acontecendo. É compreensível, portanto, a postura do gerente que aparentemente apóia o projeto, mas para os seus subordinados demonstra o contrário. O que ele precisa compreender é que essa postura negativa não vai mudar a situação e só terá como resultados aumentar e prolongar o sofrimento. Uma vez que a diretoria decidiu implantar o novo sistema, isto ocorrerá de qualquer forma, num período maior ou menor de tempo, com maior ou menor dificuldade. Portanto, a melhor escolha para o gerente é apoiar o projeto da melhor maneira, para que o processo termine o mais rápido possível. Sem dúvida a manutenção do sistema é bem menos trabalhosa. A implantação de um sistema organizacional é uma tarefa desafiadora. Avaliar cada passo, planejar a alocação de cada recurso e, principalmente, não negligenciar o fator humano são fatores decisivos para o sucesso do empreendimento. O NOVO PAPEL DO GERENTE A figura do administrador ou chefe que apenas da ordens e exige obediência esta ultrapassada. O moderno conceito de gerência esta associado à capacidade de fazer acontecer, mobilizar, motivar, debater, transmitir informações, buscar o consenso e orientar os funcionários. Quando o gerente se expõe à crítica, passa a sentir o pulso da organização e a pressão por mudanças. É difícil enfrentar a mesma platéia sem que os problemas detectados tenham sido resolvidos ou encaminhados. Fundamentalmente os Líderes: a) Influenciam as outras pessoas do grupo, multiplicando iniciativas e comportamentos positivos; b) Colocam o cliente em primeiro lugar;
  • 15.
    Interpretação da ISO14001:2004 Página 7 de 84 c) Investem tempo com os clientes e são seus porta-vozes; d) Promovem e divulgam a Visão de Futuro da organização; e) Admitem o que não sabem e procuram aprender; f) Acreditam e investem no pessoal. Treinam, educam, preparam e ajudam as pessoas a obter desempenho sempre melhor; g) Fazem a equipe funcionar. Reúnem pessoas de diferentes setores da organização em Times da Qualidade; Líderes praticam o que dizem, dão o exemplo. Estão sempre dispostos a “por a mão na massa” e estimulam a criação de novos líderes. A MODERNA GERÊNCIA QUESITO GESTÃO TRADICIONAL GESTÃO PARTICIPATIVA Autoridade O gerente é visto como O CHEFE, a encarnação da autoridade. Visto como Líder/Facilitador, aquele que faz com que as coisas aconteçam. Postura Encarna a figura de um burocrata, apegado a regras e regulamentos, com a visão voltada para dentro da organização. Identifica-se com a figura de empreendedor, que se preocupa com a inovação. Possui sempre projetos em desenvolvimento. Responsabilidade Julga-se o único responsável pelo setor. Quando as coisas vão bem atribuía si os méritos. Caso contrário, sai em busca de um “culpado”. Tem a visão de que o trabalho é feito em equipe. Por isso compartilha com os subordinados as responsabilidades pelos resultados alcançados. Foco de ação Voltado para o superior hierárquico a quem julga ser o seu “cliente”. Voltado para o cliente, interno ou externo. Tem consciência de ser um “fornecedor” da equipe. Tomada de decisão É sempre aquele que decide que dá a última palavra, o “dono do poder”. Acredita na decisão por consenso. Facilita a decisão do grupo. Não impõe a sua opinião. Cadeia Cliente- Fornecedor Julga-se o cliente. Acha que todos os subordinados devem trabalhar em função dele. Vê-se como fornecedor. Preocupa-se com a equipe e procura supri-la do que necessita. Comunicação Centraliza as informações que passam pelo setor. Funciona como censor, não divulgando aquilo que julga que a equipe não deve receber. Dissemina todas as informações que recebe. Municia sua equipe com dados e informações sobre os resultados obtidos. Negociação Entende que, como gerente, tem sempre que ganhar algo, mesmo que para isso alguém perca, ainda que seja alguém de sua equipe. Procura estabelecer uma relação ganha-ganha entre os membros da equipe. Acredita que todos precisam ganhar. Delegação Centraliza poder o mais que pode. Vive em dilema se deve abrir mão de parte desse poder aos subordinados, pois nunca os julga preparados. Delega poder aos subordinados. Possui um programa de capacitação, para que todos estejam aptos a assumir desafios. Substituto Vê os subordinados como ameaça. Julga estratégico esconder informações que considera fundamental para torná-lo imprescindível. Sabe que sem formar substitutos dificilmente poderá ascender a posto mais alto. Na equipe, sempre existem pessoas aptas a lhe substituir. Informação Julga ser a pessoa que deve receber toda e qualquer informação na empresa. Monitora as informações necessárias à sua área de trabalho.
  • 16.
    Interpretação da ISO14001:2004 Página 8 de 84 Aprendendo a Transferir Responsabilidades Delegar significa colocar o poder de decisão o mais próximo possível de onde ocorre a ação, o que ainda não é comum nas empresas. Quem atende clientes não costuma ter poder de decisão, recebe salário mais baixo, não é treinado e pode ser malvisto internamente, quando repassa a “bronca” do cliente. A imagem que o cliente faz do serviço, porém, é formada através desses contatos. Decisão Onde Está a Ação É fundamental que exista capacidade de decisão, especialmente no contato com o cliente, para que a credibilidade da empresa não seja colocada em dúvida e sua imagem não seja arranhada. A velocidade de decisão é uma exigência dos clientes. A capacidade e o desejo de fornecer pronto serviço determinam aproximação ou afastamento do cliente. Respaldo para as Ações Delegar não se resume a “mandar alguém fazer o trabalho” ou entregar um setor a alguém de confiança e “fechar os olhos”. É necessário transferir parcela do poder e da responsabilidade e respaldar ações delegadas. A Gestão pela Qualidade pressupõe mudanças no comportamento das chefias intermediárias, retirando-lhes a função de “intermediários da delegação”. REGRAS PARA DELEGAR MAIS E MELHOR 1. Não delegue as tarefas ruins, preservando as boas para si mesmo; 2. Divida o poder com os subordinados; 3. Conheça bem os subordinados; 4. Caso delegue tarefas que não constem da rotina de trabalho do subordinado, explique a ele muito bem o porquê; 5. Delegue tarefas, de forma equilibrada, entre todos os subordinados; 6. Delegue a tarefa, acompanhe-a para ter certeza de que foi executada adequadamente, mas tome cuidado para não “super supervisionar”; 7. Delegue somente o que tiver segurança de que o subordinado é capaz de realizar; 8. Todos devem saber as responsabilidades definidas para cada um; 9. Delegue de maneira que o subordinado receba instruções somente de uma pessoa e preste contas somente a ela; 10. Defenda seu subordinado quando a autoridade que você atribuiu a ele for questionada; 11. Deixe bem claro as questões sobre as quais os subordinados devem decidir e delegue as decisões até o menor nível hierárquico possível; 12. Delegue com consciência. Não superestime nem subestime os subordinados; 13. Delegue somente tarefas que os subordinados possam realizar até o fim. Garanta o tempo necessário para a realização; 14. Na hora de delegar, insista na comunicação clara e precisa; 15. Valorize o bom desempenho dos subordinados; 16. Incentive os subordinados a fazer perguntas sobre as tarefas a eles delegadas, de forma a esclarecê-las; 17. Esteja certo de que uma tarefa delegada possa ser realizada. Tarefas impossíveis desmotivam; 18. Explique a importância da delegação e a importância das tarefas delegadas; 19. Aprenda a conviver com resultados de trabalhos diferentes daqueles que você obteria se realizasse pessoalmente a tarefa. Duas pessoas realizam o mesmo trabalho de forma diferente; 20. Evite delegar tarefas de sua exclusiva responsabilidade e de seu exclusivo interesse, de ordem pessoal ou privada, triviais ou mesquinhas; 21. Faça a sua parte: execute as tarefas que são de sua responsabilidade, delegue tanta responsabilidade quanto possível para subordinados competentes, despreze tarefas não importantes.
  • 17.
  • 19.
    Interpretação da ISO14001:2004 Página 9 de 84 O QUE É GESTÃO AMBIENTAL? Breve Histórico da Gestão Ambiental A Gestão Ambiental surgiu da necessidade do ser humano organizar melhor suas diversas formas de se relacionar com o meio ambiente (MORALES, 2006). Segundo a Enciclopédia Britânica: “gestão ambiental é o controle apropriado do meio ambiente físico, para propiciar o seu uso com o mínimo de abuso, de modo a manter as comunidades biológicas, para o benefício continuado do ser humano.” Ou ainda, a Gestão Ambiental consiste na administração do uso dos recursos ambientais, por meio de ações ou medidas econômicas, investimentos e potenciais institucionais e jurídicos, com a finalidade de manter ou recuperar a qualidade de recursos e desenvolvimento social (CAMPOS, 2002). (SEBRAE, 2004) Inicialmente, nos anos 70 e começo dos anos 80 na Europa, os esforços concentraram-se no desenvolvimento das estruturas legislativas e regulamentares, reforçados por uma estrutura de licenciamento ambiental. A resposta da indústria foi amplamente reacionária. A indústria investiu em soluções tecnológicas superficiais para assegurar que estava de acordo com as regulamentações, sempre mais restritivas, e com as licenças de operação relacionadas a condicionantes ambientais, na busca de atender ao comando-controle da legislação ambiental cada vez mais rigorosa. A combinação de negócios com aspectos ambientais em âmbito internacional começou depois da Conferência das Nações Unidas de 1972 (Conferência de Estocolmo), quando uma comissão independente foi criada: a Comissão Mundial de Desenvolvimento e Meio Ambiente (Brundtland Comission). Esta Comissão encarregou-se da tarefa de reavaliar o meio ambiente no contexto do desenvolvimento e publicou seu relatório Nosso Futuro em Comum em 1987, que hoje é considerado um marco. Esse relatório introduziu o termo Desenvolvimento Sustentável e incitou as indústrias a desenvolverem sistemas de gestão ambiental eficientes. O relatório foi assinado por mais de 50 líderes mundiais, que agendaram uma conferência geral para discutir a necessidade do estabelecimento de ações a serem implementadas. A ONU, conseqüentemente, decidiu organizar a Conferência de Desenvolvimento e Meio Ambiente das Nações Unidas (Unced), também conhecida como ECO 92, realizada no Rio de Janeiro em junho de 1992. Líderes de governos, próceres comerciais, representantes de mais de cinco mil organizações não-governamentais, jornalistas internacionais e grupos privados de várias partes do globo se reuniram para discutir como o mundo poderia mudar em direção ao desenvolvimento sustentável. O resultado da ECO 92 foi a Agenda 21, um “consenso global e compromisso político do mais alto nível”, mostrando como os governos, as empresas, as organizações não governamentais e todos os setores da ação humana podem cooperar para resolver os problemas ambientais cruciais que ameaçam a vida no planeta. O Secretário-Geral da Unced queria assegurar-se de que as corporações comerciais participariam no processo da discussão e da decisão final. Ele, então, pediu a um líder industrial suíço para ser seu conselheiro nas questões comerciais. Esse industrial fez seu papel, estabelecendo o Conselho Empresarial de Desenvolvimento Sustentável (CEBDS). Este Conselho publicou um relatório importante intitulado Mudança de Rumo, mas também decidiu aproximar-se da ISO para discutir o desenvolvimento de padrões ambientais. Paralelamente a esses acontecimentos, a Câmara do Comércio Internacional (ICC) desenvolveu a Carta Empresarial de Desenvolvimento Sustentável em 1990, que foi lançado no ano seguinte na Segunda Conferência Mundial de Gestão Ambiental das Indústrias (Wicem). A Carta Empresarial da ICC contém 16 princípios de gestão ambiental. Em outra iniciativa, a indústria química, preocupada com sua imagem pública deteriorada, lançou seu Programa de Atuação Responsável, começando no Canadá em 1984, cujos critérios condicionam à participação como membro na Associação das Indústrias Químicas. Sua abordagem é firmemente baseada nos princípios de controle ambiental e de qualidade total, incluindo avaliação da saúde potencial e real, segurança e impactos ambientais das atividades e produtos, e do fornecimento de informações para as partes interessadas. Desde a metade dos anos 80, e mais recentemente nas economias emergentes e dinâmicas do Oriente e do Ocidente, o segmento empresarial está tomando uma atitude mais proativa e reconhecendo que a gestão ambiental, como iniciativa voluntária, pode intensificar a imagem de corporação, aumentar os lucros e a competitividade, reduzir os custos e prevenir a necessidade de proposição de emendas legislativas a serem tomadas pelas autoridades. Uma evidência disso é vista na mudança para “produtos verdes”, com o aumento da “avaliação do ciclo de vida” – identificar os impactos ambientais de um produto do “berço ao berço”. Também têm sido produzidas inúmeras ferramentas de gestão ambiental, tais como auditoria ambiental e sistemas de gestão ambiental. Essas ferramentas, em sua maioria, começaram como iniciativas voluntárias dentro das companhias, mas agora afetam as políticas e regulamentações governamentais na União Européia, e põem em risco as políticas administrativas nacionais e internacionais de bancos e companhias de seguro.
  • 20.
    Interpretação da ISO14001:2004 Página 10 de 84 A implementação de sistemas de gestão ambiental em empresas permanece voluntária. No entanto, organizações em todo o mundo estão estimando cuidadosamente não só os benefícios financeiros (identificação e redução de desperdícios, melhora na eficiência da produção, novo potencial de marketing etc.) que podem surgir de tais atividades, mas também os riscos de não empregar soluções organizacionais e técnicas para problemas ambientais (acidentes, incapacidade de obter crédito bancário e investimento privado, perda de mercado e da clientela). Uma das atividades mais importantes nos últimos anos talvez seja o desenvolvimento de padrões no campo ambiental, principalmente daqueles estabelecidos pela ISO. Essas atividades são essenciais se um SGA (e ações relacionadas) tem que ser aplicado no contexto de “campo de atuação nivelado”, como exigido por acordos internacionais de exportação e importação, incluindo a União Européia e a Mundial. Padrões desenvolvidos em nível nacional e europeu também afetam indústrias no mundo todo, sendo mais reconhecidos a BS 7750, da Grã-Bretanha desde outubro de 1996, substituída pela ISO 14001, e o EMAS (Environmental Management and Auditing Scheme), da União Européia. Neste início do século 21, o homem passa a assumir a mea culpa pelo passado de uso predatório dos recursos naturais. Fala de desenvolvimento sustentável, como forma de redimir-se dos danos causados ao meio ambiente em que vive. Passar do discurso do desenvolvimento sustentável para a prática das ações ambientais diárias é um caminho que envolve mudanças de comportamento, de procedimentos; demora tempo e custa dinheiro, que nem sempre está disponível para essa finalidade. Falar de desenvolvimento sustentável é falar de coisas novas, é rever conceitos. É falar de biotecnologia, de tecnologias limpas, de mudanças de padrões de produção e consumo, de reciclagem, de reuso, de reaproveitamento e de outras formas de diminuir a pressão sobre matérias-primas, e ao mesmo tempo reduzir os impactos causados pelos descartes de substâncias e objetos no meio ambiente. É importante ressaltar que cada cidadão tem o dever de exercitar procedimentos de gestão ambiental onde quer que exerça suas atividades: no lar, no trabalho, nas instituições de ensino, nos ambientes de lazer e, também, nas ruas por onde passa. Dê sua contribuição de forma coerente e envide esforços para que as crianças sigam rumo certo no caminho da sustentabilidade ambiental, como condição para a sobrevivência da própria espécie humana no planeta Terra. Conceito de Desenvolvimento Sustentável: “É o desenvolvimento que satisfaz as necessidades do presente sem comprometer a capacidade de as futuras gerações satisfazerem suas próprias necessidades” (Relatório Brundtland – Nosso Futuro Comum, da Comissão Mundial de Meio Ambiente e Desenvolvimento – ONU). Formas de Abordagem das Empresas em Relação às Questões Ambientais Dependendo de como a empresa atua em relação aos problemas ambientais decorrentes das suas atividades, ela pode desenvolver três diferentes abordagens e, também podem ser vistas como fases de um processo de implementação de práticas de gestão ambiental numa dada empresa. FIGURA 1 – EVOLUÇÃO DAS EMPRESAS EM RELAÇÃO A QUESTÃO AMBIENTAL FONTE: ADAPTADO DE BARBIERI, 2006 De modo análogo à evolução da gestão da qualidade, a fase inicial da gestão ambiental também é de caráter corretivo, as exigências estabelecidas pela legislação ambiental são vistas como problemas a serem resolvidos pelos órgãos técnicos e operacionais da empresa sem autonomia decisória e esse trabalho é visto como um custo interno adicional. Do ponto de vista ambiental, as práticas de controle da poluição apresentam-se como soluções pobres por estarem focadas nos efeitos e não nas causas da poluição e alcançam poucos efeitos sobre o montante de recursos que a empresa utiliza. Na fase seguinte, as soluções para tais problemas ambientais são vistas como meios para aumentar a produtividade da empresa, sendo necessário rever os produtos e processos para reduzir a poluição na fonte, reutilizar e reciclar o máximo de resíduos. Essa abordagem permite reduzir a poluição e o consumo de recursos para a mesma quantidade de bens e serviços produzida. Por fim, numa etapa mais avançada, a empresa passa a CONTROLE DE POLUIÇÃO Postura reativa Ação corretiva É um custo adicional Práticas ambientais Atender aos requisitos Restrito a produção PREVENÇÃO DA POLUIÇÃO Postura reativa e proativa Ação corretiva e preventiva Procura pela redução de custos Uso eficiente dos insumos Uso de tecnologias mais limpas Restrito a algumas áreas POSTURA ESTRATÉGICA Postura reativa e proativa Ação corretiva, preventiva e antecipatória É uma vantagem competitiva Uso eficiente dos insumos Uso de tecnologias mais limpas Disseminada na organização
  • 21.
    Interpretação da ISO14001:2004 Página 11 de 84 considerar as questões ambientais como questões estratégicas, minimizando problemas que podem comprometer a competitividade da empresa, capturando oportunidades mercadológicas (BARBIERI, 2006). TABELA 2 – TIPOS DE ABORDAGENS À QUESTÃO AMBIENTAL CARACTERÍSTICAS CONTROLE DA POLUIÇÃO PREVENÇÃO DA POLUIÇÃO ESTRATÉGICA Preocupação básica Cumprimento da legislação e resposta às pressões da comunidade Uso eficiente dos insumos Competitividade Postura típica Reativa Reativa e proativa Reativa e proativa Ações típicas Corretivas; Tecnologias de remediação e de controle no final do processo (end-of-pipe); Aplicação de norma de segurança. Corretivas e preventivas; Conservação e substituição de insumos; Uso de tecnologias limpas. Corretivas, preventivas e antecipatórias; Antecipação de problemas e captura de oportunidades utilizando soluções de médio e longo prazo; Uso de tecnologias limpas. Percepção dos empresários e administradores Custo adicional Redução de custo e aumento da produtividade Vantagens competitivas Envolvimento da alta administração Esporádico Periódico Permanente e sistemático Áreas envolvidas Ações ambientais confinadas nas áreas produtivas. As principais ações ambientais continuam confinadas nas áreas produtivas, mas há envolvimento de ouras áreas. Atividades ambientais disseminadas pela organização; Ampliação das ações ambientais para toda a cadeia produtiva. FONTE: BARBIERI, 2006 A Gestão Ambiental e as Organizações (SEBRAE, 2004) Os negócios são estabelecidos com alguns propósitos definidos, mas fundamentalmente visam o LUCRO. E é saudável que tenham lucros, bons lucros. Não há incompatibilidade alguma entre um empreendimento rentável e uma GESTÃO AMBIENTAL adequada. Muito pelo contrário, a experiência tem demonstrado que as empresas mais bem controladas têm seus custos reduzidos por que: Consomem menos água, pelo uso racional; Consomem menos energia, pela redução do desperdício; Utilizam menos matéria-prima, pela racionalização do seu uso; Geram menos sobras e resíduos, pela adequação do uso de insumos; Reutilizam, reciclam ou vendem resíduos, quando possível; Gastam menos com controle de poluição. Ao reduzir seus custos, as empresas elevam sua competitividade, pois podem cobrar preços menores. Além disso, conquistam novos consumidores pela demonstração de responsabilidade social, já que hoje o consumidor, cada vez mais consciente e bem informado a respeito dos efeitos ambientais e processos produtivos ecologicamente saudáveis, está disposto a pagar mais caro por marcas associadas a uma atitude positiva em relação à proteção do meio ambiente. É comum pensar que as indústrias, inclusive as agroindústrias, são as grandes poluidoras do meio ambiente, porque lidam com recursos naturais, consomem muita água e energia, emitem poeiras e gases tóxicos e geram efluentes e resíduos sólidos de difícil tratamento. Mas, na realidade, qualquer atividade humana está intimamente envolvida com aspectos ambientais importantes. Os setores de comércio e serviços têm grande responsabilidade ambiental, pois são consumidores, vendedores e repassadores de produtos industrializados. Podem desenvolver, por
  • 22.
    Interpretação da ISO14001:2004 Página 12 de 84 exemplo, programas especiais de conservação de energia e água, de reutilização de embalagens, de reciclagem de papel ou de qualificação de consumo para produtos ambientalmente mais saudáveis, visando melhorar seu desempenho ambiental. Além disso, comércio e serviços são grandes empregadores de mão-de-obra qualificada. Essa conscientização é muito importante para o aperfeiçoamento de processos produtivos e o desenvolvimento da consciência ambiental de produtores e consumidores. A gestão ambiental é uma abordagem sistêmica em que a preocupação ambiental está em todos os aspectos dos negócios das organizações. A implementação de sistema de gestão ambiental é, normalmente, um processo voluntário. Ao optar pela sua implantação, porém, as companhias não estão visando apenas os benefícios financeiros (economia de matéria-prima, eficiência na produção e marketing). Estão também, estimando os riscos de não gerenciar adequadamente seus aspectos ambientais (acidentes, descumprimento da legislação ambiental, incapacidade de obter crédito bancário e outros investimentos de capitais, e perda de mercados por incapacidade competitiva). Uma gestão ambiental adequada, expressa numa política ambiental, obviamente, é o marco inicial para que as empresas integrem seus aspectos ambientais às suas operações. As ferramentas para assegurar atenção sistemática e atingir a política ambiental e os objetivos ambientais incluem, entre outras, sistema de gestão ambiental e auditorias ambientais. Essas ajudam a controlar e aperfeiçoar o desempenho ambiental de acordo com a política ambiental da companhia. Ferramentas adicionais também estão à disposição, como metodologias para avaliação do ciclo de vida dos produtos, programas de rotulagem ambiental e métodos para avaliação de desempenho. Esses instrumentos têm sido reputados em vários países, pelas corporações governamentais, como instrumentos convenientes para que as organizações adotem um SGA e o usem com livre arbítrio, sem pressão legislativa. Ao mesmo tempo, organizações nacionais e internacionais vêm adotando esses instrumentos como ferramentas úteis. Organizações de todos os tipos estão cada vez mais preocupadas em atingir e demonstrar um desempenho ambiental correto, controlando os impactos de suas atividades, produtos ou serviços no meio ambiente, levando em consideração sua política e seus objetivos ambientais. Esse comportamento se insere no contexto de uma legislação cada vez mais exigente, do desenvolvimento de políticas econômicas, de outras medidas destinadas a estimular a proteção ao meio ambiente e de uma crescente preocupação das partes interessadas em relação às questões ambientais e ao desenvolvimento sustentável. Modelos de Gestão Ambiental Os modelos de gestão ambiental incorporam a idéia de prevenção da poluição e encaram os problemas ambientais a partir de uma visão mais ampla que pode ser alinhada à estratégia da empresa. Esses modelos, embora representem de modo simplificado a realidade empresarial, permitem orientar as decisões sobre como, quando, onde e com quem abordar os problemas e como essas decisões se relacionam com as demais questões empresariais. Como cada modelo apresenta pontos fortes e fracos, é possível combinar seus elementos para criar um modelo próprio, uma vez que eles não são mutuamente exclusivos. Esses modelos ou suas variações permitem implementações isoladas, ou seja, uma dada empresa com seu próprio esforço podem-se adotar um desses modelos, embora sempre haja a necessidade de articulação com fornecedores, transportadores, recicladores, entidades apoiadoras e outros agentes (BARBIERI, 2006). TABELA 3 – MODELOS DE GESTÃO AMBIENTAL MODELO CARACTERÍSTICAS BÁSICAS PONTOS FORTES PONTOS FRACOS GESTÃO DA QUALIDADE AMBIENTAL TOTAL (TQEM) EXTENSÃO DOS PRINCÍPIOS E DAS PRÁTICAS DA QUALIDADE TOTAL ÀS QUESTÕES AMBIENTAIS MOBILIZAÇÃO DA ORGANIZAÇÃO, SEUS CLIENTES E PARCEIROS PARA AS QUESTÕES AMBIENTAIS DEPENDE DE UM ESFORÇO CONTÍNUO PARA MANTER A MOTIVAÇÃO INICIAL. PRODUÇÃO MAIS LIMPA (CLEAN PRODUCTION) ESTRATÉGIA AMBIENTAL PREVENTIVA APLICADA DE ACORDO COM UMA SEQÜÊNCIA DE PRIORIDADES CUJA PRIMEIRA É A REDUÇÃO DE RESÍDUOS E EMISSÕES NA FONTE ATENÇÃO CONCENTRADA SOBRE A EFICIÊNCIA OPERACIONAL, A SUBSTITUIÇÃO DE MATERIAIS PERIGOSOS E A MINIMIZAÇÃO DE RESÍDUOS DEPENDE DE DESENVOLVIMENTO TECNOLÓGICO E DE INVESTIMENTOS PARA A CONTINUIDADE DO PROGRAMA NO LONGO PRAZO
  • 23.
    Interpretação da ISO14001:2004 Página 13 de 84 MODELO CARACTERÍSTICAS BÁSICAS PONTOS FORTES PONTOS FRACOS ECOEFICIÊNCIA (ECO EFFICIENCY) EFICIÊNCIA COM QUE OS RECURSOS ECOLÓGICOS SÃO USADOS PARA ATENDER ÀS NECESSIDADES HUMANAS ÊNFASE NA REDUÇÃO DA INTENSIDADE DE MATERIAIS DE ENERGIA EM PRODUTOS E SERVIÇOS, NO USO DE RECURSOS RENOVÁVEIS E NO ALONGAMENTO DA VIDA ÚTIL DOS PRODUTOS DEPENDE DE DESENVOLVIMENTO TECNOLÓGICO, DE POLÍTICAS PÚBLICAS APROPRIADAS E DE CONTINGENTES SIGNIFICATIVOS DE CONSUMIDORES AMBIENTALMENTE RESPONSÁVEIS PROJETO PARA O MEIO AMBIENTE (DESIGN FOR ENVIRONMENT) PROJETAR PRODUTOS E PROCESSOS CONSIDERANDO OS IMPACTOS SOBRE O MEIO AMBIENTE INCLUSÃO DAS PREOCUPAÇÕES AMBIENTAIS DESDE A CONCEPÇÃO DO PRODUTO OU PROCESSO OS PRODUTOS CONCORREM COM OUTROS SIMILARES QUE PODEM SER MAIS ATRATIVOS EM TERMOS DE PREÇO, CONDIÇÕES DE PAGAMENTO E OUTRAS CONSIDERAÇÕES NÃO AMBIENTAIS FAMÍLIA DE NORMAS ISO 14.000 UMA GESTÃO AMBIENTAL ATRAVÉS DE UMA SÉRIE DE NORMAS SOBRE: SISTEMAS DE GESTÃO AMBIENTAL, AUDITORIA AMBIENTAL, AVALIAÇÃO DO DESEMPENHO AMBIENTAL, AVALIAÇÃO DO CICLO DE VIDA DO PRODUTO, ROTULAGEM AMBIENTAL E ASPECTOS AMBIENTAIS EM NORMAS DE PRODUTOS. POSSUI A NORMA SOBRE SISTEMA DE GESTÃO AMBIENTAL MAIS UTILIZADA NO MUNDO; PODE SER UTILIZADA EM CONJUNTO COM OUTRAS NORMAS DE GESTÃO AMBIENTAL; COMPATIBILIDADE COM OUTRAS NORMAS DE GESTÃO. NORMAS PROTEGIDAS POR DIREITO AUTORAL; ALTO CUSTO (acima de US$ 370.00) DE AQUISIÇÃO DE TODAS AS NORMAS; NEM TODAS AS NORMAS FORAM PUBLICADAS. FONTE: ADAPTADO DE BARBIERI, 2006 Instrumentos ou Ferramentas de Gestão A adoção de qualquer modelo de gestão requer o uso de instrumentos, aqui entendemos como meios ou ferramentas para alcançar objetivos em uma matéria ambiental (BARBIERI, 2006). Auditoria ambiental, avaliação do ciclo de vida, estudos de impactos ambientais, sistema de gestão ambiental, relatórios ambientais, rotulagem ambiental, gerenciamento de riscos ambientais, educação ambiental são alguns entre muitos instrumentos de que as empresas podem se valer para alcançar objetivos ambientais. FIGURA 2 – INSTRUMENTOS DE GESTÃO AMBIENTAL FONTE: ADAPTADO DE BARBIERI, 2006 AUDITORIA AMBIENTAL AVALIAÇÃO DE IMPACTOS AMBIENTAIS EDUCAÇÃO AMBIENTAL AVALIAÇÃO DO DESEMPENHO AMBIENTAL ANÁLISE DO CICLO DE VIDA GESTÃO AMBIENTAL SISTEMA DE GESTÃO AMBIENTAL
  • 24.
    Interpretação da ISO14001:2004 Página 14 de 84 Muitos também são instrumentos de política pública, como, em certos casos, o estudo de impactos ambientais e a auditoria ambiental. Outros são de caráter horizontal, isto é, são instrumentos que podem ser aplicados em qualquer empresa independente de seu porte e setor de atuação, como sistemas de gestão ambiental. Alguns se aplicam diretamente aos produtos, como a rotulagem ambiental e a avaliação do ciclo de vida; outros na empresa como um todo ou em parte dela, como o sistema de gestão, a auditoria e a avaliação do desempenho ambiental. Há instrumentos, como esses últimos, que são aplicados em situações, operações ou ativos existentes para a melhoria do desempenho ambiental, enquanto outros visam encontrar soluções antes que os problemas apareçam, como o estudo prévio de impacto ambiental e os projetos para o meio ambiente. A lista de instrumentos de gestão ambiental pode ser ampliada com a inclusão dos instrumentos convencionais utilizados nas empresas para fins de qualidade e produtividade, tais como análise de valor, listas de verificação, cartas de controle, diagrama de relações, diagrama de cause- efeito, ciclo PDCA, análise de falhas, manutenção preventiva, gestão eficiente de materiais, práticas correntes de housekeeping, etc. Avaliação de Impacto Ambiental: Este é um procedimento formal para avaliar os efeitos sobre o meio ambiente de uma nova atividade ou instalação, que pode ser usado tanto para avaliar os impactos ambientais de grandes indústrias ou obras públicas, quanto para examinar políticas, programas e planos. Normalmente avaliam-se os impactos econômicos e ambientais nos projetos, mas cada vez mais estão sendo incluídos os impactos sociais. Auditorias: A auditoria é um processo de avaliar a efetividade de um sistema para alcançar seus objetivos declarados, inclusive às exigências legais e reguladoras. Apesar de ser mais freqüentemente aplicada a sistemas financeiros, as auditorias ambientais e energéticas estão se tornando cada vez mais comuns. Auditorias ambientais podem ser aplicadas a estruturas organizacionais, procedimentos administrativos e operacionais, áreas de trabalho, operações, processos ou documentação. Uma auditoria pode envolver o uso de questionários, entrevistas, medições e observações diretas, dependendo da natureza da função a ser auditada. As pessoas que realizam a auditoria devem ser independentes das atividades ou áreas sendo auditadas. Os relatórios de auditoria podem incluir detalhes sobre infrações ou outras deficiências, as possíveis razões de tais problemas, recomendações para ações corretivas e avaliações da efetividade das melhorias resultantes de outras auditorias. A Auditoria Ambiental avalia as condições e o impacto ambiental das atividades de um projeto ou instituição. Em uma cidade, este processo pode ser dividido nos níveis 'interno' (avaliação das práticas e políticas utilizadas) e 'externo' (relatório das condições ambientais). Avaliação do desempenho ambiental: A ADA é a avaliação evolutiva do desempenho ambiental de uma determinada organização. É um método que permite medir e melhorar os resultados da gestão ambiental praticada numa dada organização ou atividade econômica. Exista ou não um sistema de gestão ambiental formal implementado na entidade em causa, este instrumento poderá ser aplicado, ainda que, tal como sugere o mesmo autor, será mais vantajoso se pelo menos alguns aspectos do SGA estiverem implementados. Análise do ciclo de vida: A Análise do Ciclo de Vida (ACV) é um método técnico para avaliação dos aspectos ambientais e dos impactos potenciais associados a um produto, compreendendo etapas que vão desde a retirada dos recursos da natureza até a disposição do produto final. Esta técnica auxilia na identificação de prioridades e afasta-se do enfoque tradicional de end-of-pipe (tratamento no final do processo) para a proteção ambiental. Educação ambiental: A educação ambiental tem como objetivo fundamental lograr que os indivíduos e a coletividade compreendam a natureza complexa do meio ambiente natural e do meio ambiente criado pelo homem, resultante da integração de seus aspectos biológicos, físicos, sociais, econômicos e culturais, e adquiram os conhecimentos, os valores, os comportamentos e as habilidades práticas para participar responsável e eficazmente da prevenção e solução dos problemas ambientais, e da gestão da qualidade do meio ambiente. Sistemas de Gestão Ambiental Segundo o SEBRAE (2004) Sistemas de Gestão Ambiental podem ser aplicados a qualquer atividade econômica, em organizações públicas ou privadas, especialmente naqueles empreendimentos que apresentam riscos de provocar impactos negativos ao meio ambiente. Um Sistema de Gestão Ambiental possibilita a uma organização controlar e minimizar os riscos ambientais de suas atividades. Além disso, a adoção de um Sistema de Gestão Ambiental representa uma importante vantagem competitiva, o mercado reconhece e valoriza as organizações ecologicamente corretas. Também é crescente o nível de exigências legais para que os bens produzidos sejam ambientalmente adequados em todo o seu ciclo de vida: que não agridam o meio ambiente desde a origem de sua matéria-prima, durante sua produção e entrega, até sua obsolescência e disposição final.
  • 25.
    Interpretação da ISO14001:2004 Página 15 de 84 Um Sistema de Gestão Ambiental é parte do sistema administrativo geral de uma empresa. Ele inclui a estrutura organizacional, atividades de planejamento, responsabilidades, treinamentos, procedimentos, processos e recursos para a implementação e manutenção da gestão ambiental. Também inclui aqueles aspectos de administração que planejam, desenvolvem, implementam, atingem, revisam, mantêm e melhoram a política ambiental, os objetivos e metas da empresa. Dentre as características de um SGA, este ajuda a empresa a: a) Identificar e controlar os aspectos, impactos e riscos ambientais relevantes para a organização. b) Atingir sua política ambiental, seus objetivos e metas, incluindo o cumprimento da legislação ambiental. c) Definir uma série básica de princípios que guiem a abordagem da sua organização em relação a suas futuras responsabilidades ambientais. d) Estabelecer metas de curto, médio e longo prazos para o desempenho ambiental, assegurando o equilíbrio de custos e benefícios, para a organização e para seus vários acionistas e interessados. e) Determinar que recursos são necessários para atingir tais metas, garantir responsabilidades por elas e comprometer os recursos necessários. f) Definir e documentar tarefas, responsabilidades, autoridades e procedimentos específicos para assegurar que cada empregado aja no curso de seu trabalho diário para ajudar a minimizar ou eliminar o impacto negativo da empresa no meio ambiente. g) Comunicar tudo isso à organização e treinar pessoal para cumprir eficazmente seus compromissos. h) Medir o desempenho em relação a padrões e metas preestabelecidos e modificar a abordagem, se necessário (NBR ISO 14001:2004, p. 11; NBR ISO 14004:2004, p. vi; SEBRAE, 2004, p. 57; SGS, 2003, p. 10). A família de normas ISO 14000 A “International Organisation for Standardisation” (ISO) é uma federação de organismos de normalização de 130 países, um por país. A ISO é uma organização não governamental e foi estabelecida em 1947. A sua missão consiste na promoção do desenvolvimento da normalização e atividades relacionadas, em todo o mundo, como elemento facilitador das trocas comerciais de bens e serviços, dentro dos princípios da Organização Mundial do Comércio (APCER, 2003). O British Standards Institution iniciou a criação de uma norma sobre SGA no final dos anos 1980s, resultando daí a BS 7750 em 1991. Seguindo o exemplo desse órgão, em vários países foram criadas normas para o mesmo fim, gerando restrições ao comércio internacional. A ISO entra em cena e em 1992 criou um grupo de assessoria denominado Strategic Advisory Group on the Environment (SAGE) para estudar as questões decorrentes da diversidade crescente de normas ambientais e seus impactos sobre o comércio internacional. O SAGE recomendou a criação de um comitê específico para a elaboração de normas sobre gestão ambiental, o Comitê Técnico 207 (TC 207). Em 1.996 são editadas as primeiras normas sobre gestão ambiental a cargo do Subcomitê 1 (SC1): a ISO 14.001 e 14.004, ambas sobre SGA. Desde então outras foram editadas sobre outros tópicos da gestão, tais como, auditoria ambiental, rotulagem ambiental, avaliação do ciclo do produto etc. Essas normas que em outubro de 2.006 eram 30 formam um sistema de normas, de acordo com um ciclo PDCA ampliado, como mostra a Figura 3 (CAJAZEIRA; BARBIERI, 2005). A série ISO 14000 lida com sistemas e métodos gerenciais e não com normas técnicas ou relativas ao produto, focalizam o estabelecimento de um sistema para alcançar internamente o estabelecimento de políticas, objetivos e alvos. Além disso, requerem que essas políticas incluam elementos que cumpram as leis e regulamentações e que evitem a poluição. Mas os padrões não ditam como a organização alcançará essas metas nem descrevem o tipo ou nível de desempenho exigido. Assim como a série ISO 9000, focaliza-se nos processos necessários para alcançar resultados e não nos próprios resultados, o objetivo é aumentar a confiança de todos os interessados em que a organização possui um sistema que provavelmente levará a um melhor desempenho ambiental (BOGO, 1998). As normas citadas na Figura 3 são autônomas, podendo ser implementadas de modo isolado. Porém há uma expectativa de que os melhores resultados venham a ser obtidos na medida em que as normas sejam usadas de modo articulado, como será mostrado a seguir em relação à implantação e manutenção de um SGA com base na ISO 14001 e ISO 14004. A norma ISO 14004 não é um guia para a ISO 14001, um equívoco muito comum observado inclusive na literatura acadêmica, mas um guia para um sistema de gerenciamento ambiental genérico e, portanto, mais abrangente que os próprios requisitos da ISO 14001 (CAJAZEIRA; BARBIERI, 2005). O núcleo desse ciclo é a ISO 14001, uma norma também concebida como um ciclo PDCA (Plan- Do-Check-Act). Todas as normas da gestão têm como base o ciclo PDCA, criado na década de 1930 por Walter A. Shewart para efeito da gestão da qualidade, e que passou a ser utilizado para outros propósitos tornando-se uma espécie de modelo padrão de gestão para implementar qualquer melhoria de modo sistemático e contínuo.
  • 26.
    Interpretação da ISO14001:2004 Página 16 de 84 FIGURA 3 – Modelo ISO 14001 e suas correlações com as demais normas da série 14000 FONTE: ADAPTADO DE CAJAZEIRA; BARBIERI, 2005 E ISO/TC207, 2002 ISO 14001 e ISO 14004 Sistema de Gestão Ambiental Priorização dos aspectos ambientais Série ISO 14040 Análise do ciclo de vida Descrição do desempenho ambiental dos produtos Integração dos aspectos ambientais no projeto e desenvolvimento ISO 14062 Projeto para o meio ambiente (Design for environment) Melhoria do desempenho ambiental dos produtos ISO 14063 Comunicações ambientais Série ISO 14020 Selos e declarações ambientais Comunicação do desempenho ambiental Informações sobre aspectos ambientais dos produtos Comunicação do desempenho ambiental Monitoramento do desempenho ambiental Série ISO 14030 Avaliação do desempenho ambiental Descrição do desempenho ambiental ISO 19011 Auditoria do sistema de gestão ambiental Monitoramento da performance do SGA Informações sobre o desempenho do SGA Avaliação de locais e organizações ISO 14015 Avaliação ambiental de locais e organizações Avaliação das questões ambientais associadas a locais e /ou atividades
  • 27.
    Interpretação da ISO14001:2004 Página 17 de 84 TABELA 4 APLICAÇÕES DAS NORMAS DA SÉRIE ABNT NBR ISO 14000 NO NÍVEL ORGANIZACIONAL IMPLEMENTAÇÃO DE SISTEMAS DE GESTÃO AMBIENTAL (SGA) ABNT NBR ISO 14001:2004 ABNT NBR ISO 14004:2005 Ajuda a organização a estabelecer um SGA novo ou melhorar um SGA existente ABNT NBR ISO 14001:2004 Especifica os requisitos para que o SGA possa ser objetivamente auditado para fins de certificação de primeira, segunda ou terceira parte ABNT NBR ISO 14004:2005 Fornece diretrizes para ajudar a organização a estabelecer e implementar um SGA, incluindo orientações que vão além dos requisitos da ABNT NBR ISO 14001 ABNT NBR ISO 14005 Fornece diretrizes para uma execução gradual de um sistema de gestão ambiental, incluindo o uso da avaliação de desempenho ambiental ABNT NBR ISO/TR 14061:1998 Contém informações que auxiliam na implementação da ABNT NBR ISO 14001 e da ABNT NBR ISO 14004 em organizações de gestão florestal e na indústria de produtos florestais REALIZAÇÃO DE AUDITORIAS AMBIENTAIS E DE OUTRAS INVESTIGAÇÕES RELACIONADAS ABNT NBR ISO 14010:1996 Fornece diretrizes sobre os princípios gerais comuns à realização de qualquer auditoria ambiental (norma cancelada) ABNT NBR ISO 14011:1996 Fornece diretrizes sobre os procedimentos para a realização de auditorias de SGA, incluindo os critérios para seleção e formação de equipes de auditoria (norma cancelada) ABNT NBR ISO 14012:1996 Fornece diretrizes sobre as qualificações de auditores e auditores líderes ambientais internos e externos (norma cancelada) ABNT NBR ISO 14015:2003 Ajuda a organização a identificar e avaliar os aspectos ambientais e suas conseqüências para a empresa, a fim de dar suporte à transferência de propriedades, responsabilidades e obrigações de uma parte para outra ABNT NBR ISO 19011:2002 (substitui as normas ABNT NBR ISO 14010, 14011 e 14012) Fornece diretrizes sobre os princípios de auditoria; a gestão de programas de auditoria; a realização de auditorias de sistemas de gestão; e a competência de auditores ABNT NBR ISO GUIA 66:2001 Requisitos gerais para organismos que operam avaliação e certificação /registro de sistemas de gestão ambiental (SGA). AVALIAÇÃO DO DESEMPENHO AMBIENTAL ABNT NBR ISO 14031:2004 Fornece diretrizes sobre a seleção e o uso de indicadores para avaliar o desempenho ambiental da organização ABNT NBR ISO/TR 14032 Fornece exemplos de organizações reais para ilustrar o uso das orientações da ABNT NBR ISO 14031 COMUNICAÇÃO DE RESULTADOS ABNT NBR ISO 14063 Fornecerá diretrizes sobre a comunicação referente ao desempenho ambiental e aos aspectos ambientais da organização COMPREENSÃO DE TERMOS E DEFINIÇÕES ABNT NBR ISO 14050 Ajuda a organização a compreender os termos usados nas normas da série ABNT NBR ISO 14000 USO DE RÓTULOS E DECLARAÇÕES AMBIENTAIS ABNT NBR ISO 14020:2002 Fornece princípios gerais que servem como base para o desenvolvimento de diretrizes e normas ABNT NBR ISO sobre rótulos e declarações ambientais ABNT NBR ISO 14021:2004 Fornece diretrizes sobre a terminologia, os símbolos e as metodologias de ensaio e verificação que a organização deve usar para auto- declarar os aspectos ambientais de seus produtos e serviços (Rotulagem Ambiental Tipo II) ABNT NBR ISO 14024:2004 Fornece os princípios e procedimentos guias para programas de certificação de terceira parte (Rotulagem Ambiental Tipo I) ABNT NBR ISO/TR 14025 Identifica e descreve elementos e questões para serem considerados ao se fazer declarações de informações quantificadas sobre o produto, baseadas em dados do Inventário do Ciclo de Vida (Declarações Ambientais Tipo III) COMPREENSÃO DE TERMOS E DEFINIÇÕES ABNT NBR ISO 14050 Ajuda a organização a compreender os termos usados nas normas da série ABNT NBR ISO 14000
  • 28.
    Interpretação da ISO14001:2004 Página 18 de 84 REALIZAÇÃO DE AVALIAÇÕES DO CICLO DE VIDA (ACV) ABNT NBR ISO 14040:2001 Fornece os princípios gerais, a estrutura e os requisitos metodológicos para a ACV de produtos e serviços ABNT NBR ISO 14041:2004 Fornece diretrizes para se determinar o objetivo e o escopo de um estudo ACV e realizar um inventário do ciclo de vida ABNT NBR ISO 14042:2004 Fornece diretrizes para se realizar a fase de avaliação do impacto no ciclo de vida de um estudo ACV ABNT NBR ISO/TR 14043:2005 Fornece diretrizes para a interpretação dos resultados de um estudo ACV ABNT NBR ISO/TS 14048 Fornece informações com relação à formatação de dados para dar suporte à avaliação do ciclo de vida ABNT NBR ISO/TR 14049/14 047 Fornece exemplos que ilustram como aplicar as diretrizes da ABNT NBR ISO 14041 e da ABNT NBR ISO 14042 INCLUSÃO DE ASPECTOS AMBIENTAIS EM PRODUTOS E EM NORMAS DE PRODUTOS ABNT NBR ISO GUIA 64:2002 Ajuda os escritores de normas de produtos a incluir os aspectos ambientais nessas normas (em revisão) ABNT NBR ISO/TR 14062:2004 Fornece conceitos e práticas atuais relacionadas com a integração de aspectos ambientais no projeto e desenvolviment o de produtos ABNT NBR ISO 17422:2002 Plásticos - Aspectos ambientais - Diretrizes gerais para sua inclusão em normas COMPREENSÃO DE TERMOS E DEFINIÇÕES ABNT NBR ISO 14050:2004 Ajuda a organização a compreender os termos usados nas normas da série ABNT NBR ISO 14000- ABNT NBR: Normas Brasileiras ISO: International Organization for Standardization TR: Relatório Técnico TS:Especificação Técnica FONTE: ADAPTADO DE ABNT/CB-38 – COMITÊ BRASILEIRO DE GESTÃO AMBIENTAL E ISO/TC207, 2002
  • 29.
    Sistema de Gestão Ambiental ISO 14001e ISO 14004 Sistema de Gestão Ambiental
  • 32.
    Interpretação da ISO14001:2004 Página 18 de 84 O SISTEMA DE GESTÃO AMBIENTAL Segundo Bogo (1998) a finalidade básica da ISO 14001 é a de fornecer às organizações os requisitos básicos de um sistema de gestão ambiental eficaz. A norma não estabelece "requisitos absolutos de desempenho ambiental" sendo possível que duas organizações que desempenhem atividades similares e alcancem desempenhos ambientais diferentes podem estar ambas em conformidade com a ISO 14001. Estes requisitos básicos formam um processo de cinco etapas: a) Compromisso e política: Nesta fase a organização define uma política ambiental e assegura seu comprometimento com ela. b) Planejamento: A organização formula um plano que satisfaça às políticas. c) Implementação: A organização coloca um plano em ação, fornecendo os recursos e mecanismos de apoio. d) Medição e avaliação: A organização mede, monitora e avalia seu desempenho ambiental contra objetivos e alvos. e) Análise crítica e melhoria: A organização realiza uma análise crítica e implementa continuamente melhorias em seu SGA para alcançar melhorias no desempenho ambiental total. Em 15 de novembro de 2004, a ISO (International Organization for Standardization) publicou as segundas edições das Normas ISO 14001 e 14004. Esta revisão é parte do compromisso da ISO de periodicamente revisar e atualizar as normas citadas, concluindo um trabalho de mais de 3 anos efetuado pelo TC 207 da ISO, o qual é responsável pelo desenvolvimento e manutenção das Normas da série ISO 14000 (SGS, 2005). Conforme descrito na introdução da ISO 14001:2004: A segunda edição desta Norma busca o esclarecimento da primeira edição, para auxiliar o seu entendimento, e leva em consideração as disposições da ABNT NBR ISO 9001:2000, de maneira a aumentar a compatibilidade entre as duas normas, para benefício da comunidade de usuários. Genericamente a segunda versão da ISO 14001 tem como objetivos: Esclarecimento da primeira edição; Aumento da compatibilidade com a ISO 9001:2000. A estrutura da norma (muito mais de que uma harmonização em termos de nomenclatura com a ISO 9001:2000) manteve-se em grande parte, existindo apenas duas alterações substanciais: Integração dos subitens 4.3.3 Objetivos e metas e 4.3.4 Programa de gestão ambiental da versão 1996 no subitem 4.3.3 Objetivos, metas e programas na versão 2004; Inclusão do subitem 4.5.2 – Avaliação do atendimento a requisitos legais e outros. Também o Anexo A foi revisado e agora têm melhor direcionamento, esclarecimento e orientação para a implementação e manutenção do SGA nas organizações. As partes de especial interesse são: requisitos gerais (A.1), aspectos ambientais (A.3.1), objetivos, metas e programa(s) (A.3.3), documentação (A.4.4) e monitoramento e medição (A.5.1). Esta última alteração traduz o espírito que norteou a revisão da ISO 14001. A versão 2004 apresenta um enfoque bastante significativo nos aspectos ambientais e na importância que este processo representa para todo o Sistema de gestão Ambiental. Todos os procedimentos e processos devem ter em consideração os aspectos ambientais, representando efetivamente o cerne do Sistema. Nota-se também explicitamente a importância dada ao cumprimento de todos os requisitos legais nas organizações que pretendem obter a certificação de acordo com o referencial ambiental. Os críticos da ISO 14001 se referiam muitas vezes o fato da Norma impor a melhoria contínua do sistema de gestão ambiental e não do desempenho ambiental. Argumentavam, com se tal fosse possível, que uma organização poderia melhorar o desempenho do seu sistema sem que tal correspondesse a uma melhoria efetiva do seu desempenho ambiental e complementarmente a uma diminuição do seu impacte sobre o meio envolvente. Com esta nova versão toda a estrutura da norma baseia-se na gestão dos aspectos ambientais e no seu controle. O procedimento de levantamento dos aspectos ambientais assume uma posição de destaque para quem procede à implementação de um sistema de gestão ambiental. Esta versão da norma que aparentemente não apresentaria alterações significativas mostra-se mais exigente, mais transparente e muito mais alinhada com a ISO 9001:2000. Reflexo disso mesmo é o referido na Introdução “… como o PDCA é aplicável a todos os processos, é considerado que as duas metodologias são compatíveis" (APCER, 2005).
  • 33.
    Interpretação da ISO14001:2004 Página 19 de 84 Elementos Básicos de um SGA Os Sistemas de Gestão Ambiental serão diferentes para diferentes tipos de organizações, dependendo da natureza, tamanho e complexidade das atividades, produtos e serviços de cada uma (AEP, 1988). Os elementos básicos incluem: a) Uma política ambiental expressando o compromisso da direção da empresa de incorporar a gestão ambiental. Compreende-se a política ambiental como sendo uma declaração pública das intenções e princípios de ação da empresa em relação ao meio ambiente. A declaração deve orientar a definição dos objetivos gerais que a organização quer alcançar. b) Um programa ambiental ou um plano de ação, descrevendo medidas que a empresa tomará na vigência do SGA. O programa ambiental ou o plano de ação traduz a política ambiental da organização em objetivos e metas e identifica as ações para atingi-lo. Define as responsabilidades dos colaboradores internos e aloca os recursos humanos e financeiros necessários para a sua implementação. Além disso, o programa deve levar em consideração os aspectos ambientais da organização, uma visão geral das exigências legais e outros requisitos aplicáveis. c) Uma estrutura organizacional estabelecendo tarefas, delegando autoridades e definindo responsabilidades para implementar as ações. No caso de empresas com locações múltiplas ou diferentes atividades comerciais, estão incluídas estruturas organizacionais para a empresa como um todo, assim como para as unidades de operação separadas. O representante da alta administração tem uma típica relação de comunicação direta com os executivos (direção) da empresa. d) A integração da gestão ambiental com as operações comerciais, que inclui procedimentos para incorporar as medidas ambientais em outros aspectos das operações da empresa, tais como a saúde e segurança ocupacional, compras, desenvolvimento de produtos, associações e aquisições, marketing, finanças, etc. e) Inclui o desenvolvimento de procedimentos ambientais especiais, geralmente especificados em manuais e outras instruções de trabalho, descrevendo medidas e ações a serem tomadas na implementação do programa ambiental ou plano de ação. Os procedimentos ambientais podem abranger: Documentação do SGA e controle dos documentos; Controle operacional: procedimentos e critérios para as operações e atividades, assim como para os bens e serviços, fornecedores e contratados da organização; Cálculo dos riscos e planos de ação de emergência, para identificar acidentes em potencial e evitar que se tornem catástrofes. Procedimentos para monitoramento, medição e manutenção de registros para documentar e monitorar os resultados de ações e programas específicos, assim como os efeitos globais das melhorias ambientais. f) Ações corretivas e preventivas para eliminar causas reais ou potenciais de não cumprimento dos objetivos, metas, critérios e especificações. g) Auditorias para verificar a adequação e eficiência da implementação e funcionamento do SGA. h) Análises críticas para a avaliação formal pela alta direção visando a adequação do SGA à luz das mudanças de circunstâncias. i) Comunicação (interna e externa) – recebendo e respondendo a comunicação das partes interessadas internas e externas, assim como comunicação em todos os níveis da organização e no nível externo as relações com a comunidade para comunicar a postura e as metas ambientais da organização às pessoas interessadas de fora da empresa, e mantê-las informadas sobre questões, dificuldades ou outros assuntos ambientais específicos que possam afetá-las, mantendo uma postura de transparência. j) Treinamentos para assegurar que todos os empregados entendam onde estão insertos no contexto do SGA e em relação a suas atividades de trabalho, além da conscientização das questões ambientais relevantes, à política ambiental, os objetivos, metas e o papel de cada empregado no sistema de gestão ambiental.
  • 34.
    Interpretação da ISO14001:2004 Página 20 de 84 FIGURA 4 – ELEMENTOS DE UM SISTEMA DE GESTÃO AMBIENTAL FONTE: ADAPTADO DE AEP, 1998 Definindo Quem são as Partes Interessadas (STAKEHOLDERS) Segundo MIYASSHITA (2004) o termo stakeholder é um neologismo que se contrapõe conceitualmente ao termo acionista, que em inglês é denominado de shareholder, ou de stockholder. Ao longo do tempo, o termo foi adquirindo sucessivos aperfeiçoamentos, em razão de uma melhor compreensão do fenômeno envolvendo a relação empresa-sociedade. Sua origem é de 1963, e foi originalmente formulado pelo Standford Research Institute para indicar todos aqueles que possuem um interesse em jogo na atividade da empresa e seu nome deriva de stake que significa aposta, promessa. Uma definição considerada clássica no meio, apresentada por Freeman (1984) segundo a qual “stakeholder é todo indivíduo bem identificável que pode influenciar ou ser influenciado pela atividade da organização em termos de produtos, políticas e processos de trabalho”. Segundo este significado mais amplo, tanto grupos de interesse público, quanto movimentos de defesa, comunidades locais, entidades governamentais, associações, concorrentes, sindicatos e imprensa podem ser todas consideradas stakeholders. Todos estes grupos possuem um interesse “em jogo” (at. stake) nas decisões realizadas pela empresa. As relações da empresas com seus stakeholders podem ser expressas também na forma de um quadro em que são apresentadas as contribuições e demandas de cada grupo social para com a empresa, como mostra a tabela 6. A compreensão de quais os principais stakeholders envolvidos especificamente com cada empresa constitui uma base importante em seu processo decisório. Cabe a cada empresa mapear quais são os seus públicos de interesse e realizar um planejamento adequado para o gerenciamento estratégico dos seus stakeholders tendo em vista a criação de valor. AUDITORIA AVALIAÇÃO DE IMPACTOS AMBIENTAIS INTEGRAÇÃO COM A GESTÃO ESTRUTURA INTERNA DO SGA PROGRAMA AMBIENTAL SISTEMA DE GESTÃO AMBIENTAL POLÍTICA AMBIENTAL PROCEDIMENTOS AMBIENTAIS (DE NORMA) ANÁLISES CRÍTICAS AÇÕES CORRETIVAS E PREVENTIVAS TREINAMENTOS COMUNICAÇÕES INTERNAS E EXTERNAS PROCEDIMENTOS OPERACIONAIS (monitoramento, medição e manutenção de registros)
  • 35.
    Interpretação da ISO14001:2004 Página 21 de 84 TABELA 6 – RELAÇÃO ENTRE OS STAKEHOLDERS E A EMPRESA Parceiros Contribuições Demandas Básicas Acionistas Capital Lucros e dividendos Preservação do patrimônio Empregados Mão-de-obra Criatividade Idéias Salários justos Segurança no emprego Realização pessoal Condições de trabalho Fornecedores Mercadorias Respeito aos contratos Negociação leal Clientes Dinheiro Segurança e boa qualidade dos Produtos Preço acessível Propaganda honesta Concorrentes Competição; referencial de mercado Lealdade na concorrência Governo Suporte institucional, jurídico e político Obediência às leis Pagamentos de tributos Grupos e movimentos Aportes sócio-culturais diversos Proteção ambiental Respeito aos direitos de minorias Respeito aos acordos salariais Comunidade Infra-estrutura Respeito ao interesse comunitário Contribuição à melhoria da qualidade de vida na comunidade Conservação dos recursos naturais FONTE: DUARTE (1985: 84)
  • 36.
    Interpretação da ISO14001:2004 Página 22 de 84 PRINCÍPIOS DO SISTEMA DE GESTÃO AMBIENTAL (SGA) Um sistema de gestão ambiental (SGA) é definido pela ISO 14001 como a estrutura organizacional, responsabilidade, práticas, procedimentos, processos e recursos para implementação e manutenção da gestão ambiental. O modelo de sistema de gestão ambiental proposto pela ISO baseia-se numa visão organizacional que adota os seguintes princípios: Princípio 1 – Comprometimento e política Texto da Norma ISO 14004:2004 É recomendado que uma organização defina sua política ambiental e assegure o comprometimento com o seu SGA. A Organização deve definir a sua política ambiental e assegurar um compromisso perante o SGA, é o documento base do julgamento da organização onde deve estar garantida a intenção real de cumprir as afirmações nele contidas e deve ser redigido pela administração. A Obtenção do Compromisso dos gestores do topo da organização é um dos passos iniciais para assegurar o sucesso do SGA. Este compromisso é fundamental para o desenrolar do sistema. Depois os gestores intermediários terão que implementá-la e providenciar os necessários inputs para formulação e alterações da política. Antes de ser elaborada a Política Ambiental da organização, deve ser feita uma revisão inicial, ou levantamento inicial da posição da organização perante o ambiente, nomeadamente: − Identificação dos requisitos legais e legislação; − Identificação dos aspectos ambientais relativos ás suas atividades, produtos ou serviços por forma a determinar aqueles que têm impactos ambientais significativos; − Avaliação do desempenho ambiental, comparada com critérios internos, externos, regulamentares, ou outros; − Procedimentos e práticas de gestão ambiental correntemente usadas; − Feedback resultante da investigação de incidentes anteriores de não cumprimento; − Oportunidades para ganhar vantagens competitivas: − As opiniões dos parceiros interessados; − Funções ou atividades de outros sistemas organizacionais que podem por em causa o desempenho ambiental. A Política Ambiental definida deve: − Conter a missão, a os valores e as crenças da organização; − Ser apropriada à natureza e escala da organização e aos impactes decorrentes da sua atividade, produtos ou serviços; − Refletir o compromisso dos gestores de topo da organização no cumprimento da legislação e outros requisitos que a organização subscreva, na melhoria continua do sistema e pela prevenção da poluição; − Servir de base para a formulação dos objetivos e metas ambientais atingir; − Ser devidamente documentada, implementada, mantida e comunicada a todos os funcionários e colaboradores da organização; − Ser suficientemente clara por forma a ser compreendida por parceiros internos e externos ser periodicamente revista de modo a incorporar alterações nas condições; − Estar disponível para o público em geral. Princípio 2 – Planejamento Texto da Norma ISO 14004:2004 É recomendado que uma organização formule um plano para cumprir sua política ambiental. A ORGANIZAÇÃO deve formular um plano que satisfaça a política ambiental concebida anteriormente. Para tal o planejamento deve incluir: − A identificação dos aspectos ambientais e avaliação dos impactes ambientais associados; − A legislação ambiental e regulamentação aplicável; − Os objetivos e metas ambientais; − O programa de gestão ambiental.
  • 37.
    Interpretação da ISO14001:2004 Página 23 de 84 a) Identificação dos aspectos ambientais e a avaliação dos impactes ambientais A organização deve estabelecer e manter procedimentos que identifiquem os aspectos ambientais associados as suas atividades, produtos ou serviços, por forma a determinar aqueles que podem ter impactes ambientais significativos. A organização deve assegurar que os aspectos relacionados com os impactes relevantes sejam considerados no estabelecimento dos objetivos ambientais. A identificação dos aspectos ambientais é um processo contínuo que deve considerar os impactos passados, correntes e futuros (positivos e negativos) das atividades de urna organização no ambiente. O processo de identificação dos aspectos ambientais tem como objetivo encontrar prioridades em termos de intervenção do SGA. − Os aspectos ambientais referem-se aos elementos da atividade, produtos e serviços da organização que podem interagir com o ambiente. − Os impactos ambientais referem-se às alterações que tomarão lugar no ambiente como resultado de um aspecto ambiental. Deve-se começar por selecionar uma atividade, produto ou serviço; em seguida identificam-se todos os aspectos ambientais que poderão estar adjacentes a essa atividade, produto ou serviço; identificam-se os potenciais impactos ambientais e avalia-se a sua importância. Na identificação dos diferentes aspectos ambientais, deve-se ter em conta as emissões para a atmosfera, as descargas de águas residuais, a gestão dos resíduos, a contaminação dos solos, a utilização de matérias-primas e recursos naturais e outros aspectos ambientais locais e assuntos que digam respeito às comunidades locais. O processo deve considerar o normal funcionamento da organização, bem como as situações de arranque e fecho, nomeadamente em alturas de férias, e ainda atender aos potenciais impactos ambientais resultantes de casos de emergência. A importância de determinados impactos é diferente de organização para organização. Por forma a que a avaliação seja facilitada, podemos ter em conta os seguintes fatores: − Escala do impacto; − Severidade do impacte; − Probabilidade de ocorrência: − Duração do impacte; − Legislação; − Incomodo para as populações vizinhas; − Preocupação internacional; − Falta de informação. b) Legislação ambiental e regulamentação aplicável A organização deve estabelecer e atualizar procedimentos de modo a identificar, ter acesso e compreender toda a legislação ambiental e regulamentação aplicável que a organização subscreva como diretamente aplicáveis aos aspectos ambientais decorrentes das suas atividades, produtos ou serviços. c) Objetivos e metas ambientais Os objetivos devem ser estabelecidos de encontro com a política ambiental da organização. Quando a organização estabelecer os objetivos, devem ter em conta os requisitos legais constantes da legislação, os aspectos relevantes encontrados nas revisões ambientais e na identificação dos aspectos ambientais e respectivos impactos. As metas ambientais devem ser então atingidas num espaço de tempo determinado. Os objetivos e metas ambientais definidos devem: − Refletir a política ambiental da organização e ainda os impactos associados com as atividades, produtos e serviços da organização; − Ser específicos para cada situação; − Ser claramente definidos e compreendidos; − Aceites por todos os parceiros envolvidos; − Flexíveis, mensuráveis, motivadores e atingíveis. Os objetivos e metas ambientais devem incluir ainda compromissos na redução da produção de resíduos e poluentes; na redução do consumo de recursos naturais; na concepção de produtos de modo a que tenham um impacto ambiental reduzido; e na promoção de uma cultura ecológica junto de todos os colaboradores da organização. Esses indicadores podem ser usados numa avaliação do desempenho ambiental e ainda fornecer informação sobre o SGA e os sistemas operativos.
  • 38.
    Interpretação da ISO14001:2004 Página 24 de 84 Os objetivos e metas devem ser revistos periodicamente e devem ser tidas em conta as considerações dos parceiros interessados por forma a introduzir melhoramentos no desempenho ambiental da organização. d) Programa ambiental A organização deve estabelecer e manter um programa por forma atingir os objetivos e metas propostos. Com efeito, a criação de um ou mais programas ambientais é uma peça chave para a implementação bem sucedida do SGA. O programa deve descrever como os objetivos e metas ambientais da organização devem ser atingidas, incluindo uma calendarização e a atribuição de competências e responsabilidades, em cada nível e funções relevantes da organização, pela implementação da política ambiental da organização. Princípio 3 – Implementação Texto da Norma ISO 14004:2004 Para uma efetiva implementação, é recomendado que uma organização desenvolva a capacitação e os mecanismos de apoio necessários para atender sua política, seus objetivos e metas ambientais. Para que haja uma correta implementação, a organização deve desenvolver as capacidades e mecanismos de suporte necessários por forma a satisfazer a política ambiental, bem como os objetivos e metas ambientais. a) Recursos humanos, físicos e financeiros A organização deve identificar e designar os recursos humanos, técnicos e financeiros necessários a satisfazer os seus objetivos e metas ambientais. A organização deve ser capaz de calcular os custos e benefícios das suas atividades ambientais. A responsabilidade pelo controle do SGA deve ser conferida a alguém cuja função garanta suficiente autoridade, competência e recursos. Os gestores devem definir claramente as responsabilidades do pessoal e serem responsáveis pela implementação do SCA e pelo desempenho ambiental da organização. De resto, todos os funcionários devem ter responsabilidades e contribuir para o desempenho ambiental global da organização. O pessoal responsável pela implementação do SGA deve: − Ter a formação e os recursos necessários; − Antecipar e registrar todos os incidentes ambientais; − Recomendar soluções para os problemas e verificar a implementação dessas soluções; − Controlar atividades posteriores até que a eficiência ambiental tenha sido corrigida; − Saber atuar em situações de emergência. Os gestores de topo devem desempenhar um papel fundamental em motivar os seus funcionários explicando-lhes os valores ambientais e comunicando-lhes a política ambiental da organização. Todos os membros da organização devem compreender e ser encorajados a aceitar a importância da obtenção dos objetivos e metas ambientais, para os quais eles são diretamente responsáveis. A motivação para a melhoria contínua pode ser alcançada quando os funcionários são reconhecidos pelo seu papel na obtenção de determinados objectivos e metas ambientais e são encorajados a introduzir alterações (melhoramentos) no SGA. Os responsáveis pela implementação, designados pelos gestores de topo, devem assegurar que o SGA está estabelecido, implementado e mantido de acordo com as normas ISO 14001, e devem comunicar regularmente o desempenho do SGA aos gestores de topo numa base de melhoria contínua. b) Formação Deve ser feita a identificação das necessidades de formação e a sensibilização de todo o pessoal para as questões ambientais. Deve ser definido um plano de formação por forma a satisfazer as suas necessidades, acompanhado de documentação e avaliação da formação. Deve ser considerado o recrutamento de pessoal e formação. Todo o pessoal de uma organização deve ter a formação e treinos apropriados para que os objetivos, metas e política ambiental sejam atingidos. Os funcionários devem ter uma correta formação de base, incluindo métodos e treino que os levarão a executar as suas tarefas de uma forma mais eficiente e competentes, causando por isso menores impactes no ambiente. Da mesma forma, a organização deve exigir aos seus fornecedores que atuem dentro da organização com sentido de responsabilidade de modo a não beliscar o SGA da organização. A educação e o treino são ainda necessários para assegurar que os funcionários possuem os conhecimentos suficientes sobre a regulamentação, legislação, critérios internos, política e objetivos da organização.
  • 39.
    Interpretação da ISO14001:2004 Página 25 de 84 Devem ser estabelecidos procedimentos de modo a que se consiga sensibilizar todos os funcionários e colaboradores da organização para: − A importância de atuar em conformidade com a política ambiental e os requisitos do SGA; − Os impactos ambientais significativos ou potenciais resultantes das suas atividades e os benefícios resultantes do melhoramento do desempenho do pessoal; − As regras e responsabilidades na obtenção da conformidade com a política ambiental e procedimentos, e com os requasitos do SGA. incluindo os requistos de resposta em casos de acidentes e os planos de emergência; − As potenciais conseqüências provenientes dos procedimentos operacionais. e) Comunicação Devem ser estabelecidos procedimentos para uma comunicação interna entre os vários níveis e funções da organização; e ainda procedimentos para receber, documentar e responder a comunicação relevante a partir de parceiros interessados. d) Documentação As operações unitárias e os procedimentos relativos a cada uma delas devem estar definidos e documentados. A organização deve definir claramente os diferentes tipos de documentos que são necessários para o controlo e estabelecimento de procedimentos apropriados. A existência de documentação ajuda a informar os funcionários de tudo aquilo que é necessário para atingir os objetivos ambientais propostos e possibilita a avaliação do sistema e do desempenho ambiental. A natureza da documentação varia conforme a dimensão e complexidade da organização. De qualquer das maneiras a organização deve manter organizada documentação sobre: − A política ambiental, os objetivos e metas; − Programa ambiental que possibilite atingir os objetivos e metas propostos; − Os procedimentos ambientais; − A demonstração de que os elementos do SGA estão implementados; − As informações dos processos e os gráficos organizacionais, os procedimentos operacionais e as normas internas, e os planos de emergência. A documentação referente ao SGA deve estar articulada com outros tipos de documentação já existentes. O acesso dos funcionários à documentação do SGA deve ser definido. Toda a documentação deve ser legível, datada, facilmente identificável, organizada e conservada por períodos de tempo definidos. Os documentos devem estar identificados relativamente à organização, divisão, função, atividade e pessoa a que se referem. Os documentos devem ser periodicamente revistos bem como aprovados pelos respectivos responsáveis. As versões atualizadas relevantes devem estar disponíveis nos locais onde as operações relacionadas são executadas e os documentos obsoletos devem ser eliminados. e) Procedimentos A implementação é conseguida através do estabelecimento e manutenção de procedimentos operacionais e controles por forma a assegurar o cumprimento da política, objetivos e metas ambientais propostos. A organização deve considerar e identificar as operações e atividades que estão ou possam estar associadas com os aspectos ambientais identificados, de acordo com a política, objetivos e metas ambientais estabelecidos quando do desenvolvimento dos procedimentos. As atividades podem estar agrupadas em três categorias: − Atividades que previnam a poluição e a conservação de recursos em novos projetos, ou alterações de processos, e ainda em novos produtos; − Atividades de gestão diárias por forma a assegurar conformidade com os requisitos internos e externos, e assegurar a sua eficiência: − Atividades estratégicas de gestão por forma a antecipar e responder a alterações dos requisitos ambientais. f) Planos de emergência Os planos de emergência devem ser estabelecidos por forma a que haja uma resposta apropriada em caso de existência de acidentes inesperados. A organização deve definir procedimentos a lidar com acidentes ambientais ou potenciais situações de emergência. Os procedimentos de operação e controlo devem incluir considerações relativas a emissões acidentais para a atmosfera, acidentais descarga para os leitos de água e solo e os efeitos ambientais específicos a partir de descargas acidentais. Os planos de emergência devem incluir: − Uma organização e responsabilidades em caso de uma situação de emergência: − Uma lista das pessoas chave;
  • 40.
    Interpretação da ISO14001:2004 Página 26 de 84 − Detalhes dos serviços de emergência; − Planos de comunicação internos e externos; − Ações tomadas em caso de vários tipos de emergências; − Informação sobre materiais perigosos, incluindo materiais que causem potenciais impactes ambientais e medidas a tomar em caso de eventuais descargas acidentais; − Planos de treino e testes para averiguar a sua eficiência. Princípio 4 – Medição e avaliação Texto da Norma ISO 14004:2004 É recomendado que uma organização mensure, monitore e avalie seu desempenho ambiental. a) Monitorização (Medição) As medições, monitorizações e avaliações são atividades chave no SGA, pois asseguram que o desempenho ambiental da organização está de acordo com o programa ambiental definido. Deve existir um sistema montado que permita a monitorização do desempenho atual em confronto com os objetivos e metas da organização. Naturalmente que isto envolve a obrigatoriedade do cumprimento da legislação ambiental e regulamentação aplicável. Os resultados devem ser analisados e utilizados para determinar as áreas de sucesso e identificar as atividades que requerem ações corretivas e melhoramentos. A organização deve estabelecer uma série de procedimentos por forma a monitorizar, numa base regular, as características chave das suas operações e atividades que possam ter um impacto significativo no ambiente. O equipamento de monitorização deve ser calibrado e mantido e os registros deste processo devem ser guardados de acordo com os procedimentos da organização. Devem ser estabelecidos indicadores ambientais que permitam averiguar se os objetivos e metas ambientais da organização estão a ser cumpridos. A identificação de indicadores ambientais apropriados para a organização deve ser um processo dinâmico. Tais indicadores devem ser objetivos, verificáveis e reproduzíveis. Devem ser relevantes para as atividades da organização, consistentes com a sua política ambiental, práticos, com baixos custos e tecnicamente viáveis. b) Identificação de não-conformidades e ações corretivas e preventivas A organização deve estabelecer e manter procedimentos para definir as responsabilidades e competências para lidar com situações de não-conformidade, e tomar ações por forma a mitigar quaisquer impactes causados e por iniciar as ações corretivas e preventivas. Qualquer ação corretiva ou preventiva tomada para eliminar as causas de não conformidade deve ser apropriada para a amplitude dos problemas e comensurável com os impactes ambientais encontrados. A organização deve implementar e guardar alterações nos procedimentos resultantes das ações corretivas e preventivas. c) Registros Os registros são as evidências do dinamismo a que um SGA deve corresponder e devem incluir: − A legislação ambiental e a regulamentação aplicável; − Os aspectos ambientais e respectivos Impactos; − As atividades de formação ambiental; − As atividades de inspeção, calibração e manutenção; − Os registros da monitorização; − As não conformidades, os acidentes, as queixas; − Informação relativa aos produtos, fornecedores e clientes; − As revisões e auditorias ao SGA. Os registros ambientais devem ser legíveis, facilmente identificados com a atividade, produto ou serviço envolvido. Devem ser guardados e mantidos de forma que se mantenham protegidos contra possíveis danos. Os seus tempos de retenção devem ser determinados e cumpridos. d) Auditorias ao SGA A organização deve estabelecer e manter programas e procedimentos que permitam a auditoria regular do SGA, por forma a determinar se o SGA está conforme os planejamentos operados segundo as normas 150 14001, se tem sido corretamente implementado e mantido. O programa de auditorias, incluindo a sua calendarização, deve ser baseado na importância ambiental da atividade relativa e nos resultados de auditorias anteriores. Estas auditorias distinguem-se pois das auditorias ambientais que se preocupam com o cumprimentos da legislação e regulamentação aplicável. Neste caso, as auditorias ao SGA centram-se exclusivamente no SGA.
  • 41.
    Interpretação da ISO14001:2004 Página 27 de 84 Princípio 5 – Análise crítica e melhoria Texto da Norma ISO 14004:2004 É recomendado que uma organização analise criticamente e aperfeiçoe continuamente seu sistema de gestão ambiental, com o objetivo de aprimorar seu desempenho ambiental global. Com isto em mente, o SGA é melhor visto como uma estrutura organizacional, que se recomenda ser continuamente monitorada e periodicamente analisada criticamente, a fim de que se possam dirigir da organização, em resposta à mudança de fatores internos e externos. É recomendado que cada pessoa da organização aceite sua responsabilidade quanto a melhorias ambientais. A ORGANIZAÇÃO deve analisar e melhorar de uma forma contínua o seu SGA, com o objetivo de melhorar o seu desempenho ambiental global. A revisão deve ser devidamente documentada. A gestão da organização deve, com intervalos regulares considerados apropriados, conduzir uma revisão ao SGA por forma a garantir a sua eficiência. A revisão do SGA deve ser suficientemente alargada de modo a englobar as atividades, produtos e serviços da organização, seus impactes no desempenho financeiro e posição competitiva. O objetivo desta revisão deve ser compreensivo e nem todos os elementos do SGA poderão necessitar de ser revistas ao mesmo tempo. A revisão das políticas, objetivos, metas e procedimentos ambientais devem ser conduzidos pelo nível organizativo que os definiu. As revisões devem incluir os resultados das auditorias, a extensão dos objetivos e metas que foram conseguidos e preocupações de parceiros interessados. O conceito de melhoria contínua está imbuído ao SGA. E é atingido pela regular avaliação do desempenho ambiental do SGA em confrontação com as políticas, objetivos e metas ambientais traçadas com o objetivo de serem identificadas oportunidades de melhoramentos. O processo de melhoramento contínuo deve: − Identificar áreas de oportunidade para melhoramentos no SGA que levarão a um melhor desempenho ambiental; − Determinar as causas das não-conformidades ou deficiências do sistema; − Desenvolver e implementar um plano com ações corretivas e preventivas por forma por cobro a essas não-conformidades; − Registrar alterações nos procedimentos resultantes do processo de melhoria; − Estabelecer comparações com os objetivos e metas ambientais. − A revisão deve advertir para possíveis necessidades para alterações na política, objetivos e outros elementos do SGA, como resultado da auditoria ao sistema com o compromisso de se obter uma melhoria contínua.
  • 42.
    Interpretação da ISO14001:2004 Página 28 de 84 MELHORIA CONTÍNUA E O CICLO PDCA A gestão ambiental permite o reconhecimento das interações dos produtos e serviços da organização com o ambiente, bem como o desenvolvimento e melhoria contínua do seu desempenho ambiental, sendo que a ISO 14001 rege-se pelos princípios de melhoria contínua com base em quatro pilares: Planear, Executar, Verificar e Atuar. Buscando fazer uma comparação entre os princípios acima apresentados e uma das ferramentas introduzida por Deming, conhecida como Círculo de Deming ou Ciclo PDCA, pode se observar algumas semelhanças claras. O segundo princípio do modelo de sistema de gestão ambiental proposto pela ISO corresponde ao P (Plan) do ciclo PDCA, ou seja, a fase de planejar, ou formular um plano, visando o objetivo a ser alcançado. O terceiro princípio D (Do), a fase de execução, desenvolvendo capacidade e mecanismos necessários à realização dos objetivos. Já os quatro princípios correspondem por analogia, ao C (Check), fase esta onde a organização mede e avalia seu desempenho, ou seja, checa. O quinto e último princípio do modelo de sistema de gestão ambiental da ISO, corresponde ao A (Action) do ciclo onde ocorre a ação propriamente dita, visando uma melhoria contínua. A comparação realizada anteriormente mostra de forma clara a relação existente entre os princípios da qualidade e qualidade ambiental. Mostrando ainda que trabalhar sob a ótica do sistema de gestão ambiental é antes de mais nada trabalhar sob a ótica de gestão da qualidade. 4.2 Política Ambiental 4.3 Planejamento 4.4 Implementação e Operação 4.5 Verificação e Ação Corretiva 4.6 Análise Crítica pela Administração
  • 43.
    Interpretação da ISO14001:2004 Página 29 de 84 A ABORDAGEM POR PROCESSO Como qualquer auditor, consultor ou gestor sabe, este conceito relativamente simples é difícil de definir por palavras ou imagens e ainda mais difícil de implementar de uma forma coerente numa Organização. No entanto, a identificação de tais processos internos e as interações entre eles e o mundo exterior é fundamental para conceber e implementar um sistema de gestão eficiente e eficaz, que seja da qualidade ou ambiental. As Organizações devem deixar de pensar nas suas operações como um "fluxo linear" desde a recepção dos requisitos dos Clientes até a entrega dos produtos aos Clientes, e encarem as atividades relacionadas com o meio ambiente como um ciclo permanente de melhorias contínuas. Os Processos possuem tipicamente as seguintes características: Fornecem atividades de valor agregado que utilizam recursos para converter entradas em saídas; Têm fontes de entradas – internas ou externas, clientes, fornecedor, etc; Têm saídas que podem ser produtos, serviços, informação – tangível ou intangível – que podem ir para um ou mais clientes internos ou externos; Convém que todos os processos tenham um responsável; Todos os componentes (entradas, atividades de processo, recursos e saídas) devem ser controlados; Todos os processos em uma organização necessitam ser controlados desta maneira. Os processos nas organizações podem variar baseados na natureza dos seus negócios, complexidade de produtos, processos, etc. Os processos podem ser agrupados em: Processos de realização; Processos de suporte; Processos do SGA; De uma maneira simples, uma organização existe para transformar “inputs (entradas)” (por exemplo, materiais, energia, informação, etc.) em “outputs (saídas)” (produtos, serviços) que são fornecidos aos seus clientes, e ao fazê-lo, acrescentam valor. Texto da Norma ISO 14004:2004 4.1.1 O modelo do sistema de gestão ambiental Ajuda prática – O modelo do sistema de gestão ambiental O PDCA é um processo contínuo iterativo e que possibilita a uma organização estabelecer, implementar e manter sua política ambiental (ver 4.2), com base na liderança e comprometimento da alta administração em relação ao sistema de gestão ambiental (ver 4.1.2). Após a organização ter avaliado sua posição atual em relação ao meio ambiente (ver 4.1.4), os passos deste processo contínuo são: a) Planejar: estabelecer um processo contínuo de planejamento (ver 4.3) que possibilite a uma organização: 1)identificar os aspectos ambientais e os impactos ambientais associados (ver 4.3.1); 2)identificar e monitorar os requisitos legais aplicáveis e outros requisitos subscritos pela organização, e estabelecer critérios internos de desempenho, onde apropriado (ver 4.3.2); 3) estabelecer objetivos e metas ambientais e formular programa (s) para atingi-los (ver 4.3.3.1 e 4.3.3.2); 4)desenvolver e utilizar indicadores de desempenho (ver 4.3.3.3). b) Executar: implementar e operar o sistema de gestão ambiental (ver 4.4): 1)criar estruturas de gestão, atribuir funções e responsabilidades com suficiente autoridade; 2)prover recursos adequados (ver 4.4.1); 3) treinar o pessoal que trabalha para a organização ou em seu nome e assegurar sua conscientização e competência (ver 4.4.2); 4) estabelecer processos para comunicação interna e externa (ver 4.4.3); 5) estabelecer e manter a documentação (ver 4.4.4); 6) estabelecer e implementar controle (s) de documento (s) (ver 4.4.5); 7) estabelecer e manter controle (s) operacional (is) (ver 4.4.6); 8) assegurar prontidão e atendimento a emergências (ver 4.4.7).
  • 44.
    Interpretação da ISO14001:2004 Página 30 de 84 c) Verificar: avaliar os processos do sistema de gestão ambiental (ver 4.5): 1) conduzir monitoramento e medição de forma contínua (ver 4.5.1);2) avaliar a situação de atendimento dos requisitos legais e outros (ver 4.5.2); 3) identificar não-conformidades e tomar ações corretivas e preventivas (ver 4.5.3); 4) gerenciar os registros (ver 4.5.4); 5) conduzir auditorias internas periódicas (ver 4.5.5). d) Agir: analisar e empreender ações para melhorar o sistema de gestão ambiental (ver 4.6): conduzir análises do sistema de gestão ambiental pela administração em intervalos apropriados (ver 4.6.1); identificar áreas para melhoria (ver 4.6.2). Este processo contínuo possibilita à organização melhorar continuamente seu sistema de gestão ambiental e seu desempenho ambiental global. É importante que uma organização adote uma abordagem do tipo PLAN-DO-CHECK-ACT (PDCA) (planejar – executar – verificar – agir) aos seus processos, e que inclua o retorno obtido do controle de processos, avaliações de produto e indicadores da satisfação de clientes, a fim de determinar a necessidade de um maior ou menor controle. Ao nível de estratégia dá-se o seguinte exemplo: Plan (planejar) Estabelecer os objetivos e os processos necessários para apresentar resultados de acordo com: os requisitos das partes interessadas, os requisitos legais, as políticas internas da organização e a definição de objetivos e metas ambientais. Necessitando para tanto: Fazer uma Avaliação Ambiental Inicial: Para compreender a posição ambiental atual da empresa, as exigências legais impostas a ela, os aspectos ambientais relevantes, suas práticas e posturas, além de identificar os seus pontos fortes e fracos; Obter uma visão clara do futuro próximo: compreender os prováveis aspectos e impactos ambientais futuros e suas implicações na empresa, a fim de identificar os riscos e as oportunidades ambientais; e Estabelecer uma Política Ambiental: definir como a empresa irá reagir às questões ambientais atuais e futuras, se antecipado a elas. Do (executar) É a faze de implementar os processos, ou seja, é a fase de execução das ações definidas anteriormente, onde são feitas a educação e o treinamento para capacitar as pessoas a realizarem as atividades, desenvolvendo capacidades e mecanismos necessários à realização dos objetivos. Check (verificar) Monitorar e medir os processos e produtos em comparação com padrões ou requisitos legais, políticas, objetivos e reportar os resultados; Também se realiza a avaliação da eficácia da sua implantação e maturidade do Sistema de Gestão Ambiental. Estes resultados são analisados junto à direção da empresa, que promove uma análise crítica e determina mudanças de rumo, quando necessário, e/ou melhorias e ajustes ao sistema. Act (agir) Empreender ações para melhorar continuamente o desempenho do processo; Esta faze busca a melhoria contínua dos processos e serviços da organização no que tange a sua relação com o meio ambiente e, conseqüentemente, o desempenho ambiental da empresa; Envolve a busca de soluções para eliminar o problema, a escolha da solução mais efetiva e o desenvolvimento desta solução, com a devida normalização, quando invade o ciclo P do ciclo PDCA; Quaisquer deficiências ou imprevistos identificados devem ser corrigidos, o plano de ação deve ser revisado e adaptado às novas circunstâncias, e os procedimentos são melhorados ou reorientados, se necessário. Se não há problema, quando se atinge um objetivo além do que tinha sido planejado ou se igualam metas e resultados, novas metas mais audaciosas devem ser estabelecidas e o ciclo recomeçado.
  • 45.
    Interpretação da ISO14001:2004 Página 31 de 84 A cada volta do ciclo PDCA sempre acontece um progresso, mesmo pequeno, por isso nunca se volta ao mesmo ponto. Cada mudança dá início a um novo ciclo que tem como base o ciclo anterior, caracterizando desta forma a espiral da Melhoria Contínua. A seguir é fornecida uma orientação sobre como uma organização pode optar por contemplar estes requisitos, embora se deva salientar se tratar apenas de exemplos, e não o único caminho para cumprir os requisitos: FIGURA X – CICLO PDCA ACT IMPLEMENTAÇÃO DE MELHORIA (f)* PLAN SEQÜÊNCIA DE IDENTIFICAÇÃO DE CRITÉRIOS E MÉTODOS DE INTERAÇÃO (a, b, c)* CHECK CÁLCULO E ANÁLISE (e)* DO IMPLEMENTAÇÃO DO PLANO (d)* * Veja o texto abaixo para obter mais detalhes FONTE: APCER, 2003 a) Identificar os processos necessários para o Sistema de Gestão Ambiental e para a sua aplicação em toda a organização: Atribuir “nomes” aos processos, incluindo os que serão obtidos no exterior; Definir entradas e saídas para cada processo; Definir clientes dos processos e respectivos requisitos (incluindo necessidades e expectativas); Definir quem é o gestor ou “dono” do processo. b) Determinar a seqüência e interação destes processos: Apresentar a rede de processos; Definir interfaces entre processos; Documentar os processos conforme necessário.
  • 46.
    Interpretação da ISO14001:2004 Página 32 de 84 A representação esquemática a seguir dá uma idéia de como uma organização pode utilizar fluxos ou mapas de processo, de modo a compreender melhor a interação dos vários processos que compõem o SGQ. FIGURA X – MAPA DE PROCESSO Processo input recursos controle output Processo A input A recursos B controle A output A / controle B Processo B output C Processo C output B input C controle C input B FONTE: APCER, 2003 TABELA X – MODELO DE PROCESSO PROCEDIMENTO * (“Forma especificada de executar uma atividade ou um processo” - pode ser documentado ou não) PRODUTO (“Resultado de um processo”) MONITORAMENTO E MEDIÇÃO DE OPORTUNIDADES (Antes, durante e depois do processo) SaídaEntrada PROCESSO (“Conjunto de atividades inter-relacionadas ou interação de processos) EFICÁCIA DO PROCESSO = Habilidade para alcançaros resultados desejados (Foco na ISO 9001:2000) Requisitos Especificados (Inclui Recursos) *Nota : Esta é a definição de procedimento dada pela ISO 9000:2000. Este não é necessariamente um dos 6 procedimentos documentados exigidos pela ISO 9001:2000 Requisitos Satisfeitos EFICIÊNCIA DO PROCESSO = Resultadoalcançado X Recursos usados (Foco na ISO 9004:2000) FONTE: ISO/TC 176/SC2 N524R Process
  • 47.
    Interpretação da ISO14001:2004 Página 33 de 84 c) Determinar critérios e métodos necessários para assegurar que, tanto a operacionalidade quanto os controles destes processos são eficazes: Especificar características de resultados pretendidos e não pretendidos; Especificar métodos de medição, monitoramento e análise de critérios (Programa Ambiental); Considerar questões econômicas (custo, tempo, perda,…); Definir métodos para coleta de dados. d) Assegurar a disponibilidade de recursos e informação necessários para suportar o desempenho e monitoramento desses processos: Alocar recursos para cada processo; Estabelecer canais de comunicação; Disponibilizar informação externa e interna; Obter retorno (resposta); Coletar dados; Manter registros. e) Medir, monitorar e analisar estes processos: Medir processos e monitorar o seu desempenho (capacidade do processo, indicadores de desempenho, satisfação de clientes,...); Analisar informação recolhida (técnicas de estatística); Avaliar resultados da análise. f) Implementar ações necessárias para atingir resultados planejados e a melhoria contínua destes processos: Implementar ações corretivas e preventivas (melhoria do processo); Verificar implementação e eficácia das ações corretivas e preventivas; Promover melhorias.
  • 49.
    Interpretando a ISO 14001:2004 MELHORIA CONTÍNUA 4.2POLÍTICA AMBIENTAL 4.5 VERIFICAÇÃO E AÇÕES CORRETIVAS 4.5.1 Monitoramento e medição 4.5.2 Avaliação do Atendimento a Requisitos Legais e Outros 4.5.3 Não-conformidade, ação corretiva e ação preventiva 4.5.4 Controle de registros 4.5.5 Auditoria interna 4.6 ANÁLISE CRÍTICA PELA ADMINISTRAÇÃO 4.3 PLANEJAMENTO 4.3.1 Aspectos ambientais 4.3.2 Requisitos legais e outros 4.3.3 Objetivos, metas e programa 4.4 IMPLEMENTAÇÃO E OPERAÇÃO 4.4.1 Recursos, funções, responsabilidades e autoridades. 4.4.2 Competência, treinamento e conscientização. 4.4.3 Comunicação. 4.4.4 Documentação 4.4.5 Controle de Documentos. 4.4.6 Controle operacional 4.4.7 Preparação e resposta a emergências.
  • 51.
    Interpretação da ISO14001:2004 Página 33 de 84 O SISTEMA DE GESTÃO AMBIENTAL BASEADO NA ISO 14001:2004 Apesar dos textos das normas estarem disponíveis, este documento não substitui o texto normativo, sendo necessário que o leitor consulte a ISO 14001:2004, a ISO 14004:2004 quando utilizar este documento. O texto das normas é apresentado entre bordas conforme a seguir: ISO 14001:2004 Borda Azul sem Sombreamento 1. Cada item e subitem da ISO 14001:2004 são abordados em ordem seqüencial. 2. Para efeitos deste Manual é utilizada a seguinte terminologia: a) Item normativo (ex: 4.4 – “Implementação e operação”) b) Subitem normativo (ex: 4.4.2 – “Competência, treinamento e conscientização”) c) Requisito normativo (ex: “… deve conduzir auditorias internas em intervalos … ” ou “Deve ser planeado um programa de auditoria … ”) 3. O texto apresenta as seguintes marcações: a) Os requisitos desta norma foram identificados marcando as frases Deve ou Devem com amarelo significando obrigação em atender ao requisito; b) Os procedimentos documentados exigidos pela norma foram identificados marcando a frase Procedimento com verde; c) Os registros exigidos pela norma foram identificados marcando a frase Registro com vermelho; d) As frases quando, quando necessário ou quando apropriado estão marcados em azul por significar, na maioria das vezes, um requisito somente se adotado, porém, é recomendável justificar a não adoção do requisito; 4. Mudanças entre a ISO 14001:1996 e ISO 14001:2004 Este documento procura diferenciar os requisitos da ISO 14001:2004 face aos da anterior versão. Para tanto se codificou os requisitos em função da sua natureza, recorrendo-se à utilização de cores da seguinte forma: a) Requisitos Novos ou modificados: Verde b) Requisitos Reescritos, mas cujo conteúdo não foi alterado: Laranja c) Requisitos inalterados: Preto ISO 14004:2004 Borda Azul e Sombreamento Amarelo A interpretação de cada seção, item e subitem da norma, estão divididos em cinco aspectos fundamentais: Objetivo: Qual o propósito de cada conjunto de requisitos agrupados no item ou subitem; o que a norma pretende alcançar; Principais mudanças na versão 2004: Quais as mudanças e suas implicações nos sistemas já implantados; Interpretação: Qual a interpretação sobre cada conjunto de requisitos, suportada em exemplos, quando aplicável; Gerando Evidência: Necessária e/ou requerida para evidenciar a implementação, realização e controle das atividades/processos associados ao cumprimento do conjunto de requisitos em análise; o que seria importante para demonstrar o comprometimento com os requisitos; Não Conformidades mais freqüentes: Ressalva às situações que, de acordo com experiência, são constatadas com mais freqüência em auditoria.
  • 52.
    Interpretação da ISO14001:2004 Página 34 de 84 0 INTRODUÇÃO Texto da Norma ISO 14001:2004 Organizações de todos os tipos estão cada vez mais preocupadas com o atingimento e demonstração de um desempenho ambiental correto, por meio do controle dos impactos de suas atividades, produtos e serviços sobre o meio ambiente, coerente com sua política e seus objetivos ambientais. Agem assim dentro de um contexto de legislação cada vez mais exigente, do desenvolvimento de políticas econômicas, e outras medidas visando adotar a proteção ao meio ambiente e de uma crescente preocupação expressa pelas partes interessadas em relação às questões ambientais e ao desenvolvimento sustentável. Muitas organizações têm efetuado “análises” ou “auditorias” ambientais para avaliar seu desempenho ambiental. Por si só, entretanto, tais “análises” ou “auditorias” podem não ser suficientes para proporcionar a uma organização a garantia de que seu desempenho não apenas atenda, mas continuará a atender, aos requisitos legais e aos de sua política. Para que sejam eficazes, é necessário que esses procedimentos sejam conduzidos dentro de um sistema de gestão estruturado que seja integrado na organização. As normas de gestão ambiental têm por objetivo prover às organizações de elementos de um sistema de gestão ambiental (SGA) eficaz, que possam ser integrados a outros requisitos da gestão, e auxiliá-las a alcançar seus objetivos ambientais e econômicos. Não se pretende que estas Normas, tais como outras Normas, sejam utilizadas para criar barreiras comerciais não- tarifárias, nem para ampliar ou alterar as obrigações legais de uma organização. Esta Norma especifica os requisitos para que um sistema de gestão ambiental capacite uma organização a desenvolver e implementar política e objetivos que elevem em consideração requisitos legais e informações sobre aspectos ambientais significativos. Pretende-se que se aplique a todos os tipos e portes de organizações e para adequar-se a diferentes condições geográficas, culturais e sociais. A base desta abordagem é representada na figura 1. O sucesso do sistema depende do comprometimento de todos os níveis e funções, especialmente da alta administração. Um sistema deste tipo permite a uma organização desenvolver uma política ambiental, estabelecer objetivos e processos para atingir os comprometimentos da política, conforme necessário, para melhorar seu desempenho e demonstrar a conformidade do sistema com os requisitos desta Norma. A finalidade geral desta Norma é equilibrar a proteção ambiental e a prevenção de poluição com as necessidades socioeconômicas. deve-se notar que muitos desses requisitos podem ser abordados simultaneamente ou reapreciados a qualquer momento. A segunda edição desta Norma busca o esclarecimento da primeira edição, para auxiliar o seu entendimento, e leva em consideração as disposições da ABNT NBR ISO 9001:2000, de maneira a aumentar a compatibilidade entre as duas normas, para benefício da comunidade de usuários. Para facilidade de uso, as subseções da seção 4 desta norma e do anexo A possuem números correlatados. Por exemplo, a 4.3.3 e A.3.3 tratam de objetivos, metas e programa(s), e 4.5.5 e A.5.5 tratam de auditoria interna. Adicionalmente, o Anexo B identifica as correspondências técnicas abrangentes entre a ABNT NBR ISO 1004:2004 e a ABNT NBR ISO 9001:2000 e vice versa. Existe uma importante distinção desta norma, a qual descreve os requisitos para certificação/registro e/ou autodeclaração do sistema de gestão ambiental de uma organização, e uma diretriz não-certificável destinada a prover orientação genérica a uma organização para estabelecer, implementar ou melhorar seu sistema de gestão ambiental. A gestão ambiental abrange uma vasta gama de questões, inclusive aquelas com implicações estratégicas e competitivas. A demonstração de um processo bem-sucedido de implementação desta Norma pode ser utilizada por uma organização para assegurar às partes interessadas que ela possui um sistema de gestão ambiental apropriado em funcionamento. Orientação sobre técnicas de apoio à gestão ambiental faz parte de outras Normas, em especial àquelas sobre gestão ambiental em documentos estabelecidos pela ISO/TC 207. Qualquer referência a outras Normas tem caráter meramente informativo.
  • 53.
    Interpretação da ISO14001:2004 Página 35 de 84 Melhoria Contínua Análise pela Administração Política Planejamento Implementação e operaçãoVerificação e ação corretiva NOTA: Esta Norma é baseada na metodologia conhecida como Plan-Do-Check-Act (PDCA) / Planejar-Executar- Verificar-Agir (PDCA). O PDCA pode ser brevemente descrito da seguinte forma: − Planejar: estabelecer os objetivos e processos necessários para atingir os resultados em concordância com a política ambiental da organização. − Executar: implementar os processos. − Verificar: monitorar e medir os processos em conformidade com a política ambiental, objetivos, metas, requisitos legais e outros, e relatar os resultados. − Agir: Agir para continuamente melhorar o desempenho do sistema de gestão ambiental. Muitas organizações gerenciam suas operações através da aplicação de um sistema de processo e suas interações, o que podem ser referenciadas como “abordagem do processo”. A ABNT ISO 9001:2000 promove a utilização da abordagem do processo. Como o PDCA pode ser aplicado a todos os processos, as duas metodologias são consideradas compatíveis. Esta Norma contém apenas aqueles requisitos que podem ser objetivamente auditados. É recomendado àquelas organizações que necessitem de orientação adicional que utilizem como referência a ABNT NBR ISO 14004. Esta Norma não estabelece requisitos absolutos para o desempenho ambiental, além dos comprometimentos, expressos na política ambiental, de estar em conformidade com requisitos legais e outros requisitos aos quais a organização tenha subscrito, com a prevenção da poluição e com a melhoria contínua. Assim, duas organizações que desenvolvem atividades similares, mas que tenham níveis de desempenho ambiental, podem ambas estar em conformidade com seus requisitos. A adoção e a implementação, de forma sistemática, de um conjunto de técnicas de gestão ambiental podem contribuir para a obtenção de resultados ótimos para todas as partes interessadas. Contudo, a adoção desta Norma por si só não garantirá resultados ambientais ótimos. Para atingir os objetivos ambientais e a política ambiental, pretende-se que os sistemas de gestão estimulem as organizações a considerarem a implementação das melhores técnicas disponíveis, onde apropriado e economicamente viável, e que a relação custo-benefício de tais técnicas seja levada integralmente em consideração. O nível de detalhe e complexidade do sistema de gestão ambiental, a extensão de sua documentação e dos recursos dedicados a ele irão depender de alguns fatores, tais como: o escopo do sistema, o porte da organização e a natureza de sua atividades, produtos e serviços. Este pode ser, em particular, o caso das pequenas e médias empresas.
  • 54.
    Interpretação da ISO14001:2004 Página 36 de 84 Esta Norma não inclui requisitos específicos de outros sistemas de gestão, tais como aqueles para qualidade, saúde ocupacional e segurança, finanças, gerenciamento de risco, muito embora seus elementos possam ser alinhados ou integrados com os outros sistemas de gestão. è possível a uma organização adaptar seu(s) sistema(s) de gestão existente(s) de maneira a estabelecer um sistema de gestão ambiental que esteja em conformidade com os requisitos desta Norma. Deve-se notar, contudo, que a aplicação de vários elementos do sistema de gestão ambiental podem diferir, dependendo dos objetivos pretendidos e das partes interessadas envolvidas. Objetivo A intenção desta seção é a de esclarecer que a Norma ISO 14001:2004 possibilita a organização opte pela autodeclaração, não precisando necessariamente da certificação para demonstrar o atendimento aos requisitos da norma. Principais mudanças na versão 2004 Indica a metodologia PDCA para compatibilidade entre as normas ISO 9001:2000 e a ISO 14001:2004 ver exemplo na figura 5. FIGURA 5 – MODELO DE UM SISTEMA DE GESTÃO AMBIENTAL BASEADO EM PROCESSO FONTE: ADAPTADO DA ISO 9000:2000 Interpretação A Norma ISO 14001:2004 especifica um modelo de sistema de gestão ambiental (SGA) que pode ser aplicado a qualquer tipo de empresa, independentemente da sua dimensão. É baseado num modelo de implementação PDCA (PLANEJAR-EXECUTAR-VERIFICAR-AGIR) e segue uma seqüência simples e lógica. É importante que uma organização adote uma abordagem do tipo PDCA aos seus processos, e que inclua o retorno obtido do controle de processos, avaliações de produto e indicadores da
  • 55.
    Interpretação da ISO14001:2004 Página 37 de 84 satisfação das partes interessadas, a fim de determinar a necessidade de um maior ou menor controle. PLAN (planejar): Estabelecer os objetivos e os processos necessários para apresentar resultados de acordo com: os requisitos das partes interessadas, os requisitos legais, as políticas internas da organização e a definição de objetivos e metas ambientais. Necessitando para tanto: Fazer uma Avaliação Ambiental Inicial: Para compreender a posição ambiental atual da empresa, as exigências legais impostas a ela, os aspectos ambientais relevantes, suas práticas e posturas, além de identificar os seus pontos fortes e fracos; Obter uma visão clara do futuro próximo: Compreender os prováveis aspectos e impactos ambientais futuros e suas implicações na empresa, a fim de identificar os riscos e as oportunidades ambientais; e Estabelecer uma Política Ambiental: Definir como a empresa irá reagir às questões ambientais atuais e futuras, se antecipado a elas. DO (executar): É a fase de implementar os processos, ou seja, é a fase de execução das ações definidas anteriormente, onde são feitas a educação e o treinamento para capacitar as pessoas a realizarem as atividades, desenvolvendo capacidades e mecanismos necessários à realização dos objetivos. Todos os impactos significativos devem agora ser gerenciados. Para isso, existem as opções: podem ser agendados como projetos de melhoria e submetidos a Objetivos, Metas e Programas de Gestão, ou podem ser controlados por procedimentos de Controle Operacional (em determinadas situações, podem e devem ser aplicados ambos os mecanismos). Adicionalmente, as questões identificadas como potenciais situações de emergência necessitarão de ser geridas por processos de prevenção de emergências e, possivelmente, por planos e procedimentos de emergência. CHECK (verificar): Monitorar e medir os processos e produtos em comparação com padrões ou requisitos legais, políticas, objetivos e reportar os resultados; Também se realiza a avaliação da eficácia da sua implantação e da maturidade do Sistema de Gestão Ambiental. Estes resultados são analisados junto à direção da empresa, que promove uma análise crítica e determina mudanças de rumo, quando necessário, e/ou melhorias e ajustes ao sistema. Inclui procedimentos de medição, monitoramento e calibração, para garantir que os controles e os programas estão a funcionar, como se pretende. Inclui ainda a verificação do cumprimento da legislação. Um outro processo da verificação é a Auditoria Interna do SGA onde o sistema desenvolvido é auditado em pormenor, para verificar se está implementando o que se pretende e se tal continua adequado à "realidade ambiental" da organização. ACT (agir): Empreender ações para melhorar continuamente o desempenho do processo; Consiste na busca da melhoria contínua dos processos e serviços da organização no que tange a sua relação com o meio ambiente e, conseqüentemente, o desempenho ambiental da empresa; Envolve a busca de soluções para eliminar o problema, a escolha da solução mais efetiva e o desenvolvimento desta solução, com a devida normalização, quando invade o ciclo P do PDCA; Quaisquer deficiências ou imprevistos identificados devem ser corrigidos, o plano de ação deve ser revisado e adaptado às novas circunstâncias, e os procedimentos são melhorados ou reorientados, se necessário. É acima de tudo uma revisão do processo, pois todo o sistema é revisto, para se garantir que está funcionando, fornecendo os resultados pretendidos e que continua atualizado e adequado à empresa. Se não há problema, quando se atinge um objetivo além do que tinha sido planejado ou se igualam metas e resultados, novas metas mais audaciosas devem ser estabelecidas e o ciclo é recomeçado voltando ao ciclo P do PDCA. A cada volta do ciclo PDCA sempre acontece um progresso, mesmo que pequeno por isso nunca se volta ao mesmo ponto. Cada mudança dá início a um novo ciclo que tem como base o ciclo anterior, caracterizando desta forma a espiral da Melhoria Contínua. Estes elementos, quando adequadamente aplicados, irão dar origem a uma boa gestão ambiental (SGS,2003; APCER, 2001).
  • 56.
    Interpretação da ISO14001:2004 Página 38 de 84 FIGURA 6 - FLUXOGRAMA DO PROCESSO PARA A ISO 14001 PROCESSOS DE APOIO AO SGA 4.4.1 ESTRUTURA E RESPONSABILIDADES 4.4.2 COMPETÊNCIA, FUNÇÕES, RESPONSABILIDADES E AUTORIDADES 4.4.3 COMUNICAÇÃO 4.4.5 CONTROLE DE DOCUMENTOS 4.5.2 AVALIAÇÃO DO ATENDIMENTO A REQUISITOS LEGAIS E OUTROS 4.5.3 NÃO CONFORMIDADE, AÇÕES CORRETIVA E PREVENTIVA 4.5.4 CONTROLE DE REGISTROS FONTE: ADAPTADO DE SGS, 2003 Monitoramento e Medição 4.5.1 Auditoria Interna 4.5.5 VERIFICARAGIR MELHORIA GESTÃO DA EMERGÊNCIA CONTROLE Objetivos, Metas e Programas 4.3.3 Planos de Emergência 4.4.7 Procedimentos de Controle Operacional 4.4.6 EXECUTARPLANEJAR Identificar Requisitos Legais e Outros requisitos 4.3.2 Identificar os Aspectos e Impactos ambientais 4.3.1 Avaliar a significância dos impactos 4.3.1 Política 4.2 Análise crítica pela Administração 4.6
  • 57.
    Interpretação da ISO14001:2004 Página 39 de 84 Também indica esta metodologia (PDCA) para compatibilidade entre as normas ISO 9001:2000 e a ISO 14001:2004. PDCA Para uso no Dia-a-Dia Sonhar nos leva a pensar em nossos objetivos e isso nos leva a ação para realizá-los... mas nem sempre é tão fácil assim! Que tal criar um ciclo positivo para você, capaz de gerar melhorias na sua vida e te aproximar cada vez mais dos resultados que você busca? Pense diferente! Pense com Qualidade! Este Ciclo Positivo têm o nome de PDCA e a seguir o apresentamos para uso no seu dia-a-dia tanto no trabalho quanto em casa! PLAN (PLANEJAR), ou seja, PENSAR 1. Identifique sua atual situação e aonde quer chegar; 2. Defina seus objetivos e prioridades; 3. Estabeleça suas metas e prazos para alcançá-los; 4. Defina quais serão os indicadores, ou melhor, como você irá medir seus avanços e conquistas (esses indicadores são fundamentais para sua jornada); 5. Planeje (ou melhor, Pense) as ações para realizar suas metas e objetivo; 6. Coloque tudo por escrito, para facilitar sua visualização; 7. Aprenda se necessário, e ensine / treine / comunique as pessoas envolvidas; Este será seu Plano de Ação para alcançar o que deseja (metas e objetivos, inclusive os indicadores). DO (EXECUTAR), ou seja, DESENVOLVA 1. Coloque em prática seu Plano de Ação; 2. Proceda conforme o planejado; 3. Cumpra cada meta de sua jornada; 4. Registre as informações para que você possa medir seus avanços; 5. Gerencie seu tempo com foco nas suas metas e objetivo; 6. Seja pró-ativo; CHECK (VERIFICAR), ou seja, CONFERIR O segredo do PDCA esta aqui! 1. Verifique se as metas planejadas estão sendo cumpridas, através dos seus indicadores. (Lembre-se: sem informações confiáveis, não é possível prosseguir); 2. Analise os pontos fortes de suas ações e as suas oportunidades de melhorias; 3. Caso não tenha obtido os resultados esperados, identifique as causas reais que geraram isso; 4. Sempre se lembre que o foco não é em problemas, é sim em soluções! Aplique esta etapa periodicamente! ACT (AGIR), ou seja, APERFEIÇOAR 1. Com as informações medidas e analisadas. Se não há problema, quando se atinge um objetivo além do que tinha sido planejado ou se igualam metas e resultados, novas metas mais audaciosas devem ser estabelecidas e o ciclo recomeçado. Aperfeiçoe o que já era bom e incorpore as melhorias ao seu Plano de Ação. 2. Caso contrário, crie ações de melhorias capazes de resolver e, conseqüentemente, prevenir as causas dos problemas, para que eles não voltem a ocorrer; 3. Quaisquer deficiências ou imprevistos identificados devem ser corrigidos, o plano de ação deve ser revisado e adaptado às novas circunstâncias, e os procedimentos são melhorados ou reorientados, se necessário. Coloque as ações de melhoria em prática! Esta fase envolve a busca de soluções para eliminar o problema, a escolha da solução mais efetiva e o desenvolvimento desta solução, com a devida normalização, quando invade o ciclo P do ciclo PDCA; E volte novamente ao começo do ciclo! A cada volta do ciclo PDCA sempre acontece um progresso, mesmo pequeno, por isso nunca se volta ao mesmo ponto. Cada mudança dá início a um novo ciclo que tem como base o ciclo anterior, caracterizando desta forma a espiral da Melhoria Contínua.
  • 58.
    Interpretação da ISO14001:2004 Página 40 de 84 1 OBJETIVO E CAMPO DE APLICAÇÃO Texto da Norma ISO 14001:2004 Esta Norma especifica os requisitos relativos a um sistema de gestão ambiental, permitindo a uma organização desenvolver e implementar uma política e objetivos que levem em conta os requisitos legais e outros por ela subscritos e informações referentes aos aspectos ambientais significativos. Aplica-se aos aspectos ambientais que a organização identifica como aqueles que possam controlar e aqueles que possam influenciar. Em si, esta norma não estabelece critérios específicos de desempenho ambiental. Esta Norma se aplica a qualquer organização que deseje: a) Estabelecer, implementar, manter e aprimorar um sistema de gestão ambiental; b) Assegurar-se de sua conformidade com sua política ambiental definida; c) Demonstrar conformidade com esta Norma ao: 1) Fazer uma auto-avaliação ou autodeclaração; ou 2) Buscar confirmação de sua conformidade por partes que tenham interesse na organização, tais como os clientes, ou 3) Buscar confirmação de sua autodeclaração por meio de uma organização externa; ou 4) Buscar certificação/registro de seu sistema de gestão ambiental por uma organização externa. Todos os requisitos desta Norma se destinam a ser incorporados em qualquer sistema de gestão ambiental. A extensão de aplicação dependerá de fatores tais como a política ambiental da organização, a natureza de suas atividades, produtos e serviços e as condições nas quais o sistema funciona. Esta Norma provê no anexo A, diretrizes informativas sobre o uso da especificação. Objetivo Mostrar que a ISO 14001 especifica requisitos relativos a um sistema de gestão ambiental e aplica-se aos aspectos ambientais que possam ser controlados pela organização. Principais mudanças na versão 2004 Segundo a APCER (2005) não existem alterações significativas. Interpretação Um SGA de acordo com a ISO 14001 proporciona um sistema de processos interligados. É um simples e eficaz conjunto de mecanismos para gerir questões ambientais dentro de uma empresa. A norma só é prescritiva em termos de estipular o que deve assegurar, deixando à empresa a liberdade de escolher, por ela própria, como deve fazer. Esta abordagem significa que a ISO 14001 pode ser aplicada a qualquer tipo de organização em qualquer escala, e isso também explica porque é que, de tempos a tempos, há mal-entendidos nas suas intenções e nas suas aplicações. Um sistema de gestão de acordo com a ISO 14001 significa que: São identificados todos os maus (e bons) impactos que a sua empresa tem sobre o ambiente; Tem conhecimento do que está a sendo feito para gerenciar e melhorar esses impactos; Vai implementar uma boa gestão ambiental em todos os planos futuros e no seio da sua empresa; e Terá a certeza que identificou e compreendeu todos os requisitos legais relacionados com o seu negócio e que os vai cumprir. (SGS, 2003)
  • 59.
    Interpretação da ISO14001:2004 Página 41 de 84 2 REFERÊNCIAS NORMATIVAS Texto da Norma ISO 14001:2004 Não há referências normativas citadas. Esta seção foi incluída para manter uma numeração de secções idênticas à edição anterior (ABNT NBR ISO 14001:1996). 3 DEFINIÇÕES Texto da Norma ISO 14001:2004 Para os efeitos desta Norma, aplicam-se as seguintes definições. 3.1 Auditor Pessoa com competência para realizar uma auditoria [ABNT NBR ISO 9000:2000, 3.9.9]. 3.2 Melhoria contínua Processo recorrente de se avançar o sistema de gestão ambiental (3.8), com propósito de atingir aprimoramento do desempenho ambiental (3.10) coerente com a política ambiental (3.11) da organização (3.16). NOTA: Não é necessário que o processo seja aplicado simultaneamente a todas as áreas de atividade. 3.3 Ação Corretiva Ação para eliminar a causa de uma não conformidade (3.15) identificada. 3.4 Documento Informação e o meio no qual esta contida. NOTA 1: O meio físico pode ser papel, magnético, disco de computador de leitura ótica ou eletrônica, fotografia ou amostra padrão, ou uma combinação destes. NOTA 2: Adaptado da ABNT NBR ISO 9000:2000, 3.7.2. 3.5 Meio ambiente Circunvizinhança em que uma organização (3.16) opera, incluindo ar, água, solo, recursos naturais, flora, fauna, seres humanos e suas inter-relações. NOTA: Neste contexto, circunvizinhança estende-se do interior de uma organização (3.16) para o sistema global. 3.6 Aspecto ambiental Elemento das atividades ou produtos ou serviços de uma organização (3.16) que pode interagir com o ambiente (3.5). NOTA: Um aspecto ambiental significativo é aquele que tem ou pode ter um impacto ambiental (2.7) significativo. 3.7 Impacto ambiental Qualquer alteração no meio ambiente (3.5), seja adversa ou benéfica, que resulte, no todo ou em parte, dos aspectos ambientais (3.6) de uma organização (3.16). 3.8 Sistema de gestão ambiental - SGA À parte do sistema de gestão de uma organização (3.16) uzada para desenvolver e implementar a política ambiental (3.11) e gerenciar seus aspectos ambientais (3.6). NOTA 1: Um sistema de gestão é um conjunto de elementos inter-relacionados usado para estabelecer a política e os objetivos e para atingir esses objetivos. NOTA 2: Um sistema de gestão inclui estrutura organizacional, atividades de planejamento, responsabilidades, práticas, procedimentos (3.19), processos e recursos. 3.9 Objetivo ambiental Propósito ambiental geral, decorrente da política ambiental (3.11), que uma organização (3.16) se propõe a atingir. 3.10 Desempenho ambiental Resultados mensuráveis da gestão de uma organização sobre seus aspectos ambientais (3.6). NOTA: No contexto dos sistemas de gestão ambiental (3.8), os resultados podem ser medidos com base na política ambiental (3.11), objetivos ambientais (3.9) e metas ambientais (3.12) da organização (3.16) e outros requisitos de desempenho ambiental. 3.11 Política ambiental Intenções e princípios gerais de uma organização (3.16), em relação ao seu desempenho ambiental (3.10) conforme formalmente expresso pela Alta Administração. NOTA: A política ambiental provê uma estrutura de ação e definição de seus objetivos ambientais (3.9) e metas ambientais (3.12). 3.12 Meta ambiental Requisito de desempenho detalhado, aplicável à organização (3.16) ou a partes dela, resultante dos objetivos ambientais (3.9) e que precisa ser estabelecido e atendido que tais objetivos sejam atingidos.
  • 60.
    Interpretação da ISO14001:2004 Página 42 de 84 3.13 Parte interessada Indivíduo ou grupo interessado ou afetado pelo desempenho ambiental (3.10) de uma organização (3.16). 3.14 Auditoria interna Processo sistemático, independente e documentado para obter de evidência e avaliá-la objetivamente para determinar a extensão na qual os critérios de auditoria ao sistema de gestão ambiental estabelecidos pela organização (3.16) são atendidos. NOTA: Em muitos casos, em especial nas organizações menores, a independência pode ser demonstrada pela isenção de responsabilidade em relação à atividade auditada. 3.15 Não conformidade Não atendimento de um requisito [ABNT NBR ISO 9000:2000, 3.6.2]. 3.16 Organização Empresa, corporação, firma, empreendimento, autoridade ou instituição, ou parte de uma combinação desses, incorporada ou não, pública ou privada, que tenha funções e administração próprias. NOTA: Para organizações que tenham mais de uma unidade operacional, uma única unidade operacional pode ser definida como uma organização. 3.17 Ação Preventiva Ação para eliminar a causa de uma potencial não conformidade (3.15). 3.18 Prevenção de poluição Uso de processos, práticas, técnicas, materiais, produtos, serviços ou energia para evitar, reduzir ou controlar (de forma separada ou combinada) a geração, emissão ou descarga de qualquer tipo de poluente ou rejeito, para reduzir os impactos ambientais (3.17) adversos. NOTA: A prevenção da poluição pode incluir redução ou eliminação de fontes de poluição, alterações de processo, produto ou serviço, uso eficiente de recursos, materiais e substituição de energia, reutilização, recuperação, reciclagem, regeneração e tratamento. 3.19 Procedimento Forma especifica para executar uma atividade ou um processo. NOTA 1: Os procedimentos podem ser documentados ou não. NOTA 2: Adaptado da ABNT NBR ISO 9000:2000, 3.4.5. 3.20 Registro Documento (3.4) que apresenta resultados obtidos ou fornece evidências de atividades realizadas. NOTA: Adaptado da ABNT NBR ISO 9000:2000, 3.7.6.
  • 61.
    Interpretação da ISO14001:2004 Página 43 de 84 4 REQUISITOS DO SISTEMA DE GESTÃO AMBIENTAL Esta seção estabelece uma visão geral do sistema a ser implantado. 4.1 Requisitos gerais Texto da Norma ISO 14001:2004 A organização deve estabelecer, documentar, implementar, manter e melhorar continuamente um sistema de gestão ambiental em conformidade com os requisitos da desta Norma, e determinar como irá cumprir tais requisitos. A organização deve definir e documentar o âmbito do seu sistema de gestão ambiental Texto do Anexo A da Norma ISO 14001:2004 A.1 Requisitos gerais O texto adicional fornecido neste anexo tem caráter estritamente informativo e tem por objetivo prevenir uma interpretação errônea dos requisitos contidos na seção 4 desta Norma. Embora estas informações refiram-se e sejam consistentes com os requisitos da seção 4, não se pretende adicionar, subtrair ou, de nenhuma forma, alterar esses requisitos. A implementação de um sistema da gestão ambiental especificado por esta Norma tem como intenção o aprimoramento do desempenho ambiental. Por esta razão, esta Norma baseia-se na premissa de que a organização irá, periodicamente, analisar e avaliar seu sistema da gestão ambiental, para identificar oportunidades de melhoria e implementá-las. A velocidade, extensão e temporalidade deste processo de melhoria contínua são determinados pela organização, à luz das circunstâncias econômicas, entre outras. Melhorias no sistema da gestão ambiental têm como objetivo resultar em novas melhorias em seu desempenho ambiental Esta Norma requer que uma organização: a) estabeleça uma política ambiental apropriada, b) identifique os aspectos ambientais decorrentes de atividades passadas, existentes ou planejadas da organização, produtos e serviços, para determinar os impactos ambientais significativos, c) identifique os requisitos legais aplicáveis e outros requisitos subscritos pela organização, d) identifique prioridades e estabeleça objetivos e metas ambientais apropriados, e) estabeleça uma estrutura e programa(s) para implementar a política e atingir objetivos e metas, f) facilite as atividades de planejamento, controle, monitoramento, ação preventiva e corretiva, auditoria e análise, de forma a assegurar que a política seja obedecida e que o sistema da gestão ambiental permaneça apropriado, g) seja capaz de adaptar-se à mudança de circunstâncias. Recomenda-se que uma organização que não tenha um sistema da gestão ambiental estabeleça inicialmente sua situação presente em relação ao meio ambiente por meio de uma análise. O objetivo desta análise deve ser considerar todos os aspectos ambientais da organização, como uma base para estabelecer seu sistema da gestão ambiental. Recomenda-se que a análise cubra quatro áreas principais: - identificação de aspectos ambientais, incluindo aqueles associados às condições normais de operação e condições anormais, incluindo partida e parada, situações de emergência e acidentes - identificação de requisitos legais aplicáveis e outros subscritos pela organização; - exame de todas as práticas e procedimentos da gestão ambiental existentes, incluindo aqueles associados com as atividades de aquisição e de contratação de serviços; - avaliação de situações de emergência e acidentes anteriores. Ferramentas e métodos para a realização da análise podem incluir listas de verificação, entrevistas, inspeção e medição direta, resultados de auditorias anteriores ou outras análises, dependendo da natureza das atividades. Uma organização tem a liberdade e flexibilidade para definir seus limites e pode optar pela implementação desta Norma para toda a organização ou para unidades operacionais específicas da mesma. Recomenda-se que a organização defina e documente o escopo de seu sistema da gestão ambiental. Pretende-se que a definição do escopo esclareça os limites da organização até onde será aplicado o sistema da gestão ambiental, especialmente se a organização fizer parte de uma organização maior numa dada localização. Uma vez definido o escopo, todas as atividades, produtos e serviços da organização dentro desse escopo têm que ser incluídos no sistema da gestão ambiental. Ao se estabelecer o escopo,
  • 62.
    Interpretação da ISO14001:2004 Página 44 de 84 recomenda-se que se observe que a credibilidade do sistema da gestão ambiental irá depender da escolha dos limites organizacionais. Se uma parte da organização for excluída do escopo de seu sistema da gestão ambiental, recomenda-se que a organização seja capaz de explicar essa exclusão. Se esta Norma for implementada em uma unidade operacional específica, as políticas e procedimentos desenvolvidos por outras partes da organização podem ser utilizados para atender aos requisitos desta Norma, desde que sejam aplicáveis à unidade operacional específica. Objetivo Um Sistema de Gestão Ambiental pode ser definido como um conjunto de procedimentos e instruções usados para gerir ou administrar uma organização de modo a alcançar o melhor relacionamento possível com o meio ambiente (SEBRAE, 2004). Principais mudanças na versão 2004 Necessidade de demonstrar a melhoria contínua do SGA; Necessidade da organização de esclarecer qual será o escopo do Sistema de Gestão Ambiental (SGS, 2003; APCER, 2001). Interpretação A organização deve estabelecer e manter um sistema de gestão ambiental que cubra todos os requisitos da norma, não sendo aceitável a não aplicabilidade de algum deles. Também precisa definir o escopo do seu sistema de gestão ambiental. Ou seja, recomenda-se que a alta administração determine os limites da organização onde o sistema de gestão ambiental se aplica. Uma vez definido o escopo do sistema de gestão ambiental, recomenda-se que todas as atividades, produtos e serviços da organização, dentro do escopo definido, sejam incluídos no sistema de gestão ambiental. O sistema deve basear-se em dois princípios fundamentais: Melhoria contínua do sistema de gestão ambiental; Melhoria contínua do desempenho ambiental. Cada organização tem a liberdade de adotar as formas que entender como mais adequadas para cumprir os requisitos desta norma; contudo, quatro aspectos devem ser salientados como relevantes, para que as formas adotadas possam ser as mais eficazes: A possível integração do sistema de gestão ambiental com os restantes subsistemas da gestão global, como o sistema da qualidade ou o sistema de higiene e segurança; A adoção de medidas adequadas às características da organização (dimensão, complexidade da estrutura, atividades, produtos, serviços, mercados, sensibilidade do meio circundante, etc.) e à natureza das suas atividades (maior ou menor impacto no ambiente); As soluções técnicas encontradas para os problemas ambientais devem permitir o cumprimento da legislação e da política da organização, com custos associados equilibrados; e A análise periódica do sistema de gestão ambiental, no sentido de que a avaliação daí resultante permita identificar novas oportunidades de melhorar o sistema e/ou o desempenho ambiental (APCER, 2001). Gerando evidência Escopo definido e documentado contendo referência ao local dentro da organização em que o SGA esta implantado; Documentação complementar: Política Ambiental, Manual do Meio Ambiente, Matriz de Responsabilidades, Procedimentos, Instruções de Trabalho, Planos e Registros gerados a partir do SGA (SEBRAE, 2004). Não conformidades mais freqüentes Não existem não conformidades a este item da norma, pelo fato da mesma não incluir requisitos.
  • 63.
    Interpretação da ISO14001:2004 Página 45 de 84 4.2 POLÍTICA AMBIENTAL Texto da Norma ISO 14001:2004 A alta administração deve definir a política ambiental da organização e assegurar que, dentro do escopo definido de seu sistema de gestão ambiental, a política: a) Seja apropriada à natureza, escala e impactos ambientais de suas atividades, produtos ou serviços; b) Inclua o comprometimento com a melhoria contínua e com a prevenção de poluição; c) Inclua o comprometimento em atender aos requisitos legais aplicáveis, e demais requisitos subscritos pela organização que se relacionem a seus aspectos ambientais; d) Forneça a estrutura para o estabelecimento e revisão dos objetivos e metas ambientais; e) Seja documentada, implementada, mantida; f) Comunicada a todos que trabalhem na organização ou que atuem em seu nome; g) Esteja disponível para o público. Texto do Anexo A da Norma ISO 14001:2004 A.2 Política ambiental A política ambiental é a força motriz para a implementação e aprimoramento do sistema da gestão ambiental de uma organização, permitindo que seu desempenho ambiental seja mantido e potencialmente aperfeiçoado. Recomenda-se, portanto, que esta política reflita o comprometimento da alta administração com o atendimento aos requisitos legais aplicáveis e outros requisitos, com a prevenção de poluição e com a melhoria contínua. A política ambiental constitui a base sobre a qual a organização estabelece seus objetivos e metas. Recomenda-se que a política ambiental seja suficientemente clara para seu entendimento pelas partes interessadas internas e externas e que ela seja periodicamente analisada e revisada, para refletir as mudanças nas condições e informações. É recomendado que sua área de aplicação (ou seja, seu escopo) seja claramente identificável e reflita sua natureza singular, escala e os impactos ambientais das atividades, produtos e serviços, dentro do escopo definido do sistema da gestão ambiental. É recomendado que a política ambiental seja comunicada a todas as pessoas que trabalham para a organização ou que atuem em seu nome, incluindo os prestadores de serviço que trabalhem na instalação da organização. A comunicação com os prestadores de serviço pode ser de formas alternativas à própria declaração da política, tais como regras, diretrizes, procedimentos e podem, portanto, somente incluir as seções pertinentes da política. É recomendado que a política ambiental da organização seja definida e documentada pela Alta Administração, dentro do contexto da política ambiental de uma organização corporativa maior e da qual faça parte, com o endosso desta. NOTA A alta administração usualmente é constituída de um indivíduo ou de um grupo de indivíduos que orientam e controlam uma organização em seu mais alto nível. Objetivo A política ambiental deve ser entendida como o conjunto das grandes linhas de orientação, estabelecidas pela alta administração (ou gestão de topo ou simplesmente diretoria) da empresa, para todos os processos do negócio com potencial impacto no ambiente. Neste sentido, devem ser orientações de caráter permanente, apesar de alteráveis em função da legislação e regulamentação aplicável, do mercado, da concorrência, da sociedade, dos clientes, ou das necessidades de outras partes interessadas (SGS, 2003 E APCER, 2001). Principais mudanças na versão 2004 A política deve ser consistente com o escopo de SGA e não poderá mais ser ampla como na versão 1996; A necessidade de que as partes interessadas estejam de acordo com a política ambiental para se ter um melhor entendimento do escopo do SGA e também entender o que atualmente está coberto pelo SGA da organização (alínea c) além do compromisso de cumprimento de todos os requisitos legais aplicáveis, de natureza ambiental ou outra, com incidência nos aspectos ambientais. Na versão anterior a legislação e regulamentação limitavam-se à ambiental sob o ponto da relevância; e A alteração do conceito de Trabalhador/empregado (alínea f). Conceito mais abrangente. Na versão ISO 14004:2004 este conceito abrange todas as pessoas que trabalham para ou em nome da organização, incluindo neste domínio os subcontratados, prestadores de serviços, temporários, trabalho domiciliário… (SGS, 2005; APCER, 2005).
  • 64.
    Interpretação da ISO14001:2004 Página 46 de 84 Interpretação A Política Ambiental é normalmente competência da Direção, que a estabelece, cabendo aos demais sua implementação. Os responsáveis pelas atividades da organização providenciam os elementos que servirão de base para a formulação da Política e sua evolução. A política deve incluir obrigatoriamente o compromisso da alta administração com: g) Cumprimento da legislação, regulamentação e outros requisitos aplicáveis: A norma ISO 14001:2004 impõe o cumprimento da legislação, dos regulamentos ambientais aplicáveis e de outros requisitos (Ver 4.3.2) que a organização tenha que aplicar. Para o cumprimento deste requisito é necessário que se proceda, em primeiro lugar, à identificação e a um exaustivo estudo de todos os documentos aplicáveis à organização; em segundo lugar, que a organização demonstre o seu conhecimento e, em terceiro lugar, que se cumpra de uma forma consistente com o que estes estabelecem. h) Melhoria contínua: O sistema de gestão ambiental, tal como outros sistemas, é baseado numa linha de progresso contínuo que pode ser descrita da seguinte maneira: Num primeiro momento, uma organização define os objetivos a atingir; Num segundo momento, disponibilizados os meios humanos, técnicos e financeiros, são reunidos esforços para atingi-los; e Num terceiro momento, através de auditorias do sistema de gestão ambiental, é realiza- se esta avaliação. Os resultados das auditorias são comunicados à direção que estabelece as novas prioridades de atuação e modifica, caso seja necessário, a sua política ambiental. A melhoria contínua de um sistema de gestão ambiental vai permitir um progresso no desempenho ambiental global da organização e diz respeito tanto aos impactos ambientais como à estrutura organizacional. i) Prevenção da poluição: A prevenção da poluição é um aspecto muito importante e que não pode ser descuidado na implementação de um sistema de gestão ambiental. Deve ser assegurado que o sistema a ser implementado leve em conta este princípio através da utilização de processos, técnicas, práticas, materiais ou produtos que eliminam, reduzem ou, no mínimo, controlam a poluição. Para o cumprimento deste requisito pode ser necessário alterar os processos e as tecnologias utilizadas, recorrer à reciclagem, à valorização energética, ao tratamento de efluentes, a processos mais econômicos (quer em relação ao consumo de matéria-prima, quer de energia e recursos naturais), etc. Ou seja, a organização deverá recorrer às melhores tecnologias disponíveis com o objetivo de reduzir ou eliminar a poluição na fonte e, só quando tal não é possível, recorrer a processos de tratamento dos diferentes efluentes gerados. j) Comunicação: A política ambiental deve ser documentada e divulgada a nível interno e disponibilizada a nível externo. Ao nível interno destina-se essencialmente aos colaboradores e deve fornecer orientações aos diversos setores da organização, inclusive àqueles que atuam em seu nome (ex.: representantes comerciais). Para isto, deve ser suficientemente explícita para poder ser entendida e seguida; No nível externo destina-se a estabelecer a base de entendimento entre a organização e as outras partes interessadas devendo, por isso, estar definidos os canais e as formas de disponibilizar da política para o exterior da organização. A política deve ser adequada à natureza das atividades, ou dito de outro modo, uma organização com grande impacto no ambiente e/ou em que eventuais falhas tenham conseqüências econômicas graves a nível de segurança e/ou da saúde pública, não pode ter uma política ambiental de uma empresa de serviços, onde aqueles aspectos assumem dimensões radicalmente menores. Assim, a política ambiental deve ser inequívoca quanto ao compromisso da organização para o cumprimento dos requisitos especificados por esta norma internacional e deve constituir uma base adequada para o estabelecimento de objetivos e metas (ver subitem 4.3.3). Por esses motivos, a política ambiental deve ser estabelecida pela alta administração que possui funções executivas na organização (SGS, 2003; SEBRAE, 2004; APCER, 2001). Gerando evidência Manual do Meio Ambiente; Política Ambiental; e Outras evidências (Comunicações Internas, memorandos, registros de treinamento, cartazes etc.) de que a Política Ambiental foi amplamente disseminada e compreendida por todos os colaboradores da organização (SEBRAE, 2004).
  • 65.
    Interpretação da ISO14001:2004 Página 47 de 84 Não conformidades mais freqüentes Ao entrevistar elementos da empresa, como por exemplo, recepcionistas ou vendedores, para verificar o que acontece se alguém pedir uma cópia da Política, ao telefonar e perguntar à mesma coisa é comum verificar que estes primeiros elementos de contacto dentro da empresa não foram esclarecidos sobre esta questão. Isto significa que, na prática, a Política não está disponível; Compromisso de Prevenção da Poluição e de Melhoria Contínua, ocasionalmente estes compromissos estão mais implícitos do que explicitamente declarados na Política. Isto pode levar a confusão, já que a Política deverá ser compreensível e clara. É correto mostrar este compromisso de uma forma clara e é perfeitamente aceitável a utilização das palavras exatas da norma na sua Política - esta situação fornece uma clara orientação para o Sistema de Gestão Ambiental (SGA). É uma parte das bases da gestão ambiental; e Podem surgir problemas quando a Política é escrita com boas intenções ou com expectativas exageradas relativamente ao que a empresa pode fazer. Por exemplo, a sua Política pode incluir um comprometimento com a redução de resíduos e o consumo de energia, tendo assim o SGA que cumprir estas promessas. Estes compromissos têm assim que ser refletidos em Objetivos, Metas e Programas (SGS,2003; APCER, 2001).
  • 66.
    Interpretação da ISO14001:2004 Página 48 de 84 4.3 PLANEJAMENTO Este requisito exige que as empresas identifiquem seus aspectos ambientais, determinem quais causam impactos significativos, assegurando que elas estabeleçam e tenham objetivos e metas de melhoria, bem como processos para alcançá-las. Este item esta dividido em três subitens perfeitamente encadeados e que servem de base para todo o sistema de gestão ambiental (ORTIZ; PIRERI, 2002). 4.3.1 Aspectos ambientais Texto da Norma ISO 14001:2004 A organização deve estabelecer e manter procedimento(s) para: a) Identificar os aspectos ambientais de suas atividades, produtos e serviços dentro do escopo definido do seu sistema de gestão ambiental, que a organização possa controlar e aqueles que ela possa influenciar, levando em consideração os desenvolvimentos novos ou planejados, as atividades, produtos e serviços novos ou modificados; e b) Determinar os aspectos que tenham ou possam ter impacto(s) significativo sobre o meio ambiente (isto é, aspectos ambientais significativos). A organização deve documentar essas informações e mantê-las atualizadas. A organização deve assegurar que os aspectos ambientais significativos sejam cobertos no estabelecimento, implementação e manutenção do sistema de gestão ambiental. Texto do Anexo A da Norma ISO 14001:2004 A.3 Planejamento A.3.1 Aspectos ambientais A subseção 4.3.1 visa prover um processo que permita a uma organização identificar os aspectos ambientais significativos, recomendando-se que sejam tratados prioritariamente pelo sistema da gestão ambiental da organização. É recomendado que uma organização identifique os aspectos ambientais dentro do escopo de seu sistema da gestão ambiental, levando-se em consideração as entradas e saídas (tanto intencionais quanto não-intencionais) associadas às suas atividades, produtos e serviços relevantes presentes, passados, planejados ou de novos desenvolvimentos, ou associadas a atividades, produtos e serviços novos ou modificados. Recomenda-se que este processo considere as condições operacionais normais e anormais, condições de parada e partida, assim como situações de emergência razoavelmente previsíveis. As organizações não têm que considerar cada entrada de produto, componente ou matéria-prima individualmente. Elas podem selecionar categorias de atividades, produtos e serviços para identificar seus aspectos ambientais. Muito embora não exista uma abordagem única para se identificar aspectos ambientais, a abordagem poderia, por exemplo, considerar a) emissões atmosféricas, b) lançamentos em corpos d’água, c) lançamentos no solo, d) uso de matérias-primas e recursos naturais, e) uso da energia, f) energia emitida, por exemplo, calor, radiação, vibração, g) resíduos e subprodutos, h) atributos físicos, por exemplo, tamanho, forma, cor, aparência. i) atributos físicos; Adicionalmente aos aspectos ambientais que pode controlar diretamente, a organização deve também considerar aspectos que possa influenciar, como, por exemplo, aqueles associados a bens e serviços por ela utilizados e produtos e serviços que ela forneça. Algumas diretrizes para avaliar controle e influência são fornecidas abaixo. Porém, em todas as circunstâncias, é a organização que determina o grau de controle, bem como os aspectos que ela possa influenciar. Recomenda-se que sejam considerados aspectos associados às atividades, produtos e serviços da organização, tais como - projeto e desenvolvimento, - processos de fabricação, - embalagem e transporte, - desempenho ambiental e práticas de prestadores de serviços e fornecedores, - gerenciamento de resíduo,
  • 67.
    Interpretação da ISO14001:2004 Página 49 de 84 - extração e distribuição de matérias-primas e recursos naturais, - distribuição, uso e fim de vida de produtos, e - vida selvagem e biodiversidade. O controle e a influência sobre os aspectos ambientais dos produtos fornecidos à uma organização podem variar significativamente, dependendo da situação de mercado e dos seus fornecedores. Uma organização que é responsável pelo projeto de seu próprio produto pode influenciar tais aspectos significativamente através da alteração, por exemplo, de um único material de entrada, enquanto que uma organização que necessite fornecer de acordo com especificações de produto externamente determinadas, pode ter pouca escolha. Em relação aos produtos fornecidos, reconhece-se que as organizações podem ter controle limitado sobre o uso e a disposição final de seus produtos, por exemplo, pelos usuários. Contudo, as organizações podem considerar, quando exeqüível, a comunicação de mecanismos adequados de manuseio e disposição a esses usuários, de modo a exercer influência. Mudanças no meio ambiente, prejudiciais ou benéficas, que resultem total ou parcialmente dos aspectos ambientais, são chamadas de impactos ambientais. A relação entre aspectos e impactos é uma relação de causa e efeito. Em alguns locais, a herança cultural pode ser um elemento importante da circunvizinhança na qual opera uma organização e, portanto, recomenda-se que isso seja levado em consideração no entendimento de seus aspectos ambientais. Uma vez que uma organização pode ter muitos aspectos ambientais e impactos associados, é recomendado que ela estabeleça critérios e um método para determinar aqueles impactos que serão considerados significativos. Não há um método único para que os aspectos ambientais significativos sejam determinados. Contudo, recomenda-se que o método utilizado forneça resultados coerentes e inclua o estabelecimento e a aplicação dos critérios de avaliação, tais como aqueles relativos às questões ambientais, questões legais e às preocupações das partes interessadas internas e externas. Ao desenvolver as informações relativas aos aspectos ambientais significativos, recomenda-se que a organização considere a necessidade de se reter a informação para fins de histórico, bem como a forma de utilizá-la no projeto e implementação de seu sistema da gestão ambiental. É recomendado que o processo de identificação e avaliação dos aspectos ambientais leve em conta o local das atividades, o custo e o tempo para realização da análise e a disponibilidade de dados confiáveis. A identificação dos aspectos ambientais não requer uma avaliação detalhada do ciclo de vida. As informações já desenvolvidas para fins regulamentares ou outros podem ser utilizadas nesse processo. Não se pretende que este processo de identificação e avaliação de aspectos ambientais altere ou aumente as obrigações legais da organização. Objetivo O princípio da melhoria contínua impõe a existência de um sistema de avaliação objetivo em relação aos resultados da organização. Este sistema baseia-se no levantamento dos aspectos e impactos ambientais associados às atividades, produtos e serviços e na posterior determinação dos impactos ambientais significativos. Este levantamento deve ser o mais exaustivo possível e não ter a preocupação de hierarquizar os aspectos, mas apenas de identificá-los (APCER, 2001). Principais mudanças na versão 2004 Mudanças principalmente na identificação dos aspectos que agora cobre todas as atividades, de "produtos ou serviços“ mudou para "produtos e serviços" que deverá estar de acordo com o escopo do SGA; Aspectos associados a projetos agora fazem parte dos requisitos estabelecidos nesta norma; A identificação dos aspectos ambientais deve ter em consideração o planejado, os novos desenvolvimentos, atividades novas ou modificadas, produtos e serviços (e não atividades, produtos ou serviços como se refere a versão anterior). A nova norma esclarece a necessidade de 2 etapas para o cumprimento deste requisito: 1.º - Identificação dos aspectos ambientais; 2.º - Avaliação dos aspectos de forma a determinar os significativos; Os aspectos ambientais significativos devem ser tidos em consideração para a definição, implementação e manutenção de todo o sistema de gestão ambiental e não só na definição de objetivos ambientais como era referida na versão anterior; e Registros Documentados do processo de levantamento de aspectos ambientais (SGS, 2005 E APCER, 2005).
  • 68.
    Interpretação da ISO14001:2004 Página 50 de 84 Interpretação O conhecimento dos aspectos ambientais que aparecem nas atividades de uma organização é uma tarefa difícil, mas extremamente importante, pois vai possibilitar a identificação dos impactos ambientais decorrentes e a conseqüente definição de seus procedimentos de controle. O levantamento consiste numa análise ambiental que vai abordar sucessivamente a situação da organização, tendo em consideração os seguintes aspectos: As características do local onde a organização está implantada; Os fluxos de entrada: consumo de água, de energia, de produtos intermédios e de matérias- primas; O planejamento dos produtos e processos e a influência dos seus eventuais impactos sobre o ambiente; e A poluição e os danos causados pela atividade da empresa em situação normal de funcionamento, em paragens e arranques e em situação de risco. A informação obtida, bem como as conclusões retiradas devem ser mantidas atualizadas. Para isso, a organização deve estabelecer procedimentos documentados que permitam que a identificação dos aspectos ambientais e a avaliação dos respectivos impactos se façam duma forma sistemática. Lembre-se de que: O primeiro passo de progresso da gestão ambiental consiste na passagem de um estado de não conhecimento para um estado de conhecimento. A identificação dos aspectos ambientais pode ser efetuada a partir de: Dados históricos, acumulados pela organização, decorrentes da sua atividade e de monitoramentos ambientais efetuados; Dados confiáveis disponíveis em outras organizações (governamentais e não governamentais); e Medições, análises e inspeções efetuadas para esta identificação, podendo incluir: emissões (quer atmosféricas, quer para o meio hídrico), gestão dos resíduos (desde a sua produção até à eliminação), contaminação do solo, controle sobre o uso de matérias primas e recursos naturais, bem como outros requisitos emergentes da comunidade local. Obs.: Quando da realização das medições, análises e inspeções deve-se ter especial cuidado em garantir a representatividade das amostras e a qualidade dos resultados (por exemplo, calibração dos equipamentos de medida, utilização de métodos normalizados e reconhecidos, etc.). A concepção de soluções, baseadas apenas em medidas, análises e inspeções pontuais, pode conduzir a resultados inadequados, onerosos e ineficazes. A identificação dos aspectos ambientais deve ser feita antes de se iniciar uma atividade (na fase de projeto) e antes do seu abandono (fase de desmantelamento). Os impactos ambientais decorrentes de um desmantelamento podem ser de eliminação/minimização complexa e acarretar custos bastante elevados (Exemplos: descontaminação de solos, tratamento de produtos químicos armazenados em grandes quantidades, cuidados especiais na demolição de edifícios com amianto) pelo que devem ser avaliados e estudados com antecedência. Deve cobrir as seguintes situações: Normal - o que acontece na maioria das vezes; Anormal - planejado mas menos freqüente; Potenciais acidentes e situações de emergência - as situações negativas que podem ocorrer; Históricos - legados do negócio ou do local, por ex.: solos contaminados; Operações atuais; Alterações planejadas - a parte de 'manutenção' do requisito; Aspectos Diretos - as coisas sobre as quais a empresa pode exercer controle; Aspectos Indiretos - as coisas que são mais difíceis de controlar, cujo controle não depende da empresa, mas que podem ser influenciadas, por ex.: clientes e fornecedores; Aspectos que originam impactos negativos no ambiente - poluição; e Aspectos que originam impactos positivos no ambiente - ex.: melhorar ecossistemas, auxiliar outros a melhorar a sua atuação. O levantamento ambiental poderá levar em conta, as ações executadas pela organização em matéria de sensibilização, formação, informação, comunicação interna e comunicação externa no domínio do ambiente. Esta análise deverá também permitir avaliar o grau de cumprimento da regulamentação ambiental aplicável à organização. O levantamento ambiental constitui a base de todo o sistema de gestão ambiental pelo que se for mal elaborado, todas as fases seguintes poderão ser ineficazes! Por outro lado, este levantamento não dá soluções para os problemas; apenas os identifica para posterior definição de ações.
  • 69.
    Interpretação da ISO14001:2004 Página 51 de 84 A análise ambiental identifica os diferentes aspectos ambientais, mas terá de ser complementada por uma avaliação dos respectivos impactos. Há muitas formas de se decidir a significância, mas há muito poucos indicadores comuns. Tomemos em consideração alguns critérios simples: a) Se a Legislação (ou qualquer outro requisito semelhante) se refere a um aspecto e ao impacto que ele tem - este deve ser considerado 'significativo'. (Transgredir a lei seria "significativo"!); b) Se lhe faltam dados ou conhecimentos sobre o impacto, é melhor identificar como 'significativo', até que tenha dados para decidir de outra forma (A abordagem cautelosa); e c) Se a magnitude do impacto no 'meio ambiente' é suficiente, o aspecto é 'significativo'. Nesta situação, são necessários bons conhecimentos acerca das interações do seu processo com o meio ambiente. Também pode escolher incluir outros critérios apropriados ao seu negócio, como por exemplo: Custos; Quantidade; Opinião das partes interessadas; e Avaliação de risco. Qualquer que seja o método, este deve ser claramente definido com procedimentos, testado e reprodutível. Também é necessário manter registros do processo para ajudar em revisões futuras e para as auditorias internas. A norma não estabelece nem impõe nenhum método de avaliação de impactos ambientais. Convém, no entanto, utilizar uma metodologia que evite, ou pelo menos diminua, a subjetividade e a excessiva formalidade. De posse dos resultados da avaliação de impactos ambientais há que, de forma prioritária, assegurar o controle operacional de todos os que forem considerados significativos (ver subitem 4.4.6). Dentre os aspectos ambientais significativos (e após ter garantido o seu controle), devem ser selecionados aqueles em que são identificáveis oportunidades de melhoria contínua. Para estes, levando-se em conta os meios técnicos, humanos e financeiros de que se dispõe, a organização definirá os objetivos e metas ambientais (ver subitem 4.3.3), incluindo-os no seu programa de gestão ambiental (ver subitem 4.3.4) (SEBRAE, 2004; SGS, 2003; APCER, 2001). Gerando evidência Procedimento para Identificação dos Aspectos e avaliação dos Impactos Ambientais para definição de Objetivos e Metas; e Análise dos aspectos e impactos ambientais (SEBRAE, 2004). Não conformidades mais freqüentes Nem todas as fontes de aspectos foram consideradas Ex.: os impactos potenciais dos fornecedores ou a utilização e eliminação de produtos por parte do cliente, foram ignorados; As situações anormais não foram reconhecidas e, portanto, não foram avaliadas; ex.: arranque ou paragem do processo, operações de manutenção; Potenciais situações de emergência não foram consideradas no que se refere aos conseqüentes impactos no ambiente, tendo apenas sido dada atenção às questões relacionadas com a Higiene, Saúde e Segurança; ex.: não são considerados os efeitos que um potencial incêndio pode ter no ambiente; Os aspectos positivos relevantes foram ignorados, falhando assim a oportunidade de usar o seu SGA para melhorar os elementos positivos e minimizar os negativos; Partes relevantes do negócio não foram consideradas; ex.: a hipótese de solos contaminados no local; os serviços de apoio duma empresa, tais como gestão de instalações; extintores de Halon (BFC's) que não foram reconhecidos como um elemento a avaliar; As alterações no processo, produto ou na empresa não foram previstas para impactos potenciais, ex.: uma fábrica ou um processo novo. Uma boa ligação entre o SGA e o processo de aprovação da Política de Investimentos podem ser realmente úteis nestes casos; O sistema falhou na identificação de um aspecto obviamente significativo, por ex.: grandes probabilidades de contaminação do solo no local foram ignoradas; Área do local ou negócio não foram avaliadas, por ex.: Fornecedores, impactos indiretos no cliente, transporte, gestão das instalações; O processo não é reprodutível ou a razão para um aspecto ter sido considerado significativo não é clara; O sistema de pontuação (se for usado) não tem suficiente fundamento para ser consistente;
  • 70.
    Interpretação da ISO14001:2004 Página 52 de 84 Os impactos no meio ambiente não são realmente compreendidos, portanto, não são devidamente classificados; Um bom controle operacional 'mascarou' o fato de que está se lidando com um risco para o meio ambiente - assim, um impacto significativo é classificado como 'não significativo'; e Os registros não mostram realmente a forma como os aspectos foram identificados ou avaliados (classificados) (SGS, 2003). 4.3.2 Requisitos legais e outros Texto da Norma ISO 14001:2004 A organização deve estabelecer e manter procedimento(s) para: a) Identificar e ter acesso requisitos legais aplicáveis e a outros requisitos subscritos pela organização, relacionados aos seus aspectos ambientais, e b) Determinar como estes requisitos se aplicam aos seus aspectos ambientais. A organização deve assegurar que estes requisitos legais aplicáveis e outros requisitos subscritos pela organização sejam levados em consideração no estabelecimento, implementação, e manutenção do seu sistema de gestão ambiental. Texto do Anexo A da Norma ISO 14001:2004 A.3.2 Requisitos legais e outros A organização necessita identificar os requisitos legais que são aplicáveis aos seus aspectos ambientais. Estes podem incluir a) requisitos legais nacionais e internacionais, b) requisitos legais estaduais/municipais/departamentais, c) requisitos legais do governo local. Exemplos de outros requisitos que uma organização pode subscrever incluem, se aplicável - acordos com autoridades públicas, - acordos com clientes, - diretrizes de natureza não-regulamentar, - princípios voluntários ou códigos de prática, - etiquetagem ambiental voluntária ou compromissos de administração do produto, - requisitos de associações de classe, - acordos com grupos comunitários ou organizações não-governamentais, - compromissos públicos da organização ou de sua matriz, - requisitos corporativos/da empresa. A determinação de como os requisitos legais e outros se aplicam aos aspectos ambientais de uma organização é usualmente realizada no processo de identificação desses mesmos requisitos. Portanto, não se faz necessário ter um procedimento em separado ou adicional para fazer esta determinação. Objetivo Uma organização, para atender aos regulamentos pertinentes a suas atividades, sejam eles legais ou acordos por ela subscritos, precisa ter mecanismos de identificação destes regulamentos junto aos órgãos competentes e criar meios para que todos os envolvidos em suas atividades tenham a plena compreensão deles (SEBRAE, 2004). Principais mudanças na versão 2004 Mudanças de "leis, regulamentos e outros requisitos" para "requisitos legais aplicáveis" que é muito mais amplo e cobre regulamentações, decisões judiciais e outros que agora está vinculado aos aspectos ambientais da organização (aspectos ambientais e não somente aos aspectos ambientais significativos), devendo ser identificados os requisitos legais para todos aspectos ambientais da organização; Muito mais do que ser necessário proceder à instituição de um procedimento (requisito já existente) que permita ter acesso e identificar os requisitos legais e outros, a organização deve determinar como estes são aplicáveis aos seus aspectos ambientais; Como já foi dito anteriormente no item 4.2, a legislação aplicável é toda aquela que influencie sobre os aspectos ambientais, independentemente da sua natureza; e Os requisitos legais aplicáveis devem ser tidos em consideração para definição, implementação e manutenção do Sistema de gestão ambiental (SGS, 2005; APCER, 2001).
  • 71.
    Interpretação da ISO14001:2004 Página 53 de 84 Interpretação Uma organização que pretenda garantir a implementação desta norma deverá identificar as exigências legais, e outras que se aplicam aos aspectos ambientais das suas atividades, produtos ou serviços, que tem de cumprir. O cumprimento da norma exige o estabelecimento de um procedimento que garanta a sistematização dos requisitos legais e outros que sejam aplicáveis à organização. Salienta-se que a documentação legal pode apresentar-se de diferentes formas: leis, decretos- lei, regulamentos, portarias, despachos de aplicação nacional, resoluções ministeriais ou municipais, etc. Os outros requisitos poderão ser documentos do tipo: políticas do grupo, códigos de boa conduta ambiental, contratos com clientes, etc. A identificação da legislação aplicável junto à organização poderá ser feita internamente ou recorrendo à prestação de um serviço externo. Em qualquer caso, é necessário o conhecimento dos aspectos ambientais relacionados com as atividades, produtos e serviços da organização de forma a permitir uma análise eficaz da sua aplicabilidade. Deve ser mantida uma listagem atualizada de todos os documentos. A identificação dos requisitos poderá realizar-se tendo como base assinaturas disponibilizadas pelos organismos de normalização, publicações especializadas, subscrição de revistas, dados de associações setoriais, profissionais, ou outras. A norma não exige apenas a identificação da legislação. Exige ainda que a organização demonstre o seu conhecimento e tenha acesso, em qualquer situação, a esses mesmos documentos, podendo mantê-los em arquivo interno ou acessível através de outro meio (Internet, bases de dados, etc.). Outra questão fundamental para a garantia da aplicação deste requisito no funcionamento adequado do sistema de gestão ambiental, prende-se a análise dos conteúdos dos documentos aplicáveis. Mais do que conhecer a existência de um documento legal, é fundamental que a organização saiba exatamente o que tem de cumprir. Assim, não será suficiente possuir uma mera listagem de documentos legais aplicáveis, já que a organização precisa conhecer exatamente o que tem de cumprir, assim como avaliar como poderá fazê-lo e decidir da necessidade de investimentos, de alteração de práticas e procedimentos ou outras ações. Para tanto, a organização deverá manter registros (lista, tabela, base de dados, etc.) permanentemente sistematizados da legislação aplicável; estes registros podem ser organizados por temas (ar, água, solo, resíduos...) e/ou subtemas (captação de água, efluentes...); podem ainda assumir a forma de uma tabela em que, por atividade, se identifica, não só a legislação, mas também as obrigações daí resultantes (registros a gerar, relatórios a enviar as entidades públicas, etc.) (SGS,2003; APCER, 2001). Gerando Evidência Procedimentos para identificar e acessar as leis e regulamentos aplicáveis; Procedimentos de controle da atualização das leis e regulamentos aplicáveis; Legislação Federal, estadual e municipal aplicável; Lista das leis e regulamentos pertinentes às suas atividades, produtos e serviços; e Lista das fontes das leis e regulamentos pertinentes etc. (SEBRAE, 2004). Não conformidades mais freqüentes O procedimento não inclui pormenores do processo de manutenção dos dados - assim, não existe um processo repetitivo nem auditável; Os "outros requisitos" não estão identificados nem incluídos, por ex.: Políticas do Grupo, Códigos de Boa Prática, requisitos relativos a Aluguéis e Seguros, acordos locais ou setoriais. Ou então foram identificados, mas não existe forma de mantê-los atualizados; Não existe acesso à legislação de base; e A listagem contém muitos dados irrelevantes, não aplicáveis à organização em questão, e não fornece pormenores ou explicações dos requisitos legais relevantes. (Por vezes encontra-se uma lista que é só isso mesmo e que não fornece nenhuma informação compreensível ou útil para a gestão) (SGS, 2003). 4.3.3 Objetivos, Metas e Programa(s) Texto da Norma ISO 14001:2004 A organização deve estabelecer, implementar e manter objetivos e metas ambientais documentados, nas funções e níveis relevantes dentro da organização. Os objetivos e metas devem ser mensuráveis, quando exeqüível, e coerentes com a política ambiental, incluindo-se os comprometimentos com a prevenção de poluição, com o atendimento aos requisitos legais e outros requisitos subscritos pela organização e com a melhoria contínua.
  • 72.
    Interpretação da ISO14001:2004 Página 54 de 84 Ao estabelecer e analisar seus objetivos e metas, uma organização deve considerar os requisitos legais e outros requisitos por ela subscritos, e seus aspectos ambientais significativos. Deve também considerar suas opções tecnológicas, seus requisitos financeiros, operacionais, comerciais e a visão das partes interessadas. A organização deve estabelecer, implementar e manter programa(s) para atingir seus objetivos e metas. O(s) programa(s) deve(m) incluir: a) Atribuição de responsabilidade para atingir os objetivos e metas em níveis em cada função e nível pertinente da organização, e b) Os meios e o prazo no qual eles devem ser atingidos. Texto do Anexo A da Norma ISO 14001:2004 A.3.3 Objetivos, metas e programa(s) É recomendado que os objetivos considerem questões de curto e de longo prazo. Ao avaliar suas opções tecnológicas, uma organização pode levar em consideração o uso das melhores técnicas disponíveis, onde for economicamente viável, onde a relação custo-benefício for favorável e onde julgado apropriado. A referência aos requisitos financeiros da organização não implica necessariamente que as organizações sejam obrigadas a utilizar metodologias de contabilidade de custos ambientais. A criação e o uso de um ou mais programas são importantes para a implementação bem-sucedida de um sistema da gestão ambiental. É recomendado que cada programa descreva como os objetivos e metas da organização serão atingidos, incluindo-se cronogramas, recursos necessários e pessoal responsável pela implementação do(s) programa(s). Este(s) programa(s) pode(m) ser subdividido(s) para abordar elementos específicos das operações da organização. Recomenda-se que o programa inclua, quando apropriado e exeqüível, considerações de planejamento, projeto, produção, comercialização e estágios da disposição final. Isto pode ser efetuado tanto para as atividades, produtos ou serviços atuais quanto para os futuros. No caso de produtos, podem ser abordados projetos, materiais, processos produtivos, uso e disposição final. Para instalações ou modificações significativas de processos, podem ser abordados o planejamento, projeto, construção, comissionamento, operação e, na ocasião apropriada determinada pela organização, o descomissionamento. Para os efeitos desta norma, “comissionamento” é o processo durante o qual os componentes e sistemas de uma instalação são tornados operacionais e verificados quanto à sua conformidade em relação aos critérios de projeto e de desempenho. Para os efeitos desta norma, “descomissionamento” é o processo pelo qual os componentes e sistemas de uma instalação são retirados de operação, de forma planejada, controlada e documentada. Objetivo Os objetivos são comprometimentos globais para o desempenho ambiental da organização, identificados na política ambiental. Para definir seus objetivos é importante que a organização considere as verificações feitas nas suas análises ambientais preliminares, seus aspectos ambientais identificados e os impactos ambientais significativos. Para atingir os objetivos, devem ser estipuladas metas específicas e mensuráveis com prazos predeterminados. Este requisito deve permitir o surgimento de oportunidades de melhoria e a definição das ações prioritárias e consistem também na definição de ações, atribuição de responsabilidades, disponibilização de recursos financeiros necessários e definição de prazos para que se atinjam os objetivos e metas ambientais definidos (SEBRAE, 2004; APCER, 2001). Principais mudanças na versão 2004 Integração dos subitens 4.3.3 e 4.3.4 da versão de 1996. Nesta versão, assume-se que o estabelecimento de objetivos e metas relacionadas com o cumprimento da legislação como sendo um requisito, antes era pratica comum quando da obrigação do cumprimento da legislação que tal não deveria ser contemplado no Programa de Gestão Ambiental, agora deve figurar no mesmo. Desta forma é reforçada a importância dos requisitos legais no estabelecimento dos objetivos e metas ambientais (APCER, 2005). Interpretação Os objetivos e metas ambientais deverão ser coerentes com a política ambiental definida pela organização, tendo como base os temas e os eixos de ações prioritárias nela definidas. Devem ser periodicamente definidos e documentados, por exemplo, em conjunto com a revisão do sistema de gestão ambiental. Os objetivos ambientais devem ser entendidos como mais gerais do que as metas. Enquanto os primeiros resultam diretamente da política, as segundas decorrem dos objetivos, podendo ser entendidas como desdobramentos dos mesmos.
  • 73.
    Interpretação da ISO14001:2004 Página 55 de 84 Um objetivo é uma intenção ambiental geral que, se possível, deve ser quantificada, enquanto que a meta é uma exigência de desempenho pormenorizada, quantificada, e sempre relativa a um determinado objetivo (ver Exemplo 1). A fixação dos objetivos e metas deve ter em conta as seguintes considerações: As exigências legais e outras (para que não sejam estabelecidos objetivos que ponham em causa o cumprimento de limites legais ou outros aceites pela organização); Os aspectos e impactos significativos; As opções tecnológicas, as exigências financeiras, operacionais e comerciais; e A opinião das partes interessadas. Exemplo 1 POLÍTICA DO AMBIENTE DA YYY ...A YYY compromete-se a reduzir as emissões para o ar e para a água, assim como a reduzir o volume de resíduos sólidos produzidos... Porto, 21 de Fevereiro de 2000 Assinatura: A Administração da YYY OBJETIVOS E METAS (associados a esta Política) Objetivo Meta Baixar em 80% as emissões de diclorometano (um COV) no ano de 2000Reduzir as emissões de Compostos Orgânicos Voláteis (COV’s) no ar em 10%, no ano de 2000 Baixar em x% as emissões de “xpto” (um COV) no ano de 2000 Reduzir em 50% o CQO das águas residuais provenientes da planta fabril 1Baixar o valor da Carência Química de Oxigênio (CQO) nas águas residuais em 30%, no ano de 2000 Reduzir em y% o CQO das águas residuais provenientes da Seção “xpto” Diminuir o volume de resíduos para aterro em 45%, no ano de 2000 Reciclar a totalidade dos resíduos de embalagem de papel e cartão produzidos pela empresa FONTE: APCER, 2001 Assim, para o estabelecimento dos objetivos e metas ambientais, e para que não sejam fixados objetivos e metas impossíveis de cumprir por parte da organização, é necessário proceder a diferentes avaliações: Dos meios tecnológicos, com o intuito de se identificar os meios necessários ao controle, redução ou eliminação dos impactos das atividades da organização sobre o ambiente, não esquecendo a utilização da melhor tecnologia disponível sempre que técnica e economicamente viável; Dos aspectos financeiros associados a esses meios tecnológicos; Dos meios humanos necessários. Em suma, a definição das metas e eventualmente dos objetivos, implica em uma quantificação (indicadores) que possibilitem o seu acompanhamento e avaliação final do respectivo cumprimento. Esta quantificação pode significar um indicador numérico (%, Kg, ...) e uma data (ver Exemplo 1) ou apenas uma data (quando se pretende a introdução ou eliminação de qualquer aspecto, por exemplo, “passar a usar o produto menos poluente X.P.T.O, num dado processo, a partir de ...”). Estes indicadores poderão ser acompanhados em conjunto com o programa de gestão ambiental, evidenciando a eficácia das ações realizadas e o atingir dos objetivos e metas ambientais. PROGRAMA(S) DE GESTÃO AMBIENTAL Consistem na definição de ações, atribuição de responsabilidades, disponibilização de recursos financeiros necessários e definição de prazos para que se atinjam os objetivos e metas ambientais definidos. Para o cumprimento da norma é obrigatória a elaboração de um programa de gestão ambiental não existindo, no entanto, nenhum modelo pré-definido a ser cumprido. O programa pode ser aplicado a atividades, produtos ou serviços já em execução ou novos.
  • 74.
    Interpretação da ISO14001:2004 Página 56 de 84 EXEMPLO 2 PROGRAMA DE GESTÃO AMBIENTAL DA YYY PARA 2001 Objetivo Meta Ações Meios Responsáveis Prazos Ligar todos os condutos de exaustão das estufas que secam produtos lavados com diclorometano a um só conduto de saída R$ xxx.xxx,00 (materiais + mão de obra) Chefe de manutenção Até Out 2001 Adquirir um lavador de gases para tratar os gases deste conduto de saída R$ xxx.xxx,00 (inclui o transporte internacional) Diretor Técnico Executivo Até Out 2001 Instalar o lavador de gases adquirido R$ xxx.xxx,00 (inclui mão de obra + mais vinda do técnico instalador) Chefe de Manutenção Até Dez 2001 Reduzir as emissões de compostos voláteis (COV) no ar em 10% em relação ao ano 2000 Baixar em 80% as emissões de diclorometa no em relação ao ano 2000 Fazer ligação do esgoto dos lavadores na ETA para tratamento do efluente R$ xxx.xxx,00 (materiais + mão de obra) Chefe de Manutenção Até Dez 2001 FONTE: APCER, 2001 A amplitude do programa vai depender, em particular, das capacidades financeiras, tecnológicas e humanas da organização. Deve-se, no entanto, ter especial atenção na prioridade que tem que de ser dada aos aspectos ambientais significativos e ainda atender à seguinte linha de raciocínio: Uma meta está associada a um objetivo, que, por sua vez está associado a um ou mais aspectos ambientais e, para cada meta, deverão ser respondidas as quatro questões: Quem? Faz o quê? Com que meios? Em que prazos? (Ver Exemplo 2) O programa de gestão ambiental deve ser continuamente acompanhado quanto ao seu grau de concretização, devendo ser periodicamente reexaminado e, em caso de necessidade, reajustado. Adicionalmente, e dado que muitas empresas necessitam de realizar investimentos e implementar projetos de alguma dimensão, pode ser útil o estabelecimento de procedimentos específicos para o que poderíamos chamar de planos/projetos de investimento e desenvolvimento ambiental. Deste modo, fica assegurado que, nos novos projetos, são identificados os aspectos ambientais que, eventualmente, estejam em causa (ver 4.3.1). O(s) programa(s) de gestão ambiental podem, ainda, ser elaborados por projeto, instalação, produto, processo ou atividade elementar. Tal como os objetivos e metas ambientais, o programa de gestão ambiental deve ser aprovado pela Direção de forma a garantir que os meios e recursos necessários à sua concretização sejam previamente assegurados (SGS, 2003; APCER, 2001). Gerando Evidência Política Ambiental e Programa de Gestão Ambiental com objetivos e metas; Cronograma das metas ambientais; Análise do desempenho para atingir os objetivos através dos indicadores ambientais; Ações corretivas para os desvios detectados. Objetivos e metas ambientais quantificados, indicadores definidos e monitorados; e Programas de Gestão Ambiental com cronogramas de implantação (SEBRAE, 2004). Não conformidades mais freqüentes Demasiados Objetivos ou muito poucos. (Devem ser suficientes para que do SGA possam resultar melhorias reais, mas não tantos que levem a uma dispersão de esforços). Objetivos e metas não estabelecidos para cada função e nível da organização. Por exemplo, não abrangeram um determinado setor fabril, com a justificação de que a melhoria contínua estava a ser assegurada pelos outros setores. Objetivos e Metas sem dimensão suficiente para serem medidos – pelo menos, deve ser estabelecida uma data limite prevista. Objetivos que não levam a melhorias - por ex.: uma empresa cujo negócio é ajudar a melhorar o desempenho ambiental dos seus clientes, decide que o seu principal objetivo
  • 75.
    Interpretação da ISO14001:2004 Página 57 de 84 ambiental é ' ter mais clientes'. Esta intenção necessita claramente de mais medições, de modo a permitir a monitorização das melhorias relevantes - medições relacionadas com as melhorias realmente atingidas pelos clientes, relativamente ao número total de clientes. A pessoa nomeada para executar o programa não está consciente das suas responsabilidades. Os Programas não fornecem suficientes dados mensuráveis, de modo a demonstrar que existe uma melhoria. Falta de registros que demonstrem a progressão do programa. Os recursos são insuficientes para executar um programa e não foram assinalados como um problema. Falhar uma meta e não se tomarem quaisquer medidas. Novos desenvolvimentos em larga escala não detectados pelo processo, por ex.: nova linha de produção, novos produtos. 'Promessa' feita na Política não executada pelos programas, por ex.: compromisso para redução do consumo de energia. Programas associados às questões de implementação de um SGA, por ex.: compromisso para redução do consumo de energia (SGS, 2003).
  • 76.
    Interpretação da ISO14001:2004 Página 58 de 84 4.4 Implementação e operação Este item procura definir: As necessidades de recursos para a equipe de implantação e operação do sistema; Quem faz o que; As necessidades de treinamento; A comunicação de modo eficaz tanto interna quanto externamente; A documentação e controle do sistema de gestão. Implica também na necessidade de um controle eficaz sobre as atividades operacionais relevantes e seus impactos ambientais significativos, considerando também situações acidentais ou emergenciais ocasionadas por impactos ambientais associados. É preciso ter em mente que implantar um sistema que agregue valor ao negócio, não agregando apenas mais trabalho, é sempre bastante complicado. Porém, um sistema bem montado tem sua implantação de maneira natural e não traumática, sendo bem visto pela maioria dos funcionários (ORTIZ; PIRERI, 2002). 4.4.1 Recursos, funções, responsabilidades e autoridades Texto da Norma ISO 14001:2004 A administração deve assegurar a disponibilidade de recursos essenciais para estabelecer, implementar, manter e melhorar o sistema de gestão ambiental. Esses recursos incluem recursos humanos e habilidades especializadas, infra-estrutura organizacional, tecnológica e recursos financeiros. As funções, responsabilidades e autoridades devem ser definidas, documentadas e comunicadas visando facilitar uma gestão ambiental eficaz. A alta administração da organização deve indicar representante(s) específico(s) da administração, o(s) qual(is), independentemente de outras responsabilidades, deve(m) ter função, responsabilidade e autoridade definidas para a) Assegurar que um sistema de gestão ambiental seja estabelecido, implementado e mantido com os requisitos desta Norma; b) Relatar à alta administração o desempenho do sistema de gestão ambiental, para análise, incluindo recomendações de melhoria. Texto do Anexo A da Norma ISO 14001:2004 A.4 Implementação e operação A.4.1 Recursos, funções, responsabilidade e autoridades A implementação bem-sucedida de um sistema da gestão ambiental requer o comprometimento de todos os empregados da organização ou que atuem em seu nome. Recomenda-se que as funções e responsabilidades ambientais não sejam vistas como confinadas à função da gestão ambiental, mas que também cubram outras áreas de uma organização, tais como a gerência operacional ou outras funções de apoio de cunho não ambiental. É recomendado que o comprometimento comece nos níveis mais elevados da administração. Da mesma forma, é recomendado que a alta administração estabeleça a política ambiental da organização e assegure que o sistema da gestão ambiental seja implementado. É recomendado que, como parte deste comprometimento, a alta administração designe seu(s) representante(s) específico(s), com responsabilidade e autoridade definidas para a implementação do sistema da gestão ambiental. No caso de organizações grandes ou complexas, pode existir mais de um representante designado. Em pequenas e médias empresas, essas responsabilidades podem ser assumidas por apenas um indivíduo. Recomenda-se que a administração também assegure que recursos apropriados, tais como, infra-estrutura organizacional, sejam fornecidos para garantir que o sistema da gestão ambiental seja estabelecido, implementado e mantido. Exemplos de infra-estrutura organizacional incluem: edifícios, linhas de comunicação, tanques subterrâneos, drenagem etc. É também importante que as principais funções e responsabilidades do sistema da gestão ambiental sejam bem definidas e comunicadas a todas as pessoas que trabalhem para a organização ou atuem em seu nome. Objetivo Tal como em todos os sistemas de gestão, a ISO 14001 reconhece a necessidade de assegurar que o pessoal envolvido no SGA está consciente das suas responsabilidades e autoridade (APCER, 2001).
  • 77.
    Interpretação da ISO14001:2004 Página 59 de 84 Principais mudanças na versão 2004 Mudança da palavra “fornecer” para “assegurar a viabilidade” pode ser significativo para a organização com alto nível de “turn over”, isto é, significa mais auditorias internas; O novo título desta clausula enfatiza a importância dos recursos, atribuições e autoridade na mesma medida que a responsabilidade; Verifica-se existir igualmente uma alteração ao nível dos vocábulos utilizados. A mais significativa prende-se com a substituição da palavra “providenciar” utilizado em “A direção deve providenciar os recursos necessários”. Na versão 2004 verifica-se que “a gestão deve garantir a disponibilidade de recursos”. Esta alteração significa que as organizações devem prevenir situações de falta de meios humanos, técnicos ou de outra índole, recorrendo a planos de contingência de substituição desses meios; Refere-se ainda que no nível dos recursos foram acrescentadas as infra-estruturas da organização; e Muito mais do que reportar à direção o desempenho do SGA, é igualmente suposto, com esta versão, que o representante da alta administração apresente igualmente recomendações para a melhoria do SGA (SGS, 2005; APCER, 2005). Interpretação Para dar cumprimento a este requisito da norma, é necessária uma definição clara das responsabilidades (as atividades que têm de desempenhar) e da autoridade (o que as pessoas podem decidir autonomamente) para as funções dos que gerenciam (todos os níveis hierárquicos), executam (funções mais relacionadas com as áreas produtivas e/ou executantes) e verificam (funções mais relacionadas com o controle ambiental), desde que referenciadas ao nível de procedimentos e outros documentos do sistema de gestão ambiental. A definição das qualificações mínimas para desempenhar adequadamente uma função é particularmente importante quando a atividade desenvolvida está de alguma forma, relacionada com aspectos ambientais significativos ou com o controle e gestão ambiental. Esta definição de qualificações não tem de ser feita por pessoa, mas sim por função. A flexibilidade, polivalência ou critérios de substituição devem ser definidos respeitando as qualificações mínimas definidas para as funções. A Alta Administração, em seu mais alto nível, deve designar um representante com responsabilidades e autoridade definidas para a implementação do sistema de gestão ambiental. Deve ainda disponibilizar os recursos necessários para que o mesmo seja implementado e mantido (Exemplos: equipamentos, instalações, meios tecnológicos, meios financeiros e recursos humanos). O Representante da Administração, com responsabilidades executivas, é um elemento de 1ª linha que gere a organização na sua atividade corrente, ou outro elemento que não sendo de 1ª linha reporte a este diretamente, tendo funções executivas na área ambiental (Exemplos: gerente, diretor geral, diretor do ambiente, diretor da qualidade e ambiente). Este elemento da direção executiva, além de outras funções, deve ser o principal responsável pelo estabelecimento, implementação e manutenção do sistema de gestão ambiental e por fornecer informação à Alta Administração sobre o seu desempenho para efeitos de revisão do mesmo e para desencadear as ações de melhoria. Este enunciado não significa que o Representante da Administração tenha que ser um diretor, mas sim um “elemento da direção”. Isto implica que a organização defina os “limites” do que considera ser a equipa de direção (grupo de indivíduos com responsabilidades executivas). O que é essencial é o entrosamento deste elemento na “equipa de direção” e a sua liberdade e autoridade organizacional para poder assegurar as tarefas acima referidas. Quando existirem órgãos coletivos e/ou colegiados de decisão e/ou análise (Exemplos: Comissão/Conselho do Ambiente, Comissão/Conselho da Qualidade e Ambiente), a composição, responsabilidades e modos de decisão devem estar igualmente definidos (SGS, 2003; APCER, 2001). Gerando evidência Matriz de Responsabilidades; e Memorandos, comunicações internas (CI’s), circulares etc. que mostrem as nomeações das pessoas, a alocação dos recursos, à disponibilização de equipamentos e instalações etc. (SEBRAE, 2004). Interpretação Pode não ser sempre claro quem é responsável pelo quê. Esta pode ser uma falha comum na documentação do sistema que está apenas baseado em fluxogramas sem definição clara de responsabilidades; Podem não ter sido disponibilizados os recursos humanos suficientes (por exemplo, uma situação em que o gestor do SGA foi demitido e a nova pessoa incumbida não estava adequadamente formada para preencher o posto, uma situação onde não há recursos
  • 78.
    Interpretação da ISO14001:2004 Página 60 de 84 humanos suficientes ou capazes para garantir determinadas monitoramento ou controle de operações, não haver recursos para a realização de auditorias internas); Numa outra ocasião, a 'administração' decidiu não financiar o programa, que estava a tratar com o aspecto mais significativo da empresa (um estudo para estabelecer se o local estava contaminado); As funções de Representante da Administração são partilhadas por dois indivíduos sem haver uma definição clara das responsabilidades, de modo a assegurar a cobertura de todas as funções; e As funções de Representante da Administração encontram-se atribuídas a uma pessoa sem os conhecimentos suficientes para a função e sem autoridade reconhecida pelos elementos da organização (SGS, 2003; APCER, 2001). 4.4.2 Competência, treinamento e conscientização Texto da Norma ISO 14001:2004 A organização deve assegurar que qualquer pessoa(s) que para ela ou em seu nome, realize tarefas que tenham o potencial de causar impactos ambientais significativos identificados pela organização, seja competente com base em formação apropriada, treinamento ou experiência, devendo reter os registros associados. A organização deve identificar as necessidades de formação associadas aos seus aspectos e ao seu sistema de gestão ambiental. Ela deve prover treinamento ou tomar alguma ação para atender a essas necessidades, devendo reter os registros associados. A organização deve estabelecer, implementar e manter procedimentos para fazer com que as pessoas que trabalham para ela ou em seu nome, estejam conscientes: a) Da importância de estar em conformidade com a política ambiental, procedimentos e requisitos do sistema de gestão ambiental; b) Dos aspectos ambientais significativos e respectivos impactos reais ou potenciais, associados com seu trabalho e dos benefícios ambientais provenientes da melhoria do seu desempenho pessoal; c) De suas funções e responsabilidades em atingir a conformidade com os requisitos do sistema de gestão ambiental; Das potenciais conseqüências da inobservância de procedimento(s) especificado(s). Texto do Anexo A da Norma ISO 14001:2004 A.4.2 Competência, Treinamento e Conscientização É recomendado que a organização identifique a conscientização, o conhecimento, a compreensão e as habilidades necessárias a qualquer indivíduo com responsabilidade e autoridade para realizar tarefas em seu nome. Esta Norma requer que a) as pessoas cujo trabalho possa causar impacto(s) ambiental(is) significativo(s) identificado(s) pela organização sejam competentes para realizar as tarefas para as quais foram designadas, b) as necessidades de treinamento sejam identificadas e ações sejam tomadas para assegurar que o treinamento seja fornecido, c) todas as pessoas estejam conscientes da política ambiental, do sistema da gestão ambiental e dos aspectos ambientais das atividades, produtos e serviços da organização que possam ser afetados pelo seu trabalho. Conscientização, conhecimento, compreensão e competência podem ser obtidos ou melhorados por meio de treinamento, formação educacional ou experiência de trabalho. É recomendado que a organização requeira que seus prestadores de serviço demonstrem que seus empregados possuem o requisito competência e/ou treinamento apropriado. É recomendado que a administração determine o nível de experiência, competência e treinamento necessários para assegurar a capacitação do pessoal, especialmente daqueles que desempenham funções especializadas da gestão ambiental. Objetivo Conscientizar de que de nada serve ter um SGA definido se o pessoal que deveria fazê-lo funcionar não tem as competências necessárias, não estão treinados ou não estão conscientes da política da organização (SGS, 2003). Principais mudanças na versão 2004 Mudanças na ordem dos parágrafos em função da sua ordem de importância;
  • 79.
    Interpretação da ISO14001:2004 Página 61 de 84 Mais que os funcionários – cuidados especiais devem ser tomados para assegurar que pessoas executem tarefas relevantes, por exemplo, em termos de ter competência; Indicação explicita que é a organização quem cabe assegurar-se que cada pessoa que desempenhe uma determinada função, com um determinado potencial impacto no ambiente, para ou em nome da organização (alteração já referida), seja competente; Substituição do termo “educação” por “escolaridade”; e A nova norma é também mais explícita quanto à identificação das necessidades de formação associadas aos seus aspectos ambientais e ao seu sistema de gestão ambiental (SGS, 2005; APCER, 2005). Interpretação O essencial deste requisito não é a elaboração de um plano de formação, mas sim a identificação das necessidades de formação. O plano é uma conseqüência das necessidades e um meio para satisfazê-las. É igualmente essencial a definição clara das qualificações (por exemplo, formação escolar e profissional, experiência profissional e treinamento) que a organização considera como mínima para um colaborador poder desempenhar uma função sem pôr em risco o desempenho ambiental e os compromissos legais e voluntários assumidos, mesmo que o perfil definido não corresponda ao perfil do atual detentor da função. Não se esquecer de que perfis inadequados, principalmente em relação aos requisitos definidos, devem ter associados planos de formação e treinamento. A identificação das necessidades de formação pode ser feita através de duas fontes principais: A primeira é a definição das qualificações mínimas exigidas para todas as funções com potencial para causar impactos ambientais significativos. Como já foi afirmado no subitem 4.4.1, a descrição de funções deve incluir os requisitos mínimos para as funções. Esta identificação das necessidades é de alguma forma, automática. Por exemplo, se um funcionário vai passar a executar outra tarefa para a qual estão definidas qualificações que ele não possui então essa é uma necessidade identificada e deve estar contemplada no plano de formação. A segunda é a análise das necessidades de formação nos diversos níveis da organização que desempenham funções com incidência ambiental, que poderá ser feita das mais variadas formas, mas garantindo sempre a justificação das necessidades apontadas. A identificação de uma formação específica para um grupo de operários, por exemplo, pelo seu superior hierárquico, deve estar devidamente fundamentada, por exemplo, em problemas existentes na área (número de vezes que valores limites de emissão são ultrapassados), na introdução de novas tecnologias (por exemplo, eletrofiltros), na introdução de novos métodos de trabalho (por exemplo, novo equipamento), na introdução de novos procedimentos/alteração aos existentes (por exemplo, quando da implementação do sistema), na alteração da implantação duma linha, no estabelecimento/alteração de circuitos documentais, na introdução da informatização de alguma atividade, etc. Caso as atividades com impacto ambiental significativo sejam desenvolvidas por colaboradores subcontratados, o levantamento de necessidades deverá ser igualmente assegurado. Para o levantamento de necessidades podem ser consideradas, além do conhecimento direto, outras fontes de informação: Constatações de auditorias realizadas; Não conformidades detectadas; Ocorrência de acidentes ou situações de emergência; Ações corretivas desencadeadas; Reclamações; Análises efetuadas quando da revisão do sistema de gestão ambiental. Situações que podem igualmente ser consideradas são: Novos métodos de trabalho; Realocação de pessoas (transferências internas); Admissão de novos colaboradores, a título permanente ou temporário; e A obrigatoriedade de cumprimento de requisitos específicos sejam eles internos, contratuais, regulamentares ou legais. Considerando o que foi exposto, não é normalmente aceitável que o plano de formação seja elaborado apenas a partir dos catálogos comerciais disponíveis, sem uma adequada identificação das necessidades nos termos já referidos. Segundo o enunciado deste requisito, os planos de formação devem incluir formas de conscientização dos elementos da organização ou subcontratados para: Os requisitos do sistema de gestão ambiental;
  • 80.
    Interpretação da ISO14001:2004 Página 62 de 84 Os impactos ambientais significativos (atuais ou potenciais) das suas atividades; Os seus papéis e responsabilidades nas situações de resposta à emergência; e As conseqüências de não respeitar os procedimentos operacionais estabelecidos. O plano deve prever a revisão de forma a incluir as ações não previstas quando da elaboração do plano inicial ou para reprogramar ações. Devem ser mantidos registros apropriados (ver subitem 4.5.3) das atividades afetas à formação (Exemplos: identificação das necessidades de formação, plano de formação, sumários das ações de formação, lista de presenças, certificados de participação, escolaridade etc.). A formação de cada colaborador deve ser evidenciável individualmente. Quando a formação inclui uma experiência prática importante, por exemplo, seis meses no posto de trabalho, deve existir um relatório comprovando que a pessoa em questão está em condições de desempenhar as funções previstas. Esta é uma forma de evidenciar que a formação foi efetuada. Quando a empresa está implementando os procedimentos de formação, na maioria das situações, muitos funcionários não freqüentaram cursos de formação necessários à sua qualificação. Nestes casos, é aconselhável que a empresa efetue a “recuperação” possível da qualificação, nem que seja a partir do conhecimento dos responsáveis com maior antiguidade (SGS, 2003; APCER, 2001). Gerando evidência Planos de treinamento; Avaliações/atas de reunião para levantamento das necessidades; Registros de educação (escolaridade); Registros de treinamento, listas de presença; e Avaliações da eficácia de treinamentos (SEBRAE, 2004). Não conformidades mais freqüentes Por vezes uma empresa pode "comprar conhecimento ambiental", isto é, recorrer à consultoria. Isto é perfeitamente aceitável, mas, precisa ser reconhecido e mantido pelo SGA, incluindo qualquer formação relevante ou registro de competência, relacionados com esse fato. Mais, a empresa necessita de identificar o que deverá ser feito em termos de formação, quando já não possuir o apoio dos consultores, caso seja essa a opção; Como se verá posteriormente é necessário haver um conhecimento da ISO 14001 até como base para as auditorias internas. Esta questão pode não ser coberta e os auditores internos podem saber muito bem como auditar por forma a verificar o cumprimento dos procedimentos, mas, podem não ser capazes de verificar se os próprios procedimentos e o sistema estão em concordância com a ISO 14001; Em várias ocasiões, descobre-se que o pessoal não tem conhecimento nem está treinado para os procedimentos de emergência relevantes; O conhecimento e conscientização dos critérios de não conformidade e dos procedimentos podem ser insuficientes. Esta circunstância leva a que não sejam reportados problemas e, mais tarde, à repetição desses mesmos problemas, em vez da sua prevenção; Ocasionalmente, a avaliação dos Aspectos falha ou não capta questões importantes, devido à falta de formação ou de competência por parte dos que executam este processo vital. Por exemplo, não se aperceberam que os extintores de Halon, contêm substâncias nocivas a camada de ozônio (BFC's ); e Para a certificação é exigido que todo o pessoal tenha consciência da Política, dos Objetivos e dos Aspectos Significativos associados às suas funções. Descobre-se frequentemente que a localização e o conteúdo da Política são desconhecidos e as pessoas não têm consciência de quais os aspectos e os impactos significativos relacionados com a sua atividade do dia-a-dia (SGS, 2003; APCER, 2001). 4.4.3 Comunicação Texto da Norma ISO 14001:2004 Com relação aos seus aspectos ambientais e sistema de gestão ambiental, a organização deve estabelecer, implementar e manter procedimento(s) para a) Comunicação interna entre vários níveis e funções da organização; b) Recebimento, documentação e resposta a comunicações pertinentes oriundas de partes interessadas externas. A organização deve decidir se realizará comunicação externa sobre seus aspectos ambientais significativos, devendo documentar sua decisão. Se a decisão for comunicar, a organização deve estabelecer e implementar método(s) para esta comunicação externa.
  • 81.
    Interpretação da ISO14001:2004 Página 63 de 84 Texto do Anexo A da Norma ISO 14001:2004 A.4.3 Comunicação A comunicação interna é importante para assegurar a eficaz implementação do sistema da gestão ambiental. Os métodos de comunicação interna podem incluir reuniões regulares de grupos de trabalho, boletins informativos, quadros de aviso e intranet. Recomenda-se que as organizações implementem um procedimento para receber, documentar e responder às comunicações das partes interessadas. Este procedimento pode incluir um diálogo com as partes interessadas e a consideração de suas preocupações pertinentes. Em certas circunstâncias, o atendimento às preocupações das partes interessadas pode incluir informações relevantes sobre os aspectos e impactos ambientais associados às operações das organizações. Recomenda-se que esses procedimentos também tratem da comunicação necessária com as autoridades públicas relativamente ao planejamento de emergência e a outras questões pertinentes. A organização pode planejar sua comunicação, levando em consideração as decisões sobre grupos-alvo pertinentes, as mensagens e temas apropriados e a escolha dos meios de comunicação. Ao considerar a comunicação externa sobre aspectos ambientais, recomenda-se que as organizações levem em consideração os pontos de vista e as necessidades de informação de todas as partes interessadas. Se a decisão for por comunicar externamente sobre seus aspectos ambientais, a organização pode estabelecer um procedimento para este fim. Este procedimento poderia se alterar dependendo de vários fatores, inclusive o tipo de informação a ser comunicada, o grupo-alvo e as circunstâncias individuais de cada organização. Os métodos para comunicação externa podem incluir relatórios anuais, boletins informativos, páginas na Internet e reuniões da comunidade. Interpretação A norma reconhece a necessidade da organização se certificar que a informação é efetivamente comunicada, tanto dentro da empresa, como a entidades externas, como por exemplo, as autoridades competentes, a comunidade local ou "grupos de pressão", ou seja, as partes interessadas (SGS, 2003). Principais mudanças na versão 2004 Esclarece como organizações devem proceder, se elas decidirem comunicar externamente, seus aspectos ambientais significativos; Estabelece métodos e procedimentos para comunicação externa; e Muitas organizações realizam comunicação externa – todavia, se a organização escolher uma condição que ela não deva comunicar externamente, ela deverá documentar essa decisão (SGS, 2005; APCER, 2005). Interpretação Este requisito inclui dois tipos de comunicação no que diz respeito aos aspectos ambientais e ao próprio sistema de gestão ambiental, a comunicação interna e a comunicação externa. A comunicação interna, entre os diversos níveis e funções relacionados com o ambiente, tem como objetivo facilitar o entendimento e a cooperação mútua de todo o pessoal envolvido no desempenho ambiental. Deverá ser elaborado um procedimento onde sejam estabelecidos os meios de comunicação internas formais (ordens de serviço, memorandos, etc.) e informais (jornais internos, intranet, placar, etc.) e respectivos registros. A comunicação externa deverá ser entendida em duas vertentes, o tratamento das exigências das partes interessadas externas e a comunicação externa voluntária. No primeiro caso, deverá ser dado especial destaque: Às comunicações obrigatórias com os órgãos oficiais, principalmente, no que diz respeito à informação do autocontrole dos aspectos ambientais (Exemplo registro anual de resíduos industriais e hospitalares, relatórios bianuais do monitoramento dos efluentes gasosos ou trimestrais do monitoramento em contínuo, relatórios do monitoramento dos efluentes líquidos conforme respectiva licença de descarga, etc.); Em relação às informações periódicas e obrigatórias a fornecer aos órgãos oficiais, é recomendável a elaboração de uma tabela, ou quadro, com indicação da base legal, do conteúdo, forma e periodicidade da informação, bem como das responsabilidades pela recolha, tratamento, envio e controle; e Às formas de tratar os pedidos de informação provenientes das partes interessadas externas, assegurando a resposta a reclamações e a formalização dos processos adotados para a sua recepção, tratamento, resposta e respectivos registros. Em relação à comunicação externa voluntária, a norma não exige que a organização a adote. Caso esta pretenda fazê-lo deverá ser cautelosa, procedendo a uma análise dos prós e contras
  • 82.
    Interpretação da ISO14001:2004 Página 64 de 84 de tal divulgação e, depois, estabelecê-la formalizando os moldes em que deverá ser realizada. Podem ser usados como veículos para transmitir os aspectos relevantes das atividades e do sistema de gestão ambiental, bem como dar resposta às preocupações de partes interessadas jornais internos, relatórios ambientais, publicações externas (jornais, revistas) e a Internet. Em particular, a comunicação através das suas diversas formas, deve traduzir-se, efetivamente, na possibilidade de os empregados e as partes interessadas poderem manifestar as suas preocupações (incluindo eventuais respostas a reclamações ambientais). Em todas as comunicações devem ser mantidos registros/evidências (ver subitem 4.5.3) (SGS, 2003; APCER, 2001). Gerando evidência Memorandos, boletins, cartas, comunicações internas (CIs), circulares etc. sobre fatos ambientais da organização; Panfletos, cartazes, jornais e outras formas de comunicação interna e externa sobre o desempenho ambiental da organização; e Relatórios e outras formas de informação às partes interessadas internas e externas (SEBRAE, 2004). Não conformidades mais freqüentes Por vezes não existe nenhum procedimento documentado que cubra esse requisito; As comunicações internas, juntamente com a formação, são os mecanismos que garantem a conscientização do pessoal relativamente ao SGA e às questões ambientais relacionadas com a empresa e com o trabalho individual de cada um. Os problemas nesta área manifestam-se muitas vezes na falta de conhecimento de alterações da legislação e nas suas conseqüências; Comunicações Externas - são testadas por vezes em entrevistas com o pessoal, normalmente os que representam o primeiro contato com a empresa (ex.: recepcionistas, vendedores, pessoal de marketing), para garantir que eles estão conscientes da necessidade de assegurar que as questões ambientais, reclamações e esclarecimentos são devidamente tratados e direcionados à pessoa certa, que irá iniciar desencadear a eventual ação necessária. Não é incomum estas pessoas não terem conhecimento das suas responsabilidades no encaminhamento destes esclarecimentos, reclamações ou pedidos, para o receptor correto; e Decisão acerca da disponibilidade de informações do SGA - muitas vezes não é registrada. Algumas vezes são registradas nas minutas da Revisão pela Direção, outras nos procedimentos da comunicação (SGS, 2003; APCER, 2001). 4.4.4 Documentação Texto da Norma ISO 14001:2004 A documentação do sistema de gestão ambiental deve incluir: a) Política, objetivos e metas ambientais; b) Descrição do escopo do sistema de gestão ambiental; c) Descrição dos principais elementos do sistema de gestão ambiental e sua interação e referência a documentos associados; d) Documentos, incluindo registros, requeridos por esta Norma, e e) Documentos, incluindo registros, determinados pela organização como sendo necessários para assegurar o planejamento, operação e controle eficazes dos processos que sejam associados com seus aspectos ambientais significativos. Texto do Anexo A da Norma ISO 14001:2004 A.4.4 Documentação Recomenda-se que o nível de detalhamento da documentação seja suficiente para descrever os elementos principais do sistema da gestão ambiental e sua interação, fornecendo orientação sobre fontes de informação mais detalhadas sobre o funcionamento de partes específicas do sistema da gestão ambiental. Essa documentação pode ser integrada com as de outros sistemas implementados pela organização, não precisando estar na forma de um único manual. A extensão da documentação do sistema da gestão ambiental pode diferir de uma organização para outra, dependendo a) do porte e tipo de organização e suas atividades, produtos ou serviços, b) da complexidade dos processos e suas interações, e c) da competência do pessoal. Exemplos de documentos incluem - declarações das políticas, objetivos e metas,
  • 83.
    Interpretação da ISO14001:2004 Página 65 de 84 - informações sobre os aspectos ambientais significativos, - procedimentos, - informações de processo, - organogramas, - normas internas e externas, - planos locais de emergência, - registros. Recomenda-se que qualquer decisão de documentar procedimento(s) seja baseada em questões tais como - as conseqüências, inclusive aquelas relativas ao meio ambiente, de não fazê-lo, - a necessidade de demonstrar o atendimento a requisitos legais e outros requisitos subscritos pela organização, - a necessidade de se assegurar que a atividade seja realizada de forma constante, - as vantagens de agir assim, que podem incluir a implementação facilitada por meio da comunicação e treinamento, manutenção e revisão facilitada, menor risco de ambigüidades e desvios, capacidade de demonstração e visibilidade, - os requisitos desta Norma. Os documentos originalmente criados para fins outros que não o sistema da gestão ambiental podem ser utilizados como parte deste sistema e, se assim utilizados, terão que ser referenciados no sistema. Objetivo Neste requisito a norma pretende que se forneça um "roteiro" que esclareça como é que o SGA da sua organização se encontra relacionado com a ISO 14001 e como é que esse sistema, ou outro sistema de gestão, dá resposta aos requisitos da norma (SGS, 2003). Principais mudanças na versão 2004 Alteração do nome do subitem. O articulado deste subitem acrescenta uma série de documentos que embora o articulado da versão anterior não contemplasse, já eram necessários. Apenas as necessidades de documentar o âmbito e os aspectos ambientais aparecem como novidade. Deixam de serem obrigatoriamente documentados os procedimentos relacionados com o monitoramento e medição (subitem 4.5.1) e a avaliação do atendimento a requisitos legais e outros (subitem 4.5.2) ainda que sejam obrigatórios os registros deste processo (SGS, 2005; APCER, 2005). Interpretação Um sistema de gestão ambiental pode ser entendido como o conjunto da estrutura organizacional, dos procedimentos, dos processos e dos recursos necessários para implementar a gestão ambiental. Assim sendo, a sua documentação deve contemplar todas as funções e atividades que contribuem para o cumprimento dos requisitos especificados, constituindo um retrato fiel da realidade da empresa. A definição do sistema de gestão ambiental e da sua estrutura documental deve adequar-se às características de cada organização (estrutura orgânica, dimensão, recursos, cultura), aos seus processos, produtos, serviços, clientes, mercados, fornecedores e sensibilidade do meio envolvente. A abrangência da documentação do sistema de gestão ambiental deve ser suficiente para contemplar todas as funções aplicáveis da norma de referência podendo, no entanto, ser mais abrangente em função de situações contratuais específicas. A estrutura documental não passa obrigatoriamente pela elaboração de um manual de gestão ambiental. No entanto, deve ser estabelecida de uma forma lógica, hierarquizada, coerente (sem omissões nem sobreposições) e permitindo a integração de todos os documentos relevantes do sistema. Por hierarquização entendem-se como sendo a classificação por ordem de importância dos documentos (com níveis) e a sua interligação objetiva. Caso a organização opte pela elaboração do manual de gestão ambiental poderá ter em conta os seguintes elementos: Indicação do objetivo e campo de aplicação do sistema de gestão ambiental; Descrição, história, atividades e locais da organização; Política ambiental; Apresentação da sua estrutura orgânica, de forma a ser perceptível o funcionamento da organização, com particular ênfase na função de gestão ambiental; e Inclusão ou referência a procedimentos do sistema de gestão ambiental, relacionando-os com os requisitos de cada uma das funções aplicáveis da norma de referência.
  • 84.
    Interpretação da ISO14001:2004 Página 66 de 84 Caso não seja esta a opção, é importante a elaboração de uma matriz que demonstre o modo como às funções da norma são respondidas. Considera-se que os procedimentos são uma parte relevante do sistema documental já que constituem a documentação de base para todo o planejamento, execução e verificação das atividades relevantes para a gestão ambiental. O conjunto dos procedimentos documentados deve responder a todas as funções/requisitos da norma de referência, em especial quando formalmente especificado nos próprios requisitos. Os procedimentos determinam “quem” faz “o quê”, “quando”, “onde”, “por quê” e “como”. Poderá ser conveniente a descrição do “como” num tipo diferente de documentos (Exemplos: instrução de trabalho, procedimento operativo) desde que seja clara a sua ligação com os anteriores. Os procedimentos podem, igualmente, remeter para documentos de origem externa (Exemplos: normas, especificações de clientes, legislação) ou interna (por exemplo, impressos). Estes procedimentos escritos devem ter atualização permanente, correspondendo de fato às práticas seguidas na realização das atividades a que dizem respeito. O conteúdo, extensão e detalhe dos procedimentos devem ter em atenção: A complexidade do trabalho (necessidade de pormenorização); A formação dos utilizadores (qualificação necessária para a realização das tarefas). A documentação considerada pode ainda incluir: informação sobre o processo, organogramas, normas internas e planos de emergência das instalações (SGS, 2003; APCER, 2001). Gerando evidência Manual do Meio Ambiente, Procedimentos e Instruções, leis e regulamentos aplicáveis (SEBRAE, 2004). Não conformidades mais freqüentes Não é feita a referência cruzada com os procedimentos do Sistema da Qualidade ou de outro sistema de gestão, que executam ou apóiam parte do SGA (ex.: manuseamento de químicos, controle de registros, planos de emergência); Os meios para a realização de parte dos requisitos da ISO 14001 não são claros, normalmente, os meios de confirmação dos cumprimentos legais e comunicações externas, relacionadas com os Aspectos Significativos; e Procedimento não auditável - não define como são feitas as coisas (SGS, 2003; APCER, 2001). 4.4.5 Controle de documentos Texto da Norma ISO 14001:2004 Os documentos requeridos pelo sistema de gestão ambiental e por esta Norma devem ser controlados. Registros são um tipo especial de documento e devem ser controlados de acordo com os requisitos estabelecidos em 4.5.4. A organização deve estabelecer, implementar e manter procedimento(s) para: a) Aprovar os documentos quanto à sua adequação antes do uso; b) Analisar e atualizar, conforme necessário, e reaprovar os documentos; c) Assegurar que as alterações e a situação atual de revisão dos documentos sejam identificadas; d) Assegurar que as versões relevantes de documentos aplicáveis estão disponíveis em seu ponto de uso; e) Assegurar que os documentos permanecem legíveis e prontamente identificáveis; f) Assegurar que os documentos de origem externa determinados pela organização como sendo necessários ao planejamento e operação do sistema de gestão ambiental sejam identificados e a sua distribuição seja controlada, e g) Prevenir a utilização não intencional de documentos obsoletos, e utilizar identificação adequada nestes, se forem retidos para quaisquer fins. Texto do Anexo A da Norma ISO 14001:2004 A.4.5 Controle de documentos A intenção de 4.4.5 é assegurar que as organizações criem e mantenham documentos de forma adequada à implementação do sistema da gestão ambiental. Entretanto, é recomendado que o foco primordial das organizações seja na efetiva implementação do sistema da gestão ambiental e no desempenho ambiental e não em um complexo sistema de controle de documentação.
  • 85.
    Interpretação da ISO14001:2004 Página 67 de 84 Objetivo O SGA, quando documentado, será o guia para a 'melhor prática' correntemente conhecida da sua empresa. Pela sua importância, torna-se assim necessária a sua aprovação, atualização e disponibilização para os que dele necessitam (SGS, 2003; APCER, 2001). Principais mudanças na versão 2004 Alinhamento com a ISO 9001:2000. Controle de documentos de origem externa necessários para o planejamento e operação do SGA, identificando-os e controlando a sua distribuição (SGS, 2005; APCER, 2005). Interpretação O controle dos documentos está estreitamente relacionado com o requisito anterior. Trata-se de controlar os tipos de documentos previstos na estrutura documental, incluindo os impressos (máscaras, formatos ou outras designações equivalentes). Além dos documentos, devem também ser considerados, e adequadamente controlados, os dados suscetíveis de alteração, exemplos: Listas de fornecedores de serviços ou produtos com implicações ambientais; Lista de clientes com exigências ambientais; Lista de equipamentos de medição e monitoramento a calibrar; Lista de funcionários qualificados para exercer atividades com potencial para causar impacto ambiental significativo; Listagens ou extratos dos anteriores; Os dados com suporte informatizado; e Os dados resultantes do tratamento de outros contemplados em registros ou documentos e apresentados, por exemplo, em relatórios (Exemplos: produção média mensal de resíduos, consumo médio mensal de água e energia por unidade de produção). São também documentos a serem controlados os que tenham origem no exterior da empresa tais como boletins de análises ou relatórios de medições realizadas no exterior, informação técnica de clientes ou fornecedores, normas, regulamentos, legislação, códigos de boa prática, licenças e pareceres de entidades oficiais. Os documentos considerados como parte integrante do sistema de gestão ambiental, têm de ser objetivamente identificados, para que se possam se adotadas metodologias adequadas para o seu controle. Para efeitos de controle, os documentos devem ter uma designação, podendo ainda ter um código/referência. Os sistemas de codificação dos documentos e impressos devem ser concebidos de modo a permitirem uma identificação fácil, pelo menos, dos níveis da estrutura da documentação. Estes sistemas de codificação devem estar documentados de modo a garantir a sua coerência e adoção por todas as funções envolvidas no controle dos documentos e dados. É recomendável que a empresa identifique todos os tipos de documentos e todas as responsabilidades associadas aos aspectos de controle (elaboração, verificação, aprovação, emissão, lista de distribuição, original, arquivo histórico) sob a forma de uma matriz ou outra equivalente. A verificação deve ser feita por quem tenha competência técnica e/ou de gestão pelo menos igual a quem elaborou o documento. Esta verificação deve consistir na análise da coerência entre este e os restantes do mesmo tipo (e/ou com tipos de documentos com objetivos complementares), assim como a salvaguarda da sua adequabilidade face aos requisitos da norma de referência ou outros. Atentando para o fato de que os documentos são elaborados com o objetivo de transmitir metodologias, orientações, instruções ou informações a alguém, então deve ser definida a sua fonte emissora (quem os faz) e os destinatários para quem distribuir. A distribuição dos documentos deve garantir que estes estão disponíveis, na versão atualizada, onde são necessários. Devem existir evidências desta distribuição. Os documentos uma vez alterados (revisados) e/ou extintos (obsoletos) devem ser removidos dos locais de utilização e, sempre que previsto, arquivado um exemplar de cada documento substituído, devidamente identificado. As responsabilidades por estas atividades devem estar estabelecidas. As alterações/modificações devem respeitar os circuitos estabelecidos para todos os aspectos do controle dos documentos, anteriormente definidos. A natureza das alterações deve ser registrada de forma a facilitar o seu entendimento e aplicação pelos utilizadores. Só são aceitáveis alterações manuscritas nos documentos distribuídos (por exemplo, “desenho da rede de águas residuais industriais”) se forem efetuadas pelas funções autorizadas e cumprirem os circuitos estabelecidos, assegurando que os originais são posteriormente alterados, bem como as outras cópias existentes.
  • 86.
    Interpretação da ISO14001:2004 Página 68 de 84 O controle de documentos, dados e impressos gerados e controlados eletronicamente, obriga o estabelecimento de procedimentos adicionais de validação e, ainda, de segurança, integridade e acesso aos mesmos. Os documentos devem ter formas (assinaturas digitalizadas, siglas, símbolos ou outras soluções) de indicar aos utilizadores, quem são os responsáveis pelo controle dos documentos. Os documentos em suporte eletrônico (Exemplos: disquetes / bandas magnéticas e outros) devem estar incluídos nos sistemas de controle (SGS, 2003; APCER, 2001). Gerando evidência Procedimento de controle dos documentos da organização; Documentos validados (em uso), com as devidas evidências de emissão, aprovação e implementação; e Listas de distribuição dos documentos (SEBRAE, 2004). Não conformidades mais freqüentes O problema mais comum encontrado é que os documentos e os procedimentos não estão disponíveis nos locais onde são necessários. Este é por vezes o caso em que os sistemas de gestão têm os documentos apenas em formato eletrônico; As publicações mais recentes não estão disponíveis para todos os utilizadores, devido a falta de atualização e a procedimentos de controle; Por vezes o mecanismo de aprovação dos procedimentos não é claro, nem existe um plano de revisão dos procedimentos para confirmar se eles ainda são relevantes e se refletem com exatidão os requisitos dos processos que descrevem (SGS, 2003; APCER, 2001). 4.4.6 Controle operacional Texto da Norma ISO 14001:2004 A organização deve identificar e planejar aquelas operações que estejam associadas aos aspectos ambientais significativos, identificados de acordo com sua política, objetivos e metas ambientais para assegurar que elas sejam realizadas sob condições específicas por meio de: a) Estabelecimento, implementação e manutenção de procedimento(s) documentado(s) para controlar situações onde sua ausência possa acarretar desvios em relação à sua política e aos objetivos e metas ambientais; b) Determinação de critérios operacionais no(s) procedimento(s); e c) Estabelecimento, implementação e manutenção de procedimento(s) associados(s) aos aspectos ambientais significativos identificados de produtos e serviços utilizados pela organização e da comunicação de procedimentos e requisitos para pertinentes a fornecedores, incluindo-se prestadores de serviço. Texto do Anexo A da Norma ISO 14001:2004 A.4.6 Controle operacional Recomenda-se que uma organização avalie quais de suas operações estão associadas com seus aspectos ambientais significativos identificados e assegure que elas sejam conduzidas de modo a controlar ou reduzir os impactos ambientais adversos associados, para atender aos requisitos de sua política ambiental e atingir seus objetivos e metas. Recomenda-se que sejam consideradas todas as partes de suas operações, incluindo as atividades de manutenção. Como esta parte do sistema da gestão ambiental fornece orientação de como levar os requisitos do sistema para as operações do dia-a-dia, 4.4.6 a) requer o uso de procedimento(s) documentado(s) para controlar situações onde sua ausência possa levar a desvios em relação à política ambiental, aos objetivos e às metas. Objetivo Os mecanismos da ISO 14001 para gerir processos que estão relacionados com os impactos da empresa no meio ambiente são os procedimentos de controle operacional. Estes são instruções pormenorizadas para processos como, por exemplo: gestão de resíduos, gestão de consumos energéticos (não somente monitoramento), armazenamento de químicos. Os aspectos mais significativos serão sujeitos à gestão através de procedimentos de controle operacional (muitos destes procedimentos já existem como parte dos Sistemas de Gestão da Qualidade ou de Gestão da Segurança) (SGS, 2003). Principais mudanças na versão 2004 Segundo a APCER (2005) não existem alterações significativas.
  • 87.
    Interpretação da ISO14001:2004 Página 69 de 84 Interpretação Este requisito da norma está diretamente relacionado com a identificação dos aspectos ambientais significativos. É necessário remontar à origem ou à fonte do impacto significativo e documentar os processos necessários para o seu controle. A documentação pode ser feita através da elaboração de modos operatórios, instruções, etc. (Ver Exemplo 3). Posteriormente, deve ser assegurado que estas atividades são efetuadas de acordo com as condições específicas estabelecidas nos procedimentos. Na verdade, têm de ser elaborados procedimentos/instruções de trabalho para as atividades, onde a sua ausência possa afetar negativamente o ambiente ou o resultado esperado. Estes documentos devem definir os recursos humanos e materiais, as responsabilidades e os critérios de execução e de controle do processo. Devem ser escritos, tendo em vista o utilizador, devendo apenas conter a informação que ele possa necessitar e entender. Por exemplo: não adianta explicar, em uma instrução de como operar um equipamento de despoeiramento, as implicações das partículas ao nível da flora, se o operador não as entende, nem vai tirar dessa informação qualquer vantagem. Em qualquer caso, as instruções têm de ser precisas. Por exemplo, não deve ser aceitável que se diga apenas “não ultrapassar os limites”, sem se definir qualquer parâmetro (temperatura, caudal, pressão, etc.) com relevância para o sucesso do controle do poluente em causa. Os procedimentos/instruções podem ser elaborados no sentido de permitir estabelecer regras conjuntas para o controle ambiental, da qualidade e da segurança, já que muitas vezes os operadores têm de operar os equipamentos de modo a alcançar aqueles três objetivos simultaneamente. Sempre que a sua ausência possa afetar a correta execução do trabalho e provocar um agravamento dos impactos ambientais da atividade em causa, a manutenção deve ser planejada e as intervenções executadas de acordo com instruções escritas. Estas intervenções devem gerar registros que permitam planejar novamente as intervenções em função do histórico dos equipamentos. Quando alguma parte dos planos seja executada pelos próprios operadores dos equipamentos, os mesmos devem ser adequadamente treinados e devem dispor dos meios necessários. Salienta-se que o controle operacional também deve ser usado quando há necessidade de assegurar características anunciadas/especificadas para os produtos (por exemplo, % de material reciclado incorporado, não utilização de CFC’s, etc.). Por último, a organização deve selecionar os seus fornecedores de bens e serviços com base nas suas capacidades (técnicas e organizativas) para respeitar os requisitos da organização, da legislação aplicável e da sociedade. Para o efeito, a empresa deve ter procedimentos para transmitir aos fornecedores às especificações completas dos bens e serviços a prestar, sempre que tenha sido detectada a influência da atividade dos fornecedores e das empresas subcontratadas nos impactos ambientais significativos da organização. Embora o enunciado da norma não seja explícito quanto à necessidade de avaliar e selecionar os fornecedores, a empresa deve integrar os fornecedores de serviços com potencial impacto ambiental significativo dentro ou fora da organização (Exemplo: transportadores, destinatários de resíduos, laboratórios de ensaios de efluentes líquidos ou gasosos, etc.), no seu sistema de gestão ambiental. Assim, a organização deve analisar a influência do produto/serviço a comprar no seu desempenho ambiental, já que existem produtos/serviços fornecidos por terceiros que são relevantes e outros que o não são de forma determinante, pelo que a avaliação dos fornecedores poderá ser de exigência variável em função da importância dos seus fornecimentos/serviços para o cumprimento da política ambiental da organização. A avaliação e seleção de potenciais fornecedores na vertente ambiental podem considerar o conhecimento dos meios humanos e materiais, do sistema organizacional e do sistema de gestão ambiental, o cumprimento de obrigações legais e regulamentares, os resultados de análises de amostras, de ensaios na produção, ensaios finais e outros realizados com os seus produtos para os quais existam requisitos ambientais. Esta informação poderá ser obtida, por exemplo, através de inquéritos, auditorias ambientais e/ou visitas de avaliação. Exemplo 3 PROCEDIMENTOS / INSTRUÇÕES TÍPICOS DE CONTROLE OPERACIONAL Gestão de resíduos (por exemplo, estabelecendo as regras e responsabilidades da separação, identificação de contentores, movimentação, armazenagem temporária e seleção de destinos finais) - Operação da Estação de Tratamento de Águas Residuais (ETAR) (por exemplo, estabelecendo quais os parâmetros de funcionamento que devem ser verificados para garantir, ainda que indiretamente, que os valores da qualidade do efluente tratado descarregado são mantidos dentro dos limites legais);
  • 88.
    Interpretação da ISO14001:2004 Página 70 de 84 Operação dos equipamentos de despoeiramento (por exemplo, para controlar caudais/pressões, periodicidade de substituição de filtros de forma a controlar as emissões gasosas dentro dos valores desejados e/ou a evitar rupturas); Operação da estufa de secagem do produto final (por exemplo, para controlar temperaturas/caudais de forma a controlar as emissões gasosas dentro dos valores desejados); Gestão de energia (por exemplo, identificando os principais equipamentos responsáveis pelos consumos energéticos e estabelecendo condições de operação que minimizem esses mesmos consumos, tais como períodos de paragem, formas de arranque, adaptação a períodos de vazio, etc.); Gestão da água (por exemplo, identificando os principais equipamentos responsáveis pelos consumos e estabelecendo condições de operação que minimizem esses mesmos consumos, como fecho de circuitos, reutilização da água para fins menos exigentes, etc.); Manutenção de equipamentos críticos para o ambiente (por exemplo, identificando os equipamentos cujo estado de manutenção pode influenciar o seu potencial para causar impactos ambientais significativos: rolamentos gripados podem aumentar substancialmente o ruído emitido para o exterior, fugas em bombas e tubagens de líquidos ou gases perigosos podem causar danos ambientais graves, etc.); Aprovisionamento de produtos e serviços com potenciais impactos ambientais significativos (identificando quais são os produtos/serviços e estabelecendo as regras e responsabilidades para a sua aquisição, manuseamento/acompanhamento e avaliação de fornecedores); Controle do impacto ambiental de novos projetos (estabelecendo como são identificados os aspectos ambientais com impactos significativos a esperar para esse novo projeto e a obrigatoriedade de definir os meios para controlar os aspectos e minimizar os impactos) (SGS, 2003; APCER, 2001). Gerando evidência Procedimentos operacionais, procedimentos de controle de impactos ambientais adversos; Resultados das verificações e inspeções dos processos; e Resultados dos testes e ensaios etc. (SEBRAE, 2004). Não conformidades mais freqüentes Deve existir uma ligação clara entre os Aspectos Significativos e os procedimentos de controle operacional. De fato, cada aspecto significativo identificado deve estar ligado a um controle operacional ou a um objetivo e meta (às vezes deve estar ligado a ambos); Por vezes, há Aspectos Significativos que não estão ligados nem a Objetivos, nem sujeitos a Controle Operacional, como por exemplo, parte da gestão de resíduos ou o compromisso da Política em reduzir o consumo de energia, que não é apoiado por processos para efetivar essa redução. A tarefa do auditor é não só verificar se os procedimentos são adequados, como também identificar em que processos estão em falta procedimentos de controle; É muito comum verificar a falta de detalhe nos procedimentos em casos relevantes. Por exemplo, num procedimento de gestão de resíduos devem estar incluídos todos os pormenores necessários para este processo estar conforme, o que inclui a verificação da existência e validade das licenças e autorizações necessárias (para as entidades que vão dar destino aos resíduos), a identificação e controle dos resíduos, os documentos a serem preenchidos e o pessoal responsável por essas ações. Se isto não estiver suficientemente pormenorizado, a auditoria interna pode não ser eficaz na verificação da conformidade da gestão dos resíduos; As bacias de retenção dos tanques são frequentemente uma questão do SGA, e por vezes é comum encontrarem-se bacias que são ineficazes devido a fugas, buracos, falta de impermeabilização (se aplicável) ou válvulas abertas. Caso existam estes sistemas, tem lógica existir um procedimento para verificar que funcionam de acordo com o seu propósito que é a contenção secundária e prevenção da poluição; Outra área de controle operacional que também falha frequentemente é a gestão de químicos líquidos. Normalmente, não existem procedimentos bem definidos para a sua recepção, armazenamento, distribuição e transporte; Se forem inflamáveis, há outras questões a ter em consideração como, por exemplo, eventual incêndio no processo de armazenamento e distribuição, medidas de prevenção de incêndios e procedimentos de emergência relevantes; O armazenamento de depósitos também pode ser um problema. Se forem tanques, os meios de enchimento e os cuidados com o excesso de enchimento precisam ser verificados e documentados através de procedimentos. Também poderá existir a necessidade de calibração e teste e possíveis ligações terra, para prevenir eletricidade estática; Frequentemente as empresas entendem que os procedimentos para simples monitoramento de consumos (água, eletricidade, gás, etc.), são procedimentos de controle operacional,
  • 89.
    Interpretação da ISO14001:2004 Página 71 de 84 quando afinal só constatam gastos e não estabelecem condições que, de algum modo, procurem otimizar/reduzir esses gastos (como por exemplo, instruções para a operação adequada de uma caldeira); e Comunicação com Fornecedores e Subcontratados: Esta é uma área de problemas comum. Com freqüência, as autorizações para laboração não existem, são inadequadas ou pouco implementadas. A empresa deve garantir que são adequadamente selecionados os seus fornecedores e subcontratados e que eles conhecem os procedimentos relevantes da empresa, relacionados com a atividade que está a ser contratada (SGS, 2003; APCER, 2001). 4.4.7 Preparação e resposta a emergência Texto da Norma ISO 14001:2004 A organização deve estabelecer, implementar e manter procedimento(s) para identificar potenciais situações de emergência e potenciais acidentes que possam ter impacto(s) sobre o meio ambiente e sobre como a organização responderá a estes. A organização deve responder às situações reais de emergência a aos acidentes e prevenir ou mitigar os impactos ambientais adversos associados. A organização deve periodicamente analisar e, quando necessário, revisar seus procedimentos de preparação e resposta à emergência, em particular após a ocorrência de acidentes ou situações emergenciais. A organização deve também testar periodicamente tais procedimentos, quando exeqüível. Texto do Anexo A da Norma ISO 14001:2004 A.4.7 Preparação e resposta a emergência É da responsabilidade de cada organização desenvolver procedimento(s) de preparação e resposta a emergências que atenda(m) às suas próprias necessidades específicas. No desenvolvimento deste(s) procedimento(s), recomenda-se que a organização considere: a) a natureza dos perigos locais, por exemplo, líquidos inflamáveis, tanques de armazenamento, gases comprimidos e medidas a serem tomadas no caso de vazamento e lançamentos acidentais, b) o tipo e a escala mais prováveis de uma situação de emergência ou acidente, c) o método mais apropriado para responder a um acidente ou a uma situação de emergência, d) planos de comunicação interna e externa, e) a(s) ação(ões) requerida(s) para minimizar o dano ambiental, f) ação(ões) de mitigação e resposta(s) a ser(em) tomada(s) em diferentes tipos de acidente ou situação de emergência, g) a necessidade de processos para avaliação pós-acidente para estabelecer e implementar ações corretivas e preventivas, h) teste periódico do(s) procedimento(s) de resposta a emergências, i) treinamento do pessoal de resposta a emergências, j) uma lista de pessoas-chave e de órgãos de atendimento, incluindo detalhes de contato (por exemplo, corpo de bombeiros, serviços de remediação), k) rota(s) de evacuação e ponto(s) de encontro, l) o potencial de situação(ões) de emergência ou acidente(s) em instalações próximas (por exemplo, planta, estrada, linha férrea), e m) a possibilidade de assistência mútua entre organizações vizinhas. Objetivo As condições de emergência são uma fonte de potenciais impactos ambientais extremos - o fogo e as suas conseqüências, derrames de químicos, inundações. Estes impactos potenciais precisam ser identificados e deve ser planejada a forma de lidar com eles, de modo a minimizá-los (SGS, 2003). Principais mudanças na versão 2004 Alteração de nome do subitem; Substituição do advérbio “onde” para “quando” no que concerne à concretização dos simulados (APCER, 2005). Interpretação A norma exige que sejam identificados os riscos e as potenciais situações de emergência associados às atividades da organização. Esta identificação deverá ocorrer na fase de levantamento e avaliação de aspectos e impactos ambientais (ver subitem 4.3.1), devendo ser atualizada sempre que ocorrer a introdução de um novo produto, alterações no processo de fabrico, etc.
  • 90.
    Interpretação da ISO14001:2004 Página 72 de 84 Em termos gerais, as principais situações de emergência previsíveis e suscetíveis de provocar impactos ambientais significativos são os seguintes: Riscos tecnológicos: Incêndio; Explosão; Derrame de produtos químicos perigosos; Fuga de gases ou líquidos perigosos; Riscos naturais: Inundações; Sismos; Abatimento de terrenos; Tempestades; Identificadas as potenciais causas de acidentes e situações de emergência, a organização deve preparar as respostas a dar para prevenir as causas e as situações de risco e atuar caso os acidentes e situações de emergência ocorram, minimizando os seus efeitos no ambiente. A análise anterior deve conduzir a um(s) plano(s) de resposta à emergência. Os planos de resposta à emergência devem ser baseados na probabilidade de ocorrência das falhas ou das suas causas, na gravidade dos efeitos e probabilidade de detecção das falhas, ou das suas causas, antes delas acontecerem, o que está estreitamente ligado aos meios disponíveis e sua eficácia. Estes planos devem: Definir a organização e as responsabilidades e atribuir funções; Listar o pessoal treinado; Definir as medidas a tomar em caso de acidente8 (Exemplos: combate ao fogo, controle de derrames, limpezas); Estabelecer o tipo de coordenação com serviços internos e externos de segurança; Definir o sistema de registro dos acidentes; Estabelecer a realização de simulações dos meios de prevenção e de intervenção. As ações definidas devem ser proporcionais aos riscos e conseqüências dos acidentes e situações de emergência. Os planos de resposta à emergência devem ser revistos, de acordo com critérios definidos pela organização. Esta revisão deverá ocorrer após qualquer acidente, situação de emergência, ou qualquer outra alteração que os possa eventualmente afetar (por exemplo, desenvolvimentos tecnológicos, novas infra-estruturas e instalações, alterações de layout, novos produtos, etc.). Para a eficácia dos planos contribui fortemente a formação e treino do pessoal envolvido, que poderá ser assegurada através de exercícios de simulação, executados periodicamente. Finalmente, as conseqüências de todas as emergências reais e de todos os testes devem ser revistas para se verificar se tudo decorreu de acordo com o planejado ou se os planos e procedimentos necessitam de ser alterados. Esta situação deve ser registrada, na forma mais básica pode ser um registro de não conformidade devido a um pequeno derrame, ou pode ser uma investigação em grande escala devido a uma falha ou a uma grande situação de emergência (SGS, 2003; APCER, 2001). Gerando evidência Planos e procedimentos especiais para acidentes e situações potenciais de emergência; Procedimentos especiais para comunicação e alerta de situações perigosas ao meio ambiente; Avaliações e revisões destes procedimentos especiais; e Resultados e análises críticas de treinamento e simulações (SEBRAE, 2004). Não conformidades mais freqüentes A norma exige que sejam identificados os riscos e as potenciais situações de emergência associados às atividades da organização. Esta identificação deverá ocorrer na fase de levantamento e avaliação de aspectos e impactos ambientais (ver subitem 4.3.1), devendo ser atualizada sempre que ocorrer a introdução de um novo produto, alterações no processo de fabrico, etc. Não conformidades mais freqüentes Muitas vezes, não existem procedimentos para identificar todas as potenciais situações de emergência. As empresas têm tendência a basear este seu planejamento em procedimentos de saúde e segurança já existentes como, por exemplo, os utilizados em caso de incêndio ou em caso de derrames. Esta situação pode ser incompleta, pois pode levar a uma falha na
  • 91.
    Interpretação da ISO14001:2004 Página 73 de 84 identificação de todas a potenciais emergências, como por exemplo, se determinado equipamento de controle de poluição falhar em caso de corte de energia. Isto também pode significar que as conseqüências ambientais não estão previstas e, portanto, não existe nenhum plano para geri-las ou minimizar. O potencial derrame de produtos químicos é normalmente um assunto na maioria dos SGA, contudo, muitas empresas não identificam o local mais passível de ocorrerem derramamentos, nem equipam ou treinam apropriadamente o seu pessoal. Em três empresas, verificou-se que os "kits" de material para conter os derrames estavam fechados à chave! Frequentemente, os "kits" não estão localizados em pontos estratégicos e onde possam ser mais necessários, por exemplo, movimentação dos armazéns, áreas de decantação ou áreas de recepção. Muitas vezes, as Fichas de Dados de Segurança dos Produtos não estão facilmente disponíveis para fornecer informações acerca do modo forma como se deve proceder no caso de um determinado derrame. Por vezes os "kits" estão no local, mas não foram novamente completados após a última utilização. Se os "kits" estão no seu lugar e operacionais, o problema potencial em seguida, serão a competência e a confiança do pessoal na sua utilização. É muito comum verificar que o pessoal desconhece o conteúdo dum "kit" ou a forma de utilizá-lo. A formação e o treino são essenciais nesta situação, incluindo a forma de eliminar os resíduos, após a limpeza da área de derramamento. A Norma exige que os planos de emergência sejam testados periodicamente (quando praticável). Isto implica que deve haver uma freqüência de teste planeada, e que, sempre que possível, os planos devem ser testados. Nem sempre existe um plano que indique datas dos testes futuros e, por vezes, os procedimentos nunca foram testados, mesmo quando essa ação é obviamente praticável (SGS, 2003; APCER, 2001).
  • 92.
    Interpretação da ISO14001:2004 Página 74 de 84 4.5 Verificação e ação corretiva Neste item, as empresas são levadas a: utilizar métodos precisos de medição para assegurar que estão no rumo certo em direção aos objetivos e metas; garantir o comprimento contínuo da legislação; tomar as ações correspondentes ao problema, identificar o local da não conformidade; registrar a operação de seu sistema de gestão ambiental e conduzir auditorias para comprovar que estão em conformidade com seus propósitos (ORTIZ; PIRERI, 2002). 4.5.1 Monitoramento e medição Texto da Norma ISO 14001:2004 A organização deve estabelecer, implementar e manter procedimento(s) para monitorar e medir regularmente as características principais de suas operações possam ter um impacto ambiental significativo. O(s) procedimento(s) deve(m) incluir a documentação de informações para monitorar o desempenho, os controles operacionais pertinentes e as conformidades com os objetivos e metas ambientais da organização. A organização deve assegurar que equipamentos de monitoramento e medição calibrados ou verificados sejam utilizados e mantidos, devendo-se reter os registros associados. Texto do Anexo A da Norma ISO 14001:2004 A.5 Verificação A.5.1 Monitoramento e medição As operações de uma organização podem ter uma variedade de características. Por exemplo, as características relativas ao monitoramento e medição de descarga de esgoto podem incluir demanda biológica e química por oxigênio, temperatura e acidez. Os dados coletados a partir do monitoramento e medição podem ser analisados para identificar padrões e obter informações. O conhecimento adquirido com essas informações pode ser utilizado para implementar ações corretivas e preventivas. As características principais são aquelas que a organização necessita considerar para determinar como ela está gerenciando seus aspectos ambientais significativos, atingindo seus objetivos e metas e aprimorando seu desempenho ambiental. Quando for necessário assegurar resultados válidos, recomenda-se que os equipamentos de medição sejam calibrados ou verificados a intervalos especificados ou antes do uso, contra padrões de medição rastreáveis, a padrões de medição internacionais ou nacionais. Se não existirem tais padrões, recomenda-se que a base utilizada para calibração seja registrada. Objetivo Este requisito da norma leva a organização a realizar o monitoramento dos impactos significativos, permitindo simultaneamente a verificação da conformidade com os objetivos e metas estabelecidos e com a regulamentação legal aplicável (APCER, 2001). Principais mudanças na versão 2004 O Subitem não requer um procedimento para informação documentada más requer para desempenho do monitoramento, aplicação dos controles operacionais, e conformidade com os objetivos e metas; Deixou de ser um procedimento documentado obrigatório. Para além do requisito de calibração dos equipamentos de monitoramento e medição, foi acrescentada a verificação; e Foi retirado o parágrafo da avaliação periódica da conformidade com as disposições legais que deu lugar ao subitem 4.5.2 (SGS, 2005; APCER, 2005). Interpretação Apesar de não ser mais obrigatório, é recomendável que a organização estabeleça um procedimento para o monitoramento e medição das principais características das diferentes operações e atividades que poderão ter impacto significativo sobre o ambiente. As características a monitorar e a medir podem ser distinguidas em: Características de natureza regulamentar/legal; Características de natureza voluntária, resultantes da política, objetivos e metas ambientais da organização. As atividades de monitoramento e medição (equivalentes às de inspeção e ensaio previstas no sistema da qualidade) e os respectivos registros podem ser discriminados num plano de monitoramento ambiental ou introduzidos em procedimentos documentados. Nos procedimentos ou no plano de monitoramento ambiental devem ser identificados, pelo menos, os parâmetros a medir, os métodos a usar, a periodicidade das medições, as responsabilidades e o sistema de registro.
  • 93.
    Interpretação da ISO14001:2004 Página 75 de 84 Para a identificação dos parâmetros a medir há que atender: Aos requisitos legais de monitoramento e medição aplicáveis (por exemplo, se a organização tem processos de combustão há que identificar os parâmetros para caracterizar as emissões gasosas – ex. partículas, CO, CO2, NOx, SO2, metais pesados); Às ações de controle operacional (ver 4.4.6) e aos objetivos e metas (ver 4.2.3) que foram definidos pela organização (por exemplo, se a empresa definiu um procedimento de controle operacional para minimização de ruído através de manutenção preditiva há que identificar o parâmetro a monitorar para verificar o seu cumprimento – ex. vibração; se a organização definiu objetivos de redução de consumos de água há que identificar o parâmetro a monitorar – ex. m3 de água consumida por unidade de produto). Os registros gerados devem evidenciar que as medições ou monitoramento previstos foram efetuados. Estes resultados podem estar relacionados com limites legais e regulamentares, limites de controle internos e objetivos e metas ambientais estabelecidos. A norma exige que o equipamento de monitoramento e medição seja sujeito à manutenção e esteja calibrado. Devem ser identificados quais os equipamentos que servem para medir características e parâmetros essenciais para a adequada condução e controle dos processos com aspectos ambientais significativos. Para os equipamentos selecionados é necessário estabelecer procedimentos que identifiquem onde e por quem serão calibrados, qual o intervalo entre calibrações e ainda a forma de gestão dos intervalos de calibração que depende de fatores diversos. Convém salientar que as organizações recorrem muitas vezes a serviços externos para a medição de parâmetros de monitoramento (por exemplo, emissão de poluentes atmosféricos, análises químicas de efluentes líquidos, avaliações acústicas, análises de perigosidade de resíduos, etc.). E, neste caso, devem estabelecer procedimentos que garantam que os fornecedores deste tipo de serviço evidenciam o cumprimento deste requisito, quanto ao estado de manutenção e calibração dos equipamentos usados, à adequabilidade dos métodos e à competência dos executantes (SGS, 2003; APCER, 2001). Gerando evidência Procedimentos de monitoração dos indicadores do desempenho ambiental; resultados de testes e medições, gráficos e relatórios de análises críticas etc.; Procedimentos de medição de grandezas relacionadas aos indicadores ambientais; Planos e procedimentos de identificação e controle dos instrumentos de medição; Planos e procedimentos de calibração dos instrumentos de medição; e Análise das incertezas dos instrumentos e dos processos de medição (SEBRAE, 2004). Não conformidades mais freqüentes Características Chave - estas incluem muitas vezes valores limite permitidos ou autorizados. São verificadas cuidadosamente na auditoria e conclui-se frequentemente que as medições não foram efetuadas com a freqüência requerida, no local requerido, na data requerida, ou não foram mesmo efetuadas! Acompanhamento de Objetivos e Metas - é necessário recolher dados suficientes para provar e acompanhar os progressos. Esta é a chave para atingir os Objetivos e executar os programas de gestão. Com freqüência, os dados não são recolhidos, ou não são recolhidos e revistos o suficiente para garantir que o objetivo está acompanhado e, se necessário, alterar a meta para a tornar mais realista; e Calibração - a norma é suave nas palavras que descrevem este requisito, mas os requisitos da ISO 9001 são um conjunto de critérios efetivos e de senso-comum relativos à gestão da calibração. Não existe sempre a necessidade de uma calibração no SGA, mas, onde existem valores limite permitidos ou autorizados, há normalmente a necessidade de medir e de fazê- lo com instrumentos que tenham um estado de calibração adequado e conhecido. Os problemas encontrados têm sido: contadores de água na extração não calibrados, medidores de pH pouco claros, laboratórios de testes utilizados para verificar níveis de emissão e nenhum conhecimento das suas capacidades de medição (ao nível de alcance e de incertezas), ligações-terra não testadas (SGS, 2003; APCER, 2001). 4.5.2 Avaliação do atendimento a requisitos legais e outros Texto da Norma Iso 14001:2004 4.5.2.1 De maneira coerente com o seu comprometimento a requisitos, a organização deve estabelecer, implementar e manter procedimento(s) para avaliar periodicamente o atendimento aos requisitos legais aplicáveis. A organização deve manter registros dos resultados das avaliações periódicas.
  • 94.
    Interpretação da ISO14001:2004 Página 76 de 84 4.5.2.2 A organização deve avaliar o atendimento a outros requisitos por ela subscritos. A organização pode combinar esta avaliação com a avaliação referida em 4.5.2.1 ou estabelecer um procedimento em separado. A organização deve manter registros dos resultados das avaliações periódicas Texto do Anexo A da Norma ISO 14001:2004 A.5.2 avaliação do atendimento a requisitos legais e outros Recomenda-se que a organização seja capaz de demonstrar que ela tenha avaliado o atendimento aos requisitos legais identificados,incluindo autorizações ou licenças aplicáveis. Recomenda-se que a organização seja capaz de demonstrar que ela tenha avaliado o atendimento a outros requisitos subscritos identificados. Objetivo Este requisito da norma juntamente com o requisito anterior, leva a organização a realizar o monitoramento e a verificação da conformidade com a regulamentação legal aplicável (SGS, 2003; APCER, 2001). Principais mudanças na versão 2004 Ao último parágrafo do subitem 4.5.1 de 1996, relativo à avaliação de conformidade, foi dado, na versão 2004, o destaque de um subitem específico. Partindo do pressuposto que a melhoria do desempenho ambiental resulta em grande medida do bom cumprimento do acervo legal, a existência de um subitem específico subordinada à avaliação da conformidade legal confirma isso mesmo. Esta avaliação não se resume, contudo, à verificação do cumprimento do acervo legal aplicável, incluindo também todos os outros requisitos que a organização subscreva. A avaliação de conformidade deve ser registrada. NOTA: A avaliação de conformidade não é o mesmo que uma auditoria ainda que uma auditoria/diagnóstico de conformidade legal cumpra com o estipulado neste requisito (SGS, 2005; APCER, 2005). Interpretação A máxima "Não consegue gerir o que não consegue medir", aplica-se tanto ao SGA como a qualquer outro sistema de gestão. Assim, existem algumas especificações sobre o que deve ser medido, para garantir uma atuação e melhorias adequadas (SGS, 2003; APCER, 2001). Gerando evidência Procedimentos de monitoração dos indicadores do desempenho ambiental; resultados de testes e medições, gráficos e relatórios de análises críticas etc.; Procedimentos de medição de grandezas relacionadas aos indicadores ambientais (SEBRAE, 2004). Não conformidades mais freqüentes Avaliação periódica do cumprimento da legislação relevante - Infelizmente, é muito comum ver este requisito falhar. A intenção é que, uma vez identificadas à legislação e a regulamentação relevante para o negócio, com uma freqüência determinada deve ser verificado se elas estão a ser cumpridas. Isto pode ser feito através duma auditoria, através da verificação dos registros de monitoramento e medição, revisão dos registros monitorados, por uma auditoria de conformidade ou, através duma mistura destes mecanismos. O ideal é que cada requisito legal identificado possua o tipo de uma "declaração de cumprimento" apoiada por registros efetivos (SGS, 2003; APCER, 2001). 4.5.3 Não conformidade, ações corretiva e preventiva Texto da Norma ISO 14001:2004 A organização deve estabelecer, implementar e manter procedimento(s) para tratar a(s) não- conformidade(s) real(is) e potencial(is), e para executar ações corretivas e preventivas. O(s) procedimento(s) deve(m) definir requisitos para: a) Identificação e corrigir não conformidades e executar ações para mitigar seus impactos ambientais; b) Investigar não conformidades, determinando suas causas e executar ações para evitar a sua repetição; c) Avaliar a necessidade de ações para prevenir não-conformidades e implementar ações apropriadas para evitar a sua ocorrência; d) Registrar os resultados das ações corretivas e preventivas executadas, e e) Analisar a eficácia das ações corretivas e preventivas executadas. As ações executadas devem ser adequadas à magnitude dos problemas e aos impactos ambientais encontrados.
  • 95.
    Interpretação da ISO14001:2004 Página 77 de 84 A organização deve assegurar que sejam feitas as mudanças necessárias na documentação do sistema de gestão ambiental. Texto do Anexo A da Norma ISO 14001:2004 A.5.3 Não conformidade, ação corretiva e ação preventiva Dependendo da natureza da não-conformidade, ao se estabelecerem procedimentos para lidar com esses requisitos, as organizações podem elaborá-los com um mínimo de planejamento formal ou por meio de uma atividade mais complexa e de longo prazo. É recomendado que a documentação associada seja apropriada ao nível da ação. Objetivo Quando as coisas vão mal, antes de qualquer coisa, precisa-se reconhecer esse fato, descobrir porque é que correu mal e, depois, identificar a causa do problema e os seus efeitos. Este processo de aprendizagem a partir dos erros cometidos é um verdadeiro benefício para qualquer sistema de gestão (SGS, 2003). Principais mudanças na versão 2004 Investigação e determinação das causas das atuais não-conformidades para evitar seus recursos; Procedimento para lidar com potenciais de não conformidades e avaliação das necessidades para implementação de ações preventivas. Revisão das efetividades das ações tomadas; Conceito de “potencial” de não-conformidade esclarecido, isto é, “prevenção de não conformidade” e “evitar ocorrência”; e Alinhamento com a ISO 9001:2000. Definição de um conjunto de requisitos que o procedimento deve conter similar ao exigido com a ISO 9001:2000 incluindo a verificação da eficácia das ações corretivas e preventivas (SGS, 2005; APCER, 2005). Interpretação Este requisito da norma exige a identificação das não-conformidades, a sua eliminação através da definição de ações corretivas e o estabelecimento de ações preventivas para que não haja repercussão em outros níveis. Uma não-conformidade pode ser: Um valor de emissão superior ao limite legal; A não retirada de resíduos; Não conformidade detectada pelos auditores quando de uma auditoria no sistema de gestão ambiental; etc. Consideram-se como ações corretivas às tomadas para eliminar as causas de não conformidades, evitando que estas não voltem a ocorrer. Em essência são ações tipicamente reativas. Assim, em caso de não-conformidade é necessário: Agir sobre os efeitos produzidos; Analisar as causas e estabelecer ações corretivas para evitar o ressurgimento; Definir ações preventivas para evitar o seu aparecimento a outros níveis. As ações corretivas não podem ser confundidas com a simples correção de uma não conformidade específica. Consideram-se como ações preventivas, as tomadas para eliminar causas potenciais evitando a ocorrência de potenciais não conformidades, ou seja, aplicadas a causas que nunca tenham gerado não conformidades ou causas de não conformidades potenciais que possam previsivelmente vir a acontecer. Em essência são ações tipicamente pró-ativas. Para a determinação das ações corretivas e preventivas devem ser tomadas em consideração as conseqüências da ocorrência das não conformidades. O tipo e profundidade das ações tomadas devem eliminar ou reduzir o risco a valores aceitáveis. Ações corretivas A tomada de ações corretivas eficazes pressupõe uma adequada investigação e identificação das causas raiz dos problemas. Esta é uma atividade determinante na eficácia de todo o processo. Uma vez identificada a causa da não conformidade, devem ser determinadas quais as ações a desencadear bem como responsabilidades, meios e prazos associados. A autoridade pela aprovação da ação corretiva deve estar claramente definida. A responsabilidade pela coordenação das ações corretivas deve estar definida a níveis adequados, incluindo o controle do seu estado (em análise, em implementação, atrasado, fechada) e que foram realizadas de acordo com os circuitos previstos nos procedimentos. Este controle deve
  • 96.
    Interpretação da ISO14001:2004 Página 78 de 84 contemplar, não apenas a implementação, mas também os métodos para avaliar se as mesmas foram, ou não, eficazes. Os diferentes passos de uma ação corretiva devem ser registrados. Estes registros devem permitir evidenciar o estado em que se encontra cada ação corretiva. A análise das ações corretivas, principalmente a sua eficácia, deve ser levada à Direção para efeitos de revisão do sistema de gestão ambiental (ver subitem 4.6). Ações preventivas A organização deve estabelecer uma metodologia que permita identificar as causas potenciais de não conformidades. As ações preventivas devem ser tomadas, tendo em conta as previsíveis conseqüências potenciais das não conformidades, com particular atenção para as questões relacionadas com o cumprimento da legislação. Deve estar definida a responsabilidade pela coordenação a níveis adequados, incluindo o controle do seu estado, a responsabilidade pelo desenvolvimento e implementação e avaliação de cada ação, incluindo os circuitos definidos e a autoridade para a sua aprovação. Os diferentes passos de uma ação preventiva devem ser registrados. Estes registros devem permitir evidenciar o estado em que se encontra cada ação preventiva. A análise das ações preventivas, principalmente a sua eficácia, deve ser levada à Direção para efeitos de revisão do sistema de gestão ambiental (item 4.6). Resumindo, a organização deve elaborar procedimentos onde se definam responsabilidades por: Identificar não conformidades ou potenciais não conformidades; Tratar as não-conformidades e os seus efeitos sobre o ambiente; Investigar as causas das não-conformidades ou potenciais não conformidades; Estabelecer e implementar as ações corretivas ou preventivas; Estabelecer um sistema de registro das alterações aos procedimentos que advêm da implementação das ações corretivas e preventivas (SGS, 2003; APCER, 2001). Gerando evidência Existência de procedimento documentado que inclua a metodologia para identificação, implementação, controle e revisão de não conformidades, ações corretivas e preventivas; Práticas documentadas no relativo ao tratamento da não-conforme; Registros da natureza das não conformidades e ações tomadas; Autorizações (aceitação, permissão, derrogação); Registro de resultados de reverificação quando o produto não-conforme for corrigido, reparado ou retocado; Meios de segregação ou de identificação; Procedimento documentado que inclua a metodologia para identificação, implementação, controle e revisão de ações corretivas; Registros dos resultados das ações corretivas empreendidas e outros eventualmente relevantes para demonstrar a conformidade da prática com os requisitos normativos; Registros dos resultados das ações preventivas empreendidas e outros eventualmente relevantes, para demonstrar a conformidade da prática com os requisitos normativos associados à tomada, realização, controle e revisão de ações preventivas; Evidência de coleta e tratamento de dados para efeito de ações preventivas, mesmo que a organização tenha concluído não serem necessárias ações (SEBRAE, 2004; SGS, 2003; APCER, 2001). Não conformidades mais freqüentes Durante uma auditoria de certificação, é muito comum ouvir falar de derrames de químicos ou de petróleo, de exceder os limites de poluição e outras não conformidades do tipo. Os auditores externos verificam, então, se estes acontecimentos foram registrados e se efetuou algum tipo de ação na tentativa de que eles não voltassem a acontecer. Infelizmente, nem sempre é o caso; Não reconhecer um acontecimento como uma 'não conformidade' é um problema comum. Porém, se foi reconhecido e registrado, pode-se então introduzi-lo no processo que, investiga a causa, planeja a solução e certifica-se de que ela esta implementada e é eficaz, incluindo quaisquer medidas preventivas identificadas; As empresas vão demasiadas vezes das causas para as soluções sem fazerem uma investigação cuidada; isto não só é contra os princípios da ISO 14001, como também pode levar à repetição do problema, se a sua verdadeira causa não foi identificada e tratada;
  • 97.
    Interpretação da ISO14001:2004 Página 79 de 84 É também importante que as ações sejam decididas e implementadas de uma forma apropriada (dentro do prazo). Numa ocasião, foram detectados grandes problemas na auditoria interna em uma empresa e foi dado um período de 6 meses para a correção dos problemas, quando o mais apropriado teriam sido 2 semanas; Por vezes as empresas reagem às situações de não conformidade através da ação imediata de mitigação ou correção (o que, como primeiro passo, não é inadequado), sem considerarem as ações de fundo necessárias para eliminar as causas que originaram aquele problema - as verdadeiras ações corretivas; e Outras vezes as empresas definem a necessidade de implementar determinadas ações corretivas ou preventivas (sobre potenciais problemas), mas depois não verificam se foram de fato implementadas e se foram eficazes (SGS, 2003; APCER, 2001). 4.5.4 Controle de registros Texto da Norma ISO 14001:2004 A organização deve estabelecer e manter registros, conforme necessário, para demonstrar conformidade com os requisitos de seu sistema de gestão ambiental e desta Norma, bem como os resultados obtidos. A organização deve estabelecer, implementar e manter procedimento(s) para identificação, armazenagem, proteção, recuperação, retenção e descarte de registros. Os registros devem permanecer legíveis, identificáveis e rastreáveis. Texto do Anexo A da Norma ISO 14001:2004 A.5.4 Controle de registros Os registros ambientais podem incluir, entre outros a) registros de reclamações, b) registros de treinamento, c) registros de monitoramento de processo, d) registros de inspeção, manutenção e calibração, e) registros pertinentes de prestadores de serviço e de fornecedores, f) relatórios de incidentes, g) registros de testes de preparo a emergências, h) resultados de auditoria, i) resultados de análise pela Alta Administração, j) decisão sobre comunicação externa, k) registros de requisitos legais ambientais aplicáveis, l) registros de aspectos ambientais significativos, m) registros de reuniões ambientais, n) informações sobre desempenho ambiental, o) registros de conformidade legal, p) comunicação com partes interessadas. Recomenda-se que tratamento adequado seja dado a informações confidenciais. NOTA Registros não são a única fonte de evidência para demonstrar conformidade com esta Norma. Interpretação Os registros são a prova de que o que foi planejado aconteceu efetivamente. São a base das auditorias e, em alguns casos, podem ser exigidos por lei (SGS, 2003). Principais mudanças na versão 2004 Alteração de nome do subitem. O conteúdo deste subitem não sofreu alterações significativas. No entanto e apesar de nesta versão só existir um procedimento documentado obrigatório (4.4.6 – Controle Operacional) existem um conjunto de requisitos que agora são solicitados e dos quais se destacam: − Registro da avaliação da conformidade; − Revisão pela gestão (SGS, 2005; APCER, 2005). Interpretação Do sistema de gestão ambiental faz parte um conjunto de registros que permitem controlar a eficiência do sistema (registros de formação, de revisão do sistema, das auditorias, etc.) e
  • 98.
    Interpretação da ISO14001:2004 Página 80 de 84 verificar o cumprimento dos objetivos e metas ambientais e da legislação aplicável (registros de monitoramento, do controle operacional, das situações de emergência, etc.). Entende-se por “registro” toda a evidência, em qualquer suporte (papel ou informático), das atividades previstas no sistema de gestão ambiental, incluindo os de origem externa (relatórios de caracterização de emissões gasosas, boletins de análises de efluentes líquidos, etc.). A organização tem de identificar individualmente todos os registros, de forma a permitir o seu controle. Deve ser estabelecido um procedimento para controlar os registros, onde sejam definidos critérios e responsabilidades para: Compilação - recolhimento e agregação dos registros; Indexação - referência cruzada de cada registro; Acesso - consulta e utilização por cada registro ou tipo em função da confidencialidade e/ou acordado contratualmente; Arquivo - forma de procura; Armazenamento - local suporte e condições de armazenamento; Manutenção - cuidados a ter para garantir a integridade; Inutilização - forma de eliminação em função do grau de confidencialidade associado a cada registro, da organização ou dos clientes; Retenção - tempos de retenção por cada registro ou tipo em função da legislação aplicável, condições contratuais. Os tempos de retenção devem ser estabelecidos tendo em conta a legislação ou regulamentação aplicável e, adicionalmente, os períodos de tempo eventualmente necessários para que os efeitos ambientais se venham a manifestar (SGS, 2003; APCER, 2001). Gerando evidência Procedimento de controle dos registros da organização; Registros validados (em uso), com as devidas evidências de emissão, aprovação e implementação (SEBRAE, 2004; SGS, 2003; APCER, 2001). Não conformidades mais freqüentes Num determinado local, o cliente mandou fazer uma 'limpeza' aos registros antigos antes da auditoria. Infelizmente, os registros estavam num recipiente fora do arquivo para serem levados para um aterro. Esses registros eram altamente confidenciais e deveriam ter sido sujeitos a uma eliminação segura; Os dados informatizados são muitas vezes os registros relevantes para o SGA. Por vezes, os sistemas informatizados não têm cópias de segurança ou estas se encontram ao lado do computador. Não se pode considerar que estejam totalmente 'protegidas'; Os auditores pedem muitas vezes para ver cópias das Fichas de Dados de Segurança de Produtos (seriam extremamente necessárias em caso de um derrame). Geralmente não estão disponíveis, mas, de vez em quando, levam tanto tempo a aparecer que qualquer derrame se tornaria num incidente muito sério enquanto se aguardam os dados para escolher o método mais apropriado para se lidar com o problema; e Os registros são necessários para provar o cumprimento dos valores limites permitidos ou autorizados. Ocasionalmente, os auditores descobrem que, apesar de haver limites especificados nos documentos, não existe nenhum registro que prove que eles são cumpridos - isto está relacionado com a monitoração e medição (SGS, 2003; APCER, 2001). 4.5.5 Auditoria interna Texto da Norma ISO 14001:2004 A organização deve assegurar que as auditorias internas do sistema de gestão ambiental sejam conduzidas em intervalos planejados para: a) Determinar se o sistema de gestão ambiental: 1) está em conformidade com os arranjos planejados para a gestão ambiental, inclusive os requisitos desta Norma, e 2) foi adequadamente implementado e é mantido, e b) Fornecer informações à administração sobre os resultados das auditorias. Programa(s) de auditoria deve(m) ser planejado(s), estabelecido(s), implementado(s) e mantido(s) pela organização levando-se em consideração a importância ambiental das operações pertinentes e os resultados de auditorias anteriores. Procedimento(s) de auditoria deve(m) ser estabelecido(s), implementado(s) devem ser mantido(s) para tratar:
  • 99.
    Interpretação da ISO14001:2004 Página 81 de 84 − Das responsabilidades e requisitos para se planejar e conduzir as auditorias, para relatar os resultados e manter os registros associados; − Da determinação dos critérios de auditoria, escopo freqüência e métodos. A seleção de auditores e a realização de auditorias devem assegurar a objetividade e imparcialidade do processo de auditoria. Texto do Anexo A da Norma ISO 14001:2004 A.5.5 Auditoria interna As auditorias internas do sistema da gestão ambiental podem ser realizadas por pessoas que trabalhem para a própria organização ou por pessoas externas selecionadas pela organização que trabalhem em seu nome. Em ambos os casos, recomenda-se que as pessoas que realizam a auditoria sejam competentes e em condições de atuarem de forma imparcial e objetiva. Em organizações menores, a independência dos auditores pode ser demonstrada por auditores que sejam isentos de responsabilidade pela atividade sendo auditada. NOTA 1 Se uma organização desejar combinar as auditorias de sistema da gestão ambiental com auditorias de conformidade ambiental, é recomendado que a intenção e o escopo de cada uma delas sejam claramente definidos. Auditorias ambientais não são cobertas por esta Norma. NOTA 2 Diretrizes de auditorias de sistemas da gestão ambiental são fornecidas na ABNT NBR ISO 19011. Objetivo O objetivo é assegurar que o SGA implementado está de acordo com as suas intenções ambientais e com os requisitos da ISO 14001. É a ferramenta chave para garantir que o sistema da sua empresa está a funcionar de acordo com o planeado e que contribui de fato para a melhoria do desempenho ambiental, é a auditoria interna. Quando abordado como mecanismo de melhoria em vez de "caça às bruxas", será o processo de manutenção do SGA (SGS, 2003). Principais mudanças na versão 2004 Alteração de nome do subitem; Alinhamento com a ISO 9001:2000; Reforço da importância da seleção dos auditores principalmente através da objetividade e imparcialidade do processo de auditoria que deverá ser assegurado (SGS, 2005; APCER, 2005). Interpretação Este requisito da norma permite verificar se o sistema implementado é o adequado à organização e se estão a ser cumpridos: Os requisitos da norma ISO 14001:2004; As exigências legais; Os compromissos assumidos; Os procedimentos estabelecidos. Saliente-se que se trata de verificar atividades e procedimentos associados, incluindo a respectiva eficácia de cada uma e do seu conjunto, compreendendo pelo menos os seguintes aspectos: Se as atividades estão adequadamente documentadas; Se as instruções transmitidas pela documentação estão a ser entendidas e postas em prática; Se forem eficazes e promovem, de forma sistemática, o cumprimento da política, objetivos e metas e o desempenho ambiental da organização (de acordo com os procedimentos estabelecidos). Deve ser elaborado um procedimento onde é descrito o método a usar nas auditorias, a qualificação que os auditores devem ter e como é estabelecido o plano de auditorias. As auditorias podem abranger a totalidade do sistema de gestão ambiental ou partes deste. No caso da organização apenas prever auditorias parciais, o seu conjunto tem de permitir, num período de tempo adequado, avaliar a totalidade do sistema. O planejamento das auditorias deve identificar os recursos a utilizar (por exemplo, nomeação de equipas auditoras), as atividades a auditar e os períodos de tempo em que está prevista a realização das auditorias. As equipes auditoras podem utilizar listas de verificação/comprovação que permitam a sistematização e uniformização da abrangência e dos critérios. Estas devem ser elaboradas tendo por base a documentação aplicável (por exemplo, manual de gestão ambiental,
  • 100.
    Interpretação da ISO14001:2004 Página 82 de 84 procedimentos, requisitos legais, etc.), isto é, devem ser compatíveis com o sistema de gestão ambiental implementado e com os seus requisitos. A organização deve constituir uma bolsa de auditores, fornecendo-lhes a formação necessária. Caso as auditorias sejam subcontratadas, a organização deve desenvolver um processo de avaliação prévia da qualificação dos auditores, devendo ser garantido que estes cumprem os procedimentos da organização e/ou outros documentos contratuais. A formação dos auditores deve estar definida e documentada (ver subitem 4.4.2). Atendendo à natureza e especificidade desta função, é relevante que a formação compreenda uma parte teórica e uma prática: A componente teórica deve garantir conhecimentos da norma de referência, das técnicas específicas de auditoria e das tecnologias e legislação ambiental aplicáveis; A componente prática deve incluir a realização de auditorias (preparação, realização e relatório) como auditor efetivo. Se bem que não esteja explícito neste requisito da norma, os auditores devem ser independentes das áreas/atividades a auditar. Qualquer auditoria realizada deve dar origem a um relatório que indique no mínimo: âmbito ou abrangência da auditoria data de realização, constituição da equipa auditora, o que foi efetivamente verificado e as constatações observadas. O relatório pode conter também recomendações ou apontar áreas de melhoria. A identificação de causas, proposta, aprovação, seguimento, fechamento e avaliação da eficácia das ações corretivas decorrentes das auditorias devem ser efetuadas de acordo com os procedimentos estabelecidos para as ações corretivas previstos no subitem 4.5.2. Os resultados das auditorias devem ser levados ao conhecimento das áreas auditadas e da Direção, constituindo uma informação importante para efeitos da revisão do sistema de gestão ambiental (ver item 4.6) (SGS, 2003; APCER, 2001). Gerando evidência Procedimento documentado para descrever as responsabilidades e metodologias para realizar auditorias internas; Uma boa medida de que o programa de auditoria interna está ou não tendo sucesso, pode ser obtida pela comparação dos resultados obtidos em auditorias internas recentes com as observações da auditoria de segunda ou terceira parte; É essencial que os processos/áreas com um histórico de problemas em auditorias internas, estejam sujeitos a uma maior freqüência de auditorias internas, do que aqueles com um bom desempenho; Em algumas situações, pode ser necessário subcontratar todo ou parte do processo de auditoria interna se, por exemplo, não existirem recursos apropriados na organização. Este fato pode, ainda, ser especialmente útil, por exemplo, na auditoria à Alta Direção ou à própria função de gestão da qualidade; Plano de auditoria abrangendo todo o escopo; Relatórios de auditoria; e Relatórios de acompanhamento das não conformidades encontradas (SEBRAE, 2004; SGS, 2003; APCER, 2001). Não conformidades mais freqüentes A freqüência ou periodicidade das auditorias deve estar baseada na significância ambiental. Por outro lado é também importante que todos os requisitos do SGA sejam auditados regularmente, como por exemplo, a identificação dos aspectos e a avaliação da sua significância; É muito comum encontrar um plano de auditorias que omite os procedimentos do 'sistema' e assim, executa um conjunto de 'auditorias ambientais', em vez de auditar o Sistema de Gestão Ambiental e os seus controles sobre as questões ambientais. Por vezes encontra-se previsto auditar "tudo" uma vez por ano; o que muito dificilmente pode ser relacionado com a significância ambiental das atividades (é improvável que tudo tenha a mesma importância em termos ambientais); Se o plano global das auditorias é utilizado como uma ferramenta de planejamento ativo, também deve ser sujeito a controle de documentação e aprovação. (Se for usado como tal, será o primeiro ponto de referência para o estado de execução das auditorias e, assim, necessita de ser atualizado); Um problema muitas vezes encontrado é que as auditorias internas da empresa não testaram todos os procedimentos antes de pedirem uma auditoria externa - isto significa que o primeiro teste real é a auditoria de certificação; e Outro problema comum são as auditorias que foram planejadas, mas que nunca foram executadas, o que é muitas vezes sintoma da falta de recursos (SGS, 2003; APCER, 2001).
  • 101.
    Interpretação da ISO14001:2004 Página 83 de 84 4.6 Análise crítica pela administração Texto da Norma ISO 14001:2004 A alta administração deve analisar o sistema de gestão ambiental, em intervalos planejados para assegurar sua contínua pertinência e eficácia. Análises devem incluir a avaliação de oportunidades de melhoria e a necessidade de alterações no sistema de gestão ambiental, inclusive da política ambiental e dos objetivos e metas ambientais. Os registros das análises pela administração devem ser mantidos. As entradas para análise crítica pela administração devem incluir: a) Resultados de auditorias internas e das avaliações do atendimento aos requisitos legais e outros subscritos pela organização; b) Comunicação(ões) proveniente(s) de partes interessadas externas, incluindo reclamações; c) O desempenho ambiental da organização; d) Extensão na qual foram atendidos os objetivos e metas; e) Situação das ações corretivas e preventivas; f) Ações de acompanhamento das análises anteriores; g) Mudança de circunstâncias, incluindo desenvolvimentos em requisitos legais e outros requisitos relacionados aos aspectos ambientais, e h) Recomendações para melhoria. As saídas das revisões pela administração devem incluir quaisquer decisões e ações relacionadas a possíveis mudanças na política ambiental, nos objetivos, metas e em outros elementos do sistema de gestão ambiental, consistentes com o comprometimento de melhoria contínua. Texto do Anexo A da Norma ISO 14001:2004 A.6 Análise pela administração É recomendado que a análise pela administração cubra o escopo do sistema da gestão ambiental, embora nem todos os elementos do sistema da gestão ambiental necessitem ser analisados de uma só vez, podendo o processo de análise se estender por um período de tempo. Objetivo É o momento em que os elementos da Administração de Topo da empresa analisam e refletem sobre o SGA, verificando as suas orientações, o seu desempenho, os seus resultados e ponderam se o sistema ainda reflete na totalidade a forma como a empresa pretende endereçar as suas questões ambientais (SGS, 2003; APCER, 2001). Principais mudanças na versão 2004 Alteração de nome do subitem; Deverá ser providenciado uma lista de verificação para itens de entrada e saída do SGA; Análise pela administração deverá incluir: a.Decisões e ações relativas as possibilidades de mudanças; b. Política do SGA; c.Objetivos; d. Metas; e. Outros elementos do SGA. Deverá estar consistente com o comprometimento para melhorias contínuas; O processo de revisão pela direção proposto nesta versão é praticamente coincidente com o exposto na ISO 9001:2000, principalmente no que concerne às entradas do processo (vide subitem 5.6.2 da ISO 9001:2000). Também o conceito de periodicidade foi alterado. O novo texto apresenta esta questão da seguinte forma: “Intervalos planejados” enquanto que na versão anterior “com a periodicidade por si determinada” (SGS, 2005; APCER, 2005). Interpretação Este requisito visa à definição de uma metodologia capaz de suportar uma análise crítica do mais alto nível, global e integrada, do desempenho, adequação e eficácia do sistema de gestão ambiental. Esta deve ser efetuada a intervalos de tempo definidos e ter um âmbito suficientemente alargado para avaliar: A adequação de todo o sistema de gestão ambiental; O cumprimento da política e dos objetivos ambientais; O cumprimento dos requisitos da norma de referência; e
  • 102.
    Interpretação da ISO14001:2004 Página 84 de 84 A garantia da melhoria contínua da satisfação de todos os interesses envolvidos, em especial da sociedade e do ambiente. A revisão deve basear-se num conjunto de informação, previamente definida. Exemplos: Resultados de auditorias e análise de ações corretivas e preventivas; Reclamações; Indicadores relativos a atividades de monitoramento e medição. A análise da informação indicada deverá gerar ações conducentes à melhoria da adequação e eficiência do sistema de gestão ambiental e do desempenho ambiental da organização. Esta revisão deve permitir verificar se a política ambiental se mantém adequada, se os objetivos e metas ambientais foram atingidos e avaliar o grau de desempenho ambiental. Deve ainda permitir verificar a necessidade de se estabelecerem novos objetivos e metas. No caso de se verificar o não cumprimento dos objetivos e metas devem ser definidos novos meios técnicos, humanos e financeiros para atingi-los, o que poderá implicar a revisão do programa de gestão ambiental (ver subitem4.3.4). As revisões do sistema de gestão ambiental devem ser evidenciadas através de registros apropriados, que tornem visíveis quais as informações analisadas, quais as conclusões sobre a adequação do sistema de gestão ambiental e, ainda, quais as ações desencadeadas (SGS, 2003; APCER, 2001). Gerando evidência A ISO 14001:2004 não requer que a organização disponha de um procedimento escrito para as análises críticas pela administração, mas a organização deve, através da manutenção dos registros adequados, demonstrar que planejou esta atividade em intervalos definidos, e que estes são suficientes para assegurar o enquadramento, adequação e eficácia contínuos do SGA. A organização deverá demonstrar evidência das ações (tanto planejadas, como concluídas) relacionadas com a melhoria contínua da eficácia do SGA e seus processos. A organização deverá evidenciar as ações (tanto planejadas, como concluídas) relacionadas com a melhoria contínua da eficácia do SGA e seus processos. De modo a demonstrar a conformidade com a ISO 14001:2004, é interessante que a organização conduza, pelo menos, um ciclo completo de auditorias internas e uma revisão pela administração do SGA para contemplar os requisitos da ISO 14001:2004 (SGS, 2003; APCER, 2001). Não conformidades mais freqüentes As ações resultantes da reunião não terem sido executadas dentro das datas programadas, por ex.: pode muito bem haver trabalho urgente e importante a ser executado que não vai ser revisto até à próxima reunião de revisão pela Direção, dentro de 6 ou 12 meses; Numa determinada ocasião à revisão foi feita por e-mail. Pelos resultados, conclui-se ser aceitável, apesar de pouco convencional; Algumas vezes as minutas ou as notas tiradas numa reunião não dão uma indicação clara do que aconteceu; isto é um problema se o Representante da Direção não apresenta um relatório por escrito para discussão; e As reuniões raramente acontecem na data programada, normalmente porque não há disponibilidade do pessoal estratégico - possivelmente, um indicador de falta de compromisso (SGS, 2003; APCER, 2001).
  • 103.
  • 105.
    Anexos Página A1de A14 5 R's - Reduce, Re-use, Recycle, Recover and Residual Management A preservação do meio ambiente é um fator que atrai as atenções no mundo inteiro. Existe uma pressão muito forte por Partidos Verdes, Organismos Não Governamentais, Legislações, normas e regulamentos relativos ao meio ambiente. O tratamento correto das questões ambientais é visto em todo mundo como uma grande vantagem competitiva, pois gera redução de custos através da minimização da produção e disposição de resíduos. A empresa ambientalmente correta melhora sua imagem no mercado, garante o atendimento às regulamentações cada vez mais rígidas e não ficam suscetíveis a eventuais processos de Responsabilidade Civil. Em função da demanda mundial por modelos internacionalmente reconhecidos para gestão ambiental, em 1992 foi criada a norma inglesa BS 7750 que tratava da adoção de um sistema de gestão ambiental. Em setembro de 1996 foi emitida pela International Organization for Standardization a ISO 14001 como norma internacional e em outubro foi emitida pela ABNT a tradução da mesma e denominada NBR ISO 14001/96. A ISO 14001 determina os elementos para um Sistema de Gestão Ambiental (SGA) eficaz, aplica- se a todos os tipos e tamanhos de organizações. Esta norma permite o estabelecimento de procedimentos de trabalho que visam o alcance dos objetivos, metas e da Política Ambiental. O grande objetivo desta norma é conciliar a "proteção ambiental" com as necessidades sócio- econômicas da população e empresa. O Sistema de Gestão Ambiental deve trabalhar com foco nos impactos ambientais significativos, maximizando seus efeitos benéficos e minimizando os efeitos adversos. Dentre os impactos ambientais, o que mais preocupa as organizações e a sociedade é a redução acelerada das fontes de recursos naturais e a disposição dada aos resíduos gerados na natureza. As organizações estão sempre à busca de soluções que auxiliem a economizar os recursos naturais, minimizar a produção de resíduos e no tratamento dos impactos ambientais resultantes. A Solução: Utilização do Sistema 5 R's alinhado ao SGA Os 5R's são um sistema internacionalmente reconhecido por administrar desperdício, também conhecido como 'Hierarquia da Administração do Desperdício'. Dentro desta hierarquia, a organização deve em primeiro lugar procurar a Redução (Reduce) e Reutilização (Re-use) dos seus recursos. Caso não consiga reduzir ou re-utilizar, então a Reciclagem (Recycle) dos resíduos pode ser um bom meio de diminuir os impactos ambientais. Caso ainda sobrem resíduos, um caminho pode ser a Recuperação (Recover) dos resíduos ou de seu conteúdo energético. O último recurso, caso ainda existam resíduos, seria o Gerenciamento de Resíduos (Residual Management). A figura a seguir mostra esta hierarquia. Reduce (Reduzir) Reduzir a quantidade de lixo é um compromisso importante e permanente. Cada pessoa produz cerca de 180 quilos de lixo num ano, então é fácil perceber que diminuir o desperdício depende muito da atitude de cada um de nós. É a melhor opção, porque significa que haverá menos resíduos a administrar. Caso seja realmente necessário adquirir algo, é importante pensar se podemos reduzir a quantidade de resíduos resultantes de sua utilização. Algumas atitudes contribuem para a redução de resíduos para o meio ambiente, como otimizar a utilização de folhas de papel, pesquisar e desenvolver novos produtos e processos fabris, evoluir o "ecodesign" de produtos, promover a regulagem/manutenção de máquinas e equipamentos, etc. Re-use (Reutilizar) Depois de reduzir o que nós usamos e conseqüentemente o lixo, o próximo passo é pensar em reutilizar materiais. Trocar, doar à caridade, usar novamente de outra forma são modos efetivos para reutilização de materiais. Algumas atitudes contribuem para a se reutilizar materiais, como encaminhar de volta ao fornecedor, quando possível, bombonas, tonéis, barris, vidros, entre outros materiais reutilizáveis, reutilizar papéis de fotocópias como rascunho, encaminhar cartuchos de impressora e de toners para empresas licenciadas pelos órgãos ambientais que possam recarregá-los etc. Recycle (Reciclar) Todo o material descartado e que se transforma em lixo nas cidades, em grande parte, deveriam ser retirados do lixo comum para serem recuperados como matéria-prima, podendo assim ser reutilizados na fabricação de um novo produto. Reciclar é aproveitar o material de que foi feito um objeto, uma embalagem ou qualquer coisa fabricada e que já tenha sido usada. Dessa maneira evita-se que o material acabe no lixo. Implantar ou utilizar programas de coleta seletiva de resíduos existente nas cidades é uma ótima opção, pois pode-se economizar na utilização dos recursos naturais e dar destino adequado aos resíduos que levarão muitos anos para serem decompostos pelo solo.
  • 106.
    Anexos Página A2de A14 Os símbolos abaixo identificam os materiais recicláveis mais comuns. Recover (Recuperar) Esta é a recuperação de materiais ou conteúdo de energia de um resíduo. Pode ser recuperada muita energia através dos materiais e biomassas residuais. Energia também pode ser gerada recuperando gás metano de aterros sanitários. É possível recuperar materiais para reutilização como óleos lubrificantes, solvente, ácidos, pneus de carros, areia de molde de fundição, água etc. Residual Management (Gerenciamento de Resíduos) Esta é a disposição final do tratamento de um resíduo, uma vez que o material não pode ser mais usado de qualquer outro modo, devendo ser visto como última opção de recurso. Faz-se necessário criar ou terceirizar processos de tratamento que mudam o volume ou caráter do resíduo para minimizar seu impacto no meio ambiente. A estocagem de materiais recicláveis e resíduos deve seguir rígidos padrões de segurança e higiene. Recomenda-se que a área de estocagem seja distinta do lixo comum gerado. São várias as formas possíveis para a classificação do lixo: em razão de sua natureza (seco e molhado), por sua composição química (matéria orgânica e matéria inorgânica) etc. A classificação que adotamos no Brasil é regulada pela NBR 10004 - Classificação de Resíduos Sólidos, que segue o critério dos riscos potenciais ao meio ambiente subdivididos em Resíduos Classe I (Perigosos), Classe II (Não Inertes) e os de Classe III (Inertes). Clebson Lopes de Farias cfarias@keyassociados.com.br Engenheiro de Produção Mecânica Revisão: Engenheiros Fernando Giachini Lopes, Alexandre Lopez Hernandez e Angela Cardoso Consultor de Empresas da KEYASSOCIADOS publicado em: 07/04/03
  • 107.
    Anexos Página A3de A14 O PROBLEMA DO LIXO De uma forma generalizada, chamamos de lixo (ou resíduos sólidos em termos técnicos) o conjunto de materiais inservíveis originados das atividades humanas, Nos primórdios, o lixo era constituído de restos de alimentos, ossos, cinzas, metais, papeis e outros materiais que a natureza podia assimilar facilmente. O desenvolvimento produziu novos materiais, como couro, panos, cerâmica, cujo destino final, hoje são os aterros nas periferias das cidades. Com o acelerado crescimento das cidades e da industrialização, o lixo se tornou um grave problema. Inúmeros produtos químicos entraram nas residências – plásticos, produtos de limpeza e higiene, e em seguida, mistura de diferentes materiais num mesmo produto, o que acarreta problemas cada vez maiores de destinação para o lixo. A complexidade não para por aí. Hoje temos os rejeitos nucleares, os agrotóxicos, e já se fala até do lixo espacial: os rejeitos das viagens e pesquisas no espaço. Cada brasileiro gera diariamente em média. de 5OOg a 2kg de lixo. Nos países industrializados esta quantidade pode ser até quatro vezes superior. Parte do lixo doméstico, constituído de produtos químicos, materiais infectados, pilhas, tintas, inseticidas, mercúrio, chapas fotográficas, entre outros é nociva á saúde, requerendo maiores cuidados na sua coleta e destinação. Nas residências, o lixo é normalmente acumulado em recipientes de plástico rígido, havendo ainda a utilização de latas, sacos plásticos e embrulhos Nos locais de maior produção, ele é acumulado em galões ou containeres. Os recipientes, nos dias estipulados, são colocados nas calçadas, para serem esvaziados pelos trabalhadores da limpeza urbana nos veículos de coleta. O tipo de veículo a ser adotado depende basicamente da quantidade de lixo gerado e das condições viárias da cidade. Nas pequenas cidades e áreas de menor densidade populacional, são utilizadas carroças manuais ou de tração animal, micro-tratores ou caminhões-baús Para as áreas de alta densidade populacional e zonas comerciais, com maior geração de lixo. é adotado o caminhão compactador. A entidade responsável pela limpeza urbana executa ainda a varredura das ruas, praças e outros equipamentos urbanos, a limpeza de redes de drenagem, praias e canais. a capinação, a remoção de veículos e objetos abandonados e a coleta do lixo nos recipientes e caçambas públicas. Na maioria das ruas das cidades se observa enorme quantidade de papeis, pontas de cigarros e plásticos, jogados indiscriminadamente pelas pessoas por falta de informação e civilidade. Nem mesmo o elevado número de varredores reverte o quadro de sujeira de nossas ruas. As últimas estatísticas indicam que 40 % do lixo gerado nas cidades sequer é coletado. Dai é fácil deduzir, então, que o lixo é lançado em córregos, rios, valas, terrenos vazios, encostas e ruas, o que, na época das fortes chuvas, contribui para deslizamentos, obstruções da rede de drenagem e soterramentos. As prefeituras brasileiras, em sua maioria, vêm depositando os resíduos coletados em vazadouros, comumente localizados próximos das margens de rios, lagos ou outras áreas de preservação ambiental. Eles são reconhecidamente provocadores de problemas ambientais e de saúde pública. Outros métodos para a destinação do lixo, empregados em menor escala, são o aterro, a usina de reciclagem e com postagem e a Incineração. Na usina, tem-se duas etapas distintas: a separação, manual ou mecânica de materiais, tais como papeis, papelão, vidros, plásticos, latas, metais, madeira, panos, borracha e outros, que são, então, encaminhados às indústrias recicladoras; e a compostagem, quando o lixo não selecionado é disposto em montes (leiras) no solo, á céu aberto, para a transformação em composto orgânico, empregado normalmente na agricultura, na jardinagem e no reflorestamento. Os métodos de incineração e aterro sanitário ainda não foram empregados no Brasil, devido aos seus altos custos de implantação e operação. Mudança de comportamento e de atitude quanto ao lixo urbano é papel de toda a sociedade: indústrias gerando menos embalagens; controle de desperdícios no transporte e armazenamento de alimentos, a população conscientizada de que deve reduzir o lixo revertendo hábitos alimentares e de consumo. Tipos de Lixo Definem-se resíduos sólidos como o conjunto dos produtos não aproveitados das atividades humanas (domésticas, comerciais, industriais, de serviços de saúde) ou aqueles gerados pela natureza, como folhas, galhos, terra, areia, que são retirados das ruas e logradouros pela operação de varrição e enviados para os locais de destinação ou tratamento. Também podemos definir lixo como: os restos das atividades humanas, considerados pelos geradores como inúteis, indesejáveis ou descartáveis. Normalmente, apresentam-se sob estado sólido, semi-sólido ou semilíquido (com conteúdo líquido insuficiente para que este líquido possa fluir livremente).
  • 108.
    Anexos Página A4de A14 Como classificar o lixo? São várias as formas possíveis de se classificar o lixo. − Por sua natureza física: seco e molhado; − Por sua composição química: matéria orgânica e matéria inorgânica; − Pelos riscos potenciais ou meio ambiente: − Perigosos, não-inertes (NBR-100004). Normalmente, os resíduos são definidos segundo sua origem e classificados de acordo com o seu risco em relação ao homem e ao meio ambiente em resíduos urbanos e resíduos especiais. Os resíduos urbanos, também conhecidos como lixo doméstico, são aqueles gerados nas residências, no comércio ou em outras atividades desenvolvidas nas cidades. Incluem-se neles os resíduos dos logradouros públicos, como ruas e praças, denominado lixo de varrição ou público. Nestes resíduos encontram-se: papel, papelão, vidro, latas, plásticos, trapos, folhas, galhos e terra, restos de alimentos, madeira e todos os outros detritos apresentados à coleta nas portas das casas pelos habitantes das cidades ou lançados nas ruas. Os resíduos especiais são aqueles gerados em indústrias ou em serviços de saúde, como hospitais, ambulatórios, farmácias, clínicas que, pelo perigo que representam à saúde pública e ao meio ambiente, exigem maiores cuidados no seu acondicionamento, transporte, tratamento e destino final. Também se incluem nesta categoria os materiais radioativos, alimentos ou medicamentos com data vencida ou deteriorados, resíduos de matadouros, inflamáveis, corrosivos, reativos, tóxicos e dos restos de embalagem de inseticida e herbicida empregados na área rural. De acordo com a norma NBR-10004 da ABNT - Associação Brasileira de Normas Técnicas, estes resíduos são classificados em: Classe I - Perigosos: são os que apresentam riscos ao meio ambiente e exigem tratamento e disposição especiais, ou que apresentam riscos à saúde pública. Classe II - Não-Inertes: são basicamente os resíduos com as características do lixo doméstico. Classe III - Inertes: são os resíduos que não se degradam ou não se decompõem quando dispostos no solo, são resíduos como restos de construção, os entulhos de demolição, pedras e areias retirados de escavações. Os resíduos compreendidos nas Classes II e III podem ser incinerados ou dispostos em aterros sanitários, desde que preparados para tal fim e que estejam submetidos aos controles e monitoramento ambientais. Os resíduos Classe I - Perigosos, somente podem ser dispostos em aterros construídos especialmente para tais resíduos, ou devem ser queimados em incineradores especiais. Nesta classe, inserem-se os resíduos da área rural, basicamente, as embalagens de pesticidas ou de herbicidas e os resíduos gerados em indústrias químicas e farmacêuticas. Uma outra classificação dos resíduos pela origem, pode ser também apresentada: o lixo domiciliar, comercial, de varrição e feiras livres, serviços de saúde e hospitalares; portos, aeroportos e terminais ferro e rodoviários, industriais, agrícolas e entulhos. A descrição destes tipos é apresentada na seqüência e a responsabilidade pelo seu gerenciamento é apresentada na Tabela a seguir. Domiciliar Aquele originado da vida diária das residências, constituído por setores de alimentos (tais como, cascas de frutas, verduras etc.), produtos deteriorados, jornais e revistas, garrafas, embalagens em geral, papel higiênico, fraldas descartáveis e uma grande diversidade de outros itens. Contém, ainda, alguns resíduos que podem ser tóxicos. Comercial Aquele originado dos diversos estabelecimentos comerciais e de serviços, tais como, supermercados, estabelecimentos bancários, lojas, bares, restaurantes etc. O lixo destes estabelecimentos e serviços tem um forte componente de papel, plásticos, embalagens diversas e resíduos de asseio dos funcionários, tais como, papel toalha, papel higiênico etc. Público São aqueles originados dos serviços: − de limpeza pública urbana, incluindo todos os resíduos de varrição das vias públicas, limpeza de praias, de galerias, de córregos e de terrenos, restos de podas de árvores etc.; − de limpeza de áreas de feiras livres, constituídos por restos vegetais diversos, embalagens etc. Serviços de saúde e hospitalar Constituem os resíduos sépticos, ou seja, que contêm ou potencialmente podem conter germes patogênicos.São produzidos em serviços de saúde, tais como: hospitais, clínicas, laboratórios, farmácias, clínicas veterinárias, postos de saúde etc. São agulhas, seringas, gazes, bandagens, algodões, órgãos e tecidos removidos, meios de culturas e animais usados em testes, sangue
  • 109.
    Anexos Página A5de A14 coagulado, luvas descartáveis, remédios com prazos de validade vencidos, instrumentos de resina sintética, filmes fotográficos de raios X etc. Resíduos assépticos destes locais, constituídos por papéis, restos da preparação de alimentos, resíduos de limpezas gerais (pós, cinzas etc.), e outros materiais que não entram em contato direto com pacientes ou com os resíduos sépticos anteriormente descritos, são considerados como domiciliares. Portos, aeroportos, terminais rodoviários e ferroviários Constituem os resíduos sépticos, ou seja, aqueles que contêm ou potencialmente podem conter germes patogênicos, trazidos aos portos, terminais rodoviários e aeroportos. Basicamente, originam-se de material de higiene, asseio pessoal e restos de alimentação que podem veicular doenças provenientes de outras cidades, estados e países. Também neste caso, os resíduos assépticos destes locais são considerados como domiciliares. Industrial Aquele originado nas atividades dos diversos ramos da indústria, tais como, metalúrgica, química, petroquímica, papelaria, alimentícia etc. O lixo industrial é bastante variado, podendo ser representado por cinzas, lodos, óleos, resíduos alcalinos ou ácidos, plásticos, papel, madeira, fibras, borracha, metal, escórias, vidros e cerâmicas etc. Nesta categoria, inclui-se a grande maioria do lixo considerado tóxico. Agrícola Resíduos sólidos das atividades agrícolas e da pecuária, como embalagens de adubos, defensivos agrícolas, ração, restos de colheita etc. Em várias regiões do mundo, estes resíduos já constituem uma preocupação crescente, destacando-se as enormes quantidades de esterco animal geradas nas fazendas de pecuária intensiva. Também as embalagens de agroquímicos diversos, em geral altamente tóxicos, têm sido alvo de legislação específica, definindo os cuidados na sua destinação final e, por vezes, co-responsabilizando a própria indústria fabricante destes produtos. Entulho Resíduos da construção civil: demolições e restos de obras, solos de escavações etc. O entulho é, geralmente, um material inerte, passível de reaproveitamento. Obs.: (*) a Prefeitura é co-responsável por pequenas quantidades (geralmente menos que 50 kg ou 100 lts), e de acordo com a legislação municipal específica da lei 13.478/02. http://www.compam.com.br/
  • 110.
    Anexos Página A6de A14 O QUE É COLETA SELETIVA? É um sistema de recolhimento de materiais recicláveis, tais como papéis, plásticos, vidros, metais e orgânicos, previamente separados na fonte geradora. Estes materiais são vendidos às indústrias recicladoras ou aos sucateiros. As quatro principais modalidades de coleta seletiva são: domiciliar, em postos de entrega voluntária, em postos de troca e por catadores. A coleta seletiva domiciliar assemelha-se ao procedimento clássico de coleta normal de lixo. Porém, os veículos coletores percorrem as residências em dias e horários específicos que não coincidam com a coleta normal. A coleta em PEV - Postos de Entrega Voluntária ou em LEV - Locais de Entrega Voluntária utiliza normalmente contêineres ou pequenos depósitos, colocados em pontos fixos, onde o cidadão, espontaneamente, deposita os recicláveis. A modalidade de coleta seletiva em postos de troca se baseia na troca do material entregue por algum bem ou benefício. O sucesso da coleta seletiva está diretamente associado aos investimentos feitos para sensibilização e conscientização da população. Normalmente, quanto maior a participação voluntária em programas de coleta seletiva, menor é seu custo de administração. Não se pode esquecer também a existência do mercado para os recicláveis. O que separar Alguns produtos e embalagens recicláveis já possuem o símbolo de reciclagem para facilitar na hora de saber o que vai ou não para a coleta seletiva: 5 6 Importante: mesmo que o produto não contenha o símbolo de reciclagem ele pode ser reciclável. É importante saber que tipos de material estarão sendo recolhidos e encaminhados, qual a forma de armazenamento e qual a quantidade mínima a ser destinada à cooperativa/empresa. Pode-se começar com apenas alguns tipos de materiais e ampliar gradativamente. Em se tratando de um condomínio, escola ou empresa é importante haver uma pessoa ou grupo responsável pela coordenação do programa de coleta seletiva. É fundamental fazer a divulgação explícita e permanente dos preços obtidos com a venda dos materiais e das quantidades coletadas por tipo de material.
  • 111.
    Anexos Página A7de A14 O QUE É RECICLAGEM? Reciclagem é um conjunto de técnicas que tem por finalidade aproveitar os detritos e reutiliza- los no ciclo de produção de que saíram. E o resultado de uma série de atividades, pela qual materiais que se tornariam lixo, ou estão no lixo, são desviados, coletados, separados e processados para serem usados como matéria-prima na manufatura de novos produtos. Reciclagem é um termo originalmente utilizado para indicar o reaproveitamento (ou a reutilização) de um polímero no mesmo processo em que, por alguma razão foi rejeitado. Reciclar outro termo usado, é na verdade fazer a reciclagem. O retorno da matéria-prima ao ciclo de produção é denominado reciclagem, embora o termo já venha sendo utilizado popularmente para designar o conjunto de operações envolvidas. O vocábulo surgiu na década de 1970, quando as preocupações ambientais passaram a ser tratadas com maior rigor, especialmente após o primeiro choque do petróleo, quando reciclar ganhou importância estratégica. As indústrias recicladoras são também chamadas secundárias, por processarem matéria-prima de recuperação. Na maior parte dos processos, o produto reciclado é completamente diferente do produto inicial. Como Reciclar Com a colaboração do consumidor, podemos facilitar ainda mais o processo de reciclagem. A reciclagem do material é muito importante, não apenas para diminuir o acúmulo de dejetos, como também para poupar a natureza da extração inesgotável de recursos. Veja como fazer a coleta seletiva e dar a sua parcela de contribuição na preservação do meio ambiente. Passo a passo: 1. Procure o programa organizado de coleta de seu município ou uma instituição, entidade assistencial ou catador que colete o material separadamente. Veja primeiro o que a instituição recebe. Não adianta separar, por exemplo: plástico, se a entidade só recebe papel. 2. Para uma coleta de maneira ideal, separe os resíduos em não-recicláveis e recicláveis e dentro dos recicláveis separe papel, metal, vidro e plástico. 3. Veja exemplo de materiais recicláveis: a. Papel: jornais, revistas, formulários contínuos, folhas de escritório, caixas, papelão, etc. b. Vidros: garrafas, copos, recipientes. c. Metal: latas de aço e de alumínio’, clipes, grampos de papel e de cabelo, papel alumínio. d. Plástico: garrafas de refrigerantes e água, copos, canos, embalagens de material de limpeza e de alimentos, sacos. 4. Escolha um local adequado para guardar os recipientes com os recicláveis até a hora da coleta. Antes de guardá-los, limpe-os para retirar os resíduos e deixe-os secar naturalmente. Para facilitar o armazenamento, você pode diminuir o volume das embalagens de plástico e alumínios amassando-as. As caixas devem ser guardadas desmontadas. Atenção: Os objetos reciclados não serão transformados nos mesmos produtos. Por exemplo, garrafas recicláveis não serão transformadas em outras garrafas, mas em outros materiais, como solados de sapato. Porque Reciclar? A quantidade de lixo produzida diariamente por um ser humano é de aproximadamente 5 Kg. • Se somarmos toda a produção mundial, os números são assustadores. • Só o Brasil produz 240 000 toneladas de lixo por dia. • O aumento excessivo da quantidade de lixo se deve ao aumento do poder aquisitivo e pelo perfil de consumo de uma população. Além disso, quanto mais produtos industrializados, mais lixo é produzido, como embalagens, garrafas, etc. Tipos de lixo: − Doméstico (alimentos); − Industrial (carvão mineral, lixo químico, fumaças); − Agrícola (esterco, fertilizantes); − Hospitalar; − Materiais Radioativos (indústria medicina...); − Tecnológico (TV, rádios). Em torno de 88% do lixo doméstico vai para o aterro sanitário. A fermentação produz dois produtos: o chorume e o gás metano.
  • 112.
    Anexos Página A8de A14 Menos de 3% do lixo vai para as usinas de compostagem(adubo). O lixo hospitalar, por exemplo, deve ir para os incineradores. Apenas 2% do lixo de todo o Brasil é reciclado!! Por quê? Porque reciclar é 15 vezes mais caro do que jogar o lixo em aterros. Nos países desenvolvidos como a França e Alemanha, a iniciativa privada é encarregada do lixo. Fabricantes de embalagens são considerados responsáveis pelo destino do lixo e o consumidor também tem que fazer sua parte. Por exemplo, quando uma pessoa vai comprar uma pilha nova, é preciso entregar a usada. Uma garrafa plástica ou vidro pode levar 1 milhão de anos para decompor-se. Uma lata de alumínio, de 80 a 100 anos. Porém todo esse material pode ser reaproveitado, transformando-se em novos produtos ou matéria prima, sem perder as propriedades. Separando todo o lixo produzido em residências, estaremos evitando a poluição e impedindo que a sucata se misture aos restos de alimentos, facilitando assim seu reaproveitamento pelas indústrias. Além disso, estaremos poupando a meio ambiente e contribuindo para o nosso bem estar no futuro, ou você quer ter sua água racionada, seus filhos com sede, com problemas respiratórios. Algumas Vantagens: − Cada 50 quilos de papel usado, transformado em papel novo, evita que uma árvore seja cortada. Pense na quantidade de papel que você já jogou fora até hoje e imagine quantas árvores você poderia ter ajudado a preservar. − Cada 50 quilos de alumínio usado e reciclado, evita que sejam extraídos do solo cerca de 5.000 quilos de minério, a bauxita. − Quantas latinhas de refrigerantes você já jogou até hoje? − Com um quilo de vidro quebrado, faz-se exatamente um quilo de vidro novo. E a grande vantagem do vidro é que ele pode ser reciclado infinitas vezes. Agora imagine só os aterros sanitários: quanto material que está lá, ocupando espaço, e poderia ter sido reciclado! − Economia de energia e matérias-primas. Menos poluição do ar, da água e do solo. − Melhora a limpeza da cidade, pois o morador que adquire o hábito de separar o lixo, dificilmente o joga nas vias públicas. − Gera renda pela comercialização dos recicláveis. Diminui o desperdício. − Gera empregos para os usuários dos programas sociais e de saúde da Prefeitura. − Dá oportunidade aos cidadãos de preservarem a natureza de uma forma concreta, tendo mais responsabilidade com o lixo que geram. Onde Reciclar? No Brasil existem unidades industriais com capacidade instalada para reciclar resíduos, e qualquer outro material que possa ser reciclado. Distribuídas de norte a sul do país, estas unidades são empresas transformadoras de matérias-primas, fabricantes de embalagens, retomadores e recicladores. O que Reciclar Temos diversos tipos de materiais, que podem ser reciclados, devemos tomar cuidado pois alguns materiais existentes não podem ser reciclados.
  • 113.
    Anexos Página A9de A14 Saiba o que pode e o que não pode ser reciclado:
  • 114.
    Anexos Página A10de A14 RECICLAR PAPEL Significa fazer papel empregando como matéria-prima papéis, cartões, cartolinas e papelões, provenientes de: Rebarbas geradas durante os processos de fabricação destes materiais, ou de sua conversão em artefatos, ou ainda geradas em gráficas; Artefatos destes materiais pré ou pós-consumo Atualmente, a matéria-prima vegetal mais utilizada na fabricação do papel é a madeira, embora outras também possam ser empregadas. Estas matérias-primas são hoje processadas química ou mecanicamente, ou por uma combinação dos dois modos, gerando como produto o que se denomina de pasta celulósica, que pode ainda ser branqueada, caso se deseje uma pasta de cor branca. A pasta celulósica, branqueada ou não, nada mais é do que as fibras celulósicas liberadas, prontas para serem empregadas na fabricação do papel. A pasta celulósica também pode prover do processamento do papel, ou seja, da reciclagem do papel. Neste caso, os papéis coletados para esse fim recebem o nome de aparas. O termo apara surgiu para designar as rebarbas do processamento do papel em fábricas e em gráficas e passou a ter uma abrangência maior, designando, como já foi dito, todos os papéis coletados para serem reciclados. As aparas provém de atividades comerciais, e em menor quantidade de residências e de outras fontes, como instituições e escolas. As aparas de papel podem ser recolhidas por um sistema de coleta seletiva, ou por um sistema comercial, utilizado há anos, que envolve o catador de papel e o aparista. Hoje, a força que propulsiona a reciclagem de papel ainda é econômica, mas o fator ambiental tem servido também como alavanca. A preocupação com o meio ambiente criou uma demanda por "produtos e processos amigos do meio ambiente" e reciclar papel é uma forma de responder a esta demanda. Assim, os principais fatores de incentivo à reciclagem de papel, além dos econômicos, são: - A preservação de recursos naturais (matéria-prima, energia e água), - A minimização da poluição e a diminuição da quantidade de lixo que vai para os aterros. Dentre estes, certamente o último é o que tem tido maior peso nos países que adotam medidas legislativas em prol da reciclagem. RECICLAR PLÁSTICO Plásticos são artefatos fabricados a partir de resinas (polímeros), geralmente sintéticos e derivados do petróleo. Quando o lixo é depositado em lixões, os problemas principais relacionados ao material plástico provêm da queima indevida e se controle. Quando a disposição é feita em aterros, os plásticos dificultam sua compactação e prejudicam a decomposição dos materiais biologicamente degradáveis, pois criam camadas impermeáveis que afetam as trocas de líquidos e gases gerados no processo de biodegradação da matéria orgânica. Sendo assim, sua remoção, redução ou eliminação do lixo são metas que devem ser perseguidas com todo o empenho. A separação de plásticos do restante do lixo traz uma série de benefícios à sociedade, como, por exemplo, o aumento da vida útil dos aterros, geração de empregos, economia de energia, etc. Divisão dos Plásticos Os plásticos são divididos em duas categorias importantes: termofixos e termoplásticos. Os termofixos, que representam cerca de 20% do total consumido no país, são plásticos que , uma vez moldados por um dos processos usuais de transformação, não podem mais sofrer mais novos ciclos de processamento pois não fundem novamente, o que impede nova moldagem. Os termoplásticos, mais largamente utilizados, são materiais que podem ser reprocessados várias vezes pelo mesmo ou por outro processo de transformação. Quando submetidos ao aquecimento a temperaturas adequadas, esses plásticos amolecem, fundem e podem ser novamente moldados. Como exemplos, podem ser citados: polietileno de baixa densidade (PEBD); Polietileno de alta densidade (PEAD); poli(cloreto de vinila) (PVC); poliestireno (PS); polipropileno (PP); poli(tereftalato de etileno) (PET); poliamidas (náilon) e muitos outros.
  • 115.
    Anexos Página A11de A14 Identificação dos Tipos de Plásticos Essa metodologia é baseada em algumas características físicas e de degradação térmica dos plásticos. Polietilenos de baixa e de alta densidade: − Baixa densidade (flutuam na água); − Amolecem à baixa temperatura (PEBD = 85°C; PEAD = 120°C) − Queimam como vela, liberando cheiro de parafina; − Superfície lisa e "cerosa". Polipropileno: − Baixa densidade (flutuam na água); − Amolece à baixa temperatura (150°C); − Queima como vela, liberando cheiro de parafina; − Filmes, quando apertados nas mãos, fazem barulho semelhante ao celofane. Poli(cloreto de vinila): − Alta densidade (afunda na água); − Amolece à baixa temperatura (80°C); − Queima com grande dificuldade, liberando um cheiro acre de cloro; − É solubilizado com solventes (cetonas). Poliestireno: − Alta densidade (afunda na água); − Quebradiço; − Amolece à baixa temperatura (80 a 100°C); − Queima relativamente fácil, liberando fumaça preta com cheiro de "estireno"; − É afetado por muitos solventes. Poli (tereftalato de etileno): − Alta densidade (afunda na água); − Muito resistente; − Amolece à baixa temperatura (80°C); − Utilizado no Brasil em embalagens de refrigerantes gasosos, óleos vegetais, água mineral, etc. Outros
  • 116.
    Anexos Página A12de A14 Reciclagem primária ou pré-consumo: É a conversão de resíduos plásticos por tecnologia convencionais de processamento em produtos com caraterísticas de desempenho equivalentes às daqueles produtos fabricados a partir de resinas virgens. A reciclagem pré-consumo é feita com os materiais termoplásticos provenientes de resíduos industriais, os quais são limpos e de fácil identificação, não contaminados por partículas ou substâncias estranhas. Reciclagem secundária ou pós-consumo: É a conversão de resíduos plásticos de lixo por um processo ou por uma combinação de operações. Os materiais que se inserem nesta classe provêm de lixões, sistemas de coleta seletiva, sucatas, etc. são constituídos pelos mais diferentes tipos de material e resina, o que exige uma boa separação, para poderem ser aproveitados. Reciclagem terciária: É a conversão de resíduos plásticos em produtos químicos e combustíveis, por processos termoquímicos (pirólise, conversão catálica). Por esses processos, os materiais plásticos são convertidos em matérias-primas que podem originar novamente as resinas virgens ou outras substâncias interessantes para a indústria, como gases e óleos combustíveis. RECICLAR METAIS Os metais são materiais de elevada durabilidade, resistência mecânica e facilidade de conformação, sendo muito utilizados em equipamentos, estruturas e embalagens em geral. Quanto à sua composição, os metais são classificados em dois grande grupos: os ferrosos (compostos basicamente de ferro e aço) e os não-ferrosos. Essa divisão justifica-se pela grande predominância do uso dos metais à base de ferro, principalmente o aço. Entre os metais não-ferrosos, destacam-se o alumínio, o cobre e suas ligas (como latão e o bronze), o chumbo, o níquel e o zinco. Os dois últimos, junto como o cromo e o estanho, são mais empregados na forma de ligas com outros metais, ou como revestimento depositado sobre metais, como, por exemplo, o aço. A grande vantagem da reciclagem de metais é evitar as despesas da fase de redução do minério a metal. Essa fase envolve um alto consumo de energia, e requer transporte de grandes volumes de minério e instalações caras, destinadas à produção em grande escala. Embora seja maior o interesse na reciclagem de metais não-ferrosos, devido ao maior valor de usa sucata, é muito grande a procura pela sucata de ferro e de aço, inclusive pelas usinas siderúrgicas e fundições. A sucata é matéria-prima das empresas produtoras de aço que não contam como o processo de redução, e que são responsáveis por cerca de 20% da produção nacional de aço. A sucata representa cerca de 40% do total de aço consumido no País, valor próximo aos valores de outros países, como os Estados Unidos, onde atinge 50% do total da produção. Ressalta-se que o Brasil exporta cerca de 40% da sua produção de aço. É importante, ainda, observar que a sucata pode, sem maiores problemas, ser reciclada mesmo quando enferrujada. Sua reciclagem é também facilitada pela sua simples identificação e separação, principalmente no caso da sucata ferrosa, em que se empregam eletroímãs, devido às suas propriedades magnéticas. Através deste processo é possível retirar até 90% do metal ferroso existente no lixo (IBS, 1994). RECICLAR VIDRO O vidro é obtido pela fusão de componentes inorgânicos a altas temperaturas, e resfriamento rápido da massa resultante até um estado rígido, não-cristalino. O processo de produção do vidro do tipo sodacal utiliza como matérias-primas, basicamente, arreia, barrilha, calcário e feldspato. Um procedimento comum do processo é adicionar-se à mistura das matérias-primas cacos de vidro gerados internamente na fábrica ou adquiridos, reduzindo sensivelmente os custos de produção. O vidro é um material não-poroso que resiste a temperaturas de até 150°C (vidro comum) sem perda de suas propriedades físicas e químicas. Esse fato faz com que os produtos possam ser reutilizados várias vezes para a mesma finalidade. A reciclagem de vidro significa enviar ao produtos de embalagens o vidro usado para que este seja reutilizado como matéria-prima para a produção de novas embalagens. O vidro é 100% reciclável, não ocorrendo perda de material durante o processo de fusão. Para cada tonelada de caco de vidro limpo, obtém-se uma tonelada de vidro novo. Além disso, cerca de 1,2 tonelada de matéria-prima deixa de ser consumida. Além da redução do consumo de matérias-primas retiradas da natureza, a adição do caco à mistura reduz o tempo de fusão na fabricação do vidro, tendo como conseqüência uma redução significativa no consumo energético de produção. Também proporciona a redução de custos de limpeza urbana e diminuição do volume do lixo em aterros sanitários.
  • 117.
    Anexos Página A13de A14 RECICLAR PNEUS Os pneus usados podem ser reutilizados após sua recauchutagem. Esta consiste na remoção por raspagem da banda de rodagem desgastada da carcaça e na colocação de uma nova banda. Após a vulcanização, o pneu "recauchutado" deverá ter a mesma durabilidade que o novo. A economia do processo favorece os pneus mais caros, como os de transporte (caminhão, ônibus, avião), pois neste segmentos os custos são melhor monitorados. Há limites no número de recauchutagem que um pneu suporta sem afetar seu desempenho. Assim sendo, mais cedo ou mais tarde, os pneus são considerados inservíveis e descartados. Os pneus descartados podem ser reciclados ou reutilizados para diversos fins. Neste caso, são apresentadas, a seguir, várias opções: Na engenharia civil: O uso de carcaças de pneus na engenharia civil envolve diversas soluções criativas, em aplicações bastante diversificadas, tais como, barreira em acostamentos de estradas, elemento de construção em parques e playgrounds, quebra-mar, obstáculos para trânsito e, até mesmo, recifes artificiais para criação de peixes. Na regeneração da borracha: O processo de regeneração de borracha envolve a separação da borracha vulcanizada dos demais componentes e sua digestão com vapor e produtos químicos, tais como, álcalis, mercaptanas e óleos minerais. O produto desta digestão é refinado em moinhos até a obtenção de uma manta uniforme, ou extrudado para obtenção de material granulado. A moagem do pneu em partículas finas permite o uso direto do resíduo de borracha em aplicações similares às da borracha regenerada. Na geração de energia O poder calorífico de raspas de pneu eqüivale ao do óleo combustível, ficando em torno de 40 Mej/kg. O poder calorífico da madeira é por volta de 14 Mej/kg. Os pneus podem ser queimados em fornos já projetados para otimiza a queima. Em fábricas de cimento, sua queima já é uma realidade em outros países. A Associação Brasileira de Cimento Portland (ABCP) informa que cerca de 100 milhões de carcaças de pneus são queimadas anualmente nos Estados Unidos com esta finalidade, e que o Brasil já está experimentando a mesma solução. No asfalto modificado com borracha O processo envolve a incorporação da borracha em pedaços ou em pó. Apesar do maior custo, a adição de pneus no pavimento pode até dobrar a vida útil da estrada, porque a borracha confere ao pavimento maiores propriedades de elasticidade ante mudanças de temperatura. O uso da borracha também reduz o ruído causado pelo contato dos veículos com a estrada. Por causa destes benefícios, e também para reduzir o armazenamento de pneus velhos, o governo americano requer que 5% do material usado para pavimentar estradas federais seja de borracha moída. RECICLAR ENTULHO Entulho é o conjunto de fragmentos ou restos de tijolo, concreto, argamassa, aço, madeira, etc., provenientes do desperdício na construção, reforma e/ou demolição de estruturas, como prédios, residências e pontes. O entulho de construção compõe-se, portanto, de restos e fragmentos de materiais, enquanto o de demolição é formado apenas por fragmentos, tendo por isso maior potencial qualitativo, comparativamente ao entulho de construção. O processo de reciclagem do entulho, para a obtenção de agregados, basicamente envolve a seleção dos materiais recicláveis do entulho e a trituração em equipamentos apropriados. Os resíduos encontrados predominantemente no entulho, que são recicláveis para a produção de agregados, pertencem a dois grupos: − Grupo I - materiais compostos de cimento, cal, areia e brita: concretos, argamassa, blocos de concreto. − Grupo II - materiais cerâmicos: telhas, manilhas, tijolos, azulejos. − Grupo III - materiais não-recicláveis: solo, gesso, metal, madeira, papel, plástico, matéria orgânica, vidro e isopor. Desses materiais, alguns são passíveis de serem selecionados e encaminhados para outros usos. Assim, embalagens de papel e papelão, madeira e mesmo vidro e metal podem ser recolhidos para reutilização ou reciclagem. RECICLAR BATERIAS e PILHAS As pilhas e baterias, quando descartadas em lixões ou aterros sanitários, liberam componentes tóxicos que contaminam o solo, os cursos d'água e os lençóis freáticos, afetando a flora e a fauna das regiões circunvizinhas e o homem, pela cadeia alimentar. Devido a seus componentes tóxicos, as pilhas podem também afetar a qualidade do
  • 118.
    Anexos Página A14de A14 produto obtido na compostagem de lixo orgânico. Além disso, sua queima em incineradores também não consiste em uma boa prática, pois seus resíduos tóxicos permanecem nas cinzas e parte deles pode volatilizar, contaminando a atmosfera. Os componentes tóxicos encontrados nas pilhas são: cádmio, chumbo e mercúrio. Todos afetam o sistema nervoso central, o fígado, os rins e os pulmões, pois eles são bioacumulativos. O cádmio é cancerígeno, o chumbo pode provocar anemia, debilidade e paralisia parcial, e o mercúrio pode também ocasionar mutações genéticas. Considerando os impactos negativos causados ao meio ambiente pelo descarte inadequado das pilhas e baterias usadas e a necessidade de disciplinar o descarte e o gerenciamento ambientalmente adequado (coleta, reutilização, reciclagem, tratamento ou disposição final) de pilhas e baterias usadas, a Resolução n° 257/99 do CONAMA resolve em seu artigo primeiro: "As pilhas e baterias que contenham em suas composições chumbo, cádmio, mercúrio e seus compostos, necessário ao funcionamento de quaisquer tipos de aparelhos, veículos ou sistemas, móveis ou fixos, bem como os produtos eletroeletrônicos que os contenham integrados em sua estrutura de forma não substituível, após seu esgotamento energético, serão entregues pelos usuários aos estabelecimentos que as comercializam ou à rede de assistência técnica autorizada pelas respectivas indústrias, para repasse aos fabricantes ou importadores, para que estes adotem diretamente, ou por meio de terceiros, os procedimentos de reutilização, reciclagem, tratamento ou disposição final ambientalmente adequado". RECICLAR MATÉRIA ORGÂNICA A matéria orgânica é definida biologicamente como matéria de origem animal ou vegetal e geologicamente como compostos de origem orgânica, encontrados sob a superfície do solo. Os papéis, que são feitos com fibra vegetal, também são considerados matéria orgânica, porém, trataremos dele separadamente. Falaremos aqui do aproveitamento de restos de comida (cascas de frutas e verduras, folhas, talo, etc) para a fertilização do solo, num processo conhecido como COMPOSTAGEM. A compostagem é um processo de transformação que pode ser executado com parte do nosso lixo doméstico resultando em um excelente adubo para ser utilizado em hortas, vasos de plantas, jardins ou algum terreno que você tenha disponível. Este é um dos métodos mais antigos de reciclagem onde imitamos os processos da natureza para melhorarmos a terra. Simbologias e Cores na Reciclagem As cores características dos containers apropriados para a coleta seletiva de lixo: Papel/Papelão Metais Plásticos Vidros Até hoje, não se sabe onde e com que critério foi criado o padrão de cores dos containers utilizados para a coleta seletiva voluntária em todo o mundo. No entanto, alguns países já reconhecem esse padrão como um parâmetro oficial a ser seguido por qualquer modelo de gestão de programas de coleta seletiva.