2.1 Conceito de pressão - (p)
Pressão em um ponto fluido Hipóteses: fluido contínuo, incompressível e em repouso. p =    . h A expressão: p =    . h é válida quando considera-se p atm  = 0.
A pressão é uma grandeza escalar, portanto: a pressão na direção x é igual a pressão em uma direção qualquer.
2.2 Lei de Pascal
“ A pressão em torno de um ponto fluido contínuo, incompressível e em repouso é igual em todas as direções, e ao aplicar-se uma pressão em um de seus pontos, esta será transmitida integralmente a todos os demais pontos.” Apesar da lei de Pascal ter sido enunciada em 1620, foi neste século que ela  passou a ser usada industrialmente, principalmente em sistemas hidráulicos .
Os sistemas hidráulicos conseguem eliminar mecanismos complicados como: cames (excêntricos), engrenagens, alavancas, etc. ...
O fluido hidráulico não está sujeito a quebras tais como  as peças mecânicas.
Quando um golpe é desferido na extremidade de uma barra de metal, a sua direção não será alterada, a não ser através do uso de engrenagens e outros mecanismos complexos. Já em um fluido hidráulico, a força é transmitida não só diretamente através dele a outra extremidade, mas também em todas as direções do fluido. (Figura 2.6 apresentada a seguir)
Veja a figura ao lado
2.3 Teorema de Stevin O teorema de Stevin será a base para o estudo dos manômetros de colunas de líquido. Consideramos um volume de controle no formato de um cilindro com a base apresentando uma área elementar dA, como mostra a figura a seguir:
Considerando o eixo z, que passa pelos centros de gravidades das bases do cilindro, como mostra a figura do próximo slide, podemos escrever que:
 F Z  = 0 p 1  . dA +    . dA . h = p 2  . dA   p 1  - p 2  =    . h  Teorema de Stevin
2.4 Equação manométrica Esta é a equação que aplicada nos manômetros de coluna de líquidos, resulta em uma diferença de pressão entre dois pontos fluidos, ou na pressão de um ponto fluido.
 
Através da equação manométrica, obtemos: p 2  + h x     m - h x    = p 1 Portanto: p 1  - p 2  = h x (    m -   )
2.5 Escalas de pressão Para o estudo básico de Mecânica dos Fluidos, tanto a  escala absoluta  como a  escala efetiva ou relativa , são igualmente importantes.
É a escala de pressão que adota como zero o vácuo absoluto, o que justifica a afirmação que nesta escala só existe pressões positivas, teoricamente poderíamos ter a pressão igual a zero, que representaria a pressão do vácuo absoluto. Esta é realmente a única escala física de pressão e para diferenciá-la usaremos o símbolo abs. 2.5.1 Escala absoluta
É a escala de pressão que adota como zero a pressão atmosférica local, o que justifica a afirmação que nesta escala existe: pressões negativas (depressões ou vácuos técnicos), nulas e positivas. 2.5.2 Escala Efetiva ou Relativa
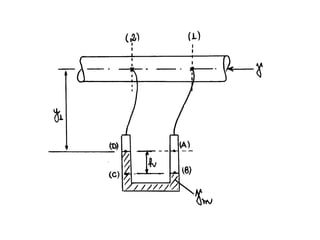
Pensando nos piezômetros, onde lemos a carga de pressão (h)
O piezômetro serve para leitura de pressões de gases? O piezômetro serve para leituras de pressões menores que a pressão atmosférica local? O piezômetro é adequado para leituras de pressões elevadas? Surgem alguns questiona-mentos:
2.6 Diagrama comparativo entre escalas de pressão
2.8 Manômetro metálico tipo Bourdon Este aparelho é usado em diversas aplicações da Engenharia, o que justifica a sua abordagem nesta unidade. Mencionamos alguns exemplos: calibragem de pneus em postos de gasolina, “garrafas de oxigênio” em hospitais, etc.... Demonstramos seu princípio de funcionamento através da figura no slide seguinte ...
P m  = p int  - p ext
Faça exercícios ... Através da dedicação e disciplina estamos aptos a aplicar à engenharia os conceitos estudados até aqui

Fisica unidade 2

  • 1.
    2.1 Conceito depressão - (p)
  • 2.
    Pressão em umponto fluido Hipóteses: fluido contínuo, incompressível e em repouso. p =  . h A expressão: p =  . h é válida quando considera-se p atm = 0.
  • 3.
    A pressão éuma grandeza escalar, portanto: a pressão na direção x é igual a pressão em uma direção qualquer.
  • 4.
    2.2 Lei dePascal
  • 5.
    “ A pressãoem torno de um ponto fluido contínuo, incompressível e em repouso é igual em todas as direções, e ao aplicar-se uma pressão em um de seus pontos, esta será transmitida integralmente a todos os demais pontos.” Apesar da lei de Pascal ter sido enunciada em 1620, foi neste século que ela passou a ser usada industrialmente, principalmente em sistemas hidráulicos .
  • 6.
    Os sistemas hidráulicosconseguem eliminar mecanismos complicados como: cames (excêntricos), engrenagens, alavancas, etc. ...
  • 7.
    O fluido hidráuliconão está sujeito a quebras tais como as peças mecânicas.
  • 8.
    Quando um golpeé desferido na extremidade de uma barra de metal, a sua direção não será alterada, a não ser através do uso de engrenagens e outros mecanismos complexos. Já em um fluido hidráulico, a força é transmitida não só diretamente através dele a outra extremidade, mas também em todas as direções do fluido. (Figura 2.6 apresentada a seguir)
  • 9.
  • 10.
    2.3 Teorema deStevin O teorema de Stevin será a base para o estudo dos manômetros de colunas de líquido. Consideramos um volume de controle no formato de um cilindro com a base apresentando uma área elementar dA, como mostra a figura a seguir:
  • 11.
    Considerando o eixoz, que passa pelos centros de gravidades das bases do cilindro, como mostra a figura do próximo slide, podemos escrever que:
  • 12.
     F Z = 0 p 1 . dA +  . dA . h = p 2 . dA  p 1 - p 2 =  . h Teorema de Stevin
  • 13.
    2.4 Equação manométricaEsta é a equação que aplicada nos manômetros de coluna de líquidos, resulta em uma diferença de pressão entre dois pontos fluidos, ou na pressão de um ponto fluido.
  • 14.
  • 15.
    Através da equaçãomanométrica, obtemos: p 2 + h x  m - h x  = p 1 Portanto: p 1 - p 2 = h x (  m -  )
  • 16.
    2.5 Escalas depressão Para o estudo básico de Mecânica dos Fluidos, tanto a escala absoluta como a escala efetiva ou relativa , são igualmente importantes.
  • 17.
    É a escalade pressão que adota como zero o vácuo absoluto, o que justifica a afirmação que nesta escala só existe pressões positivas, teoricamente poderíamos ter a pressão igual a zero, que representaria a pressão do vácuo absoluto. Esta é realmente a única escala física de pressão e para diferenciá-la usaremos o símbolo abs. 2.5.1 Escala absoluta
  • 18.
    É a escalade pressão que adota como zero a pressão atmosférica local, o que justifica a afirmação que nesta escala existe: pressões negativas (depressões ou vácuos técnicos), nulas e positivas. 2.5.2 Escala Efetiva ou Relativa
  • 19.
    Pensando nos piezômetros,onde lemos a carga de pressão (h)
  • 20.
    O piezômetro servepara leitura de pressões de gases? O piezômetro serve para leituras de pressões menores que a pressão atmosférica local? O piezômetro é adequado para leituras de pressões elevadas? Surgem alguns questiona-mentos:
  • 21.
    2.6 Diagrama comparativoentre escalas de pressão
  • 22.
    2.8 Manômetro metálicotipo Bourdon Este aparelho é usado em diversas aplicações da Engenharia, o que justifica a sua abordagem nesta unidade. Mencionamos alguns exemplos: calibragem de pneus em postos de gasolina, “garrafas de oxigênio” em hospitais, etc.... Demonstramos seu princípio de funcionamento através da figura no slide seguinte ...
  • 23.
    P m = p int - p ext
  • 24.
    Faça exercícios ...Através da dedicação e disciplina estamos aptos a aplicar à engenharia os conceitos estudados até aqui