CURSO DE DIREITO
                                      DIREITO PENAL III


                                           EMENTA
    Dos Crimes contra a Pessoa; Dos Crimes Contra o Patrimônio. Dos Crimes Contra a Propriedade
     Imaterial; Dos Crimes Contra a Organização do Trabalho; Dos Crimes Contra o Sentimento
           Religioso e Contra o Respeito aos Mortos; Dos Crimes Contra a Dignidade Sexual

                                    PRELIMINARMENTE:


Nomem júris;
Norma incriminadora;
Critério para a ordem de classificação dos crimes na parte especial (bem
jurídico, gravidade, mais simples para o mais complexo, origem
histórica, influência na sanção);
Bem ou interesse jurídico;
Títulos – Capítulos – Seções.




1
DECODIFICANDO O CÓDIGO


Sujeito ativo
Sujeito passivo
Bem jurídico tutelado: bem ou interesse tutelado (vida, patrimônio,
dignidade sexual, etc)
Objeto material: pessoa ou coisa vítima da ação criminosa
Elemento objetivo do tipo: conduta/verbo
Elemento subjetivo do crime: dolo (vontade consciente de praticar a
conduta típica) ou culpa (deve vir expressa no tipo penal). São
analisados na tipicidade (1º Substrato do crime).
Elemento subjetivo do tipo especifico: antigo dolo específico. É uma
finalidade especial do agente ao praticar dolosamente a conduta
criminosa. Pode ser explícita (com o fim de, para si ou para outrem, etc)
ou implícita ao tipo.
Consumação e tentativa
Ação penal: regra geral é incondicionada
Competência: JE/JF/JECRIM




2
AULAS 1 e 2: ARTIGO 121 DO CÓDIGO PENAL: HOMICÍDIO



Homicídio simples – NOMEN JURIS (TITULO DO CRIME)

    Art 121. Matar alguem:

    Pena - reclusão, de seis a vinte anos.

    Caso de diminuição de pena

    § 1º Se o agente comete o crime impelido por motivo de relevante valor social ou moral, ou
sob o domínio de violenta emoção, logo em seguida a injusta provocação da vítima, ou juiz pode
reduzir a pena de um sexto a um terço.

    Homicídio qualificado

    § 2° Se o homicídio é cometido:

    I - mediante paga ou promessa de recompensa, ou por outro motivo torpe;

    II - por motivo futil;

    III - com emprego de veneno, fogo, explosivo, asfixia, tortura ou outro meio insidioso ou cruel,
ou de que possa resultar perigo comum;

    IV - à traição, de emboscada, ou mediante dissimulação ou outro recurso que dificulte ou
torne impossivel a defesa do ofendido;

    V - para assegurar a execução, a ocultação, a impunidade ou vantagem de outro crime:

    Pena - reclusão, de doze a trinta anos.

    Homicídio culposo

    § 3º Se o homicídio é culposo: (Vide Lei nº 4.611, de 1965)

    Pena - detenção, de um a três anos.

    Aumento de pena

    § 4o No homicídio culposo, a pena é aumentada de 1/3 (um terço), se o crime resulta de
inobservância de regra técnica de profissão, arte ou ofício, ou se o agente deixa de prestar
imediato socorro à vítima, não procura diminuir as conseqüências do seu ato, ou foge para evitar
3
prisão em flagrante. Sendo doloso o homicídio, a pena é aumentada de 1/3 (um terço) se o crime
é praticado contra pessoa menor de 14 (quatorze) ou maior de 60 (sessenta) anos. (Redação dada
pela Lei nº 10.741, de 2003)

    § 5º - Na hipótese de homicídio culposo, o juiz poderá deixar de aplicar a pena, se as
conseqüências da infração atingirem o próprio agente de forma tão grave que a sanção penal se
torne desnecessária. (Incluído pela Lei nº 6.416, de 24.5.1977)




                  INFORMAÇÕES GERAIS SOBRE O TIPO PENAL
Sujeito ativo: qualquer pessoa (autoria mediata, de escritório, é
possível?). Autoria colateral (sem liame subjetivo), coautoria (ajuste
prévio, liame subjetivo)
Sujeito passivo: idem
Bem jurídico tutelado (interesse protegido pela lei penal): vida
Objeto material (pessoa ou coisa sobre a qual recai a conduta): a pessoa
vítima
Ação penal: pública incondicionada
Consumação: ocorre com a morte encefálica da vítima. Tentativa
admissível:      Tentativa      imperfeita,      perfeita     (crime     falho),     branca
(incruenta), cruenta, inidônea (crime impossível)
Competência: Justiça Comum Estadual, Tribunal do Júri
Elemento objetivo do tipo (verbo, conduta): matar
Elemento subjetivo do crime: dolo (animus necandi) ou culpa. Importante
para distinguir do crime de lesão corporal seguido de morte (animus
laedendi). Distinção entre dolo eventual e culpa consciente (importante
porque culposo não vai para Júri)


4
Elemento subjetivo do tipo específico (finalidade especial do agente): não
há
Classificação: é crime material, de resultado, forma livre, comissivo
(regra), instantâneo de efeitos permanentes, de dano.
Forma de execução: meios diretos, indiretos, materiais ou morais (forma
completamente livre)


Outras observações:




Qual o conceito de vida humana para distinguir homicídio do aborto?
Existem dois tipos de “vida”:


       1.     Intra-uterina: surge a partir da nidação, que é a fixação do óvulo no útero, que
ocorre, em regra, 14 dias após a fecundação. Crimes que protegem a vida intra-uterina: aborto
provocado pela gestante, aborto sem consentimento da gestante, terceiro provoca aborto com
consentimento, artigos 124, 125 e 126, respectivamente.
5
2.       Extra-uterina: até o início do parto o crime será o de aborto, após será o de
homicídio ou infanticídio. O início do parto se dá pelo método normal, ou via cesariana. Inicia-se o
parto, pelo método normal, com a dilatação do cólon do útero, preparando-se para a expulsão do
feto. Já a cesariana tem início com o rompimento da membrana amniótica. São os crimes que
protegem a vida extra-uterina: art. 121, homicídio, art. 122, participação em suicídio, art. 123,
infanticídio.

       Direito a vida não é absoluto, mas relativo, podendo ceder em caso de legítima defesa,
estado de necessidade, pena de morte em caso de guerra declarada por fuzilamento (art. 56 do
CPM). O CPM tem 2 crimes: em tempos de paz e tempos de guerra. Neste último há o crime de
traição.

       Quando é que ocorre, então, a morte? O conceito de morte é fornecido pela Lei n. 9434-
97, art. 3º. A morte se dá com a paralisação das atividades cerebrais. É a lei do transplante de
órgãos, devendo ser precedida por diagnostico de morte encefálica, constatada por 2 médicos q n
façam parte da equipe de remoção, mediante critérios técnicos definidos pelo Conselho Nacional
de Medicina.




                                      TIPOS DE HOMICÍDIO:

Simples (caput)

Privilegiado(§1º)

Qualificado (§2º)

Culposo (§3º)

Culposo majorado (§4º, primeira parte)

Doloso majorado (§4º, segunda parte)

    Homicídio simples


    Art 121. Matar alguém:


6
Pena - reclusão, de seis a vinte anos.




        Definido por exclusão, quando não é privilegiado ou qualificado (§2º). Deve analisar
sempre o desvalor da ação (juízo de reprovabilidade) e do resultado. No homicídio qualificado a
ação é mais gravosa, logo o que justifica a diferença da pena do homicídio qualificado para o
simples é o desvalor da ação.

Para a consumação do crime basta a prova de que a vítima nasceu viva e assim estava no
momento da conduta do agente. Não é necessário que seja uma vida viável. Se recair a conduta
sobre um cadáver será crime impossível por absoluta impropriedade do objeto (art. 17 CP).

A morte da vítima deve ser comprovada por exame do corpo de delito, que pode ser direto
(necroscópico) ou indireto.

Se for praticado em atividade típica de grupo de extermínio, ainda que só por uma pessoa, é
considerado CRIME HEDIONDO, sendo aí denominado de homicídio condicionado. Um justiceiro
não comete a qualificadora, por atuar por motivo de relevante valor social.

A discussão aqui se cinge ao fato do conceito de grupo para o tratamento do homicídio simples
como hediondo. Sanchez diz que grupo não se confunde com par (duas pessoas), de modo que o
mínimo seria de 4, igual à quadrilha, já CAPEZ admite a partir de duas pessoas, similar à associação
criminosa do art. 35 da Lei de Drogas.

DUVIDA: A QUEM COMPETE DIZER SE O CRIME FOI PRATICADO EM ATIVIDADE DE GRUPO DE
EXTERMINIO? OS JURADOS? O JUIZ PRESIDENTE? É O JUIZ PRESIDENTE, POIS DIZ RESPEITO A
APLICAÇÃO DA PENA, POR SER CONSIDERADO HEDIONDO. A VERIFICAÇÃO DESSE FATO,
PORTANTO, CABE AO JUIZ PRESIDENTE, NÃO DEVENDO SER APRESENTADO QUESITO ESPECÍFICO
AOS JURADOS.

        O homicídio qualificado é hediondo a partir da lei 8.930-94 (LEI GLORIA PEREZ)




Caso de diminuição de pena


7
§ 1º Se o agente comete o crime impelido por motivo de relevante valor social ou moral, ou
sob o domínio de violenta emoção, logo em seguida a injusta provocação da vítima, ou juiz pode
reduzir a pena de um sexto a um terço.

         Trata-se aqui do chamado homicídio privilegiado. Reconhecido o privilégio, a redução da
pena é obrigatória. A utilização da expressão está incorreta, pois é necessário um novo mínimo
e máximo de pena (como ocorre no qualificado). No caso tem-se uma causa de diminuição.

A influência de violenta emoção é circunstância atenuante. Se for vítima de injusta agressão (e
não provocação) é causa de legítima defesa.

         Tecnicamente não é um homicídio privilegiado, mas um homicídio com causa de
diminuição de pena (de 1/6 a 1/3)

MOTIVO DE RELEVANTE VALOR SOCIAL: diz respeito ao interesse de toda a coletividade.

MOTIVO DE RELEVANTE VALOR MORAL: interesses particulares do sujeito ativo.

DOMÍNIO DE VIOLENTA EMOÇÃO LOGO EM SEGUIDA A INJUSTA PROVOCAÇÃO DA VÍTIMA: o
sujeito ativo perdeu o autocontrole, é o homicídio emocional, decorrente de intenso choque
emocional. A resposta deve ser imediata, sob pena de transmudação em vingança. Emoção dá e
passa.

Homicídio privilegiado não é crime hediondo. É possível a existência de homicídio privilegiado-
qualificado, desde que não haja incompatibilidade entre as circunstâncias. O privilégio pode
coexistir com qualificadoras de caráter objetivo apenas. O reconhecimento do privilégio afasta a
hediondez do crime, pois as privilegiadoras de caráter subjetivo, que dizem respeito aos motivos
determinantes do crime se sobressaem.


Homicídio qualificado

    § 2° Se o homicídio é cometido:

   I - mediante paga ou promessa de recompensa, ou por outro motivo torpe; SUBJETIVA -
MOTIVO

    II - por motivo futil; SUBJETIVA - MOTIVO

    III - com emprego de veneno, fogo, explosivo, asfixia, tortura ou outro meio insidioso ou cruel,
ou de que possa resultar perigo comum; OBJETIVA – MEIO CRUEL
8
IV - à traição, de emboscada, ou mediante dissimulação ou outro recurso que dificulte ou
torne impossivel a defesa do ofendido; OBJETIVA – MODO SURPRESA

    V - para assegurar a execução, a ocultação, a impunidade ou vantagem de outro crime:
SUBJETIVA (torpeza) – FIM ESPECIAL

    Pena - reclusão, de doze a trinta anos.

Inciso I: homicídio mercenário. A qualificadora abrange mandante e mandatário do crime? Há
divergência. A CIRCUNSTÂNCIA É DE CARÁTER SUBJETIVO, LOGO NÃO SE COMUNICA COM O
MANDANTE. Vingança pode ou não configurar motivo torpe, depende do caso concreto.

Inciso II: existe uma desproporção entre o delito e sua causa moral. Fútil é insignificante.
AUSÊNCIA DE MOTIVO NÃO SIGNIFICA FUTILIDADE, logo será homicídio simples apenas.

Inciso III: meio insidioso é enganoso, cruel é o que gera sofrimento desnecessário. A tortura
pode ser qualificadora ou, caso não quisesse matar, só torturar, mas resulta morte, responderá
pela lei especial (tortura qualificada – preterdolosa – TORTURADOR APRENDIZ). Só é homicídio
qualificado por tortura quando esta for a causa da morte, caso não tenha sido, haverá concurso
material de homicídio com o crime autônomo de tortura.

Usa interpretação analógica (dá exemplos casuísticos e finaliza com uma regra geral).

Inciso IV: surpresa totalmente imprevisível.

Inciso V: conexão teleológica (assegurar a execução) e conseqüencial (ocultação – esconder o
crime, impunidade – evitar punição pelo crime já conhecido, vantagem – lucro obtido). São
motivos TORPES. São delitos autônomos, mas com algo que os une, responderá o agente por
homicídio qualificado em concurso material com este outro crime.

OBS.: se houver mais de uma qualificadora então apenas uma será considerada como
circunstância, de onde se calculará a pena base e as demais serão tidas como circunstâncias
judiciais do art. 59 (AGRAVANTES)

Apenas as circunstâncias de caráter não pessoal é que são comunicáveis, são dados acidentais que
aderem à figura típica para agravá-la ou atenuá-la




9
CASO DA INFECÇÃO DOLOSA POR HIV

       Se o agente infecta dolosamente a pessoa, seja por meio de relação sexual ou seringa
contaminada, MASSON diz que responderá por homicídio consumado ou tentado, mas há
entendimentos que procuram tipificar por Contaminação de moléstia grave ou então lesão
corporal gravíssima em face de enfermidade incurável.




Homicídio culposo

     § 3º Se o homicídio é culposo: (Vide Lei nº 4.611, de 1965)

     Pena - detenção, de um a três anos.

       A culpa decorre de negligência (ausência de precaução), imprudência (afoiteza), imperícia
(falta de aptidão técnica).

       O homicídio culposo decorrente de direção de veículo é regulado pelo art. 302 do CTB.

       O agente não quer o resultado ilícito, sua finalidade inicial é lícita. Sequer assume o risco de
produzi-lo. Ocorre uma quebra do dever objetivo de cuidado. É por não ter previsto o que era
previsível que deve responder por culpa.


Aumento de pena

     § 4o No homicídio culposo, a pena é aumentada de 1/3 (um terço), se o crime resulta de
inobservância de regra técnica de profissão, arte ou ofício, ou se o agente deixa de prestar
imediato socorro à vítima, não procura diminuir as conseqüências do seu ato, ou foge para evitar
prisão em flagrante. Sendo doloso o homicídio, a pena é aumentada de 1/3 (um terço) se o crime
é praticado contra pessoa menor de 14 (quatorze) ou maior de 60 (sessenta) anos. (Redação dada
pela Lei nº 10.741, de 2003)

       Não confundir a inobservância de regra técnica com imperícia, pois naquela o agente sabe
a técnica, mas não a utiliza, já na imperícia o agente não sabe a regra. É a chamada culpa
profissional. NUCCI diz que é a mesma coisa e por isso não pode ser aplicado por gerar bis in idem.




10
Omissão de socorro: decorre da falta de solidariedade para com a vítima. Não cabe ao
agente proceder à avaliação quanto a eventual ausência de utilidade de socorro. Nesse caso o
próprio agente que deu causa ao risco deveria ter prestado o socorro e não o fez.

       Não procura diminuir as conseqüências dos atos praticados.

       Foge do flagrante: NUCCI considera inconstitucional.

       No tocante as majorantes do homicídio doloso o agente tem de saber a idade da vítima no
momento da ação para que ela incida.

                 PROCESSUAL PENAL. HABEAS CORPUS. HOMICÍDIO CULPOSO. NEGLIGÊNCIA
                 MÉDICA. CARACTERIZAÇÃO. EXAME DE CORPO DE DELITO. SUPRIMENTO. PROVA
                 TESTEMUNHAL. POSSIBILIDADE.

                 I - Cingindo-se a controvérsia tão-somente à existência de conduta negligente
                 por parte da profissional médica, de molde a restar caracterizado que a sua
                 omissão contribuiu para a realização ou antecipação do evento morte, é
                 suficiente, para comprovação da prática delituosa, as provas documental e
                 testemunhal colhidas na instrução criminal, sendo prescindível a realização da
                 perícia. Precedentes do STJ e STF. II - Hipótese em que a causa mortis é
                 incontroversa. Ordem denegada. (HC 31.139/RS, Rel. Ministro FELIX FISCHER,
                 QUINTA TURMA, julgado em 18/12/2003, DJ 09/02/2004, p. 198)




      § 5º - Na hipótese de homicídio culposo, o juiz poderá deixar de aplicar a pena, se as
conseqüências da infração atingirem o próprio agente de forma tão grave que a sanção penal se
torne desnecessária. (Incluído pela Lei nº 6.416, de 24.5.1977)

       O PERDÃO JUDICIAL É CAUSA DE EXTINÇÃO DA PUNIBILIDADE.

DUVIDA: PODE SER USADA A SENTENÇA DO PERDÃO JUDICIAL NO CÍVEL PARA PLEITEAR
INDENIZAÇÃO? Não, pois não é condenatória. Como a sentença não é condenatória, não gera
título executivo e logo não poderá ser executada no juízo cível para reparação do dano.




11
HOMICÍDIO PELO CÓDIGO DE TRÂNSITO BRASILEIRO

       Encontra-se previsto nos artigos 302 e 303 do CTB. O primeiro trata do homicídio culposo e
o segundo de lesão corporal culposa.

       Será aplicado ainda que o fato não ocorra em via pública (estacionamento, condomínio
fechado, etc).

       Trata-se de um tipo aberto onde deve ser observada a negligencia, imprudência, imperícia
do condutor. Deve verificar o dever objetivo de cuidado.

       A ação será incondicionada para o homicídio culposo e condicionada a representação na
lesão corporal.

       Existe ainda o crime de fuga do local do acidente, art. 305, aplicável em concurso material
com os anteriores.

       Há entendimentos que admitem a possibilidade de homicídio doloso (dolo eventual), como
no caso do racha, mas a depender do modo como foi realizada a disputa. A regra, todavia, é da
culpa consciente, ou seja, o agente prevê, mas não deseja o resultado danoso.

       É POSSÍVEL APLICAÇÃO DO PERDÃO JUDICIAL DO CP NO HOMICÍDIO CULPOSO DO CTB.




            AULA 3: art. 121 (SE HOUVER NECESSIDADE), 122 e 123



Induzimento, instigação ou auxílio a suicídio

     Art. 122 - Induzir ou instigar alguém a suicidar-se ou prestar-lhe auxílio para que o faça:

    Pena - reclusão, de dois a seis anos, se o suicídio se consuma; ou reclusão, de um a três anos,
se da tentativa de suicídio resulta lesão corporal de natureza grave.


12
Parágrafo único - A pena é duplicada:

Aumento de pena

     I - se o crime é praticado por motivo egoístico;

     II - se a vítima é menor ou tem diminuída, por qualquer causa, a capacidade de resistência.




Sujeito ativo: qualquer pessoa

Sujeito passivo: idem

Bem jurídico tutelado: vida

Objeto material: pessoa vítima

Elemento objetivo do tipo: induzir (dar a idéia), instigar (reforçar idéia já existente), prestar auxílio
(dar apoio material)

13
Elemento subjetivo do crime: dolo

Elemento subjetivo do tipo específico: não há. No inciso I fala em motivo egoístico

Consumação: morte. Tentativa incabível, pois só se consuma com a morte ou lesões graves, não
havendo morte nem lesão grave não há crime. Para BITENCOURT o resultado lesão grave deve ser
considerado como um ato tentado, sendo consumado apenas a morte.

Ação penal: pública incondicionada

Competência: juri

OBSERVAÇÕES

Só a vida alheia é criminalmente protegida. A participação falada pelo tipo penal é elementar do
crime. A doutrina admite o auxílio por omissão quando o agente tem o dever jurídico de impedir o
resultado.

O suicida deve ser capaz de entender a conseqüência de seus atos, se não for, será caso de
homicídio por parte do agente. A conduta deve ser dirigida a pessoas certas e determinadas, pois
o tipo fala em “alguém”.

OBS.: não há constrangimento ilegal na coação usada para impedir o suicídio.

Pode haver lapso temporal entre os atos praticados pelo agente e o suicídio, o importante é
haver o nexo causal comprovado.

Em caso de vítima menor de 14 anos (vulnerável), o crime será de homicídio, pois o
consentimento neste caso é irrelevante.


Infanticídio

Art. 123 - Matar, sob a influência do estado puerperal, o próprio filho, durante o parto ou logo
após:

Pena - detenção, de dois a seis anos.

Sujeito ativo: genitora sob influência do estado puerperal e eventuais coautores ou
partícipes.

14
Sujeito ativo: recém nascido, não necessariamente o próprio filho.

Bem jurídico tutelado: vida do recém nascido ou nascente

Objeto material: recém nascido ou nascente

Elemento objetivo do tipo: matar

Elemento subjetivo do crime: dolo

Elemento subjetivo do tipo especifico: não há

Consumação e tentativa: ocorre com a morte, tentativa admissível, é material,
demanda resultado.

Ação penal: pública incondicionada

Competência: juri

OBSERVAÇÕES:

O estado puerperal é elementar do crime, daí sua comunicação a terceiros.

O problema está em dizer o que significa o “logo após” previsto no tipo penal, pois é isso que irá
diferenciar do homicídio.

Trata-se de uma espécie de homicídio doloso privilegiado. A conduta de matar pode se dar por
qualquer maneira, inclusive por abandono em ambiente que saiba ser morte certa para o infante.

Por ser um crime não transeunte, demanda perícia para comprovar se o neonato estava vivo ao
momento da conduta delituosa, sob pena de ser crime impossível. Tal comprovação se faz via
docimasias respiratórias.

O marco inicial para configurar este crime é o início do parto, pois antes disso o crime é o de
aborto.

HIPÓTESES QUE DEVEM SER CONSIDERADAS:

Mãe mata com auxílio de terceiro: ambos respondem por infanticídio
15
Terceiro mata com auxílio da mãe: terceiro responde por homicídio e a mãe por infanticídio

Mãe e terceiro matam em coautoria: ambos respondem por infanticídio

- estado puerperal -> é um estado que envolve a parturiente durante a expulsão da criança do
ventre materno, trazendo profundas alterações psíquicas e físicas, transformando a mãe
(deixando-a sem plenas condições de entender o que está fazendo);


- puerpério -> é o período que se estende do início do parto até a volta da mulher às condições
pré-gravidez;

          INFANTICÍDIO X ABANDONO DE RECÉM NASCIDO COM RESULTADO MORTE

- o artigo 134, §2º trata do abandono do recém nascido com resultado morte, havendo diferença
entre o infanticídio. Este é crime contra a vida, enquanto o previsto no §2º do artigo 134 trata-se
de crime de periclitação da vida ou da saúde, não vai pra júri, é dolo de perigo e não dolo de dano
e a morte é culposa.




                AULA 4: ART. 124, 125, 126, 127 e 128 (ABORTO)




16
Aborto provocado pela gestante ou com seu consentimento

       Art. 124 - Provocar aborto em si mesma ou consentir que outrem lho provoque:

       Pena - detenção, de um a três anos.




Sujeito ativo: gestante. O auto aborto é crime de mão própria, pois o terceiro responderá pelo art.
126.
Sujeito passivo: vida intra uterina (feto ou embrião)
Bem jurídico tutelado: vida
Objeto material: feto ou embrião
Elemento objetivo do tipo: provocar aborto
Elemento subjetivo do crime: dolo
Elemento subjetivo do tipo especifico: não há
Consumação e tentativa: consumação com a morte do feto, embrião, admite tentativa. A expulsão
do feto é irrelevante para a consumação do crime. Se a morte decorrer por causa superveniente
absolutamente independente responderá por tentativa.
Ação penal: publica incondicionada
Competência: Juri
OBSERVAÇÕES:
Aborto é a interrupção da gravidez com a destruição do produto da concepção. Pode ser:
Natural;
Acidental;
Criminoso;

17
Legal (humanitário e terapêutico);
Eugênico;
Miserável ou econômico-social.
Honoris causa.
       O crime em tela pune o auto aborto ou o consentimento de que ele seja feito na gestante.
Se houverem vários fetos haverá concurso formal de crimes (caso o agente saiba da existência
deles). Caso haja a figura do agente provocador (segunda parte do caput), este responderá pelo
art. 126 e a gestante pelo 124, é forma de exceção pluralista à teoria monista.
       Interrupção de gravidez extrauterina não é considerado aborto. Caso haja o nascimento
com vida e ocorra a morte posteriormente, em decorrência de nova conduta, será homicídio e
não mais aborto.
       No caso de embriões fecundados in vitro e descartados não há crime de aborto pois estes
ainda não estão no útero materno e o direito penal não admite analogia in malam partem.
Também não é homicídio porque embrião não é pessoa, nem crime de dano porque não é coisa,
daí não ser típico também o furto de embriões.
       Caso a gestante venha e expelir o feto com vida, este não morra, mas a mãe pratique novo
comportamento, caracteriza-se homicídio ou infanticídio, a depender do caso concreto (para a
maioria, a tentativa de abortamento fica absorvida).




18
Aborto provocado por terceiro

     Art. 125 - Provocar aborto, sem o consentimento da gestante:

       Reclusão de 3 a 10 anos




Sujeito ativo: qualquer pessoa
Sujeito passivo: gestante e feto (dupla subjetividade passiva)
Bem jurídico tutelado: vida e integridade física da gestante e do feto
Objeto material: feto e gestante
Elemento objetivo do tipo: provocar aborto
Elemento subjetivo do crime: dolo
Elemento subjetivo do tipo especifico: não há.
Consumação e tentativa: morte do feto. Tentativa possível.
Ação penal: pública incondicionada
Competência: Juri


19
OBSERVAÇÕES:


A falta de consentimento também existe quando este é dado por menor de 14 anos, alienada ou
débil ou se foi obtido mediante fraude.
Se o sujeito agride mulher que não sabe estar grávida responderá por lesão corporal gravíssima
(se ocorrer aborto) ou lesão grave (se ocorrer só aceleração do parto), se sabe que está grávida e
ainda assim a agride, responderá por aborto e, caso a mulher morra, por homicídio em concurso
formal.
Caso o agente não consiga matar o feto e este nasça com vida e posteriormente o agente
consume a morte com outras condutas, responderá em concurso material por tentativa de aborto
com homicídio
Se houver mais de um feto e isso for de conhecimento do sujeito ativo responderá em concurso
formal impróprio.


Art. 126 - Provocar aborto com o consentimento da gestante:
Pena - reclusão, de 1 a 4 anos.
Parágrafo único. Aplica-se a pena do artigo anterior, se a gestante não é maior de quatorze anos,
ou é alienada ou debil mental, ou se o consentimento é obtido mediante fraude, grave ameaça ou
violência




20
Sujeito ativo: qualquer pessoa
Sujeito passivo: feto
Bem jurídico tutelado: vida
Objeto material: feto
Elemento objetivo do tipo: provocar aborto
Elemento subjetivo do tipo específico: não há
Consumação e tentativa: morte do feto. Tentativa possível
Ação penal: pública incondicionada
Competência: Juri
OBSERVAÇÕES:


A gestante responderá nesse caso pelo art. 124 e o provocador pelo 126. O consentimento deve
ser válido.
O partícipe responderá pelo artigo 124, já coautor pelo 126.


Art. 127 - As penas cominadas nos 2 artigos anteriores são aumentadas de 1/3, se, em
conseqüência do aborto ou dos meios empregados para provocá-lo, a gestante sofre lesão
corporal de natureza grave; e são duplicadas, se, por qualquer dessas causas, lhe sobrevém a
morte.




         São causas de aumento de pena, pois não implicam em alteração das penas bases em
abstrato, o que significaria uma qualificadora, logo, será usado na terceira fase do critério
trifásico.
         O resultado agravador é punível a título de culpa.
21
No caso do partícipe do crime de autoaborto (art. 124) responderá por homicídio ou
lesão corporal culposos e por participação em autoaborto em concurso formal.
       Caso a gestante sofra lesão grave ou morte, mas o feto não morra, o agente responderá
por tentativa de aborto qualificado (majorado) pelo resultado agravador (NUCCI), seria uma
exceção a regra de que não cabe tentativa nos crimes preterdolosos (para MASSON, quando o
tipo fala “dos meios empregados para provocá-lo” está se referindo a tentativa). CAPEZ entende
que se tratará de aborto consumado, aplicando o mesmo entendimento ao caso do latrocínio.


Pergunta de Concurso: Namorado convence a Namorada a praticar autoaborto. A namorada, em
razão das manobras abortivas, vem a falecer. Qual crime praticou o namorado? 124. Majorado?
Não incide o 127 no 124, nem mesmo para o partícipe. Responde pelo 124, sem a causa de
aumento.



Art. 128 - Não se pune o aborto praticado por médico:
I - se não há outro meio de salvar a vida da gestante;
II - se a gravidez resulta de estupro e o aborto é precedido de consentimento da gestante ou,
quando incapaz, de seu representante legal.




       Para a maioria da doutrina são hipóteses especiais de exclusão da ilicitude. O inciso I
trata do aborto necessário, terapêutico: forma de estado de necessidade, mas sem o perigo atual
Praticado por médico + perigo de vida da gestante + única alternativa
22
O inciso II do aborto humanitário: nesse caso é autorizado se decorrente de estupro, que não
precisa de sentença condenatória transitada em julgado, basta o BO. Seria uma espécie de
exercício regular de direito, mas para LFG seria caso de exclusão da tipicidade, com fulcro na
tipicidade conglobante.


       Interessante é o caso do feto anencéfalo, pois se busca legitimar o aborto nesses casos
partindo da premissa do conceito técnico de morte, que é a cessação de atividade cerebral, pois
nesse caso o feto anencéfalo não teria vida tecnicamente falando, não sendo possível matar
aquilo que não está vivo, logo o fato seria atípico por absoluta impropriedade do objeto. ADPF 54
       O CFM considera o anencéfalo um natimorto cerebral.
       O tipo fala em médico, logo a excludente de ilicitude beneficia apenas a ele.




                       AULA 5 – ART. 129 (LESÕES CORPORAIS)


ART. 129 – ofender a integridade corporal ou a saúde de outrem.
Pena. Detenção, de 3 meses a 1 ano


Sujeito ativo: qualquer pessoa. se for autoridade pública responderá também por abuso de
autoridade (militar responde por lesão na Justiça Castrense e por abuso de autoridade na JE)
Sujeito passivo: idem. Pessoa determinada. Há casos em que será próprio, quando houver
aceleração de parto, aborto ou violência doméstica.
Bem jurídico tutelado: integridade física
Objeto material: pessoa vítima
Elemento objetivo do tipo: ofender
Elemento subjetivo do tipo específico: não há
Elemento subjetivo do crime: dolo (caput) – animus laedendi. Não precisa causar dor.
Consumação e tentativa: ocorre com a ofensa a integridade física ou saúde, é crime de dano.
Demanda perícia. Tentativa admissível, difícil será dizer se a tentativa foi para cometer lesão leve,
grave ou gravíssima.
Competência: JECRIM (caput)
23
Ação penal: pública condicionada (lesão leve, caput) – art. 88 lei do JEC.
OBSERVAÇÕES:


       O delito de lesão corporal pode implicar em afetação a normalidade funcional do corpo
humano sob todos os aspectos, inclusive o mental (pode ocorrer via grave ameaça que cause
perturbação mental).


ATIVIDADE ESPORTIVA
       As lesões esportivas configuram fato atípico e não exercício regular de direito, pois o
direito não pode proibir uma conduta por uma norma e admiti-la por outra, é incongruente. A
teoria da imputação objetiva resolveu tal problema. Os riscos não são proibidos, pelo contrário,
são aceitos em razão da prática desportiva, mas sempre dentro da razoabilidade.


INTERVENÇÃO CIRÚRGICA
Se consentido é exercício regular de direito, ausente consentimento pode configurar estado de
necessidade em favor de terceiro. O médico não tem o dolo de lesionar, mas de curar, dolo é
analisado na tipicidade, onde se verifica também que não é gerado um risco proibido, logo para
alguns fato é considerado atípico.


SOBRE A LESÃO LEVE
       É obtida por exclusão. Não se confunde com a contravenção das vias de fato (não há dano),
nem a injúria real (violência ultrajante).
       O consentimento do ofendido na lesão leve é causa supralegal de exclusão da ilicitude, em
razão da relativa disponibilidade do bem jurídico protegido (e se não houver ofensa a moral e
bons costumes). Também se pode aplicar o princípio da insignificância.
Lesão corporal de natureza grave
§1º Se resulta:
I – incapacidade para as ocupações habituais por mais de 30 dias;
II – perigo de vida;
III – debilidade permanente de membro, sentido ou função;
IV – aceleração de parto.

24
Pena: reclusão, de 1 a 5 anos



         O §1º trata de figuras qualificadas pelo resultado, pois verifica-se uma alteração da pena
base em abstrato em decorrência de um resultado agravador.
         Se admite o resultado agravador tanto a título de dolo como de culpa, com exceção, para
Sanchez e Capez, do inciso II, que deve ser culposo, logo preterdoloso, sob pena de configurar
outro crime (tentativa de homicídio).
         É possível a coexistência de diversos resultados qualificadores, sendo que o crime será
único.


OS INCISOS


I – incapacidade para as ocupações habituais por mais de 30 dias:
         A gravidade da lesão deve ser aferida por laudo médico após o trigésimo dia contado da
data do crime. Trata não apenas de ocupações laborais, mas também atividades costumeiras,
rotineiras. Pode ser doloso ou culposo. É uma forma de crime a prazo. O que deve incapacitar é a
lesão, e não a vergonha da lesão.


II – perigo de vida:
         É exclusivamente preterdoloso.


III – debilidade permanente de membro, sentido ou função:
         Debilidade significa enfraquecimento, diminuição da capacidade funcional.
Membro: braços, pernas, mãos e pés.
Sentido: visão, audição, paladar, olfato, tato.
Função: é a atividade inerente a um órgão ou aparelho do corpo humano. No caso de órgãos
duplos a perda de um acarreta debilidade, já dos dois será lesão gravíssima.


IV – aceleração de parto:
         O feto deve nascer com vida, senão será lesão gravíssima e deve ter o conhecimento da
gravidez, senão será só lesão leve.

25
§2º Se resulta:
I – incapacidade permanente para o trabalho;
II – enfermidade incurável;
III – perda ou inutilização de membro, sentido ou função;
IV – deformidade permanente;
V – aborto.
Pena – reclusão de 2 a 8 anos


       O §2º trata da ocorrência de lesões gravíssimas em razão da maior danosidade do
resultado agravador. Com exceção do inciso V (sempre culpa), todas as demais podem ter o
resultado agravador punido a título de dolo ou culpa.


OS INCISOS


I – incapacidade permanente para o trabalho:
       Trata-se de uma incapacidade longa e duradoura, sem previsão de recuperação. Deve ser
uma incapacidade genérica para o trabalho, não necessariamente apenas do trabalho exercido
pela vítima. Exclui, desta forma, a criança e o idoso aposentado.


II – enfermidade incurável:
       Se o tratamento envolver intervenção cirúrgica arriscada ou tratamento incerto se
consuma esse inciso, pois a vítima não é obrigada a passar por tais procedimentos. Enfermidade
incurável é uma doença ainda sem remédio pela medicina atual. Demanda perícia para comprovar
a enfermidade e se esta puder ser fatal, como a AIDS, configurado o animus necandi, pode
configurar tentativa de homicídio. Se após a condenação a medicina evoluir para desenvolver um
tratamento para a enfermidade não caberá mais revisão criminal.


III – perda ou inutilização de membro, sentido ou função:




26
Perda é a ablação, via mutilação ou amputação. Inutilização é quando ele não se presta
mais para funcionar como normalmente se espera. No caso de órgãos duplos, para consumar tem
de perder ou inutilizar ambos.


IV – deformidade permanente:
         Trata-se de um dano estético de grave relevância e visível. Deformar é alterar a forma
original


V – aborto:
         É uma qualificadora preterdolosa. Não se confunde com o artigo 127, 1ª parte, pois aqui
a lesão é querida, já o aborto não é. No artigo 127 o aborto é querido, mas a lesão à gestante
não é.


OBS.: É POSSÍVEL A COEXISTÊNCIA DAS QUALIFICADORAS DO 1º E 2º PARÁGRAFOS, DEVENDO-
SE USAR       AS DO 2º COMO QUALIFICADORAS E AS DO 1º COMO CIRCUNSTÂNCIAS
DESFAVORAVEIS.


Lesão corporal seguida de morte
§3º Se resulta morte e as circunstâncias evidenciam que o agente não quis o resultado, nem
assumiu o risco de produzi-lo:
Pena: reclusão de 4 a 12 anos




         É o homicídio preterdoloso, ou preterintencional. Não admite tentativa, pois não há dolo
no conseqüente. Não há animus necandi, de modo que não vai para JURI. Deve haver
previsibilidade do resultado letal, pois se este resultar a título de fortuito ou por circunstancias
imprevisíveis o agente só responderá pela lesão.
EXEMPLO: agente que empurra o outro de forma a cair em local onde fosse previsível sua morte,
este cai e bate a cabeça em mesa e morre, há vias de fato seguida de morte, assim, como não há
previsão desse crime em nosso ordenamento, o agente responde por homicídio culposo, ficando
as vias de fato absorvidas pelo homicídio culposo.

27
Diminuição de pena
§4º. Se o agente comete o crime impelido por motivo de relevante valor social ou moral ou sob o
domínio de violenta emoção, logo em seguida a injusta provocação da vítima, o juiz pode reduzir a
pena de 1/6 a 1/3.


       Esse privilégio só se aplica as modalidades dolosas do crime de lesões corporais.


Substituição da pena
§5º. O juiz, não sendo graves as lesões, pode ainda substituir a pena de detenção pela de multa:
I – se ocorre qualquer das hipóteses do parágrafo anterior;
II – se as lesões são recíprocas




       Só é cabível para as lesões dolosas simples. Quando fala em lesões recíprocas é porque
ambos entraram em conflito injustamente, como no caso da rixa.


Lesão corporal culposa
§6º. Se a lesão é culposa:
Pena: detenção de 2 meses a 1 ano


       É menor potencial ofensivo, logo vai para o JECRIM. Aplica-se para qualquer tipo de lesão,
se leve, grave ou gravíssima. No caso de lesão decorrente de direção de veículo, vai para o art. 303
do CTB.
       A ação penal nesse caso será pública condicionada.


Aumento de pena
§7º. Aumenta-se a pena de um terço, se ocorrer qualquer das hipóteses do art. 121, §4º.




28
Ocorre no caso de inobservância de regra técnica, oficio ou profissão, se deixar de prestar
socorro, se a vítima for menor de 14 ou maior de 60 anos, se foge do flagrante ou não procura
reduzir o impacto da conduta danosa.


§8º. Aplica-se à lesão culposa o disposto no §5º do art. 121.


       Trata do perdão judicial quando o dano já for suficientemente penoso para seu agente, de
modo que não necessite sofrer uma sanção posterior.


Violência doméstica
§9º se a lesão for praticada contra ascendente, descendente, irmão, cônjuge ou companheiro, ou
com quem conviva ou tenha convivido, ou, ainda, prevalecendo-se o agente das relações
domésticas (não precisa de parentesco), de coabitação (república de estudantes) ou de
hospitalidade (recepção eventual):
Pena: detenção de 3 meses a 3 anos.


       Aqui a vítima também poderá ser o homem. A lesão deve ser leve. Ação penal é
incondicionada, o crime agora não é mais de menor potencial ofensivo em razão da pena máxima
ser superior a 2 anos.
       Ainda existe muita discussão doutrinária sobre o tipo de ação penal nesse caso quando a
mulher for a vítima, pois o delito de lesão leve é de ação pública condicionada, nos termos do art.
88 da lei do Jec, porém o art. 41 da Lei Maria da Penha exclui a aplicação da Lei do Jec para esses
casos de violência.
       Se a vítima for do sexo masculino continuará a ação penal a depender de representação,
pois não se aplicará a Lei Maria da Penha.


       Existe discussão na doutrina sobre quem são as pessoas com quem o agente conviva ou
tenha convivido, se apenas as anteriores (ascendente, descendente, irmão, cônjuge ou
companheiro), ou se qualquer pessoa.




29
§10º Nos casos previstos nos §1º a 3º deste artigo, se as circunstâncias são as indicadas no §9º
deste artigo, aumenta-se a pena em 1/3.


       No caso do §1º em razão do aumento da pena mínima não caberá suspensão condicional
do processo;
       No caso do §2º não caberá sursis;
       No caso do §3º não vai admitir o regime inicial aberto


§11º. Na hipótese do §9º deste artigo, a pena será aumentada de um terço se o crime for
cometido contra pessoa portadora de deficiência.




       Neste caso a pena da lesão leve praticada contra deficiente na situação do §9º é que será
aumentada. Não abrange as lesões grave e gravíssima porque o §9º só trata de lesão leve.
       O conceito de pessoa portadora de deficiência está no Decreto 3298/99, que regulamentou
a lei 7853/89.



                               AULA 6: ART. 130, 131, 133


                      Capítulo 3 do CP: PERICLITAÇÃO DA VIDA E DA SAUDE
Trata de crimes de perigo, abstrato e concreto, para os quais não exige materialidade delitiva,
trabalha-se com o risco, que é o que consuma o crime.
Se for crime de perigo concreto o risco deve ser comprovado pericialmente.
Se for crime de perigo abstrato o risco está presumido no tipo penal.


Perigo de contágio venéreo
Art. 130. Expor alguém, por meio de relações sexuais ou qualquer ato libidinoso, a contágio de
moléstia venérea, de que sabe ou deve saber que está contaminado:
Pena – detenção de 3 meses a 1 ano e multa.
§1º. Se a intenção do agente é transmitir a moléstia:
Pena: reclusão de 1 a 4 anos e multa;
30
§2º. Somente se procede mediante representação.




Sujeito ativo: qualquer pessoa contaminada. É crime de mão própria, de autoria infungível, por
exigir esta qualidade especial do agente.
Sujeito passivo: qualquer pessoa determinada
Bem jurídico tutelado: vida e saúde
Objeto material: pessoa que mantém relação sexual com o contaminado
Elemento objetivo do tipo: expor
Elemento subjetivo do crime: dolo de perigo, direto ou eventual (sabe ou deveria saber)
Elemento subjetivo do tipo especifico: existe apenas na forma qualificada, que tem dolo de dano.
Consumação e tentativa: basta a exposição do risco.
Competência: JECRIM (caput, menor potencial ofensivo), JE (qualificada)
Ação penal: representação do ofendido
OBSERVAÇÕES:


       A ação é vinculada, tem de se dar via contato sexual, se for por outro meio pode ir para o
artigo seguinte.
       AIDS não é moléstia venérea, logo sua transmissão pode tipificar os artigos 121
(homicídio), 129, §3º (lesão grave seguida de morte) ou 131 (contagio de moléstia grave). O STF



31
chegou a analisar o caso mas só fez dizer que não seria caso de homicídio ou sua tentativa, não
dizendo qual crime se cometeria.
        Hipóteses:


I. Caput: assume o risco e não toma precauções (sabe ou deve saber) – dolo de perigo:
-> se houver contaminação só responde pelo art. 130, pois a lesão culposa daí resultante é
penalizada de forma mais elevada que a lesão culposa do art. 129;
-> há doutrina que entende que responderá pela lesão, que pode ser grave, gravíssima, ou resultar
em morte


II. §1º: dolo de dano, quer transmitir:
      Se consegue transmitir, poderá responder pelos arts. 129, §§1º e 2º ou 3º em caso de
        morte;
      Se a morte for dolosa, responderá por homicídio.


Art. 133. Abandonar pessoa que está sob seu cuidado, guarda, vigilância ou autoridade, e, por
qualquer motivo, incapaz de defender-se dos riscos resultantes do abandono:
Pena: detenção de 6 meses a 3 anos.




Sujeito ativo: guarda, protetor ou autoridade designada por lei para garantir a segurança da vítima

32
Sujeito passivo: incapaz de qualquer idade
Bem jurídico tutelado: vida e saúde
Objeto material: incapaz abandonado
Elemento objetivo do tipo: abandonar
Elemento subjetivo do crime: dolo
Elemento subjetivo do tipo específico: não há.
Consumação e tentativa: ocorre com o abandono. Tentativa é possível.
Competência: JE
Ação penal: incondicionada
OBSERVAÇÕES:
       Pode ser praticado por ação ou omissão. Não se confunde com incapacidade civil, podendo
esta ocorrer até quando a pessoa está dormindo.
Cuidado: assistência eventual;
Guarda: assistência duradoura
Vigilância: assistência acauteladora. Ex.: instrutor de rapel e seus alunos
Autoridade: relação de superioridade de direito público ou privado


§1º Se do abandono resulta lesão corporal de natureza grave:
Pena: reclusão de 1 a 5 anos.
§2º. Se resulta morte:
Pena: reclusão de 4 a 12 anos.




       As figuras qualificadas são preterdolosas.


Aumento de pena
§3. As penas cominadas neste artigo aumentam-se de 1/3:
I – se o abandono ocorre em lugar ermo;
II – se o agente é ascendente ou descendente, cônjuge, irmão, tutor ou curador da vítima;
III – se a vítima é maior de 60 anos.



33
O inciso I não implica num local totalmente ermo, sem ninguém, como numa ilha deserta, pois aí
seria meio para execução de homicídio;
O inciso II não abrange união estável, rol é taxativo.
O inciso III foi inserido pelo estatuto do idoso.
       CAPEZ fala da possibilidade de estado de necessidade, quando a mãe é obrigada a
trancar os filhos em casa por absoluta necessidade de ir trabalhar.


Omissão de socorro
Art. 135. Deixar de prestar assistência, quando possível fazê-lo sem risco pessoal, à criança
abandonada ou extraviada, ou à pessoa inválida ou ferida, ao desamparo ou em grave e iminente
perigo; ou não pedir, nesses casos, socorro da autoridade pública:
Pena: detenção de 1 a 6 meses ou multa.
Par[agrafo único: a pena é aumentada da metade se, da omissão resulta lesão corporal de
natureza grave, e triplicada, se resulta morte.




Sujeito ativo: qualquer pessoa. admite coautoria
Sujeito passivo: pessoa inválida, ferida, criança abandonada ou extraviada
Bem jurídico tutelado: vida e saúde
Objeto material: mesmo que sujeito passivo
Elemento objetivo do tipo: deixar de; deixar de pedir.



34
Elemento subjetivo do crime: dolo de perigo abstrato, será de perigo concreto apenas na
hipótese de grave e iminente perigo, onde demandará comprovação do citado perigo.
Elemento subjetivo do tipo específico: não há
Consumação e tentativa: ocorre com a prática da omissão. Tentativa não é possível, crime
omissivo próprio.
Competência: JECRIM
Ação penal: incondicionada
OBSERVAÇÕES:


       O crime não admite coautoria, pois a omissão recai sobre todos, cada um é autor, por lhes
faltar solidariedade. A omissão de socorro aqui a pessoa obrigada a prestar ajuda não se
confunde com quem deu azo a situação de perigo.


OMISSÃO DE SOCORRO MÉDICA:




       Se o omitente tem o dever de evitar o resultado, responderá por este como partícipe,
como no caso do PM que vê colega espancando uma pessoa e nada faz para parar.
       As causas de aumento de pena são preterdolosas.
       Esse artigo poderá ser aplicado aos condutores de veículos automotores que NÃO
tenham se envolvido no acidente que tenha deixado vítimas que precisem ser socorridas.
       Não haverá concurso de crimes quando a situação foi dolosamente provocada pelo agente;
se culposamente provocada, responderá apenas pelo art. 121, §4º ou 129, §7º, sem concurso com
o art. 135, sob pena de bis in idem.
       Para a pena ser majorada deve-se comprovar que no caso concreto a conduta omitida seria
capaz de impedir o resultado mais gravoso.
       A pessoa tem o dever de prestar socorro, ainda que a vítima não queira ser salva.


35
Maus-tratos

    Art. 136 - Expor a perigo a vida ou a saúde de pessoa sob sua autoridade, guarda ou vigilância,
para fim de educação, ensino, tratamento ou custódia, quer privando-a de alimentação ou
cuidados indispensáveis, quer sujeitando-a a trabalho excessivo ou inadequado, quer abusando de
meios de correção ou disciplina:

     Pena - detenção, de dois meses a um ano, ou multa.

     § 1º - Se do fato resulta lesão corporal de natureza grave:

     Pena - reclusão, de um a quatro anos.

     § 2º - Se resulta a morte:

     Pena - reclusão, de quatro a doze anos.

     § 3º - Aumenta-se a pena de um terço, se o crime é praticado contra pessoa menor de 14
(catorze) anos. (Incluído pela Lei nº 8.069, de 1990)




Sujeito ativo: pessoa responsável por outra
Sujeito passivo: pessoa sob autoridade, guarda ou vigilância para fins de educação, tratamento ou
custódia.
Bem jurídico tutelado: vida ou saúde
Objeto material: sujeito passivo



36
Elemento objetivo do tipo: expor a perigo, via privação de alimentação ou cuidados
indispensáveis; trabalho excessivo ou inadequado; ou abusando dos meios de correção e
disciplina.
Elemento subjetivo do crime: dolo
Elemento subjetivo do tipo especifico: vontade de maltratar. Está implícito no tipo, é delito de
tendência.
Consumação e tentativa: se consuma com a exposição a perigo, independente do resultado.
Competência: Jecrim no caput e JE nas figuras preterdolosas.


OUTRAS OBSERVAÇÕES:


Trata-se de um tipo misto alternativo, praticado mediante condutas de forma vinculada. O crime é
próprio.




        No caso de pessoa idosa responderá pelo artigo 99 do Estatuto do Idoso, por força do
princípio da especialidade, porém as penas são exatamente iguais, com a diferença de que lá se
considera como maus tratos a exposição a perigo da saúde psíquica do idoso.
        A distinção para o crime de tortura será casuística, pois exige-se para esta que a vítima
tenha sofrido intenso sofrimento físico ou mental, enquanto que para os maus tratos basta a
provocação do perigo. Na tortura o agente quer causar terror à vítima, já nos maus tratos o agente
atua com abuso do exercício de um direito regular.
        É um crime de perigo concreto (CAPEZ).


Rixa


37
Art. 137 - Participar de rixa, salvo para separar os contendores:

        Pena - detenção, de quinze dias a dois meses, ou multa.

     Parágrafo único - Se ocorre morte ou lesão corporal de natureza grave, aplica-se, pelo fato da
participação na rixa, a pena de detenção, de seis meses a dois anos.




Sujeito ativo: todos os envolvidos
Sujeito passivo: idem
Bem jurídico tutelado: incolumidade física
Objeto material: pessoa que sofre a agressão
Elemento objetivo do tipo: participar de rixa, é um tipo aberto. Deve ter mais de duas pessoas na
rixa.
Elemento subjetivo do crime: dolo de perigo
Elemento subjetivo do tipo específico: animus rixandi
Consumação e tentativa: possível apenas na forma preordenada.
Competência: Jecrim.
OUTRAS OBSERVAÇÕES:
          Capez diz que devem ser no mínimo 3 pessoas. É crime de concurso necessário. Se for
possível a individualização das condutas dos membros da rixa não há de se falar no crime de rixa.
Se houver homicídio e o autor for identificado, responderá pelo 121 + rixa qualificada e os demais
participantes só pela rixa qualificada (há entendimentos de que o que matou ou lesionou
responderia pelo concurso com o crime de rixa simples).




38
Se a lesão ou morte for contra pessoa estranha à rixa, ainda assim se responderá pela sua
forma qualificada, pois os resultados agravadores (que devem ser consumados) devem
necessariamente ser produzidos por uma causa inerente à rixa.
       Em regra não se admite legítima defesa pois todas as agressões são injustas, porém, se
houver uma mudança inesperada nos padrões da contenda (começou no braço e depois um deles
sacou uma arma).
       Não se confunde com crime multitudinário, pois na rixa são todos contra todos, já nesse
outro são todos contra uma pessoa certa (caso de linchamento de um estuprador).
       Quando se pode identificar que os rixosos são dois grupos contrários (gangs de times) que
estão lutando uns contra os outros então não haverá rixa, devendo os grupos responderem pelas
lesões praticadas no outro grupo, mas apenas se os rixosos puderem ser identificados como
membros de um grupo específico.
       A rixa qualificada é um dos últimos resquícios de responsabilidade penal objetiva. Se um
dos rixosos sair antes da lesão ou morte ainda assim responderá pela qualificadora, mas se entrou
depois desse resultado agravador responderá só pela rixa simples.



                               AULA 8: ARTS. 138, 139, 140



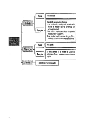
     Calúnia

     Art. 138 - Caluniar alguém, imputando-lhe falsamente fato definido como crime:

     Pena - detenção, de seis meses a dois anos, e multa.

     § 1º - Na mesma pena incorre quem, sabendo falsa a imputação, a propala ou divulga.

     § 2º - É punível a calúnia contra os mortos.

Exceção da verdade

     § 3º - Admite-se a prova da verdade, salvo:

    I - se, constituindo o fato imputado crime de ação privada, o ofendido não foi condenado por
sentença irrecorrível;



39
II - se o fato é imputado a qualquer das pessoas indicadas no nº I do art. 141 (presidente ou
chefe de estado estrangeiro);

     III - se do crime imputado, embora de ação pública, o ofendido foi absolvido por sentença
irrecorrível.




Sujeito ativo: qualquer pessoa
Sujeito passivo: idem, inclusive PJ, desde que a imputação seja sobre crime ambiental.
Bem jurídico tutelado: honra objetiva (é como terceiros vêem a pessoa, sua reputação)
Objeto material: reputação da pessoa
Elemento objetivo do tipo: caluniar (fazer acusação falsa de crime)
Elemento subjetivo do crime: dolo
Elemento subjetivo do tipo especifico: vontade de macular a imagem de alguém
Consumação e tentativa: no momento em que a imputação falsa chega ao conhecimento de
terceiros. Tentativa é possível na forma plurisubsistente.
Competência: Jecrim
Ação penal: somente se procede mediante queixa, com exceção do art. 140, §2º
OUTRAS OBSERVAÇÕES:


       Não cabe exceção da verdade quando envolver presidente da república ou chefe de
governo estrangeiro.
       É crime de dano.



40
Advogado pode cometer calúnia no processo em que atua, só está imune para injuria e
difamação.
       Menores e loucos podem ser vítimas, pois a falsa imputação é sobre fato definido como
crime, que não se confunde com imputar a prática de crime, porém há divergência doutrinária.
       Se a falsa imputação versar sobre contravenção o crime será de difamação e não de
calúnia. É imprescindível que o agente saiba que a acusação é falsa, pois se o fez de boa fé há
erro de tipo essencial que exclui o dolo.
       Tanto a exceção da verdade, como a EXCEÇÃO DE NOTORIEDADE, quando o fato já é de
conhecimento público, são possíveis.
       A calúnia difere da DENUNCIAÇÃO CALUNIOSA porque nesta a acusação falsa faz
movimentar a máquina estatal, instaura-se IP, inquérito civil ou algum tipo de apuração
administrativa.
       É possível calúnia por imputação verdadeira de fato definido como crime nas hipóteses
em que não cabe exceção da verdade, mas é discutível pois em tese violaria a ampla defesa.


Difamação

     Art. 139 - Difamar alguém, imputando-lhe fato ofensivo à sua reputação:

     Pena - detenção, de três meses a um ano, e multa.

 Exceção da verdade

    Parágrafo único - A exceção da verdade somente se admite se o ofendido é funcionário
público e a ofensa é relativa ao exercício de suas funções.




Sujeito ativo: qualquer pessoa
41
Sujeito passivo: qualquer pessoa, inclusive jurídica. Os mortos não sofrem difamação, só pela
impresa.
Bem jurídico tutelado: honra objetiva
Objeto material: reputação
Elemento objetivo do tipo: ato de difamar (falar que fez algo ofensivo a reputação, seja verdadeiro
ou falso)
Elemento subjetivo do crime: dolo
Elemento subjetivo do tipo especifico: animus difamandi
Consumação e tentativa: igual a calunia
Ação penal: idem
Competência: idem


Injúria

     Art. 140 - Injuriar alguém, ofendendo-lhe a dignidade ou o decoro:

     Pena - detenção, de um a seis meses, ou multa.

     § 1º - O juiz pode deixar de aplicar a pena:

     I - quando o ofendido, de forma reprovável, provocou diretamente a injúria;

     II - no caso de retorsão imediata, que consista em outra injúria.

   § 2º - Se a injúria consiste em violência ou vias de fato, que, por sua natureza ou pelo meio
empregado, se considerem aviltantes: (injuria real)

     Pena - detenção, de três meses a um ano, e multa, além da pena correspondente à violência.

    § 3o Se a injúria consiste na utilização de elementos referentes a raça, cor, etnia, religião,
origem ou a condição de pessoa idosa ou portadora de deficiência: (Redação dada pela Lei nº
10.741, de 2003)

     Pena - reclusão de um a três anos e multa. (Incluído pela Lei nº 9.459, de 1997)




42
Sujeito ativo: qualquer pessoa
Sujeito passivo: só PF. Deve ter noção da ofensa, se não tiver capacidade mental para tanto, não é
sujeito passivo.
Bem jurídico tutelado: honra subjetiva (autoimagem)
Objeto material: autoestima da pessoa
Elemento objetivo do tipo: ato de ofender
Elemento subjetivo do crime: dolo
Elemento subjetivo do tipo especifico: vontade especifica de ofender, magoar alguém.
Consumação e tentativa: igual aos anteriores
Ação penal: regra é a ação penal privada, será incondicionada na injuria real (se resultar lesão
corporal); condicionada a requisição do MJ quando praticada contra presidente ou chefe de
estado estrangeiro e condicionada a representação no caso do funcionário público ofendido (e a
ofensa for dirigida as suas funções) e no caso da injuria qualificada pelo preconceito.




43
OUTRAS OBSERVAÇÕES:
       Não confundir a injuria qualificada pelo preconceito com o crime de racismo, da lei
7716/89, pois neste se pressupõe uma espécie de segregação em função de raça ou cor.
Não cabe perdão judicial na forma qualificada, pois não há como responder na mesma medida a
uma afirmação preconceituosa.
Não cabe exceção da verdade por omissão no tipo.
       A injuria real implica em agressões que visem humilhar a vítima, seja por lesões (aí haverá
concurso material) ou vias de fato.
       INJÚRIA NÃO SE CONFUNDE COM DESACATO. Se a ofensa foi praticada na presença do
funcionário público, no exercício da função ou em razão dela, o crime será de desacato, já a injúria
a ofensa não é lançada na presença do funcionário, mas é relacionada com sua função.
       A imunidade material dos parlamentares é sobre suas opiniões, palavras e votos, desde
que relacionadas com suas funções, não abrangendo manifestações desprovidas de conexão ou
desarrazoadas.
Doentes mentais e menores de 18 anos podem ser sujeito passivo de crimes contra a honra, mas
desde que, no caso dos menores, tenham condições de entender a ofensa que está sendo feita
(injuria, já calunia e difamação, que afetam a honra objetiva, podem ser vítima claramente, já que
podem não ser culpáveis, mas podem praticar fato típico e ilícito).


44
45
AULA 9: ARTS. 146, 147, 148



     Constrangimento ilegal

     Art. 146 - Constranger alguém, mediante violência ou grave ameaça, ou depois de lhe haver
reduzido, por qualquer outro meio, a capacidade de resistência, a não fazer o que a lei permite, ou
a fazer o que ela não manda:

     Pena - detenção, de três meses a um ano, ou multa.

     Aumento de pena (terceira fase do critério trifásico)

    § 1º - As penas aplicam-se cumulativamente (detenção + multa) e em dobro, quando, para a
execução do crime, se reúnem mais de três pessoas, ou há emprego de armas.

     § 2º - Além das penas cominadas, aplicam-se as correspondentes à violência.

     § 3º - Não se compreendem na disposição deste artigo:

    I - a intervenção médica ou cirúrgica, sem o consentimento do paciente ou de seu
representante legal, se justificada por iminente perigo de vida;
46
II - a coação exercida para impedir suicídio.

Sujeito ativo: qualquer pessoa
Sujeito passivo: pessoa determinada. Comum
Bem jurídico tutelado: liberdade individual
Objeto material: pessoa vítima do constrangimento
Elemento objetivo do tipo: constranger a não fazer o que a lei permite; ou constranger a fazer o
que a lei não manda
Elemento subjetivo do tipo especifico: não há
Elemento subjetivo do crime: dolo
Consumação e tentativa: ocorre com a realização de algo ou omissão mediante o
constrangimento.
Ação penal: incondicionada
Competência: Jecrim.
OUTRAS OBSERVAÇÕES:




       Trata-se de um delito SUBSIDIÁRIO. Se a coação for praticada por funcionário público no
exercício da função poderá configurar abuso de autoridade.
O constrangimento pode se dar mediante violência, grave ameaça ou violência imprópria
(qualquer outro meio que reduza a capacidade de resistência da vítima). Se essa sujeição for
legítima, tipificará o crime de exercício arbitrário das próprias razões.



47
A arma empregada, nesse caso, tem um sentido lato. Para Capez, o emprego de arma de
fogo, seja de uso restrito ou permitido, apesar de cominarem penas mais graves, por se tratarem
de crime meio, ficam absorvidos pelo constrangimento, que é crime fim (apesar de ter sanção
mais leve). CLEBER MASSON DISCORDA, diz que haverá concurso material.
                   HABEAS CORPUS. PROCESSUAL PENAL. PORTE DE ARMA E CONSTRANGIMENTO
                   ILEGAL.        CRIME DE MENOR POTENCIAL OFENSIVO C/C CRIME COMUM.
                   SOMATÓRIO DAS PENAS SUPERIOR A DOIS ANOS. CONCURSO MATERIAL.
                   CONFLITO NEGATIVO. COMPETÊNCIA DO JUÍZO COMUM. ORDEM DENEGADA.
                   1. O parágrafo único do art. 2º da Lei n.º 10.259/2001 ampliou a definição de
                   crimes de menor potencial ofensivo, porquanto, além de ausentes as exceções
                   elencadas no art. 61 da Lei n.º 9.099/95, foi alterado o limite da pena máxima
                   abstratamente cominada para 02 (dois) anos, sem distinção entre crimes da
                   competência da Justiça Estadual ou Federal. Precedentes do STJ.
                   2. Verificando-se que o somatório das penas máximas cominadas em abstrato
                   ultrapassa o limite de 2 (dois) anos, imposto pelo art. 2º, parágrafo único, da Lei
                   n.º 10.259/01, impõe-se a fixação da competência da 1ª Vara Criminal da
                   Comarca de Campos dos Goytacazes.
                   3. Ordem a que se DENEGA.
                   (HC 36.635/RJ, Rel. Ministro PAULO MEDINA, SEXTA TURMA, julgado em
                   18/08/2005, DJ 19/09/2005, p. 388)


         A grave ameaça não precisa estar relacionada com um mal injusto, devendo ser relevante,
certa, verossímil, iminente, inevitável.
CONSTRANGIMENTO E TORTURA: difere desta porque o tipo penal da tortura explicita os atos a
que a vítima está obrigada a realizar e, além disso, há uma submissão da vítima a intenso,
extremado, sofrimento físico ou mental.
         O   §3º   trata     de    causas   excludentes   de   tipicidade   (CAPEZ/NUCCI)/   ilicitude
(MASSON/SANCHEZ). Independente de se optar por uma ou outra corrente, ambas excluem o
crime.




48
Ameaça

    Art. 147 - Ameaçar alguém, por palavra, escrito ou gesto, ou qualquer outro meio simbólico,
de causar-lhe mal injusto e grave:

     Pena - detenção, de um a seis meses, ou multa.

     Parágrafo único - Somente se procede mediante representação.




Sujeito ativo: qualquer pessoa
Sujeito passivo: idem, desde que com capacidade de entendimento do mal.
Bem jurídico tutelado: liberdade individual
Objeto material: pessoa ameaçada
Elemento objetivo do tipo: o ato de ameaçar. Forma livre. Mal deve ser injusto e grave (sério,
verossímil, factível).
Elemento subjetivo do crime: dolo
Elemento subjetivo do tipo especifico: não há
Ação penal: publica condicionada a representação
Consumação e tentativa: com a realização do ato ameaçador.
Competência: JECRIM
OUTRAS OBSERVAÇÕES:


        Difere do anterior porque aqui o mal deve ser INJUSTO E GRAVE, já no constrangimento
basta ser grave, podendo ser justo. O estado de embriaguez não exclui o crime.
49
O mal deve ser futuro, por se for atual pode ser considerado já como ato executório de
outro crime.



Seqüestro e cárcere privado

     Art. 148 - Privar alguém de sua liberdade, mediante seqüestro ou cárcere privado:

     Pena - reclusão, de um a três anos.

     § 1º - A pena é de reclusão, de dois a cinco anos:

     I – se a vítima é ascendente, descendente, cônjuge ou companheiro do agente ou maior de 60
(sessenta) anos; (Redação dada pela Lei nº 11.106, de 2005)

     II - se o crime é praticado mediante internação da vítima em casa de saúde ou hospital;
(internação fraudulenta)

     III - se a privação da liberdade dura mais de quinze dias.

    IV – se o crime é praticado contra menor de 18 (dezoito) anos; (Incluído pela Lei nº 11.106, de
2005)

     V – se o crime é praticado com fins libidinosos. (Incluído pela Lei nº 11.106, de 2005). Pode
ser praticado em concurso material com estupro. Substituiu o revogado crime de rapto.

     § 2º - Se resulta à vítima, em razão de maus-tratos ou da natureza da detenção, grave
sofrimento físico ou moral:

     Pena - reclusão, de dois a oito anos.




50
Sujeito ativo: qualquer pessoa
Sujeito passivo: qualquer pessoa
Bem jurídico tutelado: liberdade individual
Objeto material: pessoa vítima
Elemento objetivo do tipo: privação de liberdade
Elemento subjetivo do crime: dolo
Elemento subjetivo do tipo especifico: não há. O Inciso V possui, finalidade libidinosa.
Competência: JE
Ação penal: incondicionada
OUTRAS OBSERVAÇÕES:
Sempre quando há mais de uma qualificadora a segunda passa a ser usada como circunstância
judicial ou legal (agravante).
Tratam-se de formas de privação da liberdade de locomoção. Sendo praticado por funcionário
público haverá abuso de autoridade.
A diferença do seqüestro para o cárcere privado é que neste se implica um confinamento espacial
maior (cárcere vem de calabouço, cela). Pode ser cometido tanto por detenção, como por
retenção (não deixar a vítima sair de casa).
Se o propósito do seqüestro será a obtenção de vantagem, o crime será outro, de extorsão
mediante seqüestro. Se a retenção da pessoa tiver em vista um direito legítimo, o caso será de
exercício arbitrário das próprias razões.


51
O seqüestro libidinoso só existirá em concurso material com estupro se a privação da liberdade
não durar apenas o tempo necessário para o estupro.



Redução a condição análoga à de escravo

     Art. 149. Reduzir alguém a condição análoga à de escravo, quer submetendo-o a trabalhos
forçados ou a jornada exaustiva, quer sujeitando-o a condições degradantes de trabalho, quer
restringindo, por qualquer meio, sua locomoção em razão de dívida contraída com o empregador
ou preposto: (Redação dada pela Lei nº 10.803, de 11.12.2003)

      Pena - reclusão, de dois a oito anos, e multa, além da pena correspondente à
violência. (Redação dada pela Lei nº 10.803, de 11.12.2003)

     § 1o Nas mesmas penas incorre quem: (Incluído pela Lei nº 10.803, de 11.12.2003)

     I – cerceia o uso de qualquer meio de transporte por parte do trabalhador, com o fim de retê-
lo no local de trabalho; (Incluído pela Lei nº 10.803, de 11.12.2003)

    II – mantém vigilância ostensiva no local de trabalho ou se apodera de documentos ou objetos
pessoais do trabalhador, com o fim de retê-lo no local de trabalho. (Incluído pela Lei nº 10.803, de
11.12.2003)

    § 2o A pena é aumentada de metade, se o crime é cometido: (Incluído pela Lei nº 10.803, de
11.12.2003)

     I – contra criança (12 anos incompletos) ou adolescente (entre 12 e 18 anos
incompletos)(; (Incluído pela Lei nº 10.803, de 11.12.2003)

    II – por motivo de preconceito de raça, cor, etnia, religião ou origem. (Incluído pela Lei nº
10.803, de 11.12.2003)

Sujeito ativo: qualquer pessoa (em regra empregador)
Sujeito passivo: idem (em regra empregado)
Bem jurídico tutelado: liberdade individual (status libertatis)
Objeto material: pessoa vítima
Elemento objetivo do tipo: reduzir alguém à condição similar a de escravo. Subjugar. Deve haver a
supressão de vontade da vítima.
Elemento subjetivo do crime: dolo
Elemento subjetivo do tipo especifico: presente no §1º, I e II
Consumação e tentativa: ocorre com a perda da liberdade de ir e vir. Não precisa de maus tratos.

52
Ação penal: incondicionada
Competência: JE. Só irá pra JF se vier junto com algum crime contra a organização do trabalho
(desde que a ofensa seja a direitos dos trabalhadores considerados coletivamente)




OUTRAS OBSERVAÇÕES:
       A figura qualificada por motivo de preconceito se equipara ao racismo, de modo que é
também imprescritível.
       O crime é de forma vinculada, pois o tipo já explicita a forma do seu cometimento.
       Também é conhecido como PLAGIO, denominação essa que remonta ao Direito Romano,
que vedava a escravidão de homem livre e o comércio de escravo alheio, chamado de plagium.


Violação de domicílio

     Art. 150 - Entrar ou permanecer, clandestina ou astuciosamente, ou contra a vontade
expressa ou tácita de quem de direito, em casa alheia ou em suas dependências:

     Pena - detenção, de um a três meses, ou multa.

     § 1º - Se o crime é cometido durante a noite, ou em lugar ermo, ou com o emprego de
violência ou de arma, ou por duas ou mais pessoas:

     Pena - detenção, de seis meses a dois anos, além da pena correspondente à violência.

    § 2º - Aumenta-se a pena de um terço, se o fato é cometido por funcionário público, fora
dos casos legais, ou com inobservância das formalidades estabelecidas em lei, ou com abuso do
poder.

    § 3º - Não constitui crime a entrada ou permanência em casa alheia ou em suas
dependências: (causa especial de exclusão da ilicitude)
53
I - durante o dia, com observância das formalidades legais, para efetuar prisão ou outra
diligência;

    II - a qualquer hora do dia ou da noite, quando algum crime está sendo ali praticado ou na
iminência de o ser (essa parte não foi recepcionada, só pode entrar em caso de flagrância)

     § 4º - A expressão "casa" compreende:

     I - qualquer compartimento habitado;

     II - aposento ocupado de habitação coletiva;

     III - compartimento não aberto ao público, onde alguém exerce profissão ou atividade.

     § 5º - Não se compreendem na expressão "casa":

     I - hospedaria, estalagem ou qualquer outra habitação coletiva, enquanto aberta, salvo a
restrição do n.º II do parágrafo anterior;

     II - taverna, casa de jogo e outras do mesmo gênero.




Sujeito ativo: qualquer pessoa
Sujeito passivo: aquela que tem o direito de comandar quem entra, sai ou permanece no lugar
invadido
Bem jurídico tutelado: inviolabilidade de domicílio. Tranqüilidade doméstica (MASSON)
Objeto material: a casa invadida
Elemento objetivo do tipo: entrar ou permanecer

54
Elemento subjetivo do crime: dolo
Elemento subjetivo do tipo específico: não há
Consumação e tentativa: quando a conduta é praticada
Ação penal: incondicionada
Competência: Jecrim
OUTRAS OBSERVAÇÕES:
         A entrada pode ser clandestina (as escondidas); astuciosa (engana pra entrar); ostensiva
(vai na ignorância mesmo)
         O §2º não é mais aplicado em razão do advento da lei de abuso de autoridade (NUCCI).
         Não tutela o ingresso em imóvel abandonado, quando aí se poderá falar em esbulho
possessório, logo CASA DESABITADA NÃO É O MESMO QUE CASA SEM MORADORES. É tipo misto
alternativo, logo, se entrar e permanecer, responde por um só crime.
         O conceito de domicílio, para o direito penal, não é o mesmo do direito civil. Não é
necessário que haja o ânimo definitivo de morar, basta que esteja lá no local e tenha o poder de
dizer quem entra, permanece e sai.
         Quando fala em qualquer compartimento habitado pode abranger até automóveis
(caminhão, trailer).
         No caso de propriedade comum, prevalece a vontade de quem está proibindo, pois haveria
o crime de invasão de domicílio em relação a este. Não há este crime quando a invasão da casa é
para fugir da polícia por faltar o dolo.
CONCEITO DE NOITE: não é unânime. Para José Afonso da Silva vai das 18hs as 6hs. Celso de
Mello sustenta o critério astrofísico, considerando noite o intervalo de tempo situado entre a
aurora e o crepúsculo. O que vale, portanto, é a existência de luz solar.



                                         AULA 11: ART. 155, 157




                                            CRIMES CONTRA O PATRIMÔNIO

FURTO

     Art. 155 - Subtrair, para si ou para outrem, coisa alheia móvel:

55
Pena - reclusão, de um a quatro anos, e multa.

     § 1º - A pena aumenta-se de um terço, se o crime é praticado durante o repouso noturno.

    § 2º - Se o criminoso é primário, e é de pequeno valor a coisa furtada, o juiz pode substituir a
pena de reclusão pela de detenção, diminuí-la de um a dois terços, ou aplicar somente a pena de
multa.

    § 3º - Equipara-se à coisa móvel a energia elétrica ou qualquer outra que tenha valor
econômico.

     Furto qualificado

     § 4º - A pena é de reclusão de dois a oito anos, e multa, se o crime é cometido:

     I - com destruição ou rompimento de obstáculo à subtração da coisa;

     II - com abuso de confiança, ou mediante fraude, escalada ou destreza;

     III - com emprego de chave falsa;

     IV - mediante concurso de duas ou mais pessoas.

    § 5º - A pena é de reclusão de três a oito anos, se a subtração for de veículo automotor que
venha a ser transportado para outro Estado ou para o exterior. (Incluído pela Lei nº 9.426, de 1996)




56
Sujeito ativo: qualquer pessoa


Sujeito passivo: idem. Em caso de ladrão que rouba ladrão a vítima é o proprietário original e não
quem primeiro roubou ou furtou.


Bem jurídico tutelado: patrimônio da vítima, seja propriedade ou posse, mas não detenção
(NUCCI). Deve ser uma posse vigiada, sob pena de recair no tipo de apropriação indébita. Objetos
pessoais, de valor sentimental, também podem ser objeto de furto.


Objeto material: patrimônio furtado. Não abrangem coisas abandonadas, perdidas ou que não
tenham dono. Furto de gado = abigeato. Cadáver que não tenha valor econômico não pode ser
objeto de furto (exceção: faculdades, múmias). Famulato: furto praticado por pessoas que tem a
detenção da coisa, geralmente empregados domésticos.


Elemento objetivo do tipo: subtrair (animus furandi)


Elemento subjetivo do crime: dolo


Elemento subjetivo do tipo específico: ânimo de apossamento definitivo


Consumação e tentativa: consumação tem momentos discutíveis na doutrina, se deve haver a
posse mansa e pacífica pelo agente ou se basta o ato de subtrair.

Competência: JE


Ação penal: incondicionada


OUTRAS OBSERVAÇÕES:


TIPOS DE FURTO EXISTENTES:
- caput -> furto simples;
- §1º -> majorado pelo repouso noturno;
- §2º -> privilégio;
- §3º -> cláusula de equiparação;

- §4º e §5º -> qualificadora.
57
FURTO DE USO:
Requisitos cumulativos:
a) intenção, desde o início, de uso momentâneo da coisa subtraída;
b) coisa não consumível; Deve ser infungível, logo não cabe furto de uso para dinheiro.
c) restituição imediata e integral à vítima;
Obs.: no que se refere aos veículos, a jurisprudência moderna não impede a caracterização do
furto de uso em razão do gasto da gasolina, pastilha de freio, etc.

FURTO FAMÉLICO:
        Configura forma especial de estado de necessidade e deve observar os seguintes
requisitos:
a) fato praticado para mitigar a fome;

b) inevitabilidade do comportamento lesivo;


c) subtração de coisa capaz de diretamente contornar a emergência;

d) insuficiência dos recursos adquiridos ou impossibilidade de trabalhar;

FURTO E PRINCÍPIO DA INSIGNIFICÂNCIA:


De minimus non curat praetor.


Funciona como causa de exclusão da tipicidade, logo o fato não configura crime, e tem como
requisitos:


I. Objetivos: mínima ofensividade da conduta; ausência de periculosidade social; reduzido grau de
reprovabilidade do comportamento; inexpressividade da lesão jurídica.


II. Subjetivos: Importância do objeto material para a vítima (situação econômica + valor
sentimental); circunstâncias e resultados do crime.


       Para MASSON pode ser aplicado para o furto qualificado.


TEORIAS PARA A CONSUMAÇÃO DO FURTO:


1ª Corrente -> Teoria da Contrectacio: a consumação se dá pelo simples contato entre o agente e
a coisa alheia, dispensando o seu deslocamento;
2ª Corrente STJ & STF-> Teoria da Amotio (Apprehensio): a consumação ocorre quando a coisa
subtraída passa para o poder do agente, perdendo a vítima sua disponibilidade, mesmo que em


58
um curto espaço de tempo, independentemente de deslocamento ou posse pacífica. Tese
institucional do MPSP.
3ª Corrente -> Teoria da Ablatio: a consumação ocorre quando o agente, depois de apoderar-se da
coisa, consegue deslocá-la de um lugar para outro;

4ª Corrente -> Teoria da Ilacio: a consumação pressupõe apoderamento, deslocamento e posse
mansa e pacífica da coisa.


CASO PRÁTICO: AGENTE FURTA E DEPOIS VENDE PARA TERCEIRO DE BOA FÉ: responderá por
furto em concurso material com o crime de disposição de coisa alheia como própria, pois tem-se
aí duas vítimas diferentes com condutas distintas (subtração e fraude), de modo que não dá
para aplicar a consunção. Há julgados que aplicam concurso material do furto com estelionato
(SANCHEZ).


DIFERENÇA DO FURTO PARA RECEPTAÇÃO E FAVORECIMENTO REAL:


                 Receptação


                      Art. 180 - Adquirir, receber, transportar, conduzir ou ocultar, em proveito
                 próprio ou alheio, coisa que sabe ser produto de crime, ou influir para que
                 terceiro, de boa-fé, a adquira, receba ou oculte: (Redação dada pela Lei nº 9.426,
                 de 1996)


                      Favorecimento real


                       Art. 349 - Prestar a criminoso, fora dos casos de co-autoria ou de
                 receptação, auxílio destinado a tornar seguro o proveito do crime:


OBS.: QUANDO ADERE A UMA CONDUTA ANTES DELA TER SIDO PRATICADA ESTARÁ
FUNCIONANDO COMO PARTÍCIPE NO CRIME DE FURTO. A DIFERENÇA DO FURTO PARA O
FAVORECIMENTO REAL DIZ RESPEITO AO TEMPO EM QUE A PESSOA ADERE À CONDUTA
DELITUOSA. NO FAVORECIMENTO A ADERÊNCIA OCORRE APÓS O COMETIMENTO DO FURTO.


OBS.: NA RECEPTAÇÃO A PESSOA NÃO RECEBE A COISA PARA AJUDAR QUEM A FURTOU, MAS EM
BENEFÍCIO PRÓPRIO OU ALHEIO. QUALQUER PESSOA QUE NÃO O CRIMINOSO.


59
FURTO PRATICADO DURANTE O REPOUSO NOTURNO – art. 155, §1º


       A pena será aumentada em 1/3. Os costumes são fonte formal mediata, poderá auxiliar
para interpretar o que é repouso noturno. É IRRELEVANTE O FATO DE SE TRATAR DE
ESTABELECIMENTO COMERCIAL OU DE RESIDÊNCIA, HABITADA OU DESABITADA, BEM COMO O
FATO DE A VÍTIMA ESTAR OU NÃO REPOUSANDO (STJ HC 29153)


                 CRIMINAL. HC. FURTO. CAUSA ESPECIAL DE AUMENTO. REPOUSO NOTURNO.
                 ESTABELECIMENTO COMERCIAL. LOCAL DESABITADO. IRRELEVÂNCIA. ORDEM
                 DENEGADA. Para a incidência da causa especial de aumento prevista no § 1º do
                 art. 155 do Código Penal, é suficiente que a infração ocorra durante o repouso
                 noturno, período de maior vulnerabilidade para as residências, lojas e veículos.
                 É irrelevante o fato de se tratar de estabelecimento comercial ou de residência,
                 habitada ou desabitada, bem como o fato de a vítima estar, ou não,
                 efetivamente repousando. Ordem denegada.
                 (HC 29153/MS, Rel. Ministro GILSON DIPP, QUINTA TURMA, julgado em
                 02.10.2003, DJ 03.11.2003 p. 335)

FURTO PRIVILEGIADO – art. 155, §2º


                     § 2º - Se o criminoso é primário, e é de pequeno valor a coisa furtada, o juiz
                 pode substituir a pena de reclusão pela de detenção, diminuí-la de um a dois
                 terços, ou aplicar somente a pena de multa.


I – primariedade do acusado


II – coisa deve ser de pequeno valor (até um salário mínimo)

CONSEQUÊNCIA: diminuição da pena ou substituição pela pena de detenção.


       Presentes os requisitos, o privilégio será direito subjetivo do acusado


       Para deixar de ser primário deve estar claro que houve sentença condenatória com trânsito
em julgado


60
DUVIDA: ESSE PARÁGRAFO SEGUNDO APLICA-SE AO FURTO QUALIFICADO? Posição antiga do
Supremo:

      Não é possível a aplicação do parágrafo segundo do artigo 155 nas hipóteses de furto
qualificado (STF RE 94301). Cuidado com o teor do informativo 519:

                       Princípio da Insignificância e Inaplicabilidade - 1


                Por reputar típica a conduta e, nessa qualidade, relevante na seara penal, a
                Turma denegou ordem de habeas corpus em que pretendido o restabelecimento
                de acórdão do tribunal local que, ao aplicar o princípio da insignificância,
                absolvera condenado em 1º grau por furto qualificado (CP, art. 155, § 4º, IV). A
                impetração observava que o valor do bem furtado (R$ 150,00) seria ínfimo,
                irrisório e, portanto, inábil à causação de prejuízo patrimonial. Registrou-se que
                para a incidência do aludido princípio não deve ser considerado apenas o valor
                subtraído (ou pretendido à subtração), pois, do contrário, deixaria de haver a
                modalidade tentada de vários delitos, bem como desapareceria do ordenamento
                jurídico a figura do furto privilegiado (CP, art. 155, § 2º). No ponto, enfatizou-se
                que o princípio da insignificância tem como vetores: a) a mínima ofensividade da
                conduta do agente; b) a nenhuma periculosidade social da ação; c) o reduzido
                grau de reprovabilidade do comportamento; e d) a inexpressividade da lesão
                jurídica provocada. No entanto, entendeu-se que, no caso, as citadas diretrizes
                não se fazem simultaneamente presentes, haja vista que a lesão se revelou
                significante não apenas em razão do valor do bem subtraído, mas
                principalmente em virtude do concurso de pessoas para a prática do crime.
                Desse modo, concluiu-se não ter sido mínima a ofensividade da conduta do
                paciente.
                HC 94765/RS, rel. Min. Ellen Gracie, 9.9.2008. (HC-94765)

                Qualificadoras e Privilégio: Compatibilidade - 2


                Em seguida, salientou-se a compatibilidade, em determinadas hipóteses, da
                incidência do art. 155, § 2º, do CP, ao furto qualificado (“Art. 155. ... § 2º - Se o

61
criminoso é primário, e é de pequeno valor a coisa furtada, o juiz pode
                 substituir a pena de reclusão pela de detenção, diminuí-la de um a dois terços,
                 ou aplicar somente a pena de multa.”). Tendo isso em conta, bem como a
                 primariedade do paciente, o pequeno valor da coisa furtada e a ausência de
                 circunstâncias judiciais desfavoráveis (CP, art. 59), concedeu-se, de ofício, o writ
                 para se reduzir a pena-base, fixada em 2 anos, em 2/3 (CP, art. 155, § 2º), o que
                 conduz à pena corporal de 8 meses, tornada definitiva. Ademais, diante da regra
                 contida no art. 44, § 2º, do CP, esclareceu-se que a substituição da pena privativa
                 de liberdade por uma restritiva de direito, consistente na prestação de serviços à
                 comunidade, será feita na forma a ser definida pelo juízo das execuções
                 criminais, no tempo estabelecido para a pena privativa de liberdade. Afastou-se,
                 por fim, a substituição da pena corporal por multa (CP, art. 44, § 2º, 1ª parte) ou
                 a imposição de somente pena de multa (CP, art. 155, § 2º, parte final), em face
                 da circunstância de haver a qualificadora do inciso IV do § 4º do art. 155 do CP.
                 HC 94765/RS, rel. Min. Ellen Gracie, 9.9.2008. (HC-94765)

       Supremo entendeu que não cabe a aplicação do princípio da insignificância na hipótese
de crime qualificado em razão do desvalor da conduta (HC 94765/RS).

       É possível o furto privilegiado ser aplicado para o furto praticado durante o repouso
noturno.

FURTO DE ENERGIA – art. 155, §3º

                 § 3º - Equipara-se à coisa móvel a energia elétrica ou qualquer outra que tenha
                 valor econômico.

DUVIDA: O GATO É ESTELIONATO OU É FURTO? A adulteração do medidor caracteriza estelionato
(se vale de fraude para induzir a erro a concessionária), ao passo que o chamado gato
caracteriza furto.

OBS.: SUBTRAÇÃO DE SINAL DE TV A CABO É FURTO? Para Bitencourt o sinal de TV a cabo não é
energia, que não se consume com o uso, logo não configuraria, é minoritário. Para o STJ
caracteriza o crime de furto (STJ HC 17867)


62
CRIMINAL. HC. RECEPTAÇÃO DE SINAL DE TV A CABO. NET. LIGAÇÃO
               CLANDESTINA. FURTO DE COISA ALHEIA MÓVEL. TRANCAMENTO DE AÇÃO
               PENAL PELA ATIPICIDADE DA CONDUTA. AUTORIA E MATERIALIDADE
               DEMONSTRADAS, EM TESE. AUSÊNCIA DE JUSTA CAUSA NÃO-EVIDENCIADA DE
               PLANO.
               IMPROPRIEDADE DO WRIT. ORDEM DENEGADA.
               I. Inexistência de imprecisão quanto aos fatos atribuídos aos pacientes,
               devidamente amparados em elementos de prova – tanto que houve sua
               condenação nas instâncias ordinárias, estando os autos em vias de serem
               remetidos para apreciação de recurso perante o Tribunal a quo.
               II. Denúncia imputando ao paciente a subtração, em tese, de coisa alheia
               móvel, consistente em energia elétrica de sinal de áudio e vídeo da empresa
               "NET São Paulo LTDA".
               III. Indícios apontando o uso irregular de sinas de TV a Cabo por um período de
               cerca de 01 ano e 09 meses, sem o pagamento da taxa de assinatura ou as
               mensalidades pelo uso, apesar da cientificação pela empresa vítima da
               irregularidade da forma como recebiam o sinal, tendo sido refeita, inclusiva, a
               ligação clandestina após a primeira desativação pela NET.
               IV. A falta de justa causa para a ação penal só pode ser reconhecida quando, de
               pronto, sem a necessidade de exame valorativo dos elementos dos autos,
               evidenciar-se a atipicidade do fato, a ausência de indícios a fundamentarem a
               acusação ou, ainda, a extinção da punibilidade.
               V. O habeas corpus constitui-se em meio impróprio para a análise de questões
               que exijam o exame do conjunto fático-probatório tendo em vista a incabível
               dilação que se faria necessária.
               VI. Ordem denegada.
               (HC 17867/SP, Rel. Ministro GILSON DIPP, QUINTA TURMA, julgado em
               17.12.2002, DJ 17.03.2003 p. 243)


      CUIDADO COM O FURTO DE “ENERGIA GENÉTICA” (tem valor econômico), como no caso
do sêmen de animais reprodutores famosos.


63
FURTO QUALIFICADO: (§4º)


      Para os tribunais não é dado ao Poder judiciário, a título de proporcionalidade ou isonomia,
aplicar ao furto qualificado o quantum de majoração previsto para o delito de roubo. STF RE
358315


                RE 358315 / MG - MINAS GERAIS
                RECURSO EXTRAORDINÁRIO
                Relator(a): Min. ELLEN GRACIE
                Julgamento: 12/08/2003          Órgão Julgador: Segunda Turma

                Ementa


                RECURSO EXTRAORDINÁRIO CRIMINAL. ANÁLISE SOBRE O FURTO E O ROUBO.
                CONCURSO DE PESSOAS. PROPORCIONALIDADE ENTRE AS RESPECTIVAS
                PENAS. Sob o pretexto de ofensa ao artigo 5º, caput, da Constituição Federal
                (princípios da igualdade e da proporcionalidade), não pode o Judiciário exercer
                juízo de valor sobre o quantum da sanção penal estipulada no preceito
                secundário, sob pena de usurpação da atividade legiferante e, por via de
                conseqüência, incorrer em violação ao princípio da separação dos poderes. Ao
                Poder Legislativo cabe a adoção de política criminal, em que se estabelece a
                quantidade de pena em abstrato que recairá sobre o transgressor de norma
                penal. Recurso Extraordinário conhecido e desprovido.


REQUISITOS:


I – Destruição ou rompimento de obstáculo para a subtração da coisa (§4º, I): Obstáculo é tudo
aquilo que for colocado com finalidade de proteção. Para o STF a violência deve ser aplicada
contra obstáculo que dificulta sua subtração e não contra a própria coisa. A VIOLÊNCIA SOBRE A
COISA DEVE OCORRER ANTES DA CONSUMAÇÃO DO CRIME DE FURTO. SE OCORRER DEPOIS O
AGENTE RESPONDE PELO CRIME DE DANO.



64
II – Abuso de confiança, ou mediante fraude, destreza ou escalada: deve existir confiança
incomum.
ABUSO DE CONFIANÇA                                 APROPRIAÇÃO INDÉBITA
o agente tem mero contato com a coisa (ainda       o agente exerce a posse em nome
que tenha posse, é uma posse vigiada);             de outrem (posse desvigiada);
a vontade de praticar o crime é anterior a         - a vontade de praticar o crime é
posse (dolo antecedente a posse);                  posterior    a     posse      (dolo
                                                   superveniente a posse);




FURTO MEDIANTE FRAUDE                         ESTELIONATO
O meio fraudulento é usado para afastar O meio fraudulento é usado para enganar
a vigilância que a vítima exerce sobre a a vítima, fazendo com que esta entregue
coisa.                                        a coisa voluntariamente.
A transferência da posse é feita pelo
próprio agente.
Pode se dar via artifício (fraude material)
ou ardil (fraude moral)


Ex.: caso de crimes patrimoniais praticados pela internet. Vai variar. Exemplo do falso hotel é caso
de estelionato. Já o cavalo de tróia é caso de furto qualificado pela fraude. O sujeito passivo é o
banco, já o correntista é um mero prejudicado. Consuma-se o delito de furto no local onde a
coisa é tirada da esfera de disponibilidade da vítima, logo o local onde está situada a agência
bancária de onde o dinheiro foi retirado. STJ CC 86241, 86862


                  CONFLITO NEGATIVO DE COMPETÊNCIA. PENAL E PROCESSO PENAL.
                  SUBTRAÇÃO       MEDIANTE       TRANSFERÊNCIA       IRREGULAR      DE    VALORES
                  DEPOSITADOS EM CONTA BANCÁRIA DA CAIXA ECONÔMICA FEDERAL. FRAUDE
                  VIA INTERNET. FURTO QUALIFICADO. CONSUMAÇÃO. SUBTRAÇÃO DO
                  NUMERÁRIO. CONTA-CORRENTE DE ORIGEM. COMPETÊNCIA DA JUSTIÇA
                  FEDERAL DE SANTA CATARINA, O SUSCITADO.



65
1. Embora esteja presente tanto no crime de estelionato, quanto no de furto
     qualificado, a fraude atua de maneira diversa em cada qual.
     No primeiro caso, é utilizada para induzir a vítima ao erro, de modo que ela
     própria entrega seu patrimônio ao agente. A seu turno, no furto, a fraude visa
     burlar a vigilância da vítima, que, em razão dela, não percebe que a coisa lhe
     está sendo subtraída.
     2. Na hipótese de transações bancárias fraudulentas, onde o agente se valeu
     de meios eletrônicos para efetivá-las, o cliente titular da conta lesada não é
     induzido a entregar os valores ao criminoso, por qualquer artifício fraudulento.
     Na verdade, o dinheiro sai de sua conta sem qualquer ato de vontade ou
     consentimento. A fraude, de fato, é utilizada para burlar a vigilância do Banco,
     motivo pelo qual a melhor tipificação dessa conduta é a de furto mediante
     fraude.
     3. O Processo Penal brasileiro adotou, para fins de fixação da competência em
     matéria penal, a teoria do resultado, segundo a qual é competente para apurar
     infração penal, aplicando a medida cabível ao agente, o juízo do foro onde se
     deu a consumação do delito, ou onde o mesmo deveria ter se consumado, na
     hipótese de crime tentado.
     4. No crime de furto, a infração consuma-se no local onde ocorre a retirada do
     bem da esfera de disponibilidade da vítima, isto é, no momento em que ocorre
     o prejuízo advindo da ação criminosa.
     5. No caso de fraude eletrônica para subtração de valores, o dessapossamento
     da res furtiva se dá de forma instantânea, já que o dinheiro é imediatamente
     tirado da esfera de disponibilidade do correntista. Logo, a competência para
     processar e julgar o delito em questão é o do lugar de onde o dinheiro foi
     retirado, em obediência a norma do art. 70 do CPP.
     6.   Conflito conhecido para declarar competente o Juízo Federal da Vara
     Criminal da Seção Judiciária do Estado de Santa Catarina, o suscitado, em
     conformidade com o parecer ministerial.
     (CC 86862/GO, Rel. Ministro NAPOLEÃO NUNES MAIA FILHO, TERCEIRA SEÇÃO,
     julgado em 08.08.2007, DJ 03.09.2007 p. 119)


66
II.I - Escalada: a escalada tem como pressuposto o ingresso pelo infrator ao local por meio
anormal, não destinado a tal fim, vencendo obstáculos postos pela vítima para a maior proteção
do seu patrimônio. ex.: caso do Banco Central.

OBS.: RECURSO JÁ PRESENTE NO LOCAL, DEIXADO PELA VÍTIMA, NÃO QUALIFICA O CRIME.




II.II - Destreza: “punga”: sujeito que furta sem ninguém notar. Pressupõe que a vítima não
perceba a realização da subtração, pois se a vítima notar a tentativa, responderá o agente por
tentativa de furto simples. Se um terceiro percebe, responde o agente por tentativa de furto
qualificado pela destreza.

III - Emprego de chave falsa: abrange todo o instrumento com ou sem forma de chave, usado
como dispositivo para abrir fechaduras (mixa, gazua, arame).

DUVIDA: CARTÃO DE HOTEL PODE SER CHAVE FALSA? Interpretação progressiva, logo é possível.

DUVIDA: MANOBRISTA PEGA A CHAVE, É CONSIDERADA CHAVE FALSA. MANOBRISTA RESPONDE
PELO QUÊ? Apropriação indébita, porém se não for manobrista de verdade, será furto
qualificado pela fraude.

IV - Concurso de duas ou mais pessoas: não é necessário que as duas pessoas participem da
execução do delito. Menor também pode participar, não precisa ser imputável.

       É dispensável a qualificação de todos, basta a prova de que duas ou mais pessoas
concorreram para o crime, ou seja, incida a qualificadora mesmo que um dos concorrentes seja
menor inimputável. No artigo 155 o concurso de agentes dobra a pena (a pena que era de 1 a 4
passa a ser de 2 a 8 anos), mas no roubo, o concurso de agentes faz que a pena no máximo seja
aumentada de metade – em razão disso, há doutrina dizendo que tal regra fere o princípio da
proporcionalidade (tese boa para ser sustentada no concurso para defensoria pública), assim,
deveria se aplicar majorante do roubo no furto simples para resolver o problema, porém a maioria
entende que essas previsões são constitucionais. Segundo o STJ, esse contorcionismo que gera a
aplicação da majorante do roubo no furto fere o princípio da legalidade (STJ).




67
OBS.: Não confundir o concurso com o delito de quadrilha, art. 288 CP. Quadrilha é a associação
estável e permanente de duas ou mais pessoas com o fim de praticar uma série indeterminada de
crimes. A quadrilha não depende de crime para sua consumação, é um delito autônomo,
independente, consumando-se independentemente da prática dos delitos para os quais os
agentes se associaram. É um tipo incongruente, depende de um dolo específico (para o fim de...).




DUVIDA: QUADRILHA DE ROUBO DE CARGA RESPONDE PELO QUÊ? A quadrilha envolve mínimo
de quatro pessoas. Alguns autores dizem que haveria bis in idem entre o delito de quadrilha se
aplicada junto a qualificadora de concurso do inciso IV. Logo, a quadrilha se consuma
independente dos crimes associados, então se porventura praticarem tais delitos, por eles
responderão em concurso material com o crime de quadrilha (art. 155, §4º, IV, + art. 288) (STJ
HC 54773, STF HC 84669)

OBS.: No tocante ao disposto no parágrafo único do art. 288 (quadrilha), todos os agentes
precisam usar arma? Basta que um só dos integrantes da quadrilha esteja armado. Não
configura bis in idem a condenação por quadrilha ou bando armado em concurso material com
o delito de roubo qualificado pelo emprego de arma.

OBS.: CUIDADO COM A QUADRILHA PARA CRIMES HEDIONDOS OU EQUIPARADOS: lei 8072/90,
art. 8º. Ele não traz nenhum crime, simplesmente diz qual é a pena, o crime continua sendo do
art. 288 do CP (quadrilha). Neste caso tem-se o art. 159, §1º c/c art. 288 do CP com a pena do
art. 8º da LCH. Caso a quadrilha seja armada, é possível incidir ainda o §único do art. 288 (que
duplica a pena), que incidirá sobre a pena do art. 8 da LCH.

       Se a quadrilha estiver associada para a prática de crimes hediondos, tortura, terrorismo,
responderão os agentes pelo crime do artigo 288 (quadrilha), porém com a pena do artigo 8º da
LCH (3 a 6 anos). Para o STF não há incompatibilidade entre o § único do art. 288 e a pena
estabelecida no art. 8º da LCH.

OBS. NÃO CONFUNDIR QUADRILHA COM AS CHAMADAS ASSOCIAÇÕES: tem associação na lei de
drogas (art. 35, lei 11.343/06: mínimo de duas pessoas)). Na lei do genocídio – lei 2.889/96, art.
2º, também há a previsão de associação (demanda mais de 3 pessoas)


68
FURTO QUALIFICADO PRIVILEGIADO:

       Possibilidade de levar em conta o privilégio (requisitos: primário e pequeno valor) e
alguma qualificadora. Posições:

1ª STJ: admite-se no furto qualificado a incidência do privilégio previsto no artigo 155, §2º

                  Penal. Furto qualificado. Furto PRIVILEGIADO. Compatibilidade.

                 - É admissível, no furto qualificado (CP, art. 155, § 4º), a incidência do privilégio
                 legal que autoriza a substituição da pena restritiva de liberdade por pena
                 pecuniária, desde que presentes os pressupostos inscritos no art. 155, § 2º, do
                 Estatuto Punitivo.

                 - A circunstância de situar-se o preceito benigno em parágrafo anterior ao que
                 define o furto qualificado não afasta o favor legal dessa espécie delituosa.

                 - Recurso especial conhecido e desprovido.

                 (REsp 66885/SP, Rel. Ministro       VICENTE LEAL, SEXTA TURMA, julgado em
                 09/11/1999, DJ 29/11/1999 p. 210)(STJ RESP 66885)




2ª STF: também é possível o furto qualificado-privilegiado (HC 94765)

                 HC 94765 / RS - RIO GRANDE DO SUL
                 HABEAS CORPUS
                 Relator(a): Min. ELLEN GRACIE
                 Julgamento: 09/09/2008          Órgão Julgador: Segunda Turma




69
Ementa


     DIREITO PROCESSUAL PENAL E PENAL. HABEAS CORPUS. FURTO
     QUALIFICADO. PRINCÍPIO DA INSIGNIFICÂNCIA. NÃO-INCIDÊNCIA
     NO CASO. POSSIBILIDADE DE CONSIDERAÇÃO DO PRIVILÉGIO. ART.
     155, §§ 2° E 4°, CP. CONCESSÃO DE OFÍCIO DO HC. 1. A questão de
     direito tratada neste writ, consoante a tese exposta pelo impetrante
     na petição inicial, é a suposta atipicidade da conduta realizada pelo
     paciente com base na teoria da insignificância, o que deverá
     conduzir à absolvição por falta de lesividade ou ofensividade ao
     bem jurídico tutelado na norma penal. 2. O fato insignificante (ou
     irrelevante penal) é excluído de tipicidade penal, podendo, por
     óbvio, ser objeto de tratamento mais adequado em outras áreas do
     Direito, como ilícito civil ou falta administrativa. 3. Não considero
     apenas e tão somente o valor subtraído (ou pretendido à subtração)
     como parâmetro para aplicação do princípio da insignificância. Do
     contrário, por óbvio, deixaria de haver a modalidade tentada de
     vários crimes, como no próprio exemplo do furto simples, bem
     como desaparecia do ordenamento jurídico a figura do furto
     privilegiado (CP, art. 155, § 2°). 4. A lesão se revelou significante não
     apenas em razão do valor do bem subtraído, mas principalmente em
     virtude do concurso de três pessoas para a prática do crime (o
     paciente e dois adolescentes). De acordo com a conclusão objetiva
     do caso concreto, não foi mínima a ofensividade da conduta do
     agente, sendo reprovável o comportamento do paciente. 5.
     Compatibilidade entre as qualificadoras (CP, art. 155, § 4°) e o
     privilégio (CP, art. 155, § 2°), desde que não haja imposição apenas
     da pena de multa ao paciente. 6. Habeas corpus denegado.
     Concessão da ordem de ofício por outro fundamento.




70
FURTO DE VEÍCULO AUTOMOTOR: (§5º)



        Neste caso é indispensável que seu destino seja outro Estado ou o exterior.

        Se não conseguir levar para outro estado, mas já tiver consumado o furto,
responderá por furto consumado, simples ou qualificado, mas não por tentativa de
furto qualificado pelo §5º.


Roubo

    Art. 157 - Subtrair coisa móvel alheia, para si ou para outrem, mediante grave
ameaça ou violência a pessoa, ou depois de havê-la, por qualquer meio, reduzido à
impossibilidade de resistência:

     Pena - reclusão, de quatro a dez anos, e multa.

     § 1º - Na mesma pena incorre quem, logo depois de subtraída a coisa, emprega
violência contra pessoa ou grave ameaça, a fim de assegurar a impunidade do crime ou
a detenção da coisa para si ou para terceiro.

     § 2º - A pena aumenta-se de um terço até metade:

     I - se a violência ou ameaça é exercida com emprego de arma;

     II - se há o concurso de duas ou mais pessoas;

     III - se a vítima está em serviço de transporte de valores e o agente conhece tal
circunstância.

    IV - se a subtração for de veículo automotor que venha a ser transportado para
outro Estado ou para o exterior; (Incluído pela Lei nº 9.426, de 1996)

      V - se o agente mantém a vítima em seu poder, restringindo sua
liberdade. (Incluído pela Lei nº 9.426, de 1996)

     § 3º Se da violência resulta lesão corporal grave, a pena é de reclusão, de sete a
quinze anos, além da multa; se resulta morte, a reclusão é de vinte a trinta anos , sem
prejuízo da multa. (Redação dada pela Lei nº 9.426, de 1996) Vide Lei nº 8.072, de
25.7.90




71
Sujeito ativo: qualquer pessoa

Sujeito Passivo: é a vítima da violência, não apenas da subtração. Pode ser que um
terceiro detentor de um bem seja assaltado, nesse caso o terceiro e o proprietário do
bem são vítimas.

Bem jurídico tutelado: patrimônio, integridade física, liberdade individual

Objeto material: pessoa que teve o patrimônio subtraído e aquela que sofreu a
violência.

Elemento objetivo do tipo: subtrair mediante violência, grave ameaça ou redução da
possibilidade de resistência da vítima (violência imprópria)

Elemento subjetivo do crime: dolo

Elemento subjetivo do tipo específico: ânimo de apossamento definitivo para si ou para
outrem. Animus rem sibi habendi

Consumação e tentativa: quando o bem sai da esfera de disponibilidade da vítima. No
caso do latrocínio, se o roubo não se consumar, mas ocorrer a morte, estará
consumado o crime como um todo, Súmula 610 STF. Adota-se a teoria da AMOTIO,
que dispensa a posse mansa e pacífica (basta a violência ou grave ameaça + inversão
da posse, logo, é crime formal)

Ação penal: incondicionada


72
Competência: JE

OUTRAS OBSERVAÇÕES

       O roubo nada mais é do que o furto (fere o patrimônio) acrescido do
constrangimento ilegal (fere a liberdade individual da vítima), por isso, trata-se de
crime complexo

       Trata-se de um crime complexo, por proteger bens jurídicos diversos. A
chamada violência imprópria prevista no caput é uma forma equiparada, que se dá por
meio de drogas que retirem a capacidade de resistência da vítima, os quais deverão ser
usados ardilosamente, sem o conhecimento da vítima.



§1º - ROUBO IMPRÓPRIO (ROUBO POR APROXIMAÇÃO)




       Nota-se que nesse caso o antecedente é a subtração da coisa, e o subseqüente
é o emprego da violência ou grave ameaça

       Aqui a violência é usada não para subtrair a coisa, mas para assegurar a
impunidade do crime ou a detenção da coisa já apoderada. Não existe violência
imprópria no delito de roubo simples impróprio. O roubo impróprio não prevê a
modalidade de violência imprópria, logo, se o agente é surpreendido, quando, sem
violência, ia apoderar-se da coisa, frustrando-se a subtração, mas vem a empregar na
fuga, há tentativa de furto em concurso material com algum crime contra a pessoa
73
(lesão, homicídio, etc).

       A doutrina diz que o roubo impróprio nada mais é do que um furto que se
transforma em um roubo em razão da circunstância.

       Difere do furto tentado ou consumado em concurso com a violência ou ameaça
porque no roubo impróprio o agente já subtraiu a coisa e naquele a violência é usada
antes da subtração para assegurar a fuga (não responderá por roubo consumado ou
tentativa de roubo, mas por furto em concurso material com lesão ou ameaça)

       A violência, no roubo impróprio, deve ser feita logo depois da subtração, não
sendo razoável um largo espaço de tempo.



ROUBO DE USO

       Para SANCHEZ é crime, porém há doutrinadores que entendem diversamente,
que o animus excluiria o crime desclassificando-o para o de constrangimento ilegal.

       Rogério Greco discorda, dizendo que é crime, mas não de roubo, uma vez que o
roubo é constituído de furto + constrangimento ilegal, assim, se o roubo é de uso, não
há o furto, portanto, quem rouba para uso deve responder apenas por
constrangimento ilegal



TENTATIVA OU CRIME IMPOSSÍVEL

       A ocasional inexistência de valores em poder da vítima do assalto, inviabilizando
sua consumação, traduz caso de impropriedade relativa do objeto, o que caracteriza a
tentativa, e não a figura do crime impossível (SANCHEZ).

       MASSON discorda, afirma que no caso a ausência de patrimônio com a vítima
configura impropriedade absoluta do objeto de modo que não se pode falar em
tentativa, mas, no máximo, no crime de ameaça (responderá pelos atos efetivamente
praticados).




74
FIGURAS MAJORADAS - §2º (pena ficará entre 6 e 15 anos)

I – Se a violência ou ameaça é exercida com emprego de arma:

         Deve ser efetivamente utilizada a arma no roubo ou basta que se tenha a arma
e utilize do seu porte como meio de intimidação?
Divergência:
1ª Corrente (Luiz Régis Prado (PR); prevalece na jurisprudência): é suficiente que o
sujeito porte arma ostensivamente, de modo que ameace a vítima.
2ª Corrente (Cézar Roberto Bitencourt, LFG): É necessário o emprego efetivo da arma,
sendo insuficiente o simples porte.

       Arma na cintura autoriza o aumento? Sim, pois quando a lei fala em emprego
de arma esta não precisa ter sido sacada, basta que tenha sido usada para tirar a
possibilidade de defesa da vítima.

       Sendo circunstância objetiva, tal causa de aumento se transmitirá para todos
os agentes do crime.



I.I.   SOBRE A ARMA DE BRINQUEDO
        Até 2.001 a arma de brinquedo fazia incidir o aumento da majorante, mas
depois de 2.001 esse aumento passou a não mais incidir. Foi cancelada a súmula 174
do STJ, uma vez que, pelo princípio da lesividade e pela teoria da imputação objetiva, a
arma de brinquedo não é capaz de ofender o bem jurídico tutelado pelo aumento
(incolumidade física). A arma de brinquedo não tem a potencialidade de gerar o
resultado que se busca evitar.
        A arma de brinquedo não gera aumento (é roubo, mas não majorado); porém,
é suficiente para configurar grave ameaça.

I.II ARMA VERDADEIRA DESMUNICIADA OU SIMULAÇÃO DA EXISTÊNCIA DELA
Gera aumento?
Prevalece que sim (NUCCI).
Rogério Sanches considera que é um absurdo, porque a potencialidade lesiva da arma
de brinquedo é a mesma da arma desmuniciada. Uma tem tanto risco quanto a outra,
no caso concreto.
No caso da simulação da existência de arma não incidirá a majorante (STF, CAPEZ),
mas haverá roubo.
Se a arma estiver com defeito, deve verificar se sua ineficácia é absoluta ou relativa
para aferir a incidência da majorante.


I.III APREENSÃO & PERÍCIA DA ARMA

75
São dispensáveis ou indispensáveis?
Prevalece no STJ & STF ser dispensável.
       Há julgados no STF & no STJ decidindo ser indispensável e esses julgados são
coerentes, porque quero saber se a arma tem ou não potencialidade lesiva, então a
arma tem que ser apreendida e periciada (STJ, HC 99.762/MG).

       Se a arma não é apreendida não será possível a realização de uma perícia para
que se possa aferir sua potencialidade lesiva, logo não incide a causa de aumento de
pena do artigo 157, §2º, I, salvo se a vítima e demais testemunhas afirmarem de forma
coerente que houve disparo de arma de fogo, hipótese na qual o exame de corpo de
delito indireto poderia suprir a não apreensão da arma. (STJ HC 89518). A prova
testemunhal deve atestar que HOUVE disparo.




II – Se há o concurso de duas ou mais pessoas

       NUCCI entende que não há a necessidade de todos estarem presentes no local
do crime. Se um dos agentes for menor de 18 anos, haverá roubo majorado em
concurso com corrupção de menores (ECA, art. 244-B).




III – Se a vítima está em serviço de transporte de valores e o agente conhece tal
circunstância

       É imprescindível que a vítima esteja prestando serviço para alguém, não incide
a majorante quando a vítima está transportando valores próprios. O agente deve
conhecer tal circunstância para fazer incidir a majorante.




IV – Se a subtração for de veículo automotor que venha a ser transportado para
outro estado ou para o exterior




76
O transporte de partes do veículo não faz incidir a majorante. No caso de não
conseguir transpor os limites territoriais estaduais ou fronteiriços, responderá por
roubo consumado sem a majorante.




V – Se o agente mantém a vítima em seu poder, restringindo sua liberdade (não
confundir com o SEQUESTRO RELÂMPAGO previsto no art. 158, §3º - extorsão
qualificada)

         Resta ficar clara a diferença do roubo majorado pela privação da liberdade em
relação ao delito de roubo em concurso com o delito de seqüestro: no roubo majorado
pela privação da liberdade, esta privação é necessária para a detenção da coisa ou
para garantir a fuga, sendo que esta mesma privação não é prolongada, durando o
tempo necessário para o sucesso da empreitada (não pode ser curtíssimo tempo);
haverá roubo em concurso com o seqüestro quando a privação da liberdade da vítima
não é necessária para o roubo, e essa privação é prolongada no tempo, em contextos
fáticos distintos.




§3º (ROUBO QUALIFICADO) – 7 a 15 anos para lesão grave e 20 a 30 para morte
(latrocínio)

Inicialmente há de se destacar que as causas de aumento do §2º não incidem sobre o
§3º

Os resultados qualificadores devem ser frutos da violência. Não incide a qualificadora
quando decorrentes da grave ameaça.

Os resultados qualificadores (lesão grave ou morte) podem ser dolosos ou culposos. O
latrocínio pode ser doloso ou preterdoloso e é o único que é HEDIONDO.

- A violência deve ser empregada
   durante o assalto (nexo temporal – fator tempo) e
     em razão do assalto (nexo causal – fator nexo)
77
Ausente um dos fatores, não há qualificadora, não há roubo qualificado.

- Se a intenção inicial é a morte e, posteriormente, resolve subtrair os bens da vítima,
não se trata de latrocínio, mas de homicídio seguido de furto (121 + 155);
- Se um assaltante mata outro para ficar com o produto do crime, isso é latrocínio?
   Roubo + homicídio qualificado pela torpeza -> 157 + 121, § 2º, I -> Vai a Júri
Subtração                     Morte                         Latrocínio
Consumada                     Consumada                     Consumado
Tentada                       Tentada                       Tentado
Consumado                     Tentada                       Tentado

Tentada                       Consumada                     Consumado




SE A MORTE RESULTAR DE GRAVE AMEAÇA, E NÃO DE VIOLÊNCIA:

       Se o resultado morte deriva da grave ameaça responde o agente pelo crime de
roubo simples em concurso com o delito de homicídio culposo. Todavia, pela teoria da
imputação objetiva, como o resultado morte está fora do âmbito de risco provocado
pela conduta, ao agente não se pode imputar o delito de homicídio culposo.

       Se a intenção do agente era inicialmente o homicídio e depois resolve subtrair
os bens, responderá por homicídio seguido de furto.




DIFERENÇA DE ROUBO PARA EXTORSÃO:

1ª Corrente: No crime de roubo o mau é iminente e a vantagem é contemporânea.
Na extorsão o mau prometido e a vantagem a que se visa são futuros

2ª Corrente: Critério da imprescindibilidade do comportamento da vítima. Se for
necessário um comportamento da vítima será extorsão. Se a colaboração não for
necessária o crime é o de roubo.

Ex.: ligações pra comprar cartão telefônico; sequestro relâmpago para realizar saque
em caixa eletrônico
78
DUAS MORTES, UMA SUBTRAÇÃO, HÁ MAIS DE UM LATROCÍNIO?

       Latrocínio é crime contra o patrimônio, logo, pluralidade de mortes com
subtração única enseja CRIME ÚNICO DE LATROCÍNIO. Latrocínio não é crime doloso
contra a vida, não vai a júri (Súmula 603 do STF: diz que a competência é do juiz
singular e não do tribunal do júri).




HIPÓTESES SIMILARES AO LATROCÍNIO

       Subtração consumada, tendo o agente efetuado três disparos na direção do
rosto da vítima. Não ocorre o resultado morte, mas tão somente incapacidade para as
ocupações habituais por mais de trinta dias. Três possibilidades:

1ª: Roubo qualificado pelo resultado de lesão corporal grave, na modalidade
consumada (a pena não começará em 7 anos, mas também não chegará a 15)

2ª: Latrocínio tentado (art. 157, §3º, última parte – in fine, na forma do art. 14, II, CP)




                  Art. 14: II - tentado, quando, iniciada a execução, não se consuma por
                  circunstâncias alheias à vontade do agente



3ª: Homicídio qualificado na modalidade tentada, em concurso com o delito de roubo
qualificado. É a posição do Supremo: HC 91585. DECISÃO RECENTE

Se estiver ausente o animus necandi na violência praticada, responde o agente pelo
delito de roubo qualificado pelo resultado de lesão corporal grave.

Se caracterizada a intenção de matar a vítima, o tipo correspondente é o do artigo
121,§2º, V, na modalidade tentada em concurso material com o delito de roubo.




79
AULA 13: ART. 158, 159



Extorsão

     Art. 158 - Constranger alguém, mediante violência ou grave ameaça, e com o
intuito de obter para si ou para outrem indevida vantagem econômica, a fazer, tolerar
que se faça ou deixar fazer alguma coisa:

     Pena - reclusão, de quatro a dez anos, e multa.

   § 1º - Se o crime é cometido por duas ou mais pessoas, ou com emprego de arma,
aumenta-se a pena de um terço até metade.

     § 2º - Aplica-se à extorsão praticada mediante violência o disposto no § 3º do
artigo anterior. Vide Lei nº 8.072, de 25.7.90

§ 3o Se o crime é cometido mediante a restrição da liberdade da vítima, e essa
condição é necessária para a obtenção da vantagem econômica, a pena é de reclusão,
de 6 (seis) a 12 (doze) anos, além da multa; se resulta lesão corporal grave ou morte,
aplicam-se as penas previstas no art. 159, §§ 2o e 3o, respectivamente. (Incluído pela
Lei nº 11.923, de 2009)




Sujeito ativo: qualquer pessoa

Sujeito passivo: idem

Bem jurídico tutelado: liberdade individual, patrimônio, integridade física

Objeto material: a vítima

Elemento objetivo do tipo: constranger mediante violência ou grave ameaça. Retira a
liberdade de autodeterminação

Elemento subjetivo do crime: dolo

Elemento subjetivo do tipo específico: ânimo de apossamento definitivo da vantagem
econômica indevida (trata-se aí de elemento normativo do tipo)
80
Consumação e tentativa: não depende da obtenção da vantagem indevida, basta que a
vítima faça ou deixe de fazer algo em razão da conduta do agente. É crime formal, de
consumação antecipada. Súmula 96 STJ (consuma-se independentemente da
obtenção da vantagem indevida)

Ação penal: incondicionada

Competência: JE

OUTRAS OBSERVAÇÕES:




       A extorsão não pode ser confundida com o roubo, nem com o constrangimento
ilegal, apesar de serem tipos parecidos no tocante ao constrangimento efetuado.

->     Se a indevida vantagem visada for de natureza moral será constrangimento
ilegal (neste a finalidade do agente é a restrição da liberdade, na extorsão a restrição
da liberdade é meio);

->     Se a indevida vantagem for sexual haverá estupro;

->     Se a vantagem for devida haverá exercício arbitrário das próprias razões.

       Para MASSON não passa de um constrangimento ilegal com uma finalidade
específica (obtenção de indevida vantagem patrimonial)
81
Apesar de parecidos, o roubo e a extorsão são crimes diversos, de modo que
não se admite a continuidade delitiva entre eles.




DIFERENÇAS                   ROUBO                        EXTORSÃO

Elemento objetivo do tipo    Subtrair                     Constranger

                             Prescinde da colaboração Imprescindível
                             da vítima                    colaboração da vítima

                             Versa sobre bens móveis      Pode      abranger      bens
                                                          imóveis




        A extorsão também não se confunde com a concussão, pois esta, além de ser
crime contra a administração pública, é feita sem violência ou grave ameaça, se
valendo o agente da sua condição de funcionário público para exigir uma vantagem
indevida.

        A obtenção da vantagem econômica indevida configura mero exaurimento do
crime, não sendo admissível realizar o flagrante neste momento, pois se trata de crime
formal, cuja consumação não depende de resultado naturalístico, basta a prática pela
vítima do comportamento determinado pelo sujeito ativo.




FIGURA MAJORADA - §1º

Emprego de duas ou mais pessoas: é necessária a coautoria, não cabe participação
na extorsão, pois ao contrário do roubo não fala em concurso, mas em “cometido
por duas ou mais pessoas”;

      Mediante emprego de arma: igual ao roubo majorado



82
FIGURA QUALIFICADA - §2º

       Extorsão qualificada pela morte é crime hediondo.             O RESULTADO
AGRAVADOR DEVE VIR DA VIOLÊNCIA. Não há previsão de resultado agravador
decorrente de grave ameaça, o que pode resultar em dois delitos em concurso:
extorsão + lesões graves; extorsão + homicídio.




SEQUESTRO RELÂMPAGO - §3º (SAIDINHA DE BANCO)

       Nesse caso, apesar de ser possível o resultado agravador (morte ou lesão
grave), não se trata de crime hediondo por ausência de previsão legal expressa na
LCH.




EXTORSÃO E ROUBO

       Por não se tratarem de crimes da mesma espécie não é admissível a
continuidade delitiva entre eles (art. 71).




Extorsão mediante seqüestro

    Art. 159 - Seqüestrar pessoa com o fim de obter, para si ou para outrem, qualquer
vantagem, como condição ou preço do resgate: Vide Lei nº 8.072, de 25.7.90

    Pena - reclusão, de oito a quinze anos.. (Redação dada pela Lei nº 8.072, de
25.7.1990)

    § 1o Se o seqüestro dura mais de 24 (vinte e quatro) horas, se o seqüestrado é
menor de 18 (dezoito) ou maior de 60 (sessenta) anos, ou se o crime é cometido por
bando ou quadrilha. Vide Lei nº 8.072, de 25.7.90 (Redação dada pela Lei nº 10.741,
de 2003)

    Pena - reclusão, de doze a vinte anos. (Redação dada pela Lei nº 8.072, de
25.7.1990)



83
§ 2º - Se do fato resulta lesão corporal de natureza grave: Vide Lei nº 8.072, de
25.7.90

    Pena - reclusão, de dezesseis a vinte e quatro anos. (Redação dada pela Lei nº
8.072, de 25.7.1990)

     § 3º - Se resulta a morte: Vide Lei nº 8.072, de 25.7.90

    Pena - reclusão, de vinte e quatro a trinta anos. (Redação dada pela Lei nº 8.072,
de 25.7.1990)

     § 4º - Se o crime é cometido em concurso, o concorrente que o denunciar à
autoridade, facilitando a libertação do seqüestrado, terá sua pena reduzida de um a
dois terços.(Redação dada pela Lei nº 9.269, de 1996)




Sujeito ativo: qualquer pessoa

Sujeito passivo: idem

Bem jurídico tutelado: liberdade individual, patrimônio.

Objeto material: a vítima

Elemento objetivo do tipo: o ato de seqüestrar pessoa

Elemento subjetivo do crime: dolo
84
Elemento subjetivo do tipo específico: obtenção de qualquer tipo de vantagem para si
ou para outrem. Ânimo de apossamento definitivo do patrimônio alheio.

Consumação e tentativa: quando ocorre a privação da liberdade

Ação penal: incondicionada

Competência: JE

OUTRAS OBSERVAÇÕES:




       Não se seqüestram animais ou coisas, apenas pessoas. O meio pelo qual o
seqüestro pode se operar é livre, independe de violência ou grave ameaça.

       Se o caso for de um sequestro simulado, a pessoa responderá por extorsão.

       A qualificadora que estabelece o prazo de 24hs para existir configura
modalidade de CRIME A PRAZO. Se a vítima era menor de 18 anos ao ser seqüestrada e
o crime só termina quando ela já é maior, em face da TEORIA DA ATIVIDADE, o agente
responderá pela figura qualificada.

       Para MASSON a qualificadora de quadrilha ou bando não impede o cúmulo com
o crime autônomo do art. 288, pois são de espécies diferentes com momentos
consumativos distintos.

       A qualificadora do §2º, ao falar em “DO FATO”, admite que o resultado lesão
grave ou morte resulte não apenas da violência, mas também de GRAVE AMEAÇA.

       No tocante à delação premiada, esta tem de ser eficaz, contribuindo de forma
relevante para o resgate. Outro aspecto é que ela não se confunde com a delação da
Lei n. 9807/99 (lei de proteção as vitimas, testemunhas e réus colaboradores), pois
esta possui requisitos específicos a serem cumpridos, os quais, se preenchidos, são
melhores para o réu (extingue a punibilidade), devendo-se deixar de aplicar a delação
do tipo em tela.


85
AULA 14: ARTS. 163, 168, 168-A



Dano

     Art. 163 - Destruir, inutilizar ou deteriorar coisa alheia:

     Pena - detenção, de um a seis meses, ou multa.

     Dano qualificado

     Parágrafo único - Se o crime é cometido:

     I - com violência à pessoa ou grave ameaça;

    II - com emprego de substância inflamável ou explosiva, se o fato não constitui
crime mais grave

     III - contra o patrimônio da União, Estado, Município, empresa concessionária de
serviços públicos ou sociedade de economia mista; (Redação dada pela Lei nº 5.346, de
3.11.1967)

     IV - por motivo egoístico ou com prejuízo considerável para a vítima:

     Pena - detenção, de seis meses a três anos, e multa, além da pena correspondente
à violência.




86
Sujeito ativo: qualquer pessoa

Sujeito passivo: idem

Bem jurídico tutelado: patrimônio alheio

Objeto material: coisa alheia que sofreu a agressão

Elemento objetivo do tipo: destruir, inutilizar, deteriorar. Destruir não significa
desaparecer, que não tem previsão legal neste tipo. TIPO MISTO ALTERNATIVO.

Elemento subjetivo do crime: dolo

Elemento subjetivo do tipo especifico: Existe na figura qualificada do inciso IV, que fala
em MOTIVO EGOÍSTICO

Consumação e tentativa: quando ocorrer a destruição, inutilização ou deterioração

Competência: Jecrim para o caput e JE para as figuras qualificadas

Ação penal: publica incondicionada, com exceção do caput e do da figura qualificada
do Inciso IV (por expressa previsão do artigo 167 do CP) que será privada.


87
OUTRAS OBSERVAÇÕES:

          Se for praticado contra plantas ou animais vai para a LCA, art. 32.

          É possível a aplicação do principio da insignificância. A pichação pode
configurar dano por exceção, quando não se enquadrar na tipificação da LCA.

          Há autores que defendem um dolo especifico (animus nocendi), que é a
vontade de causar prejuízo, mas não parece ser algo pacífico na doutrina e
jurisprudência.

FIGURAS QUALIFICADAS

I – Violência ou grave ameaça a pessoa: deve ser praticado para viabilizar o crime de
dano, se praticado após, haverá concurso do dano com lesão corporal

II – Uso de substância inflamável ou explosiva: é tipo subsidiário, ou seja, só é
aplicado se não configurar crime mais grave, como o de incêndio.

III – Dano contra patrimônio da U-E-DF-M, concessionária ou SEM: deve englobar até
os bens de uso comum do povo (patrimônio em sentido amplo)

IV – Por motivo egoístico ou com prejuízo considerável à vítima: a questão do prejuízo
considerável irá ser avaliada de acordo com a condição econômico-financeira da
vítima.




Apropriação indébita

     Art. 168 - Apropriar-se de coisa alheia móvel, de que tem a posse ou a detenção:

     Pena - reclusão, de um a quatro anos, e multa.

Aumento de pena

     § 1º - A pena é aumentada de um terço, quando o agente recebeu a coisa:

     I - em depósito necessário;

88
II - na qualidade de tutor, curador, síndico, liquidatário, inventariante,
testamenteiro ou depositário judicial;

     III - em razão de ofício, emprego ou profissão.




Sujeito ativo: qualquer pessoa que detenha a posse ou detenção de coisa alheia móvel

Sujeito passivo: a pessoa que deu a coisa para o sujeito ativo (não precisa ter sido o
proprietário da coisa a entregar o bem)

Bem jurídico tutelado: patrimônio

Objeto material: coisa alheia móvel apropriada

Elemento objetivo do tipo: ato de se apropriar

Elemento subjetivo do crime: dolo

Elemento subjetivo do tipo especifico: não há

Consumação e tentativa: ocorre com a apropriação (via negativa de restituição ou
prática de algum ato de disposição). Tentativa é possível (menos na modalidade
negativa de restituição).

Ação penal: incondicionada

89
Competência: JE, do local onde se consumar a infração. Poderá ser da JF caso existam
bens da União envolvidos

OUTRAS OBSERVAÇÕES:

A posse ou detenção da coisa deve ser desvigiada, legítima e o bem não precisa ser
infungível (SANCHEZ). O que caracteriza a apropriação indébita é a quebra de
confiança.

A intenção de apropriação deve vir só depois que o agente está com o bem, pois se
existir o dolo previamente configurará estelionato.

É possível a aplicação do privilégio previsto para o furto, art. 155, §2º, no caso em tela,
quando o criminoso cumprir os requisitos legais (primário, coisa de pequeno valor). Se
fosse o caso de apropriação indébita previdenciário e o autor além desses requisitos
tiver bons antecedentes, tal fato levará à extinção da punibilidade.

Também é admissível a aplicação do princípio da insignificância, de modo que poderá
gerar a atipicidade do fato.

A fungibilidade da coisa é tema discutível na doutrina e jurisprudência acerca da
possibilidade de ser ou não objeto material do crime, posto haver a possibilidade
nesses casos de transferência de domínio.

Iter criminis do tipo:

1 – entrega voluntária do bem pela vítima;

2 – posse ou detenção desvigiada

3 – Boa-fé do agente ao tempo do recebimento do bem

4 – Modificação posterior do comportamento do agente: prática de algum ato de
disposição; recusa na restituição.

       Se o sujeito ativo for funcionário público poderá configurar peculato
apropriação.

90
Para MASSON é possível que a vítima não tenha sido a pessoa que tenha
entregue o bem ao criminoso

FIGURAS MAJORADAS DO §1º

I – depósito necessário: abrange apenas o chamado DEPÓSITO NECESSÁRIO
MISERÁVEL (CC< art. 647, II) decorrente de calamidade pública, em razão da falta de
opção da vítima e do aproveitamento da situação de fragilidade desta.

II – na qualidade de tutor, curador, síndico, liquidatário, inventariante,
testamenteiro, ou depositário judicial: neste caso a majorante se deve em razão da
relevância da função exercida para as pessoas.

III – em razão de ofício, emprego ou profissão: mesmo caso do anterior




Apropriação indébita previdenciária (Incluído pela Lei nº 9.983, de 2000)

    Art. 168-A. Deixar de repassar à previdência social as contribuições recolhidas dos
contribuintes, no prazo e forma legal ou convencional: (Incluído pela Lei nº 9.983, de
2000)

    Pena – reclusão, de 2 (dois) a 5 (cinco) anos, e multa. (Incluído pela Lei nº 9.983,
de 2000)

    § 1o Nas mesmas penas incorre quem deixar de: (Incluído pela Lei nº 9.983, de
2000)

     I – recolher, no prazo legal, contribuição ou outra importância destinada à
previdência social que tenha sido descontada de pagamento efetuado a segurados, a
terceiros ou arrecadada do público; (Incluído pela Lei nº 9.983, de 2000)

     II – recolher contribuições devidas à previdência social que tenham integrado
despesas contábeis ou custos relativos à venda de produtos ou à prestação de
serviços; (Incluído pela Lei nº 9.983, de 2000)

     III - pagar benefício devido a segurado, quando as respectivas cotas ou valores já
tiverem sido reembolsados à empresa pela previdência social. (Incluído pela Lei nº
9.983, de 2000)

    § 2o É extinta a punibilidade se o agente, espontaneamente, declara, confessa e
efetua o pagamento das contribuições, importâncias ou valores e presta as
91
informações devidas à previdência social, na forma definida em lei ou regulamento,
antes do início da ação fiscal. (Incluído pela Lei nº 9.983, de 2000)

    § 3o É facultado ao juiz deixar de aplicar a pena ou aplicar somente a de multa se o
agente for primário e de bons antecedentes, desde que: (Incluído pela Lei nº 9.983, de
2000)

    I – tenha promovido, após o início da ação fiscal e antes de oferecida a denúncia, o
pagamento da contribuição social previdenciária, inclusive acessórios; ou (Incluído
pela Lei nº 9.983, de 2000)

    II – o valor das contribuições devidas, inclusive acessórios, seja igual ou inferior
àquele estabelecido pela previdência social, administrativamente, como sendo o
mínimo para o ajuizamento de suas execuções fiscais. (Incluído pela Lei nº 9.983, de
2000)




Sujeito ativo: responsável tributário, encarregado de repassar as contribuições para o
INSS

Sujeito passivo: UNIÃO, LEI 8212/91, ART. 33. É por intermédio da RFB que se
arrecada a contribuição previdenciária.

Bem jurídico tutelado: SEGURIDADE SOCIAL, ordem tributária (contribuição
previdenciária é tributo) e ordem econômica (por gerar concorrência desleal por
parte de quem não contribui ou não repassa)
92
Objeto material: contribuição previdenciária

Elemento objetivo do tipo: é o ato de deixar de repassar

Elemento subjetivo do crime: dolo

Elemento subjetivo do tipo especifico: controverso na doutrina. NUCCI entende que
existe, que deve haver a vontade de fraudar a previdência, estaria implícito no tipo,
sob penal de a ação penal ser transformada em mera ação de cobrança. MASSON
discorda, diz que se houvesse a vontade de fraudar o crime seria de Sonegação de
Contribuição Previdenciária – art. 337-A

Consumação e tentativa: tentativa não é possível, crime omissivo próprio.

Ação penal: incondicionada

Competência: JF

OUTRAS OBSERVAÇÕES

Critica-se a inserção desse tipo penal no CP porque, primeiro, não é crime contra o
patrimônio, mas contra a previdência social, de modo que sua localização seria mais
correta na Lei 8212, ou então a lei de crimes contra a ordem tributária, tendo em vista
que a contribuição previdenciária tem caráter tributário.

A denominação do tipo também carece de correção, pois não se trata de uma forma
de apropriação nos moldes das apropriações indébitas previstas no CP, onde o
elemento objetivo do tipo é o ato de se apropriar. Aqui o elemento objetivo do tipo é o
ato de deixar de repassar.

Tem proteção constitucional, pois a contribuição previdenciária faz parte do salário do
trabalhador e a retenção dolosa deste (salário) é crime conforme dispõe o art. 7º, X,
CF.




93
O crime se consuma no momento em que expira o prazo para o repasse da
contribuição previdenciária.

A figura simples visa punir o SUBSTITUTO TRIBUTÁRIO

As figuras do §1º visam punir o CONTRIBUINTE-EMPRESÁRIO

FIGURAS EQUIPARADAS - §1º




I – recolher, no prazo legal, contribuição ou outra importância destinada à
previdência social que tenha sido descontada de pagamento efetuado a segurados
(empregado), a terceiros (prestador de serviço para o responsável tributário) ou
arrecadada do público (Megasena): Depois de reter o valor devido o empresário não
repassa ao INSS.




II – recolher contribuições devidas à previdência social que tenham integrado
despesas contábeis ou custos relativos à venda de produtos ou à prestação de
serviços: ocorre quando o contribuinte contabiliza no preço final do produto que
comercializa o valor da contribuição previdenciária, não promovendo o seu
recolhimento, de modo a ganhar duas vezes.

III - pagar benefício devido a segurado, quando as respectivas cotas ou valores já
tiverem sido reembolsados à empresa pela previdência social: caminho inverso. O
empresário deixa de repassar ao segurado o benefício previdenciário pelo qual já foi
reembolsado pelo INSS.

SOBRE A EXTINÇÃO DA PUNIBILIDADE - §2º




       A questão maior é saber quando se dá o início da ação fiscal. Porém, com o
advento da Lei 1068403 (lei do PAES), o pagamento do tributo, inclusive contribuições


94
previdenciárias, realizado a qualquer tempo extingue a punibilidade, de modo que o
§2º em tela teria sido revogado.

PRINCIPIO DA INSIGNIFICÂNCIA




 Estelionato

    Art. 171 - Obter, para si ou para outrem, vantagem ilícita, em prejuízo alheio,
induzindo ou mantendo alguém em erro, mediante artifício, ardil, ou qualquer outro
meio fraudulento:

     Pena - reclusão, de um a cinco anos, e multa.

     § 1º - Se o criminoso é primário, e é de pequeno valor o prejuízo, o juiz pode
aplicar a pena conforme o disposto no art. 155, § 2º.

     § 2º - Nas mesmas penas incorre quem:

     Disposição de coisa alheia como própria

   I - vende, permuta, dá em pagamento, em locação ou em garantia coisa alheia
como própria;


95
Alienação ou oneração fraudulenta de coisa própria

    II - vende, permuta, dá em pagamento ou em garantia coisa própria inalienável,
gravada de ônus ou litigiosa, ou imóvel que prometeu vender a terceiro, mediante
pagamento em prestações, silenciando sobre qualquer dessas circunstâncias;

     Defraudação de penhor

     III - defrauda, mediante alienação não consentida pelo credor ou por outro modo,
a garantia pignoratícia, quando tem a posse do objeto empenhado;

     Fraude na entrega de coisa

    IV - defrauda substância, qualidade ou quantidade de coisa que deve entregar a
alguém;

     Fraude para recebimento de indenização ou valor de seguro

    V - destrói, total ou parcialmente, ou oculta coisa própria, ou lesa o próprio corpo
ou a saúde, ou agrava as conseqüências da lesão ou doença, com o intuito de haver
indenização ou valor de seguro;

     Fraude no pagamento por meio de cheque

     VI - emite cheque, sem suficiente provisão de fundos em poder do sacado, ou lhe
frustra o pagamento.

     § 3º - A pena aumenta-se de um terço, se o crime é cometido em detrimento de
entidade de direito público ou de instituto de economia popular, assistência social ou
beneficência.




96
Sujeito ativo: qualquer pessoa (caput), ou pessoa envolvida em algum negócio (§2º)

Sujeito passivo: qualquer pessoa (caput), ou alguém envolvido na transação (§2º).
Pode ser vítima mesmo havendo torpeza bilateral. A vítima deve ter capacidade de
ser ludibriada, senão configura abuso de incapazes e precisa ser CERTA, senão é
crime contra economia popular.

Bem jurídico tutelado: patrimônio

Objeto material: vantagem obtida, bem como a pessoa que incidiu em erro

Elemento objetivo do tipo: obter vantagem induzindo ou mantendo alguém em erro. O
estelionatário pode gerar a situação do engano ou então apenas se aproveitar dela
sem tê-la criado. Meios: artifício (FRAUDE MATERIAL), ardil (FRAUDE MORAL), ou
qualquer outro meio fraudulento desde que apto a ludibriar.

Elemento subjetivo do crime: dolo

Elemento subjetivo do tipo especifico: vontade de obter lucro indevido em prejuízo
alheio

Consumação e tentativa: quando a vítima sofre a perda patrimonial. À obtenção da
vantagem ilícita deve corresponder um prejuízo patrimonial para a vítima. É UM
CRIME DE DUPLO RESULTADO. Será instantâneo de efeitos permanentes na fraude
para perceber benefício previdenciário (quem faz a fraude), porém a contagem da
97
prescrição se inicia com o recebimento da 1ª prestação. Já o beneficiário da fraude
responderá por estelionato como crime permanente.

Ação penal: incondicionada

Competência: JE do local onde foi obtida a vantagem ilícita em prejuízo alheio

OUTRAS OBSERVAÇÕES

       Para BITENCOURT a vantagem ilícita não precisa ser econômica, mas apenas
que o prejuízo sofrido pela vítima é que seja econômico.




ESTELIONATO E FALSIDADE DOCUMENTAL (QUATRO CORRENTES)

1. STJ/MASSON: concurso material, bens jurídicos diversos, exceto se o falso se exaurir
no estelionato, nesse caso o falso será absorvido;

2. STF: concurso formal, uma conduta dividida em dois atos que produziu uma
pluralidade de resultados;

3. O falso absorve o estelionato se o documento for público, pois a pena do falso será
mais grave, além disso configuraria mero exaurimento do crime de falso (HUNGRIA).

4. STJ: O estelionato absorve o falso, súmula 17: quando o falso se exaure no
estelionato, sem mais potencialidade lesiva, é por este absorvido.




ITER CRIMINIS DO ESTELIONATO

1 – emprego de fraude

2 – situação de erro na qual a vítima é colocada ou mantida

3 – obtenção da vantagem ilícita

4 – prejuízo suportado pela vítima

98
SOBRE O TERCEIRO BENEFICIÁRIO DA FRAUDE

          Se estiver ciente da origem criminosa do bem (não tendo participado da
fraude), responderá por receptação dolosa ou culposa. Se não souber da origem
criminosa será atípico.




DA TENTATIVA DE ESTELIONATO

          O meio empregado deve ser apto a ludibriar a vítima, sob pena de configurar
crime impossível, fato este que deve ser analisado a luz das condições pessoais da
vítima.

          Não basta a obtenção da vantagem ilícita, pois como é de DUPLO RESULTADO,
deve gerar também o prejuízo à vítima, sob pena de configurar apenas a modalidade
tentada.




ESTELIONATO E JOGOS DE AZAR

          Só haverá estelionato quando houver algum tipo de fraude que impossibilite
totalmente a possibilidade de ganho por parte do jogador, de modo que deixa de ser
contravenção penal para virar crime.




ESTELIONATO PRIVILEGIADO - §1º

O pequeno valor citado deve ser correspondente a no máximo 1 salário mínimo
vigente há época do fato




FIGURAS EQUIPARADAS - §2º




99
I – Disposição de coisa alheia como própria: não abrange a promessa de compra e
venda, a qual poderá ser enquadrada na modalidade simples do estelionato. Configura
modalidade vinculada da realização do crime. OBS.: Se o furtador vender a coisa como
se própria fosse prevalece o entendimento de que há apenas furto, sendo o
estelionato um post factum impunível, pois subtrair, para proveito próprio, inclui a
disposição subseqüente. Há divergência no sentido de defender o concurso material.

II – Alienação ou oneração fraudulenta de coisa própria: o crime consiste em silenciar
acerca do ônus ou encargo suportado pela coisa

III – Defraudação de penhor: defraudar significa tomar um bem pertencente a outrem,
que deve ser coisa móvel, podendo a defraudação ser total ou parcial, tendo como
sujeito ativo o devedor ou o representante da PJ que realizar o ato. É BI-PROPRIO,
pressupõe garantia pignoratícia.

IV – Fraude na entrega de coisa: tem como ação nuclear: defraudar a substância, a
qualidade ou a quantidade.
Substância é a natureza da coisa (ex.: substituindo diamante por vidro).
Qualidade é o atributo da coisa (ex.: entregar arroz de 3ª em vez de arroz de 1ª).
Quantidade é relacionada a número (ex.: peso, dimensão, quantidade, etc.).

V – Fraude para recebimento de indenização ou valor de seguro: o delito tem como
pressuposto contrato de seguro vigente & válido. Nesta hipótese, prevalece na
jurisprudência que o crime é formal, consumando-se com o emprego da fraude,
dispensando o recebimento da indenização. Esse é o único caso em que a
jurisprudência majoritária dispensa a efetiva obtenção da vantagem, sendo um caso
excepcional de estelionato formal, bastando a fraude com potencialidade lesiva.

VI – Fraude no pagamento por meio de cheque: endossante não emite o título, logo,
só pode configurar como coautor ou partícipe não pratica o crime (Guilherme de Souza
Nucci). A reparação do dano ANTES do recebimento da denúncia extingue a
punibilidade.

       Súmula 554, STF: O pagamento de cheque emitido sem provisão de fundos,
após o recebimento da denúncia, não obsta ao prosseguimento da ação penal.


100
A súmula 554 do STF somente está sendo aplicada a uma das espécies de
fraude por pagamento de cheque (emitir cheque sem provisão de fundos), não se
referindo à outra modalidade (frustrar o pagamento), mas a maioria estende para essa
modalidade o enunciado da súmula.

      No caso de emissão dolosa de cheque sem provisão de fundos, a súmula 521
do STF estabelece como competente o foro do local da recusa do pagamento pelo
sacado;
- súmula 244 do STJ: “Compete ao foro do local da recusa processar e julgar o crime de
estelionato mediante cheque sem provisão de fundos”;

Competência em relação ao cheque falsificado: não aplicamos as súmula 521 e 554 do
STF, nem a 244 do STJ. Aplica-se a súmula 48 do STJ : Compete ao juízo do local da
obtenção da vantagem ilícita processar e julgar crime de estelionato cometido
mediante falsificação de cheque.



                      AULA 16: ART. 180, 181, 182, 183




Receptação

    Art. 180 - Adquirir, receber, transportar, conduzir ou ocultar, em proveito próprio
ou alheio, coisa que sabe ser produto de crime, ou influir para que terceiro, de boa-fé,
a adquira, receba ou oculte: (Redação dada pela Lei nº 9.426, de 1996)

    Pena - reclusão, de um a quatro anos, e multa. (Redação dada pela Lei nº 9.426,
de 1996)

      Receptação qualificada (Redação dada pela Lei nº 9.426, de 1996)

     § 1º - Adquirir, receber, transportar, conduzir, ocultar, ter em depósito,
desmontar, montar, remontar, vender, expor à venda, ou de qualquer forma utilizar,
em proveito próprio ou alheio, no exercício de atividade comercial ou industrial, coisa
que deve saber ser produto de crime: (Redação dada pela Lei nº 9.426, de 1996)

    Pena - reclusão, de três a oito anos, e multa. (Redação dada pela Lei nº 9.426, de
1996)



101
§ 2º - Equipara-se à atividade comercial, para efeito do parágrafo anterior,
qualquer forma de comércio irregular ou clandestino, inclusive o exercício em
residência. (Redação dada pela Lei nº 9.426, de 1996)

    § 3º - Adquirir ou receber coisa que, por sua natureza ou pela desproporção entre
o valor e o preço, ou pela condição de quem a oferece, deve presumir-se obtida por
meio criminoso: (Redação dada pela Lei nº 9.426, de 1996)

    Pena - detenção, de um mês a um ano, ou multa, ou ambas as penas. (Redação
dada pela Lei nº 9.426, de 1996)

    § 4º - A receptação é punível, ainda que desconhecido ou isento de pena o autor
do crime de que proveio a coisa. (Redação dada pela Lei nº 9.426, de 1996)

     § 5º - Na hipótese do § 3º, se o criminoso é primário, pode o juiz, tendo em
consideração as circunstâncias, deixar de aplicar a pena. Na receptação dolosa aplica-
se o disposto no § 2º do art. 155. (Incluído pela Lei nº 9.426, de 1996)

     § 6º - Tratando-se de bens e instalações do patrimônio da União, Estado,
Município, empresa concessionária de serviços públicos ou sociedade de economia
mista, a pena prevista no caput deste artigo aplica-se em dobro. (Incluído pela Lei nº
9.426, de 1996)




Sujeito ativo: qualquer pessoa, menos o co-autor ou partícipe do crime anterior.
Proprietário pode figurar, desde que o bem esteja na posse legítima de um terceiro.

102
Sujeito passivo: proprietário ou possuir do bem objeto da receptação

Bem jurídico tutelado: patrimônio

Objeto material: o produto do delito anterior. Deve ser coisa móvel.

Elemento objetivo do tipo: tipo misto alternativo, vários verbos, um único crime, logo
ao flagrantear deve identificar exatamente o verbo sob pena de posterior
relaxamento.

Elemento subjetivo do crime: dolo direto e eventual (“deve saber”), culpa (§3º). Dolo
deve ser antecedente, mas se admite subsequente.

Elemento subjetivo do tipo especifico: vontade de se apropriar da coisa alheia em
proveito próprio ou de terceiros. Está ínsito ao tipo.

Consumação e tentativa: ocorre com o prejuízo para a vítima em face do
distanciamento da coisa tomada

Ação penal: incondicionada

Competência: JE

OUTRAS OBSERVAÇÕES:

       É uma espécie de crime acessório, pois depende de um crime (não
contravenção) prévio para poder existir. O crime antecedente não precisa ter natureza
patrimonial, ex.: peculato. O crime anterior pode ser um ATO INFRACIONAL.

       É crime acessório, de fusão, parasitário, porém com autonomia em relação ao
anterior, pois independe da identificação do autor do crime pretérito e de sua punição,
basta a existência material do crime.

       Receptador só não responderá quando:

Estiver provada a inexistência do fato criminoso anterior;

Não houver prova da existência do fato criminoso anterior;

103
Não constituir o fato infração penal

Houver alguma causa excludente do crime

       É possível a receptação da receptação

DIFERENÇA PARA O FAVORECIMENTO REAL

       Se agir como simples forma de auxiliar o autor do delito antecedente praticará
favorecimento real e não receptação.

       Na receptação, o agente busca vantagem pessoal ou de 3º que não o autor do
crime anterior. Já no crime de favorecimento real, o agente, com o favorecimento,
quer garantir a vantagem do autor do crime anterior.

TOPOGRAFIA DO ARTIGO
- art. 180, caput -> receptação dolosa simples própria (primeira parte) e imprópria
(segunda parte);
- art. 180, §1º -> receptação dolosa qualificada pelo exercício de atividade comercial
ou industrial;
- art. 180, §2º -> cláusula de equiparação;

- art. 180, §3º -> receptação culposa;

- art. 180, §4º -> dispositivo explicativo;
- art. 180, §5º -> perdão judicial + privilégio;
- art. 180, §6º -> majorante pela natureza do objeto material;



ART. 180, CAPUT -> RECEPTAÇÃO DOLOSA SIMPLES PRÓPRIA (PRIMEIRA PARTE) E
IMPRÓPRIA (SEGUNDA PARTE);


       Na modalidade imprópria o terceiro que é influenciado deve agir de boa-fé. Na
modalidade imprópria é crime formal, basta a influência.

Obs. 1: não é necessário o ajuste entre o autor do crime antecedente e o receptador.
Pode acontecer de o receptador nem saber quem é o autor do crime anterior.
Ex.: indivíduo que se apodera de objeto dispensado por ladrão em fuga.



104
Obs. 2: Nem sempre a receptação se dá por título injusto. Credor que aceita do
devedor coisa proveito de crime. O título era justo, mas há receptação se ele sabe que
a coisa é produto de crime.




- ART. 180, §1º -> RECEPTAÇÃO DOLOSA QUALIFICADA PELO EXERCÍCIO DE
ATIVIDADE COMERCIAL OU INDUSTRIAL;
       É crime próprio, abrangendo dolo direto e eventual, pois o DEVIA SABER
(eventual) é mais grave, de modo que o SABER está inserido aí. Se quem devia saber
comete o crime, mais responsável ainda é quem sabe e o comete também.

       Pune mais gravemente porque o industrial ou comerciante tem mais facilidade
para repassar a coisa objeto de crime.

       O agente nesse caso deve praticar a receptação durante o exercício de
atividade comercial ou industrial

- ART. 180, §2º -> CLÁUSULA DE EQUIPARAÇÃO;

       Visa abranger a punição para camelôs e ambulantes

- ART. 180, §3º -> RECEPTAÇÃO CULPOSA;

Deve-se verificar a natureza da coisa, o valor cobrado e quem o oferece.

- ART. 180, §4º -> DISPOSITIVO EXPLICATIVO;



       Não é necessário que se comprove a autoria de crime pretérito, nem que seu
autor seja punido, bastando prova da ocorrência do fato punível.

- ART. 180, §6º -> MAJORANTE PELA NATUREZA DO OBJETO MATERIAL;

       Só se aplica nos casos em que a conduta do agente se subsumir aos preceitos
existentes no caput, excluindo-se a qualificadora e a forma culposa.

       Se trata de uma qualificadora, pois manda aplicar a pena em dobro, logo
alteram-se os limites mínimo e máximo da pena.

105
Deve saber que está praticando receptação contra bem de propriedade da
União – E, DF, M, entes públicos, etc.

ADVOGADO QUE RECEBE HONORÁRIO QUE SABE SER DECORRENTE DE PRODUTO DE
CRIME

        Para o STF pratica o crime de receptação




Art. 181 - É isento de pena quem comete qualquer dos crimes previstos neste título,
em prejuízo:

      I - do cônjuge, na constância da sociedade conjugal;

      II - de ascendente ou descendente, seja o parentesco legítimo ou ilegítimo, seja
civil ou natural.

     Art. 182 - Somente se procede mediante representação, se o crime previsto neste
título é cometido em prejuízo:

      I - do cônjuge desquitado ou judicialmente separado;

      II - de irmão, legítimo ou ilegítimo;

      III - de tio ou sobrinho, com quem o agente coabita.

      Art. 183 - Não se aplica o disposto nos dois artigos anteriores:

    I - se o crime é de roubo ou de extorsão, ou, em geral, quando haja emprego de
grave ameaça ou violência à pessoa;

      II - ao estranho que participa do crime.

     III – se o crime é praticado contra pessoa com idade igual ou superior a 60
(sessenta) anos. (Incluído pela Lei nº 10.741, de 2003)




        O artigo 181 prevê IMUNIDADES ABSOLUTAS. É um privilégio de natureza
pessoal, tratando-se de uma forma de escusa absolutória, condição negativa de
punibilidade ou causa pessoal de exclusão de pena. Impede a instauração da


106
persecução penal e não se confunde com perdão judicial. Como só fala em cônjuge,
não abrange a união estável.

       É absoluta porque não admite prova em contrário




       O artigo 182 trata de IMUNIDADE RELATIVA, exigindo que a vítima ofereça
representação.




       O artigo 183 trata das hipóteses em que tais imunidades não serão aplicáveis.




107
AULA 17ª: ART. 184



Violação de direito autoral
      Art. 184. Violar direitos de autor e os que lhe são conexos: (Redação dada pela Lei
nº 10.695, de 1º.7.2003)
      Pena – detenção, de 3 (três) meses a 1 (um) ano, ou multa. (Redação dada pela Lei
nº 10.695, de 1º.7.2003)
      § 1o Se a violação consistir em reprodução total ou parcial, com intuito de lucro
direto ou indireto, por qualquer meio ou processo, de obra intelectual, interpretação,
execução ou fonograma, sem autorização expressa do autor, do artista intérprete ou
executante, do produtor, conforme o caso, ou de quem os represente: (Redação dada
pela Lei nº 10.695, de 1º.7.2003)
      Pena – reclusão, de 2 (dois) a 4 (quatro) anos, e multa. (Redação dada pela Lei nº
10.695, de 1º.7.2003)
      § 2o Na mesma pena do § 1o incorre quem, com o intuito de lucro direto ou
indireto, distribui, vende, expõe à venda, aluga, introduz no País, adquire, oculta, tem
em depósito, original ou cópia de obra intelectual ou fonograma reproduzido com
violação do direito de autor, do direito de artista intérprete ou executante ou do
direito do produtor de fonograma, ou, ainda, aluga original ou cópia de obra
intelectual ou fonograma, sem a expressa autorização dos titulares dos direitos ou de
quem os represente. (Redação dada pela Lei nº 10.695, de 1º.7.2003)
      § 3o Se a violação consistir no oferecimento ao público, mediante cabo, fibra
ótica, satélite, ondas ou qualquer outro sistema que permita ao usuário realizar a
seleção da obra ou produção para recebê-la em um tempo e lugar previamente
determinados por quem formula a demanda, com intuito de lucro, direto ou indireto,
sem autorização expressa, conforme o caso, do autor, do artista intérprete ou
executante, do produtor de fonograma, ou de quem os represente: (Redação dada
pela Lei nº 10.695, de 1º.7.2003)



108
Pena – reclusão, de 2 (dois) a 4 (quatro) anos, e multa. (Incluído pela Lei nº
10.695, de 1º.7.2003)
      § 4o O disposto nos §§ 1o, 2o e 3o não se aplica quando se tratar de exceção ou
limitação ao direito de autor ou os que lhe são conexos, em conformidade com o
previsto na Lei nº 9.610, de 19 de fevereiro de 1998, nem a cópia de obra intelectual
ou fonograma, em um só exemplar, para uso privado do copista, sem intuito de lucro
direto ou indireto. (Incluído pela Lei nº 10.695, de 1º.7.2003)


      Art. 186. Procede-se mediante: (Redação dada pela Lei nº 10.695, de 1º.7.2003)
      I – queixa, nos crimes previstos no caput do art. 184; (Incluído pela Lei nº 10.695,
de 1º.7.2003)
      II – ação penal pública incondicionada, nos crimes previstos nos §§ 1o e 2o do art.
184; (Incluído pela Lei nº 10.695, de 1º.7.2003)
      III – ação penal pública incondicionada, nos crimes cometidos em desfavor de
entidades de direito público, autarquia, empresa pública, sociedade de economia
mista ou fundação instituída pelo Poder Público; (Incluído pela Lei nº 10.695, de
1º.7.2003)
      IV – ação penal pública condicionada à representação, nos crimes previstos no §
3o do art. 184. (Incluído pela Lei nº 10.695, de 1º.7.2003)




Observações relevantes:
I – Norma penal em branco (conceito de direito de autor está na Lei n. 9.610/98:
Diferença de direitos morais – inalienável, imprescritível, irrenunciável, transmite por
sucessão - para patrimoniais – exploração econômica da obra)
II – Previsão constitucional do direito autoral prevista no art. 5º, XXVII (afastaria em
tese o princípio da insignificância)
III – NJ controvertida dos direitos autorais: sui generis; direito de propriedade,
personalidade; privilégio ou monopólio; bem móvel (art. 3º, lei 9610)
IV – Diferença de plágio para simples imitação (indiferente penal: não há reprodução
relevante, mas uso de idéias, métodos, formas ou sistemas)
109
V – Sujeito ativo: qualquer pessoa
VI – Sujeito passivo: autor da obra, herdeiros ou sucessores, qualquer outro titular dos
direitos


VII - Objeto jurídico protegido: propriedade intelectual (fazer diferenciação dando o
exemplo do 121)
VIII – Objeto material: obra violada
IX – Elemento subjetivo do tipo: é crime doloso, não há forma culposa, mas pode ser
comissivo por omissão (figura do garantidor). Nas figuras qualificadas deve ter intuito
de lucro (é elemento subjetivo do tipo específico), não há no caput. Há possibilidade
de erro de tipo (se supõe que a obra caiu em domínio público)
X – Elemento objetivo do tipo: são os verbos. É tipo misto alternativo.
XI – Consumação e tentativa: a consumação variará conforme a forma de violação (a
depender do verbo). Independe de resultado naturalístico. Admite tentativa.
XII – Classificação: Comum, formal (se exige laudo pericial então é material), forma
livre, comissivo, instantâneo (permanente nas formas “ocultar, exporá venda, ter em
depósito”), unisubjetivo, plurisubsistente (vários atos, daí admitir tentativa), não
transeunte (deixa vestígios).
XIII – Modalidades qualificadas: dolo + obtenção de lucro (tipo anormal – pois contém
elementos subjetivos no caso, o intuito de lucro - que qualificam o elemento
descritivo,). Não é mais de menor potencial ofensivo, logo não irá para o JEC como no
caso do caput. Se não houver intenção de lucro, pode ser desqualificado para
receptação (art. 180).
§ 1º: independe de locupletamento. O verbo “reprodução” é norma penal em branco,
com conceito definido pela Lei 9610/98, art. 5º. Programas de computador são objeto
de proteção legal específica.
§2º: Trata de outros verbos praticados depois da “reprodução” prevista no parágrafo
anterior. Todos os verbos devem recair sobre o original ou cópia sem autorização
expressa. Se o produto for imitação grosseira, SANCHES diz que seria atípico, já GRECO
diz que há crime.


110
§3º: prevê só um verbo: “oferecer ao público”, logo, se for para uso próprio não
haveria crime qualificado, indo para o caput.
§4º: Causa de exclusão da tipicidade das figuras qualificadas. Para NUCCI é dispositivo
inútil, pois repete o que disposto na Lei 9610, art. 46, logo, mesmo que inexistisse
ainda assim existiria a atipicidade por força da lei especial. A doutrina expande tal
exclusão para o caput, pois não teria lógica excluir para as figuras qualificadas e não
excluir para a figura simples.
XIV – Ação penal: (art. 186)
Caput – queixa
§1º e 2º: incondicionada
§3º: condicionada a representação do ofendido


CURIOSIDADES:


Norma penal em branco: depende de complemento normativo:
Norma penal em branco própria (sentido estrito): o complemento normativo não
emana do legislador. Ex.: lei de drogas, quem diz o que é droga é o Executivo.
Norma penal em branco imprópria (sentido amplo): complemento normativo emana
do legislador. Pode ser:
I – Homovitelina: mesma instância legislativa
II – Heterovitelina: instância legislativa diversa. Art. 236 CP: contrair casamento
ocultando impedimento (o impedimento é definido na lei civil)
Ex.: crimes funcionais complementados pelo próprio legislador, conceito de
funcionário público.
Norma penal em branco ao revés: Se o complemento é valorativo (dado pelo juiz na
análise do caso concreto, como no caso de crime culposo) o tipo é aberto


II -   A autorização prevista no §4º remete apenas aos tipos qualificados, incidindo o
autor no tipo simples do caput
JURISPRUDÊNCIA:


111
Para atração da JF, o iter criminis deve ter começado no exterior e consumado no
Brasil + dupla tipicidade (no caso, tem previsão pela Convenção de Berna para obras
literárias e artísticas) e deve ainda violar bem direito ou interesse da União, autarquias
ou empresas públicas, nos termos do art. 109 da CF.
Não se aplica o princípio da adequação social (exemplo carnaval em salvador, pegação
geral, forçar a mulher a beijar um cara, etc), nem da insignificância, pois se está
tratando de direito fundamental consagrado no art. 5º da CF (há controvérsias em
relação ao valor do produto).
Alguns TJ exigem laudo pericial para comprovar a inautenticidade.
Por força do princípio da especialidade, o §2º prevalece sobre o delito de descaminho.
A Lei 9609/98, art. 12, tem tipo penal especifico para proteger os direitos de autor dos
programas de computador
Exemplos: reprodução de livro esgotado para uso próprio (atípico, pois está fora do
comércio); crime bagatelar quando copia cd de um amigo para uso doméstico (seria
em tese possível)
EMENTA: PENAL E PROCESSUAL PENAL. HABEAS CORPUS. CRIME DE VIOLAÇÃO DE
DIREITO AUTORAL. VENDA DE CD'S "PIRATAS". ALEGAÇÃO DE ATIPICIDADE DA
CONDUTA POR FORÇA DO PRINCÍPIO DA ADEQUAÇÃO SOCIAL. IMPROCEDÊNCIA.
NORMA INCRIMINADORA EM PLENA VIGÊNCIA. ORDEM DENEGADA. I - A conduta do
paciente amolda-se perfeitamente ao tipo penal previsto no art. 184, § 2º, do Código
Penal. II - Não ilide a incidência da norma incriminadora a circunstância de que a
sociedade alegadamente aceita e até estimula a prática do delito ao adquirir os
produtos objeto originados de contrafação. III - Não se pode considerar socialmente
tolerável uma conduta que causa enormes prejuízos ao Fisco pela burla do pagamento
de impostos, à indústria fonográfica nacional e aos comerciantes regularmente
estabelecidos.              IV              -             Ordem                denegada.


(HC 98898, Relator(a): Min. RICARDO LEWANDOWSKI, Primeira Turma, julgado em
20/04/2010, DJe-091 DIVULG 20-05-2010 PUBLIC 21-05-2010 EMENT VOL-02402-04
PP-00778 RSJADV jun., 2010, p. 47-50 RT v. 99, n. 901, 2010, p. 513-518)


112
AULA 18ª: ART. 197, 207, 208



Atentado contra a liberdade de trabalho
      Art. 197 - Constranger alguém, mediante violência ou grave ameaça:
      I - a exercer ou não exercer arte, ofício, profissão ou indústria, ou a trabalhar ou
não trabalhar durante certo período ou em determinados dias:
      Pena - detenção, de um mês a um ano, e multa, além da pena correspondente à
violência;
      II - a abrir ou fechar o seu estabelecimento de trabalho, ou a participar de parede
ou paralisação de atividade econômica:
      Pena - detenção, de três meses a um ano, e multa, além da pena correspondente
à violência.




Observações relevantes:
I – Previsão constitucional, art. 6º e seguintes.
II – A lei penal visa proteger não apenas o livre exercício dos direitos individuais, como
também a própria organização do Trabalho (objeto jurídico)
III – Sujeito ativo: qualquer pessoa
IV – Sujeito passivo: Qualquer pessoa, desde que na condição de trabalhador
(empregado ou patrão)
V – Objeto jurídico: liberdade do trabalho (protege a liberdade a que faz jus o
trabalhador para escolher a profissão que irá exercer) – CF, art. 5º, XIII
VI – Objeto material: é a pessoa vítima da ação criminosa
VII – Elemento objetivo do tipo (não diz respeito à vontade do agente, pode ser
descritivo e normativo): é o verbo constranger, mediante violência ou GRAVE ameaça
(caput). Forma qualificada está nos incisos I e II.
VIII – Elemento subjetivo do tipo: não há, é tipo normal (mera descrição)


113
IX – Elemento subjetivo do crime: dolo (vontade consciente de realizar a figura típica,
FINALISMO PENAL DE ROXIN). Caso o dolo não se direcione para alguns dos resultados
almejados, desclassifica-se para o crime de CONSTRANGIMENTO ILEGAL
X – Classificação: comum (sujeito ativo) e próprio (sujeito passivo), material, forma
livre, comissivo, instantâneo ou permanente, de dano, unissubjetivo, plurissubsistente,
transeunte (regra).
XI – Consumação e tentativa: tentativa é possível. Consuma-se com o constrangimento
da liberdade do trabalho
XII – Competência da JF: apenas se envolver interesse coletivo
XIII – É crime de menor potencial ofensivo, de competência do JECRIM ou JEF
XIV – Ação penal é pública incondicionada
Questões relevantes:
Pode PJ ser sujeito passivo de crime contra a organização do trabalho?
Quando se dá a competência da JF para processar e julgar tais casos?
“PAREDE”, previsto no inciso II, é o lockout




                  EMENTA: AGRAVO REGIMENTAL NO RECURSO EXTRAORDINÁRIO.
                  CONSTITUCIONAL E PROCESSUAL PENAL. ART. 109, INC. VI, DA
                  CONSTITUIÇÃO DA REPÚBLICA. DELITOS DE GREVE E CRIMES
                  CONTRA A ORGANIZAÇÃO DO TRABALHO (ARTS. 197 A 207 DO
                  CÓDIGO PENAL) QUE CAUSEM PREJUÍZO À ORDEM PÚBLICA,
                  ECONÔMICA OU SOCIAL E AO TRABALHO COLETIVO: COMPETÊNCIA
                  DA JUSTIÇA FEDERAL. PRECEDENTES. AGRAVO REGIMENTAL AO
                  QUAL                SE             NEGA                PROVIMENTO.


                  (RE 599943 AgR, Relator(a): Min. CÁRMEN LÚCIA, Primeira Turma,
                  julgado em 02/12/2010, DJe-020 DIVULG 31-01-2011 PUBLIC 01-02-
                  2011 EMENT VOL-02454-06 PP-01450)




114
DIREITO PROCESSUAL PENAL. RECURSO EXTRAORDINÁRIO. CRIME DE
                  LESÕES CORPORAIS DECORRENTE DE ACIDENTE DO TRABALHO.
                  AUSÊNCIA DE INTERESSE DIRETO E ESPECÍFICO DA UNIÃO.
                  INEXISTÊNCIA DE CRIME CONTRA A ORGANIZAÇÃO DO TRABALHO.
                  COMPETÊNCIA DA JUSTIÇA ESTADUAL. RECURSO IMPROVIDO. 1. A
                  questão de direito tratada nestes autos diz respeito à alegada
                  violação do art. 109, IV e VI, da Constituição Federal. Cuida-se de
                  possível   malferimento    da   regra   constitucional   referente   à
                  competência da justiça federal. 2. Da leitura da peça acusatória,
                  verifica-se que não há interesse direto e específico da União capaz de
                  atrair a competência do julgamento da ação penal para a Justiça
                  Federal. 3. O fato, por si só, da lesão corporal descrita na denúncia
                  ser decorrente de acidente de trabalho não é suficiente para
                  transferir para a Justiça Federal o processamento e julgamento da
                  ação penal. 4. Não se pode considerar o delito descrito na denúncia
                  como sendo crime contra a organização do trabalho, visto que esta
                  espécie delitiva somente se configura quando há ofensa ao sistema
                  de órgãos e instituições destinados a preservar coletivamente o
                  trabalho. 5. Ante o exposto, nego provimento ao recurso
                  extraordinário.


                  (RE 588332, Relator(a): Min. ELLEN GRACIE, Segunda Turma, julgado
                  em 31/03/2009, DJe-075 DIVULG 23-04-2009 PUBLIC 24-04-2009
                  EMENT VOL-02357-07 PP-01417 RTJ VOL-00210-03 PP-01217 RT v.
                  98, n. 886, 2009, p. 525-530)


Aliciamento de trabalhadores de um local para outro do território nacional
      Art. 207 - Aliciar trabalhadores, com o fim de levá-los de uma para outra
localidade do território nacional:
      Pena - detenção de um a três anos, e multa. (Redação dada pela Lei nº 9.777, de
29.12.1998)
115
§ 1º Incorre na mesma pena quem recrutar trabalhadores fora da localidade de
execução do trabalho, dentro do território nacional, mediante fraude ou cobrança de
qualquer quantia do trabalhador, ou, ainda, não assegurar condições do seu retorno
ao local de origem. (Incluído pela Lei nº 9.777, de 29.12.1998)
      § 2º A pena é aumentada de um sexto a um terço se a vítima é menor de dezoito
anos, idosa, gestante, indígena ou portadora de deficiência física ou mental. (Incluído
pela Lei nº 9.777, de 29.12.1998)


Sujeito ativo: qualquer pessoa
Sujeito passivo: Estado (em primeiro plano) e os trabalhadores em segundo plano
Objeto jurídico: interesse do Estado em evitar o deslocamento artificial de mão de
obra dentro do território nacional, visa evitar o êxodo de trabalhadores e o
despovoamento de regiões. A pessoa deve ser levada para longe de onde mora,
senão não ofende o bem jurídico
Objeto material: pessoa aliciada
Elementos objetivos do tipo: são os verbos aliciar, recrutar
Elemento subjetivo do tipo específico: é a finalidade de levar a pessoa aliciada para
outra localidade do território nacional. É DOLO DE INTENÇÃO OU DE RESULTADO
CORTADO.
Elemento subjetivo do crime: dolo
Classificação: comum, formal, de forma livre, comissivo (omissivo quando não
assegurar condições de retorno), instantâneo, unissubjetivo, plurissubistente,
transeunte.
Consumação e tentativa: admite tentativa menos na forma omissiva. A consumação se
dá com o efetivo aliciamento ou recrutamento.
Ação penal: pública incondicionada
Competência: JF, pois já interesse coletivo
Outras observações pertinentes: tem causa de aumento de pena no caso da pessoa
aliciada/recrutada for menor de 18 anos, idosa (maior de 60), gestante, indígena,
deficiente física ou mental.


116
O simples fato de aliciar, mesmo com promessas verdadeiras de melhoria de vida já
implicam no crime.
O §1º é um misto no disposto no art. 206 com o caput do 207, pois junta a figura da
fraude com a do êxodo dos trabalhadores. A última forma prevista, a de não assegurar
condições de retorno ao local de origem apresenta problemas, pois não esclarece o
caso em que o trabalho no local de destino durar muito tempo, nem deixa claro se o
tipo será o de recrutamento ou o de não facilitação ao retorno à origem.
Cabível suspensão condicional do processo se não incidir a majorante do §2º
O tipo fala em TRABALHADORES, no plural, logo, segue o entendimento de que terão
de ser pelo menos 3, pois quando o CP quer falar de apenas dois ele o diz
expressamente, porém é controvertido.
                 Jurisprudência

                 Origem                            Tribunal Regional Federal - 5ª Região

                 Classe                            ACR - Apelação Criminal

                 Número       do                   0002369-15.2005.4.05.0000       Órgão
                 Processo:                         Julgador: Quarta Turma

                                                   Desembargador      Federal      MARCELO
                 Relator
                                                   NAVARRO

                                                   Desembargador       Federal      LAZARO
                 Revisor
                                                   GUIMARÃES

                 Data
                                                   17/07/2007
                 Julgamento

                 Documento nº:                     139926


                 Ementa


                 PENAL. CRIMES DE ALICIAMENTO DE TRABALHADORES E DE REDUÇÃO À
                 CONDIÇÃO      ANÁLOGA    À   DE     ESCRAVO      (ARTS.     207   E   149,
                 RESPECTIVAMENTE). CONCURSO MATERIAL. AUTORIA E MATERIALIDADE
                 DELITUOSAS AMPLAMENTE DEMONSTRADAS. PENA DE 03 (TRÊS) ANOS E
                 04 (QUATRO) MESES DE RECLUSÃO, SUBSTITUÍDA POR DUAS RESTRITIVAS
                 DE DIREITO. RECONHECIMENTO, DE OFÍCIO, NESTA SEGUNDA INSTÂNCIA,

117
DA OCORRÊNCIA DE PRESCRIÇÃO RETROATIVA, LEMBRADA PELO ÓRGÃO
      DO PARQUET, APENAS QUANTO AO CRIME DO ART. 207, NA FORMA DOS
      ARTS.         107,    IV       E          110,         DO        CPB.
      - COM O SEU CRIMINOSO AGIR, A PARTIR DO ALICIAMENTO DA MÃO-DE-
      OBRA DE DEZENAS DE TRABALHADORES RURAIS, COM FALSAS PROMESSAS
      DE BONS SALÁRIOS E DIGNAS CONDIÇÕES DE TRABALHO, NA ZONA
      CANAVIEIRA DE RIO DAS PEDRAS, NO ESTADO DE SÃO PAULO, DISTANTE,
      POIS, DE CAJAZEIRAS, NA PARAÍBA, ALGO EM TORNO DE 3.000 KM (TRÊS
      MIL KILOMETROS), FINDOU O APELANTE POR PERFAZER A FIGURA TÍPICA
      DESCRITA NO ART. 149 DO DIPLOMA PENAL PÁTRIO, AO DEIXAR GRANDE
      MASSA DE INCAUTOS À PRÓPRIA SORTE, EM CONDIÇÕES VIOLADORAS DOS
      MAIS BASILARES DIREITOS HUMANOS, AFRONTANDO DIRETAMENTE A
      DIGNIDADE DE SEUS SEMELHANTES, A IMPOR SÓRDIDA RELAÇÃO DE
      DEPENDÊNCIA FIRMADA ENTRE AS VÍTIMAS E SEU AGENCIADOR, ORA
      RECORRENTE, POR INTERMÉDIO DE PRESSÃO PSICOLÓGICA, RETENÇÃO DE
      DOCUMENTOS (CTPS) E OUTRAS VIS IMPOSIÇÕES QUE ARBITRARIAMENTE
      ESTIPULAVA, GRANJEANDO, NOTADAMENTE, O BENEPLÁCITO E O
      CONCURSO DOS EXPLORADORES DE MIGRANTES DAQUELA REGIÃO
      CANAVIEIRA.
      - PATENTE SUJEIÇÃO DOS TRABALHADORES À CONDIÇÕES INDIGNAS DE
      TRABALHO, EM LOCAIS TOTALMENTE INSALUBRES E SEM OFERECER A
      MENOR CONDIÇÃO DE ALOJAMENTO E ALIMENTAÇÃO HUMANAMENTE
      ADEQUADOS.
      - APELAÇÃO IMPROVIDA. RECONHECIMENTO, DE OFÍCIO, DA PRESCRIÇÃO
      RETROATIVA QUANTO À PUNIBILIDADE REFERENTE AO ART. 207 DO CPB.


      Origem                       Tribunal Regional Federal - 5ª Região

      Classe                       ACR - Apelação Criminal

      Número      do               0037270-29.1993.4.05.0000       Órgão
      Processo:                    Julgador: Primeira Turma

                                   Desembargador       Federal    FRANCISCO
      Relator
                                   FALCÃO

      Data                         03/05/1994

118
Julgamento

      Documento nº:                         15320

      Decisão
      UNÂNIME
      Ementa
      PENAL. ALICIAMENTO           DE   TRABALHADORES.        ART.   207   DO   CP.
      INOCORRENCIA. NÃO SE DEMONSTRANDO OFENSA A ORGANIZAÇÃO DO
      TRABALHO                                    OU                                O
      PREJUIZO     PARA       A    REGIÃO   ONDE    OCORREU      O   ALICIAMENTO,
      DESCARACTERIZA-SE O CRIME PREVISTO NO ART. 207 DO CP.
      - APELO PROVIDO.


      Acordão      MSPL 1879/PB

      Origem                                Tribunal Regional Federal - 5ª Região

      Classe                                MSPL - Mandado de Segurança

      Número        do                      0004150-97.1990.4.05.0000       Órgão
      Processo:                             Julgador: Pleno

                                            Desembargador       Federal    PETRUCIO
      Relator
                                            FERREIRA

      Data
                                            19/09/1990
      Julgamento

      Documento nº:                         838


      Decisão
      UNÂNIME
      Ementa
      MANDADO DE SEGURANÇA. CABIMENTO. INQUERITO POLICIAL. CRIME DE
      ALICIAMENTO DE TRABALHADORES (ART. 207 DO CP). APREENSÃO DE
      VEICULOS
      DESTINADOS         AO       TRANSPORTE   DOS     ALICIADOS.     RESTITUIÇÃO.
      1. E CABIVEL O MANDADO DE SEGURANÇA PARA PLEITEAR-SE A
      RESTITUIÇÃO DE BENS APREENDIDOS EM INQUERITO POLICIAL, UMA VEZ
      INDEFERIDA                                                                NO
119
PROCEDIMENTO INCIDENTAL DE QUE TRATA O ART. 120, PARAGRAFO
                   SEGUNDO,DOCPP.
                   2. O CRIME DE ALICIAMENTO DE TRABALHADORES DEFINIDO NO ART. 207
                   DO CODIGO PENAL SE CONSUMA NO MOMENTO EM QUE O AGENTE
                   CONVENCE O TRABALHADOR A TRANSFERIR-SE PARA OUTRA LOCALIDADE
                   DO TERRITORIO NACIONAL, ACERTANDO COM ELE AS CONDIÇÕES E OS
                   MEIOS                 COMO                   ISTO              SE
                   FARA. POR CONSEGUINTE, OS VEICULOS DE QUALQUER NATUREZA
                   UTILIZADOS PARA DESLOCAR-SE AO LUGAR DE DESTINO, DE NENHUMA
                   FORMA                           PODEM                        SER
                   CONSIDERADOS INSTRUMENTOS DESSE ILICITO OU PROVA DE SUA
                   MATERIALIDADE. DESNECESSARIAS, PORTANTO, SUA APREENSÃO E
                   RETENÇÃO, DESDE QUE, ALEM DE NÃO INTERESSAREM AO PROCESSO, NÃO
                   ESTÃO                                                   INCLUIDOS
                   ENTRE OS BENS PASSIVEL DE PERDA, MENCIONADOS NO ART. 91, II, DO
                   CODIGO                                                     PENAL.
                   3. MANDADO DE SEGURANÇA CONHECIDO E DEFERIDO.


         Casos práticos: CASO DOS FALSOS OLHEIROS DE FUTEBOL QUE COBRAM TAXA PARA
UM JOGO DE APRESENTAÇÃO PARA SUPOSTOS REPRESENTANTES DE GRANDES CLUBES, FAZ
AS CRIANÇAS VIAJAREM PROMETENDO FAMA E FORTUNA? Seria isso ou estelionato.




      Ultraje a culto e impedimento ou perturbação de ato a ele relativo

      Art. 208 - Escarnecer de alguém publicamente, por motivo de crença ou função
religiosa; impedir ou perturbar cerimônia ou prática de culto religioso; vilipendiar
publicamente ato ou objeto de culto religioso:

      Pena - detenção, de um mês a um ano, ou multa.


      Parágrafo único - Se há emprego de violência, a pena é aumentada de um terço,
sem prejuízo da correspondente à violência.
Sujeito ativo: qualquer pessoa

120
Sujeito passivo: qualquer pessoa (primeira parte – “alguém”) ou a coletividade,
especialmente os que se sentirem diretamente atingidos. È, nesse ponto, CRIME
VAGO, pois atinge uma coletividade indeterminada de pessoas
Objeto jurídico: sentimento religioso e a liberdade de culto e crença
Objeto material: é a pessoa (primeira parte), a cerimônia ou culto (segunda parte) e o
ato ou objeto de culto (terceira parte)
Elementos objetivos do tipo: são os verbos escarnecer, impedir ou perturbar e
vilipendiar
Elemento subjetivo do tipo específico: é a vontade de denegrir determinada religião,
seja atingindo um dos devotos ou contra ato, culto ou objeto que a simbolize. Se não
estiver presente o fato é atípico.
Elemento subjetivo do crime: dolo
Classificação: comum para sujeito ativo e próprio para o passivo, pois deverá ser
pessoa que professe a crença atingida, formal ou material (vilipêndio), forma livre,
comissivo, instantâneo, unissubjetivo, unissubsistente, transeunte (regra), não
transeunte no ato de vilipendiar
Consumação e tentativa: admite a tentativa na forma plurissubsistente, e a
consumação ocorre com a prática da conduta, independente do resultado.
Ação penal: pública incondicionada
Competência: JECRIM
Outras observações pertinentes: é crime de tipo misto CUMULATIVO, logo a prática de
cada verbo representará um crime, podendo haver concurso dos mesmos.
Critica-se, na forma qualificada, o aumento de pena decorrente da violência, pois
representaria um bis in idem.
A agressão tem de ocorrer em local público, sob pena de desclassificação para o crime
de injúria e o agente deve agir impelido por uma finalidade especial.
No caso do agente público a conduta poderá configurar o crime de abuso de
autoridade.
Há doutrina que defenda que a religião detenha número considerável de fiéis para se
beneficiar da tutela penal, SANCHES discorda, porque se a garantia da livre opção


121
religiosa é o que busca a lei, desde que não atinja a moral e bons costumes, deve se
beneficiar.
Os objetos religiosos objeto de proteção devem ser consagrados ao culto, como
cruzes, imagens, etc.
O estatuto do índio tem proteção específica para esse tipo de crime (art. 58 da Lei n
6.001/73) – crime contra os índios e a cultura indígena.
Jurisprudência:
Casos práticos: CASO DO PASTOR QUE CHUTOU A UMAGEM DA SANTA NA TV RECORD


Destruição, subtração ou ocultação de cadáver

      Art. 211 - Destruir, subtrair ou ocultar cadáver ou parte dele:


      Pena - reclusão, de um a três anos, e multa.
Sujeito ativo: qualquer pessoa
Sujeito passivo: coletividade e família do morto. CRIME VAGO
Objeto jurídico: respeito aos mortos
Objeto material: cadáver ou suas partes. Não se incluem suas CINZAS ou MÚMIA, que
pode ter valor econômico
Elementos objetivos do tipo: são os verbos DESTRUIR, SUBTRAIR, OCULTAR.
Elemento subjetivo do tipo específico: NÃO HÁ
Elemento subjetivo do crime: dolo
Classificação: comum, forma livre, unissubjetivo, plurissubsistente, comissivo,
instantâneo nas formas destruir e subtrair e permanente na modalidade ocultar,
formal (DELITO DE ATIVIDADE, para GRECO é material), PODE SER TRANSEUNTE OU
NÃO TRANSEUNTE
Consumação e tentativa: tentativa é possível. Se consuma com a prática da conduta
Ação penal: pública incondicionada
Competência:JE
Outras observações pertinentes:
Equipara-se ao cadáver o corpo do FETO MORTO (desde que com semblante humano),
NÃO EXIGE PRE-EXISTÊNCIA DE VIDA.
122
PARA SER CADÁVER TEM DE APARENTAR SER HUMANO. Esqueleto não é cadáver, nem
múmia.
Ocultar ocorre ANTES do sepultamento, já SUBTRAIR ocorre depois.
É tipo MISTO ALTERNATIVO
Jurisprudência
Casos práticos: mãe que oculta o cadáver do recém nascido para encobrir as provas do
infanticídio, filho que destrói o cadáver do pai, CASO TIM LOPES, CEMITÉRIOS
CLANDESTINOS


                           AULA N. 19: ART. 212, 213



Vilipêndio a cadáver

      Art. 212 - Vilipendiar cadáver ou suas cinzas:


      Pena - detenção, de um a três anos, e multa.
Sujeito ativo: qualquer pessoa
Sujeito passivo: coletividade, família do morto. É CRIME VAGO
Objeto jurídico: respeito aos mortos
Objeto material: cadáver ou suas cinzas
Elementos objetivos do tipo: verbo vilipendiar, pode ser praticada via gestos ou
palavras
Elemento subjetivo do tipo específico: PARA GRECO NÃO HÁ. Para NUCCI está
implícito, seria a vontade de ultrajar a memória do morto (DELITO DE TENDÊNCIA)
Elemento subjetivo do crime: dolo
Classificação: comum, formal, PARA Greco é material, forma livre, comissivo,
unissubjetivo, transeunte ou não transeunte, instantâneo, unissubsistente ou
plurissubsistente
Consumação e tentativa: tentativa é possível quando plurissubsistente. Consuma-se
com a conduta
123
Ação penal: pública incondicionada
Competência: JE
Outras observações pertinentes: NECROFILIA é forma de vilipendiar
Jurisprudência
Casos práticos


                                        TÍTULO VI
                       DOS CRIMES CONTRA A DIGNIDADE SEXUAL
                        (Redação dada pela Lei nº 12.015, de 2009)


                                       CAPÍTULO I
                        DOS CRIMES CONTRA A LIBERDADE SEXUAL
                        (Redação dada pela Lei nº 12.015, de 2009)

        Estupro
        Art. 213. Constranger alguém, mediante violência ou grave ameaça, a ter
conjunção carnal ou a praticar ou permitir que com ele se pratique outro ato
libidinoso: (Redação dada pela Lei nº 12.015, de 2009)
        Pena - reclusão, de 6 (seis) a 10 (dez) anos. (Redação dada pela Lei nº 12.015,
de 2009)
        § 1o Se da conduta resulta lesão corporal de natureza grave ou se a vítima é
menor de 18 (dezoito) ou maior de 14 (catorze) anos: (Incluído pela Lei nº 12.015, de
2009)
        Pena - reclusão, de 8 (oito) a 12 (doze) anos. (Incluído pela Lei nº 12.015, de
2009)
        § 2o Se da conduta resulta morte: (Incluído pela Lei nº 12.015, de 2009)
        Pena - reclusão, de 12 (doze) a 30 (trinta) anos (Incluído pela Lei nº 12.015, de
2009)
      Art. 214 - (Revogado pela Lei nº 12.015, de 2009)


Como era                                    Como ficou
CRIMES CONTRA OS COSTUMES                    CRIMES CONTRA A DIGNIDADE SEXUAL
Estupro                                      Estupro (violência ou grave ameaça)

124
Atentado violento ao pudor
Posse sexual mediante fraude                 Violação sexual mediante fraude (engano)
Atentado violento ao pudor mediante fraude
Assédio sexual                               Assédio (pressão)


Sujeito ativo: qualquer pessoa
Sujeito passivo: qualquer pessoa
Objeto jurídico: liberdade sexual
Objeto material: pessoa que sofre o constrangimento
Elementos objetivos do tipo: verbo constranger
Elemento subjetivo do tipo específico: satisfação mórbida do prazer sexual. Está
implícito no tipo, logo é DELITO DE TENDÊNCIA. GRECO DIZ QUE NÃO HÁ ELEMENTO
SUBJETIVO ESPECÍFICO, BASTA O CONSTRANGIMENTO
Elemento subjetivo do crime: dolo
Classificação: comum (conjunção carnal a relação tem de ser heterosexual), doloso,
material, forma livre (exceto quanto à conjunção carnal, que é de forma vinculada), de
dano, comissivo, instantâneo, unissubjetivo, plurissubsistente, não transeunte.
Consumação e tentativa: tentativa é possível, mas de difícil comprovação. Consuma-se,
na conjunção carnal, com a introdução do pênis na vagina. O chamado “outro ato
libidinoso” é o antigo atentado violento ao pudor, e a tentativa se apresenta com o
início do constrangimento, mas sem a consumação deste (tanto na forma ativa
quanto passiva), tem de ser um ato que tenha conotação sexual para satisfazer a
lascívia do agente e ser grave, sob pena de desclassificação para a contravenção de
importunação ofensiva ao pudor.
Ação penal: É pública condicionada à representação, desde que o sujeito passivo não
seja menor de 18 anos ou pessoa vulnerável (vide art. 225 do CP)
Competência: Justiça comum estadual
Outras observações pertinentes:
Antes se entendia haver concurso material entre estupro (a conjunção carnal era só a
cópula vagínica) e atentado violento ao pudor (representava uma pena mínima de 12



125
anos). Só quem podia cometer estupro era o homem, mulher no máximo seria co-
autora ou partícipe. O elemento objetivo era a conjunção carnal.
Fora a conjunção carnal, todo o resto era atentado violento ao pudor, o sujeito ativo é
qualquer pessoa, passivo idem e o elemento objeto era o ato libidinoso diverso da
conjunção carnal.
Essa distinção criou grande confusão no imaginário popular. Em regra pra qualquer
tipo de violação sexual se usava o termo estupro, mesmo quando não foi o caso. Com
a alteração legislativa a norma veio ao encontro do entendimento popular, se
aproximando do entendimento mais coloquial possível de forma a facilitar a
compreensão do povo sobre tal assunto.
Atualmente, como o crime é único, a lei foi mais benéfica, pois se criou um crime de
ação múltipla ou conteúdo variado (vários verbos, mas o crime é um só), não se tem
mais concurso material. Se quisesse que se continuasse a tratar como crimes diversos
para manter o cúmulo material não haveria necessidade da fusão dos tipos
Obs.: Se o consentimento prestado pela vítima não for válido o crime não estará no
Capítulo 1, mas sim no capítulo 2, que trata do vulnerável (menor de 14, alienada
mental ou que não pode oferecer resistência), é um crime ainda mais grave.
O assédio sexual pune a conduta do superior hierárquico ou ascendência profissional
para obter favores sexuais da vítima (seja conjunção carnal ou outro ato libidinoso).
Não existe assédio entre colegas de trabalho de mesma hierarquia
Quando o assédio for contra vítima menor de 18 anos terá causa de aumento de pena,
a idéia nesse caso é porque as pessoas se inserem a cada dia mais cedo no mercado de
trabalho, logo, antes não se tinha essa preocupação.
Não houve descriminalização do atentado violento ao pudor, mas uma readequação
típica com base no princípio da continuidade normativo típica. Ato libidinoso é
qualquer ato que tenha interesse em satisfazer a lascívia da pessoa. Para ser
considerado    libidinoso    deve    ter   intenção    sexual.    OBS.:     PRINCÍPIO    DA
PROPORCIONALIDADE.          Não   existe   limite   exato   com    a      contravenção   de
IMPORTUNAÇÃO OFENSIVA AO PUDOR
CASO DO ITALIANO QUE BEIJOU NA BOCA UMA CRIANÇA NA PRAIA DE FORTALEZA.


126
Na legislação anterior o estupro podia ser cometido via violência real ou presumida.
Atualmente o estupro só ocorre com efetiva violência ou grave ameaça, porque caso a
vítima não seja presumivelmente capaz de se defender, será estupro de vulnerável.
A regra no crime de estupro atualmente é que a ação penal seja pública condicionada
a representação (autorização da vítima para que o MP denuncie), porém se envolver
pessoa vulnerável ou menor de 18 anos será incondicionada.



                       AULA N. 20: ARTS. 213 (CONT.) E 215




        Violação sexual mediante fraude (Redação dada pela Lei nº 12.015, de 2009)
        Art. 215. Ter conjunção carnal ou praticar outro ato libidinoso com alguém,
mediante fraude ou outro meio que impeça ou dificulte a livre manifestação de
vontade da vítima: (Redação dada pela Lei nº 12.015, de 2009)
        Pena - reclusão, de 2 (dois) a 6 (seis) anos. (Redação dada pela Lei nº 12.015, de
2009)
        Parágrafo único. Se o crime é cometido com o fim de obter vantagem
econômica, aplica-se também multa. (Redação dada pela Lei nº 12.015, de 2009)
      Art. 216. (Revogado pela Lei nº 12.015, de 2009)
      Assédio sexual (Incluído pela Lei nº 10.224, de 15 de 2001)
Antigamente:
Estupro e posse sexual mediante fraude havia conjunção carnal
Atentado violento ao pudor e atentado violento ao pudor mediante fraude eram todos
os outros atos diversos de conjunção carnal
Atualmente:
A violação sexual mediante fraude abrange tanto a posse mediante fraude quanto o
atentado mediante fraude.
Sujeito ativo:
Sujeito passivo
Objeto jurídico: LIBERDADE SEXUAL
127
Objeto material: homem ou mulher vítima
Elementos objetivos do tipo
Elemento subjetivo do tipo específico: discutível a existência. É elemento subjetivo de
tendência (implícita)
Elemento subjetivo do crime: dolo
Classificação: crime de mão própria quando se tratar de conjunção carnal e próprio,
nesse caso, em se tratando do sujeito passivo; doloso, material, de dano, comissivo,
instantâneo, forma vinculada no caso da conjunção carnal, monossubjetivo,
plurissubsistente, transeunte e não transeunte
Consumação e tentativa: na conjunção se consuma com a efetiva penetração. É
plurissubsistente, logo admite fracionamento do iter criminis.
Ação penal
Competência
Outras observações pertinentes: ESTELIONATO SEXUAL. Não bastam meras sugestões
verbais. Fraude grosseira seria meio absolutamente ineficaz e não crime impossível.
É tipo misto alternativo. Caso não fique evidenciada a completa incapacidade de
resistência responde pela fraude, e não por estupro de vulnerável.
Jurisprudência
Casos práticos: GÊMEOS IDÊNTICOS QUE SE APROVEITAM DESSA CONDIÇÃO E
“TROCAM” DE NAMORADAS. O ginecologista que realiza desnecessariamente exame
de toque na paciente. Caso da mulher que descobre a fraude antes da consumação.
Prostituta que faz o programa mas não recebe por ele ao final. Caso de aposta para
ver se consegue transar com a garota




                        AULA N. 21: ARTS. 216-A, 217-A



Assédio sexual (Incluído pela Lei nº 10.224, de 15 de 2001)




128
Art. 216-A. Constranger alguém com o intuito de obter vantagem ou
favorecimento sexual, prevalecendo-se o agente da sua condição de superior
hierárquico ou ascendência inerentes ao exercício de emprego, cargo ou
função." (Incluído pela Lei nº 10.224, de 15 de 2001)

      Pena – detenção, de 1 (um) a 2 (dois) anos. (Incluído pela Lei nº 10.224, de 15 de
2001)

      Parágrafo único. (VETADO) (Incluído pela Lei nº 10.224, de 15 de 2001)


      § 2o A pena é aumentada em até um terço se a vítima é menor de 18 (dezoito)
anos. (Incluído pela Lei nº 12.015, de 2009)
Sujeito ativo: alguém com ascendência sobre a vítima. Superior hierárquico indica
relação de direito público. Cargo é público, função idem
Sujeito passivo: SUBORDINADO
Objeto jurídico: liberdade sexual
Objeto material: a vítima
Elementos objetivos do tipo: CONSTRANGER. assediar significa perseguir com
propostas
Elemento subjetivo do tipo específico: intuito de obter vantagem ou favorecimento
sexual, não especifica se para si ou para outrem. Não há violência ou grave ameaça
Elemento subjetivo do crime: dolo
Classificação: PROPRIO, FORMAL, FORMA LIVRE, COMISSIVO, INSTANTANEO,
UNISSUBJETIVO, UNISSUBSISTENTE, OU PLURISSUBSISTENTE
Consumação e tentativa: consuma-se com o constrangimento. Se a investida for contra
menor de 14 anos vai para estupro ou tentativa de estupro de vulnerável – art. 217 –
A.
Ação penal
Competência
Outras observações pertinentes: ameaça implícita ou expressa de prejuízo na relação
de trabalho. GRECO DIZ QUE O AUMENTO MÍNIMO DEVE SER DE 1/6 DA PENA
Jurisprudência
129
OBS.:
O art. 226, II, eleva a pena da metade se o agente for empregador, porém o superior
hierárquico já é elemento do tipo penal, logo não pode ser para majorar a pena
novamente.

                                        CAPÍTULO II
                       DOS CRIMES SEXUAIS CONTRA VULNERÁVEL
                         (Redação dada pela Lei nº 12.015, de 2009)


  Estupro de vulnerável (Incluído pela Lei nº 12.015, de 2009)


        Art. 217-A. Ter conjunção carnal ou praticar outro ato libidinoso com menor de
14 (catorze) anos: (Incluído pela Lei nº 12.015, de 2009)


        Pena - reclusão, de 8 (oito) a 15 (quinze) anos. (Incluído pela Lei nº 12.015, de
2009)


        § 1o Incorre na mesma pena quem pratica as ações descritas no caput com
alguém que, por enfermidade ou deficiência mental, não tem o necessário
discernimento para a prática do ato, ou que, por qualquer outra causa, não pode
oferecer resistência. (Incluído pela Lei nº 12.015, de 2009)


        § 2o (VETADO) (Incluído pela Lei nº 12.015, de 2009)


        § 3o Se da conduta resulta lesão corporal de natureza grave: (Incluído pela Lei
nº 12.015, de 2009)


        Pena - reclusão, de 10 (dez) a 20 (vinte) anos. (Incluído pela Lei nº 12.015, de
2009)


        § 4o Se da conduta resulta morte: (Incluído pela Lei nº 12.015, de 2009)


        Pena - reclusão, de 12 (doze) a 30 (trinta) anos. (Incluído pela Lei nº 12.015, de
2009)
130
Antes: Capítulo II – Da sedução e Depois: Capítulo II – Dos crimes sexuais
corrupção de menores                       contra vulnerável (foi o que mais sofreu
                                           modificações com a Lei n. 2015)
Art. 217. Sedução (revogado)               Art. 217-A: Estupro de vulnerável
Art. 218. Corrupção de menores             Art. 218. Mediação para satisfazer a
                                           lascívia de outrem envolvendo vulnerável
                                           (CORRUPÇÃO DE MENORES)
                                           Art. 218-A. Satisfação da lascívia própria
                                           na presença de vulnerável
                                           Art.   218-B.   Prostituição   envolvendo
                                           vulnerável (menor de 18 anos)


Para ficar caracterizada a corrupção de menores ele precisaria não estar corrompido
(inexperiente que ludibriado por um maior) ainda e isso devia ser comprovado. Estava
em desuso.

Art. 217-A. Estupro de vulnerável

       Antes existia a chamada presunção de violência, que ocorria para a pessoa que
não podia prestar consentimento válido. Crítica porque no direito penal só existia uma
forma de presunção, que é a de não culpabilidade. Agora, nos casos em que existia
presunção de violência passam a fazer parte de elementos do tipo de estupro de
vulnerável. Agora qualquer ato de cunho sexual, independente de ter violência, com
menor de 14 anos, é crime de estupro de vulnerável.

       Hoje não se fala mais em presunção de violência, pois sendo menor de 14 anos
é crime. No dia do aniversário de 14 anos não há mais estupro de vulnerável
(VANZOLINI).




131
AULA N. 22: ART. 217-A (CONT.) E 218




Corrupção de menores


       Art. 218. Induzir alguém menor de 14 (catorze) anos a satisfazer a lascívia de
outrem: (Redação dada pela Lei nº 12.015, de 2009)


       Pena - reclusão, de 2 (dois) a 5 (cinco) anos. (Redação dada pela Lei nº 12.015,
de 2009)


       Parágrafo único. (VETADO). (Incluído pela Lei nº 12.015, de 2009)


       O beneficiário responderá pelo 217-A. Se esse artigo não existisse, o indutor
responderia como partícipe de estupro de vulnerável, porém é uma exceção
pluralística à teoria monista. Terminou sendo melhor para o réu.

       Outra corrente: O indutor é partícipe do terceiro, logo o crime só será tipo
autônomo quando não houver contato físico (voyerismo) do vulnerável com o terceiro
(não há prática lasciva, mas só a exposição lasciva).


       Versa sobre pessoa determinada (outrem)


       É modalidade especial de lenocínio
Sujeito ativo: indutor é o lenão/proxeneta/rufião
Sujeito passivo: menor de 14 anos. Se tiver idade igual a 14 anos responderá pelo art.
227.
Objeto jurídico: desenvolvimento sexual/liberdade sexual
Objeto material: menor induzido
Elementos objetivos do tipo: induzir (persuadir, aliciar). NUCCI ser uma exceção
pluralística à teoria monística, porque criou um tipo autônomo para o partícipe, se não
132
houvesse tal crime responderia com base no art. 29 do CP (responde na medida da
culpabilidade). CAPEZ/GRECO dizem que as práticas sexuais desse crime devem ser
meramente contemplativas, caso haja algum ato responderá como partícipe de
estupro (discordam de NUCCI).
Elemento subjetivo do tipo específico: satisfação do prazer sexual de outrem (NUCCI).
É pessoa determinada, se for para satisfazer a lascívia de um número indefinido de
pessoas responderá por favorecimento de exploração de vulnerável (art. 218-B)
Elemento subjetivo do crime: dolo
Classificação: comum, material (NUCCI demanda contato físico efetivo, CAPEZ
discorda), forma livre, comissivo, instantâneo, unissubjetivo, plurissubsistente,
instantâneo, transeunte
Consumação e tentativa: consuma-se com a efetiva prática de qualquer ato para
satisfazer a lascívia de outrem.
Ação penal: pública incondicionada (art. 225 CP)
Competência
Outras observações pertinentes
Jurisprudência
Casos práticos: voyeurismo, satisfação da lascívia de terceiro pela internet.




                          AULA N. 23: ART. 218-A E 218-B




       Satisfação de lascívia mediante presença de criança ou adolescente (Incluído
pela Lei nº 12.015, de 2009)


       Art. 218-A. Praticar, na presença de alguém menor de 14 (catorze) anos, ou
induzi-lo a presenciar, conjunção carnal ou outro ato libidinoso, a fim de satisfazer
lascívia própria ou de outrem: (Incluído pela Lei nº 12.015, de 2009)


133
Pena - reclusão, de 2 (dois) a 4 (quatro) anos.” (Incluído pela Lei nº 12.015, de
2009)

        O tipo exige uma intenção especial (elemento subjetivo), porém de difícil
comprovação.



Sujeito ativo: qualquer pessoa
Sujeito passivo: menor de 14 anos
Objeto jurídico: desenvolvimento sexual
Objeto material: menor de 14 anos que presencia
Elementos objetivos do tipo: praticar/ induzir. TIPO MISTO ALTERNATIVO. NÃO HÁ
CONTATO FÍSICO COM O MENOR
Elemento subjetivo do tipo específico: satisfação da lascívia própria ou de outrem
Elemento subjetivo do crime: dolo
Classificação: comum, formal, forma livre (é vinculada para Greco, pois exige que o
menor visualize o ato) comissivo, instantâneo, unissubjetivo, plurissubsistente,
transeunte.
Consumação e tentativa: não precisa efetivamente satisfazer a lascívia, basta que tal
intento esteja presente e o menor tenha presenciado o ato. Consuma-se com a
visualização do ato pelo menor.
Ação penal: incondicionada
Competência: JE
Outras observações pertinentes:
Vítima entre 14 e 18 anos é caso atípico.
Vide artigos 240, 241-D, 244-B do ECA
Jurisprudência
Casos práticos: pode ocorrer a visualização pela internet, não exige proximidade física




134
Favorecimento da prostituição ou outra forma de exploração sexual de
vulnerável (Incluído pela Lei nº 12.015, de 2009)
        Art. 218-B. Submeter, induzir ou atrair à prostituição ou outra forma de
exploração sexual alguém menor de 18 (dezoito) anos ou que, por enfermidade ou
deficiência mental, não tem o necessário discernimento para a prática do ato, facilitá-
la, impedir ou dificultar que a abandone: (Incluído pela Lei nº 12.015, de 2009)
        Pena - reclusão, de 4 (quatro) a 10 (dez) anos. (Incluído pela Lei nº 12.015, de
2009)
        § 1o Se o crime é praticado com o fim de obter vantagem econômica, aplica-se
também multa. (Incluído pela Lei nº 12.015, de 2009)
        § 2o Incorre nas mesmas penas: (Incluído pela Lei nº 12.015, de 2009)
        I - quem pratica conjunção carnal ou outro ato libidinoso com alguém menor de
18 (dezoito) e maior de 14 (catorze) anos na situação descrita no caput deste
artigo; (Incluído pela Lei nº 12.015, de 2009)
        II - o proprietário, o gerente ou o responsável pelo local em que se verifiquem
as práticas referidas no caput deste artigo. (Incluído pela Lei nº 12.015, de 2009)
        § 3o Na hipótese do inciso II do § 2o, constitui efeito obrigatório da condenação
a cassação da licença de localização e de funcionamento do estabelecimento.(Incluído
pela Lei nº 12.015, de 2009)


        Prostituição não é crime, o que é crime é seu favorecimento. Trata-se de tipo
misto alternativo, pois tem vários verbos.

        O vulnerável para o crime de prostituição é o menor de 18 anos.

        Tal proteção já existia no ECA, porém agora se criminalizou a conduta do
consumidor desse tipo de prostituição infantil.

        PEDOFILIA é o nome científico de um distúrbio de comportamento sexual.
Não é um tipo penal específico. Pode se expressar sob a modalidade de diversos tipos
de crimes, desde que haja a externalização de uma conduta tipificada no CP ou ECA.


135
A concretização da fantasia do pedófilo que é a prática de atos sexuais com
menor de 14 anos representa estupro de vulnerável.

       PORNOGRAFIA INFANTIL (ART. 241 DO ECA)

       Não existe uma uniformização do conceito de vulnerável envolvendo os 4
crimes desse capítulo II.

       A facilitação à prostituição versa sobre pessoas indeterminadas (art. 218-B),
enquanto que a mediação para satisfazer a lascívia (art. 218 – caput) o beneficiário é
pessoa determinada.

       Não há crime a pessoa que paga a prostituta por um programa, mas apenas a
pessoa que se beneficia da prostituição (rufião), desde que não seja prostituição
infantil. OBS.: CUIDADO COM ERRO DE TIPO, SE A MENOR APRESENTAR RG FALSO
PODE EXCLUIR O DOLO E, CONSEQUENTEMENTE, O TIPO.
Sujeito ativo: qualquer pessoa
Sujeito passivo: menor de 18 anos e maior de 14 anos (pois se for menor de 14 será
estupro de vulnerável), enferma ou deficiente. QUESTÃO DA RELATIVIZAÇÃO DA
VULNERABILIDADE. SE O MENOR BUSCAR A PROSTITUIÇÃO NÃO HÁ CRIME, POIS NÃO
FOI INDUZIDO. TRATA DA PROSTITUIÇÃO JUVENIL
Objeto jurídico: proteção à liberdade sexual
Objeto material: pessoa menor de 18 e maior de 14
Elementos objetivos do tipo: submeter, induzir, atrair, facilitar, impedir, dificultar
Elemento subjetivo do tipo específico: só existe na figura qualificada, que demanda
vantagem econômica
Elemento subjetivo do crime: dolo
Classificação: comum, material (deve ocorrer a prostituição ou outra forma de
exploração), forma livre, comissivo, instantâneo, unissubjetivo, plurissubsistente,
transeunte.
Consumação e tentativa: para CAPEZ se consuma com a habitualidade da
prostituição, GRECO diz que não precisa. É possível tentativa nas formas de IMPEDIR,

136
DIFICULTAR. Não cabe tentativa nas formas SUBMETER, ATRAIR, INDUZIR, FACILITAR,
pois é crime condicionado. Para GRECO basta colocar o corpo à venda, não precisa
praticar nenhum ato sexual
Ação penal: incondicionada
Competência
Outras observações pertinentes: ESTUPRADOR NÃO É EXPLORADOR SEXUAL, É
PREDADOR SEXUAL.
Existem 4 formas de exploração sexual: prostituição; turismo sexual; pornografia;
tráfico para fins sexuais
Cabe concurso se houver violência ou grave ameaça. Prostituta pode ser sujeito
passivo nas modalidades FACILITAR, IMPEDIR, DIFICULTAR
Jurisprudência
Casos práticos: a simples presença da criança em bordel com a finalidade de se
prostituir (mas não tendo feito ainda), já consumaria o tipo penal para GRECO. Caso do
bar de Ponta Negra.


                      AULA N. 24: ARTS. 225, 226, 227



Ação penal

      Art. 225. Nos crimes definidos nos Capítulos I e II deste Título, procede-se
mediante ação penal pública condicionada à representação. (Redação dada pela Lei nº
12.015, de 2009)

      Parágrafo único. Procede-se, entretanto, mediante ação penal pública
incondicionada se a vítima é menor de 18 (dezoito) anos ou pessoa
vulnerável. (Incluído pela Lei nº 12.015, de 2009)

      Aumento de pena

      Art. 226. A pena é aumentada:(Redação dada pela Lei nº 11.106, de 2005)

    I – de quarta parte, se o crime é cometido com o concurso de 2 (duas) ou mais
pessoas; (Redação dada pela Lei nº 11.106, de 2005)

137
II – de metade, se o agente é ascendente, padrasto ou madrasta, tio, irmão,
cônjuge, companheiro, tutor, curador, preceptor ou empregador da vítima ou por
qualquer outro título tem autoridade sobre ela; (Redação dada pela Lei nº 11.106, de
2005)

      III - (Revogado pela Lei nº 11.106, de 2005)




Mediação para servir à lascívia de outrem

Art. 227. Induzir alguém a satisfazer a lascívia de outrem.


Pena. Reclusão de 1 a 3 anos


§1º. Se a vítima é maior de 14 anos e menor de 18 anos, ou se o agente é seu
ascendente, descendente, cônjuge ou companheiro, irmão, tutor ou curador ou pessoa
a quem esteja confiada para fins de educação, de tratamento ou de guarda:

Pena. reclusão, de 2 a 5 anos


§2º. Se o crime é cometido com emprego de violência, grave ameaça ou fraude.

Pena. reclusão, de 2 a 8 anos, além da pena correspondente à violência.


§3º. Se o crime é cometido com o fim de lucro, aplica-se também a multa.
MUDOU O FOCO DA PROTEÇÃO JURÍDICA, QUE AGORA É O VALOR DA PESSOA
HUMANA
Sujeito ativo: qualquer pessoa. se a vítima for estuprada pelo destinatário da indução o
indutor poderá responder como partícipe se agiu com dolo direto e o lenocínio aí seria
absorvido.
Sujeito passivo: qualquer pessoa, exceto menor de 14 anos.
Objeto jurídico: valor da pessoa humana
Objeto material: qualquer pessoa – NUCCI ENTENDE QUE A PESSOA PROSTITUÍDA NÃO
SERIA OBJETO DE PROTEÇÃO



138
Elemento objetivo do tipo: INDUZIR. Se for para número indeterminado de pessoas
será favorecimento de prostituição, deve ser um número certo de pessoas.
Elemento subjetivo do tipo específico: satisfação da luxúria de outrem
Elemento subjetivo do crime: DOLO
Consumação e tentativa: quando houver a satisfação da lascívia (NUCCI). Não é crime
habitual, consuma-se com qualquer ato.
Ação penal: INCONDICIONADA
Competência: JE
Outras observações pertinentes: DEVE SATISFAZER A LASCÍVIA DE PESSOA CERTA,
DETERMINADA,      SE   FOR    INDETERMINADA       VAI   PARA    FAVORECIMENTO        DE
PROSTITUIÇÃO;
PARA CAPEZ NÃO É CRIME HABITUAL
NA MODALIDADE QUALIFICADA, QUANDO HOUVER INTUITO DE LUCRO, CHAMA-SE
“LENOCÍNIO QUESTUÁRIO”
Jurisprudência:
“Lenocínio. Proprietária de casa de prostituição acusada de servir de mediadora para a
lascívia de outrem. (...) A meretriz não pode ser havida como vitima do delito previsto
no art. 227, § 3º do Código Penal, pois não é induzida, mas se presta voluntariamente,
a lascívia de outrem” (TJPR – RT 487/347).
Casos práticos




                        AULA N. 25: ARTS. 228, 229, 230


      Favorecimento da prostituição ou outra forma de exploração sexual
      Art. 228. Induzir ou atrair alguém à prostituição ou outra forma de exploração
sexual, facilitá-la, impedir ou dificultar que alguém a abandone: (Redação dada pela Lei
nº 12.015, de 2009)

139
Pena - reclusão, de 2 (dois) a 5 (cinco) anos, e multa. (Redação dada pela Lei nº
12.015, de 2009)
       § 1o Se o agente é ascendente, padrasto, madrasta, irmão, enteado, cônjuge,
companheiro, tutor ou curador, preceptor ou empregador da vítima, ou se assumiu,
por lei ou outra forma, obrigação de cuidado, proteção ou vigilância: (Redação dada
pela Lei nº 12.015, de 2009)
       Pena - reclusão, de 3 (três) a 8 (oito) anos. (Redação dada pela Lei nº 12.015, de
2009)
      § 2º - Se o crime, é cometido com emprego de violência, grave ameaça ou fraude:
      Pena - reclusão, de quatro a dez anos, além da pena correspondente à violência.
      § 3º - Se o crime é cometido com o fim de lucro, aplica-se também multa


Sujeito ativo: qualquer pessoa
Sujeito passivo: qualquer pessoa, porém nas modalidades INDUZIR/ATRAIR prostituta
não seria vítima
Objeto jurídico: moralidade sexual pública
Objeto material: pessoa que é prostituída ou explorada em razão da conduta do
agente
Elementos objetivos do tipo: induzir, atrair, facilitar, impedir (crime permanente),
ocultar
Elemento subjetivo do tipo específico: vontade de explorar sexualmente alguém
Elemento subjetivo do crime: dolo
Consumação e tentativa: tentativa é difícil e não ocorreria nas modalidades de
INDUZIR/ATRAIR, POIS TRATA-DE DE DELITO CONDICIONADO, DEPENDE DA EFETIVA
OCORRÊNCIA DA PROSTITUIÇÃO OU DE OUTRA FORMA DE EXPLORAÇÃO (NUCCI). Para
GRECO não há necessidade de contato sexual (o olhar lascivo mediante paga seria
suficiente)
Ação penal: incondicionada
Competência: JE
Não se confunde com casa de prostituição porque nesta o favorecimento é para
número indeterminado de pessoas, nem com rufianismo, pois o rufião tira proveito da

140
prostituição alheia e no favorecimento o sujeito ativo pratica a conduta e depois se
afasta.

Casa de prostituição

    Art. 229. Manter, por conta própria ou de terceiro, estabelecimento em que
ocorra exploração sexual, haja, ou não, intuito de lucro ou mediação direta do
proprietário ou gerente: (Redação dada pela Lei nº 12.015, de 2009)

      Pena - reclusão, de dois a cinco anos, e multa.



      Apesar do NOMEN JURIS falar em “casa de prostituição”, deve entender como
qualquer estabelecimento em que ocorra exploração sexual.

Sujeito ativo: qualquer pessoa

Sujeito passivo: coletividade

Bem jurídico tutelado: dignidade sexual

Objeto material: o estabelecimento onde ocorre a exploração.

Elemento objetivo do tipo: Manter estabelecimento. É crime HABITUAL, porém se no
momento da batida policial ele estiver fechado e lá residirem pessoas, precisará de
uma ordem judicial para ingressar no mesmo.

Elemento subjetivo do crime: dolo

Elemento subjetivo do tipo especifico: vontade de satisfazer o prazer sexual alheio

Consumação e tentativa: quando houver a comprovação da habitualidade na
manutenção do estabelecimento em que ocorra exploração sexual. Não se admite
tentativa em crime habitual.

Ação penal: incondicionada



Rufianismo

     Art. 230 - Tirar proveito da prostituição alheia, participando diretamente de seus
lucros ou fazendo-se sustentar, no todo ou em parte, por quem a exerça:

      Pena - reclusão, de um a quatro anos, e multa.

141
§ 1o Se a vítima é menor de 18 (dezoito) e maior de 14 (catorze) anos ou se o
crime é cometido por ascendente, padrasto, madrasta, irmão, enteado, cônjuge,
companheiro, tutor ou curador, preceptor ou empregador da vítima, ou por quem
assumiu, por lei ou outra forma, obrigação de cuidado, proteção ou
vigilância: (Redação dada pela Lei nº 12.015, de 2009)

      Pena - reclusão, de 3 (três) a 6 (seis) anos, e multa. (Redação dada pela Lei nº
12.015, de 2009)

      § 2o Se o crime é cometido mediante violência, grave ameaça, fraude ou outro
meio que impeça ou dificulte a livre manifestação da vontade da vítima: (Redação
dada pela Lei nº 12.015, de 2009)

      Pena - reclusão, de 2 (dois) a 8 (oito) anos, sem prejuízo da pena
correspondente à violência.(Redação dada pela Lei nº 12.015, de 2009)

Sujeito ativo: comum (cafetão). Não se confunde com o lenão (PROXENETA) que é
intermediário e cuja conduta se exaure na intermediação.

Sujeito passivo: próprio, só a prostituta é vítima.

Elemento objetivo: tirar proveito (caráter econômico e habitual). Deve haver
participação direta nos lucros obtidos. Absorve o tipo anterior, difere do art. 229
porque há intuito de lucro sem compartilhá-lo.

Objeto jurídico: moralidade pública

Objeto material: prostituta

Elemento subjetivo do crime: dolo

Elemento subjetivo do tipo especifico: é a vontade de habitualmente tirar proveito da
prostituição alheia

Consumação e tentativa: não cabe tentativa por ser crime habitual. Se consuma com a
comprovação da habitualidade.

Ação penal: incondicionada

Competência: JE

                     AULA N. 26: ARTS. 231, 231-A, 233




142
Tráfico internacional de pessoa para fim de exploração sexual (Redação dada
pela Lei nº 12.015, de 2009)

       Art. 231. Promover ou facilitar a entrada, no território nacional, de alguém que
nele venha a exercer a prostituição ou outra forma de exploração sexual, ou a saída de
alguém que vá exercê-la no estrangeiro. (Redação dada pela Lei nº 12.015, de 2009)

        Pena - reclusão, de 3 (três) a 8 (oito) anos. (Redação dada pela Lei nº 12.015, de
2009)

       § 1o Incorre na mesma pena aquele que agenciar, aliciar ou comprar a pessoa
traficada, assim como, tendo conhecimento dessa condição, transportá-la, transferi-la
ou alojá-la. (Redação dada pela Lei nº 12.015, de 2009)

        § 2o A pena é aumentada da metade se: (Redação dada pela Lei nº 12.015, de
2009)

        I - a vítima é menor de 18 (dezoito) anos; (Incluído pela Lei nº 12.015, de 2009)

       II - a vítima, por enfermidade ou deficiência mental, não tem o necessário
discernimento para a prática do ato; (Incluído pela Lei nº 12.015, de 2009)

        III - se o agente é ascendente, padrasto, madrasta, irmão, enteado, cônjuge,
companheiro, tutor ou curador, preceptor ou empregador da vítima, ou se assumiu,
por lei ou outra forma, obrigação de cuidado, proteção ou vigilância; ou (Incluído pela
Lei nº 12.015, de 2009)

      IV - há emprego de violência, grave ameaça ou fraude. (Incluído pela Lei nº
12.015, de 2009)

     § 3o Se o crime é cometido com o fim de obter vantagem econômica, aplica-se
também multa. (Incluído pela Lei nº 12.015, de 2009)

Sujeito ativo: qualquer pessoa

Sujeito passivo: qualquer pessoa (era o antigo tráfico de mulheres)

Objeto jurídico: moralidade e liberdade sexual

Objeto material: pessoa explorada

Elemento objetivo do tipo: promover, facilitar


143
Elemento subjetivo do crime: dolo

Elemento subjetivo do tipo especifico: vontade de promover a exploração sexual alheia

Consumação e tentativa: NUCCI não admite tentativa pois é crime condicionado à
exploração sexual após a entrada ou saída da pessoa já ter sido realizada. O tipo fala
em “venha a exercer” e não em “para exercer”, de modo que procede o argumento de
GRECO no sentido de ser crime material, pois demanda o efetivo exercício de alguma
forma de exploração.

Ação penal: incondicionada

Competência: JF (CF, art. 109, V)




       Tráfico interno de pessoa para fim de exploração sexual (Redação dada pela
Lei nº 12.015, de 2009)

       Art. 231-A. Promover ou facilitar o deslocamento de alguém dentro do
território nacional para o exercício da prostituição ou outra forma de exploração
sexual: (Redação dada pela Lei nº 12.015, de 2009)

        Pena - reclusão, de 2 (dois) a 6 (seis) anos. (Redação dada pela Lei nº 12.015, de
2009)

       § 1o Incorre na mesma pena aquele que agenciar, aliciar, vender ou comprar a
pessoa traficada, assim como, tendo conhecimento dessa condição, transportá-la,
transferi-la ou alojá-la. (Incluído pela Lei nº 12.015, de 2009)

        § 2o A pena é aumentada da metade se: (Incluído pela Lei nº 12.015, de 2009)

        I - a vítima é menor de 18 (dezoito) anos; (Incluído pela Lei nº 12.015, de 2009)

       II - a vítima, por enfermidade ou deficiência mental, não tem o necessário
discernimento para a prática do ato; (Incluído pela Lei nº 12.015, de 2009)

        III - se o agente é ascendente, padrasto, madrasta, irmão, enteado, cônjuge,
companheiro, tutor ou curador, preceptor ou empregador da vítima, ou se assumiu,
por lei ou outra forma, obrigação de cuidado, proteção ou vigilância; ou (Incluído pela
Lei nº 12.015, de 2009)



144
IV - há emprego de violência, grave ameaça ou fraude. (Incluído pela Lei nº
12.015, de 2009)

     § 3o Se o crime é cometido com o fim de obter vantagem econômica, aplica-se
também multa.(Incluído pela Lei nº 12.015, de 2009)



       Ao contrário do anterior fala em “para o exercício”, não exige a efetiva prática
para sua consumação.

Sujeito ativo: comum

Sujeito passivo: idem

Objeto jurídico: moralidade e liberdade sexual

Objeto material: pessoa explorada

Elemento objetivo do tipo: promover, facilitar e figuras equiparadas

Elemento subjetivo do crime: dolo

Elemento subjetivo do tipo especifico: vontade de promover a exploração sexual alheia

Consumação e tentativa: ocorrerá com o deslocamento no interior do país. NUCCI não
admite por entender ser crime condicionado que só se consuma com a exploração, já
GRECO admite. Este diz ainda que é crime material.

Ação penal: incondicionada

Competência: JE



                            DO ULTRAJE PÚBLICO AO PUDOR

      Ato obsceno

      Art. 233 - Praticar ato obsceno em lugar público, ou aberto ou exposto ao público:

      Pena - detenção, de três meses a um ano, ou multa.




Aumento de pena (Incluído pela Lei nº 12.015, de 2009)

145
Art. 234-A. Nos crimes previstos neste Título a pena é aumentada: (Incluído pela Lei nº
12.015, de 2009)

      I – (VETADO); (Incluído pela Lei nº 12.015, de 2009)

II – (VETADO); (Incluído pela Lei nº 12.015, de 2009)

III - de metade, se do crime resultar gravidez; e (Incluído pela Lei nº 12.015, de 2009)

IV - de um sexto até a metade, se o agente transmite à vitima doença sexualmente
transmissível de que sabe ou deveria saber ser portador. (Incluído pela Lei nº 12.015,
de 2009)

Art. 234-B. Os processos em que se apuram crimes definidos neste Título correrão em
segredo de justiça




146

Apostila 2012

  • 1.
    CURSO DE DIREITO DIREITO PENAL III EMENTA Dos Crimes contra a Pessoa; Dos Crimes Contra o Patrimônio. Dos Crimes Contra a Propriedade Imaterial; Dos Crimes Contra a Organização do Trabalho; Dos Crimes Contra o Sentimento Religioso e Contra o Respeito aos Mortos; Dos Crimes Contra a Dignidade Sexual PRELIMINARMENTE: Nomem júris; Norma incriminadora; Critério para a ordem de classificação dos crimes na parte especial (bem jurídico, gravidade, mais simples para o mais complexo, origem histórica, influência na sanção); Bem ou interesse jurídico; Títulos – Capítulos – Seções. 1
  • 2.
    DECODIFICANDO O CÓDIGO Sujeitoativo Sujeito passivo Bem jurídico tutelado: bem ou interesse tutelado (vida, patrimônio, dignidade sexual, etc) Objeto material: pessoa ou coisa vítima da ação criminosa Elemento objetivo do tipo: conduta/verbo Elemento subjetivo do crime: dolo (vontade consciente de praticar a conduta típica) ou culpa (deve vir expressa no tipo penal). São analisados na tipicidade (1º Substrato do crime). Elemento subjetivo do tipo especifico: antigo dolo específico. É uma finalidade especial do agente ao praticar dolosamente a conduta criminosa. Pode ser explícita (com o fim de, para si ou para outrem, etc) ou implícita ao tipo. Consumação e tentativa Ação penal: regra geral é incondicionada Competência: JE/JF/JECRIM 2
  • 3.
    AULAS 1 e2: ARTIGO 121 DO CÓDIGO PENAL: HOMICÍDIO Homicídio simples – NOMEN JURIS (TITULO DO CRIME) Art 121. Matar alguem: Pena - reclusão, de seis a vinte anos. Caso de diminuição de pena § 1º Se o agente comete o crime impelido por motivo de relevante valor social ou moral, ou sob o domínio de violenta emoção, logo em seguida a injusta provocação da vítima, ou juiz pode reduzir a pena de um sexto a um terço. Homicídio qualificado § 2° Se o homicídio é cometido: I - mediante paga ou promessa de recompensa, ou por outro motivo torpe; II - por motivo futil; III - com emprego de veneno, fogo, explosivo, asfixia, tortura ou outro meio insidioso ou cruel, ou de que possa resultar perigo comum; IV - à traição, de emboscada, ou mediante dissimulação ou outro recurso que dificulte ou torne impossivel a defesa do ofendido; V - para assegurar a execução, a ocultação, a impunidade ou vantagem de outro crime: Pena - reclusão, de doze a trinta anos. Homicídio culposo § 3º Se o homicídio é culposo: (Vide Lei nº 4.611, de 1965) Pena - detenção, de um a três anos. Aumento de pena § 4o No homicídio culposo, a pena é aumentada de 1/3 (um terço), se o crime resulta de inobservância de regra técnica de profissão, arte ou ofício, ou se o agente deixa de prestar imediato socorro à vítima, não procura diminuir as conseqüências do seu ato, ou foge para evitar 3
  • 4.
    prisão em flagrante.Sendo doloso o homicídio, a pena é aumentada de 1/3 (um terço) se o crime é praticado contra pessoa menor de 14 (quatorze) ou maior de 60 (sessenta) anos. (Redação dada pela Lei nº 10.741, de 2003) § 5º - Na hipótese de homicídio culposo, o juiz poderá deixar de aplicar a pena, se as conseqüências da infração atingirem o próprio agente de forma tão grave que a sanção penal se torne desnecessária. (Incluído pela Lei nº 6.416, de 24.5.1977) INFORMAÇÕES GERAIS SOBRE O TIPO PENAL Sujeito ativo: qualquer pessoa (autoria mediata, de escritório, é possível?). Autoria colateral (sem liame subjetivo), coautoria (ajuste prévio, liame subjetivo) Sujeito passivo: idem Bem jurídico tutelado (interesse protegido pela lei penal): vida Objeto material (pessoa ou coisa sobre a qual recai a conduta): a pessoa vítima Ação penal: pública incondicionada Consumação: ocorre com a morte encefálica da vítima. Tentativa admissível: Tentativa imperfeita, perfeita (crime falho), branca (incruenta), cruenta, inidônea (crime impossível) Competência: Justiça Comum Estadual, Tribunal do Júri Elemento objetivo do tipo (verbo, conduta): matar Elemento subjetivo do crime: dolo (animus necandi) ou culpa. Importante para distinguir do crime de lesão corporal seguido de morte (animus laedendi). Distinção entre dolo eventual e culpa consciente (importante porque culposo não vai para Júri) 4
  • 5.
    Elemento subjetivo dotipo específico (finalidade especial do agente): não há Classificação: é crime material, de resultado, forma livre, comissivo (regra), instantâneo de efeitos permanentes, de dano. Forma de execução: meios diretos, indiretos, materiais ou morais (forma completamente livre) Outras observações: Qual o conceito de vida humana para distinguir homicídio do aborto? Existem dois tipos de “vida”: 1. Intra-uterina: surge a partir da nidação, que é a fixação do óvulo no útero, que ocorre, em regra, 14 dias após a fecundação. Crimes que protegem a vida intra-uterina: aborto provocado pela gestante, aborto sem consentimento da gestante, terceiro provoca aborto com consentimento, artigos 124, 125 e 126, respectivamente. 5
  • 6.
    2. Extra-uterina: até o início do parto o crime será o de aborto, após será o de homicídio ou infanticídio. O início do parto se dá pelo método normal, ou via cesariana. Inicia-se o parto, pelo método normal, com a dilatação do cólon do útero, preparando-se para a expulsão do feto. Já a cesariana tem início com o rompimento da membrana amniótica. São os crimes que protegem a vida extra-uterina: art. 121, homicídio, art. 122, participação em suicídio, art. 123, infanticídio. Direito a vida não é absoluto, mas relativo, podendo ceder em caso de legítima defesa, estado de necessidade, pena de morte em caso de guerra declarada por fuzilamento (art. 56 do CPM). O CPM tem 2 crimes: em tempos de paz e tempos de guerra. Neste último há o crime de traição. Quando é que ocorre, então, a morte? O conceito de morte é fornecido pela Lei n. 9434- 97, art. 3º. A morte se dá com a paralisação das atividades cerebrais. É a lei do transplante de órgãos, devendo ser precedida por diagnostico de morte encefálica, constatada por 2 médicos q n façam parte da equipe de remoção, mediante critérios técnicos definidos pelo Conselho Nacional de Medicina. TIPOS DE HOMICÍDIO: Simples (caput) Privilegiado(§1º) Qualificado (§2º) Culposo (§3º) Culposo majorado (§4º, primeira parte) Doloso majorado (§4º, segunda parte) Homicídio simples Art 121. Matar alguém: 6
  • 7.
    Pena - reclusão,de seis a vinte anos. Definido por exclusão, quando não é privilegiado ou qualificado (§2º). Deve analisar sempre o desvalor da ação (juízo de reprovabilidade) e do resultado. No homicídio qualificado a ação é mais gravosa, logo o que justifica a diferença da pena do homicídio qualificado para o simples é o desvalor da ação. Para a consumação do crime basta a prova de que a vítima nasceu viva e assim estava no momento da conduta do agente. Não é necessário que seja uma vida viável. Se recair a conduta sobre um cadáver será crime impossível por absoluta impropriedade do objeto (art. 17 CP). A morte da vítima deve ser comprovada por exame do corpo de delito, que pode ser direto (necroscópico) ou indireto. Se for praticado em atividade típica de grupo de extermínio, ainda que só por uma pessoa, é considerado CRIME HEDIONDO, sendo aí denominado de homicídio condicionado. Um justiceiro não comete a qualificadora, por atuar por motivo de relevante valor social. A discussão aqui se cinge ao fato do conceito de grupo para o tratamento do homicídio simples como hediondo. Sanchez diz que grupo não se confunde com par (duas pessoas), de modo que o mínimo seria de 4, igual à quadrilha, já CAPEZ admite a partir de duas pessoas, similar à associação criminosa do art. 35 da Lei de Drogas. DUVIDA: A QUEM COMPETE DIZER SE O CRIME FOI PRATICADO EM ATIVIDADE DE GRUPO DE EXTERMINIO? OS JURADOS? O JUIZ PRESIDENTE? É O JUIZ PRESIDENTE, POIS DIZ RESPEITO A APLICAÇÃO DA PENA, POR SER CONSIDERADO HEDIONDO. A VERIFICAÇÃO DESSE FATO, PORTANTO, CABE AO JUIZ PRESIDENTE, NÃO DEVENDO SER APRESENTADO QUESITO ESPECÍFICO AOS JURADOS. O homicídio qualificado é hediondo a partir da lei 8.930-94 (LEI GLORIA PEREZ) Caso de diminuição de pena 7
  • 8.
    § 1º Seo agente comete o crime impelido por motivo de relevante valor social ou moral, ou sob o domínio de violenta emoção, logo em seguida a injusta provocação da vítima, ou juiz pode reduzir a pena de um sexto a um terço. Trata-se aqui do chamado homicídio privilegiado. Reconhecido o privilégio, a redução da pena é obrigatória. A utilização da expressão está incorreta, pois é necessário um novo mínimo e máximo de pena (como ocorre no qualificado). No caso tem-se uma causa de diminuição. A influência de violenta emoção é circunstância atenuante. Se for vítima de injusta agressão (e não provocação) é causa de legítima defesa. Tecnicamente não é um homicídio privilegiado, mas um homicídio com causa de diminuição de pena (de 1/6 a 1/3) MOTIVO DE RELEVANTE VALOR SOCIAL: diz respeito ao interesse de toda a coletividade. MOTIVO DE RELEVANTE VALOR MORAL: interesses particulares do sujeito ativo. DOMÍNIO DE VIOLENTA EMOÇÃO LOGO EM SEGUIDA A INJUSTA PROVOCAÇÃO DA VÍTIMA: o sujeito ativo perdeu o autocontrole, é o homicídio emocional, decorrente de intenso choque emocional. A resposta deve ser imediata, sob pena de transmudação em vingança. Emoção dá e passa. Homicídio privilegiado não é crime hediondo. É possível a existência de homicídio privilegiado- qualificado, desde que não haja incompatibilidade entre as circunstâncias. O privilégio pode coexistir com qualificadoras de caráter objetivo apenas. O reconhecimento do privilégio afasta a hediondez do crime, pois as privilegiadoras de caráter subjetivo, que dizem respeito aos motivos determinantes do crime se sobressaem. Homicídio qualificado § 2° Se o homicídio é cometido: I - mediante paga ou promessa de recompensa, ou por outro motivo torpe; SUBJETIVA - MOTIVO II - por motivo futil; SUBJETIVA - MOTIVO III - com emprego de veneno, fogo, explosivo, asfixia, tortura ou outro meio insidioso ou cruel, ou de que possa resultar perigo comum; OBJETIVA – MEIO CRUEL 8
  • 9.
    IV - àtraição, de emboscada, ou mediante dissimulação ou outro recurso que dificulte ou torne impossivel a defesa do ofendido; OBJETIVA – MODO SURPRESA V - para assegurar a execução, a ocultação, a impunidade ou vantagem de outro crime: SUBJETIVA (torpeza) – FIM ESPECIAL Pena - reclusão, de doze a trinta anos. Inciso I: homicídio mercenário. A qualificadora abrange mandante e mandatário do crime? Há divergência. A CIRCUNSTÂNCIA É DE CARÁTER SUBJETIVO, LOGO NÃO SE COMUNICA COM O MANDANTE. Vingança pode ou não configurar motivo torpe, depende do caso concreto. Inciso II: existe uma desproporção entre o delito e sua causa moral. Fútil é insignificante. AUSÊNCIA DE MOTIVO NÃO SIGNIFICA FUTILIDADE, logo será homicídio simples apenas. Inciso III: meio insidioso é enganoso, cruel é o que gera sofrimento desnecessário. A tortura pode ser qualificadora ou, caso não quisesse matar, só torturar, mas resulta morte, responderá pela lei especial (tortura qualificada – preterdolosa – TORTURADOR APRENDIZ). Só é homicídio qualificado por tortura quando esta for a causa da morte, caso não tenha sido, haverá concurso material de homicídio com o crime autônomo de tortura. Usa interpretação analógica (dá exemplos casuísticos e finaliza com uma regra geral). Inciso IV: surpresa totalmente imprevisível. Inciso V: conexão teleológica (assegurar a execução) e conseqüencial (ocultação – esconder o crime, impunidade – evitar punição pelo crime já conhecido, vantagem – lucro obtido). São motivos TORPES. São delitos autônomos, mas com algo que os une, responderá o agente por homicídio qualificado em concurso material com este outro crime. OBS.: se houver mais de uma qualificadora então apenas uma será considerada como circunstância, de onde se calculará a pena base e as demais serão tidas como circunstâncias judiciais do art. 59 (AGRAVANTES) Apenas as circunstâncias de caráter não pessoal é que são comunicáveis, são dados acidentais que aderem à figura típica para agravá-la ou atenuá-la 9
  • 10.
    CASO DA INFECÇÃODOLOSA POR HIV Se o agente infecta dolosamente a pessoa, seja por meio de relação sexual ou seringa contaminada, MASSON diz que responderá por homicídio consumado ou tentado, mas há entendimentos que procuram tipificar por Contaminação de moléstia grave ou então lesão corporal gravíssima em face de enfermidade incurável. Homicídio culposo § 3º Se o homicídio é culposo: (Vide Lei nº 4.611, de 1965) Pena - detenção, de um a três anos. A culpa decorre de negligência (ausência de precaução), imprudência (afoiteza), imperícia (falta de aptidão técnica). O homicídio culposo decorrente de direção de veículo é regulado pelo art. 302 do CTB. O agente não quer o resultado ilícito, sua finalidade inicial é lícita. Sequer assume o risco de produzi-lo. Ocorre uma quebra do dever objetivo de cuidado. É por não ter previsto o que era previsível que deve responder por culpa. Aumento de pena § 4o No homicídio culposo, a pena é aumentada de 1/3 (um terço), se o crime resulta de inobservância de regra técnica de profissão, arte ou ofício, ou se o agente deixa de prestar imediato socorro à vítima, não procura diminuir as conseqüências do seu ato, ou foge para evitar prisão em flagrante. Sendo doloso o homicídio, a pena é aumentada de 1/3 (um terço) se o crime é praticado contra pessoa menor de 14 (quatorze) ou maior de 60 (sessenta) anos. (Redação dada pela Lei nº 10.741, de 2003) Não confundir a inobservância de regra técnica com imperícia, pois naquela o agente sabe a técnica, mas não a utiliza, já na imperícia o agente não sabe a regra. É a chamada culpa profissional. NUCCI diz que é a mesma coisa e por isso não pode ser aplicado por gerar bis in idem. 10
  • 11.
    Omissão de socorro:decorre da falta de solidariedade para com a vítima. Não cabe ao agente proceder à avaliação quanto a eventual ausência de utilidade de socorro. Nesse caso o próprio agente que deu causa ao risco deveria ter prestado o socorro e não o fez. Não procura diminuir as conseqüências dos atos praticados. Foge do flagrante: NUCCI considera inconstitucional. No tocante as majorantes do homicídio doloso o agente tem de saber a idade da vítima no momento da ação para que ela incida. PROCESSUAL PENAL. HABEAS CORPUS. HOMICÍDIO CULPOSO. NEGLIGÊNCIA MÉDICA. CARACTERIZAÇÃO. EXAME DE CORPO DE DELITO. SUPRIMENTO. PROVA TESTEMUNHAL. POSSIBILIDADE. I - Cingindo-se a controvérsia tão-somente à existência de conduta negligente por parte da profissional médica, de molde a restar caracterizado que a sua omissão contribuiu para a realização ou antecipação do evento morte, é suficiente, para comprovação da prática delituosa, as provas documental e testemunhal colhidas na instrução criminal, sendo prescindível a realização da perícia. Precedentes do STJ e STF. II - Hipótese em que a causa mortis é incontroversa. Ordem denegada. (HC 31.139/RS, Rel. Ministro FELIX FISCHER, QUINTA TURMA, julgado em 18/12/2003, DJ 09/02/2004, p. 198) § 5º - Na hipótese de homicídio culposo, o juiz poderá deixar de aplicar a pena, se as conseqüências da infração atingirem o próprio agente de forma tão grave que a sanção penal se torne desnecessária. (Incluído pela Lei nº 6.416, de 24.5.1977) O PERDÃO JUDICIAL É CAUSA DE EXTINÇÃO DA PUNIBILIDADE. DUVIDA: PODE SER USADA A SENTENÇA DO PERDÃO JUDICIAL NO CÍVEL PARA PLEITEAR INDENIZAÇÃO? Não, pois não é condenatória. Como a sentença não é condenatória, não gera título executivo e logo não poderá ser executada no juízo cível para reparação do dano. 11
  • 12.
    HOMICÍDIO PELO CÓDIGODE TRÂNSITO BRASILEIRO Encontra-se previsto nos artigos 302 e 303 do CTB. O primeiro trata do homicídio culposo e o segundo de lesão corporal culposa. Será aplicado ainda que o fato não ocorra em via pública (estacionamento, condomínio fechado, etc). Trata-se de um tipo aberto onde deve ser observada a negligencia, imprudência, imperícia do condutor. Deve verificar o dever objetivo de cuidado. A ação será incondicionada para o homicídio culposo e condicionada a representação na lesão corporal. Existe ainda o crime de fuga do local do acidente, art. 305, aplicável em concurso material com os anteriores. Há entendimentos que admitem a possibilidade de homicídio doloso (dolo eventual), como no caso do racha, mas a depender do modo como foi realizada a disputa. A regra, todavia, é da culpa consciente, ou seja, o agente prevê, mas não deseja o resultado danoso. É POSSÍVEL APLICAÇÃO DO PERDÃO JUDICIAL DO CP NO HOMICÍDIO CULPOSO DO CTB. AULA 3: art. 121 (SE HOUVER NECESSIDADE), 122 e 123 Induzimento, instigação ou auxílio a suicídio Art. 122 - Induzir ou instigar alguém a suicidar-se ou prestar-lhe auxílio para que o faça: Pena - reclusão, de dois a seis anos, se o suicídio se consuma; ou reclusão, de um a três anos, se da tentativa de suicídio resulta lesão corporal de natureza grave. 12
  • 13.
    Parágrafo único -A pena é duplicada: Aumento de pena I - se o crime é praticado por motivo egoístico; II - se a vítima é menor ou tem diminuída, por qualquer causa, a capacidade de resistência. Sujeito ativo: qualquer pessoa Sujeito passivo: idem Bem jurídico tutelado: vida Objeto material: pessoa vítima Elemento objetivo do tipo: induzir (dar a idéia), instigar (reforçar idéia já existente), prestar auxílio (dar apoio material) 13
  • 14.
    Elemento subjetivo docrime: dolo Elemento subjetivo do tipo específico: não há. No inciso I fala em motivo egoístico Consumação: morte. Tentativa incabível, pois só se consuma com a morte ou lesões graves, não havendo morte nem lesão grave não há crime. Para BITENCOURT o resultado lesão grave deve ser considerado como um ato tentado, sendo consumado apenas a morte. Ação penal: pública incondicionada Competência: juri OBSERVAÇÕES Só a vida alheia é criminalmente protegida. A participação falada pelo tipo penal é elementar do crime. A doutrina admite o auxílio por omissão quando o agente tem o dever jurídico de impedir o resultado. O suicida deve ser capaz de entender a conseqüência de seus atos, se não for, será caso de homicídio por parte do agente. A conduta deve ser dirigida a pessoas certas e determinadas, pois o tipo fala em “alguém”. OBS.: não há constrangimento ilegal na coação usada para impedir o suicídio. Pode haver lapso temporal entre os atos praticados pelo agente e o suicídio, o importante é haver o nexo causal comprovado. Em caso de vítima menor de 14 anos (vulnerável), o crime será de homicídio, pois o consentimento neste caso é irrelevante. Infanticídio Art. 123 - Matar, sob a influência do estado puerperal, o próprio filho, durante o parto ou logo após: Pena - detenção, de dois a seis anos. Sujeito ativo: genitora sob influência do estado puerperal e eventuais coautores ou partícipes. 14
  • 15.
    Sujeito ativo: recémnascido, não necessariamente o próprio filho. Bem jurídico tutelado: vida do recém nascido ou nascente Objeto material: recém nascido ou nascente Elemento objetivo do tipo: matar Elemento subjetivo do crime: dolo Elemento subjetivo do tipo especifico: não há Consumação e tentativa: ocorre com a morte, tentativa admissível, é material, demanda resultado. Ação penal: pública incondicionada Competência: juri OBSERVAÇÕES: O estado puerperal é elementar do crime, daí sua comunicação a terceiros. O problema está em dizer o que significa o “logo após” previsto no tipo penal, pois é isso que irá diferenciar do homicídio. Trata-se de uma espécie de homicídio doloso privilegiado. A conduta de matar pode se dar por qualquer maneira, inclusive por abandono em ambiente que saiba ser morte certa para o infante. Por ser um crime não transeunte, demanda perícia para comprovar se o neonato estava vivo ao momento da conduta delituosa, sob pena de ser crime impossível. Tal comprovação se faz via docimasias respiratórias. O marco inicial para configurar este crime é o início do parto, pois antes disso o crime é o de aborto. HIPÓTESES QUE DEVEM SER CONSIDERADAS: Mãe mata com auxílio de terceiro: ambos respondem por infanticídio 15
  • 16.
    Terceiro mata comauxílio da mãe: terceiro responde por homicídio e a mãe por infanticídio Mãe e terceiro matam em coautoria: ambos respondem por infanticídio - estado puerperal -> é um estado que envolve a parturiente durante a expulsão da criança do ventre materno, trazendo profundas alterações psíquicas e físicas, transformando a mãe (deixando-a sem plenas condições de entender o que está fazendo); - puerpério -> é o período que se estende do início do parto até a volta da mulher às condições pré-gravidez; INFANTICÍDIO X ABANDONO DE RECÉM NASCIDO COM RESULTADO MORTE - o artigo 134, §2º trata do abandono do recém nascido com resultado morte, havendo diferença entre o infanticídio. Este é crime contra a vida, enquanto o previsto no §2º do artigo 134 trata-se de crime de periclitação da vida ou da saúde, não vai pra júri, é dolo de perigo e não dolo de dano e a morte é culposa. AULA 4: ART. 124, 125, 126, 127 e 128 (ABORTO) 16
  • 17.
    Aborto provocado pelagestante ou com seu consentimento Art. 124 - Provocar aborto em si mesma ou consentir que outrem lho provoque: Pena - detenção, de um a três anos. Sujeito ativo: gestante. O auto aborto é crime de mão própria, pois o terceiro responderá pelo art. 126. Sujeito passivo: vida intra uterina (feto ou embrião) Bem jurídico tutelado: vida Objeto material: feto ou embrião Elemento objetivo do tipo: provocar aborto Elemento subjetivo do crime: dolo Elemento subjetivo do tipo especifico: não há Consumação e tentativa: consumação com a morte do feto, embrião, admite tentativa. A expulsão do feto é irrelevante para a consumação do crime. Se a morte decorrer por causa superveniente absolutamente independente responderá por tentativa. Ação penal: publica incondicionada Competência: Juri OBSERVAÇÕES: Aborto é a interrupção da gravidez com a destruição do produto da concepção. Pode ser: Natural; Acidental; Criminoso; 17
  • 18.
    Legal (humanitário eterapêutico); Eugênico; Miserável ou econômico-social. Honoris causa. O crime em tela pune o auto aborto ou o consentimento de que ele seja feito na gestante. Se houverem vários fetos haverá concurso formal de crimes (caso o agente saiba da existência deles). Caso haja a figura do agente provocador (segunda parte do caput), este responderá pelo art. 126 e a gestante pelo 124, é forma de exceção pluralista à teoria monista. Interrupção de gravidez extrauterina não é considerado aborto. Caso haja o nascimento com vida e ocorra a morte posteriormente, em decorrência de nova conduta, será homicídio e não mais aborto. No caso de embriões fecundados in vitro e descartados não há crime de aborto pois estes ainda não estão no útero materno e o direito penal não admite analogia in malam partem. Também não é homicídio porque embrião não é pessoa, nem crime de dano porque não é coisa, daí não ser típico também o furto de embriões. Caso a gestante venha e expelir o feto com vida, este não morra, mas a mãe pratique novo comportamento, caracteriza-se homicídio ou infanticídio, a depender do caso concreto (para a maioria, a tentativa de abortamento fica absorvida). 18
  • 19.
    Aborto provocado porterceiro Art. 125 - Provocar aborto, sem o consentimento da gestante: Reclusão de 3 a 10 anos Sujeito ativo: qualquer pessoa Sujeito passivo: gestante e feto (dupla subjetividade passiva) Bem jurídico tutelado: vida e integridade física da gestante e do feto Objeto material: feto e gestante Elemento objetivo do tipo: provocar aborto Elemento subjetivo do crime: dolo Elemento subjetivo do tipo especifico: não há. Consumação e tentativa: morte do feto. Tentativa possível. Ação penal: pública incondicionada Competência: Juri 19
  • 20.
    OBSERVAÇÕES: A falta deconsentimento também existe quando este é dado por menor de 14 anos, alienada ou débil ou se foi obtido mediante fraude. Se o sujeito agride mulher que não sabe estar grávida responderá por lesão corporal gravíssima (se ocorrer aborto) ou lesão grave (se ocorrer só aceleração do parto), se sabe que está grávida e ainda assim a agride, responderá por aborto e, caso a mulher morra, por homicídio em concurso formal. Caso o agente não consiga matar o feto e este nasça com vida e posteriormente o agente consume a morte com outras condutas, responderá em concurso material por tentativa de aborto com homicídio Se houver mais de um feto e isso for de conhecimento do sujeito ativo responderá em concurso formal impróprio. Art. 126 - Provocar aborto com o consentimento da gestante: Pena - reclusão, de 1 a 4 anos. Parágrafo único. Aplica-se a pena do artigo anterior, se a gestante não é maior de quatorze anos, ou é alienada ou debil mental, ou se o consentimento é obtido mediante fraude, grave ameaça ou violência 20
  • 21.
    Sujeito ativo: qualquerpessoa Sujeito passivo: feto Bem jurídico tutelado: vida Objeto material: feto Elemento objetivo do tipo: provocar aborto Elemento subjetivo do tipo específico: não há Consumação e tentativa: morte do feto. Tentativa possível Ação penal: pública incondicionada Competência: Juri OBSERVAÇÕES: A gestante responderá nesse caso pelo art. 124 e o provocador pelo 126. O consentimento deve ser válido. O partícipe responderá pelo artigo 124, já coautor pelo 126. Art. 127 - As penas cominadas nos 2 artigos anteriores são aumentadas de 1/3, se, em conseqüência do aborto ou dos meios empregados para provocá-lo, a gestante sofre lesão corporal de natureza grave; e são duplicadas, se, por qualquer dessas causas, lhe sobrevém a morte. São causas de aumento de pena, pois não implicam em alteração das penas bases em abstrato, o que significaria uma qualificadora, logo, será usado na terceira fase do critério trifásico. O resultado agravador é punível a título de culpa. 21
  • 22.
    No caso dopartícipe do crime de autoaborto (art. 124) responderá por homicídio ou lesão corporal culposos e por participação em autoaborto em concurso formal. Caso a gestante sofra lesão grave ou morte, mas o feto não morra, o agente responderá por tentativa de aborto qualificado (majorado) pelo resultado agravador (NUCCI), seria uma exceção a regra de que não cabe tentativa nos crimes preterdolosos (para MASSON, quando o tipo fala “dos meios empregados para provocá-lo” está se referindo a tentativa). CAPEZ entende que se tratará de aborto consumado, aplicando o mesmo entendimento ao caso do latrocínio. Pergunta de Concurso: Namorado convence a Namorada a praticar autoaborto. A namorada, em razão das manobras abortivas, vem a falecer. Qual crime praticou o namorado? 124. Majorado? Não incide o 127 no 124, nem mesmo para o partícipe. Responde pelo 124, sem a causa de aumento. Art. 128 - Não se pune o aborto praticado por médico: I - se não há outro meio de salvar a vida da gestante; II - se a gravidez resulta de estupro e o aborto é precedido de consentimento da gestante ou, quando incapaz, de seu representante legal. Para a maioria da doutrina são hipóteses especiais de exclusão da ilicitude. O inciso I trata do aborto necessário, terapêutico: forma de estado de necessidade, mas sem o perigo atual Praticado por médico + perigo de vida da gestante + única alternativa 22
  • 23.
    O inciso IIdo aborto humanitário: nesse caso é autorizado se decorrente de estupro, que não precisa de sentença condenatória transitada em julgado, basta o BO. Seria uma espécie de exercício regular de direito, mas para LFG seria caso de exclusão da tipicidade, com fulcro na tipicidade conglobante. Interessante é o caso do feto anencéfalo, pois se busca legitimar o aborto nesses casos partindo da premissa do conceito técnico de morte, que é a cessação de atividade cerebral, pois nesse caso o feto anencéfalo não teria vida tecnicamente falando, não sendo possível matar aquilo que não está vivo, logo o fato seria atípico por absoluta impropriedade do objeto. ADPF 54 O CFM considera o anencéfalo um natimorto cerebral. O tipo fala em médico, logo a excludente de ilicitude beneficia apenas a ele. AULA 5 – ART. 129 (LESÕES CORPORAIS) ART. 129 – ofender a integridade corporal ou a saúde de outrem. Pena. Detenção, de 3 meses a 1 ano Sujeito ativo: qualquer pessoa. se for autoridade pública responderá também por abuso de autoridade (militar responde por lesão na Justiça Castrense e por abuso de autoridade na JE) Sujeito passivo: idem. Pessoa determinada. Há casos em que será próprio, quando houver aceleração de parto, aborto ou violência doméstica. Bem jurídico tutelado: integridade física Objeto material: pessoa vítima Elemento objetivo do tipo: ofender Elemento subjetivo do tipo específico: não há Elemento subjetivo do crime: dolo (caput) – animus laedendi. Não precisa causar dor. Consumação e tentativa: ocorre com a ofensa a integridade física ou saúde, é crime de dano. Demanda perícia. Tentativa admissível, difícil será dizer se a tentativa foi para cometer lesão leve, grave ou gravíssima. Competência: JECRIM (caput) 23
  • 24.
    Ação penal: públicacondicionada (lesão leve, caput) – art. 88 lei do JEC. OBSERVAÇÕES: O delito de lesão corporal pode implicar em afetação a normalidade funcional do corpo humano sob todos os aspectos, inclusive o mental (pode ocorrer via grave ameaça que cause perturbação mental). ATIVIDADE ESPORTIVA As lesões esportivas configuram fato atípico e não exercício regular de direito, pois o direito não pode proibir uma conduta por uma norma e admiti-la por outra, é incongruente. A teoria da imputação objetiva resolveu tal problema. Os riscos não são proibidos, pelo contrário, são aceitos em razão da prática desportiva, mas sempre dentro da razoabilidade. INTERVENÇÃO CIRÚRGICA Se consentido é exercício regular de direito, ausente consentimento pode configurar estado de necessidade em favor de terceiro. O médico não tem o dolo de lesionar, mas de curar, dolo é analisado na tipicidade, onde se verifica também que não é gerado um risco proibido, logo para alguns fato é considerado atípico. SOBRE A LESÃO LEVE É obtida por exclusão. Não se confunde com a contravenção das vias de fato (não há dano), nem a injúria real (violência ultrajante). O consentimento do ofendido na lesão leve é causa supralegal de exclusão da ilicitude, em razão da relativa disponibilidade do bem jurídico protegido (e se não houver ofensa a moral e bons costumes). Também se pode aplicar o princípio da insignificância. Lesão corporal de natureza grave §1º Se resulta: I – incapacidade para as ocupações habituais por mais de 30 dias; II – perigo de vida; III – debilidade permanente de membro, sentido ou função; IV – aceleração de parto. 24
  • 25.
    Pena: reclusão, de1 a 5 anos O §1º trata de figuras qualificadas pelo resultado, pois verifica-se uma alteração da pena base em abstrato em decorrência de um resultado agravador. Se admite o resultado agravador tanto a título de dolo como de culpa, com exceção, para Sanchez e Capez, do inciso II, que deve ser culposo, logo preterdoloso, sob pena de configurar outro crime (tentativa de homicídio). É possível a coexistência de diversos resultados qualificadores, sendo que o crime será único. OS INCISOS I – incapacidade para as ocupações habituais por mais de 30 dias: A gravidade da lesão deve ser aferida por laudo médico após o trigésimo dia contado da data do crime. Trata não apenas de ocupações laborais, mas também atividades costumeiras, rotineiras. Pode ser doloso ou culposo. É uma forma de crime a prazo. O que deve incapacitar é a lesão, e não a vergonha da lesão. II – perigo de vida: É exclusivamente preterdoloso. III – debilidade permanente de membro, sentido ou função: Debilidade significa enfraquecimento, diminuição da capacidade funcional. Membro: braços, pernas, mãos e pés. Sentido: visão, audição, paladar, olfato, tato. Função: é a atividade inerente a um órgão ou aparelho do corpo humano. No caso de órgãos duplos a perda de um acarreta debilidade, já dos dois será lesão gravíssima. IV – aceleração de parto: O feto deve nascer com vida, senão será lesão gravíssima e deve ter o conhecimento da gravidez, senão será só lesão leve. 25
  • 26.
    §2º Se resulta: I– incapacidade permanente para o trabalho; II – enfermidade incurável; III – perda ou inutilização de membro, sentido ou função; IV – deformidade permanente; V – aborto. Pena – reclusão de 2 a 8 anos O §2º trata da ocorrência de lesões gravíssimas em razão da maior danosidade do resultado agravador. Com exceção do inciso V (sempre culpa), todas as demais podem ter o resultado agravador punido a título de dolo ou culpa. OS INCISOS I – incapacidade permanente para o trabalho: Trata-se de uma incapacidade longa e duradoura, sem previsão de recuperação. Deve ser uma incapacidade genérica para o trabalho, não necessariamente apenas do trabalho exercido pela vítima. Exclui, desta forma, a criança e o idoso aposentado. II – enfermidade incurável: Se o tratamento envolver intervenção cirúrgica arriscada ou tratamento incerto se consuma esse inciso, pois a vítima não é obrigada a passar por tais procedimentos. Enfermidade incurável é uma doença ainda sem remédio pela medicina atual. Demanda perícia para comprovar a enfermidade e se esta puder ser fatal, como a AIDS, configurado o animus necandi, pode configurar tentativa de homicídio. Se após a condenação a medicina evoluir para desenvolver um tratamento para a enfermidade não caberá mais revisão criminal. III – perda ou inutilização de membro, sentido ou função: 26
  • 27.
    Perda é aablação, via mutilação ou amputação. Inutilização é quando ele não se presta mais para funcionar como normalmente se espera. No caso de órgãos duplos, para consumar tem de perder ou inutilizar ambos. IV – deformidade permanente: Trata-se de um dano estético de grave relevância e visível. Deformar é alterar a forma original V – aborto: É uma qualificadora preterdolosa. Não se confunde com o artigo 127, 1ª parte, pois aqui a lesão é querida, já o aborto não é. No artigo 127 o aborto é querido, mas a lesão à gestante não é. OBS.: É POSSÍVEL A COEXISTÊNCIA DAS QUALIFICADORAS DO 1º E 2º PARÁGRAFOS, DEVENDO- SE USAR AS DO 2º COMO QUALIFICADORAS E AS DO 1º COMO CIRCUNSTÂNCIAS DESFAVORAVEIS. Lesão corporal seguida de morte §3º Se resulta morte e as circunstâncias evidenciam que o agente não quis o resultado, nem assumiu o risco de produzi-lo: Pena: reclusão de 4 a 12 anos É o homicídio preterdoloso, ou preterintencional. Não admite tentativa, pois não há dolo no conseqüente. Não há animus necandi, de modo que não vai para JURI. Deve haver previsibilidade do resultado letal, pois se este resultar a título de fortuito ou por circunstancias imprevisíveis o agente só responderá pela lesão. EXEMPLO: agente que empurra o outro de forma a cair em local onde fosse previsível sua morte, este cai e bate a cabeça em mesa e morre, há vias de fato seguida de morte, assim, como não há previsão desse crime em nosso ordenamento, o agente responde por homicídio culposo, ficando as vias de fato absorvidas pelo homicídio culposo. 27
  • 28.
    Diminuição de pena §4º.Se o agente comete o crime impelido por motivo de relevante valor social ou moral ou sob o domínio de violenta emoção, logo em seguida a injusta provocação da vítima, o juiz pode reduzir a pena de 1/6 a 1/3. Esse privilégio só se aplica as modalidades dolosas do crime de lesões corporais. Substituição da pena §5º. O juiz, não sendo graves as lesões, pode ainda substituir a pena de detenção pela de multa: I – se ocorre qualquer das hipóteses do parágrafo anterior; II – se as lesões são recíprocas Só é cabível para as lesões dolosas simples. Quando fala em lesões recíprocas é porque ambos entraram em conflito injustamente, como no caso da rixa. Lesão corporal culposa §6º. Se a lesão é culposa: Pena: detenção de 2 meses a 1 ano É menor potencial ofensivo, logo vai para o JECRIM. Aplica-se para qualquer tipo de lesão, se leve, grave ou gravíssima. No caso de lesão decorrente de direção de veículo, vai para o art. 303 do CTB. A ação penal nesse caso será pública condicionada. Aumento de pena §7º. Aumenta-se a pena de um terço, se ocorrer qualquer das hipóteses do art. 121, §4º. 28
  • 29.
    Ocorre no casode inobservância de regra técnica, oficio ou profissão, se deixar de prestar socorro, se a vítima for menor de 14 ou maior de 60 anos, se foge do flagrante ou não procura reduzir o impacto da conduta danosa. §8º. Aplica-se à lesão culposa o disposto no §5º do art. 121. Trata do perdão judicial quando o dano já for suficientemente penoso para seu agente, de modo que não necessite sofrer uma sanção posterior. Violência doméstica §9º se a lesão for praticada contra ascendente, descendente, irmão, cônjuge ou companheiro, ou com quem conviva ou tenha convivido, ou, ainda, prevalecendo-se o agente das relações domésticas (não precisa de parentesco), de coabitação (república de estudantes) ou de hospitalidade (recepção eventual): Pena: detenção de 3 meses a 3 anos. Aqui a vítima também poderá ser o homem. A lesão deve ser leve. Ação penal é incondicionada, o crime agora não é mais de menor potencial ofensivo em razão da pena máxima ser superior a 2 anos. Ainda existe muita discussão doutrinária sobre o tipo de ação penal nesse caso quando a mulher for a vítima, pois o delito de lesão leve é de ação pública condicionada, nos termos do art. 88 da lei do Jec, porém o art. 41 da Lei Maria da Penha exclui a aplicação da Lei do Jec para esses casos de violência. Se a vítima for do sexo masculino continuará a ação penal a depender de representação, pois não se aplicará a Lei Maria da Penha. Existe discussão na doutrina sobre quem são as pessoas com quem o agente conviva ou tenha convivido, se apenas as anteriores (ascendente, descendente, irmão, cônjuge ou companheiro), ou se qualquer pessoa. 29
  • 30.
    §10º Nos casosprevistos nos §1º a 3º deste artigo, se as circunstâncias são as indicadas no §9º deste artigo, aumenta-se a pena em 1/3. No caso do §1º em razão do aumento da pena mínima não caberá suspensão condicional do processo; No caso do §2º não caberá sursis; No caso do §3º não vai admitir o regime inicial aberto §11º. Na hipótese do §9º deste artigo, a pena será aumentada de um terço se o crime for cometido contra pessoa portadora de deficiência. Neste caso a pena da lesão leve praticada contra deficiente na situação do §9º é que será aumentada. Não abrange as lesões grave e gravíssima porque o §9º só trata de lesão leve. O conceito de pessoa portadora de deficiência está no Decreto 3298/99, que regulamentou a lei 7853/89. AULA 6: ART. 130, 131, 133 Capítulo 3 do CP: PERICLITAÇÃO DA VIDA E DA SAUDE Trata de crimes de perigo, abstrato e concreto, para os quais não exige materialidade delitiva, trabalha-se com o risco, que é o que consuma o crime. Se for crime de perigo concreto o risco deve ser comprovado pericialmente. Se for crime de perigo abstrato o risco está presumido no tipo penal. Perigo de contágio venéreo Art. 130. Expor alguém, por meio de relações sexuais ou qualquer ato libidinoso, a contágio de moléstia venérea, de que sabe ou deve saber que está contaminado: Pena – detenção de 3 meses a 1 ano e multa. §1º. Se a intenção do agente é transmitir a moléstia: Pena: reclusão de 1 a 4 anos e multa; 30
  • 31.
    §2º. Somente seprocede mediante representação. Sujeito ativo: qualquer pessoa contaminada. É crime de mão própria, de autoria infungível, por exigir esta qualidade especial do agente. Sujeito passivo: qualquer pessoa determinada Bem jurídico tutelado: vida e saúde Objeto material: pessoa que mantém relação sexual com o contaminado Elemento objetivo do tipo: expor Elemento subjetivo do crime: dolo de perigo, direto ou eventual (sabe ou deveria saber) Elemento subjetivo do tipo especifico: existe apenas na forma qualificada, que tem dolo de dano. Consumação e tentativa: basta a exposição do risco. Competência: JECRIM (caput, menor potencial ofensivo), JE (qualificada) Ação penal: representação do ofendido OBSERVAÇÕES: A ação é vinculada, tem de se dar via contato sexual, se for por outro meio pode ir para o artigo seguinte. AIDS não é moléstia venérea, logo sua transmissão pode tipificar os artigos 121 (homicídio), 129, §3º (lesão grave seguida de morte) ou 131 (contagio de moléstia grave). O STF 31
  • 32.
    chegou a analisaro caso mas só fez dizer que não seria caso de homicídio ou sua tentativa, não dizendo qual crime se cometeria. Hipóteses: I. Caput: assume o risco e não toma precauções (sabe ou deve saber) – dolo de perigo: -> se houver contaminação só responde pelo art. 130, pois a lesão culposa daí resultante é penalizada de forma mais elevada que a lesão culposa do art. 129; -> há doutrina que entende que responderá pela lesão, que pode ser grave, gravíssima, ou resultar em morte II. §1º: dolo de dano, quer transmitir:  Se consegue transmitir, poderá responder pelos arts. 129, §§1º e 2º ou 3º em caso de morte;  Se a morte for dolosa, responderá por homicídio. Art. 133. Abandonar pessoa que está sob seu cuidado, guarda, vigilância ou autoridade, e, por qualquer motivo, incapaz de defender-se dos riscos resultantes do abandono: Pena: detenção de 6 meses a 3 anos. Sujeito ativo: guarda, protetor ou autoridade designada por lei para garantir a segurança da vítima 32
  • 33.
    Sujeito passivo: incapazde qualquer idade Bem jurídico tutelado: vida e saúde Objeto material: incapaz abandonado Elemento objetivo do tipo: abandonar Elemento subjetivo do crime: dolo Elemento subjetivo do tipo específico: não há. Consumação e tentativa: ocorre com o abandono. Tentativa é possível. Competência: JE Ação penal: incondicionada OBSERVAÇÕES: Pode ser praticado por ação ou omissão. Não se confunde com incapacidade civil, podendo esta ocorrer até quando a pessoa está dormindo. Cuidado: assistência eventual; Guarda: assistência duradoura Vigilância: assistência acauteladora. Ex.: instrutor de rapel e seus alunos Autoridade: relação de superioridade de direito público ou privado §1º Se do abandono resulta lesão corporal de natureza grave: Pena: reclusão de 1 a 5 anos. §2º. Se resulta morte: Pena: reclusão de 4 a 12 anos. As figuras qualificadas são preterdolosas. Aumento de pena §3. As penas cominadas neste artigo aumentam-se de 1/3: I – se o abandono ocorre em lugar ermo; II – se o agente é ascendente ou descendente, cônjuge, irmão, tutor ou curador da vítima; III – se a vítima é maior de 60 anos. 33
  • 34.
    O inciso Inão implica num local totalmente ermo, sem ninguém, como numa ilha deserta, pois aí seria meio para execução de homicídio; O inciso II não abrange união estável, rol é taxativo. O inciso III foi inserido pelo estatuto do idoso. CAPEZ fala da possibilidade de estado de necessidade, quando a mãe é obrigada a trancar os filhos em casa por absoluta necessidade de ir trabalhar. Omissão de socorro Art. 135. Deixar de prestar assistência, quando possível fazê-lo sem risco pessoal, à criança abandonada ou extraviada, ou à pessoa inválida ou ferida, ao desamparo ou em grave e iminente perigo; ou não pedir, nesses casos, socorro da autoridade pública: Pena: detenção de 1 a 6 meses ou multa. Par[agrafo único: a pena é aumentada da metade se, da omissão resulta lesão corporal de natureza grave, e triplicada, se resulta morte. Sujeito ativo: qualquer pessoa. admite coautoria Sujeito passivo: pessoa inválida, ferida, criança abandonada ou extraviada Bem jurídico tutelado: vida e saúde Objeto material: mesmo que sujeito passivo Elemento objetivo do tipo: deixar de; deixar de pedir. 34
  • 35.
    Elemento subjetivo docrime: dolo de perigo abstrato, será de perigo concreto apenas na hipótese de grave e iminente perigo, onde demandará comprovação do citado perigo. Elemento subjetivo do tipo específico: não há Consumação e tentativa: ocorre com a prática da omissão. Tentativa não é possível, crime omissivo próprio. Competência: JECRIM Ação penal: incondicionada OBSERVAÇÕES: O crime não admite coautoria, pois a omissão recai sobre todos, cada um é autor, por lhes faltar solidariedade. A omissão de socorro aqui a pessoa obrigada a prestar ajuda não se confunde com quem deu azo a situação de perigo. OMISSÃO DE SOCORRO MÉDICA: Se o omitente tem o dever de evitar o resultado, responderá por este como partícipe, como no caso do PM que vê colega espancando uma pessoa e nada faz para parar. As causas de aumento de pena são preterdolosas. Esse artigo poderá ser aplicado aos condutores de veículos automotores que NÃO tenham se envolvido no acidente que tenha deixado vítimas que precisem ser socorridas. Não haverá concurso de crimes quando a situação foi dolosamente provocada pelo agente; se culposamente provocada, responderá apenas pelo art. 121, §4º ou 129, §7º, sem concurso com o art. 135, sob pena de bis in idem. Para a pena ser majorada deve-se comprovar que no caso concreto a conduta omitida seria capaz de impedir o resultado mais gravoso. A pessoa tem o dever de prestar socorro, ainda que a vítima não queira ser salva. 35
  • 36.
    Maus-tratos Art. 136 - Expor a perigo a vida ou a saúde de pessoa sob sua autoridade, guarda ou vigilância, para fim de educação, ensino, tratamento ou custódia, quer privando-a de alimentação ou cuidados indispensáveis, quer sujeitando-a a trabalho excessivo ou inadequado, quer abusando de meios de correção ou disciplina: Pena - detenção, de dois meses a um ano, ou multa. § 1º - Se do fato resulta lesão corporal de natureza grave: Pena - reclusão, de um a quatro anos. § 2º - Se resulta a morte: Pena - reclusão, de quatro a doze anos. § 3º - Aumenta-se a pena de um terço, se o crime é praticado contra pessoa menor de 14 (catorze) anos. (Incluído pela Lei nº 8.069, de 1990) Sujeito ativo: pessoa responsável por outra Sujeito passivo: pessoa sob autoridade, guarda ou vigilância para fins de educação, tratamento ou custódia. Bem jurídico tutelado: vida ou saúde Objeto material: sujeito passivo 36
  • 37.
    Elemento objetivo dotipo: expor a perigo, via privação de alimentação ou cuidados indispensáveis; trabalho excessivo ou inadequado; ou abusando dos meios de correção e disciplina. Elemento subjetivo do crime: dolo Elemento subjetivo do tipo especifico: vontade de maltratar. Está implícito no tipo, é delito de tendência. Consumação e tentativa: se consuma com a exposição a perigo, independente do resultado. Competência: Jecrim no caput e JE nas figuras preterdolosas. OUTRAS OBSERVAÇÕES: Trata-se de um tipo misto alternativo, praticado mediante condutas de forma vinculada. O crime é próprio. No caso de pessoa idosa responderá pelo artigo 99 do Estatuto do Idoso, por força do princípio da especialidade, porém as penas são exatamente iguais, com a diferença de que lá se considera como maus tratos a exposição a perigo da saúde psíquica do idoso. A distinção para o crime de tortura será casuística, pois exige-se para esta que a vítima tenha sofrido intenso sofrimento físico ou mental, enquanto que para os maus tratos basta a provocação do perigo. Na tortura o agente quer causar terror à vítima, já nos maus tratos o agente atua com abuso do exercício de um direito regular. É um crime de perigo concreto (CAPEZ). Rixa 37
  • 38.
    Art. 137 -Participar de rixa, salvo para separar os contendores: Pena - detenção, de quinze dias a dois meses, ou multa. Parágrafo único - Se ocorre morte ou lesão corporal de natureza grave, aplica-se, pelo fato da participação na rixa, a pena de detenção, de seis meses a dois anos. Sujeito ativo: todos os envolvidos Sujeito passivo: idem Bem jurídico tutelado: incolumidade física Objeto material: pessoa que sofre a agressão Elemento objetivo do tipo: participar de rixa, é um tipo aberto. Deve ter mais de duas pessoas na rixa. Elemento subjetivo do crime: dolo de perigo Elemento subjetivo do tipo específico: animus rixandi Consumação e tentativa: possível apenas na forma preordenada. Competência: Jecrim. OUTRAS OBSERVAÇÕES: Capez diz que devem ser no mínimo 3 pessoas. É crime de concurso necessário. Se for possível a individualização das condutas dos membros da rixa não há de se falar no crime de rixa. Se houver homicídio e o autor for identificado, responderá pelo 121 + rixa qualificada e os demais participantes só pela rixa qualificada (há entendimentos de que o que matou ou lesionou responderia pelo concurso com o crime de rixa simples). 38
  • 39.
    Se a lesãoou morte for contra pessoa estranha à rixa, ainda assim se responderá pela sua forma qualificada, pois os resultados agravadores (que devem ser consumados) devem necessariamente ser produzidos por uma causa inerente à rixa. Em regra não se admite legítima defesa pois todas as agressões são injustas, porém, se houver uma mudança inesperada nos padrões da contenda (começou no braço e depois um deles sacou uma arma). Não se confunde com crime multitudinário, pois na rixa são todos contra todos, já nesse outro são todos contra uma pessoa certa (caso de linchamento de um estuprador). Quando se pode identificar que os rixosos são dois grupos contrários (gangs de times) que estão lutando uns contra os outros então não haverá rixa, devendo os grupos responderem pelas lesões praticadas no outro grupo, mas apenas se os rixosos puderem ser identificados como membros de um grupo específico. A rixa qualificada é um dos últimos resquícios de responsabilidade penal objetiva. Se um dos rixosos sair antes da lesão ou morte ainda assim responderá pela qualificadora, mas se entrou depois desse resultado agravador responderá só pela rixa simples. AULA 8: ARTS. 138, 139, 140 Calúnia Art. 138 - Caluniar alguém, imputando-lhe falsamente fato definido como crime: Pena - detenção, de seis meses a dois anos, e multa. § 1º - Na mesma pena incorre quem, sabendo falsa a imputação, a propala ou divulga. § 2º - É punível a calúnia contra os mortos. Exceção da verdade § 3º - Admite-se a prova da verdade, salvo: I - se, constituindo o fato imputado crime de ação privada, o ofendido não foi condenado por sentença irrecorrível; 39
  • 40.
    II - seo fato é imputado a qualquer das pessoas indicadas no nº I do art. 141 (presidente ou chefe de estado estrangeiro); III - se do crime imputado, embora de ação pública, o ofendido foi absolvido por sentença irrecorrível. Sujeito ativo: qualquer pessoa Sujeito passivo: idem, inclusive PJ, desde que a imputação seja sobre crime ambiental. Bem jurídico tutelado: honra objetiva (é como terceiros vêem a pessoa, sua reputação) Objeto material: reputação da pessoa Elemento objetivo do tipo: caluniar (fazer acusação falsa de crime) Elemento subjetivo do crime: dolo Elemento subjetivo do tipo especifico: vontade de macular a imagem de alguém Consumação e tentativa: no momento em que a imputação falsa chega ao conhecimento de terceiros. Tentativa é possível na forma plurisubsistente. Competência: Jecrim Ação penal: somente se procede mediante queixa, com exceção do art. 140, §2º OUTRAS OBSERVAÇÕES: Não cabe exceção da verdade quando envolver presidente da república ou chefe de governo estrangeiro. É crime de dano. 40
  • 41.
    Advogado pode cometercalúnia no processo em que atua, só está imune para injuria e difamação. Menores e loucos podem ser vítimas, pois a falsa imputação é sobre fato definido como crime, que não se confunde com imputar a prática de crime, porém há divergência doutrinária. Se a falsa imputação versar sobre contravenção o crime será de difamação e não de calúnia. É imprescindível que o agente saiba que a acusação é falsa, pois se o fez de boa fé há erro de tipo essencial que exclui o dolo. Tanto a exceção da verdade, como a EXCEÇÃO DE NOTORIEDADE, quando o fato já é de conhecimento público, são possíveis. A calúnia difere da DENUNCIAÇÃO CALUNIOSA porque nesta a acusação falsa faz movimentar a máquina estatal, instaura-se IP, inquérito civil ou algum tipo de apuração administrativa. É possível calúnia por imputação verdadeira de fato definido como crime nas hipóteses em que não cabe exceção da verdade, mas é discutível pois em tese violaria a ampla defesa. Difamação Art. 139 - Difamar alguém, imputando-lhe fato ofensivo à sua reputação: Pena - detenção, de três meses a um ano, e multa. Exceção da verdade Parágrafo único - A exceção da verdade somente se admite se o ofendido é funcionário público e a ofensa é relativa ao exercício de suas funções. Sujeito ativo: qualquer pessoa 41
  • 42.
    Sujeito passivo: qualquerpessoa, inclusive jurídica. Os mortos não sofrem difamação, só pela impresa. Bem jurídico tutelado: honra objetiva Objeto material: reputação Elemento objetivo do tipo: ato de difamar (falar que fez algo ofensivo a reputação, seja verdadeiro ou falso) Elemento subjetivo do crime: dolo Elemento subjetivo do tipo especifico: animus difamandi Consumação e tentativa: igual a calunia Ação penal: idem Competência: idem Injúria Art. 140 - Injuriar alguém, ofendendo-lhe a dignidade ou o decoro: Pena - detenção, de um a seis meses, ou multa. § 1º - O juiz pode deixar de aplicar a pena: I - quando o ofendido, de forma reprovável, provocou diretamente a injúria; II - no caso de retorsão imediata, que consista em outra injúria. § 2º - Se a injúria consiste em violência ou vias de fato, que, por sua natureza ou pelo meio empregado, se considerem aviltantes: (injuria real) Pena - detenção, de três meses a um ano, e multa, além da pena correspondente à violência. § 3o Se a injúria consiste na utilização de elementos referentes a raça, cor, etnia, religião, origem ou a condição de pessoa idosa ou portadora de deficiência: (Redação dada pela Lei nº 10.741, de 2003) Pena - reclusão de um a três anos e multa. (Incluído pela Lei nº 9.459, de 1997) 42
  • 43.
    Sujeito ativo: qualquerpessoa Sujeito passivo: só PF. Deve ter noção da ofensa, se não tiver capacidade mental para tanto, não é sujeito passivo. Bem jurídico tutelado: honra subjetiva (autoimagem) Objeto material: autoestima da pessoa Elemento objetivo do tipo: ato de ofender Elemento subjetivo do crime: dolo Elemento subjetivo do tipo especifico: vontade especifica de ofender, magoar alguém. Consumação e tentativa: igual aos anteriores Ação penal: regra é a ação penal privada, será incondicionada na injuria real (se resultar lesão corporal); condicionada a requisição do MJ quando praticada contra presidente ou chefe de estado estrangeiro e condicionada a representação no caso do funcionário público ofendido (e a ofensa for dirigida as suas funções) e no caso da injuria qualificada pelo preconceito. 43
  • 44.
    OUTRAS OBSERVAÇÕES: Não confundir a injuria qualificada pelo preconceito com o crime de racismo, da lei 7716/89, pois neste se pressupõe uma espécie de segregação em função de raça ou cor. Não cabe perdão judicial na forma qualificada, pois não há como responder na mesma medida a uma afirmação preconceituosa. Não cabe exceção da verdade por omissão no tipo. A injuria real implica em agressões que visem humilhar a vítima, seja por lesões (aí haverá concurso material) ou vias de fato. INJÚRIA NÃO SE CONFUNDE COM DESACATO. Se a ofensa foi praticada na presença do funcionário público, no exercício da função ou em razão dela, o crime será de desacato, já a injúria a ofensa não é lançada na presença do funcionário, mas é relacionada com sua função. A imunidade material dos parlamentares é sobre suas opiniões, palavras e votos, desde que relacionadas com suas funções, não abrangendo manifestações desprovidas de conexão ou desarrazoadas. Doentes mentais e menores de 18 anos podem ser sujeito passivo de crimes contra a honra, mas desde que, no caso dos menores, tenham condições de entender a ofensa que está sendo feita (injuria, já calunia e difamação, que afetam a honra objetiva, podem ser vítima claramente, já que podem não ser culpáveis, mas podem praticar fato típico e ilícito). 44
  • 45.
  • 46.
    AULA 9: ARTS.146, 147, 148 Constrangimento ilegal Art. 146 - Constranger alguém, mediante violência ou grave ameaça, ou depois de lhe haver reduzido, por qualquer outro meio, a capacidade de resistência, a não fazer o que a lei permite, ou a fazer o que ela não manda: Pena - detenção, de três meses a um ano, ou multa. Aumento de pena (terceira fase do critério trifásico) § 1º - As penas aplicam-se cumulativamente (detenção + multa) e em dobro, quando, para a execução do crime, se reúnem mais de três pessoas, ou há emprego de armas. § 2º - Além das penas cominadas, aplicam-se as correspondentes à violência. § 3º - Não se compreendem na disposição deste artigo: I - a intervenção médica ou cirúrgica, sem o consentimento do paciente ou de seu representante legal, se justificada por iminente perigo de vida; 46
  • 47.
    II - acoação exercida para impedir suicídio. Sujeito ativo: qualquer pessoa Sujeito passivo: pessoa determinada. Comum Bem jurídico tutelado: liberdade individual Objeto material: pessoa vítima do constrangimento Elemento objetivo do tipo: constranger a não fazer o que a lei permite; ou constranger a fazer o que a lei não manda Elemento subjetivo do tipo especifico: não há Elemento subjetivo do crime: dolo Consumação e tentativa: ocorre com a realização de algo ou omissão mediante o constrangimento. Ação penal: incondicionada Competência: Jecrim. OUTRAS OBSERVAÇÕES: Trata-se de um delito SUBSIDIÁRIO. Se a coação for praticada por funcionário público no exercício da função poderá configurar abuso de autoridade. O constrangimento pode se dar mediante violência, grave ameaça ou violência imprópria (qualquer outro meio que reduza a capacidade de resistência da vítima). Se essa sujeição for legítima, tipificará o crime de exercício arbitrário das próprias razões. 47
  • 48.
    A arma empregada,nesse caso, tem um sentido lato. Para Capez, o emprego de arma de fogo, seja de uso restrito ou permitido, apesar de cominarem penas mais graves, por se tratarem de crime meio, ficam absorvidos pelo constrangimento, que é crime fim (apesar de ter sanção mais leve). CLEBER MASSON DISCORDA, diz que haverá concurso material. HABEAS CORPUS. PROCESSUAL PENAL. PORTE DE ARMA E CONSTRANGIMENTO ILEGAL. CRIME DE MENOR POTENCIAL OFENSIVO C/C CRIME COMUM. SOMATÓRIO DAS PENAS SUPERIOR A DOIS ANOS. CONCURSO MATERIAL. CONFLITO NEGATIVO. COMPETÊNCIA DO JUÍZO COMUM. ORDEM DENEGADA. 1. O parágrafo único do art. 2º da Lei n.º 10.259/2001 ampliou a definição de crimes de menor potencial ofensivo, porquanto, além de ausentes as exceções elencadas no art. 61 da Lei n.º 9.099/95, foi alterado o limite da pena máxima abstratamente cominada para 02 (dois) anos, sem distinção entre crimes da competência da Justiça Estadual ou Federal. Precedentes do STJ. 2. Verificando-se que o somatório das penas máximas cominadas em abstrato ultrapassa o limite de 2 (dois) anos, imposto pelo art. 2º, parágrafo único, da Lei n.º 10.259/01, impõe-se a fixação da competência da 1ª Vara Criminal da Comarca de Campos dos Goytacazes. 3. Ordem a que se DENEGA. (HC 36.635/RJ, Rel. Ministro PAULO MEDINA, SEXTA TURMA, julgado em 18/08/2005, DJ 19/09/2005, p. 388) A grave ameaça não precisa estar relacionada com um mal injusto, devendo ser relevante, certa, verossímil, iminente, inevitável. CONSTRANGIMENTO E TORTURA: difere desta porque o tipo penal da tortura explicita os atos a que a vítima está obrigada a realizar e, além disso, há uma submissão da vítima a intenso, extremado, sofrimento físico ou mental. O §3º trata de causas excludentes de tipicidade (CAPEZ/NUCCI)/ ilicitude (MASSON/SANCHEZ). Independente de se optar por uma ou outra corrente, ambas excluem o crime. 48
  • 49.
    Ameaça Art. 147 - Ameaçar alguém, por palavra, escrito ou gesto, ou qualquer outro meio simbólico, de causar-lhe mal injusto e grave: Pena - detenção, de um a seis meses, ou multa. Parágrafo único - Somente se procede mediante representação. Sujeito ativo: qualquer pessoa Sujeito passivo: idem, desde que com capacidade de entendimento do mal. Bem jurídico tutelado: liberdade individual Objeto material: pessoa ameaçada Elemento objetivo do tipo: o ato de ameaçar. Forma livre. Mal deve ser injusto e grave (sério, verossímil, factível). Elemento subjetivo do crime: dolo Elemento subjetivo do tipo especifico: não há Ação penal: publica condicionada a representação Consumação e tentativa: com a realização do ato ameaçador. Competência: JECRIM OUTRAS OBSERVAÇÕES: Difere do anterior porque aqui o mal deve ser INJUSTO E GRAVE, já no constrangimento basta ser grave, podendo ser justo. O estado de embriaguez não exclui o crime. 49
  • 50.
    O mal deveser futuro, por se for atual pode ser considerado já como ato executório de outro crime. Seqüestro e cárcere privado Art. 148 - Privar alguém de sua liberdade, mediante seqüestro ou cárcere privado: Pena - reclusão, de um a três anos. § 1º - A pena é de reclusão, de dois a cinco anos: I – se a vítima é ascendente, descendente, cônjuge ou companheiro do agente ou maior de 60 (sessenta) anos; (Redação dada pela Lei nº 11.106, de 2005) II - se o crime é praticado mediante internação da vítima em casa de saúde ou hospital; (internação fraudulenta) III - se a privação da liberdade dura mais de quinze dias. IV – se o crime é praticado contra menor de 18 (dezoito) anos; (Incluído pela Lei nº 11.106, de 2005) V – se o crime é praticado com fins libidinosos. (Incluído pela Lei nº 11.106, de 2005). Pode ser praticado em concurso material com estupro. Substituiu o revogado crime de rapto. § 2º - Se resulta à vítima, em razão de maus-tratos ou da natureza da detenção, grave sofrimento físico ou moral: Pena - reclusão, de dois a oito anos. 50
  • 51.
    Sujeito ativo: qualquerpessoa Sujeito passivo: qualquer pessoa Bem jurídico tutelado: liberdade individual Objeto material: pessoa vítima Elemento objetivo do tipo: privação de liberdade Elemento subjetivo do crime: dolo Elemento subjetivo do tipo especifico: não há. O Inciso V possui, finalidade libidinosa. Competência: JE Ação penal: incondicionada OUTRAS OBSERVAÇÕES: Sempre quando há mais de uma qualificadora a segunda passa a ser usada como circunstância judicial ou legal (agravante). Tratam-se de formas de privação da liberdade de locomoção. Sendo praticado por funcionário público haverá abuso de autoridade. A diferença do seqüestro para o cárcere privado é que neste se implica um confinamento espacial maior (cárcere vem de calabouço, cela). Pode ser cometido tanto por detenção, como por retenção (não deixar a vítima sair de casa). Se o propósito do seqüestro será a obtenção de vantagem, o crime será outro, de extorsão mediante seqüestro. Se a retenção da pessoa tiver em vista um direito legítimo, o caso será de exercício arbitrário das próprias razões. 51
  • 52.
    O seqüestro libidinososó existirá em concurso material com estupro se a privação da liberdade não durar apenas o tempo necessário para o estupro. Redução a condição análoga à de escravo Art. 149. Reduzir alguém a condição análoga à de escravo, quer submetendo-o a trabalhos forçados ou a jornada exaustiva, quer sujeitando-o a condições degradantes de trabalho, quer restringindo, por qualquer meio, sua locomoção em razão de dívida contraída com o empregador ou preposto: (Redação dada pela Lei nº 10.803, de 11.12.2003) Pena - reclusão, de dois a oito anos, e multa, além da pena correspondente à violência. (Redação dada pela Lei nº 10.803, de 11.12.2003) § 1o Nas mesmas penas incorre quem: (Incluído pela Lei nº 10.803, de 11.12.2003) I – cerceia o uso de qualquer meio de transporte por parte do trabalhador, com o fim de retê- lo no local de trabalho; (Incluído pela Lei nº 10.803, de 11.12.2003) II – mantém vigilância ostensiva no local de trabalho ou se apodera de documentos ou objetos pessoais do trabalhador, com o fim de retê-lo no local de trabalho. (Incluído pela Lei nº 10.803, de 11.12.2003) § 2o A pena é aumentada de metade, se o crime é cometido: (Incluído pela Lei nº 10.803, de 11.12.2003) I – contra criança (12 anos incompletos) ou adolescente (entre 12 e 18 anos incompletos)(; (Incluído pela Lei nº 10.803, de 11.12.2003) II – por motivo de preconceito de raça, cor, etnia, religião ou origem. (Incluído pela Lei nº 10.803, de 11.12.2003) Sujeito ativo: qualquer pessoa (em regra empregador) Sujeito passivo: idem (em regra empregado) Bem jurídico tutelado: liberdade individual (status libertatis) Objeto material: pessoa vítima Elemento objetivo do tipo: reduzir alguém à condição similar a de escravo. Subjugar. Deve haver a supressão de vontade da vítima. Elemento subjetivo do crime: dolo Elemento subjetivo do tipo especifico: presente no §1º, I e II Consumação e tentativa: ocorre com a perda da liberdade de ir e vir. Não precisa de maus tratos. 52
  • 53.
    Ação penal: incondicionada Competência:JE. Só irá pra JF se vier junto com algum crime contra a organização do trabalho (desde que a ofensa seja a direitos dos trabalhadores considerados coletivamente) OUTRAS OBSERVAÇÕES: A figura qualificada por motivo de preconceito se equipara ao racismo, de modo que é também imprescritível. O crime é de forma vinculada, pois o tipo já explicita a forma do seu cometimento. Também é conhecido como PLAGIO, denominação essa que remonta ao Direito Romano, que vedava a escravidão de homem livre e o comércio de escravo alheio, chamado de plagium. Violação de domicílio Art. 150 - Entrar ou permanecer, clandestina ou astuciosamente, ou contra a vontade expressa ou tácita de quem de direito, em casa alheia ou em suas dependências: Pena - detenção, de um a três meses, ou multa. § 1º - Se o crime é cometido durante a noite, ou em lugar ermo, ou com o emprego de violência ou de arma, ou por duas ou mais pessoas: Pena - detenção, de seis meses a dois anos, além da pena correspondente à violência. § 2º - Aumenta-se a pena de um terço, se o fato é cometido por funcionário público, fora dos casos legais, ou com inobservância das formalidades estabelecidas em lei, ou com abuso do poder. § 3º - Não constitui crime a entrada ou permanência em casa alheia ou em suas dependências: (causa especial de exclusão da ilicitude) 53
  • 54.
    I - duranteo dia, com observância das formalidades legais, para efetuar prisão ou outra diligência; II - a qualquer hora do dia ou da noite, quando algum crime está sendo ali praticado ou na iminência de o ser (essa parte não foi recepcionada, só pode entrar em caso de flagrância) § 4º - A expressão "casa" compreende: I - qualquer compartimento habitado; II - aposento ocupado de habitação coletiva; III - compartimento não aberto ao público, onde alguém exerce profissão ou atividade. § 5º - Não se compreendem na expressão "casa": I - hospedaria, estalagem ou qualquer outra habitação coletiva, enquanto aberta, salvo a restrição do n.º II do parágrafo anterior; II - taverna, casa de jogo e outras do mesmo gênero. Sujeito ativo: qualquer pessoa Sujeito passivo: aquela que tem o direito de comandar quem entra, sai ou permanece no lugar invadido Bem jurídico tutelado: inviolabilidade de domicílio. Tranqüilidade doméstica (MASSON) Objeto material: a casa invadida Elemento objetivo do tipo: entrar ou permanecer 54
  • 55.
    Elemento subjetivo docrime: dolo Elemento subjetivo do tipo específico: não há Consumação e tentativa: quando a conduta é praticada Ação penal: incondicionada Competência: Jecrim OUTRAS OBSERVAÇÕES: A entrada pode ser clandestina (as escondidas); astuciosa (engana pra entrar); ostensiva (vai na ignorância mesmo) O §2º não é mais aplicado em razão do advento da lei de abuso de autoridade (NUCCI). Não tutela o ingresso em imóvel abandonado, quando aí se poderá falar em esbulho possessório, logo CASA DESABITADA NÃO É O MESMO QUE CASA SEM MORADORES. É tipo misto alternativo, logo, se entrar e permanecer, responde por um só crime. O conceito de domicílio, para o direito penal, não é o mesmo do direito civil. Não é necessário que haja o ânimo definitivo de morar, basta que esteja lá no local e tenha o poder de dizer quem entra, permanece e sai. Quando fala em qualquer compartimento habitado pode abranger até automóveis (caminhão, trailer). No caso de propriedade comum, prevalece a vontade de quem está proibindo, pois haveria o crime de invasão de domicílio em relação a este. Não há este crime quando a invasão da casa é para fugir da polícia por faltar o dolo. CONCEITO DE NOITE: não é unânime. Para José Afonso da Silva vai das 18hs as 6hs. Celso de Mello sustenta o critério astrofísico, considerando noite o intervalo de tempo situado entre a aurora e o crepúsculo. O que vale, portanto, é a existência de luz solar. AULA 11: ART. 155, 157 CRIMES CONTRA O PATRIMÔNIO FURTO Art. 155 - Subtrair, para si ou para outrem, coisa alheia móvel: 55
  • 56.
    Pena - reclusão,de um a quatro anos, e multa. § 1º - A pena aumenta-se de um terço, se o crime é praticado durante o repouso noturno. § 2º - Se o criminoso é primário, e é de pequeno valor a coisa furtada, o juiz pode substituir a pena de reclusão pela de detenção, diminuí-la de um a dois terços, ou aplicar somente a pena de multa. § 3º - Equipara-se à coisa móvel a energia elétrica ou qualquer outra que tenha valor econômico. Furto qualificado § 4º - A pena é de reclusão de dois a oito anos, e multa, se o crime é cometido: I - com destruição ou rompimento de obstáculo à subtração da coisa; II - com abuso de confiança, ou mediante fraude, escalada ou destreza; III - com emprego de chave falsa; IV - mediante concurso de duas ou mais pessoas. § 5º - A pena é de reclusão de três a oito anos, se a subtração for de veículo automotor que venha a ser transportado para outro Estado ou para o exterior. (Incluído pela Lei nº 9.426, de 1996) 56
  • 57.
    Sujeito ativo: qualquerpessoa Sujeito passivo: idem. Em caso de ladrão que rouba ladrão a vítima é o proprietário original e não quem primeiro roubou ou furtou. Bem jurídico tutelado: patrimônio da vítima, seja propriedade ou posse, mas não detenção (NUCCI). Deve ser uma posse vigiada, sob pena de recair no tipo de apropriação indébita. Objetos pessoais, de valor sentimental, também podem ser objeto de furto. Objeto material: patrimônio furtado. Não abrangem coisas abandonadas, perdidas ou que não tenham dono. Furto de gado = abigeato. Cadáver que não tenha valor econômico não pode ser objeto de furto (exceção: faculdades, múmias). Famulato: furto praticado por pessoas que tem a detenção da coisa, geralmente empregados domésticos. Elemento objetivo do tipo: subtrair (animus furandi) Elemento subjetivo do crime: dolo Elemento subjetivo do tipo específico: ânimo de apossamento definitivo Consumação e tentativa: consumação tem momentos discutíveis na doutrina, se deve haver a posse mansa e pacífica pelo agente ou se basta o ato de subtrair. Competência: JE Ação penal: incondicionada OUTRAS OBSERVAÇÕES: TIPOS DE FURTO EXISTENTES: - caput -> furto simples; - §1º -> majorado pelo repouso noturno; - §2º -> privilégio; - §3º -> cláusula de equiparação; - §4º e §5º -> qualificadora. 57
  • 58.
    FURTO DE USO: Requisitoscumulativos: a) intenção, desde o início, de uso momentâneo da coisa subtraída; b) coisa não consumível; Deve ser infungível, logo não cabe furto de uso para dinheiro. c) restituição imediata e integral à vítima; Obs.: no que se refere aos veículos, a jurisprudência moderna não impede a caracterização do furto de uso em razão do gasto da gasolina, pastilha de freio, etc. FURTO FAMÉLICO: Configura forma especial de estado de necessidade e deve observar os seguintes requisitos: a) fato praticado para mitigar a fome; b) inevitabilidade do comportamento lesivo; c) subtração de coisa capaz de diretamente contornar a emergência; d) insuficiência dos recursos adquiridos ou impossibilidade de trabalhar; FURTO E PRINCÍPIO DA INSIGNIFICÂNCIA: De minimus non curat praetor. Funciona como causa de exclusão da tipicidade, logo o fato não configura crime, e tem como requisitos: I. Objetivos: mínima ofensividade da conduta; ausência de periculosidade social; reduzido grau de reprovabilidade do comportamento; inexpressividade da lesão jurídica. II. Subjetivos: Importância do objeto material para a vítima (situação econômica + valor sentimental); circunstâncias e resultados do crime. Para MASSON pode ser aplicado para o furto qualificado. TEORIAS PARA A CONSUMAÇÃO DO FURTO: 1ª Corrente -> Teoria da Contrectacio: a consumação se dá pelo simples contato entre o agente e a coisa alheia, dispensando o seu deslocamento; 2ª Corrente STJ & STF-> Teoria da Amotio (Apprehensio): a consumação ocorre quando a coisa subtraída passa para o poder do agente, perdendo a vítima sua disponibilidade, mesmo que em 58
  • 59.
    um curto espaçode tempo, independentemente de deslocamento ou posse pacífica. Tese institucional do MPSP. 3ª Corrente -> Teoria da Ablatio: a consumação ocorre quando o agente, depois de apoderar-se da coisa, consegue deslocá-la de um lugar para outro; 4ª Corrente -> Teoria da Ilacio: a consumação pressupõe apoderamento, deslocamento e posse mansa e pacífica da coisa. CASO PRÁTICO: AGENTE FURTA E DEPOIS VENDE PARA TERCEIRO DE BOA FÉ: responderá por furto em concurso material com o crime de disposição de coisa alheia como própria, pois tem-se aí duas vítimas diferentes com condutas distintas (subtração e fraude), de modo que não dá para aplicar a consunção. Há julgados que aplicam concurso material do furto com estelionato (SANCHEZ). DIFERENÇA DO FURTO PARA RECEPTAÇÃO E FAVORECIMENTO REAL: Receptação Art. 180 - Adquirir, receber, transportar, conduzir ou ocultar, em proveito próprio ou alheio, coisa que sabe ser produto de crime, ou influir para que terceiro, de boa-fé, a adquira, receba ou oculte: (Redação dada pela Lei nº 9.426, de 1996) Favorecimento real Art. 349 - Prestar a criminoso, fora dos casos de co-autoria ou de receptação, auxílio destinado a tornar seguro o proveito do crime: OBS.: QUANDO ADERE A UMA CONDUTA ANTES DELA TER SIDO PRATICADA ESTARÁ FUNCIONANDO COMO PARTÍCIPE NO CRIME DE FURTO. A DIFERENÇA DO FURTO PARA O FAVORECIMENTO REAL DIZ RESPEITO AO TEMPO EM QUE A PESSOA ADERE À CONDUTA DELITUOSA. NO FAVORECIMENTO A ADERÊNCIA OCORRE APÓS O COMETIMENTO DO FURTO. OBS.: NA RECEPTAÇÃO A PESSOA NÃO RECEBE A COISA PARA AJUDAR QUEM A FURTOU, MAS EM BENEFÍCIO PRÓPRIO OU ALHEIO. QUALQUER PESSOA QUE NÃO O CRIMINOSO. 59
  • 60.
    FURTO PRATICADO DURANTEO REPOUSO NOTURNO – art. 155, §1º A pena será aumentada em 1/3. Os costumes são fonte formal mediata, poderá auxiliar para interpretar o que é repouso noturno. É IRRELEVANTE O FATO DE SE TRATAR DE ESTABELECIMENTO COMERCIAL OU DE RESIDÊNCIA, HABITADA OU DESABITADA, BEM COMO O FATO DE A VÍTIMA ESTAR OU NÃO REPOUSANDO (STJ HC 29153) CRIMINAL. HC. FURTO. CAUSA ESPECIAL DE AUMENTO. REPOUSO NOTURNO. ESTABELECIMENTO COMERCIAL. LOCAL DESABITADO. IRRELEVÂNCIA. ORDEM DENEGADA. Para a incidência da causa especial de aumento prevista no § 1º do art. 155 do Código Penal, é suficiente que a infração ocorra durante o repouso noturno, período de maior vulnerabilidade para as residências, lojas e veículos. É irrelevante o fato de se tratar de estabelecimento comercial ou de residência, habitada ou desabitada, bem como o fato de a vítima estar, ou não, efetivamente repousando. Ordem denegada. (HC 29153/MS, Rel. Ministro GILSON DIPP, QUINTA TURMA, julgado em 02.10.2003, DJ 03.11.2003 p. 335) FURTO PRIVILEGIADO – art. 155, §2º § 2º - Se o criminoso é primário, e é de pequeno valor a coisa furtada, o juiz pode substituir a pena de reclusão pela de detenção, diminuí-la de um a dois terços, ou aplicar somente a pena de multa. I – primariedade do acusado II – coisa deve ser de pequeno valor (até um salário mínimo) CONSEQUÊNCIA: diminuição da pena ou substituição pela pena de detenção. Presentes os requisitos, o privilégio será direito subjetivo do acusado Para deixar de ser primário deve estar claro que houve sentença condenatória com trânsito em julgado 60
  • 61.
    DUVIDA: ESSE PARÁGRAFOSEGUNDO APLICA-SE AO FURTO QUALIFICADO? Posição antiga do Supremo: Não é possível a aplicação do parágrafo segundo do artigo 155 nas hipóteses de furto qualificado (STF RE 94301). Cuidado com o teor do informativo 519: Princípio da Insignificância e Inaplicabilidade - 1 Por reputar típica a conduta e, nessa qualidade, relevante na seara penal, a Turma denegou ordem de habeas corpus em que pretendido o restabelecimento de acórdão do tribunal local que, ao aplicar o princípio da insignificância, absolvera condenado em 1º grau por furto qualificado (CP, art. 155, § 4º, IV). A impetração observava que o valor do bem furtado (R$ 150,00) seria ínfimo, irrisório e, portanto, inábil à causação de prejuízo patrimonial. Registrou-se que para a incidência do aludido princípio não deve ser considerado apenas o valor subtraído (ou pretendido à subtração), pois, do contrário, deixaria de haver a modalidade tentada de vários delitos, bem como desapareceria do ordenamento jurídico a figura do furto privilegiado (CP, art. 155, § 2º). No ponto, enfatizou-se que o princípio da insignificância tem como vetores: a) a mínima ofensividade da conduta do agente; b) a nenhuma periculosidade social da ação; c) o reduzido grau de reprovabilidade do comportamento; e d) a inexpressividade da lesão jurídica provocada. No entanto, entendeu-se que, no caso, as citadas diretrizes não se fazem simultaneamente presentes, haja vista que a lesão se revelou significante não apenas em razão do valor do bem subtraído, mas principalmente em virtude do concurso de pessoas para a prática do crime. Desse modo, concluiu-se não ter sido mínima a ofensividade da conduta do paciente. HC 94765/RS, rel. Min. Ellen Gracie, 9.9.2008. (HC-94765) Qualificadoras e Privilégio: Compatibilidade - 2 Em seguida, salientou-se a compatibilidade, em determinadas hipóteses, da incidência do art. 155, § 2º, do CP, ao furto qualificado (“Art. 155. ... § 2º - Se o 61
  • 62.
    criminoso é primário,e é de pequeno valor a coisa furtada, o juiz pode substituir a pena de reclusão pela de detenção, diminuí-la de um a dois terços, ou aplicar somente a pena de multa.”). Tendo isso em conta, bem como a primariedade do paciente, o pequeno valor da coisa furtada e a ausência de circunstâncias judiciais desfavoráveis (CP, art. 59), concedeu-se, de ofício, o writ para se reduzir a pena-base, fixada em 2 anos, em 2/3 (CP, art. 155, § 2º), o que conduz à pena corporal de 8 meses, tornada definitiva. Ademais, diante da regra contida no art. 44, § 2º, do CP, esclareceu-se que a substituição da pena privativa de liberdade por uma restritiva de direito, consistente na prestação de serviços à comunidade, será feita na forma a ser definida pelo juízo das execuções criminais, no tempo estabelecido para a pena privativa de liberdade. Afastou-se, por fim, a substituição da pena corporal por multa (CP, art. 44, § 2º, 1ª parte) ou a imposição de somente pena de multa (CP, art. 155, § 2º, parte final), em face da circunstância de haver a qualificadora do inciso IV do § 4º do art. 155 do CP. HC 94765/RS, rel. Min. Ellen Gracie, 9.9.2008. (HC-94765) Supremo entendeu que não cabe a aplicação do princípio da insignificância na hipótese de crime qualificado em razão do desvalor da conduta (HC 94765/RS). É possível o furto privilegiado ser aplicado para o furto praticado durante o repouso noturno. FURTO DE ENERGIA – art. 155, §3º § 3º - Equipara-se à coisa móvel a energia elétrica ou qualquer outra que tenha valor econômico. DUVIDA: O GATO É ESTELIONATO OU É FURTO? A adulteração do medidor caracteriza estelionato (se vale de fraude para induzir a erro a concessionária), ao passo que o chamado gato caracteriza furto. OBS.: SUBTRAÇÃO DE SINAL DE TV A CABO É FURTO? Para Bitencourt o sinal de TV a cabo não é energia, que não se consume com o uso, logo não configuraria, é minoritário. Para o STJ caracteriza o crime de furto (STJ HC 17867) 62
  • 63.
    CRIMINAL. HC. RECEPTAÇÃODE SINAL DE TV A CABO. NET. LIGAÇÃO CLANDESTINA. FURTO DE COISA ALHEIA MÓVEL. TRANCAMENTO DE AÇÃO PENAL PELA ATIPICIDADE DA CONDUTA. AUTORIA E MATERIALIDADE DEMONSTRADAS, EM TESE. AUSÊNCIA DE JUSTA CAUSA NÃO-EVIDENCIADA DE PLANO. IMPROPRIEDADE DO WRIT. ORDEM DENEGADA. I. Inexistência de imprecisão quanto aos fatos atribuídos aos pacientes, devidamente amparados em elementos de prova – tanto que houve sua condenação nas instâncias ordinárias, estando os autos em vias de serem remetidos para apreciação de recurso perante o Tribunal a quo. II. Denúncia imputando ao paciente a subtração, em tese, de coisa alheia móvel, consistente em energia elétrica de sinal de áudio e vídeo da empresa "NET São Paulo LTDA". III. Indícios apontando o uso irregular de sinas de TV a Cabo por um período de cerca de 01 ano e 09 meses, sem o pagamento da taxa de assinatura ou as mensalidades pelo uso, apesar da cientificação pela empresa vítima da irregularidade da forma como recebiam o sinal, tendo sido refeita, inclusiva, a ligação clandestina após a primeira desativação pela NET. IV. A falta de justa causa para a ação penal só pode ser reconhecida quando, de pronto, sem a necessidade de exame valorativo dos elementos dos autos, evidenciar-se a atipicidade do fato, a ausência de indícios a fundamentarem a acusação ou, ainda, a extinção da punibilidade. V. O habeas corpus constitui-se em meio impróprio para a análise de questões que exijam o exame do conjunto fático-probatório tendo em vista a incabível dilação que se faria necessária. VI. Ordem denegada. (HC 17867/SP, Rel. Ministro GILSON DIPP, QUINTA TURMA, julgado em 17.12.2002, DJ 17.03.2003 p. 243) CUIDADO COM O FURTO DE “ENERGIA GENÉTICA” (tem valor econômico), como no caso do sêmen de animais reprodutores famosos. 63
  • 64.
    FURTO QUALIFICADO: (§4º) Para os tribunais não é dado ao Poder judiciário, a título de proporcionalidade ou isonomia, aplicar ao furto qualificado o quantum de majoração previsto para o delito de roubo. STF RE 358315 RE 358315 / MG - MINAS GERAIS RECURSO EXTRAORDINÁRIO Relator(a): Min. ELLEN GRACIE Julgamento: 12/08/2003 Órgão Julgador: Segunda Turma Ementa RECURSO EXTRAORDINÁRIO CRIMINAL. ANÁLISE SOBRE O FURTO E O ROUBO. CONCURSO DE PESSOAS. PROPORCIONALIDADE ENTRE AS RESPECTIVAS PENAS. Sob o pretexto de ofensa ao artigo 5º, caput, da Constituição Federal (princípios da igualdade e da proporcionalidade), não pode o Judiciário exercer juízo de valor sobre o quantum da sanção penal estipulada no preceito secundário, sob pena de usurpação da atividade legiferante e, por via de conseqüência, incorrer em violação ao princípio da separação dos poderes. Ao Poder Legislativo cabe a adoção de política criminal, em que se estabelece a quantidade de pena em abstrato que recairá sobre o transgressor de norma penal. Recurso Extraordinário conhecido e desprovido. REQUISITOS: I – Destruição ou rompimento de obstáculo para a subtração da coisa (§4º, I): Obstáculo é tudo aquilo que for colocado com finalidade de proteção. Para o STF a violência deve ser aplicada contra obstáculo que dificulta sua subtração e não contra a própria coisa. A VIOLÊNCIA SOBRE A COISA DEVE OCORRER ANTES DA CONSUMAÇÃO DO CRIME DE FURTO. SE OCORRER DEPOIS O AGENTE RESPONDE PELO CRIME DE DANO. 64
  • 65.
    II – Abusode confiança, ou mediante fraude, destreza ou escalada: deve existir confiança incomum. ABUSO DE CONFIANÇA APROPRIAÇÃO INDÉBITA o agente tem mero contato com a coisa (ainda o agente exerce a posse em nome que tenha posse, é uma posse vigiada); de outrem (posse desvigiada); a vontade de praticar o crime é anterior a - a vontade de praticar o crime é posse (dolo antecedente a posse); posterior a posse (dolo superveniente a posse); FURTO MEDIANTE FRAUDE ESTELIONATO O meio fraudulento é usado para afastar O meio fraudulento é usado para enganar a vigilância que a vítima exerce sobre a a vítima, fazendo com que esta entregue coisa. a coisa voluntariamente. A transferência da posse é feita pelo próprio agente. Pode se dar via artifício (fraude material) ou ardil (fraude moral) Ex.: caso de crimes patrimoniais praticados pela internet. Vai variar. Exemplo do falso hotel é caso de estelionato. Já o cavalo de tróia é caso de furto qualificado pela fraude. O sujeito passivo é o banco, já o correntista é um mero prejudicado. Consuma-se o delito de furto no local onde a coisa é tirada da esfera de disponibilidade da vítima, logo o local onde está situada a agência bancária de onde o dinheiro foi retirado. STJ CC 86241, 86862 CONFLITO NEGATIVO DE COMPETÊNCIA. PENAL E PROCESSO PENAL. SUBTRAÇÃO MEDIANTE TRANSFERÊNCIA IRREGULAR DE VALORES DEPOSITADOS EM CONTA BANCÁRIA DA CAIXA ECONÔMICA FEDERAL. FRAUDE VIA INTERNET. FURTO QUALIFICADO. CONSUMAÇÃO. SUBTRAÇÃO DO NUMERÁRIO. CONTA-CORRENTE DE ORIGEM. COMPETÊNCIA DA JUSTIÇA FEDERAL DE SANTA CATARINA, O SUSCITADO. 65
  • 66.
    1. Embora estejapresente tanto no crime de estelionato, quanto no de furto qualificado, a fraude atua de maneira diversa em cada qual. No primeiro caso, é utilizada para induzir a vítima ao erro, de modo que ela própria entrega seu patrimônio ao agente. A seu turno, no furto, a fraude visa burlar a vigilância da vítima, que, em razão dela, não percebe que a coisa lhe está sendo subtraída. 2. Na hipótese de transações bancárias fraudulentas, onde o agente se valeu de meios eletrônicos para efetivá-las, o cliente titular da conta lesada não é induzido a entregar os valores ao criminoso, por qualquer artifício fraudulento. Na verdade, o dinheiro sai de sua conta sem qualquer ato de vontade ou consentimento. A fraude, de fato, é utilizada para burlar a vigilância do Banco, motivo pelo qual a melhor tipificação dessa conduta é a de furto mediante fraude. 3. O Processo Penal brasileiro adotou, para fins de fixação da competência em matéria penal, a teoria do resultado, segundo a qual é competente para apurar infração penal, aplicando a medida cabível ao agente, o juízo do foro onde se deu a consumação do delito, ou onde o mesmo deveria ter se consumado, na hipótese de crime tentado. 4. No crime de furto, a infração consuma-se no local onde ocorre a retirada do bem da esfera de disponibilidade da vítima, isto é, no momento em que ocorre o prejuízo advindo da ação criminosa. 5. No caso de fraude eletrônica para subtração de valores, o dessapossamento da res furtiva se dá de forma instantânea, já que o dinheiro é imediatamente tirado da esfera de disponibilidade do correntista. Logo, a competência para processar e julgar o delito em questão é o do lugar de onde o dinheiro foi retirado, em obediência a norma do art. 70 do CPP. 6. Conflito conhecido para declarar competente o Juízo Federal da Vara Criminal da Seção Judiciária do Estado de Santa Catarina, o suscitado, em conformidade com o parecer ministerial. (CC 86862/GO, Rel. Ministro NAPOLEÃO NUNES MAIA FILHO, TERCEIRA SEÇÃO, julgado em 08.08.2007, DJ 03.09.2007 p. 119) 66
  • 67.
    II.I - Escalada:a escalada tem como pressuposto o ingresso pelo infrator ao local por meio anormal, não destinado a tal fim, vencendo obstáculos postos pela vítima para a maior proteção do seu patrimônio. ex.: caso do Banco Central. OBS.: RECURSO JÁ PRESENTE NO LOCAL, DEIXADO PELA VÍTIMA, NÃO QUALIFICA O CRIME. II.II - Destreza: “punga”: sujeito que furta sem ninguém notar. Pressupõe que a vítima não perceba a realização da subtração, pois se a vítima notar a tentativa, responderá o agente por tentativa de furto simples. Se um terceiro percebe, responde o agente por tentativa de furto qualificado pela destreza. III - Emprego de chave falsa: abrange todo o instrumento com ou sem forma de chave, usado como dispositivo para abrir fechaduras (mixa, gazua, arame). DUVIDA: CARTÃO DE HOTEL PODE SER CHAVE FALSA? Interpretação progressiva, logo é possível. DUVIDA: MANOBRISTA PEGA A CHAVE, É CONSIDERADA CHAVE FALSA. MANOBRISTA RESPONDE PELO QUÊ? Apropriação indébita, porém se não for manobrista de verdade, será furto qualificado pela fraude. IV - Concurso de duas ou mais pessoas: não é necessário que as duas pessoas participem da execução do delito. Menor também pode participar, não precisa ser imputável. É dispensável a qualificação de todos, basta a prova de que duas ou mais pessoas concorreram para o crime, ou seja, incida a qualificadora mesmo que um dos concorrentes seja menor inimputável. No artigo 155 o concurso de agentes dobra a pena (a pena que era de 1 a 4 passa a ser de 2 a 8 anos), mas no roubo, o concurso de agentes faz que a pena no máximo seja aumentada de metade – em razão disso, há doutrina dizendo que tal regra fere o princípio da proporcionalidade (tese boa para ser sustentada no concurso para defensoria pública), assim, deveria se aplicar majorante do roubo no furto simples para resolver o problema, porém a maioria entende que essas previsões são constitucionais. Segundo o STJ, esse contorcionismo que gera a aplicação da majorante do roubo no furto fere o princípio da legalidade (STJ). 67
  • 68.
    OBS.: Não confundiro concurso com o delito de quadrilha, art. 288 CP. Quadrilha é a associação estável e permanente de duas ou mais pessoas com o fim de praticar uma série indeterminada de crimes. A quadrilha não depende de crime para sua consumação, é um delito autônomo, independente, consumando-se independentemente da prática dos delitos para os quais os agentes se associaram. É um tipo incongruente, depende de um dolo específico (para o fim de...). DUVIDA: QUADRILHA DE ROUBO DE CARGA RESPONDE PELO QUÊ? A quadrilha envolve mínimo de quatro pessoas. Alguns autores dizem que haveria bis in idem entre o delito de quadrilha se aplicada junto a qualificadora de concurso do inciso IV. Logo, a quadrilha se consuma independente dos crimes associados, então se porventura praticarem tais delitos, por eles responderão em concurso material com o crime de quadrilha (art. 155, §4º, IV, + art. 288) (STJ HC 54773, STF HC 84669) OBS.: No tocante ao disposto no parágrafo único do art. 288 (quadrilha), todos os agentes precisam usar arma? Basta que um só dos integrantes da quadrilha esteja armado. Não configura bis in idem a condenação por quadrilha ou bando armado em concurso material com o delito de roubo qualificado pelo emprego de arma. OBS.: CUIDADO COM A QUADRILHA PARA CRIMES HEDIONDOS OU EQUIPARADOS: lei 8072/90, art. 8º. Ele não traz nenhum crime, simplesmente diz qual é a pena, o crime continua sendo do art. 288 do CP (quadrilha). Neste caso tem-se o art. 159, §1º c/c art. 288 do CP com a pena do art. 8º da LCH. Caso a quadrilha seja armada, é possível incidir ainda o §único do art. 288 (que duplica a pena), que incidirá sobre a pena do art. 8 da LCH. Se a quadrilha estiver associada para a prática de crimes hediondos, tortura, terrorismo, responderão os agentes pelo crime do artigo 288 (quadrilha), porém com a pena do artigo 8º da LCH (3 a 6 anos). Para o STF não há incompatibilidade entre o § único do art. 288 e a pena estabelecida no art. 8º da LCH. OBS. NÃO CONFUNDIR QUADRILHA COM AS CHAMADAS ASSOCIAÇÕES: tem associação na lei de drogas (art. 35, lei 11.343/06: mínimo de duas pessoas)). Na lei do genocídio – lei 2.889/96, art. 2º, também há a previsão de associação (demanda mais de 3 pessoas) 68
  • 69.
    FURTO QUALIFICADO PRIVILEGIADO: Possibilidade de levar em conta o privilégio (requisitos: primário e pequeno valor) e alguma qualificadora. Posições: 1ª STJ: admite-se no furto qualificado a incidência do privilégio previsto no artigo 155, §2º Penal. Furto qualificado. Furto PRIVILEGIADO. Compatibilidade. - É admissível, no furto qualificado (CP, art. 155, § 4º), a incidência do privilégio legal que autoriza a substituição da pena restritiva de liberdade por pena pecuniária, desde que presentes os pressupostos inscritos no art. 155, § 2º, do Estatuto Punitivo. - A circunstância de situar-se o preceito benigno em parágrafo anterior ao que define o furto qualificado não afasta o favor legal dessa espécie delituosa. - Recurso especial conhecido e desprovido. (REsp 66885/SP, Rel. Ministro VICENTE LEAL, SEXTA TURMA, julgado em 09/11/1999, DJ 29/11/1999 p. 210)(STJ RESP 66885) 2ª STF: também é possível o furto qualificado-privilegiado (HC 94765) HC 94765 / RS - RIO GRANDE DO SUL HABEAS CORPUS Relator(a): Min. ELLEN GRACIE Julgamento: 09/09/2008 Órgão Julgador: Segunda Turma 69
  • 70.
    Ementa DIREITO PROCESSUAL PENAL E PENAL. HABEAS CORPUS. FURTO QUALIFICADO. PRINCÍPIO DA INSIGNIFICÂNCIA. NÃO-INCIDÊNCIA NO CASO. POSSIBILIDADE DE CONSIDERAÇÃO DO PRIVILÉGIO. ART. 155, §§ 2° E 4°, CP. CONCESSÃO DE OFÍCIO DO HC. 1. A questão de direito tratada neste writ, consoante a tese exposta pelo impetrante na petição inicial, é a suposta atipicidade da conduta realizada pelo paciente com base na teoria da insignificância, o que deverá conduzir à absolvição por falta de lesividade ou ofensividade ao bem jurídico tutelado na norma penal. 2. O fato insignificante (ou irrelevante penal) é excluído de tipicidade penal, podendo, por óbvio, ser objeto de tratamento mais adequado em outras áreas do Direito, como ilícito civil ou falta administrativa. 3. Não considero apenas e tão somente o valor subtraído (ou pretendido à subtração) como parâmetro para aplicação do princípio da insignificância. Do contrário, por óbvio, deixaria de haver a modalidade tentada de vários crimes, como no próprio exemplo do furto simples, bem como desaparecia do ordenamento jurídico a figura do furto privilegiado (CP, art. 155, § 2°). 4. A lesão se revelou significante não apenas em razão do valor do bem subtraído, mas principalmente em virtude do concurso de três pessoas para a prática do crime (o paciente e dois adolescentes). De acordo com a conclusão objetiva do caso concreto, não foi mínima a ofensividade da conduta do agente, sendo reprovável o comportamento do paciente. 5. Compatibilidade entre as qualificadoras (CP, art. 155, § 4°) e o privilégio (CP, art. 155, § 2°), desde que não haja imposição apenas da pena de multa ao paciente. 6. Habeas corpus denegado. Concessão da ordem de ofício por outro fundamento. 70
  • 71.
    FURTO DE VEÍCULOAUTOMOTOR: (§5º) Neste caso é indispensável que seu destino seja outro Estado ou o exterior. Se não conseguir levar para outro estado, mas já tiver consumado o furto, responderá por furto consumado, simples ou qualificado, mas não por tentativa de furto qualificado pelo §5º. Roubo Art. 157 - Subtrair coisa móvel alheia, para si ou para outrem, mediante grave ameaça ou violência a pessoa, ou depois de havê-la, por qualquer meio, reduzido à impossibilidade de resistência: Pena - reclusão, de quatro a dez anos, e multa. § 1º - Na mesma pena incorre quem, logo depois de subtraída a coisa, emprega violência contra pessoa ou grave ameaça, a fim de assegurar a impunidade do crime ou a detenção da coisa para si ou para terceiro. § 2º - A pena aumenta-se de um terço até metade: I - se a violência ou ameaça é exercida com emprego de arma; II - se há o concurso de duas ou mais pessoas; III - se a vítima está em serviço de transporte de valores e o agente conhece tal circunstância. IV - se a subtração for de veículo automotor que venha a ser transportado para outro Estado ou para o exterior; (Incluído pela Lei nº 9.426, de 1996) V - se o agente mantém a vítima em seu poder, restringindo sua liberdade. (Incluído pela Lei nº 9.426, de 1996) § 3º Se da violência resulta lesão corporal grave, a pena é de reclusão, de sete a quinze anos, além da multa; se resulta morte, a reclusão é de vinte a trinta anos , sem prejuízo da multa. (Redação dada pela Lei nº 9.426, de 1996) Vide Lei nº 8.072, de 25.7.90 71
  • 72.
    Sujeito ativo: qualquerpessoa Sujeito Passivo: é a vítima da violência, não apenas da subtração. Pode ser que um terceiro detentor de um bem seja assaltado, nesse caso o terceiro e o proprietário do bem são vítimas. Bem jurídico tutelado: patrimônio, integridade física, liberdade individual Objeto material: pessoa que teve o patrimônio subtraído e aquela que sofreu a violência. Elemento objetivo do tipo: subtrair mediante violência, grave ameaça ou redução da possibilidade de resistência da vítima (violência imprópria) Elemento subjetivo do crime: dolo Elemento subjetivo do tipo específico: ânimo de apossamento definitivo para si ou para outrem. Animus rem sibi habendi Consumação e tentativa: quando o bem sai da esfera de disponibilidade da vítima. No caso do latrocínio, se o roubo não se consumar, mas ocorrer a morte, estará consumado o crime como um todo, Súmula 610 STF. Adota-se a teoria da AMOTIO, que dispensa a posse mansa e pacífica (basta a violência ou grave ameaça + inversão da posse, logo, é crime formal) Ação penal: incondicionada 72
  • 73.
    Competência: JE OUTRAS OBSERVAÇÕES O roubo nada mais é do que o furto (fere o patrimônio) acrescido do constrangimento ilegal (fere a liberdade individual da vítima), por isso, trata-se de crime complexo Trata-se de um crime complexo, por proteger bens jurídicos diversos. A chamada violência imprópria prevista no caput é uma forma equiparada, que se dá por meio de drogas que retirem a capacidade de resistência da vítima, os quais deverão ser usados ardilosamente, sem o conhecimento da vítima. §1º - ROUBO IMPRÓPRIO (ROUBO POR APROXIMAÇÃO) Nota-se que nesse caso o antecedente é a subtração da coisa, e o subseqüente é o emprego da violência ou grave ameaça Aqui a violência é usada não para subtrair a coisa, mas para assegurar a impunidade do crime ou a detenção da coisa já apoderada. Não existe violência imprópria no delito de roubo simples impróprio. O roubo impróprio não prevê a modalidade de violência imprópria, logo, se o agente é surpreendido, quando, sem violência, ia apoderar-se da coisa, frustrando-se a subtração, mas vem a empregar na fuga, há tentativa de furto em concurso material com algum crime contra a pessoa 73
  • 74.
    (lesão, homicídio, etc). A doutrina diz que o roubo impróprio nada mais é do que um furto que se transforma em um roubo em razão da circunstância. Difere do furto tentado ou consumado em concurso com a violência ou ameaça porque no roubo impróprio o agente já subtraiu a coisa e naquele a violência é usada antes da subtração para assegurar a fuga (não responderá por roubo consumado ou tentativa de roubo, mas por furto em concurso material com lesão ou ameaça) A violência, no roubo impróprio, deve ser feita logo depois da subtração, não sendo razoável um largo espaço de tempo. ROUBO DE USO Para SANCHEZ é crime, porém há doutrinadores que entendem diversamente, que o animus excluiria o crime desclassificando-o para o de constrangimento ilegal. Rogério Greco discorda, dizendo que é crime, mas não de roubo, uma vez que o roubo é constituído de furto + constrangimento ilegal, assim, se o roubo é de uso, não há o furto, portanto, quem rouba para uso deve responder apenas por constrangimento ilegal TENTATIVA OU CRIME IMPOSSÍVEL A ocasional inexistência de valores em poder da vítima do assalto, inviabilizando sua consumação, traduz caso de impropriedade relativa do objeto, o que caracteriza a tentativa, e não a figura do crime impossível (SANCHEZ). MASSON discorda, afirma que no caso a ausência de patrimônio com a vítima configura impropriedade absoluta do objeto de modo que não se pode falar em tentativa, mas, no máximo, no crime de ameaça (responderá pelos atos efetivamente praticados). 74
  • 75.
    FIGURAS MAJORADAS -§2º (pena ficará entre 6 e 15 anos) I – Se a violência ou ameaça é exercida com emprego de arma: Deve ser efetivamente utilizada a arma no roubo ou basta que se tenha a arma e utilize do seu porte como meio de intimidação? Divergência: 1ª Corrente (Luiz Régis Prado (PR); prevalece na jurisprudência): é suficiente que o sujeito porte arma ostensivamente, de modo que ameace a vítima. 2ª Corrente (Cézar Roberto Bitencourt, LFG): É necessário o emprego efetivo da arma, sendo insuficiente o simples porte. Arma na cintura autoriza o aumento? Sim, pois quando a lei fala em emprego de arma esta não precisa ter sido sacada, basta que tenha sido usada para tirar a possibilidade de defesa da vítima. Sendo circunstância objetiva, tal causa de aumento se transmitirá para todos os agentes do crime. I.I. SOBRE A ARMA DE BRINQUEDO Até 2.001 a arma de brinquedo fazia incidir o aumento da majorante, mas depois de 2.001 esse aumento passou a não mais incidir. Foi cancelada a súmula 174 do STJ, uma vez que, pelo princípio da lesividade e pela teoria da imputação objetiva, a arma de brinquedo não é capaz de ofender o bem jurídico tutelado pelo aumento (incolumidade física). A arma de brinquedo não tem a potencialidade de gerar o resultado que se busca evitar. A arma de brinquedo não gera aumento (é roubo, mas não majorado); porém, é suficiente para configurar grave ameaça. I.II ARMA VERDADEIRA DESMUNICIADA OU SIMULAÇÃO DA EXISTÊNCIA DELA Gera aumento? Prevalece que sim (NUCCI). Rogério Sanches considera que é um absurdo, porque a potencialidade lesiva da arma de brinquedo é a mesma da arma desmuniciada. Uma tem tanto risco quanto a outra, no caso concreto. No caso da simulação da existência de arma não incidirá a majorante (STF, CAPEZ), mas haverá roubo. Se a arma estiver com defeito, deve verificar se sua ineficácia é absoluta ou relativa para aferir a incidência da majorante. I.III APREENSÃO & PERÍCIA DA ARMA 75
  • 76.
    São dispensáveis ouindispensáveis? Prevalece no STJ & STF ser dispensável. Há julgados no STF & no STJ decidindo ser indispensável e esses julgados são coerentes, porque quero saber se a arma tem ou não potencialidade lesiva, então a arma tem que ser apreendida e periciada (STJ, HC 99.762/MG). Se a arma não é apreendida não será possível a realização de uma perícia para que se possa aferir sua potencialidade lesiva, logo não incide a causa de aumento de pena do artigo 157, §2º, I, salvo se a vítima e demais testemunhas afirmarem de forma coerente que houve disparo de arma de fogo, hipótese na qual o exame de corpo de delito indireto poderia suprir a não apreensão da arma. (STJ HC 89518). A prova testemunhal deve atestar que HOUVE disparo. II – Se há o concurso de duas ou mais pessoas NUCCI entende que não há a necessidade de todos estarem presentes no local do crime. Se um dos agentes for menor de 18 anos, haverá roubo majorado em concurso com corrupção de menores (ECA, art. 244-B). III – Se a vítima está em serviço de transporte de valores e o agente conhece tal circunstância É imprescindível que a vítima esteja prestando serviço para alguém, não incide a majorante quando a vítima está transportando valores próprios. O agente deve conhecer tal circunstância para fazer incidir a majorante. IV – Se a subtração for de veículo automotor que venha a ser transportado para outro estado ou para o exterior 76
  • 77.
    O transporte departes do veículo não faz incidir a majorante. No caso de não conseguir transpor os limites territoriais estaduais ou fronteiriços, responderá por roubo consumado sem a majorante. V – Se o agente mantém a vítima em seu poder, restringindo sua liberdade (não confundir com o SEQUESTRO RELÂMPAGO previsto no art. 158, §3º - extorsão qualificada) Resta ficar clara a diferença do roubo majorado pela privação da liberdade em relação ao delito de roubo em concurso com o delito de seqüestro: no roubo majorado pela privação da liberdade, esta privação é necessária para a detenção da coisa ou para garantir a fuga, sendo que esta mesma privação não é prolongada, durando o tempo necessário para o sucesso da empreitada (não pode ser curtíssimo tempo); haverá roubo em concurso com o seqüestro quando a privação da liberdade da vítima não é necessária para o roubo, e essa privação é prolongada no tempo, em contextos fáticos distintos. §3º (ROUBO QUALIFICADO) – 7 a 15 anos para lesão grave e 20 a 30 para morte (latrocínio) Inicialmente há de se destacar que as causas de aumento do §2º não incidem sobre o §3º Os resultados qualificadores devem ser frutos da violência. Não incide a qualificadora quando decorrentes da grave ameaça. Os resultados qualificadores (lesão grave ou morte) podem ser dolosos ou culposos. O latrocínio pode ser doloso ou preterdoloso e é o único que é HEDIONDO. - A violência deve ser empregada durante o assalto (nexo temporal – fator tempo) e em razão do assalto (nexo causal – fator nexo) 77
  • 78.
    Ausente um dosfatores, não há qualificadora, não há roubo qualificado. - Se a intenção inicial é a morte e, posteriormente, resolve subtrair os bens da vítima, não se trata de latrocínio, mas de homicídio seguido de furto (121 + 155); - Se um assaltante mata outro para ficar com o produto do crime, isso é latrocínio? Roubo + homicídio qualificado pela torpeza -> 157 + 121, § 2º, I -> Vai a Júri Subtração Morte Latrocínio Consumada Consumada Consumado Tentada Tentada Tentado Consumado Tentada Tentado Tentada Consumada Consumado SE A MORTE RESULTAR DE GRAVE AMEAÇA, E NÃO DE VIOLÊNCIA: Se o resultado morte deriva da grave ameaça responde o agente pelo crime de roubo simples em concurso com o delito de homicídio culposo. Todavia, pela teoria da imputação objetiva, como o resultado morte está fora do âmbito de risco provocado pela conduta, ao agente não se pode imputar o delito de homicídio culposo. Se a intenção do agente era inicialmente o homicídio e depois resolve subtrair os bens, responderá por homicídio seguido de furto. DIFERENÇA DE ROUBO PARA EXTORSÃO: 1ª Corrente: No crime de roubo o mau é iminente e a vantagem é contemporânea. Na extorsão o mau prometido e a vantagem a que se visa são futuros 2ª Corrente: Critério da imprescindibilidade do comportamento da vítima. Se for necessário um comportamento da vítima será extorsão. Se a colaboração não for necessária o crime é o de roubo. Ex.: ligações pra comprar cartão telefônico; sequestro relâmpago para realizar saque em caixa eletrônico 78
  • 79.
    DUAS MORTES, UMASUBTRAÇÃO, HÁ MAIS DE UM LATROCÍNIO? Latrocínio é crime contra o patrimônio, logo, pluralidade de mortes com subtração única enseja CRIME ÚNICO DE LATROCÍNIO. Latrocínio não é crime doloso contra a vida, não vai a júri (Súmula 603 do STF: diz que a competência é do juiz singular e não do tribunal do júri). HIPÓTESES SIMILARES AO LATROCÍNIO Subtração consumada, tendo o agente efetuado três disparos na direção do rosto da vítima. Não ocorre o resultado morte, mas tão somente incapacidade para as ocupações habituais por mais de trinta dias. Três possibilidades: 1ª: Roubo qualificado pelo resultado de lesão corporal grave, na modalidade consumada (a pena não começará em 7 anos, mas também não chegará a 15) 2ª: Latrocínio tentado (art. 157, §3º, última parte – in fine, na forma do art. 14, II, CP) Art. 14: II - tentado, quando, iniciada a execução, não se consuma por circunstâncias alheias à vontade do agente 3ª: Homicídio qualificado na modalidade tentada, em concurso com o delito de roubo qualificado. É a posição do Supremo: HC 91585. DECISÃO RECENTE Se estiver ausente o animus necandi na violência praticada, responde o agente pelo delito de roubo qualificado pelo resultado de lesão corporal grave. Se caracterizada a intenção de matar a vítima, o tipo correspondente é o do artigo 121,§2º, V, na modalidade tentada em concurso material com o delito de roubo. 79
  • 80.
    AULA 13: ART.158, 159 Extorsão Art. 158 - Constranger alguém, mediante violência ou grave ameaça, e com o intuito de obter para si ou para outrem indevida vantagem econômica, a fazer, tolerar que se faça ou deixar fazer alguma coisa: Pena - reclusão, de quatro a dez anos, e multa. § 1º - Se o crime é cometido por duas ou mais pessoas, ou com emprego de arma, aumenta-se a pena de um terço até metade. § 2º - Aplica-se à extorsão praticada mediante violência o disposto no § 3º do artigo anterior. Vide Lei nº 8.072, de 25.7.90 § 3o Se o crime é cometido mediante a restrição da liberdade da vítima, e essa condição é necessária para a obtenção da vantagem econômica, a pena é de reclusão, de 6 (seis) a 12 (doze) anos, além da multa; se resulta lesão corporal grave ou morte, aplicam-se as penas previstas no art. 159, §§ 2o e 3o, respectivamente. (Incluído pela Lei nº 11.923, de 2009) Sujeito ativo: qualquer pessoa Sujeito passivo: idem Bem jurídico tutelado: liberdade individual, patrimônio, integridade física Objeto material: a vítima Elemento objetivo do tipo: constranger mediante violência ou grave ameaça. Retira a liberdade de autodeterminação Elemento subjetivo do crime: dolo Elemento subjetivo do tipo específico: ânimo de apossamento definitivo da vantagem econômica indevida (trata-se aí de elemento normativo do tipo) 80
  • 81.
    Consumação e tentativa:não depende da obtenção da vantagem indevida, basta que a vítima faça ou deixe de fazer algo em razão da conduta do agente. É crime formal, de consumação antecipada. Súmula 96 STJ (consuma-se independentemente da obtenção da vantagem indevida) Ação penal: incondicionada Competência: JE OUTRAS OBSERVAÇÕES: A extorsão não pode ser confundida com o roubo, nem com o constrangimento ilegal, apesar de serem tipos parecidos no tocante ao constrangimento efetuado. -> Se a indevida vantagem visada for de natureza moral será constrangimento ilegal (neste a finalidade do agente é a restrição da liberdade, na extorsão a restrição da liberdade é meio); -> Se a indevida vantagem for sexual haverá estupro; -> Se a vantagem for devida haverá exercício arbitrário das próprias razões. Para MASSON não passa de um constrangimento ilegal com uma finalidade específica (obtenção de indevida vantagem patrimonial) 81
  • 82.
    Apesar de parecidos,o roubo e a extorsão são crimes diversos, de modo que não se admite a continuidade delitiva entre eles. DIFERENÇAS ROUBO EXTORSÃO Elemento objetivo do tipo Subtrair Constranger Prescinde da colaboração Imprescindível da vítima colaboração da vítima Versa sobre bens móveis Pode abranger bens imóveis A extorsão também não se confunde com a concussão, pois esta, além de ser crime contra a administração pública, é feita sem violência ou grave ameaça, se valendo o agente da sua condição de funcionário público para exigir uma vantagem indevida. A obtenção da vantagem econômica indevida configura mero exaurimento do crime, não sendo admissível realizar o flagrante neste momento, pois se trata de crime formal, cuja consumação não depende de resultado naturalístico, basta a prática pela vítima do comportamento determinado pelo sujeito ativo. FIGURA MAJORADA - §1º Emprego de duas ou mais pessoas: é necessária a coautoria, não cabe participação na extorsão, pois ao contrário do roubo não fala em concurso, mas em “cometido por duas ou mais pessoas”;  Mediante emprego de arma: igual ao roubo majorado 82
  • 83.
    FIGURA QUALIFICADA -§2º Extorsão qualificada pela morte é crime hediondo. O RESULTADO AGRAVADOR DEVE VIR DA VIOLÊNCIA. Não há previsão de resultado agravador decorrente de grave ameaça, o que pode resultar em dois delitos em concurso: extorsão + lesões graves; extorsão + homicídio. SEQUESTRO RELÂMPAGO - §3º (SAIDINHA DE BANCO) Nesse caso, apesar de ser possível o resultado agravador (morte ou lesão grave), não se trata de crime hediondo por ausência de previsão legal expressa na LCH. EXTORSÃO E ROUBO Por não se tratarem de crimes da mesma espécie não é admissível a continuidade delitiva entre eles (art. 71). Extorsão mediante seqüestro Art. 159 - Seqüestrar pessoa com o fim de obter, para si ou para outrem, qualquer vantagem, como condição ou preço do resgate: Vide Lei nº 8.072, de 25.7.90 Pena - reclusão, de oito a quinze anos.. (Redação dada pela Lei nº 8.072, de 25.7.1990) § 1o Se o seqüestro dura mais de 24 (vinte e quatro) horas, se o seqüestrado é menor de 18 (dezoito) ou maior de 60 (sessenta) anos, ou se o crime é cometido por bando ou quadrilha. Vide Lei nº 8.072, de 25.7.90 (Redação dada pela Lei nº 10.741, de 2003) Pena - reclusão, de doze a vinte anos. (Redação dada pela Lei nº 8.072, de 25.7.1990) 83
  • 84.
    § 2º -Se do fato resulta lesão corporal de natureza grave: Vide Lei nº 8.072, de 25.7.90 Pena - reclusão, de dezesseis a vinte e quatro anos. (Redação dada pela Lei nº 8.072, de 25.7.1990) § 3º - Se resulta a morte: Vide Lei nº 8.072, de 25.7.90 Pena - reclusão, de vinte e quatro a trinta anos. (Redação dada pela Lei nº 8.072, de 25.7.1990) § 4º - Se o crime é cometido em concurso, o concorrente que o denunciar à autoridade, facilitando a libertação do seqüestrado, terá sua pena reduzida de um a dois terços.(Redação dada pela Lei nº 9.269, de 1996) Sujeito ativo: qualquer pessoa Sujeito passivo: idem Bem jurídico tutelado: liberdade individual, patrimônio. Objeto material: a vítima Elemento objetivo do tipo: o ato de seqüestrar pessoa Elemento subjetivo do crime: dolo 84
  • 85.
    Elemento subjetivo dotipo específico: obtenção de qualquer tipo de vantagem para si ou para outrem. Ânimo de apossamento definitivo do patrimônio alheio. Consumação e tentativa: quando ocorre a privação da liberdade Ação penal: incondicionada Competência: JE OUTRAS OBSERVAÇÕES: Não se seqüestram animais ou coisas, apenas pessoas. O meio pelo qual o seqüestro pode se operar é livre, independe de violência ou grave ameaça. Se o caso for de um sequestro simulado, a pessoa responderá por extorsão. A qualificadora que estabelece o prazo de 24hs para existir configura modalidade de CRIME A PRAZO. Se a vítima era menor de 18 anos ao ser seqüestrada e o crime só termina quando ela já é maior, em face da TEORIA DA ATIVIDADE, o agente responderá pela figura qualificada. Para MASSON a qualificadora de quadrilha ou bando não impede o cúmulo com o crime autônomo do art. 288, pois são de espécies diferentes com momentos consumativos distintos. A qualificadora do §2º, ao falar em “DO FATO”, admite que o resultado lesão grave ou morte resulte não apenas da violência, mas também de GRAVE AMEAÇA. No tocante à delação premiada, esta tem de ser eficaz, contribuindo de forma relevante para o resgate. Outro aspecto é que ela não se confunde com a delação da Lei n. 9807/99 (lei de proteção as vitimas, testemunhas e réus colaboradores), pois esta possui requisitos específicos a serem cumpridos, os quais, se preenchidos, são melhores para o réu (extingue a punibilidade), devendo-se deixar de aplicar a delação do tipo em tela. 85
  • 86.
    AULA 14: ARTS.163, 168, 168-A Dano Art. 163 - Destruir, inutilizar ou deteriorar coisa alheia: Pena - detenção, de um a seis meses, ou multa. Dano qualificado Parágrafo único - Se o crime é cometido: I - com violência à pessoa ou grave ameaça; II - com emprego de substância inflamável ou explosiva, se o fato não constitui crime mais grave III - contra o patrimônio da União, Estado, Município, empresa concessionária de serviços públicos ou sociedade de economia mista; (Redação dada pela Lei nº 5.346, de 3.11.1967) IV - por motivo egoístico ou com prejuízo considerável para a vítima: Pena - detenção, de seis meses a três anos, e multa, além da pena correspondente à violência. 86
  • 87.
    Sujeito ativo: qualquerpessoa Sujeito passivo: idem Bem jurídico tutelado: patrimônio alheio Objeto material: coisa alheia que sofreu a agressão Elemento objetivo do tipo: destruir, inutilizar, deteriorar. Destruir não significa desaparecer, que não tem previsão legal neste tipo. TIPO MISTO ALTERNATIVO. Elemento subjetivo do crime: dolo Elemento subjetivo do tipo especifico: Existe na figura qualificada do inciso IV, que fala em MOTIVO EGOÍSTICO Consumação e tentativa: quando ocorrer a destruição, inutilização ou deterioração Competência: Jecrim para o caput e JE para as figuras qualificadas Ação penal: publica incondicionada, com exceção do caput e do da figura qualificada do Inciso IV (por expressa previsão do artigo 167 do CP) que será privada. 87
  • 88.
    OUTRAS OBSERVAÇÕES: Se for praticado contra plantas ou animais vai para a LCA, art. 32. É possível a aplicação do principio da insignificância. A pichação pode configurar dano por exceção, quando não se enquadrar na tipificação da LCA. Há autores que defendem um dolo especifico (animus nocendi), que é a vontade de causar prejuízo, mas não parece ser algo pacífico na doutrina e jurisprudência. FIGURAS QUALIFICADAS I – Violência ou grave ameaça a pessoa: deve ser praticado para viabilizar o crime de dano, se praticado após, haverá concurso do dano com lesão corporal II – Uso de substância inflamável ou explosiva: é tipo subsidiário, ou seja, só é aplicado se não configurar crime mais grave, como o de incêndio. III – Dano contra patrimônio da U-E-DF-M, concessionária ou SEM: deve englobar até os bens de uso comum do povo (patrimônio em sentido amplo) IV – Por motivo egoístico ou com prejuízo considerável à vítima: a questão do prejuízo considerável irá ser avaliada de acordo com a condição econômico-financeira da vítima. Apropriação indébita Art. 168 - Apropriar-se de coisa alheia móvel, de que tem a posse ou a detenção: Pena - reclusão, de um a quatro anos, e multa. Aumento de pena § 1º - A pena é aumentada de um terço, quando o agente recebeu a coisa: I - em depósito necessário; 88
  • 89.
    II - naqualidade de tutor, curador, síndico, liquidatário, inventariante, testamenteiro ou depositário judicial; III - em razão de ofício, emprego ou profissão. Sujeito ativo: qualquer pessoa que detenha a posse ou detenção de coisa alheia móvel Sujeito passivo: a pessoa que deu a coisa para o sujeito ativo (não precisa ter sido o proprietário da coisa a entregar o bem) Bem jurídico tutelado: patrimônio Objeto material: coisa alheia móvel apropriada Elemento objetivo do tipo: ato de se apropriar Elemento subjetivo do crime: dolo Elemento subjetivo do tipo especifico: não há Consumação e tentativa: ocorre com a apropriação (via negativa de restituição ou prática de algum ato de disposição). Tentativa é possível (menos na modalidade negativa de restituição). Ação penal: incondicionada 89
  • 90.
    Competência: JE, dolocal onde se consumar a infração. Poderá ser da JF caso existam bens da União envolvidos OUTRAS OBSERVAÇÕES: A posse ou detenção da coisa deve ser desvigiada, legítima e o bem não precisa ser infungível (SANCHEZ). O que caracteriza a apropriação indébita é a quebra de confiança. A intenção de apropriação deve vir só depois que o agente está com o bem, pois se existir o dolo previamente configurará estelionato. É possível a aplicação do privilégio previsto para o furto, art. 155, §2º, no caso em tela, quando o criminoso cumprir os requisitos legais (primário, coisa de pequeno valor). Se fosse o caso de apropriação indébita previdenciário e o autor além desses requisitos tiver bons antecedentes, tal fato levará à extinção da punibilidade. Também é admissível a aplicação do princípio da insignificância, de modo que poderá gerar a atipicidade do fato. A fungibilidade da coisa é tema discutível na doutrina e jurisprudência acerca da possibilidade de ser ou não objeto material do crime, posto haver a possibilidade nesses casos de transferência de domínio. Iter criminis do tipo: 1 – entrega voluntária do bem pela vítima; 2 – posse ou detenção desvigiada 3 – Boa-fé do agente ao tempo do recebimento do bem 4 – Modificação posterior do comportamento do agente: prática de algum ato de disposição; recusa na restituição. Se o sujeito ativo for funcionário público poderá configurar peculato apropriação. 90
  • 91.
    Para MASSON épossível que a vítima não tenha sido a pessoa que tenha entregue o bem ao criminoso FIGURAS MAJORADAS DO §1º I – depósito necessário: abrange apenas o chamado DEPÓSITO NECESSÁRIO MISERÁVEL (CC< art. 647, II) decorrente de calamidade pública, em razão da falta de opção da vítima e do aproveitamento da situação de fragilidade desta. II – na qualidade de tutor, curador, síndico, liquidatário, inventariante, testamenteiro, ou depositário judicial: neste caso a majorante se deve em razão da relevância da função exercida para as pessoas. III – em razão de ofício, emprego ou profissão: mesmo caso do anterior Apropriação indébita previdenciária (Incluído pela Lei nº 9.983, de 2000) Art. 168-A. Deixar de repassar à previdência social as contribuições recolhidas dos contribuintes, no prazo e forma legal ou convencional: (Incluído pela Lei nº 9.983, de 2000) Pena – reclusão, de 2 (dois) a 5 (cinco) anos, e multa. (Incluído pela Lei nº 9.983, de 2000) § 1o Nas mesmas penas incorre quem deixar de: (Incluído pela Lei nº 9.983, de 2000) I – recolher, no prazo legal, contribuição ou outra importância destinada à previdência social que tenha sido descontada de pagamento efetuado a segurados, a terceiros ou arrecadada do público; (Incluído pela Lei nº 9.983, de 2000) II – recolher contribuições devidas à previdência social que tenham integrado despesas contábeis ou custos relativos à venda de produtos ou à prestação de serviços; (Incluído pela Lei nº 9.983, de 2000) III - pagar benefício devido a segurado, quando as respectivas cotas ou valores já tiverem sido reembolsados à empresa pela previdência social. (Incluído pela Lei nº 9.983, de 2000) § 2o É extinta a punibilidade se o agente, espontaneamente, declara, confessa e efetua o pagamento das contribuições, importâncias ou valores e presta as 91
  • 92.
    informações devidas àprevidência social, na forma definida em lei ou regulamento, antes do início da ação fiscal. (Incluído pela Lei nº 9.983, de 2000) § 3o É facultado ao juiz deixar de aplicar a pena ou aplicar somente a de multa se o agente for primário e de bons antecedentes, desde que: (Incluído pela Lei nº 9.983, de 2000) I – tenha promovido, após o início da ação fiscal e antes de oferecida a denúncia, o pagamento da contribuição social previdenciária, inclusive acessórios; ou (Incluído pela Lei nº 9.983, de 2000) II – o valor das contribuições devidas, inclusive acessórios, seja igual ou inferior àquele estabelecido pela previdência social, administrativamente, como sendo o mínimo para o ajuizamento de suas execuções fiscais. (Incluído pela Lei nº 9.983, de 2000) Sujeito ativo: responsável tributário, encarregado de repassar as contribuições para o INSS Sujeito passivo: UNIÃO, LEI 8212/91, ART. 33. É por intermédio da RFB que se arrecada a contribuição previdenciária. Bem jurídico tutelado: SEGURIDADE SOCIAL, ordem tributária (contribuição previdenciária é tributo) e ordem econômica (por gerar concorrência desleal por parte de quem não contribui ou não repassa) 92
  • 93.
    Objeto material: contribuiçãoprevidenciária Elemento objetivo do tipo: é o ato de deixar de repassar Elemento subjetivo do crime: dolo Elemento subjetivo do tipo especifico: controverso na doutrina. NUCCI entende que existe, que deve haver a vontade de fraudar a previdência, estaria implícito no tipo, sob penal de a ação penal ser transformada em mera ação de cobrança. MASSON discorda, diz que se houvesse a vontade de fraudar o crime seria de Sonegação de Contribuição Previdenciária – art. 337-A Consumação e tentativa: tentativa não é possível, crime omissivo próprio. Ação penal: incondicionada Competência: JF OUTRAS OBSERVAÇÕES Critica-se a inserção desse tipo penal no CP porque, primeiro, não é crime contra o patrimônio, mas contra a previdência social, de modo que sua localização seria mais correta na Lei 8212, ou então a lei de crimes contra a ordem tributária, tendo em vista que a contribuição previdenciária tem caráter tributário. A denominação do tipo também carece de correção, pois não se trata de uma forma de apropriação nos moldes das apropriações indébitas previstas no CP, onde o elemento objetivo do tipo é o ato de se apropriar. Aqui o elemento objetivo do tipo é o ato de deixar de repassar. Tem proteção constitucional, pois a contribuição previdenciária faz parte do salário do trabalhador e a retenção dolosa deste (salário) é crime conforme dispõe o art. 7º, X, CF. 93
  • 94.
    O crime seconsuma no momento em que expira o prazo para o repasse da contribuição previdenciária. A figura simples visa punir o SUBSTITUTO TRIBUTÁRIO As figuras do §1º visam punir o CONTRIBUINTE-EMPRESÁRIO FIGURAS EQUIPARADAS - §1º I – recolher, no prazo legal, contribuição ou outra importância destinada à previdência social que tenha sido descontada de pagamento efetuado a segurados (empregado), a terceiros (prestador de serviço para o responsável tributário) ou arrecadada do público (Megasena): Depois de reter o valor devido o empresário não repassa ao INSS. II – recolher contribuições devidas à previdência social que tenham integrado despesas contábeis ou custos relativos à venda de produtos ou à prestação de serviços: ocorre quando o contribuinte contabiliza no preço final do produto que comercializa o valor da contribuição previdenciária, não promovendo o seu recolhimento, de modo a ganhar duas vezes. III - pagar benefício devido a segurado, quando as respectivas cotas ou valores já tiverem sido reembolsados à empresa pela previdência social: caminho inverso. O empresário deixa de repassar ao segurado o benefício previdenciário pelo qual já foi reembolsado pelo INSS. SOBRE A EXTINÇÃO DA PUNIBILIDADE - §2º A questão maior é saber quando se dá o início da ação fiscal. Porém, com o advento da Lei 1068403 (lei do PAES), o pagamento do tributo, inclusive contribuições 94
  • 95.
    previdenciárias, realizado aqualquer tempo extingue a punibilidade, de modo que o §2º em tela teria sido revogado. PRINCIPIO DA INSIGNIFICÂNCIA Estelionato Art. 171 - Obter, para si ou para outrem, vantagem ilícita, em prejuízo alheio, induzindo ou mantendo alguém em erro, mediante artifício, ardil, ou qualquer outro meio fraudulento: Pena - reclusão, de um a cinco anos, e multa. § 1º - Se o criminoso é primário, e é de pequeno valor o prejuízo, o juiz pode aplicar a pena conforme o disposto no art. 155, § 2º. § 2º - Nas mesmas penas incorre quem: Disposição de coisa alheia como própria I - vende, permuta, dá em pagamento, em locação ou em garantia coisa alheia como própria; 95
  • 96.
    Alienação ou oneraçãofraudulenta de coisa própria II - vende, permuta, dá em pagamento ou em garantia coisa própria inalienável, gravada de ônus ou litigiosa, ou imóvel que prometeu vender a terceiro, mediante pagamento em prestações, silenciando sobre qualquer dessas circunstâncias; Defraudação de penhor III - defrauda, mediante alienação não consentida pelo credor ou por outro modo, a garantia pignoratícia, quando tem a posse do objeto empenhado; Fraude na entrega de coisa IV - defrauda substância, qualidade ou quantidade de coisa que deve entregar a alguém; Fraude para recebimento de indenização ou valor de seguro V - destrói, total ou parcialmente, ou oculta coisa própria, ou lesa o próprio corpo ou a saúde, ou agrava as conseqüências da lesão ou doença, com o intuito de haver indenização ou valor de seguro; Fraude no pagamento por meio de cheque VI - emite cheque, sem suficiente provisão de fundos em poder do sacado, ou lhe frustra o pagamento. § 3º - A pena aumenta-se de um terço, se o crime é cometido em detrimento de entidade de direito público ou de instituto de economia popular, assistência social ou beneficência. 96
  • 97.
    Sujeito ativo: qualquerpessoa (caput), ou pessoa envolvida em algum negócio (§2º) Sujeito passivo: qualquer pessoa (caput), ou alguém envolvido na transação (§2º). Pode ser vítima mesmo havendo torpeza bilateral. A vítima deve ter capacidade de ser ludibriada, senão configura abuso de incapazes e precisa ser CERTA, senão é crime contra economia popular. Bem jurídico tutelado: patrimônio Objeto material: vantagem obtida, bem como a pessoa que incidiu em erro Elemento objetivo do tipo: obter vantagem induzindo ou mantendo alguém em erro. O estelionatário pode gerar a situação do engano ou então apenas se aproveitar dela sem tê-la criado. Meios: artifício (FRAUDE MATERIAL), ardil (FRAUDE MORAL), ou qualquer outro meio fraudulento desde que apto a ludibriar. Elemento subjetivo do crime: dolo Elemento subjetivo do tipo especifico: vontade de obter lucro indevido em prejuízo alheio Consumação e tentativa: quando a vítima sofre a perda patrimonial. À obtenção da vantagem ilícita deve corresponder um prejuízo patrimonial para a vítima. É UM CRIME DE DUPLO RESULTADO. Será instantâneo de efeitos permanentes na fraude para perceber benefício previdenciário (quem faz a fraude), porém a contagem da 97
  • 98.
    prescrição se iniciacom o recebimento da 1ª prestação. Já o beneficiário da fraude responderá por estelionato como crime permanente. Ação penal: incondicionada Competência: JE do local onde foi obtida a vantagem ilícita em prejuízo alheio OUTRAS OBSERVAÇÕES Para BITENCOURT a vantagem ilícita não precisa ser econômica, mas apenas que o prejuízo sofrido pela vítima é que seja econômico. ESTELIONATO E FALSIDADE DOCUMENTAL (QUATRO CORRENTES) 1. STJ/MASSON: concurso material, bens jurídicos diversos, exceto se o falso se exaurir no estelionato, nesse caso o falso será absorvido; 2. STF: concurso formal, uma conduta dividida em dois atos que produziu uma pluralidade de resultados; 3. O falso absorve o estelionato se o documento for público, pois a pena do falso será mais grave, além disso configuraria mero exaurimento do crime de falso (HUNGRIA). 4. STJ: O estelionato absorve o falso, súmula 17: quando o falso se exaure no estelionato, sem mais potencialidade lesiva, é por este absorvido. ITER CRIMINIS DO ESTELIONATO 1 – emprego de fraude 2 – situação de erro na qual a vítima é colocada ou mantida 3 – obtenção da vantagem ilícita 4 – prejuízo suportado pela vítima 98
  • 99.
    SOBRE O TERCEIROBENEFICIÁRIO DA FRAUDE Se estiver ciente da origem criminosa do bem (não tendo participado da fraude), responderá por receptação dolosa ou culposa. Se não souber da origem criminosa será atípico. DA TENTATIVA DE ESTELIONATO O meio empregado deve ser apto a ludibriar a vítima, sob pena de configurar crime impossível, fato este que deve ser analisado a luz das condições pessoais da vítima. Não basta a obtenção da vantagem ilícita, pois como é de DUPLO RESULTADO, deve gerar também o prejuízo à vítima, sob pena de configurar apenas a modalidade tentada. ESTELIONATO E JOGOS DE AZAR Só haverá estelionato quando houver algum tipo de fraude que impossibilite totalmente a possibilidade de ganho por parte do jogador, de modo que deixa de ser contravenção penal para virar crime. ESTELIONATO PRIVILEGIADO - §1º O pequeno valor citado deve ser correspondente a no máximo 1 salário mínimo vigente há época do fato FIGURAS EQUIPARADAS - §2º 99
  • 100.
    I – Disposiçãode coisa alheia como própria: não abrange a promessa de compra e venda, a qual poderá ser enquadrada na modalidade simples do estelionato. Configura modalidade vinculada da realização do crime. OBS.: Se o furtador vender a coisa como se própria fosse prevalece o entendimento de que há apenas furto, sendo o estelionato um post factum impunível, pois subtrair, para proveito próprio, inclui a disposição subseqüente. Há divergência no sentido de defender o concurso material. II – Alienação ou oneração fraudulenta de coisa própria: o crime consiste em silenciar acerca do ônus ou encargo suportado pela coisa III – Defraudação de penhor: defraudar significa tomar um bem pertencente a outrem, que deve ser coisa móvel, podendo a defraudação ser total ou parcial, tendo como sujeito ativo o devedor ou o representante da PJ que realizar o ato. É BI-PROPRIO, pressupõe garantia pignoratícia. IV – Fraude na entrega de coisa: tem como ação nuclear: defraudar a substância, a qualidade ou a quantidade. Substância é a natureza da coisa (ex.: substituindo diamante por vidro). Qualidade é o atributo da coisa (ex.: entregar arroz de 3ª em vez de arroz de 1ª). Quantidade é relacionada a número (ex.: peso, dimensão, quantidade, etc.). V – Fraude para recebimento de indenização ou valor de seguro: o delito tem como pressuposto contrato de seguro vigente & válido. Nesta hipótese, prevalece na jurisprudência que o crime é formal, consumando-se com o emprego da fraude, dispensando o recebimento da indenização. Esse é o único caso em que a jurisprudência majoritária dispensa a efetiva obtenção da vantagem, sendo um caso excepcional de estelionato formal, bastando a fraude com potencialidade lesiva. VI – Fraude no pagamento por meio de cheque: endossante não emite o título, logo, só pode configurar como coautor ou partícipe não pratica o crime (Guilherme de Souza Nucci). A reparação do dano ANTES do recebimento da denúncia extingue a punibilidade. Súmula 554, STF: O pagamento de cheque emitido sem provisão de fundos, após o recebimento da denúncia, não obsta ao prosseguimento da ação penal. 100
  • 101.
    A súmula 554do STF somente está sendo aplicada a uma das espécies de fraude por pagamento de cheque (emitir cheque sem provisão de fundos), não se referindo à outra modalidade (frustrar o pagamento), mas a maioria estende para essa modalidade o enunciado da súmula. No caso de emissão dolosa de cheque sem provisão de fundos, a súmula 521 do STF estabelece como competente o foro do local da recusa do pagamento pelo sacado; - súmula 244 do STJ: “Compete ao foro do local da recusa processar e julgar o crime de estelionato mediante cheque sem provisão de fundos”; Competência em relação ao cheque falsificado: não aplicamos as súmula 521 e 554 do STF, nem a 244 do STJ. Aplica-se a súmula 48 do STJ : Compete ao juízo do local da obtenção da vantagem ilícita processar e julgar crime de estelionato cometido mediante falsificação de cheque. AULA 16: ART. 180, 181, 182, 183 Receptação Art. 180 - Adquirir, receber, transportar, conduzir ou ocultar, em proveito próprio ou alheio, coisa que sabe ser produto de crime, ou influir para que terceiro, de boa-fé, a adquira, receba ou oculte: (Redação dada pela Lei nº 9.426, de 1996) Pena - reclusão, de um a quatro anos, e multa. (Redação dada pela Lei nº 9.426, de 1996) Receptação qualificada (Redação dada pela Lei nº 9.426, de 1996) § 1º - Adquirir, receber, transportar, conduzir, ocultar, ter em depósito, desmontar, montar, remontar, vender, expor à venda, ou de qualquer forma utilizar, em proveito próprio ou alheio, no exercício de atividade comercial ou industrial, coisa que deve saber ser produto de crime: (Redação dada pela Lei nº 9.426, de 1996) Pena - reclusão, de três a oito anos, e multa. (Redação dada pela Lei nº 9.426, de 1996) 101
  • 102.
    § 2º -Equipara-se à atividade comercial, para efeito do parágrafo anterior, qualquer forma de comércio irregular ou clandestino, inclusive o exercício em residência. (Redação dada pela Lei nº 9.426, de 1996) § 3º - Adquirir ou receber coisa que, por sua natureza ou pela desproporção entre o valor e o preço, ou pela condição de quem a oferece, deve presumir-se obtida por meio criminoso: (Redação dada pela Lei nº 9.426, de 1996) Pena - detenção, de um mês a um ano, ou multa, ou ambas as penas. (Redação dada pela Lei nº 9.426, de 1996) § 4º - A receptação é punível, ainda que desconhecido ou isento de pena o autor do crime de que proveio a coisa. (Redação dada pela Lei nº 9.426, de 1996) § 5º - Na hipótese do § 3º, se o criminoso é primário, pode o juiz, tendo em consideração as circunstâncias, deixar de aplicar a pena. Na receptação dolosa aplica- se o disposto no § 2º do art. 155. (Incluído pela Lei nº 9.426, de 1996) § 6º - Tratando-se de bens e instalações do patrimônio da União, Estado, Município, empresa concessionária de serviços públicos ou sociedade de economia mista, a pena prevista no caput deste artigo aplica-se em dobro. (Incluído pela Lei nº 9.426, de 1996) Sujeito ativo: qualquer pessoa, menos o co-autor ou partícipe do crime anterior. Proprietário pode figurar, desde que o bem esteja na posse legítima de um terceiro. 102
  • 103.
    Sujeito passivo: proprietárioou possuir do bem objeto da receptação Bem jurídico tutelado: patrimônio Objeto material: o produto do delito anterior. Deve ser coisa móvel. Elemento objetivo do tipo: tipo misto alternativo, vários verbos, um único crime, logo ao flagrantear deve identificar exatamente o verbo sob pena de posterior relaxamento. Elemento subjetivo do crime: dolo direto e eventual (“deve saber”), culpa (§3º). Dolo deve ser antecedente, mas se admite subsequente. Elemento subjetivo do tipo especifico: vontade de se apropriar da coisa alheia em proveito próprio ou de terceiros. Está ínsito ao tipo. Consumação e tentativa: ocorre com o prejuízo para a vítima em face do distanciamento da coisa tomada Ação penal: incondicionada Competência: JE OUTRAS OBSERVAÇÕES: É uma espécie de crime acessório, pois depende de um crime (não contravenção) prévio para poder existir. O crime antecedente não precisa ter natureza patrimonial, ex.: peculato. O crime anterior pode ser um ATO INFRACIONAL. É crime acessório, de fusão, parasitário, porém com autonomia em relação ao anterior, pois independe da identificação do autor do crime pretérito e de sua punição, basta a existência material do crime. Receptador só não responderá quando: Estiver provada a inexistência do fato criminoso anterior; Não houver prova da existência do fato criminoso anterior; 103
  • 104.
    Não constituir ofato infração penal Houver alguma causa excludente do crime É possível a receptação da receptação DIFERENÇA PARA O FAVORECIMENTO REAL Se agir como simples forma de auxiliar o autor do delito antecedente praticará favorecimento real e não receptação. Na receptação, o agente busca vantagem pessoal ou de 3º que não o autor do crime anterior. Já no crime de favorecimento real, o agente, com o favorecimento, quer garantir a vantagem do autor do crime anterior. TOPOGRAFIA DO ARTIGO - art. 180, caput -> receptação dolosa simples própria (primeira parte) e imprópria (segunda parte); - art. 180, §1º -> receptação dolosa qualificada pelo exercício de atividade comercial ou industrial; - art. 180, §2º -> cláusula de equiparação; - art. 180, §3º -> receptação culposa; - art. 180, §4º -> dispositivo explicativo; - art. 180, §5º -> perdão judicial + privilégio; - art. 180, §6º -> majorante pela natureza do objeto material; ART. 180, CAPUT -> RECEPTAÇÃO DOLOSA SIMPLES PRÓPRIA (PRIMEIRA PARTE) E IMPRÓPRIA (SEGUNDA PARTE); Na modalidade imprópria o terceiro que é influenciado deve agir de boa-fé. Na modalidade imprópria é crime formal, basta a influência. Obs. 1: não é necessário o ajuste entre o autor do crime antecedente e o receptador. Pode acontecer de o receptador nem saber quem é o autor do crime anterior. Ex.: indivíduo que se apodera de objeto dispensado por ladrão em fuga. 104
  • 105.
    Obs. 2: Nemsempre a receptação se dá por título injusto. Credor que aceita do devedor coisa proveito de crime. O título era justo, mas há receptação se ele sabe que a coisa é produto de crime. - ART. 180, §1º -> RECEPTAÇÃO DOLOSA QUALIFICADA PELO EXERCÍCIO DE ATIVIDADE COMERCIAL OU INDUSTRIAL; É crime próprio, abrangendo dolo direto e eventual, pois o DEVIA SABER (eventual) é mais grave, de modo que o SABER está inserido aí. Se quem devia saber comete o crime, mais responsável ainda é quem sabe e o comete também. Pune mais gravemente porque o industrial ou comerciante tem mais facilidade para repassar a coisa objeto de crime. O agente nesse caso deve praticar a receptação durante o exercício de atividade comercial ou industrial - ART. 180, §2º -> CLÁUSULA DE EQUIPARAÇÃO; Visa abranger a punição para camelôs e ambulantes - ART. 180, §3º -> RECEPTAÇÃO CULPOSA; Deve-se verificar a natureza da coisa, o valor cobrado e quem o oferece. - ART. 180, §4º -> DISPOSITIVO EXPLICATIVO; Não é necessário que se comprove a autoria de crime pretérito, nem que seu autor seja punido, bastando prova da ocorrência do fato punível. - ART. 180, §6º -> MAJORANTE PELA NATUREZA DO OBJETO MATERIAL; Só se aplica nos casos em que a conduta do agente se subsumir aos preceitos existentes no caput, excluindo-se a qualificadora e a forma culposa. Se trata de uma qualificadora, pois manda aplicar a pena em dobro, logo alteram-se os limites mínimo e máximo da pena. 105
  • 106.
    Deve saber queestá praticando receptação contra bem de propriedade da União – E, DF, M, entes públicos, etc. ADVOGADO QUE RECEBE HONORÁRIO QUE SABE SER DECORRENTE DE PRODUTO DE CRIME Para o STF pratica o crime de receptação Art. 181 - É isento de pena quem comete qualquer dos crimes previstos neste título, em prejuízo: I - do cônjuge, na constância da sociedade conjugal; II - de ascendente ou descendente, seja o parentesco legítimo ou ilegítimo, seja civil ou natural. Art. 182 - Somente se procede mediante representação, se o crime previsto neste título é cometido em prejuízo: I - do cônjuge desquitado ou judicialmente separado; II - de irmão, legítimo ou ilegítimo; III - de tio ou sobrinho, com quem o agente coabita. Art. 183 - Não se aplica o disposto nos dois artigos anteriores: I - se o crime é de roubo ou de extorsão, ou, em geral, quando haja emprego de grave ameaça ou violência à pessoa; II - ao estranho que participa do crime. III – se o crime é praticado contra pessoa com idade igual ou superior a 60 (sessenta) anos. (Incluído pela Lei nº 10.741, de 2003) O artigo 181 prevê IMUNIDADES ABSOLUTAS. É um privilégio de natureza pessoal, tratando-se de uma forma de escusa absolutória, condição negativa de punibilidade ou causa pessoal de exclusão de pena. Impede a instauração da 106
  • 107.
    persecução penal enão se confunde com perdão judicial. Como só fala em cônjuge, não abrange a união estável. É absoluta porque não admite prova em contrário O artigo 182 trata de IMUNIDADE RELATIVA, exigindo que a vítima ofereça representação. O artigo 183 trata das hipóteses em que tais imunidades não serão aplicáveis. 107
  • 108.
    AULA 17ª: ART.184 Violação de direito autoral Art. 184. Violar direitos de autor e os que lhe são conexos: (Redação dada pela Lei nº 10.695, de 1º.7.2003) Pena – detenção, de 3 (três) meses a 1 (um) ano, ou multa. (Redação dada pela Lei nº 10.695, de 1º.7.2003) § 1o Se a violação consistir em reprodução total ou parcial, com intuito de lucro direto ou indireto, por qualquer meio ou processo, de obra intelectual, interpretação, execução ou fonograma, sem autorização expressa do autor, do artista intérprete ou executante, do produtor, conforme o caso, ou de quem os represente: (Redação dada pela Lei nº 10.695, de 1º.7.2003) Pena – reclusão, de 2 (dois) a 4 (quatro) anos, e multa. (Redação dada pela Lei nº 10.695, de 1º.7.2003) § 2o Na mesma pena do § 1o incorre quem, com o intuito de lucro direto ou indireto, distribui, vende, expõe à venda, aluga, introduz no País, adquire, oculta, tem em depósito, original ou cópia de obra intelectual ou fonograma reproduzido com violação do direito de autor, do direito de artista intérprete ou executante ou do direito do produtor de fonograma, ou, ainda, aluga original ou cópia de obra intelectual ou fonograma, sem a expressa autorização dos titulares dos direitos ou de quem os represente. (Redação dada pela Lei nº 10.695, de 1º.7.2003) § 3o Se a violação consistir no oferecimento ao público, mediante cabo, fibra ótica, satélite, ondas ou qualquer outro sistema que permita ao usuário realizar a seleção da obra ou produção para recebê-la em um tempo e lugar previamente determinados por quem formula a demanda, com intuito de lucro, direto ou indireto, sem autorização expressa, conforme o caso, do autor, do artista intérprete ou executante, do produtor de fonograma, ou de quem os represente: (Redação dada pela Lei nº 10.695, de 1º.7.2003) 108
  • 109.
    Pena – reclusão,de 2 (dois) a 4 (quatro) anos, e multa. (Incluído pela Lei nº 10.695, de 1º.7.2003) § 4o O disposto nos §§ 1o, 2o e 3o não se aplica quando se tratar de exceção ou limitação ao direito de autor ou os que lhe são conexos, em conformidade com o previsto na Lei nº 9.610, de 19 de fevereiro de 1998, nem a cópia de obra intelectual ou fonograma, em um só exemplar, para uso privado do copista, sem intuito de lucro direto ou indireto. (Incluído pela Lei nº 10.695, de 1º.7.2003) Art. 186. Procede-se mediante: (Redação dada pela Lei nº 10.695, de 1º.7.2003) I – queixa, nos crimes previstos no caput do art. 184; (Incluído pela Lei nº 10.695, de 1º.7.2003) II – ação penal pública incondicionada, nos crimes previstos nos §§ 1o e 2o do art. 184; (Incluído pela Lei nº 10.695, de 1º.7.2003) III – ação penal pública incondicionada, nos crimes cometidos em desfavor de entidades de direito público, autarquia, empresa pública, sociedade de economia mista ou fundação instituída pelo Poder Público; (Incluído pela Lei nº 10.695, de 1º.7.2003) IV – ação penal pública condicionada à representação, nos crimes previstos no § 3o do art. 184. (Incluído pela Lei nº 10.695, de 1º.7.2003) Observações relevantes: I – Norma penal em branco (conceito de direito de autor está na Lei n. 9.610/98: Diferença de direitos morais – inalienável, imprescritível, irrenunciável, transmite por sucessão - para patrimoniais – exploração econômica da obra) II – Previsão constitucional do direito autoral prevista no art. 5º, XXVII (afastaria em tese o princípio da insignificância) III – NJ controvertida dos direitos autorais: sui generis; direito de propriedade, personalidade; privilégio ou monopólio; bem móvel (art. 3º, lei 9610) IV – Diferença de plágio para simples imitação (indiferente penal: não há reprodução relevante, mas uso de idéias, métodos, formas ou sistemas) 109
  • 110.
    V – Sujeitoativo: qualquer pessoa VI – Sujeito passivo: autor da obra, herdeiros ou sucessores, qualquer outro titular dos direitos VII - Objeto jurídico protegido: propriedade intelectual (fazer diferenciação dando o exemplo do 121) VIII – Objeto material: obra violada IX – Elemento subjetivo do tipo: é crime doloso, não há forma culposa, mas pode ser comissivo por omissão (figura do garantidor). Nas figuras qualificadas deve ter intuito de lucro (é elemento subjetivo do tipo específico), não há no caput. Há possibilidade de erro de tipo (se supõe que a obra caiu em domínio público) X – Elemento objetivo do tipo: são os verbos. É tipo misto alternativo. XI – Consumação e tentativa: a consumação variará conforme a forma de violação (a depender do verbo). Independe de resultado naturalístico. Admite tentativa. XII – Classificação: Comum, formal (se exige laudo pericial então é material), forma livre, comissivo, instantâneo (permanente nas formas “ocultar, exporá venda, ter em depósito”), unisubjetivo, plurisubsistente (vários atos, daí admitir tentativa), não transeunte (deixa vestígios). XIII – Modalidades qualificadas: dolo + obtenção de lucro (tipo anormal – pois contém elementos subjetivos no caso, o intuito de lucro - que qualificam o elemento descritivo,). Não é mais de menor potencial ofensivo, logo não irá para o JEC como no caso do caput. Se não houver intenção de lucro, pode ser desqualificado para receptação (art. 180). § 1º: independe de locupletamento. O verbo “reprodução” é norma penal em branco, com conceito definido pela Lei 9610/98, art. 5º. Programas de computador são objeto de proteção legal específica. §2º: Trata de outros verbos praticados depois da “reprodução” prevista no parágrafo anterior. Todos os verbos devem recair sobre o original ou cópia sem autorização expressa. Se o produto for imitação grosseira, SANCHES diz que seria atípico, já GRECO diz que há crime. 110
  • 111.
    §3º: prevê sóum verbo: “oferecer ao público”, logo, se for para uso próprio não haveria crime qualificado, indo para o caput. §4º: Causa de exclusão da tipicidade das figuras qualificadas. Para NUCCI é dispositivo inútil, pois repete o que disposto na Lei 9610, art. 46, logo, mesmo que inexistisse ainda assim existiria a atipicidade por força da lei especial. A doutrina expande tal exclusão para o caput, pois não teria lógica excluir para as figuras qualificadas e não excluir para a figura simples. XIV – Ação penal: (art. 186) Caput – queixa §1º e 2º: incondicionada §3º: condicionada a representação do ofendido CURIOSIDADES: Norma penal em branco: depende de complemento normativo: Norma penal em branco própria (sentido estrito): o complemento normativo não emana do legislador. Ex.: lei de drogas, quem diz o que é droga é o Executivo. Norma penal em branco imprópria (sentido amplo): complemento normativo emana do legislador. Pode ser: I – Homovitelina: mesma instância legislativa II – Heterovitelina: instância legislativa diversa. Art. 236 CP: contrair casamento ocultando impedimento (o impedimento é definido na lei civil) Ex.: crimes funcionais complementados pelo próprio legislador, conceito de funcionário público. Norma penal em branco ao revés: Se o complemento é valorativo (dado pelo juiz na análise do caso concreto, como no caso de crime culposo) o tipo é aberto II - A autorização prevista no §4º remete apenas aos tipos qualificados, incidindo o autor no tipo simples do caput JURISPRUDÊNCIA: 111
  • 112.
    Para atração daJF, o iter criminis deve ter começado no exterior e consumado no Brasil + dupla tipicidade (no caso, tem previsão pela Convenção de Berna para obras literárias e artísticas) e deve ainda violar bem direito ou interesse da União, autarquias ou empresas públicas, nos termos do art. 109 da CF. Não se aplica o princípio da adequação social (exemplo carnaval em salvador, pegação geral, forçar a mulher a beijar um cara, etc), nem da insignificância, pois se está tratando de direito fundamental consagrado no art. 5º da CF (há controvérsias em relação ao valor do produto). Alguns TJ exigem laudo pericial para comprovar a inautenticidade. Por força do princípio da especialidade, o §2º prevalece sobre o delito de descaminho. A Lei 9609/98, art. 12, tem tipo penal especifico para proteger os direitos de autor dos programas de computador Exemplos: reprodução de livro esgotado para uso próprio (atípico, pois está fora do comércio); crime bagatelar quando copia cd de um amigo para uso doméstico (seria em tese possível) EMENTA: PENAL E PROCESSUAL PENAL. HABEAS CORPUS. CRIME DE VIOLAÇÃO DE DIREITO AUTORAL. VENDA DE CD'S "PIRATAS". ALEGAÇÃO DE ATIPICIDADE DA CONDUTA POR FORÇA DO PRINCÍPIO DA ADEQUAÇÃO SOCIAL. IMPROCEDÊNCIA. NORMA INCRIMINADORA EM PLENA VIGÊNCIA. ORDEM DENEGADA. I - A conduta do paciente amolda-se perfeitamente ao tipo penal previsto no art. 184, § 2º, do Código Penal. II - Não ilide a incidência da norma incriminadora a circunstância de que a sociedade alegadamente aceita e até estimula a prática do delito ao adquirir os produtos objeto originados de contrafação. III - Não se pode considerar socialmente tolerável uma conduta que causa enormes prejuízos ao Fisco pela burla do pagamento de impostos, à indústria fonográfica nacional e aos comerciantes regularmente estabelecidos. IV - Ordem denegada. (HC 98898, Relator(a): Min. RICARDO LEWANDOWSKI, Primeira Turma, julgado em 20/04/2010, DJe-091 DIVULG 20-05-2010 PUBLIC 21-05-2010 EMENT VOL-02402-04 PP-00778 RSJADV jun., 2010, p. 47-50 RT v. 99, n. 901, 2010, p. 513-518) 112
  • 113.
    AULA 18ª: ART.197, 207, 208 Atentado contra a liberdade de trabalho Art. 197 - Constranger alguém, mediante violência ou grave ameaça: I - a exercer ou não exercer arte, ofício, profissão ou indústria, ou a trabalhar ou não trabalhar durante certo período ou em determinados dias: Pena - detenção, de um mês a um ano, e multa, além da pena correspondente à violência; II - a abrir ou fechar o seu estabelecimento de trabalho, ou a participar de parede ou paralisação de atividade econômica: Pena - detenção, de três meses a um ano, e multa, além da pena correspondente à violência. Observações relevantes: I – Previsão constitucional, art. 6º e seguintes. II – A lei penal visa proteger não apenas o livre exercício dos direitos individuais, como também a própria organização do Trabalho (objeto jurídico) III – Sujeito ativo: qualquer pessoa IV – Sujeito passivo: Qualquer pessoa, desde que na condição de trabalhador (empregado ou patrão) V – Objeto jurídico: liberdade do trabalho (protege a liberdade a que faz jus o trabalhador para escolher a profissão que irá exercer) – CF, art. 5º, XIII VI – Objeto material: é a pessoa vítima da ação criminosa VII – Elemento objetivo do tipo (não diz respeito à vontade do agente, pode ser descritivo e normativo): é o verbo constranger, mediante violência ou GRAVE ameaça (caput). Forma qualificada está nos incisos I e II. VIII – Elemento subjetivo do tipo: não há, é tipo normal (mera descrição) 113
  • 114.
    IX – Elementosubjetivo do crime: dolo (vontade consciente de realizar a figura típica, FINALISMO PENAL DE ROXIN). Caso o dolo não se direcione para alguns dos resultados almejados, desclassifica-se para o crime de CONSTRANGIMENTO ILEGAL X – Classificação: comum (sujeito ativo) e próprio (sujeito passivo), material, forma livre, comissivo, instantâneo ou permanente, de dano, unissubjetivo, plurissubsistente, transeunte (regra). XI – Consumação e tentativa: tentativa é possível. Consuma-se com o constrangimento da liberdade do trabalho XII – Competência da JF: apenas se envolver interesse coletivo XIII – É crime de menor potencial ofensivo, de competência do JECRIM ou JEF XIV – Ação penal é pública incondicionada Questões relevantes: Pode PJ ser sujeito passivo de crime contra a organização do trabalho? Quando se dá a competência da JF para processar e julgar tais casos? “PAREDE”, previsto no inciso II, é o lockout EMENTA: AGRAVO REGIMENTAL NO RECURSO EXTRAORDINÁRIO. CONSTITUCIONAL E PROCESSUAL PENAL. ART. 109, INC. VI, DA CONSTITUIÇÃO DA REPÚBLICA. DELITOS DE GREVE E CRIMES CONTRA A ORGANIZAÇÃO DO TRABALHO (ARTS. 197 A 207 DO CÓDIGO PENAL) QUE CAUSEM PREJUÍZO À ORDEM PÚBLICA, ECONÔMICA OU SOCIAL E AO TRABALHO COLETIVO: COMPETÊNCIA DA JUSTIÇA FEDERAL. PRECEDENTES. AGRAVO REGIMENTAL AO QUAL SE NEGA PROVIMENTO. (RE 599943 AgR, Relator(a): Min. CÁRMEN LÚCIA, Primeira Turma, julgado em 02/12/2010, DJe-020 DIVULG 31-01-2011 PUBLIC 01-02- 2011 EMENT VOL-02454-06 PP-01450) 114
  • 115.
    DIREITO PROCESSUAL PENAL.RECURSO EXTRAORDINÁRIO. CRIME DE LESÕES CORPORAIS DECORRENTE DE ACIDENTE DO TRABALHO. AUSÊNCIA DE INTERESSE DIRETO E ESPECÍFICO DA UNIÃO. INEXISTÊNCIA DE CRIME CONTRA A ORGANIZAÇÃO DO TRABALHO. COMPETÊNCIA DA JUSTIÇA ESTADUAL. RECURSO IMPROVIDO. 1. A questão de direito tratada nestes autos diz respeito à alegada violação do art. 109, IV e VI, da Constituição Federal. Cuida-se de possível malferimento da regra constitucional referente à competência da justiça federal. 2. Da leitura da peça acusatória, verifica-se que não há interesse direto e específico da União capaz de atrair a competência do julgamento da ação penal para a Justiça Federal. 3. O fato, por si só, da lesão corporal descrita na denúncia ser decorrente de acidente de trabalho não é suficiente para transferir para a Justiça Federal o processamento e julgamento da ação penal. 4. Não se pode considerar o delito descrito na denúncia como sendo crime contra a organização do trabalho, visto que esta espécie delitiva somente se configura quando há ofensa ao sistema de órgãos e instituições destinados a preservar coletivamente o trabalho. 5. Ante o exposto, nego provimento ao recurso extraordinário. (RE 588332, Relator(a): Min. ELLEN GRACIE, Segunda Turma, julgado em 31/03/2009, DJe-075 DIVULG 23-04-2009 PUBLIC 24-04-2009 EMENT VOL-02357-07 PP-01417 RTJ VOL-00210-03 PP-01217 RT v. 98, n. 886, 2009, p. 525-530) Aliciamento de trabalhadores de um local para outro do território nacional Art. 207 - Aliciar trabalhadores, com o fim de levá-los de uma para outra localidade do território nacional: Pena - detenção de um a três anos, e multa. (Redação dada pela Lei nº 9.777, de 29.12.1998) 115
  • 116.
    § 1º Incorrena mesma pena quem recrutar trabalhadores fora da localidade de execução do trabalho, dentro do território nacional, mediante fraude ou cobrança de qualquer quantia do trabalhador, ou, ainda, não assegurar condições do seu retorno ao local de origem. (Incluído pela Lei nº 9.777, de 29.12.1998) § 2º A pena é aumentada de um sexto a um terço se a vítima é menor de dezoito anos, idosa, gestante, indígena ou portadora de deficiência física ou mental. (Incluído pela Lei nº 9.777, de 29.12.1998) Sujeito ativo: qualquer pessoa Sujeito passivo: Estado (em primeiro plano) e os trabalhadores em segundo plano Objeto jurídico: interesse do Estado em evitar o deslocamento artificial de mão de obra dentro do território nacional, visa evitar o êxodo de trabalhadores e o despovoamento de regiões. A pessoa deve ser levada para longe de onde mora, senão não ofende o bem jurídico Objeto material: pessoa aliciada Elementos objetivos do tipo: são os verbos aliciar, recrutar Elemento subjetivo do tipo específico: é a finalidade de levar a pessoa aliciada para outra localidade do território nacional. É DOLO DE INTENÇÃO OU DE RESULTADO CORTADO. Elemento subjetivo do crime: dolo Classificação: comum, formal, de forma livre, comissivo (omissivo quando não assegurar condições de retorno), instantâneo, unissubjetivo, plurissubistente, transeunte. Consumação e tentativa: admite tentativa menos na forma omissiva. A consumação se dá com o efetivo aliciamento ou recrutamento. Ação penal: pública incondicionada Competência: JF, pois já interesse coletivo Outras observações pertinentes: tem causa de aumento de pena no caso da pessoa aliciada/recrutada for menor de 18 anos, idosa (maior de 60), gestante, indígena, deficiente física ou mental. 116
  • 117.
    O simples fatode aliciar, mesmo com promessas verdadeiras de melhoria de vida já implicam no crime. O §1º é um misto no disposto no art. 206 com o caput do 207, pois junta a figura da fraude com a do êxodo dos trabalhadores. A última forma prevista, a de não assegurar condições de retorno ao local de origem apresenta problemas, pois não esclarece o caso em que o trabalho no local de destino durar muito tempo, nem deixa claro se o tipo será o de recrutamento ou o de não facilitação ao retorno à origem. Cabível suspensão condicional do processo se não incidir a majorante do §2º O tipo fala em TRABALHADORES, no plural, logo, segue o entendimento de que terão de ser pelo menos 3, pois quando o CP quer falar de apenas dois ele o diz expressamente, porém é controvertido. Jurisprudência Origem Tribunal Regional Federal - 5ª Região Classe ACR - Apelação Criminal Número do 0002369-15.2005.4.05.0000 Órgão Processo: Julgador: Quarta Turma Desembargador Federal MARCELO Relator NAVARRO Desembargador Federal LAZARO Revisor GUIMARÃES Data 17/07/2007 Julgamento Documento nº: 139926 Ementa PENAL. CRIMES DE ALICIAMENTO DE TRABALHADORES E DE REDUÇÃO À CONDIÇÃO ANÁLOGA À DE ESCRAVO (ARTS. 207 E 149, RESPECTIVAMENTE). CONCURSO MATERIAL. AUTORIA E MATERIALIDADE DELITUOSAS AMPLAMENTE DEMONSTRADAS. PENA DE 03 (TRÊS) ANOS E 04 (QUATRO) MESES DE RECLUSÃO, SUBSTITUÍDA POR DUAS RESTRITIVAS DE DIREITO. RECONHECIMENTO, DE OFÍCIO, NESTA SEGUNDA INSTÂNCIA, 117
  • 118.
    DA OCORRÊNCIA DEPRESCRIÇÃO RETROATIVA, LEMBRADA PELO ÓRGÃO DO PARQUET, APENAS QUANTO AO CRIME DO ART. 207, NA FORMA DOS ARTS. 107, IV E 110, DO CPB. - COM O SEU CRIMINOSO AGIR, A PARTIR DO ALICIAMENTO DA MÃO-DE- OBRA DE DEZENAS DE TRABALHADORES RURAIS, COM FALSAS PROMESSAS DE BONS SALÁRIOS E DIGNAS CONDIÇÕES DE TRABALHO, NA ZONA CANAVIEIRA DE RIO DAS PEDRAS, NO ESTADO DE SÃO PAULO, DISTANTE, POIS, DE CAJAZEIRAS, NA PARAÍBA, ALGO EM TORNO DE 3.000 KM (TRÊS MIL KILOMETROS), FINDOU O APELANTE POR PERFAZER A FIGURA TÍPICA DESCRITA NO ART. 149 DO DIPLOMA PENAL PÁTRIO, AO DEIXAR GRANDE MASSA DE INCAUTOS À PRÓPRIA SORTE, EM CONDIÇÕES VIOLADORAS DOS MAIS BASILARES DIREITOS HUMANOS, AFRONTANDO DIRETAMENTE A DIGNIDADE DE SEUS SEMELHANTES, A IMPOR SÓRDIDA RELAÇÃO DE DEPENDÊNCIA FIRMADA ENTRE AS VÍTIMAS E SEU AGENCIADOR, ORA RECORRENTE, POR INTERMÉDIO DE PRESSÃO PSICOLÓGICA, RETENÇÃO DE DOCUMENTOS (CTPS) E OUTRAS VIS IMPOSIÇÕES QUE ARBITRARIAMENTE ESTIPULAVA, GRANJEANDO, NOTADAMENTE, O BENEPLÁCITO E O CONCURSO DOS EXPLORADORES DE MIGRANTES DAQUELA REGIÃO CANAVIEIRA. - PATENTE SUJEIÇÃO DOS TRABALHADORES À CONDIÇÕES INDIGNAS DE TRABALHO, EM LOCAIS TOTALMENTE INSALUBRES E SEM OFERECER A MENOR CONDIÇÃO DE ALOJAMENTO E ALIMENTAÇÃO HUMANAMENTE ADEQUADOS. - APELAÇÃO IMPROVIDA. RECONHECIMENTO, DE OFÍCIO, DA PRESCRIÇÃO RETROATIVA QUANTO À PUNIBILIDADE REFERENTE AO ART. 207 DO CPB. Origem Tribunal Regional Federal - 5ª Região Classe ACR - Apelação Criminal Número do 0037270-29.1993.4.05.0000 Órgão Processo: Julgador: Primeira Turma Desembargador Federal FRANCISCO Relator FALCÃO Data 03/05/1994 118
  • 119.
    Julgamento Documento nº: 15320 Decisão UNÂNIME Ementa PENAL. ALICIAMENTO DE TRABALHADORES. ART. 207 DO CP. INOCORRENCIA. NÃO SE DEMONSTRANDO OFENSA A ORGANIZAÇÃO DO TRABALHO OU O PREJUIZO PARA A REGIÃO ONDE OCORREU O ALICIAMENTO, DESCARACTERIZA-SE O CRIME PREVISTO NO ART. 207 DO CP. - APELO PROVIDO. Acordão MSPL 1879/PB Origem Tribunal Regional Federal - 5ª Região Classe MSPL - Mandado de Segurança Número do 0004150-97.1990.4.05.0000 Órgão Processo: Julgador: Pleno Desembargador Federal PETRUCIO Relator FERREIRA Data 19/09/1990 Julgamento Documento nº: 838 Decisão UNÂNIME Ementa MANDADO DE SEGURANÇA. CABIMENTO. INQUERITO POLICIAL. CRIME DE ALICIAMENTO DE TRABALHADORES (ART. 207 DO CP). APREENSÃO DE VEICULOS DESTINADOS AO TRANSPORTE DOS ALICIADOS. RESTITUIÇÃO. 1. E CABIVEL O MANDADO DE SEGURANÇA PARA PLEITEAR-SE A RESTITUIÇÃO DE BENS APREENDIDOS EM INQUERITO POLICIAL, UMA VEZ INDEFERIDA NO 119
  • 120.
    PROCEDIMENTO INCIDENTAL DEQUE TRATA O ART. 120, PARAGRAFO SEGUNDO,DOCPP. 2. O CRIME DE ALICIAMENTO DE TRABALHADORES DEFINIDO NO ART. 207 DO CODIGO PENAL SE CONSUMA NO MOMENTO EM QUE O AGENTE CONVENCE O TRABALHADOR A TRANSFERIR-SE PARA OUTRA LOCALIDADE DO TERRITORIO NACIONAL, ACERTANDO COM ELE AS CONDIÇÕES E OS MEIOS COMO ISTO SE FARA. POR CONSEGUINTE, OS VEICULOS DE QUALQUER NATUREZA UTILIZADOS PARA DESLOCAR-SE AO LUGAR DE DESTINO, DE NENHUMA FORMA PODEM SER CONSIDERADOS INSTRUMENTOS DESSE ILICITO OU PROVA DE SUA MATERIALIDADE. DESNECESSARIAS, PORTANTO, SUA APREENSÃO E RETENÇÃO, DESDE QUE, ALEM DE NÃO INTERESSAREM AO PROCESSO, NÃO ESTÃO INCLUIDOS ENTRE OS BENS PASSIVEL DE PERDA, MENCIONADOS NO ART. 91, II, DO CODIGO PENAL. 3. MANDADO DE SEGURANÇA CONHECIDO E DEFERIDO. Casos práticos: CASO DOS FALSOS OLHEIROS DE FUTEBOL QUE COBRAM TAXA PARA UM JOGO DE APRESENTAÇÃO PARA SUPOSTOS REPRESENTANTES DE GRANDES CLUBES, FAZ AS CRIANÇAS VIAJAREM PROMETENDO FAMA E FORTUNA? Seria isso ou estelionato. Ultraje a culto e impedimento ou perturbação de ato a ele relativo Art. 208 - Escarnecer de alguém publicamente, por motivo de crença ou função religiosa; impedir ou perturbar cerimônia ou prática de culto religioso; vilipendiar publicamente ato ou objeto de culto religioso: Pena - detenção, de um mês a um ano, ou multa. Parágrafo único - Se há emprego de violência, a pena é aumentada de um terço, sem prejuízo da correspondente à violência. Sujeito ativo: qualquer pessoa 120
  • 121.
    Sujeito passivo: qualquerpessoa (primeira parte – “alguém”) ou a coletividade, especialmente os que se sentirem diretamente atingidos. È, nesse ponto, CRIME VAGO, pois atinge uma coletividade indeterminada de pessoas Objeto jurídico: sentimento religioso e a liberdade de culto e crença Objeto material: é a pessoa (primeira parte), a cerimônia ou culto (segunda parte) e o ato ou objeto de culto (terceira parte) Elementos objetivos do tipo: são os verbos escarnecer, impedir ou perturbar e vilipendiar Elemento subjetivo do tipo específico: é a vontade de denegrir determinada religião, seja atingindo um dos devotos ou contra ato, culto ou objeto que a simbolize. Se não estiver presente o fato é atípico. Elemento subjetivo do crime: dolo Classificação: comum para sujeito ativo e próprio para o passivo, pois deverá ser pessoa que professe a crença atingida, formal ou material (vilipêndio), forma livre, comissivo, instantâneo, unissubjetivo, unissubsistente, transeunte (regra), não transeunte no ato de vilipendiar Consumação e tentativa: admite a tentativa na forma plurissubsistente, e a consumação ocorre com a prática da conduta, independente do resultado. Ação penal: pública incondicionada Competência: JECRIM Outras observações pertinentes: é crime de tipo misto CUMULATIVO, logo a prática de cada verbo representará um crime, podendo haver concurso dos mesmos. Critica-se, na forma qualificada, o aumento de pena decorrente da violência, pois representaria um bis in idem. A agressão tem de ocorrer em local público, sob pena de desclassificação para o crime de injúria e o agente deve agir impelido por uma finalidade especial. No caso do agente público a conduta poderá configurar o crime de abuso de autoridade. Há doutrina que defenda que a religião detenha número considerável de fiéis para se beneficiar da tutela penal, SANCHES discorda, porque se a garantia da livre opção 121
  • 122.
    religiosa é oque busca a lei, desde que não atinja a moral e bons costumes, deve se beneficiar. Os objetos religiosos objeto de proteção devem ser consagrados ao culto, como cruzes, imagens, etc. O estatuto do índio tem proteção específica para esse tipo de crime (art. 58 da Lei n 6.001/73) – crime contra os índios e a cultura indígena. Jurisprudência: Casos práticos: CASO DO PASTOR QUE CHUTOU A UMAGEM DA SANTA NA TV RECORD Destruição, subtração ou ocultação de cadáver Art. 211 - Destruir, subtrair ou ocultar cadáver ou parte dele: Pena - reclusão, de um a três anos, e multa. Sujeito ativo: qualquer pessoa Sujeito passivo: coletividade e família do morto. CRIME VAGO Objeto jurídico: respeito aos mortos Objeto material: cadáver ou suas partes. Não se incluem suas CINZAS ou MÚMIA, que pode ter valor econômico Elementos objetivos do tipo: são os verbos DESTRUIR, SUBTRAIR, OCULTAR. Elemento subjetivo do tipo específico: NÃO HÁ Elemento subjetivo do crime: dolo Classificação: comum, forma livre, unissubjetivo, plurissubsistente, comissivo, instantâneo nas formas destruir e subtrair e permanente na modalidade ocultar, formal (DELITO DE ATIVIDADE, para GRECO é material), PODE SER TRANSEUNTE OU NÃO TRANSEUNTE Consumação e tentativa: tentativa é possível. Se consuma com a prática da conduta Ação penal: pública incondicionada Competência:JE Outras observações pertinentes: Equipara-se ao cadáver o corpo do FETO MORTO (desde que com semblante humano), NÃO EXIGE PRE-EXISTÊNCIA DE VIDA. 122
  • 123.
    PARA SER CADÁVERTEM DE APARENTAR SER HUMANO. Esqueleto não é cadáver, nem múmia. Ocultar ocorre ANTES do sepultamento, já SUBTRAIR ocorre depois. É tipo MISTO ALTERNATIVO Jurisprudência Casos práticos: mãe que oculta o cadáver do recém nascido para encobrir as provas do infanticídio, filho que destrói o cadáver do pai, CASO TIM LOPES, CEMITÉRIOS CLANDESTINOS AULA N. 19: ART. 212, 213 Vilipêndio a cadáver Art. 212 - Vilipendiar cadáver ou suas cinzas: Pena - detenção, de um a três anos, e multa. Sujeito ativo: qualquer pessoa Sujeito passivo: coletividade, família do morto. É CRIME VAGO Objeto jurídico: respeito aos mortos Objeto material: cadáver ou suas cinzas Elementos objetivos do tipo: verbo vilipendiar, pode ser praticada via gestos ou palavras Elemento subjetivo do tipo específico: PARA GRECO NÃO HÁ. Para NUCCI está implícito, seria a vontade de ultrajar a memória do morto (DELITO DE TENDÊNCIA) Elemento subjetivo do crime: dolo Classificação: comum, formal, PARA Greco é material, forma livre, comissivo, unissubjetivo, transeunte ou não transeunte, instantâneo, unissubsistente ou plurissubsistente Consumação e tentativa: tentativa é possível quando plurissubsistente. Consuma-se com a conduta 123
  • 124.
    Ação penal: públicaincondicionada Competência: JE Outras observações pertinentes: NECROFILIA é forma de vilipendiar Jurisprudência Casos práticos TÍTULO VI DOS CRIMES CONTRA A DIGNIDADE SEXUAL (Redação dada pela Lei nº 12.015, de 2009) CAPÍTULO I DOS CRIMES CONTRA A LIBERDADE SEXUAL (Redação dada pela Lei nº 12.015, de 2009) Estupro Art. 213. Constranger alguém, mediante violência ou grave ameaça, a ter conjunção carnal ou a praticar ou permitir que com ele se pratique outro ato libidinoso: (Redação dada pela Lei nº 12.015, de 2009) Pena - reclusão, de 6 (seis) a 10 (dez) anos. (Redação dada pela Lei nº 12.015, de 2009) § 1o Se da conduta resulta lesão corporal de natureza grave ou se a vítima é menor de 18 (dezoito) ou maior de 14 (catorze) anos: (Incluído pela Lei nº 12.015, de 2009) Pena - reclusão, de 8 (oito) a 12 (doze) anos. (Incluído pela Lei nº 12.015, de 2009) § 2o Se da conduta resulta morte: (Incluído pela Lei nº 12.015, de 2009) Pena - reclusão, de 12 (doze) a 30 (trinta) anos (Incluído pela Lei nº 12.015, de 2009) Art. 214 - (Revogado pela Lei nº 12.015, de 2009) Como era Como ficou CRIMES CONTRA OS COSTUMES CRIMES CONTRA A DIGNIDADE SEXUAL Estupro Estupro (violência ou grave ameaça) 124
  • 125.
    Atentado violento aopudor Posse sexual mediante fraude Violação sexual mediante fraude (engano) Atentado violento ao pudor mediante fraude Assédio sexual Assédio (pressão) Sujeito ativo: qualquer pessoa Sujeito passivo: qualquer pessoa Objeto jurídico: liberdade sexual Objeto material: pessoa que sofre o constrangimento Elementos objetivos do tipo: verbo constranger Elemento subjetivo do tipo específico: satisfação mórbida do prazer sexual. Está implícito no tipo, logo é DELITO DE TENDÊNCIA. GRECO DIZ QUE NÃO HÁ ELEMENTO SUBJETIVO ESPECÍFICO, BASTA O CONSTRANGIMENTO Elemento subjetivo do crime: dolo Classificação: comum (conjunção carnal a relação tem de ser heterosexual), doloso, material, forma livre (exceto quanto à conjunção carnal, que é de forma vinculada), de dano, comissivo, instantâneo, unissubjetivo, plurissubsistente, não transeunte. Consumação e tentativa: tentativa é possível, mas de difícil comprovação. Consuma-se, na conjunção carnal, com a introdução do pênis na vagina. O chamado “outro ato libidinoso” é o antigo atentado violento ao pudor, e a tentativa se apresenta com o início do constrangimento, mas sem a consumação deste (tanto na forma ativa quanto passiva), tem de ser um ato que tenha conotação sexual para satisfazer a lascívia do agente e ser grave, sob pena de desclassificação para a contravenção de importunação ofensiva ao pudor. Ação penal: É pública condicionada à representação, desde que o sujeito passivo não seja menor de 18 anos ou pessoa vulnerável (vide art. 225 do CP) Competência: Justiça comum estadual Outras observações pertinentes: Antes se entendia haver concurso material entre estupro (a conjunção carnal era só a cópula vagínica) e atentado violento ao pudor (representava uma pena mínima de 12 125
  • 126.
    anos). Só quempodia cometer estupro era o homem, mulher no máximo seria co- autora ou partícipe. O elemento objetivo era a conjunção carnal. Fora a conjunção carnal, todo o resto era atentado violento ao pudor, o sujeito ativo é qualquer pessoa, passivo idem e o elemento objeto era o ato libidinoso diverso da conjunção carnal. Essa distinção criou grande confusão no imaginário popular. Em regra pra qualquer tipo de violação sexual se usava o termo estupro, mesmo quando não foi o caso. Com a alteração legislativa a norma veio ao encontro do entendimento popular, se aproximando do entendimento mais coloquial possível de forma a facilitar a compreensão do povo sobre tal assunto. Atualmente, como o crime é único, a lei foi mais benéfica, pois se criou um crime de ação múltipla ou conteúdo variado (vários verbos, mas o crime é um só), não se tem mais concurso material. Se quisesse que se continuasse a tratar como crimes diversos para manter o cúmulo material não haveria necessidade da fusão dos tipos Obs.: Se o consentimento prestado pela vítima não for válido o crime não estará no Capítulo 1, mas sim no capítulo 2, que trata do vulnerável (menor de 14, alienada mental ou que não pode oferecer resistência), é um crime ainda mais grave. O assédio sexual pune a conduta do superior hierárquico ou ascendência profissional para obter favores sexuais da vítima (seja conjunção carnal ou outro ato libidinoso). Não existe assédio entre colegas de trabalho de mesma hierarquia Quando o assédio for contra vítima menor de 18 anos terá causa de aumento de pena, a idéia nesse caso é porque as pessoas se inserem a cada dia mais cedo no mercado de trabalho, logo, antes não se tinha essa preocupação. Não houve descriminalização do atentado violento ao pudor, mas uma readequação típica com base no princípio da continuidade normativo típica. Ato libidinoso é qualquer ato que tenha interesse em satisfazer a lascívia da pessoa. Para ser considerado libidinoso deve ter intenção sexual. OBS.: PRINCÍPIO DA PROPORCIONALIDADE. Não existe limite exato com a contravenção de IMPORTUNAÇÃO OFENSIVA AO PUDOR CASO DO ITALIANO QUE BEIJOU NA BOCA UMA CRIANÇA NA PRAIA DE FORTALEZA. 126
  • 127.
    Na legislação anterioro estupro podia ser cometido via violência real ou presumida. Atualmente o estupro só ocorre com efetiva violência ou grave ameaça, porque caso a vítima não seja presumivelmente capaz de se defender, será estupro de vulnerável. A regra no crime de estupro atualmente é que a ação penal seja pública condicionada a representação (autorização da vítima para que o MP denuncie), porém se envolver pessoa vulnerável ou menor de 18 anos será incondicionada. AULA N. 20: ARTS. 213 (CONT.) E 215 Violação sexual mediante fraude (Redação dada pela Lei nº 12.015, de 2009) Art. 215. Ter conjunção carnal ou praticar outro ato libidinoso com alguém, mediante fraude ou outro meio que impeça ou dificulte a livre manifestação de vontade da vítima: (Redação dada pela Lei nº 12.015, de 2009) Pena - reclusão, de 2 (dois) a 6 (seis) anos. (Redação dada pela Lei nº 12.015, de 2009) Parágrafo único. Se o crime é cometido com o fim de obter vantagem econômica, aplica-se também multa. (Redação dada pela Lei nº 12.015, de 2009) Art. 216. (Revogado pela Lei nº 12.015, de 2009) Assédio sexual (Incluído pela Lei nº 10.224, de 15 de 2001) Antigamente: Estupro e posse sexual mediante fraude havia conjunção carnal Atentado violento ao pudor e atentado violento ao pudor mediante fraude eram todos os outros atos diversos de conjunção carnal Atualmente: A violação sexual mediante fraude abrange tanto a posse mediante fraude quanto o atentado mediante fraude. Sujeito ativo: Sujeito passivo Objeto jurídico: LIBERDADE SEXUAL 127
  • 128.
    Objeto material: homemou mulher vítima Elementos objetivos do tipo Elemento subjetivo do tipo específico: discutível a existência. É elemento subjetivo de tendência (implícita) Elemento subjetivo do crime: dolo Classificação: crime de mão própria quando se tratar de conjunção carnal e próprio, nesse caso, em se tratando do sujeito passivo; doloso, material, de dano, comissivo, instantâneo, forma vinculada no caso da conjunção carnal, monossubjetivo, plurissubsistente, transeunte e não transeunte Consumação e tentativa: na conjunção se consuma com a efetiva penetração. É plurissubsistente, logo admite fracionamento do iter criminis. Ação penal Competência Outras observações pertinentes: ESTELIONATO SEXUAL. Não bastam meras sugestões verbais. Fraude grosseira seria meio absolutamente ineficaz e não crime impossível. É tipo misto alternativo. Caso não fique evidenciada a completa incapacidade de resistência responde pela fraude, e não por estupro de vulnerável. Jurisprudência Casos práticos: GÊMEOS IDÊNTICOS QUE SE APROVEITAM DESSA CONDIÇÃO E “TROCAM” DE NAMORADAS. O ginecologista que realiza desnecessariamente exame de toque na paciente. Caso da mulher que descobre a fraude antes da consumação. Prostituta que faz o programa mas não recebe por ele ao final. Caso de aposta para ver se consegue transar com a garota AULA N. 21: ARTS. 216-A, 217-A Assédio sexual (Incluído pela Lei nº 10.224, de 15 de 2001) 128
  • 129.
    Art. 216-A. Constrangeralguém com o intuito de obter vantagem ou favorecimento sexual, prevalecendo-se o agente da sua condição de superior hierárquico ou ascendência inerentes ao exercício de emprego, cargo ou função." (Incluído pela Lei nº 10.224, de 15 de 2001) Pena – detenção, de 1 (um) a 2 (dois) anos. (Incluído pela Lei nº 10.224, de 15 de 2001) Parágrafo único. (VETADO) (Incluído pela Lei nº 10.224, de 15 de 2001) § 2o A pena é aumentada em até um terço se a vítima é menor de 18 (dezoito) anos. (Incluído pela Lei nº 12.015, de 2009) Sujeito ativo: alguém com ascendência sobre a vítima. Superior hierárquico indica relação de direito público. Cargo é público, função idem Sujeito passivo: SUBORDINADO Objeto jurídico: liberdade sexual Objeto material: a vítima Elementos objetivos do tipo: CONSTRANGER. assediar significa perseguir com propostas Elemento subjetivo do tipo específico: intuito de obter vantagem ou favorecimento sexual, não especifica se para si ou para outrem. Não há violência ou grave ameaça Elemento subjetivo do crime: dolo Classificação: PROPRIO, FORMAL, FORMA LIVRE, COMISSIVO, INSTANTANEO, UNISSUBJETIVO, UNISSUBSISTENTE, OU PLURISSUBSISTENTE Consumação e tentativa: consuma-se com o constrangimento. Se a investida for contra menor de 14 anos vai para estupro ou tentativa de estupro de vulnerável – art. 217 – A. Ação penal Competência Outras observações pertinentes: ameaça implícita ou expressa de prejuízo na relação de trabalho. GRECO DIZ QUE O AUMENTO MÍNIMO DEVE SER DE 1/6 DA PENA Jurisprudência 129
  • 130.
    OBS.: O art. 226,II, eleva a pena da metade se o agente for empregador, porém o superior hierárquico já é elemento do tipo penal, logo não pode ser para majorar a pena novamente. CAPÍTULO II DOS CRIMES SEXUAIS CONTRA VULNERÁVEL (Redação dada pela Lei nº 12.015, de 2009) Estupro de vulnerável (Incluído pela Lei nº 12.015, de 2009) Art. 217-A. Ter conjunção carnal ou praticar outro ato libidinoso com menor de 14 (catorze) anos: (Incluído pela Lei nº 12.015, de 2009) Pena - reclusão, de 8 (oito) a 15 (quinze) anos. (Incluído pela Lei nº 12.015, de 2009) § 1o Incorre na mesma pena quem pratica as ações descritas no caput com alguém que, por enfermidade ou deficiência mental, não tem o necessário discernimento para a prática do ato, ou que, por qualquer outra causa, não pode oferecer resistência. (Incluído pela Lei nº 12.015, de 2009) § 2o (VETADO) (Incluído pela Lei nº 12.015, de 2009) § 3o Se da conduta resulta lesão corporal de natureza grave: (Incluído pela Lei nº 12.015, de 2009) Pena - reclusão, de 10 (dez) a 20 (vinte) anos. (Incluído pela Lei nº 12.015, de 2009) § 4o Se da conduta resulta morte: (Incluído pela Lei nº 12.015, de 2009) Pena - reclusão, de 12 (doze) a 30 (trinta) anos. (Incluído pela Lei nº 12.015, de 2009) 130
  • 131.
    Antes: Capítulo II– Da sedução e Depois: Capítulo II – Dos crimes sexuais corrupção de menores contra vulnerável (foi o que mais sofreu modificações com a Lei n. 2015) Art. 217. Sedução (revogado) Art. 217-A: Estupro de vulnerável Art. 218. Corrupção de menores Art. 218. Mediação para satisfazer a lascívia de outrem envolvendo vulnerável (CORRUPÇÃO DE MENORES) Art. 218-A. Satisfação da lascívia própria na presença de vulnerável Art. 218-B. Prostituição envolvendo vulnerável (menor de 18 anos) Para ficar caracterizada a corrupção de menores ele precisaria não estar corrompido (inexperiente que ludibriado por um maior) ainda e isso devia ser comprovado. Estava em desuso. Art. 217-A. Estupro de vulnerável Antes existia a chamada presunção de violência, que ocorria para a pessoa que não podia prestar consentimento válido. Crítica porque no direito penal só existia uma forma de presunção, que é a de não culpabilidade. Agora, nos casos em que existia presunção de violência passam a fazer parte de elementos do tipo de estupro de vulnerável. Agora qualquer ato de cunho sexual, independente de ter violência, com menor de 14 anos, é crime de estupro de vulnerável. Hoje não se fala mais em presunção de violência, pois sendo menor de 14 anos é crime. No dia do aniversário de 14 anos não há mais estupro de vulnerável (VANZOLINI). 131
  • 132.
    AULA N. 22:ART. 217-A (CONT.) E 218 Corrupção de menores Art. 218. Induzir alguém menor de 14 (catorze) anos a satisfazer a lascívia de outrem: (Redação dada pela Lei nº 12.015, de 2009) Pena - reclusão, de 2 (dois) a 5 (cinco) anos. (Redação dada pela Lei nº 12.015, de 2009) Parágrafo único. (VETADO). (Incluído pela Lei nº 12.015, de 2009) O beneficiário responderá pelo 217-A. Se esse artigo não existisse, o indutor responderia como partícipe de estupro de vulnerável, porém é uma exceção pluralística à teoria monista. Terminou sendo melhor para o réu. Outra corrente: O indutor é partícipe do terceiro, logo o crime só será tipo autônomo quando não houver contato físico (voyerismo) do vulnerável com o terceiro (não há prática lasciva, mas só a exposição lasciva). Versa sobre pessoa determinada (outrem) É modalidade especial de lenocínio Sujeito ativo: indutor é o lenão/proxeneta/rufião Sujeito passivo: menor de 14 anos. Se tiver idade igual a 14 anos responderá pelo art. 227. Objeto jurídico: desenvolvimento sexual/liberdade sexual Objeto material: menor induzido Elementos objetivos do tipo: induzir (persuadir, aliciar). NUCCI ser uma exceção pluralística à teoria monística, porque criou um tipo autônomo para o partícipe, se não 132
  • 133.
    houvesse tal crimeresponderia com base no art. 29 do CP (responde na medida da culpabilidade). CAPEZ/GRECO dizem que as práticas sexuais desse crime devem ser meramente contemplativas, caso haja algum ato responderá como partícipe de estupro (discordam de NUCCI). Elemento subjetivo do tipo específico: satisfação do prazer sexual de outrem (NUCCI). É pessoa determinada, se for para satisfazer a lascívia de um número indefinido de pessoas responderá por favorecimento de exploração de vulnerável (art. 218-B) Elemento subjetivo do crime: dolo Classificação: comum, material (NUCCI demanda contato físico efetivo, CAPEZ discorda), forma livre, comissivo, instantâneo, unissubjetivo, plurissubsistente, instantâneo, transeunte Consumação e tentativa: consuma-se com a efetiva prática de qualquer ato para satisfazer a lascívia de outrem. Ação penal: pública incondicionada (art. 225 CP) Competência Outras observações pertinentes Jurisprudência Casos práticos: voyeurismo, satisfação da lascívia de terceiro pela internet. AULA N. 23: ART. 218-A E 218-B Satisfação de lascívia mediante presença de criança ou adolescente (Incluído pela Lei nº 12.015, de 2009) Art. 218-A. Praticar, na presença de alguém menor de 14 (catorze) anos, ou induzi-lo a presenciar, conjunção carnal ou outro ato libidinoso, a fim de satisfazer lascívia própria ou de outrem: (Incluído pela Lei nº 12.015, de 2009) 133
  • 134.
    Pena - reclusão,de 2 (dois) a 4 (quatro) anos.” (Incluído pela Lei nº 12.015, de 2009) O tipo exige uma intenção especial (elemento subjetivo), porém de difícil comprovação. Sujeito ativo: qualquer pessoa Sujeito passivo: menor de 14 anos Objeto jurídico: desenvolvimento sexual Objeto material: menor de 14 anos que presencia Elementos objetivos do tipo: praticar/ induzir. TIPO MISTO ALTERNATIVO. NÃO HÁ CONTATO FÍSICO COM O MENOR Elemento subjetivo do tipo específico: satisfação da lascívia própria ou de outrem Elemento subjetivo do crime: dolo Classificação: comum, formal, forma livre (é vinculada para Greco, pois exige que o menor visualize o ato) comissivo, instantâneo, unissubjetivo, plurissubsistente, transeunte. Consumação e tentativa: não precisa efetivamente satisfazer a lascívia, basta que tal intento esteja presente e o menor tenha presenciado o ato. Consuma-se com a visualização do ato pelo menor. Ação penal: incondicionada Competência: JE Outras observações pertinentes: Vítima entre 14 e 18 anos é caso atípico. Vide artigos 240, 241-D, 244-B do ECA Jurisprudência Casos práticos: pode ocorrer a visualização pela internet, não exige proximidade física 134
  • 135.
    Favorecimento da prostituiçãoou outra forma de exploração sexual de vulnerável (Incluído pela Lei nº 12.015, de 2009) Art. 218-B. Submeter, induzir ou atrair à prostituição ou outra forma de exploração sexual alguém menor de 18 (dezoito) anos ou que, por enfermidade ou deficiência mental, não tem o necessário discernimento para a prática do ato, facilitá- la, impedir ou dificultar que a abandone: (Incluído pela Lei nº 12.015, de 2009) Pena - reclusão, de 4 (quatro) a 10 (dez) anos. (Incluído pela Lei nº 12.015, de 2009) § 1o Se o crime é praticado com o fim de obter vantagem econômica, aplica-se também multa. (Incluído pela Lei nº 12.015, de 2009) § 2o Incorre nas mesmas penas: (Incluído pela Lei nº 12.015, de 2009) I - quem pratica conjunção carnal ou outro ato libidinoso com alguém menor de 18 (dezoito) e maior de 14 (catorze) anos na situação descrita no caput deste artigo; (Incluído pela Lei nº 12.015, de 2009) II - o proprietário, o gerente ou o responsável pelo local em que se verifiquem as práticas referidas no caput deste artigo. (Incluído pela Lei nº 12.015, de 2009) § 3o Na hipótese do inciso II do § 2o, constitui efeito obrigatório da condenação a cassação da licença de localização e de funcionamento do estabelecimento.(Incluído pela Lei nº 12.015, de 2009) Prostituição não é crime, o que é crime é seu favorecimento. Trata-se de tipo misto alternativo, pois tem vários verbos. O vulnerável para o crime de prostituição é o menor de 18 anos. Tal proteção já existia no ECA, porém agora se criminalizou a conduta do consumidor desse tipo de prostituição infantil. PEDOFILIA é o nome científico de um distúrbio de comportamento sexual. Não é um tipo penal específico. Pode se expressar sob a modalidade de diversos tipos de crimes, desde que haja a externalização de uma conduta tipificada no CP ou ECA. 135
  • 136.
    A concretização dafantasia do pedófilo que é a prática de atos sexuais com menor de 14 anos representa estupro de vulnerável. PORNOGRAFIA INFANTIL (ART. 241 DO ECA) Não existe uma uniformização do conceito de vulnerável envolvendo os 4 crimes desse capítulo II. A facilitação à prostituição versa sobre pessoas indeterminadas (art. 218-B), enquanto que a mediação para satisfazer a lascívia (art. 218 – caput) o beneficiário é pessoa determinada. Não há crime a pessoa que paga a prostituta por um programa, mas apenas a pessoa que se beneficia da prostituição (rufião), desde que não seja prostituição infantil. OBS.: CUIDADO COM ERRO DE TIPO, SE A MENOR APRESENTAR RG FALSO PODE EXCLUIR O DOLO E, CONSEQUENTEMENTE, O TIPO. Sujeito ativo: qualquer pessoa Sujeito passivo: menor de 18 anos e maior de 14 anos (pois se for menor de 14 será estupro de vulnerável), enferma ou deficiente. QUESTÃO DA RELATIVIZAÇÃO DA VULNERABILIDADE. SE O MENOR BUSCAR A PROSTITUIÇÃO NÃO HÁ CRIME, POIS NÃO FOI INDUZIDO. TRATA DA PROSTITUIÇÃO JUVENIL Objeto jurídico: proteção à liberdade sexual Objeto material: pessoa menor de 18 e maior de 14 Elementos objetivos do tipo: submeter, induzir, atrair, facilitar, impedir, dificultar Elemento subjetivo do tipo específico: só existe na figura qualificada, que demanda vantagem econômica Elemento subjetivo do crime: dolo Classificação: comum, material (deve ocorrer a prostituição ou outra forma de exploração), forma livre, comissivo, instantâneo, unissubjetivo, plurissubsistente, transeunte. Consumação e tentativa: para CAPEZ se consuma com a habitualidade da prostituição, GRECO diz que não precisa. É possível tentativa nas formas de IMPEDIR, 136
  • 137.
    DIFICULTAR. Não cabetentativa nas formas SUBMETER, ATRAIR, INDUZIR, FACILITAR, pois é crime condicionado. Para GRECO basta colocar o corpo à venda, não precisa praticar nenhum ato sexual Ação penal: incondicionada Competência Outras observações pertinentes: ESTUPRADOR NÃO É EXPLORADOR SEXUAL, É PREDADOR SEXUAL. Existem 4 formas de exploração sexual: prostituição; turismo sexual; pornografia; tráfico para fins sexuais Cabe concurso se houver violência ou grave ameaça. Prostituta pode ser sujeito passivo nas modalidades FACILITAR, IMPEDIR, DIFICULTAR Jurisprudência Casos práticos: a simples presença da criança em bordel com a finalidade de se prostituir (mas não tendo feito ainda), já consumaria o tipo penal para GRECO. Caso do bar de Ponta Negra. AULA N. 24: ARTS. 225, 226, 227 Ação penal Art. 225. Nos crimes definidos nos Capítulos I e II deste Título, procede-se mediante ação penal pública condicionada à representação. (Redação dada pela Lei nº 12.015, de 2009) Parágrafo único. Procede-se, entretanto, mediante ação penal pública incondicionada se a vítima é menor de 18 (dezoito) anos ou pessoa vulnerável. (Incluído pela Lei nº 12.015, de 2009) Aumento de pena Art. 226. A pena é aumentada:(Redação dada pela Lei nº 11.106, de 2005) I – de quarta parte, se o crime é cometido com o concurso de 2 (duas) ou mais pessoas; (Redação dada pela Lei nº 11.106, de 2005) 137
  • 138.
    II – demetade, se o agente é ascendente, padrasto ou madrasta, tio, irmão, cônjuge, companheiro, tutor, curador, preceptor ou empregador da vítima ou por qualquer outro título tem autoridade sobre ela; (Redação dada pela Lei nº 11.106, de 2005) III - (Revogado pela Lei nº 11.106, de 2005) Mediação para servir à lascívia de outrem Art. 227. Induzir alguém a satisfazer a lascívia de outrem. Pena. Reclusão de 1 a 3 anos §1º. Se a vítima é maior de 14 anos e menor de 18 anos, ou se o agente é seu ascendente, descendente, cônjuge ou companheiro, irmão, tutor ou curador ou pessoa a quem esteja confiada para fins de educação, de tratamento ou de guarda: Pena. reclusão, de 2 a 5 anos §2º. Se o crime é cometido com emprego de violência, grave ameaça ou fraude. Pena. reclusão, de 2 a 8 anos, além da pena correspondente à violência. §3º. Se o crime é cometido com o fim de lucro, aplica-se também a multa. MUDOU O FOCO DA PROTEÇÃO JURÍDICA, QUE AGORA É O VALOR DA PESSOA HUMANA Sujeito ativo: qualquer pessoa. se a vítima for estuprada pelo destinatário da indução o indutor poderá responder como partícipe se agiu com dolo direto e o lenocínio aí seria absorvido. Sujeito passivo: qualquer pessoa, exceto menor de 14 anos. Objeto jurídico: valor da pessoa humana Objeto material: qualquer pessoa – NUCCI ENTENDE QUE A PESSOA PROSTITUÍDA NÃO SERIA OBJETO DE PROTEÇÃO 138
  • 139.
    Elemento objetivo dotipo: INDUZIR. Se for para número indeterminado de pessoas será favorecimento de prostituição, deve ser um número certo de pessoas. Elemento subjetivo do tipo específico: satisfação da luxúria de outrem Elemento subjetivo do crime: DOLO Consumação e tentativa: quando houver a satisfação da lascívia (NUCCI). Não é crime habitual, consuma-se com qualquer ato. Ação penal: INCONDICIONADA Competência: JE Outras observações pertinentes: DEVE SATISFAZER A LASCÍVIA DE PESSOA CERTA, DETERMINADA, SE FOR INDETERMINADA VAI PARA FAVORECIMENTO DE PROSTITUIÇÃO; PARA CAPEZ NÃO É CRIME HABITUAL NA MODALIDADE QUALIFICADA, QUANDO HOUVER INTUITO DE LUCRO, CHAMA-SE “LENOCÍNIO QUESTUÁRIO” Jurisprudência: “Lenocínio. Proprietária de casa de prostituição acusada de servir de mediadora para a lascívia de outrem. (...) A meretriz não pode ser havida como vitima do delito previsto no art. 227, § 3º do Código Penal, pois não é induzida, mas se presta voluntariamente, a lascívia de outrem” (TJPR – RT 487/347). Casos práticos AULA N. 25: ARTS. 228, 229, 230 Favorecimento da prostituição ou outra forma de exploração sexual Art. 228. Induzir ou atrair alguém à prostituição ou outra forma de exploração sexual, facilitá-la, impedir ou dificultar que alguém a abandone: (Redação dada pela Lei nº 12.015, de 2009) 139
  • 140.
    Pena - reclusão,de 2 (dois) a 5 (cinco) anos, e multa. (Redação dada pela Lei nº 12.015, de 2009) § 1o Se o agente é ascendente, padrasto, madrasta, irmão, enteado, cônjuge, companheiro, tutor ou curador, preceptor ou empregador da vítima, ou se assumiu, por lei ou outra forma, obrigação de cuidado, proteção ou vigilância: (Redação dada pela Lei nº 12.015, de 2009) Pena - reclusão, de 3 (três) a 8 (oito) anos. (Redação dada pela Lei nº 12.015, de 2009) § 2º - Se o crime, é cometido com emprego de violência, grave ameaça ou fraude: Pena - reclusão, de quatro a dez anos, além da pena correspondente à violência. § 3º - Se o crime é cometido com o fim de lucro, aplica-se também multa Sujeito ativo: qualquer pessoa Sujeito passivo: qualquer pessoa, porém nas modalidades INDUZIR/ATRAIR prostituta não seria vítima Objeto jurídico: moralidade sexual pública Objeto material: pessoa que é prostituída ou explorada em razão da conduta do agente Elementos objetivos do tipo: induzir, atrair, facilitar, impedir (crime permanente), ocultar Elemento subjetivo do tipo específico: vontade de explorar sexualmente alguém Elemento subjetivo do crime: dolo Consumação e tentativa: tentativa é difícil e não ocorreria nas modalidades de INDUZIR/ATRAIR, POIS TRATA-DE DE DELITO CONDICIONADO, DEPENDE DA EFETIVA OCORRÊNCIA DA PROSTITUIÇÃO OU DE OUTRA FORMA DE EXPLORAÇÃO (NUCCI). Para GRECO não há necessidade de contato sexual (o olhar lascivo mediante paga seria suficiente) Ação penal: incondicionada Competência: JE Não se confunde com casa de prostituição porque nesta o favorecimento é para número indeterminado de pessoas, nem com rufianismo, pois o rufião tira proveito da 140
  • 141.
    prostituição alheia eno favorecimento o sujeito ativo pratica a conduta e depois se afasta. Casa de prostituição Art. 229. Manter, por conta própria ou de terceiro, estabelecimento em que ocorra exploração sexual, haja, ou não, intuito de lucro ou mediação direta do proprietário ou gerente: (Redação dada pela Lei nº 12.015, de 2009) Pena - reclusão, de dois a cinco anos, e multa. Apesar do NOMEN JURIS falar em “casa de prostituição”, deve entender como qualquer estabelecimento em que ocorra exploração sexual. Sujeito ativo: qualquer pessoa Sujeito passivo: coletividade Bem jurídico tutelado: dignidade sexual Objeto material: o estabelecimento onde ocorre a exploração. Elemento objetivo do tipo: Manter estabelecimento. É crime HABITUAL, porém se no momento da batida policial ele estiver fechado e lá residirem pessoas, precisará de uma ordem judicial para ingressar no mesmo. Elemento subjetivo do crime: dolo Elemento subjetivo do tipo especifico: vontade de satisfazer o prazer sexual alheio Consumação e tentativa: quando houver a comprovação da habitualidade na manutenção do estabelecimento em que ocorra exploração sexual. Não se admite tentativa em crime habitual. Ação penal: incondicionada Rufianismo Art. 230 - Tirar proveito da prostituição alheia, participando diretamente de seus lucros ou fazendo-se sustentar, no todo ou em parte, por quem a exerça: Pena - reclusão, de um a quatro anos, e multa. 141
  • 142.
    § 1o Sea vítima é menor de 18 (dezoito) e maior de 14 (catorze) anos ou se o crime é cometido por ascendente, padrasto, madrasta, irmão, enteado, cônjuge, companheiro, tutor ou curador, preceptor ou empregador da vítima, ou por quem assumiu, por lei ou outra forma, obrigação de cuidado, proteção ou vigilância: (Redação dada pela Lei nº 12.015, de 2009) Pena - reclusão, de 3 (três) a 6 (seis) anos, e multa. (Redação dada pela Lei nº 12.015, de 2009) § 2o Se o crime é cometido mediante violência, grave ameaça, fraude ou outro meio que impeça ou dificulte a livre manifestação da vontade da vítima: (Redação dada pela Lei nº 12.015, de 2009) Pena - reclusão, de 2 (dois) a 8 (oito) anos, sem prejuízo da pena correspondente à violência.(Redação dada pela Lei nº 12.015, de 2009) Sujeito ativo: comum (cafetão). Não se confunde com o lenão (PROXENETA) que é intermediário e cuja conduta se exaure na intermediação. Sujeito passivo: próprio, só a prostituta é vítima. Elemento objetivo: tirar proveito (caráter econômico e habitual). Deve haver participação direta nos lucros obtidos. Absorve o tipo anterior, difere do art. 229 porque há intuito de lucro sem compartilhá-lo. Objeto jurídico: moralidade pública Objeto material: prostituta Elemento subjetivo do crime: dolo Elemento subjetivo do tipo especifico: é a vontade de habitualmente tirar proveito da prostituição alheia Consumação e tentativa: não cabe tentativa por ser crime habitual. Se consuma com a comprovação da habitualidade. Ação penal: incondicionada Competência: JE AULA N. 26: ARTS. 231, 231-A, 233 142
  • 143.
    Tráfico internacional depessoa para fim de exploração sexual (Redação dada pela Lei nº 12.015, de 2009) Art. 231. Promover ou facilitar a entrada, no território nacional, de alguém que nele venha a exercer a prostituição ou outra forma de exploração sexual, ou a saída de alguém que vá exercê-la no estrangeiro. (Redação dada pela Lei nº 12.015, de 2009) Pena - reclusão, de 3 (três) a 8 (oito) anos. (Redação dada pela Lei nº 12.015, de 2009) § 1o Incorre na mesma pena aquele que agenciar, aliciar ou comprar a pessoa traficada, assim como, tendo conhecimento dessa condição, transportá-la, transferi-la ou alojá-la. (Redação dada pela Lei nº 12.015, de 2009) § 2o A pena é aumentada da metade se: (Redação dada pela Lei nº 12.015, de 2009) I - a vítima é menor de 18 (dezoito) anos; (Incluído pela Lei nº 12.015, de 2009) II - a vítima, por enfermidade ou deficiência mental, não tem o necessário discernimento para a prática do ato; (Incluído pela Lei nº 12.015, de 2009) III - se o agente é ascendente, padrasto, madrasta, irmão, enteado, cônjuge, companheiro, tutor ou curador, preceptor ou empregador da vítima, ou se assumiu, por lei ou outra forma, obrigação de cuidado, proteção ou vigilância; ou (Incluído pela Lei nº 12.015, de 2009) IV - há emprego de violência, grave ameaça ou fraude. (Incluído pela Lei nº 12.015, de 2009) § 3o Se o crime é cometido com o fim de obter vantagem econômica, aplica-se também multa. (Incluído pela Lei nº 12.015, de 2009) Sujeito ativo: qualquer pessoa Sujeito passivo: qualquer pessoa (era o antigo tráfico de mulheres) Objeto jurídico: moralidade e liberdade sexual Objeto material: pessoa explorada Elemento objetivo do tipo: promover, facilitar 143
  • 144.
    Elemento subjetivo docrime: dolo Elemento subjetivo do tipo especifico: vontade de promover a exploração sexual alheia Consumação e tentativa: NUCCI não admite tentativa pois é crime condicionado à exploração sexual após a entrada ou saída da pessoa já ter sido realizada. O tipo fala em “venha a exercer” e não em “para exercer”, de modo que procede o argumento de GRECO no sentido de ser crime material, pois demanda o efetivo exercício de alguma forma de exploração. Ação penal: incondicionada Competência: JF (CF, art. 109, V) Tráfico interno de pessoa para fim de exploração sexual (Redação dada pela Lei nº 12.015, de 2009) Art. 231-A. Promover ou facilitar o deslocamento de alguém dentro do território nacional para o exercício da prostituição ou outra forma de exploração sexual: (Redação dada pela Lei nº 12.015, de 2009) Pena - reclusão, de 2 (dois) a 6 (seis) anos. (Redação dada pela Lei nº 12.015, de 2009) § 1o Incorre na mesma pena aquele que agenciar, aliciar, vender ou comprar a pessoa traficada, assim como, tendo conhecimento dessa condição, transportá-la, transferi-la ou alojá-la. (Incluído pela Lei nº 12.015, de 2009) § 2o A pena é aumentada da metade se: (Incluído pela Lei nº 12.015, de 2009) I - a vítima é menor de 18 (dezoito) anos; (Incluído pela Lei nº 12.015, de 2009) II - a vítima, por enfermidade ou deficiência mental, não tem o necessário discernimento para a prática do ato; (Incluído pela Lei nº 12.015, de 2009) III - se o agente é ascendente, padrasto, madrasta, irmão, enteado, cônjuge, companheiro, tutor ou curador, preceptor ou empregador da vítima, ou se assumiu, por lei ou outra forma, obrigação de cuidado, proteção ou vigilância; ou (Incluído pela Lei nº 12.015, de 2009) 144
  • 145.
    IV - háemprego de violência, grave ameaça ou fraude. (Incluído pela Lei nº 12.015, de 2009) § 3o Se o crime é cometido com o fim de obter vantagem econômica, aplica-se também multa.(Incluído pela Lei nº 12.015, de 2009) Ao contrário do anterior fala em “para o exercício”, não exige a efetiva prática para sua consumação. Sujeito ativo: comum Sujeito passivo: idem Objeto jurídico: moralidade e liberdade sexual Objeto material: pessoa explorada Elemento objetivo do tipo: promover, facilitar e figuras equiparadas Elemento subjetivo do crime: dolo Elemento subjetivo do tipo especifico: vontade de promover a exploração sexual alheia Consumação e tentativa: ocorrerá com o deslocamento no interior do país. NUCCI não admite por entender ser crime condicionado que só se consuma com a exploração, já GRECO admite. Este diz ainda que é crime material. Ação penal: incondicionada Competência: JE DO ULTRAJE PÚBLICO AO PUDOR Ato obsceno Art. 233 - Praticar ato obsceno em lugar público, ou aberto ou exposto ao público: Pena - detenção, de três meses a um ano, ou multa. Aumento de pena (Incluído pela Lei nº 12.015, de 2009) 145
  • 146.
    Art. 234-A. Noscrimes previstos neste Título a pena é aumentada: (Incluído pela Lei nº 12.015, de 2009) I – (VETADO); (Incluído pela Lei nº 12.015, de 2009) II – (VETADO); (Incluído pela Lei nº 12.015, de 2009) III - de metade, se do crime resultar gravidez; e (Incluído pela Lei nº 12.015, de 2009) IV - de um sexto até a metade, se o agente transmite à vitima doença sexualmente transmissível de que sabe ou deveria saber ser portador. (Incluído pela Lei nº 12.015, de 2009) Art. 234-B. Os processos em que se apuram crimes definidos neste Título correrão em segredo de justiça 146