1
ENGENHARIA CIVIL
NOTURNO
DESENHO TÉCNICO II - PROJETOS
_______________________________________________
UniEVANGÉLICA – Centro Universitário de Anápolis
Curso de Engenharia Civil
4º Período – Noturno
Disciplina: Desenho Técnico II - Projetos
Professora: Ms. Ana Lúcia Carrijo
Acadêmicos: Jean Mendes
Gabriel Cabral
Anápolis, 15 de junho de 2014.
2
INSTALAÇÕES
HIDRO – SANITÁRIAS
3
SIFÃO
Figura 1
Aplicação/Descrição: É um dispositivo (Fig. 1) que recebe as águas servidas conduzindo-
as ao esgoto sanitário e ao mesmo tempo impede o retorno de gases, isso devido a bolsa de
água acumulada no sifão que impede a passagem destes gases. Os sifões são peças
fundamentais para impedir a passagem do mau cheiro que são emitidos pelos esgotos.
Geralmente são instalados nas pias de cozinha, nos lavatórios dos banheiros ou nos tanques
de lavar roupas. A NBR 8160 (Norma Brasileira da Associação Brasileira de Normas Técnicas
exige que o seu fecho hídrico seja de 50 mm). Os sifões com copo facilitam a manutenção,
pois, permitem a limpeza constante no caso de acúmulo de detritos.
4
LIGAÇÃO DE LAVATÓRIO COM SIFÃO
1) Válvula para Lavatório 7/8”
2) Sifão Mobylle® Copo Multiuso
3) Joelho 90° Esgoto Série Normal DN 40
4) Tubo Esgoto Série Normal DN 40
5) Caixa Sifonada Girafácil DN 100x140x50
6) Torneira para Lavatório*
7) Engate Flexível de PVC ½”
8) Joelho 90° Soldável e com rosca DN 25 x ½”
9) Tubo Soldável Marrom DN 25
5
LIGAÇÃO DE LAVATÓRIO DE COLUNA
1) Válvula para Lavatório 7/8”
2) Adaptador para Válvula de Pia e Lavatório DN 40
3) Luva de Correr Esgoto Série Normal DN 40
4) Tubo Esgoto Série Normal DN 40
5) Joelho 90° Esgoto Série Normal DN 40
6) Caixa Sifonada Girafácil DN 100x140x50
7) Torneira para Lavatório
8) Engate Flexível de PVC ½”
9) Joelho 90° Soldável e com rosca DN 25 x ½”
10) Tubo Soldável Marrom DN 25
6
CAIXA SIFONADA
Figura 2
Aplicação/Descrição: As peças (Fig. 2) do encanamento que são SIFONADAS, tem como o
nome indica um SIFÃO (em outras palavras é uma parte do cano mergulhado em
permanência na agua) que por este motivo não permite o retorno de cheiros através da
grelha do ralo.
7
LIGAÇÃO LAVATÓRIO COM CAIXA SIFONADA
8
LIGAÇÃO LAVATÓRIO COM CAIXA SIFONADA
1) Válvula para Lavatório 7/8”
2) Adaptador para Válvula de Pia e Lavatório DN 40
3) Luva de Correr Esgoto Série Normal DN 40
4) Tubo Esgoto Série Normal DN 40
5) Joelho 90° Esgoto Série Normal DN 40
6) Caixa Sifonada Girafácil DN 100x140x50
7) Torneira para Lavatório
8) Engate Flexível de PVC ½”
9) Joelho 90° Soldável e com rosca DN 25 x ½”
10) Tubo Soldável Marrom DN 25
9
CHUVEIRO
Figura 3
Aplicação/Descrição: Chuveiro (Fig. 3) (também chamado de ducha ou duche) é o nome
pelo qual é chamado a terminação da rede de água numa residência, com orifícios pequenos
que possibilitam sua dispersão e assim molhar uma maior área de modo uniforme, e
destinada ao banho e higiene pessoais. Há uma diferenciação entre "tomar uma ducha" e
"tomar um banho", no qual o primeiro não se faz necessário o uso de sabonete.
10
LIGAÇÃO DE CHUVEIRO
1) Chuveiro Elétrico*
2) Joelho 90° Soldável e com Bucha de Latão DN 25 x ½”
3) Tubo Soldável Marrom DN 25
4) Registro de Chuveiro Soldável DN 25
5) Tê Soldável Marrom DN 25
6) Ralo com Saída Articulada DN 100x40
7) Tubo Esgoto Série Normal DN 40
8) Caixa Sifonada Girafácil DN 100x140x50
11
VÁLVULA DE DESCARGA
Figura 4
Aplicação/Descrição: Peças de utilização (Fig. 4) destinadas a permitir a descarga de
água na vazão ideal para permitir a limpeza das bacias sanitárias, mediante comando
manual, onde o seu fechamento é automático, ou seja, independe da ação humana.
Válvula de descarga em corte.
12
MONTAGEM DA VÁLVULA DE DESCARGA
1) Tubo de Descarga VDE DN 38
2) Tubo de Ligação Ajustável DN 38
3) Espude
4) Anel de Vedação
5) Tubo Esgoto Série Normal DN 100
6) Curva 90° Curta Esgoto Série Normal DN 100
7) Válvula de Descarga
8) Adaptador Soldável Curto com Bolsa e Rosca para Registro DN 50 x 1 ½”
9) Tubo Soldável Marrom DN 50
10) Joelho 90° Soldável Marrom DN 50
13
CAIXA DE DESCARGA DE EMBUTIR
Aplicação/Descrição: ECOLINE é uma descarga de embutir (Fig. 5) de duplo fluxo (3 a 6
litros) que contribui para o menor consumo de água. Ecologicamente correta, é constituída
por um mecanismo que limita a capacidade da descarga em seis litros, independentemente
do tempo de uso. Indicadas para banheiros de uso geral ou de acessibilidade.
Projetadas para instalação em paredes de alvenaria ou de drywall com 10 cm de espessura,
o produto assegura uma obra mais limpa, ambientes diferenciados e conforto. Isso se deve
ao fato da descarga ser instalada na altura de 100 cm, a 127 cm do piso acabado.
Com garantia de dez anos, é uma solução de fácil manutenção e silenciosa. A torneira bóia
PFC (Positive Flux Control) possui um silenciador acoplado.
VANTAGENS
- Alta eficiência: Pelo fato da instalação ser feita a 100 cm do solo, gera maior energia
hidrodinâmica.
- Baixo custo de instalação: A descarga é instalada em diâmetros de tubulações menores.
- Manutenção: Componentes internos são embutidos e desmontáveis por meio da janela de
inspeção.
- Ganho de espaço: Produto é embutido na parede.
- Compatibilidade: Aplica-se em todas as bacias existentes.
- Durabilidade: Garantia de 10 anos e baixo custo de manutenção.
PRODUTO SUSTENTÁVEL
ECOLINE exerce papel fundamental para a redução no consumo de água.
Figura 5
14
INSTALAÇÃO DE CAIXA DE DESCARGA DE EMBUTIR
15
CAIXA DE DESCARGA
Figura 6
Aplicação/Descrição: Faz a limpeza do vaso sanitário através de descarga (Fig. 6)
acionada pela corda lateral da caixa. Possui engate flexível de PVC.
Benefícios:
 Produto certificado pelo Programa de Economia de Água.
 Atende a norma NBR 15491.
 Compatível com bacias de 6,8 e 9 litros, através de regulagem.
 Fácil instalação.
 Diversas cores para combinar com as louças e com o ambiente.
 Fácil manuseio através da corda na lateral da caixa.
 Acompanha engate flexível de PVC PLENA 30 cm.
16
MONTAGEM DA CAIXA DE DESCARGA
1) Caixa de Descarga Alta com Botão TIGRE
2) Engate Flexível de PVC ½”
3) Tubo de descarga com botão (já acompanha o item 1)
4) Espude
5) Anel de Vedação
6) Tubo Esgoto Série Normal DN 100
7) Curva 90° Curta Esgoto Série Normal DN 100
8) Joelho 90° Soldável e com rosca DN 25 x ½”
9) Tubo Soldável Marrom DN 25
10) Tê Soldável Marrom DN 25
17
MONTAGEM DA CAIXA DE DESCARGA
18
BIDÊ
Figura 7
Aplicação/Descrição: Uso em banheiros (Fig. 7), lavabos, ambientes com espaço
reduzido.
Características Técnicas:
Produto cerâmico esmaltado.
Curiosidades: A mais antiga referência escrita de que se tem notícia, a respeito do bidê data
de 1710. Por volta de 1900, graças às melhorias no sistema de encanamento das cidades, o
bidê saiu do quarto e foram para o banheiro. Em 1960 foi criado o primeiro bidê eletrônico,
um equipamento que é acoplado ao vaso sanitário, ideal para banheiros com pouco espaço,
com regulador e controle de emissão de água automático.
19
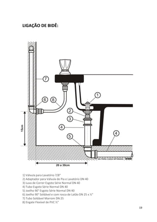
LIGAÇÃO DE BIDÊ:
1) Válvula para Lavatório 7/8”
2) Adaptador para Válvula de Pia e Lavatório DN 40
3) Luva de Correr Esgoto Série Normal DN 40
4) Tubo Esgoto Série Normal DN 40
5) Joelho 90° Esgoto Série Normal DN 40
6) Joelho 90° Soldável e com rosca de Latão DN 25 x ½”
7) Tubo Soldável Marrom DN 25
8) Engate Flexível de PVC ½”
20
MÁQUINA DE LAVAR LOUÇA
Figura 8
Aplicação/Descrição: Uma máquina de lavar louças (Fig. 8) basicamente é uma máquina
automática que limpa pratos, talheres, copos (algumas também lavam panelas). O usuário
deve colocar a louça suja na máquina, adicionar detergente, ajustar os ciclos de lavagem
adequados e ligar a máquina, e a partir disso ela realiza uma série de funções sem a ajuda do
usuário:
 ela se enche de água;
 aquece a água até a temperatura adequada;
 automaticamente abre o recipiente de detergente quando necessário;
 lança jatos de água para limpar os pratos;
 drena a água suja;
 joga mais água nos pratos;
 drena a água novamente;
 aquece o ar para secar os pratos, se o usuário tiver selecionado essa operação.
Além disso, as máquinas de lavar louças possuem sistemas de controle que monitoram a
máquina automaticamente para se certificarem de que tudo esteja funcionamento de forma
adequada.
21
LIGAÇÃO DE MÁQUINA DE LAVAR LOUÇA
22
23
24
25
26
27
TANQUE DE LAVAR ROUPA
Figura 9
Descrição: Serve para operação de lavagem (Fig. 9), enxágue e molho de
roupas;
Aplicação: obras residenciais horizontais, verticais, tipo isoladas
ou em conjunto, de padrão popular, médio ou luxo e também em
reformas.
28
LIGAÇÃO DE TANQUE DE LAVAR ROUPA
1) Tanque de Lavar Roupas TIGRE
2) Válvula para Tanque 1 ¼”
3) Sifão Mobylle® Copo Multiuso
4) Joelho 90° Esgoto Série Normal DN 40
5) Tubo Esgoto Série Normal DN 40
6) Torneira para Lavatório
7) Joelho 90° Soldável e com Bucha de Latão DN 25 x ½”
8) Tubo Soldável Marrom DN 25
29
30
PIA DE COZINHA
Figura 10
Aplicação/Descrição: É uma superfície (Fig. 10) geralmente horizontal, utilizada em
cozinhas ou ambientes que envolvam preparo de alimentos. No caso das cozinhas
tradicionais, não raro a pia de cozinha é instalada sobre um gabinete.
A altura ideal de instalação para uma pia de cozinha deve variar entre 90 e 110 cm
dependendo da estatura de quem vá usá-la. Para garantir a estabilidade não devem ter mais
de 300 cm de comprimento, aproximadamente de 60 a 70 cm do fundo até a frente e são
desenhados de forma a ultrapassar em alguns centímetros sua base, facilitando o alcance de
objetos na superfície. A profundidade mínima é de 60 cm. A borda, como é conhecida a
região da pia em sua extremidade, pode ser trabalhada em diversos acabamentos de acordo
com a preferência de cada um.
A pia de cozinha é instalada com frontão, que é uma peça integrada a pia e em contato com
a parede, o que impede que líquidos derramados sobre a pia desçam para trás dela.
Existem diversas possibilidades de decoração e acabamento de pia de cozinha, que vão
desde as mais simples às mais elaboradas. A pia de cozinha pode ser cortada de forma a
acomodar a instalação de cubas, fogões e cooktops, além de acessórios integrados como
tábuas para corte e escorredores.
31
LIGAÇÃO DE PIA DE COZINHA COM SIFAO E CAIXA
SIFONADA
1) Válvula com Inox para Pia Americana 3 ½”2
2) Sifão Mobylle® Copo Multiuso
3) Joelho 90° Esgoto Série Normal DN 40
4) Tubo Esgoto Série Normal DN 40
5) Caixa de Gordura Linha Caixas Múltiplas DN 50 x 100
32
LIGAÇÃO DE PIA DE COZINHA COM CAIXA SIFONADA
Rápido Escoamento
Este sistema, sem o sifão, tem a vantagem do rápido escoamento de água.
Caso se queira aumentar, ainda mais, a velocidade de escoamento, deve-se usar curvas
curtas em substituição aos joelhos.
33
MOTO-BOMBA
Figura 11
Aplicação/Descrição: Uma bomba hidráulica (Fig. 11) é um dispositivo que adiciona
energia aos líquidos, tomando energia mecânica de um eixo, de uma haste ou de um outro
fluido: ar comprimido e vapor são os mais usuais. As formas de transmissão de energia
podem ser: aumento de pressão, aumento de velocidade ou aumento de elevação – ou
qualquer combinação destas formas de energia. Como consequência, facilita-se o
movimento do líquido. É geralmente aceito que o líquido possa ser uma mistura de líquidos
e sólidos, nas quais a fase líquida prepondera.
34
LIGAÇÃO DE MOTO-BOMBA
35
36
37
38
39
40
41
42
43
44
45
46
47
48
49
50
51
Fontes de Pesquisa
 http://www.dancor.com.br/manual/manual-bombas_man.pdf,
acesso em 10/06/2014;
 http://www.lavaloucas.com.br/web_files/downloads/BLF12-lava-
louca-brastemp-ative.pdf, acesso em 10/06/2014;
 http://www.fazfacil.com.br/reforma-construcao/cheiro-esgoto-
dentro-casa/, acesso em 10/06/2014;
 http://mlb-s2-p.mlstatic.com/caixa-sifonada-cs9-astra-14577-
MLB2719654281_052012-F.jpg, acesso em 10/06/2014;
 http://conextec.com.br/img/caixas-gorduralBig.jpg, acesso em
10/06/2014;
 http://pt.wikipedia.org/wiki/Chuveiro, acesso em 10/06/2014;
 http://imoveis.culturamix.com/blog/wp-
content/gallery/1_68/alguns-sinais-importantes-de-chuveiros-
eletricos-3.jpg, acesso em 10/06/2014;
 http://www.tigre.com.br/enciclopedia/uploads/galeria/0ecf1e6
857024be7a6363977e061b31b.jpg, acesso em 10/06/2014;
 http://lh5.ggpht.com/_9ZanLNCqfDs/SbrHFHPGtKI/AAAAAAA
AA58/5-
RdQDcB90g/troca%20reparo%20v%C3%A1lvula%20Hydra_t
humb%5B1%5D.jpg?imgmax=800, acesso em 10/06/2014;
 http://www.censi.com.br/admin/ckeditor/ckfinder/userfiles/ima
ges/valvula(1).jpg, acesso em 10/06/2014;
 http://www.fazfacil.com.br/reforma-construcao/valvula-
descarga-instalar/, acesso em 10/06/2014;
52
 http://flog.vermais.com.br/flog/images/upload/889/34578/7561
40/image.jpg?1377568342, acesso em 10/06/2014;
 http://www.tigre.com.br/enciclopedia/uploads/galeria/3531518
6d11284ce2c4242553f2ce9a3.jpg, acesso em 10/06/2014;
 http://www.aecweb.com.br/cont/m/rev/descarga-de-embutir-
de-duplo-fluxo-economiza-agua-com-limpeza-eficiente_3988,
acesso em 10/06/2014;
 http://www.aecweb.com.br/tematico/img_figuras/img-1-
490$$2672.jpg, acesso em 10/06/2014;
 http://www.hidroshop.com.br/lojas/00012503/prod/9000DWde
t.jpg, acesso em 10/06/2014;
 http://www.tigraoderamos.com.br/produtos/imagens/4317_S_i
magem.jpg, acesso em 10/06/2014;
 http://www.tigre.com.br/enciclopedia/api.php/artigo/111/PLAN
TA+BAIXA+E+ESQUEMAS+DE+INSTALA%C7%C3O,
acesso em 10/06/2014;
 http://adrenaline.uol.com.br/forum/geral/260548-bide-para-
que-serve-3.html, acesso em 10/08/2014;
 http://static.hsw.com.br/gif/how-to-repair-a-dishwasher-1.jpg,
acesso em 10/06/2014;
 http://www.lavaloucas.com.br/web_files/downloads/BLF12-
lava-louca-brastemp-ative.pdf, acesso em 10/06/2014;
 http://www.geprofile.com.br/geprofile/files/pdf/abed35fb0bf44
8da674054296c61ab85.pdf, acesso em 10/06/2014;
53
 http://www.tigraoderamos.com.br/produtos/imagens/4361_S_
0214m.jpg, acesso em 10/06/2014;
 http://3.bp.blogspot.com/-olg-
NQcVl94/T7wLwllmooI/AAAAAAAAAYA/eDVhGqucQu8/s160
0/DSC02427.JPG, acesso em 10/06/2014;
 http://www.jrrio.com.br/construcao/instalacoes/pia-cozinha-
caixa-sifonada.html, acesso em 10/06/2014;
 http://www.soscondominios-pe.com.br/images/bomba-d-
agua.jpg, acesso em 10/06/2014.

INSTALAÇÕES HIDRO - SANITÁRIAS.

  • 1.
    1 ENGENHARIA CIVIL NOTURNO DESENHO TÉCNICOII - PROJETOS _______________________________________________ UniEVANGÉLICA – Centro Universitário de Anápolis Curso de Engenharia Civil 4º Período – Noturno Disciplina: Desenho Técnico II - Projetos Professora: Ms. Ana Lúcia Carrijo Acadêmicos: Jean Mendes Gabriel Cabral Anápolis, 15 de junho de 2014.
  • 2.
  • 3.
    3 SIFÃO Figura 1 Aplicação/Descrição: Éum dispositivo (Fig. 1) que recebe as águas servidas conduzindo- as ao esgoto sanitário e ao mesmo tempo impede o retorno de gases, isso devido a bolsa de água acumulada no sifão que impede a passagem destes gases. Os sifões são peças fundamentais para impedir a passagem do mau cheiro que são emitidos pelos esgotos. Geralmente são instalados nas pias de cozinha, nos lavatórios dos banheiros ou nos tanques de lavar roupas. A NBR 8160 (Norma Brasileira da Associação Brasileira de Normas Técnicas exige que o seu fecho hídrico seja de 50 mm). Os sifões com copo facilitam a manutenção, pois, permitem a limpeza constante no caso de acúmulo de detritos.
  • 4.
    4 LIGAÇÃO DE LAVATÓRIOCOM SIFÃO 1) Válvula para Lavatório 7/8” 2) Sifão Mobylle® Copo Multiuso 3) Joelho 90° Esgoto Série Normal DN 40 4) Tubo Esgoto Série Normal DN 40 5) Caixa Sifonada Girafácil DN 100x140x50 6) Torneira para Lavatório* 7) Engate Flexível de PVC ½” 8) Joelho 90° Soldável e com rosca DN 25 x ½” 9) Tubo Soldável Marrom DN 25
  • 5.
    5 LIGAÇÃO DE LAVATÓRIODE COLUNA 1) Válvula para Lavatório 7/8” 2) Adaptador para Válvula de Pia e Lavatório DN 40 3) Luva de Correr Esgoto Série Normal DN 40 4) Tubo Esgoto Série Normal DN 40 5) Joelho 90° Esgoto Série Normal DN 40 6) Caixa Sifonada Girafácil DN 100x140x50 7) Torneira para Lavatório 8) Engate Flexível de PVC ½” 9) Joelho 90° Soldável e com rosca DN 25 x ½” 10) Tubo Soldável Marrom DN 25
  • 6.
    6 CAIXA SIFONADA Figura 2 Aplicação/Descrição:As peças (Fig. 2) do encanamento que são SIFONADAS, tem como o nome indica um SIFÃO (em outras palavras é uma parte do cano mergulhado em permanência na agua) que por este motivo não permite o retorno de cheiros através da grelha do ralo.
  • 7.
  • 8.
    8 LIGAÇÃO LAVATÓRIO COMCAIXA SIFONADA 1) Válvula para Lavatório 7/8” 2) Adaptador para Válvula de Pia e Lavatório DN 40 3) Luva de Correr Esgoto Série Normal DN 40 4) Tubo Esgoto Série Normal DN 40 5) Joelho 90° Esgoto Série Normal DN 40 6) Caixa Sifonada Girafácil DN 100x140x50 7) Torneira para Lavatório 8) Engate Flexível de PVC ½” 9) Joelho 90° Soldável e com rosca DN 25 x ½” 10) Tubo Soldável Marrom DN 25
  • 9.
    9 CHUVEIRO Figura 3 Aplicação/Descrição: Chuveiro(Fig. 3) (também chamado de ducha ou duche) é o nome pelo qual é chamado a terminação da rede de água numa residência, com orifícios pequenos que possibilitam sua dispersão e assim molhar uma maior área de modo uniforme, e destinada ao banho e higiene pessoais. Há uma diferenciação entre "tomar uma ducha" e "tomar um banho", no qual o primeiro não se faz necessário o uso de sabonete.
  • 10.
    10 LIGAÇÃO DE CHUVEIRO 1)Chuveiro Elétrico* 2) Joelho 90° Soldável e com Bucha de Latão DN 25 x ½” 3) Tubo Soldável Marrom DN 25 4) Registro de Chuveiro Soldável DN 25 5) Tê Soldável Marrom DN 25 6) Ralo com Saída Articulada DN 100x40 7) Tubo Esgoto Série Normal DN 40 8) Caixa Sifonada Girafácil DN 100x140x50
  • 11.
    11 VÁLVULA DE DESCARGA Figura4 Aplicação/Descrição: Peças de utilização (Fig. 4) destinadas a permitir a descarga de água na vazão ideal para permitir a limpeza das bacias sanitárias, mediante comando manual, onde o seu fechamento é automático, ou seja, independe da ação humana. Válvula de descarga em corte.
  • 12.
    12 MONTAGEM DA VÁLVULADE DESCARGA 1) Tubo de Descarga VDE DN 38 2) Tubo de Ligação Ajustável DN 38 3) Espude 4) Anel de Vedação 5) Tubo Esgoto Série Normal DN 100 6) Curva 90° Curta Esgoto Série Normal DN 100 7) Válvula de Descarga 8) Adaptador Soldável Curto com Bolsa e Rosca para Registro DN 50 x 1 ½” 9) Tubo Soldável Marrom DN 50 10) Joelho 90° Soldável Marrom DN 50
  • 13.
    13 CAIXA DE DESCARGADE EMBUTIR Aplicação/Descrição: ECOLINE é uma descarga de embutir (Fig. 5) de duplo fluxo (3 a 6 litros) que contribui para o menor consumo de água. Ecologicamente correta, é constituída por um mecanismo que limita a capacidade da descarga em seis litros, independentemente do tempo de uso. Indicadas para banheiros de uso geral ou de acessibilidade. Projetadas para instalação em paredes de alvenaria ou de drywall com 10 cm de espessura, o produto assegura uma obra mais limpa, ambientes diferenciados e conforto. Isso se deve ao fato da descarga ser instalada na altura de 100 cm, a 127 cm do piso acabado. Com garantia de dez anos, é uma solução de fácil manutenção e silenciosa. A torneira bóia PFC (Positive Flux Control) possui um silenciador acoplado. VANTAGENS - Alta eficiência: Pelo fato da instalação ser feita a 100 cm do solo, gera maior energia hidrodinâmica. - Baixo custo de instalação: A descarga é instalada em diâmetros de tubulações menores. - Manutenção: Componentes internos são embutidos e desmontáveis por meio da janela de inspeção. - Ganho de espaço: Produto é embutido na parede. - Compatibilidade: Aplica-se em todas as bacias existentes. - Durabilidade: Garantia de 10 anos e baixo custo de manutenção. PRODUTO SUSTENTÁVEL ECOLINE exerce papel fundamental para a redução no consumo de água. Figura 5
  • 14.
    14 INSTALAÇÃO DE CAIXADE DESCARGA DE EMBUTIR
  • 15.
    15 CAIXA DE DESCARGA Figura6 Aplicação/Descrição: Faz a limpeza do vaso sanitário através de descarga (Fig. 6) acionada pela corda lateral da caixa. Possui engate flexível de PVC. Benefícios:  Produto certificado pelo Programa de Economia de Água.  Atende a norma NBR 15491.  Compatível com bacias de 6,8 e 9 litros, através de regulagem.  Fácil instalação.  Diversas cores para combinar com as louças e com o ambiente.  Fácil manuseio através da corda na lateral da caixa.  Acompanha engate flexível de PVC PLENA 30 cm.
  • 16.
    16 MONTAGEM DA CAIXADE DESCARGA 1) Caixa de Descarga Alta com Botão TIGRE 2) Engate Flexível de PVC ½” 3) Tubo de descarga com botão (já acompanha o item 1) 4) Espude 5) Anel de Vedação 6) Tubo Esgoto Série Normal DN 100 7) Curva 90° Curta Esgoto Série Normal DN 100 8) Joelho 90° Soldável e com rosca DN 25 x ½” 9) Tubo Soldável Marrom DN 25 10) Tê Soldável Marrom DN 25
  • 17.
  • 18.
    18 BIDÊ Figura 7 Aplicação/Descrição: Usoem banheiros (Fig. 7), lavabos, ambientes com espaço reduzido. Características Técnicas: Produto cerâmico esmaltado. Curiosidades: A mais antiga referência escrita de que se tem notícia, a respeito do bidê data de 1710. Por volta de 1900, graças às melhorias no sistema de encanamento das cidades, o bidê saiu do quarto e foram para o banheiro. Em 1960 foi criado o primeiro bidê eletrônico, um equipamento que é acoplado ao vaso sanitário, ideal para banheiros com pouco espaço, com regulador e controle de emissão de água automático.
  • 19.
    19 LIGAÇÃO DE BIDÊ: 1)Válvula para Lavatório 7/8” 2) Adaptador para Válvula de Pia e Lavatório DN 40 3) Luva de Correr Esgoto Série Normal DN 40 4) Tubo Esgoto Série Normal DN 40 5) Joelho 90° Esgoto Série Normal DN 40 6) Joelho 90° Soldável e com rosca de Latão DN 25 x ½” 7) Tubo Soldável Marrom DN 25 8) Engate Flexível de PVC ½”
  • 20.
    20 MÁQUINA DE LAVARLOUÇA Figura 8 Aplicação/Descrição: Uma máquina de lavar louças (Fig. 8) basicamente é uma máquina automática que limpa pratos, talheres, copos (algumas também lavam panelas). O usuário deve colocar a louça suja na máquina, adicionar detergente, ajustar os ciclos de lavagem adequados e ligar a máquina, e a partir disso ela realiza uma série de funções sem a ajuda do usuário:  ela se enche de água;  aquece a água até a temperatura adequada;  automaticamente abre o recipiente de detergente quando necessário;  lança jatos de água para limpar os pratos;  drena a água suja;  joga mais água nos pratos;  drena a água novamente;  aquece o ar para secar os pratos, se o usuário tiver selecionado essa operação. Além disso, as máquinas de lavar louças possuem sistemas de controle que monitoram a máquina automaticamente para se certificarem de que tudo esteja funcionamento de forma adequada.
  • 21.
    21 LIGAÇÃO DE MÁQUINADE LAVAR LOUÇA
  • 22.
  • 23.
  • 24.
  • 25.
  • 26.
  • 27.
    27 TANQUE DE LAVARROUPA Figura 9 Descrição: Serve para operação de lavagem (Fig. 9), enxágue e molho de roupas; Aplicação: obras residenciais horizontais, verticais, tipo isoladas ou em conjunto, de padrão popular, médio ou luxo e também em reformas.
  • 28.
    28 LIGAÇÃO DE TANQUEDE LAVAR ROUPA 1) Tanque de Lavar Roupas TIGRE 2) Válvula para Tanque 1 ¼” 3) Sifão Mobylle® Copo Multiuso 4) Joelho 90° Esgoto Série Normal DN 40 5) Tubo Esgoto Série Normal DN 40 6) Torneira para Lavatório 7) Joelho 90° Soldável e com Bucha de Latão DN 25 x ½” 8) Tubo Soldável Marrom DN 25
  • 29.
  • 30.
    30 PIA DE COZINHA Figura10 Aplicação/Descrição: É uma superfície (Fig. 10) geralmente horizontal, utilizada em cozinhas ou ambientes que envolvam preparo de alimentos. No caso das cozinhas tradicionais, não raro a pia de cozinha é instalada sobre um gabinete. A altura ideal de instalação para uma pia de cozinha deve variar entre 90 e 110 cm dependendo da estatura de quem vá usá-la. Para garantir a estabilidade não devem ter mais de 300 cm de comprimento, aproximadamente de 60 a 70 cm do fundo até a frente e são desenhados de forma a ultrapassar em alguns centímetros sua base, facilitando o alcance de objetos na superfície. A profundidade mínima é de 60 cm. A borda, como é conhecida a região da pia em sua extremidade, pode ser trabalhada em diversos acabamentos de acordo com a preferência de cada um. A pia de cozinha é instalada com frontão, que é uma peça integrada a pia e em contato com a parede, o que impede que líquidos derramados sobre a pia desçam para trás dela. Existem diversas possibilidades de decoração e acabamento de pia de cozinha, que vão desde as mais simples às mais elaboradas. A pia de cozinha pode ser cortada de forma a acomodar a instalação de cubas, fogões e cooktops, além de acessórios integrados como tábuas para corte e escorredores.
  • 31.
    31 LIGAÇÃO DE PIADE COZINHA COM SIFAO E CAIXA SIFONADA 1) Válvula com Inox para Pia Americana 3 ½”2 2) Sifão Mobylle® Copo Multiuso 3) Joelho 90° Esgoto Série Normal DN 40 4) Tubo Esgoto Série Normal DN 40 5) Caixa de Gordura Linha Caixas Múltiplas DN 50 x 100
  • 32.
    32 LIGAÇÃO DE PIADE COZINHA COM CAIXA SIFONADA Rápido Escoamento Este sistema, sem o sifão, tem a vantagem do rápido escoamento de água. Caso se queira aumentar, ainda mais, a velocidade de escoamento, deve-se usar curvas curtas em substituição aos joelhos.
  • 33.
    33 MOTO-BOMBA Figura 11 Aplicação/Descrição: Umabomba hidráulica (Fig. 11) é um dispositivo que adiciona energia aos líquidos, tomando energia mecânica de um eixo, de uma haste ou de um outro fluido: ar comprimido e vapor são os mais usuais. As formas de transmissão de energia podem ser: aumento de pressão, aumento de velocidade ou aumento de elevação – ou qualquer combinação destas formas de energia. Como consequência, facilita-se o movimento do líquido. É geralmente aceito que o líquido possa ser uma mistura de líquidos e sólidos, nas quais a fase líquida prepondera.
  • 34.
  • 35.
  • 36.
  • 37.
  • 38.
  • 39.
  • 40.
  • 41.
  • 42.
  • 43.
  • 44.
  • 45.
  • 46.
  • 47.
  • 48.
  • 49.
  • 50.
  • 51.
    51 Fontes de Pesquisa http://www.dancor.com.br/manual/manual-bombas_man.pdf, acesso em 10/06/2014;  http://www.lavaloucas.com.br/web_files/downloads/BLF12-lava- louca-brastemp-ative.pdf, acesso em 10/06/2014;  http://www.fazfacil.com.br/reforma-construcao/cheiro-esgoto- dentro-casa/, acesso em 10/06/2014;  http://mlb-s2-p.mlstatic.com/caixa-sifonada-cs9-astra-14577- MLB2719654281_052012-F.jpg, acesso em 10/06/2014;  http://conextec.com.br/img/caixas-gorduralBig.jpg, acesso em 10/06/2014;  http://pt.wikipedia.org/wiki/Chuveiro, acesso em 10/06/2014;  http://imoveis.culturamix.com/blog/wp- content/gallery/1_68/alguns-sinais-importantes-de-chuveiros- eletricos-3.jpg, acesso em 10/06/2014;  http://www.tigre.com.br/enciclopedia/uploads/galeria/0ecf1e6 857024be7a6363977e061b31b.jpg, acesso em 10/06/2014;  http://lh5.ggpht.com/_9ZanLNCqfDs/SbrHFHPGtKI/AAAAAAA AA58/5- RdQDcB90g/troca%20reparo%20v%C3%A1lvula%20Hydra_t humb%5B1%5D.jpg?imgmax=800, acesso em 10/06/2014;  http://www.censi.com.br/admin/ckeditor/ckfinder/userfiles/ima ges/valvula(1).jpg, acesso em 10/06/2014;  http://www.fazfacil.com.br/reforma-construcao/valvula- descarga-instalar/, acesso em 10/06/2014;
  • 52.
    52  http://flog.vermais.com.br/flog/images/upload/889/34578/7561 40/image.jpg?1377568342, acessoem 10/06/2014;  http://www.tigre.com.br/enciclopedia/uploads/galeria/3531518 6d11284ce2c4242553f2ce9a3.jpg, acesso em 10/06/2014;  http://www.aecweb.com.br/cont/m/rev/descarga-de-embutir- de-duplo-fluxo-economiza-agua-com-limpeza-eficiente_3988, acesso em 10/06/2014;  http://www.aecweb.com.br/tematico/img_figuras/img-1- 490$$2672.jpg, acesso em 10/06/2014;  http://www.hidroshop.com.br/lojas/00012503/prod/9000DWde t.jpg, acesso em 10/06/2014;  http://www.tigraoderamos.com.br/produtos/imagens/4317_S_i magem.jpg, acesso em 10/06/2014;  http://www.tigre.com.br/enciclopedia/api.php/artigo/111/PLAN TA+BAIXA+E+ESQUEMAS+DE+INSTALA%C7%C3O, acesso em 10/06/2014;  http://adrenaline.uol.com.br/forum/geral/260548-bide-para- que-serve-3.html, acesso em 10/08/2014;  http://static.hsw.com.br/gif/how-to-repair-a-dishwasher-1.jpg, acesso em 10/06/2014;  http://www.lavaloucas.com.br/web_files/downloads/BLF12- lava-louca-brastemp-ative.pdf, acesso em 10/06/2014;  http://www.geprofile.com.br/geprofile/files/pdf/abed35fb0bf44 8da674054296c61ab85.pdf, acesso em 10/06/2014;
  • 53.
    53  http://www.tigraoderamos.com.br/produtos/imagens/4361_S_ 0214m.jpg, acessoem 10/06/2014;  http://3.bp.blogspot.com/-olg- NQcVl94/T7wLwllmooI/AAAAAAAAAYA/eDVhGqucQu8/s160 0/DSC02427.JPG, acesso em 10/06/2014;  http://www.jrrio.com.br/construcao/instalacoes/pia-cozinha- caixa-sifonada.html, acesso em 10/06/2014;  http://www.soscondominios-pe.com.br/images/bomba-d- agua.jpg, acesso em 10/06/2014.