eteX
1
CALDEIRAS
Considerações Gerais
Eduardo TeixeiraNeto- Curso de Operadoresde Processo – RPR 2017
eteX
2
Sumario
1. Considerações Gerais 6
1.1. TERMOS LIGADOS AOS GERADORES DE VAPOR 7
2. COMPONENTES CLÁSSICOS 8
3. TIPOS DE CALDEIRAS 10
3.1 CALDEIRAS FLAMOTUBULARES 12
3.1.1 CALDEIRAS HORIZONTAIS 13
3.1.2 CALDEIRAS VERTICAIS 18
3.2 Caldeiras Aquatubulares 19
3.2.1 CALDEIRAS AQUOTUBULARES DE TUBOS RETOS 20
3.2.2 CALDEIRAS AQUOTUBULARES DE TUBOS CURVOS 23
3.2.3 CIRCULAÇÃO DA ÁGUA EM CALDEIRAS AQUOTUBULARES. 26
3.2.4 CALDEIRAS DE CIRCULAÇÃO POSITIVA FORÇADA 27
3.3 CALDEIRAS ELÉTRICAS 29
3.3.1 TIPOS DE CALDEIRAS ELÉTRICAS 30
4. FORNALHAS 33
4.1 CLASSIFICAÇÃO DAS FORNALHAS 33
4.2 Fornalhas sob Suporte 34
4.2.1 Fornalha de Suporte Estático 34
4.2.2 Fornalha de Suporte Movimentado 41
4.3 Fornalha de Queima em Suspensão 45
4.3.1 Queimadores de Combustíveis Líquidos 45
4.3.2 QUEIMADORES DE COMBUSTÍVEIS GASOSOS 48
4.3.3 QUEIMADORES DE COMBUSTÍVEIS SÓLIDOS PULVERIZADOS 49
5. ACESSÓRIOS E DISPOSITIVOS DE CALDEIRAS 51
eteX
3
5.1 APARELHOS DE ALIMENTAÇÃO DE ÁGUA 51
5.1.1 INJETORES 51
5.1.2 BOMBAS ALTERNATIVA 52
5.1.3 BOMBAS CENTRÍFUGAS 53
5.1.4 CONTROLE AUTOMÁTICO DE ÁGUA DE ALIMENTAÇÃO 53
5.1.4.1 APARELHO DE CONTROLE DE ALIMENTAÇÃO DE ÁGUA LIGA-
DESLIGA. 54
5.1.4.2 APARELHOS DE CONTROLE DE ALIMENTAÇÃO DE ÁGUA
MODULANTE 55
5.2 ALIMENTAÇÃO DE COMBUSTÍVEL 60
5.2.1 CONTROLE AUTOMÁTICO DE COMBUSTÃO 61
5.3 ALIMENTAÇÃO DE ENERGIA ELÉTRICA 61
5.4 VISOR DE NÍVEL 62
5.5 MANÔMETROS 63
5.6 DISPOSITIVOS DE SEGURANÇA 65
5.6.1 VÁLVULAS DE SEGURANÇA 65
5.6.2 PROTEÇÃO E CONTROLE DE CHAMA 68
5.7 DISPOSITIVOS DE CONTROLE 69
5.7.1 PRESSOSTATOS 69
5.7.2 CHAVE SEQÜÊNCIAL 70
5.7.3 VÁLVULAS E TUBULAÇÕES 70
5.7.4 OUTROS ACESSÓRIOS 75
5.7.4.1 PREAQUECEDOR DE AR 75
5.7.4.2 ECONOMIZADOR 77
5.7.4.3 SUPERAQUECEDORES 79
5.7.4.4 PURGADORES 81
eteX
4
6. TIRAGEM 82
6.1 TIRAGEM NATURAL 82
6.2 TIRAGEM FORÇADA E INDUZIDA 82
6.3 TIRAGEM MISTA OU BALANCEADA 83
6.4 CONTROLE DE TIRAGEM 84
6.5 CHAMINÉ 84
7. COMBUSTÃO E COMBUSTÍVEL 85
7.1 DEFINIÇÕES 85
7.2 CÁLCULO DO AR NECESSÁRIO À COMBUSTÃO - COMBUSTÍVEL
LÍQUIDOS 87
7.3 ESTEQUIOMETRIA DA COMBUSTÃO 88
7.4 CONTROLE DE AR EM EXCESSO E EM FALTA 88
8. ÁGUA DE ALIMENTAÇÃO DAS CALDEIRAS 90
8.1 UNIDADES ADOTADAS 90
8.2 ANÁLISE DA ÁGUA 91
8.3 TRATAMENTOS E APARELHAGENS 93
8.3.1 TRATAMENTOS EXTERNOS 93
8.3.1.1 ABRANDAMENTO 96
8.3.1.2 DESMINERALIZAÇÃO 97
8.3.1.3 DESGASEIFICAÇÃO 97
8.3.1.4 REMOÇÃO DA SÍLICA 101
8.3.2 TRATAMENTO INTERNO 101
8.4 CONSIDERAÇÕES FINAIS 101
eteX
5
1. Considerações Gerais
Atualmente, graças a todos os aperfeiçoamentos e a intensificação da produção
industrial, a caldeira ocupa um lugar muito importante pois gera o vapor indispensável a
muitas atividades, não só para movimentar máquinas, mas também para limpeza
(esterilização), aquecimento, e participação direta no processo produtivo, como matéria-
prima.
Além da indústria, outras empresas, utilizam, cada vez mais vapor gerado pelas
caldeiras, como por exemplo: restaurantes, hotéis, hospitais, frigoríficos.
Caldeira é um trocador de calor que, trabalhando com pressão superior à pressão
atmosférica, produz vapor, a partir da energia térmica fornecida por uma fonte qualquer.
É constituída por diversos equipamentos integrados, para permitir a obtenção do maior
rendimento térmico possível e maior segurança.
Esta definição abrange todos os tipos de caldeiras, sejam as que vaporizam água,
mercúrio ou outros fluídos e que utilizam qualquer tipo de energia, inclusive a elétrica.
Quase sempre, a fonte produtiva de calor é um combustível especificamente utilizado
com esta finalidade mas podem ser aproveitados, também, entre outros calores residuais
de processos industriais, escape de motores Diesel ou turbinas a gás. Neste caso, o
equipamento é chamado "Caldeira de Recuperação".
Algumas vezes, o fluído permanece no estado líquido, apenas com temperatura elevada
para ser aproveitado nos processos de aquecimento (calefação), formando, deste modo,
a linha de caldeiras de água quente.
A produção de vapor pode ser conseguida, também, pela absorção da energia térmica
desprendida pela fissão do urânio.
O material contido neste trabalho, se refere, principalmente, às caldeiras que produzem
vapor d’água, a partir de combustíveis sólidos ou líquidos.
Para produzir o vapor d'água, é necessário que haja a combustão na caldeira.
Quanto mais alta a viscosidade do combustível, mais difícil será a sua nebulização, ou
seja, mais difícil será a sua divisão em gotículas. O preaquecimento do óleo combustível
é fundamental para atingir os limites adequados de viscosidade necessários para uma
boa pulverização.
Tendo em vista a variação de viscosidade do óleo combustível, a temperatura de
aquecimento não é fixa, devendo ser ajustada quando necessário. É importante salientar
que estas temperaturas não devem aproximar-se muito do ponto de fulgor do óleo
combustível.
eteX
6
1.1. TERMOS LIGADOS AOS GERADORES DE
VAPOR
 CAPACIDADE DO GERADOR DE VAPOR
É o quanto a caldeira produz de vapor, podendo ser representada por:
1. Quilo de vapor ou tonelada de vapor por hora (kg/h,t/h).
2. BHP - “boiler horse-power”, onde 1BHP  15,65 kg/h.
3. Quilo de vapor por metro quadrado (kg/m2 )de superfície de aquecimento.
 SUPERFÍCIE DE AQUECIMENTO
É a área de tubulação (placa metálica) que recebe o calor dos gases quentes responsável
por vaporizar a água (m2).
 CALOR ÚTIL
É a parcela de calor produzida pelo combustível que se transferiu para a água formando
vapor.
 EFICIÊNCIA TÉRMICA
É a relação entre o calor útil e o conteúdo térmico total do combustível queimado.
T
= vazão em massa de vapor fornecido, vazão em massa de combustível (kg/h).
hs, he = entalpia do vapor de saída, entrada (kJ/kg)
PCI = poder calorífico inferior do combustível queimado (kJ/kg).
2. COMPONENTES CLÁSSICOS
Atualmente os geradores de vapor de grande porte são constituídos de uma associação
de componentes, de maneira a constituírem um aparelho complexo, principalmente
quando destinados a queima de combustível sólidos que incluem superaquecedores,
economizadores, Pré-aquecedores de ar, captadores de fuligem, extratores mecânicos de
cinza, e outros. As unidades menores destinadas a gerar vapor de calefação em
pequenas e médias indústrias dispensam a quase totalidade dos componentes citados
anteriormente. Assim sendo, os componentes clássicos das caldeiras são listados a
seguir, com a ressalva que nem todos os componentes abaixo, necessariamente, fazem
parte de todos os geradores de vapor.
eteX
7
1. Cinzeiro Lugar onde depositam as cinzas e ou eventualmente restos de
combustíveis que atravessam o suporte de queima sem completarem sua
combustão.
2. Fornalha Local onde se instala a início do processo de queima, seja para a
queima de combustíveis sólidos, líquidos ou gasosos.
3. Câmara de combustão
Volume onde se deve extinguir toda a matéria combustível antes dos produtos de
combustão atingirem e penetrarem no feixe de absorção do calor por convecção. Esta
câmara por vezes se confunde com a própria fornalha dela fazendo parte, Outras vezes
separa-se completamente. A câmara de combustão pode ser constituída pela própria
alvenaria refratária, ou revestida de tubos (parede de água), ou integralmente irradiada.
4. Caldeira de vapor
Corresponde ao vaso fechado, à pressão, com tubos, contendo a água no seu interior,
que ao receber calor se transforma em vapor
5. Superaquecedor
Responsável pela elevação da temperatura do vapor saturado gerado na caldeira. Todo o
vapor ao passar por este aparelho se superaquece.
6. Economizador
Onde a temperatura da água de alimentação sofre elevação, aproveitando o calor
sensível residual dos gases da combustão, antes de serem eliminados pela chaminé.
7. Aquecedor de ar
Também conhecido como Pré-aquecedor de ar, cuja função é aquecer o ar de combustão
para a seguir introduzi-lo na fornalha, graças ao aproveitamento do calor sensível dos
gases da combustão.
8. Canais de gases
São trechos intermediários ou finais de circulação dos gases de combustão até a
chaminé. Estes canais podem ser de alvenaria ou de chapas de aço conforme a
temperatura dos gases que neles circulam.
9. Chaminé
É a parte que garante a circulação dos gases quentes da combustão através de todo o
sistema pelo chamado efeito de tiragem. Quando a tiragem, porém, é promovida por
ventilador exaustor, sua função se resume no dirigir os gases da combustão para a
atmosfera. Neste caso se diz que a tiragem é induzida. A circulação dos gases também
poderá ser assegurada por um ventilador soprador de ar de combustão com pressão
suficiente para vencer toda a perda de carga do circuito. Neste exemplo, a tiragem se diz
forçada.
eteX
8
Tomando por base a unidade mais complexa, a figura 2.1 permite identificar os
componentes clássicos e o princípio de funcionamento da instalação.
Princípio de funcionamento de uma unidade complexa com fornalha para queima de
lenhas em toras
Fig.2.1
3. TIPOS DE CALDEIRAS
Existem diversas formas para se classificar as caldeiras. Por exemplo, elas podem ser
classificadas sob os seguintes aspectos:
 Quanto à Localização Água-Gases:
A) Flamotubulares
Verticais
Horizontais
Fornalhas corrugadas
Traseira seca
Traseira molhada
Observação: Todos os tipos acima com 1,2 ou 3 passes.
B) Aquatubulares
eteX
9
Tubos retos
Tubos curvos
Perfil A
Perfil D
Perfil O
Lâmina, cortina ou parede de água
C) Mistas
 Quanto à Energia Empregada para o Aquecimento:
A) Combustíveis
Sólidos
Líquidos
Gases
B). Elétricas
Jatos-de-água
Eletrodos submersos
Resistores
C) Caldeiras de Recuperação
Gases de outros processos
Produção de soda ou licor negro
D). Nuclear
 Quanto à Montagem:
A) Caldeiras pré-montadas (compactas)
B) Caldeiras montadas em campo
 Quanto à Sustentação:
A) Caldeiras autossustentadas
eteX
10
B) Caldeiras suspensas
C) Sustentação mista
 Quanto à Circulação de Água:
A) Circulação natural
B) Circulação forçada
C). Combinada
 Quanto ao Sistema de Tiragem:
A) Tiragem natural
B) Tiragem forçada
C) Tiragem balanceada ou induzida
Aguardaremos, neste trabalho, a classificação quanto à localização relativa água-gases
e, à parte, as Caldeiras Elétricas:
3.1 CALDEIRAS FLAMOTUBULARES
Este foi o primeiro tipo de caldeira construída. É também chamada de tubo-de-fogo,
tubo-de-fumaça ou piro tubular, por causa dos gases quentes provenientes da combustão
que circulam no interior dos tubos em um ou mais passes, ficando a água por fora dos
mesmos. É o tipo de caldeira mais simples. Muito usada em locomotivas e navios,
mesmo com o aparecimento de caldeiras mais modernas, este tipo ainda continua em
uso. Posteriormente, com alguns aperfeiçoamentos, passou a chamar-se caldeira
escocesa.
Segundo o esquema, notamos que a caldeira tipo flamotubular não passa de um cilindro
externo que contém a água e um cilindro interno destinado à fornalha. Sua tiragem ou
saída de gases é normal. A carcaça é construída de chapas que variam de espessura de
acordo com o porte da caldeira e a sua pressão pode variar entre 5 a 10 quilogramas-
força por centímetro quadrado, sendo que as maiores unidades atingem a produção de 6
t/h, saturado e pressões não superiores a 17 kgf/cm2. Maiores produções e pressões
determinam a utilização de caldeiras aquatubulares.
Sucessivos estudos visando ao aperfeiçoamento das caldeiras revelaram que a
temperatura oscilava entre 316 a 4270 (graus Celsius), que era perdida na chaminé.
Resolveram aproveitar esta perda, a fim de reduzir o custo do combustível que, na época
era o carvão mineral.
O problema foi resolvido, aumentando a superfície de aquecimento da água colocando
tubos em quantidade suficiente e forçando os gases quentes a passarem pelos tubos em
passes, depois, pela tiragem na chaminé. Com isso, o rendimento foi aumentado,
embora esse tipo de caldeiras não tivesse eficiência superior a 60%.
eteX
11
Podemos ainda classificar as caldeiras flamotubulares em: HORIZONTAIS E
VERTICAIS.
Fig.3.1
3.1.1 CALDEIRAS HORIZONTAIS
A) Caldeira Cornuália:
Consta de um cilindro colocado inteiramente no sentido horizontal, ligando a fornalha
até o local de saída dos gases. Seu funcionamento é simples, apresenta baixo
rendimento e sua pressão não ultrapassa 10 Kg/cm2 (figura 3.1).
B) Caldeira Lancaster:
Sua construção é idêntica à Cornuália, podendo apresentar de dois a quatro tubos
internos.(figura 3.2)
Caldeira Cornuália e tipos de caldeiras Lancaster, corte transversal
Figura 3.2
Estes tipos de caldeiras são chamados de tubo-de-fogo-direto; porque os gases
percorrem os tubos da caldeira uma única vez.
eteX
12
Dentro ainda das caldeiras flamotubulares horizontais de fogo direto existem as
multitubulares, que contam com vários tubos internos conforme pode ser visto na figura
3.3.
Há caldeiras que apresentam Tubos-de-fogo e de retorno; os gases desprendidos durante
a combustão na fornalha, circulam por tubos que os fazem retornar ao lado da fornalha e
em seguida para a chaminé.
Caldeira flamotubular horizontal - multitubular
Fig.3.3
C) Caldeiras Multitubulares de Fornalha Externa:
O aquecimento é feito diretamente na base do cilindro e os gases retornam pelos tubos-
de-fogo. A fornalha pode ser construída em alvenaria e ocupa quase a extensão do
cilindro (figura 3.4).
eteX
13
Fig.3.4
D) Caldeiras Locomotivas ou Locomóveis:
Também é do tipo multitubulares. Sua característica principal é a fornalha que apresenta
uma dupla parede em chapa, por onde circula a água. Quando o combustível é lenha ou
carvão, possui, na parte inferior um conjunto de grelhas que servem para manter a lenha
em posição de queima e dar escoamento às cinzas. Estas são captadas em uma caixa
colocada logo abaixo das grelhas, chamadas de cinzeiro.
Quando se trata de locomotivas, o cinzeiro, além de ser um dispositivo de segurança, é
também, um regulador de tiragem, tanto na locomotiva parada como em marcha.
(Fig.3.5)
O largo emprego deste tipo de caldeira se deve à facilidade de transferência de um local
para outro, podendo ser acionada mecanicamente onde não houver energia elétrica.
Fig.3.5
E) Caldeiras Escocesas ou Compactas:
Este tipo de caldeira teve largo emprego na Marinha, por ser construída de forma que
todos os equipamentos colocados formam uma única peça. Seu diâmetro é bastante
reduzido, sendo de fácil transporte e pode ser operada de imediato. Os gases produzidos
na fornalha circulam várias vezes pela tubulação, sendo impulsionados por ventiladores.
O combustível usado é unicamente óleo ou gás, podendo seu rendimento atingir a 83%.
A figura 3.6 dá um exemplo de caldeira escocesas com 3 voltas de chama.
As caldeiras escocesas apresentam diversas disposições construtivas (figura 3.7)
contando com traseira molhada, traseira seca, dois e três passes, fornalha corrugada,
para aumentar a superfície de troca térmica, podendo ter queima de óleo, gás ou
combustível sólido.
eteX
14
Fig.3.6
eteX
15
Fluxo de gás em caldeiras tipo escocesa
Fig. 3.7
3.1.2 CALDEIRAS VERTICAIS
Este tipo de caldeira tem as mesmas características da caldeira horizontal
multitubulares.
Os tubos são colocados verticalmente dentro do cilindro e a fornalha interna fica no
corpo do cilindro. Existem tipos cuja fornalha é externa.
Esta caldeira é usada em locais onde o espaço é reduzido e não requer grande
quantidade de vapor, mas alta pressão.
eteX
16
Os gases resultantes da queima na fornalha sobem pelos tubos e aquecem a água que se
encontra por fora dos mesmos.
Fig. 3.8
Podem ser de fornalha interna (figura 3.8) ou de fornalha externa. Geralmente as
fornalhas internas são envolvidas por uma câmara de água formada pelo prolongamento
do corpo cilíndrico, já as caldeiras verticais de fornalha externa são aplicadas
principalmente quando é usado combustível de baixo pci (bagaço de cana, casca de
laranja, madeira, carvão, etc.)
Atualmente a grande maioria das caldeiras flamotubulares em operação são automáticas
ou semiautomáticas embora se encontre ainda pequenas caldeiras piro tubulares
operando normalmente. Os dispositivos automáticos mais comumente encontrados são
os alimentadores de água e de óleo.
3.2 Caldeiras Aquatubulares
Somente foi possível a obtenção de maiores produções de vapor, a pressões elevadas e
altas temperaturas com o aparecimento das caldeiras aquatubulares (tubos de água). O
fato dos tubulões estarem situados fora dos corpos das caldeiras, a eles se unindo para
constituírem um feixe tubular de água que compõe a parte principal de absorção de
calor, permite a obtenção de grandes superfícies de aquecimento. A figura 3.9
representa uma seção transversal de feixe aquatubular unindo dois tambores, no interior
dos tubos circula a água e por fora os gases quentes através do caminho formado pela
alvenaria e chicanas internas.
eteX
17
Circulação de água em uma caldeira aquatubular
Fig.3.9
A água é vaporizada nos tubos que constituem a parede mais interna. Recebendo calor
primeiro, vaporiza e sobe até o tambor superior, dando lugar à nova quantidade de água
fria que será vaporizada e assim sucessivamente. Esse tipo de circulação de água,
provocada apenas pela diferença de peso específico entre a água ascendente e
descendente, é característica das chamadas caldeiras com circulação natural.
A medida que a caldeira aquatubular aumenta sua capacidade, aumenta também seu
tamanho, quantidade de tubos e por consequência as perdas de cargas no circuito
hidráulico tornando a circulação por meio de bombas necessária, são as chamadas
caldeiras de circulação forçada.
A produção de vapor nestes tipos de caldeiras pode atingir capacidades de 600 até 750
t/h com pressões de 150 a 200 kgf/cm2, temperaturas de 450 - 500 ºC existindo unidades
com pressões críticas (226 atm.) e supercríticas (350 kgf/cm2).
A flexibilidade permitida pelo arranjo dos tubos que constituem os feixes ou parede
d’água possibilitam uma vasta variedade de tipos construtivos conforme veremos na
classificação a seguir:
- Caldeiras aquatubulares de tubos retos, podendo, os tambores estarem colocados no
sentido longitudinal ou transversal.
- Caldeiras aquatubulares de tubos curvos, que podem apresentar de um a mais de
quatro tambores, no sentido longitudinal ou transversal.
- Caldeiras aquatubulares de circulação positiva.
eteX
18
3.2.1 CALDEIRAS AQUOTUBULARES DE TUBOS
RETOS
Essas foram as primeiras caldeiras tubo-de-água que surgiram e tinham uma capacidade
de produção de 3 a 30 toneladas-vapor/hora com pressões de até 45 Kg/cm2. Os projetos
foram apresentados pelas firmas Babcok & Wilcox e a Steam Muller Corp.
Consiste em um feixe de tubos retos e paralelos que se interligam com o tambor de
vapor, através de câmaras, sendo que através dos espaços existentes entre os tubos
circulam os gases quentes. As figuras 3.10 e 3.11 são dois exemplos deste tipo de
gerador de vapor com tambor longitudinal e transversal respectivamente
Caldeira de tubos retos e tambor longitudional
Fig.3.10
eteX
19
Caldeira aquatubular de tubos retos e tambor transversal
Fig.3.11
A figura 3.12 apresenta uma das formas de fixação dos tubos mais usadas na fabricação
de caldeiras.
Feixe de tubos expandidos nas câmaras onduladas (coletores ondulados)
Fig.3.12
eteX
20
3.2.2 CALDEIRAS AQUOTUBULARES DE TUBOS
CURVOS
A principal característica deste tipo, são os tubos curvos que se unem aos tambores por
solda ou mandrilhamento, o que representa grande economia na fabricação e facilidade
na manutenção. Além de serem bastantes práticas para limpar, possibilitam a produção
de grande quantidade de vapor.
As primeiras caldeiras deste tipo foram idealizadas por Stirling. Apresentavam um
número de tambores variados, e um grande volume de água. Na figura 3.13
apresentamos um esquema desse tipo de caldeira, com três tambores superiores e um
inferior, existindo modelos com dois tambores inferiores.
Partindo deste modelo, foram projetadas novas caldeiras. Com o objetivo de se
aproveitar melhor o calor irradiado na fornalha, reduziu-se o número e o diâmetro dos
tubos, e acresceu-se uma parede de água em volta da fornalha o que serviu como meio
de proteção ao refratário da mesma, diminuição da caldeira, eliminação total dos
refratários de alta qualidade e vaporização mais rápida.
Fig.3.13
A figura 3.14 representa uma caldeira com dois tambores transversais e parede de água,
enquanto a figura 3.15 mostra uma caldeira com três tambores transversais.
eteX
21
Fig.3.14
Fig.3.15
Dentro da categoria de tubos curvos cabe analisar em separado, uma versão que mantém
grande projeção no mercado consumidor: a caldeira aquatubular compacta de operação
totalmente automatizada, conforme esquema da figura 3.16.
eteX
22
Corte de uma caldeira aquatubular compacta
Fig.3.16
Com produções até 100 toneladas de vapor por hora e obtenção de eficiência térmica
elevada (até 80%), estas unidades são oferecidas para pronto funcionamento, dispensado
a montagem no campo, fazendo apenas as interligações e instalações elétricas-
eletrônicas e hidráulicas.
Unidades não transportáveis num único pacote são fornecidas ou em blocos semi-
compactos ou em componentes unitários desmontados, de tal maneira que no local de
instalação estes componentes são unidos para completar a unidade.
3.2.3 CIRCULAÇÃO DA ÁGUA EM CALDEIRAS
AQUOTUBULARES.
Os aços aplicados na construção das caldeiras expostas aos gases quentes precisam ser
continuamente resfriados por água ou mistura água-vapor para conservarem suas
qualidades de resistência, pois até a temperatura limite de 450ºC para os aços carbonos
comuns, 590ºC para os aços martensíticos e 650ºC para outras ligas martensíticas, estes
materiais conservam suas propriedades mecânicas. Ultrapassando estes limites as
propriedades destes materiais utilizados na construção de caldeiras começam a diminuir
sua resistência mecânica.
Assim sendo o resfriamento da superfície metálica que é submetida a tais temperaturas é
vital para a segurança do equipamento. Cabe, portanto, a água este papel, seja no estado
líquido, seja vapor, mediante uma circulação permanente, controlada e orientada.
eteX
23
Numa unidade convencional a circulação da água se processa livremente, graças a
tendência natural provocada pela diferença de pesos específicos existentes entre a água
situada nas partes mais frias da caldeira e aquela contida nas zonas de alta temperatura
dos gases. A figura 3.17 apresenta quatro diferentes esquemas, cada um esclarecendo
como se processa a circulação natural da água no interior dos tubos.
Sabe-se que a circulação natural da água fica mais comprometida à medida que a
pressão se eleva. Constata-se que o vapor a pressão de 35 kgf/cm2 pesa por unidade de
volume 45 vezes menos que a água; à 140 kgf/cm2 7,5 vezes menos e a 210 kgf/cm2
apenas 2,5 vezes. Daí conclui-se que a circulação controlada por meios forçados é
fundamental nas caldeiras e altíssimas pressões, normalmente acima de 160 kgf/cm2.
Circulação Natural de água no interior dos tubos, diferentes concepções.
Fig.3.17
3.2.4 CALDEIRAS DE CIRCULAÇÃO POSITIVA
FORÇADA
eteX
24
Há dois tipos de concepções que se distinguem pelo sistema de circulação, todas
utilizando como meio de circulação uma bomba centrífuga de construção especial, para
resistir às altas pressões de operação das unidades.
No 1º tipo, toda água introduzida na caldeira circula uma só vez, através do
economizador, caldeira e superaquecedor, transformando-se diretamente em vapor. A
bomba de alimentação injeta na caldeira exatamente a quantidade de vapor a produzir.
No 2º tipo, além da bomba de alimentação existe outra destinada a recirculação da água
na caldeira.
As caldeiras de circulação positiva apresentam inúmeras vantagens como a ausência de
limite de pressão, e de capacidade, conhecendo-se exemplos com pressões supercríticas.
Além disso apresentam dimensões menores, aplicam tubos de pequeno diâmetro (da
ordem de 25 a 28mm), ausência de formação de depósitos internos, geram vapor
instantaneamente, exibem rendimentos altos e dispensam grandes tambores. Em
contrapartida exigem apurado controle da água de alimentação e manutenção cuidadosa
na bomba de circulação associado a aperfeiçoados e sensíveis instrumentos de controle.
A primeira concepção de caldeira de circulação forçada foi dada por Benson, a qual se
caracteriza pela construção monotubular, através da qual circula a água
unidirecionalmente, desde a entrada até a saída, já no estado de vapor, conforme
esquema da figura 3.18
Fig.3.18
Existe também a caldeira Belser ou Sulzer, que é a mesma caldeira Benson acrescida de
um tambor separador intermediário entre a seção geradora de vapor e o super aquecedor
eteX
25
conforme figura 3.19. Esta coleta cerca de 4% da água evaporada para aquecimento da
água de alimentação.
A caldeira “Le Mont” aproveitou a ideia do tambor separador com bomba de
recirculação (figura 3.20). A bomba de circulação opera com pressão superior a da
caldeira consumindo de 0,5 a 0,6% da energia produzida pela própria caldeira.
eteX
26
Principio Sulzer Princípio Le Mont
Fig.3.19 Fig.3.20
3.3 CALDEIRAS ELÉTRICAS
São basicamente constituídas pelo casco ou tambor, contendo uma cuba interna e os
eletrodos, um por fase. O casco é um vaso de pressão, cilíndrico-vertical, isolado
termicamente e convenientemente aterrado. A cuba é isolada eletricamente por meio de
porcelanas adequadas.
A alimentação de energia elétrica é feita através de três eletrodos-suportes, sendo um
por fase, dispostos a 1200 e fixados com isoladores na parte superior do tambor. Na
extremidade inferior dos eletrodos suporte estão montados os eletrodos de contato, os
quais ficam dentro da cuba imersos em água.
A corrente elétrica, passando através da água, no interior da cuba, provoca seu
aquecimento e vaporização.
A água pura é considerada um mau condutor de CORRENTE ELÉTRICA, portanto
devem-se adicionar determinados sais à mesma para que se possa obter uma
determinada CONDUTIVIDADE.
eteX
27
Alguns fabricantes recomendam a adição cáustica ou fosfato tri sódico na água de
alimentação (observe que esta deve ser calculada e colocada após o tratamento químico
da água de alimentação).
A quantidade se vapor gerada (Kg/h) depende diretamente dos seguintes parâmetros:
- Condutividade da água;
- Nível da água;
- Distância entre os eletrodos.
3.3.1 TIPOS DE CALDEIRAS ELÉTRICAS
a) Tipo Eletrodo Submerso: geralmente destinado a trabalhar com pressões de vapor
não muito elevadas (aproximadamente 15 Kgf/cm2.). A figura 3.21 mostra um dos
possíveis esquemas, utilizando o sistema de eletrodos submersos a baixa tensão (220 a
440 V), existe também nessa modalidade a alta tensão (3800 a 13800 V).
b) Tipo Jato de Água (cascata): destinada a pressões de vapor elevadas e grandes
quantidades de vapor. Observe um dos possíveis esquemas na figura 3.22, disponíveis
apenas para alta tensão (3,8 a 13,8 kV).
c) Tipo Resistência: destinada, geralmente, a pequenas produções de vapor. Na maioria
das vezes são do tipo horizontal, utilizando resistências de imersão.
 PRINCIPAIS CARACTERÍSTICAS DAS CALDEIRAS ELÉTRICAS
- Não necessita de área para estocagem de combustível;
- Ausência total de poluição (não há emissão de gases);
- Baixo nível de ruído;
- Modulação da produção de vapor de forma rápida e precisa;
- Alto rendimento térmico (aproximadamente 98,0%);
- Melhora do Fator de Potência e Fator de Carga;
- Área reduzida para instalação da caldeira;
- Necessidade de aterramento da caldeira de forma rigorosa;
- Tratamento de água rigoroso.
eteX
28
Caldeira elétrica tipo eletrodo submerso (baixa tensão)
Fig.3.21
1 - Corpo da Caldeira
2 - Eletrodo
3 - Câmara de Vapor
4 - Bomba de Circulação
5 - Bomba de Alimentação de Água
6 - Eliminador de Água
7 - Válvula de Segurança
eteX
29
Caldeira Elétrica tipo eletrodo jateado
Fig.3.22
Legenda:
1- Válvula de Descarga de Fundo 8 - Eletrodo
2 - Bomba de Circulação 9 - Cilindro com Injetores
3 - Válvula Controle de Vazão 10- Injetores
4 - Válvula de Segurança 11- Contra eletrodos
5 - Haste do Condutor 12- Aquecedor de Partida
6 - Isoladores 13- Entrada de Água de Alimentação
7 - Válvula de Saída de vapor
eteX
30
4. FORNALHAS
Fornalha é a denominação genérica que se dá para o local onde se queima o combustível
e donde partem os produtos desta combustão. É formada por duas partes distintas:
1- O aparelho de combustão
2- A câmara de combustão
O aparelho de combustão compreende um conjunto de componentes que oferecem as
condições necessárias para a queima de combustível. Exemplos de aparelhos de
combustão são as grelhas rotativas, as grelhas basculantes, o queimador a óleo, a gás,
etc.
A câmara de combustão é representada por um volume adequadamente dimensionado
onde se desenvolve a chama e se completa a combustão, além de propiciar a proteção e
os suportes necessários para o aparelho de combustão.
A fornalha deve evaporar toda a umidade do combustível e destilar suas substâncias
voláteis, elevar a temperatura do combustível até a combustão espontânea
proporcionando uma combustão completa, criar turbulência para misturar o ar e o
combustível e finalmente impedir a troca de calor entre os gases quentes produzidos e o
ambiente.
No interior da fornalha as paredes devem ser revestidas com uma camada de tijolos
refratários responsáveis por reter o calor no interior da fornalha, por isso devem ter
refratariedade e alto ponto de fusão, resistência ao choque térmico e dilatação quase
nula.
A fixação desses tijolos é feita com argamassa refratária. Os principais componentes
dos materiais refratários são o óxido de sílica, óxido de magnésio, grafite e silício.
Recomenda-se, quando da utilização de tijolos refratários novos, que se aplique pouco
calor nos primeiros momentos e se vá aumentando gradativamente, até atingirem suas
características de operação.
4.1 CLASSIFICAÇÃO DAS FORNALHAS
Várias são as maneiras de se classificar este componente importante dos geradores de
vapor, sendo assim optou-se pela classificação que engloba todas as fornalhas em
apenas duas categorias:
1- Fornalhas que queimam sobre suporte
2- Fornalhas de queima em suspensão
A primeira categoria engloba todas as fornalhas que queimam combustíveis sólidos à
granel, grosseiramente divididos, picados e britados.
eteX
31
A segunda se preocupa com a queima de combustíveis líquidos, gasosos ou sólidos
finamente pulverizados que podem ser queimados em suspensão.
4.2 Fornalhas sob Suporte
As fornalhas sob suporte congregam uma série de concepções construtivas
especificamente projetadas para a obtenção das melhores condições necessárias aos
variados combustíveis disponíveis para a queima.
Segundo a quantidade de combustível manipulado, seu grau de divisão e mecanização
da alimentação, as fornalhas sobre suporte são subdividas em dois grupos:
 Fornalhas de suporte estático
 Fornalhas de suporte movimentado
4.2.1 Fornalha de Suporte Estático
Neste grupo incluímos todas as fornalhas onde o combustível introduzido, permanece
praticamente em repouso sob o suporte até sua completa extinção. Se enquadram nesse
grupo, as seguintes fornalhas:
 Fornalha de Grelhas Planas
São adequadas para a queima de lenha em toras de um metro. A figura 4.1 mostra a
instalação de uma grelha plana em caldeira flamotubular.
O suporte todo costuma possuir ligeira inclinação para a parte posterior de 10 a 15 graus
para facilitar o manuseio do combustível durante os períodos de movimentação das
toras a que são submetidos.
A aplicação deste tipo de grelha é limitada a caldeiras com capacidade de gerar até 15
tv/h. A partir desta capacidade o suprimento manual do combustível se complica o
ponto de inviabilizá-lo. Projetos maiores, jamais deveriam adotar este sistema de
queima sob pena de contribuir para o desperdício de reversas florestais comprometidas
com outros programas mais coerentes com a economia da Nação.
eteX
32
Grelha Plana: a- caixa de fogo; b- suporte da grelha; c- barras de grelha; d- ponte de
fornalha
Figura 4.1
Fornalha de Grelha em Escada
Como o nome sugere, esta grelha é construída por placas de FOFO, formando degraus,
apoiados em travessões inclinados. O combustível é arrastado ou projetado no início do
plano inclinado, desce até formar um monte equilibrado, preenchendo todo o suporte. A
figura 4.2 apresenta quatro exemplos de grelha tipo escada. Em seguida na figura 4.3,
apresenta-se algumas disposições construtivas dos travessões inclinados que servem de
apoio às placas que compõem os degraus.
Estas grelhas, quando alimentadas mecanicamente se prestam para caldeiras de até 20
tv/h. Acima deste valor, há outros processos mais adequados e de mais fácil
manutenção.
eteX
33
Quatro exemplos de grelhas em escada
Fig. 4.2
eteX
34
Componentes da grelha de escada
Fig. 4.3
 Grelha Resfriada Inclinada
É uma variante da grelha anterior e consta de um plano inclinado constituído pelos
próprios tubos de circulação de água da caldeira. Esses tubos, afastados um do outro,
cerca de 60 a 120 mm são soldados em dois coletores, um alimenta o feixe inclinado e o
outro que recebe a água em circulação conectado com o resto da caldeira (figura 4.4).
Aplicam-se em unidades geradoras de até 100 t/h para a queima de qualquer biomassa,
mesmo aquelas contendo teores de umidade superiores a 50%. Se prestam, pois, para
queimar cavacos de lenhas, resíduos florestais, resíduos industriais, cascas de cereais e
outras biomassas.
eteX
35
Gerador de Vapor com Grelhas Inclinadas
Fig. 4.4
 Fornalhas Celulares
Extremamente simples, versáteis e satisfatória quanto a performance, são verdadeiras
câmaras de alvenaria refratária, sobre cujo piso, o combustível é despejado, formando
um monte que recebe ar insuflado em todos os planos, proporcionando a secagem
parcial e queima. São utilizados para queima de diferentes biocombustíveis, como:
cavacos, casca de madeira, serragem, cascas de cereais e de lenha, porém a aplicação
mais generalizada tem sido na queima de bagaço de cana. A figura 4.5 mostra como
opera uma fornalha deste tipo, identificando os tubeiros sopradores de ar, geralmente
introduzidos com uma velocidade entre 8 a 15 m/s.
eteX
36
Fornalha celular
Fig. 4.5
 Fornalhas com Grelhas Basculantes
A figura 4.6 apresenta um projeto de caldeira com grelhas basculantes para queima de
casca de arroz. As fornalhas desta categoria se aplicam para caldeiras de até 150 tv/h
Como se observa no desenho, a grelha é formada por piso plano constituído por placas
perfuradas, observe que o ar ingressa por baixo do piso basculante. As placas se apoiam
em travessões lisos que giram em torno de mancais laterais mediante a ação de um
pistão pneumático, que também pode ser visto pela figura 4.7. A cada ação do pistão
corresponde um basculante, durante o qual as cinzas caem no cinzeiro. Esta concepção
construtiva possui alimentação de combustível sempre por projeção. Há dois tipos de
distribuidores, um denominado aspegidor pneumático e outro mecânico (figura 4.7).
eteX
37
Caldeira Aquatubular com Grelha Basculante
Fig.4.6
Aspegidor de Combustível Sólido Tipo Mecânico
Fig. 4.7
4.2.2 Fornalha de Suporte Movimentado
eteX
38
Grandes números de concepções construtivas se enquadram nesta segunda subdivisão
de fornalhas de suporte. As principais características que se distinguem das anteriores,
reside no seguinte:
- Alimentação contínua e mecanizada do combustível
- Suportes constituídos por componentes que percorrem toda extensão do plano inferior
da fornalha com movimento contínuo assegurado por acionamento mecânico.
De acordo com o mecanismo aplicado para provocar o deslocamento do combustível,
distingue-se os seguintes tipos:
- Grelha caminhante por arraste;
- Grelha com alimentação por baixo;
- Grelha oscilante;
- Grelha com esteira contínua.
 Grelha Caminhante por Arraste
Trata-se de uma grelha inclinada constituída de elementos articulados que promovem
um movimento alternativo das placas de suporte. Há placas móveis e fixas, todas
apoiadas por estruturas de ferro fundido. As placas móveis, mediante ação de um
mecanismo correm guiadas sobre as fibras, deslocando o leito do combustível no
sentido do plano inclinado no movimento de vai e vem. O movimento é lento, de forma
a provocar um deslocamento com velocidade de queima necessária à caldeira, esta
grelha também é conhecida pelo nome de grelha vai e vem.
A figura 4.8 ilustra este tipo de grelha com inclinação aproximada de 20o em que a
rosca sem fim (a) força o carvão sobre as barras de suporte (b) apoiadas nas vigas de
acionamento (c) movimentadas por uma engrenagem regulável (d) que lhe confere o
movimento de vai e vem. O cilindro (e) é responsável por projetar a escória mais leve
ao reservatório de escória (i) que recebe também detritos da grelha pela saída (k). O
ventilador (f) introduz o ar de combustão que penetra na grelha pelas câmaras de
corrente de ar inferior (g); regulado por “dampers” através do controle da corrente de ar
inferior (h). Bocais de ar (l), localizados acima da grelha, auxiliam na queima do pó de
carvão em suspensão e do coque volátil.
eteX
39
Fig. 4.8
 Grelha de Alimentação por Baixo
O combustível é admitido por meio de uma rosca (a), acionada por motor elétrico (h)
com transmissão por engrenagens (g), que continuamente projeta o combustível na parte
inferior da grelha. A grelha (c) propriamente dita é inclinada e transversalmente
apresenta dupla inclinação de ambos os lados do canal central (b), de forma que o
combustível caminhe do centro para os lados, onde é totalmente queimado sobre a
grelha de combustão (d), conforme representação na figura 4.9 (seção A-B).
O carvão, a medida que é forçado a subir para as partes superiores do leito, vai se
aquecendo eliminando os voláteis e incandescendo-se. Atingindo o topo do leito, o
carvão rola sobre si mesmo lateralmente até sua extinção total na grelha de combustão.
As laterais recebem as cinzas que são basculadas por meio de alavancas (e), caindo em
seguida nos cinzeiros. A escória é direcionada para a saída f da figura 4.9.
eteX
40
Fig. 4.9
 Grelha Oscilante
São grelhas que provocam o caminhamento do combustível sob o suporte, graças a
impulsos produzidos por mecanismo oscilante (figura 4.10).
Grelha com Movimento Oscilatório
Fig. 4.10
O suporte é constituído por placas perfuradas, uma ao lado da outra, formando um piso
ligeiramente inclinado para o fundo. Estas placas são fixadas em barras, as quais, por
sua vez, se reúnem a lâminas flexíveis.
Estas lâminas flexíveis, no lado oposto às barras, são rigidamente fixadas a uma
estrutura solidamente chumbada no concreto da fundação. A grelha é adaptável para a
eteX
41
queima de qualquer combustível de biomassa e do carvão com médio e baixo teor de
cinzas. Carvão com alto poder calorífico, fundem as placas e inutilizam a fornalha, fato
este que tem limitado sua aplicação.
Modelo mais avançado é a grelha oscilante resfriada que queima carvão com alto poder
calorífico pois contém, junto ao piso da grelha tubos resfriados pela própria água da
caldeira além de apresentar na sua parte inferior compartimentos por onde passa o ar de
combustão.
 Grelha com Esteira Contínua
Também conhecidas como grelha rotativa, lembra um transportador, onde os óleos das
correntes recebem as placas perfuradas que formam o piso do leito. Foram concebidos
com a finalidade de desempenhar automaticamente boas condições de carregamento,
distribuição do combustível e extração de cinzas (figura 4.11).
Fig. 4.11
Entre todas é a de montagem mais complexa porque envolve uma mecanização mais
elaborada, são utilizadas para aplicação em caldeiras de produção superiores a 39 t/h até
150 t/h.
4.3 Fornalha de Queima em Suspensão
São as fornalhas usadas quando se queima óleos, gases ou combustíveis sólidos
pulverizados, utilizando para tal, equipamento especial chamado maçarico ou
combustor, responsável pela dispersão do combustível na fornalha de forma
eteX
42
homogênea. Cada classe de fornalha emprega queimadores especiais para proporcionar
as condições de queima adequada. Conforme o tipo de combustível empregado,
podemos ter:
- Queimadores de combustíveis líquidos;
- Queimadores de combustíveis gasosos;
- Queimadores de combustíveis sólidos pulverizados.
4.3.1 Queimadores de Combustíveis Líquidos
Os combustíveis líquidos são queimados nas câmaras de combustão, sempre em
suspensão, na forma pulverizada por meio de vários processos.
a) Pulverização a ar - O óleo escoa por gravidade ou por impulsão de uma bomba de
baixa pressão, o ar é insuflado por ventilador, sendo o veículo responsável pela
pulverização do óleo em gotículas (figura 4.12)
Maçarico a Óleo Com Pulverização a Ar
Fig. 4.12
Conforme a pressão do ar, os queimadores são denominados de baixa pressão (até 500
mmca) ou de média pressão (da ordem de 100 mmca). São indicados para unidades de
pequeno porte, queimando uma quantidade máxima de 50 kg óleo/h. O ar de
pulverização, denominado ar primário, representa 20% do ar total necessário à
combustão. Opera com 30 a 40% de excesso de ar e apresentam uma pulverização não
uniforme, dificultando a regulagem da queima. Uma concepção mais moderna deste
tipo, procura dar uma rotação aos dois fluxos, o que tem permitido uma melhora na sua
performance (figura 4.13).
eteX
43
Queimador de Ar Comprimido com Rotação do Fluido Auxiliar Primário
Fig. 4.13
b) Pulverização a vapor - Substituem o ar pelo vapor produzido na própria caldeira,
promovendo uma pulverização mais fina e fortemente acentuada pelo aquecimento.
Tem o inconveniente de parte do calor produzido na combustão ser consumido pelo
vapor, quando este for saturado (figura 4.14).
Maçarico a Óleo com Atomização a Vapor
Fig. 4.14
eteX
44
Queimador de Copo Rotativo
Fig. 4.15
Uma versão melhorada do princípio acima exposto é o queimador de “copo rotativo”,
largamente aplicado nos geradores de vapor limitados à capacidade de queima de 500
kg óleo/h, embora alguns tipos especiais com alta rotação (10000 rpm) chegam a
capacidade de 3000 kg óleo/h. O funcionamento baseia-se na formação de um filme de
óleo no interior de um copo tronco cônico girando a alta rotação (3600 rpm), que projeta
o combustível na forma de um anel cônico de encontro a um fluxo de ar rotativo de alta
pressão. As colisões de ambos fluidos provocam simultaneamente a pulverização e a
mistura do combustível com o comburente (figura 4.15).
c) Pulverização mecânica: Caracterizados pela ausência completa de peças rotativas,
garantindo a pulverização do óleo por escoamento estrangulado em alta velocidade
através de orifícios de pequenas dimensões (figura 4.16). A energia necessária para o
líquido atravessar o orifício em alta velocidade é mantida por uma bomba de
engrenagens.
eteX
45
Fig.4.16
4.3.2 QUEIMADORES DE COMBUSTÍVEIS
GASOSOS
Graças ao estado gasosos, o gás é o combustível mais simples de ser queimado pois a
mistura com o comburente se processa de forma muito mais fácil do que com qualquer
outro combustível, podendo ter sua velocidade de ignição consideravelmente aumentada
mediante pré-aquecimento do suprimento do comburente. Basicamente distinguem-se
dois tipos:
 Queimadores de mistura
 Queimadores de difusão.
Os primeiros promovem a mistura do ar com o gás antes de injetá-los na câmara de
combustão (figura 4.17), já os queimadores de difusão têm por princípio injetar ambos
os fluidos separadamente, proporcionando a mistura de ambos no interior da câmara de
combustão, tendo concepções que insuflam cada fluido em correntes paralelas (figura
4.18.a), cruzadas (figura 4.18.b) ou ainda turbulentas (figura 4.18.c).
eteX
46
Queimador de Mistura, esquemático
Fig.4.17
(a) (b) (c)
Esquema dos três tipos de Queimadores de difusão: a) em correntes paralelas, b)
cruzadas e c) turbulentas.
Fig.4.18
Existem também queimadores de difusão para queimar a combinação de gás e óleo é até
carvão pulverizado, encontrados nas grandes unidades geradoras de vapor.
4.3.3 QUEIMADORES DE COMBUSTÍVEIS
SÓLIDOS PULVERIZADOS
As utilizações dos combustíveis sólidos apresentam como exemplo mais importante o
carvão mineral utilizado nas grandes unidades geradoras de vapor das centrais Termo
Elétricas. Há, contudo, outras matérias orgânicas pulverizadas e resíduos de processos
industriais que servem a queima, como é o caso do bagaço de cana, o bagacilho, a borra
de café, a serragem e resíduos florestais macerados, que são reduzidos a tamanhos de
eteX
47
alguns milímetros e queimados em suspensão, quando insuflados na câmara de
combustão.
A figura 4.19 mostra, de forma esquemática um queimador a carvão pulverizado tipo
ciclone que associa a injeção pneumática com a formação de forte movimento vorticoso
no interior da câmara de combustão, existindo concepções mais modernas que distribui
os queimadores (geralmente em número de quatro) tangencialmente à câmara de
combustão.
O processo possibilita a queima de combustíveis sólidos finos de carvão com alto teor
de cinzas, aproveita os finos resultantes da preparação do próprio carvão e admite a
queima de grandes quantidades, assegurando sua aplicação nas grandes caldeiras,
possibilitando uma larga faixa de controle de combustão.
Fig.4.19
Em contrapartida apresenta algumas desvantagens, a principal representada pela maior
facilidade das partículas escaparem para o meio ambiente, acompanhada da
complexidade da aparelhagem de preparação do combustível, do consumo de energia
para acionamento das máquinas e do calor dispendido na secagem do carvão.
A redução parcial do tamanho das pedras de carvão para 10 a 20mm de diâmetro se
processa com britadores de martelo. Após a britagem segue-se a secagem do carvão
pelos mais variados aparelhos cilindrícos rotativos. Para a pulverização definitiva usam-
se moinhos de rolos, de bolas ou cônicos e o transporte do pó de carvão efetua-se
normalmente por via pneumática geralmente a alta pressão.
5. ACESSÓRIOS E DISPOSITIVOS DE
CALDEIRAS
5.1 APARELHOS DE ALIMENTAÇÃO DE ÁGUA
A cada quilograma de vapor extraído da caldeira, deve corresponder equivalente
quantidade de água injetada. Não se verificando a reposição, o nível de água, no interior
eteX
48
da caldeira, começa a baixar. Enquanto, as superfícies metálicas, expostas ao contato
dos gases quentes, estiverem banhados pela água, nenhum dano ocorre ao equipamento.
No momento, porém, que o nível ultrapassar o limite mínimo ao estabelecido,
compromete-se a segurança da unidade. Criam-se condições de ruptura das paredes
metálicas ou mesmo de explosões devido o superaquecimento da placa metálica. Por
essa razão, cabe ao operador, embora auxiliado pela automação do processo de
alimentação, vigiar permanentemente o nível exibido pelo visor transparente existente
na caldeira.
A introdução da água, nos Geradores de Vapor, se faz com os aparelhos de
Alimentação.
Sob o ponto de vista termodinâmico, o aparelho de alimentação, realiza um trabalho
representado pelo deslocamento de uma massa de água associada a uma pressão capaz
de vencer as resistências oferecidas pelo circuito. A figura 5.1, apresenta um esquema
típico de instalação de alimentação de água, com bomba centrífuga, controlada
automaticamente por uma válvula.
Esquema de uma Linha de Alimentação de Água de Caldeira
Fig. 5.1
5.1.1 INJETORES
São equipamentos para alimentação de água usados em pequenas caldeiras de comando
manual e também foram muito empregados em locomotivas a vapor. Seu princípio,
simples, baseia-se no uso do próprio vapor de caldeira ou de ar comprimido que é
injetado dentro do aparelho, onde existem os cônicos divergentes e as válvulas de
retenção, de controle, e de sobrecarga, conforme figura 5.2.
eteX
49
Quando o ar ou vapor passa pelos cônicos divergentes, forma vácuo, faz com que a
válvula de admissão seja aberta e arrasta por sucção a água do reservatório para dentro
da caldeira. Se a água entra em excesso, sai através de uma válvula de sobrecarga.
Injetor de Água
Fig.5.2
5.1.2 BOMBAS ALTERNATIVA
Também conhecidas como bombas de pistões, de ação direta ou de deslocamento
positivo, podem ser acionadas por motores elétricos ou a vapor.
A bomba acionada eletricamente tem sido aplicada em pequenas caldeiras que operam
em pressões elevadas, pois as bombas centrífugas para altas pressões dificilmente
atingem pequenas capacidades.
Sua constituição esquemática, representada na figura 5.3, conta com uma câmara, duas
válvulas de retenção e um êmbolo.
eteX
50
Bomba Alternativa ou de Êmbolo
Fig.5.3
As bombas acionadas a vapor mais difundidas são as denominadas Bombas duplex a
vapor ou também conhecidas por burrinhos, disponíveis no mercado para atender
geradores com produções de vapor até 50 t/hora e pressões até 21 kgf/cn2. Nestas o
vapor aciona o par de pistões de maior diâmetro movimentando assim os pistões
menores de injeção de água.
Estes tipos de bombas, devido a presença de lubrificação contínua dos cilindros,
apresentam o inconveniente de arrastarem óleo para o interior da caldeira, por isso,
geralmente, cumprem o papel de bomba de reserva.
5.1.3 BOMBAS CENTRÍFUGAS
São bombas que têm dado os melhores resultados, pela simplicidade de seus
componentes, facilidade de manutenção, pela grande vazão que nos oferece, atingindo
até 500.000 litros de água por hora, e por operar em regime contínuo, ao contrário das
bombas alternativas onde a alimentação se processa em golpes contínuos.
Seu funcionamento consiste em um disco com um jogo de palhetas que giram em alta
velocidade e fazem a sucção da água. Cada disco forma um estágio, cuja quantidade
pode variar de acordo com a capacidade da bomba. Nas caldeiras de baixa pressão
empregam-se bombas com apenas um estágio e nas de alta pressão são usados
multiestágios.
As bombas centrífugas são passíveis de serem acionadas por motores elétricos ou por
turbinas a vapor, estas últimas aplicáveis apenas em geradores de maiores capacidades e
pressões. Podem, ainda, ter carcaça cilíndrica e bipartida.
5.1.4 CONTROLE AUTOMÁTICO DE ÁGUA DE
ALIMENTAÇÃO
eteX
51
Os aparelhos de controle automático de alimentação dividem-se em dois grupos,
identificados pelo critério de funcionamento (liga-desliga) ou modulante.
5.1.4.1 APARELHO DE CONTROLE DE
ALIMENTAÇÃO DE ÁGUA LIGA- DESLIGA.
Há dois aparelhos básicos que respondem por esta característica; um denominado
Regulador de Nível com Eletrodo e o outro Regulador de Nível com Bóia.
 Regulador De Nível Com Eletrodos
Este sistema consiste em aproveitar a condutividade elétrica da água, através de três
eletrodos que podem ser de aço inoxidável e tamanhos diferentes, correspondendo, cada
tamanho, a um nível de água: o central, o máximo e o mínimo. Este dispositivo é
montado na parte superior do tambor de vapor, e os eletrodos estão ligados a um relé de
nível de água que, através de seus contatos, comandará a bomba de alimentação de
água.
A bomba entrará em funcionamento quando a água atingir a ponta de eletrodo central e
deverá parar quando a água atingir o eletrodo de nível máximo ( o menor eletrodo). Se o
nível da água atingir a ponta do eletrodo maior o relé desligará o queimador ou em
alguns sistemas poderá fazer funcionar um alarme que dará ao operador a indicação do
defeito (figura 5.4).
 Regulador De Nível Com Bóia
Poderão ser construídos de várias formas, mas os principais constam de uma garrafa que
é ligada ao tambor de vapor e uma boia que flutua no seu interior. Qualquer flutuação
do nível interno é transmitida a esta boia, presa na parte superior por uma haste (3),
conforme fig. 5.5.
A haste movimenta-se dentro do recipiente (5), e ao passar pelo campo magnético (2)
produzido pelo imã permanente (1) faz movimentar a célula de mercúrio (4) pelo pino
pivotado (A). A bomba assim fica dependendo do sistema liga-desliga, das chaves de
mercúrio, alimentando ou não a caldeira.
eteX
52
Indicador De Nível Com Eletrodo, onde: E = Eletrodo; VVN -1 e 2 = Válvula do visor
de nível superior e inferior; VDN = Válvula do dreno de nível; VDRN = Válvula de
dreno reguladora de nível; CN = Coluna de nível e TP-1 e 2 = Torneiras de prova 1 e 2.
Fig.5.4
Demonstração Esquemática de um Regulador de Nível com Bóia usando Chaves de
Mercúrio
Fig.5.5
5.1.4.2 APARELHOS DE CONTROLE DE
ALIMENTAÇÃO DE ÁGUA MODULANTE
eteX
53
 Elemento Termostático Para Controle De Nível
Tem a finalidade de controlar o fluxo da água na caldeira. Seu funcionamento baseia-se
no princípio da dilatação dos corpos pelo calor (figura 5.6).
Sua construção é bastante simples. É formado por dois tubos concêntricos, sendo que o
tubo externo é o tubo de expansão e o interno serve para fazer a ligação com o tambor
de vapor pela sua parte superior, onde recebe uma quantidade de vapor. Faz também a
ligação com o tambor de vapor em um ponto correspondente ao nível mínimo,
recebendo, portanto, pela parte de baixo, água do tambor de vapor.
O tubo termostático abrange quase toda a extensão da fornalha, sendo que em uma das
extremidades é rigidamente ligado a serpentina de aquecimento e a outra extremidade
permanece livre, a fim de poder dilatar-se e mover a válvula de admissão da água.
Quando a caldeira está com uma queima total, a extremidade livre do tubo termostático
mantém a válvula de admissão em posição que passe, apenas, a água para repor a
quantidade que está sendo evaporada.
Se houver uma baixa no nível de água, aumentará a temperatura do elemento
termostático, devido ao aumento da quantidade do vapor dentro do tubo. Com isso, o
tubo se dilata movimentando o conjunto de comando da válvula de admissão da água,
fazendo com que a mesma se abra dando passagem à água de alimentação.
À medida que a água vai entrando no tambor, a quantidade de vapor dentro do tubo
termostático também vai diminuindo, dando lugar à água que é bem mais fria que o
vapor, fazendo, desta forma, com que o tubo, que se havia expandido pelo calor, agora
se contraia em virtude da mudança de temperatura: à medida que a temperatura diminui
no interior do tubo, este se contrai, fazendo com que o conjunto de comando faça a
redução da entrada de água até que o nível seja equilibrado.
O nível normal de água na caldeira poderá ser elevado ou baixado à vontade, dentro de
limites razoáveis. Uma porca de regulagem, localizada na extremidade do tubo, pode ser
girada para proporcionar o nível desejado mesmo com a caldeira em funcionamento.
Um amortecedor protege o regulador contra esforços bruscos quando a válvula está
fechada e o tubo de expansão está contraído
eteX
54
Controle De Nível Proporcional A Um Elemento De Ação Mecânica Por Efeito
Termostático
Fig.5.6
 Elemento Termo hidráulico Para Controle De Nível
Uma outra concepção, conforme figura 5.7, denomina-se controle de nível termo
hidráulico, que opera agora graças à dilatação e contração da água contida numa câmara
cilíndrica anelar fechada.
eteX
55
Controle de Nível Proporcional a um Elemento com Princípio de Atuador Termo
Hidráulico
Fig.5.7
O sistema compreende um duplo cilindro concêntrico, instalado com uma inclinação
pré-definida em relação ao nível interno da caldeira. O primeiro, aletados em toda
extensão, forma uma camisa fechada, enquanto o interno une-se ao tambor de forma a
receber as oscilações do nível de água.
O tubo externo, por sua vez, liga-se pela parte inferior ao diafragma de uma válvula de
controle. Pela conexão superior desta camisa introduz-se água limpa até o fluido
transbordar.
A caldeira entrando em operação, apenas uma parcela desta câmara entra em contato
com o vapor o qual promove o aquecimento e consequente dilatação da parte
correspondente de água. O aumento de volume reflete sobre o diafragma da válvula de
controle, portanto sobre o orifício de passagem de água de alimentação.
eteX
56
À medida que o nível oscila, a água contida na câmara recebe contato com maior ou
menor superfície de aquecimento, respondendo com variações nas dilatações e
contrações do fluido de maneira a transmitir à válvula de controle, posições diferentes
de ingresso ou interrupção da passagem da água.
 Controle de Nível Pneumático
A figura 5.8 exibe uma versão mais moderna de controle de nível em caldeiras,
introduzindo o ar comprimido como fluido auxiliar.
Fig.5.8
5.2 ALIMENTAÇÃO DE COMBUSTÍVEL
No caso de combustível líquido o fornecimento não deve ser feito diretamente do
tanque principal para o consumo e sim passar por um reservatório intermediário,
evitando-se problemas de flutuação de carga e baixa temperatura do combustível no
bombeamento. Esse reservatório deve ser instalado no circuito mais próximo da bomba
de óleo tendo antes um filtro da bomba, uma válvula de gaveta e a linha de retorno do
excedente ao depósito, sendo sua principal finalidade o aquecimento de óleo (figura
5.9).
Devido à quantidade do “Fuel oil” fornecido com alto teor de parafina o sistema de
aquecimento deve ser misto (eletricidade e vapor), a fim de elevar e manter a
temperatura do óleo acima do ponto de fluidez (ponto de baixa viscosidade).
eteX
57
Caso o óleo combustível seja muito viscoso, ele deve ser recirculado no sistema de
preaquecimento até atingir a temperatura ideal, antes de ser admitido na caldeira para
não entupir o pulverizador, em razão da viscosidade imprópria.
No início de funcionamento, quando o óleo não está ainda a uma temperatura ótima de
pulverização, deve-se usar querosene.
Bomba de óleo combustível
Fig.5.9
No caso dos combustível sólidos a alimentação pode ser manual ou mecanizada No caso
de alimentação manual de combustível sólido deve ser armazenada na casa da caldeira
uma quantidade suficiente para até duas horas, evitando-se o acúmulo de combustível
que retira a liberdade de ampla circulação que o operador deve ter..
5.2.1 CONTROLE AUTOMÁTICO DE
COMBUSTÃO
Três são as grandezas relacionadas com o problema de malha aberta que responde pela
regulagem automática da combustão:
 o consumo de combustível
 o consumo de ar para a combustão
 a extração dos gases formados
Os controles destas três grandezas visam:
eteX
58
 Manter o suprimento de calor da fonte supridora, de acordo com a demanda do
processo.
 Assegurar um mínimo de consumo de combustível para atingir as condições
propostas, ou seja, alcançar a máxima eficiência;
 Manter as condições de operação da fornalha dentro de parâmetros satisfatórios.
No fundo os objetivos são os mesmos. A quantidade de combustível se ajusta com a
pressão da caldeira, de modo que uma queda na pressão significa falta de combustível, e
excesso, significa combustível a mais. Portanto a regulagem da pressão de forma a
mantê-la dentro dos limites fixados na operação, implica necessariamente na
modificação do suprimento de combustível.
A intervenção nesta fonte de calor determina a modificação do volume de ar necessário
à sua queima, dentro dos parâmetros compatíveis com uma combustão perfeita. Esta
variação provocada na formação de volumes de gases de combustão, deve ser vigiada
por uma ação paralela, que garanta a sua (gases) extração completa de forma a assegurar
uma pressão definida na câmara de combustão da caldeira.
5.3 ALIMENTAÇÃO DE ENERGIA ELÉTRICA
É feita através do quadro de comando que é o componente da caldeira onde estão os
dispositivos elétricos que permitem a operação da caldeira. Para o caso das caldeiras
com alimentação a combustível líquido eles são mais complexos pois comandam o
acendimento automático e o controle da chama, além de outros comandos como o de
nível de água que controla as bombas de alimentação e os relés de alta pressão.
No caso de caldeiras de alimentação por combustível sólido (lenha) os quadros de
comando são mais simples pois basicamente possuem apenas o comando de nível
automático que controla o funcionamento das bombas de alimentação de água e o
aumento de pressão.
Os comandos são colocados em um armário que os abrigam da poeira e umidade, tais
comandos são basicamente:
 Seleção do comando manual ou automático;
 Chave de ligar e desligar a bomba d’água;
 Chave de liga e desliga o ventilador de exaustão;
 Alarme sonoro de advertência;
 Lâmpada piloto;
 Chaves magnéticas de ligação do nível automático.
5.4 VISOR DE NÍVEL
Consiste em um tubo de vidro colocado no tambor de vapor (figura 5.10) e que tem a
finalidade de dar ao operador a noção exata da altura onde se encontra a água da
caldeira. Na maioria das caldeiras o nível de água é exatamente no centro do tubo de
vidro, o que corresponde ao centro do tambor de vapor. Existem, porém, caldeiras que
não seguem esta regra cabendo ao operador certificar-se do quanto corresponde a marca
de nível dos indicadores.
eteX
59
Visor de nível
Fig.5.10
Manter o nível de água da caldeira é um importante papel do operador que terá que
dispensar-lhe uma especial atenção.
Antes de se iniciar a operação da caldeira, deve ser feita uma drenagem no nível, a fim
de que se eliminem algumas impurezas que por ventura tenha-se localizado no nível ou
nas conexões do mesmo. Nas caldeiras manuais, o nível é importantíssimo porque dará
ao operador uma noção exata de quanto a água deverá ser introduzida na caldeira.
5.5 MANÔMETROS
Aparelho com o qual se mede a pressão de gases, de vapores e de outros fluídos. É
muito utilizado na indústria, entre outros fins, para verificar a pressão de caldeiras e de
vasos sob pressão.
O conhecimento desta pressão é obrigatório, não só sob o ponto de vista de segurança,
como também, para a operação econômica e segura da caldeira.
A figura 5.11 mostra as partes Internas, de forma esquemática, de um manômetro de
Bourdon padrão cujo funcionamento baseia-se na tendência de flexão, que experimenta
um tubo de bronze curvado, de seção elíptica, quando é aplicada, em seu interior, uma
pressão superior à atmosfera. Geralmente o tubo se curva em arco de circunferência. Ao
atuar a pressão no interior do tubo, sua extremidade livre descreve um pequeno
movimento, que é ampliado mediante um sistema de alavancas que atuam sobre o setor
dentado, fazendo girar a agulha indicadora.
Existem vários tipos de manômetros: manômetro tubular, manômetro com líquido
amortecedor (glicerina ou silicone), manômetro diferencial, e outros tipos que são
abordados em instrumentação e controle não constituindo objetivo principal do presente
curso.
eteX
60
A escala de um manômetro pode ser graduada em quilograma, força por centímetro
quadrado (Kgf/cm2), em atmosferas (atm.), em libras-força por polegada quadrada
(lbf/pol2 ou psi), ou em qualquer outra unidade de pressão. A tabela abaixo dá a
correspondência entre estas unidades.
atm Kgf/cm2 psi
1 1,033 14,22
0,96 1 14,7
0,065 0,068 1
Partes internas de um manômetro de Bourdon
Fig.5.11
A indicação em psi é usual no sistema inglês e no Brasil utiliza-se mais correntemente
indicações em kgf/cm2.
Os manômetros, de um modo geral, indicam a pressão relativa (também denominada
pressão manométrica) e não a “pressão absoluta”. Isso quer dizer que, para se obter a
pressão dita “absoluta”, tem-se que somar à pressão indicada no manômetro, a pressão
atmosférica local (pressão absoluta = pressão manométrica + pressão atmosférica).
Cada caldeira tem uma capacidade de pressão determinada. Sendo assim, os
manômetros utilizados em cada caldeira devem ter a escala apropriada. A pressão
máxima de funcionamento da caldeira deverá estar sempre marcada sobre a escala do
manômetro, com um traço feito a tinta vermelha, para servir de alerta ao operador no
controle da pressão.
eteX
61
5.6 DISPOSITIVOS DE SEGURANÇA
5.6.1 VÁLVULAS DE SEGURANÇA
Sua função é de promover o escape de excesso do vapor, caso a pressão máxima do
trabalho permitida da caldeira venha a ser ultrapassada, e os outros dispositivos de
segurança venha a falhar.
Quando uma caldeira possui duas válvulas de segurança, uma delas deverá abrir com
5% acima da pressão máxima de trabalho permitida e a outra com 10% acima da
pressão máxima permitida.
Para garantir um perfeito funcionamento da válvula de segurança, deve-se observar o
seguinte:
 Todas as válvulas de segurança deverão ser experimentadas uma vez ao dia,
acionando-se a alavanca de teste manual.
 Promover a inspeção das sedes das válvulas pelo menos uma vez por ano.
 Fazer periodicamente um teste de funcionamento da válvula. Isto se faz
colocando um manômetro aferido na caldeira e, em seguida, fechando todas as
saídas de vapor até que a válvula comece a funcionar. Para a aferição da válvula
devem ser observadas as porcentagens acima indicadas, e também deve-se
observar que durante o teste a pressão máxima da caldeira não deve ultrapassar
10% da pressão máxima permitida.
As válvulas de contrapeso são as mais simples, porém não atendem os requisitos atrás
anunciados. Sua vedação nem sempre impede vazamentos contínuos.
As válvulas de mola predominam nos dias de hoje. Há dois tipos de válvulas de mola:
 De baixo curso;
 De alto curso.
No primeiro tipo, a pressão do vapor atuando sobre a área do disco de vedação, abre
totalmente a válvula.
No segundo tipo, a ação de pressão abre parcialmente a válvula. O vapor escapando,
projeta-se sobre um disco provido de anel de regulagem que provoca a mudança de
direção do fluido. A força de reação completa a abertura da válvula.
Estas válvulas são muito mais perfeitas, abrindo e fechando instantaneamente.
Os fabricantes fornecem estas válvulas nas dimensões adequadas, desde que se
forneçam a vazão e pressão do vapor.
As válvulas de segurança exigem cuidados especiais desde a sua instalação.
Na instalação deve-se:
eteX
62
 Evitar choques;
 Acertar o prumo (velocidade da válvula)
 Evitar alterar a regulagem original do fabricante.
Na operação:
 Não permitir acréscimo de peso na válvula;
 Testar diariamente seu funcionamento;
 Eliminar vazamentos contínuos.
As válvulas de segurança evitam, portanto, a contínua elevação da pressão no gerador
de vapor. Válvulas de segurança corretamente dimensionadas devem:
1. Abrir totalmente a uma pressão definida, evitando o desprendimento de vapor
antecipadamente.
2. Permanecer aberta enquanto não houver queda de pressão, ou seja, retorno da
pressão para as condições de trabalho do gerador.
3. Fechar instantaneamente e com perfeita vedação logo após a queda de pressão.
4. Permanecer perfeitamente vedada para pressões inferiores à sua regulagem.
Para assegurar esta performance, as válvulas de segurança devem ser fabricadas, sob
controle de qualidade, instaladas corretamente e ser submetidas a sistemáticas inspeções
e mantidas em condições de funcionamento perfeito.
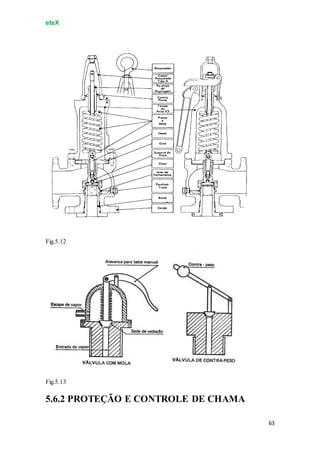
Podemos encontrar, basicamente, dois tipos de válvulas de segurança:
1. De contrapeso (figura 5.12)
2. De mola (figura 5.13)
eteX
63
Fig.5.12
Fig.5.13
5.6.2 PROTEÇÃO E CONTROLE DE CHAMA
eteX
64
Caldeiras que usam queimadores de sólidos pulverizados (carvão), líquidos (BPF,
diesel,) ou gasosos (gás combustível, GLP,) necessitam de um sistema de proteção e
controle de chama para supervisionar principalmente:
 Procedimento incorreto de ligação;
 Falta de chama por qualquer motivo.
Ocorrendo uma destas falhas, a fornalha da caldeira ficaria sujeita a uma explosão, caso
não houvesse a interrupção imediata do fornecimento do combustível.
Conforme a concentração da mistura (ar/combustível), a magnitude de explosão poderá
se tornar perigosa, causando danos ao equipamento e provocando risco de vida ao seu
operador.
A maior parte dos casos de explosão, ocorrem durante o acendimento da chama.
Os dispositivos usualmente empregados nestes sistemas de proteção são dos seguintes
tipos:
POR TERMOELÉTRICOS
São formados por lâminas bi metálicas (lâminas de metais diferentes) e de uma chave
elétrica. As lâminas bi metálicas ficam instaladas no caminho dos gases e também estão
ligadas ao circuito, de tal modo, que não é possível acender o queimador com a chave
aberta. Acendendo a caldeira, o calor dos gases desprendidos dilata as lâminas,
queimando-se a caldeira as lâminas e se contraem abrindo e interrompendo o circuito
elétrico do queimador.
POR CÉLULAS FOTOELÉTRICAS
Trata-se de um sistema bem aperfeiçoado que trabalha com uma célula fotoelétrica, um
amplificador e um relé. O seu funcionamento é baseado na coloração das chamas. Se
estas se apagarem a luminosidade no interior da fornalha será diminuída, a célula
fotoelétrica comandará o amplificador e o relé que abrirá seus contatos, interrompendo
o circuito dos queimadores.
Os sistemas fotocondutivos para segurança de chama têm quase o mesmo
funcionamento dos fotoelétricos, sendo modificado o tipo de célula. Utiliza-se das
irradiações infravermelhas das chamas e faz uso de amplificadores especial.
Os amplificadores conseguem estabelecer diferenças entre o calor das chamas e o calor
dos refratários da fornalha.
Estes controladores funcionam como equipamentos de segurança, fazendo com que a
caldeira seja parada e religada automaticamente, controlando perfeitamente a água de
alimentação e os limites de pressão.
Também efetua a parada de emergência comandada pelo circuito de segurança.
5.7 DISPOSITIVOS DE CONTROLE
eteX
65
Estes dispositivos são projetados para garantir que a caldeira funcione em perfeita
segurança.
5.7.1 PRESSOSTATOS
PRESSOSTATO DE CONTROLE DE MÁXIMA PRESSÃO DA CALDEIRA
Tem a finalidade de controlar a pressão interna da caldeira por meio de um comando
para os queimadores (figura 5.14).
É constituído de um fole metálico (ou de um diafragma) que comanda uma chave
elétrica por meio de um dispositivo de regulagem da pressão. À medida que diminui a
pressão dentro da caldeira o fole (ou diafragma) se contrai, fechando o circuito elétrico,
dando partida ao queimador. Quando a pressão for restabelecida o fole (ou diafragma)
se dilata e fará a abertura dos contatos, interrompendo o funcionamento dos
queimadores. Nas caldeiras semiautomática e chave interrompe o circuito do
queimador, quando atingida a pressão de corte e mantém o circuito travado, impedindo
que seja reacendido manualmente, até que seja atingida a pressão de operação.
Fig.5.14
 Pressostatos modular
De construção quase idêntica ao pressostatos de máxima pressão, faz a regulagem do
óleo e do ar para os queimadores. A sua diferença para o pressostatos acima, é que este
não faz a simples partida ou parada de motor da bomba de combustível e regulador de ar
nos pontos preestabelecido de pressão.
Ele regula a velocidade do motor nas pressões intermediárias às prefixadas, dando um
perfeito equilíbrio ao regulador de ar-combustível.
eteX
66
Todo este trabalho é conseguido através do motor modulador que consiste (além dos
enrolamentos do motor) de um relé de equilíbrio e de um reostato de balanceamento.
Portanto o motor trabalha junto com o reostato da chave moduladora.
5.7.2 CHAVE SEQÜÊNCIAL
Tem a finalidade de promover na caldeira um ciclo completo de operações ou seja:
1. Modulação automática
2. Ignição elétrica
3. Apagar a caldeira por motivo de segurança
4. Limitar a pressão
5. Promover a ignição automaticamente.
Seu funcionamento é parecido com o do pressostatos modulador, só que ao invés de
apresentar o reostato para regulagem de velocidade do motor, apresenta um conjunto de
contatos, sendo destinados um para cada operação a ser feita. Portanto quando termina
um ciclo de operação, imediatamente, começa outro.
5.7.3 VÁLVULAS E TUBULAÇÕES
 Válvula Solenoide
São comandados eletricamente, abrindo e fechando, dando passagem ao óleo, e vapor.
Um bom lubrificante para a haste móvel da válvula solenoide é o grafite em pó.
Nas cadeiras flamotubulares com queima a óleo ou a gás, o óleo diesel, ou gás, para a
chama piloto é controlada por uma válvula solenoide, dotada de uma bobina, que,
quando energizada, atrai o obturador pelo campo eletromagnético formado, abrindo a
passagem do combustível.
 Válvula Principal De Saída De Vapor
Permite a vazão de todo o vapor produzido pela caldeira. Na maior parte das aplicações
são válvulas do tipo globo, por assegurarem controle mais perfeito da vazão.
A válvula conhecida como gaveta, aplica-se em grandes unidades, sem responsabilidade
sobre o controle da vazão.
 Válvula De Alimentação
Destinam-se a permitir ou interromper o suprimento de água no gerador de vapor. São
do tipo globo com passagem reta (figura 5.15).
eteX
67
Fig.5.15
 Válvulas de Escape de Ar
Outra válvula do tipo globo que controla a saída ou entrada de ar na caldeira, nos inícios
e fins de operação. Apresenta dimensões de ¾ “a 1”.
 Válvula de Retenção
Geralmente, á válvula de alimentação permanece totalmente aberta. As válvulas de
retenção, colocadas logo após a anterior, impedem o retorno da água sob pressão do
interior da caldeira (figura 5.16).
figura 5.16
eteX
68
 Válvulas de Descarga
Também conhecidas como válvulas de dreno, permitem a purga da caldeira.
Estão sempre ligadas às partes mais inferiores das caldeiras. O lodo do material sólido
em suspensão, geralmente acumulado no fundo dos coletores ou também inferiores das
caldeiras é projetado violentamente para fora da unidade, quando se abrem estas
válvulas.
Há dois tipos de válvulas de descarga que se instalam em série:
1. Válvula de descarga lenta, cuja função principal é assegurar a perfeita vedação
do sistema. É uma válvula de passagem reta do tipo globo.
2. Válvula de descarga rápida, que abre a secção plena instantaneamente,
assegurando a vazão da água com violência capaz de arrastar os depósitos
internos.
Além da descarga de fundo, caldeira de certo porte, recebem outro sistema de descarga
para assegurar uma dessalinização contínua da água, feita por meio de válvula globo
agulha.
 Válvula de Vapor de Serviço
É uma válvula do tipo globo, cuja secção corresponde a 10% da válvula principal. Sua
função é assegurar o suprimento de vapor para acionamento de órgãos da própria
caldeira, como:
 Bombas de alimentação
 Aquecimento de óleo
 Injetores
 Válvulas de Introdução de Produtos Químicos e de Descarga Contínua
São ambas do tipo globo agulha de fina regulagem.
A primeira emprega-se quando se procede o tratamento interno de água da caldeira,
permitindo a vazão regulada de produtos químicos.
A segunda assegura a descarga contínuo da caldeira, a fim de manter a concentração de
sólidos totais em solução na água, aquém dos limites máximos permitidos para evitar
incrustações.
 Válvulas de Alívio
É uma válvula instalada na parte superior do Pré-aquecedor de óleo, para evitar que o
óleo combustível atinja pressões superiores aos níveis adequados no mesmo.
 Tubulações
Rede geral de alimentação de água.
eteX
69
Esta rede se inicia no fornecedor de água para a caldeira.
A rede de água não deve ter vazamentos.
É recomendável que a água sofra um tratamento químico antes de ser bombeada para
dentro da caldeira.
Considerando que foi feito o tratamento, a água é bombeada para o interior da caldeira,
passando antes pelo Pré-aquecedor (se a caldeira assim estiver equipada).
Nesse trecho, dependendo da caldeira, há todo um jogo de dispositivos automáticos que
controlam o momento em que deve ser a água adicionada e o momento que ela já é
suficiente, ativando e desativando a bomba.
Se a água for lançada na parte onde tem vapor, estando ela bem mais fria, provocará um
choque térmico, que poderá causar sérias consequências. Portanto, a admissão é feita
abaixo do nível de água e o mais distante possível da fornalha.
Não se deve injetar água fria em caldeira quente quando o nível d’água estiver baixo.
Deve-se diminuir o fogo a até apagá-lo, esfriando a caldeira. Caso isto não seja
observado, corre-se o risco do choque térmico e da provável implosão da caldeira.
Rede Geral de Óleo Combustível
Esta rede começa no reservatório principal de combustível, conduzindo o mesmo até a
bomba e daí ao combustor. Os esquemas de distribuição do combustível variam, pois
dependem do projeto do fabricante.
De maneira geral, dispositivos elétricos controlam a bomba e dosam o fluxo de
combustível para a mistura correta com o ar.
Se a rede de água não deve ter vazamentos, esta menos ainda. Os combustíveis são
inflamáveis, portanto podem provocar acidentes. Além disso, criam ainda outra
condição insegura no trabalho, pois eliminam o atrito e o operador pode acidentar-se por
quedas, etc.
Rede de Drenagem
Esta é a rede que sai da parte mais baixa da caldeira e vai terminar fora da caldeira.
Próximo da caldeira ela tem uma válvula comum. A rede conduz uma mistura de água e
vapor para um local protegido, onde não possa atingir algumas pessoas. O objetivo é
drenar a caldeira, isto é, eliminar os detritos, sujeiras e composto de corrosão que se
acumulam dentro dela.
Esta rede, normalmente, é acionada manualmente e convém estar protegida.
Rede de Vapor
O vapor é um fluido pouco corrosivo, para o qual os diversos materiais podem ser
empregados, até a sua temperatura limite de resistência mecânica aceitável.
eteX
70
Os limites de temperatura estão fixados, principalmente em função da resistência à
fluência dos diversos materiais. Os tubos do aço (de qualquer tipo), são ligados com
solda de encaixe para diâmetro até 1 ½ - 2”, e com solda de topo para diâmetro maiores.
Em quaisquer tubulações para vapor, é muito importante a perfeita e completa
drenagem do condensado formado, por meio de purgadores. Para auxiliar a drenagem, é
feita, algumas vezes, a instalação dos tubos com um pequeno caimento constante na
direção do fluxo, principalmente em linhas de vapor saturado, onde é maior a formação
de condensado. Alguns projetistas têm por norma colocar, também, eliminadores de ar
nos pontos altos das tubulações.
Todas as tubulações de vapor devem ter isolamento térmico.
- Registro de saída de vapor - estabelece demanda de vapor para os utilizadores.
- Rede de vapor para preaquecimento óleo combustível no Pré-aquecedor
- Estabelece demanda de vapor preaquecimento de óleo combustível no Pré-aquecedor.
- Rede de vapor para preaquecimento do óleo combustível no tanque de armazenamento
- Estabelece demanda de vapor para preaquecimento do óleo combustível no tanque de
armazenamento.
5.7.4 OUTROS ACESSÓRIOS
5.7.4.1 PREAQUECEDOR DE AR
O Pré-aquecedor de ar é um equipamento que tem a finalidade de aproveitar o calor dos
gases no aquecimento do ar necessário à combustão (figura 5.17). O Pré-aquecedor
transfere o calor dos gases quentes para o ar que está entrando para a combustão.
eteX
71
Fig.5.17
Classificação
Os Pré-aquecedores podem ser classificados de acordo com o princípio de operação,
em:
a) Pré-aquecedor regenerativo
eteX
72
Nos Pré-
aquecedores regenerativos, o calor dos gases de combustão é transferido indiretamente
para o ar, através de um elemento de “armazenagem”, por onde passa o ar e o gás de
combustão, alternadamente, conforme desenho esquemático da figura 5.18.
Pré-aquecedor de ar regenerativo
Fig.5.18
b) Pré-aquecedor com colmeia metálica
Esse Pré-aquecedor é constituído de placas de aço finas e corrugadas que são aquecidas
quando da passagem dos gases de combustão e resfriadas quando da passagem do ar.
Seu formato assemelha-se a uma roda gigante, girando lenta e uniformemente (figura
5.19).
(Parte 4 de 4)
eteX
73
Fig.5.19
c) Pré-aquecedor com colmeia refratária
Os gases quentes, ao passarem pela colmeia refratária trocam o calor com o frio para a
combustão (figura 5.20).
Fig.5.20
5.7.4.2 ECONOMIZADOR
Sua finalidade é aquecer a água de alimentação da caldeira (ver esquema da figura
5.21). Está localizado na parte alta da caldeira entre o tambor de vapor e os tubos
geradores de vapor sendo que os gases são obrigados a circular através dele, antes de
saírem pela chaminé.
eteX
74
Fig.5.21
Existem vários tipos de economizadores e na sua construção podem ser empregados
tubos de aço maleável ou tubo de aço fundido com aletas. Os economizadores podem
ser:
SEPARADO
Usados nas caldeiras de baixa pressão (25 kg/cm2) e construído geralmente de tubos de
aço ou ferro fundido com aletas; no seu interior circula a água e por fora os gases de
combustão.
INTEGRAL
Empregado na maioria dos geradores de vapor, apesar de requerer mais cuidados que o
economizador em separado. Deverá ser retirado da água de alimentação todo o gás
carbônico e o oxigênio, isto porque, quando estes elementos são aquecidos aumentam a
corrosão dos tubos. Este economizador tem grande capacidade de vaporização e é
constituído por uma serpentina e tubos de aço maleável.
A corrosão nos tubos dos economizadores pode ser tanto de dentro para fora como de
fora para dentro. Os furos de fora para dentro são causados pelos gases que aquecem e
arrastam enxofre contido no óleo. Ao se juntarem com o oxigênio e com outros
elementos contidos nos gases, formam um poderoso agente corrosivo (Ácido sulfúrico,
por exemplo). Os furos de dentro para fora são causados pela circulação da água não
tratada que contém oxigênio e gás carbônico, principais agentes da corrosão interna dos
tubos.
5.7.4.3 SUPERAQUECEDORES
a) Considerações sobre o vapor saturado superaquecido.
eteX
75
Se aquecermos água em um recipiente fechado, quando a água atingir uma certa
temperatura esta se transforma em vapor (temperatura de 100ºC aproximadamente, ao
nível do mar). Enquanto existir água dentro do recipiente, o vapor será saturado e a
temperatura não aumentará.
Mantendo-se o aquecimento até que toda a água se evapore teremos o vapor
superaquecido, com o consequente aumento de temperatura.
Este processo de superaquecimento do vapor seria impraticável nas caldeiras, pois
quando a água evaporasse, os tubos se queimariam e também não haveria uma demanda
suficiente na rede de vapor. Assim sendo, empregamos aparelhos destinados a elevar a
temperatura do vapor sem prejuízo para a caldeira.
O vapor saturado é mais indicado para uso em aquecimento, pois devido à mudança de
fase permite a troca de calor a temperatura constante, apresentando como inconveniente
a grande formação de condensado.
O vapor superaquecido é utilizado em turbinas a vapor, devido a ausência de umidade
exigida para operar nessas turbo máquinas por questões de deterioração das pás,
vibração e queda de rendimento. Contudo existem situações de utilização do vapor
superaquecido para aquecimento e processo, é o caso em que se tem extensas tubulações
de vapor, isto é, a parcela de calor de superaquecimento serve para vencer as perdas
térmicas da linha, chegando ao processo como vapor saturado com um mínimo de
umidade (~2%), necessário a determinados processos industriais.
b) Processo de superaquecimento de vapor
Para superaquecer o vapor empregam-se aparelhos denominados superaquecedores.
Estes aparelhos normalmente aproveitam os gases da combustão para dar o devido
aquecimento ao vapor saturado, transformando-o em vapor superaquecido.
Os superaquecedores são construídos de tubos de aço em forma de serpentina cujo
diâmetro varia de acordo com a capacidade da caldeira. Estes tubos podem ser lisos ou
aletados.
Quando instalados dentro das caldeiras estão localizados atrás do último feixe de tubos,
entre dois feixes de tubos, sobre os feixes de tubo ou ainda sobre a fornalha (figura
5.22). A caldeira pode apresentar o superaquecedor em separado (figura 5.23). Neste
caso, ele dependerá de uma fonte de calor para o aquecimento; normalmente, é instalada
uma outra fornalha.
eteX
76
Figura 5.22
Fig.5.23
5.7.4.4 PURGADORES
São dispositivos automáticos que servem para eliminar o condensado formado nas
linhas de vapor e nos aparelhos de aquecimento, sem deixar escapar vapor.
Os bons purgadores, além de remover o condensado, eliminam, também, o ar e outros
gases incondensáveis, (CO2, por exemplo), que possam estar presentes.
eteX
77
6. TIRAGEM
É o processo de retirada da caldeira para a atmosfera, dos gases provenientes da
combustão. A tiragem pode ser efetuada de várias maneiras: natural, forçada e mista.
6.1 TIRAGEM NATURAL
Quando normalmente sem a ajuda de equipamentos especiais o ar entra na fornalha,
alimenta a chama e sai pela chaminé, graças a diferença de temperaturas existentes na
sua base e no seu topo.
6.2 TIRAGEM FORÇADA E INDUZIDA
No caso em que os gases são eliminados com a ajuda de ventiladores sopradores, a
tiragem chama-se forçada (figura 6.1), podendo apresentar várias disposições
construtivas. Suas dimensões, porém, dependem da capacidade da caldeira para um
suficiente suprimento de ar de combustão e para que os gases sejam totalmente
eliminados).
Nas caldeiras em que os gases são eliminados através de exaustores, aspirando os gases
e projetando-os para a atmosfera, a tiragem é chamada induzida (figura 6.2).
Tiragem Forçada
Fig.6.1
As caldeiras que possuem este tipo de tiragem são chamadas de caldeiras
despressurizadas e precisam ter muito boa vedação para evitar a entrada de ar falso,
através de suas paredes ou duplos invólucros.
eteX
78
Tiragem Induzida
Fig.6.2
6.3 TIRAGEM MISTA OU BALANCEADA
Neste sistema, são empregados dois ventiladores sendo que um deles tem a finalidade
de introduzir o ar dentro da caldeira (ventilador soprador) e o outro tem a finalidade de
retirar o ar da caldeira (ventilador exaustor), conforme esquema da figura 6.3.
Tiragem mista
Fig.6.3
6.4 CONTROLE DE TIRAGEM
Para que uma caldeira possa ter um bom funcionamento, a tiragem tem que ser muito
bem controlada. Este controle é feito por registros colocados no circuito dos gases.
Estes registros constam de uma ou mais palhetas que podem ser comandadas manual ou
automaticamente, chamados de “dampers”.
eteX
79
6.5 CHAMINÉ
Ajudam a tiragem devido à diferença entra a sua base e o seu topo, provocada pela
diferença de temperatura dos gases da combustão.
As chaminés podem ser construídas de chapas de aço ou de alvenaria, empregando-se
tijolos comuns. Em qualquer dos casos, sua construção deve ser muito rigorosa,
levando-se em conta a quantidade e a velocidade dos gases da base, do tipo de material
empregado e a pressão atmosférica no local. Em nenhuma hipótese poderão existir
fendas que possibilitem a entrada falsa de ar.
Pela chaminé deverão sair o gás carbônico (CO2), vapor d’água (H2O) e outros
compostos. Isso, porém, na maioria das vezes não ocorre e junto com o gás carbônico
há um grande desprendimento de fuligem que contribui para a poluição da atmosfera.
A fumaça que sai pela chaminé, quando apresentar uma coloração clara, pode indicar
um pequeno excesso de ar e quando sua coloração for escura, indica a presença de
combustível não queimado pela deficiência na alimentação de ar, de forma a atingir uma
relação ar-combustível adequado.
A maneira mais segura de determinar as quantidades de gás carbônico que se
desprendam pela chaminé é fazer uma análise com aparelhos indicadores.
7. COMBUSTÃO E COMBUSTÍVEL
7.1 DEFINIÇÕES
COMBUSTÃO
A combustão é produzida pela reação química de duas substâncias: combustível e
comburente.
COMBUSTÍVEL
É a substância que queima e contém em sua composição, principalmente, carbono e
hidrogênio, além de outros que o compõe.
CLASSIFICAÇÃO DOS COMBUSTÍVEIS
Os combustíveis podem ser classificados em:
a) SÓLIDOS
Madeira, turfa, linhito, hulha, carvão vegetal, coque de carvão, coque de
petróleo,bagaço de cana etc.
b) LÍQUIDOS
eteX
80
Petróleo, óleo de xisto, alcatrão, álcool e óleos vegetais.
c) GASOSO
metano, hidrogênio, GLP (butano e propanol), gás de coqueira (siderúrgica), gasogênio,
biogás, etc.
COMBURENTE
É o elemento que entra na reação de combustão como fonte de oxigênio.
REAÇÕES DA COMBUSTÃO
Na combustão, a reação que ocorre é denominada, basicamente, de oxidação. A fonte
usual é o oxigênio do ar atmosférico. O oxigênio está contido no ar atmosférico na
proporção de 23% em percentagem por peso atômico ou 21% em percentagem
volumétrica.
C + O2 CO2 + 8.100 Kcal/kg C
C + ½ O2 CO + 2.400 Kcal/kg C
2H2 + O2 2H2O (L) + 34100 Kcal/kg H2
S + O2 SO2 + 2.200 Kcal/kgS
Observa-se pelas reações anteriores, que se deve, sempre, orientar a queima no sentido
de se obter o CO2 pois assim se tem uma maior liberação de calor.
Na prática, queima-se combustíveis que não se compõem, apenas, de carbono (C), mas
também de hidrogênio (H2) e enxofre (S), conforme visto nas reações acima.
A combustão é completa quando todos elementos combustíveis contidos no combustível
em questão (C, H2 S, etc.), se combinam com o oxigênio do ar, fornecendo os produtos
finais correspondentes. A seguir é exposto as principais exigências de um eficiênte
processo de combustão:
1. O comburente deve formar com o combustível uma mistura homogênea. O uso
de queimadores apropriados, bem como a temperatura correta do óleo são
fatores essenciais para uma queima ideal. Estes fatores propiciam a gaseificação
do combustível.
2. O comburente deve estar em quantidade suficiente em relação ao combustível
para que a reação química da combustão seja completa. Deve-se trabalhar com o
mínimo de excesso de ar.
3. Quanto maior a viscosidade do combustível, mais difícil será a sua pulverização,
ou seja, mais difícil será a sua divisão em gotículas. O preaquecimento do óleo
combustível é fundamental para se atingirem os limites adequados de
viscosidade necessários para uma boa pulverização.
eteX
81
Tendo em vista a variação de viscosidade do óleo combustível, a temperatura de
aquecimento não é fixa, devendo ser ajustada, quando necessário. É importante salientar
que esta temperatura não devem aproximar-se muito do ponto de fulgor do óleo
combustível.
7.2 CÁLCULO DO AR NECESSÁRIO À
COMBUSTÃO - COMBUSTÍVEL LÍQUIDOS
A combustão é completa quando a quantidade de ar é a necessária e suficiente para
oxidar os elementos constituintes do combustível utilizado.
Havendo combustão incompleta teremos fuligem, aldeído e monóxido de carbono, além
de não ocorrer a liberação total do calor do combustível.
A quantidade teórica de ar necessária à combustão pode ser calculada pela seguinte
fórmula:
mtar = 11,5 C + 34,8 (H-O/8) + 4,35. S
Onde
mtar = massa teórica de ar necessária a combustão (kg ar/kg comb.).
Os percentuais de água, cinzas e enxofre são obtidos em laboratório, ou especificados
pelo fornecedor do combustível.
Exemplificando, podemos considerar a queima de um óleo combustível tipo A (BPF),
com a seguinte composição média:
C = 84%, H2 = 11%, S = 4% e O2 = 1%
mtar = (11,5 - 0,84) + 34,8 (0,11 - )+ (4,35 x 0,04)
mtar = 9,66 + 3,7845 + 0,174
mtar = 13,62 kg ar/kg óleo
Dessa forma, teremos: 13,6 kg ar/kg BPF
Considerando que o ar possuí 23% em percentagem por peso atômico do oxigênio,
então teremos:
O2 = 0,23 x 13,6 = 3,1 kg O2 / kg de BPF.
Exercício:
1). Calcular a relação ar/combustível teórico para um combustível com a seguinte
composição: C= 81%, H2= 10%, S = 8%, O2 = 0,5%, cinzas = 0,5%.
eteX
82
2). Determine o volume de ar real necessário à queima do combustível do exercicio 1
nas seguintes condições de pressão e temperatura: 27ºC e 700 mmHg:
Solução:
PV = mRT
P = 700 mmHg = 93,325 (Kpa) , 1 bar = 102 Kpa = 750,064 mmHg.
T = 273 = 27 = 300 (K)
RAR =
mtar , calculado no exercicio 1.
7.3 ESTEQUIOMETRIA DA COMBUSTÃO
Proporção correta do volume de ar x combustível queimado:
Sabemos que a combustão é perfeita quando a quantidade de ar utilizada é a necessária
e suficiente para a completa combustão. Cada unidade de peso de determinado
combustível requer uma quantidade determinada de ar. Dependendo da temperatura
ambiente, esta quantidade de ar corresponderá a um dado volume.
Este volume de ar necessita entrar na câmara de combustão na proporção correta em
relação ao combustível queimado.
Se a proporção de ar e combustível não for mantida haverá insuficiência ou excesso de
ar e, consequentemente, perda de eficiência no processo.
Determinados combustíveis exigem maior ou menor excesso de ar, já que a combustão
perfeita é quase impraticável. Partindo-se de uma análise elementar de um óleo
combustível, chegou-se à conclusão que um quilo de óleo ao queimar, necessita de,
aproximadamente, 13,6 kg de ar. Como na prática não se consegue uma atomização
perfeita nem se garante que todo o ar admitido possa misturar-se intimamente com o
óleo durante o processo de combustão, é normal admitir-se um excesso de ar, além do
teoricamente necessário, a fim de se garantir a queima perfeita do combustível.
Logicamente é necessário controlar esse excesso de ar, de forma tal que ele atinja níveis
mínimos, pois o ar que não participa de combustão tende a retirar calor da chama, sem
contribuir para a reação, além do que, estaremos aquecendo um volume de ar
desnecessariamente, o que implicará num aumento de velocidade de circulação dos
gases quentes, com consequente perda de calor pela chaminé.
7.4 CONTROLE DE AR EM EXCESSO E EM
FALTA
eteX
83
A forma mais prática e rápida de se calcular o calor perdido através dos gases de
combustão é pela medição de sua temperatura na base da chaminé, associando-se ao
teor de CO2 medido no mesmo ponto.
Como foi visto, sabemos que o excesso de ar reduz a percentagem de CO2 presente nos
gases de combustão, pois para o mesmo volume de CO2 teremos aumentado o volume
total dos gases.
As medições do teor de CO2 nos gases de combustão são efetuadas por meio de um
medidor de CO2 tipo “Firyte” ou “Orsat”. Esse tipo de medidor de CO2 funcionam pela
absorção deste gás por uma solução de hidróxido de potássio concentrada contida numa
coluna graduada, que fornece o teor de CO2 por leitura direta. Com a determinação dos
valores de CO2 e temperatura, obteremos informações tais como: a perda percentual de
calor pela chaminé e a percentagem de excesso de ar.
8. ÁGUA DE ALIMENTAÇÃO DAS
CALDEIRAS
As águas de alimentação de caldeiras provêm de fontes naturais como poços, lagos,
córregos, rios, e de outros mananciais contendo reservas deste fluido.
Conforme a sua procedência, tais águas podem conter diferentes produtos dissolvidos
ou em suspensão, em concentrações bem diversas.
O emprego direto das águas “in natura”, como água de alimentação de caldeiras,
implica num processo de evaporação da fase líquida, com consequentes concentrações
dos produtos minerais dissolvidos.
Outros produtos, entretanto, também se liberam, tais como gases dissolvidos existentes
na fonte fornecedora ou mesmo resultante da decomposição de matérias orgânicas
igualmente presentes.
Os resíduos, após a evaporação da fase líquida, formam depósitos sobre as superfícies
metálicas das caldeiras, com aderências de diferentes tipos, de conformidade com a
natureza do material acumulado. Certos produtos depositados, permanecem na forma de
um lodo de fácil remoção; outros se incorporam a própria parte metálica na forma de
resíduos resistentes, de remoção mais difícil, constituindo um depósito denominado
pelos caldeireiros de incrustações.
Como esses depósitos incrustantes, são fracos condutores de calor, seus acúmulos sobre
as superfícies metálicas tendem a criar maiores resistências ao escoamento do calor,
contribuindo para uma sensível diminuição do Coeficiente de Condutividade entre os
gases quentes e a água situada no interior da tubulação. Evidentemente, diante de uma
condição de trabalho que prejudica a troca de calor entre os fluidos do processo, a
caldeira, passa a produzir menor quantidade de vapor e a apresentar uma diminuição no
seu rendimento térmico.
8.1 UNIDADES ADOTADAS
eteX
84
A unidade mais universal para exprimir a concentração das substâncias em solução nas
águas naturais é o ppm, ou seja, partes por milhão.
Conhecem-se outras unidades mais comuns nas análises inglesas:
gpg= grãos americanos por galão
pts/100.000= partes por 100.000 partes de água
gpg imp= grãos por galão inglês
Entre as diferentes unidades há as seguintes equivalências:
1 gpg = 17,1 ppm
1 ppm= 1 mg/l = 1 g/m3
1 ppm = 0,0583 gpg = 0,07 gpg imp = 10lb/1.000.000 galões ingleses
As análises são sempre feitas com referência ao volume de água e não ao pêso,
assumindo o pêso de 1 kg por cada litro de água sem levar em conta a correção pela
temperatura.
8.2 ANÁLISE DA ÁGUA
Toda água de alimentação deve ser conhecida e controlada. Baseado no fato de se
conhecer quais as impurezas normais das águas naturais, foram formulados métodos
simplificados suficientemente satisfatórios para assegurar um controle rotineiro.
O método consiste na determinação dos seguintes valores:
 Dureza
 Alcalinidade
 Cloretos
 Fosfatos
 pH
Certas águas obrigam a determinação de outros dados como sejam:
 Sólidos totais
 Resíduos calcinado
 Matéria orgânica
 Concentração de O2 livre.
 Sílica.
 Dureza - O grau de dureza exprime a concentração dos sais de cálcio seja na
forma de carbonato, sulfato silicato ou cloreto. Pode ser expressa em grau
alemão, francês ou inglês, entre os quais há uma relação:
eteX
85
Grau F = 0,5 grau A Grau A = 0,7 grau I
O grau F eqüivale a 10 mg CaCO3/litro
O grau I eqüivale a 14,3 mg CaCO3/litro
O grau A eqüivale a 10mg CaCO3/litro
 Alcalinidade - Exprime a presença de íons dos sais de bicarbonato, carbonatos,
hidróxidos, fosfatos, silicatos, etc., ou seja, todos os que contribuem para a
alcalinidade da água. Destes os mais expressivos são os carbonatos e hidróxidos.
 Cloretos - São geralmente muito solúveis, sejam de cálcio, magnésio, sódio,
ferro e outros. Sua determinação se faz com solução de Nitrato de Prata N10
padrão empregando como indicador o Cromato de Potássio. Estes sais, por
serem altamente solúveis permitem, em primeira aproximação, estabelecer a
porcentagem de descarga da caldeira.
 Fosfatos - Os sais de fosfatos são auxiliares valiosos no tratamento de água.
Geralmente não comparecem nas águas naturais. Sua determinação se processa
com reagente de molibdato de amônio.
A concentração é feita por teste colorimétrico comparativo com escala padrão. A
intensidade da côr é proporcional à concentração do fosfato. A escala comparativa já
indica a concentração dos fosfatos.
 pH - Indica a acidez ou alcalinidade das águas. As águas naturais são geralmente
ligeiramente ácidas: 6,3 - 6,5 pH.
O pH é determinado por escala comparativa de indicadores padrões.
 Matéria orgânica - Podem comparecer nas águas na forma coloidal ou de algas
microscópicas, respondendo por sérios problemas de corrosões nos
superaquecedores e também nas caldeiras. Sua determinação se faz pelo
processo do permanganato.
 Gases dissolvidos - As águas naturais contêm sempre gases dissolvidos. O CO2
se apresenta com concentração até 50 ppm, porém, facilmente eliminável por
aquecimento. A solubilidade do oxigênio chega a ser até 5,7 ml/l à 25ºC. O
oxigênio é extremamente agressivo, atacando o metal da caldeira. O aumento da
temperatura da água acentua a agressividade deste gás. Sua determinação, para
caldeiras de pressões mais elevadas, acima de 21 kg/cm2 é obrigatória. O método
para determinação do oxigênio exige cuidados especiais e deve-se a Winkler
baseado na rápida ação oxidante do elemento em soluções de hidróxido
manganoso Mn (OH)2.
 Sílica - É responsável pelas incrustações mais difíceis de serem removidas das
superfícies metálicas. Sua determinação se faz por processo quantitativo.
 Sólidos totais - É a soma dos sólidos em suspensão e dos sólidos dissolvidos. Os
sólidos totais são uma medida da possibilidade de formação de espuma, arraste
de sílica volátil e formação de depósitos. Supondo que o tratamento d’água está
obtendo o máximo de eficiência possível, é necessário purgar a caldeira para
reduzir sua concentração. Esta purga é realizada pela extração de superfície, que
é uma purga contínua e, quando necessário, pela extração de fundo, que é uma
eteX
86
purga intermitente, limitando assim a concentração de sólidos totais admissíveis
na água de caldeira, cujo teor tolerável é inversamente proporcional à pressão de
operação, como se segue:
8.3 TRATAMENTOS E APARELHAGENS
Basicamente apresenta-se em dois métodos sempre associados, o primeiro método
denominado de TRATAMENTO EXTERNO, proporciona o melhoramento da
qualidade da água antes de sua introdução no gerador de vapor. O outro método é
chamado de TRATAMENTO interno realizando as reações químicas de tratamento no
interior da própria caldeira.
8.3.1 TRATAMENTOS EXTERNOS
O primeiro passo no tratamento da água é sua clarificação a fim de remover todas as
partículas sólidas existentes em suspensão responsáveis pela sua turbidez.
O método tradicional de simples filtração só obtém resultado quando a água procede de
poços artesianos profundos, os quais as vezes já dispõe de uma água límpida, embora
fortemente carregada de sais dissolvidos.
Nessa hipótese, a aplicação de um filtro de areia aberto com remoção das impurezas por
gravidade ou uma variante de filtro autolavável, também aberto, atendem as
necessidades do processo. Na ausência de espaço para se instalar um filtro deste tipo, se
recorre a um filtro de camadas de areia e antracito, fechado, compacto que promove a
circulação da água sob pressão até no máximo de 10 m c.a. (vide fig.8.1). Quando a
pressão interna do vaso do filtro acusa valores superiores a pressão atrás indicada
promove-se uma inversão do fluxo da água que passa a circular no sentido ascendente,
arrastando para o esgoto todo o material acumulado sobre a camada superior de areia.
Esta operação se prolonga até o visor existente no circuito, acusar passagem de água
límpida, com duração aproximada de 5 a 10 minutos.
eteX
87
Fig.8.1
Naturalmente durante esta limpeza o suprimento de água fica interrompido, razão pela
qual, ser de boa norma, instalar dois aparelhos em paralelo. Enquanto um deles atende a
operação de limpeza, o segundo continua suprindo água ao processo.
A periodicidade da operação limpeza depende da qualidade da água, porém, na maioria
dos casos não ultrapassa 24 horas com um mínimo de 12 horas.
Todavia, a turbidez da água igualmente se deve a presença de matérias coloidais
dificilmente retidas nos filtros anteriores. Esta ocorrência é comum nos mananciais de
superfícies que agregam águas correntes com todos os tipos de rejeitos por onde
passam, humanos, vegetais e minerais.
Dificilmente hoje se encontra um córrego, rio ou lago que disponha de água límpida
sendo forçoso o acréscimo de um pré tratamento, antes da filtração, denominado
clarificação.
Os aparelhos clarificadores recebem a água bruta tal qual procedem das fontes de
suprimento juntamente com agentes coaguladores que promovem a formação de flocos
gelatinosos dotados de grande capacidade de absorção das impurezas existentes no
fluido.
Os agentes coagulantes minerais mais divulgados são compostos de ferro e de alumínio
estes últimos de maior aplicação.
eteX
88
Os hidróxidos de alumínio formado no aparelho com o aspecto de flocos gelatinosos
vão paulatinamente decantando, arrastando para o fundo do aparelho toda a turbidez da
água.
Os aparelhos destinados a formar os flocos são denominados floculadores, os destinados
a decantar são os decantadores. As duas funções podem ser verificar num único
aparelho denominado Clarificador. A figura 8.2 mostra um esquema de um decantador
estático tipo cilíndrico cônico.
Decantador Cilíndrico Cônico
Fig.8.2
A água límpida a seguir deve ser submetida a outros tratamentos para eliminar as
impurezas dissolvidas. Serão parâmetros determinantes na decisão do processo de
tratamento a ser adotado, a qualidade da água, a pressão da caldeira e a pureza do vapor.
Determinadas águas uma vez isentas de turbidez, podem ser introduzidas diretamente no
interior das unidades geradoras de vapor de baixa pressão, e ali serem submetidas ao
chamado tratamento interno descrito páginas adiante.
Caldeiras de maiores responsabilidades, principalmente aquelas que se destinam a suprir
vapor para centrais térmicas exigem águas absolutamente isentas de impurezas.
A segunda etapa dos tratamentos externos praticados pela tecnologia, encontram-se
aqueles que promovem apenas o abrandamento da água, ou seja, que eliminam a sua
dureza, e outros projetados para fornecer uma água totalmente desmineralizada. Em
ambos, em seguida, se acrescenta a desgaseificação.
8.3.1.1 ABRANDAMENTO
eteX
89
Existem na literatura diversos métodos para se obter o abrandamento da água, dentre
eles o mais difundido atualmente é o abrandamento por troca de íons. Este método se
baseia na propriedade de certas areias naturais que imersas em água provocam um
intercâmbio de íons.
O abrandamento da água consiste em passar a água dura através de uma coluna de
resina aniônica a base de sódio. O sódio presente na resina substituí o cálcio e o
magnésio da água num processo contínuo até o seu exaurimento, momento a partir do
qual se torna forçoso a regeneração. Neste estágio se interrompe a passagem da água a
ser tratada substituindo-a por uma solução de cloreto de sódio a qual recompõe o cátion
consumido e remove o cálcio e o magnésio do aparelho diretamente para o esgoto. Feita
a regeneração, volta a operação.do ciclo de tratamento. A figura 8.3 -a exibe um
aparelho abrandador de um estágio, com tanque de salmoura para regeneração e todas as
tubulações de operação, já a figura 8.3-b representa o corte em perspectiva de um
abrandador de leito misto.
(a) (b)
a) Instalação de abrandador de um Estágio, b) Corte em Perspectiva de um Permutador
Abrandador de Leito Misto.
Fig.8.3
8.3.1.2 DESMINERALIZAÇÃO
Efetuada sobre uma série de trocadores de; íons, é o tratamento escolhido para a
alimentação das caldeiras com pressões acima de 40kgf/cm2, especialmente quando
estas caldeiras comportam superaquecedores ou alimentam turbinas, caso nas usinas
térmicas para geração de potência.
eteX
90
Uma unidade para suprimento de água desmineralizada contém os aparelhos de troca
aniônicos e catiônicos, conforme a exigência da qualidade da água e se complementa
com outros aparelhos como preparadores das soluções regenerativas, bombas dosadoras
e aparelhos registradores.
8.3.1.3 DESGASEIFICAÇÃO
Tem a finalidade de eliminar todos os gases ainda dissolvidos na fase líquida, para a
atmosfera, como por exemplo o oxigênio, gás carbônico, sulfídrico e outros.
A eliminação dos gases normalmente é executada por aparelhagem específica,
denominada DESAERADORES.
Todavia, unidades que operam com baixas pressões, podem dispensar o acréscimo da
aparelhagem, adotando métodos químicos para atenuar o efeito corrosivo, sobretudo o
oxigênio.
Os produtos mais difundidos neste tipo de tratamento são o Sulfito de Sódio e a
Hidrazina.
A Hidrazina simples ou catalisada vem sendo mais utilizada para neutralizar a corrosão
do oxigênio, porquanto ela sequestra este gás dissolvido na água.
 Aparelhos Desaeradores
Nos desaeradores a pulverização (Vide figura 8.4) dispersa a água em finas gotas
através de pulverizadores na câmara de vapor do aparelho proporcionando um aumento
da superfície de contato das fases.
Os desaeradores de cascata, também conhecido como tipo de bandejas, operam em
contracorrente, despejando a água a partir de um distribuidor superior na forma de
múltiplas cascatas através do qual o vapor flui em sentido contrário. A fase líquida se
aquece ao longo do percurso até se acumular no vaso de reserva. O vapor, parte
condensa parte escoa pelo escape na atmosfera arrastando consigo os gases
incondensáveis.
Uma variação mais moderna deste tipo, aplica bandejas perfuradas de forma a criar uma
série de jatos cilíndricos de água em queda vertical aumentando a superfície de contato
das fases, conforme esquema da fig.8.5.
eteX
91
Esquema de um desaerador a pulverização
Fig.8.4
eteX
92
Desaeradores de bandejas perfuradas
Fig.8.5
Os gases incondensáveis são arrastados pelas bolhas de vapor em excesso para a coluna
do aparelho que dispõe de uma distribuição da água de ingresso na forma de cascatas.
O aparelho deste tipo precisa ser rigidamente fixado a base, e todos os acessórios
firmemente atados, dado que a injeção do vapor diretamente no fundo do vaso cheio de
água fria, no início do processo de aquecimento provoca fortes golpes de aríete pela
instantânea condensação do vapor.
A melhor construção destes aparelhos contém em cada orifício de distribuição do vapor
um misturador para atenuar os efeitos da forte trepidação resultante do golpe de aríete.
Deve-se acrescentar na instalação destes aparelhos, uma série de acessórios de controle
de nível, da pressão interna de operação, da pressão do vapor de injeção, manômetros e
termômetros, indicadores de nível, bem como, a providência de adequado isolamento.
Na maioria das instalações de desaeração, o aparelho opera com uma pressão interna
ligeiramente superior a pressão atmosférica, de conformidade com a temperatura
desejada na água desaerada.
8.3.1.4 REMOÇÃO DA SÍLICA
Como já foi observado anteriormente, a sílica está presente na água como ácido
salicílico e silicatos solúveis. Forma incrustações de difícil remoção que podem ser
retirados pelo tratamento com óxidos por troca iônica.
eteX
93
8.3.2 TRATAMENTO INTERNO
Aplica-se em água de baixa dureza, não turvas, adicionando-se produtos químicos que
reagem no interior da caldeira.
Há várias composições no mercado, cujas doses são prescritas pelos fabricantes em
função das impurezas encontradas pela análise da água.
O produto básico destas composições, porém, é o trifosfato de sódio.
É o método mais econômico que consiste em adicionar uma solução dos sais de
tratamento no próprio tanque de alimentação de água ou no tubo de injeção desta, no
interior da caldeira, mediante um dosador contínuo.
As reações do fosfato no interior da caldeira precipitam os sais de cálcio, numa forma
não aderente a superfície metálica e tornam altamente solúveis os sais que davam
dureza a água.
Os precipitados formados pelas reações, sob forma de um lodo, depositam-se nas partes
inferiores da caldeira, de onde são eliminados por meio de descargas intermitentes.
8.4 CONSIDERAÇÕES FINAIS
Apesar do tratamento mais rigoroso que se possa adotar, é impossível eliminar da água
todos os sais em solução. Excetua-se o método da destilação.
A caldeira com a água que produz vapor, portanto, vai acumulando e concentrando os
sais que ingressam com a água. A concentração deve ser mantida até o limite de
solubilidade a partir do qual há precipitações que concorrem para incrustação, arraste de
partículas sólidas pelo vapor e formação de espuma.
É a descarga da caldeira que mantém a concentração destes sais dentro dos limites
convenientes, além de arrastar o lodo que se acumula nas partes inferiores da caldeira.
 FORMAÇÃO DE ESPUMA E ARRASTE.
O arraste consiste de diminutas gotículas de água que são carregadas pelo vapor no
momento que este se desprende da superfície da água. Em condições normais de
operação, o arraste de água é uma possibilidade remota pois os internos do tubulão
superior são projetados para evitar que isto ocorra. Entretanto, pode ocorrer este tipo de
arraste se houver:
 Danos nos aparelhos separadores de vapor
 Nível alto no tubulão
 Variação brusca de carga
 Presença de espuma no tubulão superior
eteX
94
A formação de espuma é devida a concentração de produtos químicos provocando
redução de tensão superficial da película de água que envolvem as bolhas de vapor em
geração. As causas da formação espuma são:
 Excessiva concentração de sólidos na água
 Excessiva alcalinidade cáustica
 Matéria orgânica em suspensão na água como óleo, graxas, etc.
Assim, os produtos químicos são lançados no espaço de vapor e carregados por ele. A
intensidade desta espuma depende da natureza dos compostos químicos na água da
caldeira. O problema de arraste provoca a formação de depósitos no superaquecedor,
nas pás das turbinas e no sistema de condensado, além de problemas de corrosão e
erosão, nas caldeiras aquatubulares.
Outro contaminante indesejável é o óleo ou graxa presentes na água de caldeiras os
quais são grandes formadores de espuma. Formam também uma película isolante sobre
a superfície interna dos tubos da caldeira provocando superaquecimento. Dependendo
da temperatura, podem ser carbonizados resultando uma deposição de carbono na
caldeira.

Caldeiras apostila cg

  • 1.
    eteX 1 CALDEIRAS Considerações Gerais Eduardo TeixeiraNeto-Curso de Operadoresde Processo – RPR 2017
  • 2.
    eteX 2 Sumario 1. Considerações Gerais6 1.1. TERMOS LIGADOS AOS GERADORES DE VAPOR 7 2. COMPONENTES CLÁSSICOS 8 3. TIPOS DE CALDEIRAS 10 3.1 CALDEIRAS FLAMOTUBULARES 12 3.1.1 CALDEIRAS HORIZONTAIS 13 3.1.2 CALDEIRAS VERTICAIS 18 3.2 Caldeiras Aquatubulares 19 3.2.1 CALDEIRAS AQUOTUBULARES DE TUBOS RETOS 20 3.2.2 CALDEIRAS AQUOTUBULARES DE TUBOS CURVOS 23 3.2.3 CIRCULAÇÃO DA ÁGUA EM CALDEIRAS AQUOTUBULARES. 26 3.2.4 CALDEIRAS DE CIRCULAÇÃO POSITIVA FORÇADA 27 3.3 CALDEIRAS ELÉTRICAS 29 3.3.1 TIPOS DE CALDEIRAS ELÉTRICAS 30 4. FORNALHAS 33 4.1 CLASSIFICAÇÃO DAS FORNALHAS 33 4.2 Fornalhas sob Suporte 34 4.2.1 Fornalha de Suporte Estático 34 4.2.2 Fornalha de Suporte Movimentado 41 4.3 Fornalha de Queima em Suspensão 45 4.3.1 Queimadores de Combustíveis Líquidos 45 4.3.2 QUEIMADORES DE COMBUSTÍVEIS GASOSOS 48 4.3.3 QUEIMADORES DE COMBUSTÍVEIS SÓLIDOS PULVERIZADOS 49 5. ACESSÓRIOS E DISPOSITIVOS DE CALDEIRAS 51
  • 3.
    eteX 3 5.1 APARELHOS DEALIMENTAÇÃO DE ÁGUA 51 5.1.1 INJETORES 51 5.1.2 BOMBAS ALTERNATIVA 52 5.1.3 BOMBAS CENTRÍFUGAS 53 5.1.4 CONTROLE AUTOMÁTICO DE ÁGUA DE ALIMENTAÇÃO 53 5.1.4.1 APARELHO DE CONTROLE DE ALIMENTAÇÃO DE ÁGUA LIGA- DESLIGA. 54 5.1.4.2 APARELHOS DE CONTROLE DE ALIMENTAÇÃO DE ÁGUA MODULANTE 55 5.2 ALIMENTAÇÃO DE COMBUSTÍVEL 60 5.2.1 CONTROLE AUTOMÁTICO DE COMBUSTÃO 61 5.3 ALIMENTAÇÃO DE ENERGIA ELÉTRICA 61 5.4 VISOR DE NÍVEL 62 5.5 MANÔMETROS 63 5.6 DISPOSITIVOS DE SEGURANÇA 65 5.6.1 VÁLVULAS DE SEGURANÇA 65 5.6.2 PROTEÇÃO E CONTROLE DE CHAMA 68 5.7 DISPOSITIVOS DE CONTROLE 69 5.7.1 PRESSOSTATOS 69 5.7.2 CHAVE SEQÜÊNCIAL 70 5.7.3 VÁLVULAS E TUBULAÇÕES 70 5.7.4 OUTROS ACESSÓRIOS 75 5.7.4.1 PREAQUECEDOR DE AR 75 5.7.4.2 ECONOMIZADOR 77 5.7.4.3 SUPERAQUECEDORES 79 5.7.4.4 PURGADORES 81
  • 4.
    eteX 4 6. TIRAGEM 82 6.1TIRAGEM NATURAL 82 6.2 TIRAGEM FORÇADA E INDUZIDA 82 6.3 TIRAGEM MISTA OU BALANCEADA 83 6.4 CONTROLE DE TIRAGEM 84 6.5 CHAMINÉ 84 7. COMBUSTÃO E COMBUSTÍVEL 85 7.1 DEFINIÇÕES 85 7.2 CÁLCULO DO AR NECESSÁRIO À COMBUSTÃO - COMBUSTÍVEL LÍQUIDOS 87 7.3 ESTEQUIOMETRIA DA COMBUSTÃO 88 7.4 CONTROLE DE AR EM EXCESSO E EM FALTA 88 8. ÁGUA DE ALIMENTAÇÃO DAS CALDEIRAS 90 8.1 UNIDADES ADOTADAS 90 8.2 ANÁLISE DA ÁGUA 91 8.3 TRATAMENTOS E APARELHAGENS 93 8.3.1 TRATAMENTOS EXTERNOS 93 8.3.1.1 ABRANDAMENTO 96 8.3.1.2 DESMINERALIZAÇÃO 97 8.3.1.3 DESGASEIFICAÇÃO 97 8.3.1.4 REMOÇÃO DA SÍLICA 101 8.3.2 TRATAMENTO INTERNO 101 8.4 CONSIDERAÇÕES FINAIS 101
  • 5.
    eteX 5 1. Considerações Gerais Atualmente,graças a todos os aperfeiçoamentos e a intensificação da produção industrial, a caldeira ocupa um lugar muito importante pois gera o vapor indispensável a muitas atividades, não só para movimentar máquinas, mas também para limpeza (esterilização), aquecimento, e participação direta no processo produtivo, como matéria- prima. Além da indústria, outras empresas, utilizam, cada vez mais vapor gerado pelas caldeiras, como por exemplo: restaurantes, hotéis, hospitais, frigoríficos. Caldeira é um trocador de calor que, trabalhando com pressão superior à pressão atmosférica, produz vapor, a partir da energia térmica fornecida por uma fonte qualquer. É constituída por diversos equipamentos integrados, para permitir a obtenção do maior rendimento térmico possível e maior segurança. Esta definição abrange todos os tipos de caldeiras, sejam as que vaporizam água, mercúrio ou outros fluídos e que utilizam qualquer tipo de energia, inclusive a elétrica. Quase sempre, a fonte produtiva de calor é um combustível especificamente utilizado com esta finalidade mas podem ser aproveitados, também, entre outros calores residuais de processos industriais, escape de motores Diesel ou turbinas a gás. Neste caso, o equipamento é chamado "Caldeira de Recuperação". Algumas vezes, o fluído permanece no estado líquido, apenas com temperatura elevada para ser aproveitado nos processos de aquecimento (calefação), formando, deste modo, a linha de caldeiras de água quente. A produção de vapor pode ser conseguida, também, pela absorção da energia térmica desprendida pela fissão do urânio. O material contido neste trabalho, se refere, principalmente, às caldeiras que produzem vapor d’água, a partir de combustíveis sólidos ou líquidos. Para produzir o vapor d'água, é necessário que haja a combustão na caldeira. Quanto mais alta a viscosidade do combustível, mais difícil será a sua nebulização, ou seja, mais difícil será a sua divisão em gotículas. O preaquecimento do óleo combustível é fundamental para atingir os limites adequados de viscosidade necessários para uma boa pulverização. Tendo em vista a variação de viscosidade do óleo combustível, a temperatura de aquecimento não é fixa, devendo ser ajustada quando necessário. É importante salientar que estas temperaturas não devem aproximar-se muito do ponto de fulgor do óleo combustível.
  • 6.
    eteX 6 1.1. TERMOS LIGADOSAOS GERADORES DE VAPOR  CAPACIDADE DO GERADOR DE VAPOR É o quanto a caldeira produz de vapor, podendo ser representada por: 1. Quilo de vapor ou tonelada de vapor por hora (kg/h,t/h). 2. BHP - “boiler horse-power”, onde 1BHP  15,65 kg/h. 3. Quilo de vapor por metro quadrado (kg/m2 )de superfície de aquecimento.  SUPERFÍCIE DE AQUECIMENTO É a área de tubulação (placa metálica) que recebe o calor dos gases quentes responsável por vaporizar a água (m2).  CALOR ÚTIL É a parcela de calor produzida pelo combustível que se transferiu para a água formando vapor.  EFICIÊNCIA TÉRMICA É a relação entre o calor útil e o conteúdo térmico total do combustível queimado. T = vazão em massa de vapor fornecido, vazão em massa de combustível (kg/h). hs, he = entalpia do vapor de saída, entrada (kJ/kg) PCI = poder calorífico inferior do combustível queimado (kJ/kg). 2. COMPONENTES CLÁSSICOS Atualmente os geradores de vapor de grande porte são constituídos de uma associação de componentes, de maneira a constituírem um aparelho complexo, principalmente quando destinados a queima de combustível sólidos que incluem superaquecedores, economizadores, Pré-aquecedores de ar, captadores de fuligem, extratores mecânicos de cinza, e outros. As unidades menores destinadas a gerar vapor de calefação em pequenas e médias indústrias dispensam a quase totalidade dos componentes citados anteriormente. Assim sendo, os componentes clássicos das caldeiras são listados a seguir, com a ressalva que nem todos os componentes abaixo, necessariamente, fazem parte de todos os geradores de vapor.
  • 7.
    eteX 7 1. Cinzeiro Lugaronde depositam as cinzas e ou eventualmente restos de combustíveis que atravessam o suporte de queima sem completarem sua combustão. 2. Fornalha Local onde se instala a início do processo de queima, seja para a queima de combustíveis sólidos, líquidos ou gasosos. 3. Câmara de combustão Volume onde se deve extinguir toda a matéria combustível antes dos produtos de combustão atingirem e penetrarem no feixe de absorção do calor por convecção. Esta câmara por vezes se confunde com a própria fornalha dela fazendo parte, Outras vezes separa-se completamente. A câmara de combustão pode ser constituída pela própria alvenaria refratária, ou revestida de tubos (parede de água), ou integralmente irradiada. 4. Caldeira de vapor Corresponde ao vaso fechado, à pressão, com tubos, contendo a água no seu interior, que ao receber calor se transforma em vapor 5. Superaquecedor Responsável pela elevação da temperatura do vapor saturado gerado na caldeira. Todo o vapor ao passar por este aparelho se superaquece. 6. Economizador Onde a temperatura da água de alimentação sofre elevação, aproveitando o calor sensível residual dos gases da combustão, antes de serem eliminados pela chaminé. 7. Aquecedor de ar Também conhecido como Pré-aquecedor de ar, cuja função é aquecer o ar de combustão para a seguir introduzi-lo na fornalha, graças ao aproveitamento do calor sensível dos gases da combustão. 8. Canais de gases São trechos intermediários ou finais de circulação dos gases de combustão até a chaminé. Estes canais podem ser de alvenaria ou de chapas de aço conforme a temperatura dos gases que neles circulam. 9. Chaminé É a parte que garante a circulação dos gases quentes da combustão através de todo o sistema pelo chamado efeito de tiragem. Quando a tiragem, porém, é promovida por ventilador exaustor, sua função se resume no dirigir os gases da combustão para a atmosfera. Neste caso se diz que a tiragem é induzida. A circulação dos gases também poderá ser assegurada por um ventilador soprador de ar de combustão com pressão suficiente para vencer toda a perda de carga do circuito. Neste exemplo, a tiragem se diz forçada.
  • 8.
    eteX 8 Tomando por basea unidade mais complexa, a figura 2.1 permite identificar os componentes clássicos e o princípio de funcionamento da instalação. Princípio de funcionamento de uma unidade complexa com fornalha para queima de lenhas em toras Fig.2.1 3. TIPOS DE CALDEIRAS Existem diversas formas para se classificar as caldeiras. Por exemplo, elas podem ser classificadas sob os seguintes aspectos:  Quanto à Localização Água-Gases: A) Flamotubulares Verticais Horizontais Fornalhas corrugadas Traseira seca Traseira molhada Observação: Todos os tipos acima com 1,2 ou 3 passes. B) Aquatubulares
  • 9.
    eteX 9 Tubos retos Tubos curvos PerfilA Perfil D Perfil O Lâmina, cortina ou parede de água C) Mistas  Quanto à Energia Empregada para o Aquecimento: A) Combustíveis Sólidos Líquidos Gases B). Elétricas Jatos-de-água Eletrodos submersos Resistores C) Caldeiras de Recuperação Gases de outros processos Produção de soda ou licor negro D). Nuclear  Quanto à Montagem: A) Caldeiras pré-montadas (compactas) B) Caldeiras montadas em campo  Quanto à Sustentação: A) Caldeiras autossustentadas
  • 10.
    eteX 10 B) Caldeiras suspensas C)Sustentação mista  Quanto à Circulação de Água: A) Circulação natural B) Circulação forçada C). Combinada  Quanto ao Sistema de Tiragem: A) Tiragem natural B) Tiragem forçada C) Tiragem balanceada ou induzida Aguardaremos, neste trabalho, a classificação quanto à localização relativa água-gases e, à parte, as Caldeiras Elétricas: 3.1 CALDEIRAS FLAMOTUBULARES Este foi o primeiro tipo de caldeira construída. É também chamada de tubo-de-fogo, tubo-de-fumaça ou piro tubular, por causa dos gases quentes provenientes da combustão que circulam no interior dos tubos em um ou mais passes, ficando a água por fora dos mesmos. É o tipo de caldeira mais simples. Muito usada em locomotivas e navios, mesmo com o aparecimento de caldeiras mais modernas, este tipo ainda continua em uso. Posteriormente, com alguns aperfeiçoamentos, passou a chamar-se caldeira escocesa. Segundo o esquema, notamos que a caldeira tipo flamotubular não passa de um cilindro externo que contém a água e um cilindro interno destinado à fornalha. Sua tiragem ou saída de gases é normal. A carcaça é construída de chapas que variam de espessura de acordo com o porte da caldeira e a sua pressão pode variar entre 5 a 10 quilogramas- força por centímetro quadrado, sendo que as maiores unidades atingem a produção de 6 t/h, saturado e pressões não superiores a 17 kgf/cm2. Maiores produções e pressões determinam a utilização de caldeiras aquatubulares. Sucessivos estudos visando ao aperfeiçoamento das caldeiras revelaram que a temperatura oscilava entre 316 a 4270 (graus Celsius), que era perdida na chaminé. Resolveram aproveitar esta perda, a fim de reduzir o custo do combustível que, na época era o carvão mineral. O problema foi resolvido, aumentando a superfície de aquecimento da água colocando tubos em quantidade suficiente e forçando os gases quentes a passarem pelos tubos em passes, depois, pela tiragem na chaminé. Com isso, o rendimento foi aumentado, embora esse tipo de caldeiras não tivesse eficiência superior a 60%.
  • 11.
    eteX 11 Podemos ainda classificaras caldeiras flamotubulares em: HORIZONTAIS E VERTICAIS. Fig.3.1 3.1.1 CALDEIRAS HORIZONTAIS A) Caldeira Cornuália: Consta de um cilindro colocado inteiramente no sentido horizontal, ligando a fornalha até o local de saída dos gases. Seu funcionamento é simples, apresenta baixo rendimento e sua pressão não ultrapassa 10 Kg/cm2 (figura 3.1). B) Caldeira Lancaster: Sua construção é idêntica à Cornuália, podendo apresentar de dois a quatro tubos internos.(figura 3.2) Caldeira Cornuália e tipos de caldeiras Lancaster, corte transversal Figura 3.2 Estes tipos de caldeiras são chamados de tubo-de-fogo-direto; porque os gases percorrem os tubos da caldeira uma única vez.
  • 12.
    eteX 12 Dentro ainda dascaldeiras flamotubulares horizontais de fogo direto existem as multitubulares, que contam com vários tubos internos conforme pode ser visto na figura 3.3. Há caldeiras que apresentam Tubos-de-fogo e de retorno; os gases desprendidos durante a combustão na fornalha, circulam por tubos que os fazem retornar ao lado da fornalha e em seguida para a chaminé. Caldeira flamotubular horizontal - multitubular Fig.3.3 C) Caldeiras Multitubulares de Fornalha Externa: O aquecimento é feito diretamente na base do cilindro e os gases retornam pelos tubos- de-fogo. A fornalha pode ser construída em alvenaria e ocupa quase a extensão do cilindro (figura 3.4).
  • 13.
    eteX 13 Fig.3.4 D) Caldeiras Locomotivasou Locomóveis: Também é do tipo multitubulares. Sua característica principal é a fornalha que apresenta uma dupla parede em chapa, por onde circula a água. Quando o combustível é lenha ou carvão, possui, na parte inferior um conjunto de grelhas que servem para manter a lenha em posição de queima e dar escoamento às cinzas. Estas são captadas em uma caixa colocada logo abaixo das grelhas, chamadas de cinzeiro. Quando se trata de locomotivas, o cinzeiro, além de ser um dispositivo de segurança, é também, um regulador de tiragem, tanto na locomotiva parada como em marcha. (Fig.3.5) O largo emprego deste tipo de caldeira se deve à facilidade de transferência de um local para outro, podendo ser acionada mecanicamente onde não houver energia elétrica. Fig.3.5 E) Caldeiras Escocesas ou Compactas: Este tipo de caldeira teve largo emprego na Marinha, por ser construída de forma que todos os equipamentos colocados formam uma única peça. Seu diâmetro é bastante reduzido, sendo de fácil transporte e pode ser operada de imediato. Os gases produzidos na fornalha circulam várias vezes pela tubulação, sendo impulsionados por ventiladores. O combustível usado é unicamente óleo ou gás, podendo seu rendimento atingir a 83%. A figura 3.6 dá um exemplo de caldeira escocesas com 3 voltas de chama. As caldeiras escocesas apresentam diversas disposições construtivas (figura 3.7) contando com traseira molhada, traseira seca, dois e três passes, fornalha corrugada, para aumentar a superfície de troca térmica, podendo ter queima de óleo, gás ou combustível sólido.
  • 14.
  • 15.
    eteX 15 Fluxo de gásem caldeiras tipo escocesa Fig. 3.7 3.1.2 CALDEIRAS VERTICAIS Este tipo de caldeira tem as mesmas características da caldeira horizontal multitubulares. Os tubos são colocados verticalmente dentro do cilindro e a fornalha interna fica no corpo do cilindro. Existem tipos cuja fornalha é externa. Esta caldeira é usada em locais onde o espaço é reduzido e não requer grande quantidade de vapor, mas alta pressão.
  • 16.
    eteX 16 Os gases resultantesda queima na fornalha sobem pelos tubos e aquecem a água que se encontra por fora dos mesmos. Fig. 3.8 Podem ser de fornalha interna (figura 3.8) ou de fornalha externa. Geralmente as fornalhas internas são envolvidas por uma câmara de água formada pelo prolongamento do corpo cilíndrico, já as caldeiras verticais de fornalha externa são aplicadas principalmente quando é usado combustível de baixo pci (bagaço de cana, casca de laranja, madeira, carvão, etc.) Atualmente a grande maioria das caldeiras flamotubulares em operação são automáticas ou semiautomáticas embora se encontre ainda pequenas caldeiras piro tubulares operando normalmente. Os dispositivos automáticos mais comumente encontrados são os alimentadores de água e de óleo. 3.2 Caldeiras Aquatubulares Somente foi possível a obtenção de maiores produções de vapor, a pressões elevadas e altas temperaturas com o aparecimento das caldeiras aquatubulares (tubos de água). O fato dos tubulões estarem situados fora dos corpos das caldeiras, a eles se unindo para constituírem um feixe tubular de água que compõe a parte principal de absorção de calor, permite a obtenção de grandes superfícies de aquecimento. A figura 3.9 representa uma seção transversal de feixe aquatubular unindo dois tambores, no interior dos tubos circula a água e por fora os gases quentes através do caminho formado pela alvenaria e chicanas internas.
  • 17.
    eteX 17 Circulação de águaem uma caldeira aquatubular Fig.3.9 A água é vaporizada nos tubos que constituem a parede mais interna. Recebendo calor primeiro, vaporiza e sobe até o tambor superior, dando lugar à nova quantidade de água fria que será vaporizada e assim sucessivamente. Esse tipo de circulação de água, provocada apenas pela diferença de peso específico entre a água ascendente e descendente, é característica das chamadas caldeiras com circulação natural. A medida que a caldeira aquatubular aumenta sua capacidade, aumenta também seu tamanho, quantidade de tubos e por consequência as perdas de cargas no circuito hidráulico tornando a circulação por meio de bombas necessária, são as chamadas caldeiras de circulação forçada. A produção de vapor nestes tipos de caldeiras pode atingir capacidades de 600 até 750 t/h com pressões de 150 a 200 kgf/cm2, temperaturas de 450 - 500 ºC existindo unidades com pressões críticas (226 atm.) e supercríticas (350 kgf/cm2). A flexibilidade permitida pelo arranjo dos tubos que constituem os feixes ou parede d’água possibilitam uma vasta variedade de tipos construtivos conforme veremos na classificação a seguir: - Caldeiras aquatubulares de tubos retos, podendo, os tambores estarem colocados no sentido longitudinal ou transversal. - Caldeiras aquatubulares de tubos curvos, que podem apresentar de um a mais de quatro tambores, no sentido longitudinal ou transversal. - Caldeiras aquatubulares de circulação positiva.
  • 18.
    eteX 18 3.2.1 CALDEIRAS AQUOTUBULARESDE TUBOS RETOS Essas foram as primeiras caldeiras tubo-de-água que surgiram e tinham uma capacidade de produção de 3 a 30 toneladas-vapor/hora com pressões de até 45 Kg/cm2. Os projetos foram apresentados pelas firmas Babcok & Wilcox e a Steam Muller Corp. Consiste em um feixe de tubos retos e paralelos que se interligam com o tambor de vapor, através de câmaras, sendo que através dos espaços existentes entre os tubos circulam os gases quentes. As figuras 3.10 e 3.11 são dois exemplos deste tipo de gerador de vapor com tambor longitudinal e transversal respectivamente Caldeira de tubos retos e tambor longitudional Fig.3.10
  • 19.
    eteX 19 Caldeira aquatubular detubos retos e tambor transversal Fig.3.11 A figura 3.12 apresenta uma das formas de fixação dos tubos mais usadas na fabricação de caldeiras. Feixe de tubos expandidos nas câmaras onduladas (coletores ondulados) Fig.3.12
  • 20.
    eteX 20 3.2.2 CALDEIRAS AQUOTUBULARESDE TUBOS CURVOS A principal característica deste tipo, são os tubos curvos que se unem aos tambores por solda ou mandrilhamento, o que representa grande economia na fabricação e facilidade na manutenção. Além de serem bastantes práticas para limpar, possibilitam a produção de grande quantidade de vapor. As primeiras caldeiras deste tipo foram idealizadas por Stirling. Apresentavam um número de tambores variados, e um grande volume de água. Na figura 3.13 apresentamos um esquema desse tipo de caldeira, com três tambores superiores e um inferior, existindo modelos com dois tambores inferiores. Partindo deste modelo, foram projetadas novas caldeiras. Com o objetivo de se aproveitar melhor o calor irradiado na fornalha, reduziu-se o número e o diâmetro dos tubos, e acresceu-se uma parede de água em volta da fornalha o que serviu como meio de proteção ao refratário da mesma, diminuição da caldeira, eliminação total dos refratários de alta qualidade e vaporização mais rápida. Fig.3.13 A figura 3.14 representa uma caldeira com dois tambores transversais e parede de água, enquanto a figura 3.15 mostra uma caldeira com três tambores transversais.
  • 21.
    eteX 21 Fig.3.14 Fig.3.15 Dentro da categoriade tubos curvos cabe analisar em separado, uma versão que mantém grande projeção no mercado consumidor: a caldeira aquatubular compacta de operação totalmente automatizada, conforme esquema da figura 3.16.
  • 22.
    eteX 22 Corte de umacaldeira aquatubular compacta Fig.3.16 Com produções até 100 toneladas de vapor por hora e obtenção de eficiência térmica elevada (até 80%), estas unidades são oferecidas para pronto funcionamento, dispensado a montagem no campo, fazendo apenas as interligações e instalações elétricas- eletrônicas e hidráulicas. Unidades não transportáveis num único pacote são fornecidas ou em blocos semi- compactos ou em componentes unitários desmontados, de tal maneira que no local de instalação estes componentes são unidos para completar a unidade. 3.2.3 CIRCULAÇÃO DA ÁGUA EM CALDEIRAS AQUOTUBULARES. Os aços aplicados na construção das caldeiras expostas aos gases quentes precisam ser continuamente resfriados por água ou mistura água-vapor para conservarem suas qualidades de resistência, pois até a temperatura limite de 450ºC para os aços carbonos comuns, 590ºC para os aços martensíticos e 650ºC para outras ligas martensíticas, estes materiais conservam suas propriedades mecânicas. Ultrapassando estes limites as propriedades destes materiais utilizados na construção de caldeiras começam a diminuir sua resistência mecânica. Assim sendo o resfriamento da superfície metálica que é submetida a tais temperaturas é vital para a segurança do equipamento. Cabe, portanto, a água este papel, seja no estado líquido, seja vapor, mediante uma circulação permanente, controlada e orientada.
  • 23.
    eteX 23 Numa unidade convencionala circulação da água se processa livremente, graças a tendência natural provocada pela diferença de pesos específicos existentes entre a água situada nas partes mais frias da caldeira e aquela contida nas zonas de alta temperatura dos gases. A figura 3.17 apresenta quatro diferentes esquemas, cada um esclarecendo como se processa a circulação natural da água no interior dos tubos. Sabe-se que a circulação natural da água fica mais comprometida à medida que a pressão se eleva. Constata-se que o vapor a pressão de 35 kgf/cm2 pesa por unidade de volume 45 vezes menos que a água; à 140 kgf/cm2 7,5 vezes menos e a 210 kgf/cm2 apenas 2,5 vezes. Daí conclui-se que a circulação controlada por meios forçados é fundamental nas caldeiras e altíssimas pressões, normalmente acima de 160 kgf/cm2. Circulação Natural de água no interior dos tubos, diferentes concepções. Fig.3.17 3.2.4 CALDEIRAS DE CIRCULAÇÃO POSITIVA FORÇADA
  • 24.
    eteX 24 Há dois tiposde concepções que se distinguem pelo sistema de circulação, todas utilizando como meio de circulação uma bomba centrífuga de construção especial, para resistir às altas pressões de operação das unidades. No 1º tipo, toda água introduzida na caldeira circula uma só vez, através do economizador, caldeira e superaquecedor, transformando-se diretamente em vapor. A bomba de alimentação injeta na caldeira exatamente a quantidade de vapor a produzir. No 2º tipo, além da bomba de alimentação existe outra destinada a recirculação da água na caldeira. As caldeiras de circulação positiva apresentam inúmeras vantagens como a ausência de limite de pressão, e de capacidade, conhecendo-se exemplos com pressões supercríticas. Além disso apresentam dimensões menores, aplicam tubos de pequeno diâmetro (da ordem de 25 a 28mm), ausência de formação de depósitos internos, geram vapor instantaneamente, exibem rendimentos altos e dispensam grandes tambores. Em contrapartida exigem apurado controle da água de alimentação e manutenção cuidadosa na bomba de circulação associado a aperfeiçoados e sensíveis instrumentos de controle. A primeira concepção de caldeira de circulação forçada foi dada por Benson, a qual se caracteriza pela construção monotubular, através da qual circula a água unidirecionalmente, desde a entrada até a saída, já no estado de vapor, conforme esquema da figura 3.18 Fig.3.18 Existe também a caldeira Belser ou Sulzer, que é a mesma caldeira Benson acrescida de um tambor separador intermediário entre a seção geradora de vapor e o super aquecedor
  • 25.
    eteX 25 conforme figura 3.19.Esta coleta cerca de 4% da água evaporada para aquecimento da água de alimentação. A caldeira “Le Mont” aproveitou a ideia do tambor separador com bomba de recirculação (figura 3.20). A bomba de circulação opera com pressão superior a da caldeira consumindo de 0,5 a 0,6% da energia produzida pela própria caldeira.
  • 26.
    eteX 26 Principio Sulzer PrincípioLe Mont Fig.3.19 Fig.3.20 3.3 CALDEIRAS ELÉTRICAS São basicamente constituídas pelo casco ou tambor, contendo uma cuba interna e os eletrodos, um por fase. O casco é um vaso de pressão, cilíndrico-vertical, isolado termicamente e convenientemente aterrado. A cuba é isolada eletricamente por meio de porcelanas adequadas. A alimentação de energia elétrica é feita através de três eletrodos-suportes, sendo um por fase, dispostos a 1200 e fixados com isoladores na parte superior do tambor. Na extremidade inferior dos eletrodos suporte estão montados os eletrodos de contato, os quais ficam dentro da cuba imersos em água. A corrente elétrica, passando através da água, no interior da cuba, provoca seu aquecimento e vaporização. A água pura é considerada um mau condutor de CORRENTE ELÉTRICA, portanto devem-se adicionar determinados sais à mesma para que se possa obter uma determinada CONDUTIVIDADE.
  • 27.
    eteX 27 Alguns fabricantes recomendama adição cáustica ou fosfato tri sódico na água de alimentação (observe que esta deve ser calculada e colocada após o tratamento químico da água de alimentação). A quantidade se vapor gerada (Kg/h) depende diretamente dos seguintes parâmetros: - Condutividade da água; - Nível da água; - Distância entre os eletrodos. 3.3.1 TIPOS DE CALDEIRAS ELÉTRICAS a) Tipo Eletrodo Submerso: geralmente destinado a trabalhar com pressões de vapor não muito elevadas (aproximadamente 15 Kgf/cm2.). A figura 3.21 mostra um dos possíveis esquemas, utilizando o sistema de eletrodos submersos a baixa tensão (220 a 440 V), existe também nessa modalidade a alta tensão (3800 a 13800 V). b) Tipo Jato de Água (cascata): destinada a pressões de vapor elevadas e grandes quantidades de vapor. Observe um dos possíveis esquemas na figura 3.22, disponíveis apenas para alta tensão (3,8 a 13,8 kV). c) Tipo Resistência: destinada, geralmente, a pequenas produções de vapor. Na maioria das vezes são do tipo horizontal, utilizando resistências de imersão.  PRINCIPAIS CARACTERÍSTICAS DAS CALDEIRAS ELÉTRICAS - Não necessita de área para estocagem de combustível; - Ausência total de poluição (não há emissão de gases); - Baixo nível de ruído; - Modulação da produção de vapor de forma rápida e precisa; - Alto rendimento térmico (aproximadamente 98,0%); - Melhora do Fator de Potência e Fator de Carga; - Área reduzida para instalação da caldeira; - Necessidade de aterramento da caldeira de forma rigorosa; - Tratamento de água rigoroso.
  • 28.
    eteX 28 Caldeira elétrica tipoeletrodo submerso (baixa tensão) Fig.3.21 1 - Corpo da Caldeira 2 - Eletrodo 3 - Câmara de Vapor 4 - Bomba de Circulação 5 - Bomba de Alimentação de Água 6 - Eliminador de Água 7 - Válvula de Segurança
  • 29.
    eteX 29 Caldeira Elétrica tipoeletrodo jateado Fig.3.22 Legenda: 1- Válvula de Descarga de Fundo 8 - Eletrodo 2 - Bomba de Circulação 9 - Cilindro com Injetores 3 - Válvula Controle de Vazão 10- Injetores 4 - Válvula de Segurança 11- Contra eletrodos 5 - Haste do Condutor 12- Aquecedor de Partida 6 - Isoladores 13- Entrada de Água de Alimentação 7 - Válvula de Saída de vapor
  • 30.
    eteX 30 4. FORNALHAS Fornalha éa denominação genérica que se dá para o local onde se queima o combustível e donde partem os produtos desta combustão. É formada por duas partes distintas: 1- O aparelho de combustão 2- A câmara de combustão O aparelho de combustão compreende um conjunto de componentes que oferecem as condições necessárias para a queima de combustível. Exemplos de aparelhos de combustão são as grelhas rotativas, as grelhas basculantes, o queimador a óleo, a gás, etc. A câmara de combustão é representada por um volume adequadamente dimensionado onde se desenvolve a chama e se completa a combustão, além de propiciar a proteção e os suportes necessários para o aparelho de combustão. A fornalha deve evaporar toda a umidade do combustível e destilar suas substâncias voláteis, elevar a temperatura do combustível até a combustão espontânea proporcionando uma combustão completa, criar turbulência para misturar o ar e o combustível e finalmente impedir a troca de calor entre os gases quentes produzidos e o ambiente. No interior da fornalha as paredes devem ser revestidas com uma camada de tijolos refratários responsáveis por reter o calor no interior da fornalha, por isso devem ter refratariedade e alto ponto de fusão, resistência ao choque térmico e dilatação quase nula. A fixação desses tijolos é feita com argamassa refratária. Os principais componentes dos materiais refratários são o óxido de sílica, óxido de magnésio, grafite e silício. Recomenda-se, quando da utilização de tijolos refratários novos, que se aplique pouco calor nos primeiros momentos e se vá aumentando gradativamente, até atingirem suas características de operação. 4.1 CLASSIFICAÇÃO DAS FORNALHAS Várias são as maneiras de se classificar este componente importante dos geradores de vapor, sendo assim optou-se pela classificação que engloba todas as fornalhas em apenas duas categorias: 1- Fornalhas que queimam sobre suporte 2- Fornalhas de queima em suspensão A primeira categoria engloba todas as fornalhas que queimam combustíveis sólidos à granel, grosseiramente divididos, picados e britados.
  • 31.
    eteX 31 A segunda sepreocupa com a queima de combustíveis líquidos, gasosos ou sólidos finamente pulverizados que podem ser queimados em suspensão. 4.2 Fornalhas sob Suporte As fornalhas sob suporte congregam uma série de concepções construtivas especificamente projetadas para a obtenção das melhores condições necessárias aos variados combustíveis disponíveis para a queima. Segundo a quantidade de combustível manipulado, seu grau de divisão e mecanização da alimentação, as fornalhas sobre suporte são subdividas em dois grupos:  Fornalhas de suporte estático  Fornalhas de suporte movimentado 4.2.1 Fornalha de Suporte Estático Neste grupo incluímos todas as fornalhas onde o combustível introduzido, permanece praticamente em repouso sob o suporte até sua completa extinção. Se enquadram nesse grupo, as seguintes fornalhas:  Fornalha de Grelhas Planas São adequadas para a queima de lenha em toras de um metro. A figura 4.1 mostra a instalação de uma grelha plana em caldeira flamotubular. O suporte todo costuma possuir ligeira inclinação para a parte posterior de 10 a 15 graus para facilitar o manuseio do combustível durante os períodos de movimentação das toras a que são submetidos. A aplicação deste tipo de grelha é limitada a caldeiras com capacidade de gerar até 15 tv/h. A partir desta capacidade o suprimento manual do combustível se complica o ponto de inviabilizá-lo. Projetos maiores, jamais deveriam adotar este sistema de queima sob pena de contribuir para o desperdício de reversas florestais comprometidas com outros programas mais coerentes com a economia da Nação.
  • 32.
    eteX 32 Grelha Plana: a-caixa de fogo; b- suporte da grelha; c- barras de grelha; d- ponte de fornalha Figura 4.1 Fornalha de Grelha em Escada Como o nome sugere, esta grelha é construída por placas de FOFO, formando degraus, apoiados em travessões inclinados. O combustível é arrastado ou projetado no início do plano inclinado, desce até formar um monte equilibrado, preenchendo todo o suporte. A figura 4.2 apresenta quatro exemplos de grelha tipo escada. Em seguida na figura 4.3, apresenta-se algumas disposições construtivas dos travessões inclinados que servem de apoio às placas que compõem os degraus. Estas grelhas, quando alimentadas mecanicamente se prestam para caldeiras de até 20 tv/h. Acima deste valor, há outros processos mais adequados e de mais fácil manutenção.
  • 33.
    eteX 33 Quatro exemplos degrelhas em escada Fig. 4.2
  • 34.
    eteX 34 Componentes da grelhade escada Fig. 4.3  Grelha Resfriada Inclinada É uma variante da grelha anterior e consta de um plano inclinado constituído pelos próprios tubos de circulação de água da caldeira. Esses tubos, afastados um do outro, cerca de 60 a 120 mm são soldados em dois coletores, um alimenta o feixe inclinado e o outro que recebe a água em circulação conectado com o resto da caldeira (figura 4.4). Aplicam-se em unidades geradoras de até 100 t/h para a queima de qualquer biomassa, mesmo aquelas contendo teores de umidade superiores a 50%. Se prestam, pois, para queimar cavacos de lenhas, resíduos florestais, resíduos industriais, cascas de cereais e outras biomassas.
  • 35.
    eteX 35 Gerador de Vaporcom Grelhas Inclinadas Fig. 4.4  Fornalhas Celulares Extremamente simples, versáteis e satisfatória quanto a performance, são verdadeiras câmaras de alvenaria refratária, sobre cujo piso, o combustível é despejado, formando um monte que recebe ar insuflado em todos os planos, proporcionando a secagem parcial e queima. São utilizados para queima de diferentes biocombustíveis, como: cavacos, casca de madeira, serragem, cascas de cereais e de lenha, porém a aplicação mais generalizada tem sido na queima de bagaço de cana. A figura 4.5 mostra como opera uma fornalha deste tipo, identificando os tubeiros sopradores de ar, geralmente introduzidos com uma velocidade entre 8 a 15 m/s.
  • 36.
    eteX 36 Fornalha celular Fig. 4.5 Fornalhas com Grelhas Basculantes A figura 4.6 apresenta um projeto de caldeira com grelhas basculantes para queima de casca de arroz. As fornalhas desta categoria se aplicam para caldeiras de até 150 tv/h Como se observa no desenho, a grelha é formada por piso plano constituído por placas perfuradas, observe que o ar ingressa por baixo do piso basculante. As placas se apoiam em travessões lisos que giram em torno de mancais laterais mediante a ação de um pistão pneumático, que também pode ser visto pela figura 4.7. A cada ação do pistão corresponde um basculante, durante o qual as cinzas caem no cinzeiro. Esta concepção construtiva possui alimentação de combustível sempre por projeção. Há dois tipos de distribuidores, um denominado aspegidor pneumático e outro mecânico (figura 4.7).
  • 37.
    eteX 37 Caldeira Aquatubular comGrelha Basculante Fig.4.6 Aspegidor de Combustível Sólido Tipo Mecânico Fig. 4.7 4.2.2 Fornalha de Suporte Movimentado
  • 38.
    eteX 38 Grandes números deconcepções construtivas se enquadram nesta segunda subdivisão de fornalhas de suporte. As principais características que se distinguem das anteriores, reside no seguinte: - Alimentação contínua e mecanizada do combustível - Suportes constituídos por componentes que percorrem toda extensão do plano inferior da fornalha com movimento contínuo assegurado por acionamento mecânico. De acordo com o mecanismo aplicado para provocar o deslocamento do combustível, distingue-se os seguintes tipos: - Grelha caminhante por arraste; - Grelha com alimentação por baixo; - Grelha oscilante; - Grelha com esteira contínua.  Grelha Caminhante por Arraste Trata-se de uma grelha inclinada constituída de elementos articulados que promovem um movimento alternativo das placas de suporte. Há placas móveis e fixas, todas apoiadas por estruturas de ferro fundido. As placas móveis, mediante ação de um mecanismo correm guiadas sobre as fibras, deslocando o leito do combustível no sentido do plano inclinado no movimento de vai e vem. O movimento é lento, de forma a provocar um deslocamento com velocidade de queima necessária à caldeira, esta grelha também é conhecida pelo nome de grelha vai e vem. A figura 4.8 ilustra este tipo de grelha com inclinação aproximada de 20o em que a rosca sem fim (a) força o carvão sobre as barras de suporte (b) apoiadas nas vigas de acionamento (c) movimentadas por uma engrenagem regulável (d) que lhe confere o movimento de vai e vem. O cilindro (e) é responsável por projetar a escória mais leve ao reservatório de escória (i) que recebe também detritos da grelha pela saída (k). O ventilador (f) introduz o ar de combustão que penetra na grelha pelas câmaras de corrente de ar inferior (g); regulado por “dampers” através do controle da corrente de ar inferior (h). Bocais de ar (l), localizados acima da grelha, auxiliam na queima do pó de carvão em suspensão e do coque volátil.
  • 39.
    eteX 39 Fig. 4.8  Grelhade Alimentação por Baixo O combustível é admitido por meio de uma rosca (a), acionada por motor elétrico (h) com transmissão por engrenagens (g), que continuamente projeta o combustível na parte inferior da grelha. A grelha (c) propriamente dita é inclinada e transversalmente apresenta dupla inclinação de ambos os lados do canal central (b), de forma que o combustível caminhe do centro para os lados, onde é totalmente queimado sobre a grelha de combustão (d), conforme representação na figura 4.9 (seção A-B). O carvão, a medida que é forçado a subir para as partes superiores do leito, vai se aquecendo eliminando os voláteis e incandescendo-se. Atingindo o topo do leito, o carvão rola sobre si mesmo lateralmente até sua extinção total na grelha de combustão. As laterais recebem as cinzas que são basculadas por meio de alavancas (e), caindo em seguida nos cinzeiros. A escória é direcionada para a saída f da figura 4.9.
  • 40.
    eteX 40 Fig. 4.9  GrelhaOscilante São grelhas que provocam o caminhamento do combustível sob o suporte, graças a impulsos produzidos por mecanismo oscilante (figura 4.10). Grelha com Movimento Oscilatório Fig. 4.10 O suporte é constituído por placas perfuradas, uma ao lado da outra, formando um piso ligeiramente inclinado para o fundo. Estas placas são fixadas em barras, as quais, por sua vez, se reúnem a lâminas flexíveis. Estas lâminas flexíveis, no lado oposto às barras, são rigidamente fixadas a uma estrutura solidamente chumbada no concreto da fundação. A grelha é adaptável para a
  • 41.
    eteX 41 queima de qualquercombustível de biomassa e do carvão com médio e baixo teor de cinzas. Carvão com alto poder calorífico, fundem as placas e inutilizam a fornalha, fato este que tem limitado sua aplicação. Modelo mais avançado é a grelha oscilante resfriada que queima carvão com alto poder calorífico pois contém, junto ao piso da grelha tubos resfriados pela própria água da caldeira além de apresentar na sua parte inferior compartimentos por onde passa o ar de combustão.  Grelha com Esteira Contínua Também conhecidas como grelha rotativa, lembra um transportador, onde os óleos das correntes recebem as placas perfuradas que formam o piso do leito. Foram concebidos com a finalidade de desempenhar automaticamente boas condições de carregamento, distribuição do combustível e extração de cinzas (figura 4.11). Fig. 4.11 Entre todas é a de montagem mais complexa porque envolve uma mecanização mais elaborada, são utilizadas para aplicação em caldeiras de produção superiores a 39 t/h até 150 t/h. 4.3 Fornalha de Queima em Suspensão São as fornalhas usadas quando se queima óleos, gases ou combustíveis sólidos pulverizados, utilizando para tal, equipamento especial chamado maçarico ou combustor, responsável pela dispersão do combustível na fornalha de forma
  • 42.
    eteX 42 homogênea. Cada classede fornalha emprega queimadores especiais para proporcionar as condições de queima adequada. Conforme o tipo de combustível empregado, podemos ter: - Queimadores de combustíveis líquidos; - Queimadores de combustíveis gasosos; - Queimadores de combustíveis sólidos pulverizados. 4.3.1 Queimadores de Combustíveis Líquidos Os combustíveis líquidos são queimados nas câmaras de combustão, sempre em suspensão, na forma pulverizada por meio de vários processos. a) Pulverização a ar - O óleo escoa por gravidade ou por impulsão de uma bomba de baixa pressão, o ar é insuflado por ventilador, sendo o veículo responsável pela pulverização do óleo em gotículas (figura 4.12) Maçarico a Óleo Com Pulverização a Ar Fig. 4.12 Conforme a pressão do ar, os queimadores são denominados de baixa pressão (até 500 mmca) ou de média pressão (da ordem de 100 mmca). São indicados para unidades de pequeno porte, queimando uma quantidade máxima de 50 kg óleo/h. O ar de pulverização, denominado ar primário, representa 20% do ar total necessário à combustão. Opera com 30 a 40% de excesso de ar e apresentam uma pulverização não uniforme, dificultando a regulagem da queima. Uma concepção mais moderna deste tipo, procura dar uma rotação aos dois fluxos, o que tem permitido uma melhora na sua performance (figura 4.13).
  • 43.
    eteX 43 Queimador de ArComprimido com Rotação do Fluido Auxiliar Primário Fig. 4.13 b) Pulverização a vapor - Substituem o ar pelo vapor produzido na própria caldeira, promovendo uma pulverização mais fina e fortemente acentuada pelo aquecimento. Tem o inconveniente de parte do calor produzido na combustão ser consumido pelo vapor, quando este for saturado (figura 4.14). Maçarico a Óleo com Atomização a Vapor Fig. 4.14
  • 44.
    eteX 44 Queimador de CopoRotativo Fig. 4.15 Uma versão melhorada do princípio acima exposto é o queimador de “copo rotativo”, largamente aplicado nos geradores de vapor limitados à capacidade de queima de 500 kg óleo/h, embora alguns tipos especiais com alta rotação (10000 rpm) chegam a capacidade de 3000 kg óleo/h. O funcionamento baseia-se na formação de um filme de óleo no interior de um copo tronco cônico girando a alta rotação (3600 rpm), que projeta o combustível na forma de um anel cônico de encontro a um fluxo de ar rotativo de alta pressão. As colisões de ambos fluidos provocam simultaneamente a pulverização e a mistura do combustível com o comburente (figura 4.15). c) Pulverização mecânica: Caracterizados pela ausência completa de peças rotativas, garantindo a pulverização do óleo por escoamento estrangulado em alta velocidade através de orifícios de pequenas dimensões (figura 4.16). A energia necessária para o líquido atravessar o orifício em alta velocidade é mantida por uma bomba de engrenagens.
  • 45.
    eteX 45 Fig.4.16 4.3.2 QUEIMADORES DECOMBUSTÍVEIS GASOSOS Graças ao estado gasosos, o gás é o combustível mais simples de ser queimado pois a mistura com o comburente se processa de forma muito mais fácil do que com qualquer outro combustível, podendo ter sua velocidade de ignição consideravelmente aumentada mediante pré-aquecimento do suprimento do comburente. Basicamente distinguem-se dois tipos:  Queimadores de mistura  Queimadores de difusão. Os primeiros promovem a mistura do ar com o gás antes de injetá-los na câmara de combustão (figura 4.17), já os queimadores de difusão têm por princípio injetar ambos os fluidos separadamente, proporcionando a mistura de ambos no interior da câmara de combustão, tendo concepções que insuflam cada fluido em correntes paralelas (figura 4.18.a), cruzadas (figura 4.18.b) ou ainda turbulentas (figura 4.18.c).
  • 46.
    eteX 46 Queimador de Mistura,esquemático Fig.4.17 (a) (b) (c) Esquema dos três tipos de Queimadores de difusão: a) em correntes paralelas, b) cruzadas e c) turbulentas. Fig.4.18 Existem também queimadores de difusão para queimar a combinação de gás e óleo é até carvão pulverizado, encontrados nas grandes unidades geradoras de vapor. 4.3.3 QUEIMADORES DE COMBUSTÍVEIS SÓLIDOS PULVERIZADOS As utilizações dos combustíveis sólidos apresentam como exemplo mais importante o carvão mineral utilizado nas grandes unidades geradoras de vapor das centrais Termo Elétricas. Há, contudo, outras matérias orgânicas pulverizadas e resíduos de processos industriais que servem a queima, como é o caso do bagaço de cana, o bagacilho, a borra de café, a serragem e resíduos florestais macerados, que são reduzidos a tamanhos de
  • 47.
    eteX 47 alguns milímetros equeimados em suspensão, quando insuflados na câmara de combustão. A figura 4.19 mostra, de forma esquemática um queimador a carvão pulverizado tipo ciclone que associa a injeção pneumática com a formação de forte movimento vorticoso no interior da câmara de combustão, existindo concepções mais modernas que distribui os queimadores (geralmente em número de quatro) tangencialmente à câmara de combustão. O processo possibilita a queima de combustíveis sólidos finos de carvão com alto teor de cinzas, aproveita os finos resultantes da preparação do próprio carvão e admite a queima de grandes quantidades, assegurando sua aplicação nas grandes caldeiras, possibilitando uma larga faixa de controle de combustão. Fig.4.19 Em contrapartida apresenta algumas desvantagens, a principal representada pela maior facilidade das partículas escaparem para o meio ambiente, acompanhada da complexidade da aparelhagem de preparação do combustível, do consumo de energia para acionamento das máquinas e do calor dispendido na secagem do carvão. A redução parcial do tamanho das pedras de carvão para 10 a 20mm de diâmetro se processa com britadores de martelo. Após a britagem segue-se a secagem do carvão pelos mais variados aparelhos cilindrícos rotativos. Para a pulverização definitiva usam- se moinhos de rolos, de bolas ou cônicos e o transporte do pó de carvão efetua-se normalmente por via pneumática geralmente a alta pressão. 5. ACESSÓRIOS E DISPOSITIVOS DE CALDEIRAS 5.1 APARELHOS DE ALIMENTAÇÃO DE ÁGUA A cada quilograma de vapor extraído da caldeira, deve corresponder equivalente quantidade de água injetada. Não se verificando a reposição, o nível de água, no interior
  • 48.
    eteX 48 da caldeira, começaa baixar. Enquanto, as superfícies metálicas, expostas ao contato dos gases quentes, estiverem banhados pela água, nenhum dano ocorre ao equipamento. No momento, porém, que o nível ultrapassar o limite mínimo ao estabelecido, compromete-se a segurança da unidade. Criam-se condições de ruptura das paredes metálicas ou mesmo de explosões devido o superaquecimento da placa metálica. Por essa razão, cabe ao operador, embora auxiliado pela automação do processo de alimentação, vigiar permanentemente o nível exibido pelo visor transparente existente na caldeira. A introdução da água, nos Geradores de Vapor, se faz com os aparelhos de Alimentação. Sob o ponto de vista termodinâmico, o aparelho de alimentação, realiza um trabalho representado pelo deslocamento de uma massa de água associada a uma pressão capaz de vencer as resistências oferecidas pelo circuito. A figura 5.1, apresenta um esquema típico de instalação de alimentação de água, com bomba centrífuga, controlada automaticamente por uma válvula. Esquema de uma Linha de Alimentação de Água de Caldeira Fig. 5.1 5.1.1 INJETORES São equipamentos para alimentação de água usados em pequenas caldeiras de comando manual e também foram muito empregados em locomotivas a vapor. Seu princípio, simples, baseia-se no uso do próprio vapor de caldeira ou de ar comprimido que é injetado dentro do aparelho, onde existem os cônicos divergentes e as válvulas de retenção, de controle, e de sobrecarga, conforme figura 5.2.
  • 49.
    eteX 49 Quando o arou vapor passa pelos cônicos divergentes, forma vácuo, faz com que a válvula de admissão seja aberta e arrasta por sucção a água do reservatório para dentro da caldeira. Se a água entra em excesso, sai através de uma válvula de sobrecarga. Injetor de Água Fig.5.2 5.1.2 BOMBAS ALTERNATIVA Também conhecidas como bombas de pistões, de ação direta ou de deslocamento positivo, podem ser acionadas por motores elétricos ou a vapor. A bomba acionada eletricamente tem sido aplicada em pequenas caldeiras que operam em pressões elevadas, pois as bombas centrífugas para altas pressões dificilmente atingem pequenas capacidades. Sua constituição esquemática, representada na figura 5.3, conta com uma câmara, duas válvulas de retenção e um êmbolo.
  • 50.
    eteX 50 Bomba Alternativa oude Êmbolo Fig.5.3 As bombas acionadas a vapor mais difundidas são as denominadas Bombas duplex a vapor ou também conhecidas por burrinhos, disponíveis no mercado para atender geradores com produções de vapor até 50 t/hora e pressões até 21 kgf/cn2. Nestas o vapor aciona o par de pistões de maior diâmetro movimentando assim os pistões menores de injeção de água. Estes tipos de bombas, devido a presença de lubrificação contínua dos cilindros, apresentam o inconveniente de arrastarem óleo para o interior da caldeira, por isso, geralmente, cumprem o papel de bomba de reserva. 5.1.3 BOMBAS CENTRÍFUGAS São bombas que têm dado os melhores resultados, pela simplicidade de seus componentes, facilidade de manutenção, pela grande vazão que nos oferece, atingindo até 500.000 litros de água por hora, e por operar em regime contínuo, ao contrário das bombas alternativas onde a alimentação se processa em golpes contínuos. Seu funcionamento consiste em um disco com um jogo de palhetas que giram em alta velocidade e fazem a sucção da água. Cada disco forma um estágio, cuja quantidade pode variar de acordo com a capacidade da bomba. Nas caldeiras de baixa pressão empregam-se bombas com apenas um estágio e nas de alta pressão são usados multiestágios. As bombas centrífugas são passíveis de serem acionadas por motores elétricos ou por turbinas a vapor, estas últimas aplicáveis apenas em geradores de maiores capacidades e pressões. Podem, ainda, ter carcaça cilíndrica e bipartida. 5.1.4 CONTROLE AUTOMÁTICO DE ÁGUA DE ALIMENTAÇÃO
  • 51.
    eteX 51 Os aparelhos decontrole automático de alimentação dividem-se em dois grupos, identificados pelo critério de funcionamento (liga-desliga) ou modulante. 5.1.4.1 APARELHO DE CONTROLE DE ALIMENTAÇÃO DE ÁGUA LIGA- DESLIGA. Há dois aparelhos básicos que respondem por esta característica; um denominado Regulador de Nível com Eletrodo e o outro Regulador de Nível com Bóia.  Regulador De Nível Com Eletrodos Este sistema consiste em aproveitar a condutividade elétrica da água, através de três eletrodos que podem ser de aço inoxidável e tamanhos diferentes, correspondendo, cada tamanho, a um nível de água: o central, o máximo e o mínimo. Este dispositivo é montado na parte superior do tambor de vapor, e os eletrodos estão ligados a um relé de nível de água que, através de seus contatos, comandará a bomba de alimentação de água. A bomba entrará em funcionamento quando a água atingir a ponta de eletrodo central e deverá parar quando a água atingir o eletrodo de nível máximo ( o menor eletrodo). Se o nível da água atingir a ponta do eletrodo maior o relé desligará o queimador ou em alguns sistemas poderá fazer funcionar um alarme que dará ao operador a indicação do defeito (figura 5.4).  Regulador De Nível Com Bóia Poderão ser construídos de várias formas, mas os principais constam de uma garrafa que é ligada ao tambor de vapor e uma boia que flutua no seu interior. Qualquer flutuação do nível interno é transmitida a esta boia, presa na parte superior por uma haste (3), conforme fig. 5.5. A haste movimenta-se dentro do recipiente (5), e ao passar pelo campo magnético (2) produzido pelo imã permanente (1) faz movimentar a célula de mercúrio (4) pelo pino pivotado (A). A bomba assim fica dependendo do sistema liga-desliga, das chaves de mercúrio, alimentando ou não a caldeira.
  • 52.
    eteX 52 Indicador De NívelCom Eletrodo, onde: E = Eletrodo; VVN -1 e 2 = Válvula do visor de nível superior e inferior; VDN = Válvula do dreno de nível; VDRN = Válvula de dreno reguladora de nível; CN = Coluna de nível e TP-1 e 2 = Torneiras de prova 1 e 2. Fig.5.4 Demonstração Esquemática de um Regulador de Nível com Bóia usando Chaves de Mercúrio Fig.5.5 5.1.4.2 APARELHOS DE CONTROLE DE ALIMENTAÇÃO DE ÁGUA MODULANTE
  • 53.
    eteX 53  Elemento TermostáticoPara Controle De Nível Tem a finalidade de controlar o fluxo da água na caldeira. Seu funcionamento baseia-se no princípio da dilatação dos corpos pelo calor (figura 5.6). Sua construção é bastante simples. É formado por dois tubos concêntricos, sendo que o tubo externo é o tubo de expansão e o interno serve para fazer a ligação com o tambor de vapor pela sua parte superior, onde recebe uma quantidade de vapor. Faz também a ligação com o tambor de vapor em um ponto correspondente ao nível mínimo, recebendo, portanto, pela parte de baixo, água do tambor de vapor. O tubo termostático abrange quase toda a extensão da fornalha, sendo que em uma das extremidades é rigidamente ligado a serpentina de aquecimento e a outra extremidade permanece livre, a fim de poder dilatar-se e mover a válvula de admissão da água. Quando a caldeira está com uma queima total, a extremidade livre do tubo termostático mantém a válvula de admissão em posição que passe, apenas, a água para repor a quantidade que está sendo evaporada. Se houver uma baixa no nível de água, aumentará a temperatura do elemento termostático, devido ao aumento da quantidade do vapor dentro do tubo. Com isso, o tubo se dilata movimentando o conjunto de comando da válvula de admissão da água, fazendo com que a mesma se abra dando passagem à água de alimentação. À medida que a água vai entrando no tambor, a quantidade de vapor dentro do tubo termostático também vai diminuindo, dando lugar à água que é bem mais fria que o vapor, fazendo, desta forma, com que o tubo, que se havia expandido pelo calor, agora se contraia em virtude da mudança de temperatura: à medida que a temperatura diminui no interior do tubo, este se contrai, fazendo com que o conjunto de comando faça a redução da entrada de água até que o nível seja equilibrado. O nível normal de água na caldeira poderá ser elevado ou baixado à vontade, dentro de limites razoáveis. Uma porca de regulagem, localizada na extremidade do tubo, pode ser girada para proporcionar o nível desejado mesmo com a caldeira em funcionamento. Um amortecedor protege o regulador contra esforços bruscos quando a válvula está fechada e o tubo de expansão está contraído
  • 54.
    eteX 54 Controle De NívelProporcional A Um Elemento De Ação Mecânica Por Efeito Termostático Fig.5.6  Elemento Termo hidráulico Para Controle De Nível Uma outra concepção, conforme figura 5.7, denomina-se controle de nível termo hidráulico, que opera agora graças à dilatação e contração da água contida numa câmara cilíndrica anelar fechada.
  • 55.
    eteX 55 Controle de NívelProporcional a um Elemento com Princípio de Atuador Termo Hidráulico Fig.5.7 O sistema compreende um duplo cilindro concêntrico, instalado com uma inclinação pré-definida em relação ao nível interno da caldeira. O primeiro, aletados em toda extensão, forma uma camisa fechada, enquanto o interno une-se ao tambor de forma a receber as oscilações do nível de água. O tubo externo, por sua vez, liga-se pela parte inferior ao diafragma de uma válvula de controle. Pela conexão superior desta camisa introduz-se água limpa até o fluido transbordar. A caldeira entrando em operação, apenas uma parcela desta câmara entra em contato com o vapor o qual promove o aquecimento e consequente dilatação da parte correspondente de água. O aumento de volume reflete sobre o diafragma da válvula de controle, portanto sobre o orifício de passagem de água de alimentação.
  • 56.
    eteX 56 À medida queo nível oscila, a água contida na câmara recebe contato com maior ou menor superfície de aquecimento, respondendo com variações nas dilatações e contrações do fluido de maneira a transmitir à válvula de controle, posições diferentes de ingresso ou interrupção da passagem da água.  Controle de Nível Pneumático A figura 5.8 exibe uma versão mais moderna de controle de nível em caldeiras, introduzindo o ar comprimido como fluido auxiliar. Fig.5.8 5.2 ALIMENTAÇÃO DE COMBUSTÍVEL No caso de combustível líquido o fornecimento não deve ser feito diretamente do tanque principal para o consumo e sim passar por um reservatório intermediário, evitando-se problemas de flutuação de carga e baixa temperatura do combustível no bombeamento. Esse reservatório deve ser instalado no circuito mais próximo da bomba de óleo tendo antes um filtro da bomba, uma válvula de gaveta e a linha de retorno do excedente ao depósito, sendo sua principal finalidade o aquecimento de óleo (figura 5.9). Devido à quantidade do “Fuel oil” fornecido com alto teor de parafina o sistema de aquecimento deve ser misto (eletricidade e vapor), a fim de elevar e manter a temperatura do óleo acima do ponto de fluidez (ponto de baixa viscosidade).
  • 57.
    eteX 57 Caso o óleocombustível seja muito viscoso, ele deve ser recirculado no sistema de preaquecimento até atingir a temperatura ideal, antes de ser admitido na caldeira para não entupir o pulverizador, em razão da viscosidade imprópria. No início de funcionamento, quando o óleo não está ainda a uma temperatura ótima de pulverização, deve-se usar querosene. Bomba de óleo combustível Fig.5.9 No caso dos combustível sólidos a alimentação pode ser manual ou mecanizada No caso de alimentação manual de combustível sólido deve ser armazenada na casa da caldeira uma quantidade suficiente para até duas horas, evitando-se o acúmulo de combustível que retira a liberdade de ampla circulação que o operador deve ter.. 5.2.1 CONTROLE AUTOMÁTICO DE COMBUSTÃO Três são as grandezas relacionadas com o problema de malha aberta que responde pela regulagem automática da combustão:  o consumo de combustível  o consumo de ar para a combustão  a extração dos gases formados Os controles destas três grandezas visam:
  • 58.
    eteX 58  Manter osuprimento de calor da fonte supridora, de acordo com a demanda do processo.  Assegurar um mínimo de consumo de combustível para atingir as condições propostas, ou seja, alcançar a máxima eficiência;  Manter as condições de operação da fornalha dentro de parâmetros satisfatórios. No fundo os objetivos são os mesmos. A quantidade de combustível se ajusta com a pressão da caldeira, de modo que uma queda na pressão significa falta de combustível, e excesso, significa combustível a mais. Portanto a regulagem da pressão de forma a mantê-la dentro dos limites fixados na operação, implica necessariamente na modificação do suprimento de combustível. A intervenção nesta fonte de calor determina a modificação do volume de ar necessário à sua queima, dentro dos parâmetros compatíveis com uma combustão perfeita. Esta variação provocada na formação de volumes de gases de combustão, deve ser vigiada por uma ação paralela, que garanta a sua (gases) extração completa de forma a assegurar uma pressão definida na câmara de combustão da caldeira. 5.3 ALIMENTAÇÃO DE ENERGIA ELÉTRICA É feita através do quadro de comando que é o componente da caldeira onde estão os dispositivos elétricos que permitem a operação da caldeira. Para o caso das caldeiras com alimentação a combustível líquido eles são mais complexos pois comandam o acendimento automático e o controle da chama, além de outros comandos como o de nível de água que controla as bombas de alimentação e os relés de alta pressão. No caso de caldeiras de alimentação por combustível sólido (lenha) os quadros de comando são mais simples pois basicamente possuem apenas o comando de nível automático que controla o funcionamento das bombas de alimentação de água e o aumento de pressão. Os comandos são colocados em um armário que os abrigam da poeira e umidade, tais comandos são basicamente:  Seleção do comando manual ou automático;  Chave de ligar e desligar a bomba d’água;  Chave de liga e desliga o ventilador de exaustão;  Alarme sonoro de advertência;  Lâmpada piloto;  Chaves magnéticas de ligação do nível automático. 5.4 VISOR DE NÍVEL Consiste em um tubo de vidro colocado no tambor de vapor (figura 5.10) e que tem a finalidade de dar ao operador a noção exata da altura onde se encontra a água da caldeira. Na maioria das caldeiras o nível de água é exatamente no centro do tubo de vidro, o que corresponde ao centro do tambor de vapor. Existem, porém, caldeiras que não seguem esta regra cabendo ao operador certificar-se do quanto corresponde a marca de nível dos indicadores.
  • 59.
    eteX 59 Visor de nível Fig.5.10 Mantero nível de água da caldeira é um importante papel do operador que terá que dispensar-lhe uma especial atenção. Antes de se iniciar a operação da caldeira, deve ser feita uma drenagem no nível, a fim de que se eliminem algumas impurezas que por ventura tenha-se localizado no nível ou nas conexões do mesmo. Nas caldeiras manuais, o nível é importantíssimo porque dará ao operador uma noção exata de quanto a água deverá ser introduzida na caldeira. 5.5 MANÔMETROS Aparelho com o qual se mede a pressão de gases, de vapores e de outros fluídos. É muito utilizado na indústria, entre outros fins, para verificar a pressão de caldeiras e de vasos sob pressão. O conhecimento desta pressão é obrigatório, não só sob o ponto de vista de segurança, como também, para a operação econômica e segura da caldeira. A figura 5.11 mostra as partes Internas, de forma esquemática, de um manômetro de Bourdon padrão cujo funcionamento baseia-se na tendência de flexão, que experimenta um tubo de bronze curvado, de seção elíptica, quando é aplicada, em seu interior, uma pressão superior à atmosfera. Geralmente o tubo se curva em arco de circunferência. Ao atuar a pressão no interior do tubo, sua extremidade livre descreve um pequeno movimento, que é ampliado mediante um sistema de alavancas que atuam sobre o setor dentado, fazendo girar a agulha indicadora. Existem vários tipos de manômetros: manômetro tubular, manômetro com líquido amortecedor (glicerina ou silicone), manômetro diferencial, e outros tipos que são abordados em instrumentação e controle não constituindo objetivo principal do presente curso.
  • 60.
    eteX 60 A escala deum manômetro pode ser graduada em quilograma, força por centímetro quadrado (Kgf/cm2), em atmosferas (atm.), em libras-força por polegada quadrada (lbf/pol2 ou psi), ou em qualquer outra unidade de pressão. A tabela abaixo dá a correspondência entre estas unidades. atm Kgf/cm2 psi 1 1,033 14,22 0,96 1 14,7 0,065 0,068 1 Partes internas de um manômetro de Bourdon Fig.5.11 A indicação em psi é usual no sistema inglês e no Brasil utiliza-se mais correntemente indicações em kgf/cm2. Os manômetros, de um modo geral, indicam a pressão relativa (também denominada pressão manométrica) e não a “pressão absoluta”. Isso quer dizer que, para se obter a pressão dita “absoluta”, tem-se que somar à pressão indicada no manômetro, a pressão atmosférica local (pressão absoluta = pressão manométrica + pressão atmosférica). Cada caldeira tem uma capacidade de pressão determinada. Sendo assim, os manômetros utilizados em cada caldeira devem ter a escala apropriada. A pressão máxima de funcionamento da caldeira deverá estar sempre marcada sobre a escala do manômetro, com um traço feito a tinta vermelha, para servir de alerta ao operador no controle da pressão.
  • 61.
    eteX 61 5.6 DISPOSITIVOS DESEGURANÇA 5.6.1 VÁLVULAS DE SEGURANÇA Sua função é de promover o escape de excesso do vapor, caso a pressão máxima do trabalho permitida da caldeira venha a ser ultrapassada, e os outros dispositivos de segurança venha a falhar. Quando uma caldeira possui duas válvulas de segurança, uma delas deverá abrir com 5% acima da pressão máxima de trabalho permitida e a outra com 10% acima da pressão máxima permitida. Para garantir um perfeito funcionamento da válvula de segurança, deve-se observar o seguinte:  Todas as válvulas de segurança deverão ser experimentadas uma vez ao dia, acionando-se a alavanca de teste manual.  Promover a inspeção das sedes das válvulas pelo menos uma vez por ano.  Fazer periodicamente um teste de funcionamento da válvula. Isto se faz colocando um manômetro aferido na caldeira e, em seguida, fechando todas as saídas de vapor até que a válvula comece a funcionar. Para a aferição da válvula devem ser observadas as porcentagens acima indicadas, e também deve-se observar que durante o teste a pressão máxima da caldeira não deve ultrapassar 10% da pressão máxima permitida. As válvulas de contrapeso são as mais simples, porém não atendem os requisitos atrás anunciados. Sua vedação nem sempre impede vazamentos contínuos. As válvulas de mola predominam nos dias de hoje. Há dois tipos de válvulas de mola:  De baixo curso;  De alto curso. No primeiro tipo, a pressão do vapor atuando sobre a área do disco de vedação, abre totalmente a válvula. No segundo tipo, a ação de pressão abre parcialmente a válvula. O vapor escapando, projeta-se sobre um disco provido de anel de regulagem que provoca a mudança de direção do fluido. A força de reação completa a abertura da válvula. Estas válvulas são muito mais perfeitas, abrindo e fechando instantaneamente. Os fabricantes fornecem estas válvulas nas dimensões adequadas, desde que se forneçam a vazão e pressão do vapor. As válvulas de segurança exigem cuidados especiais desde a sua instalação. Na instalação deve-se:
  • 62.
    eteX 62  Evitar choques; Acertar o prumo (velocidade da válvula)  Evitar alterar a regulagem original do fabricante. Na operação:  Não permitir acréscimo de peso na válvula;  Testar diariamente seu funcionamento;  Eliminar vazamentos contínuos. As válvulas de segurança evitam, portanto, a contínua elevação da pressão no gerador de vapor. Válvulas de segurança corretamente dimensionadas devem: 1. Abrir totalmente a uma pressão definida, evitando o desprendimento de vapor antecipadamente. 2. Permanecer aberta enquanto não houver queda de pressão, ou seja, retorno da pressão para as condições de trabalho do gerador. 3. Fechar instantaneamente e com perfeita vedação logo após a queda de pressão. 4. Permanecer perfeitamente vedada para pressões inferiores à sua regulagem. Para assegurar esta performance, as válvulas de segurança devem ser fabricadas, sob controle de qualidade, instaladas corretamente e ser submetidas a sistemáticas inspeções e mantidas em condições de funcionamento perfeito. Podemos encontrar, basicamente, dois tipos de válvulas de segurança: 1. De contrapeso (figura 5.12) 2. De mola (figura 5.13)
  • 63.
  • 64.
    eteX 64 Caldeiras que usamqueimadores de sólidos pulverizados (carvão), líquidos (BPF, diesel,) ou gasosos (gás combustível, GLP,) necessitam de um sistema de proteção e controle de chama para supervisionar principalmente:  Procedimento incorreto de ligação;  Falta de chama por qualquer motivo. Ocorrendo uma destas falhas, a fornalha da caldeira ficaria sujeita a uma explosão, caso não houvesse a interrupção imediata do fornecimento do combustível. Conforme a concentração da mistura (ar/combustível), a magnitude de explosão poderá se tornar perigosa, causando danos ao equipamento e provocando risco de vida ao seu operador. A maior parte dos casos de explosão, ocorrem durante o acendimento da chama. Os dispositivos usualmente empregados nestes sistemas de proteção são dos seguintes tipos: POR TERMOELÉTRICOS São formados por lâminas bi metálicas (lâminas de metais diferentes) e de uma chave elétrica. As lâminas bi metálicas ficam instaladas no caminho dos gases e também estão ligadas ao circuito, de tal modo, que não é possível acender o queimador com a chave aberta. Acendendo a caldeira, o calor dos gases desprendidos dilata as lâminas, queimando-se a caldeira as lâminas e se contraem abrindo e interrompendo o circuito elétrico do queimador. POR CÉLULAS FOTOELÉTRICAS Trata-se de um sistema bem aperfeiçoado que trabalha com uma célula fotoelétrica, um amplificador e um relé. O seu funcionamento é baseado na coloração das chamas. Se estas se apagarem a luminosidade no interior da fornalha será diminuída, a célula fotoelétrica comandará o amplificador e o relé que abrirá seus contatos, interrompendo o circuito dos queimadores. Os sistemas fotocondutivos para segurança de chama têm quase o mesmo funcionamento dos fotoelétricos, sendo modificado o tipo de célula. Utiliza-se das irradiações infravermelhas das chamas e faz uso de amplificadores especial. Os amplificadores conseguem estabelecer diferenças entre o calor das chamas e o calor dos refratários da fornalha. Estes controladores funcionam como equipamentos de segurança, fazendo com que a caldeira seja parada e religada automaticamente, controlando perfeitamente a água de alimentação e os limites de pressão. Também efetua a parada de emergência comandada pelo circuito de segurança. 5.7 DISPOSITIVOS DE CONTROLE
  • 65.
    eteX 65 Estes dispositivos sãoprojetados para garantir que a caldeira funcione em perfeita segurança. 5.7.1 PRESSOSTATOS PRESSOSTATO DE CONTROLE DE MÁXIMA PRESSÃO DA CALDEIRA Tem a finalidade de controlar a pressão interna da caldeira por meio de um comando para os queimadores (figura 5.14). É constituído de um fole metálico (ou de um diafragma) que comanda uma chave elétrica por meio de um dispositivo de regulagem da pressão. À medida que diminui a pressão dentro da caldeira o fole (ou diafragma) se contrai, fechando o circuito elétrico, dando partida ao queimador. Quando a pressão for restabelecida o fole (ou diafragma) se dilata e fará a abertura dos contatos, interrompendo o funcionamento dos queimadores. Nas caldeiras semiautomática e chave interrompe o circuito do queimador, quando atingida a pressão de corte e mantém o circuito travado, impedindo que seja reacendido manualmente, até que seja atingida a pressão de operação. Fig.5.14  Pressostatos modular De construção quase idêntica ao pressostatos de máxima pressão, faz a regulagem do óleo e do ar para os queimadores. A sua diferença para o pressostatos acima, é que este não faz a simples partida ou parada de motor da bomba de combustível e regulador de ar nos pontos preestabelecido de pressão. Ele regula a velocidade do motor nas pressões intermediárias às prefixadas, dando um perfeito equilíbrio ao regulador de ar-combustível.
  • 66.
    eteX 66 Todo este trabalhoé conseguido através do motor modulador que consiste (além dos enrolamentos do motor) de um relé de equilíbrio e de um reostato de balanceamento. Portanto o motor trabalha junto com o reostato da chave moduladora. 5.7.2 CHAVE SEQÜÊNCIAL Tem a finalidade de promover na caldeira um ciclo completo de operações ou seja: 1. Modulação automática 2. Ignição elétrica 3. Apagar a caldeira por motivo de segurança 4. Limitar a pressão 5. Promover a ignição automaticamente. Seu funcionamento é parecido com o do pressostatos modulador, só que ao invés de apresentar o reostato para regulagem de velocidade do motor, apresenta um conjunto de contatos, sendo destinados um para cada operação a ser feita. Portanto quando termina um ciclo de operação, imediatamente, começa outro. 5.7.3 VÁLVULAS E TUBULAÇÕES  Válvula Solenoide São comandados eletricamente, abrindo e fechando, dando passagem ao óleo, e vapor. Um bom lubrificante para a haste móvel da válvula solenoide é o grafite em pó. Nas cadeiras flamotubulares com queima a óleo ou a gás, o óleo diesel, ou gás, para a chama piloto é controlada por uma válvula solenoide, dotada de uma bobina, que, quando energizada, atrai o obturador pelo campo eletromagnético formado, abrindo a passagem do combustível.  Válvula Principal De Saída De Vapor Permite a vazão de todo o vapor produzido pela caldeira. Na maior parte das aplicações são válvulas do tipo globo, por assegurarem controle mais perfeito da vazão. A válvula conhecida como gaveta, aplica-se em grandes unidades, sem responsabilidade sobre o controle da vazão.  Válvula De Alimentação Destinam-se a permitir ou interromper o suprimento de água no gerador de vapor. São do tipo globo com passagem reta (figura 5.15).
  • 67.
    eteX 67 Fig.5.15  Válvulas deEscape de Ar Outra válvula do tipo globo que controla a saída ou entrada de ar na caldeira, nos inícios e fins de operação. Apresenta dimensões de ¾ “a 1”.  Válvula de Retenção Geralmente, á válvula de alimentação permanece totalmente aberta. As válvulas de retenção, colocadas logo após a anterior, impedem o retorno da água sob pressão do interior da caldeira (figura 5.16). figura 5.16
  • 68.
    eteX 68  Válvulas deDescarga Também conhecidas como válvulas de dreno, permitem a purga da caldeira. Estão sempre ligadas às partes mais inferiores das caldeiras. O lodo do material sólido em suspensão, geralmente acumulado no fundo dos coletores ou também inferiores das caldeiras é projetado violentamente para fora da unidade, quando se abrem estas válvulas. Há dois tipos de válvulas de descarga que se instalam em série: 1. Válvula de descarga lenta, cuja função principal é assegurar a perfeita vedação do sistema. É uma válvula de passagem reta do tipo globo. 2. Válvula de descarga rápida, que abre a secção plena instantaneamente, assegurando a vazão da água com violência capaz de arrastar os depósitos internos. Além da descarga de fundo, caldeira de certo porte, recebem outro sistema de descarga para assegurar uma dessalinização contínua da água, feita por meio de válvula globo agulha.  Válvula de Vapor de Serviço É uma válvula do tipo globo, cuja secção corresponde a 10% da válvula principal. Sua função é assegurar o suprimento de vapor para acionamento de órgãos da própria caldeira, como:  Bombas de alimentação  Aquecimento de óleo  Injetores  Válvulas de Introdução de Produtos Químicos e de Descarga Contínua São ambas do tipo globo agulha de fina regulagem. A primeira emprega-se quando se procede o tratamento interno de água da caldeira, permitindo a vazão regulada de produtos químicos. A segunda assegura a descarga contínuo da caldeira, a fim de manter a concentração de sólidos totais em solução na água, aquém dos limites máximos permitidos para evitar incrustações.  Válvulas de Alívio É uma válvula instalada na parte superior do Pré-aquecedor de óleo, para evitar que o óleo combustível atinja pressões superiores aos níveis adequados no mesmo.  Tubulações Rede geral de alimentação de água.
  • 69.
    eteX 69 Esta rede seinicia no fornecedor de água para a caldeira. A rede de água não deve ter vazamentos. É recomendável que a água sofra um tratamento químico antes de ser bombeada para dentro da caldeira. Considerando que foi feito o tratamento, a água é bombeada para o interior da caldeira, passando antes pelo Pré-aquecedor (se a caldeira assim estiver equipada). Nesse trecho, dependendo da caldeira, há todo um jogo de dispositivos automáticos que controlam o momento em que deve ser a água adicionada e o momento que ela já é suficiente, ativando e desativando a bomba. Se a água for lançada na parte onde tem vapor, estando ela bem mais fria, provocará um choque térmico, que poderá causar sérias consequências. Portanto, a admissão é feita abaixo do nível de água e o mais distante possível da fornalha. Não se deve injetar água fria em caldeira quente quando o nível d’água estiver baixo. Deve-se diminuir o fogo a até apagá-lo, esfriando a caldeira. Caso isto não seja observado, corre-se o risco do choque térmico e da provável implosão da caldeira. Rede Geral de Óleo Combustível Esta rede começa no reservatório principal de combustível, conduzindo o mesmo até a bomba e daí ao combustor. Os esquemas de distribuição do combustível variam, pois dependem do projeto do fabricante. De maneira geral, dispositivos elétricos controlam a bomba e dosam o fluxo de combustível para a mistura correta com o ar. Se a rede de água não deve ter vazamentos, esta menos ainda. Os combustíveis são inflamáveis, portanto podem provocar acidentes. Além disso, criam ainda outra condição insegura no trabalho, pois eliminam o atrito e o operador pode acidentar-se por quedas, etc. Rede de Drenagem Esta é a rede que sai da parte mais baixa da caldeira e vai terminar fora da caldeira. Próximo da caldeira ela tem uma válvula comum. A rede conduz uma mistura de água e vapor para um local protegido, onde não possa atingir algumas pessoas. O objetivo é drenar a caldeira, isto é, eliminar os detritos, sujeiras e composto de corrosão que se acumulam dentro dela. Esta rede, normalmente, é acionada manualmente e convém estar protegida. Rede de Vapor O vapor é um fluido pouco corrosivo, para o qual os diversos materiais podem ser empregados, até a sua temperatura limite de resistência mecânica aceitável.
  • 70.
    eteX 70 Os limites detemperatura estão fixados, principalmente em função da resistência à fluência dos diversos materiais. Os tubos do aço (de qualquer tipo), são ligados com solda de encaixe para diâmetro até 1 ½ - 2”, e com solda de topo para diâmetro maiores. Em quaisquer tubulações para vapor, é muito importante a perfeita e completa drenagem do condensado formado, por meio de purgadores. Para auxiliar a drenagem, é feita, algumas vezes, a instalação dos tubos com um pequeno caimento constante na direção do fluxo, principalmente em linhas de vapor saturado, onde é maior a formação de condensado. Alguns projetistas têm por norma colocar, também, eliminadores de ar nos pontos altos das tubulações. Todas as tubulações de vapor devem ter isolamento térmico. - Registro de saída de vapor - estabelece demanda de vapor para os utilizadores. - Rede de vapor para preaquecimento óleo combustível no Pré-aquecedor - Estabelece demanda de vapor preaquecimento de óleo combustível no Pré-aquecedor. - Rede de vapor para preaquecimento do óleo combustível no tanque de armazenamento - Estabelece demanda de vapor para preaquecimento do óleo combustível no tanque de armazenamento. 5.7.4 OUTROS ACESSÓRIOS 5.7.4.1 PREAQUECEDOR DE AR O Pré-aquecedor de ar é um equipamento que tem a finalidade de aproveitar o calor dos gases no aquecimento do ar necessário à combustão (figura 5.17). O Pré-aquecedor transfere o calor dos gases quentes para o ar que está entrando para a combustão.
  • 71.
    eteX 71 Fig.5.17 Classificação Os Pré-aquecedores podemser classificados de acordo com o princípio de operação, em: a) Pré-aquecedor regenerativo
  • 72.
    eteX 72 Nos Pré- aquecedores regenerativos,o calor dos gases de combustão é transferido indiretamente para o ar, através de um elemento de “armazenagem”, por onde passa o ar e o gás de combustão, alternadamente, conforme desenho esquemático da figura 5.18. Pré-aquecedor de ar regenerativo Fig.5.18 b) Pré-aquecedor com colmeia metálica Esse Pré-aquecedor é constituído de placas de aço finas e corrugadas que são aquecidas quando da passagem dos gases de combustão e resfriadas quando da passagem do ar. Seu formato assemelha-se a uma roda gigante, girando lenta e uniformemente (figura 5.19). (Parte 4 de 4)
  • 73.
    eteX 73 Fig.5.19 c) Pré-aquecedor comcolmeia refratária Os gases quentes, ao passarem pela colmeia refratária trocam o calor com o frio para a combustão (figura 5.20). Fig.5.20 5.7.4.2 ECONOMIZADOR Sua finalidade é aquecer a água de alimentação da caldeira (ver esquema da figura 5.21). Está localizado na parte alta da caldeira entre o tambor de vapor e os tubos geradores de vapor sendo que os gases são obrigados a circular através dele, antes de saírem pela chaminé.
  • 74.
    eteX 74 Fig.5.21 Existem vários tiposde economizadores e na sua construção podem ser empregados tubos de aço maleável ou tubo de aço fundido com aletas. Os economizadores podem ser: SEPARADO Usados nas caldeiras de baixa pressão (25 kg/cm2) e construído geralmente de tubos de aço ou ferro fundido com aletas; no seu interior circula a água e por fora os gases de combustão. INTEGRAL Empregado na maioria dos geradores de vapor, apesar de requerer mais cuidados que o economizador em separado. Deverá ser retirado da água de alimentação todo o gás carbônico e o oxigênio, isto porque, quando estes elementos são aquecidos aumentam a corrosão dos tubos. Este economizador tem grande capacidade de vaporização e é constituído por uma serpentina e tubos de aço maleável. A corrosão nos tubos dos economizadores pode ser tanto de dentro para fora como de fora para dentro. Os furos de fora para dentro são causados pelos gases que aquecem e arrastam enxofre contido no óleo. Ao se juntarem com o oxigênio e com outros elementos contidos nos gases, formam um poderoso agente corrosivo (Ácido sulfúrico, por exemplo). Os furos de dentro para fora são causados pela circulação da água não tratada que contém oxigênio e gás carbônico, principais agentes da corrosão interna dos tubos. 5.7.4.3 SUPERAQUECEDORES a) Considerações sobre o vapor saturado superaquecido.
  • 75.
    eteX 75 Se aquecermos águaem um recipiente fechado, quando a água atingir uma certa temperatura esta se transforma em vapor (temperatura de 100ºC aproximadamente, ao nível do mar). Enquanto existir água dentro do recipiente, o vapor será saturado e a temperatura não aumentará. Mantendo-se o aquecimento até que toda a água se evapore teremos o vapor superaquecido, com o consequente aumento de temperatura. Este processo de superaquecimento do vapor seria impraticável nas caldeiras, pois quando a água evaporasse, os tubos se queimariam e também não haveria uma demanda suficiente na rede de vapor. Assim sendo, empregamos aparelhos destinados a elevar a temperatura do vapor sem prejuízo para a caldeira. O vapor saturado é mais indicado para uso em aquecimento, pois devido à mudança de fase permite a troca de calor a temperatura constante, apresentando como inconveniente a grande formação de condensado. O vapor superaquecido é utilizado em turbinas a vapor, devido a ausência de umidade exigida para operar nessas turbo máquinas por questões de deterioração das pás, vibração e queda de rendimento. Contudo existem situações de utilização do vapor superaquecido para aquecimento e processo, é o caso em que se tem extensas tubulações de vapor, isto é, a parcela de calor de superaquecimento serve para vencer as perdas térmicas da linha, chegando ao processo como vapor saturado com um mínimo de umidade (~2%), necessário a determinados processos industriais. b) Processo de superaquecimento de vapor Para superaquecer o vapor empregam-se aparelhos denominados superaquecedores. Estes aparelhos normalmente aproveitam os gases da combustão para dar o devido aquecimento ao vapor saturado, transformando-o em vapor superaquecido. Os superaquecedores são construídos de tubos de aço em forma de serpentina cujo diâmetro varia de acordo com a capacidade da caldeira. Estes tubos podem ser lisos ou aletados. Quando instalados dentro das caldeiras estão localizados atrás do último feixe de tubos, entre dois feixes de tubos, sobre os feixes de tubo ou ainda sobre a fornalha (figura 5.22). A caldeira pode apresentar o superaquecedor em separado (figura 5.23). Neste caso, ele dependerá de uma fonte de calor para o aquecimento; normalmente, é instalada uma outra fornalha.
  • 76.
    eteX 76 Figura 5.22 Fig.5.23 5.7.4.4 PURGADORES Sãodispositivos automáticos que servem para eliminar o condensado formado nas linhas de vapor e nos aparelhos de aquecimento, sem deixar escapar vapor. Os bons purgadores, além de remover o condensado, eliminam, também, o ar e outros gases incondensáveis, (CO2, por exemplo), que possam estar presentes.
  • 77.
    eteX 77 6. TIRAGEM É oprocesso de retirada da caldeira para a atmosfera, dos gases provenientes da combustão. A tiragem pode ser efetuada de várias maneiras: natural, forçada e mista. 6.1 TIRAGEM NATURAL Quando normalmente sem a ajuda de equipamentos especiais o ar entra na fornalha, alimenta a chama e sai pela chaminé, graças a diferença de temperaturas existentes na sua base e no seu topo. 6.2 TIRAGEM FORÇADA E INDUZIDA No caso em que os gases são eliminados com a ajuda de ventiladores sopradores, a tiragem chama-se forçada (figura 6.1), podendo apresentar várias disposições construtivas. Suas dimensões, porém, dependem da capacidade da caldeira para um suficiente suprimento de ar de combustão e para que os gases sejam totalmente eliminados). Nas caldeiras em que os gases são eliminados através de exaustores, aspirando os gases e projetando-os para a atmosfera, a tiragem é chamada induzida (figura 6.2). Tiragem Forçada Fig.6.1 As caldeiras que possuem este tipo de tiragem são chamadas de caldeiras despressurizadas e precisam ter muito boa vedação para evitar a entrada de ar falso, através de suas paredes ou duplos invólucros.
  • 78.
    eteX 78 Tiragem Induzida Fig.6.2 6.3 TIRAGEMMISTA OU BALANCEADA Neste sistema, são empregados dois ventiladores sendo que um deles tem a finalidade de introduzir o ar dentro da caldeira (ventilador soprador) e o outro tem a finalidade de retirar o ar da caldeira (ventilador exaustor), conforme esquema da figura 6.3. Tiragem mista Fig.6.3 6.4 CONTROLE DE TIRAGEM Para que uma caldeira possa ter um bom funcionamento, a tiragem tem que ser muito bem controlada. Este controle é feito por registros colocados no circuito dos gases. Estes registros constam de uma ou mais palhetas que podem ser comandadas manual ou automaticamente, chamados de “dampers”.
  • 79.
    eteX 79 6.5 CHAMINÉ Ajudam atiragem devido à diferença entra a sua base e o seu topo, provocada pela diferença de temperatura dos gases da combustão. As chaminés podem ser construídas de chapas de aço ou de alvenaria, empregando-se tijolos comuns. Em qualquer dos casos, sua construção deve ser muito rigorosa, levando-se em conta a quantidade e a velocidade dos gases da base, do tipo de material empregado e a pressão atmosférica no local. Em nenhuma hipótese poderão existir fendas que possibilitem a entrada falsa de ar. Pela chaminé deverão sair o gás carbônico (CO2), vapor d’água (H2O) e outros compostos. Isso, porém, na maioria das vezes não ocorre e junto com o gás carbônico há um grande desprendimento de fuligem que contribui para a poluição da atmosfera. A fumaça que sai pela chaminé, quando apresentar uma coloração clara, pode indicar um pequeno excesso de ar e quando sua coloração for escura, indica a presença de combustível não queimado pela deficiência na alimentação de ar, de forma a atingir uma relação ar-combustível adequado. A maneira mais segura de determinar as quantidades de gás carbônico que se desprendam pela chaminé é fazer uma análise com aparelhos indicadores. 7. COMBUSTÃO E COMBUSTÍVEL 7.1 DEFINIÇÕES COMBUSTÃO A combustão é produzida pela reação química de duas substâncias: combustível e comburente. COMBUSTÍVEL É a substância que queima e contém em sua composição, principalmente, carbono e hidrogênio, além de outros que o compõe. CLASSIFICAÇÃO DOS COMBUSTÍVEIS Os combustíveis podem ser classificados em: a) SÓLIDOS Madeira, turfa, linhito, hulha, carvão vegetal, coque de carvão, coque de petróleo,bagaço de cana etc. b) LÍQUIDOS
  • 80.
    eteX 80 Petróleo, óleo dexisto, alcatrão, álcool e óleos vegetais. c) GASOSO metano, hidrogênio, GLP (butano e propanol), gás de coqueira (siderúrgica), gasogênio, biogás, etc. COMBURENTE É o elemento que entra na reação de combustão como fonte de oxigênio. REAÇÕES DA COMBUSTÃO Na combustão, a reação que ocorre é denominada, basicamente, de oxidação. A fonte usual é o oxigênio do ar atmosférico. O oxigênio está contido no ar atmosférico na proporção de 23% em percentagem por peso atômico ou 21% em percentagem volumétrica. C + O2 CO2 + 8.100 Kcal/kg C C + ½ O2 CO + 2.400 Kcal/kg C 2H2 + O2 2H2O (L) + 34100 Kcal/kg H2 S + O2 SO2 + 2.200 Kcal/kgS Observa-se pelas reações anteriores, que se deve, sempre, orientar a queima no sentido de se obter o CO2 pois assim se tem uma maior liberação de calor. Na prática, queima-se combustíveis que não se compõem, apenas, de carbono (C), mas também de hidrogênio (H2) e enxofre (S), conforme visto nas reações acima. A combustão é completa quando todos elementos combustíveis contidos no combustível em questão (C, H2 S, etc.), se combinam com o oxigênio do ar, fornecendo os produtos finais correspondentes. A seguir é exposto as principais exigências de um eficiênte processo de combustão: 1. O comburente deve formar com o combustível uma mistura homogênea. O uso de queimadores apropriados, bem como a temperatura correta do óleo são fatores essenciais para uma queima ideal. Estes fatores propiciam a gaseificação do combustível. 2. O comburente deve estar em quantidade suficiente em relação ao combustível para que a reação química da combustão seja completa. Deve-se trabalhar com o mínimo de excesso de ar. 3. Quanto maior a viscosidade do combustível, mais difícil será a sua pulverização, ou seja, mais difícil será a sua divisão em gotículas. O preaquecimento do óleo combustível é fundamental para se atingirem os limites adequados de viscosidade necessários para uma boa pulverização.
  • 81.
    eteX 81 Tendo em vistaa variação de viscosidade do óleo combustível, a temperatura de aquecimento não é fixa, devendo ser ajustada, quando necessário. É importante salientar que esta temperatura não devem aproximar-se muito do ponto de fulgor do óleo combustível. 7.2 CÁLCULO DO AR NECESSÁRIO À COMBUSTÃO - COMBUSTÍVEL LÍQUIDOS A combustão é completa quando a quantidade de ar é a necessária e suficiente para oxidar os elementos constituintes do combustível utilizado. Havendo combustão incompleta teremos fuligem, aldeído e monóxido de carbono, além de não ocorrer a liberação total do calor do combustível. A quantidade teórica de ar necessária à combustão pode ser calculada pela seguinte fórmula: mtar = 11,5 C + 34,8 (H-O/8) + 4,35. S Onde mtar = massa teórica de ar necessária a combustão (kg ar/kg comb.). Os percentuais de água, cinzas e enxofre são obtidos em laboratório, ou especificados pelo fornecedor do combustível. Exemplificando, podemos considerar a queima de um óleo combustível tipo A (BPF), com a seguinte composição média: C = 84%, H2 = 11%, S = 4% e O2 = 1% mtar = (11,5 - 0,84) + 34,8 (0,11 - )+ (4,35 x 0,04) mtar = 9,66 + 3,7845 + 0,174 mtar = 13,62 kg ar/kg óleo Dessa forma, teremos: 13,6 kg ar/kg BPF Considerando que o ar possuí 23% em percentagem por peso atômico do oxigênio, então teremos: O2 = 0,23 x 13,6 = 3,1 kg O2 / kg de BPF. Exercício: 1). Calcular a relação ar/combustível teórico para um combustível com a seguinte composição: C= 81%, H2= 10%, S = 8%, O2 = 0,5%, cinzas = 0,5%.
  • 82.
    eteX 82 2). Determine ovolume de ar real necessário à queima do combustível do exercicio 1 nas seguintes condições de pressão e temperatura: 27ºC e 700 mmHg: Solução: PV = mRT P = 700 mmHg = 93,325 (Kpa) , 1 bar = 102 Kpa = 750,064 mmHg. T = 273 = 27 = 300 (K) RAR = mtar , calculado no exercicio 1. 7.3 ESTEQUIOMETRIA DA COMBUSTÃO Proporção correta do volume de ar x combustível queimado: Sabemos que a combustão é perfeita quando a quantidade de ar utilizada é a necessária e suficiente para a completa combustão. Cada unidade de peso de determinado combustível requer uma quantidade determinada de ar. Dependendo da temperatura ambiente, esta quantidade de ar corresponderá a um dado volume. Este volume de ar necessita entrar na câmara de combustão na proporção correta em relação ao combustível queimado. Se a proporção de ar e combustível não for mantida haverá insuficiência ou excesso de ar e, consequentemente, perda de eficiência no processo. Determinados combustíveis exigem maior ou menor excesso de ar, já que a combustão perfeita é quase impraticável. Partindo-se de uma análise elementar de um óleo combustível, chegou-se à conclusão que um quilo de óleo ao queimar, necessita de, aproximadamente, 13,6 kg de ar. Como na prática não se consegue uma atomização perfeita nem se garante que todo o ar admitido possa misturar-se intimamente com o óleo durante o processo de combustão, é normal admitir-se um excesso de ar, além do teoricamente necessário, a fim de se garantir a queima perfeita do combustível. Logicamente é necessário controlar esse excesso de ar, de forma tal que ele atinja níveis mínimos, pois o ar que não participa de combustão tende a retirar calor da chama, sem contribuir para a reação, além do que, estaremos aquecendo um volume de ar desnecessariamente, o que implicará num aumento de velocidade de circulação dos gases quentes, com consequente perda de calor pela chaminé. 7.4 CONTROLE DE AR EM EXCESSO E EM FALTA
  • 83.
    eteX 83 A forma maisprática e rápida de se calcular o calor perdido através dos gases de combustão é pela medição de sua temperatura na base da chaminé, associando-se ao teor de CO2 medido no mesmo ponto. Como foi visto, sabemos que o excesso de ar reduz a percentagem de CO2 presente nos gases de combustão, pois para o mesmo volume de CO2 teremos aumentado o volume total dos gases. As medições do teor de CO2 nos gases de combustão são efetuadas por meio de um medidor de CO2 tipo “Firyte” ou “Orsat”. Esse tipo de medidor de CO2 funcionam pela absorção deste gás por uma solução de hidróxido de potássio concentrada contida numa coluna graduada, que fornece o teor de CO2 por leitura direta. Com a determinação dos valores de CO2 e temperatura, obteremos informações tais como: a perda percentual de calor pela chaminé e a percentagem de excesso de ar. 8. ÁGUA DE ALIMENTAÇÃO DAS CALDEIRAS As águas de alimentação de caldeiras provêm de fontes naturais como poços, lagos, córregos, rios, e de outros mananciais contendo reservas deste fluido. Conforme a sua procedência, tais águas podem conter diferentes produtos dissolvidos ou em suspensão, em concentrações bem diversas. O emprego direto das águas “in natura”, como água de alimentação de caldeiras, implica num processo de evaporação da fase líquida, com consequentes concentrações dos produtos minerais dissolvidos. Outros produtos, entretanto, também se liberam, tais como gases dissolvidos existentes na fonte fornecedora ou mesmo resultante da decomposição de matérias orgânicas igualmente presentes. Os resíduos, após a evaporação da fase líquida, formam depósitos sobre as superfícies metálicas das caldeiras, com aderências de diferentes tipos, de conformidade com a natureza do material acumulado. Certos produtos depositados, permanecem na forma de um lodo de fácil remoção; outros se incorporam a própria parte metálica na forma de resíduos resistentes, de remoção mais difícil, constituindo um depósito denominado pelos caldeireiros de incrustações. Como esses depósitos incrustantes, são fracos condutores de calor, seus acúmulos sobre as superfícies metálicas tendem a criar maiores resistências ao escoamento do calor, contribuindo para uma sensível diminuição do Coeficiente de Condutividade entre os gases quentes e a água situada no interior da tubulação. Evidentemente, diante de uma condição de trabalho que prejudica a troca de calor entre os fluidos do processo, a caldeira, passa a produzir menor quantidade de vapor e a apresentar uma diminuição no seu rendimento térmico. 8.1 UNIDADES ADOTADAS
  • 84.
    eteX 84 A unidade maisuniversal para exprimir a concentração das substâncias em solução nas águas naturais é o ppm, ou seja, partes por milhão. Conhecem-se outras unidades mais comuns nas análises inglesas: gpg= grãos americanos por galão pts/100.000= partes por 100.000 partes de água gpg imp= grãos por galão inglês Entre as diferentes unidades há as seguintes equivalências: 1 gpg = 17,1 ppm 1 ppm= 1 mg/l = 1 g/m3 1 ppm = 0,0583 gpg = 0,07 gpg imp = 10lb/1.000.000 galões ingleses As análises são sempre feitas com referência ao volume de água e não ao pêso, assumindo o pêso de 1 kg por cada litro de água sem levar em conta a correção pela temperatura. 8.2 ANÁLISE DA ÁGUA Toda água de alimentação deve ser conhecida e controlada. Baseado no fato de se conhecer quais as impurezas normais das águas naturais, foram formulados métodos simplificados suficientemente satisfatórios para assegurar um controle rotineiro. O método consiste na determinação dos seguintes valores:  Dureza  Alcalinidade  Cloretos  Fosfatos  pH Certas águas obrigam a determinação de outros dados como sejam:  Sólidos totais  Resíduos calcinado  Matéria orgânica  Concentração de O2 livre.  Sílica.  Dureza - O grau de dureza exprime a concentração dos sais de cálcio seja na forma de carbonato, sulfato silicato ou cloreto. Pode ser expressa em grau alemão, francês ou inglês, entre os quais há uma relação:
  • 85.
    eteX 85 Grau F =0,5 grau A Grau A = 0,7 grau I O grau F eqüivale a 10 mg CaCO3/litro O grau I eqüivale a 14,3 mg CaCO3/litro O grau A eqüivale a 10mg CaCO3/litro  Alcalinidade - Exprime a presença de íons dos sais de bicarbonato, carbonatos, hidróxidos, fosfatos, silicatos, etc., ou seja, todos os que contribuem para a alcalinidade da água. Destes os mais expressivos são os carbonatos e hidróxidos.  Cloretos - São geralmente muito solúveis, sejam de cálcio, magnésio, sódio, ferro e outros. Sua determinação se faz com solução de Nitrato de Prata N10 padrão empregando como indicador o Cromato de Potássio. Estes sais, por serem altamente solúveis permitem, em primeira aproximação, estabelecer a porcentagem de descarga da caldeira.  Fosfatos - Os sais de fosfatos são auxiliares valiosos no tratamento de água. Geralmente não comparecem nas águas naturais. Sua determinação se processa com reagente de molibdato de amônio. A concentração é feita por teste colorimétrico comparativo com escala padrão. A intensidade da côr é proporcional à concentração do fosfato. A escala comparativa já indica a concentração dos fosfatos.  pH - Indica a acidez ou alcalinidade das águas. As águas naturais são geralmente ligeiramente ácidas: 6,3 - 6,5 pH. O pH é determinado por escala comparativa de indicadores padrões.  Matéria orgânica - Podem comparecer nas águas na forma coloidal ou de algas microscópicas, respondendo por sérios problemas de corrosões nos superaquecedores e também nas caldeiras. Sua determinação se faz pelo processo do permanganato.  Gases dissolvidos - As águas naturais contêm sempre gases dissolvidos. O CO2 se apresenta com concentração até 50 ppm, porém, facilmente eliminável por aquecimento. A solubilidade do oxigênio chega a ser até 5,7 ml/l à 25ºC. O oxigênio é extremamente agressivo, atacando o metal da caldeira. O aumento da temperatura da água acentua a agressividade deste gás. Sua determinação, para caldeiras de pressões mais elevadas, acima de 21 kg/cm2 é obrigatória. O método para determinação do oxigênio exige cuidados especiais e deve-se a Winkler baseado na rápida ação oxidante do elemento em soluções de hidróxido manganoso Mn (OH)2.  Sílica - É responsável pelas incrustações mais difíceis de serem removidas das superfícies metálicas. Sua determinação se faz por processo quantitativo.  Sólidos totais - É a soma dos sólidos em suspensão e dos sólidos dissolvidos. Os sólidos totais são uma medida da possibilidade de formação de espuma, arraste de sílica volátil e formação de depósitos. Supondo que o tratamento d’água está obtendo o máximo de eficiência possível, é necessário purgar a caldeira para reduzir sua concentração. Esta purga é realizada pela extração de superfície, que é uma purga contínua e, quando necessário, pela extração de fundo, que é uma
  • 86.
    eteX 86 purga intermitente, limitandoassim a concentração de sólidos totais admissíveis na água de caldeira, cujo teor tolerável é inversamente proporcional à pressão de operação, como se segue: 8.3 TRATAMENTOS E APARELHAGENS Basicamente apresenta-se em dois métodos sempre associados, o primeiro método denominado de TRATAMENTO EXTERNO, proporciona o melhoramento da qualidade da água antes de sua introdução no gerador de vapor. O outro método é chamado de TRATAMENTO interno realizando as reações químicas de tratamento no interior da própria caldeira. 8.3.1 TRATAMENTOS EXTERNOS O primeiro passo no tratamento da água é sua clarificação a fim de remover todas as partículas sólidas existentes em suspensão responsáveis pela sua turbidez. O método tradicional de simples filtração só obtém resultado quando a água procede de poços artesianos profundos, os quais as vezes já dispõe de uma água límpida, embora fortemente carregada de sais dissolvidos. Nessa hipótese, a aplicação de um filtro de areia aberto com remoção das impurezas por gravidade ou uma variante de filtro autolavável, também aberto, atendem as necessidades do processo. Na ausência de espaço para se instalar um filtro deste tipo, se recorre a um filtro de camadas de areia e antracito, fechado, compacto que promove a circulação da água sob pressão até no máximo de 10 m c.a. (vide fig.8.1). Quando a pressão interna do vaso do filtro acusa valores superiores a pressão atrás indicada promove-se uma inversão do fluxo da água que passa a circular no sentido ascendente, arrastando para o esgoto todo o material acumulado sobre a camada superior de areia. Esta operação se prolonga até o visor existente no circuito, acusar passagem de água límpida, com duração aproximada de 5 a 10 minutos.
  • 87.
    eteX 87 Fig.8.1 Naturalmente durante estalimpeza o suprimento de água fica interrompido, razão pela qual, ser de boa norma, instalar dois aparelhos em paralelo. Enquanto um deles atende a operação de limpeza, o segundo continua suprindo água ao processo. A periodicidade da operação limpeza depende da qualidade da água, porém, na maioria dos casos não ultrapassa 24 horas com um mínimo de 12 horas. Todavia, a turbidez da água igualmente se deve a presença de matérias coloidais dificilmente retidas nos filtros anteriores. Esta ocorrência é comum nos mananciais de superfícies que agregam águas correntes com todos os tipos de rejeitos por onde passam, humanos, vegetais e minerais. Dificilmente hoje se encontra um córrego, rio ou lago que disponha de água límpida sendo forçoso o acréscimo de um pré tratamento, antes da filtração, denominado clarificação. Os aparelhos clarificadores recebem a água bruta tal qual procedem das fontes de suprimento juntamente com agentes coaguladores que promovem a formação de flocos gelatinosos dotados de grande capacidade de absorção das impurezas existentes no fluido. Os agentes coagulantes minerais mais divulgados são compostos de ferro e de alumínio estes últimos de maior aplicação.
  • 88.
    eteX 88 Os hidróxidos dealumínio formado no aparelho com o aspecto de flocos gelatinosos vão paulatinamente decantando, arrastando para o fundo do aparelho toda a turbidez da água. Os aparelhos destinados a formar os flocos são denominados floculadores, os destinados a decantar são os decantadores. As duas funções podem ser verificar num único aparelho denominado Clarificador. A figura 8.2 mostra um esquema de um decantador estático tipo cilíndrico cônico. Decantador Cilíndrico Cônico Fig.8.2 A água límpida a seguir deve ser submetida a outros tratamentos para eliminar as impurezas dissolvidas. Serão parâmetros determinantes na decisão do processo de tratamento a ser adotado, a qualidade da água, a pressão da caldeira e a pureza do vapor. Determinadas águas uma vez isentas de turbidez, podem ser introduzidas diretamente no interior das unidades geradoras de vapor de baixa pressão, e ali serem submetidas ao chamado tratamento interno descrito páginas adiante. Caldeiras de maiores responsabilidades, principalmente aquelas que se destinam a suprir vapor para centrais térmicas exigem águas absolutamente isentas de impurezas. A segunda etapa dos tratamentos externos praticados pela tecnologia, encontram-se aqueles que promovem apenas o abrandamento da água, ou seja, que eliminam a sua dureza, e outros projetados para fornecer uma água totalmente desmineralizada. Em ambos, em seguida, se acrescenta a desgaseificação. 8.3.1.1 ABRANDAMENTO
  • 89.
    eteX 89 Existem na literaturadiversos métodos para se obter o abrandamento da água, dentre eles o mais difundido atualmente é o abrandamento por troca de íons. Este método se baseia na propriedade de certas areias naturais que imersas em água provocam um intercâmbio de íons. O abrandamento da água consiste em passar a água dura através de uma coluna de resina aniônica a base de sódio. O sódio presente na resina substituí o cálcio e o magnésio da água num processo contínuo até o seu exaurimento, momento a partir do qual se torna forçoso a regeneração. Neste estágio se interrompe a passagem da água a ser tratada substituindo-a por uma solução de cloreto de sódio a qual recompõe o cátion consumido e remove o cálcio e o magnésio do aparelho diretamente para o esgoto. Feita a regeneração, volta a operação.do ciclo de tratamento. A figura 8.3 -a exibe um aparelho abrandador de um estágio, com tanque de salmoura para regeneração e todas as tubulações de operação, já a figura 8.3-b representa o corte em perspectiva de um abrandador de leito misto. (a) (b) a) Instalação de abrandador de um Estágio, b) Corte em Perspectiva de um Permutador Abrandador de Leito Misto. Fig.8.3 8.3.1.2 DESMINERALIZAÇÃO Efetuada sobre uma série de trocadores de; íons, é o tratamento escolhido para a alimentação das caldeiras com pressões acima de 40kgf/cm2, especialmente quando estas caldeiras comportam superaquecedores ou alimentam turbinas, caso nas usinas térmicas para geração de potência.
  • 90.
    eteX 90 Uma unidade parasuprimento de água desmineralizada contém os aparelhos de troca aniônicos e catiônicos, conforme a exigência da qualidade da água e se complementa com outros aparelhos como preparadores das soluções regenerativas, bombas dosadoras e aparelhos registradores. 8.3.1.3 DESGASEIFICAÇÃO Tem a finalidade de eliminar todos os gases ainda dissolvidos na fase líquida, para a atmosfera, como por exemplo o oxigênio, gás carbônico, sulfídrico e outros. A eliminação dos gases normalmente é executada por aparelhagem específica, denominada DESAERADORES. Todavia, unidades que operam com baixas pressões, podem dispensar o acréscimo da aparelhagem, adotando métodos químicos para atenuar o efeito corrosivo, sobretudo o oxigênio. Os produtos mais difundidos neste tipo de tratamento são o Sulfito de Sódio e a Hidrazina. A Hidrazina simples ou catalisada vem sendo mais utilizada para neutralizar a corrosão do oxigênio, porquanto ela sequestra este gás dissolvido na água.  Aparelhos Desaeradores Nos desaeradores a pulverização (Vide figura 8.4) dispersa a água em finas gotas através de pulverizadores na câmara de vapor do aparelho proporcionando um aumento da superfície de contato das fases. Os desaeradores de cascata, também conhecido como tipo de bandejas, operam em contracorrente, despejando a água a partir de um distribuidor superior na forma de múltiplas cascatas através do qual o vapor flui em sentido contrário. A fase líquida se aquece ao longo do percurso até se acumular no vaso de reserva. O vapor, parte condensa parte escoa pelo escape na atmosfera arrastando consigo os gases incondensáveis. Uma variação mais moderna deste tipo, aplica bandejas perfuradas de forma a criar uma série de jatos cilíndricos de água em queda vertical aumentando a superfície de contato das fases, conforme esquema da fig.8.5.
  • 91.
    eteX 91 Esquema de umdesaerador a pulverização Fig.8.4
  • 92.
    eteX 92 Desaeradores de bandejasperfuradas Fig.8.5 Os gases incondensáveis são arrastados pelas bolhas de vapor em excesso para a coluna do aparelho que dispõe de uma distribuição da água de ingresso na forma de cascatas. O aparelho deste tipo precisa ser rigidamente fixado a base, e todos os acessórios firmemente atados, dado que a injeção do vapor diretamente no fundo do vaso cheio de água fria, no início do processo de aquecimento provoca fortes golpes de aríete pela instantânea condensação do vapor. A melhor construção destes aparelhos contém em cada orifício de distribuição do vapor um misturador para atenuar os efeitos da forte trepidação resultante do golpe de aríete. Deve-se acrescentar na instalação destes aparelhos, uma série de acessórios de controle de nível, da pressão interna de operação, da pressão do vapor de injeção, manômetros e termômetros, indicadores de nível, bem como, a providência de adequado isolamento. Na maioria das instalações de desaeração, o aparelho opera com uma pressão interna ligeiramente superior a pressão atmosférica, de conformidade com a temperatura desejada na água desaerada. 8.3.1.4 REMOÇÃO DA SÍLICA Como já foi observado anteriormente, a sílica está presente na água como ácido salicílico e silicatos solúveis. Forma incrustações de difícil remoção que podem ser retirados pelo tratamento com óxidos por troca iônica.
  • 93.
    eteX 93 8.3.2 TRATAMENTO INTERNO Aplica-seem água de baixa dureza, não turvas, adicionando-se produtos químicos que reagem no interior da caldeira. Há várias composições no mercado, cujas doses são prescritas pelos fabricantes em função das impurezas encontradas pela análise da água. O produto básico destas composições, porém, é o trifosfato de sódio. É o método mais econômico que consiste em adicionar uma solução dos sais de tratamento no próprio tanque de alimentação de água ou no tubo de injeção desta, no interior da caldeira, mediante um dosador contínuo. As reações do fosfato no interior da caldeira precipitam os sais de cálcio, numa forma não aderente a superfície metálica e tornam altamente solúveis os sais que davam dureza a água. Os precipitados formados pelas reações, sob forma de um lodo, depositam-se nas partes inferiores da caldeira, de onde são eliminados por meio de descargas intermitentes. 8.4 CONSIDERAÇÕES FINAIS Apesar do tratamento mais rigoroso que se possa adotar, é impossível eliminar da água todos os sais em solução. Excetua-se o método da destilação. A caldeira com a água que produz vapor, portanto, vai acumulando e concentrando os sais que ingressam com a água. A concentração deve ser mantida até o limite de solubilidade a partir do qual há precipitações que concorrem para incrustação, arraste de partículas sólidas pelo vapor e formação de espuma. É a descarga da caldeira que mantém a concentração destes sais dentro dos limites convenientes, além de arrastar o lodo que se acumula nas partes inferiores da caldeira.  FORMAÇÃO DE ESPUMA E ARRASTE. O arraste consiste de diminutas gotículas de água que são carregadas pelo vapor no momento que este se desprende da superfície da água. Em condições normais de operação, o arraste de água é uma possibilidade remota pois os internos do tubulão superior são projetados para evitar que isto ocorra. Entretanto, pode ocorrer este tipo de arraste se houver:  Danos nos aparelhos separadores de vapor  Nível alto no tubulão  Variação brusca de carga  Presença de espuma no tubulão superior
  • 94.
    eteX 94 A formação deespuma é devida a concentração de produtos químicos provocando redução de tensão superficial da película de água que envolvem as bolhas de vapor em geração. As causas da formação espuma são:  Excessiva concentração de sólidos na água  Excessiva alcalinidade cáustica  Matéria orgânica em suspensão na água como óleo, graxas, etc. Assim, os produtos químicos são lançados no espaço de vapor e carregados por ele. A intensidade desta espuma depende da natureza dos compostos químicos na água da caldeira. O problema de arraste provoca a formação de depósitos no superaquecedor, nas pás das turbinas e no sistema de condensado, além de problemas de corrosão e erosão, nas caldeiras aquatubulares. Outro contaminante indesejável é o óleo ou graxa presentes na água de caldeiras os quais são grandes formadores de espuma. Formam também uma película isolante sobre a superfície interna dos tubos da caldeira provocando superaquecimento. Dependendo da temperatura, podem ser carbonizados resultando uma deposição de carbono na caldeira.