SUMÁRIO
1 INTRODUÇÃO........................................................................................................ 1
2 CLASSIFICAÇÃO DOS FORNOS........................................................................... 2
2.1 Classificação quanto ao serviço.......................................................................... 2
2.2 QUANTO AO ASPECTO CONSTRUTIVO...................................................... 3
3 PARTESCONSTITUINTES .................................................................................... 5
3.1 SERPENTINA DE AQUECIMENTO................................................................ 7
3.2 FORNALHA................................................................................................... 11
4 RAZÕES PARA INSPEÇÃO.................................................................................. 17
5 CAUSAS DE DETERIORAÇÃO............................................................................ 18
5.1 RELEMBRANDO........................................................................................... 18
5.2 SERPENTINA................................................................................................. 20
5.3 FORNALHA................................................................................................... 22
5.4 CHAMINÉS E DUTOS................................................................................... 23
6 FREQUENCIA DE INSPEÇÃO E EPOCA PARA A INSPEÇÃO........................... 24
6.1 GENERALIDADES........................................................................................ 24
6.2 SEGURANÇA ................................................................................................ 24
7 ROTINA DE INSPEÇÃO EM FORNOS DE PROCESSO....................................... 24
7.1 OBJETIVO...................................................................................................... 24
7.2 DEFINIÇÕES.................................................................................................. 24
7.3 CONDIÇÕES GERAIS ................................................................................... 26
7.4 CONDIÇÕES ESPECÍFICAS.......................................................................... 39
7.5 CRITÉRIO DE ACEITAÇÃO ......................................................................... 40
8 ANEXOS ............................................................................................................... 41
8.1 ANEXO – A – FIG. IBP.................................................................................. 41
8.3 ANEXO C- CRITÉRIO DE DEFORMAÇÃO ................................................. 43
8.4 ANEXO-D – SUPORTES DE MOLA ..................................................................... 44
8.5.ANEXO – E SLIDES API RP 581........................................................................... 45
09 REFERÊNCIAS BIBLIOGRÁFICAS - Sites Pesquisados........................................ 48
10 NORMAS PETROBRAS: ........................................................................................ 48
11.RESPONSABILIDADE TÉCNICA.......................................................................... 49
1
1 INTRODUÇÃO
Na grande maioria das unidades de refinação e petroquímica os fornos ocupam uma
posição de destaque. Os fornos representam aproximadamente 20% do investimento
total e 80% do consumo de energia das unidades. Os fornos são equipamentos que
requerem atenção especial da operação, acompanhamento, manutenção e inspeção,
pois, são neles que geralmente estão os limites operacionais das unidades, além de
serem críticos quando ao intervalo entre paradas e quanto à própria duração da
mesma. Os fornos também são responsáveis pelo maior número de ocorrências
graves em refinarias.
As principais normas utilizadas para fornos são:
API Std 560 – Aquecedores a fogo para serviços gerais em refinarias
Este padrão cobre os mínimos requisitos para desenho, materiais, fabricação,
inspeção, testes, preparação para carga e montagem de fornos, pré-aquecedores de
ar, ventiladores e queimadores, para serviços gerais em refinarias.
API RP 573 – Inspeção em Caldeiras e Fornos
Esta prática recomendada cobre as inspeções praticadas para caldeiras e fornos de
processos utilizados nas refinarias de petróleo e plantas petroquímicas.
API Std 530 – Cálculo de espessura para tubos de fornos em refinarias de petróleo
O forno é um equipamento projetado para transferir ao fluido um fluxo de calor, de tal
forma que se forem mantidas constantes a vazão e a temperatura de entrada, também
será constante a temperatura de saída. É necessário gerar no forno uma quantidade
de calor que supra o processo e compense também as perdas. Esse calor é gerado
pela queima de uma quantidade suficiente de combustível através de maçaricos
instalados, normalmente, na base ou nas paredes laterais da câmara de combustão
do forno.
Os tubos são, geralmente, colocados próximos às paredes laterais e ao teto da
câmara de combustão, onde o calor é principalmente transferido por radiação, e
dispostos também em outra câmara chamada de “câmara ou zona de convecção”,
onde o calor é principalmente transferido por convecção.
O ar necessário à combustão pode ser admitido no forno pela depressão (pressão
negativa) reinante na câmara de combustão devido à remoção (tiragem) natural feita
pela chaminé, ou auxiliada por de ventiladores de tiragem forçada ou induzida.
As fornalhas consistem de uma serpentina (ou mais) de tubos que é colocada dentro
de uma caixa ou câmara onde há combustão, a fim de aquecer o produto, que passa
internamente nos tubos. A serpentina poderá ser um tubo contínuo, ou constituída de
uma série de tubos interligados entre si na sua extremidade por meio de cabeçotes,
curva de retorno ou coletores.
Os tubos poderão estar dispostos internamente na fornalha em forma helicoidal,
vertical ou horizontal. Em qualquer caso deverão estar convenientemente suportados,
em função da sua disposição, comprimento, diâmetro e condições operacionais.
A caixa onde há combustão, ou simplesmente fornalha, deverá ser adequada para
altas temperaturas, pois nelas haverá o desenvolvimento de calor proporcionado pela
queima do combustível. Assim sendo, as paredes das fornalhas deverão ter alta
2
resistência ao calor, e normalmente são construídos em tijolos refratários contidos por
uma estrutura metálica.
O calor desenvolvido na câmara de combustão é proveniente de maçaricos ou
queimadores, que poderão ser alimentados por óleo ou gás combustível e ou outro
combustível. A quantidade de calor fornecido pelos maçaricos e a vazão do produto
internamente nos tubos, são rigidamente controlados através de instrumentos tendo
em vistas as condições operacionais de pressão e temperatura. A câmara de
combustão está normalmente conectada à chaminé, por onde se faz a exaustão dos
gases. Essa conexão poderá ser feita através do próprio corpo do forno ou por meio
de dutos aéreos ou enterrados. Dependendo da finalidade as fornalhas são
constituídas das seções de convecção, radiação e chaminé. O critério de escolha é
função da temperatura na entrada da carga e de fatores econômicos. A seção de
radiação é a parte da fornalha onde se efetua a queima e na qual as superfícies dos
tubos estão expostas ao calor das chamas.
Nesta seção a maior parte do calor cedido aos tubos e a carga são por radiação.
A seção de convecção situa-se em região afastada dos maçaricos não recebendo o
calor de radiação das chamas. Os gases de combustão que passam da seção de
radiação para a de convecção, possuem temperatura elevada, sendo, portanto
capazes de ceder calor aos tubos desta seção, por convecção ou condução. Para
facilitar a transmissão de calor, os tubos da seção de convecção às vezes possuem
grande quantidade de pinos ou aletas soldados as superfícies externas para
aumentar à superfície de troca de calor.
2 CLASSIFICAÇÃO DOS FORNOS
2.1 Classificação quanto ao serviço
Os fornos também são classificados de acordo com o serviço que executam. Cada
tipo de serviço exige do forno características próprias que influenciam no projeto do
mesmo.
2.1.1 Fornos Refervedores (pré-flash)
São fornos que operam com temperaturas de saída baixas (280ºC a 340ºC). É devido,
a baixa tendências de formação de coque.
2.1.2 Fomos atmosféricos
3
São fornos de grande porte, que operam com temperaturas de saída baixas (350ºC a
370 0C). É devido à baixa tendência de formação de coque.
2.1.3 Fornos de Vácuo
São fornos que operam com temperaturas de saída elevadas (390ºC a 420ºC) e com
produtos de alta viscosidade. Devido a esta alta tendência ao coqueamento, possuem injeção
de vapores nos tubos.
2.1.4 Fomos de Reforma Catalítica
São fornos que operam com temperatura elevada de saída (500ºC a 530 0C) e critico com
relação à perda de carga. Tem problema de temperatura de parede elevada dos tubos.
2.1.5 Reformadores / Pirólise
São fomos que operam com temperaturas de metal extremamente elevadas (800ºC a 900
0C) e que leva a projetos de fornos muito complexos, tanto do ponto de vista térmico como
mecânico.
2.2 QUANTO AO ASPECTO CONSTRUTIVO
Há três tipos principais de fornalhas, classificadas segundo a posição dos tubos da
serpentina de aquecimento.
2.2.1 Horizontais
No tipo horizontal são consideradas as fornalhas em que os tubos da serpentina para o
aquecimento da carga tanto da seção de radiação como da seção de convecção são
distribuídos horizontalmente com os queimadores instalados no piso. Possuem convecção
extensas na qual é absorvida grande parte da carga térmica. Requerem grandes áreas de
instalação, pois além da área efetivamente ocupada necessitam de espaço para retirada dos
tubos. São os tipos mais indicados para as grandes capacidades e para produtos que
necessitam limpeza interna dos tubos. Devido a grandes seções de convecção São capazes
de altas eficiências mesmo sem sistema de pré-aquecimento de ar. Para redução do
investimento pode-se optar por soluções nas quais se aquecem produtos diferentes numa
mesma carcaça através da utilização de paredes divisórias ou várias fornalhas
compartilhando a mesma convecção e chaminé. Há numerosos modelos de projetos de
fornos desse tipo.
2.2.2 Verticais
As fornalhas tipo vertical são aquelas em que os tubos da serpentina de aquecimento
tanto da seção de radiação como da seção de convenção são dispostos verticalmente
ao redor do círculo dos queimadores, havendo opção de serpentinas helicoidais para
pequenas vazões. A seção de convecção quando existente é de pequeno porte,
sendo que em alguns fornos o mesmo tubo passa pelas seções de convecção e
radiação.
São os fornos mais baratos e que requerem menores áreas para instalação. São
indicados nos casos em que o produto circule apenas na radiação.
2.2.2.1 Tipo cilíndrico vertical sem seção de convecção
A carcaça metálica tem a forma cilíndrica e os tubos são posicionados na posição
vertical. Geralmente os tubos ficam alinhados junto à parede interna da carcaça
4
metálica enquanto os queimadores e maçaricos ficam no meio, na parte inferior do
piso. Devido a sua baixa eficiência eles são usados em serviços periódicos (forno de
partida). Portanto tem pouca aplicação.
2.2.2.2 Tubos verticais com queima de ambos os lados
Nesses fornos os tubos são dispostos verticalmente em ambos os lados. Nos casos
mais críticos os queimadores podem ser instalados nas paredes ao longo do
comprimento do tubo. Proporcionam excelente distribuição de calor circunferencial e
longitudinal, sendo os mais indicados quando se tem altas temperaturas do produto.
2.2.2.3 Misto
O tipo misto é aquele em que os tubos da serpentina de aquecimento da seção de
radiação são verticais e da seção de convenção são horizontais.
As serpentinas de aquecimento da seção de convecção, nem sempre são utilizadas
para aquecimento de hidrocarbonetos, muitas vezes são utilizadas como gerador de
vapor, economizando energia para a unidade.
5
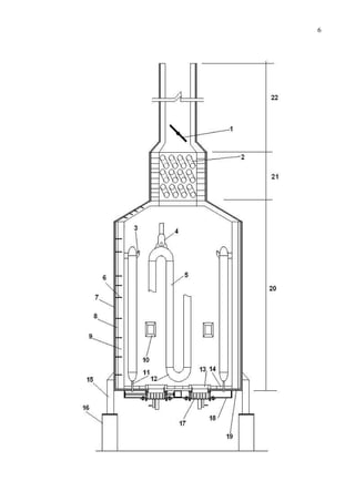
3 PARTESCONSTITUINTES
6
7
Os fornos se compõem basicamente em três partes, a saber: Serpentina de aquecimento,
Fornalha, Chaminé.
3.1 SERPENTINA DE AQUECIMENTO
A função da serpentina é transportar os hidrocarbonetos, ou misturas de gases a serem
aquecidos, e constitui-se de vários tubos interligados entre si por meio de conexões das mais
variadas. Essas conexões são de diversas formas, e são conhecidas comumente como
cabeçote. Nos fornos que operam com altas temperaturas as conexões são do tipo curvas
soldadas.
Os cabeçotes poderão ser do tipo mandrilado ou soldado, havendo outros tipos de menor
uso, com as extremidades flangeadas e parafusadas.
Dependendo da finalidade do forno, a serpentina poderá ser classificada segundo a
transmissão de calor em duas partes:
 Radiação
 Convecção
3.1.1 Seção de Radiação
É a parte da serpentina onde a superfície dos tubos está exposta ao calor radiante das
chamas. Nesta seção a maior parte do calor é cedido aos tubos e a carga, por radiação.
3.1.1.1 Tubos
Os tubos da seção de radiação são sempre lisos, pois a utilização de tubos aletados em uma
seção onde as taxas de calor são muito elevadas provocaria a formação de pontos quentes
nos tubos e acarretariam a falha prematura do material. Porém, existem casos onde se prevê
a utilização de tubos cuja superfície externa admite um acabamento rugoso (HK-40; HP-40)
dentro de determinados limites. O diâmetro varia de 2” a 8”, sendo 4” o diâmetro nominal que
geralmente leva a configuração mais econômica. O comprimento usual é de 40 a 50ft para os
formos com tubos horizontais de 20 a 30ft para os tubos verticais.
Os códigos (ASTM, API) de especificação de materiais, tais como o ASTM, preveem para os
tubos dos fornos duas classes: “TUBING” e ‘PIPING”.
Os “TUBING“ podem ser encomendados com qualquer espessura e a sua especificação
prevê baixa dureza, a fim de permitir o madrilhamento (tubos para troca de calor,
normalmente utilizado para permutadores de calor), enquanto, os “PIPING“ são especificados
e padronizados (ASTM) e somente permite a soldagem (normalmente utilizados para
transporte de fluidos, ou seja, tubulações industriais).
Apresentamos abaixo a correspondência mais usual:
TUBING PIPING MATERIAL
ASTM A161 ASTM A106 AÇO CARBONO
ASTM A161 – T1 ASTM A335 – P1 ½% Mo
ASTM A200 ASTM A335 BAIXA LIGA
ASTM A271 ASTM A312 INOX
ASTM A351 Gr HK40 INOX
8
Os maternais a serem empregados são escolhidos em função das condições de pressão,
temperaturas e corrosão / Oxidação, resistência a Fluência etc. que o tubo estará sujeito.
Deve-se ressaltar ainda, os limites de temperatura que metalurgicamente os materiais
apresentam. Estes limites têm particular importância quando os tubos estiverem sujeitos à
limpeza por decoqueamento a vapor d’água e ar (steam air decoking). Neste processo de
remoção do coque formado dentro dos tubos pela dissociação molecular indesejável dos
hidrocarbonetos, o coque é queimado pelo ar atingindo temperaturas de até 13000F. Por isso
a utilização de decoqueamento em tubos de aço carbono e baixa liga deve ser conforme
procedimento do fabricante, pois se ressalta que tal operação efetuada de forma incorreta
poderá acarretar à serpentina a um tempo de vida útil menor que o esperado.
O aço carbono (limitado para baixas temperaturas), Cr-Mo e inox austenítico são os mais
utilizados.
Muitas companhias limitam o uso do aço carbono para aplicações abaixo de 427º C, para
prevenir problemas provenientes da esferoidização e grafitização. A adição de molibidênio
melhora a resistência à alta temperatura, a esferoidização, a oxidação e mecanismos
acentuados de corrosão. Os aços inox austeníticos são frequentemente utilizados em tubos
para aplicação onde a temperatura excede acima de 704ºC ou a corrosividade do processo
requer seu uso.
É comum o uso de materiais de tubo, correspondente a especificação ASTM, utilizando o
limite máximo de temperatura de projeto estabelecido pela API Std 530.
As temperaturas de projeto dos metais mostram os limites máximos de resistência à ruptura.
O cálculo da espessura de parede do tubo, através da API Std 530, deve estar completado
para determinar a vida do tubo nessas temperaturas. Outros fatores, como
a pressão parcial do H2 e a resistência à oxidação frequentemente resultam em diminuir os
limites de temperatura.
3.1.1.2 Curvas e cabeçotes de retorno
A utilização de cabeçotes de retornos mandrilados, tinha como finalidade a aplicação de
limpeza mecânica interna aos tubos dos fornos que trabalhavam como fluídos sujeitos a
coqueamento. Estes eram desmontáveis e ficavam na parte externa do forno, a fim de
facilitar a operação de limpeza.
9
Atualmente, com o advento da limpeza através de vapor d´água e ar (decoqueamento) a
tendência é usar-se as curvas de retomo, de custo bem mais baixo que o cabeçote. As
curvas de retorno são soldadas as extremidades dos tubos. A utilização de cabeçotes de
retorno requer que sejam instalados externamente a câmara de combustão, para evitar os
altos fluxos de calor. A caixa que contém os cabeçotes é denominada de “caixa de
cabeçotes”. Quando se utiliza curva de retorno, estas podem localizar-se dentro da câmara.
Os raios das curvas de retorno são geralmente escolhidos de tal forma que a distância centro
a centro dos tubos seja de dois diâmetros nominais.
Na seção de convecção, utilizando cabeçotes ou curvas de retorno, recomenda-se usá-los
externos à câmara, em caixas de cabeçotes. Quando colocados internamente, fornecem a
formação de caminhos preferenciais para os gases de combustão.
Há casos em que são utilizados coletores no lugar de cabeçotes ou curvas.
3.1.1.3 Suporte dos tubos
Normalmente estes se localizam dentro do forno, e estão sujeitos a trabalhos em
temperaturas elevadas, acima da condição dos tubos da serpentina, pois estes não são
refrigerados pelo fluido circulante. Por isso, a escolha do material tem de ser cuidadosa e
deve recair sobre aqueles resistentes a altas temperaturas de projetos e a fluência.
Usualmente, são colocados espaçados de, no máximo, 35 diâmetros nominais ou 20ft
(conforme projeto). São as ligas de cromo-níquel, com adição de cobalto, e/ou tungstênio,
e/ou Nióbio, que conferem ao material certas propriedades importantes, principalmente de
resistência a altas temperaturas.
Além de algumas ligas especiais, as principais e mais utilizadas são:
MATERIAL TEMPERATURA MÁXIMA (ºF)
5Cr – ½ Ni Gr C5 1100
25Cr – 12Ni Type II 1750
50Cr – 50Ni + Cb IN 657 1800
25Cr – 20Ni Gr HK40 1950
25Cr – 35Ni + (Nb, Co, outros) 2200
Observemos que os suportes não recebem qualquer resfriamento, como ocorre nos tubos
que são “resfriados” pelo fluido em escoamento. As serpentinas verticais são simplesmente
suportadas pelo topo e guiadas por pinos soldados nas curvas de retorno do fundo.
10
3.1.2 Seção da convecção
Situa-se em região afastada dos maçaricos, não recebendo o calor de radiação das chamas.
Os gases de combustão que passam da seção de radiação para a de convecção possuem
temperatura elevada, sendo, portanto, capazes de ceder calor aos tubos dessa seção por
convecção e condução. Para facilitar a transmissão de calor, os tubos da seção de
convecção possuem grande quantidade de pinos ou aletas, a fim de aumentar a sua
superfície de troca de calor e seu rendimento. Considerando-se o número de entradas e
saídas de produtos nas duas seções, o forno poderá ter um ou mais passos.
3.1.2.1 Tubos de convecção
Estes tubos geralmente são feitos por encomenda, pois na montagem do feixe tubular,
normalmente as duas ou três fileiras são constituídas de tubos lisos, as outras subsequentes
são constituídas de tubos aletados ou pinados, a fim de aumentar o coeficiente de troca
térmica externa aos tubos. A escolha é em função do combustível a ser queimado, pois se
preferem aqueles que retém menor quantidade de cinzas e fuligem oriunda da queima nos
maçaricos. Os tubos pinados apresentam menor tendência a reter cinzas. Os diâmetros mais
utilizados são 4” a 6”.
11
3.2 FORNALHA
A fornalha é constituída das seguintes partes: Estrutura
Refratários Equipamentos auxiliares
3.2.1 Estrutura
Obviamente, a finalidade da estrutura metálica de um forno é a de sustentação do peso do
forno e ainda os esforços devido aos ventos. Os suportes dos tubos apoiam- se diretamente
nas vigas.
Observamos que a estrutura não está sujeita as altas temperaturas dos gases de combustão,
pois está colocada externamente nos refratários. As chapas que formam a carcaça metálica
se apoiam na estrutura e servem para apoiar os revestimentos (quando forem de fibras
cerâmica ou concreto refratários) e garantir a estanqueidade do forno prevista pelo projeto.
Geralmente são chapas de aço carbono de 3/16” ou 1/4”.
Fazem parte da estrutura todos os componentes necessários para a sustentação das
serpentinas e refratários, além da parte estrutural propriamente dita ou arcabouço da
fornalha. Tanto a estrutura quanto a carcaça não estão sujeitas ao contato com alta
temperatura por isso elas estão localizadas externamente e são protegidas pelo refratário.
3.2.2 Refratários
Toda parte da fornalha em contato com os gases a alta temperatura e que não deve trocar de
calor com qualquer meio, normalmente é revestida com material refratário ou isolante
térmico. Assim sendo parte do fundo da fornalha, paredes laterais o abobada são revestidos
com tijolos refratários. Outras partes onde a temperatura é menor como internamente nas
chaminés e nos dutos de gases, o revestimento interno é feito com argamassa refratária.
Têm como finalidade:
 Isolar a câmara de combustão dos elementos estruturais;
 Reiradiar o calor não absorvido pêlos tubos para dentro da câmara;
 Evitar perdas de calor para o exterior;
 Evitar que os gases de combustão, que normalmente contêm S02 atinjam as chapas da
carcaça metálica onde se condensariam formando ácidos corrosivos.
 Como facilmente pode-se deduzir, os materiais refratários empregados em um forno deve ter:
 Capacidade de resistir a altas temperaturas; Resistência mecânica elevada;
 Resistência à erosão;
12
 Resistência ataques químicos de ácidos, bases, metais, etc., que podem ser encontrados nos
gases de combustão de óleos combustíveis.
Os principais tipos de materiais refratários e isolantes são:
3.2.2.1 Tijolos Refratários
Fabricados a partir das misturas da sílica, alumina, óxidos de magnésio e outros minerais,
que lhe confere à resistência a alta temperatura.
Resistem a temperaturas de até 28000F. Foram muito empregados no passado, usualmente
com uma camada do bloco isolante, externamente, sendo sua utilização, hoje em dia, limitada
a serviços de alta temperatura na câmara de combustão, tais como nos fornos reatores.
3.2.2.2 Concreto Refratário
São massas aplicadas manualmente ou jateadas compostas, basicamente, de Luminita,
Haydita e Vermiculita que são minerais de ótimas propriedades refratárias e isolantes.
Trabalham até cerca do 19000F apresentando baixos coeficientes de dilatação térmica.
Constituem-se nos materiais refratários mais empregados atualmente, principalmente quando
se destinam a blocos monolíticos em que a sua construção e montagem é muito facilitada.
Após sua aplicação é necessário o procedimento de cura e secagem, a fim de que toda a
umidade existente seja eliminada.
3.2.2.3 Fibras Cerâmicas
São as mais recentes novidades na área. Apresentam boas características refratárias e
isolantes e densidade muito baixa, permitindo que a estrutura do forno seja bem mais leve.
São fabricados a partir de materiais refratários fundidos e soprados para formar fibras.
Apresentam, ainda, as vantagens de não necessitarem do mão-de-obra especializada para a
sua instalação e dispensarem os procedimentos de cura e secagem requeridos pelo concreto
refratário o tijolo refratário. Como inconvenientes, podemos assinalar a baixa resistência à
erosão e permeabilidade aos gases de combustão. Trabalham a temperaturas até cerca de
2OOOºF.
Vantagens:
 Boas propriedades Isolantes e refratária; Baixa densidade;
 Dispensam procedimento de cura e secagem;
 Dispensam mão de obra especializada para sua aplicação;
 Permitem que as estruturas sejam mais leves; Desvantagens:
 Baixa resistência à erosão;
 É permeável aos gases de combustão;
 Só pode ser empregado quando a velocidade dos gases é baixa (< 10 m/s).
3.2.3 Equipamentos auxiliares
Os principais equipamentos auxiliares da fornalha, são os queimadores ou maçaricos. Além
deles consideremos como equipamentos auxiliares os pré-aquecedores de ar; ventoinhas e
ventiladores; sopradores de fuligem; abafadores; instrumentos de controle de chama; poços
termopares termoelétrico; medidores de tiragem; manômetros; etc.
3.2.3.1 Queimadores
A principal função de um queimador é ser capaz de misturar, regular e direcionar os fluxos do
ar e combustível de modo a promover uma combustão estável sem atingir os tubos, suportes
ou outra estrutura da câmara de combustão. Além desta função se exige que o queimador
tenha as seguintes características:
 Capacidade de operar com baixos excessos de ar;
 Teores mínimos de combustíveis não queimado;
 Capacidade de queimar todos os combustíveis disponíveis;
 Atender aos requisitos legais quanto à emissão de poluentes;
 Facilidade de operação;
 Baixa necessidade de manutenção.
13
É desejável que o ar penetre no queimador com baixa turbulência para facilitar a entrada
uniforme de ar por todo perímetro do mesmo. Por outro lado, para obtermos uma excelente
mistura do combustível, gasoso ou liquido atomizado com o ar de combustão necessitamos
de turbulência, na saída do queimador, que quanto maior melhor será a eficiência da mistura
e menor será o excesso de ar requerido. O ar atravessa o queimador e é geralmente dividido
em duas correntes o “ar primário” que se mistura ao combustível no próprio queimador e o “ar
secundário” que se mistura ao combustível dentro da fornalha. A forma da chama é afetada
pela distribuição do ar primário e secundário, ficando mais longa quando se aumenta o ar
secundário, O queimador quando estiver fora de operação deve ter sumas entradas de ar
completamente fechadas.
As funções dos queimadores são: liberar combustível e ar para a câmara de combustão,
promover a mistura do combustível com o ar, dar condições para a contínua queima da
mistura combustível-ar e, no caso de combustíveis líquidos, atomizar e vaporizar o
combustível.
Uma das principais características dos queimadores é a faixa operacional, na qual o
queimador realiza satisfatoriamente suas funções. A caracterização da faixa operacional é
feita pela relação entre a máxima e a mínima liberação de calor, com o qual o queimador
operará satisfatoriamente.
3.2.3.2 Bloco refratário
É um conjunto de tijolos isolantes ou um bloco monolítico de forma normalmente circular, no
interior do qual a chama do maçarico se projeta para a câmara de combustão. Desenho
interno do bloco refratário influi na forma da chama.
Ele possui as seguintes finalidades:
Proporcionar uma mistura mais homogênea entre os componentes (ar/combustível) devido ao
seu formato (bocal);
Contribuir para alimentar, a eficiência da combustão, pois recebe calor da chama e transmite
à mistura a ser queimada, concorrendo para a ignição da mistura e a combustão. Por isto,
difícil se torna a queima, quando o bloco refratário ainda se encontra frio, durante as partidas.
Serve para formar o corpo da chama, impedindo ou reduzindo a incidência nos tubos.
Na parte inferior do bloco refratário, situa-se as entradas de ar secundário (portinholas e
virolas) que são usadas para o ajuste da queima e controle do comprimento da chama.
As portinholas, quando existem, são duas aberturas diametralmente opostas, relativamente
pequenas, cobertas com tampas metálicas;
A virola consta de uma cinta metálica, que possui tantas aberturas quanto sejam os orifícios
do bloco refratário por ela envolvido. Esta cinta pode ser deslocada de forma que seja
controlada a admissão de ar secundário.
O ar primário é admitido próximo do bloco do maçarico em queimadores do tipo simples, ou
através de queimador a gás em um tipo de queimador de queima mista.
14
3.2.3.3 Maçarico
Os principais tipos de maçaricos são:
a) Maçaricos a Gás
b) Com pré-mistura (“ Pre—mixing Burner”)
Os gases combustíveis ao passar por um Venturi, mistura parte do ar de combustão, ou seja,
o ar primário. Cerca de 50 a 60% do ar de combustão é inspirado como ar primário antes do
ponto de ignição,
VANTAGENS:
 Boa flexibilidade operacional. A quantidade de ar aspirado varia com a pressão do gás.
Para se obter o controle da chama, basta ajustar o ar secundário. Podem operar com baixo
excesso de ar e não são muito afetados por variações na velocidade e direção dos ventos.
 Proporciona chamas curtas e de forma bem definida às altas taxas de liberação de calor.
Desvantagens:
 Requer pressões de gás relativamente altas. Quando a pressão de gás cai abaixo de
10psig no queimador, a quantidade de ar aspirado cai rapidamente e a flexibilidade
operacional é reduzida.
 Pode ocorrer retorno de chama por baixa pressão de gás ou quando a fração de gases
tendo alta velocidade de propagação da chama, toma-se alta. Por este motivo, este tipo de
queimador é usado para combustíveis pobres em hidrogênio tal como gás natural.
 O nível de ruído é maior do que o tipo sem pré-mistura.
 Sem pré-mistura (“Raw Gás Burner”)
O gás combustível chega ao bico do queimador sem pré-mistura do ar de combustão. O gás
é então queimado no bico através de pequenas aberturas.
Vantagens:
 Apresenta elevado índice da relação entre a máxima e a mínima liberação de calor para
uma dada condição de combustão.
 Pode operar com baixa pressão de gás com uma variedade de combustíveis e sem retorno
da chama.
 O nível de ruído é baixo.
DESVANTAGENS:
 A flexibilidade é limitada, devido às necessidades de ajustes no ar de combustão ao variar
a sua capacidade de operação.
 Um alargamento das aberturas do bico geralmente resulta em condições de chamas
insatisfatórias.
 Quando o queimador é colocado além do nível de projeto, a chama tende a se alongar e
as condições da chama ficam insatisfatórias.
Maçaricos a Óleo
Ao contrário dos combustíveis gasosos que em seu estado natural já estão em condições de
reagir com o oxigênio, os óleos combustíveis precisam ser processados, de acordo com os
seguintes estágios:
 Atomização - O combustível é reduzido às pequenas gotículas, menores que 10 – 50
micras.
 Vaporização ou Gaseificação - As gotículas de óleo atomizado retiram calor da
ambiente câmara de combustão ou da própria chama passando para o estado gasoso.
 Mistura — O combustível, já vaporizado mistura—se com o Oxigênio formando uma
mistura inflamável.
 Combustão propriamente dita — A mistura ar-vapor de combustível reage, liberando
calor.
Atomização
15
Aqui está o principal problema na operação dos queimadores, que é a redução do óleo em
pequenas gotículas de maneira a aumentar a sua superfície, até aproximar-se da fase
gasosa, a fim de ocorrer uma eficiente mistura com o ar e, consequentemente, uma boa
combustão.
A combustão, tanto no aspecto físico como no químico, reação na fase gasosa dos
combustíveis viscosos apresenta como dependentes do grau de atomização, os seguintes
fatores: a ignição, o tempo de combustão, a velocidade de propagação da frente e,
consequentemente, a estabilidade da chama. Donde se conclui, que a atomização é o
principal fator para termos uma boa combustão.
O corpo do maçarico ou a caneta, como também é conhecido, é constituído de 2 tubulações
concêntricas que se ligam por um lado ao sistema de admissão de óleo de vapor d’água e,
pelo outro ao atomizador. Pela tubulação interna de menor diâmetro escoa, normalmente, o
óleo combustível e pela externa, o vapor de atomização.
O atomizador é uma peça cúbica, possuidora de 4 orifícios, um em cada face lateral,
chamada câmara de atomização, rosqueada a tubulação de óleo e na face superior possui
uma abertura que permite a saída do óleo atomizado. É importante que o maçarico esteja
sempre em posição vertical, pois a sua inclinação poderá provocar a incidência de chama nos
tubos. Para evitar isto existe uma guia, um tê de ligação. A admissão do óleo e vapor é feita
através do cabeçote, que possui 2 entradas uma de óleo e. a outra de vapor, internamente
essas entradas são comunicantes às tubulações de vapor e óleo de maçarico. Na
extremidade dessas tubulações se dá o encontro do vapor com óleo, na câmara de
atomização. Deve queimar na razão 1:1.
3.2.3.4 Sopradores de fuligem (ramonadores)
Os gases de combustão do óleo combustível, ao passarem pela região de convecção, que é
geralmente formada por tubos de superfície estendida, geralmente pinos, tendem a deixar
depósitos que, com o acúmulo, prejudicam notavelmente a transferência do calor. Os
principais constituintes destes depósitos são: enxofre, vanádio, sódio, e cinzas, sendo as
cinzas, os principais responsáveis pela alta taxa de decomposição. O método mais usual de
se remover em operação estes depósitos, é o de se empregar jatos de vapor d’água sobre a
superfície dos tubos. Os tipos de sopradores de fuligem são:
a) ROTATIVO-FIXO
São constituídos de uma lança com múltiplas perfurações, instalada na seção de convecção.
Uma válvula mecânica e um motor de acionamento faz girar a lança e automaticamente abre
e fecha a válvula de suprimento de vapor. Este tipo apresenta baixo custo e é normalmente
utilizado quando a temperatura dos gases é baixa.
b) RETRATEIS
Difere do anterior quanto à lança que permanece fora da seção de convecção, quando não
está em urso. A lança é provida de 2 perfurações de diâmetro maior do que as das existentes
ao longo da lança do tipo fixo. Eles apresentam alto custo e maior eficiência que os dos fixos.
O raio de atuação de um soprador deste tipo é de cerca de 4 filas de tubos enquanto para os
16
fixos é de 3.
3.2.3.5 Chaminé e abafadores
A chaminé tem como finalidade:
Lançar os gases de combustão a uma altura tal que não traga problema ecológicos na região.
Fornecer a tiragem necessária, isto é, permitir que por diferença de densidades os gases, ao
subirem, succionem o ar para a combustão.
Manter todo o forno em pressões levemente negativas, a fim de evitar fugas de gases através
das paredes, onde poderiam aquecer a estrutura do forno. A escolha do material, tamanho e
localização das chaminés de fumaça variam muito e dependem tanto da unidade em que vão
operar, como das premissas estabelecidas em função do custo de projeto. As chaminés de
fumaça podem ser projetadas para operarem com tiragem natural, ou com tiragem forçada
e/ou induzida mecânica.
A eficiência de uma fornalha ou caldeira, depende grandemente do escoamento dos gases
de combustão para a atmosfera, bem como do suprimento de ar para combustão. Ao fluxo de
gases de combustão através da câmara e chaminé, dá-se o nome de tiragem.
A tiragem é medida pela diferença entre a pressão atmosférica e a pressão do gás de
combustão num determinado ponto dentro do sistema câmara-chaminé; em outras palavras a
tiragem é a diferença de pressão que é disponível para produzir um fluxo de gases.
Assim sendo a tiragem será tanto maior quanto maior for essa diferença de pressão.
A função do abafador da chaminé é ajustar o perfil de tiragem do forno, controlando a tiragem
na região diretamente abaixo da seção de convecção do forno.
Os abafadores podem ser de folha única ou de folha múltiplas, quando a chaminé tiver
grandes diâmetros. Eles são operados manualmente do solo, através de cabos. Em casos de
grandes abafadores é possível poder manuseados com operadores pneumáticos.
3.2.3.6 Skim Point’s
São medidores de temperatura fixados nas paredes dos tubos, em determinados pontos do
forno para através de instrumentos possibilitar a leitura, acompanhamento e controle da
temperatura e a realização da operação a que se destina o equipamento.
17
3.2.3.7 P. A. F. (Sistema de pré-aquecimento de ar de combustão dos fornos)
Para aumentar a eficiência na queima de combustível, este sistema utiliza os gases de
combustão em alta temperatura para aquecer o ar de combustão antes de o mesmo entrar no
forno utilizando um permutador. Com o pré-aquecimento obtém-se a mesma temperatura de
operação com menor quantidade de combustível do que se estivesse utilizando um sistema
de alimentação com ar frio (convencional).
4 RAZÕES PARA INSPEÇÃO
A razão para se fazer a primeira inspeção de um forno é a determinação do efeito da
corrosão, erosão e outros fatores atuantes no forno, por comparação com a inspeção inicial
(na época da construção) ou com relatórios básicos. Ela também estabelece a segurança e a
influência de operação contínua e prevê a manutenção e as substituições com base na taxa
de deterioração.
Todas as inspeções subsequentes são, de modo semelhante, comparadas com a anterior,
com o mesmo propósito. Pela determinação das condições físicas e das taxas e causas de
deterioração nas várias partes do forno, e possível fazer reparos ou substituições
programadas antes que ocorram enfraquecimentos sérios ou falhas.
Muitas das partes que compõem um forno dependente de alguma outra, e quando ocorre
deterioração ou enfraquecimento sério em uma, alguma outra parte pode se tornar
desprotegida ou sobrecarregada. Isto pode reduzir consideravelmente a vida útil. É possível
predizer os reparos e substituições que serão necessários no próximo período de parada
programada do forno, baseando-se nos dados acumulados em inspeções regulares e no
conhecimento das atuais condições de trabalho. Se dispuser dessas informações, pode-se
preparar todos os desenhos necessários, as listas de material, e o planejamento para todas
as fases do trabalho. Itens de material poderão ser fabricados total ou parcialmente nas
épocas convenientes antes que o forno seja parado. Com o planejamento de trabalho
preparado adequadamente e revisado, cada profissional saberá exatamente o que fazer e a
sequência do que tem que ser feito.
18
A inspeção torna possível estabelecer o período mais seguro e mais eficiente durante o qual
um forno poderá operar entre inspeções sucessivas. O estabelecimento desse período de
operação seguro permite uma estimativa acurada da quantidade de produto que poderá ser
produzida e a disponibilidade desse produto após um dado tempo para qualquer unidade em
operação.
Inspeção periódica regular permite aplicar meios de proteção, fazer manutenção e estudar e
substituir maternais diferentes como uma maneira de aumentar a vida útil de partes ou de
todo o equipamento. Esta prática aumenta a duração das campanhas e reduz ou elimina
paradas de emergência. Paradas não programadas são caras devido à perda da produção,
custo de mão-de-obra para limpeza e reparos além da influência inerentes aos serviços não
programados.
5 CAUSAS DE DETERIORAÇÃO
Serão discutidas para diferentes partes ou seções do forno.
5.1 RELEMBRANDO
TRINCA: formação de duas superfícies livres no interior ou junto à superfície de um
componente ou estrutura.
FADIGA CORROSÃO: quando na propagação da trinca existem os dois (tensão e corrosão;
origem mecânica ou térmica) atuando simultaneamente. Formam trincas paralelas e
múltiplas, trincas com produto de corrosão, ponta arredondada; pode formar alvéolos ao
longo da trinca.
ESFEROIDIZAÇÃO: também conhecido como coalescimento, trata-se do agrupamento da
cementita em partículas maiores, formando glóbulos de cementita. Reduz a dureza do aço.
CARBONETAÇÃO: perda das propriedades mecânicas e da resistência à corrosão de uma
liga ferrosa aquecida em atmosfera contendo hidrocarbonetos ou monóxido de carbono.
(Endurecimento do metal, temperatura alta difunde-se para o interior da liga aço inox,
precipita carbetos).
DESCARBONETAÇÃO: perda do carbono da superfície de uma liga de ferro resultante do
seu aquecimento em um meio que reage com carbono (H2 / CO2).
GRAFITIZAÇÃO: mudança estrutural que ocorre em certos tipos de aço ferrítico quando
aquecidos por longos períodos de tempo entre 440 a 760ºC.
RECALQUE: desnivelamento de uma estrutura devido à não compactação adequada do solo
que a apoia.
CST: aparecimento de trincas nos metais ou ligas, decorrente da ação combinada da
corrosão e tensões estáticas residuais, induzidas ou externas.
FLUÊNCIA: fenômeno pelo qual os metais e ligas tem tendência a sofrer deformações
plásticas continuas, quando submetidos por longos períodos de tempo e tensões constantes,
porém inferiores ao limite de resistência normal do material. O efeito é particularmente
importante se a aplicação das tensões se der na temperatura vizinha àquela de
recristalização do metal ou liga.
FASE SIGMA: fenômeno associado com aços liga ao cromo (acima de 17%) e com aços
inoxidáveis ao Cr-Ni que quando aquecidos prolongadamente entre 500 a 700ºC tornam-se
severamente frágeis e com alta dureza. Tal fato motiva o aparecimento de trincas durante o
resfriamento a partir da temperatura de utilização e especialmente durante a operação de
soldagem.
CARBURAÇÃO (carburização): A carburação é um fenômeno de degradação do material em
alta temperatura causada pela difusão de carbono do meio para o metal. O carbono provoca
a precipitação generalizada de carbonetos na microestrutura, cujos efeitos incluem a redução
significativa da ductilidade e da tenacidade da liga.
Adicionalmente, o aumento de volume decorrente da carburação é apontado como a principal
fonte de tensões residuais e, consequentemente, de trincas que ocorrem durante o
resfriamento de fornos industriais em paradas para manutenção. Outro efeito da carburação é
19
a alteração da condição paramagnética original da liga, para a ferromagnética, sendo este
efeito empregado na “medição” da intensidade de carburação em alguns equipamentos
industriais.
O ataque por carburação é um fenômeno que ocorre em meios carburantes (atividade de
carbono igual a 1) a temperaturas superiores a 900°C. Consiste na penetração de carbono no
componente metálico, via difusão e decorrente formação de carbonetos de forma
generalizada na sua microestrutura, fragilizando a liga.
Como resultado da carburação do componente metálico, tem-se:
a) O aumento do teor de carbono dissolvido na matriz e a precipitação generalizada de
carbonetos. Com a precipitação dos carbonetos ricos em Cr (M7C3 e M23C6), a composição
da matriz torna-se à base de Fe e Ni, com isso a condição inicial paramagnética altera-se
para ferromagnética. Esta alteração no comportamento magnético é empregada na detecção
e, em alguns casos, medição da intensidade de carburação em fornos petroquímicos.
b) O aumento do volume do material metálico carburado e a consequente geração de
tensões entre regiões carburadas e não-carburadas. O aumento no volume dos tubos é
considerável, e esta é apontada como a principal razão para a ocorrência de trincas em
fornos de pirólise. Como a carburação avança da parede interna do tubo, ela provoca tensões
de compressão no diâmetro interno do tubo e tensões de tração no diâmetro externo, que
pode resultar em trincas intergranulares que surgem na metade da parede do tubo.
c) Em ligas do sistema Fe-Ni-Cr ocorre um aumento da condutividade térmica na condição
carburada, que um efeito positivo na eficiência do equipamento.
d) A diminuição da ductilidade e da ductilidade sob fluência provoca a fragilização do
material em temperatura ambiente e em temperaturas elevadas. Embora reduzida, a
ductilidade em temperatura elevada é superior à observada em temperatura ambiente e este
fato é responsável pela ocorrência de fraturas de caráter frágil no resfriamento do forno para
paradas de manutenção.
CARBURAÇÃO CATASTRÓFICA (“METAL DUSTING”): é um fenômeno conhecido como
carburação catastrófica envolvendo desintegração do metal. Este fenômeno ocorre em
atmosferas altamente carburantes a temperaturas relativamente elevadas (350°a 1000°C),
mas geralmente inferiores quando comparadas com as da carburação (superiores 900 °C). O
fenômeno provoca rápida inutilização do componente metálico, sendo que os produtos
provenientes do ataque são constituídos por uma mistura de grafita com finas partículas do
próprio metal e carbonetos.
O fenômeno tem sido observado em indústrias de tratamento térmico, em plantas de reforma,
em indústrias petroquímicas que possuem processos com misturas altamente carburantes
(CO-CO2-H2-hidrocarbonetos) que podem reagir com componentes metálicos ou em
processos nos quais compostos orgânicos são reativos (exemplo: sistemas de
desidrogenação de butano), em fornos que realizam o craqueamento de ácido acético, em
plantas de produção de piridina etc.
A carburação catastrófica pode se manifestar através das seguintes maneiras:
 Formação de pites, observada geralmente em ligas à base de níquel e em aços de alta liga
contendo níquel e cromo, os quais possuem a capacidade de manter a camada de óxido de
cromo mesmo em atmosferas redutoras. Os pites podem possuir superfície lisa ou rugosa e
apresentam, no seu interior, depósito de carbono grafítico, partículas do metal e carbonetos;
 Redução uniforme da espessura do metal, observada, geralmente, em aços baixa liga com
formação de depósitos semelhantes aos encontrados no interior dos pites: carbono grafítico,
partículas do próprio metal e carbonetos. Esta forma de ataque é normalmente associada a
um sistema que envolve um fluxo de gases elevado, resultando num efeito combinado de
pulverização metálica associada à erosão;
 Combinação da formação de pites com redução da espessura do metal.
20
5.2 SERPENTINA
Os principais fatores que promovem ou contribuem para a sua deterioração são: .
5.2.1 Tipos de processo
O processo é o principal fator no estabelecimento do tipo de deterioração de um forno. Os
principais processos de operação são a destilação de óleo cru, a destilação a vácuo, o
processamento de asfalto ou óleo lubrificante, o craqueamento, a reforma, o fracionamento
de destilado leve, e o tratamento. O processo operacional determina o tipo de carga,
constituindo-se o fator principal no estabelecimento das condições básicas de operação do
forno, o que, por sua vez, contribui para uma determinada forma de deterioração.
5.2.2 Características da carga:
Os teores de enxofre, cloretos, ácidos orgânicos ou materiais sólidos são os fatores principais
na determinação não somente do tipo, como também na severidade da deterioração.
O teor do enxofre é um fator importante porque o tipo e taxa de corrosão que se pode esperar
na superfície interna dos tubos do forno e suas conexões varia grandemente com o teor de
enxofre, cloretos, ou ácidos orgânicos. O enxofre, em particular, é um fator determinante na
escolha de material a ser usado, a fim de assegurar vida útil satisfatória e campanhas de
duração máximas, com um mínimo de reparos ou substituições. O sulfeto de hidrogênio é um
composto de enxofre particularmente corrosivo cuja corrosividade aumenta quando em
presença de hidrogênio.
Algumas cargas têm uma tendência para produzir depósitos do coque ou de sais orgânicos.
Esses depósitos, conquanto não sejam causadores direto de deterioração, podem ter uma
grande influência na temperatura de metal dos tubos e causar deterioração como um efeito
secundário.
5.2.3 Velocidade de fluxo no interior da serpentina
A velocidade quando crítica ou se ocorrer “impingement” direto pode causar erosão severa
nos tubos e conexões. No caso dos tubos, a erosão é resultante da velocidade. Nas
conexões a erosão resulta usualmente da combinação de “impingement” com velocidade. Se
a carga for substancialmente aumentada no forno, o aumento da velocidade decorrente pode
causar perda de metal por erosão e corrosão.
5.2.4 Pressão
A pressão de operação permissível para a temperatura de operação do metal não é uma
causa de deterioração quando a temperatura for inferior à da faixa de fluência.
Quando a temperatura de operação do metal é superior à temperatura na qual a fluência se
inicia ocorrerá um alongamento vagaroso do metal que pode causar ruptura depois do um
longo período de operação. Pressão excessiva pode levar o metal a uma fluência rápida e
provocar abaulamento, trinca, e até uma falha completa por tensão de ruptura num período
de operação relativamente curto.
5.2.5 Temperatura
A temperatura de operação é um fator usado na determinação da temperatura do metal dos
tubos e conexões. A temperatura do metal desempenha um grande papel no tipo e
severidade da deterioração dos tubos de um forno. A temperatura do metal em tubos
individuais ou ao longo do comprimento de qualquer tubo radiante específico pode variar
consideravelmente. As causas principais dessas variações são:
Incrustações nos tubos;
Condições de queima impróprias ou insatisfatórias.
Os tipos de deterioração dos tubos associados com a temperatura do metal são:
a) Vergamento (Sagging): é devido comumente a um decréscimo na resistência estrutural do
tubo decorrente de superaquecimento. Também pode ser causado por escapamento
inadequado de suportes de tubos, temperaturas de metal desiguais, ou falhas de um ou mais
21
suportes de tubos.
b) Empenamento (Bowing): é provocado geralmente, por temperaturas desiguais no metal,
resultante de incidência de chama ou acumulação de coque no interior do tubo. Também
pode ser causada pelo atrito do tubo nos espelhos, não permitindo suficiente expansão
longitudinal.
a) b)
c) Queima ou Escamação: tanto podo ser localizada ou se estender por todo o comprimento
de um tubo dentro do forno. Comumente resultam de incrustações ou excesso de calor, o que
leva a temperatura da superfície metálica a um nível tal que a oxidação ocorre.
Depósitos de combustão podem ter a aparência de escamações de óxidos e serão
distinguidos por meio de um imã. A escamação é magnética e os depósitos de combustão
não magnéticos.
d) Fluência ou Abaulamento: a resistência do metal diminui em altas temperaturas e a
tensão atuando por muito tempo em tubos quentes pode deformá-los ou levá-los à fluência.
Pode-se evitar falhas por fluência usando-se valores de tensão baseados nas propriedades
do metal em altas temperaturas. Abaulamentos (laranjas) ocorrem quando a temperatura de
metal de um tubo, em áreas localizadas de superaquecimento, ultrapassa o limite que pode
suportar a tensão resultante da pressão.
e) Transformação Metalúrgica: os aços sujeitos às altas temperaturas e sob tensões durante
períodos de tempos longos sofrem mudanças metalúrgicas. Essas mudanças resultam em
condições conhecidas como carbonetação, descarbonetação, crescimento de grão, trinca por
pressão, etc. Todas essas condições resultam numa redução generalizada da resistência
mecânica ou muna alteração da ductilidade, que pode eventualmente levar a uma falha
completa do material.
22
f) Efeito de Expansão: todos os metais se expandem ao serem aquecidos. Temperaturas
elevadas causam expansões que, se não forem propriamente contrabalançadas, resultarão
em tensões excessivas e suficientes para causar sérios enfraquecimento e deformações no
tubo ou conexão.
g) Incremento na Corrosão: a corrosão é fortemente influenciada pela temperatura.
Diferentes taxas de corrosão ao longo do comprimento de um tubo ou da sua seção
transversal são causadas, frequentemente, por temperaturas diferentes.
5.2.6 Produtos de combustão
Os problemas de corrosão que resultam de combustíveis usados em fornos, dependem
principalmente do caráter do combustível. Quando o gás ou óleo combustível tem alto teor de
enxofre, um dos produtos da combustão formados e depositados na superfície externa dos
tubos é um sulfato. Este sulfato é inofensivo durante os períodos de operação; todavia, logo
que o depósito é deixado esfriar, torna- se altamente higroscópio e absorve umidade no ar,
hidroliza-se e produz ácido sulfúrico diluído que ataca imediatamente todo o metal com o qual
entra em contato.
Quando o combustível tem alto teor de vanádio, as superfícies metálicas que operam à
temperatura acima de algum ponto crítico na faixa de 1200 a 14000F estarão sujeitos a um
ataque rápido pelo pentóxido de vanádio (V2 O5). Este pentóxido se deposita e funde a
superfície metálica aquecida. Depois que certa quantidade de depósito tiver se acumulado,
começará a escorrer da superfície onde se depositou e o ciclo de ataque será reiniciado.
5.2.7 Deterioração mecânica
A vida útil de tubos e conexões de fornos pode ser reduzida como resultado de deterioração
mecânica. As duas causas mais comuns são vazamentos pelas mandrilagens e danos
durante a limpeza mecânica. O vazamento por mandrilagem é uma dificuldade mecânica. A
sua causa pode ser um procedimento incorreto ou imperícia durante a instalação original dos
tubos ou ser devido a aumentos de temperatura durante a operação.
Os danos a um tubo durante a limpeza podem ser causados por procedimento incorreto ou
imperícia. Uma das causas mais comuns é deixar o aparelho de limpeza operar em uma
posição durante tanto tempo que chega a cortar a parede do tubo.
A remoção de coque com vapor e ar (steam-air decoking) pode causar séria oxidação ou
outra deterioração dos tubos se as temperaturas não forem cuidadosamente controladas.
Força em excesso usada pelo operário no fechamento dos cabeçotes pode resultar no
aparecimento de fraturas no corpo do cabeçote ou então na base das suas orelhas.
Também pode causar desgaste excessivo ou distorção nas sedes do tampão ou da curva em
“U”, nas orelhas do cabeçote, ou das peças de fixação (travas ou parafusos de cabeça). O
uso de força excessiva geralmente ocorre devido à limpeza inadequada de superfícies
esmerilhadas ou troca de tampões. Educação, treinamento e supervisão contínua do operário
indicando-lhe cuidado que deve ter o modo de usar, e o aperto permissível, são essenciais
para evitar este dano. Defeitos de fundição ou de forjamento também podem dar origem às
fraturas no corpo do cabeçote ou na base das suas orelhas.
5.3 FORNALHA
Os principais fatores que causam a deterioração na fornalha são:
a) Condições climáticas: a taxa de deterioração cansada pelas condições climáticas
dependerá grandemente da atmosfera ser seca, úmida ou salina, e do grau de poluição do ar
pelos fumos industriais que podem ser corrosivos. A deterioração provocada por uma
atmosfera úmida pode não ser devida à localização geográfica do forno dentro da própria
refinaria. Um exemplo é o caso de um forno localizado nas proximidades de depósitos de
refrigeração (cooling ponds) ou torres de resfriamento (cooling towers) com os ventos
soprando na direção do forno. Os tipos de deterioração que resultam de condições climáticas
são: o enferrujamento da estrutura de aço exposta ou não pintada; a deterioração geral de
superfícies pintadas; e a erosão e deterioração da alvenaria externa do concreto, do
isolamento, etc., que forma o envoltório externo de um forno. Deixando-se o envoltório
externo se deteriorar, fender ou desagregar, a chuva ou a umidade entrará por essas
23
aberturas e deteriorará o refratário interno, o isolamento e a estrutura de aço, particularmente
quando o forno estiver fora de serviço por alguma razão.
b) Temperatura de operação: as condições de queima e a temperatura do forno são as
maiores causas de deterioração dos materiais que formam o invólucro interno do forno.
A severidade da deterioração variará com a temperatura do forno que, por sua vez, é
determinada pelas condições de operação. A finalidade desses materiais do invólucro
interno, tais conto o refratário ou isolamento, é proteger a armação de aço estrutural, as
estruturas do teto e os espelhos dos tubos, contra calor. Como resultado das longas
exposições a altas temperaturas os refratários deterioram por Iascamento (spaliing), avaria
do material ligante, fusão e perda de resistência estrutural. Quando a ação isolante do
refratário ou do isolamento fica reduzida, a ancoragem de aço fica sujeita aos gases quentes
do forno e se deterioram rapidamente por oxidação, queima, escamação o possivelmente
transformação da estrutura metalúrgica.
c) Produtos de corrosão: agentes muito corrosivos são produzidos na queima dos
combustíveis que contenham enxofre e vanádio.
Os tipos de corrosão que podem resultar da queima desses combustíveis foram vistos nas
explicações anteriores. Estes mesmos tipos de ataque ocorrerão nas peças de aço frias se
elas forem expostas aos gases do forno devido à deterioração do refratário ou isolamento, ou
se o forno for operado com pressão positiva. Quando as cinzas e o refratário entram em
contato com a temperatura moderadamente alta, pode ocorrer uma ação fundente (fluning
action) com produção uma escória mais ou menos fluida. Os óxidos metálicos, como o de
vanádio ou molibdênio, são agentes fundentes. A formação dessa escória produz no mínimo
três ações deterioradoras: Fusão; Penetração e Ação Química.
O efeito geral dessa ação escorificante é o decréscimo da espessura do refratário e de sua
ação isolante causando assim a exposição da ancoragem de aço às altas temperaturas, etc.
5.4 CHAMINÉS E DUTOS
Os fatores que causam a deterioração dos mesmos são:
a) Recalque: este fator pode causar fendas nas chaminés de tijolos ou de concreto e nos
dutos de fumaça. As fendas reduzem a resistência estrutural e permitem a entrada de chuva
e umidade que causarão a deterioração dos revestimentos refratários e da ferragem de aço
no caso das chaminés de concreto.
b) Condições climáticas: causam deterioração das chaminés, dos tijolos, concreto, aço, e
dos dutos de fumaça, devido ás condições climáticas.
c) Temperatura de operação: alta temperatura é a maior causa da deterioração de
chaminés. Tijolos, concreto, revestimentos refratários e chapa de aço usada na construção de
chaminés e dutos de fumaça, estão sujeitos aos mesmo tipos de deterioração por alta
temperatura.
d) Produtos de combustão: a deterioração resultante dos produtos de combustão pode ser
muito severa nas superfícies internas das chaminés, dos dutos de fumaça, e seus
revestimentos refratários ou isolantes. A uma certa altura das chaminés, a temperatura do
gás de combustão pode cair até o ponto onde ocorre a condensação, chamado “ponto de
orvalho” (dew point). Quando esta condição é atingida, os produtos da combustão se
combinam com a umidade formado ácido sulfúrico e ácido carbônico diluídos. O primeiro
muito corrosivo para o aço, e em menor grau: deterioram os tijolos, concreto e os
revestimentos refratários ou isolantes usados na construção de chaminés. Quando a chaminé
está em operação, a seção dela que estiver com a temperatura abaixo do ponto de orvalho
está sujeita a ataques; quando a chaminé não estiver em operação, será atacada em todo o
seu comprimento, como também o duto de fumaça.
24
6 FREQUENCIA DE INSPEÇÃO E EPOCA PARA A INSPEÇÃO
6.1 GENERALIDADES
Os fornos são comumente de alguma unidade de processamento, e pode acontecer que o
tempo que passem operando o intervalo entre inspeções seja determinado por algum outro
equipamento da umidade. Da parada da unidade oferece a oportunidade para a inspeção do
forno. Deve-se tirar proveito de cada período de parada, para inspeção dos tubos, conexões,
etc., salvo se o tempo de operação desde a parada anterior for muito pequeno.
Os principais fatores que devem ser considerados cuidadosamente para se estabelecer o
intervalo de tempo entre inspeções de um forno num dado tipo de unidade de processamento
são segurança e operação eficiente. Vale ressaltar que em geral o controle das vidas das
peças e/ou acessórios nos fornos é controlada por horas de operação (1 ano equivale a 8760
horas ou seja se um forno operar de forma ininterrupta durante 2 anos considera-se que todas
as suas peças possuem 17520 horas de operação). Isso é ponto relevante para definição de
procedimentos de reparos em caso de falhas.
6.2 SEGURANÇA
Deve ser o primeiro fator para estabelecimento do intervalo de inspeção. A segurança deve
ser considerada tanto do ponto de vista de proteção do pessoal de operação como de
proteção do equipamento. Devem ser conhecidas as taxas de deterioração das várias partes
do forno a fim de se estabelecer a frequência de inspeção. O intervalo entre inspeções deve
ser tal que quando a unidade for parada, ainda haja alguma folga para corrosão na parte
essencial mais fraca. Se as condições de operação, ou a natureza da carga forem
modificados num dado forno, deve-se verificar cuidadosamente a necessidade de ser
revisado o intervalo de inspeção a fim de se compensar as novas condições. Quando ocorrer
uma parada de emergência na unidade, resultante de alguma falha mecânica ou mau
funcionamento, deve ser feita uma investigação completa para que não ocorra outra vez
semelhante condição em outras unidades.
7 ROTINA DE INSPEÇÃO EM FORNOS DE PROCESSO
7.1 OBJETIVO
Padronizar os critérios utilizados na atividade de inspeção em fornos de processo, e oferecer
suporte técnico e conhecimento específico aos profissionais envolvidos, bem como definir as
responsabilidades interfaces com outros órgãos da empresa.
7.2 DEFINIÇÕES
ABAFADOR: Válvula para bloqueio ou controle da tiragem dos gases de combustão.
BACIA DE CINZAS: Região existente na base da chaminé de concreto com a função de
acumular as cinzas que se precipitam dos gases de combustão.
CABEÇOTE: Acessório de conexão entre dois tubos adjacentes desviando o fluxo
normalmente em 180°. É dotado de “plug” removível permitindo a limpeza e inspeção dos
tubos.
CAIXA DE FUMAÇA: Região do forno situada entre os últimos tubos de saída da convecção
e o duto de gases de combustão.
CÂMARA DE VENTILAÇÃO: Região anular em toda a extensão da chaminé, ou seja, é o
espaço entre o concreto armado e a parede refratária que tem a finalidade de refrigerá-la
através de tiragem natural de ar que aí circula.
CÂMERA PLENA (PLENUM) OU CAIXA DE AR: Caixa que envolve os queimadores,
destinada a distribuir adequadamente o ar.
25
CARGA A FRIO OU DE INSTALAÇÃO: É a carga de reação da mola quando da instalação
do suporte. Corresponde a carga de uma das extremidades (início ou fim) do curso de
trabalho e pressupõe a ausência de cargas térmicas no sistema.
CARGA A QUENTE OU DE OPERAÇÃO: É a carga requerida pelo sistema quando em
operação. Corresponde ao outro extremo do curso de trabalho do suporte e pressupõe
cargas térmicas do sistema.
CHAMINÉ: Equipamento auxiliar que une a câmara de combustão do equipamento principal
ao exterior, destinado a dar tiragem aos gases de combustão. Em alguns casos a união da
câmara de combustão com a chaminé é feita através de dutos.
CORROSÃO-SOB-ISOLAMENTO (CSI): É a corrosão que ocorre sob o isolamento térmico
devido à infiltração de umidade ou condensados.
CURVA DE RETORNO: Acessório de simples interligação entre dois tubos adjacentes, em
um mesmo passe, desviando normalmente o fluxo em 180°.
DUTOS DE AR: O limite é compreendido desde o ponto de sucção do ar da atmosfera até a
posição onde o ar pré-aquecido alimenta os queimadores.
DUTOS DE GASES DE COMBUSTÃO: Dutos de descarga de gases de combustão para a
atmosfera, compreendendo a região entre a caixa de fumaça e a chaminé.
ESPELHO: Tipo especial de suporte que apoia vários tubos numa única peça. Pode ser
Extremo ou Intermediário se está junto à extremidade dos tubos ou não.
FORNOS: Equipamentos industriais que se destinam a aquecer fluidos circulantes em
serpentinas de tubos por meio da chama de qualquer substância combustível em câmaras
semifechadas.
LP: ENSAIO com Líquido Penetrante.
NÃO-CONFORMIDADES: Toda e qualquer situação que fuja às condições previamente
estabelecidas.
Orifícios de Ventilação: Orifícios que permitem a entrada de ar frio (base da chaminé) e
saída de ar quente (no topo da chaminé) por tiragem natural. O ar circula pela câmara de
ventilação.
PAF - SISTEMA DE PRÉ-AQUECIMENTO DE AR DOS FORNOS: Sistema de pré-
aquecimento do ar usado na queima do combustível, com o intuito de economizar energia.
PENDURAL: Tirante de sustentação dos tubos do teto, fixo na estrutura do forno.
RECOMENDAÇÃO DE INSPEÇÃO E OS DE INSPEÇÃO: Documento emitido pela Inspeção
de Equipamentos solicitando serviços prévios de apoio (acesso, iluminação, limpeza) ou
indicando a necessidade de providências decorrentes de inspeção (reparos, substituições).
REGIÃO DE CONVECÇÃO: Região do forno onde a troca térmica se dá predominantemente
por convecção.
REGIÃO DE RADIAÇÃO: Região do forno onde a troca térmica se dá predominantemente
por radiação.
SERPENTINAS: Conjunto de tubos e acessórios por onde circulam o fluido a ser aquecido
por meio da chama de qualquer substância combustível em câmaras semi- fechadas.
SUPORTE DE MOLA DE CARGA CONSTANTE: São suportes onde a força liberada é
mantida constante através da combinação entre o deslocamento de uma ou mais molas e um
braço variável entre o ponto de aplicação da força e as molas.
SUPORTE DE MOLA DE CARGA VARIÁVEL: São suportes onde a força liberada é
proporcional ao deslocamento de uma ou mais molas internas ao suporte.
SUPORTE DE TUBO: Peça metálica fixa à estrutura do forno, tendo por função suportar a
carga imposta pelos tubos.
SUPORTES DE CONTRAPESO: São dispositivos compostos de um contrapeso associado a
um conjunto de roldanas e cabos de aço ou a uma alavanca, e possuem uma capacidade de
suporte rigorosamente constante, pois a carga suportada é igual ou equivalente ao
contrapeso. (Ver figura no anexo 3).
TUBULAÇÕES DE UTILIDADES: Tubulações auxiliares posicionadas a jusante dos
primeiros bloqueios gerais.
26
7.3 CONDIÇÕES GERAIS
As inspeções dos fornos de processos devem ser precedidas de consultas aos históricos
e/ou os registros do arquivo físico, bem como, aos desenhos do equipamento e às
Recomendações de Inspeção pendentes.
7.3.1 Planejamento da Inspeção
É a primeira etapa da inspeção de um forno e consiste no levantamento de todas as
informações necessárias para garantir a qualidade da inspeção a ser executada. Ao receber
a programação de inspeção, é recomendável que o inspetor busque conhecer todos os
aspectos disponíveis do forno, que possam interferir na sua integridade física. Relacionamos
abaixo alguns pontos importantes a serem verificados nessa etapa:
a) Detalhes construtivos: material, especificação do isolamento térmico.
b) Acessórios existentes e suas folhas de dados.
c) Condições operacionais de projeto: pressão, temperatura e fluido de trabalho.
d) Mecanismos de danos a que o forno está sujeito, caso exista e já tenha sido identificada.
e) Para inspeção de CSI, identificar previamente os locais onde será necessária a remoção
de isolamento térmico para inspeção (vents, drenos, tomadas de instrumentos, conexões);
f) Ensaios e regiões a serem realizados;
g) Apoios de serviços necessários à boa condução dos serviços, bem como, sua
programação;
h) Microclima na região a ser inspecionada; i) motivo e objetivo da inspeção.
7.3.2 Inspeção em Operação
Verificar condições do forno e eventuais ocorrências anormais.
7.3.2.1 Ferramentas e Instrumentos Utilizáveis
Martelo, espátula, D-Meter, equipamentos para ensaios-não-destrutivos, lupa, imã, sabão
líquido, trena, marcador industrial, kit de teste por pontos, máquina fotográfica, paquímetro ou
micrômetro de profundidade, termômetro (de contato ou ótico), lanterna à prova de explosão,
escova de aço carbono e/ou aço inoxidável.
7.3.3 Itens a Serem Inspecionados
Apresentamos a seguir o detalhamento da inspeção nas partes mais comuns de f o r n o s de
processo, porém uma avaliação preliminar dos desenhos do equipamento a ser inspecionado
é necessária, quando todos os componentes devem ser identificados.
7.3.3.1 Chaparia
Inspeção visual na chaparia com especial atenção a pontos com pintura calcinada, rubros ou
chapas empenadas que indicam falha no isolamento ou refratário interno. Pequenos pontos
circulares com protuberância escura são, normalmente, resultantes da corrosão interna por
condensação ácida ao redor da solda do pino de sustentação do isolamento/refratário, devida
à infiltração dos gases de combustão.
27
Pintura queimada Refratário com falha interna
A inspeção termográfica para detecção de pontos quentes, indicativos de danos no
isolamento/refratário. É recomendável a sua aplicação antes de paradas, para auxiliar no
planejamento da intervenção.
Chapa do piso com desprendimento da pintura
Vista da falha na chapa do piso por superaquecimento
7.3.3.2 Vigas / Longarinas / Base
Inspecionar visualmente avaliando o estado da pintura, a existência de corrosão, a fixação e
estabilidade desses componentes.
Verificar as fundações quanto a recalques e estufamento e/ou rompimento da base de
concreto e exposição da ferragem à corrosão.
7.3.3.3 Escadas e plataformas
Verificar visualmente as condições físicas das chapas, pontos de fixação, grades, degraus,
estrutura e guarda-corpo, quanto à existência de partes soltas, frouxas ou mal instaladas,
deformações, corrosão, trincas, vibrações e regiões com empoçamento de água, além do
estado geral da pintura.
7.3.3.4 Suportes Móveis
7.3.3.4.1 Suportes de Carga Constante e Variável
Interferência ao curso do suporte provocada por outros elementos estruturais ou da
tubulação;
 Existência de deslocamento do suporte em relação ao seu apoio; Posição dentro do curso de
trabalho especificado;
 Fixação do suporte a linha ou a sua base, quanto à corrosão, trincas, soldas rompidas,
deformações permanentes e estado dos tirantes;
 Estado da mola quanto à corrosão, espaçamento uniforme das espiras, sinais de trincas e
encosto adequado das extremidades;
 Plaqueta de identificação, plaquetas de cargas e régua de curso, quanto ao estado e a
correta localização;
 Discos de ajuste da mola, quanto ao empeno e corrosão;
 Caixa de proteção da mola quanto à corrosão ou outra deterioração;
 Se todas as travas foram removidas;
 Situação da lubrificação das articulações e das roscas;
 Se ainda há curso disponível nos componentes roscados (luvas e tirantes);
 Para o caso de suportes geminados, verificar a posição do curso de trabalho de ambos.
28
7.3.3.4.2 Suportes de Contrapeso
Além dos itens descritos em acima, verificar também os seguintes aspectos:
Estado geral dos cabos, roldanas, pinos e acessórios quanto à corrosão, desgaste e outros
danos;
Lubrificação das roldanas, cabos e outras partes móveis; Estado geral do indicador de
movimento.
7.3.3.5 Plenum e Queimadores
Verificar condições da caixa dos queimadores (plenum) da mesma forma que na inspeção da
chaparia. Quando da remoção para limpeza dos queimadores, inspecionar visualmente
condição dos maçaricos, bicos, refratários. Obs.: os queimadores de gás costumam sofrer
oxidação severa por alta temperatura.
7.3.3.6 Ramonadores
Verificar as condições físicas do sistema
7.3.3.7 Tomadas de instrumentos
29
Realizar inspeção das condições físicas dos componentes e da pintura, se pintado, verificar a
existência de corrosão, vibrações, vazamentos, deformações, danos mecânicos, sinais de
tensões provenientes de montagem inadequada, empolamentos ou gotejamento de
condensado sobre os mesmos.
NOTA: Deve-se ter atenção especial na inspeção destes componentes, pois podem possuir
espessura nominal menor do que a da linha principal, apresentam dificuldade maior de
pintura, podem estar locados em locais de difícil acesso, além de serem mais susceptíveis a
corrosão sob isolamento e danos por vibração.
7.3.3.8 Instrumentos
A inspeção preventiva dos instrumentos é de responsabilidade da Instrumentação, entretanto,
devem ser verificadas as condições físicas da parte estrutural, suportes e parafusos quanto à
corrosão, deformações ou vibrações, quando da inspeção dos fornos em que os instrumentos
estejam conectados.
7.3.3.9 Tubulações e Acessórios
Realizar inspeção visual nos acessórios e trechos de tubulações conectados ao equipamento,
preferencialmente até o primeiro bloqueio.
7.3.3.10 Chaminés
7.3.3.10.1Chaparia
Realizar inspeção visual em toda extensão, atentando a pontos com pintura queimada e
chapas deformadas (indicativo de possível queda do isolamento ou refratário). Para acesso
às partes altas o inspetor pode utilizar binóculos, andaimes, elevador de carga ou acesso por
corda.
Deve-se efetuar inspeção visual e quando necessário, martelamento, verificando a existência
de furos e/ou vazamento de gases. Esses furos são normalmente causados por corrosão
interna (por condensação ácida).
Normalmente as chaminés possuem chapas de contra ventamento. Nesses casos devem ser
observados os cordões de solda de fixação com a chaminé quanto à corrosão.
7.3.3.10.2Fixação
Realizar inspeção visual em todos os parafusos de fixação da chaminé quanto à existência
de corrosão e deformação.
7.3.3.11 Dutos de Ar e Gás
7.3.3.11.1 Dutos Com Isolamento Interno
Deve ser realizada inspeção visual em toda extensão, verificar a existência de corrosão,
deformações e pontos rubros, com pintura calcinada e chapas deformadas que indicam
queda ou ineficiência do isolamento ou refratário. Verificar a existência de furos e
vazamentos de gases, normalmente causados por corrosão interna por condensação ácida
sob revestimento. Se necessário utilizar instrumento para medição de temperatura.
30
7.3.3.11.2 Dutos com Isolamento Externo
Realizar inspeção visual em toda a extensão, atentando para pontos das chapas de proteção
do isolamento onde possa haver infiltração de água, verificar a existência de vazamentos de
gases que indicam furos na chaparia. Os furos podem ser causados por corrosão sob o
isolamento devido à infiltração de água, por corrosão interna devido à condensação ácida ou
pela combinação de ambos os mecanismos.
Se necessário, remover o isolamento nas regiões de infiltração de água para inspeção da
chaparia quanto à existência de corrosão sob isolamento.
7.3.3.11.3 Vigas e Estruturas
Realizar inspeção visual em toda a extensão verificando as condições físicas quanto à
corrosão, deformações, vibrações, fixação e rigidez do conjunto. Deve-se atentar para os
parafusos de fixação e locais que permita o acúmulo de água de chuva.
7.3.3.11.4 Juntas de Expansão ou Dilatação
Verificar as condições físicas dos elementos (foles, ancoragem, guias, tirantes) quanto à
corrosão, erosão, vibração, deflexões excessivas (axial, lateral, angular), presença de
materiais estranhos alojados nas corrugações dos foles impedindo o livre movimento dos
mesmos e existência de vazamentos.
Nas juntas de dilatação verificar se possuem liberdade de movimento, bem como,
deformações ou existência de vazamentos.
7.3.3.12 “Interna” em Operação
É recomendável fazer a cada inspeção externa, ou sempre que necessário, inspeção visual
interna através das janelas de inspeção a procura de pontos avermelhados, "laranjas" e
empenos dos tubos e curvas; braçadeiras e suportes caídos ou oxidados; refratários caídos
ou estabilidade de paredes de tijolos e piso. Verificar a qualidade da combustão através das
características das chamas (altura, abertura, centralização, estabilidade, presença de fumaça
e/ou fagulhas) e da presença de respingos de combustível no interior do forno (características
de queima incompleta). Nessa oportunidade, verificar se os parâmetros operacionais estão
conforme projeto.
31
7.3.4 Inspeção Interna em Parada
É realizada com o equipamento parado, aberto, de acordo com o plano de inspeção contido
no documento normativo de Planos e Programas de Inspeção de Equipamentos Estáticos,
pode, entretanto, ser realizado a qualquer momento, caso haja avaria ou suspeita ou
intervenção de manutenção que possibilite a inspeção.
7.3.4.1 Ferramentas e Instrumentos utilizáveis
Martelo de inspeção, espátula, D-Meter, equipamentos para ensaios-não-destrutivos, lupa,
imã, trena, marcador industrial, kit de teste por pontos, lanterna à prova de explosão, escova
de aço carbono e/ou aço inox, saco plástico para coleta de amostras, máquina fotográfica,
paquímetro ou micrômetro de profundidade, fita para medição de circunferência
7.3.4.2 Itens a Serem Inspecionados
Apresentamos a seguir o detalhamento da inspeção nas partes mais comuns de fornos de
processo, porém uma avaliação preliminar dos desenhos do equipamento a ser inspecionado
é necessária, quando todos os componentes devem ser identificados.
7.3.4.3 Considerações Gerais
Devem ser registradas todas as observações relevantes através de fotos, croquis e se
necessária coleta de amostra de cinzas e produtos de corrosão, que possibilitem, após
análise, a identificação do processo corrosivo. Nos fornos onde existem cabeçotes, marcar os
plugs e mandrilagens com vestígios de vazamento. Nos fornos onde seja necessária a
lavagem e neutralização dos tubos para evitar ocorrências de corrosão, deve ser verificada a
eficiência da lavagem e o pH na superfície metálica após neutralização.
7.3.4.4 Inspeção de Abertura
É realizada após a liberação do equipamento pela Operação e Segurança, e antes da
desmontagem dos internos e da execução de limpeza. Na inspeção de abertura
normalmente é feito avaliação e registro do nível e características das deposições sobre os
tubos, sinais de queima incompleta (respingos de combustível), presença de objetos
estranhos, existência de internos caídos ou deformados (braçadeiras, suportes, refratários);
se necessário, efetuar registro fotográfico e remoção de amostra para análise de
32
contaminantes.
7.3.4.5 Queimadores
a) Verificar o acionamento das virolas de controle de entrada de ar para os maçaricos e a
necessidade de sua lubrificação;
b) Verificar as chapas de contenção dos blocos refratários dos cones difusores dos
maçaricos com relação à redução de espessura e abaulamento bem como o anel de
sustentação dos blocos dos cones difusores secundários;
c) Inspecionar os blocos refratários com relação a trincas e erosão;
d) Inspecionar as canetas de óleo, vapor, gás e piloto, bem como a câmara de atomização e
o atomizador, como relação à corrosão e erosão;
e) Inspecionar os bicos de óleo e gás quanto aos diâmetros e ângulos dos furos;
f) Verificar o estado dos parafusos de fixação dos queimadores;
g) Executar teste pneumático de estanqueidade na linha de gás para verificar a
estanqueidade das válvulas;
h) Executar teste hidrostático nos mangotes das linhas de óleo e vapor, para verificar a
existência de vazamentos;
i) Verificar conformidade dimensional e de posicionamento dos componentes dos
queimadores após montagem, em relação ao projeto. Especial atenção deve ser dada ao
alinhamento, nivelamento e centralização do conjunto.
7.3.4.6 Dutos de Ar e Gases de Combustão
a) Inspecionar a chaparia com relação à corrosão e necessidade de reparo e/ou pintura;
b) Inspecionar o isolamento térmico e refratário dos dutos e do plenum;
c) Inspecionar as juntas de expansão dos dutos quanto às condições físicas dos elementos
(foles, ancoragem, guias, tirantes) quanto à corrosão, erosão, danos por vibração, deflexões
excessivas (axial, lateral, angular), presença de materiais estranhos alojados nas
corrugações dos foles impedindo o livre movimento dos mesmos, regiões com trincas ou
furos.
Nas juntas de dilatação verificar se possuem liberdade de movimento conforme prescrito no
33
projeto, bem como, deformações ou existência de pontos de ocorrência de vazamentos.
Nas juntas de expansão fabricadas em aço inoxidável austenítico realizar ensaio com líquido
penetrante nas regiões dos corrugados onde haja suspeita de trincas.
d) Verificar as condições físicas e de acionamento dos sistemas de controle de vazão de ar
e gases de combustão;
e) Inspecionar as chapas laterais, do fundo e teto do plenum com relação a deformações e
empenamentos;
f) Inspecionar o sistema de preaquecimento de ar, verificando as condições físicas dos seus
componentes (caixas, cestos, selagem, chaparia).
7.3.4.7 Linhas Externas ao Forno
a) Efetuar medição de espessura em pontos predeterminados das linhas de entrada e saída
de carga; incluindo as conexões;
b) Executar, medição de espessura e teste de martelo das linhas de combustíveis, vapor de
abafamento, gás residual e vapor para ramonadores;
c) Remover para inspeção visual interna eventuais trechos de linhas de saída e válvulas;
d) Inspecionar os estojos e porcas dos flanges e válvulas das linhas externas ao forno
(exame visual e martelamento) e sede de assentamento das juntas quanto às condições
físicas (quando houver acesso);
e) Verificar o estado do isolamento térmico;
f) Atenção especial deve ser dada às linhas de vapor de abafamento. Remover parcialmente
o isolamento destas linhas para medição de espessura-teste de martelo e verificação de
corrosão sob o isolamento, visto que não são comumente utilizadas.
g) Atenção também para os suportes tipo munhão, principalmente em tubulações isoladas e
munhão aberto.
7.3.4.8 Câmara da Radiação
7.3.4.8.1 Serpentina de Hidrocarbonetos
a) Inspecionar visualmente os tubos quanto à existência de sulcos ou estrias, trincas,
corrosão ou desgaste na região de passagem pelos espelhos, empenamentos e deformações
localizadas, oxidação externa devido à alta temperatura; executar ensaio transluzente (feixe
de luz da lanterna paralela ao tubo) para auxiliar na identificação das deformações).
b) Martelar os tubos para verificação da existência de camada de óxidos e/ou formação de
coque internamente;
c) Efetuar medições de espessura dos tubos nos pontos previamente determinados e
marcados em relação a um referencial fixo da serpentina, determinando as taxas de
corrosão. Atentar para que as camadas de óxido porventura existentes sejam efetivamente
removidas;
d) Executar medidas de espessura (varredura) nas geratrizes externas das curvas de
retorno nos fornos com esse tipo de conexão;
e) Efetuar medição de espessura em regiões onde, pela inspeção visual e martelamento ou
34
por existirem condições favoráveis à corrosão, haja possibilidade de perda de espessura;
f) Efetuar, quando necessária medição do diâmetro, dureza, flecha e avaliação metalográfica
dos tubos; comprimento do tubo (alongamento por fluência)
g) Em fornos que usam cabeçotes solicitar abertura dos plugs dos cabeçotes dos 02 últimos
cabeçotes de cada passe. Tubos que apresentarem pontos quentes em operação devem ter
os plugues abertos para verificação de ocorrência de coque;
h) Para fornos com cabeçotes inspecionar os tubos internamente após a lavagem e
sopragem com a utilização de dispositivos apropriados de iluminação; verificando a remoção
do coque e se não houve danos mecânicos ao tubo e sedes de vedação dos cabeçotes;
i) Quando necessário efetuar turbinagem, decoqueamento com ar e vapor, ou outros
métodos para remoção do coque quando existente;
Nota: Caso a turbinagem remova uma quantidade grande ou anormal de coque em um dos
tubos, os tubos vizinhos também devem ser inspecionados internamente.
j) Em fornos que usam cabeçotes, avaliar a incidência de corrosão, na região da
mandrilagem do tubo, através medição de espessura interna;
k) Inspecionar internamente os cabeçotes abertos e outros sob suspeita, bem como as
soldas de selagem dos tubos, quando existirem, quanto à ocorrência de trincas; atentar para
danos mecânicos na região de mandrilagem e sedes de vedação;
l) Inspecionar as travessas e orelhas dos cabeçotes ou curvas com partículas magnéticas;
m) Verificar os suportes (pendurais, olhal, pinos de sustentação, apoio, guias) dos tubos e
suas atracações quanto à perda de espessura por corrosão, trincas e rupturas;
n) Inspecionar espelhos, termopares de parede, poços de indicadores de temperatura e
tomadas de gases para análise;
o) Inspecionar os tubos-guia localizados nas curvas inferiores da radiação com relação à
corrosão dos mesmos, e inspecionar a região de solda com a curva, para o caso de fornos
verticais. Verificar também o livre deslocamento dos tubos guia; recomendável uso de LP na
solda pio/curva.
p) Nos tubos que possuem curva de retorno sem acesso visual interno, deve-se avaliar a
quantidade de coque através de gamagrafia.
Nota: No caso de fornos sujeitos à corrosão naftênica, inspecionar com gamagrafia por
amostragem as soldas dos últimos tubos da serpentina de radiação, quanto à corrosão
interna.
35
7.3.4.8.2 Refratário e pinos de ancoragem
a) Verificar visualmente a existência de trincas, calcinação, perda de suportação, queda de
trechos e degradação por ataque químico. A integridade da argamassa pode ser testada com
um estilete de 5mmde diâmetro e 120mm de comprimento. O estilete não deve penetrar mais
que 1/3 da espessura do refratário. Para verificar a aderência ou trincas internas, é
recomendável bater com martelo de bola de 250g.
b) Verificar o revestimento refratário das tampas e paredes da caixa de cabeçotes. Verificar
também as condições das juntas de vedação em amianto dessas tampas.
c) Verificar as condições físicas do revestimento refratário de proteção dos tirantes de
sustentação do cone, quando existente. (Aplicável somente para fornos verticais);
d) Inspecionar o isolamento térmico da abóbada de radiação, com relação aos
desprendimentos e quanto ao estado do sistema de fixação (aplicável somente para fornos
verticais).
f) Verificar o refratário das regiões de passagem entre tubo e paredes e teto, quando for o
caso.
g) Os pinos de ancoragem sofrem oxidação à alta temperatura e devem ser substituídos
quando comprometem a fixação da manta, concreto ou argamassa.
h) Os tijolos não devem apresentar calcinação severa, trincas que afetem a sua estabilidade
e deficiência na estabilidade. Sempre que isto ocorrer, é recomendável substituir os tijolos
comprometidos ou refazer a parede de tijolos, conforme a extensão do dano.
As fibras cerâmicas que sofrem ataque químico esfarelam ao toque da mão; nesses casos, a
substituição da camada vai depender da espessura afetada. Em caso de substituição de uma
camada próxima deve ser inspecionada com o mesmo critério.
36
7.3.4.8.3 Chaparia
A chaparia deve ser inspecionada quando o refratário for substituído ou sempre que haja
indícios de danos que afetem a sua integridade. Verificar as condições físicas das chapas
quanto à corrosão, condições da pintura externa, deformações e o estado físico do sistema
de ancoragem.
7.3.4.8.4 Cone/Camisa
a) Efetuar inspeção visual no bico fundido bem como nas chapas do cone, discos e camisa,
verificando esses componentes com relação a, trincas e perdas de espessura. Verificar
também, as cunhas e grampos de união das chapas fundidas do cone. Os tirantes de
sustentação do cone devem ser inspecionados com Líquido Penetrante;
b) Inspecionar as “orelhas” onde se fixam os tirantes de sustentação de componentes;
c) Inspecionar as chapas laminadas quanto a empenamentos, trincas e rompimentos nas
regiões de ligação aparafusada.
7.3.4.8.5 Sistema de Proteção
a) Verificar a operacionalidade das janelas de explosão;
b) Inspecionar o sistema de vapor de abafamento;
c) Verificar os cabos e fixação do aterramento elétrico.
7.3.4.9 Câmara de Convecção
7.3.4.9.1 Serpentina de Hidrocarbonetos
a) Inspecionar visualmente os tubos quanto à existência de sulcos ou estrias, trincas,
corrosão ou desgaste na região de passagem pelos espelhos, empenamentos e deformações
localizadas, oxidação externa devido à alta temperatura;
b) Verificar o estado dos tubos quanto a deformações, desgastes na região dos
ramonadores, corrosão generalizada ou localizada e desgaste por abrasão, junto aos
suportes dos tubos, se estão livres para se deslocarem através dos furos dos espelhos. No
caso dos tubos pinados remover alguns pinos para medição de espessura do tubo;
c) Solicitar a abertura de plugues de alguns cabeçotes para verificar a existência de coque.
Efetuar medição de espessura nas curvas de retorno;
d) Verificar os suportes dos tubos, espelhos, tirantes e chapas da camisa quanto à perda de
espessura, trincas ou rupturas;
e) Inspecionar os termopares de parede, poços de indicadores de temperatura e tomadas de
gases para análise, quanto à corrosão e trincas.
f) A fixação dos suportes à chaparia é muito importante, é recomendável a remoção do
refratário para permitir a sua inspeção.
37
7.3.4.9.2 Serpentina de Vapor
a) Efetuar medição de espessura e martelamento, nos tubos e curvas;
b) Inspecionar visualmente os tubos e curvas quanto à corrosão, trincas, deformações e
desgaste por abrasão, junto aos suportes.
7.3.4.9.3 Ramonadores
a) Remover os ramonadores para revisão mecânica;
b) Inspecionar lanças, bicos, suportes e válvulas de vapor quanto às condições físicas.
Verificar as válvulas de vapor quanto à sua estanqueidade.
7.3.4.9.4 Refratário
a) Utilizar mesmo critério que item 7.3.4.8.2
b) Verificar a vedação entre espelhos e tubos e das tampas das caixas de curvas e
cabeçotes, quando existir.
7.3.4.9.5 Chaparia
a) Efetuar inspeção visual e teste de martelo para avaliação das regiões a serem
reparadas;
b) Verificar as chapas defletoras quanto a empenos, sustentação e corrosão;
c) Inspecionar as camisas dos ramonadores quanto à corrosão e trincas nas soldas com a
chaparia do forno e chapas de proteção do refratário;
d) Verificar as condições da pintura externa da chaparia.
7.3.4.9.6 Caixa de Fumaça e Chaminé
a) Efetuar inspeção visual externa e martelamento nas chapas;
b) Efetuar martelamento nos parafusos de união das seções da chaminé e remover 2
desses para inspeção;
c) Verificar os mancais, cabos, guias e juntas de acionamento do abafador (“damper”);
d) Verificar o refratário quanto a fissuras, esboroamento, desprendimentos, perda de
ancoragem e perda de espessura;
A perda de espessura máxima admissível é de 1/4 da espessura original ou áreas com
perdas entre 1/6 e ¼ da espessura original, não podendo ser mais que 10% da área total.
É recomendável testar a resistência à penetração do refratário com estilete. Será considerado
em boas condições caso a penetração seja de no máximo 1/3 da espessura original. Verificar
também a condição da calafetação dos tijolos.
e) Examinar a chapa do abafador, seu eixo e a sede de assentamento quanto à perda de
espessura por corrosão e deformações, partes soltas, frouxas ou folgadas, liberdade de
movimentação das palhetas. Verificar a incidência de corrosão nas extremidades internas do
eixo do abafador, devido à condensação de gases. Verificar se o abafador não está sofrendo
interferências;
f) Verificar as juntas de dilatação quanto à vedação, trincas, deformações e corrosão;
g) Verificar as condições das escadas, plataformas e dispositivos de içamento existentes na
chaminé;
h) Verificar os cabos e conexões elétricas de para-raios e aterramento da chaminé;
i) Verificar as condições físicas dos “chapéus chineses” caso existam.
Verificar condições da bacia de cinzas, orifícios de ventilação, revestimento antiácido, das
placas de chumbo, câmara de ventilação.
38
7.3.4.9.7 Caixa de Cabeçotes/Curvas
a) Inspecionar a chaparia das caixas, tampas, bem como as vigas estruturais;
b) Inspecionar as chapas (almofadas) de contenção do isolamento térmico e as chapas do
piso da câmara;
c) Verificar os espelhos com relação a trincas e deslocamentos;
d) Verificar os anéis suportes dos espelhos com relação a trincas, deformações e redução
de espessura;
e) Verificar o estado do concreto isolante quanto às deteriorações e quedas.
7.3.5 Ensaios
Complementando a inspeção visual, alguns ensaios podem ser executados para garantir
maior confiabilidade ao forno, seguindo plano de inspeção estabelecido pelo Profissional
Habilitado. São relacionados a seguir as aplicações mais comuns dos ensaios não destrutivos
e destrutivos nesses equipamentos.
7.3.5.1 Líquido penetrante
Esse ensaio é mais aplicado na inspeção de pequenas soldas e/ou componentes ou em
materiais não ferromagnéticos, onde não seja possível a aplicação do ensaio de partículas
magnéticas. Pode ser utilizado também para teste de estanqueidade em chaparias.
7.3.5.2 Partículas Magnéticas
Desde que o material seja ferromagnético é aplicável na inspeção de soldas e materiais de
base, sempre que possível deve ser preferida à aplicação desse ensaio no lugar do líquido
penetrante.
7.3.5.3 Radiografia e ultrassom
São aplicados, principalmente, nas inspeções de soldas, para detecção de descontinuidades
ocorridos em montagem ou operação. Podem ser aplicados, também, para uma melhor
avaliação da extensão de descontinuidades detectadas por LP ou PM.
7.3.5.4 Medição de Espessura por ultrassom
Periodicamente, de acordo com o plano de inspeção contido no documento normativo de
Planos e Programas de Inspeção de Equipamentos Estáticos, as espessuras dos tubos e
curvas da radiação são medidas, visando monitorar a taxa de corrosão e/ou oxidação desses
componentes. Normalmente essas medições são feitas em todos os tubos e curvas.
Nos tubos, os pontos de medição normalmente situam-se a 1,0 metro da solda inferior (fitting
x tubo), a 1,0 metro da solda superior (fitting x tubo) e na região central entre soldas (solda
superior x solda inferior); porém essas cotadas devem ser estabelecidas para cada
equipamento. É recomendável que em cada elevação sejam executadas, no mínimo, 2
medidas radiais: a 0º e 180º. As curvas e tubos da convecção devem também ser medidas
em frequências seguras para prevenção de processos de e r o s ã o , em especial em
serpentinas de geração de vapor.
7.3.5.5 Ensaios Mecânicos
Em alguns casos, a critério do profissional habilitado, são removidos trechos de tubos para
avaliação através de ensaios destrutivos (metalografia, tração, fluência) da integridade. Essas
amostras devem ser removidas das regiões mais críticas do forno, normalmente onde as
temperaturas são mais altas.
39
7.3.5.6 Testes Hidrostático/Pneumático
Após reparos de soldas, substituições de curvas ou tubos, é recomendável a execução de
teste hidrostático. Quando da impossibilidade da execução do teste hidrostático (dificuldades
de secagem da serpentina, por exemplo), o teste pneumático pode ser opção, desde que
sejam atendidos aos requisitos de segurança aplicáveis – ver documento normativo
específico.
7.3.5.7 Termografia
Pode ser aplicado na chaparia externa, conforme Item 5.2.3 e nos tubos e curvas em
operação para localização de pontos quentes (coque interno ou óxidos externos).
7.3.5.8 Inspeção Dimensional
Em alguns casos, a critério do profissional habilitado, são realizadas inspeções dimensionais
visando monitorar o processo de fluência: diâmetro externo e flecha dos tubos.
7.3.5.9 Réplicas Metalográfica
As réplicas metalográficas podem ser utilizadas como opção aos ensaios não destrutivos de
metalografia, para a obtenção de informações dos materiais das serpentinas, como
mudanças de fase microestrutural, envelhecimento, ocorrência de vazios de fluência,
descarbonetação ou oxidação.
7.3.5.10 Registros
Os resultados das inspeções externa e interna são registrados no sistema informatizado de
inspeção.
Os registros fotográficos, quando existirem, serão incorporados às pastas nos arquivos
físicos da
Inspeção de Equipamentos.
Sempre que possível, os resultados dos ENDs, ou de qualquer outro tipo de ensaio aplicado,
devem ser descritos no respectivo relatório de inspeção visual.
7.3.5.11 Fotografias
É recomendável que todas as etapas da inspeção do equipamento sejam registradas com
fotografias. Entretanto, é desejável que apenas os fatos ou detalhes importantes ou que o
registro irá ajudar na definição ou descrição dos mesmos, sejam fotografados.
7.4 CONDIÇÕES ESPECÍFICAS
7.4.1 Serpentinas de Convecção
7.4.1.1 Geração de Vapor
Medir espessuras de curvas e tubos, conforme plano definido pelo profissional habilitado.
Geralmente a medição é feita por varredura numa região, registrando-se o menor valor para
cada item.
7.4.1.2 Aquecedor de Produto/Óleo (serpentina)
Medir espessuras de curvas e tubos, conforme plano definido pelo profissional habilitado.
Geralmente a medição é feita por varredura numa região, registrando-se o menor valor para
cada item.
7.4.2 PAF
7.4.2.1 Pré-aquecedor à Vapor
Inspecionar visualmente tubos e aletas quanto à corrosão, amassamentos.
7.4.2.2 Pré-aquecedor Regenerativo
Inspecionar visualmente as estruturas e as chapas das colmeias (espessura, proteção de
enamel, ajuste). Inspecionar o bico do ramonador quanto à corrosão e obstrução.
40
7.4.2.3 Dutos de Gás Quente/Frio
É recomendável que tão logo pare o sistema, os dutos sejam lavados com barrilha (carbonato
de cálcio) a 5% de concentração para neutralização dos compostos ácidos arrastados pelo
gás. Inspecionar chaparia atentando para regiões com empoçamento dos compostos ácidos.
7.4.2.4 Dutos de Ar Quente/Frio
Inspecionar chaparia. Acontece ter depósitos de compostos ácidos em zonas próximas ao
pré-aquecedor regenerativo. Caso necessário, recomendar a neutralização.
7.4.2.5 Juntas de Expansão
Sujeitas à corrosão sob tensão e corrosão por compostos de enxofre, é recomendável que
sejam inspecionadas também por LP, além de visualmente. As juntas não metálicas são
inspecionadas quanto à resistência dos tecidos internos e externos e condições físicas da
manta de fibra cerâmica e o tecido em fios de inox quanto à corrosão.
7.4.3 Dutos Primário e Secundário
Atenção especial para a fixação e estado das mantas de fibra. As chaparias das juntas de
expansão serão inspecionadas com a remoção parcial da manta protetora, quando definido
pelo profissional habilitado.
7.4.4 Chaminés
Inspeção visual no refratário através de balance ou andaime, até onde houver acesso. É
recomendável fazendo teste de fixação com martelo de bola de 250g e de degradação
química com estilete. Inspecionar chaparia onde houver acesso.
7.5 CRITÉRIO DE ACEITAÇÃO
7.5.1 Serpentina
a) Todas as espessuras encontradas devem estar acima da espessura mínima de projeto
calculada conforme o API RP 530 acrescida da sobre espessura de corrosão prevista para a
próxima campanha;
b) No caso de serem constatadas deformações localizadas (laranjas) fazer medição de
espessura após remoção do óxido e verificar a existência de depósito interno;
c) A deformação longitudinal não deve aproximar o tubo deformado do tubo vizinho ou da
parede refratária menos de 1/5 de seu diâmetro externo. O tubo também não deve se
aproximar da chama a ponto de ultrapassar o círculo de chama definido no projeto. Devem
ser rejeitados os tubos que, pela deformação, se afastam dos suportes, transferindo carga
excessiva para suportes adjacentes. Devem ser condenados os tubos horizontais que se
afastem um diâmetro num comprimento de 20 diâmetros. Para tubos verticais admite-se uma
deformação maior desde que atendidas as recomendações anteriores;
d) Todos os ensaios e testes hidrostáticos devem ser conduzidos conforme a norma ASME
B 31.3;
e) Tubos coqueados devem ser substituídos sempre que por qualquer razão, o
decoqueamento não puder ser realizado.
Notas: 1) Estes critérios devem ser aplicados para os tubos na condição fria, (Conforme
definido no ANEXO C). 2) O critério definido em c) deve ser adotado sempre que não houver
recomendação específica de projeto ou da unidade operacional.
41
7.5.2 Suportes
Os suportes não devem apresentar trincas nem perda de espessura em pontos críticos.
7.5.3 Queimadores
Todos os queimadores devem estar alinhados, nivelados, centralizados e regulados conforme
projeto.
7.5.4 Ramonadores
Devem estar perfeitamente alinhados e revisados, sem vazamentos de vapor e condensado
pela válvula de bloqueio.
7.5.5 Termopares de Parede
Devem ser testados pela instrumentação, antes da entrada em operação do forno.
7.5.6 Abafadores
Devem atuar adequadamente quando do seu acionamento.
7.5.7 Tubos de Vapor de Abafamento
Deve ser admitido vapor para verificação de obstrução ou vazamentos pelos bloqueios.
8 ANEXOS
8.1 ANEXO – A – FIG. IBP
42
ANEXO-B – DESCRIÇÃO IBP
8.2
43
8.3 ANEXO C- CRITÉRIO DE DEFORMAÇÃO
44
8.4 ANEXO-D – SUPORTES DE MOLA
45
8.5.ANEXO – E SLIDES API RP 581
46
47
48
09 REFERÊNCIAS BIBLIOGRÁFICAS - Sites Pesquisados
 http://www.ebah.com.br/content/ABAAAfT6oAE/equipamentos-industriais-ii
 http://docslide.com.br/documents/apostila-de-fornos-55cd867961c01.html
 http://pt.slideshare.net/SalmanAjweh/api-573-2003
 https://pt.scribd.com/doc/58018574/API-STD-560
 http://www.absa.ca/wp-content/uploads/2015/04/AB-
507_Installed_Fired_Heaters_Guideline.pdf
 http://www.fluidcontrols.com.br/site/upload/pdf/Guia_10-
IBP_Inspecao_de_Valvulas_de_Seguranca_e_alivio.pdf
 http://www.abendi.org.br/abendi/Upload/file/RevsitasAbendi/revista_bendi_65.pdf
 http://sites.petrobras.com.br/CanalFornecedor/portugues/pdf/ABC-Inspecao-de-
Fabricacao-Rev9-Mar-2013.pdf
 https://fabioferrazdr.files.wordpress.com/2008/08/1-9-fornos_petrobras.pdf
10 NORMAS PETROBRAS:
N-1637-MONTAGEM DE FORNO
N-2322-INSPEÇÃO DE SERVIÇO EM FORNOS DE PROCESSO
49
11.RESPONSABILIDADE TÉCNICA
TODAS AS NORMAS DEVEM SER SEMPRE VERIFICADOS POR MOTIVO DE
ADEQUAÇÃO OU ATUALIZAÇÃO VIGENTES.
Curso: Inspetor de Equipamentos
Disciplina: Módulo 40-FORNOS
Inspetor Mário Sérgio de Oliveira Mello
Estudante - Usuário: 201411005 - CETEPIS

Fornos - Estudante Do Curso Inspetor De Equipamentos

  • 2.
    SUMÁRIO 1 INTRODUÇÃO........................................................................................................ 1 2CLASSIFICAÇÃO DOS FORNOS........................................................................... 2 2.1 Classificação quanto ao serviço.......................................................................... 2 2.2 QUANTO AO ASPECTO CONSTRUTIVO...................................................... 3 3 PARTESCONSTITUINTES .................................................................................... 5 3.1 SERPENTINA DE AQUECIMENTO................................................................ 7 3.2 FORNALHA................................................................................................... 11 4 RAZÕES PARA INSPEÇÃO.................................................................................. 17 5 CAUSAS DE DETERIORAÇÃO............................................................................ 18 5.1 RELEMBRANDO........................................................................................... 18 5.2 SERPENTINA................................................................................................. 20 5.3 FORNALHA................................................................................................... 22 5.4 CHAMINÉS E DUTOS................................................................................... 23 6 FREQUENCIA DE INSPEÇÃO E EPOCA PARA A INSPEÇÃO........................... 24 6.1 GENERALIDADES........................................................................................ 24 6.2 SEGURANÇA ................................................................................................ 24 7 ROTINA DE INSPEÇÃO EM FORNOS DE PROCESSO....................................... 24 7.1 OBJETIVO...................................................................................................... 24 7.2 DEFINIÇÕES.................................................................................................. 24 7.3 CONDIÇÕES GERAIS ................................................................................... 26 7.4 CONDIÇÕES ESPECÍFICAS.......................................................................... 39 7.5 CRITÉRIO DE ACEITAÇÃO ......................................................................... 40 8 ANEXOS ............................................................................................................... 41 8.1 ANEXO – A – FIG. IBP.................................................................................. 41 8.3 ANEXO C- CRITÉRIO DE DEFORMAÇÃO ................................................. 43 8.4 ANEXO-D – SUPORTES DE MOLA ..................................................................... 44 8.5.ANEXO – E SLIDES API RP 581........................................................................... 45 09 REFERÊNCIAS BIBLIOGRÁFICAS - Sites Pesquisados........................................ 48 10 NORMAS PETROBRAS: ........................................................................................ 48 11.RESPONSABILIDADE TÉCNICA.......................................................................... 49
  • 3.
    1 1 INTRODUÇÃO Na grandemaioria das unidades de refinação e petroquímica os fornos ocupam uma posição de destaque. Os fornos representam aproximadamente 20% do investimento total e 80% do consumo de energia das unidades. Os fornos são equipamentos que requerem atenção especial da operação, acompanhamento, manutenção e inspeção, pois, são neles que geralmente estão os limites operacionais das unidades, além de serem críticos quando ao intervalo entre paradas e quanto à própria duração da mesma. Os fornos também são responsáveis pelo maior número de ocorrências graves em refinarias. As principais normas utilizadas para fornos são: API Std 560 – Aquecedores a fogo para serviços gerais em refinarias Este padrão cobre os mínimos requisitos para desenho, materiais, fabricação, inspeção, testes, preparação para carga e montagem de fornos, pré-aquecedores de ar, ventiladores e queimadores, para serviços gerais em refinarias. API RP 573 – Inspeção em Caldeiras e Fornos Esta prática recomendada cobre as inspeções praticadas para caldeiras e fornos de processos utilizados nas refinarias de petróleo e plantas petroquímicas. API Std 530 – Cálculo de espessura para tubos de fornos em refinarias de petróleo O forno é um equipamento projetado para transferir ao fluido um fluxo de calor, de tal forma que se forem mantidas constantes a vazão e a temperatura de entrada, também será constante a temperatura de saída. É necessário gerar no forno uma quantidade de calor que supra o processo e compense também as perdas. Esse calor é gerado pela queima de uma quantidade suficiente de combustível através de maçaricos instalados, normalmente, na base ou nas paredes laterais da câmara de combustão do forno. Os tubos são, geralmente, colocados próximos às paredes laterais e ao teto da câmara de combustão, onde o calor é principalmente transferido por radiação, e dispostos também em outra câmara chamada de “câmara ou zona de convecção”, onde o calor é principalmente transferido por convecção. O ar necessário à combustão pode ser admitido no forno pela depressão (pressão negativa) reinante na câmara de combustão devido à remoção (tiragem) natural feita pela chaminé, ou auxiliada por de ventiladores de tiragem forçada ou induzida. As fornalhas consistem de uma serpentina (ou mais) de tubos que é colocada dentro de uma caixa ou câmara onde há combustão, a fim de aquecer o produto, que passa internamente nos tubos. A serpentina poderá ser um tubo contínuo, ou constituída de uma série de tubos interligados entre si na sua extremidade por meio de cabeçotes, curva de retorno ou coletores. Os tubos poderão estar dispostos internamente na fornalha em forma helicoidal, vertical ou horizontal. Em qualquer caso deverão estar convenientemente suportados, em função da sua disposição, comprimento, diâmetro e condições operacionais. A caixa onde há combustão, ou simplesmente fornalha, deverá ser adequada para altas temperaturas, pois nelas haverá o desenvolvimento de calor proporcionado pela queima do combustível. Assim sendo, as paredes das fornalhas deverão ter alta
  • 4.
    2 resistência ao calor,e normalmente são construídos em tijolos refratários contidos por uma estrutura metálica. O calor desenvolvido na câmara de combustão é proveniente de maçaricos ou queimadores, que poderão ser alimentados por óleo ou gás combustível e ou outro combustível. A quantidade de calor fornecido pelos maçaricos e a vazão do produto internamente nos tubos, são rigidamente controlados através de instrumentos tendo em vistas as condições operacionais de pressão e temperatura. A câmara de combustão está normalmente conectada à chaminé, por onde se faz a exaustão dos gases. Essa conexão poderá ser feita através do próprio corpo do forno ou por meio de dutos aéreos ou enterrados. Dependendo da finalidade as fornalhas são constituídas das seções de convecção, radiação e chaminé. O critério de escolha é função da temperatura na entrada da carga e de fatores econômicos. A seção de radiação é a parte da fornalha onde se efetua a queima e na qual as superfícies dos tubos estão expostas ao calor das chamas. Nesta seção a maior parte do calor cedido aos tubos e a carga são por radiação. A seção de convecção situa-se em região afastada dos maçaricos não recebendo o calor de radiação das chamas. Os gases de combustão que passam da seção de radiação para a de convecção, possuem temperatura elevada, sendo, portanto capazes de ceder calor aos tubos desta seção, por convecção ou condução. Para facilitar a transmissão de calor, os tubos da seção de convecção às vezes possuem grande quantidade de pinos ou aletas soldados as superfícies externas para aumentar à superfície de troca de calor. 2 CLASSIFICAÇÃO DOS FORNOS 2.1 Classificação quanto ao serviço Os fornos também são classificados de acordo com o serviço que executam. Cada tipo de serviço exige do forno características próprias que influenciam no projeto do mesmo. 2.1.1 Fornos Refervedores (pré-flash) São fornos que operam com temperaturas de saída baixas (280ºC a 340ºC). É devido, a baixa tendências de formação de coque. 2.1.2 Fomos atmosféricos
  • 5.
    3 São fornos degrande porte, que operam com temperaturas de saída baixas (350ºC a 370 0C). É devido à baixa tendência de formação de coque. 2.1.3 Fornos de Vácuo São fornos que operam com temperaturas de saída elevadas (390ºC a 420ºC) e com produtos de alta viscosidade. Devido a esta alta tendência ao coqueamento, possuem injeção de vapores nos tubos. 2.1.4 Fomos de Reforma Catalítica São fornos que operam com temperatura elevada de saída (500ºC a 530 0C) e critico com relação à perda de carga. Tem problema de temperatura de parede elevada dos tubos. 2.1.5 Reformadores / Pirólise São fomos que operam com temperaturas de metal extremamente elevadas (800ºC a 900 0C) e que leva a projetos de fornos muito complexos, tanto do ponto de vista térmico como mecânico. 2.2 QUANTO AO ASPECTO CONSTRUTIVO Há três tipos principais de fornalhas, classificadas segundo a posição dos tubos da serpentina de aquecimento. 2.2.1 Horizontais No tipo horizontal são consideradas as fornalhas em que os tubos da serpentina para o aquecimento da carga tanto da seção de radiação como da seção de convecção são distribuídos horizontalmente com os queimadores instalados no piso. Possuem convecção extensas na qual é absorvida grande parte da carga térmica. Requerem grandes áreas de instalação, pois além da área efetivamente ocupada necessitam de espaço para retirada dos tubos. São os tipos mais indicados para as grandes capacidades e para produtos que necessitam limpeza interna dos tubos. Devido a grandes seções de convecção São capazes de altas eficiências mesmo sem sistema de pré-aquecimento de ar. Para redução do investimento pode-se optar por soluções nas quais se aquecem produtos diferentes numa mesma carcaça através da utilização de paredes divisórias ou várias fornalhas compartilhando a mesma convecção e chaminé. Há numerosos modelos de projetos de fornos desse tipo. 2.2.2 Verticais As fornalhas tipo vertical são aquelas em que os tubos da serpentina de aquecimento tanto da seção de radiação como da seção de convenção são dispostos verticalmente ao redor do círculo dos queimadores, havendo opção de serpentinas helicoidais para pequenas vazões. A seção de convecção quando existente é de pequeno porte, sendo que em alguns fornos o mesmo tubo passa pelas seções de convecção e radiação. São os fornos mais baratos e que requerem menores áreas para instalação. São indicados nos casos em que o produto circule apenas na radiação. 2.2.2.1 Tipo cilíndrico vertical sem seção de convecção A carcaça metálica tem a forma cilíndrica e os tubos são posicionados na posição vertical. Geralmente os tubos ficam alinhados junto à parede interna da carcaça
  • 6.
    4 metálica enquanto osqueimadores e maçaricos ficam no meio, na parte inferior do piso. Devido a sua baixa eficiência eles são usados em serviços periódicos (forno de partida). Portanto tem pouca aplicação. 2.2.2.2 Tubos verticais com queima de ambos os lados Nesses fornos os tubos são dispostos verticalmente em ambos os lados. Nos casos mais críticos os queimadores podem ser instalados nas paredes ao longo do comprimento do tubo. Proporcionam excelente distribuição de calor circunferencial e longitudinal, sendo os mais indicados quando se tem altas temperaturas do produto. 2.2.2.3 Misto O tipo misto é aquele em que os tubos da serpentina de aquecimento da seção de radiação são verticais e da seção de convenção são horizontais. As serpentinas de aquecimento da seção de convecção, nem sempre são utilizadas para aquecimento de hidrocarbonetos, muitas vezes são utilizadas como gerador de vapor, economizando energia para a unidade.
  • 7.
  • 8.
  • 9.
    7 Os fornos secompõem basicamente em três partes, a saber: Serpentina de aquecimento, Fornalha, Chaminé. 3.1 SERPENTINA DE AQUECIMENTO A função da serpentina é transportar os hidrocarbonetos, ou misturas de gases a serem aquecidos, e constitui-se de vários tubos interligados entre si por meio de conexões das mais variadas. Essas conexões são de diversas formas, e são conhecidas comumente como cabeçote. Nos fornos que operam com altas temperaturas as conexões são do tipo curvas soldadas. Os cabeçotes poderão ser do tipo mandrilado ou soldado, havendo outros tipos de menor uso, com as extremidades flangeadas e parafusadas. Dependendo da finalidade do forno, a serpentina poderá ser classificada segundo a transmissão de calor em duas partes:  Radiação  Convecção 3.1.1 Seção de Radiação É a parte da serpentina onde a superfície dos tubos está exposta ao calor radiante das chamas. Nesta seção a maior parte do calor é cedido aos tubos e a carga, por radiação. 3.1.1.1 Tubos Os tubos da seção de radiação são sempre lisos, pois a utilização de tubos aletados em uma seção onde as taxas de calor são muito elevadas provocaria a formação de pontos quentes nos tubos e acarretariam a falha prematura do material. Porém, existem casos onde se prevê a utilização de tubos cuja superfície externa admite um acabamento rugoso (HK-40; HP-40) dentro de determinados limites. O diâmetro varia de 2” a 8”, sendo 4” o diâmetro nominal que geralmente leva a configuração mais econômica. O comprimento usual é de 40 a 50ft para os formos com tubos horizontais de 20 a 30ft para os tubos verticais. Os códigos (ASTM, API) de especificação de materiais, tais como o ASTM, preveem para os tubos dos fornos duas classes: “TUBING” e ‘PIPING”. Os “TUBING“ podem ser encomendados com qualquer espessura e a sua especificação prevê baixa dureza, a fim de permitir o madrilhamento (tubos para troca de calor, normalmente utilizado para permutadores de calor), enquanto, os “PIPING“ são especificados e padronizados (ASTM) e somente permite a soldagem (normalmente utilizados para transporte de fluidos, ou seja, tubulações industriais). Apresentamos abaixo a correspondência mais usual: TUBING PIPING MATERIAL ASTM A161 ASTM A106 AÇO CARBONO ASTM A161 – T1 ASTM A335 – P1 ½% Mo ASTM A200 ASTM A335 BAIXA LIGA ASTM A271 ASTM A312 INOX ASTM A351 Gr HK40 INOX
  • 10.
    8 Os maternais aserem empregados são escolhidos em função das condições de pressão, temperaturas e corrosão / Oxidação, resistência a Fluência etc. que o tubo estará sujeito. Deve-se ressaltar ainda, os limites de temperatura que metalurgicamente os materiais apresentam. Estes limites têm particular importância quando os tubos estiverem sujeitos à limpeza por decoqueamento a vapor d’água e ar (steam air decoking). Neste processo de remoção do coque formado dentro dos tubos pela dissociação molecular indesejável dos hidrocarbonetos, o coque é queimado pelo ar atingindo temperaturas de até 13000F. Por isso a utilização de decoqueamento em tubos de aço carbono e baixa liga deve ser conforme procedimento do fabricante, pois se ressalta que tal operação efetuada de forma incorreta poderá acarretar à serpentina a um tempo de vida útil menor que o esperado. O aço carbono (limitado para baixas temperaturas), Cr-Mo e inox austenítico são os mais utilizados. Muitas companhias limitam o uso do aço carbono para aplicações abaixo de 427º C, para prevenir problemas provenientes da esferoidização e grafitização. A adição de molibidênio melhora a resistência à alta temperatura, a esferoidização, a oxidação e mecanismos acentuados de corrosão. Os aços inox austeníticos são frequentemente utilizados em tubos para aplicação onde a temperatura excede acima de 704ºC ou a corrosividade do processo requer seu uso. É comum o uso de materiais de tubo, correspondente a especificação ASTM, utilizando o limite máximo de temperatura de projeto estabelecido pela API Std 530. As temperaturas de projeto dos metais mostram os limites máximos de resistência à ruptura. O cálculo da espessura de parede do tubo, através da API Std 530, deve estar completado para determinar a vida do tubo nessas temperaturas. Outros fatores, como a pressão parcial do H2 e a resistência à oxidação frequentemente resultam em diminuir os limites de temperatura. 3.1.1.2 Curvas e cabeçotes de retorno A utilização de cabeçotes de retornos mandrilados, tinha como finalidade a aplicação de limpeza mecânica interna aos tubos dos fornos que trabalhavam como fluídos sujeitos a coqueamento. Estes eram desmontáveis e ficavam na parte externa do forno, a fim de facilitar a operação de limpeza.
  • 11.
    9 Atualmente, com oadvento da limpeza através de vapor d´água e ar (decoqueamento) a tendência é usar-se as curvas de retomo, de custo bem mais baixo que o cabeçote. As curvas de retorno são soldadas as extremidades dos tubos. A utilização de cabeçotes de retorno requer que sejam instalados externamente a câmara de combustão, para evitar os altos fluxos de calor. A caixa que contém os cabeçotes é denominada de “caixa de cabeçotes”. Quando se utiliza curva de retorno, estas podem localizar-se dentro da câmara. Os raios das curvas de retorno são geralmente escolhidos de tal forma que a distância centro a centro dos tubos seja de dois diâmetros nominais. Na seção de convecção, utilizando cabeçotes ou curvas de retorno, recomenda-se usá-los externos à câmara, em caixas de cabeçotes. Quando colocados internamente, fornecem a formação de caminhos preferenciais para os gases de combustão. Há casos em que são utilizados coletores no lugar de cabeçotes ou curvas. 3.1.1.3 Suporte dos tubos Normalmente estes se localizam dentro do forno, e estão sujeitos a trabalhos em temperaturas elevadas, acima da condição dos tubos da serpentina, pois estes não são refrigerados pelo fluido circulante. Por isso, a escolha do material tem de ser cuidadosa e deve recair sobre aqueles resistentes a altas temperaturas de projetos e a fluência. Usualmente, são colocados espaçados de, no máximo, 35 diâmetros nominais ou 20ft (conforme projeto). São as ligas de cromo-níquel, com adição de cobalto, e/ou tungstênio, e/ou Nióbio, que conferem ao material certas propriedades importantes, principalmente de resistência a altas temperaturas. Além de algumas ligas especiais, as principais e mais utilizadas são: MATERIAL TEMPERATURA MÁXIMA (ºF) 5Cr – ½ Ni Gr C5 1100 25Cr – 12Ni Type II 1750 50Cr – 50Ni + Cb IN 657 1800 25Cr – 20Ni Gr HK40 1950 25Cr – 35Ni + (Nb, Co, outros) 2200 Observemos que os suportes não recebem qualquer resfriamento, como ocorre nos tubos que são “resfriados” pelo fluido em escoamento. As serpentinas verticais são simplesmente suportadas pelo topo e guiadas por pinos soldados nas curvas de retorno do fundo.
  • 12.
    10 3.1.2 Seção daconvecção Situa-se em região afastada dos maçaricos, não recebendo o calor de radiação das chamas. Os gases de combustão que passam da seção de radiação para a de convecção possuem temperatura elevada, sendo, portanto, capazes de ceder calor aos tubos dessa seção por convecção e condução. Para facilitar a transmissão de calor, os tubos da seção de convecção possuem grande quantidade de pinos ou aletas, a fim de aumentar a sua superfície de troca de calor e seu rendimento. Considerando-se o número de entradas e saídas de produtos nas duas seções, o forno poderá ter um ou mais passos. 3.1.2.1 Tubos de convecção Estes tubos geralmente são feitos por encomenda, pois na montagem do feixe tubular, normalmente as duas ou três fileiras são constituídas de tubos lisos, as outras subsequentes são constituídas de tubos aletados ou pinados, a fim de aumentar o coeficiente de troca térmica externa aos tubos. A escolha é em função do combustível a ser queimado, pois se preferem aqueles que retém menor quantidade de cinzas e fuligem oriunda da queima nos maçaricos. Os tubos pinados apresentam menor tendência a reter cinzas. Os diâmetros mais utilizados são 4” a 6”.
  • 13.
    11 3.2 FORNALHA A fornalhaé constituída das seguintes partes: Estrutura Refratários Equipamentos auxiliares 3.2.1 Estrutura Obviamente, a finalidade da estrutura metálica de um forno é a de sustentação do peso do forno e ainda os esforços devido aos ventos. Os suportes dos tubos apoiam- se diretamente nas vigas. Observamos que a estrutura não está sujeita as altas temperaturas dos gases de combustão, pois está colocada externamente nos refratários. As chapas que formam a carcaça metálica se apoiam na estrutura e servem para apoiar os revestimentos (quando forem de fibras cerâmica ou concreto refratários) e garantir a estanqueidade do forno prevista pelo projeto. Geralmente são chapas de aço carbono de 3/16” ou 1/4”. Fazem parte da estrutura todos os componentes necessários para a sustentação das serpentinas e refratários, além da parte estrutural propriamente dita ou arcabouço da fornalha. Tanto a estrutura quanto a carcaça não estão sujeitas ao contato com alta temperatura por isso elas estão localizadas externamente e são protegidas pelo refratário. 3.2.2 Refratários Toda parte da fornalha em contato com os gases a alta temperatura e que não deve trocar de calor com qualquer meio, normalmente é revestida com material refratário ou isolante térmico. Assim sendo parte do fundo da fornalha, paredes laterais o abobada são revestidos com tijolos refratários. Outras partes onde a temperatura é menor como internamente nas chaminés e nos dutos de gases, o revestimento interno é feito com argamassa refratária. Têm como finalidade:  Isolar a câmara de combustão dos elementos estruturais;  Reiradiar o calor não absorvido pêlos tubos para dentro da câmara;  Evitar perdas de calor para o exterior;  Evitar que os gases de combustão, que normalmente contêm S02 atinjam as chapas da carcaça metálica onde se condensariam formando ácidos corrosivos.  Como facilmente pode-se deduzir, os materiais refratários empregados em um forno deve ter:  Capacidade de resistir a altas temperaturas; Resistência mecânica elevada;  Resistência à erosão;
  • 14.
    12  Resistência ataquesquímicos de ácidos, bases, metais, etc., que podem ser encontrados nos gases de combustão de óleos combustíveis. Os principais tipos de materiais refratários e isolantes são: 3.2.2.1 Tijolos Refratários Fabricados a partir das misturas da sílica, alumina, óxidos de magnésio e outros minerais, que lhe confere à resistência a alta temperatura. Resistem a temperaturas de até 28000F. Foram muito empregados no passado, usualmente com uma camada do bloco isolante, externamente, sendo sua utilização, hoje em dia, limitada a serviços de alta temperatura na câmara de combustão, tais como nos fornos reatores. 3.2.2.2 Concreto Refratário São massas aplicadas manualmente ou jateadas compostas, basicamente, de Luminita, Haydita e Vermiculita que são minerais de ótimas propriedades refratárias e isolantes. Trabalham até cerca do 19000F apresentando baixos coeficientes de dilatação térmica. Constituem-se nos materiais refratários mais empregados atualmente, principalmente quando se destinam a blocos monolíticos em que a sua construção e montagem é muito facilitada. Após sua aplicação é necessário o procedimento de cura e secagem, a fim de que toda a umidade existente seja eliminada. 3.2.2.3 Fibras Cerâmicas São as mais recentes novidades na área. Apresentam boas características refratárias e isolantes e densidade muito baixa, permitindo que a estrutura do forno seja bem mais leve. São fabricados a partir de materiais refratários fundidos e soprados para formar fibras. Apresentam, ainda, as vantagens de não necessitarem do mão-de-obra especializada para a sua instalação e dispensarem os procedimentos de cura e secagem requeridos pelo concreto refratário o tijolo refratário. Como inconvenientes, podemos assinalar a baixa resistência à erosão e permeabilidade aos gases de combustão. Trabalham a temperaturas até cerca de 2OOOºF. Vantagens:  Boas propriedades Isolantes e refratária; Baixa densidade;  Dispensam procedimento de cura e secagem;  Dispensam mão de obra especializada para sua aplicação;  Permitem que as estruturas sejam mais leves; Desvantagens:  Baixa resistência à erosão;  É permeável aos gases de combustão;  Só pode ser empregado quando a velocidade dos gases é baixa (< 10 m/s). 3.2.3 Equipamentos auxiliares Os principais equipamentos auxiliares da fornalha, são os queimadores ou maçaricos. Além deles consideremos como equipamentos auxiliares os pré-aquecedores de ar; ventoinhas e ventiladores; sopradores de fuligem; abafadores; instrumentos de controle de chama; poços termopares termoelétrico; medidores de tiragem; manômetros; etc. 3.2.3.1 Queimadores A principal função de um queimador é ser capaz de misturar, regular e direcionar os fluxos do ar e combustível de modo a promover uma combustão estável sem atingir os tubos, suportes ou outra estrutura da câmara de combustão. Além desta função se exige que o queimador tenha as seguintes características:  Capacidade de operar com baixos excessos de ar;  Teores mínimos de combustíveis não queimado;  Capacidade de queimar todos os combustíveis disponíveis;  Atender aos requisitos legais quanto à emissão de poluentes;  Facilidade de operação;  Baixa necessidade de manutenção.
  • 15.
    13 É desejável queo ar penetre no queimador com baixa turbulência para facilitar a entrada uniforme de ar por todo perímetro do mesmo. Por outro lado, para obtermos uma excelente mistura do combustível, gasoso ou liquido atomizado com o ar de combustão necessitamos de turbulência, na saída do queimador, que quanto maior melhor será a eficiência da mistura e menor será o excesso de ar requerido. O ar atravessa o queimador e é geralmente dividido em duas correntes o “ar primário” que se mistura ao combustível no próprio queimador e o “ar secundário” que se mistura ao combustível dentro da fornalha. A forma da chama é afetada pela distribuição do ar primário e secundário, ficando mais longa quando se aumenta o ar secundário, O queimador quando estiver fora de operação deve ter sumas entradas de ar completamente fechadas. As funções dos queimadores são: liberar combustível e ar para a câmara de combustão, promover a mistura do combustível com o ar, dar condições para a contínua queima da mistura combustível-ar e, no caso de combustíveis líquidos, atomizar e vaporizar o combustível. Uma das principais características dos queimadores é a faixa operacional, na qual o queimador realiza satisfatoriamente suas funções. A caracterização da faixa operacional é feita pela relação entre a máxima e a mínima liberação de calor, com o qual o queimador operará satisfatoriamente. 3.2.3.2 Bloco refratário É um conjunto de tijolos isolantes ou um bloco monolítico de forma normalmente circular, no interior do qual a chama do maçarico se projeta para a câmara de combustão. Desenho interno do bloco refratário influi na forma da chama. Ele possui as seguintes finalidades: Proporcionar uma mistura mais homogênea entre os componentes (ar/combustível) devido ao seu formato (bocal); Contribuir para alimentar, a eficiência da combustão, pois recebe calor da chama e transmite à mistura a ser queimada, concorrendo para a ignição da mistura e a combustão. Por isto, difícil se torna a queima, quando o bloco refratário ainda se encontra frio, durante as partidas. Serve para formar o corpo da chama, impedindo ou reduzindo a incidência nos tubos. Na parte inferior do bloco refratário, situa-se as entradas de ar secundário (portinholas e virolas) que são usadas para o ajuste da queima e controle do comprimento da chama. As portinholas, quando existem, são duas aberturas diametralmente opostas, relativamente pequenas, cobertas com tampas metálicas; A virola consta de uma cinta metálica, que possui tantas aberturas quanto sejam os orifícios do bloco refratário por ela envolvido. Esta cinta pode ser deslocada de forma que seja controlada a admissão de ar secundário. O ar primário é admitido próximo do bloco do maçarico em queimadores do tipo simples, ou através de queimador a gás em um tipo de queimador de queima mista.
  • 16.
    14 3.2.3.3 Maçarico Os principaistipos de maçaricos são: a) Maçaricos a Gás b) Com pré-mistura (“ Pre—mixing Burner”) Os gases combustíveis ao passar por um Venturi, mistura parte do ar de combustão, ou seja, o ar primário. Cerca de 50 a 60% do ar de combustão é inspirado como ar primário antes do ponto de ignição, VANTAGENS:  Boa flexibilidade operacional. A quantidade de ar aspirado varia com a pressão do gás. Para se obter o controle da chama, basta ajustar o ar secundário. Podem operar com baixo excesso de ar e não são muito afetados por variações na velocidade e direção dos ventos.  Proporciona chamas curtas e de forma bem definida às altas taxas de liberação de calor. Desvantagens:  Requer pressões de gás relativamente altas. Quando a pressão de gás cai abaixo de 10psig no queimador, a quantidade de ar aspirado cai rapidamente e a flexibilidade operacional é reduzida.  Pode ocorrer retorno de chama por baixa pressão de gás ou quando a fração de gases tendo alta velocidade de propagação da chama, toma-se alta. Por este motivo, este tipo de queimador é usado para combustíveis pobres em hidrogênio tal como gás natural.  O nível de ruído é maior do que o tipo sem pré-mistura.  Sem pré-mistura (“Raw Gás Burner”) O gás combustível chega ao bico do queimador sem pré-mistura do ar de combustão. O gás é então queimado no bico através de pequenas aberturas. Vantagens:  Apresenta elevado índice da relação entre a máxima e a mínima liberação de calor para uma dada condição de combustão.  Pode operar com baixa pressão de gás com uma variedade de combustíveis e sem retorno da chama.  O nível de ruído é baixo. DESVANTAGENS:  A flexibilidade é limitada, devido às necessidades de ajustes no ar de combustão ao variar a sua capacidade de operação.  Um alargamento das aberturas do bico geralmente resulta em condições de chamas insatisfatórias.  Quando o queimador é colocado além do nível de projeto, a chama tende a se alongar e as condições da chama ficam insatisfatórias. Maçaricos a Óleo Ao contrário dos combustíveis gasosos que em seu estado natural já estão em condições de reagir com o oxigênio, os óleos combustíveis precisam ser processados, de acordo com os seguintes estágios:  Atomização - O combustível é reduzido às pequenas gotículas, menores que 10 – 50 micras.  Vaporização ou Gaseificação - As gotículas de óleo atomizado retiram calor da ambiente câmara de combustão ou da própria chama passando para o estado gasoso.  Mistura — O combustível, já vaporizado mistura—se com o Oxigênio formando uma mistura inflamável.  Combustão propriamente dita — A mistura ar-vapor de combustível reage, liberando calor. Atomização
  • 17.
    15 Aqui está oprincipal problema na operação dos queimadores, que é a redução do óleo em pequenas gotículas de maneira a aumentar a sua superfície, até aproximar-se da fase gasosa, a fim de ocorrer uma eficiente mistura com o ar e, consequentemente, uma boa combustão. A combustão, tanto no aspecto físico como no químico, reação na fase gasosa dos combustíveis viscosos apresenta como dependentes do grau de atomização, os seguintes fatores: a ignição, o tempo de combustão, a velocidade de propagação da frente e, consequentemente, a estabilidade da chama. Donde se conclui, que a atomização é o principal fator para termos uma boa combustão. O corpo do maçarico ou a caneta, como também é conhecido, é constituído de 2 tubulações concêntricas que se ligam por um lado ao sistema de admissão de óleo de vapor d’água e, pelo outro ao atomizador. Pela tubulação interna de menor diâmetro escoa, normalmente, o óleo combustível e pela externa, o vapor de atomização. O atomizador é uma peça cúbica, possuidora de 4 orifícios, um em cada face lateral, chamada câmara de atomização, rosqueada a tubulação de óleo e na face superior possui uma abertura que permite a saída do óleo atomizado. É importante que o maçarico esteja sempre em posição vertical, pois a sua inclinação poderá provocar a incidência de chama nos tubos. Para evitar isto existe uma guia, um tê de ligação. A admissão do óleo e vapor é feita através do cabeçote, que possui 2 entradas uma de óleo e. a outra de vapor, internamente essas entradas são comunicantes às tubulações de vapor e óleo de maçarico. Na extremidade dessas tubulações se dá o encontro do vapor com óleo, na câmara de atomização. Deve queimar na razão 1:1. 3.2.3.4 Sopradores de fuligem (ramonadores) Os gases de combustão do óleo combustível, ao passarem pela região de convecção, que é geralmente formada por tubos de superfície estendida, geralmente pinos, tendem a deixar depósitos que, com o acúmulo, prejudicam notavelmente a transferência do calor. Os principais constituintes destes depósitos são: enxofre, vanádio, sódio, e cinzas, sendo as cinzas, os principais responsáveis pela alta taxa de decomposição. O método mais usual de se remover em operação estes depósitos, é o de se empregar jatos de vapor d’água sobre a superfície dos tubos. Os tipos de sopradores de fuligem são: a) ROTATIVO-FIXO São constituídos de uma lança com múltiplas perfurações, instalada na seção de convecção. Uma válvula mecânica e um motor de acionamento faz girar a lança e automaticamente abre e fecha a válvula de suprimento de vapor. Este tipo apresenta baixo custo e é normalmente utilizado quando a temperatura dos gases é baixa. b) RETRATEIS Difere do anterior quanto à lança que permanece fora da seção de convecção, quando não está em urso. A lança é provida de 2 perfurações de diâmetro maior do que as das existentes ao longo da lança do tipo fixo. Eles apresentam alto custo e maior eficiência que os dos fixos. O raio de atuação de um soprador deste tipo é de cerca de 4 filas de tubos enquanto para os
  • 18.
    16 fixos é de3. 3.2.3.5 Chaminé e abafadores A chaminé tem como finalidade: Lançar os gases de combustão a uma altura tal que não traga problema ecológicos na região. Fornecer a tiragem necessária, isto é, permitir que por diferença de densidades os gases, ao subirem, succionem o ar para a combustão. Manter todo o forno em pressões levemente negativas, a fim de evitar fugas de gases através das paredes, onde poderiam aquecer a estrutura do forno. A escolha do material, tamanho e localização das chaminés de fumaça variam muito e dependem tanto da unidade em que vão operar, como das premissas estabelecidas em função do custo de projeto. As chaminés de fumaça podem ser projetadas para operarem com tiragem natural, ou com tiragem forçada e/ou induzida mecânica. A eficiência de uma fornalha ou caldeira, depende grandemente do escoamento dos gases de combustão para a atmosfera, bem como do suprimento de ar para combustão. Ao fluxo de gases de combustão através da câmara e chaminé, dá-se o nome de tiragem. A tiragem é medida pela diferença entre a pressão atmosférica e a pressão do gás de combustão num determinado ponto dentro do sistema câmara-chaminé; em outras palavras a tiragem é a diferença de pressão que é disponível para produzir um fluxo de gases. Assim sendo a tiragem será tanto maior quanto maior for essa diferença de pressão. A função do abafador da chaminé é ajustar o perfil de tiragem do forno, controlando a tiragem na região diretamente abaixo da seção de convecção do forno. Os abafadores podem ser de folha única ou de folha múltiplas, quando a chaminé tiver grandes diâmetros. Eles são operados manualmente do solo, através de cabos. Em casos de grandes abafadores é possível poder manuseados com operadores pneumáticos. 3.2.3.6 Skim Point’s São medidores de temperatura fixados nas paredes dos tubos, em determinados pontos do forno para através de instrumentos possibilitar a leitura, acompanhamento e controle da temperatura e a realização da operação a que se destina o equipamento.
  • 19.
    17 3.2.3.7 P. A.F. (Sistema de pré-aquecimento de ar de combustão dos fornos) Para aumentar a eficiência na queima de combustível, este sistema utiliza os gases de combustão em alta temperatura para aquecer o ar de combustão antes de o mesmo entrar no forno utilizando um permutador. Com o pré-aquecimento obtém-se a mesma temperatura de operação com menor quantidade de combustível do que se estivesse utilizando um sistema de alimentação com ar frio (convencional). 4 RAZÕES PARA INSPEÇÃO A razão para se fazer a primeira inspeção de um forno é a determinação do efeito da corrosão, erosão e outros fatores atuantes no forno, por comparação com a inspeção inicial (na época da construção) ou com relatórios básicos. Ela também estabelece a segurança e a influência de operação contínua e prevê a manutenção e as substituições com base na taxa de deterioração. Todas as inspeções subsequentes são, de modo semelhante, comparadas com a anterior, com o mesmo propósito. Pela determinação das condições físicas e das taxas e causas de deterioração nas várias partes do forno, e possível fazer reparos ou substituições programadas antes que ocorram enfraquecimentos sérios ou falhas. Muitas das partes que compõem um forno dependente de alguma outra, e quando ocorre deterioração ou enfraquecimento sério em uma, alguma outra parte pode se tornar desprotegida ou sobrecarregada. Isto pode reduzir consideravelmente a vida útil. É possível predizer os reparos e substituições que serão necessários no próximo período de parada programada do forno, baseando-se nos dados acumulados em inspeções regulares e no conhecimento das atuais condições de trabalho. Se dispuser dessas informações, pode-se preparar todos os desenhos necessários, as listas de material, e o planejamento para todas as fases do trabalho. Itens de material poderão ser fabricados total ou parcialmente nas épocas convenientes antes que o forno seja parado. Com o planejamento de trabalho preparado adequadamente e revisado, cada profissional saberá exatamente o que fazer e a sequência do que tem que ser feito.
  • 20.
    18 A inspeção tornapossível estabelecer o período mais seguro e mais eficiente durante o qual um forno poderá operar entre inspeções sucessivas. O estabelecimento desse período de operação seguro permite uma estimativa acurada da quantidade de produto que poderá ser produzida e a disponibilidade desse produto após um dado tempo para qualquer unidade em operação. Inspeção periódica regular permite aplicar meios de proteção, fazer manutenção e estudar e substituir maternais diferentes como uma maneira de aumentar a vida útil de partes ou de todo o equipamento. Esta prática aumenta a duração das campanhas e reduz ou elimina paradas de emergência. Paradas não programadas são caras devido à perda da produção, custo de mão-de-obra para limpeza e reparos além da influência inerentes aos serviços não programados. 5 CAUSAS DE DETERIORAÇÃO Serão discutidas para diferentes partes ou seções do forno. 5.1 RELEMBRANDO TRINCA: formação de duas superfícies livres no interior ou junto à superfície de um componente ou estrutura. FADIGA CORROSÃO: quando na propagação da trinca existem os dois (tensão e corrosão; origem mecânica ou térmica) atuando simultaneamente. Formam trincas paralelas e múltiplas, trincas com produto de corrosão, ponta arredondada; pode formar alvéolos ao longo da trinca. ESFEROIDIZAÇÃO: também conhecido como coalescimento, trata-se do agrupamento da cementita em partículas maiores, formando glóbulos de cementita. Reduz a dureza do aço. CARBONETAÇÃO: perda das propriedades mecânicas e da resistência à corrosão de uma liga ferrosa aquecida em atmosfera contendo hidrocarbonetos ou monóxido de carbono. (Endurecimento do metal, temperatura alta difunde-se para o interior da liga aço inox, precipita carbetos). DESCARBONETAÇÃO: perda do carbono da superfície de uma liga de ferro resultante do seu aquecimento em um meio que reage com carbono (H2 / CO2). GRAFITIZAÇÃO: mudança estrutural que ocorre em certos tipos de aço ferrítico quando aquecidos por longos períodos de tempo entre 440 a 760ºC. RECALQUE: desnivelamento de uma estrutura devido à não compactação adequada do solo que a apoia. CST: aparecimento de trincas nos metais ou ligas, decorrente da ação combinada da corrosão e tensões estáticas residuais, induzidas ou externas. FLUÊNCIA: fenômeno pelo qual os metais e ligas tem tendência a sofrer deformações plásticas continuas, quando submetidos por longos períodos de tempo e tensões constantes, porém inferiores ao limite de resistência normal do material. O efeito é particularmente importante se a aplicação das tensões se der na temperatura vizinha àquela de recristalização do metal ou liga. FASE SIGMA: fenômeno associado com aços liga ao cromo (acima de 17%) e com aços inoxidáveis ao Cr-Ni que quando aquecidos prolongadamente entre 500 a 700ºC tornam-se severamente frágeis e com alta dureza. Tal fato motiva o aparecimento de trincas durante o resfriamento a partir da temperatura de utilização e especialmente durante a operação de soldagem. CARBURAÇÃO (carburização): A carburação é um fenômeno de degradação do material em alta temperatura causada pela difusão de carbono do meio para o metal. O carbono provoca a precipitação generalizada de carbonetos na microestrutura, cujos efeitos incluem a redução significativa da ductilidade e da tenacidade da liga. Adicionalmente, o aumento de volume decorrente da carburação é apontado como a principal fonte de tensões residuais e, consequentemente, de trincas que ocorrem durante o resfriamento de fornos industriais em paradas para manutenção. Outro efeito da carburação é
  • 21.
    19 a alteração dacondição paramagnética original da liga, para a ferromagnética, sendo este efeito empregado na “medição” da intensidade de carburação em alguns equipamentos industriais. O ataque por carburação é um fenômeno que ocorre em meios carburantes (atividade de carbono igual a 1) a temperaturas superiores a 900°C. Consiste na penetração de carbono no componente metálico, via difusão e decorrente formação de carbonetos de forma generalizada na sua microestrutura, fragilizando a liga. Como resultado da carburação do componente metálico, tem-se: a) O aumento do teor de carbono dissolvido na matriz e a precipitação generalizada de carbonetos. Com a precipitação dos carbonetos ricos em Cr (M7C3 e M23C6), a composição da matriz torna-se à base de Fe e Ni, com isso a condição inicial paramagnética altera-se para ferromagnética. Esta alteração no comportamento magnético é empregada na detecção e, em alguns casos, medição da intensidade de carburação em fornos petroquímicos. b) O aumento do volume do material metálico carburado e a consequente geração de tensões entre regiões carburadas e não-carburadas. O aumento no volume dos tubos é considerável, e esta é apontada como a principal razão para a ocorrência de trincas em fornos de pirólise. Como a carburação avança da parede interna do tubo, ela provoca tensões de compressão no diâmetro interno do tubo e tensões de tração no diâmetro externo, que pode resultar em trincas intergranulares que surgem na metade da parede do tubo. c) Em ligas do sistema Fe-Ni-Cr ocorre um aumento da condutividade térmica na condição carburada, que um efeito positivo na eficiência do equipamento. d) A diminuição da ductilidade e da ductilidade sob fluência provoca a fragilização do material em temperatura ambiente e em temperaturas elevadas. Embora reduzida, a ductilidade em temperatura elevada é superior à observada em temperatura ambiente e este fato é responsável pela ocorrência de fraturas de caráter frágil no resfriamento do forno para paradas de manutenção. CARBURAÇÃO CATASTRÓFICA (“METAL DUSTING”): é um fenômeno conhecido como carburação catastrófica envolvendo desintegração do metal. Este fenômeno ocorre em atmosferas altamente carburantes a temperaturas relativamente elevadas (350°a 1000°C), mas geralmente inferiores quando comparadas com as da carburação (superiores 900 °C). O fenômeno provoca rápida inutilização do componente metálico, sendo que os produtos provenientes do ataque são constituídos por uma mistura de grafita com finas partículas do próprio metal e carbonetos. O fenômeno tem sido observado em indústrias de tratamento térmico, em plantas de reforma, em indústrias petroquímicas que possuem processos com misturas altamente carburantes (CO-CO2-H2-hidrocarbonetos) que podem reagir com componentes metálicos ou em processos nos quais compostos orgânicos são reativos (exemplo: sistemas de desidrogenação de butano), em fornos que realizam o craqueamento de ácido acético, em plantas de produção de piridina etc. A carburação catastrófica pode se manifestar através das seguintes maneiras:  Formação de pites, observada geralmente em ligas à base de níquel e em aços de alta liga contendo níquel e cromo, os quais possuem a capacidade de manter a camada de óxido de cromo mesmo em atmosferas redutoras. Os pites podem possuir superfície lisa ou rugosa e apresentam, no seu interior, depósito de carbono grafítico, partículas do metal e carbonetos;  Redução uniforme da espessura do metal, observada, geralmente, em aços baixa liga com formação de depósitos semelhantes aos encontrados no interior dos pites: carbono grafítico, partículas do próprio metal e carbonetos. Esta forma de ataque é normalmente associada a um sistema que envolve um fluxo de gases elevado, resultando num efeito combinado de pulverização metálica associada à erosão;  Combinação da formação de pites com redução da espessura do metal.
  • 22.
    20 5.2 SERPENTINA Os principaisfatores que promovem ou contribuem para a sua deterioração são: . 5.2.1 Tipos de processo O processo é o principal fator no estabelecimento do tipo de deterioração de um forno. Os principais processos de operação são a destilação de óleo cru, a destilação a vácuo, o processamento de asfalto ou óleo lubrificante, o craqueamento, a reforma, o fracionamento de destilado leve, e o tratamento. O processo operacional determina o tipo de carga, constituindo-se o fator principal no estabelecimento das condições básicas de operação do forno, o que, por sua vez, contribui para uma determinada forma de deterioração. 5.2.2 Características da carga: Os teores de enxofre, cloretos, ácidos orgânicos ou materiais sólidos são os fatores principais na determinação não somente do tipo, como também na severidade da deterioração. O teor do enxofre é um fator importante porque o tipo e taxa de corrosão que se pode esperar na superfície interna dos tubos do forno e suas conexões varia grandemente com o teor de enxofre, cloretos, ou ácidos orgânicos. O enxofre, em particular, é um fator determinante na escolha de material a ser usado, a fim de assegurar vida útil satisfatória e campanhas de duração máximas, com um mínimo de reparos ou substituições. O sulfeto de hidrogênio é um composto de enxofre particularmente corrosivo cuja corrosividade aumenta quando em presença de hidrogênio. Algumas cargas têm uma tendência para produzir depósitos do coque ou de sais orgânicos. Esses depósitos, conquanto não sejam causadores direto de deterioração, podem ter uma grande influência na temperatura de metal dos tubos e causar deterioração como um efeito secundário. 5.2.3 Velocidade de fluxo no interior da serpentina A velocidade quando crítica ou se ocorrer “impingement” direto pode causar erosão severa nos tubos e conexões. No caso dos tubos, a erosão é resultante da velocidade. Nas conexões a erosão resulta usualmente da combinação de “impingement” com velocidade. Se a carga for substancialmente aumentada no forno, o aumento da velocidade decorrente pode causar perda de metal por erosão e corrosão. 5.2.4 Pressão A pressão de operação permissível para a temperatura de operação do metal não é uma causa de deterioração quando a temperatura for inferior à da faixa de fluência. Quando a temperatura de operação do metal é superior à temperatura na qual a fluência se inicia ocorrerá um alongamento vagaroso do metal que pode causar ruptura depois do um longo período de operação. Pressão excessiva pode levar o metal a uma fluência rápida e provocar abaulamento, trinca, e até uma falha completa por tensão de ruptura num período de operação relativamente curto. 5.2.5 Temperatura A temperatura de operação é um fator usado na determinação da temperatura do metal dos tubos e conexões. A temperatura do metal desempenha um grande papel no tipo e severidade da deterioração dos tubos de um forno. A temperatura do metal em tubos individuais ou ao longo do comprimento de qualquer tubo radiante específico pode variar consideravelmente. As causas principais dessas variações são: Incrustações nos tubos; Condições de queima impróprias ou insatisfatórias. Os tipos de deterioração dos tubos associados com a temperatura do metal são: a) Vergamento (Sagging): é devido comumente a um decréscimo na resistência estrutural do tubo decorrente de superaquecimento. Também pode ser causado por escapamento inadequado de suportes de tubos, temperaturas de metal desiguais, ou falhas de um ou mais
  • 23.
    21 suportes de tubos. b)Empenamento (Bowing): é provocado geralmente, por temperaturas desiguais no metal, resultante de incidência de chama ou acumulação de coque no interior do tubo. Também pode ser causada pelo atrito do tubo nos espelhos, não permitindo suficiente expansão longitudinal. a) b) c) Queima ou Escamação: tanto podo ser localizada ou se estender por todo o comprimento de um tubo dentro do forno. Comumente resultam de incrustações ou excesso de calor, o que leva a temperatura da superfície metálica a um nível tal que a oxidação ocorre. Depósitos de combustão podem ter a aparência de escamações de óxidos e serão distinguidos por meio de um imã. A escamação é magnética e os depósitos de combustão não magnéticos. d) Fluência ou Abaulamento: a resistência do metal diminui em altas temperaturas e a tensão atuando por muito tempo em tubos quentes pode deformá-los ou levá-los à fluência. Pode-se evitar falhas por fluência usando-se valores de tensão baseados nas propriedades do metal em altas temperaturas. Abaulamentos (laranjas) ocorrem quando a temperatura de metal de um tubo, em áreas localizadas de superaquecimento, ultrapassa o limite que pode suportar a tensão resultante da pressão. e) Transformação Metalúrgica: os aços sujeitos às altas temperaturas e sob tensões durante períodos de tempos longos sofrem mudanças metalúrgicas. Essas mudanças resultam em condições conhecidas como carbonetação, descarbonetação, crescimento de grão, trinca por pressão, etc. Todas essas condições resultam numa redução generalizada da resistência mecânica ou muna alteração da ductilidade, que pode eventualmente levar a uma falha completa do material.
  • 24.
    22 f) Efeito deExpansão: todos os metais se expandem ao serem aquecidos. Temperaturas elevadas causam expansões que, se não forem propriamente contrabalançadas, resultarão em tensões excessivas e suficientes para causar sérios enfraquecimento e deformações no tubo ou conexão. g) Incremento na Corrosão: a corrosão é fortemente influenciada pela temperatura. Diferentes taxas de corrosão ao longo do comprimento de um tubo ou da sua seção transversal são causadas, frequentemente, por temperaturas diferentes. 5.2.6 Produtos de combustão Os problemas de corrosão que resultam de combustíveis usados em fornos, dependem principalmente do caráter do combustível. Quando o gás ou óleo combustível tem alto teor de enxofre, um dos produtos da combustão formados e depositados na superfície externa dos tubos é um sulfato. Este sulfato é inofensivo durante os períodos de operação; todavia, logo que o depósito é deixado esfriar, torna- se altamente higroscópio e absorve umidade no ar, hidroliza-se e produz ácido sulfúrico diluído que ataca imediatamente todo o metal com o qual entra em contato. Quando o combustível tem alto teor de vanádio, as superfícies metálicas que operam à temperatura acima de algum ponto crítico na faixa de 1200 a 14000F estarão sujeitos a um ataque rápido pelo pentóxido de vanádio (V2 O5). Este pentóxido se deposita e funde a superfície metálica aquecida. Depois que certa quantidade de depósito tiver se acumulado, começará a escorrer da superfície onde se depositou e o ciclo de ataque será reiniciado. 5.2.7 Deterioração mecânica A vida útil de tubos e conexões de fornos pode ser reduzida como resultado de deterioração mecânica. As duas causas mais comuns são vazamentos pelas mandrilagens e danos durante a limpeza mecânica. O vazamento por mandrilagem é uma dificuldade mecânica. A sua causa pode ser um procedimento incorreto ou imperícia durante a instalação original dos tubos ou ser devido a aumentos de temperatura durante a operação. Os danos a um tubo durante a limpeza podem ser causados por procedimento incorreto ou imperícia. Uma das causas mais comuns é deixar o aparelho de limpeza operar em uma posição durante tanto tempo que chega a cortar a parede do tubo. A remoção de coque com vapor e ar (steam-air decoking) pode causar séria oxidação ou outra deterioração dos tubos se as temperaturas não forem cuidadosamente controladas. Força em excesso usada pelo operário no fechamento dos cabeçotes pode resultar no aparecimento de fraturas no corpo do cabeçote ou então na base das suas orelhas. Também pode causar desgaste excessivo ou distorção nas sedes do tampão ou da curva em “U”, nas orelhas do cabeçote, ou das peças de fixação (travas ou parafusos de cabeça). O uso de força excessiva geralmente ocorre devido à limpeza inadequada de superfícies esmerilhadas ou troca de tampões. Educação, treinamento e supervisão contínua do operário indicando-lhe cuidado que deve ter o modo de usar, e o aperto permissível, são essenciais para evitar este dano. Defeitos de fundição ou de forjamento também podem dar origem às fraturas no corpo do cabeçote ou na base das suas orelhas. 5.3 FORNALHA Os principais fatores que causam a deterioração na fornalha são: a) Condições climáticas: a taxa de deterioração cansada pelas condições climáticas dependerá grandemente da atmosfera ser seca, úmida ou salina, e do grau de poluição do ar pelos fumos industriais que podem ser corrosivos. A deterioração provocada por uma atmosfera úmida pode não ser devida à localização geográfica do forno dentro da própria refinaria. Um exemplo é o caso de um forno localizado nas proximidades de depósitos de refrigeração (cooling ponds) ou torres de resfriamento (cooling towers) com os ventos soprando na direção do forno. Os tipos de deterioração que resultam de condições climáticas são: o enferrujamento da estrutura de aço exposta ou não pintada; a deterioração geral de superfícies pintadas; e a erosão e deterioração da alvenaria externa do concreto, do isolamento, etc., que forma o envoltório externo de um forno. Deixando-se o envoltório externo se deteriorar, fender ou desagregar, a chuva ou a umidade entrará por essas
  • 25.
    23 aberturas e deterioraráo refratário interno, o isolamento e a estrutura de aço, particularmente quando o forno estiver fora de serviço por alguma razão. b) Temperatura de operação: as condições de queima e a temperatura do forno são as maiores causas de deterioração dos materiais que formam o invólucro interno do forno. A severidade da deterioração variará com a temperatura do forno que, por sua vez, é determinada pelas condições de operação. A finalidade desses materiais do invólucro interno, tais conto o refratário ou isolamento, é proteger a armação de aço estrutural, as estruturas do teto e os espelhos dos tubos, contra calor. Como resultado das longas exposições a altas temperaturas os refratários deterioram por Iascamento (spaliing), avaria do material ligante, fusão e perda de resistência estrutural. Quando a ação isolante do refratário ou do isolamento fica reduzida, a ancoragem de aço fica sujeita aos gases quentes do forno e se deterioram rapidamente por oxidação, queima, escamação o possivelmente transformação da estrutura metalúrgica. c) Produtos de corrosão: agentes muito corrosivos são produzidos na queima dos combustíveis que contenham enxofre e vanádio. Os tipos de corrosão que podem resultar da queima desses combustíveis foram vistos nas explicações anteriores. Estes mesmos tipos de ataque ocorrerão nas peças de aço frias se elas forem expostas aos gases do forno devido à deterioração do refratário ou isolamento, ou se o forno for operado com pressão positiva. Quando as cinzas e o refratário entram em contato com a temperatura moderadamente alta, pode ocorrer uma ação fundente (fluning action) com produção uma escória mais ou menos fluida. Os óxidos metálicos, como o de vanádio ou molibdênio, são agentes fundentes. A formação dessa escória produz no mínimo três ações deterioradoras: Fusão; Penetração e Ação Química. O efeito geral dessa ação escorificante é o decréscimo da espessura do refratário e de sua ação isolante causando assim a exposição da ancoragem de aço às altas temperaturas, etc. 5.4 CHAMINÉS E DUTOS Os fatores que causam a deterioração dos mesmos são: a) Recalque: este fator pode causar fendas nas chaminés de tijolos ou de concreto e nos dutos de fumaça. As fendas reduzem a resistência estrutural e permitem a entrada de chuva e umidade que causarão a deterioração dos revestimentos refratários e da ferragem de aço no caso das chaminés de concreto. b) Condições climáticas: causam deterioração das chaminés, dos tijolos, concreto, aço, e dos dutos de fumaça, devido ás condições climáticas. c) Temperatura de operação: alta temperatura é a maior causa da deterioração de chaminés. Tijolos, concreto, revestimentos refratários e chapa de aço usada na construção de chaminés e dutos de fumaça, estão sujeitos aos mesmo tipos de deterioração por alta temperatura. d) Produtos de combustão: a deterioração resultante dos produtos de combustão pode ser muito severa nas superfícies internas das chaminés, dos dutos de fumaça, e seus revestimentos refratários ou isolantes. A uma certa altura das chaminés, a temperatura do gás de combustão pode cair até o ponto onde ocorre a condensação, chamado “ponto de orvalho” (dew point). Quando esta condição é atingida, os produtos da combustão se combinam com a umidade formado ácido sulfúrico e ácido carbônico diluídos. O primeiro muito corrosivo para o aço, e em menor grau: deterioram os tijolos, concreto e os revestimentos refratários ou isolantes usados na construção de chaminés. Quando a chaminé está em operação, a seção dela que estiver com a temperatura abaixo do ponto de orvalho está sujeita a ataques; quando a chaminé não estiver em operação, será atacada em todo o seu comprimento, como também o duto de fumaça.
  • 26.
    24 6 FREQUENCIA DEINSPEÇÃO E EPOCA PARA A INSPEÇÃO 6.1 GENERALIDADES Os fornos são comumente de alguma unidade de processamento, e pode acontecer que o tempo que passem operando o intervalo entre inspeções seja determinado por algum outro equipamento da umidade. Da parada da unidade oferece a oportunidade para a inspeção do forno. Deve-se tirar proveito de cada período de parada, para inspeção dos tubos, conexões, etc., salvo se o tempo de operação desde a parada anterior for muito pequeno. Os principais fatores que devem ser considerados cuidadosamente para se estabelecer o intervalo de tempo entre inspeções de um forno num dado tipo de unidade de processamento são segurança e operação eficiente. Vale ressaltar que em geral o controle das vidas das peças e/ou acessórios nos fornos é controlada por horas de operação (1 ano equivale a 8760 horas ou seja se um forno operar de forma ininterrupta durante 2 anos considera-se que todas as suas peças possuem 17520 horas de operação). Isso é ponto relevante para definição de procedimentos de reparos em caso de falhas. 6.2 SEGURANÇA Deve ser o primeiro fator para estabelecimento do intervalo de inspeção. A segurança deve ser considerada tanto do ponto de vista de proteção do pessoal de operação como de proteção do equipamento. Devem ser conhecidas as taxas de deterioração das várias partes do forno a fim de se estabelecer a frequência de inspeção. O intervalo entre inspeções deve ser tal que quando a unidade for parada, ainda haja alguma folga para corrosão na parte essencial mais fraca. Se as condições de operação, ou a natureza da carga forem modificados num dado forno, deve-se verificar cuidadosamente a necessidade de ser revisado o intervalo de inspeção a fim de se compensar as novas condições. Quando ocorrer uma parada de emergência na unidade, resultante de alguma falha mecânica ou mau funcionamento, deve ser feita uma investigação completa para que não ocorra outra vez semelhante condição em outras unidades. 7 ROTINA DE INSPEÇÃO EM FORNOS DE PROCESSO 7.1 OBJETIVO Padronizar os critérios utilizados na atividade de inspeção em fornos de processo, e oferecer suporte técnico e conhecimento específico aos profissionais envolvidos, bem como definir as responsabilidades interfaces com outros órgãos da empresa. 7.2 DEFINIÇÕES ABAFADOR: Válvula para bloqueio ou controle da tiragem dos gases de combustão. BACIA DE CINZAS: Região existente na base da chaminé de concreto com a função de acumular as cinzas que se precipitam dos gases de combustão. CABEÇOTE: Acessório de conexão entre dois tubos adjacentes desviando o fluxo normalmente em 180°. É dotado de “plug” removível permitindo a limpeza e inspeção dos tubos. CAIXA DE FUMAÇA: Região do forno situada entre os últimos tubos de saída da convecção e o duto de gases de combustão. CÂMARA DE VENTILAÇÃO: Região anular em toda a extensão da chaminé, ou seja, é o espaço entre o concreto armado e a parede refratária que tem a finalidade de refrigerá-la através de tiragem natural de ar que aí circula. CÂMERA PLENA (PLENUM) OU CAIXA DE AR: Caixa que envolve os queimadores, destinada a distribuir adequadamente o ar.
  • 27.
    25 CARGA A FRIOOU DE INSTALAÇÃO: É a carga de reação da mola quando da instalação do suporte. Corresponde a carga de uma das extremidades (início ou fim) do curso de trabalho e pressupõe a ausência de cargas térmicas no sistema. CARGA A QUENTE OU DE OPERAÇÃO: É a carga requerida pelo sistema quando em operação. Corresponde ao outro extremo do curso de trabalho do suporte e pressupõe cargas térmicas do sistema. CHAMINÉ: Equipamento auxiliar que une a câmara de combustão do equipamento principal ao exterior, destinado a dar tiragem aos gases de combustão. Em alguns casos a união da câmara de combustão com a chaminé é feita através de dutos. CORROSÃO-SOB-ISOLAMENTO (CSI): É a corrosão que ocorre sob o isolamento térmico devido à infiltração de umidade ou condensados. CURVA DE RETORNO: Acessório de simples interligação entre dois tubos adjacentes, em um mesmo passe, desviando normalmente o fluxo em 180°. DUTOS DE AR: O limite é compreendido desde o ponto de sucção do ar da atmosfera até a posição onde o ar pré-aquecido alimenta os queimadores. DUTOS DE GASES DE COMBUSTÃO: Dutos de descarga de gases de combustão para a atmosfera, compreendendo a região entre a caixa de fumaça e a chaminé. ESPELHO: Tipo especial de suporte que apoia vários tubos numa única peça. Pode ser Extremo ou Intermediário se está junto à extremidade dos tubos ou não. FORNOS: Equipamentos industriais que se destinam a aquecer fluidos circulantes em serpentinas de tubos por meio da chama de qualquer substância combustível em câmaras semifechadas. LP: ENSAIO com Líquido Penetrante. NÃO-CONFORMIDADES: Toda e qualquer situação que fuja às condições previamente estabelecidas. Orifícios de Ventilação: Orifícios que permitem a entrada de ar frio (base da chaminé) e saída de ar quente (no topo da chaminé) por tiragem natural. O ar circula pela câmara de ventilação. PAF - SISTEMA DE PRÉ-AQUECIMENTO DE AR DOS FORNOS: Sistema de pré- aquecimento do ar usado na queima do combustível, com o intuito de economizar energia. PENDURAL: Tirante de sustentação dos tubos do teto, fixo na estrutura do forno. RECOMENDAÇÃO DE INSPEÇÃO E OS DE INSPEÇÃO: Documento emitido pela Inspeção de Equipamentos solicitando serviços prévios de apoio (acesso, iluminação, limpeza) ou indicando a necessidade de providências decorrentes de inspeção (reparos, substituições). REGIÃO DE CONVECÇÃO: Região do forno onde a troca térmica se dá predominantemente por convecção. REGIÃO DE RADIAÇÃO: Região do forno onde a troca térmica se dá predominantemente por radiação. SERPENTINAS: Conjunto de tubos e acessórios por onde circulam o fluido a ser aquecido por meio da chama de qualquer substância combustível em câmaras semi- fechadas. SUPORTE DE MOLA DE CARGA CONSTANTE: São suportes onde a força liberada é mantida constante através da combinação entre o deslocamento de uma ou mais molas e um braço variável entre o ponto de aplicação da força e as molas. SUPORTE DE MOLA DE CARGA VARIÁVEL: São suportes onde a força liberada é proporcional ao deslocamento de uma ou mais molas internas ao suporte. SUPORTE DE TUBO: Peça metálica fixa à estrutura do forno, tendo por função suportar a carga imposta pelos tubos. SUPORTES DE CONTRAPESO: São dispositivos compostos de um contrapeso associado a um conjunto de roldanas e cabos de aço ou a uma alavanca, e possuem uma capacidade de suporte rigorosamente constante, pois a carga suportada é igual ou equivalente ao contrapeso. (Ver figura no anexo 3). TUBULAÇÕES DE UTILIDADES: Tubulações auxiliares posicionadas a jusante dos primeiros bloqueios gerais.
  • 28.
    26 7.3 CONDIÇÕES GERAIS Asinspeções dos fornos de processos devem ser precedidas de consultas aos históricos e/ou os registros do arquivo físico, bem como, aos desenhos do equipamento e às Recomendações de Inspeção pendentes. 7.3.1 Planejamento da Inspeção É a primeira etapa da inspeção de um forno e consiste no levantamento de todas as informações necessárias para garantir a qualidade da inspeção a ser executada. Ao receber a programação de inspeção, é recomendável que o inspetor busque conhecer todos os aspectos disponíveis do forno, que possam interferir na sua integridade física. Relacionamos abaixo alguns pontos importantes a serem verificados nessa etapa: a) Detalhes construtivos: material, especificação do isolamento térmico. b) Acessórios existentes e suas folhas de dados. c) Condições operacionais de projeto: pressão, temperatura e fluido de trabalho. d) Mecanismos de danos a que o forno está sujeito, caso exista e já tenha sido identificada. e) Para inspeção de CSI, identificar previamente os locais onde será necessária a remoção de isolamento térmico para inspeção (vents, drenos, tomadas de instrumentos, conexões); f) Ensaios e regiões a serem realizados; g) Apoios de serviços necessários à boa condução dos serviços, bem como, sua programação; h) Microclima na região a ser inspecionada; i) motivo e objetivo da inspeção. 7.3.2 Inspeção em Operação Verificar condições do forno e eventuais ocorrências anormais. 7.3.2.1 Ferramentas e Instrumentos Utilizáveis Martelo, espátula, D-Meter, equipamentos para ensaios-não-destrutivos, lupa, imã, sabão líquido, trena, marcador industrial, kit de teste por pontos, máquina fotográfica, paquímetro ou micrômetro de profundidade, termômetro (de contato ou ótico), lanterna à prova de explosão, escova de aço carbono e/ou aço inoxidável. 7.3.3 Itens a Serem Inspecionados Apresentamos a seguir o detalhamento da inspeção nas partes mais comuns de f o r n o s de processo, porém uma avaliação preliminar dos desenhos do equipamento a ser inspecionado é necessária, quando todos os componentes devem ser identificados. 7.3.3.1 Chaparia Inspeção visual na chaparia com especial atenção a pontos com pintura calcinada, rubros ou chapas empenadas que indicam falha no isolamento ou refratário interno. Pequenos pontos circulares com protuberância escura são, normalmente, resultantes da corrosão interna por condensação ácida ao redor da solda do pino de sustentação do isolamento/refratário, devida à infiltração dos gases de combustão.
  • 29.
    27 Pintura queimada Refratáriocom falha interna A inspeção termográfica para detecção de pontos quentes, indicativos de danos no isolamento/refratário. É recomendável a sua aplicação antes de paradas, para auxiliar no planejamento da intervenção. Chapa do piso com desprendimento da pintura Vista da falha na chapa do piso por superaquecimento 7.3.3.2 Vigas / Longarinas / Base Inspecionar visualmente avaliando o estado da pintura, a existência de corrosão, a fixação e estabilidade desses componentes. Verificar as fundações quanto a recalques e estufamento e/ou rompimento da base de concreto e exposição da ferragem à corrosão. 7.3.3.3 Escadas e plataformas Verificar visualmente as condições físicas das chapas, pontos de fixação, grades, degraus, estrutura e guarda-corpo, quanto à existência de partes soltas, frouxas ou mal instaladas, deformações, corrosão, trincas, vibrações e regiões com empoçamento de água, além do estado geral da pintura. 7.3.3.4 Suportes Móveis 7.3.3.4.1 Suportes de Carga Constante e Variável Interferência ao curso do suporte provocada por outros elementos estruturais ou da tubulação;  Existência de deslocamento do suporte em relação ao seu apoio; Posição dentro do curso de trabalho especificado;  Fixação do suporte a linha ou a sua base, quanto à corrosão, trincas, soldas rompidas, deformações permanentes e estado dos tirantes;  Estado da mola quanto à corrosão, espaçamento uniforme das espiras, sinais de trincas e encosto adequado das extremidades;  Plaqueta de identificação, plaquetas de cargas e régua de curso, quanto ao estado e a correta localização;  Discos de ajuste da mola, quanto ao empeno e corrosão;  Caixa de proteção da mola quanto à corrosão ou outra deterioração;  Se todas as travas foram removidas;  Situação da lubrificação das articulações e das roscas;  Se ainda há curso disponível nos componentes roscados (luvas e tirantes);  Para o caso de suportes geminados, verificar a posição do curso de trabalho de ambos.
  • 30.
    28 7.3.3.4.2 Suportes deContrapeso Além dos itens descritos em acima, verificar também os seguintes aspectos: Estado geral dos cabos, roldanas, pinos e acessórios quanto à corrosão, desgaste e outros danos; Lubrificação das roldanas, cabos e outras partes móveis; Estado geral do indicador de movimento. 7.3.3.5 Plenum e Queimadores Verificar condições da caixa dos queimadores (plenum) da mesma forma que na inspeção da chaparia. Quando da remoção para limpeza dos queimadores, inspecionar visualmente condição dos maçaricos, bicos, refratários. Obs.: os queimadores de gás costumam sofrer oxidação severa por alta temperatura. 7.3.3.6 Ramonadores Verificar as condições físicas do sistema 7.3.3.7 Tomadas de instrumentos
  • 31.
    29 Realizar inspeção dascondições físicas dos componentes e da pintura, se pintado, verificar a existência de corrosão, vibrações, vazamentos, deformações, danos mecânicos, sinais de tensões provenientes de montagem inadequada, empolamentos ou gotejamento de condensado sobre os mesmos. NOTA: Deve-se ter atenção especial na inspeção destes componentes, pois podem possuir espessura nominal menor do que a da linha principal, apresentam dificuldade maior de pintura, podem estar locados em locais de difícil acesso, além de serem mais susceptíveis a corrosão sob isolamento e danos por vibração. 7.3.3.8 Instrumentos A inspeção preventiva dos instrumentos é de responsabilidade da Instrumentação, entretanto, devem ser verificadas as condições físicas da parte estrutural, suportes e parafusos quanto à corrosão, deformações ou vibrações, quando da inspeção dos fornos em que os instrumentos estejam conectados. 7.3.3.9 Tubulações e Acessórios Realizar inspeção visual nos acessórios e trechos de tubulações conectados ao equipamento, preferencialmente até o primeiro bloqueio. 7.3.3.10 Chaminés 7.3.3.10.1Chaparia Realizar inspeção visual em toda extensão, atentando a pontos com pintura queimada e chapas deformadas (indicativo de possível queda do isolamento ou refratário). Para acesso às partes altas o inspetor pode utilizar binóculos, andaimes, elevador de carga ou acesso por corda. Deve-se efetuar inspeção visual e quando necessário, martelamento, verificando a existência de furos e/ou vazamento de gases. Esses furos são normalmente causados por corrosão interna (por condensação ácida). Normalmente as chaminés possuem chapas de contra ventamento. Nesses casos devem ser observados os cordões de solda de fixação com a chaminé quanto à corrosão. 7.3.3.10.2Fixação Realizar inspeção visual em todos os parafusos de fixação da chaminé quanto à existência de corrosão e deformação. 7.3.3.11 Dutos de Ar e Gás 7.3.3.11.1 Dutos Com Isolamento Interno Deve ser realizada inspeção visual em toda extensão, verificar a existência de corrosão, deformações e pontos rubros, com pintura calcinada e chapas deformadas que indicam queda ou ineficiência do isolamento ou refratário. Verificar a existência de furos e vazamentos de gases, normalmente causados por corrosão interna por condensação ácida sob revestimento. Se necessário utilizar instrumento para medição de temperatura.
  • 32.
    30 7.3.3.11.2 Dutos comIsolamento Externo Realizar inspeção visual em toda a extensão, atentando para pontos das chapas de proteção do isolamento onde possa haver infiltração de água, verificar a existência de vazamentos de gases que indicam furos na chaparia. Os furos podem ser causados por corrosão sob o isolamento devido à infiltração de água, por corrosão interna devido à condensação ácida ou pela combinação de ambos os mecanismos. Se necessário, remover o isolamento nas regiões de infiltração de água para inspeção da chaparia quanto à existência de corrosão sob isolamento. 7.3.3.11.3 Vigas e Estruturas Realizar inspeção visual em toda a extensão verificando as condições físicas quanto à corrosão, deformações, vibrações, fixação e rigidez do conjunto. Deve-se atentar para os parafusos de fixação e locais que permita o acúmulo de água de chuva. 7.3.3.11.4 Juntas de Expansão ou Dilatação Verificar as condições físicas dos elementos (foles, ancoragem, guias, tirantes) quanto à corrosão, erosão, vibração, deflexões excessivas (axial, lateral, angular), presença de materiais estranhos alojados nas corrugações dos foles impedindo o livre movimento dos mesmos e existência de vazamentos. Nas juntas de dilatação verificar se possuem liberdade de movimento, bem como, deformações ou existência de vazamentos. 7.3.3.12 “Interna” em Operação É recomendável fazer a cada inspeção externa, ou sempre que necessário, inspeção visual interna através das janelas de inspeção a procura de pontos avermelhados, "laranjas" e empenos dos tubos e curvas; braçadeiras e suportes caídos ou oxidados; refratários caídos ou estabilidade de paredes de tijolos e piso. Verificar a qualidade da combustão através das características das chamas (altura, abertura, centralização, estabilidade, presença de fumaça e/ou fagulhas) e da presença de respingos de combustível no interior do forno (características de queima incompleta). Nessa oportunidade, verificar se os parâmetros operacionais estão conforme projeto.
  • 33.
    31 7.3.4 Inspeção Internaem Parada É realizada com o equipamento parado, aberto, de acordo com o plano de inspeção contido no documento normativo de Planos e Programas de Inspeção de Equipamentos Estáticos, pode, entretanto, ser realizado a qualquer momento, caso haja avaria ou suspeita ou intervenção de manutenção que possibilite a inspeção. 7.3.4.1 Ferramentas e Instrumentos utilizáveis Martelo de inspeção, espátula, D-Meter, equipamentos para ensaios-não-destrutivos, lupa, imã, trena, marcador industrial, kit de teste por pontos, lanterna à prova de explosão, escova de aço carbono e/ou aço inox, saco plástico para coleta de amostras, máquina fotográfica, paquímetro ou micrômetro de profundidade, fita para medição de circunferência 7.3.4.2 Itens a Serem Inspecionados Apresentamos a seguir o detalhamento da inspeção nas partes mais comuns de fornos de processo, porém uma avaliação preliminar dos desenhos do equipamento a ser inspecionado é necessária, quando todos os componentes devem ser identificados. 7.3.4.3 Considerações Gerais Devem ser registradas todas as observações relevantes através de fotos, croquis e se necessária coleta de amostra de cinzas e produtos de corrosão, que possibilitem, após análise, a identificação do processo corrosivo. Nos fornos onde existem cabeçotes, marcar os plugs e mandrilagens com vestígios de vazamento. Nos fornos onde seja necessária a lavagem e neutralização dos tubos para evitar ocorrências de corrosão, deve ser verificada a eficiência da lavagem e o pH na superfície metálica após neutralização. 7.3.4.4 Inspeção de Abertura É realizada após a liberação do equipamento pela Operação e Segurança, e antes da desmontagem dos internos e da execução de limpeza. Na inspeção de abertura normalmente é feito avaliação e registro do nível e características das deposições sobre os tubos, sinais de queima incompleta (respingos de combustível), presença de objetos estranhos, existência de internos caídos ou deformados (braçadeiras, suportes, refratários); se necessário, efetuar registro fotográfico e remoção de amostra para análise de
  • 34.
    32 contaminantes. 7.3.4.5 Queimadores a) Verificaro acionamento das virolas de controle de entrada de ar para os maçaricos e a necessidade de sua lubrificação; b) Verificar as chapas de contenção dos blocos refratários dos cones difusores dos maçaricos com relação à redução de espessura e abaulamento bem como o anel de sustentação dos blocos dos cones difusores secundários; c) Inspecionar os blocos refratários com relação a trincas e erosão; d) Inspecionar as canetas de óleo, vapor, gás e piloto, bem como a câmara de atomização e o atomizador, como relação à corrosão e erosão; e) Inspecionar os bicos de óleo e gás quanto aos diâmetros e ângulos dos furos; f) Verificar o estado dos parafusos de fixação dos queimadores; g) Executar teste pneumático de estanqueidade na linha de gás para verificar a estanqueidade das válvulas; h) Executar teste hidrostático nos mangotes das linhas de óleo e vapor, para verificar a existência de vazamentos; i) Verificar conformidade dimensional e de posicionamento dos componentes dos queimadores após montagem, em relação ao projeto. Especial atenção deve ser dada ao alinhamento, nivelamento e centralização do conjunto. 7.3.4.6 Dutos de Ar e Gases de Combustão a) Inspecionar a chaparia com relação à corrosão e necessidade de reparo e/ou pintura; b) Inspecionar o isolamento térmico e refratário dos dutos e do plenum; c) Inspecionar as juntas de expansão dos dutos quanto às condições físicas dos elementos (foles, ancoragem, guias, tirantes) quanto à corrosão, erosão, danos por vibração, deflexões excessivas (axial, lateral, angular), presença de materiais estranhos alojados nas corrugações dos foles impedindo o livre movimento dos mesmos, regiões com trincas ou furos. Nas juntas de dilatação verificar se possuem liberdade de movimento conforme prescrito no
  • 35.
    33 projeto, bem como,deformações ou existência de pontos de ocorrência de vazamentos. Nas juntas de expansão fabricadas em aço inoxidável austenítico realizar ensaio com líquido penetrante nas regiões dos corrugados onde haja suspeita de trincas. d) Verificar as condições físicas e de acionamento dos sistemas de controle de vazão de ar e gases de combustão; e) Inspecionar as chapas laterais, do fundo e teto do plenum com relação a deformações e empenamentos; f) Inspecionar o sistema de preaquecimento de ar, verificando as condições físicas dos seus componentes (caixas, cestos, selagem, chaparia). 7.3.4.7 Linhas Externas ao Forno a) Efetuar medição de espessura em pontos predeterminados das linhas de entrada e saída de carga; incluindo as conexões; b) Executar, medição de espessura e teste de martelo das linhas de combustíveis, vapor de abafamento, gás residual e vapor para ramonadores; c) Remover para inspeção visual interna eventuais trechos de linhas de saída e válvulas; d) Inspecionar os estojos e porcas dos flanges e válvulas das linhas externas ao forno (exame visual e martelamento) e sede de assentamento das juntas quanto às condições físicas (quando houver acesso); e) Verificar o estado do isolamento térmico; f) Atenção especial deve ser dada às linhas de vapor de abafamento. Remover parcialmente o isolamento destas linhas para medição de espessura-teste de martelo e verificação de corrosão sob o isolamento, visto que não são comumente utilizadas. g) Atenção também para os suportes tipo munhão, principalmente em tubulações isoladas e munhão aberto. 7.3.4.8 Câmara da Radiação 7.3.4.8.1 Serpentina de Hidrocarbonetos a) Inspecionar visualmente os tubos quanto à existência de sulcos ou estrias, trincas, corrosão ou desgaste na região de passagem pelos espelhos, empenamentos e deformações localizadas, oxidação externa devido à alta temperatura; executar ensaio transluzente (feixe de luz da lanterna paralela ao tubo) para auxiliar na identificação das deformações). b) Martelar os tubos para verificação da existência de camada de óxidos e/ou formação de coque internamente; c) Efetuar medições de espessura dos tubos nos pontos previamente determinados e marcados em relação a um referencial fixo da serpentina, determinando as taxas de corrosão. Atentar para que as camadas de óxido porventura existentes sejam efetivamente removidas; d) Executar medidas de espessura (varredura) nas geratrizes externas das curvas de retorno nos fornos com esse tipo de conexão; e) Efetuar medição de espessura em regiões onde, pela inspeção visual e martelamento ou
  • 36.
    34 por existirem condiçõesfavoráveis à corrosão, haja possibilidade de perda de espessura; f) Efetuar, quando necessária medição do diâmetro, dureza, flecha e avaliação metalográfica dos tubos; comprimento do tubo (alongamento por fluência) g) Em fornos que usam cabeçotes solicitar abertura dos plugs dos cabeçotes dos 02 últimos cabeçotes de cada passe. Tubos que apresentarem pontos quentes em operação devem ter os plugues abertos para verificação de ocorrência de coque; h) Para fornos com cabeçotes inspecionar os tubos internamente após a lavagem e sopragem com a utilização de dispositivos apropriados de iluminação; verificando a remoção do coque e se não houve danos mecânicos ao tubo e sedes de vedação dos cabeçotes; i) Quando necessário efetuar turbinagem, decoqueamento com ar e vapor, ou outros métodos para remoção do coque quando existente; Nota: Caso a turbinagem remova uma quantidade grande ou anormal de coque em um dos tubos, os tubos vizinhos também devem ser inspecionados internamente. j) Em fornos que usam cabeçotes, avaliar a incidência de corrosão, na região da mandrilagem do tubo, através medição de espessura interna; k) Inspecionar internamente os cabeçotes abertos e outros sob suspeita, bem como as soldas de selagem dos tubos, quando existirem, quanto à ocorrência de trincas; atentar para danos mecânicos na região de mandrilagem e sedes de vedação; l) Inspecionar as travessas e orelhas dos cabeçotes ou curvas com partículas magnéticas; m) Verificar os suportes (pendurais, olhal, pinos de sustentação, apoio, guias) dos tubos e suas atracações quanto à perda de espessura por corrosão, trincas e rupturas; n) Inspecionar espelhos, termopares de parede, poços de indicadores de temperatura e tomadas de gases para análise; o) Inspecionar os tubos-guia localizados nas curvas inferiores da radiação com relação à corrosão dos mesmos, e inspecionar a região de solda com a curva, para o caso de fornos verticais. Verificar também o livre deslocamento dos tubos guia; recomendável uso de LP na solda pio/curva. p) Nos tubos que possuem curva de retorno sem acesso visual interno, deve-se avaliar a quantidade de coque através de gamagrafia. Nota: No caso de fornos sujeitos à corrosão naftênica, inspecionar com gamagrafia por amostragem as soldas dos últimos tubos da serpentina de radiação, quanto à corrosão interna.
  • 37.
    35 7.3.4.8.2 Refratário epinos de ancoragem a) Verificar visualmente a existência de trincas, calcinação, perda de suportação, queda de trechos e degradação por ataque químico. A integridade da argamassa pode ser testada com um estilete de 5mmde diâmetro e 120mm de comprimento. O estilete não deve penetrar mais que 1/3 da espessura do refratário. Para verificar a aderência ou trincas internas, é recomendável bater com martelo de bola de 250g. b) Verificar o revestimento refratário das tampas e paredes da caixa de cabeçotes. Verificar também as condições das juntas de vedação em amianto dessas tampas. c) Verificar as condições físicas do revestimento refratário de proteção dos tirantes de sustentação do cone, quando existente. (Aplicável somente para fornos verticais); d) Inspecionar o isolamento térmico da abóbada de radiação, com relação aos desprendimentos e quanto ao estado do sistema de fixação (aplicável somente para fornos verticais). f) Verificar o refratário das regiões de passagem entre tubo e paredes e teto, quando for o caso. g) Os pinos de ancoragem sofrem oxidação à alta temperatura e devem ser substituídos quando comprometem a fixação da manta, concreto ou argamassa. h) Os tijolos não devem apresentar calcinação severa, trincas que afetem a sua estabilidade e deficiência na estabilidade. Sempre que isto ocorrer, é recomendável substituir os tijolos comprometidos ou refazer a parede de tijolos, conforme a extensão do dano. As fibras cerâmicas que sofrem ataque químico esfarelam ao toque da mão; nesses casos, a substituição da camada vai depender da espessura afetada. Em caso de substituição de uma camada próxima deve ser inspecionada com o mesmo critério.
  • 38.
    36 7.3.4.8.3 Chaparia A chapariadeve ser inspecionada quando o refratário for substituído ou sempre que haja indícios de danos que afetem a sua integridade. Verificar as condições físicas das chapas quanto à corrosão, condições da pintura externa, deformações e o estado físico do sistema de ancoragem. 7.3.4.8.4 Cone/Camisa a) Efetuar inspeção visual no bico fundido bem como nas chapas do cone, discos e camisa, verificando esses componentes com relação a, trincas e perdas de espessura. Verificar também, as cunhas e grampos de união das chapas fundidas do cone. Os tirantes de sustentação do cone devem ser inspecionados com Líquido Penetrante; b) Inspecionar as “orelhas” onde se fixam os tirantes de sustentação de componentes; c) Inspecionar as chapas laminadas quanto a empenamentos, trincas e rompimentos nas regiões de ligação aparafusada. 7.3.4.8.5 Sistema de Proteção a) Verificar a operacionalidade das janelas de explosão; b) Inspecionar o sistema de vapor de abafamento; c) Verificar os cabos e fixação do aterramento elétrico. 7.3.4.9 Câmara de Convecção 7.3.4.9.1 Serpentina de Hidrocarbonetos a) Inspecionar visualmente os tubos quanto à existência de sulcos ou estrias, trincas, corrosão ou desgaste na região de passagem pelos espelhos, empenamentos e deformações localizadas, oxidação externa devido à alta temperatura; b) Verificar o estado dos tubos quanto a deformações, desgastes na região dos ramonadores, corrosão generalizada ou localizada e desgaste por abrasão, junto aos suportes dos tubos, se estão livres para se deslocarem através dos furos dos espelhos. No caso dos tubos pinados remover alguns pinos para medição de espessura do tubo; c) Solicitar a abertura de plugues de alguns cabeçotes para verificar a existência de coque. Efetuar medição de espessura nas curvas de retorno; d) Verificar os suportes dos tubos, espelhos, tirantes e chapas da camisa quanto à perda de espessura, trincas ou rupturas; e) Inspecionar os termopares de parede, poços de indicadores de temperatura e tomadas de gases para análise, quanto à corrosão e trincas. f) A fixação dos suportes à chaparia é muito importante, é recomendável a remoção do refratário para permitir a sua inspeção.
  • 39.
    37 7.3.4.9.2 Serpentina deVapor a) Efetuar medição de espessura e martelamento, nos tubos e curvas; b) Inspecionar visualmente os tubos e curvas quanto à corrosão, trincas, deformações e desgaste por abrasão, junto aos suportes. 7.3.4.9.3 Ramonadores a) Remover os ramonadores para revisão mecânica; b) Inspecionar lanças, bicos, suportes e válvulas de vapor quanto às condições físicas. Verificar as válvulas de vapor quanto à sua estanqueidade. 7.3.4.9.4 Refratário a) Utilizar mesmo critério que item 7.3.4.8.2 b) Verificar a vedação entre espelhos e tubos e das tampas das caixas de curvas e cabeçotes, quando existir. 7.3.4.9.5 Chaparia a) Efetuar inspeção visual e teste de martelo para avaliação das regiões a serem reparadas; b) Verificar as chapas defletoras quanto a empenos, sustentação e corrosão; c) Inspecionar as camisas dos ramonadores quanto à corrosão e trincas nas soldas com a chaparia do forno e chapas de proteção do refratário; d) Verificar as condições da pintura externa da chaparia. 7.3.4.9.6 Caixa de Fumaça e Chaminé a) Efetuar inspeção visual externa e martelamento nas chapas; b) Efetuar martelamento nos parafusos de união das seções da chaminé e remover 2 desses para inspeção; c) Verificar os mancais, cabos, guias e juntas de acionamento do abafador (“damper”); d) Verificar o refratário quanto a fissuras, esboroamento, desprendimentos, perda de ancoragem e perda de espessura; A perda de espessura máxima admissível é de 1/4 da espessura original ou áreas com perdas entre 1/6 e ¼ da espessura original, não podendo ser mais que 10% da área total. É recomendável testar a resistência à penetração do refratário com estilete. Será considerado em boas condições caso a penetração seja de no máximo 1/3 da espessura original. Verificar também a condição da calafetação dos tijolos. e) Examinar a chapa do abafador, seu eixo e a sede de assentamento quanto à perda de espessura por corrosão e deformações, partes soltas, frouxas ou folgadas, liberdade de movimentação das palhetas. Verificar a incidência de corrosão nas extremidades internas do eixo do abafador, devido à condensação de gases. Verificar se o abafador não está sofrendo interferências; f) Verificar as juntas de dilatação quanto à vedação, trincas, deformações e corrosão; g) Verificar as condições das escadas, plataformas e dispositivos de içamento existentes na chaminé; h) Verificar os cabos e conexões elétricas de para-raios e aterramento da chaminé; i) Verificar as condições físicas dos “chapéus chineses” caso existam. Verificar condições da bacia de cinzas, orifícios de ventilação, revestimento antiácido, das placas de chumbo, câmara de ventilação.
  • 40.
    38 7.3.4.9.7 Caixa deCabeçotes/Curvas a) Inspecionar a chaparia das caixas, tampas, bem como as vigas estruturais; b) Inspecionar as chapas (almofadas) de contenção do isolamento térmico e as chapas do piso da câmara; c) Verificar os espelhos com relação a trincas e deslocamentos; d) Verificar os anéis suportes dos espelhos com relação a trincas, deformações e redução de espessura; e) Verificar o estado do concreto isolante quanto às deteriorações e quedas. 7.3.5 Ensaios Complementando a inspeção visual, alguns ensaios podem ser executados para garantir maior confiabilidade ao forno, seguindo plano de inspeção estabelecido pelo Profissional Habilitado. São relacionados a seguir as aplicações mais comuns dos ensaios não destrutivos e destrutivos nesses equipamentos. 7.3.5.1 Líquido penetrante Esse ensaio é mais aplicado na inspeção de pequenas soldas e/ou componentes ou em materiais não ferromagnéticos, onde não seja possível a aplicação do ensaio de partículas magnéticas. Pode ser utilizado também para teste de estanqueidade em chaparias. 7.3.5.2 Partículas Magnéticas Desde que o material seja ferromagnético é aplicável na inspeção de soldas e materiais de base, sempre que possível deve ser preferida à aplicação desse ensaio no lugar do líquido penetrante. 7.3.5.3 Radiografia e ultrassom São aplicados, principalmente, nas inspeções de soldas, para detecção de descontinuidades ocorridos em montagem ou operação. Podem ser aplicados, também, para uma melhor avaliação da extensão de descontinuidades detectadas por LP ou PM. 7.3.5.4 Medição de Espessura por ultrassom Periodicamente, de acordo com o plano de inspeção contido no documento normativo de Planos e Programas de Inspeção de Equipamentos Estáticos, as espessuras dos tubos e curvas da radiação são medidas, visando monitorar a taxa de corrosão e/ou oxidação desses componentes. Normalmente essas medições são feitas em todos os tubos e curvas. Nos tubos, os pontos de medição normalmente situam-se a 1,0 metro da solda inferior (fitting x tubo), a 1,0 metro da solda superior (fitting x tubo) e na região central entre soldas (solda superior x solda inferior); porém essas cotadas devem ser estabelecidas para cada equipamento. É recomendável que em cada elevação sejam executadas, no mínimo, 2 medidas radiais: a 0º e 180º. As curvas e tubos da convecção devem também ser medidas em frequências seguras para prevenção de processos de e r o s ã o , em especial em serpentinas de geração de vapor. 7.3.5.5 Ensaios Mecânicos Em alguns casos, a critério do profissional habilitado, são removidos trechos de tubos para avaliação através de ensaios destrutivos (metalografia, tração, fluência) da integridade. Essas amostras devem ser removidas das regiões mais críticas do forno, normalmente onde as temperaturas são mais altas.
  • 41.
    39 7.3.5.6 Testes Hidrostático/Pneumático Apósreparos de soldas, substituições de curvas ou tubos, é recomendável a execução de teste hidrostático. Quando da impossibilidade da execução do teste hidrostático (dificuldades de secagem da serpentina, por exemplo), o teste pneumático pode ser opção, desde que sejam atendidos aos requisitos de segurança aplicáveis – ver documento normativo específico. 7.3.5.7 Termografia Pode ser aplicado na chaparia externa, conforme Item 5.2.3 e nos tubos e curvas em operação para localização de pontos quentes (coque interno ou óxidos externos). 7.3.5.8 Inspeção Dimensional Em alguns casos, a critério do profissional habilitado, são realizadas inspeções dimensionais visando monitorar o processo de fluência: diâmetro externo e flecha dos tubos. 7.3.5.9 Réplicas Metalográfica As réplicas metalográficas podem ser utilizadas como opção aos ensaios não destrutivos de metalografia, para a obtenção de informações dos materiais das serpentinas, como mudanças de fase microestrutural, envelhecimento, ocorrência de vazios de fluência, descarbonetação ou oxidação. 7.3.5.10 Registros Os resultados das inspeções externa e interna são registrados no sistema informatizado de inspeção. Os registros fotográficos, quando existirem, serão incorporados às pastas nos arquivos físicos da Inspeção de Equipamentos. Sempre que possível, os resultados dos ENDs, ou de qualquer outro tipo de ensaio aplicado, devem ser descritos no respectivo relatório de inspeção visual. 7.3.5.11 Fotografias É recomendável que todas as etapas da inspeção do equipamento sejam registradas com fotografias. Entretanto, é desejável que apenas os fatos ou detalhes importantes ou que o registro irá ajudar na definição ou descrição dos mesmos, sejam fotografados. 7.4 CONDIÇÕES ESPECÍFICAS 7.4.1 Serpentinas de Convecção 7.4.1.1 Geração de Vapor Medir espessuras de curvas e tubos, conforme plano definido pelo profissional habilitado. Geralmente a medição é feita por varredura numa região, registrando-se o menor valor para cada item. 7.4.1.2 Aquecedor de Produto/Óleo (serpentina) Medir espessuras de curvas e tubos, conforme plano definido pelo profissional habilitado. Geralmente a medição é feita por varredura numa região, registrando-se o menor valor para cada item. 7.4.2 PAF 7.4.2.1 Pré-aquecedor à Vapor Inspecionar visualmente tubos e aletas quanto à corrosão, amassamentos. 7.4.2.2 Pré-aquecedor Regenerativo Inspecionar visualmente as estruturas e as chapas das colmeias (espessura, proteção de enamel, ajuste). Inspecionar o bico do ramonador quanto à corrosão e obstrução.
  • 42.
    40 7.4.2.3 Dutos deGás Quente/Frio É recomendável que tão logo pare o sistema, os dutos sejam lavados com barrilha (carbonato de cálcio) a 5% de concentração para neutralização dos compostos ácidos arrastados pelo gás. Inspecionar chaparia atentando para regiões com empoçamento dos compostos ácidos. 7.4.2.4 Dutos de Ar Quente/Frio Inspecionar chaparia. Acontece ter depósitos de compostos ácidos em zonas próximas ao pré-aquecedor regenerativo. Caso necessário, recomendar a neutralização. 7.4.2.5 Juntas de Expansão Sujeitas à corrosão sob tensão e corrosão por compostos de enxofre, é recomendável que sejam inspecionadas também por LP, além de visualmente. As juntas não metálicas são inspecionadas quanto à resistência dos tecidos internos e externos e condições físicas da manta de fibra cerâmica e o tecido em fios de inox quanto à corrosão. 7.4.3 Dutos Primário e Secundário Atenção especial para a fixação e estado das mantas de fibra. As chaparias das juntas de expansão serão inspecionadas com a remoção parcial da manta protetora, quando definido pelo profissional habilitado. 7.4.4 Chaminés Inspeção visual no refratário através de balance ou andaime, até onde houver acesso. É recomendável fazendo teste de fixação com martelo de bola de 250g e de degradação química com estilete. Inspecionar chaparia onde houver acesso. 7.5 CRITÉRIO DE ACEITAÇÃO 7.5.1 Serpentina a) Todas as espessuras encontradas devem estar acima da espessura mínima de projeto calculada conforme o API RP 530 acrescida da sobre espessura de corrosão prevista para a próxima campanha; b) No caso de serem constatadas deformações localizadas (laranjas) fazer medição de espessura após remoção do óxido e verificar a existência de depósito interno; c) A deformação longitudinal não deve aproximar o tubo deformado do tubo vizinho ou da parede refratária menos de 1/5 de seu diâmetro externo. O tubo também não deve se aproximar da chama a ponto de ultrapassar o círculo de chama definido no projeto. Devem ser rejeitados os tubos que, pela deformação, se afastam dos suportes, transferindo carga excessiva para suportes adjacentes. Devem ser condenados os tubos horizontais que se afastem um diâmetro num comprimento de 20 diâmetros. Para tubos verticais admite-se uma deformação maior desde que atendidas as recomendações anteriores; d) Todos os ensaios e testes hidrostáticos devem ser conduzidos conforme a norma ASME B 31.3; e) Tubos coqueados devem ser substituídos sempre que por qualquer razão, o decoqueamento não puder ser realizado. Notas: 1) Estes critérios devem ser aplicados para os tubos na condição fria, (Conforme definido no ANEXO C). 2) O critério definido em c) deve ser adotado sempre que não houver recomendação específica de projeto ou da unidade operacional.
  • 43.
    41 7.5.2 Suportes Os suportesnão devem apresentar trincas nem perda de espessura em pontos críticos. 7.5.3 Queimadores Todos os queimadores devem estar alinhados, nivelados, centralizados e regulados conforme projeto. 7.5.4 Ramonadores Devem estar perfeitamente alinhados e revisados, sem vazamentos de vapor e condensado pela válvula de bloqueio. 7.5.5 Termopares de Parede Devem ser testados pela instrumentação, antes da entrada em operação do forno. 7.5.6 Abafadores Devem atuar adequadamente quando do seu acionamento. 7.5.7 Tubos de Vapor de Abafamento Deve ser admitido vapor para verificação de obstrução ou vazamentos pelos bloqueios. 8 ANEXOS 8.1 ANEXO – A – FIG. IBP
  • 44.
  • 45.
    43 8.3 ANEXO C-CRITÉRIO DE DEFORMAÇÃO
  • 46.
    44 8.4 ANEXO-D –SUPORTES DE MOLA
  • 47.
    45 8.5.ANEXO – ESLIDES API RP 581
  • 48.
  • 49.
  • 50.
    48 09 REFERÊNCIAS BIBLIOGRÁFICAS- Sites Pesquisados  http://www.ebah.com.br/content/ABAAAfT6oAE/equipamentos-industriais-ii  http://docslide.com.br/documents/apostila-de-fornos-55cd867961c01.html  http://pt.slideshare.net/SalmanAjweh/api-573-2003  https://pt.scribd.com/doc/58018574/API-STD-560  http://www.absa.ca/wp-content/uploads/2015/04/AB- 507_Installed_Fired_Heaters_Guideline.pdf  http://www.fluidcontrols.com.br/site/upload/pdf/Guia_10- IBP_Inspecao_de_Valvulas_de_Seguranca_e_alivio.pdf  http://www.abendi.org.br/abendi/Upload/file/RevsitasAbendi/revista_bendi_65.pdf  http://sites.petrobras.com.br/CanalFornecedor/portugues/pdf/ABC-Inspecao-de- Fabricacao-Rev9-Mar-2013.pdf  https://fabioferrazdr.files.wordpress.com/2008/08/1-9-fornos_petrobras.pdf 10 NORMAS PETROBRAS: N-1637-MONTAGEM DE FORNO N-2322-INSPEÇÃO DE SERVIÇO EM FORNOS DE PROCESSO
  • 51.
    49 11.RESPONSABILIDADE TÉCNICA TODAS ASNORMAS DEVEM SER SEMPRE VERIFICADOS POR MOTIVO DE ADEQUAÇÃO OU ATUALIZAÇÃO VIGENTES. Curso: Inspetor de Equipamentos Disciplina: Módulo 40-FORNOS Inspetor Mário Sérgio de Oliveira Mello Estudante - Usuário: 201411005 - CETEPIS