APOSTILA
SISTEMA ELÉTRICO DE POTÊNCIA
SEP
Projeto, instalação e manutenção.
Eng.º Eletricista Flávio Henrique SEP - Sistema Elétrico de Potência 1/201
1 - SISTEMA ELÉTRICO DE POTÊNCIA
1.1 - Introdução
O Sistema Elétrico de Potência (SEP) é um conjunto de todas as instalações e
equipamentos destinados à geração, transmissão e distribuição de energia
elétrica. (A.B.N.T. – NBR-5460 – Sistemas Elétricos de Potência –
Terminologia).
Objetivo → Gerar, transmitir e distribuir energia elétrica atendendo a
determinados padrões de confiabilidade, disponibilidade, qualidade, segurança
e custos, com o mínimo impacto ambiental.
 Confiabilidade representa a probabilidade de componentes, partes e
sistemas realizarem suas funções requeridas por um dado período de
tempo sem falhar. Representa também o tempo que o componente,
parte ou sistema levará para falhar (%).
 Disponibilidade é definida como a probabilidade que o sistema esteja
operando adequadamente quando requisitado para uso. Em outras
palavras, é a probabilidade que um sistema não está indisponível
quando requisitado seu uso (%).
 Qualidade da energia é a condição de compatibilidade entre sistema
supridor e carga atendendo critérios de conformidade senoidal
(amplitude da tensão, frequência, desequilíbrios de tensão e corrente e
forma de onda).
 Segurança está relacionado com a habilidade do sistema de responder
a distúrbios que possam ocorrer no sistema. Em geral os sistemas
elétricos são construídos para continuar operando após ser submetido a
uma contingência.
Eng.º Eletricista Flávio Henrique SEP - Sistema Elétrico de Potência 2/201
1.1.2 - Geração
Obtém-se energia elétrica, a partir da conversão de alguma outra forma de
energia, utilizando-se máquinas elétricas rotativas (geradores), nas quais se
utilizam turbinas hidráulicas ou a vapor para se obter o conjugado mecânico.
1.1.3 - Sistema de Transmissão
Transporta a energia elétrica dos centros de geração aos de consumo.
1.1.4 - Sistema de Distribuição
1.1.4.1 - Rede de Sub-Transmissão
Tem a função de transportar a energia elétrica das subestações de transmissão
às subestações de distribuição e aos consumidores, operando em tensões de
34,5, 69, 88 e 138 kV.
1.1.4.2 - Subestações de distribuição
São supridas pela rede de subtransmissão e são responsáveis pela
transformação da tensão de subtransmissão para a de distribuição primária
(13,8 kV).
Eng.º Eletricista Flávio Henrique SEP - Sistema Elétrico de Potência 3/201
1.2 - Sistemas de distribuição primária
As redes de distribuição primária (média tensão) emergem das SEs de
distribuição e operam, no caso da rede aérea, radialmente, com possibilidade
de transferência de blocos de carga entre circuitos para o atendimento da
operação em condições de contingência, devido à manutenção corretiva,
preventiva e outras situações.
1.3 - Redes de Distribuição
As redes de distribuição alimentam consumidores residenciais e industriais de
médio e pequeno porte, consumidores comerciais e de serviços.
a) Redes de Média Tensão
Os troncos dos alimentadores empregam, usualmente, condutores de seção
336,4 MCM permitindo, na tensão de 13,8 kV, o transporte de 12MVA de
potência máxima, que face a necessidade de transferência de blocos de carga
entre alimentadores, fica limitada em torno de 8 MVA. Estas redes atendem os
consumidores primários e aos transformadores de distribuição (estações
transformadoras). Podem ser aéreas ou subterrâneas, sendo que as primeiras
são mais difundidas devido ao seu custo menor, e, as segundas têm grande
aplicação em áreas de maior densidade de carga (zona central de uma
metrópole).
b) Redes em Baixa Tensão (BT)
O objetivo das redes em baixa tensão é transportar eletricidade das redes de
média tensão para os consumidores de baixa tensão.
A rede BT representa o nível final na estrutura de um sistema de potência. Um
grande número de consumidores, setor residencial, é atendido pelas redes em
BT. Tais redes são em geral operadas manualmente, nas tensões de 220/127
V ou 380/220 V..
A Tabela 1 mostra um diagrama com a representação dos vários segmentos de
um sistema de potência com seus respectivos níveis de tensão.
Tensão (kV) Campo de
aplicação
Área do sistema
de potência
Padronizada Existente
0,220/0,127 0,110 Distribuição
secundária (BT)
Distribuição
0,380/0,220 0,230/0,115
13,8 11,9 Distribuição
primária (MT)
34,5 22,5
34,5
88,0
Subtransmissão
(AT)
69,0
138,0
138,0
440,0
750,0
Transmissão Transmissão
230,0
345,0
500,0
Tabela 1 – Tensões usuais em sistemas de potência.
Eng.º Eletricista Flávio Henrique SEP - Sistema Elétrico de Potência 4/201
1.3.1 - Conceitos básicos da Distribuição
Rede de Distribuição Aérea Urbana → Parte integrante do Sistema de
Distribuição Aérea, localizada dentro de perímetro urbano de cada
localidade.
Rede de distribuição aérea rural → Rede de Distribuição situada fora do
perímetro urbano de cidades.
Rede de Distribuição Primária → Parte de uma Rede de Distribuição que
alimenta transformadores de distribuição e / ou pontos de entrega sob uma
mesma tensão primária nominal.
Alimentador de Distribuição → Parte da Rede de Distribuição Primária que
alimenta, diretamente ou por intermédio de seus ramais, os transformadores de
distribuição da concessionária e/ou consumidores.
Tronco de Alimentador → Parte de um Alimentador de Distribuição que
transporta a parcela principal da carga total.
Ramal de Alimentador → Parte de um Alimentador de Distribuição que deriva
do Tronco de Alimentador e que alimenta diretamente os transformadores de
distribuição e / ou pontos de entrega de consumidores em tensão primária.
Rede de Distribuição Secundária → Rede elétrica que leva energia dos
transformadores de distribuição aos pontos de entrega.
Ramal de Ligação → Conjunto de condutores e acessórios que ligam uma
Rede de Distribuição Secundária a uma ou mais unidades de consumo.
Carga Instalada → Soma das potências nominais (em kW) dos equipamentos
de uma unidade de consumo que, uma vez concluídos os trabalhos de
instalação, estão em condições de entrar em funcionamento.
Demanda → Potência (kVA ou kW), requisitada por determinada carga
instalada, durante um intervalo de tempo especificado. Normalmente se
considera a potência média de 15 minutos.
Demanda Máxima → Maior de todas as demandas registradas ou ocorridas
durante um intervalo de tempo especificado.
Demanda Simultânea → Soma das demandas verificadas num mesmo
intervalo de tempo especificado.
Demanda Simultânea Máxima → Maior das demandas simultâneas
registradas durante um intervalo de tempo especificado.
Fator de Demanda → Relação entre a demanda máxima de uma instalação,
verificada em um intervalo de tempo especificado e a correspondente carga
instalada total.
Eng.º Eletricista Flávio Henrique SEP - Sistema Elétrico de Potência 5/201
Fator de Carga → Relação entre a demanda média obtida com base no
consumo e a demanda máxima no mesmo intervalo de tempo especificado.
Demanda Diversificada → Contribuição de um consumidor para a demanda
máxima do grupo a que pertence e que está alimentado pela mesma fonte de
energia elétrica. É também a demanda resultante da carga, tomada em
conjunto de um grupo de consumidores ligados em um mesmo circuito.
Queda de Tensão → Diferença entre as tensões elétricas existentes em dois
pontos distintos de um circuito, percorrido por corrente elétrica, observadas no
mesmo instante.
Fator de Potência → Relação entre a potência ativa e a potência aparente.
Consumo → Quantidade de energia elétrica (kWh) absorvida em um dado
intervalo de tempo.
Consumidores Especiais → Consumidores cujas cargas ocasionam
flutuações de tensão na rede, necessitando, portanto, de uma análise
específica para o dimensionamento elétrico da mesma.
kVA Térmico → Potência limite de carregamento do transformador,
estabelecida em função de suas características do tipo de curva de carga,
adotando máximo de 130 %.
Chaves de Proteção → Chaves utilizadas com a finalidade básica de proteção
dos circuitos primários de distribuição ou de equipamentos neles instalados,
desligando automaticamente os circuitos ou equipamentos que estejam sob
condições de defeito ou sob tensão ou correntes anormais.
Chaves Fusíveis de Distribuição → Chaves com função principal de proteger
ou isolar automaticamente parte da rede, baseado em princípio térmico,
através de sobreaquecimento e fusão de um elo condutor fusível quando
atingido o limite de corrente pré-estabelecido.
Chaves Seccionadoras Tipo Faca → Chaves com função principal de permitir
conexão ou desconexão de parte da rede nas manobras por ocasião das
operações de fluxo de carga, de manutenção, de reforma ou de construção,
através de fechamento ou abertura de um componente em forma de barra
metálica basculante condutora, e operado mecanicamente com auxílio de vara
de manobra.
Eng.º Eletricista Flávio Henrique SEP - Sistema Elétrico de Potência 6/201
2- REDES AÉREAS DE DISTRIBUIÇÃO
2.1 – Introdução → São redes primárias e
secundárias, cujo transporte de energia elétrica
das subestações aos consumidores é feito,
através, de condutores, geralmente de alumínio
nú, instalados em estruturas constituídas de
postes, cruzetas, isoladores, ferragens e
acessórios.
2.1.1 - Redes aéreas urbanas
São redes que atendem os consumidores
residenciais, comerciais e industriais situados na
área urbana dos municípios. Utilizam,
geralmente, transformadores trifásicos para o
abaixamento da tensão, para suprimento dos
consumidores em BT, tanto residenciais, como
comerciais e industriais de pequeno porte.
Utilizam, também, poste de concreto do tipo
circular ou duplo T.
2.1.2 - Redes aéreas rurais
São aquelas que suprem os
consumidores situados na área rural
dos municípios. Devido abaixa
densidade de carga utilizam-se
redes monofásicas (fase/neutro) e
transformadores monofásicos. Os
postes das estruturas são,
geralmente, de madeira.
Eng.º Eletricista Flávio Henrique SEP - Sistema Elétrico de Potência 7/201
2.2 - MATERIAIS DE REDES DE DISTRIBUIÇÃO AÉREA
Figura 4 – Poste de concreto duplo T para distribuição e circular para
transmissão
2.2.1 - POSTES → São os elementos básicos das estruturas. São
especificados pelas suas dimensões geométricas (altura), material, forma e
pela resistência à flexão (máximo esforço horizontal). Exemplo: Poste de
concreto, seção circular, 11 m, 300 Kg. Podem ser de madeira, concreto e aço.
Figura 5 – Armação do suporte de ferro do poste de concreto circular
Eng.º Eletricista Flávio Henrique SEP - Sistema Elétrico de Potência 8/201
Figura 6 – Teste de esforço mecânico do poste de concreto circular
Figura 7 – Colocação da armação de ferro na forma do poste de concreto
Eng.º Eletricista Flávio Henrique SEP - Sistema Elétrico de Potência 9/201
2.2.1.1 - Poste de Madeira → Usado em linhas rurais, devido ao aspecto
estético. È mais barato, mais leve (cerca de 65% do peso do poste de
concreto) e de fácil manuseio. São usadas as madeiras de pinho, eucalipto,
etc. Com a proibição do uso da madeira de lei, ficou muito difundido o uso da
madeira branca, porém, para seu uso a PB-45 da ABNT, determina que “todo
poste que não for de madeira de lei, deverá ser tratado e levar bandagens com
arame galvanizado no seu topo e no pé”. O tratamento é feito com a
penetração de um produto a base de alcatrão, para evitar o apodrecimento, o
aparecimento de fungos e de cupins.
2.2.1.2 - Poste de Concreto → Usado em todo tipo de redes aéreas. É mais
pesado, mais frágil em seu manuseio, e mais caro que o de madeira, porém,
suporta esforços mecânicos maiores que o poste de madeira. Podem ser:
 Circular;
 Duplo T.
Os postes de concreto tipo duplo T têm maior resistência mecânica e por isto
são usados em linhas de vãos maiores.
2.2.1.3 - Poste de aço → É mais utilizado para iluminação ornamental. São
mais leves, de fácil manuseio e mais caros que os postes de concreto e
requerem manutenção constante (pintura).
Observação: Preferencialmente, deverão ser instalados em poste de concreto,
equipamentos como: chave faca, chave fusível, banco de capacitores, estação
transformadora, religador, seccionalizador, regulador de tensão, entrada
primária.
Altura (m) Cód. da concessionária Esforço máximo (kgf)
10,5
14 300
15 600
18 1000
12
20 300
23 600
25 1000
Tabela 1 – Tipos de postes de concreto de uma concessionária de energia
elétrica
Deve-se frisar que o esforço horizontal mostrado na Tabela 9.1 é suposto a 20
cm do topo do poste.
Eng.º Eletricista Flávio Henrique SEP - Sistema Elétrico de Potência 10/201
Locação dos postes
Definido o traçado da rede, deve-se partir para a determinação da localização
dos postes. Para isto algumas regras básicas devem ser seguidas tais como:
 As observações feitas no levantamento de campo, devidamente
marcadas em planta, devem ser respeitadas;
 Utilizar vão básico igual a 35 m melhorando desta maneira os níveis de
iluminação pública. Para regiões rurais o vão básico poderá ser igual a
70 m, prevendo-se expansões futuras onde será locado um poste
intermediário der tal modo que o vão básico seja reduzido a 35 m;
 Nas vias públicas onde existam curvas, evidentemente a distância entre
postes poderá ser menor, evitando-se que condutores atravessem
propriedades particulares;
 Prever para que a poste não se localize em frente as portas, janelas,
sacadas , marquises, garagens, rebaixamentos de guias ou postos de
gasolina. Para isto, devem-se observar os afastamentos mínimos
impostos pelos manuais de padronização da concessionária local;
 Os postes devem ser locados no lado onde houver menor arborização;
 Em ruas onde a grande maioria dos consumidores se localizam em um
certo lado, os postes devem ser colocados neste mesmo lado.
2.2.2 – CRUZETAS → Elemento onde são colocados os pinos para fixação dos
isoladores. Normalmente são de madeira, medindo de 2 a 2,4 m, podendo,
também, ser de concreto, pouco usadas, de ferro, usadas em casos especiais
tais como travessias de ferrovias, rodovias, etc. ou de fibra de vidro para
atmosfera agressiva, com alto índice de poluição. Proporcionam o
espaçamento entre os condutores da rede primária. Para sua fixação ao poste
utiliza-se parafuso de cabeça quadrada, porcas e arruelas, também,
quadradas. Para anular o balanço, usa-se mão francesa.
Figura 8 – Poste de rede de distribuição equipado com cruzetas
Eng.º Eletricista Flávio Henrique SEP - Sistema Elétrico de Potência 11/201
2.2.3 – ISOLADORES → Os isoladores são elementos sólidos dotados de
propriedades mecânicas capazes de suportar os esforços produzidos pelos
condutores. Eletricamente, exercem a função de isolar os condutores,
submetidos a uma diferença de potencial em relação à terra (estrutura do
suporte) ou em relação a um outro condutor de fase. De maneira geral
classificam-se em duas categorias: apoio e de suspensão.
2.2.3.1 - Isoladores de apoio → São aqueles nos quais se apóiam os
condutores. No caso de redes de distribuição, os condutores são fixados aos
isoladores através de laços pré-formados, de forma a permitir um pequeno
deslocamento devido ao trabalho durante o ciclo de carga.
2.2.3.2 - Isolador roldana → É utilizado predominantemente nas redes de
distribuição urbana e rural secundária (220 ou 380 V). Podem ser encontrados
tanto em porcelana vitrificada, como em vidro recozido.
Figura 9 – Isolador tipo roldana para rede secundária (BT)
2.2.3.3 - Isolador de Pino → É utilizado geralmente em redes de distribuição
urbana e rural, primárias, até tensões de distribuição de 34,5 KV. Podem ser
fabricados em porcelana vitrificada ou vidro temperado.
Figura 10 – Isoladores para redes de distribuição
Eng.º Eletricista Flávio Henrique SEP - Sistema Elétrico de Potência 12/201
2.2.3.4 - Isoladores de suspensão → São aqueles, quando fixados à
estrutura, permitem o livre deslocamento em relação à vertical, através da
rotação do seu dispositivo de fixação. A fabricação dos isoladores, ainda, está
restrita a utilização de três matérias básicas:
 Cerâmica (porcelana marrom vitrificada)
 Vidro (temperado ou recozido)
 Fibra (epóxi, fibra de vidro ou resinas)
2.2.3.5 - Isolador de disco → Ou isolador de suspensão, são utilizados em
redes de distribuição urbana e rural primária, em estruturas de ancoragem e
amarração. Podem ser construídos tanto em porcelana vitrificada, como em
vidro temperado.
Figura 11 – Isolador de disco para redes primárias de distribuição (MT)
Figura 12 – Isoladores diversos para redes primárias de distribuição (MT)
Eng.º Eletricista Flávio Henrique SEP - Sistema Elétrico de Potência 13/201
2.2.3.6 - Isolador tipo castanha → É utilizado para separar mecanicamente o
circuito secundário (BT) ou ainda para isolar o cabo do estai. Normalmente é
fabricado em porcelana vitrificada. Além do tipo, o isolador deve ser definido
pele sua classe de isolação, por suas características mecânicas, geométricas e
ensaios padronizados.
Figura 13 – Isolador tipo castanha para rede secundária (BT) e estai
Figura 14 – Alça pre-formada utilizada na amarração dos condutores de redes
aéreas de distribuição
Eng.º Eletricista Flávio Henrique SEP - Sistema Elétrico de Potência 14/201
2.4 - FERRAGENS DE ESTRUTURAS BÁSICAS (Rede Convencional)
Segue abaixo uma descrição de algumas ferragens utilizadas na rede aérea de
distribuição:
 Afastador de armação secundária → ferragem instalada no poste na
qual é fixada uma armação secundária, para aumentar a distância desta
ao poste.
 Armação secundária → ferragem de que se fixa num poste e, na qual,
são fixados condutores de uma rede de BT em condutores tipo roldana.
 Cinta → ferragem que se fixa em torno do poste para proporcionar um
apoio rígido para uma outra ferragem ou equipamento.
Eng.º Eletricista Flávio Henrique SEP - Sistema Elétrico de Potência 15/201
 Mão francesa → ferragem de linha aérea que se impede a rotação de
uma cruzeta em torno de seu ponto de fixação num poste, segundo um
plano vertical.
 Pino de isolador → ferragem de linha aérea que se fixa numa
superfície, em geral a face superior de uma cruzeta, no qual é fixado um
isolador de pino.
 Sela para cruzeta → ferragem de linha aérea que se apóia uma cruzeta
num poste de concreto circular.
Eng.º Eletricista Flávio Henrique SEP - Sistema Elétrico de Potência 16/201
 Suporte para transformador → ferragem utilizada para apoiar um
transformador de distribuição.
2.4 - FERRAGENS DE ESTRUTURAS BÁSICAS (Rede Compacta)
Braço Tipo “L” → ferragem, em formato “L”, presa ao poste, com a função de
sustentação do cabo mensageiro da rede compacta, em condição de tangência
ou com ângulos de deflexão de até 6º.
Braço Tipo “C” → ferragem, em formato “C”, presa ao poste, com a finalidade
de sustentação das fases em condições de ângulo e de final de linha,
derivações e conexão de equipamento à rede.
Eng.º Eletricista Flávio Henrique SEP - Sistema Elétrico de Potência 17/201
Suporte “Z” → ferragem, em formato “Z”, com a função de fixação de chave fusível
e/ou de pára-raios ao braço tipo “C”.
Cantoneira Auxiliar para Braço Tipo “C” → ferragem utilizada para
encabeçamento das fases, na extremidade superior do braço tipo “C” ou para
instalação de chaves fusíveis ou de pára-raios.
Estribo para Braço Tipo “L” → ferragem complementar ao braço tipo “L” cuja função
é a sustentação do espaçador junto ao braço.
Eng.º Eletricista Flávio Henrique SEP - Sistema Elétrico de Potência 18/201
2.5 – Condutores → O cabo de alumínio (CA) é um encordoado concêntrico de
condutores, composto de uma ou mais camadas helicoidais (coroas) de fios de
alumínio, usualmente de mesmo diâmetro. As camadas helicoidais sucessivas
são enroladas em sentidos opostos. A primeira camada (fio central) é
constituída por um único fio, a segunda camada contará com 6 fios e a cada
camada subsequente são adicionados 6 fios, de modo que se terá no total 7,
19, 37, 61 fios conforme o cabo disponha de 2, 3, 4 ou 5 camadas.
Para cabos de alumínio com alma de aço (CAA) a construção é similar exceto
pelo fato que nas camadas iniciais utilizam-se fios de aço e nas mais externas,
fios de alumínio.
Na figura 15, apresenta-se a seção reta de um cabo CA (a), com 19 fios de
alumínio, e de um CAA (b), com 7 fios de aço e 30 fios de alumínio. Os cabos
CAA são identificados, dentre outros elementos, pelo número de fios de
alumínio e de aço, assim, para o caso da figura 21 (b) teremos cabo CAA 30
Al/7 Aço, ou, mais simplesmente, cabo CAA 30/7.
Figura 15 – Cabos CA (a) e CAA (b)
Os cabos CAA são utilizados, mais correntemente, em linhas de transmissão
que apresentam os maiores vãos. Nas redes de distribuição em média tensão
urbanas, estando o vão limitado a cerca de 30 a 40 m, utilizam-se cabos CA.
Para as redes rurais podem-se utilizar os dois casos em função das
características da área onde a rede se desenvolve. Finalmente, nas redes de
baixa tensão utilizam-se cabos CA protegidos ou nus.
Figura 16 – Características mecânicas de linhas aéreas
Seções da série métrica → as normas brasileiras definem que a identificação
dos condutores, quanto à área da seção transversal, é feita pela sua seção
Eng.º Eletricista Flávio Henrique SEP - Sistema Elétrico de Potência 19/201
nominal em mm2
. Na Tabela 1 apresenta-se a série de seções nominais
normalizadas.
Seções nominais normalizadas (mm2
)
0,5 0,75 1 1,5 2,5 4 6 10 16
25 35 50 70 95 120 150 185 240
300 400 500 630 800 1000 1200 1600 2000
Tabela 1 – Seções nominais em mm2
Seções definidas pela American Wire Gage (AWG) → mesmo não sendo
aceita pelas normas brasileiras merece detalhamento, pois que seu uso é
extremamente difundido em sistemas elétricos de potência.
Cada seção nominal é identificada por um código numérico seqüencial (bitola)
que se estende desde o código 36 (seção de menor diâmetro) até o código 1.
Conta ainda com os códigos adicionais 0 (1/0), 00 (2/0), 000 (3/0) e 0000 (4/0).
Para cabos maiores do que o 4/0 AWG substitui-se a série AWG pela área de
sua seção reta em MCM. Assim, define-se o “circular mil”, CM, que representa
a área de um condutor circular cujo diâmetro é um milésimo de polegada, isto
é:
ou
Sendo essa unidade muito pequena, define-se, seu múltiplo, o MCM, que
corresponde a 1000 CM, isto é, 1 MCM = 0,506707 mm2
.
Eng.º Eletricista Flávio Henrique SEP - Sistema Elétrico de Potência 20/201
Condutores padronizados para redes de distribuição → Os condutores
padronizados para uso nas redes primárias das concessionárias, em geral, são
os seguintes:
 Cabo de alumínio nú, sem alma de aço, nas bitolas 1/0 AWG, 3/0 AWG,
e 336.4 MCM;
 Cabo de alumínio nú, com alma de aço, nas bitolas 1/0 AWG, 3/0 AWG,
e 336.4 MCM;
 Cabo de alumínio, semi isolado através de capa de PVC, ou XLPE nas
bitolas 1/0 AWG 3/0 AWG e 336.4 MCM;
 Cabo pré-reunido de alumínio, isolado em XLPE ou EPR, formação
triplex com cabo mensageiro, na bitola 240 mm²;
 Cabo isolado, subterrâneo, de cobre, bitola 500 MCM (exclusivamente
para as saídas de ETDs).
 Cabo dotado de cobertura protetora extrudada (XLPE), nas bitolas 70
mm2
e 185 mm2
;
 Cabo Mensageiro, cordoalha composta por fios de aço zincado, diâmetro
9,54 mm (3/8”), utilizado para sustentação da Rede Compacta;
 Cabo de Alumínio Multiplexado, auto sustentado, neutro nú em alumínio
e fases em alumínio isolado, em XLPE 0,6/1 kV, nas bitolas 70 mm2
e
120 mm2
.
Normalmente deverá ser utilizado o condutor nú de alumínio, sem alma de aço,
sendo os demais aplicados em situações especiais:
 Cabo de alumínio nú → com alma de aço: o aço confere maior
capacidade de serem suportados os esforços mecânicos que solicitam o
condutor. Neste caso têm-se maior segurança contra o rompimento de
condutores tornando-os adequados para travessias de rios, rodovias,
ferrovias, etc. Ou sempre que for necessário uma tensão (mecânica)
sobre os postes acima do limite indicado para o cabo sem alma de aço;
 Cabo pré-reunido → deve ser utilizado nos casos em que haja
restrições ao uso de redes aéreas convencionais, tais como:
 Nas regiões arborizadas em que a continuidade de serviço seja
essencial. O cabo pré-reunido é um cabo isolado e portanto fornece
melhor proteção do que o semi isolado Entretanto, devido ao custo
relativamente elevado, nesta aplicação ele deve ser usado apenas em
casos excepcionais, quando seja comprovadamente necessário;
 Nas saídas de ETD ou em outras situações em que seja necessária a
passagem de mais do que um circuito na mesma posteação;
 Nos casos em que não seja possível garantir o afastamento mínimo
entre fase e massa como, por exemplo, nos locais onde não se
consegue o afastamento mínimo de sacadas ou marquises. A
formação triplex deste cabo dispensa, é claro, o espaçamento entre
fase e massa.
Eng.º Eletricista Flávio Henrique SEP - Sistema Elétrico de Potência 21/201
 Por ser um cabo triplexado não deve se utilizado em trechos onde
exista, ou seja previsível, a necessidade de derivação do circuito.
 Cabo dotado de cobertura protetora extrudada (XLPE), nas bitolas
70 mm2
e 185 mm2
→ Este padrão construtivo deve ser aplicado nas
seguintes ocasiões:
 Todas as redes de distribuição de empreendimentos particulares;
 Regiões densamente arborizadas;
 Regiões com altos índices de descargas atmosféricas, pois o cabo
mensageiro serve como elemento atenuante para as descargas
atmosféricas;
 Saída de ETD´s, viabilizando, de acordo com as necessidades, uma
alternativa técnico econômica às redes isoladas multiplexadas e
trechos de redes subterrâneas;
Para otimização do espaço disponível na estrutura física da rede aérea de
distribuição.
Seção
AWG/MCM
mm
2
Corrente (A)
Admissível Operação
336.4 170,6 430 292
3/0 85,0 275 206
1/0 53,5 200 150
Tabela 2 – Carregamentos máximos admissíveis para condutores
2.6 – Acessórios
2.6.1 – Rede Compacta
Figura 17 - Afastador losangular
Eng.º Eletricista Flávio Henrique SEP - Sistema Elétrico de Potência 22/201
Figura 18 - Afastador vertical
Figura 19 – Flying-Tap de Rede Compacta
Eng.º Eletricista Flávio Henrique SEP - Sistema Elétrico de Potência 23/201
2.6.2 - Conectores
Com alta condutibilidade elétrica, O conector tipo cunha é fabricado em liga de
alumínio, para utilização nas conexões bimetálicas (Al/Cu) e de condutores
Al/Al (com ou sem alma de aço), sólidos ou multifilares. A aplicação é
realizada através de ferramenta apropriada, com a deflagração de
cartuchos de pólvora, projetados de acordo com o dimensionamento do
conector. Se houver necessidade, o conector poderá ser removido sem
danificar os condutores.
Com a utilização de um dos dois modelos de ferramentas disponíveis, para
cartucho plástico ou metálico, a aplicação do CADC é bastante simples, sendo
a ferramenta escolhida carregada com o cartucho correspondente e fixada no
conector.
Aplicação do conector tipo cunha
Com cartucho metálico
Para a opção do cartucho metálico, a ferramenta utilizada possui um gatilho
disparador, dispensando o uso do martelo.
Com cartucho plástico
Na aplicação do conector com o cartucho plástico, é utilizado um martelo para
acionamento do disparador da ferramenta.
Eng.º Eletricista Flávio Henrique SEP - Sistema Elétrico de Potência 24/201
Derivações e Ligações de Equipamentos
Nas derivações, deverá ser utilizado conector tipo cunha alumínio com protetor
de conector, inclusive no conector com estribo para ligação de equipamentos,
onde deverá ser feita uma fenda no protetor de conector para instalação do
estribo.
Figura - Aplicação do protetor de conector tipo cunha derivação
Eng.º Eletricista Flávio Henrique SEP - Sistema Elétrico de Potência 25/201
3 - EQUIPAMENTOS DE REDES AÉREAS
3.1 - Transformadores de Distribuição
Figura 21 – Transformador de distribuição trifásico
O transformador de distribuição (ou Estação Transformadora – E.T.) reduz a
tensão primária, ou média tensão, para a de distribuição secundária, ou baixa
tensão.
Contam com pára-raios para a proteção contra sobretensões, e elos fusíveis
para a proteção contra sobrecorrentes, instalados no primário.
De seu secundário deriva-se sem proteção alguma, a rede secundária. Nas
redes aéreas urbanas utilizam-se, transformadores trifásicos instalados
diretamente nos postes.
Em geral, suas potências nominais são fixadas na série padronizada, isto é:
 15 – 30 – 45 – 75 – 112,5 - 150 – 225 e 300 kVA.
No Brasil, a tensão de distribuição secundária está padronizada nos valores de
220/127 V e 380/220 V, havendo predomínio da primeira nos estados das
regiões sul e sudeste e da segunda no restante do país.
O esquema mais usual consiste na utilização de transformadores trifásicos,
com resfriamento a óleo, estando os enrolamentos do primário ligados em
triângulo e os do secundário em estrela, com centro estrela aterrado.
Utilizam-se ainda, em alguns sistemas, transformadores monofásicos e bancos
de transformadores monofásicos.
Na figura 22, ilustra-se uma montagem de estrutura de transformador trifásico
em rede convencional.
Nas redes subterrâneas, a E.T., usualmente utilizando transformador trifásico,
pode ser do tipo “pad mounted” (figura 23), quando o transformador é instalado
Eng.º Eletricista Flávio Henrique SEP - Sistema Elétrico de Potência 26/201
abrigado em estrutura em alvenaria ao nível do solo, ou em cubículo
subterrâneo, “vault”, quando o transformador deve ser do tipo submersível.
Figura – 22 – Estação Transformadora Trifásica em poste de concreto
Figura – 23 – Transformador tipo “Pad Mounted”
Eng.º Eletricista Flávio Henrique SEP - Sistema Elétrico de Potência 27/201
Componentes construtivos
Os transformadores são constituídos basicamente de uma parte ativa e de
acessórios complementares.
I - Parte ativa
Compreende as bobinas (enrolamentos do primário e do secundário) e o
núcleo ferromagnético. Para que haja um funcionamento eficaz, é necessário
que seus componentes sejam prensados e devidamente calçados, a fim de
suportarem as mais diferentes condições ambientais a que são submetidos.
Os enrolamentos são constituídos de fios de cobre, de seção retangular ou
circular, isolados com esmalte ou papel. Os enrolamentos de BT e AT (Figura
24) normalmente são concêntricos, onde a BT ocupa a parte interna e a AT a
parte externa, sendo estes fracionados em bobinas de menor número de
espiras, chamadas “panquecas”, por motivo de isolação, facilidade de
manutenção e retirada das derivações para conexão ao comutador.
(a) (b)
Figura 24 – Enrolamentos de um transformador: (a) BT; (b) AT
Figura 25 – Disposição dos enrolamentos no núcleo do trafo.
O núcleo é constituído de lâminas de material ferromagnético, contendo em
sua composição o silício, que possui excelentes características de
magnetização e baixas perdas por histerese. O empilhamento das lâminas,
Eng.º Eletricista Flávio Henrique SEP - Sistema Elétrico de Potência 28/201
isoladas entre si e do núcleo, é feito para minimizar a ação das correntes
parasitas provenientes da variação de fluxo ocorridos sobre o material, que é
condutor.
II - Acessórios complementares
 a) Tanque → Serve de invólucro da parte ativa e do líquido isolante.
Nele encontramos os suportes para fixação em postes, ganchos olhais
de suspensão, tampa de inspeção, conector de aterramento, fios de
passagem das buchas, placa de identificação, radiadores, dispositivos
de drenagem do líquido isolante, visor de nível do óleo, etc.
 b) Buchas → São dispositivos que permitem a passagem dos
condutores constituintes dos enrolamentos para o meio externo (redes
elétricas). São constituídos de corpo isolante (porcelana), condutor
passante (cobre ou latão), terminal (bronze ou latão) e vedações
(borracha e papelão).
 c) Radiadores → O calor gerado na parte ativa se propaga pelo óleo,
sendo dissipado na tampa e laterais do tanque (Figura 26). Em casos
especiais (potência elevada e ventilação insuficiente) os
transformadores são munidos de radiadores, que aumentam a área de
dissipação, ou adaptados com ventilação forçada.
 d) Comutador → É um dispositivo mecânico que permite variar o
número de espiras dos enrolamentos de alta tensão, como mostra a
Figura 27. Sua finalidade é corrigir o desnível de tensão existente nas
redes de distribuição, devido à queda de tensão ocorrida ao longo das
mesmas.
Figura 26 – Radiador Figura 27 - Comutador
 e) Placa de identificação → Construída em alumínio ou aço inoxidável,
onde constam todas as informações construtivas resumidas e
normatizadas do aparelho, conforme exemplo da Figura 28.
Eng.º Eletricista Flávio Henrique SEP - Sistema Elétrico de Potência 29/201
Entre as informações fornecidas pela placa encontram-se:
 nome e dados do fabricante;
 numeração da placa;
 indicação das NBRs;
 potência (kVA);
 impedância equivalente (%);
 tensões nominais (AT e BT);
 tipo de óleo isolante;
 diagramas de ligações;
 diagrama fasorial;
 massa total (kg);
 volume total do líquido (l).
Figura 28 – Exemplo de placa de identificação de transformador.
Eng.º Eletricista Flávio Henrique SEP - Sistema Elétrico de Potência 30/201
3.2 - Banco de Capacitores
Figura 29 – Banco de Capacitores de rede de distribuição
Introdução
Fluxo de reativos indesejável na rede pode ser detectado pelo fator de
potência. Um circuito pode, então, apresentar problemas por queda de tensão,
por fator de potência baixo, ou ambos.
As soluções em tais casos são buscadas na seguinte ordem:
a) Circuito com fator de potência baixo:
 aplicação de banco capacitores.
b) Circuitos com fator de potência baixo e queda de tensão fora dos limites
aceitáveis:
 aplicação de banco de capacitores;
 aplicação de reguladores de tensão, caso ainda necessário.
c) Circuitos com fator de potência acima do limite mínimo aceitável e queda de
tensão fora dos limites aceitáveis:
 aplicação de regulador de tensão;
 divisão de circuito.
Tipos de Bancos de Capacitores
De acordo com a forma de ligação e operação, os bancos podem ser
classificados como:
 Diretos ou fixos → são ligados diretamente no circuito primário através
de equipamento de proteção e manobra (chave fusível). São também
chamados de fixos porque funcionam permanentemente na rede.
 Automáticos → são acionados através de equipamento automático
acoplado à chave a óleo. O acionamento pode ser feito em horário pré-
estabelecido (relé de tempo) ou numa determinada referência de tensão
(relé conjugado).
Esses bancos encontram-se instalados em circuitos primários 13,8 kV.
Eng.º Eletricista Flávio Henrique SEP - Sistema Elétrico de Potência 31/201
Exemplo de Aplicação: processo de determinação das potências dos bancos
de capacitores a serem instalados e da sua localização preliminar no circuito
primário, cujos perfis de carga são mostrados para as condições de carga
mínima (Figura 30 – Perfil a) e carga máxima (Figura 31 – Perfil a’).
Figura 30 – Compensação reativa na condição de mínima carga (perfil a)
Figura 31 – Compensação reativa na condição de máxima carga (perfil a’)
Eng.º Eletricista Flávio Henrique SEP - Sistema Elétrico de Potência 32/201
Inicialmente são locados os bancos do tipo direto, procurando-se compensar
todo perfil de carga relativa na condição mínima carga (Figura 30).
O total a ser compensado é 2.500 kVAr.
O perfil “a” mostra que existe carga reativa concentrada de 700 kVAr no final do
circuito. Instala-se então um banco direto de 600 kVAr no ponto A, obtendo-se
o perfil compensado “b”.
A seguir, como há um trecho do circuito com carga distribuída de maneira
aproximada uniforme, pode-se instalar um banco direto de 1.200 kVAr no ponto
B conforme mostrado na Figura 30, obtendo-se o perfil c.
Finalmente, instala-se outro banco direto de 600 kVAr no ponto C, resultando o
perfil d.
Conforme pode ser observado no perfil d, o efeito final resistivo foi conseguido.
O passo seguinte é a instalação dos bancos automáticos a partir do perfil de
carga reativa na condição de máxima carga. (Figura 31).
O perfil a’ refere-se à carga reativa sem os bancos diretos. Com a instalação
dos bancos diretos obteve-se o perfil b’. O critério atual da empresa é buscar o
fator de potência unitário também para a carga máxima. Por isso, neste
exemplo, o total a ser compensado por meio de bancos automáticos é 2460
kVAr.
A instalação de dois bancos automáticos de 1200 kVAr nos pontos D e E
permite a obtenção do perfil c’, com efeito final resistivo.
Os bancos de capacitores trazem os seguintes benefícios para a rede.
 Diminuição das perdas no alimentador
 Melhoria no fator de potência
 Aumento da disponibilidade de carga do sistema
 Elevação do nível de tensão
Os bancos automáticos provocam um benefício adicional que é a regulação de
tensão. Os automáticos com comando de tempo só podem ser usados em
circuitos com ciclo de carga bem definido. E os automáticos com comando de
tempo x tensão (relé conjugado) permitem faixas de regularização diferentes
nos períodos de carga leve e pesada.
Eng.º Eletricista Flávio Henrique SEP - Sistema Elétrico de Potência 33/201
3.3 – Pára-raios
Figura – 30 – Pára-raios polimérico de rede de distribuição
Introdução
As linhas de transmissão e redes aéreas de distribuição urbanas e rurais são
extremamente vulneráveis às descargas atmosféricas que, em determinadas
condições podem provocar sobretensões elevadas no sistema (sobretensões
de origem externa), ocasionando a queima de equipamentos, tanto da
concessionária, quanto do consumidor de energia elétrica.
Para que se protejam os sistemas elétricos dos surtos de tensão, que também
podem ter origem durante manobras de chaves seccionadoras e disjuntores
(sobretensão de origem interna) são instalados os pára-raios que devem
reduzir essa sobretensão para valores compatíveis com a suportabilidade
desses sistemas.
Partes componentes dos pára-raios
Os pára-raios utilizam as propriedades de não-linearidade dos elementos de
que são fabricados para conduzir as correntes de descarga associadas às
tensões induzidas nas redes e em seguida interromper as correntes
subseqüentes, isto é, aquelas que se sucedem às correntes de descarga após
a sua condução à terra.
Atualmente temos 2 tipos de elementos de características não-lineares que
são: carboneto de silício (SiC) e óxido de zinco.
Pára-raios de carboneto de silício (SiC)
Utilizam como resistor não-linear o carboneto de silício (conduz alta corrente de
descarga com baixa tensão residual, mas oferece impedância à corrente
subseqüente do sistema) e tem em série com este um centelhador formado por
vários gaps (espaços vazios).
Eng.º Eletricista Flávio Henrique SEP - Sistema Elétrico de Potência 34/201
Partes
A) Resistor não-linear → conseguida dos fabricantes de peça de
esmerilhamento (carborundo), centelhadores de liga de cobre, nitrogênio
sobre pressão (estanqueidade);
B) Corpo de porcelana → porcelana vitrificada de alta resistência
mecânica e dielétrica, quando submetido a uma descarga aumenta-se a
sua temperatura;
C) Centelhador série → um ou mais espaçadores entre eletrodos em série
com o resistor com a finalidade de assegurar uma rápida extinção de
corrente subseqüente fornecida pelo sistema;
D) Desligador automático → elemento resistivo em série com uma
cápsula explosiva protegida por um corpo de baquelite. É projetado para
não operar na descarga e sim desligar o pára-raio defeituoso através de
sua auto-explosão (indicador visual de defeito);
E) Protetor contra sobre-pressão → destinado a aliviar pressão interna
devido a falhas ocasionais e permite o escape dos gases antes que haja
o rompimento da porcelana e cause acidentes.
Figura 31 - detalhes construtivos dos pára-raios
F) Mola de compressão → fio de aço de alta resistência mecânica, tem a
função de reduzir a resistência de contato entre os blocos cerâmicos.
Eng.º Eletricista Flávio Henrique SEP - Sistema Elétrico de Potência 35/201
Pára-raios de óxido de zinco (ZnO)
Figura 32 – Detalhes de montagem de pára-raios
Ao contrário do Carboneto de silício, não possuem centelhadores série.
Partes
A) Resistor não-linear → óxido de zinco possui excelentes caracterísiticas
de não-linearidade e não necessita de centelhadores;
Vantagens
 Não existe corrente subseqüente;
 Maior capacidade de absorção de energia;
 Por não possuir centelhadores, a curva de atuação dos pára-raios à
óxido de zinco não apresentam transitórios;
B) Corpo de porcelana → porcelana vitrificada de alta resistência
mecânica e dielétrica, quando submetido a uma descarga aumenta-se a
sua temperatura;
C) Corpo polimérico → borracha de silicone (não possuem vazios
interiores como os de porcelana) sendo que o risco de liberação de
fragmentos no caso de uma explosão é muito menor;
D) Desligador automático → alguns não possuem desligador
(identificação à olho nu praticamente impossível), para evitar esse
transtorno os mais modernos são dotados de indicador de falta;
Eng.º Eletricista Flávio Henrique SEP - Sistema Elétrico de Potência 36/201
Figura 33 – Pára-raios de corpo polimérico
Eng.º Eletricista Flávio Henrique SEP - Sistema Elétrico de Potência 37/201
3.4 - Reguladores de Tensão
Figura 32 – Reguladores de Tensão de rede de distribuição
O regulador de tensão é um equipamento destinado a manter um determinado
nível de tensão em um sistema elétrico, quando submetido a uma variação de
tensão fora dos limites especificados. É um autotransformador dotado de certo
número de derivações no enrolamento série.
As faixas de tensão adequadas, precárias e críticas no ponto de entrega devem
atender à Resolução 505 da ANEEL, conforme Tabela abaixo. Para a
execução do projeto, deve ser observada a faixa adequada.
Tabela 3 – Faixa de tensões admissíveis para consumidores atendidos em M.T.
Eng.º Eletricista Flávio Henrique SEP - Sistema Elétrico de Potência 38/201
Tabela 4 – Faixa de tensões admissíveis para consumidores atendidos em B.T.
Tabela 5 – Faixa de tensões admissíveis para consumidores atendidos em B.T.
Eng.º Eletricista Flávio Henrique SEP - Sistema Elétrico de Potência 39/201
No mercado há dois tipos de equipamentos destinados à correção de tensão
nas redes de distribuição, ou seja:
 Regulador de tensão autobooster;
 Regulador de tensão de 32 degraus.
Figura 33 – Detalhe do Regulador de Tensão
Eng.º Eletricista Flávio Henrique SEP - Sistema Elétrico de Potência 40/201
4 - DISPOSITIVOS DE PROTEÇÃO E MANOBRA
4.1 - Religadores automáticos
Figura 34 – Religador Automático (Cooper)
Dispositivo autocontrolado automático que interrompe e religa um circuito de
corrente alternada com uma sequência pré-determinada de abertura e
fechamento seguido por uma reinicialização, permanecendo fechado ou
bloqueado de acordo com as suas instruções operativas.
Na ocorrência de faltas os religadores são sensibilizados por sobrecorrentes
iniciando o ciclo de operação. Caso a sobrecorrente persista a sequência de
abertura e fechamento dos contatos é repetida até três vezes consecutivas e,
após a quarta abertura, os contatos ficam abertos e bloqueados, isolando a
parte defeituosa do sistema. Caso o defeito desapareça após o primeiro,
segundo ou terceiro intervalo de religamento, e decorrido o tempo de
reinicialização, o mecanismo rearma-se automaticamente tornando o religador
apto a realizar novamente a sequência completa de operações ajustadas no
religador.
4.2 - Chave fusível indicadora unipolar
Introdução
Chave fusível é um equipamento destinado à proteção de sobrecorrentes do
circuito primário, utilizada em redes aéreas de distribuição urbana e rural e em
pequenas subestações de consumidor e concessionárias. É dotada de um
elemento fusível que responde pelas características básicas de sua operação.
São também denominadas corta-circuitos e são fabricadas em diversos
modelos para diferentes níveis de tensão e corrente.
Eng.º Eletricista Flávio Henrique SEP - Sistema Elétrico de Potência 41/201
Figura 35 - Chave fusível de isolador de corpo único
A figura abaixo mostra um tipo de chave fusível de construção especial.
Denominada chave fusível religadora, é destinada à proteção de redes
aéreas de distribuição contra curtos-circuitos transitórios.
Principalmente indicadas para aplicação nas derivações importantes do tronco.
A troca de um simples elo fusível em locais de difícil acesso, devido às grandes
distâncias ou estradas intransitáveis ou ainda de equipes de manutenção não
disponíveis no momento necessário, faz elevar o tempo de interrupção e
conseqüentemente o custo da mesma. A chave reduz o tempo de retorno do
fornecimento de energia elétrica. É composta de três chaves fusíveis tipo C na
qual a corrente do sistema flui apenas pela primeira chave do conjunto. No
caso de um curto-circuito, o fusível da primeira chave funde-se, ocasionando a
queda do porta fusível que aciona o mecanismo de transferência da corrente
para a chave central. Permanecendo o defeito, o processo se repete,
transferindo o fluxo da corrente para a terceira chave.
.
Eng.º Eletricista Flávio Henrique SEP - Sistema Elétrico de Potência 42/201
Figura 36 - Chave fusível religadora de abertura monopolar
As chaves fusíveis unipolares são normalmente operadas através de varas de
manobra. As partes internas da vara de manobra são preenchidas com
poliuretano expandido, para aumentar a estabilidade e impedir o acúmulo de
umidade. São constituídas de seções com encaixe preciso e travamento
através pinos elásticos, com cabeçote móvel.
Figura 37 - Vara de manobra de fibra de vidro
Gancho da ferramenta de abertura em carga (load buster)
As chaves fusíveis não devem ser operadas em carga, devido à inexistência de
um sistema de extinção de arco. No entanto, com a utilização da ferramenta de
abertura em carga (load buster) pode-se operar a chave fusível.
Eng.º Eletricista Flávio Henrique SEP - Sistema Elétrico de Potência 43/201
Figura 38 – Ferramenta de abertura em carga na posição fechada
Eng.º Eletricista Flávio Henrique SEP - Sistema Elétrico de Potência 44/201
Figura 39 - Ferramenta de abertura em carga na posição de operação
Figura 40 - Expulsão dos gases do interior do cartucho
Figura 41 – Porta fusível
Eng.º Eletricista Flávio Henrique SEP - Sistema Elétrico de Potência 45/201
Figura 42 - Chave fusível de base tipo C
4.3 - Elo fusível
É um elemento metálico no qual é inserida uma parte sensível à correntes
elétricas elevadas, fundindo-se e rompendo-se num intervalo de tempo
inversamente proporcional à grandeza da referida corrente. O elo fusível é
utilizado no interior do cartucho ou porta fusível, preso nas suas próprias
extremidades.
Elo fusível de botão → são aqueles que possuem na extremidade superior um
botão metálico que deve ser preso na parte superior do porta fusível, mostrado
na figura a seguir, para elos de corrente entre 1 a 50 A.
Eng.º Eletricista Flávio Henrique SEP - Sistema Elétrico de Potência 46/201
Figura 43 – Tipos de elos fusíveis: botão e argola
Elemento fusível → é constituído de uma liga de estanho e representa a parte
fundamental do elo fusível.
Tubinho → é constituído de material isolante e se destina à proteção do
elemento fusível.
Rabicho → é constituído de um condutor estanhado composto de vários fios
de pequeno diâmetro, devendo ser altamente flexível para não interferir no
funcionamento da chave fusível.
Características elétricas
Os elos fusíveis são caracterizados pelas curvas de atuação tempo x corrente
que permitem classificá-los em vários tipos:
Elo fusível do tipo H → utilizado na proteção primária do transformador de
distribuição e fabricados para correntes de até 5 A. São considerados elos
fusíveis de alto surto, isto é, apresentam um tempo de atuação lento para
altas correntes.
Elo fusível do tipo K
É largamente utilizado na proteção de redes aéreas de distribuição urbanas e
rurais. Estes elos são considerados fusíveis de atuação rápida e têm família
de curva x corrente apresentada na figura.
Eng.º Eletricista Flávio Henrique SEP - Sistema Elétrico de Potência 47/201
Figura 44 – Curva tempo x corrente dos elos fusíveis tipo H
Para que se escolha adequadamente o elo fusível destinado à proteção de um
determinado transformador, basta consultar a Tabela 1.
Elo fusível do tipo H → utilizado na proteção primária do transformador de
distribuição e fabricados para correntes de até 5 A. São considerados elos
fusíveis de atuação lenta e sua principal finalidade é proteger ramais primários
de distribuição.
Para que possa utilizar com boa técnica os elos fusíveis nas redes de
distribuição aéreas, deve-se proceder a coordenação de vários elementos
instalados ao longo do alimentador.
Figura 45 – Posições dos elos fusíveis protegidos e protetores
Eng.º Eletricista Flávio Henrique SEP - Sistema Elétrico de Potência 48/201
Potência do transformador (kVA) 13,8 kV
15 1 H
30 2 H
45 3 H
75 5 H
112,5 6 K
150 8 K
225 10 K
300 15 K
Tabela 3 – Escolha dos elos fusíveis K e H
Elo Fusível Protegido (tipo K)
Elo
Fusível
protetor
(tipo
K)
12 15 20 25 30 40 50 65 80 100 140 200
6 350 510 650 840 1060 1340 1700 2200 2800 3900 5800 9200
8 210 440 650 840 1060 1340 1700 2200 2800 3900 5800 9200
10 300 540 840 1060 1340 1700 2200 2800 3900 5800 9200
12 320 710 1050 1340 1700 2200 2800 3900 5800 9200
15 430 870 1340 1700 2200 2800 3900 5800 9200
20 500 1100 1700 2200 2800 3900 5800 9200
25 660 1350 2200 2800 3900 5800 9200
30 850 1700 2800 3900 5800 9200
40 1100 2200 3900 5800 9200
50 1450 3500 5800 9200
65 2400 5800 9200
80 4500 9200
100 2000 9100
140 4000
Tabela 4 – Coordenação entre elos fusíveis K
Eng.º Eletricista Flávio Henrique SEP - Sistema Elétrico de Potência 49/201
5 - PROJETOS DE REDES DE DISTRIBUIÇÃO AÉREA URBANAS
5.1 - Roteiro para elaboração de projetos
5.1.1 – Obtenção dos dados preliminares → Consiste na obtenção dos
dados necessários à elaboração do projeto, tais como:
a) Objetivo do projeto a ser elaborado → Consiste em determinar o tipo
de projeto a ser elaborado e sua finalidade (expansão, reforma ou
reforço).
b) Obtenção da planta da área, com arruamento, etc. → devem ser
obtidas as características do circuito, arruamento, edificações, além de
áreas ambientais da área a ser atendida.
No caso de atendimento a novas áreas, por exemplo, um novo
loteamento, deve ser obtida uma planta georeferenciada, em escala
adequada (normalmente 1:1000), junto ao responsável pelo
empreendimento.
c) Estudo básico da área → Para novas áreas devem ser feito um
estudo básico considerando as condições do local, o grau e tipo de
urbanização, tipo de arborização, dimensões dos lotes e características
da área a ser atendida.
d) Planos e projetos previamente existentes para a área → Devem ser
levantados prováveis projetos anteriormente elaborados para a área
abrangida, ainda não construídos ou em construção, e que possam ser
considerados no projeto em elaboração.
5.1.2 – Levantamento da carga e determinação de demandas → Consiste
no levantamento da carga a ser atendida e na determinação da demanda total.
5.1.3 - Locação dos postes → Consiste na locação física dos postes,
observando-se os requisitos de espaçamento, de segurança, de iluminação
pública desejável, etc.
5.1.4 - Dimensionamento elétrico → Refere-se à definição da configuração do
circuito, carregamento e seção transversal dos condutores da rede primária e
secundária, localização e dimensionamento de transformadores e proteção
contra sobretensão.
5.1.5 - Dimensionamento mecânico → Refere-se ao dimensionamento de
postes e tipos de estruturas.
5.1.6 - Relação de material e orçamento → Relação dos materiais
necessários à construção da rede e elaboração do orçamento correspondente.
5.1.7 - Apresentação do projeto → Consiste do conjunto de desenhos,
cálculos, formulários, etc., que compõem o projeto.
Eng.º Eletricista Flávio Henrique SEP - Sistema Elétrico de Potência 50/201
5.2 - TIPOS DE PROJETOS
Os projetos de Redes de Distribuição Aéreas Urbanas devem ser dos
seguintes tipos:
1) CONEXÃO (atendimento ao mercado)
São projetos para atendimento a novos consumidores:
 Extensão de redes: envolve o prolongamento da rede existente;
 Modificação: não envolve extensão, mas exige mudanças na rede.
2) REFORMA (melhoria)
São considerados projetos de reforma os que envolvem obras relacionadas a:
 Aspectos de segurança (ex: afastamento de redes);
 Melhoria dos indicadores de desempenho DEC/FEC:
 Flexibilidade operativa (ex: interligação de alimentadores e by-pass
de localidades);
 Redução de interrupções (ex: substituição de rede nua para
protegida em local com algum tipo de interferência na rede como,
por exemplo, arborização);
 Balanceamento de fases;
 Melhoria do nível de tensão;
 Adequação do nível de carregamento dos transformadores.
3) AMPLIAÇÃO
São considerados de ampliação os projetos ligados a obras de:
 Alterações vinculadas à alta tensão ou subestações (ex.:novas
subestações e/ou aumento do número de alimentadores);
4) MANUTENÇÃO
 Recuperação física da rede (ex: substituição de cabo recozido);
 Poda de árvores;
 Substituição de materiais com defeito (ex: isolador quebrado, cruzeta
podre, equipamento com “ponto quente”, etc);
 Substituição de condutores (ex: subst. de cabo de cobre x alumínio);
Eng.º Eletricista Flávio Henrique SEP - Sistema Elétrico de Potência 51/201
6 - DIMENSIONAMENTO ELÉTRICO DOS CONDUTORES DE B. T.
6.1 - Introdução
Este cálculo permite dimensionar as bitolas (seções) dos condutores da rede
secundária dos diversos circuitos da rede de distribuição aérea, levando-se
em consideração as demandas diurnas e noturnas dos consumidores
endereçados em cada poste, bem como a potência nominal do
transformador de cada circuito.
As demandas dos consumidores residenciais serão tomadas em função da
faixa de consumo mensal de cada tipo de consumidor (ver tabelas 1 e 2).
Tipos de consumidores
(em função do consumo)
Faixa de consumo mensal em kWh
Baixo (P) De 0 a 75
Médio (M) De 76 a 150
Alto (G) De 151 a 300
Altíssimo (GA) Acima de 300
Tabela 1 – Demanda de consumidores
Para esta tabela considerar 100% para a demanda residencial noturna e 50%
para a demanda residencial diurna.
Número de
consumidores
residenciais
no circuito
Demanda noturna de consumidores residenciais por faixa de
consumo
P M G GA
01 a 05 0,35 0,70 1,38 4,62
06 a 10 0,33 0,62 1,28 4,04
11 a 15 0,31 0,54 1,17 3,47
16 a 20 0,29 0,49 1,07 2,90
21 a 25 0,28 0,45 0,97 2,50
26 a 30 0,27 0,42 0,87 2,13
31 a 40 0,26 0,39 0,78 1,75
Acima de 40 0,25 0,36 0,71 1,39
Tabela 2 – Demanda de consumidores residenciais.
Eng.º Eletricista Flávio Henrique SEP - Sistema Elétrico de Potência 52/201
Para a demanda noturna acrescentar a demanda da iluminação pública contida
na tabela 3.
Tipo de lâmpada Demanda (kVA)
VM – 80 (vapor de mercúrio 80 W) 0,10
VM – 125 (vapor de mercúrio 125 W) 0,15
VM – 250 (vapor de mercúrio 250 W) 0,29
VM – 400 (vapor de mercúrio 400 W) 0,46
VSO – 70 (vapor de sódio ovóide 70 W) 0,10
VSO – 150 (vapor de sódio ovóide 150 W) 0,19
VSO – 250 (vapor de sódio ovóide 250 W) 0,31
VSA – 400 (vapor de sódio tubular 400 W) 0,48
Tabela 3 – Demanda de iluminação pública.
Rede
(mm2
)
Sistema 220/127 V
FP = 0,92 FP = 1,00
3P12 (70) 0,0635 0,067
3P70 (70) 0,1156 0,1174
3P50 (50) 0,1503 0,1537
2 (CA) 0,2051 -
3A10(10) 0,1412 0,1249
3A30(10) 0,0918 0,0720
3A33(30) 0,0582 0,0361
2/0 (CA) 0,1183 -
4/0 (CA) 0,0851 -
Tabela 4 – Coeficiente de queda de tensão (% / kVA x hm) condutores de
alumínio isolados multiplexados e nús.
Eng.º Eletricista Flávio Henrique SEP - Sistema Elétrico de Potência 53/201
Cabo XLPE
Coeficiente de queda de tensão
(%/kVA x hm)
3 x 10 mm2
0,313
3 x 16 mm2
0,200
3 x 25 mm2
0,130
3 x 35 mm2
0,096
2 x 10 mm2
0,323
2 x 16 mm2
0,210
2 x 25 mm2
0,139
2 x 35 mm2
0,105
Tabela 5 – Coeficiente de queda de tensão (% / kVA x hm) condutores de cobre
isolados multiplexados.
Cálculos:
1) Num circuito secundário, determinar o valor da sua demanda noturna,
diurna e total de acordo com os valores abaixo fornecidos:
14 consumidores tipo M;
9 consumidores tipo P;
8 consumidores tipo G;
2 consumidores tipo GA;
19 luminárias de vapor de mercúrio de 125 W.
Consumidor tipo M: Demanda diurna = 14 x 0,27 = 3,78 kW
Demanda noturna = 14 x 0,54 = 7,56 kW
Consumidor tipo P: Demanda diurna = 9 x 0,165 = 1,485 kW
Demanda noturna = 9 x 0,33 = 2,97 kW
Consumidor tipo G: Demanda diurna = 8 x 0,64 = 5,12 kW
Demanda noturna = 8 x 1,28 = 10,24 kW
Consumidor tipo GA: Demanda diurna = 2 x 2,31 = 4,62 kW
Demanda noturna = 2 x 4,62 = 9,24 kW
Iluminação Pública: 19 lum. de 125 W: Demanda noturna = 19 x 0,15 = 2,85 kW
Demanda diurna total = 15,005 kVA
Demanda noturna total = 32,86 kVA
Demanda total do circuito = 32,86 kVA (considera-se a maior demanda)
Eng.º Eletricista Flávio Henrique SEP - Sistema Elétrico de Potência 54/201
6.2 - Níveis de tensão
A tensão nominal da rede secundária alimentada por transformadores trifásicos
é de 220/127V. A rede alimentada por transformadores monofásicos tem
tensão secundária de 240/120V.
Admite-se 5% como a máxima queda de tensão na rede secundária (entre a
bucha de BT do transformador e a última estrutura da rede de BT), em
condições normais de operação.
Este valor máximo é fixado para verificação da possibilidade de ligação de
novos consumidores sem necessidade de modificação de rede, dentro do
horizonte de planejamento considerado (cinco anos).
As faixas de tensão adequadas, precárias e críticas no ponto de entrega devem
atender à Resolução 505 da ANEEL, conforme Tabela abaixo.
Para a execução do projeto, deve ser observada a faixa adequada.
Classificação da Tensão de Atendimento (TA)
Faixa de variação da Tensão de Leitura (TL)
em relação à Tensão Contratada (TC)
Adequada 0,93 TC ≤ TL ≤ 1,05 TC
Precária 0,90 TC ≤ TL ≤ 0,93 TC
Crítica TL < 0,90 TC ou TL > 1,05 TC
Tabela 3 – Pontos de entrega ou conexão em 1 kV < VN < 69 kV
Tabela 4 – Faixa de tensões admissíveis para consumidores atendidos em B.T.
Eng.º Eletricista Flávio Henrique SEP - Sistema Elétrico de Potência 55/201
6.3 - CÁLCULO DE QUEDA DE TENSÃO
Para calcular a queda de tensão, adota-se a seguinte sequência:
a) Definir o posicionamento dos postes na planta em função da largura da
rua ou avenida;
b) Desenhar os postes na planta observando a distância dos cruzamentos
aéreos e dos vãos dos postes;
c) Endereçar as cargas dos consumidores nos postes (ver item 12),
observando o limite máximo de ramais de ligação por poste, e a
distância máxima permitida do ramal de ligação do consumidor;
d) Somar as cargas endereçadas em cada poste, noturna e diurna
separadamente (ver item 6), não esquecendo de somar a demanda
noturna da luminária de cada poste. Depois, somar as cargas noturnas e
diurnas de vários postes determinando, pela maior demanda, a potência
do transformador que atenderá este circuito;
e) Posicionar o transformador, sempre que possível, no centro das cargas
do circuito. Desenhar os cabos de BT e determinar as suas bitolas em
função da potência do transformador;
f) Antes de fazer o cálculo de queda de tensão do circuito para confirmar
ou não as bitolas estimadas no item anterior, faz-se necessário
desenhar o esquema unifilar do circuito, representando cada poste por
meio de um ponto e colocando em cada um as demandas noturnas (N) e
diurnas (D) endereçadas neste poste. Depois, colocar letras nos pontos
principais do circuito: transformador (início do cálculo), cruzamentos
aéreos, mudança de bitolas e finais de circuitos. Deve-se representar a
distância dos vãos, e os postes dos cruzamentos aéreos deverão estar
mais próximos entre si no esquema unifilar.
Eng.º Eletricista Flávio Henrique SEP - Sistema Elétrico de Potência 56/201
Para concluir, faz-se o cálculo de queda de tensão baseado no diagrama
unifilar do circuito:
Figura – Planilha de cálculo de queda de tensão.
Legenda explicativa da planilha de cálculo de queda de tensão.
Ítem 1 → Designação: corresponde ao início e ao fim do trecho do qual será
calculada a queda de tensão.
 exemplo T-A
Ítem 2 → hm: corresponde ao comprimento do trecho designado, em
hectômetro (m/100).
 exemplo 0,35 hm
Eng.º Eletricista Flávio Henrique SEP - Sistema Elétrico de Potência 57/201
Ítem 3 → Distribuida (D): corresponde à carga existente entre os extremos do
trecho designado.
 exemplo 0 kVA
Ítem 4 → Concentrada (C): corresponde à carga existente fora do trecho
designado, incluindo o ponto.
 exemplo 25 kVA
Ítem 5 → Total: corresponde ao valor total da carga no trecho designado. É
determinado pela fórmula: (D/2) + C.
 exemplo (0/2) + 25 = 25 kVA
Ítem 6 → Condutores: corresponde à bitola dos condutores que farão a
alimentação do trecho designado.
 exemplo 3 x 20 (20)
Ítem 7 → kVA x hm: corresponde à multiplicação do valor da carga total
(definido no item 5) com o valor do hm (definido no item 2).
 exemplo 25 x 0,35 = 8,75 kVA x hm
Ítem 8 → Queda unitária: coeficiente determinado em função da bitola do cabo
e do fator de potência do circuito. Os coeficientes de queda de tensão unitária
encontram-se nas tabelas de coeficiente de queda de tensão no início deste
capítulo.
 exemplo 0,1183 (coeficiente unitário para bitola 2/0 do trecho T-A)
Ítem 9 → Queda parcial: corresponde à multiplicação do valor do kVA x hm
(definido no item 7) com o valor da queda de tensão unitária (item 8).
 Ex. 8,75 x 0,1183 = 1,035% (é o valor da queda parcial no ponto A)
Ítem 10 → Total: corresponde à soma das quedas de tensão nos trechos
designados. No exemplo, a queda de tensão total é igual à parcial (1,035%
para o trecho T-A), pois este foi o primeiro trecho calculado, sendo necessário
continuar o cálculo para determinar as quedas de tensão nos outros trechos (A-
C, A-B e A-D), e determinar as quedas de tensão do transformador até os fins
de circuito. Se fosse o trecho A-B, o valor da queda de tensão parcial no ponto
B somaria com a queda de tensão total no ponto A para se ter a queda a queda
de tensão total do ponto B. Agora, se a queda de tensão total no final do
circuito for maior que 5% ou de um valor predefinido, troca-se a bitola do trecho
para uma imediatamente superior, refazendo novamente o cálculo. Por
exemplo, se no ponto H ocorre uma queda de tensão total maior que 5%, troca-
se a rede secundária de 3x 20(20), para 3 x 40(40) e refaz-se os cálculos dos
trechos E-H e E-G para verificar se ficaram menores ou iguais a 5%. Há casos
em que é necessária a troca da posição do transformador para um poste mais
próximo do ponto onde ocorreu a queda de tensão.
Ítem 11 → Carga diurna: corresponde à soma de todas as demandas diurnas
dos consumidores (ver item 16).
 32,5 kVA
Eng.º Eletricista Flávio Henrique SEP - Sistema Elétrico de Potência 58/201
Item 12 → Iluminação Pública: corresponde à soma de todas as demandas
das lâmpadas de cada poste (ver tabela 3 no item demandas dos circuitos de
baixa tensão).
 Exemplo 0,10 x 8 = 0,8 kVA.
Item 13 → Carga Noturna: corresponde à soma de todas as demandas
noturnas dos consumidores (ver item 16).
 Exemplo 40 kVA.
Item 14 → Aproveitamento diurno: é quanto do transformador está sendo
solicitado no período diurno.
 Exemplo 72,2 %.
Item 15 → Aproveitamento noturno: é quanto do transformador está sendo
solicitado no período noturno (somatório das cargas noturnas com a iluminação
pública).
 Exemplo 90,66 %.
Item 16 → Desenho do esquema unifilar do circuito.
Legenda:
(D) = Demanda diurna em kVA;
(N) = Demanda noturna em kVA.
Eng.º Eletricista Flávio Henrique SEP - Sistema Elétrico de Potência 59/201
Calcule a queda de tensão do circuito secundário representado abaixo em que
o local foi considerado como demandas residenciais os valores:
 G = 1,38 kVA;
 M = 0,62 kVA (ver tabela 2);
Demandas das lâmpadas:
 VMC-125W = 0,15 kVA (ver tabela 3).
A queda de tensão máxima considerada é de 5%.
Eng.º Eletricista Flávio Henrique SEP - Sistema Elétrico de Potência 60/201
No esquema unifilar deve-se representar os postes números (9 e 2) e (12 e 5)
o mais próximos entre si, pois representam dois postes que estão a 5 metros
da esquina. Exemplo: (9 e 2)
Representação do circuito secundário de um transformador com a indicação
das demandas dos consumidores.
Eng.º Eletricista Flávio Henrique SEP - Sistema Elétrico de Potência 61/201
Alerta:
Para melhor identificação do circuito secundário da página com o esquema
unifilar desta planilha, a letra “B” mostra o poste no
7, e a letra “F” o poste no
13.
Eng.º Eletricista Flávio Henrique SEP - Sistema Elétrico de Potência 62/201
Quando colocamos o asterisco ao final de uma queda de tensão total
queremos dizer que se trata de um final de rede secundária, em que é
mostrado se ela ficou ou não abaixo de 5% (máximo admitido).
Faça o cálculo de queda de tensão do circuito abaixo, determinando antes a
potência do transformador e as bitolas da rede secundária.
Eng.º Eletricista Flávio Henrique SEP - Sistema Elétrico de Potência 63/201
71
Alerta:
Se em algum ponto a queda de tensão for maior que 5% (queda máxima
utilizada nos exercícios do livro), troca-se a bitola por uma imediatamente
superior, tendo como limite a bitola do tronco do transformador.
Primeiramente some as demandas e determine a potência nominal do
transformador. Depois, indique as bitolas do tronco e dos ramais secundários
(ver tabela da página 54). Como não foi definido se é carga noturna ou diurna,
utilizar todas as linhas disponíveis na planilha.
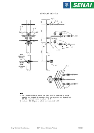
6.4 - CÁLCULOS DE ESFORÇOS MECÂNICOS NOS POSTES
Para dimensionamento correto de um poste é necessário conhecer a sua
resistência nominal, sua altura e determinar os esforços externos que atuam
nele, como o esforço de flexão que é devido ao tracionamento dos cabos. Este
esforço atua nos suportes (isoladores) e nas amarrações fixadas no poste,
podendo incliná-lo ou flambá-lo.
Um poste mal-dimensionado poderá sofrer inclinação (fora do prumo) por
ultrapassar o limite de resistência do engastamento, mas se o engastamento
suportar esse esforço, o poste poderá flambar (entortar) por ter excedido o seu
limite de resistência nominal.
Quando o poste possui flexão e inclinação (poste flambado e fora do prumo)
tem ambos os limites excedidos, ou seja, o do poste e do seu engastamento.
Para se evitar esses inconvenientes é necessário calcular os esforços
mecânicos que atuam no poste para poder determiná-lo corretamente. Para
esse cálculo será necessário conhecer a altura do poste a ser aplicado em
função da rede de distribuição aérea (RDA), o tipo, a bitola e o número de
condutores usados nessa rede, além da profundidade do engastamento. O
poste seção circular como é simétrico tem sua resistência nominal igual em
toda a sua periferia. Portanto, trabalharemos com o poste seção duplo T por ter
duas faces (lisa e cavada) que requer algumas técnicas quanto ao seu
posicionamento.
Poste de concreto seção duplo T
Para este tipo de poste, o fabricante garante a 15 cm do topo (início da furação
para fixação das estruturas primárias) conforme a posição da sua montagem
(face lisa ou cavada), quanto da sua resistência nominal ele suporta, conforme
descrito abaixo:
 Face cavada: o poste suporta um esforço mecânico não superior à
metade da sua resistência nominal.
Exemplo: o poste B/300 kgf/10,5 m suporta, a 15 cm do topo na face
cavada, 150 kgf.
 Face lisa: o poste suporta um esforço mecânico até 40% maior que a
sua resistência nominal.
Eng.º Eletricista Flávio Henrique SEP - Sistema Elétrico de Potência 64/201
72
 Exemplo: o poste B/300 kgf/10,5 m suporta, a 15 cm do topo na face
lisa, 420 kgf.
Rn = Resistência nominal.
Para iniciar o cálculo de esforços mecânicos nos postes precisaremos, antes,
conhecer o que sejam e como atuam numa estrutura instalada no poste. Para
isso, lembrar o que foi mencionado no início deste livro sobre o posteamento e
as estruturas da rede primária e secundária, pois ficará mais fácil a
compreensão sobre a atuação dos cabos na estrutura fixada ao poste.
Duas situações que devemos entender quanto aos esforços mecânicos na
estrutura do poste:
1) Momento no poste: é a força de tração (tensionamento) que os cabos
exercem no poste multiplicada pela distância do braço (primário ou
secundário). A Física diz que momento é a força aplicada pela sua
distância do ponto de fixação. Fórmula: M = F x d;
2) Tração dos cabos: o tensionamento dado em cada cabo depende de sua
bitola, conforme as tabelas 1 e 2 deste item. No momento da instalação
dos cabos na rede de distribuição aérea exige-se que a empreiteira
possua um equipamento chamado dinamômetro, para que o valor
unitário de tensionamento de cada cabo possa ser respeitado.
Tabela 1 – Tensionamento unitário dos cabos de alumínio
Tabela 2 – Resistência unitária dos cabos de aço.
Eng.º Eletricista Flávio Henrique SEP - Sistema Elétrico de Potência 65/201
Para iniciar os cálculos devemos lembrar que “momento é a força aplicada no
poste (tracionamento dos cabos), multiplicada pela distância do solo ao ponto
de sua fixação”. O ponto de fixação do poste depende do seu engastamento,
como já vimos anteriormente, e a partir dessa diferença é que determinamos o
braço primário, já que o braço secundário é fixado em 7,0 metros.
No desenho a seguir, vemos que o braço do primário é de 8,70 metros
descontados o engastamento (1,65 m) e os 15 cm do topo (onde se encontra o
primeiro furo de fixação de uma estrutura). O valor do braço do secundário é
fixado em 7,00 m e dos cabos de telecomunicações em 5,00 m. Veja o
esquema representativo do poste de 10,50 m.
Alerta
Não esquecer da fórmula do engastamento que se encontra no capítulo 3: C =
(l/10) + 0,60 m.
Eng.º Eletricista Flávio Henrique SEP - Sistema Elétrico de Potência 66/201
Rede primária e rede secundária
Na rede primária o esforço já se encontra fixado a 15 cm do topo, portanto,
para saber o tensionamento da rede primária basta multiplicar a quantidade de
cabos primários pelo seu tensionamento unitário (tabela 1) conforme abaixo:
Ep = 3 x tcp
Onde:
Ep = esforço dos cabos da rede primária (kgf)
tcp = tensionamento dos cabos da rede primária (kgf)
O fator de multiplicação “3” representa a quantidade de cabos primários
(circuito trifásico).
Para o cálculo na rede secundária, multiplicamos a quantidade de cabos
secundários pelo seu tensionamento unitário e esse pela distância do braço
secundário, dividindo tudo pela distância do braço primário, conforme a fórmula
a seguir:
ES = 4 x tcs x ds
ES = esforço dos cabos da rede secundária (kgf)
tcs = tensionamento dos cabos da rede secundária (kgf)
ds = distância do braço da rede secundária (m)
dp = distância do braço da rede primária (m)
O fator de multiplicação “4” representa a quantidade de cabos secundários
(circuito trifásico + neutro).
O esforço total resultante dos cabos das redes primária e secundária no poste
é o somatório de seus esforços, e a resistência nominal da face usada do poste
escolhido deve ser superior ao esforço total resultante:
Et = Ep + Es
Et = esforço total dos cabos no poste (kgf)
Na abertura de circuito secundário com cabos de mesma bitola não há
necessidade de efetuar o cálculo já que a resultante é nula.
Vejam o exemplo abaixo:
Se a abertura dos circuitos secundários for com cabos 3 x 02(02) ou 3 x 20(20),
o cabo de aço do estai de poste a poste deve ser de bitola 6 mm. A bitola 9 mm
somente é utilizada quando a abertura de circuitos for de cabos 3 x 40 (40)
Eng.º Eletricista Flávio Henrique SEP - Sistema Elétrico de Potência 67/201
devido ao esforço resultante desses cabos (901 kgf) ser superior à resistência
do cabo de aço 6 mm (715 kgf), conforme as tabelas 1 e 2.
Para abertura de circuito com bitolas diferentes, deve-se deixar de topo o poste
do lado do esforço maior e que a resistência desse poste anule a diferença dos
esforços mecânicos.
A diferença entre os circuitos é (901 – 566 = 335 kgf), onde colocamos do lado
de maior esforço um poste cuja resistência nominal seja superior a essa
diferença, ou seja, um B/300 kgf/10,5 m de topo que suporta 420 kgf (40% a
mais na resistência nominal).
Para a abertura de circuito secundário no mesmo poste, o critério a ser seguido
é o mesmo, conforme o desenho abaixo:
Cálculo de esforços mecânicos em postes com estruturas em ângulo
Para que possamos iniciar um cálculo de esforços mecânicos dos cabos numa
estrutura em ângulo num poste devemos lembrar algumas regras básicas:
a) Adição de vetores de mesma direção
b) Adição de vetores de direções diferentes
c) Decomposição de forças em componentes ortogonais (90º)
d) Para ângulos diferentes de 90º
Eng.º Eletricista Flávio Henrique SEP - Sistema Elétrico de Potência 68/201
Cálculo da resistência do estai de contraposte
Considerando:
Poste → B/600 kgf/5 m
Face lisa → Rn (600 kgf) + 40% = 840 kgf
Restai → 840 kgf x cos 30o
= 727,5 kgf
Restai → resistência do estai no contraposte (B/600 kgf/5 m)
Eng.º Eletricista Flávio Henrique SEP - Sistema Elétrico de Potência 69/201
Veja um cálculo do dimensionamento de estruturas em ângulo num poste de
10,5 m, no qual devemos sempre deixar a face lisa, que é a de maior
resistência, voltada para a resultante dos esforços mecânicos:
Composição de forças
Eng.º Eletricista Flávio Henrique SEP - Sistema Elétrico de Potência 70/201
Solução: projetar um poste seção duplo T do tipo B-1,5/1000 kgf/10,5 m para
suportar a resultante de 1070 kgf.
Exercícios
1) Calcular o esforço mecânico dos cabos das redes primária e secundária
que terminam num poste de 10,5 m de altura. As redes são trifásicas de
bitola 2 AWG para o primário e 4/0 AWG para o secundário. Determinar
o tipo de poste a ser usado para suportar o esforço total (Et) das redes e
em que posição (normal ou topo) deve ficar em relação a elas.
2) Determinar quais postes de 10,5 m e 12,0 m a serem utilizados para
suportar os esforços mecânicos representados no desenho, numa
abertura de circuito secundário trifásico no mesmo poste. Desenhe a
posição que deve ficar o poste.
3) Uma rede primária trifásica de cabos 336,4 MCM termina num poste de
12, 0 m que está na posição de topo. Qual a resistência nominal deste
poste para que suporte esse esforço mecânico?
Eng.º Eletricista Flávio Henrique SEP - Sistema Elétrico de Potência 71/201
4) Observando os desenhos da rede de distribuição aérea, calcule os
esforços mecânicos dos cabos e determine quais postes devem ser
usados:
Eng.º Eletricista Flávio Henrique SEP - Sistema Elétrico de Potência 72/201
Eng.º Eletricista Flávio Henrique SEP - Sistema Elétrico de Potência 73/201
7 - Desenho de redes de distribuição
7.1 - Introdução
Neste capítulo abordaremos a maneira como deve ser representado o desenho
do projeto de rede de distribuição aérea, sua simbologia e a localização das
especificações do mesmo. Também faremos alguns exercícios direcionados de
projetos de redes de distribuição aérea urbana e de iluminação pública, que
podem ser usados como parâmetro para o desenvolvimento do aprendizado do
aluno.
Exemplo de um projeto de redes de distribuição urbana.
Eng.º Eletricista Flávio Henrique SEP - Sistema Elétrico de Potência 74/201
Exemplo de um projeto de iluminação pública.
Eng.º Eletricista Flávio Henrique SEP - Sistema Elétrico de Potência 75/201
Segue a simbologia de redes de distribuição adotada:
Eng.º Eletricista Flávio Henrique SEP - Sistema Elétrico de Potência 76/201
Eng.º Eletricista Flávio Henrique SEP - Sistema Elétrico de Potência 77/201
Eng.º Eletricista Flávio Henrique SEP - Sistema Elétrico de Potência 78/201
Simbologia de redes de distribuição.
No projeto, os equipamentos e as bitolas das redes podem ser representados
de três maneiras: existente, projetado e a ser retirado.
Eng.º Eletricista Flávio Henrique SEP - Sistema Elétrico de Potência 79/201
7.2 - Representação da simbologia
Quando a rede de distribuição e os equipamentos forem existentes no local, a
sua simbologia é representada normalmente do jeito que é desenhada. Veja
alguns exemplos:
Simbologia de redes de distribuição.
Eng.º Eletricista Flávio Henrique SEP - Sistema Elétrico de Potência 80/201
Quando a rede de distribuição e os equipamentos não existem no local, ou
seja, estão sendo projetados na planta para serem futuramente instalados, são
representados como vemos a seguir:
Alerta: Se o poste for projetado, coloca-se o círculo somente nele,
dispensando-se o círculo nos demais elementos a instalar no mesmo.
Todos os demais elementos projetados são colocados dentro de um retângulo,
como vemos a seguir:
Eng.º Eletricista Flávio Henrique SEP - Sistema Elétrico de Potência 81/201
Nas redes de distribuição e nos equipamentos a serem retirados, colocar um
“x” em cima dos mesmos.
Exemplos:
Quando a rede de distribuição e os equipamentos forem substituídos por
outros, adotar os procedimentos a seguir:
Exemplos:
Eng.º Eletricista Flávio Henrique SEP - Sistema Elétrico de Potência 82/201
Simbologia invertida
É adotada quando a quantidade de postes projetados for superior à quantidade
de postes existentes. A regra é representar no projeto tudo o que for projetado
como sendo existente e vice-e-versa. Se for adotada esta forma de
representação deve-se indicar no desenho, sobre a legenda o texto, no projeto
foi adotado a simbologia invertida.
Localização das especificações no projeto
Nomes das ruas ou avenidas
Estas especificações devem ser colocadas dentro da quadra, afastadas das
representações dos consumidores e de acordo com o esquema representado a
seguir:
Bitolas dos condutores
Devem ser colocadas conforme o esquema abaixo, porém, próximas aos traços
que representam os condutores. Observar a inclinação da rua para posicionar a
escrita, conforme quadro abaixo:
Eng.º Eletricista Flávio Henrique SEP - Sistema Elétrico de Potência 83/201
Equipamentos e/ou postes especiais (não possuem simbologia própria)
As especificações devem ser colocadas junto ao equipamento ou poste
especial e paralelas à rede primária.
Exemplo:
Eng.º Eletricista Flávio Henrique SEP - Sistema Elétrico de Potência 84/201
CONSTRUÇÃO DE REDES AÉREAS
INSTALAÇAO DE POSTES
MANUAL:
O objetivo é permitir a implantação de postes nos locais onde haja
a impossibilidade de emprego de viaturas para esse fim.
1- Para tal serviço será necessário ter a disposição os seguintes
equipamentos, ferramentas e materiais:
a) Equipamentos:
Tirfor, Calha, Metro, Forquilha, Tampa e Cruzetas
b) Ferramentas para cavar buraco e a vala:
Marreta, Enxadão, Ponteiro, Cavadeira e Picareta.
c) Ferramentas para retirar a terra:
Concha, Concha cavadeira, Pé Quadrada, Pé de bico e
Forma.
d) Material:
Poste e Corda.
2- Preparação dos serviços:
Primeiramente deve-se posicionar o veículo no canteiro de
trabalho de forma adequada, sinalizar o canteiro e retirar o
material, ferramentas e equipamentos do referido veículo
vistoriando-os para evitar acidentes.
A fim de controlar o risco deve-se obedecer, durante o
levantamento, somente o comando do encarregado; tomando
Eng.º Eletricista Flávio Henrique SEP - Sistema Elétrico de Potência 85/201
cuidado com o resvalamento do poste no instante em que cair no
buraco.
Na Abertura do buraco, é o dimensionamento correto que vai
garantir a fixação do pose e consequentemente a sua sustentação
e segurança da rede.
O diâmetro da base é obtido somando-se o diâmetro do poste de
0,40m (40 centímetros) de acordo com a tabela que vem a seguir.
A profundidade é obtida dividindo-se o comprimento do poste por
10 e somando-se 0,6 m. (de acordo com a tabela abaixo).
TABELA PADRÃO PARA ABERTURA DE BURACO
TIPO DE POSTE COMPRIMENTO
DIÂMETRO DA
BASE
Buraco (m)
profundidade
Diâmetro
(D + 0,40m)
- 9,00 0,35 1,50 76
leve 11,00 0,40 1,70 80
pesado 11,00 0,40 1,70 80
leve 12,00 0,42 1,80 82
pesado 12,00 0,42 1,80 82
- 14,00 0,46 2,00 86
- 16,50 0,51 2.25 91
Cálculo para profundidade:
e = L ÷ 10 + 0,6 m
onde:
e = profundidade do buraco
L = comprimento do poste
Eng.º Eletricista Flávio Henrique SEP - Sistema Elétrico de Potência 86/201
Exemplo:
Para calcular a profundidade de um buraco para o poste de 12 m
de comprimento do tipo pesado:
Resposta:
e = 12 ÷ 10 + 0,6
e = 1,20 + 0,6
e = 1,8 m
OBS: A profundidade mínima para instalação de postes não pode
ser menor que 1,50 m.
Cálculo para o diâmetro (D)
O diâmetro do buraco será sempre o da base do poste somado a
0,40 m.
Exemplo:
Calcular a largura de um buraco para instalação de um poste de
14,00 m
Resposta:
Consultando a tabela, veremos que o diâmetro da base do poste
de 14 m é 0,46 m. Somando-se a essa medida 0,40 m, teremos:
D = Ø + 0,40
D = 0,46 + 0,40
D = 0,86 m.
Onde D = Largura do poste
Ø = diâmetro da base do poste
Eng.º Eletricista Flávio Henrique SEP - Sistema Elétrico de Potência 87/201
TRABALHOS EM ESCADAS
Para iniciar vamos conhecer os dois tipos de escadas utilizadas
na montagem de rede de distribuição:
ESCADA SINGELA E ESCADA EXTENSIVA
Antes de deixar o setor, o eletricista deverá inspecionar as partes
que compõe a escada, observando as recomendações que se
seguem.
1- Verificar se os montantes não estão rachados ou se
apresentam ondas;
2- Verificar se a situação dos degraus, se os mesmos não estão
emendados ou girando.
Colocação da escada na viatura:
No transporte de escadas em veículos, deve-se observar o
seguinte:
1- O estado do revestimento de borracha ou neopreme dos tubos
ou suportes onde a escada deverá ficar apoiada.
2- Após a colocação das escadas na viatura, deve-se amarrá-las
para evitar deslocamento durante a viagem.
Eng.º Eletricista Flávio Henrique SEP - Sistema Elétrico de Potência 88/201
OBS: A colocação e retirada das escadas da viatura, exigirá
sempre dois homens para evitar impacto dos montantes contra o
solo ou a carroceria.
Ao retirar a escada da viatura, escolhendo a de comprimento
adequado, esta deverá ser transportada até o local de trabalho, as
escadas devem ser transportadas apoiadas no ombro pelos
montantes e levadas por dois trabalhadores posicionados de um
só lado.
Eng.º Eletricista Flávio Henrique SEP - Sistema Elétrico de Potência 89/201
REDE COMPACTA
As redes compactas protegidas permitem uma convivência menos
agressiva entre a rede aérea de distribuição e a arborização, pois
a cobertura dos condutores permite eventuais contatos entre os
cabos e os galhos de árvores, além de possibilitar também uma
disposição mais compacta dos condutores, de forma que o espaço
destinado à sua passagem seja reduzido. Entretanto, contatos
permanentes de árvores e outros objetos com os condutores
devem ser evitados, por causar abrasão localizada e
consequentemente perfuração da cobertura.
Foram observadas falhas em redes compactas ( danos na
cobertura dos cabos e surgimento de trilhamento elétrico) em
redes instaladas próximas ao litoral e com elevado nível de
poluição salina, razão pela qual recomenda-se que este tipo de
rede não seja utilizada em regiões com essas características.
Estão sendo analisados, em conjunto com fabricantes de cabos e
acessórios, possíveis soluções para os problemas detetados.
É importante enfatizar que, apesar de possuir cobertura, os cabos
protegidos não são isolados, não sendo permitido portanto tocar o
cabo com a rede energizada.
Instalações básicas para Redes de Distribuição Aéreas Primárias
Compactas Protegidas, utilizando espaçadores poliméricos e
cabos cobertos, com tensões nominais primárias de 11.400 ,
13.200 e 13.800 V.
As instalações apresentadas são aquelas comumente projetadas
neste tipo de rede. Entretanto, outros arranjos poderão ser
obtidos, tomando-se estas instalações como base, desde que
observadas as distâncias mínimas indicadas.
Embora os desenhos indiquem apenas postes de concreto
circular, as listas de materiais de cada desenho fornecem também
as quantidades para instalações com poste duplo T e madeira.
Para os postes duplo T as cotas indicadas referem-se ao lado de
maior resistência mecânica do poste.
Salvo indicações em contrário, as dimensões apresentadas nos
desenhos são dadas em milímetros.
As redes compactas são indicadas para aplicação em sistemas de
distribuição urbanos e rurais nas seguintes situações :
• Locais com desligamentos provocados por interferência da
arborização com a rede;
• Locais com desligamentos provocados por descargas
atmosféricas;
Eng.º Eletricista Flávio Henrique SEP - Sistema Elétrico de Potência 90/201
• Locais de frequentes ocorrências de objetos lançados à
rede;
• Congestionamento de estruturas;
• Saída de alimentadores de subestações;
• Alimentador expresso atendendo a consumidor (es) especial
(ais).
Terminologia:
Cabo Coberto
Cabo dotado de cobertura protetora de material polimérico,
utilizada para eliminação da corrente de fuga, em caso de contato
acidental do condutor com objetos aterrados e diminuição do
espaçamento entre condutores.
Espaçador
Acessório de material polimérico de formato losangular cuja
função é a de sustentação dos cabos cobertos ao longo do vão.
Separador Vertical
Acessório de material polimérico cuja função é de sustentação e
separação dos cabos cobertos na rede compacta, em situações
de conexões entre fases ("flying-tap"), mantendo o isolamento
elétrico da rede.
Braço Tipo "L"
Ferragem cuja finalidade é de sustentação do cabo mensageiro da
rede compacta , em condições de tangência ou com ângulos de
deflexão de até 6 ° .
Braço Tipo "C"
Ferragem cuja a finalidade é de sustentação das fases em
condições de ângulo e final de linha, derivações e conexão de
equipamentos de rede.
Cabo Mensageiro
Cabo utilizado para sustentação dos espaçadores e separadores,
e para proteção elétrica e mecânica da rede compacta.
Braço anti-balanço
Acessório de material polimérico cuja função é a redução da
vibração mecânica das redes compactas.
Estribo para Braço Tipo "L"
Ferragem complementar ao braço tipo "L" cuja função é a
sustentação de espaçador junto ao braço.
Eng.º Eletricista Flávio Henrique SEP - Sistema Elétrico de Potência 91/201
Anel de Amarração
Amarração de material elastomérico, com a função de fixação dos
cabos cobertos e mensageiro, ao espaçador, da rede compacta.
Fio Coberto de Amarração
Fio de alumínio recoberto com borracha termoplástica, que possui
as mesmas funções do anel de amarração, podendo ser utilizado
alternativamente
Suporte "Z"
Ferragem cuja finalidade é de fixação das chaves fusíveis e/ou de
pára-raios ao braço tipo "C".
Suporte Auxiliar
Ferragem utilizada para instalação de pára-raios e chaves fusíveis
e em derivações de redes compactas.
Grampo de Ancoragem
Acessório cuja função é a fixação (encabeçamento) dos cabos
cobertos nas estruturas de ancoragem.
Afastamentos Mínimos:
1. Apesar dos cabos utilizados nas redes primárias compactas
protegidas serem cobertos, os afastamentos mínimos a
serem mantidos nas diversas situações apresentadas, são
os mesmos que os exigidos para os condutores nus.
2. Em situações temporárias podem ser mantidos
espaçamentos menores de tapumes e andaimes de
construção, desde que se tomem medidas de proteção
contra a queda acidental de ferramentas e/ou materiais
diversos sobre a rede.
3. O espaçamento entre condutores do mesmo circuito ou de
circuitos diferentes pode ser reduzido, desde que os
condutores sejam providos de rigidez dielétrica para evitar
curto circuito em caso de contato momentâneo, entre
condutores fase ou entre os mesmos e condutores
aterrados. Quando for efetuada esta redução as distâncias
mínimas a serem obedecidas em pontos fixos são as
apresentadas na tabela 2.
3. As tabela 1 apresenta valores de afastamentos mínimos dos
condutores ao solo .
Eng.º Eletricista Flávio Henrique SEP - Sistema Elétrico de Potência 92/201
Eng.º Eletricista Flávio Henrique SEP - Sistema Elétrico de Potência 93/201
Se o afastamento vertical exceder as dimensões dadas na figura
1, não se exige o afastamento o afastamento horizontal da figura
4.
Se os afastamentos verticais das figuras 2 e 3 não puderem ser
mantidos, exigem-se os afastamentos horizontais das figuras 5 e
6.
Se os afastamentos verticais excederem as dimensões das figuras
2 e 3, não se exigem os afastamentos horizontais das figuras 5 e
6, devendo porém, ser mantido o espaçamento da figura 4.
A altura mínima dos condutores do Ramal de ligação ao solo, no
ponto de flecha máxima, deverá ser:
a) em locais com apenas trânsito de pedestres H mínimo = 3,5m
b) em locais com apenas trânsito de veículos H mínimo = 5,5m
Na tabela a seguir, foi considerado que a rede secundária é
isolada, caso a rede secundária seja nua, os afastamentos
deverão seguir uma regulamentação específica.
Nomenclatura:
RDI = Rede de distribuição secundária isolada
RDP = Rede de distribuição primária com cabo protegido.
Eng.º Eletricista Flávio Henrique SEP - Sistema Elétrico de Potência 94/201
Afastamentos mínimos em milímetros.
Eng.º Eletricista Flávio Henrique SEP - Sistema Elétrico de Potência 95/201
ESTRUTURAS BÁSICAS
Os desenhos das estruturas apresentam a rede secundária com
cabos multiplexados. No caso de se utilizar rede secundária
convencional, as distâncias mínimas indicadas nos desenhos
referem-se à posição do neutro.
O mensageiro da rede secundária ( ou neutro da rede
convencional ), é apresentado nos desenhos das estruturas
instalado a 7,2 m . Caso seja utilizada rede secundária isolada, o
mensageiro poderá ser instalado a 6,8 m.
Estruturas de ancoragem (CE4) devem ser instaladas a cada 500
m, no máximo, de rede compacta protegida.
A estrutura CE1A deve ser utilizada a cada 200 m de rede com
vãos em tangência .
Nos cruzamentos aéreos com rede convencional, a rede
compacta deve ser posicionada em nível superior, efetuando-se
as ligações ("jumpers") com cabo coberto, observando-se a
distância mínima entre circuitos.
Os circuitos duplos deverão ter preferencialmente a configuração
mostrada na figura 1. Opcionalmente poderá ser utilizada a
configuração mostrada na figura 2. Circuitos triplos ou quádruplos
deverão ser construídos conforme figura 3.
Eng.º Eletricista Flávio Henrique SEP - Sistema Elétrico de Potência 96/201
Eng.º Eletricista Flávio Henrique SEP - Sistema Elétrico de Potência 97/201
Eng.º Eletricista Flávio Henrique SEP - Sistema Elétrico de Potência 98/201
Eng.º Eletricista Flávio Henrique SEP - Sistema Elétrico de Potência 99/201
Eng.º Eletricista Flávio Henrique SEP - Sistema Elétrico de Potência 100/201
Eng.º Eletricista Flávio Henrique SEP - Sistema Elétrico de Potência 101/201
Eng.º Eletricista Flávio Henrique SEP - Sistema Elétrico de Potência 102/201
Eng.º Eletricista Flávio Henrique SEP - Sistema Elétrico de Potência 103/201
RELAÇÃO DE MATERIAL
Eng.º Eletricista Flávio Henrique SEP - Sistema Elétrico de Potência 104/201
Eng.º Eletricista Flávio Henrique SEP - Sistema Elétrico de Potência 105/201
Eng.º Eletricista Flávio Henrique SEP - Sistema Elétrico de Potência 106/201
RELAÇÃO DE MATERIAL
ESTRUTURAS DE TRANZIÇÃO
A transição de redes primárias convencionais para redes primárias
compactas protegidas será feita através da estrutura N3 – CE.
Esta estrutura poderá ser utilizada também em fins de rede
convencional com estrutura N2. Neste caso a distância do
primeiro pára - raios à ponta da cruzeta deverá ser diminuída de
300mm para 250mm.
Toda estrutura de transição deve possuir pára-raios instalados do
lado da rede nua.
Toda derivação de rede compacta para rede nua deve ser
entendida como transição, devendo portanto ser instalados pára-
raios, do lado da rede nua.
Eng.º Eletricista Flávio Henrique SEP - Sistema Elétrico de Potência 107/201
Eng.º Eletricista Flávio Henrique SEP - Sistema Elétrico de Potência 108/201
INSTALAÇÃO DE EQUIPAMENTOS
Instalação de Pára-raios:
Eng.º Eletricista Flávio Henrique SEP - Sistema Elétrico de Potência 109/201
Instalação de Chaves Fusíveis:
Eng.º Eletricista Flávio Henrique SEP - Sistema Elétrico de Potência 110/201
Instalação de Chaves Faca
Eng.º Eletricista Flávio Henrique SEP - Sistema Elétrico de Potência 111/201
Instalação de transformador monofásico Convencional
Refere-se a utilização em postes de 11 metros
O prolongador deve ser utilizado apenas em ângulos de até 15º
para cabos de 185mm e até 25º para cabo de 50mm
A posição do transformador e da rede secundária isolada ou
neutro da rede secundária nua é orientativa, podendo ser
modificadas, dependendo das condições de instalação verificadas
no campo.
Para instalação do neutro pode ser utilizado braço tipo L
Eng.º Eletricista Flávio Henrique SEP - Sistema Elétrico de Potência 112/201
O suporte auxiliar para instalação de chave fusível e pára-raios
pode ser fixado na parte inferior do braço tipo C.
Instalação de Transformador Trifásico Convencional.
Refere-se a postes de 11metros
O prolongador deve ser utilizado apenas em ângulos de até 15º
para cabos de 185mm e até 25º para cabos de 50mm.
A posição do transfomrador e da rede secundária isolada ou
neutro da rede segundária nua é orientativa podendo ser
Eng.º Eletricista Flávio Henrique SEP - Sistema Elétrico de Potência 113/201
modificada, dependendo das condições de instalação verificadas
no campo.
Para instalação do neutro pode ser utilizado braço tipo L
Instalação de Transformador Trifásico autoprotegido
A Estrutura CE1-A deve ser utilizada preferencialmente para
instalação de transformadores autoprotegidos, sendo que o
ângulo de deflexão máximo é de 6º
Eng.º Eletricista Flávio Henrique SEP - Sistema Elétrico de Potência 114/201
Para ângulos entre 6º e 15º para cabos de 185mm e entre 6º e 25º
para cabos de 50mm, poderá ser utilizada estrutura CE2 conforme
mostrado no detalhe da figura.
Instalação de Chave Interruptora, operação em carga (a óleo)
Eng.º Eletricista Flávio Henrique SEP - Sistema Elétrico de Potência 115/201
Instalação de Chave Interruptora, operação em carga (omni-
rupter)
Eng.º Eletricista Flávio Henrique SEP - Sistema Elétrico de Potência 116/201
Ramal de Entrada Subterrâneo em alta tensão
Eng.º Eletricista Flávio Henrique SEP - Sistema Elétrico de Potência 117/201
Instalação de espaçadores losangulares:
Os espaçadores devem ser instalados ao longo do vão e junto às
estruturas, obedecendo os critérios definidos a seguir e
apresentados
Estruturas CE1 e CE1C :
- Instalar espaçadores a 1 m à direita e à esquerda da estrutura
CE1 e CE1C;
- Os primeiros espaçadores do vão devem ser instalados de 7 a 9
m, à direita e à esquerda dos espaçadores instalados junto à
estrutura.
Estruturas CE1A :
- Instalar apenas um espaçador junto ao poste na estrutura CE1A,
conforme folha 12/62 desta instrução;
- Os primeiros espaçadores do vão devem ser instalados de 7 a 9
m, à direita e à esquerda da estrutura.
Estruturas de ancoragem com equipamentos e estrutura tipo CE2:
- Instalar espaçadores a 13 m aproximadamente, à direita e à
esquerda da estrutura.
Ao longo do vão :
- Instalar espaçadores em intervalos de 7 a 9 m, obedecidas as
condições anteriores.
A quantidade de espaçadores necessários devem ser previstos e
especificados no projeto.
Instalação de espaçadores losangulares ao longo do vão:
Eng.º Eletricista Flávio Henrique SEP - Sistema Elétrico de Potência 118/201
Sequência de fases – instalação dos condutores
Ao longo do vão, além dos espaçadores previstos nas estruturas,
deve-se instalar outros com intervalos de 7 a 9 metros.
Nas estruturas de final de linha e de transição, o ultimo espaçador
deve guardar uma distância de aproximadamente 13 metros do
encabeçamento do cabo.
ATERRAMENTO
O aterramento consiste na interligação do mensageiro da rede
primária compacta protegida com o cabo de ligação das hastes de
aterramento ( cabo de aço 6,4 mm ou fio de cobre nu 16 mm2 ) e
consequentemente ao neutro.
O mensageiro da rede compacta protegida deve ser conectado ao
neutro (mensageiro do cabo multiplexado da rede secundária
isolada ou cabo de alumínio nu) em todas as estruturas onde
houver aterramento.
As carcaças dos equipamentos devem ser aterradas e conectadas
ao neutro.
Devem ser instaladas hastes de aterramento nas seguintes
situações :
Eng.º Eletricista Flávio Henrique SEP - Sistema Elétrico de Potência 119/201
a) Aterramento normal :
A cada 150 m de rede, quando não houver nenhum aterramento
neste trecho.
b) Aterramento de equipamentos:
– O aterramento de equipamentos deve ser efetuado com, no
mínimo, 3 hastes de aterramento;
– O valor máximo da resistência de aterramento em pára-raios
é de 80W
– O valor máximo da resistência de aterramento de
equipamentos não protegidos por pára-raios é de 240W
O aterramento normal e dos equipamentos deverá ser feito com
haste aço-cobre.
Para aterramento provisório devem ser utilizados estribos
previamente instalados para este fim, quando da construção da
rede. Os estribos permitirão a instalação de dispositivos para
aterramento provisório, sem necessidade de decapagem dos
condutores. A instalação dos estribos para aterramento provisório
deve obedecer os seguintes critérios :
a) Instalar estribos em ambos os lados de chaves seccionadoras
(+ 1,5 m do poste);
b) Instalar estribos a cada 350 m (Instalados a + 1 m do poste)
Eng.º Eletricista Flávio Henrique SEP - Sistema Elétrico de Potência 120/201
Estrutura de Aterramento:
Eng.º Eletricista Flávio Henrique SEP - Sistema Elétrico de Potência 121/201
Estrutura de Aterramento de Equipamentos:
Eng.º Eletricista Flávio Henrique SEP - Sistema Elétrico de Potência 122/201
AMARRAÇOES E ENCABEÇAMENTOS
Os espaçadores losangulares e separadores verticais devem ser
amarrados no cabo mensageiro e nos cabos fases, devendo ser
distanciados entre si.
Os espaçadores losangulares podem ser fixados também em
estribos de aço, quando for necessário o uso do braço antibalanço
junto ao poste (estrutura CE1A).
As amarrações/fixações dos espaçadores/separadores, estribos,
isoladores de ancoragem, isoladores tipo pino e sapatilhas.
Amarração dos condutores e mensageiros:
Eng.º Eletricista Flávio Henrique SEP - Sistema Elétrico de Potência 123/201
Amarração do espaçador em estribo:
Eng.º Eletricista Flávio Henrique SEP - Sistema Elétrico de Potência 124/201
Amarração do cabo no isolador de pino:
Eng.º Eletricista Flávio Henrique SEP - Sistema Elétrico de Potência 125/201
Eng.º Eletricista Flávio Henrique SEP - Sistema Elétrico de Potência 126/201
Ancoragem dos condutores:
Ancoragem dos mensageiros:
Eng.º Eletricista Flávio Henrique SEP - Sistema Elétrico de Potência 127/201
Cruzamento com conexão no vão:
Eng.º Eletricista Flávio Henrique SEP - Sistema Elétrico de Potência 128/201
Eng.º Eletricista Flávio Henrique SEP - Sistema Elétrico de Potência 129/201
CONEXÕES ELÉTRICAS
O sistema de conexões elétricas a ser utilizado em redes de
distribuição de energia elétrica, é constituído de vários tipos
conexões e emendas que veremos, em sua maioria, a seguir.
Tipos de Conexões:
Conectores a parafuso e conectores a compressão
Não oferecem o controle do aperto, sofrem desaperto constante
devido a sua área de atuação, por não permitirem contatos
perfeitos podem causar o aquecimento dos condutores.
Mas são práticos e de fácil manuseio, veremos adiante vários
tipos de conectores e emendas utilizadas em rede de disribuição.
Eng.º Eletricista Flávio Henrique SEP - Sistema Elétrico de Potência 130/201
2- Acomode o componente “C”
juntamente com a derivação no
condutor principal mantendo o
conjunto fixo com a mão.
1- Coloque o condutor
derivação no canal inferior do
componente “C”
Conectores Elásticos
Absorve a vibração da rede o que é uma grande vantagem em
relação as anteriores, é de fácil instalação e retirada e sua
aplicação é garantida através de travas (independente do
operador).
Conectores tipo cunha
É muito grande a quantidade de tipos de conectores desta
categoria. São utilizados em ligações (derivações elétricas) tais
como: ramais de consumidor, entrada de energia entre outros.
Instalação de conectores tipo cunha convencionais:
Eng.º Eletricista Flávio Henrique SEP - Sistema Elétrico de Potência 131/201
3 - Ajuste e fixe o componente “cunha” entre os condutores usando
apenas a pressão dos dedos, verificando a posição correta da trava
4 - Complete a conexão
usando o alicate
Eng.º Eletricista Flávio Henrique SEP - Sistema Elétrico de Potência 132/201
Posicionamento do
conector
Abertura do alicate
Certifique-se que a aplicação está correta verificando se a trava do
componente “cunha” está inserida na janela do componente “C”.
Conectores cunha alumínio e cobre:
Utilizados para alta e baixa tensão, o corpo e a cunha são
fabricados em ligas de alumínio ou cobre, quando utilizado com
estribo, o mesmo é fabricado em cobre de alta condutividade
elétrica e com acabamento em estanho.
Eng.º Eletricista Flávio Henrique SEP - Sistema Elétrico de Potência 133/201
Realizando conexões e emendas com ferramentas de
aplicação:
Para realização de uma conexão, devemos seguir os passos que
serão apresentados:
Passo 1: Acople a ferramenta no cabeçote adequado ao tipo de
conector.Caso o êmbolo não esteja recolhido, faça-o empurrando
para trás, recolhendo-o totalmente;
Eng.º Eletricista Flávio Henrique SEP - Sistema Elétrico de Potência 134/201
Passo 2: Prepare o conector a ser aplicado, colocando o
componente “C” no cabo principal. Ajuste em seguida o cabo de
derivação e a cunha correspondente a conexão em andamento,
de modo a travar este conjunto com a ferramenta e cabeçote já
acoplados , encaixe este conjunto no conector preparado;
Passo 3: Coloque o cartucho adequado ao conector na culatra.
Passo 4: Conforme o passo anterior aperte a capa da culatra.
Gire em seguida a ferramenta através de sua manopla, de forma a
travar ainda mais o conjunto total formado pelo conector, cabos e
a ferramenta .
Passo 5: Com uma das mãos segurando na unidade de disparo e
a outra na martelo de borracha de aplicação, bata o martelo no
controle de escapamento de gás para dispara-la, efetuando-se a
conexão. A cunha é impulsionada pelo embolo acionado pela
deflagração do cartucho.
Eng.º Eletricista Flávio Henrique SEP - Sistema Elétrico de Potência 135/201
Local de identificação
da cor do cartucho
Passo 6: Após a detonação, gire a unidade de disparo no sentido
anti-horário e puxe-a para fora da culatra.
Passo 7: Verifique a condição geral da conexão e uma leve trava
deve ser formada na cunha, a qual indica que a conexão foi
finalizada com sucesso
Cartucho de Aplicação:
O princípio de funcionamento da ferramenta é o de
impulsão de um êmbolo contra a cunha do conector através da
denotação do cartucho metálico, o qual gera energia suficiente
para realizar a conexão. A detonação do cartucho metálico ocorre
pela ação de uma agulha existente no interior da unidade de
disparo. Esta agulha impulsionada pela ação do pino detonador
atinge a parte traseira do cartucho, provocando atrito entre cristais
detonantes, criando-se faíscas que provocam a queima da carga
existente no cartucho, com a conseqüente expansão de gases e
impulsão do êmbolo.
A ferramenta utiliza cartuchos metálicos vedados tipo festim,
que geram a energia necessária para movimentação do êmbolo
da ferramenta. Estes cartuchos possuem cargas específicas,
adequadas a cada tipo de conector, e são identificados pelas
cores vermelha, azul e amarela, na parte superior.
Eng.º Eletricista Flávio Henrique SEP - Sistema Elétrico de Potência 136/201
Os cartuchos são extremamente seguros e com índice de falha
quase nulo, desde que sejam seguidos os procedimentos de
utilização da ferramenta, e a mesma estiver em perfeitas
condições de funcionamento.
PERIGO: Nunca bata com a mão ou qualquer objeto na
parte traseira do cartucho onde estão localizados os cristais de
denotação.
Ferramenta para aplicação de cartucho metálico:
Acionamento por botão
Realizando uma conexão:
1- Posicione o conector.
2- Acople a ferramenta.
Eng.º Eletricista Flávio Henrique SEP - Sistema Elétrico de Potência 137/201
3- Aperte o conjunto.
4- Introduza o porta-cartucho carregado anteriormente.
5- Libere o gatilho girando o mesmo conforme mostra a figura.
6- Acople o conjunto de acionamento utilizando as marcações
Acople o conjunto de acionamento utilizando as marcações
para direcionar e facilitar o procedimento e gire o conjunto até seu
para direcionar e facilitar o procedimento e gire o conjunto até seu
travamento.
travamento.
Eng.º Eletricista Flávio Henrique SEP - Sistema Elétrico de Potência 138/201
BOTÃO
BOTÃO
7- Acione o gatilho girando confirme a figura abaixo.
8- Aperte o botão para realizar a conexão.
Conectores perfurantes:
Os conectores perfurantes foram desenvolvidos para realização
de conexões em condutores isolados sem a necessidade de
decapagem do condutor. Sendo que a conexão é realizada
através de contatos dentados, que perfuram a isolação atingindo o
condutor garantindo total estanqueidade.
Fabricado em material plástico, utiliza contatos dentados em cobre
eletrolítico com acabamento superficial estanhados.
Os conectores perfurantes foram desenvolvidos para
realização de conexões em condutores isolados sem a
necessidade de decapagem do condutor. Sendo que a conexão é
Eng.º Eletricista Flávio Henrique SEP - Sistema Elétrico de Potência 139/201
Selador Superior
Capuz
Canaleta – Condutor Principal
Canaleta – Condutor Derivação
Porca Limitadora de Torque
Capa
Selador Inferior Corpo
Utilize as abas laterais para
facilitar o início da instalação
realizada através de contatos dentados, que perfuram a isolação
atingindo o condutor garantindo total estanqueidade.
COMPONENTES DO CONECTOR
COMPONENTES DO CONECTOR
Eng.º Eletricista Flávio Henrique SEP - Sistema Elétrico de Potência 140/201
1- Separe um dos condutores isolado do cabo multiplexado, solte
a porca fusível ao máximo e abra o conector o suficiente para
poder acomodar o condutor na canaleta correspondente à
principal.
2- Inicie o processo de aperto com as
mãos até que o conector fixe o
suficiente os condutores para
posteriormente concluir a instalação
com a chave observando que na
região da conexão os condutores
devem estar em paralelo.
3- Durante a aplicação do torque com
a chave sextavada (estrela) ou
cachimbo, assegure-se de que os
condutores estão alinhados com as
canaletas do conector, observando
também o posicionamento correto da
chave pois a mesma deve estar na
parte superior da porca.
Verif
i que que o condutor
de derivação deve
ultrapassar o conector
para que o capuz seja
instalado, garantindo a
isolação da ponta do
condutor.
Eng.º Eletricista Flávio Henrique SEP - Sistema Elétrico de Potência 141/201
4- Dê o torque com a chave até romper a cabeça fusível do
parafuso. O rompimento indicará que o conector está devidamente
instalado.
Veja abaixo o detalhe do conector após a aplicação:
Eng.º Eletricista Flávio Henrique SEP - Sistema Elétrico de Potência 142/201
Conectores tipo parafuso fendido:
Confeccionado em liga de cobre nu ou estanhado com espessura
superficial da camada de 8 a 12 mícrons.
Utilização:
Dimensionado para conexões de condutores de cobre,
proporcionando uma conexão de alta condutividade e resistência,
fácil manuseio e instalação.
Grampos paralelos de alumínio:
Fabricado em alumínio de alta condutividade elétrica. Pode ser
fornecido com o composto antióxido, embalado individualmente
em saco de plástico. O(s) parafuso(s), porca(s) e arruela(s) são de
aço galvanizado a fogo.
Utilização:
Dimensionado para conexões de condutores de Al-Al ou Al-Cu,
proporcionando uma conexão de alta condutividade e resistência
mecânica, fácil manuseio e instalação.
Eng.º Eletricista Flávio Henrique SEP - Sistema Elétrico de Potência 143/201
Grampos parelelos de cobre:
Fabricado em bronze estanhado, com parafusos, porcas e
arruelas em aço galvanizado a fogo ou em bronze.
Utilização:
Dimensionado para conexões de condutores de cobre,
proporcionando uma conexão de alta condutividade e resistência
mecânica, fácil
manuseio e instalação.
Conectores à compressão:
Utilização:
É utilizado em ligações / derivações elétricas , tais como
ramal de consumidor, entrada de energia, entre outros.
Características:
Fabricado em alumínio ou cobre, de alta resistência mecânica e
condutividade elétrica.
Eng.º Eletricista Flávio Henrique SEP - Sistema Elétrico de Potência 144/201
Luva Estribo à compressão:
Utilização:
É utilizado para fixação de grampos de linha viva ou conectores
cunha.
Características:
Corpo é fabricado em liga de alumínio, com alta condutividade
elétrica e estribo de cobre eletrolítico estanhado.
FERRAMENTAS E EQUIPAMENTOS AUXILIARES
Alicate hidráulico Alicate Mecânico
Grampo de linha viva de cobre e de alumínio:
Utilizados para derivação de condutores da rede primaria para
secundaria ou para transformadores, fabricados em latão, bronze
ou alumínio, de alta resistência mecânica.
Eng.º Eletricista Flávio Henrique SEP - Sistema Elétrico de Potência 145/201
Os pontos de fixação deverão
estar voltados para cima.
Espaçador Secundário:
É utilizado para manter o espaçamento entre os cabos da rede
secundaria de distribuição, evitando os constantes desligamentos
em dias de chuvas e vendavais.
– Produzido em polietileno de alta densidade na cor cinza
– Alta resistência à tração, flexão e torção
– Resistente ao trilhamento elétrico
– Possui proteção anti UV
Faixa de Aplicação:
2 AWG - - 336,4 MCM
Fio 6 AWG - - 1/0 AWG
Instalação do espaçador:
1- Inicialmente passe o Espaçador por cima da rede secundária
verificando que os 3 pontos de fixação dos condutores fase
deverão estar voltados para cima, conforme mostra a foto abaixo.
Eng.º Eletricista Flávio Henrique SEP - Sistema Elétrico de Potência 146/201
2- Após verificar o posicionamento correto do Espaçador inicie o
procedimento de aplicação utilizando um Alicate Bomba d’água 12
polegadas para auxiliar na fixação de condutores com bitolas
iguais ou superiores a 4/0 AWG. Para bitolas inferiores a 4/0 AWG,
a aplicação pode ser realizada com as mãos.
Manual: Posicione as mãos conforme mostram as fotos abaixo,
utilizando as abas laterais do espaçador para apoio. Empurre o
condutor para cima contra a lingüeta do espaçador e pressione até
acomodar totalmente o condutor.
Alicate Bomba d’água: Posicione o alicate conforme mostram as
fotos abaixo, utilizando as abas laterais do espaçador para apoio.
Pressione e gire o alicate para baixo.
Quando for necessário, finalize a aplicação com as mãos ou
ajuste o alicate.
Eng.º Eletricista Flávio Henrique SEP - Sistema Elétrico de Potência 147/201
3- Após a aplicação do condutor neutro (PASSO 2), inicie a
aplicação dos condutores fase conforme as situações mostradas
abaixo.
FASE A
Alicate Bomba d’água: Utilize as abas laterais do Espaçador para
auxiliar no apoio do alicate e realize a aplicação pressionando e
girando o alicate para cima.
Quando for necessário, finalize a aplicação com as mãos ou ajuste o
alicate.
Manual: Posicione as mãos conforme mostram as fotos abaixo,
utilizando as abas laterais do espaçador para apoio. Empurre o
condutor para baixo contra a lingüeta do espaçador e pressione
até acomodar totalmente o condutor.
4- Repita o passo anterior para as 2 fases restantes conforme
mostram as fotos abaixo.
5- Após realizar todas as etapas acima finalize a aplicação
certificando que os condutores encontram-se completamente
alojados nos 04 pontos de fixação.
Eng.º Eletricista Flávio Henrique SEP - Sistema Elétrico de Potência 148/201
Espaçadores instalados na rede:
Espaçadores losangulares:
O Espaçador Losangular Polimérico é utilizado como separador
de cabos protegidos em redes aéreas compactas de distribuição
com anel de amarração.
Eng.º Eletricista Flávio Henrique SEP - Sistema Elétrico de Potência 149/201
5. PROCEDIMENTOS
5.1. Afastamentos mínimos na estrutura
RSI
b
h
c
b
a
e
e
140
min
10
min
Comunicação
(Faixa de ocupação)
50
máx
80
min
d
k
g
"
g
"
e
"
a
"
(afastamento
sem
cruzeta
de
ramal)
Afastamentos mínimos ( cm)
Tensão
kV
15
36,2
a b c k
d d
e g
80 80 80 80
100
100
90 90
70
50
35 50
Até 1
150 k 150
h (comunicação e cabos aterrados)
Vias exclusivas de
pedestres
em áreas urbanas
Ruas e
avenidas
Entrada de prédios e
demais locais de uso
restrito a veiculos
Rodovias
federais
Ferrovias não
eletrificadas e
não eletrificáveis
300 500 450 700 600
NOTA 1 - Em ferrovias eletrificadas ou eletrificáveis, a distância mínima "h" entre o
condutor e o boleto dos trilhos é de 12 m.
NOTA 2 - Em rodovias estaduais, a distância mínima "h" entre o condutor e o solo
deve obedecer à legislação específica do órgão regulador estadual. Na falta de
regulamentação estadual, obedecer aos valores aquí fixados.
NOTA 3 - A altura mínima "h" corresponde à flecha máxima.
Eng.º Eletricista Flávio Henrique SEP - Sistema Elétrico de Potência 150/201
5.2.
Afastamentos
padronizados
para
montagem
das
estruturas
POSTE DE 10 m
160
Rede
Secundária
Isolada
NOTA 1 - Medidas em cm
NOTA 2 - Quando se usar a outra face do poste reduzir a cota em 5 cm
NOTA 3 - A altura mínima "h" corresponde à condição de flecha máxima
indicada na Tabela 3 ao lado
NOTA 4 - Em rodovias estaduais, a distância mínima
do cabo ao solo deve obedecer à legislação específica do órgão
estadual. Na falta de regulamentação estadual, obedecer a tabela ao
lado
h
SOLO
Natureza do logradouro Altura mínima (h) cm
Vias exclusivas de pedestres 350
Ruas e avenidas 550
Entradas de prédios e demais
locais de uso restrito a veículos 450
Rodovias federais 700
Ferrovias não eletrificadas e não
eletrificáveis 600
Tabela 3 - Distância entre condutores e o solo
105
-
36,2
kV
POSTE DE 11 m
170
h
85
-
15
kV
115
-
36,2
kV
75
-
15
kV
135
-
36,2
kV
105
-
15
kV
h
105
-
36,2
kV
85
-
15
kV
POSTE DE 12 m
130
-
36,2
kV
110
-
15
kV
h
POSTE DE 12 m
115
-
36,2
kV
75
-
15
kV
110
-
36,2
kV
90
-
15
kV
115
-
36,2
kV
75
-
15
kV
110
-
36,2
kV
90
-
15
kV
Rede
Secundária
Isolada
Rede
Secundária
Isolada
Rede
Secundária
Isolada
15 (ver nota 2)
15 (ver nota 2)
15 (ver nota 2) 15 (ver nota 2)
CIRCUITO
DUPLO
COM
RAMAL
CIRCUITO
DUPLO
COM
RAMAL
CIRCUITO
SIMPLES
COM
RAMAL
CIRCUITO
SIMPLES
SEM
RAMAL
Eng.º Eletricista Flávio Henrique SEP - Sistema Elétrico de Potência 151/201
5.3. Afastamentos mínimos entre condutores de circuitos diferentes
5.4. Afastamentos mínimos entre condutores e o solo
90
36,2 kV
80
60
90
36,2 kV
15 kV
1 kV
80
100
60
150
180
NOTA - Os valores dos afastamentos indicados são para as
situações mais desfavoráveis de flecha
Medidas em cm
Comunicação
Rede Secundária
Isolada
Eng.º Eletricista Flávio Henrique SEP - Sistema Elétrico de Potência 152/201
5.5. Posição do poste em relação ao meio fio
5.6. Afastamentos mínimos entre condutores e edificações
REDE PRIMÁRIA
REDE SECUNDÁRIA
RAMAL DE LIGAÇÃO
COMUNICAÇÃO E CABOS
ATERRADOS
FERROVIAS NÃO
ELETRIFICADAS
OU NÃO
ELETRIFICÁVEIS
RODOVIAS RUAS E
AVENIDAS
ENTRADA DE
PRÉDIOS E DEMAIS
LOCAIS DE USO
RESTRITO A
VEÍCULOS
RUAS E VIAS
EXCLUSIVAS
A
PEDESTRES
EM ÁREAS
URBANAS
NOTAS
1 - Medidas em centímetros
2 - Os valores indicados são para o circuito mais próximo do solo na condição de flecha máxima.
AFASTAMENTOS MÍNIMOS ENTRE CONDUTORES E SOLO
d
MEIO FIO
RUA
CALÇADA
d = 35 cm - para passeio com largura de até 1,5 metros;
d = 50 cm - para passeio com largura maior que 1,5 metros
POSIÇÃO DO POSTE EM
RELAÇÃO AO MEIO FIO
Eng.º Eletricista Flávio Henrique SEP - Sistema Elétrico de Potência 153/201
5.7. Afastamentos mínimos - edificações sob as redes
a
Afastamentos horizontal e vertical
entre condutores e muros
D
A
B
C
b c
Afastamento vertical entre os condutores e o piso de sacadas, terraços ou
janelas das edificações
D
C
D
C
d
Afastamento horizontal entre os condutores e o piso
de sacadas, terraços e janelas de edificações
A
B
A
B
e
Afastamento horizontal entre os
condutores e paredes de
edificações
A
B
f
Afastamento horizontal entre os
condutores e a cimalha e o telhado
de edificações
A
B
g
Afastamento horizontal entre os
condutores e placas de publicidade
PLACA
OU
ANÚNCIO
NOTA 1 - Se os afastamentos verticais das Figuras "b" e "c" não puderem ser
mantidos, exigem-se os afastamentos horizontais da Figura "d"
NOTA 2 - Se o afastamento vertical entre os condutores e as sacadas, terraços ou
janelas for igual ou mior do que as dimensões das Figuras "b" e "c", não se exige o
afastamento horizontal da borda da sacada, terraço ou janela da Figura "d", porém o
afastamento da Figura "e" deve ser mantido
Eng.º Eletricista Flávio Henrique SEP - Sistema Elétrico de Potência 154/201
5.8.
Engastamento
de
poste
RD primária
SOLO SOLO
RD-Secundária- Isolada
Multiplexada
Faixa de
ocupação
Compartilha
mento
50
80
min
60
min
Rede Telefônica
(Limite inferior da faixa
de ocupação
50
min
Raio
=
250
min
Out-doors, relógios,
semáforos e radares Pontos comerciais
Edificações de
paradas de ônibus
Raio
=
250
min
200
min
250
min
NOTA - O raio de 250 cm se aplica a qualquer estutura, inclusive redes de telecomunicação e TV a cabo
Dimensões em cm
Eng.º Eletricista Flávio Henrique SEP - Sistema Elétrico de Potência 155/201
5.9. Afastamentos padronizados do primário.
ENGASTAMENTO DE POSTE
A B
CORTE AB
Dv
E
L
Solo socado
em camadas
de 20 cm
A
CORTE AB
Dv
E
30
50
50
A
B
CORTE AB
Dv
E
30
20
20
Placa de
concreto
ou tora de
madeira
Concreto
Traço 1:3:5
(ver obs 3 e 4)
1-ENGASTAMENTO
SIMPLES
3 -ENGASTAMENTO
REFORÇADO
OBS:
1 - Medidas em centimetros
2- A profundidade do engastamento é calculada por E = L x 0,1 + 60
3- Refere-se a 1 volume de cimento Portland, 3 de areia e 5 de pedra britada
n.o. 2.
O tempo de cura não deve ser inferior a 12 dias.
4- Para evitar a aderência do concreto no poste, (base concretada), envolver o
poste com plástico ou com a própria embalagem do cimento.
Sentido do
esforço
2-ENGASTAMENTO
COM BASE CONCRETADA
Eng.º Eletricista Flávio Henrique SEP - Sistema Elétrico de Potência 156/201
5.13. Estruturas primárias padronizadas
Eng.º Eletricista Flávio Henrique SEP - Sistema Elétrico de Potência 157/201
90 30 60
40
ESTRUTURA N1
OBS
Medidas em cm
40
VISTA SUPERIOR
VISTA FRONTAL VISTA LATERAL
D,E
C
F
B
G1,G2,G3,G4
Eng.º Eletricista Flávio Henrique SEP - Sistema Elétrico de Potência 158/201
ESTRUTURA - N3
OBS
Medidas em cm
40
VISTA SUPERIOR
VISTA FRONTAL VISTA LATERAL
H,G
A
O
P
Q
N
G2,G3
K1,K2
B
M
OPÇÃO DE ANCORAGEM
Isolador tipo bastão polimérico
P1
Eng.º Eletricista Flávio Henrique SEP - Sistema Elétrico de Potência 159/201
VISTA SUPERIOR
VISTA FRONTAL VISTA LATERAL
D,E
Q O
P
N
M
B
G,H
F
K1,K2
I
X
OPÇÃO DE ANCORAGEM
Isolador tipo bastão polimérico
P1
Eng.º Eletricista Flávio Henrique SEP - Sistema Elétrico de Potência 160/201
60 60 55
125
ESTRUTURA B1
OBS
Medidas em cm
80
VISTA SUPERIOR
VISTA FRONTAL
VISTA LATERAL
G3,G4
A
G1,G2,G3
B
H,G
Eng.º Eletricista Flávio Henrique SEP - Sistema Elétrico de Potência 161/201
ESTRUTURA - N4-CH
OBS
Medidas em cm
40
45
90 45
VISTA SUPERIOR
VISTA FRONTAL VISTA LATERAL
G2,G3,G4
A
O P
Q
N
M
K1,K2
H,G
B
X
W1,W2
Q2
OPÇÃO DE ANCORAGEM
Isolador tipo bastão polimérico
P1
Eng.º Eletricista Flávio Henrique SEP - Sistema Elétrico de Potência 162/201
ESTRUTURA N1- N3
OBS
Medidas em cm
90 30 60
40
40
75
-
13,8
kV
VISTA SUPERIOR
VISTA FRONTAL
D,E
Q
O
P
N
M
H,G
B
T
G3
U,U1,
U2,U3
F
K1,K2
I
OPÇÃO DE ANCORAGEM
Isolador tipo bastão polimérico
P1
115
-
34,5
kV
Eng.º Eletricista Flávio Henrique SEP - Sistema Elétrico de Potência 163/201
ESTRUTURA - N4-CFu
OBS
Medidas em cm
100
80 45 45
FONTE
CARGA
A B
CORTE AB
VISTA FRONTAL
VISTA LATERAL
G1,G2,G3
A
O P
N
M
G3,G4,G5
H,G
B
S, S1
G3,G4
T
U,U1,
U2,U3
F
D,E
Z6
OPÇÃO DE ANCORAGEM
Isolador tipo bastão polimérico
P1
Q
I
Eng.º Eletricista Flávio Henrique SEP - Sistema Elétrico de Potência 164/201
ESTRUTURA N1- N3- Cfu
OBS
Medidas em cm
90
30
60
40
VISTA SUPERIOR
VISTA FRONTAL
D,E
Q
O
P
N
M
H,G
B
S1,S2
G3,G4
G3
U,U1,
U2,U3
F
K1,K2
I Z6
Z6
75
-
15
kV
115
-
36,2
kV
Eng.º Eletricista Flávio Henrique SEP - Sistema Elétrico de Potência 165/201
ESTRUTURA - B3
OBS
Medidas em cm
45
65
60
80
125
VISTA SUPERIOR
VISTA FRONTAL
VISTA LATERAL
G3,G4
A
O
P
Q
N
G2,G3
K1,K2
M
B
Estai de cruzeta a poste
OPÇÃO DE ANCORAGEM
Isolador tipo bastão polimérico
P1
Eng.º Eletricista Flávio Henrique SEP - Sistema Elétrico de Potência 166/201
ESTRUTURA - B4
OBS
Medidas em cm
45
80
125
65
60 55
65
60
VISTA SUPERIOR
VISTA FRONTAL
VISTA LATERAL
G2,G3
A
I
O
P
Q
N
G2,G3
K1,K2
M
B
X
G,H
OPÇÃO DE ANCORAGEM
Isolador tipo bastão polimérico
P1
Eng.º Eletricista Flávio Henrique SEP - Sistema Elétrico de Potência 167/201
ESTRUTURA N3- N3
OBS
Medidas em cm
40
85
85
40
VISTA SUPERIOR
VISTA FRONTAL
D,E
Q
O
P N
M
H,G
F
I
K1,K2,K3
X1,X2,X3
75
-
13,8
kV
115
-
34,5
kV
Eng.º Eletricista Flávio Henrique SEP - Sistema Elétrico de Potência 168/201
ESTRUTURA - B4-CFu
OBS
Medidas em cm
125
60 60
25
FONTE
CARGA
Y
H,G
G3,G4
A
U,U1
,U2,U3
I
D,E
O P
Q
N
S,S1
F
K1,K2
M
B
Z6
Z6
100
Eng.º Eletricista Flávio Henrique SEP - Sistema Elétrico de Potência 169/201
ESTRUTURA - B4-CH
OBS
Medidas em cm
125
VISTA SUPERIOR
VISTA FRONTAL
VISTA LATERAL
Y
G3,G4
A
X,X1,X2,X3
O P
Q
N
Q2
B
H,G
W1,W2
W1,W2
M
60 60
25
100
Eng.º Eletricista Flávio Henrique SEP - Sistema Elétrico de Potência 170/201
ESTRUTURA D-N3- Cfu
OBS
Medidas em cm
130
-
34,
5
kV
VISTA SUPERIOR
VISTA FRONTAL
D,E Q
O
P
N
M
H,G
B
S1,S2
G3,G4
U,U1,
U2,U3
F
K1,K2
I Z6
T
Z6
90
-
13,8
kV
Eng.º Eletricista Flávio Henrique SEP - Sistema Elétrico de Potência 171/201
ESTRUTURA D- N3
OBS
Medidas em cm VISTA SUPERIOR
VISTA FRONTAL
Q
O
P
N
M
H,G
B
T
U,U1,
U2,U3
F
K1,K2
I
D, E
130
-
34,5
kV
90
-
13,8
kV
Eng.º Eletricista Flávio Henrique SEP - Sistema Elétrico de Potência 172/201
5.14. Postos de transformação – Montagens padronizadas
POSTOS DE TRANSFORMAÇÃO
MONTAGENS PADRONIZADAS
40
Eng.º Eletricista Flávio Henrique SEP - Sistema Elétrico de Potência 173/201
POSTO TRANSFORMADOR
ESTRUTURA B1-T
Neutro
60 60 55
60
80
100
20
CALÇADA
RUA
170
60 50
1100
Obs.
Medidas em cm
G4,G5
A
G2,G3
I
G3,G4
R
B
S1,S2
H,G
U,U1,
U2,U3
W1
U5
Z2
Z2
G3
Y
T
D,E
Z6
Z6
P3
E1
Eng.º Eletricista Flávio Henrique SEP - Sistema Elétrico de Potência 174/201
POSTO TRANSFORMADOR
ESTRUTURA B1-T-PR
Neutro
60 60 55
80
100
20
CALÇADA
RUA
170
1100
Obs.
Medidas em cm
25 60 60
G4,G5
A
G2,G3
I
G3,G4
R
B
S1,S2
H,G
U,U1,
U2,U3
W1
P3
U5
Z2
Z2
P1,P2
G3
Z3
Y
Z6
Z6
E1
Eng.º Eletricista Flávio Henrique SEP - Sistema Elétrico de Potência 175/201
POSTO TRANSFORMADOR
ESTRUTURA TIPO - N1-T
90 30 60
40
40
40
80
45
15
105
10
CALÇADA
RUA
Neutro
Obs.
Medidas em cm
50
G4,G5
A
G3
I
G4,G5
B
S1,S2
G3
U,U1,
U2,U3
W1
U5
Z2
Z2
Z3
G2
T
Z6
Z6
P3
E1
Eng.º Eletricista Flávio Henrique SEP - Sistema Elétrico de Potência 176/201
POSTO TRANSFORMADOR
ESTRUTURA TIPO - N1-T -PR
90 30 60
40
40
80
45
15
20
CALÇADA
RUA
Neutro
Obs.
Medidas em cm
50
G4,G5
A
G3
I
T
G4,G5
H,G
B
S1,S2
G3
U,U1,
U2,U3
W1
U5
Z2
Z2
P1,P2
G2
Z3
Z6
Z6
P3
105
E1
Eng.º Eletricista Flávio Henrique SEP - Sistema Elétrico de Potência 177/201
POSTO TRANSFORMADOR
ESTRUTURA TIPO - N3--T--PR
45
45
20
100
CALÇADA
RUA
20
Neutro
Obs.
Medidas em cm
G4,G5
A
O
P
N
G4,G5
H,G
B
S1,S2
G3
T
U,U1,
U2,U3
W1
P3 U5
Z2
Z2
P1,P2
K1,K2,K3
M
Z3
Z6
Z6
OPÇÕES DE ANCORAGEM
Isolador tipo bastão de porcelana
Isolador tipo bastão polimérico
25
E1
Eng.º Eletricista Flávio Henrique SEP - Sistema Elétrico de Potência 178/201
5.10. Estruturas primárias padronizadas
K 1,K 2
H ,G
B
Eng.º Eletricista Flávio Henrique SEP - Sistema Elétrico de Potência 179/201
ESTRUTURA P1
VISTA LATERAL
OBS:
1- Medidas em centimetros;
FASE B
50
10
D,E
A
50
FASE A
FASE C
VISTA FRONTAL
~
80
(13,8
kV)
~
110
(34,5
kV)
10
F2,F3,
F4
F2, F3,
F4
Eng.º Eletricista Flávio Henrique SEP - Sistema Elétrico de Potência 180/201
FASE B
~
75
(13,8
kV)
~
110
(34,5
kV)
~
7
2
(
1
3
,
8
k
V
)
~
9
5
(
3
4
,
5
k
V
)
FASE A
A
D,E
VISTA FRONTAL VISTA LATERAL
H
FASE C
15
20
ESTRUTURA - PT 1
G2,G3,G4,G5
40
OBS:
1- Medidas em centimetros;
10
F2,F3,
F4
F2, F3,
F4
Eng.º Eletricista Flávio Henrique SEP - Sistema Elétrico de Potência 181/201
FASE A
G3, G4, G5
OBS
Medidas em cm
ESTRUTURA - PTA 1
~85 (13,8 kV)
~120 (34,5 kV)
~
1
0
0
(
1
3
,
8
k
V
)
~
1
2
0
(
3
4
,
5
k
V
)
VISTA FRONTAL VISTA LATERAL
D,E
FASE C
FASE B
50
10
Eng.º Eletricista Flávio Henrique SEP - Sistema Elétrico de Potência 182/201
FASE B
ESTRUTURA P3
OBS:
1- Medidas em centimetros;
FASE A
FASE C
15
70
70
O
P
, P1, P2
Q
M
G2, G3,G 4,G5
VISTA FRONTAL
VISTA LATERAL
N
H
OPÇÕES DE ANCORAGEM
Isolador tipo bastão de porcelana
Isolador tipo bastão polimérico
P1
P2
Eng.º Eletricista Flávio Henrique SEP - Sistema Elétrico de Potência 183/201
VISTA FRONTAL VISTA LATERAL
ESTRUTURA P4
D, E
Q
G2,G3,G4,G5
X, X1, X3
O
P
, P1, P2
N
M
D,E
FASE C
FASE A
FASE B
70
70
15
I
70
70
20
VISTA SUPERIOR
X, X1, X3, X4
70
70
20
5
OBS:
1- Medidas em centimetros;
25
F2,F3,
F4
F2, F3,
F4
OPÇÕES DE ANCORAGEM
Isolador tipo bastão de porcelana
Isolador tipo bastão polimérico
P1
P2
Eng.º Eletricista Flávio Henrique SEP - Sistema Elétrico de Potência 184/201
FASE B
A
FASE A
ESTRUTURA P1-P3
50
10
50
D,E
FASE C
P
, P1, P2
Q M
G2,G3,G4,G5, H
N
O
20
20
20
VISTA FRONTAL VISTA LATERAL
OBS:
1- Medidas em centimetros;
J
F2,F3,
F4
F2, F3,
F4
X, X1, X3,X4
OPÇÕES DE ANCORAGEM
Isolador tipo bastão de porcelana
Isolador tipo bastão polimérico
P1
P2
Eng.º Eletricista Flávio Henrique SEP - Sistema Elétrico de Potência 185/201
FASE C
FASE A
FASE B
OBS:
1- Medidas em centimetros;
ESTRUTURA P3- P3
P
O
P
, P1, P2
Q
G2,G3,G4,G5
X, X1, X3
VISTA FRONTAL VISTA LATERAL
70
70
15
70
70
20
M
N
VISTA SUPERIOR
H
OPÇÕES DE ANCORAGEM
Isolador tipo bastão de porcelana
Isolador tipo bastão polimérico
P1
P2
X, X1, X3,X4
Eng.º Eletricista Flávio Henrique SEP - Sistema Elétrico de Potência 186/201
ESTRUTURA - N4-CH
OBS
Medidas em cm
40
35
90 55
VISTA SUPERIOR
VISTA FRONTAL VISTA LATERAL
G2,G3,G4
A
O P
Q
N
M
K1,K2
H,G
B
X1 a X4
W1,W2
Q2
OPÇÃO DE ANCORAGEM
Isolador tipo bastão polimérico
P1
Eng.º Eletricista Flávio Henrique SEP - Sistema Elétrico de Potência 187/201
ESTRUTURA - N4-CFu
OBS
Medidas em cm
100
85
80 45 45
FONTE
CARGA
85
A B
CORTE AB
VISTA FRONTAL
VISTA LATERAL
G2,G3
A
C
O
P
, P1, P2
N
M
G3,G4,G5
H,G
B
S, S1
G3,G4
T
U,U1,
U2,U3
F
D,F
Z6
K1,K2, K3
OPÇÕES DE ANCORAGEM
Isolador tipo bastão de porcelana
Isolador tipo bastão polimérico
P1
P2
Eng.º Eletricista Flávio Henrique SEP - Sistema Elétrico de Potência 188/201
50
ESTRUTURA U1
10
D,E
A
VISTA FRONTAL VISTA LATERAL
F2,
OBS:
1- Medidas em centimetros;
Eng.º Eletricista Flávio Henrique SEP - Sistema Elétrico de Potência 189/201
ESTRUTURA U3
OBS:
1- Medidas em centimetros;
15
O P
. P1, P2
Q
M
G2,G3,G4, G5
VISTA FRONTAL
VISTA LATERAL
OPÇÕES DE ANCORAGEM
Isolador tipo bastão de porcelana
Isolador tipo bastão polimérico
P1
P2
Eng.º Eletricista Flávio Henrique SEP - Sistema Elétrico de Potência 190/201
VISTA FRONTAL VISTA LATERAL
ESTRUTURA U4
Q
G2,G3,G4,G5
O
P
, P1, P2
D,E
15
I
20
VISTA SUPERIOR
20
OBS:
1- Medidas em centimetros;
25
F2, F3,
F4
X, X1, X3,X4, X5
OPÇÕES DE ANCORAGEM
Isolador tipo bastão de porcelana
Isolador tipo bastão polimérico
P1
P2
Eng.º Eletricista Flávio Henrique SEP - Sistema Elétrico de Potência 191/201
OBS:
1- Medidas em centimetros;
ESTRUTURA U3- U3-Cfu
Q
G2,G3,G4,G5
VISTA FRONTAL VISTA LATERAL
20
O
P
. P1, P2
M N
95
A6, A7
Z6
T
U,U1,
U2,U3
S, S1
OPÇÕES DE ANCORAGEM
Isolador tipo bastão de porcelana
Isolador tipo bastão polimérico
P1
P2
Eng.º Eletricista Flávio Henrique SEP - Sistema Elétrico de Potência 192/201
A
D,E
VISTA FRONTAL
H
15
20
ESTRUTURA - U T1- U3
OBS:
1- Medidas em centimetros;
F2,F3,F4
20
VISTA LATERAL
I
G2, G3,G4,G5
A1
F1
P
. P1, P2
Q
O
X, X1, X3,X4,X5
OPÇÕES DE ANCORAGEM
Isolador tipo bastão de porcelana
Isolador tipo bastão polimérico
P1
P2
Eng.º Eletricista Flávio Henrique SEP - Sistema Elétrico de Potência 193/201
A
D,
E
VISTA FRONTAL
15
20
ESTRUTURA - U T1- U3-Cfu
OBS:
1- Medidas em centimetros;
50
VISTA LATERAL
I
G2,G3,G4,G5
A1
F1
Q
G2, G3,G 4,G5
O
P
, P1,P2
M N
S, S1
A6, A7
Z6
T
U,U1,
U2,U3
OPÇÕES DE ANCORAGEM
Isolador tipo bastão de porcelana
Isolador tipo bastão polimérico
P1
P2
Eng.º Eletricista Flávio Henrique SEP - Sistema Elétrico de Potência 194/201
A6, A7
Q
O P
, P1,P2
N
M
S, S1
H
ESTRUTURA U4-Cfu
20
G1, G2, G3, G4
VISTA LATERAL
VISTA FRONTAL
OBS:
1- Medidas em centimetros;
90
FONTE CARGA
Q
Z6
T
U,U1,
U2,U3,U4
OPÇÕES DE ANCORAGEM
Isolador tipo bastão de porcelana
Isolador tipo bastão polimérico
P1
P2
Eng.º Eletricista Flávio Henrique SEP - Sistema Elétrico de Potência 195/201
A3
Q
O P
,P1,P2
N
M
X1, X2 , X3, X5 W, W2
ESTRUTURA U4-CH
20
G1, G2, G3, G4
VISTA LATERAL
VISTA FRONTAL
G1, G2, G3, G4
VISTA SUPERIOR
OBS:
1- Medidas em centimetros;
Q2
OPÇÕES DE ANCORAGEM
Isolador tipo bastão de porcelana
Isolador tipo bastão polimérico
P1
P2
Eng.º Eletricista Flávio Henrique SEP - Sistema Elétrico de Potência 196/201
FASE B
A
D,E
VISTA FRONTAL VISTA LATERAL
15
20
ESTRUTURA - UT 1
G2,G3,G4,G5
H
OBS:
1- Medidas em centimetros;
Eng.º Eletricista Flávio Henrique SEP - Sistema Elétrico de Potência 197/201
ESTRUTURA U1-U3-Cfu
10
D,E
VISTA FRONTAL VISTA LATERAL
OBS:
1- Medidas em centimetros;
F2,F3
80-
13,8
kV
Q
G2,G3,G4,G5
O
P
, P1, P2
M N
S, S1
A6, A7
Z6
T
U,U1,
U2,U3, U4
OPÇÕES DE ANCORAGEM
Isolador tipo bastão de porcelana
Isolador tipo bastão polimérico
P1
P2
120
-
34,5
kV
Eng.º Eletricista Flávio Henrique SEP - Sistema Elétrico de Potência 198/201
ESTRUTURA - U4-CR
OBS
Medidas em cm
75
CORTE AB
VISTA FRONTAL
VISTA LATERAL
A
H,G
B
B
S3
T
U,U1,
U2,U3, U4
D,E
Z6
F
G2, G3
H
A
15
O, G1, G2
P, P1, P2
N
M
G3, G4
H
Q
OPÇÕES DE ANCORAGEM
Isolador tipo bastão de porcelana
Isolador tipo bastão polimérico
P1
P2
80-
13,8
kV
120
-
34,5
kV
Eng.º Eletricista Flávio Henrique SEP - Sistema Elétrico de Potência 199/201
FASE A
ESTRUTURA - PTA1- PR
FASE C
FASE B
105
U5
Obs
. 2
Z2
Z2
U5
Pr1, Pr2
Z4
U5, U6, U7
VISTA FRONTAL VISTA LATERAL
OBS:
1- Medidas em centimetros;
2- Prender o condutor de aterramento dos pára-raios ao poste, através de 3 voltas
bem apertadas de arame galvanizado 14 BWG
A6, A7
Z4
Eng.º Eletricista Flávio Henrique SEP - Sistema Elétrico de Potência 200/201
ESTRUTURA - N4-CR
OBS
Medidas em cm
85 85
CORTE AB
VISTA FRONTAL
VISTA LATERAL
O1
A
O P
N
M
H,G
B
B
S3
T
U,U1,U2,
U3, U4
D,E
Z6
F
K2, K3
K2, K3, K7
G3, G4
A
H,G
OPÇÕES DE ANCORAGEM
Isolador tipo bastão de porcelana
Isolador tipo bastão polimérico
P1
P2
80-
13,8
kV
120
-
34,5
kV
Eng.º Eletricista Flávio Henrique SEP - Sistema Elétrico de Potência 201/201

Apostila SEP FINALIZADA no setor eletrico

  • 1.
    APOSTILA SISTEMA ELÉTRICO DEPOTÊNCIA SEP Projeto, instalação e manutenção. Eng.º Eletricista Flávio Henrique SEP - Sistema Elétrico de Potência 1/201
  • 2.
    1 - SISTEMAELÉTRICO DE POTÊNCIA 1.1 - Introdução O Sistema Elétrico de Potência (SEP) é um conjunto de todas as instalações e equipamentos destinados à geração, transmissão e distribuição de energia elétrica. (A.B.N.T. – NBR-5460 – Sistemas Elétricos de Potência – Terminologia). Objetivo → Gerar, transmitir e distribuir energia elétrica atendendo a determinados padrões de confiabilidade, disponibilidade, qualidade, segurança e custos, com o mínimo impacto ambiental.  Confiabilidade representa a probabilidade de componentes, partes e sistemas realizarem suas funções requeridas por um dado período de tempo sem falhar. Representa também o tempo que o componente, parte ou sistema levará para falhar (%).  Disponibilidade é definida como a probabilidade que o sistema esteja operando adequadamente quando requisitado para uso. Em outras palavras, é a probabilidade que um sistema não está indisponível quando requisitado seu uso (%).  Qualidade da energia é a condição de compatibilidade entre sistema supridor e carga atendendo critérios de conformidade senoidal (amplitude da tensão, frequência, desequilíbrios de tensão e corrente e forma de onda).  Segurança está relacionado com a habilidade do sistema de responder a distúrbios que possam ocorrer no sistema. Em geral os sistemas elétricos são construídos para continuar operando após ser submetido a uma contingência. Eng.º Eletricista Flávio Henrique SEP - Sistema Elétrico de Potência 2/201
  • 3.
    1.1.2 - Geração Obtém-seenergia elétrica, a partir da conversão de alguma outra forma de energia, utilizando-se máquinas elétricas rotativas (geradores), nas quais se utilizam turbinas hidráulicas ou a vapor para se obter o conjugado mecânico. 1.1.3 - Sistema de Transmissão Transporta a energia elétrica dos centros de geração aos de consumo. 1.1.4 - Sistema de Distribuição 1.1.4.1 - Rede de Sub-Transmissão Tem a função de transportar a energia elétrica das subestações de transmissão às subestações de distribuição e aos consumidores, operando em tensões de 34,5, 69, 88 e 138 kV. 1.1.4.2 - Subestações de distribuição São supridas pela rede de subtransmissão e são responsáveis pela transformação da tensão de subtransmissão para a de distribuição primária (13,8 kV). Eng.º Eletricista Flávio Henrique SEP - Sistema Elétrico de Potência 3/201
  • 4.
    1.2 - Sistemasde distribuição primária As redes de distribuição primária (média tensão) emergem das SEs de distribuição e operam, no caso da rede aérea, radialmente, com possibilidade de transferência de blocos de carga entre circuitos para o atendimento da operação em condições de contingência, devido à manutenção corretiva, preventiva e outras situações. 1.3 - Redes de Distribuição As redes de distribuição alimentam consumidores residenciais e industriais de médio e pequeno porte, consumidores comerciais e de serviços. a) Redes de Média Tensão Os troncos dos alimentadores empregam, usualmente, condutores de seção 336,4 MCM permitindo, na tensão de 13,8 kV, o transporte de 12MVA de potência máxima, que face a necessidade de transferência de blocos de carga entre alimentadores, fica limitada em torno de 8 MVA. Estas redes atendem os consumidores primários e aos transformadores de distribuição (estações transformadoras). Podem ser aéreas ou subterrâneas, sendo que as primeiras são mais difundidas devido ao seu custo menor, e, as segundas têm grande aplicação em áreas de maior densidade de carga (zona central de uma metrópole). b) Redes em Baixa Tensão (BT) O objetivo das redes em baixa tensão é transportar eletricidade das redes de média tensão para os consumidores de baixa tensão. A rede BT representa o nível final na estrutura de um sistema de potência. Um grande número de consumidores, setor residencial, é atendido pelas redes em BT. Tais redes são em geral operadas manualmente, nas tensões de 220/127 V ou 380/220 V.. A Tabela 1 mostra um diagrama com a representação dos vários segmentos de um sistema de potência com seus respectivos níveis de tensão. Tensão (kV) Campo de aplicação Área do sistema de potência Padronizada Existente 0,220/0,127 0,110 Distribuição secundária (BT) Distribuição 0,380/0,220 0,230/0,115 13,8 11,9 Distribuição primária (MT) 34,5 22,5 34,5 88,0 Subtransmissão (AT) 69,0 138,0 138,0 440,0 750,0 Transmissão Transmissão 230,0 345,0 500,0 Tabela 1 – Tensões usuais em sistemas de potência. Eng.º Eletricista Flávio Henrique SEP - Sistema Elétrico de Potência 4/201
  • 5.
    1.3.1 - Conceitosbásicos da Distribuição Rede de Distribuição Aérea Urbana → Parte integrante do Sistema de Distribuição Aérea, localizada dentro de perímetro urbano de cada localidade. Rede de distribuição aérea rural → Rede de Distribuição situada fora do perímetro urbano de cidades. Rede de Distribuição Primária → Parte de uma Rede de Distribuição que alimenta transformadores de distribuição e / ou pontos de entrega sob uma mesma tensão primária nominal. Alimentador de Distribuição → Parte da Rede de Distribuição Primária que alimenta, diretamente ou por intermédio de seus ramais, os transformadores de distribuição da concessionária e/ou consumidores. Tronco de Alimentador → Parte de um Alimentador de Distribuição que transporta a parcela principal da carga total. Ramal de Alimentador → Parte de um Alimentador de Distribuição que deriva do Tronco de Alimentador e que alimenta diretamente os transformadores de distribuição e / ou pontos de entrega de consumidores em tensão primária. Rede de Distribuição Secundária → Rede elétrica que leva energia dos transformadores de distribuição aos pontos de entrega. Ramal de Ligação → Conjunto de condutores e acessórios que ligam uma Rede de Distribuição Secundária a uma ou mais unidades de consumo. Carga Instalada → Soma das potências nominais (em kW) dos equipamentos de uma unidade de consumo que, uma vez concluídos os trabalhos de instalação, estão em condições de entrar em funcionamento. Demanda → Potência (kVA ou kW), requisitada por determinada carga instalada, durante um intervalo de tempo especificado. Normalmente se considera a potência média de 15 minutos. Demanda Máxima → Maior de todas as demandas registradas ou ocorridas durante um intervalo de tempo especificado. Demanda Simultânea → Soma das demandas verificadas num mesmo intervalo de tempo especificado. Demanda Simultânea Máxima → Maior das demandas simultâneas registradas durante um intervalo de tempo especificado. Fator de Demanda → Relação entre a demanda máxima de uma instalação, verificada em um intervalo de tempo especificado e a correspondente carga instalada total. Eng.º Eletricista Flávio Henrique SEP - Sistema Elétrico de Potência 5/201
  • 6.
    Fator de Carga→ Relação entre a demanda média obtida com base no consumo e a demanda máxima no mesmo intervalo de tempo especificado. Demanda Diversificada → Contribuição de um consumidor para a demanda máxima do grupo a que pertence e que está alimentado pela mesma fonte de energia elétrica. É também a demanda resultante da carga, tomada em conjunto de um grupo de consumidores ligados em um mesmo circuito. Queda de Tensão → Diferença entre as tensões elétricas existentes em dois pontos distintos de um circuito, percorrido por corrente elétrica, observadas no mesmo instante. Fator de Potência → Relação entre a potência ativa e a potência aparente. Consumo → Quantidade de energia elétrica (kWh) absorvida em um dado intervalo de tempo. Consumidores Especiais → Consumidores cujas cargas ocasionam flutuações de tensão na rede, necessitando, portanto, de uma análise específica para o dimensionamento elétrico da mesma. kVA Térmico → Potência limite de carregamento do transformador, estabelecida em função de suas características do tipo de curva de carga, adotando máximo de 130 %. Chaves de Proteção → Chaves utilizadas com a finalidade básica de proteção dos circuitos primários de distribuição ou de equipamentos neles instalados, desligando automaticamente os circuitos ou equipamentos que estejam sob condições de defeito ou sob tensão ou correntes anormais. Chaves Fusíveis de Distribuição → Chaves com função principal de proteger ou isolar automaticamente parte da rede, baseado em princípio térmico, através de sobreaquecimento e fusão de um elo condutor fusível quando atingido o limite de corrente pré-estabelecido. Chaves Seccionadoras Tipo Faca → Chaves com função principal de permitir conexão ou desconexão de parte da rede nas manobras por ocasião das operações de fluxo de carga, de manutenção, de reforma ou de construção, através de fechamento ou abertura de um componente em forma de barra metálica basculante condutora, e operado mecanicamente com auxílio de vara de manobra. Eng.º Eletricista Flávio Henrique SEP - Sistema Elétrico de Potência 6/201
  • 7.
    2- REDES AÉREASDE DISTRIBUIÇÃO 2.1 – Introdução → São redes primárias e secundárias, cujo transporte de energia elétrica das subestações aos consumidores é feito, através, de condutores, geralmente de alumínio nú, instalados em estruturas constituídas de postes, cruzetas, isoladores, ferragens e acessórios. 2.1.1 - Redes aéreas urbanas São redes que atendem os consumidores residenciais, comerciais e industriais situados na área urbana dos municípios. Utilizam, geralmente, transformadores trifásicos para o abaixamento da tensão, para suprimento dos consumidores em BT, tanto residenciais, como comerciais e industriais de pequeno porte. Utilizam, também, poste de concreto do tipo circular ou duplo T. 2.1.2 - Redes aéreas rurais São aquelas que suprem os consumidores situados na área rural dos municípios. Devido abaixa densidade de carga utilizam-se redes monofásicas (fase/neutro) e transformadores monofásicos. Os postes das estruturas são, geralmente, de madeira. Eng.º Eletricista Flávio Henrique SEP - Sistema Elétrico de Potência 7/201
  • 8.
    2.2 - MATERIAISDE REDES DE DISTRIBUIÇÃO AÉREA Figura 4 – Poste de concreto duplo T para distribuição e circular para transmissão 2.2.1 - POSTES → São os elementos básicos das estruturas. São especificados pelas suas dimensões geométricas (altura), material, forma e pela resistência à flexão (máximo esforço horizontal). Exemplo: Poste de concreto, seção circular, 11 m, 300 Kg. Podem ser de madeira, concreto e aço. Figura 5 – Armação do suporte de ferro do poste de concreto circular Eng.º Eletricista Flávio Henrique SEP - Sistema Elétrico de Potência 8/201
  • 9.
    Figura 6 –Teste de esforço mecânico do poste de concreto circular Figura 7 – Colocação da armação de ferro na forma do poste de concreto Eng.º Eletricista Flávio Henrique SEP - Sistema Elétrico de Potência 9/201
  • 10.
    2.2.1.1 - Postede Madeira → Usado em linhas rurais, devido ao aspecto estético. È mais barato, mais leve (cerca de 65% do peso do poste de concreto) e de fácil manuseio. São usadas as madeiras de pinho, eucalipto, etc. Com a proibição do uso da madeira de lei, ficou muito difundido o uso da madeira branca, porém, para seu uso a PB-45 da ABNT, determina que “todo poste que não for de madeira de lei, deverá ser tratado e levar bandagens com arame galvanizado no seu topo e no pé”. O tratamento é feito com a penetração de um produto a base de alcatrão, para evitar o apodrecimento, o aparecimento de fungos e de cupins. 2.2.1.2 - Poste de Concreto → Usado em todo tipo de redes aéreas. É mais pesado, mais frágil em seu manuseio, e mais caro que o de madeira, porém, suporta esforços mecânicos maiores que o poste de madeira. Podem ser:  Circular;  Duplo T. Os postes de concreto tipo duplo T têm maior resistência mecânica e por isto são usados em linhas de vãos maiores. 2.2.1.3 - Poste de aço → É mais utilizado para iluminação ornamental. São mais leves, de fácil manuseio e mais caros que os postes de concreto e requerem manutenção constante (pintura). Observação: Preferencialmente, deverão ser instalados em poste de concreto, equipamentos como: chave faca, chave fusível, banco de capacitores, estação transformadora, religador, seccionalizador, regulador de tensão, entrada primária. Altura (m) Cód. da concessionária Esforço máximo (kgf) 10,5 14 300 15 600 18 1000 12 20 300 23 600 25 1000 Tabela 1 – Tipos de postes de concreto de uma concessionária de energia elétrica Deve-se frisar que o esforço horizontal mostrado na Tabela 9.1 é suposto a 20 cm do topo do poste. Eng.º Eletricista Flávio Henrique SEP - Sistema Elétrico de Potência 10/201
  • 11.
    Locação dos postes Definidoo traçado da rede, deve-se partir para a determinação da localização dos postes. Para isto algumas regras básicas devem ser seguidas tais como:  As observações feitas no levantamento de campo, devidamente marcadas em planta, devem ser respeitadas;  Utilizar vão básico igual a 35 m melhorando desta maneira os níveis de iluminação pública. Para regiões rurais o vão básico poderá ser igual a 70 m, prevendo-se expansões futuras onde será locado um poste intermediário der tal modo que o vão básico seja reduzido a 35 m;  Nas vias públicas onde existam curvas, evidentemente a distância entre postes poderá ser menor, evitando-se que condutores atravessem propriedades particulares;  Prever para que a poste não se localize em frente as portas, janelas, sacadas , marquises, garagens, rebaixamentos de guias ou postos de gasolina. Para isto, devem-se observar os afastamentos mínimos impostos pelos manuais de padronização da concessionária local;  Os postes devem ser locados no lado onde houver menor arborização;  Em ruas onde a grande maioria dos consumidores se localizam em um certo lado, os postes devem ser colocados neste mesmo lado. 2.2.2 – CRUZETAS → Elemento onde são colocados os pinos para fixação dos isoladores. Normalmente são de madeira, medindo de 2 a 2,4 m, podendo, também, ser de concreto, pouco usadas, de ferro, usadas em casos especiais tais como travessias de ferrovias, rodovias, etc. ou de fibra de vidro para atmosfera agressiva, com alto índice de poluição. Proporcionam o espaçamento entre os condutores da rede primária. Para sua fixação ao poste utiliza-se parafuso de cabeça quadrada, porcas e arruelas, também, quadradas. Para anular o balanço, usa-se mão francesa. Figura 8 – Poste de rede de distribuição equipado com cruzetas Eng.º Eletricista Flávio Henrique SEP - Sistema Elétrico de Potência 11/201
  • 12.
    2.2.3 – ISOLADORES→ Os isoladores são elementos sólidos dotados de propriedades mecânicas capazes de suportar os esforços produzidos pelos condutores. Eletricamente, exercem a função de isolar os condutores, submetidos a uma diferença de potencial em relação à terra (estrutura do suporte) ou em relação a um outro condutor de fase. De maneira geral classificam-se em duas categorias: apoio e de suspensão. 2.2.3.1 - Isoladores de apoio → São aqueles nos quais se apóiam os condutores. No caso de redes de distribuição, os condutores são fixados aos isoladores através de laços pré-formados, de forma a permitir um pequeno deslocamento devido ao trabalho durante o ciclo de carga. 2.2.3.2 - Isolador roldana → É utilizado predominantemente nas redes de distribuição urbana e rural secundária (220 ou 380 V). Podem ser encontrados tanto em porcelana vitrificada, como em vidro recozido. Figura 9 – Isolador tipo roldana para rede secundária (BT) 2.2.3.3 - Isolador de Pino → É utilizado geralmente em redes de distribuição urbana e rural, primárias, até tensões de distribuição de 34,5 KV. Podem ser fabricados em porcelana vitrificada ou vidro temperado. Figura 10 – Isoladores para redes de distribuição Eng.º Eletricista Flávio Henrique SEP - Sistema Elétrico de Potência 12/201
  • 13.
    2.2.3.4 - Isoladoresde suspensão → São aqueles, quando fixados à estrutura, permitem o livre deslocamento em relação à vertical, através da rotação do seu dispositivo de fixação. A fabricação dos isoladores, ainda, está restrita a utilização de três matérias básicas:  Cerâmica (porcelana marrom vitrificada)  Vidro (temperado ou recozido)  Fibra (epóxi, fibra de vidro ou resinas) 2.2.3.5 - Isolador de disco → Ou isolador de suspensão, são utilizados em redes de distribuição urbana e rural primária, em estruturas de ancoragem e amarração. Podem ser construídos tanto em porcelana vitrificada, como em vidro temperado. Figura 11 – Isolador de disco para redes primárias de distribuição (MT) Figura 12 – Isoladores diversos para redes primárias de distribuição (MT) Eng.º Eletricista Flávio Henrique SEP - Sistema Elétrico de Potência 13/201
  • 14.
    2.2.3.6 - Isoladortipo castanha → É utilizado para separar mecanicamente o circuito secundário (BT) ou ainda para isolar o cabo do estai. Normalmente é fabricado em porcelana vitrificada. Além do tipo, o isolador deve ser definido pele sua classe de isolação, por suas características mecânicas, geométricas e ensaios padronizados. Figura 13 – Isolador tipo castanha para rede secundária (BT) e estai Figura 14 – Alça pre-formada utilizada na amarração dos condutores de redes aéreas de distribuição Eng.º Eletricista Flávio Henrique SEP - Sistema Elétrico de Potência 14/201
  • 15.
    2.4 - FERRAGENSDE ESTRUTURAS BÁSICAS (Rede Convencional) Segue abaixo uma descrição de algumas ferragens utilizadas na rede aérea de distribuição:  Afastador de armação secundária → ferragem instalada no poste na qual é fixada uma armação secundária, para aumentar a distância desta ao poste.  Armação secundária → ferragem de que se fixa num poste e, na qual, são fixados condutores de uma rede de BT em condutores tipo roldana.  Cinta → ferragem que se fixa em torno do poste para proporcionar um apoio rígido para uma outra ferragem ou equipamento. Eng.º Eletricista Flávio Henrique SEP - Sistema Elétrico de Potência 15/201
  • 16.
     Mão francesa→ ferragem de linha aérea que se impede a rotação de uma cruzeta em torno de seu ponto de fixação num poste, segundo um plano vertical.  Pino de isolador → ferragem de linha aérea que se fixa numa superfície, em geral a face superior de uma cruzeta, no qual é fixado um isolador de pino.  Sela para cruzeta → ferragem de linha aérea que se apóia uma cruzeta num poste de concreto circular. Eng.º Eletricista Flávio Henrique SEP - Sistema Elétrico de Potência 16/201
  • 17.
     Suporte paratransformador → ferragem utilizada para apoiar um transformador de distribuição. 2.4 - FERRAGENS DE ESTRUTURAS BÁSICAS (Rede Compacta) Braço Tipo “L” → ferragem, em formato “L”, presa ao poste, com a função de sustentação do cabo mensageiro da rede compacta, em condição de tangência ou com ângulos de deflexão de até 6º. Braço Tipo “C” → ferragem, em formato “C”, presa ao poste, com a finalidade de sustentação das fases em condições de ângulo e de final de linha, derivações e conexão de equipamento à rede. Eng.º Eletricista Flávio Henrique SEP - Sistema Elétrico de Potência 17/201
  • 18.
    Suporte “Z” →ferragem, em formato “Z”, com a função de fixação de chave fusível e/ou de pára-raios ao braço tipo “C”. Cantoneira Auxiliar para Braço Tipo “C” → ferragem utilizada para encabeçamento das fases, na extremidade superior do braço tipo “C” ou para instalação de chaves fusíveis ou de pára-raios. Estribo para Braço Tipo “L” → ferragem complementar ao braço tipo “L” cuja função é a sustentação do espaçador junto ao braço. Eng.º Eletricista Flávio Henrique SEP - Sistema Elétrico de Potência 18/201
  • 19.
    2.5 – Condutores→ O cabo de alumínio (CA) é um encordoado concêntrico de condutores, composto de uma ou mais camadas helicoidais (coroas) de fios de alumínio, usualmente de mesmo diâmetro. As camadas helicoidais sucessivas são enroladas em sentidos opostos. A primeira camada (fio central) é constituída por um único fio, a segunda camada contará com 6 fios e a cada camada subsequente são adicionados 6 fios, de modo que se terá no total 7, 19, 37, 61 fios conforme o cabo disponha de 2, 3, 4 ou 5 camadas. Para cabos de alumínio com alma de aço (CAA) a construção é similar exceto pelo fato que nas camadas iniciais utilizam-se fios de aço e nas mais externas, fios de alumínio. Na figura 15, apresenta-se a seção reta de um cabo CA (a), com 19 fios de alumínio, e de um CAA (b), com 7 fios de aço e 30 fios de alumínio. Os cabos CAA são identificados, dentre outros elementos, pelo número de fios de alumínio e de aço, assim, para o caso da figura 21 (b) teremos cabo CAA 30 Al/7 Aço, ou, mais simplesmente, cabo CAA 30/7. Figura 15 – Cabos CA (a) e CAA (b) Os cabos CAA são utilizados, mais correntemente, em linhas de transmissão que apresentam os maiores vãos. Nas redes de distribuição em média tensão urbanas, estando o vão limitado a cerca de 30 a 40 m, utilizam-se cabos CA. Para as redes rurais podem-se utilizar os dois casos em função das características da área onde a rede se desenvolve. Finalmente, nas redes de baixa tensão utilizam-se cabos CA protegidos ou nus. Figura 16 – Características mecânicas de linhas aéreas Seções da série métrica → as normas brasileiras definem que a identificação dos condutores, quanto à área da seção transversal, é feita pela sua seção Eng.º Eletricista Flávio Henrique SEP - Sistema Elétrico de Potência 19/201
  • 20.
    nominal em mm2 .Na Tabela 1 apresenta-se a série de seções nominais normalizadas. Seções nominais normalizadas (mm2 ) 0,5 0,75 1 1,5 2,5 4 6 10 16 25 35 50 70 95 120 150 185 240 300 400 500 630 800 1000 1200 1600 2000 Tabela 1 – Seções nominais em mm2 Seções definidas pela American Wire Gage (AWG) → mesmo não sendo aceita pelas normas brasileiras merece detalhamento, pois que seu uso é extremamente difundido em sistemas elétricos de potência. Cada seção nominal é identificada por um código numérico seqüencial (bitola) que se estende desde o código 36 (seção de menor diâmetro) até o código 1. Conta ainda com os códigos adicionais 0 (1/0), 00 (2/0), 000 (3/0) e 0000 (4/0). Para cabos maiores do que o 4/0 AWG substitui-se a série AWG pela área de sua seção reta em MCM. Assim, define-se o “circular mil”, CM, que representa a área de um condutor circular cujo diâmetro é um milésimo de polegada, isto é: ou Sendo essa unidade muito pequena, define-se, seu múltiplo, o MCM, que corresponde a 1000 CM, isto é, 1 MCM = 0,506707 mm2 . Eng.º Eletricista Flávio Henrique SEP - Sistema Elétrico de Potência 20/201
  • 21.
    Condutores padronizados pararedes de distribuição → Os condutores padronizados para uso nas redes primárias das concessionárias, em geral, são os seguintes:  Cabo de alumínio nú, sem alma de aço, nas bitolas 1/0 AWG, 3/0 AWG, e 336.4 MCM;  Cabo de alumínio nú, com alma de aço, nas bitolas 1/0 AWG, 3/0 AWG, e 336.4 MCM;  Cabo de alumínio, semi isolado através de capa de PVC, ou XLPE nas bitolas 1/0 AWG 3/0 AWG e 336.4 MCM;  Cabo pré-reunido de alumínio, isolado em XLPE ou EPR, formação triplex com cabo mensageiro, na bitola 240 mm²;  Cabo isolado, subterrâneo, de cobre, bitola 500 MCM (exclusivamente para as saídas de ETDs).  Cabo dotado de cobertura protetora extrudada (XLPE), nas bitolas 70 mm2 e 185 mm2 ;  Cabo Mensageiro, cordoalha composta por fios de aço zincado, diâmetro 9,54 mm (3/8”), utilizado para sustentação da Rede Compacta;  Cabo de Alumínio Multiplexado, auto sustentado, neutro nú em alumínio e fases em alumínio isolado, em XLPE 0,6/1 kV, nas bitolas 70 mm2 e 120 mm2 . Normalmente deverá ser utilizado o condutor nú de alumínio, sem alma de aço, sendo os demais aplicados em situações especiais:  Cabo de alumínio nú → com alma de aço: o aço confere maior capacidade de serem suportados os esforços mecânicos que solicitam o condutor. Neste caso têm-se maior segurança contra o rompimento de condutores tornando-os adequados para travessias de rios, rodovias, ferrovias, etc. Ou sempre que for necessário uma tensão (mecânica) sobre os postes acima do limite indicado para o cabo sem alma de aço;  Cabo pré-reunido → deve ser utilizado nos casos em que haja restrições ao uso de redes aéreas convencionais, tais como:  Nas regiões arborizadas em que a continuidade de serviço seja essencial. O cabo pré-reunido é um cabo isolado e portanto fornece melhor proteção do que o semi isolado Entretanto, devido ao custo relativamente elevado, nesta aplicação ele deve ser usado apenas em casos excepcionais, quando seja comprovadamente necessário;  Nas saídas de ETD ou em outras situações em que seja necessária a passagem de mais do que um circuito na mesma posteação;  Nos casos em que não seja possível garantir o afastamento mínimo entre fase e massa como, por exemplo, nos locais onde não se consegue o afastamento mínimo de sacadas ou marquises. A formação triplex deste cabo dispensa, é claro, o espaçamento entre fase e massa. Eng.º Eletricista Flávio Henrique SEP - Sistema Elétrico de Potência 21/201
  • 22.
     Por serum cabo triplexado não deve se utilizado em trechos onde exista, ou seja previsível, a necessidade de derivação do circuito.  Cabo dotado de cobertura protetora extrudada (XLPE), nas bitolas 70 mm2 e 185 mm2 → Este padrão construtivo deve ser aplicado nas seguintes ocasiões:  Todas as redes de distribuição de empreendimentos particulares;  Regiões densamente arborizadas;  Regiões com altos índices de descargas atmosféricas, pois o cabo mensageiro serve como elemento atenuante para as descargas atmosféricas;  Saída de ETD´s, viabilizando, de acordo com as necessidades, uma alternativa técnico econômica às redes isoladas multiplexadas e trechos de redes subterrâneas; Para otimização do espaço disponível na estrutura física da rede aérea de distribuição. Seção AWG/MCM mm 2 Corrente (A) Admissível Operação 336.4 170,6 430 292 3/0 85,0 275 206 1/0 53,5 200 150 Tabela 2 – Carregamentos máximos admissíveis para condutores 2.6 – Acessórios 2.6.1 – Rede Compacta Figura 17 - Afastador losangular Eng.º Eletricista Flávio Henrique SEP - Sistema Elétrico de Potência 22/201
  • 23.
    Figura 18 -Afastador vertical Figura 19 – Flying-Tap de Rede Compacta Eng.º Eletricista Flávio Henrique SEP - Sistema Elétrico de Potência 23/201
  • 24.
    2.6.2 - Conectores Comalta condutibilidade elétrica, O conector tipo cunha é fabricado em liga de alumínio, para utilização nas conexões bimetálicas (Al/Cu) e de condutores Al/Al (com ou sem alma de aço), sólidos ou multifilares. A aplicação é realizada através de ferramenta apropriada, com a deflagração de cartuchos de pólvora, projetados de acordo com o dimensionamento do conector. Se houver necessidade, o conector poderá ser removido sem danificar os condutores. Com a utilização de um dos dois modelos de ferramentas disponíveis, para cartucho plástico ou metálico, a aplicação do CADC é bastante simples, sendo a ferramenta escolhida carregada com o cartucho correspondente e fixada no conector. Aplicação do conector tipo cunha Com cartucho metálico Para a opção do cartucho metálico, a ferramenta utilizada possui um gatilho disparador, dispensando o uso do martelo. Com cartucho plástico Na aplicação do conector com o cartucho plástico, é utilizado um martelo para acionamento do disparador da ferramenta. Eng.º Eletricista Flávio Henrique SEP - Sistema Elétrico de Potência 24/201
  • 25.
    Derivações e Ligaçõesde Equipamentos Nas derivações, deverá ser utilizado conector tipo cunha alumínio com protetor de conector, inclusive no conector com estribo para ligação de equipamentos, onde deverá ser feita uma fenda no protetor de conector para instalação do estribo. Figura - Aplicação do protetor de conector tipo cunha derivação Eng.º Eletricista Flávio Henrique SEP - Sistema Elétrico de Potência 25/201
  • 26.
    3 - EQUIPAMENTOSDE REDES AÉREAS 3.1 - Transformadores de Distribuição Figura 21 – Transformador de distribuição trifásico O transformador de distribuição (ou Estação Transformadora – E.T.) reduz a tensão primária, ou média tensão, para a de distribuição secundária, ou baixa tensão. Contam com pára-raios para a proteção contra sobretensões, e elos fusíveis para a proteção contra sobrecorrentes, instalados no primário. De seu secundário deriva-se sem proteção alguma, a rede secundária. Nas redes aéreas urbanas utilizam-se, transformadores trifásicos instalados diretamente nos postes. Em geral, suas potências nominais são fixadas na série padronizada, isto é:  15 – 30 – 45 – 75 – 112,5 - 150 – 225 e 300 kVA. No Brasil, a tensão de distribuição secundária está padronizada nos valores de 220/127 V e 380/220 V, havendo predomínio da primeira nos estados das regiões sul e sudeste e da segunda no restante do país. O esquema mais usual consiste na utilização de transformadores trifásicos, com resfriamento a óleo, estando os enrolamentos do primário ligados em triângulo e os do secundário em estrela, com centro estrela aterrado. Utilizam-se ainda, em alguns sistemas, transformadores monofásicos e bancos de transformadores monofásicos. Na figura 22, ilustra-se uma montagem de estrutura de transformador trifásico em rede convencional. Nas redes subterrâneas, a E.T., usualmente utilizando transformador trifásico, pode ser do tipo “pad mounted” (figura 23), quando o transformador é instalado Eng.º Eletricista Flávio Henrique SEP - Sistema Elétrico de Potência 26/201
  • 27.
    abrigado em estruturaem alvenaria ao nível do solo, ou em cubículo subterrâneo, “vault”, quando o transformador deve ser do tipo submersível. Figura – 22 – Estação Transformadora Trifásica em poste de concreto Figura – 23 – Transformador tipo “Pad Mounted” Eng.º Eletricista Flávio Henrique SEP - Sistema Elétrico de Potência 27/201
  • 28.
    Componentes construtivos Os transformadoressão constituídos basicamente de uma parte ativa e de acessórios complementares. I - Parte ativa Compreende as bobinas (enrolamentos do primário e do secundário) e o núcleo ferromagnético. Para que haja um funcionamento eficaz, é necessário que seus componentes sejam prensados e devidamente calçados, a fim de suportarem as mais diferentes condições ambientais a que são submetidos. Os enrolamentos são constituídos de fios de cobre, de seção retangular ou circular, isolados com esmalte ou papel. Os enrolamentos de BT e AT (Figura 24) normalmente são concêntricos, onde a BT ocupa a parte interna e a AT a parte externa, sendo estes fracionados em bobinas de menor número de espiras, chamadas “panquecas”, por motivo de isolação, facilidade de manutenção e retirada das derivações para conexão ao comutador. (a) (b) Figura 24 – Enrolamentos de um transformador: (a) BT; (b) AT Figura 25 – Disposição dos enrolamentos no núcleo do trafo. O núcleo é constituído de lâminas de material ferromagnético, contendo em sua composição o silício, que possui excelentes características de magnetização e baixas perdas por histerese. O empilhamento das lâminas, Eng.º Eletricista Flávio Henrique SEP - Sistema Elétrico de Potência 28/201
  • 29.
    isoladas entre sie do núcleo, é feito para minimizar a ação das correntes parasitas provenientes da variação de fluxo ocorridos sobre o material, que é condutor. II - Acessórios complementares  a) Tanque → Serve de invólucro da parte ativa e do líquido isolante. Nele encontramos os suportes para fixação em postes, ganchos olhais de suspensão, tampa de inspeção, conector de aterramento, fios de passagem das buchas, placa de identificação, radiadores, dispositivos de drenagem do líquido isolante, visor de nível do óleo, etc.  b) Buchas → São dispositivos que permitem a passagem dos condutores constituintes dos enrolamentos para o meio externo (redes elétricas). São constituídos de corpo isolante (porcelana), condutor passante (cobre ou latão), terminal (bronze ou latão) e vedações (borracha e papelão).  c) Radiadores → O calor gerado na parte ativa se propaga pelo óleo, sendo dissipado na tampa e laterais do tanque (Figura 26). Em casos especiais (potência elevada e ventilação insuficiente) os transformadores são munidos de radiadores, que aumentam a área de dissipação, ou adaptados com ventilação forçada.  d) Comutador → É um dispositivo mecânico que permite variar o número de espiras dos enrolamentos de alta tensão, como mostra a Figura 27. Sua finalidade é corrigir o desnível de tensão existente nas redes de distribuição, devido à queda de tensão ocorrida ao longo das mesmas. Figura 26 – Radiador Figura 27 - Comutador  e) Placa de identificação → Construída em alumínio ou aço inoxidável, onde constam todas as informações construtivas resumidas e normatizadas do aparelho, conforme exemplo da Figura 28. Eng.º Eletricista Flávio Henrique SEP - Sistema Elétrico de Potência 29/201
  • 30.
    Entre as informaçõesfornecidas pela placa encontram-se:  nome e dados do fabricante;  numeração da placa;  indicação das NBRs;  potência (kVA);  impedância equivalente (%);  tensões nominais (AT e BT);  tipo de óleo isolante;  diagramas de ligações;  diagrama fasorial;  massa total (kg);  volume total do líquido (l). Figura 28 – Exemplo de placa de identificação de transformador. Eng.º Eletricista Flávio Henrique SEP - Sistema Elétrico de Potência 30/201
  • 31.
    3.2 - Bancode Capacitores Figura 29 – Banco de Capacitores de rede de distribuição Introdução Fluxo de reativos indesejável na rede pode ser detectado pelo fator de potência. Um circuito pode, então, apresentar problemas por queda de tensão, por fator de potência baixo, ou ambos. As soluções em tais casos são buscadas na seguinte ordem: a) Circuito com fator de potência baixo:  aplicação de banco capacitores. b) Circuitos com fator de potência baixo e queda de tensão fora dos limites aceitáveis:  aplicação de banco de capacitores;  aplicação de reguladores de tensão, caso ainda necessário. c) Circuitos com fator de potência acima do limite mínimo aceitável e queda de tensão fora dos limites aceitáveis:  aplicação de regulador de tensão;  divisão de circuito. Tipos de Bancos de Capacitores De acordo com a forma de ligação e operação, os bancos podem ser classificados como:  Diretos ou fixos → são ligados diretamente no circuito primário através de equipamento de proteção e manobra (chave fusível). São também chamados de fixos porque funcionam permanentemente na rede.  Automáticos → são acionados através de equipamento automático acoplado à chave a óleo. O acionamento pode ser feito em horário pré- estabelecido (relé de tempo) ou numa determinada referência de tensão (relé conjugado). Esses bancos encontram-se instalados em circuitos primários 13,8 kV. Eng.º Eletricista Flávio Henrique SEP - Sistema Elétrico de Potência 31/201
  • 32.
    Exemplo de Aplicação:processo de determinação das potências dos bancos de capacitores a serem instalados e da sua localização preliminar no circuito primário, cujos perfis de carga são mostrados para as condições de carga mínima (Figura 30 – Perfil a) e carga máxima (Figura 31 – Perfil a’). Figura 30 – Compensação reativa na condição de mínima carga (perfil a) Figura 31 – Compensação reativa na condição de máxima carga (perfil a’) Eng.º Eletricista Flávio Henrique SEP - Sistema Elétrico de Potência 32/201
  • 33.
    Inicialmente são locadosos bancos do tipo direto, procurando-se compensar todo perfil de carga relativa na condição mínima carga (Figura 30). O total a ser compensado é 2.500 kVAr. O perfil “a” mostra que existe carga reativa concentrada de 700 kVAr no final do circuito. Instala-se então um banco direto de 600 kVAr no ponto A, obtendo-se o perfil compensado “b”. A seguir, como há um trecho do circuito com carga distribuída de maneira aproximada uniforme, pode-se instalar um banco direto de 1.200 kVAr no ponto B conforme mostrado na Figura 30, obtendo-se o perfil c. Finalmente, instala-se outro banco direto de 600 kVAr no ponto C, resultando o perfil d. Conforme pode ser observado no perfil d, o efeito final resistivo foi conseguido. O passo seguinte é a instalação dos bancos automáticos a partir do perfil de carga reativa na condição de máxima carga. (Figura 31). O perfil a’ refere-se à carga reativa sem os bancos diretos. Com a instalação dos bancos diretos obteve-se o perfil b’. O critério atual da empresa é buscar o fator de potência unitário também para a carga máxima. Por isso, neste exemplo, o total a ser compensado por meio de bancos automáticos é 2460 kVAr. A instalação de dois bancos automáticos de 1200 kVAr nos pontos D e E permite a obtenção do perfil c’, com efeito final resistivo. Os bancos de capacitores trazem os seguintes benefícios para a rede.  Diminuição das perdas no alimentador  Melhoria no fator de potência  Aumento da disponibilidade de carga do sistema  Elevação do nível de tensão Os bancos automáticos provocam um benefício adicional que é a regulação de tensão. Os automáticos com comando de tempo só podem ser usados em circuitos com ciclo de carga bem definido. E os automáticos com comando de tempo x tensão (relé conjugado) permitem faixas de regularização diferentes nos períodos de carga leve e pesada. Eng.º Eletricista Flávio Henrique SEP - Sistema Elétrico de Potência 33/201
  • 34.
    3.3 – Pára-raios Figura– 30 – Pára-raios polimérico de rede de distribuição Introdução As linhas de transmissão e redes aéreas de distribuição urbanas e rurais são extremamente vulneráveis às descargas atmosféricas que, em determinadas condições podem provocar sobretensões elevadas no sistema (sobretensões de origem externa), ocasionando a queima de equipamentos, tanto da concessionária, quanto do consumidor de energia elétrica. Para que se protejam os sistemas elétricos dos surtos de tensão, que também podem ter origem durante manobras de chaves seccionadoras e disjuntores (sobretensão de origem interna) são instalados os pára-raios que devem reduzir essa sobretensão para valores compatíveis com a suportabilidade desses sistemas. Partes componentes dos pára-raios Os pára-raios utilizam as propriedades de não-linearidade dos elementos de que são fabricados para conduzir as correntes de descarga associadas às tensões induzidas nas redes e em seguida interromper as correntes subseqüentes, isto é, aquelas que se sucedem às correntes de descarga após a sua condução à terra. Atualmente temos 2 tipos de elementos de características não-lineares que são: carboneto de silício (SiC) e óxido de zinco. Pára-raios de carboneto de silício (SiC) Utilizam como resistor não-linear o carboneto de silício (conduz alta corrente de descarga com baixa tensão residual, mas oferece impedância à corrente subseqüente do sistema) e tem em série com este um centelhador formado por vários gaps (espaços vazios). Eng.º Eletricista Flávio Henrique SEP - Sistema Elétrico de Potência 34/201
  • 35.
    Partes A) Resistor não-linear→ conseguida dos fabricantes de peça de esmerilhamento (carborundo), centelhadores de liga de cobre, nitrogênio sobre pressão (estanqueidade); B) Corpo de porcelana → porcelana vitrificada de alta resistência mecânica e dielétrica, quando submetido a uma descarga aumenta-se a sua temperatura; C) Centelhador série → um ou mais espaçadores entre eletrodos em série com o resistor com a finalidade de assegurar uma rápida extinção de corrente subseqüente fornecida pelo sistema; D) Desligador automático → elemento resistivo em série com uma cápsula explosiva protegida por um corpo de baquelite. É projetado para não operar na descarga e sim desligar o pára-raio defeituoso através de sua auto-explosão (indicador visual de defeito); E) Protetor contra sobre-pressão → destinado a aliviar pressão interna devido a falhas ocasionais e permite o escape dos gases antes que haja o rompimento da porcelana e cause acidentes. Figura 31 - detalhes construtivos dos pára-raios F) Mola de compressão → fio de aço de alta resistência mecânica, tem a função de reduzir a resistência de contato entre os blocos cerâmicos. Eng.º Eletricista Flávio Henrique SEP - Sistema Elétrico de Potência 35/201
  • 36.
    Pára-raios de óxidode zinco (ZnO) Figura 32 – Detalhes de montagem de pára-raios Ao contrário do Carboneto de silício, não possuem centelhadores série. Partes A) Resistor não-linear → óxido de zinco possui excelentes caracterísiticas de não-linearidade e não necessita de centelhadores; Vantagens  Não existe corrente subseqüente;  Maior capacidade de absorção de energia;  Por não possuir centelhadores, a curva de atuação dos pára-raios à óxido de zinco não apresentam transitórios; B) Corpo de porcelana → porcelana vitrificada de alta resistência mecânica e dielétrica, quando submetido a uma descarga aumenta-se a sua temperatura; C) Corpo polimérico → borracha de silicone (não possuem vazios interiores como os de porcelana) sendo que o risco de liberação de fragmentos no caso de uma explosão é muito menor; D) Desligador automático → alguns não possuem desligador (identificação à olho nu praticamente impossível), para evitar esse transtorno os mais modernos são dotados de indicador de falta; Eng.º Eletricista Flávio Henrique SEP - Sistema Elétrico de Potência 36/201
  • 37.
    Figura 33 –Pára-raios de corpo polimérico Eng.º Eletricista Flávio Henrique SEP - Sistema Elétrico de Potência 37/201
  • 38.
    3.4 - Reguladoresde Tensão Figura 32 – Reguladores de Tensão de rede de distribuição O regulador de tensão é um equipamento destinado a manter um determinado nível de tensão em um sistema elétrico, quando submetido a uma variação de tensão fora dos limites especificados. É um autotransformador dotado de certo número de derivações no enrolamento série. As faixas de tensão adequadas, precárias e críticas no ponto de entrega devem atender à Resolução 505 da ANEEL, conforme Tabela abaixo. Para a execução do projeto, deve ser observada a faixa adequada. Tabela 3 – Faixa de tensões admissíveis para consumidores atendidos em M.T. Eng.º Eletricista Flávio Henrique SEP - Sistema Elétrico de Potência 38/201
  • 39.
    Tabela 4 –Faixa de tensões admissíveis para consumidores atendidos em B.T. Tabela 5 – Faixa de tensões admissíveis para consumidores atendidos em B.T. Eng.º Eletricista Flávio Henrique SEP - Sistema Elétrico de Potência 39/201
  • 40.
    No mercado hádois tipos de equipamentos destinados à correção de tensão nas redes de distribuição, ou seja:  Regulador de tensão autobooster;  Regulador de tensão de 32 degraus. Figura 33 – Detalhe do Regulador de Tensão Eng.º Eletricista Flávio Henrique SEP - Sistema Elétrico de Potência 40/201
  • 41.
    4 - DISPOSITIVOSDE PROTEÇÃO E MANOBRA 4.1 - Religadores automáticos Figura 34 – Religador Automático (Cooper) Dispositivo autocontrolado automático que interrompe e religa um circuito de corrente alternada com uma sequência pré-determinada de abertura e fechamento seguido por uma reinicialização, permanecendo fechado ou bloqueado de acordo com as suas instruções operativas. Na ocorrência de faltas os religadores são sensibilizados por sobrecorrentes iniciando o ciclo de operação. Caso a sobrecorrente persista a sequência de abertura e fechamento dos contatos é repetida até três vezes consecutivas e, após a quarta abertura, os contatos ficam abertos e bloqueados, isolando a parte defeituosa do sistema. Caso o defeito desapareça após o primeiro, segundo ou terceiro intervalo de religamento, e decorrido o tempo de reinicialização, o mecanismo rearma-se automaticamente tornando o religador apto a realizar novamente a sequência completa de operações ajustadas no religador. 4.2 - Chave fusível indicadora unipolar Introdução Chave fusível é um equipamento destinado à proteção de sobrecorrentes do circuito primário, utilizada em redes aéreas de distribuição urbana e rural e em pequenas subestações de consumidor e concessionárias. É dotada de um elemento fusível que responde pelas características básicas de sua operação. São também denominadas corta-circuitos e são fabricadas em diversos modelos para diferentes níveis de tensão e corrente. Eng.º Eletricista Flávio Henrique SEP - Sistema Elétrico de Potência 41/201
  • 42.
    Figura 35 -Chave fusível de isolador de corpo único A figura abaixo mostra um tipo de chave fusível de construção especial. Denominada chave fusível religadora, é destinada à proteção de redes aéreas de distribuição contra curtos-circuitos transitórios. Principalmente indicadas para aplicação nas derivações importantes do tronco. A troca de um simples elo fusível em locais de difícil acesso, devido às grandes distâncias ou estradas intransitáveis ou ainda de equipes de manutenção não disponíveis no momento necessário, faz elevar o tempo de interrupção e conseqüentemente o custo da mesma. A chave reduz o tempo de retorno do fornecimento de energia elétrica. É composta de três chaves fusíveis tipo C na qual a corrente do sistema flui apenas pela primeira chave do conjunto. No caso de um curto-circuito, o fusível da primeira chave funde-se, ocasionando a queda do porta fusível que aciona o mecanismo de transferência da corrente para a chave central. Permanecendo o defeito, o processo se repete, transferindo o fluxo da corrente para a terceira chave. . Eng.º Eletricista Flávio Henrique SEP - Sistema Elétrico de Potência 42/201
  • 43.
    Figura 36 -Chave fusível religadora de abertura monopolar As chaves fusíveis unipolares são normalmente operadas através de varas de manobra. As partes internas da vara de manobra são preenchidas com poliuretano expandido, para aumentar a estabilidade e impedir o acúmulo de umidade. São constituídas de seções com encaixe preciso e travamento através pinos elásticos, com cabeçote móvel. Figura 37 - Vara de manobra de fibra de vidro Gancho da ferramenta de abertura em carga (load buster) As chaves fusíveis não devem ser operadas em carga, devido à inexistência de um sistema de extinção de arco. No entanto, com a utilização da ferramenta de abertura em carga (load buster) pode-se operar a chave fusível. Eng.º Eletricista Flávio Henrique SEP - Sistema Elétrico de Potência 43/201
  • 44.
    Figura 38 –Ferramenta de abertura em carga na posição fechada Eng.º Eletricista Flávio Henrique SEP - Sistema Elétrico de Potência 44/201
  • 45.
    Figura 39 -Ferramenta de abertura em carga na posição de operação Figura 40 - Expulsão dos gases do interior do cartucho Figura 41 – Porta fusível Eng.º Eletricista Flávio Henrique SEP - Sistema Elétrico de Potência 45/201
  • 46.
    Figura 42 -Chave fusível de base tipo C 4.3 - Elo fusível É um elemento metálico no qual é inserida uma parte sensível à correntes elétricas elevadas, fundindo-se e rompendo-se num intervalo de tempo inversamente proporcional à grandeza da referida corrente. O elo fusível é utilizado no interior do cartucho ou porta fusível, preso nas suas próprias extremidades. Elo fusível de botão → são aqueles que possuem na extremidade superior um botão metálico que deve ser preso na parte superior do porta fusível, mostrado na figura a seguir, para elos de corrente entre 1 a 50 A. Eng.º Eletricista Flávio Henrique SEP - Sistema Elétrico de Potência 46/201
  • 47.
    Figura 43 –Tipos de elos fusíveis: botão e argola Elemento fusível → é constituído de uma liga de estanho e representa a parte fundamental do elo fusível. Tubinho → é constituído de material isolante e se destina à proteção do elemento fusível. Rabicho → é constituído de um condutor estanhado composto de vários fios de pequeno diâmetro, devendo ser altamente flexível para não interferir no funcionamento da chave fusível. Características elétricas Os elos fusíveis são caracterizados pelas curvas de atuação tempo x corrente que permitem classificá-los em vários tipos: Elo fusível do tipo H → utilizado na proteção primária do transformador de distribuição e fabricados para correntes de até 5 A. São considerados elos fusíveis de alto surto, isto é, apresentam um tempo de atuação lento para altas correntes. Elo fusível do tipo K É largamente utilizado na proteção de redes aéreas de distribuição urbanas e rurais. Estes elos são considerados fusíveis de atuação rápida e têm família de curva x corrente apresentada na figura. Eng.º Eletricista Flávio Henrique SEP - Sistema Elétrico de Potência 47/201
  • 48.
    Figura 44 –Curva tempo x corrente dos elos fusíveis tipo H Para que se escolha adequadamente o elo fusível destinado à proteção de um determinado transformador, basta consultar a Tabela 1. Elo fusível do tipo H → utilizado na proteção primária do transformador de distribuição e fabricados para correntes de até 5 A. São considerados elos fusíveis de atuação lenta e sua principal finalidade é proteger ramais primários de distribuição. Para que possa utilizar com boa técnica os elos fusíveis nas redes de distribuição aéreas, deve-se proceder a coordenação de vários elementos instalados ao longo do alimentador. Figura 45 – Posições dos elos fusíveis protegidos e protetores Eng.º Eletricista Flávio Henrique SEP - Sistema Elétrico de Potência 48/201
  • 49.
    Potência do transformador(kVA) 13,8 kV 15 1 H 30 2 H 45 3 H 75 5 H 112,5 6 K 150 8 K 225 10 K 300 15 K Tabela 3 – Escolha dos elos fusíveis K e H Elo Fusível Protegido (tipo K) Elo Fusível protetor (tipo K) 12 15 20 25 30 40 50 65 80 100 140 200 6 350 510 650 840 1060 1340 1700 2200 2800 3900 5800 9200 8 210 440 650 840 1060 1340 1700 2200 2800 3900 5800 9200 10 300 540 840 1060 1340 1700 2200 2800 3900 5800 9200 12 320 710 1050 1340 1700 2200 2800 3900 5800 9200 15 430 870 1340 1700 2200 2800 3900 5800 9200 20 500 1100 1700 2200 2800 3900 5800 9200 25 660 1350 2200 2800 3900 5800 9200 30 850 1700 2800 3900 5800 9200 40 1100 2200 3900 5800 9200 50 1450 3500 5800 9200 65 2400 5800 9200 80 4500 9200 100 2000 9100 140 4000 Tabela 4 – Coordenação entre elos fusíveis K Eng.º Eletricista Flávio Henrique SEP - Sistema Elétrico de Potência 49/201
  • 50.
    5 - PROJETOSDE REDES DE DISTRIBUIÇÃO AÉREA URBANAS 5.1 - Roteiro para elaboração de projetos 5.1.1 – Obtenção dos dados preliminares → Consiste na obtenção dos dados necessários à elaboração do projeto, tais como: a) Objetivo do projeto a ser elaborado → Consiste em determinar o tipo de projeto a ser elaborado e sua finalidade (expansão, reforma ou reforço). b) Obtenção da planta da área, com arruamento, etc. → devem ser obtidas as características do circuito, arruamento, edificações, além de áreas ambientais da área a ser atendida. No caso de atendimento a novas áreas, por exemplo, um novo loteamento, deve ser obtida uma planta georeferenciada, em escala adequada (normalmente 1:1000), junto ao responsável pelo empreendimento. c) Estudo básico da área → Para novas áreas devem ser feito um estudo básico considerando as condições do local, o grau e tipo de urbanização, tipo de arborização, dimensões dos lotes e características da área a ser atendida. d) Planos e projetos previamente existentes para a área → Devem ser levantados prováveis projetos anteriormente elaborados para a área abrangida, ainda não construídos ou em construção, e que possam ser considerados no projeto em elaboração. 5.1.2 – Levantamento da carga e determinação de demandas → Consiste no levantamento da carga a ser atendida e na determinação da demanda total. 5.1.3 - Locação dos postes → Consiste na locação física dos postes, observando-se os requisitos de espaçamento, de segurança, de iluminação pública desejável, etc. 5.1.4 - Dimensionamento elétrico → Refere-se à definição da configuração do circuito, carregamento e seção transversal dos condutores da rede primária e secundária, localização e dimensionamento de transformadores e proteção contra sobretensão. 5.1.5 - Dimensionamento mecânico → Refere-se ao dimensionamento de postes e tipos de estruturas. 5.1.6 - Relação de material e orçamento → Relação dos materiais necessários à construção da rede e elaboração do orçamento correspondente. 5.1.7 - Apresentação do projeto → Consiste do conjunto de desenhos, cálculos, formulários, etc., que compõem o projeto. Eng.º Eletricista Flávio Henrique SEP - Sistema Elétrico de Potência 50/201
  • 51.
    5.2 - TIPOSDE PROJETOS Os projetos de Redes de Distribuição Aéreas Urbanas devem ser dos seguintes tipos: 1) CONEXÃO (atendimento ao mercado) São projetos para atendimento a novos consumidores:  Extensão de redes: envolve o prolongamento da rede existente;  Modificação: não envolve extensão, mas exige mudanças na rede. 2) REFORMA (melhoria) São considerados projetos de reforma os que envolvem obras relacionadas a:  Aspectos de segurança (ex: afastamento de redes);  Melhoria dos indicadores de desempenho DEC/FEC:  Flexibilidade operativa (ex: interligação de alimentadores e by-pass de localidades);  Redução de interrupções (ex: substituição de rede nua para protegida em local com algum tipo de interferência na rede como, por exemplo, arborização);  Balanceamento de fases;  Melhoria do nível de tensão;  Adequação do nível de carregamento dos transformadores. 3) AMPLIAÇÃO São considerados de ampliação os projetos ligados a obras de:  Alterações vinculadas à alta tensão ou subestações (ex.:novas subestações e/ou aumento do número de alimentadores); 4) MANUTENÇÃO  Recuperação física da rede (ex: substituição de cabo recozido);  Poda de árvores;  Substituição de materiais com defeito (ex: isolador quebrado, cruzeta podre, equipamento com “ponto quente”, etc);  Substituição de condutores (ex: subst. de cabo de cobre x alumínio); Eng.º Eletricista Flávio Henrique SEP - Sistema Elétrico de Potência 51/201
  • 52.
    6 - DIMENSIONAMENTOELÉTRICO DOS CONDUTORES DE B. T. 6.1 - Introdução Este cálculo permite dimensionar as bitolas (seções) dos condutores da rede secundária dos diversos circuitos da rede de distribuição aérea, levando-se em consideração as demandas diurnas e noturnas dos consumidores endereçados em cada poste, bem como a potência nominal do transformador de cada circuito. As demandas dos consumidores residenciais serão tomadas em função da faixa de consumo mensal de cada tipo de consumidor (ver tabelas 1 e 2). Tipos de consumidores (em função do consumo) Faixa de consumo mensal em kWh Baixo (P) De 0 a 75 Médio (M) De 76 a 150 Alto (G) De 151 a 300 Altíssimo (GA) Acima de 300 Tabela 1 – Demanda de consumidores Para esta tabela considerar 100% para a demanda residencial noturna e 50% para a demanda residencial diurna. Número de consumidores residenciais no circuito Demanda noturna de consumidores residenciais por faixa de consumo P M G GA 01 a 05 0,35 0,70 1,38 4,62 06 a 10 0,33 0,62 1,28 4,04 11 a 15 0,31 0,54 1,17 3,47 16 a 20 0,29 0,49 1,07 2,90 21 a 25 0,28 0,45 0,97 2,50 26 a 30 0,27 0,42 0,87 2,13 31 a 40 0,26 0,39 0,78 1,75 Acima de 40 0,25 0,36 0,71 1,39 Tabela 2 – Demanda de consumidores residenciais. Eng.º Eletricista Flávio Henrique SEP - Sistema Elétrico de Potência 52/201
  • 53.
    Para a demandanoturna acrescentar a demanda da iluminação pública contida na tabela 3. Tipo de lâmpada Demanda (kVA) VM – 80 (vapor de mercúrio 80 W) 0,10 VM – 125 (vapor de mercúrio 125 W) 0,15 VM – 250 (vapor de mercúrio 250 W) 0,29 VM – 400 (vapor de mercúrio 400 W) 0,46 VSO – 70 (vapor de sódio ovóide 70 W) 0,10 VSO – 150 (vapor de sódio ovóide 150 W) 0,19 VSO – 250 (vapor de sódio ovóide 250 W) 0,31 VSA – 400 (vapor de sódio tubular 400 W) 0,48 Tabela 3 – Demanda de iluminação pública. Rede (mm2 ) Sistema 220/127 V FP = 0,92 FP = 1,00 3P12 (70) 0,0635 0,067 3P70 (70) 0,1156 0,1174 3P50 (50) 0,1503 0,1537 2 (CA) 0,2051 - 3A10(10) 0,1412 0,1249 3A30(10) 0,0918 0,0720 3A33(30) 0,0582 0,0361 2/0 (CA) 0,1183 - 4/0 (CA) 0,0851 - Tabela 4 – Coeficiente de queda de tensão (% / kVA x hm) condutores de alumínio isolados multiplexados e nús. Eng.º Eletricista Flávio Henrique SEP - Sistema Elétrico de Potência 53/201
  • 54.
    Cabo XLPE Coeficiente dequeda de tensão (%/kVA x hm) 3 x 10 mm2 0,313 3 x 16 mm2 0,200 3 x 25 mm2 0,130 3 x 35 mm2 0,096 2 x 10 mm2 0,323 2 x 16 mm2 0,210 2 x 25 mm2 0,139 2 x 35 mm2 0,105 Tabela 5 – Coeficiente de queda de tensão (% / kVA x hm) condutores de cobre isolados multiplexados. Cálculos: 1) Num circuito secundário, determinar o valor da sua demanda noturna, diurna e total de acordo com os valores abaixo fornecidos: 14 consumidores tipo M; 9 consumidores tipo P; 8 consumidores tipo G; 2 consumidores tipo GA; 19 luminárias de vapor de mercúrio de 125 W. Consumidor tipo M: Demanda diurna = 14 x 0,27 = 3,78 kW Demanda noturna = 14 x 0,54 = 7,56 kW Consumidor tipo P: Demanda diurna = 9 x 0,165 = 1,485 kW Demanda noturna = 9 x 0,33 = 2,97 kW Consumidor tipo G: Demanda diurna = 8 x 0,64 = 5,12 kW Demanda noturna = 8 x 1,28 = 10,24 kW Consumidor tipo GA: Demanda diurna = 2 x 2,31 = 4,62 kW Demanda noturna = 2 x 4,62 = 9,24 kW Iluminação Pública: 19 lum. de 125 W: Demanda noturna = 19 x 0,15 = 2,85 kW Demanda diurna total = 15,005 kVA Demanda noturna total = 32,86 kVA Demanda total do circuito = 32,86 kVA (considera-se a maior demanda) Eng.º Eletricista Flávio Henrique SEP - Sistema Elétrico de Potência 54/201
  • 55.
    6.2 - Níveisde tensão A tensão nominal da rede secundária alimentada por transformadores trifásicos é de 220/127V. A rede alimentada por transformadores monofásicos tem tensão secundária de 240/120V. Admite-se 5% como a máxima queda de tensão na rede secundária (entre a bucha de BT do transformador e a última estrutura da rede de BT), em condições normais de operação. Este valor máximo é fixado para verificação da possibilidade de ligação de novos consumidores sem necessidade de modificação de rede, dentro do horizonte de planejamento considerado (cinco anos). As faixas de tensão adequadas, precárias e críticas no ponto de entrega devem atender à Resolução 505 da ANEEL, conforme Tabela abaixo. Para a execução do projeto, deve ser observada a faixa adequada. Classificação da Tensão de Atendimento (TA) Faixa de variação da Tensão de Leitura (TL) em relação à Tensão Contratada (TC) Adequada 0,93 TC ≤ TL ≤ 1,05 TC Precária 0,90 TC ≤ TL ≤ 0,93 TC Crítica TL < 0,90 TC ou TL > 1,05 TC Tabela 3 – Pontos de entrega ou conexão em 1 kV < VN < 69 kV Tabela 4 – Faixa de tensões admissíveis para consumidores atendidos em B.T. Eng.º Eletricista Flávio Henrique SEP - Sistema Elétrico de Potência 55/201
  • 56.
    6.3 - CÁLCULODE QUEDA DE TENSÃO Para calcular a queda de tensão, adota-se a seguinte sequência: a) Definir o posicionamento dos postes na planta em função da largura da rua ou avenida; b) Desenhar os postes na planta observando a distância dos cruzamentos aéreos e dos vãos dos postes; c) Endereçar as cargas dos consumidores nos postes (ver item 12), observando o limite máximo de ramais de ligação por poste, e a distância máxima permitida do ramal de ligação do consumidor; d) Somar as cargas endereçadas em cada poste, noturna e diurna separadamente (ver item 6), não esquecendo de somar a demanda noturna da luminária de cada poste. Depois, somar as cargas noturnas e diurnas de vários postes determinando, pela maior demanda, a potência do transformador que atenderá este circuito; e) Posicionar o transformador, sempre que possível, no centro das cargas do circuito. Desenhar os cabos de BT e determinar as suas bitolas em função da potência do transformador; f) Antes de fazer o cálculo de queda de tensão do circuito para confirmar ou não as bitolas estimadas no item anterior, faz-se necessário desenhar o esquema unifilar do circuito, representando cada poste por meio de um ponto e colocando em cada um as demandas noturnas (N) e diurnas (D) endereçadas neste poste. Depois, colocar letras nos pontos principais do circuito: transformador (início do cálculo), cruzamentos aéreos, mudança de bitolas e finais de circuitos. Deve-se representar a distância dos vãos, e os postes dos cruzamentos aéreos deverão estar mais próximos entre si no esquema unifilar. Eng.º Eletricista Flávio Henrique SEP - Sistema Elétrico de Potência 56/201
  • 57.
    Para concluir, faz-seo cálculo de queda de tensão baseado no diagrama unifilar do circuito: Figura – Planilha de cálculo de queda de tensão. Legenda explicativa da planilha de cálculo de queda de tensão. Ítem 1 → Designação: corresponde ao início e ao fim do trecho do qual será calculada a queda de tensão.  exemplo T-A Ítem 2 → hm: corresponde ao comprimento do trecho designado, em hectômetro (m/100).  exemplo 0,35 hm Eng.º Eletricista Flávio Henrique SEP - Sistema Elétrico de Potência 57/201
  • 58.
    Ítem 3 →Distribuida (D): corresponde à carga existente entre os extremos do trecho designado.  exemplo 0 kVA Ítem 4 → Concentrada (C): corresponde à carga existente fora do trecho designado, incluindo o ponto.  exemplo 25 kVA Ítem 5 → Total: corresponde ao valor total da carga no trecho designado. É determinado pela fórmula: (D/2) + C.  exemplo (0/2) + 25 = 25 kVA Ítem 6 → Condutores: corresponde à bitola dos condutores que farão a alimentação do trecho designado.  exemplo 3 x 20 (20) Ítem 7 → kVA x hm: corresponde à multiplicação do valor da carga total (definido no item 5) com o valor do hm (definido no item 2).  exemplo 25 x 0,35 = 8,75 kVA x hm Ítem 8 → Queda unitária: coeficiente determinado em função da bitola do cabo e do fator de potência do circuito. Os coeficientes de queda de tensão unitária encontram-se nas tabelas de coeficiente de queda de tensão no início deste capítulo.  exemplo 0,1183 (coeficiente unitário para bitola 2/0 do trecho T-A) Ítem 9 → Queda parcial: corresponde à multiplicação do valor do kVA x hm (definido no item 7) com o valor da queda de tensão unitária (item 8).  Ex. 8,75 x 0,1183 = 1,035% (é o valor da queda parcial no ponto A) Ítem 10 → Total: corresponde à soma das quedas de tensão nos trechos designados. No exemplo, a queda de tensão total é igual à parcial (1,035% para o trecho T-A), pois este foi o primeiro trecho calculado, sendo necessário continuar o cálculo para determinar as quedas de tensão nos outros trechos (A- C, A-B e A-D), e determinar as quedas de tensão do transformador até os fins de circuito. Se fosse o trecho A-B, o valor da queda de tensão parcial no ponto B somaria com a queda de tensão total no ponto A para se ter a queda a queda de tensão total do ponto B. Agora, se a queda de tensão total no final do circuito for maior que 5% ou de um valor predefinido, troca-se a bitola do trecho para uma imediatamente superior, refazendo novamente o cálculo. Por exemplo, se no ponto H ocorre uma queda de tensão total maior que 5%, troca- se a rede secundária de 3x 20(20), para 3 x 40(40) e refaz-se os cálculos dos trechos E-H e E-G para verificar se ficaram menores ou iguais a 5%. Há casos em que é necessária a troca da posição do transformador para um poste mais próximo do ponto onde ocorreu a queda de tensão. Ítem 11 → Carga diurna: corresponde à soma de todas as demandas diurnas dos consumidores (ver item 16).  32,5 kVA Eng.º Eletricista Flávio Henrique SEP - Sistema Elétrico de Potência 58/201
  • 59.
    Item 12 →Iluminação Pública: corresponde à soma de todas as demandas das lâmpadas de cada poste (ver tabela 3 no item demandas dos circuitos de baixa tensão).  Exemplo 0,10 x 8 = 0,8 kVA. Item 13 → Carga Noturna: corresponde à soma de todas as demandas noturnas dos consumidores (ver item 16).  Exemplo 40 kVA. Item 14 → Aproveitamento diurno: é quanto do transformador está sendo solicitado no período diurno.  Exemplo 72,2 %. Item 15 → Aproveitamento noturno: é quanto do transformador está sendo solicitado no período noturno (somatório das cargas noturnas com a iluminação pública).  Exemplo 90,66 %. Item 16 → Desenho do esquema unifilar do circuito. Legenda: (D) = Demanda diurna em kVA; (N) = Demanda noturna em kVA. Eng.º Eletricista Flávio Henrique SEP - Sistema Elétrico de Potência 59/201
  • 60.
    Calcule a quedade tensão do circuito secundário representado abaixo em que o local foi considerado como demandas residenciais os valores:  G = 1,38 kVA;  M = 0,62 kVA (ver tabela 2); Demandas das lâmpadas:  VMC-125W = 0,15 kVA (ver tabela 3). A queda de tensão máxima considerada é de 5%. Eng.º Eletricista Flávio Henrique SEP - Sistema Elétrico de Potência 60/201
  • 61.
    No esquema unifilardeve-se representar os postes números (9 e 2) e (12 e 5) o mais próximos entre si, pois representam dois postes que estão a 5 metros da esquina. Exemplo: (9 e 2) Representação do circuito secundário de um transformador com a indicação das demandas dos consumidores. Eng.º Eletricista Flávio Henrique SEP - Sistema Elétrico de Potência 61/201
  • 62.
    Alerta: Para melhor identificaçãodo circuito secundário da página com o esquema unifilar desta planilha, a letra “B” mostra o poste no 7, e a letra “F” o poste no 13. Eng.º Eletricista Flávio Henrique SEP - Sistema Elétrico de Potência 62/201
  • 63.
    Quando colocamos oasterisco ao final de uma queda de tensão total queremos dizer que se trata de um final de rede secundária, em que é mostrado se ela ficou ou não abaixo de 5% (máximo admitido). Faça o cálculo de queda de tensão do circuito abaixo, determinando antes a potência do transformador e as bitolas da rede secundária. Eng.º Eletricista Flávio Henrique SEP - Sistema Elétrico de Potência 63/201
  • 64.
    71 Alerta: Se em algumponto a queda de tensão for maior que 5% (queda máxima utilizada nos exercícios do livro), troca-se a bitola por uma imediatamente superior, tendo como limite a bitola do tronco do transformador. Primeiramente some as demandas e determine a potência nominal do transformador. Depois, indique as bitolas do tronco e dos ramais secundários (ver tabela da página 54). Como não foi definido se é carga noturna ou diurna, utilizar todas as linhas disponíveis na planilha. 6.4 - CÁLCULOS DE ESFORÇOS MECÂNICOS NOS POSTES Para dimensionamento correto de um poste é necessário conhecer a sua resistência nominal, sua altura e determinar os esforços externos que atuam nele, como o esforço de flexão que é devido ao tracionamento dos cabos. Este esforço atua nos suportes (isoladores) e nas amarrações fixadas no poste, podendo incliná-lo ou flambá-lo. Um poste mal-dimensionado poderá sofrer inclinação (fora do prumo) por ultrapassar o limite de resistência do engastamento, mas se o engastamento suportar esse esforço, o poste poderá flambar (entortar) por ter excedido o seu limite de resistência nominal. Quando o poste possui flexão e inclinação (poste flambado e fora do prumo) tem ambos os limites excedidos, ou seja, o do poste e do seu engastamento. Para se evitar esses inconvenientes é necessário calcular os esforços mecânicos que atuam no poste para poder determiná-lo corretamente. Para esse cálculo será necessário conhecer a altura do poste a ser aplicado em função da rede de distribuição aérea (RDA), o tipo, a bitola e o número de condutores usados nessa rede, além da profundidade do engastamento. O poste seção circular como é simétrico tem sua resistência nominal igual em toda a sua periferia. Portanto, trabalharemos com o poste seção duplo T por ter duas faces (lisa e cavada) que requer algumas técnicas quanto ao seu posicionamento. Poste de concreto seção duplo T Para este tipo de poste, o fabricante garante a 15 cm do topo (início da furação para fixação das estruturas primárias) conforme a posição da sua montagem (face lisa ou cavada), quanto da sua resistência nominal ele suporta, conforme descrito abaixo:  Face cavada: o poste suporta um esforço mecânico não superior à metade da sua resistência nominal. Exemplo: o poste B/300 kgf/10,5 m suporta, a 15 cm do topo na face cavada, 150 kgf.  Face lisa: o poste suporta um esforço mecânico até 40% maior que a sua resistência nominal. Eng.º Eletricista Flávio Henrique SEP - Sistema Elétrico de Potência 64/201
  • 65.
    72  Exemplo: oposte B/300 kgf/10,5 m suporta, a 15 cm do topo na face lisa, 420 kgf. Rn = Resistência nominal. Para iniciar o cálculo de esforços mecânicos nos postes precisaremos, antes, conhecer o que sejam e como atuam numa estrutura instalada no poste. Para isso, lembrar o que foi mencionado no início deste livro sobre o posteamento e as estruturas da rede primária e secundária, pois ficará mais fácil a compreensão sobre a atuação dos cabos na estrutura fixada ao poste. Duas situações que devemos entender quanto aos esforços mecânicos na estrutura do poste: 1) Momento no poste: é a força de tração (tensionamento) que os cabos exercem no poste multiplicada pela distância do braço (primário ou secundário). A Física diz que momento é a força aplicada pela sua distância do ponto de fixação. Fórmula: M = F x d; 2) Tração dos cabos: o tensionamento dado em cada cabo depende de sua bitola, conforme as tabelas 1 e 2 deste item. No momento da instalação dos cabos na rede de distribuição aérea exige-se que a empreiteira possua um equipamento chamado dinamômetro, para que o valor unitário de tensionamento de cada cabo possa ser respeitado. Tabela 1 – Tensionamento unitário dos cabos de alumínio Tabela 2 – Resistência unitária dos cabos de aço. Eng.º Eletricista Flávio Henrique SEP - Sistema Elétrico de Potência 65/201
  • 66.
    Para iniciar oscálculos devemos lembrar que “momento é a força aplicada no poste (tracionamento dos cabos), multiplicada pela distância do solo ao ponto de sua fixação”. O ponto de fixação do poste depende do seu engastamento, como já vimos anteriormente, e a partir dessa diferença é que determinamos o braço primário, já que o braço secundário é fixado em 7,0 metros. No desenho a seguir, vemos que o braço do primário é de 8,70 metros descontados o engastamento (1,65 m) e os 15 cm do topo (onde se encontra o primeiro furo de fixação de uma estrutura). O valor do braço do secundário é fixado em 7,00 m e dos cabos de telecomunicações em 5,00 m. Veja o esquema representativo do poste de 10,50 m. Alerta Não esquecer da fórmula do engastamento que se encontra no capítulo 3: C = (l/10) + 0,60 m. Eng.º Eletricista Flávio Henrique SEP - Sistema Elétrico de Potência 66/201
  • 67.
    Rede primária erede secundária Na rede primária o esforço já se encontra fixado a 15 cm do topo, portanto, para saber o tensionamento da rede primária basta multiplicar a quantidade de cabos primários pelo seu tensionamento unitário (tabela 1) conforme abaixo: Ep = 3 x tcp Onde: Ep = esforço dos cabos da rede primária (kgf) tcp = tensionamento dos cabos da rede primária (kgf) O fator de multiplicação “3” representa a quantidade de cabos primários (circuito trifásico). Para o cálculo na rede secundária, multiplicamos a quantidade de cabos secundários pelo seu tensionamento unitário e esse pela distância do braço secundário, dividindo tudo pela distância do braço primário, conforme a fórmula a seguir: ES = 4 x tcs x ds ES = esforço dos cabos da rede secundária (kgf) tcs = tensionamento dos cabos da rede secundária (kgf) ds = distância do braço da rede secundária (m) dp = distância do braço da rede primária (m) O fator de multiplicação “4” representa a quantidade de cabos secundários (circuito trifásico + neutro). O esforço total resultante dos cabos das redes primária e secundária no poste é o somatório de seus esforços, e a resistência nominal da face usada do poste escolhido deve ser superior ao esforço total resultante: Et = Ep + Es Et = esforço total dos cabos no poste (kgf) Na abertura de circuito secundário com cabos de mesma bitola não há necessidade de efetuar o cálculo já que a resultante é nula. Vejam o exemplo abaixo: Se a abertura dos circuitos secundários for com cabos 3 x 02(02) ou 3 x 20(20), o cabo de aço do estai de poste a poste deve ser de bitola 6 mm. A bitola 9 mm somente é utilizada quando a abertura de circuitos for de cabos 3 x 40 (40) Eng.º Eletricista Flávio Henrique SEP - Sistema Elétrico de Potência 67/201
  • 68.
    devido ao esforçoresultante desses cabos (901 kgf) ser superior à resistência do cabo de aço 6 mm (715 kgf), conforme as tabelas 1 e 2. Para abertura de circuito com bitolas diferentes, deve-se deixar de topo o poste do lado do esforço maior e que a resistência desse poste anule a diferença dos esforços mecânicos. A diferença entre os circuitos é (901 – 566 = 335 kgf), onde colocamos do lado de maior esforço um poste cuja resistência nominal seja superior a essa diferença, ou seja, um B/300 kgf/10,5 m de topo que suporta 420 kgf (40% a mais na resistência nominal). Para a abertura de circuito secundário no mesmo poste, o critério a ser seguido é o mesmo, conforme o desenho abaixo: Cálculo de esforços mecânicos em postes com estruturas em ângulo Para que possamos iniciar um cálculo de esforços mecânicos dos cabos numa estrutura em ângulo num poste devemos lembrar algumas regras básicas: a) Adição de vetores de mesma direção b) Adição de vetores de direções diferentes c) Decomposição de forças em componentes ortogonais (90º) d) Para ângulos diferentes de 90º Eng.º Eletricista Flávio Henrique SEP - Sistema Elétrico de Potência 68/201
  • 69.
    Cálculo da resistênciado estai de contraposte Considerando: Poste → B/600 kgf/5 m Face lisa → Rn (600 kgf) + 40% = 840 kgf Restai → 840 kgf x cos 30o = 727,5 kgf Restai → resistência do estai no contraposte (B/600 kgf/5 m) Eng.º Eletricista Flávio Henrique SEP - Sistema Elétrico de Potência 69/201
  • 70.
    Veja um cálculodo dimensionamento de estruturas em ângulo num poste de 10,5 m, no qual devemos sempre deixar a face lisa, que é a de maior resistência, voltada para a resultante dos esforços mecânicos: Composição de forças Eng.º Eletricista Flávio Henrique SEP - Sistema Elétrico de Potência 70/201
  • 71.
    Solução: projetar umposte seção duplo T do tipo B-1,5/1000 kgf/10,5 m para suportar a resultante de 1070 kgf. Exercícios 1) Calcular o esforço mecânico dos cabos das redes primária e secundária que terminam num poste de 10,5 m de altura. As redes são trifásicas de bitola 2 AWG para o primário e 4/0 AWG para o secundário. Determinar o tipo de poste a ser usado para suportar o esforço total (Et) das redes e em que posição (normal ou topo) deve ficar em relação a elas. 2) Determinar quais postes de 10,5 m e 12,0 m a serem utilizados para suportar os esforços mecânicos representados no desenho, numa abertura de circuito secundário trifásico no mesmo poste. Desenhe a posição que deve ficar o poste. 3) Uma rede primária trifásica de cabos 336,4 MCM termina num poste de 12, 0 m que está na posição de topo. Qual a resistência nominal deste poste para que suporte esse esforço mecânico? Eng.º Eletricista Flávio Henrique SEP - Sistema Elétrico de Potência 71/201
  • 72.
    4) Observando osdesenhos da rede de distribuição aérea, calcule os esforços mecânicos dos cabos e determine quais postes devem ser usados: Eng.º Eletricista Flávio Henrique SEP - Sistema Elétrico de Potência 72/201
  • 73.
    Eng.º Eletricista FlávioHenrique SEP - Sistema Elétrico de Potência 73/201
  • 74.
    7 - Desenhode redes de distribuição 7.1 - Introdução Neste capítulo abordaremos a maneira como deve ser representado o desenho do projeto de rede de distribuição aérea, sua simbologia e a localização das especificações do mesmo. Também faremos alguns exercícios direcionados de projetos de redes de distribuição aérea urbana e de iluminação pública, que podem ser usados como parâmetro para o desenvolvimento do aprendizado do aluno. Exemplo de um projeto de redes de distribuição urbana. Eng.º Eletricista Flávio Henrique SEP - Sistema Elétrico de Potência 74/201
  • 75.
    Exemplo de umprojeto de iluminação pública. Eng.º Eletricista Flávio Henrique SEP - Sistema Elétrico de Potência 75/201
  • 76.
    Segue a simbologiade redes de distribuição adotada: Eng.º Eletricista Flávio Henrique SEP - Sistema Elétrico de Potência 76/201
  • 77.
    Eng.º Eletricista FlávioHenrique SEP - Sistema Elétrico de Potência 77/201
  • 78.
    Eng.º Eletricista FlávioHenrique SEP - Sistema Elétrico de Potência 78/201
  • 79.
    Simbologia de redesde distribuição. No projeto, os equipamentos e as bitolas das redes podem ser representados de três maneiras: existente, projetado e a ser retirado. Eng.º Eletricista Flávio Henrique SEP - Sistema Elétrico de Potência 79/201
  • 80.
    7.2 - Representaçãoda simbologia Quando a rede de distribuição e os equipamentos forem existentes no local, a sua simbologia é representada normalmente do jeito que é desenhada. Veja alguns exemplos: Simbologia de redes de distribuição. Eng.º Eletricista Flávio Henrique SEP - Sistema Elétrico de Potência 80/201
  • 81.
    Quando a redede distribuição e os equipamentos não existem no local, ou seja, estão sendo projetados na planta para serem futuramente instalados, são representados como vemos a seguir: Alerta: Se o poste for projetado, coloca-se o círculo somente nele, dispensando-se o círculo nos demais elementos a instalar no mesmo. Todos os demais elementos projetados são colocados dentro de um retângulo, como vemos a seguir: Eng.º Eletricista Flávio Henrique SEP - Sistema Elétrico de Potência 81/201
  • 82.
    Nas redes dedistribuição e nos equipamentos a serem retirados, colocar um “x” em cima dos mesmos. Exemplos: Quando a rede de distribuição e os equipamentos forem substituídos por outros, adotar os procedimentos a seguir: Exemplos: Eng.º Eletricista Flávio Henrique SEP - Sistema Elétrico de Potência 82/201
  • 83.
    Simbologia invertida É adotadaquando a quantidade de postes projetados for superior à quantidade de postes existentes. A regra é representar no projeto tudo o que for projetado como sendo existente e vice-e-versa. Se for adotada esta forma de representação deve-se indicar no desenho, sobre a legenda o texto, no projeto foi adotado a simbologia invertida. Localização das especificações no projeto Nomes das ruas ou avenidas Estas especificações devem ser colocadas dentro da quadra, afastadas das representações dos consumidores e de acordo com o esquema representado a seguir: Bitolas dos condutores Devem ser colocadas conforme o esquema abaixo, porém, próximas aos traços que representam os condutores. Observar a inclinação da rua para posicionar a escrita, conforme quadro abaixo: Eng.º Eletricista Flávio Henrique SEP - Sistema Elétrico de Potência 83/201
  • 84.
    Equipamentos e/ou postesespeciais (não possuem simbologia própria) As especificações devem ser colocadas junto ao equipamento ou poste especial e paralelas à rede primária. Exemplo: Eng.º Eletricista Flávio Henrique SEP - Sistema Elétrico de Potência 84/201
  • 85.
    CONSTRUÇÃO DE REDESAÉREAS INSTALAÇAO DE POSTES MANUAL: O objetivo é permitir a implantação de postes nos locais onde haja a impossibilidade de emprego de viaturas para esse fim. 1- Para tal serviço será necessário ter a disposição os seguintes equipamentos, ferramentas e materiais: a) Equipamentos: Tirfor, Calha, Metro, Forquilha, Tampa e Cruzetas b) Ferramentas para cavar buraco e a vala: Marreta, Enxadão, Ponteiro, Cavadeira e Picareta. c) Ferramentas para retirar a terra: Concha, Concha cavadeira, Pé Quadrada, Pé de bico e Forma. d) Material: Poste e Corda. 2- Preparação dos serviços: Primeiramente deve-se posicionar o veículo no canteiro de trabalho de forma adequada, sinalizar o canteiro e retirar o material, ferramentas e equipamentos do referido veículo vistoriando-os para evitar acidentes. A fim de controlar o risco deve-se obedecer, durante o levantamento, somente o comando do encarregado; tomando Eng.º Eletricista Flávio Henrique SEP - Sistema Elétrico de Potência 85/201
  • 86.
    cuidado com oresvalamento do poste no instante em que cair no buraco. Na Abertura do buraco, é o dimensionamento correto que vai garantir a fixação do pose e consequentemente a sua sustentação e segurança da rede. O diâmetro da base é obtido somando-se o diâmetro do poste de 0,40m (40 centímetros) de acordo com a tabela que vem a seguir. A profundidade é obtida dividindo-se o comprimento do poste por 10 e somando-se 0,6 m. (de acordo com a tabela abaixo). TABELA PADRÃO PARA ABERTURA DE BURACO TIPO DE POSTE COMPRIMENTO DIÂMETRO DA BASE Buraco (m) profundidade Diâmetro (D + 0,40m) - 9,00 0,35 1,50 76 leve 11,00 0,40 1,70 80 pesado 11,00 0,40 1,70 80 leve 12,00 0,42 1,80 82 pesado 12,00 0,42 1,80 82 - 14,00 0,46 2,00 86 - 16,50 0,51 2.25 91 Cálculo para profundidade: e = L ÷ 10 + 0,6 m onde: e = profundidade do buraco L = comprimento do poste Eng.º Eletricista Flávio Henrique SEP - Sistema Elétrico de Potência 86/201
  • 87.
    Exemplo: Para calcular aprofundidade de um buraco para o poste de 12 m de comprimento do tipo pesado: Resposta: e = 12 ÷ 10 + 0,6 e = 1,20 + 0,6 e = 1,8 m OBS: A profundidade mínima para instalação de postes não pode ser menor que 1,50 m. Cálculo para o diâmetro (D) O diâmetro do buraco será sempre o da base do poste somado a 0,40 m. Exemplo: Calcular a largura de um buraco para instalação de um poste de 14,00 m Resposta: Consultando a tabela, veremos que o diâmetro da base do poste de 14 m é 0,46 m. Somando-se a essa medida 0,40 m, teremos: D = Ø + 0,40 D = 0,46 + 0,40 D = 0,86 m. Onde D = Largura do poste Ø = diâmetro da base do poste Eng.º Eletricista Flávio Henrique SEP - Sistema Elétrico de Potência 87/201
  • 88.
    TRABALHOS EM ESCADAS Parainiciar vamos conhecer os dois tipos de escadas utilizadas na montagem de rede de distribuição: ESCADA SINGELA E ESCADA EXTENSIVA Antes de deixar o setor, o eletricista deverá inspecionar as partes que compõe a escada, observando as recomendações que se seguem. 1- Verificar se os montantes não estão rachados ou se apresentam ondas; 2- Verificar se a situação dos degraus, se os mesmos não estão emendados ou girando. Colocação da escada na viatura: No transporte de escadas em veículos, deve-se observar o seguinte: 1- O estado do revestimento de borracha ou neopreme dos tubos ou suportes onde a escada deverá ficar apoiada. 2- Após a colocação das escadas na viatura, deve-se amarrá-las para evitar deslocamento durante a viagem. Eng.º Eletricista Flávio Henrique SEP - Sistema Elétrico de Potência 88/201
  • 89.
    OBS: A colocaçãoe retirada das escadas da viatura, exigirá sempre dois homens para evitar impacto dos montantes contra o solo ou a carroceria. Ao retirar a escada da viatura, escolhendo a de comprimento adequado, esta deverá ser transportada até o local de trabalho, as escadas devem ser transportadas apoiadas no ombro pelos montantes e levadas por dois trabalhadores posicionados de um só lado. Eng.º Eletricista Flávio Henrique SEP - Sistema Elétrico de Potência 89/201
  • 90.
    REDE COMPACTA As redescompactas protegidas permitem uma convivência menos agressiva entre a rede aérea de distribuição e a arborização, pois a cobertura dos condutores permite eventuais contatos entre os cabos e os galhos de árvores, além de possibilitar também uma disposição mais compacta dos condutores, de forma que o espaço destinado à sua passagem seja reduzido. Entretanto, contatos permanentes de árvores e outros objetos com os condutores devem ser evitados, por causar abrasão localizada e consequentemente perfuração da cobertura. Foram observadas falhas em redes compactas ( danos na cobertura dos cabos e surgimento de trilhamento elétrico) em redes instaladas próximas ao litoral e com elevado nível de poluição salina, razão pela qual recomenda-se que este tipo de rede não seja utilizada em regiões com essas características. Estão sendo analisados, em conjunto com fabricantes de cabos e acessórios, possíveis soluções para os problemas detetados. É importante enfatizar que, apesar de possuir cobertura, os cabos protegidos não são isolados, não sendo permitido portanto tocar o cabo com a rede energizada. Instalações básicas para Redes de Distribuição Aéreas Primárias Compactas Protegidas, utilizando espaçadores poliméricos e cabos cobertos, com tensões nominais primárias de 11.400 , 13.200 e 13.800 V. As instalações apresentadas são aquelas comumente projetadas neste tipo de rede. Entretanto, outros arranjos poderão ser obtidos, tomando-se estas instalações como base, desde que observadas as distâncias mínimas indicadas. Embora os desenhos indiquem apenas postes de concreto circular, as listas de materiais de cada desenho fornecem também as quantidades para instalações com poste duplo T e madeira. Para os postes duplo T as cotas indicadas referem-se ao lado de maior resistência mecânica do poste. Salvo indicações em contrário, as dimensões apresentadas nos desenhos são dadas em milímetros. As redes compactas são indicadas para aplicação em sistemas de distribuição urbanos e rurais nas seguintes situações : • Locais com desligamentos provocados por interferência da arborização com a rede; • Locais com desligamentos provocados por descargas atmosféricas; Eng.º Eletricista Flávio Henrique SEP - Sistema Elétrico de Potência 90/201
  • 91.
    • Locais defrequentes ocorrências de objetos lançados à rede; • Congestionamento de estruturas; • Saída de alimentadores de subestações; • Alimentador expresso atendendo a consumidor (es) especial (ais). Terminologia: Cabo Coberto Cabo dotado de cobertura protetora de material polimérico, utilizada para eliminação da corrente de fuga, em caso de contato acidental do condutor com objetos aterrados e diminuição do espaçamento entre condutores. Espaçador Acessório de material polimérico de formato losangular cuja função é a de sustentação dos cabos cobertos ao longo do vão. Separador Vertical Acessório de material polimérico cuja função é de sustentação e separação dos cabos cobertos na rede compacta, em situações de conexões entre fases ("flying-tap"), mantendo o isolamento elétrico da rede. Braço Tipo "L" Ferragem cuja finalidade é de sustentação do cabo mensageiro da rede compacta , em condições de tangência ou com ângulos de deflexão de até 6 ° . Braço Tipo "C" Ferragem cuja a finalidade é de sustentação das fases em condições de ângulo e final de linha, derivações e conexão de equipamentos de rede. Cabo Mensageiro Cabo utilizado para sustentação dos espaçadores e separadores, e para proteção elétrica e mecânica da rede compacta. Braço anti-balanço Acessório de material polimérico cuja função é a redução da vibração mecânica das redes compactas. Estribo para Braço Tipo "L" Ferragem complementar ao braço tipo "L" cuja função é a sustentação de espaçador junto ao braço. Eng.º Eletricista Flávio Henrique SEP - Sistema Elétrico de Potência 91/201
  • 92.
    Anel de Amarração Amarraçãode material elastomérico, com a função de fixação dos cabos cobertos e mensageiro, ao espaçador, da rede compacta. Fio Coberto de Amarração Fio de alumínio recoberto com borracha termoplástica, que possui as mesmas funções do anel de amarração, podendo ser utilizado alternativamente Suporte "Z" Ferragem cuja finalidade é de fixação das chaves fusíveis e/ou de pára-raios ao braço tipo "C". Suporte Auxiliar Ferragem utilizada para instalação de pára-raios e chaves fusíveis e em derivações de redes compactas. Grampo de Ancoragem Acessório cuja função é a fixação (encabeçamento) dos cabos cobertos nas estruturas de ancoragem. Afastamentos Mínimos: 1. Apesar dos cabos utilizados nas redes primárias compactas protegidas serem cobertos, os afastamentos mínimos a serem mantidos nas diversas situações apresentadas, são os mesmos que os exigidos para os condutores nus. 2. Em situações temporárias podem ser mantidos espaçamentos menores de tapumes e andaimes de construção, desde que se tomem medidas de proteção contra a queda acidental de ferramentas e/ou materiais diversos sobre a rede. 3. O espaçamento entre condutores do mesmo circuito ou de circuitos diferentes pode ser reduzido, desde que os condutores sejam providos de rigidez dielétrica para evitar curto circuito em caso de contato momentâneo, entre condutores fase ou entre os mesmos e condutores aterrados. Quando for efetuada esta redução as distâncias mínimas a serem obedecidas em pontos fixos são as apresentadas na tabela 2. 3. As tabela 1 apresenta valores de afastamentos mínimos dos condutores ao solo . Eng.º Eletricista Flávio Henrique SEP - Sistema Elétrico de Potência 92/201
  • 93.
    Eng.º Eletricista FlávioHenrique SEP - Sistema Elétrico de Potência 93/201
  • 94.
    Se o afastamentovertical exceder as dimensões dadas na figura 1, não se exige o afastamento o afastamento horizontal da figura 4. Se os afastamentos verticais das figuras 2 e 3 não puderem ser mantidos, exigem-se os afastamentos horizontais das figuras 5 e 6. Se os afastamentos verticais excederem as dimensões das figuras 2 e 3, não se exigem os afastamentos horizontais das figuras 5 e 6, devendo porém, ser mantido o espaçamento da figura 4. A altura mínima dos condutores do Ramal de ligação ao solo, no ponto de flecha máxima, deverá ser: a) em locais com apenas trânsito de pedestres H mínimo = 3,5m b) em locais com apenas trânsito de veículos H mínimo = 5,5m Na tabela a seguir, foi considerado que a rede secundária é isolada, caso a rede secundária seja nua, os afastamentos deverão seguir uma regulamentação específica. Nomenclatura: RDI = Rede de distribuição secundária isolada RDP = Rede de distribuição primária com cabo protegido. Eng.º Eletricista Flávio Henrique SEP - Sistema Elétrico de Potência 94/201
  • 95.
    Afastamentos mínimos emmilímetros. Eng.º Eletricista Flávio Henrique SEP - Sistema Elétrico de Potência 95/201
  • 96.
    ESTRUTURAS BÁSICAS Os desenhosdas estruturas apresentam a rede secundária com cabos multiplexados. No caso de se utilizar rede secundária convencional, as distâncias mínimas indicadas nos desenhos referem-se à posição do neutro. O mensageiro da rede secundária ( ou neutro da rede convencional ), é apresentado nos desenhos das estruturas instalado a 7,2 m . Caso seja utilizada rede secundária isolada, o mensageiro poderá ser instalado a 6,8 m. Estruturas de ancoragem (CE4) devem ser instaladas a cada 500 m, no máximo, de rede compacta protegida. A estrutura CE1A deve ser utilizada a cada 200 m de rede com vãos em tangência . Nos cruzamentos aéreos com rede convencional, a rede compacta deve ser posicionada em nível superior, efetuando-se as ligações ("jumpers") com cabo coberto, observando-se a distância mínima entre circuitos. Os circuitos duplos deverão ter preferencialmente a configuração mostrada na figura 1. Opcionalmente poderá ser utilizada a configuração mostrada na figura 2. Circuitos triplos ou quádruplos deverão ser construídos conforme figura 3. Eng.º Eletricista Flávio Henrique SEP - Sistema Elétrico de Potência 96/201
  • 97.
    Eng.º Eletricista FlávioHenrique SEP - Sistema Elétrico de Potência 97/201
  • 98.
    Eng.º Eletricista FlávioHenrique SEP - Sistema Elétrico de Potência 98/201
  • 99.
    Eng.º Eletricista FlávioHenrique SEP - Sistema Elétrico de Potência 99/201
  • 100.
    Eng.º Eletricista FlávioHenrique SEP - Sistema Elétrico de Potência 100/201
  • 101.
    Eng.º Eletricista FlávioHenrique SEP - Sistema Elétrico de Potência 101/201
  • 102.
    Eng.º Eletricista FlávioHenrique SEP - Sistema Elétrico de Potência 102/201
  • 103.
    Eng.º Eletricista FlávioHenrique SEP - Sistema Elétrico de Potência 103/201
  • 104.
    RELAÇÃO DE MATERIAL Eng.ºEletricista Flávio Henrique SEP - Sistema Elétrico de Potência 104/201
  • 105.
    Eng.º Eletricista FlávioHenrique SEP - Sistema Elétrico de Potência 105/201
  • 106.
    Eng.º Eletricista FlávioHenrique SEP - Sistema Elétrico de Potência 106/201
  • 107.
    RELAÇÃO DE MATERIAL ESTRUTURASDE TRANZIÇÃO A transição de redes primárias convencionais para redes primárias compactas protegidas será feita através da estrutura N3 – CE. Esta estrutura poderá ser utilizada também em fins de rede convencional com estrutura N2. Neste caso a distância do primeiro pára - raios à ponta da cruzeta deverá ser diminuída de 300mm para 250mm. Toda estrutura de transição deve possuir pára-raios instalados do lado da rede nua. Toda derivação de rede compacta para rede nua deve ser entendida como transição, devendo portanto ser instalados pára- raios, do lado da rede nua. Eng.º Eletricista Flávio Henrique SEP - Sistema Elétrico de Potência 107/201
  • 108.
    Eng.º Eletricista FlávioHenrique SEP - Sistema Elétrico de Potência 108/201
  • 109.
    INSTALAÇÃO DE EQUIPAMENTOS Instalaçãode Pára-raios: Eng.º Eletricista Flávio Henrique SEP - Sistema Elétrico de Potência 109/201
  • 110.
    Instalação de ChavesFusíveis: Eng.º Eletricista Flávio Henrique SEP - Sistema Elétrico de Potência 110/201
  • 111.
    Instalação de ChavesFaca Eng.º Eletricista Flávio Henrique SEP - Sistema Elétrico de Potência 111/201
  • 112.
    Instalação de transformadormonofásico Convencional Refere-se a utilização em postes de 11 metros O prolongador deve ser utilizado apenas em ângulos de até 15º para cabos de 185mm e até 25º para cabo de 50mm A posição do transformador e da rede secundária isolada ou neutro da rede secundária nua é orientativa, podendo ser modificadas, dependendo das condições de instalação verificadas no campo. Para instalação do neutro pode ser utilizado braço tipo L Eng.º Eletricista Flávio Henrique SEP - Sistema Elétrico de Potência 112/201
  • 113.
    O suporte auxiliarpara instalação de chave fusível e pára-raios pode ser fixado na parte inferior do braço tipo C. Instalação de Transformador Trifásico Convencional. Refere-se a postes de 11metros O prolongador deve ser utilizado apenas em ângulos de até 15º para cabos de 185mm e até 25º para cabos de 50mm. A posição do transfomrador e da rede secundária isolada ou neutro da rede segundária nua é orientativa podendo ser Eng.º Eletricista Flávio Henrique SEP - Sistema Elétrico de Potência 113/201
  • 114.
    modificada, dependendo dascondições de instalação verificadas no campo. Para instalação do neutro pode ser utilizado braço tipo L Instalação de Transformador Trifásico autoprotegido A Estrutura CE1-A deve ser utilizada preferencialmente para instalação de transformadores autoprotegidos, sendo que o ângulo de deflexão máximo é de 6º Eng.º Eletricista Flávio Henrique SEP - Sistema Elétrico de Potência 114/201
  • 115.
    Para ângulos entre6º e 15º para cabos de 185mm e entre 6º e 25º para cabos de 50mm, poderá ser utilizada estrutura CE2 conforme mostrado no detalhe da figura. Instalação de Chave Interruptora, operação em carga (a óleo) Eng.º Eletricista Flávio Henrique SEP - Sistema Elétrico de Potência 115/201
  • 116.
    Instalação de ChaveInterruptora, operação em carga (omni- rupter) Eng.º Eletricista Flávio Henrique SEP - Sistema Elétrico de Potência 116/201
  • 117.
    Ramal de EntradaSubterrâneo em alta tensão Eng.º Eletricista Flávio Henrique SEP - Sistema Elétrico de Potência 117/201
  • 118.
    Instalação de espaçadoreslosangulares: Os espaçadores devem ser instalados ao longo do vão e junto às estruturas, obedecendo os critérios definidos a seguir e apresentados Estruturas CE1 e CE1C : - Instalar espaçadores a 1 m à direita e à esquerda da estrutura CE1 e CE1C; - Os primeiros espaçadores do vão devem ser instalados de 7 a 9 m, à direita e à esquerda dos espaçadores instalados junto à estrutura. Estruturas CE1A : - Instalar apenas um espaçador junto ao poste na estrutura CE1A, conforme folha 12/62 desta instrução; - Os primeiros espaçadores do vão devem ser instalados de 7 a 9 m, à direita e à esquerda da estrutura. Estruturas de ancoragem com equipamentos e estrutura tipo CE2: - Instalar espaçadores a 13 m aproximadamente, à direita e à esquerda da estrutura. Ao longo do vão : - Instalar espaçadores em intervalos de 7 a 9 m, obedecidas as condições anteriores. A quantidade de espaçadores necessários devem ser previstos e especificados no projeto. Instalação de espaçadores losangulares ao longo do vão: Eng.º Eletricista Flávio Henrique SEP - Sistema Elétrico de Potência 118/201
  • 119.
    Sequência de fases– instalação dos condutores Ao longo do vão, além dos espaçadores previstos nas estruturas, deve-se instalar outros com intervalos de 7 a 9 metros. Nas estruturas de final de linha e de transição, o ultimo espaçador deve guardar uma distância de aproximadamente 13 metros do encabeçamento do cabo. ATERRAMENTO O aterramento consiste na interligação do mensageiro da rede primária compacta protegida com o cabo de ligação das hastes de aterramento ( cabo de aço 6,4 mm ou fio de cobre nu 16 mm2 ) e consequentemente ao neutro. O mensageiro da rede compacta protegida deve ser conectado ao neutro (mensageiro do cabo multiplexado da rede secundária isolada ou cabo de alumínio nu) em todas as estruturas onde houver aterramento. As carcaças dos equipamentos devem ser aterradas e conectadas ao neutro. Devem ser instaladas hastes de aterramento nas seguintes situações : Eng.º Eletricista Flávio Henrique SEP - Sistema Elétrico de Potência 119/201
  • 120.
    a) Aterramento normal: A cada 150 m de rede, quando não houver nenhum aterramento neste trecho. b) Aterramento de equipamentos: – O aterramento de equipamentos deve ser efetuado com, no mínimo, 3 hastes de aterramento; – O valor máximo da resistência de aterramento em pára-raios é de 80W – O valor máximo da resistência de aterramento de equipamentos não protegidos por pára-raios é de 240W O aterramento normal e dos equipamentos deverá ser feito com haste aço-cobre. Para aterramento provisório devem ser utilizados estribos previamente instalados para este fim, quando da construção da rede. Os estribos permitirão a instalação de dispositivos para aterramento provisório, sem necessidade de decapagem dos condutores. A instalação dos estribos para aterramento provisório deve obedecer os seguintes critérios : a) Instalar estribos em ambos os lados de chaves seccionadoras (+ 1,5 m do poste); b) Instalar estribos a cada 350 m (Instalados a + 1 m do poste) Eng.º Eletricista Flávio Henrique SEP - Sistema Elétrico de Potência 120/201
  • 121.
    Estrutura de Aterramento: Eng.ºEletricista Flávio Henrique SEP - Sistema Elétrico de Potência 121/201
  • 122.
    Estrutura de Aterramentode Equipamentos: Eng.º Eletricista Flávio Henrique SEP - Sistema Elétrico de Potência 122/201
  • 123.
    AMARRAÇOES E ENCABEÇAMENTOS Osespaçadores losangulares e separadores verticais devem ser amarrados no cabo mensageiro e nos cabos fases, devendo ser distanciados entre si. Os espaçadores losangulares podem ser fixados também em estribos de aço, quando for necessário o uso do braço antibalanço junto ao poste (estrutura CE1A). As amarrações/fixações dos espaçadores/separadores, estribos, isoladores de ancoragem, isoladores tipo pino e sapatilhas. Amarração dos condutores e mensageiros: Eng.º Eletricista Flávio Henrique SEP - Sistema Elétrico de Potência 123/201
  • 124.
    Amarração do espaçadorem estribo: Eng.º Eletricista Flávio Henrique SEP - Sistema Elétrico de Potência 124/201
  • 125.
    Amarração do cabono isolador de pino: Eng.º Eletricista Flávio Henrique SEP - Sistema Elétrico de Potência 125/201
  • 126.
    Eng.º Eletricista FlávioHenrique SEP - Sistema Elétrico de Potência 126/201
  • 127.
    Ancoragem dos condutores: Ancoragemdos mensageiros: Eng.º Eletricista Flávio Henrique SEP - Sistema Elétrico de Potência 127/201
  • 128.
    Cruzamento com conexãono vão: Eng.º Eletricista Flávio Henrique SEP - Sistema Elétrico de Potência 128/201
  • 129.
    Eng.º Eletricista FlávioHenrique SEP - Sistema Elétrico de Potência 129/201
  • 130.
    CONEXÕES ELÉTRICAS O sistemade conexões elétricas a ser utilizado em redes de distribuição de energia elétrica, é constituído de vários tipos conexões e emendas que veremos, em sua maioria, a seguir. Tipos de Conexões: Conectores a parafuso e conectores a compressão Não oferecem o controle do aperto, sofrem desaperto constante devido a sua área de atuação, por não permitirem contatos perfeitos podem causar o aquecimento dos condutores. Mas são práticos e de fácil manuseio, veremos adiante vários tipos de conectores e emendas utilizadas em rede de disribuição. Eng.º Eletricista Flávio Henrique SEP - Sistema Elétrico de Potência 130/201
  • 131.
    2- Acomode ocomponente “C” juntamente com a derivação no condutor principal mantendo o conjunto fixo com a mão. 1- Coloque o condutor derivação no canal inferior do componente “C” Conectores Elásticos Absorve a vibração da rede o que é uma grande vantagem em relação as anteriores, é de fácil instalação e retirada e sua aplicação é garantida através de travas (independente do operador). Conectores tipo cunha É muito grande a quantidade de tipos de conectores desta categoria. São utilizados em ligações (derivações elétricas) tais como: ramais de consumidor, entrada de energia entre outros. Instalação de conectores tipo cunha convencionais: Eng.º Eletricista Flávio Henrique SEP - Sistema Elétrico de Potência 131/201
  • 132.
    3 - Ajustee fixe o componente “cunha” entre os condutores usando apenas a pressão dos dedos, verificando a posição correta da trava 4 - Complete a conexão usando o alicate Eng.º Eletricista Flávio Henrique SEP - Sistema Elétrico de Potência 132/201
  • 133.
    Posicionamento do conector Abertura doalicate Certifique-se que a aplicação está correta verificando se a trava do componente “cunha” está inserida na janela do componente “C”. Conectores cunha alumínio e cobre: Utilizados para alta e baixa tensão, o corpo e a cunha são fabricados em ligas de alumínio ou cobre, quando utilizado com estribo, o mesmo é fabricado em cobre de alta condutividade elétrica e com acabamento em estanho. Eng.º Eletricista Flávio Henrique SEP - Sistema Elétrico de Potência 133/201
  • 134.
    Realizando conexões eemendas com ferramentas de aplicação: Para realização de uma conexão, devemos seguir os passos que serão apresentados: Passo 1: Acople a ferramenta no cabeçote adequado ao tipo de conector.Caso o êmbolo não esteja recolhido, faça-o empurrando para trás, recolhendo-o totalmente; Eng.º Eletricista Flávio Henrique SEP - Sistema Elétrico de Potência 134/201
  • 135.
    Passo 2: Prepareo conector a ser aplicado, colocando o componente “C” no cabo principal. Ajuste em seguida o cabo de derivação e a cunha correspondente a conexão em andamento, de modo a travar este conjunto com a ferramenta e cabeçote já acoplados , encaixe este conjunto no conector preparado; Passo 3: Coloque o cartucho adequado ao conector na culatra. Passo 4: Conforme o passo anterior aperte a capa da culatra. Gire em seguida a ferramenta através de sua manopla, de forma a travar ainda mais o conjunto total formado pelo conector, cabos e a ferramenta . Passo 5: Com uma das mãos segurando na unidade de disparo e a outra na martelo de borracha de aplicação, bata o martelo no controle de escapamento de gás para dispara-la, efetuando-se a conexão. A cunha é impulsionada pelo embolo acionado pela deflagração do cartucho. Eng.º Eletricista Flávio Henrique SEP - Sistema Elétrico de Potência 135/201
  • 136.
    Local de identificação dacor do cartucho Passo 6: Após a detonação, gire a unidade de disparo no sentido anti-horário e puxe-a para fora da culatra. Passo 7: Verifique a condição geral da conexão e uma leve trava deve ser formada na cunha, a qual indica que a conexão foi finalizada com sucesso Cartucho de Aplicação: O princípio de funcionamento da ferramenta é o de impulsão de um êmbolo contra a cunha do conector através da denotação do cartucho metálico, o qual gera energia suficiente para realizar a conexão. A detonação do cartucho metálico ocorre pela ação de uma agulha existente no interior da unidade de disparo. Esta agulha impulsionada pela ação do pino detonador atinge a parte traseira do cartucho, provocando atrito entre cristais detonantes, criando-se faíscas que provocam a queima da carga existente no cartucho, com a conseqüente expansão de gases e impulsão do êmbolo. A ferramenta utiliza cartuchos metálicos vedados tipo festim, que geram a energia necessária para movimentação do êmbolo da ferramenta. Estes cartuchos possuem cargas específicas, adequadas a cada tipo de conector, e são identificados pelas cores vermelha, azul e amarela, na parte superior. Eng.º Eletricista Flávio Henrique SEP - Sistema Elétrico de Potência 136/201
  • 137.
    Os cartuchos sãoextremamente seguros e com índice de falha quase nulo, desde que sejam seguidos os procedimentos de utilização da ferramenta, e a mesma estiver em perfeitas condições de funcionamento. PERIGO: Nunca bata com a mão ou qualquer objeto na parte traseira do cartucho onde estão localizados os cristais de denotação. Ferramenta para aplicação de cartucho metálico: Acionamento por botão Realizando uma conexão: 1- Posicione o conector. 2- Acople a ferramenta. Eng.º Eletricista Flávio Henrique SEP - Sistema Elétrico de Potência 137/201
  • 138.
    3- Aperte oconjunto. 4- Introduza o porta-cartucho carregado anteriormente. 5- Libere o gatilho girando o mesmo conforme mostra a figura. 6- Acople o conjunto de acionamento utilizando as marcações Acople o conjunto de acionamento utilizando as marcações para direcionar e facilitar o procedimento e gire o conjunto até seu para direcionar e facilitar o procedimento e gire o conjunto até seu travamento. travamento. Eng.º Eletricista Flávio Henrique SEP - Sistema Elétrico de Potência 138/201
  • 139.
    BOTÃO BOTÃO 7- Acione ogatilho girando confirme a figura abaixo. 8- Aperte o botão para realizar a conexão. Conectores perfurantes: Os conectores perfurantes foram desenvolvidos para realização de conexões em condutores isolados sem a necessidade de decapagem do condutor. Sendo que a conexão é realizada através de contatos dentados, que perfuram a isolação atingindo o condutor garantindo total estanqueidade. Fabricado em material plástico, utiliza contatos dentados em cobre eletrolítico com acabamento superficial estanhados. Os conectores perfurantes foram desenvolvidos para realização de conexões em condutores isolados sem a necessidade de decapagem do condutor. Sendo que a conexão é Eng.º Eletricista Flávio Henrique SEP - Sistema Elétrico de Potência 139/201
  • 140.
    Selador Superior Capuz Canaleta –Condutor Principal Canaleta – Condutor Derivação Porca Limitadora de Torque Capa Selador Inferior Corpo Utilize as abas laterais para facilitar o início da instalação realizada através de contatos dentados, que perfuram a isolação atingindo o condutor garantindo total estanqueidade. COMPONENTES DO CONECTOR COMPONENTES DO CONECTOR Eng.º Eletricista Flávio Henrique SEP - Sistema Elétrico de Potência 140/201
  • 141.
    1- Separe umdos condutores isolado do cabo multiplexado, solte a porca fusível ao máximo e abra o conector o suficiente para poder acomodar o condutor na canaleta correspondente à principal. 2- Inicie o processo de aperto com as mãos até que o conector fixe o suficiente os condutores para posteriormente concluir a instalação com a chave observando que na região da conexão os condutores devem estar em paralelo. 3- Durante a aplicação do torque com a chave sextavada (estrela) ou cachimbo, assegure-se de que os condutores estão alinhados com as canaletas do conector, observando também o posicionamento correto da chave pois a mesma deve estar na parte superior da porca. Verif i que que o condutor de derivação deve ultrapassar o conector para que o capuz seja instalado, garantindo a isolação da ponta do condutor. Eng.º Eletricista Flávio Henrique SEP - Sistema Elétrico de Potência 141/201
  • 142.
    4- Dê otorque com a chave até romper a cabeça fusível do parafuso. O rompimento indicará que o conector está devidamente instalado. Veja abaixo o detalhe do conector após a aplicação: Eng.º Eletricista Flávio Henrique SEP - Sistema Elétrico de Potência 142/201
  • 143.
    Conectores tipo parafusofendido: Confeccionado em liga de cobre nu ou estanhado com espessura superficial da camada de 8 a 12 mícrons. Utilização: Dimensionado para conexões de condutores de cobre, proporcionando uma conexão de alta condutividade e resistência, fácil manuseio e instalação. Grampos paralelos de alumínio: Fabricado em alumínio de alta condutividade elétrica. Pode ser fornecido com o composto antióxido, embalado individualmente em saco de plástico. O(s) parafuso(s), porca(s) e arruela(s) são de aço galvanizado a fogo. Utilização: Dimensionado para conexões de condutores de Al-Al ou Al-Cu, proporcionando uma conexão de alta condutividade e resistência mecânica, fácil manuseio e instalação. Eng.º Eletricista Flávio Henrique SEP - Sistema Elétrico de Potência 143/201
  • 144.
    Grampos parelelos decobre: Fabricado em bronze estanhado, com parafusos, porcas e arruelas em aço galvanizado a fogo ou em bronze. Utilização: Dimensionado para conexões de condutores de cobre, proporcionando uma conexão de alta condutividade e resistência mecânica, fácil manuseio e instalação. Conectores à compressão: Utilização: É utilizado em ligações / derivações elétricas , tais como ramal de consumidor, entrada de energia, entre outros. Características: Fabricado em alumínio ou cobre, de alta resistência mecânica e condutividade elétrica. Eng.º Eletricista Flávio Henrique SEP - Sistema Elétrico de Potência 144/201
  • 145.
    Luva Estribo àcompressão: Utilização: É utilizado para fixação de grampos de linha viva ou conectores cunha. Características: Corpo é fabricado em liga de alumínio, com alta condutividade elétrica e estribo de cobre eletrolítico estanhado. FERRAMENTAS E EQUIPAMENTOS AUXILIARES Alicate hidráulico Alicate Mecânico Grampo de linha viva de cobre e de alumínio: Utilizados para derivação de condutores da rede primaria para secundaria ou para transformadores, fabricados em latão, bronze ou alumínio, de alta resistência mecânica. Eng.º Eletricista Flávio Henrique SEP - Sistema Elétrico de Potência 145/201
  • 146.
    Os pontos defixação deverão estar voltados para cima. Espaçador Secundário: É utilizado para manter o espaçamento entre os cabos da rede secundaria de distribuição, evitando os constantes desligamentos em dias de chuvas e vendavais. – Produzido em polietileno de alta densidade na cor cinza – Alta resistência à tração, flexão e torção – Resistente ao trilhamento elétrico – Possui proteção anti UV Faixa de Aplicação: 2 AWG - - 336,4 MCM Fio 6 AWG - - 1/0 AWG Instalação do espaçador: 1- Inicialmente passe o Espaçador por cima da rede secundária verificando que os 3 pontos de fixação dos condutores fase deverão estar voltados para cima, conforme mostra a foto abaixo. Eng.º Eletricista Flávio Henrique SEP - Sistema Elétrico de Potência 146/201
  • 147.
    2- Após verificaro posicionamento correto do Espaçador inicie o procedimento de aplicação utilizando um Alicate Bomba d’água 12 polegadas para auxiliar na fixação de condutores com bitolas iguais ou superiores a 4/0 AWG. Para bitolas inferiores a 4/0 AWG, a aplicação pode ser realizada com as mãos. Manual: Posicione as mãos conforme mostram as fotos abaixo, utilizando as abas laterais do espaçador para apoio. Empurre o condutor para cima contra a lingüeta do espaçador e pressione até acomodar totalmente o condutor. Alicate Bomba d’água: Posicione o alicate conforme mostram as fotos abaixo, utilizando as abas laterais do espaçador para apoio. Pressione e gire o alicate para baixo. Quando for necessário, finalize a aplicação com as mãos ou ajuste o alicate. Eng.º Eletricista Flávio Henrique SEP - Sistema Elétrico de Potência 147/201
  • 148.
    3- Após aaplicação do condutor neutro (PASSO 2), inicie a aplicação dos condutores fase conforme as situações mostradas abaixo. FASE A Alicate Bomba d’água: Utilize as abas laterais do Espaçador para auxiliar no apoio do alicate e realize a aplicação pressionando e girando o alicate para cima. Quando for necessário, finalize a aplicação com as mãos ou ajuste o alicate. Manual: Posicione as mãos conforme mostram as fotos abaixo, utilizando as abas laterais do espaçador para apoio. Empurre o condutor para baixo contra a lingüeta do espaçador e pressione até acomodar totalmente o condutor. 4- Repita o passo anterior para as 2 fases restantes conforme mostram as fotos abaixo. 5- Após realizar todas as etapas acima finalize a aplicação certificando que os condutores encontram-se completamente alojados nos 04 pontos de fixação. Eng.º Eletricista Flávio Henrique SEP - Sistema Elétrico de Potência 148/201
  • 149.
    Espaçadores instalados narede: Espaçadores losangulares: O Espaçador Losangular Polimérico é utilizado como separador de cabos protegidos em redes aéreas compactas de distribuição com anel de amarração. Eng.º Eletricista Flávio Henrique SEP - Sistema Elétrico de Potência 149/201
  • 150.
    5. PROCEDIMENTOS 5.1. Afastamentosmínimos na estrutura RSI b h c b a e e 140 min 10 min Comunicação (Faixa de ocupação) 50 máx 80 min d k g " g " e " a " (afastamento sem cruzeta de ramal) Afastamentos mínimos ( cm) Tensão kV 15 36,2 a b c k d d e g 80 80 80 80 100 100 90 90 70 50 35 50 Até 1 150 k 150 h (comunicação e cabos aterrados) Vias exclusivas de pedestres em áreas urbanas Ruas e avenidas Entrada de prédios e demais locais de uso restrito a veiculos Rodovias federais Ferrovias não eletrificadas e não eletrificáveis 300 500 450 700 600 NOTA 1 - Em ferrovias eletrificadas ou eletrificáveis, a distância mínima "h" entre o condutor e o boleto dos trilhos é de 12 m. NOTA 2 - Em rodovias estaduais, a distância mínima "h" entre o condutor e o solo deve obedecer à legislação específica do órgão regulador estadual. Na falta de regulamentação estadual, obedecer aos valores aquí fixados. NOTA 3 - A altura mínima "h" corresponde à flecha máxima. Eng.º Eletricista Flávio Henrique SEP - Sistema Elétrico de Potência 150/201
  • 151.
    5.2. Afastamentos padronizados para montagem das estruturas POSTE DE 10m 160 Rede Secundária Isolada NOTA 1 - Medidas em cm NOTA 2 - Quando se usar a outra face do poste reduzir a cota em 5 cm NOTA 3 - A altura mínima "h" corresponde à condição de flecha máxima indicada na Tabela 3 ao lado NOTA 4 - Em rodovias estaduais, a distância mínima do cabo ao solo deve obedecer à legislação específica do órgão estadual. Na falta de regulamentação estadual, obedecer a tabela ao lado h SOLO Natureza do logradouro Altura mínima (h) cm Vias exclusivas de pedestres 350 Ruas e avenidas 550 Entradas de prédios e demais locais de uso restrito a veículos 450 Rodovias federais 700 Ferrovias não eletrificadas e não eletrificáveis 600 Tabela 3 - Distância entre condutores e o solo 105 - 36,2 kV POSTE DE 11 m 170 h 85 - 15 kV 115 - 36,2 kV 75 - 15 kV 135 - 36,2 kV 105 - 15 kV h 105 - 36,2 kV 85 - 15 kV POSTE DE 12 m 130 - 36,2 kV 110 - 15 kV h POSTE DE 12 m 115 - 36,2 kV 75 - 15 kV 110 - 36,2 kV 90 - 15 kV 115 - 36,2 kV 75 - 15 kV 110 - 36,2 kV 90 - 15 kV Rede Secundária Isolada Rede Secundária Isolada Rede Secundária Isolada 15 (ver nota 2) 15 (ver nota 2) 15 (ver nota 2) 15 (ver nota 2) CIRCUITO DUPLO COM RAMAL CIRCUITO DUPLO COM RAMAL CIRCUITO SIMPLES COM RAMAL CIRCUITO SIMPLES SEM RAMAL Eng.º Eletricista Flávio Henrique SEP - Sistema Elétrico de Potência 151/201
  • 152.
    5.3. Afastamentos mínimosentre condutores de circuitos diferentes 5.4. Afastamentos mínimos entre condutores e o solo 90 36,2 kV 80 60 90 36,2 kV 15 kV 1 kV 80 100 60 150 180 NOTA - Os valores dos afastamentos indicados são para as situações mais desfavoráveis de flecha Medidas em cm Comunicação Rede Secundária Isolada Eng.º Eletricista Flávio Henrique SEP - Sistema Elétrico de Potência 152/201
  • 153.
    5.5. Posição doposte em relação ao meio fio 5.6. Afastamentos mínimos entre condutores e edificações REDE PRIMÁRIA REDE SECUNDÁRIA RAMAL DE LIGAÇÃO COMUNICAÇÃO E CABOS ATERRADOS FERROVIAS NÃO ELETRIFICADAS OU NÃO ELETRIFICÁVEIS RODOVIAS RUAS E AVENIDAS ENTRADA DE PRÉDIOS E DEMAIS LOCAIS DE USO RESTRITO A VEÍCULOS RUAS E VIAS EXCLUSIVAS A PEDESTRES EM ÁREAS URBANAS NOTAS 1 - Medidas em centímetros 2 - Os valores indicados são para o circuito mais próximo do solo na condição de flecha máxima. AFASTAMENTOS MÍNIMOS ENTRE CONDUTORES E SOLO d MEIO FIO RUA CALÇADA d = 35 cm - para passeio com largura de até 1,5 metros; d = 50 cm - para passeio com largura maior que 1,5 metros POSIÇÃO DO POSTE EM RELAÇÃO AO MEIO FIO Eng.º Eletricista Flávio Henrique SEP - Sistema Elétrico de Potência 153/201
  • 154.
    5.7. Afastamentos mínimos- edificações sob as redes a Afastamentos horizontal e vertical entre condutores e muros D A B C b c Afastamento vertical entre os condutores e o piso de sacadas, terraços ou janelas das edificações D C D C d Afastamento horizontal entre os condutores e o piso de sacadas, terraços e janelas de edificações A B A B e Afastamento horizontal entre os condutores e paredes de edificações A B f Afastamento horizontal entre os condutores e a cimalha e o telhado de edificações A B g Afastamento horizontal entre os condutores e placas de publicidade PLACA OU ANÚNCIO NOTA 1 - Se os afastamentos verticais das Figuras "b" e "c" não puderem ser mantidos, exigem-se os afastamentos horizontais da Figura "d" NOTA 2 - Se o afastamento vertical entre os condutores e as sacadas, terraços ou janelas for igual ou mior do que as dimensões das Figuras "b" e "c", não se exige o afastamento horizontal da borda da sacada, terraço ou janela da Figura "d", porém o afastamento da Figura "e" deve ser mantido Eng.º Eletricista Flávio Henrique SEP - Sistema Elétrico de Potência 154/201
  • 155.
    5.8. Engastamento de poste RD primária SOLO SOLO RD-Secundária-Isolada Multiplexada Faixa de ocupação Compartilha mento 50 80 min 60 min Rede Telefônica (Limite inferior da faixa de ocupação 50 min Raio = 250 min Out-doors, relógios, semáforos e radares Pontos comerciais Edificações de paradas de ônibus Raio = 250 min 200 min 250 min NOTA - O raio de 250 cm se aplica a qualquer estutura, inclusive redes de telecomunicação e TV a cabo Dimensões em cm Eng.º Eletricista Flávio Henrique SEP - Sistema Elétrico de Potência 155/201
  • 156.
    5.9. Afastamentos padronizadosdo primário. ENGASTAMENTO DE POSTE A B CORTE AB Dv E L Solo socado em camadas de 20 cm A CORTE AB Dv E 30 50 50 A B CORTE AB Dv E 30 20 20 Placa de concreto ou tora de madeira Concreto Traço 1:3:5 (ver obs 3 e 4) 1-ENGASTAMENTO SIMPLES 3 -ENGASTAMENTO REFORÇADO OBS: 1 - Medidas em centimetros 2- A profundidade do engastamento é calculada por E = L x 0,1 + 60 3- Refere-se a 1 volume de cimento Portland, 3 de areia e 5 de pedra britada n.o. 2. O tempo de cura não deve ser inferior a 12 dias. 4- Para evitar a aderência do concreto no poste, (base concretada), envolver o poste com plástico ou com a própria embalagem do cimento. Sentido do esforço 2-ENGASTAMENTO COM BASE CONCRETADA Eng.º Eletricista Flávio Henrique SEP - Sistema Elétrico de Potência 156/201
  • 157.
    5.13. Estruturas primáriaspadronizadas Eng.º Eletricista Flávio Henrique SEP - Sistema Elétrico de Potência 157/201
  • 158.
    90 30 60 40 ESTRUTURAN1 OBS Medidas em cm 40 VISTA SUPERIOR VISTA FRONTAL VISTA LATERAL D,E C F B G1,G2,G3,G4 Eng.º Eletricista Flávio Henrique SEP - Sistema Elétrico de Potência 158/201
  • 159.
    ESTRUTURA - N3 OBS Medidasem cm 40 VISTA SUPERIOR VISTA FRONTAL VISTA LATERAL H,G A O P Q N G2,G3 K1,K2 B M OPÇÃO DE ANCORAGEM Isolador tipo bastão polimérico P1 Eng.º Eletricista Flávio Henrique SEP - Sistema Elétrico de Potência 159/201
  • 160.
    VISTA SUPERIOR VISTA FRONTALVISTA LATERAL D,E Q O P N M B G,H F K1,K2 I X OPÇÃO DE ANCORAGEM Isolador tipo bastão polimérico P1 Eng.º Eletricista Flávio Henrique SEP - Sistema Elétrico de Potência 160/201
  • 161.
    60 60 55 125 ESTRUTURAB1 OBS Medidas em cm 80 VISTA SUPERIOR VISTA FRONTAL VISTA LATERAL G3,G4 A G1,G2,G3 B H,G Eng.º Eletricista Flávio Henrique SEP - Sistema Elétrico de Potência 161/201
  • 162.
    ESTRUTURA - N4-CH OBS Medidasem cm 40 45 90 45 VISTA SUPERIOR VISTA FRONTAL VISTA LATERAL G2,G3,G4 A O P Q N M K1,K2 H,G B X W1,W2 Q2 OPÇÃO DE ANCORAGEM Isolador tipo bastão polimérico P1 Eng.º Eletricista Flávio Henrique SEP - Sistema Elétrico de Potência 162/201
  • 163.
    ESTRUTURA N1- N3 OBS Medidasem cm 90 30 60 40 40 75 - 13,8 kV VISTA SUPERIOR VISTA FRONTAL D,E Q O P N M H,G B T G3 U,U1, U2,U3 F K1,K2 I OPÇÃO DE ANCORAGEM Isolador tipo bastão polimérico P1 115 - 34,5 kV Eng.º Eletricista Flávio Henrique SEP - Sistema Elétrico de Potência 163/201
  • 164.
    ESTRUTURA - N4-CFu OBS Medidasem cm 100 80 45 45 FONTE CARGA A B CORTE AB VISTA FRONTAL VISTA LATERAL G1,G2,G3 A O P N M G3,G4,G5 H,G B S, S1 G3,G4 T U,U1, U2,U3 F D,E Z6 OPÇÃO DE ANCORAGEM Isolador tipo bastão polimérico P1 Q I Eng.º Eletricista Flávio Henrique SEP - Sistema Elétrico de Potência 164/201
  • 165.
    ESTRUTURA N1- N3-Cfu OBS Medidas em cm 90 30 60 40 VISTA SUPERIOR VISTA FRONTAL D,E Q O P N M H,G B S1,S2 G3,G4 G3 U,U1, U2,U3 F K1,K2 I Z6 Z6 75 - 15 kV 115 - 36,2 kV Eng.º Eletricista Flávio Henrique SEP - Sistema Elétrico de Potência 165/201
  • 166.
    ESTRUTURA - B3 OBS Medidasem cm 45 65 60 80 125 VISTA SUPERIOR VISTA FRONTAL VISTA LATERAL G3,G4 A O P Q N G2,G3 K1,K2 M B Estai de cruzeta a poste OPÇÃO DE ANCORAGEM Isolador tipo bastão polimérico P1 Eng.º Eletricista Flávio Henrique SEP - Sistema Elétrico de Potência 166/201
  • 167.
    ESTRUTURA - B4 OBS Medidasem cm 45 80 125 65 60 55 65 60 VISTA SUPERIOR VISTA FRONTAL VISTA LATERAL G2,G3 A I O P Q N G2,G3 K1,K2 M B X G,H OPÇÃO DE ANCORAGEM Isolador tipo bastão polimérico P1 Eng.º Eletricista Flávio Henrique SEP - Sistema Elétrico de Potência 167/201
  • 168.
    ESTRUTURA N3- N3 OBS Medidasem cm 40 85 85 40 VISTA SUPERIOR VISTA FRONTAL D,E Q O P N M H,G F I K1,K2,K3 X1,X2,X3 75 - 13,8 kV 115 - 34,5 kV Eng.º Eletricista Flávio Henrique SEP - Sistema Elétrico de Potência 168/201
  • 169.
    ESTRUTURA - B4-CFu OBS Medidasem cm 125 60 60 25 FONTE CARGA Y H,G G3,G4 A U,U1 ,U2,U3 I D,E O P Q N S,S1 F K1,K2 M B Z6 Z6 100 Eng.º Eletricista Flávio Henrique SEP - Sistema Elétrico de Potência 169/201
  • 170.
    ESTRUTURA - B4-CH OBS Medidasem cm 125 VISTA SUPERIOR VISTA FRONTAL VISTA LATERAL Y G3,G4 A X,X1,X2,X3 O P Q N Q2 B H,G W1,W2 W1,W2 M 60 60 25 100 Eng.º Eletricista Flávio Henrique SEP - Sistema Elétrico de Potência 170/201
  • 171.
    ESTRUTURA D-N3- Cfu OBS Medidasem cm 130 - 34, 5 kV VISTA SUPERIOR VISTA FRONTAL D,E Q O P N M H,G B S1,S2 G3,G4 U,U1, U2,U3 F K1,K2 I Z6 T Z6 90 - 13,8 kV Eng.º Eletricista Flávio Henrique SEP - Sistema Elétrico de Potência 171/201
  • 172.
    ESTRUTURA D- N3 OBS Medidasem cm VISTA SUPERIOR VISTA FRONTAL Q O P N M H,G B T U,U1, U2,U3 F K1,K2 I D, E 130 - 34,5 kV 90 - 13,8 kV Eng.º Eletricista Flávio Henrique SEP - Sistema Elétrico de Potência 172/201
  • 173.
    5.14. Postos detransformação – Montagens padronizadas POSTOS DE TRANSFORMAÇÃO MONTAGENS PADRONIZADAS 40 Eng.º Eletricista Flávio Henrique SEP - Sistema Elétrico de Potência 173/201
  • 174.
    POSTO TRANSFORMADOR ESTRUTURA B1-T Neutro 6060 55 60 80 100 20 CALÇADA RUA 170 60 50 1100 Obs. Medidas em cm G4,G5 A G2,G3 I G3,G4 R B S1,S2 H,G U,U1, U2,U3 W1 U5 Z2 Z2 G3 Y T D,E Z6 Z6 P3 E1 Eng.º Eletricista Flávio Henrique SEP - Sistema Elétrico de Potência 174/201
  • 175.
    POSTO TRANSFORMADOR ESTRUTURA B1-T-PR Neutro 6060 55 80 100 20 CALÇADA RUA 170 1100 Obs. Medidas em cm 25 60 60 G4,G5 A G2,G3 I G3,G4 R B S1,S2 H,G U,U1, U2,U3 W1 P3 U5 Z2 Z2 P1,P2 G3 Z3 Y Z6 Z6 E1 Eng.º Eletricista Flávio Henrique SEP - Sistema Elétrico de Potência 175/201
  • 176.
    POSTO TRANSFORMADOR ESTRUTURA TIPO- N1-T 90 30 60 40 40 40 80 45 15 105 10 CALÇADA RUA Neutro Obs. Medidas em cm 50 G4,G5 A G3 I G4,G5 B S1,S2 G3 U,U1, U2,U3 W1 U5 Z2 Z2 Z3 G2 T Z6 Z6 P3 E1 Eng.º Eletricista Flávio Henrique SEP - Sistema Elétrico de Potência 176/201
  • 177.
    POSTO TRANSFORMADOR ESTRUTURA TIPO- N1-T -PR 90 30 60 40 40 80 45 15 20 CALÇADA RUA Neutro Obs. Medidas em cm 50 G4,G5 A G3 I T G4,G5 H,G B S1,S2 G3 U,U1, U2,U3 W1 U5 Z2 Z2 P1,P2 G2 Z3 Z6 Z6 P3 105 E1 Eng.º Eletricista Flávio Henrique SEP - Sistema Elétrico de Potência 177/201
  • 178.
    POSTO TRANSFORMADOR ESTRUTURA TIPO- N3--T--PR 45 45 20 100 CALÇADA RUA 20 Neutro Obs. Medidas em cm G4,G5 A O P N G4,G5 H,G B S1,S2 G3 T U,U1, U2,U3 W1 P3 U5 Z2 Z2 P1,P2 K1,K2,K3 M Z3 Z6 Z6 OPÇÕES DE ANCORAGEM Isolador tipo bastão de porcelana Isolador tipo bastão polimérico 25 E1 Eng.º Eletricista Flávio Henrique SEP - Sistema Elétrico de Potência 178/201
  • 179.
    5.10. Estruturas primáriaspadronizadas K 1,K 2 H ,G B Eng.º Eletricista Flávio Henrique SEP - Sistema Elétrico de Potência 179/201
  • 180.
    ESTRUTURA P1 VISTA LATERAL OBS: 1-Medidas em centimetros; FASE B 50 10 D,E A 50 FASE A FASE C VISTA FRONTAL ~ 80 (13,8 kV) ~ 110 (34,5 kV) 10 F2,F3, F4 F2, F3, F4 Eng.º Eletricista Flávio Henrique SEP - Sistema Elétrico de Potência 180/201
  • 181.
    FASE B ~ 75 (13,8 kV) ~ 110 (34,5 kV) ~ 7 2 ( 1 3 , 8 k V ) ~ 9 5 ( 3 4 , 5 k V ) FASE A A D,E VISTAFRONTAL VISTA LATERAL H FASE C 15 20 ESTRUTURA - PT 1 G2,G3,G4,G5 40 OBS: 1- Medidas em centimetros; 10 F2,F3, F4 F2, F3, F4 Eng.º Eletricista Flávio Henrique SEP - Sistema Elétrico de Potência 181/201
  • 182.
    FASE A G3, G4,G5 OBS Medidas em cm ESTRUTURA - PTA 1 ~85 (13,8 kV) ~120 (34,5 kV) ~ 1 0 0 ( 1 3 , 8 k V ) ~ 1 2 0 ( 3 4 , 5 k V ) VISTA FRONTAL VISTA LATERAL D,E FASE C FASE B 50 10 Eng.º Eletricista Flávio Henrique SEP - Sistema Elétrico de Potência 182/201
  • 183.
    FASE B ESTRUTURA P3 OBS: 1-Medidas em centimetros; FASE A FASE C 15 70 70 O P , P1, P2 Q M G2, G3,G 4,G5 VISTA FRONTAL VISTA LATERAL N H OPÇÕES DE ANCORAGEM Isolador tipo bastão de porcelana Isolador tipo bastão polimérico P1 P2 Eng.º Eletricista Flávio Henrique SEP - Sistema Elétrico de Potência 183/201
  • 184.
    VISTA FRONTAL VISTALATERAL ESTRUTURA P4 D, E Q G2,G3,G4,G5 X, X1, X3 O P , P1, P2 N M D,E FASE C FASE A FASE B 70 70 15 I 70 70 20 VISTA SUPERIOR X, X1, X3, X4 70 70 20 5 OBS: 1- Medidas em centimetros; 25 F2,F3, F4 F2, F3, F4 OPÇÕES DE ANCORAGEM Isolador tipo bastão de porcelana Isolador tipo bastão polimérico P1 P2 Eng.º Eletricista Flávio Henrique SEP - Sistema Elétrico de Potência 184/201
  • 185.
    FASE B A FASE A ESTRUTURAP1-P3 50 10 50 D,E FASE C P , P1, P2 Q M G2,G3,G4,G5, H N O 20 20 20 VISTA FRONTAL VISTA LATERAL OBS: 1- Medidas em centimetros; J F2,F3, F4 F2, F3, F4 X, X1, X3,X4 OPÇÕES DE ANCORAGEM Isolador tipo bastão de porcelana Isolador tipo bastão polimérico P1 P2 Eng.º Eletricista Flávio Henrique SEP - Sistema Elétrico de Potência 185/201
  • 186.
    FASE C FASE A FASEB OBS: 1- Medidas em centimetros; ESTRUTURA P3- P3 P O P , P1, P2 Q G2,G3,G4,G5 X, X1, X3 VISTA FRONTAL VISTA LATERAL 70 70 15 70 70 20 M N VISTA SUPERIOR H OPÇÕES DE ANCORAGEM Isolador tipo bastão de porcelana Isolador tipo bastão polimérico P1 P2 X, X1, X3,X4 Eng.º Eletricista Flávio Henrique SEP - Sistema Elétrico de Potência 186/201
  • 187.
    ESTRUTURA - N4-CH OBS Medidasem cm 40 35 90 55 VISTA SUPERIOR VISTA FRONTAL VISTA LATERAL G2,G3,G4 A O P Q N M K1,K2 H,G B X1 a X4 W1,W2 Q2 OPÇÃO DE ANCORAGEM Isolador tipo bastão polimérico P1 Eng.º Eletricista Flávio Henrique SEP - Sistema Elétrico de Potência 187/201
  • 188.
    ESTRUTURA - N4-CFu OBS Medidasem cm 100 85 80 45 45 FONTE CARGA 85 A B CORTE AB VISTA FRONTAL VISTA LATERAL G2,G3 A C O P , P1, P2 N M G3,G4,G5 H,G B S, S1 G3,G4 T U,U1, U2,U3 F D,F Z6 K1,K2, K3 OPÇÕES DE ANCORAGEM Isolador tipo bastão de porcelana Isolador tipo bastão polimérico P1 P2 Eng.º Eletricista Flávio Henrique SEP - Sistema Elétrico de Potência 188/201
  • 189.
    50 ESTRUTURA U1 10 D,E A VISTA FRONTALVISTA LATERAL F2, OBS: 1- Medidas em centimetros; Eng.º Eletricista Flávio Henrique SEP - Sistema Elétrico de Potência 189/201
  • 190.
    ESTRUTURA U3 OBS: 1- Medidasem centimetros; 15 O P . P1, P2 Q M G2,G3,G4, G5 VISTA FRONTAL VISTA LATERAL OPÇÕES DE ANCORAGEM Isolador tipo bastão de porcelana Isolador tipo bastão polimérico P1 P2 Eng.º Eletricista Flávio Henrique SEP - Sistema Elétrico de Potência 190/201
  • 191.
    VISTA FRONTAL VISTALATERAL ESTRUTURA U4 Q G2,G3,G4,G5 O P , P1, P2 D,E 15 I 20 VISTA SUPERIOR 20 OBS: 1- Medidas em centimetros; 25 F2, F3, F4 X, X1, X3,X4, X5 OPÇÕES DE ANCORAGEM Isolador tipo bastão de porcelana Isolador tipo bastão polimérico P1 P2 Eng.º Eletricista Flávio Henrique SEP - Sistema Elétrico de Potência 191/201
  • 192.
    OBS: 1- Medidas emcentimetros; ESTRUTURA U3- U3-Cfu Q G2,G3,G4,G5 VISTA FRONTAL VISTA LATERAL 20 O P . P1, P2 M N 95 A6, A7 Z6 T U,U1, U2,U3 S, S1 OPÇÕES DE ANCORAGEM Isolador tipo bastão de porcelana Isolador tipo bastão polimérico P1 P2 Eng.º Eletricista Flávio Henrique SEP - Sistema Elétrico de Potência 192/201
  • 193.
    A D,E VISTA FRONTAL H 15 20 ESTRUTURA -U T1- U3 OBS: 1- Medidas em centimetros; F2,F3,F4 20 VISTA LATERAL I G2, G3,G4,G5 A1 F1 P . P1, P2 Q O X, X1, X3,X4,X5 OPÇÕES DE ANCORAGEM Isolador tipo bastão de porcelana Isolador tipo bastão polimérico P1 P2 Eng.º Eletricista Flávio Henrique SEP - Sistema Elétrico de Potência 193/201
  • 194.
    A D, E VISTA FRONTAL 15 20 ESTRUTURA -U T1- U3-Cfu OBS: 1- Medidas em centimetros; 50 VISTA LATERAL I G2,G3,G4,G5 A1 F1 Q G2, G3,G 4,G5 O P , P1,P2 M N S, S1 A6, A7 Z6 T U,U1, U2,U3 OPÇÕES DE ANCORAGEM Isolador tipo bastão de porcelana Isolador tipo bastão polimérico P1 P2 Eng.º Eletricista Flávio Henrique SEP - Sistema Elétrico de Potência 194/201
  • 195.
    A6, A7 Q O P ,P1,P2 N M S, S1 H ESTRUTURA U4-Cfu 20 G1, G2, G3, G4 VISTA LATERAL VISTA FRONTAL OBS: 1- Medidas em centimetros; 90 FONTE CARGA Q Z6 T U,U1, U2,U3,U4 OPÇÕES DE ANCORAGEM Isolador tipo bastão de porcelana Isolador tipo bastão polimérico P1 P2 Eng.º Eletricista Flávio Henrique SEP - Sistema Elétrico de Potência 195/201
  • 196.
    A3 Q O P ,P1,P2 N M X1, X2, X3, X5 W, W2 ESTRUTURA U4-CH 20 G1, G2, G3, G4 VISTA LATERAL VISTA FRONTAL G1, G2, G3, G4 VISTA SUPERIOR OBS: 1- Medidas em centimetros; Q2 OPÇÕES DE ANCORAGEM Isolador tipo bastão de porcelana Isolador tipo bastão polimérico P1 P2 Eng.º Eletricista Flávio Henrique SEP - Sistema Elétrico de Potência 196/201
  • 197.
    FASE B A D,E VISTA FRONTALVISTA LATERAL 15 20 ESTRUTURA - UT 1 G2,G3,G4,G5 H OBS: 1- Medidas em centimetros; Eng.º Eletricista Flávio Henrique SEP - Sistema Elétrico de Potência 197/201
  • 198.
    ESTRUTURA U1-U3-Cfu 10 D,E VISTA FRONTALVISTA LATERAL OBS: 1- Medidas em centimetros; F2,F3 80- 13,8 kV Q G2,G3,G4,G5 O P , P1, P2 M N S, S1 A6, A7 Z6 T U,U1, U2,U3, U4 OPÇÕES DE ANCORAGEM Isolador tipo bastão de porcelana Isolador tipo bastão polimérico P1 P2 120 - 34,5 kV Eng.º Eletricista Flávio Henrique SEP - Sistema Elétrico de Potência 198/201
  • 199.
    ESTRUTURA - U4-CR OBS Medidasem cm 75 CORTE AB VISTA FRONTAL VISTA LATERAL A H,G B B S3 T U,U1, U2,U3, U4 D,E Z6 F G2, G3 H A 15 O, G1, G2 P, P1, P2 N M G3, G4 H Q OPÇÕES DE ANCORAGEM Isolador tipo bastão de porcelana Isolador tipo bastão polimérico P1 P2 80- 13,8 kV 120 - 34,5 kV Eng.º Eletricista Flávio Henrique SEP - Sistema Elétrico de Potência 199/201
  • 200.
    FASE A ESTRUTURA -PTA1- PR FASE C FASE B 105 U5 Obs . 2 Z2 Z2 U5 Pr1, Pr2 Z4 U5, U6, U7 VISTA FRONTAL VISTA LATERAL OBS: 1- Medidas em centimetros; 2- Prender o condutor de aterramento dos pára-raios ao poste, através de 3 voltas bem apertadas de arame galvanizado 14 BWG A6, A7 Z4 Eng.º Eletricista Flávio Henrique SEP - Sistema Elétrico de Potência 200/201
  • 201.
    ESTRUTURA - N4-CR OBS Medidasem cm 85 85 CORTE AB VISTA FRONTAL VISTA LATERAL O1 A O P N M H,G B B S3 T U,U1,U2, U3, U4 D,E Z6 F K2, K3 K2, K3, K7 G3, G4 A H,G OPÇÕES DE ANCORAGEM Isolador tipo bastão de porcelana Isolador tipo bastão polimérico P1 P2 80- 13,8 kV 120 - 34,5 kV Eng.º Eletricista Flávio Henrique SEP - Sistema Elétrico de Potência 201/201