NORMA                                        ABNT NBR
BRASILEIRA                                               14565
                                                        Segunda edi<;:ao
                                                            19.03.2007

                                                       Valida a partir de
                                                             19.04.2007




Cabeamento de telecomunica<;6es para
ediflcios comerciais
Telecommunications cabling for commercial buildings




Palavras-chave: Telecomunica<;:ao. Cabeamento estruturado.
Descriptors: Telecommunication. Network.

ICS 35.200




             ASSOCIA,Ao                            Numero de referencia
             BRASllEIRA                           ABNT NBR 14565:2007
             DE NORMAS
             T~CNICAS                                       84 paginas

                                                             ©ABNT 2007
ABNT NBR 14565:2007




Sumario                                                                         Pagina


Prefacio                                                                            vi
1
         Escopo                                                                    1

2
         Referencias normativas                                                    1

3
         Definic;:oes, abreviac;:oes e simbolos                                    2

3.1        Definic;:oes                                                              2

3.2        Abreviac;:oes                                                             2

3.3        S[mbolos                   ;                                              2

3.3.1      Variaveis                                                                 2

3.3.2      indices                                                                   2

4
         Requisitos gerais                                                         2

5
         Estrutura do sistema de cabeamento generico                               2

5.1        Geral                                                                     2

5.2        Elementos funcionais                                                      2

5.3        Subsistemas de cabeamento                                                 2

5.3.1      Geral                                                                     2

5.3.2      Subsistema de cabeamento de backbone de campus                            2

5.3.3      Subsistema de cabeamento de backbone de ediffcio                          2

5.3.4      Subsistema de cabeamento horizontal                                       2

5.3.5      Objetivos de projeto                                                      2

5.4        Interconexao dos subsistemas                                              2

5.4.1      Geral                                                                     2

5.4.2      Arquitetura de cabeamento centralizado                                    2

5.5        Localizac;:ao dos elementos funcionais                                    2

5.6        Interfaces                                                                2

5.6.1      Interfaces de equipamentos e interfaces de ensaio                         2

5.6.2      Canal e enlace permanente                                                 2

5.6.3      Interfaces externas rede        a                                         2

5.7        Dimensionamento e configurac;:ao                                          2

5.7.1      Distribuidores                                                            2

 5.7.2     Cabos                                                                     2

 5.7.3     Cordoes da area de trabalho e cord6es de equipamento                      2

 5.7.4      Patch cords e jumpers                                                     2

 5.7.5     Tomadas de telecomunicac;:oes                                              2

 5.7.6      Ponto de consolidac;:ao                                                   2

 5.7.7      Sala de telecomunicac;:oes e sala de equipamentos                         2

 5.7.8      Infra-estrutu ra de entrad a                                              2

 5.7.9      Cabeamento de serviC;:os externos                                         2

 6
         Desempenho do cabeamento balanceado                                         2

 6.1        Geral                                                                       2

 6.2        Configurac;:ao                                                              2

 6.3        Classificac;:ao do cabeamento balanceado                                    2

 6.4        Parametros de desempenho do cabeamento balanceado                           2

 6.4.1      Geral                                                                       2

 6.4.2      Perda de retorno                                                            2

 6.4.3      Perda de inserc;:ao                                                         2

 6.4.4      NEXT                                                                        2

 6.4.5      Relac;:ao atenuac;:ao paradiafonia (ACR)                                    2

 6.4.6      ELFEXT                                                                      2

 6.4.7      Resistencia em corrente continua (c.c.)                                     2

 6.4.8      Desequilfbrio resistivo c.c                                                 2




 icARNT ?r1r17 _ Tnrln" n" rlineitn" rp."p.rVo:lrlos                                iii
ABNT NBR 14565:2007

                                                                              -

6.4.9    Capacidade de transmissao de corrente                          2

6.4.10   Tensao de opera<;:ao                                           2

6.4.11   Capacidade de potencia                                         2

6.4.12   Atraso de propaga<;:ao                                         2

6.4.13   Diferen<;:a de atraso de propaga<;:ao (delay skew)             2

7
       Implementa<;:ao do cabeamento balanceado                       2

7.1      Geral                                                          2

7.2      Cabeamento balanceado                                          2

7.2.1    Geral                                                          2

7.2.2    Cabeamento horizontal                                          2

7.2.3    Cabeamento de backbone                                         2

8
       Desempenho do cabeamento 6ptico                                2

8.1      Geral                                                          2

8.2
8.3
8.4
         Escolha dos componentes
         Atenua<;:ao do canal
         Topologia do canal
                                                                        2

                                                                        2
                                                                        2

                                                                              -

                                                                              -
8.5      Atraso de propaga<;:ao                                         2

9
       Requisitos dos cabos                                           2

9.1      Geral                                                          2

10
      Requisitos do hardware de conexao                              2

10.1     Requisitos gerais                                              2

10.1.1   Aplicabilidade                                                 2

10.1.2   Localiza<;:ao                                                  2

10.1.3   Projeto                                                        2

10.1.4
10.1.5
10.1.6
         Ambiente de opera<;:ao
         Montagem
         Praticas de instala<;:ao
                                                                        2

                                                                        2
                                                                        2

                                                                              -

10.1.7   Marca<;:ao e codifica<;:ao por cores                           2

10.2     Hardware de conexao para cabeamento balanceado                 2

10.2.1   Requisitos gerais                                              2

10.2.2   Identifica<;:ao de desempenho                                  2

10.2.3   Caracteristicas mecanicas                                      2

10.2.4   Caracterfsticas eletricas                                      2

10.2.5   Requisitos das tomadas de telecomunica<;:6es                   2

10.2.6   Considera<;:6es de projeto para a instala<;:ao                 2

10.3     Hardware de conexao para fibra 6ptica                          2

10.3.1
10.3.2
10.3.3
         Requisitos gerais
         MarcaGao e c6digo de cores
         Caracteristicas 6pticas e mecanicas
                                                                        2

                                                                        2
                                                                        2

                                                                              -

10.3.4   Requisitos das tomadas de telecomunica<;:6es                   2     -.

10.3.5   Esquemas de conexao para 0 cabeamento de fibra 6ptica          2

11

11 .1

11.2
         Praticas de blindagem
         Geral
         Desempenho eletromagnetico
                                                                         2

                                                                         2

                                                                         2

                                                                              -
11.3     Aterramento                                                     2

12
      Administra<;:ao                                                 2

13
      Cord6es balanceados                                             2

13.1     Introdu<;:ao                                                    2

13.2
13.3
         Perdade inser<;:ao
         Perda de retorno
                                                                         2
                                                                         2
   -

13.4     NEXT                                                            2

Anexo    A (normativo) Desempenho de enlace permanente e enlace do CP    2

A.1      Geral                                                           2

A.2       Desempenho                                                     2

A.2.1    Geral                                                           2

A.2.2     Perda de retorno                                               2

A.2.3     Perdadeinser<;:ao                                              2
ABNT NBR 14565:2007

A.2.4    tIEXT                                                                                    2

A.2.5    Rela<;:ao atenua<;:ao paradiafonia (ACR)                                                  2

A.2.6    ELFEXT                                                                                    2

A.2.7    Resistencia de la<;:o em corrente continua (CC)                                           2

A.2.8    Oesequilfbrio resisitivo C.c                                                              2

A.2.9    Atraso de propaga<;:ao                                                                    2

A.2.10   Oiferen<;:a de atraso de propaga<;:ao (delay skew)                                        2

Anexo    B (normativo) Procedimentos de ensaios                                                    2

B.1      Geral                                                                                     2

B.2      Ensaios de desempenho de canal e enlace                                                   2

B.2.1    Ensaios de canais de cabeamento balanceado, enlaces permanentes e enlaces do CP           2

B.2.2     Ensaios dos canais de cabeamento em fibra 6ptica                                         2

B.2.3     Sequencia de ensaios em canais e enlaces                                                 2

B.3       Ensaios de transmissao de patch cords para cabeamento balanceado                         2

B.4       Ensaios de transmissao de componentes para cabeamento                                    2

B.4.1     Ensaios de transmissao em cabos de cobre para cabeamento balanceado                      2

B.4.2     Ensaios de transmissao em hardware de conexao para cabeamento balanceado                 2

B.4.3     Ensaios de transmissao em cabos para cabeamento 6ptico                                   2

B.4.4     Ensaios de transmissao em conectores para cabeamento 6ptico                              2

Anexo C (informativo) Caracteristicas eletromagneticas                                             2

C.1   Oescri<;:ao                                                                                  2

Anexo 0 (informativo) Aplica<;:oes suportadas                                                      2

0.1   Aplica<;:oes suportadas em cabeamento balanceado                                             2

0.2   Aplica<;:oes suportadas por cabeamento de fibra 6ptica                                       2

Anexo E (informativo) Enlace permanente e canal classe F/categoria 7 com duas conexoes             2





   (ClARNT 7007 - Todos os direitos reservados                                                 v
ABNT NBR 14565:2007




Prefacio

A Associa<;:ao Brasileira de Normas Tecnicas (ABNT) e 0 Forum Nacional de lJormaliza<;:ao. As Normas Brasileiras,
cujo conteudo e de responsabilidade dos Comites Brasileiros (ABNT/CB), dos Organismos de Normaliza<;:ao
Setorial (ABNT/ONS) e das Comissoes de Estudo Especiais Temporarias (ABNT/CEET), sao elaboradas por
Comissoes de Estudo (CE), formadas por representantes dos setores envolvidos, delas fazendo parte: produtores,
consumidores e neutros (universidades, laboratorios e outros).

A ABNT NBR 14565 foi elaborada no Comite Brasileiro de Eletricidade (ABNT/CB-03), pela Comissao de Estudo
de Cabeamento de Telecomunica<;:oes (CE-03:046.05). 0 Projeto circulou em Consulta Nacional conforme
Edital nQ 05, de 02.05.2006, com 0 numero de Projeto ABNT NBR 14565.

Esta Norma e baseada na ISOII EC 11801 :2002.

Esta segunda edi<;:ao cancela e substitui a edi<;:ao anterior (ABNT NBR 14565:2000), a qual foi tecnicamente
revisada.

Esta Norma contem os anexos A e B, de carater normativo, e os anexos C, DeE, de carater informativo.
NORMA BRASILEIRA                                                                                    ABNT NBR 14565:2007





Cabeamento de telecomunicagoes para ediHcios comerciais




1    Escopo

Esta Norma especifica um cabeamento generico para uso nas dependmcias de um unico ou um conjunto de ediflcios
                                                                €
em um campus. Ela cobre os cabeamentos metalico e 6ptico.

Esta Norma aplica-se a redes locais (LAN) e redes de campus. 0 cabeamento especificado nesta Norma suporta uma
ampia variedade de servic;;os, incluindo voz, dados, texto, imagem e video.

Esta Norma especifica diretamente, ou via referencia:

a)   estrutura e configurac;;ao minima para 0 cabeamento generico;

b)   interfaces para tomadas de telecomunicac;;6es (TO);

c)   requisitos de desempenho para enlaces e canais individuais de cabeamento;

d)   recomendac;;6es e requisitos gerais;

e)   requisitos de desempenho para                 0   cabeamento para as distancias maximas especificadas nesta Norma;

f)   requisitos de conformidade e procedimentos de verificac;;ao.

Esta Norma leva em considerac;;ao os requisitos especificados nas aplicac;;6es Iistadas no anexo D.

Esta Norma nao se aplica aos requisitos de protec;;ao e seguranc;;a eletrica, protec;;ao contra inc€mdio
e compatibilidade eletromagnetica e sao cobertos por outras normas e regulamentos. Entretanto, recomendac;;6es
desta Norma podem ser beneficas.
                                /
2    Referencias~rmativas

                                                                         a
Os documentos relacionados a seguir sao indispensaveis aplicac;;ao deste documento. Para referencias datadas,

aplicam-se somente as edic;;6es citadas. Para referencias nao datadas, aplicam-se as edic;;6es mais recentes do

referido documento (incluindo emendas).


ABNT NBR 5410:2004 - Instalac;;6es eletricas de baixa tensao


ABNT NBR 6814: 1986 - Fios e cabos eletricos - Ensaio de resistencia eletrica


ABNT NBR 9130:1994 - Fios e cabos telef6nicos - Ensaio de desequilibrio resistivo


ABNT NBR 9133:1999 - Cabos telef6nicos - Ensaio de atenuac;;ao de sinal de transmissao - Metodo de ensaio


ABNT NBR 13300:1995 - Redes telef6nica internas em predios


ABNT NBR 13301:1995 - Redes telef6nicas internas em predios





IclARNT   ?nn7 - Tnrlns   ns direitos reservados                                                                          1
ABNT NBR 14565:2007



ABNT NBR 13989:1997 - Cabo 6ptico subterraneo - Determinac;:ao do desempenho quando submetido ao ensaio
de coeficiente de atrito estatico - Metodo de ensaio

ABI'JT I'JBR 13990: 1997 - Cabo 6ptico subterraneo - Determinac;:ao do desempenho quando submetido       a vibrac;:ao
- Metodo de ensaio

ABNT NBR 14103:2005 - Cabo 6ptico dieletrico para aplicac;:ao enterrada

ABNT NBR 14159:1998 - Cabo 6ptico com nucleo geleado protegido por capa APL - Especificac;:ao

ABNT NBR 14160:2005 - Cabo 6ptico aereo dieletrico auto-sustentado

ABNT NBR 14161 :1998 - Cabo 6ptico dieletrico de emergencia - Especificac;:ao

ABNT NBR 14433:2000 - Conectores montados em cord6es ou cabos de fibras 6pticas e adaptadores ­
Especificac;:ao

ABNT I'JBR 14566:2004 - Cabo 6ptico dieletrico para aplicac;:ao subterranea em duto e aerea espinado

ABNT NBR 14584:2000 - Cabo 6ptico com protec;:ao metalica para instalac;:6es subterraneas - Verificac;:ao
da suscetibilidade a danos provocados por descarga atmosferica - Metodo de ensaio

ABNT NBR 14589:2000 - Cabo 6ptico com protec;:ao metalica para instalac;:6es subterraneas - Determinac;:ao
da capacidade de drenagem de corrente - Metodo de ensaio

ABNT NBR 14703:2005 - Cabos de telematica de 100      n para redes internas estruturadas -   Especificac;:ao

ABNT NBR 14771 :2001 - Cabo 6ptico interne - Especificac;:ao

ABNT NBR 14772:2006 - Cabo 6ptico de terminac;:ao - Especificac;:ao

ABNT NBR 14773:2001 - Cabo 6ptico dieletrico protegido contra ataque de roedores para aplicac;:ao em linhas
de dutos - Especificac;:ao

ABNT NBR 14774:2001 - Cabo 6ptico dieletrico protegido contra ataque de roedores para aplicac;:ao enterrada ­
Especificac;:ao

ABNT NBR 15108:2004 -Cabo 6ptico com nucleo dieletrico e protec;:ao metalica para aplicac;:ao em linhas de dutos

ABNT NBR 15110:2004 - Cabo 6ptico com nucleo dieletrico e protec;:ao metalica para aplicac;:ao enterrada

ANSI/TIA/EIA 568:2005 - Commercial Building Telecommunications Cabling Standards Set - Part 1: General
Requirements, Part 2: Balanced Twisted-Pair Cabling Components, And Part 3: Optical Fiber Cabling Components
Standard (Includes Addendums: B.1-1 ,2,3,4,5, B.2-1 ,2,3,4,5,6,11 and B

ASTM 0 4566:2005 - Standard test methods for electrical performance properties of insulations and jackets for
telecommunications wire and cable

CISPR 22:2006 - Information technology equipment - Radio disturbance characteristics - Limits and methods
of measurement

 CISPR 24:1997 - Information technology equipment - Immunity characteristics - Limits and methods of measurement

 IEC 60512-2:1985 - Electromechanical components for electronic equipment; basic testing procedures and
 measuring methods - Part 2: General examination, electrical continuity and contact resistance tests, insulation
 tests and voltage stress tests - Amendment 1 (1994)
ABNT NBR 14565:2007



IEC 60512-25-1 :2001 - Connectors for electronic equipment - Tests and measurements - Part 25-1: Test 25a ­

Crosstalk ratio


IEC 60512-25-2:2002 - Connectors for electronic equipment - Tests and measurements - Part 25-2: Test 25b ­ 

Attenuation (insertion loss)


IEC 60512-25-4:2001 - Connectors for electronic equipment - Tests and measurements - Part 25-4: Test 25d ­

Propagation delay


IEC 60512-25-5:2005 - Connectors for electronic equipment - Basic tests and measurements - Part 25-5: Test 25e ­

Return loss


IEC 60512-3-1 :2002 - Connectors for electronic equipment - Tests and measurements - Part 3-1: Insulation tests

- Test 3a: Insulation resistance


IEC 60603-7:1996 - Connectors for frequencies below 3 MHz for use with printed boards - Part 7: Detail

specification for connectors, 8-way, including fixed and free connectors with common mating features, with

assessed quality


IEC 60603-7-1 :2002 - Connectors for electronic equipment - Part 7-1: Detail specification for 8-way, shielded free

and fixed connectors, with common mating features, with assessed quality


IEC 60603-7-7:2002 - Connectors for electronic equipment - Part 7-7: Detail specification for 8-way, shielded, free

and fixed connectors, for data transmission with frequencies up to 600 MHz (category 7, shielded)


IEC 60825 (all parts) - Safety of laser products


IEC 60874-14 (all parts) - Connectors for optical fibres and cables - Part 14: Sectional specification for fibre optic

connector - Type SC


IEC 60874-19-1: 1999 - Connectors for optical fibres and cables - Part 19-1: Fibre optic patch cord connector type

SC-PC (floating duplex) standard terminated on multi mode fibre type A1a, A 1b - Detail specification


IEC 61935-1 :2005 - Testing of balanced communication cabling in accordance with ISO/IEC 11801 ­
Part 1: Installed cabling

IEC 61935-2:2005 - Generic cabling systems - Specification for the testing of balanced communication cabling in
accordance with ISO/IEC11801 - Part 2: Patchcords and work area cords

 IEC/PAS    61076-3~Z02       - Connectors for electronic equipment - Part 3-104: Detail specification for 8-way,
 shielded free and fixed connectors, for data transmissions with frequencies up to 600 MHz

ISO/IEC TR 14763-1 :1999 - Information technology - Implementation and operation of customer premises cabling
- Part 1: Administration

 ISO/IEC TR 14763-2:2000 - Information technology - Implementation and operation of customer premises cabling
 - Part 2: Planning and installation

 ISO/IEC TR 14763-3:2000 - Information technology - Implementation and operation of customer premises cabling
 - Part 3: Testing of optical fibre cabling


 ISO/IEC 15018:2004 -Information technology - Generic cabling for homes


 ISO/IEC 18010:2002 - Information technology - Pathways and spaces for customer premises cabling





 CClARNT 2007 - Todos os direitos reservados                                                                         3
ABNT NBR 14565:2007



3     Definigoes, abreviagoes e sfmbolos

Esta se<;ao apresenta as defini<;oes de terminologia e simbologia aplicaveis ao cabeamento de telecomunica<;oes
em ediffcios comerciais. Para a distribui<;ao de redes telef6nicas internas em ediffcios, deve-se seguir as
ABNT NBR 13300 e ABNT NBR 13301.

3.1     Definic;oes

Para os efeitos desta Norma, aplicam-se as seguintes defini<;oes:

3.1.1
adaptador duplex de fibra 6ptica
dispositivo mecanico projetado para alinhar e unir dois conectores duplex

3.1.2
administra<;ao
metodologia que define os requisitos de documenta<;ao para administrar 0 sistema de cabeamento e seus
componentes. a identifica<;ao dos elementos funcionais e os processos que requerem movimenta<;oes, acrescimos
e modifica<;oes

3.1.3
aplica<;ao
sistema, incluindo seu metodo de transmissao associado, que e suportado pelo cabeamento de telecomunica<;oes

3.1.4
area de trabalho

espa<;o do ediffcio no qual os ocupantes interagem com     0   equipamento terminal de telecomunica<;oes


3.1.5
area de trabalho individual

espa<;o minima no ediffcio reservado a um ocupante


3.1.6
atenua<;ao

perda de pot€mcia de um sinal devido a sua propaga<;ao por um pieio ffsico qualquer


3.1.7
atenua<;ao de acoplamento                                        !
rela<;ao entre a potencia transmitida atraves dos condutore,S e a potencia de pica maxima irradiada, conduzida e
gerada por correntes de modo comum

3.1.8
backbone de campus

cabo que conecta 0 distribuidor de campus ao(s) distribuidor(es) de ediffcio


NOTA        as cabos de backbone de campus podem tambem conectar diretamente os distribuidores de edificio.

3.1.9
backbone de edificio

cabo que conecta 0 distribuidor de ediffcio ao distribuidor de piso


 3.1.10
 cabeamento
 sistema de cabos, cordoes e hardware de conexao para telecomunica<;oes, que pode suportar a conexao de
 equipamentos de tecnologia da informa<;ao
ABNT NBR 14565:2007




3.1.11
cabeamento de fibra 6ptica centralizado
tecnica de distribuic;:ao de cabeamento 6ptico que preve 0 atendimento da area de trabalho com fibras opticas a
partir de um unico ponto centralizado no ediffcio

3.1.12
cabeamento generico
sistema de cabeamento estruturado de telecomunicac;:6es, com capacidade de suportar um ample espectro de
aplicac;:6es

NOTA      a cabeamento generico pode ser instalado sem conhecimento previo dos requisitos das aplica<;:6es.
3.1.13
cabo
conjunto de uma ou mais unidades de cabos do mesmo tipo e categoria, protegido por uma capa externa

NOTA      Este pode incluir, ainda, uma blindagem geral.

3.1.14
cabo balanceado
cabo constitufdo de um ou mais elementos de cabo metalico simetrico (pares ou quadras tranc;:adas)

3.1.15
cabo balanceado blindado
cabo balanceado com uma blindagem geral e/ou blindagem por pares

3.1.16
cabo balanceado nao-blindado
cabo balanceado sem blindagem

3.1.17

cabo de fibra 6ptica (ou cabo 6ptico)

cabo composto por uma ou mais fibras 6pticas


3.1.18

cabo do CP

cabo que conecta   0   ponto de consolidac;:ao a(s) tomada(s) de telecomunicac;:6es


3.1.19
cabo hfbrido
conjunto de duas ou mais unidades de cabos e/ou cabos de diferentes tipos ou categorias, cobertos por uma capa
externa

 NOTA      a conjunto pode ser coberto por uma blindagem geral.
3.1.20

cabo horizontal

cabo que conecta 0 distribuidor de piso as tomadas de telecomunicac;:6es


3.1.21
cabo horizontal permanente
cabo que conecta 0 distribuidor de pi so ao ponto de consolidac;:ao se existir, ou a tomada de telecomunicac;:6es
(TO) se nao existir um CP

3.1.22

campus

local que contem um ou mais ediffcios





                                                                                                                5
ABNT fIBR 14565:2007



    3.1.23
    canal                                    /

    via de transmissao ponta-a-ponta, conect7 dois equipamentos de aplica<;ao especifica


    NOTA      as cord6es de equipamento e da/area de trabalho fazem parte do canal.

    3.1.24

    conector duplex de fibra 6ptica

    dispositivo mecanico projetado para a termina<;ao de duas fibras


    3.1.25
    conector 6ptico compacta
    conector de fibra 6ptica projetado para a termina<;ao de duas fibras com dimensoes similares as de um conector
    usado no cabeamento balanceado

    3.1.26
    conexao
    uniao de dispositivos ou combina<;ao de dispositivos, incluindo as termina<;oes usadas para conectar os cabos ou
    elementos do cabo a outros cabos, elementos do cabo ou equipamento de aplica<;ao especifica

    3.1.27

    conexao cruzada

    arranjo que possibilita a termina<;ao de elementos do cabo basicamente atraves de patch cords oujumpers


  3.1.28
  cordao
, cabo, unidade de cabo ou elemento do cabo com no minimo uma termina<;80

    3.1.29

    cordao da area de trabalho

    cordao para coneX80 da tomada de telecomunica<;oes ao equipamento terminal


    3.1.30

    cordao de equipamento

I   cordao para interconexao do equipamento ativo ao distribuidor

    3.1.31

    desvio de perda de inser<;ao

    diferen<;a entre a atenua<;80 estimada de um enlace ou canal e atenua<;80 medida


    3.1.32
    diferenga de atraso de propagagao
    diferen<;a de atraso de propaga<;ao entre os pares mais rapidos e mais lento dentro de um mesmo cabo
    balanceado de quatro pares

    3.1.33
    distribuidor
    termo empregado para 0 conjunto de componentes (tais como patch panels e patch cords) usados para conectar
    cabos

    3.1.34

    distribuidor de campus

    distribuidor a partir do qual origina-se 0 cabeamento de backbone de campus


    3.1.35
    distribuidor de edificio
    distribuidor no qual terminam os cabos do backbone de ediffcio, onde podem ser feitas conexoes com os cabos do
    backbone de campus
ABNT NBR 14565:2007





3.1.36
distribuidor de pi so                     //

elemento usado para a distribuic;ao do cabeamento horizontal do piso em que se encontra e 0 backbone de ediffcio


3.1.37
                                         /
elemento do cabo
menor unidade de construc;ao (por exemplo, par, quadra ou fibra unica) em um cabo

NOTA      Um elemento de cabo pode canter uma blindagem.

3.1.38
emenda
a uniao de condutores metalicos ou fibras 6pticas.

3.1.39
enlace
se associado a enlace do CP oU enlace permanente, ver enlace do CP e enlace permanente

3.1.40
enlace do CP
Parte permanente da ligac;ao entre   0   distribuidor de piso e   0   ponto de consolidac;ao, incluindo   0   cabo e   0   hardware
de conexao em cada extremidade

3.1.41
enlace permanente
segmento de cabo entre a tomada de telecomunicac;6es e 0 distribuidor de piso

3.1.42
guia de polarizac;ao
dispositivo guia para a correta inserc;ao do con ector

3.1.43
hardware de conexao
componente ou combinac;ao de componentes usados para conectar cabos ou elementos do cabo

3.1.44
infra-estrutura de entrada
local de entrada de todos os servic;os mecanlcos e elE~tricos necessanos para 0 ingresso de cabos
de telecomunicac;6es no ediffcio ou em um complexo de edificios, em conformidade com as regulamentac;6es
especfficas

 3.1.45
 interconexao
 conexao direta entre 0 equipamento ativo e 0 subsistema de cabeamento

 3.1.46
 Interface
 ponto no qual as conex6es sao feitas com      0   cabeamento generico

 3.1.47
 interface de rede externa
 ponto de demarcac;ao entre as redes publica e privada

 3.1.48
 jumper
 cabo, unidade de cabo ou elemento de cabo sem conectores, usado para estabelecer uma interligac;ao em um3
 conexao cruzada




                                                                                                                                  7
ABNT NBR 14565:2007




3.1.49
patch cord
cordao com conectores modulares em ambas as extremidades, usado para estabelecer conex6es em um patch
panel

3.1.50
patch panel
painel com varias tomadas, usado para a distribuiyao dos sUbsistemas de cabeamento

3.1.51
par
linha de transmissao balanceada de dois condutores

3.1.52
par tranyado
elemento do cabo que consiste em dois condutores isolados, tranyados juntamente com um passe de toryao
regular para formar uma linha de transmissao balanceada

3.1.53
perda de conversao longitudinal
relayao entre as correntes de modo diferencial e comum, medidas entre pares adjacentes na mesma extremidade
de um cabo

3.1.54

perda de conversao transversal

relayao entre a potencia de sinal de modo comum e a potencia injetada do sinal de modo diferencial


3.1.55

perda de inseryao (dB)

atenuayao devida a inseryao de componentes do cabeamento em um canal


3.1.56
perda de transferelncia de conversao longitudinal
relayao entre as correntes de modo diferencial e comum, medidas entre pares adjacentes em extremidades
opostas de um cabo

3.1.57
ponto de consoliday3.o
ponto de conexao no sistema de cabeamento horizontal situado entre 0 distribuidor do andar e a tomada de
telecomunica y6es

3.1.58
preenchimento total de nucleo (OFL)
trata-se de um metodo de mediyao da largura de banda das fibras multimodo. Neste metodo, 0 equipamento de
mediyao simula um LED que excita todos os modos da fibra, permitindo a mediyao de sua largura da banda

3.1.59

quadra

elemento do cabo que compreende quatro condutores isolados tranyados conjuntamente


3.1.60

sala de equipamentos

sala destinada a abrigar distribuidores e equipamentos de aplicayao especifica.


 NOTA      Este espa<;o   e dedicado aos equipamentos ativos de uso comum de todos os usuarios da rede.
ABNT NBR 14565:2007




3.1.61
sala de telecomunica90es
espa90 destinado a acomodar equipamentos de telecomunica90es, termina90es de cabos, interconexoes e
conexoes cruzadas

3.1.62
tomada de telecomunica90es
dispositivo de conexao fixe no qual 0 cabo horizontal    e terminado na area de trabalho
3.1.63
tomada de telecomunica90es multiusuario
dispositivo unico com varias tomadas de telecomunica90es, com a finalidade de atendimento de usuarios de uma
mesma area de trabalho

NOTA         Aplica-se quando utilizadas instalar,;oes em ambientes abertos (tipicamente escrit6rios comerciais sem paredes
divis6rias).

3.1.64
unidade do cabo
conjunto unico de um ou mais elementos de cabo do mesmo tipo e categoria

NOTA 1     A unidade de cabo pode conter uma blindagem.

NOTA 2     Um feixe de cabos pode ser considerado um exemplo de unidade do cabo.


3.2   Abrevia90es

ACR - Rela9ao atenua9ao paradiafonia

APC - Polimento de contato angular para conectores 6pticos

ATM - Modo de transferencia assincrono

BCT - Tecnologias de comunicat;oes e difusao, as vezes referido como HEM

BD - Distribuidor de edificio

B-ISDN - RDSI em banda larga

c.a. - Corrente alternada

c.c. - Corrente continua

CD - Distribuidor de campus

CI - Circuito integrado

CP - Ponto de consolida9ao

CSMAlCD - Acesso multiplo sensfvel a portadora com detect;ao de colisao

DCE - Equipamento de terminat;ao de circuito de dados

DRL - Perda de retorno distribuida

 DTE - Equipamento terminal de dados




                                                                                                                          9
ABNT NBR 14565:2007



EF - Infra-estrutura de entrada

ELFEXT - Perda de telediafonia de nfvel equalizado

EMC - Compatibilidade eletromagnetica

EQP - Equipamento

ER - Sala de equipamentos

Us. - Para estudo futuro

FD - Distribuidor de piso

FOOl - Interface de dados distribuidos em fibra 6ptica

FEXT - Telediafonia

FO - Fibra 6ptica

FOIRL - Enlace inter-repetidores de fibra 6ptica

HEM - Entretenlmento e multimidia residencial (ver BCT)

ICT - Tecnologia de comunicac;:6es e informac;:ao

IDC - Conexao por deslocamento do isolante

IEC - Comissao Eletrotecnica Internacional

IL .. Perda de insen;:ao

ILD - Desvio de perda de inserc;:ao

 IPC - Conexao por perfurac;:ao do isolante

 ISDN - Rede Digital de Servic;:os Integrados (RDSI)

 ISLAN - Rede Local de Servic;:os Integrados

 ISO - Organizac;:ao de Normalizac;:ao Internacional

clTC - Junta tecnica

 LAN - Rede local

LCL - Perda de conversao longitudinal

 LCTL - Perda de transfer€mcia de conversao longitudinal

 Min. - Minimo

 MUTO - Tomada de telecomunicac;:6es multiusuario

 N/A - Nao aplicavel

 NEXT - Paradiafonia
ABNT NBR 14565:2007



OFl - Preenchimento total do nucleo

PBX - Central de comunicac;;ao privada

PC - Polimento circular plano (nao angular) para conectores 6pticos

Pl - Enlace permanente

PMD - Interface dependente da camada fisica

PS ACR - Relac;;ao atenuac;;ao PS NEXT

PS ElFEXT - Somat6rio de perda de telediafonia de nivel equalizado

PS FEXT - Somat6rio de potencias de ruido por telediafonia

PS NEXT - Somat6rio de potencias de ruido por paradiafonia

PVC - Policloreto de vinila

Rl - Perda de retorno

SC - Tipo de conector 6ptico

SC-D - Conector SC duplex
       ,


SFFI- Conector 6ptico compacta

TCl - Perda de conversao transversal

TCTl - Perda de transferencia de conversao transversal

TE - Equipamento terminal

TI - Tecnologia da informac;;ao

TO - Tomada de telecomunicac;;oes

 TP-PMD - Interface dependente do meio fisico de par tranc;;ado

 TR - Sala de telecomunicac;;oes

 UTP - Cabo de par tranc;;ado nao-blindado


 WA - Area de trabalho


 3.3       Sfmbolos

 3.3.1     Variaveis


 </J         Angulo da fase em graus


 fJ          Angulo da fase no sinal propagado em rad/m ou em radianos


 a           Atenuac;;ao





                                                                                            11
ABNT NBR 14565:2007



E        Base de logaritmo natural

,9 coeft Coeficiente de temperatura na atenuar;ao do cabo em %rC

K        Coeficiente do aumento da atenuar;ao no cabo

F        Comprimento acumulado do cordao de conexao/jumper, corda a de equipamento e cordao da area de
         trabalho

L        Comprimento do cabo

B        Comprimento do cabo de backbone au coeficiente da matriz de transmissao

c        Comprimento do cabo do CP au designar;ao para conector au coeficiente da matriz de transmissao

H        Comprimento maximo do cabo horizontal fixo

IT	      Constante

DRL o	   Constante da perda par retorno distribufdo

y	       Cflnstante de propagar;ao complexa (y   =a + j~)
         10nstante para a coeficiente de perda par inserr;ao no conector

         Constante para a primelro coeficiente de atenuar;ao do cabo

         Constante para a segundo coeficiente de atenuar;ao do cabo

         Constante para a terceiro coeficiente de atenuar;ao do cabo

 f       Frequencia

 Zo      Impedancia caracteristica

 z       Impedancia complexa

          Numero do par interferente

 k        Numero do par interferido

 n        Numero total de pares

 [2	     ohm. resistencia au impedancia

          Operador imaginario

 X        Relar;ao da atenuar;ao do cabo da area de trabalho pela atenuar;ao do cabo horizontal fixo

 Y        Relar;ao da atenuar;ao do cabo do CP pela atenuar;ao do cabo horizontal fixo

 ,9      Temperatura. em graus celsius


          Tempo


    I     Velocidade de propagar;ao
ABNT NBR 14565:2007




c             Velocidade de propagac;ao da luz no vacuo

NVP           Velocidade nominal de propagac;ao (Referida como uma porcentagem da velocidade da luz no vacuo)

3.3.2     Ind ices

Local                 indice para denominar uma caracteristica medida local mente

f}                    indice para denominar uma caracteristica dependente da temperatura

Cabo                  indice para denominar uma caracterfstica do cabo

Canal                 indice para denominar uma caracteristica do canal

Conector              indice para denominar uma caracteristica do conector

PL                    indice para denominar uma caracteristica do enlace permanente

Remoto                indice para denominar uma caracteristica medida remotamente

C2                     indice para denominar uma caracterfstica, medida a partir do conector ate 0 distribuidor do andar
                       (segundo conector)

TO                     indice para denominar uma caracterfstica, medida a partir da TO

cabo do cordao         lndice para indicar uma caracterfstica no cabo usado para cordoes

In                     indice para indicar uma condic;ao de entrada

Term                   indice para indicar uma condic;ao de terminac;ao

CH                     indice pa,ra representar 0 canal
                       .          
                                  
CP                     Indice   par~   representar 0 ponto de consolidac;ao


 4	 Requisitos gerais

 4.1      Para os efeitos desta Norma, consideram-se as seguintes aplicac;oes:

 a)	 a configurac;ao e a estrutura devem estar em conformidade com as especificac;oes descritas na sec;ao 5;

 b)	 0 desempenho dos canais balanceados deve ser medido conforme os requisitos especificados na seC;80 6.
     Isto deve ser obtido por uma das seguintes condic;oes:

        1)	 um canal projetado e implementado deve assegurar 0 desempenho previsto;

        2)	 os componentes apropriados utilizados para um enlace permanente ou enlace do CP encontram-se
            especificados por c1asse de desempenho na sec;ao 6 e anexo A. 0 desempenho do canal deve ser
            assegurado pelo acrescimo de cordoes nas terminac;oes de um enlace permanente, conforme os
            requisitos da sec;ao 6 e anexo A;

        3)	    usando as implementac;oes em referencia na seC;80 7 e componentes do cabeamento compatfveis com
               os requisitos da ABNT NBR 14703, bem como sec;oes 10 e 13, baseados em uma aproximaC;80
               estatfstica de modelamento de desempenho;

 c)	    requisitos espedficos de infra-estrutura do cabeamento estao descritos na ISO/IEC 18010;



                                                                                                                      13
ABNT     ~IBR   14565:2007




d)     a implementac;:ao e desempenho do cabeamento 6ptico devem atender aos requisitos da sec;:ao 8;

e)     as interfaces com 0 cabeamento na tomada de telecomunicac;:6es devem estar em conformidade com os
       requisitos da sec;:ao 10;

f)     todo e qualquer hardware de conexao do cabeamento, incluindo a tomada de telecomunicac;:6es, deve atender
       aos requisitos da sec;:ao 10;

g)     se presentes, as blindagens sao tratadas de acordo com a sec;:ao 11;

h)     a administrac;:ao do sistema deve atender aos requisitos da sec;:ao 12;

i)     os regulamentos de seguranc;:a e compatibilidade eletromagnetica aplicaveis no local da instalac;:ao devem ser
       atendidos.

NOTA        Na ausencia do canal, a desempenho do enlace permanente deve ser usado para verificar a conformidade com
esta Norma.

4.2      Os ensaios da sec;:ao 6 devem ser utilizados nos seguintes casos:


a)     enlaces ou canais com comprimentos superiores aos especificados em 7.2, ou tendo mais componentes que

       o especificado na sec;:ao 7;

b)	 enlaces ou canais que usam componentes cujo desempenho de transmissao seja inferior aquele descrito
    na ABNT NBR 14703 e sec;:ao 10;

 c)	   a avaliac;:ao de um cabeamento instalado para determinar sua capacidade de suportar um certo grupo
       de aplicac;:6es:

 d)	 verificac;:ao de desempenho de um sistema instalado e projetado conforme a ABNT NBR 14703 e sec;:6es 7
     e 10.


 5	 Estrutura do sistema de cabeamento generico

 5.1     Geral

 Esta sec;:ao identifica os elementos funcionais do cabeamento genenco, descrevendo como eles sao
 interconectados para formar subsistemas, e identifica interfaces com as quais componentes de aplicac;:6es
 especificas sao conectados ao cabeamento generico.

 As aplica<;:6es sao suportadas por equipamentos conectados as tomadas de telecomunicac;:6es e distribuidores.

 5.2     Elementos funcionais


 Os elementos funclonais do cabeamento generico sao:


 a)    distribuidor de campus (CD);


 b)    backbone de campus;


 c)    distribuidor de edificio (BO);


 d)    backbone de edificio;


 e)    distnbuidor de plSO (FD);
ABNT IIBR 14565:2007




f)      cabeamento horizontal;


g)      ponto de consolida<;:ao (CP);


h)      cabo do ponto de consolida<;:ao (Cabo do CP);


i)      tomada de telecomunica<;:oes multiusuario (MUTO);


j)      tomada de telecomunica<;:oes (TO).


Grupos destes elementos funcionais sao interconectados para formar subsistemas de cabeamento.


5.3      Subsistemas de cabeamento

5.3.1      Geral

Os sistemas de cabeamento generico contem no minima tres subsistemas: backbone de campus, backbone
de edificio e cabeamento horizontal. A composi<;:ao dos subsistemas esta descrita em 5.3.2, 5.3.3 e 5.3.4.

Os subsistemas de cabeamento sao interconectados para formar um sistema de cabeamento generico com a
estrutura mostrada na figura 1. Os distribuidores oferecem os meios de configurar 0 cabeamento para suportar
diferentes topologias, como barramento, estrela e anel.

                                                                                                     Equipamento
                    co                     so                   FO                 CP     TO         terminal



              @) @) @)                                                             0      [)           a

                   ....                   --                   --                         --         •. 1
                                                                                                       I
                          Subsistema de        Subsistema de
                          cabeamento           cabeamento de              Subsistema de        Cabeamento da
                          de backbone          backbone de                cabeamento           area de
                          de campus            edificio                   horizontal           trabalho



                   I~                                                                     ~
                                                  Sistema de cabeamento generico




                                               Figura 1 -   Estrutura do cabeamento generico

 As conexoes entre subsistemas de cabeamento podem ser ativas, necessitando de equipamentos para aplica<;:oes
 especificas ou passivas. As conexoes de equipamentos para aplica<;:oes especificas adotam a abordagem tanto de
 interconexao como a de conexao cruzada (ver as figuras 5 e 6). As conexoes passivas entre subsistemas de
 cabeamento sao geralmente executadas usando conexoes cruzadas por meio de patch cords ou jumpers.

     No caso de um cabeamento centralizado, as conexoes passivas nos distribuidores sao executadas por conexoes
     cruzadas ou interconexoes. Alem disso, para cabeamento 6ptico centralizado, e possivel criar conexoes nos
     distribuidores usando-se emendas, apesar de isto reduzir a possibilidade do cabeamento de suportar
     reconfigura<;:oes.




                                                                                                                    15
ABNT NBR 14565:2007



5.3.2    Subsistema de cabeamento de backbone de campus

o subsistema de cabeamento de backbone de campus estende-se do distribuidor de campus ate os distribuidores
de edificio. Quando presente, este subsistema inclui:

a)	 os cabos de backbone de campus;

b)	 qualquer componente de cabeamento dentro da infra-estrutura de entrada;

c)	 jumpers e patch cords no distribuidor de campus;

d)	   0 hardware de conexao no qual os cabos de backbone de campus sao terminados (tanto no distribuidor
      de campus como no distribuidor de edificio).

Apesar de cordoes de equipamento serem usados para conectar equipamentos de transmissao ao subsistema de
cabeamento, eles nao sao considerados parte do subsistema de cabeamento porque tem uma aplica9aO
especifica. Onde 0 distribuidor de edificio nao existe, 0 subsistema de cabeamento de backbone de campus
estende-se desde 0 distribuidor de campus ate 0 distribuidor de piso. E possivel para 0 cabeamento de backbone
de campus oferecer conexao direta entre distribuidores de edificios. Quando utilizada, esta conexao deve estar em
conformidade com 0 requerido pela topologia hierarquica basica.

5.3.3     Subsistema de cabeamento de backbone de edificio

Um subsistema de cabeamento de backbone de edificio estende-se desde o(s) distribuidor(es) de edificio ate o(s)
distribuidor(es) de piso. Quando presente, este subsistema inclui:

a)	 os cabos de backbone de edificio;

b)	 os jumpers e patch cords no distribuidor de edificio;

c)	     0 hardware de conexao nos quais os cabos do backbone de edificio sao terminados (em ambos os
        distribuidores, de piso e de edificio).

 Apesar de cordoes de equipamento serem usados para conectar equipamentos de transmissao ao subsistema
 de cabeamento, eles nao sao considerados parte do subsistema de cabeamento porque tem uma aplica9ao
 especifica. E possivel para 0 cabeamento de backbone de ediffcio oferecer conexao direta entre os distribuidores
 de piso. Quando utilizada, esta conexao deve estar em conformidade com 0 requerido pela topologia hierarquica
 basica.

 5.3.4     Subsistema de cabeamento horizontal

 o  subsistema de cabeamento horizontal estende-se desde o(s) distribuidor(es) de piso ate a(s) tomada(s)
 de telecomunica90es conectada(s) a ele. Este subsistema inclui:

 a)     os cabos horizontais;

 b)     os jumpers e patch cords no distribuidor de piso;

 c)     as termina90es mecanicas dos cabos horizontais nas tomadas de telecomunica90es;

 d)     as termina90es mecanicas dos cabos horizontais nos distribuidores de piso, incluindo   0   hardware de conexao,
        por exemplo: as interconexoes ou as conexoes cruzadas;

 e)     um ponto de consolida9ao (opcional);


 f)     as tomadas de telecomunica90es.
ABNT NBR 14565:2007



Apesar de cord6es de equipamento e de area de trabalho serem usados para conectar terminais e equipamentos
de transmissao ao subsistema de cabeamento horizontal, eles nao sao considerados parte deste subsistema.
Cabos horizontais devem ser continuos desde 0 distribuidor de piso ate a tomada de telecomunicar,;6es, a menos
que haja um ponto de consolidar,;ao instalado (ver 5.7.6).

5.3.5   Objetivos de projeto

a cabeamento horizontal deve ser projetado para suportar a maior parte das aplicar,;6es existentes e emergentes e
deve fornecer uma longa vida operacional. Isto minimiza as interrupr,;6es e   0   alto custo de recabeamento nas areas de
trabalho.

a  backbone de ediffcio deve ser projetado para suportar a vida util do sistema de cabeamento genenco.
Entretanto, e comum adotar-se solur,;6es provis6rias para suportar aplicar,;6es correntes ou previstas,
particularmente onde 0 acesso ffsico aos encaminhamentos e fckil. A seler,;ao do cabeamento de backbone de
campus pode necessitar de uma solur,;ao mais duradoura que a adotada no cabeamento de backbone de ediffcio,
particularmente se 0 acesso ffsico aos encaminhamentos for mais limitado.

5.4     Interconexao dos subsistemas

5.4.1   Geral

Em cabeamento generico, os elementos funcionais dos subsistemas de cabeamento sao interconectados para
formar uma estrutura hierarquica, como mostrado nas figuras 2 e 3.

Em instalar,;6es em que dois ou mais distribuidores utilizem         0   mesmo espar,;o ffsico (ver 5.7.1), nao sao
necessarias interligar,;6es entre eles.



                                                                                  Subsistema de
                                                                                  cabeamento de
                                                                                  backbone de
                                                                                  campus



                                                                                  Subsistema de
                                                                                  cabeamento de
                                                                                  backbone de edificio




                                                                                  Subsistema de
                                                                                  cabeamento
                                                                                  horizontal




                                              Cabos opcionais
                                              cables



                            Figura 2 -   Estrutura hierarquica do cabeamento generico




                                                                                                                       17
ABNT NBR 14565:2007





                                                                                   Subsistema de
                                                                                   cabeamento de
                                                                                   backbone de
                                                                                   campus



                                                                                   Subsistema de
                                                                                   cabeamento de
                                                                                   backbone de edificio



                                                                                   Subsistema de
                                                                                   cabeamento
                                                                                   horizontal




                                                  ,   ,
                                              I        1
                             Cabo opcional    ,,_     ~I   Distribuidor opcional


                      Figura 3 -   Estruturas para cabeamento generico centralizado

5.4.2   Arquitetura de cabeamento centralizado

As estruturas de cabeamento centralizado, como mostrado na figura 3, criam backbone/canais horizontais
combinadas Os canais sao formados par conex6es passivas nos distribuidores. As conex6es sao obtidas
utilizando-se tanto interconex6es como conex6es cruzadas. Alem disso, para cabeamento 6ptico centralizado,
e possivel criar conex6es nos distribuidores usando emendas, apesar de isto reduzir a capacidade do cabeamento
de suportar reconfigurac;:6es.

5.5     Localiza98.0 dos elementos funcionais

A figura 4 mostra um exemplo de como os elementos funcionais sao posicionados no edificio.
ABNT NBR 14565:2007





                     Sala de telecomunica<;6es




                                                                                     Cabo do backbone de campus




                                                                                    Rede extern a

                Sala de equipamentos
                                                 Infra-estrutura de entrada




                                    Figura 4 -        Localiza<;ao dos elementos funcionais

Distribuidores podem ser colocados na sala de equipamentos au nas salas de telecomunica<;;6es. As diretrizes para
a posicionamento dos distribuidores estao descritas na ISO/lEG TR 14763-2.

Os cabos sao lan<;;ados usando-se encaminhamentos que podem ser canaletas, eletrotudos, bandejas, entre outros
au simplesmente rotas definidas. Os requisitos para as encaminhamentos e as sistemas de organiza<;;ao de cabos
sao descritos na ISO/lEG 18010.

As tomadas de telecomunica<;;oes sao localizadas na area de trabalho.

5.6     Interfaces

5.6.1    Interfaces de equipamentos e interfaces de ensaio

As interfaces de equipamento para cabeamento generico sao localizadas nas extremidades de cada subsistema.
Os distribuidores podem ter uma interface de equipamento para um servi<;;o externo em qualquer porta e usar tanto
interconexoes, como mostrado na figura 5, como conexoes cruzadas, como mostrado na figura 6. 0 ponto de
consolida<;;ao nao oferece uma interface de equipamentos para a sistema de cabeamento generico. A figura 7 ;
mostra as interfaces de equipamento possiveis para as subsistemas de cabeamento horizontal e de backbone.

As interfaces de ensaio para a cabeamento generico sao localizadas nas extremidades de cada subsistema e no
ponto de consolida<;;ao, quando presente. A figura 7 mostra as interfaces de ensaio possiveis para a subsistema
de cabeamento horizontal.




                                                                                                                      19
ABNT NBR 14565:2007




                                                      Cordao de              Subsistema de

                                     EQP~am~
                                                                              cabeamento

                                             ::r'   SUbs~ma de ~             Subsistema de
                                                     cabeamento               cabeamento
                                              --------1[91------­


                                                     [9     = conexao

                                            I EQP I         =transmissao/equipamento terminal


                                           Figura 5 -       Modelo de interconexao

                                              Cordao de
                                            Subsistema de     Patch cord
                                           n~iPa~ump~
                                             cabeamento
                                   EQP~~---'----


                                      Subsistema de           Patch cord          Subsistema de
                                      cabeamento              ou jumper            cabeamento
                                     ______               -J~------_




                                                    [9    = conexao

                                           I EQP I        = equipamento de transmissao




                                       Figura 6 -         Modelo de conexao cruzada

           Cabeamento horizontal
                                      EI             EI                                                EI
                                       I             I      EI: Interface de equipamento          :    I
                                      ..             ..     TI: Interface de teste                :    ..

                     I EQP ~r----------Icdf---~                                                                  TE   I
                              t        't                                                    CP   t TOt     t
                              TI                     TI                                           TI   TI   TI


            Cabeamento de backbone    EI             EI                                           EI   EI

                        ;   ~   ~             ~   ~   i
                     ,----EQ-P----,~-------_---j~r--E-Q-PI
                              t        '             t                                            t    !    t
                              TI                     TI         o     = conexao                   TI        TI




                                   Figura 7 -Interfaces de equipamento e ensaios

 5.6.2   Canal e enlace permanente

 o  desempenho de transmissao de um cabeamento genenco entre interfaces especificas esta detalhado nas
 sec;:6es 6 e 8 em termos de canal e enlace permanente.
ABNT NBR 14565:2007



o  canal      e
          0 caminho de transmissao entre 0 equipamento, como um hub/switch de rede (EQP na figura 7)
eo equipamento terminal. Um canal tfpico consiste em um subsistema horizontal com uma area de trabalho e com
cord6es de equipamento. Para servi<;os de longa dist€mcia 0 canal pode ser construido pela conexao de dois
ou mais subsistemas (incluindo a area de trabalho e os cord6es de equipamento). 0 desempenho do canal exclui
as conex6es dos equipamentos de aplica<;ao especifica.

o enlace permanente e 0 caminho de transmissao de um subsistema de cabeamento instalado incluindo 0
hardware de conexao nas extremidades do cabo instalado. No subsistema de cabeamento horizontal 0 enlace
permanente consiste na tomada de telecomunica<;6es, no cabo horizontal, em um ponto de consolida<;ao opcional
e na termina<;ao do cabo horizontal no distribuidor de piso. 0 enlace permanente inclui as conex6es nas
extremidades do cabo instalado.

5.6.3       Interfaces externas                 a rede
Conex6es com redes publicas para                                 0   fornecimento de seus respectivos servi<;os de telecomunica<;6es sao feitas
nas interfaces externas a rede.

5.7       Dimensionamento e configura9ao

5.7.1       Distribuidores

o numero e tipo de subsistemas que estao na implementa<;ao de um cabeamento generico dependem da geografia
e do tamanho do campus ou edificio e sobretudo da estrategia do usuario. Usual mente ha um unico distribuidor de
campus para cada campus, um distribuidor de edificio para cada edificio e um distribuidor de piso para cada piso.

o projeto dos distribuidores de piso deve assegurar que os comprimentos de patch cords/jumpers e cord6es
de equipamentos sejam minimos e a administra<;ao deve assegurar que estes comprimentos sejam suficientes
para a opera<;ao.

Os distribuidores devem ser posicionados de tal maneira que os comprimentos de cabos sejam consistentes com
os requisitos de desempenho de canal das se<;6es 6 e 8.

Em caso de implementa<;6es em referenda na se<;ao 7, os distribuidores devem ser posicion ados para garantir
que 0 comprimento do canal da tabela 1 nao seja excedido. Entretanto, nem todas as aplica<;6es sao suportadas
sobre 0 comprimento maximo mostrado na tabela 1, usando simplesmente um unico tipo de cabo. As tLlbelas 20,
21 e 22 indicam que 0 suporte a aplica<;6es espedficas sobre canais instalados pode requerer uma mistura d8
meios fisicos de cabeamento e de especifica<;6es de desempenho.

                                                           Tabela 1 -          Comprimento maximo do canal

                                                                                                               Comprimento
                    II
                                                                       Canal
                                                                                                                   m
                                                                     Horizontal                                     100
                         Horizontal + backbone de edificio + backbone de campus                                    2000
                         NOTA 1     Em algumas implementa<;6es do subsistema de cabeamento horizontal na seyao 7,
                         o FD pode nao suportar TO ate a distancia maxima mostrada.
                         NOTA 2     Para aplicayoes especificas com fibras opticas, consultar 0 anexo D.

 Pelo menos um distribuidor de piso deve ser instalado para cada piso; para areas superiores a 1000m 2 , no minimo
 um distribuidor de piso deve ser instalado para cada 1000m2 de areas reservadas para escritorios. Se a area de
 piso for pouco populosa (por exemplo, um saguao), e permitido servir este piso por meio de um distribuidor
 localizado em um piso adjacente. As fun<;6es de multiplos distribuidores podem ser combinadas. A figura 8 mostra
 um exemplo de cabeamento generico. Na figura 8, 0 edificio A mostra um exemplo de cada distribuidor localizado
 separadamente e 0 edificio B mostra um exemplo onde as fun<;6es de um distribuidor de piso e de um distribuidor
 de ediffcio foram combinadas em um unico distribuidor.




 ICiARNT ?nn7 _ T ..,rl..,,, ..,,, rlirp;t..,,, rp"prv"rl..,,,                                                                               ~1
ABNT NBR 14565:2007




                                                   /
                                                       /         Edificio B




                                  §---<
                             EJ       ( FD
                        EJ             '   ,--"J




   Figura 8 -- Exemplo de um cabeamento generico com distribuidor de ediffcio e de piso combinados

Em certas circunstancias, por exemplo por raz6es de seguranc;a ou confiabilidade. redund€mcias podem ser
projetadas no cabeamento. A figura 9 apresenta um dos possiveis exemplos de conexao dos elementos funcionais
dentro da estrutura. para oferecer protec;ao contra falhas em uma ou mais partes da infra-estrutura de cabeamento.
Esta pode ser a forma basica para um projeto de cabeamento generico em edificios. oferecendo alguma protec;ao
contra danos como fogo ou falhas nos cabos da rede publica.




                                                                              2° andar




                                                                              1° andar




                                                                              Subsolo

                                      Cabo de          Cabo de
                                      entrada          entrada



          Figura 9 -- Inter-relac;;ao dos elementos funcionais em uma instalac;;ao com redundancia
ABNT NBR 14565:2007




5.7.2     Cabos

Para detalhes da utilizac;;ao dos tipos recomendados de cabos, ver a ABNT NBR 14703. a hardware de conexao
de cabos deve oferecer a conexao direta para cada condutor e nao deve permitir contatos entre mais de um
condutor (por exemplo, derivac;;6es nao devem ser usadas).

5.7.3     Cord6es da area de trabalho e cordoes de equipamento

as cord6es da area de trabalho conectam as tomadas de telecomunicac;;6es ao equipamento terminal.
as cord6es de equipamento conectam equipamentos aos distribuidores do cabeamento generico. Nao sao
permanentes e podem ser para aplicac;;6es especificas. Devem ser levados em considerac;;ao 0 comprimento e 0
desempenho de transmissao destes cord6es; as considerac;;6es devem ser identificadas quando relevantes.
A contribuic;;ao destes cord6es para 0 desempenho deve ser levada em considerac;;ao no projeto do canal.
A sec;;ao 7 oferece diretrizes para comprimentos de cord6es como referencia nas implementac;;6es de cabeamento
generico.

5.7.4      Patch cords e jumpers

as patch cords e os jumpers sao utilizados nas implementac;;6es de conex6es cruzadas nos distribuidores.
A contribuic;;ao destes cord6es para 0 desempenho deve ser levada em considerac;;ao quando do projeto do canal.
A sec;;ao 7 oferece diretrizes para os comprimentos dos patch cords/jumpers como referencia nas implementac;;oes
de cabeamento gene rico.

5.7.5      Tomadas de telecomunicac;;oes

5.7.5.1       Requisitos gerais

a projeto de um cabeamento gene rico deve assegurar que as tomadas de telecomunicac;;6es sao instaladas em
toda a parte da area utilizavel do piso. Uma alta densidade de tomadas de telecomunicag6es melhora a habilidade
do cabeamento de acomodar mudangas. As tomadas de telecomunicag6es podem estar presentes individualrnente

ou em grupos.


Cada area de trabalho deve ser servida por um minimo de duas tomadas de telecomunicac;;oes. Para diretrizes do

tamanho da area de traba'lho, ver a ISOIlEC TR 14763-2.


A primeira tomada de telecomunicac;;oes deve ser para terminac;;ao de um cabo balanceado de quatro pares de

acordo com 10.2.1.


A segunda tomada deve ser para:


        fibra 6ptica; ou

        terminagao de um cabo de quatro pares balanceado de acordo com 10.2.1.

 Cad a tomada de telecomunicac;;6es deve ter um meio permanente de identificac;;ao que seja visivel ao usuario.

 Dispositivos como baluns, splitters (conector Y) e casadores de impedancia, se usados, devem ser externos ao
 hardware de conexao.

 5.7.5.2      Tomada de telecomunicag6es de usuario unico

 Em uma implementagao geral de um cabeamento generico, uma tomada de telecomunicag6es serve a uma unicCl
 area de trabalho. a comprimento dos cordoes da area de trabalho deve ser 0 menor possivel. A implementac;;ao da
 topologia deve ser selecionada das opgoes descritas em 7.2.2.2 (para cabos balanceados) e em 8.4 (para cabos
 6pticos). A tomada de telecomunicagoes deve ser conhecida como uma tom ada de telecomunicac;;oes de usuario
 unico e deve ser instalada em local acessivel.



                                                                                                                  23
ABNT IIBR 14565:2007



A contribuil;:ao dos cordoes da area de trabalho, dos patch cords e dos cordoes de equipamento para 0
desempenho do canal deve levar em consideral;:ao os requisitos da sel;:ao 6 (cabos balanceados) e sel;:ao 8
(cabos 6pticos), a tim de garantir 0 desempenho.

5.7.5.3     Tomada de telecomunical;:oes multiusuario (MUTO)

Em um ambiente de escrit6rios abertos, um conjunto de tomadas de telecomunical;:oes pode ser usado para servir
a mais de uma area de trabalho. A implemental;:ao da topologia deve ser selecionada das opl;:oes descritas em
7.2.2.2 (para cabos balanceados) e em 8.4 (para cabos 6pticos) e este conjunto de tomadas de telecomunical;:oes
deve ser conhecido como tomada de telecomunical;:oes multiusuario.

Onde sao usadas as tomadas de telecomunical;:oes multiusuario:

a)    uma tomada de telecomunica1;:6es multiusuario deve ser instalada em uma area de trabalho aberta, onde
      cada grupo de areas de trabalho seja servido por no minimo uma tomada de telecomunical;:oes multiusuario;

b)    uma tom ada de telecomunica1;:6es multiusuario deve ser Iimitada a servir um maximo de 12 areas de trabalho;

c)    uma tom ada de telecomunical;:oes multiusuario deve ser instalada em local de facil acesso. como colunas do
      ediffcio ou paredes permanentes;

d)    uma tomada de telecomunical;:oes multiusuario nao deve ser instalada em areas obstrufdas;

e)	 a contribuil;:ao dos cordoes da area de trabalho. dos patch cords e dos cordoes de equipamento para 0
    desempenho do canal deve levar em consideral;:ao os requisitos da sel;:ao 6 (cabos balanceados) e sel;:ao 8
    (cabos 6pticos), a fim de garantir 0 desempenho;

f)	   0 comprimento do cordao da area de trabalho deve ser limitado para garantir 0 gerenciamento.

5.7.6     Ponto de consolida<;ao

A instalal;:c3o de um ponto de consolidal;:ao no cabeamento horizontal, entre 0 distribuidor de piso e a tomada de
telecomunical;:oes, pode ser util no ambiente de escrit6rios abertos, onde a flexibilidade de realOCa1;:80 das
tomadas de telecomunical;:oes e uma exigencia. Um ponto de consolidal;:ao entre 0 distribuidor de piso e a tomada
de telecomunical;:oes e permitido. 0 ponto de consolidal;:ao deve conter unicamente componentes de conexao

passivos e nao deve utilizar conexoes cruzadas.


Onde sao utilizados pontos de consolidal;:ao:


a)    0 ponto de consolida1;:80 deve ser instalado de maneira que cada grupo de areas de trabalho possa ser

      atendido por no minimo um ponto de consolidal;:ao;

b)    0 ponto de consolidal;:ao deve ser limitado a atender no maximo 12 areas de trabalho;

c)    0 ponto de consolidal;:ao deve ser instalado em locais que possibilitem 0 acesso para manutenl;:ao;

d)    para cabos balanceados, 0 ponto de consolida1;:80 deve ficar a uma distancia de no minimo 15 m do
      distribuidor de piso;


 e)   0 ponto de consolidal;:ao deve ser parte do sistema de administral;:ao.


 5.7.7    Sala de telecomunica<;oes e sala de equipamentos

 As salas de telecomunical;:oes devem oferecer todas as facilidades (espal;:o, alimental;:ao eletrica, contrale
 ambiental etc.) para os componentes passivos, dispositivos ativos e interfaces com 0 backbone do sistema de
 cabeamento que estejam nelas instalados. Cada sala de telecomunical;:oes deve ter acesso direto ao subsistema
 de cabeamento de backbone.
ABNT NBR 14565:2007



Uma (mica sala de equipamentos e a area dentro do edificio ou para um complexo de edificios onde os
equipamentos de uso comum de todos os usuarios da rede sao instalados. A sala de equipamentos recebe um
tratamento diferente das salas de telecomunica<;:oes por causa da natureza ou complexidade dos equipamentos
(por exemplo: PBX, servidores, roteadores, switches principais etc.). Mais de um distribuidor (de campus, de
edificio ou de piso) pode ser instalado na sala de equipamentos.

5.7.8    Infra-estrutura de entrada

Compreende 0 unico ponto de interface com os servi<;:os externos ao edificio ou complexo de edificios e 0
encaminhamento dos cabos dos distribuidores de campus ou edificio. A infra-estrutura de entrada e necessaria
quando 0 backbone de campus e os cabos de redes publicas e privadas (incluindo antenas) entram no edificio e
necessitam de uma transi<;:ao para cabos internos. Regulamentos locais podem requerer infra-estruturas especiais
onde os cabos externos sao terminados. Neste local de termina<;:ao, a mudan<;:a de cabos externos para cabos
internos pode ser feita.

5.7.9    Cabeamento de servi<;os externos

A distancia dos servi<;:os externos ao distribuidor pode ser significativa. 0 desempenho do cabo entre estes pontos
deve ser considerado parte do projeto inicial e da implementa<;:ao das aplica<;:oes do cliente.



6       Desempenho do cabeamento balanceado

6.1     Geral

Esta se<;ao especifica 0 desempenho mlnlmo de um cabeamento balanceado genenco. 0 desempenho do
cabeamento balanceado e especificado para canal, enlace permanente e enlace do ponto de consolida<;:ao (ver
figura 10).


                                                                Canal

                                                        Enlace permanente


                                                              Enlace do CP


                              FD


                                                                           CP
                                   Cordao do   Patch cordi
                                   equipamenlo  Jumper
                                                                             Cabo do   Cordao da area
                                                                               CP       de lrabalho

                                                        [Q]    = conexao



 Figura 10 -    Canal, enlace permanente e enlace do ponto de consolida<;ao de um cabeamento balanceado

 Quando usado 0 compartilhamento do cabo por diferentes aplica<;:oes, requisitos adicionais devem ser levados em
 considera<;:ao para 0 cabeamento balanceado. Requisitos adicionais de diafonia para cabeamento balanceado sao
 especificados na ABNT NBR 14703.

As especifica<;:oes de desempenho sao estabelecidas por categorias para cabeamento balanceado. Isto garante a
transmissao de aplica<;:oes sobre os canais de acordo com 0 anexo D, que lista as aplica<;:oes e os requisitos
mfnimos de cada categoria.




                                                                                                                          25
ABNT NBR 14565:2007




Os requisitos de desempenho do canal descritos nesta sec;ao podem ser usados para 0 projeto e verificac;ao em
qualquer implementac;ao desta Norma. Onde exigidos, os metodos de ensaio definidos ou referenciados nesta
sec;ao devem ser aplicados. Adicionalmente, estes requisitos podem ser usados para desenvolvimento de
aplicac;oes e diagn6sticos.

Os requisitos de desempenho do enlace permanente e do enlace do ponto de consolidac;ao, sao descritos
no anexo A e podem ser usados como ensaio de aceitac;ao de qualquer implantac;ao desta Norma. Onde exigidos,
os metodos de ensaio definidos e referenciados pelo anexo A devem ser aplicados.

As especificac;oes nesta sec;ao permitem a transmissao de classes de aplicac;oes definidas sobre distancias
diferentes daquelas especificadas em 7.2 e/ou usando meio ffsico e componentes com diferentes desempenhos
em relaC;80 aqueles especificados na ABNT NBR 14703 e sec;oes 10 e 13.

As especificac;oes de desempenho de canal, enlace permanente e enlace do CP de uma determinada categoria
devem ser atendidas para a faixa de temperatura de operac;ao do cabeamento.

Deve haver margens adequadas que levem em conta a dependencia da temperatura dos componentes do
cabeamento conforme especificac;oes e instruc;oes de seus fabricantes. Atenc;ao especial deve ser dada a
medic;ao de desempenho em temperaturas de pior caso ou a estimativa de desempenho de pior caso, com base
em medic;oes feitas em outras temperaturas.

A compatibilidade entre os cabos usados no mesmo canalou enlace permanente deve ser mantida ao lange
de todo 0 sistema de cabeamento. Assim sendo, nao devem ser feitas conexoes entre cabos com impedancias
nominais diferentes.

6.2   Configura<;ao

o desempenho de um canal e especificado nas conexoes e entre conexoes ao equipamento ativo.
o canal compreende apenas as sec;oes passivas de cabo, hardware de conexao, os cordoes da area de trabalho,
os cordoes de equipamentos e os patch cords. As conexoes do equipamento ativo ao hardware de conexao nao
sao consideradas.

o suporte a aplicac;oes depende apenas do desempenho do canal que,     por sua vez, depende do comprimento do
cabo, numero de conexoes, praticas de terminac;ao do conector e servic;o de instalac;ao. E possivel conseguir um
desempenho de canal equivalente sobre comprimentos maiores pelo uso de menos conexoes ou usando
componentes com nfveis de desempenho superiores (ver anexo A).

Os limites de desempenho para canais de cabeamento balanceado sao dados em 6.4. Estes limites sao derivados
dos limites de desempenho de componentes da ABNT NBR 14703 e da sec;ao 10, assumindo que 0 canal              e
composto de 90 m de cabo de condutor s6lido, 10 m de cordoes e quatro conexoes (ver figura 10).

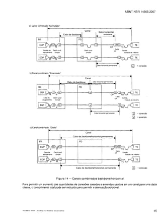
A maioria dos canais Classe F e implementada com apenas duas conexoes. InformaC;ao adicional a respeito desta
implementaC;80 e dada no anexo E.

A figura 11 mostra um exemplo de um equipamento terminal na area de trabalho conectado ao equipamento
de transmissao usando dois canais com meios ffsicos diferentes que sao cascateados. De fato, ha um canal de
fibra 6ptica (ver se<;:ao 8) conectado por um componente ativo no FD a um canal de cabeamento balanceado.
Ha quatro interfaces de canal; uma em cada extremidade do canal balanceado e uma em cada extremidade do
canal de fibra.
ABNT NBR 14565:2007




                                               so


                                                                        'e lei
                                                                            l




                                                                 l __~ _
                                                                                           Canal de cabeamemo
                                 Canal de fibra 6ptica
                                                                                               balanceado




             CO                                                        FO



                                                 [9        = conexao
                                                 ~   9.: =conexao opcional
                                             OE EQP        = Equipamento opto-eletr6nico

         Figura 11 -   Exemplo de um sistema mostrando a localiza<;ao de interfaces de cabeamento
                                     e extensao de canais associados

o   desempenho de um enlace permanente                 e
                                                 especificado para 0 cabeamento horizontal na tomada de
telecomunicayoes e entre esta e 0 primeiro hardware de conexao na outra extremidade do cabo horizontal e pode
                                                             e
conter um CPo 0 desempenho de um enlace do CP especificado para cabeamento horizontal no CP entre este e
o primeiro hardware de conexao na outra extremidade do cabeamento horizontal. Para 0 cabeamento de
                                  e
backbone, 0 enlace permanente especificado no hardware de conexao e entre estes em cada extremidade do
cabo de backbone. 0 enlace permanente e 0 enlace do CP compreendem apenas as seyOes passivas de cabo e
hardware de conexao.

Os limites de desempenho para enlaces permanentes de cabeamento balanceado e enlaces do CP sao dados no
anexo A.

Os limites de desempenho para enlaces permanentes do cabeamento balanceado com implementayao maxima
sao dados no anexo A. Estes Iimites sao derivados dos limites de desempenho de componentes da
                                                                                      e
ABNT NBR 14703 e da seyao 10, assumindo que 0 enlace permanente composto de 90 m de cabo de condutor
s6lido e tres conexoes (ver figura 10).

A maioria dos enlaces permanentes c1asse F e implementada com apenas duas conexoes. Informayao adicional a
respeito desta implementa<;ao e dada no anexo E.

6.3    Classifica9ao do cabeamento balanceado

Esta norma especifica as seguintes classes para cabeamento balanceado:

a)    c1asse A: especificada ate 100 kHz;

b)    c1asse B: especificada ate 1 MHz;

c)    c1asse C/Categoria 3: especificada ate 16 MHz;

d)    c1asse D/Categoria 5e: especificada ate 100 MHz;

e)    c1asse E/Categoria 6: especificada ate 250 MHz;

f)    c1asse F/Categoria 7: especificada ate 600 MHz.




                                                                                                                    27
ABNT NBR 14565:2007



Um canal classe A e especificado de modo a oferecer um desempenho minima de transmissao para suportar
aplicac;:oes c1asse A. Similarmente, os canais classes B, C, D, E e F oferecem desempenho de transmissao para
suportar as aplicac;:oes de classes B, C, D, E e F, respectivamente. Enlaces e canais de uma dada classe
suportam todas as aplicac;:oes de uma c1asse inferior. A c1asse A e considerada a menor.

Canais, enlaces permanentes e enlaces do CP no cabeamento horizontal devem ser instalados para oferecer um
desempenho mlnimo de c1asse D/categoria 5e.

o anexo D apresenta as aplicac;:oes conhecidas por classes.
6.4     Parametros de desempenho do cabeamento balanceado

6.4.1    Geral

Os para metros especificados nesta subsec;:ao aplicam-se a canais com elementos de cabos blindados ou sem
blindagem, com ou sem uma blindagem geral, exceto especificac;:ao contraria.

A impedancia nominal dos canais      e
                                   de 100 O. Isto               e
                                                     obtido par um projeto adequado, bem como escolha
apropriada dos componentes do cabeamento (independentemente de sua impedancia nominal).

Os requisitos desta subsec;:ao sao dados par limites calculados com uma casa decimal de precisao, usando a
equac;:ao para uma faixa definida de frequencias. Os limites para atraso de propagac;:ao e atraso de propagac;:ao
relativo sao calculados com tres casas decimais de precisao. As tabelas adicionais sao apenas para informac;:ao e
tem seus limites derivados destas equac;:6es em frequencias criticas.

6.4.2    Perda de retorno

Os requisitos de perda de retorno aplicam-se apenas as classes C, D, E e F.

A perda de retorno (RL) de cada par de um canal deve atender aos requisitos derivados da equac;:ao da tabela 2.

Os requisitos de perda de retorno devem ser atendidos nos dais extremos do cabeamento. Os valores de perda
de retorno em frequencias nas quais a perda de inserc;:ao (IL) estiver abaixo de 3,0 dB sao apenas para informac;:ao.

Quando necessaria, a perda de retorno (RL) deve ser medida de acordo com a ASTM D 4566. Terminac;:oes
de 100 0 devem ser conectadas aos elementos do cabeamento sob ensaio na extremidade remota do canal.


                                     Tabela 2 -        Perda de retorno para canal

                            Classe         Frequencia               Perda de retorno minima
                                              MHz                             dB
                               C            1~f~16                           15,0
                                            1 ~ f < 20                       17,0
                               D
                                          20    ~ f~     100             30 - 101og(f)
                                            1~f<10                           19,0
                               E           10     ~   f < 40              24 - 5log(f)
                                          40    ~     f ~ 250            32 - 101og(f)
                                              1~f<10                         19,0
                                           10     ~   f < 40              24 - 5log(f)
                               F
                                         40   ~   f< 251,2               30 - 101og(f)
                                         251,2~f~600                          8,0
ABNT NBR 14565:2007



                   Tabela 3 -     Valores de perda de retorno para canal em freqOencias criticas

                                                                  Perda de retorno minima
                     Frequemcia                                             dB
                        MHz
                                         Classe C          Classe 0               Classe E                Classe F
                             1                 15,0           17,0                     19,0                 19,0
                             16                15,0           17,0                     18,0                 18,0
                            100                N/A            10,0                     12,0                 12,0
                            250                N/A                N/A                   8,0                 8,0
                            600                N/A                N/A                  N/A                  8,0

6.4.3   Perda de inserc;:ao

o termo   "perda de inserc;:ao" e adotado para descrever uma atenuac;:ao de sinal ao lange dos canais, enlaces
e componentes. Diferentemente da atenuac;:ao, a perda de inserc;:ao nao e linearmente proporcional
ao comprimento do cabo. Outras normas usam 0 termo "atenuac;:ao", 0 qual e ainda usado largamente na industria
de cabeamento. Entretanto, devido ao nao casamento de impedancias em sistemas de cabeamento,
especial mente em altas frequencias, esta caracteristica e melhor descrita como "perda de inserc;:ao".

o termo "atenuac;:ao" esta mantido para os seguintes parametros:

a)   relac;:ao atenuac;:ao paradiafonia (ACR) (ver 6.4.5);


b)   atenuac;:ao desbalanceada (ver 6.4.14);


c)   atenuac;:ao de acoplamento (ver 6.4.15).


Para 0 calculo de ACR, PS ACR, ELFEXT e PS ELFEXT,                       0   valor correspondente para perda de inserc;:ao (IL) deve

ser usado.


A perda de inserc;:ao (IL) de cada par de um canal deve atender aos requisitos derivados da equac;:ao na tabela 4.


Quando requerido, a perda de inserc;:ao deve ser medida de acordo com a ABNT NBR 9133.



                                              Tabela 4 -   Perda de inserc;:ao para canal
                    Classe/       Frequemcia                            Perda de inser~ao maxima - a
                   categoria        (MHz)                                           (dB)
                       A            f - 0,1                                              16,0
                                    f - 0,1                                              5,5
                       B
                                     f-1                                                 5,8

                      C/3          1 sf.:; 16                                1,05 x   (3,23Jf)+ 4 x 0,2
                     D/5e         1 sf s 100          1,05 x (1,9108.Ji + 0,022 2 x f + 0,2/ .Ji)+ 4 x 0,04 x.Ji
                      E/6         1 sf s 250           1,05 x (1,82Jf + 0,0169 x f + 0,25/.Ji)+ 4 x 0,02 x.Ji
               I
                      F/7         1 sf s 600              1,05 x (1 ,8Jf + 0,01 x f + 0,2/ .Ji)+ 4 x 0,02 x.Ji

                   Legenda                                                                                              I

                   a = Perda de insen;:ao (IL) em frequencias correspondentes a valores calculados menores que 4.0 dB   'I


                   deve reverter para 0 requisito maximo de 4,0 dB.




                                                                                                                                  29
ABNT NBR 14565:2007



                        Tabela 5 -     Valores de perda de inser9ao para canal em freqO€mcias                              crfticas

                                                               Perda de inser<;ao maxima
                                                                           dB
           FreqQ€mcia
              MHz                                                                        Classe D/
                                                                 Classe C/                                       Classe E/        Classe F/
                                Classe A       Classe B                                  categoria
                                                                categoria 3                                     categoria 6      categoria 7
                                                                                            5e
                 0,1               16,0            5,5                   N/A                 N/A                    N/A                  N/A

                   1                 N/A           5,8                   4,2                  4,0                   4,0                  4,0
                  16                 N/A           N/A                   14,4                 9,1                   8,3                  8,1
                 100                 N/A           N/A                   N/A                 24,0                   21,7                 20,8
                 250                 N/A           N/A                   N/A                  N/A                   35,9                 33,8
                 600                 N/A           N/A                   N/A                  N/A                   N/A                  54,6

6.4.4     fIEXT

6.4.4.1        NEXT par a par

o  NEXT entre cada combina<;ao de pares de um canal deve atender aos requisitos derivados da equa<;ao na
tabela 6.

Os requisitos de NEXT devem ser atendidos em ambas as extremidades do cabeamento. as valores de NEXT nas
freqOencias em que a perda de inser<;ao (IL) e inferior a 4,0 dB sao somente informativos.

Quando requerido, 0 NEXT deve ser medido de acordo com a ASTM D 4566.


                                                    Tabela 6 -           NEXT para canal
                Classel        Frequencia
                                            NEXT minima

               categoria         (MHz)
                                                      (dB)

                   A             f - 0,1
                                                    27,0

                   B           0,1 .s f.s 1
                                             25 - 1510g(f)

                 C/3            1.sf.s16
                                             39,1 - 16,4log(f)




                 D/5e          1 .s f.s 100              - 20 log
                                                                    I"



                                                                         0
                                                                             65,3-1510g(f)
                                                                                  - 20            + 2 x 10
                                                                                                                83-20109(1)
                                                                                                                    - 20
                                                                                                                                 1   a
                           I
                           I


                                                                    "

                 E/6           1 :; f.s 250              - 20 log        0
                                                                             74,3 -1510g(f)
                                                                                  - 20          + 2 x 10
                                                                                                               94 - 20 109 (f)
                                                                                                                    - 20
                                                                                                                                 1   b


                           I

                           i


                 F/7
                           !
                           I   1 s f.s 600         - 20 log
                                                              l'02,4_'5109I f l
                                                               10              - 20          +2     X   10
                                                                                                             102,4 -15109 If)
                                                                                                                  - 20
                                                                                                                                 1   b



                           i
           " 0 NEXT em frequencias correspondentes a valores calculados maiores que 60,0 dB deve reverter ao requisito minimo
           de 60,0 dB
           b     0 NEXT em frequmcias correspondentes a valores calculados maiores que 65,0 dB deve reverter ao requisito minimo
                                €
          l de 65,0 dB.
ABNT NBR 14565:2007




                      Tabela 7 -     Valores informativos de NEXT para canal em frequencias criticas

                                                              NEXT minima de canal
          Frequencia                                                  dB
             MHz                                              Ciasse CI     Classe 01      Classe EI     Classe FI
                              Classe A           Classe B
                                                             categoria 3   categoria 5e   categoria 6   categoria 7
             0,1                   27,0               40,0      NIA            NIA           NIA           N/A
              1                    N/A                25,0      39,1           60,0          65,0          65,0

              16                   N/A                NIA       19,4           43,6          53,2          65,0

             100                   NIA                NIA        N/A           30,1          39,9          62,9

             250                   N/A                NIA       NIA            NIA           33,1          56.9
             600                   N/A                N/A        N/A           NIA           NIA           51,2


6.4.4.2    Power Sum NEXT (PS NEXT)


as requisitos de PS NEXT sao aplicaveis somente as classes D, E e F.


a PS NEXT de cada par de um canal deve atender aos requisitos derivados da equac;:ao na tabela 8.


as requisitos de PS NEXT devem ser atendidos em ambas as extremidades do cabeamento. as valores de

PS NEXT nas frequE'mcias em que a perda de inserc;:ao (IL) e menor que 4,0 dB sao somente informativos.


PS NEXTk de um par k e calculado como segue:


                                          -NEXT
                                                 ik

     PS NEXT          = -10 log             10                                                                        (1 )
                  k



onde:

              e0       numero do par interferente;

     k        e 0 numero do par interferido;
     n         e 0 numero total de pares;
     NEXTik    e a paradiafonia acoplada no par k, a partir do sinal interferente no par i.




                                                                                                                             31
ABNT NBR 14565:2007



                                                         Tabela 8 -       PS NEXT para canal

                Classel    FreqLiencia                                                PS NEXT minima
               categoria        (MHz)                                                      (dB)
                                                                                                                             a
                                                                      [    62,3-15Iog(f)                 80 - 20 109 (f) ]
                 0/5e       1~ f        ~   100            - 20 log 10          - 20          + 2 x 10          - 20




                  E/6       1 ~ f ~ 250
                                                                 l
                                                            - 20 log 10
                                                                           72,3 -151og (f)
                                                                                - 20          + 2 x 10
                                                                                                         90 - 20 109 (f) ]
                                                                                                                - 20
                                                                                                                             b




                  F/7       1   ~   f   ~   600
                                                                 l
                                                          - 20 log 10
                                                                          99,4-15 Io9(f)
                                                                               - 20          + 2 x 10
                                                                                                        99,4-15109 (f)]
                                                                                                             - 20
                                                                                                                             b




           a
             PS NEXT em frequencias que correspondem a valores calculados maiores que 57,0 dB deve reverter para                 0   requisito
           minima de 57.0 dB.
           h
             PS NEXT em frequencias que correspondem a valores calculados maiores que 62,0 dB deve reverter para                 0   requisito
           minima de 62.0 dB.

                                                  Tabela 9 - Valores informativos de PS NEXT
                                                       para canal em freqOEmcias crfticas

                                                                              PS NEXT minima
                                            FreqLiencia                            dB
                                                  MHz         Classe 01           Classe EI         Classe FI
                                                             categoria 5e        categoria 6       categoria 7
                                                    1            57,0                 62,0               62,0

                                                   16            40,6                 50,6               62,0
                                                   100           27,1                 37,1               59,9
                                                  250            N/A                  30,2               53,9
                                                  600            N/A                   N/A               48,2


6.4.5     Relac;ao atenuac;ao paradiafonia (ACR)


as requisitos de ACR sao aplicados somente para as classes D, E e F.


6.4.5.1        ACR par a par


A relac;:ao atenuac;:ao paradiafonia par a par e a diferenc;:a entre a paradiafonia (NEXT) e a atenuac;:ao do par, medida em
decibels.

a ACR de cada combinac;:ao de pares de um canal deve atender a diferenc;:a dos requisitos de NEXT da tabela 6
e as requisitos de perda de inserc;:ao (IL) da tabela 4 da respectiva c1asse.


as requisitos de ACR devem ser atendidos em ambas as extremidades do cabeamento.
ABNT NBR 14565:2007



o ACR dos pares i eke calculado conforme a equac;:ao abaixo:


onde:

              e0   numero do par interferente;

    k         e 0 numero do par interferido;
    NEXTik    e a paradiafonia acoplada no par k, a partir do sinal interferente no par i;
    ILk    e a perda de inserc;:ao do par k. Quando requerido, a perda de inserc;:ao deve ser medida de acordo
    com a ABNT NBR 9133.


                               Tabela 10 -      Valores informativos de ACR para canal
                                                 em freqOencias crfticas

                                                                ACR minimo
                                  Frequelncia                      dB
                                     MHz          ClasseD/       Classe EI     Classe FI
                                                 categoria 5e   categoria 6   categoria 7
                                       1             56,0          61.0          61,0
                                      16             34,5          44,9          56,9
                                     100             6,1           18.2          42,1
                                     250             N/A           -2,8          23,1
                                     600             N/A           N/A           -3,4

6.4.5.2     Power Sum ACR (PS ACR)

o  PS ACR de cada par de um canal deve atender a diferenc;:a dos requisitos de PS NEXT da tabela 8 e os
requisitos de perda de inserc;:ao (IL) da tabela 4 da respectiva classe.

o requisito de PS ACR deve ser atendido em ambas as extremidades do cabeamento.
o PS ACR do par k e calculado conforme a equac;:ao abaixo:


onde:

        k          e0   numero do par interferido;

        PS NEXTk   e 0 PS NEXT do par k;
        ILk      e a perda de inserc;:ao do par k. Quando requerido, deve ser medida de acordo com a
        ABNT NBR 9133.




                                                                                                               33
ABNT NBR 14565:2007



                             Tabela 11 -     Valores informativos de PS ACR para canal
                                                em frequemcias criticas

                                                                PS ACR minimo
                               Frequencia                            cdBc
                                  MHz
                                                 ClasseDI          Classe EI         Classe FI
                                                categoria 5e      categoria 6       categoria 7

                                    1               53,0             58,0              58,0

                                    16              31,5             42,3              53,9

                                   100               3,1              15,4             39,1

                                   250              N/A               -5,8              20,1

                                   600              N/A               N/A               -6,4


6.4.6       ELFEXT

A telediafonia (FEXT) e a mediy80 da interferencia sobre um par adjacente aquele em que foi aplicado 0 sinal
interferente, na extremidade oposta. 0 ELFEXT e a diferenya entre a telediafonia medida em um dado par do cabo
e sua perda de insery8o.

Os requisitos de ELFEXT aplicam-se somente a classes D, E e F.

6.4.6.1       ELFEXT par a par

o ELF EXT de cada combinay80 de par de um canal deve ser obtido conforme as equayoes da tabela                     12.

o ELFEXTik dos pares i eke calculado conforme a equay80 abaixo:


onde:

                e 0 numero do par interferente;
        k       e 0 numero do par interferido;
        FEXTik e a telediafonia medida sobre 0 par k a partir do sinal interferente do par i. Quando requerido, 0
        FEXT deve ser medido de acordo com a ASTM D 4566;

        ILk    e a perda de insery 80 do par k. Quando requerido, deve ser medida de acordo com a
        ABNT NBR 9133.

NOTA          A relaC;;8o entre a perda de inserC;;8o (IL) do par interferido e a telediafonia e relevante para uma indicaC;;8o da
relaC;;8o slnal-ruido. Os resultados calculados com base nas definic;;oes acima cobrem todas as combinac;;oes possiveis de perda
de inserC;;8o dos pares e suas telediafonias correspondentes.
ABNT NBR 14565:2007




                                                                  Tabela 12 -       ELFEXT para canal
             Classe/                 Frequencia                                                     ELFEXT a ) minima
            categoria                   MHz                                                              dB

                                                                               [63,8-20109 (1)                       75,1 - 20 log (f)   I    b


                D/5e                 1   ~   f   ~    100               - 20 log 10          - 20         + 4 x 10         - 20
        I

                                                                                                                                         I

                                                                                [     67,8 - 20 log (I)              83,1 - 20 log (f)   I    c


                E/6                  1   ~   f   ~    250               - 20 log 10          - 20         + 4 x 10         - 20          i



                                                                                                                                         )

                                                                                                                                                   I
                                                                                                                                              c
                                                                                      [94-20109 (11                    90 - 15 log (f)   I
                F/7                  1 ~ f ~ 600                            - 20 log 10        - 20         + 4 x 10        - 20         I
                                                                                                                                                   I
        I
                                                                                                                                         )
            a
              Os valores de ELFEXT em frequElncias que correspondem aos valores medidos de FEXT maiores que 70,0 dB sao
            apenas informativos.
            b
              Os valores de ELFEXT em frequElncias que correspondem aos valores calculados maiores que 60.0 dB devem ser
            convertidos para a requisito minima de 60,0 dB.
            c
              Os valores de ELFEXT em frequencias que correspond em aos valores calculados maiores que 65.0 dB devem ser
            convertidos para a requisito minima de 65,0 dB.

                       Tabela 13 -                   Valores informativos de ELFEXT para canal em freqOencias criticas
                                                                              ELFEXT minima
                                     Frequencia                                    dB
                                        MHz                   ClasseD/           ClasseE/            Classe F/
                                                             categoria 5e       categoria 6         categoria 7
                                                 1                57,4                63,3              65,0
                                                 16               33,3                39,2              57,5
                                             100                  17,4                23,3              44,4
                                             250                      N/A             15,3              37,8
                                             600                      N/A             N/A               31,3


6.4.6.2          Power Sum ELFEXT (PS ELFEXT)

o PS ELFEXT de cada combinayao de par de um canal deve ser calculado conforme as equayoes da tabela 14.
o PS ELFEXTk do par k e calculado conforme a equayao abaixo:
                                                        -ELFEXT
                                                                 ik

PS ELFEXTk             =   -1010g                           10



onde:

                           e   0   numero do par interferente;

    k                      e   0   numero do par interferido;

    n                      e   0   numero total de pares;

    ELFEXTik eo ELFEXT acoplado sobre 0 par k, a partir do sinal interferente do par i.



                                                                                                                                                       35
ABNT NBR 14565:2007



                                                    Tabela 14 -    PS ELFEXT para canal




                                                                  l
         Classe/         FrequElncia                                                 PS ELFEXT" minima
        categoria           MHz                                                             dB

                                                                       60,8 - 20 log (Q                 72,1- 20 109 (I)    J    b


            5e              1~f~100                      - 20 log 10            - 20         + 4 x 10           - 20




            6               1~ f   ~   250
                                                                  l
                                                         - 20 log 10
                                                                       64,8 - 20 log (I)
                                                                                - 20         + 4 x 10
                                                                                                        80,1- 20 log (I)
                                                                                                                - 20
                                                                                                                            J    c




                                                                       [       91-201og(l)                87-151og(l)        Jc
            7               1~ f   ~   600                   - 20 log 10             - 20      + 4 x 10          - 20



        a
          Os valores de PS ELFEXT em frequelncias que correspondem aos valores medidos de FEXT maiores que 70,0 dB sao
        apenas informativos.
        h
          Os valores de PS ELFEXT em frequelncias que correspondem aos valores calculados maiores que 57,0 dB devem ser
        convertidos para 0 requisito minimo de 57,0 dB.
        c
          Os valores de PS ELFEXT em frequelncias que correspondem aos valores calculados maiores que 62,0 dB devem ser
        convertidos para 0 requisito minimo de 62,0 dB.

                                         Tabela 15 - Valores informativos de PS ELFEXT
                                                para canal em freqO€mcias criticas

                                                                        PS ELFEXT minima
                                         FrequElncia                           dB
                                            MHz            Classe 01            Classe EI         Classe FI
                                                          categoria 5e         categoria 6       categoria 7
                                               1                54,4                 60,3           62,0
                                               16               30,3                 36,2           54,5

                                             100                14,4                 20,3           41,4

                                             250                N/A                  12,3           34,8
                                             600                N/A                  N/A            28,3
6.4.7   Resistelncia em corrente continua (c.c.)


A resistemcia em corrente continua de cada par de um canal deve seguir os requisitos da tabela 16.


Quando requerido, a resistencia c.c. deve ser medida conforme a norma ABNT NBR 6814.



                               Tabela 16 -           Resistencia em corrente continua para                  0   canal

                                                    Resistencia em corrente continua maxima
                                                                           n
                    Classe A           Classe B         Classe CI           Classe 01           Classe EI                Classe FI
                                                       categoria 3         categoria 5e        categoria 6              categoria 7
                      560                170               40                   25                 25                       25
ABNT NBR 14565:2007




6.4.8    Desequilibrio resistivo c.c.

a desequilibrio resisitivo c.c. entre dois condutores de cada par de um canal nao deve exceder 5% para todas as
classes conforme a ABNT NBR 9130.

6.4.9    Capacidade de transmissao de corrente

A capacidade minima de condw;ao de corrente para um canal c1asse D, E e F deve ser 0,175 A em corrente
continua por condutor para todas as temperaturas nas quais 0 cabeamento seja utilizado.

6.4.10 Tensao de operac;ao

as canais de classes D, E e F devem suportar uma tensao de operac;ao de 72 V em corrente continua entre
quaisquer condutores para todas as temperaturas nas quais se pretenda usar 0 cabeamento.

6.4.11 Capacidade de potencia

as canais de classes D, E e F devem suportar a aplicac;ao de 10 W por par para todas as temperaturas nas quais
se pretenda usar 0 cabeamento.

6.4.12 Atraso de propagaC;ao


a atraso de propagac;ao de cada par do canal deve atender aos requisitos derivados das equac;oes da tabela 17.


Quando requerido, 0 atraso de propagac;ao deve ser medido de acordo com a ASTM D 4566.



                                            Tabela 17 -    Atraso de propagac;ao

                         Classesl    Freqi.iencia                  Atraso maximo de propagar;ao
                        categorias        MHz                                   fls                         I

                            A            f - 0,1                              20,000                        I


                            B        0,1 s f s 1                               5,000                        I




                           C/3          1 s fs 16                 0,534 + 0,036/.Jf + 4 x 0,0025

                                                                                                            I
                          0/5e       1 5, f s 100                 0,534 + 0,036/.Jf + 4 x 0,0025            I



                           E/6       1 sf s 250                                                             !
                                                                   0,534 + 0,036/.Jf + 4 x 0,0025
                                                                                                            I

                                                                                                            I.

                           F/7       1 sf s 600                    0,534 + 0,036/.Jf + 4 x 0,0025
                                                                                                            ,

        Tabela 18 -    Valores informativos de atraso de propagac;ao para 0 canal nas frequelncias criticas

                                                          Atraso maximo de propagar;ao
        Freqi.iencia                                                  fls
           MHz                                         Classe CI            Classe 01         Classe EI           Classe FI
                       Classe A         Classe B
                                                      categoria 3          categoria 5e      categoria 6         categoria 7
            0,1          20,000          5,000              N/A                N/A                  N/A             N/A
             1            N/A            5,000             0,580              0,580             0,580              0,580
            16            N/A             N/A              0,553              0,553             0,553              0,553
            100           N/A             N/A               N/A               0,548             0,548              0,548
            250           N/A             N/A               N/A                N/A              0,546              0,546
            600           N/A             N/A               N/A                N/A                  N/A            0,545




                                                                                                                               37
ABNT NBR 14565:2007



6.4.13 Diferen<;:a de atraso de propaga<;:ao (delay skew)


a atraso de propaga<;:ao relativo entre todos os pares do canal deve atender aos requisitos da tabela 19.


Quando requerido, 0 atraso de propaga<;:ao relativo deve ser medido conforme a ASTM D 4566.



                                        Tabela 19 -        Atraso de propaga<;:ao relativo para canal

                             Classel          FrequEmcia              Atraso de propaga<;:ao relativo (maximo)
                           categoria             MHz                                   lls
                               A                 , - 0,1                                    N/A

                                B              0,1 5' 5 1                                   N/A
                   ,
                               C/3             1 5' 516                                    0,050 a

                              D/5e             1 5' 5 100                                  0,050 a

                               E/6             1 5 (5 250                                  0,050 a
                   i           F/7                                                         0,030
                   'I
                                               1 5'5600                                            b


                   I 'Este e 0 resultado do calculo 0,045          + (4   X   0,00125).

                   l
                       I


                            Este   e0   resultado do calculo 0,025 + (4   X   0,00125).


7      Implementac;:ao do cabeamento balanceado

7.1      Geral

Esta se<;:ao descreve implementa<;:oes de cabeamento balanceado generico que utilizam materiais e produtos
referenciados nas se<;:oes 9, 10 e 13. Esta referencia de implementa<;:ao esta em conformidade com os requisitos
da se<;:80 5 e tambem esta em conformidade com os requisitos de desempenho de canal da se<;:ao 6, quando
instalados de acordo com a ISOIIEC TR 14763-2.

 7.2     Cabeamento balanceado

 7.2.1    Geral

 as componentes balanceados mencionados nas se<;:oes 9 e 10 sao definidos em fun<;:ao da impedancia e categoria.
 Na referencia de implementa<;:ao desta se<;:ao, os componentes usados em cada canal de cabeamento devem ter a
 mesma impedancia nominal, isto e, 100 n para as classes Date F, e 100 n ou 120 n para as classes A ate C.

As implementa<;:oes sao baseadas no desempenho dos componentes a 20°C. a efeito da temperatura sobre 0
desempenho dos cabos deve ser considerado pela degrada<;:ao do comprimento, conforme mostrado nas
tabelas 20 e 21.

as cabos e 0 hardware de conexao de diferentes categorias podem ser misturados dentro de um canal. Contudo,
o desempenho resultante do cabeamento e determinado pela categoria de desempenho mais baixa dos
componentes utilizados.
ABNT NBR 14565:2007




7.2.2     Cabeamento horizontal

7.2.2.1     Escolha dos componentes

A selet;:ao dos componentes de cabeamento       e determinada        pela c1asse de aplicat;:oes a serem suportadas.

Para mais detalhes, ver anexo D.


Usando as configurat;:oes de 7.2.2.2:


a)   componentes de categoria 5e oferecem um desempenho de cabeamento balanceado classe 0;


b)   componentes de categoria 6 oferecem um desempenho de cabeamento balanceado c1asse E;


c)   componentes de categoria 7 oferecem um desempenho de cabeamento balanceado classe F.


7.2.2.2      Configura<;oes

A figura 12 mostra os modelos de configurat;:ao usados para      0   cabeamento horizontal especificados nesta set;:ao
correlacionados com as especificat;:oes de canal da set;:ao 6.




                                                                                                                    39
ABNT NBR 14565:2007





                       a) InterconeX80: Modelo TO

                                                                  canal = 100 m max.


                                                                       Cabo horizontal




                                               Cordao de                                               Cordao da area
                          L                ..l:lIl.llIl.ilIlll~L_~                                     de trabalho


                                                                     [9     = conexao


                       b) Conexao         Modelo TO
                          cruzada
                                                           Canal = 100 m max.


                                                                       Cabo horizontal




                                 Cordao           Patch cordi
                                 de                 Jumper                                              Cord~o da ~rea
                                 equlpamenlo
                                                                                                        de trabalho


                                                                  [9      = conexao


                       c) IntercOneX80- modelo CP - TO

                                                                   Canal = 100 m max.

                                                                Cabo horizontal permanente




                                                                                         CP
                                          Cordao de
                                          equipamento                                          Cabo   Cord~o    de
                                                                                              CP      Esta~ao    de trabalho


                                                                  [9      = COneX80


                        d) Conex8o         Modelo CP - TO
                           cruzada
                                                                   Canal= 100 m max.

                                                                Cabo horizontal permanente




                                                                                         CP
                                  Cordao de  Patch cordi
                                  equipamento Jumper                                          cabo    Cordao de
                                                                                              CP      esta~ao de trabalho



                                                                  [9      = conexao



                              Figura 12 -           Modelos de cabeamento horizontal
ABNT NBR 14565:2007



A figura 12 a) mostra um canal contendo apenas uma interconexao e uma tomada de telecomunicac;oes (TO).
A figura 12 b) contem uma conexao cruzada adicional. Em ambos os casos 0 cabo horizontal conecta 0
distribuidor de piso (FD) a tomada de telecomunicac;oes (TO) ou MUTO (tomada de telecomunicac;oes
multiusuario). 0 canal inclui patch cords/jumpers e cordoes de equipamento de area de trabalho.

A figura 12 c) mostra um canal contendo uma interconexao, um ponto de consolidac;ao (CP) e uma tomada de
telecomunicac;oes (TO). A figura 12 d) contem conexao cruzada adicional. Em ambos os casos 0 cabo horizontal
conecta 0 distribuidor de piso (FD) ao ponto de consolidac;ao (CP). 0 canal inclui patch cords/jumpers e cordoes
de equipamento e de area de trabalho.

Alem dos cordoes, os canais mostrados nas figuras 12 c) e 12 d) contem um cabo do CPo A especificac;ao de
perda de inserc;ao para 0 cabo do ponto de consolidac;ao pode ser diferente daquela para 0 cabo horizontal e
cordoes. Para acomodar cabos usados para os cordoes de areas de trabalho, cabos de pontos de consolidac;ao,
patch cords, jumpers e cordoes de equipamento com perdas de inserc;ao diferentes, os comprimentos dos cabos
usados no canal devem ser determinados por meios das equac;oes mostradas na tabela 20.


                                  Tabela 20 -        Equa<;oes de comprimentos de enlaces horizontais

                                                                                        Equar;:ao de implementar;:ao

                   Modelo                   Figura      Canais c1asse D usando          Canais c1asse E usando                 Canais classe F
                                                            componentes                     componentes
                                                                                                                            usando componentes
                                                             categoria 5e                     categoria 6
                                                                                                                                categoria 7                 I




           Interconexao ­ TO                  12a               H = 109 ­ FX                H = 107 ­ 3    a - FX             H =107 - 2        a -   FX

       Conexao cruzada - TO                   12b               H   =107 - FX                H = 106 ­ 3   a - FX             H=106-3"-FX
          Interconexao ­ CP-TO                12c           H =107 - FX ­     CY         H = 106 - 3   a - FX ­ CY         H = 106 ­ 3    a -   FX - CY     II




  Conexao cruzada - CP -TO                    12d           H =105 ­ FX ­     CY         H = 105 ­ 3   a - FX ­ CY         H = 105 ­ 3 a - FX - CY

 Legendas:

                                                                                                                                                            I
      H       comprimento maximo do cabo horizontal (m)


      F       comprimento combinado de patch cords/jumpers, cord6es de equipamento e de area de trabalho (m)

      C       comprimento do cabo do CP (m)

      X       relac;:ao entre a perda de inserc;:ao do cabo do cordao (dB/m) e a perda de inserc;:ao do cabo horizontal (dB/m) . ver sec;:50 9
                                                                                                                                                                I
      y       relac;:ao entre a perda de inserc;:ao do cabo CP (dB/m) e a perda de inserc;:ao do cabo horizontal (dB/m) - ver sec;:ao 9

  NOTA       Para temperaturas operacionais acima de 20·C, H deve ser reduzido em 0,2% por graus celsius para cabos blindados; 0.4%
  por graus celsius (entre 20·C e 40·C) e 0,5% por graus Celsius (>40·C a 50·C) para cabos sem blindagem.

  a   Esta reduc;:ao do comprimento     e para permitir uma margem para acomodar 0 desvio da perda de inserc;:ao                                                 I

 Para os prop6sitos de calculos da tabela 20, e assumido que:


 a)       0 cabo flexivel dentro destes cordoes tem uma perda de inserc;ao maior do que aquela usada para as cabos

          horizontais;

 b)       todos os cord6es no canal tem uma (mica especificac;ao de perda de inserc;ao.

 As seguintes restric;oes gerais se aplicam:

 a)       0   comprimento ffsico do canal nao deve exceder 100 m;

 b)       0 comprimento ffsico do cabo horizontal nao deve exceder 90 m. Quando 0 comprimento total dos patch cords,
          cord6es de equipamento e de areas de trabalho ultrapassarem 10 m, 0 comprimento total do cabo horizontal
          deve ser reduzido de acordo com a tabela 20;



                                                                                                                                                           41
ABNT NBR 14565:2007



c)	    0 ponto de consolidar;;ao deve estar localizado a uma distancia minima de 15 m do distribuidor de piso e a
       uma distancia minima de 5 m da tomada de telecomunicar;;6es;

d)	 onde uma tomada de telecomunicar;;6es multiusuario for utilizada,                           0   comprimento do cordao de area de
    trabalho nao deve exceder 20 m;

e)	    0   comprimento dos cabos de patch cords/jumpers nao deve exceder 5 m.

a comprimento maximo do cabo horizontal depende do comprimento total dos cord6es a serem instalados no
canal. Durante a execur;;ao da instala<;ao do cabeamento, um sistema de administrar;;ao deve ser utilizado para
garantir que os cord6es, cabos de jumpers e onde apropriado os cabos dos pontos de consolidar;;ao utilizados para
compor 0 canal estejam em conformidade com as regras de construr;;ao para pisos, edificios ou instalar;;ao.

7.2.3       Cabeamento de backbone

7.2.3.1        Escolha dos componentes

A seler;;ao dos componentes e determinada pelo comprimento requerido para 0 canal e para a c1asse de
aplicar;;6es a serem suportadas. Ver mais detalhes no anexo D.

7.2.3.2        Co nfig ura<;6es

A figura 13 mostra 0 modelo usado para configurar 0 cabeamento especificado nesta ser;;ao com as especifica<;6es
de canal da se<;ao 6. a canal de backbone mostrado (seja edificio ou campus) contem uma conexao cruzada em
cada extremidade. Isto representa a configurar;;ao maxima para as classes D, E e F para 0 canal de backbone.

                                                                     Canal


                                                                 cabo backbone


                                     FO or so                                                         so or co


                                          Cordao de    Patch cordi               Patch cordi   Cabo de
                                         eQuipamento   Jumper                    Jumper        equipamento




                                  EQP = equipamento

                                    =
                                  C conexao (conjunto de conectores)



                                        Figura 13 -        Modelo de cabeamento de backbone

 a canal inclui patch cords/jumpers adicionais e cord6es de equipamento.
 Na tabela 21 e assumido que:

 a)	    0 cabo flexivel dentro destes cord6es pode ter uma perda de inser<;ao maior do que aquela usada para os
        cabos de backbone;

 b)     todos os cord6es no canal tem uma unica especificar;;ao de perda de inserr;;ao.


Para ~comodar cabos com maior perda de inserr;;ao usados em patch cords, jumpers e cord6es de equipamento, 0

compnmento dos cabos usados no canal de uma dada classe (ver 5.7.9) deve ser determinado pela equar;;ao

mostrada na tabela 21.
ABNT NBR 14565:200



As seguintes restri<;6es gerais se aplicam para as classes D, E e F:

a)	    0   comprimento total do canal nao pode exceder 100 m;

b)	 quando quatro conex6es forem utilizadas no canal, 0 comprimento ffsico do cabo de backbone deve ter un
    comprimento minima de 15 m.

o comprimento maximo do cabo de backbone depende do comprimento total dos cord6es a serem instaladas nt
canal. 0 camprimenta maxima das card6es deve ser definido durante a fase de projeta e um sistema dt
administra<;ao e requerido para garantir que estes comprimentas naa ultrapassem as limites durante a apera y8<
do sistema de cabeamento.


                                 Tabela 21 -       Equac;:6es de comprimenta de enlaces de backbone

                                                                                 Classe
            Categoria do          Aa             Sa                Ca                Da                 Ea                    Fa
            componente
                    5e          2000         B = 250 - FX     B = 170 - FX      B = 105 - FX             -                     -
                    6           2000         B = 260 - FX     B = 185 - FX      B=111-FX         B =105 - 3 b - FX             -
                    7           2000         B =260 - FX      B = 190 - FX      B=115-FX         B =107 - 3 b - FX     B =105 - 3 b - FX
           Legendas

              B     comprimento maximo do cabo de backbone (m)

              F     comprimento combinado de patch cords/jumpers e cordoes de equipamento (m)

              X     relayao entre a perda de inseryao do cabo do cordao (dB/m) e a perda de inseryao do cabo de backbone (dB/m) -
                    ver seyao 9.

           NOTA 1 Onde 0 canal tiver um numero diferente de conex6es daquele mostrado na figura 13, 0 comprimento do cabo deve ser
           reduzido (onde houver mais conexoes) ou pode ser aumentado (onde houver menos conexoes) em 2 m por conexao para cabos
           categoria 5e e 1 m por conexao para cabos categorias 6 e 7. Alem disso, deve ser verificado 0 desempenho de NEXT, Perda de
           Retorno (RL) e ELFEXT.

           NOTA 2 Para temperaturas operacionais acima de 20°C, B deve ser reduzido em 0,2% por graus celsius para cabos blindados;
           0,4% por graus celsius (entre 20°C e 40°C) e 0,6% por graus Celsius (> 40°C a 60°C) para cabos sem blindagem.

           • Aplicayoes limitadas pelo atraso de propagayao ou diferenya de atraso de propagayao (delay skew) pod em nao ser suportadas
           se 0 comprimento do canal exceder 100 m.
           b Esta   reduyao do comprimento   e para permitir uma margem para acomodar 0 desvio da perda de inseryao.

 8	 Desempenho do cabeamento 6ptico

 8.1        Geral

 A defini<;ao de um prajeto de cabeamenta de fibra 6ptica para usa em um sistema de cabeamento generico deve
 ser feita considerando as informac;:6es contidas no anexo D. Esta Norma especifica as seguintes classes para
 cabeamenta de fibra 6ptica:

 a)	 classe OF-300: canais que suportam aplica<;6es em tipos de fibras 6pticas mencianadas na se<;aa 9 para
     um comprimenta minima de 300 m;

 b)	 classe OF-500: canais que suportam aplica<;6es em tipos de fibras 6pticas mencionados na se<;ao 9 para
     um comprimenta minima de 500 m;

 c)	 c1<lsse OF-2000: canais que suportam aplica<;6es em tipos de fibras 6pticas mencionados na se<;ao 9 para
     um comprimenta minima de 2000 m.



 ©ABNT 2007 - Todos os direitos reservados
ABNT NBR 14565:2007



Os canais de fibra 6ptica devem ter componentes que estejam em conformidade com as sec;6es 9 e 10.
Estas sec;6es especificam a construc;ao fisica (nucleo/diametro do revestimento e abertura numerica) e 0
desempenho de transmissao. Com relac;ao a configurac;6es de implementac;ao desta sec;ao, as fibras 6pticas
utilizadas em cada canal de cabeamento devem ter a mesma especificac;ao.

8.2   Escolha dos componentes

o comprimento  de canal necessario, as aplicac;6es a serem suportadas e a expectativa de vida do cabeamento
determinam a selec;ao dos componentes de fibra 6ptica. Os requisitos de desempenho para canais de fibra 6ptica
sao base ados no uso de um unico comprimento de onda em cada janela de transmissao especificada.

Os requisitos para os componentes de multiplexac;ao e de multiplexac;ao de comprimento de onda sao
encontrados em aplicac;6es padronizadas. Nao ha qualquer requisito especial para cabeamento generico com
relac;ao a multiplexac;ao de comprimento de onda.

8.3   Atenuac;ao do canal

A atenuac;ao do canal nao pode exceder os valores mostrados na tabela 22. Estes valores sao baseados em um
limite total de 1.5 dB de perda para hardware de conexao. Emendas e conectores adicionais podem ser usados se
o balanc;o de perda de potencia 6ptica para uma dada aplicac;ao permitir. A atenuac;ao do canal deve ser medida
de acordo com a ISO/IEC TR 14763-3. A atenuac;ao dos canais e enlaces permanentes para um dado
comprimento de onda nao pode exceder a soma dos valores de atenuac;ao especificados para os componentes
naquele comprimento de onda (onde a atenuac;ao de um segmento de cabo de fibra 6ptica e calculada a partir de
seu coeficiente de atenuac;ao multiplicado por seu comprimento).


                                       Tabela 22 -    Atenuagao de canal
                 I                              Atenuac;ao de canal
                 I
                 I                                      dB
                                              Multimodo                        Monomodo
                 !    Canal
                                     850 nm          1 300 nm         1 310 nm       1 550 nm
                     OF-300            2,55               1,95          1,80              1,80
                     OF-500            3,25               2,25          2,00              2,00
                     OF-2000           8,50               4,50          3,50              3,50

8.4   Topologia do canal

Os modelos das figuras 13 e 14 sao aplicaveis para cabeamento de fibra 6ptica horizontal e backbone,
respectivamente. Deve-se notar que 0 sistema de conexao, usado para terminar 0 cabeamento 6ptico pode conter
uma conexao casada e emendas (permanentes ou reutilizaveis).

A distribuic;ao de fibras 6pticas ate as tomadas de telecomunicac;6es geralmente nao requer equipamentos de
transmissao no FD (a menos que 0 projeto do subsistema de cabeamento de backbone de fibra 6ptica seja
diferente daquele adotado para 0 subsistema de cabeamento horizontal). Isto permite a criac;ao de um canal
backbone/horizontal combinado conforme mostrado na figura 14. Os tres diagramas mostram um canal com patch
cords, um canal com emenda e um canal direto (0 qual nao requer 0 uso do distribuidor de piso). Projetos de
canais com emendas e com patch cords sao tambem aplicaveis para canais de backbone de campus/edificios
combinados e e possivel considerar um canal campus/edificio/horizontal combinado.

o uso de emendas permanentes e canais diretos podem ser usados como uma forma de reduzir a atenuac;ao do
canal e centralizar a distribuic;ao de aplicag6es. Por outro lade, a centralizac;ao da distribuic;ao pode resultar
tambem a reduc;ao da flexibilidade como um todo do cabeamento generico.
ABNT NBR 14565:2007




     a) Canal combinado "Comutado"

                                                         Canal
                                                                              Cabo horizontal
                                      Cabo de backbon                                 permanente


             BD


                                                                                              CP
                                                                                                     Cabo
                                                         Patch cordi                                         Cordao
                                                                                                    CP
                                                            jumper                                              Estacae de trabalno




                                                                            cabo horizontal permanente




     b) Canal combinado "Emendado"

                                                          Canal
                                         Cabo de backbone              cabo hOrizontal permanente


             BD                                     FD

                                     f---!-----+-------lst----+--------i
                                                                                              CP
                                                                                                     Cabo
                                                                                                     CP      Cordao
                                                                                                                Eslac;ao oe trabalho




                                                                        Cabo horizontal permanente                        [9 =conexao
                                                                                                                          W       = emenda




     c) Canal combinado "Direto"

                                                            Canal
                                              Cabo de backbone/horizontal permanente

              BD                                    FD


                                                                                              CP
                                                                                                      Cabo
                                                                                                     CP      Cordao
                                                                                                                ESlac;:ao de trabalho


                                                                                  ,
                                                                                  ,
                                                  ______________________1




                                                 Cabo de backbone/horizontal permanente




                               Figura 14 -    Canais combinados backbone/horizontal

Para permitir um aumento das quantidades de conex6es casadas e emendas usadas em um canal para uma dada
c1asse, 0 comprimento total pode ser reduzido para permitir a atenuac;;ao adicional.




                                                                                                                                             45
ABNT tIBR 14565:2007



8.5     Atraso de propagagao

Para algumas aplicac;;6es 0 conhecimento do atraso de propagac;;ao dos canais de fibras 6pticas e muito importante. Isto
assegura a compatibilidade com requisitos de atraso de propagac;;ao "ponta-a-ponta" de aplicac;;oes complexas de redes
consistindo em multiplos canais interligados. Por esta razao, e importante conhecer 0 comprimento dos canais de fibras
6pticas.


9     Requisitos dos cabos
Para informac;;oes acerca dos requisitos dos cabos balanceados, consultar a ABNT NBR 14703 e, para
informac;;oes acerca dos requisitos dos cabos 6pticos, consultar as ABNT NBR 13989, ABNT NBR 13990,
ABNT NBR 14103, ABNT NBR 14159, ABNT NBR 14160, ABNT NBR 14161, ABNT NBR 14566, ABNT NBR 14584,
ABNT NBR 14589, ABNT NBR 14771, ABNT NBR 14772, ABNT NBR 14773, ABNT NBR 14774, ABNT NBR 15108
e ABNT NBR 15110.

9.1     Geral

As normas citadas na sec;;ao 9 especificam os requisitos minimos de desempenho dos cabos de pares tranc;;ados
balanceados e de cabos 6pticos usados em sistemas de cabeamento para telecomunicac;;oes em edificios comerciais,
a saber:

a)    cabos instalados nos cabeamentos horizontal e backbone para cabeamentos balanceado e 6ptico;

b)    cabos balanceados ou elementos de cabos balanceados usados em jumpers;

c)    cabos balanceados usados como cordoes.


 10     Requisitos do hardware de conexao

 10.1    Requisitos gerais

 10.1.1 Aplicabilidade

 Esta sec;;ao especifica as diretrizes e os requisitos para hardware de conexao usado em cabeamento generico.
 Para 0 prop6sito desta sec;;ao, um conector e um componente normalmente montado em um cabo ou em um
 dispositivo (excluindo-se um adaptador) para unir partes separadas de um sistema de cabeamento. A menos que
 especificado em contrario, esta Norma especifica 0 desempenho minima de transmissao de conectores acoplados
 como parte de um enlace ou canal. Os requisitos usados nesta sec;;ao aplicam-se a conexoes casadas.
 Os requisitos das especificac;;oes detalhadas nesta sec;;ao devem ser tambem atendidos para conectores
 modulares e tomadas.

 Estes requisitos aplicam-se a conectores individuais que incluem as tomadas de telecomunicac;;oes, patch panels,
 conectores de pontos de consolidac;;ao, emend as e conexoes cruzadas. Todos os requisitos para estes
 componentes sao aplicaveis para a escala de temperatura de - 10°C ate 60°C. Os requisitos de desempenho nao
 incluem os efeitos dos jumpers de conexoes cruzadas ou patch cords. Os requisitos para cordoes balanceados
 sao apresentados na sec;;ao 13.

 NOTA        Esta sec;ao nao trata dos requisitos para dispositivos com equipamentos eletr6nicos ativos ou passivos, inciuindo
 aqueles cujo prop6sito principal seja servir a aplicayoes especificas ou oferecer compatibilidade com outras normas
 ou regulamentayoes. as exemplos incluem adaptadores de meios fisicos, transformadores casadores de impedancia,
 resistores de terminayao. equipamentos ativos de redes, bern como filtros e dispositivos de proteyao. Tais dispositivos sao
 considerados fora do escopo de cabeamento generico e podem ter efeitos adversos sobre 0 desempenho da rede.
 Entretanto, e importante que sua compatibilidade com 0 sistema de cabeamento, bern como com equipamentos, seja
 considerada antes do uso.
ABNT NBR 14565:2007




10.1.2 Localiza<;:ao

o hardware de conexao e instalado:
a)   em um distribuidor de campus, permitindo as conex6es ao backbone do edificio e cabeamento de backbone
     de campus e 0 equipamento ativo, se presente;

b)   em um distribuidor de edificio, permitindo conex6es ao cabeamento de backbone e ao equipamento,
     se presente;

c)   em um distribuidor de piso, oferecendo conex6es cruzadas entre os cabeamentos de backbone e horizontal
     e permitindo conex6es ao equipamento, se presente;

d)   ao ponto de consolidaC;;ao do cabeamento horizontal, se presente;

e)   as tomadas de telecomunicac;;6es;

f)   na infra-estrutura de entrada do edificio.

10.1.3 Projeto


Adicionalmente ao seu prrJp6sito principal,     0 hardware   de conexao deve ser projetado para oferecer:


a)   um meio de identificar   0   cabeamento para instalac;;ao e administrayao conforme descrito na sec;;ao 12;


b)   um meio para permitir um gerenciamento orden ado dos cabos;


c)   um meio de acesso para monitorar ou testar       0   cabeamento e 0 equipamento;


d)   prote<;ao contra danos fisicos e ingresso de contaminantes;


e)   uma densidade de termina<;ao eficiente em espac;;o, mas que tambem oferec;;a um facil gerenciamento dos

     cabos e administra<;ao dinamica do sistema de cabeamento;

f)   um meio de acomodar os requisitos de blindagem e equipontecializa<;ao de terra, quando aplic8vel.

 10.1.4 Ambiente de opera<;:ao

o desempenho do    hardware de conexao deve ser mantido ao longo de uma escala de temperaturas de - 10°C
ate 60°C. 0 hardware de conexao deve ser protegido contra danos fisicos e contra exposiyao direta a umidade
e outros elementos corrosivos. Esta protec;;ao pode ser obtida por instalac;;ao em ambientes internos ou por meio
de inv61ucros apropriados ao ambiente de acordo com normas aplicaveis.

 10.1.5 Montagem

 o hardware de conexao     deve ser projetado para oferecer f1exibilidade para montagem, tanto diretamente quanto por
 meio de uma placa adaptadora ou gabinete. Por exemplo, 0 hardware de conexao deve ter acess6rios de montagem
 para fixac;;ao sobre paredes, dentro de paredes, gabinetes ou em outros tipos de quadros de distribui<;ao e suportes
 de montagem.

 10.1.6 Praticas de instala<;:ao

 A maneira e 0 cuidado com os quais 0 cabeamento e implementado sao fatores significativos no desempenho
 e na facil administrac;;ao dos sistemas de cabeamento instalados. As precauc;;6es para 0 gerenciamento do cabo
 e instala<;ao devem incluir a eliminac;;ao da fadiga do cabo causada pel a tensao mecanica, superficies cortantes,
 compressao excessiva dos feixes de cabos, bem como respeitando os respectivos requisitos de raios de curvatura
 mfnimos.




                                                                                                                   47
~BNT      IlBR 14565:2007




) hardware de conexao deve ser instalado para permitir:

I)	    uma degrada<;ao de sinal mfnima e uma maxima eficiencia da blindagem (onde 0 cabeamento blindado
       e usado) par meio da prepara<;ao apropriada do cabo, praticas de termina<;ao (de acordo com as diretrizes
       dos fabricantes) e um gerenciamento de cabo bem organizado;

I)	    espa<;o para a montagem do equipamento de telecomunica<;oes associado ao sistema de cabeamento.
       As separa<;oes entre os gabinetes devem ser adequadas para acesso ao cabo, bem como para outros servi<;os.

) hardware de conexao deve ser identificado de acardo com os requisitos da ISO/IEG 14763-1.           a     planejamento
la instala<;ao do hardware de conexao deve ser feito de acardo com a ISO/IEG TR 14763-2.

~OTA 1     Consultar a ISO/IEC 18010 para        informa.;:6es sobre encaminhamentos    e espa.;:os   para      cabeamento
Ie telecomunica.;:6es em edificios comerciais.

~OTA 2      Algumas conex6es sao usadas para desempenhar uma fun.;:ao de crossover entre dois elementos para configurar
>s enlaces de cabeamento apropriadamente para conex6es de transmissao e recep.;:ao.

~OTA 3     A termina.;:ao inapropriada de qualquer elemento de cabo balanceado ou blindagem pode degradar   0   desempenho
Ie transmissao, aumentar as emiss6es e reduzir a imunidade.

10.1.7 Marcac;ao e codificac;ao por cores

Jara manter conexoes ponto-a-ponto consistentes e carretas, provisoes devem ser feitas para assegurar que as
ermina<;oes sejam apropriadamente localizadas em relac;ao as posic;oes do conector e os elementos
;arrespondentes do cabo. Tais provisoes podem incluir 0 usa de cores, identificadares alfanumericos ou outros
neios projetados para assegurar que os cabos sejam conectados de uma forma consistente ao lange do sistema.

    ::luando dois tipos de cabeamentos fisicamente similares farem usados em um mesmo subsistema, eles sao
    narcados de tal farma que permitam que cada tipo de cabeamento seja c1aramente identificado. Por exemplo,
    jiferentes categorias de desempenho, diferentes impedancias caracteristicas e diferentes diametros de nucleos de
    :ibras opticas devem ser marcados para facilitar a identifica<;ao visual.

10.2 Hardware de conexao para cabeamento balanceado

10.2.1 Requisitos gerais

    )s requisitos seguintes aplicam-se a todo hardware de conexao usado para realizar conexoes eletricas com cabos
    )alanceados que atendam aos requisitos da ABNT NBR 14703. E desejavel que 0 hardware de conexao usado
    )ara terrninar elementos de cabos diretamente seja do tipo de conexao par deslocamento do isolante.
    Cl.lem destes requisitos, 0 hardware de conexao usado em cabeamento blindado deve estar em total conformidade
    ~om a se<;ao 11 .


    10.2.2 Identifica<;:ao de desempenho

    J hardware de conexao para usa em cabeamento balanceado deve ser marcado para designar             0 desempenho
    je transmissao de acardo com 0 fabricante. A marca<;ao, se aplicavel, deve ser visivel durante a instala<;ao e nao
    jeve ser substitufda par outras marca<;oes especificadas em 10.1.7, ou na se<;ao 12, ou outros codigos
    )U regulamenta<;oes locais requeridas.



    10.2.3 Garacterfsticas mecanicas

    ) hardware de conexao para usa em cabeamento balanceado deve atender aos requisitos especificados na
    abela 23.
ABNT NBR 14565:2007




              Tabela 23 -      Caracteristicas mecanicas do hardware de conexao para uso
                                         em cabeamento balanceado
                                                                                                     Componente ou padrao
              Caracterislicas mecanicas                                Requisito
                                                                                                           de teste
                               Categoria 5e sem
           Atender as dimensoes          e sec;oes
                                                                                                          IEC 60603-7 '
                               blindaoem
                  transversais
                               Categoria 5e com
           Atender as dimensoes          e sec;oes
                                                                                                          IEC 60603-7 '
      Dimensoes fisicas        blindaoem
                  transversais
      (apenas na tomada
       Categoria 6 sem             Atender as dimensoes          e sec;oes
a)                                                                                                        IEC 60603-7   I
      de                       blindaoem
                  transversais
      telecomunicac;oes)
      Categoria 6 com
            Atender as dimensoes          e sec;oes
                                                                                                          IEC 60603-7 '
                               blindaQem
                  transversa is
                                                           Atender as dimensoes          e sec;oes
                               Categoria 7                                                               IEC 60603-7-7      J
                                                           transversais
      Compatibilidade com a terminacao do cabo

      Diametro nominal do condutor (mm)
                              0,5 a 0,65 a
                              -
                           Patch cords OJ
                       Condutores multifilares
                        -
                                                                 Condutores multifilares

      Tipo de cabo             Jumpers
                                                                       ou solidos

                                                                                                                 -
                           Outro
                                 Condutores solid os
                           -
      Diametro nominal do
 CateQorias 5e e 6
                        0,7 a 1,4 u. C
      condutor isolado

                           Categoria 7                                  0,7 a 1,6
                                                                                                                 -
b)    (mm)

                           Tomada de

      Numero de                                                              8
                           telecomunicacoes                                                              Inspec;ao visual
      condutores
                           Outro
                                >2 x n (n = 1, 2, 3, ... )
      Diametro externo do
 Tomada
                                         ~20
      cabo

                                                                           ~9 e
                                                                                                                 -
      (mm)                 Con ector modular
                                                            Desempenho ambiental e
       Meios para conectar a blindagem     f)                                                        Sec;ao 11
                                                            mecanico
       ODeracao mecanica (durabilidade)
                               IDC
                                       ~200 n
       Terminac;ao do cabo

       (ciclos)
               IDC Nao Reutilizavel                         1    k



       Terminac;ao do jumper (ciclos)
                                    ~200 9                                 -
c)

                                                                                                     IEC 60603-7
                                                                                                     (sem blindagem)
       Tomada de telecomunicac;oes (ciclos)                               ~750       h               ou IEC 60603-7-1 com
                                                                                                     blindagem
                                                                          ~200       h
       Outras conexoes (ciclos)

a
      Nilo e requerido que 0 hardware de conexao seja compativel com cabos fora desta escala. No entanto, quando
      cabos com diametros de condutores, de no minimo 0,4 mm ou no maximo 0,8 mm, forem usados. cUldado especial
      devera ser tomado para assegurar-se a compatibilidade com 0 hardware de conexao que eles conectam
 b	
      a usa de conector modular especificado na serie de normas IEC 60603-7 e tipicamente limltado aos cabos com
      diametros de condutores isolados entre 0,8 mm e 1,0 mm.
 C	
      Nao e requerido que 0 hardware de conexao seja compativel com cabos fora desta escala. No entanto, quando
      cabos com diametros de condutores isolados com 1.6 mm, forem usados. cuidado especial devera ser tomado para
      assegurar-se a compatibilidade com 0 hardware de conexao que eles conectam.
 d	
      as conectores usados em cord6es de equipamentos, bem como da area de trabalho, devem ser compativeis tambem
      com condutores multifilares.
 e
      Aplicavel apenas a unidades de cabos individuais.
 f
      Se for considerado 0 usa de cabeamento blindado, cuidado deve ser tomado. pOlS 0 conector e proJetado para
      terminar a blindagem. Pode haver uma diferenc;a entre conectores projetados para terminar cabos balanceados com
      blindagens gerais apenas. de forma oposta aos cabos com ambas as blindagens, elementos individuais e uma
      blindagem geral.
 9    Este requisito de durabilidade e apenas aplicavel a conex6es projetadas para administrar mudani;:as nos sistemas de
      cabeamento (ou seja, no distribuidor).
 h)
      Acoplamento e desacoplamento sob trai;:ao - para especificai;:ao futura.
 I
      Combinada com todos os requisitos da sec;ao 10.
 )
      Em instalac;;oes em que outros fatores, tais como aplicac;;6es multimidia (ver ISO/IEC 15018), tem preferencia sobre a
      compatibilidade retroativa oferecida com alEC 60603-7-7, a interface especificada na
 IEC/PAS 61076-3-104/Ed.1
      pode ser tambem usada.

 k
       Blocos IDC nao reutil izaveis sao aqueles compostos peJa combinac;;ao bloco de
 conexao/bloco de fiai;:ao.
       Esta nota refere-se as conex6es entre 0 cabo e 0 bloco de fiac;;ao.





                                                                                                                                49
ABNT NBR 14565:2007




10.2.4 Caracteristicas eletricas

10.2.4.1   Geral

o hardware de coneX80 considerado para uso em cabeamento balanceado deve atender aos seguintes requisitos
de desempenho. 0 hardware de conexao deve ser testado com terminac;6es que oferec;am casamento
de impedancia com a impedancia caracterrstica nominal dos tipos de cabos considerados (ou seja, 100 Q).

Nas tabelas seguintes, os requisitos sao apresentados para uma escala de frequencias. Os valores de
desempenho em frequelncias discretas sao apresentados para referencia apenas.

10.2.4.2   Tomadas de telecomunica<;:oes

As tomadas de telecomunicac;oes de uma dada categoria devem atender aos requisitos apresentados na tabela 23.
Alem disso, os conectores em todas as outras localidades com 0 mesmo tipo de interface que as tomadas
de telecomunicac;oes devem tambem estar em conformidade com uma ou mais das norm as especificadas na
tabela 24, com agrupamentos de pares conforme especificado em 10.2.5. Os requisitos de 10.2.4.3 devem ser
atendidos para todas as tomadas de telecomunicac;oes.

             Tabela 24 -     Caracteristicas eletricas das tomadas de telecomunica<;:oes consideradas
                                         para usa em cabeamento balanceado
              Caracteristicas eletricas das tomadas de
                        telecomunicac;:6es aj                                                         Componente ou padrao
                                                                               Requisito
                                        Escala de freqOencias                                               de teste
             Tipo de interface
                                                 (MHz)
       Categoria 5e sem                                                                                     IEC 60603-7
                                              c.c., 1 a 100                      Todos                                    b
       blindagem
       Categoria 5e com
                                              C.c., 1 a 100                       Todos                     IEC 60603-7   b
       blindagem
      f---
       Categoria 6 sem
                                              c.c., 1 a 250                       Todos                     IEC 60603-7   b
       blindagem
       Categoria 6 com
                                              C.C., 1 a 250                       Todos                     IEC 60603-7   b
       blindagem
       Categoria 7                            C.C., 1 a 600                       Todos                    IEC 60603-7-7      c
       a
           Acoplamenlo e desacoplamento sob trac;;ao - para especificac;;ao futura.
       b
           Gombinada com lodos os requisitos da sec;;ao.
       c
           Em inslalac;;6es em que outros fatores, tais como aplicac;;6es multimidia (ver ISOIIEG 15018), tem preferencia sobre a
           compalibilidade retroativa oferecida com a lEG 60603-7-7, a interface especificada na lEG/PAS 61076-3-104/Ed.1
           pode ser tambem usada.


10.2.4.3     Hardware de conexao para uso em distribuidores e pontos de consolida<;:ao

o hardware de conexao para uso em pontos de consolidac;ao e distribuidores de uma dada categoria deve atender
aos requisitos de desempenho correspondentes especificados nas seguintes tabelas, independentemente do
acoplamento de interface utilizado. Todas as conexoes entre duas partes que nao estiverem cobertas por 10.2.4.2
devem cumprir com os requisitos de desempenho ambiental e mecanico especificados na lEG 60603-7 para
conectores sem blindagem ou na lEG 60603-7-1 para conectores blind ados. Todos os requisitos eletricos devem
ser atendidos antes e depois dos ensaios de desempenho ambiental e mecanico, conforme apresentado
na IEC 60603-7 ou na lEG 60603-7-1.

 Para dispositivos de conexao que oferec;am conexoes cruzadas sem patch cords ou jumpers, 0 desempenho
 eletrico nao deve ser pior que 0 equivalente ao de dois conectores e 5 m de patch cords de mesma categoria.
 Os parametros aplicaveis incluem perda de inserC;ao, resistencia de entrada para a sarda, desequilrbrio resistivo
 de entrada para saida, atraso de propagac;ao, diferenc;a de atraso de propagac;ao e impedancia de transferencia.
 Adicionalmente, diafonia, perda de retorno e atenuac;ao desbalanceada (de extremidade proxima, TGl) de tais
 dispositivos nao devem exceder os valores minimos especificados nas tabelas 25 a 39 em mais de 6 dB.
 As conexoes cruzadas com comutac;ao "interna" que substituem os jumpers ou patch cords sao exemplos de tais
 dispositivos.
ABNT NBR 14565:2007



                                             Tabela 25 -      Perda de retorno
                                                                              Requisito
                                           Frequemcia                                                                    Padrao de
         Caracterfsticas   eh~tricas                                   Categoria do conector
                                              MHz                                                                         ensaio
                                                                5e                 6                    7
                                             1 a 100       60 - 20 log(f)          -                    -
Perda de retorno minima a (dB)               1 a 250             -          64 - 20 log(f)              -
                                             1 a 600             -                 -          68 - 20 log(f)
                                                 1             30,0              30,0              30,0                IEC 60512-25-5

Perda de retorno minima em                      100            20,0              24,0              28,0
frequemcias criticas (dB)                      250              N/A              16,0              20,0
                                                                                                                                         I
                                               600              N/A               N/A              12,4
a
   A perda de retorno em freqOemcias que correspondam aos valores calculados maiores que 30.0 dB devem reverter ao
requisito minimo de 30,0 dB.

                                             Tabela 26 -      Perda de inser9ao
                                                                                                               I
                                                                              Requisito                        I



                                            Frequencia
         Caracterfsticas eletricas                                     Categoria do conector                   I Padrao de ensaio
                                               MHz
                                                                                                               I
                                                                5e                6                7           I


                                              1 a 100         0,04J(               -               -           I
                                                                                                               I

                                                                                                               I
    Perda de insen;:ao maxima a (dB)          1 a 250            -             0,02J(               -
                                                                                                               I
                                                                                                               I


                                              1 a 600            -                 -            0,02J(
                                                                                                               'I
                                                                                                                       IEC 60512-25-2
                                                 1              0,10             0,10             0,10         I
                                                                                                               I



    Perda de insen;:ao maxima                   100             0,40             0,20             0,20         'I



    em frequencias criticas (dB)                250             N/A              0,32             0,32         i
                                                                N/A              N/A              0,49
                                                                                                               I
                                                600                                                                I


    a
       A perda de inser({ao em freqOemcias que correspondam aos valores calculados menores que 0.1 dB devem reverter ao
I   requisito de 0,1 dB maximo.

                                            Tabela 27 -      Paradiafonia (NEXT)

                                                                               Requisito

         Caracteristicas eletricas
                                           Frequemcia
                                              MHz
                                                                       Categoria do conector
                                                                                                                          Padrao de
                                                                                                                           ensaio            I

                                                                5e                6                     7
                                             1 a 100      83 - 20 log (f)          -                    -
    Paradiafonia minima (NExn a (dB)         1 a 250             -          94 - 20 log (f)             -
                                             1 a 600             -                 -          102,4 -151og (f)

                                                1              80,0              80,0              80,0                 IEC 60512-25-1

    Paradiafonia minima em                     100             43,0              54,0              72,4
    frequemcias criticas (dB)                  250             N/A               46,0              66,4

                                               600             N/A               N/A               60,7
    a
        NEXT em freqOemcias que correspondam a valores calculados maiores que 80,0 dB devem reverter ao requisito de 80.0 dB.




                                                                                                                                              51
ABNT NBR 14565:2007



                                Tabela 28 -           Somat6rio de potencias de ruido por paradiafonia (PS NEXT)
                                                                                                       Requisito     b
                                                             Frequencia                                                                        Padrao de
                     Caracteristicas eletricas                                                   Categoria do conector
                                                                MHz                                                                             ensaio
                                                                                    5e                      6                    7
                                                               1 a 100        80 - 20 log(f)                 -                   -
             PS NEXT minimo a (dB)                             1 a 250               -                90 - 20 log(f)             -
                                                               1 a 600               -                       -            99,4 - 15 log(f)
                                                                   1               77,0                    77,0                77,0          IEC 60512-25-1

         I   PS NEXT minimo em                                   100               40,0                    50,0                69,4
             frequencias criticas (dB)                           250                N/A                    42,0                63,4
                                                                 600                N/A                    N/A                 57,7
             ,
                     PS NEXT em frequemcias que correspondam aos valores calculados maiores que 77,0 dB devem reverter ao requisito de 77,0 dB.
             b
                     As equat;:oes e valores para somat6rio de potencias de ruido por paradiafonia sao apresentados apenas para informat;:ao.

                                                                   Tabela 29 - Telediafonia (FEXT)
                                                                                                         Requisito
                                                              Frequencia                                                                         Padrao de
                 Caracteristicas eletricas                                                         Categoria do conector
                                                                  MHz                                                                             ensaio
                                                                                     5e                         6                    7
I
I
I
                                                                1 a 100       75,1 - 20 log(f)                   -                    -
I   Telediafonia minima (FEXT)               a, b   (dB)        1 a 250                  -             83,1 - 20 log(f)               -
                                                                1 a 600                  -                       -          90 - 15 log(f)
                                                                       1            65,0                    65,0                 65,0         IEC 60512-25-1

    Telediafonia minima em frequencias                             100              35,1                    43,1                 60,0
    criticas (dB)                                                  250               N/A                    35,1                 54,0
                                                                   600              N/A                      N/A                 48,3
    ,
        FEXT em frequendas que correspondam aos valores calculados maiores que 65,0 dB devem reverter ao requisito minimo de 65,0 dB.
    b
       Para conectores. a diferent;:a entre FEXT e ELFEXT                   e minima.        Entretanto, os requisitos do conector sao usados para modelar    0
    desempenho de ELFEXT para enlaces e canais.

                        Tabela 30 -         Somat6rio de potencias de ruido por telediafonia (PS FEXT) - (informativa)
                                                                                                       Requisito     c)
                                                             Frequencia                                                                         Padrao de
                      Caracteristicas eletricas                                                  Categoria do conector
                                                                 MHz                                                                             ensaio
                                                                                    5e                      6                     7
                                                               1 a 100       72,1 - 20 log(f)                -                    -
                 PS FEXT minimo a       b   (dB)               1 a 250               -               80,1 - 20 log(f)             -
                                                               1 a 600               -                       -             87 - 15 log(f)
                                                                   1               62,0                    62,0                 62,0         IEC 60512-25-1
                 PS FEXT minimo em                               100               32,1                    40,1                 57,0
                 frequencias criticas (dB)                       250               N/A                     32,1                 51,0
                                                                 600               N/A                     N/A                  45,3
                 a
                     PS FEXT em freqiJencias que correspondam aos valores calculados maiores que 62,0 dB devem reverter ao requisito minimo
                 de 62,0 dB.
                     Para conectores. a diferent;:a entre 0 PS FEXT e 0 PS ELFEXT e minima. Entretanto, os requisitos de PS FEXT do con ector
                 b

                 sao usados para modelar 0 desempenho de PS ELFEXT para enlaces e canais.
                 c
                      As equat;:oes e valores para     0   somatorio de potencias de ruido por lelediafonia sao apresenladas apenas para informat;:ao.
ABNT NBR 14565:2007



                                        Tabela 31 -     Resistencia de entrada para saida
                                                                                         Requisito
                                                                                                                                    Padrao de
          Caracteristicas   eh~tricas          Freque!ncia                         Categoria do con ector
                                                                                                                                     ensaio
                                                                     5e                      6                7

Resiste!ncia de entrada                                                                                                            IEC 60512-2
                                                  c.c.              200                     200              200
para safda a (mn)                                                                                                                    Ensaio 2a
a
    A resistencia de entrada para safda e uma mediyao separada a partir das mediyoes da resistencia de contato requerida pela
serie de normas lEG 60603-7. A resistencia de entrada para safda e medida da terminayao do cabo para a lerminayao do cabo
para que se possa determinar a habilidade do coneclor de transmitir corrente continua e sinais de baixa frequencia. As mediyoes
da resistencia de contato sao usadas para determinar 0 desempenho ambiental e mecanico de conexoes eletricas individuals.
Estes requisitos aplicam-se a cada condutor e a blindagem, quando presente.

                               Tabela 32 -     Desequilfbrio resistivo de entrada para saida
                                                                                         Requisito
                                                                                                                                   Padrao de

           Caracteristicas eletricas           Frequencia                          Categoria do conector
                                                                                                                                    ensaio

                                                                      5e                     6                7
                                                                                                                                                   I

    Desequilibrio resistivo de                                                                                                    IEC 60512-2
                                                   c.c.               50                     50              50
    entrada para saida a (mn)                                                                                             I
                                                                                                                                   Ensaio 2a
    a
          As mediyoes da resistencia de transferencia sao feitas da terminayao do cabo para a terminayao do cabo.
                                                                                                                                                   I


                                    Tabela 33 -        Capacidade de condugao de corrente
                                                                                          Requisito
                                                                                                                                   Padrao de
           Caracteristicas eletricas           Frequencia                          Categoria do con ector
                                                                                                                                    ensaio
                                                                      5e                      6               7
    Capacidade de conduc;:ao de                                                                                                   IEC 60512-3-1
                                                      c.c.           0,75                   0,75             0,75

    .
    corrente minima a, b, C (A)
          Aplicavel para uma temperatura ambiente de 60 o G.
                                                                                                                                    Ensaio 5b


    b
        A preparayao da amostra deve ser especificada conforme a lEG 60603-7 (sem blindagem) ou lEG 60603-7-1
     (com blindagem).
    c
          Aplicavel a cada condulor, incluindo a blindagem, se presente.

                                              Tabela 34 -       Atraso de propagagao
                                                                                           Requisito
                                                 Frequencia                                                                          Padrao de
            Caracteristicas eletricas                                                Categoria do conector
                                                       MHz                                                                            ensaio
                                                                           5e                     6                   7
                                                   1 a 100             2,5                           -                -

I   Atraso de propagac;:ao maximo (ns)                1 a 250                  -                 2,5                  -            IEC 60512-25-41

I
                                                      1 a 600                  -                     -            2,5
                                                                                                                                                       I


                                        Tabela 35 -      Diferenga de atraso de propagagao
                                                                                          Requisito
                                                Frequencia                                                                          Padrao de
            Caracteristicas eletricas                                               Categoria do con ector                    I
                                                      MHz                                                                            ensaio
                                                                      5e                         6
               7
                                                  1 a 100             1,25                       -
               -           !
                                                                                                                              I
        Desvio de atraso de propagac;:ao
        maximo (ns)
                                                  1 a 250              -                     1,25
                -               IEC 60512-25-4

                                                  1 a 600                  -                     -           1,25




                                                                                                                                                           53
ABNT NBR 14565:2007



                      Tabela 36 -       Perda de conversao transversal (Tel) - para especifica<;ao futura

                                                                                               Requisito
                                                      Frequencia                                                                            . Padrao de
               Caracteristicas eletricas                                                Categoria do con ector
                                                         MHz                                                                                   ensaio
                                                                             5e                   6                      7

                                                        1 a 100        66 - 20 log(f)             -                         -
       Perda de conversao transversal
       minima (TeL) a (dB)                              1 a 250               -             66 - 20 log(f)                  -
                                                        1 a 600               -                   -               66 - 20 log(f) b

                                                            1               60,0                 60,0                  60,0
                                                                                                                                           IEC 60603-7-7,
                                                          100               26,0                 26,0                  26,0                   Anexo K
  I    Perda de conversao transversal                     250                N/A                 18,0                  18,0
       minima em frequencias criticas (dB)
                                                                                                                       Para
                                                          600                N/A                 N/A              especifica<;;ao
                                                                                                                      futura
       "   A perda de conversao transversal em frequemcias que correspondam aos valores calculados maiores que 60,0 dB deve reverter
       ao requisito minimo de 60,0 dB.
       b
             A aplicabilidade desta equac;:ao e padrao de ensaio em frequemcias acima de 250 MHz e para especificac;:ao futura,

                       Tabela 37 -Impedancia de transferencia (apenas para conectores blindados)

                                                                                                 Requisito
                                                         Frequencia                                                                           Padrao de
       Caracteristicas eletricas                                                           Categoria do con ector
                                                            MHz                                                                                ensaio
                                                                                  5e                    6                       7

       Impedcincia de transferencia maxima (D)              1 a 10            0,1   (0,3          0,1      (0,3        0,05         (0,3

  II                                                       10 a 80            0,02 (               0,02 (               0,01 (


  I'mped.nc~ de tran'",",ocla m'~ma em
                                                                 1                0,10                0,10                  0,05            IEC 60512-25-5

                                                             10,0                 0,20                0,20                  0,10
       frequencias crfticas (D)
                                                             80,0                 1,60                1,60                  0,80

                                                   Tabela 38 -       Resistencia de isola<;ao

                                                                                                Requisito
                 Caracteristicas eletricas                                                                                                    Padrao de
                                                         Frequencia                      Categoria do conector
                                                                                                                                               ensaio
                                                                                  5e                   6                        7

                                                                                                                                             IEC 60512-2
                                                             c,c,                                                                              Ensaio 3a,
           Resistencia de isola<;;ao minima (MD)                                  100                 100                   100
                                                                                                                                               Metodo C
                                                                                                                                              - 500 V C.c.

                                                   Tabela 39 -       Prova de tensao eletrica

                                                                                              Requisito
                 Caracteristicas eletricas            Frequencia                                                                           Padrao de
                                                                                       Categoria do conector
                                                                                                                                            ensaio
                                                                             5e                   6                     7
             Prova de tensao minima (V)
                                                                           1000                 1000                 1 000                 IEC 60512-2
             Condutor a condutor                          c.c.
                                                                                                                                            Ensaio 4a
             Condutor a painel de ensaio                                   1 500                1 500                1 500
ABNT NBR 14565:2007




10.2.5 Requisitos das tomadas de telecomunicag6es

Para cabeamento de classes A a F, cada cabo balanceado horizontal deve ser terminado em uma tomada
de telecomunicag6es com uma tomada que atenda aos requisitos de 10.2.3 e 10.2.4. As configura<;6es de pinos
e pares deve ser conforme mostrado na figura 15.




                                                     12345678




                                        NOTA Para c1asse F, nao ha necessidade de
                                        configurar os pares em pinos 3. 6 & 4, 5 conforme
                                        mostrado.



                      Figura 15 -     Configuragao pino-a-pino para tomadas de oito posi<;6es­ 

                                                Vista frontal do conector


Se interfaces diferentes forem usadas no distribuidor, ponto de consolida<;ao ou tomada de telecomunica<;6es no
mesmo enlace ou canal, as conex6es ao cabeamento devem ser configuradas de modo a assegurar conectividade
de ponta-a-ponta apropriadamente. 0 rearranjo de pares nas tomadas de telecomunica<;6es nao deve envolver
modifica<;6es das termina<;6es do cabeamento horizontal. Se 0 rearranjo de pares for usado na tomada de
telecomunica<;6es, a configura<;ao das termina<;6es desta deve estar c1aramente identificada

As configura<;6es T568A e T568B para tomadas de oito posi<;6es conforme definidas na serie de normas
americanas ANSI/TIA/EIA-568 sao reconhecidas por esta Norma.

Os conectores modulares e as tomadas que forem intercambiaveis devem oferecer compatibilidade retroativa com
aqueles de categorias de desempenho diferentes. A compatibilidade retroativa significa que aquelas conex6es
casadas com conectores modulares e tomadas de diferentes categorias de desempenho devem atender aos
requisitos para a categoria de desempenho do componente de menor categoria. Ver a tabela 40, que apresenta
uma matriz de desempenho de conectores modulares, que e representativa de compatibilidade com conectividade
retroativa.

   Tabela 40 -     Matriz de desempenho de compatibilidade retroativa de conexao casada para conectores

    Desempenho de conector modular                        Desempenho do conector da tomada de telecomunicar;;6es
         e cordao performance                       Categoria 5e                   Categoria 6                   Categoria 7
                Categoria 5e                        Categoria 5e                  Categoria 5e                   Categoria 5e
                 Categoria 6                        Categoria 5e                   Categoria 6                   Categoria 6
                 Categoria 7                        Categoria 5e                   Categoria 6                    Categoria 7
    NOTAS
    1       Quando dois enlaces de cabeamento fisicamente similares forem usados em uma mesma instala<;:ao. precau<;:6es especiais sao
    requeridas para assegurar-se que eles estejam apropriadamente identificados na tomada de telecomunica<;:6es. Exemplos de quando
    tal identifica<;:ao e necessaria podem incluir diferentes classes de desempenho ou cabos com impedimcias nominais diferentes.
    Ver se<;:ao 12.
    2      Para uma conectividade apropriada, cuidado especial e necessario para assegurar-se que os pares estejam terminados
    de forma consistente na tomada de telecomunica<;:oes e no distribuidor de piso. Se os pares estiverem terminados em posi<;:oes
    diferentes nos dois extremos de um enlace, embora a continuidade em corrente continua possa ser mantida. a conectividade atraves
    do enlace e perdida. Ver se<;:ao 12 para administra<;:ao do cabeamento.




                                                                                                                                         55
ABNT IJBR 14565:2007



10.2.6 Considera<;:oes de projeto para a instala<;:ao

o hardware de   conexao deve ser projetado de tal forma que a quantidade de destranyamento dos pares em um
elemento de cabo resultante de sua terminayao ao hardware de conexao seja a menor possivel (Iimitado a 13 mm
para categorias 5e e superiores).

o  hardware de conexao deve permitir um comprimento minima de exposiyao dos pares entre 0 acabamento da
capa do cabo e 0 ponto de terminayao. Alem disso, apenas 0 comprimento da capa do cabo requerida para
terminac;:ao e acabamento deve ser removido ou decapado. Estas recomendayoes tem como objetivo minimizar 0
impacto das terminayoes sobre 0 desempenho de transmissao e nao sao consideradas para restringir 0
comprimento dos passos de toryao do cabo ou construyao do jumper.

Requisitos de aterramento e considerayoes acerca da continuidade da blindagem sao especificados na seyao 11.

10.3 Hardware de conexao para fibra optica

10.3.1 Requisitos gerais

Os requisitos de 10.3.2 a 10.3.4 aplicam-se a todo 0 hardware de conexao usado para oferecer conexao entre os
cabos de fibras 6pticas descritos na ABNT NBR 14433 com as seguintes exceyoes. Os requisitos de 10.3.4
aplicam-se as tomadas de telecomunicayoes apenas.

NOTA       as adaptadores de fibra e os conectores devem ser protegidos contra poeira e outros contaminantes enquanto
estiverem em estado ocioso. Recomenda-se tambem limpar as faces dos conectores de fibra antes da conexao ao
equipamento alivo.

10.3.2 Marca<;:ao e c6digo de cores

A codificayao correta dos conectores e adaptadores, por exemplo por meio de cores, deve ser usada para
assegurar que 0 acoplamento de tipos diferentes de fibras nao ocorra. Adicionalmente, a polariza<;:ao e a
identificayao das posiyoes das fibras 6pticas podem ser usadas para garantir que a polarizayao correta seja
mantida para enlaces duplex.

Os conectores e adaptadores devem ser coloridos para que se diferenciem as fibras entre monomodo e multimodo.
Cores ou etiquetas adicionais podem ser requeridas para distinguir entre tipos diferentes de fibras multi modo.

NOTA 1      Estas marca<;6es sao em adiyao a, e nao para substituir, outras marcayoes especificadas na seyao 12, ou outros
c6digos ou regulamentayoes locais requeridas.

NOTA 2     a seguinte c6digo de cores aplica-se a IEC 60874-19-1 para conectores SC duplex e IEC 60874-14 para
conectores SC simplex. mas tambem e usado para outros tipos de conectores:

a)   multimodo de 50 .um e 62,5 11m:     Bege ou preto

b)   monomodo PC:                        Azul

c)   monomodo APC:                       Verde

 10.3.3 Caracteristicas 6pticas e mecanicas

o hardware de conexao 6ptico deve atender aos requisitos da ABNT NBR 14433.
10.3.4 Requisitos das tomadas de telecomunica<;:oes

Os cabos de fibras 6pticas na area de trabalho devem ser conectados ao cabeamento horizontal por meio
da tomada de telecomunicayoes com um conector SC duplex, (SC-D), em conformidade com alEC 60874-19-1
ou conector similar sem perda de desempenho (ver 10.3.5.4).
ABNT NBR 14565:2007



o  conector 6ptico usado na tomada de telecomunicayoes deve atender aos requisitos da ABNT NBR 14433
ou 10.3.5.4.

10.3.5 Esquemas de conexao para 0 cabeamento de fibra 6ptica

10.3.5.1   Geral

A polaridade consistente das conexoes de fibras 6pticas duplex deve ser mantlda ao longo do sistema
de cabeamento por meio de polarizayao fisica, administrayao (etiquetas) ou ambos. As seguintes diretrizes sao
oferecidas para assegurar que os conectores e adaptadores instalados apropriadamente ofereyam um sistema
de cabeamento 6ptico funcional e de facil manutenyao. Deve-se consultar os fabricantes de equipamentos
e integradores de sistemas para determinar a aplicabilidade destas diretrizes para aplicayoes de redes especificas.
Adicionalmente, todas as portas 6pticas devem cumprir com alEC 60825.

Para assegurar uma flexibilidade maxima do lado do cabeamento das tomadas de telecomunicayoes e dos paineis
de distribuiyao, um conector simplex e recomendado para a terminayao dos cabos 6pticos horizontais e de
backbone, conforme ilustrado na figura 16.

Do lado dos patch cords nas tomadas de telecomunicayoes na area de trabalho, bem como paineis de distribuiyao,
uma apresentayao duplex mantem a polaridade correta das fibras 6pticas de transmissao e recepyao dos dois
sistemas 6pticos enquanto permite a estes sistemas usar outras fibras do cabo. No distribuidor esta apresentayao
e preferivel por meio de um adaptador duplex que mantem 0 espayamento e 0 alinhamento apropriados conforme
definido pela IEC 60874-19-1 ou outras normas IEC para interfaces 6pticas.

A polaridade e definida na tomada de telecomunicayoes tanto pela polarizayao fisica quanta pela identificayao dos
adaptadores com as posiyoes A e B. Para que esta polarizayao seja estendida ao sistema de cabeamento por
completo, e importante que a mesma orientayao, c6digo de cores e configurayao das fibras sejam consistentes.
Uma vez que 0 sistema e instalado e a polaridade correta e verificada, 0 sistema de cabeamento 6ptico mantem a
polaridade correta das fibras de transmissao e recepyao.

10.3.5.2   Opr;oes de conectividade na tomada de telecomunicar;oes

Os conectores e adaptadores tem suas polaridades orientadas conforme mostrado na figura 16.

                        'ista Frontal

                    IUU           0,..:
                     B A            A B




 NOTA       Identifica9ao apenas para ilustra9ao.



                                  Figura 16 -   Configurar;ao de conectividade SC duplex





                                                                                                                57
ABNT NBR 14565:2007




10.3.5.3   Opc;:oes de conectividade em outras localidades

A polaridade em outras localidades que nao a tomada de telecomunicac;:oes pode ser mantida pelo controle estrito
de mudanc;:as nos distribuidores e pontos de consolidac;:ao, au adotando-se as configurac;:oes detalhadas
em 10.3.5.2. as conectores em localidades diferentes da tomada de telecomunicac;:oes devem atender aos
requisitos 6pticos, mecanicos e ambientais definidos na IEC 60874-19-1, embora eles possam ter outras interfaces
de acoplamento.

10.3.5.4   Outros conectores duplex

Projetos alternativos de conectores (par exemplo, de dimensoes reduzidas) devem empregar esquemas
de identificac;:ao similares ao conector SC duplex. As posic;:oes A e B em projetos de conectores duplex alternativos
devem estar nas mesmas posic;:oes, conforme alEC 60874-19-1 (SC duplex) na figura 16. Para projetos
alternativos de conectores que usam travas mecanicas, estas definem a posicionamento da mesma forma que as
encaixes a fazem em conectores polarizados.

Quando a alta densidade e uma considerac;:ao importante para a infra-estrutura de entrada do ediffcio, distribuidor
de campus, distribuidor de ediffcio, distribuidor de piso au ponto de consolidac;:ao, as conectores de dimensoes
reduzidas sao recomendados. Quando usados, estes conectores devem ser cobertos par um padrao de interface
aprovado pela IEC e devem satisfazer as requisitos de desempenho da ABNT NBR 14433.

10.3.5.5   Configurac;:ao de terminac;:ao do patch cord

Recomenda-se que a conexao de patch cords e cord6es de equipamentos ao adaptador duplex seja feita par meio
de uma montagem duplex.

as patch cords de fibras 6pticas, quando usados para conexao cruzada au interconexao ao equipamento ativo,
devem ser de orientac;:ao crossover, de modo que a posic;:ao A se conecte a posic;:ao B em uma fibra e a posic;:ao B
a posic;:ao A na outra fibra do par de fibras 6pticas (figura 17). Cada extremidade do patch cord 6ptico deve ser
identificada para indicar as posi<;:oes A e B, se a conector puder ser separado em seus componentes simplex.
Para projetos alternativos de conectores usando travas, estas definem a posicionamento da mesma forma que as
encaixes nos conectores polarizados.

                                                                                                B

                                                                                                A
                                              Legenda:
                                                 _       =POSiy30 "A"
                                                 [:=J    =POSiy30 "B"

                                      Figura 17 -    Patch cord de fibra 6ptica


11     Praticas de blindagem

11.1   Geral

Esta sec;:ao aplica-se quando cabos blindados au cabos com unidades au elementos blindados sao usados.
Apenas uma diretriz basica e apresentada aqui. as procedimentos necessarios para oferecer um aterramento
ade~ua~o para. ambos, protec;:ao eletrica e desempenho eletromagnetico estao sujeitos a regulamentac;:oes
naclonals e locals, sempre para mao-de-obra apropriada de acordo com a ISOIIEC TR 14763-2 e, em certos casas,
para engenharia especifica de instalac;:ao. Alguns sistemas de cabeamento empregam componentes que utilizam
bllndagem para desempenho de diafonia adicional e estao, entretanto, sujeitos as prcHicas de blindagem.
Nota-se que um manuseio apropriado das blindagens de acordo com a ISO/IEC TR 14763-2 e instruc;:oes dos
fornecedores melhoram a desempenho e a seguranc;:a.
ABNT NBR 14565:2007




11.2 Desempenho eletromagnetico

As blindagens do cabeamento devem ser apropriadamente conectadas                a
                                                                            terra para protec;;ao eletrica e para
otimizar 0 desempenho eletromagnetico. Todos os componentes do cabeamento que formam parte de um canal
blindado devem ser blindados e atender aos requisitos de blindagem especificados na sec;;ao 10. as enlaces de
cabeamento blindado devem atender aos requisitos de blindagem especificados em 6.4. As blindagens do cabo
devem ser terminadas nas blindagens do conector por terminac;;oes de baixa impedtmcia suficientes para manter a
continuidade da blindagem necessaria para atender aos requisitos de blindagem do cabeamento. As instruc;;oes
dos fabricantes de como obter terminac;;oes de baixa impedancia devem ser requisitadas e observadas.
as cordoes da area de trabalho e de equipamento e 0 equipamento conectado devem ser blindados e devem
oferecer a continuidade da blindagem.

11.3 Aterramento

a aterramento e a equipotencializac;;ao devem estar de acordo com a ABNT NBR 5410. Todas as blindagens dos
cabos devem ser conectadas                     a
                                   terra em cada distribuidor. Normalmente, as blindagens sao conectadas aos
gabinetes de equipamentos, que por sua vez sao conectados ao sistema de aterramento do edificio no BEP
(Barramento de Equipotencializac;;ao Principal). Deve ser avaliada a necessidade de aplicac;;ao de Dispositivos
de Protec;;ao contra Surtos (DPS).

NOTA       FrequElncias de Opera1;:8o altas ou frequElncias altas de correntes ou campos parasitas requerem um aterramento
de baixa impedancia, que pode ser obtido com um sistema de terra multiponto ou em malha.

A equalizac;;ao de terras deve ser projetada para assegurar que:

a)	   0 caminho para a terra seja permanente, continuo e de baixa impedancia. Recomenda-se que cada gabinete
                                                         a
      de equipamento seja individualmente conectado terra, para assegurar a continuidade do aterramento;

b)	 as blindagens dos cabos oferec;;am um aterramento continuo para todas as partes do sistema de cabeamento
    que sao interconectadas por ele.

Esta equalizac;;ao de terras assegura que as tensoes que sao induzidas no cabeamento (por quaisquer disturbios
de Iinhas de alimentac;;ao eletrica ou outros disturbios) sejam direcionadas ao terra do edificio e nao causem
interferencia nos sinais transmitidos. Todos os eletrodos de aterramento para diferentes sistemas do edificio
devem ser conectados juntos para reduzir os efeitos de diferenc;;as de potenciais de terra. a sistema de aterramento
do edificio nao deve exceder 0 limite de diferenc;;a de potencial de terra de 1 V (r.m.s.) entre quaisquer dois pontos
de terra da rede.



 12      Administra<;ao

 A administrac;;ao e um aspecto essencial do cabeamento genenco. A flexibilidade do cabeamento pode ser
 completamente aproveitada apenas se 0 cabeamento e seu usa forem apropriadamente administrados.
 A administrac;;ao envolve a identificac;;ao precisa e a manutenc;;ao do registro de todos os componentes que
 comp6em 0 sistema de cabeamento, assim como os encaminhamentos, distribuidores e outros espac;;os nos quais
 seja instalado. Todas as mudanc;;as no cabeamento devem ser registradas quando elas ocorrerem. A administrac;;ao
 baseada em computador dos registros e fortemente recomendada para instalac;;oes grandes.

 A administrac;;ao do cabeamento de telecomunicac;;oes deve estar em conformidade com a ISO/IEC 14763-1.




 (c')ARIIT ?007 _ Tnrln<: n<: rlirp;tn<: rp<:prvrlnns                                                                  59
ABNT NBR 14565:2007



13   Cord6es balanceados

13.1 Introdugfw

Esta sec;;ao cobre   os cord6es balanceados construidos com dois conectores modulares, conforme especificado
nos documentos        da IEC 60603-7 e cabos balanceados conforme especificados na ABNT NBR 14703.
Os componentes        usados nestes cord6es devem atender aos requisitos da ABNT NBR 14703 e sec;;ao 10.
Seu prop6sito e      conectar 0 hardware de conexao que usa conectores que sao definidos nos documentos
da IEC 60603-7.

NOTA       Considera-se que os cord6es que usam conectores com interfaces diferentes daquelas especificadas
na IEC 60603-7 tam bern atendem aos requisitos desta se~ao.

o  desempenho do hardware de conexao esta sujeito a influemcia das propriedades de terminac;;ao do conector
modular e. portanto. as cord6es devem ser ensaiados para determinar a qualidade da montagem.
Esta sec;;ao especifica os requisitos minimos para cord6es. Os metodos de ensaios e fadiga mecanica sao
especificados na IEC 61935-2. Todos os requisitos desta sec;;ao devem ser atendidos ap6s a exposic;;ao do
dispositivo sob ensaio a fadiga mecanica. Os cord6es devem atender aos requisitos eletricos medidos de acordo
com a ASTM 04566 e mecanicos da IEC 61935-2.

13.2 Perda de insergao

A perda de inserc;;ao (IL) de cord6es nao deve exceder 0 valor determinado para um dado comprimento.
o desempenho de perda de inserc;;ao deve ser obtido na fase de projeto do cordao.

 13.3 Perda de retorno

 Os cord6es devem atender aos requisitos de perda de retorno (RL) especificados na tabela 41. Os cord6es devem
 atender as propriedades mecanicas da IEC 61935-2 e eletricas medidas de acordo com a ASTM 04566.


                            Tabela 41 -            Perda de retorno minima para cord6es balanceados

                                                                         Perda de retorno
                                           Frequ{mcia                          dB
                                              MHz
                                                                       Todas as categorias
                                               1 ~ f< 25                  19,8 + 3 log(f)

                                  25   ~   f   ~   100/250/600            38,0 - 10 log(f)

                Tabela 42 -       Valores de perda de retorno em freqOencias criticas para cord6es
                                                 de categorias 5e, 6 e 7

                                                                       Perda de retorno
                Frequencia                                                   dB
                   MHz
                                       Cordao categoria 5e            Cordao categoria 6     Cordao categoria 7
                       1                              19,8                   19,8                   19,8
                      16                              23,4                   23,4                   23,4
                      100                             18,0                   18,0                   18,0
                      250                             N/A                    14,0                   14,0
                      600                             N/A                    N/A                    10,2
ABNT NBR 14565:2007




13.4 NEXT

Os cordoes para categorias 5e, 6 e 7 devem atender aos requisitos calculados de acordo com as equatyoes (6)
a (10) quando medidos de acordo com a ASTM D 4566.

                                                                            • NEXTconectores            -NEXTcabo + 2·/Lconector
           NEXTcordao                           =   -10 log 10                        10         + 10              10              + RSXT                    (6)
                                                                    [



onde:

       NEXTcordao                                   e a paradiafonia do cordao inteiro, em decibels;

           NEXTconeclores e a paradiafonia dos conectores, em decibels;

           NEXTcabo                                 e a paradiafonia do cabo, em decibels;

       IL con ector                                 e a perda de inser<;ao do conector, em decibels;

       RSXT         e a diafonia do sinal refletido, em decibels. sendo sendo igual a 0 dB para cordoes categoria 5e
       e 0,5 dB para cordoes categorias 6 e 7, e

                                                                                 • NEXTlocal            -NEXTremoto +2(tLcabo +/Lconeclor) :
            NEXTconectores = -20 log 10                                                 20       + 10                   20                                   (7)
                                                                        [



o NEXT depende da freqOencia. se 0                                                            valor em 100 MHz for conhecido:


            NEX7jocal                     = NEXTrecomoto = NEXTconector (1 00) -                              20 loi-f-J                                     (8)
                                                                                                                        l100

                                                                        L
             IL
                   cabo
                                 ""     a cabo 100 m x - -
                                                      100
                                                                                                                                                             (9)


onde:

            NEXTlocal                                          eo NEXT do conector na extremidade local do cordao. em decibels;

            NEXTremoto                                         eo NEXT do conector na extremidade remota do cordao, em decibels;

             IL                                                e a perda de inser<;ao do cabo, em decibels;
                       cabo


             IL con ector                                       e a perda de inser<;ao do conector, em decibels;

             NEXTconector (100) eo NEXT do conector, em decibels. em 100 MHz;

             a cabo 100 m                                       e a perda de insertyao de 100 m do cabo usado no cordao;

             L                                                  e 0 comprimento do cabo usado no cordao.




 ~",....   .. ,.,...     nn.."        -r-_..J          ...J;_",,~              ,..,    ....
                                                                                                                                                                   61
ABNT NBR 14565:2007



o comprimento corrigido para NEXT do cabo do cordao e dado par:
                                                           L acabo, 100 m
                                                 1-10100   5
    NEXTcabo       L   = NEXTcabo   100m -10x l o g - - - - - - -                                                       (10)
               "                                            acabo,100m
                                                     1-10        5


Os calculos que geram limites de NEXT que excedem 65 dB devem reverter ao limite de 65 dB. A tabela 43
apresenta as valores de NEXT (informativos) em frequ€mcias criticas para diferentes comprimentos de cord6es.


            Tabela 43 -       Valores de NEXT em frequemcias crlticas para cord6es categorias 5e, 6 e 7

                                                                            NEXT
                                                                             dB
        I
            Frequemcia          Cordao categoria 5e                  Cordao categoria 6        Cordao categoria 7
               MHz
                                      Comprimento                      Comprimento                 Comprimento
                               2m        5m         10 m        2m          5m       10 m   2m       5m          10 m
                       1      65,0      65,0        65,0        65,0        65,0     65,0   65,0     65,0        65,0

                   16         50,3      49,5        48,7        61,6        60,0     58,5   65,0     65,0        65,0
               100            35,0       34,7       34,5        46,2        45,0     44,2   65,0     65,0        65,0
               250                                              38,6        37,9     37,6   60,7     61,2        61,9
                                          N/A
               600                                                           N/A            55,4     56,2        57,0


Para cabeyas de ensaio comumente disponiveis para categoria 5e, a valor em 100 MHz                   e dado par:
     NEXTconector (100) = 41,0                                                                                          (11 )
ABNT NBR 14565:2007





                                                                                  Anexo A
                                                                                 (normativo)

                                Desempenho de enlace permanente e enlace do CP




A.1       Geral

Este anexo contem as equac;:oes para 0 calculo dos requisitos de desempenho para enlaces permanentes
e enlaces do CP, conforme mostrado na figura A.1.

o cabeamento sob ensaio nas configurac;:oes A, B ou C e chamado de enlace permanente. As configurac;:oes A e B
compreendem apenas 0 cabeamento fixo. A configurac;:ao C compreende 0 cabeamento fixo e um cabo do CP
entre 0 CP e a TO. Medidas feitas para esta configurac;:ao devem ser repetidas se 0 cabo do CP for trocado.
o cabeamento sob ensaio na configurac;:ao 0 contem apenas 0 cabeamento fixo e termina no CP.
Em todas as configurac;:oes, a referenda de configurac;:ao de ensaio de um enlace permanente ou enlace do CP
esta no cordao de ensaio. A conexao entre 0 cordao de ensaio e 0 ponto de terminac;:ao do enlace permanente
ou enlace do CP sob ensaio faz parte do enlace a ser ensaiado.


                                                                           TI
                        Backbone                         ET
                                                                      Mp                                  M
                                                                                                          PP:
                                                                                                                ET      Configura~ao A

                        Horizontal                       ET
                                                                      Mp                            T~          ET   I Configura.;:ao B
                        Horizontal                        ET
                                                                      Mp    I
                                                                            I~
                                                                                                   C~,
                                                                                                           .~
                                                                                                                ET   I Configura~ao C
                                                                                      Enlace permanente




                        Horizontal
                                                       lET            0vi1p
                                                                         ,p                        ~            ET   I   Configura~ao 0

                                                                                                     .'
                                                                                                   CP:    TO
                                                                            :~                        ,
                                                                                       Enlace CP

                                                                                  [g     = conexao


Legenda:
PP :: patch panel
C :: conex8o acoplada
CP :: ponto de consolida980
TO :: tomada de telecomunica90es
TI :: interface de ensaio
ET :: equipamento de ensaio

                                                                       Figura A.1 -      Op<;oes de enlaces



trltI::::ItIT ?nf7 _ Tnnnc:. n<: rlirpitnc:.   rpc:.prl~r1()c:.                                                                       63
ABNT NBR 14565:2007



A.2     Desempenho

A.2.1   Geral

Os parametros definidos neste anexo se aplicam a enlaces permanentes balanceados e enlaces do CP com
ou sem blindagem. A impedancia nominal para enlace permanente ou enlace do CP e de 100 n. Esta impedancia
e obtida por meio de um projeto adequado e uma escolha apropriada dos componentes do cabeamento.
Os requisitos deste anexo sao baseados em limites calculados, para uma casa decimal, usando uma equac;:ao
para uma determinada escala de frequencias. Os limites para atraso de propagac;:ao e diferenc;:a de atraso
de propagac;:ao sao calculados com tres casas decimais.

A.2.2    Perda de retorno

A perda de retorno (RL) de cada par de um enlace permanente ou enlace do CP deve atender aos requisitos
derivados da equac;:ao na tabela A.1.

A perda de retorno (RL) de cada par de um enlace permanente completo nas frequencias crfticas                                   e dada
na tabela A.2.

Os requisitos para a perda de retorno devem ser atendidos em ambas as extremidades do cabeamento.
Os valores de perda de retorno (RL) para frequencias onde a perda de inserc;:ao seja inferior a 3,0 dB tem carater
informativo.

Quando requisitado, a perda de retorno deve ser medida de acordo com a ASTM 04566. Terminac;:6es de 100                             n
devem ser utilizadas para conectar os componentes de cabeamento sob ensaio no lado remoto do canal.

                         Tabela A.1 -        Perda de retorno para enlace permanente au enlace do CP

                                                           Freqi.iencia                 Perda de retorno minima
                                  Classe
                                                              MHz                                 dB
                                    C                       1 ::s; (::s; 16                        15
                                                            1 ::s; (::s; 20                        19
                                        0
                                                           20::s; (::s; 100                        19
                                                            1 ::s; (::s; 10                        21
                                        E                   10::s;(::S;40                     26 - 5 log (f)
                                                           40::s; (::s; 250                  34 - 10 log (f)
                                                            1 ::s; (::s; 10                        21
                                                            10::s; (::s; 40                   26 - 5 log (f)
                                        F
                                                          40::s; (::s; 251,2                 34 - 10 log (f)
                                                      251,2 ::s; (::s; 600                         10

      Tabela A.2 -       Valores de perda de retorno para enlace permanente completo em frequencias crfticas
                                                                               Perda de retorno minima
             FreQuencia                                                                  dB
                MHz
                                            Categoria 3                   Categoria 4            Categoria 5e     Categoria 6
                     1                          15                             19                       21            21
                 16                             15                             19                       20            20
                 100                           N/A                             12                       14            14
                 250                           N/A                             N/A                      10            10
                 600                           N/A                             N/A                      N/A           10
ABNT NBR 14565:2007




A.2.3   Perda de insergao

A perda de inserc;;ao de cada par de um enlace permanente ou do CP deve atender aos requisitos derivados
da equac;;ao da tabela A.3.

Um metodo prcHico para estabelecer uma conformidade de desempenho do enlace e demonstrar que a margem
entre 0 valor medido e os limites de canal mostrados na tabela 4 e adequada para permitir a inclusao de qualquer
componente usado para implementar um canal. A perda de inserc;;ao (IL) em cada par de um enlace permanente
completo e dada na tabela A.4.

A perda de inserc;;ao deve estar em conformidade com os componentes utilizados no cabeamento.

Quando requerido, a perda de inserc;;ao deve ser medida de acordo com a ABNT NBR 9133.


                     Tabela A.3 -      Perda de inserc;;ao para enlace permanente ou enlace do CP

                               Frequ{mcia                                   Perda de insen;:ao maxima       a
              Classe
                                   MHz                                                  dB

                A                 f= 0,1                                                    16
                 B                f= 0,1                                                    5,5
                                    f= 1                                                    5,8

                C               1~f~16                                       0,9 X (3,23    Jf )+ 3 X 0,2
                 0              1 ~ f ~ 100                  (L/1 OO)x (1,9108Jf + 0,0222 X f + 0,2/ Jf)+ n" 0.04 Jf     A




                 E              1~f    ~   250               (L/1 OO)x (1.82Jf   + 0,0169   X   f + 0,25/ Jf)+ n· 0.02   A   Jf
                 F              1~ f   ~   600                  (L/100)x (1,8Jf + 0,01 X f + 0,2/ Jf)+ n X 0.02 x Jf
        Legenda:

              =
             L (L FC + Lcp)Y
               =
             LFC comprimento do cabo fixo
               =
             Lcp comprimento do cabo do CP (onde eXistir) (m)
              =
             Y Relacao da atenuacao do cabo do CP (dB/m) e a atenuacao do cabeamento horizontal (dB/m)
             n = 2 para as configuracoes A, B ou D
             n = 3 para a configuracao C
        .   Perda de insercao (IL) para freqOemcias que correspondam a valores calculados e inferiores a 4,0 dB deve ser alterada
        para um requisito maximo de 4,0 dB.

              Tabela A.4 -     Valores informativos para perda de insercao para enlaces permanentes
                                           completos em freqQencias crfticas

                                                                Perda de inser~ao maxima
            Frequencia                                                     dB
               MHz
                             Classe   A          Cia sse B       Classe C          Classe 0             Classe E             Classe F

               0,1             16,0                5,5              N/A               N/A                  N/A      I
                                                                                                                                  N/A
                1              N/A                  5,8             4,0               4,0                  4,0      i             4,0
                                                                                                                    I
                16             N/A                 N/A              12,2              7,7                  7,1      I             6,9

               100             N/A                 N/A              N/A               20,4                18,5      I
                                                                                                                                  17,7

               250             N/A                 N/A              N/A               N/A                 30,7      I             28,8
               600             N/A                 N/A              N/A               N/A                  N/A                   46,6




                                                                                                                                         65
BNT NBR 14565:2007



..2.4 NEXT

.2.4.1       NEXT par a par

INEXT entre cada combinac;;ao de pares de um enlace permanente ou enlace do CP deve atender aos requisitos

erivados da equac;;ao na tabela A.5.


I   valor de NEXT entre cada combinac;;ao de pares para um enlace permanente completo                                                           e dado na tabela A.6.

ISrequisitos de NEXT devem ser atendidos em ambas as extremidades do cabeamento. Valores de NEXT para

equencias em que a perda por inserc;;ao (IL) seja inferior a 4,0 dB sao de carater informativo.


IS   valores de NEXT devem estar em conformidade com os componentes utilizados no cabeamento.


luando requerido, 0 NEXT deve ser medido de acordo com a ASTM 04566.


                                                  Tabela A.5 -      NEXT para enlace permanente e enlace do CP

                            Classe       I Frequencia                                               NEXT minima
                                         'I           MHz
                                                      dB
                              A          I           f - 0,1
                                               27,0
                              B           I       0,1 :s; f:s; 1
                                    25 - 1510g (f)
               i              C                    1 :s; f:s; 16
                                  40,1 - 15,810g (f)
                                              :
 1 :s;
                              D                          f:s; 100

                                                                                 _ 20 Ig
                                                                                           l '" -"'' ' ,'I
                                                                                            10        -    20        + 10
                                                                                                                            " -'""''''
                                                                                                                               - 20
                                                                                                                                          1 a




                              E                   1 :s; f:s; 250

                                                                                 - 20 Ig
                                                                                           l '" -"'' ' ,'I "-'' ' ' "} 1
                                                                                              10          - 20       +10       -20          b




                               F
                                              I
                                                   1 :s; f:s; 600
                                                                                - 20 Ig
                                                                                           [ '"' -""",} ",,, "'' ' '} 1
                                                                                           10         -   20         + 10       -   20          b
                   I

                       aj NEXT em frequencias correspondentes a valores calculados maiores que 60,0 dB deve reverter ao requisito

                       minimo de 60.0 dB.
                        NEXT em frequencias correspondentes a valores calculados maiores que 65,0 dB deve reverter ao requisito
                       hJ
                       minima de 65.0 dB.

                   Tabela A.6 -                      Valores informativos para NEXT para enlaces permanentes completos
                                                                     em frequencias criticas
         I                                                                                  NEXT minima
             Frequencia                                                                             dB
                MHz
                                                  Classe A
         Classe B
      Classe C
                   Classe D
             Classe E           Classe F
                       0,1                          27,0
             40,0
           N/A
                       N/A
                    N/A              N/A
                        1                            N/A
             25,0
           40,1
                      60,0
                   65,0             65,0
                       16                            N/A
             N/A
            21,1
                      45,2
                   54,6             65,0
                   100                               N/A
             N/A
            N/A
                       32,3
                   41.8             65,0
                   250               i
                                                     N/A
             N/A
            N/A
                       N/A
                    35,3             60,4
                   600                               N/A              N/A
            N/A
                       N/A
                    N/A              54,7
ABNT NBR 14565:2007



A.2.4.2   Power Sum NEXT (PS NEXT)

o PS NEXT e aplicado apenas para as classes D, E e F.
o PS NEXT de cada par de um enlace permanente ou enlace do CP deve atender aos requisitos derivados da
equac;:ao na tabela A.7.

o valor de PS NEXT de cada par de um enlace permanente completo e dado na tabela A.8.
o valor de PS NEXT deve ser atendido em ambas as extremidades do cabeamento. Os valores de PS NEXT
em frequemcias em que a perda de inserc;:ao seja inferior a 4,0 dB sao apenas informativos.

Os valores de PS NEXT devem estar em conformidade com os componentes do cabeamento.

PS NEXTk do par k e calculado como segue:

                                         n      -NEXTik
     PNEXT   =:   -10 log             2:: 10      10
                                    i=1, i,.k


onde:

             e    0   numero do par interferente;

     k       e 0 numero do par interferido;

     n       eo numero total de pares;

     NEXTk   e a paradiafonia acoplada no par k, a partir do sinal interferente no par i.


                                         Tabela A.7 -         IlEXT para enlace permanente e enlace do CP

                                                  Freq[j{mcia
                         PS NEXT minima
                                   Classe                                                                                                   II

                                                     MHz
                                   dB

                                                                                  r
                                                                         - 20 Ig 10
                                                                                       62.3-1510g(1)
                                                                                            -20        + 10
                                                                                                              80-2 01 09(1)
                                                                                                                  -20
                                                                                                                              J   a
                                                                                                                                            I
                                                                                                                                            !
                                     D             1 ::; f::; 100
                                                                                  ,
                       I
                                                                                                                                            iI
                                                                               (72,3-15/09 (1)               90-2010g(1) ]
                                                                                                                                  b
                                     E             1 ::; f::; 250        -201g 10          -20         +10         20
                                                                                                                                            I
                                                                                  (
                                                                                       99,415 109(/)         99,4 -15og(1) 'I

                                     F             1 ::; f::; 600        -201 g   lW       -20         +10         -20        I

                                                                                                                              )
                                                                                                                                  b




                               .  NEXT em freqOencias correspondentes a valores calculados maiores que 57,0 dB deve
                               reverter ao requisito minimo de 57.0 dB.
                               b
                                  NEXT em fre q Oencias corres pondentes a valores calculados maiores q ue 62.0 dB deve
                           I   reverter ao requisito minima de 62,0 dB.




                                                                                                                                                        67
ABNT NBR 14565:2007



                Tabela A.a -     Valores informativos para PS NEXT para enlaces permanentes
                                        completos em freqOelncias criticas
                                                              PS NEXT minima
                                Frequencia                          dB
                                   MHz
                                                  Classe D       Classe E      Classe F
                                        1           57,0           62,0          62,0
                                    16              42,2           52,2          62,0
                                    100              29,3          39,3          62,0
                                    250              N/A           32,7          57,4
                                    600              N/A           N/A           51,7


A.2.5     Relagao atenuagao paradiafonia (ACR)


Os requisitos para ACR sao validos apenas para as classes D, E e F.


A.2.5.1    ACR par a par

o ACR par a par e a diferenc;a entre 0      NEXT par a par e a perda de inserc;ao do cabeamento, em decibels.

o valor de ACR de cada combinac;ao de par de um enlace permanente ou enlace do CP deve atender a diferenc;a
do requisito de NEXT da tabela A.5 e 0 requisito de perda de inserc;ao da tabela A.3 da respectiva c1asse.

o valor de ACR de cada combinac;ao de par de um enlace permanente completo e dado na tabela A.9.
Os requisitos para ACR devem ser atendidos em ambas as extremidades do cabeamento. Os valores de ACR
para frequencias em que a perda de inserc;ao (IL) seja inferior a 4,0 dB sao de carater informativo.

o ACRik do par i eke calculado como segue:


onde:

              e 0 numero do par interferente;

    k         eo numero do par interferido;

    NEXTik    e a paradiafonia acoplada no par k,a partir do sinal interferente no par i;

    ILk     e a perda de inserc;ao do par k. Quando requerido, a perda de inserc;ao deve ser medida de acordo
    com a ABNT NBR 9133.


                           Tabela A.9 - Valores informativos para ACR para enlaces
                              permanentes completos em freqOelncias principais
                                                                 ACR minima
                               Frequencia                           dB
                                  MHz
                                                   Classe D        Classe E       Classe F
                                   1                 56,0            61,0           61,0
                                   16                37,5           47,5            58,1
                                  100                11,9            23,3           47,3
                                  250                N/A             4,7            31,6
                                  600                N/A             N/A                8,1
ABNT IIBR 14565:2007




A.2.5.2    Power sum ACR (PS ACR)

o  PS ACR de cada par de um enlace permanente ou enlace do CP deve atender a diferenc;a do requisito
de PS NEXT da tabela A.7 e a perda de inserc;ao dada na tabela A.3 para a respectiva c1asse.

o PS ACR de cada par de um enlace permanente completo e dado na tabela A.10.
Os requisitos para PS ACR devem ser atendidos em ambas as extremidades do cabeamento. Valores de PS ACR
para frequencias em que a perda de inserc;ao seja inferior a 4,0 dB sao de carcHer informativo.

o PSACRk do par k e calculado como segue:


onde:

    k           e   0   numero do par interferido;

    PSNEXTk eo PS NEXT do par k;

    ILk      e a perda de inserc;ao do par k. Quando requerido, deve ser medida de acordo com
    a ABNT NBR 9133.


                            Tabela A.10 - Valores informativos para PS ACR para enlaces
                                   permanentes completos em freqOmcias crfticas
                                                                   €

                                                            PS ACR minim a                 ,
                               FreqOmcia
                                    €                            dB                        i
                                  MHz
                                                Classe 0     Classe E        Classe F      I

                                    1                53,0      58,0            58,0        i


                                   16                34,5      45,1            55.1        :
                                                     8,9       20,8            44,3        !
                                   100                                                     !
                                   250               N/A       2,0             28,6        !
                                   600               N/A       N/A             5,1         !


 A.2.6     ELFEXT


 Os requisitos para ELFEXT sao validos apenas para as classes D, E e F.


 A.2.6.1    ELFEXT par a par

 Os valores de ELFEXT de cada combinac;ao de pares de um enlace permanente ou enlace do CP devem atender
 aos requisitos derivados da equac;ao na tabela A.11.

 Os valores para ELFEXT de cada combinac;ao de pares para um enlace permanente completo sao dados
 na tabela A.12.

 o ELFEXT deve estar em conformidade com os componentes do cabeamento.




                                                                                                           69
ABNT NBR 14565:2007




o ELFEXTik dos pares i eke calculado como segue:
    ELFEXT ik     =FEXT,k - ILk
onde:

             e    0   numero do par interferente;

    k        e 0 numero do par interferido;

    FEXT'k e a telediafonia medida sobre 0 par k a partir do sinal interferente do par i. Quando requerido                                        0   FEXT
    deve ser medido de acordo com a ASTM D 4566;

    ILk    e a perda de insen;ao do par k. Quando requerido, deve ser medida de acordo com a
    ABNT r-..IBR 9133.

NOTA        A relat;:ao entre a perda de insert;:ao (IL) do par interferido e a telediafonia (FEXT) relevante para a relat;:ao sinale
ruido. Os resultados calculados com base nas defini<;6es acima cobrem todas as combinat;:6es possiveis de perda de insert;:ao
dos pares e suas telediafonias correspondentes.


                                Tabela A.11 -            ELFEXT para enlace permanente e enlace do CP

                                   Frequencia                                           ELFEXT minimo a
              I       Classe
                                          MHz                                                dB


                        D           1   :0;   f:o; 100
                                                                              (
                                                                      - 20 Ig 10
                                                                                     63.8-20 log (f)
                                                                                          -20          + n x 10
                                                                                                                  75,1-20 log (I)
                                                                                                                       -20
                                                                                                                                    j
   b





                                                                                  (67,8-20109 (l)                 83,1-20 log(f)    J
   c
                        E           1   :0;   f:o; 250                ~   20 Ig 10       -20           + n x 10        -20

                               I
              r
                                                                                                                                              I




                               I
                                                                           [94-20109 (f)                          90-15Iog(f)       J    c
                        F           1   :0;   f:o; 600                -201g 1 0 -20                    +nx10           -20
              I
              !
                               I
                  Legenda:
                        n =2 para as configura.;:6es A, BeD
                        n =3 para as configura.;:6es C
                  A
                        ELFEXT em frequemcias que correspondem aos valores medidos de FEXT maiores que 70,0 dB
                  e de carater informativo.
                  b
                       ELFEXT em frequemcias que correspondem a valores medidos maiores que 60,0 dB deve reverter
              I   ao requislto minimo de 60,0 dB
              Ir     ELFEXT em frequemcias que correspond em a valores medidos maiores que 65,0 dB deve reverter
              I ao reqUisito minima de 65,0 dB

                                   Tabela A.12 - Valores informativos para ELFEXT para enlaces
                                          permanentes completos em frequencias crfticas

                                                                                   ELFEXT minima
                                     Frequencia                                         dB
                                              MHz
                                                             Classe   D                Classe E                        Classe F

                               I                1              58,6                       64,2                            65,0

                               I                16             34,5                       40,1                            59,3

                                               100             18,6                       24,2                            46,0

                                               250             NfA                         16,2                           39,2

                                               600             NfA                         NfA                            32,6
ABNT NBR 14565:2007




A.2.6.2   PS ELFEXT


Os valores de PS ELFEXT de cada par de um enlace permanente ou enlace do CP devem estar de acordo com os

requisitos derivados da equa<;:ao na tabela A.13.


Os val ores de PS ELFEXT para cada par de um enlace permanente completo sao dados na tabela A.14.


o PS ELF EXT deve estar em conformidade com os componentes do cabeamento.
o PSELFEXh do par k e calculado como segue:
                                      n          -ELFEXTik
     PSELFEXTk =-10109               I10            10
                                   i~1,   i",k


onde:

                    e0    numero do par interferente;

    k               e0    numero do par interferido;

    n               e 0 numero total de pares;
    ELFEXTik        e0    ELFEXT acoplado sobre              0   par k a partir do sinal interferente do par i.

                             Tabela A.13 -          PS ELFEXT para enlace permanente e enlace do CP

                                Freql.iencia
                                              PSELFEXT minima                 a
                    Classe
                                   MHz
                                                          dB                                                    I
                                                                              (60'8~2010g(f)                            72.'~20Iog(f)   J   b
                      0         1 :$ f:$ 100                              9
                                                                      -20 1 1 0 -20                          +nx10             -20




                      E          1 :$ f:$ 250
                                                                              r
                                                                      - 20 19 10
                                                                                           64.8~20Iog(f)
                                                                                                  -20        + n x 10
                                                                                                                        80.1~20Iog(f)
                                                                                                                               -2U
                                                                                                                                        I   c

                                                                                                                                       )

                      F          1 :$ f:$ 600                         - 20   19
                                                                                      [
                                                                                          10
                                                                                               91-20Iog(f)
                                                                                                  -20        + n x 10
                                                                                                                        87-15Iog(f)
                                                                                                                               -20
                                                                                                                                        I   c

                                                                                                                                        j
            I

                Legenda:

                     n =2 para as configuraciies A, BeD
                     n =3 para as configuraciies C
                a
                     PSELFEXT em freqOencias que correspond em aos valores medidos de FEXT maiores que 70,0 dB
                e de carater informativo.
                b
                   PSELFEXT em freqOencias que correspond em a valores medidos maiores que 57,0 dB deve reverter
                ao requisito minimo de 57,0 dB.
                c
                   ELFEXT em freqOencias que correspond em a valores medidos maiores que 62,0 dB deve reverter
                ao requisito minima de 62,0 dB.




                                                                                                                                                              71
ABNT NBR 14565:2007




                         Tabela A.14 - Valores informativos para PS ELFEXT para enlaces
                                  permanentes completos em freqOencias crfticas
                                                                      PS ELFEXT minimo
                                     Frequencia                              dB
                                        MHz
                                                           Classe D          Classe E          Classe F
                                            1                55,6              61,2              62,0
                                           16                31,5              37,1              56,3
                                          100                15,6              21,2              43,0
                                          250                N/A               13,2              36,2
                                          600                N/A               N/A               29,6


A.2.7   Resistencia de la<;o em corrente continua (CC)

A resistemcia de la<;;o CC de cada par de um enlace permanente ou enlace do CP deve atender aos requisitos
derivados da equa<;;80 na tabela A.15.

Um metodo pratico para estabelecer a conformidade de desempenho do enlace e demonstrar que a margem entre
o valor medido e 0 limite do canal da tabela A.16 e adequada para acomodar qualquer componente usado para
implementar um canal. Isto e completamente atendido se os requisitos para perda de inser<;;80 e a diferen<;;a de
atraso de propaga<;;80 para 0 enlace permanente ou enlace do CP forem atendidos.

o valor da resistencia de la<;o CC de cada par do enlace permanente completo e dado na tabela A.16.
A resistencia de la<;;o CC deve estar em conformidade com os componentes do cabeamento. Quando requerido, a
resistencia de la<;;o CC deve ser medida de acordo com a ABNT NBR 6814.

                            Tabela A.15 -             Resistemcia de la<;o CC informativa para enlace
                                                        permanente e enlace do CP
                     ;
                                                                    Resistencia CC maxima
                          Classe
                     !                                                         n
                     i       A                                                530
                             B                                                140
                     I
                             C                                                34
                             D                                       (L/100) x 22 + n x 0,4
                             E                                       (L/100) x 22 + n x 0,4
                     I       F                                       (L/100) x 22 + n x 0,4
                     i   Legenda:
                     i      L = (L FC + L cp ) x Y
                     i
                     I      L FC = Comprimento do cabo fixo (m)
                     I
                            L rp = Comprimento do cabo do CP (onde presente) (m)
                            Y = A rela<;:ao entre a atenua<;:ao do cabo do CP (dB/m) e a atenua<;:ao do cabo fixo
                            horizontal (dB/m)
                            n = 2 para as configura<;:6es A, BeD
                            n = 3 para a configura<;:ao C

                            Tabela A.16 -         Valores informativos para resistencia de la((o CC
                                                 para enlaces permanentes completos

                                                        Resistencia de lar;;o CC maxima
                 I
                                                                         n
                         Classe A         Classe B          Classe C         Classe D         Classe E    Classe F
                 I


                 I
                           530                  140            34               21              21          21
ABNT IIBR 14565:2007




A.2.8 Desequilfbrio resisitivo                      C.C.

o desequilfbrio resistivo c.c. dos dois condutores do par em
                                                          rela9ao a todos os pares de um enlace permanente
ou enlace do CP nao deve exceder 5% para todas as classes. Isto deve ser guarantido pelo projeto.

A.2.9 Atraso de propagac;ao

o atraso de propaga9ao de cada par de um enlace permanente ou enlace do CP deve atender ao requisito
derivado da equa9c30 na tabela A.17.

Um metodo pratico para estabelecer a conformidade de desempenho do enlace e demonstrar que a margem entre
o valor medido e os limites para 0 canal da tabela A.17 sao adequados para acomodar qualquer componente
adicional usado para implementar um canal. Isto e completamente atendido se os requisitos de perda de inser9ao
e diferen9a de atraso de propaga9ao para 0 enlace permanente ou enlace do CP forem atendidos.

o  atraso de propaga9ao de cada par do enlace permanente completo e dado na tabela A.18. 0 atraso de
propaga9ao deve estar em conformidade com os componentes do cabeamento.

Quando requerido, 0 atraso de propaga9ao deve ser medido de acordo com a ASTM D 4566.


                    Tabela A.17 -           Atraso de propagac;c3o para enlace permanente e enlace do CP

                              Freqi.iencia                                 Atraso de propaga<;ao maximo
               Ciasse
                                 MHz                                                       ..Is
                     A             f= 0,1                                               19,400
                     B         0,1   :0;   f:o; 1                                        4,400

                     C         1 :0; f:o; 16                           (L/100) x (0,534 + 0,036 / Jf) + n x 0,0025

                     D         1:o;f:o;100                             (L /100) x (0,534 + 0,036/ Jf) + n x 0,0025

                     E         1:0; f:o; 250                           (L /100) x (0,534 + 0,036/ Jf) + n x 0,0025

                     F         1 :0; f:o; 600                          (L /100) x (0,534 + 0,036/ Jf) + n x 0,0025
              Legenda:
                    L =LFC + Lcp
                    LFC =Comprimenlo do cabo fixe (m)
                    Lcp =Comprimenlo do cabo do CP, onde presenle (m)
                    n =2 para as configuraf;oes A, BeD
                    n =3 para a configuraf;ao C

                    Tabela A.18 -            Valores informativos para atraso de propagac;ao para enlaces
                                            permanentes completos em frequemcias crfticas
                                                                      Atraso de propaga<;ao maximo
          Freqi.iencia                                                              ..Is
             MHz
                              Classe A                     Classe B     Classe C          Classe D          Classe E          Classe F
              0,1              19,400                       4,400          N/A                 N/A             N/A        :     N/A
               1                   N/A                      4,400         0,521              0,521            0,521            0,521
              16                   N/A                       N/A          0,496              0,496            0,496            0,496
              100                  N/A                       N/A           N/A               0,491            0,491            0,491
              250                  N/A                       N/A           N/A                 N/A            0,490           .0,490
              600                  N/A                       N/A           N/A                 N/A             N/A             0,489




                                                                                                                                         73
ABNT NBR 14565:2007




A.2.10 Diferenc;a de atraso de propagac;<3.o (delay skew)

A diferenc;:a de atraso de propagac;:ao (delay skew) de todos os pares de um enlace permanente ou enlace do CP
deve atender aos requisitos derivados da equac;:ao na tabela A.19.

Um metoda pratico para estabelecer a conformidade de desempenho do enlace e demonstrar que a margem entre
o valor medido e os limites do canal da tabela A.19 e adequada para acomodar qualquer componente adicional
usado para implementar um canal. Este requisito e completamente atendido se os requisitos de perda e inserc;:ao
e diferenc;:a de atraso de propagac;:ao para 0 enlace permanente ou enlace do CP forem atendidos.

A diferenc;:a de atraso de propagac;:ao dos pares de um enlace permanente completo e dada na tabela A.20.

A diferenc;:a de atraso de propagac;:ao deve estar em conformidade com os componentes do cabeamento.
Quando requerido. a diferenc;:a de atraso de propagac;:ao deve ser medida de acordo com a ASTM D 4566.


                             Tabela A.19 -                Diferenc;:a de atraso de propaga<;:3.o para enlace
                                                             permanente e enlace do CP

                                   FrequElncia                        Diferen~a de atraso de propaga~ao maxima
                    Classe
                                          MHz                                               IJs
                      A                 f= 0.1                                             N/A
                      B             0.1   ~   f~ 1                                         N/A
                      C              1~f~16                                   (L/100) x 0,045 + n x 0,00125
                      D             1~ f   ~      100                         (L/100) x 0,045 + n x 0,00125
                      E             1 ~ f ~ 250                               (L/100) x 0,045 + n x 0,00125
                      F             1 ~ f ~ 600                               (L/100) x 0,045 + n x 0,00125
                Legenda:

                     L = LFC + Lcp

                     LFC = Comprimento do cabo fixe (m)

                     Lcp = Comprimento do cabo do CP (onde presente) (m)

                     n = 2 para as configura90es A, BeD

                     n = 3 para a configura9ao C

                Tabela A.20 - Valores informativos para diferen<;:a de atraso de propaga<;:3.o
                       para enlaces permanentes completos em freqQencias criticas

               I Classe             Frequencia                         Diferen~a de atraso de propaga~ao maximo
                                          MHz                                               IJS
                      A                 f= 0,1                                             N/A
                      B             0, 1 ~ f      ~   1                                    N/A
                      C              1~    f~     16                                      0,044 a
                      D             1~ f      ~   100                                     0,044 a

                      E             1   ~ f~      250                                     0,044 a
                      F             1~ f      ~   600                                     0,026   b

                ,
                     Este   e0   resultado do calculo 0,9      X   0,045 + 3 X 0,00125.
                ,
                     Este e 0 resultado do calculo 0,9         X   0,025 + 3 X 0,00125.
ABNT NBR 14565:2007





                                                   Anexo B
                                                  (normativo)

                                      Procedimentos de ensaios




B.1     Geral

Este anexo sobre procedimentos de ensaios e dividido em quatro partes. Em B.1 sao fornecidas informac;;6es
gerais. Em B.2 sao fornecidas referencias para procedimentos de ensaios em cabeamento instalado e cabeamento
em ambiente de laboratOrio. Em B.3 sao fornecidas referencias para procedimentos de ensaios em patch cords
montados em fabrica. Em B.4 sao fornecidas referencias para procedimentos de ensaios em componentes
individuais.



B.2     Ensaios de desempenho de canal e enlace

B.2.1     Ensaios de canais de cabeamento balanceado, enlaces permanentes e enlaces do CP

as procedimentos de ensaios em instalac;;6es de cabeamento balanceado sao especificados na lEe 61935-1.

B.2.2     Ensaios dos canais de cabeamento em fibra 6ptica

as procedimentos de ensaios em instalac;;6es de cabeamento optico sao especificados na ABNT NBR 14433.

B.2.3     Sequencia de ensaios em canais e enlaces

as canais e enlaces sao normalmente ensaiados quanto a compatibilidade com requerimentos especfficos apos a
instalaC;;ao. Para estes ensaios em campo ha instrumentos de ensaio disponiveis. as canais e enlaces
permanentes tambem podem ser ensaiados em ambiente de laboratorio. Isso se da com a intenC;;ao de provar a
compatibilidade de sistemas construidos a partir de componentes especificos. Estes ensaios podem usar tanto
equipamentos de laboratorio quanto equipamentos de ensaio de campo. Ensaios que utilizam instrumentac;;ao de
laboratorio, que sao realizados de acordo com padr6es internacionais, podem servir de referencia para a avaliac;;ao
da precis80 dos equipamentos de ensaios de campo.

NOTA       Se equipamentos de ensaios de campo nao estiverem disponiveis para certas classes de cabeamento,
instrumentos de laborat6rio podem ser utilizados. Para medir parametros que requeiram acesso a ambas as extremidades do
cabeamento simultaneamente, equipamentos de laborat6rio podem nao ser muito praticos. Recomenda-se que este
cabeamento seja instalado de forma que apenas ensaios de aceita<;ao (ver defini<;ao abaixo) sejam requeridos.

as diferentes tipos de ensaios podem ser c1assificados como descrito em B.2.3.1 a B.2.3.3.

B.2.3.1    Ensaio de aceita980

E uma forma de validar 0 cabeamento instalado par meio da mediC;;ao de parametros de transmissao requeridos
por esta Norma e sua posterior comparay80 com os limites estabelecidos por ela para cada categoria
de desempenho.




                                                                                                                    7~
ABNT IIBR 14565:2007



8.2.3.2    Ensaio de compatibilidade

E uma    forma de validar 0 cabeamento instalado, composto de componentes conhecidos ou nao. Difere-se do
ensaio de aceita~o por incluir componentes nao conhecidos e que se deseja avaliar a compatibilidade com uma
::Jada categoria de desempenho de um sistema de cabeamento instalado.

8.2.3.3     Ensaio de referE!ncia

E uma forma de ensaiar modelos de cabeamento em ambiente de laborat6rio e comparar os resultados obtidos
por meio de instrumentos de laborat6rio com aqueles obtidos em campo. Os ensaios de referencia em laborat6rio
sao tambem utilizados para verificar as propriedades de um sistema de cabeamento que nao se poderiam ensaiar
no campo.

Na tabela B.1, 0 tipo de ensaio a ser conduzido em cada canalou enlace permanente e indicado por um "I"
(informativo) ou "N" (normativo). Os parametros que sao calculados a partir de resultados medidos sao indicados
por um "e" (calculado). Os ensaios indicados por um "I" podem ser conduzidos como parte de um ensaio de
aceita<;ao. Os ensaios indicados por um "N" devem ser conduzidos como parte de um ensaio de aceita<;ao,
compatibilidade ou referencia.


               Tabela B.1 -      Caracteristicas de ensaios de aceitac;:ao, compatibilidade e referencia
                                  para cabeamento de pares balanceados e fibra 6ptica
                                                                                       Tipo de ensaio
                          Caracteristicas do cabeamento
                                                                         Aceita<;:ao   Compatibilidade   Referencia
                    I   Mapeamento dos condutores                            N               N               N
                    I
                    1   Continuidade, blindagem (se aplic8vel),
                                                                             N               N               N
                    I   curto-circuito e circuito aberto
                    I Comprimento                                            C                I              N
                    I Perda de retorno                                       N                N              N
                    I

                    i Perda de inser<;:ao                                    N                N              N
                    I Paradiafonia (NEXT)                                    N                N              N
                    i Power Sum Paradiafonia (PS NEXT)                       C                C              C
        Pares    I
     balanceados I Rela<;:ao Atenua<;:ao Paradiafonia (ACR)                  C                C              C
                    I Power Sum Rela<;:ao Atenua<;:ao Paradiafonia
                                                                             C                C              C
                    i (PS ACR)
                    i Telediafonia de Nivel Equalizado (ELFEXT)              C                N              N
                    I   Power Sum Telediafonia de Nivel Equalizado
                    !   (PS ELFEXT)                                           C               C              C

                    : Resistencia de la<;:o CC                                I               N              N
                    I   Atraso de propaga<;:ao                                N               N              N
                    : Diferen<;:a de atraso de propaga<;:ao                   N               N              N
                    I   Atenua<;:ao 6ptica                                    N               N              N
                        Largura de banda modal                                                               N
          Fibras
                        Atraso de propaga<;:ao                                N               N              N
          6pticas
                        Comprimento                                          C                C              C
                    I   Continuidade e manuten<;:ao de polaridade             N               N              N

 Is caracterfsticas do cabeamento a serem ensaiados para aceita<;ao, compatibilidade e referencia devem atender
 )U superar os requisitos descritos em 6.4 para cabeamento balanceado e se<;ao 8 para cabeamento 6ptico.
ABNT NBR 14565:2007




B.3     Ensaios de transmissao de patch cords para cabeamento balanceado

Os ensaios de patch cords para cabeamento balanceado devem ser conduzidos conforme especificados
na IEC 61935-2.


B.4     Ensaios de transmissao de componentes para cabeamento

B.4.1   Ensaios de transmissao em cabos de cobre para cabeamento balanceado

Os ensaios de cabos      para   cabeamento    balanceado     devem   ser   conduzidos   conforme   especificado
na ABNT NBR 14703.

B.4.2 Ensaios de transmissao em hardware de conexao para cabeamento balanceado

Os ensaios de hardware de conexao para cabeamento balanceado devem ser conduzidos conforme especificado
na IEC 60603-7.

B.4.3    Ensaios de transmissao em cabos para cabeamento optico

Os ensaios de cabos de fibras para cabeamento 6ptico devem ser conduzidos conforme especificados
na IEC 60794-2 para cabos de uso interne e IEC 60794-3 para cabos de uso externo.

B.4.4 Ensaios de transmissao em conectores para cabeamento optico

Os ensaios de conectores        para   cabeamento   6ptico   devem   ser   conduzidos   conforme   especificado
na ABNT NBR 14433.




                                                                                                             77
ABNT NBR 14565:2007





                                                  Anexo C
                                                (informativo)

                                Caracterfsticas eletromagneticas




C.1   Descric;ao

o cabeamento consiste em componentes passivos e, portanto, poderia ter sua compatibilidade eletremagnetica
verificada (CISPR 22 e CISPR 24) quando conectado a equipamentos ativos. No entanto, as caracterfsticas
eletromagneticas da instalaC;;ao de uma rede sao influenciadas par parametres como balanceamento, blindagem
e/ou propriedades do cabo.

o usa de componentes com boas caracteristicas eletromagneticas, a usa de componentes com au sem blindagem
ao longo do sistema e a instalac;;ao de acordo com as instruc;;6es do fabricante e sistema de aterramento eficiente
ajudam a atingir boas caracteristicas eletromagneticas no sistema de cabeamento.

As caracterfsticas eletromagneticas dos componentes referenciados nesta Norma podem ser usadas como guia
quando um equipamento para aplicac;;ao especffica e construfdo e ensaiado para compatibilidade de acordo com
CISPR 22 e CISPR 24.
ABNT tIBR 14565:2007




                                                       Anexo 0
                                                     (informativo)

                                            Aplica<;6es suportadas




D.1   Aplica<;oes suportadas em cabeamento balanceado

o cabeamento   balanceado aqui especificado suporta as aplicac;6es detalhadas neste anexo. Outras aplicac;oes,
embora nao listadas, tambem podem ser suportadas.

As aplicac;6es de cabeamento balanceado sao dependentes do desempenho do canal das classes especificadas
na sec;ao 6. 0 cabeamento generico foi projetado para suportar transmiss6es 6pticas e eletricas (balanceadas).
As aplicaC;6es que usam transmiss6es nao-balanceadas estao fora do escopo deste documento.

A tabela D.1 contem aplicac;oes tecnicamente estaveis quanto as especificac;oes de padroes internacionais
(por exemplo, publicadas pelas recomendac;oes ITU, especificac;6es do F6rum ATM, padroes IEEE, padroes
EINTIA,e pad roes ISO/lEG).

                          Tabela D.1 -    Aplica90es que utilizam cabeamento balanceado
               Aplicac;:ao         Referencia de especificac;:ao        Ano           Nome adicional
                                               Classe A (definida ate 100 kHz)
                  PBX                    Requisitos nacionais             -                PABX
                  X.21                     ITU-T Rec. X.21              1994                  -
                  V.11                     ITU-T Rec. X.21              1994                  -
                                                Classe B (definida ate 1 MHz)
                                                                                 ISDN BRI (camada fisica)
           SO-Bus (extendido)              ITU-T Rec. 1.430             1993
                                                                                      Basic .Access
                                                                                 ISDN BRI (camada fisica)
            Ponto a ponto SO               ITU-T Rec. 1.430             1993
                                                                                      Basic Access
                                                                                 ISDN PRI (camada fisica)
                 S1/S2                     ITU-T Rec. 1.431             1993
                                                                                     Primary Access
           COMA/C~       1Base5            ISOIIEC 8802-3               2000            Starian, AUI
                                                Classe C (definida ate 16 MHz)
           COMA/C~    10Base-T             ISOIIEC 8802-3               2000                  -
          COMA/C~   100Base-T4             ISOIIEC 8802-3               2000            Fast Ethernet
          COMA/C~   100Base-T2             ISOIIEC 8802-3               2000            Fast Ethernet
           Token Ring 4 Mb/s               ISOIIEC 8802-5               1998
                                                                                 Servic;:os de LAN integrados
                 ISLAN                     ISO/IEC 8802-9               1996
                                                                                  (Integrated Services LAN)
          Prioridade de demanda            ISOIIEC 8802-12              1998           VGAnyLAN     ™

                Aplicac;:ao        Referencia de especificac;:ao        Ano            Nome adicional
                                                Classe C (definida ate 16 MHz)
                                             ATM F6rum
          ATM LAN 25,60 Mb/s                                            1995        ATM-25/Categoria 3
                                           af-phy-0040.000




                                                                                                                79
~BNT   NBR 14565:2007



                                                                Tabela 0.1 (conclusao)
                        Aplica<;:ao           Referencia de especifica<;:ao           Ano                    Nome adicional
                                                            Classe C (definida ate 16 MHz)
                                                          ATM Forum
               ATM LAN 51,84 Mb/s                                                     1994                ATM-52/Categoria 3
                                                       af-phy-OO 18.000
                                                         ATM Forum
               ATM LAN 155.52 Mb/s                                                    1995                ATM-155/Categoria 3
                                                       af-phy-0047.000
                                                           Classe D (definida ate 100 MHz)
                CDMA/CD 100Base­
       ,                                               ISO/IEC 8802-3                 2000                     Fast Ethernet
                      TX
               CDMA/CD 1OOOBase-T                      ISOIIEC 8802-3                 2000                   Gigabit Ethernet
                    Token Ring 16 Mb/s                 ISOIIEC 8802-5                 1998                           -
                Token Ring 100 Mb/s                    ISOIIEC 8802-5                 2001                           -
                         TP-PMD                   ISO/IEC FCD 9314-10                 2000                       TP-PMD
                                                      ATM Forum af-phy­
               ATM LAN 155,52 Mb/s                                                        1994            ATM-155/Categoria 5
                                                          0015.000


~s aplicar;6es suportadas pelo cabeamento balanceado genenco listadas na tabela 0.1 utilizam a pinagem
jescrita na tabela 0.2. Esta pinagem e especifica para cada aplicar;ao de acordo com a ser;ao 6.

                                Tabela 0.2 -      Configurar;6es de pinagem em fun<;:ao das aplica<;:6es
                          Aplica<;:ao                 Pinos 1 & 2         Pinos 3 & 6            Pinos 4 & 5             Pinos 7 & 8
                             PBX                       Classe A   a)      Classe A   a)           Classe A               Classe A   a)

                             X.21                          -               Classe A               Classe A                    -
                             V.11                          -               Classe A               Classe A                    -
                                                           b)                                                                b)
                     SO Bus (extendido)                                    Classe B               Classe B
                                                           b)                                                                 b)
                      Ponto a ponto SO                                     Classe B               Classe B
                                                                               c)                                             b)
                            S1/S2                      Classe B                                   Classe B
                      CDMA/CD 1Base5                   Classe B            Classe B                   -                        -
                     CDMA/CD 10Base-T                  Classe C            Classe C                   -                        -
                      Token Ring 4 Mb/s                    -               Classe C               Classe C                     -
                                                                                                                              c)
                            ISLAN                      Classe C            Classe C                   -
                    Prioridade de demanda              Classe C            Classe C               Classe C                Classe C

           I
                     ATM-25/Categoria 3                Classe C                -                      -                   Classe C
                     ATM-51/Categoria 3                Classe C                -                      -                   Classe C
                    ATM-155/Categoria 3                Classe C                -                      -                   Classe C
                     Token Ring 16 Mb/s                    -               Classe D               Classe D                     -
                           TP-PMD                       Classe D               -                      -                   Classe D
                    ATM-155/Categoria 5                 Classe D               -                      -                   Classe D
                    CDMA/CD 100Base-T4                 Classe C            Classe C               Classe C                Classe C
                    CDMA/CD 100Base-T2                 Classe C            Classe C                   -                        -
                    CDMA/CD 1OOBase-TX                 Classe D            Classe D                   -                        -
                    Token Ring 100 Mb/s                    -               Classe D               Classe D                     -
                    CDMA/CD 1OOOBase-T                 Classe D            Classe D               Classe D                Classe D
                      ATM LAN 1,2 Gb/s                  Classe E           Classe E               Classe E                Classe E
               CDMA/CD 1000Base-TX                      Classe E           Classe E               Classe E                Classe E
               a)   sta op<;ao depende do fornecedor dos equipamentos.
               b)   Fonte de alimenta<;ao opcional.
               0)   ontinuidade de blindagem do cabeamento.
ABNT NBR 14565:2007





D.2   Aplica<;6es supartadas par cabeamenta de fibra 6ptica

o cabeamento 6ptico aqui especificado suporta as aplica<;oes detalhadas neste anexo. Outras aplica<;oes, embora
nao listadas, tambem podem ser suportadas.

As aplica<;oes em cabeamento de fibra 6ptica sao dependentes do desempenho de canal das classes
especificadas na se<;ao 8. A tabela 0.3 contem aplica<;oes tecnicamente estaveis quanta as especifica<;oes de
padroes internacionais (por exemplo, publicadas pelas recomenda<;oes ITU, especifica<;6es do F6rum ATM,
padroes IEEE, padroes EIAITIA e padroes ISO/lEG).

Os detalhes das aplica<;oes suportadas sao fornecidas para cada tipo de fibra 6ptica conforme incluido na se<;ao 9.
Informa<;oes adicionais estao descritas nas tabela 0.4 e 0.5, considerando 0 comprimento maximo dos canais.
As fibras do tipo OM1, OM2, OM3 e OS1 sao descritas na se<;ao 9.

Oeve-se assumir uma atenua<;ao maxima de 1,5 dB no hardware de conexao dentro do canal.




                                                                                                                 81
}>
                                                        Tabela 0.3 -             Aplica90es que utilizam cabeamento de fibra 6ptica                                                                       OJ
                                                                                                                                                                                                          '7
I                                                       Perda de inseryao maxima (dB)                                                   Canais suportados na ISO/IEC 11801                                -l
I       Aplicayao de rede                                    Multimodo'              Monomodo               fibra 6ptica OM1          fibra 6ptica OM2        fibra 6ptica OM3      fibra 6ptica OS1      Z
                                                                                                                                                                        1300 nm   1310 nm       1550 nm   OJ
I                                                     850 nm           1300 nm         1310 nm            850nm         1300 nm   850nm           1300 nm   850 nm
                                                                                                                                                                                                          JJ
IISO/IEC 8802-3: 10Base-FL, FP b: & FB I          12,5 (6,8)                                              OF-2000                 OF-2000                   OF-2000
e--                                                                                                                                                                                                       ~
                                            r                                                                                                                                                             (Jl
  ISOIIEC 11802-4: 4 & 16 Mbps Token Ring         13,0 (8,0)                                              OF-2000                 OF-2000                   OF-2000                                       (J')
                                                      _ . _ - - - - - - - - f - - - - - - - - - - - f--                           -                                                                  --   (Jl
                     .-
'---------------_.~-- -                         --.

    /'.TM @ 52 Mb/s    'I                              N/A            10.0 (5,3)          10,0                        OF-2000                   OF-2000                 OF-2000   OF-2000                 I)
~-
                                                                                                                                                                                                --        o
                                                                                                                                                                                  OF-2000
                                                                                                                                                                                                          o
    ATM @ 155 Mb/s 9                                    7,2           10,0 (5,3)          7,0             OF-SOO      OF-2000     OF-500        OF-2000     OF-500      OF-2000                           -....J

    ATM @ 622 Mb/s' r. 9                               4,0             6,0 (2,0)          7,0             OF-300      OF-SOO      OF-300        OF-500      OF-300      OF-500    OF-2000

    ISO/IEC 14165-111: Fibre Channel                                                                                                            OF-2000                 OF-2000
                                                       N/A                6,0                                         OF-2000
    (FC-PH) @ 133 Mb/s o. r

    ISO/IEC 14165-111: Fibre Channel                                                                                                            OF-2000     OF-2000     OF-2000   OF-2000
                                                       12,0            6,0 (5,5)          6,0             OF-2000     OF-2000     OF-2000
    FC-PH) @ 266 Mb/s 0 9

    ISO/IEC 14165-111: Fibre Channel                                                                                              OF-500                    OF-500                OF-2000
    (FC-PH) @ 531 Mb/s og
                                                       8,0                 -             14,0             OF-SOO

    ISOIIEC 14165-111: Fibre Channel                                                                                                                        OF-SOO                OF-2000
                           g                           4,0                 -              6,0             OF·300                  OF-500
    (FC-PH) @ 1,062 Mb/s·

    ISOIIEC 8802-3: 1000Base-SX'                  2,6 (3,56)               -               -                 h
                                                                                                                                  OF-500                    OF-500

    ISO/IEC 8802-3: 1000Base-LX e,g                      -                2,35           4,56                         OF-500                    OF-500                  OF-500    OF-2000

    ISO/IEC 9314-9: FOOl LCF-PMO      b.f                -             7,0 (2,0)           -                          OF-500                    OF-500                  OF-500

    ISO/IEC 9314-3: FOOl PMO      f                      -            11,0 (6,0)           -                          OF-2000                   OF-2000                 OF-2000

    ISO/IEC 9314-4: FOOl SMF-PMO      9                 -                  -             10,0                                                                                     OF-2000

    ISO/IEC 8802-3: 100Base-FX r                                      11,0 (6,0)           -                          OF-2000                   OF-2000                 OF-2000

    IEEE 802,3: 10Gbase-LX4   d                                           2,0            6,20                         OF-300                    OF-300                  OF-300    OF-2000

    IEEE 802,3: 10Gbase-ERIEW d                                                                                                                                                               OF-2000

                                                  1,6 (62,5)
    IEEE 802.3: 10Gbase-SRISW d                 1,8 (OM250)                -               -                                                                OF-300
                                                 2,6 (OM3)

IEEE 802.3: 10Gbase-LRlLW dg                            -                  -             6,20                                                                                     OF-2000

    a
        as valores mostrados sao tanto para 62,S/12Squanto para 50/125 MMF; onde os valores diferem para 50/125, estes esliio entre par€mteses.
    b
        Uma aplicac;ao, que embora ainda seja referenciada, nao e comercializada pela industria.
    c
        Uma aplicac;ao, que embora ainda seja referenciada, foi descontinuada pelo grupo de estudo original.
    d
        Aplicac;ao em desenvolvimento.
    • Uma aplicayao com largura da banda Iimilada pelo comprimento do canal mostrado. a uso de componentes com menor atenuac;ao para produzir canais exoedendo 0 valor rnostrado nao pode ser
    ,
    recomendado.
        a comprimento do canal pode ser limilado em uma fibra de 50 ~m.
    9
        a comprimento do canal com fibra 6ptica monomodo pode ser maior, porem fica fora do escopo deste documento,
ABNT NBR 14565:2007




Tabela 0.4 -      Comprimento de canal maximo suportado por aplica<;oes em fibra 6pticas multimodo

                                                                    Comprimento de     Comprimento maximo do canal
                        Aplicayao de rede                            onda nominal                  m
                                                                          nm              50 I-lm      a        62,5 I-lm        b

 ISOIIEC 8802-3: FOIRL                                                   850
               514
                  1000

 ISO/IEC 8802-3: 10Base-FL & FB                                          850
              1 514
                 2000

 ISO/IEC TR 11802-4: 4 & 16 Mb/s Token Ring
                              850
              1 857
                2000

 ATM @ 155 Mb/s                                                           850
             1 000       a         1 000       b

 ATM @ 622 Mb/s                                                           850
              300   a               300    b

 ISO/IEC 14165-111: Fibre Channel (FC-PH) @ 266 Mb/s                      850
              2000
                  700

 ISO/IEC 14165-111: Fibre Channel (FC-PH)@ 531 Mb/s                       850
              1000
                  350

 ISOIIEC 14165-111: Fibre Channel (FC-PH) @ 1062 Mb/s          c)         850
              500    a              300    b


 IEEE 802.3: 1000Base-SX                                                  850
              550    a              275    b


 ISO/IEC 9314-9: FOOl LCF-PMO                                            1 300
              500
                  500

 ISO/IEC 9314-3: FOOl PMO                                                1 300
             2000
                 2000

 ISO/IEC 8802-3: 100Base-FX                                              1 300
             2000           'I     2000

 IEEE 802.5t: 100 Mb/s Token Ring                                        1 300
             2000
                 2000

 ATM @52 Mb/s                                                            1 300
             2000
                 2000

 ATM @ 155 Mb/s                                                          1 300
             2000
                  2000

 ATM @ 622 Mb/s                                                          1 300
              330
                   500


 ISOIIEC 14165-111: Fibre Channel (FC-PH)@ 133 Mb/s                      1 300
              N/A                   1 500

  ISO/IEC 14165-111: Fibre Channel (FC-PH) @ 266 Mb/s                    1 300
             2000
                  1 500
            I


                                                                                            550 a                  550
  IEEE 802.3: 1000 Base-LX                                               1 300
                                          b
                                                                                                                                     I

  a	
       Atenuai;ao maxima par km (850 nm: 3,5 dB/km, 1300 nm: 1,5 dB/km).
                                                            I

       Largura de banda modal minima (850 nm: 500 MHz.km, 1 300 nm: 500 MHz.km).

  b	
       Atenuai;ao maxima par km (850 nm: 3,5 dB/km, 1 300 nm: 1,5 dB/km).

       Largura de banda modal minima (850 nm: 200 MHz.km, 1 300 nm: 500 MHz.km).

  c	
       Essas aplicai;6es tem largura da banda limitada pelo comprimento do canal mostrado. 0 uso de componentes com menar
       atenuai;ao para produzir canais excedendo 0 valor mostrado nao pode ser recomendado.




                                                                                                                                          83
ABNT NBR 14565:2007





                                                          Anexo E
                                                        (informativo)

     Enlace permanente e canal classe F/categoria 7 com duas conex6es




A maioria dos canais e enlaces permanentes c1asse F/categoria 7 e implementada com somente duas conexoes.

as limites de desempenho de canal de cabeamento balanceado deste anexo sao derivados dos limites
de desempenho dos componentes das seyoes 9 e 10, assumindo que 0 canal e composto por 90 m de cabo
de condutor solido. 10m de patch cords e duas conexoes (ver figura E.1).

as limites de desempenho para enlace permanente de cabeamento balanceado deste anexo sao derivados
dos limites de desempenho dos componentes das seyoes 9 e 10, assumindo que 0 enlace permanente e composto
por 90 m de cabo de condutor solido e duas conexoes (ver figura E.1).

                                                                    Canal
                                            r
                                            I   -f-~nlace permanente




                              ~
                                FD
                                   ---+
                                      I
                                                            'I


                               I   EQP    ~f-+--------C                      TO
                                                Cordao do                     Cordao da
                                                equipamento                   area de trabalho

                                                              [9 = Conexao


                           Figura E.1 -         Canal e enlace permanente com duas conexoes

 o ACR da combinayc3o de cada par de um canal e de um enlace permanente e mostrado na tabela E.1.
 J PSACR de cada par de um canal e de um enlace permanente tambem e dado na tabela E.1.

                  Tabela E.1 - Valores de ACR e PS ACR para canal e enlace permanente
                     classe F/categoria 7 com duas conexoes em frequencias crfticas

                                                    Canal                            Enlace permanente
              Frequencia
                 MHz            ACR minimo               PS ACR minimo       ACRminimo           PS ACR minimo
                                   dB                         dB                dB                    dB
                  1                      61,0                    58,0           61,0                 58,0
                  16                     57,1                    54,1              58,2              55,2
                 100                     44,6                    41,6              47,5              44,5
                 250                     27,3                    24,3              31,9              28,9
                 600                     1,1                     -1,9              8,6                5,6

Nbr 14565-2007

  • 1.
    NORMA ABNT NBR BRASILEIRA 14565 Segunda edi<;:ao 19.03.2007 Valida a partir de 19.04.2007 Cabeamento de telecomunica<;6es para ediflcios comerciais Telecommunications cabling for commercial buildings Palavras-chave: Telecomunica<;:ao. Cabeamento estruturado. Descriptors: Telecommunication. Network. ICS 35.200 ASSOCIA,Ao Numero de referencia BRASllEIRA ABNT NBR 14565:2007 DE NORMAS T~CNICAS 84 paginas ©ABNT 2007
  • 2.
    ABNT NBR 14565:2007 Sumario Pagina Prefacio vi 1 Escopo 1 2 Referencias normativas 1 3 Definic;:oes, abreviac;:oes e simbolos 2 3.1 Definic;:oes 2 3.2 Abreviac;:oes 2 3.3 S[mbolos ; 2 3.3.1 Variaveis 2 3.3.2 indices 2 4 Requisitos gerais 2 5 Estrutura do sistema de cabeamento generico 2 5.1 Geral 2 5.2 Elementos funcionais 2 5.3 Subsistemas de cabeamento 2 5.3.1 Geral 2 5.3.2 Subsistema de cabeamento de backbone de campus 2 5.3.3 Subsistema de cabeamento de backbone de ediffcio 2 5.3.4 Subsistema de cabeamento horizontal 2 5.3.5 Objetivos de projeto 2 5.4 Interconexao dos subsistemas 2 5.4.1 Geral 2 5.4.2 Arquitetura de cabeamento centralizado 2 5.5 Localizac;:ao dos elementos funcionais 2 5.6 Interfaces 2 5.6.1 Interfaces de equipamentos e interfaces de ensaio 2 5.6.2 Canal e enlace permanente 2 5.6.3 Interfaces externas rede a 2 5.7 Dimensionamento e configurac;:ao 2 5.7.1 Distribuidores 2 5.7.2 Cabos 2 5.7.3 Cordoes da area de trabalho e cord6es de equipamento 2 5.7.4 Patch cords e jumpers 2 5.7.5 Tomadas de telecomunicac;:oes 2 5.7.6 Ponto de consolidac;:ao 2 5.7.7 Sala de telecomunicac;:oes e sala de equipamentos 2 5.7.8 Infra-estrutu ra de entrad a 2 5.7.9 Cabeamento de serviC;:os externos 2 6 Desempenho do cabeamento balanceado 2 6.1 Geral 2 6.2 Configurac;:ao 2 6.3 Classificac;:ao do cabeamento balanceado 2 6.4 Parametros de desempenho do cabeamento balanceado 2 6.4.1 Geral 2 6.4.2 Perda de retorno 2 6.4.3 Perda de inserc;:ao 2 6.4.4 NEXT 2 6.4.5 Relac;:ao atenuac;:ao paradiafonia (ACR) 2 6.4.6 ELFEXT 2 6.4.7 Resistencia em corrente continua (c.c.) 2 6.4.8 Desequilfbrio resistivo c.c 2 icARNT ?r1r17 _ Tnrln" n" rlineitn" rp."p.rVo:lrlos iii
  • 3.
    ABNT NBR 14565:2007 - 6.4.9 Capacidade de transmissao de corrente 2 6.4.10 Tensao de opera<;:ao 2 6.4.11 Capacidade de potencia 2 6.4.12 Atraso de propaga<;:ao 2 6.4.13 Diferen<;:a de atraso de propaga<;:ao (delay skew) 2 7 Implementa<;:ao do cabeamento balanceado 2 7.1 Geral 2 7.2 Cabeamento balanceado 2 7.2.1 Geral 2 7.2.2 Cabeamento horizontal 2 7.2.3 Cabeamento de backbone 2 8 Desempenho do cabeamento 6ptico 2 8.1 Geral 2 8.2 8.3 8.4 Escolha dos componentes Atenua<;:ao do canal Topologia do canal 2 2 2 - - 8.5 Atraso de propaga<;:ao 2 9 Requisitos dos cabos 2 9.1 Geral 2 10 Requisitos do hardware de conexao 2 10.1 Requisitos gerais 2 10.1.1 Aplicabilidade 2 10.1.2 Localiza<;:ao 2 10.1.3 Projeto 2 10.1.4 10.1.5 10.1.6 Ambiente de opera<;:ao Montagem Praticas de instala<;:ao 2 2 2 - 10.1.7 Marca<;:ao e codifica<;:ao por cores 2 10.2 Hardware de conexao para cabeamento balanceado 2 10.2.1 Requisitos gerais 2 10.2.2 Identifica<;:ao de desempenho 2 10.2.3 Caracteristicas mecanicas 2 10.2.4 Caracterfsticas eletricas 2 10.2.5 Requisitos das tomadas de telecomunica<;:6es 2 10.2.6 Considera<;:6es de projeto para a instala<;:ao 2 10.3 Hardware de conexao para fibra 6ptica 2 10.3.1 10.3.2 10.3.3 Requisitos gerais MarcaGao e c6digo de cores Caracteristicas 6pticas e mecanicas 2 2 2 - 10.3.4 Requisitos das tomadas de telecomunica<;:6es 2 -. 10.3.5 Esquemas de conexao para 0 cabeamento de fibra 6ptica 2 11 11 .1 11.2 Praticas de blindagem Geral Desempenho eletromagnetico 2 2 2 - 11.3 Aterramento 2 12 Administra<;:ao 2 13 Cord6es balanceados 2 13.1 Introdu<;:ao 2 13.2 13.3 Perdade inser<;:ao Perda de retorno 2 2 - 13.4 NEXT 2 Anexo A (normativo) Desempenho de enlace permanente e enlace do CP 2 A.1 Geral 2 A.2 Desempenho 2 A.2.1 Geral 2 A.2.2 Perda de retorno 2 A.2.3 Perdadeinser<;:ao 2
  • 4.
    ABNT NBR 14565:2007 A.2.4 tIEXT 2 A.2.5 Rela<;:ao atenua<;:ao paradiafonia (ACR) 2 A.2.6 ELFEXT 2 A.2.7 Resistencia de la<;:o em corrente continua (CC) 2 A.2.8 Oesequilfbrio resisitivo C.c 2 A.2.9 Atraso de propaga<;:ao 2 A.2.10 Oiferen<;:a de atraso de propaga<;:ao (delay skew) 2 Anexo B (normativo) Procedimentos de ensaios 2 B.1 Geral 2 B.2 Ensaios de desempenho de canal e enlace 2 B.2.1 Ensaios de canais de cabeamento balanceado, enlaces permanentes e enlaces do CP 2 B.2.2 Ensaios dos canais de cabeamento em fibra 6ptica 2 B.2.3 Sequencia de ensaios em canais e enlaces 2 B.3 Ensaios de transmissao de patch cords para cabeamento balanceado 2 B.4 Ensaios de transmissao de componentes para cabeamento 2 B.4.1 Ensaios de transmissao em cabos de cobre para cabeamento balanceado 2 B.4.2 Ensaios de transmissao em hardware de conexao para cabeamento balanceado 2 B.4.3 Ensaios de transmissao em cabos para cabeamento 6ptico 2 B.4.4 Ensaios de transmissao em conectores para cabeamento 6ptico 2 Anexo C (informativo) Caracteristicas eletromagneticas 2 C.1 Oescri<;:ao 2 Anexo 0 (informativo) Aplica<;:oes suportadas 2 0.1 Aplica<;:oes suportadas em cabeamento balanceado 2 0.2 Aplica<;:oes suportadas por cabeamento de fibra 6ptica 2 Anexo E (informativo) Enlace permanente e canal classe F/categoria 7 com duas conexoes 2 (ClARNT 7007 - Todos os direitos reservados v
  • 5.
    ABNT NBR 14565:2007 Prefacio AAssocia<;:ao Brasileira de Normas Tecnicas (ABNT) e 0 Forum Nacional de lJormaliza<;:ao. As Normas Brasileiras, cujo conteudo e de responsabilidade dos Comites Brasileiros (ABNT/CB), dos Organismos de Normaliza<;:ao Setorial (ABNT/ONS) e das Comissoes de Estudo Especiais Temporarias (ABNT/CEET), sao elaboradas por Comissoes de Estudo (CE), formadas por representantes dos setores envolvidos, delas fazendo parte: produtores, consumidores e neutros (universidades, laboratorios e outros). A ABNT NBR 14565 foi elaborada no Comite Brasileiro de Eletricidade (ABNT/CB-03), pela Comissao de Estudo de Cabeamento de Telecomunica<;:oes (CE-03:046.05). 0 Projeto circulou em Consulta Nacional conforme Edital nQ 05, de 02.05.2006, com 0 numero de Projeto ABNT NBR 14565. Esta Norma e baseada na ISOII EC 11801 :2002. Esta segunda edi<;:ao cancela e substitui a edi<;:ao anterior (ABNT NBR 14565:2000), a qual foi tecnicamente revisada. Esta Norma contem os anexos A e B, de carater normativo, e os anexos C, DeE, de carater informativo.
  • 6.
    NORMA BRASILEIRA ABNT NBR 14565:2007 Cabeamento de telecomunicagoes para ediHcios comerciais 1 Escopo Esta Norma especifica um cabeamento generico para uso nas dependmcias de um unico ou um conjunto de ediflcios € em um campus. Ela cobre os cabeamentos metalico e 6ptico. Esta Norma aplica-se a redes locais (LAN) e redes de campus. 0 cabeamento especificado nesta Norma suporta uma ampia variedade de servic;;os, incluindo voz, dados, texto, imagem e video. Esta Norma especifica diretamente, ou via referencia: a) estrutura e configurac;;ao minima para 0 cabeamento generico; b) interfaces para tomadas de telecomunicac;;6es (TO); c) requisitos de desempenho para enlaces e canais individuais de cabeamento; d) recomendac;;6es e requisitos gerais; e) requisitos de desempenho para 0 cabeamento para as distancias maximas especificadas nesta Norma; f) requisitos de conformidade e procedimentos de verificac;;ao. Esta Norma leva em considerac;;ao os requisitos especificados nas aplicac;;6es Iistadas no anexo D. Esta Norma nao se aplica aos requisitos de protec;;ao e seguranc;;a eletrica, protec;;ao contra inc€mdio e compatibilidade eletromagnetica e sao cobertos por outras normas e regulamentos. Entretanto, recomendac;;6es desta Norma podem ser beneficas. / 2 Referencias~rmativas a Os documentos relacionados a seguir sao indispensaveis aplicac;;ao deste documento. Para referencias datadas, aplicam-se somente as edic;;6es citadas. Para referencias nao datadas, aplicam-se as edic;;6es mais recentes do referido documento (incluindo emendas). ABNT NBR 5410:2004 - Instalac;;6es eletricas de baixa tensao ABNT NBR 6814: 1986 - Fios e cabos eletricos - Ensaio de resistencia eletrica ABNT NBR 9130:1994 - Fios e cabos telef6nicos - Ensaio de desequilibrio resistivo ABNT NBR 9133:1999 - Cabos telef6nicos - Ensaio de atenuac;;ao de sinal de transmissao - Metodo de ensaio ABNT NBR 13300:1995 - Redes telef6nica internas em predios ABNT NBR 13301:1995 - Redes telef6nicas internas em predios IclARNT ?nn7 - Tnrlns ns direitos reservados 1
  • 7.
    ABNT NBR 14565:2007 ABNTNBR 13989:1997 - Cabo 6ptico subterraneo - Determinac;:ao do desempenho quando submetido ao ensaio de coeficiente de atrito estatico - Metodo de ensaio ABI'JT I'JBR 13990: 1997 - Cabo 6ptico subterraneo - Determinac;:ao do desempenho quando submetido a vibrac;:ao - Metodo de ensaio ABNT NBR 14103:2005 - Cabo 6ptico dieletrico para aplicac;:ao enterrada ABNT NBR 14159:1998 - Cabo 6ptico com nucleo geleado protegido por capa APL - Especificac;:ao ABNT NBR 14160:2005 - Cabo 6ptico aereo dieletrico auto-sustentado ABNT NBR 14161 :1998 - Cabo 6ptico dieletrico de emergencia - Especificac;:ao ABNT NBR 14433:2000 - Conectores montados em cord6es ou cabos de fibras 6pticas e adaptadores ­ Especificac;:ao ABNT I'JBR 14566:2004 - Cabo 6ptico dieletrico para aplicac;:ao subterranea em duto e aerea espinado ABNT NBR 14584:2000 - Cabo 6ptico com protec;:ao metalica para instalac;:6es subterraneas - Verificac;:ao da suscetibilidade a danos provocados por descarga atmosferica - Metodo de ensaio ABNT NBR 14589:2000 - Cabo 6ptico com protec;:ao metalica para instalac;:6es subterraneas - Determinac;:ao da capacidade de drenagem de corrente - Metodo de ensaio ABNT NBR 14703:2005 - Cabos de telematica de 100 n para redes internas estruturadas - Especificac;:ao ABNT NBR 14771 :2001 - Cabo 6ptico interne - Especificac;:ao ABNT NBR 14772:2006 - Cabo 6ptico de terminac;:ao - Especificac;:ao ABNT NBR 14773:2001 - Cabo 6ptico dieletrico protegido contra ataque de roedores para aplicac;:ao em linhas de dutos - Especificac;:ao ABNT NBR 14774:2001 - Cabo 6ptico dieletrico protegido contra ataque de roedores para aplicac;:ao enterrada ­ Especificac;:ao ABNT NBR 15108:2004 -Cabo 6ptico com nucleo dieletrico e protec;:ao metalica para aplicac;:ao em linhas de dutos ABNT NBR 15110:2004 - Cabo 6ptico com nucleo dieletrico e protec;:ao metalica para aplicac;:ao enterrada ANSI/TIA/EIA 568:2005 - Commercial Building Telecommunications Cabling Standards Set - Part 1: General Requirements, Part 2: Balanced Twisted-Pair Cabling Components, And Part 3: Optical Fiber Cabling Components Standard (Includes Addendums: B.1-1 ,2,3,4,5, B.2-1 ,2,3,4,5,6,11 and B ASTM 0 4566:2005 - Standard test methods for electrical performance properties of insulations and jackets for telecommunications wire and cable CISPR 22:2006 - Information technology equipment - Radio disturbance characteristics - Limits and methods of measurement CISPR 24:1997 - Information technology equipment - Immunity characteristics - Limits and methods of measurement IEC 60512-2:1985 - Electromechanical components for electronic equipment; basic testing procedures and measuring methods - Part 2: General examination, electrical continuity and contact resistance tests, insulation tests and voltage stress tests - Amendment 1 (1994)
  • 8.
    ABNT NBR 14565:2007 IEC60512-25-1 :2001 - Connectors for electronic equipment - Tests and measurements - Part 25-1: Test 25a ­ Crosstalk ratio IEC 60512-25-2:2002 - Connectors for electronic equipment - Tests and measurements - Part 25-2: Test 25b ­ Attenuation (insertion loss) IEC 60512-25-4:2001 - Connectors for electronic equipment - Tests and measurements - Part 25-4: Test 25d ­ Propagation delay IEC 60512-25-5:2005 - Connectors for electronic equipment - Basic tests and measurements - Part 25-5: Test 25e ­ Return loss IEC 60512-3-1 :2002 - Connectors for electronic equipment - Tests and measurements - Part 3-1: Insulation tests - Test 3a: Insulation resistance IEC 60603-7:1996 - Connectors for frequencies below 3 MHz for use with printed boards - Part 7: Detail specification for connectors, 8-way, including fixed and free connectors with common mating features, with assessed quality IEC 60603-7-1 :2002 - Connectors for electronic equipment - Part 7-1: Detail specification for 8-way, shielded free and fixed connectors, with common mating features, with assessed quality IEC 60603-7-7:2002 - Connectors for electronic equipment - Part 7-7: Detail specification for 8-way, shielded, free and fixed connectors, for data transmission with frequencies up to 600 MHz (category 7, shielded) IEC 60825 (all parts) - Safety of laser products IEC 60874-14 (all parts) - Connectors for optical fibres and cables - Part 14: Sectional specification for fibre optic connector - Type SC IEC 60874-19-1: 1999 - Connectors for optical fibres and cables - Part 19-1: Fibre optic patch cord connector type SC-PC (floating duplex) standard terminated on multi mode fibre type A1a, A 1b - Detail specification IEC 61935-1 :2005 - Testing of balanced communication cabling in accordance with ISO/IEC 11801 ­ Part 1: Installed cabling IEC 61935-2:2005 - Generic cabling systems - Specification for the testing of balanced communication cabling in accordance with ISO/IEC11801 - Part 2: Patchcords and work area cords IEC/PAS 61076-3~Z02 - Connectors for electronic equipment - Part 3-104: Detail specification for 8-way, shielded free and fixed connectors, for data transmissions with frequencies up to 600 MHz ISO/IEC TR 14763-1 :1999 - Information technology - Implementation and operation of customer premises cabling - Part 1: Administration ISO/IEC TR 14763-2:2000 - Information technology - Implementation and operation of customer premises cabling - Part 2: Planning and installation ISO/IEC TR 14763-3:2000 - Information technology - Implementation and operation of customer premises cabling - Part 3: Testing of optical fibre cabling ISO/IEC 15018:2004 -Information technology - Generic cabling for homes ISO/IEC 18010:2002 - Information technology - Pathways and spaces for customer premises cabling CClARNT 2007 - Todos os direitos reservados 3
  • 9.
    ABNT NBR 14565:2007 3 Definigoes, abreviagoes e sfmbolos Esta se<;ao apresenta as defini<;oes de terminologia e simbologia aplicaveis ao cabeamento de telecomunica<;oes em ediffcios comerciais. Para a distribui<;ao de redes telef6nicas internas em ediffcios, deve-se seguir as ABNT NBR 13300 e ABNT NBR 13301. 3.1 Definic;oes Para os efeitos desta Norma, aplicam-se as seguintes defini<;oes: 3.1.1 adaptador duplex de fibra 6ptica dispositivo mecanico projetado para alinhar e unir dois conectores duplex 3.1.2 administra<;ao metodologia que define os requisitos de documenta<;ao para administrar 0 sistema de cabeamento e seus componentes. a identifica<;ao dos elementos funcionais e os processos que requerem movimenta<;oes, acrescimos e modifica<;oes 3.1.3 aplica<;ao sistema, incluindo seu metodo de transmissao associado, que e suportado pelo cabeamento de telecomunica<;oes 3.1.4 area de trabalho espa<;o do ediffcio no qual os ocupantes interagem com 0 equipamento terminal de telecomunica<;oes 3.1.5 area de trabalho individual espa<;o minima no ediffcio reservado a um ocupante 3.1.6 atenua<;ao perda de pot€mcia de um sinal devido a sua propaga<;ao por um pieio ffsico qualquer 3.1.7 atenua<;ao de acoplamento ! rela<;ao entre a potencia transmitida atraves dos condutore,S e a potencia de pica maxima irradiada, conduzida e gerada por correntes de modo comum 3.1.8 backbone de campus cabo que conecta 0 distribuidor de campus ao(s) distribuidor(es) de ediffcio NOTA as cabos de backbone de campus podem tambem conectar diretamente os distribuidores de edificio. 3.1.9 backbone de edificio cabo que conecta 0 distribuidor de ediffcio ao distribuidor de piso 3.1.10 cabeamento sistema de cabos, cordoes e hardware de conexao para telecomunica<;oes, que pode suportar a conexao de equipamentos de tecnologia da informa<;ao
  • 10.
    ABNT NBR 14565:2007 3.1.11 cabeamentode fibra 6ptica centralizado tecnica de distribuic;:ao de cabeamento 6ptico que preve 0 atendimento da area de trabalho com fibras opticas a partir de um unico ponto centralizado no ediffcio 3.1.12 cabeamento generico sistema de cabeamento estruturado de telecomunicac;:6es, com capacidade de suportar um ample espectro de aplicac;:6es NOTA a cabeamento generico pode ser instalado sem conhecimento previo dos requisitos das aplica<;:6es. 3.1.13 cabo conjunto de uma ou mais unidades de cabos do mesmo tipo e categoria, protegido por uma capa externa NOTA Este pode incluir, ainda, uma blindagem geral. 3.1.14 cabo balanceado cabo constitufdo de um ou mais elementos de cabo metalico simetrico (pares ou quadras tranc;:adas) 3.1.15 cabo balanceado blindado cabo balanceado com uma blindagem geral e/ou blindagem por pares 3.1.16 cabo balanceado nao-blindado cabo balanceado sem blindagem 3.1.17 cabo de fibra 6ptica (ou cabo 6ptico) cabo composto por uma ou mais fibras 6pticas 3.1.18 cabo do CP cabo que conecta 0 ponto de consolidac;:ao a(s) tomada(s) de telecomunicac;:6es 3.1.19 cabo hfbrido conjunto de duas ou mais unidades de cabos e/ou cabos de diferentes tipos ou categorias, cobertos por uma capa externa NOTA a conjunto pode ser coberto por uma blindagem geral. 3.1.20 cabo horizontal cabo que conecta 0 distribuidor de piso as tomadas de telecomunicac;:6es 3.1.21 cabo horizontal permanente cabo que conecta 0 distribuidor de pi so ao ponto de consolidac;:ao se existir, ou a tomada de telecomunicac;:6es (TO) se nao existir um CP 3.1.22 campus local que contem um ou mais ediffcios 5
  • 11.
    ABNT fIBR 14565:2007 3.1.23 canal / via de transmissao ponta-a-ponta, conect7 dois equipamentos de aplica<;ao especifica NOTA as cord6es de equipamento e da/area de trabalho fazem parte do canal. 3.1.24 conector duplex de fibra 6ptica dispositivo mecanico projetado para a termina<;ao de duas fibras 3.1.25 conector 6ptico compacta conector de fibra 6ptica projetado para a termina<;ao de duas fibras com dimensoes similares as de um conector usado no cabeamento balanceado 3.1.26 conexao uniao de dispositivos ou combina<;ao de dispositivos, incluindo as termina<;oes usadas para conectar os cabos ou elementos do cabo a outros cabos, elementos do cabo ou equipamento de aplica<;ao especifica 3.1.27 conexao cruzada arranjo que possibilita a termina<;ao de elementos do cabo basicamente atraves de patch cords oujumpers 3.1.28 cordao , cabo, unidade de cabo ou elemento do cabo com no minimo uma termina<;80 3.1.29 cordao da area de trabalho cordao para coneX80 da tomada de telecomunica<;oes ao equipamento terminal 3.1.30 cordao de equipamento I cordao para interconexao do equipamento ativo ao distribuidor 3.1.31 desvio de perda de inser<;ao diferen<;a entre a atenua<;80 estimada de um enlace ou canal e atenua<;80 medida 3.1.32 diferenga de atraso de propagagao diferen<;a de atraso de propaga<;ao entre os pares mais rapidos e mais lento dentro de um mesmo cabo balanceado de quatro pares 3.1.33 distribuidor termo empregado para 0 conjunto de componentes (tais como patch panels e patch cords) usados para conectar cabos 3.1.34 distribuidor de campus distribuidor a partir do qual origina-se 0 cabeamento de backbone de campus 3.1.35 distribuidor de edificio distribuidor no qual terminam os cabos do backbone de ediffcio, onde podem ser feitas conexoes com os cabos do backbone de campus
  • 12.
    ABNT NBR 14565:2007 3.1.36 distribuidorde pi so // elemento usado para a distribuic;ao do cabeamento horizontal do piso em que se encontra e 0 backbone de ediffcio 3.1.37 / elemento do cabo menor unidade de construc;ao (por exemplo, par, quadra ou fibra unica) em um cabo NOTA Um elemento de cabo pode canter uma blindagem. 3.1.38 emenda a uniao de condutores metalicos ou fibras 6pticas. 3.1.39 enlace se associado a enlace do CP oU enlace permanente, ver enlace do CP e enlace permanente 3.1.40 enlace do CP Parte permanente da ligac;ao entre 0 distribuidor de piso e 0 ponto de consolidac;ao, incluindo 0 cabo e 0 hardware de conexao em cada extremidade 3.1.41 enlace permanente segmento de cabo entre a tomada de telecomunicac;6es e 0 distribuidor de piso 3.1.42 guia de polarizac;ao dispositivo guia para a correta inserc;ao do con ector 3.1.43 hardware de conexao componente ou combinac;ao de componentes usados para conectar cabos ou elementos do cabo 3.1.44 infra-estrutura de entrada local de entrada de todos os servic;os mecanlcos e elE~tricos necessanos para 0 ingresso de cabos de telecomunicac;6es no ediffcio ou em um complexo de edificios, em conformidade com as regulamentac;6es especfficas 3.1.45 interconexao conexao direta entre 0 equipamento ativo e 0 subsistema de cabeamento 3.1.46 Interface ponto no qual as conex6es sao feitas com 0 cabeamento generico 3.1.47 interface de rede externa ponto de demarcac;ao entre as redes publica e privada 3.1.48 jumper cabo, unidade de cabo ou elemento de cabo sem conectores, usado para estabelecer uma interligac;ao em um3 conexao cruzada 7
  • 13.
    ABNT NBR 14565:2007 3.1.49 patchcord cordao com conectores modulares em ambas as extremidades, usado para estabelecer conex6es em um patch panel 3.1.50 patch panel painel com varias tomadas, usado para a distribuiyao dos sUbsistemas de cabeamento 3.1.51 par linha de transmissao balanceada de dois condutores 3.1.52 par tranyado elemento do cabo que consiste em dois condutores isolados, tranyados juntamente com um passe de toryao regular para formar uma linha de transmissao balanceada 3.1.53 perda de conversao longitudinal relayao entre as correntes de modo diferencial e comum, medidas entre pares adjacentes na mesma extremidade de um cabo 3.1.54 perda de conversao transversal relayao entre a potencia de sinal de modo comum e a potencia injetada do sinal de modo diferencial 3.1.55 perda de inseryao (dB) atenuayao devida a inseryao de componentes do cabeamento em um canal 3.1.56 perda de transferelncia de conversao longitudinal relayao entre as correntes de modo diferencial e comum, medidas entre pares adjacentes em extremidades opostas de um cabo 3.1.57 ponto de consoliday3.o ponto de conexao no sistema de cabeamento horizontal situado entre 0 distribuidor do andar e a tomada de telecomunica y6es 3.1.58 preenchimento total de nucleo (OFL) trata-se de um metodo de mediyao da largura de banda das fibras multimodo. Neste metodo, 0 equipamento de mediyao simula um LED que excita todos os modos da fibra, permitindo a mediyao de sua largura da banda 3.1.59 quadra elemento do cabo que compreende quatro condutores isolados tranyados conjuntamente 3.1.60 sala de equipamentos sala destinada a abrigar distribuidores e equipamentos de aplicayao especifica. NOTA Este espa<;o e dedicado aos equipamentos ativos de uso comum de todos os usuarios da rede.
  • 14.
    ABNT NBR 14565:2007 3.1.61 salade telecomunica90es espa90 destinado a acomodar equipamentos de telecomunica90es, termina90es de cabos, interconexoes e conexoes cruzadas 3.1.62 tomada de telecomunica90es dispositivo de conexao fixe no qual 0 cabo horizontal e terminado na area de trabalho 3.1.63 tomada de telecomunica90es multiusuario dispositivo unico com varias tomadas de telecomunica90es, com a finalidade de atendimento de usuarios de uma mesma area de trabalho NOTA Aplica-se quando utilizadas instalar,;oes em ambientes abertos (tipicamente escrit6rios comerciais sem paredes divis6rias). 3.1.64 unidade do cabo conjunto unico de um ou mais elementos de cabo do mesmo tipo e categoria NOTA 1 A unidade de cabo pode conter uma blindagem. NOTA 2 Um feixe de cabos pode ser considerado um exemplo de unidade do cabo. 3.2 Abrevia90es ACR - Rela9ao atenua9ao paradiafonia APC - Polimento de contato angular para conectores 6pticos ATM - Modo de transferencia assincrono BCT - Tecnologias de comunicat;oes e difusao, as vezes referido como HEM BD - Distribuidor de edificio B-ISDN - RDSI em banda larga c.a. - Corrente alternada c.c. - Corrente continua CD - Distribuidor de campus CI - Circuito integrado CP - Ponto de consolida9ao CSMAlCD - Acesso multiplo sensfvel a portadora com detect;ao de colisao DCE - Equipamento de terminat;ao de circuito de dados DRL - Perda de retorno distribuida DTE - Equipamento terminal de dados 9
  • 15.
    ABNT NBR 14565:2007 EF- Infra-estrutura de entrada ELFEXT - Perda de telediafonia de nfvel equalizado EMC - Compatibilidade eletromagnetica EQP - Equipamento ER - Sala de equipamentos Us. - Para estudo futuro FD - Distribuidor de piso FOOl - Interface de dados distribuidos em fibra 6ptica FEXT - Telediafonia FO - Fibra 6ptica FOIRL - Enlace inter-repetidores de fibra 6ptica HEM - Entretenlmento e multimidia residencial (ver BCT) ICT - Tecnologia de comunicac;:6es e informac;:ao IDC - Conexao por deslocamento do isolante IEC - Comissao Eletrotecnica Internacional IL .. Perda de insen;:ao ILD - Desvio de perda de inserc;:ao IPC - Conexao por perfurac;:ao do isolante ISDN - Rede Digital de Servic;:os Integrados (RDSI) ISLAN - Rede Local de Servic;:os Integrados ISO - Organizac;:ao de Normalizac;:ao Internacional clTC - Junta tecnica LAN - Rede local LCL - Perda de conversao longitudinal LCTL - Perda de transfer€mcia de conversao longitudinal Min. - Minimo MUTO - Tomada de telecomunicac;:6es multiusuario N/A - Nao aplicavel NEXT - Paradiafonia
  • 16.
    ABNT NBR 14565:2007 OFl- Preenchimento total do nucleo PBX - Central de comunicac;;ao privada PC - Polimento circular plano (nao angular) para conectores 6pticos Pl - Enlace permanente PMD - Interface dependente da camada fisica PS ACR - Relac;;ao atenuac;;ao PS NEXT PS ElFEXT - Somat6rio de perda de telediafonia de nivel equalizado PS FEXT - Somat6rio de potencias de ruido por telediafonia PS NEXT - Somat6rio de potencias de ruido por paradiafonia PVC - Policloreto de vinila Rl - Perda de retorno SC - Tipo de conector 6ptico SC-D - Conector SC duplex , SFFI- Conector 6ptico compacta TCl - Perda de conversao transversal TCTl - Perda de transferencia de conversao transversal TE - Equipamento terminal TI - Tecnologia da informac;;ao TO - Tomada de telecomunicac;;oes TP-PMD - Interface dependente do meio fisico de par tranc;;ado TR - Sala de telecomunicac;;oes UTP - Cabo de par tranc;;ado nao-blindado WA - Area de trabalho 3.3 Sfmbolos 3.3.1 Variaveis </J Angulo da fase em graus fJ Angulo da fase no sinal propagado em rad/m ou em radianos a Atenuac;;ao 11
  • 17.
    ABNT NBR 14565:2007 E Base de logaritmo natural ,9 coeft Coeficiente de temperatura na atenuar;ao do cabo em %rC K Coeficiente do aumento da atenuar;ao no cabo F Comprimento acumulado do cordao de conexao/jumper, corda a de equipamento e cordao da area de trabalho L Comprimento do cabo B Comprimento do cabo de backbone au coeficiente da matriz de transmissao c Comprimento do cabo do CP au designar;ao para conector au coeficiente da matriz de transmissao H Comprimento maximo do cabo horizontal fixo IT Constante DRL o Constante da perda par retorno distribufdo y Cflnstante de propagar;ao complexa (y =a + j~) 10nstante para a coeficiente de perda par inserr;ao no conector Constante para a primelro coeficiente de atenuar;ao do cabo Constante para a segundo coeficiente de atenuar;ao do cabo Constante para a terceiro coeficiente de atenuar;ao do cabo f Frequencia Zo Impedancia caracteristica z Impedancia complexa Numero do par interferente k Numero do par interferido n Numero total de pares [2 ohm. resistencia au impedancia Operador imaginario X Relar;ao da atenuar;ao do cabo da area de trabalho pela atenuar;ao do cabo horizontal fixo Y Relar;ao da atenuar;ao do cabo do CP pela atenuar;ao do cabo horizontal fixo ,9 Temperatura. em graus celsius Tempo I Velocidade de propagar;ao
  • 18.
    ABNT NBR 14565:2007 c Velocidade de propagac;ao da luz no vacuo NVP Velocidade nominal de propagac;ao (Referida como uma porcentagem da velocidade da luz no vacuo) 3.3.2 Ind ices Local indice para denominar uma caracteristica medida local mente f} indice para denominar uma caracteristica dependente da temperatura Cabo indice para denominar uma caracterfstica do cabo Canal indice para denominar uma caracteristica do canal Conector indice para denominar uma caracteristica do conector PL indice para denominar uma caracteristica do enlace permanente Remoto indice para denominar uma caracteristica medida remotamente C2 indice para denominar uma caracterfstica, medida a partir do conector ate 0 distribuidor do andar (segundo conector) TO indice para denominar uma caracterfstica, medida a partir da TO cabo do cordao lndice para indicar uma caracterfstica no cabo usado para cordoes In indice para indicar uma condic;ao de entrada Term indice para indicar uma condic;ao de terminac;ao CH indice pa,ra representar 0 canal . CP Indice par~ representar 0 ponto de consolidac;ao 4 Requisitos gerais 4.1 Para os efeitos desta Norma, consideram-se as seguintes aplicac;oes: a) a configurac;ao e a estrutura devem estar em conformidade com as especificac;oes descritas na sec;ao 5; b) 0 desempenho dos canais balanceados deve ser medido conforme os requisitos especificados na seC;80 6. Isto deve ser obtido por uma das seguintes condic;oes: 1) um canal projetado e implementado deve assegurar 0 desempenho previsto; 2) os componentes apropriados utilizados para um enlace permanente ou enlace do CP encontram-se especificados por c1asse de desempenho na sec;ao 6 e anexo A. 0 desempenho do canal deve ser assegurado pelo acrescimo de cordoes nas terminac;oes de um enlace permanente, conforme os requisitos da sec;ao 6 e anexo A; 3) usando as implementac;oes em referencia na seC;80 7 e componentes do cabeamento compatfveis com os requisitos da ABNT NBR 14703, bem como sec;oes 10 e 13, baseados em uma aproximaC;80 estatfstica de modelamento de desempenho; c) requisitos espedficos de infra-estrutura do cabeamento estao descritos na ISO/IEC 18010; 13
  • 19.
    ABNT ~IBR 14565:2007 d) a implementac;:ao e desempenho do cabeamento 6ptico devem atender aos requisitos da sec;:ao 8; e) as interfaces com 0 cabeamento na tomada de telecomunicac;:6es devem estar em conformidade com os requisitos da sec;:ao 10; f) todo e qualquer hardware de conexao do cabeamento, incluindo a tomada de telecomunicac;:6es, deve atender aos requisitos da sec;:ao 10; g) se presentes, as blindagens sao tratadas de acordo com a sec;:ao 11; h) a administrac;:ao do sistema deve atender aos requisitos da sec;:ao 12; i) os regulamentos de seguranc;:a e compatibilidade eletromagnetica aplicaveis no local da instalac;:ao devem ser atendidos. NOTA Na ausencia do canal, a desempenho do enlace permanente deve ser usado para verificar a conformidade com esta Norma. 4.2 Os ensaios da sec;:ao 6 devem ser utilizados nos seguintes casos: a) enlaces ou canais com comprimentos superiores aos especificados em 7.2, ou tendo mais componentes que o especificado na sec;:ao 7; b) enlaces ou canais que usam componentes cujo desempenho de transmissao seja inferior aquele descrito na ABNT NBR 14703 e sec;:ao 10; c) a avaliac;:ao de um cabeamento instalado para determinar sua capacidade de suportar um certo grupo de aplicac;:6es: d) verificac;:ao de desempenho de um sistema instalado e projetado conforme a ABNT NBR 14703 e sec;:6es 7 e 10. 5 Estrutura do sistema de cabeamento generico 5.1 Geral Esta sec;:ao identifica os elementos funcionais do cabeamento genenco, descrevendo como eles sao interconectados para formar subsistemas, e identifica interfaces com as quais componentes de aplicac;:6es especificas sao conectados ao cabeamento generico. As aplica<;:6es sao suportadas por equipamentos conectados as tomadas de telecomunicac;:6es e distribuidores. 5.2 Elementos funcionais Os elementos funclonais do cabeamento generico sao: a) distribuidor de campus (CD); b) backbone de campus; c) distribuidor de edificio (BO); d) backbone de edificio; e) distnbuidor de plSO (FD);
  • 20.
    ABNT IIBR 14565:2007 f) cabeamento horizontal; g) ponto de consolida<;:ao (CP); h) cabo do ponto de consolida<;:ao (Cabo do CP); i) tomada de telecomunica<;:oes multiusuario (MUTO); j) tomada de telecomunica<;:oes (TO). Grupos destes elementos funcionais sao interconectados para formar subsistemas de cabeamento. 5.3 Subsistemas de cabeamento 5.3.1 Geral Os sistemas de cabeamento generico contem no minima tres subsistemas: backbone de campus, backbone de edificio e cabeamento horizontal. A composi<;:ao dos subsistemas esta descrita em 5.3.2, 5.3.3 e 5.3.4. Os subsistemas de cabeamento sao interconectados para formar um sistema de cabeamento generico com a estrutura mostrada na figura 1. Os distribuidores oferecem os meios de configurar 0 cabeamento para suportar diferentes topologias, como barramento, estrela e anel. Equipamento co so FO CP TO terminal @) @) @) 0 [) a .... -- -- -- •. 1 I Subsistema de Subsistema de cabeamento cabeamento de Subsistema de Cabeamento da de backbone backbone de cabeamento area de de campus edificio horizontal trabalho I~ ~ Sistema de cabeamento generico Figura 1 - Estrutura do cabeamento generico As conexoes entre subsistemas de cabeamento podem ser ativas, necessitando de equipamentos para aplica<;:oes especificas ou passivas. As conexoes de equipamentos para aplica<;:oes especificas adotam a abordagem tanto de interconexao como a de conexao cruzada (ver as figuras 5 e 6). As conexoes passivas entre subsistemas de cabeamento sao geralmente executadas usando conexoes cruzadas por meio de patch cords ou jumpers. No caso de um cabeamento centralizado, as conexoes passivas nos distribuidores sao executadas por conexoes cruzadas ou interconexoes. Alem disso, para cabeamento 6ptico centralizado, e possivel criar conexoes nos distribuidores usando-se emendas, apesar de isto reduzir a possibilidade do cabeamento de suportar reconfigura<;:oes. 15
  • 21.
    ABNT NBR 14565:2007 5.3.2 Subsistema de cabeamento de backbone de campus o subsistema de cabeamento de backbone de campus estende-se do distribuidor de campus ate os distribuidores de edificio. Quando presente, este subsistema inclui: a) os cabos de backbone de campus; b) qualquer componente de cabeamento dentro da infra-estrutura de entrada; c) jumpers e patch cords no distribuidor de campus; d) 0 hardware de conexao no qual os cabos de backbone de campus sao terminados (tanto no distribuidor de campus como no distribuidor de edificio). Apesar de cordoes de equipamento serem usados para conectar equipamentos de transmissao ao subsistema de cabeamento, eles nao sao considerados parte do subsistema de cabeamento porque tem uma aplica9aO especifica. Onde 0 distribuidor de edificio nao existe, 0 subsistema de cabeamento de backbone de campus estende-se desde 0 distribuidor de campus ate 0 distribuidor de piso. E possivel para 0 cabeamento de backbone de campus oferecer conexao direta entre distribuidores de edificios. Quando utilizada, esta conexao deve estar em conformidade com 0 requerido pela topologia hierarquica basica. 5.3.3 Subsistema de cabeamento de backbone de edificio Um subsistema de cabeamento de backbone de edificio estende-se desde o(s) distribuidor(es) de edificio ate o(s) distribuidor(es) de piso. Quando presente, este subsistema inclui: a) os cabos de backbone de edificio; b) os jumpers e patch cords no distribuidor de edificio; c) 0 hardware de conexao nos quais os cabos do backbone de edificio sao terminados (em ambos os distribuidores, de piso e de edificio). Apesar de cordoes de equipamento serem usados para conectar equipamentos de transmissao ao subsistema de cabeamento, eles nao sao considerados parte do subsistema de cabeamento porque tem uma aplica9ao especifica. E possivel para 0 cabeamento de backbone de ediffcio oferecer conexao direta entre os distribuidores de piso. Quando utilizada, esta conexao deve estar em conformidade com 0 requerido pela topologia hierarquica basica. 5.3.4 Subsistema de cabeamento horizontal o subsistema de cabeamento horizontal estende-se desde o(s) distribuidor(es) de piso ate a(s) tomada(s) de telecomunica90es conectada(s) a ele. Este subsistema inclui: a) os cabos horizontais; b) os jumpers e patch cords no distribuidor de piso; c) as termina90es mecanicas dos cabos horizontais nas tomadas de telecomunica90es; d) as termina90es mecanicas dos cabos horizontais nos distribuidores de piso, incluindo 0 hardware de conexao, por exemplo: as interconexoes ou as conexoes cruzadas; e) um ponto de consolida9ao (opcional); f) as tomadas de telecomunica90es.
  • 22.
    ABNT NBR 14565:2007 Apesarde cord6es de equipamento e de area de trabalho serem usados para conectar terminais e equipamentos de transmissao ao subsistema de cabeamento horizontal, eles nao sao considerados parte deste subsistema. Cabos horizontais devem ser continuos desde 0 distribuidor de piso ate a tomada de telecomunicar,;6es, a menos que haja um ponto de consolidar,;ao instalado (ver 5.7.6). 5.3.5 Objetivos de projeto a cabeamento horizontal deve ser projetado para suportar a maior parte das aplicar,;6es existentes e emergentes e deve fornecer uma longa vida operacional. Isto minimiza as interrupr,;6es e 0 alto custo de recabeamento nas areas de trabalho. a backbone de ediffcio deve ser projetado para suportar a vida util do sistema de cabeamento genenco. Entretanto, e comum adotar-se solur,;6es provis6rias para suportar aplicar,;6es correntes ou previstas, particularmente onde 0 acesso ffsico aos encaminhamentos e fckil. A seler,;ao do cabeamento de backbone de campus pode necessitar de uma solur,;ao mais duradoura que a adotada no cabeamento de backbone de ediffcio, particularmente se 0 acesso ffsico aos encaminhamentos for mais limitado. 5.4 Interconexao dos subsistemas 5.4.1 Geral Em cabeamento generico, os elementos funcionais dos subsistemas de cabeamento sao interconectados para formar uma estrutura hierarquica, como mostrado nas figuras 2 e 3. Em instalar,;6es em que dois ou mais distribuidores utilizem 0 mesmo espar,;o ffsico (ver 5.7.1), nao sao necessarias interligar,;6es entre eles. Subsistema de cabeamento de backbone de campus Subsistema de cabeamento de backbone de edificio Subsistema de cabeamento horizontal Cabos opcionais cables Figura 2 - Estrutura hierarquica do cabeamento generico 17
  • 23.
    ABNT NBR 14565:2007 Subsistema de cabeamento de backbone de campus Subsistema de cabeamento de backbone de edificio Subsistema de cabeamento horizontal , , I 1 Cabo opcional ,,_ ~I Distribuidor opcional Figura 3 - Estruturas para cabeamento generico centralizado 5.4.2 Arquitetura de cabeamento centralizado As estruturas de cabeamento centralizado, como mostrado na figura 3, criam backbone/canais horizontais combinadas Os canais sao formados par conex6es passivas nos distribuidores. As conex6es sao obtidas utilizando-se tanto interconex6es como conex6es cruzadas. Alem disso, para cabeamento 6ptico centralizado, e possivel criar conex6es nos distribuidores usando emendas, apesar de isto reduzir a capacidade do cabeamento de suportar reconfigurac;:6es. 5.5 Localiza98.0 dos elementos funcionais A figura 4 mostra um exemplo de como os elementos funcionais sao posicionados no edificio.
  • 24.
    ABNT NBR 14565:2007 Sala de telecomunica<;6es Cabo do backbone de campus Rede extern a Sala de equipamentos Infra-estrutura de entrada Figura 4 - Localiza<;ao dos elementos funcionais Distribuidores podem ser colocados na sala de equipamentos au nas salas de telecomunica<;;6es. As diretrizes para a posicionamento dos distribuidores estao descritas na ISO/lEG TR 14763-2. Os cabos sao lan<;;ados usando-se encaminhamentos que podem ser canaletas, eletrotudos, bandejas, entre outros au simplesmente rotas definidas. Os requisitos para as encaminhamentos e as sistemas de organiza<;;ao de cabos sao descritos na ISO/lEG 18010. As tomadas de telecomunica<;;oes sao localizadas na area de trabalho. 5.6 Interfaces 5.6.1 Interfaces de equipamentos e interfaces de ensaio As interfaces de equipamento para cabeamento generico sao localizadas nas extremidades de cada subsistema. Os distribuidores podem ter uma interface de equipamento para um servi<;;o externo em qualquer porta e usar tanto interconexoes, como mostrado na figura 5, como conexoes cruzadas, como mostrado na figura 6. 0 ponto de consolida<;;ao nao oferece uma interface de equipamentos para a sistema de cabeamento generico. A figura 7 ; mostra as interfaces de equipamento possiveis para as subsistemas de cabeamento horizontal e de backbone. As interfaces de ensaio para a cabeamento generico sao localizadas nas extremidades de cada subsistema e no ponto de consolida<;;ao, quando presente. A figura 7 mostra as interfaces de ensaio possiveis para a subsistema de cabeamento horizontal. 19
  • 25.
    ABNT NBR 14565:2007 Cordao de Subsistema de EQP~am~ cabeamento ::r' SUbs~ma de ~ Subsistema de cabeamento cabeamento --------1[91------­ [9 = conexao I EQP I =transmissao/equipamento terminal Figura 5 - Modelo de interconexao Cordao de Subsistema de Patch cord n~iPa~ump~ cabeamento EQP~~---'---- Subsistema de Patch cord Subsistema de cabeamento ou jumper cabeamento ______ -J~------_ [9 = conexao I EQP I = equipamento de transmissao Figura 6 - Modelo de conexao cruzada Cabeamento horizontal EI EI EI I I EI: Interface de equipamento : I .. .. TI: Interface de teste : .. I EQP ~r----------Icdf---~ TE I t 't CP t TOt t TI TI TI TI TI Cabeamento de backbone EI EI EI EI ; ~ ~ ~ ~ i ,----EQ-P----,~-------_---j~r--E-Q-PI t ' t t ! t TI TI o = conexao TI TI Figura 7 -Interfaces de equipamento e ensaios 5.6.2 Canal e enlace permanente o desempenho de transmissao de um cabeamento genenco entre interfaces especificas esta detalhado nas sec;:6es 6 e 8 em termos de canal e enlace permanente.
  • 26.
    ABNT NBR 14565:2007 o canal e 0 caminho de transmissao entre 0 equipamento, como um hub/switch de rede (EQP na figura 7) eo equipamento terminal. Um canal tfpico consiste em um subsistema horizontal com uma area de trabalho e com cord6es de equipamento. Para servi<;os de longa dist€mcia 0 canal pode ser construido pela conexao de dois ou mais subsistemas (incluindo a area de trabalho e os cord6es de equipamento). 0 desempenho do canal exclui as conex6es dos equipamentos de aplica<;ao especifica. o enlace permanente e 0 caminho de transmissao de um subsistema de cabeamento instalado incluindo 0 hardware de conexao nas extremidades do cabo instalado. No subsistema de cabeamento horizontal 0 enlace permanente consiste na tomada de telecomunica<;6es, no cabo horizontal, em um ponto de consolida<;ao opcional e na termina<;ao do cabo horizontal no distribuidor de piso. 0 enlace permanente inclui as conex6es nas extremidades do cabo instalado. 5.6.3 Interfaces externas a rede Conex6es com redes publicas para 0 fornecimento de seus respectivos servi<;os de telecomunica<;6es sao feitas nas interfaces externas a rede. 5.7 Dimensionamento e configura9ao 5.7.1 Distribuidores o numero e tipo de subsistemas que estao na implementa<;ao de um cabeamento generico dependem da geografia e do tamanho do campus ou edificio e sobretudo da estrategia do usuario. Usual mente ha um unico distribuidor de campus para cada campus, um distribuidor de edificio para cada edificio e um distribuidor de piso para cada piso. o projeto dos distribuidores de piso deve assegurar que os comprimentos de patch cords/jumpers e cord6es de equipamentos sejam minimos e a administra<;ao deve assegurar que estes comprimentos sejam suficientes para a opera<;ao. Os distribuidores devem ser posicionados de tal maneira que os comprimentos de cabos sejam consistentes com os requisitos de desempenho de canal das se<;6es 6 e 8. Em caso de implementa<;6es em referenda na se<;ao 7, os distribuidores devem ser posicion ados para garantir que 0 comprimento do canal da tabela 1 nao seja excedido. Entretanto, nem todas as aplica<;6es sao suportadas sobre 0 comprimento maximo mostrado na tabela 1, usando simplesmente um unico tipo de cabo. As tLlbelas 20, 21 e 22 indicam que 0 suporte a aplica<;6es espedficas sobre canais instalados pode requerer uma mistura d8 meios fisicos de cabeamento e de especifica<;6es de desempenho. Tabela 1 - Comprimento maximo do canal Comprimento II Canal m Horizontal 100 Horizontal + backbone de edificio + backbone de campus 2000 NOTA 1 Em algumas implementa<;6es do subsistema de cabeamento horizontal na seyao 7, o FD pode nao suportar TO ate a distancia maxima mostrada. NOTA 2 Para aplicayoes especificas com fibras opticas, consultar 0 anexo D. Pelo menos um distribuidor de piso deve ser instalado para cada piso; para areas superiores a 1000m 2 , no minimo um distribuidor de piso deve ser instalado para cada 1000m2 de areas reservadas para escritorios. Se a area de piso for pouco populosa (por exemplo, um saguao), e permitido servir este piso por meio de um distribuidor localizado em um piso adjacente. As fun<;6es de multiplos distribuidores podem ser combinadas. A figura 8 mostra um exemplo de cabeamento generico. Na figura 8, 0 edificio A mostra um exemplo de cada distribuidor localizado separadamente e 0 edificio B mostra um exemplo onde as fun<;6es de um distribuidor de piso e de um distribuidor de ediffcio foram combinadas em um unico distribuidor. ICiARNT ?nn7 _ T ..,rl..,,, ..,,, rlirp;t..,,, rp"prv"rl..,,, ~1
  • 27.
    ABNT NBR 14565:2007 / / Edificio B §---< EJ ( FD EJ ' ,--"J Figura 8 -- Exemplo de um cabeamento generico com distribuidor de ediffcio e de piso combinados Em certas circunstancias, por exemplo por raz6es de seguranc;a ou confiabilidade. redund€mcias podem ser projetadas no cabeamento. A figura 9 apresenta um dos possiveis exemplos de conexao dos elementos funcionais dentro da estrutura. para oferecer protec;ao contra falhas em uma ou mais partes da infra-estrutura de cabeamento. Esta pode ser a forma basica para um projeto de cabeamento generico em edificios. oferecendo alguma protec;ao contra danos como fogo ou falhas nos cabos da rede publica. 2° andar 1° andar Subsolo Cabo de Cabo de entrada entrada Figura 9 -- Inter-relac;;ao dos elementos funcionais em uma instalac;;ao com redundancia
  • 28.
    ABNT NBR 14565:2007 5.7.2 Cabos Para detalhes da utilizac;;ao dos tipos recomendados de cabos, ver a ABNT NBR 14703. a hardware de conexao de cabos deve oferecer a conexao direta para cada condutor e nao deve permitir contatos entre mais de um condutor (por exemplo, derivac;;6es nao devem ser usadas). 5.7.3 Cord6es da area de trabalho e cordoes de equipamento as cord6es da area de trabalho conectam as tomadas de telecomunicac;;6es ao equipamento terminal. as cord6es de equipamento conectam equipamentos aos distribuidores do cabeamento generico. Nao sao permanentes e podem ser para aplicac;;6es especificas. Devem ser levados em considerac;;ao 0 comprimento e 0 desempenho de transmissao destes cord6es; as considerac;;6es devem ser identificadas quando relevantes. A contribuic;;ao destes cord6es para 0 desempenho deve ser levada em considerac;;ao no projeto do canal. A sec;;ao 7 oferece diretrizes para comprimentos de cord6es como referencia nas implementac;;6es de cabeamento generico. 5.7.4 Patch cords e jumpers as patch cords e os jumpers sao utilizados nas implementac;;6es de conex6es cruzadas nos distribuidores. A contribuic;;ao destes cord6es para 0 desempenho deve ser levada em considerac;;ao quando do projeto do canal. A sec;;ao 7 oferece diretrizes para os comprimentos dos patch cords/jumpers como referencia nas implementac;;oes de cabeamento gene rico. 5.7.5 Tomadas de telecomunicac;;oes 5.7.5.1 Requisitos gerais a projeto de um cabeamento gene rico deve assegurar que as tomadas de telecomunicac;;6es sao instaladas em toda a parte da area utilizavel do piso. Uma alta densidade de tomadas de telecomunicag6es melhora a habilidade do cabeamento de acomodar mudangas. As tomadas de telecomunicag6es podem estar presentes individualrnente ou em grupos. Cada area de trabalho deve ser servida por um minimo de duas tomadas de telecomunicac;;oes. Para diretrizes do tamanho da area de traba'lho, ver a ISOIlEC TR 14763-2. A primeira tomada de telecomunicac;;oes deve ser para terminac;;ao de um cabo balanceado de quatro pares de acordo com 10.2.1. A segunda tomada deve ser para: fibra 6ptica; ou terminagao de um cabo de quatro pares balanceado de acordo com 10.2.1. Cad a tomada de telecomunicac;;6es deve ter um meio permanente de identificac;;ao que seja visivel ao usuario. Dispositivos como baluns, splitters (conector Y) e casadores de impedancia, se usados, devem ser externos ao hardware de conexao. 5.7.5.2 Tomada de telecomunicag6es de usuario unico Em uma implementagao geral de um cabeamento generico, uma tomada de telecomunicag6es serve a uma unicCl area de trabalho. a comprimento dos cordoes da area de trabalho deve ser 0 menor possivel. A implementac;;ao da topologia deve ser selecionada das opgoes descritas em 7.2.2.2 (para cabos balanceados) e em 8.4 (para cabos 6pticos). A tomada de telecomunicagoes deve ser conhecida como uma tom ada de telecomunicac;;oes de usuario unico e deve ser instalada em local acessivel. 23
  • 29.
    ABNT IIBR 14565:2007 Acontribuil;:ao dos cordoes da area de trabalho, dos patch cords e dos cordoes de equipamento para 0 desempenho do canal deve levar em consideral;:ao os requisitos da sel;:ao 6 (cabos balanceados) e sel;:ao 8 (cabos 6pticos), a tim de garantir 0 desempenho. 5.7.5.3 Tomada de telecomunical;:oes multiusuario (MUTO) Em um ambiente de escrit6rios abertos, um conjunto de tomadas de telecomunical;:oes pode ser usado para servir a mais de uma area de trabalho. A implemental;:ao da topologia deve ser selecionada das opl;:oes descritas em 7.2.2.2 (para cabos balanceados) e em 8.4 (para cabos 6pticos) e este conjunto de tomadas de telecomunical;:oes deve ser conhecido como tomada de telecomunical;:oes multiusuario. Onde sao usadas as tomadas de telecomunical;:oes multiusuario: a) uma tomada de telecomunica1;:6es multiusuario deve ser instalada em uma area de trabalho aberta, onde cada grupo de areas de trabalho seja servido por no minimo uma tomada de telecomunical;:oes multiusuario; b) uma tom ada de telecomunica1;:6es multiusuario deve ser Iimitada a servir um maximo de 12 areas de trabalho; c) uma tom ada de telecomunical;:oes multiusuario deve ser instalada em local de facil acesso. como colunas do ediffcio ou paredes permanentes; d) uma tomada de telecomunical;:oes multiusuario nao deve ser instalada em areas obstrufdas; e) a contribuil;:ao dos cordoes da area de trabalho. dos patch cords e dos cordoes de equipamento para 0 desempenho do canal deve levar em consideral;:ao os requisitos da sel;:ao 6 (cabos balanceados) e sel;:ao 8 (cabos 6pticos), a fim de garantir 0 desempenho; f) 0 comprimento do cordao da area de trabalho deve ser limitado para garantir 0 gerenciamento. 5.7.6 Ponto de consolida<;ao A instalal;:c3o de um ponto de consolidal;:ao no cabeamento horizontal, entre 0 distribuidor de piso e a tomada de telecomunical;:oes, pode ser util no ambiente de escrit6rios abertos, onde a flexibilidade de realOCa1;:80 das tomadas de telecomunical;:oes e uma exigencia. Um ponto de consolidal;:ao entre 0 distribuidor de piso e a tomada de telecomunical;:oes e permitido. 0 ponto de consolidal;:ao deve conter unicamente componentes de conexao passivos e nao deve utilizar conexoes cruzadas. Onde sao utilizados pontos de consolidal;:ao: a) 0 ponto de consolida1;:80 deve ser instalado de maneira que cada grupo de areas de trabalho possa ser atendido por no minimo um ponto de consolidal;:ao; b) 0 ponto de consolidal;:ao deve ser limitado a atender no maximo 12 areas de trabalho; c) 0 ponto de consolidal;:ao deve ser instalado em locais que possibilitem 0 acesso para manutenl;:ao; d) para cabos balanceados, 0 ponto de consolida1;:80 deve ficar a uma distancia de no minimo 15 m do distribuidor de piso; e) 0 ponto de consolidal;:ao deve ser parte do sistema de administral;:ao. 5.7.7 Sala de telecomunica<;oes e sala de equipamentos As salas de telecomunical;:oes devem oferecer todas as facilidades (espal;:o, alimental;:ao eletrica, contrale ambiental etc.) para os componentes passivos, dispositivos ativos e interfaces com 0 backbone do sistema de cabeamento que estejam nelas instalados. Cada sala de telecomunical;:oes deve ter acesso direto ao subsistema de cabeamento de backbone.
  • 30.
    ABNT NBR 14565:2007 Uma(mica sala de equipamentos e a area dentro do edificio ou para um complexo de edificios onde os equipamentos de uso comum de todos os usuarios da rede sao instalados. A sala de equipamentos recebe um tratamento diferente das salas de telecomunica<;:oes por causa da natureza ou complexidade dos equipamentos (por exemplo: PBX, servidores, roteadores, switches principais etc.). Mais de um distribuidor (de campus, de edificio ou de piso) pode ser instalado na sala de equipamentos. 5.7.8 Infra-estrutura de entrada Compreende 0 unico ponto de interface com os servi<;:os externos ao edificio ou complexo de edificios e 0 encaminhamento dos cabos dos distribuidores de campus ou edificio. A infra-estrutura de entrada e necessaria quando 0 backbone de campus e os cabos de redes publicas e privadas (incluindo antenas) entram no edificio e necessitam de uma transi<;:ao para cabos internos. Regulamentos locais podem requerer infra-estruturas especiais onde os cabos externos sao terminados. Neste local de termina<;:ao, a mudan<;:a de cabos externos para cabos internos pode ser feita. 5.7.9 Cabeamento de servi<;os externos A distancia dos servi<;:os externos ao distribuidor pode ser significativa. 0 desempenho do cabo entre estes pontos deve ser considerado parte do projeto inicial e da implementa<;:ao das aplica<;:oes do cliente. 6 Desempenho do cabeamento balanceado 6.1 Geral Esta se<;ao especifica 0 desempenho mlnlmo de um cabeamento balanceado genenco. 0 desempenho do cabeamento balanceado e especificado para canal, enlace permanente e enlace do ponto de consolida<;:ao (ver figura 10). Canal Enlace permanente Enlace do CP FD CP Cordao do Patch cordi equipamenlo Jumper Cabo do Cordao da area CP de lrabalho [Q] = conexao Figura 10 - Canal, enlace permanente e enlace do ponto de consolida<;ao de um cabeamento balanceado Quando usado 0 compartilhamento do cabo por diferentes aplica<;:oes, requisitos adicionais devem ser levados em considera<;:ao para 0 cabeamento balanceado. Requisitos adicionais de diafonia para cabeamento balanceado sao especificados na ABNT NBR 14703. As especifica<;:oes de desempenho sao estabelecidas por categorias para cabeamento balanceado. Isto garante a transmissao de aplica<;:oes sobre os canais de acordo com 0 anexo D, que lista as aplica<;:oes e os requisitos mfnimos de cada categoria. 25
  • 31.
    ABNT NBR 14565:2007 Osrequisitos de desempenho do canal descritos nesta sec;ao podem ser usados para 0 projeto e verificac;ao em qualquer implementac;ao desta Norma. Onde exigidos, os metodos de ensaio definidos ou referenciados nesta sec;ao devem ser aplicados. Adicionalmente, estes requisitos podem ser usados para desenvolvimento de aplicac;oes e diagn6sticos. Os requisitos de desempenho do enlace permanente e do enlace do ponto de consolidac;ao, sao descritos no anexo A e podem ser usados como ensaio de aceitac;ao de qualquer implantac;ao desta Norma. Onde exigidos, os metodos de ensaio definidos e referenciados pelo anexo A devem ser aplicados. As especificac;oes nesta sec;ao permitem a transmissao de classes de aplicac;oes definidas sobre distancias diferentes daquelas especificadas em 7.2 e/ou usando meio ffsico e componentes com diferentes desempenhos em relaC;80 aqueles especificados na ABNT NBR 14703 e sec;oes 10 e 13. As especificac;oes de desempenho de canal, enlace permanente e enlace do CP de uma determinada categoria devem ser atendidas para a faixa de temperatura de operac;ao do cabeamento. Deve haver margens adequadas que levem em conta a dependencia da temperatura dos componentes do cabeamento conforme especificac;oes e instruc;oes de seus fabricantes. Atenc;ao especial deve ser dada a medic;ao de desempenho em temperaturas de pior caso ou a estimativa de desempenho de pior caso, com base em medic;oes feitas em outras temperaturas. A compatibilidade entre os cabos usados no mesmo canalou enlace permanente deve ser mantida ao lange de todo 0 sistema de cabeamento. Assim sendo, nao devem ser feitas conexoes entre cabos com impedancias nominais diferentes. 6.2 Configura<;ao o desempenho de um canal e especificado nas conexoes e entre conexoes ao equipamento ativo. o canal compreende apenas as sec;oes passivas de cabo, hardware de conexao, os cordoes da area de trabalho, os cordoes de equipamentos e os patch cords. As conexoes do equipamento ativo ao hardware de conexao nao sao consideradas. o suporte a aplicac;oes depende apenas do desempenho do canal que, por sua vez, depende do comprimento do cabo, numero de conexoes, praticas de terminac;ao do conector e servic;o de instalac;ao. E possivel conseguir um desempenho de canal equivalente sobre comprimentos maiores pelo uso de menos conexoes ou usando componentes com nfveis de desempenho superiores (ver anexo A). Os limites de desempenho para canais de cabeamento balanceado sao dados em 6.4. Estes limites sao derivados dos limites de desempenho de componentes da ABNT NBR 14703 e da sec;ao 10, assumindo que 0 canal e composto de 90 m de cabo de condutor s6lido, 10 m de cordoes e quatro conexoes (ver figura 10). A maioria dos canais Classe F e implementada com apenas duas conexoes. InformaC;ao adicional a respeito desta implementaC;80 e dada no anexo E. A figura 11 mostra um exemplo de um equipamento terminal na area de trabalho conectado ao equipamento de transmissao usando dois canais com meios ffsicos diferentes que sao cascateados. De fato, ha um canal de fibra 6ptica (ver se<;:ao 8) conectado por um componente ativo no FD a um canal de cabeamento balanceado. Ha quatro interfaces de canal; uma em cada extremidade do canal balanceado e uma em cada extremidade do canal de fibra.
  • 32.
    ABNT NBR 14565:2007 so 'e lei l l __~ _ Canal de cabeamemo Canal de fibra 6ptica balanceado CO FO [9 = conexao ~ 9.: =conexao opcional OE EQP = Equipamento opto-eletr6nico Figura 11 - Exemplo de um sistema mostrando a localiza<;ao de interfaces de cabeamento e extensao de canais associados o desempenho de um enlace permanente e especificado para 0 cabeamento horizontal na tomada de telecomunicayoes e entre esta e 0 primeiro hardware de conexao na outra extremidade do cabo horizontal e pode e conter um CPo 0 desempenho de um enlace do CP especificado para cabeamento horizontal no CP entre este e o primeiro hardware de conexao na outra extremidade do cabeamento horizontal. Para 0 cabeamento de e backbone, 0 enlace permanente especificado no hardware de conexao e entre estes em cada extremidade do cabo de backbone. 0 enlace permanente e 0 enlace do CP compreendem apenas as seyOes passivas de cabo e hardware de conexao. Os limites de desempenho para enlaces permanentes de cabeamento balanceado e enlaces do CP sao dados no anexo A. Os limites de desempenho para enlaces permanentes do cabeamento balanceado com implementayao maxima sao dados no anexo A. Estes Iimites sao derivados dos limites de desempenho de componentes da e ABNT NBR 14703 e da seyao 10, assumindo que 0 enlace permanente composto de 90 m de cabo de condutor s6lido e tres conexoes (ver figura 10). A maioria dos enlaces permanentes c1asse F e implementada com apenas duas conexoes. Informayao adicional a respeito desta implementa<;ao e dada no anexo E. 6.3 Classifica9ao do cabeamento balanceado Esta norma especifica as seguintes classes para cabeamento balanceado: a) c1asse A: especificada ate 100 kHz; b) c1asse B: especificada ate 1 MHz; c) c1asse C/Categoria 3: especificada ate 16 MHz; d) c1asse D/Categoria 5e: especificada ate 100 MHz; e) c1asse E/Categoria 6: especificada ate 250 MHz; f) c1asse F/Categoria 7: especificada ate 600 MHz. 27
  • 33.
    ABNT NBR 14565:2007 Umcanal classe A e especificado de modo a oferecer um desempenho minima de transmissao para suportar aplicac;:oes c1asse A. Similarmente, os canais classes B, C, D, E e F oferecem desempenho de transmissao para suportar as aplicac;:oes de classes B, C, D, E e F, respectivamente. Enlaces e canais de uma dada classe suportam todas as aplicac;:oes de uma c1asse inferior. A c1asse A e considerada a menor. Canais, enlaces permanentes e enlaces do CP no cabeamento horizontal devem ser instalados para oferecer um desempenho mlnimo de c1asse D/categoria 5e. o anexo D apresenta as aplicac;:oes conhecidas por classes. 6.4 Parametros de desempenho do cabeamento balanceado 6.4.1 Geral Os para metros especificados nesta subsec;:ao aplicam-se a canais com elementos de cabos blindados ou sem blindagem, com ou sem uma blindagem geral, exceto especificac;:ao contraria. A impedancia nominal dos canais e de 100 O. Isto e obtido par um projeto adequado, bem como escolha apropriada dos componentes do cabeamento (independentemente de sua impedancia nominal). Os requisitos desta subsec;:ao sao dados par limites calculados com uma casa decimal de precisao, usando a equac;:ao para uma faixa definida de frequencias. Os limites para atraso de propagac;:ao e atraso de propagac;:ao relativo sao calculados com tres casas decimais de precisao. As tabelas adicionais sao apenas para informac;:ao e tem seus limites derivados destas equac;:6es em frequencias criticas. 6.4.2 Perda de retorno Os requisitos de perda de retorno aplicam-se apenas as classes C, D, E e F. A perda de retorno (RL) de cada par de um canal deve atender aos requisitos derivados da equac;:ao da tabela 2. Os requisitos de perda de retorno devem ser atendidos nos dais extremos do cabeamento. Os valores de perda de retorno em frequencias nas quais a perda de inserc;:ao (IL) estiver abaixo de 3,0 dB sao apenas para informac;:ao. Quando necessaria, a perda de retorno (RL) deve ser medida de acordo com a ASTM D 4566. Terminac;:oes de 100 0 devem ser conectadas aos elementos do cabeamento sob ensaio na extremidade remota do canal. Tabela 2 - Perda de retorno para canal Classe Frequencia Perda de retorno minima MHz dB C 1~f~16 15,0 1 ~ f < 20 17,0 D 20 ~ f~ 100 30 - 101og(f) 1~f<10 19,0 E 10 ~ f < 40 24 - 5log(f) 40 ~ f ~ 250 32 - 101og(f) 1~f<10 19,0 10 ~ f < 40 24 - 5log(f) F 40 ~ f< 251,2 30 - 101og(f) 251,2~f~600 8,0
  • 34.
    ABNT NBR 14565:2007 Tabela 3 - Valores de perda de retorno para canal em freqOencias criticas Perda de retorno minima Frequemcia dB MHz Classe C Classe 0 Classe E Classe F 1 15,0 17,0 19,0 19,0 16 15,0 17,0 18,0 18,0 100 N/A 10,0 12,0 12,0 250 N/A N/A 8,0 8,0 600 N/A N/A N/A 8,0 6.4.3 Perda de inserc;:ao o termo "perda de inserc;:ao" e adotado para descrever uma atenuac;:ao de sinal ao lange dos canais, enlaces e componentes. Diferentemente da atenuac;:ao, a perda de inserc;:ao nao e linearmente proporcional ao comprimento do cabo. Outras normas usam 0 termo "atenuac;:ao", 0 qual e ainda usado largamente na industria de cabeamento. Entretanto, devido ao nao casamento de impedancias em sistemas de cabeamento, especial mente em altas frequencias, esta caracteristica e melhor descrita como "perda de inserc;:ao". o termo "atenuac;:ao" esta mantido para os seguintes parametros: a) relac;:ao atenuac;:ao paradiafonia (ACR) (ver 6.4.5); b) atenuac;:ao desbalanceada (ver 6.4.14); c) atenuac;:ao de acoplamento (ver 6.4.15). Para 0 calculo de ACR, PS ACR, ELFEXT e PS ELFEXT, 0 valor correspondente para perda de inserc;:ao (IL) deve ser usado. A perda de inserc;:ao (IL) de cada par de um canal deve atender aos requisitos derivados da equac;:ao na tabela 4. Quando requerido, a perda de inserc;:ao deve ser medida de acordo com a ABNT NBR 9133. Tabela 4 - Perda de inserc;:ao para canal Classe/ Frequemcia Perda de inser~ao maxima - a categoria (MHz) (dB) A f - 0,1 16,0 f - 0,1 5,5 B f-1 5,8 C/3 1 sf.:; 16 1,05 x (3,23Jf)+ 4 x 0,2 D/5e 1 sf s 100 1,05 x (1,9108.Ji + 0,022 2 x f + 0,2/ .Ji)+ 4 x 0,04 x.Ji E/6 1 sf s 250 1,05 x (1,82Jf + 0,0169 x f + 0,25/.Ji)+ 4 x 0,02 x.Ji I F/7 1 sf s 600 1,05 x (1 ,8Jf + 0,01 x f + 0,2/ .Ji)+ 4 x 0,02 x.Ji Legenda I a = Perda de insen;:ao (IL) em frequencias correspondentes a valores calculados menores que 4.0 dB 'I deve reverter para 0 requisito maximo de 4,0 dB. 29
  • 35.
    ABNT NBR 14565:2007 Tabela 5 - Valores de perda de inser9ao para canal em freqO€mcias crfticas Perda de inser<;ao maxima dB FreqQ€mcia MHz Classe D/ Classe C/ Classe E/ Classe F/ Classe A Classe B categoria categoria 3 categoria 6 categoria 7 5e 0,1 16,0 5,5 N/A N/A N/A N/A 1 N/A 5,8 4,2 4,0 4,0 4,0 16 N/A N/A 14,4 9,1 8,3 8,1 100 N/A N/A N/A 24,0 21,7 20,8 250 N/A N/A N/A N/A 35,9 33,8 600 N/A N/A N/A N/A N/A 54,6 6.4.4 fIEXT 6.4.4.1 NEXT par a par o NEXT entre cada combina<;ao de pares de um canal deve atender aos requisitos derivados da equa<;ao na tabela 6. Os requisitos de NEXT devem ser atendidos em ambas as extremidades do cabeamento. as valores de NEXT nas freqOencias em que a perda de inser<;ao (IL) e inferior a 4,0 dB sao somente informativos. Quando requerido, 0 NEXT deve ser medido de acordo com a ASTM D 4566. Tabela 6 - NEXT para canal Classel Frequencia NEXT minima categoria (MHz) (dB) A f - 0,1 27,0 B 0,1 .s f.s 1 25 - 1510g(f) C/3 1.sf.s16 39,1 - 16,4log(f) D/5e 1 .s f.s 100 - 20 log I" 0 65,3-1510g(f) - 20 + 2 x 10 83-20109(1) - 20 1 a I I " E/6 1 :; f.s 250 - 20 log 0 74,3 -1510g(f) - 20 + 2 x 10 94 - 20 109 (f) - 20 1 b I i F/7 ! I 1 s f.s 600 - 20 log l'02,4_'5109I f l 10 - 20 +2 X 10 102,4 -15109 If) - 20 1 b i " 0 NEXT em frequencias correspondentes a valores calculados maiores que 60,0 dB deve reverter ao requisito minimo de 60,0 dB b 0 NEXT em frequmcias correspondentes a valores calculados maiores que 65,0 dB deve reverter ao requisito minimo € l de 65,0 dB.
  • 36.
    ABNT NBR 14565:2007 Tabela 7 - Valores informativos de NEXT para canal em frequencias criticas NEXT minima de canal Frequencia dB MHz Ciasse CI Classe 01 Classe EI Classe FI Classe A Classe B categoria 3 categoria 5e categoria 6 categoria 7 0,1 27,0 40,0 NIA NIA NIA N/A 1 N/A 25,0 39,1 60,0 65,0 65,0 16 N/A NIA 19,4 43,6 53,2 65,0 100 NIA NIA N/A 30,1 39,9 62,9 250 N/A NIA NIA NIA 33,1 56.9 600 N/A N/A N/A NIA NIA 51,2 6.4.4.2 Power Sum NEXT (PS NEXT) as requisitos de PS NEXT sao aplicaveis somente as classes D, E e F. a PS NEXT de cada par de um canal deve atender aos requisitos derivados da equac;:ao na tabela 8. as requisitos de PS NEXT devem ser atendidos em ambas as extremidades do cabeamento. as valores de PS NEXT nas frequE'mcias em que a perda de inserc;:ao (IL) e menor que 4,0 dB sao somente informativos. PS NEXTk de um par k e calculado como segue: -NEXT ik PS NEXT = -10 log 10 (1 ) k onde: e0 numero do par interferente; k e 0 numero do par interferido; n e 0 numero total de pares; NEXTik e a paradiafonia acoplada no par k, a partir do sinal interferente no par i. 31
  • 37.
    ABNT NBR 14565:2007 Tabela 8 - PS NEXT para canal Classel FreqLiencia PS NEXT minima categoria (MHz) (dB) a [ 62,3-15Iog(f) 80 - 20 109 (f) ] 0/5e 1~ f ~ 100 - 20 log 10 - 20 + 2 x 10 - 20 E/6 1 ~ f ~ 250 l - 20 log 10 72,3 -151og (f) - 20 + 2 x 10 90 - 20 109 (f) ] - 20 b F/7 1 ~ f ~ 600 l - 20 log 10 99,4-15 Io9(f) - 20 + 2 x 10 99,4-15109 (f)] - 20 b a PS NEXT em frequencias que correspondem a valores calculados maiores que 57,0 dB deve reverter para 0 requisito minima de 57.0 dB. h PS NEXT em frequencias que correspondem a valores calculados maiores que 62,0 dB deve reverter para 0 requisito minima de 62.0 dB. Tabela 9 - Valores informativos de PS NEXT para canal em freqOEmcias crfticas PS NEXT minima FreqLiencia dB MHz Classe 01 Classe EI Classe FI categoria 5e categoria 6 categoria 7 1 57,0 62,0 62,0 16 40,6 50,6 62,0 100 27,1 37,1 59,9 250 N/A 30,2 53,9 600 N/A N/A 48,2 6.4.5 Relac;ao atenuac;ao paradiafonia (ACR) as requisitos de ACR sao aplicados somente para as classes D, E e F. 6.4.5.1 ACR par a par A relac;:ao atenuac;:ao paradiafonia par a par e a diferenc;:a entre a paradiafonia (NEXT) e a atenuac;:ao do par, medida em decibels. a ACR de cada combinac;:ao de pares de um canal deve atender a diferenc;:a dos requisitos de NEXT da tabela 6 e as requisitos de perda de inserc;:ao (IL) da tabela 4 da respectiva c1asse. as requisitos de ACR devem ser atendidos em ambas as extremidades do cabeamento.
  • 38.
    ABNT NBR 14565:2007 oACR dos pares i eke calculado conforme a equac;:ao abaixo: onde: e0 numero do par interferente; k e 0 numero do par interferido; NEXTik e a paradiafonia acoplada no par k, a partir do sinal interferente no par i; ILk e a perda de inserc;:ao do par k. Quando requerido, a perda de inserc;:ao deve ser medida de acordo com a ABNT NBR 9133. Tabela 10 - Valores informativos de ACR para canal em freqOencias crfticas ACR minimo Frequelncia dB MHz ClasseD/ Classe EI Classe FI categoria 5e categoria 6 categoria 7 1 56,0 61.0 61,0 16 34,5 44,9 56,9 100 6,1 18.2 42,1 250 N/A -2,8 23,1 600 N/A N/A -3,4 6.4.5.2 Power Sum ACR (PS ACR) o PS ACR de cada par de um canal deve atender a diferenc;:a dos requisitos de PS NEXT da tabela 8 e os requisitos de perda de inserc;:ao (IL) da tabela 4 da respectiva classe. o requisito de PS ACR deve ser atendido em ambas as extremidades do cabeamento. o PS ACR do par k e calculado conforme a equac;:ao abaixo: onde: k e0 numero do par interferido; PS NEXTk e 0 PS NEXT do par k; ILk e a perda de inserc;:ao do par k. Quando requerido, deve ser medida de acordo com a ABNT NBR 9133. 33
  • 39.
    ABNT NBR 14565:2007 Tabela 11 - Valores informativos de PS ACR para canal em frequemcias criticas PS ACR minimo Frequencia cdBc MHz ClasseDI Classe EI Classe FI categoria 5e categoria 6 categoria 7 1 53,0 58,0 58,0 16 31,5 42,3 53,9 100 3,1 15,4 39,1 250 N/A -5,8 20,1 600 N/A N/A -6,4 6.4.6 ELFEXT A telediafonia (FEXT) e a mediy80 da interferencia sobre um par adjacente aquele em que foi aplicado 0 sinal interferente, na extremidade oposta. 0 ELFEXT e a diferenya entre a telediafonia medida em um dado par do cabo e sua perda de insery8o. Os requisitos de ELFEXT aplicam-se somente a classes D, E e F. 6.4.6.1 ELFEXT par a par o ELF EXT de cada combinay80 de par de um canal deve ser obtido conforme as equayoes da tabela 12. o ELFEXTik dos pares i eke calculado conforme a equay80 abaixo: onde: e 0 numero do par interferente; k e 0 numero do par interferido; FEXTik e a telediafonia medida sobre 0 par k a partir do sinal interferente do par i. Quando requerido, 0 FEXT deve ser medido de acordo com a ASTM D 4566; ILk e a perda de insery 80 do par k. Quando requerido, deve ser medida de acordo com a ABNT NBR 9133. NOTA A relaC;;8o entre a perda de inserC;;8o (IL) do par interferido e a telediafonia e relevante para uma indicaC;;8o da relaC;;8o slnal-ruido. Os resultados calculados com base nas definic;;oes acima cobrem todas as combinac;;oes possiveis de perda de inserC;;8o dos pares e suas telediafonias correspondentes.
  • 40.
    ABNT NBR 14565:2007 Tabela 12 - ELFEXT para canal Classe/ Frequencia ELFEXT a ) minima categoria MHz dB [63,8-20109 (1) 75,1 - 20 log (f) I b D/5e 1 ~ f ~ 100 - 20 log 10 - 20 + 4 x 10 - 20 I I [ 67,8 - 20 log (I) 83,1 - 20 log (f) I c E/6 1 ~ f ~ 250 - 20 log 10 - 20 + 4 x 10 - 20 i ) I c [94-20109 (11 90 - 15 log (f) I F/7 1 ~ f ~ 600 - 20 log 10 - 20 + 4 x 10 - 20 I I I ) a Os valores de ELFEXT em frequElncias que correspondem aos valores medidos de FEXT maiores que 70,0 dB sao apenas informativos. b Os valores de ELFEXT em frequElncias que correspondem aos valores calculados maiores que 60.0 dB devem ser convertidos para a requisito minima de 60,0 dB. c Os valores de ELFEXT em frequencias que correspond em aos valores calculados maiores que 65.0 dB devem ser convertidos para a requisito minima de 65,0 dB. Tabela 13 - Valores informativos de ELFEXT para canal em freqOencias criticas ELFEXT minima Frequencia dB MHz ClasseD/ ClasseE/ Classe F/ categoria 5e categoria 6 categoria 7 1 57,4 63,3 65,0 16 33,3 39,2 57,5 100 17,4 23,3 44,4 250 N/A 15,3 37,8 600 N/A N/A 31,3 6.4.6.2 Power Sum ELFEXT (PS ELFEXT) o PS ELFEXT de cada combinayao de par de um canal deve ser calculado conforme as equayoes da tabela 14. o PS ELFEXTk do par k e calculado conforme a equayao abaixo: -ELFEXT ik PS ELFEXTk = -1010g 10 onde: e 0 numero do par interferente; k e 0 numero do par interferido; n e 0 numero total de pares; ELFEXTik eo ELFEXT acoplado sobre 0 par k, a partir do sinal interferente do par i. 35
  • 41.
    ABNT NBR 14565:2007 Tabela 14 - PS ELFEXT para canal l Classe/ FrequElncia PS ELFEXT" minima categoria MHz dB 60,8 - 20 log (Q 72,1- 20 109 (I) J b 5e 1~f~100 - 20 log 10 - 20 + 4 x 10 - 20 6 1~ f ~ 250 l - 20 log 10 64,8 - 20 log (I) - 20 + 4 x 10 80,1- 20 log (I) - 20 J c [ 91-201og(l) 87-151og(l) Jc 7 1~ f ~ 600 - 20 log 10 - 20 + 4 x 10 - 20 a Os valores de PS ELFEXT em frequelncias que correspondem aos valores medidos de FEXT maiores que 70,0 dB sao apenas informativos. h Os valores de PS ELFEXT em frequelncias que correspondem aos valores calculados maiores que 57,0 dB devem ser convertidos para 0 requisito minimo de 57,0 dB. c Os valores de PS ELFEXT em frequelncias que correspondem aos valores calculados maiores que 62,0 dB devem ser convertidos para 0 requisito minimo de 62,0 dB. Tabela 15 - Valores informativos de PS ELFEXT para canal em freqO€mcias criticas PS ELFEXT minima FrequElncia dB MHz Classe 01 Classe EI Classe FI categoria 5e categoria 6 categoria 7 1 54,4 60,3 62,0 16 30,3 36,2 54,5 100 14,4 20,3 41,4 250 N/A 12,3 34,8 600 N/A N/A 28,3 6.4.7 Resistelncia em corrente continua (c.c.) A resistemcia em corrente continua de cada par de um canal deve seguir os requisitos da tabela 16. Quando requerido, a resistencia c.c. deve ser medida conforme a norma ABNT NBR 6814. Tabela 16 - Resistencia em corrente continua para 0 canal Resistencia em corrente continua maxima n Classe A Classe B Classe CI Classe 01 Classe EI Classe FI categoria 3 categoria 5e categoria 6 categoria 7 560 170 40 25 25 25
  • 42.
    ABNT NBR 14565:2007 6.4.8 Desequilibrio resistivo c.c. a desequilibrio resisitivo c.c. entre dois condutores de cada par de um canal nao deve exceder 5% para todas as classes conforme a ABNT NBR 9130. 6.4.9 Capacidade de transmissao de corrente A capacidade minima de condw;ao de corrente para um canal c1asse D, E e F deve ser 0,175 A em corrente continua por condutor para todas as temperaturas nas quais 0 cabeamento seja utilizado. 6.4.10 Tensao de operac;ao as canais de classes D, E e F devem suportar uma tensao de operac;ao de 72 V em corrente continua entre quaisquer condutores para todas as temperaturas nas quais se pretenda usar 0 cabeamento. 6.4.11 Capacidade de potencia as canais de classes D, E e F devem suportar a aplicac;ao de 10 W por par para todas as temperaturas nas quais se pretenda usar 0 cabeamento. 6.4.12 Atraso de propagaC;ao a atraso de propagac;ao de cada par do canal deve atender aos requisitos derivados das equac;oes da tabela 17. Quando requerido, 0 atraso de propagac;ao deve ser medido de acordo com a ASTM D 4566. Tabela 17 - Atraso de propagac;ao Classesl Freqi.iencia Atraso maximo de propagar;ao categorias MHz fls I A f - 0,1 20,000 I B 0,1 s f s 1 5,000 I C/3 1 s fs 16 0,534 + 0,036/.Jf + 4 x 0,0025 I 0/5e 1 5, f s 100 0,534 + 0,036/.Jf + 4 x 0,0025 I E/6 1 sf s 250 ! 0,534 + 0,036/.Jf + 4 x 0,0025 I I. F/7 1 sf s 600 0,534 + 0,036/.Jf + 4 x 0,0025 , Tabela 18 - Valores informativos de atraso de propagac;ao para 0 canal nas frequelncias criticas Atraso maximo de propagar;ao Freqi.iencia fls MHz Classe CI Classe 01 Classe EI Classe FI Classe A Classe B categoria 3 categoria 5e categoria 6 categoria 7 0,1 20,000 5,000 N/A N/A N/A N/A 1 N/A 5,000 0,580 0,580 0,580 0,580 16 N/A N/A 0,553 0,553 0,553 0,553 100 N/A N/A N/A 0,548 0,548 0,548 250 N/A N/A N/A N/A 0,546 0,546 600 N/A N/A N/A N/A N/A 0,545 37
  • 43.
    ABNT NBR 14565:2007 6.4.13Diferen<;:a de atraso de propaga<;:ao (delay skew) a atraso de propaga<;:ao relativo entre todos os pares do canal deve atender aos requisitos da tabela 19. Quando requerido, 0 atraso de propaga<;:ao relativo deve ser medido conforme a ASTM D 4566. Tabela 19 - Atraso de propaga<;:ao relativo para canal Classel FrequEmcia Atraso de propaga<;:ao relativo (maximo) categoria MHz lls A , - 0,1 N/A B 0,1 5' 5 1 N/A , C/3 1 5' 516 0,050 a D/5e 1 5' 5 100 0,050 a E/6 1 5 (5 250 0,050 a i F/7 0,030 'I 1 5'5600 b I 'Este e 0 resultado do calculo 0,045 + (4 X 0,00125). l I Este e0 resultado do calculo 0,025 + (4 X 0,00125). 7 Implementac;:ao do cabeamento balanceado 7.1 Geral Esta se<;:ao descreve implementa<;:oes de cabeamento balanceado generico que utilizam materiais e produtos referenciados nas se<;:oes 9, 10 e 13. Esta referencia de implementa<;:ao esta em conformidade com os requisitos da se<;:80 5 e tambem esta em conformidade com os requisitos de desempenho de canal da se<;:ao 6, quando instalados de acordo com a ISOIIEC TR 14763-2. 7.2 Cabeamento balanceado 7.2.1 Geral as componentes balanceados mencionados nas se<;:oes 9 e 10 sao definidos em fun<;:ao da impedancia e categoria. Na referencia de implementa<;:ao desta se<;:ao, os componentes usados em cada canal de cabeamento devem ter a mesma impedancia nominal, isto e, 100 n para as classes Date F, e 100 n ou 120 n para as classes A ate C. As implementa<;:oes sao baseadas no desempenho dos componentes a 20°C. a efeito da temperatura sobre 0 desempenho dos cabos deve ser considerado pela degrada<;:ao do comprimento, conforme mostrado nas tabelas 20 e 21. as cabos e 0 hardware de conexao de diferentes categorias podem ser misturados dentro de um canal. Contudo, o desempenho resultante do cabeamento e determinado pela categoria de desempenho mais baixa dos componentes utilizados.
  • 44.
    ABNT NBR 14565:2007 7.2.2 Cabeamento horizontal 7.2.2.1 Escolha dos componentes A selet;:ao dos componentes de cabeamento e determinada pela c1asse de aplicat;:oes a serem suportadas. Para mais detalhes, ver anexo D. Usando as configurat;:oes de 7.2.2.2: a) componentes de categoria 5e oferecem um desempenho de cabeamento balanceado classe 0; b) componentes de categoria 6 oferecem um desempenho de cabeamento balanceado c1asse E; c) componentes de categoria 7 oferecem um desempenho de cabeamento balanceado classe F. 7.2.2.2 Configura<;oes A figura 12 mostra os modelos de configurat;:ao usados para 0 cabeamento horizontal especificados nesta set;:ao correlacionados com as especificat;:oes de canal da set;:ao 6. 39
  • 45.
    ABNT NBR 14565:2007 a) InterconeX80: Modelo TO canal = 100 m max. Cabo horizontal Cordao de Cordao da area L ..l:lIl.llIl.ilIlll~L_~ de trabalho [9 = conexao b) Conexao Modelo TO cruzada Canal = 100 m max. Cabo horizontal Cordao Patch cordi de Jumper Cord~o da ~rea equlpamenlo de trabalho [9 = conexao c) IntercOneX80- modelo CP - TO Canal = 100 m max. Cabo horizontal permanente CP Cordao de equipamento Cabo Cord~o de CP Esta~ao de trabalho [9 = COneX80 d) Conex8o Modelo CP - TO cruzada Canal= 100 m max. Cabo horizontal permanente CP Cordao de Patch cordi equipamento Jumper cabo Cordao de CP esta~ao de trabalho [9 = conexao Figura 12 - Modelos de cabeamento horizontal
  • 46.
    ABNT NBR 14565:2007 Afigura 12 a) mostra um canal contendo apenas uma interconexao e uma tomada de telecomunicac;oes (TO). A figura 12 b) contem uma conexao cruzada adicional. Em ambos os casos 0 cabo horizontal conecta 0 distribuidor de piso (FD) a tomada de telecomunicac;oes (TO) ou MUTO (tomada de telecomunicac;oes multiusuario). 0 canal inclui patch cords/jumpers e cordoes de equipamento de area de trabalho. A figura 12 c) mostra um canal contendo uma interconexao, um ponto de consolidac;ao (CP) e uma tomada de telecomunicac;oes (TO). A figura 12 d) contem conexao cruzada adicional. Em ambos os casos 0 cabo horizontal conecta 0 distribuidor de piso (FD) ao ponto de consolidac;ao (CP). 0 canal inclui patch cords/jumpers e cordoes de equipamento e de area de trabalho. Alem dos cordoes, os canais mostrados nas figuras 12 c) e 12 d) contem um cabo do CPo A especificac;ao de perda de inserc;ao para 0 cabo do ponto de consolidac;ao pode ser diferente daquela para 0 cabo horizontal e cordoes. Para acomodar cabos usados para os cordoes de areas de trabalho, cabos de pontos de consolidac;ao, patch cords, jumpers e cordoes de equipamento com perdas de inserc;ao diferentes, os comprimentos dos cabos usados no canal devem ser determinados por meios das equac;oes mostradas na tabela 20. Tabela 20 - Equa<;oes de comprimentos de enlaces horizontais Equar;:ao de implementar;:ao Modelo Figura Canais c1asse D usando Canais c1asse E usando Canais classe F componentes componentes usando componentes categoria 5e categoria 6 categoria 7 I Interconexao ­ TO 12a H = 109 ­ FX H = 107 ­ 3 a - FX H =107 - 2 a - FX Conexao cruzada - TO 12b H =107 - FX H = 106 ­ 3 a - FX H=106-3"-FX Interconexao ­ CP-TO 12c H =107 - FX ­ CY H = 106 - 3 a - FX ­ CY H = 106 ­ 3 a - FX - CY II Conexao cruzada - CP -TO 12d H =105 ­ FX ­ CY H = 105 ­ 3 a - FX ­ CY H = 105 ­ 3 a - FX - CY Legendas: I H comprimento maximo do cabo horizontal (m) F comprimento combinado de patch cords/jumpers, cord6es de equipamento e de area de trabalho (m) C comprimento do cabo do CP (m) X relac;:ao entre a perda de inserc;:ao do cabo do cordao (dB/m) e a perda de inserc;:ao do cabo horizontal (dB/m) . ver sec;:50 9 I y relac;:ao entre a perda de inserc;:ao do cabo CP (dB/m) e a perda de inserc;:ao do cabo horizontal (dB/m) - ver sec;:ao 9 NOTA Para temperaturas operacionais acima de 20·C, H deve ser reduzido em 0,2% por graus celsius para cabos blindados; 0.4% por graus celsius (entre 20·C e 40·C) e 0,5% por graus Celsius (>40·C a 50·C) para cabos sem blindagem. a Esta reduc;:ao do comprimento e para permitir uma margem para acomodar 0 desvio da perda de inserc;:ao I Para os prop6sitos de calculos da tabela 20, e assumido que: a) 0 cabo flexivel dentro destes cordoes tem uma perda de inserc;ao maior do que aquela usada para as cabos horizontais; b) todos os cord6es no canal tem uma (mica especificac;ao de perda de inserc;ao. As seguintes restric;oes gerais se aplicam: a) 0 comprimento ffsico do canal nao deve exceder 100 m; b) 0 comprimento ffsico do cabo horizontal nao deve exceder 90 m. Quando 0 comprimento total dos patch cords, cord6es de equipamento e de areas de trabalho ultrapassarem 10 m, 0 comprimento total do cabo horizontal deve ser reduzido de acordo com a tabela 20; 41
  • 47.
    ABNT NBR 14565:2007 c) 0 ponto de consolidar;;ao deve estar localizado a uma distancia minima de 15 m do distribuidor de piso e a uma distancia minima de 5 m da tomada de telecomunicar;;6es; d) onde uma tomada de telecomunicar;;6es multiusuario for utilizada, 0 comprimento do cordao de area de trabalho nao deve exceder 20 m; e) 0 comprimento dos cabos de patch cords/jumpers nao deve exceder 5 m. a comprimento maximo do cabo horizontal depende do comprimento total dos cord6es a serem instalados no canal. Durante a execur;;ao da instala<;ao do cabeamento, um sistema de administrar;;ao deve ser utilizado para garantir que os cord6es, cabos de jumpers e onde apropriado os cabos dos pontos de consolidar;;ao utilizados para compor 0 canal estejam em conformidade com as regras de construr;;ao para pisos, edificios ou instalar;;ao. 7.2.3 Cabeamento de backbone 7.2.3.1 Escolha dos componentes A seler;;ao dos componentes e determinada pelo comprimento requerido para 0 canal e para a c1asse de aplicar;;6es a serem suportadas. Ver mais detalhes no anexo D. 7.2.3.2 Co nfig ura<;6es A figura 13 mostra 0 modelo usado para configurar 0 cabeamento especificado nesta ser;;ao com as especifica<;6es de canal da se<;ao 6. a canal de backbone mostrado (seja edificio ou campus) contem uma conexao cruzada em cada extremidade. Isto representa a configurar;;ao maxima para as classes D, E e F para 0 canal de backbone. Canal cabo backbone FO or so so or co Cordao de Patch cordi Patch cordi Cabo de eQuipamento Jumper Jumper equipamento EQP = equipamento = C conexao (conjunto de conectores) Figura 13 - Modelo de cabeamento de backbone a canal inclui patch cords/jumpers adicionais e cord6es de equipamento. Na tabela 21 e assumido que: a) 0 cabo flexivel dentro destes cord6es pode ter uma perda de inser<;ao maior do que aquela usada para os cabos de backbone; b) todos os cord6es no canal tem uma unica especificar;;ao de perda de inserr;;ao. Para ~comodar cabos com maior perda de inserr;;ao usados em patch cords, jumpers e cord6es de equipamento, 0 compnmento dos cabos usados no canal de uma dada classe (ver 5.7.9) deve ser determinado pela equar;;ao mostrada na tabela 21.
  • 48.
    ABNT NBR 14565:200 Asseguintes restri<;6es gerais se aplicam para as classes D, E e F: a) 0 comprimento total do canal nao pode exceder 100 m; b) quando quatro conex6es forem utilizadas no canal, 0 comprimento ffsico do cabo de backbone deve ter un comprimento minima de 15 m. o comprimento maximo do cabo de backbone depende do comprimento total dos cord6es a serem instaladas nt canal. 0 camprimenta maxima das card6es deve ser definido durante a fase de projeta e um sistema dt administra<;ao e requerido para garantir que estes comprimentas naa ultrapassem as limites durante a apera y8< do sistema de cabeamento. Tabela 21 - Equac;:6es de comprimenta de enlaces de backbone Classe Categoria do Aa Sa Ca Da Ea Fa componente 5e 2000 B = 250 - FX B = 170 - FX B = 105 - FX - - 6 2000 B = 260 - FX B = 185 - FX B=111-FX B =105 - 3 b - FX - 7 2000 B =260 - FX B = 190 - FX B=115-FX B =107 - 3 b - FX B =105 - 3 b - FX Legendas B comprimento maximo do cabo de backbone (m) F comprimento combinado de patch cords/jumpers e cordoes de equipamento (m) X relayao entre a perda de inseryao do cabo do cordao (dB/m) e a perda de inseryao do cabo de backbone (dB/m) - ver seyao 9. NOTA 1 Onde 0 canal tiver um numero diferente de conex6es daquele mostrado na figura 13, 0 comprimento do cabo deve ser reduzido (onde houver mais conexoes) ou pode ser aumentado (onde houver menos conexoes) em 2 m por conexao para cabos categoria 5e e 1 m por conexao para cabos categorias 6 e 7. Alem disso, deve ser verificado 0 desempenho de NEXT, Perda de Retorno (RL) e ELFEXT. NOTA 2 Para temperaturas operacionais acima de 20°C, B deve ser reduzido em 0,2% por graus celsius para cabos blindados; 0,4% por graus celsius (entre 20°C e 40°C) e 0,6% por graus Celsius (> 40°C a 60°C) para cabos sem blindagem. • Aplicayoes limitadas pelo atraso de propagayao ou diferenya de atraso de propagayao (delay skew) pod em nao ser suportadas se 0 comprimento do canal exceder 100 m. b Esta reduyao do comprimento e para permitir uma margem para acomodar 0 desvio da perda de inseryao. 8 Desempenho do cabeamento 6ptico 8.1 Geral A defini<;ao de um prajeto de cabeamenta de fibra 6ptica para usa em um sistema de cabeamento generico deve ser feita considerando as informac;:6es contidas no anexo D. Esta Norma especifica as seguintes classes para cabeamenta de fibra 6ptica: a) classe OF-300: canais que suportam aplica<;6es em tipos de fibras 6pticas mencianadas na se<;aa 9 para um comprimenta minima de 300 m; b) classe OF-500: canais que suportam aplica<;6es em tipos de fibras 6pticas mencionados na se<;ao 9 para um comprimenta minima de 500 m; c) c1<lsse OF-2000: canais que suportam aplica<;6es em tipos de fibras 6pticas mencionados na se<;ao 9 para um comprimenta minima de 2000 m. ©ABNT 2007 - Todos os direitos reservados
  • 49.
    ABNT NBR 14565:2007 Oscanais de fibra 6ptica devem ter componentes que estejam em conformidade com as sec;6es 9 e 10. Estas sec;6es especificam a construc;ao fisica (nucleo/diametro do revestimento e abertura numerica) e 0 desempenho de transmissao. Com relac;ao a configurac;6es de implementac;ao desta sec;ao, as fibras 6pticas utilizadas em cada canal de cabeamento devem ter a mesma especificac;ao. 8.2 Escolha dos componentes o comprimento de canal necessario, as aplicac;6es a serem suportadas e a expectativa de vida do cabeamento determinam a selec;ao dos componentes de fibra 6ptica. Os requisitos de desempenho para canais de fibra 6ptica sao base ados no uso de um unico comprimento de onda em cada janela de transmissao especificada. Os requisitos para os componentes de multiplexac;ao e de multiplexac;ao de comprimento de onda sao encontrados em aplicac;6es padronizadas. Nao ha qualquer requisito especial para cabeamento generico com relac;ao a multiplexac;ao de comprimento de onda. 8.3 Atenuac;ao do canal A atenuac;ao do canal nao pode exceder os valores mostrados na tabela 22. Estes valores sao baseados em um limite total de 1.5 dB de perda para hardware de conexao. Emendas e conectores adicionais podem ser usados se o balanc;o de perda de potencia 6ptica para uma dada aplicac;ao permitir. A atenuac;ao do canal deve ser medida de acordo com a ISO/IEC TR 14763-3. A atenuac;ao dos canais e enlaces permanentes para um dado comprimento de onda nao pode exceder a soma dos valores de atenuac;ao especificados para os componentes naquele comprimento de onda (onde a atenuac;ao de um segmento de cabo de fibra 6ptica e calculada a partir de seu coeficiente de atenuac;ao multiplicado por seu comprimento). Tabela 22 - Atenuagao de canal I Atenuac;ao de canal I I dB Multimodo Monomodo ! Canal 850 nm 1 300 nm 1 310 nm 1 550 nm OF-300 2,55 1,95 1,80 1,80 OF-500 3,25 2,25 2,00 2,00 OF-2000 8,50 4,50 3,50 3,50 8.4 Topologia do canal Os modelos das figuras 13 e 14 sao aplicaveis para cabeamento de fibra 6ptica horizontal e backbone, respectivamente. Deve-se notar que 0 sistema de conexao, usado para terminar 0 cabeamento 6ptico pode conter uma conexao casada e emendas (permanentes ou reutilizaveis). A distribuic;ao de fibras 6pticas ate as tomadas de telecomunicac;6es geralmente nao requer equipamentos de transmissao no FD (a menos que 0 projeto do subsistema de cabeamento de backbone de fibra 6ptica seja diferente daquele adotado para 0 subsistema de cabeamento horizontal). Isto permite a criac;ao de um canal backbone/horizontal combinado conforme mostrado na figura 14. Os tres diagramas mostram um canal com patch cords, um canal com emenda e um canal direto (0 qual nao requer 0 uso do distribuidor de piso). Projetos de canais com emendas e com patch cords sao tambem aplicaveis para canais de backbone de campus/edificios combinados e e possivel considerar um canal campus/edificio/horizontal combinado. o uso de emendas permanentes e canais diretos podem ser usados como uma forma de reduzir a atenuac;ao do canal e centralizar a distribuic;ao de aplicag6es. Por outro lade, a centralizac;ao da distribuic;ao pode resultar tambem a reduc;ao da flexibilidade como um todo do cabeamento generico.
  • 50.
    ABNT NBR 14565:2007 a) Canal combinado "Comutado" Canal Cabo horizontal Cabo de backbon permanente BD CP Cabo Patch cordi Cordao CP jumper Estacae de trabalno cabo horizontal permanente b) Canal combinado "Emendado" Canal Cabo de backbone cabo hOrizontal permanente BD FD f---!-----+-------lst----+--------i CP Cabo CP Cordao Eslac;ao oe trabalho Cabo horizontal permanente [9 =conexao W = emenda c) Canal combinado "Direto" Canal Cabo de backbone/horizontal permanente BD FD CP Cabo CP Cordao ESlac;:ao de trabalho , , ______________________1 Cabo de backbone/horizontal permanente Figura 14 - Canais combinados backbone/horizontal Para permitir um aumento das quantidades de conex6es casadas e emendas usadas em um canal para uma dada c1asse, 0 comprimento total pode ser reduzido para permitir a atenuac;;ao adicional. 45
  • 51.
    ABNT tIBR 14565:2007 8.5 Atraso de propagagao Para algumas aplicac;;6es 0 conhecimento do atraso de propagac;;ao dos canais de fibras 6pticas e muito importante. Isto assegura a compatibilidade com requisitos de atraso de propagac;;ao "ponta-a-ponta" de aplicac;;oes complexas de redes consistindo em multiplos canais interligados. Por esta razao, e importante conhecer 0 comprimento dos canais de fibras 6pticas. 9 Requisitos dos cabos Para informac;;oes acerca dos requisitos dos cabos balanceados, consultar a ABNT NBR 14703 e, para informac;;oes acerca dos requisitos dos cabos 6pticos, consultar as ABNT NBR 13989, ABNT NBR 13990, ABNT NBR 14103, ABNT NBR 14159, ABNT NBR 14160, ABNT NBR 14161, ABNT NBR 14566, ABNT NBR 14584, ABNT NBR 14589, ABNT NBR 14771, ABNT NBR 14772, ABNT NBR 14773, ABNT NBR 14774, ABNT NBR 15108 e ABNT NBR 15110. 9.1 Geral As normas citadas na sec;;ao 9 especificam os requisitos minimos de desempenho dos cabos de pares tranc;;ados balanceados e de cabos 6pticos usados em sistemas de cabeamento para telecomunicac;;oes em edificios comerciais, a saber: a) cabos instalados nos cabeamentos horizontal e backbone para cabeamentos balanceado e 6ptico; b) cabos balanceados ou elementos de cabos balanceados usados em jumpers; c) cabos balanceados usados como cordoes. 10 Requisitos do hardware de conexao 10.1 Requisitos gerais 10.1.1 Aplicabilidade Esta sec;;ao especifica as diretrizes e os requisitos para hardware de conexao usado em cabeamento generico. Para 0 prop6sito desta sec;;ao, um conector e um componente normalmente montado em um cabo ou em um dispositivo (excluindo-se um adaptador) para unir partes separadas de um sistema de cabeamento. A menos que especificado em contrario, esta Norma especifica 0 desempenho minima de transmissao de conectores acoplados como parte de um enlace ou canal. Os requisitos usados nesta sec;;ao aplicam-se a conexoes casadas. Os requisitos das especificac;;oes detalhadas nesta sec;;ao devem ser tambem atendidos para conectores modulares e tomadas. Estes requisitos aplicam-se a conectores individuais que incluem as tomadas de telecomunicac;;oes, patch panels, conectores de pontos de consolidac;;ao, emend as e conexoes cruzadas. Todos os requisitos para estes componentes sao aplicaveis para a escala de temperatura de - 10°C ate 60°C. Os requisitos de desempenho nao incluem os efeitos dos jumpers de conexoes cruzadas ou patch cords. Os requisitos para cordoes balanceados sao apresentados na sec;;ao 13. NOTA Esta sec;ao nao trata dos requisitos para dispositivos com equipamentos eletr6nicos ativos ou passivos, inciuindo aqueles cujo prop6sito principal seja servir a aplicayoes especificas ou oferecer compatibilidade com outras normas ou regulamentayoes. as exemplos incluem adaptadores de meios fisicos, transformadores casadores de impedancia, resistores de terminayao. equipamentos ativos de redes, bern como filtros e dispositivos de proteyao. Tais dispositivos sao considerados fora do escopo de cabeamento generico e podem ter efeitos adversos sobre 0 desempenho da rede. Entretanto, e importante que sua compatibilidade com 0 sistema de cabeamento, bern como com equipamentos, seja considerada antes do uso.
  • 52.
    ABNT NBR 14565:2007 10.1.2Localiza<;:ao o hardware de conexao e instalado: a) em um distribuidor de campus, permitindo as conex6es ao backbone do edificio e cabeamento de backbone de campus e 0 equipamento ativo, se presente; b) em um distribuidor de edificio, permitindo conex6es ao cabeamento de backbone e ao equipamento, se presente; c) em um distribuidor de piso, oferecendo conex6es cruzadas entre os cabeamentos de backbone e horizontal e permitindo conex6es ao equipamento, se presente; d) ao ponto de consolidaC;;ao do cabeamento horizontal, se presente; e) as tomadas de telecomunicac;;6es; f) na infra-estrutura de entrada do edificio. 10.1.3 Projeto Adicionalmente ao seu prrJp6sito principal, 0 hardware de conexao deve ser projetado para oferecer: a) um meio de identificar 0 cabeamento para instalac;;ao e administrayao conforme descrito na sec;;ao 12; b) um meio para permitir um gerenciamento orden ado dos cabos; c) um meio de acesso para monitorar ou testar 0 cabeamento e 0 equipamento; d) prote<;ao contra danos fisicos e ingresso de contaminantes; e) uma densidade de termina<;ao eficiente em espac;;o, mas que tambem oferec;;a um facil gerenciamento dos cabos e administra<;ao dinamica do sistema de cabeamento; f) um meio de acomodar os requisitos de blindagem e equipontecializa<;ao de terra, quando aplic8vel. 10.1.4 Ambiente de opera<;:ao o desempenho do hardware de conexao deve ser mantido ao longo de uma escala de temperaturas de - 10°C ate 60°C. 0 hardware de conexao deve ser protegido contra danos fisicos e contra exposiyao direta a umidade e outros elementos corrosivos. Esta protec;;ao pode ser obtida por instalac;;ao em ambientes internos ou por meio de inv61ucros apropriados ao ambiente de acordo com normas aplicaveis. 10.1.5 Montagem o hardware de conexao deve ser projetado para oferecer f1exibilidade para montagem, tanto diretamente quanto por meio de uma placa adaptadora ou gabinete. Por exemplo, 0 hardware de conexao deve ter acess6rios de montagem para fixac;;ao sobre paredes, dentro de paredes, gabinetes ou em outros tipos de quadros de distribui<;ao e suportes de montagem. 10.1.6 Praticas de instala<;:ao A maneira e 0 cuidado com os quais 0 cabeamento e implementado sao fatores significativos no desempenho e na facil administrac;;ao dos sistemas de cabeamento instalados. As precauc;;6es para 0 gerenciamento do cabo e instala<;ao devem incluir a eliminac;;ao da fadiga do cabo causada pel a tensao mecanica, superficies cortantes, compressao excessiva dos feixes de cabos, bem como respeitando os respectivos requisitos de raios de curvatura mfnimos. 47
  • 53.
    ~BNT IlBR 14565:2007 ) hardware de conexao deve ser instalado para permitir: I) uma degrada<;ao de sinal mfnima e uma maxima eficiencia da blindagem (onde 0 cabeamento blindado e usado) par meio da prepara<;ao apropriada do cabo, praticas de termina<;ao (de acordo com as diretrizes dos fabricantes) e um gerenciamento de cabo bem organizado; I) espa<;o para a montagem do equipamento de telecomunica<;oes associado ao sistema de cabeamento. As separa<;oes entre os gabinetes devem ser adequadas para acesso ao cabo, bem como para outros servi<;os. ) hardware de conexao deve ser identificado de acardo com os requisitos da ISO/IEG 14763-1. a planejamento la instala<;ao do hardware de conexao deve ser feito de acardo com a ISO/IEG TR 14763-2. ~OTA 1 Consultar a ISO/IEC 18010 para informa.;:6es sobre encaminhamentos e espa.;:os para cabeamento Ie telecomunica.;:6es em edificios comerciais. ~OTA 2 Algumas conex6es sao usadas para desempenhar uma fun.;:ao de crossover entre dois elementos para configurar >s enlaces de cabeamento apropriadamente para conex6es de transmissao e recep.;:ao. ~OTA 3 A termina.;:ao inapropriada de qualquer elemento de cabo balanceado ou blindagem pode degradar 0 desempenho Ie transmissao, aumentar as emiss6es e reduzir a imunidade. 10.1.7 Marcac;ao e codificac;ao por cores Jara manter conexoes ponto-a-ponto consistentes e carretas, provisoes devem ser feitas para assegurar que as ermina<;oes sejam apropriadamente localizadas em relac;ao as posic;oes do conector e os elementos ;arrespondentes do cabo. Tais provisoes podem incluir 0 usa de cores, identificadares alfanumericos ou outros neios projetados para assegurar que os cabos sejam conectados de uma forma consistente ao lange do sistema. ::luando dois tipos de cabeamentos fisicamente similares farem usados em um mesmo subsistema, eles sao narcados de tal farma que permitam que cada tipo de cabeamento seja c1aramente identificado. Por exemplo, jiferentes categorias de desempenho, diferentes impedancias caracteristicas e diferentes diametros de nucleos de :ibras opticas devem ser marcados para facilitar a identifica<;ao visual. 10.2 Hardware de conexao para cabeamento balanceado 10.2.1 Requisitos gerais )s requisitos seguintes aplicam-se a todo hardware de conexao usado para realizar conexoes eletricas com cabos )alanceados que atendam aos requisitos da ABNT NBR 14703. E desejavel que 0 hardware de conexao usado )ara terrninar elementos de cabos diretamente seja do tipo de conexao par deslocamento do isolante. Cl.lem destes requisitos, 0 hardware de conexao usado em cabeamento blindado deve estar em total conformidade ~om a se<;ao 11 . 10.2.2 Identifica<;:ao de desempenho J hardware de conexao para usa em cabeamento balanceado deve ser marcado para designar 0 desempenho je transmissao de acardo com 0 fabricante. A marca<;ao, se aplicavel, deve ser visivel durante a instala<;ao e nao jeve ser substitufda par outras marca<;oes especificadas em 10.1.7, ou na se<;ao 12, ou outros codigos )U regulamenta<;oes locais requeridas. 10.2.3 Garacterfsticas mecanicas ) hardware de conexao para usa em cabeamento balanceado deve atender aos requisitos especificados na abela 23.
  • 54.
    ABNT NBR 14565:2007 Tabela 23 - Caracteristicas mecanicas do hardware de conexao para uso em cabeamento balanceado Componente ou padrao Caracterislicas mecanicas Requisito de teste Categoria 5e sem Atender as dimensoes e sec;oes IEC 60603-7 ' blindaoem transversais Categoria 5e com Atender as dimensoes e sec;oes IEC 60603-7 ' Dimensoes fisicas blindaoem transversais (apenas na tomada Categoria 6 sem Atender as dimensoes e sec;oes a) IEC 60603-7 I de blindaoem transversais telecomunicac;oes) Categoria 6 com Atender as dimensoes e sec;oes IEC 60603-7 ' blindaQem transversa is Atender as dimensoes e sec;oes Categoria 7 IEC 60603-7-7 J transversais Compatibilidade com a terminacao do cabo Diametro nominal do condutor (mm) 0,5 a 0,65 a - Patch cords OJ Condutores multifilares - Condutores multifilares Tipo de cabo Jumpers ou solidos - Outro Condutores solid os - Diametro nominal do CateQorias 5e e 6 0,7 a 1,4 u. C condutor isolado Categoria 7 0,7 a 1,6 - b) (mm) Tomada de Numero de 8 telecomunicacoes Inspec;ao visual condutores Outro >2 x n (n = 1, 2, 3, ... ) Diametro externo do Tomada ~20 cabo ~9 e - (mm) Con ector modular Desempenho ambiental e Meios para conectar a blindagem f) Sec;ao 11 mecanico ODeracao mecanica (durabilidade) IDC ~200 n Terminac;ao do cabo (ciclos) IDC Nao Reutilizavel 1 k Terminac;ao do jumper (ciclos) ~200 9 - c) IEC 60603-7 (sem blindagem) Tomada de telecomunicac;oes (ciclos) ~750 h ou IEC 60603-7-1 com blindagem ~200 h Outras conexoes (ciclos) a Nilo e requerido que 0 hardware de conexao seja compativel com cabos fora desta escala. No entanto, quando cabos com diametros de condutores, de no minimo 0,4 mm ou no maximo 0,8 mm, forem usados. cUldado especial devera ser tomado para assegurar-se a compatibilidade com 0 hardware de conexao que eles conectam b a usa de conector modular especificado na serie de normas IEC 60603-7 e tipicamente limltado aos cabos com diametros de condutores isolados entre 0,8 mm e 1,0 mm. C Nao e requerido que 0 hardware de conexao seja compativel com cabos fora desta escala. No entanto, quando cabos com diametros de condutores isolados com 1.6 mm, forem usados. cuidado especial devera ser tomado para assegurar-se a compatibilidade com 0 hardware de conexao que eles conectam. d as conectores usados em cord6es de equipamentos, bem como da area de trabalho, devem ser compativeis tambem com condutores multifilares. e Aplicavel apenas a unidades de cabos individuais. f Se for considerado 0 usa de cabeamento blindado, cuidado deve ser tomado. pOlS 0 conector e proJetado para terminar a blindagem. Pode haver uma diferenc;a entre conectores projetados para terminar cabos balanceados com blindagens gerais apenas. de forma oposta aos cabos com ambas as blindagens, elementos individuais e uma blindagem geral. 9 Este requisito de durabilidade e apenas aplicavel a conex6es projetadas para administrar mudani;:as nos sistemas de cabeamento (ou seja, no distribuidor). h) Acoplamento e desacoplamento sob trai;:ao - para especificai;:ao futura. I Combinada com todos os requisitos da sec;ao 10. ) Em instalac;;oes em que outros fatores, tais como aplicac;;6es multimidia (ver ISO/IEC 15018), tem preferencia sobre a compatibilidade retroativa oferecida com alEC 60603-7-7, a interface especificada na IEC/PAS 61076-3-104/Ed.1 pode ser tambem usada. k Blocos IDC nao reutil izaveis sao aqueles compostos peJa combinac;;ao bloco de conexao/bloco de fiai;:ao. Esta nota refere-se as conex6es entre 0 cabo e 0 bloco de fiac;;ao. 49
  • 55.
    ABNT NBR 14565:2007 10.2.4Caracteristicas eletricas 10.2.4.1 Geral o hardware de coneX80 considerado para uso em cabeamento balanceado deve atender aos seguintes requisitos de desempenho. 0 hardware de conexao deve ser testado com terminac;6es que oferec;am casamento de impedancia com a impedancia caracterrstica nominal dos tipos de cabos considerados (ou seja, 100 Q). Nas tabelas seguintes, os requisitos sao apresentados para uma escala de frequencias. Os valores de desempenho em frequelncias discretas sao apresentados para referencia apenas. 10.2.4.2 Tomadas de telecomunica<;:oes As tomadas de telecomunicac;oes de uma dada categoria devem atender aos requisitos apresentados na tabela 23. Alem disso, os conectores em todas as outras localidades com 0 mesmo tipo de interface que as tomadas de telecomunicac;oes devem tambem estar em conformidade com uma ou mais das norm as especificadas na tabela 24, com agrupamentos de pares conforme especificado em 10.2.5. Os requisitos de 10.2.4.3 devem ser atendidos para todas as tomadas de telecomunicac;oes. Tabela 24 - Caracteristicas eletricas das tomadas de telecomunica<;:oes consideradas para usa em cabeamento balanceado Caracteristicas eletricas das tomadas de telecomunicac;:6es aj Componente ou padrao Requisito Escala de freqOencias de teste Tipo de interface (MHz) Categoria 5e sem IEC 60603-7 c.c., 1 a 100 Todos b blindagem Categoria 5e com C.c., 1 a 100 Todos IEC 60603-7 b blindagem f--- Categoria 6 sem c.c., 1 a 250 Todos IEC 60603-7 b blindagem Categoria 6 com C.C., 1 a 250 Todos IEC 60603-7 b blindagem Categoria 7 C.C., 1 a 600 Todos IEC 60603-7-7 c a Acoplamenlo e desacoplamento sob trac;;ao - para especificac;;ao futura. b Gombinada com lodos os requisitos da sec;;ao. c Em inslalac;;6es em que outros fatores, tais como aplicac;;6es multimidia (ver ISOIIEG 15018), tem preferencia sobre a compalibilidade retroativa oferecida com a lEG 60603-7-7, a interface especificada na lEG/PAS 61076-3-104/Ed.1 pode ser tambem usada. 10.2.4.3 Hardware de conexao para uso em distribuidores e pontos de consolida<;:ao o hardware de conexao para uso em pontos de consolidac;ao e distribuidores de uma dada categoria deve atender aos requisitos de desempenho correspondentes especificados nas seguintes tabelas, independentemente do acoplamento de interface utilizado. Todas as conexoes entre duas partes que nao estiverem cobertas por 10.2.4.2 devem cumprir com os requisitos de desempenho ambiental e mecanico especificados na lEG 60603-7 para conectores sem blindagem ou na lEG 60603-7-1 para conectores blind ados. Todos os requisitos eletricos devem ser atendidos antes e depois dos ensaios de desempenho ambiental e mecanico, conforme apresentado na IEC 60603-7 ou na lEG 60603-7-1. Para dispositivos de conexao que oferec;am conexoes cruzadas sem patch cords ou jumpers, 0 desempenho eletrico nao deve ser pior que 0 equivalente ao de dois conectores e 5 m de patch cords de mesma categoria. Os parametros aplicaveis incluem perda de inserC;ao, resistencia de entrada para a sarda, desequilrbrio resistivo de entrada para saida, atraso de propagac;ao, diferenc;a de atraso de propagac;ao e impedancia de transferencia. Adicionalmente, diafonia, perda de retorno e atenuac;ao desbalanceada (de extremidade proxima, TGl) de tais dispositivos nao devem exceder os valores minimos especificados nas tabelas 25 a 39 em mais de 6 dB. As conexoes cruzadas com comutac;ao "interna" que substituem os jumpers ou patch cords sao exemplos de tais dispositivos.
  • 56.
    ABNT NBR 14565:2007 Tabela 25 - Perda de retorno Requisito Frequemcia Padrao de Caracterfsticas eh~tricas Categoria do conector MHz ensaio 5e 6 7 1 a 100 60 - 20 log(f) - - Perda de retorno minima a (dB) 1 a 250 - 64 - 20 log(f) - 1 a 600 - - 68 - 20 log(f) 1 30,0 30,0 30,0 IEC 60512-25-5 Perda de retorno minima em 100 20,0 24,0 28,0 frequemcias criticas (dB) 250 N/A 16,0 20,0 I 600 N/A N/A 12,4 a A perda de retorno em freqOemcias que correspondam aos valores calculados maiores que 30.0 dB devem reverter ao requisito minimo de 30,0 dB. Tabela 26 - Perda de inser9ao I Requisito I Frequencia Caracterfsticas eletricas Categoria do conector I Padrao de ensaio MHz I 5e 6 7 I 1 a 100 0,04J( - - I I I Perda de insen;:ao maxima a (dB) 1 a 250 - 0,02J( - I I 1 a 600 - - 0,02J( 'I IEC 60512-25-2 1 0,10 0,10 0,10 I I Perda de insen;:ao maxima 100 0,40 0,20 0,20 'I em frequencias criticas (dB) 250 N/A 0,32 0,32 i N/A N/A 0,49 I 600 I a A perda de inser({ao em freqOemcias que correspondam aos valores calculados menores que 0.1 dB devem reverter ao I requisito de 0,1 dB maximo. Tabela 27 - Paradiafonia (NEXT) Requisito Caracteristicas eletricas Frequemcia MHz Categoria do conector Padrao de ensaio I 5e 6 7 1 a 100 83 - 20 log (f) - - Paradiafonia minima (NExn a (dB) 1 a 250 - 94 - 20 log (f) - 1 a 600 - - 102,4 -151og (f) 1 80,0 80,0 80,0 IEC 60512-25-1 Paradiafonia minima em 100 43,0 54,0 72,4 frequemcias criticas (dB) 250 N/A 46,0 66,4 600 N/A N/A 60,7 a NEXT em freqOemcias que correspondam a valores calculados maiores que 80,0 dB devem reverter ao requisito de 80.0 dB. 51
  • 57.
    ABNT NBR 14565:2007 Tabela 28 - Somat6rio de potencias de ruido por paradiafonia (PS NEXT) Requisito b Frequencia Padrao de Caracteristicas eletricas Categoria do conector MHz ensaio 5e 6 7 1 a 100 80 - 20 log(f) - - PS NEXT minimo a (dB) 1 a 250 - 90 - 20 log(f) - 1 a 600 - - 99,4 - 15 log(f) 1 77,0 77,0 77,0 IEC 60512-25-1 I PS NEXT minimo em 100 40,0 50,0 69,4 frequencias criticas (dB) 250 N/A 42,0 63,4 600 N/A N/A 57,7 , PS NEXT em frequemcias que correspondam aos valores calculados maiores que 77,0 dB devem reverter ao requisito de 77,0 dB. b As equat;:oes e valores para somat6rio de potencias de ruido por paradiafonia sao apresentados apenas para informat;:ao. Tabela 29 - Telediafonia (FEXT) Requisito Frequencia Padrao de Caracteristicas eletricas Categoria do conector MHz ensaio 5e 6 7 I I I 1 a 100 75,1 - 20 log(f) - - I Telediafonia minima (FEXT) a, b (dB) 1 a 250 - 83,1 - 20 log(f) - 1 a 600 - - 90 - 15 log(f) 1 65,0 65,0 65,0 IEC 60512-25-1 Telediafonia minima em frequencias 100 35,1 43,1 60,0 criticas (dB) 250 N/A 35,1 54,0 600 N/A N/A 48,3 , FEXT em frequendas que correspondam aos valores calculados maiores que 65,0 dB devem reverter ao requisito minimo de 65,0 dB. b Para conectores. a diferent;:a entre FEXT e ELFEXT e minima. Entretanto, os requisitos do conector sao usados para modelar 0 desempenho de ELFEXT para enlaces e canais. Tabela 30 - Somat6rio de potencias de ruido por telediafonia (PS FEXT) - (informativa) Requisito c) Frequencia Padrao de Caracteristicas eletricas Categoria do conector MHz ensaio 5e 6 7 1 a 100 72,1 - 20 log(f) - - PS FEXT minimo a b (dB) 1 a 250 - 80,1 - 20 log(f) - 1 a 600 - - 87 - 15 log(f) 1 62,0 62,0 62,0 IEC 60512-25-1 PS FEXT minimo em 100 32,1 40,1 57,0 frequencias criticas (dB) 250 N/A 32,1 51,0 600 N/A N/A 45,3 a PS FEXT em freqiJencias que correspondam aos valores calculados maiores que 62,0 dB devem reverter ao requisito minimo de 62,0 dB. Para conectores. a diferent;:a entre 0 PS FEXT e 0 PS ELFEXT e minima. Entretanto, os requisitos de PS FEXT do con ector b sao usados para modelar 0 desempenho de PS ELFEXT para enlaces e canais. c As equat;:oes e valores para 0 somatorio de potencias de ruido por lelediafonia sao apresenladas apenas para informat;:ao.
  • 58.
    ABNT NBR 14565:2007 Tabela 31 - Resistencia de entrada para saida Requisito Padrao de Caracteristicas eh~tricas Freque!ncia Categoria do con ector ensaio 5e 6 7 Resiste!ncia de entrada IEC 60512-2 c.c. 200 200 200 para safda a (mn) Ensaio 2a a A resistencia de entrada para safda e uma mediyao separada a partir das mediyoes da resistencia de contato requerida pela serie de normas lEG 60603-7. A resistencia de entrada para safda e medida da terminayao do cabo para a lerminayao do cabo para que se possa determinar a habilidade do coneclor de transmitir corrente continua e sinais de baixa frequencia. As mediyoes da resistencia de contato sao usadas para determinar 0 desempenho ambiental e mecanico de conexoes eletricas individuals. Estes requisitos aplicam-se a cada condutor e a blindagem, quando presente. Tabela 32 - Desequilfbrio resistivo de entrada para saida Requisito Padrao de Caracteristicas eletricas Frequencia Categoria do conector ensaio 5e 6 7 I Desequilibrio resistivo de IEC 60512-2 c.c. 50 50 50 entrada para saida a (mn) I Ensaio 2a a As mediyoes da resistencia de transferencia sao feitas da terminayao do cabo para a terminayao do cabo. I Tabela 33 - Capacidade de condugao de corrente Requisito Padrao de Caracteristicas eletricas Frequencia Categoria do con ector ensaio 5e 6 7 Capacidade de conduc;:ao de IEC 60512-3-1 c.c. 0,75 0,75 0,75 . corrente minima a, b, C (A) Aplicavel para uma temperatura ambiente de 60 o G. Ensaio 5b b A preparayao da amostra deve ser especificada conforme a lEG 60603-7 (sem blindagem) ou lEG 60603-7-1 (com blindagem). c Aplicavel a cada condulor, incluindo a blindagem, se presente. Tabela 34 - Atraso de propagagao Requisito Frequencia Padrao de Caracteristicas eletricas Categoria do conector MHz ensaio 5e 6 7 1 a 100 2,5 - - I Atraso de propagac;:ao maximo (ns) 1 a 250 - 2,5 - IEC 60512-25-41 I 1 a 600 - - 2,5 I Tabela 35 - Diferenga de atraso de propagagao Requisito Frequencia Padrao de Caracteristicas eletricas Categoria do con ector I MHz ensaio 5e 6 7 1 a 100 1,25 - - ! I Desvio de atraso de propagac;:ao maximo (ns) 1 a 250 - 1,25 - IEC 60512-25-4 1 a 600 - - 1,25 53
  • 59.
    ABNT NBR 14565:2007 Tabela 36 - Perda de conversao transversal (Tel) - para especifica<;ao futura Requisito Frequencia . Padrao de Caracteristicas eletricas Categoria do con ector MHz ensaio 5e 6 7 1 a 100 66 - 20 log(f) - - Perda de conversao transversal minima (TeL) a (dB) 1 a 250 - 66 - 20 log(f) - 1 a 600 - - 66 - 20 log(f) b 1 60,0 60,0 60,0 IEC 60603-7-7, 100 26,0 26,0 26,0 Anexo K I Perda de conversao transversal 250 N/A 18,0 18,0 minima em frequencias criticas (dB) Para 600 N/A N/A especifica<;;ao futura " A perda de conversao transversal em frequemcias que correspondam aos valores calculados maiores que 60,0 dB deve reverter ao requisito minimo de 60,0 dB. b A aplicabilidade desta equac;:ao e padrao de ensaio em frequemcias acima de 250 MHz e para especificac;:ao futura, Tabela 37 -Impedancia de transferencia (apenas para conectores blindados) Requisito Frequencia Padrao de Caracteristicas eletricas Categoria do con ector MHz ensaio 5e 6 7 Impedcincia de transferencia maxima (D) 1 a 10 0,1 (0,3 0,1 (0,3 0,05 (0,3 II 10 a 80 0,02 ( 0,02 ( 0,01 ( I'mped.nc~ de tran'",",ocla m'~ma em 1 0,10 0,10 0,05 IEC 60512-25-5 10,0 0,20 0,20 0,10 frequencias crfticas (D) 80,0 1,60 1,60 0,80 Tabela 38 - Resistencia de isola<;ao Requisito Caracteristicas eletricas Padrao de Frequencia Categoria do conector ensaio 5e 6 7 IEC 60512-2 c,c, Ensaio 3a, Resistencia de isola<;;ao minima (MD) 100 100 100 Metodo C - 500 V C.c. Tabela 39 - Prova de tensao eletrica Requisito Caracteristicas eletricas Frequencia Padrao de Categoria do conector ensaio 5e 6 7 Prova de tensao minima (V) 1000 1000 1 000 IEC 60512-2 Condutor a condutor c.c. Ensaio 4a Condutor a painel de ensaio 1 500 1 500 1 500
  • 60.
    ABNT NBR 14565:2007 10.2.5Requisitos das tomadas de telecomunicag6es Para cabeamento de classes A a F, cada cabo balanceado horizontal deve ser terminado em uma tomada de telecomunicag6es com uma tomada que atenda aos requisitos de 10.2.3 e 10.2.4. As configura<;6es de pinos e pares deve ser conforme mostrado na figura 15. 12345678 NOTA Para c1asse F, nao ha necessidade de configurar os pares em pinos 3. 6 & 4, 5 conforme mostrado. Figura 15 - Configuragao pino-a-pino para tomadas de oito posi<;6es­ Vista frontal do conector Se interfaces diferentes forem usadas no distribuidor, ponto de consolida<;ao ou tomada de telecomunica<;6es no mesmo enlace ou canal, as conex6es ao cabeamento devem ser configuradas de modo a assegurar conectividade de ponta-a-ponta apropriadamente. 0 rearranjo de pares nas tomadas de telecomunica<;6es nao deve envolver modifica<;6es das termina<;6es do cabeamento horizontal. Se 0 rearranjo de pares for usado na tomada de telecomunica<;6es, a configura<;ao das termina<;6es desta deve estar c1aramente identificada As configura<;6es T568A e T568B para tomadas de oito posi<;6es conforme definidas na serie de normas americanas ANSI/TIA/EIA-568 sao reconhecidas por esta Norma. Os conectores modulares e as tomadas que forem intercambiaveis devem oferecer compatibilidade retroativa com aqueles de categorias de desempenho diferentes. A compatibilidade retroativa significa que aquelas conex6es casadas com conectores modulares e tomadas de diferentes categorias de desempenho devem atender aos requisitos para a categoria de desempenho do componente de menor categoria. Ver a tabela 40, que apresenta uma matriz de desempenho de conectores modulares, que e representativa de compatibilidade com conectividade retroativa. Tabela 40 - Matriz de desempenho de compatibilidade retroativa de conexao casada para conectores Desempenho de conector modular Desempenho do conector da tomada de telecomunicar;;6es e cordao performance Categoria 5e Categoria 6 Categoria 7 Categoria 5e Categoria 5e Categoria 5e Categoria 5e Categoria 6 Categoria 5e Categoria 6 Categoria 6 Categoria 7 Categoria 5e Categoria 6 Categoria 7 NOTAS 1 Quando dois enlaces de cabeamento fisicamente similares forem usados em uma mesma instala<;:ao. precau<;:6es especiais sao requeridas para assegurar-se que eles estejam apropriadamente identificados na tomada de telecomunica<;:6es. Exemplos de quando tal identifica<;:ao e necessaria podem incluir diferentes classes de desempenho ou cabos com impedimcias nominais diferentes. Ver se<;:ao 12. 2 Para uma conectividade apropriada, cuidado especial e necessario para assegurar-se que os pares estejam terminados de forma consistente na tomada de telecomunica<;:oes e no distribuidor de piso. Se os pares estiverem terminados em posi<;:oes diferentes nos dois extremos de um enlace, embora a continuidade em corrente continua possa ser mantida. a conectividade atraves do enlace e perdida. Ver se<;:ao 12 para administra<;:ao do cabeamento. 55
  • 61.
    ABNT IJBR 14565:2007 10.2.6Considera<;:oes de projeto para a instala<;:ao o hardware de conexao deve ser projetado de tal forma que a quantidade de destranyamento dos pares em um elemento de cabo resultante de sua terminayao ao hardware de conexao seja a menor possivel (Iimitado a 13 mm para categorias 5e e superiores). o hardware de conexao deve permitir um comprimento minima de exposiyao dos pares entre 0 acabamento da capa do cabo e 0 ponto de terminayao. Alem disso, apenas 0 comprimento da capa do cabo requerida para terminac;:ao e acabamento deve ser removido ou decapado. Estas recomendayoes tem como objetivo minimizar 0 impacto das terminayoes sobre 0 desempenho de transmissao e nao sao consideradas para restringir 0 comprimento dos passos de toryao do cabo ou construyao do jumper. Requisitos de aterramento e considerayoes acerca da continuidade da blindagem sao especificados na seyao 11. 10.3 Hardware de conexao para fibra optica 10.3.1 Requisitos gerais Os requisitos de 10.3.2 a 10.3.4 aplicam-se a todo 0 hardware de conexao usado para oferecer conexao entre os cabos de fibras 6pticas descritos na ABNT NBR 14433 com as seguintes exceyoes. Os requisitos de 10.3.4 aplicam-se as tomadas de telecomunicayoes apenas. NOTA as adaptadores de fibra e os conectores devem ser protegidos contra poeira e outros contaminantes enquanto estiverem em estado ocioso. Recomenda-se tambem limpar as faces dos conectores de fibra antes da conexao ao equipamento alivo. 10.3.2 Marca<;:ao e c6digo de cores A codificayao correta dos conectores e adaptadores, por exemplo por meio de cores, deve ser usada para assegurar que 0 acoplamento de tipos diferentes de fibras nao ocorra. Adicionalmente, a polariza<;:ao e a identificayao das posiyoes das fibras 6pticas podem ser usadas para garantir que a polarizayao correta seja mantida para enlaces duplex. Os conectores e adaptadores devem ser coloridos para que se diferenciem as fibras entre monomodo e multimodo. Cores ou etiquetas adicionais podem ser requeridas para distinguir entre tipos diferentes de fibras multi modo. NOTA 1 Estas marca<;6es sao em adiyao a, e nao para substituir, outras marcayoes especificadas na seyao 12, ou outros c6digos ou regulamentayoes locais requeridas. NOTA 2 a seguinte c6digo de cores aplica-se a IEC 60874-19-1 para conectores SC duplex e IEC 60874-14 para conectores SC simplex. mas tambem e usado para outros tipos de conectores: a) multimodo de 50 .um e 62,5 11m: Bege ou preto b) monomodo PC: Azul c) monomodo APC: Verde 10.3.3 Caracteristicas 6pticas e mecanicas o hardware de conexao 6ptico deve atender aos requisitos da ABNT NBR 14433. 10.3.4 Requisitos das tomadas de telecomunica<;:oes Os cabos de fibras 6pticas na area de trabalho devem ser conectados ao cabeamento horizontal por meio da tomada de telecomunicayoes com um conector SC duplex, (SC-D), em conformidade com alEC 60874-19-1 ou conector similar sem perda de desempenho (ver 10.3.5.4).
  • 62.
    ABNT NBR 14565:2007 o conector 6ptico usado na tomada de telecomunicayoes deve atender aos requisitos da ABNT NBR 14433 ou 10.3.5.4. 10.3.5 Esquemas de conexao para 0 cabeamento de fibra 6ptica 10.3.5.1 Geral A polaridade consistente das conexoes de fibras 6pticas duplex deve ser mantlda ao longo do sistema de cabeamento por meio de polarizayao fisica, administrayao (etiquetas) ou ambos. As seguintes diretrizes sao oferecidas para assegurar que os conectores e adaptadores instalados apropriadamente ofereyam um sistema de cabeamento 6ptico funcional e de facil manutenyao. Deve-se consultar os fabricantes de equipamentos e integradores de sistemas para determinar a aplicabilidade destas diretrizes para aplicayoes de redes especificas. Adicionalmente, todas as portas 6pticas devem cumprir com alEC 60825. Para assegurar uma flexibilidade maxima do lado do cabeamento das tomadas de telecomunicayoes e dos paineis de distribuiyao, um conector simplex e recomendado para a terminayao dos cabos 6pticos horizontais e de backbone, conforme ilustrado na figura 16. Do lado dos patch cords nas tomadas de telecomunicayoes na area de trabalho, bem como paineis de distribuiyao, uma apresentayao duplex mantem a polaridade correta das fibras 6pticas de transmissao e recepyao dos dois sistemas 6pticos enquanto permite a estes sistemas usar outras fibras do cabo. No distribuidor esta apresentayao e preferivel por meio de um adaptador duplex que mantem 0 espayamento e 0 alinhamento apropriados conforme definido pela IEC 60874-19-1 ou outras normas IEC para interfaces 6pticas. A polaridade e definida na tomada de telecomunicayoes tanto pela polarizayao fisica quanta pela identificayao dos adaptadores com as posiyoes A e B. Para que esta polarizayao seja estendida ao sistema de cabeamento por completo, e importante que a mesma orientayao, c6digo de cores e configurayao das fibras sejam consistentes. Uma vez que 0 sistema e instalado e a polaridade correta e verificada, 0 sistema de cabeamento 6ptico mantem a polaridade correta das fibras de transmissao e recepyao. 10.3.5.2 Opr;oes de conectividade na tomada de telecomunicar;oes Os conectores e adaptadores tem suas polaridades orientadas conforme mostrado na figura 16. 'ista Frontal IUU 0,..: B A A B NOTA Identifica9ao apenas para ilustra9ao. Figura 16 - Configurar;ao de conectividade SC duplex 57
  • 63.
    ABNT NBR 14565:2007 10.3.5.3 Opc;:oes de conectividade em outras localidades A polaridade em outras localidades que nao a tomada de telecomunicac;:oes pode ser mantida pelo controle estrito de mudanc;:as nos distribuidores e pontos de consolidac;:ao, au adotando-se as configurac;:oes detalhadas em 10.3.5.2. as conectores em localidades diferentes da tomada de telecomunicac;:oes devem atender aos requisitos 6pticos, mecanicos e ambientais definidos na IEC 60874-19-1, embora eles possam ter outras interfaces de acoplamento. 10.3.5.4 Outros conectores duplex Projetos alternativos de conectores (par exemplo, de dimensoes reduzidas) devem empregar esquemas de identificac;:ao similares ao conector SC duplex. As posic;:oes A e B em projetos de conectores duplex alternativos devem estar nas mesmas posic;:oes, conforme alEC 60874-19-1 (SC duplex) na figura 16. Para projetos alternativos de conectores que usam travas mecanicas, estas definem a posicionamento da mesma forma que as encaixes a fazem em conectores polarizados. Quando a alta densidade e uma considerac;:ao importante para a infra-estrutura de entrada do ediffcio, distribuidor de campus, distribuidor de ediffcio, distribuidor de piso au ponto de consolidac;:ao, as conectores de dimensoes reduzidas sao recomendados. Quando usados, estes conectores devem ser cobertos par um padrao de interface aprovado pela IEC e devem satisfazer as requisitos de desempenho da ABNT NBR 14433. 10.3.5.5 Configurac;:ao de terminac;:ao do patch cord Recomenda-se que a conexao de patch cords e cord6es de equipamentos ao adaptador duplex seja feita par meio de uma montagem duplex. as patch cords de fibras 6pticas, quando usados para conexao cruzada au interconexao ao equipamento ativo, devem ser de orientac;:ao crossover, de modo que a posic;:ao A se conecte a posic;:ao B em uma fibra e a posic;:ao B a posic;:ao A na outra fibra do par de fibras 6pticas (figura 17). Cada extremidade do patch cord 6ptico deve ser identificada para indicar as posi<;:oes A e B, se a conector puder ser separado em seus componentes simplex. Para projetos alternativos de conectores usando travas, estas definem a posicionamento da mesma forma que as encaixes nos conectores polarizados. B A Legenda: _ =POSiy30 "A" [:=J =POSiy30 "B" Figura 17 - Patch cord de fibra 6ptica 11 Praticas de blindagem 11.1 Geral Esta sec;:ao aplica-se quando cabos blindados au cabos com unidades au elementos blindados sao usados. Apenas uma diretriz basica e apresentada aqui. as procedimentos necessarios para oferecer um aterramento ade~ua~o para. ambos, protec;:ao eletrica e desempenho eletromagnetico estao sujeitos a regulamentac;:oes naclonals e locals, sempre para mao-de-obra apropriada de acordo com a ISOIIEC TR 14763-2 e, em certos casas, para engenharia especifica de instalac;:ao. Alguns sistemas de cabeamento empregam componentes que utilizam bllndagem para desempenho de diafonia adicional e estao, entretanto, sujeitos as prcHicas de blindagem. Nota-se que um manuseio apropriado das blindagens de acordo com a ISO/IEC TR 14763-2 e instruc;:oes dos fornecedores melhoram a desempenho e a seguranc;:a.
  • 64.
    ABNT NBR 14565:2007 11.2Desempenho eletromagnetico As blindagens do cabeamento devem ser apropriadamente conectadas a terra para protec;;ao eletrica e para otimizar 0 desempenho eletromagnetico. Todos os componentes do cabeamento que formam parte de um canal blindado devem ser blindados e atender aos requisitos de blindagem especificados na sec;;ao 10. as enlaces de cabeamento blindado devem atender aos requisitos de blindagem especificados em 6.4. As blindagens do cabo devem ser terminadas nas blindagens do conector por terminac;;oes de baixa impedtmcia suficientes para manter a continuidade da blindagem necessaria para atender aos requisitos de blindagem do cabeamento. As instruc;;oes dos fabricantes de como obter terminac;;oes de baixa impedancia devem ser requisitadas e observadas. as cordoes da area de trabalho e de equipamento e 0 equipamento conectado devem ser blindados e devem oferecer a continuidade da blindagem. 11.3 Aterramento a aterramento e a equipotencializac;;ao devem estar de acordo com a ABNT NBR 5410. Todas as blindagens dos cabos devem ser conectadas a terra em cada distribuidor. Normalmente, as blindagens sao conectadas aos gabinetes de equipamentos, que por sua vez sao conectados ao sistema de aterramento do edificio no BEP (Barramento de Equipotencializac;;ao Principal). Deve ser avaliada a necessidade de aplicac;;ao de Dispositivos de Protec;;ao contra Surtos (DPS). NOTA FrequElncias de Opera1;:8o altas ou frequElncias altas de correntes ou campos parasitas requerem um aterramento de baixa impedancia, que pode ser obtido com um sistema de terra multiponto ou em malha. A equalizac;;ao de terras deve ser projetada para assegurar que: a) 0 caminho para a terra seja permanente, continuo e de baixa impedancia. Recomenda-se que cada gabinete a de equipamento seja individualmente conectado terra, para assegurar a continuidade do aterramento; b) as blindagens dos cabos oferec;;am um aterramento continuo para todas as partes do sistema de cabeamento que sao interconectadas por ele. Esta equalizac;;ao de terras assegura que as tensoes que sao induzidas no cabeamento (por quaisquer disturbios de Iinhas de alimentac;;ao eletrica ou outros disturbios) sejam direcionadas ao terra do edificio e nao causem interferencia nos sinais transmitidos. Todos os eletrodos de aterramento para diferentes sistemas do edificio devem ser conectados juntos para reduzir os efeitos de diferenc;;as de potenciais de terra. a sistema de aterramento do edificio nao deve exceder 0 limite de diferenc;;a de potencial de terra de 1 V (r.m.s.) entre quaisquer dois pontos de terra da rede. 12 Administra<;ao A administrac;;ao e um aspecto essencial do cabeamento genenco. A flexibilidade do cabeamento pode ser completamente aproveitada apenas se 0 cabeamento e seu usa forem apropriadamente administrados. A administrac;;ao envolve a identificac;;ao precisa e a manutenc;;ao do registro de todos os componentes que comp6em 0 sistema de cabeamento, assim como os encaminhamentos, distribuidores e outros espac;;os nos quais seja instalado. Todas as mudanc;;as no cabeamento devem ser registradas quando elas ocorrerem. A administrac;;ao baseada em computador dos registros e fortemente recomendada para instalac;;oes grandes. A administrac;;ao do cabeamento de telecomunicac;;oes deve estar em conformidade com a ISO/IEC 14763-1. (c')ARIIT ?007 _ Tnrln<: n<: rlirp;tn<: rp<:prvrlnns 59
  • 65.
    ABNT NBR 14565:2007 13 Cord6es balanceados 13.1 Introdugfw Esta sec;;ao cobre os cord6es balanceados construidos com dois conectores modulares, conforme especificado nos documentos da IEC 60603-7 e cabos balanceados conforme especificados na ABNT NBR 14703. Os componentes usados nestes cord6es devem atender aos requisitos da ABNT NBR 14703 e sec;;ao 10. Seu prop6sito e conectar 0 hardware de conexao que usa conectores que sao definidos nos documentos da IEC 60603-7. NOTA Considera-se que os cord6es que usam conectores com interfaces diferentes daquelas especificadas na IEC 60603-7 tam bern atendem aos requisitos desta se~ao. o desempenho do hardware de conexao esta sujeito a influemcia das propriedades de terminac;;ao do conector modular e. portanto. as cord6es devem ser ensaiados para determinar a qualidade da montagem. Esta sec;;ao especifica os requisitos minimos para cord6es. Os metodos de ensaios e fadiga mecanica sao especificados na IEC 61935-2. Todos os requisitos desta sec;;ao devem ser atendidos ap6s a exposic;;ao do dispositivo sob ensaio a fadiga mecanica. Os cord6es devem atender aos requisitos eletricos medidos de acordo com a ASTM 04566 e mecanicos da IEC 61935-2. 13.2 Perda de insergao A perda de inserc;;ao (IL) de cord6es nao deve exceder 0 valor determinado para um dado comprimento. o desempenho de perda de inserc;;ao deve ser obtido na fase de projeto do cordao. 13.3 Perda de retorno Os cord6es devem atender aos requisitos de perda de retorno (RL) especificados na tabela 41. Os cord6es devem atender as propriedades mecanicas da IEC 61935-2 e eletricas medidas de acordo com a ASTM 04566. Tabela 41 - Perda de retorno minima para cord6es balanceados Perda de retorno Frequ{mcia dB MHz Todas as categorias 1 ~ f< 25 19,8 + 3 log(f) 25 ~ f ~ 100/250/600 38,0 - 10 log(f) Tabela 42 - Valores de perda de retorno em freqOencias criticas para cord6es de categorias 5e, 6 e 7 Perda de retorno Frequencia dB MHz Cordao categoria 5e Cordao categoria 6 Cordao categoria 7 1 19,8 19,8 19,8 16 23,4 23,4 23,4 100 18,0 18,0 18,0 250 N/A 14,0 14,0 600 N/A N/A 10,2
  • 66.
    ABNT NBR 14565:2007 13.4NEXT Os cordoes para categorias 5e, 6 e 7 devem atender aos requisitos calculados de acordo com as equatyoes (6) a (10) quando medidos de acordo com a ASTM D 4566. • NEXTconectores -NEXTcabo + 2·/Lconector NEXTcordao = -10 log 10 10 + 10 10 + RSXT (6) [ onde: NEXTcordao e a paradiafonia do cordao inteiro, em decibels; NEXTconeclores e a paradiafonia dos conectores, em decibels; NEXTcabo e a paradiafonia do cabo, em decibels; IL con ector e a perda de inser<;ao do conector, em decibels; RSXT e a diafonia do sinal refletido, em decibels. sendo sendo igual a 0 dB para cordoes categoria 5e e 0,5 dB para cordoes categorias 6 e 7, e • NEXTlocal -NEXTremoto +2(tLcabo +/Lconeclor) : NEXTconectores = -20 log 10 20 + 10 20 (7) [ o NEXT depende da freqOencia. se 0 valor em 100 MHz for conhecido: NEX7jocal = NEXTrecomoto = NEXTconector (1 00) - 20 loi-f-J (8) l100 L IL cabo "" a cabo 100 m x - - 100 (9) onde: NEXTlocal eo NEXT do conector na extremidade local do cordao. em decibels; NEXTremoto eo NEXT do conector na extremidade remota do cordao, em decibels; IL e a perda de inser<;ao do cabo, em decibels; cabo IL con ector e a perda de inser<;ao do conector, em decibels; NEXTconector (100) eo NEXT do conector, em decibels. em 100 MHz; a cabo 100 m e a perda de insertyao de 100 m do cabo usado no cordao; L e 0 comprimento do cabo usado no cordao. ~",.... .. ,.,... nn.." -r-_..J ...J;_",,~ ,.., .... 61
  • 67.
    ABNT NBR 14565:2007 ocomprimento corrigido para NEXT do cabo do cordao e dado par: L acabo, 100 m 1-10100 5 NEXTcabo L = NEXTcabo 100m -10x l o g - - - - - - - (10) " acabo,100m 1-10 5 Os calculos que geram limites de NEXT que excedem 65 dB devem reverter ao limite de 65 dB. A tabela 43 apresenta as valores de NEXT (informativos) em frequ€mcias criticas para diferentes comprimentos de cord6es. Tabela 43 - Valores de NEXT em frequemcias crlticas para cord6es categorias 5e, 6 e 7 NEXT dB I Frequemcia Cordao categoria 5e Cordao categoria 6 Cordao categoria 7 MHz Comprimento Comprimento Comprimento 2m 5m 10 m 2m 5m 10 m 2m 5m 10 m 1 65,0 65,0 65,0 65,0 65,0 65,0 65,0 65,0 65,0 16 50,3 49,5 48,7 61,6 60,0 58,5 65,0 65,0 65,0 100 35,0 34,7 34,5 46,2 45,0 44,2 65,0 65,0 65,0 250 38,6 37,9 37,6 60,7 61,2 61,9 N/A 600 N/A 55,4 56,2 57,0 Para cabeyas de ensaio comumente disponiveis para categoria 5e, a valor em 100 MHz e dado par: NEXTconector (100) = 41,0 (11 )
  • 68.
    ABNT NBR 14565:2007 Anexo A (normativo) Desempenho de enlace permanente e enlace do CP A.1 Geral Este anexo contem as equac;:oes para 0 calculo dos requisitos de desempenho para enlaces permanentes e enlaces do CP, conforme mostrado na figura A.1. o cabeamento sob ensaio nas configurac;:oes A, B ou C e chamado de enlace permanente. As configurac;:oes A e B compreendem apenas 0 cabeamento fixo. A configurac;:ao C compreende 0 cabeamento fixo e um cabo do CP entre 0 CP e a TO. Medidas feitas para esta configurac;:ao devem ser repetidas se 0 cabo do CP for trocado. o cabeamento sob ensaio na configurac;:ao 0 contem apenas 0 cabeamento fixo e termina no CP. Em todas as configurac;:oes, a referenda de configurac;:ao de ensaio de um enlace permanente ou enlace do CP esta no cordao de ensaio. A conexao entre 0 cordao de ensaio e 0 ponto de terminac;:ao do enlace permanente ou enlace do CP sob ensaio faz parte do enlace a ser ensaiado. TI Backbone ET Mp M PP: ET Configura~ao A Horizontal ET Mp T~ ET I Configura.;:ao B Horizontal ET Mp I I~ C~, .~ ET I Configura~ao C Enlace permanente Horizontal lET 0vi1p ,p ~ ET I Configura~ao 0 .' CP: TO :~ , Enlace CP [g = conexao Legenda: PP :: patch panel C :: conex8o acoplada CP :: ponto de consolida980 TO :: tomada de telecomunica90es TI :: interface de ensaio ET :: equipamento de ensaio Figura A.1 - Op<;oes de enlaces trltI::::ItIT ?nf7 _ Tnnnc:. n<: rlirpitnc:. rpc:.prl~r1()c:. 63
  • 69.
    ABNT NBR 14565:2007 A.2 Desempenho A.2.1 Geral Os parametros definidos neste anexo se aplicam a enlaces permanentes balanceados e enlaces do CP com ou sem blindagem. A impedancia nominal para enlace permanente ou enlace do CP e de 100 n. Esta impedancia e obtida por meio de um projeto adequado e uma escolha apropriada dos componentes do cabeamento. Os requisitos deste anexo sao baseados em limites calculados, para uma casa decimal, usando uma equac;:ao para uma determinada escala de frequencias. Os limites para atraso de propagac;:ao e diferenc;:a de atraso de propagac;:ao sao calculados com tres casas decimais. A.2.2 Perda de retorno A perda de retorno (RL) de cada par de um enlace permanente ou enlace do CP deve atender aos requisitos derivados da equac;:ao na tabela A.1. A perda de retorno (RL) de cada par de um enlace permanente completo nas frequencias crfticas e dada na tabela A.2. Os requisitos para a perda de retorno devem ser atendidos em ambas as extremidades do cabeamento. Os valores de perda de retorno (RL) para frequencias onde a perda de inserc;:ao seja inferior a 3,0 dB tem carater informativo. Quando requisitado, a perda de retorno deve ser medida de acordo com a ASTM 04566. Terminac;:6es de 100 n devem ser utilizadas para conectar os componentes de cabeamento sob ensaio no lado remoto do canal. Tabela A.1 - Perda de retorno para enlace permanente au enlace do CP Freqi.iencia Perda de retorno minima Classe MHz dB C 1 ::s; (::s; 16 15 1 ::s; (::s; 20 19 0 20::s; (::s; 100 19 1 ::s; (::s; 10 21 E 10::s;(::S;40 26 - 5 log (f) 40::s; (::s; 250 34 - 10 log (f) 1 ::s; (::s; 10 21 10::s; (::s; 40 26 - 5 log (f) F 40::s; (::s; 251,2 34 - 10 log (f) 251,2 ::s; (::s; 600 10 Tabela A.2 - Valores de perda de retorno para enlace permanente completo em frequencias crfticas Perda de retorno minima FreQuencia dB MHz Categoria 3 Categoria 4 Categoria 5e Categoria 6 1 15 19 21 21 16 15 19 20 20 100 N/A 12 14 14 250 N/A N/A 10 10 600 N/A N/A N/A 10
  • 70.
    ABNT NBR 14565:2007 A.2.3 Perda de insergao A perda de inserc;;ao de cada par de um enlace permanente ou do CP deve atender aos requisitos derivados da equac;;ao da tabela A.3. Um metodo prcHico para estabelecer uma conformidade de desempenho do enlace e demonstrar que a margem entre 0 valor medido e os limites de canal mostrados na tabela 4 e adequada para permitir a inclusao de qualquer componente usado para implementar um canal. A perda de inserc;;ao (IL) em cada par de um enlace permanente completo e dada na tabela A.4. A perda de inserc;;ao deve estar em conformidade com os componentes utilizados no cabeamento. Quando requerido, a perda de inserc;;ao deve ser medida de acordo com a ABNT NBR 9133. Tabela A.3 - Perda de inserc;;ao para enlace permanente ou enlace do CP Frequ{mcia Perda de insen;:ao maxima a Classe MHz dB A f= 0,1 16 B f= 0,1 5,5 f= 1 5,8 C 1~f~16 0,9 X (3,23 Jf )+ 3 X 0,2 0 1 ~ f ~ 100 (L/1 OO)x (1,9108Jf + 0,0222 X f + 0,2/ Jf)+ n" 0.04 Jf A E 1~f ~ 250 (L/1 OO)x (1.82Jf + 0,0169 X f + 0,25/ Jf)+ n· 0.02 A Jf F 1~ f ~ 600 (L/100)x (1,8Jf + 0,01 X f + 0,2/ Jf)+ n X 0.02 x Jf Legenda: = L (L FC + Lcp)Y = LFC comprimento do cabo fixo = Lcp comprimento do cabo do CP (onde eXistir) (m) = Y Relacao da atenuacao do cabo do CP (dB/m) e a atenuacao do cabeamento horizontal (dB/m) n = 2 para as configuracoes A, B ou D n = 3 para a configuracao C . Perda de insercao (IL) para freqOemcias que correspondam a valores calculados e inferiores a 4,0 dB deve ser alterada para um requisito maximo de 4,0 dB. Tabela A.4 - Valores informativos para perda de insercao para enlaces permanentes completos em freqQencias crfticas Perda de inser~ao maxima Frequencia dB MHz Classe A Cia sse B Classe C Classe 0 Classe E Classe F 0,1 16,0 5,5 N/A N/A N/A I N/A 1 N/A 5,8 4,0 4,0 4,0 i 4,0 I 16 N/A N/A 12,2 7,7 7,1 I 6,9 100 N/A N/A N/A 20,4 18,5 I 17,7 250 N/A N/A N/A N/A 30,7 I 28,8 600 N/A N/A N/A N/A N/A 46,6 65
  • 71.
    BNT NBR 14565:2007 ..2.4NEXT .2.4.1 NEXT par a par INEXT entre cada combinac;;ao de pares de um enlace permanente ou enlace do CP deve atender aos requisitos erivados da equac;;ao na tabela A.5. I valor de NEXT entre cada combinac;;ao de pares para um enlace permanente completo e dado na tabela A.6. ISrequisitos de NEXT devem ser atendidos em ambas as extremidades do cabeamento. Valores de NEXT para equencias em que a perda por inserc;;ao (IL) seja inferior a 4,0 dB sao de carater informativo. IS valores de NEXT devem estar em conformidade com os componentes utilizados no cabeamento. luando requerido, 0 NEXT deve ser medido de acordo com a ASTM 04566. Tabela A.5 - NEXT para enlace permanente e enlace do CP Classe I Frequencia NEXT minima 'I MHz dB A I f - 0,1 27,0 B I 0,1 :s; f:s; 1 25 - 1510g (f) i C 1 :s; f:s; 16 40,1 - 15,810g (f) : 1 :s; D f:s; 100 _ 20 Ig l '" -"'' ' ,'I 10 - 20 + 10 " -'""'''' - 20 1 a E 1 :s; f:s; 250 - 20 Ig l '" -"'' ' ,'I "-'' ' ' "} 1 10 - 20 +10 -20 b F I 1 :s; f:s; 600 - 20 Ig [ '"' -""",} ",,, "'' ' '} 1 10 - 20 + 10 - 20 b I aj NEXT em frequencias correspondentes a valores calculados maiores que 60,0 dB deve reverter ao requisito minimo de 60.0 dB. NEXT em frequencias correspondentes a valores calculados maiores que 65,0 dB deve reverter ao requisito hJ minima de 65.0 dB. Tabela A.6 - Valores informativos para NEXT para enlaces permanentes completos em frequencias criticas I NEXT minima Frequencia dB MHz Classe A Classe B Classe C Classe D Classe E Classe F 0,1 27,0 40,0 N/A N/A N/A N/A 1 N/A 25,0 40,1 60,0 65,0 65,0 16 N/A N/A 21,1 45,2 54,6 65,0 100 N/A N/A N/A 32,3 41.8 65,0 250 i N/A N/A N/A N/A 35,3 60,4 600 N/A N/A N/A N/A N/A 54,7
  • 72.
    ABNT NBR 14565:2007 A.2.4.2 Power Sum NEXT (PS NEXT) o PS NEXT e aplicado apenas para as classes D, E e F. o PS NEXT de cada par de um enlace permanente ou enlace do CP deve atender aos requisitos derivados da equac;:ao na tabela A.7. o valor de PS NEXT de cada par de um enlace permanente completo e dado na tabela A.8. o valor de PS NEXT deve ser atendido em ambas as extremidades do cabeamento. Os valores de PS NEXT em frequemcias em que a perda de inserc;:ao seja inferior a 4,0 dB sao apenas informativos. Os valores de PS NEXT devem estar em conformidade com os componentes do cabeamento. PS NEXTk do par k e calculado como segue: n -NEXTik PNEXT =: -10 log 2:: 10 10 i=1, i,.k onde: e 0 numero do par interferente; k e 0 numero do par interferido; n eo numero total de pares; NEXTk e a paradiafonia acoplada no par k, a partir do sinal interferente no par i. Tabela A.7 - IlEXT para enlace permanente e enlace do CP Freq[j{mcia PS NEXT minima Classe II MHz dB r - 20 Ig 10 62.3-1510g(1) -20 + 10 80-2 01 09(1) -20 J a I ! D 1 ::; f::; 100 , I iI (72,3-15/09 (1) 90-2010g(1) ] b E 1 ::; f::; 250 -201g 10 -20 +10 20 I ( 99,415 109(/) 99,4 -15og(1) 'I F 1 ::; f::; 600 -201 g lW -20 +10 -20 I ) b . NEXT em freqOencias correspondentes a valores calculados maiores que 57,0 dB deve reverter ao requisito minimo de 57.0 dB. b NEXT em fre q Oencias corres pondentes a valores calculados maiores q ue 62.0 dB deve I reverter ao requisito minima de 62,0 dB. 67
  • 73.
    ABNT NBR 14565:2007 Tabela A.a - Valores informativos para PS NEXT para enlaces permanentes completos em freqOelncias criticas PS NEXT minima Frequencia dB MHz Classe D Classe E Classe F 1 57,0 62,0 62,0 16 42,2 52,2 62,0 100 29,3 39,3 62,0 250 N/A 32,7 57,4 600 N/A N/A 51,7 A.2.5 Relagao atenuagao paradiafonia (ACR) Os requisitos para ACR sao validos apenas para as classes D, E e F. A.2.5.1 ACR par a par o ACR par a par e a diferenc;a entre 0 NEXT par a par e a perda de inserc;ao do cabeamento, em decibels. o valor de ACR de cada combinac;ao de par de um enlace permanente ou enlace do CP deve atender a diferenc;a do requisito de NEXT da tabela A.5 e 0 requisito de perda de inserc;ao da tabela A.3 da respectiva c1asse. o valor de ACR de cada combinac;ao de par de um enlace permanente completo e dado na tabela A.9. Os requisitos para ACR devem ser atendidos em ambas as extremidades do cabeamento. Os valores de ACR para frequencias em que a perda de inserc;ao (IL) seja inferior a 4,0 dB sao de carater informativo. o ACRik do par i eke calculado como segue: onde: e 0 numero do par interferente; k eo numero do par interferido; NEXTik e a paradiafonia acoplada no par k,a partir do sinal interferente no par i; ILk e a perda de inserc;ao do par k. Quando requerido, a perda de inserc;ao deve ser medida de acordo com a ABNT NBR 9133. Tabela A.9 - Valores informativos para ACR para enlaces permanentes completos em freqOelncias principais ACR minima Frequencia dB MHz Classe D Classe E Classe F 1 56,0 61,0 61,0 16 37,5 47,5 58,1 100 11,9 23,3 47,3 250 N/A 4,7 31,6 600 N/A N/A 8,1
  • 74.
    ABNT IIBR 14565:2007 A.2.5.2 Power sum ACR (PS ACR) o PS ACR de cada par de um enlace permanente ou enlace do CP deve atender a diferenc;a do requisito de PS NEXT da tabela A.7 e a perda de inserc;ao dada na tabela A.3 para a respectiva c1asse. o PS ACR de cada par de um enlace permanente completo e dado na tabela A.10. Os requisitos para PS ACR devem ser atendidos em ambas as extremidades do cabeamento. Valores de PS ACR para frequencias em que a perda de inserc;ao seja inferior a 4,0 dB sao de carcHer informativo. o PSACRk do par k e calculado como segue: onde: k e 0 numero do par interferido; PSNEXTk eo PS NEXT do par k; ILk e a perda de inserc;ao do par k. Quando requerido, deve ser medida de acordo com a ABNT NBR 9133. Tabela A.10 - Valores informativos para PS ACR para enlaces permanentes completos em freqOmcias crfticas € PS ACR minim a , FreqOmcia € dB i MHz Classe 0 Classe E Classe F I 1 53,0 58,0 58,0 i 16 34,5 45,1 55.1 : 8,9 20,8 44,3 ! 100 ! 250 N/A 2,0 28,6 ! 600 N/A N/A 5,1 ! A.2.6 ELFEXT Os requisitos para ELFEXT sao validos apenas para as classes D, E e F. A.2.6.1 ELFEXT par a par Os valores de ELFEXT de cada combinac;ao de pares de um enlace permanente ou enlace do CP devem atender aos requisitos derivados da equac;ao na tabela A.11. Os valores para ELFEXT de cada combinac;ao de pares para um enlace permanente completo sao dados na tabela A.12. o ELFEXT deve estar em conformidade com os componentes do cabeamento. 69
  • 75.
    ABNT NBR 14565:2007 oELFEXTik dos pares i eke calculado como segue: ELFEXT ik =FEXT,k - ILk onde: e 0 numero do par interferente; k e 0 numero do par interferido; FEXT'k e a telediafonia medida sobre 0 par k a partir do sinal interferente do par i. Quando requerido 0 FEXT deve ser medido de acordo com a ASTM D 4566; ILk e a perda de insen;ao do par k. Quando requerido, deve ser medida de acordo com a ABNT r-..IBR 9133. NOTA A relat;:ao entre a perda de insert;:ao (IL) do par interferido e a telediafonia (FEXT) relevante para a relat;:ao sinale ruido. Os resultados calculados com base nas defini<;6es acima cobrem todas as combinat;:6es possiveis de perda de insert;:ao dos pares e suas telediafonias correspondentes. Tabela A.11 - ELFEXT para enlace permanente e enlace do CP Frequencia ELFEXT minimo a I Classe MHz dB D 1 :0; f:o; 100 ( - 20 Ig 10 63.8-20 log (f) -20 + n x 10 75,1-20 log (I) -20 j b (67,8-20109 (l) 83,1-20 log(f) J c E 1 :0; f:o; 250 ~ 20 Ig 10 -20 + n x 10 -20 I r I I [94-20109 (f) 90-15Iog(f) J c F 1 :0; f:o; 600 -201g 1 0 -20 +nx10 -20 I ! I Legenda: n =2 para as configura.;:6es A, BeD n =3 para as configura.;:6es C A ELFEXT em frequemcias que correspondem aos valores medidos de FEXT maiores que 70,0 dB e de carater informativo. b ELFEXT em frequemcias que correspondem a valores medidos maiores que 60,0 dB deve reverter I ao requislto minimo de 60,0 dB Ir ELFEXT em frequemcias que correspond em a valores medidos maiores que 65,0 dB deve reverter I ao reqUisito minima de 65,0 dB Tabela A.12 - Valores informativos para ELFEXT para enlaces permanentes completos em frequencias crfticas ELFEXT minima Frequencia dB MHz Classe D Classe E Classe F I 1 58,6 64,2 65,0 I 16 34,5 40,1 59,3 100 18,6 24,2 46,0 250 NfA 16,2 39,2 600 NfA NfA 32,6
  • 76.
    ABNT NBR 14565:2007 A.2.6.2 PS ELFEXT Os valores de PS ELFEXT de cada par de um enlace permanente ou enlace do CP devem estar de acordo com os requisitos derivados da equa<;:ao na tabela A.13. Os val ores de PS ELFEXT para cada par de um enlace permanente completo sao dados na tabela A.14. o PS ELF EXT deve estar em conformidade com os componentes do cabeamento. o PSELFEXh do par k e calculado como segue: n -ELFEXTik PSELFEXTk =-10109 I10 10 i~1, i",k onde: e0 numero do par interferente; k e0 numero do par interferido; n e 0 numero total de pares; ELFEXTik e0 ELFEXT acoplado sobre 0 par k a partir do sinal interferente do par i. Tabela A.13 - PS ELFEXT para enlace permanente e enlace do CP Freql.iencia PSELFEXT minima a Classe MHz dB I (60'8~2010g(f) 72.'~20Iog(f) J b 0 1 :$ f:$ 100 9 -20 1 1 0 -20 +nx10 -20 E 1 :$ f:$ 250 r - 20 19 10 64.8~20Iog(f) -20 + n x 10 80.1~20Iog(f) -2U I c ) F 1 :$ f:$ 600 - 20 19 [ 10 91-20Iog(f) -20 + n x 10 87-15Iog(f) -20 I c j I Legenda: n =2 para as configuraciies A, BeD n =3 para as configuraciies C a PSELFEXT em freqOencias que correspond em aos valores medidos de FEXT maiores que 70,0 dB e de carater informativo. b PSELFEXT em freqOencias que correspond em a valores medidos maiores que 57,0 dB deve reverter ao requisito minimo de 57,0 dB. c ELFEXT em freqOencias que correspond em a valores medidos maiores que 62,0 dB deve reverter ao requisito minima de 62,0 dB. 71
  • 77.
    ABNT NBR 14565:2007 Tabela A.14 - Valores informativos para PS ELFEXT para enlaces permanentes completos em freqOencias crfticas PS ELFEXT minimo Frequencia dB MHz Classe D Classe E Classe F 1 55,6 61,2 62,0 16 31,5 37,1 56,3 100 15,6 21,2 43,0 250 N/A 13,2 36,2 600 N/A N/A 29,6 A.2.7 Resistencia de la<;o em corrente continua (CC) A resistemcia de la<;;o CC de cada par de um enlace permanente ou enlace do CP deve atender aos requisitos derivados da equa<;;80 na tabela A.15. Um metodo pratico para estabelecer a conformidade de desempenho do enlace e demonstrar que a margem entre o valor medido e 0 limite do canal da tabela A.16 e adequada para acomodar qualquer componente usado para implementar um canal. Isto e completamente atendido se os requisitos para perda de inser<;;80 e a diferen<;;a de atraso de propaga<;;80 para 0 enlace permanente ou enlace do CP forem atendidos. o valor da resistencia de la<;o CC de cada par do enlace permanente completo e dado na tabela A.16. A resistencia de la<;;o CC deve estar em conformidade com os componentes do cabeamento. Quando requerido, a resistencia de la<;;o CC deve ser medida de acordo com a ABNT NBR 6814. Tabela A.15 - Resistemcia de la<;o CC informativa para enlace permanente e enlace do CP ; Resistencia CC maxima Classe ! n i A 530 B 140 I C 34 D (L/100) x 22 + n x 0,4 E (L/100) x 22 + n x 0,4 I F (L/100) x 22 + n x 0,4 i Legenda: i L = (L FC + L cp ) x Y i I L FC = Comprimento do cabo fixo (m) I L rp = Comprimento do cabo do CP (onde presente) (m) Y = A rela<;:ao entre a atenua<;:ao do cabo do CP (dB/m) e a atenua<;:ao do cabo fixo horizontal (dB/m) n = 2 para as configura<;:6es A, BeD n = 3 para a configura<;:ao C Tabela A.16 - Valores informativos para resistencia de la((o CC para enlaces permanentes completos Resistencia de lar;;o CC maxima I n Classe A Classe B Classe C Classe D Classe E Classe F I I 530 140 34 21 21 21
  • 78.
    ABNT IIBR 14565:2007 A.2.8Desequilfbrio resisitivo C.C. o desequilfbrio resistivo c.c. dos dois condutores do par em rela9ao a todos os pares de um enlace permanente ou enlace do CP nao deve exceder 5% para todas as classes. Isto deve ser guarantido pelo projeto. A.2.9 Atraso de propagac;ao o atraso de propaga9ao de cada par de um enlace permanente ou enlace do CP deve atender ao requisito derivado da equa9c30 na tabela A.17. Um metodo pratico para estabelecer a conformidade de desempenho do enlace e demonstrar que a margem entre o valor medido e os limites para 0 canal da tabela A.17 sao adequados para acomodar qualquer componente adicional usado para implementar um canal. Isto e completamente atendido se os requisitos de perda de inser9ao e diferen9a de atraso de propaga9ao para 0 enlace permanente ou enlace do CP forem atendidos. o atraso de propaga9ao de cada par do enlace permanente completo e dado na tabela A.18. 0 atraso de propaga9ao deve estar em conformidade com os componentes do cabeamento. Quando requerido, 0 atraso de propaga9ao deve ser medido de acordo com a ASTM D 4566. Tabela A.17 - Atraso de propagac;c3o para enlace permanente e enlace do CP Freqi.iencia Atraso de propaga<;ao maximo Ciasse MHz ..Is A f= 0,1 19,400 B 0,1 :0; f:o; 1 4,400 C 1 :0; f:o; 16 (L/100) x (0,534 + 0,036 / Jf) + n x 0,0025 D 1:o;f:o;100 (L /100) x (0,534 + 0,036/ Jf) + n x 0,0025 E 1:0; f:o; 250 (L /100) x (0,534 + 0,036/ Jf) + n x 0,0025 F 1 :0; f:o; 600 (L /100) x (0,534 + 0,036/ Jf) + n x 0,0025 Legenda: L =LFC + Lcp LFC =Comprimenlo do cabo fixe (m) Lcp =Comprimenlo do cabo do CP, onde presenle (m) n =2 para as configuraf;oes A, BeD n =3 para a configuraf;ao C Tabela A.18 - Valores informativos para atraso de propagac;ao para enlaces permanentes completos em frequemcias crfticas Atraso de propaga<;ao maximo Freqi.iencia ..Is MHz Classe A Classe B Classe C Classe D Classe E Classe F 0,1 19,400 4,400 N/A N/A N/A : N/A 1 N/A 4,400 0,521 0,521 0,521 0,521 16 N/A N/A 0,496 0,496 0,496 0,496 100 N/A N/A N/A 0,491 0,491 0,491 250 N/A N/A N/A N/A 0,490 .0,490 600 N/A N/A N/A N/A N/A 0,489 73
  • 79.
    ABNT NBR 14565:2007 A.2.10Diferenc;a de atraso de propagac;<3.o (delay skew) A diferenc;:a de atraso de propagac;:ao (delay skew) de todos os pares de um enlace permanente ou enlace do CP deve atender aos requisitos derivados da equac;:ao na tabela A.19. Um metoda pratico para estabelecer a conformidade de desempenho do enlace e demonstrar que a margem entre o valor medido e os limites do canal da tabela A.19 e adequada para acomodar qualquer componente adicional usado para implementar um canal. Este requisito e completamente atendido se os requisitos de perda e inserc;:ao e diferenc;:a de atraso de propagac;:ao para 0 enlace permanente ou enlace do CP forem atendidos. A diferenc;:a de atraso de propagac;:ao dos pares de um enlace permanente completo e dada na tabela A.20. A diferenc;:a de atraso de propagac;:ao deve estar em conformidade com os componentes do cabeamento. Quando requerido. a diferenc;:a de atraso de propagac;:ao deve ser medida de acordo com a ASTM D 4566. Tabela A.19 - Diferenc;:a de atraso de propaga<;:3.o para enlace permanente e enlace do CP FrequElncia Diferen~a de atraso de propaga~ao maxima Classe MHz IJs A f= 0.1 N/A B 0.1 ~ f~ 1 N/A C 1~f~16 (L/100) x 0,045 + n x 0,00125 D 1~ f ~ 100 (L/100) x 0,045 + n x 0,00125 E 1 ~ f ~ 250 (L/100) x 0,045 + n x 0,00125 F 1 ~ f ~ 600 (L/100) x 0,045 + n x 0,00125 Legenda: L = LFC + Lcp LFC = Comprimento do cabo fixe (m) Lcp = Comprimento do cabo do CP (onde presente) (m) n = 2 para as configura90es A, BeD n = 3 para a configura9ao C Tabela A.20 - Valores informativos para diferen<;:a de atraso de propaga<;:3.o para enlaces permanentes completos em freqQencias criticas I Classe Frequencia Diferen~a de atraso de propaga~ao maximo MHz IJS A f= 0,1 N/A B 0, 1 ~ f ~ 1 N/A C 1~ f~ 16 0,044 a D 1~ f ~ 100 0,044 a E 1 ~ f~ 250 0,044 a F 1~ f ~ 600 0,026 b , Este e0 resultado do calculo 0,9 X 0,045 + 3 X 0,00125. , Este e 0 resultado do calculo 0,9 X 0,025 + 3 X 0,00125.
  • 80.
    ABNT NBR 14565:2007 Anexo B (normativo) Procedimentos de ensaios B.1 Geral Este anexo sobre procedimentos de ensaios e dividido em quatro partes. Em B.1 sao fornecidas informac;;6es gerais. Em B.2 sao fornecidas referencias para procedimentos de ensaios em cabeamento instalado e cabeamento em ambiente de laboratOrio. Em B.3 sao fornecidas referencias para procedimentos de ensaios em patch cords montados em fabrica. Em B.4 sao fornecidas referencias para procedimentos de ensaios em componentes individuais. B.2 Ensaios de desempenho de canal e enlace B.2.1 Ensaios de canais de cabeamento balanceado, enlaces permanentes e enlaces do CP as procedimentos de ensaios em instalac;;6es de cabeamento balanceado sao especificados na lEe 61935-1. B.2.2 Ensaios dos canais de cabeamento em fibra 6ptica as procedimentos de ensaios em instalac;;6es de cabeamento optico sao especificados na ABNT NBR 14433. B.2.3 Sequencia de ensaios em canais e enlaces as canais e enlaces sao normalmente ensaiados quanto a compatibilidade com requerimentos especfficos apos a instalaC;;ao. Para estes ensaios em campo ha instrumentos de ensaio disponiveis. as canais e enlaces permanentes tambem podem ser ensaiados em ambiente de laboratorio. Isso se da com a intenC;;ao de provar a compatibilidade de sistemas construidos a partir de componentes especificos. Estes ensaios podem usar tanto equipamentos de laboratorio quanto equipamentos de ensaio de campo. Ensaios que utilizam instrumentac;;ao de laboratorio, que sao realizados de acordo com padr6es internacionais, podem servir de referencia para a avaliac;;ao da precis80 dos equipamentos de ensaios de campo. NOTA Se equipamentos de ensaios de campo nao estiverem disponiveis para certas classes de cabeamento, instrumentos de laborat6rio podem ser utilizados. Para medir parametros que requeiram acesso a ambas as extremidades do cabeamento simultaneamente, equipamentos de laborat6rio podem nao ser muito praticos. Recomenda-se que este cabeamento seja instalado de forma que apenas ensaios de aceita<;ao (ver defini<;ao abaixo) sejam requeridos. as diferentes tipos de ensaios podem ser c1assificados como descrito em B.2.3.1 a B.2.3.3. B.2.3.1 Ensaio de aceita980 E uma forma de validar 0 cabeamento instalado par meio da mediC;;ao de parametros de transmissao requeridos por esta Norma e sua posterior comparay80 com os limites estabelecidos por ela para cada categoria de desempenho. 7~
  • 81.
    ABNT IIBR 14565:2007 8.2.3.2 Ensaio de compatibilidade E uma forma de validar 0 cabeamento instalado, composto de componentes conhecidos ou nao. Difere-se do ensaio de aceita~o por incluir componentes nao conhecidos e que se deseja avaliar a compatibilidade com uma ::Jada categoria de desempenho de um sistema de cabeamento instalado. 8.2.3.3 Ensaio de referE!ncia E uma forma de ensaiar modelos de cabeamento em ambiente de laborat6rio e comparar os resultados obtidos por meio de instrumentos de laborat6rio com aqueles obtidos em campo. Os ensaios de referencia em laborat6rio sao tambem utilizados para verificar as propriedades de um sistema de cabeamento que nao se poderiam ensaiar no campo. Na tabela B.1, 0 tipo de ensaio a ser conduzido em cada canalou enlace permanente e indicado por um "I" (informativo) ou "N" (normativo). Os parametros que sao calculados a partir de resultados medidos sao indicados por um "e" (calculado). Os ensaios indicados por um "I" podem ser conduzidos como parte de um ensaio de aceita<;ao. Os ensaios indicados por um "N" devem ser conduzidos como parte de um ensaio de aceita<;ao, compatibilidade ou referencia. Tabela B.1 - Caracteristicas de ensaios de aceitac;:ao, compatibilidade e referencia para cabeamento de pares balanceados e fibra 6ptica Tipo de ensaio Caracteristicas do cabeamento Aceita<;:ao Compatibilidade Referencia I Mapeamento dos condutores N N N I 1 Continuidade, blindagem (se aplic8vel), N N N I curto-circuito e circuito aberto I Comprimento C I N I Perda de retorno N N N I i Perda de inser<;:ao N N N I Paradiafonia (NEXT) N N N i Power Sum Paradiafonia (PS NEXT) C C C Pares I balanceados I Rela<;:ao Atenua<;:ao Paradiafonia (ACR) C C C I Power Sum Rela<;:ao Atenua<;:ao Paradiafonia C C C i (PS ACR) i Telediafonia de Nivel Equalizado (ELFEXT) C N N I Power Sum Telediafonia de Nivel Equalizado ! (PS ELFEXT) C C C : Resistencia de la<;:o CC I N N I Atraso de propaga<;:ao N N N : Diferen<;:a de atraso de propaga<;:ao N N N I Atenua<;:ao 6ptica N N N Largura de banda modal N Fibras Atraso de propaga<;:ao N N N 6pticas Comprimento C C C I Continuidade e manuten<;:ao de polaridade N N N Is caracterfsticas do cabeamento a serem ensaiados para aceita<;ao, compatibilidade e referencia devem atender )U superar os requisitos descritos em 6.4 para cabeamento balanceado e se<;ao 8 para cabeamento 6ptico.
  • 82.
    ABNT NBR 14565:2007 B.3 Ensaios de transmissao de patch cords para cabeamento balanceado Os ensaios de patch cords para cabeamento balanceado devem ser conduzidos conforme especificados na IEC 61935-2. B.4 Ensaios de transmissao de componentes para cabeamento B.4.1 Ensaios de transmissao em cabos de cobre para cabeamento balanceado Os ensaios de cabos para cabeamento balanceado devem ser conduzidos conforme especificado na ABNT NBR 14703. B.4.2 Ensaios de transmissao em hardware de conexao para cabeamento balanceado Os ensaios de hardware de conexao para cabeamento balanceado devem ser conduzidos conforme especificado na IEC 60603-7. B.4.3 Ensaios de transmissao em cabos para cabeamento optico Os ensaios de cabos de fibras para cabeamento 6ptico devem ser conduzidos conforme especificados na IEC 60794-2 para cabos de uso interne e IEC 60794-3 para cabos de uso externo. B.4.4 Ensaios de transmissao em conectores para cabeamento optico Os ensaios de conectores para cabeamento 6ptico devem ser conduzidos conforme especificado na ABNT NBR 14433. 77
  • 83.
    ABNT NBR 14565:2007 Anexo C (informativo) Caracterfsticas eletromagneticas C.1 Descric;ao o cabeamento consiste em componentes passivos e, portanto, poderia ter sua compatibilidade eletremagnetica verificada (CISPR 22 e CISPR 24) quando conectado a equipamentos ativos. No entanto, as caracterfsticas eletromagneticas da instalaC;;ao de uma rede sao influenciadas par parametres como balanceamento, blindagem e/ou propriedades do cabo. o usa de componentes com boas caracteristicas eletromagneticas, a usa de componentes com au sem blindagem ao longo do sistema e a instalac;;ao de acordo com as instruc;;6es do fabricante e sistema de aterramento eficiente ajudam a atingir boas caracteristicas eletromagneticas no sistema de cabeamento. As caracterfsticas eletromagneticas dos componentes referenciados nesta Norma podem ser usadas como guia quando um equipamento para aplicac;;ao especffica e construfdo e ensaiado para compatibilidade de acordo com CISPR 22 e CISPR 24.
  • 84.
    ABNT tIBR 14565:2007 Anexo 0 (informativo) Aplica<;6es suportadas D.1 Aplica<;oes suportadas em cabeamento balanceado o cabeamento balanceado aqui especificado suporta as aplicac;6es detalhadas neste anexo. Outras aplicac;oes, embora nao listadas, tambem podem ser suportadas. As aplicac;6es de cabeamento balanceado sao dependentes do desempenho do canal das classes especificadas na sec;ao 6. 0 cabeamento generico foi projetado para suportar transmiss6es 6pticas e eletricas (balanceadas). As aplicaC;6es que usam transmiss6es nao-balanceadas estao fora do escopo deste documento. A tabela D.1 contem aplicac;oes tecnicamente estaveis quanto as especificac;oes de padroes internacionais (por exemplo, publicadas pelas recomendac;oes ITU, especificac;6es do F6rum ATM, padroes IEEE, padroes EINTIA,e pad roes ISO/lEG). Tabela D.1 - Aplica90es que utilizam cabeamento balanceado Aplicac;:ao Referencia de especificac;:ao Ano Nome adicional Classe A (definida ate 100 kHz) PBX Requisitos nacionais - PABX X.21 ITU-T Rec. X.21 1994 - V.11 ITU-T Rec. X.21 1994 - Classe B (definida ate 1 MHz) ISDN BRI (camada fisica) SO-Bus (extendido) ITU-T Rec. 1.430 1993 Basic .Access ISDN BRI (camada fisica) Ponto a ponto SO ITU-T Rec. 1.430 1993 Basic Access ISDN PRI (camada fisica) S1/S2 ITU-T Rec. 1.431 1993 Primary Access COMA/C~ 1Base5 ISOIIEC 8802-3 2000 Starian, AUI Classe C (definida ate 16 MHz) COMA/C~ 10Base-T ISOIIEC 8802-3 2000 - COMA/C~ 100Base-T4 ISOIIEC 8802-3 2000 Fast Ethernet COMA/C~ 100Base-T2 ISOIIEC 8802-3 2000 Fast Ethernet Token Ring 4 Mb/s ISOIIEC 8802-5 1998 Servic;:os de LAN integrados ISLAN ISO/IEC 8802-9 1996 (Integrated Services LAN) Prioridade de demanda ISOIIEC 8802-12 1998 VGAnyLAN ™ Aplicac;:ao Referencia de especificac;:ao Ano Nome adicional Classe C (definida ate 16 MHz) ATM F6rum ATM LAN 25,60 Mb/s 1995 ATM-25/Categoria 3 af-phy-0040.000 79
  • 85.
    ~BNT NBR 14565:2007 Tabela 0.1 (conclusao) Aplica<;:ao Referencia de especifica<;:ao Ano Nome adicional Classe C (definida ate 16 MHz) ATM Forum ATM LAN 51,84 Mb/s 1994 ATM-52/Categoria 3 af-phy-OO 18.000 ATM Forum ATM LAN 155.52 Mb/s 1995 ATM-155/Categoria 3 af-phy-0047.000 Classe D (definida ate 100 MHz) CDMA/CD 100Base­ , ISO/IEC 8802-3 2000 Fast Ethernet TX CDMA/CD 1OOOBase-T ISOIIEC 8802-3 2000 Gigabit Ethernet Token Ring 16 Mb/s ISOIIEC 8802-5 1998 - Token Ring 100 Mb/s ISOIIEC 8802-5 2001 - TP-PMD ISO/IEC FCD 9314-10 2000 TP-PMD ATM Forum af-phy­ ATM LAN 155,52 Mb/s 1994 ATM-155/Categoria 5 0015.000 ~s aplicar;6es suportadas pelo cabeamento balanceado genenco listadas na tabela 0.1 utilizam a pinagem jescrita na tabela 0.2. Esta pinagem e especifica para cada aplicar;ao de acordo com a ser;ao 6. Tabela 0.2 - Configurar;6es de pinagem em fun<;:ao das aplica<;:6es Aplica<;:ao Pinos 1 & 2 Pinos 3 & 6 Pinos 4 & 5 Pinos 7 & 8 PBX Classe A a) Classe A a) Classe A Classe A a) X.21 - Classe A Classe A - V.11 - Classe A Classe A - b) b) SO Bus (extendido) Classe B Classe B b) b) Ponto a ponto SO Classe B Classe B c) b) S1/S2 Classe B Classe B CDMA/CD 1Base5 Classe B Classe B - - CDMA/CD 10Base-T Classe C Classe C - - Token Ring 4 Mb/s - Classe C Classe C - c) ISLAN Classe C Classe C - Prioridade de demanda Classe C Classe C Classe C Classe C I ATM-25/Categoria 3 Classe C - - Classe C ATM-51/Categoria 3 Classe C - - Classe C ATM-155/Categoria 3 Classe C - - Classe C Token Ring 16 Mb/s - Classe D Classe D - TP-PMD Classe D - - Classe D ATM-155/Categoria 5 Classe D - - Classe D CDMA/CD 100Base-T4 Classe C Classe C Classe C Classe C CDMA/CD 100Base-T2 Classe C Classe C - - CDMA/CD 1OOBase-TX Classe D Classe D - - Token Ring 100 Mb/s - Classe D Classe D - CDMA/CD 1OOOBase-T Classe D Classe D Classe D Classe D ATM LAN 1,2 Gb/s Classe E Classe E Classe E Classe E CDMA/CD 1000Base-TX Classe E Classe E Classe E Classe E a) sta op<;ao depende do fornecedor dos equipamentos. b) Fonte de alimenta<;ao opcional. 0) ontinuidade de blindagem do cabeamento.
  • 86.
    ABNT NBR 14565:2007 D.2 Aplica<;6es supartadas par cabeamenta de fibra 6ptica o cabeamento 6ptico aqui especificado suporta as aplica<;oes detalhadas neste anexo. Outras aplica<;oes, embora nao listadas, tambem podem ser suportadas. As aplica<;oes em cabeamento de fibra 6ptica sao dependentes do desempenho de canal das classes especificadas na se<;ao 8. A tabela 0.3 contem aplica<;oes tecnicamente estaveis quanta as especifica<;oes de padroes internacionais (por exemplo, publicadas pelas recomenda<;oes ITU, especifica<;6es do F6rum ATM, padroes IEEE, padroes EIAITIA e padroes ISO/lEG). Os detalhes das aplica<;oes suportadas sao fornecidas para cada tipo de fibra 6ptica conforme incluido na se<;ao 9. Informa<;oes adicionais estao descritas nas tabela 0.4 e 0.5, considerando 0 comprimento maximo dos canais. As fibras do tipo OM1, OM2, OM3 e OS1 sao descritas na se<;ao 9. Oeve-se assumir uma atenua<;ao maxima de 1,5 dB no hardware de conexao dentro do canal. 81
  • 87.
    }> Tabela 0.3 - Aplica90es que utilizam cabeamento de fibra 6ptica OJ '7 I Perda de inseryao maxima (dB) Canais suportados na ISO/IEC 11801 -l I Aplicayao de rede Multimodo' Monomodo fibra 6ptica OM1 fibra 6ptica OM2 fibra 6ptica OM3 fibra 6ptica OS1 Z 1300 nm 1310 nm 1550 nm OJ I 850 nm 1300 nm 1310 nm 850nm 1300 nm 850nm 1300 nm 850 nm JJ IISO/IEC 8802-3: 10Base-FL, FP b: & FB I 12,5 (6,8) OF-2000 OF-2000 OF-2000 e-- ~ r (Jl ISOIIEC 11802-4: 4 & 16 Mbps Token Ring 13,0 (8,0) OF-2000 OF-2000 OF-2000 (J') _ . _ - - - - - - - - f - - - - - - - - - - - f-- - -- (Jl .- '---------------_.~-- - --. /'.TM @ 52 Mb/s 'I N/A 10.0 (5,3) 10,0 OF-2000 OF-2000 OF-2000 OF-2000 I) ~- -- o OF-2000 o ATM @ 155 Mb/s 9 7,2 10,0 (5,3) 7,0 OF-SOO OF-2000 OF-500 OF-2000 OF-500 OF-2000 -....J ATM @ 622 Mb/s' r. 9 4,0 6,0 (2,0) 7,0 OF-300 OF-SOO OF-300 OF-500 OF-300 OF-500 OF-2000 ISO/IEC 14165-111: Fibre Channel OF-2000 OF-2000 N/A 6,0 OF-2000 (FC-PH) @ 133 Mb/s o. r ISO/IEC 14165-111: Fibre Channel OF-2000 OF-2000 OF-2000 OF-2000 12,0 6,0 (5,5) 6,0 OF-2000 OF-2000 OF-2000 FC-PH) @ 266 Mb/s 0 9 ISO/IEC 14165-111: Fibre Channel OF-500 OF-500 OF-2000 (FC-PH) @ 531 Mb/s og 8,0 - 14,0 OF-SOO ISOIIEC 14165-111: Fibre Channel OF-SOO OF-2000 g 4,0 - 6,0 OF·300 OF-500 (FC-PH) @ 1,062 Mb/s· ISOIIEC 8802-3: 1000Base-SX' 2,6 (3,56) - - h OF-500 OF-500 ISO/IEC 8802-3: 1000Base-LX e,g - 2,35 4,56 OF-500 OF-500 OF-500 OF-2000 ISO/IEC 9314-9: FOOl LCF-PMO b.f - 7,0 (2,0) - OF-500 OF-500 OF-500 ISO/IEC 9314-3: FOOl PMO f - 11,0 (6,0) - OF-2000 OF-2000 OF-2000 ISO/IEC 9314-4: FOOl SMF-PMO 9 - - 10,0 OF-2000 ISO/IEC 8802-3: 100Base-FX r 11,0 (6,0) - OF-2000 OF-2000 OF-2000 IEEE 802,3: 10Gbase-LX4 d 2,0 6,20 OF-300 OF-300 OF-300 OF-2000 IEEE 802,3: 10Gbase-ERIEW d OF-2000 1,6 (62,5) IEEE 802.3: 10Gbase-SRISW d 1,8 (OM250) - - OF-300 2,6 (OM3) IEEE 802.3: 10Gbase-LRlLW dg - - 6,20 OF-2000 a as valores mostrados sao tanto para 62,S/12Squanto para 50/125 MMF; onde os valores diferem para 50/125, estes esliio entre par€mteses. b Uma aplicac;ao, que embora ainda seja referenciada, nao e comercializada pela industria. c Uma aplicac;ao, que embora ainda seja referenciada, foi descontinuada pelo grupo de estudo original. d Aplicac;ao em desenvolvimento. • Uma aplicayao com largura da banda Iimilada pelo comprimento do canal mostrado. a uso de componentes com menor atenuac;ao para produzir canais exoedendo 0 valor rnostrado nao pode ser , recomendado. a comprimento do canal pode ser limilado em uma fibra de 50 ~m. 9 a comprimento do canal com fibra 6ptica monomodo pode ser maior, porem fica fora do escopo deste documento,
  • 88.
    ABNT NBR 14565:2007 Tabela0.4 - Comprimento de canal maximo suportado por aplica<;oes em fibra 6pticas multimodo Comprimento de Comprimento maximo do canal Aplicayao de rede onda nominal m nm 50 I-lm a 62,5 I-lm b ISOIIEC 8802-3: FOIRL 850 514 1000 ISO/IEC 8802-3: 10Base-FL & FB 850 1 514 2000 ISO/IEC TR 11802-4: 4 & 16 Mb/s Token Ring 850 1 857 2000 ATM @ 155 Mb/s 850 1 000 a 1 000 b ATM @ 622 Mb/s 850 300 a 300 b ISO/IEC 14165-111: Fibre Channel (FC-PH) @ 266 Mb/s 850 2000 700 ISO/IEC 14165-111: Fibre Channel (FC-PH)@ 531 Mb/s 850 1000 350 ISOIIEC 14165-111: Fibre Channel (FC-PH) @ 1062 Mb/s c) 850 500 a 300 b IEEE 802.3: 1000Base-SX 850 550 a 275 b ISO/IEC 9314-9: FOOl LCF-PMO 1 300 500 500 ISO/IEC 9314-3: FOOl PMO 1 300 2000 2000 ISO/IEC 8802-3: 100Base-FX 1 300 2000 'I 2000 IEEE 802.5t: 100 Mb/s Token Ring 1 300 2000 2000 ATM @52 Mb/s 1 300 2000 2000 ATM @ 155 Mb/s 1 300 2000 2000 ATM @ 622 Mb/s 1 300 330 500 ISOIIEC 14165-111: Fibre Channel (FC-PH)@ 133 Mb/s 1 300 N/A 1 500 ISO/IEC 14165-111: Fibre Channel (FC-PH) @ 266 Mb/s 1 300 2000 1 500 I 550 a 550 IEEE 802.3: 1000 Base-LX 1 300 b I a Atenuai;ao maxima par km (850 nm: 3,5 dB/km, 1300 nm: 1,5 dB/km). I Largura de banda modal minima (850 nm: 500 MHz.km, 1 300 nm: 500 MHz.km). b Atenuai;ao maxima par km (850 nm: 3,5 dB/km, 1 300 nm: 1,5 dB/km). Largura de banda modal minima (850 nm: 200 MHz.km, 1 300 nm: 500 MHz.km). c Essas aplicai;6es tem largura da banda limitada pelo comprimento do canal mostrado. 0 uso de componentes com menar atenuai;ao para produzir canais excedendo 0 valor mostrado nao pode ser recomendado. 83
  • 89.
    ABNT NBR 14565:2007 Anexo E (informativo) Enlace permanente e canal classe F/categoria 7 com duas conex6es A maioria dos canais e enlaces permanentes c1asse F/categoria 7 e implementada com somente duas conexoes. as limites de desempenho de canal de cabeamento balanceado deste anexo sao derivados dos limites de desempenho dos componentes das seyoes 9 e 10, assumindo que 0 canal e composto por 90 m de cabo de condutor solido. 10m de patch cords e duas conexoes (ver figura E.1). as limites de desempenho para enlace permanente de cabeamento balanceado deste anexo sao derivados dos limites de desempenho dos componentes das seyoes 9 e 10, assumindo que 0 enlace permanente e composto por 90 m de cabo de condutor solido e duas conexoes (ver figura E.1). Canal r I -f-~nlace permanente ~ FD ---+ I 'I I EQP ~f-+--------C TO Cordao do Cordao da equipamento area de trabalho [9 = Conexao Figura E.1 - Canal e enlace permanente com duas conexoes o ACR da combinayc3o de cada par de um canal e de um enlace permanente e mostrado na tabela E.1. J PSACR de cada par de um canal e de um enlace permanente tambem e dado na tabela E.1. Tabela E.1 - Valores de ACR e PS ACR para canal e enlace permanente classe F/categoria 7 com duas conexoes em frequencias crfticas Canal Enlace permanente Frequencia MHz ACR minimo PS ACR minimo ACRminimo PS ACR minimo dB dB dB dB 1 61,0 58,0 61,0 58,0 16 57,1 54,1 58,2 55,2 100 44,6 41,6 47,5 44,5 250 27,3 24,3 31,9 28,9 600 1,1 -1,9 8,6 5,6