Tópicosespeciais
da Contabilidade
Prof.Roberto Elias Nassif
rnassif@uol.com.br
Currículo
Formado pela PUC SP
Pós Custos
Empresas:
Autolatina – Volks e Ford
Perdigão
Senac – HP 12C
Matemática Financeira
Excel
Conteúdo Programatico
■
■
■
■
■
■
■
CPC – Comitê de Pronunciamento Contábil
Contabilidade Internacional:
- causa das diferenças internacionais;
- porque harmonização;
- vantagens e desvantagens da harmonização contábil internacional;
- porque adotar normas internacionais de contabilidade;
-principais organismos mundiais e regionais responsáveis pela internacionalização da
contabilidade;
-The international accounting standards board (IASB) – Colegiado de Padrões Contábeis
Internacional;
-The International Federation of Accounting (IFAC) – Federação Internacional de Contadores;
Contabilidade do terceiro setor:
- a identidade das entidades sem fins lucrativos;
- principais características das entidades sem fins lucrativos;
-plano de contas: estrutura do plano de contas; fluxo contábil das operações típicas;
contabilização das doações, subvenções, contribuições e auxílios recebidos pelas entidades
sem fins
■
■
■
■
■
■
Contabilidade Internacional
❖ contabilidade - ciência social aplicada
❖ “Linguagem dos negócios”
❖ avaliar os riscos e oportunidades
Inicio
■ Registros pré-históricos
■ Inicio do comércio – Egito –Papiros
■ China primeiros registros contábeis
■ Navegações – Comércio
■ Idade Média – Itália/Oriente
■ Berço –partidas dobradas
■ Revolução Industrial –lei de 1844
Propulsores
■ Inicio no pós-guerra
■ Blocos Econômicos
■ Empresas multinacionais
■ Internacionalização do mercado comercial,
de crédito e de capitais
Antecedentes
■ Tratamentos diferenciados para transações
semelhantes;
■ Diferentes idiomas e terminologias
■ Controvérsia quanto ao modelo de
conversão das Demonstrações Financeiras
para outras moedas
■ Prazos diferenciados
■ Foco em usuários distintos – Empresários
Contadores
Acionistas
Perguntas
■ 1)você acredita que o homem poderia viver sem a
contabilidade? Explique.
2)Pode-se dizer que a contabilidade foi inventada por
uma só pessoa? Explique.
3)A informática veio para melhorar a contabilidade ou
para tirar o emprego dos contadores? Explique.
4)O que a contabilidade tem a ver com a crise mundial?
5)Como você vê a contabilidade e o papel do contador
nos dias atuais?
■
■
■
■
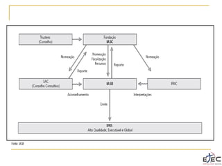
Principais Órgãos paraNormas
Contábeis
Inter
nationalAccoutingStandar
dsBoard
IASB
❖ Sucessor do International Accouting Standards
Commitee - IASC (1973-2001) criado por ocasião
do Congresso Internacional de Contadores de
1973.
❖ 2001 – Criação do IASB que passou a emitir o
IFRS (International Financial Reporting Standard)
❖ colegiado de Padrões Contábeis
Internacionais.
❖ órgão independente do setor privado que se
destina ao estudo de padrões contábeis.
IASB
❖ Objetivos do IASB
a)estabelecer conjunto de normas
contábeis globais;
b) promover seu uso e aplicação;
c)promover a convergência entre as normas
contábeis locais e as Normas
Internacionais de Contabilidade.
IASB
EstruturadasNormasInternacionais
(IAS/IFRS)
■ IAS –pronunciamentos emitidos pelos IASC.
SIC – comitê para recomendações interpretação dos IAS
IFRS – pronunciamentos emitidos pelo IASB
IFRIC – comitê para interpretação dos IFRS
FRAMEWORK (estrutura conceitual) – Framework for the
Preparation and Presentation of Financial Stataments
■
■
■
■
FinancialAccountingStandardsBoar
d
(FASB)
■ Criado em 1973
Conselho de Padrões de Contabilidade Financeira
(FASB)
Estabelece os padrões de contabilidade financeira e
de elaboração das demonstrações financeiras para
as empresas do setor privado dos Estados Unidos
■
■
FASB
Base Conceitual
■ United States Generally Accepted
Accounting Principles - USGAAP
Pronunciamento
■ Statement of Financial Accounting Standards
- SFAS
Contabilidade
AmbientenoBrasil
a) obrigatoriedade de Auditoria Independente
para companhias abertas;
b)padronização da estrutura das demonstrações
contábeis – Instituições Financeiras;
c)Elaboração da Lei no6.404/76 - influência da
escola norte-americana.
d)Criação da CMV (Comissão de Valores
Imobiliários)
Desenvolvimento
recente (Dec. 70
)
❖ Origem
a) legislação tributária e societária
b)regulamentação editada por organismos
governamentais tais como: CVM, BC,
SUSEP, ANATEL, ANEEL, entre outros.
Reduzida influência dos órgãos de classe
ou institutos representativos da profissão
na definição de normas contábeis no
Brasil.
❖
❖ Histórico da Contabilidade Brasileira
mostra forte vinculação com escrituração
(bookkeeping)
❖ cursos de nível secundário (técnicos)
❖ somente a partir de 1946, cursos de nível
superior.
❖ Influência
❖ escola italiana (até a década de 70)
escola norte-americana (após a Lei no 6.404/76).
❖
Educação
Auditoria
Externa
Histórico
❖ 1º - por exigências estatutárias,
multinacionais e obtenção de crédito
❖ 2º - a partir da década de 70
❖
❖ sociedades anônimas de capital aberto.
atividades regulamentadas pelo Governo
Federal: instituições financeiras;
seguradoras; empresas de previdência
privada; telefonia; energia elétrica e entre
outras.
Profissão contábil no Brasil
❖ CFC X Educação Continuada para Auditores
CFC X Grupo de Trabalho
❖
❖ Normas Brasileiras de Contabilidade
Harmonizar com as normas internacionais do IASB.
❖
❖ Normas do CFC não possuem autoridade
substantiva
Tendências da Convergência Brasil as
Normas Internacionais
■ Comissão de Valores Mobiliários (CVM)
❑ pronunciamentos segundo normas
internacionais;
❑ instrução 457/2007 prevê a DF’s consolidadas
conforme IFRS em 2010.
■ Banco Central
❑ Instituições financeiras – adoção das IFRS a
partir de 2010
■ Comitê de Pronunciamentos Contábeis (CPC)
CPC
■ Criado pela Resolução CFC no1.055/05
Composição
ABRASCA – Associação Brasileira das Companhias Abertas;
APIMEC – Associação dos Analistas e Profissionais de
Investimento do Mercado de Capitais;
BOVESPA – Bolsa de Valores de São Paulo;
CFC – Conselho Federal de Contabilidade;
FIPECAFI – Fundação Instituto de Pesquisas Contábeis,
Atuariais e Financeiras; e
IBRACON – Instituto dos Auditores Independentes do Brasil.
■
CPC
- convergência internacional das normas contábeis
(redução de custo de elaboração de relatórios contábeis,
redução de riscos e custo nas análises e decisões, redução
de custo de capital);
- centralização na emissão de normas
- representação e processo democrático a produção
dessas informações (produtores da informação contábil,
auditor, usuário, intermediário, academia, governo)
CPC
Participação de representantes dos
seguintes órgãos:
■ CVM – Comissão de Valores
Mobiliários
■ BACEN – Banco Central do Brasil
■ SUSEP – Superintendência dos
Seguros Privados
■ SRF – Secretaria da Receita
Federal
CPC
❑ Produtos do CPC:
■
■
■
Pronunciamentos Técnicos,
Interpretações e
Orientações
❑ Os Pronunciamentos Técnicos serão
obrigatoriamente submetidos a audiências
públicas;
CPC
❑ Órgãos representantes
■
■
■
CVM – Comissão de Valores Mobiliários
BACEN – Banco Central do Brasil
SUSEP – Superintendência dos Seguros
Privados
SRF – Secretaria da Receita Federal
■
Alterações Recentes na
Contabilidade Brasileira
Lei11.638/07, Lei 11.941/09 e os
pronunciamentos do CPC
Demonstrações contábeis
1º de janeiro de 2008
Lei 11.638/07
Obrigatoriedade de Auditoria Independente
as Sociedades de Grande Porte
■ No exercício social anterior
❑ Ativo total superior a R$ 240 milhões
❑ Receita bruta superior a R$ 300 milhões
Ao fim de cada exercício social serão elaborados:
”I - balanço patrimonial;
II.- demonstração dos lucros ou prejuízos
acumulados;
III.- demonstração do resultado do exercício; e
IV – demonstração dos fluxos de caixa; e
(Redação dada pela Lei nº 11.638,de 2007)
V – se companhia aberta, demonstração do
valor adicionado.
(Incluído pela Lei nº 11.638,de 2007)”
Nova Estrutura das DF’s
■ ATIVO
❑ Ativo Circulante
❑ Ativo Não Circulante
■
■
■
■ Realizável a Longo ■
Prazo
Investimentos
Imobilizado
Intangível
■ PASSIVO
❑
❑ Passivo Circulante
Passivo Não Circulante
PATRIMÔNIO LÍQUIDO
❑
❑
❑
❑
❑
❑ Capital Social
Reservas de Capital
Reservas de Lucros
Ajustes de Variação
Patrimonial
(-) Ações em Tesouraria
(-) Prejuízos Acumulados
Instrumentos financeiros
que serão levados até o seu
vencimento
Atualizados
conforme
disposições
contratuais
Disponíveis
para venda
Adquiridos para
comercialização, realização
de lucros através de
valorização a curto prazo
Contrapartida
no resultado
Avaliação a mercado no
levantamento do balanço
Instrumentos financeiros
Contrapartida
no patrimônio
líquido
Contrapartida
no resultado
AvaliaçãodeInstrumentosFinanceiros
Pádua, 2009
Ajusteavalorpresente
■ Exigido para ativos e passivos não-circulantes.
■ Quando relevantes os ajustes também devem ser
feitos nos circulantes
■ Ajuste a valor presente com reflexos nos ativos e
passivos
■ Utilização de contas retificadoras
AjusteaValorPresente
■ Eliminar os juros embutidos implícita ou
explicitamente
❑
❑
❑ Venda a prazo ou compra a prazo
Retirar a parcela de juros do contas a receber
Redução da receita de vendas
Intangível
■ É formado de contas que anteriormente eram
classificadas no Imobilizado (Marcas e
Patentes), no Diferido (Pesquisa e
desenvolvimento) e em Investimentos
(Ágio)
❑ Desenvolvimento de Produtos
❑ Marcas e patentes
❑ Goodwill
Goodwill
■Diferença entre valor de mercado e
valor de custo (ágio)
■Diferença entre o valor pago e o
valor de mercado (goodwill)
Leasing Financeiro
■ Inclusão no imobilizado do bem
arrendado pelo:
❑
❑ Valor original da transação
Valor presente das prestações assumidas
Diferido
■ Não pode ser constituída a partir de 2008
■ Reclassificadas para resultado ou intangível
■ Gastos pré-operacionais e reestruturação
(resultado)
Alterações naclassificaçãoe
apresentaçãodecontas
■ Eliminação da conta de Receitas e Despesas
não operacionais da DRE, passando a
classificar em outras despesas e receitas
operacionais
■ Conta de Lucros acumulados não apresenta
saldo positivo no balanço, mas a conta contábil
permanece no plano de contas

ifrs Introdução

  • 1.
  • 2.
    Currículo Formado pela PUCSP Pós Custos Empresas: Autolatina – Volks e Ford Perdigão Senac – HP 12C Matemática Financeira Excel
  • 3.
    Conteúdo Programatico ■ ■ ■ ■ ■ ■ ■ CPC –Comitê de Pronunciamento Contábil Contabilidade Internacional: - causa das diferenças internacionais; - porque harmonização; - vantagens e desvantagens da harmonização contábil internacional; - porque adotar normas internacionais de contabilidade; -principais organismos mundiais e regionais responsáveis pela internacionalização da contabilidade; -The international accounting standards board (IASB) – Colegiado de Padrões Contábeis Internacional; -The International Federation of Accounting (IFAC) – Federação Internacional de Contadores; Contabilidade do terceiro setor: - a identidade das entidades sem fins lucrativos; - principais características das entidades sem fins lucrativos; -plano de contas: estrutura do plano de contas; fluxo contábil das operações típicas; contabilização das doações, subvenções, contribuições e auxílios recebidos pelas entidades sem fins ■ ■ ■ ■ ■ ■
  • 4.
    Contabilidade Internacional ❖ contabilidade- ciência social aplicada ❖ “Linguagem dos negócios” ❖ avaliar os riscos e oportunidades
  • 5.
    Inicio ■ Registros pré-históricos ■Inicio do comércio – Egito –Papiros ■ China primeiros registros contábeis ■ Navegações – Comércio ■ Idade Média – Itália/Oriente ■ Berço –partidas dobradas ■ Revolução Industrial –lei de 1844
  • 6.
    Propulsores ■ Inicio nopós-guerra ■ Blocos Econômicos ■ Empresas multinacionais ■ Internacionalização do mercado comercial, de crédito e de capitais
  • 7.
    Antecedentes ■ Tratamentos diferenciadospara transações semelhantes; ■ Diferentes idiomas e terminologias ■ Controvérsia quanto ao modelo de conversão das Demonstrações Financeiras para outras moedas ■ Prazos diferenciados ■ Foco em usuários distintos – Empresários Contadores Acionistas
  • 8.
    Perguntas ■ 1)você acreditaque o homem poderia viver sem a contabilidade? Explique. 2)Pode-se dizer que a contabilidade foi inventada por uma só pessoa? Explique. 3)A informática veio para melhorar a contabilidade ou para tirar o emprego dos contadores? Explique. 4)O que a contabilidade tem a ver com a crise mundial? 5)Como você vê a contabilidade e o papel do contador nos dias atuais? ■ ■ ■ ■
  • 9.
  • 10.
    Inter nationalAccoutingStandar dsBoard IASB ❖ Sucessor doInternational Accouting Standards Commitee - IASC (1973-2001) criado por ocasião do Congresso Internacional de Contadores de 1973. ❖ 2001 – Criação do IASB que passou a emitir o IFRS (International Financial Reporting Standard)
  • 11.
    ❖ colegiado dePadrões Contábeis Internacionais. ❖ órgão independente do setor privado que se destina ao estudo de padrões contábeis. IASB
  • 12.
    ❖ Objetivos doIASB a)estabelecer conjunto de normas contábeis globais; b) promover seu uso e aplicação; c)promover a convergência entre as normas contábeis locais e as Normas Internacionais de Contabilidade. IASB
  • 14.
    EstruturadasNormasInternacionais (IAS/IFRS) ■ IAS –pronunciamentosemitidos pelos IASC. SIC – comitê para recomendações interpretação dos IAS IFRS – pronunciamentos emitidos pelo IASB IFRIC – comitê para interpretação dos IFRS FRAMEWORK (estrutura conceitual) – Framework for the Preparation and Presentation of Financial Stataments ■ ■ ■ ■
  • 16.
    FinancialAccountingStandardsBoar d (FASB) ■ Criado em1973 Conselho de Padrões de Contabilidade Financeira (FASB) Estabelece os padrões de contabilidade financeira e de elaboração das demonstrações financeiras para as empresas do setor privado dos Estados Unidos ■ ■
  • 17.
    FASB Base Conceitual ■ UnitedStates Generally Accepted Accounting Principles - USGAAP Pronunciamento ■ Statement of Financial Accounting Standards - SFAS
  • 18.
  • 19.
    a) obrigatoriedade deAuditoria Independente para companhias abertas; b)padronização da estrutura das demonstrações contábeis – Instituições Financeiras; c)Elaboração da Lei no6.404/76 - influência da escola norte-americana. d)Criação da CMV (Comissão de Valores Imobiliários) Desenvolvimento recente (Dec. 70 )
  • 20.
    ❖ Origem a) legislaçãotributária e societária b)regulamentação editada por organismos governamentais tais como: CVM, BC, SUSEP, ANATEL, ANEEL, entre outros. Reduzida influência dos órgãos de classe ou institutos representativos da profissão na definição de normas contábeis no Brasil. ❖
  • 21.
    ❖ Histórico daContabilidade Brasileira mostra forte vinculação com escrituração (bookkeeping) ❖ cursos de nível secundário (técnicos) ❖ somente a partir de 1946, cursos de nível superior. ❖ Influência ❖ escola italiana (até a década de 70) escola norte-americana (após a Lei no 6.404/76). ❖ Educação
  • 22.
    Auditoria Externa Histórico ❖ 1º -por exigências estatutárias, multinacionais e obtenção de crédito ❖ 2º - a partir da década de 70 ❖ ❖ sociedades anônimas de capital aberto. atividades regulamentadas pelo Governo Federal: instituições financeiras; seguradoras; empresas de previdência privada; telefonia; energia elétrica e entre outras.
  • 23.
    Profissão contábil noBrasil ❖ CFC X Educação Continuada para Auditores CFC X Grupo de Trabalho ❖ ❖ Normas Brasileiras de Contabilidade Harmonizar com as normas internacionais do IASB. ❖ ❖ Normas do CFC não possuem autoridade substantiva
  • 24.
    Tendências da ConvergênciaBrasil as Normas Internacionais ■ Comissão de Valores Mobiliários (CVM) ❑ pronunciamentos segundo normas internacionais; ❑ instrução 457/2007 prevê a DF’s consolidadas conforme IFRS em 2010. ■ Banco Central ❑ Instituições financeiras – adoção das IFRS a partir de 2010 ■ Comitê de Pronunciamentos Contábeis (CPC)
  • 25.
    CPC ■ Criado pelaResolução CFC no1.055/05 Composição ABRASCA – Associação Brasileira das Companhias Abertas; APIMEC – Associação dos Analistas e Profissionais de Investimento do Mercado de Capitais; BOVESPA – Bolsa de Valores de São Paulo; CFC – Conselho Federal de Contabilidade; FIPECAFI – Fundação Instituto de Pesquisas Contábeis, Atuariais e Financeiras; e IBRACON – Instituto dos Auditores Independentes do Brasil. ■
  • 26.
    CPC - convergência internacionaldas normas contábeis (redução de custo de elaboração de relatórios contábeis, redução de riscos e custo nas análises e decisões, redução de custo de capital); - centralização na emissão de normas - representação e processo democrático a produção dessas informações (produtores da informação contábil, auditor, usuário, intermediário, academia, governo)
  • 27.
    CPC Participação de representantesdos seguintes órgãos: ■ CVM – Comissão de Valores Mobiliários ■ BACEN – Banco Central do Brasil ■ SUSEP – Superintendência dos Seguros Privados ■ SRF – Secretaria da Receita Federal
  • 28.
    CPC ❑ Produtos doCPC: ■ ■ ■ Pronunciamentos Técnicos, Interpretações e Orientações ❑ Os Pronunciamentos Técnicos serão obrigatoriamente submetidos a audiências públicas;
  • 29.
    CPC ❑ Órgãos representantes ■ ■ ■ CVM– Comissão de Valores Mobiliários BACEN – Banco Central do Brasil SUSEP – Superintendência dos Seguros Privados SRF – Secretaria da Receita Federal ■
  • 30.
    Alterações Recentes na ContabilidadeBrasileira Lei11.638/07, Lei 11.941/09 e os pronunciamentos do CPC Demonstrações contábeis 1º de janeiro de 2008
  • 31.
    Lei 11.638/07 Obrigatoriedade deAuditoria Independente as Sociedades de Grande Porte ■ No exercício social anterior ❑ Ativo total superior a R$ 240 milhões ❑ Receita bruta superior a R$ 300 milhões
  • 32.
    Ao fim decada exercício social serão elaborados: ”I - balanço patrimonial; II.- demonstração dos lucros ou prejuízos acumulados; III.- demonstração do resultado do exercício; e IV – demonstração dos fluxos de caixa; e (Redação dada pela Lei nº 11.638,de 2007) V – se companhia aberta, demonstração do valor adicionado. (Incluído pela Lei nº 11.638,de 2007)”
  • 33.
    Nova Estrutura dasDF’s ■ ATIVO ❑ Ativo Circulante ❑ Ativo Não Circulante ■ ■ ■ ■ Realizável a Longo ■ Prazo Investimentos Imobilizado Intangível ■ PASSIVO ❑ ❑ Passivo Circulante Passivo Não Circulante PATRIMÔNIO LÍQUIDO ❑ ❑ ❑ ❑ ❑ ❑ Capital Social Reservas de Capital Reservas de Lucros Ajustes de Variação Patrimonial (-) Ações em Tesouraria (-) Prejuízos Acumulados
  • 34.
    Instrumentos financeiros que serãolevados até o seu vencimento Atualizados conforme disposições contratuais Disponíveis para venda Adquiridos para comercialização, realização de lucros através de valorização a curto prazo Contrapartida no resultado Avaliação a mercado no levantamento do balanço Instrumentos financeiros Contrapartida no patrimônio líquido Contrapartida no resultado AvaliaçãodeInstrumentosFinanceiros Pádua, 2009
  • 35.
    Ajusteavalorpresente ■ Exigido paraativos e passivos não-circulantes. ■ Quando relevantes os ajustes também devem ser feitos nos circulantes ■ Ajuste a valor presente com reflexos nos ativos e passivos ■ Utilização de contas retificadoras
  • 36.
    AjusteaValorPresente ■ Eliminar osjuros embutidos implícita ou explicitamente ❑ ❑ ❑ Venda a prazo ou compra a prazo Retirar a parcela de juros do contas a receber Redução da receita de vendas
  • 37.
    Intangível ■ É formadode contas que anteriormente eram classificadas no Imobilizado (Marcas e Patentes), no Diferido (Pesquisa e desenvolvimento) e em Investimentos (Ágio) ❑ Desenvolvimento de Produtos ❑ Marcas e patentes ❑ Goodwill
  • 38.
    Goodwill ■Diferença entre valorde mercado e valor de custo (ágio) ■Diferença entre o valor pago e o valor de mercado (goodwill)
  • 39.
    Leasing Financeiro ■ Inclusãono imobilizado do bem arrendado pelo: ❑ ❑ Valor original da transação Valor presente das prestações assumidas
  • 40.
    Diferido ■ Não podeser constituída a partir de 2008 ■ Reclassificadas para resultado ou intangível ■ Gastos pré-operacionais e reestruturação (resultado)
  • 41.
    Alterações naclassificaçãoe apresentaçãodecontas ■ Eliminaçãoda conta de Receitas e Despesas não operacionais da DRE, passando a classificar em outras despesas e receitas operacionais ■ Conta de Lucros acumulados não apresenta saldo positivo no balanço, mas a conta contábil permanece no plano de contas