DVD/USB PLAYER MP3 WMA
HBD-7688AV
ADVERTÊNCIAS
NÃO UTILIZE O APARELHO POR UM LONGO PERÍODO COM VOLUME
SUPERIOR A 85dB, POIS PODERÁ PREJUDICAR A SUA AUDIÇÃO.
LEI FEDERAL N. 11.291/2006
É PROIBIDO AO CONDUTOR DO VEÍCULO ASSISTIR VÍDEOS ENQUANTO DIRIGE.
RESOLUÇÃO N. 242 DE 22/06/2007 DO CONTRAN, QUE DISPÕE SOBRE O
USO DE EQUIPAMENTOS GERADORES DE IMAGEM NO INTERIOR DE
VEÍCULOS AUTOMOTORES.
Características..........................................................................04
Acessórios................................................................................04
Precauções...............................................................................05
Notas sobre o disco........................................................................06
Diagrama de conexões....................................................................07
Conector ISO................................................................................08
Instalação................................................................................09
Controles do painel........................................................................11
Controles frontais.........................................................................12
Funções do controle remoto..............................................................13
Bateria do controle remoto..............................................................14
Operações básicas.........................................................................15
Funções...................................................................................16
Função rádio.........................................................................16
Função disco.........................................................................17
Função USB...............................................................................21
Configurações de áudio e vídeo..........................................................22
Menu de configurações....................................................................23
Solução de problemas.....................................................................25
Especificações técnicas...................................................................27
Certificado de garantia...................................................................28
ÍNDICE
DVD Player com monitor TFT-LCD widescreen de 3 polegadas integrado.
Compatível com mídias DVD-R/RW, CD-R/RW e CD-DA nos formatos DVD, VCD,
SVCD, MP3 e WMA.
Equalizador com 5 curvas pré-ajustadas (FLAT, POP, ROCK, CLASSIC e JAZZ) e
uma para ajustes do usuário USER.
Receptor AM/FM com 30 memórias de sintonia (18FM e 12AM).
Mecanismo anti-impacto e sistema eletrônico ESP.
Frente destacável flip-down.
Entrada USB para leitura de Pen-Drive.
Entrada RCA para vídeo câmera traseira.
Entrada auxiliar de áudio e vídeo frontal (P2) para expansão do sistema.
Saída de áudio (RCA) pré-amplificada para conexão com módulos de potência.
Saída de vídeo (RCA) para conexão com monitor auxiliar.
Conexão padrão ISO.
Controle remoto Slim.
(1) Controle remoto.
(1) Chicote com conexão ISO.
(1) Moldura.
(1) Kit Instalação (Chave lateral de desinstalação (chave saca-DVD), parafusos
de instalação, pino amortecedor e borracha para pino amortecedor).
CARACTERÍSTICAS
(04)
ACESSÓRIOS
PRECAUÇÕES
1. Conecte esta unidade somente à uma bateria de 12V e negativo aterrado
ao chassi.
2. Nunca instale a unidade em uma posição que ofereça risco ao motorista.
3. Para evitar choque elétrico, danos ou fumaça resultante de um curto-circuito,
não expor o produto a água ou lugares úmidos.
4. Nunca troque o fusível sem a orientação profissional, pois a utilização de um
fusível inadequado poderá causar danos a esta unidade ou até mesmo incêndio.
5. Se algum dos seguintes sintomas ocorrerem no aparelho, desligue-o e leve-o
a um serviço autorizado H-Buster:
(a) Caso cair algum líquido dentro da unidade;
(b) Caso algum objeto estranho for introduzido na unidade, ou odor peculiar.
6. Nunca desmonte ou conserte o aparelho sem a ajuda de um profissional
qualificado. Para maiores informações, consulte um profissional especializado
da Rede Autorizada da H-BUSTER ou representantes de vendas.
7. Caso o produto possua entrada para vídeo câmera traseira observe:
a) A função da câmera com visualização traseira é auxiliar o motorista nas manobras ao
dar marcha ré. Não a utilize para entretenimento.
b) As imagens da câmera poderão parecer um pouco diferentes dependendo do modo de
captação da imagem e da própria câmera.
(05)
NOTAS SOBRE O DISCO
(06)
Reproduzir um CD ou DVD sujo ou defeituoso poderá provocar falhas no som ou
na imagem.
Segure o disco como indicado na ilustração abaixo.
Não toque o disco no lado da leitura (lado sem impressão).
Não coloque selo, etiqueta adesiva ou papel em qualquer um dos lados do disco.
Não exponha o disco diretamente ao sol ou ao calor excessivo.
Limpe o disco sujo, no sentido de centro para fora (não faça movimentos circulares)
com um pano limpo e macio.
Nunca utilize solvente como benzina ou álcool para limpeza.
Esta unidade não pode reproduzir CDs de 3 polegadas (8 cm).
Nunca insira um CD com o formato irregular; a unidade poderá não ser capaz de
ejetar o CD.
(07)
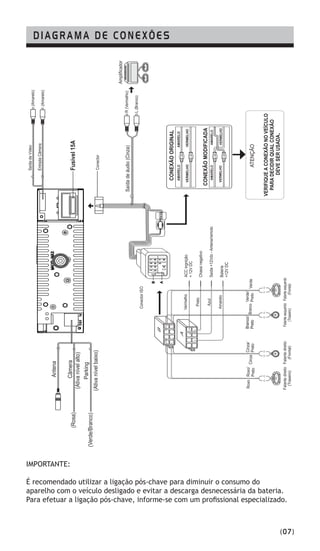
DIAGRAMA DE CONEXÕES
Antena
(Rosa)
(Verde/Branco)
Câmera
(Ativanívelalto)
(Ativanívelbaixo)
Parking
Roxo/
Preto
Roxo
CinzaBranco
Cinza/
Preto
Branco/
Preto
Branco/
Preto
Verde/
PretoVerde
Falantedireito
(Traseiro)
Falanteesquerdo
(Traseiro)
Falantedireito
(Frontal)
Falanteesquerdo
(Frontal)
Amarelo
Azul
Preto
Vermelho
ConectorISO
Conector
SaídadeVídeo
EntradaCâmera
Fusível15A
Amplificador
R(Vermelho)
L(Branco)
(Amarelo)
(Amarelo)
Saídadeáudio(Cinza)
ACCingnição
+12VDC
Chassinegativo
Saída+12Vdc-Antena/remoto
Bateria
+12VDC
ATENÇÃO
.
IMPORTANTE:
É recomendado utilizar a ligação pós-chave para diminuir o consumo do
aparelho com o veículo desligado e evitar a descarga desnecessária da bateria.
Para efetuar a ligação pós-chave, informe-se com um profissional especializado.
(08)
CONECTOR ISO
1. Se o seu carro estiver equipado com o conector ISO, conecte-o como
ilustrado abaixo.
2. Para as ligações sem os conectores ISO, verifique a fiação do veículo
cuidadosamente antes de efetuar as conexões. Conexões incorretas podem
acarretar graves danos a esta unidade. Corte o conector e conecte os fios,
como indicado na tabela de códigos de cor mostrada abaixo para os
alto-falantes e para a bateria.
* Dependendo do modelo do veículo é possível que estes dois fios estejam invertidos,
caso isso ocorra todas as vezes que o usuário desligar a unidade perderá todas as
memórias de rádio e configurações pessoais. Esta unidade possui um sistema de
comutação entre os fios ACC e BAT. Certifique-se qual a posição correta dos fios e
se preciso efetue a inversão dos mesmos afim de evitar que as memórias ou ajustes
pessoais sejam perdidos.
OBS: Antes de efetuar a ligação certifique-se que o fio de antena do
conector ISO (azul) não receberá alimentação de +12Vdc enviada pelo
chicote do veículo, caso o contrário podem ocorrer danos ao produto.
Consulte um profissional especializado para maiores informações.
(09)
INSTALAÇÃO
Para sua maior segurança, recomenda-se que as instalações a seguir sejam feitas
por um profissional especializado.
Procedimento de montagem
Remova os dois parafusos de segurança antes da instalação. Caso contrário a leitura
de CD/DVD do produto não funcionará.
Procedimento de montagem
1. Pressione levemente a trava lateral da cinta para dentro. Insira a cinta de
montagem no painel e dobre as abas de montagem para fora com uma chave de
fenda, fixando a cinta ao painel do veículo.
2. Fixação traseira da unidade.
Encaixe o conector ISO, ajuste a traseira da unidade ao painel do carro pelo apoio
de borracha. Certifique-se de que a trava da cinta está fixa ao aparelho (não o pro-
jetando para o lado externo).
3. Encaixe a moldura.
(10)
INSTALAÇÃO
Conexão do fio de estacionamento (PARKING/BRAKE)
Conexão do fio da câmera de ré (REVERSE/BACK)
(11)
CONTROLES DO PAINEL
1. REL – Libera o painel frontal (sistema flip-down).
2. BAND – Seleciona as faixas de rádio. No modo disco ativa função Play/Pause.
3. AMS – Gravação automática de emissoras.
4. Controles de navegação – Em rádio exibe a emissora anterior. No modo disco
navega para cima entre os itens de opção.
5. Display TFT 3”.
6. POWER – Liga e desliga a unidade.
7. SRC – Seleciona a fonte de programação.
8. MUTE – Silencia o áudio.
9. OK – Confirma a operação.
10. ESC – Cancela a seleção/retorna para o menu anterior.
11. Retrocesso/controle de navegação – Executa operação de retrocesso. No modo
disco navega para esquerda entre os itens de opção.
12. Controles de navegação – Em rádio exibe a emissora anterior. No modo disco
navega para baixo entre os itens de opção.
13. Controle de volume – Efetua operação de controle de volume. Acessa as
configuração de áudio/vídeo e menu de configuração principal.
14. Avanço/controle de navegação – Executa operação de avanço. No modo disco
navega para direita entre os itens de opção.
15. Sensor de controle remoto.
16. Entrada USB.
17. Entrada auxiliar de áudio e vídeo frontal.
CONTROLES FRONTAIS
Pressione a tecla REL do painel frontal para ter acesso aos comandos abaixo.
EJECT – Ejeta o disco.
RESET – Pressione o botão RESET quando esta apresentar algum tipo de
anormalidade ou para restabelecer sua configuração padrão.
OBS: Ao pressionar este botão todas as configurações de usuário e emissoras
memorizadas serão perdidas.
(12)
FUNÇÕES DO CONTROLE REMOTO
1. ZOOM – Ativa função zoom em DVD e VCD.
2. TITLE – Retorna para menu de títulos no
modo DVD.
3. POWER – Liga e desliga a unidade.
4. SETUP – Acessa o menu de configurações
da unidade.
5. Controles de navegação
6. ENTER – Confirma operação.
7. PROG – Programa sequência de reprodução.
8. Teclado numérico.
9. SEL – Seleciona as configurações de áudio
e vídeo.
10. Controle de volume.
11. MUTE – Silencia o áudio.
12. Avança ou retrocede arquivos.
13. SUBTITLE – Aciona as legendas para o
modo DVD.
14. SRC – Seleciona uma fonte de programação.
15. REPEAT – Aciona a função de repetição
para o modo disco.
16. A-B – Repetição de um trecho.
17. STOP – Interrompe a reprodução.
18. Play – Inicia a reprodução.
19. GO TO – Aciona o modo de busca direta.
20. Menu PBC para VCD 2.0 ou superior.
21. Mostra informações na tela durante a
reprodução/sintonia automática de emissoras
em rádio.
22. Botão áudio.
- Áudio do DVD.
- Controle de VCD para áudio (Mono dir/
Mono esq/Mixed Mono/Estéreo).
23. Botão de funções no display.
- Relógio no display para modo de vídeo.
- Função ESC, retorna ao menu anterior.
24. Ângulo – Escolha múltiplos ângulos para
visualização (apenas para DVD).
25. Sistema de vídeo PAL/NTSC/AUTO e
mudança da faixa de rádio (BAND).
(13)
Substituindo a bateria de Lítio do controle remoto
Quando a faixa de operação do controle remoto se tornar pequena ou se,
durante a operação, as funções não responderem corretamente, substitua a
bateria por uma nova de Lítio.
CUIDADOS:
Utilize somente bateria de reposição de Lítio (CR2025);
Armazene a bateria longe do alcance de crianças. Se uma criança, acidentalmente,
engolir a bateria, consulte um médico imediatamente.
Não recarregue, coloque em curto-circuito, desmonte, esquente ou exponha a
bateria ao fogo.
Não exponha a bateria em contato com outros materiais metálicos, pois isso
poderá causar aquecimento, explosão ou iniciar um incêndio.
Quando armazenar a bateria envolva-a com fita isolante para evitar os mesmos
acidentes acima mencionados.
Retire a bateria se o controle remoto não for utilizado por um longo período.
Faça o descarte da bateria somente em locais apropriados, seguindo as
regulamentações governamentais ou as normas públicas de meio ambiente.
1. Pressione a trava lateral,
puxe a tampa na parte traseira
do controle remoto conforme
a posição indicada na figura
ao lado.
2. Insira a bateria no suporte,
com a face marcada com o
sinal (+) voltada para cima.
3. Encaixe a tampa novamente
no controle até travá-la.
BATERIA DO CONTROLE REMOTO
(14)
OPERAÇÕES BÁSICAS
Ligar/desligar a unidade
Pressione a tecla “POWER” para ligar a unidade ou mantenha a tecla pressionada
para desligá-la.
Mute da unidade (silenciar o áudio)
Pressione a tecla “MUTE” do controle remoto ou do painel frontal para silenciar o
áudio. Pressione novamente para retomar o áudio.
Teclas de navegação
Pressione as teclas de controle de navegação no
painel frontal ou no controle remoto para navegar
entre os menus.
Modo câmera
Esta unidade possibilita a instalação de câmera traseira para auxiliar nas manobras
de ré. Se uma câmera de vídeo traseira e o fio “REVERSE” estiverem ligados
corretamente a unidade automaticamente mudará para função “câmera” durante o
movimento de marcha ré. A unidade retorna ao funcionamento normal após sair da
marcha ré.
Modo AV (áudio e vídeo)
Esta unidade possibilita a ligação de outros dispositivos de áudio e vídeo através
da entrada de áudio e vídeo frontal (AV in com conexão P2). Selecione a função
AV-IN no menu “SOURCE” e insira um dispositivo AV externo na entrada P2 para
iniciar a reprodução.
OBS: Devido ao modo AV estar relacionado a um dispositivo externo, não é
possível visualizar a barra de volumes nesta função. Caso acesse a função AV e
nenhum dispositivo externo esteja ligado, a unidade apresentará uma tela preta.
Pressione SRC para voltar ao modo rádio a qualquer momento.
Modo Parking
Se o fio “PARKING SW” estiver conectado a chave de freio de mão, a imagem da
tela TFT será controlada pelo status do veículo ou pela fonte de programa que
estiver em execução. Quando o veículo estiver em movimento com um vídeo em
reprodução aparecerá na tela o aviso ‘Do not watch video while driving’.
Este aviso alerta ao motorista que é proibido assistir vídeo enquanto dirige,
respeitando a resolução nº 242 de 22/06/2007 do Contran.
OBS: É de responsabilidade apenas do cliente final ligar corretamente o fio
“PARKING SW” e fazer cumprir esta resolução. A H-Buster não se responsabiliza por
ligações incorretas ou que não respeitem as leis de trânsito.
Menu Fonte
Pressione a tecla SRC para mudar a fonte de programação em execução. Mantenha
pressionada a tecla SRC para acessar o menu “SOURCE” (fonte) e através das teclas
de navegação selecione o ícone do programa que se deseja selecionar e confirme
tocando na tecla OK.
OBS: Quando algum dispositivo não estiver conectado não será possível selecioná-lo.
(15)
FUNÇÃO RÁDIO
Selecione a função rádio no menu fonte. A seguinte tela será mostrada.
Selecionando uma faixa
Pressione a tecla BAND sequencialmente para selecionar as faixas de rádio em
FM e AM.
Selecionando uma estação de rádio
Pressione as teclas de avanço ou retrocesso no painel frontal para selecionar
uma emissora automaticamente. Para selecionar uma emissora manualmente
mantenha pressionadas as teclas de avanço ou retrocesso por 2 segundos para
ativar a seleção manual de emissora. Pressione novamente as teclas para
selecionar a emissora desejada.
OBS: Durante a procura manual se o usuário não pressionar as teclas de avanço
e retrocesso em 5 segundos, retorna a função de busca automática.
Gravando uma emissora nas posições de memória
Método 1 – Após selecionar a emissora mantenha pressionado o botão OK por 2
segundos, a indicação de posição de memória ficará piscando na tela.
Com os botões de navegação para cima e para baixo selecione em qual posição
de memória se deseja gravar e confirme pressionando OK novamente.
Método 2 – Após selecionar a emissora pressione os botões de 1 ~ 6 no controle
remoto por 2 segundos para gravar a emissora na posição desejada.
OBS: Após gravar as emissoras o usuário poderá ouvir cada estação gravada,
pressionado os botões de navegação ou tocando no controle remoto.
Função AMS (Gravação automática de emissoras)
Pressione a tecla AMS do painel frontal para a exibição de 5 segundos do áudio
de todas as emissoras gravadas nas posições de memória 1~ 6.
Mantenha pressionada a tecla AMS por 2 segundos para efetuar uma varredura em
todas as emissoras e gravar automaticamente as emissoras com sinal mais forte.
OBS: Após a gravação das emissoras com sinal mais forte, automaticamente
serão exibidos 5 segundos do áudio de cada emissora gravada, para interromper
esta exibição pressione a tecla AMS novamente.
FUNÇÕES
(16)
1. Indicador de fonte
2. Posição de memória
3. Relógio
4. Indicação de modo de rádio AM ou FM
5. Frequência (emissora de rádio)
6. Indicador de equalização
FUNÇÃO DISCO
Inserindo um disco
Insira um disco no compartimento de CD. A unidade automaticamente iniciará
a reprodução.
OBS: Antes de inserir um disco certifique-se que não há nenhum outro disco
no compartimento de CD. Alguns discos poderão não ser executados devido a
diferentes condições de gravações, o mesmo acontecerá com discos que não
tiverem suas gravações finalizadas.
Ejetando um disco
Pressione a tecla “REL” do painel frontal fazendo a frente descer (sistema flip-down)
para obter acesso ao botão “EJECT”. Pressione para ejetar o disco.
Formatos suportados:
Esta unidade suporta as mídias CD-R/RW e DVD-R/RW nos formatos (DVD, CD,
VCD, SVCD/MPEG, JPEG, MP3, WMA).
Reproduzindo discos
Ao reproduzir um disco com arquivos em formato de áudio, imagem e vídeo
serão exibidos na tela uma lista de categorias conforme abaixo:
O usuário pode navegar pelas opções de reprodução (áudio, imagem e vídeo)
através das teclas de navegação e confirmar pressionando o botão “OK”.
FUNÇÕES
(17)
1. Indicador de fonte
2. Música atual e total de músicas
3. Nome do arquivo
4. Pastas de áudio
5. Pastas de imagens
6. Pastas de vídeos
Discos com arquivos de áudio
Ao iniciar a reprodução de arquivos gravados no formato MP3 ou WMA, proceda
da seguinte maneira:
1. Pressione ESC para retornar ao menu de lista de reprodução.
2. Utilizando as teclas de navegação selecione o ícone de pastas de áudio.
3. Pressione OK, para exibir todas as pastas de arquivos de áudio disponíveis.
4. Utilizando as teclas de navegação selecione uma pasta e confirme pressionando
OK. Proceda da mesma maneira para selecionar o arquivo que se deseja reproduzir
nesta pasta.
OBS: Após selecionar o arquivo desejado a reprodução começará automaticamente
e após 5 segundos será exibido o modo de reprodução na tela, conforme abaixo.
Este modo de reprodução apresenta informações sobre o arquivo em execução,
como o nome, tempo da música etc.
Discos com arquivos de imagem.
1. Pressione ESC para retornar ao menu de lista de reprodução.
2. Utilizando as teclas de navegação selecione o ícone de pasta de imagens.
3. Pressione OK, para exibir todas as pastas de arquivos de imagens disponíveis.
4. Utilizando as teclas de navegação selecione uma pasta e confirme pressionando
OK. Proceda da mesma maneira para selecionar o arquivo que se deseja reproduzir
nesta pasta.
Discos com arquivos de vídeo.
1. Pressione ESC para retornar ao menu de lista de reprodução.
2. Utilizando as teclas de navegação selecione o ícone de pasta de vídeo.
3. Pressione OK, para exibir todas as pastas de arquivos de vídeo disponíveis.
4. Utilizando as teclas de navegação selecione uma pasta e confirme pressionando
OK. Proceda da mesma maneira para selecionar o arquivo que se deseja reproduzir
nesta pasta.
Sobre o modo disco
1. Se o disco não tiver algum dos formatos de reprodução seu respectivo ícone
não será exibido.
2. Sempre que desejar trocar a pasta ou arquivo pressione ESC e com as teclas
de navegação selecione pasta e arquivo desejado e confirme pressionando OK.
3. Formatos diferentes dos especificados no manual podem não ser reproduzidos
ou não serem reproduzidos corretamente.
FUNÇÕES
(18)
Disc
01:26
-A
01/25
USER
02:53
00:03
Controles de reprodução
Avanço e retrocesso de faixa ou capítulo
Pressione as teclas de “AVANÇO” ou “RETROCESSO” para avançar ou retroceder
faixas, capítulos ou títulos.
Avanço e retrocesso rápido de faixa ou capítulo
Mantenha pressionadas as teclas de “AVANÇO” ou “RETROCESSO” para
acionar o avanço ou retrocesso rápido durante a reprodução de USB/CD
e DVD nas velocidades (x2, x4, x8 e x20)
OBS: Durante a operação de avanço ou retrocesso rápido, pressione a tecla “PLAY”
para retornar a reprodução normal. Durante esta operação o áudio ficará mudo.
Reprodução/pausa
Pressione a tecla “PLAY/PAUSE” para pausar ou retomar a reprodução.
Interromper (parar)
Pressione a tecla “STOP” para interromper (parar) a reprodução.
Modo repetição
Pressione a tecla REPEAT no controle remoto uma vez ou mais para acessar o
modo de repetição conforme tabela abaixo:
OBS: Ao selecionar algumas destas funções, ícones correspondentes serão exibidos
no display e quando a função for desligada o ícone não será mostrado.
Repetir A-B
Esta função permite repetir um determinado trecho do vídeo ou da música em
reprodução. Pressione a tecla “A-B” do controle remoto para demarcar o ponto
inicial (A), pressione novamente quando quiser demarcar o ponto final (B) do
trecho que será repetido. Para cancelar a repetição pressione novamente a
tecla “A-B”.
PBC
Esta função esta disponível para arquivos no formato VCD (versão 2.0 ou maior)
para controle de reprodução. Para ligar/desligar pressione a tecla “PBC” no
controle remoto.
FUNÇÕES
(19)
DVD
VCD Repetir (1) → Repetir tudo →Repetir desl.
Repetir (1) faixa → Repetir tudo →Repetir desl.
MP3/WMA
USB
Tipo de mídia Modo de repetição
CD-DA
Repetir → Repetir pastas →Repetir tudo→Repetir desl.(1) faixa
Repetir Capítulo → Repetir Títulos →Repetir tudo→Repetir desl.
Repetir → Repetir pastas →Repetir tudo→Repetir desl.(1) faixa
ZOOM
Ativa a função zoom para VCD ou DVD. Para acioná-la pressione a tecla
“ZOOM” no controle remoto. A operação será efetuada conforme abaixo
Áudio
Em DVD pressione a tecla “ÁUDIO” do controle remoto para selecionar o
idioma do áudio que será ouvido (caso o DVD possua a opção de escolha de
idioma de áudio). Em CD/VCD seleciona o canal de áudio para audição.
Legenda (Subtitle)
Pressione a tecla “SUBTITLE” do controle remoto para selecionar a legenda
que será mostrada (caso o DVD possua a opção de escolha de legenda).
Menu
Pressione a tecla “MENU” para retornar para o menu principal do DVD.
Título
Toque no ícone “TÍTLE” para retornar para o menu de títulos do DVD.
GO TO
Função de busca direta por determinado capítulo ou título. Para acionar a
função pressione a tecla GO TO no controle remoto e digite os parâmetros
para busca.
Angle (ângulos)
Pressione a tecla “ANGLE” no controle remoto para selecionar diferentes
ângulos de visualização do DVD (desde que o DVD possua a opção de múltiplos
ângulos de visualização).
PROG (programação de reprodução)
Pressione a tecla “PROG” no controle remoto para entrar na lista de programação.
Com o teclado numérico digite o número do arquivo, capítulo ou título que se
deseja reproduzir e em qual sequência. Pressione PLAY para iniciar a reprodução
ou APAGAR para excluir a lista.
FUNÇÕES
(20)
FUNÇÃO USB
Inserindo o dispositivo USB
Puxe a tampa de proteção do conector USB, insira o dispositivo USB
(pen-drive) no conector USB. Ao inserir o dispositivo USB a unidade inicia
a leitura automaticamente.
Removendo o dispositivo USB
Antes de remover o dispositivo USB, deve-se primeiro mudar para outra fonte
de programa, por exemplo, “rádio” a fim de se evitar danos a mídia ou a
unidade. Retire o dispositivo USB posteriormente.
OBS: O tempo para início de leitura do pen-drive esta diretamente relacionado
ao tamanho do dispositivo e a quantidade de arquivos gravados. Esta unidade
pode levar um certo tempo para carregar dispositivos de alta capacidade ou
com muitos arquivos.
Informações adicionais sobre o USB
1. Máxima capacidade do dispositivo – 16Gb.
2. Número máximo de pastas – 200.
3. Número máximo de arquivos –500.
4. Nome dos arquivos e pastas – 32 bytes.
5. Suporta USB 1.1 e 2.0 (suporta USB 2.0 com velocidade de 1.1)
6. Aceita padrão - FAT 16 e FAT 32.
7. Padrões suportados (WMA, MP3, JPEG e MPEG).
FUNÇÕES
(21)
Para efetuar as configurações de áudio e vídeo pressione o controle de volume no
painel frontal. Pressione novamente o controle de volume para explorar todas as
configurações conforme abaixo.
EQ Equalização
Esta função ativa as curvas de equalização pré-definidas. Pressione o controle
rotativo do volume para acessar o menu, no item EQ (equalização) gire o controle
rotativo do volume para selecionar as seguintes opções de equalização:
USER, FLAT, POPULAR, ROCK, CLASSIC, JAZZ
OBS: Quando o usuário efetua os ajustes de graves e agudos de sua preferência,
ou efetuar ajustes em alguma equalização pré-definida, automaticamente
ativará o modo USER (usuário) de equalização.
Configurações de áudio
Função BASS (ajustes de graves) – Pressione o controle rotativo do volume até a
opção BASS, gire o controle rotativo do volume para ajustar o nível conforme sua
preferência em um range de -7 a +7.
Função TRE (ajustes de agudos) – Pressione o controle rotativo do volume até a
opção TRE, gire o controle rotativo do volume para ajustar o nível conforme sua
preferência em um range de -7 a +7.
Função BAL (ajustes de balanço) – Pressione o controle rotativo do volume até a
opção BAL, gire o controle rotativo do volume para ajustar balanço do áudio nos
canais direito e esquerdo (L7 ~ R7).
Função FAD (ajustes de balanço) – Pressione o controle rotativo do volume até a
opção BAL, gire o controle rotativo do volume para ajustar o balanço do áudio nos
canais frontais e traseiros (F7 ~ R7).
Configurações de vídeo
Controle de BRILHO - Pressione o controle rotativo do volume até a opção BRI,
gire o controle rotativo do volume para ajustar o brilho da tela em -7 a +7.
Controle de CON - Pressione o controle rotativo do volume até a opção CON, gire
o controle rotativo do volume para ajustar o contraste da tela em -7 a +7.
Controle de SAT - Pressione o controle rotativo do volume até a opção SAT, gire o
controle rotativo do volume para ajustar o nível de saturação da imagem em -7 a +7.
CONFIGURAÇÕES DE ÁUDIO E VÍDEO
(22)
Pressione o controle rotativo do volume por mais de 2 segundos para acessar o
menu de configuração do aparelho. Utilizando as teclas de navegação explore
os menus e confirme pressionando a tecla OK. O menu de configurações e suas
funções estão descritas abaixo.
GERAL (General)
Beep lig/dsl – Ativa ou desativa um BEEP sonoro cada vez que uma tecla
é pressionada.
Loudness lig/dsl – Reforço de graves. Ao ativar esta função reforça os graves
em volume mais baixo.
Modo relógio – Define as opções de relógios em:
12 Horas: o display mostra o relógio no formato 12 horas tal como 11:18 PM
(onde AM – antes do meio dia e PM após o meio dia).
24 Horas: o display mostra o relógio no formato 24 horas tal como 23:18.
Ajustar hora – Ajusta a hora atual. Com as teclas de navegação selecione a
opção ajustar hora, gire o controle rotativo do volume para ajustar as horas
e minutos e confirme pressionando OK.
Modo espelho lig/dsl – Esta função liga ou desliga a função espelho para o
modo câmera.
MENU DO DVD
Sistema de cor – Seleciona o padrão de vídeo nas opções (NTSC, PAL e AUTO).
Formato da tela – Seleciona o formato da tela nas seguintes opções (4:3 Pan
Scan, 4:3 Letter Box e 16:9 Widescreen).
Senha – Define uma senha para o menu de classificação.
1. Digite o número “0000” no controle remoto e confirme tocando em OK para
desbloquear a senha anterior.
2. Insira 4 dígitos desejados e confirme em OK.
3. Memorize esses 4 números e guarde em um lugar seguro para consulta futura.
Se você esquecer a senha entre com o número “0000” para limpar a senha
antiga. Ao fazer este procedimento a senha atual será “0000” podendo ser
alterada a qualquer momento.
Classificação – Define a censura do filme:
1 seg. criança – Maior limite de censura quando em reprodução.
8-Adulto - Menor limite de censura quando em reprodução.
Padrão de fábrica com o nível 8.
OBS: O nível de censura do filme só pode ser alterado com a senha desbloqueada.
Esta operação depende do modo de gravação do disco podendo variar amplamente
sua aplicação.
MENU DE CONFIGURAÇÕES
(23)
(24)
Definição de fábrica – Restaura as configurações originais de fábrica.
Brilho – Ajusta o nível de brilho.
Contraste – Ajusta o nível de contraste.
Matiz – Ajusta o nível do matiz.
Cor - Ajusta o nível de cor.
MENU IDIOMA (language)
Idioma OSD – Define o idioma dos menus do software.
Idioma de áudio – Define o idioma de áudio, quando o disco tiver a opção de
múltiplas linguagens.
Idioma de legenda – Define o idioma de legenda, quando o disco tiver a opção
de múltiplas legendas.
OBS: Se o disco DVD não tiver o idioma escolhido para legenda ou para o
áudio, ele irá mostras à legenda e/ou áudio definidos de fábrica. Você pode
trocar a legenda pressionando (subtitle) durante a reprodução e trocar o
áudio pressionando a tecla (áudio) do controle remoto.
Idioma de menu – Define a linguagem usada no menu do DVD.
OBS: Se o disco DVD não tem seleção de idioma para o menu do disco, será
exibida a seleção definida de fábrica.
MENU DE RÁDIO
LOC/DX – Ativa a função local ou distante para sintonia de emissoras. Quando
estiver ativada a função LOCAL as emissoras com sinal forte serão detectadas.
Quando estiver selecionada a opção DX uma quantidade maior de emissoras
serão localizadas durante a busca automática.
OBS: Uma indicação é exibida no display com a função atual.
ESTÉREO/MONO – Ativa a função estéreo ou mono para emissoras em FM.
MENU DE CONFIGURAÇÕES
(25)
SOLUÇÃO DE PROBLEMAS
CARACTERÍSTICAS GERAIS
Alimentação: +12Vcc (faixa permissível: 11 Vcc – 16 Vcc) negativo ao chassis.
Consumo máximo: 10A
Consumo em standby (pós chave): 2 mA
Fusível de proteção: 15A
Dimensões (LxAxP em mm): 178 x 50 x 166
Peso líquido: 1,7 Kg
CARACTERÍSTICAS DA TELA
Diagonal Visual: 7,8 cm ou 3”
Formato: 16:9
Resolução: 960 x 240
SEÇÃO AMPLIFICADORA
Potência média contínua (RMS) com DHT de 10 %, cargas de 4Ω e alimentação
de 14,4Vcc: 22W x 4 canais
SEÇÃO RÁDIO AM
Faixa de sintonia: 530 kHz a 1710 kHz
Sensibilidade (S/N 20dB): 30 dBµV
SEÇÃO RÁDIO FM
Faixa de sintonia: 87,5 MHz a 108,0 MHz
Sensibilidade (S/N 30dB): 20 dBµV
SEÇÃO DVD
Suporta discos com diâmetro = 120 mm
Mídias suportadas: DVD VIDEO, DVD-R, DVD-RW, CD-DA, CD-R, CD-RW
Formatos de decodificação WMA: ver. 8, 9 e 10
Formatos de decodificação MP3: Padrão MPEG 1 e 2 áudio layer III, Taxa de
compressão: 8 a 320 kbps
Formatos de vídeo suportados: VCD e SVCD (MPEG)
Formatos de imagem suportados: JPEG
SEÇÃO USB
Suporta USB 1.0, 1.1 e 2.0 (com velocidade de 1.1)
Sistema de arquivos suportados: FAT16/FAT32
Formatos de decodificação WMA: Ver. 8,9 e 10
Formatos de decodificação MP3: Padrão MPEG 1 e 2 áudio layer III, Taxa de
compressão: 8 a 320 kbps
Formatos de vídeo suportados: VCD e SVCD (MPEG)
Formatos de imagem suportados: JPEG
Versão ID3 Tag: 2.0
(26)
ESPECIFICAÇÕES TÉCNICAS
INSTRUÇÕES ESPECIFICAÇÕES CONTIDAS NESTE MANUAL ESTÃO SUJEITAS A MUDANÇAS SEM AVISO PRÉVIO.
107515001IMAGENSMERAMENTEILUSTRATIVAS
H-BUSTER SÃO PAULO INDÚSTRIA E COMÉRCIO LTDA.
CNPJ: 09.119.618/0002-20 - I.E. 90513385-34
SAC: 0800-724-8882
Visite nosso site: www.hbuster.com.br

Hbd 7688 av

  • 1.
    DVD/USB PLAYER MP3WMA HBD-7688AV
  • 2.
    ADVERTÊNCIAS NÃO UTILIZE OAPARELHO POR UM LONGO PERÍODO COM VOLUME SUPERIOR A 85dB, POIS PODERÁ PREJUDICAR A SUA AUDIÇÃO. LEI FEDERAL N. 11.291/2006 É PROIBIDO AO CONDUTOR DO VEÍCULO ASSISTIR VÍDEOS ENQUANTO DIRIGE. RESOLUÇÃO N. 242 DE 22/06/2007 DO CONTRAN, QUE DISPÕE SOBRE O USO DE EQUIPAMENTOS GERADORES DE IMAGEM NO INTERIOR DE VEÍCULOS AUTOMOTORES.
  • 3.
    Características..........................................................................04 Acessórios................................................................................04 Precauções...............................................................................05 Notas sobre odisco........................................................................06 Diagrama de conexões....................................................................07 Conector ISO................................................................................08 Instalação................................................................................09 Controles do painel........................................................................11 Controles frontais.........................................................................12 Funções do controle remoto..............................................................13 Bateria do controle remoto..............................................................14 Operações básicas.........................................................................15 Funções...................................................................................16 Função rádio.........................................................................16 Função disco.........................................................................17 Função USB...............................................................................21 Configurações de áudio e vídeo..........................................................22 Menu de configurações....................................................................23 Solução de problemas.....................................................................25 Especificações técnicas...................................................................27 Certificado de garantia...................................................................28 ÍNDICE
  • 4.
    DVD Player commonitor TFT-LCD widescreen de 3 polegadas integrado. Compatível com mídias DVD-R/RW, CD-R/RW e CD-DA nos formatos DVD, VCD, SVCD, MP3 e WMA. Equalizador com 5 curvas pré-ajustadas (FLAT, POP, ROCK, CLASSIC e JAZZ) e uma para ajustes do usuário USER. Receptor AM/FM com 30 memórias de sintonia (18FM e 12AM). Mecanismo anti-impacto e sistema eletrônico ESP. Frente destacável flip-down. Entrada USB para leitura de Pen-Drive. Entrada RCA para vídeo câmera traseira. Entrada auxiliar de áudio e vídeo frontal (P2) para expansão do sistema. Saída de áudio (RCA) pré-amplificada para conexão com módulos de potência. Saída de vídeo (RCA) para conexão com monitor auxiliar. Conexão padrão ISO. Controle remoto Slim. (1) Controle remoto. (1) Chicote com conexão ISO. (1) Moldura. (1) Kit Instalação (Chave lateral de desinstalação (chave saca-DVD), parafusos de instalação, pino amortecedor e borracha para pino amortecedor). CARACTERÍSTICAS (04) ACESSÓRIOS
  • 5.
    PRECAUÇÕES 1. Conecte estaunidade somente à uma bateria de 12V e negativo aterrado ao chassi. 2. Nunca instale a unidade em uma posição que ofereça risco ao motorista. 3. Para evitar choque elétrico, danos ou fumaça resultante de um curto-circuito, não expor o produto a água ou lugares úmidos. 4. Nunca troque o fusível sem a orientação profissional, pois a utilização de um fusível inadequado poderá causar danos a esta unidade ou até mesmo incêndio. 5. Se algum dos seguintes sintomas ocorrerem no aparelho, desligue-o e leve-o a um serviço autorizado H-Buster: (a) Caso cair algum líquido dentro da unidade; (b) Caso algum objeto estranho for introduzido na unidade, ou odor peculiar. 6. Nunca desmonte ou conserte o aparelho sem a ajuda de um profissional qualificado. Para maiores informações, consulte um profissional especializado da Rede Autorizada da H-BUSTER ou representantes de vendas. 7. Caso o produto possua entrada para vídeo câmera traseira observe: a) A função da câmera com visualização traseira é auxiliar o motorista nas manobras ao dar marcha ré. Não a utilize para entretenimento. b) As imagens da câmera poderão parecer um pouco diferentes dependendo do modo de captação da imagem e da própria câmera. (05)
  • 6.
    NOTAS SOBRE ODISCO (06) Reproduzir um CD ou DVD sujo ou defeituoso poderá provocar falhas no som ou na imagem. Segure o disco como indicado na ilustração abaixo. Não toque o disco no lado da leitura (lado sem impressão). Não coloque selo, etiqueta adesiva ou papel em qualquer um dos lados do disco. Não exponha o disco diretamente ao sol ou ao calor excessivo. Limpe o disco sujo, no sentido de centro para fora (não faça movimentos circulares) com um pano limpo e macio. Nunca utilize solvente como benzina ou álcool para limpeza. Esta unidade não pode reproduzir CDs de 3 polegadas (8 cm). Nunca insira um CD com o formato irregular; a unidade poderá não ser capaz de ejetar o CD.
  • 7.
    (07) DIAGRAMA DE CONEXÕES Antena (Rosa) (Verde/Branco) Câmera (Ativanívelalto) (Ativanívelbaixo) Parking Roxo/ Preto Roxo CinzaBranco Cinza/ Preto Branco/ Preto Branco/ Preto Verde/ PretoVerde Falantedireito (Traseiro) Falanteesquerdo (Traseiro) Falantedireito (Frontal) Falanteesquerdo (Frontal) Amarelo Azul Preto Vermelho ConectorISO Conector SaídadeVídeo EntradaCâmera Fusível15A Amplificador R(Vermelho) L(Branco) (Amarelo) (Amarelo) Saídadeáudio(Cinza) ACCingnição +12VDC Chassinegativo Saída+12Vdc-Antena/remoto Bateria +12VDC ATENÇÃO . IMPORTANTE: Érecomendado utilizar a ligação pós-chave para diminuir o consumo do aparelho com o veículo desligado e evitar a descarga desnecessária da bateria. Para efetuar a ligação pós-chave, informe-se com um profissional especializado.
  • 8.
    (08) CONECTOR ISO 1. Seo seu carro estiver equipado com o conector ISO, conecte-o como ilustrado abaixo. 2. Para as ligações sem os conectores ISO, verifique a fiação do veículo cuidadosamente antes de efetuar as conexões. Conexões incorretas podem acarretar graves danos a esta unidade. Corte o conector e conecte os fios, como indicado na tabela de códigos de cor mostrada abaixo para os alto-falantes e para a bateria. * Dependendo do modelo do veículo é possível que estes dois fios estejam invertidos, caso isso ocorra todas as vezes que o usuário desligar a unidade perderá todas as memórias de rádio e configurações pessoais. Esta unidade possui um sistema de comutação entre os fios ACC e BAT. Certifique-se qual a posição correta dos fios e se preciso efetue a inversão dos mesmos afim de evitar que as memórias ou ajustes pessoais sejam perdidos. OBS: Antes de efetuar a ligação certifique-se que o fio de antena do conector ISO (azul) não receberá alimentação de +12Vdc enviada pelo chicote do veículo, caso o contrário podem ocorrer danos ao produto. Consulte um profissional especializado para maiores informações.
  • 9.
    (09) INSTALAÇÃO Para sua maiorsegurança, recomenda-se que as instalações a seguir sejam feitas por um profissional especializado. Procedimento de montagem Remova os dois parafusos de segurança antes da instalação. Caso contrário a leitura de CD/DVD do produto não funcionará. Procedimento de montagem 1. Pressione levemente a trava lateral da cinta para dentro. Insira a cinta de montagem no painel e dobre as abas de montagem para fora com uma chave de fenda, fixando a cinta ao painel do veículo. 2. Fixação traseira da unidade. Encaixe o conector ISO, ajuste a traseira da unidade ao painel do carro pelo apoio de borracha. Certifique-se de que a trava da cinta está fixa ao aparelho (não o pro- jetando para o lado externo). 3. Encaixe a moldura.
  • 10.
    (10) INSTALAÇÃO Conexão do fiode estacionamento (PARKING/BRAKE) Conexão do fio da câmera de ré (REVERSE/BACK)
  • 11.
    (11) CONTROLES DO PAINEL 1.REL – Libera o painel frontal (sistema flip-down). 2. BAND – Seleciona as faixas de rádio. No modo disco ativa função Play/Pause. 3. AMS – Gravação automática de emissoras. 4. Controles de navegação – Em rádio exibe a emissora anterior. No modo disco navega para cima entre os itens de opção. 5. Display TFT 3”. 6. POWER – Liga e desliga a unidade. 7. SRC – Seleciona a fonte de programação. 8. MUTE – Silencia o áudio. 9. OK – Confirma a operação. 10. ESC – Cancela a seleção/retorna para o menu anterior. 11. Retrocesso/controle de navegação – Executa operação de retrocesso. No modo disco navega para esquerda entre os itens de opção. 12. Controles de navegação – Em rádio exibe a emissora anterior. No modo disco navega para baixo entre os itens de opção. 13. Controle de volume – Efetua operação de controle de volume. Acessa as configuração de áudio/vídeo e menu de configuração principal. 14. Avanço/controle de navegação – Executa operação de avanço. No modo disco navega para direita entre os itens de opção. 15. Sensor de controle remoto. 16. Entrada USB. 17. Entrada auxiliar de áudio e vídeo frontal.
  • 12.
    CONTROLES FRONTAIS Pressione atecla REL do painel frontal para ter acesso aos comandos abaixo. EJECT – Ejeta o disco. RESET – Pressione o botão RESET quando esta apresentar algum tipo de anormalidade ou para restabelecer sua configuração padrão. OBS: Ao pressionar este botão todas as configurações de usuário e emissoras memorizadas serão perdidas. (12)
  • 13.
    FUNÇÕES DO CONTROLEREMOTO 1. ZOOM – Ativa função zoom em DVD e VCD. 2. TITLE – Retorna para menu de títulos no modo DVD. 3. POWER – Liga e desliga a unidade. 4. SETUP – Acessa o menu de configurações da unidade. 5. Controles de navegação 6. ENTER – Confirma operação. 7. PROG – Programa sequência de reprodução. 8. Teclado numérico. 9. SEL – Seleciona as configurações de áudio e vídeo. 10. Controle de volume. 11. MUTE – Silencia o áudio. 12. Avança ou retrocede arquivos. 13. SUBTITLE – Aciona as legendas para o modo DVD. 14. SRC – Seleciona uma fonte de programação. 15. REPEAT – Aciona a função de repetição para o modo disco. 16. A-B – Repetição de um trecho. 17. STOP – Interrompe a reprodução. 18. Play – Inicia a reprodução. 19. GO TO – Aciona o modo de busca direta. 20. Menu PBC para VCD 2.0 ou superior. 21. Mostra informações na tela durante a reprodução/sintonia automática de emissoras em rádio. 22. Botão áudio. - Áudio do DVD. - Controle de VCD para áudio (Mono dir/ Mono esq/Mixed Mono/Estéreo). 23. Botão de funções no display. - Relógio no display para modo de vídeo. - Função ESC, retorna ao menu anterior. 24. Ângulo – Escolha múltiplos ângulos para visualização (apenas para DVD). 25. Sistema de vídeo PAL/NTSC/AUTO e mudança da faixa de rádio (BAND). (13)
  • 14.
    Substituindo a bateriade Lítio do controle remoto Quando a faixa de operação do controle remoto se tornar pequena ou se, durante a operação, as funções não responderem corretamente, substitua a bateria por uma nova de Lítio. CUIDADOS: Utilize somente bateria de reposição de Lítio (CR2025); Armazene a bateria longe do alcance de crianças. Se uma criança, acidentalmente, engolir a bateria, consulte um médico imediatamente. Não recarregue, coloque em curto-circuito, desmonte, esquente ou exponha a bateria ao fogo. Não exponha a bateria em contato com outros materiais metálicos, pois isso poderá causar aquecimento, explosão ou iniciar um incêndio. Quando armazenar a bateria envolva-a com fita isolante para evitar os mesmos acidentes acima mencionados. Retire a bateria se o controle remoto não for utilizado por um longo período. Faça o descarte da bateria somente em locais apropriados, seguindo as regulamentações governamentais ou as normas públicas de meio ambiente. 1. Pressione a trava lateral, puxe a tampa na parte traseira do controle remoto conforme a posição indicada na figura ao lado. 2. Insira a bateria no suporte, com a face marcada com o sinal (+) voltada para cima. 3. Encaixe a tampa novamente no controle até travá-la. BATERIA DO CONTROLE REMOTO (14)
  • 15.
    OPERAÇÕES BÁSICAS Ligar/desligar aunidade Pressione a tecla “POWER” para ligar a unidade ou mantenha a tecla pressionada para desligá-la. Mute da unidade (silenciar o áudio) Pressione a tecla “MUTE” do controle remoto ou do painel frontal para silenciar o áudio. Pressione novamente para retomar o áudio. Teclas de navegação Pressione as teclas de controle de navegação no painel frontal ou no controle remoto para navegar entre os menus. Modo câmera Esta unidade possibilita a instalação de câmera traseira para auxiliar nas manobras de ré. Se uma câmera de vídeo traseira e o fio “REVERSE” estiverem ligados corretamente a unidade automaticamente mudará para função “câmera” durante o movimento de marcha ré. A unidade retorna ao funcionamento normal após sair da marcha ré. Modo AV (áudio e vídeo) Esta unidade possibilita a ligação de outros dispositivos de áudio e vídeo através da entrada de áudio e vídeo frontal (AV in com conexão P2). Selecione a função AV-IN no menu “SOURCE” e insira um dispositivo AV externo na entrada P2 para iniciar a reprodução. OBS: Devido ao modo AV estar relacionado a um dispositivo externo, não é possível visualizar a barra de volumes nesta função. Caso acesse a função AV e nenhum dispositivo externo esteja ligado, a unidade apresentará uma tela preta. Pressione SRC para voltar ao modo rádio a qualquer momento. Modo Parking Se o fio “PARKING SW” estiver conectado a chave de freio de mão, a imagem da tela TFT será controlada pelo status do veículo ou pela fonte de programa que estiver em execução. Quando o veículo estiver em movimento com um vídeo em reprodução aparecerá na tela o aviso ‘Do not watch video while driving’. Este aviso alerta ao motorista que é proibido assistir vídeo enquanto dirige, respeitando a resolução nº 242 de 22/06/2007 do Contran. OBS: É de responsabilidade apenas do cliente final ligar corretamente o fio “PARKING SW” e fazer cumprir esta resolução. A H-Buster não se responsabiliza por ligações incorretas ou que não respeitem as leis de trânsito. Menu Fonte Pressione a tecla SRC para mudar a fonte de programação em execução. Mantenha pressionada a tecla SRC para acessar o menu “SOURCE” (fonte) e através das teclas de navegação selecione o ícone do programa que se deseja selecionar e confirme tocando na tecla OK. OBS: Quando algum dispositivo não estiver conectado não será possível selecioná-lo. (15)
  • 16.
    FUNÇÃO RÁDIO Selecione afunção rádio no menu fonte. A seguinte tela será mostrada. Selecionando uma faixa Pressione a tecla BAND sequencialmente para selecionar as faixas de rádio em FM e AM. Selecionando uma estação de rádio Pressione as teclas de avanço ou retrocesso no painel frontal para selecionar uma emissora automaticamente. Para selecionar uma emissora manualmente mantenha pressionadas as teclas de avanço ou retrocesso por 2 segundos para ativar a seleção manual de emissora. Pressione novamente as teclas para selecionar a emissora desejada. OBS: Durante a procura manual se o usuário não pressionar as teclas de avanço e retrocesso em 5 segundos, retorna a função de busca automática. Gravando uma emissora nas posições de memória Método 1 – Após selecionar a emissora mantenha pressionado o botão OK por 2 segundos, a indicação de posição de memória ficará piscando na tela. Com os botões de navegação para cima e para baixo selecione em qual posição de memória se deseja gravar e confirme pressionando OK novamente. Método 2 – Após selecionar a emissora pressione os botões de 1 ~ 6 no controle remoto por 2 segundos para gravar a emissora na posição desejada. OBS: Após gravar as emissoras o usuário poderá ouvir cada estação gravada, pressionado os botões de navegação ou tocando no controle remoto. Função AMS (Gravação automática de emissoras) Pressione a tecla AMS do painel frontal para a exibição de 5 segundos do áudio de todas as emissoras gravadas nas posições de memória 1~ 6. Mantenha pressionada a tecla AMS por 2 segundos para efetuar uma varredura em todas as emissoras e gravar automaticamente as emissoras com sinal mais forte. OBS: Após a gravação das emissoras com sinal mais forte, automaticamente serão exibidos 5 segundos do áudio de cada emissora gravada, para interromper esta exibição pressione a tecla AMS novamente. FUNÇÕES (16) 1. Indicador de fonte 2. Posição de memória 3. Relógio 4. Indicação de modo de rádio AM ou FM 5. Frequência (emissora de rádio) 6. Indicador de equalização
  • 17.
    FUNÇÃO DISCO Inserindo umdisco Insira um disco no compartimento de CD. A unidade automaticamente iniciará a reprodução. OBS: Antes de inserir um disco certifique-se que não há nenhum outro disco no compartimento de CD. Alguns discos poderão não ser executados devido a diferentes condições de gravações, o mesmo acontecerá com discos que não tiverem suas gravações finalizadas. Ejetando um disco Pressione a tecla “REL” do painel frontal fazendo a frente descer (sistema flip-down) para obter acesso ao botão “EJECT”. Pressione para ejetar o disco. Formatos suportados: Esta unidade suporta as mídias CD-R/RW e DVD-R/RW nos formatos (DVD, CD, VCD, SVCD/MPEG, JPEG, MP3, WMA). Reproduzindo discos Ao reproduzir um disco com arquivos em formato de áudio, imagem e vídeo serão exibidos na tela uma lista de categorias conforme abaixo: O usuário pode navegar pelas opções de reprodução (áudio, imagem e vídeo) através das teclas de navegação e confirmar pressionando o botão “OK”. FUNÇÕES (17) 1. Indicador de fonte 2. Música atual e total de músicas 3. Nome do arquivo 4. Pastas de áudio 5. Pastas de imagens 6. Pastas de vídeos
  • 18.
    Discos com arquivosde áudio Ao iniciar a reprodução de arquivos gravados no formato MP3 ou WMA, proceda da seguinte maneira: 1. Pressione ESC para retornar ao menu de lista de reprodução. 2. Utilizando as teclas de navegação selecione o ícone de pastas de áudio. 3. Pressione OK, para exibir todas as pastas de arquivos de áudio disponíveis. 4. Utilizando as teclas de navegação selecione uma pasta e confirme pressionando OK. Proceda da mesma maneira para selecionar o arquivo que se deseja reproduzir nesta pasta. OBS: Após selecionar o arquivo desejado a reprodução começará automaticamente e após 5 segundos será exibido o modo de reprodução na tela, conforme abaixo. Este modo de reprodução apresenta informações sobre o arquivo em execução, como o nome, tempo da música etc. Discos com arquivos de imagem. 1. Pressione ESC para retornar ao menu de lista de reprodução. 2. Utilizando as teclas de navegação selecione o ícone de pasta de imagens. 3. Pressione OK, para exibir todas as pastas de arquivos de imagens disponíveis. 4. Utilizando as teclas de navegação selecione uma pasta e confirme pressionando OK. Proceda da mesma maneira para selecionar o arquivo que se deseja reproduzir nesta pasta. Discos com arquivos de vídeo. 1. Pressione ESC para retornar ao menu de lista de reprodução. 2. Utilizando as teclas de navegação selecione o ícone de pasta de vídeo. 3. Pressione OK, para exibir todas as pastas de arquivos de vídeo disponíveis. 4. Utilizando as teclas de navegação selecione uma pasta e confirme pressionando OK. Proceda da mesma maneira para selecionar o arquivo que se deseja reproduzir nesta pasta. Sobre o modo disco 1. Se o disco não tiver algum dos formatos de reprodução seu respectivo ícone não será exibido. 2. Sempre que desejar trocar a pasta ou arquivo pressione ESC e com as teclas de navegação selecione pasta e arquivo desejado e confirme pressionando OK. 3. Formatos diferentes dos especificados no manual podem não ser reproduzidos ou não serem reproduzidos corretamente. FUNÇÕES (18) Disc 01:26 -A 01/25 USER 02:53 00:03
  • 19.
    Controles de reprodução Avançoe retrocesso de faixa ou capítulo Pressione as teclas de “AVANÇO” ou “RETROCESSO” para avançar ou retroceder faixas, capítulos ou títulos. Avanço e retrocesso rápido de faixa ou capítulo Mantenha pressionadas as teclas de “AVANÇO” ou “RETROCESSO” para acionar o avanço ou retrocesso rápido durante a reprodução de USB/CD e DVD nas velocidades (x2, x4, x8 e x20) OBS: Durante a operação de avanço ou retrocesso rápido, pressione a tecla “PLAY” para retornar a reprodução normal. Durante esta operação o áudio ficará mudo. Reprodução/pausa Pressione a tecla “PLAY/PAUSE” para pausar ou retomar a reprodução. Interromper (parar) Pressione a tecla “STOP” para interromper (parar) a reprodução. Modo repetição Pressione a tecla REPEAT no controle remoto uma vez ou mais para acessar o modo de repetição conforme tabela abaixo: OBS: Ao selecionar algumas destas funções, ícones correspondentes serão exibidos no display e quando a função for desligada o ícone não será mostrado. Repetir A-B Esta função permite repetir um determinado trecho do vídeo ou da música em reprodução. Pressione a tecla “A-B” do controle remoto para demarcar o ponto inicial (A), pressione novamente quando quiser demarcar o ponto final (B) do trecho que será repetido. Para cancelar a repetição pressione novamente a tecla “A-B”. PBC Esta função esta disponível para arquivos no formato VCD (versão 2.0 ou maior) para controle de reprodução. Para ligar/desligar pressione a tecla “PBC” no controle remoto. FUNÇÕES (19) DVD VCD Repetir (1) → Repetir tudo →Repetir desl. Repetir (1) faixa → Repetir tudo →Repetir desl. MP3/WMA USB Tipo de mídia Modo de repetição CD-DA Repetir → Repetir pastas →Repetir tudo→Repetir desl.(1) faixa Repetir Capítulo → Repetir Títulos →Repetir tudo→Repetir desl. Repetir → Repetir pastas →Repetir tudo→Repetir desl.(1) faixa
  • 20.
    ZOOM Ativa a funçãozoom para VCD ou DVD. Para acioná-la pressione a tecla “ZOOM” no controle remoto. A operação será efetuada conforme abaixo Áudio Em DVD pressione a tecla “ÁUDIO” do controle remoto para selecionar o idioma do áudio que será ouvido (caso o DVD possua a opção de escolha de idioma de áudio). Em CD/VCD seleciona o canal de áudio para audição. Legenda (Subtitle) Pressione a tecla “SUBTITLE” do controle remoto para selecionar a legenda que será mostrada (caso o DVD possua a opção de escolha de legenda). Menu Pressione a tecla “MENU” para retornar para o menu principal do DVD. Título Toque no ícone “TÍTLE” para retornar para o menu de títulos do DVD. GO TO Função de busca direta por determinado capítulo ou título. Para acionar a função pressione a tecla GO TO no controle remoto e digite os parâmetros para busca. Angle (ângulos) Pressione a tecla “ANGLE” no controle remoto para selecionar diferentes ângulos de visualização do DVD (desde que o DVD possua a opção de múltiplos ângulos de visualização). PROG (programação de reprodução) Pressione a tecla “PROG” no controle remoto para entrar na lista de programação. Com o teclado numérico digite o número do arquivo, capítulo ou título que se deseja reproduzir e em qual sequência. Pressione PLAY para iniciar a reprodução ou APAGAR para excluir a lista. FUNÇÕES (20)
  • 21.
    FUNÇÃO USB Inserindo odispositivo USB Puxe a tampa de proteção do conector USB, insira o dispositivo USB (pen-drive) no conector USB. Ao inserir o dispositivo USB a unidade inicia a leitura automaticamente. Removendo o dispositivo USB Antes de remover o dispositivo USB, deve-se primeiro mudar para outra fonte de programa, por exemplo, “rádio” a fim de se evitar danos a mídia ou a unidade. Retire o dispositivo USB posteriormente. OBS: O tempo para início de leitura do pen-drive esta diretamente relacionado ao tamanho do dispositivo e a quantidade de arquivos gravados. Esta unidade pode levar um certo tempo para carregar dispositivos de alta capacidade ou com muitos arquivos. Informações adicionais sobre o USB 1. Máxima capacidade do dispositivo – 16Gb. 2. Número máximo de pastas – 200. 3. Número máximo de arquivos –500. 4. Nome dos arquivos e pastas – 32 bytes. 5. Suporta USB 1.1 e 2.0 (suporta USB 2.0 com velocidade de 1.1) 6. Aceita padrão - FAT 16 e FAT 32. 7. Padrões suportados (WMA, MP3, JPEG e MPEG). FUNÇÕES (21)
  • 22.
    Para efetuar asconfigurações de áudio e vídeo pressione o controle de volume no painel frontal. Pressione novamente o controle de volume para explorar todas as configurações conforme abaixo. EQ Equalização Esta função ativa as curvas de equalização pré-definidas. Pressione o controle rotativo do volume para acessar o menu, no item EQ (equalização) gire o controle rotativo do volume para selecionar as seguintes opções de equalização: USER, FLAT, POPULAR, ROCK, CLASSIC, JAZZ OBS: Quando o usuário efetua os ajustes de graves e agudos de sua preferência, ou efetuar ajustes em alguma equalização pré-definida, automaticamente ativará o modo USER (usuário) de equalização. Configurações de áudio Função BASS (ajustes de graves) – Pressione o controle rotativo do volume até a opção BASS, gire o controle rotativo do volume para ajustar o nível conforme sua preferência em um range de -7 a +7. Função TRE (ajustes de agudos) – Pressione o controle rotativo do volume até a opção TRE, gire o controle rotativo do volume para ajustar o nível conforme sua preferência em um range de -7 a +7. Função BAL (ajustes de balanço) – Pressione o controle rotativo do volume até a opção BAL, gire o controle rotativo do volume para ajustar balanço do áudio nos canais direito e esquerdo (L7 ~ R7). Função FAD (ajustes de balanço) – Pressione o controle rotativo do volume até a opção BAL, gire o controle rotativo do volume para ajustar o balanço do áudio nos canais frontais e traseiros (F7 ~ R7). Configurações de vídeo Controle de BRILHO - Pressione o controle rotativo do volume até a opção BRI, gire o controle rotativo do volume para ajustar o brilho da tela em -7 a +7. Controle de CON - Pressione o controle rotativo do volume até a opção CON, gire o controle rotativo do volume para ajustar o contraste da tela em -7 a +7. Controle de SAT - Pressione o controle rotativo do volume até a opção SAT, gire o controle rotativo do volume para ajustar o nível de saturação da imagem em -7 a +7. CONFIGURAÇÕES DE ÁUDIO E VÍDEO (22)
  • 23.
    Pressione o controlerotativo do volume por mais de 2 segundos para acessar o menu de configuração do aparelho. Utilizando as teclas de navegação explore os menus e confirme pressionando a tecla OK. O menu de configurações e suas funções estão descritas abaixo. GERAL (General) Beep lig/dsl – Ativa ou desativa um BEEP sonoro cada vez que uma tecla é pressionada. Loudness lig/dsl – Reforço de graves. Ao ativar esta função reforça os graves em volume mais baixo. Modo relógio – Define as opções de relógios em: 12 Horas: o display mostra o relógio no formato 12 horas tal como 11:18 PM (onde AM – antes do meio dia e PM após o meio dia). 24 Horas: o display mostra o relógio no formato 24 horas tal como 23:18. Ajustar hora – Ajusta a hora atual. Com as teclas de navegação selecione a opção ajustar hora, gire o controle rotativo do volume para ajustar as horas e minutos e confirme pressionando OK. Modo espelho lig/dsl – Esta função liga ou desliga a função espelho para o modo câmera. MENU DO DVD Sistema de cor – Seleciona o padrão de vídeo nas opções (NTSC, PAL e AUTO). Formato da tela – Seleciona o formato da tela nas seguintes opções (4:3 Pan Scan, 4:3 Letter Box e 16:9 Widescreen). Senha – Define uma senha para o menu de classificação. 1. Digite o número “0000” no controle remoto e confirme tocando em OK para desbloquear a senha anterior. 2. Insira 4 dígitos desejados e confirme em OK. 3. Memorize esses 4 números e guarde em um lugar seguro para consulta futura. Se você esquecer a senha entre com o número “0000” para limpar a senha antiga. Ao fazer este procedimento a senha atual será “0000” podendo ser alterada a qualquer momento. Classificação – Define a censura do filme: 1 seg. criança – Maior limite de censura quando em reprodução. 8-Adulto - Menor limite de censura quando em reprodução. Padrão de fábrica com o nível 8. OBS: O nível de censura do filme só pode ser alterado com a senha desbloqueada. Esta operação depende do modo de gravação do disco podendo variar amplamente sua aplicação. MENU DE CONFIGURAÇÕES (23)
  • 24.
    (24) Definição de fábrica– Restaura as configurações originais de fábrica. Brilho – Ajusta o nível de brilho. Contraste – Ajusta o nível de contraste. Matiz – Ajusta o nível do matiz. Cor - Ajusta o nível de cor. MENU IDIOMA (language) Idioma OSD – Define o idioma dos menus do software. Idioma de áudio – Define o idioma de áudio, quando o disco tiver a opção de múltiplas linguagens. Idioma de legenda – Define o idioma de legenda, quando o disco tiver a opção de múltiplas legendas. OBS: Se o disco DVD não tiver o idioma escolhido para legenda ou para o áudio, ele irá mostras à legenda e/ou áudio definidos de fábrica. Você pode trocar a legenda pressionando (subtitle) durante a reprodução e trocar o áudio pressionando a tecla (áudio) do controle remoto. Idioma de menu – Define a linguagem usada no menu do DVD. OBS: Se o disco DVD não tem seleção de idioma para o menu do disco, será exibida a seleção definida de fábrica. MENU DE RÁDIO LOC/DX – Ativa a função local ou distante para sintonia de emissoras. Quando estiver ativada a função LOCAL as emissoras com sinal forte serão detectadas. Quando estiver selecionada a opção DX uma quantidade maior de emissoras serão localizadas durante a busca automática. OBS: Uma indicação é exibida no display com a função atual. ESTÉREO/MONO – Ativa a função estéreo ou mono para emissoras em FM. MENU DE CONFIGURAÇÕES
  • 25.
  • 26.
    CARACTERÍSTICAS GERAIS Alimentação: +12Vcc(faixa permissível: 11 Vcc – 16 Vcc) negativo ao chassis. Consumo máximo: 10A Consumo em standby (pós chave): 2 mA Fusível de proteção: 15A Dimensões (LxAxP em mm): 178 x 50 x 166 Peso líquido: 1,7 Kg CARACTERÍSTICAS DA TELA Diagonal Visual: 7,8 cm ou 3” Formato: 16:9 Resolução: 960 x 240 SEÇÃO AMPLIFICADORA Potência média contínua (RMS) com DHT de 10 %, cargas de 4Ω e alimentação de 14,4Vcc: 22W x 4 canais SEÇÃO RÁDIO AM Faixa de sintonia: 530 kHz a 1710 kHz Sensibilidade (S/N 20dB): 30 dBµV SEÇÃO RÁDIO FM Faixa de sintonia: 87,5 MHz a 108,0 MHz Sensibilidade (S/N 30dB): 20 dBµV SEÇÃO DVD Suporta discos com diâmetro = 120 mm Mídias suportadas: DVD VIDEO, DVD-R, DVD-RW, CD-DA, CD-R, CD-RW Formatos de decodificação WMA: ver. 8, 9 e 10 Formatos de decodificação MP3: Padrão MPEG 1 e 2 áudio layer III, Taxa de compressão: 8 a 320 kbps Formatos de vídeo suportados: VCD e SVCD (MPEG) Formatos de imagem suportados: JPEG SEÇÃO USB Suporta USB 1.0, 1.1 e 2.0 (com velocidade de 1.1) Sistema de arquivos suportados: FAT16/FAT32 Formatos de decodificação WMA: Ver. 8,9 e 10 Formatos de decodificação MP3: Padrão MPEG 1 e 2 áudio layer III, Taxa de compressão: 8 a 320 kbps Formatos de vídeo suportados: VCD e SVCD (MPEG) Formatos de imagem suportados: JPEG Versão ID3 Tag: 2.0 (26) ESPECIFICAÇÕES TÉCNICAS
  • 28.
    INSTRUÇÕES ESPECIFICAÇÕES CONTIDASNESTE MANUAL ESTÃO SUJEITAS A MUDANÇAS SEM AVISO PRÉVIO. 107515001IMAGENSMERAMENTEILUSTRATIVAS H-BUSTER SÃO PAULO INDÚSTRIA E COMÉRCIO LTDA. CNPJ: 09.119.618/0002-20 - I.E. 90513385-34 SAC: 0800-724-8882 Visite nosso site: www.hbuster.com.br