Automação
 Industrial
      4a edição



 Marco Antônio Ribeiro
Automação Industrial
                                                            4a edição


                             Marco Antônio Ribeiro

  Dedicado a Ivan Alfredo Ivanovs, meu sócio, meu amigo e que conhece mais do que
eu este assunto



    Quem pensa claramente e domina a fundo aquilo de que fala, exprime-se claramente e
de modo compreensível. Quem se exprime de modo obscuro e pretensioso mostra logo que
não entende muito bem o assunto em questão ou então, que tem razão para evitar falar
claramente (Rosa Luxemburg)




   © 1997, 1998, 1999, Tek Treinamento & Consultoria Ltda
   Salvador, Outono 1999




                                                                                   1.1
Prefácio
     O presente trabalho foi escrito como suporte de um curso ministrado a engenheiros e técnicos ligados, de
algum modo à automação industrial. Ele enfoca os aspectos de equipamentos e programas associados à
automação.
     O trabalho é dividido basicamente em três grandes assuntos:
          Fundamentos
          Tecnologias
          Controle e Alarme do Processo
     Na primeira parte, é apresentado o capítulo de Automação. A seguir são vistos as definições, símbolos e
características de chaves manuais e automáticas, relés e solenóides, temporizadores, contadores e dispositivos
de segurança, no capítulo Componentes Eletromecânicos. O terceiro capítulo, Símbolos Lógicos, baseia-se
na norma ISA S5.2 e são apresentados os símbolos, equações, circuitos e conceitos básicos das portas lógicas.
Encerrando esta primeira parte, são apresentados os componentes, desenvolvimento e análise da
Programação de Sistemas Digitais, baseada na norma IEC 1131-1. São vistas as duas programações
gráficas: o Diagrama Ladder, representação básica para circuitos de automação com relés e de Controlador
Lógico Programável e o Diagrama de Blocos de Função, que são atualmente aplicados em sistemas onde o
diagrama ladder é pobre e insuficiente.
     Na segunda parte do trabalho e no capítulo de Tecnologias são apresentados os principais conceitos
relacionados com a Instrumentação Inteligente, incluindo controladores single loop e transmissores digitais e
mostrando as características da instrumentação virtual ou de software. No capítulo sobre Computador no
Processo, são apresentadas as aplicações comuns do computador na automação, incluindo configurações
clássicas, como a arquitetura do Sistema Digital de Controle Distribuído (SDCD). No próximo capítulo, são
apresentados os conceitos, diagrama de blocos, componentes do Controlador Lógico Programável (CLP),
sistema básico para realizar a automação de processos. É apresentada a filosofia do Controle Supervisório e
Aquisição de Dados (SCADA). Finalmente, é apresentado o capítulo de Integração de Sistemas, dando
ênfase aos conceitos de redes de computadores protocolos, interfaces, comunicação de dados e Base de
Dados, que é o capitulo final da seção.
     Na terceira parte do trabalho, há o capítulo de Controle de Processo, onde são apresentados os conceitos
básicos do controle convencional analógico, baseado no algoritmo PID e na estratégia de realimentação
negativa e os conceitos de Controle Lógico, onde são mostradas as diferenças entre este e o controle contínuo.
É apresentado um capítulo sobre Controle Batelada, que possui conceitos próprios e onde a automação é
muito aplicada. Há ainda o capítulo de Alarme e Intertravamento de Processo e outro capítulo sobre
Anunciador de Alarme. Finalmente, há um capítulo sobre Operação de Processo.
     O trabalho está continuamente sendo revisto, quando são melhorados os desenhos, editadas figuras
melhores, atribuídos os créditos a todas as fotografias usadas e alterada a terminologia para atender as revisões
de normas aplicáveis.
     Sugestões e críticas destrutivas são benvidas, no endereço do autor: Rua Carmen Miranda 52, A 903, CEP
41820-230, Fone (0xx71) 452-3195 e Fax (0xx71) 452-3058, celular (071) 9989-9531 e ou no e-mail:
marcotek@uol.com.br.

                                                                                  Marco Antônio Ribeiro
                                                                              Salvador, BA, outono 2001




                                                                                                             1.2
Autor
    Marco Antônio Ribeiro nasceu em Araxá, MG, no dia 27 de maio de 1943.
Formou-se pelo Instituto Tecnológico de Aeronáutica (ITA), em Engenharia
Eletrônica, em 1969.
    Entre 1973 e 1986, trabalhou na Foxboro, onde fez vários cursos nos Estados
Unidos (Foxboro, MA e Houston, TX) e em Buenos Aires, Argentina.
                               *
    Desde 1987, dirige a Tek ( )Treinamento e Consultoria Ltda., firma pequeníssima
voltada para treinamento na área de Instrumentação, Controle de Processo, Medição
de Vazão, Cálculo de Incerteza na Medição, Metrologia Industrial, Instalações
Elétricas em Áreas Classificadas. É certamente difícil ser um especialista
competente em numerosos assuntos tão ecléticos, porém ele se esforça
continuamente em sê-lo.
    Gosta de xadrez, corrida, fotografia, música de Beethoven, leitura, trabalho, curtir
os filhos e a vida.
    Já correu três maratonas, a melhor em 3 h 13 m 11 s e a pior em 3 h, 28 m 30 s.
Diariamente corre entre 8 e 12 km, às margens do oceano Atlântico. Semanalmente
participa de torneios de xadrez relâmpago e nas horas de taxa telefônica reduzida,
joga xadrez através da Internet. Possivelmente, é o melhor jogador de xadrez entre
os corredores e o melhor corredor entre os jogadores de xadrez, o que realmente
não é grande coisa e também não contribui nada para a Automação Industrial.




*
( ) Tekinfim (Tek) foi seu apelido no ITA, pois só conseguiu entrar lá na terceira tentativa. Mas o que conta é que
entrou e saiu engenheiro. O que foi um grande feito para um bóia fria do interior de Minas Gerais.

                                                                                                              1.3
Automação Industrial
                                           Conteúdo
                               Prefácio
                                  Autor

    FUNDAMENTOS
                            Automação     3. Chaves Automáticas              5
                                          3.1. Pressostato                   5
1. Automação                      1       3.2. Termostato                    6
1.1. Conceito                     1       3.3. Chave de Vazão                6
1.2. Automação e mão de obra      1       3.4. Chave de Nível                7
1.3. Automação e controle         2       3.5. Chave limite                  7
1.4. Automação e eletrônica       2
                                          4. Solenóide                       8
2. Graus de Automação 3                   4.1. Conceito                      8
2.1. Ferramentas manuais           3      4.2. Seleção                       8
2.2. Ferramentas acionadas         3      4.3. Tipos                         9
2.3. Quantificação da energia      3
                                          5. Relés                           10
2.4. Controle programado           3
2.5. Controle realimentação negativa4     5.1. Definição e Funções           10
2.6. Controle da máquina com cálculo4     5.2. Características               10
2.7. Controle lógico da máquina    4      5.3. Aplicações                    11
2.8. Controle Adaptativo           4      5.4. Tipos de Relés                11
2.9. Controle indutivo             4      5.5. Seleção de Relés              14
2.10. Máquina criativa             4
                                          6. Temporizadores                  14
2.11. Aprendendo pela máquina      5
                                          6.1. Atraso para ligar             17
3. Sistemas de automação          5       6.2. Atraso para desligar          17
4. Conclusão                      6       7. Contadores                      18

   Componentes Eletromecânicos            7.1. Contagem simples              19
                                          7.2. Dois contadores               19
                                          7.3. Número de peças          .    19
Objetivos de Ensino               1
                                          8. Proteção de Circuitos           20
1. Introdução                     1
                                          8.1. Fusível                       20
2. Chave                          2       8.2. Disjuntor (Circuit Breaker)   22
2.1. Conceito                     2
2.2. Pólos e Terminais            3
2.3. Chave Liga-Desliga           3
2.4. Chave Botoeira               4
2.5. Chave Seletora               4
2.6. Critérios de Seleção         5


                                                                                  1.1
Automação Industrial
                                            5.5. Diagrama lógico           22
            Símbolos e Identificação        5.6. Aplicações das portas     23
                                         6. Conclusão                      31
1. Introdução                       1
2. Aplicações                       1          Linguagens de Programação
3. Roteiro da identificação         1    1. Introdução                     1
3.1. Geral                          1
                                         2. Ferramentas auxiliares         2
3.2. Número de tag típico           1
3.3. Identificação funcional        2    3. Linguagens Textuais            10
3.4. Identificação da malha         2
                                         3.1. Elementos comuns             10
4. Simbologia de Instrumentos 3          3.2. Lista de Instruções          10
                                         3.3. Linguagem de Texto Estruturado15
4.1. Parâmetros do Símbolo          3
4.2. Alimentação dos instrumentos   3    4. Linguagens Gráficas            17
4.3. Linhas entre os Instrumentos   6
                                         4.1. Elementos comuns             17
4.4. Balão do Instrumento           6
5. Malha de controle                13                       Diagrama Ladder
6. Sistemas completos               13
                                         1. Introdução                     1
7. Referências bibliográficas       16
                                         2. Componentes                    1
                     Símbolos Lógicos    3. Exemplo 1                      2

1. Lógica                           1    4. Diagrama errado                2

1.1. Conceito                       1    5. Exemplo 2                      3
1.2. Lógica de relé e programas     1    6. Desenvolvimento                4
1.3. Lógica Combinatória            1
1.4. Lógica CLP                     1    7. Análise                        5
2. Conceituação e Execução          2    8. Exemplos de Diagrama Ladder8
   2.1. Tipos de documentos         2    8.1. Circuito de Alarme de Alta Pressão8
   2.2. Documentos conceituais      3    8.2. Controle de Bomba e lâmpadas 9
                                         8.3. Controle seqüencial de 3 motores10
3. Portas Lógicas                   3    8.4. Controle temporizado de motores11
   3.1. Porta OR                    3    8.5. Controle seqüencial temporizado12
   3.2. Porta OR Exclusivo          4    8.6. Controle de velocidade de motores13
   3.3. Porta AND                   5    8.7. Unidade de Aquecimento de Óleo15
   3.4. Porta NOT                   5    8.8. Enchimento e Esvaziamento 16
   3.5. Porta NAND                  6    8.9. Enchimento com Duas Bombas 18
   3.6. Porta NOR                   6    8.10. Enchimento de garrafa:        19
                                         8.11. Sistema de Esteira            21
4. Exemplos lógicos                 7    8.12. Sistema de Elevador           23
   4.1. Circuito retentivo        7      8.13. Enchimento de tanque          26
   4.2. Bomba de vácuo            9      8.14. Furadeira                     27
   4.3. Reator Químico de Batelada9
5. Cartas de função                 9
                                            Diagrama de Blocos de Função
   5.1. Desenhos e Palavras         12   1. Definições
   5.2. Conceito                    12          1
   5.3. Documentos de execução      21
   5.4. ANSI/ISA S5.2               21   2. Conceitos Básicos              5


                                                                                 1.2
Automação Industrial

                                             TECNOLOGIAS
   2.1. Geral                      5
   2.2. Combinação de elementos 5
   2.3. Ordem da avaliação do circuito5
   2.4. Bloco de função            5
                                                   Instrumentação Inteligente
3. Blocos Funcionais Padrão        7
   AIN                             7      1. Instrumento microprocessado 1
   Aritmética de Adição (ADD)      7      1.1. Conceito de microprocessador 1
   Aritmética de Subtração (SUB) 7        1.2. Vantagens do microprocessador 3
   Aritmética de Divisão (DIV)     7      1.3. Aplicações                  5
   Aritmética de Multiplicação (MUL)8     1.4. Conclusões                  6
   Comparador Diferente de (NE) 8
   Comparador Maior ou Igual (GE) 8       2. Controlador inteligente          6
   Comparador Menor ou Igual (LE) 8       2.1. Conceito                       6
   Contador Crescente (CTU)        8      2.2. Características                7
   Contador Decrescente (CTD) 8           2.3. Controladores comerciais       8
   Contador Crescente e Decrescente9
   Conversor DINT_TO_DWORD 9              3. Transmissores inteligentes 11
   Conversor DWORD_TO_DINT 9              3.1. Introdução                      11
   Conversor DINT_TO_REAL          9      3.2. Transmissor smart e inteligente 11
   Detector de Borda de Descida 10        3.3. Terminologia                    12
   Detector de Borda de Subida     10     3.4. Propriedades e características 15
   Flip Flop RS (R prioritário)    10
   Flip Flop SR (S prioritário)    10     4. Instrumentação virtual           19
   Lógica Ou (OR)                  10     4.1. Definição                    19
   Lógica E (AND)                  11     4.2. Passado e Tendências Futuras 19
   Lógica Mover (MOVE)             11     4.3. Progressão de Normas         20
   Lógica Não (NOT)                11     4.4. Partes do Sistema            21
   Multiplexador (MUX)             11
   PACK16                          11
   UNPACK16                        12               Computador no Processo
   Seletor de Sinais (SEL)         12
   Temporizador (TMR)              12     1. Justificativas                   1
   Temporizador TOF                12     2. Aplicações típicas               2
   Temporizador TON                13
   Temporizador TP                 13     2.1. Lógica                        2
                                          2.2. Controle Avançado             3
4. Blocos Personalizados           14     2.3. Monitoração de Alta Velocidade3
    4.1. Parâmetros dos blocos   14       2.4. Partida e desligamento        4
    4.2. Formação de TAG         14       2.5. Otimização do controle        4
    4.3. Alarme/Desarme de ALTA 17        3. Configurações                    5
    4.4. Alarme/Desarme de BAIXA 18
    4.5. Alarme/Desarme com By Pass de    3.1. Computador fora da linha       5
retorno automático               20       3.2. Computador com entrada em linha5
    4.6. Alarme de ALTA com Seleção de    3.3. Computador com entrada e saída em
Set Point             21                  linha                               6
    4.7. By Pass de Set Point    23       3.4. Computador centralizado        6
    4.8. Contador                24       3.5. Aquisição de dados (data logging)6
    4.9. Acionamento de MOV      25       3.6. Controle do ponto de ajuste    8
    4.10 Desarme de BAIXA        26       3.7. Controle digital direto (DDC)  11
    4.11. Desarme de ALTA        26
    4.12. Rastreador de Alta     27
    4.13. Rastreador de Baixa    27
    4.14. Seletor de By Pass     29
    4.15. TR_CALENDAR            29


                                                                                    1.3
Automação Industrial
                                         3.4. Módulos de Entrada/Saída (E/S)15
4. Sistema de controle digital           3.5. Módulos de Comunicação       22
distribuído                    13        3.6. Tensão, Corrente e Isolação 23
4.1. Filosofia                    13     3.7. Periféricos                  24
4.2. Interface com o processo     13     4. Manutenção do CLP               25
4.3. Interface com o controle     15
4.4. Interface com o operador     15     5. Mercado do CLP                  26
4.5. Gerenciamento do controle    15
4.6. Sistema de comunicação       15               Controle Supervisório e
4.7. Vantagens e limitações do SDCD16
                                              Aquisição de Dados (SCADA)
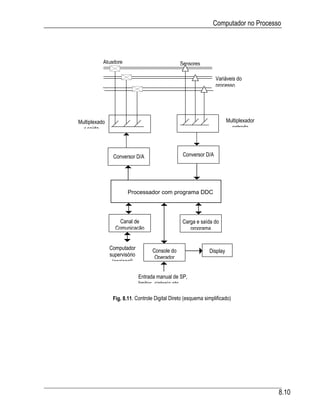
5. Computador no Processo
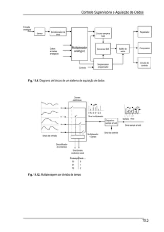
5.1. Introdução                    16    1. Aquisição de Dados              1
5.2. Computador Digital            16    1.1 Introdução                    1
5.3. Computador Digital e Analógico17    1.2. Sistema de Aquisição de Dados1
5.4. Controlador Digital           18    1.3. Sensores                     2
5.5. Como Computadores Controlam 19      1.4. Circuitos condicionadores    2
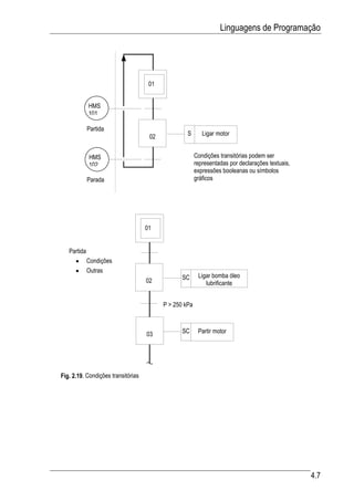
5.6. Tipos de Computadores Digitais 19   1.5. Multiplexação                5
5.7. Uso do Computador em Controle 20    1.6. Amostragem de dados          8
5.8. Operação do Computador Digital 20   1.7. Circuito sample e hold       8
6. Computador como Controlador 23        1.8. Conversor digital -analógico 9
                                         1.9. Conversor analógico -digital 11
6.1. Introdução                  23
6.2. Informação Requerida        23      2. Telemetria                      13
6.3. Informação do Processo      25      2.1. Introdução                    13
6.4. Circuitos de Interface      25      2.1. Conceito                      13
6.5. Endereçamento E/S           28      2.2. Telemetria e aquisição de dados14
6.6. Processamento de Dados      29      2.3. Canais de Comunicação         15
6.7. Projeto do Computador       30      2.4. Modem                         16
6.8. Programação do Computador   31      2.5. Transmissão por rádio freqüência18
7. Conclusões                    32      3. Controle Supervisório do Sistema
                                         de Aquisição de Dados          19
 Controlador Lógico Programável          3.1. Introdução                     19
                                         3.2. Equipamento (Hardware)         19
Objetivos de Ensino              1
                                         3.3. Programa Aplicativo (Software) 20
1. Introdução                    1       4. InTouch                         20
1.1. Definição                   1
                                         4.1. Propriedades                  20
1.2. Terminologia                1
                                         4.2. Características Especiais     22
1.3. Histórico                   1
                                         4.3. Outros Benefícios             25
1.4. Evolução                    2
                                         4.5. Operação                      27
2. Comparação com outros sistemas        4.6. Redes de controle             34
2.1. Lógica Fixa Eletrônica      3
2.2. Lógica com Relés            3                    Integração de Sistemas
2.3. Computador Pessoal          4
2.4. Vantagens do CLP            5       1. Rede de Computadores            1
2.5. Desvantagens do CLP         7       1.1. Introdução                    1
2.6. CLP versus SDCD             8       1.2. Rede e Sistema Distribuído    1
3. Componentes do CLP            11      1.3. Objetivos da Rede             3
                                         1.4. Parâmetros da rede            5
3.1. Unidade Processamento Central 12    1.5. Arquitetura da Rede           6
3.2. Memória                     13      1.7. Modelo de Referência OSI      9
3.3. Unidades de Programação     13

                                                                                  1.4
Automação Industrial
2. Comunicação de dados               16
2.1. Introdução
2.2. Tipos de sinais
                                      16
                                      16
                                                         CONTROLE E
2.3. Meio físico
2.4. Número de Canais
                                      16
                                      17                    ALARME
2.5. Movimento de Dados               17
2.6. Tempo e transmissão              18                  Controle do Processo
2.7. Multiplexagem de Sinal           19
3.Protocolos e interfaces             19   Objetivos de Ensino                  1
3.1. Conceitos                        19   1. Controle Contínuo                 1
3.2. Ethernet (IEEE 802.3)            21
                                           1.1. Introdução                      1
3.3. Protocolo HART                   21
                                           1.2. Malha aberta ou fechada         1
3.4 Fieldbus Foundation               24
                                           1.3. Ações de Controle               2
3.5. Profibus Trade Organization      27
                                           1.4. Fatores do Processo             6
3.6. WorldFIP                         28
                                           1.5. Fatores do Instrumento          8
3.7. ARCnet                           29
                                           1.6. Sintonia do Controlador         8
3.8. ControlNet                       30
                                           1.7. Controle Multivariável          10
4. Base de Dados (Database)           32   1.8. Conclusão                       12
4.1. Introdução                       32   2. Controle Lógico                   13
4.2. Bases de dados tradicionais      32
                                           2.1. Conceito                        13
4.3. Aplicações de RDBs               33
                                           2.2. Controle de processo discreto   13
4.4. Estrutura da RDB                 35
                                           2.3. Características do sistema      14
4.5. Interação com base de dados      36
                                           2.4. Variáveis de estado discreto    15
4.6. Partes componentes da RDB        36
                                           2.5. Especificações do processo      16
4.7. Importância das ferramentas      37
                                           2.6. Seqüência de eventos            17
4.8. Explosão da base de dados        38
                                           2.7. Fluxograma da seqüência         18
5. Integração de Sistemas             42
5.1. Cenário da planta                42                       Controle Batelada
5.2. Conceito de Integração           42
5.3. Pirâmide da interoperabilidade   43   Objetivos                            1
5.4. Parâmetros da integração         43
                                           1. História da Batelada              1
5.5. Como integrar                    45
                                           1.1. Origem do Controle Batelada 1
                                           1.2. Funções de controle da batelada 3
                                           1.3. Controle manual direto        3
                                           1.4. Controle Regulatório          3
                                           1.5. Intertravamentos de segurança 4
                                           1.6. Sequenciamento                4
                                           1.7. Gerenciamento da Batelada     4
                                           1.8. Planejamento                  5
                                           1.9. Equipamentos                  5
                                           1.10. Conclusão                    11
                                           2. Gerenciamento da Batelada 11
                                           2.1. Introdução                      11
                                           2.2. Exigências                      11
                                           2.3. Funções Automáticas             12
                                           3. Controle da Batelada              19




                                                                                     1.5
Automação Industrial
3.1. Introdução                    19                   Anunciador de Alarme
3.2. Batelada seqüencial temporizado19
3.3. Controle acionado por eventos 20
                                          Objetivos                         1
4. Automação da Batelada           20
                                          1. Conceito                       1
4.1. Introdução                     20
4.2. Medição das variáveis          21
                                          2. História e Desenvolvimento 2
4.3. Instrumentação Modular         22    3. Seqüências do Anunciador 3
4.4. Controle de Batelada           23
4.5. Característica da Instrumentação24   3.1. Tipos de Seqüência           7
4.6. Características desejáveis     25    3.2. Condições                    7
4.7. Segurança                      27    3.3. ISA RP 18.1 (1965)           7
4.8. Complicações                   28    3.4. ISA S18.1 (1984)             7
4.9. Instruções de Operação         29    4. Designação da Seqüência        9
                                          4.1. Letra de Seqüência Básica   9
           Alarme e Intertravamento       4.2. Designação do número de opção10
                                          4.3. First out                   11
1. Terminologia                    1
                                          5. Descrição da Seqüência         20
2. Segurança da Planta             8
                                          5.1. Seqüência A, Reset Automático20
2.1. Projeto da planta             8      5.2. Seqüência M, Reset Manual    20
2.2. Medição e Controle            8      5.3. Seqüência R, Ringback        21
2.3. Alarme do processo            9      5.4. Seqüência First Out          21
2.4. Desligamento de emergência    9      5.5. Seqüência com Teste          22
2.4. Monitoração do fogo e gás     9
                                          6. Arranjos do Anunciador         23
3. Tecnologias do Sistema          10
                                          6.1. Anunciador com Lógica Integral23
3.1. Tecnologias disponíveis       10     6.2. Anunciador remoto             23
3.2. Escolha do Sistema            10
                                          7. Operação                       24
4. Alarme do Processo              12
                                          7.1. Display Visual               25
4.1. Introdução                    12     7.2. Dispositivos sonoros         27
4.2. Componentes                   12     7.3. Botoeiras                    27
4.3. Prioridade de alarmes         13     7.4. Circuitos Lógicos            28
4.4. Realização do Alarme          13     7.5. Características Opcionais    30
5. Intertravamento do Processo 16         7.6. Saídas auxiliares            34
                                          7.7. Sistemas de Alimentação      36
5.1. Conceito                      16     7.8. Testes de Fábrica            37
5.2. Tipos de Falhas               17
5.3. Análise do Intertravamento    18     8. Outros Sistemas                38
5.4. Segurança da malha de controle19     8.1. Alarme discreto              38
5.5. Projeto do Intertravamento    20     8.1. Enunciador                   39
5.6. Filtrando os alarmes          24     8.2. Registrador de Eventos       39
5.7. Circuitos de Intertravamentos 25     8.3. Monitor Específico           40
5.8. Sistema de Votação            28     8.4. Alarmes por Computado        40
5.9. Falhas no Sistema             31     8.5. Painéis de alarme            42
5.10. Sistema de Falha Segura      42
                                          9. Tendências                     43
6. Alarme e Cores                  44
                                          9.1. Tecnologias rivais           43
6.1. Introdução                    44     9.2. Anunciador isolado           43
6.2. Código de cores               44     9.3. Anunciador distribuído       44
6.3. Transmissão e projeção de cores45    9.4. Software baseado em PC       44
                                          9.5. Estampando data e hora       44



                                                                                  1.6
Automação Industrial

             Operação do Processo
1. Introdução                      1
2. Fatores Humanos no Projeto 1
2.1. Temas em fatores humanos    2
2.2. Fatores humanos na operação 4
3. Funções do operador             6
4. Atributos Mentais               8
4.1. Automatização                8
4.2. Modelo mental do operador    8
4.3. Representação para o operador 8
5. Estudos do Operador             9
6. Alocação de função              10
7. Análise da tarefa               10
8. Display da informação           10
9. Falhas do Processo              16
9.1. Sistema de Controle           16
9.2. Características do Processo   16
9.3. Características do Sistema    189.
4. Projeto da Instrumentação       19
9.5. Falhas de Instrumentos        22
9.6. Administração de Falhas       26
10. Erro Humano                    31
11. Treinamento                    33
12. Display para o Operador        36
12.1. Introdução                   36
12.2. Display da Medição           37
12.3. Desempenho do instrumento    38
12.4. Instrumentos Inteligentes    42
12.5. Analógico e Digital          43
12.6. Aspectos Psicológicos        44
12.7. Computador de Processo       44
12.8. Conclusão                    46

         Referências Bibliográficas




                                                           1.7
Símbolos, Identificação e
    Fundamentos
1.   Automação
2.   Componentes Eletromecânicos
3.   Símbolos Lógicos
4.   Linguagens de Programação
5.   Diagrama Ladder
6.   Diagrama de Blocos Funcionais




                                     1.1
1
                                                         Automação
1. Objetivos                                    Como vantagens, a máquina
                                                1. nunca reclama
1. Conceituar automação e controle
                                                2. nunca entra em greve
   automático.                                  3. não pede aumento de salário
2. Listar os diferentes graus de
                                                4. não precisa de férias
   automação.
                                                5. não requer mordomias.
3. Definir o conceito de automação e seu
                                                Como nada é perfeito, a máquina tem
   efeito na indústria e sociedade.
                                             as seguintes limitações:
4. Introduzir os tipos básicos de sistemas      1. capacidade limitada de tomar
   e equipamentos de controle eletrônico.
                                                   decisões
                                                2. deve ser programada ou ajustada
1. Automação                                       para controlar sua operação nas
1.1. Conceito                                      condições especificadas
                                                3. necessita de calibração periódica
   Automação é a substituição do trabalho          para garantir sua exatidão nominal
humano ou animal por máquina.                   4. requer manutenção eventual para
Automação é a operação de máquina ou               assegurar que sua precisão nominal
de sistema automaticamente ou por                  não se degrade.
controle remoto, com a mínima
interferência do operador humano.            1.2. Automação e mão de obra
Automação é o controle de processos             Com o advento do circuito integrado
automáticos. Automático significa ter um     (1960) e do microprocessador (1970), a
mecanismo de atuação própria, que faça       quantidade de inteligência que pode ser
uma ação requerida em tempo                  embutida em uma máquina a um custo
determinado ou em resposta a certas          razoável se tornou enorme. O número de
condições.                                   tarefas complexas que podem ser feitas
   O conceito de automação varia com o       automaticamente cresceu várias vezes.
ambiente e experiência da pessoa             Atualmente, pode-se dedicar ao
envolvida. São exemplos de automação:        computador pessoal (CP) para fazer
   1. Para uma dona de casa, a máquina       tarefas simples e complicadas, de modo
        de lavar roupa ou lavar louça.       econômico.
   2. Para um empregado da indústria            A automação pode reduzir a mão de
        automobilística, pode ser um robô.   obra empregada, porém ela também e
   3. Para uma pessoa comum, pode ser        ainda requer operadores. Em vez de fazer
        a capacidade de tirar dinheiro do    a tarefa diretamente, o operador controla a
        caixa eletrônico.                    máquina que faz a tarefa. Assim, a dona
   O conceito de automação inclui a idéia    de casa deve aprender a carregar a
de usar a potência elétrica ou mecânica      máquina de lavar roupa ou louça e deve
para acionar algum tipo de máquina. Deve     conhecer suas limitações. Operar a
acrescentar à máquina algum tipo de          máquina de lavar roupa pode inicialmente
inteligência para que ela execute sua        parecer mais difícil que lavar a roupa
tarefa de modo mais eficiente e com          diretamente. Do mesmo modo, o operador
vantagens econômicas e de segurança.

                                                                                     1.1
Automação
de uma furadeira automática na indústria      exigências de produtividade, segurança e
automobilística deve ser treinado para usar   proteção do meio ambiente, além do
a máquina com controle numérico que faz       controle automático do processo, apareceu
o furo realmente. A linha de montagem         a necessidade de monitorar o controle
com robôs requer operadores para              automático.
monitorar o desempenho desses robôs.             A partir deste novo nível de
Quem tira o dinheiro do caixa eletrônico,     instrumentos, com funções de
deve possuir um cartão apropriado,            monitoração, alarme e intertravamento, é
decorar uma determinada senha e               que apareceu o termo automação. As
executar uma série de comandos no             funções predominantes neste nível são as
teclado ou tela de toque.                     de detecção, comparação, alarme e
    Muitas pessoas pensam e temem que a       atuação lógica.
automação significa perda de empregos,           Por isso, para o autor, principalmente
quando pode ocorrer o contrário. De fato,     para a preparação de seus cursos e
falta de automação coloca muita gente         divisão de assuntos, tem-se o controle
para trabalhar. Porém, estas empresas não     automático aplicado a processo contínuo,
podem competir economicamente com             com predominância de medição, controle
outras por causa de sua baixa                 PID (proporcional, integral e derivativo). O
produtividade devida à falta de automação     sistema de controle aplicado é o Sistema
e por isso elas são forçadas a demitir        Digital de Controle Distribuído (SDCD),
gente ou mesmo encerrar suas atividades.      dedicado a grandes plantas ou o
Assim, automação pode significar ganho e      controlador single loop, para aplicações
estabilidade do emprego, por causa do         simples e com poucas malhas.
aumento da produtividade, eficiência e           Tem-se a automação associada ao
economia.                                     controle automático, para fazer sua
    Muitas aplicações de automação não        monitoração, incluindo as tarefas de
envolvem a substituição de pessoas por        alarme e intertravamento. A automação é
que a função ainda não existia antes ou é     também aplicada a processos discretos e
impossível de ser feita manualmente.          de batelada, onde há muita operação
Pode-se economizar muito dinheiro             lógica de ligar e desligar e o controle
anualmente monitorando e controlando a        seqüencial. O sistema de controle aplicado
concentração de oxigênio dos gases            é o Controlador Lógico Programável (CLP).
queimados em caldeiras e garantindo um           Assim: controle automático e
consumo mais eficiente de combustível.        automação podem ter o mesmo significado
Pode se colocar um sistema automático         ou podem ser diferentes, onde o controle
para recuperar alguma substância de           regulatório se aplica a processos contínuos
gases jogados para atmosfera, diminuindo      e a automação se aplica a operações
os custos e evitando a poluição do ar         lógicas, seqüenciais de alarme e
ambiente.                                     intertravamento.
1.3. Automação e controle                     1.4. Automação e eletrônica
    A automação está intimamente ligada à        Na década de 1970, era clássica a
instrumentação. Os diferentes                 comparação entre as instrumentações
instrumentos são usados para realizar a       eletrônica e pneumática. Hoje, às vésperas
automação.                                    do ano 2000, há a predominância da
    Historicamente, o primeiro termo usado    eletrônica microprocessada.
foi o de controle automático de processo.        Os sensores que medem o valor ou
Foram usados instrumentos com as              estado de variáveis importantes em um
funções de medir, transmitir, comparar e      sistema de controle são as entradas do
atuar no processo, para se conseguir um       sistema, mas o coração do sistema é o
produto desejado com pequena ou               controlador eletrônico microprocessado.
nenhuma ajuda humana. Isto é controle         Muitos sistemas de automação só se
automático.                                   tornaram possíveis por causa dos recentes
    Com o aumento da complexidade dos         e grandes avanços na eletrônica. Sistemas
processos, tamanho das plantas,               de controle que não eram práticos por


                                                                                      1.2
Automação
causa de custo há cinco anos atrás hoje se   2.2. Ferramentas acionadas
tornam obsoletos por causa do rápido
                                                 O próximo passo histórico foi energizar
avanço da tecnologia.
                                             as ferramentas manuais. A energia foi
   A chave do sucesso da automação é o
uso da eletrônica microprocessada que        suprida através de vapor d'água,
                                             eletricidade e ar comprimido. Este degrau
pode fornecer sistemas eletrônicos
                                             foi chamado de Revolução Industrial. A
programáveis. Por exemplo, a indústria
                                             serra se tornou elétrica, o martelo ficou
aeronáutica constrói seus aviões
                                             hidráulico.
comerciais em uma linha de montagem,
                                                 Na indústria, usa-se um motor elétrico
mas personaliza o interior da cabine
                                             para acionar o agitador, a alimentação é
através de simples troca de um programa
                                             feita por uma bomba, o aquecimento é feito
de computador. A indústria automobilística
                                             por vapor ou por eletricidade.
usa robôs para soldar pontos e fazer furos
na estrutura do carro. A posição dos         2.3. Quantificação da energia
pontos de solda, o diâmetro e a
profundidade dos furos e todas as outras        Com a energia fornecida para acionar
especificações podem ser alteradas           as ferramentas, o passo seguinte foi
através da simples mudança do programa       quantificar esta energia. Um micrômetro
do computador. Como o programa do            associado à serra, indica quanto deve ser
computador é armazenado em um chip de        cortado. A medição torna-se parte do
memória, a alteração de linhas do            processo, embora ainda seja fornecida
programa neste chip pode requerer            para o operador tomar a decisão.
somente alguns minutos. Mesmo quando            Na indústria, este nível significa colocar
se tem que reescrever o programa, o          um medidor de quantidade na bomba para
tempo e custo envolvidos são muitas vezes    indicar quanto foi adicionado ao reator.
menores que o tempo e custo para alterar     Significa também colocar um cronômetro
as ferramentas.                              para medir o tempo de agitação, um
                                             termômetro para indicar o fim da reação.
                                             As variáveis indicadas ao operador
2. Graus de Automação                        ajudavam o operador determinar o status
   A história da humanidade é um longo       do processo.
processo de redução do esforço humano
                                             2.4. Controle programado
requerido para fazer trabalho. A sua
preguiça é responsável pelo progresso e o       A máquina foi programada para fazer
aparecimento da automação. Pode-se           uma série de operações, resultando em
classificar os graus de automação            uma peça acabada. As operações são
industrial em várias fases.                  automáticas e expandidas para incluir
                                             outras funções. A máquina segue um
2.1. Ferramentas manuais                     programa predeterminado, em
   O primeiro progresso do homem da          realimentação da informação. O operador
caverna foi usar uma ferramenta manual       deve observar a máquina para ver se tudo
para substituir suas mãos. Esta ferramenta   funciona bem.
não substituiu o esforço humano, mas            Na planta química, uma chave foi
tornou este esforço mais conveniente.        adicionada no medidor de vazão para
Exemplos de ferramentas: pá, serra,          gerar um sinal para desligar a bomba,
martelo, machado, enxada.                    quando uma determinada quantidade for
   Como não há máquina envolvida,            adicionada. Uma alarme foi colocado no
considera-se que este nível não possui       cronômetro para avisar que o tempo da
nenhuma automação.                           batelada foi atingido.
   Na indústria, este nível significa
alimentar manualmente um reator, moendo
sólidos, despejando líquidos de
containeres, misturando com espátula,
aquecendo com a abertura manual de
válvula de vapor.


                                                                                       1.3
Automação
                                              sistemas digitais. Um exemplo de controle
2.5. Controle com realimentação               adaptativo na indústria química é o
negativa                                      compressor de nitrogênio e oxigênio para
   O próximo passo desenvolve um              fabricação de amônia. A eficiência do
sistema que usa a medição para corrigir a     compressor varia com a temperatura e
máquina. A definição de automação de          pressão dos gases e das condições do
Ford se refere a este nível.                  ambiente. O controlador adaptativo procura
   Na indústria química, o controle a         o ponto ótimo de trabalho e determina se o
realimentação negativa é o começo do          compressor está em seu objetivo, através
controle automático. A temperatura é          do índice de desempenho. Para isso, usa-
usada para controlar a válvula que            se a tecnologia avançada do computador
manipula o vapor. O regulador de vazão        mais a tecnologia de instrumentos de
ajusta a quantidade adicionada no reator,     análise em linha.
baseando na medição da vazão.                 2.9. Controle indutivo
2.6. Controle da máquina com                     A máquina indutiva rastreia a resposta
cálculo                                       de sua ação e revisa sua estratégia,
   Em vez de realimentar uma medição          baseando-se nesta resposta. Para fazer
simples, este grau de automação utiliza       isso, o controlador indutivo usa programa
uma cálculo da medição para fornecer um       heurístico.
sinal de controle.                               Na planta química, o sistema usa um
   Na planta química, os cálculos se          método e o avalia, muda uma variável de
baseiam no algoritmo PID, em que o sinal      acordo com um programa e o avalia de
de saída do controlador é uma função          novo. Se este índice de desempenho tem
combinada de ações proporcional, integral     melhorado, ele continua no mesmo
e derivativa. Este é o primeiro nível de      sentido; se a qualidade piorou, ele inverte
automação disponível pelo computador          o sentido. A quantidade de ajuste varia
digital.                                      com seu desvio do ponto ideal. Depois que
                                              uma variável é ajustada, o sistema vai para
2.7. Controle lógico da máquina               a próxima. O sistema continua a induzir as
   O sistema de telefone com dial é um        melhores condições na planta.
exemplo de máquina lógica: Quando se             Uma aplicação típica é no controle de
tecla o telefone, geram-se pulsos que         fornalha de etileno.
lançam chaves que fazem a ligação             2.10. Máquina criativa
desejada. Caminhos alternativos são
selecionados por uma série programada de         A máquina criativa projeta circuitos ou
passos lógicos.                               produtos nunca antes projetados. Exemplo
   O sistema de segurança e desligamento      é um programa de composição de música.
da planta química usa controle lógico. Um     A máquina criativa procura soluções que
conjunto de condições inseguras dispara       seu programado não pode prever.
circuitos para desligar bombas, fechar           Na planta química, é o teste de
válvula de vapor ou desligar toda a planta,   catalisador. O sistema varia composição,
dependendo da gravidade da emergência.        pressão e temperatura em determinada
                                              faixa, calcula o valor do produto e muda o
2.8. Controle Adaptativo                      programa na direção de aumentar o valor.
   No controle adaptativo, a máquina          2.11. Aprendendo pela máquina
aprende a corrigir seus sinais de controle,
se adequando às condições variáveis.             Neste nível, a máquina ensina o
Uma versão simples deste nível é o            homem. O conhecimento passa na forma
sistema de aquecimento de um edifício que     de informação. A máquina pode ensinar
adapta sua reposta ao termostato a um         matemática ou experiência em um
programa baseado nas medições da              laboratório imaginário, com o estudante
temperatura externa.                          seguindo as instruções fornecidas pela
   O controle adaptativo tornou-se            máquina. Se os estudantes cometem
acessível pelo desenvolvimento de             muitos erros, porque não estudaram a

                                                                                     1.4
Automação
lição, a máquina os faz voltar e estudar          Se em vez de usar uma fita para
mais, antes de ir para a próxima lição.        controlar a máquina, é usado um
    Assim, todos os graus de automação         computador dedicado, então o sistema é
são disponíveis hoje, para ajudar na           tecnicamente chamado de máquina
transferência de tarefas difíceis para a       controlada numericamente com
máquina e no alívio de fazer tarefas           computador (CNC). Um centro com CNC
repetitivas e enfadonhas. Fazendo isso, a      pode selecionar de uma até vinte
máquina aumenta a produtividade, melhora       ferramentas e fazer várias operações
a qualidade do produto, torna a operação       diferentes, como furar, tapar, frezar,
segura e reduz o impacto ambiental.            encaixar.
                                                  Se o computador é usado para controlar
3. Sistemas de automação                       mais de uma máquina, o sistema é
                                               chamado de máquina controlada
   A aplicação de automação eletrônica         numericamente e diretamente. A vantagem
nos processos industriais resultou em          deste enfoque é a habilidade de integrar a
vários tipos de sistemas, que podem ser        produção de várias máquinas em um
geralmente classificados como:                 controle global de uma linha de montagem.
   1. Máquinas com controle numérico           A desvantagem é a dependência de várias
   2. Controlador lógico programável           máquinas debaixo de um único
   3. Sistema automático de                    computador.
       armazenagem e recuperação
   4. Robótica                                 3.2. Controlador lógico programável
   5. Sistemas flexíveis de manufatura.           O controlador lógico programável é um
                                               equipamento eletrônico, digital,
3.1. Máquina com controle numérico
                                               microprocessado, que pode
    Uma máquina ferramenta é uma                  1. controlar um processo ou uma
ferramenta ou conjunto de ferramentas                 máquina
acionadas por potência para remover               2. ser programado ou reprogramado
material por furo, acabamento, modelagem              rapidamente e quando necessário
ou para inserir peças em um conjunto.             3. ter memória para guardar o
Uma máquina ferramenta pode ser                       programa.
controlada por algum dos seguintes                O programa é inserido no controlador
modos:                                         através de microcomputador, teclado
1. Controle contínuo da trajetória da          numérico portátil ou programador
     ferramenta onde o trabalho é contínuo     dedicado.
     ou quase contínuo no processo.               O controlador lógico programável varia
2. Controle ponto a ponto da trajetória da     na complexidade da operação que eles
     ferramenta onde o trabalho é feito        podem controlar, mas eles podem ser
     somente em pontos discretos do            interfaceados com microcomputador e
     conjunto.                                 operados como um DNC, para aumentar
    Em qualquer caso, as três coordenadas      sua flexibilidade. Por outro lado, eles são
(x, y, z ou comprimento, largura e             relativamente baratos, fáceis de projetar e
profundidade) devem ser especificadas          instalar.
para posicionar a ferramenta no local
correto. Programas de computador existem       3.3. Sistema de armazenagem e
para calcular a coordenada e produzir          recuperação de dados
furos em papel ou fita magnética que              Atividades de armazenar e guardar
contem os dados numéricos realmente            peças são centralizados em torno de
usados para controlar a máquina.               inventário de peças ou materiais para,
    A produtividade com controle numérico      posteriormente, serem usadas, embaladas
pode triplicar. No controle numérico, exige-   ou despachadas. Em sistemas
se pouca habilidade do operador e um           automáticos, um computador remoto
único operador pode supervisionar mais de      controla empilhadeiras e prateleiras para
uma máquina.                                   receber, armazenar e recuperar itens de
                                               almoxarifado. O controle da relação é


                                                                                       1.5
Automação
exato e os itens podem ser usados ou
despachados de acordo com os dados           4. Conclusão
recebidos. Os restaurantes da cadeia
McDonald’s têm um dispensa automática        1. Houve uma revolução industrial com
para armazenar batatas fritas congeladas.       automação de processos de
Uma cadeia de supermercado, tipo Makro,         manufatura.
usa um almoxarifado automatizado para a      2. Automação é o uso da potência elétrica
guarda e distribuição automática de itens.      ou mecânica controlada por um
                                                sistema de controle inteligente
3.4. Robótica                                   (geralmente eletrônico) para aumentar
   Um robô é um dispositivo controlado a        a produtividade e diminuir os custos.
computador capaz de se movimentar em         3. A falta de automação pode aumentar o
uma ou mais direções, fazendo uma               desemprego.
seqüência de operações. Uma máquina          4. Automação é um meio para aumentar a
CNC pode ser considerada um robô, mas           produtividade.
usualmente o uso do termo robô é restrito    5. A habilidade de controlar os passos de
aos dispositivos que tenham movimentos          um processo é a chave da automação.
parecidos com os dos humanos,                6. Avanços na eletrônica tornaram
principalmente os de braço e mão.               possível o controle de sistemas
   As tarefas que os robôs fazem podem          complexos, a um baixo custo.
ser tarefas de usinagem, como furar,         7. Os vários tipos de sistemas de
soldar, pegar e colocar, montar,                automação que podem ser aplicados a
inspecionar e pintar. Os primeiros robôs        processos industriais são:
eram grandes, hoje eles podem ser                   máquina com controle numérico
pequeníssimos.                                      controlador lógico programável
   Quando uma tarefa é relativamente                sistema de armazenagem e
simples, repetitiva ou perigosa para um             recuperação de peças
humano, então o robô pode ser uma                   robótica
escolha apropriada. Os robôs estão                  sistema de manufatura flexível
aumentando em inteligência, com a adição
dos sentidos de visão e audição e isto
permite tarefas mais complexas a serem
executadas por eles.
3.5. Sistema de manufatura flexível
   A incorporação de máquinas NC,
robótica e computadores em uma linha de
montagem automatizada resulta no que é
chamado sistema de manufatura flexível.
Ele é considerado flexível por causa das
muitas mudanças que podem ser feitas
com relativamente pouco investimento de
tempo e dinheiro. Em sua forma final,
matéria prima entra em um lado e o
produto acabado sai do almoxarifado em
outro lado, pronto para embarque sem
intervenção humana. Hoje isto existe
somente em conceito, embora grandes
partes deste sistema já existem.




                                              ApostilaAutomação   10Automação.doc   14 ABR 01 (Substitui 23 FEV 99)




                                                                                                                       1.6
2
          Componentes Eletromecânicos
                                                         6. seu funcionamento pode ser
Objetivos de Ensino                                         perturbado por vibração e choque
1.      Descrever e aplicar vários arranjos                 mecânico.
     de chaveamento elétrico.                            7. produzem barulho quando mudam o
2.      Desenhar os símbolos para                           estado.
     botoeiras, chaves liga-desliga,
     lâmpadas pilotos e contatos de relés.
3.      Descrever o solenóide elétrico e
     suas aplicações.                                                               Entrada    Saída
                                               Vi
4.      Descrever a construção e operação                                  Vo       Vi         Vo
     de relés eletromecânicos e a estado                  Chave                     Alta       Alta
     sólido. Diferenciar os diferentes tipos                                        Baixa      Baixa
     de relés.
5.      Descrever a operação de
     temporizadores e contadores.

1. Introdução                                                                        Entrada    Saída
                                                Vi
                                                                            Vo       Vi         Vo
   A eletrônica possui vários componentes                  Inversor
com partes e peças mecânicas. O                                                      Alta       Baixa
funcionamento destes componentes                                                     Baixa      Alta
sempre envolve movimento mecânico. As
partes mecânicas da eletrônica são
chamadas de peças móveis. Elas
constituem o elo mais fraco da corrente.                                             Entrada    Saída
                                                                Chave
Por causa de seu movimento mecânico                                                  Vi         Vo
elas apresentam as seguintes                                    V1                   Alta       Alta
                                                          Inv        Inv
desvantagens:                                                                        Baixa      Baixa
   1. sofrem desgaste com o uso e
       portanto possuem vida útil limitada          Vi                     Vo
   2. podem ficar emperradas e portanto             Fig. 2.1. Chaves e inversores
       são pouco confiáveis
   3. são relativamente lentas
       comparadas com as operações                      Os principais componentes mecânicos
       puramente eletrônicas                        da eletrônica (eletromecânicos) são a
   4. podem apresentar sujeira e umidade            chave liga-desliga (toggle), chave botoeira
       que atrapalham o seu                         (push button), chave seletora, chave
       funcionamento,                               automática acionada por variável de
   5. quebram mais facilmente, por causa            processo (termostato, pressostato, nível,
       da fadiga e desgaste.                        vazão, posição), relé, válvula solenóide e
                                                    disjuntor.



                                                                                                2.1
Componentes Eletromecânicos

Tab. 4.1. Símbolos usados em sistemas de
segurança                                  2. Chave
                                           2.1. Conceito
            Contato elétrico,                  A chave é um componente
            normalmente aberto (NA)        eletromecânico usado para ligar, desligar
                                           ou direcionar a corrente elétrica, através de
                                           um acionamento mecânico manual ou
            Contato elétrico,              automático. A chave de duas posições é
            normalmente fechado (NF)       um componente binário de circuito simples
                                           e fundamental, com uma entrada e uma
            Chave de vazão,                saída. A saída é alta quando a entrada é
            normalmente aberta (NA)        alta e a saída é baixa quando a entrada é
            Chave de vazão,                baixa.
            normalmente fechada (NF)           A entrada da chave é uma força
            Chave de nível,                mecânica e a saída é uma tensão elétrica.
            normalmente aberta (NA)        A chave estática o semicondutor possui na
            Chave de nível,                entrada e saída sinais elétricos. A chave é
            normalmente fechada (NF)       adequada para teclados e entrada de
            Chave de pressão,              dados em sistemas digitais.
            normalmente aberta (NA)
            Chave de pressão,
            normalmente fechada (NF)
            Chave de temperatura,
            normalmente aberta (NA)

            Chave de temperatura,
            normalmente fechada (NF)

            Chave limite, normalmente
            aberta (NA)                    Fig. 2.2. Conceito de chave
            Chave limite, normalmente
            fechada (NF)
                                               O inversor é uma variação da chave. O
            Lâmpada de sinalização
                                           inversor é também um dispositivo binário,
                                           com uma entrada e uma saída, de modo
                                           que a saída é alta, quando a entrada for
            Buzina
                                           baixa e saída é baixa, quando a entrada for
                                           alta. O inversor é um bloco construtivo do
            Válvula solenóide de duas
                                           sistema digital mais poderoso e
            vias
                                           fundamental que a chave pois a chave
                                           pode ser construída a partir de dois
            Válvula solenóide de três
                                           inversores em série e nenhuma
            vias
                                           combinação de chaves pode produzir um
                                           inversor.
                                               As características desejáveis da chave
                                               1. alta velocidade
                                               2. alta confiabilidade
                                               3. entrada e saída elétricas
                                               4. pouca energia consumida
                                               5. baixo custo
                                               Os tipos mais comuns de chaves
                                           manuais usadas em sistemas eletrônicos
                                           são os seguintes:


                                                                                    2.2
Componentes Eletromecânicos
   1. chave liga-desliga (toggle)              simultaneamente. Pode-se usar duas
   2. chave botoeira (push button)             chaves SPST. Na prática, usa-se a chave
   3. chave seletora                           DPST. Ela consiste de duas chaves SPST
                                               em um único corpo. Quando se quer duas
2.2. Polos e Terminais                         chaves simultaneamente em duplo polo,
     Embora exista uma grande variedade        usa-se a chave DPDT. Este arranjo de
de chaves elétricas, há vários termos que      chaveamento pode ser expandido para três
são comuns quando se descreve a                pólos ou mais, como necessário.
construção de qualquer chave.                      Dois outros tipos de configurações são:
     A haste ou parte da chave que é               1. retorno de mola
movida para abrir ou fechar um circuito é          2. centro desligado
chamada de pólo da chave. Se uma chave             Atuando a chave SPST com retorno de
tem somente um pólo, ela é chamada de          mola, fecha-se M-N. Porém, quando a
chave de único pólo (single pole switch).      chave é liberada, sua mola torna-a
Se ela possui dois pólos, é chamada de         desligada. Ela não permanece na posição
chave de duplo pólo. A chave pode ter          fechada, como uma chave normal o faz.
também três, quatro ou qualquer outro              A chave com centro desligado possui
número de pólos, quando é chamada de           três posições. Ela também pode ter retorno
triplo pólo, e multipolo.                      por mola para a posição central desligada.
     Se cada contato alternadamente abre e
fecha somente um circuito, a chave é
chamada de único terminal (single throw).
                                                     M        N            M            N
Quando o contato é de dupla ação, ou
seja, abre um circuito enquanto                                              SPST NF
                                                       SPST NA
simultaneamente fecha outro, a chave é
chamada de duplo terminal (doble throw)..                     N                     N
     Assim, pode haver uma combinação de             M                      M
pólos e terminais; tendo-se                                   O                         C
    1. single-pole, single-throw (SPST),              SPDT                        O
    2. single-pole, double-throw (SPDT),                                  SPDT Centro
    3. double-pole, doble-throw (DPDT).
                                                                                      N
     Esta nomenclatura se aplica também                                       M
                                                                                      O
aos contatos de relés (relé é uma chave                                               Q
operada pela ação magnética).                                                  P
                                                                                      R
     A chave elétrica básica é a de simples
pólo e simples terminal, SPST.                           DPST                  DPDT
     Quando a chave estiver na posição         Fig. 2.3. Arranjos de chaveamento elétrico
desligada (OFF), o circuito está
eletricamente aberto entre M e N. Quando
                                               2.3. Chave Liga-Desliga
a chave é mudada para a posição ligada
(ON), cria-se um circuito de ligação entre         A chave liga-desliga (toggle) possui
os pontos M e N. Esta chave pode ser           uma haste ou alavanca que se move
normalmente aberta (NA) ou normalmente         através de um pequeno arco fazendo os
fechada (NF). A chave NF SPST é um             contatos de um circuito abrirem ou
curto-circuito entre M-N quando desligada      fecharem repentinamente. O fato de o
e é um circuito aberto entre M-N quando        contato abrir ou fechar muito rapidamente
ligada. É fundamental definir o tipo, NA ou    reduz o arco voltaico e garante um curto-
NF, quando escolher a chave para uma           circuito seguro. O acionamento da chave
aplicação.                                     toggle é retentivo, ou seja, a chave é ligada
     Outro tipo de chave possui polo simples   por um movimento mecânico e os contatos
e duplo terminal, abreviado SPDT. O            permanecem na posição alterada, até que
circuito de M é chaveada entre N e O,          a chave seja acionada no sentido contrario.
quando a chave é ligada ou desligada.          A chave toggle tem uma pequena
     Quando se quer ligar dois circuitos       protuberância saindo do eixo. O eixo toggle
separados em ON e OFF

                                                                                            2.3
Componentes Eletromecânicos
é empurrado para cima ou para baixo para
produzir o chaveamento.
   Tais chaves são tipicamente usadas
em pequenos equipamentos com pouco
espaço disponível no painel.


                                                                        NF        NA




                                              Fig. 2.5. Chave botoeira com lâmpada piloto

Fig. 2.4. Chave liga desliga (toggle)
                                              2.5. Chave Seletora
2.4. Chave Botoeira
                                                  A chave seletora ou rotatória fecha e
    A chave botoeira (push button) é
                                              abre circuitos quando é girada entre
projetada para abrir ou fechar um circuito
                                              posições. O knob da chave é girado e não
quando acionada e retornar à sua posição
                                              apertado, como nas chaves botoeira. Um
normal, quando desacionada. O contato é
                                              contato fixo ao eixo gira por meio de um
não retentivo, ou seja, o contato só
                                              knob ligado à outra extremidade do eixo. O
permanece na posição alterada enquanto a
                                              contato se move ao longo de um circulo de
chave estiver acionada; o contato volta
                                              material isolante que possui tiras de
para a posição normal quando se tira a
                                              material condutor colocadas ao longo da
pressão da chave. O contato é
                                              circunferência. Quando o eixo gira de uma
momentâneo e o seu retorno é causado
                                              posição para a próxima, o contato rotativo
por uma mola. Normalmente aberto ou
                                              faz a ligação para as tiras condutoras. Isto
normalmente fechado significa que os
                                              fecha e abre contatos desejados. Há uma
contatos estão em uma posição de
                                              marcação externa no knob para localizar a
repouso, mantidos por uma mola e não
                                              posição da chave.
estão sujeitos a nenhuma força externa
                                                  A chave seletora é usada para
mecânica ou elétrica.
                                              selecionar duas, três, dez ou mais
    A botoeira normal tem retorno de mola,
                                              posições. Ela é usada tipicamente para
de modo que ela é não sustentável. A
                                              selecionar diferentes faixas de medição de
botoeira mais usada é do tipo SPDT.
                                              instrumentos, selecionar canais da
Quando a botoeira é apertada, o circuito
                                              televisão, selecionar funções de um
entre M-N é aberto e O-P é fechado.
                                              amplificador.
Quando ela é solta, fecha M-N e abre O-P
                                                  Se a chave rotatória é do tipo de curto-
eletricamente. Algumas botoeiras podem
                                              circuito, o seu contato girante faz a ligação
ter três, quatro ou mais pólos, aumentando
                                              com o próximo terminal antes de abrir o
sua capacidade de chaveamento.
                                              contato com a posição atual. Esta chave é
    A botoeira é usada em controle de
                                              chamada de make-before-break (fecha-
motores, onde ela serve para partir, parar,
                                              antes-de-abrir). Tal característica de curto-
inverter e acelerar a rotação do motor. A
                                              circuito fornece proteção para certos
chave botoeira é usada tipicamente em
                                              instrumentos ou equipamentos.
chaves de acionamento de campainha e
                                                  Há também chave rotatória do tipo não
chave de segurança de motores. Ela é
                                              curto-circuito. Esta chave abre o circuito
disponível em várias cores, identificações,
                                              atual antes de fechar o circuito seguinte.
formatos, tamanhos e especificações
                                              Ela é também chamada de break-before-
elétricas.
                                              make (abre-antes-de-fechar).
                                                  Um anel metálico é montado sobre um
                                              wafer fenólico, não condutor. As ligações


                                                                                            2.4
Componentes Eletromecânicos
elétricas são feitas em um suporte que
desliza no anel metálico, quando ele gira.
                                                2.6. Critérios de Seleção
O wafer é girado para posições específicas          O tipo de chave escolhida para uma
para conseguir o chaveamento.                   determinada aplicação depende de muitos
    Na chave fechar-antes-abrir de não          fatores, como:
curto, indo de A para B, o circuito é              1. a configuração, que determina
completamente aberto na posição                        número de pólos e terminais
intermediária, como mostrado. Para a               2. a tensão a ser chaveada e o tipo de
chave abrir-antes-fechar, fazendo curto, o             corrente (ca ou cc)
anel giratório tem uma saliência mais larga.       3. o valor da corrente a ser chaveada e
A largura da saliência excede a distância              a corrente a ser percorrida após o
A-B. O circuito fica portanto ligado a A e B           chaveamento
na posição intermediária.                          4. o ciclo de vida necessário em
    Um exemplo mostra onde cada tipo de                número de atuações
chave deve ser usado. O voltímetro deve            5. as considerações ambientes, como
ter uma chave seletora que não provoque                vibração, temperatura, umidade,
curto-circuito. Entre faixas, a chave desliga          agressividade do ambiente
a tensão para o galvanômetro. Se fosse             6. o tamanho físico necessário
usada uma chave de fazendo curto-                  7. a velocidade de atuação
circuito, os resistores seriam em paralelo.        8. a capacitância parasita
A baixa resistência temporária, 19,3 kΩ,           9. opções, como lâmpada piloto
permitiria que o excesso de corrente                   embutida, chave de trava.
fluísse no galvanômetro. Neste caso, o
galvanômetro deveria suportar uma               3. Chaves Automáticas
corrente cinco vezes maior.
    De modo contrario, o amperímetro deve           As chaves vistas até agora eram
ter uma chave que provoque curto-circuito.      acionadas manualmente. Assim que o
Se fosse usada uma chave que                    operador aperta o seu acionamento, seus
provocasse circuito aberto, o galvanômetro      contatos mudam de estado. Quando os
deveria suportar uma corrente 100 vezes         contatos são retentivos, eles permanecem
maior que a especificada. Para cada faixa       mudados quando o operador retira a
de corrente, um resistor paralelo é             pressão de acionamento. Quando são não
percorrido por uma corrente apropriada,         retentivos, os contatos voltam a posição
com mostrado. Se não houvesse um                original quando a chave deixa de ser
resistor paralelo ligado no circuito entre as   apertada.
posições das faixas, toda a corrente da             Existem chaves automáticas, cuja
linha deveria passar pelo galvanômetro.         operação é determinada pela posição de
Para uma corrente de linha de 100 mA, isto      algum dispositivo ou pelo valor de alguma
é 100 vezes a corrente especificada.            quantidade física. Sistemas mais
Durante o chaveamento, com a chave              complexos podem ter chaves ligadas de
apropriada que provoca curto-circuito, tem-     um modo intertravado, tal que a operação
se uma baixa resistência de alguns ohms.        final de uma ou mais chave depende da
                                                posição das outras chaves individuais.
                                                    As principais chaves automáticas são:
                                                pressostato, termostato, chave de vazão,
                                                chave de nível, chave fim de curso.
                                                3.1. Pressostato
                                                     Pressostato é uma chave comandada
                                                pela pressão. Uma chave elétrica muda os
                                                estados dos seus contatos quando a
                                                pressão atinge determinados valores
                                                críticos. Por exemplo, por economia e
                                                segurança, um compressor de ar deve ser
                                                desligado quando a sua pressão atingir um


                                                                                      2.5
Componentes Eletromecânicos
valor alto determinado e deve ser religado    economia e segurança, um condicionador
quando a pressão atingir um valor baixo       de ar deve ser desligado quando a
determinado. Ajustes convenientes no          temperatura do ambiente atingir um valor
pressostato permitem que o compressor         alto determinado e deve ser religado
opere entre estes dois valores críticos de    quando a temperatura atingir um valor
pressão.                                      baixo determinado. Ajustes convenientes
                                              no termostato permitem que o
                                              condicionador opere entre estes dois
                                              valores críticos de temperatura.
                                                  O termostato é um modo simples e
                                              barato de executar o controle liga-desliga
                                              de processos envolvendo temperatura. O
                                              termostato também pode servir de
                                              proteção de um sistema de controle de
                                              temperatura. Um controlador convencional
                                              fornece uma temperatura constante, dentro
                                              da banda proporcional. Quando, por algum
                                              problema do controlador ou do sistema, o
Fig. 2.6. Chave de pressão ou pressostato
                                              controlador perde o controle e a
                                              temperatura tende para valores perigosos
                                              de muito baixa ou muito alta temperatura, o
    O pressostato é um modo simples e         pressostato desliga o sistema.
barato de executar o controle liga-desliga
de processos envolvendo pressão. O
pressostato também pode servir de
proteção de um sistema de controle de
pressão. Um controlador convencional
fornece uma pressão constante, dentro da
banda proporcional. Quando, por algum
problema do controlador ou do sistema, o
controlador perde o controle e a pressão
tende para um valor perigoso de alta
pressão, um pressostato desliga o sistema.
    Deve-se diferenciar bem a proteção        Fig. 2.7. Chave de temperatura ou termostato
fornecida pelo pressostato e a proteção
oferecida pela válvula de alivio ou de
segurança. O pressostato protege o               Como o termostato é comandado pela
sistema de pressão desligando um motor        temperatura, ele deve ter um sensor de
elétrico que faz a pressão subir. A válvula   temperatura, geralmente mecânico, como
de alivio e a de segurança protege o          bimetal ou enchimento termal. Termostatos
sistema de pressão diminuindo                 são comuns em condicionadores de ar,
diretamente a pressão do sistema, jogando     geladeiras e motores.
para a atmosfera o fluido de alta pressão.
    Como o pressostato é comandado pela       3.3. Chave de Vazão
pressão, ele deve ter um sensor de                 Chave de vazão (flow switch) é uma
pressão, geralmente mecânico como o           chave comandada pela vazão. Uma chave
bourdon C, fole, espiral ou helicoidal.       elétrica muda os estados dos seus
3.2. Termostato                               contatos quando a vazão de um fluido
                                              atinge determinados valores críticos. Por
    Termostato é uma chave comandada          exemplo, por segurança, um sistema de
pela temperatura. Uma chave elétrica          lubrificação com óleo pode ser desligado
muda os estados dos seus contatos             por uma chave de vazão, quando a vazão
quando a temperatura atinge determinados      do lubrificante ficar menor que um valor
valores críticos. Por exemplo, por            critico ajustado na chave. Ajustes


                                                                                             2.6
Componentes Eletromecânicos
convenientes na chave de vazão permitem       valor critico baixo e abaixo de um valor
que o sistema de lubrificação opere de        alto.
modo seguro acima de um valor critico da          A chave de nível é um modo simples e
vazão do lubrificante.                        barato de executar o controle liga-desliga
    A chave de vazão é um modo simples e      de processos envolvendo nível de liquido.
barato de executar o controle liga-desliga    A chave geralmente liga ou desliga
de processos envolvendo vazão. A chave        motores de bombas quando o nível do
de vazão também pode servir de proteção       liquido atinge valores críticos.
de um sistema de controle de vazão. Um            A chave de nível também pode servir
controlador convencional fornece uma          de proteção de um sistema de controle de
vazão constante, dentro da banda              nível. Um controlador convencional fornece
proporcional. Quando, por algum problema      um nível constante, dentro da banda
do controlador ou do sistema, o controlador   proporcional. Quando, por algum problema
perde o controle e a vazão tende para         do controlador ou do sistema, o controlador
valores perigosos muito baixo ou muito        perde o controle e o nível tende para
alto, a chave de vazão desliga o sistema.     valores perigosos muito baixo ou muito
    Como a chave de vazão é comandada         alto, a chave de nível desliga o sistema.
pela vazão, ela deve ter um sensor de             Como a chave de nível é comandada
vazão ou ser acionada diretamente pela        pelo nível, ela deve ter um sensor de nível
passagem do fluido. As chaves de vazão        preferivelmente mecânico, como uma bóia
podem operar com líquidos ou com gases        flutuadora. A operação da chave pode ser
(airflow switch). Há chaves de vazão          controlada pelo movimento para cima ou
térmicas ou mecânicas. A chave é inserida     para baixo de uma bóia que flutua na
na tabulação de modo que a vazão do           superfície do liquido. O movimento da bóia
fluido passa em seu interior. Quando a        causa uma haste operar a chave. A chave
vazão atinge valores críticos ajustados na    acionada muda os seus contatos. Os
chave, os seus contatos mudam para            contatos da chave fazem parte do sistema
energizar bobinas de starter de motor de      de alimentação do motor da bomba. O
bomba ou de compressor.                       arranjo dos contatos, se NA ou NF,
                                              depende se a bomba está enchendo o
                                              tanque ou esvaziando-o, se o tanque é
                                              seguro quando vazio ou cheio.




Fig. 2.8. Chave de vazão mecânica

3.4. Chave de Nível
     Chave de nível (float switch) é uma
chave comandada pelo nível. Uma chave
elétrica muda os estados dos seus             Fig. 2.9. Chave de nível acionada por bóia
contatos quando o nível de um liquido
atinge determinados valores críticos. Por
exemplo, por segurança, um tanque
aquecido pode ser desligado por uma
chave de nível, quando o nível do liquido
no seu interior ficar menor que um valor
critico. Ajustes convenientes na chave de
nível permitem que o nível do tanque varie
dentro de uma faixa segura acima de um



                                                                                           2.7
Componentes Eletromecânicos
                                             da bobina do solenóide. A válvula retorna
3.5. Chave Limite ou Fim de Curso            automaticamente para sua posição original
    A chave limite ou fim de curso é         quando a corrente é interrompida.
acionada automaticamente pelo                    No solenóide, uma haste é mantida na
movimento de alguma maquina ou               posição superior através de uma mola,
dispositivo. Ela deve ter uma resposta       enquanto o solenóide estiver desligado
instantânea e ser confiável.                 eletricamente (desenergizada). Quando a
    Em geral, a operação de uma chave        bobina for percorrida por uma determinada
limite começa quando uma peça em             corrente, cria-se um campo magnético
movimento bate em uma alavanca que           dentro do núcleo da bobina. Este campo
atua a chave. Quando acionada, a chave       magnético resultante age na haste,
muda os seus contatos.                       empurrando-a para baixo contra a pressão
    O tamanho, força de operação,            da mola. A haste do solenóide tem uma
percurso e modo de montagem são os           projeção externa que é fixada ao
parâmetros críticos na instalação da chave   equipamento mecânico a ser operado.
fim de curso. As especificações elétricas
da chave devem estar de conformidade
com a carga a ser acionada.
    As chaves fim de curso podem ser
usadas como piloto em circuitos de
controle de motores, como proteção ou
emergência para evitar o funcionamento
impróprio de maquinas. As chaves limites
podem ter contatos momentâneos ou
retentivos.


                                                          S               S




                                                      Duas vias         Três vias

                                                Fig. 2.11. Solenóides
Fig. 2.10. Chave limite
                                             4.2. Seleção
4. Solenóide                                     Na escolha do solenóide para uma
4.1. Conceito                                aplicação, devem ser considerados os
                                             seguintes fatores:
   O solenóide é um dispositivo usado           1. tamanho da carga mecânica a ser
para transladar sinais elétricos ON/OFF em          movida
movimentos mecânicos ON/OFF. Válvula é          2. distância do percurso (stroke)
um dispositivo mecânico projetado para          3. ambiente de operação
controlar a vazão de fluidos. Válvula           4. tipo da ligação elétrica
solenóide é uma combinação destes dois          5. tensão e tipo da corrente, ca ou cc
componentes básicos:                            6. valor da corrente (manutenção e
   1. válvula contendo uma abertura com             transitória)
       a posição de um disco ou haste para      7. vida útil, expressa em atuações por
       regular a vazão e                            minuto
   2. solenóide, que é o dispositivo             O tamanho da carga mecânica a ser
       eletromagnético com a bobina.         acionada pelo solenóide é expresso em
   A válvula é aberta ou fechada pelo        gramas; varia entre alguns gramas até 30
movimento do núcleo, que é comandado         kg. A força deve ser maior que a carga por,
pela passagem ou não da corrente através     no mínimo, 25%. Quanto maior a carga a

                                                                                    2.8
Componentes Eletromecânicos
ser acionada, maior o tamanho e o custo         são sujeitas e maior aquecimento e maior
do solenóide.                                   tensão mecânica. É importante que o
    A distância a ser acionada deve ser         solenóide apropriado seja escolhido para o
igual ou maior do que o movimento linear        ciclo de trabalho necessário.
externo necessário.                                 A falha do solenóide ocorre
    O ambiente de contorno é importante.        normalmente com a queima da bobina ou
A classificação mecânica do invólucro deve      defeito mecânico ou ambos. Se o percurso
ser compatível com a atmosfera de               do solenóide é incompleto, a bobina
trabalho, para que o solenóide sobreviva e      elétrica puxa corrente excessiva. A bobina
funcione normalmente. Deve ser                  se aquece, desenvolve espiras em curto e
considerada a atmosfera circundante             se queima, se não é protegida
(poeira, óleo, umidade, gases corrosivos) e     corretamente por fusíveis. Um
o nível de vibração mecânica da área.           deslocamento incompleto pode ser
Solenóide sob vibração pode esquentar           causado pelo desgaste das partes
muito, se desgastar anormalmente e ter a        mecânicas do solenóide. Freqüentemente,
vida útil encurtada.                            um percurso incompleto ocorre quando o
    Como o solenóide é um dispositivo           mecanismo em que o solenóide é fixado
elétrico, sua classificação elétrica deve ser   fica bloqueado em uma posição
compatível com a classificação da área.         intermediária. A proteção através do fusível
São disponíveis solenóides com invólucro        correto é a melhor precaução para evitar
à prova de explosão e intrinsecamente           queima elétrica.
seguras, compatíveis com áreas de
Divisão 1 e 2, Grupos B, C e D.
                                                4.3. Tipos
    O tipo de ligação elétrica se refere pode       As válvulas solenóides podem ser
ser através de plugs, rabo de porco (pigtail)   classificadas em vários tipos, em função de
ou terminais com parafuso.                      sua ação, número de vias e corrente.
    A tensão é tipicamente 110 V ca; pode-          O solenóide pode ser de única ação ou
se ter também 24 V ca. Outra                    de dupla ação. As válvulas solenóides de
consideração importante é o tipo de             dupla ação são usadas em sistemas
tensão: ca ou cc. Os solenóides são             hidráulicos.
construídos especificamente para                    As válvulas solenóides podem ter duas
operação em ca ou em cc. Assim, um              ou três ou quatro vias. As válvulas de duas
solenóide de 110 V ca não pode ser usado        vias são as mais comuns: elas possuem
em 110 V cc.                                    uma entrada e uma saída. As válvulas de
    A corrente do solenóide é também            três vias podem ter duas entradas e uma
importante. Quando energizada, o                saída ou podem ter uma entrada e duas
solenóide puxa a corrente especificada. A       saídas. As válvulas de quatro vias são
linha elétrica e o fusível devem ser            usadas em controle de cilindro de dupla
dimensionados de acordo com esta                ação. Quando a bobina está desligada, um
corrente. Outro fator a considerar na           lado do pistão está à pressão atmosférica
especificação do solenóide é que, na            e o outro está pressurizado. Quando a
partida, ela puxa de 5 a 15 vezes sua           bobina é energizada, a válvula joga o lado
corrente especificada de regime,                de alta pressão para a atmosfera. Como
dependendo do tamanho. Um pico de               resultado, o pistão e sua carga agem
corrente em um solenóide de 5 A pode            reciprocamente em resposta ao movimento
atingir 45 A. Esta corrente transitória deve    do solenóide.
ser considerada na escolha do fusível.              O solenóide pode operar com corrente
    O ciclo de trabalho se refere à             alternada ou continua. Os solenóides
freqüência de operação do solenóide.            operados com corrente alternada são mais
Alguns solenóides ficam ligados uma vez         comuns e simples. Normalmente elas são
durante um tempo pequeno. Outras ficam          protegidas com capacitores de surge ou
ligadas durante longos períodos e ficam         diodos dos picos de tensão resultantes da
desligadas por pouco tempo. Outras são          abertura e fechamento rápidos.
operadas muitas vezes cada segundo. Os              O corpo da válvula solenóide se
solenóides que operam em alta freqüência        comporta como o de uma válvula

                                                                                        2.9
Componentes Eletromecânicos
convencional. Todos os cuidados                 mas pode controlar 2500 W de potência,
aplicáveis a uma válvula de controle            com ganho de 10.000.
referentes à vedação, estanqueidade,
selagem e classe de pressão se aplicam à
                                                5.2. Características
válvula solenóide.                                  Os relés controlam a corrente elétrica
     Geralmente a válvula solenóide é           por meio de contatos que podem ser
assimétrica, ou seja, sua entrada é             abertos ou fechados. Os contatos
diferente da saída e elas não podem ser         apresentam altíssima resistência quando
invertidas.                                     abertos e baixíssima resistência quando
     Uma válvula solenóide é diferente de       fechados. Eles podem ter múltiplos
uma chave de vazão. Embora ambas                contatos, com cada contato isolado
possam prover um controle liga-desliga da       eletricamente de todos os outros. Os
vazão, a válvula solenóide é operada por        contatos são atuados numa seqüência
um sinal elétrico externo à válvula. A chave    definida e positiva.
de vazão também corta ou permite uma                A bobina de atuação usualmente é
vazão, porém é comandada pela própria           isolada completamente do circuito
vazão. Quando a vazão atinge um valor           controlado. Ela pode ser atuada por
critico pré-ajustado, a chave muda os seus      energia elétrica de características
contatos, desligando o motor da bomba ou        totalmente diferentes do circuito
compressor e tornando a vazão zero.             controlados. Por exemplo, mA cc pode
Quando se quer cortar a vazão de uma            controlar kW de RF.
válvula solenóide, basta energizar (ou              Cada uma das várias estruturas
desenergizar) a sua bobina.                     mecânicas possui vantagens e
                                                desvantagens. Alguns respondem
5. Relés                                        rapidamente, menos de um
                                                microssegundo, mas não podem manipular
5.1. Definição e Funções                        com segurança grande quantidade de
    O relé é uma chave comandada por            energia. Alguns manipulam grande
uma bobina. Ele é uma chave porque ele          quantidade de energia, mas são lentos.
liga-desliga um circuito elétrico, permitindo   Aproximadamente todas as formas são
a passagem da corrente elétrica como o          disponíveis com contatos abertos, com
resultado do fechamento de contato ou           invólucros vedados à poeira ou
impedindo a passagem da corrente                hermeticamente selados. Alguns são a
durante o estado de contato aberto.             vácuo para manipular altíssimas tensões.
Diferentemente da chave convencional que        Alguns possuem contatos apropriados para
é acionada manualmente, o relé não              manipular tensões de RF e para evitar
necessita da intervenção humana direta          acoplamentos capacitivos.
para ser operado. O relé eletromecânico é
um dispositivo que inicia a ação num
circuito, em resposta a alguma mudança
nas condições deste circuito ou de algum
outro circuito.
    O relé é geralmente usado para
aumentar a capacidade dos contatos ou
multiplicar as funções de chaveamento de
um dispositivo piloto adicionando mais
contatos ao circuito. Sob o ponto de vista      Fig. 2.12. Bobina de relé eletromecânico
de entrada-saída, o relé pode também ser
considerado como amplificador e                    Os relés de controle são disponíveis
controlador. Ele tem um ganho de                em vários arranjos de contatos NA e NF de
potência, que é a relação da potência           simples ou duplo throw. Em muitos relés é
manipulada na saída sobre a potência de         possível a mudança de contatos NA em NF
entrada. Assim um relé pode requerer uma        e NF em NA, através da mudança da
corrente da bobina de 0,005A em 50 V            posição da mola.


                                                                                           2.10
Componentes Eletromecânicos
     Há os relés de estado sólido, que              sistema de proteção com purga ou
utilizam transistores SCR, triacs e não são         pressurização ou permitir que certos
eletromecânicos. Nestes dispositivos, o             componentes se aqueçam antes de
circuito controlado é isolado do circuito de        operar, através de atrasos
controle por um transformador, acoplador            predeterminados
óptico ou por um relé eletromecânico.            7. bloquear, sincronizar, variar taxas,
                                                    detectar freqüências, detectar
5.3. Aplicações                                     diferenças de percentagens em
    A função de um relé é a de abrir ou             aplicações especiais.
fechar um contato elétrico ou um conjunto
                                               5.4. Tipos de Relés
de contatos, em conseqüência da
mudança de alguma condição elétrica.               Os relés podem ser acionados por ca e
Estes fechamentos e aberturas são usados       cc. Podem manipular microvolts a kilovolts,
em circuitos associados para selecionar        microamperes e kiloamperes.
outros circuitos ou funções, para ligar ou         Os relés eletromecânicos são
desligar outras funções. Esta mudança da       disponíveis em variadas faixas de arranjos
condição elétrica é o sinal.                   de contatos. Um relé a semicondutor é
    Há algumas centenas de relés               muito usado como piloto para um relé
diferentes. O relé é usado para muitas         eletromecânico.
funções de controle. Entre suas                    A isolação elétrica entre contatos deve
características importantes para uso em        ser muito elevada de modo que não haja
circuitos de controle estão:                   vazamentos, mesmo com altas tensões. O
   1. operação remota                          espaçamento dos contatos deve ser
   2. operação lógica                          grande para evitar arcos voltaicos no
   3. controle de alta tensão através de       controle de alta tensão. O acoplamento
        baixa tensão                           capacitivo deve ser mantido baixo.
   4. isolação entre circuito de controle e        O relé eletromagnético é atuado por
        de chaveamento                         força eletromagnética, que é produzida por
    Os relés podem ser usados para             corrente elétrica fluindo através da bobina.
   1. ligar e desligar correntes ou tensões    Na maioria dos relés, a força magnética
        em ambientes hostis, no espaço         move uma armadura de ferro. Em outros
        sideral ou em processos industriais    relés, especialmente em relés de medição,
        onde a temperatura pode ser            a bobina é que se move no campo
        extremamente alta ou baixa e           magnético.
        perigosa à saúde humana                    Quando não há corrente na bobina, a
   2. monitorar altas correntes e tensões      armadura é mantida afastada do núcleo da
        de modo automático ou manual e         bobina por uma mola e há contato com A.
        em condições perigosas                     Quando há corrente na bobina, o
   3. operar simultaneamente vários            campo magnético produzido atrai a
        circuitos ou equipamentos em altas     armadura para o núcleo da bobina,
        velocidades                            diminuindo o espaçamento de ar. Quando
   4. ligar e desligar equipamentos em         diminui o espaçamento, a força de atração
        sistemas lógicos de intertravamento,   aumenta, fazendo o contato sair de A e ir
        só permitindo a operação de um         para B. A força de atração da bobina vence
        equipamento quando algum evento        a força de resistência da mola de retorno.
        tenha ocorrido                             Quando a bobina é percorrida pela
   5. proteger equipamentos de                 corrente, ela atrai a armadura. A armadura
        sobrecarga ou sob carga, quando a      muda os contatos: o que era aberto, fecha,
        tensão, corrente, temperatura,         o que era fechado, abre.
        pressão, vazão, nível ou qualquer          Estes relés podem operar em ca e cc.
        outra variável do processo varie       Quando se tem ca, um anel de cobre é
        além dos limites máximos e mínimos     usado para evitar aberturas e fechamentos
        estabelecidos                          sucessivos. Quando se tem cc, obtém-se o
   6. evitar a aplicação de tensão por um      controle da resposta do relé
        determinado intervalo de tempo em

                                                                                      2.11
Componentes Eletromecânicos
Reed relé                                        haste. A haste então retorna à sua posição
    Duas palhetas de material magnético          original. Relés com retenção são usados
montadas em uma cápsula de vidro                 em aplicações onde o relé é ligado por
instalada dentro de uma bobina constituem        longos períodos. A potência pode ser
um reed relé. A corrente fluindo através da      removida durante a operação ligada
bobina produz um campo magnético,                normal. Note que o relé de retenção ou
magnetizando as palhetas, fazendo-as se          com selagem não deve ser usado para
atraírem mutuamente, fazendo contato. As         configuração de falha segura (fail safe).
superfícies de contato são revestidas de         Deve-se aplicar potência para desligar um
ligas metálicas preciosas. A ação mola           circuito, este circuito não é de falha segura.
requerida é provida pelas lâminas em si.             Outro tipo comum de é o reed relé. O
Reed relés são os mais rápidos relés             reed relé é de ação rápida, possui uma
(eletromagnéticos) eletromecânicos:              longa vida útil, usa baixa potência e é
operam com menos de 500                          compacto. Muitos reed relés são do tipo
microssegundos. Eles são disponíveis em          plug in, tornando fácil sua substituição. O
várias configurações de contatos. Eles           reed relé usa a ação magnética para sua
podem ser polarizados, podem ser feitos          operação e não a ação do solenóide. Pela
em latch relé que mantém a ultima posição        ação magnética, quando a bobina do relé é
assumida, mesmo quando a bobina é                energizada, ela produz um campo
desenergizada, com a adição de pequenos          magnético. O material do braço do contato
elementos magnéticos permanentes.                é magnético. Assim, as duas tiras do
    Reed relés são disponíveis com               contato se tornam magnetizadas e se
contatos secos ou a mercúrio (molhado).          atraem entre si. Quando os contatos se
Mais de um conjunto de lâminas pode ser          encontram, o circuito elétrico é fechado.
usado com uma única cápsula ou várias            Quando a potência é removida da bobina.
cápsulas podem ser operadas por um               os contatos se reabrem pela ação da mola
único conjunto de bobina. Vantagens do           dos braços do contato. Alguns contatos do
Reed relés: rápidos, pequenos, alta              reed relé são de mercúrio, para aumentar a
confiabilidade e durável: > 10 de                vida do relé. Eles são muito mais caros.
operações.                                       Relé a estado sólido
Relé eletromecânico                                  Atualmente são disponíveis os relés de
    O tipo mais comum de relé é o                estado sólido (SSR). O relé de estado
eletromecânico (EMR). O relé                     sólido substitui o relé eletromecânico em
eletromecânico combina os princípios de          várias aplicações. O relé a estado sólido
chaveamento mecânico com a atuação do            não possui peças móveis. O chaveamento
solenóide elétrica. Quando o solenóide é         liga e desliga é conseguido
energizada ou desenergizada, ela move            eletronicamente.
uma haste em uma direção e a pressão de              O relé a estado sólido pode ser usado
uma mola move a haste em direção                 para controlar cargas cc ou ca. Se o relé é
contraria. A haste, por sua vez, abre e          projetado para controlar uma carga cc, um
fecha contatos. Os contatos são                  transistor de potência é usado para ligar a
especificados no estado não atuado, como         carga à linha.
NA ou NF. Os contatos de um relé podem               O acoplador óptico do relé possui um
ser múltiplos.                                   par casado: diodo emissor de luz e diodo
    Alguns relés eletromecânicos são do          fotodetector. O diodo emissor de luz (LED)
tipo retentivo (latching). Os relés retentivos   está ligado à entrada e o diodo fotodetector
fecham quando se aplica potência aos dois        está na saída. Quando a tensão de entrada
terminais da bobina. Quando a potência é         liga o LED, o fotodetector ligado à base do
removida da bobina, o relé permanece na          transistor faz o transistor conduzir,
posição selada. Para soltar, deve-se ou          energizando a carga. Neste tipo de relé o
desligar o relé ou aplicar potência em           feixe de luz serve como o isolador entre o
terminais diferentes do relé. Energizando        circuito de controle e a carga do circuito.
os terminais não selantes aplica-se                  Alguns relés a estado sólido usam um
potência em outra bobina, que libera a           conjunto de contatos reed para disparar


                                                                                          2.12
Componentes Eletromecânicos
    um triac. O circuito de controle é ligado à            2. são sensíveis às vibrações
    bobina do reed relé Quando a tensão de                 3. são mais volumosos
    controle faz a corrente fluir através da               4. Os relés especiais mais comuns
    bobina, aparece um campo magnético em                     são:
    torno da bobina do relé, que fecha os                  5. contadores seqüenciais com
    contatos reed, fazendo o triac conduzir.                  contatos de transmissão
    Neste tipo de relé o campo magnético                   6. relés eletro-ópticos (acoplamento
    serve como o isolador entre o circuito de                 entre atuador e circuito de
    controle e a carga do circuito.                           fechamento e raio de luz)
        Na instrumentação, os relés competem               7. relés de medição com sensibilidade
    com diodos SCR, chaves a semicondutor e                   de 20 mW
    transistores.                                          8. relés de medição com 2 ou mais
        As vantagens do relé eletromecânico                   valores de atuação.
    sobre o relé a semicondutor são :                      9. relés reed ressonantes para
       1. baixa resistência e portanto baixa                  chaveamento com controle remoto.
           queda de tensão quando fechados e
                                                         Relé temporizado
           alta resistência quando abertos
           (fornecem boa isolação entre o                    O relé temporizado é útil para provocar
           circuito controlado de alta energia           uma ação atrasada por um breve período
           com o circuito de baixa energia)              após uma outra ação, em casos onde o
       2. manipulação de altas tensões e                 período de tempo é critico. Não se deve
           correntes, em larga faixa de                  confundir relé temporizado termal com o
           freqüências.                                  temporizador, contador e programador de
       3. operação em condições ambientais               altíssima precisão.
           adversas.                                         Os relés temporizados são similares
       4. tamanho pequeno, baixo custo e                 aos outros relés de controle em que eles
           simplicidade.                                 usam uma bobina para controlar a
       5. memória funcional que não é                    operação dos contatos. A diferença entre
           perdida pela ausência da                      um relé de controle e um relé de atraso é
           alimentação.                                  que os contatos do relé temporizado
                                                         demoram um determinado tempo ajustável
                                      Carga              para alterar seus contatos quando a bobina
                                                         é energizada ou desenergizada.
                                                             Os relés temporizados ou relés de
                                     Tensão cc           atraso de tempo podem ser classificados
Entrada
                                                         em relé de on-delay ou de off-delay.
                                                         Quando a bobina de um relé temporizado
                                                         on-delay é energizada, os contatos mudam
                                                         os estados depois de um determinado
    Fig. 2.13. Transistor de potência para carga cc      atraso. Por exemplo, o timer foi ajustado
                                                         para 10 segundos e o contato é NA.
                                                         Quando a bobina é energizada no relé on-
                                                         delay, o contato continua aberto durante 10
                                       Carga             segundos e depois fecha. Quando a
                                                         bobina for desligada, o contato volta
                                                         imediatamente para a posição NA.
 Entrada                               Tensão
                                          ca         ~       A operação do timer off-delay é oposta
                                                         a do timer on-delay. Para o exemplo do
                                                         timer ajustado para 10 segundos e para o
          Fig. 2.14. TRIAC para controlar carga cc       contato NA, quando a bobina do relé off-
                                                         delay for energizada, o contato
                                                         imediatamente muda para fechado.
        As desvantagens do relé                          Quando a bobina for desenergizada,
    eletromecânico:                                      porém, o contato permanece fechado por
       1. são mais lentos                                10 segundos e depois abre.


                                                                                               2.13
Componentes Eletromecânicos
    Nos esquemas, os timers podem ter
símbolos diferentes para seus contatos. As    6. Temporizadores
abreviações TO e TC são usadas para
indicar um contato operado pelo tempo. TO         O temporizador, como o contador, é um
se refere a tempo para abertura e TC,         dispositivo lógico que permite o sistema
tempo para fechamento. O TC deve ser          automático ativar equipamentos de saída,
usado com relé on-delay para indicar o        durante um estágio específico na operação
tempo atrasado quando fechando e TO           do processo. Ele é usado para atrasar
deve ser associado com timer off-delay,       ciclos de partida e parada, intervalos de
para indicar o tempo atrasado quando          controle, ciclos operacionais repetitivos e
abrindo.                                      tem a capacidade de rearmar o sistema ao
    Assim, na norma NEMA, tem-se os           fim destes ciclos.
contatos                                          O temporizador pode ser disponível em
    1. NOTC no contato on-delay -             lógica de relé (eletrônico ou
        normalmente aberto tempo              eletromecânico) ou como função lógica do
        fechando,                             Controlador Lógico Programável.
    2. NCTO no contato off-delay -                Os temporizadores pneumático e
        normalmente fechado tempo             mecânico possuem a mesma aparência,
        abrindo.                              com um dial para ajustar o tempo de atraso
    Há vários princípios de funcionamento     desejado. O símbolo de um temporizador é
para os relés temporizados: dashpot,          o mesmo para os vários tipos diferentes.
bimetal-térmico, pneumático, eletrônico       Um círculo simboliza a bobina ou motor
(circuito RC).                                temporizado. Este elemento do
                                              temporizador é usado para rodar o
5.5. Seleção de Relés                         intervalo de tempo ajustado. No fim do
    Fatores que afetam a seleção: custo,      intervalo predeterminado, os contatos
tamanho, velocidade e energia requerida.      elétricos mudam de estado, de aberto para
Parâmetros mais restritivos: limitações de    fechado ou de fechado para aberto.
montagem, contatos selados ou abertos,            É possível fazer quatro combinações
proteção contra geração de faíscas,           de temporizadores, considerando a lógica
proteção contra condições ambientais          de atraso para ligar (TON) ou atraso para
desfavoráveis.                                desligar (TOFF) e os contatos
    Para que os relés sejam aplicados         normalmente abertos (NA) ou normalmente
corretamente, as funções dos relés devem      fechados (NF). Assim, tem-se:
ser claramente entendidas, as                    1. NO/ON/TC (normally open, timed-
características devem ser definidas, o relé          closing - normalmente aberto,
deve ser escolhido para satisfazer a                 temporizado para fechar, ligando)
necessidade e o circuito deve ser projetado      2. NC/ON/TO (normally close, timed-
para casar corretamente o relé com o resto           opening - normalmente fechado,
do sistema. Assim, devem ser definidos.              temporizado para abrir, ligando)
   1. a energia a ser controlada,                3. NO/OFF/TC, (normally open, OFF
   2. o sinal de controle disponível,                timed closing - normalmente aberto,
   3. a quantidade de contatos                       desligam fechando com o tempo).
       necessária,                               4. NC/OFF/TO (normally close timed
   4. as condições ambientais,                       opening (NC/OFF/TO, normalmente
   5. necessidade de relés selados,                  fechado, desliga abrindo com o
   6. espaço disponível para o uso do relé           tempo.
   7. problemas de vibração, ruídos e             Seus símbolos são diferentes.
       temperatura,                               O tipo de temporizador mais comum é
   8. proteção dos contatos contra arcos      time-delay TON: depois do intervalo de
       voltaicos, faíscas, solda por          tempo predeterminado ser completado,
       derretimento,                          depois da bobina ser energizada, os
   9. manutenção dos contatos sempre          contatos mudam de estado, de aberto para
       limpos, principalmente para baixas     fechado ou de fechado para aberto.
       correntes.                             Quando a bobina é desenergizada, os


                                                                                    2.14
Componentes Eletromecânicos
contatos voltam ao seu estado original,
instantaneamente. Alguns temporizadores                              NOTC
podem ser resetados por um circuito
separado e não resetados
automaticamente quando a bobina for
desenergizada.
                                                                    NCTO

    On Entrada bobina                              (a) Atraso para energizar
        temporizada
    Off
                                                               NOTC
    On
    Off Atraso para ligar energizada
          Atraso para desligar energizada
    On
    Off
                               Tempo
                               atraso                        NCTO

Fig. 2.15. Gráfico do tempo para timer TON         (b) Atraso para desenergizar

                                               Fig. 2.17. Contatos temporizados
           Entrada bobina temporizada
    On
    Off                                             Em circuitos de lógica de relés, os
   On                                          temporizadores e contadores são unidades
            Atraso para desligar energizada
                                               individuais montadas no painel e fiadas
   Off
                                               fisicamente.
          Atraso para desligar desenergizada        Para a função de temporização do
   On
                                               CLP, o temporizador é gerado no
   Off                                         programa, chamando-o como uma função
                                Tempo          especial. Há somente um tipo de função de
                                atraso
                                               temporização no CLP: atraso de tempo de
                                               ligar. Qualquer outro tipo de necessidade
Fig. 2.16. Gráfico do tempo para timer TOFF    de temporização pode ser realizado pelo
                                               uso de combinações de um número de
     Alguns temporizadores mudam de            funções de temporização no CLP.
status dos contatos da saída, depois de             Quando a função de temporização é
intervalo de tempo, quando a bobina é          chamada pelo teclado, aparece o bloco do
desenergizada, são os TOFF.                    temporizador. O bloco é programado com
    Em situações de temporização, devem        três parâmetros:
ser considerados os status da saída em              1. número ou tag do temporizador, p.
três tempos:                                           ex., TS017 ou 31.
    1. antes de partida, quando o circuito          2. o valor do tempo do intervalo de
        está no estado predeterminado,                 temporização, p. ex., 14 s para
    2. durante o período de contagem do                cada formato
        tempo,                                      3. registro especificado onde a
    3. após o intervalo de tempo ter                   contagem se processa, p. ex.,
        expirado, quando o circuito é                  HR101 ou função 31.
        acionado.                                   Há duas entradas para a função de
                                               temporização:
                                                    1. entrada que começa a função de
                                                       intervalo de temporização,
                                                    2. entrada que habilita - rearme
                                                       (enable - reset).


                                                                                   2.15
Componentes Eletromecânicos
    Quando a entrada enable - reset está         ele pára onde estiver e não é resetado
desligada, o temporizador não conta              para 0.
mesmo se a linha de contagem estiver                 No formato bloco, seja IN 002 fechada
ligada. Quando a entrada enable - reset          e IN 001 ligada. Após 6 segundos, IN 001
está desligada, o temporizador pode              é aberta. O temporizador retém a
contar. Quando a entrada enable - reset é        contagem de 6. Como o tempo ainda não
desligada após o temporizador terminar o         atingiu o valor predeterminado de 14, a
tempo, o temporizador é resetado para            saída do temporizador ainda está
zero.                                            desligada. O temporizador não reseta até
                                                 que IN 002 seja aberta. Se algum tempo
                                                 mais tarde IN 001 é fechada novamente,
               IN001                             ele conta mais 8 segundos depois do
  Rodar                     Preset               fechamento de IN 001, e a bobina do
                              014                temporizador irá energizar quanto atingir
                                                 14 (6 + 8).
                IN002                                No formato bobina, IN7 é para
  Habilita -                 Reg
                            HR101                temporizar RT31 = RN. IN8 habilita RT31 –
  Reset                                          RS. Quando o temporizador liga, sua saída
                                                 31 (interna) liga a saída 78.
(a) Formato de bloco

                IN 7                                Tab. 4.1. Seqüência do temporizador
                                  31   RN
  Rodar                                RT        Status     Tempo      Tempo      Convenção
                                                 Reset      durante    expirado
                IN 8                             Aberto     Aberto     Fechado    O O X
  Habilita -                      31
                                       RS
  Reset                                RT        Aberto     Fechado    Aberto     O X O
                 31                              Fechado    Aberto     Fechado    X O X
  Saída do                                  78
  timer                                O
                                                    O – contato aberto
                                                    X – contato fechado
(b) Formato de bobina

Fig. 2.18. Temporizador com duas entradas



   Preset é onde o valor da temporização é
estabelecido. Ele pode ser uma constante
ou um registro designado.
   Reg. é o registro designado em que a
contagem ocorre.
    Um temporizador deve ter duas
entradas. A entrada IN002 é a linha de
habilitar-resetar, que permite o
temporizador rodar quando energizado.
Quando desenergizado, o temporizador é
mantido em 0 ou resetado para 0. A linha
IN001 faz o temporizador rodar quando o
ele for habilitado. Quando habilitado, o
temporizador roda enquanto IN001 estiver
energizada. Se IN001 é desenergizada
enquanto o temporizador estiver rodando,


                                                                                     2.16
Componentes Eletromecânicos

 6.1. Atraso para ligar                                              6.2. Atraso para desligar
     Quando o circuito é ligado, ocorre uma                              Tem-se dois motores: principal e da
 ação. Depois de um determinado tempo,                               bomba de lubrificação. O motor de
 ocorre outra ação. São mostradas as                                 lubrificação deve ser ligado durante um
 lógicas com relé e com CLP.                                         intervalo de tempo (e.g., 20 s) e depois
                                                                     desligado, e o principal continua operando.
              SW1                      8s

                                                     A
                                                                                        IN 01              CR 17
        CR 17-1
                                    TDR                                                                             Motor
                                                     B
                                                                          IN 01                            CR 18
                                                                                             Preset                 Lógica
                                       LT1                                                     20 s
             TDR - 1                                                                                        TS
                                                                          IN 01
                                                                                              Reg.
                                                                                             HR 161
                              LT2
                (a) Diagrama elementar
                                                                          IN 01 CR 18                  CR 19
                                                                                                                    Lubrificação
                          IN 01              CR 17
                                                         A              CR 19
             CR 17-1                         CR 18
                                                      B              (a) Bloco funcional do CLP
                                   8s
             CR17-2
                               Cont.
                              HR 001                                                   On
                                                                          Saída 17
                                                                                       Off O               X               O
         IN 03                                                                                                             20 s
                                                                                       On
 (b) Bloco funcional do CLP
                                                                          Lógica 18    Off XO              O               X

              On                                                                       On
LT1-CR 017            O            X             X                        Saída 19              O                          X          O
              Off                                                                      Off
              On                   8s                                                           IN 01 On           IN 01 Off
LT2-CR 018    Off     O            O             X
                    SW1-IN 01 On                     SW1-IN 01 Off

                                                                     (b) Diagrama de tempo
 (c) Diagrama de tempo
                                                                     Fig. 2.20. Temporizador para desligar
 Fig. 2.19. Temporizador para ligar

     1. Quando a chave SW1 é ligada,
        lâmpada A acende
     2. Oito segundos depois, lâmpada B
        acende
     3. As duas lâmpadas apagam ou
        permanecem apagadas, sempre que
        SW1 estiver aberta.




                                                                                                                               2.17
Componentes Eletromecânicos
                                                    Preset é onde o valor da contagem é
7. Contadores                                   estabelecido. Ele pode ser uma constante
                                                ou um registro designado.
    Os contadores podem ser mecânicos,              Reg. é o registro designado em que a
elétricos ou eletrônicos. Um contador não       contagem ocorre.
reseta automaticamente quando a sua                 Um contador deve ter duas entradas.
bobina é desenergizada, como faz o              Se IN002 está aberta, o contador está em
temporizador. Se fosse assim, ele contaria      0, quando IN002 é fechada, o contador é
até 1 e resetaria em 0 e não sairia disso. O    habilitado. Em qualquer tempo durante a
contador necessita de um dispositivo ou         operação que IN002 é reaberto, o contador
ligação separada para resetá-lo. Os             reseta para 0.
contadores podem ser crescentes                     No formato bloco, quando habilitado, o
(contagem sobe continuamente) ou                contador irá contar cada vez que a entrada
decrescentes (contagem desce                    IN 001 vai de aberta para fechada. Ele não
continuamente).                                 conta quando IN 001 vai de fechada para
    A função de contador do CLP opera de        aberta. Seja a contagem ajustada para 21.
modo semelhante à função do                     Começando de 0, o contador incrementa
temporizador. Quando a linha enable -           um número cada vez que os pulsos de
reset está ligada, o contador conta uma         entrada se ligam. Quando a contagem 21 é
vez cada momento que a linha de                 atingida, não há mais mudança na saída. A
contagem é ligada. Quando uma contagem          saída fica ligada e o contador continua a
predeterminada é atingida, a saída fica         incrementar.
ligada. A contagem predeterminada pode              A função contagem crescente é
ser uma constante, como mostrada, ou            parecida com a contagem decrescente,
pode ser contida em um registro, como na        exceto que uma contagem aumenta a
função temporizador do CLP. Quando a            outra diminui.
linha enable - reset é desligada, o contador    Se o contador fosse decrescente, ele
reseta para zero.                               começaria em 21. Quando os pulsos de
                                                entrada são recebidos em IN 001, o
                                                contador diminui de 21, 20, 19, ...). Quando
                 IN001                          o contador atinge 0, a saída do contador
    Contador                     Preset         fica energizada. Qualquer pulso adicional
                                   021          que chega na entrada IN 001 não afeta o
                                                status da saída IN 001.
                  IN002                             No formato bobina, as contagens de
    Habilita -                    Reg
                                 HR102          pulsos são por IN1 a UC 32. A contagem
    Reset                                       ajustada é 21. O comando Habilita – Reset
                                                é feito por IN02. Quando uma contagem de
                                                21 é atingida, o contato 32 energiza a
(b) Formato de bloco                            saída 74.
                                                    Para alguns formatos de contador, não
                                                mostrados aqui, uma linha de uma função
                 IN 1
                                      C
                                           32   contador em cada bloco é a linha de
  Contador                                 UC   habilitação. A detecção da contagem é
                             Contador 21
                                                feita pela função bloco de um registro
                 IN 2                           específico ou entrada no bloco. Uma linha
  Habilita -                          E
                                           32   de reset para o bloco contador é incluída
                                           UC
  Reset                                         depois no programa ladder.
                  32                                A operação de contagem é
                                           74   normalmente não retentiva. Abrindo a
  Saída do                                 OT
                                                entrada habilitada IN 002, em qualquer
  contador
                                                momento, irá resetar o contador para 0, no
                                                CLP. Quando IN 002 é fechada de novo, a
(b) Formato de bobina                           contagem não é retida como um ponto de
Fig. 2.21. Contador básico                      nova partida.

                                                                                       2.18
Componentes Eletromecânicos
 7.1. Contagem simples                                                       IN 01          CR 17
    Após um determinado número de
 contagens, a saída do contador liga, para                         IN 02                    CR 18
 energizar um indicador. O status da saída            Contador                    Preset
 pode também ser utilizado na lógica do                                             06
 diagrama ladder na forma de um contato.
                                                                   IN 01
    O contador funciona se sua linha de                                            Reg
                                                      Habilita
 habilitação é energizada. Depois que a                                           HR 75
 entrada de contagem atinge 18 pulsos, a
 saída do relé é energizada.                                      IN 03                     CR 19
                                                      Contador                    Preset
                                                                                    08
                                     UC
                                     CR 21                         IN 01
             IN 04                                    Habilita                     Reg
Contador                    Preset                                                HR 76
                              018                                                           CR 20
                                                                   IN 01    CR 19
             IN 06
Habilita                     Reg
                            HR 037                                     CR 18


                                                 (b) Diagrama ladder
 Fig. 2.22. Operação básica do contador no CLP   Fig. 2.23. Aplicação com dois contadores

 7.2. Dois contadores                               CR 17 – relé mestre do sistema
                                                    CR 18 – Lógica para contar até 6 (C)
     A aplicação envolve dois contadores.           CR 19 – Lógica para contar até 8 (D)
 Quer-se que um indicador de saída fique            CR 020 – vai para uma lâmpada piloto
 ligado quando houver 6 peças de uma                       para indicar quando, no
 esteira C e oito peças de uma esteira D                   mínimo, 6 peças A e 8 peças B
 entrada na esteira comum E. O circuito                    entraram na esteira E.
 monitora as duas contagens. IN 02 e IN 03
 são sensores de proximidade que dão um          7.3. Número de peças
 pulso quando uma peça passa por eles. O             O sistema é para contar a diferença do
 circuito não indica mais do que seis ou oito    número de peças que entram e que saem
 peças, ele somente indica quando há             de uma esteira.
 peças suficientes.                                  O número de peças que entram na
     Para repetir o processo, abrir IN 01        esteira é contado pelo contador com
 para resetar o sistema. Depois , fechar de      entrada IN 02 e o número de peças
 novo IN 01.                                     deixando a esteira é contado pelo contador
                                                 com entrada IN 03. Cada contador é
                                                 alimentado pela saída de uma chave de
                     Para IN 02                  proximidade.
                                                     É necessário que a contagem inicial
                                                 seja exata. Quando começando a
                                  Esteira E      operação, o número de peças na esteira
                                                 deve ser determinado. Este número de
                                                 contagem é programado no registrador
                     Para IN 02                  comum, HR 101. Normalmente, é
                                                 necessário colocar este número no
                                                 contador decrescente, como o número
 (a) Lógica das esteiras
                                                 predeterminado. Então, qualquer peça indo
                                                 na esteira, pulsa o contador crescente. O
                                                 registro do contador, que é comum aos

                                                                                              2.19
Componentes Eletromecânicos
dois contadores, tem seu valor aumentado
por um, para cada peça que entra. Do                                  8. Proteção de Circuitos
mesmo modo, as peças deixando a esteira
diminuem a contagem do registro comum                                     Grandes picos de correntes
através do contador decrescente. O valor                              provenientes de sobrecargas ou curtos-
no registro HR 101 representa o número                                circuitos podem ocorrer acidentalmente em
de peças na esteira, assumindo que                                    circuitos elétricos. Tais picos de corrente
nenhuma peça caiu da esteira e nenhuma                                podem destruir componentes, provocar
foi colocada no caminho.                                              choques elétricos ou resultar em incêndios,
    O valor do contador crescente não                                 se não forem parados a tempo. Para
importa, nesta aplicação. Não importa se                              proteger os sistemas contra os danos de
suas saídas estão ligadas ou desligadas. A                            tais sobrecargas inesperadas, são usados
lógica da saída não é usada. Na figura, o                             dispositivos de proteção. Os mais comuns
valor colocado predeterminado é 999,                                  são
arbitrário.8. Dispositivos de Proteção                                    1. fusível
                                                                          2. disjuntor
                                                                          3. limitador de corrente
                                                                          4. térmico
                                                                      8.1. Fusível
                            Esteira              HR 101
                                                                           O fusível é basicamente um pedaço de
Contagem das peças                                                    fio fino projetado para se aquecer e
                                  Contagem das peças
que entram na esteira             que saem da esteira                 derreter quando for percorrido por uma
                                                                      corrente maior do que a especificada. O
                                                                      fusível é colocado em série com o circuito
               (a) Lógica da esteira                                  a ser protegido. Os fusíveis devem ser
                                                                      colocados na linha quente ou na fase e
                                                                      não no linha neutra ou de terra. Quando o
                        IN 01           CR 17                         fusível é colocado na linha neutra, o
                                                   Sistema            circuito eletrificado poderia permanecer no
          IN 02                         CR 18                         potencial da linha quente, mesmo com o
                                                                      fusível queimado.
                            Preset                 Peças na
                                                   entrada                 O fusível destrói uma parte do caminho
                              999
                                                                      de condução da corrente, se derretendo,
          IN 01                                                       quando a corrente que flui por ele excede
                             Reg
                                                                      um valor predeterminado. A queima do
                            HR 101
                                                                      fusível interrompe a corrente no resto do
         IN 03                          CR 19                         circuito. A interrupção deve ser muito
                            Preset                 Peças na           rápida, para que os componentes em série
                                                   saída              sejam protegidos.
                                                                           Há aplicações que requerem a ação
          IN 01                                                       retardada do fusível. Alguns circuitos
                             Reg                   Ajustar para
                            HR 101                 contagem inicial   podem suportar grandes picos de corrente
                                                   de peças           de curta duração mas devem ser
                                                                      protegidos contra picos de corrente de
                                                                      longa duração. Devem ser usados fusíveis
(c) Diagrama ladder                                                   de ação retardada ou de queima lenta
                                                                      (slow blow). Um fusível de ação retardada
Fig. 2.24. Aplicação para contagem de número de                       resiste a altas correntes de curta duração.
peças na esteira                                                      Porém, se a sobrecarga ou curto-circuito
                                                                      persiste por longo período, este fusível
                                                                      também deve se abrir. Aplicações típicas
                                                                      de fusíveis com retardo se referem a
                                                                      proteção de motores elétricos. A corrente
                                                                      de partida do motor é momentaneamente


                                                                                                            2.20
Componentes Eletromecânicos
alta e a corrente de regime é muito menor.      circunstância, um fusível especificado com
O fusível deve permitir a partida do motor e    menor tensão do que a tensão aplicada
deve protege-lo contra alta corrente de         realmente entre seus terminais,
regime permanente.                              independente de sua corrente nominal. O
    A queima de um fusível é uma                fusível pode ser usado em qualquer tensão
indicação que houve (ou ainda há) um            menor que a sua especificada, sem afetar
defeito dentro do circuito que o fusível está   suas características de projeto.
protegendo. Antes de substituir o fusível
por um novo, é aconselhável analisar o
circuito para verificar se há algum defeito
permanente.
    O fusível é descrito de acordo com a
relação entre o valor da corrente circulando
através dele e o tempo que ele leva para
interromper a corrente. A terminologia
comum para descrever os tipos de fusíveis
inclui:
    ação rápida, alta velocidade ou
instrumento                                     Fig. 2.25. Fusíveis para alta corrente
    padrão, normal ou atraso médio
    atraso, retardado, ação lenta ou queima
lenta                                               A corrente especificada no fusível
    fusível térmico                             indica o valor de teste padrão da corrente
    Cada tipo, disponível em diferentes         de carga. Os fusíveis de ação rápida são
capacidades de corrente, protege o circuito     projetados para suportar 100% de sua
eletrônico se o tempo de interrupção do         corrente nominal, mas irá queimar muito
fusível é suficientemente rápido.               rapidamente quando sua corrente exceder
    O fusível térmico é destruído               de uma pequena percentagem. Os fusíveis
principalmente pela temperatura e não           de ação normal geralmente são projetados
apenas pela corrente que circula por ele.       para suportar 110% de sua corrente
Ele pode suportar grandes correntes,            nominal por um período mínimo de quatro
porém se queima quando a temperatura do         horas ou 135% de sua corrente
componente que ele protege atinge               especificada por períodos menores que
temperatura critica. Ele se queima com a        uma hora ou 200% de sua corrente
alta temperatura, mesmo que a corrente          nominal por um máximo de 30 segundos.
que circula por ele seja pequena. Ele é         Os fusíveis de ação retardada são
usado principalmente para estabelecer a         projetados para suportar 110% de sua
classe de temperatura de equipamentos           corrente nominal por um período de quatro
elétricos. Geralmente este fusível é            horas mas se a corrente atinge 135% do
enrolado (wrap in) no circuito e não            valor nominal, ele abrirá dentro de uma
soldado, pois a temperatura da solda o          hora. Quando o fusível de ação retardada
romperia.                                       é percorrido por uma corrente 200% do
    Todos os fusíveis têm especificações        valor nominal, ele irá interromper a
de tensão, corrente e queima. Todas as          corrente dentro de um período de 5
especificações se aplicam aos tipos ação        segundos a 2 minutos.
lenta, ação normal e ação rápida,                   É fundamental ter o conhecimento e o
independente do tamanho.                        entendimento da literatura técnica
    A especificação da tensão marcada no        fornecida pelo fabricante do fusível, para
fusível é uma garantia do laboratório           relacionar o tipo do fusível (ação rápida,
certificado para risco de fogo. Isto indica     normal ou retardada), identificação alfa
que o fusível ira seguramente abrir sem         numérica empregada, a amperagem
provocar arco voltaico ou explodir em uma       nominal, a tensão e o tamanho físico.
situação de curto-circuito, quando a tensão
é igual ou menor que a tensão
especificada. Nunca use, em nenhuma

                                                                                         2.21
Componentes Eletromecânicos
                                                   O circuito eletrônico com disjuntor com
8.2. Disjuntor (Circuit Breaker)               rearme manual ou automático possibilita
     O disjuntor é um equipamento de           uma economia de tempo e de componente,
proteção que também abre um circuito           pois o dispositivo protetor não precisa ser
quando há uma sobrecarga aplicada nele.        substituído. O disjuntor é um dispositivo
Diferente do fusível que se destrói, o         protetor do circuito elétrico que não se
disjuntor apenas se desarma.                   danifica irremediavelmente quando opera.
     O disjuntor geralmente consiste de uma    O disjuntor pode possuir capacidades
chave que é mantida fechada por uma            definidas da corrente de regime
trava. Para abrir o circuito, a saliência é    permanente, a corrente de desligamento e
liberada. Basicamente, há dois                 a corrente de manutenção. A corrente de
mecanismos para atuar e desatuar o             desligamento descreve o valor da corrente
disjuntor:                                     que irá desligar o disjuntor, protegendo o
     1. eletromagnético                        circuito de correntes maiores que a
     2. térmico                                nominal. A corrente de manutenção indica
     Quando a corrente excede o valor          a mínima corrente permissível para o
critico na bobina eletromagnética, o campo     disjuntor particular. Qualquer valor de
magnético aciona uma barra metálica            corrente menor que o valor de manutenção
colocada dentro do seu campo e a trava do      não permitirá o rearme do disjuntor.
disjuntor é liberada. No mecanismo                 São disponíveis disjuntores para 125 V
térmico, uma tira bimetálica é aquecida        (padrão), 6 V até 24 V. As correntes típicas
pela corrente que passa por ela e produz       são, em ampères:
um pequeno movimento. Quando a
corrente excede o valor critico, a tira            5         6      8       10     12
bimetálica aciona a trava, abrindo o               15        18     20      25     30
circuito. Em ambos os mecanismos                   40        45     50
eletromagnético e térmico, há uma mola e
um dispositivo para rearme do disjuntor.
Quando a causa do excesso de corrente é
localizada e removida, o disjuntor pode ser
rearmado (reset) para sua posição de
condução por uma botoeira ou chave. Por
causa desta chave, o disjuntor pode
também ser usado para liga-desliga.




     (a) Normal        (b) Atuado, desligado


Fig. 2.26. Disjuntor




                                                                                        2.22
3
                                               Símbolos Lógicos

1. Lógica                                       1.3. Lógica Seqüencial
1.1. Conceito                                   Geralmente, tenta-se distinguir binário,
                                                acionado por evento e lógica instantânea
    Em sistemas de controle, a palavra          de lógica seqüencial. Isto está mais
lógica é geralmente usada tem termos de         relacionado com as dificuldades
relé lógico ou lógica de controlador            associadas em representar a lógica
programável, o que não é muito lógico. O        seqüencial do que com as diferenças reais.
termo lógico está geralmente associado          Não há nenhum problema prático em
com o conceito de binário, que significa        considerar equivalentes todos os conceitos
possuir um de apenas dois estados               acima.
possíveis, tais como liga-desliga, aceso-
apagado, alto-baixo, verdadeiro-falso,              A lógica seqüencial foi manipulada
presente-ausente, maior-menor, igual-           menos satisfatoriamente no passado do
diferente ou 1-0. A palavra lógica se refere    que a lógica combinatória. A lógica
a um sistema que obedece a um conjunto          seqüência é geralmente representada de
fixo de regras e sempre apresenta o             um modo que requer muito mais
mesmo conjunto de saídas para o mesmo           conhecimento técnico por parte do leitor
conjunto de entradas, embora estas              não técnico que deve analisar o
respostas possam ser modificadas por            documento. Foi desenvolvida uma
alguma condição interna, como o estado          metodologia mais simples que mudou
de uma saída de um temporizador ou              estes conceitos. O IEC publicou a norma
contador. A lógica sempre trabalha com as       848 (Preparação das Cartas Funcionais
combinações de E (AND), OU (OR), NÃO            para Sistemas de Controle, 1988).
(NOT) e nunca com TALVEZ.                           Os diagramas lógicos binários são
                                                usados para tentar tornar o trabalho mais
1.2. Lógica de relé e programas                 fácil, para fazê-lo menos dependente do
   No início, a lógica de relé foi usada        conhecimento do equipamento específico e
para o simples intertravamento de circuitos     para fazê-lo mais funcional na orientação.
de controle elétrico:
   1. Se a corrente de um motor exceder
      um determinado valor pré-
      estabelecido, ele deve ser
      desligado.
   2. Se o aquecedor elétrico ultrapassar
      determinada temperatura, ele deve
      ser desligado.
   3. Se uma correia de esteira estiver
      rodando com uma extremidade fora,
      ela deve ser parada.
   Para um dado conjunto de entradas,
uma decisão deve ser feira e uma ação
tomada.


                                                                                      3.1
Símbolos Lógicos
                                              partes componentes deste modo mais ou
1.4. Lógica CLP                               menos abstrato, o problema e a sua
    O controlador lógico programável (CLP)    solução podem ser conceitualizados, o
atualmente substitui, com vantagens, os       equipamento pode ser escolhido e a
sistemas complexos de relés.                  solução pode ser executada mais
    O CLP é freqüentemente programado         eficientemente.
emulando diagramas ladder de relés, pois          A primeira fase é a conceitualização.
estes diagramas são facilmente entendidos     Como o objetivo é conceber esquemas de
por muitas pessoas não instrumentistas. O     controle que envolvam um processo, lógica
problema que permanece é que o                para controlar este processo e a interface
diagrama ladder é orientado para              de operação que permita ao operador
equipamento e requer um conhecimento          intervir a qualquer momento no processo, é
de circuito elétrico. A diagramação lógica    razoável incluir estes elementos em um
binária é uma tentativa de reduzir a lógica   desenho ou esquema conceitual.
complexa que existe entre as entradas e           A segunda fase, execução, envolve
saídas de um sistema para a                   detalhes de execução ou instruções para
representação mais simples possível.          um CLP. Este fase requer o conhecimento
    Uma grande vantagem do diagrama           apenas das entradas imediatas e não das
lógico binário sobre o diagrama ladder é a    condições que as geram. Nesta fase, é
facilidade com que a lógica binária pode      razoável eliminar muitos detalhes
ser combinada com uma representação do        irrelevantes associados com o processo ou
processo sendo controlado, que dá um          com a interface do operador.
entendimento mais claro da ligação entre o
                                              2.1. Tipos de documentos
controle do processo e sua lógica. Mesmo
que o CLP seja programado através dos             Quando se vai do conceito para a
símbolos do diagrama ladder, é ainda mais     execução, pode-se perceber que, no
fácil trabalhar e entender o esquema          mínimo, dois tipos de documentos são
básico representado por lógica binária.       necessários. O documento de execução é
                                              geralmente o único que é visto
2. Conceituação e Execução                    formalmente. O documento de conceito
                                              existe, como um esquema de engenharia
    Há uma sutil mas importante diferença     ou como uma tentativa de combiná-lo com
entre as duas fases que devem ser             o diagrama de fluxo de engenharia. Para
consideradas para se ter um esquema de        lógica complexa, o documento conceitual é
controle trabalhável envolvendo lógica        completamente insatisfatório. Muita
binária. A primeira fase é comum a todo o     confusão seria evitada se o documento
equipamento e a segunda depende muito         conceitual fosse um desenho formal.
mais do equipamento específico usado. A           Na realidade, mais do que estes dois
primeira fase responde a pergunta: O que      tipos de documentos estão envolvidos,
precisa ser feita para determinado            quando de vai do conceito para a
processo? A segunda fase responde a           execução. Usualmente, o processo de
questão: Sabido o que deve ser feito, como    conceitualização começa com o diagrama
fazê-lo?                                      de fluxo do processo. Nesta etapa, uma
    Quebrando o projeto nestas duas           descrição geral, resumida, narrativa
fases, O que fazer? e Como fazer?, as         esquematiza o processo, o que é para ser
coisas andam mais facilmente. O problema      feito e as necessidades da interface do
pode ser claramente definido sem a            operador. Quando o diagrama de fluxo do
restrição da necessidade do conhecimento      processo é desenvolvido, no mínimo, as
detalhado do equipamento disponível. O        entradas e saídas são definidas. Assim
projeto pode ser discutido entre pessoas      que as entradas e saídas do processo
que podem conhecer o problema mas que         estão definidas, o documento lógico
podem ter diferentes graus de                 conceitual pode ser desenvolvido. Depois
conhecimento do equipamento (e                de aprovado o documento conceitual,
programa) disponível para sua solução.        pode-se começar a fazer os documentos
Quando o projeto é dividido em suas           de execução.

                                                                                    3.2
Símbolos Lógicos
    Pode-se ir diretamente do documento        discretos de relés e chaves. As portas
lógico conceitual para um diagrama ladder,     podem manipular apenas um sinal de
como o documento final de execução para        entrada, exatamente dois ou podem ser
relé ou CLP. Porém, em sistemas grandes        extensivas, manipulando de dois até
e complexos, é recomendável ter um             dezenas de entradas.
documento intermediário que seja                   As portas lógicas básicas são:
entendido por aqueles que não                      1. OR (também OR EXCLUSIVO)
necessariamente entendem os detalhes do            2. AND
diagrama ladder. Este documento pode               3. NOR
também ser usado para verificação                  4. NAND
(ckeck), pois ele mostra toda a lógica             5. INVERSOR ou NOT
interna e simboliza todas as entradas e
saídas sem os detalhes irrelevantes do
                                               3.1. Porta OR
processo ou da interface do operador.          A porta OR possui duas ou mais entradas
    O documento final de execução              e uma única saída. As entradas são
geralmente é o diagrama ladder, utilizado      designadas por A, B, ... N e a saída por L.
em sistema com relé ou com CLP. No caso        As entradas podem assumir só 0 ou 1.
de CLP, ele pode ser gerado por um
                                                  A expressão para o OR é: A + B = L
programa associado (p. ex., PGM,
                                                  A saída de uma porta OR assume o
Reliance)
                                               estado booleano 1 se uma ou mais
2.2. Documentos lógicos conceituais            entradas assume o estado 1. A saída do
                                               OR é 1 se alguma das entradas for 1.
O documento lógico conceitual tenta
responder a questão: Como se consegue ir       Símbolos
até lá daqui? Um diagrama de fluxo de             Os símbolos MIL, NEMA e ANSI são:
engenharia (P&I) não é uma ferramenta
adequada para fins de lógica. Também, o
diagrama ladder é muito especializado                                                 OR
para fins de conceitualização. Assim, a
maior utilidade do diagrama conceitual é        Contatos     MIL          NEMA       ANSI
como uma ferramenta que permite ao
projetista lógico raciocinar através do
processo presente sem muita
consideração acerca das especificações         Fig. 3.1.Símbolos da porta OR
finais do equipamento a ser usado para
executar a lógica.
    Há três divisões básicas no documento      Tabela verdade
lógico conceitual:                                Tabela verdade 0R para duas entradas
    1. desenho do processo sendo
        controlado sem entrar em detalhes                   A       B          L
        que são irrelevantes para o controle                0       0          0
        deste processo                                      0       1          1
    2. desenho da lógica                                    1       0          1
    3. desenho da interface do operador,                    1       1          1
        desde que nada é totalmente            Circuitos equivalentes
        automatizado e tudo requer a
                                                  Exemplo do uso OR em controle de
        intervenção eventual do operador.
                                               processo é ligar uma lâmpada através de
3. Portas Lógicas                              qualquer uma de duas chaves ou ambas.
    Portas lógicas são circuitos eletrônicos
que operam com entradas e saídas
booleanas, que podem assumir apenas os
valores 1 ou 0. Eles podem ser
microprocessados ou com contatos


                                                                                        3.3
Símbolos Lógicos
                                                    Circuito equivalente
                                                       Um circuito equivalente com duas
                               A
                                                    chaves para uma porta OR EXCLUSIVO é
                                                    mostrado abaixo. Quando qualquer uma
                               A                    das duas chaves estiver ligada e a outra
                                                    desligada, a lâmpada está ligada. Quando
                                     L              as duas chaves estiverem
                          V
                                                    simultaneamente ligadas, a lâmpada fica
                                                    apagada.


                      (a) Com chaves
                                                                                   A
                                         A                                                       A
                                                                     L
                                                                                    A
                                         B

                  A                                                                 B
                                                                                                 B
                                                                           V             B
                      B




                     (b) Com relés                                    (a) Com chaves
Fig. 3.2. Circuitos para porta OR
                                                                                             A
3.2. Porta OR Exclusivo
   O OR exclusivo é uma porta com duas                                                       B

entradas, cuja saída é 1 se e somente se                             A         B
os sinais de entrada forem diferentes.
Quando as entradas forem iguais, a saída
é zero.                                                              A         B
   A Equação do OR exclusivo é
   A ⊕ B = L ou
    AB + AB = L
                                                                         (b) Com relés

Símbolos                                            Fig. 3.4. Circuitos para OR exclusivo

                               +             OE
        MIL                   NEMA           ANSI
Fig. 3.3. Símbolos da porta OR exclusivo
Tabela Verdade OR EXCLUSIVO

              A               B          L
              0               0          0
              0               1          1
              1               0          1
              1               1          0




                                                                                                     3.4
Símbolos Lógicos

3.3. Porta AND
                                                                                        A
   A porta AND tem duas ou mais
entradas e uma única saída e opera de
acordo com a seguinte definição: a saída
de uma porta AND assume o status 1 se e                                                 B
somente se todas as entradas assumem 1.
   A equação do AND é
                                                                                            L
      A.B=L                                                        A          B
      AxB=L
      AB = L

Símbolos

                                                      Fig. 3.6 (b). Circuito equivalente a AND com relés
                                             A
 Contatos                                             3.4. Porta NOT
              MIL          NEMA             ANSI
                                                          A porta NOT ou inversora produz uma
                                                      saída oposta da entrada. Esta porta é
Fig. 3.5. Símbolos da porta AND                       usada para inverter ou complementar uma
                                                      função lógica. O inversor, diferente das
Tabela Verdade                                        outras portas lógicas que possuem duas
                                                      ou mais entradas e uma saída, só possui
             A        B       C                       uma entrada e uma saída. A saída é o
             0        0       0                       inverso ou oposto da entrada.
             0        1       0                           A equação do NOT ou inversor é
             1        0       0
             1        1       1                           A =L
                                                      Símbolos
Circuito equivalente
   O circuito equivalente da porta AND
com chaves é mostrado abaixo.
                                                                                   NEMA           ANSI
                                                                MIL
                                                      Fig. 3.7. Símbolos da porta NOT
                 A            B
                                                      Tabela Verdade do NOT

            V                                                      A        L
                                     L                             0        1
                                                                   1        0
                                                      Circuito equivalente
                                                         O circuito equivalente para um
                                                      INVERSOR com reles é mostrado abaixo.
Fig. 3.6 (a). Circuito equivalente a AND com chaves




                                                                                                      3.5
Símbolos Lógicos

                                                Tabela Verdade NAND

                              R                              A        B     AND NAND
                 A
                                                             0        0      0    1
             L                    R                          0        1      0    1
                                                             1        0      0    1
                                                             1        1      1    0

Fig. 3.8. Circuito NOT ou inversor              3.6. Porta NOR
3.5. Porta NAND                                    NOR é a porta oposta a OR. Quando
                                                todas as entradas são 0, a saída é 1.
   NAND é a porta oposta à AND. Quando             A equação do NOR é
todas as entradas NAND são 1, a saída é              A +B = L
zero. Em todas as outras configurações, a            A ×B = L
saída do NAND é zero
   A equação do NAND é                          Símbolo:
     AB = L
     A +B = L
                                                                                         OR

Símbolo:                                                  MIL          NEMA              ANSI

                                                    Fig. 3.11. Símbolos da porta NOR
                                         A
           MIL                                  Tabela Verdade
                        NEMA             ANSI
Fig. 3.9. Símbolos da porta NAND                             A        B       OR        NOR
                                                             0        0        0         1
Circuito equivalente                                         0        1        1         0
   O circuito equivalente da porta NAND                      1        0        1         0
com chaves é mostrado abaixo.                                1        1        1         0

                                                Circuito equivalente
                               A
                                                    O circuito equivalente da porta NOR
                                                com relé é mostrado abaixo.

                                B                                             A

                 A
                                     L                                        B

                 B
                                                            A        B            L

     Fig. 3.10. Circuito equivalente a NAND

                                                Fig. 3.12. Circuito equivalente a NOR




                                                                                                3.6
Símbolos Lógicos

4. Exemplos lógicos




                                                         PAINEL
4.1. Circuito retentivo                                            HM          HMS
                                                                   S           501
    Um dos circuitos lógicos mais comuns
é o circuito retentivo (hold) para motores
elétricos (Fig. 3.13). A figura mostra a
divisão do diagrama em três áreas: painel
(display), lógica e campo (outras áreas                                              NOT
também poderiam ser adicionadas, como                             OR




                                                      LÓGICA
área do painel cego). O botão PARTIDA
(HMS 500) envia um sinal para a porta OR,
que passa qualquer sinal recebido. O sinal                               A
vai para uma porta AND, que produz uma
saída somente quando todas as entradas
estão presentes. Como a botoeira
PARADA (HMS 501) não está sendo
apertada, a porta NOT inverte o sinal zero
para um sinal positivo, satisfazendo a porta




                                                          CAMP
AND e uma saída é produzida. A saída de
AND vai para o motor e volta para a
entrada da porta OR para manter a lógica,
mesmo quando o botão PARTIDA deixa de
ser pressionado. Quando o botão PARADA
é apertado, a porta NOT inverte o sinal
positivo, de modo que a porta AND não
seja mais atendida e o circuito retentivo é
desligado.
    Note-se que são usadas muitas              Fig. 3.13. Circuito retentivo
palavras para descrever um sistema
simples que pode ser facilmente
representado por poucos símbolos
conhecidos. Note, também, que todos os
símbolos lógicos estão representados na
figura. Está mostrada a lógica do processo,
não a proteção do equipamento. Assim, o
relé de sobrecarga, relé termal e outros
dispositivos de intertravamento não estão
mostrados, embora pudessem ser também
representados. Deve-se notar ainda que
parece que o motor recebe sua potência
da lógica. Isto obviamente não ocorre, mas
a representação é simples e não diminui o
entendimento do circuito.




                                                                                           3.7
Símbolos Lógicos




   PLL             HMS        HMS         ZLL       HMS       HMS         YL




                                                                                     PAINEL
   108             503        504         220       505       506         402




                                    NOT                             NOT
                 OR                                 OR




                                                                                LÓGICA
                         A                                A



    T




                                                                                 CAMPO
         <1 psig                                S

                                      ZSL
  PSL
                                      220
  108

                                    PSV
                                    109




           YV
           322




Fig. 3.14. Funções de campo




                                                                                              2.8
Símbolos Lógicos

5.4. ANSI/ISA S5.2: Diagrama lógico            5.5. Diagrama lógico
binário para operações de processo
                                                   Antes de se desenvolver um diagrama
    Esta norma tem o objetivo de fornecer      lógico, deve se ter um diagrama de fluxo. A
um método de diagramação lógica de             Fig. 3.25. é um diagrama de fluxo de
sistemas de intertravamento binário e          processo. Deve se ter também uma breve
sequenciamento para a partida, operação,       descrição narrativa, ponto por ponto, do
alarme e desligamento de equipamento e         objetivo do projetista. Então segue se o
processos na indústria química,                diagrama lógico. A Fig. 3.26 é um
petroquímica, refino de metal e outras         diagrama lógico associado com o diagrama
indústrias. A norma pretende facilitar o       de fluxo da Fig. 3.14.
entendimento das operações binárias e              Os diagramas mostram muitos dos
melhorar as comunicações entre técnicos,       símbolos binários lógicos para operação do
gerentes, projetistas, operadores e pessoal    processo. Os símbolos de função de
de manutenção, ligados ao sistema.             entrada e saída são os balões e
    Entre a documentação conceitual e a        bandeirolas dos instrumentos da norma
de execução, o pessoal de gerenciamento        ANSI/ISA S 5.1. As declarações de
e operação acha maior utilidade na             entradas e saída são interpostas entre os
conceitual do que na de execução, pois a       balões ou bandeirolas e as setas de
ligação com o processo é mais explícita.       continuação e a lógica levam de um
    As diferenças básicas entre os             desenho lógico para outro. A lógica flui da
diagramas de conceituação e de execução        esquerda para a direita. As setas usadas
são:                                           somente onde necessárias, para melhor
1.      O diagrama conceitual tem uma          entendimento do fluxo de sinal.
    orientação vertical, pois o processo é         Aqui estão os principais pontos
    usualmente visto operando                  referentes à apresentação lógica como
    horizontalmente e as linhas de sinal       mostrado na Fig. 3.26.
    são mais bem mostradas                     1.      Os desenhos são mais fáceis de
    perpendiculares ao processo. O                 seguir se todas as entradas são
    diagrama de execução geralmente tem            mostradas na esquerda e todas as
    orientação horizontal, quase como um           saídas na direita. As funções lógicas
    diagrama ladder (escada) e                     são mostradas no meio.
    possivelmente porque a lógica é            2.      Embora as chaves de posição ZSH
    seguida seqüencialmente sem muita              e ZSL sejam atuadas pelas válvulas
    ligação com o processo.                        HV1 e HV2, as chaves estão na
2.      O desenho conceitual é mais bem            entrada para a lógica e as válvulas
    desenhado em tamanho grande,                   estão na saída. Elas podem ser ligadas
    enquanto o desenho lógico de                   fisicamente, mas na lógica as chaves
    execução é feito em folhas de tamanho          são desenhadas na esquerda como
    A4 ou carga. O formato grande ajuda a          entradas e as válvulas são desenhadas
    visualização de todo o panorama, o             na direita, como saídas.
    formato pequeno é melhor de ser
    manuseado e na lógica não há
    interesse em se ver o processo global.
3.      As portas lógicas são mais fáceis de
    desenhar. Como a lógica é desenhada
    usualmente na forma de esquemas à
    mão livre, é importante que haja um
    mínimo de linhas, símbolos e letras
    usadas.




                                                                                      3.9
Símbolos Lógicos

                                                      usar estas letras e se ter
                                                      correspondência.
                                                 6.      A maioria dos sistemas de
                                                      complexidade moderada não tem uma
                                                      relação biunívoca entre funções de
                                                      entrada e saída. Quando eles têm, eles
                                                      seriam sistemas manuais. É melhor
                                                      encarar a complexidade na saída e dar
                                                      ao sistema lógico a designação YIC (ou
                                                      YC). O sistema é, antes de tudo, um
                                                      controlador de evento. Os elementos
                                                      de saída similares devem ter sufixos
                                                      numéricos ou alfabéticos.
                                                 7.      Embora a lógica seja muito abstrata,
                                                      as ligações dela devem ser concretas.
                                                      A Fig. 3.14 mostra somente uma única
                                                      saída física para uma válvula solenóide
                                                      de três vias. A ligação para a lógica
                                                      deve refletir isto. Não há função de
                                                      saída para válvula fechada. Para fechar
                                                      a válvula, o sinal abrir válvula é
                                                      removido. São necessárias duas
     Fig. 3.22 Exemplo de diagrama de fluxo           saídas somente quando houver duos
                                                      solenóides.
                                                      Como o diagrama lógico é documento
3.     As chaves NOT devem ser um                de execução, é preferível usar a
   pouco menores em relação aos balões           identificação dos equipamentos ligados
   de instrumentos ou de equipamentos.           (i.e., válvulas solenóides, não as válvulas
   Não há necessidade de parar a linha           de linha) e observar os modos de falha dos
   lógica em qualquer lado das portas. Na        equipamentos ligados.
   prática, a linha é desenhada e o círculo           Recomenda-se observar os modos de
   é desenhado em cima.                          falha segura. Não é aconselhável se ter
4.     As botoeiras PARTIDA e PARADA             válvula de enchimento com falha aberta,
   possuem o mesmo tag número, porém             porque é improvável. Também não se deve
   elas têm funções totalmente diferentes        usar nível lógico alto para desenergizar
   e devem ser diferenciadas. Se é               solenóides pois isto é confuso.
   desejável manter o mesmo número
   básico porque elas podem estar na
                                                 5.6. Aplicações das portas
   mesma caixa, pode se usar um número              A Fig. 3.16 dá símbolos e funções de
   ou letra como sufixo. Mesmo isto não é        funções lógicas básicas. Aqui estão mais
   absolutamente necessário, porém,              algumas recomendações úteis para um
   desde que a chave pode ser tagueada           bom projeto.
   com números diferentes separados por
                                                 Geral
   /.
5.     Às vezes, é tentador manter o                 Não usar palavras quando símbolos e
   conceito de malhas (HS1, HV1, ZSH1).          identificadores estiverem disponíveis.
   Isto é geralmente inútil, pois, na prática,   Quando usar palavras, fazê-lo do modo
   é raramente possível ser mantido. Além        mais conciso possível. Mesmo quando o
   disso é errado pois ANSI/ISA S5.1             número de tag não for disponível, a parte
   requer um novo número de malha para           do identificador deve ser usada para evitar
   cada nova variável medida ou                  uma descrição narrativa.
   inicializada. Somente se a malha da
   variável H e a malha da variável Z
   forem as duas primeiras malha para



                                                                                       3.10
Símbolos Lógicos

                                            tempo, dependendo se a lógica é orientada
                                            para evento ou para tempo. Nestes casos,
                                            todas as saídas devem ter o mesmo
                                            número de malha e sufixos diferentes.
                                            Função AND
                                                As palavras nas entradas e saída
                                            simplesmente ajudam a ligar o símbolo à
                                            definição. Lógica é a arte de fazer
                                            identificações não contraditórias, não
                                            importa se com tanques, válvulas ou
                                            bombas.
                                                As duas entradas projetam mais
                                            informação de modo mais específico se
                                            forem usados balões com os
                                            identificadores funcionais LSH e ZSH.
                                            Quando for necessário identificar
                                            equipamentos (tanques, válvulas ou
                                            bombas), deve se usar os identificadores
                                            T-1, HV-2 e P-3, se existirem. Se não,
                                            deve-se usar palavras especificas, tais
                                            como tanque de mistura, bomba de sucção
                                            de óleo, válvula da descarga do
                                            compressor.
                                                A saída é também não específica.
                                            Quando se sabe que um relé específico é
   Fig. 3.23. Diagrama lógico típico        atuado para partir a bomba, então um
                                            balão com o tag número do relé deve ser
                                            usado, p. ex., YY6.

Função entrada                              Função OR
Se as linhas lógicas forem diretamente a       Muitas pessoas se sentem
uma saída chamada de Partida da Esteira,    desconfortáveis se uma saída positiva tem
então as palavras devem ser omitidas,       de ocorrer para desligar uma máquina. Na
especialmente se HS é substituída por       ausência de um comando positivo, o
HMS (chave manual momentânea ou             conceito de falha segura requer que a
botoeira). Se não, então as palavras        máquina pare. A saída é invertida usando
Partida da Esteira (uma sobre a outra)      uma porta NOT e as palavras Permissão
economizam espaço horizontal e, junto       Operação Compressor em vez de Parar
com HMS, contem toda a informação           Compressor.
necessária sem redundância.                 Função OR Qualificado
Função saída                                    O OR qualificado não é muito
    Quando houver uma escolha entre         necessário, mas é requerido quando se
palavras e símbolos, escolher símbolos ou   necessita de lógica complicada. A mesmas
uma combinação de símbolos com um           sugestões feitas acima com relação à
breve estado da saída. Há um impacto        identificação de equipamentos de entrada
muito maior no reconhecimento de            e saída são aplicadas. Também deve ser
paradigmas quando se escolhe esta           sentido o mesmo modo de falha segura.
alternativa                                 Se uma reação exotérmica ocorre,
    A primeira letra (H) deve ser usada     perdendo-se o controle (sistema run away),
somente se há uma ligação direta com        é melhor mostrar uma lógica positiva para
uma chave manual. Se não, é                 manter a reação ocorrendo. A falha da
recomendável tratar a lógica como um        lógica deve parar a reação.
sistema e usar Y para evento ou K para



                                                                                3.11
Símbolos Lógicos

Função Memória
    A combinação do simbolismo e
identificação da norma ANSI ISA S5.1 com
os identificadores específicos do
equipamento permitem um resultado
conciso. A aplicação de uma situação real
de processo exemplifica o princípio que
não se deve se tornar muito abstrato para
se perder o senso da realidade.
Considerações acerca de modos de falha
do vent do tanque e da permissão de
partida da bomba requerem que o vent
falhe e a permissão também falhe.
    Originalmente, a norma fala das opções
relacionadas com perda, manutenção e
independência da perda da alimentação
principal. Atualmente estes conceitos são
facilmente implementados com as novas
tecnologias eletrônicas que permitem
memória permanente na ausência da
alimentação.
    Quando se analisa a segura de um
sistema e os modos de falha, deve se
tomar todo o panorama e não se restringir
apenas à lógica. A potência pode falhar em
qualquer ponto – entrada, saída, motor,
pneumática, elétrica – e cada uma delas
deve ser considerada.
Elementos temporizados
    A norma ANSI ISA S5.2 apresenta os
elementos de tempo, que são basicamente
três:
   1. Inicialização atrasada da saída (DI)
   2. Terminação atrasada da saída (DT)
   3. Saída pulsada (PO)




                                                        3.12
Símbolos Lógicos


 Função            Símbolo                                    Exemplo
 (1) Entrada                                                    A posição partida de uma chave
                                                              manual HS-1 é atuada para fornecer
                                      Instrução               uma entrada para ligar uma esteira.
                                      da entrada

                 Número do instrumento ou do equipamento de             HS
                 inicialização, se conhecido                            1    Partir esteira


 (2) Saída                                                       Uma saída de seqüência lógica
                                                              comanda a válvula HV-2 para abrir
                                  Instrução
                                  da saída
                                                                                               Abrir
                    Número do Instrumento ou do equipamento                          HV        Válvula
                    operado, se conhecido                                            2



 (3) AND               A saída lógica D existe se e              Operar bomba se
                   somente todas as entradas                     1. nível do tanque estiver alto e
                   lógicas A, B e C existirem                    2. válvula de descarga aberta

                       A                                          LSH   Nível
                                                                   5                            Partir
                       B          A                                     alto T-
                                          D                                           A         bomba
                       C                                          ZSH HV-7                      P-5
                                                                   4  aberta




 (4) OR               Saída lógica D existe se e                Não permitir operação do
                   somente se uma ou mais das                 compressor se
                   entradas lógicas A, B e C existir            1. pressão água resfriamento for baixa
                                                                2. temperatura do mancal for alta
                      A
                              OR                                       Pressão
                      B                   D                       PSL
                                                                       baixa
                                                                   14
                      C                                                água          OR             Permissão
                                                                  TSH Temp.                         C7 operar
                                                                   17 alta




Fig. 3.24. Símbolos lógicos ISA




                                                                                                            3.13
Símbolos Lógicos


Função         Símbolo                                       Exemplo
(5)
                            A                                Exemplo 1
OR
                            B      *         D                  Operar misturador se duas e
Qualificado
                            C                                somente duas caixas estiverem em
                                                             serviço
               * Detalhes internos representam quantidades
               numéricas (ver abaixo)
                                                              Caixa 1 em serviço
                                                              Caixa 2 em serviço                Operar
                  Saída lógica D existe se e                                          =2        Misturador
                                                              Caixa 3 em serviço
               somente se um número
                                                              Caixa 4 em serviço
               especificado de entradas lógicas
               A, B e C existirem.
                  Os seguintes símbolos
               matemáticos podem ser usados,
               quando apropriado:                            Exemplo 2
                                                                Parar reator se pelo menos dois
                   a.   =        igual a                     dispositivos de segurança solicitarem a
                   b.   ≠        não igual a                 parada
                   c.   <        menor que
                   d.   >        maior que                    Dispositivo 1 atuado
                   e    <        não menor que                Dispositivo 2 atuado
                   f    >        não maior que                                                 Parar
                                                              Dispositivo 3 atuado   <2
                   g    ≤        menor ou igual a (como f)                                     Reação
                                                              Dispositivo 4 atuado
                   h    ≥        maior ou igual a (como e)
                                                              Dispositivo 5 atuado


                                                             Exemplo 3
                                                                Fazer alimentação se, no mínimo um
                                                             e não mais que 2 moedores estiver em
                                                             serviço.
                                                              Moinho 1 em serviço
                                                                                              Operar
                                                              Moinho 2 em serviço    ≥1       Alimentador
                                                              Moinho 3 em serviço




Fig. 3.25. Símbolos lógicos ISA (continuação)




                                                                                                             3.14
Símbolos Lógicos


   Função      Símbolo                                      Exemplo
   (6)
   NOT                                                         Fechar válvula HV-7 quando nível do
                   BA                              B        tanque T-3 não estiver alto e a bomba
                                                            P-4 não estiver operando

                  Saída lógica B existe se e
               somente se a entrada A não existir.           LSH Nível T-3
                                                              12 alto
                                                                                            HV   Fechar
                                                             YSH P-3              A          7   válvula
                                                              1 operando



                                                            Alternativa de lógica



                                                             LSH Nível T-3
                                                              12 alto
                                                                                            HV   Fechar
                                                             YSH P-3            OR           7   válvula
                                                              1 operando




   Fig. 3.26. Símbolos lógicos ISA (continuação)


   Nota Tabela verdade para mostrar equivalência
                                                        Entradas                 Saída


                                                       LSH         YSH            HV
                                                        7           7              7



                                                                             Caso 1 Caso 2
                                                        1            1         0      0
                                                        1            0         0      0
                                                        0            1         0      0
                                                        1            0         1      1

   Uma lógica 1 implica a existência de uma entrada ou saída e uma lógica 0 é a ausência de
um sinal.
Função NOT
   A função NOT mostra a equivalência entre uma porta AND com portas NOT em suas
entradas e uma porta OR com um único NOT em sua saída.




                                                                                                           3.15
Símbolos Lógicos

Função        Símbolo                               Exemplo
(7)                                                       S representa set da memória
Memória           A                                       R representa reset da memória
                               S             C
(Flip flop)                                               A saída lógica C existe tão logo
                  B            R            D*        exista a entrada A. C contínua a existir,
                                                      independente do estado subsequente
                 *A saída D não precisa ser mostrada, de A, até ser resetada pela entrada
                 quando não usada                     lógica B. C permanece terminado,
                                                      independente do estado subsequente
                                                      de B, até que a lógica seja resetada por
                                                      A.
              Opção de superposição de                    A saída lógica D, se usada, existe
              entrada                                 quando C não existe e D não existe
                  Se as entradas A e B existirem quando C existe.
              simultaneamente e se é desejado
              ter A anulando B, então S deve          Exemplo
              ser envolvida em um circulo S               Se pressão do tanque T-16 fica alta,
              .Se B é para anular A, então R          abrir o tanque PV-38 para a atmosfera
              deve ser envolvido por um circulo. (vent) e continuar ventando
                                                      independente da pressão, até que a
                                                      válvula seja fechada por HS-3, desde
                  A            S             C        que a pressão não seja alta. Quando o
                               R                      vent for desligado, a bomba P-7 deve
                  B                         D
                                                      ser ligada.
                                            C
              Note que a entrada B anula
              entrada A                                  HS   Reset
                                                          3                     Partir P-7
                                                              sistema     S
                                                      PSH     Pressão     R       PV     Abrir
                                                                                  38
                                                       38     alta T-16                  válvula



Fig. 3.30. Símbolos lógicos ISA de memória
Tabela verdade mostrando a necessidade de override:

                               Entradas         Saídas
                             A          B          C              D
                             1          1           *              *
                             1          0          1              0
                             0          1          0              1
                             0          0          **             **
                             1          1          0              1
                             1          0          1              0
                             0          1          0              1
                             0          0          **             **
* Indefinido
** Determinado pelo último sinal de entrada




                                                                                                   3.16
Símbolos Lógicos


Símbolo                                     Definição                       Exemplo
                                            A saída lógica B existe
               *                        com uma relação de
  BA                           B
               t                        tempo para a entrada
                                        lógica A. Esta relação de
                                        tempo pode assumir
                                        várias lógicas.

                                        A existência contínua da               Se a temperatura do
                                        entrada lógica A durante o          reator exceder um
                                        tempo t faz a saída B               determinado valor,
BA           DI               B         existir quando t expira. B          continuamente durante 10
             t
                                        termina quando A termina            segundos, bloquear a vazão
                                                                            do catalisador. Recomeçar
                                                                            a vazão, quando a
Inicialização atrasada da saída                                             temperatura não exceder
(Delay Iniciation)                                                          este valor.
                                                                                Bloquear vazão
                                                Temperatura          DI         do catalisador
                                                alta reator          10 s




                                        A existência contínua da                Se a pressão do sistema
                                        entrada lógica A faz a              cai abaixo de um limite de
 BA           D                B        saída B existir                     baixa, operar o compressor
              T
                                        imediatamente. B termina            ainda. Parar o compressor
                                        quando A terminar e não             quando a pressão ficar
                                        tem ainda existido durante          abaixo do limite
Terminação atrasada da saída
                                        um tempo t.                         continuamente por 1
(Delay Termination )
                                                                            minuto.

                                                              DT               Operar
                                        Pressão baixa         60 s
                                                                               compressor


                                        A existência da entrada                 Se a purga do vaso
                                        lógica A, independe de              falha por um período de
                                        seu estado subseqüente,             tempo, operar a bomba de
  BA            PO                 B    faz a saída B existir               vácuo por 3 minutos e
                 t
                                        imediatamente. B existe             depois parar a bomba.
                                        durante um tempo t e
                                        depois termina.
Saída de pulso

                                                                   PO               Operar
                                                Purga falha        3 min          bomba vácuo

 Fig. 3.27. Símbolos lógicos ISA temporizados


                                                                                                    3.17
Símbolos Lógicos

        Outros símbolos                                                  Exemplo
           Será mostrado, a seguir, um método                                Evitar alarme falso em nível alto,
        geral para diagramar todas as funções de                         atuando somente se o nível permanece
        tempo.                                                           alto continuamente por 0,5 s. O sinal de
                                                                         alarme termina quando não há nível alto.
        e1
            O tempo em que a entrada lógica A é                             Nível alto
        iniciada é representado pelo canto                                                  s
                                                                                                      0,5
                                                                                                                           Atuar alarme
        esquerdo da caixa. A passagem do tempo
        é da esquerda para a direita e geralmente
        não é mostrada em escala.                                        f2
            A saída lógica B sempre começa e
        termina no mesmo estado dentro do bloco                             A existência contínua da entrada lógica
        temporizado.                                                     A pelo tempo t1 faz a saída lógica B existir
            Mais de uma saída pode ser mostrada,                         quando t1 expira. B termina quando A tem
        se necessário.                                                   sido terminado continuamente durante o
                                                                         tempo t2 .

                                 Estado lógico da entrada existe
                                 Estado lógico da entrada não existe
A                                                                                      A                       t2
                                 Estado lógico da saída existe
                             B                                                                                              B
                                                                                                t1
                                 Estado lógico da saída não existe



                                                                         Exemplo
                                                                             Purgar imediatamente com gás inerte,
        e2                                                               quando a concentração do combustível
            A temporização da lógica pode ser                            ficar alta. Parar a purga quando a
        aplicada à existência do estado ou à não                         concentração não for alta continuamente
        existência do estado, como aplicável.                            por 5 minutos.



                                                                         Concentração                       5 min
    A                                                                    combustível alta                               Purgar com gás
                                     Estado lógico da saída não existe                      0                           inerte
                                 B

                                     Estado lógico da saída existe

                                                                         f3
        f1
                                                                                  A
           A existência contínua da entrada lógica                                                      t4
        A pelo tempo t1 faz a saída lógica B existir                                             t3                    B

        quando t1 expira. B termina quando A
        termina. (É um temporizador para ligar).                            A terminação da entrada lógica A e sua
                                                                         não existência continua durante o tempo t3
                                                                         causa a saída lógica B existir, quando t3
               A
                                                                         expirar. B termina quando:
                     t1                       B                            1. B tem existido por um tempo t4 ou
                                                                           2. A ainda existe, o que ocorrer
                                                                                primeiro




                                                                                                                                    1.18
Símbolos Lógicos
  Exemplo
      O vapor é ligado durante 15 minutos,
                                                                           A
  começando 6 minutos depois da parada do                                                                 t4
  agitador, exceto que o vapor deve ser                                             t1                                  B
  desligado se o agitador recomeça.


Operar agitador                                                  Exemplo
                    6 min.
                                  15       Vapor ligado
                                                                    Se o pH ficar continuamente por 1
                                                                 minuto, adicionar soda cáustica durante 3
                                                                 minutos.


  f4
     A existência da entrada lógica A,                                pH baixo
  independente de seu estado subseqüente,                                                1 min.
                                                                                                      3 min.
                                                                                                                                Adicionar soda
  causa a saída lógica B existir quando o
  tempo t1 expira. B existe durante o tempo t4
  e depois termina.
                                                                 f6
                                                                        A existência contínua da entrada lógica
            A
                             t4
                                                                        A durante o tempo t1, causa a saída
                   t1                  B                                lógica B existir quando o tempo t1
                                                                        expira.
                                                                        B termina quando o ocorrer o primeiro
                                                                        dos seguintes fatos:
  Exemplo
                                                                        tem expirado o tempo t4 ,
     Se a pressão cai para valores baixos                               A termina
  momentaneamente, bloquear o controle
  contínuo da turbina imediatamente, manter
  por 2 minutos, então liberar a turbina para
  o controle contínuo.
                                                                             A                            t4
                                                                                                  t                         B



   Pressão baixa
                             2 min.
                        0                  Bloquear controle     Exemplo
                                           contínuo da turbina
                                                                 Se a temperatura for normal
                                                                 continuamente por 5 minutos, adicionar
                                                                 reagente por 2 minutos, exceto que o
  f5                                                             reagente não pode ser adicionado se a
     A existência contínua da entrada lógica                     temperatura for anormal.
  A durante o tempo t1, causa a saída lógica
  B existir quando o tempo t1 expira. B existe
  durante o tempo t4 , independe do estado
  subseqüente de A e depois termina.                                  Temperatura
                                                                      anormal                                  2 min.           Adicionar
                                                                                                      5                         reagente




                                                                                                                                        3.19
Símbolos Lógicos
                                                    O diagrama lógico binário simplifica e
Nota
                                                generaliza o simbolismo lógico, além de
    Para os símbolos f4, f5, e f6 , a ação da   reduzir o tamanho da dependência do
saída lógica B depende de quanto tempo a        equipamento.
entrada lógica A fica continuamente em 1,           As duas principais fases de realizar um
até a quebra de A. Além da quebra de A, o       sistema de controle operável são:
estado de A não importa para terminar a             conceituação
sequência B.                                        execução.
   Se for desejado ter um segmento de               A fase de conceituação é independente
tempo B, e.g., t1, terminar somente se A        do equipamento e a fase de execução
existir continuamente, então A deve ser         pode depender do equipamento escolhido
desenhado além deste segmento. Se A é           para realizar o esquema de controle.
desenhado depois do início mas não além             Também, os dois principais tipos de
do fim do segmento de tempo, então o            documentação são associados com as
segmento será iniciado e vai terminar,          duas fases. O documento conceitual tenta
independente se A existe somente                representar um esquema de controle
momentaneamente ou mais tempo.                  abstrato. Seu objetivo é o de ajudar o
Função especial                                 projetista e a todos que precisam ver o
                                                quadro panorâmico, a conceber o
    A saída lógica B existe como uma            esquema necessário para controlar o
relação da entrada lógica A, como               processo. O documento de execução tem
especificado no comando das exigências          o objetivo de instruir os especialistas como
especiais. O comando pode cobrir uma            desenvolver especificamente um esquema
função lógica diferente das funções             lógico que já foi definido abstratamente.
especificadas nesta norma ou algum outro            O documento conceitual mostra as
sistema lógico definido por aí.                 partes essenciais do processo e a interface
                                                do operador. O documento de execução
                                                mostra simplesmente as entradas e as
                                                saídas. O diagrama ladder é um dos
              Função especial   B
                                                documentos de execução.
                                                    Uma boa prática inclui aspectos lógicos
                                                e estéticos.
                                                    Na diagramação lógica fica mais
                                                evidente o provérbio chinês que estabelece
                                                que uma figura vale mais que mil palavras.

6. Conclusão
    O engenheiro de sistema de controle
necessita tratar da lógica binária. Binário
significa possuir apenas um de dois
estados possíveis: ligado ou desligado, 1
ou 0. Um sistema lógico sempre apresenta
o mesmo conjunto de saídas para o
mesmo conjunto de entradas, embora as
respostas de saída possam ser
modificadas por algum programa interno.
    Geralmente a lógica binária é realizada
através de relés eletromecânicos ou
eletrônicos e atualmente através de
Controlador Lógico Programável, sistema
que substitui os relés com vantagens. O
mesmo diagrama ladder pode ser usado
para programar os dois tipos de lógica.

                                                 ApostilasAutomação   14SimboLogicos.doc      28 JUN 00 (Substitui 12 JUN 00)




                                                                                                                       3.20
4
               Linguagens de Programação
                                                resultante da proliferação de normas de
1. Introdução                                   programação de CLP. Esta norma tem
As linguagens de programação estão              duas partes:
tendo cada vez mais funções poderosas.              1. Elementos comuns
Microprocessadores mais rápidos e                   2. Linguagens de programação
poderosos e ambiente gráfico baseado em             A primeira parte da norma, Elementos
MS Windows têm sido combinados para             Comuns, define tipos de dados, variáveis,
permitir aos programadores obter tarefas        configuração, fontes, tarefas e unidades de
complexas.                                      organização do programa. Definindo tipos
                                                de dados evita erros como dividir um Dado
    A programação de Controladores              por um Inteiro. Variáveis são somente
Lógico Programáveis (CLP) era                   atribuídas para explicitar endereços de
originalmente apenas booleana. Um               equipamentos em configurações, fontes ou
comando era mais ou menos assim: Se o           programas para conseguir independência
contato da chave limite A estiver fechado E     entre equipamento e o programa. Um
o contato da chave limite C estiver aberto,     programa é configurado para um sistema
Então energizar a bobina C. Havia e ainda       específico de controle e é considerado
há linguagens baseadas em texto para            como uma rede de funções e blocos de
acompanhar este programa. O diagrama            função.
lógico tipo ladder era considerado ideal            Programas, funções e blocos de função
para representar a lógica booleana. Este        são chamados de Unidades de
diagrama parece como diagramas lógicos          Organização do Programa. A norma IEC
de relés, familiares a eletricistas, enquanto   1131-3 definiu funções padrão como:
representando a lógica digital, com             aritméticas (adição, subtração,
contatos em série (AND) ou paralelos            multiplicação, divisão), seletoras,
(OR).                                           trigonométricas, condicionadoras de sinais,
Isto é conveniente para algumas funções         comparadoras e de tempo.
de maquinas, mas é insuficiente quando se           As linguagens definidas têm sintaxe e
quer funções especiais, como matemática,        semântica definidas, deixando espaço para
tratamento de entradas e saídas                 dialetos personalizados. Funções definidas
analógicas e comunicação. Para estas            pelo usuário são permitidas na norma.
exigências, os blocos funcionais são mais       Uma vez definida, a função pode ser
adequados. Os editores de programas de          reusada. Blocos de função são
diagrama ladder começaram a incorporar          equivalentes e circuitos integrados e
uma biblioteca de blocos de função              representam uma função de controle
especiais para temporizadores,                  especializada. Blocos de função podem
contadores, matemática, mensagem e              conter dados e algoritmos. Eles têm uma
outros mais complexos como controle             interface bem definida. O programa pode
Proporcional, Integral e Derivativo (PID) ou    ser escrito em qualquer linguagem
totalizadores de vazão (FQ).                    definida.
   A normal internacional IEC 61131 foi
adotada para colocar ordem no caos

                                                                                       4.1
Linguagens de Programação
   Conforme a norma IEC 1131-3, há              2. a comparação de uma variável com
duas versões textuais e duas versões                uma constante
gráficas de programação. As textuais são:       O bloco de encaminhamento possui
   1. Lista de Instruções, parecida com     uma entrada (superior) e duas saídas, uma
       código assembler                     lateral e outra inferior.
   2. Texto Estruturado, parecida com           Os blocos de ação podem ter várias
       Pascal.                              funções lógicas e de controle embutidas.
   As linguagens gráficas são:              Uma das vantagens da programação
   1. Diagrama Ladder, típico para          através do fluxograma é a disponibilidade
       controle de maquinas e motores       de uma biblioteca com controles
   2. Diagrama de Bloco de Funções,         complexos (controle de movimento,
       comum a indústrias de processos      algoritmo PID, comunicação rápida de
       contínuos.                           dados através de Windows NT).
                                                Outras operações disponíveis incluem
2. Ferramentas auxiliares                   controle I/O sobre redes da planta, funções
                                            booleanas, matemática de alto nível,
Há duas ferramentas gráficas usadas para    manipulação de matrizes, funções string,
facilitar a execução de programas, tais     movimento e cópia de dados. Os blocos de
como:                                       ação podem Chamar (Call) uma sub-rotina,
   1. Fluxograma (flowchart)                executar uma malha (Do), ter funções
   2. Diagrama de função seqüencial         temporizadas (Wait) e fazer comunicação.
       (Sequential Funcion Chart - SFC)         Os blocos de encaminhamento são de
Há ainda linguagens especializadas para     comparação e decisão. Uma decisão
controle de movimento (robótica, controle   depende de um Sim (Yes) ou Não (Not) a
numérico) e até a linguagem C é usada       uma condição: Chave A está fechada? A
como linguagem de controle. Foram           comparação olha em dois valores para
desenvolvidas outras linguagens para CLP,   verificar se são maiores que, menores que
cada uma para determinada plataforma ou     ou iguais e retorna ao Sim ou Não. A lógica
fabricante. Foram empregados diferentes     If-Then-Else (Se-Então-Algo mais) pode
enfoques para manipular as funções          ser feita facilmente com um bloco de
especiais, resultando em uma grande         decisão (If) com cada entrada indo para
confusão quando se mudava de um             um bloco de ação. Assim, se a chave A
fabricante para outro.                      estiver fechada, então ligar a bobina C, e
                                            além disso, ligar a lâmpada piloto 1.
2.1 Fluxograma (Flowchart)                  Depois, ligar os dois blocos de ação à
    O fluxograma (flowchart) é um sistema   próxima ação.
gráfico usado como uma ferramenta de            Se o programador de fluxograma
análise de programas e outros diagramas.    conhece melhor o diagrama ladder, é útil
O fluxograma contém blocos retangulares     fazer a seguinte analogia: bloco de decisão
de ação, losangos para tomada de            age como contato e bloco de ação age
decisão, a partir de comparação ou          como bobina. Se o contato está fechado
verificação de atributos. O fluxograma de   (bloco de decisão), então ligar a bobina
programação tem dois elementos básicos:     (bloco de ação).
Ação e Ramificação
    Um bloco de ação (retângulo)
representa uma operação em um dado do
sistema. Um bloco de ação tem um ponto
de entrada (superior) e uma saída
(inferior). O bloco de encaminhamento,
(losango) representa um caminho no
circuito de controle baseado no resultado
de uma decisão. A decisão poder ser
    1. a comparação de duas variáveis




                                                                                   4.2
Linguagens de Programação

                                                        2.2. Diagrama de Função Seqüencial
             Início                                     (SFC – Sequential Function Chart)
                                                        Conceito
                                                             O Diagrama de Função Seqüencial
                                                        (Sequential Function Chart – SFC) não é
                                                        considerado uma linguagem mas descreve
    Chave 1 On AND        N              Chave 4        graficamente o comportamento seqüencial
    Chave 2 On AND                       Não On         de um programa de controle. Este
    Chave 3 On                                ?         diagrama é uma estrutura que organiza a
               ?                                        utilização do programa de qualquer
                                         Y              linguagem, dependendo do editor
     Y                                                  escolhido e por isso serve como
                                                        ferramenta auxiliar para desenvolver as
    Ligar RunMode                                       linguagens textuais e gráficas.
    Ligar Relé 1                                             O Comitê Técnico IEC #3, Subcomitê
                                                        3B de Documentação, publicou um método
                                                        de descrever a função e o comportamento
                                                        dos sistemas de controle que contenham o
                                                        projeto conceitual e a descrição da
  RunMode está On             Y        Incr EdgeCount   seqüência lógica (IEC Pub. 848-1988).
  AND Lastscan Chave
  5 Não On                                              Desenvolvimento e componentes
  AND Chave 5?
                                                            O diagrama de função seqüencial é
                                                        constituído de:
                                                           1. Passos,
         N
                                                           2. Elos dirigidos (links)
                                                           3. Transições
                                                            O passo descreve um estado
         EdgeCount        Y           Ligar Relé 2      permanente (às vezes, momentânea) de
              = 10                                      um processo seqüencial. Cada passo
               ?                                        representa um estado particular do
                                                        sistema. Um passo é representado por um
                                                        retângulo com passos anteriores ligados
         N                                              por uma linha formando um caminho. O
                                                        primeiro passo tipicamente inicializa o
                                                        sistema.
                                     Desligue Relé 1    O elo dirigido mostra a direção do fluxo da
         EdgeCount         Y
                                     Desligue Relé 2    lógica.
             = 20
                                     Clear EdgeCount
               ?                                        A transição é usada para mostrar a
                                     Desligue RunMode
                                                        mudança condicional entre estados
                                                        permanentes. Uma transição é uma
         N                                              condição, que, quando verdadeira, causa a
                                                        desativado do passo anterior e ativa o
                                                        passo seguinte. Uma linha cruzando a
Move: Chave 5                                           linha de ligação entre passos representa
Para: Chave 5 Lastscan                                  uma transição. Há uma transição seguindo
                                                        cada passo.

               Fig. 4.1. Fluxograma típico




                                                                                                4.3
Linguagens de Programação
    Os passos podem ser associados a:
    1. Ações
    2. Estados                                                       01        Passo inicial
    3. Comandos
    O bloco de ação dentro de um passo e        Elo dirigido               a
a transição podem ser programados em
qualquer linguagem padrão, ou outras
linguagens suportadas pelo editor. Nem       Transição
                                                                     02
todos os editores suportam as quatro
linguagens IEC, mas eles podem ser                                                    Passos subsequentes
                                                                           b
conformes com uma ou mais.
    Condições ou comandos para a lógica
são associados com transições (Fig. 3.16).
Comandos ou ações são qualificados pelas                             03
letras símbolo
    S (stored – armazenado),
    D (delayed – atrasado),
    L (limited – limitado em tempo)             Fig. 4.15. Passos, elos dirigidos e transições
    P (pulsed – pulsado, menor que
limitado).
    As letras podem ser combinadas (Fig.
4.17). Comandos ou ações podem ser
condicionais (letra C), (Fig. 4.18).                                      01             Esperar
Condições transitórias podem ser
representadas por afirmações textuais,            HMS
expressões booleanas ou símbolos                  101
gráficos (Fig. 4.19).
    Uma poderosa capacidade destas                                                       Partir bomba
                                                                          02
cartas de função é que elas podem
representar caminhos lógicos paralelos,
seleção de seqüência exclusiva (Fig. 4.20)
ou seleção de seqüência inclusive
(Fig.2.21).
Na Fig. 4.20 a exclusividade é mostrada          HMS                                     Parar bomba
                                                 102                      03
pela lógica booleana nas transições.
Na Fig. 4.21 a simultaneidade é mostrada
pelas linhas duplas, especialmente as mais
baixas. Neste caso, a transição c não é
habilitada até que os passos 09 e 10 sejam          Fig. 4.16. Comandos para e da lógica
ativados ao mesmo tempo. Assim, e
somente assim, a transição pode ser
terminada.




                                                                                                   4.4
Linguagens de Programação



      18                  Comando A           Status contínua somente para a duração
                                              do passo 18


c              Condição c


                     S Partida da ação         Começa e contínua B
       19                     B


 d           Condição d


                     D      Comando C          Comando C, dados 5 s no passo 20,
       20
                              D=5s             removido ao final do passo 20


 e



                      L     Comando D          Comando D, dado somente para
       21
                              L=8s             primeiros 8 s do passo 21


 f



                     DS     Comando E          Comando E é atrasado 5 s e
       22
                              D=5s             armazenado. Se ocorrer transição antes
                                               5 s, comando não será ativado

g



                     SD     Comando F          Comando F é primeiro armazenado e depois
        23
                              D=5s             atrasado. Se a transição h ocorrer, o
                                               comando ainda será executado

h



Fig. 2.17. Combinações de comandos ou ações




                                                                                          4.5
Linguagens de Programação



                          SC       Ação B
            24
                                    se d


                                              Ação equivalente
                                              ocorre somente
       d                                      quando d estiver
                                              presente

                          SC       Ação B
            24
                                    se d




       d

                                            Ação começa com d
                          SC       Ação     mas depois
            24
                                            permanece




Fig. 2.18. Comandos condicionais




                                                                           4.6
Linguagens de Programação




                                     01


             HMS
             101

             Partida
                                     02            S       Ligar motor


             HMS                                        Condições transitórias podem ser
             102                                        representadas por declarações textuais,
                                                        expressões booleanas ou símbolos
             Parada                                     gráficos




                                    01


   Partida
      •      Condições
      •      Outras
                                                 SC      Ligar bomba óleo
                                    02                      lubrificante


                                          P > 250 kPa



                                    03           SC      Partir motor




Fig. 2.19. Condições transitórias




                                                                                                  4.7
Linguagens de Programação


                                               01




                            abc                     abc          abc

                     02                        03           04




   Fig. 2.20. Caminhos paralelos: seleção de
seqüência exclusiva




                                                                                4.8
Linguagens de Programação


                               07




        08




                                                          10


        09




                                               A linha dupla indica simultaneidade. Os dois
                                               sinais devem estar presentes antes de
                                               acontecer a transição c. Somente então pode
                                               ser terminada.
                                11




   Fig. 2.21. Caminhos paralelos: seleção de
seqüência inclusiva




                                                                                              4.9
Linguagens de Programação
                                                      A instrução pode ser precedida por
3. Linguagens Textuais                            uma etiqueta de identificação seguida por
                                                  dois pontos (:). Um comentário, se
As linguagens textuais definidas na norma         necessário e presente, deve ser o último
IEC 1131-3 são                                    elemento na linha. Linhas vazias podem
  1. Lista de Instruções (IL - Instruction        ser inseridas entre instruções.
      List)
  2. Texto Estruturado (ST – Structureted
      Text).                                      Tab. 51 - Exemplos de campos de instrução
   Os elementos do diagrama de função
seqüencial (SFC) da norma podem ser               Etiqueta    Operador   Operando
usados em conjunto com qualquer uma                                                 Comentário
destas linguagens.                                START       LD
                                                              ANDN
                                                                         %IX1
                                                                         %MX5
                                                                                    (* PUSH BUTTON *)
                                                                                    (* NOT INHIBITED *)
3.1. Elementos comuns                                         ST         %QX2       (* FAN ON *)


Os elementos textuais especificados na
norma devem ser comuns com as
                                                  Operadores, Modificadores e
linguagens textuais (IL e ST). Em
                                                  Operandos
particular, os seguintes elementos de
estrutura de programa devem ser comuns               Operadores padrão com seus
com as linguagens textuais.                       modificadores permitidos e operandos
                                                  estão listados na norma.
TYPE…END_TYPE                         (2.3.3)        A não ser que seja definido diferente, a
VAR…END _VAR                          (2.4.3)     semântica do operador deve ser a
VAR_INPUT…END_VAR                     (2.4.3)
                                                  seguinte:
VAR_OUTPUT…END_VAR                    (2.4.3)
VAR_IN_OUT…END_VAR                    (2.4.3)
                                                             result := result OP operando
VAR_EXTERNAL…END_VAR                  (2.4.3)
                                                      Isto é, o valor da expressão sendo
FUNCTION…END_FUNCTION                 (2.5.1.3)
                                                  calculada é substituído por seu valor
FUNCTION_BLOCK...END_FUNCTION_BLOCK   (2.5.2.2)
                                                  corrente operado pelo operador com
PROGRAM…END_PROGRAM                   (2.5.3)
                                                  relação ao operando. Por exemplo, a
STEP…END_STEP                         (2.6.2)
                                                  instrução AND%IX1 é interpretada como:
TRANSITION…END_TRANSITION             (2.6.3)
ACTION…END_ACTION                     (2.6.4)
                                                             result := result AND %IX1

                                                      Os operadores de comparação devem
3.2. Lista de Instruções                          ser interpretados com o resultado corrente
                                                  à esquerda da comparação e o operando à
   A norma define a semântica e sintaxe           direita., com um resultado booleano. Por
formal da linguagem Lista de Instruções de        exemplo, a instrução GT %IW10 terá o
modo detalhado.                                   resultado booleano igual a 1, se o
Instruções                                        resultado corrente for maior do que o valor
     Uma lista de instruções é composta de        da palavra de entrada 10 e o resultado
uma seqüência de instruções. Cada                 sejam zero, nos outros casos.
instrução deve começar em uma nova                    O modificador N indica a negação
linha e deve conter um operador com               booleana do operando. Por exemplo, a
modificadores opcionais e, se necessário          instrução ANDN %IX2 é interpretada como
para a operação particular, um ou mais
operandos separados por vírgulas.                            result := result AND NOT %IX2
Operandos podem ser qualquer
representação de dados definida para                 O modificador abre parêntesis ou
literais e para variáveis.                        parentização, “(“ indica que o cálculo do
                                                  operador deve ser adiado até que o
                                                  operador fecha parêntesis “)” seja


                                                                                               4.10
Linguagens de Programação
encontrado, e.g., a seqüência de                     Tab. 5 – Operadores de entrada padrão do bloco de
instruções                                           função para linguagem IL

        AND ( %IX1                                       No.   Operadores        Tipo FB   Reference
        OR %IX2                                          4     S1,R              SR        2.5.2.3.1
        )                                                5     S,R1              RS        2.5.2.3.1
                                                         6     CLK               R TRIG    2.5.2.3.2
deve ser interpretada como                               7     CLK               F TRIG    2.5.2.3.2
                                                         8     CU,R,PV           CTU       2.5.2.3.3
                                                         9     CD,LD.PV          CTD       2.5.2.3.3
    result := result AND( %IX1 OR %IX2)
                                                         10    CU,CD,R,LD,PV     CTUD      2.5.2.3.3
                                                         11    IN. PT            TP        2.5.2.3.4
   O modificador C indica que a instrução                12    IN,PT             TON       2.5.2.3.4
associada deve ser executada somente se                  13    IN,PT             TOF       2.5.2.3.4
o valor do resultado atualmente calculado
seja o booleano 1 (ou booleano 0 se o
operador é combinado com o modificador
N)                                                   Funções e blocos de função
                                                          Funções devem ser invocadas pela
                                                     colocação do nome da função no campo
                                                     do operador. O resultado corrente deve ser
Tab. 52 – Características de invocação do bloco de   usado como o primeiro argumento da
função para linguagem IL                             função. Argumentos adicionais, se
                                                     requeridos, devem ser dados no campo do
                                                     operando. O valor retornado pela função
No. Descrição – Exemplo
1    CAL com lista de entrada
                                                     depois da execução bem sucedida de uma
     CAL C10(CU := %IX10m PV :=15)                   instrução RET ou depois de atingir o fim
2    CAL com carga ou entradas de                    físico da função deve se tornar o resultado
     armazenagem:                                    corrente.
     LD           15                                      Blocos de Função podem ser
     ST           C10 . PV                           invocados condicional ou
     LD           %IX10                              incondicionalmente via operador CAL
     ST           C10.CU                             (chamada – call). Como mostrado na
     CAL          C10                                norma, esta invocação pode ser de três
3    Uso de operadores de entrada                    formas diferentes, como mostrado na Tab.
     LD           15                                 53.
     PV           C10
     LD           %IX10
     CU           C10
Nota: Uma declaração como VAR C10 : CTU ;
END_VAR é assumida nos exemplos acima




                                                                                                 4.11
Linguagens de Programação

Tab. 52 – Operadores da linguagem Lista de Instruções (IL)

No  Operador Modificador Operando Semântica
1   LD       N             Nota 2      Estabelece o resultado corrente igual ao operando
2   ST       N             Nota 2      Armazena o resultado corrente para o local do operando
3   S        Nota 3        BOOL        Coloca o operando booleano igual a 1
    R        Nota 3        BOOL        Coloca o operando booleano igual a 0
4 AND        N, (          BOOL        Booleano AND
5 &          N, (          BOOL        Booleano AND
6 OR         N, (          BOOL        Booleano OR
7 XOR        N, (          BOOL        Booleano OR Exclusivo
8 ADD        (             Nota 2      Adição
9 SUB        (             Nota 2      Subtração
10 MUL       (             Nota 2      Multiplicação
11 DIV       (             Nota 2      Divisão
12 GT        (             Nota 2      Comparação : >
13 GE        (             Nota 2      Comparação : >=
14 EQ        (             Nota 2      Comparação : =
15 NE        (             Nota 2      Comparação : <>
16 LE        (             Nota 2      Comparação : <=
17 LT        (             Nota 2      Comparação : <
18 JMP       C, N          LABEL       Salte para label
19 CAL       C, N          NAME        Chama o bloco de função (Nota 4)
20 RET       C, N                      Retorna da função chamada ou bloco de função
21 )         C, N                      Avalia a operação adiada
Notas:
       1. Ver explicação dos modificadores e avaliação das expressões (3.2.2)
       2. Estes operadores devem ser sobrecarregados ou entrados conforme a norma (2.5.1.4). O
          resultado corrente e o operando devem ser do mesmo tipo
       3. Estas operações são feitas se e somente se o valor do resultado corrente é o booleano 1.
       4. O nome do bloco de função é seguido de um argumento entre parêntesis (3.2.3)
       5. Quando uma instrução JMP é contida em uma construção ACTION...END_ACTION, o
          operando deve ser um label dentro da mesma construção.




                                                                                             4.12
Linguagens de Programação

Tab. 55. Operadores da Linguagem de Texto Estruturado

No    Operação                          Símbolo                               Precedência
1     Parêntesis                        (Expressão)                           Mais alta
2     Avaliação da função               Identificador (lista de argumentos)
      Exemplos                          LN(A), MAX(S,Y), etc.
3     Exponenciação                     **
4     Negação                           -
5     Complemento                       N
6     Multiplicação                     *
7     Divisão                           /
8     Módulo                            MOD
9     Soma                              +
10    Subtração                         -
11    Comparação                        <, >, <=, >=
12    Igualdade                         =
13    Desigualdade                      <>
14    Booleana AND                      &
15    Booleana AND                      AND
16    Booleana OR Exclusivo             XOR
17     Booleana OR                    OR                                Mais baixa
Notas:
        1. As mesmas restrições se aplicam aos operandos destes operadores quando as entradas
            das funções correspondentes definidas em 2.5.1.5
        2. O resultado da avaliação da expressão A**B deve ser o mesmo que o resultado da
            avaliação da função EXPT(A, B)




                                                                                            4.13
Linguagens de Programação
Tab. 56 – Comandos da linguagem Texto Estruturado

      No.    Tipo de comando (Referencia)           Exemplos
      1      Atribuição (3.3.2.1)                   A := B; CV := CV+1 ; C := SIN(X) ;
      2      Invocação do bloco de função e         CMD_TMR(IN := %IX5. PT := T#300ms) ;
             uso da saída do bloco de função        A:= CMD_TMR.Q ;
      3      RETURN (3.3.2.2)                       RETURN;
      4      IF (3.3.2.3)                           D:=.B*B – 4*A*C;
                                                    IF D < 0.0 THEN NROOTS := 0 ;
                                                    ELSIF D := 0.0 THEN
                                                    NROOTS :=1;
                                                    X1 := - B/ (2.0*A) ;.
                                                    ELSE
                                                    NROOTS := 2 ;
                                                    X1 := (-B+SQRT(D))/(2.0*A) ;
                                                    X2 := (-B-SQRT(D))/(2.0*A) ;
                                                    END_IF ;
      5      CASE (3.32.3)                          TW := BCD_TO _INT(THUMBWHEEL) ;
                                                    TW_ERROR := 0 ;
                                                    CASE TW OF
                                                    1.5 : DISPLAY := OVEN_TEMP ;
                                                    2 : DISPLAY := MOTOR_SPEED ;
                                                    3 : DISPLAY:= GROSS_TARE ;
                                                    4.6..10: DISPLAY := STATUS (TW-4) ;
                                                    ELSE DISPLAY:= O ;
                                                    TW_ERROR := 1 ;
                                                    END_CASE ;
                                                    QW100 := INT_TO_BCD(DISPLAY) ;
      6      FOR (3.3.2.4)                          J := 101 ;
                                                    FOR 1:= 1 TO 100 BY 2 DO
                                                    IF WORDS[I] = ‘KEY' THEN
                                                    J:=1;
                                                    EXIT;
                                                    END IF ;
                                                    END FOR ;
      7      WHILE (3.3.2.4)                        J:= 1 ;
                                                    WHILE J <= 100 & WORDS[J] <> 'KEY' DO
                                                    J:-J+2;
                                                    END_WHILE ;
      8      REPEAT;                                J: =-1 ;
                                                    REPEAT
                                                    J:= J+2;
                                                    UNTIL J := 101 OR WORDS[JJ = 'KEY'
                                                    END_REPEAT
      9      EXIT (3.3.2.4)                         EXIT;
      10     Comando vazio                          ;




                                                                                     4.14
Linguagens de Programação
3.3. Linguagem de Texto Estruturado              Expressões booleanas devem ser
                                              avaliadas somente para a extensão
    A norma define a semântica e sintaxe
                                              necessária para determinar o valor
da linguagem Texto Estruturado. Nesta
                                              resultante. Por exemplo, se A<=B, então
linguagem, o fim da linha de texto deve ser   somente a expressão A>B seria avaliada
tratado do mesmo modo que o caractere
                                              para determinar que o valor da expressão
espaço (SP – space).
Expressões                                           A>B)&(C<D)
    Uma expressão é uma construção que,
quando executada, fornece um valor            é o booleano 0.
correspondente a um dos tipos de dados           Funções devem ser invocadas como
definidos na norma.                           elementos de expressões consistindo do
    Expressões são compostas de               nome da função seguido pelo argumento
operadores e operandos. Um operando           entre parêntesis.
pode ser                                         Quando um operador em uma
   1. um literal                              expressão pode ser representado como
   2. uma variável                            uma das funções sobrecarregadas, a
   3. uma invocação de função                 conversão dos operados e resultados
   4. outra expressão                         devem ser as regras e exemplos dados na
Os operadores da linguagem de Texto           norma.
Estruturado estão resumidos na norma. A
avaliação de uma expressão consiste em        Comando (Statement)
aplicar o operador ao operando, em uma            Os tipos de comandos da linguagem de
seqüência definida pela precedência do        texto estruturado são sumarizados na Tab.
operador. O operador com precedência          56. O comando deve ser terminado por
mais alta em uma expressão deve ser           ponto de virgula (;).
aplicado primeiro, seguido pelo operador      Comando de atribuição (assignment
da próxima precedência mais baixa, até        statement)
completar a avaliação. Operadores de
igual precedência devem ser aplicadas             O comando de atribuição substitui o
como escrito na expressão, da esquerda        valor corrente de uma variável simples ou
para a direita. Por exemplo, se A, B, C e D   multi-elemento pelo resultado da avaliação
são do tipo INT com valores 1, 2, 3 e 4,      de uma expressão. Ele consiste de uma
respectivamente, então:                       variável de referência à esquerda, seguida
                                              pelo operador de atribuição “:=”, seguido
                                              pela expressão a ser avaliada. Por
   A+B-C*ABS(D)                               exemplo, o comando

deve ser avaliado como –9 e                      A := B ;

                                                  Deve ser usado para substituir o valor
   (A+B-C)*ABS(D)                             do dado de uma variável A pelo valor
                                              corrente da variável B, se ambos forem do
deve ser avaliado como 0.                     tipo INT. Porém, se ambos A e B forem do
   Quando um operador tem dois                tipo ANALOG_CHANNEL_CONFIGURATION,
operandos, o operando mais à esquerda         então os valores de todos os elementos da
deve ser avaliado primeiro. Por exemplo,      variável estruturada A devem ser
na expressão                                  substituídos pelos valores correntes dos
                                              elementos correspondentes da variável B.
       SIN(A)*COS(B)                              Como ilustrado na fig. 6, o comando
                                              atribuição pode ser também usado para
    A expressão SIN(A) deve ser avaliada      atribuir o valor a ser retornado pela função,
primeira, seguida por COS(B), seguida         colocando nome da função para a
pela avaliação do produto dos dois.           esquerda de um operador de atribuição no
                                              corpo da declaração da função. O valor


                                                                                      4.15
Linguagens de Programação
retornado pela função deve ser o resultado     comando seguindo o ELSE (senão) é
da avaliação mais recente de tal atribuição.   executado.
É um erro retornar da avaliação de uma             O comando CASE consiste de uma
função com a saída ENO diferente de zero,      expressão que avalia variáveis do tipo INT
a não ser que, no mínimo, tal atribuição       e uma lista de grupos de comando, cada
tenha sido feita.                              grupo sendo identificado por um ou mais
                                               inteiros ou faixas de valores inteiros. Ele
Comandos de controle de função e
                                               especifica que o primeiro grupo de
blocos de função
                                               comandos, uma destas faixas contém o
    Comandos de controle de função e           valor computado pelo seletor, deve ser
blocos de função consistem de                  executado. Se o valor do seletor não
mecanismos para invocar blocos de função       ocorre em uma fase de qualquer caso, a
e para controlar o retorno da entidade de      seqüência do comando seguindo a palavra
invocação, antes do fim físico de uma          chave ELSE, caso ela ocorra, deve ser
função ou bloco de função.                     executada. Nos outros casos, nenhuma
    A avaliação da função deve ser             das seqüências de comandos é executada.
invocada como parte da avaliação de
expressão.                                     Comandos interativos
    Blocos de função devem ser invocados           Comandos iterativos especificam que o
por um comando consistindo do nome do          grupo de comandos associados deve ser
bloco de função, seguido por uma lista de      executado repetidamente. O comando
atribuições de valores de parâmetros de        FOR é usado se o número de iterações
entrada entre parêntesis, como mostrado        pode ser determinado a priori, nos outros
na Tab. 56. A ordem em que os                  casos, as construções WHILE (enquanto)
parâmetros de entrada são listados em          ou REPEAT (repetir) são usadas.
uma invocação de bloco de função não é             O comando EXIT (sair) deve ser usado
importante. Não é necessário que todos os      para terminar iteacoes antes que a
parâmetros de entrada tenham valores           condição de terminação seja satisfeita.
atribuídos em cada invocação de um bloco           Quando o comando EXIT é localizado
de função. Se um determinado parâmetro         dentro de construções iterativas
não tem atribuído um valor em uma              encadeadas, a saída será da malha mais
invocação de bloco de função, será             interna em que o EXIT esteja localizado,
aplicado o valor atribuído anterior (ou o      isto é, o controle passa para o comando
valor inicial, se não houver nenhum            seguinte depois do terminados da primeira
anterior definido).                            malha (END_FOR, END_WHILE ou
    O comando RETURN dá a saída de             END_REPEAT) seguindo o comando
uma função ou bloco de função, e.g., como      EXIT. Por exemplo, depois de executar os
o resultado da avaliação de um comando         comandos mostrados na Fig. 22, o valor
IF.                                            da variável SUM deve ser 15, se o valor da
                                               variável booleana FLAG é 0 e 6 se FLAG =
Comando de Seleção
                                               1.
    Os comandos de seleção incluem o IF
e CASE. Um comando de seleção escolhe
um ou um grupo de seus comandos                   SUM := 0 ;
componentes para execução, baseado em             FOR I := 1 TO 3 DO
uma condição especificada. Exemplos de               FOR J := 1 TO 2 DO
                                                           IF FLAG THEN EXIT ;
comandos de seleção são dados na Tab.          END_IF
56.                                                        SUM :- SUM + J
    O comando IF especifica que um grupo             END_FOR ;
de comandos deve ser executado somente               SUM := SUM + i ;
se a expressão booleana associada é               END_FOR :
verdadeira (resultado da avaliação é 1). Se
a condição é falsa, então nenhum outro
comando é executado ou o grupo de                 Fig. 22 – Exemplo do comando EXIT




                                                                                     4.16
Linguagens de Programação
    O comando FOR indica que a                  4. Linguagens Gráficas
seqüência de comandos deve ser
executada repetidamente, até a palavra          4.1. Elementos comuns
chave END_FOR enquanto a progressão                 Há elementos comuns aplicados às
dos valores é atribuída para a variável de      duas linguagens gráficas (Diagrama
controle da malha FOR. A variável de            Ladder e Diagrama de Bloco de Função) e
controle, valor inicial e valor final devem     à representação de função seqüencial.
ser expressões do mesmo tipo de inteiro
(SINT, INT ou DINT) e não podem ser             Representação de linhas e blocos
alteradas por qualquer um dos comandos
                                                    o
repetidos. O comando FOR incrementa a           N       Característica    Exemplo
variável de controle para cima ou para          1       Linha
                                                                          ------
                                                        horizontal:
baixo de um valor inicial até um valor final,           caractere
em incrementos determinados pelo valor                  menos
de uma expressão; este valor default é 1.       2       Linha vertical:
                                                                          |
                                                        caractere linha
O teste para a condição de terminação é                 vertical
feito no início de cada iteração, de modo       3       Conexão              |
que a seqüência de comando não é                        horizontal-       ---+---
                                                        vertical: sinal
executada se o valor inicial excede o valor             mais                 |
final. O valor da variável de controle depois   4       Cruzamento            |   |
de terminar a malha FOR é dependente da                 de linha sem      ------- |----
                                                        conexão
implementação.                                                                |   |
    Um exemplo do uso do comando FOR            5       Cantos ligados
                                                                              |     |
                                                        e não ligados
é dado na característica 6 da Tab. 56.                                    ----+-----+----
Neste exemplo, a amlha FOR é usada para
                                                                              |
detrminar o índice J da primeira ocorrência
(se existir) do string KEY nos elementos de                               ----+-+   +----
número impar de uma matriz de strings                                         | |   |
WORDS com uma faixa de índice de 1 a
100. Se nenhuma ocorrência é verificada, J      6       Blocos com
                                                                                 |
terá o valor 101.                                       linhas de
                                                        conexão              +--------+
    O comando WHILE causa a seuencia
de comandos até a palavra chave                                           ---|        |
END_WHILE ser executada repetidamente                                        |        |---
até a expressão booleana associada ser                                    ---|        |
falsa. Se a expressão é inicialmente falsa,                                  +--------+
então o grupo de comandos não é                                                  |
executado. Por exemplo,                         7       Conexão com
FOR..._END_FOR pode ser reescrito                       caracteres:
usando o WHILE...END_WHILE, como                        Conector          -------->OTTO>
                                                        Continuação
mostrado em Tab. 56.                                    da linha de um    >OTTO>--------
    Os comandos WHILE e REPEAT não                      conector
podem ser usados para conseguir a
sincronização dentro do processo, por
exemplo, como uma malha WAIT com uma
condição de terminação determinada              Direção do fluxo em circuitos
externamente. Os elementos do diagrama              Um circuito é definido como um
de função seqüencial são usados com este        conjunto máximo de elementos gráficos
objetivo.                                       interligados, excluindo as linhas verticais à
    É um erro que viola a norma ter um          esquerda e à direita no diagrama ladder.
comando WHILE ou REPEAT em um                       Fluxo de potência – análogo ao fluxo de
algoritmo para que a satisfação da              potência em um sistema com relés
condição de terminação da malha ou              eletromagnéticos, tipicamente usado em
execução de um comando EXIT não possa           diagramas ladder. O fluxo de potência em
ser garantida.


                                                                                             4.17
Linguagens de Programação
uma linguagem de diagrama ladder deve          O jump (salto) deve ser mostrado por uma
ser da esquerda para a direita.                linha de sinal booleano terminada em uma
    Fluxo de sinal - análogo ao fluxo de       dupla seta (>>). A linha de sinal para uma
sinais entre elementos de um sistema de        condição de jump deve originar em
processamento de sinais, tipicamente
                                                   1. variável booleana,
usado em diagrama de bloco de função. O
                                                   2. saída booleana de uma função ou
fluxo de sinal em uma linguagem de
                                                      bloco de função
diagrama de bloco de função deve ser da
                                                   3. linha de fluxo de potência de um
saída (lado direito) de um bloco de função
                                                      diagrama ladder
para a entrada (lado esquerdo) da função
                                                   Uma transferência de controle de
ou do bloco de função assim ligado.
                                               controle para a identificação do circuito
    Fluxo de atividade – usado em
                                               designado deve ocorrer quando o valor
diagrama de função seqüencial. O fluxo de
                                               booleano da linha de sinal for 1
atividade dos elementos de diagrama de
                                               (verdadeiro), assim, o jump incondicional é
função seqüencial deve ser do fundo de
                                               um caso especial do jump condicional.
um passo através da transição apropriada
                                                   O alvo de um jump deve ser uma
para o topo do passo sucessor
                                               etiqueta do circuito dentro da unidade de
correspondente.
                                               organização do programa, dentro da qual
Avaliação de circuitos                         ocorre o jump. Se o jump ocorre dentro de
    A ordem em que os circuitos e seus         uma construção ACTION...END_ACTION,
elementos são avaliados não é                  o alvo do jump deve estar dentro da
necessariamente a mesma ordem em que           mesma construção.
eles são identificados ou mostrados. Não é         Retornos condicionais de funções e
necessário que os circuitos sejam              blocos de função devem ser
avaliados antes da avaliação de um dado        implementados usando uma construção
circuito possa ser repetido. As seguintes      RETURN. A execução do programa será
regras devem ser obedecidas:                   transferida de volta para a entidade de
   1. Nenhum elemento de um circuito           invocação, quando a entrada booleana for
        deve ser avaliado até que os           1 (verdadeiro) e deve continuar no modo
        estados de todas as entradas           normal quando a entrada booleana for 0
        tenham sido avaliados.                 (falso). Retornos incondicionais devem ser
   2. A avaliação de um elemento de            fornecidos pelo fim físico da função ou
        circuito não é completada até que os   bloco de função ou pelo elemento
        estados de todas as suas saídas        RETURN ligado ao lado esquerdo da
        tenham sido avaliados.                 linguagem ladder.
   3. A avaliação de um circuito não é             Serão vistas a seguir, com detalhes, as
        completada até que as saídas de        duas programações gráficas mais usadas
        todos os seus elementos tenham         na programação de CLP:
        sido avaliadas, mesmo se o circuito        1. Diagrama Ladder
        contenha um dos elementos de               2. Diagrama de bloco funcional
        controle de execução definidos em
        4.1.4.
   Existe um caminho de realimentação
em um circuito quando a saída de uma
função ou bloco de função é usada como
entrada para uma função ou bloco de
função que o precede no circuito; a
variável associada é chamada de variável
de realimentação.
Elementos de controle de execução
   Os elementos gráficos da transferência
do controle do programa nas linguagens
gráficas são definidos na norma.



                                                                                     4.18
Linguagens de Programação


                                        Definições
                          (Cfr. Norma IEC 1131-3)
Absoluto, tempo                              Biestável, bloco de função
  A combinação do tempo do dia e data.          Bloco de função com dois estados
Ação                                         biestáveis, controlado por uma ou mais
                                             entradas.
    Uma variável booleana ou uma coleção
de operações a serem feitas, junto com       Bit string
uma estrutura de controle associada              Um elemento de dado consistindo de
(2.6.4)                                      um ou mais bits.
Ação, bloco de                               Bloco de função, tipo
     Um elemento de linguagem gráfica que       Um elemento de linguagem de
utiliza uma variável de entrada booleana     programação de controlador lógico
para determinar o valor de uma variável de   programável consistindo de:
saída booleana ou a condição que habilita       1. definição de uma estrutura de dado
uma ação de acordo com uma estrutura de            particionada em entrada, saída e
controle predeterminada (2.6.4.5).                 variáveis internas
Acesso, caminho de                              2. um conjunto de operações a serem
                                                   executadas nos elementos da
   Associação de um nome simbólico com
                                                   estrutura de dados, quando uma
uma variável para o objetivo de
                                                   instância do tipo bloco de função é
comunicação aberta.
                                                   invocada.
Agregado
                                             Bloco de função, diagrama
   Uma coleção estruturada de objetos de
                                                Um ou mais circuitos de funções
dados, formando um tipo de dado.
                                             representadas graficamente, blocos de
Argumento                                    função, elementos de dados, etiquetas e
   Mesmo que parâmetro de entrada ou         elementos de ligação.
parâmetro de saída.                          Call
Avaliação (evaluation)                           Uma construção de linguagem para
   O processo de estabelecer um valor        invocar (chamar) a execução de uma
para uma expressão ou uma função ou          função ou bloco de funções.
para as saídas de um circuito ou bloco de    Canto de descida (falling edge)
função, durante a execução do programa.
                                                A mudança de 1 para 0 de uma variável
Atribuição (assigment)                       booleana.
   Um mecanismo para dar um valor a          Canto de subida (rising edge)
uma variável ou para um agregado.
                                                A mudança de 0 para 1 de uma variável
Base, número                                 booleana.
   Um número representado em uma base        Caracter string
específica diferente de 10.
                                                Um agregado que consiste de uma
                                             seqüência ordenada de caracteres.




                                                                                  4.19
Linguagens de Programação
Chave palavra (keyword)                      ou lógico pode ser determinada
   Uma unidade léxica que caracteriza um     diretamente.
elemento de linguagem, e.g., “IF”.           Dupla palavra
Comentário                                     Um elemento de dado contendo 32 bits.
    Uma construção de linguagem para a       Entrada parâmetro (Entrada)
inclusão de texto em um programa e não
                                                 Um parâmetro que é usado para
tendo impacto na execução do programa.
                                             fornecer um argumento a uma unidade de
Compilar                                     organização de programa.
   Transladar uma unidade de                 Escopo
organização de programa ou especificação
                                                A porção de um elemento de linguagem
de dados em sua linguagem de maquina
                                             dentro da qual se aplica uma declaração
equivalente ou em forma intermediária.
                                             ou uma etiqueta.
Configuração
                                             Etiqueta (Label)
   Um elemento de linguagem
                                                Uma construção de linguagem
correspondendo a um sistema de
                                             nomeando uma instrução, circuito ou grupo
controlador lógico programável.
                                             de circuitos e incluindo o identificador.
Contador, bloco de função
                                             Execução, elemento de controle
    Um bloco de função que acumula um
                                                Um elemento de linguagem que
valor para o número de variações sentidas
                                             controla o fluxo de execução do programa.
em uma ou mais entradas especificadas.
                                             Fonte (resource)
Corpo (body)
                                                 Um elemento de linguagem
   Porção de uma unidade de organização
                                             correspondendo a qualquer uma “função
de programa que especifica as operações
                                             de processamento de sinal” e sua
a serem feitas nos operandos declarados
                                             “interface homem-máquina” e “funções de
da unidade de organização do programa
                                             interface sensor e atuador”.
quando sua execução é invocada.
                                             Função
Dado, tipo
                                                 Uma unidade de organização de
   Um conjunto de valores junto com um
                                             programa que, quando executada, fornece
conjunto de operações permitidas.
                                             exatamente um elemento de dado (que
Dado e tempo                                 pode ter vários valores, e.g., uma matriz ou
   A data dentro do ano e o tempo do dia,    estrutura) e cuja invocação pode ser usada
representado conforme ISO 8601.              em linguagens textuais como um operando
                                             em uma expressão.
Declaração
                                             Genérico, tipo de dado
    O mecanismo de estabelecer a
definição de um elemento de linguagem.          Um tipo dado que representa mais do
Uma declaração normalmente envolve           que um tipo de dados. (2.3.2).
anexar um identificador ao elemento de       Global escopo
linguagem e alocar atributos, tais como
                                                Escopo de uma declaração aplicando a
tipos de dados e algoritmos a ele.
                                             todas as unidades de organização de
Delimitador                                  programa dentro de uma fonte ou
    Um caractere ou combinação de            configuração.
caracteres usados para separar elementos     Global, variável
de linguagem de programa.
                                                Uma variável cujo escopo é global.
Direta, representação
                                             Hierárquico endereçamento
   Um meio de representar uma variável
                                                 A representação direta de um elemento
em um programa de controlador lógico
                                             de dado como um membro de uma
programável, do qual uma correspondência
                                             hierarquia física ou lógica, e.g., um ponto
específica do fabricante a um local físico


                                                                                   4.20
Linguagens de Programação
dentro de um módulo que é contido em        esquema que pode ou não ter qualquer
um armário, que por sua vez, é contido em   relação com a estrutura física das
um cubículo.                                entradas, saídas e memórias do
                                            controlador lógico programável.
Identificador
   Uma combinação de letras, números,       Long palavra
caracteres sublinhados, que começa com         Um elemento de dado de 64 bits.
uma letra ou sublinhado e que nomeia um
                                            Long real
elemento de linguagem.
                                               Um número real representado em uma
Inicial valor                               palavra longa.
    Um identificador associado com uma
                                            Matriz (array)
instância específica.
                                               Um agregado que consiste de objetos
Instância                                   de dados, com atributos idênticos, cada um
    Uma cópia individual e nomeada da       podendo ser referenciado como
estrutura de dados associada com um tipo    subscripting.
bloco de função ou tipo programa, que
                                            Memória (armazenagem de dado do
persiste de uma invocação das operações
                                            usuário)
associadas para a próxima.
                                               Uma unidade funcional para a qual o
Instância, nome                             programa do usuário pode armazenar
    Um identificador associado com uma      dados e da qual ele pode recuperar os
instância específica.                       dados armazenados.
Instanciação                                Nomeado, elemento
   Criação de uma instância.                   Um elemento de uma estrutura que é
                                            nomeada por seu identificador associado.
Inteiro literal
    Um literal que representa diretamente   Off-delay timer (on-delay), bloco de
um valor de tipo SINT, INT, DINT, LINT,     função
BOOL, BYTE, WORD, DWORD ou                     Um bloco de função que atrasa o canto
LWORD (2.3.1).                              de descida (subida) de uma entrada
                                            booleana por uma duração específica.
Invocação
   Processo de iniciar a execução das       Operador
operações especificadas em uma unidade          Um símbolo que representa a ação a
de organização de programa.                 ser executada em uma operação.
Linguagem, elemento de                      Operando
   Qualquer item identificado por um          Um elemento de linguagem em que
símbolo no lado esquerdo de uma regra de    uma operação é executada.
produção na especificação formal dada no
                                            OR fiado (wired)
anexo B desta norma.
                                                Uma construção para obter a função
Literal                                     booleana OR na linguagem de diagrama
    Uma unidade léxica que representa       ladder, ligando juntos os lados direitos das
diretamente um valor.                       ligações horizontais com as ligações
                                            verticais.
Local escopo
    O escopo de uma declaração ou           Overloaded
etiqueta aplicando somente para a unidade       Com relação a uma operação ou
de organização do programa em que a         função, capaz de operar em dados de
declaração ou etiqueta aparece.             diferentes tipos. (2.5.1.4).
Lógico local                                Passo (step)
    O local de uma variável                    Uma situação em que o
hierarquicamente endereçada em um           comportamento de uma unidade de



                                                                                   4.21
Linguagens de Programação
organização de programa com relação a       interpretação ou uso. Regras governando a
suas entradas e saídas segue um conjunto    estrutura de uma linguagem.
de regras definido pelas ações associadas
                                            Simples, Elemento de dados
do passo.
                                               Um elemento de dado consistindo de
Potência, fluxo de                          um único valor.
   O fluxo simbólico da potência elétrica
                                            Subscripting
em um diagrama ladder, usado para
denotar a progressão da solução de um           Um mecanismo para referenciar um
algoritmo lógico.                           elemento de matriz por meio de uma
                                            referência de matriz e uma ou mais
Pragmática                                  expressões que, quando avaliadas, denota
   As relações de caracteres ou grupos de   a posição do elemento.
caracteres para sua interpretação e uso.
                                            Tarefa (task)
Programar (verbo)                               Um elemento de controle de execução
   Projetar, escrever e testar programas    fornecido para execução gatilhada ou
do usuário.                                 periódica de um grupo de unidades de
                                            organização de programa associadas.
Real literal
  Um literal representando dados do tipo    Tempo literal
REAL ou LREAL.                                 Um literal representando ddos do tipo
                                            TIME, DATE, TIME_0F_DAY ou
Retentivo, Dado
                                            DATE_AND_TIME.
   Dado armazenado, de tal modo que
seu valor permanece inalterado depois de    Tipo de dado estruturado
uma seqüência desligamento/ligamento de        Um dado tipo agregado que tem sido
energia.                                    declarado usando uma declaração
                                            STRUCT ou FUNCTION_BLOCK.
Retorno
   Uma construção de linguagem dentro       Transição
de uma unidade de organização de               A condição onde o controle passa de
programa designando um fim para as          um ou mais passos anteriores para um ou
seqüências de execução na unidade.          mais passos posteriores ao longo de um
                                            caminho dirigido.
Saída, parâmetro de (Saída)
    Um parâmetro que é usado para           Unidade de organização de programa
retornar o resultado da avaliação de uma        Uma função, bloco de função ou
unidade de organização de programa.         programa. (O termo pode se referir a um
                                            tipo ou a uma instância).
Semântica
   A relação entre os elementos             Unsigned, inteiro
simbólicos de uma linguagem de                  Um inteiro literal não contendo o sinal
programação e seu significado,              inicial de mais (+) ou menos (-).
independente da sua interpretação e uso.
Semigráfica Representação
   Representação da informação gráfica
usando um conjunto limitado de
caracteres.
Simbólica, representação
    O uso de identificadores para nomear
variáveis.
Sintaxe
   Relação entre elementos simbólicos,
independente de seu significado,



                                                                                   4.22
5
                                               Diagrama Ladder
5.1. Introdução                                 5.3. Regras de composição
Diagrama ladder é uma representação
                                                     1. Há algumas práticas comuns a
ordenada em forma de escada de
                                                         todos os diagramas ladder,
componentes e conexões de um circuito
                                                         como:
elétrico. O diagrama ladder é também
                                                     2. Entradas, chaves e contatos são
chamado de diagrama elementar ou
                                                         colocados no início da linha, no
diagrama de linha. O termo ladder
                                                         lado esquerdo.
(escada) se aplica porque ele parece com
                                                     3. Saídas, bobinas e lâmpadas
uma escada, contendo degraus. É o
                                                         piloto são colocadas no fim da
diagrama básico associado com o controle
                                                         linha, no lado direito.
lógico programado.
                                                     4. Uma linha de entrada pode
5.2. Componentes                                         alimentar mais de uma saída.
                                                         Quando isso ocorre, as saídas
    Os elementos constituintes de um
                                                         estão ligadas em paralelo.
diagrama ladder podem ser divididos em
                                                     5. Chaves, contatos e entradas
componentes de entrada e de saída. O
                                                         podem ter contatos múltiplos em
principal componente de entrada é o
                                                         série, paralelo ou combinação
contato.
                                                         de série e paralelo.
    Quanto à operação o contato pode ser
                                                     6. As linhas são numeradas
retentivo ou não retentivo. Quanto à lógica,             consecutivamente, à esquerda e
o contato pode ser normalmente aberto
                                                         de cima para baixo.
(NA) ou normalmente fechado (NF).
                                                     7. Dá-se um único número de
Quanto à operação, o contato pode ser de
                                                         identificação para cada nó de
chave manual ou de automática,
                                                         ligação.
(pressostato, termostato, chaves                     8. As saídas podem ser
automáticas de nível e de vazão, chave
                                                         identificadas por função, no lado
térmica de motor). . Quanto ao tempo, os
                                                         direito, em notas.
contatos podem ser instantâneos ou
                                                     9. Pode-se incluir um sistema de
temporizados para abrir ou fechar.
                                                         identificação de referência
    O principal componente de saída é a                  cruzada, no lado direito. Os
bobina, associada ao starter de motor, ao
                                                         contatos associados com a
relé ou solenóide. Outros componentes
                                                         bobina ou saída da linha são
incluem lâmpada piloto, sirene ou buzina.
                                                         identificados pelo número da
    Existem outros componentes, porém
                                                         linha.
estes são os mais importantes e usados e             10. Os contatos de relé são
são suficientes para o entendimento dos
                                                         identificados pelo número da
diagramas encontrados nas aplicações
                                                         bobina do relé mais um número
práticas.
                                                         seqüencial consecutivo. Por
                                                         exemplo, os três contatos do
                                                         relé CR7 são CR7-1, CR7-2 e
                                                         CR7-3.



                                                                                      5.1
Diagrama Ladder

      L1                                   L2             5.4. Exemplos
                   SW1       CR5
                                                          Exemplo 1
                                                saída
                                                              O diagrama ladder da Fig.5.1, está
                                                          associado a um sistema com uma chave
                                                          que liga-desliga um relé de saída, CR5. A
    Fig. 5.1. Diagrama ladder básico, para uma            Fig. 5.2 mostra um sistema de controle
chave manual que liga a saída de um relé:                 com linhas paralelas na entrada e na
         L1, L2 linhas de alimentação                     saída. Qualquer uma das duas chaves liga-
         SW 1 contato de chave manual                     desliga a saída e a lâmpada piloto. O
         CR5 bobina do relé CR5                           diagrama da figura possui duas linhas
                                                          funcionais ativas.
                                                              O diagrama ladder da Fig. 5.3 tem a
                                                          seguinte seqüência de operação:
 L1                                   L2                  1.     No início, todas as chaves estão
             SW1             CR5                              abertas, as bobinas estão desligadas
                                                          2.     Fechando SW 1 ou SW 2 ou ambas,
                                                              CR7 é energizada.
             LS1                            saída         3.     Na linha 3, o contato NA CR7-1
                                                              fecha, habilitando a linha 3 e CR8 ainda
                              R
                                                              está desligada
                              PL1                         4.     Fechando a chave manual SW 3, CR8
Fig. 5.2. Duas chaves em paralelo (manual SW1 e               é energizada e a lâmpada piloto verde
automática de nível LS1) controlam a saída do relé            (G) é acesa
CR5e uma lâmpada piloto PL1 vermelha (R).                 5.     Abrindo as duas chaves SW 1 e SW 2,
                                                              tudo é desligado
                                                          6.     Em operação, desligando SW 3, CR8
      L1                                   L2                 é desligado, PL1 é desligada mas CR7
               SW1             CR7                            contínua ligada.
 1                                              3 saída   Exemplo 2
                                                1              As seguintes modificações podem ser
            SW2                                           feitas ao diagrama da Fig.5. 3:
 2                                                            SW 4 deve estar ligada para CR7 ficar
                               CR8
              SW3                                         ligada
 3                                              saída         CR7 deve estar desligada para CR8
                                                2         estar ligada
           CR7-1                                              CR9 é ligada por CR7, CR8 e SW 3.
                                                              O diagrama completo é mostrado na
  4                               G
                                                          Fig 5. Há uma linha pontilhada entre os
                                                          dois contatos SW 3, indicando uma única
                                                          chave comum com dois contatos (Se SW 3
                                                          estivesse na esquerda, somente um
Fig. 5.3. Diagrama ladder com duas funções                contato seria necessário para energizar as
                                                          linhas 3, 4 e 5).
                                                              Uma linha adicional de operação
                                                          poderia ser acrescentada ao diagrama
                                                          ladder, como a linha 6 mostrada na figura
                                                          5. A seqüência adicionada seria a
                                                          seguinte:
                                                              CR7 ou CR8 ou ambas, mais LS12 e CR9
                                                          ligam a saída do relé CR10.




                                                                                                  5.2
Diagrama Ladder

    L1                                              L2
                    CR7-1 SW3 CR7                             L1                                           L2
         SW1                            CR8                                                       CR7
                                                                           SW1          SW4
1                                               G
                                                          1                                                     3, 5
         SW2
2                                                                    SW2
    Fig.5. 4. Diagrama ladder incorreto                   2                                       CR8
                                                                       SW3
                                                          3                                                     5

                                                                   CR7-1
                                                                                    SW3
                                    S         ENTRADA     4                                        G
                        P                     DE AR
                                    O
                        S                                          CR7-2                  CR8-1    CR9
                                                          5
                                        L
                                        S
               L
                                                                   CR7-3         LS12     CR9-1    CR10
               S
                                                         6
                                        L
                                        S                          CR8-2
ENTR                                                      7
               BO            DESCA




        Fig.5.5. Controle automático de tanque de água                Fig.5. 5. Diagrama ladder completo
    pressurizado


                                                         5.5. Desenvolvimento
    Diagrama errado
       O diagrama da Fig. 5.4 é um diagrama                  Pode-se avaliar a utilidade do diagrama
    ladder incorreto, que contem os mesmos               ladder vendo um exemplo e ligando-o a um
    componentes da figura, porém, nunca irá              processo lógico seqüencial. O processo
    funcionar. Os erros são os seguintes:                consiste de um tanque de armazenagem
    1.      Mesmo que houvesse potência entre            de produto (p.ex., água), um tanque de
        as linhas, a voltagem aplicada em cada           pressão, uma bomba, e um conjunto de
        elemento de saída seria dividida por 3           dispositivos pilotos (pressostatos e chaves
        e nenhuma bobina teria a tensão                  de nível) para fornecer o controle do
        correta de funcionamento e a lâmpada             processo.
        piloto ficaria só um pouco acesa. Mas,               O diagrama ladder do sistema indica
        logicamente, as saídas nunca seriam              que o circuito de controle possui dois
        ligadas.                                         modos de operação: automático e manual.
    2.      Mesmo fechando todas as chaves, o            O controle manual é executado pela chave
        contato CR7-1 ficaria sempre aberto.             (push-button) liga-desliga (stop-start) junto
        Para fechar o contato CR7-1 a bobina             com o dispositivo de segurança de
        CR7 deve ser energizada e a bobina só            sobrecarga da bomba.
        seria energizada fechando-se CR7-1,                  Para o processo partir e operar, a
        que é impossível.                                chave PARADA deve estar inativa
                                                         (fechada) e a chave PARTIDA deve estar
                                                         pressionada. Os contatos NA que são
                                                         ativados quando o relé da bomba contatos
                                                         é energizado permitem a bomba ficar
                                                         ligada, depois que se alivia a chave
                                                         PARTIDA.



                                                                                                            5.3
Diagrama Ladder

    O controle automático é mais             com os contatos normalmente abertos LSL
complexo. O desenho mostra que há uma        102. Como com a chave de partida na
monitoração do nível baixo, nível alto e     porção manual do desenho, um conjunto
pressão baixa do tanque de pressão, e de     de contatos de relé de partida
nível baixo do tanque de armazenagem. A      normalmente aberto é colocado em
bomba pode ser energizada somente            paralelo com LSL 102 para garantir que o
quando as exigências de controle sejam       relé de partida permaneça energizado
satisfeitas e a ligação entre L1 para L2     quando o nível do liquido suba acima do
através do relé de partida da bomba seja     nível mínimo e permaneça abaixo do nível
feita.                                       máxima do tanque de pressão. LSL 101
    A parte automática do circuito de        também controla o estado do relé e desliga
controle da água é mostrada na metade        o relé quando o nível d'água do tanque de
superior do diagrama ladder. No              pressão atinja o valor máximo. O nível alto
desenvolvimento deste diagrama, a ligação    do tanque de pressão ativa os contatos
elétrica entre L1 e L2 foi criada com os     normalmente abertos LSH 101, que
símbolos do elemento de controle             permite o solenóide de entrada de ar ser
intercalado. A chave de parada é             energizada (desde que PSL 103 indique
geralmente colocada próxima de L1 antes      que a pressão do tanque esteja abaixo do
de colocar qualquer outra linha no           ajuste desejado).
diagrama. O sensor de pressão alta (LSH          O método de se desenvolver um
101) possui dois conjuntos de contatos: um   diagrama ladder para um sistema consiste
normalmente aberto para o controle da        em
operação do solenóide de ar e um                 1. rever as funções de controle
normalmente fechado para permitir a                  requeridas no circuito,
operação da bomba. A operação da bomba           2. selecionar os elementos de controle
é também governada pelos sensores de                 que desempenham esta tarefa,
nível baixo no tanque de pressão e de            3. arranjar os símbolos para as
nível baixo no tanque de armazenagem, ou             condições impostas pelo controle
seja, LSL 102 e LSL 103. Os símbolos                 de modo seqüencial, entre as linhas
destes elementos devem ser colocados no              da tensão de alimentação.
desenho indicando que a bobina da partida        Quando necessário,
da bomba é energizada quando o nível de          4. fornecer contatos de
água for baixo no tanque de pressão mas              intertravamento ou retenção em
deve ser desligada pelo nível baixo do               volta dos contatos momentâneos de
tanque de armazenagem. Esta exigência,               chave botoeira.
que evita estrago na bomba por causa de          Os botões de desligamento e outros
nível baixo de água no tanque de             intertravamentos de segurança devem ser
armazenagem e garante uma pressão            arranjados de modo que eles sejam
estável no tanque de pressão, é satisfeita   eletricamente fechados para a linha de
pela colocação de LSL 103 e LSL 102 em       tensão de alimentação. Cada componente
série com a partida e os contatos            do desenho deve ter uma etiqueta de
normalmente fechados de LSH 101. Para        modo que seja facilmente associado com o
garantir que a bomba fique ligada, quando    dispositivo real do processo.
LSL 102 for energizada                           Deve-se ter o cuidado de identificar
momentaneamente, coloca-se um retentor       todos os contatos de uma bobina de relé
com o conjunto de contatos do relé da        especifica. Finalmente, as condições
bomba (contato M em paralelo).               normalmente aberta ou fechada de todos
    Estes símbolos de elemento de            os contatos automáticos devem sempre
controle do nívele da bomba são              ser indicados quando elas estiverem no
apresentados na porção intermédiaria do      estado inativo ou sem uso.
diagrama ladder do sistema de água. A
chave de seleção do modo de operação é
colocada próxima do relé de partida. Os
contatos normalmente fechados de LSL
103 e LSH 101 são colocados em série


                                                                                    5.4
Diagrama Ladder

                                              enrolamentos causado por
5.6. Análise                                  superaquecimento, como resultado da
    O procedimento básico para a análise      corrente excessiva nos enrolamentos de
de um diagrama ladder de um circuito de       baixa resistência.
controle é considerar um componente por            Esta tensão cc é obtida da retificação
vez e decidir o que ocorre se uma chave       da tensão ca, através de uma ponte
push button é acionada ou contato é ligado    retificadora. Dois contatos normalmente
ou desligado. Se o diagrama é analisado       abertos (B) isolam o retificador dos
deste modo, com a observação que a            terminais T1 e T3 do motor.
mudança do contato geralmente fecha ou             Há também dois contatos normalmente
abre circuitos completos de uma linha de      abertos da mesma bobina do freio (B) que
tensão através de uma bobina de relé.         isolam o primário do transformador das
Esta bobina é energizada ou                   duas linhas L1 e L2. O quinto contato da
desenergizada, dependendo da                  bobina do freio (B), normalmente fechado,
continuidade do circuito. Quando um           está em série com a bobina do relé de
circuito é fechado para uma bobina            acionamento do motor e com a chave de
particular, seu contador, relé, starter é     partida. Quando a bobina de freio estiver
energizado e seus contatos mudam suas         acionada (energizada) não se consegue
posições normais. Se os contatos são          partir o motor.
normalmente fechados, se abrem e se os             Se a chave de partida é acionada, se
contatos são normalmente abertos, eles        os contatos de sobrecarga estão fechados
agora ficam fechados. Quando um relé          e se a chave P.B. estiver fechada, a bobina
temporizado (de atraso) é usado no            de acionamento do motor é energizada e
circuito, seus contatos mudam de estado       todos os cinco contatos (B) são ativados. O
depois de um determinado tempo. Quando        primeiro contato do relé (M1), NA, fecha,
se usam reles, é importante considerar        garantindo a continuidade do circuito,
cada contato que é operado pelo relé,         mesmo quando se solta a chave de partida
sempre que sua bobina for energizada.         (contato retentivo).
Quando não se consideram todos os                  O segundo contato, M2, NF, abre,
contatos de um relé, comete-se um erro        impedindo que a bobina de freio seja
conceitual da função do circuito.             ativada e receba o sinal da linha L1.
Finalmente, quando se avalia um circuito,     Depois de transcorrido um determinado
deve-se estar certo que cada componente       tempo o contato T também fecha o circuito,
está sendo considerado em sua posição         pois sua bobina (T) também foi energizada,
normal e na posição energizada, de modo       juntamente com a bobina do motor (M). Os
que se possa compreender o circuito           últimos três contatos, M3, M4 e M5,
completo.                                     normalmente abertos, se fecham,
    Seja o diagrama ladder para um circuito   energizando os enrolamentos do motor T1,
de freio dinâmico de um motor. Este           T2 e T3.
sistema pode ser aplicado a qualquer               O sistema de freio inclui o relé de
equipamento, quando se quer uma parada        breque (B), o relé temporizado (T), o
rápida, suave ou quando se deseja ter um      retificador ca/cc, o transformador com
eixo do motor livre de rotação manual         secundário/primário e cinco contatos do
quando se desliga a alimentação. Um           relé de breque (B). Os terminais T1 e T3
sistema de freio dinâmico fornece uma         do motor estão alimentados pela tensão
parada sem qualquer tendência para            cc, pelos contatos B. Quando se aperta a
reverter e produz menos choque aos            chave parada, o relé do motor (M) é
componentes de acionamento do motor do        desenergizado, o motor é isolado da
que outros métodos.                           tensão ca, pelos contatos M4, M5 e M3
    O sistema de freio dinâmico usa           que ficam abertos. O relé temporizado é
voltagem cc para fornecer uma ação de         desligado e o seu contato T fecha. Como
freio suave mas positiva e para fazer o       M2 já estava fechado, T fechado, a bobina
motor parar rapidamente. O sinal cc deve      de breque (B) é energizada e todos seus
ser removido quando o motor estiver quase     contatos mudam de estado. Ou seja, todos
parando, para evitar qualquer dano aos        os contatos B (exceto B1) ficam fechados


                                                                                     5.5
Diagrama Ladder

B2 e B3 ligam o transformador e, como
conseqüência, produzem tensão cc
retificada do transformador. Os contatos
B4 e B5 ligam a tensão cc aos terminais T1
e T3 do motor. Depois de transcorrido o
tempo de atraso, ajustável e função do
motor, a bobina T abre o contato T que
desliga a bobina de freio B.
     Em resumo, o procedimento básico
para analisar o diagrama ladder envolve
     a consideração de cada componente
do circuito por vez para decidir o que
acontece com este componente quando
um contato é fechado,
     a determinação da função de cada
componente em suas posições normal e
energizada
     a função de cada componente em
relação aos outros elementos do diagrama.
     É importante fazer uma análise
completa do diagrama sem pular para
conclusões parciais. Uma análise
apressada e incompleta é usualmente                  Fig. 5.8. Diagrama ladder do freio do motor
desastrosa, porque a consideração de
apenas um contato adicional pode mudar
totalmente a natureza básica do circuito.




    Fig. 5.7. Diagrama ladder correspondente ao
controle do tanque de água pressurizado




                                                  ApostilaAutomação   SimboLadder.doc     03 FEV 98 (Substitui 30 OUT 97)




                                                                                                                        5.6
Diagrama Ladder



      Aplicações de Diagrama Ladder

1. Alarme de Alta Pressão                               PSH     S1
1.1. Descrição                                     1
   O circuito faz soar uma buzina e
acender uma lâmpada piloto quando a
                                                   2                       R
pressão atingir um valor alto perigoso.
Depois que o alarme soa, o botão ACKN
(conhecimento) desliga a buzina e deixa a                      ACKN
lâmpada acesa. Quando a pressão baixar             3
                                                                               S    1 ,4
para um valor seguro, a lâmpada se apaga
1.2. Solução                                       4

Quando a pressão atinge valor alto                                 S2
perigoso, a chave PS atua, fechando o            Condição anormal: pressão alta, PSH
circuito e                                  fechada, buzina toca, lâmpada acende
    1. soando a buzina
    2. acendendo lâmpada R
    Quando operador toma conhecimento                  PSH     S1
do alarme e aperta a chave ACKN, a
bobina S se energiza, trocando seus            1
contatos S1 e S2
    1. S1 abre, desligando a buzina
                                               2                       R
    2. S2       fecha, mantendo bobina S
        energizada
    A bobina S só é desligada quando a                        ACKN
chave PS abrir, ou seja, quando a pressão      3                                   1 ,4
alta cair e ficar em valor seguro.                                         S
                                               4
          PSH     S1                                           S2
 1
                                                 Depois de apertada a chave ACKN,
                                            S2 (selo) se mantém ligada, lâmpada
  2                                         acesa e S1 abre e a buzina se cala.
                         R

                 ACKN
  3
                             S      1 ,4



                   S2


     Condição normal: pressão não alta,
PSH aberta, buzina calada, lâmpada
apagada


                                                                                   5.7
Diagrama Ladder


2. Controle de Bomba e duas
lâmpadas piloto com chave de                           LSH
nível                                                                                   2, 3, 4
                                              1                           S
2.1. Descrição                                                S-1
    A chave de nível opera o starter do       2                           R
motor da bomba. A bomba enche um
tanque com água. Enquanto o nível do                          S-2                OL
tanque receptor estiver baixo, a chave liga                              M
                                              3
o motor da bomba e acende a lâmpada R.
Quando o nível atingir o nível máximo                        S-3
(tanque cheio), a chave desliga o motor e a   4                           A
lâmpada R e acende a lâmpada A. Se o
motor se sobrecarregar, o motor é
desligado, mas a lâmpada R contínua                   Nível alto: LSH fechada
acesa.                                                         Motor M desligado
2.2. Solução                                                   Lâmpada R apagada
                                                          LSH
   Quando o nível estiver abaixo do
máximo (normal), a chave LSH está aberta      1                              S          2, 3, 4
e                                                              S-1
    1. lâmpada R está acesa
    2. motor está ligado, operando                2                          R
    3. lâmpada A está apagada                                  S-2                 OL
   Quando o nível atingir o máximo, LSH
fecha                                             3                       M
    1. apagando R                                             S-3
    2. desligando motor M
    3. acendendo A                                4                          A
   Quando motor ficar sobrecarregado,
   1. OL abre
                                                      Nível baixo: LSH aberta
   2. desligando motor e
   3. mantendo R acesa                                        Motor M ligado
                                                              Lâmpada R acesa




                                                                                           5.8
Diagrama Ladder


3. Controle seqüencial de 3
motores
                                                                          PARTID                OL1 OL2 OL3
                                                                  PARAD
3.1. Descrição
   Ligar três motores, isoladamente e um                      1                          M11
                                                                                         M                     2, 3
após o outro. A parada desliga todos os
motores. Qualquer sobrecarga desliga                      2
todos os motores                                                           M1-1
3.2. Solução                                              3                        M2                          4
    Apertando a botoeira PARTIDA                                     M1-2
    1. M1 parte e fecha M1-1 e M1-2
    2. M1-1 sela a partida de M1,                             4                    M3
       mantendo M1 ligado depois que a
                                                                    M2-1
       botoeira PARTIDA for solta
    3. M1-2 liga M2, fechando M2-1
    4. M2-1 liga M3                                         Quando se aperta a chave
   Qualquer sobrecarga em M1, M2 ou M3                    PARTIDA,
desliga todos os três motores, pois OL1,                       M1 parte e sela M1-1
OL2 e OL3 são contatos NF e estão em
série


                 PARTID              OL1 OL2 OL3
         PARAD                                                             PARTID
                                                                  PARAD                          OL1 OL2 OL3
     1                         M11
                               M                   2, 3
                                                              1                          M11
                                                                                         M                         2, 3
  2
                                                              2
                  M1-1
                                                                            M1-1
 3                        M2                       4
                                                          3                         M2                         4
            M1-2
                                                                     M1-2
     4                   M3
                                                              4                    M3
           M2-1
                                                                     M2-1

                                                                   Depois que M1 parte,
    Contatos auxiliares (ou intertravamentos)                         M1-2 fecha e parte M2
 para controle de seqüência automática:                            Depois que M2 parte,
    Contato M1 energiza bobina M2                                            M2-1 fecha e parte M3
    Contato M2 energiza bobina M3




                                                                                                               5.9
Diagrama Ladder


4. Controle temporizado de                                   PARAD
                                                                     PARTID              OL1 OL2 OL3
motores
                                                         1                         M1                  2
4.1. Descrição
   Ligar três motores, isoladamente e um             2                             T1                  3
após o outro, com intervalos de 1 minuto. A                          M1-1
parada desliga todos os motores. Qualquer
sobrecarga desliga todos os motores                  3                        M2

4.2. Solução                                                    T1-1
                                                         4                    T2                       5
    Apertando a botoeira PARTIDA
    5. M1 parte e energiza T1                                   T2-1
    6. M1-1 sela a partida de M1,                    5                        M3
       mantendo M1 ligado depois que
       botoeira PARTIDA é solta
                                                              Assim que se aperta PARTIDA,
    7. T1 energizado fecha T1-1 depois de
                                                                    M1-1 sela e M1 permanece
       1 min
                                                              operando
    8. T1-1 parte M2 e energiza T2, que                             T1 é energizada
       fecha T2-1 depois de 1 min
    9. T2-1 parte M3
   Qualquer sobrecarga em M1, M2 ou M3
desliga todos os três motores, pois OL1,
OL2 e OL3 são contatos NF e estão em
série                                                                PARTID              OL1 OL2 OL3
                                                             PARAD

                                                         1                         M1                  2
                PARTID             OL1 OL2 OL3
        PARAD                                        2                             T1                  3
    1                         M1                 2                   M1-1

2                                                    3                        M2
                              T1                 3
                M1-1                                            T1-1
                                                         4                    T2                       5
3                        M2
                                                                T2-1
           T1-1                                      5                        M3
    4                    T2                      5

           T2-1                                      Depois de um intervalo de tempo,
5                        M3
                                                     T1-1 fecha, partindo M2 e energizando T2
                                                     Depois de um intervalo de tempo,
                                                     T2-1 fecha, partindo M3




                                                                                                       5.10
Diagrama Ladder


5. Controle seqüencial                             PARAD
                                                           PARTID
                                                                              OL1
temporizado de motores                                                                2, 3
                                               1                       M1
5.1. Descrição                                                M1-1
    Três motores                               2
                                                                               OL2
    1. M1 – motor bomba de lubrificação
                                               3                       M2
    2. M2 – motor principal
    3. M3 – motor de alimentação                        PSH
    devem ser ligados em seqüência e em        4                       T1              5
intervalos de tempo determinados.
                                                                               OL3
5.2. Solução
                                               5                       M3
   Apertando a botoeira PARTIDA
   1. M1 parte e M1-1 sela a partida de                T1-1
       M1.
                                                  Quando se aperta PARTIDA, M1 parte e
   2. A bomba faz a pressão subir e a          M1-1 sela seu funcionamento
       alta pressão faz chave PSH fechar
       e partir M2 e energizar T1.
   3. T1 energizado fecha T1-1 depois de
       10 s, partindo M3
  Se M1 aquecer, OL1, abre, desligando
M1 e a pressão cai.
   A queda de pressão faz PSH abrir,
desligando M2 e desenergizando T1.
                                                           PARTID
   Quanto T1 é desenergizada, T-1 abre,            PARAD                      OL1
desligando M3
                                                                       M1             2, 3
                                               1
                                                              M1-1
                                               2
                                                                               OL2
            PARTID
    PARAD                     OL1              3                       M2

1                     M1             2, 3
            M1-1                               4        PSH            T1              5
2
                               OL2                                             OL3
3                      M2                      5                       M3

        PSH                                            T1-1
4                      T1             5
                                                      A operação de M1 faz a pressão
                               OL3
                                                   subir.
5                      M3                             Quando a pressão sobe,
                                                          PSH fecha
       T1-1                                               M2 parte
   Dispositivos piloto usados em controle de              T1 é energizado
seqüência automática                                  Depois de um determinado intervalo,
                                                                 T1-1 fecha




                                                                                    5.11
Diagrama Ladder


6. Controle de Velocidade de                      PARAD     1a VELOCIDADE               OL1
motores                                       1                                M1             2
6.1. Descrição                               2                            M1-1
1.      O motor tem três faixas de           3                            B1-1
     velocidades.                            4                            C1-1
2.      O motor acelera automaticamente                    2a VELOCIDADE
     para a velocidade selecionada.
3.      Uma botoeira pode parar o motor      5                                   B1           3, 6, 8
     em qualquer velocidade                  6                            B1-2
4.      O motor possui proteção de           7                            C1-2
     sobrecarga
5.      Três botoeiras separadas                                               T1             11
                                             8
     selecionam 1a, 2a e 3a velocidade.                            B1-3
6.      Há um atraso de 3 segundos para                     T1-1
     passar de uma velocidade para outra     9                              S1                4, 7, 10, 11
6.2. Solução                                 10                  3a VELOCIDADE
                          a
   Apertando a botoeira 1 VELOCIDADE         11                                C1             12
   1. M1 parte e M1-1 sela a partida de
       M1,.mantendo-o na primeira                                         C1-3
       velocidade depois que a chave         12                                T2
       PARTIDA é solta.                                   S1-1      C1-4
   2. Quando a chave 2a VELOCIDADE
       for apertada,                                                      S2
• T1 fica energizado (Atraso para Ligar)
• B1 –1 faz motor girar na 1a velocidade                    T2-1
• B1 –2 mantém B1 selado
   3. Depois de 3 segundos, T1 –1 fecha,
       ligando S1. S1 faz motor operar na
       2a velocidade
   4. Quando a botoeira 3a
       VELOCIDADE for apertada,
• C1 fica energizado
• C1 –1 faz motor girar na 1a velocidade
• C1 –2 faz motor girar na 2a velocidade
• C1 –3 faz motor girar na 3a velocidade
• C1 –4 faz operar T2 (falta S1 –1 fechar)
   Depois de 3 segundos, T3 fecha e
energiza S1 (motor fica na 2a velocidade).
   S1 –1 fecha operando T2. Depois de 3
segundos T2 fecha e opera S2 , que coloca
o motor na 3a velocidade.
   Quando houver sobrecarga, OL1, abre,
desligando M1.




                                                                                                  5.12
Diagrama Ladder




     PARAD     1a VELOCIDADE          OL1
                                                                PARAD     1a VELOCIDADE          OL1
 1                              M1          2
                                                           1                               M1           2
2                         M1-1                             2                          M1-1
3                         T1-1                             3                          T1-1
4                         C1-1
                                                           4                          C1-1
              2a VELOCIDADE
                                                                         2a VELOCIDADE
5                                T1         3, 6, 8        5                                T1          3, 6, 8
6                         T1-2
                                                           6                          T1-2
7                         C1-2
             T1-3                                          7                          C1-2
8               B1-3                        11                             B1-3
                                                           8                                            11
                              T1                                                           T1
              T1-1
9                          S1               4, 7, 10, 11
                                                           9            T1-3                            4, 7, 10, 11
10                                                                                    S1
                    3a VELOCIDADE                          10
11                                          12                                 3a VELOCIDADE
                                C1                     11                                               12
                                                                                           C1
                          C1-3
12                                                                                   C1-3
                                T2                         12
             S1-1      C1-4                                                                T2
                                                                        S1-1      C1-4
                           S2
                                                                                      S2
               T2-1
                                                                          T2-1




                                                                                                       5.13
Diagrama Ladder

                                                   bomba de alta pressão. Se o motor do
7. Unidade de Aquecimento de                       soprador de ar pára por qualquer
                                                   razão, FSL1 abre M1 .
Óleo                                            5.     A chave seletora AUTO MANUAL
7.1. Descrição                                     permite ao operador decidir a
                                                   circulação de ar dentro do ambiente
♦         Motor M1 opera uma bomba de alta         quando o sistema de aquecimento
     pressão, que injeta óleo em um                estiver fora de serviço. Quando a chave
     queimador.                                    estiver em AUTO, o motor do soprador
♦         Motor M2 opera um soprador de            é controlado pelo termostato TS2 .
     indução que força o ar para o                 Quando a chave estiver em MANUAL,
     queimador, quando o óleo estiver              ela liga o motor M3 diretamente e
     sendo queimado.                               permite o motor do soprador operar
♦         Chave liga-desliga comanda o             independente do sistema de
     circuito                                      aquecimento.
♦         Termostato TS1 sente a
     temperatura do interior do ambiente
♦         Termostato TS2 sente a
     temperatura do trocador de calor.
♦         Quando a chave estiver ligada                OFF                                OL1 OL2
     (ON) e a temperatura interna do                         TS1   TS3    FS
     ambiente for baixa, TS1 fecha e parte        1                                 M1
                                                        ON
     os motores M1 e M2.
♦         Quando a temperatura do trocador
     de calor subir demais, TS2 fecha e          2                              T                     3
     parte M3. O soprador circula o ar dentro
     do ambiente através do trocador e                         T
     aumenta a temperatura dentro do             3                              M2
     ambiente.                                         TS2         AUTO                  OL3
♦         Quando a temperatura do                4
     ambiente subir muito, TS1 abre e             5
                                                                           M3
     desliga o motor da bomba e o motor do
                                                 5
     soprador de indução. O soprador do
                                                               MANUAL
     trocador contínua operando até que o
     trocador de calor seja resfriado a uma
     temperatura baixa, quando TS3 abre.            M1 Motor da bomba de injeção de óleo
                                                    combustível no queimador
7.2. Solução                                        M2 Motor do soprador de indução de ar
1.    Ligando a chave para ON e se a                combustível no queimador
   temperatura do ambiente estiver baixa,           M3 Motor do soprador de ar através do
   TS1 fecha, fechando TS1 e energizando        trocador
   T e M1 .
2.    O temporizador é TOFF (atraso             TS1L    Chave de ligamento
   para desligar), então T1 fecha                       Temperatura ambiente baixa, fechada
   imediatamente, partindo M2. Se T ficar               Temperatura ambiente alta, aberta
   desenergizado, depois de 1 min e se          TS2H    Chave de ligamento
   abre, desligando M2                                     Temperatura do trocador alta,
3.    FSL1 é uma chave de vazão que                     fechada
                                                        Temperatura do trocador baixa, aberta
   sente a vazão de ar produzida pelo           TS3H    Chave de desligamento
   soprador de indução e impede que o                   Temperatura do trocador baixa, aberta
   motor da bomba de alta pressão                       Temperatura do trocador alta, fechada
   continue injetando óleo na câmara de         FSH     Vazão de ar alta, fechada
   combustão.                                           Vazão de ar baixa, aberta
4.    M2 ligado faz FSL1 fechar, partindo
   M1 e permitindo a partido do motor da


                                                                                               5.14
Diagrama Ladder

                                              4.     O motor do agitador mistura os
8. Enchimento, Mistura e                         líquidos A e B durante 1 minuto
                                              5.     Depois de 1 minuto
Esvaziamento de Tanque                           TR-2 abre, desligando o motor M
8.1. Descrição                                   TR-1 abre, impedindo que os
                                                 solenóides A e B sejam ligadas neste
   O funcionamento do sistema é o
                                                 momento (interlock)
seguinte:
                                                 TR-3 fecha, ligando o solenóide C que
1.     Apertando PARTIDA, os solenóides
                                                 esvazia o tanque
   A e B abrem, permitindo o tanque se
                                              6.     Quando o tanque fica vazio, LSL
   encher
                                                 tripa
2.     Quando o tanque encher, uma
                                                 LSL-1 fecha, permitindo ligação dos
   chave de nível tipo bóia desliga A e B e
                                                 solenóides A e B
   liga um motor M de agitação da mistura
                                                 LSL-2 abre, desligando o solenóide C
   do tanque
                                              7.     O ciclo se repete e os solenóides A
3.     O motor trabalha em determinado
                                                 e B são energizadas, pois
   intervalo de tempo ajustável, T. Depois
                                                 CR-2 está fechado
   de transcorrido T, o motor desliga e um
                                                 LSH-1 fechado (nível abaixo do
   solenóide C, na saída do tanque, é
                                                 máximo)
   ligado esvaziando o tanque.
                                                 LSL-1 fechado (nível mínimo já
4.     Quando o tanque ficar vazio, a
                                                 atingido)
   chave de nível desliga o solenóide C e
                                                 TR-1 fechado (temporizador desligado)
   o ciclo recomeça.
5.     Um relé térmico desliga o motor em     8.3. Esquema do Processo
   caso de sobrecarga.
8.2. Solução
    Apertando a botoeira PARTIDA
1.      CR energiza
    CR-1 sela a partida, mantendo motor
    funcionando depois de soltada a
    botoeira
    CR-2 permite os solenóides A e B                                               S
    serem ligadas
    CR-3 permite o motor M ligar e o
    temporizador TR energizar (satisfeitas
    outras condições)
    CR-4 permite o solenóide C ser ligada
2.      Com CR-1 fechado (PARTIDA
    acionada),
    LSH-1 fechado (nível do tanque abaixo
    do máximo)
    LSL-1 fechado (nível do tanque no
    mínimo)
    TR-1 fechado (agitação ainda não
ligada)
                                                   A   Enche tanque com A
    Solenóides A e B se energizam e as
                                                   B   Enche tanque com B
    válvulas A e B enchem o tanque
                                                   M   Motor do agitador
3.      Tanque atinge nível máximo, LSH
                                                   C   Esvazia o tanque
    tripa
    LSH-1 abre, desligando solenóides A e
                                                   LSL      Nível baixo, fechada
    B
                                                            Nível alto, aberta
    LSH-2 fecha, ligando o motor de
                                                   LSH      Nível baixo, aberta
    agitação e energizando o temporizador
                                                            Nível alto, fechada
    TR



                                                                                       5.15
Diagrama Ladder

8.4. Diagrama Ladder


              PARTIDA
     PARADA
                                                  OL1
1                                   CR                  2, 3, 5, 7
              CR1-1
 2

      CR-2    LSL-1
                             TR-1
3                                            A
                   LSH-1
 4               A ou B                     B
       CR-3 LSH-2            TR-2
5                                           M

6                                      TR               3 5, 7
         CR-4
                               LSL-3
                      TR-3
7                                           C

                      LSL
8                                           LSL          3

                      LSH
9                                           LSH           3 5




                                                                                5.16
Diagrama Ladder

                                                 •   M2-3 abre para evitar que a bobina
9. Enchimento de Tanque com                         M1 seja energizada quando o
Duas Bombas Alternadas                              contato CR-1 voltar à sua posição
                                                    normalmente fechada.
9.1. Descrição                               5. O circuito continua operando assim, até
                                                que o pressostato PS abra e desligue
    A água de alimentação é fornecida de
                                                M2. Quando isso acontecer, todos os
um tanque central. O tanque é
                                                contatos de M2 mudam de estado.
pressurizado pela água quando o tanque
                                             6. Uma chave seletora de três posições
se enche. Dois poços separados fornecem
                                                na saída do pressostato permite ao
água para o tanque, cada poço com uma
                                                operador alternar a operação das duas
bomba independente. É desejável que a
                                                bombas ou operar a desejada (1 ou 2).
água seja bombeada de cada poço
                                             7. Embora a lógica já esteja completa, há
igualmente, mas as duas bombas não
                                                um problema potencial: depois que a
devem operar ao mesmo tempo. As
                                                bomba 1 completou um ciclo, há a
bombas devem operar alternadamente,
                                                possibilidade do contato CR-3 reabrir
mas uma chave seletora pode forçar a
                                                antes que o contato M2-2 feche para
operação de uma bomba quando a outra
                                                selar o circuito. Se isto acontecer, a
estiver com falha. Cada motor da bomba
                                                bobina M2 será desenergizada e a
contém um relé térmico de sobrecarga.
                                                bobina M1 será energizada (isto
9.2. Solução                                    depende da operação dos relés). Para
                                                evitar este problema, adiciona-se um
   Assumindo a chave em AUTO e o
                                                temporizador TOFF (off delay –
pressostato fechado (há pressão de coluna
                                                atrasado para desligar). Quando a
d'água no tanque), apertando a chave ON
                                                bobina TR for energizada, o contato
1. energiza a bobina do starter de M1
                                                TR-1 fecha imediatamente,
   M1-1 fecha, energizando CR
                                                energizando CR. Quando TR
   M1-2 sela a partida do motor M1
                                                desenergiza, o contato TR-1
   M1-3 abre, fazendo o intertravamento
                                                permanece fechado por um
   com o motor M2 (M2 não funciona
                                                determinado tempo ajustável antes de
   enquanto M1 estiver funcionando)
                                                reabrir, garantindo que a bobina CR
2. CR energizado, todos seus contatos
                                                está desenergizada.
    mudam:
   CR-1 abre, quebrando o circuito para
   bobina M1
   CR-2 fecha, selando o contato M1-1                OF      PSH        #1 CR-1 M2-1 OL1
   CR-3 fecha para permitir ligação de M2                                AUTO                         2, 3,5
   , que ainda não pode ser ligado pois      1                                                 M1
                                                     ON
   M1-3 está aberto                          2                                    M1-2   Interlock
                                                                 #2
3. Quando o pressostato PS abre, a
    bobina M1 desenergizar, permitindo                                         CR-3 M1-3
    todos os contatos M1 retornarem às       3                                                 M2      1, 4, 5
    posições normais. Neste momento, o       4                                           OL2
    relé CR está energizado.                                                 M2-2
                                                          M1-1        M2-3
4. Quando o pressostato PS fecha
                                             5                                      TR                 7
    novamente, o contato CR-1 evita que a
    bobina M1 seja energizada e CR-3                                          temporizador
    permite que a bobina M2 seja             6
    energizada. Quando a bobina M2 é                  CR-2              TR
    energizada, a bomba 2 parte e todos os   7                                        CR                1, 3, 6
    contatos M2 mudam de estado
   •     M2-1 abre e desenergiza CR                                                 memória
   •     M2-2 fecha e mantém M1
        energizada quando CR-3 abrir




                                                                                                     5.17
Diagrama Ladder

                                                           Esquema do processo
     10. Sistema de Enchimento de
                                                           II. Operação
     garrafa: controle contínuo e
                                                                A. Partir a esteira das garrafas
     discreto                                                   B. Quando a garrafa estiver na
        Fazer uma descrição da seqüência do                        posição
     evento para o sistema de enchimento de                        1. Parar a esteira
     garrafas se movendo em uma esteira.                           2. Abrir a válvula de saída
                                                                   3. Ligar o sistema de controle de
     10.1. Descrição                                                   nível para manter o nível
         Quando se dá um comando para parar                            constante durante o enchimento
     o sistema de controle contínuo, a válvula                         da garrafa
     de entrada vai para a posição fechada. A                   C. Quando a garrafa estiver cheia
     seqüência é a seguinte:                                       1. Fechar a válvula de saída
                                                                   2. Parar o sistema de controle de
     I. Inicialização (pré-enchimento do
                                                                       nível
     tanque)
                                                                   D. Ir para a etapa II.A e repetir
          A. Esteira parada, válvula de saída
              fechada
          B. Partir o sistema de controle de nível
             1. Operar durante um tempo
                 suficiente para atingir o ponto de
                 ajuste ou
             2. Colocar outro sensor de modo
                 que o sistema saiba quando o                                      Esteira
                 ponto de ajuste é atingido                                         ligada
          C. Quando se atingir o nível, parar o
              controle de nível                                                                    Não
          D. Ir para a fase de Operação                                               BP

                                   LCV                                          Sim
              vazão
                                                                                   Esteira
                                              válvula de                          desligada
                                              controle

                                                                              Válvula aberta
                                                                              Controle nível
             LE           LC
                                      Controlador
                                          ligado                                                   Não
                            SP                                                        Cheia

                                                                                             Sim
                 vazão
                                    Válvula                                   Válvula fechada
                               ligado                                          Sem controle
                                BF cheia                                          nível
                                vazia
garraf
         motor                                             Fluxograma (Flowchart )
         da                BP
                                 presen
            M1
                 liga




                                                                                                         5.18
Diagrama Ladder

                                                 necessário para detectar o enchimento da
     10.2. Diagrama Ladder                       garrafa e para reiniciar a esteira até que a
                                                 garrafa seja tirada da posição e a chave de
                                                 presença da garrafa seja aberta. Ocorre
       PARTID                                    uma operação continua entre as linhas 3 e
                 PARAD
                                                 11.
1                          CR1       2 3 4 7 8
                                                 10.3. Diagrama Ladder para a
2
                                                 Operação
        CR1-1
3                         TR1        9
        CR1-2                                          BPLS
                 BP
4                           M1                    1                         CR1        3
        CR1-3                                           BFLS
5                                                 2
                                                                          Esteira
                 CR3-1                                   CR1-1
        BP       BF
                           CR2       7 8          3                        M
6
        CR2-1 CR1-4
                                                         BFLS    BPLS
7                          SOL                    4                         CR2       5 6
        CR1-5    CR2-2
                                                        CR2-1             Nível
8                          LC
                 TR1-1                            5                        LC
9
       BF
10                         CR3       5 11               CR2-2            Válvula
                  BP                              6                       SOL
11
         CR3-2



        Fig. 1. Diagrama ladder para o sistema
     de controle de enchimento de garrafas


         A inicialização é feita por um
     temporizador (TR1) de 60 segundos, que
     liga o sistema de controle de nível por 1
     minuto depois do botão partida. Ele nunca
     é energizado de novo durante a operação..
         O motor M1 aciona a esteira até uma
     garrafa ficar na posição correta, como
     indicado pela abertura da chave de
     posição (PB1). O relé CR2 é usado para
     detectar a condição de cheia da garrafa,
     energizando CR2. Os contatos de CR2
     energizam o solenóide da válvula e o
     sistema de controle de nível. CR3 é



                                                                                           5.19
Diagrama Ladder


11. Sistema de Esteira

                      silo baixo    esteira esquerda
                                    válvula silo       esteira direita

 caixa esquerda



                                                   caixa direita
     limite direito
                                                                           limite direito                             limite esquerdo
      centro                                                                                caixa   centro                    caixa
                  limite esquerdo
                                                                              esteira esquerda                    esteira direita

   Fig.1. Representação                  pictural           do              Fig. 2. Fim da fase de inicialização
equipamento do processo

                                                                         Fase de operação
11.1. Descrição
                                                                           A. Ligar esteira da caixa direita
Fase de Inicialização                                                      B. Teste chave de presença de caixa
        A. Todos os motores desligados,                                        direita
            Válvula solenóide desligada                                        1. Se presente, ir para C
        B. Teste da chave limite direita                                       2. Se não, ir para B
            1. Se engajada, ir para C                                      C. Ligar motor da esteira de
            2. Se não, ajustar motor                                           alimentação, movimento direito
                 alimentação para movimento                                D. Testar chave de centro
                 certo                                                         1. Se engajada, ir para E
            3. Ligar motor esteira                                             2. Se não, ir para D
                 alimentação                                               E. Abrir válvula do silo de alimentação
            4. Teste da chave limite direita                               F. Testar chave limite direita
                 a. Se engajada, ir para C                                     1. Se engajada, ir para E
                 b. Se não, ir para 4                                          2. Se não, ir para D
        C. Estabelecer motor alimentação                                   G. Fechar válvula do silo de
            para movimento esquerdo e                                          alimentação, parar esteira de
            iniciar                                                            alimentação
        D. Teste da chave de centro                                        H. Ligar esteira da caixa esquerda
            1. Se engajada, ir para E                                      I. Testar chave presença de caixa
            2. Se não, ir para D                                               esquerda
        E. Abrir válvula alimentação do silo                                   1. Se engajada, ir para J
        F. Teste da chave limite esquerda                                      2. Se não, ir para I
            1. Se engajada, ir para G                                      J. Ligar esteira de alimentação,
            2. Se não, ir para F                                               movimento esquerdo
        G. Todos os motores desligados,                                    K. Testar chave de centro
            chave de alimentação do silo                                       1. Se engajada, ir para L
            fechada.                                                           2. Se não, ir para K
        H. Ir para fase de operação.                                       L. Abrir válvula do silo de alimentação
    A finalização desta fase significa que a                               M. Testar chave limite esquerda
esteira de alimentação está posicionada no                                     1. Se engajada, ir para II.A
local limite esquerdo e a metade direita da                                    2. Se não, ir para M
esteira tem sido cheia do silo de                                             Notar que o sistema cicla do passo
alimentação. O sistema está em uma                                         M para o passo A. A descrição é
configuração conhecida, como mostrado                                      construída pela simples análise de quais
na Fig. 2.                                                                 eventos ocorrem e qual entrada e



                                                                                                                             5.20
Diagrama Ladder

  saídas devem ser suportadas por estes
  eventos.
11.2. Fluxograma (Flowchart) da
seqüência de eventos
    Geralmente é mais fácil visualizar e
construir a seqüência de eventos usando
um fluxograma (flowchart) dos eventos. O
fluxograma para o processo de enchimento
de garrafas é o seguinte




            Todas saídas
             desligadas



           Chave limite
          direita entrada


                              Não
              Fechada

            Sim                     Saída direita
                                    alimentação
          Saída esquerda               ligada
         alimentação
         ligada
                                    Chave limite
                                     direita de
        Chave de centro               entrada
          de entrada

                                                    Sim
                        Não          Fechada
           Fechada
                                            Não
                  Sim

         Válvula do silo
          saída aberta




                                                                     5.21
Diagrama Ladder

                                                12.2. Descrição narrativa
12. Sistema de Elevador
                                                1. Quando o botão PARTIDA é apertado,
    O elevador usa uma plataforma para             a plataforma é acionada para a posição
mover objetivos para cima e para baixo. O          para baixo
principal objetivo é que, quando o botão        2. Quando o botão PARADA é apertado,
UP for apertado, a plataforma leva algo            a plataforma pára, em qualquer posição
para cima e quando o botão DOWN for                que estiver naquele momento
apertado, a plataforma leva algo para           3. Quando o botão SUBIDA é apertado, a
baixo.                                             plataforma é acionada para cima, se
12.1. Equipamento                                  ela não estiver descendo
                                                4. Quando o botão DESCIDA é apertado,
Equipamento de entrada                             a plataforma é acionada para baixo, se
LS1       chave limite NF para indicar             ela não estiver subindo
         posição UP
LS2      chave limite NF para indicar           12.3. Solução
         posição DOWN                              A solução será feita, dividindo as
PARTIDA botoeira NA para partir                 exigências nas tarefas individuais:
PARADA botoeira NA para parar                       1. mover plataforma para baixo,
SUBIDA   botoeira NA para comando                      quando se aperta PARTIDA
         subir                                      2. parar a plataforma
DESCIDA botoeira NA para comando                    3. seqüências de subir e descer
         descer
                                                Partida
Equipamentos de saída                               Quando se aperta a chave PARTIDA
                                                (BP1), o contato CR1 –1 sela a bobina CR1
                                                e CR1– 2 liga o motor M2, que faz a
                                                plataforma descer. Quando a plataforma
                                                atingir a posição baixa, chave LS2 abre,
                              ZSH               desenergizando CR1 e parando o motor
                              (DO               M2.
                           WN)                      A chave LS2 fica fechada enquanto a
                                                plataforma não estiver na posição baixa. A
                                                chave LS2 abre para indicar que a
                                                plataforma atingiu a posição mais baixa.
                                                Quando a linha 1 é aberta pela chave LS2,
                                                o selo CR1 – 1 abre, eliminando o selo.
                                                    As três linhas do diagrama ladder só
                                                operam quando a botoeira PARTIDA (BP1)
                                                é acionada.

      PARTID      PARAD         Z
                           SL                       BP1
                                                                ZSH
         P           P
                                            1                           CR1        Saída 1

      SUBIDA      DESCID                    2

         P                                          CR1-1
                     P
                                            3                          M2          Saída 2
M1   motor para acionar a plataforma para           CR1-2
     cima
M2   motor para acionar a plataforma para           Fig. 2. Inicialização para mover a
     baixo                                      plataforma para baixo quando se aperta o
                                                botão PARTIDA


                                                                                        5.22
Diagrama Ladder

Parada
    Para a seqüência parada, tem-se um               BP1              ZSH
relé mestre CR3 para o resto do sistema.
Como a chave PARADA é NA, não se              1                               CR1        2 3 6
pode usá-la para energizar CR3, como em              CR1-1
circuito com chave NF. Em vez disso, usa-     2
se a chave PARADA para energizar um                  CR1-2          CR4-1
outro relé CR2 e usam-se os contatos NF
deste relé para desenergizar CR3. Assim,      3                               M2         DESCIDA
quando se aciona a chave PARTIDA, CR3                 CR5-1
é energizado pelo contato de selo CR1 e       4
pelo contato NF de CR2. Quando se aciona                       BP2
PARADA, CR2 é energizado, causando o
contato NF (CR2 – 1) abrir e desenergizar     5                               CR2        6
CR3.                                                  CR1-3         CR2-1
                                              6                               CR3        7 8 11
              BP2                                   CR3-1
                                              7
1                       CR2         Saída 3
                                                   CR3-2 BP3            ZSL
2     CR1-3     CR2-1                         8                                    CR4   3 9 10
                        CR3         Saída 4                 CR4-2
                                              9
3                                                    CR4-3          CR5-2
     CR3-1                                    10                              M1         SUBIDA

                                                   CR3-3    PB4         ZSH
   Fig. 3. Inicialização para mover a         11                                   CR5   4 10 12
seqüência PARADA                                            CR5-3
                                              12

Seqüências SUBIDA e DESCIDA
    Em cada caso, um relé é selado para
energizar um motor, se
    CR3 é energizado,
    o botão apropriado é acionado,                 Fig. 3. Diagrama ladder completo
    o limite não foi atingido e
    a outra direção não foi energizada.
    Um contato NF de relé é usado para
garantir que o motor de subida não é
ligado se o motor de descida estiver ligado
e vice-versa.
    Também é necessário adicionar um
contato para garantir que M2 não seja
ligado se houver um movimento para cima
e se alguém acionar a botoeira PARTIDA.




                                                                                             5.23
Diagrama Ladder


          Parad BP2
1                                     CR2        2

                 CR2-1
2                                     CR3        3 6
                        Descid
        CR3-1 M1-1    BP4      LS2
3                                           M2   4 6
                      M2-1
4

5                     BP1    Partid
        CR3-2 M2-2
                         Subid LS1
6                                           M1   3 7
                      BP3
    7
                      M1-2


             Fig. 1. Diagrama ladder simplificado
         alternativo


             O diagrama ladder pode ser
         simplificado, considerando-se que M1 e M2
         podem ser realmente relés usados para
         ligar os motores via contatos. Se é
         assumido que estes relés podem ter
         contatos adicionais para acionar outras
         operações do diagrama ladder, então
         alguns dos relés de controle podem ser
         eliminados. Por exemplo, M1 e M2 podem
         ser considerados relés com os respectivos
         contatos.




                                                                  5.24
Diagrama Ladder

                                                energizada para abrir a válvula de saída. A
13. Enchimento de tanque                        válvula de saída permanece aberta até que
                                                o nível do tanque atinja o valor mínimo
   Definir as variáveis de estado para o        Quando o tanque fica vazio, a chave LSL
processo de aquecer um líquido em uma           abre. A válvula de saída não pode ser
temperatura ajustada e manter esta              aberta enquanto a válvula de entrada
temperatura por 30 minutos.                     estiver aberta.
                                                13.4. Diagrama Ladder




                                                  01           02
 LSH
                                                                               16         Degrau 1
               TE                                 16

 LSL
                                                  16      03        11
                                                                               08         Degrau 2
  H                                                 08         11
                                                                               09         Degrau 3
        Fig. 11. Processo do tanque
                                                  08                           ON

13.1. Equipamentos                                                             32         Degrau 4

      1. Botoeira NA de PARTIDA                                                1800
      2. Botoeira NF de PARADA                    16     08     32        04
      3. Chaves de nível alto e baixo                                               10    Degrau 5
13.2. Seqüência de eventos                        32      05         08
      1. Encher o tanque                                                       11         Degrau 6
      2. Aquecer e agitar o líquido à
         temperatura de ponto de ajuste e
         mantê-la por 30 min                       Diagrama ladder programado para CLP
      3. Esvaziar o tanque
      4. Repetir o ciclo
13.3. Explicação do ladder
    A linha 3 abre a válvula de entrada,
desde que a válvula de saída não esteja
aberta, até o nível atingir o valor alto (LSH
abre em nível alto). Quando o tanque
estiver cheio, a linha 4 liga o motor de
agitação, desde que a válvula de saída não
esteja aberta. A linha 5 parte um
temporizador de 30 minutos. A linha 6
controla o aquecedor. A linha é energizada
e desenergizada quando a temperatura
fica abaixo e acima do ponto de ajuste.
Quando o temporizador expira o tempo, a
linha é desenergizada e a linha 7 é


                                                                                           5.25
Diagrama Ladder

                                                                    Partid            Parad
        Partid        Parad
                                                            1                                         CR            2, 6, 7, 8
1                                   CR1          2 3 6
                                                                    CR1-1                                           9 10 11 13
                                                                                              CR2-1
                                                            2
2
                                                                           To
    CR1-2 Vout-1       LSH                                  3                                         CR2                1, 4
3                                   Vin          4 5 6 7
                                                                     CR2-2
                                                           4                                          R
        Vin-1      Vout-2
                                                                                     CR4- 1
4                                         SOL    4 6
                                                            5
                                                                  CR1- 2
                                          TON                                      WP                                7, 8, 9,
                   Vin-2                                    6                                              CR3
5                                         TR1    6 7                                                                 10 11 13
                                                                 CR1-3       CR3 -
    CR1-3 Vin-3    TR1-1      TS                           7                                          M3
6                                         H                      CR1-4     CR3- 2
                                                           8                                          SOL
          Vin-4 TR -2         LSL
                  1                                              CR1-5     CR3-3
7                                         Vout   3 4
                                                           9                                          M2

                                                                 CR1-6       CR3-4
                                                                                        DL
                                                            10                                              MD

                                                                 CR1-7 CR3-5 CR5-1
                                                                                              UL
                                                           11                                               CR5          1

                                                                                DL
                                                           12
                                                                 CR1-8     CR3-6        CR5-2
                                                           13                                             MU

                                                                      UL                WP
                                                           14                                               CR4




                                                                                                                  5.26
6
         Diagrama de Blocos Funcionais
                                                        ser completo antes de começar a
1. Conceitos Básicos                                    avaliação de outro circuito que use uma
1.1. Geral                                              ou mais saídas do circuito avaliado
                                                        anterior.
    A norma IEC-1131-3 define o
Diagrama de Bloco de Função,                            2.4. Bloco de função
linguagem gráfica para o controlador                        Bloco de função é uma unidade de
lógico programável, que é consistente                   organização de programa que, quando
com a norma IEC 617-12: Graphical                       executa, gera um ou mais valores. Pode-
symbols for diagrams, para instrumentos                 se criar várias instancias nomeadas de
analógicos e digitais.                                  um bloco de função. Cada instância deve
2.2. Combinação de elementos                            ter um identificador associado (nome da
                                                        instância) e uma estrutura de dados,
    Os elementos da linguagem                           contendo sua saída e variáveis internas
Diagrama de Bloco Funcional (Functional                 e, dependendo da implementação,
Block Diagram, FBD) devem ser                           valores de ou referencias para seus
interligados por linhas de fluxo de sinal               parâmetros de entrada. Todos os valores
conforme a norma.                                       das variáveis de saída e as variáveis
    Saídas dos blocos não devem ser                     internas necessárias desta estrutura de
ligadas juntas. Em particular, o OR fiado               dados devem persistir de uma execução
da linguagem do diagrama ladder não é                   do bloco de função para o próximo, de
permitido na linguagem FBD; um bloco                    modo que a invocação do mesmo bloco
OR booleano explícito é necessário, em                  de função com os mesmos argumentos
vez disso, como mostrado na Fig. 6. 24.                 (parâmetros de entrada) não
                                                        necessariamente forneçam o mesmo
                                                        valor de saída.
OR fiado fisicamente como em   Função OR na linguagem
diagrama ladder                FBD
                                                            Somente os parâmetros de entrada e
                                                        saída devem ser acessíveis do lado de
|   a      c   |                                        fora de uma instância de um bloco de
+---||--+--()--+                   +-----+              função, i.e., as variáveis internas do
|   b          |               a---| >=1 |---c          bloco de função devem ser ocultas do
+--||---+      |               b---|     |              usuário do bloco de função.
|              |
                                   +-----+                  Qualquer bloco de função que tenha
                                                        sido declarado pode ser usado na
                                                        declaração de outro bloco de função ou
                                                        programa.
Fig. 6.1. Exemplos de OR booleanos
                                                            O escopo de uma instância de um
2.3. Ordem da avaliação do circuito                     bloco de função deve ser local à unidade
                                                        de organização de programa em que ele
   Dentro de uma unidade de
                                                        é instanciado, a não ser que seja
organização de programa, na linguagem
                                                        declarado global em um bloco
FBD, a ordem da avaliação do circuito
                                                        VAR_GLOBAL.
deve seguir a regra que o circuito deve


                                                                                             6.1
Diagrama de Bloco de Função
    O nome de instância de um bloco de              Set_Point_EA_D – valor ajustado
função pode ser usado como a entrada            para desarme (atuado no ponto muito
para uma função ou bloco de função, se          alto, HH)
declarado como uma variável de entrada              Set_Point_EA_A – valor ajustado
na declaração VAR_INPUT ou como uma             para alarme (atuado no ponto de alta, H)
variável de entrada/saída de um bloco de            As saídas do bloco são:
função em uma declaração                            By_pass_BYMR – retorno do bypass
VAR_IN_OUT                                      da manutenção
    Os blocos de função podem ser                   Tag_SH_INTLK – saída de alta do
   1. Padrão                                    intertravamento
   2. Personalizado                                 Tag_SH_COMP – comparador do
    Bloco padrão é aquele elementar e           sinal de alarme de alto
seminal, que é usado clonado em                     Tag_SHH_COMP – comparador do
aplicações repetitivas, onde ele pode           sinal de desarme de muito alto
aparecer várias vezes. A partir dos                 Para construir este bloco
blocos padrão, fabricantes de CLP,              personalizado, foram utilizados:
usuários e integradores de sistema                 1.    duas portas de seleção GE
desenvolveram os blocos personalizados                   (maior ou igual)
ou compostos, para executar tarefas                2.    uma porta MOVE, para levar um
mais complexas.                                          sinal da entrada para a saída
    Fazendo analogia com a eletrônica,             3.    uma porta OR
um bloco padrão é análogo e a um
componente discreto de circuito. O bloco
personalizado é análogo a um circuito
integrado, onde vários elementos
discretos são combinados. O bloco
personalizado é fechado e difícil para o
seu usuário entender sua operação, a
não ser que ele seja bem documentado.



                     ***                        Fig. 6.3. Interior do bloco de função
             Alm Alta Bypass                    Alm_Alta_Bypass


       By pass M ED     By pass BYMR
       Tag EA          Tag SH INTLK
       Set Point EA D Tag SH COMP
       Set Point EA A Tag SHH COMP              3. Blocos Funcionais Padrão
       000                                      AIN
                                                    Bloco de entrada analógica. Recebe e
Fig. 6.2. Bloco de função personalizado, para   transforma os valores das entradas
alarme e desarme de alta com bypass             analógicas em contagens de um valor
                                                real, limitando-os entre MN e MX.
    Por exemplo, pode-se criar um bloco             Parâmetros do bloco:
de função personalizado para fazer                  IN Entrada (DINT)
alarme de alta de uma variável analógica            MX Limite superior (REAL)
com bypass.                                         MN Limite inferior (REAL)
    As entradas deste bloco são:                    Saída varia de MN a MX (REAL)
    By_pass_M_ED – entrada digital                  Característica:
    Tag_EA – entrada analógica da               Se a entrada está entre 819 e 4095
variável a ser alarmada                         contagens, Então o valor da saída varia


                                                                                        6.2
Diagrama de Bloco de Função
entre MN e MX. Senão (a entrada é                            SUB
menor que 819 ou maior que 4095), a
saída é limitada entre MN e MX,
respectivamente.
                                                 000

                 AIN                        Fig. 6.6. Bloco de função SUB


                                            Aritmética de Divisão (DIV)
                                               1. O valor da saída deste bloco de
                                                  função é igual à divisão do valor
                                                  da entrada superior pelo valor da
                                                  entrada inferior.
         MX                                    2. O bloco de Divisão só pode ter de
         IN                                       duas entradas.
         MN
          000
Fig. 6.4. Bloco de função AIN                                  DIV




Aritmética de Adição (ADD)                          000
   1. O valor da saída deste bloco de       Fig. 6.7. Bloco de função DIV
      função é igual à soma dos valores
      de todas as entradas.
   2. O bloco de adição é extensível, ou    Aritmética de Multiplicação (MUL)
      seja, pode ter de 2 a 50 entradas.       3. O valor da saída deste bloco de
   3. Ele pode operar com variáveis               função é igual ao produto dos
      numéricas, datas, tempos e horas            valores das entradas.
      do dia (TOD)                             4. O bloco MUL é extensivo, podendo
                                                  ter de 2 a 50 entradas.

                 ADD

                                                                   MUL

       000
Fig. 6.5. Bloco de função ADD                          000


                                            Fig. 6.8. Bloco de função MUL
Aritmética de Subtração (SUB)
   1. O valor da saída deste bloco de
      função é igual à subtração do valor   Comparador Diferente de (NE)
      da entrada superior menos o valor         Este bloco compara as duas
      da entrada inferior.                  entradas:
   2. O bloco de adição só pode ter de          Se elas forem diferentes, Então, a
      duas entradas.                        saída é 1, Senão (forem iguais), a saída
                                            é 0.
                                                Este bloco é chamado também de
                                            Não Igual (<>).



                                                                                  6.3
Diagrama de Bloco de Função

                                                               ***
                   NE                                        CTU

                                                    CU                   Q
         000                                        R                  CV
                                                    PV
Fig. 6.9. Bloco de função NE                        000

                                            Fig. 6.12. Bloco de função CTU
Comparador Maior ou Igual (GE)
    1. Se o valor da entrada superior for
maior ou igual ao valor da entrada          Contador Decrescente (CTD)
inferior, Então a saída é 1, Senão, a          Este bloco de função faz uma
saída vai para 0.                           contagem decrescente. Seus parâmetros
                                            são:
                                               CD – Entrada do pulso de contagem
                                               R – quando R = 1, contador é zerado
                   GE                          PV – é um valor predeterminado,
                                            onde contador inicia a contagem
                                               CV – é o valor atual do contador
          000                                  Q – Saída. Se CV <= PV, Então a
                                            saída Q passa para 1, Senão (CV > PV),
Fig. 6.10. Bloco de função GE               Q permanece em 0.

                                                                ***
                                                              CTD
Comparador Menor ou Igual (LE)
    1. Se o valor da entrada superior for             CD
menor ou igual ao valor da entrada                                           Q
                                                      LD                 CV
inferior, Então a saída é e; Senão, a
                                                      PV
saída passa para 0.
                                                      000

                 LE                         Fig. 6.13. Bloco de função CTD
                                            Contador Crescente e Decrescente
                                            (CTDU)
        000                                     Este bloco de função faz contagens
                                            crescente e decrescente. Seus
                                            parâmetros são:
Fig. 6.11. Bloco de função LE
                                                CU – Entrada do pulso de contagem
                                            crescente
Contador Crescente (CTU)                        CD – Entrada do pulso de contagem
   Este bloco de função faz uma             decrescente
contagem crescente. Seus parâmetros             R – quando R = 1, contador é zerado
são:                                            PV – é um valor predeterminado
   CU – Entrada do pulso de contagem            CV – é o valor atual do contador
   R – quando R = 1, contador é zerado          QU – Saída do contador crescente.
   PV – é um valor predeterminado           Se CV ≥ PV, Então a saída Q passa para
   CV – é o valor atual do contador         1, Senão (CV < PV), Q permanece em 0.
   Q – Saída. Se CV ≥ PV, Então a           QD – Saída do contador decrescente. Se
saída Q passa para 1, Senão (CV < PV),      CV <= PV, Então a saída Q passa para 1,
Q permanece em 0.                           Senão (CV > PV), Q permanece em 0.



                                                                                 6.4
Diagrama de Bloco de Função

                    ***
                                                     DINT TO REAL
                  CTUD

          CU
                             QU                     000
         CD
         R                   QD
         LD                  CV             Fig. 6. 17. Bloco de função DINT_TO_REAL
         PV

         000
                                            Detector de Borda de Descida
                                            (F_TRIG)
Fig. 6.14. Bloco de função CTUD                Este bloco de função detecta o canto
                                            de descida (falling edge) de um pulso,
                                            com a seguinte lógica:
Conversor DINT_TO_DWORD                        1.   Se a entrada CLK passa de 1
  1. Converte o tipo de entrada DINT                para 0, Então a saída Q passa
     (Inteiro Duplo) para a saída do tipo           para 1 durante um tempo de
     DWORD (Palavra dupla, 32 bits,                 varredura (Scan)
     tipicamente usada em                      2.   Transcorrido o tempo de
     comunicação digital ModBus)                    varredura, a saída CLK volta
                                                    para 0.

           DINT TO DWORD
                                                                  ***
                                                               F TRIG
                                                        CLK                 Q
           000
                                                       000
Fig. 6.15. Bloco de função DINT_TO_DWORD
                                            Fig. 6. 18. Bloco de função F_TRIG
Conversor DWORD_TO_DINT
  1. Converte o tipo de entrada
     DWORD (Palavra Dupla) para a
     saída do tipo DINT (Inteiro Duplo).    Detector de Borda de Subida (R_TRIG)
                                            Este bloco de função detecta o canto de
                                            subida (raising edge) de um pulso, com a
         DWORD TO DINT                      seguinte lógica:
                                              3.    Se a entrada CLK passa de 0
                                                    para 1, Então a saída Q passa
                                                    para 1 durante um tempo de
          000                                       varredura (Scan)
Fig. 6. 16. Bloco de função DWORD_TO_DINT     4.    Transcorrido o tempo de
                                                    varredura, a saída CLK volta
                                                    para 0.
Conversor DINT_TO_REAL
  1. Converte o tipo de entrada DINT
     (Inteiro Duplo) para a saída do tipo
     REAL.




                                                                                       6.5
Diagrama de Bloco de Função

                 ***                                  Lógica Ou (OR)
             R TRIG                                      Este bloco faz a seguinte lógica
     CLK                    Q
                                                      booleana:
                                                        1. Se uma ou mais de suas entradas
     000                                                    são verdadeiras (1), Então a sua
                                                            saída é verdadeira (1); Senão, a
                                                            saída é falsa (0). A saída é falsa
                                                            (0) somente se todas as entradas
Fig. 6. 19. Bloco de função R_TRIG
                                                            forem falsas (0).
                                                         2. Este bloco é extensível, pois pode
                                                            ter de 2 a 50 entradas, com uma
                                                            única saída.
Flip Flop RS (R prioritário)
    Bloco utilizado como memória ou
selo.
   1.   Se entrada S passa de 0 para 1                                    OR
        (recebe um pulso), Então a saída
        Q passa de 0 para 1, e mantém-
        se em 1 até que exista um pulso
        de 0 para 1 em R1 (reset).                              000
   2.   Se a saída Q está em 1 e a
        entrada R1 para de 0 para 1,                  Fig. 6. 21. Bloco de função OR
        Então a saída Q passa de 1 para               Lógica E (AND)
        0.                                               Este bloco faz a seguinte lógica
    O reset (R1) é prioritário em relação             booleana:
ao set (S).                                           1. Se uma ou mais de suas entradas
Flip Flop SR (S prioritário)                             são falsas (0), a sua saída é falsa(0).
Bloco utilizado como memória ou selo.                    Senão, a saída é verdadeira (1). A
   1. Se entrada S1 passa de 0 para 1                    saída é verdadeira (1) somente se
       (recebe um pulso), Então a saída                  todas as entradas forem verdadeiras
       Q passa de 0 para 1, e mantém-se                  (1).
       em 1 até que exista um pulso de 0              2. Este bloco é extensível, podendo ter
       para 1 em R (reset).                              de 2 a 50 entradas, com uma única
   2. Se a saída Q está em 0 e a                         saída.
       entrada S1 passa de 0 para 1,
       Então a saída Q passa de 0 para
       1.
    O set (S1) é prioritário em relação ao                                 AND
reset (R).

           ***                           ***
                                                                 000
           RS                           SR
                                                      Fig. 6. 22. Bloco de função AND
S                               S1
                       Q1                        Q1
R1                              R
                                                      Lógica Mover (MOVE)
000                             000
                                                         1. O bloco MOVE transfere o valor
Fig. 6. 20. Blocos de função flip flop RS e SR              de sua entrada para a sua saída.
                                                            Ele tem a função de atribuir
                                                            valores.
                                                          2. Este bloco possui apenas uma
                                                             entrada e uma saída


                                                                                             6.6
Diagrama de Bloco de Função

                                                  PACK1                      UNPACK
                                            IN0
                                            IN0                                       CO
                  MOVE                                                                NZ
                                            IN0
                                            IN0                       CI              Q0
                                            IN0                       INPU            Q0
                                            IN0                                       Q0
         000                                IN0                                       Q0
                                                                                      Q0
                                            IN0                                       Q0
                                            IN0                                       Q0
Fig. 6. 23. Bloco de função MOVE            IN1                                       Q0
                                            IN1                                       Q0
                                            IN1                                       Q1
Lógica Não (NOT)                            IN1                                       Q1
                                            IN1                                       Q1
    Este é o bloco lógico booleano          IN1                                       Q1
inversor: a saída é sempre contrária à      IN1                                       Q1
entrada, ou seja:                                                                     Q1
                                            00                        000             Q1
   1. Entrada 1, Saída 0
   2. Entrada 0, Saída 1

                                           Fig. 6. 25. Blocos de função PACK16 e
                                           UNPACK16
                   NOT

                                           UNPACK16
                                             1. Desagrupa uma entrada do tipo
           000
Fig. 6. 24. Bloco de função NOT                 WORD, que está sendo recebida
                                                pelo CLP, via ModBus, em 16
Multiplexador (MUX)                             variáveis de saída do tipo BOOL
  1. O valor da saída é igual ao valor          (booleana, 0 ou 1), para serem
      da entrada correspondente ao              usadas na lógica.
      número indicado em K, que pode
      variar de 0 a 49.
  2. O bloco MUX pode selecionar
                                           Seletor de Sinais (SEL)
      entre 2 e 50 variáveis de entrada.
                                             1. Se o valor da entrada G = 0, Então
                                                 o valor da saída é igual ao valor da
                                                 entrada IN0.
PACK16                                       2. Se o valor da entrada G = 1, Então
   Os blocos de função PACK16 e                  o valor da saída é igual ao valor da
UNPACK16 são usados para compactar               entrada IN1.
e descompactar na comunicação de
protocolos digitais, e.g., ModBus.
   1.   Compacta uma série de 16 bits
        de entrada em uma palavra de
        saída do tipo WORD, que será                            SEL
        enviada pelo CLP para a                       G
        comunicação ModBus.                           IN0
                                                      IN1
                                                      000

                                           Fig. 6. 26. Bloco de função SEL




                                                                                       6.7
Diagrama de Bloco de Função
Temporizador (TMR)                          tempo em que a entrada fica desligada
O período de tempo em que a entrada IN      deve ser maior que PT).
estiver em 1 é registrado no acumulador.
Quando o tempo atingir o valor pré-
ajustado PT, a saída Q passa a 1. Se o
RESET ficar igual a 1, Então o                                    ***
acumulador é zerado. IT é o tempo inicial                       TOF
do acumulador.
                                                       IN                    Q
                                                       PT                  ET
                      ***                              000
                    TMR
                                            Fig. 6. 28 (a). Bloco de função TOF
           IN                     Q
           RES                ET
           PT
           IT
           000
Fig. 6. 27. Bloco de função TMR
Temporizador TOF
                                            Fig. 6. 28 (b). Diagrama de tempo do TOF
   Neste temporizador, a temporização é
para a desenergização. Seus parâmetros      Temporizador TON
são os seguintes:                               Neste temporizador, a temporização é
   IN – entrada                             para a energização. Seus parâmetros
   PT – tempo pré-ajustado (TIME)           são os seguintes:
   Q – saída                                   IN – entrada
   ET – Tempo transcorrido                      PT – tempo pré-ajustado (TIME)
   Sua lógica é:                                Q – saída
1. Se a entrada IN vai de 0 para 1,             ET – Tempo transcorrido
   então a saída vai também de 0 para           Sua lógica é:
   1, instantaneamente.                     5. Se a entrada IN vai de 1 para 0,
2. Quando a entrada vai de 1 para 0, a          então a saída vai também de 1 para
   saída começa a contagem. Se a                0, instantaneamente.
   entrada voltar para 1 antes de           6. Quando a entrada vai de 0 para 1, a
   transcorrido o tempo de temporização        saída começa a contagem. Se a
   (ajustado em PT), a saída continua          entrada voltar para 0 antes de
   em 1.                                       transcorrido o tempo de temporização
3. Se a entrada vai de 1 para 0 e fica         (ajustado em PT), a saída continua
   desligada por período maior que o           em 0.
   PT, então a saída vai para 0 depois      7. Se a entrada vai de 0 para 1 e fica
   de PT.                                      ligada por período maior que o PT,
4. A saída permanece em 0 enquanto a           então a saída vai para 1 depois de
   entrada ficar em 0 e só volta a ligar       PT.
   (ficar igual a 1) quando a entrada       8. A saída permanece em 1 enquanto a
   voltar a ficar igual a 1.                   entrada ficar em 1 e só volta a
    Enfim, o temporizador TOF liga             desligar (ficar igual a 0) quando a
instantaneamente quando a entrada é            entrada voltar a ficar igual a 0.
ligada e desliga depois de um tempo PT          Enfim, o temporizador TON desliga
depois que a entrada ficar desligada (o     instantaneamente quando a entrada é
                                            desligada e liga depois de um tempo PT

                                                                                       6.8
Diagrama de Bloco de Função
depois que a entrada ficar ligada (o                                      Sua lógica é:
tempo em que a entrada fica ligada deve                                   1. Se a entrada IN vai de 0 para 1
ser maior que PT).                                                           (recebe um pulso), a saída Q vai
                                                                             para 1 e permanece igual a 1
                                                                             durante o tempo ajustado PT,
                                                                             independente da entrada IN.
                                ***
                               TON                                        2.   Transcorrido o tempo PT, a saída
                                                                               Q vai de 1 para 0.
                 IN                             Q
                 PT                         ET
                000                                                                          ***
                                                                                          TP

Fig. 6. 29 (a). Bloco de função TON
                                                                                  IN                     Q
                                                                                  PT                    ET
                                                                                  000

                                                                       Fig. 6. 31. Bloco de função TP




Fig. 6. 29 (b). Diagrama de tempo do TON


             Tempo menor que PT       Tempo maior que PT
                      5s                    20 s
        IN

 PT = 10 s
                                         10 s           Desligamento
        OUT
                                  Início    Fim da contagem
     (a) Temporizador TON

               Tempo menor que PT        Tempo maior que PT

                           5s                   20 s
      IN
                                                           Ligamento
PT = 10 s
       OUT                                 10 s

                      Início          Início Fim da contagem

     (b) Temporizador TOF

Fig. 6.30. Diagrama dos tempos do TON e TOF


Temporizador TP
   Neste temporizador, a temporização é
comandada por pulsos. Seus parâmetros
são os seguintes:
  IN – entrada
   PT – tempo pré-ajustado (TIME)
   Q – saída
   ET – Tempo transcorrido

                                                                                                             6.9
Diagrama de Bloco de Função
                                                        Indicações das variáveis
4. Blocos Personalizados                                <value>
   A partir dos blocos padrão, é possível,                  Utilizado para indicar o valor atual da
desejável e se fazem blocos                             variável quando ligado ao sistema
personalizados, que serão usados de
                                                        CH.SL.PT=>
modo repetitivo. Depois de construídos,
estes blocos personalizados são                              Indica um Chassi, Slot e Terminal ou
armazenados no arquivo Biblioteca para                  se está na memória. Na seqüência, é
serem usados. Também a partir de                        indicado o Alias (endereço de
blocos personalizados, pode-se construir                comunicação ModBus) para a variável,
outros blocos personalizados mais                       quando houver. Por exemplo:
complexos.                                              CH.SL.PT=>01.05.14 12023 é o ponto
   Alguns blocos personalizados podem,                  físico no Chassi 01, Slot 05 e ponto 14
quando muito utilizados, ser tratados                   com Alias 12023.
como padrão pelo fabricante de CLP ou                   99(A99)
desenvolvedor de sistemas.
                                                            Indica a referência de página. O
4.1. Parâmetros dos blocos                              primeiro número indica a página. A letra e
                                                        número entre parêntesis indicam o
Variável INPUT                                          quadrante, ou seja, as coordenadas Y
   Entrada. Pode ser um valor físico de                 (vertical) e X (horizontal) e da variável.
equipamento ou ainda um valor de                        Esta indicação é utilizada para variáveis
memória.                                                de transferência entre páginas ou quando
Variável OUTPUT                                         uma variável é utilizada mais de uma vez
                                                        na lógica. Por exemplo,
   Saída. Pode ser um valor físico de
                                                            5(A4) – a variável está na página 5,
equipamento ou ainda um valor de
                                                        na ordenada X = 4 e Y = A.
memória. O seu valor pode ser usado
como entrada, quando ligado ao terminal                 Formação de TAG
de direita.                                                 O hífen (“-“) dos Tags foi trocado por
Variável LOCAL                                          traço de sublinhar (underscore), “_” ou foi
                                                        retirado.
     Esta variável é usada apenas quando
                                                            Os Tags podem ter prefixos nos finais
se têm pontos de transferência de
                                                        para identificar seus tipos. Por exemplo,
valores, não está associada ao
                                                        tem-se:
equipamento ou memória, podendo ser
                                                            ED Entrada digital do Triconex
utilizada como entrada ou resultado de
                                                            EA Entrada analógica do Triconex
uma operação lógica.
                                                            SD Saída digital do Triconex
Constante                                                   Não há nenhuma saída analógica
   Possui valores que são utilizados                    (SA) do Triconex, embora exista o bloco
para execução da lógica. Não possui                     AOU.
TAG.                                                        As outras variáveis são internas e
                                                        auxiliares do programa (geralmente sem
Elos de ligação                                         Alias) ou de comunicação com o
                                                        supervisório (com Alias).
              Ligação lógica - Interligação entre           Variáveis com a indicação C ou _ são
X         X variáveis e blocos lógicos
              Ligação lógica de realimentação -         de comunicação escrita com o
              Interligação entre variáveis e blocos     supervisório do Triconex. Quando a
X         X   lógicos que realimenta o valor de saída
                                                        variável contém R ou _R, ela é de retorno
              de uma lógica para sua entrada
                                                        do comando enviado pelo supervisório,
                                                        sendo então uma variável de leitura do
                                                        Triconex para o supervisório.




                                                                                               6.10
Diagrama de Bloco de Função

Alarme/Desarme de ALTA com By Pass
Se Tag_EA for maior ou igual a Set_Point_EA_A,
Então Tag_SH_COMP=0
Senão Tag_SH_COMP=1
Se Tag_EA for maior ou igual a Set_Point_EA_D,
Então Tag_SHH_COMP=0 e Tag_SH_INTLK=0
Senão Tag_SH_COMP=1 e Tag_SH_INTLK=1
Se By_Pass_BYM_ED=1
Então By_Pass_BYMR=1 e Tag_SH_INTLK=1
Senão Tag_SH_INTLK será conforme item 2.




                          ***
                  Alm Alta Bypass


            By pass M ED    By pass BYMR
            Tag EA         Tag SH INTLK
            Set Point EA D Tag SH COMP
            Set Point EA A Tag SHH COMP

            000


Fig. 6. 32. Bloco de função personalizado Alm_Alta_Bypass




Fig. 6. 33. Bloco de função Alm_Alta_Bypass explodido




                                                                                    6.1
Diagrama de Bloco de Função

Alarme/Desarme de BAIXA com By Pass
     1. Se Tag_EA for menor ou igual a Set_Point_EA_A,
        Então Tag_SL_COMP=0
        Senão Tag_SL_COMP=1
       2. Se Tag_EA for menor ou igual a Set_Point_EA_D,
          Então Tag_SLL_COMP=0 e Tag_SL_INTLK=0
          Senão Tag_SL_COMP=1 e Tag_SL_INTLK=1
       3. Se By_Pass_BYM_ED=1
          Então By_Pass_BYMR=1 e Tag_SL_INTLK=1
          Senão By_Pass_BYMR=0 e Tag_SL_INTLK será conforme item 2.



                                           ***
                                    Alm Baixa Bypass


                              By pass M ED    By pass BYMR
                              Tag EA         Tag SL INTLK
                              Set Point EA D Tag SL COMP
                              Set Point EA A Tag SLL COMP

                              000


Fig. 6. 34. Bloco de função personalizado Alm_Baixa_Bypass




Fig. 6. 35. Bloco de função Alm_Baixa_Bypass explodido




                                                                                     6.2
Diagrama de Bloco de Função




Fig. 6. 36. Aplicação de um bloco de função personalizado




                                                                                    6.3
Diagrama de Bloco de Função

Alarme/Desarme de BAIXA com By Pass de retorno automático
     Se Tag_EA for menor ou igual a Set_Point_EA_A,
     Então Tag_SL_COMP=0
     Senão Tag_SL_COMP=1
       Se Tag_EA for menor ou igual a Set_Point_EA_D,
       Então Tag_SLL_COMP=0 e Tag_SL_INTLK=0
       Senão Tag_SL_COMP=1 e Tag_SL_INTLK=1
       Se By_Pass_BYM_ED=1
       Então By_Pass_BYMR=1 e Tag_SL_INTLK=1
       Senão Tag_SL_INTLK será conforme item 2.
       Se Tag_EA for menor ou igual a Set_Point_EA_D e HS_C for acionado,
       Então Tag_SL_INTLK=1
       Esta condição é auto-resetada quando as condições do processo voltam ao normal e
       HS_R=1 enquanto as condições não forem normalizadas.




                                        ***
                                 By pass Baixa Gas
                             By pass M ED      By pass BYMR
                             HS C              Tag SL INTLK
                              Tag EA           Tag SLL COMP
                              Set Point EA A Tag SL COMP
                              Set Point EA D          HS R

                              000




Fig. 6. 37. Bloco de função personalizado Bypass_Baixa_Gas




                                                                                      6.4
Diagrama de Bloco de Função




Fig. 6. 38. Bloco de função Bypass_Baixa_Gas explodido




                                                                                 6.5
Diagrama de Bloco de Função

Alarme de ALTA para Analisador com Seleção de Set Point
     4. Se By_Pass_N_ED=0 :
         - Se Tag_EA for maior que Set_Point_EA_A_N,
         Então Tag_SH_ALM=0, Senão Tag_SH_ALM=1
         - Se Tag_EA for maior que Set_Point_EA_D_N,
         Então Tag_SHH_ALM=0, Senão Tag_SHH_ALM=1
       5. Se By_Pass_BYM_N_ED=1
          -Se Tag_EA for maior que Set_Point_EA_A_M,
          Então Tag_SH_ALM=0, Senão Tag_SH_ALM=1.
          -Se Tag_EA for maior que Set_Point_EA_D_M,
          Então Tag_SHH_ALM=0, Senão Tag_SHH_ALM-1



                                              ***
                                      Alm Alta Analisador


                                By pass M ED       Tag SH INTLK
                                Tag EA              Tag SH ALM
                                Set Point EA A M
                                Set Point EA A N

                                Set_Point_EA_D_N
                                Set Point EA D N

                                000

Fig. 6. 39. Bloco de função personalizado Alm_Alta_Analisador




Fig. 6. 40. Bloco de função Alm_Alta_Analisador explodido




                                                                                          6.6
Diagrama de Bloco de Função

Blink (Piscar)
   1. Se a entrada IN recebe um sinal verdadeiro (1), Então a saída Q alterna o seu valor
       entre 0 e 1 segundo o tempo pré-determinado em T_ON (Tempo_Ligado) e T_OFF
       (Tempo_Desligado).
   2. O bloco blink é astável.
        Parâmetros do bloco
        IN – Entrada (BOOL)
        RESET – (BOOL)
        T_ON – Tempo da saída Q energizada (TIME)
        T_OFF – Tempo da saída Q desenergizada (TIME)
        Q – saída (BOOL)




                                                  ***
                                             BLINK



                                     IN
                                     RESET              Q
                                     T ON
                                     T OFF

                                     000


Fig. 6. 41. Bloco de função personalizado BLINK




                                                                                        6.7
Diagrama de Bloco de Função

By Pass de Set Point de desarme de 100% das bombas de óleo de Mobiltherm
   1. Se By_Pass_M_ED=0 e HS_C=0, o set point para comparar com o valor de entrada
      é o set point de 100%
      - Se Tag_EA for menor ou igual a Set_Point_EA_D_100, Então Tag SL_INTLK=1,
      - HS_R=0
    2. Se By_Pass_M_ED=0 e HS_C=pulso (0->1->0), o set point para comparar com o
       valor de entrada é o set point de 50%
       - Se Tag_EA for menor ou igual a Set_Point_EA_D_50, Então Tag SL_INTLK=1,
       HS_R=1
       - Se a entrada Tag_EA for maior ou igual a 5% do set point de 100%, o set point a
       ser usado será o de 100% e HS_R=0.
    3. Enquanto By_Pass_M_ED=1:
       - Tag_SL_INTLK=1, By_Pass_BYMR-1
    4. Tag_SL_COMP_50 e Tag_SL_COM_100 são as indicações de alarme de 50 e
       100%, respectivamente, sem a interferência de By_Pass_M_ED e HS_C.




                                           ***
                                   By pass Comp Mobil

                                 By pass M ED         By pass BYMR
                                 HS C                Tag SL INTLK
                                 Tag EA              Tag_SLL_COMP_100
                                 Set_Point_EA_D_100 Tag_SL_COMP_50
                                 Set_Point_EA_D_50          HS R
                                 Set_Point_EA_D_50


                                 000
Fig. 6. 42. Bloco de função personalizado By_Pass_Comp_Mobil




                                                                                                6.8
Diagrama de Bloco de Função




Fig. 6. 43. Bloco de função By_pass_Comp_Mobil explodido




                                                                                   6.9
Diagrama de Bloco de Função

Contador
  Utilizado para a seleção de amostras.
       6. Se Auto_Manual=1 (AUTO), Então gera-se um trem de pulsos, cujo primeiro pulso
          tem como tempo a entrada Set_Point1 e nos demais pulsos a entrada Set_Point2,
          repetindo a seqüência quando Contador_1 For igual a N_DCS.
       7. Se Auto_Manual=0 (MANUAL), Então a saída PULSO permanece em 0 e o
          Contador_1 é zerado.




                                               ***
                                             Contador


                                Auto Manual      Contador 1
                                Set Point1       Pulso
                                Set Point2       Relógio
                                N DCS            Relógio1

                                000




Fig. 6. 44. Bloco de função personalizado Contador




Fig. 6. 45. Saída do controle versus tempo




                                                                                     6.10
Diagrama de Bloco de Função

Controle de Acionamento de MOV
  1. Se HS_Abre=0 e HS_Fecha=0:
     -Comando_Abre=0, Comando_Fecha=0 e Comando_Para=1
  2. Se HS_Abre=1 e HS_Fecha=0:
     -Comando_Abre=1, Comando_Fecha=0 e Comando_Para=0
  3. Se HS_Abre=0 e HS_Fecha=1:
     -Comando_Abre=0, Comando_Fecha=1 e Comando_Para=0




                                        ***
                                Controle MOV
                                          Comando Abre
                          HS Abre
                          Tag EA         Comando Fecha


                                         Comando Para


                          000

Fig. 6. 46. Bloco de função personalizado Controle_MOV




Fig. 6. 47. Bloco de função Controle_MOV explodido




                                                                                6.11
Diagrama de Bloco de Função

Desarme de BAIXA com By Pass
   1. Se Tag_EA for menor que Set_Point_EA_D,
      Então Tag_SLL_COMP=0 e Tag_SL_INTLK=0
      Senão Tag_SL_COMP=1 e Tag_SL_INTLK=1
    2. Se By_Pass_M_ED=1,
       Então By_Pass_BYMR=1 e Tag SL_INTLK=1,
       Senão Tag_SL_INTLK será conforme item 1.




                            ***                                     ***
                    Des Baixa Bypass                        Des Alta Bypass
                 By pass M ED                            By pass M ED
                 Tag EA          By Pass BYMR            Tag EA          By Pass BYMR
                 Set Point EA D Tag SL INLK              Set Point EA D Tag SH INLK

                                Tag SLL COMP                            Tag SHH COMP


                 000                                     000

Fig. 6. 48. Blocos de função personalizados: Des_Baixa_Bypass e Des_Alta_Bypass




Fig. 6. 49. Bloco de função Des_Baixa_Bypass explodido


Desarme de ALTA com By Pass
1. Se Tag_EA for maior que Set_Point_EA_D,
   Então Tag_SHH_COMP=0 e Tag_SH_INTLK=0
   Senão Tag_SH_COMP=1 e Tag_SH_INTLK=1
2. Se By_Pass_M_ED=1,
   Então By_Pass_BYMR=1 e Tag SH_INTLK=1,
   Senão Tag_SH_INTLK será conforme item 1.




                                                                                          6.12
Diagrama de Bloco de Função

Rastreador de Alta
  1. Se o valor da entrada Tag_EA decresce, o Set_Point (determinado pela razão de
      Tag_EA convertida para a escala determinada pela Range_Max e Range_min,
      multiplicada pelo fator MUL) acompanha a entrada, porém, mantem a razão
      FATOR_MUL com a entrada.
  2. Se o valor da entrada Tag_EA pára de decrescer e começa a crescer, o Set_Point é
      travado no último valor em que o Tag_EA esta decrescendo. Se By_Pass_HS_C, a
      razão entre o Set_Point e Tag_EA passa novamente a ser igual ao FATOR_MUL.
  3. Se o valor Tag_EA é maior que o valor do set point e By_Pass_BYOC=0
      Então, Tag_SDH_INTLK=0 e Tag_SDH_COMP=0
      Senão, Tag_SDH_INTLK=1 e Tag_SDH_COMP=1
  4. Tag_Pct_Desv_SAR é o desvio entre o valor do Tag_EA e o set point na escala de
      810 a 4095 (equivalente a 0 a 100%).
  5. Se By_Pass_BYOC=1, Então Tag_SDH_INTLK = 1 sempre e demais condições
      permanecem como no item anterior.



                                                                          ***
                            ***
                                                                 Rastreador Baixa
                   Rastreador Alta
                                                           Tag EA           Tag_Pct_Desv_SAR
             Tag EA           Tag_Pct_Desv_SAR
                                                           Range Max       Tag Rastreador
             Range Max       Tag Rastreador
                                                           Range Min       Tag SDL INTLK
             Range Min       Tag SDH INTLK
                                                           Fator Mul       Tag SDL COMP
             Fator Mul       Tag SDH COMP
                                                           By Pass HS C             HS R
             By Pass HS C             HS R
                                                           By Pass BYOC    By Pass BYOR
             By Pass BYOC    By Pass BYOR

                                                           000
             000

Fig. 6. 50. Blocos de função personalizados: Rastreador_Alta e Rastreador_Baixa



Rastreador de Baixa
     1. Se o valor da entrada Tag_EA cresce, o Set_Point (determinado pela razão de
        Tag_EA convertida para a escala determinada pela Range_Max e Range_min,
        multiplicada pelo fator MUL) acompanha a entrada, porém, mantem a razão
        FATOR_MUL com a entrada.
     2. Se o valor da entrada Tag_EA pára de crescer e começa a decrescer, o Set_Point
        é travado no último valor em que o Tag_EA estava crescendo. Se By_Pass_HS_C,
        a razão entre o Set_Point e Tag_EA passa novamente a ser igual ao
        FATOR_MUL.
     3. Se o valor Tag_EA é menor que o valor do set point e By_Pass_BYOC=0
        Então, Tag_SDH_INTLK=0 e Tag_SDH_COMP=0
        senão, Tag_SDH_INTLK=1 e Tag_SDH_COMP=1
     4. Tag_Pct_Desv_SAR é o desvio entre o valor do Tag_EA e o set point na escala de
        810 a 4095 (equivalente a 0 a 100%).
     5. Se By_Pass_BYOC=1, Então Tag_SDH_INTLK = 1 sempre e demais condições
        permanecem como no item anterior.




                                                                                               6.13
Diagrama de Bloco de Função




Fig. 6. 51. Bloco de função Rastreador_Baixa explodido




                                                                                6.14
Diagrama de Bloco de Função

Seletor de By Pass
   1. Impede que dois instrumentos sejam bypassados ao mesmo tempo, ou seja, uma
       vez que BYMC_1 é acionado (1), a saída By_Pass_1 passa para 1, desde que a
       entrada BYMC_2 não esteja em 1 e vice versa.


                                                             ***
                                                    Seletor By Pass

                                                BYMC 1         By Pass 1
                                                BYMC 2        By Pass 2
                                                000


Fig. 6. 52. Bloco de função personalizado Seletor_By_Pass




TR_CALENDAR
   1. O bloco os dados de ANO, MÊS, DIA, HORA, MINUTO, SEGUNDO,
MILISSEGUNDO, DIA DA SEMANA E SEGUNDOS, em relação à dada de JAN 01, 1970
00:00:00m quando a entrada CI é igual a 1; Senão (CI=0), os valores ficam congelados.




                                                 TR_CALENDAR

                                                                     CO
                                           CI
                                                                   YEAR
                                                              MONTH
                                                                   DAY
                                                                HOUR
                                                              MINUTE
                                                             SECOND
                                                             MILLISEC
                                                             WEEKDAY
                                           000                RELSEC


Fig. 6. 53. Bloco de função personalizado TR_CALENDAR




 ApostilasDiagramas   5BlocosFuncao.doc         09 JUN 00




                                                                                                  6.15
Diagrama de Bloco de Função


               D-6340 - SUPERVISÓRIO
           BOTÕES DE COMANDO / BY - PASS
      HS


            P#BYM-6341
                                             P      HS-4
  1                                         BYM
              PB6341                        6341    P-BYM-6341 - By-Pass do PSL-6341
                                           PR6341



              PT-6341
                                            PSL     HS-3
  2                                         6341
               2964
                                          PL#6341

             PSL#6341
                                            PSL-    DI-5    D2-5   D3-5
  3                                         6341
              PL#6341                               PSL-6341: Pressão da Água de Alimentação
                                          PSL6341

             P-BYM-6341
  4
              PR6341




Fig. 6.54. Diagrama ladder dos Botões de Comando e By pass




Fig. 6.55. Diagrama com blocos funcionais dos Botões de Comando e By pass




                                                                                           6.16
Tecnologias
1. Instrumentação Inteligente
2. Computador no Processo
3. Controlador Lógico Programável (CLP)
4. Controle Supervisório e Aquisição de
   Dados (SCADA)
5. Integração de Sistemas
6. Base de Dados




                                          6.1
7
                     Instrumentação Inteligente
                                                Em instrumentação, o
1. Instrumento                              microprocessador está integralizado a
microprocessado                             circuitos de cromatógrafos e analisadores
                                            de composição. Mesmo os instrumentos
1.1. Conceito de microprocessador           convencionais utilizam
    O prefixo micro significa que o         microprocessadores para otimizar seu
processador é fabricado em um chip          funcionamento, p. ex., controladores com
semicondutor, onde há um circuito           transferência A/M. A mais fascinante a
eletrônico com larga escala de integração   atraente aplicação do microprocessador
(LSI), ou seja, há milhões de               em instrumentação está na estação de
componentes passivos e ativos               auto-sintonia da malha de controle.
eletrônicos dentro de um extrato
semicondutor medindo alguns poucos
centímetros. Não há um computador no
chip, mas uma unidade de
processamento central (CPU).
Interligados à CPU há circuitos de
entrada/saída (I/O), memórias de vários
tipos e os periféricos. O
microprocessador é barato para comprar.
Geralmente, os periféricos, que são
eletromecânicos, são muito mais caros
que o próprio micro.
    O microprocessador é barato para
funcionar, pois o consumo de energia é
baixíssimo. A manutenção do
microprocessador é fácil, pois geralmente   Fig. 6.1. Instrumentação inteligente, (Foxboro)
ele é autotestável. Cada
microprocessador pode incluir um
detector de erro, que o teste a cada           No controle digital a
segundo e não uma vez por semana. Os        microprocessador distribuído, cada
microprocessadores são de tamanho           processo é controlado por um
pequeno podendo ser embutidos e             microprocessador. Por causa de seu
incorporados a circuitos convencionais.     baixíssimo custo, o microprocessador
                                            pode ser abundantemente distribuído
Microprocessador como controlador
                                            para monitorar as diferentes partes do
    Desde que o microprocessador é um       processo. Cada microprocessador pode
processador, ele pode ser associado a       controlar simultaneamente algumas
circuitos adicionais de I/O e outros        dezenas de malhas convencionais. Os
periféricos para formar um controlador,     sinais analógicos do processo são
conceitualmente equivalente a um grande     convertidos em digitais pelo
computador digital.                         microprocessador, que tem embutida em



                                                                                              7.1
Instrumentação Inteligente

seu circuito a função de multiplexagem.      computadores. Sob o ponto de vista do
Depois de efetuar os cálculos e              controle de processo, pelas constantes
computações matemáticas necessárias,         de tempo envolvidas e necessidades de
o microprocessador gera um sinal digital,    memória, mesmo um microprocessador
que é convertido de volta em analógico       convencional pode exercer as funções de
para atuação dos elementos finais de         gerenciamento e otimização. Como o
controle. Cada microprocessador se           microprocessador central delega parte de
dedica ao controle de um conjunto de         suas responsabilidades aos micros
malhas. Para o controle de todo o            distribuídos, ele não precisa ser nem tão
processo são usados vários                   rápido e nem tão sofisticado.
microprocessadores, que devem ser
                                             Função do Microprocessador
interligados a um outro microprocessador
supervisório. Vários microprocessadores           O microprocessador revolucionou a
supervisórios, por sua vez, podem ser        instrumentação eletrônica. O uso de
assistidos por um outro microprocessador     microprocessador em instrumentos
gerente. Através do raciocínio de            aumentou drasticamente sua exatidão,
computadores serem associados em             expandiu suas capacidades, melhorou
diferentes níveis de cooperação e função,    sua confiabilidade e forneceu uma
pode se obter um sistema hierarquizado,      ferramenta para desempenhar tarefas
análogo a um organograma da própria          não imagináveis até então.
planta.                                           O instrumento a microprocessador se
    Têm-se os seguintes níveis, com          tornou extremamente versátil, onde os
funções cada vez menos específicos:          procedimentos de medição se tornaram
1. microprocessadores distribuídos e         mais facilmente administráveis, ajustes,
   responsáveis por tarefas e funções        calibração e teste se tornaram
   muito especificas, tais como alarme,      automáticos e o seu desempenho
   controle, intertravamento e segurança.    metrológico foi melhorado. O
   Seus tempos de resposta são               microprocessador fornece
   pequenos, da ordem de frações de               1. procedimentos computacionais
   segundos.                                         mais eficientes,
2. microprocessadores supervisórios,              2. analise estatística dos resultados
   com a finalidade de aumentar a                 3. resultados linearizados e corrigidos
   eficiência do controle, através da             4. funções programáveis.
   modificação de pontos de ajuste dos            Houve uma mudança radical na
   microprocessadores responsáveis           filosofia do projeto do instrumento. Como
   pelo controle (nível 1). Tempo de         o microprocessador se tornou uma parte
   resposta: cerca de minutos.               integral do instrumento, os enfoques são
3. microprocessadores de otimização e        totalmente diferentes com relação à
   comunicação, com as tarefas mais          estrutura, circuito e controle do
   genéricas de estabelecer a política de    instrumento. As principais vantagens do
   longo prazo e utilização de energia. A    instrumento microprocessado são:
   resposta dinâmica dos                          1. multifuncionalidade estendida e
   microprocessadores deste nível é da                expandida em programas
   ordem de horas.                                    flexíveis,
4. microprocessador mestre (host) ou              2. consumo de energia muito
   principal, cuja função é a de gerenciar            reduzido,
   o controle no mais alto nível. Pode ser        3. adaptação fácil a interfaces
   responsável pela analise financeira e              padrão de bus para sistemas
   o gerenciamento da produção. Os                    integrados
   tempos envolvidos são da ordem de              4. facilidade de controle por causa
   semana.                                            da interface
    Nem todos os sistemas possuem                 5. operação e uso mais simples,
todos os quatro níveis. Por preconceito,              economizando tempo.
às vezes, os microprocessadores dos               6. tamanho miniaturizado
níveis 3 e 4 são chamados de


                                                                                     7.2
Instrumentação Inteligente

   7. confiabilidade maior, por ter             3. autoteste e autodiagnose.
      poucos componentes, e                    4. medição replicada do valor e a
      componentes mais confiáveis por             computação estatística para dar o
      causa do encapsulamento que o               resultado mais esperado.
      torna imune à umidade e                  5. apresentação do resultado em
      temperatura.                                display de modo que os resultados
                                                  estranhos são descartados.
1.2. Vantagens do
microprocessador                             Capacidades expandidas
Multifuncionalidade                              O microprocessador estende e
                                             expande as capacidades do instrumento,
    A idéia de instrumento multifuncional    tornando-o adaptável a várias formas de
não é nova. Porém, sem o uso do              técnicas de medição, como medição
microprocessador, um instrumento             inferencial (indireta) e acumulativa.
multifuncional era, na prática, a                O instrumento microprocessado pode
montagem de várias sub-unidades              fazer várias medições simultâneas e
funcionais em um único invólucro. Em         fazer computações matemáticas
serviço, o usuário escolhia sua função       complexas destes sinais, para
através de chaves convenientes. Deste        compensar, linearizar e filtrar os
modo, ele montava as várias sub-             resultados finais. Em resposta a um
unidades em uma configuração adaptada        simples comando entrado através de seu
para medir a função escolhida. O             teclado, o microprocessador pega a
algoritmo de projeto do instrumento          técnica de medição certa, armazena os
ficava inalterado. O instrumento             resultados das várias medições diretas,
multifunção convencional usava lógica        faz os cálculos e apresenta o resultado
fixa com todos os circuitos e fios físicos   final condicionado no display. A medição
soldados (hard-wired). Esta forma de         é indireta, porém ela parece direta para o
lógica contradiz a multifuncionalidade e     operador.
eficiência. Sempre havia problemas para          Por exemplo, na medição da vazão
controlar e chavear as várias funções do     de gases, um computador de vazão
instrumento.                                 microprocessado recebe os sinais
    O microprocessador, como parte           correspondentes ao medidor de vazão
integrante do instrumento, tornou a lógica   (transmissor associado à placa, turbina,
fixa do instrumento multifuncional em        vortex), pressão, temperatura e
programável. O programa que executa          composição. Todos estes sinais são
suas múltiplas funções fica armazenado       computados internamente e o totalizador
em memórias eletrônicas (ROM ou              pode apresentar o valor da vazão
PROM). Por este motivo, o instrumento        instantânea compensada em massa ou
microprocessador é também chamado de         volume, o valor do volume ou massa
programa armazenado. A lógica                acumulado e a densidade do gás. Para o
armazenada torna o instrumento fácil de      operador, tudo parece como se o
ser programado e de ser atualizado, sem      computador estivesse fazendo a medição
mudanças significativas no circuito. A       diretamente da vazão mássica.
lógica programável tornou o preço do             Em outro exemplo, seja a medição da
instrumento muito menor, por causa da        potência dissipada através de um resistor
padronização e simplicidade dos              por um voltímetro microprocessado. O
componentes.                                 operador diz ao voltímetro para medir a
Exatidão melhorada                           resistência do resistor, armazenar o
    A exatidão do instrumento                resultado e depois medir a voltagem
microprocessado foi muito melhorada. Os      através do resistor e finalmente computar
erros sistemáticos podem ser diminuídos      a potência.
por vários motivos:                          Controle simplificado
   1. um ajuste de zero automático no            Inicialmente, se pensa que o
       início de cada medição,               instrumento multifunção programável é
    2. uma calibração automática


                                                                                   7.3
Instrumentação Inteligente

mais complicado. O instrumento                  Geralmente, os erros sistemáticos
inteligente possui um conjunto de teclas    são provocados por desvio do zero,
(teclado) externo e na sua parte frontal.   desvio do fator de ganho do circuito
Através das teclas diretas ou combinação    condicionador de sinal e não linearidades
de teclas se pode selecionar as funções,    internas do instrumento.
faixas e modos de medição. Por                  O microprocessador incorporado no
exemplo, um voltímetro digital tem um       instrumento pode eliminar os erros
teclado com 17 teclas e pode fornecer       sistemáticos.
um total de 44 combinações de funções,          Ele elimina o erro de desvio de zero,
faixas e modos. O instrumento ainda         armazenando o valor correspondente ao
pode ter alarmes que operam quando o        zero do instrumento e subtraindo
operador faz movimentos errados e           automaticamente este valor das leituras
aperta teclas incompatíveis.                do instrumento.
                                                Ele elimina o erro de ganho do
Operações matemáticas do resultado
                                            instrumento, armazenando um número
    É possível que o operador queira uma    quando o instrumento é desligado e que
função matemática de um resultado e         corresponde a um valor definido da
não somente no resultado em si. O           voltagem de entrada. Quando o
instrumento microprocessado pode            instrumento é religado para fazer novas
fornecer várias transformações              medições, o instrumento
funcionais, como:                           microprocessado faz comparações e usa
    1. multiplicar o resultado por um       um fator de correção para aplicar nas
       fator constante                      novas medições.
    2. apresentar o erro absoluto da            O instrumento pode ainda fazer
       medição                              correções para os erros devidos a
    3. apresentar o erro percentual da      variação da freqüência do sinal (o ganho
       medição                              do condicionador de sinal em uma dada
    4. subtrair uma constante do            freqüência é diferente do ganho em sua
       resultado                            freqüência de referência.) O instrumento
    5. dividir o resultado por uma          armazena na memória a sua freqüência
       constante                            de referência e corrige as medições para
    6. apresentar o resultado em            as diferentes freqüências.
       unidades logarítmicas                    Os erros aleatórios não podem ser
    7. linearizar resultados                antecipados e evitados. O máximo que o
Análise estatística                         operador pode fazer é minimizar seus
    Os instrumentos microprocessados        efeitos, fazendo um tratamento estatístico
podem gerar o valor médio, valor eficaz     de todas as medições replicadas. Deste
(root mean square), a variância, o desvio   modo, o instrumento microprocessado
padrão de uma variável aleatória sendo      armazena os resultados das medições
analisada e o coeficiente de correlação     repetidas e faz o seu processamento em
de duas variáveis aleatórias. Há            algoritmos apropriados para determinar
instrumentos microprocessados               média, desvio padrão e erro aleatório
projetados especificamente para fazer a     relativo. O instrumento pode, por
analise estatística dos sinais.             exemplo, determinar a média esperada,
                                            testar a hipótese que as probabilidades
Melhoria do desempenho metrológico          do erro aleatório são normalmente
    As características metrológicas do      distribuídas e computar os limites de
instrumento são aquelas diretamente         erros aleatórios.
relacionadas com seu desempenho, em         1.3. Aplicações
geral e com sua precisão, em particular.
    Todo instrumento está sujeito a erros      Um instrumento microprocessado é a
sistemáticos, aleatórios e acidentais.      melhor solução quando:
Todos estes erros podem ser                   1. o instrumento deve ser
minimizados (exceto o aleatório) nos             multifuncional, programável e
instrumentos a microprocessador.                 versátil


                                                                                  7.4
Instrumentação Inteligente

  2. o sistema de medição deve ser           programa (software) que é outro motivo
       expandido para acomodar várias        de repulsa, pois o seu custo é maior que
       funções                               o do microprocessador.
    3. o sistema de medição deve ser             Todas estas questões são facilmente
       interfaceado com um sistema digital   resolvidas. Embora internamente o
    4. os dados devem ser armazenados        microprocessador tenha milhares (e até
       em memória                            milhões) de componentes, esta
    5. um grande número de estados           complexidade não requer que o seu
       lógicos deve ser mantido na           usuário a entenda. Mesmo complexo, o
       memória                               microprocessador é estável e confiável,
    6. as medições feitas por técnicas       muito mais que qualquer circuito com
       indiretas e cumulativas e o           componentes discretos. Embora a
       procedimento devem ser                maioria utilize somente uma pequena
       automatizados                         parte da capacidade total do
    7. é especificado um alto                microprocessador, ainda assim a sua
       desempenho metrológico,               aplicação é economicamente vantajosa.
       impossível de ser obtido por          O software associado ao
       métodos convencionais                 microcomputador é também complexo e
    8. são essenciais a autocalibração e     pode ter os seus besouros (bugs), porém
       autodiagnose                          o usuário não precisa conhece-lo. 6.3.
    9. o processamento estatístico dos       Vantagens e limitações
       dados deve ser parte do                   Há varias vantagens obvias no
       procedimento de medição e feito       sistema de controle com
       automaticamente                       microprocessadores distribuídos:
    10. as incertezas das medições devem     1. Divisão de trabalho e funções.
       ser determinadas e apresentadas          Mesmo que o sistema operacional
       no display, em linha do processo         final seja centralizado em um único
    11. há necessidade de transformações        microprocessador mestre, as funções
       funcionais matemáticas, como             são distribuídas geograficamente no
       linearização, conversão de               processo e hierarquicamente entre os
       resultados, compensação através          vários microprocessadores. O grau de
       de cálculos complexos                    multiprogramação é diminuído, desde
     Por causa de todas estas vantagens,        que algumas funções podem ser
o microprocessador chegou e vai ficar           desempenhadas diretamente por
por muito tempo nos campos da medição           unidades remotas. Alarme e
e instrumentação. Ele é a base do               intertravamento, p. ex., podem ser
progresso que a ciência e a tecnologia          feitos pelas unidades locais, sem
tiveram nos últimos e nos próximos anos.        esperar a disponibilidade do sistema
     Há também várias razões para               central.
questionar o uso do instrumento              2. Grau de modularidade e
microprocessado, algumas subjetivas e           flexibilidade. As unidades remotas
outras objetivas. As mais importantes           podem ser aumentadas, retiradas ou
são:                                            substituídas, sem interferência no
     Há a barreira psicológica, de algumas      resto do sistema. O sistema pode
pessoas que desconhecem o                       começar pequeno e crescer, como
microprocessador ainda duvidam e não            ocorre na maioria absoluta das plantas
aceitam os benefícios transparentes do          de processo industrial.
microprocessador. Muitos acham que o         3. Maior integridade e confiabilidade.
microprocessador é muito complicado e           Quando previsto na programação e
economicamente não é atraente. Muitos           nas ligações dos equipamentos, a
acham que não necessitam de toda a              retirada ou falha de uma unidade não
capacidade do microprocessador e por            interfere e nem interrompe o
isso a sua aplicação seria ociosa e             funcionamento de outras unidades. Ou
exagerada. Outros acham que o                   seja, não há interferência nem
microprocessador está associado a um            horizontal e, com algumas restrições,


                                                                                  7.5
Instrumentação Inteligente

   nem vertical. A falha do                   distribuídos. Todos eles têm vantagens e
   microprocessador principal pode            desvantagens inerentes e por isso todos
   degradar e fazer desaparecer algumas       continuarão a existir. A escolha correta
   funções, porém, as funções mais            de um sistema entre os vários existentes
   críticas devem ser preservadas, como       deve ser feita, baseando-se em
   controle, alarme e segurança.              considerações técnicas e econômicas.
4. Baixo custo dos equipamentos.                  O computador deve ser um
   Quando comparado com o sistema             suplemento a técnicas de controle
   SDCD, este é o grande trunfo. Na           existentes e deve desempenhar um
   prática, o controle pode ser feito por     trabalho que o sistema convencional não
   microprocessadores do tipo pessoal,        possa fazer. Ele não deve e nem pode
   cujo custo é da ordem de poucos            ser usado para substituir todo o trabalho
   milhares de dólares.                       humano, mas deve exigir a inteligência
5. Não há necessárias linguagens              do operador de modo que o trabalho
   especiais. As dificuldades de              penoso e cansativo se torne válido e
   implantação do sistema estão no            digno. Finalmente, o ser humano é o
   desenvolvimento para ele desenvolver       mais sensível e adaptável controlador
   os algoritmos específicos de controle,     imaginável. E insubstituível!
   como PID. Os altos custos relativos
   dos periféricos não são restritos a esta   2. Controlador inteligente
   configuração mas são comuns a todas
   aplicações com controle digital.           2.1. Conceito
1.4. Conclusões                                    O controlador single loop é o
                                              instrumento microprocessado com todas
    Embora atrasada, a tecnologia do          as vantagens relacionadas acima
computador digital para controle de           inerentes à sua natureza que pode ser
processo está entre nos. Inevitavelmente      usado para controlar uma única malha
e por causa das técnicas de marketing,        (daí o nome, single loop). É também
há um entusiasmo inicial com a nova           chamado de single station. O controlador
tecnologia, que abrange as áreas de           single loop resolve o algoritmo de
programação e de equipamentos.                controle para produzir uma única saída
Através da literatura técnica tem-se a        controlada. O seu baixo custo permite
(falsa) impressão que o novo                  que ele seja dedicado a uma única
desenvolvimento é uma solução universal       malha. Por questão de marketing e por
para todos os problemas conhecidos de         causa de sua grande capacidade, um
controle e de computação. Quando o            único invólucro pode ter dois e até quatro
desenvolvimento amadurece e é melhor          controladores, porém, com o aumento de
entendido, suas limitações se tornam          dificuldade da operação.
conhecidas, novos problemas aparecem               O microprocessador pode ter
com os novos equipamentos e se vê que         qualquer função configurável e por isso,
ainda não se tem a resposta de todos os       um mesmo instrumento pode funcionar
problemas.                                    como controlador, controlador cascata,
    Deve ser encontrado um ponto de           controlador auto-seletor ou como
equilíbrio entre usuários e fabricantes,      computador de vazão com compensação
onde o uso do computador para controle        de pressão e temperatura. A
de processo traga vantagens para todos        configuração pode ser feita através de
os envolvidos. Não é conveniente nem          teclados acoplados ao instrumento ou
inteligente o uso do computador apenas        através de programadores separados
para duplicar funções já feitas               (stand alone).
adequadamente por instrumentos                     Como a tecnologia do single loop é
convencionais, simplesmente por que é         moderna, o instrumento incorpora todos
moda ou há verba disponível.                  os avanços da tecnologia eletrônica,
    Há sistema com computadores e sem         microprocessadores, displays novos e
computadores. Há sistemas com                 programas criativos.
computadores centralizados e


                                                                                     7.6
Instrumentação Inteligente

2.2. Características                        Em siderurgias, é comum a aplicação de
                                            programas de temperatura, onde se tem
Tamanho
                                            uma rampa de aquecimento, a
     Tem tamanho pequeno ou muito           manutenção da temperatura em um
pequeno (menor que as dimensões DIN).       patamar durante um determinado tempo
Não necessariamente a mais importante,      e o abaixamento em vários degraus.
mas um das características mais notável
da presente geração de controladores
single loop é seu pequeno tamanho
físico. A maioria dos controladores segue
as dimensões européias DIN (Deutche
Industrie Norm) para aberturas de paine:
     ¼ DIN - 96 x 96 mm (3,8 x 3,8
polegadas)
1/8 DIN - 96 x 48 mm (3,8 x 1,9
polegadas)
1/16 DIN - 48 x 48 mm (1,9 x 1,9
polegada)
     O mais popular é o 1/16 DIN.
Funções de controle
    Muitos controladores chamados de
single loop são dual loops. Através de      Fig. 6.2. Frontal do controlador single loop
microprocessadores no circuito, muitos      (Moore)
controladores oferecem os formatos de
liga-desliga e PID. Outros controladores    Outras propriedades
incorporam funções matemáticas, ou no           Os controladores single loop possuem
próprio circuito ou através de módulos      ainda capacidade de auto/manual, ponto
funcionais opcionais incorporados na        de ajuste múltiplo, autodiagnose e
caixa. Estas funções matemáticas            memória. São construídos de
incluem:                                    conformidade com normas para ser
    Somador - subtrator                     facilmente incorporado e acionado por
    Ganho ajustável com polarização         sistemas SDCD.
    Multiplicador - divisor                     As aplicações típicas do single loop
    Compensador lead/lag                    são em plantas pequenas e médias que
(avanço/atraso)                             não podem ou não querem operar, em
    Filtro dual                             futuro próximo, em ambiente com
    Limitador de rampa e de sinal           controle digital distribuído. Mesmo em
    Rastreamento (tracking) analógico       sistemas de SDCD, há malhas críticas
    Extrator de raiz quadrada               que, por motivo de segurança, são
    Seletor de sinal (alto/baixo e médio)   controladas por controladores single-
    Conversor de sinal (termopares, RTD)    loop.
    Potenciômetro (não isolado e isolado)
                                            2.3. Controladores comerciais
Auto sintonia
   Esta propriedade é disponível na         Controlador Bailey
maioria dos controladores single loop,          O controlador Bailey tem capacidade
exceto nos de baixo custo.                  de duas malhas (dual loop) para controle
                                            de uma grande variedade de variáveis. O
Seqüencial e programação de tempo
                                            instrumento incorpora:
   A maioria dos controladores single       1.      display de plasma de gás para
loop possui capacidade de programação           ponto de ajuste e saída de controle
temporal e sequenciamento de                2.      capacidade de armazenar até 75
operações. A programação envolve                códigos de funções
quaisquer duas variáveis, porém o mais      3.      número de entradas e saídas
comum é se ter o tempo e a temperatura.         flexível


                                                                                           7.7
Instrumentação Inteligente

4.      estação opcional de bypass da        4. painel da estação de trabalho, para
    malha para controle manual direto           indicar status de operação
    das saídas do processo durante              (computador ou local), status do ponto
    manutenção.                                 de ajuste (remoto, local ou relação),
1. auto-sintonia.                               status da saída (automático ou
    A configuração e sintonia são obtidas       manual) e status de alarme (ligado ou
através de um terminal portátil                 desligado)
proprietário que usa cursor acionado por     5. teclado com 8 teclas para
menu para o operador navegar através            configuração e operação para
de procedimentos de preencher campos            selecionar, configurar e sintonizar o
em branco.                                      controlador
    O controlador tem capacidade de
monitorar, controlar, configurar até 1500
pontos de controle através de um
computador pessoal.
    Também, na mesma família do
produto, há um controlador seqüencial
que fornece entradas e saídas digitais
adicionais para controlar até três
seqüências, um link serial de
comunicação RS 232 C para ligar a
dispositivos externos, como impressora
ou sistema de aquisição de dados.
    As aplicações comuns incluem
controle vazão, temperatura e pressão de     Fig. 7.4. Controladores single loop (Foxboro)
alimentação de caldeira a três elementos
e controle de surge de compressor,
controle de motor, gerenciamento de              Suas especificações funcionais são:
                                                 1. sinais de entrada proporcionais,
                                                      qualquer combinação não
                                                      excedendo 4 analógicas (4 a 20
                                                      mA, 1 a 5 V, voltagem de termopar
                                                      ou resistência de RTD) e 2
                                                      entradas de freqüência. Todos os
                                                      sinais de entrada são convertidos e
                                                      podem ser caracterizados em uma
                                                      variedade de cálculos.
                                                 2.   cada controlador possui duas
queima e outras com partidas e paradas.               funções de controle independentes
                                                      que podem ser configuradas como
                                                      um único controlador, dois
Fig. 7.3. Controlador Bailey e HHT                    controladores em cascata ou em
Controlador Foxboro                                   seleção automática. Os algoritmos
                                                      padrão para cada controlador são
    O controlador single station Foxboro
                                                      P, I, PD, PI, PID e controle
inclui:
1. display analógico fluorescente para
                                                      EXACT
   mostrar através de barra de gráfico o         3.   duas saídas analógicas não
   valor da variável, do ponto de ajuste e            isoladas e duas saídas discretas
   da saída do controlador                       4.   outras funções de controle como
2. display digital para indicar através de
                                                      caracterização, linearizadores,
   dígitos os valores e unidades de                   portas lógicas, condicionadores de
   engenharia                                         sinal
3. display alfanumérico para indicar tag
                                                 5.   alarmes
   da malha selecionada                          6.   computações matemáticas



                                                                                             7.8
Instrumentação Inteligente

   7. alimentação do transmissor de
      campo
   8. memória para armazenar todos os
      parâmetros de configuração e
      operação
   9. filtros de entrada (Butterworth)
   10. distribuição de sinais (até 30
      sinais para roteamento interno)
Controlador Moore
                                             Fig. 7.5. Controlador single loop (Moore)
    O controlador digital microprocessado
single loop da Moore possui as seguintes
características físicas:
1.      Display com barra gráfica de         Controlador WEST
    cristal líquido (LCD) para variável do      O controlador programador isolado
    processo, ponto de ajuste e valores      West é disponível em um invólucro DIN
    da válvula                               de 1/8 (96 x 48 mm). Suas características
2.      Display digital para unidades de     são:
    engenharia                                  1. Display com duas linhas por LEDs
3.      Display alfanumérico para status e      2. Sete LEDs dedicados são usados
    indicação de alarmes.                           para mostrar a legenda do cursor
4.      Funções e operações como                    durante a configuração e o status
    entradas, sadias, controles e                   do instrumento quando um
    computações são armazenados                     programa estiver rodando.
    dentro da memória do modelo como            3. Saída de controle PID que pode
    modular.                                        ser oferecida com uma saída 1
5.      Facilidade de seleção dos blocos            (aquecimento) e uma saída 2
    funcionais. Tipicamente os blocos de            (resfriamento) com a adição de
    função têm valores de parâmetros,               uma saída de alarme.
    limites de calibração e informações         4. Opção de comunicação serial RS
    de comunicação com outros blocos                485 para ligação entre mestre e
    de função selecionados pelo usuário.            escravo.
6.      Possibilidade de expansão com           5. Capacidade de base de tempo
    blocos funcionais adicionais para               dupla permitindo taxas de
    implementar controle avançado                   programa hora-minuto ou minuto-
7.      Uso como computador de vazão,               segundo.
    com compensação de temperatura e            6. Revisão dos parâmetros de
    pressão do sinal de vazão.                      programa sem interrupção do
8.      Capacidades avançadas de                    programa.
    compensação de tempo morto,                 7. Controle auto-manual, permitindo
    controle preditivo antecipatório,               a passagem de automático (malha
    cascata, auto-seletor, faixa dividida.          fechada) para manual (malha
9.      Opção de terceira entrada                   aberta).
    adicional para acomodar termopares,         8. Sintonia prévia e auto-sintonia
    freqüência, militensão, resistência             podem ser selecionadas ou não
    detectora de temperatura ou pulso de            selecionadas.
    computador.                                 As aplicações típicas envolvem
10.     Interface de comunicação serial      processos de tratamento de calor,
    para ligação com rede de                 preparação de alimentos, esterilização e
    computadores.                            câmaras ambientais.




                                                                                         7.9
Instrumentação Inteligente




                                             Fig. 7.7. Controladores Johnson Yokogawa


Fig. 7.6. Controlador West

Controlador Yokogawa
    O controlador programável da
Johnson Yokogawa incorpora funções de
controle e computacionais que podem
ser combinadas de modo análogo à
programação de uma calculadora
eletrônica. A função de auto-sintonia é
muito útil em aplicações de batelada de
vários produtos, onde as características
do produto podem variar de produto para
produto. Ele apresenta um algoritmo,
acionado pelas variações do ponto de
ajuste ou sob demanda e fornece uma
resposta rápida para variações do
                                             Fig. 7.8. Controladores single loop interligados a
processo. Outras características incluem:
                                             um sistema de comunicação digital
    1. controle preditivo antecipatório
        (feedforward), com computações
        de ganho e polarização
    2. processamento de sinais
    3. entradas analógicas (4 pontos, 1 a
        5 V cc)
    4. saídas analógicas (3 pontos, 1 a 5
        V cc ou 4 a 20 mA cc)
    5. funções seqüenciais
    6. display de dados
    7. manipulação de até 10 pontos de
        status I/O, cada um definido pelo
        usuário como entrada ou saída.
    8. teclas de função programáveis (4)
        na frente do painel para controlar
        a partida das seqüências.
    9. lâmpadas associadas (4) para
        indicar o progresso da seqüência
        ou servir como cursor.
    10. cerca de 43 funções
        computacionais.




                                                                                           7.10
Instrumentação Inteligente

                                                  respectivo protocolo. Algum dia isto
3. Transmissores inteligentes                     será resolvido.
                                             2.   Todos os instrumentos de medição
3.1. Introdução                                   industriais contem componentes como
     A evolução no projeto de                     foles, diafragmas e elos que exibem
transmissores tem sido influenciada, por          comportamento não linear ou cujo
um lado, pelas exigências dos usuários            comportamento pode ser alterado por
por melhor desempenho acoplado com                variações de temperatura, umidade,
custo de propriedade reduzido e, por              pressão, vibração, alimentação ou
outro lado, pelos desenvolvimentos que            outros efeitos externos. Em outros
ocorreram nas tecnologias adjacentes,             casos, os efeitos não lineares
microeletrônica, ciência dos materiais e          aparecem por causa dos princípios de
tecnologias de comunicação. Os avanços            medição, como a medição de vazão
mais significativos resultaram do                 com placa de orifício. A estratégia, até
aparecimento de microprocessadores de             hoje, era usar outros instrumentos
baixo consumo de potência e de                    para compensar estes efeitos.
conversores analógico-digital (A/D) que,          Como os instrumentos inteligentes
junto com os circuitos sensores básicos,          possuem uma grande capacidade
podem funcionar com potência limitada             computacional, estas compensações,
(tipicamente menor que 40 mW)                     correções e linearizações são mais
disponível em um transmissor                      facilmente conseguidas através de
convencional de 4 a 20 mA cc.                     circuitos embutidos no
     Nos anos 1980s, estes instrumentos           microprocessador.
microprocessador foram chamados de           3.   Além de transmitir a informação, o
inteligentes. Este é outro de muitos              transmissor inteligente pode também
exemplos de nomes escolhidos                      ouvir. Um benefício prático disto é em
estupidamente para instrumentos de                verificação de pré-partida. Da sala de
processo. Não há nada particularmente             controle, o instrumentista pode
inteligente nos instrumentos inteligentes.        perguntar ao transmissor que está no
Porém, eles possuem características               campo qual é o seu número de
acima e além das de seus predecessores            identificação.
e estas capacidades devem ser                4.   Possibilitando a inclusão de um
entendidas. A capacidade adicional                segundo sensor, de modo que os
tornou-se possível pelo desenvolvimento           efeitos secundários do sensor
do admirável microprocessador e a sua             principal possam ser compensados.
inclusão nos instrumentos de medição.        5.   Um transmissor inteligente pode ter
Isto significa que um transmissor                 sua faixa de calibração facilmente
inteligente possui um pequeno                     alterada através de comandos de
computador em seu interior que                    reprogramação em vez de ter ajustes
geralmente lhe dá a habilidade de fazer,          mecânicos locais. Na medição de
entre várias outras, duas coisas                  vazão com placa de orifício, as
principais:                                       verificações de zero do instrumento
1. modificar sua saída para compensar             requerem a abertura e fechamento
    os efeitos de erros                           das válvulas do distribuidor no
2. ser interrogado pelo instrumento               transmissor.
    receptor da malha.                       3.2. Transmissor smart e
     As capacidades peculiares dos           inteligente
instrumentos inteligentes são:
1. habilidade de transmitir medições do          Para diferenciar o transmissor
    processo, usando um sinal digital que    convencional daqueles em que são
    é inerentemente um método mais           aplicadas correções no sinal do sensor
    preciso do que o sinal analógico. O      primário, usando um microprocessador
    principal obstáculo é a falta de         para manipular a informação que está
    padronização deste sinal digital e seu   incorporada na memória ou daqueles em
                                             que um microprocessador é usado em


                                                                                     7.11
Instrumentação Inteligente

    conjunto com um sensor secundário para                                    tipo, número de série, tag de
    derivar correções para o sinal do sensor                                  identificação, sejam armazenados no
    primário, usa-se o termo smart (sabido).                                  transmissor e acessados através da
                                                                              malha de medição em que o transmissor
                                                                              está instalado. Outras funções, tais como
                                   Memória
                                                                              ajuste ou reajuste de zero e largura de
                                                                              falha, detalhes da localização e aplicação
                                                                              e rotinas de diagnóstico para dar aviso de
                                                                              mau funcionamento também podem ser
   Sensor        Conversor           Micro           Conversor 4 a 20 mA      implementados. O termo inteligente tem
                                  processador
                   A/D                                  D/A                   sido usado para identificar tais
                                                                              transmissores.
                                                                                  Uma evolução adicional que está
    Componentes de um transmissor smart                                       sendo atualmente usada é a
                                                                              multiplexação das saídas do transmissor
                                       Memória                                em um circuito ou fieldbus, em vez de
                                                                              ligação dos transmissores através de
                                                                              circuitos individuais para a sala de
     1o sensor                                                                controle. Para o conceito realizar seu
                    Conversor           Micro           Conversor 4 a 20 mA
                                     processador                              potencial pleno, é necessária uma norma
     2o sensor         A/D                                  D/A
                                                                              internacional para garantir que os
                                                                              transmissores de diferentes fabricantes
                                                                              sejam intercambiáveis e interoperáveis.
    Fig. 7.9. Componentes de um transmissor smart                             Intercambiável significa que um
    com sensor secundário                                                     transmissor de um fabricante pode ser
                                                                              substituído por um transmissor de outro
                                                                              fabricante sem qualquer alteração no
                                 Memória
                                                                              sistema. Interoperável significa que um
                                                                              transmissor de um fabricante pode ser
1o sensor                                                                     usado para substituir um transmissor de
            Conversor              Micro           Conversor 4 a 20 mA        outro fabricante mas alguma
                 A/D            processador          D/A                      reconfiguração do sistema é necessária.
2o sensor
                                                                              Desde 1985 tem-se feito esforços para
                                                                              desenvolver uma única norma
                                                Sistema                       internacional, mas neste período, foram
                                              Comunicação
                                                                              desenvolvidas várias normas
                                                                              proprietárias e nacionais que competem
    Fig. 7.10. Componentes de um transmissor smart                            e atrapalham o aparecimento da nova
    e inteligente com uma facilidade de comunicação                           norma internacional.
                                                                              3.3. Terminologia
        O fato de se incorporar um                                                Há uma falta de consistência na
    microprocessador em um transmissor                                        terminologia usada para descrever os
    tem também fornecido uma oportunidade                                     vários atributos e características destes
    para sair de um regime em que somente                                     novos transmissores e portanto, no
    o sinal de medição é transferido do                                       contexto deste trabalho são usadas as
    transmissor para um receptor, tal como                                    seguintes interpretações:
    um controlador ou indicador ou
                                                                              Sensor
    registrador, para um em que o
    microprocessador não somente                                                  Dispositivo que converte um
    implementa as funções smarts                                              parâmetro físico (por exemplo, pressão)
    mencionadas previamente, mas também                                       em outro parâmetro (por exemplo,
    gerencia uma facilidade de comunicação.                                   resistência elétrica).
    Isto possibilita que os dados específicos
    ao próprio transmissor, tais como seu


                                                                                                                    7.12
Instrumentação Inteligente

     Sensor primário é o sensor que         Fieldbus
responde principalmente ao parâmetro            Meio de comunicação único, (e.g., par
físico a ser medido.                        de fio trançado, cabo coaxial ou fibra
     Sensor secundário é o sensor           óptica), que transporta a informação
montado adjacente ao primário para          (endereço, dados de controle e dados de
medir o parâmetro físico que afeta de       parâmetros do processo) entre um
modo indesejável a característica básica    número de transmissores, atuadores,
do sensor primário (por exemplo, os         controladores, indicadores e
efeitos da temperatura na medição de        registradores.
pressão).                                       Genericamente, fieldbus é um meio
Transmissor                                 de comunicação de dispositivos de
                                            campo. Atualmente, há a Fieldbus
    Instrumento, geralmente montado no
                                            Foundation que gerencia a aplicação do
campo, usado para sentir a variável do
                                            protocolo escífico chamado de Fieldbus.
processo (e.g., temperatura) em um
ponto onde ele está montado e para
fornecer um sinal padrão (por exemplo 4
a 20 mA cc) que é uma função,                  50
geralmente linear, desta variável.
                                               45
    Transmissor smart é um transmissor
                                               40                                      Delta P
em que é usado um sistema
                                               35                                      Temperatura
microprocessador para corrigir os erros
                                               30                                      Pressão
de não linearidade do sensor primário
                                                                                       Outros
através da interpolação de dados de            25
                                                                                       Nível
calibração mantidos na memória ou para         20
                                                                                       Densidade
compensar os efeitos de influência             15
                                                                                       Análise
secundários sobre o sensor primário            10
incorporando um segundo sensor                  5
adjacente ao primário e interpolando            0
dados de calibração armazenados dos
sensores primário e secundário.
    Transmissor inteligente é um
transmissor em que as funções de um         Fig. 7.11 Estatística de transmissores de processo
sistema microprocessador são
compartilhadas entre
1.      derivar o sinal de medição           História
    primário,                                   A faixa de sistemas de medição smart
2.      armazenar a informação referente    hoje em uso cobre uma grande variedade
    ao transmissor em si, seus dados de     de aplicações mas as que são
    aplicação e sua localização e           simultaneamente smart e inteligente tem
3.      gerenciar um sistema de             sido desenvolvidas especificamente para
    comunicação que possibilite uma         uso em industrias de processo. Os tipos
    comunicação de duas vias                e números relativos de medições de
    (transmissor para receptor e do         processo variam de uma indústria para
    receptor para o transmissor),           outra, mas a Fig. 7.11 mostra que as
    superposta sobre o mesmo circuito       variáveis mais medidas são temperatura,
    que transporta o sinal de medição, a    pressão e pressão diferencial para vazão
    comunicação sendo entre o               e nível, densidade e análise.
    transmissor e qualquer unidade de           O principal desenvolvimento de
    interface ligada em qualquer ponto de   transmissores smart tem sido
    acesso na malha de medição ou na        concentrado em transmissores de
    sala de controle.                       temperatura, pressão e pressão
                                            diferencial. Para os transmissores de
                                            temperatura, são armazenados em sua
                                            memória os dados referentes às curvas


                                                                                        7.13
Instrumentação Inteligente

características de vários tipos de           acesso dos dados relativos à aplicação,
termopares, resistência de platina e         posição instalada e história do serviço
outros sensores, para interpolação pelo      possam ser implementados. O termo
microprocessador através da faixa            inteligente é usado para identificar o
selecionada do transmissor. Para os          transmissor com tais facilidades.
transmissores de pressão e de pressão            O conceito de transmissores que não
diferencial, os dados de calibração          apenas fornecem um sinal de medição,
relativos aos sensores primário e            mas são também capazes de
secundário são armazenados na                comunicação em dois sentidos sobre o
memória para interpolação pelo               mesmo circuito provoca:
microprocessador através de toda faixa       1. necessidade de uma norma que
selecionada do transmissor. Os                  possibilite transmissores de diferentes
transmissores de pressão diferencial são        fabricantes sejam intercambiáveis (tal
particularmente importantes porque              como hoje se faz com os
metade das medições de nível e dois             transmissores convencionais de 4 a
terços das medições de vazão são                20 mA cc)
baseadas nesta medição, embora esta          2. necessidade de uma norma que
última proporção esteja declinando.             possibilite a exploração das
    O segundo desenvolvimento                   facilidades melhoradas.
importante aparece dos benefícios            3. possibilidade de substituir os circuitos
potenciais da possibilidade de                  individuais entre os transmissores e as
comunicação com um instrumento                  saídas de controle com um
remoto através do mesmo circuito que            barramento (highway) de dados. O
transporta o sinal de medição. Até então,       termo fieldbus é usado para descrever
nas indústrias de processo, os                  qualquer forma de barramento de
instrumentos eram considerados como             dados que suporta a comunicação
dispositivos que eram localizados em            entre equipamentos de campo com a
posições remotas e ligados por um par           sala de controle.
de fios trançado para o ponto onde o             Um fieldbus tem muitas vantagens
sinal de medição era necessário. A           sobre o sistema convencional de 4 a 20
tecnologia que possibilitava dois tipos de   mA cc, como:
informação a serem comunicadas sobre         1. reduzir os custos de fiação,
o mesmo par de fios, sem interferência          comissionamento e manutenção
mútua, tem sido disponível, mas somente      2. aumentar a versatilidade
recentemente tem sido aplicada e             3. melhorar a funcionalidade
explorada para medições de processo.             Desde 1985 tem-se feito esforços
    Tendo desenvolvido transmissores         para desenvolver uma única norma
em que os microprocessadores são             internacional, mas desde esta data,
usados para melhorar o desempenho            também foram desenvolvidas várias
pela linearização das características        normas proprietárias e nacionais que
básicas do sensor ou pela compensação        competem para se tornar a norma
das influências secundárias, é uma           predominante. A despeito desta situação
progressão lógica adicionar mais             confusa, a introdução de fieldbus
memória, de modo que outros dados,           provavelmente provocará uma grande
específicos ao transmissor em si, tais       melhoria e versatilidade nas indústrias de
como seu tipo, número de série, tag de       controle, junto com as tecnologias
identificação, sejam armazenados no          adjacentes tais como processamento de
transmissor. O microprocessador pode         sinal, circuitos neurais, lógica fuzzy e
ser usado para controlar uma facilidade      matrizes de sensores. Um dos primeiros
de comunicação, de modo que a                protocolos de comunicação de campo a
informação armazenada no transmissor         ser explorado comercialmente com
possa ser interrogada via circuito de        sucesso foi o Protocolo de Comunicação
medição, em que ele está instalado e         de Campo HART, desenvolvido pela
outras funções, tais como ajuste e           Rosemount.
reajuste de zero e largura de faixa,


                                                                                   7.14
Instrumentação Inteligente

    Um dos muitos problemas que               progressos foram paralelos com os
existiram em grandes plantas de               avanços dos microprocessadores de
processo, é a variedade de transmissores      baixo consumo de potência e os
necessários para satisfazer as exigências     conversores analógico-digital (A/D). Um
operacionais e o conseqüente alto custo       modo de reduzir o custo de fabricação é
de suas peças de reposição. Esta              reduzir o peso e tamanho dos
variedade é devida principalmente ao fato     componentes.
de os transmissores serem analógicos
com ajuste de faixas limitado, de modo
                                              3.4. Propriedades e características
que são necessários muitos sensores               O uso da comunicação digital
diferentes. A introdução de um segundo        superposta ao sinal de medição 4 a 20
sensor e o sistema de microprocessador        mA não somente possibilita a vantagem
aumentou grandemente a rangeabilidade         de usar o desempenho melhorado dos
e precisão dos transmissores, de modo         sensores mas também permite uma
que as medições de pressão e de               grande faixa de informação a ser extraída
pressão diferencial podem ser feitas por      do transmissor, sob pedido, e ajustes
dois transmissores de cada tipo.              feitos para o modo de operação.
    O padrão de transmissão atual de 4 a
20 mA cc forneceu uma base excelente
para o desenvolvimento da
instrumentação de processo nos últimos
30 anos. Suas vantagens incluem:
   1. o sinal de medição não é afetado
       pelas variações de resistência da
       malha,
   2. transmissores de diferentes
       fabricantes podem ser
                                              Fig. 7.12. Diagrama da saída de 4 a 20 mA
       intercambiáveis
   3. dentro de grandes limites, podem
       ser inseridos instrumentos de
                                                  Os atributos e características dos
       alarme, indicação, registro sem
                                              transmissores smart e inteligente são
       afetar a precisão da medição
                                              mostrados adiante, mas os detalhes
   4. a potência necessária para
                                              podem diferir de uma fabricante para
       energizar o sensor e os circuitos
                                              outro, bem como de um tipo para outro
       condicionadores é fornecida com
                                              de transmissor. A maioria das
       zero vivo, que é detectora de falha.
                                              características ou atributos do
    Porém, a transmissão de 4 a 20 mA
                                              transmissor inteligente pode ser
cc tem a limitação de apenas comunicar
                                              endereçada de um terminal portátil
o sinal de medição, que é transmitido do
                                              (handheld), chamado de comunicador ou
transmissor para a sala de controle. É um
                                              interface handheld ou de uma outra
sistema de comunicação com um único
                                              interface da sala de controle.
sentido.
    A influência dominante na evolução        Linearização e caracterização do
dos sistemas de medição de processo é         sensor
a necessidade de reduzir o custo de               A presença de memória e a
propriedade. Custo de propriedade é o         capacidade de computação no
custo do instrumento em si, mais os           transmissor permitem o sinal ser
custos de instalação, comissionamento,        condicionado antes de ser transmitido.
partida, calibração e manutenção              Por exemplo, o sinal do sensor primário
subseqüentes. Os desenvolvimentos nos         pode ter uma relação não linear
elementos sensores exploraram os              conhecida com a variável medida. Os
métodos de CAD para melhorar as               exemplos mais comuns são os sensores
tecnologias de strain gauges com silício e    de temperatura a termopar e a RTD e a
a fabricação de microelementos sensores       relação raiz quadrática entre a vazão e a
capacitivos e ressonantes. Estes


                                                                                          7.15
Instrumentação Inteligente

pressão diferencial gerada pela placa de      Medição em unidades de engenharia
orifício ou outro sensor gerador de               Há vários modos de se conseguir
pressão diferencial. Assim, a informação      isso:
da calibração real do transmissor pode        1. Ajuste do sinal de 4 a 20 mA cc.
ser armazenada na memória e usada                Usando os ajustes de zero e de
para melhorar a precisão do sinal de             largura de faixa, é possível conseguir
saída.                                           que uma variação de 1 mA no sinal de
     Nos casos onde o sistema de                 saída corresponda a uma dada
medição compreende dois instrumentos             variação na quantidade medida. Isto é
separados como um elemento sensor e              particularmente útil em aproveitar
um transmissor separado com a unidade            registradores e indicadores existentes.
de computação, as constantes do sensor        2. Comunicação digital. É geralmente
primário entram na unidade de                    possível estabelecer o escalonamento
computação do transmissor, de modo               de um instrumento de modo que a
que qualquer unidade pode ser trocada.           variável medida (por exemplo, vazão)
     Além destas manipulações puramente          mostrada no comunicador portátil ou
matemáticas com os dados originais,              no display do operador apareça em
também podem ser feitas medições                 unidades desejadas ou especificadas
internas auxiliares em linha da pressão e        da medida, com o símbolo da unidade
temperatura para permitir a correção da          no SI (por exemplo, 7,5 kg/s). Isto
saída dos efeitos destas quantidades             pode ser estabelecido
sobre o desempenho do transmissor.               independentemente do
Esta é uma atividade separada da                 escalonamento do sinal de 4 a 20 mA
correção da medição resultante para              cc e evita erros de cálculo pelo
variações nas propriedades do fluido com         operador quando converte
a temperatura ou pressão, embora                 percentagens de vazão para unidades
alguns instrumentos possam permitir              de engenharia.
acesso a estas medições auxiliares sobre      3. Saídas de pulso para totalização.
a linha de comunicação de modo que               Muitos medidores de vazão têm a
eles possam ser usados externamente              opção de saída de pulso em uma
para este objetivo.                              freqüência proporcional à vazão.
     O fornecimento de sinais linearizados       Estes pulsos podem ser contados
e corrigidos para um sistema de controle         externamente ou no instrumento em si
significa que não há necessidade de se           para fornecer uma indicação da vazão
fazer estas computações enfadonhas e o           totalizada. O escalonamento desta
tipo de transmissor montado em um                saída pode ser escolhido de modo que
determinado local não tem importância            o intervalo entre os pulsos represente
para o sistema de controle, desde que se         um volume ou massa específica do
possa assumir que o sinal recebido               fluido. Esta característica é útil pois
sempre será linearmente representativo           permite o uso de simples contadores
do parâmetro do processo.                        para indicar o total e permite uma
Inclusão de funções de controle e                freqüência de pulso conveniente seja
outros algoritmos                                escolhida para os contadores
                                                 eletromecânicos.
    Os microprocessadores usados em
                                              4. Características de falha-segura. Todos
transmissores smart ou inteligente são
                                                 os medidores de vazão inteligentes
mais do que capazes de fazer as
                                                 fornecem algumas rotinas internas de
computações relativamente simples
                                                 diagnóstico e identificam os
envolvidas no controle liga desliga ou PID
                                                 problemas. Em alguns instrumentos,
e alguns instrumentos fornecem esta
                                                 pode ser possível especificar o que
característica. A sintonia da malha é feita
                                                 aconteceu com a saída sob certas
através da linha de comunicação.
                                                 condições de falha, por exemplo, ir
                                                 para 3,9 mA ou manter o último valor.




                                                                                   7.16
Instrumentação Inteligente

                                                   Área de risco            Área segura




                                                                             Configurador



Fig. 7.13. Transmissor inteligente (Foxboro)


    Há um medo generalizado de que                           Indicador opcional
estes instrumentos mais complexos
possam falhar mais freqüentemente do           Fig. 7.14. Instalação do transmissor inteligente
que os instrumentos analógicos similares.      com barreira de segurança intrínseca (MTL)
Porém, quando eles falham, muito mais
informação acerca da natureza da falha é
disponível. Estes instrumentos                     Mais comumente, isto é usado para
complexos têm sido disponíveis em              permitir o mesmo instrumento ser usados
serviço para um período suficiente de          para medir faixas estreitas ou largas e
tempo para estabelecer a vista que é           tem especial importância quando a
mais próxima à realidade.                      característica de transferência do sensor
Ajuste de span e de zero                       é não linear, como na medição de vazão
                                               com placa de orifício.
    Esta característica permite o uso da
                                                   Antes do advento dos transmissores
faixa total do sinal de saída analógico
                                               inteligentes, um sistema de medição de
(usualmente 4 a 20 mA cc) para uma
                                               vazão com placa de orifício, para uma
faixa que é menor do que a faixa total de
                                               rangeabilidade de 20:1 podia requer três
medição do sensor primário. É
                                               transmissores de pressão diferencial
usualmente empregada para alterar a
                                               convencionais, com superposição de
largura de faixa sem alterar o zero, mas
                                               faixas. Um transmissor inteligente pode,
um zero suprimido pode ser útil quando a
                                               hoje, fornecer as mesmas saídas
variável de processo deve ser controlada
                                               analógicas mas com comunicação digital
rigorosamente em torno de um valor
                                               do ajuste de faixa. Em geral, esta
especificado e não há interesse nos
                                               característica é somente necessária se
valores da variável do processo fora
                                               uma saída analógica é necessária, desde
desta faixa estreita. Obtém se um
                                               que uma representação digital da
controle melhor por causa dos erros de
                                               pressão diferencial é também disponível
ruído e de quantização na saída irão
                                               do transmissor e ela não requer nenhum
representar menores alterações na
                                               ajuste de zero ou de span. Um resultado
variável.
                                               importante desta versatilidade que se
                                               aplica a todos os transmissores
                                               inteligentes é que um modelo pode ser
                                               configurado para tratar de uma grande
                                               faixa de aplicações de modo que poucos
                                               tipos e faixas de transmissores devem
                                               ser mantidos como reservas em uma
                                               planta de processo.




                                                                                             7.17
Instrumentação Inteligente

                                                4. variável principal correspondendo a
                                                   4 a 20 mA cc
                                                5. número de tag de identificação na
                                                   planta
                                                6. materiais de construção das partes
                                                   molhadas
                                                7. número de revisão do software
                                                8. data da última calibração.
                                                  A habilidade de chamar esta
   Fig. 7.15. Ligação do transmissor em uma   informação ajuda em manter atualizado o
malha de medição (Fisher - Rosemount)         programa de manutenção da
                                              instrumentação da planta, que pode ser
                                              verificado por questões reais para
                                              garantir que tipo, faixa do equipamento
Ajuste de amortecimento, tempo de
                                              montado na planta está em linha com os
reposta e constante de tempo
                                              registros da planta bem como com as
    Muitos transmissores fornecem             necessidades operacionais. Algumas
seleção de amortecimento, constante de        destas informações de status, tais como
tempo e tempo de resposta para permitir       número do modelo, serial e materiais de
flutuações da variável medida ou redução      construção, onde isto é crítico, são
do ruído eletrônico no sinal de saída.        permanentes. Outros detalhes são
Muitos fabricantes usam um filtro que         entrados ou modificados quando o
pode ser representado por um simples          transmissor é instalado ou removido do
atraso, mas alguns usam um filtro             serviço.
adaptativo com diferentes respostas para          A informação de diagnóstico é
variações pequenas e grandes.                 relacionada com a operação real do
    A seleção de uma grande constante         transmissor e se altera muito mais
de tempo produz um sinal de medição           freqüentemente. Algumas rotinas de
lento e suave mas pode mascarar os            diagnostico evitam a entrada de
distúrbios de instabilidade na variável de    informação discrepante de configuração
processo. Quando o sinal de medição           (por exemplo, o valor medido
está sendo usado como entrada para            correspondente a 4 mA ser maior do que
uma malha de controle de vazão, uma           o 20 mA). Outras informações avisam
grande constante de tempo pode tornar a       situações inesperadas, tais como vazão
sintonia da malha mais difícil. Variando a    reversa e outras podem reportar falhas
constante de tempo certamente afeta a         internas nos circuitos eletrônicos, tais
sintonia e resulta em controle ruim ou        como falha de escrever em um local de
instabilidade.                                memória.
Rotinas de diagnóstico e status                   Muitas destas rotinas rodam
    Há dois tipos de informação, um           continuamente e estabelecem avisos
relacionado com o status normal do            assim que aparece uma falha. Outros
instrumento e o outro fornece diagnose        podem requer ação do operador no
de falha ou condição anormal do               comunicador Portátil ou na interface da
processo. Ambos são de interesse da           sala de controle, tornando possível a
manutenção da planta e devem ser              verificação da operação do transmissor
considerados juntos.                          sem deixar a sala de controle.
    Exemplos de informação do status
podem ser:
   1. modelo e número de série do
      transmissor
   2. variável principal e unidade de
      engenharia
   3. faixa e constante de tempo de
      amortecimento do transmissor



                                                                                   7.18
Instrumentação Inteligente

                                              rádios foram usados para construir o
4. Instrumentação virtual                     primeiro instrumento eletrônico. A
                                              tecnologia do display da televisão foi
4.1. Definição                                usada em osciloscópios e analisadores.
   Um instrumento virtual é definido          Hoje, os computadores pessoais
como                                          contribuem para a computação de alto
                                              desempenho, display, captura e
  Uma camada de software, hardware            armazenamento de dados.
  ou de ambos, colocada em um                     Os instrumentos também evoluíram
  computador de uso geral de modo que         em termos de flexibilidade e grau de
  o usuário possa interagir com o             integração aos sistemas. A primeira
  computador como se fosse um                 geração de instrumentos era de
  instrumento eletrônico tradicional          instrumentos analógicos, manualmente
  projetado pelo próprio usuário.             controlados de seu painel frontal. As
     Do ponto de vista do usuário, é muito    medições deste tipo de instrumento
difícil ver rapidamente as diferenças entre   deviam ser registradas manualmente. O
os pacotes de software. O que se vê na        usuário não tinha flexibilidade no projeto
tela do computador não dá                     da interface ou na capacidade da
imediatamente um entendimento da              medição.
filosofia de base. Diferente de um
hardware, em que se pode abrir a caixa e
olhar dentro, a arquitetura no software é
abstrata e não é imediatamente visível
para um olho nu.
     Para dar um exemplo, quando se tem
um computador pessoal com um circuito
de aquisição de dados embutido, que
instrumento virtual pode ser construído?
Para um eletricista, o instrumento poderia
funcionar como voltímetro, osciloscópio,
digitalizador ou mesmo um analisador de
espectro. Para um instrumentista ou
operador de processo, o instrumento
pode funcionar como indicador,                Fig. 7.16. Multímetro virtual (Fluke)
registrador, controlador ou chave de
atuação.
     A única diferença entre o instrumento        Com a invenção da interface (driver)
convencional e o virtual é o software e       de instrumentos, os sistemas puderam
por isso tem se a idéia que o software é o    ser criados para serem controlados
instrumento.                                  manualmente ou através de um
                                              computador. Cada instrumento era
4.2. Passado e Tendências Futuras             projetado para uma aplicação específica
    Para apreciar como as várias partes       e um número de instrumentos era
de um instrumento virtual se juntam, é        empilhado em um painel (rack) para
importante rever como a instrumentação        completar o sistema de medição. Hoje,
evoluiu até o estado presente. Na             os instrumentos são uma combinação de
evolução da instrumentação nos últimos        computadores de uso geral, software
100 anos, é importante notar que os           gráfico, instrumento programável e
instrumento tem sempre alavancado a           digitalizador. Estes instrumentos
tecnologia usada na época. No século          modernos otimizam o desempenho
19, o movimento de joalheria do relógio       usando programas baseados em registro,
foi usado para construir instrumentos         memória compartilhada e potência de
analógicos. Nos anos 1930, o capacitor        processamento avançada. Os
variável, resistor variável e válvula dos     instrumentos modernos também
                                              combinam condicionamento e


                                                                                      7.19
Instrumentação Inteligente

roteamento sofisticados de sinal e        instrumentos relacionados, um conjunto
gatilhamento inteligente. As principais   comum de comandos para medições
vantagens que estes instrumentos dão ao   idênticas de instrumentos diferentes e um
usuário são:                              método para representar dados em um
   1. alta potência                       formato comum, o formato intercambiável
   2. facilidade de desenvolvimento       de dados (DIF - Data Interchange
   3. facilidade de reconfiguração para   Format). O DIF permite o desenvolvedor
      tarefas diferentes                  concentrar na aplicação, em vez de
                                          concentrar na comunicação com os
                                          instrumentos. Na ausência de uma
                                          grande disponibilidade de instrumentos
                                          SCPI, uma parte importante da do
                                          sistema com instrumentação virtual é o
                                          driver.
                                          4.3. Progressão de Normas
                                              As normas de instrumentação GPIB
                                          progrediram de IEEE-488.1 e IEEE-488.2
                                          a SCPI. As normas IEEE-488.1 (1975),
                                          simplificam e padronizam a interligação
                                          da instrumentação programável definindo
                                          as especificações mecânica, elétrica e do
                                          protocolo GPIB. Antes da IEEE-48.1,
                                          cada fabricante tinha sua própria
Fig. 7.17. Controlador virtual            interface proprietária.
                                              IEEE.488-2 manteve a norma
                                          IEEE-488.1 completamente intacta mas
    Outro aspecto da tecnologia que       tornou os sistemas mais compatíveis e o
permite o uso de computadores pessoais
                                          desenvolvimento do programa mais fácil
na instrumentação é a padronização dos    definindo
componentes usados para fazer o
                                             1. códigos e formatos de dados
sistema. Praticamente, todos os                  padrão,
componentes, do barramento I/O e os
                                             2. modelo de reportar status,
barramentos de comunicação, até as
                                             3. protocolo de troca de mensagens,
mensagens que são passadas entre os
                                             4. conjunto comum de comandos para
subsistemas têm sido padronizados. No            todos os instrumentos e
passado, os projetos proprietários
                                             5. conjunto de exigências do
levaram a sistemas fechados que                  controlador.
atormentavam o integrador da aplicação
                                              Como a IEEE-488.1 não endereçou
e resultavam em sistemas que não se       estas tarefas, os fabricantes
comunicavam ou interfaceavam com          implementaram cada um destes itens de
nenhum outro. Usando sinais               modo diferente, resultando em
padronizados por normas, o sistema fica   comportamento de programação
facilmente elaborado para as
                                          complexo e imprevisível.
necessidades específicas do usuário.          Em 1990, National Instruments, Brüel
Estas normas incluem:
                                          & Kjaer, Hewlett-Packard, Fluke, Keithley,
    SCPI (Standard Commands for           Racal Dana, Philips, Tektronix e Wavetek
Programmable Instruments)                 formaram o consórcio SCPI como uma
    GPIB (IEEE-488/488.2)
                                          base para definir um conjunto de
    VXI (IEEE-1155)                       comandos simples, compreensível e
    PC bus (IEEE-996)
                                          conveniente para todos os instrumentos,
    O SCPI é um desenvolvimento           SCPI também define um modelo para um
interessante na instrumentação virtual,   instrumento.
quando ele promete, finalmente, um            Uma tendência padrão no
conjunto comum de comandos para           desenvolvimento dos sistemas de


                                                                               7.20
Instrumentação Inteligente

instrumentação virtual é a aceitação geral      simples mensagem do tipo passa/falha
de digitalizadores e circuitos de aquisição     comum nos testes de produção e uma
de dados (DAQ) plug-in. A tecnologia de         interface gráfica de usuário sofisticada.
uso geral de conversão analógica-digital            Embora o modelo SAMI defina todas
(A/D) está evoluindo rapidamente e              as partes do sistema de medição, ela não
diminuindo os custos. Digitalizadores de        endereça a tarefa de como desacoplar o
uso geral, se circuitos DAQ plug-in ou          sistema operacional do software usado
instrumentos externos programáveis, são         no desenvolvimento da aplicação. Isto é
a opção de instrumentação de maior              necessário se o usuário deseja manter
crescimento porque digitalizam um sinal         sua fonte de aplicação inalterada, mas
inteiro e fornecem a máxima flexibilidade       quer tirar vantagem de um sistema
e funcionalidade para a necessidade da          operacional mais novo e com maior
medição.                                        desempenho ou se o usuário quer se
                                                mover uma plataforma totalmente nova.
4.4. Partes do Sistema                          O movo normal para se conseguir isto é
    Na definição de um sistema de               através de um conjunto de drivers
instrumentos, é útil aplicar um modelo do       comum.
sistema, que é referido como a                      Embora as diferenças do sistema
arquitetura padrão para a medição para a        operacional resultam em diferentes
instrumentação (SAMI - Standard                 estratégicas para implementar o driver
Architecture for Measurement for                [por exemplo, MS Windows com dynamic
Instrumentation). O diagrama do modelo          link libraries .(.DLL) e sob MS DOS com
SAMI pode ser dividido em três áreas:           statically linked libraries (.LIB) seriam
    1. aquisição                                normalmente usados], o esforço global
   2. análise                                   do desenvolvedor do driver deve
   3. apresentação                              apresentar um conjunto consistente de
    O instrumento virtual define qual           chamadas para o driver para a aplicação.
destas funções é desempenhada via               O driver é responsável pela
cartão plug-in, instrumento isolado,                inicialização do equipamento,
software ou combinação deles. Embora a              comunicação com o equipamento,
configuração geral de uma aplicação de              alocação de fontes e
medição e um sistema de instrumentação              gerenciamento de memória
possam se parecer, a implementação e                alocação de memória
técnica de medição geralmente variam. O             Devido às diferenças nos sistemas
elemento de aquisição do sistema                operacionais, não há esquema de
compreende:                                     gerenciamento de memória consistente e
   1. condicionamento do sinal                  os sistemas operacionais (MS DOS e
   2. chaveamento                               Windows) colocam muita exigência no
   3. mecanismos de gatilho                     especialista de programação para
   4. instrumentação para tomar a               acessar a memória de modo confiável.
       medição
    A análise consiste do cálculo
(estatística, filtro, spectrum de potência) e
da formatação.
    A formatação é um exigência muito
comum de um sistema de
instrumentação, quando instrumentos
diferentes transmitem e recebem dados
em uma grande variedade de formatos.
Estes formatos necessitam ser
convertidos antes dos cálculos serem
aplicados.
    A apresentação, armazenagem e
cópia dos dados são a última parte do
sistema. Isto pode consistir de uma             ApostilasAutomação   21Inteligente.doc   26 MAR 99 (Substitui 31 JUL 96)




                                                                                                                            7.21
Instrumentação Inteligente



                                                                                                 SCPI
                                    Formato de Intercâmbio de Dados (DIF)
                                 Conjunto Padrão de Comandos de Instrumentos
           Exigências                          Comandos comuns
           do                                  Relatório de status                        IEEE-488 2
                                               Formatos de dados
                                       Protocolo de troca de mensagens                      IEEE-488 1
                Exigências                        Protocolos
                do                            Seqüências de controle
                                            Elétrico Mecânico Funcional


Fig. 7.18. Progressão de normas




                     Aquisição                           Análise                 Apresentação
                                                                                     Interface
                             Instrument
                             o                            Calcular
              Rota e                                                                 Copiadora
            Condiciona-      DAQ
             mento do        IEEE 488                                            Arquivo I/O
               sinal         VXI
                                                                                Comunicação
                                                         Formatar                     Circuito
                 Controle de gatilho




Fig. 7.19. Modelo SAMI (Standard Architecture for Measurement for Instrumentation)




                                                                                                         7.22
8
                        Computador no Processo
                                              processo, há dois argumentos que não
1. Justificativas                             são válidos:
    Na década de 1950, apareceu o             1.       O argumento do estado da arte da
primeiro computador digital aplicado ao            revista, que se não se tem um
controle de processo. As primeiras                 computador em linha controlando seu
instalações foram consideradas uma                 processo ou se não tem um plano
revolução virtual na tecnologia de                 definitivo para instalar um, então se
controle e aqueles que não pensaram                está na rabeira da tecnologia e se
assim foram considerados pensadores                está perdido para seu concorrente.
negativos ou até técnicos obsoletos.               Qualquer pessoa razoável percebe
    Uma nova tecnologia é usualmente               que este argumento é idiota.
desenvolvida para eliminar os problemas            Computadores em linha são caros
associados com o modo antigo de fazer              para se obter e se manter.
as coisas. Porém, esta nova tecnologia             Instalações de processo com
inevitavelmente traz com ela seu                   computadores envolvem milhões de
conjunto próprio de problemas                      dólares, requerem pessoas com alto
peculiares. A questão atual que se                 salário para manterem e atualizarem
apresenta é: as coisas estão melhores              o sistema. Um computador não
hoje, considerando-se todos os fatores,            necessariamente faz um melhor
do que antes de se fazer a mudança?                trabalho de monitorar, avaliar e
Esta é a questão que tem de ser                    controlar do que um ser humano. O
respondida quando se quer mudar um                 objetivo é operar de um modo mais
controle de local para a sala de controle,         lucrativo e não ter um negócio de
de pneumático para eletrônico, de painéis          ponta que as revistas publicam
de instrumentos para consoles de vídeo,            artigos sobre ele.
de analógico para digital, de sistema         2.       O segundo argumento é mais sutil
digital centralizado para distribuído.             mas ainda inválido. Se um
    A questão a ser avaliada pelo                  computador digital faz algum trabalho
projetista do controle de processo é: as           de controle, o computador digital faz
coisas hoje estão melhores com o novo              todos os trabalhos de controle. A
método e seus problemas do que antes,              primeira parte deste argumento é
do modo antigo com seus problemas que              99% correta. A segunda parte é
já eram entendidos e já estavam sob                errada. Ela exige que o projetista do
controle? A resposta a esta pergunta               controle de processo consiga o
nem sempre é absolutamente positiva. O             melhor equipamento ou sistema para
fato que alguém tem um bom resultado               o trabalho.
em sua aplicação não significa que isso           O campo de controle de processo
irá acontecer em outra aplicação. As          parece atrair regras de bolo. Elas são
circunstâncias têm uma grande                 usadas extensivamente por pessoas que
influência.                                   são desinformadas ou que não estão
    Entre as justificativas para se usar um   inclinadas a gastar esforço ou dinheiro
computador digital no controle de             para fazer o trabalho certo. Todas as



                                                                                    8.1
Computador no Processo

regras de bolo devem ser tratadas com            isto pode ser demonstrado, desde que a
restrição, todas exceto uma, que é               produção na maioria das plantas com
provada ser verdade sempre:                      grande saída é mais sensível a falhas
Simplicidade e confiabilidade andam              mecânicas e erros de operação do que a
juntas. Assim, a melhor decisão do               qualquer otimização que um computador
projetista é optar pelo modo mais simples        possa oferecer.
de conseguir os resultados desejados na
medição e no controle. Computadores
digitais não são os equipamentos mais
simples.
    Especialistas em controle de
processo com computador afirmam que o
computador opera em tempo real. Que
tipo de tempo é este?, é a reação de
muitos instrumentistas. Este é apenas um
exemplo de um jargão de computador
que caracteriza a chegada dos
computadores digitais no controle da
planta. Muito instrumentista tem dúvida                   Fig. 7.1. Planta com computador
do significado de tempo real. Um sistema
que funciona em tempo real processa
sua informação de entrada tão
rapidamente quanto a informação entra            2. Aplicações típicas
no sistema. Lembrando que o
computador de processo tem entradas              Há algum benefício real a ser obtido de
que são medições do processo e que               computadores de controle de processo
regularmente alteram seus valores, o             quando eles são aplicados em
sistema do computador age sobre um               circunstâncias certas. As aplicações bem
novo valor de qualquer entrada                   sucedidas geralmente incluem: lógica,
imediatamente. Ele não põe o novo valor          controle avançado, monitoração de alta
na memória até que ele possa tratar dele.        velocidade, partida e desligamento com
    Às vezes, é fácil justificar a viabilidade   computador e otimização do controle.
econômica do uso do computador. Por
                                                 2.1. Lógica
exemplo, seja uma planta que produz 10
milhões de litros de um produto por dia,         Uma das mudanças mais significativas
com um valor de $0,20 por litro. O valor         que ocorreram em controle de processo é
da produção diária da planta é de $2             o aumento do uso de lógica programada.
milhões por dia. Os proponentes do               O termo lógica significa aqui:
projeto do computador podem dizer,               1. Matemática em linha: adição,
corretamente, que o uso do computador               multiplicação (escalonamento),
otimiza o processo e haverá um                      extração da raiz quadrada, elevação
rendimento de 1%, logo o computador irá             ao quadrado e geração de função
ganhar $20.000 por dia. Nesta                       para linearizar relações não lineares.
proporção, se o custo do computador for             A habilidade de fazer matemática em
de $1.000.000 (bem conservador), ele se             linha tem uma grande vantagem em
paga em 50 dias. Qualquer gerente irá               que ela torna possível monitorar e até
aprovar um investimento com este tipo de            controlar variáveis de processo que
retorno e o projeto do computador se                não podem ser medidas diretamente
torna uma realidade.                                mas que podem ser computadas de
    O problema é que depois que o                   outras variáveis medidas. Exemplos
computador está finalmente em                       são circulação catalítica e eficiências
funcionamento, depois de ter sido                   de caldeiras e queimadores
debugado, vários meses mais tarde,                  2. Estabelecimento de limites em
ninguém vai verificar se a promessa de                  variáveis e sinais que as
1% da produção se realizou. Raramente                   representam. Isto significa


                                                                                            8.2
Computador no Processo

       medições, saídas de controlador,               distúrbios não são realmente um
       pontos de ajustes, diferenças entre            problema porque o sistema de
       o valor real de uma variável de                controle pode rapidamente
       processo e seu ponto de ajuste.                compensá-los.
    3. Seleção de variáveis. Selecionando          Porém, quando está ausente uma
       o valor maior e o menor ou médio        destas condições, o sistema de controle
       de mais de um sinal determinado         à realimentação negativa tem um
       para indicação, registro, alarme ou     desempenho ruim e é necessário usar
       controle.                               um esquema de controle mais elaborado.
    4. Movimentos condicionais. Se uma         Estes esquemas mais elaborados de
       variável particular é maior ou menor    controle são chamados genericamente
       que outra variável, então uma           de controle avançado.
       chave muda sua saída para fins de           Uma característica de todos
       alarme ou controle.                     esquemas de controle avançado é que
     Quando se observa um diagrama P&I         eles requerem a capacidade de
de um sistema de controle de caldeira é        computação em linha. Pode-se dizer,
fácil ver que se tem muito controle lógico     portanto, que o advento do computador
e pouco controle PID. A lógica é mais          digital em linha tornou possível o uso de
fácil de ser feita por circuitos digitais do   métodos de controle que não eram
que por cadeias de módulos analógicos.         disponíveis antes. Desde que tais
A lógica é mais fácil de ser estabelecida      esquemas sejam corretamente
e alterada, quando é feita por                 projetados e sintonizados, tem-se uma
programação. Alterações de lógica feita        melhora considerável no desempenho
por módulos analógicos requerem a              dos sistemas de controle.
adição ou retirada de módulos, com                 Uma estratégia útil de controle,
modificação da fiação correspondente.          especialmente no caso de controle de
Finalmente e o mais importante: a lógica       fracionadores, é usar o computador para
em um sistema digital é mais confiável         fazer balanço de materiais e energia do
porque ela nunca perde sua precisão.           processo. Quando este método é usado,
     Desde que o controle PID pode ser         o computador é fornecido com um
feito digitalmente e quando a lógica           modelo do processo, do qual o
predomina sobre o controle analógico em        computador pode calcular as alterações
todo o esquema da planta, então um             necessárias das variáveis manipuladas,
sistema totalmente digital é                   em função dos distúrbios que afetam as
provavelmente a melhor escolha.                variáveis controladas. As variáveis
                                               distúrbios e as manipuladas são todas
2.2. Controle Avançado                         medidas e se tornam entradas para o
    O sistema de controle com                  computador. Este esquema de controle é
realimentação negativa não pode manter         chamado de preditivo antecipatório
a variável controlada sempre igual ao          (feedfoward).
ponto de ajuste. Ele pode apenas trazer
                                               2.3. Monitoração de Alta
a medição de volta ao ponto de ajuste
depois que o sistema teve um distúrbio.        Velocidade
Um sistema de controle a realimentação             Por razões de rendimento, o tamanho
negativa dá resultado satisfatório se          ótimo das plantas tem aumentado e,
   1. Os distúrbios são mínimos em             paralelamente, o tamanho e custo das
      tamanho e número ou se eles se           máquinas usadas nestas plantas. A
      distribuem sobre um longo período        produção contínua de produtos de alto
      de tempo. Isto é outro modo de           valor muitas vezes depende do
      dizer de que os distúrbios não são       desempenho de grandes e caras
      grandes ou repentinos.                   bombas, compressores, motores,
   2. O sistema de controle tem um curto       esteiras e outras máquinas de operação
      período de oscilação e portanto um       contínua. Outros equipamentos de
      pequeno tempo de recuperação.            processo podem não se mover mas
      Sob estas circunstâncias, os             também consomem grandes quantidades


                                                                                    8.3
Computador no Processo

de energia cara. Algumas máquinas são          Um computador em linha pode
tão caras que não é prático ter uma        visualizar um procedimento de partida em
sobressalente.                             que toda a seqüência de partida é
    Para evitar paradas e perdas           programada, passo a passo. O
resultantes de produção, a operação do     computador pode mostrar os passos a
equipamento deve ser continuamente         serem tomados, em sua seqüência, um
monitorada. Esta monitoração é             passo por vez. Nenhum passo é
conseguida pelo ser humano através da      realizado até que o precedente tenha
ajuda de indicadores e registradores.      sido feito corretamente e verificado por
Esta monitoração deve ser constante,       uma entrada manual do operador ou por
contínua e embora pareça inútil ela é      um sinal que o computador recebe
necessária para conseguir a                diretamente do processo.
sobrevivência de equipamentos                  Além disso, o computador
caríssimos.                                continuamente verifica o processo, não
    Um sistema de monitoração baseado      apenas os valores das temperaturas,
em computador digital é uma solução        pressões, vazões e níveis do processo,
prática, porque pode-se observar           mas também as posições corretas das
variáveis importantes na base de fração    válvulas críticas e as operações de
de segundo. Seus valores podem ser         equipamentos críticos. No caso de algo
comparados com limites de segurança        não acontecer como o programado, o
programados e o alarme pode ser            computador supervisório alerta o
acionado para chamar a atenção do          operador ou mesmo aborta a partida.
operador para qualquer ocorrência              Quando a operação de partida se
anormal. Mais ainda, os valores            completa e a unidade está em linha, o
passados podem ser armazenados e           computador contém a documentação
uma tendência pode ser computada           completa do ocorrido. Um procedimento
como guia para a seriedade do              assistido por computador produz partidas
desenvolvimento de uma situação ruim.      e desligamentos mais seguros.
Finalmente, se ocorrer algum acidente, o
computador possui dados armazenados
                                           2.5. Otimização do controle
que podem levar à determinação da              As primeiras aplicações de
causa real.                                computadores digitais para controle de
                                           plantas de processo em tempo real foram
2.4. Partida e desligamento com
                                           tentativas ingênuas para mover
computador                                 computadores projetados para negócios
    Enquanto as capacidades de             de escritório em um ambiente industrial.
otimização de computadores                 Os esforços não foram bem sucedidos.
supervisórios em linha para otimização     Os computadores que eram usados por
do controle do processo foram bem          delicadas e lindas secretárias, com um
desenvolvidas e aplicadas, pouca           toque gentil do teclado em um escritório
atenção parece ser dada ao uso possível    limpo e com ar condicionado não ficaram
em supervisão de partidas e paradas de     muito felizes quando colocados na área
plantas. Isto parece curioso,              industrial, para serem operados por
especialmente porque durante a partida e   pessoas com grandes dedos sujos, às
parada da planta, quando as variáveis      vezes dentro de luvas mais sujas ainda e
estão em transitórios, há ocorrência dos   escutando impropérios porque as coisas
maiores problemas. As refinarias e         não aconteciam como deviam. Estes
plantas petroquímicas ainda parecem        computadores também não gostaram de
partir e desligar seus processos           serem sujeitos a pó ou traços de ácido
confiando apenas no conhecimento e         sulfídrico, cloro ou outros contaminantes
habilidade seus operadores de processo,    que estavam presentes na atmosfera.
assistidos por manuais de instruções que   Como resultado, o controle do processo
estão guardados nas gavetas da mesa        feito pelo computador se deteriorava em
do operador.                               curto intervalo de tempo.



                                                                                8.4
Computador no Processo

3. Configurações                                   entendem, é um processo descontinuo,
                                                   tipo batelada.
3.1. Computador fora da linha
    A aplicação mais simples e prosaica                                 Manual
do computador é ele desligado do                      Processo                           Computador
processo, como na Fig. 7.2. O                                            Manual
computador recebe todos os dados
pertinentes ao processo através de um
operador humano e os resultados de
suas computações são também                        Fig. 8.3. Off-line, coleta automática de dados
aplicados ao processo através de um                (linha sólida indica transmissão automática)
operador humano. Os dados do processo
são lidos dos instrumentos, transcritos            3.2. Computador com entrada em
em folhas de relatórios e são                      linha e saída manual
armazenados em dispositivos
manipuláveis pelo computador, como                     Nesta aplicação, os dados entram no
disquetes flexíveis, fitas magnéticas ou           computador de modo continuo, porém,
cartões perfurados.                                ainda através do operador, por meio do
                                                   teclado inteligente do console do
                                                   computador, Fig.8.4. Ainda não se quer
                                                   ou não se pode entrar com os dados do
                      Manual
                                      Computador   processo diretamente ao computador. Ou
    Processo
                      Manual
                                                   seja, não há elementos sensores, não há
                                                   equipamento para converter os sinais
                                                   analógicos em digitais ou é necessário o
Fig. 8.2. Modo off-line, coleta manual de dados    sensor humano.
(linha pontilhada indica manipulação manual)


     Embora aparentemente essa                                          Manual
aplicação possa ser considerada pouco                 Processo                           Computador
útil, ela é muito usada. Ela é justificada                               Manual
quando as considerações de tempo de
resposta o permitem e a manipulação
manual dos dados é uma operação                        Fig. 8.4. Computador com entrada em linha
simples e barata.                                  do processo e com saída manual
     As aplicações típicas de computador
digital fora de linha do processo são:
simulação de processo, analise de                      É uma aplicação de tempo real, ou
processo, investigação de projeto,                 seja, há uma relação estreita entre as
relatórios de produção e testes de                 atividades do computador e do processo.
aplicações novas.                                  Nesta aplicação, o computador deve ser
     Uma versão mais evoluída, Fig.8.3,            interruptível, de modo que a informação
seria o recebimento direto dos dados em            gerada o seja de modo aleatório, assim
um equipamento que os complicasse e                como são aleatórios os eventos do
os transformasse numa forma aceitável              processo. O processamento do
pelo computador. Mesmo assim, a                    computador é instantâneo e a saída do
alimentação dos dados ao computador é              computador é usualmente apresentada
feita manualmente. De qualquer modo, a             em forma de relatórios impressos ou
operação fora de linha do processo                 leituras de painel através de tubos de
envolve a acumulação dos dados, que                vídeo.
são levados e processados no
computador, após um atraso. Em
linguagem que os instrumentistas



                                                                                                    8.5
Computador no Processo

3.3. Computador com entrada e                       funções de controle e de computação
saída em linha                                      matemática, com os dados
                                                    condicionados em módulos de
As aplicações que não podem tolerar os              entrada/saída (I/0).
atrasos e erros dinâmicos inerentes à
manipulação manual dos dados de                     3.5. Aquisição de dados (data
entrada requerem um modo de controle                logging)
mais automático. Nesta configuração, o
                                                         O computador serve apenas para
computador está totalmente em linha
                                                    receber e armazenar dados do processo.
com o processo. (Fig. 8.5) Suas entrada
                                                    Os sinais provenientes do campo,
e saída estão ligadas direta e fisicamente
                                                    geralmente vindo dos transmissores
ao processo, para receber e transmitir
                                                    analógicos, são multiplexados e
sinais de informação, sem a intervenção
                                                    convertidos em digitais., Os sinais de
humana ou com atrasos. Isto significa
                                                    controle são gerados convencional e
que o computador digital tem a
                                                    continuamente pelos controladores
capacidade necessária de receber sinais
                                                    analógicos, cujos pontos de ajuste são
analógicos dos instrumentos do
                                                    determinados pelo operador.
processo. As ações de controle,
                                                         São periféricos do computador: painel
calculadas e recomendadas pelo
                                                    de alarme, maquina impressora, console
computador, são aplicadas diretamente
                                                    com teclado inteligente de maquina de
ao processo.
                                                    escrever e com tubo de vídeo e sistema
                                                    de memória de massa. As saídas do
                                                    computador são em forma de alarmes no
     Processo                          Computador   respectivo painel, relatórios impressos e
                      Manual                        indicações no tubo de vídeo.
                                                    Adicionalmente e separado do
                                                    computador, há ainda o painel com os
Fig. 8.5. Modo on-line, malha aberta                instrumentos convencionais. O operador
                                                    se comunica com o computador através
                                                    de seu console, pelo teclado de escrever
3.4. Computador centralizado                        inteligente. Obviamente, o operador pode
    As aplicações de computadores                   utilizar informações coletadas e
digitais para controle e em linha com o             elaboradas pelo computador para
processo também percorreram o mesmo
caminho feito pela própria                                   Proc                    Comp
instrumentação.                                          esso                     utador
    Historicamente, o primeiro uso do
                                                    modificar pontos de ajuste dos
computador foi para a simples aquisição             controladores convencionais. (Fig. 8.6).
de dados do processo, sem intervenção
direta no controle, Posteriormente, o
computador foi usado para estabelecer e
modificar o ponto de ajuste dos
                                                       Fig. 8.6. Modo on-line, malha fechada
controladores.
    Finalmente, o computador faz parte
da malha de controle, atuando
                                                       Embora seja aplicação mais simples e
diretamente nos elementos finais de                 a primeira a ser empregada, é aquela
controle.                                           que é usada largamente ainda na
    O uso do computador centralizado só             atualidade.
pode ser economicamente justificado
pela sua capacidade de executar
diferentes tarefas ou a de compartilhar o
controle de diferentes partes do
processo. Quando aplicável, o
computador deve executar todas as



                                                                                               8.6
Computador no Processo



       MATERIAL
                                                                          PRODUTO
             ENERGI                 PROCESSO

                                                                                       Informação
                                      Informação do                                    do produto
                     Informação                             Sinais de
                     de entrada          processo           controle



                               SISTEMA DE CONTROLE COM
                                     COMPUTADOR

Objetivos e informação
de gerenciamento
                                  Registros e Alarmes e guias
                                  relatórios  para operador

                    Fig. 8.7. Sistema de processo controlado por computador




          Entradas
          Analógicas
                                               Outros
          Saídas                              sistemas
          Analógicas

                                                                          Memória de
         Entradas                           Armazenamento                   massa
         Digitais                              trabalho

                                            Elementos de
         Saídas                                                          Impressoras
                                               controle
         Digitais
                                             Lógica e
          Canal de                           Aritmética
          Telemetria                                                       Console
                                                                           Operação
                                              CPU
          Interrupção



                         Fig. 8.8. Sistema de controle com computador




                                                                                                    8.7
Computador no Processo

3.6. Controle do ponto de ajuste               ajustes eram então devolvidos e indicados
(SPC)                                          nos controladores de painel via interface,
                                               que agora convertia sinal digital para
    Alem de continuar fazendo o                analógico.
armazenamento e registro de todos os               Embora esta etapa tenha sido
dados importantes do processo, o               abandonada, ela teve três virtudes:
computador também faz contas                   1. Se o computador parasse, o que
matemáticas, baseando se nos dados de             realmente acontecia freqüentemente, a
processo recebidos e em dados fornecidos          planta continuava operando através dos
pelo operador, para estabelecer os pontos         controladores analógicos. Assim, a
de ajustes dos controladores. Os pontos de        parada do computador não era
ajustes dos controladores analógicos são          catastrófica. Simplesmente, na para as
determinados e modificados                        rotinas de otimização não eram usadas.
continuamente pelo computador de               2. A decisão final de verificar se o
controle do processo. Por isso, alem do           computador estava fazendo a coisa
nome de controle supervisório, tem                certa de alterar o ponto de ajuste era do
também o de controle de ponto de ajuste           operador. Por meio de uma chave em
(Set point control).                              cada controlador do painel, o operador
    Como todas as malhas de controle do           podia selecionar a geração do ponto de
processo são analógicas, todos os sinais          ajuste, se feita pelo computador ou pelo
que saem e entram no processo devem ser           próprio operador.
analógicos. Porém, o computador só pode        3. Podia-se usar o controle supervisório do
receber ou gerar sinais digitais. Desse           computador digital em uma planta com
modo, são necessários os seguintes                instrumentação analógica pneumática.
dispositivos:                                     Esta aplicação requeria apenas alguns
    1) um multiplexador na entrada do             componentes adicionais para fazer a
       computador, para passar de várias          conversão pneumática para digital e
       entradas para uma única saída,             vice-versa. É interessante notar que
    2) um conversor A/D, para transformar         estas vantagens são ainda
       cada sinal analógico em digital, para      consideradas válidas hoje, mesmo no
       uso do computador digital,                 ambiente de controle sofisticado que
    3) um conversor D/A, para transformar         atualmente prevalece.
       cada sinal digital em analógico, para
       uso do processo analógico,
    4) um demultiplexador na saída, para
       passar de um sinal para vários.
    O conjunto de multiplexação,
conversão A/D, conversão D/A e de
multiplexação é chamado de modem
(MODulador-DEModulador).
    Os periféricos do sistema supervisório
são exatamente os mesmos da
configuração de Aquisição de Dados:
painel de alarme, console com teclado e
vídeo, sistema de memória de massa.
Também há o painel com instrumentação
convencional.
    Tendo acesso a todas as informações
de medição da planta, o computador,
através de suas rotinas de otimização,
estabelecia os pontos de ajuste ótimos de
modo que as malhas de controle tivessem
o melhor desempenho possível e como
conseqüência, a planta tivesse o maior
rendimento possível. Estes pontos de


                                                                                       8.8
Computador no Processo




Fig. 8.9. Sistema com computador para aquisição de dados




      Fig. 8.10. Controle Digital Direto (visão geral )




                                                                            8.9
Computador no Processo




           Atuadore                              Sensores

                                                                  Variáveis do
                                                                  processo




Multiplexado                                                            Multiplexador
  r saída                                                                 entrada




                Conversor D/A                     Conversor D/A




                       Processador com programa DDC




                   Canal de                      Carga e saída do
                 Comunicação                        programa


               Computador           Console do                Display
               supervisório          Operador
                (opcional)

                              Entrada manual de SP,
                              limites sintonia etc

                Fig. 8.11. Controle Digital Direto (esquema simplificado)




                                                                                        8.10
Computador no Processo

     Considerando seus méritos, porque          não exclusivo, de substituir um grande
esta fase foi abandonada? Principalmente        número de controladores convencionais.
por duas razões:                                    O sistema completo é constituído de:
1. A operação bem sucedida de todo o            1. processo, com transmissores e
    sistema com computador dependia do             elementos finais de controle.
    desempenho da interface. Nesta época,       2. sistema de aquisição de dados do
    os instrumentos eram obtidos de um             processo, com um multiplexador e um
    fabricante e o computador de outro             conversor analógico/digital.
    diferente. Cada um achava que o outro       3. sistema de saída dos dados, com um
    devia aceitar a responsabilidade de            demultiplexador e um conversor
    projetar e construir a interface. Como         digital/analógico.
    resultado, a interface que era produzida        4. computador de controle digital.
    geralmente era de qualidade                 5. periféricos do computador: painel de
    questionável e isto afetava a                  alarme, tubos de vídeo, console com
    confiabilidade do sistema.                     teclado inteligente, painel convencional
2. Havia uma filosofia de desenvolvimento          opcional, impressoras, memória de
    para operar a planta que era ineficiente.      massa.
    O modo correto era ter o operador               O objetivo da segunda aplicação do
    sentado em freqüente do console, com        computador em controle de processo
    todas as informações importantes            industrial era eliminar os painéis de
    disponíveis para ele na tela, em vez de     instrumentos analógicos e a interface com
    ter o operador andando em frente de um      do computador com o processo. Assim,
    painel que podia ter até 50 metros de       todos os sinais de medição vinham
    comprimento. Por causa dos painéis de       diretamente para o computador, com a
    instrumentos, o controle supervisório       função de conversão analógica-digital e
    com computador não foi aceitável.           digital-analógica embutida no próprio
A principal crítica a esse sistema de           computador. Tendo as medições do
controle a computador digital é que o           processo na forma digital, o computador
estabelecimento e modificação dos pontos        aceitava os pontos de ajuste como
de ajustes dos controladores são tarefas        entradas manuais através do teclado e
simples e geralmente desnecessárias em          calculava digitalmente a resposta de
grandes períodos de tempo e portanto            controle PID para cada malha de controle
feitas adequadamente pelos operadores de        usando os algoritmos que estavam
modo manual. Ou seja, é pouco                   programados nele.
convincente e justificável a colocação de           O computador também gerava gráficos
um sistema de saída de dados, através, de       que eram mostrados na tela, ao longo de
multiplexador, apenas para estabelecer          qualquer informação que o operador
novos pontos de ajustes dos controladores.      chamava pelo teclado. Os sinais de saída
No sistema de Aquisição de Dados,               que deviam ir para os elementos finais de
anteriormente mostrado, o computador            controle eram convertidos da forma digital
poderia informar aos operadores quais e         para analógica também pelo computador.
quando os pontos de ajuste deveriam ser         Assim o painel instrumentos e a interface
modificados, sem a necessidade do               desapareceram e tudo importante era
sistema de conversão digital/analógica.         operado no modo digital. Este arranjo foi
                                                chamado de controle digital direto ou DDC.
3.7. Controle digital direto (DDC)                  Basta uma rápida olhada na estratégia
    No sistema com Controle Digital Direto      de controle DDC para perceber um grande
o computador digital em si age como um          problema potencial. Como o computador
controlador e seu sinal de saída vai            faz todo o trabalho de controle para todas
diretamente para o elemento final de            as malhas, então um defeito no
controle. (Fig. 7.11). No controle digital      computador faz com que todas as malhas
direto, o computador desempenha as              de controle sejam passadas para controle
funções de controle ou alternativamente, o      manual ao mesmo tempo. Além disso,
computador tem o propósito principal, mas       nenhuma indicação do processo fica
                                                disponível para o operador.


                                                                                      8.11
Computador no Processo

    Mesmo assim, em alguns casos             responsabilidade para um único
notáveis, os usuários do DDC usavam um       equipamento. As soluções lógicas desse
segundo computador como reserva do           problema, com o uso de dois
primeiro. A filosofia era ter 20% das        computadores, um como reserva do outro,
malhas de controle mais importantes          embora possa satisfazer parcialmente,
ligadas aos dois computadores de modo        eleva duplamente os custos. E
que na falha de qualquer um dos              dependendo do tipo e local da falha, os
computadores, o outro imediatamente          dois computadores podem falhar
assumia o controle destas malhas críticas.   simultaneamente. A outra solução, também
Em outros casos, as malhas críticas tinham   com a redundância das funções de
backup de controladores analógicos           controle, é o uso de painéis com
montados em painéis auxiliares.              controladores convencionais e é também
    Estas despesas extras de backup eram     onerosa.
difíceis de justificar. O que realmente          Outra desvantagem do computador
acontecia é que as mesmas malhas de          centralizado - portanto valida também para
controle a realimentação negativa agora      o controle supervisório - é o seu alto custo.
eram controladas digitalmente em vez de      O computador, por sua função de tempo
analogicamente. Ainda era um controle a      real e seus múltiplos propósitos, deve ser
realimentação negativa básico, com o         muito rápido e possuir grande memória,
mesmo processo em cada uma das               para poder controlar sozinho centenas ou
malhas e o mesmo tempo de recuperação        milhares de malhas. Resposta rápida e
dos mesmos distúrbios.                       memória grande, para um computador, são
    A estratégia do DDC foi o resultado da   sinônimos de altíssimo custo.
intuição (errada) de que se alguma coisa é       A estratégia do DDC desapareceu
feita digitalmente, ela é feita do melhor    quando apareceu o microprocessador, que
modo possível. O especialista em             tornou possível a terceira fase do
instrumentação e controle de processo tem    computador, o sistema de controle a
como tarefa e trabalho aplicar o             computador digital distribuído.
equipamento e sistema de controle que
faça o máximo para melhorar o
desempenho de uma planta onde eles
estão instalados.
    Quando se deve usar um computador
digital para melhorar o lucro de um
negócio, então se deve colocar o
computador para fazer aquilo que faz
melhor: computar. O computador que
gasta a maioria de seu tempo fazendo
tarefas simples como converter sinais de
uma forma para outra, gerar figuras para
serem mostradas na tela do monitor,
mostrar se uma válvula de controle deve
ser fechada ou aberta ou se um alarme
deve ligar ou desligar, ele não está
justificando sua aquisição. Todas estas
funções são muito simples e poderiam ser
feitas por meios e equipamentos mais
simples e baratos, como um Controlador
Lógico Programável.
    A principal desvantagem desse sistema
é que, como o computador funciona como
o controlador, pode-se perder todo o
controle da planta, em caso de falha do
computador. Mesmo que o computador
seja muito confiável, é muita


                                                                                     8.12
Computador no Processo

                                              podem ser tomadas pelo centro principal
4. Sistema de controle digital                (host), possivelmente suportado por um
                                              computador supervisório que também está
distribuído (SDCD)                            ligado ao highway. Os resultados destas
Em um sistema de controle digital             decisões, em termos de ação de controle,
distribuído, chamado abreviadamente de        podem ser enviados de volta para o centro
SDCD, é separado em módulos discretos,        de controle apropriado e a malha de
cada um tendo uma função específica. Um       controle sobre o mesmo highway de
módulo de controle pode controlar várias      dados, desde que o fluxo de informação
malhas PID, além de fazer uma quantidade      seja bidirecional e ele o é, no SDCD
de lógica, como linearizar sinais não
lineares ou gerar um alarme quando            4.1. Filosofia
alguma medição do processo atingir                A filosofia do sistema de controle digital
valores limites. Outro módulo pode gerar      distribuído é a de dividir os equipamentos
as telas necessárias para a operação da       em vários módulos funcionalmente
planta (interface Homem-Máquina). Outros      distintos: processo, controle, operação,
módulos regulam o fluxo de informação         gerenciamento e comunicação.
através de todo o sistema. Uma coisa que
é comum a todos os módulos, porém, é          4.2. Interface com o processo
que todos eles podem operar                       Foram desenvolvidos equipamentos
independentemente, por que a potência de      para manipular diretamente os sinais
processamento necessária para fazer suas      provenientes do processo, inclusive com
funções está embutida em cada um deles.       habilidade de gerar sinais de saída.
Isto é o que o microprocessador tornou            As principais características desses
possível. Antes da aplicação do               equipamentos são: padronização,
microprocessador, a inteligência              flexibilidade e altíssima densidade dos
necessária para fazer estas funções           sinais manipulados simultaneamente. Um
requeria circuitos eletrônicos muito          único equipamento pode manipular
grandes, com numerosos componentes,           simultaneamente até varias centenas do
gabinetes muito grandes e altíssimo custo.    mesmo tipo padronizado de sinais. Os
    Um sistema distribuído consiste de        sinais típicos são: fechamento e abertura
vários módulos, todos ligados juntos por      de contatos secos, sinais analógicos de
meio de um barramento de dados ou             corrente (4 a 20 mA), tensão (1 a 5 V),
highway. Uma falha de componente em           militensão de termopares dos tipos J, K, R,
cada um dos módulos prejudica o sistema,      S, T, E, sensores RTD, pulsos de
no máximo, somente naquele módulo que         freqüência variável e até o prosaico sinal
fica perdido. No mínimo, a falha pode         pneumático de 20 a 100 kPa.
resultar na pede de apenas uma função
dentro do módulo.
    Um ponto importante que não pode ser
exagerado é que, desde que o sistema do
computador é distribuído deste
funcionalmente, ele também pode ser
distribuído geograficamente. Isto significa
que agora há uma alternativa para o
conceito de uma grande sala de controle
centralizada. Agora pode se ter várias
pequenas salas de controle para cada
unidade de operação. Todas as salas são
interligadas juntas e os dados de processo
de cada uma podem ser enviados, via
barramento de dados, para um centro
principal de operações para toda a planta.
    As decisões de fazer o que deve ser
feito para o bem da planta como um todo


                                                                                       8.13
Computador no Processo




     Fig. 8.12. Sistema Digital de Controle Distribuído (visão geral)




Fig. 8.13. Sistema Digital de Controle Distribuído (esquema simplificado)



                                                                              8.14
Computador no Processo

                                               6. quando há painéis com instrumentação
4.3. Interface com o controle                     convencional, como alternativa ou
   O controle do sistema pode ser                 como reserva do controle a
desempenhado por dois modos distintos:            microprocessador ou computador, eles
1.      malhas críticas são controladas           também estão localizados na estação
    convencionalmente por meios                   de trabalho.
    analógicos, incorporando estações de
    controle e painéis clássicos.
2.      malhas que envolvem computação
    matemática, intertravamento, lógica e
    seqüencial são controladas por
    controladores a microprocessadores.
    Os algoritmos matemáticos e as
    interligações são feitos por
    configurações de blocos, através de
    programação do controlador digital.
    Isto torna o controle extremamente
    flexível e há uma grande economia de
    cabeamento.
                                               Fig. 8.14. Estação de operação típica do SDCD
4.4. Interface com o operador
   A estação de trabalho centralizada para
a operação é constituída de:                   4.5. Gerenciamento do controle de
1. tubos de raios catódicos (CRT),             processo.
   coloridos e de alta resolução, onde o
                                                   Hierarquicamente acima do controle
   operador pode ter acesso ao processo
                                               convencional do processo, que cuida de
   em vários níveis: planta inteira, unidade
                                               manter as variáveis iguais ou próximas de
   parcial, grupo de malhas de controle e
                                               pontos de ajuste, o processo pode ser
   malha individual. Na tela podem ser
                                               gerenciado e otimizado. O gerenciamento
   simuladas as faces frontais dos
                                               do processo cuida da definição de valores
   "controladores", análogas às dos
                                               e quantidades da produção, tipos de
   controladores convencionais, através
                                               produtos e especificações dos produtos.
   de barras gráficas. Também através do
                                               A otimização se relaciona com o aumento
   tubo de vídeo o operador pode ver o
                                               da eficiência do controle, modificação dos
   diagrama esquemático do processo,
                                               pontos de ajuste, modificação dos
   com os equipamentos e instrumentos e
                                               parâmetros de controle e economia no uso
   ligações (P&I), como se fosse um
                                               da energia.
   painel semi-gráfico. Finalmente e muito
                                                   O gerenciamento e a otimização do
   importante, na tela podem ser
                                               processo são feitos por um computador
   mostradas as malhas em estado de
                                               digital, que não é, necessariamente, o
   alarme. Os tubos de vídeo podem estar
                                               responsável pelo controle do processo.
   localizados em painéis fisicamente
   separados.                                  4.6. Sistema de comunicação
2. impressora, onde são feitos relatórios,
   avisos de alarme.                               Para interligar todas as áreas
                                               funcionais anteriores: interface de
3. copiadora, tipo Xerox ou térmica,
                                               entradas/saídas (I/O) do processo,
   para fazer reproduções das telas de
                                               controle, operação e gerenciamento deve
   vídeo.
                                               haver um sistema de comunicação. Tal
4. console do computador, com teclado
                                               sistema de comunicação estabelece e
   de maquina de escrever e tubo de
                                               arbitra as prioridades de comunicação e de
   vídeo.
                                               comando. Adicionalmente detecta
5. console do controlador digital, onde são
                                               automaticamente as falhas de interligação
   configuradas as malhas de controle,
                                               e comunicação.
   através de blocos integrais aos
   circuitos eletrônicos do controlador.


                                                                                           8.15
Computador no Processo

   O sistema de comunicação é                são basicamente muito mais caros. Eles
constituído de cabos coaxiais, fios comuns   tipicamente não são usados em sistemas
e estações de comunicação. Certamente é      pequenos.
no sistema de comunicação que há as          O uso potencial dos computadores
maiores diferenças e falta de padronização   pessoais (CP) causou uma reavaliação do
dos sistemas SDCD dos vários fabricantes.    custo real do controle a computador digital
                                             mesmo para o controle de poucas malhas.
4.7. Vantagens e limitações do SDCD          Comumente, eles são usados em
Baseando-se no que está acontecendo no       combinação com outros tipos de
mundo, o sistema digital de controle ainda   controladores digitais. Por exemplo, pode
não é a solução ideal aos principais         se usar um computador pessoal
problemas do controle de processo.           monitorando o controle de vários
Atualmente, já não se utiliza muito o        controladores digitais microprocessados
sistema de controle digital distribuído      dedicados e uma única malha (single loop),
convencional nos grandes e novos projetos    todos interligados em uma rede de
de instrumentação.                           comunicação digital.
    Os benefícios gerais do SDCD somente
agora começam a ser descobertos. Este
tipo de controle ainda será usado por um
longo tempo. O que se faz atualmente é
padronizar a comunicação entre os
módulos e abrir os sistemas operacionais
dos seus programas aplicativos.
    A maior desvantagem do SDCD é o
seu altíssimo curto, raramente menor que
US$ 1M. Há ainda problemas com falta de
padronização de linguagem, de protocolos
de comunicação, do sistema de
interligação. O SDCD é um sistema imenso
pouco flexível, pesado. Enfim, só se
justifica sua aplicação em grandes
complexos industriais e com grande
suporte econômico.

5. Computador no Processo                    Fig. 8.15. Computador digital regulando
                                             controladores microprocessados
5.1. Introdução
    O computador digital pode não ser
necessariamente a melhor escolha como
controlador para qualquer processo dado;
pois eles apresentam suas limitações e
desvantagens. A escolha de usar ou não
um computador digital como controlador
para o processo ou usar computadores
analógicos ou qualquer outro tipo de
controlador microprocessado é uma
questão muito complexa.
Os computadores digitais grandes (main
frame) têm encontrado aplicação natural
em sistemas mais complexos, onde sua
tremenda capacidade computacional pode
ser plenamente utilizada. Por causa de sua
complexidade, eles requerem muito mais
condicionamento das variáveis antes delas
serem aceitas para uso no computador e


                                                                                       8.16
Computador no Processo

                                              matemáticas. Desde que a teoria do
5.2. Computador Digital                       sistema de controle automático gera as
    Um computador digital é um                necessidades de controle na forma de
equipamento eletrônico que opera baseado      expressões matemáticas, os dois tipos de
em princípios e equações expressas no         computados são adaptáveis para simular
sistema de número binário e na álgebra        as equações de processo e portanto agir
booleana; ele opera somente com               como controladores do processo. A
informação codificada binariamente. Ele       diferença básica está em como eles
possui a capacidade interna de aceitar a      conseguem a solução para estas
informação codificada binariamente em         equações.
seus terminais de entrada de                      Analógico é um termo usado para
equipamentos externos e fornece dados         implicar uma seqüência de eventos
codificados binariamente em seus              continua, sem interrupção ou sem quebras.
terminais de saída para uso por outros        O tempo é uma qualidade analógica, em
equipamentos.                                 que ele sempre existe; nunca há uma
    Ele tem a capacidade interna de           circunstância em que o tempo pára ou seja
executar operações aritméticas binárias e     interrompido.
lógica booleana na informação. A                  Digital se refere a uma seqüência de
informação pode ser apresentada aos           eventos discretos. Cada evento é
terminais de entrada do computador ou         completamente separado de outros
pode ser gerada internamente.                 eventos passados ou futuros. Usualmente
    Finalmente, todos os computadores         esta separação é um período de tempo. A
digitais têm a capacidade de armazenar        maioria dos fenômenos naturais é de
internamente e indefinidamente grandes        natureza analógica. A vida é continua,
volumes de informação. Esta informação        desde o instante do nascimento até a
armazenada pode ser de dois tipos             morte; nunca há um período de tempo em
diferentes. O primeiro tipo é os dados, que   que ela não existe. A vida é analógica.
o computador usa ou modifica em seus              O calendário é discreto. O dia 27 de
cálculos. O segundo tipo de informação        maio ocorre somente uma vez por ano. O
armazenada consiste dos programas, que        dia 27 de maio existe somente por um
são as instruções codificadas binariamente    período de 24 horas cada ano e é
que o computador interpreta e executa         separado do outro 27 de maio por 364
para fazer alguma operação útil.              dias. Durante o este período de 364 dias, o
    O computador não é um equipamento         dia 27 de maio não existe ou não tem
isolado. Ele requer, para a operação do       efeito.
sistema, uma grande quantidade de                 A aplicação mais comum da informação
equipamentos auxiliares, que são              digital é no uso de computadores digitais,
chamados de periféricos. Por exemplo, o       que manipulam a lógica binária. A
computador requer um condicionador dos        informação digital binária é tão comum que
sinais de entrada, que converte os sinais     o termo digital tem adquirido a conotação
analógicos em digitais (CAD), outro           de digital binária.
condicionador dos sinais de saída, que            Os computadores analógicos agem
converte os sinais digitais em analógicos     diretamente nas quantidades analógicas,
(CDA), teclados, multiplexadores, vídeos,     processando todos os dados ou
impressoras, fazedores de gráfico,            informação na forma analógica e
copiadores. Geralmente os equipamentos        fornecendo as soluções em sua saída
auxiliares periféricos custam mais e          diretamente na forma analógica. Para
ocupam mais espaço que o computador           executar isso, certas porções dos
isolado.                                      computadores analógicos devem ser fiadas
                                              a funções de controle especificas e estas
5.3. Diferenças entre o Computador            porções do computador não podem ser
Digital e o Computador Analógico              usadas para qualquer outro objetivo sem
   Tanto o computador digital como o          modificações na fiação. Assim, quando o
computador analógico são usados para          sistema fica mais complexo, a quantidade
simular processos dinâmicos e equações        de equipamento requerido no computador


                                                                                    8.17
Computador no Processo

aumenta na proporção direta da               complexos do que é possível com
complexidade. O computador analógico         computadores analógicos.
não tem capacidade de memória                    Os computadores analógicos, desde
verdadeira; sua capacidade é limitada        que consistem de amplificadores
apenas ao processamento da informação        operacionais e outros componentes
atual.                                       eletrônicos, cada um deles tem uma
    O computador digital age diretamente     precisão determinada e cada um deles
na informação digital, faz todo o seu        muda sua característica com a temperatura
processamento da informação no formato       e o tempo, introduzindo erros devidos às
digital e fornece a informação em sua        alterações destes componentes. Como os
saída no formato digital. Isto tem a         computadores digitais trabalham em
desvantagem de que todas as quantidades      somente dois níveis, não são alterados
analógicas devem ser convertidas em          pelas variações dos componentes, como
digital antes de serem manipuladas pelo      ocorre com os computadores analógicos.
computador e vice-versa para as saídas do    Assim, nenhum dos erros devidos às
computador. Porém, isso pode também ter      alterações dos componentes afeta a
uma grande vantagem, desde que uma vez       precisão inerente do das soluções do
a informação tenha sido convertida para      computador digital; eventualmente eles
digital, ela pode ser armazenada             podem se alterar tanto, provocando a falha
indefinidamente nesta forma sem perda da     do computador, mas até este ponto ser
precisão.                                    atingido, nenhum erro é introduzido.
    O computador digital possui certos           Na prática industrial, o computador
equipamentos básicos embutidos e assim       analógico foi usado em totalização de
os programas fazem os dados a serem          vazão e na compensação de pressão e
manipulados por estes equipamentos. Para     temperatura de gases. Hoje, a maioria
modificar a solução ou adicionar funções     absoluta dos computadores é digital.
de controle, normalmente não é necessária
nem a adição de mais equipamento nem a
                                             5.4. Como um Controlador Digital
alteração da fiação do sistema. As           difere de outros Controladores
modificações normalmente podem ser               Provavelmente a diferença básica é
feitas diretamente no programa, que          que um único computador digital pode
resultará nas variações desejadas nas        executar o mesmo controle global de
soluções para as equações de controle.       centenas de controladores convencionais
Assim, as modificações feitas nos cálculos   individuais. Isto é, os computadores
do sistema são mais fáceis e econômicas.     digitais, embora sejam consideravelmente
    Foram desenvolvidas técnicas que         mais caros que os controladores
permitem o armazenamento quase               individuais, podem ser usados de modo
ilimitado da informação codificada           compartilhado pelo sistema de controle.
binariamente, tanto em relação ao tempo          Quando se usam controladores
ou ao volume. Os computadores digitais       individuais, tem-se um controlador para
têm a vantagem única de os programas         cada malha. Cada controlador é fiado em
poderem usar em equações esta                sua malha e modificações futuras exigem
informação armazenada de um modo não         nova fiação. Quando se usa um
possível com os computadores analógicos.     computador digital, os sinais dos vários
    Em computadores analógicos somente       sensores são levados para a entrada do
podem ser resolvidas equações para as        computador e atuadores são ligados à
quais foram construídos equipamentos e       saída do computador; esta é toda a fiação
circuitos. Em computadores digitais,         necessária. Para modificar as funções de
praticamente qualquer equação,               controle (P, I e D) e de configuração
independente de sua complexidade, pode       (cascata, feedforward, auto-seletor), as
ser resolvida pelo programa, sem a           mudanças necessárias são feitas no
necessidade de qualquer projeto especial     programa do computador e não
do equipamento. Assim, o computador          necessariamente em algum equipamento.
digital pode resolver problemas mais         O computador digital é tão flexível neste
                                             aspecto que as estratégias de controle


                                                                                  8.18
Computador no Processo

podem ser mudadas pelo programa do           podem ser economicamente estabelecidas
computador, baseando-se na história          com controle analógico.
passada da saída medida do processo,             Para completar o quadro de exemplos,
executando a chamada estratégia de           há também processos que não podem ser
controle adaptativo.                         controlados por computadores digitais. Os
    Há uma grande variedade de               exemplos básicos incluem os processos
equipamentos de displays e módulos de        que ocorrem em atmosferas com risco de
entrada e saída, disponíveis para uso com    explosão ou incêndio e nenhum
os computadores digitais. A mais notável     equipamento eletrônico pode ser usado e
peça do equipamento de display é o           processos que ocorrem em ambiente onde
monitor ou tubo de raio catódico (TRC).      o ruído elétrico potencialmente tornaria o
    Finalmente, devido a alta velocidade     computador digital inoperante ou inútil.
potência de computação e a possibilidade         O computador digital conquistou seu
de grande armazenagem da informação,         lugar no campo de controle de processo,
os computadores de controle de processo      como o fizeram outros tipos de
podem ser usados simultaneamente para        controladores. Há muitas aplicações onde
computador inventários e mesmo               qualquer tipo dos vários controladores
programas de produção, o que é chamado       poderia ser usado com sucesso. Nestas
de gerenciamento do processo. Em             aplicações, outros fatores além da
resumo, quando um computador digital é       habilidade de executar o controle
usado em um sistema de controle, há          adequado podem ser usados para se
diferenças consideráveis no sistema,         tomar a decisão final. Em muitas destas
relacionadas com confiabilidade, tempo de    aplicações, a flexibilidade dos
resposta e rede de comunicação .             computadores digitais em executar outras
                                             funções, além do controle de processo, é
5.5. Como os Computadores                    um fator decisivo.
Controlam
                                             5.6. Tipos de Computadores Digitais
    Em muitos sistemas de controle de
processo, os computadores digitais não           Há vários tipos básicos de
são melhores ou piores do que os outros      computadores digitais. Embora todos
tipos de controladores, eles são             sejam computadores digitais binários, cada
simplesmente mais econômicos para as         tipo tem características de projeto que
aplicações especificas onde eles são         otimizam algum fator para uma aplicação
usados. Em outros sistemas de controle de    específica.
processo, os controladores convencionais,        O projeto básico da estrutura interna
por uma razão ou outra, simplesmente não     dos computadores digitais é a sua
podem ser usados para se obter o             arquitetura. Este termo é usado para
desempenho satisfatório do sistema.          descrever a filosofia básica de
Exemplos incluem alguns tipos de             manipulação e processamento de dados,
processos que reagem em velocidade           em torno dos quais o computador é
muito alta, onde o peso, consumo de          projetado e construído.
potência e volume de eletrônica são um           Por exemplo, um computador pode ser
fator importante; onde o sistema de          projetado para trabalhar com um número
controle de processo é tão complexo que      muito grande de dados e soluções de
os controladores individuais não são         fórmulas complicadas. Sua arquitetura
possíveis; processos em que o produto        deve se basear na otimização de suas
final varia consideravelmente no tempo de    habilidades computacionais; isto é um
modo que a necessidade e a freqüência de     típico projeto de computador científico.
reajustes dos controladores individuais          Outro computador pode ser projetado
seriam muito caras; processo que estão       para processar grandes volumes de
distribuídos em grandes distâncias onde os   informação de várias fontes,
circuitos de comunicação digital são         principalmente recompondo esta
necessários e processos onde as              informação, enquanto executam cálculos
especificações de precisão do sistema não    relativamente simples. Sua arquitetura
                                             deve ser feita mais em torno de suas


                                                                                   8.19
Computador no Processo

capacidades de entrada e saída do que          necessidades do controle de processo,
sua capacidade aritmética. O computador        tornando-os muito grandes e muito caros.
para reserva de passagens aéreas de uma            Na grande maioria das aplicações de
companhia de aviação e o bancário              controle de processo, computadores
possuem este tipo de arquitetura.              digitais de uso geral muito menores são
    Muitos computadores são projetados         usados com sucesso e suas interfaces
para uso geral, isto é, eles possuem           foram modificadas para realizar as
adequadas capacidades aritméticas e de         capacidades necessárias. Em algumas
entrada-saída para serem usados em             aplicações, a unidade de processamento
grande variedade de aplicações. O              central do computador é modificada para
computador pessoal é do tipo de uso geral.     tornar o computador mais compatível com
    Finalmente, há uma categoria de            as necessidades do processo. Este grau
computadores de uso especial. Estes            de modificação coloca alguns desses
computadores foram projetados                  processadores na classe de uso especial,
especificamente para aplicações                onde um computador de uso geral foi
particulares, diferentes das aplicações        modificado para certas aplicações. Na
cientificas ou de negócios.                    grande maioria dos sistemas de controle
Freqüentemente, os computadores de uso         de processo, porém, o computador básico
especial são basicamente computadores          não foi modificado.
de uso geral que estão rodeados por
equipamentos periféricos específicos e são
                                               5.8. Como os Computadores Digitais
programados para o particular tipo de          Operam
trabalho que executam. O computador de             O computador digital é basicamente um
um avião e o de controle de processo de        conjunto muito complicado de circuitos
um sistema digital são exemplos de             eletrônicos, que executam operações
computadores especiais.                        muito simples que podem ser
    O custo para projetar computadores         representadas matematicamente no
verdadeiramente de uso especial seria          sistema de número binário ou pelas
proibitivo; e por isso um computador digital   equações booleanas. O computador
para controle de processo é um                 executa operações lógicas e binárias muito
computador de uso geral, com periféricos       simples, envolvendo dados codificados
determinados e com programas (software)        binariamente, de modo extremamente
e algoritmos (firmware) especialmente          rápido, confiável, previsível e seqüencial.
desenvolvidos para estas aplicações.           Ele faz exatamente o que é programado
5.7. Uso do Computador Digital para            para ele fazer e nada mais. Ele não pode
                                               fazer nada além do trabalho para o qual
Controle de Processo
                                               ele foi programado fazer; ele não pode
    Para aplicações de controle de             pensar ou decidir por si.
processo, o computador requerido é de               Ele executa suas tarefas
uso geral associado a um pacote de             programadas:
software específico. As aplicações de              1. interpretando várias combinações
controle de processo normalmente                        de 1 e 0, como comandos ou
requerem um processamento aritmético                    ordens para executar operações
moderado e não exigem uma capacidade                    que foram fiadas fisicamente,
computacional do tipo científico. As               2. executando somente uma operação
necessidades de entrada-saída são                       a um tempo,
extensas, porém, elas são totalmente               3. seguindo rigidamente uma série
diferentes das aplicações bancárias ou de               seqüencial de comandos em
negócios. Assim, o computador para                      ordem, a não ser que seja
controle de processo não é do tipo                      comandado alterar esta seqüência,
cientifico nem de negócios. Normalmente            4. executando testes simples e
estes dois tipos de computadores possuem                tomando decisões relativamente
capacidades básicas específicas                         simples baseadas nos resultados
embutidas exageradas para as                            destes testes,



                                                                                     8.20
Computador no Processo

    5. executando operações em                   postal do correio, cada uma numerada
        microssegundos que o homem               seqüencialmente. A informação digital
        levaria minutos ou horas para            pode ser armazenada lá (uma palavra em
        executar,                                cada caixa) para uso e recuperação
    6. tendo bancos de memória muito             posterior, enquanto sua localização for
        grandes, em que armazena e               lembrada. As palavras armazenadas
        recupera a informação, quando            nestes caixas possuem um número
        necessário.                              especifico de bits binários em
    7. estabelecendo comunicações                comprimento. O número de bits
        bidirecionais com equipamentos do        manipulados pelo computador e
        mundo externo.                           normalmente pela sua unidade de memória
    Todos os computadores digitais podem         simultaneamente em uma operação
ser divididos basicamente em quatro              simples é tecnicamente referido como o
unidades funcionais:                             comprimento da palavra do computador. A
    1. unidade de entrada-saída,                 grande maioria dos computadores usa
    2. unidade aritmética,                       correntemente palavra de 32 bits, 64 bits.
    3. unidade de controle e sincronismo              Há vários tipos de memória, cada uma
    4. unidade de memória.                       muito diferente na estrutura física e na
As unidades aritmética, controle e               aplicação, que são normalmente usadas
sincronismo podem ser referidas                  com um computador de controle de
globalmente como unidade de                      processo. A memória do tipo núcleo
processamento central ou CPU.                    magnético tem sido a reserva para as
                                                 memórias primárias do computador por
Unidade E/S
                                                 causa de sua flexibilidade e pelo fato que
    A unidade de entrada-saída contém a          ela não perder sua informação quando
lógica digital necessária para interfacear o     desenergizada. Ela requer uma
computador aos equipamentos externos,            considerável quantidade de potência
tais como os conversores analógico para          elétrica para operar e é o tipo mais caro de
digital e digital para analógico. Ela inclui a   memória (baseado no custo/bit
lógica necessária para gerar e verificar a       armazenado). Há vários projetos básicos
sincronização entre a CPU e os                   de memórias a semicondutor, que se
equipamentos externos, de modo que os            tornaram práticas para uso em
dados possam ser transferidos entre eles,        computadores de controle de processo.
de modo confiável. A unidade E/S [ou I/O         Estas memórias requerem muito menor
(lê-se aiou), input/output, em inglês) é a       energia elétrica para operar, são
principal via de comunicações entre a CPU        fisicamente muito menores e são muito
e o mundo exterior.                              mais baratas ($/bit) mas perdem todas a
Unidade aritmética                               capacidade de armazenamento quando
    A unidade aritmética inclui todo o           desenergizada.
equipamento usado para modificar os                   Alguns tipos de memórias a
dados no processo de resolver equações           semicondutor podem ser
ou executar outras operações matemáticas         permanentemente (ou pelo menos,
ou lógicas nestes dados. Ela inclui a lógica     relativamente permanentemente)
que indica a execução completa e bem             programadas, de modo que nem falha de
sucedida de cada operação matemática.            alimentação ou do computador pode
Esta lógica pode ser testada pela unidade        alterar o programa. Vários tipos dessas
de controle e de timing, de modo a tomar         memórias ROM (read only memory -
decisões quanto ao procedimento a ser            memória apenas de leitura) encontram
seguido em relação ao resultado aritmético       aplicação em certos tipos de sistemas de
conseguido de modo correto ou não.               controle de processo. Há outros tipos de
                                                 memória a semicondutor tais como PROM
Memória                                          (programável), EPROM (programável e
    A unidade de memória pode ser                apagável) r EEPROM (programável,
visualizada simplesmente como um grande          eletricamente apagável).
almoxarifado cheio de caixas tipo caixa


                                                                                        8.21
Computador no Processo

Unidade lógica e timing                           entre os computadores mas a instrução
    A unidade lógica de controle e timing é       codificada é sempre interpretada por
a quarta parte funcional de qualquer              uma parte da unidade de controle,
computador digital. É de sua                      chamada de registro de instrução.
responsabilidade sincronizar e controlar          [Um registro e há muitos no
cada operação interna do computador.              computador, é um grupo de flip-flops
Esta lógica está diretamente ligada a cada        binários independentes. Cada FF tem a
unidade interna do computador e controla          capacidade de memorizar um bit de
a operação da CPU diretamente. Ela                informação que deve ser apresentado a
recebe suas instruções básicas do                 ele simultaneamente com um
programador. As instruções individuais em         comando, (chamado de gatilho) para
um programa de computador são escritas            lembrar este bit. Sem a ocorrência
para serem interpretadas por esta unidade         deste gatilho, o FF ignora o bit em sua
lógica de controle, de modo que algumas           entrada ou qualquer mudança neste bit,
operação útil possa ser feita pelo                lembrando somente o único bit que foi
computador.                                       apresentado a ele, em conjunto com
    As quatro unidades funcionais são             seu comando gatilho. Há normalmente
interligadas entre si. A informação pode ser      tantos FF montados em um registro
transferida bidirecionalmente entre a             como o número de bits na palavra do
unidade aritmética e a memória e os               computador. Assim para um
equipamentos externos. Este arranjo é             computador de 32 bits, um registro
típico de qualquer computador digital e           consiste de 32 FF independentes,
estes canais de comunicação são                   todos com um gatilho e cujas saídas
chamados de bus. A unidade de controle e          devem ser interpretadas
timing é também ligada bidirecionalmente          simultaneamente como uma palavra
com as outras três unidades. De fato, ela         completa.]
controla a operação das outras três            2. o programador normalmente codifica
unidades funcionais e deve ser entendido          uma série de instruções, cada uma
que ela está sempre lá, mesmo que não             delas fazendo o computador executar
esteja mostrada no diagrama.                      alguma função útil elementar,
                                                  coletivamente chamada de programa.
                                                  A função pode ser manipulação,
                                                  transferência de dados ou teste para a
                                                  existência de alguma condição interna
                                                  ou externa do computador. Uma vez o
                                                  programador tenha determinado a
                                                  seqüência de instruções necessária
                                                  para executar a função desejada e
                                                  tenha codificado adequadamente estas
                                                  instruções, o programa é escrito na
                                                  memória principal do computador para
                                                  uso futuro.
                                               3. o operador do computador carrega um
Fig. 8.16. Esquema básico do computador           registro da unidade de controle e
                                                  sincronismo, chamado de registro de
                                                  endereço do programa com o endereço
    A seqüência de operações executada            (localização específica da memória ou
pela lógica interna e causada por uma             número da caixa postal), de onde a
instrução típica através de um computador         primeira instrução do programa foi
digital é a seguinte:                             armazenada. Ele carrega (entra,
1. tudo começa com uma instrução do               escreve, carrega, load) o programa na
    computador, que é uma (ou mais)               memória do computador.
    palavra binária, codificada por um         4. o computador se prepara então para
    programador para um computador                executar a primeira instrução do
    específico. A codificação real varia          programa. Até este ponto, o


                                                                                    8.22
Computador no Processo

programador não tem controle da            6. Computador como
operação do computador, porém,
agora, após o computador ter
                                           Controlador
completado o ciclo de instruções, a        6.1. Introdução
unidade de controle olha e decodifica a
palavra binária no registro de instrução       Há três enfoques diferentes para
e executa a operação necessária. A         aplicar os computadores digitais em
instrução pode causar qualquer tipo de     sistemas de controle de processo.
operação entre várias possíveis.           1. O primeiro enfoque é estudar um típico
Algumas das instruções mais comuns             computador digital e então tentar trazer
são:                                           o sistema de controle de processo para
    fazer uma palavra binária ser              trabalhar com o computador. Isto foi
    entrada ao computador ou à                 necessariamente o enfoque tomado
    memória do computador de algum             para os primeiros projetos de sistemas
    equipamento externo,                       digitais de controle por causa da
    fazer uma palavra binária ser saída        disponibilidade limitada dos
    do computador ou da memória do             computadores digitais. Embora seja um
    computador para algum                      enfoque prático de projetar sistemas de
    equipamento externo,                       controle, não é o melhor método.
    fazer uma palavra binária ser          2. O segundo enfoque é definir as
    transferida de um registro para            necessidades do processo e depois
    outro, ambos internos ao                   escolher o computador digital em torno
    computador,                                destas necessidades.
    fazer qualquer uma das seguintes       3. O terceiro enfoque é definir as
    operações ser executada em uma             necessidades do processo e depois
    palavra binária: soma, negação,            escolher um software aplicativo
    subtração, multiplicação e                 específico rodando em um computador
    divisão,                                   de uso geral. No projeto moderno de
    fazer uma operação lógica binária          sistema de controle este é o enfoque
    ser executada em uma palavra               mais prático por causa da grande
    binária, tal como: desvio à                variedade de softwares aplicativos
    esquerda, desvio à direita,                presentemente disponíveis no
    rotação, ou uma comparação                 mercado.
    lógica com uma segunda palavra             A competição entre os fabricantes
    binária, como and, or, exclusive       levou-os a projetar softwares e hardwares
    or,                                    em torno de sistemas típicos de controle.
    fazer uma palavra binária ser          Os resultados finais refletem a diferença
    transferida de um registro interno     nas opiniões técnicas de como o
    da CPU para a memória do               computador ideal de controle de processo
    computador de qualquer modo            deve ser projeto e como deve ser sua
    possível, ou transferir da memória     arquitetura.
    para algum registro da CPU (ler ou         Para determinar qual a arquitetura ideal
    escrever).                             de um computador para controle de
    fazer um teste em um bit, em um        processo, deve-se investigar as fontes e os
    sinal algébrico do resultado de uma    tipos de informação necessários para o
    operação aritmética, na finalização    computador para controlar o processo,
    bem sucedida ou não, de uma            depois determinar o processamento
    operação matemática (overflow),        requerido para esta informação e
    na comparação de uma palavra           finalmente estabelecer qual informação
    binária com zero (maior que,           exigida pelo processo. Assim, aplicando o
    menor que ou igual a) ou outra         enfoque onde as necessidades do
    palavra binária ou em qualquer         processo são definidas primeiro, é possível
    número de várias condições             realmente se chegar às especificações
    testáveis que podem existir dentro     funcionais do computador digital de
    ou fora da CPU do computador.          controle do processo.



                                                                                  8.23
Computador no Processo

6.2. Informação Requerida pelo                   um sinal alternado. Neste caso o sinal
Computador                                       alternado pode ser convertido em um sinal
                                                 de onda quadrada e manipulado
    A informação realmente requerida por         diretamente nesta forma ou pode ser
qualquer controlador de processo, se             convertido em uma tensão contínua e
digital ou analógico, depende do processo        manipulado como qualquer outro sinal de
em si. Porém, é possível classificar a           tensão contínua.
maioria destas informações eletrônicas               Entradas Digitais
pelo tipo do sinal elétrico que o controlador        Os sinais digitais, como os analógicos,
manipula.                                        também são de vários tipos.
    A variável básica de processo sendo              O primeiro tipo inclui os sinais digitais
usada como fonte de informação de                que contem a informação na freqüência do
entrada poderia ser a temperatura,               trem de pulsos, similar a um sinal alternado
pressão, vazão, nível, umidade, pH, força,       senoidal. Aqui o trem de pulsos
velocidade, movimento ou posição. Supõe-         (informação serial) é normalmente
se que estas variáveis estão sendo               convertido para uma palavra binária
monitorizadas por sensores com saída             paralela, simplesmente fazendo a
elétrica. São as saídas elétricas destes         amostragem da freqüência em intervalos
sensores que vão ser categorizadas por           de tempo específicos e contendo (contador
seus valores elétricos, i.e., resistência        binário) o número de pulsos durante este
variável, tensão e capacitância.                 intervalo de tempo. Às vezes, os pulsos
    Geralmente estas saídas elétricas            podem ser passados diretamente para o
caem em duas categorias: analógicas ou           processador. Codificadores digitais de
digitais. Os sinais analógicos podem ser         ângulo de eixo e codificadores digitais
subdivididos em vários tipos: resistência,       lineares são exemplos deste tipo de
militensão, tensão corrente.                     entrada de computador.
Entradas Analógicas                                  O segundo tipo de sinais digitais é
    As saídas de sensores tipo resistência       aquele que contem a informação em seu
variável são geralmente alimentadas em           estado de corrente 1 ou 0 e o processador
alguma forma de um circuito ponte de             simplesmente precisa saber em qual dos
Wheatstone e depois para um conversor            dois estados está o sinal. Contatos de
A/D. Muitos valores de temperatura, força        relés, chaves fim de curso, equipamentos
e pressão são comumente convertidos em           de segurança, sensores ópticos e posições
sinais elétricos do tipo resistência variável.   de chaves são normalmente monitorados
    As saídas de sensores tipo tensão são        deste modo. As tensões disponíveis destes
alimentadas ou em alguma forma de um             sensores de chaveamento variam muito e
circuito ponte de Wheatstone (militensão)        freqüentemente devem ser filtradas e ter
ou através de filtro, casador de impedância      seu nível ajustados antes de serem usadas
ou divisor (tensão maiores) e depois para        pelo processador. Normalmente, o
um conversor A/D. Tipicamente, algumas           processador também precisa saber, além
medições de temperatura, posição, força e        do estado da chave, também do fato que a
pressão são monitoradas por sensores             chave justamente mudou de posição. O
tendo saídas do tipo tensão cc.                  reconhecimento imediato da mudança de
    As saídas de sensores tipo corrente          estado é geralmente mais importante que o
vão normalmente para um resistor de              conhecimento do estado em si e é
amostragem (tipicamente de 250 Ω) que            chamado de capacidade de interrupção.
converte a corrente em um pequeno sinal              Freqüentemente, um equipamento
de tensão, que por sua vez é manipulado          como a impressora usada com pequenos
como qualquer outra pequena tensão.              computadores tem uma saída digital serial.
Sinais de tensão alternada são primeiro          Neste caso é necessário um conversor
convertidos em níveis de tensão contínua e       serial para paralelo na interface de
depois manipulados como qualquer outro           entrada. Este conversor consiste de um
sinal de tensão contínua; a não ser que a        registro binário de deslocamento (shift) e
informação esteja contida na freqüência de       sua lógica de controle. Essencialmente,
                                                 quando cada bit é recebido, ele é


                                                                                         8.24
Computador no Processo

deslocado em um registro, bit por bit, até    informação. Os trens de pulsos modulados
que todos os bits da palavra tenham sido      em freqüência podem ser usados para
recebidos. A saída do registro lê a mesma     acionar motores de passo digitais ou para
informação, só que em paralelo.               fornecer a entrada para equipamentos de
    O tipo final de sinal digital que o       dados seriais, como impressoras. Os bits
processador digital necessita para            individuais binários de informação podem
trabalhar é similar ao segundo, em que a      ser usados para controlar o estado de
informação está contida no valor              relés, intertravamentos, alarmes ou
instantâneo da tensão (estado digital). Ele   indicadores de status.
é incluído em uma categoria separada              A saída digital paralela pode ser
devido aos circuitos de sincronismo e         requerida como saída do computador para
controle necessários para manipular esta      equipamentos de memória auxiliar,
informação. Este tipo de sinal digital vem    periféricos digitais, como impressoras e
da memória de massa (externa), como fita      monitores. Nestes casos, também são
magnética ou disco. Também este tipo de       necessários os circuitos de sincronismo e
sinal é encontrado quando o processador       controle.
digital trabalha com entradas tipo teclado.
O circuito adicional de sincronismo e
                                              6.4. Circuitos de Interface
controle, necessário para monitorar a             Nenhum computador digital pode
transferência de dados entre o computador     trabalhar diretamente com o processo
e estes equipamentos é muito complexo e       analógico. Deve se ter uma grande
normalmente está incluído na interface do     quantidade de circuitos condicionadores de
computador.                                   sinal entre o processo e o computador.
                                              Coletivamente, os equipamentos e os
6.3. Informação Requerida pelo
                                              circuitos eletrônicos que fazem o
Processo                                      condicionamento adequado dos sinais são
   Agora, a informação que o processo         chamados de interface. A interface pode
deve receber do controlador, de modo que      ser dividida em interface de entrada e
possa ser controlado, define as               interface de saída do computador, bem
necessidades da saída do computador.          como em interface analógica e digital.
Como as entradas, as saídas podem ser         Bus de Entrada do Computador
analógicas ou digitais.
                                                  Há uma avenida para o computador
Saídas Analógicas                             acessar todas as milhares de entradas
    Os comandos da saída analógica (do        individuais. Muitas destas entradas são
controlador) são usados normalmente para      multiplexadas juntas para sistema de
acionar algum equipamento                     conversão A/D. Multiplexar significa ter
eletromecânico, tal como uma válvula de       várias entradas e uma única saída no
controle com atuador pneumático ou            dispositivo, de modo que um único
damper. Estas saídas podem necessitar de      conversor pode ser compartilhado por
amplificação de potência e deslocamento       estas milhares de entrada.
do nível, além da conversão D/A (digital          Os computadores digitais pessoais
para analógico) ou transdução I/P (corrente   (microcomputadores) possuem algumas
para ar pneumático). Outras saídas            limitações práticas. Devido ao uso de
analógicas são usadas para entrar             circuitos integrados, os microcomputadores
diretamente em sistemas analógicos de         possuem uma grande capacidade de
controle ou computadores que são              computação matemática, pequeno
supervisionados por controladores             tamanho físico e relativamente baixo custo.
primários de processo.                        Eles são construídos com somente um
                                              conjunto de lógica para executar cada uma
Saídas Digitais
                                              de suas funções. Assim, ele tem a
    As saídas digitais do controlador         capacidade de fazer somente uma
podem consistir de trem de pulso serial       operação ou função em um momento.
(modulado em freqüência), palavras            Porém, eles executam estas numerosas
digitais paralelas ou bits individuais de     operações individuais em uma velocidade


                                                                                    8.25
Computador no Processo

tão alta que parece que elas foram feitas           A interface entre os sinais de entrada
simultaneamente, mas não o foram.               digitais individuais, cada um contendo um
    Com estas realidades em mente, pode         bit valioso de informação, tais como os
se pensar que são necessárias muitas            reles é um pouco mais complicado. Cada
avenidas de entrada para o computador e         entrada pode requerer deslocamento do
que estes muitos caminhos requererem            nível, casamento de impedância ou filtro. O
uma lógica digital extensa e cara. Porém,       problema agora é que, para o computador
como o computador pode trabalhar apenas         adquirir a informação de apenas este
com um equipamento de entrada por vez,          equipamento, se requer um ciclo completo
é praticamente possível e conveniente           das entradas do computador. Todos os
multiplexar todos os equipamentos de            computadores para controle de processo
entrada para a mesma estrutura de bus de        são equipamentos paralelos, em que eles
entrada do computador. Esta estrutura bus       ordinariamente não executam operações
age simultaneamente como um                     em um bit digital simples em um momento,
multiplexador para todos os equipamentos        mas eles tomam muitos simultaneamente,
de entrada do computador e como uma             dependendo do tamanho da palavra do
avenida única e comum da informação a           computador.
ser transferida diretamente no computador           O tamanho da palavra é o termo que
digital em si.                                  descreve o número de bits que o
    Desde que há necessidade de somente         computador manipula em uma única
um único bus de entrada para o                  operação. O tamanho da palavra não foi
computador, a interface de entrada deve         considerado quando discutindo as
fornecer todo o condicionamento de sinal        entradas analógicas, desde que as
necessário para cada equipamento de             entradas analógicas são normalmente
entrada, de modo a se poder bloquear este       convertidas com apenas 10 ou 12 bits de
equipamento no computador.                      precisão, o que é aceitável dentro da
    O sistema de conversão A/D tem a            capacidade da maioria dos computadores
capacidade de multiplexar todos os sinais       de controle de processo.
analógicos para uma linha comum de                  O computador tem a capacidade de
dados para cada conversor A/D. Este bus         receber informação acerca de um grupo de
comum de dados digitais do conversor A/D        16 sinais de entrada de reles,
deve ter níveis lógicos que sejam               simultaneamente. Assim, a interface
compatíveis com a estrutura do bus de           normalmente multiplexa 16 entradas para
entrada do computador. Certamente, as           serem manipuladas pelo computador como
especificações reais da estrutura do bus        um grupo; ainda o registro buffer flip-flop é
serão determinadas economicamente de            usado para sincronizar todos os 16 sinais
modo a otimizar a distribuição dos circuitos    independentes, enquanto o computador
entre a interface e o computador. A             estiver realmente recebendo na entrada
interface da informação de entrada digital      estas informações.
paralela tem circuito na interface para             Finalmente, há um grupo de entradas
manter temporariamente a informação, de         digitais que são considerados tão
modo que ela permaneça constante quanto         importantes que, quando os seus valores
esteja realmente presente no bus de             variam, o computador deve parar
entrada do computador. Tipicamente os           imediatamente o processamento de rotina
circuitos de interface são simplesmente         e verificar os seus novos valores, ou são
registros buffer flip-flop, que realizam esta   tão insignificante que não é importante o
função. O registro flip-flop tem a habilidade   tempo requerido para o computador
de ignorar a informação presente em usa         continuamente verificar os seus valores.
entrada até que um comando de memória           Estes sinais devem ter a capacidade de
seja recebido. Ele então armazena a             interromper o computador, em algum ponto
informação presente em sua entrada              conveniente, durante o processamento de
quando o comando de memória é dado e            rotina, de modo que o computador tenha
retém esta informação até que seja              os novos status, o mais rápido possível,
recebido outro comando de memória.              normalmente dentro de poucos
                                                microssegundos. O circuito de interface do


                                                                                        8.26
Computador no Processo

computador deve ter provisão de cuidar de     executado um comando de memória. Em
cada uma destas entradas individualmente.     todos os outros tempos, o registro mantém
Estes circuitos eletrônicos são referidos     sua saída exatamente igual a entrada, no
como a estrutura de interrupção de            instante que o comando de memória foi
prioridade. Além de realizar a função de      dado, independente das variações em
interromper o computador durante o            seus terminais de entrada.
processamento normal, os circuitos                 Este tipo de interface de saída do
também fornecem uma estrutura de              computador também é capaz de servir
prioridade entre cada uma destas              qualquer função de saída digital paralela,
entradas, de modo a decidir o que é mais      desde que o registro flip-flop realmente não
importante quando vários sinais tentam        se importe com o que está ligado à sua
interromper o computador                      saída. Isto deixa as saídas do tipo trem de
simultaneamente. Um exemplo de uma            pulso e as saídas binárias individuais (1
interrupção de alta prioridade é a saída de   bit) para serem consideradas.
um circuito eletrônico que monitora as             As saídas de informação binária de 1-
tensões de alimentação do computador.         bit podem ser tratadas de um modo similar
Sempre que a alimentação falta, o             às entradas do computador de 1-bit. Um
computador deve ter a capacidade de se        registro de 16-bit pode ser usado para
desligar com segurança, de modo que o         manipular 16 saídas individuais
processamento normal possa continuar          simultaneamente. Cada saída do flip-flop é
automaticamente, quando a alimentação         ligada diretamente a um único
volta.                                        equipamento. Freqüentemente, este tipo
    Isto brevemente define as                 de saída é usado para ativar relés e assim
necessidades para a saída dos circuitos de    amplificadores de acionamento de relés
interface de entrada do computador e          também seriam necessários na interface
simultaneamente as necessidades para os       de saída do computador. Um problema
circuitos de entrada do computador, desde     aparece quando uma saída do grupo de 16
que eles devem ser bloqueados e               relés deve ter seu status mudado. O
compatíveis. Em resumo, o computador          computador deve comandar todos os 16
deve ter uma estrutura de bus de entrada      simultaneamente; porém, se seu novo
digital paralela de 16 bits, para a qual      comando para qualquer relé particular é
todos os sinais de entradas possam ser        exatamente o mesmo que o comando
multiplexados. Além disso, deve haver         anterior, então o relé não é afetado. Assim,
provisão para que certas entradas digitais    mesmo que somente uma saída das 16
selecionadas tenham a capacidade de           esteja sendo comandada para alterar seus
interromper o computador, através de          contatos, todos os 16 serão comandados
algum esquema de prioridade.                  simultaneamente, mas somente aqueles
                                              comandos para mudar o status serão
Bus de Saída do Computador
                                              afetados.
    Há muitas similaridades entre as               O tipo final de saída de computador a
interfaces de saída e de entrada do           ser considerado é o da saída tipo trem de
computador.                                   pulso modulado em freqüência. O
    O conversor D/A (digital para             computador pode manipular esta como se
analógico) requer informação de entrada       fosse um bit individual, simplesmente
digital paralela mais memória. Uma            mudando uma saída bit na freqüência
estrutura de bus de saída paralela digital    adequada, ou ele poderia jogar a palavra
com um registro de saída buffer satisfaz      binária de saída para um registro buffer.
todas as necessidades do conversor D/A.       Este registro é então ligado a um contador
Pode haver muitos conversores D/A em          binário. O contador, junto com uma fonte
um sistema; assim, estes registros buffer     de freqüência, é usado para gerar um
devem ser multiplexados em suas               número predeterminado de pulsos em uma
entradas. A definição do registro flip-flop   freqüência constante. Este tipo de saída é
oferecida anteriormente descreve como         usado tipicamente para acionar motores de
eles tem esta capacidade, ignorando suas      passo digitais. Outra possibilidade é ter o
entradas exceto quando estiver sendo          registro buffer ligado a um registro shift. A


                                                                                      8.27
Computador no Processo

informação no registro shift é então          popular mas a maioria dos sistemas
deslocada, para a direita ou esquerda,        existentes de controle e dos micro
para fora do registro até que cada um dos     computadores digitais existentes usam a
16 bits tenha sido deslocado, em uma          arquitetura de E/S compartilhada. A
ordem adequada. Isto é um conversor           discussão é simplificada se for
paralelo para serial.                         apresentada, assumindo uma estrutura de
    Os sinais de saída modulados na           bus E/S dual, desde que a necessidade
freqüência de pulsos podem ser também         para a multiplexagem no tempo do mesmo
saídas do conversor D/A, a saída contínua     bus para entrada e saída é eliminada.
que é usada como entrada para um              Assim, é assumido o uso de bus de
conversor tensão para freqüência.             entrada e de saída separados. De modo a
    Em resumo, as necessidades reais da       fazer o material aplicável a um bus
saída do computador digital são muito         compartilhado, simplesmente admite se
parecidas com as de entrada:                  que os mesmos 16 fios (bus E/S) são
    1. Ambas requerem a capacidade            alternativamente usados para entrada e
        para a transferência paralela de 16   para saída, a lógica dentro do computador
        bits.                                 ora ligando acionadores de linha ou
    2. Ambas requerem a capacidade de         receptores de linha aos terminais destes
        multiplexar todos equipamentos        fios do computador.
        para os barramentos.                      Tendo decidido que o computador vê
                                              somente registros digitais flip flop
Entrada/Saída do Computador
                                              conectados ao bus de entrada de dados
    Desde que as necessidades do bus de       com 16-fios (bit) e sai somente sobre uma
transferência de dados de entrada e de        estrutura de barramento de 16 fios para as
saída são aproximadamente idênticas e         entradas dos registros buffer digitais flip
desde que o computador pode fazer             flop, o problema agora é identificar qual
somente uma operação de vez,                  registro flip flop, em que bus e qual o
normalmente o mesmo bus de 16-bit é           momento.
usado tanto como entrada para como
saída do computador. O arranjo                6.5. Endereçamento E/S
compartilhado do bus de entrada/saída             Cada um dos registros flip-flop de
(E/S) do computador foi usado durante         entrada tem atribuído um único número de
muitos anos. Atualmente, vários novos         código binário e é fornecido com uma
computadores possuem arquitetura              lógica digital que decodifica apenas este
baseada em estruturas de bus separadas        exato número de código. As entradas para
de entrada e de saída. Elas permitem que      esta lógica de decodificação são ligadas a
ambos os barramentos sejam                    um bus, funcionalmente separado do bus
simultaneamente usados, aumentando a          de dados, de normalmente 6 a 8 fios,
capacidade de transferência dos dados de      chamado de estrutura de bus de endereço
E/S.                                          de entrada. Sempre que a lógica
    Muitos fatores devem ser considerados,    decodificadora associada com qualquer
quando se decide se uma estrutura de bus      registro de entrada particular reconhece
simples é preferida a uma dual. O critério    seu código único, ela ativa um especifico
de decisão é quase sempre de economia.        registro buffer do equipamento de entrada
Economia não se refere apenas aos custos      do computador. Este código único é
de equipamento (hardware) mas também          apropriadamente chamado de endereço do
economia em custos de programação,            equipamento. Sempre que o computador
tempo do computador e uso de memória. A       requer informação de qualquer
tendência atual mostra que a arquitetura      equipamento, ele coloca este código do
de bus dual tem provado ser a mais            equipamento em seu bus de endereço de
econômica e eficiente, quando usada em        entrada e a lógica de decodificação de
aplicações de controle de processo.           endereço permite que apenas o
    Isto complica a discussão do projeto      equipamento endereçado forneça a
interno do computador e seu                   informação ao computador.
funcionamento. A arquitetura dual se torna



                                                                                    8.28
Computador no Processo

    Há uma duplicação exata desta             no tempo. Isto introduz a necessidade de
estrutura de bus de endereço e da lógica      um relógio interno ao computador. Há
de decodificação de endereço que é usada      vários modos de manter o rastreamento do
para seletivamente permitir que cada          tempo real dentro do computador, mas
equipamento de saída particular (registro     normalmente isto requer a simples adição
buffer) possa receber a informação do         da habilidade de incrementar ou
computador: é o bus de endereço de saída      decrementar um número. Sistemas mais
e a lógica de decodificação de endereço de    complicados podem ter este relógio como
saída. Este bus adicional e sua lógica        uma função separada do equipamento,
decodificadora fornecem os meios para o       interna ou externa ao computador.
computador selecionar qualquer                    O método de manipular a informação
equipamento particular para transferir        do status do contato de relé, em grupos de
informação para seu registro buffer ou para   16, introduz a necessidade de ser capaz
alertar o equipamento para receber a          de comparar logicamente os valores das
informação.                                   palavras digitais. Isto inclui a necessidade
    Duas estruturas de bus adicionais         de executar as funções lógicas AND e OR,
devem ser mencionadas para o                  ambas em palavras de 16-bit e nos bits
endereçamento dos equipamentos. Desde         individuais desta palavra, desde que cada
que o computador pode fazer somente           um dos 16 bits represente um relé
uma coisa a um tempo, freqüentemente          diferente. Isto também implica na
estas estruturas de bus de endereço são       capacidade de testar os resultados de
multiplexadas no tempo para os fios do bus    manipulações lógicas. A necessidade de
de E/S de dados, com o controle e o           ser capaz de trabalhar independentemente
sincronismo necessários, de modo que os       com cada bit da palavra do computador
equipamentos saibam como e quando ligar       pode requerer a capacidade de deslocar a
aos mesmos 16 fios (bus E/S).                 palavra para a direita ou esquerda com um
                                              elemento lógico testável, lembrando o valor
6.6. Processamento de Dados                   de cada bit, um por vez. Além disso, o
    O computador deve ter a capacidade        computador deve ser capaz de formular e
de endereçar cada um dos possíveis            dissecar palavras de 16 bits, bit por bit, na
equipamentos ligados a ele na entrada ou      informação do status do contato do relé de
na saída e transferir a informação do ou      entrada e de saída.
para este equipamento.                            Todas estas manipulações de dados
    Freqüentemente, quando o valor            internas mencionadas requerem que os
escalonado de uma variável de processo        valores prévios ou limitantes sejam
chega ao computador, ele verifica este        facilmente disponíveis na memória do
valor contra os valores máximo e mínimo       computador. Estes valores devem ser
que esta variável não pode exceder. Estes     armazenados em locais lógicos e
valores limites foram armazenados             facilmente endereçáveis. Normalmente,
previamente na memória do computador          eles são armazenados em tabelas
para serem tomados facilmente como            internas. Constantes numéricas, curvas
referência. Isto pode ser conseguido por      trigonométricas e outras não lineares,
uma série de comparações, que                 códigos binários, tabelas de conversão
matematicamente é igual a complementar,       podem também ser armazenados no
incrementar e adicionar os dois valores,      computador em formato de tabela. Isto
enquanto testando para resultado positivo     introduz a necessidade da lógica interna de
ou negativo. Quando este valor da variável    endereçamento de memória do
for fora da tolerância, este fato é           computador incluir a capacidade de
normalmente indicado na saída do              executar aritmética simples no endereço
computador, na forma de um alarme.            de memória. Isto requerer uma lógica
    Além de ou em vez de comparar dos         interna adicional; porém a unidade
dados a valores máximo e mínimo,              aritmética do computador tem a
freqüentemente o valor atual é comparado      capacidade de executar a aritmética
com seus valores passados para                requerida e portanto, não é necessária
determinar a taxa de variação da variável     nenhuma lógica aritmética adicional.


                                                                                      8.29
Computador no Processo

    A categoria final de processamento        6.7. Projeto do Computador
aritmético de dados inclui a solução de
                                                   O computador tem os bus de entrada e
equações algébricas e lógicas. A solução
                                              saída separados para dados de 16-bit, os
de equações dentro do computador digital
binário forma a base da programação do        bus separados de endereço de entrada e
                                              saída, a estrutura de interrupção de
computador. Essencialmente o sistema de
                                              prioridade, a memória, a unidade aritmética
numeração binário não é facilmente
                                              e, finalmente, a unidade de sincronismo e
adaptável à solução de equações, com a
                                              controle, necessária para fazer todos os
exceção de equações lógicas binárias.
                                              outros componentes trabalharem juntos. O
Para resolver mesmo as equações
                                              enfoque tomado para definir as
algébricas mais simples, são usadas
                                              especificações funcionais do computador
técnicas complexas, como de
                                              de controle de processo foi baseado nas
aproximações de séries infinitas, procura-
                                              necessidades próprias do processo e
em-tabela, simulação da equação, iteração
                                              mostrou a necessidade de quatro unidades
e aproximações sucessivas.
                                              básicas de qualquer computador digital:
    A maioria destas técnicas requer
manipulações aritméticas relativamente        unidade de entrada/saída, unidade
                                              aritmética, memória e unidade de
muito simples que coletivamente simulam
                                              sincronismo e controle.
a solução de processos matemáticos mais
                                                   A discussão seguinte verá cada uma
complexos, tais como multiplicação,
                                              destas quatro unidades básicas, do ponto
divisão, integração, diferenciação,
potenciação e radiciação. O que torna o       de vista de como elas controlam o fluxo de
                                              dados e quais operações elas executam
computador digital binário aceitável para a
                                              com os dados.
solução de equações é a sua
                                                   O dado se refere a qualquer palavra
extremamente alta velocidade de execução
                                              digital de 16-bit, que não seja instrução de
das operações elementares. O computador
digital pode fazer literalmente centenas de   programa ou endereço. O dado inclui
                                              qualquer e toda informação da variável do
milhares de adições, subtrações e
                                              processo, códigos representando estes
deslocamentos em um segundo,
                                              valores das variáveis, informação digital
compensando assim a dificuldade de
                                              sendo transferida para ou de qualquer
programação para estes cálculos.
    A solução de equações algébricas e        periférico. Qualquer palavra binária de 16
                                              bits que é transmitida para e do
diferenciais pode ser obtida pelos mesmos
                                              computador via estruturas de bus de dados
elementos lógicos aritméticos binários
                                              de entrada e saída é um dado, independe
anteriores. A capacidade computacional e
                                              do que a informação realmente representa
a velocidade do computador seriam
                                              ou como ela é usada finalmente.
aumentadas com a multiplicação digital,
                                                   Os dados de entrada para o
porém isto é muito caro e raramente é
usado em computadores para controle de        computador passam diretamente para a
                                              unidade aritmética ou diretamente para a
processo.
                                              memória do computador, para uso futuro.
Em resumo, as necessidades
                                              Os dados de saída do computador devem
computacionais do computador de controle
                                              vir da memória ou da unidade aritmética do
de processo são baseadas no somador
binário, com as capacidades adicionais de     computador. Finalmente, deve haver
                                              provisão para o fluxo bidirecional de dados
deslocamento de palavras de dados e com
                                              entre a memória e as unidades aritméticas.
a manipulação de cada bit individualmente.
Também são necessários e usados os
circuitos lógicos para testar os resultados
da adição binária, testar cada bit na
palavra de dados do computador, executar
as comparações lógicas de AND e OR de
palavras binárias e testar os resultados
destas operações lógicas.




                                                                                     8.30
Computador no Processo

                                                                 O programa do computador é o
  Interface de                             Interface de      mecanismo real, através do qual a sua
    Entrada                                   Saída          operação é controlada. Assim, a
  Registro de          Prioridade de       Registro de       decodificação e execução dos passos
    Dados               Interrupção          Dados           individuais do programa do computador
                    Lógica de Controle e
                                                             sao a função da lógica de controle do
                          Timing                             computador. Programar um computador
                                                             digital é controlar cada operação que
   Bus de entrada




                                              Bus de saída
                        Memória
                                                             ocorre dentro dele.
                                                             Programação em Linguagem de
                                                             Máquina
                                                                 Os fabricantes de computador
                         Unidade
                        Aritmética
                                                             reduziram a quantidade de programação
                                                             necessária, combinando várias relações
                      Computador digital
                                                             usadas freqüentemente em uma única
                                                             etapa, de modo que um único comando
                                                             possa iniciar uma seqüência de operações
Fig. 8.17. Fluxo interno de informação para um               mais simples e mais básica. Por exemplo,
computador digital                                           uma instrução especifica do programa
                                                             pode causar uma palavra de dados de 16-
6.8. Programação do Computador                               bit ser retirada da memória do computador
    Um computador digital é um conjunto                      e armazenada no registro A. Assim, uma
muito complexo de circuitos que são                          instrução do computador fez com que
capazes de executar apenas operações                         vários comandos internos sejam
muito simples, numa velocidade muito alta.                   executados seqüencialmente:
Por exemplo, a sua unidade aritmética tem                        1. a memória foi ciclada e a palavra de
a capacidade de executar somente adições                             dado desejada foi retirada,
binárias.                                                        2. a alimentação foi estabelecida, de
    Para somar dois números binários,                                modo que a palavra de dado seja
deve ser seguido o seguinte processo:                                transmitida para o registro A.
    1. toma-se um dos dois números, da                           3. comando apropriado (pulso gatilho)
       memória ou do bus de entrada de                               foi gerado e a palavra dada foi
       dados do computador e armazena                                armazenada no registro.
       este número em um registro,                               A programação do computador neste
    2. toma-se o segundo número a ser                        nível é chamada de programação de
       somado de outra fonte e armazena-                     linguagem de máquina ou programação
       o em outro registro,                                  simbólica. É o nível mais baixo de detalhe
    3. alimenta a informação deste                           que qualquer programador deve ou pode
       registro em um somador binário,                       trabalhar. O programador codifica cada
    4. toma a saída do somador binário e                     comando individual para a lógica do
       a armazena em algum lugar,                            computador, que executa o controle
    5. verifica o indicador de excesso                       elementar do fluxo de informação de um
       (overflow) para verificar se a saída                  ponto a outro dentro do computador ou
       do somador binário tem significado                    entre um componente especifico do
       prático (a soma não pode exceder a                    equipamento interno do computador e um
       capacidade do computador).                            periférico externo). Cada uma destas
    Esta é a seqüência de operações no                       instruções do programa realmente gera
computador mais freqüentemente realizada                     uma seqüência de operações mais básicas
e para executá-la, devem-se realizar                         e elementares a ser executada pelos
muitos passos individuais. Para programar                    elementos lógicos do computador. Porém,
o computador para fazer esta operação                        o programador do computador não tem
simples, deve-se especificar claramente e                    controle sobre estas operações mais
em seqüência, cada operação a ser feita.                     básicas; elas são programadas por fiação
Isto constitui o programa do computador.                     na lógica de controle do computador, são



                                                                                                   8.31
Computador no Processo

acionadas pelas suas instruções e
controladas seqüencialmente por um
mecanismo interno de sincronismo.
    Provavelmente, a operação do
computador mais básica e de rotina é o
ciclo da unidade de memória. As
instruções do programa são sempre
armazenadas em algum lugar dentro da
memória e quando cada instrução do
programa é executada, o computador deve
simultaneamente causar o próximo passo
do programa ser retirado da memória,
independe do que as outras operações
internas sejam requeridas por esta
instrução particular.
Ciclo do Computador
                                              Fig. 7.19. Computador como controlador de
     Isto leva à necessidade para uma         processo
seqüência de eventos de rotina ser feita
durante a execução de quase toda                 Mesmo que se leve um ciclo do
instrução do computador. Esta seqüência       computador para executar a instrução mais
de eventos é controlada automaticamente       básica, na realidade há muitas operações
pela unidade lógica e de sincronismo do       seqüências ocorrendo internamente no
computador, a cada momento que                computador durante este intervalo de
qualquer instrução seja executada e isto      tempo.
não precisa ser especificamente
estabelecido pelo programador (humano).
     Esta seqüência de rotina requer um       7. Conclusões
período de tempo que, junto com o                 A discussão anterior apresentou uma
intervalo de tempo requerido para executar    visão muito breve e geral das exigências
a maioria das instruções elementares do       funcionais de um computador digital para
programa, é chamada de ciclo do               controle de processo. Foram apresentadas
computador ou ciclo da máquina. Este é o      as exigências funcionais do computador e
tempo básico de execução da instrução         seus circuitos de interface de entrada e
requerido pelo computador e é a               saída, assumindo que o sistema comprado
especificação que o fabricante deve           satisfaz estas especificações. Vários
estabelecer claramente. Assim, um ciclo do    sistemas podem ser adequados às
computador de 1,76 µs é o tempo total         especificações. Escolher o que melhor
requerido para que este computador faça       atende determinada aplicação deve se
toda sua rotina (obter a próxima instrução,   basear em outros critérios, que incluem
levar os dados para os vários                 mas não se limitam a
equipamentos funcionais, verificar a              1. custo de aquisição e de
interrupção de prioridade) mais o tempo               propriedade,
necessário para executar uma instrução            2. facilidade de programação,
básica do computador de um ciclo. Alguma          3. suporte de backup,
instrução mais complexa do computador             4. estabilidade econômica do
pode requerer mais de um ciclo para sua               fabricante,
execução. A transferência de dados entre          5. opções extras e
o computador e seus periféricos                   6. periféricos disponíveis,
tipicamente requer vários ciclos de               7. limitações de memória e
máquina para sua execução.                        8. limitações de endereçamento
                                                      entrada/saída.
                                                   


                                               ApostilasAutomação    Automação.doc   14 ABR 01 (Substitui 29 MAR 99)




                                                                                                                        8.32
9
      Controlador Lógico Programável
                                                lógico programável essencialmente
Objetivos de Ensino                             executa as linhas e equipamentos dos
1. Definir o conceito de controlador lógico     diagramas ladder. O controlador lógico
   programável.                                 programável pode ser operado do lado
2. Descrever a historia do aparecimento e       da entrada por dispositivos liga-desliga
   evolução do CLP.                             ou por equipamentos de entrada
3. Mostrar as características básicas.          variáveis e opera qualquer dispositivo de
4. Comparar o CLP com outros sistemas.          saída que deva ser ligado e desligado ou
5. Mostrar os tipos e tamanhos dos CLP 's
                                                qualquer sistema com saídas variáveis.
6. Justificar o uso do CLP.
7. Selecionar      o    CLP,    considerando    1.2. Terminologia
   ambiente, linguagem de programação e
   manutenção.                                     Há vários termos e abreviaturas para
                                                descrever o controlador programável:
1. Introdução                                      PC - programmable controller (UK),
                                                   PLC - programmable logic controller
1.1. Definição                                  (EUA)
    Controlador lógico programável é               PBS - sistema binário programável
                                                (Suécia)
definido pelo International
Electrotechnical Commission (IEC) como             CP - controlador programável
                                                (Portugal)
o:
    sistema eletrônico operando digitalmente,      CLP - controlador lógico programável
projetado para uso em um ambiente               (Brasil)
industrial, que usa uma memória programável        No presente trabalho será usado o
para a armazenagem interna de instruções        termo CLP para o Controlador Lógico
orientadas para o usuário para implementar      Programável.
funções especificas, tais como lógica,
seqüencial, temporização, contagem e            1.3. Histórico
aritmética, para controlar, através de             O primeiro controlador totalmente
entradas e saídas digitais ou analógicas,
                                                programável foi desenvolvido em 1969
vários tipos de máquinas ou processos. O
controlador programável e seus periféricos
                                                por uma firma de engenharia, Bedford
associados são projetados para serem            Associates, depois chamada de Modicon.
facilmente integráveis em um sistema de         O primeiro controlador programável foi
controle industrial e facilmente usados em      projetado como um sistema de controle a
todas suas funções previstas.                   computador dedicado construído
   Numa linguagem mais simples,                 especialmente para atender as
controlador lógico programável é um             especificações de um edital da General
computador eletrônico amigável ao               Motors Hydramatic Division, com as
usuário que executa funções de controle         seguintes características:
de vários tipos e níveis de complexidade.          1. Facilidade de programação e
Ele pode ser programado, controlado e                  reprogramação, preferivelmente na
operado por uma pessoa que não sabe                    planta, para alterar sua seqüência
operar computador digital. O controlador               de operações,



                                                                                      9.1
Controlador Lógico Programável

   2. Facilidade de manutenção e               6. maior numero de funções de
        reparo, preferivelmente usando            controle de processo,
        módulos plug-in,                       7. estações de operação mais
   3. Confiabilidade, mesmo em                    amigáveis.
        ambiente industrial                    8. integração dos dados de processo
   4. Menor tamanho que o sistema                 do CLP em bancos de dados
        equivalente em relés,                     gerenciais, permitindo a
   5. Competitivo em custo com painéis            apresentação imediata de
        de relés e eletrônicos                    informação para o pessoal
        equivalentes.                             envolvido em planejamento,
   6. Aceitar as entradas em 115 V ca.            produção e organização.
   7. Ter saídas em 115 V ca com uma
        capacidade mínima de 2 A, para
        operar com válvulas solenóides e    Tab. 9.1. Desenvolvimento do CLP
        contatores.
   8. Ter possibilidade de expansões        Ano                Tipo de desenvolvimento
        com alterações mínimas no
        sistema como um todo.               1968    Desenvolvimento do controlador lógico programável
   9. Ter uma memória programável
                                            1969    CPU com instruções lógicas, 1 k de memória e 128
        com capacidade mínima de 4.000              E/S
        palavras, e que pudesse ser
        expandida.                          1974    Uso de vários processadores dentro do CLP,
    Os primeiros CLPs eram                          contadores e temporizadores, operações
equipamentos grandes e relativamente                aritméticas, 12 k de memória e 1024 pontos E/S
caros, de forma que só eram                 1976    Introdução de sistemas de E/S remotos
considerados competitivos para              1977    Introdução de CLP baseado em microprocessador
aplicações que eqüivalessem a pelo
menos 150 relés. Mas com melhorias de       1980    Desenvolvimento de módulos E/S inteligentes
projeto e o uso de circuitos integrados,            Melhoria nas facilidades de comunicações
atualmente pode-se usar CLP para
                                                    Melhoria nas características de programação
circuitos equivalentes a até 15 relés.
                                                    Uso de PC como auxilio de programação
1.4. Evolução
                                            1983    Uso de pequenos computadores pessoais de baixo
    Cada geração de CLP tem                         custo
incorporado novas características de
                                                    Uso de memórias não voláteis NVRAM
projeto, incluindo maiores velocidades e
maior capacidade lógica, tornando o CLP     1985    Circuitos de todos os níveis do CLP, computador e
cada vez mais competitivo com outros                máquina de conformidade com as normas GM MAP
sistemas digitais de controle. A faixa de           Controle hierárquico distribuído de processo
CLP atualmente estende de pequenas
unidades integrais com 20 pontos de E/S             Redes Ópticas
e 500 passos de programas até sistemas      1990    Sistemas pequenos (shoe box)
complexos com módulos que podem ser                 Sistemas para competir com ou substituir SDCD
adicionados e atualizados com o mínimo
de custo e perturbação da operação.
    A tendência atual é a de usar
   1. mais módulos microprocessados
       (chamados incorretamente de
       inteligentes),
   2. operações mais rápidas,
   3. maiores memórias,
   4. mais funções do tipo computador,
   5. melhores sistemas de
       comunicação,



                                                                                               9.2
Controlador Lógico Programável

                                          tomariam conta rapidamente do mercado
2. Comparação com outros                  até então dominado pelos relés. A lógica
                                          fixa com circuitos eletrônicos tem as
sistemas                                  seguintes vantagens sobre os relés,
    O CLP compete com sistemas de             1. alta confiabilidade,
relés, sistemas digitais lógicos e            2. alta velocidade e
computadores em aplicações de controle,       3. a capacidade de executar
monitoração e intertravamento de                 operações complexas.
processos industriais.                        Com relação aos relés, apresenta as
    Quando comparados, o CLP é            seguintes desvantagens:
escolhido como a melhor opção,                1. maior custo
considerando-se todos os parâmetros,          2. uso de algum tipo de álgebra
exceto a velocidade de operação e                booleana no projeto, desconhecida
imunidade a ruídos elétricos. O sistema          para os eletricistas
mais rápido é com lógica digital e o          3. sensibilidade à interferência e
sistema menos suscetível a ruído é com           ruídos elétricos originários das
relés. Para manipular funções                    próprias instalações industriais.
complexas, o computador convencional é        4. dificuldade de manutenção e
ainda melhor que um grande CLP                   reparo, pois o pessoal de
equipado com cartões com funções                 manutenção não tinha experiência
especiais, mas somente em termos de              com componentes de estado
criação das funções e não no uso delas.          sólido,
Quando o CLP já tem a função, ele é           5. baixo grau de confiabilidade dos
melhor que o computador convencional,            dispositivos de entrada,
pois ele é um sistema com                        especialmente das chaves de fim
multiprocessador.                                de curso, comprometia seriamente
    O CLP possui características de              a confiabilidade global do sistema,
programação que o tornam mais atraente           ainda que o sistema lógico
como controlador do que vários outros            propriamente dito fosse bastante
equipamentos industriais:                        confiável.
   1. facilidade e flexibilidade para         6. pouca flexibilidade, pois os
       alterar os programas lógicos. O           sistemas de estado sólido ainda
       mesmo CLP é reprogramado e                estavam presos às limitações das
       continua a operar com lógica              fiações, o que tornava difícil
       diferente.                                modificar a lógica, da mesma
   2. facilidade de programação com a            forma que nos sistemas de relés.
       lógica do diagrama ladder do           Com os aperfeiçoamentos que foram
       usuário após a fiação ter sido     surgindo, os problemas com sistemas de
       completada porque o programa       estado sólido com lógica fixa foram
       não depende tanto da fiação.       superados e, embora tenham encontrado
   3. o programa lógico pode ser          algumas aplicações especificas (por
       armazenado em disquete para a      exemplo, em sistemas complexos onde o
       inserção direta em vários outros   uso de lógica de relés é difícil), afetaram
       sistemas ou em um sistema          pouco a posição dos relés no mercado de
       reserva (back up).                 lógica. Recentemente, vários fabricantes
   4. no caso de defeito, as lâmpadas     lançaram módulos lógicos de estado
       de status no CLP informam ao       sólido que usam lógica do tipo ladder, o
       operador que parte do sistema      que dá condições ao projetista de
       está defeituosa.                   desenvolver sistemas de forma
                                          semelhante àqueles que usavam relés
2.1. Lógica Fixa Eletrônica
                                          eletromecânicos.
    Quando surgiram os primeiros
módulos lógicos a estado sólido
(transistores), na primeira metade da
década de 1960, previu-se que eles


                                                                                 9.3
Controlador Lógico Programável

2.2. Lógica com Relés                        Operação em Tempo Real
    Durante muito tempo, a única lógica         O CLP é projetado para operar em
aceitável para intertravamentos              um ambiente de controle em tempo real.
envolvendo vidas humanas era com             Ele possui um relógio interno (clocks) e
relés. Os relés são fiados segundo           timer de watch-dog embutidos em sua
diagramas lógicos. As vantagens da           operação para garantir que algumas
lógica com reles são:                        operações funcionais não mandem a
   1. transparência do seu                   CPU às favas. As tarefas da CPU são
       funcionamento; quando um relé            1. varrer os módulos E/S para status,
       atua, é visível sua atuação;             2. tomar decisões de controle
   2. imunidade a ruídos elétricos e                seqüencial definidas no programa,
       interferências eletromagnéticas          3. implementar estas decisões e
   3. simplicidade de entendimento,             4. repetir este procedimento todo
       fiação e manutenção (em sistemas             dentro do tempo de varredura.
       pequenos)                             Considerações Ambientais
    As dificuldades da lógica com relés se       O CLP é projetado para operar
referem a                                    próximo do equipamento que ele vai
   1. complexidade da fiação e sua           controlar. Isto significa que ele deve
       verificação em sistemas grandes e     funcionar em um ambiente industrial
       complexos,                            quente, úmido, sujo, barulhento e
   2. pouca flexibilidade para               poeirento. A faixa de temperatura típica
       mudanças: qualquer modificação
       na lógica dos relés implica em        varia de 0 a 60 oC com umidade relativa
       refazer tudo: desenhos, fiação e      tolerável de 0 a 95% não condensante.
       testes.                               Ele deve ter imunidade ao ruído elétrico
   3. ocupação de grande volume físico.      comparável com a requerida em
                                             especificações militares.




Fig. 9.1. Relés eletromecânicos
                                             Fig. 9.2. Diagrama de blocos de computador
2.3. Computador Pessoal
   Todo CLP é um computador mas nem
todo computador pode funcionar como
CLP. Os pontos que distinguem um CLP
de um computador são:
   1. operação de tempo real/orientação
   2. classificação mecânica do
      invólucro
   3. linguagem e técnicas de
      programação                            Fig. 9.3. Diagrama de blocos de um PLC
   4. manutenção e troubleshooting




                                                                                          9.4
Controlador Lógico Programável

Linguagens de Programação                                 Manutenção
     As linguagens do CLP são projetadas                      Como controlador de chão de fábrica,
para emular o formato do diagrama                         o CLP deve ser mantido por
ladder a relé. Este formato é lido e                      instrumentista. Seria impraticável
entendido por todo técnico eletricista de                 requerer serviço de manutenção do tipo
manutenção. Diferente da programação                      computador. Por isso, os fabricantes
de computador, a do CLP não requer                        incorporam ao CLP autodiagnose para
treinamento especial. O conhecimento da                   permitir uma fácil pesquisa de defeito e
aplicação é muito mais importante que o                   reparo de problemas. Muitos dos
do equipamento e sua programação.                         componentes do CLP são modulares e
Embora certas técnicas especiais sejam                    simples de serem isolados. Geralmente a
importantes para a eficiência da                          diagnose consiste na remoção e
programação, elas são facilmente                          substituição de módulos do tipo plug in.
entendidas. O objetivo principal é
                                                          Conclusão
executar o programa de controle.
     Outra diferença entre computador e                       O CLP e o computador não são
CLP é a operação seqüencial do CLP. As                    intercambiáveis; na verdade, eles se
operações do programa são executadas                      complementam. O CLP e o computador
pelo CLP na ordem que elas foram                          podem ser combinados em um sistema
programadas. Esta característica é muito                  de controle de forma a se utilizar as
útil pois permite a programação fácil de                  melhores capacidades de cada um.
registros de shift, contadores, timers e                      O CLP se encarrega de
outras técnicas úteis de indexação para                      1. interfacear equipamentos externos
aplicações de controle de tempo real.                            acionados por tensão alta, da
     A estrutura do programa de um CLP                           ordem de 120 V ca.
requer a execução seqüencial de tarefas                      2. interfacear equipamentos externos
com uma varredura, começando da                                  discretos de entrada, como chaves
tarefa 1 e indo até a tarefa 4 e retornando                      e botoeiras
novamente á tarefa 1. A estrutura do                         3. executar a lógica de
programa do computador pessoal (PC), a                           intertravamento do processo.
execução da tarefa é feita em qualquer                        Os computadores têm algumas
ordem.                                                    capacidades que são difíceis de
                                                          reproduzir em CLP. Assim, o computador
                                                          se encarrega de
       Início                   Início                       1. lidar com tipos especiais de
                                                                 controle e matemática.
      Tarefa                     Ocorre    Não               2. carregar e descarregar os
                                 evento
        1                                                        programas do CLP ou os dados de
                                                                 produção e processo
      Tarefa                     Classi-
        2                        fica                        3. gerar a documentação necessária
                                                                 para melhorar a produtividade,
      Tarefa                                                     emitindo relatórios de produção,
        3         T         Tarefa    Tarefa     Tarefa
                              2         3          4             por exemplo
                      f 1
      Tarefa                                                 4. executar as funções de controle
        4                                                        analógico
                                                              A comunicação entre o CLP e o
                                                          computador se dá através de interfaces
Fig. 9.4. Estrutura de programa do PLC (A) e PC           em série ou em paralelo. O CLP. Em
(B)                                                       sistemas de grande porte, é possível se
                                                          interfacear diversos CLPs a um
                                                          computador central através de uma via
                                                          de dados (data highway).




                                                                                               9.5
Controlador Lógico Programável

                                             especialmente evidente no controle de
2.4. Vantagens do CLP                        processos batelada. As seqüências
    A operação do CLP envolve                inteiras de partida e parada podem ser
   1. o exame dos sinais de entrada do       executadas pela lógica do seqüenciador
       processo,                             e o controle analógico pode ser
   2. a execução das instruções lógicas      executado durante a corrida do processo.
       destes sinais de entrada conforme     O controle dos parâmetros críticos de
       programa armazenado em sua            partida, como pressão e temperatura,
       memória                               pode ser preprogramado com precisão
   3. a produção de sinais de saída para     para cada passo da partida. Os degraus
       acionar equipamentos de processo      de temperatura e os cálculos para
       ou máquinas.                          controle preditivo antecipatório podem
    As interfaces padrão de                  ser facilmente programados.
entrada/saída, embutidas no CLP,             Capacidade e Expansão
permitem que eles sejam ligados
diretamente a sensores e atuadores de             Quando um processo amadurece, é
processo, sem a necessidade de circuitos     inevitável que sejam adicionadas
intermediários ou relés. O sistema de        melhorias, que requerem mais entradas e
controle pode ser modificado sem a           saídas. Para sistemas de relé com fiação
necessidade de desligar ou refazer a         física, isto geralmente necessita de
fiação. Apenas se muda o programa de         grandes e problemáticas mudanças no
controle através de um teclado ou um         painel. Um CLP facilmente acomoda a
terminal de programação. O CLP também        adição de E/S sem requerer mudanças
requer menor tempo de instalação e de        na fiação existente. Os novos pontos são
comissionamento do que os sistemas           simplesmente colocados no sistema.
com fiação física.                           Quando se quer adicionar uma ou duas
    O CLP representa um produto              malhas PID, nenhum trabalho adicional
acabado e testado. Ele possui a              no painel é requerido; somente a ficção
capacidade de controlar qualquer coisa,      dos novos pontos e um pouco de
desde a lógica ladder de relé até malhas     reprogramação para incorporá-las.
fechadas de controle de sistemas             Quando o CLP usado já está saturado,
distribuídos. Porque então escolher o        pode ser necessário colocar novos
CLP em vez de um sistema                     módulos de E/S. Recomenda-se que o
convencional?                                dimensionamento do sistema permita
    As principais vantagens do CLP em        uma expansão de 20%.
relação à lógica eletrônica fixa, relé e          Outra vantagem do CLP é que ele
computador digital são as seguintes:         permite a implementação gradual do
                                             projeto. Os sistemas podem ser
Flexibilidade                                convertidos para o CLP em linha. A
    No passado, cada máquina de              habilidade de o CLP ser reprogramado
produção controlada eletronicamente          com o processo operando permite a
requeria seu próprio controlador             automação de processos que são muito
dedicado: 10 máquinas requeriam 10           caros para serem desligados. Esta
controladores diferentes. Hoje, é possível   técnica é valiosa para projetos novos e
usar apenas um CLP para controlar todas      reformas de processos existentes.
as máquinas. Cada uma das máquinas           Facilidade de Alterações e Correções
sob o controle do CLP tem seu programa
próprio.                                          Com um painel de relés com fiação
    A capacidade multifuncional de um        física, qualquer alteração do programa
CLP permite a tomada de decisão da           requer tempo para refazer a fiação dos
lógica de controle, uma versatilidade        painéis e equipamentos. Quando se tem
raramente possível com outros sistemas.      uma alteração na seqüência ou circuito
A habilidade de combinar lógica discreta     do programa de um CLP, o programa
e analógica é uma ferramenta poderosa        pode ser alterado de um teclado, em
para o controle de processo. Isto é          questão de minutos. Não é necessário



                                                                                  9.6
Controlador Lógico Programável

refazer a fiação do sistema controlado      testado, observado e modificado se
pelo CLP. Também, para corrigir erros de    necessário, economizando muito tempo.
programação, a alteração pode ser feita     Em contraste, os sistemas convencionais
rapidamente pelo teclado.                   com relés só podem ser testados no chão
                                            de fabrica, consumindo muito tempo.
Quantidade de Contatos
    O CLP tem um grande número de           Observação Visual
contatos para cada bobina disponível em         A operação de um circuito de CLP
seu programa. Quando for necessário         pode ser visto durante a operação
aumentar o número de contatos, não se       diretamente através de um monitor de
requer a colocação de nenhum relé           vídeo. A operação correta ou incorreta do
adicional; o número de contatos é           circuito pode ser observada quando
aumentado também através do teclado. A      acontece. Os caminhos lógicos acendem
limitação de contatos é estabelecida        na tela quando são energizados. O
apenas pelo tamanho da memória do           troubleshooting pode ser feito
CLP.                                        rapidamente durante a observação
                                            visual.
Baixo Custo
                                                Em sistemas avançados de CLP,
    Como o CLP foi projetado e              podem ser programadas mensagens de
construído para substituir relés, que são   erros para o operador. A descrição do
baratos, historicamente o CLP é barato,     erro aparece na tela quando o erro for
quando comparado com sistemas digitais      detectado pela lógica do CLP. Os
de controle distribuído. O CLP é            sistemas avançados de CLP podem
relativamente barato e fornece um menor     também ter descrições da função de
custo por malha de controle ou por ponto    cada componente do circuito.
de multiplexação de sinais analógicos e
digitais. O CLP pode agir como um           Velocidade de Operação
seqüenciador, controlador de malha              Os relés eletromecânicos podem
fechada, equipamento de aquisição de        levar um tempo inaceitável para atuar. A
dados e multiplexador. Esta capacidade      velocidade operacional para o programa
multifuncional, se aplicada com             de CLP é muito alta. A velocidade para a
imaginação, permite ao usuário do CLP       operação lógica do CLP é determinada
economizar equipamento.                     pelo tempo de varredura, que é da ordem
    A melhoria da tecnologia permite        de milissegundos.
compactar mais funções em circuitos
                                            Facilidade de Especificação
cada vez menores e mais baratos. Na
década de 1990, pode-se comprar um              Um CLP é um equipamento com uma
CLP com numerosos contatos, relés,          data de entrega. Quando o CLP chega,
temporizadores, seqüenciadores,             todos os contadores, relés e outros
contadores e outras funções por baixo       componentes também chegam. Quando
custo (algumas centenas de dólares).        se projeta um painel de relés, pode-se ter
    O custo de propriedade do CLP, que      diferentes relés de diferentes
inclui os custos de manutenção,             fornecedores. A compra de todos os
operação, treinamento, confiabilidade e     equipamentos envolve várias datas de
disponibilidade também é menor, quando      entrega e disponibilidades. Com um CLP,
comparado com os outros sistemas. Os        tem-se um produto e um tempo
equipamentos a estado sólido são mais       programado de entrega. No sistema de
confiáveis que os relés e temporizadores    relê, o esquecimento de compra de um
mecânicos ou elétricos. O CLP é feito de    componente pode significar o atraso da
componentes eletrônicos a estado sólido     partida de todo o sistema de controle.
com altíssima confiabilidade.               Com o CLP, um relé adicional é sempre
                                            disponível, desde que o CLP tenha uma
Funcionamento Piloto                        capacidade computacional bem
    Um circuito programado de CLP pode      dimensionada no projeto.
ser rodado e avaliado no escritório ou na
oficina. O programa pode ser batido,


                                                                                  9.7
Controlador Lógico Programável

Documentação
                                           Operação de Falha Segura
    A impressão do circuito final e
                                               Em sistemas de relé, uma botoeira de
verdadeiro do circuito do CLP é
                                           parada desliga eletricamente o circuito.
disponível em minutos, quando
                                           Se há falta de energia, o sistema para. O
necessário. Não há necessidade de
                                           sistema de relé não religa
procurar diagramas do circuito em
                                           automaticamente quando a energia volta.
arquivos remotos. O CLP imprime o
                                           Obviamente, estas opções podem ser
circuito real em operação assim que
                                           programadas no CLP, porém, em alguns
solicitado no teclado.
                                           programas de CLP, pode ser necessário
2.5. Desvantagens do CLP                   aplicar uma tensão de entrada para fazer
                                           um equipamento parar. Estes sistemas
    As principais desvantagens,
                                           não têm falha segura (fail-safe). Esta
restrições e limitações do CLP são as
                                           limitação pode ser superada adicionando-
seguintes:
                                           se relés de segurança ao sistema de
Nova Tecnologia                            CLP.
    É difícil mudar as mentes e os         2.6. CLP versus SDCD
corações de algumas pessoas que estão
acostumadas a trabalhar e lidar com             A interface de operador do sistema de
relés e diagramas ladder para uma          controle supervisório e aquisição de
tecnologia digital de CLP.                 dados (SCADA) levou o controlador
                                           lógico programável (CLP) a áreas onde
Aplicações de Programas Fixos              ele pode competir com igualdade com os
    Algumas aplicações são de uma          sistema digital de controle distribuído
única função. Talvez não valha a pena      (SDCD). Com, o engenheiro de
usar um CLP que tem a capacidade de        instrumentação deve decidir qual o
programação múltipla, quando esta          melhor sistema para determinada
capacidade não é necessária. Um            aplicação. Escolher entre sistemas de
exemplo, é o uso de seqüenciadores ou      controle com funcionalidades similares
controladores mecânicos, a cilindro        pode ser subjetivo, confuso, demorado e
(drum). Tais equipamentos mecânicos        desgastante.
são baratos e limitados, mas se                 Na escolha entram parâmetros
encaixam bem em aplicação limitada,        mandatórios e desejáveis. Os parâmetros
onde a seqüência operacional nunca é       mandatórios decidem quem pode entrar
alterada.                                  no jogo e os parâmetros desejáveis
    Se o circuito em operação nunca é      determinam quem ganha o jogo.
alterado, um sistema de controle fixo           Um modo de fazer decisão é listar os
pode ser a solução mais econômica que      parâmetros mandatórios e desejáveis,
um CLP. O CLP é mais efetivo quando        atribuir pesos a eles (e.g., de 1 a 10) e a
são feitas modificações periódicas na      partir daí, pode se ter um método
operação                                   eficiente, objetivo, quantificável e fácil de
Considerações Ambientais                   ser justificado de escolher o melhor
                                           sistema.
    O CLP é um computador digital para          Os critérios envolvem custo de
uso industrial muito mais confiável e      propriedade, desempenho, flexibilidade,
robusto que um computador de escritório.   utilidades e facilidades associadas ao
Mesmo assim, há certos ambientes           sistema.
industriais, com alta temperatura e
vibração, que podem interferir com os      Custo
seus circuitos eletrônicos.                    Não se deve restringir a análise do
                                           custo apenas do equipamento comprado
                                           inicialmente. Em um sistema digital, os
                                           custos estão associados a
                                               1. hardware
                                               2. software



                                                                                    9.8
Controlador Lógico Programável

   3. engenharia                               Os circuitos de SDCD são projetados
   4. projeto                              para oferecer alta disponibilidade e
   5. instalação                           redundância total do sistema
   6. comissionamento                      (redundância de I/O, CPU, elos de
   7. partida                              comunicação, fonte de alimentação), sem
   8. validação                            falha de ponto isolado. O acoplamento
   9. documentação                         seguro entre a interface homem máquina,
   10. operação                            controladores e software permitem
   11. treinamento                         grande segurança e integridade da
   12. peças de reposição                  operação conjunta do sistema. Porém, os
   13. manutenção                          CLPs também podem oferecer estas
   14. calibração                          mesmas redundâncias e garantias de
   15. contrato de serviço pós venda       operação, mas também com custo
   16. paradas pelo mau funcionamento      elevado.
       do sistema de controle                  Os sistemas com CLP e SDCD
   17. atualizações futuras                possuem praticamente a mesma
   18. ciclo de vida útil do sistema       capacidade para diagnóstico, verificando
    Os custos iniciais com hardware e      a operação de sistema de comunicação,
software são invariavelmente menores       módulos I/O, carga CPU.
para o CLP que o SDCD. Porém, em
                                           Conectividade
sistemas muito grandes e complexos,
que requer grande integração e                 Uma das palavras chave na escolha
codificação do usuário, os custos dos      de um sistema digital é a conectividade
softwares do CLP também sobem.             ou a capacidade dos módulos do sistema
                                           se comunicarem entre si e a do sistema
Desempenho                                 se comunicar com outros sistemas
    No parâmetro desempenho do             digitais. Os protocolos de comunicação
sistema entra a funcionalidade que pode    devem ser abertos, ou seja, não são
ser desdobrada em                          proprietários de um fabricante. Aberto
   1. confiabilidade                       significa que as interfaces de
   2. disponibilidade                      comunicação são padrão e facilmente
   3. flexibilidade                        disponíveis de vários fornecedores.
   4. mantenabilidade                      Aberto também significa facilidade de
   5. capacidade de se expandir            conectividade entre os sistemas
   6. modularidade                         industriais e corporativos.
   7. escalabilidade                           O CLP é usado predominantemente
   8. configurabilidade do sistema         como automação embutida por firmas
    Também está associado ao               integradoras por causa de sua aplicação
desempenho do sistema a                    ideal e baixo custo de hardware. Muitas
   9. facilidade de configuração da base   operações de máquinas pequenas não
       de dados,                           podem suportar uma solução com SDCD.
   10. desenvolvimento gráfico,            É muito comum integrar vários CLPs
   11. intertravamentos,                   usando software aplicativo de outros
   12. gerenciamento de receitas,          fabricantes (InTouch, FixDMax, Wizcom).
   13. sequenciamento de bateladas
                                           Tamanho
       multiproduto
    Em grandes processos batelada que          Tamanho físico do sistema
requerem múltiplos produtos finais e           Espaço disponível
gerenciamento de receita, o desempenho         Utilidades de suporte
do SDCD é superior ao do CLP. Em               Considerações de atualização
produção pequena, dedicada a bateladas     (retrofit)
simples, com receitas limitadas, onde o    Estratégia da configuração
gerenciamento de batelada não é crítico,      Estação de operação com consoles
o CLP é mais adequado e barato.            centralizados ou distribuídos



                                                                                9.9
Controlador Lógico Programável

   Interfaces I/O remotas ou                 desliga. A interface homem máquina é
centralizadas                                pobre, contendo apenas botoeiras,
                                             chaves seletoras e anunciador de alarme.
Pacotes de software
                                                 O SDCD foi uma evolução natural da
    Sistema suporta softwares aplicativos    instrumentação, onde as funções dos
já disponíveis                               instrumentos (condicionamento de sinal,
    Sistema operacional ou plataforma        controle e display) foram distribuídas
para rodas aplicativos: Unix, Windows        geograficamente. O SDCD substitui
NT.                                          instrumentos analógicos, para aplicações
    Integração com aplicações de alto        de controle contínuo PID. A interface
nível, tais como                             homem máquina é poderosa, com
♦ sistema de visão                           consoles com monitores de vídeo,
♦ veículos guiados automaticamente           teclados, mouses e trackball.
♦ sistema de gerenciamento de                    Com estas características, o CLP era
    informação de laboratório                usado para aplicações com muita lógica,
♦ planejamento de requisição de              intertravamento e seqüencial e o SDCD
    materiais                                era usado para o controle PID do
♦ equipamento OEM                            processo contínuo. O SDCD fazia o
♦ instrumentação de campo inteligente        controle regulatório do processo e o CLP
    O sistema com SDCD fornece o             fazia o controle de alarme e
hardware e software bem acoplados.           intertravamento do processo.
Eles também oferecem uma base de                 Porém, com as compras de firmas
dados global de todo sistema, unificada e    pequenas, os grandes fabricantes de
uma comunicação ponto a ponto                SDCD começaram a incorporar
superior. O sistema de gerenciamento de      atividades de controle liga desliga no
dados fornece uma troca e acesso de          seus sistemas, com funcionalidade de
dados para a operação do sistema. As         lógica ladder de relé, blocos de função e
expansões e modificações do sistema          programação de texto estruturado, que
são fáceis, mas devem ser feitas pelo        eram feitas tradicionalmente por CLP. Os
fabricante. Por causa de sua                 sistemas de CLP também incorporaram o
configuração, o CLP requer um aplicativo     bloco PID em sua configuração e usando
supervisório, de outra firma, para ter uma   a estação de operação de um CP, roda
funcionalidade equivalente à do SDCD.        aplicativos de controle supervisório.
Modificações no sistema geralmente               Tecnicamente, um CLP pode fazer
requer modificações no CLP e no              tudo o que o SDCD pode fazer. O que o
programa supervisório.                       usuário deve decidir é como facilmente e
                                             quanto custa para cada sistema
Suporte técnico pós venda
                                             satisfazer as exigências do sistema de
  Responsabilidade do                        controle, como definido na cotação.
  ♦       Usuário                                A demanda e a tendência atual para
  ♦       Fornecedor do sistema              sistemas e informação abertos continuam
  ♦       Integrador                         a crescer. Os usuários estão cansados
Conformidade com normas                      das restrições impostas pelos fabricantes
                                             com relação a protocolos de
   Se sistema está de conformidade com       comunicação, hardware e software. Os
normas:                                      fabricantes atenderam a chamada para
♦ ISA/ANSI S88.1                             desenvolver produtos baratos baseados
♦ NAMUR NE 33                                em tecnologias já comercialmente
Conclusão                                    disponíveis. A necessidade de mais
                                             comunicação aberta entre sistemas, em
    Historicamente, o CLP foi
                                             todos os níveis, tem sido dirigida pelo
desenvolvido para substituir sistemas
                                             usuário e é um pré-requisito para
com relés eletromecânicos, aplicados
                                             proteger os investimentos de capital e
para fazer controle de processos
                                             reduzir os custos do projeto.
discretos, com muita operação de liga e



                                                                                 9.10
Controlador Lógico Programável
            1970 – Funcionalidades divergentes
                                                           Atualmente, no mundo globalizado,
                                                       há uma disputa para se escolher um
        CLP                                SDCD        único protocolo de comunicação de
                                                       campo, onde predominam duas
                        abismo                         tecnologias: Fieldbus Foundation e
       Aplicações                        Aplicações    Profibus. Esta normalização irá
       em controle                       em controle   complementar a tendência futura de levar
       discreto                          contínuo      a inteligência do sistema para os
                                                       instrumentos de campo (transmissores e
                                                       válvulas), aliviando a capacidade de
                                                       processamento dos CLPs e SDCDs.
        1980 – Funcionalidades comuns
                                                       3. Componentes do CLP
                  CLP         SDCD                         O CLP é um computador com
                                                       propósito específico com três áreas
                     Espaço                            funcionais:
Ap                               Apli                      1. unidade de processamento central
     icações em                                            2. memória
                                   õ           t l
                                                           3. módulos de entrada e de saída
          1990 – Funcionalidades superpostas               Todas estas áreas são alimentadas
                                                       por uma ou várias fontes de alimentação.
                                                           Para funcionar conforme programado,
          CLP                           SDCD           o CLP deve carregar o programa de
                                                       instruções de um terminal externo. A
                                                       unidade separada de programação para
                      Espaço                           carregar os programas de controle para a
Aplicações em                     Aplicações em        memória do CLP fica fora da sua
controle                          controle             operação.
                                                           As condições de entrada para o CLP
     2000 – Funcionalidades convergentes               são recebidas do mundo externo e
                                                       armazenadas na memória, onde o CLP
                      CLP/                             executa as instruções lógicas
                                                       programadas nestes módulos de entrada.
                      SDCD                             As condições de saída são geradas para
                                                       acionar os equipamentos associados. A
 Aplicações em                     Aplicações em       ação tomada depende totalmente do
 controle                          controle            programa de controle mantido na
                                                       memória do CLP.
                                                           No CLP pequeno estas funções são
     Fig. 9.5. Comparação entre CLP e SDCD             feitas por cartões de circuito impresso
                                                       individuais dentro de uma única unidade
         A superposição e mistura de                   compacta. No CLP grande, construído
     aplicações com CLP e SDCD continuarão             em base modular, os módulos funcionais
     a acontecer. Grandes sistemas com CLP             são colocados nos conectores do armário
     e SDCD funcionarão como um sistema                de montagem, permitindo que o sistema
     unificado de controle com baixos custos           seja expandido, quando necessário. Os
     de hardware e software. Aplicações                cartões de circuito individuais do tipo plug
     usando somente CP irão crescer muito,             in, sendo facilmente removidos e
     por causa das nova tecnologia de ligar e          substituídos, possibilitando o reparo
     embutir objeto (OLE – Object Linking and          rápido do sistema quando há falhas.
     Embedding). Os usuários poderão
     integrar facilmente hardware e software
     usando normas novas, como a OPC –
     OLE para controle de processo.


                                                                                              9.11
Controlador Lógico Programável

                                               Há uma correlação entre o tamanho
                Terminal programação
                                           do sistema e o tamanho da memória
                                           interna necessária para rodar o processo.
           E                               Controlar pequeno sistema simples
           N                 Me        S   requer somente um pequeno CLP com
           T                 mó        A   uma memória limitada; controlar um
           R     CPU          ria      Í
                                           grande sistema complexo requer uma
           A                           D
                                           unidade maior com mais memória e
           D                           A
                                           funções. Algumas CPUs podem ter
                                           memória expansível; outras são fixas.
                Fonte de Alimentação           Praticamente, todos os CLPs
                                           modernos são baseados em
                                           microprocessador usando um
Fig. 2.6. Diagrama de blocos do CLP        microcomputador como a CPU do
                                           sistema. Alguns CLPs maiores também
                                           empregam microprocessadores
3.1. CPU - Unidade Processamento           adicionais para controlar funções
Central                                    complexas e demoradas, como
                                           processamento matemático, controle PID
    A Unidade de processamento central     e módulos E/S inteligentes.
(CPU) é o coração ou o cérebro do              A CPU contem vários receptáculos
sistema do CLP. A CPU controla e           para conectar os cabos que vão para
supervisiona todas as operações dentro     outras unidades do CLP. Estes cabos
do CLP, executando as instruções           devem ser ligados corretamente para o
programadas armazenadas na memória.        sistema funcionar.
Uma via de dados interna de                    A maioria das CPUs contém baterias
comunicações transporta as informações     de back up para manter o programa
entre a CPU, memória e unidades E/S,       operando na memória no caso da falta de
sob o controle da CPU. A CPU é             energia da planta. O tempo de back up
alimentada com uma freqüência de clock     retentivo típico é de um mês a um ano. O
por um cristal externo de quartzo ou       programa de operação básico está
oscilador RC, tipicamente entre 1 e 12     permanentemente armazenado na CPU e
MHz, dependendo do microprocessador        não é perdido quando falta energia.
usado e da aplicação. O clock determina    Porém, o programa ladder de controle de
a velocidade de operação do CLP e          processo não está armazenado
fornece o sincronismo para todos os        permanentemente. A bateria de backup
elementos no sistema.                      permite a CPU reter o programa ladder
                                           de operação no caso de perda de
                                           energia. Apenas o programa de operação
                                           pode ser perdido ou apagado quando a
                                           alimentação da CPU do CLP é perdida.
                                               A CPU geralmente possui uma chave
                                           para evitar a intervenção de pessoa não
                                           autorizada na operação do processo ou a
                                           alteração do programa de operação do
                                           sistema. As posições típicas desta chave
                                           são:
                                              1. Off - o sistema não pode ser
                                                  rodado ou programado.
                                              2. Run - permite o sistema rodar,
                                                  mas não permite nenhuma
Fig. 9.7. Vista de um CLP (Modicon)
                                                  alteração no programa
                                              3. Disable - desliga todas as saídas
                                                  ou as coloca no estado sem
                                                  operação


                                                                               9.12
Controlador Lógico Programável

  4. Monitor - liga a tela que mostra as
      informações de operação
  5. Run/Program - o sistema pode
                                                                 Interface
      rodar e podem ser feitas                               de Entrada
      modificações nele enquanto ele
      estiver rodando. Este modo deve
      ser usado com cuidado. Neste
                                               Unidade                              Interface
      modo, o programa não pode ser        Programação              C           de Saída
      completamente apagado (por                               PU
      segurança) mas pode somente ser
      modificado. Para apagar um                                 Interface
      programa inteiro a chave deve             Progr        de Saída
      estar na posição disable.
  6. Off/Program ou Program - O
      sistema não pode rodar mas pode
      ser programado ou reprogramado.
   Alguns CLPs podem ter outras
chaves alem dessas.                          Fig. 9.8. Relações entre a CPU e partes do CLP
3.2. Memória
    O CLP moderno usa dispositivos de            Além de armazenar o programa, o
memória a semicondutor, para                 CLP requer a memória para outras
armazenar programas, como memória            funções, como:
RAM de leitura/escrita ou uma memória           1. armazenar temporariamente status
ROM programável de EPROM ou                         dos canais E/S - RAM E/S,
EEPROM.                                         2. armazenar temporariamente status
    Geralmente, a RAM é usada para o                de funções internas, como
desenvolvimento inicial e teste do                  temporizadores e contadores.
programa, pois ela permite alterações            Como estas funções consistem de
fáceis do programa. A tendência atual é      dados variáveis, é necessário o uso de
fornecer RAM com CMOS alimentada por         memória RAM.
bateria reserva recarregável ou de longa         O CLP menor geralmente possui um
vida (no mínimo, 1 ano), por causa do        tamanho fixo de memória, por causa das
baixíssimo consumo de potência ou            dimensões físicas da unidade. Esta
memórias retentivas especiais que            capacidade de memória varia entre 300 e
dispensam o uso de baterias.                 1000 instruções, dependendo do
    Depois que um programa é                 fabricante. Esta memória pode parecer
totalmente desenvolvido e testado, ele       insuficiente mas estima-se que 90% de
pode ser carregado chips de memória          todos as tarefas de controle binário
PROM ou EPROM, que são mais baratos          podem ser resolvidas usando menos de
que uma RAM. A programação da PROM           1000 instruções, de modo que há espaço
é usualmente feita com equipamento           suficiente para satisfazer as
especial, embora alguns CLPs tenham          necessidades da maioria dos usuários.
esta facilidade integral ao sistema,             O CLP maior usa módulos de
permitindo que o programa na RAM seja        memória entre 1K e 64K, permitindo que
carregado em um chip PROM colocado           o sistema seja expandido pela colocação
em um soquete dentro do sistema.             de cartões de memória RAM ou PROM
                                             no armário. Como os custos das
                                             memórias de circuito integrado (CI)
                                             continuam caindo, os fabricantes de CLP
                                             estão aumentando cada vez mais as
                                             memórias de programas em todos
                                             produtos.




                                                                                        9.13
Controlador Lógico Programável

                                             incluindo diagramas ladder, lista de
3.3. Unidades de Programação                 referência cruzada, lista de E/S. O
    Podem ser usados dois equipamentos       programador a CRT pode ter uma
básicos de programação do CLP:               tomada RS232C para uma impressora.
programador portátil e programador a             A tela do CRT tipicamente mostra 8
CRT.                                         degraus da escada do diagrama, com 11
    O programador portátil permite o         contatos através. Os diagramas ladder
operador entrar um programa um contato       podem ser colocados em um modo de
por vez. Estas unidades são muito            "tempo real", que permite o status de
usadas porque são robustas, portáteis e      contato visual. Uma tela inteira de
fáceis de operar. Elas são muito baratas     contatos e bobinas pode ser atualizada
e possibilitam o engenheiro entrar um        numa base de 40 ms. Estes
programa e diagnosticar problemas na         programadores são projetados para
lógica e nos equipamentos de campo.          serem portáteis, mas pesam de 20 a 27
    Um programador com CRT permite o         kg. Com uma ligação a modem estes
operador ter uma visão do programa no        CRTs podem ser usados em locais
CLP. Os diagramas ladder são                 remotos para programação e pesquisa de
desenhados na tela, como no papel. O         defeitos.
tempo do projeto e da pesquisa de
defeito é reduzido com o uso do CRT.
Através de programa com menus, o
tempo de treinamento do programador é
diminuído. O CRT é projetado para
orientação de prancheta ou a nível de
chão de fabrica. O exterior é feito metal
resistente a impacto e o teclado é a prova
de respingo. O tamanho da tela varia de
4 a 9" (100 a 225 mm), com proteção
com chave para evitar a alteração do
programa por pessoa não autorizada.
    Estas unidades podem ser
especificadas com memória. A
informação pode ser armazenada em            Fig. 9.10. Programador e CLP (Texas)
discos flexíveis ou fita magnética. Com
memória em disco flexível, os programas          Quase todos os painéis de
podem ser copiados de um disco para          programação contem RAM suficiente
outro e verificados sem a necessidade de     para permitir a armazenagem semi
carregar na memória do CLP. O projetista     permanente de um programa em
pode desenvolver o programa em um            desenvolvimento ou sob modificação. Se
disco e depois carrega-lo no CLP.            o painel de programação é portátil, sua
                                             RAM é normalmente CMOS com reserva
                                             de bateria, permitindo a unidade reter
                                             programas durante o transporte.
                                             Somente quando um programa está
                                             pronto para uso ou teste que ele é
                                             transferido para o CLP. Depois que o
                                             programa instalado for totalmente testado
                                             e corrigido (debugged), o painel de
                                             programação é removido e fica livre para
                                             ser usado em outro CLP.
Fig. 9.9. Programador com monitor                O terminal pode ter uma facilidade de
                                             monitoração, permitindo a observação
                                             em tempo real do funcionamento de
    Alguns programadores a CRT               chaves, portas e funções durante a
fornecem a documentação completa,            execução do programa.


                                                                                    9.14
Controlador Lógico Programável

    O CLP grande é geralmente                indicadores e outros equipamentos de
programado através de uma unidade            informação de entrada. Os terminais do
específica com um teclado e monitor,         módulo de saída fornecem tensões de
ligado ao controlador através de uma         saída para energizar motores e válvulas
porta de comunicação, normalmente RS         e operar equipamentos de indicação.
232C. Estas unidades fornecem grandes            Por questão de economia de espaço
facilidades de programação, como             e equipamentos, há tipicamente 4, 8, 12
gráficos na tela e inclusão de               ou 16 terminais por módulo E/S. Nem
comentários durante o programa.              sempre o sistema tem o mesmo número
Recentemente, usa-se microcomputador         de entradas e saídas; geralmente há
pessoal (PC) como estação de trabalho        mais entradas do que saídas.
para a configuração e desenvolvimento            Os módulos de entrada e de saída
de programas para o CLP, permitindo o        podem estar na mesma gaveta do rack
display de gráficos e diagramas ladder na    (sistemas pequenos), ou podem estar em
tela e aumentando a velocidade de            unidades separadas (sistemas grandes).
operação.




Fig. 9.11. Programação com laptop

                                             Fig. 9.12. Vista de módulos E/S (Modicon)
    A grande memória disponível nos
modernos PCs de 16-bit é ideal para a
armazenagem de vários programas                  Os módulos E/S são ligados à CPU
completos de CLP com comentários e           por cabos ou fios. O número exato de fios
documentação. O uso de PC como               é determinado pelo tipo e configuração
estação de trabalho do CLP também            do CLP. Para módulos múltiplos em um
permite ao usuário ter acesso a outras       armário, é necessário ajustar as chaves
facilidades de programas para                (dip switches) para cada módulo
gerenciamento de projeto, como banco         individual. Estas chaves determinam o
de dados, planilhas e processamento de       número operacional de cada entrada e
texto.                                       saída. Alguns módulos E/S possuem
3.4. Módulos de Entrada/Saída (E/S)          chaves internas.
                                                 Os módulos E/S normalmente
    Os módulos de entrada/saída (E/S),       adequam os elevados níveis de tensão
também chamados de módulos I/O (input        encontrados nos elementos de campo
e output), constituem o elo físico entre o   para os baixos níveis de tensão
processo externo e a CPU do CLP. Os          observados internamente na CPU. A
módulos E/S usam vários circuitos de         consideração mais importante para um
interface para receber os sinais             módulo E/S se refere à especificação do
proporcionais às variáveis do processo       nível de tensão e de corrente. Módulos
como pressão, temperatura, vazão, nível,     com níveis diferentes de tensão e de
movimento, posição, analise, vibração.       corrente podem não funcionar, na melhor
Os terminais do modulo de entrada            das hipóteses e podem se danificar
recebem sinais de fios ligados a chaves,     irremediavelmente, se o fusível não agir


                                                                                         9.15
Controlador Lógico Programável

antes, na pior das hipóteses. Por               Válvulas elétricas
exemplo, um módulo de entrada                   Solenóides
especificado para 24 V cc não funciona          Cada entrada ou saída discreta é
em 120 V ca e um dispositivo de saída       alimentada por alguma fonte de tensão
requerendo 5 A não pode ser acionado        na maioria das vezes fornecida pelo
por um módulo de saída para 2 A.            campo como 24 V cc, 120 V ca.
                                                Quando em operação, se uma chave
Módulos E/S remotos
                                            na entrada é fechada, o módulo de
   Os principais tipos de módulos de        entrada sente a alimentação fornecida e
entrada e saída são:                        a converte para um sinal de nível lógico
   1. discretos                             adequado para que a CPU interprete o
   2. analógicos                            estado do dispositivo de entrada. Lógica
   3. registros                             1 indica Ligado, ON, Fechado,
   4. inteligentes                          Verdadeiro e lógica 0 significa Desligado,
Módulos de E/S Discretos                    Aberto, Fechado, Falso para a CPU.
    Os módulos E/S discretos são a              A CPU interpreta o programa e atua
classe mais popular dos dispositivos        as interfaces de saída que fornecem
encontrados no sistema de CLP. Estes        alimentação para os elementos de
módulos conectam sinais de entrada que      controle. Se uma saída é mudada para
são separados e distintos em sua            lógica 1, a tensão é chaveada para
natureza ou dispositivos de saída de        alimentar o dispositivo sob controle.
campo que requerem um sinal separado        Módulos de entrada ca
e distinto para controlar seu estado.           Um diagrama típico para um módulo
Estas características limitam os módulos    de entrada ca é dado abaixo.
de E/S discretos a sentirem sinais que          Os tipos de módulo de entrada variam
são ligado-desligado, fechado-aberto ou     de fabricante para fabricante mas a
equivalentes ao fechamento de uma           maioria é constituída por estes blocos
chave. Para o módulo de interface, todas    básicos. O circuito de entrada é
as entradas discretas são dispositivos de   constituído de duas partes principais: a
dois estados. Da mesma forma, as            parte de potência e a parte de lógica.
interfaces de saída são limitadas a         Estas duas partes são normalmente
controlar dispositivos de chaveamento       acopladas por um circuito que isola
para um estado como ligado-desligado        eletricamente a entrada da saída. Esta
ou aberto-fechado.                          isolação elétrica é muito importante em
    Os tipos mais comuns de módulos         um ambiente ruidoso como o industrial.
E/S para entradas discretas encontradas     Um dos problemas de controle industrial
em medição e controle de processo são:      com computador, até o surgimento do
Dispositivos de Entrada Discretos           CLP, era que os dispositivos de E/S não
   Chaves Push-buttons                      haviam sido projetados para estes
   Chaves toggles                           ambientes industriais, sendo sujeitos a
   Chaves limite                            falhas freqüentes e com pequena
   Chaves automáticas                       confiabilidade.
   Portas lógicas
   Células fotoelétricas
   Contatos de starters de motores
   Contatos de relés
Dispositivos de Saída Discretos
   Anunciadores
   Relés de controle                        Fig. 9.13. Circuito de entrada ca
   Lâmpadas
   Portas lógicas
   Buzinas
   Starters de motores


                                                                                 9.16
Controlador Lógico Programável

     A seção de potência de um módulo
de entrada basicamente converte a
tensão de entrada (115 ou 230 V ca) de
um dispositivo para um sinal de nível
lógico para ser usado pelo processador.
O retificador converte o sinal de entrada
ca ou cc para um sinal que passa pelo
filtro que protege o circuito contra ruídos
elétricos da alimentação de entrada. Este     Fig. 9.15. Ligação de módulos de entrada ca e cc
filtro causa um atraso de sinal, típico de
10 a 25 ms. O circuito de detecção de
nível detecta quando o sinal de entrada       Módulos de saída ca
atinge o nível especificado para a                Como os módulos de entrada ca, os
entrada. Se o sinal de entrada exceder        módulos de saída ca variam em
este nível por um período de pelo menos       construção de fabricante para fabricante.
o valor do filtro, o sinal é aceito como      O diagrama de blocos típico descreve a
uma entrada valida.                           operação da maioria dos módulos ca
     Quando uma entrada valida é              disponível no mercado.
detectada, ela passa através do circuito          O circuito pode ser dividido nas partes
de isolação, convertendo o sinal original     lógica e de potência acopladas por um
(no caso ca ou cc) para um nível lógico       isolador. A interface de saída é uma
do outro lado da isolação. Este nível         chave ca que fornece a alimentação de
lógico é tratado pela lógica e é enviado      campo para o dispositivo de controle.
para a CPU.
     A maioria dos módulos de entrada
contém indicações visuais do estado
lógico de suas entradas através de LEDs
ou lâmpadas




                                              Fig. 9.17. Circuito de saída para módulo ca
Fig. 9.14. Indicações dos módulos E/S


Módulos de entrada cc
     Os módulos de entrada cc convertem
sinais discretos de corrente continua (12
V cc, 24 V cc, 48 V cc, 125 V cc) para os
níveis lógicos aceitáveis para a CPU. Sua
constituição e funcionamento são
similares aos do módulo de entrada ca
exceto pela não necessidade de
retificação.                                  Fig. 9.18. Ligação do módulo de saída ca


                                                  Em operação normal, o processador
                                              envia o estado lógico da saída
                                              determinado pelo programa para a seção
                                              lógica. Se a saída é energizada, o estado
                                              passa para a etapa de potência



                                                                                            9.17
Controlador Lógico Programável

disparando uma chave que é                   multiplexação de sinais e interface com
normalmente um relé ou triac.                outros equipamentos. Alguns fabricantes
    O circuito ca de potência é              oferecem módulos com alta capacidade
normalmente protegido por um circuito        de potência para chaveamento de altas
RC e um MOV (Metal Óxido Varistor),          correntes.
usado para limitar os picos de tensão que
                                             Módulos de saída TTL
possam afetar a operação do módulo.
    Como os módulos de entrada, os de            Os módulos de saída TTL permitem
saída também podem possuir LEDs para         interfacear dispositivos externos
indicar o estado da lógica. Alguns           compatíveis com estes níveis e
módulos também contem um fusível na          dispositivos alimentados por 5 V cc,
parte de potência para proteger o            como LED de 7 segmentos e circuitos
elemento de chaveamento (triac ou relé)      integrados digitais. Como os demais
de sobrecorrentes ou curtos na carga.        módulos de saída, os módulos TTL
                                             requerem alimentação externa para atuar
Módulos de saída cc                          na carga.
   O módulo de saída cc é projetado
                                             Módulos E/S Analógicos
para manusear cargas de corrente
continua. Sua operação é similar ao              A disponibilidade de circuitos
módulo de saída ca, porém, os circuitos      integrados de baixo custo e a sua alta
de chaveamento da carga são diferentes.      escala de fabricação permitiram que o
São usados FETs (Field Effect                CLP incluísse em sua estrutura uma
Transistor) ou transistores bipolares para   grande capacidade de manipulação de
o chaveamento.                               dados. Isto levou a expansão das
                                             capacidades de E/S e a implementação
                                             de módulos analógicos e digitais no do
                                             CLP.
                                                 Os módulos analógicos permitem que
                                             o CLP faca diretamente a medição das
                                             variáveis do processo e o controle de
                                             dispositivos analógicos de campo. Os
                                             módulos E/S analógicos permitem o
Fig. 9.19. Circuito de saída cc típico       controle e monitoração de tensões e
                                             correntes compatíveis com muitos
                                             sensores, válvulas, acionadores de
                                             motores e instrumentos de processo.
                                                 Abaixo estão listados os dispositivos
                                             típicos que são interfaceados com os
                                             módulos de E/S analógicos :
                                             Dispositivos com módulos de entrada analógicos
                                                 Transmissores eletrônicos
                                                 Instrumentos analíticos
                                                 Potenciômetros
                                             Dispositivos com módulos de saída analógicos
Fig. 9.20. Ligação do módulo de saída ca         Indicadores analógicos
                                                 Drives de motores
Módulos de Saída de contato Seco                 Registradores
                                                 Transdutores I/P
    Os módulos de saída de contato seco
                                                 Válvulas Elétricas
permitem acionar uma carga na saída a
                                                 As interfaces analógicas normalmente
partir de um contato seco fornecido por
                                             estão disponíveis para diversos tipos
um relé ou chave. A vantagem deste
                                             padrão como operação unipolar e
módulo é a de que ele pode manipular
                                             diferencial de corrente ou de tensão.
tanto cargas ca como cc. As aplicações
vão desde chaveamento simples até


                                                                                     9.18
Controlador Lógico Programável

Módulos de entradas analógicas
    O módulo de entrada analógica
contém o circuito necessário para
receber os sinais de corrente e tensão
dos dispositivos de campo. Estes sinais
analógicos de corrente e tensão são
convertidos para uma informação digital
por um componente eletrônico chamado
conversor analógico digital (A/D). O valor
da conversão é uma informação digital
proporcional ao sinal analógico que é
passado através de uma via de dados
com a CPU e armazenada em uma
posição de memória para uso posterior.
    Tipicamente os módulos de entradas
analógicas possuem alta impedância,
permitindo interfacea-las com os             Fig. 9.22. Diagrama de ligação da saída analógica
dispositivos de campo sem causar-lhes
sobrecargas ou afetar sua operação. As
linhas de entrada geralmente são                 A maioria dos módulos é projetada
interligadas aos dispositivos de campo       para receber 4, 8 ou 16 entradas
através de cabos blindados para reduzir      analógicas. A conversão analógica-digital
as possibilidades de ruído elétrico de       se faz em 12 ou 14 bits codificados em
fontes externas. O estágio de entrada da     binário ou BCD. Os valores codificados
interface dispõe de filtro e isolação        são armazenados na memória RAM do
elétrica para proteger os módulos de         módulo e enviados em blocos de dados
ruídos.                                      para o processador quando requisitado
                                             pelo mesmo.
Módulos de Entrada Analógica Padrão              A configuração dos módulos padrão
  1a5V,0a5V                                  de entrada e a operação bipolar ou
  -5 a +5 V , -10 a +10 V                    unipolar podem ser selecionadas através
  4 a 20 mA , 0 a 20 mA                      de jumpers ou software.
  -20 a +20 mA                                   O programa de controle do CLP pode
  0 a 10 V                                   configurar automaticamente as entradas
                                             analógicas para as faixas e forma de
                                             operação desejada automaticamente no
                                             caso de módulos com configuração
                                             através de software.
                                             Módulos de saída analógica
                                                 O módulo de saída analógica recebe
                                             os dados do processador através de uma
                                             via de dados. As informações são
                                             convertidas para corrente ou tensão
                                             proporcional à informação digital através
                                             de um dispositivo chamado conversor
                                             digital para analógico (D/A) e enviadas
                                             para a saída. As demais características
                                             são similares às do módulo de entrada
                                             analógica.
                                             Módulos E/S de Registros
Fig. 9.21. Diagrama de ligação da entrada        Os módulos E/S de registros são
analógica                                    também chamados de módulos E/S
                                             digitais. Estes módulos aumentaram a


                                                                                        9.19
Controlador Lógico Programável

capacidade de processamento de sinal            para a saída de parâmetros calculados
em relação aos módulos E/S discretos.           ou obtidos de entradas analógicas para
Nos módulos E/S discretos somente um            informar um dispositivo externo.
bit de informação é necessário para ler             Quando o processador executa uma
uma entrada ou controlar uma saída.             instrução específica de transferência, os
Diferentemente, os módulos digitais             dados são colocados na saída para o
permitem que vários bits sejam                  dispositivo externo.
interfaceados com o CLP para acomodar
                                                Módulo Contador/Acumulador
dispositivos que requerem manipulação
de dados de forma paralela, código BCD              O módulo Contador/Acumulador
ou serial.                                      permite a contagem de eventos em alta
    Com o uso dos módulos E/S digitais,         velocidade ocorridos em dispositivos
a maioria das variáveis de processo pode        externos. A contagem é normalmente
ser introduzida e monitorada com a              independente da varredura do programa
interface apropriada.                           do CLP. A razão para isto é muito
                                                simples: se o contador fosse dependente
Módulos de entrada BCD                          da varredura do CLP, os pulsos de alta
    Os módulos de entrada BCD fazem a           velocidade da entrada poderiam ser
comunicação paralela de dados entre o           perdidos entre uma varredura e outra.
processador e os dispositivos de entrada.           As aplicações típicas para este tipo
Estes módulos são usados para a                 de interface são a contagem de pulsos,
entrada de parâmetros em localizações           medição de freqüência e função de
especificas da memória do CLP para uso          encoder, onde a velocidade de contagem
do programa. Parâmetros típicos                 é superior a limitação do CLP. Exemplo
entrados desta forma são presets de             típico é em indústria de papel ou a
contadores, timers, e set points de             continua.
controle de processo.
                                                Módulos de E/S Inteligentes
    As entradas geralmente aceitam
níveis TTL em uma faixa de 5 a 24 V cc e             Chama-se módulo inteligente aquele
são agrupados em módulos contendo 16            que se baseia no microprocessador. O
ou 32 bits. Instruções específicas do           microprocessador possui uma altíssima
controlador controlam o fluxo de                capacidade de computação matemática,
informações das entradas para a                 intertravamento, lógica e seqüencial. Os
memória do CLP.                                 módulos E/S convencionais atendem
                                                90% das necessidades de E/S digitais de
                                                um controlador programável. Porém, para
                                                processar certos tipos de sinal de
                                                maneira eficiente, os módulos
                                                inteligentes são mais convenientes. Estas
                                                interfaces especiais incluem os
                                                condicionadores de sinal, como uma
                                                entrada de termopar onde além da leitura
                                                do valor deve-se efetuar a linearização
                                                para que o dado represente a grandeza
                                                física medida. Estes módulos podem
                                                efetuar todas as tarefas necessárias para
                                                estes procedimentos aliviando a carga de
                                                programa e velocidade da CPU principal.
Fig. 9.23. Módulo de interface de entrada BCD
                                                Adicionalmente, estas tarefas são
                                                executadas independentemente da
Módulos de saída BCD                            varredura do programa possibilitando a
                                                aquisição de dados em alta velocidade.
   Os módulos de saída BCD fazem a
                                                     As aplicações destes módulos abrem
comunicação paralela de dados entre o
                                                mais ainda o leque de aplicações do
processador e os dispositivos de saída.
                                                controlador programável permitindo a
Este tipo de módulo é geralmente usado


                                                                                     9.20
Controlador Lógico Programável

constituição de sistemas de aquisição de    equipamentos de terceiros que ajudam o
dados como SCADA, aquisição de              interfaceamento do CLP com o campo.
dados, sistema de controle distribuído e    As novas capacidades E/S que estão
outras aplicações complexas.                sendo oferecidas incluem resposta mais
                                            rápida, novas capacidades analógicas,
Módulos de entrada termopar
                                            inteligência, contadores de pulso de alta
    É projetado para aceitar diretamente    velocidade, contato seco e módulos
as entradas de um termopar e fazer a        especiais.
compensação de junta fria, linearização          A resposta rápida E/S é normalmente
da medição e detecção de erros. A           oferecida em versões analógica e digital.
operação deste módulo é similar aos         Os módulos discretos de resposta rápida
módulos de entrada analógica discutidos     são facilitados pela lógica do CLP mas a
anteriormente com exceção para o baixo      saída não se baseia nos tempos de
nível de sinal tratado aqui (mV). Os        varredura da lógica ladder para ser
dados obtidos por estes módulos podem       atualizada. Os módulos analógicos
ser usados pelo CLP para fazer controle,    rápidos fornecem conversão mais rápida
indicação, registro, alarme ou              analógico-para-digital (A/D) e digital-para-
intertravamento                             analógico (D/A). Isto torna o CLP mais
Módulos de Motor de passo                   rápido para controlar malhas PID e fazer
    O módulo de motor de passo gera um      medições analógicas.
trem de pulsos compatível com os                 As capacidades E/S analógicas para
tradutores do motor de passo. Os pulsos     o CLP estão sendo expandidas das
enviados para o tradutor normalmente        versões convencionais 4-20 mA, 0-5 V, 0-
representam comandos de distancia,          10 V para incluir entradas diretas de
velocidade e direção para o motor.          termopar e RTD. Estes módulos aceitam
    Este módulo aceita comandos de          tipicamente 8 a 16 pontos cada e podem
posição do programa do CLP. A posição       ser acomodados tipos diferentes de
é determinada por um preset do contador     termopar e RTD.
de saída de pulsos. A aceleração-                Os módulos E/S inteligentes incluem
desaceleração e reversão são                todos módulos que são capazes de
determinadas por um controle de rampa       executar funções de processamento. Por
de pulsos que varia o período dos           que as tarefas desempenhadas pelo CLP
mesmos. Estes comandos são                  são distribuídas, é conveniente se ter
geralmente especificados durante o          maior velocidade e confiabilidade para
programa de configuração e uma vez          todo o sistema. Os módulos E/S
definidos passam a executa-los sob          inteligentes dão capacidades múltiplas
demanda do programa principal do CLP.       adicionais, incluindo armazenamento e
                                            recuperação de memória, tarefas de
Módulos de Controles de Malha               computação e comunicações. Os
    Estes módulos são usados para           módulos de memória fornecem espaço
efetuar controle de malha fechada com       adicional para armazenar pontos de
algoritmos PID. As principais diferenças    dados, mensagens de alarme, tabelas.
de operação destes módulos é que o          Este enfoque deixa a memória principal
processamento do controle PID é feito no    de operação livre para as tarefas de
próprio módulo aliviando a CPU principal.   controle. Os módulos de computação dão
Além do mais, os algoritmos PID             ao CLP a habilidade de executar funções
encontrados no CLP, às vezes, não           de computador usando uma linguagem
atendem as necessidades de tempo e          como C++. As tarefas de tempo real são
precisão requeridas para o controle.        deixadas na memória principal, mas
                                            algumas tarefas de interface do operador
Avanços dos Módulos E/S                     podem ser colocadas no módulo do
   Os fabricantes de CLP cada vez mais      computador.
estão fornecendo outros tipos de                 Os módulos de comunicações podem
capacidades de entrada e saída para         prover o CLP com uma faixa de
seus produtos. Há, porém, muitos            capacidades, de simples strings de saída


                                                                                   9.21
Controlador Lógico Programável

ASCII para uma impressora ou display        Módulos de Comunicação ASCII
podem ser contidas fora da memória              São usados para enviar e receber
principal do CLP e os dados podem ser       dados alfanuméricos de equipamentos
saída quando requerido. As capacidades      periféricos e o controlador. Equipamentos
de colocar em circuito a comunicação do     periféricos típicos são Terminais de
sistema todo dado ao projetista a           vídeo, impressoras, instrumentos digitais
habilidade de distribuir interface de       e quaisquer instrumentos que possam se
operador ou um computador supervisor.       comunicar através de portas seriais tipo
    Módulos de contador de pulso de alta    RS-232 ou 422 (malha de corrente).
velocidade fornece a habilidade de          Geralmente este módulo possui
interfacear o CLP com turbinas              processador e memória próprios que
medidoras de vazão, motores de passo e      executam as tarefas de handshaking e
codificadores ópticos. Os pulsos de alta    transferência de dados.
velocidade não podem ser normalmente
interfaceados com entradas do CLP por       Módulos Adaptadores de E/S Remotas
causa do tempo de varredura da lógica           São usados em controladores de
ladder. Estes módulos fornecem uma          geralmente grande porte e permitem a
interface que não se baseia no tempo de     instalação de sistemas de E/S
varredura, de modo que o CLP é capaz        localizados a distancias maiores da CPU
de monitorar os pulsos que indicam          principal. Os subsistemas de E/S são
posição ou vazão.                           geralmente conectados usando uma
    Os módulos com contatos secos são       configuração serial ou estrela. A
oferecidos pelos fabricantes e por          comunicação é feita serialmente a alta
terceiros. Estes módulos resolvem o         velocidade entre a CPU e os sistemas
problema associado com triacs, baixa        remotos.
potência e incerteza do status de falha.        A aplicação de E/S remotas em
    Os módulos especiais são projetados     grandes sistemas podem representar
para resolver outro problema de             grande economia em fiação e trabalho e
interface. Os módulos posicionadores        dinheiro. Além disto, elas permitem a
X/Y, de controladores de posição, saídas    manutenção de subsistemas
de motores de passo e acesso de             independentemente da operação
manutenção podem ser incluídos nesta        principal o que representa uma grande
categoria. Estes módulos podem ser          vantagem em sistemas de maior porte.
considerados uma extensão da                    A comunicação pode ser feita através
tecnologia de controle distribuído. Os      de par trançado, cabo coaxial ou fibra
módulos de relógio (clock) que são          óptica. As velocidades de comunicação
colocados no bus E/S podem ser              variam de 9600bauds a 1Mbaud
considerados também como parte deste        dependendo do fabricante.
grupo. Estes módulos fornecem funções       Elos de Comunicação em Rede
de tempo real, horário e data quando
perguntado ao CLP. Eles devem ter               A evolução das interfaces homem-
bateria de backup para garantir o           máquina e o barateamento dos
funcionamento durante a falta de energia.   microcomputadores abriram o caminho
                                            para a troca de informações entre o chão
3.5. Módulos de Comunicação                 de fabrica e os demais departamentos da
    Os módulos de comunicação são           empresa como laboratório, expedição,
também de entrada/saída porém eles são      controle da produção.
responsáveis principalmente pela ligação        Para executar estas tarefas de
do CLP com os seus periféricos. Os          comunicação, os fabricantes de CLP
principais módulos de comunicação do        implementaram módulos de comunicação
CLP são                                     que permitem a integração de um CLP a
    1. ASCII                                outros CLP e a computadores
    2. Adaptador de E/S remotas             corporativos.
    3. Serial                                   Estes módulos geralmente adotam
    4. interface de Redes.                  padrões de comunicação em rede como



                                                                                9.22
Controlador Lógico Programável

Ethernet ou proprietárias com Gateways           As interfaces de comunicação para o
que permitem a troca de informações          CLP fornecem muitas combinações
entre computadores e os controladores        diferentes de conectores, níveis de sinal,
programáveis.                                taxas de sinalização e serviços de
    Os módulos de rede hoje oferecidos       comunicação. As especificações do
pelos fabricantes permitem opções como       fabricante destas características devem
a de execução de controle distribuído,       ser verificadas com as normas aplicáveis,
onde vários controladores de pequeno         para garantir o cumprimento dos níveis
porte controlam células de produção.         necessários de desempenho e
Estas células interligadas via rede podem    compatibilidade do sistema em todos os
ter sua operação supervisionadas por         equipamentos de controle de uso geral
estações baseadas em                         no sistema.
microcomputadores ou computadores.
    Sistemas de aquisição de dados e
mini SDCD's se tornaram viáveis graças       Tab. 4.2. - Valores e Faixas de Operação de
a este tipo de interface.                    Fontes de Alimentação e Interfaces de CLP
3.6. Níveis de Tensão, Corrente e
Isolação                                        Tensão       Recomendações            Nota
                                                             Fonte Sinais E/S
     A IEC (International Electrotechnical
                                                24 V cc      Sim   Sim                1
Commission) tem especificado as
                                                48 V cc      Sim   Sim
tensões padrão mostradas na Tab. 4.2.           24 V ca      Não   Não                2
para fontes de alimentação, entradas            48 V ca      Não   Não
digitais e saídas digitais dos                  120 V ca     Sim    Sim
controladores programáveis. A norma             230 V ca     Sim   Sim
IEC também define os parâmetros                 400 V ca     Sim   Não
adicionais para as entradas e saídas
digitais, os parâmetros especificados pelo
fabricante deveriam ser comparados com       Notas:
os definidos na norma IEC para garantir a
conveniência de uma particular módulo            a) A tolerância para as tensões cc é
de entrada ou de saída para o seu uso               de -15% a +20%
pretendido no sistema de controle.               b) A tolerância para as da tensão ca
     As faixas de sinal especificadas pela          é de -15% a +10%. As tensões ca
IEC para entradas e saídas analógicas               são dadas em rms.
para CLP são mostradas na Tab. 4.2 e
Tab. 4.3, respectivamente. A norma IEC           c) Ver a norma para CLP para notas
lista um número de características cujos            e valores especificados
valores são os fornecidos pelo fabricante,          adicionais.
tais como impedância de entrada,
máximo erro de entrada, tempo e método
de conversão e o que deve ser checado
com as exigências de uma particular             Tab. 4.3. - Valores para Entradas Analógicas
aplicação de controle. Além das simples
entradas e saídas digitais e analógicas,      Faixa de sinal        Impedância de entrada
pode haver controladores de malha                -10 a +10 V           > 10 kΩ
fechada residentes no bus de E/S do              0 a 10 V              > 10 kΩ
sistema de CLP. Neste caso, as                   1a5V                  < 5 kΩ
linguagens de programação para o CLP             4 a 20 mA             < 300 Ω
tipicamente fornecem outros elementos
de linguagem, para suportar a
configuração e o controle supervisor            É padrão que todos os canais E/S
destes controladores "escravos" de           sejam isolados eletricamente do
malha fechada.                               processo controlado, através de circuitos



                                                                                           9.23
Controlador Lógico Programável

óptico-isoladores nos módulos E/S. Um           As estações de operação incluem as
circuito óptico-isolador consiste de um     fornecidas pelos fabricantes e devem ser
diodo emissor de luz e um foto-transistor   usadas com seu CLP particular e aquelas
formando um par óptico-isolador, que        fornecidas por terceiros para uso com um
permite a passagem de pequenos sinais       CLP de determinada marca ou qualquer
através deles, mas que grampeia             um. Estas estações podem incluir
qualquer pico de tensão, fornecendo uma     equipamentos como módulos de acesso
proteção contra transientes de              a Timer/Contador, módulos de acesso a
chaveamento e picos de alimentação,         terminais de dados, consoles gráficos
normalmente até 1500 V.                     coloridos, computadores, impressoras e
    Em CLP pequeno, em que os pontos        estações manuais para backup.
E/S estão fisicamente colocados em uma
                                            Interface Homem-Máquina
única caixa, por questão de economia,
todas as entradas são de um tipo (p. ex.,       Muitos CLPs possuem uma Unidade
24 V) e todas as saídas são iguais (p.      de Interface do Operador, que faz parte
ex., 240 V triac). O CLP modular tem        do sistema padrão ou é oferecida como
maior flexibilidade para E/S, sendo         opção. A unidade de interface é montada
possível a seleção e combinação de          diretamente no CLP mas pode também
vários tipos diferentes de módulos de       ser projetada para ser montada no painel
entrada e saída.                            e ligada ao CLP. As funções incluem
    Em todos os casos as unidades E/S       acesso aos dados de registro
são projetadas com a finalidade de          leitura/escrita, programação e
simplificar a ligação dos sensores e        diagnostico. Alguns equipamentos
atuadores do processo ao CLP. Por este      específicos fornecem ao operador a
motivo, todo CLP é equipado com             interação com os registros internos do
terminais padrão a parafuso ou plug-in      CLP e as tabelas de malha, dando ao
em cada ponto E/S, permitindo a rápida      projetista do sistema a possibilidade de
remoção e substituição de um cartão E/S     alterar as variáveis em tempo real,
defeituoso.                                 sintonia e inspeção de malha, controle
    Cada ponto E/S tem um único             manual de saídas analógicas e a
endereço ou número de canal que é           informação tipo menu do processo. A
usado durante o desenvolvimento do          entrada não autorizada de dados é
programa para especificar a monitoração     evitada através de software, proteção
de uma entrada ou a ativação de uma         com chaves ou ambas.
saída dentro do programa. A indicação           Alguns CLPs podem ter comunicação
do status dos canais E/S é feita por        diretamente com terminais de dados não
diodos LEDs no CLP ou na unidade E/S,       microprocessados. Os operadores
possibilitando a verificação da operação    entram os dados com caracteres
das entradas e saídas do processo.          especiais de controle para a porta de
                                            comunicação do CLP. Os terminais de
3.7. Periféricos                            dados podem ser fornecidos em versões
Introdução                                  industriais, apropriadas para o chão de
                                            fabrica, ou em máquinas de escritório
    As estações de operação são
                                            para entradas de dados por um
equipamentos projetados para permitir a     supervisor. Este tipo de interface de
interação do operador com o CLP
                                            operador não é muito amigável para o
durante a operação normal, não
                                            usuário.
necessariamente durante a programação
                                                Os consoles gráficos coloridos
ou pesquisa de defeito.
                                            oferecem gráficos do processo e
    As melhorias de E/S incluem todas as    facilidades de comunicações para várias
capacidades que não são ordinariamente
                                            partes do CLP simultaneamente. Estes
fornecidas com o CLP.
                                            sistemas podem ser simplesmente
    As ferramentas de programação e
                                            comprados e colocados em linha com um
documentação podem ser fornecidas
                                            mínimo de esforço de engenharia ou
pelo fabricante e por outros vendedores.    podem requer alguma programação. As



                                                                               9.24
Controlador Lógico Programável

diferenças básicas estão na flexibilidade.   termos de funções de interface do
Aqueles que não requerem programação         operador e capacidade do sistema total.
não fornecem ao operador os gráficos e
                                             Impressora
menus necessários. A facilidade de
comunicação com os diferentes tipos de           As impressoras são muito importantes
CLP também varia com o tipo do CLP.          para o sistema de CLP, como ferramenta
Finalmente, o método de gerar as             de desenvolvimento e para manipular as
páginas gráficas difere muito. A maioria     funções de interface do operador. Muitos
dos consoles gráficos coloridos oferece      CLPs podem fornecer comunicações
várias páginas de gráficos que não           diretamente para impressoras
animadas pelas tabelas de dados de           convencionais. Um sistema de CLP
leitura no CLP. O operador entra com os      isolado pode fornecer relatórios de
dados por meio de teclados padrão,           desempenho e listagem de alarme sem a
teclados industriais configuráveis pelo      necessidade de um computador
usuário, canetas de luz ou telas de toque    adicional. Esta característica é
(touch screen). As páginas diferentes de     usualmente limitada, desde que o CLP
gráficos podem ser selecionadas com          não foi projetado principalmente para
menus pré-formatados ou menus                controlar a máquina do processo.
programados pelo usuário ou pelo             Grandes quantidades de dados,
fornecedor. As estações de                   relatórios sofisticados de impressão e
desenvolvimento podem ser necessárias        alarmes múltiplos não estão realmente
para dar ao usuário final a habilidade de    dentro do objetivo de um sistema CLP
alterar os menus gráficos ou os              isolado. Este tipo de manipulação de
comandos chave depois que o projeto          dados e muito trabalhoso e requer muita
inicial é completado.                        memória do CLP.
    Os sistemas de computador podem          Estação manual
ser usados para desempenhar as                   As estações manuais de controle são
funções de interface homem-máquina.          importantes como reserva (backup) em
Na realidade, os consoles gráficos           caso de falha do CLP controlando malhas
coloridos são simplesmente                   com PID. Os módulos de aceso à malha
computadores com ações de software de        fornecem o controle manual mas ainda
gráficos padrão e comunicação. Muitos        se baseia na integridade do CLP, de
CLPs possuem módulos com habilidade          modo que elas são realmente manuais
de converter via RS232 o protocolo para      no sentido de fiação física. Uma estação
quase qualquer computador. Os                de controle manual é importante em um
softwares de comunicação e de aplicação      sistema de controle distribuído porque ela
devem ser gerados para fornecer uma          dá um verdadeiro controle manual das
interface. Muitos fabricantes e casas de     malhas no local ou na sala de controle,
sistemas fornecem pacotes de                 mesmo quando os controladores locais
comunicações para que vários CLPs            estejam desligados.
rodem em computadores pessoais. Estes
sistemas pequenos oferecem interfaces
de operador para o CLP de baixo custo,       4. Manutenção do CLP
fornecendo capacidade de manipulação             A manutenção preventiva do CLP
de dados e a habilidade de ser montado       inclui:
em uma arquitetura distribuída. Deste        1. Verificação periódica nos apertos dos
modo, os usuários de CLP podem estar            parafusos dos terminais dos módulos
seguros que seu investimento será               E/S. Eles podem ficar frouxos com o
protegido da automação da fabrica. Os           tempo, principalmente em locais com
microcomputadores multitarefa, acesso           vibração mecânica.
de grande quantidade de memória RAM          2. Verificar periodicamente os terminais
e ROM, possuem suporte próprio de               de conexão quanto a corrosão.
software e são capazes de serem ligados         Umidade e atmosfera corrosiva
fornecendo um bom investimento tem              causam ligações elétricas ruins.
                                                Internamente, os circuitos impressos e


                                                                                  9.25
Controlador Lógico Programável

   conectores podem também sofrer                       d) faixa de especificações
   corrosão.                                            e) de modo que haverá um
3. Garantir que os componentes estão                       aumento da demanda, também
   sem poeira. A camada de poeira                          por causa de seu preço
   impede o resfriamento dos circuitos do                  competitivo.
   CLP.                                      5.         Embora o CLP se pareça cada vez
4. Ter partes de reposição críticas                 mais com um computador pessoal,
   estocadas. Os módulos de entrada e               ele não será substituído por um CP,
   saída são os componentes do CLP                  porque o CLP é mais de usar que o
   que falham mais freqüentemente. O                CP.
   estoque de pecas de reposição é           6.         O maior crescimento é esperado
   essencial se o fabricante não possui             no início da faixa do mercado, ou
   estas pecas para pronta entrega e se             seja, micro e mini CLP, por causa do
   ele está distante. As quantidades                crescente uso de sistema de CLPs
   estocadas dependem dos custos das                em rede e descentralizado.
   pecas e do tempo de parada do             7.         A potência de processamento será
   sistema em caso de falha.                        distribuída para módulos remotos do
5. Manter uma copia reserva do                      CLP ou nos instrumentos inteligentes
   programa de operação em disquete ou              de campo (transmissores e válvulas),
   em papel. Estes registros devem ser              em vez de ser concentrada em um
   mantidos distantes da área                       grande CLP centralizado.
   operacional do CLP. Programas muito       8.         Em 1995, a distribuição dos CLPs
   longos ou complexos devem ter                    foi:
   copias reserva em locais separados
   para evitar sua perda em caso de                 Pequeno                Médio           Grande
   incêndio ou roubo.                               US$ 500 M              US$ 480 M       US$ 300 M

5. Mercado do CLP                            9.      Por causa das normas cada vez
                                                 mais rigorosas, o segmento que tem
   A firma de consultoria Frost & Sullivan       uma rápido crescimento é o de CLP
(F&S), Mountain View, CA, fez uma                tolerante a falha.
análise qualitativa e quantitativa do        10.     Por causa de regulações de meio
mercado do CLP em termos de produto e            ambiente e poluição, o segmento que
segmentação geográfica. Suas                     mais usará CLP é o de tratamento
conclusões são:                                  d'água e tratamento de efluentes.
1.     O mercado de CLP continuará a         11.     Outras indústrias que usarão CLP
   crescer em termos de unidades e               incluem: alimentos, bebidas,
   receita.                                      utilidades e petroquímicas.
2.     O CLP será aplicado em uma
   variedade crescente de usuários
   finais enquanto a automação de
   manufatura irá crescer.
3.     Haverá novas oportunidades de
   entradas no mercado para produtos e
   serviços muito especializados. O
   mercado de CLP genérico continuará
   sendo dominado por poucas grandes
   empresas internacionais (e.g., Allen
   Bradley, Simens).
4.     O CLP está aumentando sua
       a) funcionalidade,
       b) potência de processamento e
       c) habilidade de comunicação
           com outros CLPs e sistemas
           digitais
                                             ApostilasAutomação   Automação.doc   14 ABR 01 (Substitui 29 MAR 99)




                                                                                                        9.26
CLP Hitachi

CLP Hitachi
Especificacao e características típicas de um CLP industrial
(Hitachi)




  Fig. 9.24. Componentes de um Controlador Lógico Programável (Hitachi)




                                                                                9.27
CLP Hitachi


CLP Hitachi

   A configuração do sistema do CLP EH-150 é mostrada abaixo.
   O EH-150 é um controlador lógico programável modular com a configuração mostrada
abaixo na Fig. 2.1.




                         Fig. 9.25   Diagrama de configuração do Sistema EH-150



 No.       Dispositivo                                  Descrição da função
 1)    Fonte de            Converte a tensão de alimentação alternada em tensão contínua a ser usada
       alimentação         dentro do EH-150.
 2)    Modulo da CPU       Executa as operações baseando-se no conteúdo do programa do usuário, recebe
                           entradas e controla saídas
 3)    Modulo I/O          Módulo de entrada discreta e analógica, módulo de saída discreta e analógica.
 4)    Base normal         Base em que a fonte, CPU e módulos de entrada e saída são montados.
 5)    Base de expansão    Base em que a fonte, CPU e módulos de entrada e saída são montados.
 6)    Cabo de expansão    Cabo que liga os controladores I/O na base normal e na base de expansão.
 7)    Controlador I/O     Interface entre base de expansão e módulo de CPU.

* Expansão para (2) é possível somente quando usando a forma EH-CPU208/308/316.
* A base comum (4) e a de expansão (5) são compartilhadas.




                                                                                                       9.28
CLP Hitachi


Especificações Funcionais
              As funções disponíveis no EH-150 são descritas na tabela abaixo.

No.          Item                                       Descrição da função
1     Funções básicas     As seguintes funções podem ser conseguidas quando construindo um sistema
                          usando o CLP EH-150.
                          1) Um sinal de entrada é recebido do objeto de controle, operação são feitas de
                             acordo com o conteúdo do programa criado pelo usuário e os resultados são
                             saídas como um sinal de saída. Também, os resultados da operação e a
                             informação durante o processo são retidos na área interna da saída.
                          2) A alimentação é fornecida ao modulo principal, o sistema começa a rodar e a
                             operação descrita acima é executada continuamente até que a alimentação
                             seja desligada ou o sistema pare de rodar
                          3) A informação retida internamente pode ser extraída por um dispositivo ligado
                             externamente ou pode ser colocada em outra informação. Esta informação é
                             inicializada no momento que o sistema começa a rodar mas ela pode também
                             ser retida de acordo com ajustes do usuário.
                          4) O status de operação pode ser confirmado com o display do LED do módulo da
                             CPU ou do módulo I/O ou através de dispositivo externo ligado
                             convenientemente.
2     Ajustes e display   O seguinte é disponível para o usuário ajustar ou confirmar vários tipos de status
                             de operação.
                          1) Chave de ajuste (thumbwheel do módulo da CPU)
                             Isto ajusta a função de comunicação e o modo de operação. Ele pode também
                             instruir partida e parada.
                          2) Display com LED (módulo da fonte, modulo da CPU e módulo I/O)
                             Indica o status do sistema de alimentação, status de operação e status I/O.
                          3) Conector (módulo da CPU, base normal , controlador I/O)
                             Isto pode conectar externamente com dispositivos através de RS-232C ou pode
                             também ser expandido com instalação de outros módulos I/O.
                          4) Bloco terminal (módulo da fonte, módulo I/O)
                             Faz a conexão da alimentação e dos sinais com o objeto de controle.
3     Número de pontos    O número de pontos que podem ser controlados com relação ao objeto de controle
      I/O                    é o seguinte:
                          1) I/O Externo
                             Atualmente, é usado módulo de 16 pontos, com um total de 128 pontos para o
                             EH-CPU 104 e 256 pontos para EH-CPU 208/308/316. Os números I/O para
                             entradas são indicados por X, WX, DX e saídas são indicadas por Y, WY, DY.
                          2) Saídas Internas
                             São áreas para armazenar temporariamente a informação. Os números I/O são
                             M, WM, DM, R, WR, DR, etc.
                          3) Um contador temporizado é fornecido internamente.
                          4) Matriz (somente correspondendo a substituição)
                             Matriz de números I/O pode ser indicada através de parêntesis ( ( ) ) em torno
                             dela.




                                                                                                       9.29
CLP Hitachi


No.          Item                                       Descrição da função
4     Memória do         O programa onde o conteúdo de controle é descrito pode ser armazenado. A
      programa do        memória para isto está no módulo da CPU e a capacidade difere para cada tipo de
      usuário            CPU.
                         1) A memória tem uma função onde seu conteúdo é retido mesmo se a bateria
                            acaba. Por causa disso, é necessário inicializar a memória desde que haja
                            dúvida após a unidade tenha sido comprada..
                         2) A programação é feita usando o software aplicativo (LADDER EDITOR) e o
                            dispositivo periférico para o CLP da série H.
                         3) Os comandos que podem ser usados são aqueles designados pelo ladder da
                            série H. Ver a lista de comandos detalhados do EH-150.
                         4) Não é necessária uma bateria para reter o conteúdo do programa do usuário.
                            Sempre armazenar os programas criados em um disco flexível para o caso de
                            acontecer algo inesperado.
5     Método de Controle Com o EH-150, os programas do usuário são convertidos em bateladas quando a
                         operação começa e, após a conversão, os programas são executados para que
                         possam ser lidos um a um.
                         1) O método usado para os dados I/O consiste na varredura dos dados I/O
                            (informação) (execução do cabeçalho do programa até of final), sua atualização
                            em grupo. Se houver necessidade de refresh do I/O externo no meio da
                            varredura (método refresh), usar o comando refresh..
                         2) Além do programa que será executado normalmente, é criado um programa de
                            varredura periódica que interrompe o programa normal em intervalos
                            determinados e é executado. Os intervalos de tempo são 10 ms, 20 ms, and 40
                            ms.
                         3) O programa do usuário é executado do cabeçalho do programa para o final e é
                            uma vez mais repetido depois que o processamento do sistema atualiza o valor
                            do temporizador que passou, refresh como I/O e executa a comunicação com
                            os dispositivos periféricos.
6     Controle da        A operação e parada do módulo CPU são normalmente feitas pelo usuário..
      operação/parada    1) Ligar a chave RUN para começar a operação. Desligar a chave para parar a
                            operação.
                         2) As operações de partir e parar podem ser feitas via comunicação dos
                            equipamentos periféricos (PC), alterando o modo REMOTE, usando a chave de
                            ajuste.
                         3) As operações de partir e parar podem ser feitas com entradas externas ou
                            saídas internas designando as entradas de controle da operação com um
                            dispositivo de programação.
                         4) Além da operação descrita acima, se um defeito é detectado no sistema
                            enquanto ele estiver rodando, a operação para e as saídas são desligadas
                            (OFF).
                         5) Se há falta de energia e depois ela volta, enquanto o sistema estiver rodando, a
                            operação começa. Quando a alimentação falta, desligar a alimentação para o
                            EH-150 e depois desligar a alimentação da entrada externa. Quando ligar de
                            novo a alimentação, ligar a alimentação da entrada externa antes de ligar a
                            alimentação.
                         6) Quando começar a operação, fazer depois de limpar a informação interna que
                            não é projetada para ficar armazenada durante a falta de alimentação. Quando
                            parar a operação, deixar a informação interna como está, desligar as saídas e
                            depois parar.
                         7) Quando a alimentação ficar cortada por período maior do que o tempo
                            permitido pela falta de energia momentânea, assim dependendo do status da




                                                                                                       9.30
CLP Hitachi

                             carga do sistema, a operação continua ou o sistema percebe que ocorreu uma
                             falta de alimentação e reinicia a operação. Para garantir que a operação
                             recomeça corretamente, manter a alimentação desligada por um minuto ou
                             mais.
7    Parâmetros de       Cada tipo de condição para operação do EH-150 pode ser ajustado. Os ajustes
     operação            possíveis para operação quando ocorre erro são dados abaixo.
                         1) A operação pode ser continuada quando a informação I/O não combina..
                         2) Pode se estabelecer o tempo de verificação de sobrecarga. O valor inicial é 100
                            ms e o módulo quando o tempo para uma varredura dura mais do que a
                            sobrecarga ajustada verifica o tempo (erro de sobrecarga).
                         3) A operação pode ser feita para continuar quando ocorrer um erro de
                            sobrecarga.
                         4) Quando houver falha de alimentação (falta de energia), a área da saída interna
                            para reter a informação e a faixa do contador temporizado pode ser projetada.
                         E o ajusta abaixo é possível.
                         1) O nome do programa do usuário pode ser registrado.
                         2) Uma senha pode ser programada de modo que pessoas não autorizadas não
                            podem ter acesso ao programa.
                         3) É necessário registrar o tipo do módulo I/O usado como uma tabela de
                            atribuição I/O De modo a criar esta tabela de atribuição, o tipo do módulo I/O
                            que é ligado pode ser lido.
8    Alteração on-line   Uma seção de um programa pode ser revista enquanto ele estiver rodando.
     na operação RUN     1) Se a revisão é feita com um dispositivo de programação e a mudança on-line é
                            feita em RUN, o programa do usuário na CPU é alterado e o programa alterado
                            é chaveado internamente no final da varredura e a operação continua com o
                            novo programa.
                         2) Quando um comando de controle deve ser incluído na revisão do programa,
                            fazer as alterações depois de primeiro executar o procedimento de alteração do
                            comando de controle no dispositivo de programação e verificar a segurança.
                         3) Até a operação começar para continuar com o novo programa, ocorre um
                            período de parada [halt period] quando o módulo não roda. A informação de
                            entrada externa não está sendo recebida durante este período, assim deixe
                            muita permissão no tempo para executar uma mudança on-line em RUN.
9    Set/reset forçado   Set e reset forçados do I/O designado podem ser feitos do dispositivo de
                         programação ligado ao módulo da CPU.
10   Saída forçada       A saída pode ser forçada com relação ao número I/O designado do dispositivo de
                         programação ligado ao módulo da CPU. Para I/O que não estão designadas, as
                         saídas ficam desligadas.
11   Função do relógio O EH- 208/308/316 tem uma função relógio calendário.
     calendário (apenas 1) O ano, mês, data, dia da semana, hora, minuto e segundo podem ser
     EH- 208/308/316)      ajustados.
                        2) Há uma função para fazer ajustes em unidades de 30 segundos.
                        3) Quando não é instalada uma bateria, a informação do relógio calendário não é
                           retida quando falta energia. O relógio calendário precisa ser ajustado de novo.
12   Porta dedicada      Esta é uma porta de comunicação com protocolo dedicado ao CLP da série H. O
                         comando de comunicação chamado código de tarefa é definido na porta.
                         1) um dispositivo de programação que pode ser conectado.
                         2) As portas que podem ser usadas como dedicadas são as Port 1 and Port 2. A
                            velocidade de transmissão e outros parâmetros pode ser chaveada usando a
                            chave de ajuste.




                                                                                                       9.31
CLP Hitachi


 No.          Item                                         Descrição da função
 13    Porta de uso geral   Esta é uma porta serial que pode ser controlada pelo programa do usuário. Os
                            vários ajustes para a comunicação, transmissão e recepção são feitos pelo
                            programa do usuário. A porta 1 pode ser designada para esta função através da
                            chave de ajuste.
 14    Controle do Modem Um modem pode ser ligado externamente para uso. Ele se torna operável quando
       (apenas EH-CPU    algo chega de fora e depois disto, pode-se fazer a comunicação do código de
       208/308/316)      tarefa.
                         Quando transmitindo do EH-150, ajustar a porta como porta de uso geral e fazer
                         seu controle independente do programa do usuário.
                         A porta 1 pode ser designada para esta função através da chave de ajuste.
 15    Autodiagnóstico      Podem ser feitos testes de autodiagnóstico para os seguintes itens:
                            1) Microcomputador
                            2) Área do programa do sistema
                            3) Memória
                            4) Programa do usuário
                            5) Área de saída interna
                            6) I/O montadas
 16    Manipulação          Quando ocorre uma anormalidade, o código de erro que mostra o conteúdo do erro
       anormal              ser saída para saída interna especial WRF000 como um valor hexadecimal.
                            Também, o erro é indicado externamente pela lâmpada ERR. Se o nível de erro é
                            alto, a CPU pára a operação mas dependendo do erro, a operação pode ser
                            continuada usando ajustes do usuário.
                            Se ocorrerem vários erros, o código de erro com maior severidade é mostrado. A
                            informação detalhada é também mostrada para a saída interna especial. Também,
                            esta informação é sempre registrada na memória de falha de alimentação, de
                            modo que a informação pode ser referenciada mesmo depois da alimentação ter
                            sido cortada. (Porém, é necessário usar uma bateria). A limpeza da informação de
                            erro pode ser feita ligando R7EC.
 17    Código de tarefa           Combinando os códigos de tarefa individuais, as seguintes funções podem
                                  ser realizadas pelo programa no computador host:
                                  1) Controle da CPU (controle de RUN/STOP da CPU, ocupada/liberada,
                                      leitura do status da CPU).
                                  2) Controle I/O (vários tipos de monitoração)
                                  3) Escrita da memória (limpar tudo, transferir batelada)
                                  4) Leitura da memória (leitura de programas)
                                  5) Resposta (várias respostas da CPU)
 18    Comando                    Programação pode ser feita para várias finalidades e usos, combinando
                                  diagramas ladder e linguagem de comando.


Note: O EH-150 não suporta algumas funções que são suportadas pelo resto da série H.
      Não selecionar a função de tracing from the debugging, tracing, forcing e
      simulation do EH-150, porque irá ocorrer um erro de ocupação quando os
      dispositivos periféricos forem usados e a função trace é selecionada. Se ocorrer um
      erro de ocupação, fazer a recuperação indo primeiro off-line e depois voltando para
      on-line e reconectando.




                                                                                                        9.32
10
                            Controle Supervisório e
                              Aquisição de Dados
                                           que é digital. O diagrama de blocos
1. Aquisição de Dados                      mostra os elementos mais comumente
1.1 Introdução                             usados em um sistema industrial de
                                           aquisição de dados.
     A aquisição de dados é a coleta de
informação para fins de armazenamento
e uso posterior, como análise dos dados
e
     conseqüente controle e monitoração
do processo. Nas aplicações industriais,
a aquisição de dados deve ser em tempo
real, ou seja, o sistema deve ter a
habilidade de coletar os dados ou fazer
uma tarefa de controle dentro de uma
janela aceitável de tempo. A duração da
janela de tempo depende de quão
rapidamente o sistema deve responder,      Fig. 11.1. Sinal digital e analógico
que é uma função da velocidade e
exatidão requeridas para uma dada          1.2. Sistema de Aquisição de
aplicação.                                 Dados
     O equipamento usado para coletar
dados é chamado de sistema de                   A Fig. 11.3 mostra um sistema de
aquisição de dados. Este sistema é tão     aquisição de dados típico. Os sensores
utilizado, que vários fabricantes de       medem as variáveis interessantes do
equipamentos o oferecem em pacotes         processo. Os elementos de
mais ou menos padronizados, combinado      condicionamento do sinal são
o controle supervisório e aquisição de     necessários para converter as saídas dos
dados (SCADA – Supervisory Control         sensores para uma faixa de sinal comum,
And Data Aquisition), rivalizando em       tipicamente entre 0 e 5 V. Os sinais
aplicações com os sistemas digitais de     condicionados são entrada para um
controle distribuído (SDCD) ou os          multiplexador de vários canais. O sinal de
controladores lógico programáveis CLP).    saída do multiplexador é passado para
Fabricantes típicos que oferecem           um circuito sample e hold e um conversor
equipamentos SCADA são: Motorola,          analógico para digital. O conversor
Siemens, Foxboro.                          analógico para digital dá um sinal de
     Tal sistema funciona como uma         saída digital paralela que passa para uma
interface entre o ambiente real de         das interfaces de entrada paralelas do
parâmetros físicos do processo, que é      microcomputador. O sinal de saída digital
analógico e o ambiente do computador,      pode também ir para um display digital,
                                           onde é apresentado valor de todas as


                                                                                  10.1
Controle Supervisório e Aquisição de Dados

variáveis medidas, uma de cada vez,                  1. Sensor passivo que requer uma
mostrada seqüencialmente ou quando                      fonte externa de alimentação ou
comandado pelo operador.                                excitação.
    Há ainda um dispositivo seqüenciador             2. Sensor ativo que não requer uma
programador, que controla e sincroniza a                fonte externa de alimentação.
operação do multiplexador, circuito
sample e hold, conversor A/D e buffer de
saída. Quando o sistema de aquisição de                  Mensurando                         Saída
                                                                            Sensor
dados é baseado em microcomputador,                      (não elétrica)                     (elétrica)
este sincronismo e controle podem ser
feitos por programa carregado no                                          Alimentação
                                                                          (se necessária)
microcomputador.
                                                     Fig. 11.3. Diagrama de blocos do sensor

                                                   1.4. Circuitos condicionadores de
                                                   sinal
                                                       A função do sensor é a de
                                                   simplesmente identificar e quantificar
                                                   algum parâmetro físico que varia de
                                                   algum modo, com o tempo e com o
                                                   espaço. Como o sistema de aquisição de
                                                   dados requer valores exatos, lineares,
                                                   não modificados ou não influenciados por
                                                   outras variáveis e estas características
                                                   nem sempre são apanágio dos sensores,
Fig. 11.2. Coleta de dados de tanque de            é necessário colocar uma interface entre
armazenagem                                        o sensor e o sistema de aquisição de
                                                   dados para melhorar o formato dos sinais
                                                   de saída dos sensores.
1.3. Sensores                                          Estes circuitos são chamados de
                                                   condicionadores de sinal e fazem as
    Os dados coletados para os sistemas            alterações necessárias nos sinais
de aquisição de dados são usualmente               analógicos gerados pelos sensores antes
analógicos, referentes ao valor numérico           que eles sejam introduzidos no sistema
de algum parâmetro físico não elétrico,            de aquisição de dados. Os tipos mais
como pressão, temperatura, vazão, nível            usados de condicionadores de sinal são:
ou análise. O objetivo do sensor é                    1. transmissor
converter o sinal não elétrico para um                2. buffer (casamento)
sinal elétrico equivalente. O diagrama de             3. filtro
blocos de um sensor é mostrado na Fig.                4. amplificador
11.3.                                                 5. conversor
    As funções do sensor no sistema de                6. linearizador
aquisição de dados são as de:
   1. sentir a presença, tamanho,
       variação e a freqüência da
       quantidade medida (mensurando).
   2. Fornecer uma saída elétrica que
       tenha dados quantitativos exatos
       acerca do mensurando.
   Os sensores podem ser classificados
   de acordo com o princípio elétrico
   envolvido em sua operação, tais
   como:



                                                                                                         10.2
Controle Supervisório e Aquisição de Dados


Entrada
analógica
                           Condicionador de                                                                                              Registrador
            Sensor               sinal                                         Circuito sample e
                                                                                      hold




                         Outras                    Multiplexador                Conversor D/A                  Buffer de                 Computador
                         entradas                   analógico                                                   saída
                         analógicas



                                                                                                                                         Circuito de
                                                                                 Seqüenciador
                                                                                                                                          controle
                                                          Controle               programador




     Fig. 11.4. Diagrama de blocos de um sistema de aquisição de dados




                                                     Chaves
                                                   eletrônicas

                                                                          ∆T
                                                                                                                           ∆T     ∆T/4

                                                                      012 3 0 1 23                                    01 23 01 23
                                                                      Sinal multiplexado
                                                                                                                   Sample Hold
                                                                                            Dispositivo
                                                                                            sample e hold
                                                                                                                      Sinal sample e hold


                                                                                           Sinal de controle
                                                                     Multiplexador
                 Sinais de entrada                                    4 canais


                                 Decodificador
                                 de endereço
                                                   Sinal binário
                                                  endereço canal

                                                 Endereço Canal
                                                   00       0
                                                   01       1
                                                   10       2


     Fig. 11.12. Multiplexagem por divisão de tempo




                                                                                                                                            10.3
Controle Supervisório e Aquisição de Dados

                                                         Por exemplo, quando se aplica-se uma
Transmissor
                                                     tensão de 10 V em uma carga de 10 Ω,
    A transmissão pode ser considerada               através de uma fonte com impedância de
um condicionamento do sinal. O                       saída igual a 10 Ω, a tensão usada pela
transmissor possui um sensor, que mede a             carga é de 5 V. Porém, usando-se um
variável de interesse do processo e sua              buffer entre a fonte e a carga, a tensão
saída é padronizada e proporcional a este            usada pela carga é exatamente a fornecida
valor medido.                                        pela fonte, de 10 V.
    As vantagens do uso do transmissor
são:
   1. Padronização do sinal e
                                                                            10 Ω
       conseqüente padronização dos
       instrumentos e interfaces                                                        10 Ω
       receptoras.                                                          10 V

   2. Isolação do sinal do processo do
       sistema receptor. Altas pressões e
       temperaturas são convertidas no                    Fig. 11.7. A tensão na resistência de carga é de
       sinal padrão do transmissor.                  5V
   3. Capacidade de levar a informação
       para locais distantes, sem corrupção
       ou deformação.

                                                                   10 Ω
                                                                                    +
                                                                                                10 Ω
                                                                     10 V


                                                                  Fonte        Buffer          Carga

                                                         Fig. 11.8. A tensão na resistência de carga é de
                                                     10 V, por causa do buffer.
   Fig. 11.5. Transmissores em locais remotos
                                                     Filtro
  Os sinais padrões de transmissão são:
  1. 20 a 100 kPa (3 a 15 psi),                          Os ambientes industriais onde são
     pneumática                                      montados os sistemas de aquisição de
  2. 4 a 20 mA cc, eletrônica.                       dados introduzem muitos sinais de
                                                     interferência espúrios, que afetam o
Buffer                                               desempenho do sistema, no mínimo,
    Buffer é o circuito de condicionamento           introduzindo grandes erros nos valores das
mais direto e básico, usado para casar               medições. Estes sinais indesejáveis são
impedâncias entre a fonte de sinal e o               chamados genericamente de ruído. Eles
circuito em que a fonte está fornecendo o            podem ser provocados por
sinal. Qualquer circuito integrado                   transformadores, motores elétricos
amplificador operacional (amp op) serve              (principalmente partida), disjuntores,
como um bom buffer. O circuito buffer                chaves, linha de alimentação (60 Hz ou
impede que um circuito carregue o outro              400 Hz) e outros dispositivos que tenham
circuito, por causa dos valores das                  transiente de tensão.
impedâncias de entrada e de saída.                       Embora haja muitos métodos para
                                                     diminuir ou eliminar estes ruídos,
                                                     envolvendo projeto, posição relativa dos
                R                                    equipamentos, blindagens, aterramentos,
                    +
          Vi                 Vo                      todo sistema de aquisição de dados possui
                                                     circuitos tipo filtro, cuja função é
                                                     exatamente a de eliminar determinadas
   Fig. 11.6. Amp op usado como buffer               faixas de freqüências dos sinais, deixando


                                                                                                       10.4
Controle Supervisório e Aquisição de Dados

passar outras faixas. O filtro pode ser          tensão ou corrente. Os circuitos eletrônicos
passivo, empregando apenas resistores,           usados nestas conversões envolvem
capacitores e indutores ou ativo, utilizando     principalmente a ponte de Wheatstone e
amplificadores operacionais (amp op),            amplificadores operacionais.
com ganhos e realimentações.                         A ponte de Wheatstone é um circuito
O desempenho do filtro é geralmente              básico conveniente para medir resistências
descrito em termos da relação da tensão          ou para converter uma variação de
de saída sobre a de entrada, em diferentes       resistência em uma proporcional variação
freqüências e pode ser expresso em uma           de tensão. Ele consiste de quatro
escala logarítmica usando decibel (dB),          resistências (uma delas sendo a medida e
como:                                            uma sendo ajustável), uma fonte de
                                                 excitação e um detector de nulo. Quando
                                                 se ajusta uma resistência da ponte, de
   dB = 20 log10(Vo/Vi)
                                                 modo que não passa corrente através do
                                                 detector, então se pode garantir que os
Por exemplo, se o sinal de entrada de um
                                                 produtos das resistências opostas são
filtro passa baixa é de 540 mV, 60 Hz e o
                                                 iguais entre si. Deste modo, pode se
sinal de saída do filtro é de 4 mV, então
                                                 determinar uma das resistências, pois as
sua redução vale:
                                                 outras três são conhecidas.
                                                     Para a conversão de resistência em
               4 mV                            tensão, usa-se a mesma configuração e
   dB = 20 log        
                                                 toma-se a tensão entre dois pontos do
               540 mV 
                                                 circuito, e esta tensão é linearmente
          = -42,6 dB                             proporcional à variação de uma
     Nos sistemas de aquisição de dados, a       determinada resistência da ponte.
principal fonte de sinal é o sensor. A
máxima banda de passagem da maioria
dos sensores é cerca de 10 Hz. Assim,
                                                                         R1       R2
filtrar ruído destes sinais gerados pelos
sensores é relativamente fácil com um filtro               E                            B
                                                                     A        D
passa baixa (ou corta alta).
                                                                         R3        R4
Amplificador
    Talvez o mais comum tipo de
condicionador de sinal seja o amplificador.          Fig. 11.9. Ponte de Wheatstone. Quando
O amplificador altera o nível ou amplitude       balanceada (corrente por D igual a zero), R1xR4 = R2
do sinal. Embora o termo amplificador            x R3 e portanto, conhecidas três resistência, pode-se
implique em aumentar o sinal,                    determinar a quarta.
rigorosamente o amplificador pode atenuar
ou aumentar o nível do sinal.
    A atenuação pode ser conseguida              Linearização
através de divisores de tensão (resistores
em série). A amplificação requer                     Embora a linearidade não seja tão
dispositivo ativo, como transistor com o         importante para o sensor, o sistema de
amplificador operacional.                        aquisição de dados requer medições
                                                 lineares. Mesmo saídas de sensores que
Conversão de sinal                               sejam consideradas razoavelmente
    O condicionamento de sinal às vezes          lineares podem requerer linearização
requer a conversão da variação de um             adicional quando se medem parâmetros
parâmetro elétrico em uma variação               dinâmicos.
proporcional de outro parâmetro. Por                 A saída do sensor pode ser linearizado
exemplo, conversão de corrente (usada em         usando um amplificador que tenha ganho
transmissão) para tensão (usada                  que seja uma função matemática inversa
localmente), conversão de tensão em              de sua entrada, fornecendo assim uma
freqüência, conversão de resistência em          saída linear. Por exemplo, se a tensão de


                                                                                                10.5
Controle Supervisório e Aquisição de Dados

sinal de um sensor de temperatura é                      diferentes entradas das variáveis medidas.
exponencial, o linearizador deve ter um                  Esta técnica de compartilhar sinais no
ganho logarítmico. Outro exemplo, a                      tempo é chamada de multiplexação (ou
corrente de saída do transmissor                         multiplexagem).
associado à placa de orifício, é
                                                         Conceito
proporcional ao quadrado da vazão
volumétrica; o linearizador deste sinal deve                 Multiplexador (MUX) é simplesmente
ter um ganho raiz quadrática.                            um arranjo especial de chaves que permite
                                                         muitos canais de entrada serem operados
                                                         por um único dispositivo, geralmente um
                                                         indicador, registrador ou computador do
                                                         sistema de aquisição de dados (com um
       Saída




                                                         conversor A/D como interface). O controle
                                                         deste chaveamento para selecionar
               (2)
                                                         determinado canal, em dado momento,
                                                         pode ser feito por programa (software) ou
                 (3)                                     equipamento (hardware) auxiliar.
                          (1)                                Sob outro enfoque, multiplexador é um
                                                         circuito eletrônico com dois ou mais
                                   Variável
                                                         terminais de entrada e um terminal de
                                                         saída. Se um multiplexador é usado em um
     (1) Curva de transferência do sensor, mostrando     sistema de aquisição de dados, somente
a relação não linear entre variável e saída do           um conversor analógico para digital é
sensor.                                                  necessário e se usa um modo com
     (2) Curva de transferência do linearizador entre    compartilhamento de tempo. Quando não
saída e entrada.                                         se usa o multiplexador, é necessário um
     (3) Curva final linearizada, mostrando relação      conversor A/D para cada entrada
linear entre saída do linearizador e variável medida.    analógica. Como o conversor analógico
    Fig. 11.10. Aplicação do linearizador de sinal       para digital geralmente representa a parte
                                                         mais cara do sistema de aquisição de
                                                         dados, a multiplexação geralmente
                                                         representa uma grande economia de
1.5. Multiplexação                                       custo.
Introdução
    No sistema convencional de medição,
                                                                        Multiplexador
tem se o valor de uma única variável
apresentado ao observador, ou seja, o
sistema tem uma única entrada e uma
                                                        Canais de
única saída. Porém, nas aplicações de                   entradas                          sinal     Conversor   sinal digital
aquisição de dados é necessário conhecer                analógicas                      analógico     A/D
simultaneamente os valores medidos de
muitas variáveis associadas com um
determinado processo, máquina ou
situação. Exemplos são medições de
                                                                        Decodificador
vazões, níveis, pressão, temperatura e                                  de endereço
composições de coluna de destilação,
medições de temperatura em diferentes
pontos de um reator, componentes de
                                                              Fig. 11.11. Multiplexador analógico
velocidade e aceleração de um avião. Na
prática, é extremamente caro ter vários
sistemas independentes. A solução
                                                            Como o conversor A/D e o amplificador
econômica é ter um único sistema de
                                                         são compartilhados, os canais são lidos
aquisição de dados com várias entradas e
                                                         seqüencialmente, causando uma
várias saídas. Porém, vários elementos
                                                         diminuição da velocidade de operação do
são compartilhados no tempo entre as


                                                                                                                10.6
Controle Supervisório e Aquisição de Dados

sistema. Em uma primeira aproximação, a         seqüencial, os canais são endereçados em
velocidade especificada do amplificador e       ordem, ou seja, primeiro 0, seguido de 1,
conversor A/D é dividida pelo número de         depois 2 e 3 e retornando a 0 e repetindo,
canais de entrada operados. A velocidade        de modo que este padrão de amostras
final é definida como a velocidade de           para o sinal multiplexado é como mostrado
amostragem (velocidade por canal)               no diagrama. O endereçamento aleatório,
multiplicada pelo número total de canais.       em que o operador seleciona um canal de
    Como mostrado na Fig. 11.11, um             interesse de modo aleatório, é também
multiplexador analógico é basicamente um        possível.
conjunto de chaves paralelas ligadas a              Se ∆t é o intervalo de amostragem, ou
uma linha de saída comum. As chaves             seja, o intervalo de tempo entre amostras
podem se fechar seqüencialmente ou              de uma dada entrada, então a
aleatoriamente se desejado, com apenas          correspondente freqüência de amostragem
uma chave fechada em um determinado             fa = 1/ ∆t deve satisfazer as condições de
momento e com o chaveamento sendo               Nyquist de amostragem. Isto requer que a
controlado por um decodificador de              fa seja maior ou igual a 2 fmax, onde fmax é a
endereço. Embora as chaves possam ser           maior freqüência significativa presente no
eletromecânicas ou eletrônicas, atualmente      sinal de medição. Na Fig. 11.12, quatro
elas são eletrônicas, com transistores          amostras ocorrem durante ∆t, de modo que
JFETs ou CMOS FETs.                             o número de amostras por segundo para o
    Em um multiplexador ideal, todos os         sinal multiplexado é 4fa. Em geral, para m
canais de entrada seriam lidos ao mesmo         sinais, cada um amostrado fa vezes por
instante no tempo. No sistema prático de        segundo, o número de amostras por
multiplexagem, há uma diferença de tempo        segundo para o sinal multiplexado é
entre as leituras dos canais, mesmo que
ela não seja perceptível pelo sentido              faM = mfa
humano ou mesmo que pareça que todos
os canais sejam lidos ao mesmo tempo.               Variáveis medidas diferentes podem ter
Há aplicações (pesquisa de voz, teste           espectros de freqüência com diferentes
dinâmico de material, medição de potência       freqüências máximas; assim o espectro de
elétrica, análise de sinal geofísico e          potência de uma medição de vazão pode
equipamento de teste automático) que são        estender até 1 Hz, mas o da temperatura
sensíveis a esta assimetria (skew) de           medida somente até 0,01 Hz. A freqüência
tempos dedicados a cada canal do MUX e          de amostragem da medição de vazão deve
por isso foram desenvolvidas técnicas para      portanto ser 100 vezes o da medição de
eliminar este problema como circuitos           temperatura. No sinal multiplexado haverá
sample e hold simultâneos.                      100 amostras da medição de vazão entre
Multiplexação por divisão de tempo              cada amostra de temperatura. O sinal
                                                multiplexado é normalmente alimentado
    A Fig. 11.13 mostra um diagrama
                                                para um circuito de sample and hold
esquemático simples de um multiplexador
                                                (amostra e mantém).
com quatro canais, 0, 1, 2,3. O sinal de
entrada de cada canal é uma tensão
contínua correspondente a uma variável
medida. O multiplexador também requer
um sinal de endereço de canal paralelo de
2 bits para especificar que sinal de entrada
está conectado à linha de saída. Assim, se
o sinal de endereço binário é 10, a chave
no canal 1 está fechada e a entrada 2 está
conectada momentaneamente à linha de
saída. A saída do multiplexador é assim
uma série de amostras, as amostras sendo
tomadas de diferentes sinais de medição
em diferentes tempos. No endereçamento


                                                                                         10.7
Controle Supervisório e Aquisição de Dados

                                                 para digital. Um circuito sample e hold
1.6. Amostragem de dados                         típico é mostrado na Fig. 11.13. O
    Nos sistemas de aquisição de dados           amplificador A1 é um buffer com alta
são usadas técnicas de amostragem de             impedância de entrada para reduzir a
dados para converter sinais analógicos em        carga do estagio anterior e baixa
digitais. Isto implica que enquanto os           impedância de saída para permitir a carga
dados podem ser registrados em uma               muito rápida do capacitor de hold, C.
forma regular, eles não são coletados
continuamente, mas em intervalos
definidos. Assim, há intervalos de tempo                          Chave
                                                   Entrada                                  Saída
entre a coleta sucessiva e periódica dos
dados. Em geral, não se tem conhecimento
da informação faltante nem se pode prever
a quantidade destes dados que não foram                          Acionado       Capacitor
coletados. Sob determinadas condições,                           r da
pode se assumir que os dados faltantes
caem em uma linha reta entre os dados                               Co
conhecidos coletados.                                           ntrole
O teorema de Nyquist define a relação
                                                     Fig. 11.13. Circuito básico sample e hold
necessária entre a maior freqüência
contida em uma forma de onda e a mínima
velocidade de amostragem requerida.                  A chave deve ser de ação rápida e de
Nyquist estabelece que a taxa de
                                                 alta qualidade como uma porta de
amostragem deve ser maior do que duas
                                                 transmissão CMOS. O capacitor deve ser
vezes a maior freqüência do componente           um dispositivo de baixa corrente de
contido dentro do sinal de entrada. O
                                                 vazamento e característica de baixa
perigo de fazer amostragem abaixo da taxa        absorção dielétrica. Geralmente o
recomendada é o grande erro resultante.
                                                 capacitor é de polestireno, polipropileno ou
Quando a amostra é feita em freqüência
                                                 teflon. O amplificador de saída que age
baixa pode se ter conclusões totalmente
                                                 como buffer para a tensão no capacitor de
erradas acerca da composição do sinal. Na
                                                 hold.
prática, há limites para a máxima
                                                     Os circuitos sample e hold são partes
velocidade de amostragem, determinada
                                                 integrantes também do controlador digital e
pela característica do conversor A/D
                                                 de qualquer outro sistema eletrônico que
usado.
                                                 tenha amostragem de dados para sua
1.7. Circuito sample e hold                      coleta.
    Em geral, a amplitude do sinal               1.8. Conversor digital para analógico
analógico varia continuamente com o
                                                     O conversor digital para analógico tem
tempo. Quando se quer converter um sinal
                                                 a função de transformar um sinal digital no
analógico em digital, num determinado
                                                 seu equivalente analógico.
momento, ele deve ser parado e ficar
                                                     Geralmente o conversor digital para
constante. Assim, desenvolveu-se o
                                                 analógico é um subcircuito do conversor
circuito de sample e hold (amostra e
                                                 analógico para digital. Os tipos principais
mantém) para congelar ou mantém
                                                 de conversor D/A são:
constante o sinal analógico durante o
                                                    1. amplificador somador de tensão
período de conversão para digital.
                                                    2. circuito com resistor ponderado
O circuito sample e hold é essencialmente
                                                        binário
um circuito de memória de tensão que
armazena uma tensão de entrada em um             Amplificador somador de tensão
capacitor de alta qualidade. A função de             O amplificador somador de tensão
um circuito sample e hold é tomar uma            mostrado na Fig. 11.15 funciona como um
amostra de curta duração de um sinal de          conversor digital para analógico.
entrada que varia rapidamente e manter           Basicamente, o circuito converte n níveis
esta amostra para um conversor analógico         de tensão digitais em uma tensão de saída


                                                                                                    10.8
Controle Supervisório e Aquisição de Dados

analógica equivalente. As tensões de                                                       R        R      R      R 
entrada V1, V2, V3 e V4 são iguais em                                               Vo = − V1 f + V2 f + V3 f + V4 f 
                                                                                           R
                                                                                              1     R2     R3     R4 
                                                                                                                      
amplitude mas carregam um peso
associado com a posição dos bits em um
número binário. O peso dos bits em um                                               Substituindo pela relação das
número binário aumenta quando se move                                           resistências, tem-se:
à esquerda do ponto binário:                                                        Vo = - (V1 + 2 V1 + 4 V3 + 8 V4)

           24          23             22               21         20                Como entradas binárias, V1 representa
                                                                                o bit menos significativo (LSB) e V4
                                                                                representa o bit mais significativo (MSB).
                                                                                Pode-se ver da equação anterior, que o bit
                                              VR                                mais significativo de um número binário de
                                                                                4-bit contribui 8 vezes mais que o bit
     ao                                                                         menos significativo, quando ambos estão
    a1                                                                          na mesma tensão positiva representando
    a2                      Conversor                       Vo                  uma lógica 1.
     .                      Digital para                                            Por exemplo, a tensão de saída para o
                            Analógico                                           circuito da Fig. 11.16, se as seguintes
     .                                                   Tensão de saída
                                 (D/A)
                                                         analógica              tensões são aplicadas
    an-1
                                                                                          V1 = 1 V
     an                                                                                   V2 = 1 V
                                                                                          V3 = 0 V
                                                                                          V4 = 1 V
                       +V         G      -V
                                                                                é computada como
   Fig. 11.14. Diagrama genérico de conversor D/A                               Vo = -[(1V)(1) + (1V)(2) + (0V)(4) + (1V)(8)]
                                                                                        = -(1 V + 2 V + 0 V + 8 V
                                                                                        -11 V
                                                                                    A menor variação na saída é devida à
                            R1                          Rf                      alteração do LSB de 0 para 1 ou vice-
           MSB                                                                  versa. Esta menor variação é chamada de
                            R2
                                                   -
                                                                                resolução do conversor e é expressa
                            R3                                                  quantitativamente como:
                                                   +                  Vo
                            R4
                                                                                              Vo
           LSB                                                                      Re s =
                                                                                             2n − 1
   Fig. 11.15. Amplificador somador de tensão
                                                                                onde
                                                                                       Vo é a máxima tensão de saída
    Desde que as amplitudes das entradas                                               n é o número de bits binário
digitais são a mesma, deve se computar o                                           Por exemplo, a resolução de um
valor dos resistores para considerar o                                          conversor D/A com 8-bit de entrada e uma
peso dos bits. Os valores dos resistores                                        tensão máxima de saída de 12,8 V vale:
são computados como
                                                                                              Vo
                  Rf                                             Rf                 Re s =
           R1 =                                        R2 =                                  2n − 1
                  20                                             21

                                                                                           12,8 V 12,8 V
                  Rf                                             Rf                    =          =      = 50 mV
           R3 =                                        R4 =                                28 − 1   255
                  22                                             23
                                                                                   O conversor digital para analógico à
   A tensão de saída do amplificador                                            base do amplificador somador tem duas
somador é computada como:                                                       grandes desvantagens:
                                                                                1.    requer vários resistores de precisão
                                                                                   com valores diferentes.


                                                                                                                          10.9
Controle Supervisório e Aquisição de Dados

2.      cada entrada binária vê uma carga                  Por exemplo, a tensão de saída para
     diferente, desde que cada resistor de             um circuito ladder R-2R com 6-bit, quando
     entrada tem valor diferente.                      a entrada binária é 101010, se 0 V
                                                       corresponde à lógica 0 e 5 V corresponde
Amplificador com escada R-2R
                                                       à lógica 1, é a soma das contribuições das
    As desvantagens do amplificador                    tensões para as entradas com lógica 1 e é
somador podem ser eliminadas usando-se                 computada como:
uma escada de resistores R – 2R, que usa
resistores com apenas dois valores, R e                               V V  V
2R. Neste circuito, a resistência de                          Vo =     + +
                                                                      2 8 32
qualquer nó para o terra e para um
terminal de entrada é 2R.
                                                                           16          4          1 
                                                                  = (5 V )     + (5 V )  + (5 V ) 
                                                                           32           3         32 
                        2R             Rf
        MSB                                                           5 V × 16 + 5 V × 4 + 5 V × 1
                    R   2R                                        =
                                   -                                              32
                    R   2R
                                   +        Vo
                                                                  = 3,281 V
                    R   2R
       LSB                                             1.9. Conversor analógico para digital
    Fig. 11.16. Amplificador somador R – 2R de             O conversor A/D transforma a
tensão                                                 informação analógica original em dados
                                                       digitais correspondentes e apropriados
                                                       para uso em sistemas digitais. Como os
                                                       processos contínuos possuem muitos
     A relação entre as entradas binárias e a          sinais analógicos (medições das variáveis
saída analógica para um circuito ladder                pressão, temperatura, vazão, nível e
binário R – 2R com 10-bit é mostrada na                análise) e como os sistemas de aquisição
Tab. 1. Aqui V é a amplitude da tensão de              de dados atualmente são digitais, é
entrada digital. A contribuição de cada bit            mandatório o uso do conversor A/D nestes
listado é a mostrada, independe do número              sistemas práticos.
de bits de entrada. Isto é, o bit mais
significativo (MSB) sempre contribui com
V/2 para um circuito escada de n-bit,                                                        Comandos, como
qualquer que seja o valor de n.                                                              finalizar conversão
                                                                                             comecar conversão
                                                                                                          bn
     Tab. 1. Tensão de saída com Ladder binário R –                                                       bn-1
2R                                                                           Conversor
                                                                         Analógico para              .
                                                         Vi                                                    Linhas de saída
              Bit            Tensão saída                                     Digital                .
                                                                                                               paralelas
                                                                               (A/D)
              MSB            V/2                                                                           b2
                                                         VR                                                 b1
              2o MSB         V/4
              3o MSB         V/8
              4o MSB         V/16
              5o MSB         V/32                                       +V      G       -V
              6o MSB         V/64
              7o MSB         V/128                            Fig. 11.17. Diagrama genérico de conversor A/D
              8o MSB         V/256
              9o MSB         V/512
              LSB            V/1024                       Há vários métodos para converter
                                                       sinais analógicos em digitais, diferindo na
                                                       precisão, custo, taxa de conversão e
                                                       susceptibilidade ao ruído.


                                                                                                                        10.10
Controle Supervisório e Aquisição de Dados

    As quatro principais técnicas usadas na               ou
conversão analógica para digital são:                                                 f
   1. tensão para freqüência                                                   Vi =
                                                                                      k
   2. simultânea
   3. rampa                                                   A sinal de saída do oscilador (pulso
   4. aproximações sucessivas.                            com freqüência f) é aplicado a um terminal
    Independente da técnica usada, quase                  de entrada de uma porta AND de duas
todo conversor A/D com bom desempenho                     entradas. O sinal aplicado a outra entrada
inclui circuito de condicionamento de                     da porta AND é um pulso, criado por um
sinais, sample e hold, amplificadores                     gerador. Durante o tempo em que os dois
operacionais, multiplexador, circuitos de                 sinais estiverem presentes nas entradas da
temporização e sincronismo. Também                        porta AND, a saída da porta AND é
todos conversores A/D operam                              idêntica à saída do oscilador.
particionando a faixa total da entrada                        Por exemplo, seja um oscilador com
analógica em um número fixo de degraus                    constante k = 100. Se 260 pulsos passam
digitais discretos. Esta operação é                       através da porta AND e no contador
conhecida como digitalização ou                           durante pulso de 0,1 s, a amplitude da
quantização. Um diferente código digital                  tensão de entrada é de 26 V.
corresponde a cada um dos degraus                         Método simultâneo de conversão A/D
(valores analógicos). Os códigos digitais                     O método simultâneo ou paralelo de
consistem de n bits. Como cada bit é                      conversão analógico para digital é o mais
binário, ele pode ter um de dois estados                  rápido disponível. Porém, ele requer o uso
possíveis: 0 ou 1.                                        de vários circuitos comparadores. Como
Conversão tensão para freqüência                          regra geral, o numero de comparadores é
    A conversão tensão para freqüência,                   2n – 1, onde n é o número de bits na saída
como o nome implica, é uma técnica usada                  digital. Por exemplo, dois bits digitais
para converter uma tensão de entrada                      permitem definir quatro faixas de uma
analógica em uma forma de onda periódica                  tensão de entrada analógica, porque
com uma freqüência que é diretamente                      quatro combinações de 1 e 0 são possíveis
proporcional à tensão de entrada.                         com dois bits digitais. De acordo com a
    A base da conversão tensão para                       expressão 2n – 1, são necessários três
freqüência é um oscilador com tensão                      comparadores para conseguir a conversão.
controlada muito linear

                                                                                                       Controle
   Oscilador com                                               Tensão de
                                          Contador
 tensão controlada                                              entrada    +
                                                                                                      Contador
                                                               analógica   -                          binário
                      Pulso

                           Gerador        Display                                Clock                              Display
                           de Pulsos      digital                                                                   digital
                                                                                      Tensão de
                                                                                      referência
                                                                                                   Conversor D/A
                                                                                                   escada binária
Fig. 11.18. Diagrama de um conversor tensão para
freqüência
                                                          Fig. 11.19. Conversor A/D tipo rampa

   O oscilador com tensão controlada
deve ser projetado de modo que a relação
entre a freqüência de saída e a tensão de
entrada seja constante. Isto pode ser
expresso como:
                          f
                     k=
                          Vi



                                                                                                                    10.11
Controle Supervisório e Aquisição de Dados

    Tab. 2. Entrada analógica versus saída digital
                                                          Conversor com aproximação sucessiva
para conversor A/D simultâneo com 2-bit
                                                             A técnica de aproximação sucessiva é
                                                          uma das mais usadas, principalmente por
    Entrada analógica Saída digital                       causa de seu pequeno e constante tempo
        0 a V/4                                           de conversão. Um diagrama de blocos
                                    00
                                                          básico para um conversor A/D por
    V/4 a V/2                       01                    aproximação sucessiva a 4-bit é mostrado
    v/2 a 3V/4                                            na Fig. 11.20. O conversor A/D consiste de
                                    10
                                                          um comparador de tensão, um conversor
    3V/4 a V                        11                    D/A, um registro de aproximação sucessiva
                                                          e um clock.
Conversor A/D tipo rampa
                                                                         Comparador
    Pode se eliminar a necessidade dos                                    de tensão
numerosos comparadores no conversor                         Vi     +
usando uma rampa. O conversor A/D tipo                              -
                                                                                       Saída de tensão do
rampa é levemente mais sofisticado e                                                     Conversor D/A
exato (maior resolução) que o conversor                                                                       MSB
simultâneo e requer somente um
                                                                                                                       Saída
comparador, pois ele produz uma tensão                                                                                paralela
de referência tipo escada, com a qual a
                                                                               MSB
tensão analógica de entrada é comparada.                                                   Registro de              Saída
    Pode se analisar a operação do circuito                                           Aproximação sucessiva         serial
                                                                 Clock
considerando o contador zerado e a saída
do conversor D/A igual a zero. Se a tensão                    Fig. 11.20. Diagrama de um conversor A/D
de entrada analógica começa a aumentar,                   básico com 4-bit e aproximação sucessiva
a saída do comparador ficará alta quando
a tensão analógica de entrada exceder a
tensão de referência. O estado alto da                        Indo através do ciclo de conversão, o
saída do comparador habilita a porta AND.                 sistema começa habilitando os bits do
Assim, o contador começa a armazenar                      conversor D/A um bit por vez, começando
pulsos do clock. Quando o contador                        com o bit mais significativo (MSB). Quando
avança através de seus estados binários,                  cada bit é habilitado, sua amplitude é
ele produz a tensão de referência em                      comparada com a tensão analógica de
forma de escada na saída do conversor                     entrada, Vi, pelo comparador de tensões. O
D/A. Quando a tensão de referência                        comparador então produz uma saída que
escada excede a amplitude da tensão                       indica se a tensão analógica tem amplitude
analógica, a saída do comparador é                        maior ou menor que a saída do conversor
chaveada em baixo, assim desabilitando a                  D/A. Se a saída do conversor D/A é maior
porta AND que corta os pulsos do clock                    que a tensão analógica, o MSB é resetado
para o contador. O número binário                         a zero, desde que ele não é necessário na
armazenado no contador é mostrado na                      representação da entrada analógica. Se a
saída. O display de saída representa a                    saída do conversor D/A é menor que a
amplitude da tensão analógica.                            tensão analógica, o MSB é retido no
    O contador começa em zero e conta                     registro.
até o ponto em que a tensão analógica fica                    O sistema faz esta comparação
igual à tensão de referência escada, de                   sucessivamente com cada bit, começando
modo que o tempo de conversão está                        com o MSB, indo para o próximo MSB, até
diretamente relacionado com a amplitude                   chegar ao LSB. Quando cada bit do
da tensão analógica.                                      conversor D/A é comparado, aqueles que
                                                          contribuem com a representação digital da
                                                          entrada analógica são armazenados no
                                                          registros e os que não são necessários,
                                                          são resetados em zero.


                                                                                                                    10.12
Controle Supervisório e Aquisição de Dados

                                                petroquímicos, casa de força e distribuição
2. Telemetria                                   de energia, distribuição de água ou de gás
                                                em cidades, adutora de água,
2.1. Introdução                                 armazenamento e distribuição de óleo e
    As indústrias de óleo, água, gás são        gás natural nas áreas de produção Embora
caracterizadas por sistemas complexos de        não seja de interesse deste trabalho, a
distribuição envolvendo a transferência de      telemetria se aplica também a sistemas
fluidos ao longo de tubulações que              remotos ou inacessíveis, tais como satélite,
interligam áreas de produção,                   exploração espacial e marítima.
armazenagem e consumo. Estes sistemas                Há quem considere telemetria a
também incluem vários itens de                  transmissão convencional, pneumática ou
equipamento ou planta, como estações de         eletrônica da instrumentação. Nestas
bombeamento, compressores, tanques de           aplicações, os valores das variáveis de
armazenagem, cada um com variáveis              processo (pressão, temperatura, vazão,
medidas associadas. Estes dispositivos          nível e análise) são convertidos nos sinais
geralmente estão distantes vários               padrão, pneumático de 20 a 100 kPa (3 a
kilômetros entre si, em áreas remotas. É        15 psi) ou eletrônico de 4 a 20 mA cc.
essencial para a supervisão eficiente e              A transmissão pneumática pode ser
efetiva destes sistemas de distribuição que     feita até distâncias de 300 metros, em
todos os dados de medição sejam                 tubos plásticos ou metálicos de diâmetro
transmitidos para uma sala de controle          externo de 6,35 ou 9,5 mm. A distância é
central. Para se fazer isso, é necessário       limitada pela velocidade da resposta, que
um sistema de telemetria. O sistema             quadruplica quando se dobra a distância. A
usualmente consiste de várias estações          transmissão eletrônica pode ser feita até
satélites interligadas a uma estação central    distancias de 3 km, em fios trançados
principal. O sistema de telemetria deve ser     comuns de 14 AWG. Não há limitação
capaz de transmitir grandes quantidades         técnica da distância, pois o sinal de
de informação nos dois sentidos: da             corrente não é atenuado ao longo da linha,
estação satélite para a estação central e       porém há uma limitação prática da fiação
da central para os vários satélites. A          física.
transmissão é feita através de grandes               O avanço da telemetria ocorre na
distancias, na presença de interferência        instrumentação usando técnicas de rádio
externa e ruídos.                               freqüência, microondas ou fibras ópticas.
2.1. Conceito                                   Os canais de comunicação usados incluem
                                                linhas de transmissão empregando dois ou
    Telemetria é a transmissão da               mais condutores que podem ser fios
informação de medição para locais               trançados, cabos coaxiais ou linha
remotos por meio de fios, ondas de rádio,       telefônica ligando fisicamente os dois
linhas telefônicas ou outros meios.             pontos (transmissão e recepção). Os links
Telemetria é o sistema completo de              de microondas permitem a comunicação
medição, transmissão e recepção para            de dados por modulação de uma rádio
indicar ou registrar uma quantidade à           freqüência ou portadora de microondas e
distância. Telemetria é também chamada          os dois pontos não são ligados fisicamente
de medição remota.                              mas a informação é transportada no ar.
Dentro da instrumentação há geralmente a        Nos links ópticos, a informação é
necessidade da telemetria, para transmitir      transmitida como uma modulação da luz
dados ou informação entre dois locais           através de um cabo de fibra óptica.
separados geograficamente. A transmissão
pode ser requerida para possibilitar a
aquisição de dados supervisória
centralizada, processamento de sinal ou
controle a ser exercido em sistemas
espalhados e separados por grandes
distancias. As principais aplicações de
telemetria incluem: complexos


                                                                                      10.13
Controle Supervisório e Aquisição de Dados

                                                          3.     Os sinais são agora multiplexados,
2.2. Telemetria e aquisição de dados                         ou no tempo ou na freqüência, de
    Um sistema de aquisição de dados                         modo que todos sejam transmitidos no
pode incorporar um subsistema de                             mesmo canal, um por vez, de modo
telemetria, para a comunicação remota                        ordenado e correto.
entre estações. Este sistema completo                     4.     Os sinais multiplexados são
inclui.                                                      transmitidos do transmissor para o
1.      Na entrada do sistema estão as                       receptor remoto, através de uma onda
    variáveis do processo que são medidas                    portadora de rádio freqüência (RF),
    pelos sensores.                                          modulada por amplitude, freqüência ou
2.      Os sinais são condicionados na                       fase. A transmissão pode
    forma de amplificação, filtro,                           alternativamente ser feita por cabo
    padronização, linearização ou qualquer                   coaxial, cabo de fibra óptica ou por
    outra função para normalizar as saídas                   linha telefônica.
    dos diferentes sensores e restringir                  5.     Assim que os dados chegam no
    suas larguras de faixa de modo que                       receptor, um a um, eles são
    sejam compatíveis com os canais de                       demultiplexados, ou sejam, todos os
    comunicação. Os sistemas de                              sinais passam a existir
    transmissão até o multiplexador podem                    simultaneamente e podem ser
    empregar tensão, corrente, posição,                      mostrados ou analisados na estação
    pulso ou freqüência para levar os                        final.
    dados digitais ou analógicos.




         1                                               XMTR                       RCVR

                                                                  Link RF

         2
                                                                   Cabo

                                      MUX                                                        MUX
         3
                                                                 Link dados
                                                                 memória


                                                                 Linha telefônica
         n
                                                                                                             Saídas
     Sensores     Condicionadores    Multiplexador          Transmissão dos dados          Demultiplexador   dos dados
                     de sinal



   ig. 9.21. Sistema de telemetria




                                                                                                             10.14
Controle Supervisório e Aquisição de Dados

                                                    Cabo coaxial
2.3. Canais de Comunicação
                                                        O cabo coaxial consiste de um núcleo
Linhas de transmissão                               central condutor rodeado por um material
    As linhas de transmissão são usadas             dielétrico que pode ser politeno ou ar. O
para guiar ondas eletromagnéticas e em              condutor externo é usualmente coberto de
instrumentação elas comumente tomam a               um revestimento isolante. A perda em altas
forma de par de fios trançados, cabo                freqüências no cabo coaxial é devida ao
coaxial ou linha de telefone. Nas linhas de         efeito pele (skin effect), que força a
transmissão é importante saber e                    corrente no núcleo central fluir próxima de
especificar os parâmetros primários de              sua superfície e assim aumenta a
   1. resistência,                                  resistência do condutor. Tais cabos tem
   2. condutância de vazamento,                     uma impedância característica entre 50 e
   3. indutância e capacitância                     75 Ω. A atenuação típica de um cabo
       distribuídas.                                coaxial com diâmetro de 0,6 cm é
    As linhas de transmissão são
caracterizadas por três parâmetros                          8 dB/100 m      100 MHz
secundários:                                                25 dB/100 m     1 GHz.
   1. impedância, Zo
                                                    Cabo telefônico
   2. atenuação, α, por unidade de
       comprimento da linha, expressa em                Cabos telefônicos consistem de vários
       dB/m.                                        pares de condutores trançados. Os
   3. deslocamento de fase, β, que é                condutores são isolados com papel ou
       medido em rd/m.                              polietileno, o trançamento sendo usado
                                                    para reduzir a interferência entre pares
Par trançado                                        condutores adjacentes. O conjunto dos
    O par trançado são dois fios de cobre           pares trançados é blindado com plástico e
ou alumínio revestidos de plástico isolante.        o cabo inteiro é revestido de fio ou fita de
O trançamento reduz o efeito da                     aço para ter alta resistência mecânica.
interferência acoplada indutivamente.               Finalmente, há um revestimento de
Valores típicos dos parâmetros primários            plástico externo. Em freqüências de áudio,
para par trançado de fio AWG 22 são:                a impedância do cabo é dominada por sua
                                                    capacitância e resistência. Isto resulta em
                 R        100 Ω                     uma atenuação que depende da
                       /km                          freqüência e também da distorção de
                 L        1 mH/km                   atraso de fase, desde que sinais de
                 G        10-5                      diferentes freqüências não são
                       S/km                         transmitidos no cabo com a mesma
                 C     0,05 µF/km                   velocidade. Assim, um pulso propagado
                                                    através do cabo resulta em um sinal que
    Em altas freqüências, a impedância              não é apenas atenuado (importante em
característica da linha é aproximadamente           comunicação de voz e analógica) mas que
140 Ω. Valores típicos de atenuação do par          é também distorcido em fase (importante
trançado:                                           em transmissão de sinal digital). O grau de
                                                    distorção de atraso de fase é medido pelo
         3,4 db/km     100 kHz                      atraso do grupo dβ/dω. A largura da banda
         14 db/km      1MHz                         dos cabos telefônicos é restrita em baixas
         39 db/km      10 MHz                       freqüências pelo uso de amplificação ca
                                                    em estações repetidoras usadas para
    A limitação de alta freqüência para o           reforçar o sinal ao longo da linha. Para
uso do par trançado é de 1 MHz, não por             melhorar a resposta da amplitude em alta
causa da atenuação mas por causa da                 freqüência, colocam-se indutâncias
interferência (crosstalk) causada pelo              discretas para corrigir a característica de
acoplamento capacitivo entre os pares               atenuação da linha, que aumentam a
trançados no cabo.                                  distorção do atraso de fase e a atenuação
                                                    em alta freqüência. A banda de freqüência


                                                                                          10.15
Controle Supervisório e Aquisição de Dados

usável da linha telefônica é entre 300 Hz e         desenvolver o modem Bell 103. O modem
3 kHz.                                              converte os pulsos digitais de liga e
    Para transmitir a informação digital de         desliga, que representam os dados, em
modo confiável, o equipamento de                    tons analógicos de liga e desliga para
transmissão deve ter uma perda da                   serem transmitidos através de uma linha
transmissão menor que 30 dB, uma largura            telefônica normal.
de banda limitada causada por uma perda                  O modem Bell 103 funciona a uma
de transmissão que varia com a                      velocidade baixa, de 300 bits por segundo
freqüência, variações de atraso de grupo            ou 300 bauds. Os modems modernos já
com a freqüência, ecos causados pelo                utilizam velocidades de transmissão de
descasamento das impedâncias e                      57,6 kbauds, 192 vezes mais rápido que o
interferência híbrida e ruído causado pelo          modem Bell 103, pois seus circuitos são
chaveamento e picos de tensão. Assim,               microprocessados.
pode se perceber que a natureza da linha                 Independente da velocidade e potência
telefônica causa problemas particulares na          computacional, todos os modems possuem
transmissão de dados digitais.                      certas características comuns como:
Equipamentos como modems são usados                     1. conter uma interface RS 232C, pois
para transmitir dados digitais ao longo das                 geralmente são ligados a um
linhas telefônicas.                                         computador ou terminal,
                                                        2. conter uma interface RJ-11 para ser
2.4. Modem                                                  ligado à linha telefônica
    Modem é um circuito eletrônico que                  3. utilizar dois pares de tons, uma para
possui duas funções em um único                             o estado ligado e outro para o
invólucro:                                                  estado desligado da linha de dados
   1. recebe vários sinais na entrada e faz                 RS-232C. Um dos pares é usado
       um tratamento individual para cada                   pelo modem que origina a chamada
       sinal                                                e o outro pelo modem que responde
   2. depois de tratados, envia todos                       à chamada. Geralmente o modem
       estes sinais de volta, um a um.                      de origem envia dados entre 1070 e
    A primeira função do modem é modular                    1270 Hz e o modem que recebe usa
o sinal e a segunda, demodular o sinal e                    dados entre 2025 e 2225 Hz.
por isso o nome MODulador +                         Dentro de um modem
DEModulador = MODEM.
                                                       Um modem típico de 9600 bauds tem
Modem Bell 103                                      quatro áreas principais:
    Os primeiros dispositivos de eletrônica,          1. fonte de alimentação
o telégrafo e o teletipo, comunicavam-se              2. interface com sistema telefônico
entre si trocando sinais de pulsos de                 3. CPU
corrente contínua, através de fios                    4. circuitos.
compridos. Os computadores e terminais              Fonte de alimentação
modernos ainda utilizam uma versão
aperfeiçoada desta técnica, como a                      A fonte de alimentação está instalada
definida pela norma RS 232 C. Os                    na própria placa do modem, quando ele é
telefones, por outro lado, comunicam-se             independente do micromputador. Quando
passando um sinal analógico de áudio                ele é montado na placa do computador, ele
através da linha. A intensidade e                   usa a fonte do computador. De qualquer
freqüência do sinal dependem do volume              modo, a fonte é regulada.
do tom da mensagem transmitida. A                       A interface RS 232C conecta o modem
diferença básica entre a rede telefônica é          a um terminal ou computador principal.
que ela transporta informação de voz                Dirigidos por comandos recebidos através
(áudio ou alternada) e a rede de                    da porta RS 232C, os modems inteligentes
computadores pode utilizar sinais de                podem armazenar e discar números
corrente contínua. A partir da necessidade          telefônicos automaticamente.
de conectar computadores nas linhas                     O lado analógico do modem começa
telefônicas já existentes, levou a AT&T             com a interface com a linha telefônica. Um



                                                                                          10.16
Controle Supervisório e Aquisição de Dados

circuito de sobrecarga protege o modem            1. chaveando deslocamento de
contra raios e outros danos elétricos. Um             freqüência (FSK – frequency shift
circuito adicional garante que o sinal de             keying)
saída esteja de conformidade com normas           2. chaveando deslocamento de fase
da FCC.                                               (PSK – phase shift keying).
    Atualmente o chip do modem realiza as          Técnicas de modulação de amplitude
tarefas de conversão D/A. Antes dos            não são usadas por causa da resposta não
circuitos integrados, estes circuitos eram     conveniente da linha para alterações tipo
complexos e envolviam componentes              degrau na amplitude. Modems podem ser
discretos.                                     usados para transmitir informação em duas
    A CPU é a parte principal do modem. A      direções ao longo de uma linha telefônica.
CPU controla todos os outros                   Operação full duplex é transmissão da
componentes do modem, realiza a                informação nos dois sentidos
compressão dos dados e detecção de             simultaneamente; half duplex é a
erros especificados pelos protocolos do        transmissão da informação nos dois
CCITT. O programa da CPU é carregado           sentidos, mas somente em um sentido de
em dois chips de ROM e utiliza dois chips      cada vez; simplex é a transmissão dos
de 64 kB de RAM para o armazenamento           dados em somente um sentido.
temporário.                                        O princípio de FSK usa duas
                                               freqüências diferentes para representar o 1
Modem inteligente
                                               e o 0 e pode ser usada em transmissão de
    O modem faz a ligação do universo          dados com taxa de até 1200 bauds (bits
analógico das redes telefônicas com o          por segundo). O receptor usa um
mundo digital dos computadores. Os             discriminador de freqüência cujo limite é
primeiros modems desenvolvidos o foram         estabelecido na metade das duas
pela Bell Labs, o modem Bell 103, de 300       freqüências. O deslocamento de
bauds.                                         freqüência recomendado não deve ser
    Depois do Bell 103, o próximo foi o da     menor que 0,66 da freqüência de
AT&T, Bell 212A, a 1200 bauds. Embora          modulação. Assim, a operação do modem
fosse mais rápido, era mais susceptível a      a 1200 bauds tem uma freqüência central
ruídos e corrupções do sinal do circuito       recomendada de 1700 Hz e um desvio de
telefônico.                                    freqüência de 800 Hz, com o 0
    A Hayes Microcomputers Products            representado por 1300 Hz e 1 por 2100 Hz.
tomou a dianteira no comercio de modems        Em uma taxa de transmissão de 200 bauds
para computadores. Ela utilizou pela           é possível operar um sistema full duplex.
primeira vez o microprocessador dentro do      Em 600 e 1200 bauds a operação half
modem. O Hayes Smartmodem, em 1981,            duplex é usada incorporando um canal de
usava o microprocessador Zilog Z-8 para        baixa velocidade para controle supervisório
controlar os circuitos do modem e              ou baixa velocidade para retorno dos
gerenciar a discagem e resposta                dados.
automática. Às vezes, o modem possuía
um microprocessador mais poderoso que o        2.5. Transmissão por rádio
do computador onde ele era instalado.          freqüência
    Em 1985, apareceu o modem de 2 400             A transmissão por rádio freqüência
bit/s. Este novo padrão foi chamado de         (RF) é muito usada em telemetria civil e
V.22bis, estabelecido pela CCITT.              militar. A transmissão de RF começa em 3
Seguiram o V.32 de                             Hz (chamada de VLF – muito baixa
9 600 bits/s, o V.32bis de 14 400 bits/s,      freqüência) até 300 GHz (chamada de EHF
V.42 (controle de erros) e V.42bis             – extremamente alta freqüência), havendo
(compressão de dados).                         bandas intermediárias de baixa freqüência
    Para superar as limitações das linhas      (LF), média freqüência (MF), alta
de telefone públicas, os dados digitais são    freqüência (HF), muito alta freqüência
transmitidos nestas linhas por meio de um      (VHF), ultra-alta freqüência (UHF) e super
modem. Os dois métodos de modulados            alta freqüência (SHF).
usados por modems são:


                                                                                    10.17
Controle Supervisório e Aquisição de Dados

    A transmissão do sinal é por meio de
propagação de linha de visão, difração de                          3. Controle Supervisório do
onda na superfície ou na terra, reflexão
ionosférica ou espalhamento para frente. A
                                                                   Sistema de Aquisição de Dados
transmissão de telemetria ou sinais de                             3.1. Introdução
dados é usualmente feita por modulação
                                                                       Um sistema de aquisição de dados
de amplitude (AM), freqüência (FM) ou
                                                                   coleta e armazena para uso futuro. Os
fase (PM) de alguma onde de RF
                                                                   dados analógicos (corrente de 4 a 20 mA
portadora.
                                                                   cc, tensão de mV de células de carga,
    A alocação de bandas de freqüência é
                                                                   tensão de termopares dos tipos J, K, R, S,
feita por acordo internacional da União
                                                                   T e B, resistências detectoras de
Internacional de Telecomunicação, com
                                                                   temperatura, pulsos de turbinas medidoras
sede em Genebra.
                                                                   de vazão, freqüência de sinais de
                                                                   transmissores de vazão magnéticos,
                                                                   freqüências de medidores tipo vortex ou
    Onda
    portadora                                                      coriolis) são convertidos para a forma
                          Antena   Antena                          digital conveniente para ser usada dentro
   Modulador    Transmissor           Receptor   Demodulado
                                                                   do sistema digital de aquisição de dados.
                                                                   São transferidos também os chamados
   Fig. 11.22. Sistema de telemetria com RF                        sinais digitais, como protocolo HART,
                                                                   contatos secos de chaves e relés, pulsos
                                                                   binários. Atualmente, na maioria das
                                                                   aplicações industriais, a aquisição de
                                                                   dados é feita por controladores lógico
                                                                   programáveis (CLP), que possuem as
                                                                   interfaces de entrada e saída já
                                                                   padronizadas e com preço mais
                                                                   conveniente que as interfaces E/S do
                                                                   sistema digital de controle distribuído.
                                                                   Outro vantagem de se usar um CLP como
                                                                   sistema de coleta de dados é a facilidade
                                                                   de driver de comunicação entre ele e o
                                                                   microcomputador onde será rodado o
                                                                   programa aplicativo para realizar o controle
                                                                   supervisório do processo.
                                                                       Quando os dados são coletados a
                                                                   grandes distâncias, eles são transferidos
                                                                   através de fios físicos, por uma onda de
                                                                   rádio freqüência portadora ou através de
                                                                   linha telefônica ou por uma combinação
                                                                   qualquer destas três técnicas.
                                                                       Estes dados estão agora disponíveis
                                                                   em um único local centralizado, e podem
                                                                   ser indicados, registrados, totalizados,
                                                                   analisados e alarmados.
                                                                       É também desejável que o operador,
                                                                   além de coletar os dados e saber os status
                                                                   dos dispositivos remotos, possa atuar no
                                                                   processo, abrindo e fechando válvulas
                                                                   motorizadas, ligando e desligando motores
                                                                   de bombas e compressores, enviando
                                                                   sinais analógicos para atuar em válvulas
                                                                   de controle. Nestas aplicações, os sinais
                                                                   digitais do sistema de aquisição de dados



                                                                                                         10.18
Controle Supervisório e Aquisição de Dados

devem ser convertidos de volta para a              operação de motor de bomba) pode ser
forma analógica e aplicados a algum tipo           apresentada na tela do monitor, em
de atuador no processo.                            tamanho e cor definidos pelo usuário.
   Neste ponto, deve-se projetar e
                                                   O anunciador de alarme é eliminado e
construir equipamentos digitais que
                                                   agora os alarmes são listados pelo
executem todas estas tarefas. Este
                                                   computador, mostrados na tela do monitor
equipamento já existe, associado a
                                                   ou impressos em papel, se necessário. O
programas de computador aplicativos: é o
                                                   alarme sonoro continua existindo. O
Controle Supervisório e Aquisição de
                                                   usuário pode definir um código de cores
Dados (SCADA).
                                                   para diferentes tipos de alarme. No
3.2. Equipamento (Hardware)                        diagrama do processo mostrado na tela do
                                                   monitor do computador, as variáveis
    A plataforma de operação do sistema
                                                   alarmadas podem assumir diferentes
de aquisição de dados e controle
                                                   cores.
supervisório é um microcomputador,
rodando um programa aplicativo. Através                 Também no sistema, os status dos
de configuração de telas, o operador pode          equipamentos podem ser definidos e
selecionar através do teclado ou mouse do          observados na tela do monitor. Assim, por
computador diferentes visões do processo,          exemplo, válvulas fechadas podem ser
desde uma malha isolada até o processo             representadas em vermelho, fechadas em
completo (overview).                               amarelo e em posições intermediárias, em
O monitor do computador irá substituir os          verde.
painéis convencionais com botoeiras,                   Tudo que era feito através da
instrumentos de display, anunciador de             instrumentação convencional contínua
alarme e painel sinóptico. As chaves liga e        sendo feito, porém, o operador vê o
desliga e as botoeiras de partida e parada         processo através de uma janela. Sua
são substituídas por teclas ou são atuadas         interface para ver o que está ocorrendo é a
através da tela especial (touch screen).           tela do monitor e sua interface para atuar
Têm-se agora chaves lógicas ou virtuais            no processo é o teclado do computador,
que funcionam exatamente como se                   mouse, trackball (mouse com esfera) ou a
fossem reais.                                      própria tela do monitor se ela for sensível
                                                   ao toque (touch screen).
O monitor do computador substitui os                    Este sistema supervisório facilita muito
instrumentos de display. Através do
                                                   a vida do operador. Relatórios que
programa de configuração, o operador
                                                   anteriormente eram escritos à mão agora
pode selecionar telas que apresentam os
                                                   são automaticamente impressos. A partir
valores numéricos das variáveis de
                                                   do aperto de uma tecla, o operador pode
processo de diferentes modos, à sua
                                                   ter uma lista de todos os pontos que foram
escolha. Os valores podem aparecer ao
                                                   alarmados nas últimas 24 horas de
lado dos equipamentos associados. Por              operação.
exemplo, o nível do tanque pode ser
                                                        Concluindo: um conjunto integrado de
apresentado em percentagem ao lado do
                                                   sistema de aquisição de dados, programa
desenho do tanque, a vazão que passa por
                                                   de controle supervisório e um
uma tubulação pode ter o valor instantâneo
                                                   microcomputador, pode ser uma alternativa
mostrado junto da tubulação, a                     econômica para um Sistema Digital de
temperatura de um reator pode ser
                                                   Controle Distribuído. Por causa de suas
mostrada em diferentes posições, em
                                                   limitações de desempenho e conveniência
valores digitais. Através da configuração
                                                   geral apresentadas por um sistema com
de tela, os instrumentos virtuais podem se
                                                   microcomputador, estas aplicações são
parecer com instrumentos convencionais,            idéias para processos onde o custo é
com escala analógica (gráfico de barras
                                                   crítico e o controle é simples. Este conceito
simula a escala analógica), com botões,
                                                   certamente cria a expectativa e a visão do
chaves seletoras e chaves de atuação.
                                                   futuro para aplicações abertas. Mesmo
A totalização da vazão ou de outra variável        com suas limitações, o sistema pode ter ou
(por exemplo, tempo acumulado de                   fazer:


                                                                                         10.19
Controle Supervisório e Aquisição de Dados

  1. gerenciamento de banco de dados
     relacional,                                          
                                                4. Intouch
  2. pacote de planilha de cálculo
  3. capacidade de controle estatístico         4.1. Funções
     de processo                                    O programa supervisório InTouch é um
  4. processador de texto                       programa que permite a configuração de
  5. gerenciamento de display orientado         um Sistema de Supervisão de Processo,
     para objeto                                incorporando recursos de operação
  6. estação de trabalho orientada para         configuráveis pelo usuário, como: telas,
     janela                                     sinópticos, gráficos e registros de alarmes,
  7. troca de informações com outros            entre outras.
     sistemas da planta                             O programa roda em microcomputador
  8. comunicação com outros sistemas            do tipo IBM-PC, com microprocessador
     digitais, como controlador lógico          80386 ou superior, com 4 MB de RAM, no
     programável, controlador digital           sistema operacional MS-DOS, no ambiente
     single loop, sistema de monitoração        MS Windows e Windows NT e dentro do
     de máquinas rotativas, sistema de          programa de supervisão InTouch usado
     análise da planta                          para a operação do Sistema.
  9. interoperabilidade entre outras                As suas principais funções são:
     plataformas digitais disparatadas.             1. alarmes de falhas de segurança
3.3. Programa Aplicativo (Software)                 2. autorização de acesso
                                                    3. aquisição de dados
    A operação de selecionar uma malha,             4. operação solicitada pelo operador
iniciar uma entrada de dados, atuar em              5. suporte
determinado dispositivo remoto, apresentar
uma lista de alarmes não é feita                Alarmes de Falhas de Segurança
milagrosamente, mas deve ser prevista e             O monitor de vídeo do sistema do
programada. Para facilitar as coisas, são       microcomputador constitui a interface
disponíveis vários programas aplicativos        homem-máquina, apresentando de forma
no mercado, para que usuário realize seu        clara e simples aos engenheiros e
controle, sendo os mais conhecidos:             operadores do processo, os alarmes de
    Intouch, da Wonderware                      falhas de segurança referentes a
    FicsDmacs, da Intellution                   mudanças de estado do Processo e a
                                                falhas do sistema de aquisição de dados e
                                                dos periféricos.
                                                    A impressora fornece relatórios de
                                                alarmes e de eventos operacionais.
                                                Autorização de Acesso
                                                   O sistema permite o acesso aos dados
                                                e comandos apenas a operadores
                                                autorizados. A identificação dos
                                                operadores autorizados é feita através de
                                                senha ou palavra-chave (password).
                                                Aquisição de Dados
                                                    O sistema de aquisição de dados
                                                recebe os status das variáveis
                                                supervisionadas, em linha (on line) do
                                                sistema de aquisição de dados. Os
                                                eventos são registrados em um banco de
                                                dados armazenado na memória de massa
                                                e posteriormente, estes dados podem ser
                                                usados em outros aplicativos, como o MS-
                                                Excell.



                                                                                      10.20
Controle Supervisório e Aquisição de Dados

    O programa também permite a                      até o máximo de nós permitido pela
visualização de gráficos de:                         Rede RNET (255),
    1 tendência real                              2.    ligação opcional dos
    2.tendência histórica.                           microcomputadores a uma segunda
                                                     rede local.
Operações Solicitadas pelo Operador
   As operações solicitadas pelo operador         4.2. Características do InTouch
permitem :                                           O InTouch possui as seguintes
   1. atuar em equipamentos específicos;          características:
      como bombas, solenóides e válvulas
      manuais.                                    Explorador de Aplicação
   2. alinhar transferência de materiais;             O Explorador de Aplicação hierárquico
   3. executar programas de diagnóstico           fornece as melhores capacidades de
      do equipamento.                             navegação, tais como:
Funções de Suporte                                1. mostra os nomes de todas as janelas
                                                      criadas
    As funções de suporte são                     2. quando se dá um duplo click sobre o
transparentes ao operador e incluem as                nome de uma janela, ela se abre
tarefas de                                        3. quando se clica à direita de um nome
   1. comunicação entre o                             de janela, aparece um menu mostrando
       microcomputador e o sistema de                 os vários comandos que podem ser
       aquisição de dados,                            executados para
   2. gerenciamento dos bancos de                     a) abrir a janela
       dados do microcomputador.                      b) salvar a janela
A comunicação de dados entre o Sistema                c) abrir o QuicScript da janela
Supervisório e o sistema de aquisição de              d) apresentar as propriedades da
dados por ser feita através da rede R-Net.                caixa de diálogo
A rede R-Net é do tipo barramento com             4. permite o acesso rápido a
mecanismo de acesso por passagem de                   a) todos os tipos de QuickScript
bastão (token-bus) e se enquadra no                   b) todos os comandos da
modelo ISO de interconexão de sistemas                    configuração,
abertos.                                              c) Dicionário de Tagname
    O meio de transmissão utilizado é um              d) utilidade de Referência Cruzada de
cabo coaxial de 75 ohms, semelhante aos                   Tagname
usados em sistemas de rede local. A                   e) TemplatMaker de SuperTags
transmissão de dados é feita em banda             5. permite adicionar atalhos para lançar
base, a uma taxa de 800 kbauds. A                     outros programas do FactorySuite ou
autorização para a transmissão é passada              outras aplicações
de uma estação para outra, através de             6. opcionalmente ele apresenta um
uma seqüência de pulsos característicos,             display.
denominados bastão (token). Após
transmitir a mensagem, a estação passa o          Ambiente de Trabalho
bastão para a estação seguinte, e assim              As aplicações rodam no Sistema
sucessivamente, formando um anel lógico.          Operacional Windows NT ou Windows 95 e
    Por ser um sistema de controle                são intercambiáveis entre si. Elas rodam
distribuído, o Sistema Supervisório é             em qualquer sistema operacional, sem
naturalmente modular e expansível,                requerer conversão.
permitindo ao usuário ampla flexibilidade
na configuração de suas necessidades
atuais e em futuras expansões das
seguintes formas:
1.     expansão da própria rede local,
    através da adição de novas estações
    de supervisão ou microcomputadores,



                                                                                      10.21
Controle Supervisório e Aquisição de Dados

                                                    SuperTags TemplateMaker
Container ActiveX
                                                        O SuperTags TemplateMaker permite
    InTouch é um container ActiveX. Ele
                                                    criar, modificar e deletar templates
permite a instalação de qualquer outro
                                                    SuperTags do usuário. As templates
controle ActiveX e usa o em qualquer
                                                    SuperTag podem ser definida com até 64
janela de aplicação. Para facilitar o acesso,
                                                    membros. Uma template SuperTag pode
pode-se instalar controles ActiveX e depois
                                                    ser um membro de outra template
adicioná-los à Wizards/ActiveX Toolbar.
                                                    SuperTag para um máximo de dois níveis
Através dos controles ActiveX, pode-se
                                                    de rede. Os membros se comportam
manipular eventos de controle, métodos de
                                                    exatamente como tagnames InTouch
controle e propriedades de controle dos
                                                    normais e podem ser usados em
QuickScripts. Pode-se também associar
                                                    QuickScripts e links de animação. Os
as propriedades de controle ActiveX
                                                    membros também suportam tendência e
diretamente com os tagnames do InTouch.
                                                    alarme e todos os tagname.fields.
Suporte estendido a Tagname
                                                    QuickFunções
    O Dicionário de Tagname do InTouch
                                                       QuickFunções são QuickScript criados
suporta até 61.405 tags, em função da
                                                    que podem ser chamados de outros
licença do usuário.
                                                    QuickScripts ou expressões de link de
Browser de Tag                                      animação. QuickFunções suportam
    O Browser Tag permite selecionar                parâmetros e valores de retorno.
tagnames e tagname.fields de qualquer               Chamando QuickFunções de outros
aplicação FactorySuite ou qualquer outra            QuickScripts ou expressões permite a
fonte de tagname que suporta a interface            criação de QuickFunções uma vez e
do Dicionário de Tagname. O browser é a             depois reusá-la várias vezes. Usando
principal ferramenta para editar o                  QuickFunções diminui a manutenção da
Dicionário de Tagname.                              aplicação, porque independente do número
                                                    de outros scritps ou expressões de link de
Monitoração de Falha do Instrumento                 animação chamam a QuickFunções,
    Começando com a versão 7.0, InTouch             somente a QuickFunções em si precisa ser
suporta três tagname.fields (. RawValue,            mantida. Fazendo modificações em uma
.MinRaw, .MaxRaw que podem ser                      QuickFunções, automaticamente se faz a
usados no QuickScript para monitorar os             atualização de dúzias de outros
valores dos instrumentos para determinar            QuickScript ou expressões.
valores fora de faixa, fora de calibração ou
                                                    QuickFunções Assíncronas
falha.
                                                        As QuickFunções podem ser
Referência Remota de Tagname                        configuradas como assíncronas. A
    A Referência Remota de Tagname                  funcionalidade assíncrona é configurada
permite o acesso a dados de uma fonte               no ambiente de desenvolvimento
remota de dados sem ter que criar o                 WindowMaker e executado no ambiente de
tagname no Dicionário de Tagname local.             operação WindowViewer. QuickFunções
Remotos tagnames podem referenciar                  assíncronas rodam no segundo plano
dados definido na maioria das fontes de             enquanto o processo principal
dados I/O usando MS DDE ou protocolo                WindowViewer está rodando. Isto permite
Wonderware SuiteLink. Por exemplo, a                ao WindowViewer separar o tempo
fonte de dados I/O pode ser MS-Excel ou             consumido nas operações, tais como
um nó View remoto. Pode-se importar                 chamada de base de dados SQL e malhas
janelas gráficas de qualquer aplicação              FOR NEXT do fluxo principal do programa.
InTouch e depois converter os tagnames              Quando tal tempo consumindo operações
do local de trabalho da janela para                 é feito através de QuickFunções
referências remotas de tagname para criar           assíncronas, todos os links de animação e
uma aplicação do cliente que não esteja no          outras funções do InTouch permanecem
Dicionário de Tagname local.                        simultaneamente ativos.




                                                                                        10.22
Controle Supervisório e Aquisição de Dados

Referência Cruzada de Tagname                  e a historia do IndustrialSQL na mesma
   A Referência Cruzada de Tagname             tendência.
permite determinar o uso do tagname ou         Conversão de Resolução Dinâmica
SuperTag e, em que janela ou Quickscrit
                                                   Pode-se desenvolver aplicação em
que um tagname específico é usado. Por
                                               uma resolução de tela e rodar esta mesma
conveniência, a utilidade de Referência
                                               aplicação em outra resolução, sem afetar a
Cruzada de Tagname pode permanecer
                                               original. As aplicações podem também ser
aberta no WindowMaker enquanto se
                                               rodadas em uma resolução definida pelo
executam outras tarefas. Ele permite
                                               usuário, em vez da resolução do display.
também ver qualquer QuickScript ou
QuickFunções onde um tagname é                 Endereçamento de Referência Dinâmico
encontrado.                                       As referências de fonte de dados
Variáveis Locais                               podem ser alteradas para várias fontes de
                                               dados dinamicamente endereçadas com
    Os QuickScript e QuickFunções do
                                               um único tagname.
InTouch suportam o uso de variáveis locais
para armazenar resultados temporários e        Desenvolvimento de Aplicação da Rede
criar cálculos complexos com valores de            As novas características de
script intermediários. Usando variáveis        desenvolvimento remoto acomodam
locais no QuickScript e QuickFunções, não      grandes instalações com vários nós,
diminui a quantidade de tagname                incluindo atualização de todos os nós em
licenciado.                                    uma rede de uma única estação de
WindowViewer como um Serviço NT                desenvolvimento.
Começando com InTouch 7.0, o                   FactoryFocus
WindowViewer pode ser rodado como um               FactoryFocus é uma versão de
serviço NT, oferecendo as vantagens de:        somente ver (only view) da versão Runtime
  1. lista de histórico                        do InTouch, que permite aos Gerentes e
  2. alarmes                                   Supervisores a habilidade de ver
  3. dados I/O                                 processos de aplicação HMI em tempo
  4. operação contínua de                      real. A segurança do sistema é aumentada
     WindowViewer através do log on e          com a capacidade de somente ver, desde
     log off do sistema operacional, como      que nenhum dado pode ser mudado. Não
     credenciamento de operador                é necessário mudar as aplicações do
  5. partida automática do                     InTouch para usar FactoryFocus.
     WindowViewer segundo falta de                 O FactoryFocus funciona somente
     energia ou quando a máquina é             como um cliente. Nenhum dado pode ser
     desligada e ligada.                       escrito usando DDE ou SuiteLink, nem os
                                               dados podem ser mexidos (poke) para
Sistema de Alarme Distribuído                  programas como Excel. Os alarmes podem
    O novo sistema distribuído suporta         ser vistos mas não tomados
servidores ou provedores múltiplos de          conhecimentos. FactoryFocus não pode
alarme, dando ao operador a habilidade de      agir como um Servidor I/O para requisitar
simultaneamente ver e tomar                    clientes. As características como animação
conhecimento da informação de alarme de        de links, tagnames, tempo real e
vários locais remotos.                         tendências históricas são apenas vistas.
Historia Distribuída                           Outros Benefícios
    O sistema de tendência histórica               Outras características do InTouch
distribuída permite especificar                incluem:
dinamicamente uma fonte de dados de            ♦ conectividade com mais de 300
arquivo histórico diferente para cada pena         Servidores I/O
de um gráfico de tendência, permitindo ao      ♦ Solução de baixo custo para ver o
operador também ver a historia do InTouch          processo, menor que com um HMI
                                                   completo



                                                                                   10.23
Controle Supervisório e Aquisição de Dados

♦ VTQ (valor do dado, com TimeStamp e
                                                4.4. Tipos de Equipamentos
  Qualidade associadas) de I/O tipo
  tagnames fornecidos por um servidos              Existem três tipos de equipamentos
  I/º                                           constituintes do sistema de supervisão:
♦ Função HTSelectTag() que permite ao              1. animados DDE (Dynamic Data
  usuário, em runtime, selecionar               Exchange),
  qualquer Tagname registrado                      2. animados não-DDE
  historicamente.                                  3. não animados
♦ Protocolo SuiteLink, que permite              Equipamentos animados DDE
  comandos de aplicação (lê, escreve e
  atualiza) e seus dados associados                Equipamentos DDE são aqueles cujos
  serem passados entre aplicações de            símbolos no programa aplicativo geram
  cliente e aplicações do servidor.             comandos para o campo via sistema de
                                                aquisição de dados (por exemplo, atuação
♦ Facilmente colocado em rede com
                                                das válvulas solenóides) ou que recebem
  NetDDE.
                                                sinais do campo via sistema de aquisição
♦ Visão do processo em aplicação de
                                                de dados (por exemplo, alarmes em geral,
  tempo real.
                                                como PSH e LSH).
♦ Formato GUI (Interface de Unidade
  Gráfica) padrão para Windows NT ou            Equipamentos animados não DDE
  Windows 95.                                      Equipamentos não-DDE são aqueles
♦ click direito no mouse suporta através        cujos símbolos do aplicativo não geram
  do WindowMaker para acesso rápido             comandos para o campo via sistema de
  para comandos usados                          aquisição de dados e não recebem sinais
  freqüentemente.                               do campo (por exemplo bombas, e outros
♦ Barras de ferramentas flutuantes e            equipamentos cuja existência na tela serve
  fixas.                                        somente para ajudar no acompanhamento
♦ Paleta de cores personalizável que            do processo e definir o local da atuação),
  fornece 16,7 milhões de cores (suporte        mas cujo status pode ser alterado pelo
  limitado pela capacidade do cartão de         operador.
  vídeo do computador).                         Equipamentos não animados
♦ Suporte para nome de arquivo longo,
  como no Windows 95 e Windows NT.                  Equipamentos não-animados são
                                                aqueles cujos símbolos do aplicativo não
                                                geram comandos para o campo via
                                                sistema de aquisição de dados, não
                                                recebem sinais do campo e não podem ter
                                                seu status alterado pelo operador (por
                                                exemplo as válvulas de alívio, válvulas
                                                auto reguladas, e outros equipamentos) e
                                                cuja existência na tela serve somente para
                                                ajudar na visualização do processo.
                                                4.5. Operação
                                                   Tipicamente, tem-se as seguintes telas
                                                para a operação do processo:
                                                   1. Abertura
                                                   2. Visão geral
                                                   3. Operação
                                                   4. Tendência real
                                                   5. Tendência histórica
                                                   6. Alarmes
                                                   7. Ajuda
                                                   8. Menu de utilitários
                                                   9. Ajuste de parâmetros
                                                   10. Relatório instantâneo


                                                                                     10.24
Controle Supervisório e Aquisição de Dados

   A seguir são mostradas as telas de um                   tela de Abertura é apenas a de efetuar a
programa Supervisório associado a um                       apresentação do aplicativo. Pode-se
controlador lógico programável (CLP)                       visualizar a versão do programa no canto
como aquisição de dados e aplicado a uma                   inferior direito. Qualquer modificação
indústria petroquímica típica .                            efetuada no sistema implica na mudança
                                                           do número da versão e data. O operador
Inicialização do Sistema
                                                           deve se certificar que está trabalhando
    Se o sistema estiver corretamente                      com a versão mais atualizada do
instalado e o CLP estiver energizado, ao                   aplicativo.
se ligar ou resetar o microcomputador, o                       Pressionando a barra de espaço, entra-
sofware aplicativo da planta e o driver de                 se na Tela 0, que é a tela de Visão Global
comunicação entram automaticamente em                      do sistema.
operação, mostrando a tela de abertura.                        Pressionando a tecla F1 obtém-se uma
Tela de Abertura                                           tela de Ajuda sobre a operação básica do
    A tela de Abertura aparece quando o                    sistema.
software InTouch é inicializado e oferece
acesso às telas de operação. A função da




                                                                              cabeçalho

                                                                             identificação
                                                                          símbolos não Animados

                                                                           símbolos
                                                                           não DDE




   símbolos
   DDE




                         teclas do menu de operação
                                                                         janela de resumo

                                                                         de alarmes



                 Tela de operação Típica




Fig. 11.23 Exemplo de Tela de Operação Típica




                                                                                                  10.25
Controle Supervisório e Aquisição de Dados

                                                  Menu da Tela de Visão Geral
Tela de Visão Geral
                                                     O menu inferior permite que o operador
   A tela de Visão Geral apresenta todos
                                                  execute as seguintes funções :
os elementos ativos de cada uma das telas
                                                    1. A tecla SOCORRO (F1) chama a
de operação, de forma resumida.
                                                        tela de Ajuda Geral .
                                                    2. A navegação entre as telas de
                                                        operação (tela 1 a Tela 4) é feita
                                                        através de teclas individuais
                                                        acessadas pelo mouse, pela tecla
                                                        TAB ou ainda com o uso das teclas
                                                        PGUP ou PGDN.
                                                    3. A tecla de ALARMES (F9) do menu
                                                        permite que o operador entre na tela
                                                        de alarmes e eventos do sistema.
                                                    4. A tecla UTIL (F2) do menu permite
                                                        que o operador acesse outras
                                                        funções disponíveis no sistema.
                                                  Tela de Ajuda
                                                     A tela de Ajuda, normalmente
                                                  associada à tecla F1, fornece auxilio
                                                  operacional sobre a operação das teclas
Fig. 11.24 Tela de Visão Geral                    do programa supervisório.
                                                  Tela de Operação
    A tela de Visão Geral (Tela 00), mostra          As telas de Operação (Telas 00 a 04)
de uma forma resumida todos os                    possuem as informações mais detalhadas
elementos que compõem as demais telas             acerca do processo em supervisão.
de operação. Sua função é a de permitir ao           A tela de Operação mostra em detalhes
operador uma visão macroscópica do                os elementos que compõem um
aplicativo.                                       subprocesso ou parte do processo.
    Na tela de Visão Geral, o operador
pode visualizar todas as indicações
analógicas de nível, pressão, vazão e pH
de todas as telas.
    Além das indicações analógicas, a tela
de Visão Geral mostra ainda :
1. Indicadores individuais divididos por tela,
que fazem o acompanhamento de alarmes,
ao lado dos gráficos de Tendência Real.
Assim que ocorrer um alarme em uma tela,
este indicador reflete o estado do mesmo,
piscando em vermelho. Quando o operador
reconhece este alarme, o indicador fica
laranja, permanece laranja enquanto existir       Fig. 11.25 Tela de Operação 01 - Tanques
um alarme ativo na tela e fica verde
quando não houver mais alarmes.
    Se o operador posiciona o cursor sobre
estes indicadores, através do mouse ou via
tecla TAB, tem-se o acesso direto à tela de
alarmes correspondente à tela que está
originando o alarme. No menu inferior
existe também uma janela onde aparece o
ultimo alarme ocorrido.



                                                                                             10.26
Controle Supervisório e Aquisição de Dados

   Neste exemplo, a área de tancagem
(ÁREA 94) está dividida em três telas
(Telas 01, 02 e 03) e a área de tratamento
(ÁREA 95) em uma tela (Tela 04). A
função da tela de Operação é a de permitir
ao operador uma visão detalhada das
condições do processo e permitir a
operação de equipamentos.




                                                    Fig. 11.27 Tela de Operação 03 - Esferas




Fig. 11.26 Tela de Operação 02 - Tanques


    Nesta planta, atualmente, só é possível
operar as válvulas HV das esferas (Tela
03) que são equipamentos DDE ativos.
    A tela típica de operação possue um             Fig. 11.28 Tela de Operação 04 – Efluentes
menu inferior similar à tela geral (TELA 0).
    No caso específico da TELA 03 tem-se
a atuação das válvulas manuais (HV)                     Os desenhos representando os
individualmente. Para abrir ou fechar               Tanques e Esferas são animados
determinada HV, o operador deve                     proporcionalmente as leituras dinâmicas de
posicionar o cursor sobre o tag desta               nível fornecidas pelo CLP, permitindo ao
válvula, com o mouse e clicar sobre a               operador uma visão global dos níveis dos
mesma ou com a tecla TAB e digitar                  Tanques e Esferas. Adicionalmente, um
ENTER. Neste momento aparece um                     retângulo ao lado de cada Tanque/Esfera
menu para a seleção e confirmação da                tem um valor na forma digital. Para as
operação.                                           pressões, vazões e leituras de PH existem
    As bombas não recebem sinal do                  retangulos correspondentes às indicações.
campo mas, opcionalmente, podem ser
sinalizadas da mesma maneira que as                 Tela de Alarmes
HV's, porém não executam nenhuma                        A tela de Alarmes apresenta os
função no campo. A sinalização indica ao            alarmes e os eventos correspondentes às
operador que determinada bomba                      telas de operação de onde foram
encontra-se ligada ou desligada. As                 chamadas.
operações de ligar e desligar as bombas                 A tela de Alarme é constituída de uma
vão para o arquivo de eventos, podendo              área onde aparecem a data, hora, evento,
servir de acompanhamento das ações de               serviço, tag, grupo de alarmes e valor dos
processo.                                           alarmes. Para diferenciar os estados dos
                                                    alarmes são usadas cores diferentes para
                                                    alarme ativo (vermelho), alarme
                                                    reconhecido (amarelo) e retorno ao normal
                                                    (verde).



                                                                                                 10.27
Controle Supervisório e Aquisição de Dados

                                                  Tela do Menu de Utilitários
                                                      O submenu de Utilitários permite a
                                                  execução de outras tarefas no sistema,
                                                  como acesso à tela de ajuste de
                                                  parâmetros de alarme, execução de
                                                  relatórios, cadastramento de senhas e
                                                  operadores, colocação de equipamentos
                                                  em manutenção e outras.
                                                      A tecla Relatório permite a chamada da
                                                  tela de execução de relatório instantâneo.




Fig. 11.29 Tela de Alarmes


    Para cada uma das telas de operação
(Tela 1 a Tela 4) tem-se a alista apenas
dos alarmes correspondentes a cada uma
das telas, sem os eventos. A tela de
Alarme pode ser chamada de duas formas
no aplicativo:
    1. pelas teclas ALARMES F9 ou
    2. pelos indicadores de alarme
presentes nas telas de Alarme e de Visão          Fig. 11.30 Submenu de Utilitários
Geral.
    Para a Tela 00, quando se chama a
tela de Alarmes através da tecla
ALARMES F9, são apresentados todos os             Tela de Relatório Instantâneo
alarmes e eventos de todas as telas,                  A tela de Relatório Instantâneo fornece
porém não é possível fazer o                      as informações sobre o estado do
reconhecimento dos alarmes. Para                  processo impressas na hora solicitada (por
reconhecer um alarme ativo é necessário           exemplo, os níveis dos tanques e outros
que o operador entre na tela de operação          detalhes de operação.
correspondente ao alarme ou na tela de
                                                  Tela de Manutenção
alarmes correspondente a tela de
operação onde se encontra o alarme e                 A tecla Manutenção chama uma tela
pressione a tecla ACK (F10).                      para colocação de equipamentos em
    As setas correspondem as teclas               manutenção, compostas por tres telas
PGUP e PGDN do microcomptador                        1. Tela de Ajuste de Parâmetros
permitem navegar pelos alarmes que já             Digitais
ocorreram.                                           2 Tela de Ajuste de Parâmetros
    O campo Nível de Alarme define a              Analógicos
prioridade de apresentação dos alarmes.              3.Tela de Manutenção CP3000
(Os alarmes definidos com os níveis               Tela de Ajuste de Parâmetros Digitais
indicados são mostrados na tela). A                   A tela de Ajuste de Parâmetros Digitais
definição dos níveis de alarme só pode ser        permite a alteração dos níveis de alarmes
efetuada por senha cadastrada maior que           e a colocação de instrumentos em
90000 e é feita posicionando se o cursor          manutenção.
sobre os campos "DE" e "ATÉ" e
escolhendo os níveis desejados.




                                                                                       10.28
Controle Supervisório e Aquisição de Dados

                                                          Para escolher os níveis de alarme,
                                                      deve-se posicionar o cursor sobre o campo
                                                      correspondente, através do mouse e do
                                                      clic ou da tecla TAB e do ENTER, abrindo-
                                                      se uma janela para a entrada do novo
                                                      valor.
                                                      Tela de Manutenção CP3000
                                                          A tela de Manutenção do CP3000
                                                      apresenta ao operador o símbolo do
                                                      equipamento que se encontra com falha
                                                      piscando em vermelho. O resumo de
                                                      alarmes existente nesta tela imprime
Fig. 11.31 Parâmetros de Equipamentos Digitais        apenas os alarmes referentes aos
                                                      diagnósticos do sistema.
                                                          O campo comunicação CLP1
    Quando se pressiona a tecla de                    apresenta-se verde quando o
Manutenção, aparece um menu para a                    microcomputador estiver em linha com o
colocação do equipamento associado em                 CLP.
estado de manutenção ou normal. Quando                Do lado direito tem-se os principais
é colocado em estado de manutenção,                   diagnósticos de registro do CP3000, como
aparece uma plaqueta de manutenção no                 falha na CPU, R-NET, Trilho ?.
equipamento corrrespondente. Quando em                   O campo de Diagnóstico Expandido
manutenção o equipamento não gera                     mostra o primeiro erro de execução do
alarmes.                                              programa associado à atuação da bobina
    O menu inferior apresenta as opções               de erro do CP3000 (76.00).
para ir para a tela de tags analógicos ou
para a tela de manutenção do CP3000.




                                                      Fig. 11.33 Tela de Manutenção do CP3000
Fig. 11.32 Parâmetros de Equipamentos Analógicos

                                                      Tela de Tendência Histórica
Tela de Ajuste de Parâmetros                              A tecla Histórico permite a chamada da
Analógicos                                            tela de tendência histórica.
                                                          A tela de Tendência Histórica permite a
    As funcões de manutenção da tela de               visualização de qualquer variável definida
tag's analógicos são similares às funções             como de tendência histórica no sistema.
da tela de parâmetros digitais exceto que             Os botões PENA1 a PENA4 permitem a
aqui pode-se selecionar também os                     visualização simultânea de até quatro
valores de alarme alto e baixo (Hi e Lo)              variáveis históricas.
para os equipamentos.



                                                                                                10.29
Controle Supervisório e Aquisição de Dados

    O botão da Escala Horizontal permite         tela de habilitação de novos operadores
escolher o período de visualização e o de        (CONFIGURE USERS).
Escala Vertical permite a expansão
horizontal de determinado trecho do
gráfico. Para conseguir isto o operador
efetua uma função de DRAG, ou seja ,
posiciona o cursor sobre o botão
correspondente, clica o mouse sobre ele,
mantem o mouse pressionado e arrasta o
cursor para a posição que se quer fazer a
expansão.
    Nesta tela, existe um resumo de
alarmes no menu inferior para alertar o
operador em caso de ocorrências de
alarme, enquanto ele estiver monitorando
as variáveis históricas.
Tela de Tendência Real
   A tela de Tendência Real apresenta os
dados de tendência real para as variáveis        Fig. 11.35 Seleção de Operadores
correspondentes à tela de operação de
onde foi chamada.
                                                     A tela de Seleção de Operador permite
                                                 ao operador entrar no sistema. Para isto
                                                 ele posiciona o cursor sobre o campo
                                                 OPERADOR e aparece uma janela para a
                                                 entrada do nome. Em seguida, o operador
                                                 posiciona o cursor sobre PASSWORD e
                                                 digita a palavra chave correspondente. O
                                                 nome e a hora em que o operador entrou
                                                 no sistema ficam gravados no relatório de
                                                 eventos.
                                                     Se a senha não for válida ou o
                                                 operador não estiver cadastrado, ele não
                                                 consegue entrar no sistema.
                                                     Para retirar operador já selecionado
                                                 digita-se NONE no campo operador. O
                                                 campo NÍVEL DE ACESSO indica em um
Fig. 11.34 Tela de Tendência Histórica           grau crescente o tipo de atividades que o
                                                 operador pode efetuar no sistema.
Tela de Seleção de Operador                      Tela de Cadastro de Novo Operador
    A tecla SENHA chama a tela de                   Se o operador possuir senha com nível
Seleção de Operador. O operador deve ter         maior que 90000 estará habilitado a
um nome e uma senha válidos para ter             cadastrar novos operadores. Para isto, ele
acesso à operação do sistema.                    posiciona o cursor sobre o campo CAD-
    Esta tela de Seleção de Operador             OPER. e clica o mouse, aparecendo a tela
possui um menu com as seguintes                  de configuração de usuários (Configure
alternativas:                                    Users).
    1. Cadastro de novo operador (CAD-
OP)                                              Tela de Troca de Senha
    2. Muda senha                                    Pode se também alterar a senha de
    3. Saída                                     qualquer operador, posicionando-se o
A tecla de Cadastramento de Operadores           cursor sobre o campo MUDA SENHA e
(CAD-OPER.) tem a função de chamar a             clicar o mouse que automaticamente abre-



                                                                                     10.30
Controle Supervisório e Aquisição de Dados

se uma tela chamada CHANGE
PASSWORD para a entrada de dados.
                                               4.5. Redes de controle de processo
   Para a troca da senha, o operador deve          Um software aplicativo pode rodar em
preencher os campos OLD PASSWORD               um computador isolado ou em rede. A
com a senha antiga, NEW PASSWORD               aplicação isolada possui uma única
com a nova senha e RETYPE NEW                  interface de operação para cada sistema
PASSWORD, repetindo a nova senha.              monitorado, como em um controle de uma
                                               caldeira. A aplicação isolada é mais fácil
                                               de configurar e de fazer manutenção.
                                                   As aplicações distribuídas, são mais
                                               complexas e podem possuir várias
                                               camadas de rede. Estas aplicações
                                               distribuídas, tipicamente, possuem uma
                                               estação de desenvolvimento central,
                                               armazenamento central de dados e várias
                                               estações clientes ou remotas, que
                                               interagem com a estação central e entre si.
                                               Aplicação isolada
                                                   A aplicação isolada possui uma única
                                               interface de operação para cada processo
                                               monitorado. Consiste de um computador
                                               pessoal (CP) isolado que funciona como a
Fig. 11.36 Cadastro de Novos Operadores        principal interface de operação. O CP é
                                               ligado ao sistema que coleta dados do




                                               processo industrial através de conexão
                                               direta, como um cabo serial. O sistema de
                                               aquisição de dados pode ser um
                                               controlador lógico programável (CLP).


                                               Fig. 11.38. Sistema supervisório com único
Fig. 11.37 Troca de Senhas                     computador

  Tecla-se OK para sair da tela CHANGE
PASSWORD.                                          Nesta configuração, uma única
                                               aplicação do supervisório pode ser
                                               instalada no computador. O
                                               desenvolvimento pode ser feito no
                                               computador diretamente, ou feito em outro,
                                               modificado e depois copiado de volta para
                                               o computador original. Embora não esteja
                                               em rede, a arquitetura isolada analisada,
                                               para fins de análise e completude.




                                                                                            10.31
Controle Supervisório e Aquisição de Dados

Arquitetura baseada em Cliente
     Cliente é uma unidade funcional que        Fig. 11..39. Arquitetura baseada em Cliente
recebe serviços compartilhados de um
servidor. Em um ambiente AIX (Advanced
Interactive Executive) de arquivo
distribuído, um sistema que depende de
um servidor para fornecer a ele programas
ou acesso para programadas.
     A janela cliente é aquela em que a
aplicação mostra a saída e recebe a
entrada. Esta janela está localizada dentro
da janela de referência (frame), sob o barra        Como cada nó de Desenvolvimento
título da janela e qualquer barra de menu e     possui um copia idêntica da aplicação,
dentro de qualquer barra de rolamento.          cada nó deve ter também acesso identifico
     Em ambiente TCP/IP (Transmission           a qualquer fonte de dados referida pela
Control Protocol/Internet Protocol), o          aplicação. Estas fontes podem ser
modelo cliente servidor interage no             Servidores I/O, base de dados SQL,
processamento dos dados distribuídos, em        arquivos DOS. Se é usada uma fonte
que um programa em um local envia uma           central de dados (e.g., um servidor I/O
requisição para um programa em outro            compartilhado pela rede), cada nó de
local e espera a resposta. O programa           Visão mantém uma conversação separada
requisitante é chamado de cliente; o            com o servidos compartilhado, que pode
programa de resposta é chamado de               resultar em um aumento da carga da rede.
servidor.                                       Assim, é recomendável considerar
     A estação de trabalho cliente recebe a     servidores I/O individuais em cada nó, se é
informação de status da estação de              esperado um uso pesado da rede.
trabalho servidor.                                  Atualmente esta rede é substituída,
     Um componente cliente é uma                com vantagens, pela NAD (Ntetwork
aplicação que acessa dados de um                Application Development), mas mesmo
servidor. Uma aplicação cliente funciona        assim é apresentada para se ter uma visão
para apresentar os dados para usuário em        geral das arquiteturas.
um contexto válido, através de indicação,
gráfico e animação. A aplicação fornece         Vantagens
um meio para configurar como os dados           1. Desenvolvimento sem restrição da
serão recuperados, processados ou                  aplicação
armazenados no servidor.                        2. Redundância inerente, pois cada nó é
     A arquitetura baseada em cliente é a          auto suficiente.
uma evolução natural da aplicação isolada.      3. Não há limite de número de nós de
Ela necessita de uma única copia do                Visão.
programa aplicativo para cada computador
                                                Desvantagens
rodando o modo de visão. Esta aplicação
pode ser instalada em cada disco rígido do      1. A distribuição da aplicação é difícil.
computador ou em único local do servidor        2. Todos os nós devem ter acesso
da rede. Na Fig. 11.39, uma aplicação foi          idêntico às mesmas fontes de dados.
desenvolvida e testada no nó de
Desenvolvimento e depois copiada para
cada nó de Visão.




                                                                                              10.32
Controle Supervisório e Aquisição de Dados

Arquitetura baseada em Servidor
     Servidor é uma unidade funcional que
fornece serviços compartilhados para uma
rede, e.g., servidor de arquivo, servidor
impressora, servidor correio.Em uma rede,
é uma estação de dados que fornece
facilidades para outras estações. Em um
ambiente AIX (Advanced Interactive
                                                Fig. 11.40. Arquitetura baseada em Servidor
Executive) de arquivo distribuído, um
programa aplicativo que usualmente roda
em segundo plano e é controlado pelo
controlador do programa do sistema. O
                                                    Como na arquitetura baseada em
programa manipula a comunicação
                                                cliente, cada nó de Visão deve ter acesso
interprocesso, ligacoes dos cleitnes, faz a
                                                idêntico a quaisquer fontes de dados
demultiplexagem nas telas e multiplexa as
                                                referidas pela aplicação. Deve haver
entradas de volta para os clientes.
                                                também meios para personalizar os locais
     A janela cliente é aquela em que a
                                                da fonte de dados usando uma
aplicação mostra a saída e recebe a
                                                combinação de scritps para obter o nome
entrada. Esta janela está localizada dentro
                                                do nó e alterar cada local de fonte de dado
da janela de referência (frame), sob o barra
                                                baseado neste nome.
título da janela e qualquer barra de menu e
                                                    Atualmente esta rede é substituída,
dentro de qualquer barra de rolamento.
                                                com vantagens, pela NAD (Network
     Em ambiente TCP/IP (Transmission
                                                Application Development), mas mesmo
Control Protocol/Internet Protocol), um
                                                assim é apresentada para se ter uma visão
sistema na rede que manipula a requiscao
                                                geral das arquiteturas.
de um sistema em outro local, chamado
cliente servidor.                               Vantagens:
     A estação de trabalho servidor envia a     1. Manutenção de apenas uma aplicação.
informação de status para a estação de          2. Nós de visão atualizam
trabalho cliente. A estação de trabalho            automaticamente quando as aplicações
servidor usa o monitor gráfico e o                 se alteram.
administrador de visão para funções
administrativas.                                Desvantagens
     A arquitetura baseada em servidor          1. Desenvolvimento de aplicação é
permite vários nós de Visão compartilhar           restrito.
uma única aplicação do supervisório. Na         2. Não há redundância se a estação de
Fig. 11.40, dois nós de Visão estão                Desenvolvimento cai.
acessando a mesma aplicação, do nó de           3. Todos os nós devem ter a mesma
Desenvolvimento. Cada nó de Visão deve             resolução da tela.
criar um drive lógico no programa da rede
e mapeá-lo para o drive da rede
compartilhado do nó de Desenvolvimento.
Cada nó de Visão deve também ter a
aplicação compartilhada registrada com o
programa aplicativo.




                                                                                              10.33
Controle Supervisório e Aquisição de Dados

                                                         um servidor para os nós remotos ou
Servidor I/O
                                                         escravos rodando a mesma aplicação. Na
    Um Servidor I/O é uma aplicação que                  Fig. 11.42., cada nó Escravo pode rodar
permite outros programas de aplicação                    uma cópia única própria ou rodar uma
Windows acessar dados no nível mais                      aplicação comum. De qualquer modo, uma
baixo de chão de fábrica, como                           vez rodando, cada nó Escravo se refere a
Controladores Lógico Programáveis ou                     todas suas fontes de dados I/O, através do
Unidades Remotas. Geralmente, um                         nó Mestre, que está conectado ao
Servidor I/O se comunica com um                          processo monitorado.
dispositivo através de porta serial do                       Quando esta aplicação roda no nó
computador onde a aplicação Servidor I/O                 Mestre, as referências apontam para as
está instalada. Porém, alguns CLPs                       fontes locais, quando roda de um nó
possuem placas e módulos que são                         Escravo, as referências apontam para as
instalados no computador servidor I/O.                   fontes remotas do Mestre.
                                                         Vantagens
                                                         1. Evita que os nós inundem a rede,
                                                            afunilando toda a comunicação através
                                                            de uma fonte (nó Mestre)
                                                         2. Fornece notificação automática de
                                                            mudanças de aplicação
                                                         Desvantagens
                                                         1. A distribuição das aplicações é difícil.
Fig. 11.41. Servidor I/O                                 2. Única fonte de aplicação – sem
                                                            redundância se o nó mestre cai.
                                                            A base de dados tipicamente não é a
Arquitetura Mestre/Escravo                               mesma entre o Mestre e Escravos.
    Estação mestre (master) é a que pode
selecionar e transmitir uma mensagem
para uma estação escrava. Em dado
momento, só pode existir somente uma
estação mestre na link de dados.
    Na rede, o nó mestre é aquele que
inicia a transferência de todos os dados.
A arquitetura mestre/escravo permite que
os nós de Visão sejam configurados em
uma arquitetura tipo servidor ou cliente,
mas não requer que todos os nós tenham
as mesmas fontes de dados.




Fig. 11.42. Arquitetura baseada em Mestre/Escravo


   A arquitetura define um nó como
Mestre, geralmente o computador ligado
ao processo industrial. Este nó age como
                                                          ApostilasAutomação   Controle.doc   03 NOV 97 Isubstitui Platt3.doc, 13 MAI 97)




                                                                                                                                             10.34
11
                             Integração de Sistemas
                                              tivesse evoluído do mesmo modo que a de
1. Rede de Computadores                       computador, hoje, um carro Rolls Royce
1.1. Introdução                               teria a potência de um avião, desenvolveria
                                              a velocidade supersônica e custaria
Os três últimos séculos foram dominados       US$20,00. Porém, a indústria
por alguma tecnologia singular:               automobilística reage, afirmando que
1.      o século XVIII foi o tempo dos        nenhum carro pára repentinamente,
    sistemas mecânicos e da revolução         dizendo erro fatal de sistema, todos os
    industrial                                carros podem andar em qualquer rodovia e
2.      o século XIX foi a idade da máquina   ninguém precisa trocar o motor do carro
    a vapor                                   anualmente.
3.      o século XX teve a tecnologia chave
    da coleta, processamento e distribuição   1.2. Rede e Sistema Distribuído
    da informação. Entre as tecnologias,      Rede
    houve:
                                              Durante as duas primeiras décadas de sua
    a) a instalação de redes telefônicos
                                              existência, os sistemas de computador
        em todo o mundo
                                              eram altamente centralizados, usualmente
    b) a invenção do rádio e da televisão
                                              dentro de uma única grande sala.
    c) o lançamento de satélites de
                                              Comumente, esta sala tinha paredes de
        comunicação.
                                              vidro, através das quais os visitantes
    d) o aparecimento e crescimento
                                              poderiam admirar a grande maravilha
        exponencial da indústria de
                                              eletrônica interior. Uma companhia de
        computador e informática.
                                              porte médio possuía um ou mais
    Às vésperas do século XXI, as
                                              computadores e uma grande companhia
diferenças entre coletar, transportar,
                                              tinha algumas centenas de computadores.
armazenar e processar a informação estão
                                              A idéia de que 20 anos depois,
desaparecendo rapidamente. A habilidade
                                              computadores igualmente poderosos e de
de coletar, processar e distribuir a
                                              tamanho físico muito menor seriam
informação cresce, a demanda para
                                              produzidos maciçamente em escala de
processar a informação de modo ainda
                                              milhões e usados como utensílio
mais sofisticado cresce mais rápido ainda.
                                              doméstico era pura ficção científica.
Organizações com centenas de escritórios
                                              O avanço das comunicações teve uma
espalhados pelo mundo podem ser
                                              influência profunda no modo de como os
capazes de examinar o status corrente de
                                              sistemas de computador são organizados.
cada escritório, mesmo o mais distante,
                                              O conceito de centro de computador, como
através de um simples aperto de botão.
                                              uma sala com um grande computador
Embora a indústria de computador seja
                                              (main frame) para o qual os usuários
nova, comparada com a indústria
                                              trazem seus trabalhos para serem
automobilística ou de transporte aéreo e
                                              processados rapidamente se tornou
marítimo, os computadores tiveram um
                                              obsoleto. Este modelo tinha dois
progresso espetacular em um curto espaço
                                              inconvenientes:
de tempo. Se a indústria automobilística



                                                                                    11.1
Integração de Sistemas

1. conceito de um único grande                  o melhor processador, encontrar e
    computador fazendo todo o trabalho          transportar todos os arquivos de entrada
2. a idéia de os usuários trazerem              para este processador e colocar os
    trabalho para o computador em vez de        resultados em um local apropriado.
    levar o computador para os usuários.        O usuário de um sistema distribuído não
    Por isso, o modelo antigo de um único       sabe que há vários processadores, ele vê
computador atender a todas as                   tudo como um único processador virtual. A
necessidades computacionais da                  alocação de trabalhos para processadores
organização está sendo substituído              e arquivos para discos, movimento de
rapidamente por um modelo em que uma            arquivos entre onde eles estão
grande quantidade de computadores               armazenados e para onde eles são
separados mas interligados para fazer o         necessários e todas as outras funções do
trabalho. Este sistema é chamado de rede        sistema são automáticas.
de computadores.                                    Com uma rede de computadores, um
    O termo rede de computador significa        usuário deve explicitamente entrar (log on)
um conjunto de computadores autônomos           em uma máquina, explicitamente submeter
interligados para trocar informação. A          os trabalhos remotamente, explicitamente
ligação não precisa ser necessariamente         mover arquivos no sistema e geralmente
um par de fios de cobre mas podem ser           manipular toda a personalidade de
usados laser, fibra óptica, microondas e        gerenciamento da rede. Com um sistema
satélites de comunicação.                       distribuído, nada deve ser feito
Rede com muitos computadores                    explicitamente, tudo é feito
localizados no mesmo prédio é chamada           automaticamente pelo sistema sem o
de LAN (local area network – rede de            conhecimento do usuário.
área local), em contraste com a chamada         Na realidade, um sistema distribuído é um
WAN (wide area network – rede de área           caso especial de rede, onde o programa dá
distante), também chamada de rede de            a ela um alto grau de coerência e
longo alcance – long haul network.              transparência. Assim, a diferença entre
Uma rede é uma configuração de                  uma rede e um sistema distribuído reside
dispositivos de processamento de dados e        no programa (software), especialmente o
programa, ligados para trocar informação.       sistema operacional e praticamente não há
Rede é um grupo de nós e links que os           diferença de equipamento (hardware).
interligam.                                         Mesmo assim, há uma grande
Quando se impõe que os computadores             superposição entre os dois assuntos. Por
sejam autônomos, se excluem os sistemas         exemplo, tanto o sistema distribuído como
em que há uma relação clara de                  a rede de computador precisam mover
mestre/escravo. Se um computador pode,          arquivos dentro do sistema. A diferença
à força, partir, parar ou controlar outro, os   fica em quem invoca o movimento, o
computadores não são autônomos. Um              sistema ou o usuário.
sistema com uma unidade de controle e
muitos escravos não é uma rede. Também
                                                1.3. Objetivos da Rede
não é uma rede um grande computador             Compartilhamento de fontes
com os periféricos de leitoras remotas de           Muitas organizações já possuem uma
cartão, impressoras e terminais.                grande quantidade de computadores em
Sistema distribuído de controle                 operação, geralmente distantes entre si.
    Há uma grande confusão na literatura        Por exemplo, uma companhia com várias
entre uma rede de computadores e um             fábricas pode ter um computador em cada
sistema distribuído. A distinção básica é       local para rastrear arquivos de estoque,
                                                monitorar produtividade e fazer a folha de
que em um sistema distribuído, a
                                                pagamento local. Inicialmente, cada um
existência de computadores autônomos
múltiplos é transparente (não visível) para     destes computadores pode ter trabalhado
                                                isolado dos outros, mas em algum
o usuário. O usuário tecla um comando
                                                momento, a direção pode ter decidido ligar
para rodar um programa e ele roda. É uma
                                                todos os computadores para poder extrair
questão do sistema operacional selecionar


                                                                                      11.2
Integração de Sistemas

e correlacionar a informação de toda a        microcomputador com um único chip, mas
companhia.                                    eles custam 100 vezes mais. Este
    Colocando em uma forma mais geral, o      desbalanço tem causado muitos projetistas
assunto aqui é compartilhamento de            de sistemas construir sistemas consistindo
fontes e o objetivo é fazer todos             de poderosos computadores pessoais, um
programas, dados e equipamentos               por usuário, com dados mantidos em um
disponíveis para qualquer pessoa na rede,     ou mais computadores servidores de
sem considerar a localização física da        arquivos compartilhados.
fonte e do usuário. Em outras palavras, o     Um ponto relacionado é a habilidade de
simples fato de um usuário estar a 1000       aumentar o desempenho do sistema
km distante de seus dados não evita que       gradualmente quando a carga de trabalho
ele use os dados como se eles fossem          aumenta pela adição de mais
locais.                                       processadores. Com mainframe
    Este objetivo pode ser resumido,          centralizado, quando o sistema está
dizendo que é uma tentativa de acabar         saturado, ele deve ser substituído por um
com a tirania da geografia.                   maior, usualmente com grande despesa e
    Uma companhia que tenha produzido         com maior perturbação aos usuários.
um modelo simulando a economia mundial            Todas estas aplicações usam redes por
pode permitir a seus clientes conectar a      razões econômicas, pois chamar um
uma rede e rodar o programa para ver          computador distante via rede é mais barato
como várias taxas de inflação projetadas,     que chamá-lo diretamente. O custo é mais
taxas de juros e flutuações cambiais          baixo porque uma chamada telefônica
podem afetar seus negócios. Este enfoque      dedicada é mais cara e seu custo é de 24
é geralmente preferível a vender o            horas, enquanto uma via de acesso a uma
programa completo, especialmente se o         rede usa linhas de longa distância somente
modelo é dinâmico e continuamente está        enquanto os dados estão sendo realmente
sendo ajustado ou requer um computador        transmitidos.
mainframe para ser rodado.
                                              Confiabilidade
    Atualmente é comum uma pessoa,
sentada em sua casa, fazer reservas de            Um segundo objetivo é fornecer alta
passagens aéreas, trens, ônibus, balsas,      confiabilidade tendo fontes alternativas de
hotéis, restaurantes, teatros, em qualquer    fornecimento. Por exemplo, todos arquivos
parte do mundo com confirmação                podem ser replicados em duas ou mais
instantânea. Banco caseiro (home banking)     máquinas, de modo que se uma delas está
e jornal automático também são                não disponível (devido à falha do
acessíveis. Os jornais eletrônicos mostram    equipamento), as outras cópias podem ser
notícias recentes, resultados de jogos dos    usadas. Além disso, a presença de CPUs
esportes preferidos, que serão publicadas     múltiplas significa que se uma falha, as
somente no dia seguinte. Há também            outras podem ser capazes de assumir seu
revistas científicas, periódicos, formando    trabalho, embora com desempenho
uma biblioteca totalmente automatizada.       reduzido. Para fins militares, bancários,
Dependendo do custo, tamanho e peso do        tráfico aéreo e muitas outras aplicações, a
terminal, a palavra impressa pode se tornar   habilidade de continuar operando em face
obsoleta. Os cépticos devem notar o efeito    de problemas de equipamento é muito
da impressa escrita produziu no               importante.
manuscrito iluminado medieval.                    Substituir um único computador
                                              mainframe por estações de trabalho em
Economia                                      um LAN não torna muitas novas aplicações
    Outro objetivo (talvez o mais             possíveis, embora possa melhorar a
importante) é economizar dinheiro.            confiabilidade e desempenho. Em
Pequenos computadores tem uma melhor          contraste, a disponibilidade de um WAN
relação preço/desempenho do que os            (público) torna viáveis muitas novas
grandes. Os grandes computadores              aplicações. Algumas destas novas
(mainframes) são geralmente um fator de       aplicações podem ter efeitos importantes
10 mais rápidos do que o mais rápido          na sociedade como um todo.


                                                                                    11.3
Integração de Sistemas

Comunicação                                   serão substituídas por catálogos para
    Já outro objetivo de estabelecer uma      pedidos através de correio eletrônico. As
rede de computador tem pouco a fazer          cidades podem se dispersar, pois as
com a tecnologia como todo. Uma rede de       facilidades de comunicação de alta
computador pode fornecer um poderoso          qualidade tendem a reduzir a necessidade
meio de comunicação entre pessoas             de proximidade física. A revolução da
muito separadas geograficamente.              informação pode mudar a sociedade, muito
    Usando uma rede, é fácil para duas ou     mais que a revolução industrial o fez.
mais pessoas que vivem distantes              Distâncias envolvidas
escrever um relatório juntas. Quando um
                                              Na Fig. 11.1 tem-se a classificação de
autor faz uma alteração no documento,
                                              sistemas processadores múltiplos
que é mantido em linha, os outros podem
                                              arranjados por tamanho físico. No topo
ver a alteração imediatamente, em vez de
                                              estão as máquinas de fluxo de dados,
esperar vários dias para uma carta. Tal
                                              computadores altamente paralelos com
presteza torna possível a cooperação entre
                                              muitas unidades funcionais todas
grupos de pessoas distantes onde isso
                                              trabalhando no mesmo programa. Logo
teria sido impossível anteriormente.
                                              abaixo, vem os multiprocessadores,
    Os cientistas de computador já o usam
                                              sistemas que se comunicam via memória
para enviar correio eletrônico de seus
                                              compartilhada. Além dos
terminais para seus colegas em qualquer
                                              multiprocessadores estão as verdadeiras
lugar do mundo.
                                              redes, computadores que se comunicam
    No futuro, será possível para qualquer
                                              pela troca de mensagens. Finalmente, a
pessoa, não apenas para pessoal no
                                              ligação de duas ou mais redes é chamada
negócio de computador, enviar e receber
                                              de inter-networking.
correio eletrônico. Este correio pode
também ser capaz de conter voz
digitalizada, figuras e possivelmente
mesmo televisão móvel e imagens de
vídeo. Pode-se facilmente imaginar
crianças em diferentes países tentando        Distancia entre   Processadores
                                              processadores     no mesmo
aprender a língua de outra criança
desenhando uma figura de uma criança em       0,1 m             Circuito          Máquina de fluxo
um tela compartilhada e nomeando-a de                           impresso          de dados
criança, jeune fille ou girl.
    Sistemas de catálogos eletrônicos já      1m                Sistema           Multiprocessador
existem mas tendem a ser usados por
                                              10 m              Sala
especialistas em computador pois são
orientados para tópicos técnicos e são        100 m             Prédio            Rede Local
limitados por objetivos geográficos.
Sistemas futuros serão nacionais ou           1 km              Campus
internacionais, serão usados por milhões      10 km             Cidade            Rede longa
de pessoas não técnicas e cobrirão uma                                            distância
faixa ampla de assuntos.                      100 km            País
    Geralmente se fala que há uma corrida
entre o transporte e a comunicação e o        1 000 km          Continente        Interligação de
                                                                                  redes de longa
que ganhar tornará o outro desnecessário.     10 000 km         Planeta           distancia
Usando uma rede de computador como um
sistema sofisticado de comunicação pode
reduzir a quantidade de viagem feita,         Fig. 11.1. Classificação das interligações por escala.
assim economizando energia. O trabalho
em caso pode se tornar popular,
especialmente para empregados
temporários com crianças. O escritório e a
escola tradicionais irão desaparecer. Lojas



                                                                                               11.4
Integração de Sistemas

                                             estende através de todo o sistema
1.4. Parâmetros da rede                      conforme a arquitetura da rede.
    Rede é um conjunto de nós interligados       No modelo OSI, um dos sete grupos
por links, através de vários caminhos e      conceitualmente completos e arranjados
critérios diferentes.                        hierarquicamente, incluindo serviços,
    Também devem ser bem definidos os        funções e protocolos e que estendem por
serviços, funções e protocolos da rede.      todos sistemas abertos.
Base de dados                                Dado
    Base de dados (database) é uma               Dado é uma representação
coleção de dados com uma dada estrutura      reinterpretável da informação (fato ou
para aceitar, armazenar e fornecer, quando   instrução) em um modo formal,
solicitado, dados para vários usuários.      conveniente para comunicação,
Base de dados é uma coleção de dados         interpretação ou processamento. A
inter-relacionados organizados de acordo     operação dos dados pode ser feita de
com um esquema, para servir uma ou mais      modo manual ou automático. Os dados
aplicação. A base de dados é uma coleção     incluem: constante, variável, matriz e
de dados fundamental para um sistema ou      conjunto de caracteres (string). Os dados
uma empresa.                                 podem ser absoluto ou relativo,
                                             alfanumérico ou numérico, analógico ou
Bastão (token)
                                             digital, contínuo ou discreto, entrada ou
    Em uma rede local, o bastão é o          saída.
símbolo de autoridade passado                    O dado contem informação.
sucessivamente de uma estação de dados
para outra, para indicar temporariamente     Host
qual a estação que controla o meio de            Em uma rede de computadores, um
transmissão. Cada estação de dados tem       computador que usualmente faz a função
uma oportunidade de adquirir e usar o        de controle da rede e fornece serviços ao
bastão para controlar o meio.                usuário final, como computação e acesso à
    Um bastão é um mensagem particular       base de dados. É também chamado de
que significa permissão para transmitir.     computador mestre ou de controle.
    Na rede com configuração anel e de           Em TCP/IP, qualquer sistema que
barramento, há a passagem de bastão de       tenha, no mínimo, um endereço associado
uma estação para outra e o respectivo        a ele.
controle de acesso do bastão. Por            Link
exemplo, em uma rede anel com bastão, a
passagem de bastão significa que                  Link é uma ligação, conexão entre dois
    1. um nó captura um bastão               pontos, nós ou dispositivos. Link é uma
    2. insere uma mensagem, endereço e       linha de comunicação física. Geralmente
       informação de controle                um link é constituído de dois condutores:
    3. muda o padrão de bit do bastão        um para enviar e outro para receber,
       para uma referência (frame)           fornecendo assim uma comunicação
    4. transmite a referencia                duplex.
    5. remove a referência do anel quando         O link pode ser físico ou lógico. O link
       ele completa o circuito               lógico é o modo pelo qual um link físico
    6. gera outro bastão                     está relacionado com as transações e
    7. transmite o bastão no anel onde ele   terminais que podem ser usados pelo meio
       possa ser capturado pelo próximo      físico. O meio físico é a conexão por fio ou
       nó que está pronto para transmitir.   cabo entre dois sistemas.

Camada (layer)                               Nó
    Na rede, um grupo de serviços que           Ponto da rede em que uma ou mais
completo de um ponto de vista conceitual,    unidades funcionais ligam circuitos de
que está fora de um conjunto de grupos       canais ou de dados. Na topologia da rede,
arranjados hierarquicamente e que se         o ponto em um fim de uma malha. Nó é a



                                                                                     11.5
Integração de Sistemas

uma junção comum a dois ou mais links.             Na configuração de rede ponto a ponto
Entre dois nós há um caminho ou um link.      (peer to peer), cada ponto ou nó está
   O nó pode ser qualquer unidade física,     ligados a todos os outros pontos ou nós.
como processador, computador,                 Por exemplo, quando se tem quatro nós
controlador de comunicação, console de        interligados ponto a ponto, cada um está
operação ou de engenharia ou terminal.        ligado aos outros três, por três meios
   O nó da rede deve ser identificado por     físicos. Esta configuração é chamada não
um único nome (string).                       integrada.
                                                   Na comunicação ponto a ponto, cada
Prioridade de mensagens
                                              nó tem o mesmo status e cada um pode
    No chão de fábrica, o controle e os       começar a conversação. Nenhum nó é
status, quando feitos na mesma rede,          mestre ou escravo e todos os nós tem a
devem reconhecer a maior prioridade da        mesma oportunidade para transmitir.
mensagem de controle.
Ruído
A quantidade de ruído presente na rede
pode ser grande, mas mesmo assim ela                                   paralela
deve operar satisfatoriamente. A interface
física deve ter um alto grau de rejeição de
ruído e o protocolo deve ser robusto para
permitir fácil recuperação de erros de                                serial
dados.
Tempo de resposta
    A LAN em uma situação industrial deve
ter um tempo de resposta máximo               Fig. 11.2. Comunicação ponto a ponto
garantido, pois a maioria trabalha em
tempo real. As mensagens urgentes
precisam ser transmitidas dentro de
determinado tempo.
                                                                Processador
1.5. Arquitetura da Rede
    A arquitetura da rede é sua estrutura
lógica e seus princípios de operação             Processador                      Processador
(serviços, funções e protocolos). Há vários
modos de se interligar os nós ou
dispositivos de uma rede, tais como,
aqueles com regras definidas, como:
                                                                Processador
    1. ponto a ponto
    2. estrela
    3. anel
    4. malha
    5. arvore                                 Fig. 11.3. Configuração ponto a ponto
    6. barramento
    7. irregular
Comunicação ponto a ponto
    A comunicação mais simples consiste
de ligação de dados ponto a ponto. Por
exemplo, um computador se comunica
com a impressora através de uma porta
paralela e com o mouse através de uma
porta serial. Embora sejam equipamentos
totalmente diferentes, eles podem ser
interligados e se comunicarem entre si.


                                                                                          11.6
Integração de Sistemas

                                                    As tecnologias de anel (ring), malha
                                                (loop) e barramento (bus) foram
                                                desenvolvidas para facilitar a colocação e
             Servidor                           retirada de nós. A fiação também é mais
                                                fácil, porque um único cabo é roteado para
                                                todos os nós. Estas configurações podem
                                                parecer iguais, à primeira vista, mas são
                                                diferentes. Estas topologias de rede
                                                apresentam muitas desvantagens, tais
    Centro                                      como:
    (HUB)                                       1.      Um nó é mestre, com a tarefa de
                                                     determinar que estação pode transmitir
                                                     em dado momento.
                                                2.      Quando o número de nós cresce, a
                                                     comunicação fica lenta, pois todas as
                                                     mensagens tem que passar pelo
                                                     mestre.
Fig. 11.4. Topologia estrela                    3.      A confiabilidade é pequena. Se o
                                                     mestre falha, perde-se tudo.
Estrela (star)                                  Barramento
    A topologia estrela (star) possui vários       A topologia de barramento (bus ou
computadores ligados a um computador            highway) é também chamada de multidrop
central, em que cada nó troca dados             ou multiponto.
diretamente com o nó central. A topologia
estrela é também chamada de radial ou
centralizada.
                                                                               Servidor
    É uma rede pouco flexível e não pode
crescer indefinidamente.                                                                        Nó remoto
Anel e Malha
    No caso do anel e malha, o mesmo fio
retorna ao mestre. Na rede anel, cada nó       Barramento                                     Barramento
exatamente dois caminhos entre quaisquer
dois nós.



                         Servidor
                                                Fig. 11.6. Topologia de barramento (bus) ou multi-
                                                drop

                                                Arvore
                                                Na rede árvore, há exatamente um
                                                caminho entre quaisquer dois nós. Nesta
                                                topologia, há uma hierarquia de funções:
                                                os de cima são mais genéricos e possuem
                                                funções corporativas e os de baixo são
                                                mais técnicos e possuem funções técnicas
                                                de regulação e controle.
                                                As redes completas e irregulares são
                                                aquelas obtidas da combinação de vários
                                                tipos, em que não nenhuma regra clara de
Fig. 11.5. Topologia anel (ring)                formação.



                                                                                              11.7
Integração de Sistemas

Rede por satélite
                                             1.7. Modelo de Referência OSI
     As redes podem ainda ser configuradas
através de ondas de rádio ou de televisão,       O conjunto de camadas, interfaces e
quando as ligações não são feitas por meio   protocolos é chamado de arquitetura da
físico, como fios ou cabos.                  rede. A especificação da arquitetura deve
                                             conter informação suficiente para permitir
                                             um implementador escrever o programa ou
                                             construir o equipamento para cada
                                             camada, de modo que eles obedeçam
                                             corretamente o protocolo apropriado. Nem
                                             os detalhes da implementação e nem a
                                             especificação das interfaces são parte da
                                             arquitetura por que eles estão escondidos
                                             dentro das máquinas e não são visíveis de
Fig. 11.7. Configuração tipo árvore          fora. Não é nem necessário que as
                                             interfaces de todas as máquinas em uma
                                             rede sejam a mesma, desde que cada
                                             máquina possa usar corretamente todos os
                                             protocolos.
                                                 O modelo clássico das camadas de
                                             uma rede é mostrado na Fig.10.10. Este
                                             modelo é baseado na proposta da
                                             International Standards Organization (ISO),
                                             como um primeiro passo na direção da
                                             padronização internacional dos vários
                                             protocolos. O modelo é chamado de
                                             Modelo de Referência ISO OSI (Open
                                             Systems Interconnection), pois ele trata
                                             dos sistemas abertos de conexão, ou seja,
Fig. 11.8. Irregular                         sistemas que são abertos para
                                             comunicação com outros sistemas. Por
                                             comodidade, é chamado de modelo OSI.
                                                 O sistema OSI tem sete camadas:
                                                 1. Uma camada deve ser criada onde
                                                     um diferente nível de abstração é
                                                     necessário.
                                                 2. Cada camada deve fazer uma
                                                     função bem definida
                                                 3. A função de cada camada deve ser
                                                     escolhida tendo em vista os
                                                     protocolos padrão definidos
                                                     internacionalmente.
                                                 4. Os limites das camadas devem ser
                                                     escolhidos para minimizar o fluxo
                                                     de informação através das
                                                     interfaces.
                                                 5. O número de camadas deve ser
Fig. 11.9. Rede por satélite                         grande suficiente para distinguir
                                                     que as funções necessárias não
                                                     sejam lançadas juntas na mesma
                                                     camada fora da necessidade e
                                                     pequeno suficiente para a
                                                     arquitetura não se tornar grande
                                                     demais.



                                                                                   11.8
Integração de Sistemas

O modelo OSI em si não é uma arquitetura      Como a camada física simplesmente
de rede porque ela não especifica os          aceita e transmite um jato de bits sem
serviços e protocolos exatos a serem          qualquer cuidado com o significado ou
usados em cada camada. Ela                    estrutura, é função da camada de link de
simplesmente diz o que cada camada faz.       dados criar e reconhecer os limites do
Porém, ISO tem também produzido               quadro. Isto é conseguido anexando
normas para todas as camadas, embora          padrões de bit especiais para o início e fim
elas não façam parte deste modelo. Cada       do quadro. Se estes padrões de bit podem
uma delas foi publicada como uma norma        acidentalmente ocorrer nos dados, deve ter
internacional separada.                       cuidado especial para evitar confusão.
                                                  Um ruído aparecido na linha pode
Camada física
                                              destruir um quadro completamente. Neste
   A camada física está relacionada com       caso, o programa da camada de link de
os bits não processados sobre um canal de     dados na máquina fonte deve retransmitir o
comunicação. O projeto deve garantir que      quadro. Porém, transmissões múltiplas do
quando um lado envia um bit 1, ele é          mesmo quadro introduz a possibilidade de
recebido pelo outro lado como um bit 1 e      duplicar quadros. Um quadro duplicado
não como um bit 0. As questões típicas        poderia ser enviado, por exemplo, se o
que aparecem são:                             quadro de conhecimento do receptor
    1. quantos volts devem ser usados         enviado de volta para o transmissor fosse
        para representar o bit 1 e quantos    destruído. É tarefa da camada de link de
        para o bit 0                          dados resolver os problemas causados
    2. quantos microssegundos um bit          pelos quadros danificados, perdidos e
        dura                                  duplicados. A camada de link de dados
    3. qual o tipo da transmissão (simplex,   pode oferecer vários serviços diferentes
        semiduplex, duplex)                   para a camada da rede, cada um com
    4. como é estabelecida a conexão          qualidade e preço diferente.
        inicial                                   Outro tema que aparece na camada de
    5. como é desligada a conexão             link de dados e na maioria das camadas
        quando os dois lados terminam a       superiores, é como evitar que um
        comunicação                           transmissor rápido inunde de dados um
    6. quantos pinos o conector do circuito   receptor lento. Algum mecanismo de
        deve ter                              regulação do tráfego deve ser empregado
    7. uso de cada pino do conecto.           para permitir ao transmissor conhecer o
   A camada física pode ser considerada       espaço livre do receptor neste momento
propriamente como dentro do domínio do        Geralmente, por conveniência, esta
engenheiro eletricista.                       regulação de fluxo e a manipulação de
Camada do Link de Dados                       erros são integradas.
    A principal tarefa da camada de link de       Se a linha pode ser usada para
dados é tomar uma facilidade de               transmitir dados nos dois sentidos, isto
transmissão e transformá-la em uma linha      introduz uma nova complicação que o
que seja livre de erros de transmissão para   programa da camada de link de dados
a camada da rede. Ela desempenha esta         deve resolver. O problema é que os
tarefa                                        quadros de conhecimento para o tráfego A
    1. fazendo o transmissor quebrar os       para B compete com o uso da linha com
        dados de entrada em quadros de        quadros de dados de B para A
        dados (data frames), tipicamente      Camada de controle da rede (network)
        algumas centenas de bytes                 A camada de controle da rede está
    2. transmitir os quadros de dados         relacionada com a regulação da operação
        seqüencialmente                       da sub-rede. Um tema de projeto chave é
    3. processar os quadros de                determinar quantas mensagens (packets)
        conhecimento enviados de volta        são roteadas da fonte para o destino. As
        pelo receptor.                        rotas devem ser baseadas em tabelas
                                              estáticas que são fiadas na rede e


                                                                                     11.9
Integração de Sistemas

raramente alteradas. Elas podem também             a camada da sessão das inevitáveis
ser determinadas no início de cada                 mudanças na tecnologia do
conversação, por exemplo uma sessão                equipamento.
terminal. Finalmente, elas podem ser           Sob condições normais, a camada de
altamente dinâmicas, sendo determinada         transporte cria uma ligação de rede
uma nova, para cada mensagem, para             diferente para cada ligação de transporte
refletir a carga corrente da rede.             requerida pela camada de sessão. Se a
    Se muitas mensagens estão presentes        ligação de transporte requer uma grande
na sub-rede ao mesmo tempo, eles irão          quantidade de trabalho, a camada de
voltar, formando gargalos. O controle de tal   transporte poderia criar ligações múltiplas
congestionamento pertence à camada da          de redes, dividindo os dados entre as
rede.                                          ligações da rede para melhorar a
    Como os operadores da sub-rede             quantidade de trabalho. Por outro lado, se
podem bem esperar remuneração por seus         criar ou manter uma ligação de rede é
esforços, há geralmente uma função de          caro, a camada de transporte poderia
contabilidade embutida na camada da            multiplexar várias ligações de transporte
rede. Finalmente, o programa deve contar       em uma mesma conexão de rede para
quantas mensagens ou caracteres ou bits        reduzir o custo. Em todos os casos, a
estão sendo enviados por cada usuário,         camada de transporte é necessária para
para produzir a informação de cobrança.        tornar a multiplexação transparente para a
Quando uma mensagem cruza uma                  camada de sessão.
fronteira nacional, com diferentes taxas de        A camada de transporte também
cada lado, a conta pode se tornar              determina que tipo de serviço deve ser
complicada.                                    fornecido à camada de sessão e
    Quando uma mensagem deve viajar de         finalmente, os usuários da rede. O tipo
uma rede para outra até chegar ao seu          mais popular de conexão de transporte é
destino, muitos problemas podem                uma canal ponto a ponto, livre de erro, que
aparecer:                                      entrega mensagens na ordem em que elas
1.       o endereço usado pelo segunda         são enviadas. Porém, outros tipos
    rede pode ser diferente do primeiro        possíveis de serviço de transporte são o
2.       o segundo pode não aceitar a          transporte de mensagens isoladas com
    mensagem completa porque ela é             nenhuma garantia acerca da ordem de
    muito grande                               entrega e o broadcasting de mensagens
3.       os protocolos podem ser diferentes.   para vários destinos. O tipo de serviço é
    É função da camada de controle da          determinado quando a ligação é
rede superar todos os problemas para           estabelecida
permitir a interligação de redes               A camada de transporte é uma verdadeira
heterogêneos.                                  camada fonte-para-destino ou camada
    Em redes de broadcast, o problema de       terminal-para-terminal. Um programa da
rota é simples, de modo que a camada de        máquina fonte mantém uma conversação
controle da rede é geralmente fina ou nem      com um programa similar na máquina
existe.                                        destino, usando os cabeçalhos de
                                               mensagem e mensagens de controle. Nas
Camada de transporte
                                               camadas mais baixas, os protocolos estão
   As funções básicas da camada de             entre cada máquina e seus vizinhos
transporte são as de                           imediatos e não pelas máquinas fonte e
1.      aceitar os dados de uma camada         destino finais, que podem estar separadas
    de sessão,                                 por vários IMPs. A diferença entre as
2.      dividi-los em unidades menores,        camadas 1 até 3, que são encadeadas, e
3.      passá-las para a camada de             camadas 4 e 7, que são ponto a ponto, é
    controle e                                 ilustrada na Fig. 11.11.
4.      garantir que os pedaços chegarão           Muitos hosts são multiprogramados, o
    corretamente no outro lado.                que implica que várias ligações estão
5.      Tudo isso deve ser feito               chegando e saindo de cada host. Há
    eficientemente e de um modo que isola      necessidade de algum modo de dizer que


                                                                                    11.10
Integração de Sistemas

mensagem pertence a que conexão. O             quedas. Depois que cada transferência
cabeçalho de transporte é um local onde        tenha sido abortada, a transferência total
está informação pode ser colocada.             deveria recomeçar de novo e iria falhar de
    Para multiplexar vários conjuntos de       novo, quando ocorresse nova queda do
mensagens em um canal, a camada de             sistema. Para eliminar este problema, a
transporte deve cuidar de estabelecer e        camada de sessão fornece um modo para
deletar conexões através da rede. Isto         inserir pontos de check (checkpoints) na
requer algum tipo de mecanismo de              fluxo de dados, de modo que após uma
identificação, de modo que um processo         queda, somente os dados após o último
em uma máquina tenha um modo de                ponto checado devem ser repetidos.
descrever com quem ela quer conversar.
                                               Camada de Apresentação
Pode haver também um mecanismo para
regular o fluxo de informação, de modo             A camada de apresentação executa
que o host rápido não possa afogar um          certas funções que são requisitas
host lento. O controle de fluxo entre hosts    freqüentemente para garantir que foi
é diferente do controle de fluxo entre IMPS,   achada uma solução geral para elas, em
embora os princípios sejam similares.          vez de deixar que cada usuário resolva os
                                               problemas. Em particular, diferente de
Camada de Sessão                               todas as camadas mais baixas, que são
    A camada de sessão permite a               interessadas apenas em mover bits de
usuários de diferentes máquinas                modo confiável daqui para ali, a camada
estabeleçam sessões entre elas. Uma            de apresentação está relacionada com a
sessão permite transporte ordinário de         sintaxe e semântica da informação
dados, como faz a camada de transporte,        transmitida.
mas ele também fornece alguns serviços             Um exemplo típico de um serviço de
úteis melhorados em algumas aplicações.        apresentação é a codificação de dados de
Uma sessão poderia ser usada para              modo padrão consensado. Muitos
permitir a um usuário se ligar a um sistema    programas do usuário não trocam strings
remoto com compartilhamento de tempo           de bit binário aleatório. Eles trocam coisas
ou transferir um arquivo entre duas            tais como nomes de pessoas, datas,
máquinas.                                      valores em dinheiro e pedidos de compra.
    Um dos serviços da camada de sessão        Estes itens são representados como
é gerenciar o controle de diálogo. As          strings de caractere, inteiros, números de
sessões podem permitir o tráfego ir aos        ponto flutuante e estruturas de dados
dois sentidos, ao mesmo tempo ou em            compostas de vários itens mais simples.
apenas um sentido, simultaneamente. Se o       Computadores diferentes podem ter
tráfego pode somente ir em um sentido          códigos diferentes para representar strings
simultaneamente, análogo a uma estrada         de caractere (p. ex., ASCII, EBCDIC),
de ferro, a camada de sessão pode ajudar       inteiros (p. ex., complemento de 1 ou
a manter o caminho da vez livre.               complemento de 2). Para tornar possível
    Um serviço de sessão relacionado é o       computadores diferentes se comunicarem
gerenciamento de passe (token). Para           entre si, as estruturas de dados a serem
alguns protocolos, é essencial que os dois     trocadas podem ser definidas em um modo
lados não tentem a mesma operação, ao          abstrato, ao lado de uma codificação
mesmo tempo. Para gerenciar estas              padrão a ser usada sobre o fio. O trabalho
atividades, a camada de sessão fornece         de gerenciar estas estruturas abstratas de
passes que podem ser trocados. Somente         dados e convertê-las da representação
o lado que está com o passe pode fazer a       usada dentro do computador para uma
operação crítica.                              representação padrão da rede é
    Outro serviço da sessão é a                manipulada pela camada de apresentação.
sincronização. Seja os problemas que
poderiam ocorrer quando se tentasse fazer
uma transferência de arquivos de duas
horas entre duas máquinas em uma rede
com um tempo médio de 1 hora entre


                                                                                     11.11
Integração de Sistemas




      Nr.          Nome                          Usos e aplicação
  1         Física          Especificações elétricas, mecânicas e de invólucro dos circuitos.
                            Controle funcional de circuitos de dados
  2         Link            Transmissão de dados em rede local – esquema da
                            mensagem, manutenção e liberação dos dados, erro e
                            controle do fluxo.
  3         Rede            Roteamento, chaveamento, sequenciamento, bloqueio,
                            recuperação de erro e controle do fluxo. Endereçamento
                            do sistema e roteamento de área distante.
  4         Transporte      Transferência transparente de dados, controle terminal a
                            terminal, multiplexagem e mapeamento. Fornece funções
                            para movimento real de dados entre elementos da rede.
  5         Sessão          Gerenciamento de comunicações e transações.
                            Coordenação do diálogo e sincronização. Administração e
                            controle de sessões entre duas entidades.
  6         Apresentação    Transformação de vários tipos de informação tais como
                            transferências de arquivo, interpretação de dados,
                            formatação, e transformação de códigos.
  7         Aplicação       Elementos de serviço de aplicação comum, serviço de
                            mensagem de manufatura, transferência de arquivo,
                            gerenciamento da rede, serviço do diretório.
    Notas:
    A camada sessão fornece funções e serviços que podem ser usados para estabelecer e
manter conexões entre elementos da sessão, para manter um diálogo de pedidos e
respostas entre os elementos de uma sessão e para terminar a sessão.
A camada apresentação fornece as funções, procedimentos, serviços e protocolo
selecionados pela camada aplicação. As funções podem incluir a definição de dados e
controle de dados de entrada, mudança de dados e indicação de dados. Esta camada
compreende: serviços de aplicação comuns, serviços de aplicação específicos e protocolos
de gerenciamento requeridos para coordenar o gerenciamento de redes OSI em conjunção
com capacidades de gerenciamento que são embutidos dentro de cada protocolo da
camada OSI.
    A camada aplicação é diretamente acessível e visível ao usuário e explicitamente
definida pelo usuário. Esta camada fornece todas as funções e serviços necessários para
executar programas e processos do usuário, mudar dados. Para a maior parte, o usuário
interage com a camada de aplicação, que compreende as linguagens, ferramentas e
sistemas de gerenciamento de base de dados e aplicações concorrentes de multi-usuário.
Estas funções se baseiam nas camadas mais baixas para fazer os detalhes de
gerenciamento de comunicações e rede. Tradicionalmente, os vendedores de rede tem
fornecido um sistema operacional proprietário para manipular funções nas camadas mais
elevadas do modelo OSI. Estas características únicas tem sido a fonte de dificuldades de
interconexão.




                                                                                           11.12
Integração de Sistemas

    A camada de apresentação está              2. Comunicação de dados
também relacionada com outros aspectos
da representação da informação. Por            2.1. Introdução
exemplo, compressão de dados pode ser              O objetivo da comunicação é transferir
usada aqui para reduzir o numero de bits       a informação de um ponto para outro ou de
que devem ser transmitido e criptografia é     um sistema para outro. Em controle de
freqüentemente requerida para privacidade      processo, esta informação é chamada de
e autenticação.                                dado do processo ou simplesmente, dado.
Camada de Aplicação                                Um entendimento da comunicação de
    A camada de aplicação contem uma           dados é essencial para a aplicação
variedade de protocolos que são                apropriada dos instrumentos digitais,
comumente necessários. Por exemplo, há         particularmente do controlador lógico
centenas de tipos incompatíveis de             programável para controle de processo ou
terminais no mundo. Seja a situação difícil    aquisição de dados.
de um editor de tela que quer trabalhar em     2.2. Tipos de sinais
uma rede com muitos tipos diferentes de
terminais, cada um com diferentes                 O dados são transmitidos através de
configurações de tela, seqüências de           dois tipos de sinais:
escape para inserir e deletar texto, mover o      1. banda base
cursor.                                           2. banda larga.
    Um modo de resolver este problema é        Banda base
definir um terminal virtual da rede abstrato   Em um sistema de banda base, a
que editores e outros programas possam         transmissão de dados consiste de uma
ser escritos para tratar deles. Para           faixa de sinais enviada no meio de
manipular cada tipo de terminal, um            transmissão sem ser transladada em
pedaço do programa deve ser escrito para       freqüência. Uma chamada telefônica é um
mapear as funções do terminal virtual da       exemplo de transmissão de banda base.
rede no terminal real. Por exemplo, quando     Um sinal de voz humana na faixa de 300 a
o editor move o cursor do terminal virtual     3000 Hz é transmitida através da linha
para o canto superior esquerdo, este           telefônica na faixa de 300 a 3000 Hz. Em
programa deve fazer a seqüência correta        um sistema de banda base há somente um
de comandos para o terminal real para          conjunto de sinais no meio em um
levar seu cursor também para lá. Todos os      determinado momento.
programas de terminal virtual estão na
camada de aplicação.                           Banda larga
    Outra aplicação da camada de                   Uma transmissão à banda larga
aplicação é a transferência de arquivos.       consiste de múltiplos conjuntos de sinais.
Diferentes sistemas de arquivos têm            Cada conjunto de sinais é convertido para
diferentes convenções de nomear                uma faixa de freqüência que não interfere
arquivos, diferentes modos de representar      com outros sinais no meio. A televisão por
linhas de texto. Transferir arquivos entre     cabo é um exemplo de transmissão por
dois sistemas diferentes requer manipular      banda larga.
estas e outras incompatibilidades. Este            Três componentes básicos são
trabalho, também, pertence à camada de         requeridos em qualquer sistema de
aplicação, bem como correio eletrônico,        comunicação de dados:
entrada remota de trabalho, bloqueio de            1. transmissor que gera a informação
diretório e várias outras facilidades              2. receptor que detecta os dados
específicas e gerais.                              3. meio para transportar os dados.
                                               O meio pode ser dividido em mais de um
                                               canal. Um canal é definido como o
                                               caminho através do meio que pode
                                               transportar a informação em somente uma
                                               direção em um determinado momento.



                                                                                   11.13
Integração de Sistemas

2.3. Meio físico                               adicional quando usado em áreas
                                               classificadas.
     O meio físico de transmissão cai em
três categorias genéricas:
     1. par trançado
     2. cabo coaxial
     3. cabo de fibra óptica.
Par trançado
    O par trançado consiste de dois fios
condutores elétricos, cada um coberto por
isolante. Os dois fios são trançados juntos
para garantir que eles estão igualmente
expostos aos mesmos sinais de
interferência no ambiente. Como os fios        Fig. 11.12. Diferentes cabos de ligação
transportam corrente em sentidos opostas,
a interferência elétrica tende a se cancelar
no cabo. O par trançado é o cabo mais              O custo do cabo de fibra óptica é da
comum usado em sistemas de controlador         mesma ordem de grandeza que o do cabo
lógico programável. Ele é o meio mais          coaxial, porém, os conectores são muito
barato e fornece adequada imunidade à          caros. Uma desvantagem dos cabos de
interferência eletromagnética.                 fibra óptica é ainda a falta de normas
Cabo coaxial                                   industriais.
    O cabo coaxial consiste de um fio          2.4. Número de Canais
condutor elétrico envolvido por material
isolante elétrico e por uma blindagem             A comunicação pode também ser
metálica condutora rígida, em forma de         descrita pelo número de canais usados
tubo. Em muitos casos, o cabo inteiro é        para efetuar o fluxo de informação. Os três
coberto por um isolante. O condutor central    métodos mais comuns de transmissão de
e o tubo circular externo são coaxiais, ou     dados são:
seja, ambos compartilham o mesmo eixo             1. simplex
central. O cabo coaxial é usado nos               2. meio duplex
sistemas de comunicação.                          3. totalmente duplex
    Os cabos coaxiais são usados em            Comunicação Simplex
aplicações de automação de processo                Na comunicação simplex, um único
onde há grandes distâncias envolvidas          canal é usado e há somente um sentido de
para melhorar a imunidade aos ruídos           comunicação, do transmissor para o
eletromagnéticos.                              receptor. O receptor apenas recebe e não
Cabo de fibra óptica                           pode transmitir e o transmissor apenas
    O cabo de fibra óptica consiste de         transmite e não pode receber.
pequenas fibras de vidro ou plástico. Em           Na transmissão simplex não é possível
uma extremidade, pulsos elétricos são          enviar sinais de erro ou de controle do
convertidos em luz por um foto-diodo e         receptor, porque o transmissor e o receptor
enviados através do cabo óptico de fibra.      são dedicados a somente uma função. Um
Na outra extremidade do cabo, um detector      exemplo típico de comunicação simplex é
de luz converte os pulsos de luz de volta      a transmissão de rádio. Outro exemplo
para pulsos elétricos. Os sinais de luz        industrial, é um sistema de aquisição de
podem viajar somente em uma direção, de        dados, onde os dados do processo são
modo que uma transmissão de dois               enviados para um computador, em um
sentidos requer dois cabos de fibra            único sentido.
separados. Um cabo de fibra óptica tem         Comunicação Meio Duplex
normalmente o mesmo diâmetro que o                 A comunicação em dois sentidos
cabo de par trançado e é imune ao ruído        permite o receptor verificar que os dados
elétrico e não oferece nenhum perigo           foram recebidos. Um tipo de comunicação


                                                                                         11.14
Integração de Sistemas

de dois sentidos é chamado de meio                Para resolver este problema, a
duplex. Na comunicação meio duplex, um        distância entre o receptor e o transmissor
único canal é usado e a comunicação é         deve ser mantida pequena para evitar
feita nos dois sentidos, porém, somente       erros de transferência causados pelo
em um sentido em um determinado tempo.        atraso do sincronismo. Por este motivo, a
Nesta configuração, o receptor e o            transmissão paralela é usada somente em
transmissor alternam as funções, de modo      pequenas distâncias, onde se deseja uma
que a comunicação ocorre em um sentido,       alta velocidade de transmissão. Por
em um tempo e em um único canal.              exemplo, a transferência de dados em um
Exemplo de comunicação semiduplex é o         sistema de microcomputador é paralela.
rádio walkie-talkie: apertando um botão, se   Porém, em sistemas de controle de
fala e não se escuta; sem apertar o botão,    processo a transferência de dados entre os
escuta-se e não se fala.                      sistemas (por exemplo, entre PC e CLP) é
                                              normalmente serial.
Comunicação Totalmente Duplex
    A comunicação em dois sentidos onde       Transmissão Serial
os dados podem fluir em ambas as                  A interface serial é a menos complicada
direções ao mesmo tempo é chamada de          porque ela requer apenas um fio para
comunicação totalmente duplex. Neste          transportar todos os dados em somente
caso, há dois canais, de modo que a           uma direção ou dois fios para um fluxo bi-
informação pode fluir em ambos os             direcional. As interfaces seriais, porém,
sentidos simultaneamente. Exemplo de          requerem circuitos lógicos adicionais para
comunicação totalmente duplex é o             converter os dados em paralelo-serial, por
telefone: onde se pode falar e escutar        que a maioria dos sistemas requerem
simultaneamente.                              transmissão paralela.
                                                  Como os links seriais tem baixo custo e
2.5. Movimento de Dados                       grande facilidade de instalação, eles se
   A transmissão envolve o movimento de       tornaram padrão em vários protocolos
dados entre um receptor e um transmissor.     usados. Protocolo é uma norma de
Com relação ao número de bits envidados       controle de transmissão de dados.
por vez, a transmissão pode ser:                  Na transmissão serial, os bits do
   1. paralela                                caractere codificado são transmitidos um
   2. serial.                                 após o outro em um único canal. A
                                              transmissão toma a forma de um jato de
Transmissão Paralela
                                              bits que o receptor deve juntar em
    Na transmissão paralela, todos os bits    caracteres (normalmente 8 bits) usando
são transmitidos ao mesmo tempo e cada        CIs específicos.
bit de informação requer um único canal.          O controle da velocidade de
Por exemplo, se é transmitido um              transmissão é critico na transferência serial
caractere ASCII de 8 bits, são necessários    de dados. A unidade de medição de
oito canais. O termo paralelo se refere à     velocidade de dados serial é bit/s ou bps;
posição dos bits do caractere e o fato que    já chamada de baund.
os caracteres são transferidos um após o          Embora diferente, é necessário um
outro. O uso de vários canais resulta em      sincronismo na transferência serial de
uma alta taxa de transferência de dados.      dados. Um circuito de timing no
    Há um problema com o atraso do            transmissor transmite os bits em intervalos
sincronismo do bit na transferência           fixos determinados pelas taxas de
paralela. Sincronismo é o processo de         comunicação selecionadas. As taxas
fazer duas ou mais atividades acontecerem     típicas são: 110, 300, 600, 1200, 2400,
à mesma velocidade e tempo. Quando se         4800 e 9600 pbs. O transmissor deve
envia um conjunto de caracteres em um         enviar os bits na mesma velocidade que o
cabo paralelo longo, a diferença nas          receptor está ajustado para recebe-los.
impedâncias nos fios do cabo pode causar      Assim, se um transmissor está enviando
a perda do sincronismo.                       bits à velocidade de 4800 bps, o receptor




                                                                                    11.15
Integração de Sistemas

deve estar ajustado para uma velocidade      multiplexagem (ou multiplexação) do sinal.
de comunicação de 4800 bps.                  Para entender multiplexagem, deve-se
   Usa-se um sincronismo de caractere        primeiro definir o termo largura de faixa. A
para determinar que 8 bits consecutivos      largura de faixa descreve a capacidade de
representam um caractere. O receptor         transporte de sinal de um canal de
deve reconhecer o primeiro bit de dados e    comunicação. A largura de faixa é definida
contar os bits até que o caractere (byte)    como a diferença em ciclos por segundo
seja completo.                               entre a freqüência mais elevada e a mais
                                             baixa que um canal pode manipular sem
2.6. Tempo e transmissão                     perda de sinal.
   Com relação ao tempo, a transmissão           A multiplexagem permite uma linha
pode ser síncrona e assíncrona               servir a mais de um receptor, criando
                                             divisões (slots) na linha. O equipamento
Transmissão assíncrona
                                             usado para obter a multiplexagem é
    Assíncrono é algo pertencente a dois     chamado de multiplexador (MUX).
ou mais processos que não depende da             Os métodos usados para multiplexar
ocorrência de eventos específicos, como      sinais são:
sinais de tempo comum. Algo sem relação          1. divisão de freqüência
regular com o tempo, inesperado,                 2. divisão de tempo
imprevisível com relação a execução das          3. estatístico.
instruções do programa.
    Transmissão assíncrona de dados é        Multiplexagem por divisão de
aquela em que um caractere ou bloco de       freqüência
caracteres pode começar em qualquer          Na multiplexagem por divisão de
tempo, mas em que os bits que                freqüência cada canal possui sua própria
representam o caractere ou bloco tem igual   faixa de freqüência individual. A divisão de
tempo de duração. É contrário de             freqüência é normalmente usada para
transmissão síncrona.                        combinar um grupo de fontes de baixa
                                             velocidade em um único canal de voz.
Transmissão síncrona
    Síncrono é algo pertencente a dois ou    Multiplexagem por divisão de tempo
mais processos que depende da                    A multiplexagem por divisão de tempo
ocorrência de eventos específicos, como      usa períodos de tempo para alocar o
sinais de tempo comum. Algo com relação      espaço do canal e a largura de faixa
regular com o tempo, esperado, previsível    disponível. Neste tipo de multiplexagem,
com relação a execução das instruções do     nenhum outro canal pode usar a divisão de
programa. É um modo de operação em           tempo, de modo que há alguma perda de
que cada ação é iniciada por um relógio.     largura de banda quando uma estação não
    Transmissão assíncrona de dados é        estiver transmitindo dados em sua divisão
aquela em que o tempo de ocorrência de       de tempo. Porém, uma linha de
cada sinal representando um bit está         transmissão pode suportar muitos canais
relacionado com uma base de tempo fixa.      de dados. É normalmente usada onde há
Na comunicação de dados, um método de        necessidade de combinar um número de
transmissão em que a remessa e               transmissões de baixa velocidade em uma
recebimento dos caracteres são               única linha de alta velocidade.
controlados por sinais de tempo. Na          Multiplexagem por estatística
transmissão síncrona, transmissor e
receptor operam na mesma freqüência e            A multiplexagem estática é uma
são mantidos em uma relação de fase          melhoria da multiplexagem da divisão de
apropriada. É contrário de transmissão       tempo projetada para reduzir o desperdício
assíncrona.                                  da largura de faixa quando os dados
                                             estiverem sendo transmitidos por uma
2.7. Multiplexagem de Sinal                  estação. Este processo de melhoria é
    Uma única linha pode ser usada para      chamada de concentração de dados. A
transportar vários sinais, usando a          multiplexagem estatística é usada onde um
                                             grande número de terminais de entrada de


                                                                                   11.16
Integração de Sistemas

dados requer somente uma rápida ou              pode ser ligado e um digital, através de um
ocasional transferência de dados. Se o uso      conversor analógico para digital (A/D).
dos terminais se tornar intenso, a operação
                                                Protocolo
demora e este método fica prejudicado.
                                                Na comunicação de dados digitais, as
                                                coisas acontecem de modo mais
3.Protocolos e interfaces                       complicado que na comunicação
3.1. Conceitos                                  analógica, pois se quer usar a capacidade
                                                digital de comunicação de
Sinal padrão
                                                    1. transmitir vários sinais
    Em uma malha de medição e controle                   simultaneamente
de processo, os instrumentos necessitam             2. de modo bidirecional,
se comunicar entre si. Quando o sinal é             3. em um único meio (fio trançado,
analógico, esta compatibilidade é                        cabo coaxial, cabo de fibra óptica),
conseguida com a padronização do sinal:             4. de modo compartilhado por todos
    pneumático em 20 a 100 kPa (3 a 15                   os sinais de informação.
psi)                                                Em vez de sinal, fala-se de protocolo.
    eletrônico (4 a 20 mA cc).                  Protocolo é um conjunto de regras
O sinal analógico contem apenas uma             semânticas e sintáticas que determina o
informação, que está na amplitude do sinal      comportamento de instrumentos funcionais
proporcional ao valor da medição. Quando        que devem ser interligados para se ter uma
o sinal eletrônico vale 4 mA, a variável está   comunicação entre eles. Na arquitetura
em 0%; quando o sinal vale 20 mA, a             OSI (Open Systems Interconnection),
variável está em 100%.                          protocolo é o conjunto de regras que
    Dois instrumentos analógicos                determina o comportamento de entidades
manipulando o mesmo sinal podem ser             na mesma camada para se comunicarem.
interligados entre si. Por exemplo, qualquer
transmissor eletrônico com saída de 4 a 20      Protocolo aberto e proprietário
mA cc pode ser ligado diretamente a um              Muitos protocolos são proprietários, ou
controlador eletrônico com entrada de 4 a       seja, o protocolo foi desenvolvido por
20 mA cc.                                       determinado fabricante isolado ou em
                                                conjunto com outros fabricantes. Somente
Interface
                                                o fabricante pode legalmente fabricar e
    Interface é o dispositivo que permite a     usar o equipamento com este protocolo. A
ligação ou comunicação de dois                  não ser que sejam desenvolvidas
instrumentos ou equipamentos                    interfaces especiais, instrumentos com
incompatíveis. Quando os instrumentos           diferentes protocolos não podem ser
são compatíveis, eles podem ser ligados         interligados para uso em uma mesma rede.
diretamente, sem necessidade de                     A razão mais óbvia para a variedade de
nenhuma interface.                              protocolos é que eles tem sido projetados
    Por exemplo, um instrumento eletrônico      para diferentes aplicações em mente e
pode ser ligado a um instrumento                otimizados para características específicas
pneumático, através de uma interface,           tais como segurança, baixo custo, alto
chamada de transdutor corrente para             número de dispositivos conectados.
pneumático. Assim, um controlador               Portanto, cada protocolo pode ter
eletrônico (saída 4 a 20 mA cc) pode            vantagens para atender prioridades de
enviar o sinal de controle para uma válvula     uma determinada aplicação. A não ser que
com atuador pneumático, que opera em 20         um único protocolo se torne padrão (e isso
a 100 kPa. Entre o controlador eletrônico e     não vai acontecer), é necessário que os
o atuador pneumático da válvula deve            fabricantes forneçam interfaces para os
haver um transdutor corrente para               diversos protocolos em uso.
pneumático (i/p).
    Um instrumento digital pode ser ligado
a um analógico, através de um conversor
digital para analógico (D/A) e um analógico



                                                                                      11.17
Integração de Sistemas

     Atualmente, é comum o protocolo se        equipamento que está em uso de modo a
tornar aberto, deixando de ser proprietário.   se comunicar com o outro com sucesso,
É constituída uma fundação independente,       havendo necessidade de alguma
aberta, sem fins lucrativos, onde qualquer     reconfiguração. Deste modo, a
fabricante pode entrar. Os fabricantes         intercambiabilidade vira um subconjunto da
participantes da fundação podem usar           interoperabilidade.
livremente a tecnologia associada e a              A interoperabilidade permite um
marca correspondente. A fundação cuida         fabricante competir no mercado na base de
de                                             características exclusivas para seu produto
    1. coordenar, promover e suportar a        e do conteúdo do valor agregado ao seu
        tecnologia em todo o mundo             equipamento, em vez de simplesmente do
    2. testar e emitir certificados de         custo inicial do equipamento. Porém, os
        conformidade,                          usuários sabem que isto complica a
    3. coordenar exibições e atividades        situação e que se uma característica
        promocionais                           especial está presente, ela pode ser usada
     O protocolo Hart, desenvolvido            em qualquer estágio e pode deixar os
inicialmente pela Rosemount, se tornou         usuários sujeitos ao monopólio do
aberto e hoje há uma centena de                fornecedor.
fabricantes usando este protocolo.
     Interface é qualquer forma de
                                               3.2. Ethernet (CSMA/CD ou IEEE
dispositivo eletrônico que possibilita a       802.3)
comunicação entre instrumentos ou                  A primeira rede local (LAN),
sistemas incompatíveis. Se dois                desenvolvida pela Xerox Corp é de banda
instrumentos são compatíveis, eles podem       base, de 10 Mb, que permite múltiplas
ser ligados diretamente, sem qualquer          estações acessarem o meio de
interface. No sistema OSI, as interfaces       transmissão sem uma coordenação a
são o conjunto de regras que determina a       priori, evita a contenção usando detecção
comunicação de entidades de camadas            da portadora e deferência e resolve a
diferentes.                                    contenção usando detecção de colisão e
Interoperabilidade e intercambiabilidade       transmissão. Ou seja, a tecnologia usada é
                                               CSMA/CD (Carrier Sense Multiple Access
Os pontos chave da comunicação entre           with Collision – Acesso Múltiplo de Sensor
dois equipamentos digitais são                 a Portador com Colisão).
    1. intercambiabilidade                         É um sistema baseado em faixa, onde
    2. interoperabilidade                      a informação sendo enviada sobre o fio
    Intercambiabilidade significa que um       não é modulada.
transmissor de um fabricante pode ser              Computadores da DEC (Digital
substituído por um transmissor de outro        Equipment Corp.) operando em chão de
fabricante sem qualquer reconfiguração do      fábrica no início dos anos 1970 eram
sistema. Isto é desejável para o usuário       ligados através da DECNet. Era uma
que quer manter no mínimo o custo dos          técnica de passagem de bastão (token
componentes padrão e quer evitar de fazer      pass). Em 1980, com o objetivo de
retreinamento do seu pessoal de                suportar LAN de alta velocidade, DECnet e
manutenção. Porém, os usuários com             Ethernet foram usadas juntas para
necessidades além das características da       combinar as vantagens de cada rede
norma podem ter dificuldade de satisfazer      individual, melhorando principalmente o
estas exigências com os componentes            tempo de resposta.
padrão disponíveis comercialmente.
    Interoperabilidade significa que um
transmissor de um fabricante pode ser
usado para substituir um transmissor de
outro fabricante mas com alguma
reconfiguração do sistema. Para haver
interoperabilidade, o sistema deve ser
informado automaticamente do tipo de


                                                                                    11.18
Integração de Sistemas

                                             sem interromper qualquer sinal analógico
3.3. Protocolo HART                          de transmissão que possa estar ocorrendo.
História                                         Até dois equipamentos principais
    O protocolo HART (Highway                (master) podem ser ligados a cada malha
Addressable Remote Transducer), foi          HART. O primário é geralmente um
desenvolvido pela Rosemount, em 1986.        sistema de gerenciamento ou um PC,
Em 1990, ele se tornou um protocolo          enquanto o secundário pode ser um
aberto, através da constituição de uma       terminal handheld ou um computador
Fundação Hart, que hoje possui mais de       laptop. Um terminal padrão handheld
uma centena de fabricantes de                (chamado comunicador HART) é
instrumentos.                                disponível para tornar uniformes as
                                             operações de campo. As opções adicionais
Método de operação                           de circuito são fornecidas por gateways.
    O protocolo HART opera usando o
princípio de frequency shift keying (FSK),
que é baseada na Norma de Comunicação
Bell 202 (Bell, 1976).
    A transmissão de dados tem as
seguintes características físicas:
    bit 0 = 2200 Hz
    bit 1 = 1200 Hz
    A taxa de transferência é de 1200
bits/s.
    A taxa de transferência para variáveis
simples: 2 por segundo.                      Fig. 11.15. Comunicações analógica e digital
    Segurança dos dados: checking de erro    simultâneas
bi dimensional.
    Máximo número de dispositivos
secundários (slaves) em modo multidrop:
                                             Ponto a ponto
15.
    Máximo número de dispositivos               Nesta configuração, o sinal analógico
principais (masters): 2.                     de 4 a 20 mA cc continua sendo usado
    Máximo número de variáveis: 256 por      para a transmissão analógica enquanto a
secundário. Máxima distância: típica de      medição, ajuste e dados do equipamento
1900 m, dependendo do tipo de cabo.          são transferidos digitalmente. O sinal
                                             analógico não é afetado e pode ser usado
                                             para controle de modo normal. Os dados
                                             HART dão acesso para manutenção,
                                             diagnóstico e outros dados operacionais.
                                             Multidrop
                                                  Este modo requer somente um par de
Fig. 11.14. Logotipo da HART Foundation
                                             fios e, se aplicável, barreiras de segurança
                                             intrínseca e uma fonte de alimentação
                                             auxiliar para até 15 equipamentos de
    As ondas senoidais das duas
                                             campo. A configuração multidrop é
freqüências são superpostas sobre o sinal    particularmente útil para instalações de
analógico padrão de 4 a 20 mA cc,
                                             supervisão muito espaçadas, como em
transmitido por cabos, para dar              tubulações, estações de alimentação e
simultaneamente comunicações analógica
                                             tancagem.
e digital. Como o valor médio do sinal FSK        Os instrumentos HART podem ser
é sempre zero, o sinal de 4 a 20 mA cc não
                                             usados de qualquer modo. Na
é afetado pelo sinal digital. Isto produz
                                             configuração ponto a ponto, o instrumento
comunicação simultânea genuína com um        de campo tem endereço 0, estabelecendo
tempo de resposta de aproximadamente
                                             a corrente de saída em 4 a 20 mA cc. Na
500 ms para cada equipamento de campo,


                                                                                            11.19
Integração de Sistemas

configuração multidrop, todos os                    3. podendo ser intrinsecamente seguro,
endereços de equipamento são maiores do                 quando necessário uso em locais de
que 0 e cada equipamento estabelece sua                 Divisão 1 ou não incenditivo para
corrente de saída para 4 mA. Para este                  locais de divisão 2, com aprovações
modo de operação, os controladores e                    do FM e CSA
indicadores devem ser equipados com um               4. programa é atualizável (upgradeable)
modem HART.                                             no campo, com módulo de memória
    Os equipamentos HART podem se                       reprogramável substituível.
comunicar usando linhas de telefone das               O terminal universal é fácil de aprender
concessionárias (Bell, 1973). Nesta               e usar. Ele possui
situação, somente uma fonte de                       1. um display com 8 linhas e 21
alimentação local é necessária pelo                     caracteres em cristal líquido (LCD)
equipamento de campo e o master pode                 2. chaves funcionais e
estar muitos kilômetros distante. Porém, a           3. chaves de ação, para mover através
maioria dos países europeus não permite                 da estrutura do menu
sinais Bell 202 usados com equipamentos              4. um teclado alfanumérico.
portadores nacionais, de modo que os
                                                  Vantagens
produtos HART não podem ser usados
deste modo.                                          As vantagens do HART incluem:
                                                    1. protocolo de comunicação com
                                                       aceitação mundial, com cerca de 600
                                                       equipamentos instalados (padrão de
                                                       facto),
                                                    2. padrão industrial aceito pelo usuário,
                                                       50.8% dos equipamentos de campo
                                                       inteligentes com protocolo de
                                                       comunicação.
                                                    3. independente do fabricante
                                                    4. gerenciado pela Fundação de
                                                       Comunicação HART
Fig. 11.16. Terminal portátil                       5. possui um terminal portátil universal
                                                       para todos os equipamentos HART.
                                                    6. possui a capacidade digital de
                                                       acessar todos os parâmetros do
                                                       instrumento e fazer diagnóstico,
                                                    7. possui a compatibilidade analógica,
                                                       comunicando também com o sinal
                                                       padrão de 4 a 20 mA cc, usando a
                                                       instrumentação existente.




Fig. 11.17. Tela e funções do terminal portátil


Terminal portátil
    Há um único terminal portátil (handheld
terminal) para todos os equipamentos,
representando uma única interface para
todos e com as seguintes características
desejáveis:
   1. pequeno e robusto,
   2. alimentado por bateria,



                                                                                        11.20
Integração de Sistemas

3.4 Fieldbus Foundation                        Fieldbus Foundation
Fieldbus                                           Fieldbus Foundation é um protocolo
                                               totalmente digital, serial, bidirecional, que
    Quando se menciona a palavra
                                               interliga sensores, atuadores e
fieldbus, a maioria das pessoas pena
                                               controladores em um rede de área local
imediatamente na Fieldbus Foundation
                                               (LAN) para instrumentos usados em
(FF). Porém, isso não é correto. O             processo e outras aplicações de
protocolo ou rede Fieldbus Foundation é
                                               automação de manufatura.
somente um entre vários barramentos de
                                                   A tecnologia Fieldbus Foundation (FF)
campo (fieldbus) existentes e disponíveis
                                               incorpora blocos de função que distribuem
comercialmente. Genericamente, os
                                               o controle através da rede. Os blocos de
barramentos de campo caem em três              função automaticamente suportam
grandes categorias:
                                               alarmes, tendências, relatórios de alarme,
    1. no nível mais baixo estão os
                                               sem a necessidade de intervenção de nível
        barramentos de sensores,
                                               mais alto e também fornece embutida uma
        geralmente no nível de bit, para
                                               base de dados de instrumentação na
        dispositivos simples de liga-desliga
                                               planta. A Fieldbus Foundation implementa
        e módulos I/O.
                                               a norma IEC/ISA SP50.
    2. no nível intermediário, estão os            A taxa de comunicação da Fieldbus
        barramentos de dispositivos,
                                               Foundation é de 32,25 kbit/s (H1) para
        geralmente barramentos de rede de
                                               conectar dispositivos individuais de
        área de controlador (CAN –
                                               controle e podem ligar a um barramento de
        Controller area network) para redes
                                               1,0 Mbit/s ou 2,5 Mbit/s, como um
        de CLP e CP.                           backbone de comunicação de campo. É
    3. no nível mais alto, cuja categoria
                                               um protocolo adequado para integrar
        ainda está honrada com o nome de
                                               circuitos de controle de processo que
        fieldbus, estão os dispositivos
                                               fazem controle contínuo de malhas
        digitais baseados em sinal e
                                               fechadas, sequenciamento de batelada,
        suportando a instrumentação mais       gerenciamento de receita e tarefas de
        inteligente e sofisticada.
                                               coleta de dados. O barramento de 1,0/2,5
    Assim, cada fieldbus possui seu próprio
                                               Mbit/s (H2) é também conveniente para
objetivo, aplicação e tecnologia.              funções lógicas complexas em redes de
    O protocolo LONwork é usado                controle discreto.
principalmente em aplicações não
relacionadas com processo e por isso não       Interfaces com Dispositivos
será visto. Hart é um protocolo que pode           Na sala de controle, os segmentos da
ser considerado interino e incompleto, mas     Fieldbus Foundation podem interfacear
será visto porque é suportado pela maioria     com uma variedade de equipamentos
dos fabricantes de instrumento.                mestres, como interfaces de operação com
    Como os protocolos de fieldbus vieram      computador pessoal (CP) simples até
para substituir o sinal analógico de 4 a 20    sistemas de controle digital distribuído
mA e na maioria dos casos com aplicações       (SDCD) de qualquer tamanho e
de segurança intrínseca, os dois sinais        configuração. As comunicações acima do
podem ser transportados simultaneamente        nível do mestre são tipicamente em
no mesmo par de fios.                          Ethernet.
                                                   A tecnologia Fieldbus Foundation foi
                                               projetada especificamente para satisfazer
                                               a missão crítica de controle e automação
                                               de processos, incluindo a distribuição de
                                               muitas funções lógicas e controle para
                                               dispositivos de campo. Variáveis múltiplas
                                               de cada dispositivo de campo podem ser
                                               alimentadas para outros dispositivos e para
                                               sistemas de controle centrais para



                                                                                      11.21
Integração de Sistemas

arquivar, analisar, registrar dados, otimizar      Com esta arquitetura, a Fieldbus
processos e gerar relatórios.                   Foundation fornece um controle robusto e
     Há diferenças funcionais significativas    síncrono. Também fornece uma
entre redes de Fieldbus Foundation e            comunicação assíncrona dos dados para
redes no nível de sensor e dispositivo. Por     diagnose, relatório, manutenção e
exemplo, uma camada de usuário                  pesquisa de defeito. As tarefas de
específica é um elemento essencial da           manutenção podem ser feitas em linha,
tecnologia Fieldbus Foundation e é chave        sem interrupção da comunicação síncrona.
para a interoperabilidade entre os
                                                Camada física
equipamentos mestre e do campo de
diferentes fabricantes no mesmo                     A camada física (1) recebe mensagens
barramento de campo.                            codificadas das camadas superiores e as
     Além disso, a tecnologia de 31,25 kbit/s   converte em sinais físicos no meio de
(H1) permite os equipamentos do campo           transmissão e vice-versa.
serem alimentados separadamente ou                  Está de conformidade com a norma
diretamente através do par de fios              IEC e ISA para a camada física.
trançado existente, economizando a                  Suporta três taxas de comunicação:
instalação.                                                31,25 kbit/s
     A tecnologia Fieldbus Foundation                      1,0 Mbit/s
permite o uso de barreira de segurança                     2,5 Mbit/s
intrínseca entre a fonte de alimentação         Combinação de comunicação
(local seguro) e o dispositivo da área             Esta camada combina as camadas link
classificada. O ênfase da Fieldbus              de dados (DLL) (2) e comunicação (7) do
Foundation em mensagem planejada é a            modelo OSI A camada de comunicação
chave em aplicações críticas de tempo. A           A camada de comunicação codifica e
arquitetura suporta controle distribuído        decodifica comandos da camada usuário e
através do barramento de campo sem a            a camada de link de dados controla de
transmissão de dados entrar em conflito         modo determinístico a transmissão de
com muitos barramentos.                         mensagens para o campo através da
                                                camada física (1).
                                                Camada do usuário
                                                   Esta camada possui os blocos
                                                funcionais padrão e faz planejamento
                                                destes blocos. Através da descrição do
                                                dispositivo, ela permite o sistema mestre
                                                operar o dispositivo sem programação do
                                                usuário.
                                                Interoperabilidade
                                                    A interoperabilidade permite ao usuário
Fig. 11.18. Logotipo da Fieldbus Foundation     misturar e casar dispositivos de campo e
                                                mestres de vários fabricantes em um
Camadas                                         mesmo barramento de campo, mantendo
                                                as operações especificadas, com pequena
    A especificação da Fieldbus Foundation
                                                reconfiguração. Ela também permite a
é baseada em no modelo aberto das sete
                                                adição ou substituição de dispositivos em
camadas da OSI. Ela consiste de apenas
                                                uma rede de barramento de campo sem a
três camadas:
                                                necessidade de revisão do software do
    1. física
                                                mestre.
    2. comunicação (aplicação e DLL)
                                                    Interoperabilidade não é
    3. usuário
                                                intercambialidade. Com interoperabilidade,
    O barramento não usa as camadas OSI
                                                um dispositivo de campo pode ser
3, 4, 5 e 6.
                                                substituído por um similar de diferente
                                                fornecedor e o sistema é capaz de operar


                                                                                     11.22
Integração de Sistemas

com o novo dispositivo, com as funções          blocos de função e comunica os
básicas e estendidas. Intercambialidade é       parâmetros dos blocos no barramento de
a habilidade de substituir exatamente um        campo. O gerenciamento do sistema
dispositivo de um fornecedor por outro, de      também manipula tarefas como
outro fabricante.                               distribuição do tempo universal no sistema
   Os benefícios da interoperabilidade          e a atribuição automática de endereços do
são:                                            sistema.
   1. implementar estratégia de controle            Outra característica especial do
        sobre o barramento de campo, que        Fieldbus Foundation é a descrição do
        permite as capacidades de controle      dispositivo. Esta descrição serve como um
        serem migradas para um dispositivo      driver para um dispositivo de campo,
        de campo e ser executada nele.          fornecendo toda informação necessária
   2. Monitorar variáveis de controle e         para se comunicar com um sistema de
        status periodicamente,                  controle ou mestre e dispositivo. A
        armazenando a informação em uma         Fieldbus Foundation fornece uma
        base de dados para análise e            biblioteca padrão de software chamada de
        relatório subseqüentes.                 serviço de descrição de dispositivo que
   3. Configurar e manter dispositivos no       pode ler a descrição binária do dispositivo.
        barramento de campo com                 Qualquer sistema de controle ou mestre
        capacidade de configuração e            com serviços de descrição de dispositivo
        diagnose através do console de          pode comunicar com o dispositivo se ele
        manutenção.                             tem uma descrição do dispositivo. Esta
   Dispositivos de campo interoperáveis         capacidade permite que dispositivos com
permitem que o usuário selecione os             características especificas do fabricante
melhores produtos e os combine para ter a       sejam adicionadas ao barramento de
melhor distribuição de estratégia de            campo simplesmente pela ligação do
controle, monitoração e operação flexíveis      dispositivo ao fio do barramento e
e configuração e diagnose remotas.              fornecendo ao sistema ou ao mestre a
                                                nova descrição do dispositivo.
Características
                                                    O protocolo Fieldbus Foundation
    A capacidade de link de dados da            estende a hierarquia da rede da planta
Fieldbus Foundation combina as melhores         para o nível de dispositivo de campo,
características desta rede com a                fornecendo aos usuários uma solução
previsibilidade do protocolo WorldFIP e a       completa de rede, do sensor ao
flexibilidade do Profibus. O seu método de      computador da planta. O usuário final tem
controle de acesso oferece interface com        uma grande melhoria em custo e
todos os modelos de dados modernos,             qualidade.
incluindo cliente/servidor, editor/leitor e
distribuidor de relatório. Ele suporta multi-
segmentos de rede estendendo e ligando a
transferência segura de dados.
    Ele fornece uma distribuição de tempo
mais exata e sincronização através dos
sistemas multi-segmentos, detecção e
configuração de dispositivos em linha e
suporte em linha para construir e rever o
planejamento.
    Plantas que usam um sistema de
comunicação sem uma camada de usuário
padrão deve geralmente implementar
muitas interfaces de comunicação
específicas.
    A função de gerenciamento do sistema
Fieldbus Foundation sincroniza os
planejamentos de tempo para executar os


                                                                                      11.23
Integração de Sistemas

                                                   As características físicas do Profibus
3.5. Profibus Trade Organization               PA são:
(PTO)                                              1. transmissão de baixa velocidade
Conceito                                               intrinsecamente segura e não
    Profibus (Process fieldbus) é uma rede             intrinsecamente segura (IEC 1158-
de instrumentos de campo que interopera                2) e alta velocidade não
automaticamente com uma grande base                    intrinsecamente segura (RS 485 ou
instalada de nós de campos. Para um                    fibra óptica).
observador casual, o Profibus é o mesmo            2. Como recomendado, par trançado
protocolo que a Fieldbus Foundation H1.                blindado transporta dados e
    Profibus foi originalmente desenvolvido            potência à taxa de 31,25 kbit/s e
pela firma alemã Siemens e depois                      cabo padrão Profibus e fibra óptica
também virou uma fundação.                             transporta dados à taxa de 12
    Atualmente, há duas versões de                     Mbit/s.
Profibus                                           3. Estruturas em linha, arvore ou
    1. uma de acordo com a norma IEC                   estrela podem ser acoplada ou não
        1158-2, usando uma camada física               acopladas durante operação, com
        compatível com segurança                       extensão de até 1 900 m e tronco
        intrínseca                                     de 120 m.
    2. outra para uso com a camada física          4. Intercambiabilidade de dispositivos
        RS 485 ou linha de fibra óptica.               de diferentes fabricantes.
                                                   Os protocolos interoperáveis Profibus
Características                                podem ser considerados como três
O Profibus é um protocolo digital que tem      distintos:
características comuns e diferentes do             1. PA
Fieldbus Foundation, para fazer o mesmo            2. DP (Device Profiles)
trabalho. As semelhanças incluem:                  3. FMS (Fieldbus Message
1. conformidade com a mesma norma de                   Specifications)
    comunicação, ambos com taxa de             A interoperabilidade é conseguida pela
    31,25 kbit/s.                              definição dos parâmetros e do
2. arquitetura com blocos funcionais           comportamento do instrumento de campo.
3. linguagem de descrição de dispositivo       Aplicações
    (DDL)
4. mesma camada física para                        O protocolo Profibus PA é usado na
    transferência de dados digitais.           indú
Automacao industrial vi
Automacao industrial vi
Automacao industrial vi
Automacao industrial vi
Automacao industrial vi
Automacao industrial vi
Automacao industrial vi
Automacao industrial vi
Automacao industrial vi
Automacao industrial vi
Automacao industrial vi
Automacao industrial vi
Automacao industrial vi
Automacao industrial vi
Automacao industrial vi
Automacao industrial vi
Automacao industrial vi
Automacao industrial vi
Automacao industrial vi
Automacao industrial vi
Automacao industrial vi
Automacao industrial vi
Automacao industrial vi
Automacao industrial vi
Automacao industrial vi
Automacao industrial vi
Automacao industrial vi
Automacao industrial vi
Automacao industrial vi
Automacao industrial vi
Automacao industrial vi
Automacao industrial vi
Automacao industrial vi
Automacao industrial vi
Automacao industrial vi
Automacao industrial vi
Automacao industrial vi
Automacao industrial vi
Automacao industrial vi
Automacao industrial vi
Automacao industrial vi
Automacao industrial vi
Automacao industrial vi
Automacao industrial vi
Automacao industrial vi
Automacao industrial vi
Automacao industrial vi
Automacao industrial vi
Automacao industrial vi
Automacao industrial vi
Automacao industrial vi
Automacao industrial vi
Automacao industrial vi
Automacao industrial vi
Automacao industrial vi
Automacao industrial vi
Automacao industrial vi
Automacao industrial vi
Automacao industrial vi
Automacao industrial vi
Automacao industrial vi
Automacao industrial vi
Automacao industrial vi
Automacao industrial vi
Automacao industrial vi
Automacao industrial vi
Automacao industrial vi
Automacao industrial vi
Automacao industrial vi
Automacao industrial vi
Automacao industrial vi
Automacao industrial vi
Automacao industrial vi
Automacao industrial vi
Automacao industrial vi
Automacao industrial vi
Automacao industrial vi
Automacao industrial vi
Automacao industrial vi
Automacao industrial vi
Automacao industrial vi
Automacao industrial vi
Automacao industrial vi
Automacao industrial vi
Automacao industrial vi
Automacao industrial vi
Automacao industrial vi
Automacao industrial vi
Automacao industrial vi
Automacao industrial vi
Automacao industrial vi
Automacao industrial vi
Automacao industrial vi
Automacao industrial vi
Automacao industrial vi
Automacao industrial vi
Automacao industrial vi
Automacao industrial vi
Automacao industrial vi
Automacao industrial vi
Automacao industrial vi
Automacao industrial vi
Automacao industrial vi
Automacao industrial vi
Automacao industrial vi
Automacao industrial vi
Automacao industrial vi
Automacao industrial vi
Automacao industrial vi
Automacao industrial vi
Automacao industrial vi
Automacao industrial vi
Automacao industrial vi
Automacao industrial vi
Automacao industrial vi
Automacao industrial vi
Automacao industrial vi
Automacao industrial vi
Automacao industrial vi
Automacao industrial vi
Automacao industrial vi
Automacao industrial vi
Automacao industrial vi
Automacao industrial vi
Automacao industrial vi
Automacao industrial vi
Automacao industrial vi
Automacao industrial vi
Automacao industrial vi
Automacao industrial vi
Automacao industrial vi
Automacao industrial vi
Automacao industrial vi
Automacao industrial vi
Automacao industrial vi
Automacao industrial vi
Automacao industrial vi
Automacao industrial vi
Automacao industrial vi
Automacao industrial vi
Automacao industrial vi
Automacao industrial vi
Automacao industrial vi
Automacao industrial vi
Automacao industrial vi
Automacao industrial vi
Automacao industrial vi
Automacao industrial vi
Automacao industrial vi
Automacao industrial vi
Automacao industrial vi
Automacao industrial vi
Automacao industrial vi
Automacao industrial vi
Automacao industrial vi
Automacao industrial vi
Automacao industrial vi
Automacao industrial vi
Automacao industrial vi
Automacao industrial vi
Automacao industrial vi
Automacao industrial vi
Automacao industrial vi
Automacao industrial vi
Automacao industrial vi
Automacao industrial vi
Automacao industrial vi
Automacao industrial vi
Automacao industrial vi
Automacao industrial vi
Automacao industrial vi
Automacao industrial vi
Automacao industrial vi
Automacao industrial vi
Automacao industrial vi
Automacao industrial vi
Automacao industrial vi
Automacao industrial vi
Automacao industrial vi
Automacao industrial vi
Automacao industrial vi
Automacao industrial vi
Automacao industrial vi
Automacao industrial vi
Automacao industrial vi
Automacao industrial vi
Automacao industrial vi
Automacao industrial vi
Automacao industrial vi
Automacao industrial vi
Automacao industrial vi
Automacao industrial vi
Automacao industrial vi
Automacao industrial vi
Automacao industrial vi
Automacao industrial vi
Automacao industrial vi
Automacao industrial vi
Automacao industrial vi
Automacao industrial vi
Automacao industrial vi
Automacao industrial vi
Automacao industrial vi
Automacao industrial vi
Automacao industrial vi
Automacao industrial vi
Automacao industrial vi
Automacao industrial vi
Automacao industrial vi
Automacao industrial vi
Automacao industrial vi
Automacao industrial vi
Automacao industrial vi
Automacao industrial vi
Automacao industrial vi
Automacao industrial vi
Automacao industrial vi
Automacao industrial vi
Automacao industrial vi

Automacao industrial vi

  • 1.
    Automação Industrial 4a edição Marco Antônio Ribeiro
  • 2.
    Automação Industrial 4a edição Marco Antônio Ribeiro Dedicado a Ivan Alfredo Ivanovs, meu sócio, meu amigo e que conhece mais do que eu este assunto Quem pensa claramente e domina a fundo aquilo de que fala, exprime-se claramente e de modo compreensível. Quem se exprime de modo obscuro e pretensioso mostra logo que não entende muito bem o assunto em questão ou então, que tem razão para evitar falar claramente (Rosa Luxemburg) © 1997, 1998, 1999, Tek Treinamento & Consultoria Ltda Salvador, Outono 1999 1.1
  • 3.
    Prefácio O presente trabalho foi escrito como suporte de um curso ministrado a engenheiros e técnicos ligados, de algum modo à automação industrial. Ele enfoca os aspectos de equipamentos e programas associados à automação. O trabalho é dividido basicamente em três grandes assuntos: Fundamentos Tecnologias Controle e Alarme do Processo Na primeira parte, é apresentado o capítulo de Automação. A seguir são vistos as definições, símbolos e características de chaves manuais e automáticas, relés e solenóides, temporizadores, contadores e dispositivos de segurança, no capítulo Componentes Eletromecânicos. O terceiro capítulo, Símbolos Lógicos, baseia-se na norma ISA S5.2 e são apresentados os símbolos, equações, circuitos e conceitos básicos das portas lógicas. Encerrando esta primeira parte, são apresentados os componentes, desenvolvimento e análise da Programação de Sistemas Digitais, baseada na norma IEC 1131-1. São vistas as duas programações gráficas: o Diagrama Ladder, representação básica para circuitos de automação com relés e de Controlador Lógico Programável e o Diagrama de Blocos de Função, que são atualmente aplicados em sistemas onde o diagrama ladder é pobre e insuficiente. Na segunda parte do trabalho e no capítulo de Tecnologias são apresentados os principais conceitos relacionados com a Instrumentação Inteligente, incluindo controladores single loop e transmissores digitais e mostrando as características da instrumentação virtual ou de software. No capítulo sobre Computador no Processo, são apresentadas as aplicações comuns do computador na automação, incluindo configurações clássicas, como a arquitetura do Sistema Digital de Controle Distribuído (SDCD). No próximo capítulo, são apresentados os conceitos, diagrama de blocos, componentes do Controlador Lógico Programável (CLP), sistema básico para realizar a automação de processos. É apresentada a filosofia do Controle Supervisório e Aquisição de Dados (SCADA). Finalmente, é apresentado o capítulo de Integração de Sistemas, dando ênfase aos conceitos de redes de computadores protocolos, interfaces, comunicação de dados e Base de Dados, que é o capitulo final da seção. Na terceira parte do trabalho, há o capítulo de Controle de Processo, onde são apresentados os conceitos básicos do controle convencional analógico, baseado no algoritmo PID e na estratégia de realimentação negativa e os conceitos de Controle Lógico, onde são mostradas as diferenças entre este e o controle contínuo. É apresentado um capítulo sobre Controle Batelada, que possui conceitos próprios e onde a automação é muito aplicada. Há ainda o capítulo de Alarme e Intertravamento de Processo e outro capítulo sobre Anunciador de Alarme. Finalmente, há um capítulo sobre Operação de Processo. O trabalho está continuamente sendo revisto, quando são melhorados os desenhos, editadas figuras melhores, atribuídos os créditos a todas as fotografias usadas e alterada a terminologia para atender as revisões de normas aplicáveis. Sugestões e críticas destrutivas são benvidas, no endereço do autor: Rua Carmen Miranda 52, A 903, CEP 41820-230, Fone (0xx71) 452-3195 e Fax (0xx71) 452-3058, celular (071) 9989-9531 e ou no e-mail: marcotek@uol.com.br. Marco Antônio Ribeiro Salvador, BA, outono 2001 1.2
  • 4.
    Autor Marco Antônio Ribeiro nasceu em Araxá, MG, no dia 27 de maio de 1943. Formou-se pelo Instituto Tecnológico de Aeronáutica (ITA), em Engenharia Eletrônica, em 1969. Entre 1973 e 1986, trabalhou na Foxboro, onde fez vários cursos nos Estados Unidos (Foxboro, MA e Houston, TX) e em Buenos Aires, Argentina. * Desde 1987, dirige a Tek ( )Treinamento e Consultoria Ltda., firma pequeníssima voltada para treinamento na área de Instrumentação, Controle de Processo, Medição de Vazão, Cálculo de Incerteza na Medição, Metrologia Industrial, Instalações Elétricas em Áreas Classificadas. É certamente difícil ser um especialista competente em numerosos assuntos tão ecléticos, porém ele se esforça continuamente em sê-lo. Gosta de xadrez, corrida, fotografia, música de Beethoven, leitura, trabalho, curtir os filhos e a vida. Já correu três maratonas, a melhor em 3 h 13 m 11 s e a pior em 3 h, 28 m 30 s. Diariamente corre entre 8 e 12 km, às margens do oceano Atlântico. Semanalmente participa de torneios de xadrez relâmpago e nas horas de taxa telefônica reduzida, joga xadrez através da Internet. Possivelmente, é o melhor jogador de xadrez entre os corredores e o melhor corredor entre os jogadores de xadrez, o que realmente não é grande coisa e também não contribui nada para a Automação Industrial. * ( ) Tekinfim (Tek) foi seu apelido no ITA, pois só conseguiu entrar lá na terceira tentativa. Mas o que conta é que entrou e saiu engenheiro. O que foi um grande feito para um bóia fria do interior de Minas Gerais. 1.3
  • 5.
    Automação Industrial Conteúdo Prefácio Autor FUNDAMENTOS Automação 3. Chaves Automáticas 5 3.1. Pressostato 5 1. Automação 1 3.2. Termostato 6 1.1. Conceito 1 3.3. Chave de Vazão 6 1.2. Automação e mão de obra 1 3.4. Chave de Nível 7 1.3. Automação e controle 2 3.5. Chave limite 7 1.4. Automação e eletrônica 2 4. Solenóide 8 2. Graus de Automação 3 4.1. Conceito 8 2.1. Ferramentas manuais 3 4.2. Seleção 8 2.2. Ferramentas acionadas 3 4.3. Tipos 9 2.3. Quantificação da energia 3 5. Relés 10 2.4. Controle programado 3 2.5. Controle realimentação negativa4 5.1. Definição e Funções 10 2.6. Controle da máquina com cálculo4 5.2. Características 10 2.7. Controle lógico da máquina 4 5.3. Aplicações 11 2.8. Controle Adaptativo 4 5.4. Tipos de Relés 11 2.9. Controle indutivo 4 5.5. Seleção de Relés 14 2.10. Máquina criativa 4 6. Temporizadores 14 2.11. Aprendendo pela máquina 5 6.1. Atraso para ligar 17 3. Sistemas de automação 5 6.2. Atraso para desligar 17 4. Conclusão 6 7. Contadores 18 Componentes Eletromecânicos 7.1. Contagem simples 19 7.2. Dois contadores 19 7.3. Número de peças . 19 Objetivos de Ensino 1 8. Proteção de Circuitos 20 1. Introdução 1 8.1. Fusível 20 2. Chave 2 8.2. Disjuntor (Circuit Breaker) 22 2.1. Conceito 2 2.2. Pólos e Terminais 3 2.3. Chave Liga-Desliga 3 2.4. Chave Botoeira 4 2.5. Chave Seletora 4 2.6. Critérios de Seleção 5 1.1
  • 6.
    Automação Industrial 5.5. Diagrama lógico 22 Símbolos e Identificação 5.6. Aplicações das portas 23 6. Conclusão 31 1. Introdução 1 2. Aplicações 1 Linguagens de Programação 3. Roteiro da identificação 1 1. Introdução 1 3.1. Geral 1 2. Ferramentas auxiliares 2 3.2. Número de tag típico 1 3.3. Identificação funcional 2 3. Linguagens Textuais 10 3.4. Identificação da malha 2 3.1. Elementos comuns 10 4. Simbologia de Instrumentos 3 3.2. Lista de Instruções 10 3.3. Linguagem de Texto Estruturado15 4.1. Parâmetros do Símbolo 3 4.2. Alimentação dos instrumentos 3 4. Linguagens Gráficas 17 4.3. Linhas entre os Instrumentos 6 4.1. Elementos comuns 17 4.4. Balão do Instrumento 6 5. Malha de controle 13 Diagrama Ladder 6. Sistemas completos 13 1. Introdução 1 7. Referências bibliográficas 16 2. Componentes 1 Símbolos Lógicos 3. Exemplo 1 2 1. Lógica 1 4. Diagrama errado 2 1.1. Conceito 1 5. Exemplo 2 3 1.2. Lógica de relé e programas 1 6. Desenvolvimento 4 1.3. Lógica Combinatória 1 1.4. Lógica CLP 1 7. Análise 5 2. Conceituação e Execução 2 8. Exemplos de Diagrama Ladder8 2.1. Tipos de documentos 2 8.1. Circuito de Alarme de Alta Pressão8 2.2. Documentos conceituais 3 8.2. Controle de Bomba e lâmpadas 9 8.3. Controle seqüencial de 3 motores10 3. Portas Lógicas 3 8.4. Controle temporizado de motores11 3.1. Porta OR 3 8.5. Controle seqüencial temporizado12 3.2. Porta OR Exclusivo 4 8.6. Controle de velocidade de motores13 3.3. Porta AND 5 8.7. Unidade de Aquecimento de Óleo15 3.4. Porta NOT 5 8.8. Enchimento e Esvaziamento 16 3.5. Porta NAND 6 8.9. Enchimento com Duas Bombas 18 3.6. Porta NOR 6 8.10. Enchimento de garrafa: 19 8.11. Sistema de Esteira 21 4. Exemplos lógicos 7 8.12. Sistema de Elevador 23 4.1. Circuito retentivo 7 8.13. Enchimento de tanque 26 4.2. Bomba de vácuo 9 8.14. Furadeira 27 4.3. Reator Químico de Batelada9 5. Cartas de função 9 Diagrama de Blocos de Função 5.1. Desenhos e Palavras 12 1. Definições 5.2. Conceito 12 1 5.3. Documentos de execução 21 5.4. ANSI/ISA S5.2 21 2. Conceitos Básicos 5 1.2
  • 7.
    Automação Industrial TECNOLOGIAS 2.1. Geral 5 2.2. Combinação de elementos 5 2.3. Ordem da avaliação do circuito5 2.4. Bloco de função 5 Instrumentação Inteligente 3. Blocos Funcionais Padrão 7 AIN 7 1. Instrumento microprocessado 1 Aritmética de Adição (ADD) 7 1.1. Conceito de microprocessador 1 Aritmética de Subtração (SUB) 7 1.2. Vantagens do microprocessador 3 Aritmética de Divisão (DIV) 7 1.3. Aplicações 5 Aritmética de Multiplicação (MUL)8 1.4. Conclusões 6 Comparador Diferente de (NE) 8 Comparador Maior ou Igual (GE) 8 2. Controlador inteligente 6 Comparador Menor ou Igual (LE) 8 2.1. Conceito 6 Contador Crescente (CTU) 8 2.2. Características 7 Contador Decrescente (CTD) 8 2.3. Controladores comerciais 8 Contador Crescente e Decrescente9 Conversor DINT_TO_DWORD 9 3. Transmissores inteligentes 11 Conversor DWORD_TO_DINT 9 3.1. Introdução 11 Conversor DINT_TO_REAL 9 3.2. Transmissor smart e inteligente 11 Detector de Borda de Descida 10 3.3. Terminologia 12 Detector de Borda de Subida 10 3.4. Propriedades e características 15 Flip Flop RS (R prioritário) 10 Flip Flop SR (S prioritário) 10 4. Instrumentação virtual 19 Lógica Ou (OR) 10 4.1. Definição 19 Lógica E (AND) 11 4.2. Passado e Tendências Futuras 19 Lógica Mover (MOVE) 11 4.3. Progressão de Normas 20 Lógica Não (NOT) 11 4.4. Partes do Sistema 21 Multiplexador (MUX) 11 PACK16 11 UNPACK16 12 Computador no Processo Seletor de Sinais (SEL) 12 Temporizador (TMR) 12 1. Justificativas 1 Temporizador TOF 12 2. Aplicações típicas 2 Temporizador TON 13 Temporizador TP 13 2.1. Lógica 2 2.2. Controle Avançado 3 4. Blocos Personalizados 14 2.3. Monitoração de Alta Velocidade3 4.1. Parâmetros dos blocos 14 2.4. Partida e desligamento 4 4.2. Formação de TAG 14 2.5. Otimização do controle 4 4.3. Alarme/Desarme de ALTA 17 3. Configurações 5 4.4. Alarme/Desarme de BAIXA 18 4.5. Alarme/Desarme com By Pass de 3.1. Computador fora da linha 5 retorno automático 20 3.2. Computador com entrada em linha5 4.6. Alarme de ALTA com Seleção de 3.3. Computador com entrada e saída em Set Point 21 linha 6 4.7. By Pass de Set Point 23 3.4. Computador centralizado 6 4.8. Contador 24 3.5. Aquisição de dados (data logging)6 4.9. Acionamento de MOV 25 3.6. Controle do ponto de ajuste 8 4.10 Desarme de BAIXA 26 3.7. Controle digital direto (DDC) 11 4.11. Desarme de ALTA 26 4.12. Rastreador de Alta 27 4.13. Rastreador de Baixa 27 4.14. Seletor de By Pass 29 4.15. TR_CALENDAR 29 1.3
  • 8.
    Automação Industrial 3.4. Módulos de Entrada/Saída (E/S)15 4. Sistema de controle digital 3.5. Módulos de Comunicação 22 distribuído 13 3.6. Tensão, Corrente e Isolação 23 4.1. Filosofia 13 3.7. Periféricos 24 4.2. Interface com o processo 13 4. Manutenção do CLP 25 4.3. Interface com o controle 15 4.4. Interface com o operador 15 5. Mercado do CLP 26 4.5. Gerenciamento do controle 15 4.6. Sistema de comunicação 15 Controle Supervisório e 4.7. Vantagens e limitações do SDCD16 Aquisição de Dados (SCADA) 5. Computador no Processo 5.1. Introdução 16 1. Aquisição de Dados 1 5.2. Computador Digital 16 1.1 Introdução 1 5.3. Computador Digital e Analógico17 1.2. Sistema de Aquisição de Dados1 5.4. Controlador Digital 18 1.3. Sensores 2 5.5. Como Computadores Controlam 19 1.4. Circuitos condicionadores 2 5.6. Tipos de Computadores Digitais 19 1.5. Multiplexação 5 5.7. Uso do Computador em Controle 20 1.6. Amostragem de dados 8 5.8. Operação do Computador Digital 20 1.7. Circuito sample e hold 8 6. Computador como Controlador 23 1.8. Conversor digital -analógico 9 1.9. Conversor analógico -digital 11 6.1. Introdução 23 6.2. Informação Requerida 23 2. Telemetria 13 6.3. Informação do Processo 25 2.1. Introdução 13 6.4. Circuitos de Interface 25 2.1. Conceito 13 6.5. Endereçamento E/S 28 2.2. Telemetria e aquisição de dados14 6.6. Processamento de Dados 29 2.3. Canais de Comunicação 15 6.7. Projeto do Computador 30 2.4. Modem 16 6.8. Programação do Computador 31 2.5. Transmissão por rádio freqüência18 7. Conclusões 32 3. Controle Supervisório do Sistema de Aquisição de Dados 19 Controlador Lógico Programável 3.1. Introdução 19 3.2. Equipamento (Hardware) 19 Objetivos de Ensino 1 3.3. Programa Aplicativo (Software) 20 1. Introdução 1 4. InTouch 20 1.1. Definição 1 4.1. Propriedades 20 1.2. Terminologia 1 4.2. Características Especiais 22 1.3. Histórico 1 4.3. Outros Benefícios 25 1.4. Evolução 2 4.5. Operação 27 2. Comparação com outros sistemas 4.6. Redes de controle 34 2.1. Lógica Fixa Eletrônica 3 2.2. Lógica com Relés 3 Integração de Sistemas 2.3. Computador Pessoal 4 2.4. Vantagens do CLP 5 1. Rede de Computadores 1 2.5. Desvantagens do CLP 7 1.1. Introdução 1 2.6. CLP versus SDCD 8 1.2. Rede e Sistema Distribuído 1 3. Componentes do CLP 11 1.3. Objetivos da Rede 3 1.4. Parâmetros da rede 5 3.1. Unidade Processamento Central 12 1.5. Arquitetura da Rede 6 3.2. Memória 13 1.7. Modelo de Referência OSI 9 3.3. Unidades de Programação 13 1.4
  • 9.
    Automação Industrial 2. Comunicaçãode dados 16 2.1. Introdução 2.2. Tipos de sinais 16 16 CONTROLE E 2.3. Meio físico 2.4. Número de Canais 16 17 ALARME 2.5. Movimento de Dados 17 2.6. Tempo e transmissão 18 Controle do Processo 2.7. Multiplexagem de Sinal 19 3.Protocolos e interfaces 19 Objetivos de Ensino 1 3.1. Conceitos 19 1. Controle Contínuo 1 3.2. Ethernet (IEEE 802.3) 21 1.1. Introdução 1 3.3. Protocolo HART 21 1.2. Malha aberta ou fechada 1 3.4 Fieldbus Foundation 24 1.3. Ações de Controle 2 3.5. Profibus Trade Organization 27 1.4. Fatores do Processo 6 3.6. WorldFIP 28 1.5. Fatores do Instrumento 8 3.7. ARCnet 29 1.6. Sintonia do Controlador 8 3.8. ControlNet 30 1.7. Controle Multivariável 10 4. Base de Dados (Database) 32 1.8. Conclusão 12 4.1. Introdução 32 2. Controle Lógico 13 4.2. Bases de dados tradicionais 32 2.1. Conceito 13 4.3. Aplicações de RDBs 33 2.2. Controle de processo discreto 13 4.4. Estrutura da RDB 35 2.3. Características do sistema 14 4.5. Interação com base de dados 36 2.4. Variáveis de estado discreto 15 4.6. Partes componentes da RDB 36 2.5. Especificações do processo 16 4.7. Importância das ferramentas 37 2.6. Seqüência de eventos 17 4.8. Explosão da base de dados 38 2.7. Fluxograma da seqüência 18 5. Integração de Sistemas 42 5.1. Cenário da planta 42 Controle Batelada 5.2. Conceito de Integração 42 5.3. Pirâmide da interoperabilidade 43 Objetivos 1 5.4. Parâmetros da integração 43 1. História da Batelada 1 5.5. Como integrar 45 1.1. Origem do Controle Batelada 1 1.2. Funções de controle da batelada 3 1.3. Controle manual direto 3 1.4. Controle Regulatório 3 1.5. Intertravamentos de segurança 4 1.6. Sequenciamento 4 1.7. Gerenciamento da Batelada 4 1.8. Planejamento 5 1.9. Equipamentos 5 1.10. Conclusão 11 2. Gerenciamento da Batelada 11 2.1. Introdução 11 2.2. Exigências 11 2.3. Funções Automáticas 12 3. Controle da Batelada 19 1.5
  • 10.
    Automação Industrial 3.1. Introdução 19 Anunciador de Alarme 3.2. Batelada seqüencial temporizado19 3.3. Controle acionado por eventos 20 Objetivos 1 4. Automação da Batelada 20 1. Conceito 1 4.1. Introdução 20 4.2. Medição das variáveis 21 2. História e Desenvolvimento 2 4.3. Instrumentação Modular 22 3. Seqüências do Anunciador 3 4.4. Controle de Batelada 23 4.5. Característica da Instrumentação24 3.1. Tipos de Seqüência 7 4.6. Características desejáveis 25 3.2. Condições 7 4.7. Segurança 27 3.3. ISA RP 18.1 (1965) 7 4.8. Complicações 28 3.4. ISA S18.1 (1984) 7 4.9. Instruções de Operação 29 4. Designação da Seqüência 9 4.1. Letra de Seqüência Básica 9 Alarme e Intertravamento 4.2. Designação do número de opção10 4.3. First out 11 1. Terminologia 1 5. Descrição da Seqüência 20 2. Segurança da Planta 8 5.1. Seqüência A, Reset Automático20 2.1. Projeto da planta 8 5.2. Seqüência M, Reset Manual 20 2.2. Medição e Controle 8 5.3. Seqüência R, Ringback 21 2.3. Alarme do processo 9 5.4. Seqüência First Out 21 2.4. Desligamento de emergência 9 5.5. Seqüência com Teste 22 2.4. Monitoração do fogo e gás 9 6. Arranjos do Anunciador 23 3. Tecnologias do Sistema 10 6.1. Anunciador com Lógica Integral23 3.1. Tecnologias disponíveis 10 6.2. Anunciador remoto 23 3.2. Escolha do Sistema 10 7. Operação 24 4. Alarme do Processo 12 7.1. Display Visual 25 4.1. Introdução 12 7.2. Dispositivos sonoros 27 4.2. Componentes 12 7.3. Botoeiras 27 4.3. Prioridade de alarmes 13 7.4. Circuitos Lógicos 28 4.4. Realização do Alarme 13 7.5. Características Opcionais 30 5. Intertravamento do Processo 16 7.6. Saídas auxiliares 34 7.7. Sistemas de Alimentação 36 5.1. Conceito 16 7.8. Testes de Fábrica 37 5.2. Tipos de Falhas 17 5.3. Análise do Intertravamento 18 8. Outros Sistemas 38 5.4. Segurança da malha de controle19 8.1. Alarme discreto 38 5.5. Projeto do Intertravamento 20 8.1. Enunciador 39 5.6. Filtrando os alarmes 24 8.2. Registrador de Eventos 39 5.7. Circuitos de Intertravamentos 25 8.3. Monitor Específico 40 5.8. Sistema de Votação 28 8.4. Alarmes por Computado 40 5.9. Falhas no Sistema 31 8.5. Painéis de alarme 42 5.10. Sistema de Falha Segura 42 9. Tendências 43 6. Alarme e Cores 44 9.1. Tecnologias rivais 43 6.1. Introdução 44 9.2. Anunciador isolado 43 6.2. Código de cores 44 9.3. Anunciador distribuído 44 6.3. Transmissão e projeção de cores45 9.4. Software baseado em PC 44 9.5. Estampando data e hora 44 1.6
  • 11.
    Automação Industrial Operação do Processo 1. Introdução 1 2. Fatores Humanos no Projeto 1 2.1. Temas em fatores humanos 2 2.2. Fatores humanos na operação 4 3. Funções do operador 6 4. Atributos Mentais 8 4.1. Automatização 8 4.2. Modelo mental do operador 8 4.3. Representação para o operador 8 5. Estudos do Operador 9 6. Alocação de função 10 7. Análise da tarefa 10 8. Display da informação 10 9. Falhas do Processo 16 9.1. Sistema de Controle 16 9.2. Características do Processo 16 9.3. Características do Sistema 189. 4. Projeto da Instrumentação 19 9.5. Falhas de Instrumentos 22 9.6. Administração de Falhas 26 10. Erro Humano 31 11. Treinamento 33 12. Display para o Operador 36 12.1. Introdução 36 12.2. Display da Medição 37 12.3. Desempenho do instrumento 38 12.4. Instrumentos Inteligentes 42 12.5. Analógico e Digital 43 12.6. Aspectos Psicológicos 44 12.7. Computador de Processo 44 12.8. Conclusão 46 Referências Bibliográficas 1.7
  • 12.
    Símbolos, Identificação e Fundamentos 1. Automação 2. Componentes Eletromecânicos 3. Símbolos Lógicos 4. Linguagens de Programação 5. Diagrama Ladder 6. Diagrama de Blocos Funcionais 1.1
  • 13.
    1 Automação 1. Objetivos Como vantagens, a máquina 1. nunca reclama 1. Conceituar automação e controle 2. nunca entra em greve automático. 3. não pede aumento de salário 2. Listar os diferentes graus de 4. não precisa de férias automação. 5. não requer mordomias. 3. Definir o conceito de automação e seu Como nada é perfeito, a máquina tem efeito na indústria e sociedade. as seguintes limitações: 4. Introduzir os tipos básicos de sistemas 1. capacidade limitada de tomar e equipamentos de controle eletrônico. decisões 2. deve ser programada ou ajustada 1. Automação para controlar sua operação nas 1.1. Conceito condições especificadas 3. necessita de calibração periódica Automação é a substituição do trabalho para garantir sua exatidão nominal humano ou animal por máquina. 4. requer manutenção eventual para Automação é a operação de máquina ou assegurar que sua precisão nominal de sistema automaticamente ou por não se degrade. controle remoto, com a mínima interferência do operador humano. 1.2. Automação e mão de obra Automação é o controle de processos Com o advento do circuito integrado automáticos. Automático significa ter um (1960) e do microprocessador (1970), a mecanismo de atuação própria, que faça quantidade de inteligência que pode ser uma ação requerida em tempo embutida em uma máquina a um custo determinado ou em resposta a certas razoável se tornou enorme. O número de condições. tarefas complexas que podem ser feitas O conceito de automação varia com o automaticamente cresceu várias vezes. ambiente e experiência da pessoa Atualmente, pode-se dedicar ao envolvida. São exemplos de automação: computador pessoal (CP) para fazer 1. Para uma dona de casa, a máquina tarefas simples e complicadas, de modo de lavar roupa ou lavar louça. econômico. 2. Para um empregado da indústria A automação pode reduzir a mão de automobilística, pode ser um robô. obra empregada, porém ela também e 3. Para uma pessoa comum, pode ser ainda requer operadores. Em vez de fazer a capacidade de tirar dinheiro do a tarefa diretamente, o operador controla a caixa eletrônico. máquina que faz a tarefa. Assim, a dona O conceito de automação inclui a idéia de casa deve aprender a carregar a de usar a potência elétrica ou mecânica máquina de lavar roupa ou louça e deve para acionar algum tipo de máquina. Deve conhecer suas limitações. Operar a acrescentar à máquina algum tipo de máquina de lavar roupa pode inicialmente inteligência para que ela execute sua parecer mais difícil que lavar a roupa tarefa de modo mais eficiente e com diretamente. Do mesmo modo, o operador vantagens econômicas e de segurança. 1.1
  • 14.
    Automação de uma furadeiraautomática na indústria exigências de produtividade, segurança e automobilística deve ser treinado para usar proteção do meio ambiente, além do a máquina com controle numérico que faz controle automático do processo, apareceu o furo realmente. A linha de montagem a necessidade de monitorar o controle com robôs requer operadores para automático. monitorar o desempenho desses robôs. A partir deste novo nível de Quem tira o dinheiro do caixa eletrônico, instrumentos, com funções de deve possuir um cartão apropriado, monitoração, alarme e intertravamento, é decorar uma determinada senha e que apareceu o termo automação. As executar uma série de comandos no funções predominantes neste nível são as teclado ou tela de toque. de detecção, comparação, alarme e Muitas pessoas pensam e temem que a atuação lógica. automação significa perda de empregos, Por isso, para o autor, principalmente quando pode ocorrer o contrário. De fato, para a preparação de seus cursos e falta de automação coloca muita gente divisão de assuntos, tem-se o controle para trabalhar. Porém, estas empresas não automático aplicado a processo contínuo, podem competir economicamente com com predominância de medição, controle outras por causa de sua baixa PID (proporcional, integral e derivativo). O produtividade devida à falta de automação sistema de controle aplicado é o Sistema e por isso elas são forçadas a demitir Digital de Controle Distribuído (SDCD), gente ou mesmo encerrar suas atividades. dedicado a grandes plantas ou o Assim, automação pode significar ganho e controlador single loop, para aplicações estabilidade do emprego, por causa do simples e com poucas malhas. aumento da produtividade, eficiência e Tem-se a automação associada ao economia. controle automático, para fazer sua Muitas aplicações de automação não monitoração, incluindo as tarefas de envolvem a substituição de pessoas por alarme e intertravamento. A automação é que a função ainda não existia antes ou é também aplicada a processos discretos e impossível de ser feita manualmente. de batelada, onde há muita operação Pode-se economizar muito dinheiro lógica de ligar e desligar e o controle anualmente monitorando e controlando a seqüencial. O sistema de controle aplicado concentração de oxigênio dos gases é o Controlador Lógico Programável (CLP). queimados em caldeiras e garantindo um Assim: controle automático e consumo mais eficiente de combustível. automação podem ter o mesmo significado Pode se colocar um sistema automático ou podem ser diferentes, onde o controle para recuperar alguma substância de regulatório se aplica a processos contínuos gases jogados para atmosfera, diminuindo e a automação se aplica a operações os custos e evitando a poluição do ar lógicas, seqüenciais de alarme e ambiente. intertravamento. 1.3. Automação e controle 1.4. Automação e eletrônica A automação está intimamente ligada à Na década de 1970, era clássica a instrumentação. Os diferentes comparação entre as instrumentações instrumentos são usados para realizar a eletrônica e pneumática. Hoje, às vésperas automação. do ano 2000, há a predominância da Historicamente, o primeiro termo usado eletrônica microprocessada. foi o de controle automático de processo. Os sensores que medem o valor ou Foram usados instrumentos com as estado de variáveis importantes em um funções de medir, transmitir, comparar e sistema de controle são as entradas do atuar no processo, para se conseguir um sistema, mas o coração do sistema é o produto desejado com pequena ou controlador eletrônico microprocessado. nenhuma ajuda humana. Isto é controle Muitos sistemas de automação só se automático. tornaram possíveis por causa dos recentes Com o aumento da complexidade dos e grandes avanços na eletrônica. Sistemas processos, tamanho das plantas, de controle que não eram práticos por 1.2
  • 15.
    Automação causa de custohá cinco anos atrás hoje se 2.2. Ferramentas acionadas tornam obsoletos por causa do rápido O próximo passo histórico foi energizar avanço da tecnologia. as ferramentas manuais. A energia foi A chave do sucesso da automação é o uso da eletrônica microprocessada que suprida através de vapor d'água, eletricidade e ar comprimido. Este degrau pode fornecer sistemas eletrônicos foi chamado de Revolução Industrial. A programáveis. Por exemplo, a indústria serra se tornou elétrica, o martelo ficou aeronáutica constrói seus aviões hidráulico. comerciais em uma linha de montagem, Na indústria, usa-se um motor elétrico mas personaliza o interior da cabine para acionar o agitador, a alimentação é através de simples troca de um programa feita por uma bomba, o aquecimento é feito de computador. A indústria automobilística por vapor ou por eletricidade. usa robôs para soldar pontos e fazer furos na estrutura do carro. A posição dos 2.3. Quantificação da energia pontos de solda, o diâmetro e a profundidade dos furos e todas as outras Com a energia fornecida para acionar especificações podem ser alteradas as ferramentas, o passo seguinte foi através da simples mudança do programa quantificar esta energia. Um micrômetro do computador. Como o programa do associado à serra, indica quanto deve ser computador é armazenado em um chip de cortado. A medição torna-se parte do memória, a alteração de linhas do processo, embora ainda seja fornecida programa neste chip pode requerer para o operador tomar a decisão. somente alguns minutos. Mesmo quando Na indústria, este nível significa colocar se tem que reescrever o programa, o um medidor de quantidade na bomba para tempo e custo envolvidos são muitas vezes indicar quanto foi adicionado ao reator. menores que o tempo e custo para alterar Significa também colocar um cronômetro as ferramentas. para medir o tempo de agitação, um termômetro para indicar o fim da reação. As variáveis indicadas ao operador 2. Graus de Automação ajudavam o operador determinar o status A história da humanidade é um longo do processo. processo de redução do esforço humano 2.4. Controle programado requerido para fazer trabalho. A sua preguiça é responsável pelo progresso e o A máquina foi programada para fazer aparecimento da automação. Pode-se uma série de operações, resultando em classificar os graus de automação uma peça acabada. As operações são industrial em várias fases. automáticas e expandidas para incluir outras funções. A máquina segue um 2.1. Ferramentas manuais programa predeterminado, em O primeiro progresso do homem da realimentação da informação. O operador caverna foi usar uma ferramenta manual deve observar a máquina para ver se tudo para substituir suas mãos. Esta ferramenta funciona bem. não substituiu o esforço humano, mas Na planta química, uma chave foi tornou este esforço mais conveniente. adicionada no medidor de vazão para Exemplos de ferramentas: pá, serra, gerar um sinal para desligar a bomba, martelo, machado, enxada. quando uma determinada quantidade for Como não há máquina envolvida, adicionada. Uma alarme foi colocado no considera-se que este nível não possui cronômetro para avisar que o tempo da nenhuma automação. batelada foi atingido. Na indústria, este nível significa alimentar manualmente um reator, moendo sólidos, despejando líquidos de containeres, misturando com espátula, aquecendo com a abertura manual de válvula de vapor. 1.3
  • 16.
    Automação sistemas digitais. Um exemplo de controle 2.5. Controle com realimentação adaptativo na indústria química é o negativa compressor de nitrogênio e oxigênio para O próximo passo desenvolve um fabricação de amônia. A eficiência do sistema que usa a medição para corrigir a compressor varia com a temperatura e máquina. A definição de automação de pressão dos gases e das condições do Ford se refere a este nível. ambiente. O controlador adaptativo procura Na indústria química, o controle a o ponto ótimo de trabalho e determina se o realimentação negativa é o começo do compressor está em seu objetivo, através controle automático. A temperatura é do índice de desempenho. Para isso, usa- usada para controlar a válvula que se a tecnologia avançada do computador manipula o vapor. O regulador de vazão mais a tecnologia de instrumentos de ajusta a quantidade adicionada no reator, análise em linha. baseando na medição da vazão. 2.9. Controle indutivo 2.6. Controle da máquina com A máquina indutiva rastreia a resposta cálculo de sua ação e revisa sua estratégia, Em vez de realimentar uma medição baseando-se nesta resposta. Para fazer simples, este grau de automação utiliza isso, o controlador indutivo usa programa uma cálculo da medição para fornecer um heurístico. sinal de controle. Na planta química, o sistema usa um Na planta química, os cálculos se método e o avalia, muda uma variável de baseiam no algoritmo PID, em que o sinal acordo com um programa e o avalia de de saída do controlador é uma função novo. Se este índice de desempenho tem combinada de ações proporcional, integral melhorado, ele continua no mesmo e derivativa. Este é o primeiro nível de sentido; se a qualidade piorou, ele inverte automação disponível pelo computador o sentido. A quantidade de ajuste varia digital. com seu desvio do ponto ideal. Depois que uma variável é ajustada, o sistema vai para 2.7. Controle lógico da máquina a próxima. O sistema continua a induzir as O sistema de telefone com dial é um melhores condições na planta. exemplo de máquina lógica: Quando se Uma aplicação típica é no controle de tecla o telefone, geram-se pulsos que fornalha de etileno. lançam chaves que fazem a ligação 2.10. Máquina criativa desejada. Caminhos alternativos são selecionados por uma série programada de A máquina criativa projeta circuitos ou passos lógicos. produtos nunca antes projetados. Exemplo O sistema de segurança e desligamento é um programa de composição de música. da planta química usa controle lógico. Um A máquina criativa procura soluções que conjunto de condições inseguras dispara seu programado não pode prever. circuitos para desligar bombas, fechar Na planta química, é o teste de válvula de vapor ou desligar toda a planta, catalisador. O sistema varia composição, dependendo da gravidade da emergência. pressão e temperatura em determinada faixa, calcula o valor do produto e muda o 2.8. Controle Adaptativo programa na direção de aumentar o valor. No controle adaptativo, a máquina 2.11. Aprendendo pela máquina aprende a corrigir seus sinais de controle, se adequando às condições variáveis. Neste nível, a máquina ensina o Uma versão simples deste nível é o homem. O conhecimento passa na forma sistema de aquecimento de um edifício que de informação. A máquina pode ensinar adapta sua reposta ao termostato a um matemática ou experiência em um programa baseado nas medições da laboratório imaginário, com o estudante temperatura externa. seguindo as instruções fornecidas pela O controle adaptativo tornou-se máquina. Se os estudantes cometem acessível pelo desenvolvimento de muitos erros, porque não estudaram a 1.4
  • 17.
    Automação lição, a máquinaos faz voltar e estudar Se em vez de usar uma fita para mais, antes de ir para a próxima lição. controlar a máquina, é usado um Assim, todos os graus de automação computador dedicado, então o sistema é são disponíveis hoje, para ajudar na tecnicamente chamado de máquina transferência de tarefas difíceis para a controlada numericamente com máquina e no alívio de fazer tarefas computador (CNC). Um centro com CNC repetitivas e enfadonhas. Fazendo isso, a pode selecionar de uma até vinte máquina aumenta a produtividade, melhora ferramentas e fazer várias operações a qualidade do produto, torna a operação diferentes, como furar, tapar, frezar, segura e reduz o impacto ambiental. encaixar. Se o computador é usado para controlar 3. Sistemas de automação mais de uma máquina, o sistema é chamado de máquina controlada A aplicação de automação eletrônica numericamente e diretamente. A vantagem nos processos industriais resultou em deste enfoque é a habilidade de integrar a vários tipos de sistemas, que podem ser produção de várias máquinas em um geralmente classificados como: controle global de uma linha de montagem. 1. Máquinas com controle numérico A desvantagem é a dependência de várias 2. Controlador lógico programável máquinas debaixo de um único 3. Sistema automático de computador. armazenagem e recuperação 4. Robótica 3.2. Controlador lógico programável 5. Sistemas flexíveis de manufatura. O controlador lógico programável é um equipamento eletrônico, digital, 3.1. Máquina com controle numérico microprocessado, que pode Uma máquina ferramenta é uma 1. controlar um processo ou uma ferramenta ou conjunto de ferramentas máquina acionadas por potência para remover 2. ser programado ou reprogramado material por furo, acabamento, modelagem rapidamente e quando necessário ou para inserir peças em um conjunto. 3. ter memória para guardar o Uma máquina ferramenta pode ser programa. controlada por algum dos seguintes O programa é inserido no controlador modos: através de microcomputador, teclado 1. Controle contínuo da trajetória da numérico portátil ou programador ferramenta onde o trabalho é contínuo dedicado. ou quase contínuo no processo. O controlador lógico programável varia 2. Controle ponto a ponto da trajetória da na complexidade da operação que eles ferramenta onde o trabalho é feito podem controlar, mas eles podem ser somente em pontos discretos do interfaceados com microcomputador e conjunto. operados como um DNC, para aumentar Em qualquer caso, as três coordenadas sua flexibilidade. Por outro lado, eles são (x, y, z ou comprimento, largura e relativamente baratos, fáceis de projetar e profundidade) devem ser especificadas instalar. para posicionar a ferramenta no local correto. Programas de computador existem 3.3. Sistema de armazenagem e para calcular a coordenada e produzir recuperação de dados furos em papel ou fita magnética que Atividades de armazenar e guardar contem os dados numéricos realmente peças são centralizados em torno de usados para controlar a máquina. inventário de peças ou materiais para, A produtividade com controle numérico posteriormente, serem usadas, embaladas pode triplicar. No controle numérico, exige- ou despachadas. Em sistemas se pouca habilidade do operador e um automáticos, um computador remoto único operador pode supervisionar mais de controla empilhadeiras e prateleiras para uma máquina. receber, armazenar e recuperar itens de almoxarifado. O controle da relação é 1.5
  • 18.
    Automação exato e ositens podem ser usados ou despachados de acordo com os dados 4. Conclusão recebidos. Os restaurantes da cadeia McDonald’s têm um dispensa automática 1. Houve uma revolução industrial com para armazenar batatas fritas congeladas. automação de processos de Uma cadeia de supermercado, tipo Makro, manufatura. usa um almoxarifado automatizado para a 2. Automação é o uso da potência elétrica guarda e distribuição automática de itens. ou mecânica controlada por um sistema de controle inteligente 3.4. Robótica (geralmente eletrônico) para aumentar Um robô é um dispositivo controlado a a produtividade e diminuir os custos. computador capaz de se movimentar em 3. A falta de automação pode aumentar o uma ou mais direções, fazendo uma desemprego. seqüência de operações. Uma máquina 4. Automação é um meio para aumentar a CNC pode ser considerada um robô, mas produtividade. usualmente o uso do termo robô é restrito 5. A habilidade de controlar os passos de aos dispositivos que tenham movimentos um processo é a chave da automação. parecidos com os dos humanos, 6. Avanços na eletrônica tornaram principalmente os de braço e mão. possível o controle de sistemas As tarefas que os robôs fazem podem complexos, a um baixo custo. ser tarefas de usinagem, como furar, 7. Os vários tipos de sistemas de soldar, pegar e colocar, montar, automação que podem ser aplicados a inspecionar e pintar. Os primeiros robôs processos industriais são: eram grandes, hoje eles podem ser máquina com controle numérico pequeníssimos. controlador lógico programável Quando uma tarefa é relativamente sistema de armazenagem e simples, repetitiva ou perigosa para um recuperação de peças humano, então o robô pode ser uma robótica escolha apropriada. Os robôs estão sistema de manufatura flexível aumentando em inteligência, com a adição dos sentidos de visão e audição e isto permite tarefas mais complexas a serem executadas por eles. 3.5. Sistema de manufatura flexível A incorporação de máquinas NC, robótica e computadores em uma linha de montagem automatizada resulta no que é chamado sistema de manufatura flexível. Ele é considerado flexível por causa das muitas mudanças que podem ser feitas com relativamente pouco investimento de tempo e dinheiro. Em sua forma final, matéria prima entra em um lado e o produto acabado sai do almoxarifado em outro lado, pronto para embarque sem intervenção humana. Hoje isto existe somente em conceito, embora grandes partes deste sistema já existem. ApostilaAutomação 10Automação.doc 14 ABR 01 (Substitui 23 FEV 99) 1.6
  • 19.
    2 Componentes Eletromecânicos 6. seu funcionamento pode ser Objetivos de Ensino perturbado por vibração e choque 1. Descrever e aplicar vários arranjos mecânico. de chaveamento elétrico. 7. produzem barulho quando mudam o 2. Desenhar os símbolos para estado. botoeiras, chaves liga-desliga, lâmpadas pilotos e contatos de relés. 3. Descrever o solenóide elétrico e suas aplicações. Entrada Saída Vi 4. Descrever a construção e operação Vo Vi Vo de relés eletromecânicos e a estado Chave Alta Alta sólido. Diferenciar os diferentes tipos Baixa Baixa de relés. 5. Descrever a operação de temporizadores e contadores. 1. Introdução Entrada Saída Vi Vo Vi Vo A eletrônica possui vários componentes Inversor com partes e peças mecânicas. O Alta Baixa funcionamento destes componentes Baixa Alta sempre envolve movimento mecânico. As partes mecânicas da eletrônica são chamadas de peças móveis. Elas constituem o elo mais fraco da corrente. Entrada Saída Chave Por causa de seu movimento mecânico Vi Vo elas apresentam as seguintes V1 Alta Alta Inv Inv desvantagens: Baixa Baixa 1. sofrem desgaste com o uso e portanto possuem vida útil limitada Vi Vo 2. podem ficar emperradas e portanto Fig. 2.1. Chaves e inversores são pouco confiáveis 3. são relativamente lentas comparadas com as operações Os principais componentes mecânicos puramente eletrônicas da eletrônica (eletromecânicos) são a 4. podem apresentar sujeira e umidade chave liga-desliga (toggle), chave botoeira que atrapalham o seu (push button), chave seletora, chave funcionamento, automática acionada por variável de 5. quebram mais facilmente, por causa processo (termostato, pressostato, nível, da fadiga e desgaste. vazão, posição), relé, válvula solenóide e disjuntor. 2.1
  • 20.
    Componentes Eletromecânicos Tab. 4.1.Símbolos usados em sistemas de segurança 2. Chave 2.1. Conceito Contato elétrico, A chave é um componente normalmente aberto (NA) eletromecânico usado para ligar, desligar ou direcionar a corrente elétrica, através de um acionamento mecânico manual ou Contato elétrico, automático. A chave de duas posições é normalmente fechado (NF) um componente binário de circuito simples e fundamental, com uma entrada e uma Chave de vazão, saída. A saída é alta quando a entrada é normalmente aberta (NA) alta e a saída é baixa quando a entrada é Chave de vazão, baixa. normalmente fechada (NF) A entrada da chave é uma força Chave de nível, mecânica e a saída é uma tensão elétrica. normalmente aberta (NA) A chave estática o semicondutor possui na Chave de nível, entrada e saída sinais elétricos. A chave é normalmente fechada (NF) adequada para teclados e entrada de Chave de pressão, dados em sistemas digitais. normalmente aberta (NA) Chave de pressão, normalmente fechada (NF) Chave de temperatura, normalmente aberta (NA) Chave de temperatura, normalmente fechada (NF) Chave limite, normalmente aberta (NA) Fig. 2.2. Conceito de chave Chave limite, normalmente fechada (NF) O inversor é uma variação da chave. O Lâmpada de sinalização inversor é também um dispositivo binário, com uma entrada e uma saída, de modo que a saída é alta, quando a entrada for Buzina baixa e saída é baixa, quando a entrada for alta. O inversor é um bloco construtivo do Válvula solenóide de duas sistema digital mais poderoso e vias fundamental que a chave pois a chave pode ser construída a partir de dois Válvula solenóide de três inversores em série e nenhuma vias combinação de chaves pode produzir um inversor. As características desejáveis da chave 1. alta velocidade 2. alta confiabilidade 3. entrada e saída elétricas 4. pouca energia consumida 5. baixo custo Os tipos mais comuns de chaves manuais usadas em sistemas eletrônicos são os seguintes: 2.2
  • 21.
    Componentes Eletromecânicos 1. chave liga-desliga (toggle) simultaneamente. Pode-se usar duas 2. chave botoeira (push button) chaves SPST. Na prática, usa-se a chave 3. chave seletora DPST. Ela consiste de duas chaves SPST em um único corpo. Quando se quer duas 2.2. Polos e Terminais chaves simultaneamente em duplo polo, Embora exista uma grande variedade usa-se a chave DPDT. Este arranjo de de chaves elétricas, há vários termos que chaveamento pode ser expandido para três são comuns quando se descreve a pólos ou mais, como necessário. construção de qualquer chave. Dois outros tipos de configurações são: A haste ou parte da chave que é 1. retorno de mola movida para abrir ou fechar um circuito é 2. centro desligado chamada de pólo da chave. Se uma chave Atuando a chave SPST com retorno de tem somente um pólo, ela é chamada de mola, fecha-se M-N. Porém, quando a chave de único pólo (single pole switch). chave é liberada, sua mola torna-a Se ela possui dois pólos, é chamada de desligada. Ela não permanece na posição chave de duplo pólo. A chave pode ter fechada, como uma chave normal o faz. também três, quatro ou qualquer outro A chave com centro desligado possui número de pólos, quando é chamada de três posições. Ela também pode ter retorno triplo pólo, e multipolo. por mola para a posição central desligada. Se cada contato alternadamente abre e fecha somente um circuito, a chave é chamada de único terminal (single throw). M N M N Quando o contato é de dupla ação, ou seja, abre um circuito enquanto SPST NF SPST NA simultaneamente fecha outro, a chave é chamada de duplo terminal (doble throw).. N N Assim, pode haver uma combinação de M M pólos e terminais; tendo-se O C 1. single-pole, single-throw (SPST), SPDT O 2. single-pole, double-throw (SPDT), SPDT Centro 3. double-pole, doble-throw (DPDT). N Esta nomenclatura se aplica também M O aos contatos de relés (relé é uma chave Q operada pela ação magnética). P R A chave elétrica básica é a de simples pólo e simples terminal, SPST. DPST DPDT Quando a chave estiver na posição Fig. 2.3. Arranjos de chaveamento elétrico desligada (OFF), o circuito está eletricamente aberto entre M e N. Quando 2.3. Chave Liga-Desliga a chave é mudada para a posição ligada (ON), cria-se um circuito de ligação entre A chave liga-desliga (toggle) possui os pontos M e N. Esta chave pode ser uma haste ou alavanca que se move normalmente aberta (NA) ou normalmente através de um pequeno arco fazendo os fechada (NF). A chave NF SPST é um contatos de um circuito abrirem ou curto-circuito entre M-N quando desligada fecharem repentinamente. O fato de o e é um circuito aberto entre M-N quando contato abrir ou fechar muito rapidamente ligada. É fundamental definir o tipo, NA ou reduz o arco voltaico e garante um curto- NF, quando escolher a chave para uma circuito seguro. O acionamento da chave aplicação. toggle é retentivo, ou seja, a chave é ligada Outro tipo de chave possui polo simples por um movimento mecânico e os contatos e duplo terminal, abreviado SPDT. O permanecem na posição alterada, até que circuito de M é chaveada entre N e O, a chave seja acionada no sentido contrario. quando a chave é ligada ou desligada. A chave toggle tem uma pequena Quando se quer ligar dois circuitos protuberância saindo do eixo. O eixo toggle separados em ON e OFF 2.3
  • 22.
    Componentes Eletromecânicos é empurradopara cima ou para baixo para produzir o chaveamento. Tais chaves são tipicamente usadas em pequenos equipamentos com pouco espaço disponível no painel. NF NA Fig. 2.5. Chave botoeira com lâmpada piloto Fig. 2.4. Chave liga desliga (toggle) 2.5. Chave Seletora 2.4. Chave Botoeira A chave seletora ou rotatória fecha e A chave botoeira (push button) é abre circuitos quando é girada entre projetada para abrir ou fechar um circuito posições. O knob da chave é girado e não quando acionada e retornar à sua posição apertado, como nas chaves botoeira. Um normal, quando desacionada. O contato é contato fixo ao eixo gira por meio de um não retentivo, ou seja, o contato só knob ligado à outra extremidade do eixo. O permanece na posição alterada enquanto a contato se move ao longo de um circulo de chave estiver acionada; o contato volta material isolante que possui tiras de para a posição normal quando se tira a material condutor colocadas ao longo da pressão da chave. O contato é circunferência. Quando o eixo gira de uma momentâneo e o seu retorno é causado posição para a próxima, o contato rotativo por uma mola. Normalmente aberto ou faz a ligação para as tiras condutoras. Isto normalmente fechado significa que os fecha e abre contatos desejados. Há uma contatos estão em uma posição de marcação externa no knob para localizar a repouso, mantidos por uma mola e não posição da chave. estão sujeitos a nenhuma força externa A chave seletora é usada para mecânica ou elétrica. selecionar duas, três, dez ou mais A botoeira normal tem retorno de mola, posições. Ela é usada tipicamente para de modo que ela é não sustentável. A selecionar diferentes faixas de medição de botoeira mais usada é do tipo SPDT. instrumentos, selecionar canais da Quando a botoeira é apertada, o circuito televisão, selecionar funções de um entre M-N é aberto e O-P é fechado. amplificador. Quando ela é solta, fecha M-N e abre O-P Se a chave rotatória é do tipo de curto- eletricamente. Algumas botoeiras podem circuito, o seu contato girante faz a ligação ter três, quatro ou mais pólos, aumentando com o próximo terminal antes de abrir o sua capacidade de chaveamento. contato com a posição atual. Esta chave é A botoeira é usada em controle de chamada de make-before-break (fecha- motores, onde ela serve para partir, parar, antes-de-abrir). Tal característica de curto- inverter e acelerar a rotação do motor. A circuito fornece proteção para certos chave botoeira é usada tipicamente em instrumentos ou equipamentos. chaves de acionamento de campainha e Há também chave rotatória do tipo não chave de segurança de motores. Ela é curto-circuito. Esta chave abre o circuito disponível em várias cores, identificações, atual antes de fechar o circuito seguinte. formatos, tamanhos e especificações Ela é também chamada de break-before- elétricas. make (abre-antes-de-fechar). Um anel metálico é montado sobre um wafer fenólico, não condutor. As ligações 2.4
  • 23.
    Componentes Eletromecânicos elétricas sãofeitas em um suporte que desliza no anel metálico, quando ele gira. 2.6. Critérios de Seleção O wafer é girado para posições específicas O tipo de chave escolhida para uma para conseguir o chaveamento. determinada aplicação depende de muitos Na chave fechar-antes-abrir de não fatores, como: curto, indo de A para B, o circuito é 1. a configuração, que determina completamente aberto na posição número de pólos e terminais intermediária, como mostrado. Para a 2. a tensão a ser chaveada e o tipo de chave abrir-antes-fechar, fazendo curto, o corrente (ca ou cc) anel giratório tem uma saliência mais larga. 3. o valor da corrente a ser chaveada e A largura da saliência excede a distância a corrente a ser percorrida após o A-B. O circuito fica portanto ligado a A e B chaveamento na posição intermediária. 4. o ciclo de vida necessário em Um exemplo mostra onde cada tipo de número de atuações chave deve ser usado. O voltímetro deve 5. as considerações ambientes, como ter uma chave seletora que não provoque vibração, temperatura, umidade, curto-circuito. Entre faixas, a chave desliga agressividade do ambiente a tensão para o galvanômetro. Se fosse 6. o tamanho físico necessário usada uma chave de fazendo curto- 7. a velocidade de atuação circuito, os resistores seriam em paralelo. 8. a capacitância parasita A baixa resistência temporária, 19,3 kΩ, 9. opções, como lâmpada piloto permitiria que o excesso de corrente embutida, chave de trava. fluísse no galvanômetro. Neste caso, o galvanômetro deveria suportar uma 3. Chaves Automáticas corrente cinco vezes maior. De modo contrario, o amperímetro deve As chaves vistas até agora eram ter uma chave que provoque curto-circuito. acionadas manualmente. Assim que o Se fosse usada uma chave que operador aperta o seu acionamento, seus provocasse circuito aberto, o galvanômetro contatos mudam de estado. Quando os deveria suportar uma corrente 100 vezes contatos são retentivos, eles permanecem maior que a especificada. Para cada faixa mudados quando o operador retira a de corrente, um resistor paralelo é pressão de acionamento. Quando são não percorrido por uma corrente apropriada, retentivos, os contatos voltam a posição com mostrado. Se não houvesse um original quando a chave deixa de ser resistor paralelo ligado no circuito entre as apertada. posições das faixas, toda a corrente da Existem chaves automáticas, cuja linha deveria passar pelo galvanômetro. operação é determinada pela posição de Para uma corrente de linha de 100 mA, isto algum dispositivo ou pelo valor de alguma é 100 vezes a corrente especificada. quantidade física. Sistemas mais Durante o chaveamento, com a chave complexos podem ter chaves ligadas de apropriada que provoca curto-circuito, tem- um modo intertravado, tal que a operação se uma baixa resistência de alguns ohms. final de uma ou mais chave depende da posição das outras chaves individuais. As principais chaves automáticas são: pressostato, termostato, chave de vazão, chave de nível, chave fim de curso. 3.1. Pressostato Pressostato é uma chave comandada pela pressão. Uma chave elétrica muda os estados dos seus contatos quando a pressão atinge determinados valores críticos. Por exemplo, por economia e segurança, um compressor de ar deve ser desligado quando a sua pressão atingir um 2.5
  • 24.
    Componentes Eletromecânicos valor altodeterminado e deve ser religado economia e segurança, um condicionador quando a pressão atingir um valor baixo de ar deve ser desligado quando a determinado. Ajustes convenientes no temperatura do ambiente atingir um valor pressostato permitem que o compressor alto determinado e deve ser religado opere entre estes dois valores críticos de quando a temperatura atingir um valor pressão. baixo determinado. Ajustes convenientes no termostato permitem que o condicionador opere entre estes dois valores críticos de temperatura. O termostato é um modo simples e barato de executar o controle liga-desliga de processos envolvendo temperatura. O termostato também pode servir de proteção de um sistema de controle de temperatura. Um controlador convencional fornece uma temperatura constante, dentro da banda proporcional. Quando, por algum problema do controlador ou do sistema, o Fig. 2.6. Chave de pressão ou pressostato controlador perde o controle e a temperatura tende para valores perigosos de muito baixa ou muito alta temperatura, o O pressostato é um modo simples e pressostato desliga o sistema. barato de executar o controle liga-desliga de processos envolvendo pressão. O pressostato também pode servir de proteção de um sistema de controle de pressão. Um controlador convencional fornece uma pressão constante, dentro da banda proporcional. Quando, por algum problema do controlador ou do sistema, o controlador perde o controle e a pressão tende para um valor perigoso de alta pressão, um pressostato desliga o sistema. Deve-se diferenciar bem a proteção Fig. 2.7. Chave de temperatura ou termostato fornecida pelo pressostato e a proteção oferecida pela válvula de alivio ou de segurança. O pressostato protege o Como o termostato é comandado pela sistema de pressão desligando um motor temperatura, ele deve ter um sensor de elétrico que faz a pressão subir. A válvula temperatura, geralmente mecânico, como de alivio e a de segurança protege o bimetal ou enchimento termal. Termostatos sistema de pressão diminuindo são comuns em condicionadores de ar, diretamente a pressão do sistema, jogando geladeiras e motores. para a atmosfera o fluido de alta pressão. Como o pressostato é comandado pela 3.3. Chave de Vazão pressão, ele deve ter um sensor de Chave de vazão (flow switch) é uma pressão, geralmente mecânico como o chave comandada pela vazão. Uma chave bourdon C, fole, espiral ou helicoidal. elétrica muda os estados dos seus 3.2. Termostato contatos quando a vazão de um fluido atinge determinados valores críticos. Por Termostato é uma chave comandada exemplo, por segurança, um sistema de pela temperatura. Uma chave elétrica lubrificação com óleo pode ser desligado muda os estados dos seus contatos por uma chave de vazão, quando a vazão quando a temperatura atinge determinados do lubrificante ficar menor que um valor valores críticos. Por exemplo, por critico ajustado na chave. Ajustes 2.6
  • 25.
    Componentes Eletromecânicos convenientes nachave de vazão permitem valor critico baixo e abaixo de um valor que o sistema de lubrificação opere de alto. modo seguro acima de um valor critico da A chave de nível é um modo simples e vazão do lubrificante. barato de executar o controle liga-desliga A chave de vazão é um modo simples e de processos envolvendo nível de liquido. barato de executar o controle liga-desliga A chave geralmente liga ou desliga de processos envolvendo vazão. A chave motores de bombas quando o nível do de vazão também pode servir de proteção liquido atinge valores críticos. de um sistema de controle de vazão. Um A chave de nível também pode servir controlador convencional fornece uma de proteção de um sistema de controle de vazão constante, dentro da banda nível. Um controlador convencional fornece proporcional. Quando, por algum problema um nível constante, dentro da banda do controlador ou do sistema, o controlador proporcional. Quando, por algum problema perde o controle e a vazão tende para do controlador ou do sistema, o controlador valores perigosos muito baixo ou muito perde o controle e o nível tende para alto, a chave de vazão desliga o sistema. valores perigosos muito baixo ou muito Como a chave de vazão é comandada alto, a chave de nível desliga o sistema. pela vazão, ela deve ter um sensor de Como a chave de nível é comandada vazão ou ser acionada diretamente pela pelo nível, ela deve ter um sensor de nível passagem do fluido. As chaves de vazão preferivelmente mecânico, como uma bóia podem operar com líquidos ou com gases flutuadora. A operação da chave pode ser (airflow switch). Há chaves de vazão controlada pelo movimento para cima ou térmicas ou mecânicas. A chave é inserida para baixo de uma bóia que flutua na na tabulação de modo que a vazão do superfície do liquido. O movimento da bóia fluido passa em seu interior. Quando a causa uma haste operar a chave. A chave vazão atinge valores críticos ajustados na acionada muda os seus contatos. Os chave, os seus contatos mudam para contatos da chave fazem parte do sistema energizar bobinas de starter de motor de de alimentação do motor da bomba. O bomba ou de compressor. arranjo dos contatos, se NA ou NF, depende se a bomba está enchendo o tanque ou esvaziando-o, se o tanque é seguro quando vazio ou cheio. Fig. 2.8. Chave de vazão mecânica 3.4. Chave de Nível Chave de nível (float switch) é uma chave comandada pelo nível. Uma chave elétrica muda os estados dos seus Fig. 2.9. Chave de nível acionada por bóia contatos quando o nível de um liquido atinge determinados valores críticos. Por exemplo, por segurança, um tanque aquecido pode ser desligado por uma chave de nível, quando o nível do liquido no seu interior ficar menor que um valor critico. Ajustes convenientes na chave de nível permitem que o nível do tanque varie dentro de uma faixa segura acima de um 2.7
  • 26.
    Componentes Eletromecânicos da bobina do solenóide. A válvula retorna 3.5. Chave Limite ou Fim de Curso automaticamente para sua posição original A chave limite ou fim de curso é quando a corrente é interrompida. acionada automaticamente pelo No solenóide, uma haste é mantida na movimento de alguma maquina ou posição superior através de uma mola, dispositivo. Ela deve ter uma resposta enquanto o solenóide estiver desligado instantânea e ser confiável. eletricamente (desenergizada). Quando a Em geral, a operação de uma chave bobina for percorrida por uma determinada limite começa quando uma peça em corrente, cria-se um campo magnético movimento bate em uma alavanca que dentro do núcleo da bobina. Este campo atua a chave. Quando acionada, a chave magnético resultante age na haste, muda os seus contatos. empurrando-a para baixo contra a pressão O tamanho, força de operação, da mola. A haste do solenóide tem uma percurso e modo de montagem são os projeção externa que é fixada ao parâmetros críticos na instalação da chave equipamento mecânico a ser operado. fim de curso. As especificações elétricas da chave devem estar de conformidade com a carga a ser acionada. As chaves fim de curso podem ser usadas como piloto em circuitos de controle de motores, como proteção ou emergência para evitar o funcionamento impróprio de maquinas. As chaves limites podem ter contatos momentâneos ou retentivos. S S Duas vias Três vias Fig. 2.11. Solenóides Fig. 2.10. Chave limite 4.2. Seleção 4. Solenóide Na escolha do solenóide para uma 4.1. Conceito aplicação, devem ser considerados os seguintes fatores: O solenóide é um dispositivo usado 1. tamanho da carga mecânica a ser para transladar sinais elétricos ON/OFF em movida movimentos mecânicos ON/OFF. Válvula é 2. distância do percurso (stroke) um dispositivo mecânico projetado para 3. ambiente de operação controlar a vazão de fluidos. Válvula 4. tipo da ligação elétrica solenóide é uma combinação destes dois 5. tensão e tipo da corrente, ca ou cc componentes básicos: 6. valor da corrente (manutenção e 1. válvula contendo uma abertura com transitória) a posição de um disco ou haste para 7. vida útil, expressa em atuações por regular a vazão e minuto 2. solenóide, que é o dispositivo O tamanho da carga mecânica a ser eletromagnético com a bobina. acionada pelo solenóide é expresso em A válvula é aberta ou fechada pelo gramas; varia entre alguns gramas até 30 movimento do núcleo, que é comandado kg. A força deve ser maior que a carga por, pela passagem ou não da corrente através no mínimo, 25%. Quanto maior a carga a 2.8
  • 27.
    Componentes Eletromecânicos ser acionada,maior o tamanho e o custo são sujeitas e maior aquecimento e maior do solenóide. tensão mecânica. É importante que o A distância a ser acionada deve ser solenóide apropriado seja escolhido para o igual ou maior do que o movimento linear ciclo de trabalho necessário. externo necessário. A falha do solenóide ocorre O ambiente de contorno é importante. normalmente com a queima da bobina ou A classificação mecânica do invólucro deve defeito mecânico ou ambos. Se o percurso ser compatível com a atmosfera de do solenóide é incompleto, a bobina trabalho, para que o solenóide sobreviva e elétrica puxa corrente excessiva. A bobina funcione normalmente. Deve ser se aquece, desenvolve espiras em curto e considerada a atmosfera circundante se queima, se não é protegida (poeira, óleo, umidade, gases corrosivos) e corretamente por fusíveis. Um o nível de vibração mecânica da área. deslocamento incompleto pode ser Solenóide sob vibração pode esquentar causado pelo desgaste das partes muito, se desgastar anormalmente e ter a mecânicas do solenóide. Freqüentemente, vida útil encurtada. um percurso incompleto ocorre quando o Como o solenóide é um dispositivo mecanismo em que o solenóide é fixado elétrico, sua classificação elétrica deve ser fica bloqueado em uma posição compatível com a classificação da área. intermediária. A proteção através do fusível São disponíveis solenóides com invólucro correto é a melhor precaução para evitar à prova de explosão e intrinsecamente queima elétrica. seguras, compatíveis com áreas de Divisão 1 e 2, Grupos B, C e D. 4.3. Tipos O tipo de ligação elétrica se refere pode As válvulas solenóides podem ser ser através de plugs, rabo de porco (pigtail) classificadas em vários tipos, em função de ou terminais com parafuso. sua ação, número de vias e corrente. A tensão é tipicamente 110 V ca; pode- O solenóide pode ser de única ação ou se ter também 24 V ca. Outra de dupla ação. As válvulas solenóides de consideração importante é o tipo de dupla ação são usadas em sistemas tensão: ca ou cc. Os solenóides são hidráulicos. construídos especificamente para As válvulas solenóides podem ter duas operação em ca ou em cc. Assim, um ou três ou quatro vias. As válvulas de duas solenóide de 110 V ca não pode ser usado vias são as mais comuns: elas possuem em 110 V cc. uma entrada e uma saída. As válvulas de A corrente do solenóide é também três vias podem ter duas entradas e uma importante. Quando energizada, o saída ou podem ter uma entrada e duas solenóide puxa a corrente especificada. A saídas. As válvulas de quatro vias são linha elétrica e o fusível devem ser usadas em controle de cilindro de dupla dimensionados de acordo com esta ação. Quando a bobina está desligada, um corrente. Outro fator a considerar na lado do pistão está à pressão atmosférica especificação do solenóide é que, na e o outro está pressurizado. Quando a partida, ela puxa de 5 a 15 vezes sua bobina é energizada, a válvula joga o lado corrente especificada de regime, de alta pressão para a atmosfera. Como dependendo do tamanho. Um pico de resultado, o pistão e sua carga agem corrente em um solenóide de 5 A pode reciprocamente em resposta ao movimento atingir 45 A. Esta corrente transitória deve do solenóide. ser considerada na escolha do fusível. O solenóide pode operar com corrente O ciclo de trabalho se refere à alternada ou continua. Os solenóides freqüência de operação do solenóide. operados com corrente alternada são mais Alguns solenóides ficam ligados uma vez comuns e simples. Normalmente elas são durante um tempo pequeno. Outras ficam protegidas com capacitores de surge ou ligadas durante longos períodos e ficam diodos dos picos de tensão resultantes da desligadas por pouco tempo. Outras são abertura e fechamento rápidos. operadas muitas vezes cada segundo. Os O corpo da válvula solenóide se solenóides que operam em alta freqüência comporta como o de uma válvula 2.9
  • 28.
    Componentes Eletromecânicos convencional. Todosos cuidados mas pode controlar 2500 W de potência, aplicáveis a uma válvula de controle com ganho de 10.000. referentes à vedação, estanqueidade, selagem e classe de pressão se aplicam à 5.2. Características válvula solenóide. Os relés controlam a corrente elétrica Geralmente a válvula solenóide é por meio de contatos que podem ser assimétrica, ou seja, sua entrada é abertos ou fechados. Os contatos diferente da saída e elas não podem ser apresentam altíssima resistência quando invertidas. abertos e baixíssima resistência quando Uma válvula solenóide é diferente de fechados. Eles podem ter múltiplos uma chave de vazão. Embora ambas contatos, com cada contato isolado possam prover um controle liga-desliga da eletricamente de todos os outros. Os vazão, a válvula solenóide é operada por contatos são atuados numa seqüência um sinal elétrico externo à válvula. A chave definida e positiva. de vazão também corta ou permite uma A bobina de atuação usualmente é vazão, porém é comandada pela própria isolada completamente do circuito vazão. Quando a vazão atinge um valor controlado. Ela pode ser atuada por critico pré-ajustado, a chave muda os seus energia elétrica de características contatos, desligando o motor da bomba ou totalmente diferentes do circuito compressor e tornando a vazão zero. controlados. Por exemplo, mA cc pode Quando se quer cortar a vazão de uma controlar kW de RF. válvula solenóide, basta energizar (ou Cada uma das várias estruturas desenergizar) a sua bobina. mecânicas possui vantagens e desvantagens. Alguns respondem 5. Relés rapidamente, menos de um microssegundo, mas não podem manipular 5.1. Definição e Funções com segurança grande quantidade de O relé é uma chave comandada por energia. Alguns manipulam grande uma bobina. Ele é uma chave porque ele quantidade de energia, mas são lentos. liga-desliga um circuito elétrico, permitindo Aproximadamente todas as formas são a passagem da corrente elétrica como o disponíveis com contatos abertos, com resultado do fechamento de contato ou invólucros vedados à poeira ou impedindo a passagem da corrente hermeticamente selados. Alguns são a durante o estado de contato aberto. vácuo para manipular altíssimas tensões. Diferentemente da chave convencional que Alguns possuem contatos apropriados para é acionada manualmente, o relé não manipular tensões de RF e para evitar necessita da intervenção humana direta acoplamentos capacitivos. para ser operado. O relé eletromecânico é um dispositivo que inicia a ação num circuito, em resposta a alguma mudança nas condições deste circuito ou de algum outro circuito. O relé é geralmente usado para aumentar a capacidade dos contatos ou multiplicar as funções de chaveamento de um dispositivo piloto adicionando mais contatos ao circuito. Sob o ponto de vista Fig. 2.12. Bobina de relé eletromecânico de entrada-saída, o relé pode também ser considerado como amplificador e Os relés de controle são disponíveis controlador. Ele tem um ganho de em vários arranjos de contatos NA e NF de potência, que é a relação da potência simples ou duplo throw. Em muitos relés é manipulada na saída sobre a potência de possível a mudança de contatos NA em NF entrada. Assim um relé pode requerer uma e NF em NA, através da mudança da corrente da bobina de 0,005A em 50 V posição da mola. 2.10
  • 29.
    Componentes Eletromecânicos Há os relés de estado sólido, que sistema de proteção com purga ou utilizam transistores SCR, triacs e não são pressurização ou permitir que certos eletromecânicos. Nestes dispositivos, o componentes se aqueçam antes de circuito controlado é isolado do circuito de operar, através de atrasos controle por um transformador, acoplador predeterminados óptico ou por um relé eletromecânico. 7. bloquear, sincronizar, variar taxas, detectar freqüências, detectar 5.3. Aplicações diferenças de percentagens em A função de um relé é a de abrir ou aplicações especiais. fechar um contato elétrico ou um conjunto 5.4. Tipos de Relés de contatos, em conseqüência da mudança de alguma condição elétrica. Os relés podem ser acionados por ca e Estes fechamentos e aberturas são usados cc. Podem manipular microvolts a kilovolts, em circuitos associados para selecionar microamperes e kiloamperes. outros circuitos ou funções, para ligar ou Os relés eletromecânicos são desligar outras funções. Esta mudança da disponíveis em variadas faixas de arranjos condição elétrica é o sinal. de contatos. Um relé a semicondutor é Há algumas centenas de relés muito usado como piloto para um relé diferentes. O relé é usado para muitas eletromecânico. funções de controle. Entre suas A isolação elétrica entre contatos deve características importantes para uso em ser muito elevada de modo que não haja circuitos de controle estão: vazamentos, mesmo com altas tensões. O 1. operação remota espaçamento dos contatos deve ser 2. operação lógica grande para evitar arcos voltaicos no 3. controle de alta tensão através de controle de alta tensão. O acoplamento baixa tensão capacitivo deve ser mantido baixo. 4. isolação entre circuito de controle e O relé eletromagnético é atuado por de chaveamento força eletromagnética, que é produzida por Os relés podem ser usados para corrente elétrica fluindo através da bobina. 1. ligar e desligar correntes ou tensões Na maioria dos relés, a força magnética em ambientes hostis, no espaço move uma armadura de ferro. Em outros sideral ou em processos industriais relés, especialmente em relés de medição, onde a temperatura pode ser a bobina é que se move no campo extremamente alta ou baixa e magnético. perigosa à saúde humana Quando não há corrente na bobina, a 2. monitorar altas correntes e tensões armadura é mantida afastada do núcleo da de modo automático ou manual e bobina por uma mola e há contato com A. em condições perigosas Quando há corrente na bobina, o 3. operar simultaneamente vários campo magnético produzido atrai a circuitos ou equipamentos em altas armadura para o núcleo da bobina, velocidades diminuindo o espaçamento de ar. Quando 4. ligar e desligar equipamentos em diminui o espaçamento, a força de atração sistemas lógicos de intertravamento, aumenta, fazendo o contato sair de A e ir só permitindo a operação de um para B. A força de atração da bobina vence equipamento quando algum evento a força de resistência da mola de retorno. tenha ocorrido Quando a bobina é percorrida pela 5. proteger equipamentos de corrente, ela atrai a armadura. A armadura sobrecarga ou sob carga, quando a muda os contatos: o que era aberto, fecha, tensão, corrente, temperatura, o que era fechado, abre. pressão, vazão, nível ou qualquer Estes relés podem operar em ca e cc. outra variável do processo varie Quando se tem ca, um anel de cobre é além dos limites máximos e mínimos usado para evitar aberturas e fechamentos estabelecidos sucessivos. Quando se tem cc, obtém-se o 6. evitar a aplicação de tensão por um controle da resposta do relé determinado intervalo de tempo em 2.11
  • 30.
    Componentes Eletromecânicos Reed relé haste. A haste então retorna à sua posição Duas palhetas de material magnético original. Relés com retenção são usados montadas em uma cápsula de vidro em aplicações onde o relé é ligado por instalada dentro de uma bobina constituem longos períodos. A potência pode ser um reed relé. A corrente fluindo através da removida durante a operação ligada bobina produz um campo magnético, normal. Note que o relé de retenção ou magnetizando as palhetas, fazendo-as se com selagem não deve ser usado para atraírem mutuamente, fazendo contato. As configuração de falha segura (fail safe). superfícies de contato são revestidas de Deve-se aplicar potência para desligar um ligas metálicas preciosas. A ação mola circuito, este circuito não é de falha segura. requerida é provida pelas lâminas em si. Outro tipo comum de é o reed relé. O Reed relés são os mais rápidos relés reed relé é de ação rápida, possui uma (eletromagnéticos) eletromecânicos: longa vida útil, usa baixa potência e é operam com menos de 500 compacto. Muitos reed relés são do tipo microssegundos. Eles são disponíveis em plug in, tornando fácil sua substituição. O várias configurações de contatos. Eles reed relé usa a ação magnética para sua podem ser polarizados, podem ser feitos operação e não a ação do solenóide. Pela em latch relé que mantém a ultima posição ação magnética, quando a bobina do relé é assumida, mesmo quando a bobina é energizada, ela produz um campo desenergizada, com a adição de pequenos magnético. O material do braço do contato elementos magnéticos permanentes. é magnético. Assim, as duas tiras do Reed relés são disponíveis com contato se tornam magnetizadas e se contatos secos ou a mercúrio (molhado). atraem entre si. Quando os contatos se Mais de um conjunto de lâminas pode ser encontram, o circuito elétrico é fechado. usado com uma única cápsula ou várias Quando a potência é removida da bobina. cápsulas podem ser operadas por um os contatos se reabrem pela ação da mola único conjunto de bobina. Vantagens do dos braços do contato. Alguns contatos do Reed relés: rápidos, pequenos, alta reed relé são de mercúrio, para aumentar a confiabilidade e durável: > 10 de vida do relé. Eles são muito mais caros. operações. Relé a estado sólido Relé eletromecânico Atualmente são disponíveis os relés de O tipo mais comum de relé é o estado sólido (SSR). O relé de estado eletromecânico (EMR). O relé sólido substitui o relé eletromecânico em eletromecânico combina os princípios de várias aplicações. O relé a estado sólido chaveamento mecânico com a atuação do não possui peças móveis. O chaveamento solenóide elétrica. Quando o solenóide é liga e desliga é conseguido energizada ou desenergizada, ela move eletronicamente. uma haste em uma direção e a pressão de O relé a estado sólido pode ser usado uma mola move a haste em direção para controlar cargas cc ou ca. Se o relé é contraria. A haste, por sua vez, abre e projetado para controlar uma carga cc, um fecha contatos. Os contatos são transistor de potência é usado para ligar a especificados no estado não atuado, como carga à linha. NA ou NF. Os contatos de um relé podem O acoplador óptico do relé possui um ser múltiplos. par casado: diodo emissor de luz e diodo Alguns relés eletromecânicos são do fotodetector. O diodo emissor de luz (LED) tipo retentivo (latching). Os relés retentivos está ligado à entrada e o diodo fotodetector fecham quando se aplica potência aos dois está na saída. Quando a tensão de entrada terminais da bobina. Quando a potência é liga o LED, o fotodetector ligado à base do removida da bobina, o relé permanece na transistor faz o transistor conduzir, posição selada. Para soltar, deve-se ou energizando a carga. Neste tipo de relé o desligar o relé ou aplicar potência em feixe de luz serve como o isolador entre o terminais diferentes do relé. Energizando circuito de controle e a carga do circuito. os terminais não selantes aplica-se Alguns relés a estado sólido usam um potência em outra bobina, que libera a conjunto de contatos reed para disparar 2.12
  • 31.
    Componentes Eletromecânicos um triac. O circuito de controle é ligado à 2. são sensíveis às vibrações bobina do reed relé Quando a tensão de 3. são mais volumosos controle faz a corrente fluir através da 4. Os relés especiais mais comuns bobina, aparece um campo magnético em são: torno da bobina do relé, que fecha os 5. contadores seqüenciais com contatos reed, fazendo o triac conduzir. contatos de transmissão Neste tipo de relé o campo magnético 6. relés eletro-ópticos (acoplamento serve como o isolador entre o circuito de entre atuador e circuito de controle e a carga do circuito. fechamento e raio de luz) Na instrumentação, os relés competem 7. relés de medição com sensibilidade com diodos SCR, chaves a semicondutor e de 20 mW transistores. 8. relés de medição com 2 ou mais As vantagens do relé eletromecânico valores de atuação. sobre o relé a semicondutor são : 9. relés reed ressonantes para 1. baixa resistência e portanto baixa chaveamento com controle remoto. queda de tensão quando fechados e Relé temporizado alta resistência quando abertos (fornecem boa isolação entre o O relé temporizado é útil para provocar circuito controlado de alta energia uma ação atrasada por um breve período com o circuito de baixa energia) após uma outra ação, em casos onde o 2. manipulação de altas tensões e período de tempo é critico. Não se deve correntes, em larga faixa de confundir relé temporizado termal com o freqüências. temporizador, contador e programador de 3. operação em condições ambientais altíssima precisão. adversas. Os relés temporizados são similares 4. tamanho pequeno, baixo custo e aos outros relés de controle em que eles simplicidade. usam uma bobina para controlar a 5. memória funcional que não é operação dos contatos. A diferença entre perdida pela ausência da um relé de controle e um relé de atraso é alimentação. que os contatos do relé temporizado demoram um determinado tempo ajustável Carga para alterar seus contatos quando a bobina é energizada ou desenergizada. Os relés temporizados ou relés de Tensão cc atraso de tempo podem ser classificados Entrada em relé de on-delay ou de off-delay. Quando a bobina de um relé temporizado on-delay é energizada, os contatos mudam os estados depois de um determinado Fig. 2.13. Transistor de potência para carga cc atraso. Por exemplo, o timer foi ajustado para 10 segundos e o contato é NA. Quando a bobina é energizada no relé on- delay, o contato continua aberto durante 10 Carga segundos e depois fecha. Quando a bobina for desligada, o contato volta imediatamente para a posição NA. Entrada Tensão ca ~ A operação do timer off-delay é oposta a do timer on-delay. Para o exemplo do timer ajustado para 10 segundos e para o Fig. 2.14. TRIAC para controlar carga cc contato NA, quando a bobina do relé off- delay for energizada, o contato imediatamente muda para fechado. As desvantagens do relé Quando a bobina for desenergizada, eletromecânico: porém, o contato permanece fechado por 1. são mais lentos 10 segundos e depois abre. 2.13
  • 32.
    Componentes Eletromecânicos Nos esquemas, os timers podem ter símbolos diferentes para seus contatos. As 6. Temporizadores abreviações TO e TC são usadas para indicar um contato operado pelo tempo. TO O temporizador, como o contador, é um se refere a tempo para abertura e TC, dispositivo lógico que permite o sistema tempo para fechamento. O TC deve ser automático ativar equipamentos de saída, usado com relé on-delay para indicar o durante um estágio específico na operação tempo atrasado quando fechando e TO do processo. Ele é usado para atrasar deve ser associado com timer off-delay, ciclos de partida e parada, intervalos de para indicar o tempo atrasado quando controle, ciclos operacionais repetitivos e abrindo. tem a capacidade de rearmar o sistema ao Assim, na norma NEMA, tem-se os fim destes ciclos. contatos O temporizador pode ser disponível em 1. NOTC no contato on-delay - lógica de relé (eletrônico ou normalmente aberto tempo eletromecânico) ou como função lógica do fechando, Controlador Lógico Programável. 2. NCTO no contato off-delay - Os temporizadores pneumático e normalmente fechado tempo mecânico possuem a mesma aparência, abrindo. com um dial para ajustar o tempo de atraso Há vários princípios de funcionamento desejado. O símbolo de um temporizador é para os relés temporizados: dashpot, o mesmo para os vários tipos diferentes. bimetal-térmico, pneumático, eletrônico Um círculo simboliza a bobina ou motor (circuito RC). temporizado. Este elemento do temporizador é usado para rodar o 5.5. Seleção de Relés intervalo de tempo ajustado. No fim do Fatores que afetam a seleção: custo, intervalo predeterminado, os contatos tamanho, velocidade e energia requerida. elétricos mudam de estado, de aberto para Parâmetros mais restritivos: limitações de fechado ou de fechado para aberto. montagem, contatos selados ou abertos, É possível fazer quatro combinações proteção contra geração de faíscas, de temporizadores, considerando a lógica proteção contra condições ambientais de atraso para ligar (TON) ou atraso para desfavoráveis. desligar (TOFF) e os contatos Para que os relés sejam aplicados normalmente abertos (NA) ou normalmente corretamente, as funções dos relés devem fechados (NF). Assim, tem-se: ser claramente entendidas, as 1. NO/ON/TC (normally open, timed- características devem ser definidas, o relé closing - normalmente aberto, deve ser escolhido para satisfazer a temporizado para fechar, ligando) necessidade e o circuito deve ser projetado 2. NC/ON/TO (normally close, timed- para casar corretamente o relé com o resto opening - normalmente fechado, do sistema. Assim, devem ser definidos. temporizado para abrir, ligando) 1. a energia a ser controlada, 3. NO/OFF/TC, (normally open, OFF 2. o sinal de controle disponível, timed closing - normalmente aberto, 3. a quantidade de contatos desligam fechando com o tempo). necessária, 4. NC/OFF/TO (normally close timed 4. as condições ambientais, opening (NC/OFF/TO, normalmente 5. necessidade de relés selados, fechado, desliga abrindo com o 6. espaço disponível para o uso do relé tempo. 7. problemas de vibração, ruídos e Seus símbolos são diferentes. temperatura, O tipo de temporizador mais comum é 8. proteção dos contatos contra arcos time-delay TON: depois do intervalo de voltaicos, faíscas, solda por tempo predeterminado ser completado, derretimento, depois da bobina ser energizada, os 9. manutenção dos contatos sempre contatos mudam de estado, de aberto para limpos, principalmente para baixas fechado ou de fechado para aberto. correntes. Quando a bobina é desenergizada, os 2.14
  • 33.
    Componentes Eletromecânicos contatos voltamao seu estado original, instantaneamente. Alguns temporizadores NOTC podem ser resetados por um circuito separado e não resetados automaticamente quando a bobina for desenergizada. NCTO On Entrada bobina (a) Atraso para energizar temporizada Off NOTC On Off Atraso para ligar energizada Atraso para desligar energizada On Off Tempo atraso NCTO Fig. 2.15. Gráfico do tempo para timer TON (b) Atraso para desenergizar Fig. 2.17. Contatos temporizados Entrada bobina temporizada On Off Em circuitos de lógica de relés, os On temporizadores e contadores são unidades Atraso para desligar energizada individuais montadas no painel e fiadas Off fisicamente. Atraso para desligar desenergizada Para a função de temporização do On CLP, o temporizador é gerado no Off programa, chamando-o como uma função Tempo especial. Há somente um tipo de função de atraso temporização no CLP: atraso de tempo de ligar. Qualquer outro tipo de necessidade Fig. 2.16. Gráfico do tempo para timer TOFF de temporização pode ser realizado pelo uso de combinações de um número de Alguns temporizadores mudam de funções de temporização no CLP. status dos contatos da saída, depois de Quando a função de temporização é intervalo de tempo, quando a bobina é chamada pelo teclado, aparece o bloco do desenergizada, são os TOFF. temporizador. O bloco é programado com Em situações de temporização, devem três parâmetros: ser considerados os status da saída em 1. número ou tag do temporizador, p. três tempos: ex., TS017 ou 31. 1. antes de partida, quando o circuito 2. o valor do tempo do intervalo de está no estado predeterminado, temporização, p. ex., 14 s para 2. durante o período de contagem do cada formato tempo, 3. registro especificado onde a 3. após o intervalo de tempo ter contagem se processa, p. ex., expirado, quando o circuito é HR101 ou função 31. acionado. Há duas entradas para a função de temporização: 1. entrada que começa a função de intervalo de temporização, 2. entrada que habilita - rearme (enable - reset). 2.15
  • 34.
    Componentes Eletromecânicos Quando a entrada enable - reset está ele pára onde estiver e não é resetado desligada, o temporizador não conta para 0. mesmo se a linha de contagem estiver No formato bloco, seja IN 002 fechada ligada. Quando a entrada enable - reset e IN 001 ligada. Após 6 segundos, IN 001 está desligada, o temporizador pode é aberta. O temporizador retém a contar. Quando a entrada enable - reset é contagem de 6. Como o tempo ainda não desligada após o temporizador terminar o atingiu o valor predeterminado de 14, a tempo, o temporizador é resetado para saída do temporizador ainda está zero. desligada. O temporizador não reseta até que IN 002 seja aberta. Se algum tempo mais tarde IN 001 é fechada novamente, IN001 ele conta mais 8 segundos depois do Rodar Preset fechamento de IN 001, e a bobina do 014 temporizador irá energizar quanto atingir 14 (6 + 8). IN002 No formato bobina, IN7 é para Habilita - Reg HR101 temporizar RT31 = RN. IN8 habilita RT31 – Reset RS. Quando o temporizador liga, sua saída 31 (interna) liga a saída 78. (a) Formato de bloco IN 7 Tab. 4.1. Seqüência do temporizador 31 RN Rodar RT Status Tempo Tempo Convenção Reset durante expirado IN 8 Aberto Aberto Fechado O O X Habilita - 31 RS Reset RT Aberto Fechado Aberto O X O 31 Fechado Aberto Fechado X O X Saída do 78 timer O O – contato aberto X – contato fechado (b) Formato de bobina Fig. 2.18. Temporizador com duas entradas Preset é onde o valor da temporização é estabelecido. Ele pode ser uma constante ou um registro designado. Reg. é o registro designado em que a contagem ocorre. Um temporizador deve ter duas entradas. A entrada IN002 é a linha de habilitar-resetar, que permite o temporizador rodar quando energizado. Quando desenergizado, o temporizador é mantido em 0 ou resetado para 0. A linha IN001 faz o temporizador rodar quando o ele for habilitado. Quando habilitado, o temporizador roda enquanto IN001 estiver energizada. Se IN001 é desenergizada enquanto o temporizador estiver rodando, 2.16
  • 35.
    Componentes Eletromecânicos 6.1.Atraso para ligar 6.2. Atraso para desligar Quando o circuito é ligado, ocorre uma Tem-se dois motores: principal e da ação. Depois de um determinado tempo, bomba de lubrificação. O motor de ocorre outra ação. São mostradas as lubrificação deve ser ligado durante um lógicas com relé e com CLP. intervalo de tempo (e.g., 20 s) e depois desligado, e o principal continua operando. SW1 8s A IN 01 CR 17 CR 17-1 TDR Motor B IN 01 CR 18 Preset Lógica LT1 20 s TDR - 1 TS IN 01 Reg. HR 161 LT2 (a) Diagrama elementar IN 01 CR 18 CR 19 Lubrificação IN 01 CR 17 A CR 19 CR 17-1 CR 18 B (a) Bloco funcional do CLP 8s CR17-2 Cont. HR 001 On Saída 17 Off O X O IN 03 20 s On (b) Bloco funcional do CLP Lógica 18 Off XO O X On On LT1-CR 017 O X X Saída 19 O X O Off Off On 8s IN 01 On IN 01 Off LT2-CR 018 Off O O X SW1-IN 01 On SW1-IN 01 Off (b) Diagrama de tempo (c) Diagrama de tempo Fig. 2.20. Temporizador para desligar Fig. 2.19. Temporizador para ligar 1. Quando a chave SW1 é ligada, lâmpada A acende 2. Oito segundos depois, lâmpada B acende 3. As duas lâmpadas apagam ou permanecem apagadas, sempre que SW1 estiver aberta. 2.17
  • 36.
    Componentes Eletromecânicos Preset é onde o valor da contagem é 7. Contadores estabelecido. Ele pode ser uma constante ou um registro designado. Os contadores podem ser mecânicos, Reg. é o registro designado em que a elétricos ou eletrônicos. Um contador não contagem ocorre. reseta automaticamente quando a sua Um contador deve ter duas entradas. bobina é desenergizada, como faz o Se IN002 está aberta, o contador está em temporizador. Se fosse assim, ele contaria 0, quando IN002 é fechada, o contador é até 1 e resetaria em 0 e não sairia disso. O habilitado. Em qualquer tempo durante a contador necessita de um dispositivo ou operação que IN002 é reaberto, o contador ligação separada para resetá-lo. Os reseta para 0. contadores podem ser crescentes No formato bloco, quando habilitado, o (contagem sobe continuamente) ou contador irá contar cada vez que a entrada decrescentes (contagem desce IN 001 vai de aberta para fechada. Ele não continuamente). conta quando IN 001 vai de fechada para A função de contador do CLP opera de aberta. Seja a contagem ajustada para 21. modo semelhante à função do Começando de 0, o contador incrementa temporizador. Quando a linha enable - um número cada vez que os pulsos de reset está ligada, o contador conta uma entrada se ligam. Quando a contagem 21 é vez cada momento que a linha de atingida, não há mais mudança na saída. A contagem é ligada. Quando uma contagem saída fica ligada e o contador continua a predeterminada é atingida, a saída fica incrementar. ligada. A contagem predeterminada pode A função contagem crescente é ser uma constante, como mostrada, ou parecida com a contagem decrescente, pode ser contida em um registro, como na exceto que uma contagem aumenta a função temporizador do CLP. Quando a outra diminui. linha enable - reset é desligada, o contador Se o contador fosse decrescente, ele reseta para zero. começaria em 21. Quando os pulsos de entrada são recebidos em IN 001, o contador diminui de 21, 20, 19, ...). Quando IN001 o contador atinge 0, a saída do contador Contador Preset fica energizada. Qualquer pulso adicional 021 que chega na entrada IN 001 não afeta o status da saída IN 001. IN002 No formato bobina, as contagens de Habilita - Reg HR102 pulsos são por IN1 a UC 32. A contagem Reset ajustada é 21. O comando Habilita – Reset é feito por IN02. Quando uma contagem de 21 é atingida, o contato 32 energiza a (b) Formato de bloco saída 74. Para alguns formatos de contador, não mostrados aqui, uma linha de uma função IN 1 C 32 contador em cada bloco é a linha de Contador UC habilitação. A detecção da contagem é Contador 21 feita pela função bloco de um registro IN 2 específico ou entrada no bloco. Uma linha Habilita - E 32 de reset para o bloco contador é incluída UC Reset depois no programa ladder. 32 A operação de contagem é 74 normalmente não retentiva. Abrindo a Saída do OT entrada habilitada IN 002, em qualquer contador momento, irá resetar o contador para 0, no CLP. Quando IN 002 é fechada de novo, a (b) Formato de bobina contagem não é retida como um ponto de Fig. 2.21. Contador básico nova partida. 2.18
  • 37.
    Componentes Eletromecânicos 7.1.Contagem simples IN 01 CR 17 Após um determinado número de contagens, a saída do contador liga, para IN 02 CR 18 energizar um indicador. O status da saída Contador Preset pode também ser utilizado na lógica do 06 diagrama ladder na forma de um contato. IN 01 O contador funciona se sua linha de Reg Habilita habilitação é energizada. Depois que a HR 75 entrada de contagem atinge 18 pulsos, a saída do relé é energizada. IN 03 CR 19 Contador Preset 08 UC CR 21 IN 01 IN 04 Habilita Reg Contador Preset HR 76 018 CR 20 IN 01 CR 19 IN 06 Habilita Reg HR 037 CR 18 (b) Diagrama ladder Fig. 2.22. Operação básica do contador no CLP Fig. 2.23. Aplicação com dois contadores 7.2. Dois contadores CR 17 – relé mestre do sistema CR 18 – Lógica para contar até 6 (C) A aplicação envolve dois contadores. CR 19 – Lógica para contar até 8 (D) Quer-se que um indicador de saída fique CR 020 – vai para uma lâmpada piloto ligado quando houver 6 peças de uma para indicar quando, no esteira C e oito peças de uma esteira D mínimo, 6 peças A e 8 peças B entrada na esteira comum E. O circuito entraram na esteira E. monitora as duas contagens. IN 02 e IN 03 são sensores de proximidade que dão um 7.3. Número de peças pulso quando uma peça passa por eles. O O sistema é para contar a diferença do circuito não indica mais do que seis ou oito número de peças que entram e que saem peças, ele somente indica quando há de uma esteira. peças suficientes. O número de peças que entram na Para repetir o processo, abrir IN 01 esteira é contado pelo contador com para resetar o sistema. Depois , fechar de entrada IN 02 e o número de peças novo IN 01. deixando a esteira é contado pelo contador com entrada IN 03. Cada contador é alimentado pela saída de uma chave de Para IN 02 proximidade. É necessário que a contagem inicial seja exata. Quando começando a Esteira E operação, o número de peças na esteira deve ser determinado. Este número de contagem é programado no registrador Para IN 02 comum, HR 101. Normalmente, é necessário colocar este número no contador decrescente, como o número (a) Lógica das esteiras predeterminado. Então, qualquer peça indo na esteira, pulsa o contador crescente. O registro do contador, que é comum aos 2.19
  • 38.
    Componentes Eletromecânicos dois contadores,tem seu valor aumentado por um, para cada peça que entra. Do 8. Proteção de Circuitos mesmo modo, as peças deixando a esteira diminuem a contagem do registro comum Grandes picos de correntes através do contador decrescente. O valor provenientes de sobrecargas ou curtos- no registro HR 101 representa o número circuitos podem ocorrer acidentalmente em de peças na esteira, assumindo que circuitos elétricos. Tais picos de corrente nenhuma peça caiu da esteira e nenhuma podem destruir componentes, provocar foi colocada no caminho. choques elétricos ou resultar em incêndios, O valor do contador crescente não se não forem parados a tempo. Para importa, nesta aplicação. Não importa se proteger os sistemas contra os danos de suas saídas estão ligadas ou desligadas. A tais sobrecargas inesperadas, são usados lógica da saída não é usada. Na figura, o dispositivos de proteção. Os mais comuns valor colocado predeterminado é 999, são arbitrário.8. Dispositivos de Proteção 1. fusível 2. disjuntor 3. limitador de corrente 4. térmico 8.1. Fusível Esteira HR 101 O fusível é basicamente um pedaço de Contagem das peças fio fino projetado para se aquecer e Contagem das peças que entram na esteira que saem da esteira derreter quando for percorrido por uma corrente maior do que a especificada. O fusível é colocado em série com o circuito (a) Lógica da esteira a ser protegido. Os fusíveis devem ser colocados na linha quente ou na fase e não no linha neutra ou de terra. Quando o IN 01 CR 17 fusível é colocado na linha neutra, o Sistema circuito eletrificado poderia permanecer no IN 02 CR 18 potencial da linha quente, mesmo com o fusível queimado. Preset Peças na entrada O fusível destrói uma parte do caminho 999 de condução da corrente, se derretendo, IN 01 quando a corrente que flui por ele excede Reg um valor predeterminado. A queima do HR 101 fusível interrompe a corrente no resto do IN 03 CR 19 circuito. A interrupção deve ser muito Preset Peças na rápida, para que os componentes em série saída sejam protegidos. Há aplicações que requerem a ação IN 01 retardada do fusível. Alguns circuitos Reg Ajustar para HR 101 contagem inicial podem suportar grandes picos de corrente de peças de curta duração mas devem ser protegidos contra picos de corrente de longa duração. Devem ser usados fusíveis (c) Diagrama ladder de ação retardada ou de queima lenta (slow blow). Um fusível de ação retardada Fig. 2.24. Aplicação para contagem de número de resiste a altas correntes de curta duração. peças na esteira Porém, se a sobrecarga ou curto-circuito persiste por longo período, este fusível também deve se abrir. Aplicações típicas de fusíveis com retardo se referem a proteção de motores elétricos. A corrente de partida do motor é momentaneamente 2.20
  • 39.
    Componentes Eletromecânicos alta ea corrente de regime é muito menor. circunstância, um fusível especificado com O fusível deve permitir a partida do motor e menor tensão do que a tensão aplicada deve protege-lo contra alta corrente de realmente entre seus terminais, regime permanente. independente de sua corrente nominal. O A queima de um fusível é uma fusível pode ser usado em qualquer tensão indicação que houve (ou ainda há) um menor que a sua especificada, sem afetar defeito dentro do circuito que o fusível está suas características de projeto. protegendo. Antes de substituir o fusível por um novo, é aconselhável analisar o circuito para verificar se há algum defeito permanente. O fusível é descrito de acordo com a relação entre o valor da corrente circulando através dele e o tempo que ele leva para interromper a corrente. A terminologia comum para descrever os tipos de fusíveis inclui: ação rápida, alta velocidade ou instrumento Fig. 2.25. Fusíveis para alta corrente padrão, normal ou atraso médio atraso, retardado, ação lenta ou queima lenta A corrente especificada no fusível fusível térmico indica o valor de teste padrão da corrente Cada tipo, disponível em diferentes de carga. Os fusíveis de ação rápida são capacidades de corrente, protege o circuito projetados para suportar 100% de sua eletrônico se o tempo de interrupção do corrente nominal, mas irá queimar muito fusível é suficientemente rápido. rapidamente quando sua corrente exceder O fusível térmico é destruído de uma pequena percentagem. Os fusíveis principalmente pela temperatura e não de ação normal geralmente são projetados apenas pela corrente que circula por ele. para suportar 110% de sua corrente Ele pode suportar grandes correntes, nominal por um período mínimo de quatro porém se queima quando a temperatura do horas ou 135% de sua corrente componente que ele protege atinge especificada por períodos menores que temperatura critica. Ele se queima com a uma hora ou 200% de sua corrente alta temperatura, mesmo que a corrente nominal por um máximo de 30 segundos. que circula por ele seja pequena. Ele é Os fusíveis de ação retardada são usado principalmente para estabelecer a projetados para suportar 110% de sua classe de temperatura de equipamentos corrente nominal por um período de quatro elétricos. Geralmente este fusível é horas mas se a corrente atinge 135% do enrolado (wrap in) no circuito e não valor nominal, ele abrirá dentro de uma soldado, pois a temperatura da solda o hora. Quando o fusível de ação retardada romperia. é percorrido por uma corrente 200% do Todos os fusíveis têm especificações valor nominal, ele irá interromper a de tensão, corrente e queima. Todas as corrente dentro de um período de 5 especificações se aplicam aos tipos ação segundos a 2 minutos. lenta, ação normal e ação rápida, É fundamental ter o conhecimento e o independente do tamanho. entendimento da literatura técnica A especificação da tensão marcada no fornecida pelo fabricante do fusível, para fusível é uma garantia do laboratório relacionar o tipo do fusível (ação rápida, certificado para risco de fogo. Isto indica normal ou retardada), identificação alfa que o fusível ira seguramente abrir sem numérica empregada, a amperagem provocar arco voltaico ou explodir em uma nominal, a tensão e o tamanho físico. situação de curto-circuito, quando a tensão é igual ou menor que a tensão especificada. Nunca use, em nenhuma 2.21
  • 40.
    Componentes Eletromecânicos O circuito eletrônico com disjuntor com 8.2. Disjuntor (Circuit Breaker) rearme manual ou automático possibilita O disjuntor é um equipamento de uma economia de tempo e de componente, proteção que também abre um circuito pois o dispositivo protetor não precisa ser quando há uma sobrecarga aplicada nele. substituído. O disjuntor é um dispositivo Diferente do fusível que se destrói, o protetor do circuito elétrico que não se disjuntor apenas se desarma. danifica irremediavelmente quando opera. O disjuntor geralmente consiste de uma O disjuntor pode possuir capacidades chave que é mantida fechada por uma definidas da corrente de regime trava. Para abrir o circuito, a saliência é permanente, a corrente de desligamento e liberada. Basicamente, há dois a corrente de manutenção. A corrente de mecanismos para atuar e desatuar o desligamento descreve o valor da corrente disjuntor: que irá desligar o disjuntor, protegendo o 1. eletromagnético circuito de correntes maiores que a 2. térmico nominal. A corrente de manutenção indica Quando a corrente excede o valor a mínima corrente permissível para o critico na bobina eletromagnética, o campo disjuntor particular. Qualquer valor de magnético aciona uma barra metálica corrente menor que o valor de manutenção colocada dentro do seu campo e a trava do não permitirá o rearme do disjuntor. disjuntor é liberada. No mecanismo São disponíveis disjuntores para 125 V térmico, uma tira bimetálica é aquecida (padrão), 6 V até 24 V. As correntes típicas pela corrente que passa por ela e produz são, em ampères: um pequeno movimento. Quando a corrente excede o valor critico, a tira 5 6 8 10 12 bimetálica aciona a trava, abrindo o 15 18 20 25 30 circuito. Em ambos os mecanismos 40 45 50 eletromagnético e térmico, há uma mola e um dispositivo para rearme do disjuntor. Quando a causa do excesso de corrente é localizada e removida, o disjuntor pode ser rearmado (reset) para sua posição de condução por uma botoeira ou chave. Por causa desta chave, o disjuntor pode também ser usado para liga-desliga. (a) Normal (b) Atuado, desligado Fig. 2.26. Disjuntor 2.22
  • 41.
    3 Símbolos Lógicos 1. Lógica 1.3. Lógica Seqüencial 1.1. Conceito Geralmente, tenta-se distinguir binário, acionado por evento e lógica instantânea Em sistemas de controle, a palavra de lógica seqüencial. Isto está mais lógica é geralmente usada tem termos de relacionado com as dificuldades relé lógico ou lógica de controlador associadas em representar a lógica programável, o que não é muito lógico. O seqüencial do que com as diferenças reais. termo lógico está geralmente associado Não há nenhum problema prático em com o conceito de binário, que significa considerar equivalentes todos os conceitos possuir um de apenas dois estados acima. possíveis, tais como liga-desliga, aceso- apagado, alto-baixo, verdadeiro-falso, A lógica seqüencial foi manipulada presente-ausente, maior-menor, igual- menos satisfatoriamente no passado do diferente ou 1-0. A palavra lógica se refere que a lógica combinatória. A lógica a um sistema que obedece a um conjunto seqüência é geralmente representada de fixo de regras e sempre apresenta o um modo que requer muito mais mesmo conjunto de saídas para o mesmo conhecimento técnico por parte do leitor conjunto de entradas, embora estas não técnico que deve analisar o respostas possam ser modificadas por documento. Foi desenvolvida uma alguma condição interna, como o estado metodologia mais simples que mudou de uma saída de um temporizador ou estes conceitos. O IEC publicou a norma contador. A lógica sempre trabalha com as 848 (Preparação das Cartas Funcionais combinações de E (AND), OU (OR), NÃO para Sistemas de Controle, 1988). (NOT) e nunca com TALVEZ. Os diagramas lógicos binários são usados para tentar tornar o trabalho mais 1.2. Lógica de relé e programas fácil, para fazê-lo menos dependente do No início, a lógica de relé foi usada conhecimento do equipamento específico e para o simples intertravamento de circuitos para fazê-lo mais funcional na orientação. de controle elétrico: 1. Se a corrente de um motor exceder um determinado valor pré- estabelecido, ele deve ser desligado. 2. Se o aquecedor elétrico ultrapassar determinada temperatura, ele deve ser desligado. 3. Se uma correia de esteira estiver rodando com uma extremidade fora, ela deve ser parada. Para um dado conjunto de entradas, uma decisão deve ser feira e uma ação tomada. 3.1
  • 42.
    Símbolos Lógicos partes componentes deste modo mais ou 1.4. Lógica CLP menos abstrato, o problema e a sua O controlador lógico programável (CLP) solução podem ser conceitualizados, o atualmente substitui, com vantagens, os equipamento pode ser escolhido e a sistemas complexos de relés. solução pode ser executada mais O CLP é freqüentemente programado eficientemente. emulando diagramas ladder de relés, pois A primeira fase é a conceitualização. estes diagramas são facilmente entendidos Como o objetivo é conceber esquemas de por muitas pessoas não instrumentistas. O controle que envolvam um processo, lógica problema que permanece é que o para controlar este processo e a interface diagrama ladder é orientado para de operação que permita ao operador equipamento e requer um conhecimento intervir a qualquer momento no processo, é de circuito elétrico. A diagramação lógica razoável incluir estes elementos em um binária é uma tentativa de reduzir a lógica desenho ou esquema conceitual. complexa que existe entre as entradas e A segunda fase, execução, envolve saídas de um sistema para a detalhes de execução ou instruções para representação mais simples possível. um CLP. Este fase requer o conhecimento Uma grande vantagem do diagrama apenas das entradas imediatas e não das lógico binário sobre o diagrama ladder é a condições que as geram. Nesta fase, é facilidade com que a lógica binária pode razoável eliminar muitos detalhes ser combinada com uma representação do irrelevantes associados com o processo ou processo sendo controlado, que dá um com a interface do operador. entendimento mais claro da ligação entre o 2.1. Tipos de documentos controle do processo e sua lógica. Mesmo que o CLP seja programado através dos Quando se vai do conceito para a símbolos do diagrama ladder, é ainda mais execução, pode-se perceber que, no fácil trabalhar e entender o esquema mínimo, dois tipos de documentos são básico representado por lógica binária. necessários. O documento de execução é geralmente o único que é visto 2. Conceituação e Execução formalmente. O documento de conceito existe, como um esquema de engenharia Há uma sutil mas importante diferença ou como uma tentativa de combiná-lo com entre as duas fases que devem ser o diagrama de fluxo de engenharia. Para consideradas para se ter um esquema de lógica complexa, o documento conceitual é controle trabalhável envolvendo lógica completamente insatisfatório. Muita binária. A primeira fase é comum a todo o confusão seria evitada se o documento equipamento e a segunda depende muito conceitual fosse um desenho formal. mais do equipamento específico usado. A Na realidade, mais do que estes dois primeira fase responde a pergunta: O que tipos de documentos estão envolvidos, precisa ser feita para determinado quando de vai do conceito para a processo? A segunda fase responde a execução. Usualmente, o processo de questão: Sabido o que deve ser feito, como conceitualização começa com o diagrama fazê-lo? de fluxo do processo. Nesta etapa, uma Quebrando o projeto nestas duas descrição geral, resumida, narrativa fases, O que fazer? e Como fazer?, as esquematiza o processo, o que é para ser coisas andam mais facilmente. O problema feito e as necessidades da interface do pode ser claramente definido sem a operador. Quando o diagrama de fluxo do restrição da necessidade do conhecimento processo é desenvolvido, no mínimo, as detalhado do equipamento disponível. O entradas e saídas são definidas. Assim projeto pode ser discutido entre pessoas que as entradas e saídas do processo que podem conhecer o problema mas que estão definidas, o documento lógico podem ter diferentes graus de conceitual pode ser desenvolvido. Depois conhecimento do equipamento (e de aprovado o documento conceitual, programa) disponível para sua solução. pode-se começar a fazer os documentos Quando o projeto é dividido em suas de execução. 3.2
  • 43.
    Símbolos Lógicos Pode-se ir diretamente do documento discretos de relés e chaves. As portas lógico conceitual para um diagrama ladder, podem manipular apenas um sinal de como o documento final de execução para entrada, exatamente dois ou podem ser relé ou CLP. Porém, em sistemas grandes extensivas, manipulando de dois até e complexos, é recomendável ter um dezenas de entradas. documento intermediário que seja As portas lógicas básicas são: entendido por aqueles que não 1. OR (também OR EXCLUSIVO) necessariamente entendem os detalhes do 2. AND diagrama ladder. Este documento pode 3. NOR também ser usado para verificação 4. NAND (ckeck), pois ele mostra toda a lógica 5. INVERSOR ou NOT interna e simboliza todas as entradas e saídas sem os detalhes irrelevantes do 3.1. Porta OR processo ou da interface do operador. A porta OR possui duas ou mais entradas O documento final de execução e uma única saída. As entradas são geralmente é o diagrama ladder, utilizado designadas por A, B, ... N e a saída por L. em sistema com relé ou com CLP. No caso As entradas podem assumir só 0 ou 1. de CLP, ele pode ser gerado por um A expressão para o OR é: A + B = L programa associado (p. ex., PGM, A saída de uma porta OR assume o Reliance) estado booleano 1 se uma ou mais 2.2. Documentos lógicos conceituais entradas assume o estado 1. A saída do OR é 1 se alguma das entradas for 1. O documento lógico conceitual tenta responder a questão: Como se consegue ir Símbolos até lá daqui? Um diagrama de fluxo de Os símbolos MIL, NEMA e ANSI são: engenharia (P&I) não é uma ferramenta adequada para fins de lógica. Também, o diagrama ladder é muito especializado OR para fins de conceitualização. Assim, a maior utilidade do diagrama conceitual é Contatos MIL NEMA ANSI como uma ferramenta que permite ao projetista lógico raciocinar através do processo presente sem muita consideração acerca das especificações Fig. 3.1.Símbolos da porta OR finais do equipamento a ser usado para executar a lógica. Há três divisões básicas no documento Tabela verdade lógico conceitual: Tabela verdade 0R para duas entradas 1. desenho do processo sendo controlado sem entrar em detalhes A B L que são irrelevantes para o controle 0 0 0 deste processo 0 1 1 2. desenho da lógica 1 0 1 3. desenho da interface do operador, 1 1 1 desde que nada é totalmente Circuitos equivalentes automatizado e tudo requer a Exemplo do uso OR em controle de intervenção eventual do operador. processo é ligar uma lâmpada através de 3. Portas Lógicas qualquer uma de duas chaves ou ambas. Portas lógicas são circuitos eletrônicos que operam com entradas e saídas booleanas, que podem assumir apenas os valores 1 ou 0. Eles podem ser microprocessados ou com contatos 3.3
  • 44.
    Símbolos Lógicos Circuito equivalente Um circuito equivalente com duas A chaves para uma porta OR EXCLUSIVO é mostrado abaixo. Quando qualquer uma A das duas chaves estiver ligada e a outra desligada, a lâmpada está ligada. Quando L as duas chaves estiverem V simultaneamente ligadas, a lâmpada fica apagada. (a) Com chaves A A A L A B A B B V B B (b) Com relés (a) Com chaves Fig. 3.2. Circuitos para porta OR A 3.2. Porta OR Exclusivo O OR exclusivo é uma porta com duas B entradas, cuja saída é 1 se e somente se A B os sinais de entrada forem diferentes. Quando as entradas forem iguais, a saída é zero. A B A Equação do OR exclusivo é A ⊕ B = L ou AB + AB = L (b) Com relés Símbolos Fig. 3.4. Circuitos para OR exclusivo + OE MIL NEMA ANSI Fig. 3.3. Símbolos da porta OR exclusivo Tabela Verdade OR EXCLUSIVO A B L 0 0 0 0 1 1 1 0 1 1 1 0 3.4
  • 45.
    Símbolos Lógicos 3.3. PortaAND A A porta AND tem duas ou mais entradas e uma única saída e opera de acordo com a seguinte definição: a saída de uma porta AND assume o status 1 se e B somente se todas as entradas assumem 1. A equação do AND é L A.B=L A B AxB=L AB = L Símbolos Fig. 3.6 (b). Circuito equivalente a AND com relés A Contatos 3.4. Porta NOT MIL NEMA ANSI A porta NOT ou inversora produz uma saída oposta da entrada. Esta porta é Fig. 3.5. Símbolos da porta AND usada para inverter ou complementar uma função lógica. O inversor, diferente das Tabela Verdade outras portas lógicas que possuem duas ou mais entradas e uma saída, só possui A B C uma entrada e uma saída. A saída é o 0 0 0 inverso ou oposto da entrada. 0 1 0 A equação do NOT ou inversor é 1 0 0 1 1 1 A =L Símbolos Circuito equivalente O circuito equivalente da porta AND com chaves é mostrado abaixo. NEMA ANSI MIL Fig. 3.7. Símbolos da porta NOT A B Tabela Verdade do NOT V A L L 0 1 1 0 Circuito equivalente O circuito equivalente para um INVERSOR com reles é mostrado abaixo. Fig. 3.6 (a). Circuito equivalente a AND com chaves 3.5
  • 46.
    Símbolos Lógicos Tabela Verdade NAND R A B AND NAND A 0 0 0 1 L R 0 1 0 1 1 0 0 1 1 1 1 0 Fig. 3.8. Circuito NOT ou inversor 3.6. Porta NOR 3.5. Porta NAND NOR é a porta oposta a OR. Quando todas as entradas são 0, a saída é 1. NAND é a porta oposta à AND. Quando A equação do NOR é todas as entradas NAND são 1, a saída é A +B = L zero. Em todas as outras configurações, a A ×B = L saída do NAND é zero A equação do NAND é Símbolo: AB = L A +B = L OR Símbolo: MIL NEMA ANSI Fig. 3.11. Símbolos da porta NOR A MIL Tabela Verdade NEMA ANSI Fig. 3.9. Símbolos da porta NAND A B OR NOR 0 0 0 1 Circuito equivalente 0 1 1 0 O circuito equivalente da porta NAND 1 0 1 0 com chaves é mostrado abaixo. 1 1 1 0 Circuito equivalente A O circuito equivalente da porta NOR com relé é mostrado abaixo. B A A L B B A B L Fig. 3.10. Circuito equivalente a NAND Fig. 3.12. Circuito equivalente a NOR 3.6
  • 47.
    Símbolos Lógicos 4. Exemploslógicos PAINEL 4.1. Circuito retentivo HM HMS S 501 Um dos circuitos lógicos mais comuns é o circuito retentivo (hold) para motores elétricos (Fig. 3.13). A figura mostra a divisão do diagrama em três áreas: painel (display), lógica e campo (outras áreas NOT também poderiam ser adicionadas, como OR LÓGICA área do painel cego). O botão PARTIDA (HMS 500) envia um sinal para a porta OR, que passa qualquer sinal recebido. O sinal A vai para uma porta AND, que produz uma saída somente quando todas as entradas estão presentes. Como a botoeira PARADA (HMS 501) não está sendo apertada, a porta NOT inverte o sinal zero para um sinal positivo, satisfazendo a porta CAMP AND e uma saída é produzida. A saída de AND vai para o motor e volta para a entrada da porta OR para manter a lógica, mesmo quando o botão PARTIDA deixa de ser pressionado. Quando o botão PARADA é apertado, a porta NOT inverte o sinal positivo, de modo que a porta AND não seja mais atendida e o circuito retentivo é desligado. Note-se que são usadas muitas Fig. 3.13. Circuito retentivo palavras para descrever um sistema simples que pode ser facilmente representado por poucos símbolos conhecidos. Note, também, que todos os símbolos lógicos estão representados na figura. Está mostrada a lógica do processo, não a proteção do equipamento. Assim, o relé de sobrecarga, relé termal e outros dispositivos de intertravamento não estão mostrados, embora pudessem ser também representados. Deve-se notar ainda que parece que o motor recebe sua potência da lógica. Isto obviamente não ocorre, mas a representação é simples e não diminui o entendimento do circuito. 3.7
  • 48.
    Símbolos Lógicos PLL HMS HMS ZLL HMS HMS YL PAINEL 108 503 504 220 505 506 402 NOT NOT OR OR LÓGICA A A T CAMPO <1 psig S ZSL PSL 220 108 PSV 109 YV 322 Fig. 3.14. Funções de campo 2.8
  • 49.
    Símbolos Lógicos 5.4. ANSI/ISAS5.2: Diagrama lógico 5.5. Diagrama lógico binário para operações de processo Antes de se desenvolver um diagrama Esta norma tem o objetivo de fornecer lógico, deve se ter um diagrama de fluxo. A um método de diagramação lógica de Fig. 3.25. é um diagrama de fluxo de sistemas de intertravamento binário e processo. Deve se ter também uma breve sequenciamento para a partida, operação, descrição narrativa, ponto por ponto, do alarme e desligamento de equipamento e objetivo do projetista. Então segue se o processos na indústria química, diagrama lógico. A Fig. 3.26 é um petroquímica, refino de metal e outras diagrama lógico associado com o diagrama indústrias. A norma pretende facilitar o de fluxo da Fig. 3.14. entendimento das operações binárias e Os diagramas mostram muitos dos melhorar as comunicações entre técnicos, símbolos binários lógicos para operação do gerentes, projetistas, operadores e pessoal processo. Os símbolos de função de de manutenção, ligados ao sistema. entrada e saída são os balões e Entre a documentação conceitual e a bandeirolas dos instrumentos da norma de execução, o pessoal de gerenciamento ANSI/ISA S 5.1. As declarações de e operação acha maior utilidade na entradas e saída são interpostas entre os conceitual do que na de execução, pois a balões ou bandeirolas e as setas de ligação com o processo é mais explícita. continuação e a lógica levam de um As diferenças básicas entre os desenho lógico para outro. A lógica flui da diagramas de conceituação e de execução esquerda para a direita. As setas usadas são: somente onde necessárias, para melhor 1. O diagrama conceitual tem uma entendimento do fluxo de sinal. orientação vertical, pois o processo é Aqui estão os principais pontos usualmente visto operando referentes à apresentação lógica como horizontalmente e as linhas de sinal mostrado na Fig. 3.26. são mais bem mostradas 1. Os desenhos são mais fáceis de perpendiculares ao processo. O seguir se todas as entradas são diagrama de execução geralmente tem mostradas na esquerda e todas as orientação horizontal, quase como um saídas na direita. As funções lógicas diagrama ladder (escada) e são mostradas no meio. possivelmente porque a lógica é 2. Embora as chaves de posição ZSH seguida seqüencialmente sem muita e ZSL sejam atuadas pelas válvulas ligação com o processo. HV1 e HV2, as chaves estão na 2. O desenho conceitual é mais bem entrada para a lógica e as válvulas desenhado em tamanho grande, estão na saída. Elas podem ser ligadas enquanto o desenho lógico de fisicamente, mas na lógica as chaves execução é feito em folhas de tamanho são desenhadas na esquerda como A4 ou carga. O formato grande ajuda a entradas e as válvulas são desenhadas visualização de todo o panorama, o na direita, como saídas. formato pequeno é melhor de ser manuseado e na lógica não há interesse em se ver o processo global. 3. As portas lógicas são mais fáceis de desenhar. Como a lógica é desenhada usualmente na forma de esquemas à mão livre, é importante que haja um mínimo de linhas, símbolos e letras usadas. 3.9
  • 50.
    Símbolos Lógicos usar estas letras e se ter correspondência. 6. A maioria dos sistemas de complexidade moderada não tem uma relação biunívoca entre funções de entrada e saída. Quando eles têm, eles seriam sistemas manuais. É melhor encarar a complexidade na saída e dar ao sistema lógico a designação YIC (ou YC). O sistema é, antes de tudo, um controlador de evento. Os elementos de saída similares devem ter sufixos numéricos ou alfabéticos. 7. Embora a lógica seja muito abstrata, as ligações dela devem ser concretas. A Fig. 3.14 mostra somente uma única saída física para uma válvula solenóide de três vias. A ligação para a lógica deve refletir isto. Não há função de saída para válvula fechada. Para fechar a válvula, o sinal abrir válvula é removido. São necessárias duas Fig. 3.22 Exemplo de diagrama de fluxo saídas somente quando houver duos solenóides. Como o diagrama lógico é documento 3. As chaves NOT devem ser um de execução, é preferível usar a pouco menores em relação aos balões identificação dos equipamentos ligados de instrumentos ou de equipamentos. (i.e., válvulas solenóides, não as válvulas Não há necessidade de parar a linha de linha) e observar os modos de falha dos lógica em qualquer lado das portas. Na equipamentos ligados. prática, a linha é desenhada e o círculo Recomenda-se observar os modos de é desenhado em cima. falha segura. Não é aconselhável se ter 4. As botoeiras PARTIDA e PARADA válvula de enchimento com falha aberta, possuem o mesmo tag número, porém porque é improvável. Também não se deve elas têm funções totalmente diferentes usar nível lógico alto para desenergizar e devem ser diferenciadas. Se é solenóides pois isto é confuso. desejável manter o mesmo número básico porque elas podem estar na 5.6. Aplicações das portas mesma caixa, pode se usar um número A Fig. 3.16 dá símbolos e funções de ou letra como sufixo. Mesmo isto não é funções lógicas básicas. Aqui estão mais absolutamente necessário, porém, algumas recomendações úteis para um desde que a chave pode ser tagueada bom projeto. com números diferentes separados por Geral /. 5. Às vezes, é tentador manter o Não usar palavras quando símbolos e conceito de malhas (HS1, HV1, ZSH1). identificadores estiverem disponíveis. Isto é geralmente inútil, pois, na prática, Quando usar palavras, fazê-lo do modo é raramente possível ser mantido. Além mais conciso possível. Mesmo quando o disso é errado pois ANSI/ISA S5.1 número de tag não for disponível, a parte requer um novo número de malha para do identificador deve ser usada para evitar cada nova variável medida ou uma descrição narrativa. inicializada. Somente se a malha da variável H e a malha da variável Z forem as duas primeiras malha para 3.10
  • 51.
    Símbolos Lógicos tempo, dependendo se a lógica é orientada para evento ou para tempo. Nestes casos, todas as saídas devem ter o mesmo número de malha e sufixos diferentes. Função AND As palavras nas entradas e saída simplesmente ajudam a ligar o símbolo à definição. Lógica é a arte de fazer identificações não contraditórias, não importa se com tanques, válvulas ou bombas. As duas entradas projetam mais informação de modo mais específico se forem usados balões com os identificadores funcionais LSH e ZSH. Quando for necessário identificar equipamentos (tanques, válvulas ou bombas), deve se usar os identificadores T-1, HV-2 e P-3, se existirem. Se não, deve-se usar palavras especificas, tais como tanque de mistura, bomba de sucção de óleo, válvula da descarga do compressor. A saída é também não específica. Quando se sabe que um relé específico é Fig. 3.23. Diagrama lógico típico atuado para partir a bomba, então um balão com o tag número do relé deve ser usado, p. ex., YY6. Função entrada Função OR Se as linhas lógicas forem diretamente a Muitas pessoas se sentem uma saída chamada de Partida da Esteira, desconfortáveis se uma saída positiva tem então as palavras devem ser omitidas, de ocorrer para desligar uma máquina. Na especialmente se HS é substituída por ausência de um comando positivo, o HMS (chave manual momentânea ou conceito de falha segura requer que a botoeira). Se não, então as palavras máquina pare. A saída é invertida usando Partida da Esteira (uma sobre a outra) uma porta NOT e as palavras Permissão economizam espaço horizontal e, junto Operação Compressor em vez de Parar com HMS, contem toda a informação Compressor. necessária sem redundância. Função OR Qualificado Função saída O OR qualificado não é muito Quando houver uma escolha entre necessário, mas é requerido quando se palavras e símbolos, escolher símbolos ou necessita de lógica complicada. A mesmas uma combinação de símbolos com um sugestões feitas acima com relação à breve estado da saída. Há um impacto identificação de equipamentos de entrada muito maior no reconhecimento de e saída são aplicadas. Também deve ser paradigmas quando se escolhe esta sentido o mesmo modo de falha segura. alternativa Se uma reação exotérmica ocorre, A primeira letra (H) deve ser usada perdendo-se o controle (sistema run away), somente se há uma ligação direta com é melhor mostrar uma lógica positiva para uma chave manual. Se não, é manter a reação ocorrendo. A falha da recomendável tratar a lógica como um lógica deve parar a reação. sistema e usar Y para evento ou K para 3.11
  • 52.
    Símbolos Lógicos Função Memória A combinação do simbolismo e identificação da norma ANSI ISA S5.1 com os identificadores específicos do equipamento permitem um resultado conciso. A aplicação de uma situação real de processo exemplifica o princípio que não se deve se tornar muito abstrato para se perder o senso da realidade. Considerações acerca de modos de falha do vent do tanque e da permissão de partida da bomba requerem que o vent falhe e a permissão também falhe. Originalmente, a norma fala das opções relacionadas com perda, manutenção e independência da perda da alimentação principal. Atualmente estes conceitos são facilmente implementados com as novas tecnologias eletrônicas que permitem memória permanente na ausência da alimentação. Quando se analisa a segura de um sistema e os modos de falha, deve se tomar todo o panorama e não se restringir apenas à lógica. A potência pode falhar em qualquer ponto – entrada, saída, motor, pneumática, elétrica – e cada uma delas deve ser considerada. Elementos temporizados A norma ANSI ISA S5.2 apresenta os elementos de tempo, que são basicamente três: 1. Inicialização atrasada da saída (DI) 2. Terminação atrasada da saída (DT) 3. Saída pulsada (PO) 3.12
  • 53.
    Símbolos Lógicos Função Símbolo Exemplo (1) Entrada A posição partida de uma chave manual HS-1 é atuada para fornecer Instrução uma entrada para ligar uma esteira. da entrada Número do instrumento ou do equipamento de HS inicialização, se conhecido 1 Partir esteira (2) Saída Uma saída de seqüência lógica comanda a válvula HV-2 para abrir Instrução da saída Abrir Número do Instrumento ou do equipamento HV Válvula operado, se conhecido 2 (3) AND A saída lógica D existe se e Operar bomba se somente todas as entradas 1. nível do tanque estiver alto e lógicas A, B e C existirem 2. válvula de descarga aberta A LSH Nível 5 Partir B A alto T- D A bomba C ZSH HV-7 P-5 4 aberta (4) OR Saída lógica D existe se e Não permitir operação do somente se uma ou mais das compressor se entradas lógicas A, B e C existir 1. pressão água resfriamento for baixa 2. temperatura do mancal for alta A OR Pressão B D PSL baixa 14 C água OR Permissão TSH Temp. C7 operar 17 alta Fig. 3.24. Símbolos lógicos ISA 3.13
  • 54.
    Símbolos Lógicos Função Símbolo Exemplo (5) A Exemplo 1 OR B * D Operar misturador se duas e Qualificado C somente duas caixas estiverem em serviço * Detalhes internos representam quantidades numéricas (ver abaixo) Caixa 1 em serviço Caixa 2 em serviço Operar Saída lógica D existe se e =2 Misturador Caixa 3 em serviço somente se um número Caixa 4 em serviço especificado de entradas lógicas A, B e C existirem. Os seguintes símbolos matemáticos podem ser usados, quando apropriado: Exemplo 2 Parar reator se pelo menos dois a. = igual a dispositivos de segurança solicitarem a b. ≠ não igual a parada c. < menor que d. > maior que Dispositivo 1 atuado e < não menor que Dispositivo 2 atuado f > não maior que Parar Dispositivo 3 atuado <2 g ≤ menor ou igual a (como f) Reação Dispositivo 4 atuado h ≥ maior ou igual a (como e) Dispositivo 5 atuado Exemplo 3 Fazer alimentação se, no mínimo um e não mais que 2 moedores estiver em serviço. Moinho 1 em serviço Operar Moinho 2 em serviço ≥1 Alimentador Moinho 3 em serviço Fig. 3.25. Símbolos lógicos ISA (continuação) 3.14
  • 55.
    Símbolos Lógicos Função Símbolo Exemplo (6) NOT Fechar válvula HV-7 quando nível do BA B tanque T-3 não estiver alto e a bomba P-4 não estiver operando Saída lógica B existe se e somente se a entrada A não existir. LSH Nível T-3 12 alto HV Fechar YSH P-3 A 7 válvula 1 operando Alternativa de lógica LSH Nível T-3 12 alto HV Fechar YSH P-3 OR 7 válvula 1 operando Fig. 3.26. Símbolos lógicos ISA (continuação) Nota Tabela verdade para mostrar equivalência Entradas Saída LSH YSH HV 7 7 7 Caso 1 Caso 2 1 1 0 0 1 0 0 0 0 1 0 0 1 0 1 1 Uma lógica 1 implica a existência de uma entrada ou saída e uma lógica 0 é a ausência de um sinal. Função NOT A função NOT mostra a equivalência entre uma porta AND com portas NOT em suas entradas e uma porta OR com um único NOT em sua saída. 3.15
  • 56.
    Símbolos Lógicos Função Símbolo Exemplo (7) S representa set da memória Memória A R representa reset da memória S C (Flip flop) A saída lógica C existe tão logo B R D* exista a entrada A. C contínua a existir, independente do estado subsequente *A saída D não precisa ser mostrada, de A, até ser resetada pela entrada quando não usada lógica B. C permanece terminado, independente do estado subsequente de B, até que a lógica seja resetada por A. Opção de superposição de A saída lógica D, se usada, existe entrada quando C não existe e D não existe Se as entradas A e B existirem quando C existe. simultaneamente e se é desejado ter A anulando B, então S deve Exemplo ser envolvida em um circulo S Se pressão do tanque T-16 fica alta, .Se B é para anular A, então R abrir o tanque PV-38 para a atmosfera deve ser envolvido por um circulo. (vent) e continuar ventando independente da pressão, até que a válvula seja fechada por HS-3, desde A S C que a pressão não seja alta. Quando o R vent for desligado, a bomba P-7 deve B D ser ligada. C Note que a entrada B anula entrada A HS Reset 3 Partir P-7 sistema S PSH Pressão R PV Abrir 38 38 alta T-16 válvula Fig. 3.30. Símbolos lógicos ISA de memória Tabela verdade mostrando a necessidade de override: Entradas Saídas A B C D 1 1 * * 1 0 1 0 0 1 0 1 0 0 ** ** 1 1 0 1 1 0 1 0 0 1 0 1 0 0 ** ** * Indefinido ** Determinado pelo último sinal de entrada 3.16
  • 57.
    Símbolos Lógicos Símbolo Definição Exemplo A saída lógica B existe * com uma relação de BA B t tempo para a entrada lógica A. Esta relação de tempo pode assumir várias lógicas. A existência contínua da Se a temperatura do entrada lógica A durante o reator exceder um tempo t faz a saída B determinado valor, BA DI B existir quando t expira. B continuamente durante 10 t termina quando A termina segundos, bloquear a vazão do catalisador. Recomeçar a vazão, quando a Inicialização atrasada da saída temperatura não exceder (Delay Iniciation) este valor. Bloquear vazão Temperatura DI do catalisador alta reator 10 s A existência contínua da Se a pressão do sistema entrada lógica A faz a cai abaixo de um limite de BA D B saída B existir baixa, operar o compressor T imediatamente. B termina ainda. Parar o compressor quando A terminar e não quando a pressão ficar tem ainda existido durante abaixo do limite Terminação atrasada da saída um tempo t. continuamente por 1 (Delay Termination ) minuto. DT Operar Pressão baixa 60 s compressor A existência da entrada Se a purga do vaso lógica A, independe de falha por um período de seu estado subseqüente, tempo, operar a bomba de BA PO B faz a saída B existir vácuo por 3 minutos e t imediatamente. B existe depois parar a bomba. durante um tempo t e depois termina. Saída de pulso PO Operar Purga falha 3 min bomba vácuo Fig. 3.27. Símbolos lógicos ISA temporizados 3.17
  • 58.
    Símbolos Lógicos Outros símbolos Exemplo Será mostrado, a seguir, um método Evitar alarme falso em nível alto, geral para diagramar todas as funções de atuando somente se o nível permanece tempo. alto continuamente por 0,5 s. O sinal de alarme termina quando não há nível alto. e1 O tempo em que a entrada lógica A é Nível alto iniciada é representado pelo canto s 0,5 Atuar alarme esquerdo da caixa. A passagem do tempo é da esquerda para a direita e geralmente não é mostrada em escala. f2 A saída lógica B sempre começa e termina no mesmo estado dentro do bloco A existência contínua da entrada lógica temporizado. A pelo tempo t1 faz a saída lógica B existir Mais de uma saída pode ser mostrada, quando t1 expira. B termina quando A tem se necessário. sido terminado continuamente durante o tempo t2 . Estado lógico da entrada existe Estado lógico da entrada não existe A A t2 Estado lógico da saída existe B B t1 Estado lógico da saída não existe Exemplo Purgar imediatamente com gás inerte, e2 quando a concentração do combustível A temporização da lógica pode ser ficar alta. Parar a purga quando a aplicada à existência do estado ou à não concentração não for alta continuamente existência do estado, como aplicável. por 5 minutos. Concentração 5 min A combustível alta Purgar com gás Estado lógico da saída não existe 0 inerte B Estado lógico da saída existe f3 f1 A A existência contínua da entrada lógica t4 A pelo tempo t1 faz a saída lógica B existir t3 B quando t1 expira. B termina quando A termina. (É um temporizador para ligar). A terminação da entrada lógica A e sua não existência continua durante o tempo t3 causa a saída lógica B existir, quando t3 A expirar. B termina quando: t1 B 1. B tem existido por um tempo t4 ou 2. A ainda existe, o que ocorrer primeiro 1.18
  • 59.
    Símbolos Lógicos Exemplo O vapor é ligado durante 15 minutos, A começando 6 minutos depois da parada do t4 agitador, exceto que o vapor deve ser t1 B desligado se o agitador recomeça. Operar agitador Exemplo 6 min. 15 Vapor ligado Se o pH ficar continuamente por 1 minuto, adicionar soda cáustica durante 3 minutos. f4 A existência da entrada lógica A, pH baixo independente de seu estado subseqüente, 1 min. 3 min. Adicionar soda causa a saída lógica B existir quando o tempo t1 expira. B existe durante o tempo t4 e depois termina. f6 A existência contínua da entrada lógica A t4 A durante o tempo t1, causa a saída t1 B lógica B existir quando o tempo t1 expira. B termina quando o ocorrer o primeiro dos seguintes fatos: Exemplo tem expirado o tempo t4 , Se a pressão cai para valores baixos A termina momentaneamente, bloquear o controle contínuo da turbina imediatamente, manter por 2 minutos, então liberar a turbina para o controle contínuo. A t4 t B Pressão baixa 2 min. 0 Bloquear controle Exemplo contínuo da turbina Se a temperatura for normal continuamente por 5 minutos, adicionar reagente por 2 minutos, exceto que o f5 reagente não pode ser adicionado se a A existência contínua da entrada lógica temperatura for anormal. A durante o tempo t1, causa a saída lógica B existir quando o tempo t1 expira. B existe durante o tempo t4 , independe do estado subseqüente de A e depois termina. Temperatura anormal 2 min. Adicionar 5 reagente 3.19
  • 60.
    Símbolos Lógicos O diagrama lógico binário simplifica e Nota generaliza o simbolismo lógico, além de Para os símbolos f4, f5, e f6 , a ação da reduzir o tamanho da dependência do saída lógica B depende de quanto tempo a equipamento. entrada lógica A fica continuamente em 1, As duas principais fases de realizar um até a quebra de A. Além da quebra de A, o sistema de controle operável são: estado de A não importa para terminar a conceituação sequência B. execução. Se for desejado ter um segmento de A fase de conceituação é independente tempo B, e.g., t1, terminar somente se A do equipamento e a fase de execução existir continuamente, então A deve ser pode depender do equipamento escolhido desenhado além deste segmento. Se A é para realizar o esquema de controle. desenhado depois do início mas não além Também, os dois principais tipos de do fim do segmento de tempo, então o documentação são associados com as segmento será iniciado e vai terminar, duas fases. O documento conceitual tenta independente se A existe somente representar um esquema de controle momentaneamente ou mais tempo. abstrato. Seu objetivo é o de ajudar o Função especial projetista e a todos que precisam ver o quadro panorâmico, a conceber o A saída lógica B existe como uma esquema necessário para controlar o relação da entrada lógica A, como processo. O documento de execução tem especificado no comando das exigências o objetivo de instruir os especialistas como especiais. O comando pode cobrir uma desenvolver especificamente um esquema função lógica diferente das funções lógico que já foi definido abstratamente. especificadas nesta norma ou algum outro O documento conceitual mostra as sistema lógico definido por aí. partes essenciais do processo e a interface do operador. O documento de execução mostra simplesmente as entradas e as saídas. O diagrama ladder é um dos Função especial B documentos de execução. Uma boa prática inclui aspectos lógicos e estéticos. Na diagramação lógica fica mais evidente o provérbio chinês que estabelece que uma figura vale mais que mil palavras. 6. Conclusão O engenheiro de sistema de controle necessita tratar da lógica binária. Binário significa possuir apenas um de dois estados possíveis: ligado ou desligado, 1 ou 0. Um sistema lógico sempre apresenta o mesmo conjunto de saídas para o mesmo conjunto de entradas, embora as respostas de saída possam ser modificadas por algum programa interno. Geralmente a lógica binária é realizada através de relés eletromecânicos ou eletrônicos e atualmente através de Controlador Lógico Programável, sistema que substitui os relés com vantagens. O mesmo diagrama ladder pode ser usado para programar os dois tipos de lógica. ApostilasAutomação 14SimboLogicos.doc 28 JUN 00 (Substitui 12 JUN 00) 3.20
  • 61.
    4 Linguagens de Programação resultante da proliferação de normas de 1. Introdução programação de CLP. Esta norma tem As linguagens de programação estão duas partes: tendo cada vez mais funções poderosas. 1. Elementos comuns Microprocessadores mais rápidos e 2. Linguagens de programação poderosos e ambiente gráfico baseado em A primeira parte da norma, Elementos MS Windows têm sido combinados para Comuns, define tipos de dados, variáveis, permitir aos programadores obter tarefas configuração, fontes, tarefas e unidades de complexas. organização do programa. Definindo tipos de dados evita erros como dividir um Dado A programação de Controladores por um Inteiro. Variáveis são somente Lógico Programáveis (CLP) era atribuídas para explicitar endereços de originalmente apenas booleana. Um equipamentos em configurações, fontes ou comando era mais ou menos assim: Se o programas para conseguir independência contato da chave limite A estiver fechado E entre equipamento e o programa. Um o contato da chave limite C estiver aberto, programa é configurado para um sistema Então energizar a bobina C. Havia e ainda específico de controle e é considerado há linguagens baseadas em texto para como uma rede de funções e blocos de acompanhar este programa. O diagrama função. lógico tipo ladder era considerado ideal Programas, funções e blocos de função para representar a lógica booleana. Este são chamados de Unidades de diagrama parece como diagramas lógicos Organização do Programa. A norma IEC de relés, familiares a eletricistas, enquanto 1131-3 definiu funções padrão como: representando a lógica digital, com aritméticas (adição, subtração, contatos em série (AND) ou paralelos multiplicação, divisão), seletoras, (OR). trigonométricas, condicionadoras de sinais, Isto é conveniente para algumas funções comparadoras e de tempo. de maquinas, mas é insuficiente quando se As linguagens definidas têm sintaxe e quer funções especiais, como matemática, semântica definidas, deixando espaço para tratamento de entradas e saídas dialetos personalizados. Funções definidas analógicas e comunicação. Para estas pelo usuário são permitidas na norma. exigências, os blocos funcionais são mais Uma vez definida, a função pode ser adequados. Os editores de programas de reusada. Blocos de função são diagrama ladder começaram a incorporar equivalentes e circuitos integrados e uma biblioteca de blocos de função representam uma função de controle especiais para temporizadores, especializada. Blocos de função podem contadores, matemática, mensagem e conter dados e algoritmos. Eles têm uma outros mais complexos como controle interface bem definida. O programa pode Proporcional, Integral e Derivativo (PID) ou ser escrito em qualquer linguagem totalizadores de vazão (FQ). definida. A normal internacional IEC 61131 foi adotada para colocar ordem no caos 4.1
  • 62.
    Linguagens de Programação Conforme a norma IEC 1131-3, há 2. a comparação de uma variável com duas versões textuais e duas versões uma constante gráficas de programação. As textuais são: O bloco de encaminhamento possui 1. Lista de Instruções, parecida com uma entrada (superior) e duas saídas, uma código assembler lateral e outra inferior. 2. Texto Estruturado, parecida com Os blocos de ação podem ter várias Pascal. funções lógicas e de controle embutidas. As linguagens gráficas são: Uma das vantagens da programação 1. Diagrama Ladder, típico para através do fluxograma é a disponibilidade controle de maquinas e motores de uma biblioteca com controles 2. Diagrama de Bloco de Funções, complexos (controle de movimento, comum a indústrias de processos algoritmo PID, comunicação rápida de contínuos. dados através de Windows NT). Outras operações disponíveis incluem 2. Ferramentas auxiliares controle I/O sobre redes da planta, funções booleanas, matemática de alto nível, Há duas ferramentas gráficas usadas para manipulação de matrizes, funções string, facilitar a execução de programas, tais movimento e cópia de dados. Os blocos de como: ação podem Chamar (Call) uma sub-rotina, 1. Fluxograma (flowchart) executar uma malha (Do), ter funções 2. Diagrama de função seqüencial temporizadas (Wait) e fazer comunicação. (Sequential Funcion Chart - SFC) Os blocos de encaminhamento são de Há ainda linguagens especializadas para comparação e decisão. Uma decisão controle de movimento (robótica, controle depende de um Sim (Yes) ou Não (Not) a numérico) e até a linguagem C é usada uma condição: Chave A está fechada? A como linguagem de controle. Foram comparação olha em dois valores para desenvolvidas outras linguagens para CLP, verificar se são maiores que, menores que cada uma para determinada plataforma ou ou iguais e retorna ao Sim ou Não. A lógica fabricante. Foram empregados diferentes If-Then-Else (Se-Então-Algo mais) pode enfoques para manipular as funções ser feita facilmente com um bloco de especiais, resultando em uma grande decisão (If) com cada entrada indo para confusão quando se mudava de um um bloco de ação. Assim, se a chave A fabricante para outro. estiver fechada, então ligar a bobina C, e além disso, ligar a lâmpada piloto 1. 2.1 Fluxograma (Flowchart) Depois, ligar os dois blocos de ação à O fluxograma (flowchart) é um sistema próxima ação. gráfico usado como uma ferramenta de Se o programador de fluxograma análise de programas e outros diagramas. conhece melhor o diagrama ladder, é útil O fluxograma contém blocos retangulares fazer a seguinte analogia: bloco de decisão de ação, losangos para tomada de age como contato e bloco de ação age decisão, a partir de comparação ou como bobina. Se o contato está fechado verificação de atributos. O fluxograma de (bloco de decisão), então ligar a bobina programação tem dois elementos básicos: (bloco de ação). Ação e Ramificação Um bloco de ação (retângulo) representa uma operação em um dado do sistema. Um bloco de ação tem um ponto de entrada (superior) e uma saída (inferior). O bloco de encaminhamento, (losango) representa um caminho no circuito de controle baseado no resultado de uma decisão. A decisão poder ser 1. a comparação de duas variáveis 4.2
  • 63.
    Linguagens de Programação 2.2. Diagrama de Função Seqüencial Início (SFC – Sequential Function Chart) Conceito O Diagrama de Função Seqüencial (Sequential Function Chart – SFC) não é considerado uma linguagem mas descreve Chave 1 On AND N Chave 4 graficamente o comportamento seqüencial Chave 2 On AND Não On de um programa de controle. Este Chave 3 On ? diagrama é uma estrutura que organiza a ? utilização do programa de qualquer Y linguagem, dependendo do editor Y escolhido e por isso serve como ferramenta auxiliar para desenvolver as Ligar RunMode linguagens textuais e gráficas. Ligar Relé 1 O Comitê Técnico IEC #3, Subcomitê 3B de Documentação, publicou um método de descrever a função e o comportamento dos sistemas de controle que contenham o projeto conceitual e a descrição da RunMode está On Y Incr EdgeCount seqüência lógica (IEC Pub. 848-1988). AND Lastscan Chave 5 Não On Desenvolvimento e componentes AND Chave 5? O diagrama de função seqüencial é constituído de: 1. Passos, N 2. Elos dirigidos (links) 3. Transições O passo descreve um estado EdgeCount Y Ligar Relé 2 permanente (às vezes, momentânea) de = 10 um processo seqüencial. Cada passo ? representa um estado particular do sistema. Um passo é representado por um retângulo com passos anteriores ligados N por uma linha formando um caminho. O primeiro passo tipicamente inicializa o sistema. Desligue Relé 1 O elo dirigido mostra a direção do fluxo da EdgeCount Y Desligue Relé 2 lógica. = 20 Clear EdgeCount ? A transição é usada para mostrar a Desligue RunMode mudança condicional entre estados permanentes. Uma transição é uma N condição, que, quando verdadeira, causa a desativado do passo anterior e ativa o passo seguinte. Uma linha cruzando a Move: Chave 5 linha de ligação entre passos representa Para: Chave 5 Lastscan uma transição. Há uma transição seguindo cada passo. Fig. 4.1. Fluxograma típico 4.3
  • 64.
    Linguagens de Programação Os passos podem ser associados a: 1. Ações 2. Estados 01 Passo inicial 3. Comandos O bloco de ação dentro de um passo e Elo dirigido a a transição podem ser programados em qualquer linguagem padrão, ou outras linguagens suportadas pelo editor. Nem Transição 02 todos os editores suportam as quatro linguagens IEC, mas eles podem ser Passos subsequentes b conformes com uma ou mais. Condições ou comandos para a lógica são associados com transições (Fig. 3.16). Comandos ou ações são qualificados pelas 03 letras símbolo S (stored – armazenado), D (delayed – atrasado), L (limited – limitado em tempo) Fig. 4.15. Passos, elos dirigidos e transições P (pulsed – pulsado, menor que limitado). As letras podem ser combinadas (Fig. 4.17). Comandos ou ações podem ser condicionais (letra C), (Fig. 4.18). 01 Esperar Condições transitórias podem ser representadas por afirmações textuais, HMS expressões booleanas ou símbolos 101 gráficos (Fig. 4.19). Uma poderosa capacidade destas Partir bomba 02 cartas de função é que elas podem representar caminhos lógicos paralelos, seleção de seqüência exclusiva (Fig. 4.20) ou seleção de seqüência inclusive (Fig.2.21). Na Fig. 4.20 a exclusividade é mostrada HMS Parar bomba 102 03 pela lógica booleana nas transições. Na Fig. 4.21 a simultaneidade é mostrada pelas linhas duplas, especialmente as mais baixas. Neste caso, a transição c não é habilitada até que os passos 09 e 10 sejam Fig. 4.16. Comandos para e da lógica ativados ao mesmo tempo. Assim, e somente assim, a transição pode ser terminada. 4.4
  • 65.
    Linguagens de Programação 18 Comando A Status contínua somente para a duração do passo 18 c Condição c S Partida da ação Começa e contínua B 19 B d Condição d D Comando C Comando C, dados 5 s no passo 20, 20 D=5s removido ao final do passo 20 e L Comando D Comando D, dado somente para 21 L=8s primeiros 8 s do passo 21 f DS Comando E Comando E é atrasado 5 s e 22 D=5s armazenado. Se ocorrer transição antes 5 s, comando não será ativado g SD Comando F Comando F é primeiro armazenado e depois 23 D=5s atrasado. Se a transição h ocorrer, o comando ainda será executado h Fig. 2.17. Combinações de comandos ou ações 4.5
  • 66.
    Linguagens de Programação SC Ação B 24 se d Ação equivalente ocorre somente d quando d estiver presente SC Ação B 24 se d d Ação começa com d SC Ação mas depois 24 permanece Fig. 2.18. Comandos condicionais 4.6
  • 67.
    Linguagens de Programação 01 HMS 101 Partida 02 S Ligar motor HMS Condições transitórias podem ser 102 representadas por declarações textuais, expressões booleanas ou símbolos Parada gráficos 01 Partida • Condições • Outras SC Ligar bomba óleo 02 lubrificante P > 250 kPa 03 SC Partir motor Fig. 2.19. Condições transitórias 4.7
  • 68.
    Linguagens de Programação 01 abc abc abc 02 03 04 Fig. 2.20. Caminhos paralelos: seleção de seqüência exclusiva 4.8
  • 69.
    Linguagens de Programação 07 08 10 09 A linha dupla indica simultaneidade. Os dois sinais devem estar presentes antes de acontecer a transição c. Somente então pode ser terminada. 11 Fig. 2.21. Caminhos paralelos: seleção de seqüência inclusiva 4.9
  • 70.
    Linguagens de Programação A instrução pode ser precedida por 3. Linguagens Textuais uma etiqueta de identificação seguida por dois pontos (:). Um comentário, se As linguagens textuais definidas na norma necessário e presente, deve ser o último IEC 1131-3 são elemento na linha. Linhas vazias podem 1. Lista de Instruções (IL - Instruction ser inseridas entre instruções. List) 2. Texto Estruturado (ST – Structureted Text). Tab. 51 - Exemplos de campos de instrução Os elementos do diagrama de função seqüencial (SFC) da norma podem ser Etiqueta Operador Operando usados em conjunto com qualquer uma Comentário destas linguagens. START LD ANDN %IX1 %MX5 (* PUSH BUTTON *) (* NOT INHIBITED *) 3.1. Elementos comuns ST %QX2 (* FAN ON *) Os elementos textuais especificados na norma devem ser comuns com as Operadores, Modificadores e linguagens textuais (IL e ST). Em Operandos particular, os seguintes elementos de estrutura de programa devem ser comuns Operadores padrão com seus com as linguagens textuais. modificadores permitidos e operandos estão listados na norma. TYPE…END_TYPE (2.3.3) A não ser que seja definido diferente, a VAR…END _VAR (2.4.3) semântica do operador deve ser a VAR_INPUT…END_VAR (2.4.3) seguinte: VAR_OUTPUT…END_VAR (2.4.3) VAR_IN_OUT…END_VAR (2.4.3) result := result OP operando VAR_EXTERNAL…END_VAR (2.4.3) Isto é, o valor da expressão sendo FUNCTION…END_FUNCTION (2.5.1.3) calculada é substituído por seu valor FUNCTION_BLOCK...END_FUNCTION_BLOCK (2.5.2.2) corrente operado pelo operador com PROGRAM…END_PROGRAM (2.5.3) relação ao operando. Por exemplo, a STEP…END_STEP (2.6.2) instrução AND%IX1 é interpretada como: TRANSITION…END_TRANSITION (2.6.3) ACTION…END_ACTION (2.6.4) result := result AND %IX1 Os operadores de comparação devem 3.2. Lista de Instruções ser interpretados com o resultado corrente à esquerda da comparação e o operando à A norma define a semântica e sintaxe direita., com um resultado booleano. Por formal da linguagem Lista de Instruções de exemplo, a instrução GT %IW10 terá o modo detalhado. resultado booleano igual a 1, se o Instruções resultado corrente for maior do que o valor Uma lista de instruções é composta de da palavra de entrada 10 e o resultado uma seqüência de instruções. Cada sejam zero, nos outros casos. instrução deve começar em uma nova O modificador N indica a negação linha e deve conter um operador com booleana do operando. Por exemplo, a modificadores opcionais e, se necessário instrução ANDN %IX2 é interpretada como para a operação particular, um ou mais operandos separados por vírgulas. result := result AND NOT %IX2 Operandos podem ser qualquer representação de dados definida para O modificador abre parêntesis ou literais e para variáveis. parentização, “(“ indica que o cálculo do operador deve ser adiado até que o operador fecha parêntesis “)” seja 4.10
  • 71.
    Linguagens de Programação encontrado,e.g., a seqüência de Tab. 5 – Operadores de entrada padrão do bloco de instruções função para linguagem IL AND ( %IX1 No. Operadores Tipo FB Reference OR %IX2 4 S1,R SR 2.5.2.3.1 ) 5 S,R1 RS 2.5.2.3.1 6 CLK R TRIG 2.5.2.3.2 deve ser interpretada como 7 CLK F TRIG 2.5.2.3.2 8 CU,R,PV CTU 2.5.2.3.3 9 CD,LD.PV CTD 2.5.2.3.3 result := result AND( %IX1 OR %IX2) 10 CU,CD,R,LD,PV CTUD 2.5.2.3.3 11 IN. PT TP 2.5.2.3.4 O modificador C indica que a instrução 12 IN,PT TON 2.5.2.3.4 associada deve ser executada somente se 13 IN,PT TOF 2.5.2.3.4 o valor do resultado atualmente calculado seja o booleano 1 (ou booleano 0 se o operador é combinado com o modificador N) Funções e blocos de função Funções devem ser invocadas pela colocação do nome da função no campo do operador. O resultado corrente deve ser Tab. 52 – Características de invocação do bloco de usado como o primeiro argumento da função para linguagem IL função. Argumentos adicionais, se requeridos, devem ser dados no campo do operando. O valor retornado pela função No. Descrição – Exemplo 1 CAL com lista de entrada depois da execução bem sucedida de uma CAL C10(CU := %IX10m PV :=15) instrução RET ou depois de atingir o fim 2 CAL com carga ou entradas de físico da função deve se tornar o resultado armazenagem: corrente. LD 15 Blocos de Função podem ser ST C10 . PV invocados condicional ou LD %IX10 incondicionalmente via operador CAL ST C10.CU (chamada – call). Como mostrado na CAL C10 norma, esta invocação pode ser de três 3 Uso de operadores de entrada formas diferentes, como mostrado na Tab. LD 15 53. PV C10 LD %IX10 CU C10 Nota: Uma declaração como VAR C10 : CTU ; END_VAR é assumida nos exemplos acima 4.11
  • 72.
    Linguagens de Programação Tab.52 – Operadores da linguagem Lista de Instruções (IL) No Operador Modificador Operando Semântica 1 LD N Nota 2 Estabelece o resultado corrente igual ao operando 2 ST N Nota 2 Armazena o resultado corrente para o local do operando 3 S Nota 3 BOOL Coloca o operando booleano igual a 1 R Nota 3 BOOL Coloca o operando booleano igual a 0 4 AND N, ( BOOL Booleano AND 5 & N, ( BOOL Booleano AND 6 OR N, ( BOOL Booleano OR 7 XOR N, ( BOOL Booleano OR Exclusivo 8 ADD ( Nota 2 Adição 9 SUB ( Nota 2 Subtração 10 MUL ( Nota 2 Multiplicação 11 DIV ( Nota 2 Divisão 12 GT ( Nota 2 Comparação : > 13 GE ( Nota 2 Comparação : >= 14 EQ ( Nota 2 Comparação : = 15 NE ( Nota 2 Comparação : <> 16 LE ( Nota 2 Comparação : <= 17 LT ( Nota 2 Comparação : < 18 JMP C, N LABEL Salte para label 19 CAL C, N NAME Chama o bloco de função (Nota 4) 20 RET C, N Retorna da função chamada ou bloco de função 21 ) C, N Avalia a operação adiada Notas: 1. Ver explicação dos modificadores e avaliação das expressões (3.2.2) 2. Estes operadores devem ser sobrecarregados ou entrados conforme a norma (2.5.1.4). O resultado corrente e o operando devem ser do mesmo tipo 3. Estas operações são feitas se e somente se o valor do resultado corrente é o booleano 1. 4. O nome do bloco de função é seguido de um argumento entre parêntesis (3.2.3) 5. Quando uma instrução JMP é contida em uma construção ACTION...END_ACTION, o operando deve ser um label dentro da mesma construção. 4.12
  • 73.
    Linguagens de Programação Tab.55. Operadores da Linguagem de Texto Estruturado No Operação Símbolo Precedência 1 Parêntesis (Expressão) Mais alta 2 Avaliação da função Identificador (lista de argumentos) Exemplos LN(A), MAX(S,Y), etc. 3 Exponenciação ** 4 Negação - 5 Complemento N 6 Multiplicação * 7 Divisão / 8 Módulo MOD 9 Soma + 10 Subtração - 11 Comparação <, >, <=, >= 12 Igualdade = 13 Desigualdade <> 14 Booleana AND & 15 Booleana AND AND 16 Booleana OR Exclusivo XOR 17 Booleana OR OR Mais baixa Notas: 1. As mesmas restrições se aplicam aos operandos destes operadores quando as entradas das funções correspondentes definidas em 2.5.1.5 2. O resultado da avaliação da expressão A**B deve ser o mesmo que o resultado da avaliação da função EXPT(A, B) 4.13
  • 74.
    Linguagens de Programação Tab.56 – Comandos da linguagem Texto Estruturado No. Tipo de comando (Referencia) Exemplos 1 Atribuição (3.3.2.1) A := B; CV := CV+1 ; C := SIN(X) ; 2 Invocação do bloco de função e CMD_TMR(IN := %IX5. PT := T#300ms) ; uso da saída do bloco de função A:= CMD_TMR.Q ; 3 RETURN (3.3.2.2) RETURN; 4 IF (3.3.2.3) D:=.B*B – 4*A*C; IF D < 0.0 THEN NROOTS := 0 ; ELSIF D := 0.0 THEN NROOTS :=1; X1 := - B/ (2.0*A) ;. ELSE NROOTS := 2 ; X1 := (-B+SQRT(D))/(2.0*A) ; X2 := (-B-SQRT(D))/(2.0*A) ; END_IF ; 5 CASE (3.32.3) TW := BCD_TO _INT(THUMBWHEEL) ; TW_ERROR := 0 ; CASE TW OF 1.5 : DISPLAY := OVEN_TEMP ; 2 : DISPLAY := MOTOR_SPEED ; 3 : DISPLAY:= GROSS_TARE ; 4.6..10: DISPLAY := STATUS (TW-4) ; ELSE DISPLAY:= O ; TW_ERROR := 1 ; END_CASE ; QW100 := INT_TO_BCD(DISPLAY) ; 6 FOR (3.3.2.4) J := 101 ; FOR 1:= 1 TO 100 BY 2 DO IF WORDS[I] = ‘KEY' THEN J:=1; EXIT; END IF ; END FOR ; 7 WHILE (3.3.2.4) J:= 1 ; WHILE J <= 100 & WORDS[J] <> 'KEY' DO J:-J+2; END_WHILE ; 8 REPEAT; J: =-1 ; REPEAT J:= J+2; UNTIL J := 101 OR WORDS[JJ = 'KEY' END_REPEAT 9 EXIT (3.3.2.4) EXIT; 10 Comando vazio ; 4.14
  • 75.
    Linguagens de Programação 3.3.Linguagem de Texto Estruturado Expressões booleanas devem ser avaliadas somente para a extensão A norma define a semântica e sintaxe necessária para determinar o valor da linguagem Texto Estruturado. Nesta resultante. Por exemplo, se A<=B, então linguagem, o fim da linha de texto deve ser somente a expressão A>B seria avaliada tratado do mesmo modo que o caractere para determinar que o valor da expressão espaço (SP – space). Expressões A>B)&(C<D) Uma expressão é uma construção que, quando executada, fornece um valor é o booleano 0. correspondente a um dos tipos de dados Funções devem ser invocadas como definidos na norma. elementos de expressões consistindo do Expressões são compostas de nome da função seguido pelo argumento operadores e operandos. Um operando entre parêntesis. pode ser Quando um operador em uma 1. um literal expressão pode ser representado como 2. uma variável uma das funções sobrecarregadas, a 3. uma invocação de função conversão dos operados e resultados 4. outra expressão devem ser as regras e exemplos dados na Os operadores da linguagem de Texto norma. Estruturado estão resumidos na norma. A avaliação de uma expressão consiste em Comando (Statement) aplicar o operador ao operando, em uma Os tipos de comandos da linguagem de seqüência definida pela precedência do texto estruturado são sumarizados na Tab. operador. O operador com precedência 56. O comando deve ser terminado por mais alta em uma expressão deve ser ponto de virgula (;). aplicado primeiro, seguido pelo operador Comando de atribuição (assignment da próxima precedência mais baixa, até statement) completar a avaliação. Operadores de igual precedência devem ser aplicadas O comando de atribuição substitui o como escrito na expressão, da esquerda valor corrente de uma variável simples ou para a direita. Por exemplo, se A, B, C e D multi-elemento pelo resultado da avaliação são do tipo INT com valores 1, 2, 3 e 4, de uma expressão. Ele consiste de uma respectivamente, então: variável de referência à esquerda, seguida pelo operador de atribuição “:=”, seguido pela expressão a ser avaliada. Por A+B-C*ABS(D) exemplo, o comando deve ser avaliado como –9 e A := B ; Deve ser usado para substituir o valor (A+B-C)*ABS(D) do dado de uma variável A pelo valor corrente da variável B, se ambos forem do deve ser avaliado como 0. tipo INT. Porém, se ambos A e B forem do Quando um operador tem dois tipo ANALOG_CHANNEL_CONFIGURATION, operandos, o operando mais à esquerda então os valores de todos os elementos da deve ser avaliado primeiro. Por exemplo, variável estruturada A devem ser na expressão substituídos pelos valores correntes dos elementos correspondentes da variável B. SIN(A)*COS(B) Como ilustrado na fig. 6, o comando atribuição pode ser também usado para A expressão SIN(A) deve ser avaliada atribuir o valor a ser retornado pela função, primeira, seguida por COS(B), seguida colocando nome da função para a pela avaliação do produto dos dois. esquerda de um operador de atribuição no corpo da declaração da função. O valor 4.15
  • 76.
    Linguagens de Programação retornadopela função deve ser o resultado comando seguindo o ELSE (senão) é da avaliação mais recente de tal atribuição. executado. É um erro retornar da avaliação de uma O comando CASE consiste de uma função com a saída ENO diferente de zero, expressão que avalia variáveis do tipo INT a não ser que, no mínimo, tal atribuição e uma lista de grupos de comando, cada tenha sido feita. grupo sendo identificado por um ou mais inteiros ou faixas de valores inteiros. Ele Comandos de controle de função e especifica que o primeiro grupo de blocos de função comandos, uma destas faixas contém o Comandos de controle de função e valor computado pelo seletor, deve ser blocos de função consistem de executado. Se o valor do seletor não mecanismos para invocar blocos de função ocorre em uma fase de qualquer caso, a e para controlar o retorno da entidade de seqüência do comando seguindo a palavra invocação, antes do fim físico de uma chave ELSE, caso ela ocorra, deve ser função ou bloco de função. executada. Nos outros casos, nenhuma A avaliação da função deve ser das seqüências de comandos é executada. invocada como parte da avaliação de expressão. Comandos interativos Blocos de função devem ser invocados Comandos iterativos especificam que o por um comando consistindo do nome do grupo de comandos associados deve ser bloco de função, seguido por uma lista de executado repetidamente. O comando atribuições de valores de parâmetros de FOR é usado se o número de iterações entrada entre parêntesis, como mostrado pode ser determinado a priori, nos outros na Tab. 56. A ordem em que os casos, as construções WHILE (enquanto) parâmetros de entrada são listados em ou REPEAT (repetir) são usadas. uma invocação de bloco de função não é O comando EXIT (sair) deve ser usado importante. Não é necessário que todos os para terminar iteacoes antes que a parâmetros de entrada tenham valores condição de terminação seja satisfeita. atribuídos em cada invocação de um bloco Quando o comando EXIT é localizado de função. Se um determinado parâmetro dentro de construções iterativas não tem atribuído um valor em uma encadeadas, a saída será da malha mais invocação de bloco de função, será interna em que o EXIT esteja localizado, aplicado o valor atribuído anterior (ou o isto é, o controle passa para o comando valor inicial, se não houver nenhum seguinte depois do terminados da primeira anterior definido). malha (END_FOR, END_WHILE ou O comando RETURN dá a saída de END_REPEAT) seguindo o comando uma função ou bloco de função, e.g., como EXIT. Por exemplo, depois de executar os o resultado da avaliação de um comando comandos mostrados na Fig. 22, o valor IF. da variável SUM deve ser 15, se o valor da variável booleana FLAG é 0 e 6 se FLAG = Comando de Seleção 1. Os comandos de seleção incluem o IF e CASE. Um comando de seleção escolhe um ou um grupo de seus comandos SUM := 0 ; componentes para execução, baseado em FOR I := 1 TO 3 DO uma condição especificada. Exemplos de FOR J := 1 TO 2 DO IF FLAG THEN EXIT ; comandos de seleção são dados na Tab. END_IF 56. SUM :- SUM + J O comando IF especifica que um grupo END_FOR ; de comandos deve ser executado somente SUM := SUM + i ; se a expressão booleana associada é END_FOR : verdadeira (resultado da avaliação é 1). Se a condição é falsa, então nenhum outro comando é executado ou o grupo de Fig. 22 – Exemplo do comando EXIT 4.16
  • 77.
    Linguagens de Programação O comando FOR indica que a 4. Linguagens Gráficas seqüência de comandos deve ser executada repetidamente, até a palavra 4.1. Elementos comuns chave END_FOR enquanto a progressão Há elementos comuns aplicados às dos valores é atribuída para a variável de duas linguagens gráficas (Diagrama controle da malha FOR. A variável de Ladder e Diagrama de Bloco de Função) e controle, valor inicial e valor final devem à representação de função seqüencial. ser expressões do mesmo tipo de inteiro (SINT, INT ou DINT) e não podem ser Representação de linhas e blocos alteradas por qualquer um dos comandos o repetidos. O comando FOR incrementa a N Característica Exemplo variável de controle para cima ou para 1 Linha ------ horizontal: baixo de um valor inicial até um valor final, caractere em incrementos determinados pelo valor menos de uma expressão; este valor default é 1. 2 Linha vertical: | caractere linha O teste para a condição de terminação é vertical feito no início de cada iteração, de modo 3 Conexão | que a seqüência de comando não é horizontal- ---+--- vertical: sinal executada se o valor inicial excede o valor mais | final. O valor da variável de controle depois 4 Cruzamento | | de terminar a malha FOR é dependente da de linha sem ------- |---- conexão implementação. | | Um exemplo do uso do comando FOR 5 Cantos ligados | | e não ligados é dado na característica 6 da Tab. 56. ----+-----+---- Neste exemplo, a amlha FOR é usada para | detrminar o índice J da primeira ocorrência (se existir) do string KEY nos elementos de ----+-+ +---- número impar de uma matriz de strings | | | WORDS com uma faixa de índice de 1 a 100. Se nenhuma ocorrência é verificada, J 6 Blocos com | terá o valor 101. linhas de conexão +--------+ O comando WHILE causa a seuencia de comandos até a palavra chave ---| | END_WHILE ser executada repetidamente | |--- até a expressão booleana associada ser ---| | falsa. Se a expressão é inicialmente falsa, +--------+ então o grupo de comandos não é | executado. Por exemplo, 7 Conexão com FOR..._END_FOR pode ser reescrito caracteres: usando o WHILE...END_WHILE, como Conector -------->OTTO> Continuação mostrado em Tab. 56. da linha de um >OTTO>-------- Os comandos WHILE e REPEAT não conector podem ser usados para conseguir a sincronização dentro do processo, por exemplo, como uma malha WAIT com uma condição de terminação determinada Direção do fluxo em circuitos externamente. Os elementos do diagrama Um circuito é definido como um de função seqüencial são usados com este conjunto máximo de elementos gráficos objetivo. interligados, excluindo as linhas verticais à É um erro que viola a norma ter um esquerda e à direita no diagrama ladder. comando WHILE ou REPEAT em um Fluxo de potência – análogo ao fluxo de algoritmo para que a satisfação da potência em um sistema com relés condição de terminação da malha ou eletromagnéticos, tipicamente usado em execução de um comando EXIT não possa diagramas ladder. O fluxo de potência em ser garantida. 4.17
  • 78.
    Linguagens de Programação umalinguagem de diagrama ladder deve O jump (salto) deve ser mostrado por uma ser da esquerda para a direita. linha de sinal booleano terminada em uma Fluxo de sinal - análogo ao fluxo de dupla seta (>>). A linha de sinal para uma sinais entre elementos de um sistema de condição de jump deve originar em processamento de sinais, tipicamente 1. variável booleana, usado em diagrama de bloco de função. O 2. saída booleana de uma função ou fluxo de sinal em uma linguagem de bloco de função diagrama de bloco de função deve ser da 3. linha de fluxo de potência de um saída (lado direito) de um bloco de função diagrama ladder para a entrada (lado esquerdo) da função Uma transferência de controle de ou do bloco de função assim ligado. controle para a identificação do circuito Fluxo de atividade – usado em designado deve ocorrer quando o valor diagrama de função seqüencial. O fluxo de booleano da linha de sinal for 1 atividade dos elementos de diagrama de (verdadeiro), assim, o jump incondicional é função seqüencial deve ser do fundo de um caso especial do jump condicional. um passo através da transição apropriada O alvo de um jump deve ser uma para o topo do passo sucessor etiqueta do circuito dentro da unidade de correspondente. organização do programa, dentro da qual Avaliação de circuitos ocorre o jump. Se o jump ocorre dentro de A ordem em que os circuitos e seus uma construção ACTION...END_ACTION, elementos são avaliados não é o alvo do jump deve estar dentro da necessariamente a mesma ordem em que mesma construção. eles são identificados ou mostrados. Não é Retornos condicionais de funções e necessário que os circuitos sejam blocos de função devem ser avaliados antes da avaliação de um dado implementados usando uma construção circuito possa ser repetido. As seguintes RETURN. A execução do programa será regras devem ser obedecidas: transferida de volta para a entidade de 1. Nenhum elemento de um circuito invocação, quando a entrada booleana for deve ser avaliado até que os 1 (verdadeiro) e deve continuar no modo estados de todas as entradas normal quando a entrada booleana for 0 tenham sido avaliados. (falso). Retornos incondicionais devem ser 2. A avaliação de um elemento de fornecidos pelo fim físico da função ou circuito não é completada até que os bloco de função ou pelo elemento estados de todas as suas saídas RETURN ligado ao lado esquerdo da tenham sido avaliados. linguagem ladder. 3. A avaliação de um circuito não é Serão vistas a seguir, com detalhes, as completada até que as saídas de duas programações gráficas mais usadas todos os seus elementos tenham na programação de CLP: sido avaliadas, mesmo se o circuito 1. Diagrama Ladder contenha um dos elementos de 2. Diagrama de bloco funcional controle de execução definidos em 4.1.4. Existe um caminho de realimentação em um circuito quando a saída de uma função ou bloco de função é usada como entrada para uma função ou bloco de função que o precede no circuito; a variável associada é chamada de variável de realimentação. Elementos de controle de execução Os elementos gráficos da transferência do controle do programa nas linguagens gráficas são definidos na norma. 4.18
  • 79.
    Linguagens de Programação Definições (Cfr. Norma IEC 1131-3) Absoluto, tempo Biestável, bloco de função A combinação do tempo do dia e data. Bloco de função com dois estados Ação biestáveis, controlado por uma ou mais entradas. Uma variável booleana ou uma coleção de operações a serem feitas, junto com Bit string uma estrutura de controle associada Um elemento de dado consistindo de (2.6.4) um ou mais bits. Ação, bloco de Bloco de função, tipo Um elemento de linguagem gráfica que Um elemento de linguagem de utiliza uma variável de entrada booleana programação de controlador lógico para determinar o valor de uma variável de programável consistindo de: saída booleana ou a condição que habilita 1. definição de uma estrutura de dado uma ação de acordo com uma estrutura de particionada em entrada, saída e controle predeterminada (2.6.4.5). variáveis internas Acesso, caminho de 2. um conjunto de operações a serem executadas nos elementos da Associação de um nome simbólico com estrutura de dados, quando uma uma variável para o objetivo de instância do tipo bloco de função é comunicação aberta. invocada. Agregado Bloco de função, diagrama Uma coleção estruturada de objetos de Um ou mais circuitos de funções dados, formando um tipo de dado. representadas graficamente, blocos de Argumento função, elementos de dados, etiquetas e Mesmo que parâmetro de entrada ou elementos de ligação. parâmetro de saída. Call Avaliação (evaluation) Uma construção de linguagem para O processo de estabelecer um valor invocar (chamar) a execução de uma para uma expressão ou uma função ou função ou bloco de funções. para as saídas de um circuito ou bloco de Canto de descida (falling edge) função, durante a execução do programa. A mudança de 1 para 0 de uma variável Atribuição (assigment) booleana. Um mecanismo para dar um valor a Canto de subida (rising edge) uma variável ou para um agregado. A mudança de 0 para 1 de uma variável Base, número booleana. Um número representado em uma base Caracter string específica diferente de 10. Um agregado que consiste de uma seqüência ordenada de caracteres. 4.19
  • 80.
    Linguagens de Programação Chavepalavra (keyword) ou lógico pode ser determinada Uma unidade léxica que caracteriza um diretamente. elemento de linguagem, e.g., “IF”. Dupla palavra Comentário Um elemento de dado contendo 32 bits. Uma construção de linguagem para a Entrada parâmetro (Entrada) inclusão de texto em um programa e não Um parâmetro que é usado para tendo impacto na execução do programa. fornecer um argumento a uma unidade de Compilar organização de programa. Transladar uma unidade de Escopo organização de programa ou especificação A porção de um elemento de linguagem de dados em sua linguagem de maquina dentro da qual se aplica uma declaração equivalente ou em forma intermediária. ou uma etiqueta. Configuração Etiqueta (Label) Um elemento de linguagem Uma construção de linguagem correspondendo a um sistema de nomeando uma instrução, circuito ou grupo controlador lógico programável. de circuitos e incluindo o identificador. Contador, bloco de função Execução, elemento de controle Um bloco de função que acumula um Um elemento de linguagem que valor para o número de variações sentidas controla o fluxo de execução do programa. em uma ou mais entradas especificadas. Fonte (resource) Corpo (body) Um elemento de linguagem Porção de uma unidade de organização correspondendo a qualquer uma “função de programa que especifica as operações de processamento de sinal” e sua a serem feitas nos operandos declarados “interface homem-máquina” e “funções de da unidade de organização do programa interface sensor e atuador”. quando sua execução é invocada. Função Dado, tipo Uma unidade de organização de Um conjunto de valores junto com um programa que, quando executada, fornece conjunto de operações permitidas. exatamente um elemento de dado (que Dado e tempo pode ter vários valores, e.g., uma matriz ou A data dentro do ano e o tempo do dia, estrutura) e cuja invocação pode ser usada representado conforme ISO 8601. em linguagens textuais como um operando em uma expressão. Declaração Genérico, tipo de dado O mecanismo de estabelecer a definição de um elemento de linguagem. Um tipo dado que representa mais do Uma declaração normalmente envolve que um tipo de dados. (2.3.2). anexar um identificador ao elemento de Global escopo linguagem e alocar atributos, tais como Escopo de uma declaração aplicando a tipos de dados e algoritmos a ele. todas as unidades de organização de Delimitador programa dentro de uma fonte ou Um caractere ou combinação de configuração. caracteres usados para separar elementos Global, variável de linguagem de programa. Uma variável cujo escopo é global. Direta, representação Hierárquico endereçamento Um meio de representar uma variável A representação direta de um elemento em um programa de controlador lógico de dado como um membro de uma programável, do qual uma correspondência hierarquia física ou lógica, e.g., um ponto específica do fabricante a um local físico 4.20
  • 81.
    Linguagens de Programação dentrode um módulo que é contido em esquema que pode ou não ter qualquer um armário, que por sua vez, é contido em relação com a estrutura física das um cubículo. entradas, saídas e memórias do controlador lógico programável. Identificador Uma combinação de letras, números, Long palavra caracteres sublinhados, que começa com Um elemento de dado de 64 bits. uma letra ou sublinhado e que nomeia um Long real elemento de linguagem. Um número real representado em uma Inicial valor palavra longa. Um identificador associado com uma Matriz (array) instância específica. Um agregado que consiste de objetos Instância de dados, com atributos idênticos, cada um Uma cópia individual e nomeada da podendo ser referenciado como estrutura de dados associada com um tipo subscripting. bloco de função ou tipo programa, que Memória (armazenagem de dado do persiste de uma invocação das operações usuário) associadas para a próxima. Uma unidade funcional para a qual o Instância, nome programa do usuário pode armazenar Um identificador associado com uma dados e da qual ele pode recuperar os instância específica. dados armazenados. Instanciação Nomeado, elemento Criação de uma instância. Um elemento de uma estrutura que é nomeada por seu identificador associado. Inteiro literal Um literal que representa diretamente Off-delay timer (on-delay), bloco de um valor de tipo SINT, INT, DINT, LINT, função BOOL, BYTE, WORD, DWORD ou Um bloco de função que atrasa o canto LWORD (2.3.1). de descida (subida) de uma entrada booleana por uma duração específica. Invocação Processo de iniciar a execução das Operador operações especificadas em uma unidade Um símbolo que representa a ação a de organização de programa. ser executada em uma operação. Linguagem, elemento de Operando Qualquer item identificado por um Um elemento de linguagem em que símbolo no lado esquerdo de uma regra de uma operação é executada. produção na especificação formal dada no OR fiado (wired) anexo B desta norma. Uma construção para obter a função Literal booleana OR na linguagem de diagrama Uma unidade léxica que representa ladder, ligando juntos os lados direitos das diretamente um valor. ligações horizontais com as ligações verticais. Local escopo O escopo de uma declaração ou Overloaded etiqueta aplicando somente para a unidade Com relação a uma operação ou de organização do programa em que a função, capaz de operar em dados de declaração ou etiqueta aparece. diferentes tipos. (2.5.1.4). Lógico local Passo (step) O local de uma variável Uma situação em que o hierarquicamente endereçada em um comportamento de uma unidade de 4.21
  • 82.
    Linguagens de Programação organizaçãode programa com relação a interpretação ou uso. Regras governando a suas entradas e saídas segue um conjunto estrutura de uma linguagem. de regras definido pelas ações associadas Simples, Elemento de dados do passo. Um elemento de dado consistindo de Potência, fluxo de um único valor. O fluxo simbólico da potência elétrica Subscripting em um diagrama ladder, usado para denotar a progressão da solução de um Um mecanismo para referenciar um algoritmo lógico. elemento de matriz por meio de uma referência de matriz e uma ou mais Pragmática expressões que, quando avaliadas, denota As relações de caracteres ou grupos de a posição do elemento. caracteres para sua interpretação e uso. Tarefa (task) Programar (verbo) Um elemento de controle de execução Projetar, escrever e testar programas fornecido para execução gatilhada ou do usuário. periódica de um grupo de unidades de organização de programa associadas. Real literal Um literal representando dados do tipo Tempo literal REAL ou LREAL. Um literal representando ddos do tipo TIME, DATE, TIME_0F_DAY ou Retentivo, Dado DATE_AND_TIME. Dado armazenado, de tal modo que seu valor permanece inalterado depois de Tipo de dado estruturado uma seqüência desligamento/ligamento de Um dado tipo agregado que tem sido energia. declarado usando uma declaração STRUCT ou FUNCTION_BLOCK. Retorno Uma construção de linguagem dentro Transição de uma unidade de organização de A condição onde o controle passa de programa designando um fim para as um ou mais passos anteriores para um ou seqüências de execução na unidade. mais passos posteriores ao longo de um caminho dirigido. Saída, parâmetro de (Saída) Um parâmetro que é usado para Unidade de organização de programa retornar o resultado da avaliação de uma Uma função, bloco de função ou unidade de organização de programa. programa. (O termo pode se referir a um tipo ou a uma instância). Semântica A relação entre os elementos Unsigned, inteiro simbólicos de uma linguagem de Um inteiro literal não contendo o sinal programação e seu significado, inicial de mais (+) ou menos (-). independente da sua interpretação e uso. Semigráfica Representação Representação da informação gráfica usando um conjunto limitado de caracteres. Simbólica, representação O uso de identificadores para nomear variáveis. Sintaxe Relação entre elementos simbólicos, independente de seu significado, 4.22
  • 83.
    5 Diagrama Ladder 5.1. Introdução 5.3. Regras de composição Diagrama ladder é uma representação 1. Há algumas práticas comuns a ordenada em forma de escada de todos os diagramas ladder, componentes e conexões de um circuito como: elétrico. O diagrama ladder é também 2. Entradas, chaves e contatos são chamado de diagrama elementar ou colocados no início da linha, no diagrama de linha. O termo ladder lado esquerdo. (escada) se aplica porque ele parece com 3. Saídas, bobinas e lâmpadas uma escada, contendo degraus. É o piloto são colocadas no fim da diagrama básico associado com o controle linha, no lado direito. lógico programado. 4. Uma linha de entrada pode 5.2. Componentes alimentar mais de uma saída. Quando isso ocorre, as saídas Os elementos constituintes de um estão ligadas em paralelo. diagrama ladder podem ser divididos em 5. Chaves, contatos e entradas componentes de entrada e de saída. O podem ter contatos múltiplos em principal componente de entrada é o série, paralelo ou combinação contato. de série e paralelo. Quanto à operação o contato pode ser 6. As linhas são numeradas retentivo ou não retentivo. Quanto à lógica, consecutivamente, à esquerda e o contato pode ser normalmente aberto de cima para baixo. (NA) ou normalmente fechado (NF). 7. Dá-se um único número de Quanto à operação, o contato pode ser de identificação para cada nó de chave manual ou de automática, ligação. (pressostato, termostato, chaves 8. As saídas podem ser automáticas de nível e de vazão, chave identificadas por função, no lado térmica de motor). . Quanto ao tempo, os direito, em notas. contatos podem ser instantâneos ou 9. Pode-se incluir um sistema de temporizados para abrir ou fechar. identificação de referência O principal componente de saída é a cruzada, no lado direito. Os bobina, associada ao starter de motor, ao contatos associados com a relé ou solenóide. Outros componentes bobina ou saída da linha são incluem lâmpada piloto, sirene ou buzina. identificados pelo número da Existem outros componentes, porém linha. estes são os mais importantes e usados e 10. Os contatos de relé são são suficientes para o entendimento dos identificados pelo número da diagramas encontrados nas aplicações bobina do relé mais um número práticas. seqüencial consecutivo. Por exemplo, os três contatos do relé CR7 são CR7-1, CR7-2 e CR7-3. 5.1
  • 84.
    Diagrama Ladder L1 L2 5.4. Exemplos SW1 CR5 Exemplo 1 saída O diagrama ladder da Fig.5.1, está associado a um sistema com uma chave que liga-desliga um relé de saída, CR5. A Fig. 5.1. Diagrama ladder básico, para uma Fig. 5.2 mostra um sistema de controle chave manual que liga a saída de um relé: com linhas paralelas na entrada e na L1, L2 linhas de alimentação saída. Qualquer uma das duas chaves liga- SW 1 contato de chave manual desliga a saída e a lâmpada piloto. O CR5 bobina do relé CR5 diagrama da figura possui duas linhas funcionais ativas. O diagrama ladder da Fig. 5.3 tem a seguinte seqüência de operação: L1 L2 1. No início, todas as chaves estão SW1 CR5 abertas, as bobinas estão desligadas 2. Fechando SW 1 ou SW 2 ou ambas, CR7 é energizada. LS1 saída 3. Na linha 3, o contato NA CR7-1 fecha, habilitando a linha 3 e CR8 ainda R está desligada PL1 4. Fechando a chave manual SW 3, CR8 Fig. 5.2. Duas chaves em paralelo (manual SW1 e é energizada e a lâmpada piloto verde automática de nível LS1) controlam a saída do relé (G) é acesa CR5e uma lâmpada piloto PL1 vermelha (R). 5. Abrindo as duas chaves SW 1 e SW 2, tudo é desligado 6. Em operação, desligando SW 3, CR8 L1 L2 é desligado, PL1 é desligada mas CR7 SW1 CR7 contínua ligada. 1 3 saída Exemplo 2 1 As seguintes modificações podem ser SW2 feitas ao diagrama da Fig.5. 3: 2 SW 4 deve estar ligada para CR7 ficar CR8 SW3 ligada 3 saída CR7 deve estar desligada para CR8 2 estar ligada CR7-1 CR9 é ligada por CR7, CR8 e SW 3. O diagrama completo é mostrado na 4 G Fig 5. Há uma linha pontilhada entre os dois contatos SW 3, indicando uma única chave comum com dois contatos (Se SW 3 estivesse na esquerda, somente um Fig. 5.3. Diagrama ladder com duas funções contato seria necessário para energizar as linhas 3, 4 e 5). Uma linha adicional de operação poderia ser acrescentada ao diagrama ladder, como a linha 6 mostrada na figura 5. A seqüência adicionada seria a seguinte: CR7 ou CR8 ou ambas, mais LS12 e CR9 ligam a saída do relé CR10. 5.2
  • 85.
    Diagrama Ladder L1 L2 CR7-1 SW3 CR7 L1 L2 SW1 CR8 CR7 SW1 SW4 1 G 1 3, 5 SW2 2 SW2 Fig.5. 4. Diagrama ladder incorreto 2 CR8 SW3 3 5 CR7-1 SW3 S ENTRADA 4 G P DE AR O S CR7-2 CR8-1 CR9 5 L S L CR7-3 LS12 CR9-1 CR10 S 6 L S CR8-2 ENTR 7 BO DESCA Fig.5.5. Controle automático de tanque de água Fig.5. 5. Diagrama ladder completo pressurizado 5.5. Desenvolvimento Diagrama errado O diagrama da Fig. 5.4 é um diagrama Pode-se avaliar a utilidade do diagrama ladder incorreto, que contem os mesmos ladder vendo um exemplo e ligando-o a um componentes da figura, porém, nunca irá processo lógico seqüencial. O processo funcionar. Os erros são os seguintes: consiste de um tanque de armazenagem 1. Mesmo que houvesse potência entre de produto (p.ex., água), um tanque de as linhas, a voltagem aplicada em cada pressão, uma bomba, e um conjunto de elemento de saída seria dividida por 3 dispositivos pilotos (pressostatos e chaves e nenhuma bobina teria a tensão de nível) para fornecer o controle do correta de funcionamento e a lâmpada processo. piloto ficaria só um pouco acesa. Mas, O diagrama ladder do sistema indica logicamente, as saídas nunca seriam que o circuito de controle possui dois ligadas. modos de operação: automático e manual. 2. Mesmo fechando todas as chaves, o O controle manual é executado pela chave contato CR7-1 ficaria sempre aberto. (push-button) liga-desliga (stop-start) junto Para fechar o contato CR7-1 a bobina com o dispositivo de segurança de CR7 deve ser energizada e a bobina só sobrecarga da bomba. seria energizada fechando-se CR7-1, Para o processo partir e operar, a que é impossível. chave PARADA deve estar inativa (fechada) e a chave PARTIDA deve estar pressionada. Os contatos NA que são ativados quando o relé da bomba contatos é energizado permitem a bomba ficar ligada, depois que se alivia a chave PARTIDA. 5.3
  • 86.
    Diagrama Ladder O controle automático é mais com os contatos normalmente abertos LSL complexo. O desenho mostra que há uma 102. Como com a chave de partida na monitoração do nível baixo, nível alto e porção manual do desenho, um conjunto pressão baixa do tanque de pressão, e de de contatos de relé de partida nível baixo do tanque de armazenagem. A normalmente aberto é colocado em bomba pode ser energizada somente paralelo com LSL 102 para garantir que o quando as exigências de controle sejam relé de partida permaneça energizado satisfeitas e a ligação entre L1 para L2 quando o nível do liquido suba acima do através do relé de partida da bomba seja nível mínimo e permaneça abaixo do nível feita. máxima do tanque de pressão. LSL 101 A parte automática do circuito de também controla o estado do relé e desliga controle da água é mostrada na metade o relé quando o nível d'água do tanque de superior do diagrama ladder. No pressão atinja o valor máximo. O nível alto desenvolvimento deste diagrama, a ligação do tanque de pressão ativa os contatos elétrica entre L1 e L2 foi criada com os normalmente abertos LSH 101, que símbolos do elemento de controle permite o solenóide de entrada de ar ser intercalado. A chave de parada é energizada (desde que PSL 103 indique geralmente colocada próxima de L1 antes que a pressão do tanque esteja abaixo do de colocar qualquer outra linha no ajuste desejado). diagrama. O sensor de pressão alta (LSH O método de se desenvolver um 101) possui dois conjuntos de contatos: um diagrama ladder para um sistema consiste normalmente aberto para o controle da em operação do solenóide de ar e um 1. rever as funções de controle normalmente fechado para permitir a requeridas no circuito, operação da bomba. A operação da bomba 2. selecionar os elementos de controle é também governada pelos sensores de que desempenham esta tarefa, nível baixo no tanque de pressão e de 3. arranjar os símbolos para as nível baixo no tanque de armazenagem, ou condições impostas pelo controle seja, LSL 102 e LSL 103. Os símbolos de modo seqüencial, entre as linhas destes elementos devem ser colocados no da tensão de alimentação. desenho indicando que a bobina da partida Quando necessário, da bomba é energizada quando o nível de 4. fornecer contatos de água for baixo no tanque de pressão mas intertravamento ou retenção em deve ser desligada pelo nível baixo do volta dos contatos momentâneos de tanque de armazenagem. Esta exigência, chave botoeira. que evita estrago na bomba por causa de Os botões de desligamento e outros nível baixo de água no tanque de intertravamentos de segurança devem ser armazenagem e garante uma pressão arranjados de modo que eles sejam estável no tanque de pressão, é satisfeita eletricamente fechados para a linha de pela colocação de LSL 103 e LSL 102 em tensão de alimentação. Cada componente série com a partida e os contatos do desenho deve ter uma etiqueta de normalmente fechados de LSH 101. Para modo que seja facilmente associado com o garantir que a bomba fique ligada, quando dispositivo real do processo. LSL 102 for energizada Deve-se ter o cuidado de identificar momentaneamente, coloca-se um retentor todos os contatos de uma bobina de relé com o conjunto de contatos do relé da especifica. Finalmente, as condições bomba (contato M em paralelo). normalmente aberta ou fechada de todos Estes símbolos de elemento de os contatos automáticos devem sempre controle do nívele da bomba são ser indicados quando elas estiverem no apresentados na porção intermédiaria do estado inativo ou sem uso. diagrama ladder do sistema de água. A chave de seleção do modo de operação é colocada próxima do relé de partida. Os contatos normalmente fechados de LSL 103 e LSH 101 são colocados em série 5.4
  • 87.
    Diagrama Ladder enrolamentos causado por 5.6. Análise superaquecimento, como resultado da O procedimento básico para a análise corrente excessiva nos enrolamentos de de um diagrama ladder de um circuito de baixa resistência. controle é considerar um componente por Esta tensão cc é obtida da retificação vez e decidir o que ocorre se uma chave da tensão ca, através de uma ponte push button é acionada ou contato é ligado retificadora. Dois contatos normalmente ou desligado. Se o diagrama é analisado abertos (B) isolam o retificador dos deste modo, com a observação que a terminais T1 e T3 do motor. mudança do contato geralmente fecha ou Há também dois contatos normalmente abre circuitos completos de uma linha de abertos da mesma bobina do freio (B) que tensão através de uma bobina de relé. isolam o primário do transformador das Esta bobina é energizada ou duas linhas L1 e L2. O quinto contato da desenergizada, dependendo da bobina do freio (B), normalmente fechado, continuidade do circuito. Quando um está em série com a bobina do relé de circuito é fechado para uma bobina acionamento do motor e com a chave de particular, seu contador, relé, starter é partida. Quando a bobina de freio estiver energizado e seus contatos mudam suas acionada (energizada) não se consegue posições normais. Se os contatos são partir o motor. normalmente fechados, se abrem e se os Se a chave de partida é acionada, se contatos são normalmente abertos, eles os contatos de sobrecarga estão fechados agora ficam fechados. Quando um relé e se a chave P.B. estiver fechada, a bobina temporizado (de atraso) é usado no de acionamento do motor é energizada e circuito, seus contatos mudam de estado todos os cinco contatos (B) são ativados. O depois de um determinado tempo. Quando primeiro contato do relé (M1), NA, fecha, se usam reles, é importante considerar garantindo a continuidade do circuito, cada contato que é operado pelo relé, mesmo quando se solta a chave de partida sempre que sua bobina for energizada. (contato retentivo). Quando não se consideram todos os O segundo contato, M2, NF, abre, contatos de um relé, comete-se um erro impedindo que a bobina de freio seja conceitual da função do circuito. ativada e receba o sinal da linha L1. Finalmente, quando se avalia um circuito, Depois de transcorrido um determinado deve-se estar certo que cada componente tempo o contato T também fecha o circuito, está sendo considerado em sua posição pois sua bobina (T) também foi energizada, normal e na posição energizada, de modo juntamente com a bobina do motor (M). Os que se possa compreender o circuito últimos três contatos, M3, M4 e M5, completo. normalmente abertos, se fecham, Seja o diagrama ladder para um circuito energizando os enrolamentos do motor T1, de freio dinâmico de um motor. Este T2 e T3. sistema pode ser aplicado a qualquer O sistema de freio inclui o relé de equipamento, quando se quer uma parada breque (B), o relé temporizado (T), o rápida, suave ou quando se deseja ter um retificador ca/cc, o transformador com eixo do motor livre de rotação manual secundário/primário e cinco contatos do quando se desliga a alimentação. Um relé de breque (B). Os terminais T1 e T3 sistema de freio dinâmico fornece uma do motor estão alimentados pela tensão parada sem qualquer tendência para cc, pelos contatos B. Quando se aperta a reverter e produz menos choque aos chave parada, o relé do motor (M) é componentes de acionamento do motor do desenergizado, o motor é isolado da que outros métodos. tensão ca, pelos contatos M4, M5 e M3 O sistema de freio dinâmico usa que ficam abertos. O relé temporizado é voltagem cc para fornecer uma ação de desligado e o seu contato T fecha. Como freio suave mas positiva e para fazer o M2 já estava fechado, T fechado, a bobina motor parar rapidamente. O sinal cc deve de breque (B) é energizada e todos seus ser removido quando o motor estiver quase contatos mudam de estado. Ou seja, todos parando, para evitar qualquer dano aos os contatos B (exceto B1) ficam fechados 5.5
  • 88.
    Diagrama Ladder B2 eB3 ligam o transformador e, como conseqüência, produzem tensão cc retificada do transformador. Os contatos B4 e B5 ligam a tensão cc aos terminais T1 e T3 do motor. Depois de transcorrido o tempo de atraso, ajustável e função do motor, a bobina T abre o contato T que desliga a bobina de freio B. Em resumo, o procedimento básico para analisar o diagrama ladder envolve a consideração de cada componente do circuito por vez para decidir o que acontece com este componente quando um contato é fechado, a determinação da função de cada componente em suas posições normal e energizada a função de cada componente em relação aos outros elementos do diagrama. É importante fazer uma análise completa do diagrama sem pular para conclusões parciais. Uma análise apressada e incompleta é usualmente Fig. 5.8. Diagrama ladder do freio do motor desastrosa, porque a consideração de apenas um contato adicional pode mudar totalmente a natureza básica do circuito. Fig. 5.7. Diagrama ladder correspondente ao controle do tanque de água pressurizado ApostilaAutomação SimboLadder.doc 03 FEV 98 (Substitui 30 OUT 97) 5.6
  • 89.
    Diagrama Ladder Aplicações de Diagrama Ladder 1. Alarme de Alta Pressão PSH S1 1.1. Descrição 1 O circuito faz soar uma buzina e acender uma lâmpada piloto quando a 2 R pressão atingir um valor alto perigoso. Depois que o alarme soa, o botão ACKN (conhecimento) desliga a buzina e deixa a ACKN lâmpada acesa. Quando a pressão baixar 3 S 1 ,4 para um valor seguro, a lâmpada se apaga 1.2. Solução 4 Quando a pressão atinge valor alto S2 perigoso, a chave PS atua, fechando o Condição anormal: pressão alta, PSH circuito e fechada, buzina toca, lâmpada acende 1. soando a buzina 2. acendendo lâmpada R Quando operador toma conhecimento PSH S1 do alarme e aperta a chave ACKN, a bobina S se energiza, trocando seus 1 contatos S1 e S2 1. S1 abre, desligando a buzina 2 R 2. S2 fecha, mantendo bobina S energizada A bobina S só é desligada quando a ACKN chave PS abrir, ou seja, quando a pressão 3 1 ,4 alta cair e ficar em valor seguro. S 4 PSH S1 S2 1 Depois de apertada a chave ACKN, S2 (selo) se mantém ligada, lâmpada 2 acesa e S1 abre e a buzina se cala. R ACKN 3 S 1 ,4 S2 Condição normal: pressão não alta, PSH aberta, buzina calada, lâmpada apagada 5.7
  • 90.
    Diagrama Ladder 2. Controlede Bomba e duas lâmpadas piloto com chave de LSH nível 2, 3, 4 1 S 2.1. Descrição S-1 A chave de nível opera o starter do 2 R motor da bomba. A bomba enche um tanque com água. Enquanto o nível do S-2 OL tanque receptor estiver baixo, a chave liga M 3 o motor da bomba e acende a lâmpada R. Quando o nível atingir o nível máximo S-3 (tanque cheio), a chave desliga o motor e a 4 A lâmpada R e acende a lâmpada A. Se o motor se sobrecarregar, o motor é desligado, mas a lâmpada R contínua Nível alto: LSH fechada acesa. Motor M desligado 2.2. Solução Lâmpada R apagada LSH Quando o nível estiver abaixo do máximo (normal), a chave LSH está aberta 1 S 2, 3, 4 e S-1 1. lâmpada R está acesa 2. motor está ligado, operando 2 R 3. lâmpada A está apagada S-2 OL Quando o nível atingir o máximo, LSH fecha 3 M 1. apagando R S-3 2. desligando motor M 3. acendendo A 4 A Quando motor ficar sobrecarregado, 1. OL abre Nível baixo: LSH aberta 2. desligando motor e 3. mantendo R acesa Motor M ligado Lâmpada R acesa 5.8
  • 91.
    Diagrama Ladder 3. Controleseqüencial de 3 motores PARTID OL1 OL2 OL3 PARAD 3.1. Descrição Ligar três motores, isoladamente e um 1 M11 M 2, 3 após o outro. A parada desliga todos os motores. Qualquer sobrecarga desliga 2 todos os motores M1-1 3.2. Solução 3 M2 4 Apertando a botoeira PARTIDA M1-2 1. M1 parte e fecha M1-1 e M1-2 2. M1-1 sela a partida de M1, 4 M3 mantendo M1 ligado depois que a M2-1 botoeira PARTIDA for solta 3. M1-2 liga M2, fechando M2-1 4. M2-1 liga M3 Quando se aperta a chave Qualquer sobrecarga em M1, M2 ou M3 PARTIDA, desliga todos os três motores, pois OL1, M1 parte e sela M1-1 OL2 e OL3 são contatos NF e estão em série PARTID OL1 OL2 OL3 PARAD PARTID PARAD OL1 OL2 OL3 1 M11 M 2, 3 1 M11 M 2, 3 2 2 M1-1 M1-1 3 M2 4 3 M2 4 M1-2 M1-2 4 M3 4 M3 M2-1 M2-1 Depois que M1 parte, Contatos auxiliares (ou intertravamentos) M1-2 fecha e parte M2 para controle de seqüência automática: Depois que M2 parte, Contato M1 energiza bobina M2 M2-1 fecha e parte M3 Contato M2 energiza bobina M3 5.9
  • 92.
    Diagrama Ladder 4. Controletemporizado de PARAD PARTID OL1 OL2 OL3 motores 1 M1 2 4.1. Descrição Ligar três motores, isoladamente e um 2 T1 3 após o outro, com intervalos de 1 minuto. A M1-1 parada desliga todos os motores. Qualquer sobrecarga desliga todos os motores 3 M2 4.2. Solução T1-1 4 T2 5 Apertando a botoeira PARTIDA 5. M1 parte e energiza T1 T2-1 6. M1-1 sela a partida de M1, 5 M3 mantendo M1 ligado depois que botoeira PARTIDA é solta Assim que se aperta PARTIDA, 7. T1 energizado fecha T1-1 depois de M1-1 sela e M1 permanece 1 min operando 8. T1-1 parte M2 e energiza T2, que T1 é energizada fecha T2-1 depois de 1 min 9. T2-1 parte M3 Qualquer sobrecarga em M1, M2 ou M3 desliga todos os três motores, pois OL1, OL2 e OL3 são contatos NF e estão em série PARTID OL1 OL2 OL3 PARAD 1 M1 2 PARTID OL1 OL2 OL3 PARAD 2 T1 3 1 M1 2 M1-1 2 3 M2 T1 3 M1-1 T1-1 4 T2 5 3 M2 T2-1 T1-1 5 M3 4 T2 5 T2-1 Depois de um intervalo de tempo, 5 M3 T1-1 fecha, partindo M2 e energizando T2 Depois de um intervalo de tempo, T2-1 fecha, partindo M3 5.10
  • 93.
    Diagrama Ladder 5. Controleseqüencial PARAD PARTID OL1 temporizado de motores 2, 3 1 M1 5.1. Descrição M1-1 Três motores 2 OL2 1. M1 – motor bomba de lubrificação 3 M2 2. M2 – motor principal 3. M3 – motor de alimentação PSH devem ser ligados em seqüência e em 4 T1 5 intervalos de tempo determinados. OL3 5.2. Solução 5 M3 Apertando a botoeira PARTIDA 1. M1 parte e M1-1 sela a partida de T1-1 M1. Quando se aperta PARTIDA, M1 parte e 2. A bomba faz a pressão subir e a M1-1 sela seu funcionamento alta pressão faz chave PSH fechar e partir M2 e energizar T1. 3. T1 energizado fecha T1-1 depois de 10 s, partindo M3 Se M1 aquecer, OL1, abre, desligando M1 e a pressão cai. A queda de pressão faz PSH abrir, desligando M2 e desenergizando T1. PARTID Quanto T1 é desenergizada, T-1 abre, PARAD OL1 desligando M3 M1 2, 3 1 M1-1 2 OL2 PARTID PARAD OL1 3 M2 1 M1 2, 3 M1-1 4 PSH T1 5 2 OL2 OL3 3 M2 5 M3 PSH T1-1 4 T1 5 A operação de M1 faz a pressão OL3 subir. 5 M3 Quando a pressão sobe, PSH fecha T1-1 M2 parte Dispositivos piloto usados em controle de T1 é energizado seqüência automática Depois de um determinado intervalo, T1-1 fecha 5.11
  • 94.
    Diagrama Ladder 6. Controlede Velocidade de PARAD 1a VELOCIDADE OL1 motores 1 M1 2 6.1. Descrição 2 M1-1 1. O motor tem três faixas de 3 B1-1 velocidades. 4 C1-1 2. O motor acelera automaticamente 2a VELOCIDADE para a velocidade selecionada. 3. Uma botoeira pode parar o motor 5 B1 3, 6, 8 em qualquer velocidade 6 B1-2 4. O motor possui proteção de 7 C1-2 sobrecarga 5. Três botoeiras separadas T1 11 8 selecionam 1a, 2a e 3a velocidade. B1-3 6. Há um atraso de 3 segundos para T1-1 passar de uma velocidade para outra 9 S1 4, 7, 10, 11 6.2. Solução 10 3a VELOCIDADE a Apertando a botoeira 1 VELOCIDADE 11 C1 12 1. M1 parte e M1-1 sela a partida de M1,.mantendo-o na primeira C1-3 velocidade depois que a chave 12 T2 PARTIDA é solta. S1-1 C1-4 2. Quando a chave 2a VELOCIDADE for apertada, S2 • T1 fica energizado (Atraso para Ligar) • B1 –1 faz motor girar na 1a velocidade T2-1 • B1 –2 mantém B1 selado 3. Depois de 3 segundos, T1 –1 fecha, ligando S1. S1 faz motor operar na 2a velocidade 4. Quando a botoeira 3a VELOCIDADE for apertada, • C1 fica energizado • C1 –1 faz motor girar na 1a velocidade • C1 –2 faz motor girar na 2a velocidade • C1 –3 faz motor girar na 3a velocidade • C1 –4 faz operar T2 (falta S1 –1 fechar) Depois de 3 segundos, T3 fecha e energiza S1 (motor fica na 2a velocidade). S1 –1 fecha operando T2. Depois de 3 segundos T2 fecha e opera S2 , que coloca o motor na 3a velocidade. Quando houver sobrecarga, OL1, abre, desligando M1. 5.12
  • 95.
    Diagrama Ladder PARAD 1a VELOCIDADE OL1 PARAD 1a VELOCIDADE OL1 1 M1 2 1 M1 2 2 M1-1 2 M1-1 3 T1-1 3 T1-1 4 C1-1 4 C1-1 2a VELOCIDADE 2a VELOCIDADE 5 T1 3, 6, 8 5 T1 3, 6, 8 6 T1-2 6 T1-2 7 C1-2 T1-3 7 C1-2 8 B1-3 11 B1-3 8 11 T1 T1 T1-1 9 S1 4, 7, 10, 11 9 T1-3 4, 7, 10, 11 10 S1 3a VELOCIDADE 10 11 12 3a VELOCIDADE C1 11 12 C1 C1-3 12 C1-3 T2 12 S1-1 C1-4 T2 S1-1 C1-4 S2 S2 T2-1 T2-1 5.13
  • 96.
    Diagrama Ladder bomba de alta pressão. Se o motor do 7. Unidade de Aquecimento de soprador de ar pára por qualquer razão, FSL1 abre M1 . Óleo 5. A chave seletora AUTO MANUAL 7.1. Descrição permite ao operador decidir a circulação de ar dentro do ambiente ♦ Motor M1 opera uma bomba de alta quando o sistema de aquecimento pressão, que injeta óleo em um estiver fora de serviço. Quando a chave queimador. estiver em AUTO, o motor do soprador ♦ Motor M2 opera um soprador de é controlado pelo termostato TS2 . indução que força o ar para o Quando a chave estiver em MANUAL, queimador, quando o óleo estiver ela liga o motor M3 diretamente e sendo queimado. permite o motor do soprador operar ♦ Chave liga-desliga comanda o independente do sistema de circuito aquecimento. ♦ Termostato TS1 sente a temperatura do interior do ambiente ♦ Termostato TS2 sente a temperatura do trocador de calor. ♦ Quando a chave estiver ligada OFF OL1 OL2 (ON) e a temperatura interna do TS1 TS3 FS ambiente for baixa, TS1 fecha e parte 1 M1 ON os motores M1 e M2. ♦ Quando a temperatura do trocador de calor subir demais, TS2 fecha e 2 T 3 parte M3. O soprador circula o ar dentro do ambiente através do trocador e T aumenta a temperatura dentro do 3 M2 ambiente. TS2 AUTO OL3 ♦ Quando a temperatura do 4 ambiente subir muito, TS1 abre e 5 M3 desliga o motor da bomba e o motor do 5 soprador de indução. O soprador do MANUAL trocador contínua operando até que o trocador de calor seja resfriado a uma temperatura baixa, quando TS3 abre. M1 Motor da bomba de injeção de óleo combustível no queimador 7.2. Solução M2 Motor do soprador de indução de ar 1. Ligando a chave para ON e se a combustível no queimador temperatura do ambiente estiver baixa, M3 Motor do soprador de ar através do TS1 fecha, fechando TS1 e energizando trocador T e M1 . 2. O temporizador é TOFF (atraso TS1L Chave de ligamento para desligar), então T1 fecha Temperatura ambiente baixa, fechada imediatamente, partindo M2. Se T ficar Temperatura ambiente alta, aberta desenergizado, depois de 1 min e se TS2H Chave de ligamento abre, desligando M2 Temperatura do trocador alta, 3. FSL1 é uma chave de vazão que fechada Temperatura do trocador baixa, aberta sente a vazão de ar produzida pelo TS3H Chave de desligamento soprador de indução e impede que o Temperatura do trocador baixa, aberta motor da bomba de alta pressão Temperatura do trocador alta, fechada continue injetando óleo na câmara de FSH Vazão de ar alta, fechada combustão. Vazão de ar baixa, aberta 4. M2 ligado faz FSL1 fechar, partindo M1 e permitindo a partido do motor da 5.14
  • 97.
    Diagrama Ladder 4. O motor do agitador mistura os 8. Enchimento, Mistura e líquidos A e B durante 1 minuto 5. Depois de 1 minuto Esvaziamento de Tanque TR-2 abre, desligando o motor M 8.1. Descrição TR-1 abre, impedindo que os solenóides A e B sejam ligadas neste O funcionamento do sistema é o momento (interlock) seguinte: TR-3 fecha, ligando o solenóide C que 1. Apertando PARTIDA, os solenóides esvazia o tanque A e B abrem, permitindo o tanque se 6. Quando o tanque fica vazio, LSL encher tripa 2. Quando o tanque encher, uma LSL-1 fecha, permitindo ligação dos chave de nível tipo bóia desliga A e B e solenóides A e B liga um motor M de agitação da mistura LSL-2 abre, desligando o solenóide C do tanque 7. O ciclo se repete e os solenóides A 3. O motor trabalha em determinado e B são energizadas, pois intervalo de tempo ajustável, T. Depois CR-2 está fechado de transcorrido T, o motor desliga e um LSH-1 fechado (nível abaixo do solenóide C, na saída do tanque, é máximo) ligado esvaziando o tanque. LSL-1 fechado (nível mínimo já 4. Quando o tanque ficar vazio, a atingido) chave de nível desliga o solenóide C e TR-1 fechado (temporizador desligado) o ciclo recomeça. 5. Um relé térmico desliga o motor em 8.3. Esquema do Processo caso de sobrecarga. 8.2. Solução Apertando a botoeira PARTIDA 1. CR energiza CR-1 sela a partida, mantendo motor funcionando depois de soltada a botoeira CR-2 permite os solenóides A e B S serem ligadas CR-3 permite o motor M ligar e o temporizador TR energizar (satisfeitas outras condições) CR-4 permite o solenóide C ser ligada 2. Com CR-1 fechado (PARTIDA acionada), LSH-1 fechado (nível do tanque abaixo do máximo) LSL-1 fechado (nível do tanque no mínimo) TR-1 fechado (agitação ainda não ligada) A Enche tanque com A Solenóides A e B se energizam e as B Enche tanque com B válvulas A e B enchem o tanque M Motor do agitador 3. Tanque atinge nível máximo, LSH C Esvazia o tanque tripa LSH-1 abre, desligando solenóides A e LSL Nível baixo, fechada B Nível alto, aberta LSH-2 fecha, ligando o motor de LSH Nível baixo, aberta agitação e energizando o temporizador Nível alto, fechada TR 5.15
  • 98.
    Diagrama Ladder 8.4. DiagramaLadder PARTIDA PARADA OL1 1 CR 2, 3, 5, 7 CR1-1 2 CR-2 LSL-1 TR-1 3 A LSH-1 4 A ou B B CR-3 LSH-2 TR-2 5 M 6 TR 3 5, 7 CR-4 LSL-3 TR-3 7 C LSL 8 LSL 3 LSH 9 LSH 3 5 5.16
  • 99.
    Diagrama Ladder • M2-3 abre para evitar que a bobina 9. Enchimento de Tanque com M1 seja energizada quando o Duas Bombas Alternadas contato CR-1 voltar à sua posição normalmente fechada. 9.1. Descrição 5. O circuito continua operando assim, até que o pressostato PS abra e desligue A água de alimentação é fornecida de M2. Quando isso acontecer, todos os um tanque central. O tanque é contatos de M2 mudam de estado. pressurizado pela água quando o tanque 6. Uma chave seletora de três posições se enche. Dois poços separados fornecem na saída do pressostato permite ao água para o tanque, cada poço com uma operador alternar a operação das duas bomba independente. É desejável que a bombas ou operar a desejada (1 ou 2). água seja bombeada de cada poço 7. Embora a lógica já esteja completa, há igualmente, mas as duas bombas não um problema potencial: depois que a devem operar ao mesmo tempo. As bomba 1 completou um ciclo, há a bombas devem operar alternadamente, possibilidade do contato CR-3 reabrir mas uma chave seletora pode forçar a antes que o contato M2-2 feche para operação de uma bomba quando a outra selar o circuito. Se isto acontecer, a estiver com falha. Cada motor da bomba bobina M2 será desenergizada e a contém um relé térmico de sobrecarga. bobina M1 será energizada (isto 9.2. Solução depende da operação dos relés). Para evitar este problema, adiciona-se um Assumindo a chave em AUTO e o temporizador TOFF (off delay – pressostato fechado (há pressão de coluna atrasado para desligar). Quando a d'água no tanque), apertando a chave ON bobina TR for energizada, o contato 1. energiza a bobina do starter de M1 TR-1 fecha imediatamente, M1-1 fecha, energizando CR energizando CR. Quando TR M1-2 sela a partida do motor M1 desenergiza, o contato TR-1 M1-3 abre, fazendo o intertravamento permanece fechado por um com o motor M2 (M2 não funciona determinado tempo ajustável antes de enquanto M1 estiver funcionando) reabrir, garantindo que a bobina CR 2. CR energizado, todos seus contatos está desenergizada. mudam: CR-1 abre, quebrando o circuito para bobina M1 CR-2 fecha, selando o contato M1-1 OF PSH #1 CR-1 M2-1 OL1 CR-3 fecha para permitir ligação de M2 AUTO 2, 3,5 , que ainda não pode ser ligado pois 1 M1 ON M1-3 está aberto 2 M1-2 Interlock #2 3. Quando o pressostato PS abre, a bobina M1 desenergizar, permitindo CR-3 M1-3 todos os contatos M1 retornarem às 3 M2 1, 4, 5 posições normais. Neste momento, o 4 OL2 relé CR está energizado. M2-2 M1-1 M2-3 4. Quando o pressostato PS fecha 5 TR 7 novamente, o contato CR-1 evita que a bobina M1 seja energizada e CR-3 temporizador permite que a bobina M2 seja 6 energizada. Quando a bobina M2 é CR-2 TR energizada, a bomba 2 parte e todos os 7 CR 1, 3, 6 contatos M2 mudam de estado • M2-1 abre e desenergiza CR memória • M2-2 fecha e mantém M1 energizada quando CR-3 abrir 5.17
  • 100.
    Diagrama Ladder Esquema do processo 10. Sistema de Enchimento de II. Operação garrafa: controle contínuo e A. Partir a esteira das garrafas discreto B. Quando a garrafa estiver na Fazer uma descrição da seqüência do posição evento para o sistema de enchimento de 1. Parar a esteira garrafas se movendo em uma esteira. 2. Abrir a válvula de saída 3. Ligar o sistema de controle de 10.1. Descrição nível para manter o nível Quando se dá um comando para parar constante durante o enchimento o sistema de controle contínuo, a válvula da garrafa de entrada vai para a posição fechada. A C. Quando a garrafa estiver cheia seqüência é a seguinte: 1. Fechar a válvula de saída 2. Parar o sistema de controle de I. Inicialização (pré-enchimento do nível tanque) D. Ir para a etapa II.A e repetir A. Esteira parada, válvula de saída fechada B. Partir o sistema de controle de nível 1. Operar durante um tempo suficiente para atingir o ponto de ajuste ou 2. Colocar outro sensor de modo que o sistema saiba quando o Esteira ponto de ajuste é atingido ligada C. Quando se atingir o nível, parar o controle de nível Não D. Ir para a fase de Operação BP LCV Sim vazão Esteira válvula de desligada controle Válvula aberta Controle nível LE LC Controlador ligado Não SP Cheia Sim vazão Válvula Válvula fechada ligado Sem controle BF cheia nível vazia garraf motor Fluxograma (Flowchart ) da BP presen M1 liga 5.18
  • 101.
    Diagrama Ladder necessário para detectar o enchimento da 10.2. Diagrama Ladder garrafa e para reiniciar a esteira até que a garrafa seja tirada da posição e a chave de presença da garrafa seja aberta. Ocorre PARTID uma operação continua entre as linhas 3 e PARAD 11. 1 CR1 2 3 4 7 8 10.3. Diagrama Ladder para a 2 Operação CR1-1 3 TR1 9 CR1-2 BPLS BP 4 M1 1 CR1 3 CR1-3 BFLS 5 2 Esteira CR3-1 CR1-1 BP BF CR2 7 8 3 M 6 CR2-1 CR1-4 BFLS BPLS 7 SOL 4 CR2 5 6 CR1-5 CR2-2 CR2-1 Nível 8 LC TR1-1 5 LC 9 BF 10 CR3 5 11 CR2-2 Válvula BP 6 SOL 11 CR3-2 Fig. 1. Diagrama ladder para o sistema de controle de enchimento de garrafas A inicialização é feita por um temporizador (TR1) de 60 segundos, que liga o sistema de controle de nível por 1 minuto depois do botão partida. Ele nunca é energizado de novo durante a operação.. O motor M1 aciona a esteira até uma garrafa ficar na posição correta, como indicado pela abertura da chave de posição (PB1). O relé CR2 é usado para detectar a condição de cheia da garrafa, energizando CR2. Os contatos de CR2 energizam o solenóide da válvula e o sistema de controle de nível. CR3 é 5.19
  • 102.
    Diagrama Ladder 11. Sistemade Esteira silo baixo esteira esquerda válvula silo esteira direita caixa esquerda caixa direita limite direito limite direito limite esquerdo centro caixa centro caixa limite esquerdo esteira esquerda esteira direita Fig.1. Representação pictural do Fig. 2. Fim da fase de inicialização equipamento do processo Fase de operação 11.1. Descrição A. Ligar esteira da caixa direita Fase de Inicialização B. Teste chave de presença de caixa A. Todos os motores desligados, direita Válvula solenóide desligada 1. Se presente, ir para C B. Teste da chave limite direita 2. Se não, ir para B 1. Se engajada, ir para C C. Ligar motor da esteira de 2. Se não, ajustar motor alimentação, movimento direito alimentação para movimento D. Testar chave de centro certo 1. Se engajada, ir para E 3. Ligar motor esteira 2. Se não, ir para D alimentação E. Abrir válvula do silo de alimentação 4. Teste da chave limite direita F. Testar chave limite direita a. Se engajada, ir para C 1. Se engajada, ir para E b. Se não, ir para 4 2. Se não, ir para D C. Estabelecer motor alimentação G. Fechar válvula do silo de para movimento esquerdo e alimentação, parar esteira de iniciar alimentação D. Teste da chave de centro H. Ligar esteira da caixa esquerda 1. Se engajada, ir para E I. Testar chave presença de caixa 2. Se não, ir para D esquerda E. Abrir válvula alimentação do silo 1. Se engajada, ir para J F. Teste da chave limite esquerda 2. Se não, ir para I 1. Se engajada, ir para G J. Ligar esteira de alimentação, 2. Se não, ir para F movimento esquerdo G. Todos os motores desligados, K. Testar chave de centro chave de alimentação do silo 1. Se engajada, ir para L fechada. 2. Se não, ir para K H. Ir para fase de operação. L. Abrir válvula do silo de alimentação A finalização desta fase significa que a M. Testar chave limite esquerda esteira de alimentação está posicionada no 1. Se engajada, ir para II.A local limite esquerdo e a metade direita da 2. Se não, ir para M esteira tem sido cheia do silo de Notar que o sistema cicla do passo alimentação. O sistema está em uma M para o passo A. A descrição é configuração conhecida, como mostrado construída pela simples análise de quais na Fig. 2. eventos ocorrem e qual entrada e 5.20
  • 103.
    Diagrama Ladder saídas devem ser suportadas por estes eventos. 11.2. Fluxograma (Flowchart) da seqüência de eventos Geralmente é mais fácil visualizar e construir a seqüência de eventos usando um fluxograma (flowchart) dos eventos. O fluxograma para o processo de enchimento de garrafas é o seguinte Todas saídas desligadas Chave limite direita entrada Não Fechada Sim Saída direita alimentação Saída esquerda ligada alimentação ligada Chave limite direita de Chave de centro entrada de entrada Sim Não Fechada Fechada Não Sim Válvula do silo saída aberta 5.21
  • 104.
    Diagrama Ladder 12.2. Descrição narrativa 12. Sistema de Elevador 1. Quando o botão PARTIDA é apertado, O elevador usa uma plataforma para a plataforma é acionada para a posição mover objetivos para cima e para baixo. O para baixo principal objetivo é que, quando o botão 2. Quando o botão PARADA é apertado, UP for apertado, a plataforma leva algo a plataforma pára, em qualquer posição para cima e quando o botão DOWN for que estiver naquele momento apertado, a plataforma leva algo para 3. Quando o botão SUBIDA é apertado, a baixo. plataforma é acionada para cima, se 12.1. Equipamento ela não estiver descendo 4. Quando o botão DESCIDA é apertado, Equipamento de entrada a plataforma é acionada para baixo, se LS1 chave limite NF para indicar ela não estiver subindo posição UP LS2 chave limite NF para indicar 12.3. Solução posição DOWN A solução será feita, dividindo as PARTIDA botoeira NA para partir exigências nas tarefas individuais: PARADA botoeira NA para parar 1. mover plataforma para baixo, SUBIDA botoeira NA para comando quando se aperta PARTIDA subir 2. parar a plataforma DESCIDA botoeira NA para comando 3. seqüências de subir e descer descer Partida Equipamentos de saída Quando se aperta a chave PARTIDA (BP1), o contato CR1 –1 sela a bobina CR1 e CR1– 2 liga o motor M2, que faz a plataforma descer. Quando a plataforma atingir a posição baixa, chave LS2 abre, ZSH desenergizando CR1 e parando o motor (DO M2. WN) A chave LS2 fica fechada enquanto a plataforma não estiver na posição baixa. A chave LS2 abre para indicar que a plataforma atingiu a posição mais baixa. Quando a linha 1 é aberta pela chave LS2, o selo CR1 – 1 abre, eliminando o selo. As três linhas do diagrama ladder só operam quando a botoeira PARTIDA (BP1) é acionada. PARTID PARAD Z SL BP1 ZSH P P 1 CR1 Saída 1 SUBIDA DESCID 2 P CR1-1 P 3 M2 Saída 2 M1 motor para acionar a plataforma para CR1-2 cima M2 motor para acionar a plataforma para Fig. 2. Inicialização para mover a baixo plataforma para baixo quando se aperta o botão PARTIDA 5.22
  • 105.
    Diagrama Ladder Parada Para a seqüência parada, tem-se um BP1 ZSH relé mestre CR3 para o resto do sistema. Como a chave PARADA é NA, não se 1 CR1 2 3 6 pode usá-la para energizar CR3, como em CR1-1 circuito com chave NF. Em vez disso, usa- 2 se a chave PARADA para energizar um CR1-2 CR4-1 outro relé CR2 e usam-se os contatos NF deste relé para desenergizar CR3. Assim, 3 M2 DESCIDA quando se aciona a chave PARTIDA, CR3 CR5-1 é energizado pelo contato de selo CR1 e 4 pelo contato NF de CR2. Quando se aciona BP2 PARADA, CR2 é energizado, causando o contato NF (CR2 – 1) abrir e desenergizar 5 CR2 6 CR3. CR1-3 CR2-1 6 CR3 7 8 11 BP2 CR3-1 7 1 CR2 Saída 3 CR3-2 BP3 ZSL 2 CR1-3 CR2-1 8 CR4 3 9 10 CR3 Saída 4 CR4-2 9 3 CR4-3 CR5-2 CR3-1 10 M1 SUBIDA CR3-3 PB4 ZSH Fig. 3. Inicialização para mover a 11 CR5 4 10 12 seqüência PARADA CR5-3 12 Seqüências SUBIDA e DESCIDA Em cada caso, um relé é selado para energizar um motor, se CR3 é energizado, o botão apropriado é acionado, Fig. 3. Diagrama ladder completo o limite não foi atingido e a outra direção não foi energizada. Um contato NF de relé é usado para garantir que o motor de subida não é ligado se o motor de descida estiver ligado e vice-versa. Também é necessário adicionar um contato para garantir que M2 não seja ligado se houver um movimento para cima e se alguém acionar a botoeira PARTIDA. 5.23
  • 106.
    Diagrama Ladder Parad BP2 1 CR2 2 CR2-1 2 CR3 3 6 Descid CR3-1 M1-1 BP4 LS2 3 M2 4 6 M2-1 4 5 BP1 Partid CR3-2 M2-2 Subid LS1 6 M1 3 7 BP3 7 M1-2 Fig. 1. Diagrama ladder simplificado alternativo O diagrama ladder pode ser simplificado, considerando-se que M1 e M2 podem ser realmente relés usados para ligar os motores via contatos. Se é assumido que estes relés podem ter contatos adicionais para acionar outras operações do diagrama ladder, então alguns dos relés de controle podem ser eliminados. Por exemplo, M1 e M2 podem ser considerados relés com os respectivos contatos. 5.24
  • 107.
    Diagrama Ladder energizada para abrir a válvula de saída. A 13. Enchimento de tanque válvula de saída permanece aberta até que o nível do tanque atinja o valor mínimo Definir as variáveis de estado para o Quando o tanque fica vazio, a chave LSL processo de aquecer um líquido em uma abre. A válvula de saída não pode ser temperatura ajustada e manter esta aberta enquanto a válvula de entrada temperatura por 30 minutos. estiver aberta. 13.4. Diagrama Ladder 01 02 LSH 16 Degrau 1 TE 16 LSL 16 03 11 08 Degrau 2 H 08 11 09 Degrau 3 Fig. 11. Processo do tanque 08 ON 13.1. Equipamentos 32 Degrau 4 1. Botoeira NA de PARTIDA 1800 2. Botoeira NF de PARADA 16 08 32 04 3. Chaves de nível alto e baixo 10 Degrau 5 13.2. Seqüência de eventos 32 05 08 1. Encher o tanque 11 Degrau 6 2. Aquecer e agitar o líquido à temperatura de ponto de ajuste e mantê-la por 30 min Diagrama ladder programado para CLP 3. Esvaziar o tanque 4. Repetir o ciclo 13.3. Explicação do ladder A linha 3 abre a válvula de entrada, desde que a válvula de saída não esteja aberta, até o nível atingir o valor alto (LSH abre em nível alto). Quando o tanque estiver cheio, a linha 4 liga o motor de agitação, desde que a válvula de saída não esteja aberta. A linha 5 parte um temporizador de 30 minutos. A linha 6 controla o aquecedor. A linha é energizada e desenergizada quando a temperatura fica abaixo e acima do ponto de ajuste. Quando o temporizador expira o tempo, a linha é desenergizada e a linha 7 é 5.25
  • 108.
    Diagrama Ladder Partid Parad Partid Parad 1 CR 2, 6, 7, 8 1 CR1 2 3 6 CR1-1 9 10 11 13 CR2-1 2 2 To CR1-2 Vout-1 LSH 3 CR2 1, 4 3 Vin 4 5 6 7 CR2-2 4 R Vin-1 Vout-2 CR4- 1 4 SOL 4 6 5 CR1- 2 TON WP 7, 8, 9, Vin-2 6 CR3 5 TR1 6 7 10 11 13 CR1-3 CR3 - CR1-3 Vin-3 TR1-1 TS 7 M3 6 H CR1-4 CR3- 2 8 SOL Vin-4 TR -2 LSL 1 CR1-5 CR3-3 7 Vout 3 4 9 M2 CR1-6 CR3-4 DL 10 MD CR1-7 CR3-5 CR5-1 UL 11 CR5 1 DL 12 CR1-8 CR3-6 CR5-2 13 MU UL WP 14 CR4 5.26
  • 109.
    6 Diagrama de Blocos Funcionais ser completo antes de começar a 1. Conceitos Básicos avaliação de outro circuito que use uma 1.1. Geral ou mais saídas do circuito avaliado anterior. A norma IEC-1131-3 define o Diagrama de Bloco de Função, 2.4. Bloco de função linguagem gráfica para o controlador Bloco de função é uma unidade de lógico programável, que é consistente organização de programa que, quando com a norma IEC 617-12: Graphical executa, gera um ou mais valores. Pode- symbols for diagrams, para instrumentos se criar várias instancias nomeadas de analógicos e digitais. um bloco de função. Cada instância deve 2.2. Combinação de elementos ter um identificador associado (nome da instância) e uma estrutura de dados, Os elementos da linguagem contendo sua saída e variáveis internas Diagrama de Bloco Funcional (Functional e, dependendo da implementação, Block Diagram, FBD) devem ser valores de ou referencias para seus interligados por linhas de fluxo de sinal parâmetros de entrada. Todos os valores conforme a norma. das variáveis de saída e as variáveis Saídas dos blocos não devem ser internas necessárias desta estrutura de ligadas juntas. Em particular, o OR fiado dados devem persistir de uma execução da linguagem do diagrama ladder não é do bloco de função para o próximo, de permitido na linguagem FBD; um bloco modo que a invocação do mesmo bloco OR booleano explícito é necessário, em de função com os mesmos argumentos vez disso, como mostrado na Fig. 6. 24. (parâmetros de entrada) não necessariamente forneçam o mesmo valor de saída. OR fiado fisicamente como em Função OR na linguagem diagrama ladder FBD Somente os parâmetros de entrada e saída devem ser acessíveis do lado de | a c | fora de uma instância de um bloco de +---||--+--()--+ +-----+ função, i.e., as variáveis internas do | b | a---| >=1 |---c bloco de função devem ser ocultas do +--||---+ | b---| | usuário do bloco de função. | | +-----+ Qualquer bloco de função que tenha sido declarado pode ser usado na declaração de outro bloco de função ou programa. Fig. 6.1. Exemplos de OR booleanos O escopo de uma instância de um 2.3. Ordem da avaliação do circuito bloco de função deve ser local à unidade de organização de programa em que ele Dentro de uma unidade de é instanciado, a não ser que seja organização de programa, na linguagem declarado global em um bloco FBD, a ordem da avaliação do circuito VAR_GLOBAL. deve seguir a regra que o circuito deve 6.1
  • 110.
    Diagrama de Blocode Função O nome de instância de um bloco de Set_Point_EA_D – valor ajustado função pode ser usado como a entrada para desarme (atuado no ponto muito para uma função ou bloco de função, se alto, HH) declarado como uma variável de entrada Set_Point_EA_A – valor ajustado na declaração VAR_INPUT ou como uma para alarme (atuado no ponto de alta, H) variável de entrada/saída de um bloco de As saídas do bloco são: função em uma declaração By_pass_BYMR – retorno do bypass VAR_IN_OUT da manutenção Os blocos de função podem ser Tag_SH_INTLK – saída de alta do 1. Padrão intertravamento 2. Personalizado Tag_SH_COMP – comparador do Bloco padrão é aquele elementar e sinal de alarme de alto seminal, que é usado clonado em Tag_SHH_COMP – comparador do aplicações repetitivas, onde ele pode sinal de desarme de muito alto aparecer várias vezes. A partir dos Para construir este bloco blocos padrão, fabricantes de CLP, personalizado, foram utilizados: usuários e integradores de sistema 1. duas portas de seleção GE desenvolveram os blocos personalizados (maior ou igual) ou compostos, para executar tarefas 2. uma porta MOVE, para levar um mais complexas. sinal da entrada para a saída Fazendo analogia com a eletrônica, 3. uma porta OR um bloco padrão é análogo e a um componente discreto de circuito. O bloco personalizado é análogo a um circuito integrado, onde vários elementos discretos são combinados. O bloco personalizado é fechado e difícil para o seu usuário entender sua operação, a não ser que ele seja bem documentado. *** Fig. 6.3. Interior do bloco de função Alm Alta Bypass Alm_Alta_Bypass By pass M ED By pass BYMR Tag EA Tag SH INTLK Set Point EA D Tag SH COMP Set Point EA A Tag SHH COMP 3. Blocos Funcionais Padrão 000 AIN Bloco de entrada analógica. Recebe e Fig. 6.2. Bloco de função personalizado, para transforma os valores das entradas alarme e desarme de alta com bypass analógicas em contagens de um valor real, limitando-os entre MN e MX. Por exemplo, pode-se criar um bloco Parâmetros do bloco: de função personalizado para fazer IN Entrada (DINT) alarme de alta de uma variável analógica MX Limite superior (REAL) com bypass. MN Limite inferior (REAL) As entradas deste bloco são: Saída varia de MN a MX (REAL) By_pass_M_ED – entrada digital Característica: Tag_EA – entrada analógica da Se a entrada está entre 819 e 4095 variável a ser alarmada contagens, Então o valor da saída varia 6.2
  • 111.
    Diagrama de Blocode Função entre MN e MX. Senão (a entrada é SUB menor que 819 ou maior que 4095), a saída é limitada entre MN e MX, respectivamente. 000 AIN Fig. 6.6. Bloco de função SUB Aritmética de Divisão (DIV) 1. O valor da saída deste bloco de função é igual à divisão do valor da entrada superior pelo valor da entrada inferior. MX 2. O bloco de Divisão só pode ter de IN duas entradas. MN 000 Fig. 6.4. Bloco de função AIN DIV Aritmética de Adição (ADD) 000 1. O valor da saída deste bloco de Fig. 6.7. Bloco de função DIV função é igual à soma dos valores de todas as entradas. 2. O bloco de adição é extensível, ou Aritmética de Multiplicação (MUL) seja, pode ter de 2 a 50 entradas. 3. O valor da saída deste bloco de 3. Ele pode operar com variáveis função é igual ao produto dos numéricas, datas, tempos e horas valores das entradas. do dia (TOD) 4. O bloco MUL é extensivo, podendo ter de 2 a 50 entradas. ADD MUL 000 Fig. 6.5. Bloco de função ADD 000 Fig. 6.8. Bloco de função MUL Aritmética de Subtração (SUB) 1. O valor da saída deste bloco de função é igual à subtração do valor Comparador Diferente de (NE) da entrada superior menos o valor Este bloco compara as duas da entrada inferior. entradas: 2. O bloco de adição só pode ter de Se elas forem diferentes, Então, a duas entradas. saída é 1, Senão (forem iguais), a saída é 0. Este bloco é chamado também de Não Igual (<>). 6.3
  • 112.
    Diagrama de Blocode Função *** NE CTU CU Q 000 R CV PV Fig. 6.9. Bloco de função NE 000 Fig. 6.12. Bloco de função CTU Comparador Maior ou Igual (GE) 1. Se o valor da entrada superior for maior ou igual ao valor da entrada Contador Decrescente (CTD) inferior, Então a saída é 1, Senão, a Este bloco de função faz uma saída vai para 0. contagem decrescente. Seus parâmetros são: CD – Entrada do pulso de contagem R – quando R = 1, contador é zerado GE PV – é um valor predeterminado, onde contador inicia a contagem CV – é o valor atual do contador 000 Q – Saída. Se CV <= PV, Então a saída Q passa para 1, Senão (CV > PV), Fig. 6.10. Bloco de função GE Q permanece em 0. *** CTD Comparador Menor ou Igual (LE) 1. Se o valor da entrada superior for CD menor ou igual ao valor da entrada Q LD CV inferior, Então a saída é e; Senão, a PV saída passa para 0. 000 LE Fig. 6.13. Bloco de função CTD Contador Crescente e Decrescente (CTDU) 000 Este bloco de função faz contagens crescente e decrescente. Seus parâmetros são: Fig. 6.11. Bloco de função LE CU – Entrada do pulso de contagem crescente Contador Crescente (CTU) CD – Entrada do pulso de contagem Este bloco de função faz uma decrescente contagem crescente. Seus parâmetros R – quando R = 1, contador é zerado são: PV – é um valor predeterminado CU – Entrada do pulso de contagem CV – é o valor atual do contador R – quando R = 1, contador é zerado QU – Saída do contador crescente. PV – é um valor predeterminado Se CV ≥ PV, Então a saída Q passa para CV – é o valor atual do contador 1, Senão (CV < PV), Q permanece em 0. Q – Saída. Se CV ≥ PV, Então a QD – Saída do contador decrescente. Se saída Q passa para 1, Senão (CV < PV), CV <= PV, Então a saída Q passa para 1, Q permanece em 0. Senão (CV > PV), Q permanece em 0. 6.4
  • 113.
    Diagrama de Blocode Função *** DINT TO REAL CTUD CU QU 000 CD R QD LD CV Fig. 6. 17. Bloco de função DINT_TO_REAL PV 000 Detector de Borda de Descida (F_TRIG) Fig. 6.14. Bloco de função CTUD Este bloco de função detecta o canto de descida (falling edge) de um pulso, com a seguinte lógica: Conversor DINT_TO_DWORD 1. Se a entrada CLK passa de 1 1. Converte o tipo de entrada DINT para 0, Então a saída Q passa (Inteiro Duplo) para a saída do tipo para 1 durante um tempo de DWORD (Palavra dupla, 32 bits, varredura (Scan) tipicamente usada em 2. Transcorrido o tempo de comunicação digital ModBus) varredura, a saída CLK volta para 0. DINT TO DWORD *** F TRIG CLK Q 000 000 Fig. 6.15. Bloco de função DINT_TO_DWORD Fig. 6. 18. Bloco de função F_TRIG Conversor DWORD_TO_DINT 1. Converte o tipo de entrada DWORD (Palavra Dupla) para a saída do tipo DINT (Inteiro Duplo). Detector de Borda de Subida (R_TRIG) Este bloco de função detecta o canto de subida (raising edge) de um pulso, com a DWORD TO DINT seguinte lógica: 3. Se a entrada CLK passa de 0 para 1, Então a saída Q passa para 1 durante um tempo de 000 varredura (Scan) Fig. 6. 16. Bloco de função DWORD_TO_DINT 4. Transcorrido o tempo de varredura, a saída CLK volta para 0. Conversor DINT_TO_REAL 1. Converte o tipo de entrada DINT (Inteiro Duplo) para a saída do tipo REAL. 6.5
  • 114.
    Diagrama de Blocode Função *** Lógica Ou (OR) R TRIG Este bloco faz a seguinte lógica CLK Q booleana: 1. Se uma ou mais de suas entradas 000 são verdadeiras (1), Então a sua saída é verdadeira (1); Senão, a saída é falsa (0). A saída é falsa (0) somente se todas as entradas Fig. 6. 19. Bloco de função R_TRIG forem falsas (0). 2. Este bloco é extensível, pois pode ter de 2 a 50 entradas, com uma única saída. Flip Flop RS (R prioritário) Bloco utilizado como memória ou selo. 1. Se entrada S passa de 0 para 1 OR (recebe um pulso), Então a saída Q passa de 0 para 1, e mantém- se em 1 até que exista um pulso de 0 para 1 em R1 (reset). 000 2. Se a saída Q está em 1 e a entrada R1 para de 0 para 1, Fig. 6. 21. Bloco de função OR Então a saída Q passa de 1 para Lógica E (AND) 0. Este bloco faz a seguinte lógica O reset (R1) é prioritário em relação booleana: ao set (S). 1. Se uma ou mais de suas entradas Flip Flop SR (S prioritário) são falsas (0), a sua saída é falsa(0). Bloco utilizado como memória ou selo. Senão, a saída é verdadeira (1). A 1. Se entrada S1 passa de 0 para 1 saída é verdadeira (1) somente se (recebe um pulso), Então a saída todas as entradas forem verdadeiras Q passa de 0 para 1, e mantém-se (1). em 1 até que exista um pulso de 0 2. Este bloco é extensível, podendo ter para 1 em R (reset). de 2 a 50 entradas, com uma única 2. Se a saída Q está em 0 e a saída. entrada S1 passa de 0 para 1, Então a saída Q passa de 0 para 1. O set (S1) é prioritário em relação ao AND reset (R). *** *** 000 RS SR Fig. 6. 22. Bloco de função AND S S1 Q1 Q1 R1 R Lógica Mover (MOVE) 000 000 1. O bloco MOVE transfere o valor Fig. 6. 20. Blocos de função flip flop RS e SR de sua entrada para a sua saída. Ele tem a função de atribuir valores. 2. Este bloco possui apenas uma entrada e uma saída 6.6
  • 115.
    Diagrama de Blocode Função PACK1 UNPACK IN0 IN0 CO MOVE NZ IN0 IN0 CI Q0 IN0 INPU Q0 IN0 Q0 000 IN0 Q0 Q0 IN0 Q0 IN0 Q0 Fig. 6. 23. Bloco de função MOVE IN1 Q0 IN1 Q0 IN1 Q1 Lógica Não (NOT) IN1 Q1 IN1 Q1 Este é o bloco lógico booleano IN1 Q1 inversor: a saída é sempre contrária à IN1 Q1 entrada, ou seja: Q1 00 000 Q1 1. Entrada 1, Saída 0 2. Entrada 0, Saída 1 Fig. 6. 25. Blocos de função PACK16 e UNPACK16 NOT UNPACK16 1. Desagrupa uma entrada do tipo 000 Fig. 6. 24. Bloco de função NOT WORD, que está sendo recebida pelo CLP, via ModBus, em 16 Multiplexador (MUX) variáveis de saída do tipo BOOL 1. O valor da saída é igual ao valor (booleana, 0 ou 1), para serem da entrada correspondente ao usadas na lógica. número indicado em K, que pode variar de 0 a 49. 2. O bloco MUX pode selecionar Seletor de Sinais (SEL) entre 2 e 50 variáveis de entrada. 1. Se o valor da entrada G = 0, Então o valor da saída é igual ao valor da entrada IN0. PACK16 2. Se o valor da entrada G = 1, Então Os blocos de função PACK16 e o valor da saída é igual ao valor da UNPACK16 são usados para compactar entrada IN1. e descompactar na comunicação de protocolos digitais, e.g., ModBus. 1. Compacta uma série de 16 bits de entrada em uma palavra de saída do tipo WORD, que será SEL enviada pelo CLP para a G comunicação ModBus. IN0 IN1 000 Fig. 6. 26. Bloco de função SEL 6.7
  • 116.
    Diagrama de Blocode Função Temporizador (TMR) tempo em que a entrada fica desligada O período de tempo em que a entrada IN deve ser maior que PT). estiver em 1 é registrado no acumulador. Quando o tempo atingir o valor pré- ajustado PT, a saída Q passa a 1. Se o RESET ficar igual a 1, Então o *** acumulador é zerado. IT é o tempo inicial TOF do acumulador. IN Q PT ET *** 000 TMR Fig. 6. 28 (a). Bloco de função TOF IN Q RES ET PT IT 000 Fig. 6. 27. Bloco de função TMR Temporizador TOF Fig. 6. 28 (b). Diagrama de tempo do TOF Neste temporizador, a temporização é para a desenergização. Seus parâmetros Temporizador TON são os seguintes: Neste temporizador, a temporização é IN – entrada para a energização. Seus parâmetros PT – tempo pré-ajustado (TIME) são os seguintes: Q – saída IN – entrada ET – Tempo transcorrido PT – tempo pré-ajustado (TIME) Sua lógica é: Q – saída 1. Se a entrada IN vai de 0 para 1, ET – Tempo transcorrido então a saída vai também de 0 para Sua lógica é: 1, instantaneamente. 5. Se a entrada IN vai de 1 para 0, 2. Quando a entrada vai de 1 para 0, a então a saída vai também de 1 para saída começa a contagem. Se a 0, instantaneamente. entrada voltar para 1 antes de 6. Quando a entrada vai de 0 para 1, a transcorrido o tempo de temporização saída começa a contagem. Se a (ajustado em PT), a saída continua entrada voltar para 0 antes de em 1. transcorrido o tempo de temporização 3. Se a entrada vai de 1 para 0 e fica (ajustado em PT), a saída continua desligada por período maior que o em 0. PT, então a saída vai para 0 depois 7. Se a entrada vai de 0 para 1 e fica de PT. ligada por período maior que o PT, 4. A saída permanece em 0 enquanto a então a saída vai para 1 depois de entrada ficar em 0 e só volta a ligar PT. (ficar igual a 1) quando a entrada 8. A saída permanece em 1 enquanto a voltar a ficar igual a 1. entrada ficar em 1 e só volta a Enfim, o temporizador TOF liga desligar (ficar igual a 0) quando a instantaneamente quando a entrada é entrada voltar a ficar igual a 0. ligada e desliga depois de um tempo PT Enfim, o temporizador TON desliga depois que a entrada ficar desligada (o instantaneamente quando a entrada é desligada e liga depois de um tempo PT 6.8
  • 117.
    Diagrama de Blocode Função depois que a entrada ficar ligada (o Sua lógica é: tempo em que a entrada fica ligada deve 1. Se a entrada IN vai de 0 para 1 ser maior que PT). (recebe um pulso), a saída Q vai para 1 e permanece igual a 1 durante o tempo ajustado PT, independente da entrada IN. *** TON 2. Transcorrido o tempo PT, a saída Q vai de 1 para 0. IN Q PT ET 000 *** TP Fig. 6. 29 (a). Bloco de função TON IN Q PT ET 000 Fig. 6. 31. Bloco de função TP Fig. 6. 29 (b). Diagrama de tempo do TON Tempo menor que PT Tempo maior que PT 5s 20 s IN PT = 10 s 10 s Desligamento OUT Início Fim da contagem (a) Temporizador TON Tempo menor que PT Tempo maior que PT 5s 20 s IN Ligamento PT = 10 s OUT 10 s Início Início Fim da contagem (b) Temporizador TOF Fig. 6.30. Diagrama dos tempos do TON e TOF Temporizador TP Neste temporizador, a temporização é comandada por pulsos. Seus parâmetros são os seguintes: IN – entrada PT – tempo pré-ajustado (TIME) Q – saída ET – Tempo transcorrido 6.9
  • 118.
    Diagrama de Blocode Função Indicações das variáveis 4. Blocos Personalizados <value> A partir dos blocos padrão, é possível, Utilizado para indicar o valor atual da desejável e se fazem blocos variável quando ligado ao sistema personalizados, que serão usados de CH.SL.PT=> modo repetitivo. Depois de construídos, estes blocos personalizados são Indica um Chassi, Slot e Terminal ou armazenados no arquivo Biblioteca para se está na memória. Na seqüência, é serem usados. Também a partir de indicado o Alias (endereço de blocos personalizados, pode-se construir comunicação ModBus) para a variável, outros blocos personalizados mais quando houver. Por exemplo: complexos. CH.SL.PT=>01.05.14 12023 é o ponto Alguns blocos personalizados podem, físico no Chassi 01, Slot 05 e ponto 14 quando muito utilizados, ser tratados com Alias 12023. como padrão pelo fabricante de CLP ou 99(A99) desenvolvedor de sistemas. Indica a referência de página. O 4.1. Parâmetros dos blocos primeiro número indica a página. A letra e número entre parêntesis indicam o Variável INPUT quadrante, ou seja, as coordenadas Y Entrada. Pode ser um valor físico de (vertical) e X (horizontal) e da variável. equipamento ou ainda um valor de Esta indicação é utilizada para variáveis memória. de transferência entre páginas ou quando Variável OUTPUT uma variável é utilizada mais de uma vez na lógica. Por exemplo, Saída. Pode ser um valor físico de 5(A4) – a variável está na página 5, equipamento ou ainda um valor de na ordenada X = 4 e Y = A. memória. O seu valor pode ser usado como entrada, quando ligado ao terminal Formação de TAG de direita. O hífen (“-“) dos Tags foi trocado por Variável LOCAL traço de sublinhar (underscore), “_” ou foi retirado. Esta variável é usada apenas quando Os Tags podem ter prefixos nos finais se têm pontos de transferência de para identificar seus tipos. Por exemplo, valores, não está associada ao tem-se: equipamento ou memória, podendo ser ED Entrada digital do Triconex utilizada como entrada ou resultado de EA Entrada analógica do Triconex uma operação lógica. SD Saída digital do Triconex Constante Não há nenhuma saída analógica Possui valores que são utilizados (SA) do Triconex, embora exista o bloco para execução da lógica. Não possui AOU. TAG. As outras variáveis são internas e auxiliares do programa (geralmente sem Elos de ligação Alias) ou de comunicação com o supervisório (com Alias). Ligação lógica - Interligação entre Variáveis com a indicação C ou _ são X X variáveis e blocos lógicos Ligação lógica de realimentação - de comunicação escrita com o Interligação entre variáveis e blocos supervisório do Triconex. Quando a X X lógicos que realimenta o valor de saída variável contém R ou _R, ela é de retorno de uma lógica para sua entrada do comando enviado pelo supervisório, sendo então uma variável de leitura do Triconex para o supervisório. 6.10
  • 119.
    Diagrama de Blocode Função Alarme/Desarme de ALTA com By Pass Se Tag_EA for maior ou igual a Set_Point_EA_A, Então Tag_SH_COMP=0 Senão Tag_SH_COMP=1 Se Tag_EA for maior ou igual a Set_Point_EA_D, Então Tag_SHH_COMP=0 e Tag_SH_INTLK=0 Senão Tag_SH_COMP=1 e Tag_SH_INTLK=1 Se By_Pass_BYM_ED=1 Então By_Pass_BYMR=1 e Tag_SH_INTLK=1 Senão Tag_SH_INTLK será conforme item 2. *** Alm Alta Bypass By pass M ED By pass BYMR Tag EA Tag SH INTLK Set Point EA D Tag SH COMP Set Point EA A Tag SHH COMP 000 Fig. 6. 32. Bloco de função personalizado Alm_Alta_Bypass Fig. 6. 33. Bloco de função Alm_Alta_Bypass explodido 6.1
  • 120.
    Diagrama de Blocode Função Alarme/Desarme de BAIXA com By Pass 1. Se Tag_EA for menor ou igual a Set_Point_EA_A, Então Tag_SL_COMP=0 Senão Tag_SL_COMP=1 2. Se Tag_EA for menor ou igual a Set_Point_EA_D, Então Tag_SLL_COMP=0 e Tag_SL_INTLK=0 Senão Tag_SL_COMP=1 e Tag_SL_INTLK=1 3. Se By_Pass_BYM_ED=1 Então By_Pass_BYMR=1 e Tag_SL_INTLK=1 Senão By_Pass_BYMR=0 e Tag_SL_INTLK será conforme item 2. *** Alm Baixa Bypass By pass M ED By pass BYMR Tag EA Tag SL INTLK Set Point EA D Tag SL COMP Set Point EA A Tag SLL COMP 000 Fig. 6. 34. Bloco de função personalizado Alm_Baixa_Bypass Fig. 6. 35. Bloco de função Alm_Baixa_Bypass explodido 6.2
  • 121.
    Diagrama de Blocode Função Fig. 6. 36. Aplicação de um bloco de função personalizado 6.3
  • 122.
    Diagrama de Blocode Função Alarme/Desarme de BAIXA com By Pass de retorno automático Se Tag_EA for menor ou igual a Set_Point_EA_A, Então Tag_SL_COMP=0 Senão Tag_SL_COMP=1 Se Tag_EA for menor ou igual a Set_Point_EA_D, Então Tag_SLL_COMP=0 e Tag_SL_INTLK=0 Senão Tag_SL_COMP=1 e Tag_SL_INTLK=1 Se By_Pass_BYM_ED=1 Então By_Pass_BYMR=1 e Tag_SL_INTLK=1 Senão Tag_SL_INTLK será conforme item 2. Se Tag_EA for menor ou igual a Set_Point_EA_D e HS_C for acionado, Então Tag_SL_INTLK=1 Esta condição é auto-resetada quando as condições do processo voltam ao normal e HS_R=1 enquanto as condições não forem normalizadas. *** By pass Baixa Gas By pass M ED By pass BYMR HS C Tag SL INTLK Tag EA Tag SLL COMP Set Point EA A Tag SL COMP Set Point EA D HS R 000 Fig. 6. 37. Bloco de função personalizado Bypass_Baixa_Gas 6.4
  • 123.
    Diagrama de Blocode Função Fig. 6. 38. Bloco de função Bypass_Baixa_Gas explodido 6.5
  • 124.
    Diagrama de Blocode Função Alarme de ALTA para Analisador com Seleção de Set Point 4. Se By_Pass_N_ED=0 : - Se Tag_EA for maior que Set_Point_EA_A_N, Então Tag_SH_ALM=0, Senão Tag_SH_ALM=1 - Se Tag_EA for maior que Set_Point_EA_D_N, Então Tag_SHH_ALM=0, Senão Tag_SHH_ALM=1 5. Se By_Pass_BYM_N_ED=1 -Se Tag_EA for maior que Set_Point_EA_A_M, Então Tag_SH_ALM=0, Senão Tag_SH_ALM=1. -Se Tag_EA for maior que Set_Point_EA_D_M, Então Tag_SHH_ALM=0, Senão Tag_SHH_ALM-1 *** Alm Alta Analisador By pass M ED Tag SH INTLK Tag EA Tag SH ALM Set Point EA A M Set Point EA A N Set_Point_EA_D_N Set Point EA D N 000 Fig. 6. 39. Bloco de função personalizado Alm_Alta_Analisador Fig. 6. 40. Bloco de função Alm_Alta_Analisador explodido 6.6
  • 125.
    Diagrama de Blocode Função Blink (Piscar) 1. Se a entrada IN recebe um sinal verdadeiro (1), Então a saída Q alterna o seu valor entre 0 e 1 segundo o tempo pré-determinado em T_ON (Tempo_Ligado) e T_OFF (Tempo_Desligado). 2. O bloco blink é astável. Parâmetros do bloco IN – Entrada (BOOL) RESET – (BOOL) T_ON – Tempo da saída Q energizada (TIME) T_OFF – Tempo da saída Q desenergizada (TIME) Q – saída (BOOL) *** BLINK IN RESET Q T ON T OFF 000 Fig. 6. 41. Bloco de função personalizado BLINK 6.7
  • 126.
    Diagrama de Blocode Função By Pass de Set Point de desarme de 100% das bombas de óleo de Mobiltherm 1. Se By_Pass_M_ED=0 e HS_C=0, o set point para comparar com o valor de entrada é o set point de 100% - Se Tag_EA for menor ou igual a Set_Point_EA_D_100, Então Tag SL_INTLK=1, - HS_R=0 2. Se By_Pass_M_ED=0 e HS_C=pulso (0->1->0), o set point para comparar com o valor de entrada é o set point de 50% - Se Tag_EA for menor ou igual a Set_Point_EA_D_50, Então Tag SL_INTLK=1, HS_R=1 - Se a entrada Tag_EA for maior ou igual a 5% do set point de 100%, o set point a ser usado será o de 100% e HS_R=0. 3. Enquanto By_Pass_M_ED=1: - Tag_SL_INTLK=1, By_Pass_BYMR-1 4. Tag_SL_COMP_50 e Tag_SL_COM_100 são as indicações de alarme de 50 e 100%, respectivamente, sem a interferência de By_Pass_M_ED e HS_C. *** By pass Comp Mobil By pass M ED By pass BYMR HS C Tag SL INTLK Tag EA Tag_SLL_COMP_100 Set_Point_EA_D_100 Tag_SL_COMP_50 Set_Point_EA_D_50 HS R Set_Point_EA_D_50 000 Fig. 6. 42. Bloco de função personalizado By_Pass_Comp_Mobil 6.8
  • 127.
    Diagrama de Blocode Função Fig. 6. 43. Bloco de função By_pass_Comp_Mobil explodido 6.9
  • 128.
    Diagrama de Blocode Função Contador Utilizado para a seleção de amostras. 6. Se Auto_Manual=1 (AUTO), Então gera-se um trem de pulsos, cujo primeiro pulso tem como tempo a entrada Set_Point1 e nos demais pulsos a entrada Set_Point2, repetindo a seqüência quando Contador_1 For igual a N_DCS. 7. Se Auto_Manual=0 (MANUAL), Então a saída PULSO permanece em 0 e o Contador_1 é zerado. *** Contador Auto Manual Contador 1 Set Point1 Pulso Set Point2 Relógio N DCS Relógio1 000 Fig. 6. 44. Bloco de função personalizado Contador Fig. 6. 45. Saída do controle versus tempo 6.10
  • 129.
    Diagrama de Blocode Função Controle de Acionamento de MOV 1. Se HS_Abre=0 e HS_Fecha=0: -Comando_Abre=0, Comando_Fecha=0 e Comando_Para=1 2. Se HS_Abre=1 e HS_Fecha=0: -Comando_Abre=1, Comando_Fecha=0 e Comando_Para=0 3. Se HS_Abre=0 e HS_Fecha=1: -Comando_Abre=0, Comando_Fecha=1 e Comando_Para=0 *** Controle MOV Comando Abre HS Abre Tag EA Comando Fecha Comando Para 000 Fig. 6. 46. Bloco de função personalizado Controle_MOV Fig. 6. 47. Bloco de função Controle_MOV explodido 6.11
  • 130.
    Diagrama de Blocode Função Desarme de BAIXA com By Pass 1. Se Tag_EA for menor que Set_Point_EA_D, Então Tag_SLL_COMP=0 e Tag_SL_INTLK=0 Senão Tag_SL_COMP=1 e Tag_SL_INTLK=1 2. Se By_Pass_M_ED=1, Então By_Pass_BYMR=1 e Tag SL_INTLK=1, Senão Tag_SL_INTLK será conforme item 1. *** *** Des Baixa Bypass Des Alta Bypass By pass M ED By pass M ED Tag EA By Pass BYMR Tag EA By Pass BYMR Set Point EA D Tag SL INLK Set Point EA D Tag SH INLK Tag SLL COMP Tag SHH COMP 000 000 Fig. 6. 48. Blocos de função personalizados: Des_Baixa_Bypass e Des_Alta_Bypass Fig. 6. 49. Bloco de função Des_Baixa_Bypass explodido Desarme de ALTA com By Pass 1. Se Tag_EA for maior que Set_Point_EA_D, Então Tag_SHH_COMP=0 e Tag_SH_INTLK=0 Senão Tag_SH_COMP=1 e Tag_SH_INTLK=1 2. Se By_Pass_M_ED=1, Então By_Pass_BYMR=1 e Tag SH_INTLK=1, Senão Tag_SH_INTLK será conforme item 1. 6.12
  • 131.
    Diagrama de Blocode Função Rastreador de Alta 1. Se o valor da entrada Tag_EA decresce, o Set_Point (determinado pela razão de Tag_EA convertida para a escala determinada pela Range_Max e Range_min, multiplicada pelo fator MUL) acompanha a entrada, porém, mantem a razão FATOR_MUL com a entrada. 2. Se o valor da entrada Tag_EA pára de decrescer e começa a crescer, o Set_Point é travado no último valor em que o Tag_EA esta decrescendo. Se By_Pass_HS_C, a razão entre o Set_Point e Tag_EA passa novamente a ser igual ao FATOR_MUL. 3. Se o valor Tag_EA é maior que o valor do set point e By_Pass_BYOC=0 Então, Tag_SDH_INTLK=0 e Tag_SDH_COMP=0 Senão, Tag_SDH_INTLK=1 e Tag_SDH_COMP=1 4. Tag_Pct_Desv_SAR é o desvio entre o valor do Tag_EA e o set point na escala de 810 a 4095 (equivalente a 0 a 100%). 5. Se By_Pass_BYOC=1, Então Tag_SDH_INTLK = 1 sempre e demais condições permanecem como no item anterior. *** *** Rastreador Baixa Rastreador Alta Tag EA Tag_Pct_Desv_SAR Tag EA Tag_Pct_Desv_SAR Range Max Tag Rastreador Range Max Tag Rastreador Range Min Tag SDL INTLK Range Min Tag SDH INTLK Fator Mul Tag SDL COMP Fator Mul Tag SDH COMP By Pass HS C HS R By Pass HS C HS R By Pass BYOC By Pass BYOR By Pass BYOC By Pass BYOR 000 000 Fig. 6. 50. Blocos de função personalizados: Rastreador_Alta e Rastreador_Baixa Rastreador de Baixa 1. Se o valor da entrada Tag_EA cresce, o Set_Point (determinado pela razão de Tag_EA convertida para a escala determinada pela Range_Max e Range_min, multiplicada pelo fator MUL) acompanha a entrada, porém, mantem a razão FATOR_MUL com a entrada. 2. Se o valor da entrada Tag_EA pára de crescer e começa a decrescer, o Set_Point é travado no último valor em que o Tag_EA estava crescendo. Se By_Pass_HS_C, a razão entre o Set_Point e Tag_EA passa novamente a ser igual ao FATOR_MUL. 3. Se o valor Tag_EA é menor que o valor do set point e By_Pass_BYOC=0 Então, Tag_SDH_INTLK=0 e Tag_SDH_COMP=0 senão, Tag_SDH_INTLK=1 e Tag_SDH_COMP=1 4. Tag_Pct_Desv_SAR é o desvio entre o valor do Tag_EA e o set point na escala de 810 a 4095 (equivalente a 0 a 100%). 5. Se By_Pass_BYOC=1, Então Tag_SDH_INTLK = 1 sempre e demais condições permanecem como no item anterior. 6.13
  • 132.
    Diagrama de Blocode Função Fig. 6. 51. Bloco de função Rastreador_Baixa explodido 6.14
  • 133.
    Diagrama de Blocode Função Seletor de By Pass 1. Impede que dois instrumentos sejam bypassados ao mesmo tempo, ou seja, uma vez que BYMC_1 é acionado (1), a saída By_Pass_1 passa para 1, desde que a entrada BYMC_2 não esteja em 1 e vice versa. *** Seletor By Pass BYMC 1 By Pass 1 BYMC 2 By Pass 2 000 Fig. 6. 52. Bloco de função personalizado Seletor_By_Pass TR_CALENDAR 1. O bloco os dados de ANO, MÊS, DIA, HORA, MINUTO, SEGUNDO, MILISSEGUNDO, DIA DA SEMANA E SEGUNDOS, em relação à dada de JAN 01, 1970 00:00:00m quando a entrada CI é igual a 1; Senão (CI=0), os valores ficam congelados. TR_CALENDAR CO CI YEAR MONTH DAY HOUR MINUTE SECOND MILLISEC WEEKDAY 000 RELSEC Fig. 6. 53. Bloco de função personalizado TR_CALENDAR ApostilasDiagramas 5BlocosFuncao.doc 09 JUN 00 6.15
  • 134.
    Diagrama de Blocode Função D-6340 - SUPERVISÓRIO BOTÕES DE COMANDO / BY - PASS HS P#BYM-6341 P HS-4 1 BYM PB6341 6341 P-BYM-6341 - By-Pass do PSL-6341 PR6341 PT-6341 PSL HS-3 2 6341 2964 PL#6341 PSL#6341 PSL- DI-5 D2-5 D3-5 3 6341 PL#6341 PSL-6341: Pressão da Água de Alimentação PSL6341 P-BYM-6341 4 PR6341 Fig. 6.54. Diagrama ladder dos Botões de Comando e By pass Fig. 6.55. Diagrama com blocos funcionais dos Botões de Comando e By pass 6.16
  • 135.
    Tecnologias 1. Instrumentação Inteligente 2.Computador no Processo 3. Controlador Lógico Programável (CLP) 4. Controle Supervisório e Aquisição de Dados (SCADA) 5. Integração de Sistemas 6. Base de Dados 6.1
  • 136.
    7 Instrumentação Inteligente Em instrumentação, o 1. Instrumento microprocessador está integralizado a microprocessado circuitos de cromatógrafos e analisadores de composição. Mesmo os instrumentos 1.1. Conceito de microprocessador convencionais utilizam O prefixo micro significa que o microprocessadores para otimizar seu processador é fabricado em um chip funcionamento, p. ex., controladores com semicondutor, onde há um circuito transferência A/M. A mais fascinante a eletrônico com larga escala de integração atraente aplicação do microprocessador (LSI), ou seja, há milhões de em instrumentação está na estação de componentes passivos e ativos auto-sintonia da malha de controle. eletrônicos dentro de um extrato semicondutor medindo alguns poucos centímetros. Não há um computador no chip, mas uma unidade de processamento central (CPU). Interligados à CPU há circuitos de entrada/saída (I/O), memórias de vários tipos e os periféricos. O microprocessador é barato para comprar. Geralmente, os periféricos, que são eletromecânicos, são muito mais caros que o próprio micro. O microprocessador é barato para funcionar, pois o consumo de energia é baixíssimo. A manutenção do microprocessador é fácil, pois geralmente Fig. 6.1. Instrumentação inteligente, (Foxboro) ele é autotestável. Cada microprocessador pode incluir um detector de erro, que o teste a cada No controle digital a segundo e não uma vez por semana. Os microprocessador distribuído, cada microprocessadores são de tamanho processo é controlado por um pequeno podendo ser embutidos e microprocessador. Por causa de seu incorporados a circuitos convencionais. baixíssimo custo, o microprocessador pode ser abundantemente distribuído Microprocessador como controlador para monitorar as diferentes partes do Desde que o microprocessador é um processo. Cada microprocessador pode processador, ele pode ser associado a controlar simultaneamente algumas circuitos adicionais de I/O e outros dezenas de malhas convencionais. Os periféricos para formar um controlador, sinais analógicos do processo são conceitualmente equivalente a um grande convertidos em digitais pelo computador digital. microprocessador, que tem embutida em 7.1
  • 137.
    Instrumentação Inteligente seu circuitoa função de multiplexagem. computadores. Sob o ponto de vista do Depois de efetuar os cálculos e controle de processo, pelas constantes computações matemáticas necessárias, de tempo envolvidas e necessidades de o microprocessador gera um sinal digital, memória, mesmo um microprocessador que é convertido de volta em analógico convencional pode exercer as funções de para atuação dos elementos finais de gerenciamento e otimização. Como o controle. Cada microprocessador se microprocessador central delega parte de dedica ao controle de um conjunto de suas responsabilidades aos micros malhas. Para o controle de todo o distribuídos, ele não precisa ser nem tão processo são usados vários rápido e nem tão sofisticado. microprocessadores, que devem ser Função do Microprocessador interligados a um outro microprocessador supervisório. Vários microprocessadores O microprocessador revolucionou a supervisórios, por sua vez, podem ser instrumentação eletrônica. O uso de assistidos por um outro microprocessador microprocessador em instrumentos gerente. Através do raciocínio de aumentou drasticamente sua exatidão, computadores serem associados em expandiu suas capacidades, melhorou diferentes níveis de cooperação e função, sua confiabilidade e forneceu uma pode se obter um sistema hierarquizado, ferramenta para desempenhar tarefas análogo a um organograma da própria não imagináveis até então. planta. O instrumento a microprocessador se Têm-se os seguintes níveis, com tornou extremamente versátil, onde os funções cada vez menos específicos: procedimentos de medição se tornaram 1. microprocessadores distribuídos e mais facilmente administráveis, ajustes, responsáveis por tarefas e funções calibração e teste se tornaram muito especificas, tais como alarme, automáticos e o seu desempenho controle, intertravamento e segurança. metrológico foi melhorado. O Seus tempos de resposta são microprocessador fornece pequenos, da ordem de frações de 1. procedimentos computacionais segundos. mais eficientes, 2. microprocessadores supervisórios, 2. analise estatística dos resultados com a finalidade de aumentar a 3. resultados linearizados e corrigidos eficiência do controle, através da 4. funções programáveis. modificação de pontos de ajuste dos Houve uma mudança radical na microprocessadores responsáveis filosofia do projeto do instrumento. Como pelo controle (nível 1). Tempo de o microprocessador se tornou uma parte resposta: cerca de minutos. integral do instrumento, os enfoques são 3. microprocessadores de otimização e totalmente diferentes com relação à comunicação, com as tarefas mais estrutura, circuito e controle do genéricas de estabelecer a política de instrumento. As principais vantagens do longo prazo e utilização de energia. A instrumento microprocessado são: resposta dinâmica dos 1. multifuncionalidade estendida e microprocessadores deste nível é da expandida em programas ordem de horas. flexíveis, 4. microprocessador mestre (host) ou 2. consumo de energia muito principal, cuja função é a de gerenciar reduzido, o controle no mais alto nível. Pode ser 3. adaptação fácil a interfaces responsável pela analise financeira e padrão de bus para sistemas o gerenciamento da produção. Os integrados tempos envolvidos são da ordem de 4. facilidade de controle por causa semana. da interface Nem todos os sistemas possuem 5. operação e uso mais simples, todos os quatro níveis. Por preconceito, economizando tempo. às vezes, os microprocessadores dos 6. tamanho miniaturizado níveis 3 e 4 são chamados de 7.2
  • 138.
    Instrumentação Inteligente 7. confiabilidade maior, por ter 3. autoteste e autodiagnose. poucos componentes, e 4. medição replicada do valor e a componentes mais confiáveis por computação estatística para dar o causa do encapsulamento que o resultado mais esperado. torna imune à umidade e 5. apresentação do resultado em temperatura. display de modo que os resultados estranhos são descartados. 1.2. Vantagens do microprocessador Capacidades expandidas Multifuncionalidade O microprocessador estende e expande as capacidades do instrumento, A idéia de instrumento multifuncional tornando-o adaptável a várias formas de não é nova. Porém, sem o uso do técnicas de medição, como medição microprocessador, um instrumento inferencial (indireta) e acumulativa. multifuncional era, na prática, a O instrumento microprocessado pode montagem de várias sub-unidades fazer várias medições simultâneas e funcionais em um único invólucro. Em fazer computações matemáticas serviço, o usuário escolhia sua função complexas destes sinais, para através de chaves convenientes. Deste compensar, linearizar e filtrar os modo, ele montava as várias sub- resultados finais. Em resposta a um unidades em uma configuração adaptada simples comando entrado através de seu para medir a função escolhida. O teclado, o microprocessador pega a algoritmo de projeto do instrumento técnica de medição certa, armazena os ficava inalterado. O instrumento resultados das várias medições diretas, multifunção convencional usava lógica faz os cálculos e apresenta o resultado fixa com todos os circuitos e fios físicos final condicionado no display. A medição soldados (hard-wired). Esta forma de é indireta, porém ela parece direta para o lógica contradiz a multifuncionalidade e operador. eficiência. Sempre havia problemas para Por exemplo, na medição da vazão controlar e chavear as várias funções do de gases, um computador de vazão instrumento. microprocessado recebe os sinais O microprocessador, como parte correspondentes ao medidor de vazão integrante do instrumento, tornou a lógica (transmissor associado à placa, turbina, fixa do instrumento multifuncional em vortex), pressão, temperatura e programável. O programa que executa composição. Todos estes sinais são suas múltiplas funções fica armazenado computados internamente e o totalizador em memórias eletrônicas (ROM ou pode apresentar o valor da vazão PROM). Por este motivo, o instrumento instantânea compensada em massa ou microprocessador é também chamado de volume, o valor do volume ou massa programa armazenado. A lógica acumulado e a densidade do gás. Para o armazenada torna o instrumento fácil de operador, tudo parece como se o ser programado e de ser atualizado, sem computador estivesse fazendo a medição mudanças significativas no circuito. A diretamente da vazão mássica. lógica programável tornou o preço do Em outro exemplo, seja a medição da instrumento muito menor, por causa da potência dissipada através de um resistor padronização e simplicidade dos por um voltímetro microprocessado. O componentes. operador diz ao voltímetro para medir a Exatidão melhorada resistência do resistor, armazenar o A exatidão do instrumento resultado e depois medir a voltagem microprocessado foi muito melhorada. Os através do resistor e finalmente computar erros sistemáticos podem ser diminuídos a potência. por vários motivos: Controle simplificado 1. um ajuste de zero automático no Inicialmente, se pensa que o início de cada medição, instrumento multifunção programável é 2. uma calibração automática 7.3
  • 139.
    Instrumentação Inteligente mais complicado.O instrumento Geralmente, os erros sistemáticos inteligente possui um conjunto de teclas são provocados por desvio do zero, (teclado) externo e na sua parte frontal. desvio do fator de ganho do circuito Através das teclas diretas ou combinação condicionador de sinal e não linearidades de teclas se pode selecionar as funções, internas do instrumento. faixas e modos de medição. Por O microprocessador incorporado no exemplo, um voltímetro digital tem um instrumento pode eliminar os erros teclado com 17 teclas e pode fornecer sistemáticos. um total de 44 combinações de funções, Ele elimina o erro de desvio de zero, faixas e modos. O instrumento ainda armazenando o valor correspondente ao pode ter alarmes que operam quando o zero do instrumento e subtraindo operador faz movimentos errados e automaticamente este valor das leituras aperta teclas incompatíveis. do instrumento. Ele elimina o erro de ganho do Operações matemáticas do resultado instrumento, armazenando um número É possível que o operador queira uma quando o instrumento é desligado e que função matemática de um resultado e corresponde a um valor definido da não somente no resultado em si. O voltagem de entrada. Quando o instrumento microprocessado pode instrumento é religado para fazer novas fornecer várias transformações medições, o instrumento funcionais, como: microprocessado faz comparações e usa 1. multiplicar o resultado por um um fator de correção para aplicar nas fator constante novas medições. 2. apresentar o erro absoluto da O instrumento pode ainda fazer medição correções para os erros devidos a 3. apresentar o erro percentual da variação da freqüência do sinal (o ganho medição do condicionador de sinal em uma dada 4. subtrair uma constante do freqüência é diferente do ganho em sua resultado freqüência de referência.) O instrumento 5. dividir o resultado por uma armazena na memória a sua freqüência constante de referência e corrige as medições para 6. apresentar o resultado em as diferentes freqüências. unidades logarítmicas Os erros aleatórios não podem ser 7. linearizar resultados antecipados e evitados. O máximo que o Análise estatística operador pode fazer é minimizar seus Os instrumentos microprocessados efeitos, fazendo um tratamento estatístico podem gerar o valor médio, valor eficaz de todas as medições replicadas. Deste (root mean square), a variância, o desvio modo, o instrumento microprocessado padrão de uma variável aleatória sendo armazena os resultados das medições analisada e o coeficiente de correlação repetidas e faz o seu processamento em de duas variáveis aleatórias. Há algoritmos apropriados para determinar instrumentos microprocessados média, desvio padrão e erro aleatório projetados especificamente para fazer a relativo. O instrumento pode, por analise estatística dos sinais. exemplo, determinar a média esperada, testar a hipótese que as probabilidades Melhoria do desempenho metrológico do erro aleatório são normalmente As características metrológicas do distribuídas e computar os limites de instrumento são aquelas diretamente erros aleatórios. relacionadas com seu desempenho, em 1.3. Aplicações geral e com sua precisão, em particular. Todo instrumento está sujeito a erros Um instrumento microprocessado é a sistemáticos, aleatórios e acidentais. melhor solução quando: Todos estes erros podem ser 1. o instrumento deve ser minimizados (exceto o aleatório) nos multifuncional, programável e instrumentos a microprocessador. versátil 7.4
  • 140.
    Instrumentação Inteligente 2. o sistema de medição deve ser programa (software) que é outro motivo expandido para acomodar várias de repulsa, pois o seu custo é maior que funções o do microprocessador. 3. o sistema de medição deve ser Todas estas questões são facilmente interfaceado com um sistema digital resolvidas. Embora internamente o 4. os dados devem ser armazenados microprocessador tenha milhares (e até em memória milhões) de componentes, esta 5. um grande número de estados complexidade não requer que o seu lógicos deve ser mantido na usuário a entenda. Mesmo complexo, o memória microprocessador é estável e confiável, 6. as medições feitas por técnicas muito mais que qualquer circuito com indiretas e cumulativas e o componentes discretos. Embora a procedimento devem ser maioria utilize somente uma pequena automatizados parte da capacidade total do 7. é especificado um alto microprocessador, ainda assim a sua desempenho metrológico, aplicação é economicamente vantajosa. impossível de ser obtido por O software associado ao métodos convencionais microcomputador é também complexo e 8. são essenciais a autocalibração e pode ter os seus besouros (bugs), porém autodiagnose o usuário não precisa conhece-lo. 6.3. 9. o processamento estatístico dos Vantagens e limitações dados deve ser parte do Há varias vantagens obvias no procedimento de medição e feito sistema de controle com automaticamente microprocessadores distribuídos: 10. as incertezas das medições devem 1. Divisão de trabalho e funções. ser determinadas e apresentadas Mesmo que o sistema operacional no display, em linha do processo final seja centralizado em um único 11. há necessidade de transformações microprocessador mestre, as funções funcionais matemáticas, como são distribuídas geograficamente no linearização, conversão de processo e hierarquicamente entre os resultados, compensação através vários microprocessadores. O grau de de cálculos complexos multiprogramação é diminuído, desde Por causa de todas estas vantagens, que algumas funções podem ser o microprocessador chegou e vai ficar desempenhadas diretamente por por muito tempo nos campos da medição unidades remotas. Alarme e e instrumentação. Ele é a base do intertravamento, p. ex., podem ser progresso que a ciência e a tecnologia feitos pelas unidades locais, sem tiveram nos últimos e nos próximos anos. esperar a disponibilidade do sistema Há também várias razões para central. questionar o uso do instrumento 2. Grau de modularidade e microprocessado, algumas subjetivas e flexibilidade. As unidades remotas outras objetivas. As mais importantes podem ser aumentadas, retiradas ou são: substituídas, sem interferência no Há a barreira psicológica, de algumas resto do sistema. O sistema pode pessoas que desconhecem o começar pequeno e crescer, como microprocessador ainda duvidam e não ocorre na maioria absoluta das plantas aceitam os benefícios transparentes do de processo industrial. microprocessador. Muitos acham que o 3. Maior integridade e confiabilidade. microprocessador é muito complicado e Quando previsto na programação e economicamente não é atraente. Muitos nas ligações dos equipamentos, a acham que não necessitam de toda a retirada ou falha de uma unidade não capacidade do microprocessador e por interfere e nem interrompe o isso a sua aplicação seria ociosa e funcionamento de outras unidades. Ou exagerada. Outros acham que o seja, não há interferência nem microprocessador está associado a um horizontal e, com algumas restrições, 7.5
  • 141.
    Instrumentação Inteligente nem vertical. A falha do distribuídos. Todos eles têm vantagens e microprocessador principal pode desvantagens inerentes e por isso todos degradar e fazer desaparecer algumas continuarão a existir. A escolha correta funções, porém, as funções mais de um sistema entre os vários existentes críticas devem ser preservadas, como deve ser feita, baseando-se em controle, alarme e segurança. considerações técnicas e econômicas. 4. Baixo custo dos equipamentos. O computador deve ser um Quando comparado com o sistema suplemento a técnicas de controle SDCD, este é o grande trunfo. Na existentes e deve desempenhar um prática, o controle pode ser feito por trabalho que o sistema convencional não microprocessadores do tipo pessoal, possa fazer. Ele não deve e nem pode cujo custo é da ordem de poucos ser usado para substituir todo o trabalho milhares de dólares. humano, mas deve exigir a inteligência 5. Não há necessárias linguagens do operador de modo que o trabalho especiais. As dificuldades de penoso e cansativo se torne válido e implantação do sistema estão no digno. Finalmente, o ser humano é o desenvolvimento para ele desenvolver mais sensível e adaptável controlador os algoritmos específicos de controle, imaginável. E insubstituível! como PID. Os altos custos relativos dos periféricos não são restritos a esta 2. Controlador inteligente configuração mas são comuns a todas aplicações com controle digital. 2.1. Conceito 1.4. Conclusões O controlador single loop é o instrumento microprocessado com todas Embora atrasada, a tecnologia do as vantagens relacionadas acima computador digital para controle de inerentes à sua natureza que pode ser processo está entre nos. Inevitavelmente usado para controlar uma única malha e por causa das técnicas de marketing, (daí o nome, single loop). É também há um entusiasmo inicial com a nova chamado de single station. O controlador tecnologia, que abrange as áreas de single loop resolve o algoritmo de programação e de equipamentos. controle para produzir uma única saída Através da literatura técnica tem-se a controlada. O seu baixo custo permite (falsa) impressão que o novo que ele seja dedicado a uma única desenvolvimento é uma solução universal malha. Por questão de marketing e por para todos os problemas conhecidos de causa de sua grande capacidade, um controle e de computação. Quando o único invólucro pode ter dois e até quatro desenvolvimento amadurece e é melhor controladores, porém, com o aumento de entendido, suas limitações se tornam dificuldade da operação. conhecidas, novos problemas aparecem O microprocessador pode ter com os novos equipamentos e se vê que qualquer função configurável e por isso, ainda não se tem a resposta de todos os um mesmo instrumento pode funcionar problemas. como controlador, controlador cascata, Deve ser encontrado um ponto de controlador auto-seletor ou como equilíbrio entre usuários e fabricantes, computador de vazão com compensação onde o uso do computador para controle de pressão e temperatura. A de processo traga vantagens para todos configuração pode ser feita através de os envolvidos. Não é conveniente nem teclados acoplados ao instrumento ou inteligente o uso do computador apenas através de programadores separados para duplicar funções já feitas (stand alone). adequadamente por instrumentos Como a tecnologia do single loop é convencionais, simplesmente por que é moderna, o instrumento incorpora todos moda ou há verba disponível. os avanços da tecnologia eletrônica, Há sistema com computadores e sem microprocessadores, displays novos e computadores. Há sistemas com programas criativos. computadores centralizados e 7.6
  • 142.
    Instrumentação Inteligente 2.2. Características Em siderurgias, é comum a aplicação de programas de temperatura, onde se tem Tamanho uma rampa de aquecimento, a Tem tamanho pequeno ou muito manutenção da temperatura em um pequeno (menor que as dimensões DIN). patamar durante um determinado tempo Não necessariamente a mais importante, e o abaixamento em vários degraus. mas um das características mais notável da presente geração de controladores single loop é seu pequeno tamanho físico. A maioria dos controladores segue as dimensões européias DIN (Deutche Industrie Norm) para aberturas de paine: ¼ DIN - 96 x 96 mm (3,8 x 3,8 polegadas) 1/8 DIN - 96 x 48 mm (3,8 x 1,9 polegadas) 1/16 DIN - 48 x 48 mm (1,9 x 1,9 polegada) O mais popular é o 1/16 DIN. Funções de controle Muitos controladores chamados de single loop são dual loops. Através de Fig. 6.2. Frontal do controlador single loop microprocessadores no circuito, muitos (Moore) controladores oferecem os formatos de liga-desliga e PID. Outros controladores Outras propriedades incorporam funções matemáticas, ou no Os controladores single loop possuem próprio circuito ou através de módulos ainda capacidade de auto/manual, ponto funcionais opcionais incorporados na de ajuste múltiplo, autodiagnose e caixa. Estas funções matemáticas memória. São construídos de incluem: conformidade com normas para ser Somador - subtrator facilmente incorporado e acionado por Ganho ajustável com polarização sistemas SDCD. Multiplicador - divisor As aplicações típicas do single loop Compensador lead/lag são em plantas pequenas e médias que (avanço/atraso) não podem ou não querem operar, em Filtro dual futuro próximo, em ambiente com Limitador de rampa e de sinal controle digital distribuído. Mesmo em Rastreamento (tracking) analógico sistemas de SDCD, há malhas críticas Extrator de raiz quadrada que, por motivo de segurança, são Seletor de sinal (alto/baixo e médio) controladas por controladores single- Conversor de sinal (termopares, RTD) loop. Potenciômetro (não isolado e isolado) 2.3. Controladores comerciais Auto sintonia Esta propriedade é disponível na Controlador Bailey maioria dos controladores single loop, O controlador Bailey tem capacidade exceto nos de baixo custo. de duas malhas (dual loop) para controle de uma grande variedade de variáveis. O Seqüencial e programação de tempo instrumento incorpora: A maioria dos controladores single 1. display de plasma de gás para loop possui capacidade de programação ponto de ajuste e saída de controle temporal e sequenciamento de 2. capacidade de armazenar até 75 operações. A programação envolve códigos de funções quaisquer duas variáveis, porém o mais 3. número de entradas e saídas comum é se ter o tempo e a temperatura. flexível 7.7
  • 143.
    Instrumentação Inteligente 4. estação opcional de bypass da 4. painel da estação de trabalho, para malha para controle manual direto indicar status de operação das saídas do processo durante (computador ou local), status do ponto manutenção. de ajuste (remoto, local ou relação), 1. auto-sintonia. status da saída (automático ou A configuração e sintonia são obtidas manual) e status de alarme (ligado ou através de um terminal portátil desligado) proprietário que usa cursor acionado por 5. teclado com 8 teclas para menu para o operador navegar através configuração e operação para de procedimentos de preencher campos selecionar, configurar e sintonizar o em branco. controlador O controlador tem capacidade de monitorar, controlar, configurar até 1500 pontos de controle através de um computador pessoal. Também, na mesma família do produto, há um controlador seqüencial que fornece entradas e saídas digitais adicionais para controlar até três seqüências, um link serial de comunicação RS 232 C para ligar a dispositivos externos, como impressora ou sistema de aquisição de dados. As aplicações comuns incluem controle vazão, temperatura e pressão de Fig. 7.4. Controladores single loop (Foxboro) alimentação de caldeira a três elementos e controle de surge de compressor, controle de motor, gerenciamento de Suas especificações funcionais são: 1. sinais de entrada proporcionais, qualquer combinação não excedendo 4 analógicas (4 a 20 mA, 1 a 5 V, voltagem de termopar ou resistência de RTD) e 2 entradas de freqüência. Todos os sinais de entrada são convertidos e podem ser caracterizados em uma variedade de cálculos. 2. cada controlador possui duas queima e outras com partidas e paradas. funções de controle independentes que podem ser configuradas como um único controlador, dois Fig. 7.3. Controlador Bailey e HHT controladores em cascata ou em Controlador Foxboro seleção automática. Os algoritmos padrão para cada controlador são O controlador single station Foxboro P, I, PD, PI, PID e controle inclui: 1. display analógico fluorescente para EXACT mostrar através de barra de gráfico o 3. duas saídas analógicas não valor da variável, do ponto de ajuste e isoladas e duas saídas discretas da saída do controlador 4. outras funções de controle como 2. display digital para indicar através de caracterização, linearizadores, dígitos os valores e unidades de portas lógicas, condicionadores de engenharia sinal 3. display alfanumérico para indicar tag 5. alarmes da malha selecionada 6. computações matemáticas 7.8
  • 144.
    Instrumentação Inteligente 7. alimentação do transmissor de campo 8. memória para armazenar todos os parâmetros de configuração e operação 9. filtros de entrada (Butterworth) 10. distribuição de sinais (até 30 sinais para roteamento interno) Controlador Moore Fig. 7.5. Controlador single loop (Moore) O controlador digital microprocessado single loop da Moore possui as seguintes características físicas: 1. Display com barra gráfica de Controlador WEST cristal líquido (LCD) para variável do O controlador programador isolado processo, ponto de ajuste e valores West é disponível em um invólucro DIN da válvula de 1/8 (96 x 48 mm). Suas características 2. Display digital para unidades de são: engenharia 1. Display com duas linhas por LEDs 3. Display alfanumérico para status e 2. Sete LEDs dedicados são usados indicação de alarmes. para mostrar a legenda do cursor 4. Funções e operações como durante a configuração e o status entradas, sadias, controles e do instrumento quando um computações são armazenados programa estiver rodando. dentro da memória do modelo como 3. Saída de controle PID que pode modular. ser oferecida com uma saída 1 5. Facilidade de seleção dos blocos (aquecimento) e uma saída 2 funcionais. Tipicamente os blocos de (resfriamento) com a adição de função têm valores de parâmetros, uma saída de alarme. limites de calibração e informações 4. Opção de comunicação serial RS de comunicação com outros blocos 485 para ligação entre mestre e de função selecionados pelo usuário. escravo. 6. Possibilidade de expansão com 5. Capacidade de base de tempo blocos funcionais adicionais para dupla permitindo taxas de implementar controle avançado programa hora-minuto ou minuto- 7. Uso como computador de vazão, segundo. com compensação de temperatura e 6. Revisão dos parâmetros de pressão do sinal de vazão. programa sem interrupção do 8. Capacidades avançadas de programa. compensação de tempo morto, 7. Controle auto-manual, permitindo controle preditivo antecipatório, a passagem de automático (malha cascata, auto-seletor, faixa dividida. fechada) para manual (malha 9. Opção de terceira entrada aberta). adicional para acomodar termopares, 8. Sintonia prévia e auto-sintonia freqüência, militensão, resistência podem ser selecionadas ou não detectora de temperatura ou pulso de selecionadas. computador. As aplicações típicas envolvem 10. Interface de comunicação serial processos de tratamento de calor, para ligação com rede de preparação de alimentos, esterilização e computadores. câmaras ambientais. 7.9
  • 145.
    Instrumentação Inteligente Fig. 7.7. Controladores Johnson Yokogawa Fig. 7.6. Controlador West Controlador Yokogawa O controlador programável da Johnson Yokogawa incorpora funções de controle e computacionais que podem ser combinadas de modo análogo à programação de uma calculadora eletrônica. A função de auto-sintonia é muito útil em aplicações de batelada de vários produtos, onde as características do produto podem variar de produto para produto. Ele apresenta um algoritmo, acionado pelas variações do ponto de ajuste ou sob demanda e fornece uma resposta rápida para variações do Fig. 7.8. Controladores single loop interligados a processo. Outras características incluem: um sistema de comunicação digital 1. controle preditivo antecipatório (feedforward), com computações de ganho e polarização 2. processamento de sinais 3. entradas analógicas (4 pontos, 1 a 5 V cc) 4. saídas analógicas (3 pontos, 1 a 5 V cc ou 4 a 20 mA cc) 5. funções seqüenciais 6. display de dados 7. manipulação de até 10 pontos de status I/O, cada um definido pelo usuário como entrada ou saída. 8. teclas de função programáveis (4) na frente do painel para controlar a partida das seqüências. 9. lâmpadas associadas (4) para indicar o progresso da seqüência ou servir como cursor. 10. cerca de 43 funções computacionais. 7.10
  • 146.
    Instrumentação Inteligente respectivo protocolo. Algum dia isto 3. Transmissores inteligentes será resolvido. 2. Todos os instrumentos de medição 3.1. Introdução industriais contem componentes como A evolução no projeto de foles, diafragmas e elos que exibem transmissores tem sido influenciada, por comportamento não linear ou cujo um lado, pelas exigências dos usuários comportamento pode ser alterado por por melhor desempenho acoplado com variações de temperatura, umidade, custo de propriedade reduzido e, por pressão, vibração, alimentação ou outro lado, pelos desenvolvimentos que outros efeitos externos. Em outros ocorreram nas tecnologias adjacentes, casos, os efeitos não lineares microeletrônica, ciência dos materiais e aparecem por causa dos princípios de tecnologias de comunicação. Os avanços medição, como a medição de vazão mais significativos resultaram do com placa de orifício. A estratégia, até aparecimento de microprocessadores de hoje, era usar outros instrumentos baixo consumo de potência e de para compensar estes efeitos. conversores analógico-digital (A/D) que, Como os instrumentos inteligentes junto com os circuitos sensores básicos, possuem uma grande capacidade podem funcionar com potência limitada computacional, estas compensações, (tipicamente menor que 40 mW) correções e linearizações são mais disponível em um transmissor facilmente conseguidas através de convencional de 4 a 20 mA cc. circuitos embutidos no Nos anos 1980s, estes instrumentos microprocessador. microprocessador foram chamados de 3. Além de transmitir a informação, o inteligentes. Este é outro de muitos transmissor inteligente pode também exemplos de nomes escolhidos ouvir. Um benefício prático disto é em estupidamente para instrumentos de verificação de pré-partida. Da sala de processo. Não há nada particularmente controle, o instrumentista pode inteligente nos instrumentos inteligentes. perguntar ao transmissor que está no Porém, eles possuem características campo qual é o seu número de acima e além das de seus predecessores identificação. e estas capacidades devem ser 4. Possibilitando a inclusão de um entendidas. A capacidade adicional segundo sensor, de modo que os tornou-se possível pelo desenvolvimento efeitos secundários do sensor do admirável microprocessador e a sua principal possam ser compensados. inclusão nos instrumentos de medição. 5. Um transmissor inteligente pode ter Isto significa que um transmissor sua faixa de calibração facilmente inteligente possui um pequeno alterada através de comandos de computador em seu interior que reprogramação em vez de ter ajustes geralmente lhe dá a habilidade de fazer, mecânicos locais. Na medição de entre várias outras, duas coisas vazão com placa de orifício, as principais: verificações de zero do instrumento 1. modificar sua saída para compensar requerem a abertura e fechamento os efeitos de erros das válvulas do distribuidor no 2. ser interrogado pelo instrumento transmissor. receptor da malha. 3.2. Transmissor smart e As capacidades peculiares dos inteligente instrumentos inteligentes são: 1. habilidade de transmitir medições do Para diferenciar o transmissor processo, usando um sinal digital que convencional daqueles em que são é inerentemente um método mais aplicadas correções no sinal do sensor preciso do que o sinal analógico. O primário, usando um microprocessador principal obstáculo é a falta de para manipular a informação que está padronização deste sinal digital e seu incorporada na memória ou daqueles em que um microprocessador é usado em 7.11
  • 147.
    Instrumentação Inteligente conjunto com um sensor secundário para tipo, número de série, tag de derivar correções para o sinal do sensor identificação, sejam armazenados no primário, usa-se o termo smart (sabido). transmissor e acessados através da malha de medição em que o transmissor está instalado. Outras funções, tais como Memória ajuste ou reajuste de zero e largura de falha, detalhes da localização e aplicação e rotinas de diagnóstico para dar aviso de mau funcionamento também podem ser Sensor Conversor Micro Conversor 4 a 20 mA implementados. O termo inteligente tem processador A/D D/A sido usado para identificar tais transmissores. Uma evolução adicional que está Componentes de um transmissor smart sendo atualmente usada é a multiplexação das saídas do transmissor Memória em um circuito ou fieldbus, em vez de ligação dos transmissores através de circuitos individuais para a sala de 1o sensor controle. Para o conceito realizar seu Conversor Micro Conversor 4 a 20 mA processador potencial pleno, é necessária uma norma 2o sensor A/D D/A internacional para garantir que os transmissores de diferentes fabricantes sejam intercambiáveis e interoperáveis. Fig. 7.9. Componentes de um transmissor smart Intercambiável significa que um com sensor secundário transmissor de um fabricante pode ser substituído por um transmissor de outro fabricante sem qualquer alteração no Memória sistema. Interoperável significa que um transmissor de um fabricante pode ser 1o sensor usado para substituir um transmissor de Conversor Micro Conversor 4 a 20 mA outro fabricante mas alguma A/D processador D/A reconfiguração do sistema é necessária. 2o sensor Desde 1985 tem-se feito esforços para desenvolver uma única norma Sistema internacional, mas neste período, foram Comunicação desenvolvidas várias normas proprietárias e nacionais que competem Fig. 7.10. Componentes de um transmissor smart e atrapalham o aparecimento da nova e inteligente com uma facilidade de comunicação norma internacional. 3.3. Terminologia O fato de se incorporar um Há uma falta de consistência na microprocessador em um transmissor terminologia usada para descrever os tem também fornecido uma oportunidade vários atributos e características destes para sair de um regime em que somente novos transmissores e portanto, no o sinal de medição é transferido do contexto deste trabalho são usadas as transmissor para um receptor, tal como seguintes interpretações: um controlador ou indicador ou Sensor registrador, para um em que o microprocessador não somente Dispositivo que converte um implementa as funções smarts parâmetro físico (por exemplo, pressão) mencionadas previamente, mas também em outro parâmetro (por exemplo, gerencia uma facilidade de comunicação. resistência elétrica). Isto possibilita que os dados específicos ao próprio transmissor, tais como seu 7.12
  • 148.
    Instrumentação Inteligente Sensor primário é o sensor que Fieldbus responde principalmente ao parâmetro Meio de comunicação único, (e.g., par físico a ser medido. de fio trançado, cabo coaxial ou fibra Sensor secundário é o sensor óptica), que transporta a informação montado adjacente ao primário para (endereço, dados de controle e dados de medir o parâmetro físico que afeta de parâmetros do processo) entre um modo indesejável a característica básica número de transmissores, atuadores, do sensor primário (por exemplo, os controladores, indicadores e efeitos da temperatura na medição de registradores. pressão). Genericamente, fieldbus é um meio Transmissor de comunicação de dispositivos de campo. Atualmente, há a Fieldbus Instrumento, geralmente montado no Foundation que gerencia a aplicação do campo, usado para sentir a variável do protocolo escífico chamado de Fieldbus. processo (e.g., temperatura) em um ponto onde ele está montado e para fornecer um sinal padrão (por exemplo 4 a 20 mA cc) que é uma função, 50 geralmente linear, desta variável. 45 Transmissor smart é um transmissor 40 Delta P em que é usado um sistema 35 Temperatura microprocessador para corrigir os erros 30 Pressão de não linearidade do sensor primário Outros através da interpolação de dados de 25 Nível calibração mantidos na memória ou para 20 Densidade compensar os efeitos de influência 15 Análise secundários sobre o sensor primário 10 incorporando um segundo sensor 5 adjacente ao primário e interpolando 0 dados de calibração armazenados dos sensores primário e secundário. Transmissor inteligente é um transmissor em que as funções de um Fig. 7.11 Estatística de transmissores de processo sistema microprocessador são compartilhadas entre 1. derivar o sinal de medição História primário, A faixa de sistemas de medição smart 2. armazenar a informação referente hoje em uso cobre uma grande variedade ao transmissor em si, seus dados de de aplicações mas as que são aplicação e sua localização e simultaneamente smart e inteligente tem 3. gerenciar um sistema de sido desenvolvidas especificamente para comunicação que possibilite uma uso em industrias de processo. Os tipos comunicação de duas vias e números relativos de medições de (transmissor para receptor e do processo variam de uma indústria para receptor para o transmissor), outra, mas a Fig. 7.11 mostra que as superposta sobre o mesmo circuito variáveis mais medidas são temperatura, que transporta o sinal de medição, a pressão e pressão diferencial para vazão comunicação sendo entre o e nível, densidade e análise. transmissor e qualquer unidade de O principal desenvolvimento de interface ligada em qualquer ponto de transmissores smart tem sido acesso na malha de medição ou na concentrado em transmissores de sala de controle. temperatura, pressão e pressão diferencial. Para os transmissores de temperatura, são armazenados em sua memória os dados referentes às curvas 7.13
  • 149.
    Instrumentação Inteligente características devários tipos de acesso dos dados relativos à aplicação, termopares, resistência de platina e posição instalada e história do serviço outros sensores, para interpolação pelo possam ser implementados. O termo microprocessador através da faixa inteligente é usado para identificar o selecionada do transmissor. Para os transmissor com tais facilidades. transmissores de pressão e de pressão O conceito de transmissores que não diferencial, os dados de calibração apenas fornecem um sinal de medição, relativos aos sensores primário e mas são também capazes de secundário são armazenados na comunicação em dois sentidos sobre o memória para interpolação pelo mesmo circuito provoca: microprocessador através de toda faixa 1. necessidade de uma norma que selecionada do transmissor. Os possibilite transmissores de diferentes transmissores de pressão diferencial são fabricantes sejam intercambiáveis (tal particularmente importantes porque como hoje se faz com os metade das medições de nível e dois transmissores convencionais de 4 a terços das medições de vazão são 20 mA cc) baseadas nesta medição, embora esta 2. necessidade de uma norma que última proporção esteja declinando. possibilite a exploração das O segundo desenvolvimento facilidades melhoradas. importante aparece dos benefícios 3. possibilidade de substituir os circuitos potenciais da possibilidade de individuais entre os transmissores e as comunicação com um instrumento saídas de controle com um remoto através do mesmo circuito que barramento (highway) de dados. O transporta o sinal de medição. Até então, termo fieldbus é usado para descrever nas indústrias de processo, os qualquer forma de barramento de instrumentos eram considerados como dados que suporta a comunicação dispositivos que eram localizados em entre equipamentos de campo com a posições remotas e ligados por um par sala de controle. de fios trançado para o ponto onde o Um fieldbus tem muitas vantagens sinal de medição era necessário. A sobre o sistema convencional de 4 a 20 tecnologia que possibilitava dois tipos de mA cc, como: informação a serem comunicadas sobre 1. reduzir os custos de fiação, o mesmo par de fios, sem interferência comissionamento e manutenção mútua, tem sido disponível, mas somente 2. aumentar a versatilidade recentemente tem sido aplicada e 3. melhorar a funcionalidade explorada para medições de processo. Desde 1985 tem-se feito esforços Tendo desenvolvido transmissores para desenvolver uma única norma em que os microprocessadores são internacional, mas desde esta data, usados para melhorar o desempenho também foram desenvolvidas várias pela linearização das características normas proprietárias e nacionais que básicas do sensor ou pela compensação competem para se tornar a norma das influências secundárias, é uma predominante. A despeito desta situação progressão lógica adicionar mais confusa, a introdução de fieldbus memória, de modo que outros dados, provavelmente provocará uma grande específicos ao transmissor em si, tais melhoria e versatilidade nas indústrias de como seu tipo, número de série, tag de controle, junto com as tecnologias identificação, sejam armazenados no adjacentes tais como processamento de transmissor. O microprocessador pode sinal, circuitos neurais, lógica fuzzy e ser usado para controlar uma facilidade matrizes de sensores. Um dos primeiros de comunicação, de modo que a protocolos de comunicação de campo a informação armazenada no transmissor ser explorado comercialmente com possa ser interrogada via circuito de sucesso foi o Protocolo de Comunicação medição, em que ele está instalado e de Campo HART, desenvolvido pela outras funções, tais como ajuste e Rosemount. reajuste de zero e largura de faixa, 7.14
  • 150.
    Instrumentação Inteligente Um dos muitos problemas que progressos foram paralelos com os existiram em grandes plantas de avanços dos microprocessadores de processo, é a variedade de transmissores baixo consumo de potência e os necessários para satisfazer as exigências conversores analógico-digital (A/D). Um operacionais e o conseqüente alto custo modo de reduzir o custo de fabricação é de suas peças de reposição. Esta reduzir o peso e tamanho dos variedade é devida principalmente ao fato componentes. de os transmissores serem analógicos com ajuste de faixas limitado, de modo 3.4. Propriedades e características que são necessários muitos sensores O uso da comunicação digital diferentes. A introdução de um segundo superposta ao sinal de medição 4 a 20 sensor e o sistema de microprocessador mA não somente possibilita a vantagem aumentou grandemente a rangeabilidade de usar o desempenho melhorado dos e precisão dos transmissores, de modo sensores mas também permite uma que as medições de pressão e de grande faixa de informação a ser extraída pressão diferencial podem ser feitas por do transmissor, sob pedido, e ajustes dois transmissores de cada tipo. feitos para o modo de operação. O padrão de transmissão atual de 4 a 20 mA cc forneceu uma base excelente para o desenvolvimento da instrumentação de processo nos últimos 30 anos. Suas vantagens incluem: 1. o sinal de medição não é afetado pelas variações de resistência da malha, 2. transmissores de diferentes fabricantes podem ser Fig. 7.12. Diagrama da saída de 4 a 20 mA intercambiáveis 3. dentro de grandes limites, podem ser inseridos instrumentos de Os atributos e características dos alarme, indicação, registro sem transmissores smart e inteligente são afetar a precisão da medição mostrados adiante, mas os detalhes 4. a potência necessária para podem diferir de uma fabricante para energizar o sensor e os circuitos outro, bem como de um tipo para outro condicionadores é fornecida com de transmissor. A maioria das zero vivo, que é detectora de falha. características ou atributos do Porém, a transmissão de 4 a 20 mA transmissor inteligente pode ser cc tem a limitação de apenas comunicar endereçada de um terminal portátil o sinal de medição, que é transmitido do (handheld), chamado de comunicador ou transmissor para a sala de controle. É um interface handheld ou de uma outra sistema de comunicação com um único interface da sala de controle. sentido. A influência dominante na evolução Linearização e caracterização do dos sistemas de medição de processo é sensor a necessidade de reduzir o custo de A presença de memória e a propriedade. Custo de propriedade é o capacidade de computação no custo do instrumento em si, mais os transmissor permitem o sinal ser custos de instalação, comissionamento, condicionado antes de ser transmitido. partida, calibração e manutenção Por exemplo, o sinal do sensor primário subseqüentes. Os desenvolvimentos nos pode ter uma relação não linear elementos sensores exploraram os conhecida com a variável medida. Os métodos de CAD para melhorar as exemplos mais comuns são os sensores tecnologias de strain gauges com silício e de temperatura a termopar e a RTD e a a fabricação de microelementos sensores relação raiz quadrática entre a vazão e a capacitivos e ressonantes. Estes 7.15
  • 151.
    Instrumentação Inteligente pressão diferencialgerada pela placa de Medição em unidades de engenharia orifício ou outro sensor gerador de Há vários modos de se conseguir pressão diferencial. Assim, a informação isso: da calibração real do transmissor pode 1. Ajuste do sinal de 4 a 20 mA cc. ser armazenada na memória e usada Usando os ajustes de zero e de para melhorar a precisão do sinal de largura de faixa, é possível conseguir saída. que uma variação de 1 mA no sinal de Nos casos onde o sistema de saída corresponda a uma dada medição compreende dois instrumentos variação na quantidade medida. Isto é separados como um elemento sensor e particularmente útil em aproveitar um transmissor separado com a unidade registradores e indicadores existentes. de computação, as constantes do sensor 2. Comunicação digital. É geralmente primário entram na unidade de possível estabelecer o escalonamento computação do transmissor, de modo de um instrumento de modo que a que qualquer unidade pode ser trocada. variável medida (por exemplo, vazão) Além destas manipulações puramente mostrada no comunicador portátil ou matemáticas com os dados originais, no display do operador apareça em também podem ser feitas medições unidades desejadas ou especificadas internas auxiliares em linha da pressão e da medida, com o símbolo da unidade temperatura para permitir a correção da no SI (por exemplo, 7,5 kg/s). Isto saída dos efeitos destas quantidades pode ser estabelecido sobre o desempenho do transmissor. independentemente do Esta é uma atividade separada da escalonamento do sinal de 4 a 20 mA correção da medição resultante para cc e evita erros de cálculo pelo variações nas propriedades do fluido com operador quando converte a temperatura ou pressão, embora percentagens de vazão para unidades alguns instrumentos possam permitir de engenharia. acesso a estas medições auxiliares sobre 3. Saídas de pulso para totalização. a linha de comunicação de modo que Muitos medidores de vazão têm a eles possam ser usados externamente opção de saída de pulso em uma para este objetivo. freqüência proporcional à vazão. O fornecimento de sinais linearizados Estes pulsos podem ser contados e corrigidos para um sistema de controle externamente ou no instrumento em si significa que não há necessidade de se para fornecer uma indicação da vazão fazer estas computações enfadonhas e o totalizada. O escalonamento desta tipo de transmissor montado em um saída pode ser escolhido de modo que determinado local não tem importância o intervalo entre os pulsos represente para o sistema de controle, desde que se um volume ou massa específica do possa assumir que o sinal recebido fluido. Esta característica é útil pois sempre será linearmente representativo permite o uso de simples contadores do parâmetro do processo. para indicar o total e permite uma Inclusão de funções de controle e freqüência de pulso conveniente seja outros algoritmos escolhida para os contadores eletromecânicos. Os microprocessadores usados em 4. Características de falha-segura. Todos transmissores smart ou inteligente são os medidores de vazão inteligentes mais do que capazes de fazer as fornecem algumas rotinas internas de computações relativamente simples diagnóstico e identificam os envolvidas no controle liga desliga ou PID problemas. Em alguns instrumentos, e alguns instrumentos fornecem esta pode ser possível especificar o que característica. A sintonia da malha é feita aconteceu com a saída sob certas através da linha de comunicação. condições de falha, por exemplo, ir para 3,9 mA ou manter o último valor. 7.16
  • 152.
    Instrumentação Inteligente Área de risco Área segura Configurador Fig. 7.13. Transmissor inteligente (Foxboro) Há um medo generalizado de que Indicador opcional estes instrumentos mais complexos possam falhar mais freqüentemente do Fig. 7.14. Instalação do transmissor inteligente que os instrumentos analógicos similares. com barreira de segurança intrínseca (MTL) Porém, quando eles falham, muito mais informação acerca da natureza da falha é disponível. Estes instrumentos Mais comumente, isto é usado para complexos têm sido disponíveis em permitir o mesmo instrumento ser usados serviço para um período suficiente de para medir faixas estreitas ou largas e tempo para estabelecer a vista que é tem especial importância quando a mais próxima à realidade. característica de transferência do sensor Ajuste de span e de zero é não linear, como na medição de vazão com placa de orifício. Esta característica permite o uso da Antes do advento dos transmissores faixa total do sinal de saída analógico inteligentes, um sistema de medição de (usualmente 4 a 20 mA cc) para uma vazão com placa de orifício, para uma faixa que é menor do que a faixa total de rangeabilidade de 20:1 podia requer três medição do sensor primário. É transmissores de pressão diferencial usualmente empregada para alterar a convencionais, com superposição de largura de faixa sem alterar o zero, mas faixas. Um transmissor inteligente pode, um zero suprimido pode ser útil quando a hoje, fornecer as mesmas saídas variável de processo deve ser controlada analógicas mas com comunicação digital rigorosamente em torno de um valor do ajuste de faixa. Em geral, esta especificado e não há interesse nos característica é somente necessária se valores da variável do processo fora uma saída analógica é necessária, desde desta faixa estreita. Obtém se um que uma representação digital da controle melhor por causa dos erros de pressão diferencial é também disponível ruído e de quantização na saída irão do transmissor e ela não requer nenhum representar menores alterações na ajuste de zero ou de span. Um resultado variável. importante desta versatilidade que se aplica a todos os transmissores inteligentes é que um modelo pode ser configurado para tratar de uma grande faixa de aplicações de modo que poucos tipos e faixas de transmissores devem ser mantidos como reservas em uma planta de processo. 7.17
  • 153.
    Instrumentação Inteligente 4. variável principal correspondendo a 4 a 20 mA cc 5. número de tag de identificação na planta 6. materiais de construção das partes molhadas 7. número de revisão do software 8. data da última calibração. A habilidade de chamar esta Fig. 7.15. Ligação do transmissor em uma informação ajuda em manter atualizado o malha de medição (Fisher - Rosemount) programa de manutenção da instrumentação da planta, que pode ser verificado por questões reais para garantir que tipo, faixa do equipamento Ajuste de amortecimento, tempo de montado na planta está em linha com os reposta e constante de tempo registros da planta bem como com as Muitos transmissores fornecem necessidades operacionais. Algumas seleção de amortecimento, constante de destas informações de status, tais como tempo e tempo de resposta para permitir número do modelo, serial e materiais de flutuações da variável medida ou redução construção, onde isto é crítico, são do ruído eletrônico no sinal de saída. permanentes. Outros detalhes são Muitos fabricantes usam um filtro que entrados ou modificados quando o pode ser representado por um simples transmissor é instalado ou removido do atraso, mas alguns usam um filtro serviço. adaptativo com diferentes respostas para A informação de diagnóstico é variações pequenas e grandes. relacionada com a operação real do A seleção de uma grande constante transmissor e se altera muito mais de tempo produz um sinal de medição freqüentemente. Algumas rotinas de lento e suave mas pode mascarar os diagnostico evitam a entrada de distúrbios de instabilidade na variável de informação discrepante de configuração processo. Quando o sinal de medição (por exemplo, o valor medido está sendo usado como entrada para correspondente a 4 mA ser maior do que uma malha de controle de vazão, uma o 20 mA). Outras informações avisam grande constante de tempo pode tornar a situações inesperadas, tais como vazão sintonia da malha mais difícil. Variando a reversa e outras podem reportar falhas constante de tempo certamente afeta a internas nos circuitos eletrônicos, tais sintonia e resulta em controle ruim ou como falha de escrever em um local de instabilidade. memória. Rotinas de diagnóstico e status Muitas destas rotinas rodam Há dois tipos de informação, um continuamente e estabelecem avisos relacionado com o status normal do assim que aparece uma falha. Outros instrumento e o outro fornece diagnose podem requer ação do operador no de falha ou condição anormal do comunicador Portátil ou na interface da processo. Ambos são de interesse da sala de controle, tornando possível a manutenção da planta e devem ser verificação da operação do transmissor considerados juntos. sem deixar a sala de controle. Exemplos de informação do status podem ser: 1. modelo e número de série do transmissor 2. variável principal e unidade de engenharia 3. faixa e constante de tempo de amortecimento do transmissor 7.18
  • 154.
    Instrumentação Inteligente rádios foram usados para construir o 4. Instrumentação virtual primeiro instrumento eletrônico. A tecnologia do display da televisão foi 4.1. Definição usada em osciloscópios e analisadores. Um instrumento virtual é definido Hoje, os computadores pessoais como contribuem para a computação de alto desempenho, display, captura e Uma camada de software, hardware armazenamento de dados. ou de ambos, colocada em um Os instrumentos também evoluíram computador de uso geral de modo que em termos de flexibilidade e grau de o usuário possa interagir com o integração aos sistemas. A primeira computador como se fosse um geração de instrumentos era de instrumento eletrônico tradicional instrumentos analógicos, manualmente projetado pelo próprio usuário. controlados de seu painel frontal. As Do ponto de vista do usuário, é muito medições deste tipo de instrumento difícil ver rapidamente as diferenças entre deviam ser registradas manualmente. O os pacotes de software. O que se vê na usuário não tinha flexibilidade no projeto tela do computador não dá da interface ou na capacidade da imediatamente um entendimento da medição. filosofia de base. Diferente de um hardware, em que se pode abrir a caixa e olhar dentro, a arquitetura no software é abstrata e não é imediatamente visível para um olho nu. Para dar um exemplo, quando se tem um computador pessoal com um circuito de aquisição de dados embutido, que instrumento virtual pode ser construído? Para um eletricista, o instrumento poderia funcionar como voltímetro, osciloscópio, digitalizador ou mesmo um analisador de espectro. Para um instrumentista ou operador de processo, o instrumento pode funcionar como indicador, Fig. 7.16. Multímetro virtual (Fluke) registrador, controlador ou chave de atuação. A única diferença entre o instrumento Com a invenção da interface (driver) convencional e o virtual é o software e de instrumentos, os sistemas puderam por isso tem se a idéia que o software é o ser criados para serem controlados instrumento. manualmente ou através de um computador. Cada instrumento era 4.2. Passado e Tendências Futuras projetado para uma aplicação específica Para apreciar como as várias partes e um número de instrumentos era de um instrumento virtual se juntam, é empilhado em um painel (rack) para importante rever como a instrumentação completar o sistema de medição. Hoje, evoluiu até o estado presente. Na os instrumentos são uma combinação de evolução da instrumentação nos últimos computadores de uso geral, software 100 anos, é importante notar que os gráfico, instrumento programável e instrumento tem sempre alavancado a digitalizador. Estes instrumentos tecnologia usada na época. No século modernos otimizam o desempenho 19, o movimento de joalheria do relógio usando programas baseados em registro, foi usado para construir instrumentos memória compartilhada e potência de analógicos. Nos anos 1930, o capacitor processamento avançada. Os variável, resistor variável e válvula dos instrumentos modernos também combinam condicionamento e 7.19
  • 155.
    Instrumentação Inteligente roteamento sofisticadosde sinal e instrumentos relacionados, um conjunto gatilhamento inteligente. As principais comum de comandos para medições vantagens que estes instrumentos dão ao idênticas de instrumentos diferentes e um usuário são: método para representar dados em um 1. alta potência formato comum, o formato intercambiável 2. facilidade de desenvolvimento de dados (DIF - Data Interchange 3. facilidade de reconfiguração para Format). O DIF permite o desenvolvedor tarefas diferentes concentrar na aplicação, em vez de concentrar na comunicação com os instrumentos. Na ausência de uma grande disponibilidade de instrumentos SCPI, uma parte importante da do sistema com instrumentação virtual é o driver. 4.3. Progressão de Normas As normas de instrumentação GPIB progrediram de IEEE-488.1 e IEEE-488.2 a SCPI. As normas IEEE-488.1 (1975), simplificam e padronizam a interligação da instrumentação programável definindo as especificações mecânica, elétrica e do protocolo GPIB. Antes da IEEE-48.1, cada fabricante tinha sua própria Fig. 7.17. Controlador virtual interface proprietária. IEEE.488-2 manteve a norma IEEE-488.1 completamente intacta mas Outro aspecto da tecnologia que tornou os sistemas mais compatíveis e o permite o uso de computadores pessoais desenvolvimento do programa mais fácil na instrumentação é a padronização dos definindo componentes usados para fazer o 1. códigos e formatos de dados sistema. Praticamente, todos os padrão, componentes, do barramento I/O e os 2. modelo de reportar status, barramentos de comunicação, até as 3. protocolo de troca de mensagens, mensagens que são passadas entre os 4. conjunto comum de comandos para subsistemas têm sido padronizados. No todos os instrumentos e passado, os projetos proprietários 5. conjunto de exigências do levaram a sistemas fechados que controlador. atormentavam o integrador da aplicação Como a IEEE-488.1 não endereçou e resultavam em sistemas que não se estas tarefas, os fabricantes comunicavam ou interfaceavam com implementaram cada um destes itens de nenhum outro. Usando sinais modo diferente, resultando em padronizados por normas, o sistema fica comportamento de programação facilmente elaborado para as complexo e imprevisível. necessidades específicas do usuário. Em 1990, National Instruments, Brüel Estas normas incluem: & Kjaer, Hewlett-Packard, Fluke, Keithley, SCPI (Standard Commands for Racal Dana, Philips, Tektronix e Wavetek Programmable Instruments) formaram o consórcio SCPI como uma GPIB (IEEE-488/488.2) base para definir um conjunto de VXI (IEEE-1155) comandos simples, compreensível e PC bus (IEEE-996) conveniente para todos os instrumentos, O SCPI é um desenvolvimento SCPI também define um modelo para um interessante na instrumentação virtual, instrumento. quando ele promete, finalmente, um Uma tendência padrão no conjunto comum de comandos para desenvolvimento dos sistemas de 7.20
  • 156.
    Instrumentação Inteligente instrumentação virtualé a aceitação geral simples mensagem do tipo passa/falha de digitalizadores e circuitos de aquisição comum nos testes de produção e uma de dados (DAQ) plug-in. A tecnologia de interface gráfica de usuário sofisticada. uso geral de conversão analógica-digital Embora o modelo SAMI defina todas (A/D) está evoluindo rapidamente e as partes do sistema de medição, ela não diminuindo os custos. Digitalizadores de endereça a tarefa de como desacoplar o uso geral, se circuitos DAQ plug-in ou sistema operacional do software usado instrumentos externos programáveis, são no desenvolvimento da aplicação. Isto é a opção de instrumentação de maior necessário se o usuário deseja manter crescimento porque digitalizam um sinal sua fonte de aplicação inalterada, mas inteiro e fornecem a máxima flexibilidade quer tirar vantagem de um sistema e funcionalidade para a necessidade da operacional mais novo e com maior medição. desempenho ou se o usuário quer se mover uma plataforma totalmente nova. 4.4. Partes do Sistema O movo normal para se conseguir isto é Na definição de um sistema de através de um conjunto de drivers instrumentos, é útil aplicar um modelo do comum. sistema, que é referido como a Embora as diferenças do sistema arquitetura padrão para a medição para a operacional resultam em diferentes instrumentação (SAMI - Standard estratégicas para implementar o driver Architecture for Measurement for [por exemplo, MS Windows com dynamic Instrumentation). O diagrama do modelo link libraries .(.DLL) e sob MS DOS com SAMI pode ser dividido em três áreas: statically linked libraries (.LIB) seriam 1. aquisição normalmente usados], o esforço global 2. análise do desenvolvedor do driver deve 3. apresentação apresentar um conjunto consistente de O instrumento virtual define qual chamadas para o driver para a aplicação. destas funções é desempenhada via O driver é responsável pela cartão plug-in, instrumento isolado, inicialização do equipamento, software ou combinação deles. Embora a comunicação com o equipamento, configuração geral de uma aplicação de alocação de fontes e medição e um sistema de instrumentação gerenciamento de memória possam se parecer, a implementação e alocação de memória técnica de medição geralmente variam. O Devido às diferenças nos sistemas elemento de aquisição do sistema operacionais, não há esquema de compreende: gerenciamento de memória consistente e 1. condicionamento do sinal os sistemas operacionais (MS DOS e 2. chaveamento Windows) colocam muita exigência no 3. mecanismos de gatilho especialista de programação para 4. instrumentação para tomar a acessar a memória de modo confiável. medição A análise consiste do cálculo (estatística, filtro, spectrum de potência) e da formatação. A formatação é um exigência muito comum de um sistema de instrumentação, quando instrumentos diferentes transmitem e recebem dados em uma grande variedade de formatos. Estes formatos necessitam ser convertidos antes dos cálculos serem aplicados. A apresentação, armazenagem e cópia dos dados são a última parte do sistema. Isto pode consistir de uma ApostilasAutomação 21Inteligente.doc 26 MAR 99 (Substitui 31 JUL 96) 7.21
  • 157.
    Instrumentação Inteligente SCPI Formato de Intercâmbio de Dados (DIF) Conjunto Padrão de Comandos de Instrumentos Exigências Comandos comuns do Relatório de status IEEE-488 2 Formatos de dados Protocolo de troca de mensagens IEEE-488 1 Exigências Protocolos do Seqüências de controle Elétrico Mecânico Funcional Fig. 7.18. Progressão de normas Aquisição Análise Apresentação Interface Instrument o Calcular Rota e Copiadora Condiciona- DAQ mento do IEEE 488 Arquivo I/O sinal VXI Comunicação Formatar Circuito Controle de gatilho Fig. 7.19. Modelo SAMI (Standard Architecture for Measurement for Instrumentation) 7.22
  • 158.
    8 Computador no Processo processo, há dois argumentos que não 1. Justificativas são válidos: Na década de 1950, apareceu o 1. O argumento do estado da arte da primeiro computador digital aplicado ao revista, que se não se tem um controle de processo. As primeiras computador em linha controlando seu instalações foram consideradas uma processo ou se não tem um plano revolução virtual na tecnologia de definitivo para instalar um, então se controle e aqueles que não pensaram está na rabeira da tecnologia e se assim foram considerados pensadores está perdido para seu concorrente. negativos ou até técnicos obsoletos. Qualquer pessoa razoável percebe Uma nova tecnologia é usualmente que este argumento é idiota. desenvolvida para eliminar os problemas Computadores em linha são caros associados com o modo antigo de fazer para se obter e se manter. as coisas. Porém, esta nova tecnologia Instalações de processo com inevitavelmente traz com ela seu computadores envolvem milhões de conjunto próprio de problemas dólares, requerem pessoas com alto peculiares. A questão atual que se salário para manterem e atualizarem apresenta é: as coisas estão melhores o sistema. Um computador não hoje, considerando-se todos os fatores, necessariamente faz um melhor do que antes de se fazer a mudança? trabalho de monitorar, avaliar e Esta é a questão que tem de ser controlar do que um ser humano. O respondida quando se quer mudar um objetivo é operar de um modo mais controle de local para a sala de controle, lucrativo e não ter um negócio de de pneumático para eletrônico, de painéis ponta que as revistas publicam de instrumentos para consoles de vídeo, artigos sobre ele. de analógico para digital, de sistema 2. O segundo argumento é mais sutil digital centralizado para distribuído. mas ainda inválido. Se um A questão a ser avaliada pelo computador digital faz algum trabalho projetista do controle de processo é: as de controle, o computador digital faz coisas hoje estão melhores com o novo todos os trabalhos de controle. A método e seus problemas do que antes, primeira parte deste argumento é do modo antigo com seus problemas que 99% correta. A segunda parte é já eram entendidos e já estavam sob errada. Ela exige que o projetista do controle? A resposta a esta pergunta controle de processo consiga o nem sempre é absolutamente positiva. O melhor equipamento ou sistema para fato que alguém tem um bom resultado o trabalho. em sua aplicação não significa que isso O campo de controle de processo irá acontecer em outra aplicação. As parece atrair regras de bolo. Elas são circunstâncias têm uma grande usadas extensivamente por pessoas que influência. são desinformadas ou que não estão Entre as justificativas para se usar um inclinadas a gastar esforço ou dinheiro computador digital no controle de para fazer o trabalho certo. Todas as 8.1
  • 159.
    Computador no Processo regrasde bolo devem ser tratadas com isto pode ser demonstrado, desde que a restrição, todas exceto uma, que é produção na maioria das plantas com provada ser verdade sempre: grande saída é mais sensível a falhas Simplicidade e confiabilidade andam mecânicas e erros de operação do que a juntas. Assim, a melhor decisão do qualquer otimização que um computador projetista é optar pelo modo mais simples possa oferecer. de conseguir os resultados desejados na medição e no controle. Computadores digitais não são os equipamentos mais simples. Especialistas em controle de processo com computador afirmam que o computador opera em tempo real. Que tipo de tempo é este?, é a reação de muitos instrumentistas. Este é apenas um exemplo de um jargão de computador que caracteriza a chegada dos computadores digitais no controle da planta. Muito instrumentista tem dúvida Fig. 7.1. Planta com computador do significado de tempo real. Um sistema que funciona em tempo real processa sua informação de entrada tão rapidamente quanto a informação entra 2. Aplicações típicas no sistema. Lembrando que o computador de processo tem entradas Há algum benefício real a ser obtido de que são medições do processo e que computadores de controle de processo regularmente alteram seus valores, o quando eles são aplicados em sistema do computador age sobre um circunstâncias certas. As aplicações bem novo valor de qualquer entrada sucedidas geralmente incluem: lógica, imediatamente. Ele não põe o novo valor controle avançado, monitoração de alta na memória até que ele possa tratar dele. velocidade, partida e desligamento com Às vezes, é fácil justificar a viabilidade computador e otimização do controle. econômica do uso do computador. Por 2.1. Lógica exemplo, seja uma planta que produz 10 milhões de litros de um produto por dia, Uma das mudanças mais significativas com um valor de $0,20 por litro. O valor que ocorreram em controle de processo é da produção diária da planta é de $2 o aumento do uso de lógica programada. milhões por dia. Os proponentes do O termo lógica significa aqui: projeto do computador podem dizer, 1. Matemática em linha: adição, corretamente, que o uso do computador multiplicação (escalonamento), otimiza o processo e haverá um extração da raiz quadrada, elevação rendimento de 1%, logo o computador irá ao quadrado e geração de função ganhar $20.000 por dia. Nesta para linearizar relações não lineares. proporção, se o custo do computador for A habilidade de fazer matemática em de $1.000.000 (bem conservador), ele se linha tem uma grande vantagem em paga em 50 dias. Qualquer gerente irá que ela torna possível monitorar e até aprovar um investimento com este tipo de controlar variáveis de processo que retorno e o projeto do computador se não podem ser medidas diretamente torna uma realidade. mas que podem ser computadas de O problema é que depois que o outras variáveis medidas. Exemplos computador está finalmente em são circulação catalítica e eficiências funcionamento, depois de ter sido de caldeiras e queimadores debugado, vários meses mais tarde, 2. Estabelecimento de limites em ninguém vai verificar se a promessa de variáveis e sinais que as 1% da produção se realizou. Raramente representam. Isto significa 8.2
  • 160.
    Computador no Processo medições, saídas de controlador, distúrbios não são realmente um pontos de ajustes, diferenças entre problema porque o sistema de o valor real de uma variável de controle pode rapidamente processo e seu ponto de ajuste. compensá-los. 3. Seleção de variáveis. Selecionando Porém, quando está ausente uma o valor maior e o menor ou médio destas condições, o sistema de controle de mais de um sinal determinado à realimentação negativa tem um para indicação, registro, alarme ou desempenho ruim e é necessário usar controle. um esquema de controle mais elaborado. 4. Movimentos condicionais. Se uma Estes esquemas mais elaborados de variável particular é maior ou menor controle são chamados genericamente que outra variável, então uma de controle avançado. chave muda sua saída para fins de Uma característica de todos alarme ou controle. esquemas de controle avançado é que Quando se observa um diagrama P&I eles requerem a capacidade de de um sistema de controle de caldeira é computação em linha. Pode-se dizer, fácil ver que se tem muito controle lógico portanto, que o advento do computador e pouco controle PID. A lógica é mais digital em linha tornou possível o uso de fácil de ser feita por circuitos digitais do métodos de controle que não eram que por cadeias de módulos analógicos. disponíveis antes. Desde que tais A lógica é mais fácil de ser estabelecida esquemas sejam corretamente e alterada, quando é feita por projetados e sintonizados, tem-se uma programação. Alterações de lógica feita melhora considerável no desempenho por módulos analógicos requerem a dos sistemas de controle. adição ou retirada de módulos, com Uma estratégia útil de controle, modificação da fiação correspondente. especialmente no caso de controle de Finalmente e o mais importante: a lógica fracionadores, é usar o computador para em um sistema digital é mais confiável fazer balanço de materiais e energia do porque ela nunca perde sua precisão. processo. Quando este método é usado, Desde que o controle PID pode ser o computador é fornecido com um feito digitalmente e quando a lógica modelo do processo, do qual o predomina sobre o controle analógico em computador pode calcular as alterações todo o esquema da planta, então um necessárias das variáveis manipuladas, sistema totalmente digital é em função dos distúrbios que afetam as provavelmente a melhor escolha. variáveis controladas. As variáveis distúrbios e as manipuladas são todas 2.2. Controle Avançado medidas e se tornam entradas para o O sistema de controle com computador. Este esquema de controle é realimentação negativa não pode manter chamado de preditivo antecipatório a variável controlada sempre igual ao (feedfoward). ponto de ajuste. Ele pode apenas trazer 2.3. Monitoração de Alta a medição de volta ao ponto de ajuste depois que o sistema teve um distúrbio. Velocidade Um sistema de controle a realimentação Por razões de rendimento, o tamanho negativa dá resultado satisfatório se ótimo das plantas tem aumentado e, 1. Os distúrbios são mínimos em paralelamente, o tamanho e custo das tamanho e número ou se eles se máquinas usadas nestas plantas. A distribuem sobre um longo período produção contínua de produtos de alto de tempo. Isto é outro modo de valor muitas vezes depende do dizer de que os distúrbios não são desempenho de grandes e caras grandes ou repentinos. bombas, compressores, motores, 2. O sistema de controle tem um curto esteiras e outras máquinas de operação período de oscilação e portanto um contínua. Outros equipamentos de pequeno tempo de recuperação. processo podem não se mover mas Sob estas circunstâncias, os também consomem grandes quantidades 8.3
  • 161.
    Computador no Processo deenergia cara. Algumas máquinas são Um computador em linha pode tão caras que não é prático ter uma visualizar um procedimento de partida em sobressalente. que toda a seqüência de partida é Para evitar paradas e perdas programada, passo a passo. O resultantes de produção, a operação do computador pode mostrar os passos a equipamento deve ser continuamente serem tomados, em sua seqüência, um monitorada. Esta monitoração é passo por vez. Nenhum passo é conseguida pelo ser humano através da realizado até que o precedente tenha ajuda de indicadores e registradores. sido feito corretamente e verificado por Esta monitoração deve ser constante, uma entrada manual do operador ou por contínua e embora pareça inútil ela é um sinal que o computador recebe necessária para conseguir a diretamente do processo. sobrevivência de equipamentos Além disso, o computador caríssimos. continuamente verifica o processo, não Um sistema de monitoração baseado apenas os valores das temperaturas, em computador digital é uma solução pressões, vazões e níveis do processo, prática, porque pode-se observar mas também as posições corretas das variáveis importantes na base de fração válvulas críticas e as operações de de segundo. Seus valores podem ser equipamentos críticos. No caso de algo comparados com limites de segurança não acontecer como o programado, o programados e o alarme pode ser computador supervisório alerta o acionado para chamar a atenção do operador ou mesmo aborta a partida. operador para qualquer ocorrência Quando a operação de partida se anormal. Mais ainda, os valores completa e a unidade está em linha, o passados podem ser armazenados e computador contém a documentação uma tendência pode ser computada completa do ocorrido. Um procedimento como guia para a seriedade do assistido por computador produz partidas desenvolvimento de uma situação ruim. e desligamentos mais seguros. Finalmente, se ocorrer algum acidente, o computador possui dados armazenados 2.5. Otimização do controle que podem levar à determinação da As primeiras aplicações de causa real. computadores digitais para controle de plantas de processo em tempo real foram 2.4. Partida e desligamento com tentativas ingênuas para mover computador computadores projetados para negócios Enquanto as capacidades de de escritório em um ambiente industrial. otimização de computadores Os esforços não foram bem sucedidos. supervisórios em linha para otimização Os computadores que eram usados por do controle do processo foram bem delicadas e lindas secretárias, com um desenvolvidas e aplicadas, pouca toque gentil do teclado em um escritório atenção parece ser dada ao uso possível limpo e com ar condicionado não ficaram em supervisão de partidas e paradas de muito felizes quando colocados na área plantas. Isto parece curioso, industrial, para serem operados por especialmente porque durante a partida e pessoas com grandes dedos sujos, às parada da planta, quando as variáveis vezes dentro de luvas mais sujas ainda e estão em transitórios, há ocorrência dos escutando impropérios porque as coisas maiores problemas. As refinarias e não aconteciam como deviam. Estes plantas petroquímicas ainda parecem computadores também não gostaram de partir e desligar seus processos serem sujeitos a pó ou traços de ácido confiando apenas no conhecimento e sulfídrico, cloro ou outros contaminantes habilidade seus operadores de processo, que estavam presentes na atmosfera. assistidos por manuais de instruções que Como resultado, o controle do processo estão guardados nas gavetas da mesa feito pelo computador se deteriorava em do operador. curto intervalo de tempo. 8.4
  • 162.
    Computador no Processo 3.Configurações entendem, é um processo descontinuo, tipo batelada. 3.1. Computador fora da linha A aplicação mais simples e prosaica Manual do computador é ele desligado do Processo Computador processo, como na Fig. 7.2. O Manual computador recebe todos os dados pertinentes ao processo através de um operador humano e os resultados de suas computações são também Fig. 8.3. Off-line, coleta automática de dados aplicados ao processo através de um (linha sólida indica transmissão automática) operador humano. Os dados do processo são lidos dos instrumentos, transcritos 3.2. Computador com entrada em em folhas de relatórios e são linha e saída manual armazenados em dispositivos manipuláveis pelo computador, como Nesta aplicação, os dados entram no disquetes flexíveis, fitas magnéticas ou computador de modo continuo, porém, cartões perfurados. ainda através do operador, por meio do teclado inteligente do console do computador, Fig.8.4. Ainda não se quer ou não se pode entrar com os dados do Manual Computador processo diretamente ao computador. Ou Processo Manual seja, não há elementos sensores, não há equipamento para converter os sinais analógicos em digitais ou é necessário o Fig. 8.2. Modo off-line, coleta manual de dados sensor humano. (linha pontilhada indica manipulação manual) Embora aparentemente essa Manual aplicação possa ser considerada pouco Processo Computador útil, ela é muito usada. Ela é justificada Manual quando as considerações de tempo de resposta o permitem e a manipulação manual dos dados é uma operação Fig. 8.4. Computador com entrada em linha simples e barata. do processo e com saída manual As aplicações típicas de computador digital fora de linha do processo são: simulação de processo, analise de É uma aplicação de tempo real, ou processo, investigação de projeto, seja, há uma relação estreita entre as relatórios de produção e testes de atividades do computador e do processo. aplicações novas. Nesta aplicação, o computador deve ser Uma versão mais evoluída, Fig.8.3, interruptível, de modo que a informação seria o recebimento direto dos dados em gerada o seja de modo aleatório, assim um equipamento que os complicasse e como são aleatórios os eventos do os transformasse numa forma aceitável processo. O processamento do pelo computador. Mesmo assim, a computador é instantâneo e a saída do alimentação dos dados ao computador é computador é usualmente apresentada feita manualmente. De qualquer modo, a em forma de relatórios impressos ou operação fora de linha do processo leituras de painel através de tubos de envolve a acumulação dos dados, que vídeo. são levados e processados no computador, após um atraso. Em linguagem que os instrumentistas 8.5
  • 163.
    Computador no Processo 3.3.Computador com entrada e funções de controle e de computação saída em linha matemática, com os dados condicionados em módulos de As aplicações que não podem tolerar os entrada/saída (I/0). atrasos e erros dinâmicos inerentes à manipulação manual dos dados de 3.5. Aquisição de dados (data entrada requerem um modo de controle logging) mais automático. Nesta configuração, o O computador serve apenas para computador está totalmente em linha receber e armazenar dados do processo. com o processo. (Fig. 8.5) Suas entrada Os sinais provenientes do campo, e saída estão ligadas direta e fisicamente geralmente vindo dos transmissores ao processo, para receber e transmitir analógicos, são multiplexados e sinais de informação, sem a intervenção convertidos em digitais., Os sinais de humana ou com atrasos. Isto significa controle são gerados convencional e que o computador digital tem a continuamente pelos controladores capacidade necessária de receber sinais analógicos, cujos pontos de ajuste são analógicos dos instrumentos do determinados pelo operador. processo. As ações de controle, São periféricos do computador: painel calculadas e recomendadas pelo de alarme, maquina impressora, console computador, são aplicadas diretamente com teclado inteligente de maquina de ao processo. escrever e com tubo de vídeo e sistema de memória de massa. As saídas do computador são em forma de alarmes no Processo Computador respectivo painel, relatórios impressos e Manual indicações no tubo de vídeo. Adicionalmente e separado do computador, há ainda o painel com os Fig. 8.5. Modo on-line, malha aberta instrumentos convencionais. O operador se comunica com o computador através de seu console, pelo teclado de escrever 3.4. Computador centralizado inteligente. Obviamente, o operador pode As aplicações de computadores utilizar informações coletadas e digitais para controle e em linha com o elaboradas pelo computador para processo também percorreram o mesmo caminho feito pela própria Proc Comp instrumentação. esso utador Historicamente, o primeiro uso do modificar pontos de ajuste dos computador foi para a simples aquisição controladores convencionais. (Fig. 8.6). de dados do processo, sem intervenção direta no controle, Posteriormente, o computador foi usado para estabelecer e modificar o ponto de ajuste dos Fig. 8.6. Modo on-line, malha fechada controladores. Finalmente, o computador faz parte da malha de controle, atuando Embora seja aplicação mais simples e diretamente nos elementos finais de a primeira a ser empregada, é aquela controle. que é usada largamente ainda na O uso do computador centralizado só atualidade. pode ser economicamente justificado pela sua capacidade de executar diferentes tarefas ou a de compartilhar o controle de diferentes partes do processo. Quando aplicável, o computador deve executar todas as 8.6
  • 164.
    Computador no Processo MATERIAL PRODUTO ENERGI PROCESSO Informação Informação do do produto Informação Sinais de de entrada processo controle SISTEMA DE CONTROLE COM COMPUTADOR Objetivos e informação de gerenciamento Registros e Alarmes e guias relatórios para operador Fig. 8.7. Sistema de processo controlado por computador Entradas Analógicas Outros Saídas sistemas Analógicas Memória de Entradas Armazenamento massa Digitais trabalho Elementos de Saídas Impressoras controle Digitais Lógica e Canal de Aritmética Telemetria Console Operação CPU Interrupção Fig. 8.8. Sistema de controle com computador 8.7
  • 165.
    Computador no Processo 3.6.Controle do ponto de ajuste ajustes eram então devolvidos e indicados (SPC) nos controladores de painel via interface, que agora convertia sinal digital para Alem de continuar fazendo o analógico. armazenamento e registro de todos os Embora esta etapa tenha sido dados importantes do processo, o abandonada, ela teve três virtudes: computador também faz contas 1. Se o computador parasse, o que matemáticas, baseando se nos dados de realmente acontecia freqüentemente, a processo recebidos e em dados fornecidos planta continuava operando através dos pelo operador, para estabelecer os pontos controladores analógicos. Assim, a de ajustes dos controladores. Os pontos de parada do computador não era ajustes dos controladores analógicos são catastrófica. Simplesmente, na para as determinados e modificados rotinas de otimização não eram usadas. continuamente pelo computador de 2. A decisão final de verificar se o controle do processo. Por isso, alem do computador estava fazendo a coisa nome de controle supervisório, tem certa de alterar o ponto de ajuste era do também o de controle de ponto de ajuste operador. Por meio de uma chave em (Set point control). cada controlador do painel, o operador Como todas as malhas de controle do podia selecionar a geração do ponto de processo são analógicas, todos os sinais ajuste, se feita pelo computador ou pelo que saem e entram no processo devem ser próprio operador. analógicos. Porém, o computador só pode 3. Podia-se usar o controle supervisório do receber ou gerar sinais digitais. Desse computador digital em uma planta com modo, são necessários os seguintes instrumentação analógica pneumática. dispositivos: Esta aplicação requeria apenas alguns 1) um multiplexador na entrada do componentes adicionais para fazer a computador, para passar de várias conversão pneumática para digital e entradas para uma única saída, vice-versa. É interessante notar que 2) um conversor A/D, para transformar estas vantagens são ainda cada sinal analógico em digital, para consideradas válidas hoje, mesmo no uso do computador digital, ambiente de controle sofisticado que 3) um conversor D/A, para transformar atualmente prevalece. cada sinal digital em analógico, para uso do processo analógico, 4) um demultiplexador na saída, para passar de um sinal para vários. O conjunto de multiplexação, conversão A/D, conversão D/A e de multiplexação é chamado de modem (MODulador-DEModulador). Os periféricos do sistema supervisório são exatamente os mesmos da configuração de Aquisição de Dados: painel de alarme, console com teclado e vídeo, sistema de memória de massa. Também há o painel com instrumentação convencional. Tendo acesso a todas as informações de medição da planta, o computador, através de suas rotinas de otimização, estabelecia os pontos de ajuste ótimos de modo que as malhas de controle tivessem o melhor desempenho possível e como conseqüência, a planta tivesse o maior rendimento possível. Estes pontos de 8.8
  • 166.
    Computador no Processo Fig.8.9. Sistema com computador para aquisição de dados Fig. 8.10. Controle Digital Direto (visão geral ) 8.9
  • 167.
    Computador no Processo Atuadore Sensores Variáveis do processo Multiplexado Multiplexador r saída entrada Conversor D/A Conversor D/A Processador com programa DDC Canal de Carga e saída do Comunicação programa Computador Console do Display supervisório Operador (opcional) Entrada manual de SP, limites sintonia etc Fig. 8.11. Controle Digital Direto (esquema simplificado) 8.10
  • 168.
    Computador no Processo Considerando seus méritos, porque não exclusivo, de substituir um grande esta fase foi abandonada? Principalmente número de controladores convencionais. por duas razões: O sistema completo é constituído de: 1. A operação bem sucedida de todo o 1. processo, com transmissores e sistema com computador dependia do elementos finais de controle. desempenho da interface. Nesta época, 2. sistema de aquisição de dados do os instrumentos eram obtidos de um processo, com um multiplexador e um fabricante e o computador de outro conversor analógico/digital. diferente. Cada um achava que o outro 3. sistema de saída dos dados, com um devia aceitar a responsabilidade de demultiplexador e um conversor projetar e construir a interface. Como digital/analógico. resultado, a interface que era produzida 4. computador de controle digital. geralmente era de qualidade 5. periféricos do computador: painel de questionável e isto afetava a alarme, tubos de vídeo, console com confiabilidade do sistema. teclado inteligente, painel convencional 2. Havia uma filosofia de desenvolvimento opcional, impressoras, memória de para operar a planta que era ineficiente. massa. O modo correto era ter o operador O objetivo da segunda aplicação do sentado em freqüente do console, com computador em controle de processo todas as informações importantes industrial era eliminar os painéis de disponíveis para ele na tela, em vez de instrumentos analógicos e a interface com ter o operador andando em frente de um do computador com o processo. Assim, painel que podia ter até 50 metros de todos os sinais de medição vinham comprimento. Por causa dos painéis de diretamente para o computador, com a instrumentos, o controle supervisório função de conversão analógica-digital e com computador não foi aceitável. digital-analógica embutida no próprio A principal crítica a esse sistema de computador. Tendo as medições do controle a computador digital é que o processo na forma digital, o computador estabelecimento e modificação dos pontos aceitava os pontos de ajuste como de ajustes dos controladores são tarefas entradas manuais através do teclado e simples e geralmente desnecessárias em calculava digitalmente a resposta de grandes períodos de tempo e portanto controle PID para cada malha de controle feitas adequadamente pelos operadores de usando os algoritmos que estavam modo manual. Ou seja, é pouco programados nele. convincente e justificável a colocação de O computador também gerava gráficos um sistema de saída de dados, através, de que eram mostrados na tela, ao longo de multiplexador, apenas para estabelecer qualquer informação que o operador novos pontos de ajustes dos controladores. chamava pelo teclado. Os sinais de saída No sistema de Aquisição de Dados, que deviam ir para os elementos finais de anteriormente mostrado, o computador controle eram convertidos da forma digital poderia informar aos operadores quais e para analógica também pelo computador. quando os pontos de ajuste deveriam ser Assim o painel instrumentos e a interface modificados, sem a necessidade do desapareceram e tudo importante era sistema de conversão digital/analógica. operado no modo digital. Este arranjo foi chamado de controle digital direto ou DDC. 3.7. Controle digital direto (DDC) Basta uma rápida olhada na estratégia No sistema com Controle Digital Direto de controle DDC para perceber um grande o computador digital em si age como um problema potencial. Como o computador controlador e seu sinal de saída vai faz todo o trabalho de controle para todas diretamente para o elemento final de as malhas, então um defeito no controle. (Fig. 7.11). No controle digital computador faz com que todas as malhas direto, o computador desempenha as de controle sejam passadas para controle funções de controle ou alternativamente, o manual ao mesmo tempo. Além disso, computador tem o propósito principal, mas nenhuma indicação do processo fica disponível para o operador. 8.11
  • 169.
    Computador no Processo Mesmo assim, em alguns casos responsabilidade para um único notáveis, os usuários do DDC usavam um equipamento. As soluções lógicas desse segundo computador como reserva do problema, com o uso de dois primeiro. A filosofia era ter 20% das computadores, um como reserva do outro, malhas de controle mais importantes embora possa satisfazer parcialmente, ligadas aos dois computadores de modo eleva duplamente os custos. E que na falha de qualquer um dos dependendo do tipo e local da falha, os computadores, o outro imediatamente dois computadores podem falhar assumia o controle destas malhas críticas. simultaneamente. A outra solução, também Em outros casos, as malhas críticas tinham com a redundância das funções de backup de controladores analógicos controle, é o uso de painéis com montados em painéis auxiliares. controladores convencionais e é também Estas despesas extras de backup eram onerosa. difíceis de justificar. O que realmente Outra desvantagem do computador acontecia é que as mesmas malhas de centralizado - portanto valida também para controle a realimentação negativa agora o controle supervisório - é o seu alto custo. eram controladas digitalmente em vez de O computador, por sua função de tempo analogicamente. Ainda era um controle a real e seus múltiplos propósitos, deve ser realimentação negativa básico, com o muito rápido e possuir grande memória, mesmo processo em cada uma das para poder controlar sozinho centenas ou malhas e o mesmo tempo de recuperação milhares de malhas. Resposta rápida e dos mesmos distúrbios. memória grande, para um computador, são A estratégia do DDC foi o resultado da sinônimos de altíssimo custo. intuição (errada) de que se alguma coisa é A estratégia do DDC desapareceu feita digitalmente, ela é feita do melhor quando apareceu o microprocessador, que modo possível. O especialista em tornou possível a terceira fase do instrumentação e controle de processo tem computador, o sistema de controle a como tarefa e trabalho aplicar o computador digital distribuído. equipamento e sistema de controle que faça o máximo para melhorar o desempenho de uma planta onde eles estão instalados. Quando se deve usar um computador digital para melhorar o lucro de um negócio, então se deve colocar o computador para fazer aquilo que faz melhor: computar. O computador que gasta a maioria de seu tempo fazendo tarefas simples como converter sinais de uma forma para outra, gerar figuras para serem mostradas na tela do monitor, mostrar se uma válvula de controle deve ser fechada ou aberta ou se um alarme deve ligar ou desligar, ele não está justificando sua aquisição. Todas estas funções são muito simples e poderiam ser feitas por meios e equipamentos mais simples e baratos, como um Controlador Lógico Programável. A principal desvantagem desse sistema é que, como o computador funciona como o controlador, pode-se perder todo o controle da planta, em caso de falha do computador. Mesmo que o computador seja muito confiável, é muita 8.12
  • 170.
    Computador no Processo podem ser tomadas pelo centro principal 4. Sistema de controle digital (host), possivelmente suportado por um computador supervisório que também está distribuído (SDCD) ligado ao highway. Os resultados destas Em um sistema de controle digital decisões, em termos de ação de controle, distribuído, chamado abreviadamente de podem ser enviados de volta para o centro SDCD, é separado em módulos discretos, de controle apropriado e a malha de cada um tendo uma função específica. Um controle sobre o mesmo highway de módulo de controle pode controlar várias dados, desde que o fluxo de informação malhas PID, além de fazer uma quantidade seja bidirecional e ele o é, no SDCD de lógica, como linearizar sinais não lineares ou gerar um alarme quando 4.1. Filosofia alguma medição do processo atingir A filosofia do sistema de controle digital valores limites. Outro módulo pode gerar distribuído é a de dividir os equipamentos as telas necessárias para a operação da em vários módulos funcionalmente planta (interface Homem-Máquina). Outros distintos: processo, controle, operação, módulos regulam o fluxo de informação gerenciamento e comunicação. através de todo o sistema. Uma coisa que é comum a todos os módulos, porém, é 4.2. Interface com o processo que todos eles podem operar Foram desenvolvidos equipamentos independentemente, por que a potência de para manipular diretamente os sinais processamento necessária para fazer suas provenientes do processo, inclusive com funções está embutida em cada um deles. habilidade de gerar sinais de saída. Isto é o que o microprocessador tornou As principais características desses possível. Antes da aplicação do equipamentos são: padronização, microprocessador, a inteligência flexibilidade e altíssima densidade dos necessária para fazer estas funções sinais manipulados simultaneamente. Um requeria circuitos eletrônicos muito único equipamento pode manipular grandes, com numerosos componentes, simultaneamente até varias centenas do gabinetes muito grandes e altíssimo custo. mesmo tipo padronizado de sinais. Os Um sistema distribuído consiste de sinais típicos são: fechamento e abertura vários módulos, todos ligados juntos por de contatos secos, sinais analógicos de meio de um barramento de dados ou corrente (4 a 20 mA), tensão (1 a 5 V), highway. Uma falha de componente em militensão de termopares dos tipos J, K, R, cada um dos módulos prejudica o sistema, S, T, E, sensores RTD, pulsos de no máximo, somente naquele módulo que freqüência variável e até o prosaico sinal fica perdido. No mínimo, a falha pode pneumático de 20 a 100 kPa. resultar na pede de apenas uma função dentro do módulo. Um ponto importante que não pode ser exagerado é que, desde que o sistema do computador é distribuído deste funcionalmente, ele também pode ser distribuído geograficamente. Isto significa que agora há uma alternativa para o conceito de uma grande sala de controle centralizada. Agora pode se ter várias pequenas salas de controle para cada unidade de operação. Todas as salas são interligadas juntas e os dados de processo de cada uma podem ser enviados, via barramento de dados, para um centro principal de operações para toda a planta. As decisões de fazer o que deve ser feito para o bem da planta como um todo 8.13
  • 171.
    Computador no Processo Fig. 8.12. Sistema Digital de Controle Distribuído (visão geral) Fig. 8.13. Sistema Digital de Controle Distribuído (esquema simplificado) 8.14
  • 172.
    Computador no Processo 6. quando há painéis com instrumentação 4.3. Interface com o controle convencional, como alternativa ou O controle do sistema pode ser como reserva do controle a desempenhado por dois modos distintos: microprocessador ou computador, eles 1. malhas críticas são controladas também estão localizados na estação convencionalmente por meios de trabalho. analógicos, incorporando estações de controle e painéis clássicos. 2. malhas que envolvem computação matemática, intertravamento, lógica e seqüencial são controladas por controladores a microprocessadores. Os algoritmos matemáticos e as interligações são feitos por configurações de blocos, através de programação do controlador digital. Isto torna o controle extremamente flexível e há uma grande economia de cabeamento. Fig. 8.14. Estação de operação típica do SDCD 4.4. Interface com o operador A estação de trabalho centralizada para a operação é constituída de: 4.5. Gerenciamento do controle de 1. tubos de raios catódicos (CRT), processo. coloridos e de alta resolução, onde o Hierarquicamente acima do controle operador pode ter acesso ao processo convencional do processo, que cuida de em vários níveis: planta inteira, unidade manter as variáveis iguais ou próximas de parcial, grupo de malhas de controle e pontos de ajuste, o processo pode ser malha individual. Na tela podem ser gerenciado e otimizado. O gerenciamento simuladas as faces frontais dos do processo cuida da definição de valores "controladores", análogas às dos e quantidades da produção, tipos de controladores convencionais, através produtos e especificações dos produtos. de barras gráficas. Também através do A otimização se relaciona com o aumento tubo de vídeo o operador pode ver o da eficiência do controle, modificação dos diagrama esquemático do processo, pontos de ajuste, modificação dos com os equipamentos e instrumentos e parâmetros de controle e economia no uso ligações (P&I), como se fosse um da energia. painel semi-gráfico. Finalmente e muito O gerenciamento e a otimização do importante, na tela podem ser processo são feitos por um computador mostradas as malhas em estado de digital, que não é, necessariamente, o alarme. Os tubos de vídeo podem estar responsável pelo controle do processo. localizados em painéis fisicamente separados. 4.6. Sistema de comunicação 2. impressora, onde são feitos relatórios, avisos de alarme. Para interligar todas as áreas funcionais anteriores: interface de 3. copiadora, tipo Xerox ou térmica, entradas/saídas (I/O) do processo, para fazer reproduções das telas de controle, operação e gerenciamento deve vídeo. haver um sistema de comunicação. Tal 4. console do computador, com teclado sistema de comunicação estabelece e de maquina de escrever e tubo de arbitra as prioridades de comunicação e de vídeo. comando. Adicionalmente detecta 5. console do controlador digital, onde são automaticamente as falhas de interligação configuradas as malhas de controle, e comunicação. através de blocos integrais aos circuitos eletrônicos do controlador. 8.15
  • 173.
    Computador no Processo O sistema de comunicação é são basicamente muito mais caros. Eles constituído de cabos coaxiais, fios comuns tipicamente não são usados em sistemas e estações de comunicação. Certamente é pequenos. no sistema de comunicação que há as O uso potencial dos computadores maiores diferenças e falta de padronização pessoais (CP) causou uma reavaliação do dos sistemas SDCD dos vários fabricantes. custo real do controle a computador digital mesmo para o controle de poucas malhas. 4.7. Vantagens e limitações do SDCD Comumente, eles são usados em Baseando-se no que está acontecendo no combinação com outros tipos de mundo, o sistema digital de controle ainda controladores digitais. Por exemplo, pode não é a solução ideal aos principais se usar um computador pessoal problemas do controle de processo. monitorando o controle de vários Atualmente, já não se utiliza muito o controladores digitais microprocessados sistema de controle digital distribuído dedicados e uma única malha (single loop), convencional nos grandes e novos projetos todos interligados em uma rede de de instrumentação. comunicação digital. Os benefícios gerais do SDCD somente agora começam a ser descobertos. Este tipo de controle ainda será usado por um longo tempo. O que se faz atualmente é padronizar a comunicação entre os módulos e abrir os sistemas operacionais dos seus programas aplicativos. A maior desvantagem do SDCD é o seu altíssimo curto, raramente menor que US$ 1M. Há ainda problemas com falta de padronização de linguagem, de protocolos de comunicação, do sistema de interligação. O SDCD é um sistema imenso pouco flexível, pesado. Enfim, só se justifica sua aplicação em grandes complexos industriais e com grande suporte econômico. 5. Computador no Processo Fig. 8.15. Computador digital regulando controladores microprocessados 5.1. Introdução O computador digital pode não ser necessariamente a melhor escolha como controlador para qualquer processo dado; pois eles apresentam suas limitações e desvantagens. A escolha de usar ou não um computador digital como controlador para o processo ou usar computadores analógicos ou qualquer outro tipo de controlador microprocessado é uma questão muito complexa. Os computadores digitais grandes (main frame) têm encontrado aplicação natural em sistemas mais complexos, onde sua tremenda capacidade computacional pode ser plenamente utilizada. Por causa de sua complexidade, eles requerem muito mais condicionamento das variáveis antes delas serem aceitas para uso no computador e 8.16
  • 174.
    Computador no Processo matemáticas. Desde que a teoria do 5.2. Computador Digital sistema de controle automático gera as Um computador digital é um necessidades de controle na forma de equipamento eletrônico que opera baseado expressões matemáticas, os dois tipos de em princípios e equações expressas no computados são adaptáveis para simular sistema de número binário e na álgebra as equações de processo e portanto agir booleana; ele opera somente com como controladores do processo. A informação codificada binariamente. Ele diferença básica está em como eles possui a capacidade interna de aceitar a conseguem a solução para estas informação codificada binariamente em equações. seus terminais de entrada de Analógico é um termo usado para equipamentos externos e fornece dados implicar uma seqüência de eventos codificados binariamente em seus continua, sem interrupção ou sem quebras. terminais de saída para uso por outros O tempo é uma qualidade analógica, em equipamentos. que ele sempre existe; nunca há uma Ele tem a capacidade interna de circunstância em que o tempo pára ou seja executar operações aritméticas binárias e interrompido. lógica booleana na informação. A Digital se refere a uma seqüência de informação pode ser apresentada aos eventos discretos. Cada evento é terminais de entrada do computador ou completamente separado de outros pode ser gerada internamente. eventos passados ou futuros. Usualmente Finalmente, todos os computadores esta separação é um período de tempo. A digitais têm a capacidade de armazenar maioria dos fenômenos naturais é de internamente e indefinidamente grandes natureza analógica. A vida é continua, volumes de informação. Esta informação desde o instante do nascimento até a armazenada pode ser de dois tipos morte; nunca há um período de tempo em diferentes. O primeiro tipo é os dados, que que ela não existe. A vida é analógica. o computador usa ou modifica em seus O calendário é discreto. O dia 27 de cálculos. O segundo tipo de informação maio ocorre somente uma vez por ano. O armazenada consiste dos programas, que dia 27 de maio existe somente por um são as instruções codificadas binariamente período de 24 horas cada ano e é que o computador interpreta e executa separado do outro 27 de maio por 364 para fazer alguma operação útil. dias. Durante o este período de 364 dias, o O computador não é um equipamento dia 27 de maio não existe ou não tem isolado. Ele requer, para a operação do efeito. sistema, uma grande quantidade de A aplicação mais comum da informação equipamentos auxiliares, que são digital é no uso de computadores digitais, chamados de periféricos. Por exemplo, o que manipulam a lógica binária. A computador requer um condicionador dos informação digital binária é tão comum que sinais de entrada, que converte os sinais o termo digital tem adquirido a conotação analógicos em digitais (CAD), outro de digital binária. condicionador dos sinais de saída, que Os computadores analógicos agem converte os sinais digitais em analógicos diretamente nas quantidades analógicas, (CDA), teclados, multiplexadores, vídeos, processando todos os dados ou impressoras, fazedores de gráfico, informação na forma analógica e copiadores. Geralmente os equipamentos fornecendo as soluções em sua saída auxiliares periféricos custam mais e diretamente na forma analógica. Para ocupam mais espaço que o computador executar isso, certas porções dos isolado. computadores analógicos devem ser fiadas a funções de controle especificas e estas 5.3. Diferenças entre o Computador porções do computador não podem ser Digital e o Computador Analógico usadas para qualquer outro objetivo sem Tanto o computador digital como o modificações na fiação. Assim, quando o computador analógico são usados para sistema fica mais complexo, a quantidade simular processos dinâmicos e equações de equipamento requerido no computador 8.17
  • 175.
    Computador no Processo aumentana proporção direta da complexos do que é possível com complexidade. O computador analógico computadores analógicos. não tem capacidade de memória Os computadores analógicos, desde verdadeira; sua capacidade é limitada que consistem de amplificadores apenas ao processamento da informação operacionais e outros componentes atual. eletrônicos, cada um deles tem uma O computador digital age diretamente precisão determinada e cada um deles na informação digital, faz todo o seu muda sua característica com a temperatura processamento da informação no formato e o tempo, introduzindo erros devidos às digital e fornece a informação em sua alterações destes componentes. Como os saída no formato digital. Isto tem a computadores digitais trabalham em desvantagem de que todas as quantidades somente dois níveis, não são alterados analógicas devem ser convertidas em pelas variações dos componentes, como digital antes de serem manipuladas pelo ocorre com os computadores analógicos. computador e vice-versa para as saídas do Assim, nenhum dos erros devidos às computador. Porém, isso pode também ter alterações dos componentes afeta a uma grande vantagem, desde que uma vez precisão inerente do das soluções do a informação tenha sido convertida para computador digital; eventualmente eles digital, ela pode ser armazenada podem se alterar tanto, provocando a falha indefinidamente nesta forma sem perda da do computador, mas até este ponto ser precisão. atingido, nenhum erro é introduzido. O computador digital possui certos Na prática industrial, o computador equipamentos básicos embutidos e assim analógico foi usado em totalização de os programas fazem os dados a serem vazão e na compensação de pressão e manipulados por estes equipamentos. Para temperatura de gases. Hoje, a maioria modificar a solução ou adicionar funções absoluta dos computadores é digital. de controle, normalmente não é necessária nem a adição de mais equipamento nem a 5.4. Como um Controlador Digital alteração da fiação do sistema. As difere de outros Controladores modificações normalmente podem ser Provavelmente a diferença básica é feitas diretamente no programa, que que um único computador digital pode resultará nas variações desejadas nas executar o mesmo controle global de soluções para as equações de controle. centenas de controladores convencionais Assim, as modificações feitas nos cálculos individuais. Isto é, os computadores do sistema são mais fáceis e econômicas. digitais, embora sejam consideravelmente Foram desenvolvidas técnicas que mais caros que os controladores permitem o armazenamento quase individuais, podem ser usados de modo ilimitado da informação codificada compartilhado pelo sistema de controle. binariamente, tanto em relação ao tempo Quando se usam controladores ou ao volume. Os computadores digitais individuais, tem-se um controlador para têm a vantagem única de os programas cada malha. Cada controlador é fiado em poderem usar em equações esta sua malha e modificações futuras exigem informação armazenada de um modo não nova fiação. Quando se usa um possível com os computadores analógicos. computador digital, os sinais dos vários Em computadores analógicos somente sensores são levados para a entrada do podem ser resolvidas equações para as computador e atuadores são ligados à quais foram construídos equipamentos e saída do computador; esta é toda a fiação circuitos. Em computadores digitais, necessária. Para modificar as funções de praticamente qualquer equação, controle (P, I e D) e de configuração independente de sua complexidade, pode (cascata, feedforward, auto-seletor), as ser resolvida pelo programa, sem a mudanças necessárias são feitas no necessidade de qualquer projeto especial programa do computador e não do equipamento. Assim, o computador necessariamente em algum equipamento. digital pode resolver problemas mais O computador digital é tão flexível neste aspecto que as estratégias de controle 8.18
  • 176.
    Computador no Processo podemser mudadas pelo programa do podem ser economicamente estabelecidas computador, baseando-se na história com controle analógico. passada da saída medida do processo, Para completar o quadro de exemplos, executando a chamada estratégia de há também processos que não podem ser controle adaptativo. controlados por computadores digitais. Os Há uma grande variedade de exemplos básicos incluem os processos equipamentos de displays e módulos de que ocorrem em atmosferas com risco de entrada e saída, disponíveis para uso com explosão ou incêndio e nenhum os computadores digitais. A mais notável equipamento eletrônico pode ser usado e peça do equipamento de display é o processos que ocorrem em ambiente onde monitor ou tubo de raio catódico (TRC). o ruído elétrico potencialmente tornaria o Finalmente, devido a alta velocidade computador digital inoperante ou inútil. potência de computação e a possibilidade O computador digital conquistou seu de grande armazenagem da informação, lugar no campo de controle de processo, os computadores de controle de processo como o fizeram outros tipos de podem ser usados simultaneamente para controladores. Há muitas aplicações onde computador inventários e mesmo qualquer tipo dos vários controladores programas de produção, o que é chamado poderia ser usado com sucesso. Nestas de gerenciamento do processo. Em aplicações, outros fatores além da resumo, quando um computador digital é habilidade de executar o controle usado em um sistema de controle, há adequado podem ser usados para se diferenças consideráveis no sistema, tomar a decisão final. Em muitas destas relacionadas com confiabilidade, tempo de aplicações, a flexibilidade dos resposta e rede de comunicação . computadores digitais em executar outras funções, além do controle de processo, é 5.5. Como os Computadores um fator decisivo. Controlam 5.6. Tipos de Computadores Digitais Em muitos sistemas de controle de processo, os computadores digitais não Há vários tipos básicos de são melhores ou piores do que os outros computadores digitais. Embora todos tipos de controladores, eles são sejam computadores digitais binários, cada simplesmente mais econômicos para as tipo tem características de projeto que aplicações especificas onde eles são otimizam algum fator para uma aplicação usados. Em outros sistemas de controle de específica. processo, os controladores convencionais, O projeto básico da estrutura interna por uma razão ou outra, simplesmente não dos computadores digitais é a sua podem ser usados para se obter o arquitetura. Este termo é usado para desempenho satisfatório do sistema. descrever a filosofia básica de Exemplos incluem alguns tipos de manipulação e processamento de dados, processos que reagem em velocidade em torno dos quais o computador é muito alta, onde o peso, consumo de projetado e construído. potência e volume de eletrônica são um Por exemplo, um computador pode ser fator importante; onde o sistema de projetado para trabalhar com um número controle de processo é tão complexo que muito grande de dados e soluções de os controladores individuais não são fórmulas complicadas. Sua arquitetura possíveis; processos em que o produto deve se basear na otimização de suas final varia consideravelmente no tempo de habilidades computacionais; isto é um modo que a necessidade e a freqüência de típico projeto de computador científico. reajustes dos controladores individuais Outro computador pode ser projetado seriam muito caras; processo que estão para processar grandes volumes de distribuídos em grandes distâncias onde os informação de várias fontes, circuitos de comunicação digital são principalmente recompondo esta necessários e processos onde as informação, enquanto executam cálculos especificações de precisão do sistema não relativamente simples. Sua arquitetura deve ser feita mais em torno de suas 8.19
  • 177.
    Computador no Processo capacidadesde entrada e saída do que necessidades do controle de processo, sua capacidade aritmética. O computador tornando-os muito grandes e muito caros. para reserva de passagens aéreas de uma Na grande maioria das aplicações de companhia de aviação e o bancário controle de processo, computadores possuem este tipo de arquitetura. digitais de uso geral muito menores são Muitos computadores são projetados usados com sucesso e suas interfaces para uso geral, isto é, eles possuem foram modificadas para realizar as adequadas capacidades aritméticas e de capacidades necessárias. Em algumas entrada-saída para serem usados em aplicações, a unidade de processamento grande variedade de aplicações. O central do computador é modificada para computador pessoal é do tipo de uso geral. tornar o computador mais compatível com Finalmente, há uma categoria de as necessidades do processo. Este grau computadores de uso especial. Estes de modificação coloca alguns desses computadores foram projetados processadores na classe de uso especial, especificamente para aplicações onde um computador de uso geral foi particulares, diferentes das aplicações modificado para certas aplicações. Na cientificas ou de negócios. grande maioria dos sistemas de controle Freqüentemente, os computadores de uso de processo, porém, o computador básico especial são basicamente computadores não foi modificado. de uso geral que estão rodeados por equipamentos periféricos específicos e são 5.8. Como os Computadores Digitais programados para o particular tipo de Operam trabalho que executam. O computador de O computador digital é basicamente um um avião e o de controle de processo de conjunto muito complicado de circuitos um sistema digital são exemplos de eletrônicos, que executam operações computadores especiais. muito simples que podem ser O custo para projetar computadores representadas matematicamente no verdadeiramente de uso especial seria sistema de número binário ou pelas proibitivo; e por isso um computador digital equações booleanas. O computador para controle de processo é um executa operações lógicas e binárias muito computador de uso geral, com periféricos simples, envolvendo dados codificados determinados e com programas (software) binariamente, de modo extremamente e algoritmos (firmware) especialmente rápido, confiável, previsível e seqüencial. desenvolvidos para estas aplicações. Ele faz exatamente o que é programado 5.7. Uso do Computador Digital para para ele fazer e nada mais. Ele não pode fazer nada além do trabalho para o qual Controle de Processo ele foi programado fazer; ele não pode Para aplicações de controle de pensar ou decidir por si. processo, o computador requerido é de Ele executa suas tarefas uso geral associado a um pacote de programadas: software específico. As aplicações de 1. interpretando várias combinações controle de processo normalmente de 1 e 0, como comandos ou requerem um processamento aritmético ordens para executar operações moderado e não exigem uma capacidade que foram fiadas fisicamente, computacional do tipo científico. As 2. executando somente uma operação necessidades de entrada-saída são a um tempo, extensas, porém, elas são totalmente 3. seguindo rigidamente uma série diferentes das aplicações bancárias ou de seqüencial de comandos em negócios. Assim, o computador para ordem, a não ser que seja controle de processo não é do tipo comandado alterar esta seqüência, cientifico nem de negócios. Normalmente 4. executando testes simples e estes dois tipos de computadores possuem tomando decisões relativamente capacidades básicas específicas simples baseadas nos resultados embutidas exageradas para as destes testes, 8.20
  • 178.
    Computador no Processo 5. executando operações em postal do correio, cada uma numerada microssegundos que o homem seqüencialmente. A informação digital levaria minutos ou horas para pode ser armazenada lá (uma palavra em executar, cada caixa) para uso e recuperação 6. tendo bancos de memória muito posterior, enquanto sua localização for grandes, em que armazena e lembrada. As palavras armazenadas recupera a informação, quando nestes caixas possuem um número necessário. especifico de bits binários em 7. estabelecendo comunicações comprimento. O número de bits bidirecionais com equipamentos do manipulados pelo computador e mundo externo. normalmente pela sua unidade de memória Todos os computadores digitais podem simultaneamente em uma operação ser divididos basicamente em quatro simples é tecnicamente referido como o unidades funcionais: comprimento da palavra do computador. A 1. unidade de entrada-saída, grande maioria dos computadores usa 2. unidade aritmética, correntemente palavra de 32 bits, 64 bits. 3. unidade de controle e sincronismo Há vários tipos de memória, cada uma 4. unidade de memória. muito diferente na estrutura física e na As unidades aritmética, controle e aplicação, que são normalmente usadas sincronismo podem ser referidas com um computador de controle de globalmente como unidade de processo. A memória do tipo núcleo processamento central ou CPU. magnético tem sido a reserva para as memórias primárias do computador por Unidade E/S causa de sua flexibilidade e pelo fato que A unidade de entrada-saída contém a ela não perder sua informação quando lógica digital necessária para interfacear o desenergizada. Ela requer uma computador aos equipamentos externos, considerável quantidade de potência tais como os conversores analógico para elétrica para operar e é o tipo mais caro de digital e digital para analógico. Ela inclui a memória (baseado no custo/bit lógica necessária para gerar e verificar a armazenado). Há vários projetos básicos sincronização entre a CPU e os de memórias a semicondutor, que se equipamentos externos, de modo que os tornaram práticas para uso em dados possam ser transferidos entre eles, computadores de controle de processo. de modo confiável. A unidade E/S [ou I/O Estas memórias requerem muito menor (lê-se aiou), input/output, em inglês) é a energia elétrica para operar, são principal via de comunicações entre a CPU fisicamente muito menores e são muito e o mundo exterior. mais baratas ($/bit) mas perdem todas a Unidade aritmética capacidade de armazenamento quando A unidade aritmética inclui todo o desenergizada. equipamento usado para modificar os Alguns tipos de memórias a dados no processo de resolver equações semicondutor podem ser ou executar outras operações matemáticas permanentemente (ou pelo menos, ou lógicas nestes dados. Ela inclui a lógica relativamente permanentemente) que indica a execução completa e bem programadas, de modo que nem falha de sucedida de cada operação matemática. alimentação ou do computador pode Esta lógica pode ser testada pela unidade alterar o programa. Vários tipos dessas de controle e de timing, de modo a tomar memórias ROM (read only memory - decisões quanto ao procedimento a ser memória apenas de leitura) encontram seguido em relação ao resultado aritmético aplicação em certos tipos de sistemas de conseguido de modo correto ou não. controle de processo. Há outros tipos de memória a semicondutor tais como PROM Memória (programável), EPROM (programável e A unidade de memória pode ser apagável) r EEPROM (programável, visualizada simplesmente como um grande eletricamente apagável). almoxarifado cheio de caixas tipo caixa 8.21
  • 179.
    Computador no Processo Unidadelógica e timing entre os computadores mas a instrução A unidade lógica de controle e timing é codificada é sempre interpretada por a quarta parte funcional de qualquer uma parte da unidade de controle, computador digital. É de sua chamada de registro de instrução. responsabilidade sincronizar e controlar [Um registro e há muitos no cada operação interna do computador. computador, é um grupo de flip-flops Esta lógica está diretamente ligada a cada binários independentes. Cada FF tem a unidade interna do computador e controla capacidade de memorizar um bit de a operação da CPU diretamente. Ela informação que deve ser apresentado a recebe suas instruções básicas do ele simultaneamente com um programador. As instruções individuais em comando, (chamado de gatilho) para um programa de computador são escritas lembrar este bit. Sem a ocorrência para serem interpretadas por esta unidade deste gatilho, o FF ignora o bit em sua lógica de controle, de modo que algumas entrada ou qualquer mudança neste bit, operação útil possa ser feita pelo lembrando somente o único bit que foi computador. apresentado a ele, em conjunto com As quatro unidades funcionais são seu comando gatilho. Há normalmente interligadas entre si. A informação pode ser tantos FF montados em um registro transferida bidirecionalmente entre a como o número de bits na palavra do unidade aritmética e a memória e os computador. Assim para um equipamentos externos. Este arranjo é computador de 32 bits, um registro típico de qualquer computador digital e consiste de 32 FF independentes, estes canais de comunicação são todos com um gatilho e cujas saídas chamados de bus. A unidade de controle e devem ser interpretadas timing é também ligada bidirecionalmente simultaneamente como uma palavra com as outras três unidades. De fato, ela completa.] controla a operação das outras três 2. o programador normalmente codifica unidades funcionais e deve ser entendido uma série de instruções, cada uma que ela está sempre lá, mesmo que não delas fazendo o computador executar esteja mostrada no diagrama. alguma função útil elementar, coletivamente chamada de programa. A função pode ser manipulação, transferência de dados ou teste para a existência de alguma condição interna ou externa do computador. Uma vez o programador tenha determinado a seqüência de instruções necessária para executar a função desejada e tenha codificado adequadamente estas instruções, o programa é escrito na memória principal do computador para uso futuro. 3. o operador do computador carrega um Fig. 8.16. Esquema básico do computador registro da unidade de controle e sincronismo, chamado de registro de endereço do programa com o endereço A seqüência de operações executada (localização específica da memória ou pela lógica interna e causada por uma número da caixa postal), de onde a instrução típica através de um computador primeira instrução do programa foi digital é a seguinte: armazenada. Ele carrega (entra, 1. tudo começa com uma instrução do escreve, carrega, load) o programa na computador, que é uma (ou mais) memória do computador. palavra binária, codificada por um 4. o computador se prepara então para programador para um computador executar a primeira instrução do específico. A codificação real varia programa. Até este ponto, o 8.22
  • 180.
    Computador no Processo programadornão tem controle da 6. Computador como operação do computador, porém, agora, após o computador ter Controlador completado o ciclo de instruções, a 6.1. Introdução unidade de controle olha e decodifica a palavra binária no registro de instrução Há três enfoques diferentes para e executa a operação necessária. A aplicar os computadores digitais em instrução pode causar qualquer tipo de sistemas de controle de processo. operação entre várias possíveis. 1. O primeiro enfoque é estudar um típico Algumas das instruções mais comuns computador digital e então tentar trazer são: o sistema de controle de processo para fazer uma palavra binária ser trabalhar com o computador. Isto foi entrada ao computador ou à necessariamente o enfoque tomado memória do computador de algum para os primeiros projetos de sistemas equipamento externo, digitais de controle por causa da fazer uma palavra binária ser saída disponibilidade limitada dos do computador ou da memória do computadores digitais. Embora seja um computador para algum enfoque prático de projetar sistemas de equipamento externo, controle, não é o melhor método. fazer uma palavra binária ser 2. O segundo enfoque é definir as transferida de um registro para necessidades do processo e depois outro, ambos internos ao escolher o computador digital em torno computador, destas necessidades. fazer qualquer uma das seguintes 3. O terceiro enfoque é definir as operações ser executada em uma necessidades do processo e depois palavra binária: soma, negação, escolher um software aplicativo subtração, multiplicação e específico rodando em um computador divisão, de uso geral. No projeto moderno de fazer uma operação lógica binária sistema de controle este é o enfoque ser executada em uma palavra mais prático por causa da grande binária, tal como: desvio à variedade de softwares aplicativos esquerda, desvio à direita, presentemente disponíveis no rotação, ou uma comparação mercado. lógica com uma segunda palavra A competição entre os fabricantes binária, como and, or, exclusive levou-os a projetar softwares e hardwares or, em torno de sistemas típicos de controle. fazer uma palavra binária ser Os resultados finais refletem a diferença transferida de um registro interno nas opiniões técnicas de como o da CPU para a memória do computador ideal de controle de processo computador de qualquer modo deve ser projeto e como deve ser sua possível, ou transferir da memória arquitetura. para algum registro da CPU (ler ou Para determinar qual a arquitetura ideal escrever). de um computador para controle de fazer um teste em um bit, em um processo, deve-se investigar as fontes e os sinal algébrico do resultado de uma tipos de informação necessários para o operação aritmética, na finalização computador para controlar o processo, bem sucedida ou não, de uma depois determinar o processamento operação matemática (overflow), requerido para esta informação e na comparação de uma palavra finalmente estabelecer qual informação binária com zero (maior que, exigida pelo processo. Assim, aplicando o menor que ou igual a) ou outra enfoque onde as necessidades do palavra binária ou em qualquer processo são definidas primeiro, é possível número de várias condições realmente se chegar às especificações testáveis que podem existir dentro funcionais do computador digital de ou fora da CPU do computador. controle do processo. 8.23
  • 181.
    Computador no Processo 6.2.Informação Requerida pelo um sinal alternado. Neste caso o sinal Computador alternado pode ser convertido em um sinal de onda quadrada e manipulado A informação realmente requerida por diretamente nesta forma ou pode ser qualquer controlador de processo, se convertido em uma tensão contínua e digital ou analógico, depende do processo manipulado como qualquer outro sinal de em si. Porém, é possível classificar a tensão contínua. maioria destas informações eletrônicas Entradas Digitais pelo tipo do sinal elétrico que o controlador Os sinais digitais, como os analógicos, manipula. também são de vários tipos. A variável básica de processo sendo O primeiro tipo inclui os sinais digitais usada como fonte de informação de que contem a informação na freqüência do entrada poderia ser a temperatura, trem de pulsos, similar a um sinal alternado pressão, vazão, nível, umidade, pH, força, senoidal. Aqui o trem de pulsos velocidade, movimento ou posição. Supõe- (informação serial) é normalmente se que estas variáveis estão sendo convertido para uma palavra binária monitorizadas por sensores com saída paralela, simplesmente fazendo a elétrica. São as saídas elétricas destes amostragem da freqüência em intervalos sensores que vão ser categorizadas por de tempo específicos e contendo (contador seus valores elétricos, i.e., resistência binário) o número de pulsos durante este variável, tensão e capacitância. intervalo de tempo. Às vezes, os pulsos Geralmente estas saídas elétricas podem ser passados diretamente para o caem em duas categorias: analógicas ou processador. Codificadores digitais de digitais. Os sinais analógicos podem ser ângulo de eixo e codificadores digitais subdivididos em vários tipos: resistência, lineares são exemplos deste tipo de militensão, tensão corrente. entrada de computador. Entradas Analógicas O segundo tipo de sinais digitais é As saídas de sensores tipo resistência aquele que contem a informação em seu variável são geralmente alimentadas em estado de corrente 1 ou 0 e o processador alguma forma de um circuito ponte de simplesmente precisa saber em qual dos Wheatstone e depois para um conversor dois estados está o sinal. Contatos de A/D. Muitos valores de temperatura, força relés, chaves fim de curso, equipamentos e pressão são comumente convertidos em de segurança, sensores ópticos e posições sinais elétricos do tipo resistência variável. de chaves são normalmente monitorados As saídas de sensores tipo tensão são deste modo. As tensões disponíveis destes alimentadas ou em alguma forma de um sensores de chaveamento variam muito e circuito ponte de Wheatstone (militensão) freqüentemente devem ser filtradas e ter ou através de filtro, casador de impedância seu nível ajustados antes de serem usadas ou divisor (tensão maiores) e depois para pelo processador. Normalmente, o um conversor A/D. Tipicamente, algumas processador também precisa saber, além medições de temperatura, posição, força e do estado da chave, também do fato que a pressão são monitoradas por sensores chave justamente mudou de posição. O tendo saídas do tipo tensão cc. reconhecimento imediato da mudança de As saídas de sensores tipo corrente estado é geralmente mais importante que o vão normalmente para um resistor de conhecimento do estado em si e é amostragem (tipicamente de 250 Ω) que chamado de capacidade de interrupção. converte a corrente em um pequeno sinal Freqüentemente, um equipamento de tensão, que por sua vez é manipulado como a impressora usada com pequenos como qualquer outra pequena tensão. computadores tem uma saída digital serial. Sinais de tensão alternada são primeiro Neste caso é necessário um conversor convertidos em níveis de tensão contínua e serial para paralelo na interface de depois manipulados como qualquer outro entrada. Este conversor consiste de um sinal de tensão contínua; a não ser que a registro binário de deslocamento (shift) e informação esteja contida na freqüência de sua lógica de controle. Essencialmente, quando cada bit é recebido, ele é 8.24
  • 182.
    Computador no Processo deslocadoem um registro, bit por bit, até informação. Os trens de pulsos modulados que todos os bits da palavra tenham sido em freqüência podem ser usados para recebidos. A saída do registro lê a mesma acionar motores de passo digitais ou para informação, só que em paralelo. fornecer a entrada para equipamentos de O tipo final de sinal digital que o dados seriais, como impressoras. Os bits processador digital necessita para individuais binários de informação podem trabalhar é similar ao segundo, em que a ser usados para controlar o estado de informação está contida no valor relés, intertravamentos, alarmes ou instantâneo da tensão (estado digital). Ele indicadores de status. é incluído em uma categoria separada A saída digital paralela pode ser devido aos circuitos de sincronismo e requerida como saída do computador para controle necessários para manipular esta equipamentos de memória auxiliar, informação. Este tipo de sinal digital vem periféricos digitais, como impressoras e da memória de massa (externa), como fita monitores. Nestes casos, também são magnética ou disco. Também este tipo de necessários os circuitos de sincronismo e sinal é encontrado quando o processador controle. digital trabalha com entradas tipo teclado. O circuito adicional de sincronismo e 6.4. Circuitos de Interface controle, necessário para monitorar a Nenhum computador digital pode transferência de dados entre o computador trabalhar diretamente com o processo e estes equipamentos é muito complexo e analógico. Deve se ter uma grande normalmente está incluído na interface do quantidade de circuitos condicionadores de computador. sinal entre o processo e o computador. Coletivamente, os equipamentos e os 6.3. Informação Requerida pelo circuitos eletrônicos que fazem o Processo condicionamento adequado dos sinais são Agora, a informação que o processo chamados de interface. A interface pode deve receber do controlador, de modo que ser dividida em interface de entrada e possa ser controlado, define as interface de saída do computador, bem necessidades da saída do computador. como em interface analógica e digital. Como as entradas, as saídas podem ser Bus de Entrada do Computador analógicas ou digitais. Há uma avenida para o computador Saídas Analógicas acessar todas as milhares de entradas Os comandos da saída analógica (do individuais. Muitas destas entradas são controlador) são usados normalmente para multiplexadas juntas para sistema de acionar algum equipamento conversão A/D. Multiplexar significa ter eletromecânico, tal como uma válvula de várias entradas e uma única saída no controle com atuador pneumático ou dispositivo, de modo que um único damper. Estas saídas podem necessitar de conversor pode ser compartilhado por amplificação de potência e deslocamento estas milhares de entrada. do nível, além da conversão D/A (digital Os computadores digitais pessoais para analógico) ou transdução I/P (corrente (microcomputadores) possuem algumas para ar pneumático). Outras saídas limitações práticas. Devido ao uso de analógicas são usadas para entrar circuitos integrados, os microcomputadores diretamente em sistemas analógicos de possuem uma grande capacidade de controle ou computadores que são computação matemática, pequeno supervisionados por controladores tamanho físico e relativamente baixo custo. primários de processo. Eles são construídos com somente um conjunto de lógica para executar cada uma Saídas Digitais de suas funções. Assim, ele tem a As saídas digitais do controlador capacidade de fazer somente uma podem consistir de trem de pulso serial operação ou função em um momento. (modulado em freqüência), palavras Porém, eles executam estas numerosas digitais paralelas ou bits individuais de operações individuais em uma velocidade 8.25
  • 183.
    Computador no Processo tãoalta que parece que elas foram feitas A interface entre os sinais de entrada simultaneamente, mas não o foram. digitais individuais, cada um contendo um Com estas realidades em mente, pode bit valioso de informação, tais como os se pensar que são necessárias muitas reles é um pouco mais complicado. Cada avenidas de entrada para o computador e entrada pode requerer deslocamento do que estes muitos caminhos requererem nível, casamento de impedância ou filtro. O uma lógica digital extensa e cara. Porém, problema agora é que, para o computador como o computador pode trabalhar apenas adquirir a informação de apenas este com um equipamento de entrada por vez, equipamento, se requer um ciclo completo é praticamente possível e conveniente das entradas do computador. Todos os multiplexar todos os equipamentos de computadores para controle de processo entrada para a mesma estrutura de bus de são equipamentos paralelos, em que eles entrada do computador. Esta estrutura bus ordinariamente não executam operações age simultaneamente como um em um bit digital simples em um momento, multiplexador para todos os equipamentos mas eles tomam muitos simultaneamente, de entrada do computador e como uma dependendo do tamanho da palavra do avenida única e comum da informação a computador. ser transferida diretamente no computador O tamanho da palavra é o termo que digital em si. descreve o número de bits que o Desde que há necessidade de somente computador manipula em uma única um único bus de entrada para o operação. O tamanho da palavra não foi computador, a interface de entrada deve considerado quando discutindo as fornecer todo o condicionamento de sinal entradas analógicas, desde que as necessário para cada equipamento de entradas analógicas são normalmente entrada, de modo a se poder bloquear este convertidas com apenas 10 ou 12 bits de equipamento no computador. precisão, o que é aceitável dentro da O sistema de conversão A/D tem a capacidade da maioria dos computadores capacidade de multiplexar todos os sinais de controle de processo. analógicos para uma linha comum de O computador tem a capacidade de dados para cada conversor A/D. Este bus receber informação acerca de um grupo de comum de dados digitais do conversor A/D 16 sinais de entrada de reles, deve ter níveis lógicos que sejam simultaneamente. Assim, a interface compatíveis com a estrutura do bus de normalmente multiplexa 16 entradas para entrada do computador. Certamente, as serem manipuladas pelo computador como especificações reais da estrutura do bus um grupo; ainda o registro buffer flip-flop é serão determinadas economicamente de usado para sincronizar todos os 16 sinais modo a otimizar a distribuição dos circuitos independentes, enquanto o computador entre a interface e o computador. A estiver realmente recebendo na entrada interface da informação de entrada digital estas informações. paralela tem circuito na interface para Finalmente, há um grupo de entradas manter temporariamente a informação, de digitais que são considerados tão modo que ela permaneça constante quanto importantes que, quando os seus valores esteja realmente presente no bus de variam, o computador deve parar entrada do computador. Tipicamente os imediatamente o processamento de rotina circuitos de interface são simplesmente e verificar os seus novos valores, ou são registros buffer flip-flop, que realizam esta tão insignificante que não é importante o função. O registro flip-flop tem a habilidade tempo requerido para o computador de ignorar a informação presente em usa continuamente verificar os seus valores. entrada até que um comando de memória Estes sinais devem ter a capacidade de seja recebido. Ele então armazena a interromper o computador, em algum ponto informação presente em sua entrada conveniente, durante o processamento de quando o comando de memória é dado e rotina, de modo que o computador tenha retém esta informação até que seja os novos status, o mais rápido possível, recebido outro comando de memória. normalmente dentro de poucos microssegundos. O circuito de interface do 8.26
  • 184.
    Computador no Processo computadordeve ter provisão de cuidar de executado um comando de memória. Em cada uma destas entradas individualmente. todos os outros tempos, o registro mantém Estes circuitos eletrônicos são referidos sua saída exatamente igual a entrada, no como a estrutura de interrupção de instante que o comando de memória foi prioridade. Além de realizar a função de dado, independente das variações em interromper o computador durante o seus terminais de entrada. processamento normal, os circuitos Este tipo de interface de saída do também fornecem uma estrutura de computador também é capaz de servir prioridade entre cada uma destas qualquer função de saída digital paralela, entradas, de modo a decidir o que é mais desde que o registro flip-flop realmente não importante quando vários sinais tentam se importe com o que está ligado à sua interromper o computador saída. Isto deixa as saídas do tipo trem de simultaneamente. Um exemplo de uma pulso e as saídas binárias individuais (1 interrupção de alta prioridade é a saída de bit) para serem consideradas. um circuito eletrônico que monitora as As saídas de informação binária de 1- tensões de alimentação do computador. bit podem ser tratadas de um modo similar Sempre que a alimentação falta, o às entradas do computador de 1-bit. Um computador deve ter a capacidade de se registro de 16-bit pode ser usado para desligar com segurança, de modo que o manipular 16 saídas individuais processamento normal possa continuar simultaneamente. Cada saída do flip-flop é automaticamente, quando a alimentação ligada diretamente a um único volta. equipamento. Freqüentemente, este tipo Isto brevemente define as de saída é usado para ativar relés e assim necessidades para a saída dos circuitos de amplificadores de acionamento de relés interface de entrada do computador e também seriam necessários na interface simultaneamente as necessidades para os de saída do computador. Um problema circuitos de entrada do computador, desde aparece quando uma saída do grupo de 16 que eles devem ser bloqueados e relés deve ter seu status mudado. O compatíveis. Em resumo, o computador computador deve comandar todos os 16 deve ter uma estrutura de bus de entrada simultaneamente; porém, se seu novo digital paralela de 16 bits, para a qual comando para qualquer relé particular é todos os sinais de entradas possam ser exatamente o mesmo que o comando multiplexados. Além disso, deve haver anterior, então o relé não é afetado. Assim, provisão para que certas entradas digitais mesmo que somente uma saída das 16 selecionadas tenham a capacidade de esteja sendo comandada para alterar seus interromper o computador, através de contatos, todos os 16 serão comandados algum esquema de prioridade. simultaneamente, mas somente aqueles comandos para mudar o status serão Bus de Saída do Computador afetados. Há muitas similaridades entre as O tipo final de saída de computador a interfaces de saída e de entrada do ser considerado é o da saída tipo trem de computador. pulso modulado em freqüência. O O conversor D/A (digital para computador pode manipular esta como se analógico) requer informação de entrada fosse um bit individual, simplesmente digital paralela mais memória. Uma mudando uma saída bit na freqüência estrutura de bus de saída paralela digital adequada, ou ele poderia jogar a palavra com um registro de saída buffer satisfaz binária de saída para um registro buffer. todas as necessidades do conversor D/A. Este registro é então ligado a um contador Pode haver muitos conversores D/A em binário. O contador, junto com uma fonte um sistema; assim, estes registros buffer de freqüência, é usado para gerar um devem ser multiplexados em suas número predeterminado de pulsos em uma entradas. A definição do registro flip-flop freqüência constante. Este tipo de saída é oferecida anteriormente descreve como usado tipicamente para acionar motores de eles tem esta capacidade, ignorando suas passo digitais. Outra possibilidade é ter o entradas exceto quando estiver sendo registro buffer ligado a um registro shift. A 8.27
  • 185.
    Computador no Processo informaçãono registro shift é então popular mas a maioria dos sistemas deslocada, para a direita ou esquerda, existentes de controle e dos micro para fora do registro até que cada um dos computadores digitais existentes usam a 16 bits tenha sido deslocado, em uma arquitetura de E/S compartilhada. A ordem adequada. Isto é um conversor discussão é simplificada se for paralelo para serial. apresentada, assumindo uma estrutura de Os sinais de saída modulados na bus E/S dual, desde que a necessidade freqüência de pulsos podem ser também para a multiplexagem no tempo do mesmo saídas do conversor D/A, a saída contínua bus para entrada e saída é eliminada. que é usada como entrada para um Assim, é assumido o uso de bus de conversor tensão para freqüência. entrada e de saída separados. De modo a Em resumo, as necessidades reais da fazer o material aplicável a um bus saída do computador digital são muito compartilhado, simplesmente admite se parecidas com as de entrada: que os mesmos 16 fios (bus E/S) são 1. Ambas requerem a capacidade alternativamente usados para entrada e para a transferência paralela de 16 para saída, a lógica dentro do computador bits. ora ligando acionadores de linha ou 2. Ambas requerem a capacidade de receptores de linha aos terminais destes multiplexar todos equipamentos fios do computador. para os barramentos. Tendo decidido que o computador vê somente registros digitais flip flop Entrada/Saída do Computador conectados ao bus de entrada de dados Desde que as necessidades do bus de com 16-fios (bit) e sai somente sobre uma transferência de dados de entrada e de estrutura de barramento de 16 fios para as saída são aproximadamente idênticas e entradas dos registros buffer digitais flip desde que o computador pode fazer flop, o problema agora é identificar qual somente uma operação de vez, registro flip flop, em que bus e qual o normalmente o mesmo bus de 16-bit é momento. usado tanto como entrada para como saída do computador. O arranjo 6.5. Endereçamento E/S compartilhado do bus de entrada/saída Cada um dos registros flip-flop de (E/S) do computador foi usado durante entrada tem atribuído um único número de muitos anos. Atualmente, vários novos código binário e é fornecido com uma computadores possuem arquitetura lógica digital que decodifica apenas este baseada em estruturas de bus separadas exato número de código. As entradas para de entrada e de saída. Elas permitem que esta lógica de decodificação são ligadas a ambos os barramentos sejam um bus, funcionalmente separado do bus simultaneamente usados, aumentando a de dados, de normalmente 6 a 8 fios, capacidade de transferência dos dados de chamado de estrutura de bus de endereço E/S. de entrada. Sempre que a lógica Muitos fatores devem ser considerados, decodificadora associada com qualquer quando se decide se uma estrutura de bus registro de entrada particular reconhece simples é preferida a uma dual. O critério seu código único, ela ativa um especifico de decisão é quase sempre de economia. registro buffer do equipamento de entrada Economia não se refere apenas aos custos do computador. Este código único é de equipamento (hardware) mas também apropriadamente chamado de endereço do economia em custos de programação, equipamento. Sempre que o computador tempo do computador e uso de memória. A requer informação de qualquer tendência atual mostra que a arquitetura equipamento, ele coloca este código do de bus dual tem provado ser a mais equipamento em seu bus de endereço de econômica e eficiente, quando usada em entrada e a lógica de decodificação de aplicações de controle de processo. endereço permite que apenas o Isto complica a discussão do projeto equipamento endereçado forneça a interno do computador e seu informação ao computador. funcionamento. A arquitetura dual se torna 8.28
  • 186.
    Computador no Processo Há uma duplicação exata desta no tempo. Isto introduz a necessidade de estrutura de bus de endereço e da lógica um relógio interno ao computador. Há de decodificação de endereço que é usada vários modos de manter o rastreamento do para seletivamente permitir que cada tempo real dentro do computador, mas equipamento de saída particular (registro normalmente isto requer a simples adição buffer) possa receber a informação do da habilidade de incrementar ou computador: é o bus de endereço de saída decrementar um número. Sistemas mais e a lógica de decodificação de endereço de complicados podem ter este relógio como saída. Este bus adicional e sua lógica uma função separada do equipamento, decodificadora fornecem os meios para o interna ou externa ao computador. computador selecionar qualquer O método de manipular a informação equipamento particular para transferir do status do contato de relé, em grupos de informação para seu registro buffer ou para 16, introduz a necessidade de ser capaz alertar o equipamento para receber a de comparar logicamente os valores das informação. palavras digitais. Isto inclui a necessidade Duas estruturas de bus adicionais de executar as funções lógicas AND e OR, devem ser mencionadas para o ambas em palavras de 16-bit e nos bits endereçamento dos equipamentos. Desde individuais desta palavra, desde que cada que o computador pode fazer somente um dos 16 bits represente um relé uma coisa a um tempo, freqüentemente diferente. Isto também implica na estas estruturas de bus de endereço são capacidade de testar os resultados de multiplexadas no tempo para os fios do bus manipulações lógicas. A necessidade de de E/S de dados, com o controle e o ser capaz de trabalhar independentemente sincronismo necessários, de modo que os com cada bit da palavra do computador equipamentos saibam como e quando ligar pode requerer a capacidade de deslocar a aos mesmos 16 fios (bus E/S). palavra para a direita ou esquerda com um elemento lógico testável, lembrando o valor 6.6. Processamento de Dados de cada bit, um por vez. Além disso, o O computador deve ter a capacidade computador deve ser capaz de formular e de endereçar cada um dos possíveis dissecar palavras de 16 bits, bit por bit, na equipamentos ligados a ele na entrada ou informação do status do contato do relé de na saída e transferir a informação do ou entrada e de saída. para este equipamento. Todas estas manipulações de dados Freqüentemente, quando o valor internas mencionadas requerem que os escalonado de uma variável de processo valores prévios ou limitantes sejam chega ao computador, ele verifica este facilmente disponíveis na memória do valor contra os valores máximo e mínimo computador. Estes valores devem ser que esta variável não pode exceder. Estes armazenados em locais lógicos e valores limites foram armazenados facilmente endereçáveis. Normalmente, previamente na memória do computador eles são armazenados em tabelas para serem tomados facilmente como internas. Constantes numéricas, curvas referência. Isto pode ser conseguido por trigonométricas e outras não lineares, uma série de comparações, que códigos binários, tabelas de conversão matematicamente é igual a complementar, podem também ser armazenados no incrementar e adicionar os dois valores, computador em formato de tabela. Isto enquanto testando para resultado positivo introduz a necessidade da lógica interna de ou negativo. Quando este valor da variável endereçamento de memória do for fora da tolerância, este fato é computador incluir a capacidade de normalmente indicado na saída do executar aritmética simples no endereço computador, na forma de um alarme. de memória. Isto requerer uma lógica Além de ou em vez de comparar dos interna adicional; porém a unidade dados a valores máximo e mínimo, aritmética do computador tem a freqüentemente o valor atual é comparado capacidade de executar a aritmética com seus valores passados para requerida e portanto, não é necessária determinar a taxa de variação da variável nenhuma lógica aritmética adicional. 8.29
  • 187.
    Computador no Processo A categoria final de processamento 6.7. Projeto do Computador aritmético de dados inclui a solução de O computador tem os bus de entrada e equações algébricas e lógicas. A solução saída separados para dados de 16-bit, os de equações dentro do computador digital binário forma a base da programação do bus separados de endereço de entrada e saída, a estrutura de interrupção de computador. Essencialmente o sistema de prioridade, a memória, a unidade aritmética numeração binário não é facilmente e, finalmente, a unidade de sincronismo e adaptável à solução de equações, com a controle, necessária para fazer todos os exceção de equações lógicas binárias. outros componentes trabalharem juntos. O Para resolver mesmo as equações enfoque tomado para definir as algébricas mais simples, são usadas especificações funcionais do computador técnicas complexas, como de de controle de processo foi baseado nas aproximações de séries infinitas, procura- necessidades próprias do processo e em-tabela, simulação da equação, iteração mostrou a necessidade de quatro unidades e aproximações sucessivas. básicas de qualquer computador digital: A maioria destas técnicas requer manipulações aritméticas relativamente unidade de entrada/saída, unidade aritmética, memória e unidade de muito simples que coletivamente simulam sincronismo e controle. a solução de processos matemáticos mais A discussão seguinte verá cada uma complexos, tais como multiplicação, destas quatro unidades básicas, do ponto divisão, integração, diferenciação, potenciação e radiciação. O que torna o de vista de como elas controlam o fluxo de dados e quais operações elas executam computador digital binário aceitável para a com os dados. solução de equações é a sua O dado se refere a qualquer palavra extremamente alta velocidade de execução digital de 16-bit, que não seja instrução de das operações elementares. O computador digital pode fazer literalmente centenas de programa ou endereço. O dado inclui qualquer e toda informação da variável do milhares de adições, subtrações e processo, códigos representando estes deslocamentos em um segundo, valores das variáveis, informação digital compensando assim a dificuldade de sendo transferida para ou de qualquer programação para estes cálculos. A solução de equações algébricas e periférico. Qualquer palavra binária de 16 bits que é transmitida para e do diferenciais pode ser obtida pelos mesmos computador via estruturas de bus de dados elementos lógicos aritméticos binários de entrada e saída é um dado, independe anteriores. A capacidade computacional e do que a informação realmente representa a velocidade do computador seriam ou como ela é usada finalmente. aumentadas com a multiplicação digital, Os dados de entrada para o porém isto é muito caro e raramente é usado em computadores para controle de computador passam diretamente para a unidade aritmética ou diretamente para a processo. memória do computador, para uso futuro. Em resumo, as necessidades Os dados de saída do computador devem computacionais do computador de controle vir da memória ou da unidade aritmética do de processo são baseadas no somador binário, com as capacidades adicionais de computador. Finalmente, deve haver provisão para o fluxo bidirecional de dados deslocamento de palavras de dados e com entre a memória e as unidades aritméticas. a manipulação de cada bit individualmente. Também são necessários e usados os circuitos lógicos para testar os resultados da adição binária, testar cada bit na palavra de dados do computador, executar as comparações lógicas de AND e OR de palavras binárias e testar os resultados destas operações lógicas. 8.30
  • 188.
    Computador no Processo O programa do computador é o Interface de Interface de mecanismo real, através do qual a sua Entrada Saída operação é controlada. Assim, a Registro de Prioridade de Registro de decodificação e execução dos passos Dados Interrupção Dados individuais do programa do computador Lógica de Controle e sao a função da lógica de controle do Timing computador. Programar um computador digital é controlar cada operação que Bus de entrada Bus de saída Memória ocorre dentro dele. Programação em Linguagem de Máquina Os fabricantes de computador Unidade Aritmética reduziram a quantidade de programação necessária, combinando várias relações Computador digital usadas freqüentemente em uma única etapa, de modo que um único comando possa iniciar uma seqüência de operações Fig. 8.17. Fluxo interno de informação para um mais simples e mais básica. Por exemplo, computador digital uma instrução especifica do programa pode causar uma palavra de dados de 16- 6.8. Programação do Computador bit ser retirada da memória do computador Um computador digital é um conjunto e armazenada no registro A. Assim, uma muito complexo de circuitos que são instrução do computador fez com que capazes de executar apenas operações vários comandos internos sejam muito simples, numa velocidade muito alta. executados seqüencialmente: Por exemplo, a sua unidade aritmética tem 1. a memória foi ciclada e a palavra de a capacidade de executar somente adições dado desejada foi retirada, binárias. 2. a alimentação foi estabelecida, de Para somar dois números binários, modo que a palavra de dado seja deve ser seguido o seguinte processo: transmitida para o registro A. 1. toma-se um dos dois números, da 3. comando apropriado (pulso gatilho) memória ou do bus de entrada de foi gerado e a palavra dada foi dados do computador e armazena armazenada no registro. este número em um registro, A programação do computador neste 2. toma-se o segundo número a ser nível é chamada de programação de somado de outra fonte e armazena- linguagem de máquina ou programação o em outro registro, simbólica. É o nível mais baixo de detalhe 3. alimenta a informação deste que qualquer programador deve ou pode registro em um somador binário, trabalhar. O programador codifica cada 4. toma a saída do somador binário e comando individual para a lógica do a armazena em algum lugar, computador, que executa o controle 5. verifica o indicador de excesso elementar do fluxo de informação de um (overflow) para verificar se a saída ponto a outro dentro do computador ou do somador binário tem significado entre um componente especifico do prático (a soma não pode exceder a equipamento interno do computador e um capacidade do computador). periférico externo). Cada uma destas Esta é a seqüência de operações no instruções do programa realmente gera computador mais freqüentemente realizada uma seqüência de operações mais básicas e para executá-la, devem-se realizar e elementares a ser executada pelos muitos passos individuais. Para programar elementos lógicos do computador. Porém, o computador para fazer esta operação o programador do computador não tem simples, deve-se especificar claramente e controle sobre estas operações mais em seqüência, cada operação a ser feita. básicas; elas são programadas por fiação Isto constitui o programa do computador. na lógica de controle do computador, são 8.31
  • 189.
    Computador no Processo acionadaspelas suas instruções e controladas seqüencialmente por um mecanismo interno de sincronismo. Provavelmente, a operação do computador mais básica e de rotina é o ciclo da unidade de memória. As instruções do programa são sempre armazenadas em algum lugar dentro da memória e quando cada instrução do programa é executada, o computador deve simultaneamente causar o próximo passo do programa ser retirado da memória, independe do que as outras operações internas sejam requeridas por esta instrução particular. Ciclo do Computador Fig. 7.19. Computador como controlador de Isto leva à necessidade para uma processo seqüência de eventos de rotina ser feita durante a execução de quase toda Mesmo que se leve um ciclo do instrução do computador. Esta seqüência computador para executar a instrução mais de eventos é controlada automaticamente básica, na realidade há muitas operações pela unidade lógica e de sincronismo do seqüências ocorrendo internamente no computador, a cada momento que computador durante este intervalo de qualquer instrução seja executada e isto tempo. não precisa ser especificamente estabelecido pelo programador (humano). Esta seqüência de rotina requer um 7. Conclusões período de tempo que, junto com o A discussão anterior apresentou uma intervalo de tempo requerido para executar visão muito breve e geral das exigências a maioria das instruções elementares do funcionais de um computador digital para programa, é chamada de ciclo do controle de processo. Foram apresentadas computador ou ciclo da máquina. Este é o as exigências funcionais do computador e tempo básico de execução da instrução seus circuitos de interface de entrada e requerido pelo computador e é a saída, assumindo que o sistema comprado especificação que o fabricante deve satisfaz estas especificações. Vários estabelecer claramente. Assim, um ciclo do sistemas podem ser adequados às computador de 1,76 µs é o tempo total especificações. Escolher o que melhor requerido para que este computador faça atende determinada aplicação deve se toda sua rotina (obter a próxima instrução, basear em outros critérios, que incluem levar os dados para os vários mas não se limitam a equipamentos funcionais, verificar a 1. custo de aquisição e de interrupção de prioridade) mais o tempo propriedade, necessário para executar uma instrução 2. facilidade de programação, básica do computador de um ciclo. Alguma 3. suporte de backup, instrução mais complexa do computador 4. estabilidade econômica do pode requerer mais de um ciclo para sua fabricante, execução. A transferência de dados entre 5. opções extras e o computador e seus periféricos 6. periféricos disponíveis, tipicamente requer vários ciclos de 7. limitações de memória e máquina para sua execução. 8. limitações de endereçamento entrada/saída.  ApostilasAutomação Automação.doc 14 ABR 01 (Substitui 29 MAR 99) 8.32
  • 190.
    9 Controlador Lógico Programável lógico programável essencialmente Objetivos de Ensino executa as linhas e equipamentos dos 1. Definir o conceito de controlador lógico diagramas ladder. O controlador lógico programável. programável pode ser operado do lado 2. Descrever a historia do aparecimento e da entrada por dispositivos liga-desliga evolução do CLP. ou por equipamentos de entrada 3. Mostrar as características básicas. variáveis e opera qualquer dispositivo de 4. Comparar o CLP com outros sistemas. saída que deva ser ligado e desligado ou 5. Mostrar os tipos e tamanhos dos CLP 's qualquer sistema com saídas variáveis. 6. Justificar o uso do CLP. 7. Selecionar o CLP, considerando 1.2. Terminologia ambiente, linguagem de programação e manutenção. Há vários termos e abreviaturas para descrever o controlador programável: 1. Introdução PC - programmable controller (UK), PLC - programmable logic controller 1.1. Definição (EUA) Controlador lógico programável é PBS - sistema binário programável (Suécia) definido pelo International Electrotechnical Commission (IEC) como CP - controlador programável (Portugal) o: sistema eletrônico operando digitalmente, CLP - controlador lógico programável projetado para uso em um ambiente (Brasil) industrial, que usa uma memória programável No presente trabalho será usado o para a armazenagem interna de instruções termo CLP para o Controlador Lógico orientadas para o usuário para implementar Programável. funções especificas, tais como lógica, seqüencial, temporização, contagem e 1.3. Histórico aritmética, para controlar, através de O primeiro controlador totalmente entradas e saídas digitais ou analógicas, programável foi desenvolvido em 1969 vários tipos de máquinas ou processos. O controlador programável e seus periféricos por uma firma de engenharia, Bedford associados são projetados para serem Associates, depois chamada de Modicon. facilmente integráveis em um sistema de O primeiro controlador programável foi controle industrial e facilmente usados em projetado como um sistema de controle a todas suas funções previstas. computador dedicado construído Numa linguagem mais simples, especialmente para atender as controlador lógico programável é um especificações de um edital da General computador eletrônico amigável ao Motors Hydramatic Division, com as usuário que executa funções de controle seguintes características: de vários tipos e níveis de complexidade. 1. Facilidade de programação e Ele pode ser programado, controlado e reprogramação, preferivelmente na operado por uma pessoa que não sabe planta, para alterar sua seqüência operar computador digital. O controlador de operações, 9.1
  • 191.
    Controlador Lógico Programável 2. Facilidade de manutenção e 6. maior numero de funções de reparo, preferivelmente usando controle de processo, módulos plug-in, 7. estações de operação mais 3. Confiabilidade, mesmo em amigáveis. ambiente industrial 8. integração dos dados de processo 4. Menor tamanho que o sistema do CLP em bancos de dados equivalente em relés, gerenciais, permitindo a 5. Competitivo em custo com painéis apresentação imediata de de relés e eletrônicos informação para o pessoal equivalentes. envolvido em planejamento, 6. Aceitar as entradas em 115 V ca. produção e organização. 7. Ter saídas em 115 V ca com uma capacidade mínima de 2 A, para operar com válvulas solenóides e Tab. 9.1. Desenvolvimento do CLP contatores. 8. Ter possibilidade de expansões Ano Tipo de desenvolvimento com alterações mínimas no sistema como um todo. 1968 Desenvolvimento do controlador lógico programável 9. Ter uma memória programável 1969 CPU com instruções lógicas, 1 k de memória e 128 com capacidade mínima de 4.000 E/S palavras, e que pudesse ser expandida. 1974 Uso de vários processadores dentro do CLP, Os primeiros CLPs eram contadores e temporizadores, operações equipamentos grandes e relativamente aritméticas, 12 k de memória e 1024 pontos E/S caros, de forma que só eram 1976 Introdução de sistemas de E/S remotos considerados competitivos para 1977 Introdução de CLP baseado em microprocessador aplicações que eqüivalessem a pelo menos 150 relés. Mas com melhorias de 1980 Desenvolvimento de módulos E/S inteligentes projeto e o uso de circuitos integrados, Melhoria nas facilidades de comunicações atualmente pode-se usar CLP para Melhoria nas características de programação circuitos equivalentes a até 15 relés. Uso de PC como auxilio de programação 1.4. Evolução 1983 Uso de pequenos computadores pessoais de baixo Cada geração de CLP tem custo incorporado novas características de Uso de memórias não voláteis NVRAM projeto, incluindo maiores velocidades e maior capacidade lógica, tornando o CLP 1985 Circuitos de todos os níveis do CLP, computador e cada vez mais competitivo com outros máquina de conformidade com as normas GM MAP sistemas digitais de controle. A faixa de Controle hierárquico distribuído de processo CLP atualmente estende de pequenas unidades integrais com 20 pontos de E/S Redes Ópticas e 500 passos de programas até sistemas 1990 Sistemas pequenos (shoe box) complexos com módulos que podem ser Sistemas para competir com ou substituir SDCD adicionados e atualizados com o mínimo de custo e perturbação da operação. A tendência atual é a de usar 1. mais módulos microprocessados (chamados incorretamente de inteligentes), 2. operações mais rápidas, 3. maiores memórias, 4. mais funções do tipo computador, 5. melhores sistemas de comunicação, 9.2
  • 192.
    Controlador Lógico Programável tomariam conta rapidamente do mercado 2. Comparação com outros até então dominado pelos relés. A lógica fixa com circuitos eletrônicos tem as sistemas seguintes vantagens sobre os relés, O CLP compete com sistemas de 1. alta confiabilidade, relés, sistemas digitais lógicos e 2. alta velocidade e computadores em aplicações de controle, 3. a capacidade de executar monitoração e intertravamento de operações complexas. processos industriais. Com relação aos relés, apresenta as Quando comparados, o CLP é seguintes desvantagens: escolhido como a melhor opção, 1. maior custo considerando-se todos os parâmetros, 2. uso de algum tipo de álgebra exceto a velocidade de operação e booleana no projeto, desconhecida imunidade a ruídos elétricos. O sistema para os eletricistas mais rápido é com lógica digital e o 3. sensibilidade à interferência e sistema menos suscetível a ruído é com ruídos elétricos originários das relés. Para manipular funções próprias instalações industriais. complexas, o computador convencional é 4. dificuldade de manutenção e ainda melhor que um grande CLP reparo, pois o pessoal de equipado com cartões com funções manutenção não tinha experiência especiais, mas somente em termos de com componentes de estado criação das funções e não no uso delas. sólido, Quando o CLP já tem a função, ele é 5. baixo grau de confiabilidade dos melhor que o computador convencional, dispositivos de entrada, pois ele é um sistema com especialmente das chaves de fim multiprocessador. de curso, comprometia seriamente O CLP possui características de a confiabilidade global do sistema, programação que o tornam mais atraente ainda que o sistema lógico como controlador do que vários outros propriamente dito fosse bastante equipamentos industriais: confiável. 1. facilidade e flexibilidade para 6. pouca flexibilidade, pois os alterar os programas lógicos. O sistemas de estado sólido ainda mesmo CLP é reprogramado e estavam presos às limitações das continua a operar com lógica fiações, o que tornava difícil diferente. modificar a lógica, da mesma 2. facilidade de programação com a forma que nos sistemas de relés. lógica do diagrama ladder do Com os aperfeiçoamentos que foram usuário após a fiação ter sido surgindo, os problemas com sistemas de completada porque o programa estado sólido com lógica fixa foram não depende tanto da fiação. superados e, embora tenham encontrado 3. o programa lógico pode ser algumas aplicações especificas (por armazenado em disquete para a exemplo, em sistemas complexos onde o inserção direta em vários outros uso de lógica de relés é difícil), afetaram sistemas ou em um sistema pouco a posição dos relés no mercado de reserva (back up). lógica. Recentemente, vários fabricantes 4. no caso de defeito, as lâmpadas lançaram módulos lógicos de estado de status no CLP informam ao sólido que usam lógica do tipo ladder, o operador que parte do sistema que dá condições ao projetista de está defeituosa. desenvolver sistemas de forma semelhante àqueles que usavam relés 2.1. Lógica Fixa Eletrônica eletromecânicos. Quando surgiram os primeiros módulos lógicos a estado sólido (transistores), na primeira metade da década de 1960, previu-se que eles 9.3
  • 193.
    Controlador Lógico Programável 2.2.Lógica com Relés Operação em Tempo Real Durante muito tempo, a única lógica O CLP é projetado para operar em aceitável para intertravamentos um ambiente de controle em tempo real. envolvendo vidas humanas era com Ele possui um relógio interno (clocks) e relés. Os relés são fiados segundo timer de watch-dog embutidos em sua diagramas lógicos. As vantagens da operação para garantir que algumas lógica com reles são: operações funcionais não mandem a 1. transparência do seu CPU às favas. As tarefas da CPU são funcionamento; quando um relé 1. varrer os módulos E/S para status, atua, é visível sua atuação; 2. tomar decisões de controle 2. imunidade a ruídos elétricos e seqüencial definidas no programa, interferências eletromagnéticas 3. implementar estas decisões e 3. simplicidade de entendimento, 4. repetir este procedimento todo fiação e manutenção (em sistemas dentro do tempo de varredura. pequenos) Considerações Ambientais As dificuldades da lógica com relés se O CLP é projetado para operar referem a próximo do equipamento que ele vai 1. complexidade da fiação e sua controlar. Isto significa que ele deve verificação em sistemas grandes e funcionar em um ambiente industrial complexos, quente, úmido, sujo, barulhento e 2. pouca flexibilidade para poeirento. A faixa de temperatura típica mudanças: qualquer modificação na lógica dos relés implica em varia de 0 a 60 oC com umidade relativa refazer tudo: desenhos, fiação e tolerável de 0 a 95% não condensante. testes. Ele deve ter imunidade ao ruído elétrico 3. ocupação de grande volume físico. comparável com a requerida em especificações militares. Fig. 9.1. Relés eletromecânicos Fig. 9.2. Diagrama de blocos de computador 2.3. Computador Pessoal Todo CLP é um computador mas nem todo computador pode funcionar como CLP. Os pontos que distinguem um CLP de um computador são: 1. operação de tempo real/orientação 2. classificação mecânica do invólucro 3. linguagem e técnicas de programação Fig. 9.3. Diagrama de blocos de um PLC 4. manutenção e troubleshooting 9.4
  • 194.
    Controlador Lógico Programável Linguagensde Programação Manutenção As linguagens do CLP são projetadas Como controlador de chão de fábrica, para emular o formato do diagrama o CLP deve ser mantido por ladder a relé. Este formato é lido e instrumentista. Seria impraticável entendido por todo técnico eletricista de requerer serviço de manutenção do tipo manutenção. Diferente da programação computador. Por isso, os fabricantes de computador, a do CLP não requer incorporam ao CLP autodiagnose para treinamento especial. O conhecimento da permitir uma fácil pesquisa de defeito e aplicação é muito mais importante que o reparo de problemas. Muitos dos do equipamento e sua programação. componentes do CLP são modulares e Embora certas técnicas especiais sejam simples de serem isolados. Geralmente a importantes para a eficiência da diagnose consiste na remoção e programação, elas são facilmente substituição de módulos do tipo plug in. entendidas. O objetivo principal é Conclusão executar o programa de controle. Outra diferença entre computador e O CLP e o computador não são CLP é a operação seqüencial do CLP. As intercambiáveis; na verdade, eles se operações do programa são executadas complementam. O CLP e o computador pelo CLP na ordem que elas foram podem ser combinados em um sistema programadas. Esta característica é muito de controle de forma a se utilizar as útil pois permite a programação fácil de melhores capacidades de cada um. registros de shift, contadores, timers e O CLP se encarrega de outras técnicas úteis de indexação para 1. interfacear equipamentos externos aplicações de controle de tempo real. acionados por tensão alta, da A estrutura do programa de um CLP ordem de 120 V ca. requer a execução seqüencial de tarefas 2. interfacear equipamentos externos com uma varredura, começando da discretos de entrada, como chaves tarefa 1 e indo até a tarefa 4 e retornando e botoeiras novamente á tarefa 1. A estrutura do 3. executar a lógica de programa do computador pessoal (PC), a intertravamento do processo. execução da tarefa é feita em qualquer Os computadores têm algumas ordem. capacidades que são difíceis de reproduzir em CLP. Assim, o computador se encarrega de Início Início 1. lidar com tipos especiais de controle e matemática. Tarefa Ocorre Não 2. carregar e descarregar os evento 1 programas do CLP ou os dados de produção e processo Tarefa Classi- 2 fica 3. gerar a documentação necessária para melhorar a produtividade, Tarefa emitindo relatórios de produção, 3 T Tarefa Tarefa Tarefa 2 3 4 por exemplo f 1 Tarefa 4. executar as funções de controle 4 analógico A comunicação entre o CLP e o computador se dá através de interfaces Fig. 9.4. Estrutura de programa do PLC (A) e PC em série ou em paralelo. O CLP. Em (B) sistemas de grande porte, é possível se interfacear diversos CLPs a um computador central através de uma via de dados (data highway). 9.5
  • 195.
    Controlador Lógico Programável especialmente evidente no controle de 2.4. Vantagens do CLP processos batelada. As seqüências A operação do CLP envolve inteiras de partida e parada podem ser 1. o exame dos sinais de entrada do executadas pela lógica do seqüenciador processo, e o controle analógico pode ser 2. a execução das instruções lógicas executado durante a corrida do processo. destes sinais de entrada conforme O controle dos parâmetros críticos de programa armazenado em sua partida, como pressão e temperatura, memória pode ser preprogramado com precisão 3. a produção de sinais de saída para para cada passo da partida. Os degraus acionar equipamentos de processo de temperatura e os cálculos para ou máquinas. controle preditivo antecipatório podem As interfaces padrão de ser facilmente programados. entrada/saída, embutidas no CLP, Capacidade e Expansão permitem que eles sejam ligados diretamente a sensores e atuadores de Quando um processo amadurece, é processo, sem a necessidade de circuitos inevitável que sejam adicionadas intermediários ou relés. O sistema de melhorias, que requerem mais entradas e controle pode ser modificado sem a saídas. Para sistemas de relé com fiação necessidade de desligar ou refazer a física, isto geralmente necessita de fiação. Apenas se muda o programa de grandes e problemáticas mudanças no controle através de um teclado ou um painel. Um CLP facilmente acomoda a terminal de programação. O CLP também adição de E/S sem requerer mudanças requer menor tempo de instalação e de na fiação existente. Os novos pontos são comissionamento do que os sistemas simplesmente colocados no sistema. com fiação física. Quando se quer adicionar uma ou duas O CLP representa um produto malhas PID, nenhum trabalho adicional acabado e testado. Ele possui a no painel é requerido; somente a ficção capacidade de controlar qualquer coisa, dos novos pontos e um pouco de desde a lógica ladder de relé até malhas reprogramação para incorporá-las. fechadas de controle de sistemas Quando o CLP usado já está saturado, distribuídos. Porque então escolher o pode ser necessário colocar novos CLP em vez de um sistema módulos de E/S. Recomenda-se que o convencional? dimensionamento do sistema permita As principais vantagens do CLP em uma expansão de 20%. relação à lógica eletrônica fixa, relé e Outra vantagem do CLP é que ele computador digital são as seguintes: permite a implementação gradual do projeto. Os sistemas podem ser Flexibilidade convertidos para o CLP em linha. A No passado, cada máquina de habilidade de o CLP ser reprogramado produção controlada eletronicamente com o processo operando permite a requeria seu próprio controlador automação de processos que são muito dedicado: 10 máquinas requeriam 10 caros para serem desligados. Esta controladores diferentes. Hoje, é possível técnica é valiosa para projetos novos e usar apenas um CLP para controlar todas reformas de processos existentes. as máquinas. Cada uma das máquinas Facilidade de Alterações e Correções sob o controle do CLP tem seu programa próprio. Com um painel de relés com fiação A capacidade multifuncional de um física, qualquer alteração do programa CLP permite a tomada de decisão da requer tempo para refazer a fiação dos lógica de controle, uma versatilidade painéis e equipamentos. Quando se tem raramente possível com outros sistemas. uma alteração na seqüência ou circuito A habilidade de combinar lógica discreta do programa de um CLP, o programa e analógica é uma ferramenta poderosa pode ser alterado de um teclado, em para o controle de processo. Isto é questão de minutos. Não é necessário 9.6
  • 196.
    Controlador Lógico Programável refazera fiação do sistema controlado testado, observado e modificado se pelo CLP. Também, para corrigir erros de necessário, economizando muito tempo. programação, a alteração pode ser feita Em contraste, os sistemas convencionais rapidamente pelo teclado. com relés só podem ser testados no chão de fabrica, consumindo muito tempo. Quantidade de Contatos O CLP tem um grande número de Observação Visual contatos para cada bobina disponível em A operação de um circuito de CLP seu programa. Quando for necessário pode ser visto durante a operação aumentar o número de contatos, não se diretamente através de um monitor de requer a colocação de nenhum relé vídeo. A operação correta ou incorreta do adicional; o número de contatos é circuito pode ser observada quando aumentado também através do teclado. A acontece. Os caminhos lógicos acendem limitação de contatos é estabelecida na tela quando são energizados. O apenas pelo tamanho da memória do troubleshooting pode ser feito CLP. rapidamente durante a observação visual. Baixo Custo Em sistemas avançados de CLP, Como o CLP foi projetado e podem ser programadas mensagens de construído para substituir relés, que são erros para o operador. A descrição do baratos, historicamente o CLP é barato, erro aparece na tela quando o erro for quando comparado com sistemas digitais detectado pela lógica do CLP. Os de controle distribuído. O CLP é sistemas avançados de CLP podem relativamente barato e fornece um menor também ter descrições da função de custo por malha de controle ou por ponto cada componente do circuito. de multiplexação de sinais analógicos e digitais. O CLP pode agir como um Velocidade de Operação seqüenciador, controlador de malha Os relés eletromecânicos podem fechada, equipamento de aquisição de levar um tempo inaceitável para atuar. A dados e multiplexador. Esta capacidade velocidade operacional para o programa multifuncional, se aplicada com de CLP é muito alta. A velocidade para a imaginação, permite ao usuário do CLP operação lógica do CLP é determinada economizar equipamento. pelo tempo de varredura, que é da ordem A melhoria da tecnologia permite de milissegundos. compactar mais funções em circuitos Facilidade de Especificação cada vez menores e mais baratos. Na década de 1990, pode-se comprar um Um CLP é um equipamento com uma CLP com numerosos contatos, relés, data de entrega. Quando o CLP chega, temporizadores, seqüenciadores, todos os contadores, relés e outros contadores e outras funções por baixo componentes também chegam. Quando custo (algumas centenas de dólares). se projeta um painel de relés, pode-se ter O custo de propriedade do CLP, que diferentes relés de diferentes inclui os custos de manutenção, fornecedores. A compra de todos os operação, treinamento, confiabilidade e equipamentos envolve várias datas de disponibilidade também é menor, quando entrega e disponibilidades. Com um CLP, comparado com os outros sistemas. Os tem-se um produto e um tempo equipamentos a estado sólido são mais programado de entrega. No sistema de confiáveis que os relés e temporizadores relê, o esquecimento de compra de um mecânicos ou elétricos. O CLP é feito de componente pode significar o atraso da componentes eletrônicos a estado sólido partida de todo o sistema de controle. com altíssima confiabilidade. Com o CLP, um relé adicional é sempre disponível, desde que o CLP tenha uma Funcionamento Piloto capacidade computacional bem Um circuito programado de CLP pode dimensionada no projeto. ser rodado e avaliado no escritório ou na oficina. O programa pode ser batido, 9.7
  • 197.
    Controlador Lógico Programável Documentação Operação de Falha Segura A impressão do circuito final e Em sistemas de relé, uma botoeira de verdadeiro do circuito do CLP é parada desliga eletricamente o circuito. disponível em minutos, quando Se há falta de energia, o sistema para. O necessário. Não há necessidade de sistema de relé não religa procurar diagramas do circuito em automaticamente quando a energia volta. arquivos remotos. O CLP imprime o Obviamente, estas opções podem ser circuito real em operação assim que programadas no CLP, porém, em alguns solicitado no teclado. programas de CLP, pode ser necessário 2.5. Desvantagens do CLP aplicar uma tensão de entrada para fazer um equipamento parar. Estes sistemas As principais desvantagens, não têm falha segura (fail-safe). Esta restrições e limitações do CLP são as limitação pode ser superada adicionando- seguintes: se relés de segurança ao sistema de Nova Tecnologia CLP. É difícil mudar as mentes e os 2.6. CLP versus SDCD corações de algumas pessoas que estão acostumadas a trabalhar e lidar com A interface de operador do sistema de relés e diagramas ladder para uma controle supervisório e aquisição de tecnologia digital de CLP. dados (SCADA) levou o controlador lógico programável (CLP) a áreas onde Aplicações de Programas Fixos ele pode competir com igualdade com os Algumas aplicações são de uma sistema digital de controle distribuído única função. Talvez não valha a pena (SDCD). Com, o engenheiro de usar um CLP que tem a capacidade de instrumentação deve decidir qual o programação múltipla, quando esta melhor sistema para determinada capacidade não é necessária. Um aplicação. Escolher entre sistemas de exemplo, é o uso de seqüenciadores ou controle com funcionalidades similares controladores mecânicos, a cilindro pode ser subjetivo, confuso, demorado e (drum). Tais equipamentos mecânicos desgastante. são baratos e limitados, mas se Na escolha entram parâmetros encaixam bem em aplicação limitada, mandatórios e desejáveis. Os parâmetros onde a seqüência operacional nunca é mandatórios decidem quem pode entrar alterada. no jogo e os parâmetros desejáveis Se o circuito em operação nunca é determinam quem ganha o jogo. alterado, um sistema de controle fixo Um modo de fazer decisão é listar os pode ser a solução mais econômica que parâmetros mandatórios e desejáveis, um CLP. O CLP é mais efetivo quando atribuir pesos a eles (e.g., de 1 a 10) e a são feitas modificações periódicas na partir daí, pode se ter um método operação eficiente, objetivo, quantificável e fácil de Considerações Ambientais ser justificado de escolher o melhor sistema. O CLP é um computador digital para Os critérios envolvem custo de uso industrial muito mais confiável e propriedade, desempenho, flexibilidade, robusto que um computador de escritório. utilidades e facilidades associadas ao Mesmo assim, há certos ambientes sistema. industriais, com alta temperatura e vibração, que podem interferir com os Custo seus circuitos eletrônicos. Não se deve restringir a análise do custo apenas do equipamento comprado inicialmente. Em um sistema digital, os custos estão associados a 1. hardware 2. software 9.8
  • 198.
    Controlador Lógico Programável 3. engenharia Os circuitos de SDCD são projetados 4. projeto para oferecer alta disponibilidade e 5. instalação redundância total do sistema 6. comissionamento (redundância de I/O, CPU, elos de 7. partida comunicação, fonte de alimentação), sem 8. validação falha de ponto isolado. O acoplamento 9. documentação seguro entre a interface homem máquina, 10. operação controladores e software permitem 11. treinamento grande segurança e integridade da 12. peças de reposição operação conjunta do sistema. Porém, os 13. manutenção CLPs também podem oferecer estas 14. calibração mesmas redundâncias e garantias de 15. contrato de serviço pós venda operação, mas também com custo 16. paradas pelo mau funcionamento elevado. do sistema de controle Os sistemas com CLP e SDCD 17. atualizações futuras possuem praticamente a mesma 18. ciclo de vida útil do sistema capacidade para diagnóstico, verificando Os custos iniciais com hardware e a operação de sistema de comunicação, software são invariavelmente menores módulos I/O, carga CPU. para o CLP que o SDCD. Porém, em Conectividade sistemas muito grandes e complexos, que requer grande integração e Uma das palavras chave na escolha codificação do usuário, os custos dos de um sistema digital é a conectividade softwares do CLP também sobem. ou a capacidade dos módulos do sistema se comunicarem entre si e a do sistema Desempenho se comunicar com outros sistemas No parâmetro desempenho do digitais. Os protocolos de comunicação sistema entra a funcionalidade que pode devem ser abertos, ou seja, não são ser desdobrada em proprietários de um fabricante. Aberto 1. confiabilidade significa que as interfaces de 2. disponibilidade comunicação são padrão e facilmente 3. flexibilidade disponíveis de vários fornecedores. 4. mantenabilidade Aberto também significa facilidade de 5. capacidade de se expandir conectividade entre os sistemas 6. modularidade industriais e corporativos. 7. escalabilidade O CLP é usado predominantemente 8. configurabilidade do sistema como automação embutida por firmas Também está associado ao integradoras por causa de sua aplicação desempenho do sistema a ideal e baixo custo de hardware. Muitas 9. facilidade de configuração da base operações de máquinas pequenas não de dados, podem suportar uma solução com SDCD. 10. desenvolvimento gráfico, É muito comum integrar vários CLPs 11. intertravamentos, usando software aplicativo de outros 12. gerenciamento de receitas, fabricantes (InTouch, FixDMax, Wizcom). 13. sequenciamento de bateladas Tamanho multiproduto Em grandes processos batelada que Tamanho físico do sistema requerem múltiplos produtos finais e Espaço disponível gerenciamento de receita, o desempenho Utilidades de suporte do SDCD é superior ao do CLP. Em Considerações de atualização produção pequena, dedicada a bateladas (retrofit) simples, com receitas limitadas, onde o Estratégia da configuração gerenciamento de batelada não é crítico, Estação de operação com consoles o CLP é mais adequado e barato. centralizados ou distribuídos 9.9
  • 199.
    Controlador Lógico Programável Interfaces I/O remotas ou desliga. A interface homem máquina é centralizadas pobre, contendo apenas botoeiras, chaves seletoras e anunciador de alarme. Pacotes de software O SDCD foi uma evolução natural da Sistema suporta softwares aplicativos instrumentação, onde as funções dos já disponíveis instrumentos (condicionamento de sinal, Sistema operacional ou plataforma controle e display) foram distribuídas para rodas aplicativos: Unix, Windows geograficamente. O SDCD substitui NT. instrumentos analógicos, para aplicações Integração com aplicações de alto de controle contínuo PID. A interface nível, tais como homem máquina é poderosa, com ♦ sistema de visão consoles com monitores de vídeo, ♦ veículos guiados automaticamente teclados, mouses e trackball. ♦ sistema de gerenciamento de Com estas características, o CLP era informação de laboratório usado para aplicações com muita lógica, ♦ planejamento de requisição de intertravamento e seqüencial e o SDCD materiais era usado para o controle PID do ♦ equipamento OEM processo contínuo. O SDCD fazia o ♦ instrumentação de campo inteligente controle regulatório do processo e o CLP O sistema com SDCD fornece o fazia o controle de alarme e hardware e software bem acoplados. intertravamento do processo. Eles também oferecem uma base de Porém, com as compras de firmas dados global de todo sistema, unificada e pequenas, os grandes fabricantes de uma comunicação ponto a ponto SDCD começaram a incorporar superior. O sistema de gerenciamento de atividades de controle liga desliga no dados fornece uma troca e acesso de seus sistemas, com funcionalidade de dados para a operação do sistema. As lógica ladder de relé, blocos de função e expansões e modificações do sistema programação de texto estruturado, que são fáceis, mas devem ser feitas pelo eram feitas tradicionalmente por CLP. Os fabricante. Por causa de sua sistemas de CLP também incorporaram o configuração, o CLP requer um aplicativo bloco PID em sua configuração e usando supervisório, de outra firma, para ter uma a estação de operação de um CP, roda funcionalidade equivalente à do SDCD. aplicativos de controle supervisório. Modificações no sistema geralmente Tecnicamente, um CLP pode fazer requer modificações no CLP e no tudo o que o SDCD pode fazer. O que o programa supervisório. usuário deve decidir é como facilmente e quanto custa para cada sistema Suporte técnico pós venda satisfazer as exigências do sistema de Responsabilidade do controle, como definido na cotação. ♦ Usuário A demanda e a tendência atual para ♦ Fornecedor do sistema sistemas e informação abertos continuam ♦ Integrador a crescer. Os usuários estão cansados Conformidade com normas das restrições impostas pelos fabricantes com relação a protocolos de Se sistema está de conformidade com comunicação, hardware e software. Os normas: fabricantes atenderam a chamada para ♦ ISA/ANSI S88.1 desenvolver produtos baratos baseados ♦ NAMUR NE 33 em tecnologias já comercialmente Conclusão disponíveis. A necessidade de mais comunicação aberta entre sistemas, em Historicamente, o CLP foi todos os níveis, tem sido dirigida pelo desenvolvido para substituir sistemas usuário e é um pré-requisito para com relés eletromecânicos, aplicados proteger os investimentos de capital e para fazer controle de processos reduzir os custos do projeto. discretos, com muita operação de liga e 9.10
  • 200.
    Controlador Lógico Programável 1970 – Funcionalidades divergentes Atualmente, no mundo globalizado, há uma disputa para se escolher um CLP SDCD único protocolo de comunicação de campo, onde predominam duas abismo tecnologias: Fieldbus Foundation e Aplicações Aplicações Profibus. Esta normalização irá em controle em controle complementar a tendência futura de levar discreto contínuo a inteligência do sistema para os instrumentos de campo (transmissores e válvulas), aliviando a capacidade de processamento dos CLPs e SDCDs. 1980 – Funcionalidades comuns 3. Componentes do CLP CLP SDCD O CLP é um computador com propósito específico com três áreas Espaço funcionais: Ap Apli 1. unidade de processamento central icações em 2. memória õ t l 3. módulos de entrada e de saída 1990 – Funcionalidades superpostas Todas estas áreas são alimentadas por uma ou várias fontes de alimentação. Para funcionar conforme programado, CLP SDCD o CLP deve carregar o programa de instruções de um terminal externo. A unidade separada de programação para Espaço carregar os programas de controle para a Aplicações em Aplicações em memória do CLP fica fora da sua controle controle operação. As condições de entrada para o CLP 2000 – Funcionalidades convergentes são recebidas do mundo externo e armazenadas na memória, onde o CLP CLP/ executa as instruções lógicas programadas nestes módulos de entrada. SDCD As condições de saída são geradas para acionar os equipamentos associados. A Aplicações em Aplicações em ação tomada depende totalmente do controle controle programa de controle mantido na memória do CLP. No CLP pequeno estas funções são Fig. 9.5. Comparação entre CLP e SDCD feitas por cartões de circuito impresso individuais dentro de uma única unidade A superposição e mistura de compacta. No CLP grande, construído aplicações com CLP e SDCD continuarão em base modular, os módulos funcionais a acontecer. Grandes sistemas com CLP são colocados nos conectores do armário e SDCD funcionarão como um sistema de montagem, permitindo que o sistema unificado de controle com baixos custos seja expandido, quando necessário. Os de hardware e software. Aplicações cartões de circuito individuais do tipo plug usando somente CP irão crescer muito, in, sendo facilmente removidos e por causa das nova tecnologia de ligar e substituídos, possibilitando o reparo embutir objeto (OLE – Object Linking and rápido do sistema quando há falhas. Embedding). Os usuários poderão integrar facilmente hardware e software usando normas novas, como a OPC – OLE para controle de processo. 9.11
  • 201.
    Controlador Lógico Programável Há uma correlação entre o tamanho Terminal programação do sistema e o tamanho da memória interna necessária para rodar o processo. E Controlar pequeno sistema simples N Me S requer somente um pequeno CLP com T mó A uma memória limitada; controlar um R CPU ria Í grande sistema complexo requer uma A D unidade maior com mais memória e D A funções. Algumas CPUs podem ter memória expansível; outras são fixas. Fonte de Alimentação Praticamente, todos os CLPs modernos são baseados em microprocessador usando um Fig. 2.6. Diagrama de blocos do CLP microcomputador como a CPU do sistema. Alguns CLPs maiores também empregam microprocessadores 3.1. CPU - Unidade Processamento adicionais para controlar funções Central complexas e demoradas, como processamento matemático, controle PID A Unidade de processamento central e módulos E/S inteligentes. (CPU) é o coração ou o cérebro do A CPU contem vários receptáculos sistema do CLP. A CPU controla e para conectar os cabos que vão para supervisiona todas as operações dentro outras unidades do CLP. Estes cabos do CLP, executando as instruções devem ser ligados corretamente para o programadas armazenadas na memória. sistema funcionar. Uma via de dados interna de A maioria das CPUs contém baterias comunicações transporta as informações de back up para manter o programa entre a CPU, memória e unidades E/S, operando na memória no caso da falta de sob o controle da CPU. A CPU é energia da planta. O tempo de back up alimentada com uma freqüência de clock retentivo típico é de um mês a um ano. O por um cristal externo de quartzo ou programa de operação básico está oscilador RC, tipicamente entre 1 e 12 permanentemente armazenado na CPU e MHz, dependendo do microprocessador não é perdido quando falta energia. usado e da aplicação. O clock determina Porém, o programa ladder de controle de a velocidade de operação do CLP e processo não está armazenado fornece o sincronismo para todos os permanentemente. A bateria de backup elementos no sistema. permite a CPU reter o programa ladder de operação no caso de perda de energia. Apenas o programa de operação pode ser perdido ou apagado quando a alimentação da CPU do CLP é perdida. A CPU geralmente possui uma chave para evitar a intervenção de pessoa não autorizada na operação do processo ou a alteração do programa de operação do sistema. As posições típicas desta chave são: 1. Off - o sistema não pode ser rodado ou programado. 2. Run - permite o sistema rodar, mas não permite nenhuma Fig. 9.7. Vista de um CLP (Modicon) alteração no programa 3. Disable - desliga todas as saídas ou as coloca no estado sem operação 9.12
  • 202.
    Controlador Lógico Programável 4. Monitor - liga a tela que mostra as informações de operação 5. Run/Program - o sistema pode Interface rodar e podem ser feitas de Entrada modificações nele enquanto ele estiver rodando. Este modo deve ser usado com cuidado. Neste Unidade Interface modo, o programa não pode ser Programação C de Saída completamente apagado (por PU segurança) mas pode somente ser modificado. Para apagar um Interface programa inteiro a chave deve Progr de Saída estar na posição disable. 6. Off/Program ou Program - O sistema não pode rodar mas pode ser programado ou reprogramado. Alguns CLPs podem ter outras chaves alem dessas. Fig. 9.8. Relações entre a CPU e partes do CLP 3.2. Memória O CLP moderno usa dispositivos de Além de armazenar o programa, o memória a semicondutor, para CLP requer a memória para outras armazenar programas, como memória funções, como: RAM de leitura/escrita ou uma memória 1. armazenar temporariamente status ROM programável de EPROM ou dos canais E/S - RAM E/S, EEPROM. 2. armazenar temporariamente status Geralmente, a RAM é usada para o de funções internas, como desenvolvimento inicial e teste do temporizadores e contadores. programa, pois ela permite alterações Como estas funções consistem de fáceis do programa. A tendência atual é dados variáveis, é necessário o uso de fornecer RAM com CMOS alimentada por memória RAM. bateria reserva recarregável ou de longa O CLP menor geralmente possui um vida (no mínimo, 1 ano), por causa do tamanho fixo de memória, por causa das baixíssimo consumo de potência ou dimensões físicas da unidade. Esta memórias retentivas especiais que capacidade de memória varia entre 300 e dispensam o uso de baterias. 1000 instruções, dependendo do Depois que um programa é fabricante. Esta memória pode parecer totalmente desenvolvido e testado, ele insuficiente mas estima-se que 90% de pode ser carregado chips de memória todos as tarefas de controle binário PROM ou EPROM, que são mais baratos podem ser resolvidas usando menos de que uma RAM. A programação da PROM 1000 instruções, de modo que há espaço é usualmente feita com equipamento suficiente para satisfazer as especial, embora alguns CLPs tenham necessidades da maioria dos usuários. esta facilidade integral ao sistema, O CLP maior usa módulos de permitindo que o programa na RAM seja memória entre 1K e 64K, permitindo que carregado em um chip PROM colocado o sistema seja expandido pela colocação em um soquete dentro do sistema. de cartões de memória RAM ou PROM no armário. Como os custos das memórias de circuito integrado (CI) continuam caindo, os fabricantes de CLP estão aumentando cada vez mais as memórias de programas em todos produtos. 9.13
  • 203.
    Controlador Lógico Programável incluindo diagramas ladder, lista de 3.3. Unidades de Programação referência cruzada, lista de E/S. O Podem ser usados dois equipamentos programador a CRT pode ter uma básicos de programação do CLP: tomada RS232C para uma impressora. programador portátil e programador a A tela do CRT tipicamente mostra 8 CRT. degraus da escada do diagrama, com 11 O programador portátil permite o contatos através. Os diagramas ladder operador entrar um programa um contato podem ser colocados em um modo de por vez. Estas unidades são muito "tempo real", que permite o status de usadas porque são robustas, portáteis e contato visual. Uma tela inteira de fáceis de operar. Elas são muito baratas contatos e bobinas pode ser atualizada e possibilitam o engenheiro entrar um numa base de 40 ms. Estes programa e diagnosticar problemas na programadores são projetados para lógica e nos equipamentos de campo. serem portáteis, mas pesam de 20 a 27 Um programador com CRT permite o kg. Com uma ligação a modem estes operador ter uma visão do programa no CRTs podem ser usados em locais CLP. Os diagramas ladder são remotos para programação e pesquisa de desenhados na tela, como no papel. O defeitos. tempo do projeto e da pesquisa de defeito é reduzido com o uso do CRT. Através de programa com menus, o tempo de treinamento do programador é diminuído. O CRT é projetado para orientação de prancheta ou a nível de chão de fabrica. O exterior é feito metal resistente a impacto e o teclado é a prova de respingo. O tamanho da tela varia de 4 a 9" (100 a 225 mm), com proteção com chave para evitar a alteração do programa por pessoa não autorizada. Estas unidades podem ser especificadas com memória. A informação pode ser armazenada em Fig. 9.10. Programador e CLP (Texas) discos flexíveis ou fita magnética. Com memória em disco flexível, os programas Quase todos os painéis de podem ser copiados de um disco para programação contem RAM suficiente outro e verificados sem a necessidade de para permitir a armazenagem semi carregar na memória do CLP. O projetista permanente de um programa em pode desenvolver o programa em um desenvolvimento ou sob modificação. Se disco e depois carrega-lo no CLP. o painel de programação é portátil, sua RAM é normalmente CMOS com reserva de bateria, permitindo a unidade reter programas durante o transporte. Somente quando um programa está pronto para uso ou teste que ele é transferido para o CLP. Depois que o programa instalado for totalmente testado e corrigido (debugged), o painel de programação é removido e fica livre para ser usado em outro CLP. Fig. 9.9. Programador com monitor O terminal pode ter uma facilidade de monitoração, permitindo a observação em tempo real do funcionamento de Alguns programadores a CRT chaves, portas e funções durante a fornecem a documentação completa, execução do programa. 9.14
  • 204.
    Controlador Lógico Programável O CLP grande é geralmente indicadores e outros equipamentos de programado através de uma unidade informação de entrada. Os terminais do específica com um teclado e monitor, módulo de saída fornecem tensões de ligado ao controlador através de uma saída para energizar motores e válvulas porta de comunicação, normalmente RS e operar equipamentos de indicação. 232C. Estas unidades fornecem grandes Por questão de economia de espaço facilidades de programação, como e equipamentos, há tipicamente 4, 8, 12 gráficos na tela e inclusão de ou 16 terminais por módulo E/S. Nem comentários durante o programa. sempre o sistema tem o mesmo número Recentemente, usa-se microcomputador de entradas e saídas; geralmente há pessoal (PC) como estação de trabalho mais entradas do que saídas. para a configuração e desenvolvimento Os módulos de entrada e de saída de programas para o CLP, permitindo o podem estar na mesma gaveta do rack display de gráficos e diagramas ladder na (sistemas pequenos), ou podem estar em tela e aumentando a velocidade de unidades separadas (sistemas grandes). operação. Fig. 9.11. Programação com laptop Fig. 9.12. Vista de módulos E/S (Modicon) A grande memória disponível nos modernos PCs de 16-bit é ideal para a armazenagem de vários programas Os módulos E/S são ligados à CPU completos de CLP com comentários e por cabos ou fios. O número exato de fios documentação. O uso de PC como é determinado pelo tipo e configuração estação de trabalho do CLP também do CLP. Para módulos múltiplos em um permite ao usuário ter acesso a outras armário, é necessário ajustar as chaves facilidades de programas para (dip switches) para cada módulo gerenciamento de projeto, como banco individual. Estas chaves determinam o de dados, planilhas e processamento de número operacional de cada entrada e texto. saída. Alguns módulos E/S possuem 3.4. Módulos de Entrada/Saída (E/S) chaves internas. Os módulos E/S normalmente Os módulos de entrada/saída (E/S), adequam os elevados níveis de tensão também chamados de módulos I/O (input encontrados nos elementos de campo e output), constituem o elo físico entre o para os baixos níveis de tensão processo externo e a CPU do CLP. Os observados internamente na CPU. A módulos E/S usam vários circuitos de consideração mais importante para um interface para receber os sinais módulo E/S se refere à especificação do proporcionais às variáveis do processo nível de tensão e de corrente. Módulos como pressão, temperatura, vazão, nível, com níveis diferentes de tensão e de movimento, posição, analise, vibração. corrente podem não funcionar, na melhor Os terminais do modulo de entrada das hipóteses e podem se danificar recebem sinais de fios ligados a chaves, irremediavelmente, se o fusível não agir 9.15
  • 205.
    Controlador Lógico Programável antes,na pior das hipóteses. Por Válvulas elétricas exemplo, um módulo de entrada Solenóides especificado para 24 V cc não funciona Cada entrada ou saída discreta é em 120 V ca e um dispositivo de saída alimentada por alguma fonte de tensão requerendo 5 A não pode ser acionado na maioria das vezes fornecida pelo por um módulo de saída para 2 A. campo como 24 V cc, 120 V ca. Quando em operação, se uma chave Módulos E/S remotos na entrada é fechada, o módulo de Os principais tipos de módulos de entrada sente a alimentação fornecida e entrada e saída são: a converte para um sinal de nível lógico 1. discretos adequado para que a CPU interprete o 2. analógicos estado do dispositivo de entrada. Lógica 3. registros 1 indica Ligado, ON, Fechado, 4. inteligentes Verdadeiro e lógica 0 significa Desligado, Módulos de E/S Discretos Aberto, Fechado, Falso para a CPU. Os módulos E/S discretos são a A CPU interpreta o programa e atua classe mais popular dos dispositivos as interfaces de saída que fornecem encontrados no sistema de CLP. Estes alimentação para os elementos de módulos conectam sinais de entrada que controle. Se uma saída é mudada para são separados e distintos em sua lógica 1, a tensão é chaveada para natureza ou dispositivos de saída de alimentar o dispositivo sob controle. campo que requerem um sinal separado Módulos de entrada ca e distinto para controlar seu estado. Um diagrama típico para um módulo Estas características limitam os módulos de entrada ca é dado abaixo. de E/S discretos a sentirem sinais que Os tipos de módulo de entrada variam são ligado-desligado, fechado-aberto ou de fabricante para fabricante mas a equivalentes ao fechamento de uma maioria é constituída por estes blocos chave. Para o módulo de interface, todas básicos. O circuito de entrada é as entradas discretas são dispositivos de constituído de duas partes principais: a dois estados. Da mesma forma, as parte de potência e a parte de lógica. interfaces de saída são limitadas a Estas duas partes são normalmente controlar dispositivos de chaveamento acopladas por um circuito que isola para um estado como ligado-desligado eletricamente a entrada da saída. Esta ou aberto-fechado. isolação elétrica é muito importante em Os tipos mais comuns de módulos um ambiente ruidoso como o industrial. E/S para entradas discretas encontradas Um dos problemas de controle industrial em medição e controle de processo são: com computador, até o surgimento do Dispositivos de Entrada Discretos CLP, era que os dispositivos de E/S não Chaves Push-buttons haviam sido projetados para estes Chaves toggles ambientes industriais, sendo sujeitos a Chaves limite falhas freqüentes e com pequena Chaves automáticas confiabilidade. Portas lógicas Células fotoelétricas Contatos de starters de motores Contatos de relés Dispositivos de Saída Discretos Anunciadores Relés de controle Fig. 9.13. Circuito de entrada ca Lâmpadas Portas lógicas Buzinas Starters de motores 9.16
  • 206.
    Controlador Lógico Programável A seção de potência de um módulo de entrada basicamente converte a tensão de entrada (115 ou 230 V ca) de um dispositivo para um sinal de nível lógico para ser usado pelo processador. O retificador converte o sinal de entrada ca ou cc para um sinal que passa pelo filtro que protege o circuito contra ruídos elétricos da alimentação de entrada. Este Fig. 9.15. Ligação de módulos de entrada ca e cc filtro causa um atraso de sinal, típico de 10 a 25 ms. O circuito de detecção de nível detecta quando o sinal de entrada Módulos de saída ca atinge o nível especificado para a Como os módulos de entrada ca, os entrada. Se o sinal de entrada exceder módulos de saída ca variam em este nível por um período de pelo menos construção de fabricante para fabricante. o valor do filtro, o sinal é aceito como O diagrama de blocos típico descreve a uma entrada valida. operação da maioria dos módulos ca Quando uma entrada valida é disponível no mercado. detectada, ela passa através do circuito O circuito pode ser dividido nas partes de isolação, convertendo o sinal original lógica e de potência acopladas por um (no caso ca ou cc) para um nível lógico isolador. A interface de saída é uma do outro lado da isolação. Este nível chave ca que fornece a alimentação de lógico é tratado pela lógica e é enviado campo para o dispositivo de controle. para a CPU. A maioria dos módulos de entrada contém indicações visuais do estado lógico de suas entradas através de LEDs ou lâmpadas Fig. 9.17. Circuito de saída para módulo ca Fig. 9.14. Indicações dos módulos E/S Módulos de entrada cc Os módulos de entrada cc convertem sinais discretos de corrente continua (12 V cc, 24 V cc, 48 V cc, 125 V cc) para os níveis lógicos aceitáveis para a CPU. Sua constituição e funcionamento são similares aos do módulo de entrada ca exceto pela não necessidade de retificação. Fig. 9.18. Ligação do módulo de saída ca Em operação normal, o processador envia o estado lógico da saída determinado pelo programa para a seção lógica. Se a saída é energizada, o estado passa para a etapa de potência 9.17
  • 207.
    Controlador Lógico Programável disparandouma chave que é multiplexação de sinais e interface com normalmente um relé ou triac. outros equipamentos. Alguns fabricantes O circuito ca de potência é oferecem módulos com alta capacidade normalmente protegido por um circuito de potência para chaveamento de altas RC e um MOV (Metal Óxido Varistor), correntes. usado para limitar os picos de tensão que Módulos de saída TTL possam afetar a operação do módulo. Como os módulos de entrada, os de Os módulos de saída TTL permitem saída também podem possuir LEDs para interfacear dispositivos externos indicar o estado da lógica. Alguns compatíveis com estes níveis e módulos também contem um fusível na dispositivos alimentados por 5 V cc, parte de potência para proteger o como LED de 7 segmentos e circuitos elemento de chaveamento (triac ou relé) integrados digitais. Como os demais de sobrecorrentes ou curtos na carga. módulos de saída, os módulos TTL requerem alimentação externa para atuar Módulos de saída cc na carga. O módulo de saída cc é projetado Módulos E/S Analógicos para manusear cargas de corrente continua. Sua operação é similar ao A disponibilidade de circuitos módulo de saída ca, porém, os circuitos integrados de baixo custo e a sua alta de chaveamento da carga são diferentes. escala de fabricação permitiram que o São usados FETs (Field Effect CLP incluísse em sua estrutura uma Transistor) ou transistores bipolares para grande capacidade de manipulação de o chaveamento. dados. Isto levou a expansão das capacidades de E/S e a implementação de módulos analógicos e digitais no do CLP. Os módulos analógicos permitem que o CLP faca diretamente a medição das variáveis do processo e o controle de dispositivos analógicos de campo. Os módulos E/S analógicos permitem o Fig. 9.19. Circuito de saída cc típico controle e monitoração de tensões e correntes compatíveis com muitos sensores, válvulas, acionadores de motores e instrumentos de processo. Abaixo estão listados os dispositivos típicos que são interfaceados com os módulos de E/S analógicos : Dispositivos com módulos de entrada analógicos Transmissores eletrônicos Instrumentos analíticos Potenciômetros Dispositivos com módulos de saída analógicos Fig. 9.20. Ligação do módulo de saída ca Indicadores analógicos Drives de motores Módulos de Saída de contato Seco Registradores Transdutores I/P Os módulos de saída de contato seco Válvulas Elétricas permitem acionar uma carga na saída a As interfaces analógicas normalmente partir de um contato seco fornecido por estão disponíveis para diversos tipos um relé ou chave. A vantagem deste padrão como operação unipolar e módulo é a de que ele pode manipular diferencial de corrente ou de tensão. tanto cargas ca como cc. As aplicações vão desde chaveamento simples até 9.18
  • 208.
    Controlador Lógico Programável Módulosde entradas analógicas O módulo de entrada analógica contém o circuito necessário para receber os sinais de corrente e tensão dos dispositivos de campo. Estes sinais analógicos de corrente e tensão são convertidos para uma informação digital por um componente eletrônico chamado conversor analógico digital (A/D). O valor da conversão é uma informação digital proporcional ao sinal analógico que é passado através de uma via de dados com a CPU e armazenada em uma posição de memória para uso posterior. Tipicamente os módulos de entradas analógicas possuem alta impedância, permitindo interfacea-las com os Fig. 9.22. Diagrama de ligação da saída analógica dispositivos de campo sem causar-lhes sobrecargas ou afetar sua operação. As linhas de entrada geralmente são A maioria dos módulos é projetada interligadas aos dispositivos de campo para receber 4, 8 ou 16 entradas através de cabos blindados para reduzir analógicas. A conversão analógica-digital as possibilidades de ruído elétrico de se faz em 12 ou 14 bits codificados em fontes externas. O estágio de entrada da binário ou BCD. Os valores codificados interface dispõe de filtro e isolação são armazenados na memória RAM do elétrica para proteger os módulos de módulo e enviados em blocos de dados ruídos. para o processador quando requisitado pelo mesmo. Módulos de Entrada Analógica Padrão A configuração dos módulos padrão 1a5V,0a5V de entrada e a operação bipolar ou -5 a +5 V , -10 a +10 V unipolar podem ser selecionadas através 4 a 20 mA , 0 a 20 mA de jumpers ou software. -20 a +20 mA O programa de controle do CLP pode 0 a 10 V configurar automaticamente as entradas analógicas para as faixas e forma de operação desejada automaticamente no caso de módulos com configuração através de software. Módulos de saída analógica O módulo de saída analógica recebe os dados do processador através de uma via de dados. As informações são convertidas para corrente ou tensão proporcional à informação digital através de um dispositivo chamado conversor digital para analógico (D/A) e enviadas para a saída. As demais características são similares às do módulo de entrada analógica. Módulos E/S de Registros Fig. 9.21. Diagrama de ligação da entrada Os módulos E/S de registros são analógica também chamados de módulos E/S digitais. Estes módulos aumentaram a 9.19
  • 209.
    Controlador Lógico Programável capacidadede processamento de sinal para a saída de parâmetros calculados em relação aos módulos E/S discretos. ou obtidos de entradas analógicas para Nos módulos E/S discretos somente um informar um dispositivo externo. bit de informação é necessário para ler Quando o processador executa uma uma entrada ou controlar uma saída. instrução específica de transferência, os Diferentemente, os módulos digitais dados são colocados na saída para o permitem que vários bits sejam dispositivo externo. interfaceados com o CLP para acomodar Módulo Contador/Acumulador dispositivos que requerem manipulação de dados de forma paralela, código BCD O módulo Contador/Acumulador ou serial. permite a contagem de eventos em alta Com o uso dos módulos E/S digitais, velocidade ocorridos em dispositivos a maioria das variáveis de processo pode externos. A contagem é normalmente ser introduzida e monitorada com a independente da varredura do programa interface apropriada. do CLP. A razão para isto é muito simples: se o contador fosse dependente Módulos de entrada BCD da varredura do CLP, os pulsos de alta Os módulos de entrada BCD fazem a velocidade da entrada poderiam ser comunicação paralela de dados entre o perdidos entre uma varredura e outra. processador e os dispositivos de entrada. As aplicações típicas para este tipo Estes módulos são usados para a de interface são a contagem de pulsos, entrada de parâmetros em localizações medição de freqüência e função de especificas da memória do CLP para uso encoder, onde a velocidade de contagem do programa. Parâmetros típicos é superior a limitação do CLP. Exemplo entrados desta forma são presets de típico é em indústria de papel ou a contadores, timers, e set points de continua. controle de processo. Módulos de E/S Inteligentes As entradas geralmente aceitam níveis TTL em uma faixa de 5 a 24 V cc e Chama-se módulo inteligente aquele são agrupados em módulos contendo 16 que se baseia no microprocessador. O ou 32 bits. Instruções específicas do microprocessador possui uma altíssima controlador controlam o fluxo de capacidade de computação matemática, informações das entradas para a intertravamento, lógica e seqüencial. Os memória do CLP. módulos E/S convencionais atendem 90% das necessidades de E/S digitais de um controlador programável. Porém, para processar certos tipos de sinal de maneira eficiente, os módulos inteligentes são mais convenientes. Estas interfaces especiais incluem os condicionadores de sinal, como uma entrada de termopar onde além da leitura do valor deve-se efetuar a linearização para que o dado represente a grandeza física medida. Estes módulos podem efetuar todas as tarefas necessárias para estes procedimentos aliviando a carga de programa e velocidade da CPU principal. Fig. 9.23. Módulo de interface de entrada BCD Adicionalmente, estas tarefas são executadas independentemente da Módulos de saída BCD varredura do programa possibilitando a aquisição de dados em alta velocidade. Os módulos de saída BCD fazem a As aplicações destes módulos abrem comunicação paralela de dados entre o mais ainda o leque de aplicações do processador e os dispositivos de saída. controlador programável permitindo a Este tipo de módulo é geralmente usado 9.20
  • 210.
    Controlador Lógico Programável constituiçãode sistemas de aquisição de equipamentos de terceiros que ajudam o dados como SCADA, aquisição de interfaceamento do CLP com o campo. dados, sistema de controle distribuído e As novas capacidades E/S que estão outras aplicações complexas. sendo oferecidas incluem resposta mais rápida, novas capacidades analógicas, Módulos de entrada termopar inteligência, contadores de pulso de alta É projetado para aceitar diretamente velocidade, contato seco e módulos as entradas de um termopar e fazer a especiais. compensação de junta fria, linearização A resposta rápida E/S é normalmente da medição e detecção de erros. A oferecida em versões analógica e digital. operação deste módulo é similar aos Os módulos discretos de resposta rápida módulos de entrada analógica discutidos são facilitados pela lógica do CLP mas a anteriormente com exceção para o baixo saída não se baseia nos tempos de nível de sinal tratado aqui (mV). Os varredura da lógica ladder para ser dados obtidos por estes módulos podem atualizada. Os módulos analógicos ser usados pelo CLP para fazer controle, rápidos fornecem conversão mais rápida indicação, registro, alarme ou analógico-para-digital (A/D) e digital-para- intertravamento analógico (D/A). Isto torna o CLP mais Módulos de Motor de passo rápido para controlar malhas PID e fazer O módulo de motor de passo gera um medições analógicas. trem de pulsos compatível com os As capacidades E/S analógicas para tradutores do motor de passo. Os pulsos o CLP estão sendo expandidas das enviados para o tradutor normalmente versões convencionais 4-20 mA, 0-5 V, 0- representam comandos de distancia, 10 V para incluir entradas diretas de velocidade e direção para o motor. termopar e RTD. Estes módulos aceitam Este módulo aceita comandos de tipicamente 8 a 16 pontos cada e podem posição do programa do CLP. A posição ser acomodados tipos diferentes de é determinada por um preset do contador termopar e RTD. de saída de pulsos. A aceleração- Os módulos E/S inteligentes incluem desaceleração e reversão são todos módulos que são capazes de determinadas por um controle de rampa executar funções de processamento. Por de pulsos que varia o período dos que as tarefas desempenhadas pelo CLP mesmos. Estes comandos são são distribuídas, é conveniente se ter geralmente especificados durante o maior velocidade e confiabilidade para programa de configuração e uma vez todo o sistema. Os módulos E/S definidos passam a executa-los sob inteligentes dão capacidades múltiplas demanda do programa principal do CLP. adicionais, incluindo armazenamento e recuperação de memória, tarefas de Módulos de Controles de Malha computação e comunicações. Os Estes módulos são usados para módulos de memória fornecem espaço efetuar controle de malha fechada com adicional para armazenar pontos de algoritmos PID. As principais diferenças dados, mensagens de alarme, tabelas. de operação destes módulos é que o Este enfoque deixa a memória principal processamento do controle PID é feito no de operação livre para as tarefas de próprio módulo aliviando a CPU principal. controle. Os módulos de computação dão Além do mais, os algoritmos PID ao CLP a habilidade de executar funções encontrados no CLP, às vezes, não de computador usando uma linguagem atendem as necessidades de tempo e como C++. As tarefas de tempo real são precisão requeridas para o controle. deixadas na memória principal, mas algumas tarefas de interface do operador Avanços dos Módulos E/S podem ser colocadas no módulo do Os fabricantes de CLP cada vez mais computador. estão fornecendo outros tipos de Os módulos de comunicações podem capacidades de entrada e saída para prover o CLP com uma faixa de seus produtos. Há, porém, muitos capacidades, de simples strings de saída 9.21
  • 211.
    Controlador Lógico Programável ASCIIpara uma impressora ou display Módulos de Comunicação ASCII podem ser contidas fora da memória São usados para enviar e receber principal do CLP e os dados podem ser dados alfanuméricos de equipamentos saída quando requerido. As capacidades periféricos e o controlador. Equipamentos de colocar em circuito a comunicação do periféricos típicos são Terminais de sistema todo dado ao projetista a vídeo, impressoras, instrumentos digitais habilidade de distribuir interface de e quaisquer instrumentos que possam se operador ou um computador supervisor. comunicar através de portas seriais tipo Módulos de contador de pulso de alta RS-232 ou 422 (malha de corrente). velocidade fornece a habilidade de Geralmente este módulo possui interfacear o CLP com turbinas processador e memória próprios que medidoras de vazão, motores de passo e executam as tarefas de handshaking e codificadores ópticos. Os pulsos de alta transferência de dados. velocidade não podem ser normalmente interfaceados com entradas do CLP por Módulos Adaptadores de E/S Remotas causa do tempo de varredura da lógica São usados em controladores de ladder. Estes módulos fornecem uma geralmente grande porte e permitem a interface que não se baseia no tempo de instalação de sistemas de E/S varredura, de modo que o CLP é capaz localizados a distancias maiores da CPU de monitorar os pulsos que indicam principal. Os subsistemas de E/S são posição ou vazão. geralmente conectados usando uma Os módulos com contatos secos são configuração serial ou estrela. A oferecidos pelos fabricantes e por comunicação é feita serialmente a alta terceiros. Estes módulos resolvem o velocidade entre a CPU e os sistemas problema associado com triacs, baixa remotos. potência e incerteza do status de falha. A aplicação de E/S remotas em Os módulos especiais são projetados grandes sistemas podem representar para resolver outro problema de grande economia em fiação e trabalho e interface. Os módulos posicionadores dinheiro. Além disto, elas permitem a X/Y, de controladores de posição, saídas manutenção de subsistemas de motores de passo e acesso de independentemente da operação manutenção podem ser incluídos nesta principal o que representa uma grande categoria. Estes módulos podem ser vantagem em sistemas de maior porte. considerados uma extensão da A comunicação pode ser feita através tecnologia de controle distribuído. Os de par trançado, cabo coaxial ou fibra módulos de relógio (clock) que são óptica. As velocidades de comunicação colocados no bus E/S podem ser variam de 9600bauds a 1Mbaud considerados também como parte deste dependendo do fabricante. grupo. Estes módulos fornecem funções Elos de Comunicação em Rede de tempo real, horário e data quando perguntado ao CLP. Eles devem ter A evolução das interfaces homem- bateria de backup para garantir o máquina e o barateamento dos funcionamento durante a falta de energia. microcomputadores abriram o caminho para a troca de informações entre o chão 3.5. Módulos de Comunicação de fabrica e os demais departamentos da Os módulos de comunicação são empresa como laboratório, expedição, também de entrada/saída porém eles são controle da produção. responsáveis principalmente pela ligação Para executar estas tarefas de do CLP com os seus periféricos. Os comunicação, os fabricantes de CLP principais módulos de comunicação do implementaram módulos de comunicação CLP são que permitem a integração de um CLP a 1. ASCII outros CLP e a computadores 2. Adaptador de E/S remotas corporativos. 3. Serial Estes módulos geralmente adotam 4. interface de Redes. padrões de comunicação em rede como 9.22
  • 212.
    Controlador Lógico Programável Ethernetou proprietárias com Gateways As interfaces de comunicação para o que permitem a troca de informações CLP fornecem muitas combinações entre computadores e os controladores diferentes de conectores, níveis de sinal, programáveis. taxas de sinalização e serviços de Os módulos de rede hoje oferecidos comunicação. As especificações do pelos fabricantes permitem opções como fabricante destas características devem a de execução de controle distribuído, ser verificadas com as normas aplicáveis, onde vários controladores de pequeno para garantir o cumprimento dos níveis porte controlam células de produção. necessários de desempenho e Estas células interligadas via rede podem compatibilidade do sistema em todos os ter sua operação supervisionadas por equipamentos de controle de uso geral estações baseadas em no sistema. microcomputadores ou computadores. Sistemas de aquisição de dados e mini SDCD's se tornaram viáveis graças Tab. 4.2. - Valores e Faixas de Operação de a este tipo de interface. Fontes de Alimentação e Interfaces de CLP 3.6. Níveis de Tensão, Corrente e Isolação Tensão Recomendações Nota Fonte Sinais E/S A IEC (International Electrotechnical 24 V cc Sim Sim 1 Commission) tem especificado as 48 V cc Sim Sim tensões padrão mostradas na Tab. 4.2. 24 V ca Não Não 2 para fontes de alimentação, entradas 48 V ca Não Não digitais e saídas digitais dos 120 V ca Sim Sim controladores programáveis. A norma 230 V ca Sim Sim IEC também define os parâmetros 400 V ca Sim Não adicionais para as entradas e saídas digitais, os parâmetros especificados pelo fabricante deveriam ser comparados com Notas: os definidos na norma IEC para garantir a conveniência de uma particular módulo a) A tolerância para as tensões cc é de entrada ou de saída para o seu uso de -15% a +20% pretendido no sistema de controle. b) A tolerância para as da tensão ca As faixas de sinal especificadas pela é de -15% a +10%. As tensões ca IEC para entradas e saídas analógicas são dadas em rms. para CLP são mostradas na Tab. 4.2 e Tab. 4.3, respectivamente. A norma IEC c) Ver a norma para CLP para notas lista um número de características cujos e valores especificados valores são os fornecidos pelo fabricante, adicionais. tais como impedância de entrada, máximo erro de entrada, tempo e método de conversão e o que deve ser checado com as exigências de uma particular Tab. 4.3. - Valores para Entradas Analógicas aplicação de controle. Além das simples entradas e saídas digitais e analógicas, Faixa de sinal Impedância de entrada pode haver controladores de malha -10 a +10 V > 10 kΩ fechada residentes no bus de E/S do 0 a 10 V > 10 kΩ sistema de CLP. Neste caso, as 1a5V < 5 kΩ linguagens de programação para o CLP 4 a 20 mA < 300 Ω tipicamente fornecem outros elementos de linguagem, para suportar a configuração e o controle supervisor É padrão que todos os canais E/S destes controladores "escravos" de sejam isolados eletricamente do malha fechada. processo controlado, através de circuitos 9.23
  • 213.
    Controlador Lógico Programável óptico-isoladoresnos módulos E/S. Um As estações de operação incluem as circuito óptico-isolador consiste de um fornecidas pelos fabricantes e devem ser diodo emissor de luz e um foto-transistor usadas com seu CLP particular e aquelas formando um par óptico-isolador, que fornecidas por terceiros para uso com um permite a passagem de pequenos sinais CLP de determinada marca ou qualquer através deles, mas que grampeia um. Estas estações podem incluir qualquer pico de tensão, fornecendo uma equipamentos como módulos de acesso proteção contra transientes de a Timer/Contador, módulos de acesso a chaveamento e picos de alimentação, terminais de dados, consoles gráficos normalmente até 1500 V. coloridos, computadores, impressoras e Em CLP pequeno, em que os pontos estações manuais para backup. E/S estão fisicamente colocados em uma Interface Homem-Máquina única caixa, por questão de economia, todas as entradas são de um tipo (p. ex., Muitos CLPs possuem uma Unidade 24 V) e todas as saídas são iguais (p. de Interface do Operador, que faz parte ex., 240 V triac). O CLP modular tem do sistema padrão ou é oferecida como maior flexibilidade para E/S, sendo opção. A unidade de interface é montada possível a seleção e combinação de diretamente no CLP mas pode também vários tipos diferentes de módulos de ser projetada para ser montada no painel entrada e saída. e ligada ao CLP. As funções incluem Em todos os casos as unidades E/S acesso aos dados de registro são projetadas com a finalidade de leitura/escrita, programação e simplificar a ligação dos sensores e diagnostico. Alguns equipamentos atuadores do processo ao CLP. Por este específicos fornecem ao operador a motivo, todo CLP é equipado com interação com os registros internos do terminais padrão a parafuso ou plug-in CLP e as tabelas de malha, dando ao em cada ponto E/S, permitindo a rápida projetista do sistema a possibilidade de remoção e substituição de um cartão E/S alterar as variáveis em tempo real, defeituoso. sintonia e inspeção de malha, controle Cada ponto E/S tem um único manual de saídas analógicas e a endereço ou número de canal que é informação tipo menu do processo. A usado durante o desenvolvimento do entrada não autorizada de dados é programa para especificar a monitoração evitada através de software, proteção de uma entrada ou a ativação de uma com chaves ou ambas. saída dentro do programa. A indicação Alguns CLPs podem ter comunicação do status dos canais E/S é feita por diretamente com terminais de dados não diodos LEDs no CLP ou na unidade E/S, microprocessados. Os operadores possibilitando a verificação da operação entram os dados com caracteres das entradas e saídas do processo. especiais de controle para a porta de comunicação do CLP. Os terminais de 3.7. Periféricos dados podem ser fornecidos em versões Introdução industriais, apropriadas para o chão de fabrica, ou em máquinas de escritório As estações de operação são para entradas de dados por um equipamentos projetados para permitir a supervisor. Este tipo de interface de interação do operador com o CLP operador não é muito amigável para o durante a operação normal, não usuário. necessariamente durante a programação Os consoles gráficos coloridos ou pesquisa de defeito. oferecem gráficos do processo e As melhorias de E/S incluem todas as facilidades de comunicações para várias capacidades que não são ordinariamente partes do CLP simultaneamente. Estes fornecidas com o CLP. sistemas podem ser simplesmente As ferramentas de programação e comprados e colocados em linha com um documentação podem ser fornecidas mínimo de esforço de engenharia ou pelo fabricante e por outros vendedores. podem requer alguma programação. As 9.24
  • 214.
    Controlador Lógico Programável diferençasbásicas estão na flexibilidade. termos de funções de interface do Aqueles que não requerem programação operador e capacidade do sistema total. não fornecem ao operador os gráficos e Impressora menus necessários. A facilidade de comunicação com os diferentes tipos de As impressoras são muito importantes CLP também varia com o tipo do CLP. para o sistema de CLP, como ferramenta Finalmente, o método de gerar as de desenvolvimento e para manipular as páginas gráficas difere muito. A maioria funções de interface do operador. Muitos dos consoles gráficos coloridos oferece CLPs podem fornecer comunicações várias páginas de gráficos que não diretamente para impressoras animadas pelas tabelas de dados de convencionais. Um sistema de CLP leitura no CLP. O operador entra com os isolado pode fornecer relatórios de dados por meio de teclados padrão, desempenho e listagem de alarme sem a teclados industriais configuráveis pelo necessidade de um computador usuário, canetas de luz ou telas de toque adicional. Esta característica é (touch screen). As páginas diferentes de usualmente limitada, desde que o CLP gráficos podem ser selecionadas com não foi projetado principalmente para menus pré-formatados ou menus controlar a máquina do processo. programados pelo usuário ou pelo Grandes quantidades de dados, fornecedor. As estações de relatórios sofisticados de impressão e desenvolvimento podem ser necessárias alarmes múltiplos não estão realmente para dar ao usuário final a habilidade de dentro do objetivo de um sistema CLP alterar os menus gráficos ou os isolado. Este tipo de manipulação de comandos chave depois que o projeto dados e muito trabalhoso e requer muita inicial é completado. memória do CLP. Os sistemas de computador podem Estação manual ser usados para desempenhar as As estações manuais de controle são funções de interface homem-máquina. importantes como reserva (backup) em Na realidade, os consoles gráficos caso de falha do CLP controlando malhas coloridos são simplesmente com PID. Os módulos de aceso à malha computadores com ações de software de fornecem o controle manual mas ainda gráficos padrão e comunicação. Muitos se baseia na integridade do CLP, de CLPs possuem módulos com habilidade modo que elas são realmente manuais de converter via RS232 o protocolo para no sentido de fiação física. Uma estação quase qualquer computador. Os de controle manual é importante em um softwares de comunicação e de aplicação sistema de controle distribuído porque ela devem ser gerados para fornecer uma dá um verdadeiro controle manual das interface. Muitos fabricantes e casas de malhas no local ou na sala de controle, sistemas fornecem pacotes de mesmo quando os controladores locais comunicações para que vários CLPs estejam desligados. rodem em computadores pessoais. Estes sistemas pequenos oferecem interfaces de operador para o CLP de baixo custo, 4. Manutenção do CLP fornecendo capacidade de manipulação A manutenção preventiva do CLP de dados e a habilidade de ser montado inclui: em uma arquitetura distribuída. Deste 1. Verificação periódica nos apertos dos modo, os usuários de CLP podem estar parafusos dos terminais dos módulos seguros que seu investimento será E/S. Eles podem ficar frouxos com o protegido da automação da fabrica. Os tempo, principalmente em locais com microcomputadores multitarefa, acesso vibração mecânica. de grande quantidade de memória RAM 2. Verificar periodicamente os terminais e ROM, possuem suporte próprio de de conexão quanto a corrosão. software e são capazes de serem ligados Umidade e atmosfera corrosiva fornecendo um bom investimento tem causam ligações elétricas ruins. Internamente, os circuitos impressos e 9.25
  • 215.
    Controlador Lógico Programável conectores podem também sofrer d) faixa de especificações corrosão. e) de modo que haverá um 3. Garantir que os componentes estão aumento da demanda, também sem poeira. A camada de poeira por causa de seu preço impede o resfriamento dos circuitos do competitivo. CLP. 5. Embora o CLP se pareça cada vez 4. Ter partes de reposição críticas mais com um computador pessoal, estocadas. Os módulos de entrada e ele não será substituído por um CP, saída são os componentes do CLP porque o CLP é mais de usar que o que falham mais freqüentemente. O CP. estoque de pecas de reposição é 6. O maior crescimento é esperado essencial se o fabricante não possui no início da faixa do mercado, ou estas pecas para pronta entrega e se seja, micro e mini CLP, por causa do ele está distante. As quantidades crescente uso de sistema de CLPs estocadas dependem dos custos das em rede e descentralizado. pecas e do tempo de parada do 7. A potência de processamento será sistema em caso de falha. distribuída para módulos remotos do 5. Manter uma copia reserva do CLP ou nos instrumentos inteligentes programa de operação em disquete ou de campo (transmissores e válvulas), em papel. Estes registros devem ser em vez de ser concentrada em um mantidos distantes da área grande CLP centralizado. operacional do CLP. Programas muito 8. Em 1995, a distribuição dos CLPs longos ou complexos devem ter foi: copias reserva em locais separados para evitar sua perda em caso de Pequeno Médio Grande incêndio ou roubo. US$ 500 M US$ 480 M US$ 300 M 5. Mercado do CLP 9. Por causa das normas cada vez mais rigorosas, o segmento que tem A firma de consultoria Frost & Sullivan uma rápido crescimento é o de CLP (F&S), Mountain View, CA, fez uma tolerante a falha. análise qualitativa e quantitativa do 10. Por causa de regulações de meio mercado do CLP em termos de produto e ambiente e poluição, o segmento que segmentação geográfica. Suas mais usará CLP é o de tratamento conclusões são: d'água e tratamento de efluentes. 1. O mercado de CLP continuará a 11. Outras indústrias que usarão CLP crescer em termos de unidades e incluem: alimentos, bebidas, receita. utilidades e petroquímicas. 2. O CLP será aplicado em uma variedade crescente de usuários finais enquanto a automação de manufatura irá crescer. 3. Haverá novas oportunidades de entradas no mercado para produtos e serviços muito especializados. O mercado de CLP genérico continuará sendo dominado por poucas grandes empresas internacionais (e.g., Allen Bradley, Simens). 4. O CLP está aumentando sua a) funcionalidade, b) potência de processamento e c) habilidade de comunicação com outros CLPs e sistemas digitais ApostilasAutomação Automação.doc 14 ABR 01 (Substitui 29 MAR 99) 9.26
  • 216.
    CLP Hitachi CLP Hitachi Especificacaoe características típicas de um CLP industrial (Hitachi) Fig. 9.24. Componentes de um Controlador Lógico Programável (Hitachi) 9.27
  • 217.
    CLP Hitachi CLP Hitachi A configuração do sistema do CLP EH-150 é mostrada abaixo. O EH-150 é um controlador lógico programável modular com a configuração mostrada abaixo na Fig. 2.1. Fig. 9.25 Diagrama de configuração do Sistema EH-150 No. Dispositivo Descrição da função 1) Fonte de Converte a tensão de alimentação alternada em tensão contínua a ser usada alimentação dentro do EH-150. 2) Modulo da CPU Executa as operações baseando-se no conteúdo do programa do usuário, recebe entradas e controla saídas 3) Modulo I/O Módulo de entrada discreta e analógica, módulo de saída discreta e analógica. 4) Base normal Base em que a fonte, CPU e módulos de entrada e saída são montados. 5) Base de expansão Base em que a fonte, CPU e módulos de entrada e saída são montados. 6) Cabo de expansão Cabo que liga os controladores I/O na base normal e na base de expansão. 7) Controlador I/O Interface entre base de expansão e módulo de CPU. * Expansão para (2) é possível somente quando usando a forma EH-CPU208/308/316. * A base comum (4) e a de expansão (5) são compartilhadas. 9.28
  • 218.
    CLP Hitachi Especificações Funcionais As funções disponíveis no EH-150 são descritas na tabela abaixo. No. Item Descrição da função 1 Funções básicas As seguintes funções podem ser conseguidas quando construindo um sistema usando o CLP EH-150. 1) Um sinal de entrada é recebido do objeto de controle, operação são feitas de acordo com o conteúdo do programa criado pelo usuário e os resultados são saídas como um sinal de saída. Também, os resultados da operação e a informação durante o processo são retidos na área interna da saída. 2) A alimentação é fornecida ao modulo principal, o sistema começa a rodar e a operação descrita acima é executada continuamente até que a alimentação seja desligada ou o sistema pare de rodar 3) A informação retida internamente pode ser extraída por um dispositivo ligado externamente ou pode ser colocada em outra informação. Esta informação é inicializada no momento que o sistema começa a rodar mas ela pode também ser retida de acordo com ajustes do usuário. 4) O status de operação pode ser confirmado com o display do LED do módulo da CPU ou do módulo I/O ou através de dispositivo externo ligado convenientemente. 2 Ajustes e display O seguinte é disponível para o usuário ajustar ou confirmar vários tipos de status de operação. 1) Chave de ajuste (thumbwheel do módulo da CPU) Isto ajusta a função de comunicação e o modo de operação. Ele pode também instruir partida e parada. 2) Display com LED (módulo da fonte, modulo da CPU e módulo I/O) Indica o status do sistema de alimentação, status de operação e status I/O. 3) Conector (módulo da CPU, base normal , controlador I/O) Isto pode conectar externamente com dispositivos através de RS-232C ou pode também ser expandido com instalação de outros módulos I/O. 4) Bloco terminal (módulo da fonte, módulo I/O) Faz a conexão da alimentação e dos sinais com o objeto de controle. 3 Número de pontos O número de pontos que podem ser controlados com relação ao objeto de controle I/O é o seguinte: 1) I/O Externo Atualmente, é usado módulo de 16 pontos, com um total de 128 pontos para o EH-CPU 104 e 256 pontos para EH-CPU 208/308/316. Os números I/O para entradas são indicados por X, WX, DX e saídas são indicadas por Y, WY, DY. 2) Saídas Internas São áreas para armazenar temporariamente a informação. Os números I/O são M, WM, DM, R, WR, DR, etc. 3) Um contador temporizado é fornecido internamente. 4) Matriz (somente correspondendo a substituição) Matriz de números I/O pode ser indicada através de parêntesis ( ( ) ) em torno dela. 9.29
  • 219.
    CLP Hitachi No. Item Descrição da função 4 Memória do O programa onde o conteúdo de controle é descrito pode ser armazenado. A programa do memória para isto está no módulo da CPU e a capacidade difere para cada tipo de usuário CPU. 1) A memória tem uma função onde seu conteúdo é retido mesmo se a bateria acaba. Por causa disso, é necessário inicializar a memória desde que haja dúvida após a unidade tenha sido comprada.. 2) A programação é feita usando o software aplicativo (LADDER EDITOR) e o dispositivo periférico para o CLP da série H. 3) Os comandos que podem ser usados são aqueles designados pelo ladder da série H. Ver a lista de comandos detalhados do EH-150. 4) Não é necessária uma bateria para reter o conteúdo do programa do usuário. Sempre armazenar os programas criados em um disco flexível para o caso de acontecer algo inesperado. 5 Método de Controle Com o EH-150, os programas do usuário são convertidos em bateladas quando a operação começa e, após a conversão, os programas são executados para que possam ser lidos um a um. 1) O método usado para os dados I/O consiste na varredura dos dados I/O (informação) (execução do cabeçalho do programa até of final), sua atualização em grupo. Se houver necessidade de refresh do I/O externo no meio da varredura (método refresh), usar o comando refresh.. 2) Além do programa que será executado normalmente, é criado um programa de varredura periódica que interrompe o programa normal em intervalos determinados e é executado. Os intervalos de tempo são 10 ms, 20 ms, and 40 ms. 3) O programa do usuário é executado do cabeçalho do programa para o final e é uma vez mais repetido depois que o processamento do sistema atualiza o valor do temporizador que passou, refresh como I/O e executa a comunicação com os dispositivos periféricos. 6 Controle da A operação e parada do módulo CPU são normalmente feitas pelo usuário.. operação/parada 1) Ligar a chave RUN para começar a operação. Desligar a chave para parar a operação. 2) As operações de partir e parar podem ser feitas via comunicação dos equipamentos periféricos (PC), alterando o modo REMOTE, usando a chave de ajuste. 3) As operações de partir e parar podem ser feitas com entradas externas ou saídas internas designando as entradas de controle da operação com um dispositivo de programação. 4) Além da operação descrita acima, se um defeito é detectado no sistema enquanto ele estiver rodando, a operação para e as saídas são desligadas (OFF). 5) Se há falta de energia e depois ela volta, enquanto o sistema estiver rodando, a operação começa. Quando a alimentação falta, desligar a alimentação para o EH-150 e depois desligar a alimentação da entrada externa. Quando ligar de novo a alimentação, ligar a alimentação da entrada externa antes de ligar a alimentação. 6) Quando começar a operação, fazer depois de limpar a informação interna que não é projetada para ficar armazenada durante a falta de alimentação. Quando parar a operação, deixar a informação interna como está, desligar as saídas e depois parar. 7) Quando a alimentação ficar cortada por período maior do que o tempo permitido pela falta de energia momentânea, assim dependendo do status da 9.30
  • 220.
    CLP Hitachi carga do sistema, a operação continua ou o sistema percebe que ocorreu uma falta de alimentação e reinicia a operação. Para garantir que a operação recomeça corretamente, manter a alimentação desligada por um minuto ou mais. 7 Parâmetros de Cada tipo de condição para operação do EH-150 pode ser ajustado. Os ajustes operação possíveis para operação quando ocorre erro são dados abaixo. 1) A operação pode ser continuada quando a informação I/O não combina.. 2) Pode se estabelecer o tempo de verificação de sobrecarga. O valor inicial é 100 ms e o módulo quando o tempo para uma varredura dura mais do que a sobrecarga ajustada verifica o tempo (erro de sobrecarga). 3) A operação pode ser feita para continuar quando ocorrer um erro de sobrecarga. 4) Quando houver falha de alimentação (falta de energia), a área da saída interna para reter a informação e a faixa do contador temporizado pode ser projetada. E o ajusta abaixo é possível. 1) O nome do programa do usuário pode ser registrado. 2) Uma senha pode ser programada de modo que pessoas não autorizadas não podem ter acesso ao programa. 3) É necessário registrar o tipo do módulo I/O usado como uma tabela de atribuição I/O De modo a criar esta tabela de atribuição, o tipo do módulo I/O que é ligado pode ser lido. 8 Alteração on-line Uma seção de um programa pode ser revista enquanto ele estiver rodando. na operação RUN 1) Se a revisão é feita com um dispositivo de programação e a mudança on-line é feita em RUN, o programa do usuário na CPU é alterado e o programa alterado é chaveado internamente no final da varredura e a operação continua com o novo programa. 2) Quando um comando de controle deve ser incluído na revisão do programa, fazer as alterações depois de primeiro executar o procedimento de alteração do comando de controle no dispositivo de programação e verificar a segurança. 3) Até a operação começar para continuar com o novo programa, ocorre um período de parada [halt period] quando o módulo não roda. A informação de entrada externa não está sendo recebida durante este período, assim deixe muita permissão no tempo para executar uma mudança on-line em RUN. 9 Set/reset forçado Set e reset forçados do I/O designado podem ser feitos do dispositivo de programação ligado ao módulo da CPU. 10 Saída forçada A saída pode ser forçada com relação ao número I/O designado do dispositivo de programação ligado ao módulo da CPU. Para I/O que não estão designadas, as saídas ficam desligadas. 11 Função do relógio O EH- 208/308/316 tem uma função relógio calendário. calendário (apenas 1) O ano, mês, data, dia da semana, hora, minuto e segundo podem ser EH- 208/308/316) ajustados. 2) Há uma função para fazer ajustes em unidades de 30 segundos. 3) Quando não é instalada uma bateria, a informação do relógio calendário não é retida quando falta energia. O relógio calendário precisa ser ajustado de novo. 12 Porta dedicada Esta é uma porta de comunicação com protocolo dedicado ao CLP da série H. O comando de comunicação chamado código de tarefa é definido na porta. 1) um dispositivo de programação que pode ser conectado. 2) As portas que podem ser usadas como dedicadas são as Port 1 and Port 2. A velocidade de transmissão e outros parâmetros pode ser chaveada usando a chave de ajuste. 9.31
  • 221.
    CLP Hitachi No. Item Descrição da função 13 Porta de uso geral Esta é uma porta serial que pode ser controlada pelo programa do usuário. Os vários ajustes para a comunicação, transmissão e recepção são feitos pelo programa do usuário. A porta 1 pode ser designada para esta função através da chave de ajuste. 14 Controle do Modem Um modem pode ser ligado externamente para uso. Ele se torna operável quando (apenas EH-CPU algo chega de fora e depois disto, pode-se fazer a comunicação do código de 208/308/316) tarefa. Quando transmitindo do EH-150, ajustar a porta como porta de uso geral e fazer seu controle independente do programa do usuário. A porta 1 pode ser designada para esta função através da chave de ajuste. 15 Autodiagnóstico Podem ser feitos testes de autodiagnóstico para os seguintes itens: 1) Microcomputador 2) Área do programa do sistema 3) Memória 4) Programa do usuário 5) Área de saída interna 6) I/O montadas 16 Manipulação Quando ocorre uma anormalidade, o código de erro que mostra o conteúdo do erro anormal ser saída para saída interna especial WRF000 como um valor hexadecimal. Também, o erro é indicado externamente pela lâmpada ERR. Se o nível de erro é alto, a CPU pára a operação mas dependendo do erro, a operação pode ser continuada usando ajustes do usuário. Se ocorrerem vários erros, o código de erro com maior severidade é mostrado. A informação detalhada é também mostrada para a saída interna especial. Também, esta informação é sempre registrada na memória de falha de alimentação, de modo que a informação pode ser referenciada mesmo depois da alimentação ter sido cortada. (Porém, é necessário usar uma bateria). A limpeza da informação de erro pode ser feita ligando R7EC. 17 Código de tarefa Combinando os códigos de tarefa individuais, as seguintes funções podem ser realizadas pelo programa no computador host: 1) Controle da CPU (controle de RUN/STOP da CPU, ocupada/liberada, leitura do status da CPU). 2) Controle I/O (vários tipos de monitoração) 3) Escrita da memória (limpar tudo, transferir batelada) 4) Leitura da memória (leitura de programas) 5) Resposta (várias respostas da CPU) 18 Comando Programação pode ser feita para várias finalidades e usos, combinando diagramas ladder e linguagem de comando. Note: O EH-150 não suporta algumas funções que são suportadas pelo resto da série H. Não selecionar a função de tracing from the debugging, tracing, forcing e simulation do EH-150, porque irá ocorrer um erro de ocupação quando os dispositivos periféricos forem usados e a função trace é selecionada. Se ocorrer um erro de ocupação, fazer a recuperação indo primeiro off-line e depois voltando para on-line e reconectando. 9.32
  • 222.
    10 Controle Supervisório e Aquisição de Dados que é digital. O diagrama de blocos 1. Aquisição de Dados mostra os elementos mais comumente 1.1 Introdução usados em um sistema industrial de aquisição de dados. A aquisição de dados é a coleta de informação para fins de armazenamento e uso posterior, como análise dos dados e conseqüente controle e monitoração do processo. Nas aplicações industriais, a aquisição de dados deve ser em tempo real, ou seja, o sistema deve ter a habilidade de coletar os dados ou fazer uma tarefa de controle dentro de uma janela aceitável de tempo. A duração da janela de tempo depende de quão rapidamente o sistema deve responder, Fig. 11.1. Sinal digital e analógico que é uma função da velocidade e exatidão requeridas para uma dada 1.2. Sistema de Aquisição de aplicação. Dados O equipamento usado para coletar dados é chamado de sistema de A Fig. 11.3 mostra um sistema de aquisição de dados. Este sistema é tão aquisição de dados típico. Os sensores utilizado, que vários fabricantes de medem as variáveis interessantes do equipamentos o oferecem em pacotes processo. Os elementos de mais ou menos padronizados, combinado condicionamento do sinal são o controle supervisório e aquisição de necessários para converter as saídas dos dados (SCADA – Supervisory Control sensores para uma faixa de sinal comum, And Data Aquisition), rivalizando em tipicamente entre 0 e 5 V. Os sinais aplicações com os sistemas digitais de condicionados são entrada para um controle distribuído (SDCD) ou os multiplexador de vários canais. O sinal de controladores lógico programáveis CLP). saída do multiplexador é passado para Fabricantes típicos que oferecem um circuito sample e hold e um conversor equipamentos SCADA são: Motorola, analógico para digital. O conversor Siemens, Foxboro. analógico para digital dá um sinal de Tal sistema funciona como uma saída digital paralela que passa para uma interface entre o ambiente real de das interfaces de entrada paralelas do parâmetros físicos do processo, que é microcomputador. O sinal de saída digital analógico e o ambiente do computador, pode também ir para um display digital, onde é apresentado valor de todas as 10.1
  • 223.
    Controle Supervisório eAquisição de Dados variáveis medidas, uma de cada vez, 1. Sensor passivo que requer uma mostrada seqüencialmente ou quando fonte externa de alimentação ou comandado pelo operador. excitação. Há ainda um dispositivo seqüenciador 2. Sensor ativo que não requer uma programador, que controla e sincroniza a fonte externa de alimentação. operação do multiplexador, circuito sample e hold, conversor A/D e buffer de saída. Quando o sistema de aquisição de Mensurando Saída Sensor dados é baseado em microcomputador, (não elétrica) (elétrica) este sincronismo e controle podem ser feitos por programa carregado no Alimentação (se necessária) microcomputador. Fig. 11.3. Diagrama de blocos do sensor 1.4. Circuitos condicionadores de sinal A função do sensor é a de simplesmente identificar e quantificar algum parâmetro físico que varia de algum modo, com o tempo e com o espaço. Como o sistema de aquisição de dados requer valores exatos, lineares, não modificados ou não influenciados por outras variáveis e estas características nem sempre são apanágio dos sensores, Fig. 11.2. Coleta de dados de tanque de é necessário colocar uma interface entre armazenagem o sensor e o sistema de aquisição de dados para melhorar o formato dos sinais de saída dos sensores. 1.3. Sensores Estes circuitos são chamados de condicionadores de sinal e fazem as Os dados coletados para os sistemas alterações necessárias nos sinais de aquisição de dados são usualmente analógicos gerados pelos sensores antes analógicos, referentes ao valor numérico que eles sejam introduzidos no sistema de algum parâmetro físico não elétrico, de aquisição de dados. Os tipos mais como pressão, temperatura, vazão, nível usados de condicionadores de sinal são: ou análise. O objetivo do sensor é 1. transmissor converter o sinal não elétrico para um 2. buffer (casamento) sinal elétrico equivalente. O diagrama de 3. filtro blocos de um sensor é mostrado na Fig. 4. amplificador 11.3. 5. conversor As funções do sensor no sistema de 6. linearizador aquisição de dados são as de: 1. sentir a presença, tamanho, variação e a freqüência da quantidade medida (mensurando). 2. Fornecer uma saída elétrica que tenha dados quantitativos exatos acerca do mensurando. Os sensores podem ser classificados de acordo com o princípio elétrico envolvido em sua operação, tais como: 10.2
  • 224.
    Controle Supervisório eAquisição de Dados Entrada analógica Condicionador de Registrador Sensor sinal Circuito sample e hold Outras Multiplexador Conversor D/A Buffer de Computador entradas analógico saída analógicas Circuito de Seqüenciador controle Controle programador Fig. 11.4. Diagrama de blocos de um sistema de aquisição de dados Chaves eletrônicas ∆T ∆T ∆T/4 012 3 0 1 23 01 23 01 23 Sinal multiplexado Sample Hold Dispositivo sample e hold Sinal sample e hold Sinal de controle Multiplexador Sinais de entrada 4 canais Decodificador de endereço Sinal binário endereço canal Endereço Canal 00 0 01 1 10 2 Fig. 11.12. Multiplexagem por divisão de tempo 10.3
  • 225.
    Controle Supervisório eAquisição de Dados Por exemplo, quando se aplica-se uma Transmissor tensão de 10 V em uma carga de 10 Ω, A transmissão pode ser considerada através de uma fonte com impedância de um condicionamento do sinal. O saída igual a 10 Ω, a tensão usada pela transmissor possui um sensor, que mede a carga é de 5 V. Porém, usando-se um variável de interesse do processo e sua buffer entre a fonte e a carga, a tensão saída é padronizada e proporcional a este usada pela carga é exatamente a fornecida valor medido. pela fonte, de 10 V. As vantagens do uso do transmissor são: 1. Padronização do sinal e 10 Ω conseqüente padronização dos instrumentos e interfaces 10 Ω receptoras. 10 V 2. Isolação do sinal do processo do sistema receptor. Altas pressões e temperaturas são convertidas no Fig. 11.7. A tensão na resistência de carga é de sinal padrão do transmissor. 5V 3. Capacidade de levar a informação para locais distantes, sem corrupção ou deformação. 10 Ω + 10 Ω 10 V Fonte Buffer Carga Fig. 11.8. A tensão na resistência de carga é de 10 V, por causa do buffer. Fig. 11.5. Transmissores em locais remotos Filtro Os sinais padrões de transmissão são: 1. 20 a 100 kPa (3 a 15 psi), Os ambientes industriais onde são pneumática montados os sistemas de aquisição de 2. 4 a 20 mA cc, eletrônica. dados introduzem muitos sinais de interferência espúrios, que afetam o Buffer desempenho do sistema, no mínimo, Buffer é o circuito de condicionamento introduzindo grandes erros nos valores das mais direto e básico, usado para casar medições. Estes sinais indesejáveis são impedâncias entre a fonte de sinal e o chamados genericamente de ruído. Eles circuito em que a fonte está fornecendo o podem ser provocados por sinal. Qualquer circuito integrado transformadores, motores elétricos amplificador operacional (amp op) serve (principalmente partida), disjuntores, como um bom buffer. O circuito buffer chaves, linha de alimentação (60 Hz ou impede que um circuito carregue o outro 400 Hz) e outros dispositivos que tenham circuito, por causa dos valores das transiente de tensão. impedâncias de entrada e de saída. Embora haja muitos métodos para diminuir ou eliminar estes ruídos, envolvendo projeto, posição relativa dos R equipamentos, blindagens, aterramentos, + Vi Vo todo sistema de aquisição de dados possui circuitos tipo filtro, cuja função é exatamente a de eliminar determinadas Fig. 11.6. Amp op usado como buffer faixas de freqüências dos sinais, deixando 10.4
  • 226.
    Controle Supervisório eAquisição de Dados passar outras faixas. O filtro pode ser tensão ou corrente. Os circuitos eletrônicos passivo, empregando apenas resistores, usados nestas conversões envolvem capacitores e indutores ou ativo, utilizando principalmente a ponte de Wheatstone e amplificadores operacionais (amp op), amplificadores operacionais. com ganhos e realimentações. A ponte de Wheatstone é um circuito O desempenho do filtro é geralmente básico conveniente para medir resistências descrito em termos da relação da tensão ou para converter uma variação de de saída sobre a de entrada, em diferentes resistência em uma proporcional variação freqüências e pode ser expresso em uma de tensão. Ele consiste de quatro escala logarítmica usando decibel (dB), resistências (uma delas sendo a medida e como: uma sendo ajustável), uma fonte de excitação e um detector de nulo. Quando se ajusta uma resistência da ponte, de dB = 20 log10(Vo/Vi) modo que não passa corrente através do detector, então se pode garantir que os Por exemplo, se o sinal de entrada de um produtos das resistências opostas são filtro passa baixa é de 540 mV, 60 Hz e o iguais entre si. Deste modo, pode se sinal de saída do filtro é de 4 mV, então determinar uma das resistências, pois as sua redução vale: outras três são conhecidas. Para a conversão de resistência em  4 mV  tensão, usa-se a mesma configuração e dB = 20 log  toma-se a tensão entre dois pontos do  540 mV  circuito, e esta tensão é linearmente = -42,6 dB proporcional à variação de uma Nos sistemas de aquisição de dados, a determinada resistência da ponte. principal fonte de sinal é o sensor. A máxima banda de passagem da maioria dos sensores é cerca de 10 Hz. Assim, R1 R2 filtrar ruído destes sinais gerados pelos sensores é relativamente fácil com um filtro E B A D passa baixa (ou corta alta). R3 R4 Amplificador Talvez o mais comum tipo de condicionador de sinal seja o amplificador. Fig. 11.9. Ponte de Wheatstone. Quando O amplificador altera o nível ou amplitude balanceada (corrente por D igual a zero), R1xR4 = R2 do sinal. Embora o termo amplificador x R3 e portanto, conhecidas três resistência, pode-se implique em aumentar o sinal, determinar a quarta. rigorosamente o amplificador pode atenuar ou aumentar o nível do sinal. A atenuação pode ser conseguida Linearização através de divisores de tensão (resistores em série). A amplificação requer Embora a linearidade não seja tão dispositivo ativo, como transistor com o importante para o sensor, o sistema de amplificador operacional. aquisição de dados requer medições lineares. Mesmo saídas de sensores que Conversão de sinal sejam consideradas razoavelmente O condicionamento de sinal às vezes lineares podem requerer linearização requer a conversão da variação de um adicional quando se medem parâmetros parâmetro elétrico em uma variação dinâmicos. proporcional de outro parâmetro. Por A saída do sensor pode ser linearizado exemplo, conversão de corrente (usada em usando um amplificador que tenha ganho transmissão) para tensão (usada que seja uma função matemática inversa localmente), conversão de tensão em de sua entrada, fornecendo assim uma freqüência, conversão de resistência em saída linear. Por exemplo, se a tensão de 10.5
  • 227.
    Controle Supervisório eAquisição de Dados sinal de um sensor de temperatura é diferentes entradas das variáveis medidas. exponencial, o linearizador deve ter um Esta técnica de compartilhar sinais no ganho logarítmico. Outro exemplo, a tempo é chamada de multiplexação (ou corrente de saída do transmissor multiplexagem). associado à placa de orifício, é Conceito proporcional ao quadrado da vazão volumétrica; o linearizador deste sinal deve Multiplexador (MUX) é simplesmente ter um ganho raiz quadrática. um arranjo especial de chaves que permite muitos canais de entrada serem operados por um único dispositivo, geralmente um indicador, registrador ou computador do sistema de aquisição de dados (com um Saída conversor A/D como interface). O controle deste chaveamento para selecionar (2) determinado canal, em dado momento, pode ser feito por programa (software) ou (3) equipamento (hardware) auxiliar. (1) Sob outro enfoque, multiplexador é um circuito eletrônico com dois ou mais Variável terminais de entrada e um terminal de saída. Se um multiplexador é usado em um (1) Curva de transferência do sensor, mostrando sistema de aquisição de dados, somente a relação não linear entre variável e saída do um conversor analógico para digital é sensor. necessário e se usa um modo com (2) Curva de transferência do linearizador entre compartilhamento de tempo. Quando não saída e entrada. se usa o multiplexador, é necessário um (3) Curva final linearizada, mostrando relação conversor A/D para cada entrada linear entre saída do linearizador e variável medida. analógica. Como o conversor analógico Fig. 11.10. Aplicação do linearizador de sinal para digital geralmente representa a parte mais cara do sistema de aquisição de dados, a multiplexação geralmente representa uma grande economia de 1.5. Multiplexação custo. Introdução No sistema convencional de medição, Multiplexador tem se o valor de uma única variável apresentado ao observador, ou seja, o sistema tem uma única entrada e uma Canais de única saída. Porém, nas aplicações de entradas sinal Conversor sinal digital aquisição de dados é necessário conhecer analógicas analógico A/D simultaneamente os valores medidos de muitas variáveis associadas com um determinado processo, máquina ou situação. Exemplos são medições de Decodificador vazões, níveis, pressão, temperatura e de endereço composições de coluna de destilação, medições de temperatura em diferentes pontos de um reator, componentes de Fig. 11.11. Multiplexador analógico velocidade e aceleração de um avião. Na prática, é extremamente caro ter vários sistemas independentes. A solução Como o conversor A/D e o amplificador econômica é ter um único sistema de são compartilhados, os canais são lidos aquisição de dados com várias entradas e seqüencialmente, causando uma várias saídas. Porém, vários elementos diminuição da velocidade de operação do são compartilhados no tempo entre as 10.6
  • 228.
    Controle Supervisório eAquisição de Dados sistema. Em uma primeira aproximação, a seqüencial, os canais são endereçados em velocidade especificada do amplificador e ordem, ou seja, primeiro 0, seguido de 1, conversor A/D é dividida pelo número de depois 2 e 3 e retornando a 0 e repetindo, canais de entrada operados. A velocidade de modo que este padrão de amostras final é definida como a velocidade de para o sinal multiplexado é como mostrado amostragem (velocidade por canal) no diagrama. O endereçamento aleatório, multiplicada pelo número total de canais. em que o operador seleciona um canal de Como mostrado na Fig. 11.11, um interesse de modo aleatório, é também multiplexador analógico é basicamente um possível. conjunto de chaves paralelas ligadas a Se ∆t é o intervalo de amostragem, ou uma linha de saída comum. As chaves seja, o intervalo de tempo entre amostras podem se fechar seqüencialmente ou de uma dada entrada, então a aleatoriamente se desejado, com apenas correspondente freqüência de amostragem uma chave fechada em um determinado fa = 1/ ∆t deve satisfazer as condições de momento e com o chaveamento sendo Nyquist de amostragem. Isto requer que a controlado por um decodificador de fa seja maior ou igual a 2 fmax, onde fmax é a endereço. Embora as chaves possam ser maior freqüência significativa presente no eletromecânicas ou eletrônicas, atualmente sinal de medição. Na Fig. 11.12, quatro elas são eletrônicas, com transistores amostras ocorrem durante ∆t, de modo que JFETs ou CMOS FETs. o número de amostras por segundo para o Em um multiplexador ideal, todos os sinal multiplexado é 4fa. Em geral, para m canais de entrada seriam lidos ao mesmo sinais, cada um amostrado fa vezes por instante no tempo. No sistema prático de segundo, o número de amostras por multiplexagem, há uma diferença de tempo segundo para o sinal multiplexado é entre as leituras dos canais, mesmo que ela não seja perceptível pelo sentido faM = mfa humano ou mesmo que pareça que todos os canais sejam lidos ao mesmo tempo. Variáveis medidas diferentes podem ter Há aplicações (pesquisa de voz, teste espectros de freqüência com diferentes dinâmico de material, medição de potência freqüências máximas; assim o espectro de elétrica, análise de sinal geofísico e potência de uma medição de vazão pode equipamento de teste automático) que são estender até 1 Hz, mas o da temperatura sensíveis a esta assimetria (skew) de medida somente até 0,01 Hz. A freqüência tempos dedicados a cada canal do MUX e de amostragem da medição de vazão deve por isso foram desenvolvidas técnicas para portanto ser 100 vezes o da medição de eliminar este problema como circuitos temperatura. No sinal multiplexado haverá sample e hold simultâneos. 100 amostras da medição de vazão entre Multiplexação por divisão de tempo cada amostra de temperatura. O sinal multiplexado é normalmente alimentado A Fig. 11.13 mostra um diagrama para um circuito de sample and hold esquemático simples de um multiplexador (amostra e mantém). com quatro canais, 0, 1, 2,3. O sinal de entrada de cada canal é uma tensão contínua correspondente a uma variável medida. O multiplexador também requer um sinal de endereço de canal paralelo de 2 bits para especificar que sinal de entrada está conectado à linha de saída. Assim, se o sinal de endereço binário é 10, a chave no canal 1 está fechada e a entrada 2 está conectada momentaneamente à linha de saída. A saída do multiplexador é assim uma série de amostras, as amostras sendo tomadas de diferentes sinais de medição em diferentes tempos. No endereçamento 10.7
  • 229.
    Controle Supervisório eAquisição de Dados para digital. Um circuito sample e hold 1.6. Amostragem de dados típico é mostrado na Fig. 11.13. O Nos sistemas de aquisição de dados amplificador A1 é um buffer com alta são usadas técnicas de amostragem de impedância de entrada para reduzir a dados para converter sinais analógicos em carga do estagio anterior e baixa digitais. Isto implica que enquanto os impedância de saída para permitir a carga dados podem ser registrados em uma muito rápida do capacitor de hold, C. forma regular, eles não são coletados continuamente, mas em intervalos definidos. Assim, há intervalos de tempo Chave Entrada Saída entre a coleta sucessiva e periódica dos dados. Em geral, não se tem conhecimento da informação faltante nem se pode prever a quantidade destes dados que não foram Acionado Capacitor coletados. Sob determinadas condições, r da pode se assumir que os dados faltantes caem em uma linha reta entre os dados Co conhecidos coletados. ntrole O teorema de Nyquist define a relação Fig. 11.13. Circuito básico sample e hold necessária entre a maior freqüência contida em uma forma de onda e a mínima velocidade de amostragem requerida. A chave deve ser de ação rápida e de Nyquist estabelece que a taxa de alta qualidade como uma porta de amostragem deve ser maior do que duas transmissão CMOS. O capacitor deve ser vezes a maior freqüência do componente um dispositivo de baixa corrente de contido dentro do sinal de entrada. O vazamento e característica de baixa perigo de fazer amostragem abaixo da taxa absorção dielétrica. Geralmente o recomendada é o grande erro resultante. capacitor é de polestireno, polipropileno ou Quando a amostra é feita em freqüência teflon. O amplificador de saída que age baixa pode se ter conclusões totalmente como buffer para a tensão no capacitor de erradas acerca da composição do sinal. Na hold. prática, há limites para a máxima Os circuitos sample e hold são partes velocidade de amostragem, determinada integrantes também do controlador digital e pela característica do conversor A/D de qualquer outro sistema eletrônico que usado. tenha amostragem de dados para sua 1.7. Circuito sample e hold coleta. Em geral, a amplitude do sinal 1.8. Conversor digital para analógico analógico varia continuamente com o O conversor digital para analógico tem tempo. Quando se quer converter um sinal a função de transformar um sinal digital no analógico em digital, num determinado seu equivalente analógico. momento, ele deve ser parado e ficar Geralmente o conversor digital para constante. Assim, desenvolveu-se o analógico é um subcircuito do conversor circuito de sample e hold (amostra e analógico para digital. Os tipos principais mantém) para congelar ou mantém de conversor D/A são: constante o sinal analógico durante o 1. amplificador somador de tensão período de conversão para digital. 2. circuito com resistor ponderado O circuito sample e hold é essencialmente binário um circuito de memória de tensão que armazena uma tensão de entrada em um Amplificador somador de tensão capacitor de alta qualidade. A função de O amplificador somador de tensão um circuito sample e hold é tomar uma mostrado na Fig. 11.15 funciona como um amostra de curta duração de um sinal de conversor digital para analógico. entrada que varia rapidamente e manter Basicamente, o circuito converte n níveis esta amostra para um conversor analógico de tensão digitais em uma tensão de saída 10.8
  • 230.
    Controle Supervisório eAquisição de Dados analógica equivalente. As tensões de  R R R R  entrada V1, V2, V3 e V4 são iguais em Vo = − V1 f + V2 f + V3 f + V4 f   R  1 R2 R3 R4   amplitude mas carregam um peso associado com a posição dos bits em um número binário. O peso dos bits em um Substituindo pela relação das número binário aumenta quando se move resistências, tem-se: à esquerda do ponto binário: Vo = - (V1 + 2 V1 + 4 V3 + 8 V4) 24 23 22 21 20 Como entradas binárias, V1 representa o bit menos significativo (LSB) e V4 representa o bit mais significativo (MSB). Pode-se ver da equação anterior, que o bit VR mais significativo de um número binário de 4-bit contribui 8 vezes mais que o bit ao menos significativo, quando ambos estão a1 na mesma tensão positiva representando a2 Conversor Vo uma lógica 1. . Digital para Por exemplo, a tensão de saída para o Analógico circuito da Fig. 11.16, se as seguintes . Tensão de saída (D/A) analógica tensões são aplicadas an-1 V1 = 1 V an V2 = 1 V V3 = 0 V V4 = 1 V +V G -V é computada como Fig. 11.14. Diagrama genérico de conversor D/A Vo = -[(1V)(1) + (1V)(2) + (0V)(4) + (1V)(8)] = -(1 V + 2 V + 0 V + 8 V -11 V A menor variação na saída é devida à R1 Rf alteração do LSB de 0 para 1 ou vice- MSB versa. Esta menor variação é chamada de R2 - resolução do conversor e é expressa R3 quantitativamente como: + Vo R4 Vo LSB Re s = 2n − 1 Fig. 11.15. Amplificador somador de tensão onde Vo é a máxima tensão de saída Desde que as amplitudes das entradas n é o número de bits binário digitais são a mesma, deve se computar o Por exemplo, a resolução de um valor dos resistores para considerar o conversor D/A com 8-bit de entrada e uma peso dos bits. Os valores dos resistores tensão máxima de saída de 12,8 V vale: são computados como Vo Rf Rf Re s = R1 = R2 = 2n − 1 20 21 12,8 V 12,8 V Rf Rf = = = 50 mV R3 = R4 = 28 − 1 255 22 23 O conversor digital para analógico à A tensão de saída do amplificador base do amplificador somador tem duas somador é computada como: grandes desvantagens: 1. requer vários resistores de precisão com valores diferentes. 10.9
  • 231.
    Controle Supervisório eAquisição de Dados 2. cada entrada binária vê uma carga Por exemplo, a tensão de saída para diferente, desde que cada resistor de um circuito ladder R-2R com 6-bit, quando entrada tem valor diferente. a entrada binária é 101010, se 0 V corresponde à lógica 0 e 5 V corresponde Amplificador com escada R-2R à lógica 1, é a soma das contribuições das As desvantagens do amplificador tensões para as entradas com lógica 1 e é somador podem ser eliminadas usando-se computada como: uma escada de resistores R – 2R, que usa resistores com apenas dois valores, R e V V V 2R. Neste circuito, a resistência de Vo = + + 2 8 32 qualquer nó para o terra e para um terminal de entrada é 2R.  16  4  1  = (5 V )  + (5 V )  + (5 V )   32   3  32  2R Rf MSB 5 V × 16 + 5 V × 4 + 5 V × 1 R 2R = - 32 R 2R + Vo = 3,281 V R 2R LSB 1.9. Conversor analógico para digital Fig. 11.16. Amplificador somador R – 2R de O conversor A/D transforma a tensão informação analógica original em dados digitais correspondentes e apropriados para uso em sistemas digitais. Como os processos contínuos possuem muitos A relação entre as entradas binárias e a sinais analógicos (medições das variáveis saída analógica para um circuito ladder pressão, temperatura, vazão, nível e binário R – 2R com 10-bit é mostrada na análise) e como os sistemas de aquisição Tab. 1. Aqui V é a amplitude da tensão de de dados atualmente são digitais, é entrada digital. A contribuição de cada bit mandatório o uso do conversor A/D nestes listado é a mostrada, independe do número sistemas práticos. de bits de entrada. Isto é, o bit mais significativo (MSB) sempre contribui com V/2 para um circuito escada de n-bit, Comandos, como qualquer que seja o valor de n. finalizar conversão comecar conversão bn Tab. 1. Tensão de saída com Ladder binário R – bn-1 2R Conversor Analógico para . Vi Linhas de saída Bit Tensão saída Digital . paralelas (A/D) MSB V/2 b2 VR b1 2o MSB V/4 3o MSB V/8 4o MSB V/16 5o MSB V/32 +V G -V 6o MSB V/64 7o MSB V/128 Fig. 11.17. Diagrama genérico de conversor A/D 8o MSB V/256 9o MSB V/512 LSB V/1024 Há vários métodos para converter sinais analógicos em digitais, diferindo na precisão, custo, taxa de conversão e susceptibilidade ao ruído. 10.10
  • 232.
    Controle Supervisório eAquisição de Dados As quatro principais técnicas usadas na ou conversão analógica para digital são: f 1. tensão para freqüência Vi = k 2. simultânea 3. rampa A sinal de saída do oscilador (pulso 4. aproximações sucessivas. com freqüência f) é aplicado a um terminal Independente da técnica usada, quase de entrada de uma porta AND de duas todo conversor A/D com bom desempenho entradas. O sinal aplicado a outra entrada inclui circuito de condicionamento de da porta AND é um pulso, criado por um sinais, sample e hold, amplificadores gerador. Durante o tempo em que os dois operacionais, multiplexador, circuitos de sinais estiverem presentes nas entradas da temporização e sincronismo. Também porta AND, a saída da porta AND é todos conversores A/D operam idêntica à saída do oscilador. particionando a faixa total da entrada Por exemplo, seja um oscilador com analógica em um número fixo de degraus constante k = 100. Se 260 pulsos passam digitais discretos. Esta operação é através da porta AND e no contador conhecida como digitalização ou durante pulso de 0,1 s, a amplitude da quantização. Um diferente código digital tensão de entrada é de 26 V. corresponde a cada um dos degraus Método simultâneo de conversão A/D (valores analógicos). Os códigos digitais O método simultâneo ou paralelo de consistem de n bits. Como cada bit é conversão analógico para digital é o mais binário, ele pode ter um de dois estados rápido disponível. Porém, ele requer o uso possíveis: 0 ou 1. de vários circuitos comparadores. Como Conversão tensão para freqüência regra geral, o numero de comparadores é A conversão tensão para freqüência, 2n – 1, onde n é o número de bits na saída como o nome implica, é uma técnica usada digital. Por exemplo, dois bits digitais para converter uma tensão de entrada permitem definir quatro faixas de uma analógica em uma forma de onda periódica tensão de entrada analógica, porque com uma freqüência que é diretamente quatro combinações de 1 e 0 são possíveis proporcional à tensão de entrada. com dois bits digitais. De acordo com a A base da conversão tensão para expressão 2n – 1, são necessários três freqüência é um oscilador com tensão comparadores para conseguir a conversão. controlada muito linear Controle Oscilador com Tensão de Contador tensão controlada entrada + Contador analógica - binário Pulso Gerador Display Clock Display de Pulsos digital digital Tensão de referência Conversor D/A escada binária Fig. 11.18. Diagrama de um conversor tensão para freqüência Fig. 11.19. Conversor A/D tipo rampa O oscilador com tensão controlada deve ser projetado de modo que a relação entre a freqüência de saída e a tensão de entrada seja constante. Isto pode ser expresso como: f k= Vi 10.11
  • 233.
    Controle Supervisório eAquisição de Dados Tab. 2. Entrada analógica versus saída digital Conversor com aproximação sucessiva para conversor A/D simultâneo com 2-bit A técnica de aproximação sucessiva é uma das mais usadas, principalmente por Entrada analógica Saída digital causa de seu pequeno e constante tempo 0 a V/4 de conversão. Um diagrama de blocos 00 básico para um conversor A/D por V/4 a V/2 01 aproximação sucessiva a 4-bit é mostrado v/2 a 3V/4 na Fig. 11.20. O conversor A/D consiste de 10 um comparador de tensão, um conversor 3V/4 a V 11 D/A, um registro de aproximação sucessiva e um clock. Conversor A/D tipo rampa Comparador Pode se eliminar a necessidade dos de tensão numerosos comparadores no conversor Vi + usando uma rampa. O conversor A/D tipo - Saída de tensão do rampa é levemente mais sofisticado e Conversor D/A exato (maior resolução) que o conversor MSB simultâneo e requer somente um Saída comparador, pois ele produz uma tensão paralela de referência tipo escada, com a qual a MSB tensão analógica de entrada é comparada. Registro de Saída Pode se analisar a operação do circuito Aproximação sucessiva serial Clock considerando o contador zerado e a saída do conversor D/A igual a zero. Se a tensão Fig. 11.20. Diagrama de um conversor A/D de entrada analógica começa a aumentar, básico com 4-bit e aproximação sucessiva a saída do comparador ficará alta quando a tensão analógica de entrada exceder a tensão de referência. O estado alto da Indo através do ciclo de conversão, o saída do comparador habilita a porta AND. sistema começa habilitando os bits do Assim, o contador começa a armazenar conversor D/A um bit por vez, começando pulsos do clock. Quando o contador com o bit mais significativo (MSB). Quando avança através de seus estados binários, cada bit é habilitado, sua amplitude é ele produz a tensão de referência em comparada com a tensão analógica de forma de escada na saída do conversor entrada, Vi, pelo comparador de tensões. O D/A. Quando a tensão de referência comparador então produz uma saída que escada excede a amplitude da tensão indica se a tensão analógica tem amplitude analógica, a saída do comparador é maior ou menor que a saída do conversor chaveada em baixo, assim desabilitando a D/A. Se a saída do conversor D/A é maior porta AND que corta os pulsos do clock que a tensão analógica, o MSB é resetado para o contador. O número binário a zero, desde que ele não é necessário na armazenado no contador é mostrado na representação da entrada analógica. Se a saída. O display de saída representa a saída do conversor D/A é menor que a amplitude da tensão analógica. tensão analógica, o MSB é retido no O contador começa em zero e conta registro. até o ponto em que a tensão analógica fica O sistema faz esta comparação igual à tensão de referência escada, de sucessivamente com cada bit, começando modo que o tempo de conversão está com o MSB, indo para o próximo MSB, até diretamente relacionado com a amplitude chegar ao LSB. Quando cada bit do da tensão analógica. conversor D/A é comparado, aqueles que contribuem com a representação digital da entrada analógica são armazenados no registros e os que não são necessários, são resetados em zero. 10.12
  • 234.
    Controle Supervisório eAquisição de Dados petroquímicos, casa de força e distribuição 2. Telemetria de energia, distribuição de água ou de gás em cidades, adutora de água, 2.1. Introdução armazenamento e distribuição de óleo e As indústrias de óleo, água, gás são gás natural nas áreas de produção Embora caracterizadas por sistemas complexos de não seja de interesse deste trabalho, a distribuição envolvendo a transferência de telemetria se aplica também a sistemas fluidos ao longo de tubulações que remotos ou inacessíveis, tais como satélite, interligam áreas de produção, exploração espacial e marítima. armazenagem e consumo. Estes sistemas Há quem considere telemetria a também incluem vários itens de transmissão convencional, pneumática ou equipamento ou planta, como estações de eletrônica da instrumentação. Nestas bombeamento, compressores, tanques de aplicações, os valores das variáveis de armazenagem, cada um com variáveis processo (pressão, temperatura, vazão, medidas associadas. Estes dispositivos nível e análise) são convertidos nos sinais geralmente estão distantes vários padrão, pneumático de 20 a 100 kPa (3 a kilômetros entre si, em áreas remotas. É 15 psi) ou eletrônico de 4 a 20 mA cc. essencial para a supervisão eficiente e A transmissão pneumática pode ser efetiva destes sistemas de distribuição que feita até distâncias de 300 metros, em todos os dados de medição sejam tubos plásticos ou metálicos de diâmetro transmitidos para uma sala de controle externo de 6,35 ou 9,5 mm. A distância é central. Para se fazer isso, é necessário limitada pela velocidade da resposta, que um sistema de telemetria. O sistema quadruplica quando se dobra a distância. A usualmente consiste de várias estações transmissão eletrônica pode ser feita até satélites interligadas a uma estação central distancias de 3 km, em fios trançados principal. O sistema de telemetria deve ser comuns de 14 AWG. Não há limitação capaz de transmitir grandes quantidades técnica da distância, pois o sinal de de informação nos dois sentidos: da corrente não é atenuado ao longo da linha, estação satélite para a estação central e porém há uma limitação prática da fiação da central para os vários satélites. A física. transmissão é feita através de grandes O avanço da telemetria ocorre na distancias, na presença de interferência instrumentação usando técnicas de rádio externa e ruídos. freqüência, microondas ou fibras ópticas. 2.1. Conceito Os canais de comunicação usados incluem linhas de transmissão empregando dois ou Telemetria é a transmissão da mais condutores que podem ser fios informação de medição para locais trançados, cabos coaxiais ou linha remotos por meio de fios, ondas de rádio, telefônica ligando fisicamente os dois linhas telefônicas ou outros meios. pontos (transmissão e recepção). Os links Telemetria é o sistema completo de de microondas permitem a comunicação medição, transmissão e recepção para de dados por modulação de uma rádio indicar ou registrar uma quantidade à freqüência ou portadora de microondas e distância. Telemetria é também chamada os dois pontos não são ligados fisicamente de medição remota. mas a informação é transportada no ar. Dentro da instrumentação há geralmente a Nos links ópticos, a informação é necessidade da telemetria, para transmitir transmitida como uma modulação da luz dados ou informação entre dois locais através de um cabo de fibra óptica. separados geograficamente. A transmissão pode ser requerida para possibilitar a aquisição de dados supervisória centralizada, processamento de sinal ou controle a ser exercido em sistemas espalhados e separados por grandes distancias. As principais aplicações de telemetria incluem: complexos 10.13
  • 235.
    Controle Supervisório eAquisição de Dados 3. Os sinais são agora multiplexados, 2.2. Telemetria e aquisição de dados ou no tempo ou na freqüência, de Um sistema de aquisição de dados modo que todos sejam transmitidos no pode incorporar um subsistema de mesmo canal, um por vez, de modo telemetria, para a comunicação remota ordenado e correto. entre estações. Este sistema completo 4. Os sinais multiplexados são inclui. transmitidos do transmissor para o 1. Na entrada do sistema estão as receptor remoto, através de uma onda variáveis do processo que são medidas portadora de rádio freqüência (RF), pelos sensores. modulada por amplitude, freqüência ou 2. Os sinais são condicionados na fase. A transmissão pode forma de amplificação, filtro, alternativamente ser feita por cabo padronização, linearização ou qualquer coaxial, cabo de fibra óptica ou por outra função para normalizar as saídas linha telefônica. dos diferentes sensores e restringir 5. Assim que os dados chegam no suas larguras de faixa de modo que receptor, um a um, eles são sejam compatíveis com os canais de demultiplexados, ou sejam, todos os comunicação. Os sistemas de sinais passam a existir transmissão até o multiplexador podem simultaneamente e podem ser empregar tensão, corrente, posição, mostrados ou analisados na estação pulso ou freqüência para levar os final. dados digitais ou analógicos. 1 XMTR RCVR Link RF 2 Cabo MUX MUX 3 Link dados memória Linha telefônica n Saídas Sensores Condicionadores Multiplexador Transmissão dos dados Demultiplexador dos dados de sinal ig. 9.21. Sistema de telemetria 10.14
  • 236.
    Controle Supervisório eAquisição de Dados Cabo coaxial 2.3. Canais de Comunicação O cabo coaxial consiste de um núcleo Linhas de transmissão central condutor rodeado por um material As linhas de transmissão são usadas dielétrico que pode ser politeno ou ar. O para guiar ondas eletromagnéticas e em condutor externo é usualmente coberto de instrumentação elas comumente tomam a um revestimento isolante. A perda em altas forma de par de fios trançados, cabo freqüências no cabo coaxial é devida ao coaxial ou linha de telefone. Nas linhas de efeito pele (skin effect), que força a transmissão é importante saber e corrente no núcleo central fluir próxima de especificar os parâmetros primários de sua superfície e assim aumenta a 1. resistência, resistência do condutor. Tais cabos tem 2. condutância de vazamento, uma impedância característica entre 50 e 3. indutância e capacitância 75 Ω. A atenuação típica de um cabo distribuídas. coaxial com diâmetro de 0,6 cm é As linhas de transmissão são caracterizadas por três parâmetros 8 dB/100 m 100 MHz secundários: 25 dB/100 m 1 GHz. 1. impedância, Zo Cabo telefônico 2. atenuação, α, por unidade de comprimento da linha, expressa em Cabos telefônicos consistem de vários dB/m. pares de condutores trançados. Os 3. deslocamento de fase, β, que é condutores são isolados com papel ou medido em rd/m. polietileno, o trançamento sendo usado para reduzir a interferência entre pares Par trançado condutores adjacentes. O conjunto dos O par trançado são dois fios de cobre pares trançados é blindado com plástico e ou alumínio revestidos de plástico isolante. o cabo inteiro é revestido de fio ou fita de O trançamento reduz o efeito da aço para ter alta resistência mecânica. interferência acoplada indutivamente. Finalmente, há um revestimento de Valores típicos dos parâmetros primários plástico externo. Em freqüências de áudio, para par trançado de fio AWG 22 são: a impedância do cabo é dominada por sua capacitância e resistência. Isto resulta em R 100 Ω uma atenuação que depende da /km freqüência e também da distorção de L 1 mH/km atraso de fase, desde que sinais de G 10-5 diferentes freqüências não são S/km transmitidos no cabo com a mesma C 0,05 µF/km velocidade. Assim, um pulso propagado através do cabo resulta em um sinal que Em altas freqüências, a impedância não é apenas atenuado (importante em característica da linha é aproximadamente comunicação de voz e analógica) mas que 140 Ω. Valores típicos de atenuação do par é também distorcido em fase (importante trançado: em transmissão de sinal digital). O grau de distorção de atraso de fase é medido pelo 3,4 db/km 100 kHz atraso do grupo dβ/dω. A largura da banda 14 db/km 1MHz dos cabos telefônicos é restrita em baixas 39 db/km 10 MHz freqüências pelo uso de amplificação ca em estações repetidoras usadas para A limitação de alta freqüência para o reforçar o sinal ao longo da linha. Para uso do par trançado é de 1 MHz, não por melhorar a resposta da amplitude em alta causa da atenuação mas por causa da freqüência, colocam-se indutâncias interferência (crosstalk) causada pelo discretas para corrigir a característica de acoplamento capacitivo entre os pares atenuação da linha, que aumentam a trançados no cabo. distorção do atraso de fase e a atenuação em alta freqüência. A banda de freqüência 10.15
  • 237.
    Controle Supervisório eAquisição de Dados usável da linha telefônica é entre 300 Hz e desenvolver o modem Bell 103. O modem 3 kHz. converte os pulsos digitais de liga e Para transmitir a informação digital de desliga, que representam os dados, em modo confiável, o equipamento de tons analógicos de liga e desliga para transmissão deve ter uma perda da serem transmitidos através de uma linha transmissão menor que 30 dB, uma largura telefônica normal. de banda limitada causada por uma perda O modem Bell 103 funciona a uma de transmissão que varia com a velocidade baixa, de 300 bits por segundo freqüência, variações de atraso de grupo ou 300 bauds. Os modems modernos já com a freqüência, ecos causados pelo utilizam velocidades de transmissão de descasamento das impedâncias e 57,6 kbauds, 192 vezes mais rápido que o interferência híbrida e ruído causado pelo modem Bell 103, pois seus circuitos são chaveamento e picos de tensão. Assim, microprocessados. pode se perceber que a natureza da linha Independente da velocidade e potência telefônica causa problemas particulares na computacional, todos os modems possuem transmissão de dados digitais. certas características comuns como: Equipamentos como modems são usados 1. conter uma interface RS 232C, pois para transmitir dados digitais ao longo das geralmente são ligados a um linhas telefônicas. computador ou terminal, 2. conter uma interface RJ-11 para ser 2.4. Modem ligado à linha telefônica Modem é um circuito eletrônico que 3. utilizar dois pares de tons, uma para possui duas funções em um único o estado ligado e outro para o invólucro: estado desligado da linha de dados 1. recebe vários sinais na entrada e faz RS-232C. Um dos pares é usado um tratamento individual para cada pelo modem que origina a chamada sinal e o outro pelo modem que responde 2. depois de tratados, envia todos à chamada. Geralmente o modem estes sinais de volta, um a um. de origem envia dados entre 1070 e A primeira função do modem é modular 1270 Hz e o modem que recebe usa o sinal e a segunda, demodular o sinal e dados entre 2025 e 2225 Hz. por isso o nome MODulador + Dentro de um modem DEModulador = MODEM. Um modem típico de 9600 bauds tem Modem Bell 103 quatro áreas principais: Os primeiros dispositivos de eletrônica, 1. fonte de alimentação o telégrafo e o teletipo, comunicavam-se 2. interface com sistema telefônico entre si trocando sinais de pulsos de 3. CPU corrente contínua, através de fios 4. circuitos. compridos. Os computadores e terminais Fonte de alimentação modernos ainda utilizam uma versão aperfeiçoada desta técnica, como a A fonte de alimentação está instalada definida pela norma RS 232 C. Os na própria placa do modem, quando ele é telefones, por outro lado, comunicam-se independente do micromputador. Quando passando um sinal analógico de áudio ele é montado na placa do computador, ele através da linha. A intensidade e usa a fonte do computador. De qualquer freqüência do sinal dependem do volume modo, a fonte é regulada. do tom da mensagem transmitida. A A interface RS 232C conecta o modem diferença básica entre a rede telefônica é a um terminal ou computador principal. que ela transporta informação de voz Dirigidos por comandos recebidos através (áudio ou alternada) e a rede de da porta RS 232C, os modems inteligentes computadores pode utilizar sinais de podem armazenar e discar números corrente contínua. A partir da necessidade telefônicos automaticamente. de conectar computadores nas linhas O lado analógico do modem começa telefônicas já existentes, levou a AT&T com a interface com a linha telefônica. Um 10.16
  • 238.
    Controle Supervisório eAquisição de Dados circuito de sobrecarga protege o modem 1. chaveando deslocamento de contra raios e outros danos elétricos. Um freqüência (FSK – frequency shift circuito adicional garante que o sinal de keying) saída esteja de conformidade com normas 2. chaveando deslocamento de fase da FCC. (PSK – phase shift keying). Atualmente o chip do modem realiza as Técnicas de modulação de amplitude tarefas de conversão D/A. Antes dos não são usadas por causa da resposta não circuitos integrados, estes circuitos eram conveniente da linha para alterações tipo complexos e envolviam componentes degrau na amplitude. Modems podem ser discretos. usados para transmitir informação em duas A CPU é a parte principal do modem. A direções ao longo de uma linha telefônica. CPU controla todos os outros Operação full duplex é transmissão da componentes do modem, realiza a informação nos dois sentidos compressão dos dados e detecção de simultaneamente; half duplex é a erros especificados pelos protocolos do transmissão da informação nos dois CCITT. O programa da CPU é carregado sentidos, mas somente em um sentido de em dois chips de ROM e utiliza dois chips cada vez; simplex é a transmissão dos de 64 kB de RAM para o armazenamento dados em somente um sentido. temporário. O princípio de FSK usa duas freqüências diferentes para representar o 1 Modem inteligente e o 0 e pode ser usada em transmissão de O modem faz a ligação do universo dados com taxa de até 1200 bauds (bits analógico das redes telefônicas com o por segundo). O receptor usa um mundo digital dos computadores. Os discriminador de freqüência cujo limite é primeiros modems desenvolvidos o foram estabelecido na metade das duas pela Bell Labs, o modem Bell 103, de 300 freqüências. O deslocamento de bauds. freqüência recomendado não deve ser Depois do Bell 103, o próximo foi o da menor que 0,66 da freqüência de AT&T, Bell 212A, a 1200 bauds. Embora modulação. Assim, a operação do modem fosse mais rápido, era mais susceptível a a 1200 bauds tem uma freqüência central ruídos e corrupções do sinal do circuito recomendada de 1700 Hz e um desvio de telefônico. freqüência de 800 Hz, com o 0 A Hayes Microcomputers Products representado por 1300 Hz e 1 por 2100 Hz. tomou a dianteira no comercio de modems Em uma taxa de transmissão de 200 bauds para computadores. Ela utilizou pela é possível operar um sistema full duplex. primeira vez o microprocessador dentro do Em 600 e 1200 bauds a operação half modem. O Hayes Smartmodem, em 1981, duplex é usada incorporando um canal de usava o microprocessador Zilog Z-8 para baixa velocidade para controle supervisório controlar os circuitos do modem e ou baixa velocidade para retorno dos gerenciar a discagem e resposta dados. automática. Às vezes, o modem possuía um microprocessador mais poderoso que o 2.5. Transmissão por rádio do computador onde ele era instalado. freqüência Em 1985, apareceu o modem de 2 400 A transmissão por rádio freqüência bit/s. Este novo padrão foi chamado de (RF) é muito usada em telemetria civil e V.22bis, estabelecido pela CCITT. militar. A transmissão de RF começa em 3 Seguiram o V.32 de Hz (chamada de VLF – muito baixa 9 600 bits/s, o V.32bis de 14 400 bits/s, freqüência) até 300 GHz (chamada de EHF V.42 (controle de erros) e V.42bis – extremamente alta freqüência), havendo (compressão de dados). bandas intermediárias de baixa freqüência Para superar as limitações das linhas (LF), média freqüência (MF), alta de telefone públicas, os dados digitais são freqüência (HF), muito alta freqüência transmitidos nestas linhas por meio de um (VHF), ultra-alta freqüência (UHF) e super modem. Os dois métodos de modulados alta freqüência (SHF). usados por modems são: 10.17
  • 239.
    Controle Supervisório eAquisição de Dados A transmissão do sinal é por meio de propagação de linha de visão, difração de 3. Controle Supervisório do onda na superfície ou na terra, reflexão ionosférica ou espalhamento para frente. A Sistema de Aquisição de Dados transmissão de telemetria ou sinais de 3.1. Introdução dados é usualmente feita por modulação Um sistema de aquisição de dados de amplitude (AM), freqüência (FM) ou coleta e armazena para uso futuro. Os fase (PM) de alguma onde de RF dados analógicos (corrente de 4 a 20 mA portadora. cc, tensão de mV de células de carga, A alocação de bandas de freqüência é tensão de termopares dos tipos J, K, R, S, feita por acordo internacional da União T e B, resistências detectoras de Internacional de Telecomunicação, com temperatura, pulsos de turbinas medidoras sede em Genebra. de vazão, freqüência de sinais de transmissores de vazão magnéticos, freqüências de medidores tipo vortex ou Onda portadora coriolis) são convertidos para a forma Antena Antena digital conveniente para ser usada dentro Modulador Transmissor Receptor Demodulado do sistema digital de aquisição de dados. São transferidos também os chamados Fig. 11.22. Sistema de telemetria com RF sinais digitais, como protocolo HART, contatos secos de chaves e relés, pulsos binários. Atualmente, na maioria das aplicações industriais, a aquisição de dados é feita por controladores lógico programáveis (CLP), que possuem as interfaces de entrada e saída já padronizadas e com preço mais conveniente que as interfaces E/S do sistema digital de controle distribuído. Outro vantagem de se usar um CLP como sistema de coleta de dados é a facilidade de driver de comunicação entre ele e o microcomputador onde será rodado o programa aplicativo para realizar o controle supervisório do processo. Quando os dados são coletados a grandes distâncias, eles são transferidos através de fios físicos, por uma onda de rádio freqüência portadora ou através de linha telefônica ou por uma combinação qualquer destas três técnicas. Estes dados estão agora disponíveis em um único local centralizado, e podem ser indicados, registrados, totalizados, analisados e alarmados. É também desejável que o operador, além de coletar os dados e saber os status dos dispositivos remotos, possa atuar no processo, abrindo e fechando válvulas motorizadas, ligando e desligando motores de bombas e compressores, enviando sinais analógicos para atuar em válvulas de controle. Nestas aplicações, os sinais digitais do sistema de aquisição de dados 10.18
  • 240.
    Controle Supervisório eAquisição de Dados devem ser convertidos de volta para a operação de motor de bomba) pode ser forma analógica e aplicados a algum tipo apresentada na tela do monitor, em de atuador no processo. tamanho e cor definidos pelo usuário. Neste ponto, deve-se projetar e O anunciador de alarme é eliminado e construir equipamentos digitais que agora os alarmes são listados pelo executem todas estas tarefas. Este computador, mostrados na tela do monitor equipamento já existe, associado a ou impressos em papel, se necessário. O programas de computador aplicativos: é o alarme sonoro continua existindo. O Controle Supervisório e Aquisição de usuário pode definir um código de cores Dados (SCADA). para diferentes tipos de alarme. No 3.2. Equipamento (Hardware) diagrama do processo mostrado na tela do monitor do computador, as variáveis A plataforma de operação do sistema alarmadas podem assumir diferentes de aquisição de dados e controle cores. supervisório é um microcomputador, rodando um programa aplicativo. Através Também no sistema, os status dos de configuração de telas, o operador pode equipamentos podem ser definidos e selecionar através do teclado ou mouse do observados na tela do monitor. Assim, por computador diferentes visões do processo, exemplo, válvulas fechadas podem ser desde uma malha isolada até o processo representadas em vermelho, fechadas em completo (overview). amarelo e em posições intermediárias, em O monitor do computador irá substituir os verde. painéis convencionais com botoeiras, Tudo que era feito através da instrumentos de display, anunciador de instrumentação convencional contínua alarme e painel sinóptico. As chaves liga e sendo feito, porém, o operador vê o desliga e as botoeiras de partida e parada processo através de uma janela. Sua são substituídas por teclas ou são atuadas interface para ver o que está ocorrendo é a através da tela especial (touch screen). tela do monitor e sua interface para atuar Têm-se agora chaves lógicas ou virtuais no processo é o teclado do computador, que funcionam exatamente como se mouse, trackball (mouse com esfera) ou a fossem reais. própria tela do monitor se ela for sensível ao toque (touch screen). O monitor do computador substitui os Este sistema supervisório facilita muito instrumentos de display. Através do a vida do operador. Relatórios que programa de configuração, o operador anteriormente eram escritos à mão agora pode selecionar telas que apresentam os são automaticamente impressos. A partir valores numéricos das variáveis de do aperto de uma tecla, o operador pode processo de diferentes modos, à sua ter uma lista de todos os pontos que foram escolha. Os valores podem aparecer ao alarmados nas últimas 24 horas de lado dos equipamentos associados. Por operação. exemplo, o nível do tanque pode ser Concluindo: um conjunto integrado de apresentado em percentagem ao lado do sistema de aquisição de dados, programa desenho do tanque, a vazão que passa por de controle supervisório e um uma tubulação pode ter o valor instantâneo microcomputador, pode ser uma alternativa mostrado junto da tubulação, a econômica para um Sistema Digital de temperatura de um reator pode ser Controle Distribuído. Por causa de suas mostrada em diferentes posições, em limitações de desempenho e conveniência valores digitais. Através da configuração geral apresentadas por um sistema com de tela, os instrumentos virtuais podem se microcomputador, estas aplicações são parecer com instrumentos convencionais, idéias para processos onde o custo é com escala analógica (gráfico de barras crítico e o controle é simples. Este conceito simula a escala analógica), com botões, certamente cria a expectativa e a visão do chaves seletoras e chaves de atuação. futuro para aplicações abertas. Mesmo A totalização da vazão ou de outra variável com suas limitações, o sistema pode ter ou (por exemplo, tempo acumulado de fazer: 10.19
  • 241.
    Controle Supervisório eAquisição de Dados 1. gerenciamento de banco de dados relacional,  4. Intouch 2. pacote de planilha de cálculo 3. capacidade de controle estatístico 4.1. Funções de processo O programa supervisório InTouch é um 4. processador de texto programa que permite a configuração de 5. gerenciamento de display orientado um Sistema de Supervisão de Processo, para objeto incorporando recursos de operação 6. estação de trabalho orientada para configuráveis pelo usuário, como: telas, janela sinópticos, gráficos e registros de alarmes, 7. troca de informações com outros entre outras. sistemas da planta O programa roda em microcomputador 8. comunicação com outros sistemas do tipo IBM-PC, com microprocessador digitais, como controlador lógico 80386 ou superior, com 4 MB de RAM, no programável, controlador digital sistema operacional MS-DOS, no ambiente single loop, sistema de monitoração MS Windows e Windows NT e dentro do de máquinas rotativas, sistema de programa de supervisão InTouch usado análise da planta para a operação do Sistema. 9. interoperabilidade entre outras As suas principais funções são: plataformas digitais disparatadas. 1. alarmes de falhas de segurança 3.3. Programa Aplicativo (Software) 2. autorização de acesso 3. aquisição de dados A operação de selecionar uma malha, 4. operação solicitada pelo operador iniciar uma entrada de dados, atuar em 5. suporte determinado dispositivo remoto, apresentar uma lista de alarmes não é feita Alarmes de Falhas de Segurança milagrosamente, mas deve ser prevista e O monitor de vídeo do sistema do programada. Para facilitar as coisas, são microcomputador constitui a interface disponíveis vários programas aplicativos homem-máquina, apresentando de forma no mercado, para que usuário realize seu clara e simples aos engenheiros e controle, sendo os mais conhecidos: operadores do processo, os alarmes de Intouch, da Wonderware falhas de segurança referentes a FicsDmacs, da Intellution mudanças de estado do Processo e a falhas do sistema de aquisição de dados e dos periféricos. A impressora fornece relatórios de alarmes e de eventos operacionais. Autorização de Acesso O sistema permite o acesso aos dados e comandos apenas a operadores autorizados. A identificação dos operadores autorizados é feita através de senha ou palavra-chave (password). Aquisição de Dados O sistema de aquisição de dados recebe os status das variáveis supervisionadas, em linha (on line) do sistema de aquisição de dados. Os eventos são registrados em um banco de dados armazenado na memória de massa e posteriormente, estes dados podem ser usados em outros aplicativos, como o MS- Excell. 10.20
  • 242.
    Controle Supervisório eAquisição de Dados O programa também permite a até o máximo de nós permitido pela visualização de gráficos de: Rede RNET (255), 1 tendência real 2. ligação opcional dos 2.tendência histórica. microcomputadores a uma segunda rede local. Operações Solicitadas pelo Operador As operações solicitadas pelo operador 4.2. Características do InTouch permitem : O InTouch possui as seguintes 1. atuar em equipamentos específicos; características: como bombas, solenóides e válvulas manuais. Explorador de Aplicação 2. alinhar transferência de materiais; O Explorador de Aplicação hierárquico 3. executar programas de diagnóstico fornece as melhores capacidades de do equipamento. navegação, tais como: Funções de Suporte 1. mostra os nomes de todas as janelas criadas As funções de suporte são 2. quando se dá um duplo click sobre o transparentes ao operador e incluem as nome de uma janela, ela se abre tarefas de 3. quando se clica à direita de um nome 1. comunicação entre o de janela, aparece um menu mostrando microcomputador e o sistema de os vários comandos que podem ser aquisição de dados, executados para 2. gerenciamento dos bancos de a) abrir a janela dados do microcomputador. b) salvar a janela A comunicação de dados entre o Sistema c) abrir o QuicScript da janela Supervisório e o sistema de aquisição de d) apresentar as propriedades da dados por ser feita através da rede R-Net. caixa de diálogo A rede R-Net é do tipo barramento com 4. permite o acesso rápido a mecanismo de acesso por passagem de a) todos os tipos de QuickScript bastão (token-bus) e se enquadra no b) todos os comandos da modelo ISO de interconexão de sistemas configuração, abertos. c) Dicionário de Tagname O meio de transmissão utilizado é um d) utilidade de Referência Cruzada de cabo coaxial de 75 ohms, semelhante aos Tagname usados em sistemas de rede local. A e) TemplatMaker de SuperTags transmissão de dados é feita em banda 5. permite adicionar atalhos para lançar base, a uma taxa de 800 kbauds. A outros programas do FactorySuite ou autorização para a transmissão é passada outras aplicações de uma estação para outra, através de 6. opcionalmente ele apresenta um uma seqüência de pulsos característicos, display. denominados bastão (token). Após transmitir a mensagem, a estação passa o Ambiente de Trabalho bastão para a estação seguinte, e assim As aplicações rodam no Sistema sucessivamente, formando um anel lógico. Operacional Windows NT ou Windows 95 e Por ser um sistema de controle são intercambiáveis entre si. Elas rodam distribuído, o Sistema Supervisório é em qualquer sistema operacional, sem naturalmente modular e expansível, requerer conversão. permitindo ao usuário ampla flexibilidade na configuração de suas necessidades atuais e em futuras expansões das seguintes formas: 1. expansão da própria rede local, através da adição de novas estações de supervisão ou microcomputadores, 10.21
  • 243.
    Controle Supervisório eAquisição de Dados SuperTags TemplateMaker Container ActiveX O SuperTags TemplateMaker permite InTouch é um container ActiveX. Ele criar, modificar e deletar templates permite a instalação de qualquer outro SuperTags do usuário. As templates controle ActiveX e usa o em qualquer SuperTag podem ser definida com até 64 janela de aplicação. Para facilitar o acesso, membros. Uma template SuperTag pode pode-se instalar controles ActiveX e depois ser um membro de outra template adicioná-los à Wizards/ActiveX Toolbar. SuperTag para um máximo de dois níveis Através dos controles ActiveX, pode-se de rede. Os membros se comportam manipular eventos de controle, métodos de exatamente como tagnames InTouch controle e propriedades de controle dos normais e podem ser usados em QuickScripts. Pode-se também associar QuickScripts e links de animação. Os as propriedades de controle ActiveX membros também suportam tendência e diretamente com os tagnames do InTouch. alarme e todos os tagname.fields. Suporte estendido a Tagname QuickFunções O Dicionário de Tagname do InTouch QuickFunções são QuickScript criados suporta até 61.405 tags, em função da que podem ser chamados de outros licença do usuário. QuickScripts ou expressões de link de Browser de Tag animação. QuickFunções suportam O Browser Tag permite selecionar parâmetros e valores de retorno. tagnames e tagname.fields de qualquer Chamando QuickFunções de outros aplicação FactorySuite ou qualquer outra QuickScripts ou expressões permite a fonte de tagname que suporta a interface criação de QuickFunções uma vez e do Dicionário de Tagname. O browser é a depois reusá-la várias vezes. Usando principal ferramenta para editar o QuickFunções diminui a manutenção da Dicionário de Tagname. aplicação, porque independente do número de outros scritps ou expressões de link de Monitoração de Falha do Instrumento animação chamam a QuickFunções, Começando com a versão 7.0, InTouch somente a QuickFunções em si precisa ser suporta três tagname.fields (. RawValue, mantida. Fazendo modificações em uma .MinRaw, .MaxRaw que podem ser QuickFunções, automaticamente se faz a usados no QuickScript para monitorar os atualização de dúzias de outros valores dos instrumentos para determinar QuickScript ou expressões. valores fora de faixa, fora de calibração ou QuickFunções Assíncronas falha. As QuickFunções podem ser Referência Remota de Tagname configuradas como assíncronas. A A Referência Remota de Tagname funcionalidade assíncrona é configurada permite o acesso a dados de uma fonte no ambiente de desenvolvimento remota de dados sem ter que criar o WindowMaker e executado no ambiente de tagname no Dicionário de Tagname local. operação WindowViewer. QuickFunções Remotos tagnames podem referenciar assíncronas rodam no segundo plano dados definido na maioria das fontes de enquanto o processo principal dados I/O usando MS DDE ou protocolo WindowViewer está rodando. Isto permite Wonderware SuiteLink. Por exemplo, a ao WindowViewer separar o tempo fonte de dados I/O pode ser MS-Excel ou consumido nas operações, tais como um nó View remoto. Pode-se importar chamada de base de dados SQL e malhas janelas gráficas de qualquer aplicação FOR NEXT do fluxo principal do programa. InTouch e depois converter os tagnames Quando tal tempo consumindo operações do local de trabalho da janela para é feito através de QuickFunções referências remotas de tagname para criar assíncronas, todos os links de animação e uma aplicação do cliente que não esteja no outras funções do InTouch permanecem Dicionário de Tagname local. simultaneamente ativos. 10.22
  • 244.
    Controle Supervisório eAquisição de Dados Referência Cruzada de Tagname e a historia do IndustrialSQL na mesma A Referência Cruzada de Tagname tendência. permite determinar o uso do tagname ou Conversão de Resolução Dinâmica SuperTag e, em que janela ou Quickscrit Pode-se desenvolver aplicação em que um tagname específico é usado. Por uma resolução de tela e rodar esta mesma conveniência, a utilidade de Referência aplicação em outra resolução, sem afetar a Cruzada de Tagname pode permanecer original. As aplicações podem também ser aberta no WindowMaker enquanto se rodadas em uma resolução definida pelo executam outras tarefas. Ele permite usuário, em vez da resolução do display. também ver qualquer QuickScript ou QuickFunções onde um tagname é Endereçamento de Referência Dinâmico encontrado. As referências de fonte de dados Variáveis Locais podem ser alteradas para várias fontes de dados dinamicamente endereçadas com Os QuickScript e QuickFunções do um único tagname. InTouch suportam o uso de variáveis locais para armazenar resultados temporários e Desenvolvimento de Aplicação da Rede criar cálculos complexos com valores de As novas características de script intermediários. Usando variáveis desenvolvimento remoto acomodam locais no QuickScript e QuickFunções, não grandes instalações com vários nós, diminui a quantidade de tagname incluindo atualização de todos os nós em licenciado. uma rede de uma única estação de WindowViewer como um Serviço NT desenvolvimento. Começando com InTouch 7.0, o FactoryFocus WindowViewer pode ser rodado como um FactoryFocus é uma versão de serviço NT, oferecendo as vantagens de: somente ver (only view) da versão Runtime 1. lista de histórico do InTouch, que permite aos Gerentes e 2. alarmes Supervisores a habilidade de ver 3. dados I/O processos de aplicação HMI em tempo 4. operação contínua de real. A segurança do sistema é aumentada WindowViewer através do log on e com a capacidade de somente ver, desde log off do sistema operacional, como que nenhum dado pode ser mudado. Não credenciamento de operador é necessário mudar as aplicações do 5. partida automática do InTouch para usar FactoryFocus. WindowViewer segundo falta de O FactoryFocus funciona somente energia ou quando a máquina é como um cliente. Nenhum dado pode ser desligada e ligada. escrito usando DDE ou SuiteLink, nem os dados podem ser mexidos (poke) para Sistema de Alarme Distribuído programas como Excel. Os alarmes podem O novo sistema distribuído suporta ser vistos mas não tomados servidores ou provedores múltiplos de conhecimentos. FactoryFocus não pode alarme, dando ao operador a habilidade de agir como um Servidor I/O para requisitar simultaneamente ver e tomar clientes. As características como animação conhecimento da informação de alarme de de links, tagnames, tempo real e vários locais remotos. tendências históricas são apenas vistas. Historia Distribuída Outros Benefícios O sistema de tendência histórica Outras características do InTouch distribuída permite especificar incluem: dinamicamente uma fonte de dados de ♦ conectividade com mais de 300 arquivo histórico diferente para cada pena Servidores I/O de um gráfico de tendência, permitindo ao ♦ Solução de baixo custo para ver o operador também ver a historia do InTouch processo, menor que com um HMI completo 10.23
  • 245.
    Controle Supervisório eAquisição de Dados ♦ VTQ (valor do dado, com TimeStamp e 4.4. Tipos de Equipamentos Qualidade associadas) de I/O tipo tagnames fornecidos por um servidos Existem três tipos de equipamentos I/º constituintes do sistema de supervisão: ♦ Função HTSelectTag() que permite ao 1. animados DDE (Dynamic Data usuário, em runtime, selecionar Exchange), qualquer Tagname registrado 2. animados não-DDE historicamente. 3. não animados ♦ Protocolo SuiteLink, que permite Equipamentos animados DDE comandos de aplicação (lê, escreve e atualiza) e seus dados associados Equipamentos DDE são aqueles cujos serem passados entre aplicações de símbolos no programa aplicativo geram cliente e aplicações do servidor. comandos para o campo via sistema de aquisição de dados (por exemplo, atuação ♦ Facilmente colocado em rede com das válvulas solenóides) ou que recebem NetDDE. sinais do campo via sistema de aquisição ♦ Visão do processo em aplicação de de dados (por exemplo, alarmes em geral, tempo real. como PSH e LSH). ♦ Formato GUI (Interface de Unidade Gráfica) padrão para Windows NT ou Equipamentos animados não DDE Windows 95. Equipamentos não-DDE são aqueles ♦ click direito no mouse suporta através cujos símbolos do aplicativo não geram do WindowMaker para acesso rápido comandos para o campo via sistema de para comandos usados aquisição de dados e não recebem sinais freqüentemente. do campo (por exemplo bombas, e outros ♦ Barras de ferramentas flutuantes e equipamentos cuja existência na tela serve fixas. somente para ajudar no acompanhamento ♦ Paleta de cores personalizável que do processo e definir o local da atuação), fornece 16,7 milhões de cores (suporte mas cujo status pode ser alterado pelo limitado pela capacidade do cartão de operador. vídeo do computador). Equipamentos não animados ♦ Suporte para nome de arquivo longo, como no Windows 95 e Windows NT. Equipamentos não-animados são aqueles cujos símbolos do aplicativo não geram comandos para o campo via sistema de aquisição de dados, não recebem sinais do campo e não podem ter seu status alterado pelo operador (por exemplo as válvulas de alívio, válvulas auto reguladas, e outros equipamentos) e cuja existência na tela serve somente para ajudar na visualização do processo. 4.5. Operação Tipicamente, tem-se as seguintes telas para a operação do processo: 1. Abertura 2. Visão geral 3. Operação 4. Tendência real 5. Tendência histórica 6. Alarmes 7. Ajuda 8. Menu de utilitários 9. Ajuste de parâmetros 10. Relatório instantâneo 10.24
  • 246.
    Controle Supervisório eAquisição de Dados A seguir são mostradas as telas de um tela de Abertura é apenas a de efetuar a programa Supervisório associado a um apresentação do aplicativo. Pode-se controlador lógico programável (CLP) visualizar a versão do programa no canto como aquisição de dados e aplicado a uma inferior direito. Qualquer modificação indústria petroquímica típica . efetuada no sistema implica na mudança do número da versão e data. O operador Inicialização do Sistema deve se certificar que está trabalhando Se o sistema estiver corretamente com a versão mais atualizada do instalado e o CLP estiver energizado, ao aplicativo. se ligar ou resetar o microcomputador, o Pressionando a barra de espaço, entra- sofware aplicativo da planta e o driver de se na Tela 0, que é a tela de Visão Global comunicação entram automaticamente em do sistema. operação, mostrando a tela de abertura. Pressionando a tecla F1 obtém-se uma Tela de Abertura tela de Ajuda sobre a operação básica do A tela de Abertura aparece quando o sistema. software InTouch é inicializado e oferece acesso às telas de operação. A função da cabeçalho identificação símbolos não Animados símbolos não DDE símbolos DDE teclas do menu de operação janela de resumo de alarmes Tela de operação Típica Fig. 11.23 Exemplo de Tela de Operação Típica 10.25
  • 247.
    Controle Supervisório eAquisição de Dados Menu da Tela de Visão Geral Tela de Visão Geral O menu inferior permite que o operador A tela de Visão Geral apresenta todos execute as seguintes funções : os elementos ativos de cada uma das telas 1. A tecla SOCORRO (F1) chama a de operação, de forma resumida. tela de Ajuda Geral . 2. A navegação entre as telas de operação (tela 1 a Tela 4) é feita através de teclas individuais acessadas pelo mouse, pela tecla TAB ou ainda com o uso das teclas PGUP ou PGDN. 3. A tecla de ALARMES (F9) do menu permite que o operador entre na tela de alarmes e eventos do sistema. 4. A tecla UTIL (F2) do menu permite que o operador acesse outras funções disponíveis no sistema. Tela de Ajuda A tela de Ajuda, normalmente associada à tecla F1, fornece auxilio operacional sobre a operação das teclas Fig. 11.24 Tela de Visão Geral do programa supervisório. Tela de Operação A tela de Visão Geral (Tela 00), mostra As telas de Operação (Telas 00 a 04) de uma forma resumida todos os possuem as informações mais detalhadas elementos que compõem as demais telas acerca do processo em supervisão. de operação. Sua função é a de permitir ao A tela de Operação mostra em detalhes operador uma visão macroscópica do os elementos que compõem um aplicativo. subprocesso ou parte do processo. Na tela de Visão Geral, o operador pode visualizar todas as indicações analógicas de nível, pressão, vazão e pH de todas as telas. Além das indicações analógicas, a tela de Visão Geral mostra ainda : 1. Indicadores individuais divididos por tela, que fazem o acompanhamento de alarmes, ao lado dos gráficos de Tendência Real. Assim que ocorrer um alarme em uma tela, este indicador reflete o estado do mesmo, piscando em vermelho. Quando o operador reconhece este alarme, o indicador fica laranja, permanece laranja enquanto existir Fig. 11.25 Tela de Operação 01 - Tanques um alarme ativo na tela e fica verde quando não houver mais alarmes. Se o operador posiciona o cursor sobre estes indicadores, através do mouse ou via tecla TAB, tem-se o acesso direto à tela de alarmes correspondente à tela que está originando o alarme. No menu inferior existe também uma janela onde aparece o ultimo alarme ocorrido. 10.26
  • 248.
    Controle Supervisório eAquisição de Dados Neste exemplo, a área de tancagem (ÁREA 94) está dividida em três telas (Telas 01, 02 e 03) e a área de tratamento (ÁREA 95) em uma tela (Tela 04). A função da tela de Operação é a de permitir ao operador uma visão detalhada das condições do processo e permitir a operação de equipamentos. Fig. 11.27 Tela de Operação 03 - Esferas Fig. 11.26 Tela de Operação 02 - Tanques Nesta planta, atualmente, só é possível operar as válvulas HV das esferas (Tela 03) que são equipamentos DDE ativos. A tela típica de operação possue um Fig. 11.28 Tela de Operação 04 – Efluentes menu inferior similar à tela geral (TELA 0). No caso específico da TELA 03 tem-se a atuação das válvulas manuais (HV) Os desenhos representando os individualmente. Para abrir ou fechar Tanques e Esferas são animados determinada HV, o operador deve proporcionalmente as leituras dinâmicas de posicionar o cursor sobre o tag desta nível fornecidas pelo CLP, permitindo ao válvula, com o mouse e clicar sobre a operador uma visão global dos níveis dos mesma ou com a tecla TAB e digitar Tanques e Esferas. Adicionalmente, um ENTER. Neste momento aparece um retângulo ao lado de cada Tanque/Esfera menu para a seleção e confirmação da tem um valor na forma digital. Para as operação. pressões, vazões e leituras de PH existem As bombas não recebem sinal do retangulos correspondentes às indicações. campo mas, opcionalmente, podem ser sinalizadas da mesma maneira que as Tela de Alarmes HV's, porém não executam nenhuma A tela de Alarmes apresenta os função no campo. A sinalização indica ao alarmes e os eventos correspondentes às operador que determinada bomba telas de operação de onde foram encontra-se ligada ou desligada. As chamadas. operações de ligar e desligar as bombas A tela de Alarme é constituída de uma vão para o arquivo de eventos, podendo área onde aparecem a data, hora, evento, servir de acompanhamento das ações de serviço, tag, grupo de alarmes e valor dos processo. alarmes. Para diferenciar os estados dos alarmes são usadas cores diferentes para alarme ativo (vermelho), alarme reconhecido (amarelo) e retorno ao normal (verde). 10.27
  • 249.
    Controle Supervisório eAquisição de Dados Tela do Menu de Utilitários O submenu de Utilitários permite a execução de outras tarefas no sistema, como acesso à tela de ajuste de parâmetros de alarme, execução de relatórios, cadastramento de senhas e operadores, colocação de equipamentos em manutenção e outras. A tecla Relatório permite a chamada da tela de execução de relatório instantâneo. Fig. 11.29 Tela de Alarmes Para cada uma das telas de operação (Tela 1 a Tela 4) tem-se a alista apenas dos alarmes correspondentes a cada uma das telas, sem os eventos. A tela de Alarme pode ser chamada de duas formas no aplicativo: 1. pelas teclas ALARMES F9 ou 2. pelos indicadores de alarme presentes nas telas de Alarme e de Visão Fig. 11.30 Submenu de Utilitários Geral. Para a Tela 00, quando se chama a tela de Alarmes através da tecla ALARMES F9, são apresentados todos os Tela de Relatório Instantâneo alarmes e eventos de todas as telas, A tela de Relatório Instantâneo fornece porém não é possível fazer o as informações sobre o estado do reconhecimento dos alarmes. Para processo impressas na hora solicitada (por reconhecer um alarme ativo é necessário exemplo, os níveis dos tanques e outros que o operador entre na tela de operação detalhes de operação. correspondente ao alarme ou na tela de Tela de Manutenção alarmes correspondente a tela de operação onde se encontra o alarme e A tecla Manutenção chama uma tela pressione a tecla ACK (F10). para colocação de equipamentos em As setas correspondem as teclas manutenção, compostas por tres telas PGUP e PGDN do microcomptador 1. Tela de Ajuste de Parâmetros permitem navegar pelos alarmes que já Digitais ocorreram. 2 Tela de Ajuste de Parâmetros O campo Nível de Alarme define a Analógicos prioridade de apresentação dos alarmes. 3.Tela de Manutenção CP3000 (Os alarmes definidos com os níveis Tela de Ajuste de Parâmetros Digitais indicados são mostrados na tela). A A tela de Ajuste de Parâmetros Digitais definição dos níveis de alarme só pode ser permite a alteração dos níveis de alarmes efetuada por senha cadastrada maior que e a colocação de instrumentos em 90000 e é feita posicionando se o cursor manutenção. sobre os campos "DE" e "ATÉ" e escolhendo os níveis desejados. 10.28
  • 250.
    Controle Supervisório eAquisição de Dados Para escolher os níveis de alarme, deve-se posicionar o cursor sobre o campo correspondente, através do mouse e do clic ou da tecla TAB e do ENTER, abrindo- se uma janela para a entrada do novo valor. Tela de Manutenção CP3000 A tela de Manutenção do CP3000 apresenta ao operador o símbolo do equipamento que se encontra com falha piscando em vermelho. O resumo de alarmes existente nesta tela imprime Fig. 11.31 Parâmetros de Equipamentos Digitais apenas os alarmes referentes aos diagnósticos do sistema. O campo comunicação CLP1 Quando se pressiona a tecla de apresenta-se verde quando o Manutenção, aparece um menu para a microcomputador estiver em linha com o colocação do equipamento associado em CLP. estado de manutenção ou normal. Quando Do lado direito tem-se os principais é colocado em estado de manutenção, diagnósticos de registro do CP3000, como aparece uma plaqueta de manutenção no falha na CPU, R-NET, Trilho ?. equipamento corrrespondente. Quando em O campo de Diagnóstico Expandido manutenção o equipamento não gera mostra o primeiro erro de execução do alarmes. programa associado à atuação da bobina O menu inferior apresenta as opções de erro do CP3000 (76.00). para ir para a tela de tags analógicos ou para a tela de manutenção do CP3000. Fig. 11.33 Tela de Manutenção do CP3000 Fig. 11.32 Parâmetros de Equipamentos Analógicos Tela de Tendência Histórica Tela de Ajuste de Parâmetros A tecla Histórico permite a chamada da Analógicos tela de tendência histórica. A tela de Tendência Histórica permite a As funcões de manutenção da tela de visualização de qualquer variável definida tag's analógicos são similares às funções como de tendência histórica no sistema. da tela de parâmetros digitais exceto que Os botões PENA1 a PENA4 permitem a aqui pode-se selecionar também os visualização simultânea de até quatro valores de alarme alto e baixo (Hi e Lo) variáveis históricas. para os equipamentos. 10.29
  • 251.
    Controle Supervisório eAquisição de Dados O botão da Escala Horizontal permite tela de habilitação de novos operadores escolher o período de visualização e o de (CONFIGURE USERS). Escala Vertical permite a expansão horizontal de determinado trecho do gráfico. Para conseguir isto o operador efetua uma função de DRAG, ou seja , posiciona o cursor sobre o botão correspondente, clica o mouse sobre ele, mantem o mouse pressionado e arrasta o cursor para a posição que se quer fazer a expansão. Nesta tela, existe um resumo de alarmes no menu inferior para alertar o operador em caso de ocorrências de alarme, enquanto ele estiver monitorando as variáveis históricas. Tela de Tendência Real A tela de Tendência Real apresenta os dados de tendência real para as variáveis Fig. 11.35 Seleção de Operadores correspondentes à tela de operação de onde foi chamada. A tela de Seleção de Operador permite ao operador entrar no sistema. Para isto ele posiciona o cursor sobre o campo OPERADOR e aparece uma janela para a entrada do nome. Em seguida, o operador posiciona o cursor sobre PASSWORD e digita a palavra chave correspondente. O nome e a hora em que o operador entrou no sistema ficam gravados no relatório de eventos. Se a senha não for válida ou o operador não estiver cadastrado, ele não consegue entrar no sistema. Para retirar operador já selecionado digita-se NONE no campo operador. O campo NÍVEL DE ACESSO indica em um Fig. 11.34 Tela de Tendência Histórica grau crescente o tipo de atividades que o operador pode efetuar no sistema. Tela de Seleção de Operador Tela de Cadastro de Novo Operador A tecla SENHA chama a tela de Se o operador possuir senha com nível Seleção de Operador. O operador deve ter maior que 90000 estará habilitado a um nome e uma senha válidos para ter cadastrar novos operadores. Para isto, ele acesso à operação do sistema. posiciona o cursor sobre o campo CAD- Esta tela de Seleção de Operador OPER. e clica o mouse, aparecendo a tela possui um menu com as seguintes de configuração de usuários (Configure alternativas: Users). 1. Cadastro de novo operador (CAD- OP) Tela de Troca de Senha 2. Muda senha Pode se também alterar a senha de 3. Saída qualquer operador, posicionando-se o A tecla de Cadastramento de Operadores cursor sobre o campo MUDA SENHA e (CAD-OPER.) tem a função de chamar a clicar o mouse que automaticamente abre- 10.30
  • 252.
    Controle Supervisório eAquisição de Dados se uma tela chamada CHANGE PASSWORD para a entrada de dados. 4.5. Redes de controle de processo Para a troca da senha, o operador deve Um software aplicativo pode rodar em preencher os campos OLD PASSWORD um computador isolado ou em rede. A com a senha antiga, NEW PASSWORD aplicação isolada possui uma única com a nova senha e RETYPE NEW interface de operação para cada sistema PASSWORD, repetindo a nova senha. monitorado, como em um controle de uma caldeira. A aplicação isolada é mais fácil de configurar e de fazer manutenção. As aplicações distribuídas, são mais complexas e podem possuir várias camadas de rede. Estas aplicações distribuídas, tipicamente, possuem uma estação de desenvolvimento central, armazenamento central de dados e várias estações clientes ou remotas, que interagem com a estação central e entre si. Aplicação isolada A aplicação isolada possui uma única interface de operação para cada processo monitorado. Consiste de um computador pessoal (CP) isolado que funciona como a Fig. 11.36 Cadastro de Novos Operadores principal interface de operação. O CP é ligado ao sistema que coleta dados do processo industrial através de conexão direta, como um cabo serial. O sistema de aquisição de dados pode ser um controlador lógico programável (CLP). Fig. 11.38. Sistema supervisório com único Fig. 11.37 Troca de Senhas computador Tecla-se OK para sair da tela CHANGE PASSWORD. Nesta configuração, uma única aplicação do supervisório pode ser instalada no computador. O desenvolvimento pode ser feito no computador diretamente, ou feito em outro, modificado e depois copiado de volta para o computador original. Embora não esteja em rede, a arquitetura isolada analisada, para fins de análise e completude. 10.31
  • 253.
    Controle Supervisório eAquisição de Dados Arquitetura baseada em Cliente Cliente é uma unidade funcional que Fig. 11..39. Arquitetura baseada em Cliente recebe serviços compartilhados de um servidor. Em um ambiente AIX (Advanced Interactive Executive) de arquivo distribuído, um sistema que depende de um servidor para fornecer a ele programas ou acesso para programadas. A janela cliente é aquela em que a aplicação mostra a saída e recebe a entrada. Esta janela está localizada dentro da janela de referência (frame), sob o barra Como cada nó de Desenvolvimento título da janela e qualquer barra de menu e possui um copia idêntica da aplicação, dentro de qualquer barra de rolamento. cada nó deve ter também acesso identifico Em ambiente TCP/IP (Transmission a qualquer fonte de dados referida pela Control Protocol/Internet Protocol), o aplicação. Estas fontes podem ser modelo cliente servidor interage no Servidores I/O, base de dados SQL, processamento dos dados distribuídos, em arquivos DOS. Se é usada uma fonte que um programa em um local envia uma central de dados (e.g., um servidor I/O requisição para um programa em outro compartilhado pela rede), cada nó de local e espera a resposta. O programa Visão mantém uma conversação separada requisitante é chamado de cliente; o com o servidos compartilhado, que pode programa de resposta é chamado de resultar em um aumento da carga da rede. servidor. Assim, é recomendável considerar A estação de trabalho cliente recebe a servidores I/O individuais em cada nó, se é informação de status da estação de esperado um uso pesado da rede. trabalho servidor. Atualmente esta rede é substituída, Um componente cliente é uma com vantagens, pela NAD (Ntetwork aplicação que acessa dados de um Application Development), mas mesmo servidor. Uma aplicação cliente funciona assim é apresentada para se ter uma visão para apresentar os dados para usuário em geral das arquiteturas. um contexto válido, através de indicação, gráfico e animação. A aplicação fornece Vantagens um meio para configurar como os dados 1. Desenvolvimento sem restrição da serão recuperados, processados ou aplicação armazenados no servidor. 2. Redundância inerente, pois cada nó é A arquitetura baseada em cliente é a auto suficiente. uma evolução natural da aplicação isolada. 3. Não há limite de número de nós de Ela necessita de uma única copia do Visão. programa aplicativo para cada computador Desvantagens rodando o modo de visão. Esta aplicação pode ser instalada em cada disco rígido do 1. A distribuição da aplicação é difícil. computador ou em único local do servidor 2. Todos os nós devem ter acesso da rede. Na Fig. 11.39, uma aplicação foi idêntico às mesmas fontes de dados. desenvolvida e testada no nó de Desenvolvimento e depois copiada para cada nó de Visão. 10.32
  • 254.
    Controle Supervisório eAquisição de Dados Arquitetura baseada em Servidor Servidor é uma unidade funcional que fornece serviços compartilhados para uma rede, e.g., servidor de arquivo, servidor impressora, servidor correio.Em uma rede, é uma estação de dados que fornece facilidades para outras estações. Em um ambiente AIX (Advanced Interactive Fig. 11.40. Arquitetura baseada em Servidor Executive) de arquivo distribuído, um programa aplicativo que usualmente roda em segundo plano e é controlado pelo controlador do programa do sistema. O Como na arquitetura baseada em programa manipula a comunicação cliente, cada nó de Visão deve ter acesso interprocesso, ligacoes dos cleitnes, faz a idêntico a quaisquer fontes de dados demultiplexagem nas telas e multiplexa as referidas pela aplicação. Deve haver entradas de volta para os clientes. também meios para personalizar os locais A janela cliente é aquela em que a da fonte de dados usando uma aplicação mostra a saída e recebe a combinação de scritps para obter o nome entrada. Esta janela está localizada dentro do nó e alterar cada local de fonte de dado da janela de referência (frame), sob o barra baseado neste nome. título da janela e qualquer barra de menu e Atualmente esta rede é substituída, dentro de qualquer barra de rolamento. com vantagens, pela NAD (Network Em ambiente TCP/IP (Transmission Application Development), mas mesmo Control Protocol/Internet Protocol), um assim é apresentada para se ter uma visão sistema na rede que manipula a requiscao geral das arquiteturas. de um sistema em outro local, chamado cliente servidor. Vantagens: A estação de trabalho servidor envia a 1. Manutenção de apenas uma aplicação. informação de status para a estação de 2. Nós de visão atualizam trabalho cliente. A estação de trabalho automaticamente quando as aplicações servidor usa o monitor gráfico e o se alteram. administrador de visão para funções administrativas. Desvantagens A arquitetura baseada em servidor 1. Desenvolvimento de aplicação é permite vários nós de Visão compartilhar restrito. uma única aplicação do supervisório. Na 2. Não há redundância se a estação de Fig. 11.40, dois nós de Visão estão Desenvolvimento cai. acessando a mesma aplicação, do nó de 3. Todos os nós devem ter a mesma Desenvolvimento. Cada nó de Visão deve resolução da tela. criar um drive lógico no programa da rede e mapeá-lo para o drive da rede compartilhado do nó de Desenvolvimento. Cada nó de Visão deve também ter a aplicação compartilhada registrada com o programa aplicativo. 10.33
  • 255.
    Controle Supervisório eAquisição de Dados um servidor para os nós remotos ou Servidor I/O escravos rodando a mesma aplicação. Na Um Servidor I/O é uma aplicação que Fig. 11.42., cada nó Escravo pode rodar permite outros programas de aplicação uma cópia única própria ou rodar uma Windows acessar dados no nível mais aplicação comum. De qualquer modo, uma baixo de chão de fábrica, como vez rodando, cada nó Escravo se refere a Controladores Lógico Programáveis ou todas suas fontes de dados I/O, através do Unidades Remotas. Geralmente, um nó Mestre, que está conectado ao Servidor I/O se comunica com um processo monitorado. dispositivo através de porta serial do Quando esta aplicação roda no nó computador onde a aplicação Servidor I/O Mestre, as referências apontam para as está instalada. Porém, alguns CLPs fontes locais, quando roda de um nó possuem placas e módulos que são Escravo, as referências apontam para as instalados no computador servidor I/O. fontes remotas do Mestre. Vantagens 1. Evita que os nós inundem a rede, afunilando toda a comunicação através de uma fonte (nó Mestre) 2. Fornece notificação automática de mudanças de aplicação Desvantagens 1. A distribuição das aplicações é difícil. Fig. 11.41. Servidor I/O 2. Única fonte de aplicação – sem redundância se o nó mestre cai. A base de dados tipicamente não é a Arquitetura Mestre/Escravo mesma entre o Mestre e Escravos. Estação mestre (master) é a que pode selecionar e transmitir uma mensagem para uma estação escrava. Em dado momento, só pode existir somente uma estação mestre na link de dados. Na rede, o nó mestre é aquele que inicia a transferência de todos os dados. A arquitetura mestre/escravo permite que os nós de Visão sejam configurados em uma arquitetura tipo servidor ou cliente, mas não requer que todos os nós tenham as mesmas fontes de dados. Fig. 11.42. Arquitetura baseada em Mestre/Escravo A arquitetura define um nó como Mestre, geralmente o computador ligado ao processo industrial. Este nó age como ApostilasAutomação Controle.doc 03 NOV 97 Isubstitui Platt3.doc, 13 MAI 97) 10.34
  • 256.
    11 Integração de Sistemas tivesse evoluído do mesmo modo que a de 1. Rede de Computadores computador, hoje, um carro Rolls Royce 1.1. Introdução teria a potência de um avião, desenvolveria a velocidade supersônica e custaria Os três últimos séculos foram dominados US$20,00. Porém, a indústria por alguma tecnologia singular: automobilística reage, afirmando que 1. o século XVIII foi o tempo dos nenhum carro pára repentinamente, sistemas mecânicos e da revolução dizendo erro fatal de sistema, todos os industrial carros podem andar em qualquer rodovia e 2. o século XIX foi a idade da máquina ninguém precisa trocar o motor do carro a vapor anualmente. 3. o século XX teve a tecnologia chave da coleta, processamento e distribuição 1.2. Rede e Sistema Distribuído da informação. Entre as tecnologias, Rede houve: Durante as duas primeiras décadas de sua a) a instalação de redes telefônicos existência, os sistemas de computador em todo o mundo eram altamente centralizados, usualmente b) a invenção do rádio e da televisão dentro de uma única grande sala. c) o lançamento de satélites de Comumente, esta sala tinha paredes de comunicação. vidro, através das quais os visitantes d) o aparecimento e crescimento poderiam admirar a grande maravilha exponencial da indústria de eletrônica interior. Uma companhia de computador e informática. porte médio possuía um ou mais Às vésperas do século XXI, as computadores e uma grande companhia diferenças entre coletar, transportar, tinha algumas centenas de computadores. armazenar e processar a informação estão A idéia de que 20 anos depois, desaparecendo rapidamente. A habilidade computadores igualmente poderosos e de de coletar, processar e distribuir a tamanho físico muito menor seriam informação cresce, a demanda para produzidos maciçamente em escala de processar a informação de modo ainda milhões e usados como utensílio mais sofisticado cresce mais rápido ainda. doméstico era pura ficção científica. Organizações com centenas de escritórios O avanço das comunicações teve uma espalhados pelo mundo podem ser influência profunda no modo de como os capazes de examinar o status corrente de sistemas de computador são organizados. cada escritório, mesmo o mais distante, O conceito de centro de computador, como através de um simples aperto de botão. uma sala com um grande computador Embora a indústria de computador seja (main frame) para o qual os usuários nova, comparada com a indústria trazem seus trabalhos para serem automobilística ou de transporte aéreo e processados rapidamente se tornou marítimo, os computadores tiveram um obsoleto. Este modelo tinha dois progresso espetacular em um curto espaço inconvenientes: de tempo. Se a indústria automobilística 11.1
  • 257.
    Integração de Sistemas 1.conceito de um único grande o melhor processador, encontrar e computador fazendo todo o trabalho transportar todos os arquivos de entrada 2. a idéia de os usuários trazerem para este processador e colocar os trabalho para o computador em vez de resultados em um local apropriado. levar o computador para os usuários. O usuário de um sistema distribuído não Por isso, o modelo antigo de um único sabe que há vários processadores, ele vê computador atender a todas as tudo como um único processador virtual. A necessidades computacionais da alocação de trabalhos para processadores organização está sendo substituído e arquivos para discos, movimento de rapidamente por um modelo em que uma arquivos entre onde eles estão grande quantidade de computadores armazenados e para onde eles são separados mas interligados para fazer o necessários e todas as outras funções do trabalho. Este sistema é chamado de rede sistema são automáticas. de computadores. Com uma rede de computadores, um O termo rede de computador significa usuário deve explicitamente entrar (log on) um conjunto de computadores autônomos em uma máquina, explicitamente submeter interligados para trocar informação. A os trabalhos remotamente, explicitamente ligação não precisa ser necessariamente mover arquivos no sistema e geralmente um par de fios de cobre mas podem ser manipular toda a personalidade de usados laser, fibra óptica, microondas e gerenciamento da rede. Com um sistema satélites de comunicação. distribuído, nada deve ser feito Rede com muitos computadores explicitamente, tudo é feito localizados no mesmo prédio é chamada automaticamente pelo sistema sem o de LAN (local area network – rede de conhecimento do usuário. área local), em contraste com a chamada Na realidade, um sistema distribuído é um WAN (wide area network – rede de área caso especial de rede, onde o programa dá distante), também chamada de rede de a ela um alto grau de coerência e longo alcance – long haul network. transparência. Assim, a diferença entre Uma rede é uma configuração de uma rede e um sistema distribuído reside dispositivos de processamento de dados e no programa (software), especialmente o programa, ligados para trocar informação. sistema operacional e praticamente não há Rede é um grupo de nós e links que os diferença de equipamento (hardware). interligam. Mesmo assim, há uma grande Quando se impõe que os computadores superposição entre os dois assuntos. Por sejam autônomos, se excluem os sistemas exemplo, tanto o sistema distribuído como em que há uma relação clara de a rede de computador precisam mover mestre/escravo. Se um computador pode, arquivos dentro do sistema. A diferença à força, partir, parar ou controlar outro, os fica em quem invoca o movimento, o computadores não são autônomos. Um sistema ou o usuário. sistema com uma unidade de controle e muitos escravos não é uma rede. Também 1.3. Objetivos da Rede não é uma rede um grande computador Compartilhamento de fontes com os periféricos de leitoras remotas de Muitas organizações já possuem uma cartão, impressoras e terminais. grande quantidade de computadores em Sistema distribuído de controle operação, geralmente distantes entre si. Há uma grande confusão na literatura Por exemplo, uma companhia com várias entre uma rede de computadores e um fábricas pode ter um computador em cada sistema distribuído. A distinção básica é local para rastrear arquivos de estoque, monitorar produtividade e fazer a folha de que em um sistema distribuído, a pagamento local. Inicialmente, cada um existência de computadores autônomos múltiplos é transparente (não visível) para destes computadores pode ter trabalhado isolado dos outros, mas em algum o usuário. O usuário tecla um comando momento, a direção pode ter decidido ligar para rodar um programa e ele roda. É uma todos os computadores para poder extrair questão do sistema operacional selecionar 11.2
  • 258.
    Integração de Sistemas ecorrelacionar a informação de toda a microcomputador com um único chip, mas companhia. eles custam 100 vezes mais. Este Colocando em uma forma mais geral, o desbalanço tem causado muitos projetistas assunto aqui é compartilhamento de de sistemas construir sistemas consistindo fontes e o objetivo é fazer todos de poderosos computadores pessoais, um programas, dados e equipamentos por usuário, com dados mantidos em um disponíveis para qualquer pessoa na rede, ou mais computadores servidores de sem considerar a localização física da arquivos compartilhados. fonte e do usuário. Em outras palavras, o Um ponto relacionado é a habilidade de simples fato de um usuário estar a 1000 aumentar o desempenho do sistema km distante de seus dados não evita que gradualmente quando a carga de trabalho ele use os dados como se eles fossem aumenta pela adição de mais locais. processadores. Com mainframe Este objetivo pode ser resumido, centralizado, quando o sistema está dizendo que é uma tentativa de acabar saturado, ele deve ser substituído por um com a tirania da geografia. maior, usualmente com grande despesa e Uma companhia que tenha produzido com maior perturbação aos usuários. um modelo simulando a economia mundial Todas estas aplicações usam redes por pode permitir a seus clientes conectar a razões econômicas, pois chamar um uma rede e rodar o programa para ver computador distante via rede é mais barato como várias taxas de inflação projetadas, que chamá-lo diretamente. O custo é mais taxas de juros e flutuações cambiais baixo porque uma chamada telefônica podem afetar seus negócios. Este enfoque dedicada é mais cara e seu custo é de 24 é geralmente preferível a vender o horas, enquanto uma via de acesso a uma programa completo, especialmente se o rede usa linhas de longa distância somente modelo é dinâmico e continuamente está enquanto os dados estão sendo realmente sendo ajustado ou requer um computador transmitidos. mainframe para ser rodado. Confiabilidade Atualmente é comum uma pessoa, sentada em sua casa, fazer reservas de Um segundo objetivo é fornecer alta passagens aéreas, trens, ônibus, balsas, confiabilidade tendo fontes alternativas de hotéis, restaurantes, teatros, em qualquer fornecimento. Por exemplo, todos arquivos parte do mundo com confirmação podem ser replicados em duas ou mais instantânea. Banco caseiro (home banking) máquinas, de modo que se uma delas está e jornal automático também são não disponível (devido à falha do acessíveis. Os jornais eletrônicos mostram equipamento), as outras cópias podem ser notícias recentes, resultados de jogos dos usadas. Além disso, a presença de CPUs esportes preferidos, que serão publicadas múltiplas significa que se uma falha, as somente no dia seguinte. Há também outras podem ser capazes de assumir seu revistas científicas, periódicos, formando trabalho, embora com desempenho uma biblioteca totalmente automatizada. reduzido. Para fins militares, bancários, Dependendo do custo, tamanho e peso do tráfico aéreo e muitas outras aplicações, a terminal, a palavra impressa pode se tornar habilidade de continuar operando em face obsoleta. Os cépticos devem notar o efeito de problemas de equipamento é muito da impressa escrita produziu no importante. manuscrito iluminado medieval. Substituir um único computador mainframe por estações de trabalho em Economia um LAN não torna muitas novas aplicações Outro objetivo (talvez o mais possíveis, embora possa melhorar a importante) é economizar dinheiro. confiabilidade e desempenho. Em Pequenos computadores tem uma melhor contraste, a disponibilidade de um WAN relação preço/desempenho do que os (público) torna viáveis muitas novas grandes. Os grandes computadores aplicações. Algumas destas novas (mainframes) são geralmente um fator de aplicações podem ter efeitos importantes 10 mais rápidos do que o mais rápido na sociedade como um todo. 11.3
  • 259.
    Integração de Sistemas Comunicação serão substituídas por catálogos para Já outro objetivo de estabelecer uma pedidos através de correio eletrônico. As rede de computador tem pouco a fazer cidades podem se dispersar, pois as com a tecnologia como todo. Uma rede de facilidades de comunicação de alta computador pode fornecer um poderoso qualidade tendem a reduzir a necessidade meio de comunicação entre pessoas de proximidade física. A revolução da muito separadas geograficamente. informação pode mudar a sociedade, muito Usando uma rede, é fácil para duas ou mais que a revolução industrial o fez. mais pessoas que vivem distantes Distâncias envolvidas escrever um relatório juntas. Quando um Na Fig. 11.1 tem-se a classificação de autor faz uma alteração no documento, sistemas processadores múltiplos que é mantido em linha, os outros podem arranjados por tamanho físico. No topo ver a alteração imediatamente, em vez de estão as máquinas de fluxo de dados, esperar vários dias para uma carta. Tal computadores altamente paralelos com presteza torna possível a cooperação entre muitas unidades funcionais todas grupos de pessoas distantes onde isso trabalhando no mesmo programa. Logo teria sido impossível anteriormente. abaixo, vem os multiprocessadores, Os cientistas de computador já o usam sistemas que se comunicam via memória para enviar correio eletrônico de seus compartilhada. Além dos terminais para seus colegas em qualquer multiprocessadores estão as verdadeiras lugar do mundo. redes, computadores que se comunicam No futuro, será possível para qualquer pela troca de mensagens. Finalmente, a pessoa, não apenas para pessoal no ligação de duas ou mais redes é chamada negócio de computador, enviar e receber de inter-networking. correio eletrônico. Este correio pode também ser capaz de conter voz digitalizada, figuras e possivelmente mesmo televisão móvel e imagens de vídeo. Pode-se facilmente imaginar crianças em diferentes países tentando Distancia entre Processadores processadores no mesmo aprender a língua de outra criança desenhando uma figura de uma criança em 0,1 m Circuito Máquina de fluxo um tela compartilhada e nomeando-a de impresso de dados criança, jeune fille ou girl. Sistemas de catálogos eletrônicos já 1m Sistema Multiprocessador existem mas tendem a ser usados por 10 m Sala especialistas em computador pois são orientados para tópicos técnicos e são 100 m Prédio Rede Local limitados por objetivos geográficos. Sistemas futuros serão nacionais ou 1 km Campus internacionais, serão usados por milhões 10 km Cidade Rede longa de pessoas não técnicas e cobrirão uma distância faixa ampla de assuntos. 100 km País Geralmente se fala que há uma corrida entre o transporte e a comunicação e o 1 000 km Continente Interligação de redes de longa que ganhar tornará o outro desnecessário. 10 000 km Planeta distancia Usando uma rede de computador como um sistema sofisticado de comunicação pode reduzir a quantidade de viagem feita, Fig. 11.1. Classificação das interligações por escala. assim economizando energia. O trabalho em caso pode se tornar popular, especialmente para empregados temporários com crianças. O escritório e a escola tradicionais irão desaparecer. Lojas 11.4
  • 260.
    Integração de Sistemas estende através de todo o sistema 1.4. Parâmetros da rede conforme a arquitetura da rede. Rede é um conjunto de nós interligados No modelo OSI, um dos sete grupos por links, através de vários caminhos e conceitualmente completos e arranjados critérios diferentes. hierarquicamente, incluindo serviços, Também devem ser bem definidos os funções e protocolos e que estendem por serviços, funções e protocolos da rede. todos sistemas abertos. Base de dados Dado Base de dados (database) é uma Dado é uma representação coleção de dados com uma dada estrutura reinterpretável da informação (fato ou para aceitar, armazenar e fornecer, quando instrução) em um modo formal, solicitado, dados para vários usuários. conveniente para comunicação, Base de dados é uma coleção de dados interpretação ou processamento. A inter-relacionados organizados de acordo operação dos dados pode ser feita de com um esquema, para servir uma ou mais modo manual ou automático. Os dados aplicação. A base de dados é uma coleção incluem: constante, variável, matriz e de dados fundamental para um sistema ou conjunto de caracteres (string). Os dados uma empresa. podem ser absoluto ou relativo, alfanumérico ou numérico, analógico ou Bastão (token) digital, contínuo ou discreto, entrada ou Em uma rede local, o bastão é o saída. símbolo de autoridade passado O dado contem informação. sucessivamente de uma estação de dados para outra, para indicar temporariamente Host qual a estação que controla o meio de Em uma rede de computadores, um transmissão. Cada estação de dados tem computador que usualmente faz a função uma oportunidade de adquirir e usar o de controle da rede e fornece serviços ao bastão para controlar o meio. usuário final, como computação e acesso à Um bastão é um mensagem particular base de dados. É também chamado de que significa permissão para transmitir. computador mestre ou de controle. Na rede com configuração anel e de Em TCP/IP, qualquer sistema que barramento, há a passagem de bastão de tenha, no mínimo, um endereço associado uma estação para outra e o respectivo a ele. controle de acesso do bastão. Por Link exemplo, em uma rede anel com bastão, a passagem de bastão significa que Link é uma ligação, conexão entre dois 1. um nó captura um bastão pontos, nós ou dispositivos. Link é uma 2. insere uma mensagem, endereço e linha de comunicação física. Geralmente informação de controle um link é constituído de dois condutores: 3. muda o padrão de bit do bastão um para enviar e outro para receber, para uma referência (frame) fornecendo assim uma comunicação 4. transmite a referencia duplex. 5. remove a referência do anel quando O link pode ser físico ou lógico. O link ele completa o circuito lógico é o modo pelo qual um link físico 6. gera outro bastão está relacionado com as transações e 7. transmite o bastão no anel onde ele terminais que podem ser usados pelo meio possa ser capturado pelo próximo físico. O meio físico é a conexão por fio ou nó que está pronto para transmitir. cabo entre dois sistemas. Camada (layer) Nó Na rede, um grupo de serviços que Ponto da rede em que uma ou mais completo de um ponto de vista conceitual, unidades funcionais ligam circuitos de que está fora de um conjunto de grupos canais ou de dados. Na topologia da rede, arranjados hierarquicamente e que se o ponto em um fim de uma malha. Nó é a 11.5
  • 261.
    Integração de Sistemas umajunção comum a dois ou mais links. Na configuração de rede ponto a ponto Entre dois nós há um caminho ou um link. (peer to peer), cada ponto ou nó está O nó pode ser qualquer unidade física, ligados a todos os outros pontos ou nós. como processador, computador, Por exemplo, quando se tem quatro nós controlador de comunicação, console de interligados ponto a ponto, cada um está operação ou de engenharia ou terminal. ligado aos outros três, por três meios O nó da rede deve ser identificado por físicos. Esta configuração é chamada não um único nome (string). integrada. Na comunicação ponto a ponto, cada Prioridade de mensagens nó tem o mesmo status e cada um pode No chão de fábrica, o controle e os começar a conversação. Nenhum nó é status, quando feitos na mesma rede, mestre ou escravo e todos os nós tem a devem reconhecer a maior prioridade da mesma oportunidade para transmitir. mensagem de controle. Ruído A quantidade de ruído presente na rede pode ser grande, mas mesmo assim ela paralela deve operar satisfatoriamente. A interface física deve ter um alto grau de rejeição de ruído e o protocolo deve ser robusto para permitir fácil recuperação de erros de serial dados. Tempo de resposta A LAN em uma situação industrial deve ter um tempo de resposta máximo Fig. 11.2. Comunicação ponto a ponto garantido, pois a maioria trabalha em tempo real. As mensagens urgentes precisam ser transmitidas dentro de determinado tempo. Processador 1.5. Arquitetura da Rede A arquitetura da rede é sua estrutura lógica e seus princípios de operação Processador Processador (serviços, funções e protocolos). Há vários modos de se interligar os nós ou dispositivos de uma rede, tais como, aqueles com regras definidas, como: Processador 1. ponto a ponto 2. estrela 3. anel 4. malha 5. arvore Fig. 11.3. Configuração ponto a ponto 6. barramento 7. irregular Comunicação ponto a ponto A comunicação mais simples consiste de ligação de dados ponto a ponto. Por exemplo, um computador se comunica com a impressora através de uma porta paralela e com o mouse através de uma porta serial. Embora sejam equipamentos totalmente diferentes, eles podem ser interligados e se comunicarem entre si. 11.6
  • 262.
    Integração de Sistemas As tecnologias de anel (ring), malha (loop) e barramento (bus) foram desenvolvidas para facilitar a colocação e Servidor retirada de nós. A fiação também é mais fácil, porque um único cabo é roteado para todos os nós. Estas configurações podem parecer iguais, à primeira vista, mas são diferentes. Estas topologias de rede apresentam muitas desvantagens, tais Centro como: (HUB) 1. Um nó é mestre, com a tarefa de determinar que estação pode transmitir em dado momento. 2. Quando o número de nós cresce, a comunicação fica lenta, pois todas as mensagens tem que passar pelo mestre. Fig. 11.4. Topologia estrela 3. A confiabilidade é pequena. Se o mestre falha, perde-se tudo. Estrela (star) Barramento A topologia estrela (star) possui vários A topologia de barramento (bus ou computadores ligados a um computador highway) é também chamada de multidrop central, em que cada nó troca dados ou multiponto. diretamente com o nó central. A topologia estrela é também chamada de radial ou centralizada. Servidor É uma rede pouco flexível e não pode crescer indefinidamente. Nó remoto Anel e Malha No caso do anel e malha, o mesmo fio retorna ao mestre. Na rede anel, cada nó Barramento Barramento exatamente dois caminhos entre quaisquer dois nós. Servidor Fig. 11.6. Topologia de barramento (bus) ou multi- drop Arvore Na rede árvore, há exatamente um caminho entre quaisquer dois nós. Nesta topologia, há uma hierarquia de funções: os de cima são mais genéricos e possuem funções corporativas e os de baixo são mais técnicos e possuem funções técnicas de regulação e controle. As redes completas e irregulares são aquelas obtidas da combinação de vários tipos, em que não nenhuma regra clara de Fig. 11.5. Topologia anel (ring) formação. 11.7
  • 263.
    Integração de Sistemas Redepor satélite 1.7. Modelo de Referência OSI As redes podem ainda ser configuradas através de ondas de rádio ou de televisão, O conjunto de camadas, interfaces e quando as ligações não são feitas por meio protocolos é chamado de arquitetura da físico, como fios ou cabos. rede. A especificação da arquitetura deve conter informação suficiente para permitir um implementador escrever o programa ou construir o equipamento para cada camada, de modo que eles obedeçam corretamente o protocolo apropriado. Nem os detalhes da implementação e nem a especificação das interfaces são parte da arquitetura por que eles estão escondidos dentro das máquinas e não são visíveis de Fig. 11.7. Configuração tipo árvore fora. Não é nem necessário que as interfaces de todas as máquinas em uma rede sejam a mesma, desde que cada máquina possa usar corretamente todos os protocolos. O modelo clássico das camadas de uma rede é mostrado na Fig.10.10. Este modelo é baseado na proposta da International Standards Organization (ISO), como um primeiro passo na direção da padronização internacional dos vários protocolos. O modelo é chamado de Modelo de Referência ISO OSI (Open Systems Interconnection), pois ele trata dos sistemas abertos de conexão, ou seja, Fig. 11.8. Irregular sistemas que são abertos para comunicação com outros sistemas. Por comodidade, é chamado de modelo OSI. O sistema OSI tem sete camadas: 1. Uma camada deve ser criada onde um diferente nível de abstração é necessário. 2. Cada camada deve fazer uma função bem definida 3. A função de cada camada deve ser escolhida tendo em vista os protocolos padrão definidos internacionalmente. 4. Os limites das camadas devem ser escolhidos para minimizar o fluxo de informação através das interfaces. 5. O número de camadas deve ser Fig. 11.9. Rede por satélite grande suficiente para distinguir que as funções necessárias não sejam lançadas juntas na mesma camada fora da necessidade e pequeno suficiente para a arquitetura não se tornar grande demais. 11.8
  • 264.
    Integração de Sistemas Omodelo OSI em si não é uma arquitetura Como a camada física simplesmente de rede porque ela não especifica os aceita e transmite um jato de bits sem serviços e protocolos exatos a serem qualquer cuidado com o significado ou usados em cada camada. Ela estrutura, é função da camada de link de simplesmente diz o que cada camada faz. dados criar e reconhecer os limites do Porém, ISO tem também produzido quadro. Isto é conseguido anexando normas para todas as camadas, embora padrões de bit especiais para o início e fim elas não façam parte deste modelo. Cada do quadro. Se estes padrões de bit podem uma delas foi publicada como uma norma acidentalmente ocorrer nos dados, deve ter internacional separada. cuidado especial para evitar confusão. Um ruído aparecido na linha pode Camada física destruir um quadro completamente. Neste A camada física está relacionada com caso, o programa da camada de link de os bits não processados sobre um canal de dados na máquina fonte deve retransmitir o comunicação. O projeto deve garantir que quadro. Porém, transmissões múltiplas do quando um lado envia um bit 1, ele é mesmo quadro introduz a possibilidade de recebido pelo outro lado como um bit 1 e duplicar quadros. Um quadro duplicado não como um bit 0. As questões típicas poderia ser enviado, por exemplo, se o que aparecem são: quadro de conhecimento do receptor 1. quantos volts devem ser usados enviado de volta para o transmissor fosse para representar o bit 1 e quantos destruído. É tarefa da camada de link de para o bit 0 dados resolver os problemas causados 2. quantos microssegundos um bit pelos quadros danificados, perdidos e dura duplicados. A camada de link de dados 3. qual o tipo da transmissão (simplex, pode oferecer vários serviços diferentes semiduplex, duplex) para a camada da rede, cada um com 4. como é estabelecida a conexão qualidade e preço diferente. inicial Outro tema que aparece na camada de 5. como é desligada a conexão link de dados e na maioria das camadas quando os dois lados terminam a superiores, é como evitar que um comunicação transmissor rápido inunde de dados um 6. quantos pinos o conector do circuito receptor lento. Algum mecanismo de deve ter regulação do tráfego deve ser empregado 7. uso de cada pino do conecto. para permitir ao transmissor conhecer o A camada física pode ser considerada espaço livre do receptor neste momento propriamente como dentro do domínio do Geralmente, por conveniência, esta engenheiro eletricista. regulação de fluxo e a manipulação de Camada do Link de Dados erros são integradas. A principal tarefa da camada de link de Se a linha pode ser usada para dados é tomar uma facilidade de transmitir dados nos dois sentidos, isto transmissão e transformá-la em uma linha introduz uma nova complicação que o que seja livre de erros de transmissão para programa da camada de link de dados a camada da rede. Ela desempenha esta deve resolver. O problema é que os tarefa quadros de conhecimento para o tráfego A 1. fazendo o transmissor quebrar os para B compete com o uso da linha com dados de entrada em quadros de quadros de dados de B para A dados (data frames), tipicamente Camada de controle da rede (network) algumas centenas de bytes A camada de controle da rede está 2. transmitir os quadros de dados relacionada com a regulação da operação seqüencialmente da sub-rede. Um tema de projeto chave é 3. processar os quadros de determinar quantas mensagens (packets) conhecimento enviados de volta são roteadas da fonte para o destino. As pelo receptor. rotas devem ser baseadas em tabelas estáticas que são fiadas na rede e 11.9
  • 265.
    Integração de Sistemas raramentealteradas. Elas podem também a camada da sessão das inevitáveis ser determinadas no início de cada mudanças na tecnologia do conversação, por exemplo uma sessão equipamento. terminal. Finalmente, elas podem ser Sob condições normais, a camada de altamente dinâmicas, sendo determinada transporte cria uma ligação de rede uma nova, para cada mensagem, para diferente para cada ligação de transporte refletir a carga corrente da rede. requerida pela camada de sessão. Se a Se muitas mensagens estão presentes ligação de transporte requer uma grande na sub-rede ao mesmo tempo, eles irão quantidade de trabalho, a camada de voltar, formando gargalos. O controle de tal transporte poderia criar ligações múltiplas congestionamento pertence à camada da de redes, dividindo os dados entre as rede. ligações da rede para melhorar a Como os operadores da sub-rede quantidade de trabalho. Por outro lado, se podem bem esperar remuneração por seus criar ou manter uma ligação de rede é esforços, há geralmente uma função de caro, a camada de transporte poderia contabilidade embutida na camada da multiplexar várias ligações de transporte rede. Finalmente, o programa deve contar em uma mesma conexão de rede para quantas mensagens ou caracteres ou bits reduzir o custo. Em todos os casos, a estão sendo enviados por cada usuário, camada de transporte é necessária para para produzir a informação de cobrança. tornar a multiplexação transparente para a Quando uma mensagem cruza uma camada de sessão. fronteira nacional, com diferentes taxas de A camada de transporte também cada lado, a conta pode se tornar determina que tipo de serviço deve ser complicada. fornecido à camada de sessão e Quando uma mensagem deve viajar de finalmente, os usuários da rede. O tipo uma rede para outra até chegar ao seu mais popular de conexão de transporte é destino, muitos problemas podem uma canal ponto a ponto, livre de erro, que aparecer: entrega mensagens na ordem em que elas 1. o endereço usado pelo segunda são enviadas. Porém, outros tipos rede pode ser diferente do primeiro possíveis de serviço de transporte são o 2. o segundo pode não aceitar a transporte de mensagens isoladas com mensagem completa porque ela é nenhuma garantia acerca da ordem de muito grande entrega e o broadcasting de mensagens 3. os protocolos podem ser diferentes. para vários destinos. O tipo de serviço é É função da camada de controle da determinado quando a ligação é rede superar todos os problemas para estabelecida permitir a interligação de redes A camada de transporte é uma verdadeira heterogêneos. camada fonte-para-destino ou camada Em redes de broadcast, o problema de terminal-para-terminal. Um programa da rota é simples, de modo que a camada de máquina fonte mantém uma conversação controle da rede é geralmente fina ou nem com um programa similar na máquina existe. destino, usando os cabeçalhos de mensagem e mensagens de controle. Nas Camada de transporte camadas mais baixas, os protocolos estão As funções básicas da camada de entre cada máquina e seus vizinhos transporte são as de imediatos e não pelas máquinas fonte e 1. aceitar os dados de uma camada destino finais, que podem estar separadas de sessão, por vários IMPs. A diferença entre as 2. dividi-los em unidades menores, camadas 1 até 3, que são encadeadas, e 3. passá-las para a camada de camadas 4 e 7, que são ponto a ponto, é controle e ilustrada na Fig. 11.11. 4. garantir que os pedaços chegarão Muitos hosts são multiprogramados, o corretamente no outro lado. que implica que várias ligações estão 5. Tudo isso deve ser feito chegando e saindo de cada host. Há eficientemente e de um modo que isola necessidade de algum modo de dizer que 11.10
  • 266.
    Integração de Sistemas mensagempertence a que conexão. O quedas. Depois que cada transferência cabeçalho de transporte é um local onde tenha sido abortada, a transferência total está informação pode ser colocada. deveria recomeçar de novo e iria falhar de Para multiplexar vários conjuntos de novo, quando ocorresse nova queda do mensagens em um canal, a camada de sistema. Para eliminar este problema, a transporte deve cuidar de estabelecer e camada de sessão fornece um modo para deletar conexões através da rede. Isto inserir pontos de check (checkpoints) na requer algum tipo de mecanismo de fluxo de dados, de modo que após uma identificação, de modo que um processo queda, somente os dados após o último em uma máquina tenha um modo de ponto checado devem ser repetidos. descrever com quem ela quer conversar. Camada de Apresentação Pode haver também um mecanismo para regular o fluxo de informação, de modo A camada de apresentação executa que o host rápido não possa afogar um certas funções que são requisitas host lento. O controle de fluxo entre hosts freqüentemente para garantir que foi é diferente do controle de fluxo entre IMPS, achada uma solução geral para elas, em embora os princípios sejam similares. vez de deixar que cada usuário resolva os problemas. Em particular, diferente de Camada de Sessão todas as camadas mais baixas, que são A camada de sessão permite a interessadas apenas em mover bits de usuários de diferentes máquinas modo confiável daqui para ali, a camada estabeleçam sessões entre elas. Uma de apresentação está relacionada com a sessão permite transporte ordinário de sintaxe e semântica da informação dados, como faz a camada de transporte, transmitida. mas ele também fornece alguns serviços Um exemplo típico de um serviço de úteis melhorados em algumas aplicações. apresentação é a codificação de dados de Uma sessão poderia ser usada para modo padrão consensado. Muitos permitir a um usuário se ligar a um sistema programas do usuário não trocam strings remoto com compartilhamento de tempo de bit binário aleatório. Eles trocam coisas ou transferir um arquivo entre duas tais como nomes de pessoas, datas, máquinas. valores em dinheiro e pedidos de compra. Um dos serviços da camada de sessão Estes itens são representados como é gerenciar o controle de diálogo. As strings de caractere, inteiros, números de sessões podem permitir o tráfego ir aos ponto flutuante e estruturas de dados dois sentidos, ao mesmo tempo ou em compostas de vários itens mais simples. apenas um sentido, simultaneamente. Se o Computadores diferentes podem ter tráfego pode somente ir em um sentido códigos diferentes para representar strings simultaneamente, análogo a uma estrada de caractere (p. ex., ASCII, EBCDIC), de ferro, a camada de sessão pode ajudar inteiros (p. ex., complemento de 1 ou a manter o caminho da vez livre. complemento de 2). Para tornar possível Um serviço de sessão relacionado é o computadores diferentes se comunicarem gerenciamento de passe (token). Para entre si, as estruturas de dados a serem alguns protocolos, é essencial que os dois trocadas podem ser definidas em um modo lados não tentem a mesma operação, ao abstrato, ao lado de uma codificação mesmo tempo. Para gerenciar estas padrão a ser usada sobre o fio. O trabalho atividades, a camada de sessão fornece de gerenciar estas estruturas abstratas de passes que podem ser trocados. Somente dados e convertê-las da representação o lado que está com o passe pode fazer a usada dentro do computador para uma operação crítica. representação padrão da rede é Outro serviço da sessão é a manipulada pela camada de apresentação. sincronização. Seja os problemas que poderiam ocorrer quando se tentasse fazer uma transferência de arquivos de duas horas entre duas máquinas em uma rede com um tempo médio de 1 hora entre 11.11
  • 267.
    Integração de Sistemas Nr. Nome Usos e aplicação 1 Física Especificações elétricas, mecânicas e de invólucro dos circuitos. Controle funcional de circuitos de dados 2 Link Transmissão de dados em rede local – esquema da mensagem, manutenção e liberação dos dados, erro e controle do fluxo. 3 Rede Roteamento, chaveamento, sequenciamento, bloqueio, recuperação de erro e controle do fluxo. Endereçamento do sistema e roteamento de área distante. 4 Transporte Transferência transparente de dados, controle terminal a terminal, multiplexagem e mapeamento. Fornece funções para movimento real de dados entre elementos da rede. 5 Sessão Gerenciamento de comunicações e transações. Coordenação do diálogo e sincronização. Administração e controle de sessões entre duas entidades. 6 Apresentação Transformação de vários tipos de informação tais como transferências de arquivo, interpretação de dados, formatação, e transformação de códigos. 7 Aplicação Elementos de serviço de aplicação comum, serviço de mensagem de manufatura, transferência de arquivo, gerenciamento da rede, serviço do diretório. Notas: A camada sessão fornece funções e serviços que podem ser usados para estabelecer e manter conexões entre elementos da sessão, para manter um diálogo de pedidos e respostas entre os elementos de uma sessão e para terminar a sessão. A camada apresentação fornece as funções, procedimentos, serviços e protocolo selecionados pela camada aplicação. As funções podem incluir a definição de dados e controle de dados de entrada, mudança de dados e indicação de dados. Esta camada compreende: serviços de aplicação comuns, serviços de aplicação específicos e protocolos de gerenciamento requeridos para coordenar o gerenciamento de redes OSI em conjunção com capacidades de gerenciamento que são embutidos dentro de cada protocolo da camada OSI. A camada aplicação é diretamente acessível e visível ao usuário e explicitamente definida pelo usuário. Esta camada fornece todas as funções e serviços necessários para executar programas e processos do usuário, mudar dados. Para a maior parte, o usuário interage com a camada de aplicação, que compreende as linguagens, ferramentas e sistemas de gerenciamento de base de dados e aplicações concorrentes de multi-usuário. Estas funções se baseiam nas camadas mais baixas para fazer os detalhes de gerenciamento de comunicações e rede. Tradicionalmente, os vendedores de rede tem fornecido um sistema operacional proprietário para manipular funções nas camadas mais elevadas do modelo OSI. Estas características únicas tem sido a fonte de dificuldades de interconexão. 11.12
  • 268.
    Integração de Sistemas A camada de apresentação está 2. Comunicação de dados também relacionada com outros aspectos da representação da informação. Por 2.1. Introdução exemplo, compressão de dados pode ser O objetivo da comunicação é transferir usada aqui para reduzir o numero de bits a informação de um ponto para outro ou de que devem ser transmitido e criptografia é um sistema para outro. Em controle de freqüentemente requerida para privacidade processo, esta informação é chamada de e autenticação. dado do processo ou simplesmente, dado. Camada de Aplicação Um entendimento da comunicação de A camada de aplicação contem uma dados é essencial para a aplicação variedade de protocolos que são apropriada dos instrumentos digitais, comumente necessários. Por exemplo, há particularmente do controlador lógico centenas de tipos incompatíveis de programável para controle de processo ou terminais no mundo. Seja a situação difícil aquisição de dados. de um editor de tela que quer trabalhar em 2.2. Tipos de sinais uma rede com muitos tipos diferentes de terminais, cada um com diferentes O dados são transmitidos através de configurações de tela, seqüências de dois tipos de sinais: escape para inserir e deletar texto, mover o 1. banda base cursor. 2. banda larga. Um modo de resolver este problema é Banda base definir um terminal virtual da rede abstrato Em um sistema de banda base, a que editores e outros programas possam transmissão de dados consiste de uma ser escritos para tratar deles. Para faixa de sinais enviada no meio de manipular cada tipo de terminal, um transmissão sem ser transladada em pedaço do programa deve ser escrito para freqüência. Uma chamada telefônica é um mapear as funções do terminal virtual da exemplo de transmissão de banda base. rede no terminal real. Por exemplo, quando Um sinal de voz humana na faixa de 300 a o editor move o cursor do terminal virtual 3000 Hz é transmitida através da linha para o canto superior esquerdo, este telefônica na faixa de 300 a 3000 Hz. Em programa deve fazer a seqüência correta um sistema de banda base há somente um de comandos para o terminal real para conjunto de sinais no meio em um levar seu cursor também para lá. Todos os determinado momento. programas de terminal virtual estão na camada de aplicação. Banda larga Outra aplicação da camada de Uma transmissão à banda larga aplicação é a transferência de arquivos. consiste de múltiplos conjuntos de sinais. Diferentes sistemas de arquivos têm Cada conjunto de sinais é convertido para diferentes convenções de nomear uma faixa de freqüência que não interfere arquivos, diferentes modos de representar com outros sinais no meio. A televisão por linhas de texto. Transferir arquivos entre cabo é um exemplo de transmissão por dois sistemas diferentes requer manipular banda larga. estas e outras incompatibilidades. Este Três componentes básicos são trabalho, também, pertence à camada de requeridos em qualquer sistema de aplicação, bem como correio eletrônico, comunicação de dados: entrada remota de trabalho, bloqueio de 1. transmissor que gera a informação diretório e várias outras facilidades 2. receptor que detecta os dados específicas e gerais. 3. meio para transportar os dados. O meio pode ser dividido em mais de um canal. Um canal é definido como o caminho através do meio que pode transportar a informação em somente uma direção em um determinado momento. 11.13
  • 269.
    Integração de Sistemas 2.3.Meio físico adicional quando usado em áreas classificadas. O meio físico de transmissão cai em três categorias genéricas: 1. par trançado 2. cabo coaxial 3. cabo de fibra óptica. Par trançado O par trançado consiste de dois fios condutores elétricos, cada um coberto por isolante. Os dois fios são trançados juntos para garantir que eles estão igualmente expostos aos mesmos sinais de interferência no ambiente. Como os fios Fig. 11.12. Diferentes cabos de ligação transportam corrente em sentidos opostas, a interferência elétrica tende a se cancelar no cabo. O par trançado é o cabo mais O custo do cabo de fibra óptica é da comum usado em sistemas de controlador mesma ordem de grandeza que o do cabo lógico programável. Ele é o meio mais coaxial, porém, os conectores são muito barato e fornece adequada imunidade à caros. Uma desvantagem dos cabos de interferência eletromagnética. fibra óptica é ainda a falta de normas Cabo coaxial industriais. O cabo coaxial consiste de um fio 2.4. Número de Canais condutor elétrico envolvido por material isolante elétrico e por uma blindagem A comunicação pode também ser metálica condutora rígida, em forma de descrita pelo número de canais usados tubo. Em muitos casos, o cabo inteiro é para efetuar o fluxo de informação. Os três coberto por um isolante. O condutor central métodos mais comuns de transmissão de e o tubo circular externo são coaxiais, ou dados são: seja, ambos compartilham o mesmo eixo 1. simplex central. O cabo coaxial é usado nos 2. meio duplex sistemas de comunicação. 3. totalmente duplex Os cabos coaxiais são usados em Comunicação Simplex aplicações de automação de processo Na comunicação simplex, um único onde há grandes distâncias envolvidas canal é usado e há somente um sentido de para melhorar a imunidade aos ruídos comunicação, do transmissor para o eletromagnéticos. receptor. O receptor apenas recebe e não Cabo de fibra óptica pode transmitir e o transmissor apenas O cabo de fibra óptica consiste de transmite e não pode receber. pequenas fibras de vidro ou plástico. Em Na transmissão simplex não é possível uma extremidade, pulsos elétricos são enviar sinais de erro ou de controle do convertidos em luz por um foto-diodo e receptor, porque o transmissor e o receptor enviados através do cabo óptico de fibra. são dedicados a somente uma função. Um Na outra extremidade do cabo, um detector exemplo típico de comunicação simplex é de luz converte os pulsos de luz de volta a transmissão de rádio. Outro exemplo para pulsos elétricos. Os sinais de luz industrial, é um sistema de aquisição de podem viajar somente em uma direção, de dados, onde os dados do processo são modo que uma transmissão de dois enviados para um computador, em um sentidos requer dois cabos de fibra único sentido. separados. Um cabo de fibra óptica tem Comunicação Meio Duplex normalmente o mesmo diâmetro que o A comunicação em dois sentidos cabo de par trançado e é imune ao ruído permite o receptor verificar que os dados elétrico e não oferece nenhum perigo foram recebidos. Um tipo de comunicação 11.14
  • 270.
    Integração de Sistemas dedois sentidos é chamado de meio Para resolver este problema, a duplex. Na comunicação meio duplex, um distância entre o receptor e o transmissor único canal é usado e a comunicação é deve ser mantida pequena para evitar feita nos dois sentidos, porém, somente erros de transferência causados pelo em um sentido em um determinado tempo. atraso do sincronismo. Por este motivo, a Nesta configuração, o receptor e o transmissão paralela é usada somente em transmissor alternam as funções, de modo pequenas distâncias, onde se deseja uma que a comunicação ocorre em um sentido, alta velocidade de transmissão. Por em um tempo e em um único canal. exemplo, a transferência de dados em um Exemplo de comunicação semiduplex é o sistema de microcomputador é paralela. rádio walkie-talkie: apertando um botão, se Porém, em sistemas de controle de fala e não se escuta; sem apertar o botão, processo a transferência de dados entre os escuta-se e não se fala. sistemas (por exemplo, entre PC e CLP) é normalmente serial. Comunicação Totalmente Duplex A comunicação em dois sentidos onde Transmissão Serial os dados podem fluir em ambas as A interface serial é a menos complicada direções ao mesmo tempo é chamada de porque ela requer apenas um fio para comunicação totalmente duplex. Neste transportar todos os dados em somente caso, há dois canais, de modo que a uma direção ou dois fios para um fluxo bi- informação pode fluir em ambos os direcional. As interfaces seriais, porém, sentidos simultaneamente. Exemplo de requerem circuitos lógicos adicionais para comunicação totalmente duplex é o converter os dados em paralelo-serial, por telefone: onde se pode falar e escutar que a maioria dos sistemas requerem simultaneamente. transmissão paralela. Como os links seriais tem baixo custo e 2.5. Movimento de Dados grande facilidade de instalação, eles se A transmissão envolve o movimento de tornaram padrão em vários protocolos dados entre um receptor e um transmissor. usados. Protocolo é uma norma de Com relação ao número de bits envidados controle de transmissão de dados. por vez, a transmissão pode ser: Na transmissão serial, os bits do 1. paralela caractere codificado são transmitidos um 2. serial. após o outro em um único canal. A transmissão toma a forma de um jato de Transmissão Paralela bits que o receptor deve juntar em Na transmissão paralela, todos os bits caracteres (normalmente 8 bits) usando são transmitidos ao mesmo tempo e cada CIs específicos. bit de informação requer um único canal. O controle da velocidade de Por exemplo, se é transmitido um transmissão é critico na transferência serial caractere ASCII de 8 bits, são necessários de dados. A unidade de medição de oito canais. O termo paralelo se refere à velocidade de dados serial é bit/s ou bps; posição dos bits do caractere e o fato que já chamada de baund. os caracteres são transferidos um após o Embora diferente, é necessário um outro. O uso de vários canais resulta em sincronismo na transferência serial de uma alta taxa de transferência de dados. dados. Um circuito de timing no Há um problema com o atraso do transmissor transmite os bits em intervalos sincronismo do bit na transferência fixos determinados pelas taxas de paralela. Sincronismo é o processo de comunicação selecionadas. As taxas fazer duas ou mais atividades acontecerem típicas são: 110, 300, 600, 1200, 2400, à mesma velocidade e tempo. Quando se 4800 e 9600 pbs. O transmissor deve envia um conjunto de caracteres em um enviar os bits na mesma velocidade que o cabo paralelo longo, a diferença nas receptor está ajustado para recebe-los. impedâncias nos fios do cabo pode causar Assim, se um transmissor está enviando a perda do sincronismo. bits à velocidade de 4800 bps, o receptor 11.15
  • 271.
    Integração de Sistemas deveestar ajustado para uma velocidade multiplexagem (ou multiplexação) do sinal. de comunicação de 4800 bps. Para entender multiplexagem, deve-se Usa-se um sincronismo de caractere primeiro definir o termo largura de faixa. A para determinar que 8 bits consecutivos largura de faixa descreve a capacidade de representam um caractere. O receptor transporte de sinal de um canal de deve reconhecer o primeiro bit de dados e comunicação. A largura de faixa é definida contar os bits até que o caractere (byte) como a diferença em ciclos por segundo seja completo. entre a freqüência mais elevada e a mais baixa que um canal pode manipular sem 2.6. Tempo e transmissão perda de sinal. Com relação ao tempo, a transmissão A multiplexagem permite uma linha pode ser síncrona e assíncrona servir a mais de um receptor, criando divisões (slots) na linha. O equipamento Transmissão assíncrona usado para obter a multiplexagem é Assíncrono é algo pertencente a dois chamado de multiplexador (MUX). ou mais processos que não depende da Os métodos usados para multiplexar ocorrência de eventos específicos, como sinais são: sinais de tempo comum. Algo sem relação 1. divisão de freqüência regular com o tempo, inesperado, 2. divisão de tempo imprevisível com relação a execução das 3. estatístico. instruções do programa. Transmissão assíncrona de dados é Multiplexagem por divisão de aquela em que um caractere ou bloco de freqüência caracteres pode começar em qualquer Na multiplexagem por divisão de tempo, mas em que os bits que freqüência cada canal possui sua própria representam o caractere ou bloco tem igual faixa de freqüência individual. A divisão de tempo de duração. É contrário de freqüência é normalmente usada para transmissão síncrona. combinar um grupo de fontes de baixa velocidade em um único canal de voz. Transmissão síncrona Síncrono é algo pertencente a dois ou Multiplexagem por divisão de tempo mais processos que depende da A multiplexagem por divisão de tempo ocorrência de eventos específicos, como usa períodos de tempo para alocar o sinais de tempo comum. Algo com relação espaço do canal e a largura de faixa regular com o tempo, esperado, previsível disponível. Neste tipo de multiplexagem, com relação a execução das instruções do nenhum outro canal pode usar a divisão de programa. É um modo de operação em tempo, de modo que há alguma perda de que cada ação é iniciada por um relógio. largura de banda quando uma estação não Transmissão assíncrona de dados é estiver transmitindo dados em sua divisão aquela em que o tempo de ocorrência de de tempo. Porém, uma linha de cada sinal representando um bit está transmissão pode suportar muitos canais relacionado com uma base de tempo fixa. de dados. É normalmente usada onde há Na comunicação de dados, um método de necessidade de combinar um número de transmissão em que a remessa e transmissões de baixa velocidade em uma recebimento dos caracteres são única linha de alta velocidade. controlados por sinais de tempo. Na Multiplexagem por estatística transmissão síncrona, transmissor e receptor operam na mesma freqüência e A multiplexagem estática é uma são mantidos em uma relação de fase melhoria da multiplexagem da divisão de apropriada. É contrário de transmissão tempo projetada para reduzir o desperdício assíncrona. da largura de faixa quando os dados estiverem sendo transmitidos por uma 2.7. Multiplexagem de Sinal estação. Este processo de melhoria é Uma única linha pode ser usada para chamada de concentração de dados. A transportar vários sinais, usando a multiplexagem estatística é usada onde um grande número de terminais de entrada de 11.16
  • 272.
    Integração de Sistemas dadosrequer somente uma rápida ou pode ser ligado e um digital, através de um ocasional transferência de dados. Se o uso conversor analógico para digital (A/D). dos terminais se tornar intenso, a operação Protocolo demora e este método fica prejudicado. Na comunicação de dados digitais, as coisas acontecem de modo mais 3.Protocolos e interfaces complicado que na comunicação 3.1. Conceitos analógica, pois se quer usar a capacidade digital de comunicação de Sinal padrão 1. transmitir vários sinais Em uma malha de medição e controle simultaneamente de processo, os instrumentos necessitam 2. de modo bidirecional, se comunicar entre si. Quando o sinal é 3. em um único meio (fio trançado, analógico, esta compatibilidade é cabo coaxial, cabo de fibra óptica), conseguida com a padronização do sinal: 4. de modo compartilhado por todos pneumático em 20 a 100 kPa (3 a 15 os sinais de informação. psi) Em vez de sinal, fala-se de protocolo. eletrônico (4 a 20 mA cc). Protocolo é um conjunto de regras O sinal analógico contem apenas uma semânticas e sintáticas que determina o informação, que está na amplitude do sinal comportamento de instrumentos funcionais proporcional ao valor da medição. Quando que devem ser interligados para se ter uma o sinal eletrônico vale 4 mA, a variável está comunicação entre eles. Na arquitetura em 0%; quando o sinal vale 20 mA, a OSI (Open Systems Interconnection), variável está em 100%. protocolo é o conjunto de regras que Dois instrumentos analógicos determina o comportamento de entidades manipulando o mesmo sinal podem ser na mesma camada para se comunicarem. interligados entre si. Por exemplo, qualquer transmissor eletrônico com saída de 4 a 20 Protocolo aberto e proprietário mA cc pode ser ligado diretamente a um Muitos protocolos são proprietários, ou controlador eletrônico com entrada de 4 a seja, o protocolo foi desenvolvido por 20 mA cc. determinado fabricante isolado ou em conjunto com outros fabricantes. Somente Interface o fabricante pode legalmente fabricar e Interface é o dispositivo que permite a usar o equipamento com este protocolo. A ligação ou comunicação de dois não ser que sejam desenvolvidas instrumentos ou equipamentos interfaces especiais, instrumentos com incompatíveis. Quando os instrumentos diferentes protocolos não podem ser são compatíveis, eles podem ser ligados interligados para uso em uma mesma rede. diretamente, sem necessidade de A razão mais óbvia para a variedade de nenhuma interface. protocolos é que eles tem sido projetados Por exemplo, um instrumento eletrônico para diferentes aplicações em mente e pode ser ligado a um instrumento otimizados para características específicas pneumático, através de uma interface, tais como segurança, baixo custo, alto chamada de transdutor corrente para número de dispositivos conectados. pneumático. Assim, um controlador Portanto, cada protocolo pode ter eletrônico (saída 4 a 20 mA cc) pode vantagens para atender prioridades de enviar o sinal de controle para uma válvula uma determinada aplicação. A não ser que com atuador pneumático, que opera em 20 um único protocolo se torne padrão (e isso a 100 kPa. Entre o controlador eletrônico e não vai acontecer), é necessário que os o atuador pneumático da válvula deve fabricantes forneçam interfaces para os haver um transdutor corrente para diversos protocolos em uso. pneumático (i/p). Um instrumento digital pode ser ligado a um analógico, através de um conversor digital para analógico (D/A) e um analógico 11.17
  • 273.
    Integração de Sistemas Atualmente, é comum o protocolo se equipamento que está em uso de modo a tornar aberto, deixando de ser proprietário. se comunicar com o outro com sucesso, É constituída uma fundação independente, havendo necessidade de alguma aberta, sem fins lucrativos, onde qualquer reconfiguração. Deste modo, a fabricante pode entrar. Os fabricantes intercambiabilidade vira um subconjunto da participantes da fundação podem usar interoperabilidade. livremente a tecnologia associada e a A interoperabilidade permite um marca correspondente. A fundação cuida fabricante competir no mercado na base de de características exclusivas para seu produto 1. coordenar, promover e suportar a e do conteúdo do valor agregado ao seu tecnologia em todo o mundo equipamento, em vez de simplesmente do 2. testar e emitir certificados de custo inicial do equipamento. Porém, os conformidade, usuários sabem que isto complica a 3. coordenar exibições e atividades situação e que se uma característica promocionais especial está presente, ela pode ser usada O protocolo Hart, desenvolvido em qualquer estágio e pode deixar os inicialmente pela Rosemount, se tornou usuários sujeitos ao monopólio do aberto e hoje há uma centena de fornecedor. fabricantes usando este protocolo. Interface é qualquer forma de 3.2. Ethernet (CSMA/CD ou IEEE dispositivo eletrônico que possibilita a 802.3) comunicação entre instrumentos ou A primeira rede local (LAN), sistemas incompatíveis. Se dois desenvolvida pela Xerox Corp é de banda instrumentos são compatíveis, eles podem base, de 10 Mb, que permite múltiplas ser ligados diretamente, sem qualquer estações acessarem o meio de interface. No sistema OSI, as interfaces transmissão sem uma coordenação a são o conjunto de regras que determina a priori, evita a contenção usando detecção comunicação de entidades de camadas da portadora e deferência e resolve a diferentes. contenção usando detecção de colisão e Interoperabilidade e intercambiabilidade transmissão. Ou seja, a tecnologia usada é CSMA/CD (Carrier Sense Multiple Access Os pontos chave da comunicação entre with Collision – Acesso Múltiplo de Sensor dois equipamentos digitais são a Portador com Colisão). 1. intercambiabilidade É um sistema baseado em faixa, onde 2. interoperabilidade a informação sendo enviada sobre o fio Intercambiabilidade significa que um não é modulada. transmissor de um fabricante pode ser Computadores da DEC (Digital substituído por um transmissor de outro Equipment Corp.) operando em chão de fabricante sem qualquer reconfiguração do fábrica no início dos anos 1970 eram sistema. Isto é desejável para o usuário ligados através da DECNet. Era uma que quer manter no mínimo o custo dos técnica de passagem de bastão (token componentes padrão e quer evitar de fazer pass). Em 1980, com o objetivo de retreinamento do seu pessoal de suportar LAN de alta velocidade, DECnet e manutenção. Porém, os usuários com Ethernet foram usadas juntas para necessidades além das características da combinar as vantagens de cada rede norma podem ter dificuldade de satisfazer individual, melhorando principalmente o estas exigências com os componentes tempo de resposta. padrão disponíveis comercialmente. Interoperabilidade significa que um transmissor de um fabricante pode ser usado para substituir um transmissor de outro fabricante mas com alguma reconfiguração do sistema. Para haver interoperabilidade, o sistema deve ser informado automaticamente do tipo de 11.18
  • 274.
    Integração de Sistemas sem interromper qualquer sinal analógico 3.3. Protocolo HART de transmissão que possa estar ocorrendo. História Até dois equipamentos principais O protocolo HART (Highway (master) podem ser ligados a cada malha Addressable Remote Transducer), foi HART. O primário é geralmente um desenvolvido pela Rosemount, em 1986. sistema de gerenciamento ou um PC, Em 1990, ele se tornou um protocolo enquanto o secundário pode ser um aberto, através da constituição de uma terminal handheld ou um computador Fundação Hart, que hoje possui mais de laptop. Um terminal padrão handheld uma centena de fabricantes de (chamado comunicador HART) é instrumentos. disponível para tornar uniformes as operações de campo. As opções adicionais Método de operação de circuito são fornecidas por gateways. O protocolo HART opera usando o princípio de frequency shift keying (FSK), que é baseada na Norma de Comunicação Bell 202 (Bell, 1976). A transmissão de dados tem as seguintes características físicas: bit 0 = 2200 Hz bit 1 = 1200 Hz A taxa de transferência é de 1200 bits/s. A taxa de transferência para variáveis simples: 2 por segundo. Fig. 11.15. Comunicações analógica e digital Segurança dos dados: checking de erro simultâneas bi dimensional. Máximo número de dispositivos secundários (slaves) em modo multidrop: Ponto a ponto 15. Máximo número de dispositivos Nesta configuração, o sinal analógico principais (masters): 2. de 4 a 20 mA cc continua sendo usado Máximo número de variáveis: 256 por para a transmissão analógica enquanto a secundário. Máxima distância: típica de medição, ajuste e dados do equipamento 1900 m, dependendo do tipo de cabo. são transferidos digitalmente. O sinal analógico não é afetado e pode ser usado para controle de modo normal. Os dados HART dão acesso para manutenção, diagnóstico e outros dados operacionais. Multidrop Este modo requer somente um par de Fig. 11.14. Logotipo da HART Foundation fios e, se aplicável, barreiras de segurança intrínseca e uma fonte de alimentação auxiliar para até 15 equipamentos de As ondas senoidais das duas campo. A configuração multidrop é freqüências são superpostas sobre o sinal particularmente útil para instalações de analógico padrão de 4 a 20 mA cc, supervisão muito espaçadas, como em transmitido por cabos, para dar tubulações, estações de alimentação e simultaneamente comunicações analógica tancagem. e digital. Como o valor médio do sinal FSK Os instrumentos HART podem ser é sempre zero, o sinal de 4 a 20 mA cc não usados de qualquer modo. Na é afetado pelo sinal digital. Isto produz configuração ponto a ponto, o instrumento comunicação simultânea genuína com um de campo tem endereço 0, estabelecendo tempo de resposta de aproximadamente a corrente de saída em 4 a 20 mA cc. Na 500 ms para cada equipamento de campo, 11.19
  • 275.
    Integração de Sistemas configuraçãomultidrop, todos os 3. podendo ser intrinsecamente seguro, endereços de equipamento são maiores do quando necessário uso em locais de que 0 e cada equipamento estabelece sua Divisão 1 ou não incenditivo para corrente de saída para 4 mA. Para este locais de divisão 2, com aprovações modo de operação, os controladores e do FM e CSA indicadores devem ser equipados com um 4. programa é atualizável (upgradeable) modem HART. no campo, com módulo de memória Os equipamentos HART podem se reprogramável substituível. comunicar usando linhas de telefone das O terminal universal é fácil de aprender concessionárias (Bell, 1973). Nesta e usar. Ele possui situação, somente uma fonte de 1. um display com 8 linhas e 21 alimentação local é necessária pelo caracteres em cristal líquido (LCD) equipamento de campo e o master pode 2. chaves funcionais e estar muitos kilômetros distante. Porém, a 3. chaves de ação, para mover através maioria dos países europeus não permite da estrutura do menu sinais Bell 202 usados com equipamentos 4. um teclado alfanumérico. portadores nacionais, de modo que os Vantagens produtos HART não podem ser usados deste modo. As vantagens do HART incluem: 1. protocolo de comunicação com aceitação mundial, com cerca de 600 equipamentos instalados (padrão de facto), 2. padrão industrial aceito pelo usuário, 50.8% dos equipamentos de campo inteligentes com protocolo de comunicação. 3. independente do fabricante 4. gerenciado pela Fundação de Comunicação HART Fig. 11.16. Terminal portátil 5. possui um terminal portátil universal para todos os equipamentos HART. 6. possui a capacidade digital de acessar todos os parâmetros do instrumento e fazer diagnóstico, 7. possui a compatibilidade analógica, comunicando também com o sinal padrão de 4 a 20 mA cc, usando a instrumentação existente. Fig. 11.17. Tela e funções do terminal portátil Terminal portátil Há um único terminal portátil (handheld terminal) para todos os equipamentos, representando uma única interface para todos e com as seguintes características desejáveis: 1. pequeno e robusto, 2. alimentado por bateria, 11.20
  • 276.
    Integração de Sistemas 3.4Fieldbus Foundation Fieldbus Foundation Fieldbus Fieldbus Foundation é um protocolo totalmente digital, serial, bidirecional, que Quando se menciona a palavra interliga sensores, atuadores e fieldbus, a maioria das pessoas pena controladores em um rede de área local imediatamente na Fieldbus Foundation (LAN) para instrumentos usados em (FF). Porém, isso não é correto. O processo e outras aplicações de protocolo ou rede Fieldbus Foundation é automação de manufatura. somente um entre vários barramentos de A tecnologia Fieldbus Foundation (FF) campo (fieldbus) existentes e disponíveis incorpora blocos de função que distribuem comercialmente. Genericamente, os o controle através da rede. Os blocos de barramentos de campo caem em três função automaticamente suportam grandes categorias: alarmes, tendências, relatórios de alarme, 1. no nível mais baixo estão os sem a necessidade de intervenção de nível barramentos de sensores, mais alto e também fornece embutida uma geralmente no nível de bit, para base de dados de instrumentação na dispositivos simples de liga-desliga planta. A Fieldbus Foundation implementa e módulos I/O. a norma IEC/ISA SP50. 2. no nível intermediário, estão os A taxa de comunicação da Fieldbus barramentos de dispositivos, Foundation é de 32,25 kbit/s (H1) para geralmente barramentos de rede de conectar dispositivos individuais de área de controlador (CAN – controle e podem ligar a um barramento de Controller area network) para redes 1,0 Mbit/s ou 2,5 Mbit/s, como um de CLP e CP. backbone de comunicação de campo. É 3. no nível mais alto, cuja categoria um protocolo adequado para integrar ainda está honrada com o nome de circuitos de controle de processo que fieldbus, estão os dispositivos fazem controle contínuo de malhas digitais baseados em sinal e fechadas, sequenciamento de batelada, suportando a instrumentação mais gerenciamento de receita e tarefas de inteligente e sofisticada. coleta de dados. O barramento de 1,0/2,5 Assim, cada fieldbus possui seu próprio Mbit/s (H2) é também conveniente para objetivo, aplicação e tecnologia. funções lógicas complexas em redes de O protocolo LONwork é usado controle discreto. principalmente em aplicações não relacionadas com processo e por isso não Interfaces com Dispositivos será visto. Hart é um protocolo que pode Na sala de controle, os segmentos da ser considerado interino e incompleto, mas Fieldbus Foundation podem interfacear será visto porque é suportado pela maioria com uma variedade de equipamentos dos fabricantes de instrumento. mestres, como interfaces de operação com Como os protocolos de fieldbus vieram computador pessoal (CP) simples até para substituir o sinal analógico de 4 a 20 sistemas de controle digital distribuído mA e na maioria dos casos com aplicações (SDCD) de qualquer tamanho e de segurança intrínseca, os dois sinais configuração. As comunicações acima do podem ser transportados simultaneamente nível do mestre são tipicamente em no mesmo par de fios. Ethernet. A tecnologia Fieldbus Foundation foi projetada especificamente para satisfazer a missão crítica de controle e automação de processos, incluindo a distribuição de muitas funções lógicas e controle para dispositivos de campo. Variáveis múltiplas de cada dispositivo de campo podem ser alimentadas para outros dispositivos e para sistemas de controle centrais para 11.21
  • 277.
    Integração de Sistemas arquivar,analisar, registrar dados, otimizar Com esta arquitetura, a Fieldbus processos e gerar relatórios. Foundation fornece um controle robusto e Há diferenças funcionais significativas síncrono. Também fornece uma entre redes de Fieldbus Foundation e comunicação assíncrona dos dados para redes no nível de sensor e dispositivo. Por diagnose, relatório, manutenção e exemplo, uma camada de usuário pesquisa de defeito. As tarefas de específica é um elemento essencial da manutenção podem ser feitas em linha, tecnologia Fieldbus Foundation e é chave sem interrupção da comunicação síncrona. para a interoperabilidade entre os Camada física equipamentos mestre e do campo de diferentes fabricantes no mesmo A camada física (1) recebe mensagens barramento de campo. codificadas das camadas superiores e as Além disso, a tecnologia de 31,25 kbit/s converte em sinais físicos no meio de (H1) permite os equipamentos do campo transmissão e vice-versa. serem alimentados separadamente ou Está de conformidade com a norma diretamente através do par de fios IEC e ISA para a camada física. trançado existente, economizando a Suporta três taxas de comunicação: instalação. 31,25 kbit/s A tecnologia Fieldbus Foundation 1,0 Mbit/s permite o uso de barreira de segurança 2,5 Mbit/s intrínseca entre a fonte de alimentação Combinação de comunicação (local seguro) e o dispositivo da área Esta camada combina as camadas link classificada. O ênfase da Fieldbus de dados (DLL) (2) e comunicação (7) do Foundation em mensagem planejada é a modelo OSI A camada de comunicação chave em aplicações críticas de tempo. A A camada de comunicação codifica e arquitetura suporta controle distribuído decodifica comandos da camada usuário e através do barramento de campo sem a a camada de link de dados controla de transmissão de dados entrar em conflito modo determinístico a transmissão de com muitos barramentos. mensagens para o campo através da camada física (1). Camada do usuário Esta camada possui os blocos funcionais padrão e faz planejamento destes blocos. Através da descrição do dispositivo, ela permite o sistema mestre operar o dispositivo sem programação do usuário. Interoperabilidade A interoperabilidade permite ao usuário Fig. 11.18. Logotipo da Fieldbus Foundation misturar e casar dispositivos de campo e mestres de vários fabricantes em um Camadas mesmo barramento de campo, mantendo as operações especificadas, com pequena A especificação da Fieldbus Foundation reconfiguração. Ela também permite a é baseada em no modelo aberto das sete adição ou substituição de dispositivos em camadas da OSI. Ela consiste de apenas uma rede de barramento de campo sem a três camadas: necessidade de revisão do software do 1. física mestre. 2. comunicação (aplicação e DLL) Interoperabilidade não é 3. usuário intercambialidade. Com interoperabilidade, O barramento não usa as camadas OSI um dispositivo de campo pode ser 3, 4, 5 e 6. substituído por um similar de diferente fornecedor e o sistema é capaz de operar 11.22
  • 278.
    Integração de Sistemas como novo dispositivo, com as funções blocos de função e comunica os básicas e estendidas. Intercambialidade é parâmetros dos blocos no barramento de a habilidade de substituir exatamente um campo. O gerenciamento do sistema dispositivo de um fornecedor por outro, de também manipula tarefas como outro fabricante. distribuição do tempo universal no sistema Os benefícios da interoperabilidade e a atribuição automática de endereços do são: sistema. 1. implementar estratégia de controle Outra característica especial do sobre o barramento de campo, que Fieldbus Foundation é a descrição do permite as capacidades de controle dispositivo. Esta descrição serve como um serem migradas para um dispositivo driver para um dispositivo de campo, de campo e ser executada nele. fornecendo toda informação necessária 2. Monitorar variáveis de controle e para se comunicar com um sistema de status periodicamente, controle ou mestre e dispositivo. A armazenando a informação em uma Fieldbus Foundation fornece uma base de dados para análise e biblioteca padrão de software chamada de relatório subseqüentes. serviço de descrição de dispositivo que 3. Configurar e manter dispositivos no pode ler a descrição binária do dispositivo. barramento de campo com Qualquer sistema de controle ou mestre capacidade de configuração e com serviços de descrição de dispositivo diagnose através do console de pode comunicar com o dispositivo se ele manutenção. tem uma descrição do dispositivo. Esta Dispositivos de campo interoperáveis capacidade permite que dispositivos com permitem que o usuário selecione os características especificas do fabricante melhores produtos e os combine para ter a sejam adicionadas ao barramento de melhor distribuição de estratégia de campo simplesmente pela ligação do controle, monitoração e operação flexíveis dispositivo ao fio do barramento e e configuração e diagnose remotas. fornecendo ao sistema ou ao mestre a nova descrição do dispositivo. Características O protocolo Fieldbus Foundation A capacidade de link de dados da estende a hierarquia da rede da planta Fieldbus Foundation combina as melhores para o nível de dispositivo de campo, características desta rede com a fornecendo aos usuários uma solução previsibilidade do protocolo WorldFIP e a completa de rede, do sensor ao flexibilidade do Profibus. O seu método de computador da planta. O usuário final tem controle de acesso oferece interface com uma grande melhoria em custo e todos os modelos de dados modernos, qualidade. incluindo cliente/servidor, editor/leitor e distribuidor de relatório. Ele suporta multi- segmentos de rede estendendo e ligando a transferência segura de dados. Ele fornece uma distribuição de tempo mais exata e sincronização através dos sistemas multi-segmentos, detecção e configuração de dispositivos em linha e suporte em linha para construir e rever o planejamento. Plantas que usam um sistema de comunicação sem uma camada de usuário padrão deve geralmente implementar muitas interfaces de comunicação específicas. A função de gerenciamento do sistema Fieldbus Foundation sincroniza os planejamentos de tempo para executar os 11.23
  • 279.
    Integração de Sistemas As características físicas do Profibus 3.5. Profibus Trade Organization PA são: (PTO) 1. transmissão de baixa velocidade Conceito intrinsecamente segura e não Profibus (Process fieldbus) é uma rede intrinsecamente segura (IEC 1158- de instrumentos de campo que interopera 2) e alta velocidade não automaticamente com uma grande base intrinsecamente segura (RS 485 ou instalada de nós de campos. Para um fibra óptica). observador casual, o Profibus é o mesmo 2. Como recomendado, par trançado protocolo que a Fieldbus Foundation H1. blindado transporta dados e Profibus foi originalmente desenvolvido potência à taxa de 31,25 kbit/s e pela firma alemã Siemens e depois cabo padrão Profibus e fibra óptica também virou uma fundação. transporta dados à taxa de 12 Atualmente, há duas versões de Mbit/s. Profibus 3. Estruturas em linha, arvore ou 1. uma de acordo com a norma IEC estrela podem ser acoplada ou não 1158-2, usando uma camada física acopladas durante operação, com compatível com segurança extensão de até 1 900 m e tronco intrínseca de 120 m. 2. outra para uso com a camada física 4. Intercambiabilidade de dispositivos RS 485 ou linha de fibra óptica. de diferentes fabricantes. Os protocolos interoperáveis Profibus Características podem ser considerados como três O Profibus é um protocolo digital que tem distintos: características comuns e diferentes do 1. PA Fieldbus Foundation, para fazer o mesmo 2. DP (Device Profiles) trabalho. As semelhanças incluem: 3. FMS (Fieldbus Message 1. conformidade com a mesma norma de Specifications) comunicação, ambos com taxa de A interoperabilidade é conseguida pela 31,25 kbit/s. definição dos parâmetros e do 2. arquitetura com blocos funcionais comportamento do instrumento de campo. 3. linguagem de descrição de dispositivo Aplicações (DDL) 4. mesma camada física para O protocolo Profibus PA é usado na transferência de dados digitais. indú