Apostila Pessoal, venda proibida (se vc comprou isso, vc é um otário!!!)
SUMÁRIO
POR UM PONTO Y DADO FORA DA RETA, FAZER PASSAR UMA PERPENDICULAR ........................................... 4
LEVANTAR UMA PERPENDICULAR NA EXTERMINDADE DE UMA RETA............................................................... 5
DADO UM ÂNGULO ABC QUALQUER, TRAÇAR OUTRO IGUAL NA EXTREMIDADE DE UMA RETA ............... 5
TRAÇAR A BISSETRIZ DE UM ÂNGULO QUALQUER ...................................................................................................... 6
TRAÇAR DUAS PARALELAS A UMA DISTÂNCIA DADA................................................................................................. 7
TRAÇAR A BISSETRIZ DE UM ÂNGULO CUJO VÉRTICE NÃO CONHECEMOS ......................................................... 8
DIVIDIR O ÂNGULO EM TRÊS PARTES IGUAIS................................................................................................................ 9
AB DIAGONAL MAIOR. CD DIAGONAL MENOR..............................................................................................................10
TRAÇAR UMA LINHA TANGENTE A UMA CIRCUNFERÊNCIA DADA 11 POR
TRÊS PONTOS DADOS QUE NÃO ESTEJAM ALINHADOS, FAZER PASSAR UMA CIRCUNFERÊNCIA.............12
INSCREVER UMA CIRCUNFERÊNCIA EM UM TRIÂNGULO DADO............................................................................12
DIVIDIR UMA CIRCUNFERÊNCIA EM TRÊS PARTES IGUAIS E INSCREVER O TRIÂNGULO ............................13
TRAÇADO DO PENTÁGONO SENDO DADO O LADO.....................................................................................................15
TRAÇAR O HEPTÁGONO PELO PROCESSO GERAL.......................................................................................................19
TRAÇADO DA ELIPSE PONTO POR PONTO.....................................................................................................................20
DADO O EIXO MENOR AB, CONSTRUIR O ÓVULO ........................................................................................................21
DADO O EIXO MAIOR, TRAÇAR A OVAL DE DUAS CIRCUNFERÊNCIAS.................................................................22
TRAÇAR A OVAL DE TRÊS CIRCUNFERÊNCIAS..............................................................................................................22
TRAÇADO DA ESPIRIAL DE DOIS CENTROS...................................................................................................................24
TRAÇADO DA ESPIRAL DE TRÊS CENTROS....................................................................................................................24
TRAÇADO DA ESPIRAL DE QUATRO CENTROS.............................................................................................................25
TRAÇADO DA ESPIRAL POLICÊNTRICA...........................................................................................................................25
DESENVOLVIMENTO LATERAL DE UM CILINDRO .......................................................................................................26
PLANIFICAÇÃO DE CILINDRO COM AS DUAS BASES (BOCAS) INCLINADAS .......................................................31
PLANIFICAÇÃO DE COTOVELO DE 45º.............................................................................................................................32
PLANIFICAÇÃO DE COTOVELO DE 90º.............................................................................................................................34
INTERSEÇÃO DE DOIS CILINDROS DE DIÂMETROS IGUAIS .....................................................................................35
INTERSEÇÃO DE UM CILINDRO POR OUTRO DE DIÂMETRO IGUAL.....................................................................37
INTERSEÇÃO DE CILINDROS COM DIÂMETROS DIFERENTES.................................................................................38
Apostila Pessoal: http://www.youtube.com/user/ThePoluidor
INTERSEÇÃO DE CILINDROS COM EIXOS EXCÊNTRICOS
INTERSEÇÃO DE TRÊS CILINDROS COM EIXOS EXCÊNTRICOS
INTERSEÇÃO DE UM CILINDRO POR OUTRO INCLINADO
COMPLEMENTO PARA “ BOCA DE LOBO “
TRONCO DE CONE SAINDO DO CILINDRO COM EIXOS A 90º
DESENVOLVIMENTO DE CONE –
DESENVOLVIMENTO DE CONE –
DESENVOLVIMENTO DE CONE INCLINADO
TRAÇADO DO TRONCO DE CONE
TRAÇADO DO TRONCO DE CONE
DESENVOLVIMENTO DO TRONCO DE CONE
CONE CORTADO POR UM PLANO OBLÍQUO ENTRE A BASE E O VÉRTICE
TRONCO DE CONE COM A PARTE INFERIOR DESENVOLVIDA E ÂNGULO
TRONCO DE CLONE INCLINADO................................
TRONCO DE CLONE INCLINADO
TRONCO DE CLONE INCLINADO
TUBO “CALÇA” COM AS BASES (BOCAS) SUPERIORES INCLINADAS A 45º
CURVA DE GOMO COM UM GOMO INTEIRO E DOIS SEMIGOMOS
CURVA DE GOMO COM TRÊS GOMOS INTEIROS E DOIS SEMIGOMOS
TRAÇA-SE DA MESMA FORMA DA “UNHA INCLINADA”.
“UNHA” COM BASE (BOCA) EM OPOSIÇÃO AO VÉRTICE “S” DA CURVA
“UNHA” PARA CURVA PADRÃO (STANDARD)
CURVA CÔNICA................................................................
CURVA CÔNICA - CONTINUAÇÃO
DESENVOLVIMENTO DA CURVA CÔNICA
CURVA CÔNICA PELO SISEMA DE TRIANGULAÇÃO
CURVA CÔNICA PELO SISEMA DE TRIANGULAÇÃO
DESENVOLVIMENTO DE CÚPULA
DESENVOLVIMENTO DE CÚPULA
Apostila Pessoal: http://www.youtube.com/user/ThePoluidor
INTERSEÇÃO DE CILINDROS COM EIXOS EXCÊNTRICOS................................................................
INTERSEÇÃO DE TRÊS CILINDROS COM EIXOS EXCÊNTRICOS ................................................................
INTERSEÇÃO DE UM CILINDRO POR OUTRO INCLINADO................................................................
COMPLEMENTO PARA “ BOCA DE LOBO “ ................................................................................................
TRONCO DE CONE SAINDO DO CILINDRO COM EIXOS A 90º ................................................................
PROCESSO 1................................................................................................
PROCESSO 2................................................................................................
DESENVOLVIMENTO DE CONE INCLINADO................................................................................................
TRAÇADO DO TRONCO DE CONE – PROCESSO 1 ................................................................................................
TRAÇADO DO TRONCO DE CONE – PROCESSO 2 ................................................................................................
DESENVOLVIMENTO DO TRONCO DE CONE – PROCESSO 3 ................................................................
CONE CORTADO POR UM PLANO OBLÍQUO ENTRE A BASE E O VÉRTICE................................
TRONCO DE CONE COM A PARTE INFERIOR DESENVOLVIDA E ÂNGULO ................................
................................................................................................................................
TRONCO DE CLONE INCLINADO - CONTINUAÇÃO ................................................................................................
TRONCO DE CLONE INCLINADO – CONTINUAÇÃO................................................................................................
TUBO “CALÇA” COM AS BASES (BOCAS) SUPERIORES INCLINADAS A 45º ................................
CURVA DE GOMO COM UM GOMO INTEIRO E DOIS SEMIGOMOS................................................................
CURVA DE GOMO COM TRÊS GOMOS INTEIROS E DOIS SEMIGOMOS................................
SE DA MESMA FORMA DA “UNHA INCLINADA”.................................................................
“UNHA” COM BASE (BOCA) EM OPOSIÇÃO AO VÉRTICE “S” DA CURVA................................
“UNHA” PARA CURVA PADRÃO (STANDARD)................................................................................................
................................................................................................................................
CONTINUAÇÃO ................................................................................................................................
DESENVOLVIMENTO DA CURVA CÔNICA................................................................................................
CURVA CÔNICA PELO SISEMA DE TRIANGULAÇÃO................................................................................................
CURVA CÔNICA PELO SISEMA DE TRIANGULAÇÃO – CONTINUAÇÃO................................
DESENVOLVIMENTO DE CÚPULA ................................................................................................................................
DESENVOLVIMENTO DE CÚPULA - CONTINUAÇÃO................................................................
Apostila Pessoal: http://www.youtube.com/user/ThePoluidor
2
...........................................................40
...............................................42
.........................................................44
......................................................45
...................................................46
...............................................48
..............................................49
....................................................51
..........................................52
..........................................53
.....................................................55
...........................................................56
...........................................................59
.........................................62
.......................................64
.......................................65
.........................................................68
...........................................69
...................................................................70
............................................................74
...............................................................75
...............................................76
.........................................78
.......................................79
........................................................81
.....................................82
...................................................................84
......................................89
...................................................................90
Apostila Pessoal: http://www.youtube.com/user/ThePoluidor
DESENVOLVIMENTO DA ESFERA PELO PROCESSO DOS FUSOS
TRAÇADO DA ESFERA PELO PROCESSO DAS ZONAS
VARIANTES DO PROCESSO DAS ZONAS
QUADRADO PARA REDONDO CONCÊNTRICO
QUADRADO PARA REDONDO CONCÊNTRICO
REDONDO PARA QUADRADO CONCÊNTRICO
RETÂNGULO PARA REDONDO................................
RETÂNGULO PARA REDONDO -
REDONDO PARA RETÂNGULO................................
QUADRADO PARA REDONDO EXCÊNTRICO
QUADRADO PARA REDONDO EXCÊNTRICO
RETÂNGULO PARA REDONDO................................
RETÂNGULO PARA REDONDO EXCÊNTRICO
QUADRADO PARA REDONDO COMPLETAMENTE EXCÊNTRICO
DESENVOLVIMENTO TOTAL DA PEÇA
QUADRADO PARA REDONDO INCLINADO A 45º
QUADRADO PARA REDONDO INCLINADO A 45º
RETÂNGULO PARA REDONDO COM BASE (BOCA) REDONDA INCLINADA A 30º
QUADRADO PARA REDONDO COM OS CANTOS ARRENDONDADOS
INTERSEÇÃO DE CILINDRO COM CONE
INTERSEÇÃO DE CONE COM CILINDRO
INTERSEÇÃO DE CONE COM CILINDRO
INTERSEÇÃO DE UM CONE COM UM CILINDRO COM EIXOS A 90º
INTERSEÇÃO DE UM CONE COM CILINDRO COM EIXOS A 90º
INTERSEÇÃO DE CONE COM CILINDRO COM EIXOS DIFERENTES DE 90º
INTERSEÇÃO DE CONE COM CILINDRO COM EIXOS DIFERENTES DE 90º
CONTINUAÇÃO................................................................
INTERSEÇÃO DE DOIS TRONCOS DE CONE COM EIXOS A 90º
INTERSEÇÃO DE DOIS TRONCOS DE CONE COM EIXOS A 90º
Apostila Pessoal: http://www.youtube.com/user/ThePoluidor
DESENVOLVIMENTO DA ESFERA PELO PROCESSO DOS FUSOS................................................................
TRAÇADO DA ESFERA PELO PROCESSO DAS ZONAS ................................................................
VARIANTES DO PROCESSO DAS ZONAS................................................................................................
QUADRADO PARA REDONDO CONCÊNTRICO................................................................................................
QUADRADO PARA REDONDO CONCÊNTRICO - CONTINUAÇÃO................................................................
REDONDO PARA QUADRADO CONCÊNTRICO................................................................................................
................................................................................................................................
CONTINUAÇÃO ................................................................................................
................................................................................................................................
QUADRADO PARA REDONDO EXCÊNTRICO ................................................................................................
QUADRADO PARA REDONDO EXCÊNTRICO - CONTINUAÇÃO................................................................
................................................................................................................................
RETÂNGULO PARA REDONDO EXCÊNTRICO................................................................................................
QUADRADO PARA REDONDO COMPLETAMENTE EXCÊNTRICO................................................................
DESENVOLVIMENTO TOTAL DA PEÇA................................................................................................
QUADRADO PARA REDONDO INCLINADO A 45º................................................................................................
QUADRADO PARA REDONDO INCLINADO A 45º - CONTINUAÇÃO ................................................................
RETÂNGULO PARA REDONDO COM BASE (BOCA) REDONDA INCLINADA A 30º ................................
QUADRADO PARA REDONDO COM OS CANTOS ARRENDONDADOS................................................................
INTERSEÇÃO DE CILINDRO COM CONE ................................................................................................
INTERSEÇÃO DE CONE COM CILINDRO ................................................................................................
INTERSEÇÃO DE CONE COM CILINDRO - CONTINUAÇÃO................................................................
INTERSEÇÃO DE UM CONE COM UM CILINDRO COM EIXOS A 90º-PROCESSO 1................................
INTERSEÇÃO DE UM CONE COM CILINDRO COM EIXOS A 90º - PROCESSO 2 ................................
CILINDRO COM EIXOS DIFERENTES DE 90º................................
INTERSEÇÃO DE CONE COM CILINDRO COM EIXOS DIFERENTES DE 90º................................
................................................................................................................................
RONCOS DE CONE COM EIXOS A 90º ................................................................
INTERSEÇÃO DE DOIS TRONCOS DE CONE COM EIXOS A 90º - CONTINUAÇÃO................................
Apostila Pessoal: http://www.youtube.com/user/ThePoluidor
3
..............................................91
.................................................................93
...........................................................94
...............................................96
............................................97
...............................................98
.........................................103
.....................................105
.........................................106
...............................................107
............................................109
.........................................110
..............................................112
.........................................113
..........................................................115
.......................................116
...................................117
..........................................119
..................................120
........................................................124
........................................................126
.....................................................127
...........................................128
...............................................131
........................................................133
........................................................135
......................................135
..............................................136
...........................................138
Apostila Pessoal: http://www.youtube.com/user/ThePoluidor
INTERSEÇÃO DE DOIS TRONCOS DE CONE COM EIXOS DIFERENTES DE 90º
TRONCO DE PIRÂMIDE DE BASE RETANGULAR
BIFURCAÇÃO TUBO “CALÇA” CÔNICO
TRANSFORMAÇÃO DE OVAL PARA REDONDO
TRANSFORMAÇÃO DE OVAL PARA REDONDO
INTERSEÇÃO DE UM CILINDRO POR OUTRO INCLINADO E EXCÊNTRICO
FUNIL EXCÊNTRICO - MODÊLO 1
CAIXA DO PAINEL ELÉTRICO COM TAMPA E LATERAIS TIPO ALMOFADA
CAIXA DO PAINEL ELÉTRICO DE POSTA EMBUTIDA
TRONCO DE PIRÂMIDE DE BASES QUADRADAS
TRONCO DE PIRÂMIDE DE BASES QUADRADAS
CAIXA DE PROTEÇÃO PARA POLIAS
CAIXA DE PROTEÇÃO PARA POLIAS
REDUÇÃO Y PARA TUBULAÇÃO RETANGULAR
POR UM PONTO Y DADO FORA DA RETA, FAZER PASSAR UMA PERPENDICULAR
Apostila Pessoal: http://www.youtube.com/user/ThePoluidor
INTERSEÇÃO DE DOIS TRONCOS DE CONE COM EIXOS DIFERENTES DE 90º................................
TRONCO DE PIRÂMIDE DE BASE RETANGULAR ................................................................................................
BIFURCAÇÃO TUBO “CALÇA” CÔNICO - PROCESSO 1................................................................
TRANSFORMAÇÃO DE OVAL PARA REDONDO - MODÊLO 1................................................................
TRANSFORMAÇÃO DE OVAL PARA REDONDO - MODÊLO 1 - CONTINUAÇÃO ................................
INTERSEÇÃO DE UM CILINDRO POR OUTRO INCLINADO E EXCÊNTRICO ................................
MODÊLO 1................................................................................................
CAIXA DO PAINEL ELÉTRICO COM TAMPA E LATERAIS TIPO ALMOFADA ................................
CAIXA DO PAINEL ELÉTRICO DE POSTA EMBUTIDA................................................................
TRONCO DE PIRÂMIDE DE BASES QUADRADAS ................................................................................................
TRONCO DE PIRÂMIDE DE BASES QUADRADAS - CONTINUAÇÃO................................................................
CAIXA DE PROTEÇÃO PARA POLIAS................................................................................................
CAIXA DE PROTEÇÃO PARA POLIAS - CONTINUAÇÃO ................................................................
REDUÇÃO Y PARA TUBULAÇÃO RETANGULAR ................................................................................................
POR UM PONTO Y DADO FORA DA RETA, FAZER PASSAR UMA PERPENDICULAR
Apostila Pessoal: http://www.youtube.com/user/ThePoluidor
4
.................................................141
.......................................142
............................................................146
...............................................148
...........................................149
.......................................................150
.................................................................153
.....................................................155
...............................................................156
.......................................159
....................................160
..............................................................162
..........................................................163
.......................................165
POR UM PONTO Y DADO FORA DA RETA, FAZER PASSAR UMA PERPENDICULAR
Apostila Pessoal: http://www.youtube.com/user/ThePoluidor
AB, reta dada. Y ponto fora da reta. Com ponta seca em
pontos C e D. Em seguida, com ponta seca em
que se cruzem no ponto E.
A reta que une o ponto E com o ponto
LEVANTAR UMA PERPENDICULAR NA EXTERMINDADE DE UMA RETA
AB, reta dada. Com ponta seca em
Continuando com a mesma abertura do compasso e ponta seca em
seca em E (e mesma abertura do compasso) traçar o arco
compasso e ponta seca em E e depois em
linha que une o ponto C ao ponto
DADO UM ÂNGULO ABC QUALQUER, TRAÇAR OUTRO IGUAL NA EXTREMIDADE DE UMA RETA
Apostila Pessoal: http://www.youtube.com/user/ThePoluidor
ponto fora da reta. Com ponta seca em Y, traçar dois arcos que cortem a reta nos
. Em seguida, com ponta seca em C e depois em D, traçar dois arcos abaixo da reta
com o ponto Y é a perpendicular procurada.
LEVANTAR UMA PERPENDICULAR NA EXTERMINDADE DE UMA RETA
, reta dada. Com ponta seca em A, e qualquer abertura do compasso traçar o arco
Continuando com a mesma abertura do compasso e ponta seca em D, traçar o arco
(e mesma abertura do compasso) traçar o arco F. Ainda com a mesma abertura do
e depois em F, traçar dois arcos acima que se cruzem no ponto
ao ponto A é a perpendicular procurada.
DADO UM ÂNGULO ABC QUALQUER, TRAÇAR OUTRO IGUAL NA EXTREMIDADE DE UMA RETA
Apostila Pessoal: http://www.youtube.com/user/ThePoluidor
5
, traçar dois arcos que cortem a reta nos
, traçar dois arcos abaixo da reta AB,
, e qualquer abertura do compasso traçar o arco CD.
, traçar o arco E. Com ponta
. Ainda com a mesma abertura do
, traçar dois arcos acima que se cruzem no ponto G. A
DADO UM ÂNGULO ABC QUALQUER, TRAÇAR OUTRO IGUAL NA EXTREMIDADE DE UMA RETA
Apostila Pessoal: http://www.youtube.com/user/ThePoluidor
ABC, ângulo dado. AB, reta dada. Com a ponta seca do compasso no vértice do ângulo dado, traçar
um arco que corte seus dois lados nos pontos
da reta (sem mudar a abertura do compasso) traçar outro arco. Em seguida, com abertura
ponta seca em E, traçar outro arco que corte o primeiro no ponto
da reta com F, obtém-se outro ângulo igual a
TRAÇAR A BISSETRIZ DE UM ÂNGULO QUALQUER
ABC, ângulo dado. Com abertura qualquer do compasso e ponta seca no vértice do ângulo dado,
traçar um arco que corte seus dois lados nos pontos
F, traçar outros dois arcos que se cruzem no ponto
ponto G é a bissetriz.
Apostila Pessoal: http://www.youtube.com/user/ThePoluidor
, reta dada. Com a ponta seca do compasso no vértice do ângulo dado, traçar
um arco que corte seus dois lados nos pontos E e F. Depois, com a ponta seca na extremidade de
da reta (sem mudar a abertura do compasso) traçar outro arco. Em seguida, com abertura
, traçar outro arco que corte o primeiro no ponto F. Ligando-se o
se outro ângulo igual ao primeiro.
TRAÇAR A BISSETRIZ DE UM ÂNGULO QUALQUER
, ângulo dado. Com abertura qualquer do compasso e ponta seca no vértice do ângulo dado,
traçar um arco que corte seus dois lados nos pontos E e F. Depois, com ponta seca em
, traçar outros dois arcos que se cruzem no ponto G. A linha que liga o vértice
Apostila Pessoal: http://www.youtube.com/user/ThePoluidor
6
, reta dada. Com a ponta seca do compasso no vértice do ângulo dado, traçar
a na extremidade de A
da reta (sem mudar a abertura do compasso) traçar outro arco. Em seguida, com abertura EF e
se o A da extremidade
, ângulo dado. Com abertura qualquer do compasso e ponta seca no vértice do ângulo dado,
. Depois, com ponta seca em E e depois em
. A linha que liga o vértice B do ângulo com o
Apostila Pessoal: http://www.youtube.com/user/ThePoluidor
TRAÇAR DUAS PARALELAS A UMA DISTÂNCIA DADA
AB, primeira paralela. Z, distância dada. Em dois locais quaisquer, próximos das extremidades da
semi-reta AB, levantar duas perpendiculares
ponta seca em C, marcar E. Com ponta seca
Apostila Pessoal: http://www.youtube.com/user/ThePoluidor
TRAÇAR DUAS PARALELAS A UMA DISTÂNCIA DADA
, distância dada. Em dois locais quaisquer, próximos das extremidades da
, levantar duas perpendiculares C e D. Depois, com abertura de compasso igual a
. Com ponta seca D marcar F. A linha que liga E com F
Apostila Pessoal: http://www.youtube.com/user/ThePoluidor
7
, distância dada. Em dois locais quaisquer, próximos das extremidades da
. Depois, com abertura de compasso igual a Z e
é paralela a AB.
Apostila Pessoal: http://www.youtube.com/user/ThePoluidor
TRAÇAR UMA PARALELA A UMA RETA E QUE PASSE POR UM PONTO DADO FORA DA RETA
AB, reta dada. Y ponto dado fora da reta. Com ponta seca em
compasso, traçar um arco que corte a reta
traçar o arco YD. Centrar em D
ponto X. A reta XY é paralela a
TRAÇAR A BISSETRIZ DE UM ÂNGULO CUJO VÉRTICE NÃO CONHECEMOS
Apostila Pessoal: http://www.youtube.com/user/ThePoluidor
TRAÇAR UMA PARALELA A UMA RETA E QUE PASSE POR UM PONTO DADO FORA DA RETA
ponto dado fora da reta. Com ponta seca em Y e uma abertura qualquer do
compasso, traçar um arco que corte a reta AB no ponto C. Com mesma abertur
D e pegar a abertura DY, com essa abertura centrar em
é paralela a AB e passa pelo ponto Y dado fora da reta.
TRAÇAR A BISSETRIZ DE UM ÂNGULO CUJO VÉRTICE NÃO CONHECEMOS
Apostila Pessoal: http://www.youtube.com/user/ThePoluidor
8
TRAÇAR UMA PARALELA A UMA RETA E QUE PASSE POR UM PONTO DADO FORA DA RETA
e uma abertura qualquer do
. Com mesma abertura centrar em C e
, com essa abertura centrar em C e marcar o
Apostila Pessoal: http://www.youtube.com/user/ThePoluidor
AB e CD são os lados do ângulo de vértice desconhecido. Num ponto qualquer do lado
um reta que toque o lado AB
pontos G e H, marcando também o ponto
e J, marcando também o ponto
cruzem no ponto 3. Centrar em
4. Centrar em 2 e I e traçar dois arcos q
que se cruzem no ponto 6. Ligar
3 e F com 6 de modo que se cruzem no ponto
ângulo.
DIVIDIR O ÂNGULO EM TRÊS PARTES IGUAIS
ABC, ângulo dado. X, vértice do ângulo. Centrar em
traçar o arco DE. Em seguida, com a mesma abertura, centrar em
ponto G. Centrar em D com mesma abertura e marcar o ponto
ângulo reto fica dividido em três partes iguais.
Apostila Pessoal: http://www.youtube.com/user/ThePoluidor
são os lados do ângulo de vértice desconhecido. Num ponto qualquer do lado
AB formando a linha EF. Centrar em E e traçar um arco que toque os
, marcando também o ponto 1. Centrar em F e traçar outro arco que toque os pontos
, marcando também o ponto 2. Centrar no ponto 1 e depois em H e traçar dois arcos que se
. Centrar em 1 e depois em G, e traçar outros dois arcos que se cruzem no ponto
e traçar dois arcos que se cruzem no ponto 5. Centrar em 2 e
. Ligar E com 4 e F com 5 de modo que se cruzem no ponto
de modo que se cruzem no ponto 8. A linha de centro que liga 7
DIVIDIR O ÂNGULO EM TRÊS PARTES IGUAIS
vértice do ângulo. Centrar em X e com uma abertura qualquer do compasso
Em seguida, com a mesma abertura, centrar em E e traçar um arco marcando o
com mesma abertura e marcar o ponto H. Ligando X
ângulo reto fica dividido em três partes iguais.
Apostila Pessoal: http://www.youtube.com/user/ThePoluidor
9
são os lados do ângulo de vértice desconhecido. Num ponto qualquer do lado CD levantar
e traçar um arco que toque os
rco que toque os pontos I
e traçar dois arcos que se
, e traçar outros dois arcos que se cruzem no ponto
e J e traçar dois arcos
de modo que se cruzem no ponto 7. Ligar E com
a 8 é a bissetriz do
e com uma abertura qualquer do compasso
e traçar um arco marcando o
com G e X com H o
Apostila Pessoal: http://www.youtube.com/user/ThePoluidor
TRAÇAR UM LOSANGO E INSCREVER NELE UMA CIRCUNFERÊNCIA EM PERSPECTIVA
AB diagonal maior. CD diagonal menor.
Apostila Pessoal: http://www.youtube.com/user/ThePoluidor
TRAÇAR UM LOSANGO E INSCREVER NELE UMA CIRCUNFERÊNCIA EM PERSPECTIVA
diagonal menor.
Apostila Pessoal: http://www.youtube.com/user/ThePoluidor
10
TRAÇAR UM LOSANGO E INSCREVER NELE UMA CIRCUNFERÊNCIA EM PERSPECTIVA
Apostila Pessoal: http://www.youtube.com/user/ThePoluidor
Ligar A com C e A com D. Ligar
lados do losango marcando os pontos
Ligar D com F e C com H, marcando o ponto
arco que ligue E com F. Centrar em
um arco que ligue G com E. Centrar em
a circunferência em perspectiva.
TRAÇAR UMA LINHA TANGENTE A UMA CIRCUNFERÊNCIA DADA
Traçar a circunferência e marcar nela o ponto
ponto X. Centrar o compasso em
mesma abertura do compasso marcar o ponto
depois em 2 e traçar dois arcos que se cruzem no ponto
pedida.
Apostila Pessoal: http://www.youtube.com/user/ThePoluidor
. Ligar B com C e B com D, formando assim o losango. Dividir ao meio os
lados do losango marcando os pontos E, F, G e H. Ligar D com E e C com G, marcando o ponto
, marcando o ponto J. Em seguida, centrar o compasso em
. Centrar em C e traçar outro arco que ligue G com H. Centrar em
. Centrar em J e traçar outro arco que ligue F com H, ficando assim pronta
ferência em perspectiva.
TRAÇAR UMA LINHA TANGENTE A UMA CIRCUNFERÊNCIA DADA
Traçar a circunferência e marcar nela o ponto X. Ligar o ponto O (centro da circunferência) ao
. Centrar o compasso em X e traçar um arco marcando o ponto 1. Centrar em
mesma abertura do compasso marcar o ponto 2. Centrar em 2 e marcar o ponto
e traçar dois arcos que se cruzem no ponto 4. A linha que liga 4
Apostila Pessoal: http://www.youtube.com/user/ThePoluidor
11
, formando assim o losango. Dividir ao meio os
, marcando o ponto I.
. Em seguida, centrar o compasso em D e traçar um
. Centrar em I e traçar
, ficando assim pronta
(centro da circunferência) ao
. Centrar em 1 e com a
e marcar o ponto 3. Centrar em 3 e
com X é a tangente
Apostila Pessoal: http://www.youtube.com/user/ThePoluidor
POR TRÊS PONTOS DADOS QUE NÃO ESTEJ
CIRCUNFERÊNCIA
ABC, pontos dados. Unir os pontos
retas EF e GH de modo que se cruzem no ponto
pelos pontos dados anteriormente.
INSCREVER UMA CIRCUNFERÊNCIA EM UM TRIÂNGULO DADO
Apostila Pessoal: http://www.youtube.com/user/ThePoluidor
POR TRÊS PONTOS DADOS QUE NÃO ESTEJAM ALINHADOS, FAZER PASSAR UMA
, pontos dados. Unir os pontos A, B e C pó meio de retas. Dividir estas retas ao meio e traçar as
de modo que se cruzem no ponto 1. O ponto 1 é o centro da circunferência que passa
tos dados anteriormente.
INSCREVER UMA CIRCUNFERÊNCIA EM UM TRIÂNGULO DADO
Apostila Pessoal: http://www.youtube.com/user/ThePoluidor
12
AM ALINHADOS, FAZER PASSAR UMA
pó meio de retas. Dividir estas retas ao meio e traçar as
é o centro da circunferência que passa
Apostila Pessoal: http://www.youtube.com/user/ThePoluidor
ABC, triângulo dado. Achar o meio do lado
e E. Ligar D com C, e ligar E com
circunferência.
DIVIDIR UMA CIRCUNFERÊNCIA EM TRÊS PARTES IGUAIS E INSCREVER O TRIÂNGULO
Traçada a circunferência, traçar também a linha
abertura igual a B1, traçar o arco
assim o triângulo.
DIVIDIR UMA CIRCUNFERÊNCIA EM QUATRO PARTES IGUAIS E INSCREVER O QUADRADO
Apostila Pessoal: http://www.youtube.com/user/ThePoluidor
, triângulo dado. Achar o meio do lado AB e também o meio do lado AC, marcando os pontos
com B, de modo que se cruzem no ponto 5. O ponto
DIVIDIR UMA CIRCUNFERÊNCIA EM TRÊS PARTES IGUAIS E INSCREVER O TRIÂNGULO
Traçada a circunferência, traçar também a linha AB. Depois, centrar o compasso em
, traçar o arco CD. Ligar A com C e A com D. Finalmente, ligar
DIVIDIR UMA CIRCUNFERÊNCIA EM QUATRO PARTES IGUAIS E INSCREVER O QUADRADO
Apostila Pessoal: http://www.youtube.com/user/ThePoluidor
13
, marcando os pontos D
. O ponto 5 é o centro da
DIVIDIR UMA CIRCUNFERÊNCIA EM TRÊS PARTES IGUAIS E INSCREVER O TRIÂNGULO
. Depois, centrar o compasso em B e com
. Finalmente, ligar D com C, formando
DIVIDIR UMA CIRCUNFERÊNCIA EM QUATRO PARTES IGUAIS E INSCREVER O QUADRADO
Apostila Pessoal: http://www.youtube.com/user/ThePoluidor
Traçada a circunferência, traçar também as linhas
e B com D, formando o quadrado dentro da circunferência.
DIVIDIR UMA CIRCUNFERÊNCIA EM CINCO PARTES IGUAIS E INSCREVER O PENTÁGONO
Traçada a circunferência, traçar também o diâmetro
Dividir DB ao meio, marcando o ponto
arco CF. Em seguida, com abertura igual à reta pontilhada
e H. Com uma ponta em G (e mesma abertura anterior) marcar o ponto
marque o ponto J. Ligar C com
pentágono dentro da circunferência.
Apostila Pessoal: http://www.youtube.com/user/ThePoluidor
Traçada a circunferência, traçar também as linhas AB e CD. Ligar A com C e A com
formando o quadrado dentro da circunferência.
DIVIDIR UMA CIRCUNFERÊNCIA EM CINCO PARTES IGUAIS E INSCREVER O PENTÁGONO
Traçada a circunferência, traçar também o diâmetro AB. Em seguida traçar a perpendicular
ao meio, marcando o ponto E. Com uma ponta do compasso em E e outra em
. Em seguida, com abertura igual à reta pontilhada FC e uma ponta em C, marcar os pontos
(e mesma abertura anterior) marcar o ponto I. Com uma ponta em
com H, H com J, J com I, I com G, G com C, ficando assim pronto o
pentágono dentro da circunferência.
Apostila Pessoal: http://www.youtube.com/user/ThePoluidor
14
com D. Ligar B com C
DIVIDIR UMA CIRCUNFERÊNCIA EM CINCO PARTES IGUAIS E INSCREVER O PENTÁGONO
. Em seguida traçar a perpendicular CD.
e outra em C, traçar o
, marcar os pontos G
. Com uma ponta em H,
, ficando assim pronto o
Apostila Pessoal: http://www.youtube.com/user/ThePoluidor
TRAÇADO DO PENTÁGONO SENDO DADO O LADO
AB, lado dado. Com uma ponta do compasso em
Em seguida, com centro em A, traçar outra circunferência de modo que corte a primeira nos pontos
C e D. Traçar a perpendicular CD
Apostila Pessoal: http://www.youtube.com/user/ThePoluidor
TRAÇADO DO PENTÁGONO SENDO DADO O LADO
, lado dado. Com uma ponta do compasso em B e abertura igual a AB, traçar uma circunferência.
, traçar outra circunferência de modo que corte a primeira nos pontos
CD, depois, com centro em D ( e a mesma abertura anterior), traçar
Apostila Pessoal: http://www.youtube.com/user/ThePoluidor
15
, traçar uma circunferência.
, traçar outra circunferência de modo que corte a primeira nos pontos
( e a mesma abertura anterior), traçar
Apostila Pessoal: http://www.youtube.com/user/ThePoluidor
uma terceira circunferência, mar
prolongar até tocar o lado da primeira circunferência, marcando o ponto
prolongar até tocar o lado da segunda circunferência, marcando o ponto
compasso no ponto 5 e abertura igual ao lado dado, traçar um arco que corte a reta
ponta em 4, traçar outro arco que corte o primeiro no ponto
com 5 e 5 com B.
DIVIDIR UMA CIRCUNFERÊNCIA EM 6 PARTES IGUAIS E
Traçada a circunferência, traçar também o diâmetro
compasso, centro em A, traçar um arco que toque nos dois lados da circunferência marcando os
pontos C e D. Mudando a ponta do compasso para
lados da circunferência, marcando os pontos
inscrito o hexágono dentro da circunferência.
DIVIDIR UMA CIRCUNFERÊNCIA EM 10 PARTES IGUAIS E INSCREVER O DEC
Apostila Pessoal: http://www.youtube.com/user/ThePoluidor
uma terceira circunferência, marcando os pontos 1, 2 e 3. Ligar o ponto 3
prolongar até tocar o lado da primeira circunferência, marcando o ponto 4
prolongar até tocar o lado da segunda circunferência, marcando o ponto 5. Depois com a ponta do
e abertura igual ao lado dado, traçar um arco que corte a reta
, traçar outro arco que corte o primeiro no ponto 6. Unir A com B, A
DIVIDIR UMA CIRCUNFERÊNCIA EM 6 PARTES IGUAIS E INSCREVER O HEXÁGONO
Traçada a circunferência, traçar também o diâmetro AB. Depois, com a mesma abertura do
, traçar um arco que toque nos dois lados da circunferência marcando os
. Mudando a ponta do compasso para B, traçar outro arco que toque em outros dois
lados da circunferência, marcando os pontos E e F. Ligar os pontos através de retas para que fique
inscrito o hexágono dentro da circunferência.
DIVIDIR UMA CIRCUNFERÊNCIA EM 10 PARTES IGUAIS E INSCREVER O DEC
Apostila Pessoal: http://www.youtube.com/user/ThePoluidor
16
3 com o ponto 1 e
4. Ligar 2 com 1 e
. Depois com a ponta do
e abertura igual ao lado dado, traçar um arco que corte a reta CD. Com uma
A com 4, 4 com 6, 6
INSCREVER O HEXÁGONO
. Depois, com a mesma abertura do
, traçar um arco que toque nos dois lados da circunferência marcando os
, traçar outro arco que toque em outros dois
. Ligar os pontos através de retas para que fique
DIVIDIR UMA CIRCUNFERÊNCIA EM 10 PARTES IGUAIS E INSCREVER O DECÁGONO
Apostila Pessoal: http://www.youtube.com/user/ThePoluidor
Traçar a circunferência e os diâmetros
A, traçar dois arcos acima e abaixo da linha
cortem os dois primeiros nos pontos
Traçar uma perpendicular por estes pontos para determinar o meio de
Com centro em 3 e abertura igual a
Abrir o compasso com medida igual a
marcar ao longo da circunferência para dividi
através de retas.
DIVIDIR UMA CIRCUNFERÊNCIA EM 9 PARTES IGUAIS E INSCREVER O ENEÁGONO
Apostila Pessoal: http://www.youtube.com/user/ThePoluidor
Traçar a circunferência e os diâmetros AB e CD e determinar o centro O. Depois, fazendo centro em
, traçar dois arcos acima e abaixo da linha AB. Fazer centro em O e traçar outros dois arcos que
cortem os dois primeiros nos pontos 1 e 2.
uma perpendicular por estes pontos para determinar o meio de AO, marcando o ponto
e abertura igual a 3-A, traçar um arco AO. Ligar 3 com C, determinando o ponto
Abrir o compasso com medida igual a C-4, tacando a seguir o arco EF. Com esta mesma medida,
marcar ao longo da circunferência para dividi-la em 10 partes iguais. Ligar finalmente estas partes
DIVIDIR UMA CIRCUNFERÊNCIA EM 9 PARTES IGUAIS E INSCREVER O ENEÁGONO
Apostila Pessoal: http://www.youtube.com/user/ThePoluidor
17
. Depois, fazendo centro em
e traçar outros dois arcos que
, marcando o ponto 3.
, determinando o ponto 4.
esta mesma medida,
la em 10 partes iguais. Ligar finalmente estas partes
DIVIDIR UMA CIRCUNFERÊNCIA EM 9 PARTES IGUAIS E INSCREVER O ENEÁGONO
Apostila Pessoal: http://www.youtube.com/user/ThePoluidor
Traçar a circunferência e também os diâmetros
(com a mesma abertura do compasso) traçar o arco
centrar em D e traçar o arco EF
1G. A distância GA é igual a um dos lados que dividirá a circunferência em 9 partes iguais. Bastará,
portanto, abrir o compasso com esta medida, centrar em
assim sucessivamente. Depois, un
da circunferência.
Apostila Pessoal: http://www.youtube.com/user/ThePoluidor
Traçar a circunferência e também os diâmetros AB e 1D, marcando também o centro
(com a mesma abertura do compasso) traçar o arco OE. Abrir o compasso com medida igual a
EF. Continuando com a mesma abertura, centrar em
é igual a um dos lados que dividirá a circunferência em 9 partes iguais. Bastará,
portanto, abrir o compasso com esta medida, centrar em 1 e marcar 2; centrar em
assim sucessivamente. Depois, unir estes pontos através de retas, para inscrever o eneágono dentro
Apostila Pessoal: http://www.youtube.com/user/ThePoluidor
18
, marcando também o centro O. Em seguida
. Abrir o compasso com medida igual a DE,
entrar em F e traçar o arco
é igual a um dos lados que dividirá a circunferência em 9 partes iguais. Bastará,
; centrar em 2 e marcar 3 e
ir estes pontos através de retas, para inscrever o eneágono dentro
Apostila Pessoal: http://www.youtube.com/user/ThePoluidor
TRAÇAR O HEPTÁGONO PELO PROCESSO GERAL
(Obs.: Este processo permite dividir a circunferência em qualquer número de partes iguais.)
Traçar a circunferência e também os diâmetros
circunferência a linha de diâmetro
um ângulo qualquer. Abrir o compasso com uma medida qualquer e marcar na linha inclinada
tantas vezes quantas se quer dividir a circunferência (no caso 7 vezes). Continuando, com o auxilio
da régua e esquadro, ligar 7 a C
centro e marcar nessa linha apenas o número
em C e traçar um arco que corte o prolongamento do diâmetro
Apostila Pessoal: http://www.youtube.com/user/ThePoluidor
TRAÇAR O HEPTÁGONO PELO PROCESSO GERAL
(Obs.: Este processo permite dividir a circunferência em qualquer número de partes iguais.)
e também os diâmetros 1C e AB, prolongando um pouco para além da
circunferência a linha de diâmetro AB. Depois, ao lado do diâmetro 1C, traçar outra linha formando
um ângulo qualquer. Abrir o compasso com uma medida qualquer e marcar na linha inclinada
ntas vezes quantas se quer dividir a circunferência (no caso 7 vezes). Continuando, com o auxilio
C e mantendo a mesma inclinação, ligar os outros números à linha de
centro e marcar nessa linha apenas o número 2. Abrir o compasso com a medida igual a
e traçar um arco que corte o prolongamento do diâmetro AB. Centrar em 1
Apostila Pessoal: http://www.youtube.com/user/ThePoluidor
19
(Obs.: Este processo permite dividir a circunferência em qualquer número de partes iguais.)
, prolongando um pouco para além da
, traçar outra linha formando
um ângulo qualquer. Abrir o compasso com uma medida qualquer e marcar na linha inclinada
ntas vezes quantas se quer dividir a circunferência (no caso 7 vezes). Continuando, com o auxilio
e mantendo a mesma inclinação, ligar os outros números à linha de
. Abrir o compasso com a medida igual a 1C, centrar
1 e traçar outro arco
Apostila Pessoal: http://www.youtube.com/user/ThePoluidor
que corte o primeiro, marcando o ponto
tocar a circunferência, marcando o ponto
À distância 1-2 é uma das partes que dividirá em 7 partes iguais. Atenção: sejam quantas forem às
partes em que se queira dividir a circunferência, a linha que parte de
ponto 2 do diâmetro vertical.
TRAÇADO DA ELIPSE PONTO POR PONTO
Apostila Pessoal: http://www.youtube.com/user/ThePoluidor
que corte o primeiro, marcando o ponto D. Ligar D ao ponto 2 do diâmetro vertical e prolongar até
ircunferência, marcando o ponto 2.
é uma das partes que dividirá em 7 partes iguais. Atenção: sejam quantas forem às
partes em que se queira dividir a circunferência, a linha que parte de D deverá sempre passar pelo
TRAÇADO DA ELIPSE PONTO POR PONTO
Apostila Pessoal: http://www.youtube.com/user/ThePoluidor
20
do diâmetro vertical e prolongar até
é uma das partes que dividirá em 7 partes iguais. Atenção: sejam quantas forem às
deverá sempre passar pelo
Apostila Pessoal: http://www.youtube.com/user/ThePoluidor
Traçam-se primeiramente os eixos
(cruzamento dos dois eixos), centra
pontos são os focos da elipse. Na metade da reta
c, d, e, f e g. Continuando, abre
acima e abaixo do eixo horizontal; muda
Depois abre-se o compasso com medida igual a
modo que cortem os dois primeiros. Muda
seguida unem-se os pontos com uma régua flexível.
Obs. Os pontos A e B servem apenas para tomar medidas. Para traçar, usam
DADO O EIXO MENOR AB, CONSTRUIR O ÓVULO
Traça-se o eixo menor AB e divide
traça-se uma circunferência, marcando o ponto
da circunferência. Faz-se o mesmo partindo de
centra-se em A e traça-se um arco que, partindo de
Apostila Pessoal: http://www.youtube.com/user/ThePoluidor
se primeiramente os eixos AB e CD. Depois abre-se o compasso com medida
(cruzamento dos dois eixos), centra-se em C e traça-se um arco marcando os pontos
pontos são os focos da elipse. Na metade da reta AB marcam-se vários pontos de igual medida
. Continuando, abre-se o compasso com a medida Aa, centra-se em
acima e abaixo do eixo horizontal; muda-se o compasso para F1 e traçam-se outros dois arcos.
se o compasso com medida igual a aB, centra-se em F e traçam-se outros dois arcos de
modo que cortem os dois primeiros. Muda-se para F1 e faz-se o mesmo e assim sucessivamente. Em
se os pontos com uma régua flexível.
servem apenas para tomar medidas. Para traçar, usam-se os focos
DADO O EIXO MENOR AB, CONSTRUIR O ÓVULO
e divide-se ao meio, por onde passará o eixo maior CD
se uma circunferência, marcando o ponto 6. A seguir, liga-se A com 6 e prolonga
se o mesmo partindo de B. Depois, abre-se o compasso co
se um arco que, partindo de B pare na linha A6, marcando o ponto
Apostila Pessoal: http://www.youtube.com/user/ThePoluidor
21
se o compasso com medida AO
se um arco marcando os pontos F e F-1. Estes
se vários pontos de igual medida a, b,
se em F e traçam-se arcos
se outros dois arcos.
se outros dois arcos de
se o mesmo e assim sucessivamente. Em
se os focos F e F1.
CD. Centra-se em 5 e
e prolonga-se para além
se o compasso com medida AB,
, marcando o ponto 7. Muda-
Apostila Pessoal: http://www.youtube.com/user/ThePoluidor
se o compasso para B, traça-se outro arco que, partindo de
Finalmente, centra-se no ponto
DADO O EIXO MAIOR, TRAÇAR A OVAL DE DUAS CIRCUNFERÊNCIAS
Traça-se o eixo maior AB e divide
compasso em 1 e com abertura igual a
para o ponto 2 e traça-se a segunda circunferência, marcando os pontos
prolonga-se marcando o ponto
1 e prolonga-se marcando o ponto
seguida, abre-se o compasso com medida igual a
6. Muda-se o compasso para o ponto
oval.
TRAÇAR A OVAL DE TRÊS CIRCUNFERÊNCIAS
Apostila Pessoal: http://www.youtube.com/user/ThePoluidor
se outro arco que, partindo de A, pare na linha B6, marcando o ponto
se no ponto 6 e traça-se um arco que ligue 7 a 8, completando assim o óvulo.
DADO O EIXO MAIOR, TRAÇAR A OVAL DE DUAS CIRCUNFERÊNCIAS
e divide-se em três partes iguais, marcando os pontos
e com abertura igual a A1, traça-se a primeira circunferência. Muda
se a segunda circunferência, marcando os pontos 3 e 4
se marcando o ponto 5. Liga-se 3 com 2 prolonga-se, marcando o ponto
se marcando o ponto 7. Liga-se 4 com 2 e prolonga-se marcando o ponto
se o compasso com medida igual a 3,5, centra-se em 3 e traça-se em arco ligando
se o compasso para o ponto 4 e traça-se outro arco, ligando 7 a 8 e completando assim a
TRAÇAR A OVAL DE TRÊS CIRCUNFERÊNCIAS
Apostila Pessoal: http://www.youtube.com/user/ThePoluidor
22
, marcando o ponto 8.
, completando assim o óvulo.
se em três partes iguais, marcando os pontos 1 e 2. Centra-se o
se a primeira circunferência. Muda-se o compasso
4. Liga-se 3 com 1 e
se, marcando o ponto 6. Liga-se 4 com
se marcando o ponto 8. Em
se em arco ligando 5 a
completando assim a
Apostila Pessoal: http://www.youtube.com/user/ThePoluidor
Inicialmente traça-se o eixo AB
Abre-se o compasso com medida igual a
Muda-se o compasso para 2 e traça
se a terceira circunferência, marcando os pontos
sentidos, marcando os pontos
marcando os pontos D e E. Depois, liga
3 com 7 e também prolonga-se nos dois sentidos, marcando os pontos
vértices da oval. Centra-se, portanto em
Muda-se o compasso para G e com a mesma abertura traça
Apostila Pessoal: http://www.youtube.com/user/ThePoluidor
AB e divide-se em quatro partes iguais marcando os pontos
se o compasso com medida igual a A1, centra-se em 1 e traça-se a primeira circunferência.
e traça-se a segunda, marcando os pontos 4 e 5. Centra
se a terceira circunferência, marcando os pontos 6 e 7 . Liga-se 1 com 4 e prolonga
ntos D e C. Liga-se 3 com 6 e prolonga-se até cruzar com a primeira,
. Depois, liga-se 1 com 5, prolonga-se e marca-se os pontos
se nos dois sentidos, marcando os pontos G e H. Os pontos
se, portanto em D e com abertura DC, traça-se um arco ligando
e com a mesma abertura traça-se outro arco, ligando
Apostila Pessoal: http://www.youtube.com/user/ThePoluidor
23
se em quatro partes iguais marcando os pontos 1, 2 e 3.
se a primeira circunferência.
. Centra-se em 3 e traça-
e prolonga-se nos dois
se até cruzar com a primeira,
se os pontos F e G, liga-se
. Os pontos D e G são os
se um arco ligando C com E.
se outro arco, ligando F com H.
Apostila Pessoal: http://www.youtube.com/user/ThePoluidor
TRAÇADO DA ESPIRIAL DE DOIS CENTROS
Primeiramente traça-se o eixo
compasso no ponto 1 e com abertura igual a
arco CD. Centra-se em D e faz-
1 e 2 e vão se traçando os arcos.
TRAÇADO DA ESPIRAL DE TRÊS CENTROS
Apostila Pessoal: http://www.youtube.com/user/ThePoluidor
TRAÇADO DA ESPIRIAL DE DOIS CENTROS
se o eixo AB. Depois no meio do eixo, marcam-se os pontos
e com abertura igual a 1-2, traça-se o arco 2-C. Centra-se em
-se outro arco DE. E assim por diante, centra-se alternativamente em
e vão se traçando os arcos.
TRAÇADO DA ESPIRAL DE TRÊS CENTROS
Apostila Pessoal: http://www.youtube.com/user/ThePoluidor
24
se os pontos 1 e 2. Centra-se o
se em 2 e traça-se o
se alternativamente em
Apostila Pessoal: http://www.youtube.com/user/ThePoluidor
Constrói-se primeiro um pequeno triângulo eqüilátero e marca
2 e prolonga-se. Liga-se 2 com
3 e faz-se o arco 1,3; centra-se em
arco será sempre a continuidade do outro.
TRAÇADO DA ESPIRAL DE QUATRO CENTROS
Traça-se primeiramente um pequeno quadrado e marcam
uma reta ligando 1 com 2, outra ligando
Em seguida, centra-se o compasso em
arco 3,2; centro em 1, arco 2,1
outro.
TRAÇADO DA ESPIRAL POLICÊNTRICA
Apostila Pessoal: http://www.youtube.com/user/ThePoluidor
se primeiro um pequeno triângulo eqüilátero e marca-se os pontos 1,
com 3 e prolonga-se. Liga-se 3 com 1 e prolonga-se. Depois, centra
se em 2 faz-se o arco 3,2; centra-se em 1 faz-se o arco
arco será sempre a continuidade do outro.
TRAÇADO DA ESPIRAL DE QUATRO CENTROS
se primeiramente um pequeno quadrado e marcam-se os pontos 1, 2, 3
, outra ligando 2 com 3; outra ligando 3 com 4 e outra ligando
se o compasso em 4 e traça-se o arco 1,4; centro em 3, arco
1. Como nas figuras anteriores, um arco é sempre a continuidade do
TRAÇADO DA ESPIRAL POLICÊNTRICA
Apostila Pessoal: http://www.youtube.com/user/ThePoluidor
25
, 2 e 3. Liga-se 1 com
se. Depois, centra-se em
se o arco 2,1 e assim um
3, e 4. Depois, faz-se
e outra ligando 4 com 1.
, arco 4,3; centro em 2,
. Como nas figuras anteriores, um arco é sempre a continuidade do
Apostila Pessoal: http://www.youtube.com/user/ThePoluidor
Desenha-se um hexágono e numeram
prolongando) 1 com 6; 6 com 5
um tamanho determinado. Como nas outras espirais, centra
centro em 2, arco 1,2; centro em
6, arco 5,6.
DESENVOLVIMENTO LATERAL DE UM CILINDRO
Apostila Pessoal: http://www.youtube.com/user/ThePoluidor
se um hexágono e numeram-se os pontos de 1 a 6. Depois, traçam-se retas ligan
5; 5 com 4; 4 com 3; 3 com 2; 2 com 1; 1 com 6. Estas retas não tem
um tamanho determinado. Como nas outras espirais, centra-se o compasso em 1
; centro em 3, arco 2,3; centro em 4, arco 3,4; centro em 5, arco
DESENVOLVIMENTO LATERAL DE UM CILINDRO
Apostila Pessoal: http://www.youtube.com/user/ThePoluidor
26
se retas ligando (e
. Estas retas não tem
1 e faz-se o arco 6,1;
, arco 4,5; centro em
Apostila Pessoal: http://www.youtube.com/user/ThePoluidor
As figuras 31, 32 e 33 mostram o desenvolvimento lateral de um cilindro, que é um retângulo, cujo
comprimento é igual ao diâmetro médio encontrado, mul
chapas, tanto em funilaria industrial como em caldeiraria, deve
indicado aqui pelas letras DM. Método para se encontrar o DM. Se o diâmetro indicado no desenho
for interno, acrescenta-se uma vez a espessura do material e multiplica
1º exemplo: Diâmetro indicado no desenho 120mm interno; espessura do material, 3mm. 120
+ 3 = 123. O número 123 é o DM encontrado e é ele que deve ser multiplicado por 3,142.
2º exemplo: O diâmetro indicado no desenho é 120mm externo: subtrai
material. Assim, 120 – 3 = 117. O número 117 é o DM encontrado e é ele que deve ser multiplicado
por 3,142.
Obs.: Em chaparia é costume usar
acrescentarmos 0,0004 (quatro décimos milésimos) ao 3,1416 obteremos o número 3,142 que dá
uma melhor precisão ao diâmetro da peça que será confeccionada.
Para confirmar seguem-se dois exemplos:
1º 120 x 3,14 = 376
2º 120 x 3,142 = 377
PLANIFICAÇÃO DE CILINDRO COM UMA BASE (BOCA) NÃO PARALELA
Apostila Pessoal: http://www.youtube.com/user/ThePoluidor
As figuras 31, 32 e 33 mostram o desenvolvimento lateral de um cilindro, que é um retângulo, cujo
comprimento é igual ao diâmetro médio encontrado, multiplicado por 3,142. Em planificação de
chapas, tanto em funilaria industrial como em caldeiraria, deve-se sempre usar o diâmetro médio,
indicado aqui pelas letras DM. Método para se encontrar o DM. Se o diâmetro indicado no desenho
se uma vez a espessura do material e multiplica-se por 3,142.
: Diâmetro indicado no desenho 120mm interno; espessura do material, 3mm. 120
+ 3 = 123. O número 123 é o DM encontrado e é ele que deve ser multiplicado por 3,142.
: O diâmetro indicado no desenho é 120mm externo: subtrai-se uma vez a espessura do
3 = 117. O número 117 é o DM encontrado e é ele que deve ser multiplicado
Obs.: Em chaparia é costume usar-se apenas o número 3,14 ao invés de 3,142. Entretanto se
acrescentarmos 0,0004 (quatro décimos milésimos) ao 3,1416 obteremos o número 3,142 que dá
uma melhor precisão ao diâmetro da peça que será confeccionada.
se dois exemplos:
PLANIFICAÇÃO DE CILINDRO COM UMA BASE (BOCA) NÃO PARALELA – PROCESSO 1
Apostila Pessoal: http://www.youtube.com/user/ThePoluidor
27
As figuras 31, 32 e 33 mostram o desenvolvimento lateral de um cilindro, que é um retângulo, cujo
tiplicado por 3,142. Em planificação de
se sempre usar o diâmetro médio,
indicado aqui pelas letras DM. Método para se encontrar o DM. Se o diâmetro indicado no desenho
se por 3,142.
: Diâmetro indicado no desenho 120mm interno; espessura do material, 3mm. 120
+ 3 = 123. O número 123 é o DM encontrado e é ele que deve ser multiplicado por 3,142.
se uma vez a espessura do
3 = 117. O número 117 é o DM encontrado e é ele que deve ser multiplicado
invés de 3,142. Entretanto se
acrescentarmos 0,0004 (quatro décimos milésimos) ao 3,1416 obteremos o número 3,142 que dá
PROCESSO 1
Apostila Pessoal: http://www.youtube.com/user/ThePoluidor
Acha-se o diâmetro médio e desenha
o semicírculo 1-7, o qual será dividido em um número
partir destes pontos serão levantadas perpendiculares que tocarão a parte inclinada do cilindro
marcando-se os pontos que tocarão a parte inclinada do cilindro marcando
5’-6’-7’. A seguir, multiplica-se o DM por 3,142 e sobre uma reta que deverá ser traçada ao lado da
fig. 34, marca-se o comprimento encontrado. Divide
dobro das divisões feitas na fig. 34). Por estas divisões serão levantadas perp
partindo dos pontos 1’-2’-3’-4’
horizontais que cruzarão com as verticais levantadas anteriormente, marcando os pontos 1”
4”-5”-6”-7”.
Finalmente, unem-se estes pontos com o auxilio de uma régua flexível.
Apostila Pessoal: http://www.youtube.com/user/ThePoluidor
se o diâmetro médio e desenha-se inicialmente a vista de elevação (fig. 34). A seguir, traça
7, o qual será dividido em um número qualquer de partes iguais, 1
partir destes pontos serão levantadas perpendiculares que tocarão a parte inclinada do cilindro
se os pontos que tocarão a parte inclinada do cilindro marcando-se os pontos 1’
se o DM por 3,142 e sobre uma reta que deverá ser traçada ao lado da
se o comprimento encontrado. Divide-se esta reta em partes iguais (exatamente o
dobro das divisões feitas na fig. 34). Por estas divisões serão levantadas perp
4’-5’-6’-7’ (localizados na parte inclinada do cilindro), traçam
horizontais que cruzarão com as verticais levantadas anteriormente, marcando os pontos 1”
es pontos com o auxilio de uma régua flexível.
Apostila Pessoal: http://www.youtube.com/user/ThePoluidor
28
se inicialmente a vista de elevação (fig. 34). A seguir, traça-se
qualquer de partes iguais, 1-2-3-4-5-6-7. A
partir destes pontos serão levantadas perpendiculares que tocarão a parte inclinada do cilindro
se os pontos 1’-2’-3’-4’-
se o DM por 3,142 e sobre uma reta que deverá ser traçada ao lado da
se esta reta em partes iguais (exatamente o
dobro das divisões feitas na fig. 34). Por estas divisões serão levantadas perpendiculares. Depois,
7’ (localizados na parte inclinada do cilindro), traçam-se retas
horizontais que cruzarão com as verticais levantadas anteriormente, marcando os pontos 1”-2”-3”-
Apostila Pessoal: http://www.youtube.com/user/ThePoluidor
DESENVOLVIMENTO DE CILINDRO COM UMA BASE (BOCA) NÃO PARALELA
Como sempre, acha-se primeiro o diâmetro como foi explicado nas figuras 32, 32 e 33. A seguir,
desenha-se a vista de elevação d
AC e divide-se em um número qualquer de partes iguais. Multiplica
comprimento encontrado 1-1 sobre uma reta qualquer. Levantam
Transporta-se com o compasso o arco
iguais. Unem-se estas partes através das retas 1
1-1 no mesmo número de partes iguais e levantam
horizontais traçadas anteriormente. Marcam
régua flexível.
Apostila Pessoal: http://www.youtube.com/user/ThePoluidor
DESENVOLVIMENTO DE CILINDRO COM UMA BASE (BOCA) NÃO PARALELA
se primeiro o diâmetro como foi explicado nas figuras 32, 32 e 33. A seguir,
se a vista de elevação do cilindro e marca-se o ângulo de inclinação ABC
se em um número qualquer de partes iguais. Multiplica-se o DM por 3,142 e marca
1 sobre uma reta qualquer. Levantam-se as perpendiculares 1
se com o compasso o arco AC para as verticais 1-7 e 1-14, dividindo
se estas partes através das retas 1-8, 2-9, 3-10, 4-11, 5-12, 6-13, 7
1 no mesmo número de partes iguais e levantam-se perpendiculares que cruzarão com as
horizontais traçadas anteriormente. Marcam-se os pontos de cruzamento e unem
Apostila Pessoal: http://www.youtube.com/user/ThePoluidor
29
DESENVOLVIMENTO DE CILINDRO COM UMA BASE (BOCA) NÃO PARALELA – PROCESSO 2
se primeiro o diâmetro como foi explicado nas figuras 32, 32 e 33. A seguir,
ABC. Traça-se o arco
se o DM por 3,142 e marca-se o
se as perpendiculares 1-7 e 1-14.
14, dividindo-os em partes
13, 7-14. Divide-se a reta
pendiculares que cruzarão com as
se os pontos de cruzamento e unem-se com uma
Apostila Pessoal: http://www.youtube.com/user/ThePoluidor
PLANIFICAÇÃO DE CILINDRO COM UMA BASE (BOCA) NÃO PARALELA
Muitas vezes, a chapa em que se está traçando a peça é pequena, sendo suficiente apenas para fazer
o desenvolvimento, não tendo espaço para se traçar à vista de elevação do cilindro. Neste caso,
utiliza-se o processo 3, que consiste em se traçar a vista de
de chapa (em separado) com todos os detalhes já indicados nas figuras anteriores. Depois se traça a
linha AB na chapa em que se está traçando a peça. Dividir
perpendiculares. Então, abre-se o compasso com abertura igual a
Apostila Pessoal: http://www.youtube.com/user/ThePoluidor
PLANIFICAÇÃO DE CILINDRO COM UMA BASE (BOCA) NÃO PARALELA – PROCESSO 3
Muitas vezes, a chapa em que se está traçando a peça é pequena, sendo suficiente apenas para fazer
o desenvolvimento, não tendo espaço para se traçar à vista de elevação do cilindro. Neste caso,
se o processo 3, que consiste em se traçar a vista de elevação (fig. 38) em qualquer pedaço
de chapa (em separado) com todos os detalhes já indicados nas figuras anteriores. Depois se traça a
na chapa em que se está traçando a peça. Dividir-se-á em partes iguais e levantam
se o compasso com abertura igual a 1A (fig. 38) e marca
Apostila Pessoal: http://www.youtube.com/user/ThePoluidor
30
PROCESSO 3
Muitas vezes, a chapa em que se está traçando a peça é pequena, sendo suficiente apenas para fazer
o desenvolvimento, não tendo espaço para se traçar à vista de elevação do cilindro. Neste caso,
elevação (fig. 38) em qualquer pedaço
de chapa (em separado) com todos os detalhes já indicados nas figuras anteriores. Depois se traça a
á em partes iguais e levantam-se
(fig. 38) e marca-se esta
Apostila Pessoal: http://www.youtube.com/user/ThePoluidor
medida no desenvolvimento (fig. 39). Volta
desenvolvimento. Pega-se a medida
marcando as medidas à esquerda e à direita da linha de centro
PLANIFICAÇÃO DE CILINDRO COM AS DUAS BASES (BOCAS) INCLINADAS
Apostila Pessoal: http://www.youtube.com/user/ThePoluidor
medida no desenvolvimento (fig. 39). Volta-se ao perfil e pega-se a medida 2B
se a medida 3C transportando-a também. E assim por diante, sempre
rcando as medidas à esquerda e à direita da linha de centro 7G da fig 39.
PLANIFICAÇÃO DE CILINDRO COM AS DUAS BASES (BOCAS) INCLINADAS
Apostila Pessoal: http://www.youtube.com/user/ThePoluidor
31
2B passando-a para o
a também. E assim por diante, sempre
Apostila Pessoal: http://www.youtube.com/user/ThePoluidor
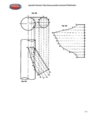
Esta peça é bastante semelhante às que foram desenhadas anteriormente, com a única diferença de
que tem as duas bocas inclinadas. Pelo próprio desenho desta página, verifica
planificação. Basta que se divida o semicírculo
marcando os pontos 1-2-3-4-5-
Levantam-se perpendiculares também na parte que será desenvolvida (fig. 41). O cruzamento das
linhas horizontais que partem da fig. 40, com as verticais da fig. 41 formam as linhas de
desenvolvimento EF e CD.
Obs.: Esta figura também pode ser desenvolvida transportando
invés de se cruzarem as linhas.
PLANIFICAÇÃO DE COTOVELO DE 45º
Apostila Pessoal: http://www.youtube.com/user/ThePoluidor
Esta peça é bastante semelhante às que foram desenhadas anteriormente, com a única diferença de
bocas inclinadas. Pelo próprio desenho desta página, verifica
planificação. Basta que se divida o semicírculo AB em partes iguais e se levantem perpendiculares,
-6-7 e 1’-2’ -3’-4’-5’-6’-7’.
iculares também na parte que será desenvolvida (fig. 41). O cruzamento das
linhas horizontais que partem da fig. 40, com as verticais da fig. 41 formam as linhas de
Esta figura também pode ser desenvolvida transportando-se as medidas com o compasso ao
invés de se cruzarem as linhas.
PLANIFICAÇÃO DE COTOVELO DE 45º
Apostila Pessoal: http://www.youtube.com/user/ThePoluidor
32
Esta peça é bastante semelhante às que foram desenhadas anteriormente, com a única diferença de
bocas inclinadas. Pelo próprio desenho desta página, verifica-se como é fácil a
em partes iguais e se levantem perpendiculares,
iculares também na parte que será desenvolvida (fig. 41). O cruzamento das
linhas horizontais que partem da fig. 40, com as verticais da fig. 41 formam as linhas de
medidas com o compasso ao
Apostila Pessoal: http://www.youtube.com/user/ThePoluidor
O cotovelo de 45º é largamente utilizado em instalações industriais. Nas figuras anteriores
mostrou-se como se desenvolve tubos com a face em grau, não
como se faz o desenvolvimento, porque o cotovelo nada mãos é do que dois tubos desenvolvidos
com o mesmo grau. Assim, dois tubos de 22,5º formam o cotovelo de 45º.
Obs.: Os encanadores, pelo fato de trabalharem com tubos j
modelos em chapa fina e para isso deverão medir o diâmetro externo do tubo e multiplicá
3,142.
Apostila Pessoal: http://www.youtube.com/user/ThePoluidor
O cotovelo de 45º é largamente utilizado em instalações industriais. Nas figuras anteriores
se como se desenvolve tubos com a face em grau, não sendo necessário explicar
como se faz o desenvolvimento, porque o cotovelo nada mãos é do que dois tubos desenvolvidos
com o mesmo grau. Assim, dois tubos de 22,5º formam o cotovelo de 45º.
Os encanadores, pelo fato de trabalharem com tubos já prontos, deverão desenvolver os
modelos em chapa fina e para isso deverão medir o diâmetro externo do tubo e multiplicá
Apostila Pessoal: http://www.youtube.com/user/ThePoluidor
33
O cotovelo de 45º é largamente utilizado em instalações industriais. Nas figuras anteriores
sendo necessário explicar-se aqui
como se faz o desenvolvimento, porque o cotovelo nada mãos é do que dois tubos desenvolvidos
á prontos, deverão desenvolver os
modelos em chapa fina e para isso deverão medir o diâmetro externo do tubo e multiplicá-lo por
Apostila Pessoal: http://www.youtube.com/user/ThePoluidor
PLANIFICAÇÃO DE COTOVELO DE 90º
Apostila Pessoal: http://www.youtube.com/user/ThePoluidor
PLANIFICAÇÃO DE COTOVELO DE 90º
Apostila Pessoal: http://www.youtube.com/user/ThePoluidor
34
Apostila Pessoal: http://www.youtube.com/user/ThePoluidor
As figuras 44 e 45 que representam o cotovelo de 90º, não precisam também de
explicações. Basta que se desenvolvam dois tubos de 45º, como já foi explicado anteriormente, e
solde-se um no outro.
INTERSEÇÃO DE DOIS CILINDROS DE DIÂMETROS IGUAIS
Apostila Pessoal: http://www.youtube.com/user/ThePoluidor
As figuras 44 e 45 que representam o cotovelo de 90º, não precisam também de
explicações. Basta que se desenvolvam dois tubos de 45º, como já foi explicado anteriormente, e
INTERSEÇÃO DE DOIS CILINDROS DE DIÂMETROS IGUAIS
Apostila Pessoal: http://www.youtube.com/user/ThePoluidor
35
As figuras 44 e 45 que representam o cotovelo de 90º, não precisam também de maiores
explicações. Basta que se desenvolvam dois tubos de 45º, como já foi explicado anteriormente, e
Apostila Pessoal: http://www.youtube.com/user/ThePoluidor
Desenvolvimento do furo: Traçar a linha
pontos 1-2-3-4-5-6-7 e traçar perpendiculares por estes pontos. Traçar também as linhas
DD’, OO’, NN’ e MM’. O cruzamento destas com as perpendiculares traçadas anteriormente formam
a linha do furo.
O desenvolvimento do cilindro inferior é feito da mesma forma como foram feitas as planificações
anteriores.
Apostila Pessoal: http://www.youtube.com/user/ThePoluidor
Desenvolvimento do furo: Traçar a linha LP e com abertura de compasso igual a 4
7 e traçar perpendiculares por estes pontos. Traçar também as linhas
. O cruzamento destas com as perpendiculares traçadas anteriormente formam
dro inferior é feito da mesma forma como foram feitas as planificações
Apostila Pessoal: http://www.youtube.com/user/ThePoluidor
36
ual a 4-5, marcar os
7 e traçar perpendiculares por estes pontos. Traçar também as linhas KK’, CC’,
. O cruzamento destas com as perpendiculares traçadas anteriormente formam
dro inferior é feito da mesma forma como foram feitas as planificações
Apostila Pessoal: http://www.youtube.com/user/ThePoluidor
INTERSEÇÃO DE UM CILINDRO POR OUTRO DE DIÂMETRO IGUAL
A interseção de dois cilindros saindo a 90º um do outro, também chamada “boca de lobo”, é uma
das peças mais usadas em funilaria industrial e é de fácil confecção. Basta que se trace inicialmente
à vista de elevação, e se divida o arco
5-6-7. A partir destes pontos levantam
pontos 1’-2’-3’-4’-5’-6’-7’. A seguir acha
encontrada marca-se em uma reta
marcando-se os pontos M-N-O-
Apostila Pessoal: http://www.youtube.com/user/ThePoluidor
INTERSEÇÃO DE UM CILINDRO POR OUTRO DE DIÂMETRO IGUAL
A interseção de dois cilindros saindo a 90º um do outro, também chamada “boca de lobo”, é uma
adas em funilaria industrial e é de fácil confecção. Basta que se trace inicialmente
à vista de elevação, e se divida o arco AB (fig. 49) em partes iguais e marquem-se os pontos 1
7. A partir destes pontos levantam-se perpendiculares até tocar o tubo superior, marcando os
7’. A seguir acha-se o diâmetro médio, multiplica-se por 3,142 e a medida
se em uma reta CD na mesma direção de AB e divide-se em partes iguais
-P-Q-R-S-R-Q-P-O-N-M.
Apostila Pessoal: http://www.youtube.com/user/ThePoluidor
37
A interseção de dois cilindros saindo a 90º um do outro, também chamada “boca de lobo”, é uma
adas em funilaria industrial e é de fácil confecção. Basta que se trace inicialmente
se os pontos 1-2-3-4-
tubo superior, marcando os
se por 3,142 e a medida
se em partes iguais
Apostila Pessoal: http://www.youtube.com/user/ThePoluidor
A partir destes, levantam-se perpendiculares. Depois, partindo dos pontos 1’
linhas horizontais que cruzarão com as verticais e levantadas anteriormente, marcando os pontos
1”-2”-3”-4”-5”-6”-7” etc.
Terminando, unem-se estes pontos com uma régua flexível.
INTERSEÇÃO DE CILINDROS COM DIÂMETROS DIFERENTES
Apostila Pessoal: http://www.youtube.com/user/ThePoluidor
se perpendiculares. Depois, partindo dos pontos 1’-2’
linhas horizontais que cruzarão com as verticais e levantadas anteriormente, marcando os pontos
s pontos com uma régua flexível.
INTERSEÇÃO DE CILINDROS COM DIÂMETROS DIFERENTES
Apostila Pessoal: http://www.youtube.com/user/ThePoluidor
38
2’-3’-4’ etc., traçam-se
linhas horizontais que cruzarão com as verticais e levantadas anteriormente, marcando os pontos
Apostila Pessoal: http://www.youtube.com/user/ThePoluidor
A interseção de cilindros com diâmetros diferentes, saindo a 90º um do outro é feita da mesma
forma como foi explicado nas figuras 49 e 50. A
iguais, um tubo encaixa no outro até a metade e quando os diâmetros são diferentes isso não
ocorre, como mostra a vista lateral (fig. 53) desenhada nesta página.
Apostila Pessoal: http://www.youtube.com/user/ThePoluidor
A interseção de cilindros com diâmetros diferentes, saindo a 90º um do outro é feita da mesma
forma como foi explicado nas figuras 49 e 50. A única diferença é que quando os diâmetros são
iguais, um tubo encaixa no outro até a metade e quando os diâmetros são diferentes isso não
ocorre, como mostra a vista lateral (fig. 53) desenhada nesta página.
Apostila Pessoal: http://www.youtube.com/user/ThePoluidor
39
A interseção de cilindros com diâmetros diferentes, saindo a 90º um do outro é feita da mesma
única diferença é que quando os diâmetros são
iguais, um tubo encaixa no outro até a metade e quando os diâmetros são diferentes isso não
Apostila Pessoal: http://www.youtube.com/user/ThePoluidor
INTERSEÇÃO DE CILINDROS COM EIXOS EXCÊNTRIC
Apostila Pessoal: http://www.youtube.com/user/ThePoluidor
INTERSEÇÃO DE CILINDROS COM EIXOS EXCÊNTRICOS
Apostila Pessoal: http://www.youtube.com/user/ThePoluidor
40
Apostila Pessoal: http://www.youtube.com/user/ThePoluidor
O encontro das projeções das linhas horizontais da fig. 54 com as verticais da fig. 55 mostra
claramente como se faz o desenvolvimento de cilindros com eixos fora de centro, não sendo
necessário maiores explicações porque se verifica que é igual
nas figuras 49 e 50.
UNIÃO DE UM CILINDRO COM OUTROS DOIS, ENCONTRANDO
MESMO PLANO
Apostila Pessoal: http://www.youtube.com/user/ThePoluidor
O encontro das projeções das linhas horizontais da fig. 54 com as verticais da fig. 55 mostra
claramente como se faz o desenvolvimento de cilindros com eixos fora de centro, não sendo
necessário maiores explicações porque se verifica que é igual à planificação anterior já explicada
UNIÃO DE UM CILINDRO COM OUTROS DOIS, ENCONTRANDO-SE A LINHA DE CENTRO NO
Apostila Pessoal: http://www.youtube.com/user/ThePoluidor
41
O encontro das projeções das linhas horizontais da fig. 54 com as verticais da fig. 55 mostra
claramente como se faz o desenvolvimento de cilindros com eixos fora de centro, não sendo
à planificação anterior já explicada
SE A LINHA DE CENTRO NO
Apostila Pessoal: http://www.youtube.com/user/ThePoluidor
Desenha-se inicialmente a vista de elevação (Fig. 56) e num ponto qualquer do cilindro traça
arco AB, o qual deve ser dividido em um número qualquer de partes iguais.
Em seguida, por estas divisões traçam
outros dois cilindros, marcando
linha CD, cujo comprimento é, como se sabe, o perímetro do tubo do meio. Divide
partes iguais marcando-se os pontos 1’, 2’, 3’,
levantam-se linhas perpendiculares.
Voltamos à fig. 56 e a partir do ponto 4 do cilindro 2 traçamos linhas horizontais que cortarão as
verticais levantadas anteriormente. Passamos ao cilindro 1 e f
encontro das horizontais com as verticais formam as linhas de interseção, ligados com a régua
flexível, completando assim a fig. 57. Para uma melhor apresentação da peça, desenhamos também
a vista lateral dos três cilindros rep
INTERSEÇÃO DE TRÊS CILINDROS COM EIXOS EXCÊNTRICOS
Apostila Pessoal: http://www.youtube.com/user/ThePoluidor
se inicialmente a vista de elevação (Fig. 56) e num ponto qualquer do cilindro traça
, o qual deve ser dividido em um número qualquer de partes iguais.
Em seguida, por estas divisões traçam-se linhas perpendiculares que devem tocar os l
outros dois cilindros, marcando-se os pontos 1, 2, 3, 4, 5, 6, 7. Então ao lado da fig. 56 traça
, cujo comprimento é, como se sabe, o perímetro do tubo do meio. Divide
se os pontos 1’, 2’, 3’, 4’, 5’, 6’, 7’, 6’, 5’, 4’, 3’, 2’, 1’ e por estes pontos
se linhas perpendiculares.
Voltamos à fig. 56 e a partir do ponto 4 do cilindro 2 traçamos linhas horizontais que cortarão as
verticais levantadas anteriormente. Passamos ao cilindro 1 e fazemos o mesmo. Os pontos de
encontro das horizontais com as verticais formam as linhas de interseção, ligados com a régua
flexível, completando assim a fig. 57. Para uma melhor apresentação da peça, desenhamos também
a vista lateral dos três cilindros representados na fig. 58.
INTERSEÇÃO DE TRÊS CILINDROS COM EIXOS EXCÊNTRICOS
Apostila Pessoal: http://www.youtube.com/user/ThePoluidor
42
se inicialmente a vista de elevação (Fig. 56) e num ponto qualquer do cilindro traça-se o
se linhas perpendiculares que devem tocar os lados dos
se os pontos 1, 2, 3, 4, 5, 6, 7. Então ao lado da fig. 56 traça-se a
, cujo comprimento é, como se sabe, o perímetro do tubo do meio. Divide-se a linha CD em
4’, 5’, 6’, 7’, 6’, 5’, 4’, 3’, 2’, 1’ e por estes pontos
Voltamos à fig. 56 e a partir do ponto 4 do cilindro 2 traçamos linhas horizontais que cortarão as
azemos o mesmo. Os pontos de
encontro das horizontais com as verticais formam as linhas de interseção, ligados com a régua
flexível, completando assim a fig. 57. Para uma melhor apresentação da peça, desenhamos também
Apostila Pessoal: http://www.youtube.com/user/ThePoluidor
O desenvolvimento desta peça faz
com o cruzamento das linhas horizontais e verticais mostrando claramente a peça d
Entretanto, quem está traçando pode preferir não cruzar as linhas e fazer o desenvolvimento
transportando as medidas com o compasso. Para isso deverá traçar uma linha que chamaremos de
linha de centro (LC) e marcar os pontos
superior da peça, abrirá o compasso com abertura igual a
na planificação marcando os pontos
LC2 e marca-se na fig. 60, a partir da linha de centro os pontos
pegando as medidas da fig. 59 e transportando
mesma forma.
Apostila Pessoal: http://www.youtube.com/user/ThePoluidor
O desenvolvimento desta peça faz-se da mesma forma como foi explicado nas figuras 56,57 e 58,
com o cruzamento das linhas horizontais e verticais mostrando claramente a peça d
Entretanto, quem está traçando pode preferir não cruzar as linhas e fazer o desenvolvimento
transportando as medidas com o compasso. Para isso deverá traçar uma linha que chamaremos de
e marcar os pontos A-B-C-D-E-F-G-H-I-J-K-L-M. Então, para traçar a parte
superior da peça, abrirá o compasso com abertura igual a LC1 da fig. 59 e esta medida será traçada
na planificação marcando os pontos A1 e M1 na fig. 60. Volta-se à fig. 59, abre-se o compasso igual a
se na fig. 60, a partir da linha de centro os pontos B2 e L2. E assim por diante, sempre
pegando as medidas da fig. 59 e transportando-as par a fig. 60. A parte inferior também é feita da
Apostila Pessoal: http://www.youtube.com/user/ThePoluidor
43
se da mesma forma como foi explicado nas figuras 56,57 e 58,
com o cruzamento das linhas horizontais e verticais mostrando claramente a peça desenvolvida.
Entretanto, quem está traçando pode preferir não cruzar as linhas e fazer o desenvolvimento
transportando as medidas com o compasso. Para isso deverá traçar uma linha que chamaremos de
. Então, para traçar a parte
da fig. 59 e esta medida será traçada
se o compasso igual a
. E assim por diante, sempre
as par a fig. 60. A parte inferior também é feita da
Apostila Pessoal: http://www.youtube.com/user/ThePoluidor
INTERSEÇÃO DE UM CILINDRO POR OUTRO INCLIN
Inicialmente, desenha-se o cilindro
a perpendicular VZ e com o raio deste cilindro, traça
cilindro Y o arco 1-7, o qual divide
a mesma abertura de compasso e fazendo centro no ponto
dividem em partes iguais, marcando
marcando-se A-B-C-D-E. Então, a partir destes pontos, traçamos as linhas horizontais e paralelas ao
longo do cilindro X. Depois, partindo dos pontos
paralelas ao longo dele, até cruzarem com as horizontais traçadas no cilind
pontos A-B-C-D-E-F-G, formando assim a linha de interseção dos dois cilindros. Para traçar o
desenvolvimento (fig. 62), faz
divisões levantam-se perpendiculares. Depois,
Apostila Pessoal: http://www.youtube.com/user/ThePoluidor
INTERSEÇÃO DE UM CILINDRO POR OUTRO INCLINADO
se o cilindro X e depois o cilindro Y no grau desejado. No cilindro
e com o raio deste cilindro, traça-se o arco VO. Continuando, traça
, o qual divide-se em partes iguais, marcando-se os pontos
a mesma abertura de compasso e fazendo centro no ponto V, traça-se o arco MN
dividem em partes iguais, marcando-se os pontos 1-2-3-4. Projetam-se estes pontos para o arco
. Então, a partir destes pontos, traçamos as linhas horizontais e paralelas ao
. Depois, partindo dos pontos 1-2-3-4-5-6-7 do cilindro menor, traçam
paralelas ao longo dele, até cruzarem com as horizontais traçadas no cilindro maior, marcando os
, formando assim a linha de interseção dos dois cilindros. Para traçar o
desenvolvimento (fig. 62), faz-se primeiro a linha CD a qual divide-se em partes iguais e pelas
se perpendiculares. Depois, partindo dos pontos A-B-C-D
Apostila Pessoal: http://www.youtube.com/user/ThePoluidor
44
no grau desejado. No cilindro X, traça-se
. Continuando, traça-se no
se os pontos 1-2-3-4-5-6-7. Com
MN, o qual também se
se estes pontos para o arco VO
. Então, a partir destes pontos, traçamos as linhas horizontais e paralelas ao
do cilindro menor, traçam-se linhas
ro maior, marcando os
, formando assim a linha de interseção dos dois cilindros. Para traçar o
se em partes iguais e pelas
D-E-F-G da fig. 61,
Apostila Pessoal: http://www.youtube.com/user/ThePoluidor
traçam-se paralelas que cruzarão com as perpendiculares levantadas anteriormente e este
cruzamento marca a linha de desenvolvimento do cilindro.
COMPLEMENTO PARA “ BOCA DE LOBO “
Muitas vezes, depois de montada a tubulação verifica
necessário ampliar o canal de passagem do ar. Para isso usa
63 e 64. Para traçar esta peça, desenha
se o compasso com a medida desejada e fazendo centro em
Faz-se uma reta ligando X a Y. Depois, colocando o esquadro em
faz-se outra linha paralela a XY
qual divide-se em partes iguais e pelas divisões traçam
Apostila Pessoal: http://www.youtube.com/user/ThePoluidor
se paralelas que cruzarão com as perpendiculares levantadas anteriormente e este
cruzamento marca a linha de desenvolvimento do cilindro.
COMPLEMENTO PARA “ BOCA DE LOBO “
Muitas vezes, depois de montada a tubulação verifica-se que a vazão de pressão é pouca, sendo
necessário ampliar o canal de passagem do ar. Para isso usa-se o recurso apresentado nas figuras
63 e 64. Para traçar esta peça, desenha-se à vista de elevação dos dois tubos (fig. 63). A seguir, abre
se o compasso com a medida desejada e fazendo centro em M, marcam-se as distâncias
. Depois, colocando o esquadro em X, traça-se a linha
XY marcando o ponto R e R liga-se a Y. A seguir, traça
se em partes iguais e pelas divisões traçam-se paralelas, ligando
Apostila Pessoal: http://www.youtube.com/user/ThePoluidor
45
se paralelas que cruzarão com as perpendiculares levantadas anteriormente e este
se que a vazão de pressão é pouca, sendo
se o recurso apresentado nas figuras
s dois tubos (fig. 63). A seguir, abre-
se as distâncias MX e MY.
se a linha XL do ponto L
. A seguir, traça-se o arco XL, o
se paralelas, ligando XL ao lado YR,
Apostila Pessoal: http://www.youtube.com/user/ThePoluidor
marcando-se os pontos A-B-C-
XY traça-se a linha JK e numera
a linha ST. Em seguida, se pega
sempre a partir da linha de base
marcados unem-se com uma régua flexível. Então, abre
Fig. 63 e centra-se em E’ e depois em
para o outro lado da peça e centra
cruzem no ponto 8. Une-se E
desenvolvida. A fig. 65 mostra como fica a peça depois de montada.
TRONCO DE CONE SAINDO DO CILINDRO COM EIXOS A 90º
Apostila Pessoal: http://www.youtube.com/user/ThePoluidor
-D-E e no outro lado os pontos F-G-H-I-J. Em qualquer ponto da linha
e numera-se os pontos 1-2-3-4-5. Para fazer a planificação traça
. Em seguida, se pega 5A-4B-3C-2D e 1E (uma por vez da fig. 63) e passa
inha de base ST. Faz-se o mesmo para traçar a parte inferior. Os pontos
se com uma régua flexível. Então, abre-se o compasso com medida igual à
e depois em J’ e traçam-se dois arcos que se cruzem no ponto
para o outro lado da peça e centra-se também em E’ e J’ e traçam-se outros dois arcos que se
E com 6 e 6 com J. Une-se E com 8 e 8 com
desenvolvida. A fig. 65 mostra como fica a peça depois de montada.
TRONCO DE CONE SAINDO DO CILINDRO COM EIXOS A 90º
Apostila Pessoal: http://www.youtube.com/user/ThePoluidor
46
. Em qualquer ponto da linha
. Para fazer a planificação traça-se primeiro
(uma por vez da fig. 63) e passa-se para a fig. 64,
se o mesmo para traçar a parte inferior. Os pontos
se o compasso com medida igual à MY da
se dois arcos que se cruzem no ponto 6. Muda-se
se outros dois arcos que se
com J, ficando a peça
Apostila Pessoal: http://www.youtube.com/user/ThePoluidor
Desenha-se a vista de elevação (fig. 66). Divida
perpendiculares que toquem a parte inferior do cone, numerando
linha CA até encontrar o vértice
marcando o ponto 2’. Liga-se S
as outras divisões e marcam-se os pontos
4’-5’-6’ ao lado DB do cone, marcando
se o arco BH o qual divide-se em partes iguais
traçam-se os arcos DL-GK-FJ e
traçam-se retas formando um leque que cortem os arcos traçados anteriormente. O encontro das
retas com os arcos formam a linha sinuosa de desenvolvimento da peça. A fig. 68 mostra como fica
peça depois de montada.
Apostila Pessoal: http://www.youtube.com/user/ThePoluidor
se a vista de elevação (fig. 66). Divida-se o arco AB em partes iguais e levantam
perpendiculares que toquem a parte inferior do cone, numerando-se 1-2-3-4-5
encontrar o vértice S. Liga-se S ao ponto 2 e prolonga-se até tocar o lado do cilindro
S ao ponto 3 e prolonga-se até tocar o ponto 3’. Faz
se os pontos 4’-5’-6’-7’. Traçam-se retas horizontais ligando os pontos
do cone, marcando E-F e G, abre-se o compasso com abertura igual a
se em partes iguais 8-9-10-11-12-13-14 etc. (fig. 67). Centra
e EI. Em seguida, partindo de S e passando pelas divisões do arco
se retas formando um leque que cortem os arcos traçados anteriormente. O encontro das
retas com os arcos formam a linha sinuosa de desenvolvimento da peça. A fig. 68 mostra como fica
Apostila Pessoal: http://www.youtube.com/user/ThePoluidor
47
em partes iguais e levantam-se
5-6-7. Prolonga-se a
se até tocar o lado do cilindro
. Faz-se o mesmo com
orizontais ligando os pontos
se o compasso com abertura igual a SB e traça-
etc. (fig. 67). Centra-se em S e
e passando pelas divisões do arco BH
se retas formando um leque que cortem os arcos traçados anteriormente. O encontro das
retas com os arcos formam a linha sinuosa de desenvolvimento da peça. A fig. 68 mostra como fica a
Apostila Pessoal: http://www.youtube.com/user/ThePoluidor
DESENVOLVIMENTO DE CONE
Apostila Pessoal: http://www.youtube.com/user/ThePoluidor
DESENVOLVIMENTO DE CONE – PROCESSO 1
Apostila Pessoal: http://www.youtube.com/user/ThePoluidor
48
Apostila Pessoal: http://www.youtube.com/user/ThePoluidor
Desenha-se a vista de elevação do cone (fig. 69). Depois, fazendo centro em
compasso igual a AB traça-se o arco
encontrado divide-se em um número qualquer de partes iguais (quanto mais divisões melhor) e
com o auxilio do compasso marcam
ligando D a A e C a A completando o desenvolvimento da fig.70.
DESENVOLVIMENTO DE CONE
Apostila Pessoal: http://www.youtube.com/user/ThePoluidor
se a vista de elevação do cone (fig. 69). Depois, fazendo centro em
se o arco CD. Multiplica-se o diâmetro da base por 3,14 e o produto
se em um número qualquer de partes iguais (quanto mais divisões melhor) e
com o auxilio do compasso marcam-se estas divisões no arco CD. Finalmente, traça
completando o desenvolvimento da fig.70.
DESENVOLVIMENTO DE CONE – PROCESSO 2
Apostila Pessoal: http://www.youtube.com/user/ThePoluidor
49
se a vista de elevação do cone (fig. 69). Depois, fazendo centro em A, com abertura de
se o diâmetro da base por 3,14 e o produto
se em um número qualquer de partes iguais (quanto mais divisões melhor) e
. Finalmente, traça-se uma reta
Apostila Pessoal: http://www.youtube.com/user/ThePoluidor
Traça-se a vista de elevação do cone (fig. 71) e em sua base o arco
iguais. Ao lado, com o mesmo comprimento de
centro (LC) logo acima de A. Centra
o compasso igual a uma das divisões feitas no arco
Finalmente liga-se 1º a B.
Obs.: A marcação com o compasso pode causar diferença ao comprimento da peça desenvolvida,
daí ser necessário sempre multiplicar o diâmetro médio da base por 3,14 para conferir o
desenvolvimento.
Apostila Pessoal: http://www.youtube.com/user/ThePoluidor
se a vista de elevação do cone (fig. 71) e em sua base o arco 1-7 o qual divide
iguais. Ao lado, com o mesmo comprimento de A7, traça-se a reta B1 de modo que cruze a linha de
. Centra-se em B e com abertura igual a B1 traça-se o arco
o compasso igual a uma das divisões feitas no arco 1-7 e marcam-se estas divisões no arco
A marcação com o compasso pode causar diferença ao comprimento da peça desenvolvida,
daí ser necessário sempre multiplicar o diâmetro médio da base por 3,14 para conferir o
Apostila Pessoal: http://www.youtube.com/user/ThePoluidor
50
o qual divide-se em partes
de modo que cruze a linha de
se o arco 1-1º. Abre-se
se estas divisões no arco 1-1º.
A marcação com o compasso pode causar diferença ao comprimento da peça desenvolvida,
daí ser necessário sempre multiplicar o diâmetro médio da base por 3,14 para conferir o
Apostila Pessoal: http://www.youtube.com/user/ThePoluidor
DESENVOLVIMENTO DE CONE INCLINADO
Desenha-se a vista de elevação do cone (fig. 73) com a inclinação desejada e traça
qual divide-se em partes iguais
Apostila Pessoal: http://www.youtube.com/user/ThePoluidor
DESENVOLVIMENTO DE CONE INCLINADO
se a vista de elevação do cone (fig. 73) com a inclinação desejada e traça
se em partes iguais 1-2-3-4-5-6-7. Prolonga-se a linha 1-7 até o ponto
Apostila Pessoal: http://www.youtube.com/user/ThePoluidor
51
se a vista de elevação do cone (fig. 73) com a inclinação desejada e traça-se o arco 1-7, o
até o ponto N e daí levanta-
Apostila Pessoal: http://www.youtube.com/user/ThePoluidor
se uma perpendicular até o ponto
pontos A-B-C-D-E na base do cone. A partir destes pontos, traçam
7L. A seguir abre-se o compasso com uma das divisões do arco
arco 1F8, numerando-se 8-9-10
retas ao vértice S. O encontro destas retas com os arcos traçados anteriormente forma a linha de
desenvolvimento ML.
TRAÇADO DO TRONCO DE CONE
Apostila Pessoal: http://www.youtube.com/user/ThePoluidor
se uma perpendicular até o ponto S. Centrando o compasso em N, traçam-se arcos marcando os
na base do cone. A partir destes pontos, traçam-se os arcos 1F
se o compasso com uma das divisões do arco 1-7 e marcam-
10-11-12-13-14-13-12-11-10-9-8. Ligam-se estes pontos através de
. O encontro destas retas com os arcos traçados anteriormente forma a linha de
TRAÇADO DO TRONCO DE CONE – PROCESSO 1
Apostila Pessoal: http://www.youtube.com/user/ThePoluidor
52
se arcos marcando os
1F-AG-BH-CI-DJ-EK-
-se estas divisões no
se estes pontos através de
. O encontro destas retas com os arcos traçados anteriormente forma a linha de
Apostila Pessoal: http://www.youtube.com/user/ThePoluidor
O tronco de cone é provavelmente a peça mais usada nas indústrias, seja para reduzir uma
tubulação, seja para escoamento de líquidos etc. É também uma das peças mais fáceis de serem
traçadas. No exemplo presente, traça
arco AB, o qual divide-se em partes iguais
no ponto S que é vértice do cone. Fazendo centro em
mesmo centro e partindo da base
igual a uma das divisões do arco
de elevação está dividida em oito partes iguais, evid
Liga-se E ao vértice S, marcando o ponto
a boca.
TRAÇADO DO TRONCO DE CONE
Apostila Pessoal: http://www.youtube.com/user/ThePoluidor
O tronco de cone é provavelmente a peça mais usada nas indústrias, seja para reduzir uma
tubulação, seja para escoamento de líquidos etc. É também uma das peças mais fáceis de serem
traçadas. No exemplo presente, traça-se primeiro a vista de elevação (fig. 75) e em sua base maior o
se em partes iguais 1-2-3-4-5-6-7-8-9. Prolonga-se a linha
que é vértice do cone. Fazendo centro em S traça-se o arco EF a partir da base
mesmo centro e partindo da base CD traça-se outro arco. A seguir abre-se o compasso com abertura
igual a uma das divisões do arco AB e marcam-se o dobro destas divisões no arco
de elevação está dividida em oito partes iguais, evidentemente, seu dobro é 16, como na fig. 76).
, marcando o ponto C. Liga-se F ao vértice S, marcando o ponto
TRAÇADO DO TRONCO DE CONE – PROCESSO 2
Apostila Pessoal: http://www.youtube.com/user/ThePoluidor
53
O tronco de cone é provavelmente a peça mais usada nas indústrias, seja para reduzir uma
tubulação, seja para escoamento de líquidos etc. É também uma das peças mais fáceis de serem
75) e em sua base maior o
se a linha AC e DB até tocar
a partir da base AB. Com
se o compasso com abertura
se o dobro destas divisões no arco EF (Ex.: se a vista
entemente, seu dobro é 16, como na fig. 76).
, marcando o ponto H. O arco GH é
Apostila Pessoal: http://www.youtube.com/user/ThePoluidor
Traça-se a vista de elevação ABCD
iguais 1-2-3-4-5-6-7-8-9. Prolongam
vértice S. Abre-se o compasso com medida igual a
medida igual a SC, traça-se o arco menor. A seguir, com abertura de compasso igual a uma das
divisões do 1-9, marcam-se a partir da linha de centro, metade para cada lado (1
no arco maior determinando os pontos
no arco menor. Liga-se o ponto
figura.
Apostila Pessoal: http://www.youtube.com/user/ThePoluidor
ABCD. Na base maior traça-se o arco 1-9, o qual divide
. Prolongam-se as linhas AC e BD de modo que se cruzem marcando a
se o compasso com medida igual a SA e traça-se o arco maior. Com mesmo centro e
se o arco menor. A seguir, com abertura de compasso igual a uma das
se a partir da linha de centro, metade para cada lado (1
no arco maior determinando os pontos 9 e 9e. Liga-se o ponto 9 ao vértice S, marc
se o ponto 9e ao vértice S, marcando o ponto G no arco menor, completando a
Apostila Pessoal: http://www.youtube.com/user/ThePoluidor
54
, o qual divide-se em partes
de modo que se cruzem marcando a
se o arco maior. Com mesmo centro e
se o arco menor. A seguir, com abertura de compasso igual a uma das
se a partir da linha de centro, metade para cada lado (1-2-3-4-5-6-7-8-9)
, marcando o ponto F
no arco menor, completando a
Apostila Pessoal: http://www.youtube.com/user/ThePoluidor
DESENVOLVIMENTO DO TRONCO DE CONE
Desenha-se a vista de elevação (fig. 78). Ao lado, traça
com abertura igual a EB, fazendo centro em
igual a ED traça-se o arco menor. Multiplica
produto encontrado divide-se por 2. O resultado encontrado divide
Apostila Pessoal: http://www.youtube.com/user/ThePoluidor
DESENVOLVIMENTO DO TRONCO DE CONE – PROCESSO 3
se a vista de elevação (fig. 78). Ao lado, traça-se a linha de centro FHC. Abre
, fazendo centro em G traça-se o arco maior. Com mesmo centro e abertura
se o arco menor. Multiplica-se o diâmetro médio da boca maior por 3,14 e o
se por 2. O resultado encontrado divide-se em partes iguais e marcam
Apostila Pessoal: http://www.youtube.com/user/ThePoluidor
55
. Abre-se o compasso
se o arco maior. Com mesmo centro e abertura
médio da boca maior por 3,14 e o
se em partes iguais e marcam-
Apostila Pessoal: http://www.youtube.com/user/ThePoluidor
se estas partes a partir do ponto
com abertura igual a H12 e fazendo centro em
Liga-se 13 a G marcando o ponto
no arco menor, completando a fig. 79. A fig. 80 mostra um funil que pode ser traçado por qu
dos métodos apresentados até aqui.
CONE CORTADO POR UM PLANO OBLÍQUO ENTRE A BASE E O VÉRTICE
Apostila Pessoal: http://www.youtube.com/user/ThePoluidor
se estas partes a partir do ponto F, assinalando 1-2-3-4-5-6-7-8-9-10-11-12. Abre
e fazendo centro em H, marca-se o ponto 13 no outro lado do arco maior.
marcando o ponto 14 no arco menor. Liga-se 12 a G marcando o ponto
no arco menor, completando a fig. 79. A fig. 80 mostra um funil que pode ser traçado por qu
dos métodos apresentados até aqui.
CONE CORTADO POR UM PLANO OBLÍQUO ENTRE A BASE E O VÉRTICE
Apostila Pessoal: http://www.youtube.com/user/ThePoluidor
56
. Abre-se o compasso
no outro lado do arco maior.
marcando o ponto 15 também
no arco menor, completando a fig. 79. A fig. 80 mostra um funil que pode ser traçado por qualquer
Apostila Pessoal: http://www.youtube.com/user/ThePoluidor
Desenha-se a vista de elevação do cone (fig. 81) e o semicírculo
iguais 1-2-3-4-5-6-7. Por estes pontos levantam
serão elevadas até o vértice, marcando no plano oblíquo os pontos
serão transportados para o lado
o arco maior 1’-1’, o qual divide
semicírculo 1-7. Numeram-se no arco maior os pontos
destes pontos, traçam-se as retas em direção ao vértice
E-F-G (do lado do cone) traçam
cruzamento dos arcos com as retas marcam a linha de desenvolvimento do cone (fig. 82).
TRONCO DE CONE CORTADO POR UM PLANO INCLINADO EM SU
Apostila Pessoal: http://www.youtube.com/user/ThePoluidor
se a vista de elevação do cone (fig. 81) e o semicírculo 1-7. O qual divide
. Por estes pontos levantam-se verticais até tocar a base do cone e daí elas
serão elevadas até o vértice, marcando no plano oblíquo os pontos A-B-C-D-
serão transportados para o lado G7 do cone. Depois com abertura de compasso igual a
, o qual divide-se em partes iguais, utilizando para isso uma das divisões do
se no arco maior os pontos 1’-2’-3’-4’-5’-6’-7’-6’-5’-
se as retas em direção ao vértice S. A seguir, partindo dos pontos
(do lado do cone) traçam-se arcos que cortem as retas traçadas anteriormente. O
cruzamento dos arcos com as retas marcam a linha de desenvolvimento do cone (fig. 82).
TRONCO DE CONE CORTADO POR UM PLANO INCLINADO EM SUA PARTE MAIOR
Apostila Pessoal: http://www.youtube.com/user/ThePoluidor
57
. O qual divide-se em partes
e verticais até tocar a base do cone e daí elas
-E-F-G. Estes pontos
do cone. Depois com abertura de compasso igual a S7, traça-se
se em partes iguais, utilizando para isso uma das divisões do
-4’-3’-2’-1’ e a partir
ndo dos pontos A-B-C-D-
se arcos que cortem as retas traçadas anteriormente. O
cruzamento dos arcos com as retas marcam a linha de desenvolvimento do cone (fig. 82).
A PARTE MAIOR
Apostila Pessoal: http://www.youtube.com/user/ThePoluidor
Desenha-se a vista de elevação (fig. 83) e o semicírculo
a base do cone e daí elevam-se todas as linhas até o vértice
no plano inclinado, os quais serão também transportados para o lado
compasso em S e com raio S7 traça
4’-5’-6’-7’-6’-5’-4’-3’-2’-1’. Partindo destes pontos, traçam
partindo do lado 7-8 do cone, traçam
cruzamento das retas com os arcos forma a linha de desenvolvimento. Finalmente, com raio
traça-se o arco 8-9, boca menor do cone.
Apostila Pessoal: http://www.youtube.com/user/ThePoluidor
se a vista de elevação (fig. 83) e o semicírculo 1-7. Levantam-se perpendiculares até tocar
se todas as linhas até o vértice S, marcando os pontos
no plano inclinado, os quais serão também transportados para o lado 7-8 do cone. Centra
traça-se o arco maior 1’-1’, o qual divide-se em partes iguais:
. Partindo destes pontos, traçam-se retas em direção ao vértice. A seguir,
do cone, traçam-se arcos que cortem as retas traçadas anteriormente. O
cruzamento das retas com os arcos forma a linha de desenvolvimento. Finalmente, com raio
nor do cone.
Apostila Pessoal: http://www.youtube.com/user/ThePoluidor
58
se perpendiculares até tocar
, marcando os pontos A-B-C-D-E-F-G
do cone. Centra-se o
se em partes iguais: 1’-2’-3’-
se retas em direção ao vértice. A seguir,
se arcos que cortem as retas traçadas anteriormente. O
cruzamento das retas com os arcos forma a linha de desenvolvimento. Finalmente, com raio S8,
Apostila Pessoal: http://www.youtube.com/user/ThePoluidor
TRONCO DE CONE COM A PARTE INFERIOR DESENVOLVIDA E ÂNGULO
Apostila Pessoal: http://www.youtube.com/user/ThePoluidor
TRONCO DE CONE COM A PARTE INFERIOR DESENVOLVIDA E ÂNGULO
Apostila Pessoal: http://www.youtube.com/user/ThePoluidor
59
Apostila Pessoal: http://www.youtube.com/user/ThePoluidor
A explicação dada para o desenvolvimento das figuras anteriores, serve também para esta, não
sendo necessário acrescentar nada.
TRONCO DE CONE COM A PARTE SUPERIOR
ENCAIXAR EM CILINDRO
Apostila Pessoal: http://www.youtube.com/user/ThePoluidor
A explicação dada para o desenvolvimento das figuras anteriores, serve também para esta, não
sendo necessário acrescentar nada.
TRONCO DE CONE COM A PARTE SUPERIOR INCLINADA E A INFERIOR CIRCULAR PARA
Apostila Pessoal: http://www.youtube.com/user/ThePoluidor
60
A explicação dada para o desenvolvimento das figuras anteriores, serve também para esta, não
INCLINADA E A INFERIOR CIRCULAR PARA
Apostila Pessoal: http://www.youtube.com/user/ThePoluidor
Peça que pode ser desenvolvida como as anteriores, bastando acrescentar que as linhas
que partem dos lados do cone e se encontram na linha de centro devem formar 90º com os lados do
cone. Por B, traça-se a linha horizontal que servirá de base para o arco
Também as figuras 89 e 90 podem ser desenvolvidas pelo mesmo processo.
Apostila Pessoal: http://www.youtube.com/user/ThePoluidor
Peça que pode ser desenvolvida como as anteriores, bastando acrescentar que as linhas
que partem dos lados do cone e se encontram na linha de centro devem formar 90º com os lados do
se a linha horizontal que servirá de base para o arco 1-7.
Também as figuras 89 e 90 podem ser desenvolvidas pelo mesmo processo.
Apostila Pessoal: http://www.youtube.com/user/ThePoluidor
61
Peça que pode ser desenvolvida como as anteriores, bastando acrescentar que as linhas AB e CD
que partem dos lados do cone e se encontram na linha de centro devem formar 90º com os lados do
Apostila Pessoal: http://www.youtube.com/user/ThePoluidor
TRONCO DE CLONE INCLINADO
Apostila Pessoal: http://www.youtube.com/user/ThePoluidor
TRONCO DE CLONE INCLINADO
Apostila Pessoal: http://www.youtube.com/user/ThePoluidor
62
Apostila Pessoal: http://www.youtube.com/user/ThePoluidorApostila Pessoal: http://www.youtube.com/user/ThePoluidorApostila Pessoal: http://www.youtube.com/user/ThePoluidor
63
Apostila Pessoal: http://www.youtube.com/user/ThePoluidor
TRONCO DE CLONE INCLINADO
Apostila Pessoal: http://www.youtube.com/user/ThePoluidor
TRONCO DE CLONE INCLINADO - CONTINUAÇÃO
Apostila Pessoal: http://www.youtube.com/user/ThePoluidor
64
Apostila Pessoal: http://www.youtube.com/user/ThePoluidor
TRONCO DE CLONE INCLINADO
Traça-se a vista de planta (fig. 93) e dividem
3; 3 a 4; 4 a 5; 5 a 6; etc., formando as linhas de triangulação. Para se obter a verdadeira grandeza
da peça, traça a linha ABC (fig. 95) sendo a altura desejada marcada de
compasso com a medida igual a
qual deve ser ligado ao ponto
passa-se para o fig. 95 centra
assim sucessivamente vão-se transportando toda
Apostila Pessoal: http://www.youtube.com/user/ThePoluidor
CLONE INCLINADO – CONTINUAÇÃO
se a vista de planta (fig. 93) e dividem-se ambas as bocas em partes iguais. Liga
; etc., formando as linhas de triangulação. Para se obter a verdadeira grandeza
(fig. 95) sendo a altura desejada marcada de B até A
compasso com a medida igual a 1-2 (da fig. 93), centra-se em B da fig. 95 e marca
qual deve ser ligado ao ponto A. Volta-se a fig. 93, abre-se o compasso com medida igual a
se para o fig. 95 centra-se em B e marca-se o ponto 2, elevando-o também ao ponto
se transportando todas as medidas. Para traçar o desenvolvimento
Apostila Pessoal: http://www.youtube.com/user/ThePoluidor
65
se ambas as bocas em partes iguais. Liga-se 1 a 2; 2 a
; etc., formando as linhas de triangulação. Para se obter a verdadeira grandeza
A. A seguir abre-se o
marca-se o ponto 1 o
se o compasso com medida igual a 2-3,
o também ao ponto A. E
s as medidas. Para traçar o desenvolvimento
Apostila Pessoal: http://www.youtube.com/user/ThePoluidor
traça-se uma linha vertical e abre
determinando os pontos 1 e 2
maior, centra-se no ponto 1 da fig. 96 traça
compasso com medida igual a
ponto 3, o qual liga-se ao ponto
divisões da boca menor, centra
95, pega-se a distância 3A, centra
4. E Assim vai-se traçando o desenvolvi
usar três compassos do seguinte modo; um deles fica aberto com medida igual a uma das divisões
da boca menor. O outro com medida igual a uma das divisões da boca maior. O terceiro compasso é
o que vai variar as aberturas no transporte das medidas da fig. 95 para a fig. 96.
DESENVOLVIMENTO DE TUBO “CALÇA” COM BASES (BOCAS) PARALELAS E DIÂMETROS
IGUAIS
Apostila Pessoal: http://www.youtube.com/user/ThePoluidor
se uma linha vertical e abre-se o compasso com medida 1A (fig. 95) e marca
2. Abre-se o compasso com medida igual a uma das divisões da boca
da fig. 96 traça-se um pequeno arco. Passa-se para a fig. 95 abre
compasso com medida igual a 2A, centra-se no ponto 2 da fig. 96 e traça-se outro arco, marcando o
se ao ponto 2 através da linha pontilhada. Volta-se à fig. 95,
divisões da boca menor, centra-se no ponto 2 da fig. 96 e traça-se um pequeno arco. Volta
, centra-se no ponto 3 da fig. 96 e traça-se outro arco, marcando o ponto
se traçando o desenvolvimento. De preferência, para esse tipo de traçado deve
usar três compassos do seguinte modo; um deles fica aberto com medida igual a uma das divisões
da boca menor. O outro com medida igual a uma das divisões da boca maior. O terceiro compasso é
ai variar as aberturas no transporte das medidas da fig. 95 para a fig. 96.
DESENVOLVIMENTO DE TUBO “CALÇA” COM BASES (BOCAS) PARALELAS E DIÂMETROS
Apostila Pessoal: http://www.youtube.com/user/ThePoluidor
66
(fig. 95) e marca-se na fig.96
se o compasso com medida igual a uma das divisões da boca
se para a fig. 95 abre-se o
se outro arco, marcando o
se à fig. 95, pega-se uma das
se um pequeno arco. Volta-se a fig.
se outro arco, marcando o ponto
mento. De preferência, para esse tipo de traçado deve-se
usar três compassos do seguinte modo; um deles fica aberto com medida igual a uma das divisões
da boca menor. O outro com medida igual a uma das divisões da boca maior. O terceiro compasso é
DESENVOLVIMENTO DE TUBO “CALÇA” COM BASES (BOCAS) PARALELAS E DIÂMETROS
Apostila Pessoal: http://www.youtube.com/user/ThePoluidor
Desenhada a fig. 97, faz-se um uma de suas bocas superiores o arco
iguais 1-2-3-4-5-6-7. Partindo destes pontos, traçam
boca. Estas linhas serão prolongadas obedecendo a inclinação do tubo até tocar a divisão com o
outro tubo e a metade da boca inferior, marcando os pontos
9, na qual marcam-se os pontos
XY (fig. 98) a qual divide-se em partes iguais
levantam-se perpendiculares.
A seguir, abre-se o compasso com medida igual a
primeira perpendicular da fig. 98, partindo da linha
medida II-2, passa-se para a fig. 98 centra
II’-2’ e assim sucessivamente sempre pegando as medidas na fig. 97 e centrando
fig. 98, vão-se marcando os pontos de desenvolvimento, que deverão ser unidos por meio de uma
régua flexível. Para se desenvolver a parte inferior procede
Apostila Pessoal: http://www.youtube.com/user/ThePoluidor
se um uma de suas bocas superiores o arco 1-7, o qual divide
. Partindo destes pontos, traçam-se perpendiculares até a linha de base da
boca. Estas linhas serão prolongadas obedecendo a inclinação do tubo até tocar a divisão com o
outro tubo e a metade da boca inferior, marcando os pontos B-C-D-E-F-G. Traçar também a linha
se os pontos I-II-III-IV-V-VI-VII. Para fazer o desenvolvimento, traça
se em partes iguais I’-II’-III’-IV’-V’-VI’-VII’ etc., por estes pontos
se o compasso com medida igual a 1-I da fig. 97 e marcam-se os pontos
primeira perpendicular da fig. 98, partindo da linha XY. Volta-se à fig. 97 abre
se para a fig. 98 centra-se na segunda vertical da linha XY marcando os pontos
e assim sucessivamente sempre pegando as medidas na fig. 97 e centrando
se marcando os pontos de desenvolvimento, que deverão ser unidos por meio de uma
esenvolver a parte inferior procede-se da mesma forma.
Apostila Pessoal: http://www.youtube.com/user/ThePoluidor
67
, o qual divide-se em partes
se perpendiculares até a linha de base da
boca. Estas linhas serão prolongadas obedecendo a inclinação do tubo até tocar a divisão com o
. Traçar também a linha 8-
. Para fazer o desenvolvimento, traça-se a linha
etc., por estes pontos
se os pontos I’-1’ na
-se o compasso com
marcando os pontos
e assim sucessivamente sempre pegando as medidas na fig. 97 e centrando-se na linha XY da
se marcando os pontos de desenvolvimento, que deverão ser unidos por meio de uma
se da mesma forma.
Apostila Pessoal: http://www.youtube.com/user/ThePoluidor
TUBO “CALÇA” COM AS BASES (BOCAS) SUPERIORES INCLINADAS A 45º
O desenvolvimento da parte superior desta peça pode ser feito do mesmo modo que o anterior. A
parte inferior desenvolve-se como foi
Apostila Pessoal: http://www.youtube.com/user/ThePoluidor
TUBO “CALÇA” COM AS BASES (BOCAS) SUPERIORES INCLINADAS A 45º
O desenvolvimento da parte superior desta peça pode ser feito do mesmo modo que o anterior. A
se como foi explicado nas figuras 49 e 50.
Apostila Pessoal: http://www.youtube.com/user/ThePoluidor
68
O desenvolvimento da parte superior desta peça pode ser feito do mesmo modo que o anterior. A
Apostila Pessoal: http://www.youtube.com/user/ThePoluidor
CURVA DE GOMO COM UM GOMO INTEIRO E DOIS SEMIGOMOS
Apostila Pessoal: http://www.youtube.com/user/ThePoluidor
CURVA DE GOMO COM UM GOMO INTEIRO E DOIS SEMIGOMOS
Apostila Pessoal: http://www.youtube.com/user/ThePoluidor
69
Apostila Pessoal: http://www.youtube.com/user/ThePoluidor
Processo para se achar com o compasso e semigomo:
Centra-se em A e traça-s um arco. Centra
primeiro no ponto 45º, dividindo
destas partes em outras duas partes iguais, marcando os pontos
correspondentes aos semigomos.
CURVA DE GOMO COM TRÊS GOMOS INTEIROS E DOIS SEMIGOMOS
Apostila Pessoal: http://www.youtube.com/user/ThePoluidor
Processo para se achar com o compasso e semigomo:
s um arco. Centra-se em B e traça-se outro arco de modo
primeiro no ponto 45º, dividindo-se a curva em duas partes iguais. Depois, divide
destas partes em outras duas partes iguais, marcando os pontos C e D que são os ângulos de 22,5º
correspondentes aos semigomos.
TRÊS GOMOS INTEIROS E DOIS SEMIGOMOS
Apostila Pessoal: http://www.youtube.com/user/ThePoluidor
70
se outro arco de modo que corte o
se a curva em duas partes iguais. Depois, divide-se cada uma
que são os ângulos de 22,5º
Apostila Pessoal: http://www.youtube.com/user/ThePoluidor
Primeiramente acha-se o ponto 45º. Depois acha
ponto B no meio de CA. A distância
se o compasso com a medida igual a 45º
marca-se E. Centra-se em E e marca
Apostila Pessoal: http://www.youtube.com/user/ThePoluidor
se o ponto 45º. Depois acha-se o ponto A no meio de 45º e
. A distância CB é o primeiro semigomo. Para se achar os outros gomos, abre
medida igual a 45º A e centrando-se em B, marca-se D
e marca-se F.
Apostila Pessoal: http://www.youtube.com/user/ThePoluidor
71
no meio de 45º e C. Depois acha-se o
é o primeiro semigomo. Para se achar os outros gomos, abre-
D. Centra-se em D e
Apostila Pessoal: http://www.youtube.com/user/ThePoluidor
TRAÇADO DE CILINDRO ENXERTADO EM CURVA DE GOMO OU “UNHA INCLINADA”
Traçada a curva, traça-se também na linha
partes iguais 1-2-3-4. Baixam-
6-7-8. Transportam-se estes pontos horizontalmente até a divisão do primeiro semigomo e depois
com o auxílio do compasso, transportam
centro da “unha” DE (fig.109) com a inclinação desejada e em sua boca traça
qual também se divide em partes iguais marcando
perpendiculares com a mesma inclinação de “unha” até que se cruzem com as linhas da curva. O
cruzamento destas marcam a linha de interseção. O desenvolvimento (fig. 110) se faz de maneira já
conhecida.
Apostila Pessoal: http://www.youtube.com/user/ThePoluidor
TRAÇADO DE CILINDRO ENXERTADO EM CURVA DE GOMO OU “UNHA INCLINADA”
se também na linha AB (fig. 109) o semicírculo BC, o qual divide
-se estes pontos para o semicírculo da curva, marcando os pontos
se estes pontos horizontalmente até a divisão do primeiro semigomo e depois
o compasso, transportam-se estes pontos ao longo da curva. Traça
(fig.109) com a inclinação desejada e em sua boca traça-se o semicírculo
qual também se divide em partes iguais marcando-se pontos. Por estes pontos, t
perpendiculares com a mesma inclinação de “unha” até que se cruzem com as linhas da curva. O
cruzamento destas marcam a linha de interseção. O desenvolvimento (fig. 110) se faz de maneira já
Apostila Pessoal: http://www.youtube.com/user/ThePoluidor
72
TRAÇADO DE CILINDRO ENXERTADO EM CURVA DE GOMO OU “UNHA INCLINADA”
, o qual divide-se em
se estes pontos para o semicírculo da curva, marcando os pontos 5-
se estes pontos horizontalmente até a divisão do primeiro semigomo e depois
se estes pontos ao longo da curva. Traça-se a linha de
se o semicírculo FG, o
se pontos. Por estes pontos, traçam-se
perpendiculares com a mesma inclinação de “unha” até que se cruzem com as linhas da curva. O
cruzamento destas marcam a linha de interseção. O desenvolvimento (fig. 110) se faz de maneira já
Apostila Pessoal: http://www.youtube.com/user/ThePoluidor
TRAÇADO DE CILINDRO ENXERTADO EM CURVA
Apostila Pessoal: http://www.youtube.com/user/ThePoluidor
TRAÇADO DE CILINDRO ENXERTADO EM CURVA DE GOMO OU “UNHA VERTICAL”
Apostila Pessoal: http://www.youtube.com/user/ThePoluidor
73
DE GOMO OU “UNHA VERTICAL”
Apostila Pessoal: http://www.youtube.com/user/ThePoluidor
Traça-se da mesma forma da “unha inclinada”.
Apostila Pessoal: http://www.youtube.com/user/ThePoluidor
se da mesma forma da “unha inclinada”.
Apostila Pessoal: http://www.youtube.com/user/ThePoluidor
74
Apostila Pessoal: http://www.youtube.com/user/ThePoluidor
“UNHA” COM BASE (BOCA) EM OPOSIÇÃO AO VÉRTICE “S” DA CURVA
Apostila Pessoal: http://www.youtube.com/user/ThePoluidor
“UNHA” COM BASE (BOCA) EM OPOSIÇÃO AO VÉRTICE “S” DA CURVA
Apostila Pessoal: http://www.youtube.com/user/ThePoluidor
75
Apostila Pessoal: http://www.youtube.com/user/ThePoluidor
Também para esta peça usam-se os mesmos processos anteriores.
“UNHA” PARA CURVA PADRÃO (STANDARD)
Apostila Pessoal: http://www.youtube.com/user/ThePoluidor
se os mesmos processos anteriores.
“UNHA” PARA CURVA PADRÃO (STANDARD)
Apostila Pessoal: http://www.youtube.com/user/ThePoluidor
76
Apostila Pessoal: http://www.youtube.com/user/ThePoluidor
Por ser uma curva forjada e não confeccionada de gomos, a curva Standard oferece maior facilidade
para se desenvolver a unha.
Por exemplo, as linhas A, B e C
Apostila Pessoal: http://www.youtube.com/user/ThePoluidor
ser uma curva forjada e não confeccionada de gomos, a curva Standard oferece maior facilidade
(fig. 115) podem ser traçadas com o compasso.
Apostila Pessoal: http://www.youtube.com/user/ThePoluidor
77
ser uma curva forjada e não confeccionada de gomos, a curva Standard oferece maior facilidade
Apostila Pessoal: http://www.youtube.com/user/ThePoluidor
CURVA CÔNICA
Apostila Pessoal: http://www.youtube.com/user/ThePoluidorApostila Pessoal: http://www.youtube.com/user/ThePoluidor
78
Apostila Pessoal: http://www.youtube.com/user/ThePoluidor
CURVA CÔNICA - CONTINUAÇÃO
Apostila Pessoal: http://www.youtube.com/user/ThePoluidor
CONTINUAÇÃO
Apostila Pessoal: http://www.youtube.com/user/ThePoluidor
79
Apostila Pessoal: http://www.youtube.com/user/ThePoluidor
Da mesma forma que na curva normal, divide
colocando números nas divisões:
ponto 1’. Faz-se o mesmo partindo de
o compasso em S abrir com medida igual a
Ao lado da fig. 117, levanta-se a perpendicular
com esta medida divide-se a linha
com raios 1-1’, 2-2’, 3-3’, tangentes a elas trançam
Estas mesmas circunferências traçam
as linhas E-F-J-K e G-H-I-L. No prolongamento de cada uma delas, há um cruzamento, e nestes
cruzamentos passam as divisões dos gomos. Explica
Apostila Pessoal: http://www.youtube.com/user/ThePoluidor
Da mesma forma que na curva normal, divide-se o arco AB (fig. 117) em quatro partes iguais,
colocando números nas divisões: 1-2-3. Partindo de A, levanta-se uma perpendicular marcando o
se o mesmo partindo de B, e marca-se o ponto 3’. Para achar o ponto
abrir com medida igual a S3 e marcar na linha 45º.
se a perpendicular CD (fig. 118), e abre-se o compasso na medida
se a linha CD em 4 partes iguais. Netas divisões, traçam
, tangentes a elas trançam-se as linhas MN e OP até cruzarem no vértice
Estas mesmas circunferências traçam-se no eixo A-1’-2’-3’-B (fig. 117). Tangentes a elas traçam
. No prolongamento de cada uma delas, há um cruzamento, e nestes
cruzamentos passam as divisões dos gomos. Explica-se no desenho seguinte e desenvolvimento.
Apostila Pessoal: http://www.youtube.com/user/ThePoluidor
80
(fig. 117) em quatro partes iguais,
se uma perpendicular marcando o
. Para achar o ponto 2’, basta centrar
se o compasso na medida A1 e
partes iguais. Netas divisões, traçam-se circunferências
até cruzarem no vértice Q.
(fig. 117). Tangentes a elas traçam-se
. No prolongamento de cada uma delas, há um cruzamento, e nestes
se no desenho seguinte e desenvolvimento.
Apostila Pessoal: http://www.youtube.com/user/ThePoluidor
DESENVOLVIMENTO DA CURVA CÔNICA
Para desenvolver a curva cônica, é preciso primeiro copiar a figura 136, sem as circunferências nela
traçadas, devendo-se nela inscrever primeiramente o gomo
outros gomos, completando assim a fig 119. Descreve
partes iguais e projetam-se todos os pontos para o vértice. O cruzamento destas linhas com as
linhas de divisão dos gomos marcam os pontos
projetados para o lado 9B da fig. 1
arco 1’-1” ( fig 120) dividindo
Apostila Pessoal: http://www.youtube.com/user/ThePoluidor
DESENVOLVIMENTO DA CURVA CÔNICA
Para desenvolver a curva cônica, é preciso primeiro copiar a figura 136, sem as circunferências nela
se nela inscrever primeiramente o gomo EFGH e de forma invertida todos os
outros gomos, completando assim a fig 119. Descreve-se então o arco 1-9, o qual divide
se todos os pontos para o vértice. O cruzamento destas linhas com as
linhas de divisão dos gomos marcam os pontos A, B, C, D, E, F, G, H, I. Estes pontos deverão ser
da fig. 119. Então se abre o compasso com a distância
( fig 120) dividindo-se em partes iguais e projetando-se estas divisões para o vértice.
Apostila Pessoal: http://www.youtube.com/user/ThePoluidor
81
Para desenvolver a curva cônica, é preciso primeiro copiar a figura 136, sem as circunferências nela
e de forma invertida todos os
, o qual divide-se em
se todos os pontos para o vértice. O cruzamento destas linhas com as
. Estes pontos deverão ser
19. Então se abre o compasso com a distância 9Q e traça-se o
se estas divisões para o vértice.
Apostila Pessoal: http://www.youtube.com/user/ThePoluidor
Depois a partir do lado 9B e centrando o compasso no vértice, traçam
destes com as retas marcam as linhas de desenvolvimento dos gomos. Note
ligado ao outro e o corte na chapa deve ser perfeito.
CURVA CÔNICA PELO SISEMA DE TRIANGULAÇÃO
Apostila Pessoal: http://www.youtube.com/user/ThePoluidor
e centrando o compasso no vértice, traçam-se arcos e o cruzamento
tes com as retas marcam as linhas de desenvolvimento dos gomos. Note-
ligado ao outro e o corte na chapa deve ser perfeito.
CURVA CÔNICA PELO SISEMA DE TRIANGULAÇÃO
Apostila Pessoal: http://www.youtube.com/user/ThePoluidor
82
se arcos e o cruzamento
-se que um gomo é
Apostila Pessoal: http://www.youtube.com/user/ThePoluidorApostila Pessoal: http://www.youtube.com/user/ThePoluidorApostila Pessoal: http://www.youtube.com/user/ThePoluidor
83
Apostila Pessoal: http://www.youtube.com/user/ThePoluidor
CURVA CÔNICA PELO SISEMA DE TRIANGULAÇÃO
Para se achar as divisões dos gomos
se então os tamanhos das bocas
em S (fig. 121), abre-se com medida igual a
que se cortem marcando o ponto
compasso com medida FS centra
centrando então em R2, traça-se o arc
saber copiar ângulos, como foi explicado na fig. 5. Copiado o gomo, traçam
semicircunferências, que serão unidas por linhas em ziguezague, cheias e pontilhadas. É preciso
então achar as verdadeiras grandezas destas linhas e par isso procede
reta e levanta-se na sua extremidade a perpendicular
a medida igual a 2-13 (fig. 123) e centrando em
perpendicular marcando o ponto
de divisão do semicírculo menor até a base do gomo
são as mesmas que vão dos pontos de divisão do semicírculo maior até a base do gomo
achar as verdadeiras grandezas das linhas pontilhadas (fig. 124), proceda
diferença de que as alturas 2-
Apostila Pessoal: http://www.youtube.com/user/ThePoluidor
CURVA CÔNICA PELO SISEMA DE TRIANGULAÇÃO – CONTINUAÇÃO
Para se achar as divisões dos gomos A-B-C e D, usa-se o mesmo processo da curva normal. Marcam
se então os tamanhos das bocas EF e GH e para achar a conicidade, centra-se primeiro o compasso
se com medida igual a SG, centra-se em E e depois em G e traçam
que se cortem marcando o ponto R1, e centrando em R1 traça-se o arco EG
centra-se em F e depois H e traçam-se dois arcos marcando o ponto
se o arco FH. Copia-se então o gomo B (fig. 123) e para isso é preciso
saber copiar ângulos, como foi explicado na fig. 5. Copiado o gomo, traçam
semicircunferências, que serão unidas por linhas em ziguezague, cheias e pontilhadas. É preciso
achar as verdadeiras grandezas destas linhas e par isso procede-se como segue: traça
se na sua extremidade a perpendicular OP (fig. 122). Então, abre
(fig. 123) e centrando em O, marca-se o ponto 2’ e aí levanta
perpendicular marcando o ponto 2. As alturas 2’-2, 3’-3, 4’-4, 5’-5, 6’-6 são as que vão dos pontos
de divisão do semicírculo menor até a base do gomo 8-14, e as distâncias □9^13
são as mesmas que vão dos pontos de divisão do semicírculo maior até a base do gomo
achar as verdadeiras grandezas das linhas pontilhadas (fig. 124), proceda-se as mesma forma com a
-2’, 3-3’, 4-4’, 5-5’ e 6-6’ são as distâncias que vão do semicírculo
Apostila Pessoal: http://www.youtube.com/user/ThePoluidor
84
se o mesmo processo da curva normal. Marcam-
se primeiro o compasso
e traçam-se dois arcos
EG. Depois abre-se o
se dois arcos marcando o ponto R2;
(fig. 123) e para isso é preciso
saber copiar ângulos, como foi explicado na fig. 5. Copiado o gomo, traçam-se nele duas
semicircunferências, que serão unidas por linhas em ziguezague, cheias e pontilhadas. É preciso
se como segue: traça-se uma
(fig. 122). Então, abre-se o compasso com
e aí levanta-se uma
são as que vão dos pontos
9^13, 0-12-10 e 0-11
são as mesmas que vão dos pontos de divisão do semicírculo maior até a base do gomo 1-7. Para
se as mesma forma com a
distâncias que vão do semicírculo
Apostila Pessoal: http://www.youtube.com/user/ThePoluidor
maior até a base 1-7 do gomo. Mostra
gomo B.
Para se desenvolver os gomos C
DESENVOLVIMENTO DO GOMO A
Apostila Pessoal: http://www.youtube.com/user/ThePoluidor
do gomo. Mostra-se na página seguinte o desenvolvimento do gomo
C e D proceda-se da mesma forma.
DESENVOLVIMENTO DO GOMO A
Apostila Pessoal: http://www.youtube.com/user/ThePoluidor
85
se na página seguinte o desenvolvimento do gomo A e do
Apostila Pessoal: http://www.youtube.com/user/ThePoluidorApostila Pessoal: http://www.youtube.com/user/ThePoluidorApostila Pessoal: http://www.youtube.com/user/ThePoluidor
86
Apostila Pessoal: http://www.youtube.com/user/ThePoluidor
DESENVOLVIMENTO DO GOMO B
Apostila Pessoal: http://www.youtube.com/user/ThePoluidor
DO GOMO B
Apostila Pessoal: http://www.youtube.com/user/ThePoluidor
87
Apostila Pessoal: http://www.youtube.com/user/ThePoluidorApostila Pessoal: http://www.youtube.com/user/ThePoluidorApostila Pessoal: http://www.youtube.com/user/ThePoluidor
88
Apostila Pessoal: http://www.youtube.com/user/ThePoluidor
DESENVOLVIMENTO DE CÚPULA
Apostila Pessoal: http://www.youtube.com/user/ThePoluidor
DESENVOLVIMENTO DE CÚPULA
Apostila Pessoal: http://www.youtube.com/user/ThePoluidor
89
Apostila Pessoal: http://www.youtube.com/user/ThePoluidor
DESENVOLVIMENTO DE CÚPULA
Apostila Pessoal: http://www.youtube.com/user/ThePoluidor
DESENVOLVIMENTO DE CÚPULA - CONTINUAÇÃO
Apostila Pessoal: http://www.youtube.com/user/ThePoluidor
90
Apostila Pessoal: http://www.youtube.com/user/ThePoluidor
Desenha-se a fig. 128 e divide-se a semicircunferência em 6 partes iguais, marcando os pontos
3-4-5-6-7. Transportam-se estes pontos para cima e com mesmo centro e com raio
traçam-se três circunferências formando a fig. 129, a qual divide
traça-se uma reta cujo comprimento deverá ser o produto da multiplicação d
tubo por 3,142. Divide-se então esta reta em 16 partes iguais e por estas divisões levantam
perpendiculares. Abre-se o compasso com medida igual a
se as perpendiculares em três partes iguais
130). Centra-se o compasso na linha de centro da fig. 129 e abre
centra-se no ponto 8 da fig. 130 e marcam
O’; pega-se a medida OJ e marcam
pega-se a medida OL, transportando
o mesmo para todos os vãos e depois ligam
DESENVOLVIMENTO DA ESFERA PELO PROCESSO DOS FUSOS
Apostila Pessoal: http://www.youtube.com/user/ThePoluidor
se a semicircunferência em 6 partes iguais, marcando os pontos
se estes pontos para cima e com mesmo centro e com raio
se três circunferências formando a fig. 129, a qual divide-se em 16 partes iguais. Ao lado
se uma reta cujo comprimento deverá ser o produto da multiplicação do diâmetro externo do
se então esta reta em 16 partes iguais e por estas divisões levantam
se o compasso com medida igual a 6-7 (fig. 128) e com esta medida dividem
se as perpendiculares em três partes iguais. Por estas divisões passam as retas
se o compasso na linha de centro da fig. 129 e abre-se o compasso com medida
da fig. 130 e marcam-se os pontos I e I. Volta-se à fig. 129 centra
e marcam-se os pontos II e II na fig. 130. Volta-se novamente à fig. 129
, transportando-a também para a fig. 130, marcando os pontos
o mesmo para todos os vãos e depois ligam-se os pontos com uma régua flexível.
DESENVOLVIMENTO DA ESFERA PELO PROCESSO DOS FUSOS
Apostila Pessoal: http://www.youtube.com/user/ThePoluidor
91
se a semicircunferência em 6 partes iguais, marcando os pontos 1-2-
se estes pontos para cima e com mesmo centro e com raio 07 - 06 e 05
se em 16 partes iguais. Ao lado
o diâmetro externo do
se então esta reta em 16 partes iguais e por estas divisões levantam-se
(fig. 128) e com esta medida dividem-
. Por estas divisões passam as retas AB-CD e EF (fig.
se o compasso com medida OG;
se à fig. 129 centra-se no ponto
se novamente à fig. 129
a também para a fig. 130, marcando os pontos III e III. Faz-se
flexível.
Apostila Pessoal: http://www.youtube.com/user/ThePoluidor
As explicações dadas para desenvolver a cúpula servem para desenvolver a esfera. Evidentemente,
deve-se desenvolver a parte abaixo da linha
Apostila Pessoal: http://www.youtube.com/user/ThePoluidor
As explicações dadas para desenvolver a cúpula servem para desenvolver a esfera. Evidentemente,
se desenvolver a parte abaixo da linha XY igual à parte de cima.
Apostila Pessoal: http://www.youtube.com/user/ThePoluidor
92
As explicações dadas para desenvolver a cúpula servem para desenvolver a esfera. Evidentemente,
Apostila Pessoal: http://www.youtube.com/user/ThePoluidor
TRAÇADO DA ESFERA PELO PROCESSO DAS ZONAS
Apostila Pessoal: http://www.youtube.com/user/ThePoluidor
ESFERA PELO PROCESSO DAS ZONAS
Apostila Pessoal: http://www.youtube.com/user/ThePoluidor
93
Apostila Pessoal: http://www.youtube.com/user/ThePoluidor
Basta que se trace a esfera (fig. 134) e divida
F e G com H. Cada uma destas divisões formam pequenos cones que serão desenvolvidos
separadamente e depois unidos para f
Para dar uma idéia melhor, unimos no outro desenho os diversos cones.
VARIANTES DO PROCESSO DAS ZONAS
Apostila Pessoal: http://www.youtube.com/user/ThePoluidor
Basta que se trace a esfera (fig. 134) e divida-se em partes iguais. Ligue-se A com
. Cada uma destas divisões formam pequenos cones que serão desenvolvidos
separadamente e depois unidos para formar a esfera.
Para dar uma idéia melhor, unimos no outro desenho os diversos cones.
VARIANTES DO PROCESSO DAS ZONAS
Apostila Pessoal: http://www.youtube.com/user/ThePoluidor
94
com B; C com D; E com
. Cada uma destas divisões formam pequenos cones que serão desenvolvidos
Apostila Pessoal: http://www.youtube.com/user/ThePoluidor
Dependendo da espessura do material, podem
depois soldar.
Apostila Pessoal: http://www.youtube.com/user/ThePoluidor
Dependendo da espessura do material, podem-se recortar as diversas divisões, numerando
Apostila Pessoal: http://www.youtube.com/user/ThePoluidor
95
se recortar as diversas divisões, numerando-as para
Apostila Pessoal: http://www.youtube.com/user/ThePoluidor
QUADRADO PARA REDONDO CONCÊNTRICO
Apostila Pessoal: http://www.youtube.com/user/ThePoluidor
QUADRADO PARA REDONDO CONCÊNTRICO
Apostila Pessoal: http://www.youtube.com/user/ThePoluidor
96
Apostila Pessoal: http://www.youtube.com/user/ThePoluidor
QUADRADO PARA REDONDO CONCÊNTRICO
Apostila Pessoal: http://www.youtube.com/user/ThePoluidor
QUADRADO PARA REDONDO CONCÊNTRICO - CONTINUAÇÃO
Apostila Pessoal: http://www.youtube.com/user/ThePoluidor
97
Apostila Pessoal: http://www.youtube.com/user/ThePoluidor
Desenha-se a vista de planta (fig. 140) e divide
ligadas aos cantos da parte quadrada. Para se achar a verdadeira grandeza da peça desenha
altura normal da peça (fig. 142) e depois abre
em E (fig. 142) e marca-se um ponto que será ligado ao ponto
medida A’, a qual também é transportada para a fig. 142.
Sendo a peça concêntrica, as linhas
1 e 4 são iguais. Deve-se transportar também o deslocamento da peça indicado na planta com a
letra D e na fig. 142 com a letra
centro G1. Abre-se então o compasso com medida
marcam-se os pontos I e J. Vai-
em I e depois em J e traçam-se dois aços que se cruzem na linha d
Abre-se o compasso com medida
arcos. Pega-se a medida 2F da fig. 142 centra
que cruzem com os anteriores,
por último se deverá usar a medida
REDONDO PARA QUADRADO CONCÊNTRICO
Apostila Pessoal: http://www.youtube.com/user/ThePoluidor
se a vista de planta (fig. 140) e divide-se a boca redonda em partes iguais as quais serão
ligadas aos cantos da parte quadrada. Para se achar a verdadeira grandeza da peça desenha
altura normal da peça (fig. 142) e depois abre-se o compasso com medida A1
se um ponto que será ligado ao ponto F. Volta-se à fig. 140, pega
, a qual também é transportada para a fig. 142.
Sendo a peça concêntrica, as linhas 2 e 3 (fig. 140) tem a mesma dimensão, como também as linhas
se transportar também o deslocamento da peça indicado na planta com a
e na fig. 142 com a letra D¹. Para se fazer o desenvolvimento (fig. 143) traça
se então o compasso com medida AH (fig. 140) centra-se no ponto
-se à fig. 142 pega-se a medida 1F, passa-se para a fig. 143 centra
se dois aços que se cruzem na linha de centro, marcando o ponto
se o compasso com medida 1-2 (fig. 140), centra-se no ponto 1 da fig. 143 e traçam
da fig. 142 centra-se em I e J da fig. 143 e traçam-
que cruzem com os anteriores, marcando os pontos 2.E assim por diante até o final da peça, quando
por último se deverá usar a medida AK e D¹ para concluir a peça.
REDONDO PARA QUADRADO CONCÊNTRICO
Apostila Pessoal: http://www.youtube.com/user/ThePoluidor
98
se a boca redonda em partes iguais as quais serão
ligadas aos cantos da parte quadrada. Para se achar a verdadeira grandeza da peça desenha-se a
A1 (fig. 140) centra-se
se à fig. 140, pega-se a
(fig. 140) tem a mesma dimensão, como também as linhas
se transportar também o deslocamento da peça indicado na planta com a
. Para se fazer o desenvolvimento (fig. 143) traça-se a linha de
se no ponto G (fig. 143) e
se para a fig. 143 centra-se
e centro, marcando o ponto 1.
da fig. 143 e traçam-se dois
-se outros dois arcos
.E assim por diante até o final da peça, quando
Apostila Pessoal: http://www.youtube.com/user/ThePoluidor
Processo de traçagem igual ao da peça anterior.
Na prática é necessário desenhar a vista de elevação como também toda a vista de planta sempre
que a figura for concêntrica. Aqui ela é desenhada para maior nitidez da peça e melhor
compreensão do observador.
Apostila Pessoal: http://www.youtube.com/user/ThePoluidor
Processo de traçagem igual ao da peça anterior.
desenhar a vista de elevação como também toda a vista de planta sempre
que a figura for concêntrica. Aqui ela é desenhada para maior nitidez da peça e melhor
Apostila Pessoal: http://www.youtube.com/user/ThePoluidor
99
desenhar a vista de elevação como também toda a vista de planta sempre
que a figura for concêntrica. Aqui ela é desenhada para maior nitidez da peça e melhor
Apostila Pessoal: http://www.youtube.com/user/ThePoluidor
QUADRADO PARA REDONDO COM O DIÂMETRO DA BASE (BOCA) REDONDA IGUAL A
DO QUADRADO
Apostila Pessoal: http://www.youtube.com/user/ThePoluidor
QUADRADO PARA REDONDO COM O DIÂMETRO DA BASE (BOCA) REDONDA IGUAL A
Apostila Pessoal: http://www.youtube.com/user/ThePoluidor
100
QUADRADO PARA REDONDO COM O DIÂMETRO DA BASE (BOCA) REDONDA IGUAL AO LADO
Apostila Pessoal: http://www.youtube.com/user/ThePoluidorApostila Pessoal: http://www.youtube.com/user/ThePoluidorApostila Pessoal: http://www.youtube.com/user/ThePoluidor
101
Apostila Pessoal: http://www.youtube.com/user/ThePoluidor
QUADRADO PARA REDONDO COM O DIÂMETRO DA BASE (BOCA) REDONDA IGUAL AO LADO
DO QUADRADO - CONTINUAÇÃO
Apostila Pessoal: http://www.youtube.com/user/ThePoluidor
QUADRADO PARA REDONDO COM O DIÂMETRO DA BASE (BOCA) REDONDA IGUAL AO LADO
CONTINUAÇÃO
Apostila Pessoal: http://www.youtube.com/user/ThePoluidor
102
QUADRADO PARA REDONDO COM O DIÂMETRO DA BASE (BOCA) REDONDA IGUAL AO LADO
Apostila Pessoal: http://www.youtube.com/user/ThePoluidor
Em quadrado para redondo ou retângulo para redondo, o encontro da linha
ter sempre 90º. Neste caso de bocas com a mesma dimensão a linha
igual à própria altura da peça.
RETÂNGULO PARA REDONDO
Apostila Pessoal: http://www.youtube.com/user/ThePoluidor
Em quadrado para redondo ou retângulo para redondo, o encontro da linha D
ter sempre 90º. Neste caso de bocas com a mesma dimensão a linha D (linha de deslocamento) é
RETÂNGULO PARA REDONDO
Apostila Pessoal: http://www.youtube.com/user/ThePoluidor
103
D com a linha L deve
(linha de deslocamento) é
Apostila Pessoal: http://www.youtube.com/user/ThePoluidorApostila Pessoal: http://www.youtube.com/user/ThePoluidorApostila Pessoal: http://www.youtube.com/user/ThePoluidor
104
Apostila Pessoal: http://www.youtube.com/user/ThePoluidor
RETÂNGULO PARA REDONDO
Apostila Pessoal: http://www.youtube.com/user/ThePoluidor
RETÂNGULO PARA REDONDO - CONTINUAÇÃO
Apostila Pessoal: http://www.youtube.com/user/ThePoluidor
105
Apostila Pessoal: http://www.youtube.com/user/ThePoluidor
Muitas vezes, quando se vai traçar uma peça o espaço na chapa é pouco, não sendo possível traçar a
fig. 150 do desenho anterior. Neste caso, usa
se o lado AB da vista de planta até que tenha a altura d
compasso no ponto A (fig. 152) descrevem
redonda parem na linha AC e daí eles serão ligados ao ponto
O resto é como nas figuras anteriores.
REDONDO PARA RETÂNGULO
Apostila Pessoal: http://www.youtube.com/user/ThePoluidor
Muitas vezes, quando se vai traçar uma peça o espaço na chapa é pouco, não sendo possível traçar a
fig. 150 do desenho anterior. Neste caso, usa-se o recurso apresentado na fig. 152, isto é, prolonga
da vista de planta até que tenha a altura da peça (fig. 153) e então, centrando o
(fig. 152) descrevem-se arcos que, partindo dos pontos de divisão da boca
e daí eles serão ligados ao ponto E.
O resto é como nas figuras anteriores.
RETÂNGULO
Apostila Pessoal: http://www.youtube.com/user/ThePoluidor
106
Muitas vezes, quando se vai traçar uma peça o espaço na chapa é pouco, não sendo possível traçar a
se o recurso apresentado na fig. 152, isto é, prolonga-
a peça (fig. 153) e então, centrando o
se arcos que, partindo dos pontos de divisão da boca
Apostila Pessoal: http://www.youtube.com/user/ThePoluidor
QUADRADO PARA REDONDO EXCÊNTRICO
Apostila Pessoal: http://www.youtube.com/user/ThePoluidor
QUADRADO PARA REDONDO EXCÊNTRICO
Apostila Pessoal: http://www.youtube.com/user/ThePoluidor
107
Apostila Pessoal: http://www.youtube.com/user/ThePoluidorApostila Pessoal: http://www.youtube.com/user/ThePoluidorApostila Pessoal: http://www.youtube.com/user/ThePoluidor
108
Apostila Pessoal: http://www.youtube.com/user/ThePoluidor
QUADRADO PARA REDONDO EXCÊNTRICO
Apostila Pessoal: http://www.youtube.com/user/ThePoluidor
QUADRADO PARA REDONDO EXCÊNTRICO - CONTINUAÇÃO
Apostila Pessoal: http://www.youtube.com/user/ThePoluidor
109
Apostila Pessoal: http://www.youtube.com/user/ThePoluidor
Como nas figuras anteriores, as distâncias
transportadas para as linhas inferiores das figuras 161 e 162 e daí projetadas aos pontos
única diferença é que a medida da linha de deslocamento (linha D) da parte que está a 90º com as
bocas, é a própria altura da peça.
RETÂNGULO PARA REDONDO
Apostila Pessoal: http://www.youtube.com/user/ThePoluidor
Como nas figuras anteriores, as distâncias D-1-2-3-4 são extraídas da vista de planta e
transportadas para as linhas inferiores das figuras 161 e 162 e daí projetadas aos pontos
única diferença é que a medida da linha de deslocamento (linha D) da parte que está a 90º com as
a da peça.
RETÂNGULO PARA REDONDO
Apostila Pessoal: http://www.youtube.com/user/ThePoluidor
110
são extraídas da vista de planta e
transportadas para as linhas inferiores das figuras 161 e 162 e daí projetadas aos pontos X e Y. A
única diferença é que a medida da linha de deslocamento (linha D) da parte que está a 90º com as
Apostila Pessoal: http://www.youtube.com/user/ThePoluidor
A particularidade desta peça consiste em que o diâmetro da boca superior é maior que a largura do
retângulo.
Apostila Pessoal: http://www.youtube.com/user/ThePoluidor
A particularidade desta peça consiste em que o diâmetro da boca superior é maior que a largura do
Apostila Pessoal: http://www.youtube.com/user/ThePoluidor
111
A particularidade desta peça consiste em que o diâmetro da boca superior é maior que a largura do
Apostila Pessoal: http://www.youtube.com/user/ThePoluidor
RETÂNGULO PARA REDONDO EXCÊNTRICO
Apostila Pessoal: http://www.youtube.com/user/ThePoluidor
RETÂNGULO PARA REDONDO EXCÊNTRICO
Apostila Pessoal: http://www.youtube.com/user/ThePoluidor
112
Apostila Pessoal: http://www.youtube.com/user/ThePoluidor
A boca redonda é fora de centro, projetando
comprimento.
QUADRADO PARA REDONDO COMPLETAMENTE EXCÊNTRICO
Apostila Pessoal: http://www.youtube.com/user/ThePoluidor
A boca redonda é fora de centro, projetando-se para fora do retângulo no sentido de seu
QUADRADO PARA REDONDO COMPLETAMENTE EXCÊNTRICO
Apostila Pessoal: http://www.youtube.com/user/ThePoluidor
113
retângulo no sentido de seu
Apostila Pessoal: http://www.youtube.com/user/ThePoluidor
Quadrado para redondo completamente fora de centro. Neste caso é necessário achar a verdadeira
grandeza de quase todas as linhas.
A figura 177 mostra o desenvol
Apostila Pessoal: http://www.youtube.com/user/ThePoluidor
Quadrado para redondo completamente fora de centro. Neste caso é necessário achar a verdadeira
grandeza de quase todas as linhas.
A figura 177 mostra o desenvolvimento total da peça.
Apostila Pessoal: http://www.youtube.com/user/ThePoluidor
114
Quadrado para redondo completamente fora de centro. Neste caso é necessário achar a verdadeira
Apostila Pessoal: http://www.youtube.com/user/ThePoluidor
DESENVOLVIMENTO TOTAL DA PEÇA
Apostila Pessoal: http://www.youtube.com/user/ThePoluidor
DESENVOLVIMENTO TOTAL DA PEÇA
Apostila Pessoal: http://www.youtube.com/user/ThePoluidor
115
Apostila Pessoal: http://www.youtube.com/user/ThePoluidor
QUADRADO PARA REDONDO INCLINADO A 45º
Apostila Pessoal: http://www.youtube.com/user/ThePoluidor
QUADRADO PARA REDONDO INCLINADO A 45º
Apostila Pessoal: http://www.youtube.com/user/ThePoluidor
116
Apostila Pessoal: http://www.youtube.com/user/ThePoluidor
QUADRADO PARA REDONDO INCLINADO A 45º
Apostila Pessoal: http://www.youtube.com/user/ThePoluidor
QUADRADO PARA REDONDO INCLINADO A 45º - CONTINUAÇÃO
Apostila Pessoal: http://www.youtube.com/user/ThePoluidor
117
Apostila Pessoal: http://www.youtube.com/user/ThePoluidorApostila Pessoal: http://www.youtube.com/user/ThePoluidorApostila Pessoal: http://www.youtube.com/user/ThePoluidor
118
Apostila Pessoal: http://www.youtube.com/user/ThePoluidor
RETÂNGULO PARA REDONDO COM BASE (BOCA) REDONDA INCLINADA A 30º
Apostila Pessoal: http://www.youtube.com/user/ThePoluidor
RETÂNGULO PARA REDONDO COM BASE (BOCA) REDONDA INCLINADA A 30º
Apostila Pessoal: http://www.youtube.com/user/ThePoluidor
119
RETÂNGULO PARA REDONDO COM BASE (BOCA) REDONDA INCLINADA A 30º
Apostila Pessoal: http://www.youtube.com/user/ThePoluidor
QUADRADO PARA REDONDO COM OS CANTOS ARRENDONDADOS
Apostila Pessoal: http://www.youtube.com/user/ThePoluidor
QUADRADO PARA REDONDO COM OS CANTOS ARRENDONDADOS
Apostila Pessoal: http://www.youtube.com/user/ThePoluidor
120
Apostila Pessoal: http://www.youtube.com/user/ThePoluidorApostila Pessoal: http://www.youtube.com/user/ThePoluidorApostila Pessoal: http://www.youtube.com/user/ThePoluidor
121
Apostila Pessoal: http://www.youtube.com/user/ThePoluidor
QUADRADO OU RETÂNGULO PARA REDONDO COM AS BASES (BOCAS) A 90º UMA DA OUTRA
Apostila Pessoal: http://www.youtube.com/user/ThePoluidor
QUADRADO OU RETÂNGULO PARA REDONDO COM AS BASES (BOCAS) A 90º UMA DA OUTRA
Apostila Pessoal: http://www.youtube.com/user/ThePoluidor
122
QUADRADO OU RETÂNGULO PARA REDONDO COM AS BASES (BOCAS) A 90º UMA DA OUTRA
Apostila Pessoal: http://www.youtube.com/user/ThePoluidor
QUADRADO OU RETÂNGULO PARA REDONDO COM AS BASES (BOCAS) A 90º UMA DA OUTRA
- CONTINUAÇÃO
Apostila Pessoal: http://www.youtube.com/user/ThePoluidor
QUADRADO OU RETÂNGULO PARA REDONDO COM AS BASES (BOCAS) A 90º UMA DA OUTRA
Apostila Pessoal: http://www.youtube.com/user/ThePoluidor
123
QUADRADO OU RETÂNGULO PARA REDONDO COM AS BASES (BOCAS) A 90º UMA DA OUTRA
Apostila Pessoal: http://www.youtube.com/user/ThePoluidor
Desenha-se primeiro a vista de planta (fig. 190), prolongando um pouco a linha
parte superior da circunferência em partes iguais. Ao lado desenha
depois, centrando o compasso no ponto
na linha AB e daí seguirão paralelas até a linha
ponto E, determinando assim as linhas de verdadeira grandeza. O desenvolvimento faz
ouros já conhecidos com a diferença de que ao chegar no ponto
linha 4-5, que encontrará a linha
de perfil e a linha 5-6 é a linha
(fig. 191) cujo comprimento é o mesmo da linha
igual a 7-8, centra-se primeiro no ponto
4. A vista em perspectiva (fig. 192) mostra como fica a peça depois de pronta.
INTERSEÇÃO DE CILINDRO COM CONE
Apostila Pessoal: http://www.youtube.com/user/ThePoluidor
se primeiro a vista de planta (fig. 190), prolongando um pouco a linha
parte superior da circunferência em partes iguais. Ao lado desenha-se a vista de perfil (fig. 189) e
depois, centrando o compasso no ponto Z traçam-se arcos que partindo dos pontos
e daí seguirão paralelas até a linha CD da vista de perfil. Estes pontos serão dirigidos ao
, determinando assim as linhas de verdadeira grandeza. O desenvolvimento faz
om a diferença de que ao chegar no ponto 4 (fig. 191), tem
, que encontrará a linha 5-6, formando um ângulo de 90º. A linha 4-5
é a linha EC, também da vista de perfil. Continuando, le
(fig. 191) cujo comprimento é o mesmo da linha 7-8 da fig. 190. Então com abertura de compasso
se primeiro no ponto H e depois no ponto 4 e traçam-se no ponto
vista em perspectiva (fig. 192) mostra como fica a peça depois de pronta.
INTERSEÇÃO DE CILINDRO COM CONE
Apostila Pessoal: http://www.youtube.com/user/ThePoluidor
124
se primeiro a vista de planta (fig. 190), prolongando um pouco a linha AB e dividindo a
se a vista de perfil (fig. 189) e
que partindo dos pontos 1-2-3-4, parem
da vista de perfil. Estes pontos serão dirigidos ao
, determinando assim as linhas de verdadeira grandeza. O desenvolvimento faz-se como
(fig. 191), tem-se que traçar a
é a linha CF da vista
, também da vista de perfil. Continuando, levanta-se a linha GH
da fig. 190. Então com abertura de compasso
se no ponto 9 e liga-se H a
Apostila Pessoal: http://www.youtube.com/user/ThePoluidorApostila Pessoal: http://www.youtube.com/user/ThePoluidorApostila Pessoal: http://www.youtube.com/user/ThePoluidor
125
Apostila Pessoal: http://www.youtube.com/user/ThePoluidor
INTERSEÇÃO DE CONE COM CILINDRO
Apostila Pessoal: http://www.youtube.com/user/ThePoluidor
INTERSEÇÃO DE CONE COM CILINDRO
Apostila Pessoal: http://www.youtube.com/user/ThePoluidor
126
Apostila Pessoal: http://www.youtube.com/user/ThePoluidor
INTERSEÇÃO DE CONE COM CILINDRO
Apostila Pessoal: http://www.youtube.com/user/ThePoluidor
INTERSEÇÃO DE CONE COM CILINDRO - CONTINUAÇÃO
Apostila Pessoal: http://www.youtube.com/user/ThePoluidor
127
Apostila Pessoal: http://www.youtube.com/user/ThePoluidor
Desenha-se a vista de planta (fig. 197) e divide
vista de elevação (fig. 198), dividindo também aí a boca do cilindro em partes iguais. Volta
de planta e, centrando o compasso no ponto
6-7 da boca do cilindro, marque esses mesmos pontos no lado
perpendiculares que toquem no lado
V-VI-VII, baixam-se perpendiculares ao longo do cilindro. Traçam
com II, 3 com III, 4 com IV, 5 com
com as verticais a linha de interseção.
O desenvolvimento (fig. 199) é feito de maneira já conhecida.
A vista em perspectiva (fig. 176) mostra como deve ficar peça depois de pronta.
INTERSEÇÃO DE UM CONE COM UM CILINDRO COM EIXOS A 90º
Apostila Pessoal: http://www.youtube.com/user/ThePoluidor
se a vista de planta (fig. 197) e divide-se a boca do cilindro em partes iguais. Desenha
vista de elevação (fig. 198), dividindo também aí a boca do cilindro em partes iguais. Volta
de planta e, centrando o compasso no ponto X, traçam-se arcos que partindo dos pontos
da boca do cilindro, marque esses mesmos pontos no lado Z da peça. Partindo daí traçam
perpendiculares que toquem no lado AB da vista de elevação. Então, partindo dos pontos
se perpendiculares ao longo do cilindro. Traçam-se horizontais ligando
com V, 6 com VI e 7 com VII, marcando no encontro das horizontais
com as verticais a linha de interseção.
9) é feito de maneira já conhecida.
A vista em perspectiva (fig. 176) mostra como deve ficar peça depois de pronta.
INTERSEÇÃO DE UM CONE COM UM CILINDRO COM EIXOS A 90º-PROCESSO 1
Apostila Pessoal: http://www.youtube.com/user/ThePoluidor
128
se a boca do cilindro em partes iguais. Desenha-se a
vista de elevação (fig. 198), dividindo também aí a boca do cilindro em partes iguais. Volta-se a vista
se arcos que partindo dos pontos 1-2-3-4-5-
da peça. Partindo daí traçam-se
da vista de elevação. Então, partindo dos pontos I-II-III-IV-
se horizontais ligando 1 com I, 2
, marcando no encontro das horizontais
A vista em perspectiva (fig. 176) mostra como deve ficar peça depois de pronta.
PROCESSO 1
Apostila Pessoal: http://www.youtube.com/user/ThePoluidorApostila Pessoal: http://www.youtube.com/user/ThePoluidorApostila Pessoal: http://www.youtube.com/user/ThePoluidor
129
Apostila Pessoal: http://www.youtube.com/user/ThePoluidor
INTERSEÇÃO DE UM CONE COM UM CILINDRO COM EIXOS A
CONTINUAÇÃO
Desenham-se as vistas de planta e elevação. Divide
partes iguais, obtendo os pontos
encontrar o lado CD do cone, marcando aí os pontos
verticais até tocar a linha de centro
centrando o compasso no ponto
linha de centro. Divide-se a semicircunferência
iguais da anterior e traçam-se paralelas de modo que cruzem com os arcos traçados anteriormente,
marcando os pontos 8-9-10-11
cruzem com as paralelas do cilindro na fig. 202 e o encontro das verticais com as horizontais forma
Apostila Pessoal: http://www.youtube.com/user/ThePoluidor
INTERSEÇÃO DE UM CONE COM UM CILINDRO COM EIXOS A 90º PROCESSO 1
se as vistas de planta e elevação. Divide-se a semicircunferência AB
partes iguais, obtendo os pontos 1-2-3-4-5-6-7. Partindo destes pontos traçam
do cone, marcando aí os pontos 1-2-3-4-5-6-7, destes pontos traçam
verticais até tocar a linha de centro EF da fig. 201, marcando os pontos 1’-2’-
centrando o compasso no ponto S, e partindo destes pontos traçam-se arcos de modo que cruzem a
se a semicircunferência GH da vista de planta no mesmo número de partes
se paralelas de modo que cruzem com os arcos traçados anteriormente,
11-12-13. Partindo destes pontos, levantam-se perpendiculares que
cruzem com as paralelas do cilindro na fig. 202 e o encontro das verticais com as horizontais forma
Apostila Pessoal: http://www.youtube.com/user/ThePoluidor
130
90º PROCESSO 1 -
AB (fig. 202), em sete
. Partindo destes pontos traçam-se paralelas até
, destes pontos traçam-se linhas
-3’-4’-5’-6’-7’. Então,
de modo que cruzem a
da vista de planta no mesmo número de partes
se paralelas de modo que cruzem com os arcos traçados anteriormente,
se perpendiculares que
cruzem com as paralelas do cilindro na fig. 202 e o encontro das verticais com as horizontais forma
Apostila Pessoal: http://www.youtube.com/user/ThePoluidor
a linha de interseção. O desenvolvimento (fig. 203) é feito transportando
compasso de modo já conhecido.
INTERSEÇÃO DE UM CONE COM CILINDRO COM EIXOS A 90º
Apostila Pessoal: http://www.youtube.com/user/ThePoluidor
a linha de interseção. O desenvolvimento (fig. 203) é feito transportando-se as alturas com o
modo já conhecido.
INTERSEÇÃO DE UM CONE COM CILINDRO COM EIXOS A 90º - PROCESSO 2
Apostila Pessoal: http://www.youtube.com/user/ThePoluidor
131
se as alturas com o
PROCESSO 2
Apostila Pessoal: http://www.youtube.com/user/ThePoluidor
Desenha-se apenas a vista de elevação e divide
partes iguais. Os números 2’-
marcando os pontos 2’’-3’’-4’’
descreve-se o arco 2A. Projeta
Centra-se em 2’’ e com abertura
Partindo daí, levanta-se uma perpendicular que corte a linha
outros pontos P da linha de interseção. O desenvolvimento (fig. 204) é feito
conhecido.
Apostila Pessoal: http://www.youtube.com/user/ThePoluidor
se apenas a vista de elevação e divide-se a semicircunferência em um número qualquer de
-3’-4’-5’-6’ devem ser transportados para linha de centro do cone,
4’’-5’’-6’’. Centra-se o compasso no ponto 2’ e com abertura
. Projeta-se o ponto A horizontalmente até que penetre um pouco no cone.
e com abertura 2Y descreve-se um arco que corte a linha A marcando o ponto
se uma perpendicular que corte a linha 2’’-2’ no ponto P
da linha de interseção. O desenvolvimento (fig. 204) é feito
Apostila Pessoal: http://www.youtube.com/user/ThePoluidor
132
se a semicircunferência em um número qualquer de
devem ser transportados para linha de centro do cone,
e com abertura 2’-2
horizontalmente até que penetre um pouco no cone.
marcando o ponto A¹.
P para encontrar os
da linha de interseção. O desenvolvimento (fig. 204) é feito de modo bastante
Apostila Pessoal: http://www.youtube.com/user/ThePoluidor
INTERSEÇÃO DE CONE COM CILINDRO COM EIXOS DIFERENTES DE 90º
Apostila Pessoal: http://www.youtube.com/user/ThePoluidor
INTERSEÇÃO DE CONE COM CILINDRO COM EIXOS DIFERENTES DE 90º
Apostila Pessoal: http://www.youtube.com/user/ThePoluidor
133
Apostila Pessoal: http://www.youtube.com/user/ThePoluidorApostila Pessoal: http://www.youtube.com/user/ThePoluidorApostila Pessoal: http://www.youtube.com/user/ThePoluidor
134
Apostila Pessoal: http://www.youtube.com/user/ThePoluidor
INTERSEÇÃO DE CONE COM CILINDRO COM EIXOS DIFERENTES DE 90º
CONTINUAÇÃO
Desenham-se as vistas de planta e elevação da peça e divide
em um número de partes iguais, traçando
traçam-se as linhas C e D, as quais serão projetadas para a vista
Centrando no ponto Y e com raio
semicircunferência AB baixam
desta partirão horizontais que cruzarão
Estes pontos serão projetados para as linhas
J’- K’- L’, traçando em seguida as linhas
O cruzamento destas com as paralelas do cilind
Apostila Pessoal: http://www.youtube.com/user/ThePoluidor
INTERSEÇÃO DE CONE COM CILINDRO COM EIXOS DIFERENTES DE 90º
se as vistas de planta e elevação da peça e divide-se a semicircunferência
em um número de partes iguais, traçando-se em seguida linhas paralelas ao eixo do cilindro,
, as quais serão projetadas para a vista de planta, marcando os pontos
e com raio YF e YE traçam-se os arcos EF’. Então partindo da
baixam-se perpendiculares até a vista de planta, traçando nelas a oval
desta partirão horizontais que cruzarão os arcos traçados anteriormente, marcando os pontos
Estes pontos serão projetados para as linhas C e D na vista de elevação, marcando os pontos
, traçando em seguida as linhas JJ’-KK’-LL’.
O cruzamento destas com as paralelas do cilindro marcam a linha de interseção.
Apostila Pessoal: http://www.youtube.com/user/ThePoluidor
135
se a semicircunferência AB (fig. 207)
se em seguida linhas paralelas ao eixo do cilindro,
de planta, marcando os pontos EF.
. Então partindo da
se perpendiculares até a vista de planta, traçando nelas a oval 1-7 e
os arcos traçados anteriormente, marcando os pontos GHI.
na vista de elevação, marcando os pontos JKL e
ro marcam a linha de interseção.
Apostila Pessoal: http://www.youtube.com/user/ThePoluidor
INTERSEÇÃO DE DOIS TRONCOS DE CONE COM EIXOS A 90º
Apostila Pessoal: http://www.youtube.com/user/ThePoluidor
INTERSEÇÃO DE DOIS TRONCOS DE CONE COM EIXOS A 90º
Apostila Pessoal: http://www.youtube.com/user/ThePoluidor
136
Apostila Pessoal: http://www.youtube.com/user/ThePoluidorApostila Pessoal: http://www.youtube.com/user/ThePoluidorApostila Pessoal: http://www.youtube.com/user/ThePoluidor
137
Apostila Pessoal: http://www.youtube.com/user/ThePoluidor
INTERSEÇÃO DE DOIS TRONCOS DE CONE COM EIXOS A 90º
Desenham-se as vistas de planta e elevação. Na elevação dividem
menor, no mesmo número de partes iguais. Unem
Apostila Pessoal: http://www.youtube.com/user/ThePoluidor
INTERSEÇÃO DE DOIS TRONCOS DE CONE COM EIXOS A 90º - CONTINUAÇÃO
se as vistas de planta e elevação. Na elevação dividem-se as bocas
menor, no mesmo número de partes iguais. Unem-se as divisões 1-1’, 2-2’, 3-3’,
Apostila Pessoal: http://www.youtube.com/user/ThePoluidor
138
CONTINUAÇÃO
se as bocas AB e CD do cone
, 4-4’, etc., através de
Apostila Pessoal: http://www.youtube.com/user/ThePoluidor
retas. Partindo dos pontos 1
Transportam-se estes pontos até a linha de centro da vista de planta, marcando os pontos
Partindo destes pontos traçam
cone menor. Projetam-se estes pon
pontos estes que serão unidos como uma régua flexível. O encontro destas com as linhas
3-3’ forma a linha de interseção.
INTERSEÇÃO DE CONE COM CILINDRO, SENDO A BASE (BOCA) DO C
CILINDRO
Apostila Pessoal: http://www.youtube.com/user/ThePoluidor
1-2-3 traçam-se estes pontos até tocar o lado
se estes pontos até a linha de centro da vista de planta, marcando os pontos
Partindo destes pontos traçam-se arcos que formam os pontos I, J, H, ao cruzarem com as retas do
se estes pontos para a vista de elevação marcando os pontos
pontos estes que serão unidos como uma régua flexível. O encontro destas com as linhas
forma a linha de interseção.
INTERSEÇÃO DE CONE COM CILINDRO, SENDO A BASE (BOCA) DO CONE PARALELA A DO
Apostila Pessoal: http://www.youtube.com/user/ThePoluidor
139
car o lado E do cone maior.
se estes pontos até a linha de centro da vista de planta, marcando os pontos E, F, G.
, ao cruzarem com as retas do
tos para a vista de elevação marcando os pontos I1- J2 e H3,
pontos estes que serão unidos como uma régua flexível. O encontro destas com as linhas 1-1’, 2-2’,
ONE PARALELA A DO
Apostila Pessoal: http://www.youtube.com/user/ThePoluidorApostila Pessoal: http://www.youtube.com/user/ThePoluidorApostila Pessoal: http://www.youtube.com/user/ThePoluidor
140
Apostila Pessoal: http://www.youtube.com/user/ThePoluidor
INTERSEÇÃO DE DOIS TRONCOS DE CONE COM EIXOS DIFERENTES DE 90º
Apostila Pessoal: http://www.youtube.com/user/ThePoluidor
INTERSEÇÃO DE DOIS TRONCOS DE CONE COM EIXOS DIFERENTES DE 90º
Apostila Pessoal: http://www.youtube.com/user/ThePoluidor
141
Apostila Pessoal: http://www.youtube.com/user/ThePoluidor
As explicações dadas para o desenvolvimento dos dois troncos de cone com eixos de 90º servem
também para esta peça, com a diferença de que nesta divide
necessário desenhar a boca CD
semi-oval e não um semicírculo como na anterior.
TRONCO DE PIRÂMIDE DE BASE RETANGULAR
Apostila Pessoal: http://www.youtube.com/user/ThePoluidor
As explicações dadas para o desenvolvimento dos dois troncos de cone com eixos de 90º servem
também para esta peça, com a diferença de que nesta divide-se apenas a boca
CD. Outro detalhe: Nesta figura, na vista de planta, desenha
oval e não um semicírculo como na anterior.
TRONCO DE PIRÂMIDE DE BASE RETANGULAR
Apostila Pessoal: http://www.youtube.com/user/ThePoluidor
142
As explicações dadas para o desenvolvimento dos dois troncos de cone com eixos de 90º servem
se apenas a boca AB não sendo
anta, desenha-se uma
Apostila Pessoal: http://www.youtube.com/user/ThePoluidor
Desenham-se as vistas de planta e elevação, prolongando
vértice V.
Centra-se o compasso no ponto
no ponto V e traça-se o arco maior, partindo da base inferior da pirâmide e com mesmo centro,
outro arco partindo da base superior. Então, basta apenas colocar nestes arcos as medidas
partindo dos pontos 2’ e 1’.
TUBO DE BASE (BOCA) QUADRADA E PARALELA, SENDO A SUPERIOR MENOR E AO
CONTRÁRIO DA INFERIOR
Apostila Pessoal: http://www.youtube.com/user/ThePoluidor
se as vistas de planta e elevação, prolongando-se as linhas dos lados, até formar o
se o compasso no ponto X e traçam-se os arcos 1 e 2, até tocar a linha de centro. Centra
se o arco maior, partindo da base inferior da pirâmide e com mesmo centro,
outro arco partindo da base superior. Então, basta apenas colocar nestes arcos as medidas
TUBO DE BASE (BOCA) QUADRADA E PARALELA, SENDO A SUPERIOR MENOR E AO
Apostila Pessoal: http://www.youtube.com/user/ThePoluidor
143
se as linhas dos lados, até formar o
, até tocar a linha de centro. Centra-se
se o arco maior, partindo da base inferior da pirâmide e com mesmo centro,
outro arco partindo da base superior. Então, basta apenas colocar nestes arcos as medidas AB e CD,
TUBO DE BASE (BOCA) QUADRADA E PARALELA, SENDO A SUPERIOR MENOR E AO
Apostila Pessoal: http://www.youtube.com/user/ThePoluidorApostila Pessoal: http://www.youtube.com/user/ThePoluidorApostila Pessoal: http://www.youtube.com/user/ThePoluidor
144
Apostila Pessoal: http://www.youtube.com/user/ThePoluidor
TUBO DE BASES (BOCAS) RETANGULARES E PARALELAS CONCÊNTRICAS, TENDO A
SUPERIOR SENTIDO CONTRÁRIO AO DA INFERIOR
Apostila Pessoal: http://www.youtube.com/user/ThePoluidor
TUBO DE BASES (BOCAS) RETANGULARES E PARALELAS CONCÊNTRICAS, TENDO A
SUPERIOR SENTIDO CONTRÁRIO AO DA INFERIOR
Apostila Pessoal: http://www.youtube.com/user/ThePoluidor
145
TUBO DE BASES (BOCAS) RETANGULARES E PARALELAS CONCÊNTRICAS, TENDO A
Apostila Pessoal: http://www.youtube.com/user/ThePoluidor
Desenha-se a planta e a elevação com as medidas naturais. Para o desenvolvimento, transportam
as medidas diretamente da planta. A altura é a mesma da elevação não sendo necessário achar nem
uma linha de verdadeira grandeza.
BIFURCAÇÃO TUBO “CALÇA” CÔ
Apostila Pessoal: http://www.youtube.com/user/ThePoluidor
se a planta e a elevação com as medidas naturais. Para o desenvolvimento, transportam
as medidas diretamente da planta. A altura é a mesma da elevação não sendo necessário achar nem
uma linha de verdadeira grandeza.
BIFURCAÇÃO TUBO “CALÇA” CÔNICO - PROCESSO 1
Apostila Pessoal: http://www.youtube.com/user/ThePoluidor
146
se a planta e a elevação com as medidas naturais. Para o desenvolvimento, transportam-se
as medidas diretamente da planta. A altura é a mesma da elevação não sendo necessário achar nem
Apostila Pessoal: http://www.youtube.com/user/ThePoluidorApostila Pessoal: http://www.youtube.com/user/ThePoluidorApostila Pessoal: http://www.youtube.com/user/ThePoluidor
147
Apostila Pessoal: http://www.youtube.com/user/ThePoluidor
TRANSFORMAÇÃO DE OVAL PARA REDONDO
Apostila Pessoal: http://www.youtube.com/user/ThePoluidor
TRANSFORMAÇÃO DE OVAL PARA REDONDO - MODÊLO 1
Apostila Pessoal: http://www.youtube.com/user/ThePoluidor
148
Apostila Pessoal: http://www.youtube.com/user/ThePoluidor
TRANSFORMAÇÃO DE OVAL PARA REDONDO
Desenha-se a vista de planta (fig. 231) pelo sistema indicado na fig. 26. Divide
quarto do redondo e um quarto do oval, numerando
Traçam-se então as linhas de triangulação
alinha AB da fig. 232 e daí elevadas ao ponto
traçar o desenvolvimento e para isso deve
aberto na medida 1-3, o outro na medida
variáveis. Transportando-se as medidas da fig. 232 para o fig. 233 e para a parte oval as aberturas
1-3 e para a boca redonda as aberturas
Apostila Pessoal: http://www.youtube.com/user/ThePoluidor
TRANSFORMAÇÃO DE OVAL PARA REDONDO - MODÊLO 1 - CONTINUAÇÃO
se a vista de planta (fig. 231) pelo sistema indicado na fig. 26. Divide-
quarto do redondo e um quarto do oval, numerando-se no oval 1-3-5-7 no redondo
se então as linhas de triangulação 1-2-3-4-5-6-7-8. Estas linhas são transportadas para
da fig. 232 e daí elevadas ao ponto C. Estas são as linhas de verdadeira grandeza para se
traçar o desenvolvimento e para isso deve-se, de preferência, usar três compassos. Um deles fica
o outro na medida 2-4 e o outro transporta as medidas da fig. 232 que são
se as medidas da fig. 232 para o fig. 233 e para a parte oval as aberturas
e para a boca redonda as aberturas 2-4, obtém-se o desenvolvimento.
Apostila Pessoal: http://www.youtube.com/user/ThePoluidor
149
CONTINUAÇÃO
-se então apenas um
no redondo 2-4-6-8.
. Estas linhas são transportadas para
. Estas são as linhas de verdadeira grandeza para se
se, de preferência, usar três compassos. Um deles fica
e o outro transporta as medidas da fig. 232 que são
se as medidas da fig. 232 para o fig. 233 e para a parte oval as aberturas
Apostila Pessoal: http://www.youtube.com/user/ThePoluidor
INTERSEÇÃO DE UM CILINDRO POR OUTRO INCLINADO E EXCÊNTRICO
Apostila Pessoal: http://www.youtube.com/user/ThePoluidor
INTERSEÇÃO DE UM CILINDRO POR OUTRO INCLINADO E EXCÊNTRICO
Apostila Pessoal: http://www.youtube.com/user/ThePoluidor
150
Apostila Pessoal: http://www.youtube.com/user/ThePoluidorApostila Pessoal: http://www.youtube.com/user/ThePoluidorApostila Pessoal: http://www.youtube.com/user/ThePoluidor
151
Apostila Pessoal: http://www.youtube.com/user/ThePoluidor
TUBO COM BASE (BOCA) INFERIOR METADE RETANGULAR E SUPERIOR REDONDA
Apostila Pessoal: http://www.youtube.com/user/ThePoluidor
TUBO COM BASE (BOCA) INFERIOR METADE RETANGULAR E SUPERIOR REDONDA
Apostila Pessoal: http://www.youtube.com/user/ThePoluidor
152
TUBO COM BASE (BOCA) INFERIOR METADE RETANGULAR E SUPERIOR REDONDA
Apostila Pessoal: http://www.youtube.com/user/ThePoluidor
FUNIL EXCÊNTRICO - MODÊLO 1
Apostila Pessoal: http://www.youtube.com/user/ThePoluidor
MODÊLO 1
Apostila Pessoal: http://www.youtube.com/user/ThePoluidor
153
Apostila Pessoal: http://www.youtube.com/user/ThePoluidorApostila Pessoal: http://www.youtube.com/user/ThePoluidorApostila Pessoal: http://www.youtube.com/user/ThePoluidor
154
Apostila Pessoal: http://www.youtube.com/user/ThePoluidor
CAIXA DO PAINEL ELÉTRICO COM TAMPA E LATERAIS TIPO ALMOFADA
Apostila Pessoal: http://www.youtube.com/user/ThePoluidor
CAIXA DO PAINEL ELÉTRICO COM TAMPA E LATERAIS TIPO ALMOFADA
Apostila Pessoal: http://www.youtube.com/user/ThePoluidor
155
Apostila Pessoal: http://www.youtube.com/user/ThePoluidor
CAIXA DO PAINEL ELÉTRICO DE POSTA EMBUTIDA
A caixa é desenvolvida em uma só peça.
Apostila Pessoal: http://www.youtube.com/user/ThePoluidor
CAIXA DO PAINEL ELÉTRICO DE POSTA EMBUTIDA
caixa é desenvolvida em uma só peça.
Apostila Pessoal: http://www.youtube.com/user/ThePoluidor
156
Apostila Pessoal: http://www.youtube.com/user/ThePoluidorApostila Pessoal: http://www.youtube.com/user/ThePoluidorApostila Pessoal: http://www.youtube.com/user/ThePoluidor
157
Apostila Pessoal: http://www.youtube.com/user/ThePoluidor
PIRÂMIDES EXCÊNTRICAS COM TODOS OS LADOS DESIGUAIS TRAÇADO PELO SISTEMA DO
CRUZAMENTO DE DIAGONAIS
Apostila Pessoal: http://www.youtube.com/user/ThePoluidor
PIRÂMIDES EXCÊNTRICAS COM TODOS OS LADOS DESIGUAIS TRAÇADO PELO SISTEMA DO
CRUZAMENTO DE DIAGONAIS
Apostila Pessoal: http://www.youtube.com/user/ThePoluidor
158
PIRÂMIDES EXCÊNTRICAS COM TODOS OS LADOS DESIGUAIS TRAÇADO PELO SISTEMA DO
Apostila Pessoal: http://www.youtube.com/user/ThePoluidor
TRONCO DE PIRÂMIDE DE BASES QUADRADAS
Apostila Pessoal: http://www.youtube.com/user/ThePoluidor
TRONCO DE PIRÂMIDE DE BASES QUADRADAS
Apostila Pessoal: http://www.youtube.com/user/ThePoluidor
159
Apostila Pessoal: http://www.youtube.com/user/ThePoluidor
TRONCO DE PIRÂMIDE DE BASES QUADRADAS
Apostila Pessoal: http://www.youtube.com/user/ThePoluidor
TRONCO DE PIRÂMIDE DE BASES QUADRADAS - CONTINUAÇÃO
Apostila Pessoal: http://www.youtube.com/user/ThePoluidor
160
Apostila Pessoal: http://www.youtube.com/user/ThePoluidor
Desenham-se as vistas de planta e elevação. Na vista de planta traçam
no ponto A. A seguir, abre-se o compasso com medida
elevação (fig. 254) marca-se o ponto
marca-se H. Liga-se F com H e prolonga
Para o desenvolvimento traça-
VF e centrando no ponto 2 traça
centrando ainda no ponto 2 traça
lados da pirâmide, fig. 253) e centrando
marca-se o ponto 3. Faz-se o mesmo para o outro lado, marcando os pontos
estes pontos ao ponto 2 ficando assim determinados os pontos
desenvolvimento.
Apostila Pessoal: http://www.youtube.com/user/ThePoluidor
se as vistas de planta e elevação. Na vista de planta traçam-se diagonais que se cruzem
se o compasso com medida AB e, centrando no ponto
se o ponto F. Pega-se também a medida AD e, centrando no ponto
e prolonga-se até cruzar com a linha de centro marcando o ponto
-se inicialmente a linha 1-2. Então abre-se o compasso com medida
traça-se o arco maior (fig. 255) pega-se também a medida
traça-se o arco menor. Continuando pega-se a medida
lados da pirâmide, fig. 253) e centrando no ponto 1, marca-se o ponto 2; centra
se o mesmo para o outro lado, marcando os pontos 4
ficando assim determinados os pontos 6-7-8-9-10
Apostila Pessoal: http://www.youtube.com/user/ThePoluidor
161
se diagonais que se cruzem
e, centrando no ponto E da vista de
e, centrando no ponto G
se até cruzar com a linha de centro marcando o ponto V.
se o compasso com medida
se também a medida VH e
se a medida BC (um dos
; centra-se no ponto 2 e
e 5 . Ligam-se todos
10 que completam o
Apostila Pessoal: http://www.youtube.com/user/ThePoluidor
CAIXA DE PROTEÇÃO PARA POLIAS
Apostila Pessoal: http://www.youtube.com/user/ThePoluidor
CAIXA DE PROTEÇÃO PARA POLIAS
Apostila Pessoal: http://www.youtube.com/user/ThePoluidor
162
Apostila Pessoal: http://www.youtube.com/user/ThePoluidor
CAIXA DE PROTEÇÃO PARA POLIAS
Traçada a Fig. 256, é preciso determinar o comprimento das laterais. Para isso, pode
processos. Primeiro processo
resultado X da divisão é a medida com a qual deve
marca-se N. Como os diâmetros das polias são diferentes, deve
Temos então a fórmula:
D x = X
4
Exemplo: Suponhamos uma polia com 120mm de diâmetro.
1º) 120 x 3,14 = X
Apostila Pessoal: http://www.youtube.com/user/ThePoluidor
CAIXA DE PROTEÇÃO PARA POLIAS - CONTINUAÇÃO
Traçada a Fig. 256, é preciso determinar o comprimento das laterais. Para isso, pode
Primeiro processo: Multiplica-se o diâmetro D por 3,14 e o produto divide
da divisão é a medida com a qual deve-se abrir o compasso, e centrando no ponto
. Como os diâmetros das polias são diferentes, deve-se fazer uma conta para cada polia.
D x 3,14 = X
4
Exemplo: Suponhamos uma polia com 120mm de diâmetro.
= X
Apostila Pessoal: http://www.youtube.com/user/ThePoluidor
163
Traçada a Fig. 256, é preciso determinar o comprimento das laterais. Para isso, pode-se usar dois
por 3,14 e o produto divide-se por 4, o
se abrir o compasso, e centrando no ponto M,
se fazer uma conta para cada polia.
Apostila Pessoal: http://www.youtube.com/user/ThePoluidor
4
2º) 120 x 3,14 = 376,80
3º) 376,80 : 4 = 94,20
Resposta: 94,20 é a medida com a qual deve
N. Segundo Processo: Multiplica
para a mesma polia anterior: O raio de 120mm é 60mm.
Exemplo
Esta fórmula é mais rápida porque com uma única conta se acha a medida procurada. Obs.: o
número 1,57 é constante valendo para qualquer raio, devendo portanto ser guardado de memória.
Caso haja esquecimento basta se lembrar que 1,57 é a metade d
mostra como deve ficar a peça depois de acabada.
VISTAS DE FRENTE DE ALGUNS TIPOS DE ARREMATES E EMENDAS PARA CHAPAS FINAS (DE
POUCA ESPESSURA)
Embora existam outros tipos de emendas, os apresentados nesta página são os m
funilaria industrial.
Apostila Pessoal: http://www.youtube.com/user/ThePoluidor
120 x 3,14 = 376,80
376,80 : 4 = 94,20
94,20 é a medida com a qual deve-se abrir o compasso e centrar no ponto
: Multiplica-se o raio por 1,57 e o resultado já é a medida procurada. Exemplo
para a mesma polia anterior: O raio de 120mm é 60mm.
Exemplo: 60 x 1,57 = 94,20
Esta fórmula é mais rápida porque com uma única conta se acha a medida procurada. Obs.: o
número 1,57 é constante valendo para qualquer raio, devendo portanto ser guardado de memória.
Caso haja esquecimento basta se lembrar que 1,57 é a metade de 3,14. A vista em perspectiva
mostra como deve ficar a peça depois de acabada.
VISTAS DE FRENTE DE ALGUNS TIPOS DE ARREMATES E EMENDAS PARA CHAPAS FINAS (DE
Embora existam outros tipos de emendas, os apresentados nesta página são os m
Apostila Pessoal: http://www.youtube.com/user/ThePoluidor
164
se abrir o compasso e centrar no ponto M marcando
se o raio por 1,57 e o resultado já é a medida procurada. Exemplo
Esta fórmula é mais rápida porque com uma única conta se acha a medida procurada. Obs.: o
número 1,57 é constante valendo para qualquer raio, devendo portanto ser guardado de memória.
e 3,14. A vista em perspectiva
VISTAS DE FRENTE DE ALGUNS TIPOS DE ARREMATES E EMENDAS PARA CHAPAS FINAS (DE
Embora existam outros tipos de emendas, os apresentados nesta página são os mais usados em
Apostila Pessoal: http://www.youtube.com/user/ThePoluidor
REDUÇÃO Y PARA TUBULAÇÃO RETANGULAR
Apostila Pessoal: http://www.youtube.com/user/ThePoluidor
REDUÇÃO Y PARA TUBULAÇÃO RETANGULAR
Apostila Pessoal: http://www.youtube.com/user/ThePoluidor
165
Apostila Pessoal: http://www.youtube.com/user/ThePoluidorApostila Pessoal: http://www.youtube.com/user/ThePoluidorApostila Pessoal: http://www.youtube.com/user/ThePoluidor
166
Apostila Pessoal: http://www.youtube.com/user/ThePoluidor
REDUÇÃO Y PARA TUBULAÇÃO RETANGULAR
Apostila Pessoal: http://www.youtube.com/user/ThePoluidor
REDUÇÃO Y PARA TUBULAÇÃO RETANGULAR - CONTINUAÇÃO
Apostila Pessoal: http://www.youtube.com/user/ThePoluidor
167
Apostila Pessoal: http://www.youtube.com/user/ThePoluidorApostila Pessoal: http://www.youtube.com/user/ThePoluidorApostila Pessoal: http://www.youtube.com/user/ThePoluidor
168

Traçados de caldeiraria compilação

  • 1.
    Apostila Pessoal, vendaproibida (se vc comprou isso, vc é um otário!!!) SUMÁRIO POR UM PONTO Y DADO FORA DA RETA, FAZER PASSAR UMA PERPENDICULAR ........................................... 4 LEVANTAR UMA PERPENDICULAR NA EXTERMINDADE DE UMA RETA............................................................... 5 DADO UM ÂNGULO ABC QUALQUER, TRAÇAR OUTRO IGUAL NA EXTREMIDADE DE UMA RETA ............... 5 TRAÇAR A BISSETRIZ DE UM ÂNGULO QUALQUER ...................................................................................................... 6 TRAÇAR DUAS PARALELAS A UMA DISTÂNCIA DADA................................................................................................. 7 TRAÇAR A BISSETRIZ DE UM ÂNGULO CUJO VÉRTICE NÃO CONHECEMOS ......................................................... 8 DIVIDIR O ÂNGULO EM TRÊS PARTES IGUAIS................................................................................................................ 9 AB DIAGONAL MAIOR. CD DIAGONAL MENOR..............................................................................................................10 TRAÇAR UMA LINHA TANGENTE A UMA CIRCUNFERÊNCIA DADA 11 POR TRÊS PONTOS DADOS QUE NÃO ESTEJAM ALINHADOS, FAZER PASSAR UMA CIRCUNFERÊNCIA.............12 INSCREVER UMA CIRCUNFERÊNCIA EM UM TRIÂNGULO DADO............................................................................12 DIVIDIR UMA CIRCUNFERÊNCIA EM TRÊS PARTES IGUAIS E INSCREVER O TRIÂNGULO ............................13 TRAÇADO DO PENTÁGONO SENDO DADO O LADO.....................................................................................................15 TRAÇAR O HEPTÁGONO PELO PROCESSO GERAL.......................................................................................................19 TRAÇADO DA ELIPSE PONTO POR PONTO.....................................................................................................................20 DADO O EIXO MENOR AB, CONSTRUIR O ÓVULO ........................................................................................................21 DADO O EIXO MAIOR, TRAÇAR A OVAL DE DUAS CIRCUNFERÊNCIAS.................................................................22 TRAÇAR A OVAL DE TRÊS CIRCUNFERÊNCIAS..............................................................................................................22 TRAÇADO DA ESPIRIAL DE DOIS CENTROS...................................................................................................................24 TRAÇADO DA ESPIRAL DE TRÊS CENTROS....................................................................................................................24 TRAÇADO DA ESPIRAL DE QUATRO CENTROS.............................................................................................................25 TRAÇADO DA ESPIRAL POLICÊNTRICA...........................................................................................................................25 DESENVOLVIMENTO LATERAL DE UM CILINDRO .......................................................................................................26 PLANIFICAÇÃO DE CILINDRO COM AS DUAS BASES (BOCAS) INCLINADAS .......................................................31 PLANIFICAÇÃO DE COTOVELO DE 45º.............................................................................................................................32 PLANIFICAÇÃO DE COTOVELO DE 90º.............................................................................................................................34 INTERSEÇÃO DE DOIS CILINDROS DE DIÂMETROS IGUAIS .....................................................................................35 INTERSEÇÃO DE UM CILINDRO POR OUTRO DE DIÂMETRO IGUAL.....................................................................37 INTERSEÇÃO DE CILINDROS COM DIÂMETROS DIFERENTES.................................................................................38
  • 2.
    Apostila Pessoal: http://www.youtube.com/user/ThePoluidor INTERSEÇÃODE CILINDROS COM EIXOS EXCÊNTRICOS INTERSEÇÃO DE TRÊS CILINDROS COM EIXOS EXCÊNTRICOS INTERSEÇÃO DE UM CILINDRO POR OUTRO INCLINADO COMPLEMENTO PARA “ BOCA DE LOBO “ TRONCO DE CONE SAINDO DO CILINDRO COM EIXOS A 90º DESENVOLVIMENTO DE CONE – DESENVOLVIMENTO DE CONE – DESENVOLVIMENTO DE CONE INCLINADO TRAÇADO DO TRONCO DE CONE TRAÇADO DO TRONCO DE CONE DESENVOLVIMENTO DO TRONCO DE CONE CONE CORTADO POR UM PLANO OBLÍQUO ENTRE A BASE E O VÉRTICE TRONCO DE CONE COM A PARTE INFERIOR DESENVOLVIDA E ÂNGULO TRONCO DE CLONE INCLINADO................................ TRONCO DE CLONE INCLINADO TRONCO DE CLONE INCLINADO TUBO “CALÇA” COM AS BASES (BOCAS) SUPERIORES INCLINADAS A 45º CURVA DE GOMO COM UM GOMO INTEIRO E DOIS SEMIGOMOS CURVA DE GOMO COM TRÊS GOMOS INTEIROS E DOIS SEMIGOMOS TRAÇA-SE DA MESMA FORMA DA “UNHA INCLINADA”. “UNHA” COM BASE (BOCA) EM OPOSIÇÃO AO VÉRTICE “S” DA CURVA “UNHA” PARA CURVA PADRÃO (STANDARD) CURVA CÔNICA................................................................ CURVA CÔNICA - CONTINUAÇÃO DESENVOLVIMENTO DA CURVA CÔNICA CURVA CÔNICA PELO SISEMA DE TRIANGULAÇÃO CURVA CÔNICA PELO SISEMA DE TRIANGULAÇÃO DESENVOLVIMENTO DE CÚPULA DESENVOLVIMENTO DE CÚPULA Apostila Pessoal: http://www.youtube.com/user/ThePoluidor INTERSEÇÃO DE CILINDROS COM EIXOS EXCÊNTRICOS................................................................ INTERSEÇÃO DE TRÊS CILINDROS COM EIXOS EXCÊNTRICOS ................................................................ INTERSEÇÃO DE UM CILINDRO POR OUTRO INCLINADO................................................................ COMPLEMENTO PARA “ BOCA DE LOBO “ ................................................................................................ TRONCO DE CONE SAINDO DO CILINDRO COM EIXOS A 90º ................................................................ PROCESSO 1................................................................................................ PROCESSO 2................................................................................................ DESENVOLVIMENTO DE CONE INCLINADO................................................................................................ TRAÇADO DO TRONCO DE CONE – PROCESSO 1 ................................................................................................ TRAÇADO DO TRONCO DE CONE – PROCESSO 2 ................................................................................................ DESENVOLVIMENTO DO TRONCO DE CONE – PROCESSO 3 ................................................................ CONE CORTADO POR UM PLANO OBLÍQUO ENTRE A BASE E O VÉRTICE................................ TRONCO DE CONE COM A PARTE INFERIOR DESENVOLVIDA E ÂNGULO ................................ ................................................................................................................................ TRONCO DE CLONE INCLINADO - CONTINUAÇÃO ................................................................................................ TRONCO DE CLONE INCLINADO – CONTINUAÇÃO................................................................................................ TUBO “CALÇA” COM AS BASES (BOCAS) SUPERIORES INCLINADAS A 45º ................................ CURVA DE GOMO COM UM GOMO INTEIRO E DOIS SEMIGOMOS................................................................ CURVA DE GOMO COM TRÊS GOMOS INTEIROS E DOIS SEMIGOMOS................................ SE DA MESMA FORMA DA “UNHA INCLINADA”................................................................. “UNHA” COM BASE (BOCA) EM OPOSIÇÃO AO VÉRTICE “S” DA CURVA................................ “UNHA” PARA CURVA PADRÃO (STANDARD)................................................................................................ ................................................................................................................................ CONTINUAÇÃO ................................................................................................................................ DESENVOLVIMENTO DA CURVA CÔNICA................................................................................................ CURVA CÔNICA PELO SISEMA DE TRIANGULAÇÃO................................................................................................ CURVA CÔNICA PELO SISEMA DE TRIANGULAÇÃO – CONTINUAÇÃO................................ DESENVOLVIMENTO DE CÚPULA ................................................................................................................................ DESENVOLVIMENTO DE CÚPULA - CONTINUAÇÃO................................................................ Apostila Pessoal: http://www.youtube.com/user/ThePoluidor 2 ...........................................................40 ...............................................42 .........................................................44 ......................................................45 ...................................................46 ...............................................48 ..............................................49 ....................................................51 ..........................................52 ..........................................53 .....................................................55 ...........................................................56 ...........................................................59 .........................................62 .......................................64 .......................................65 .........................................................68 ...........................................69 ...................................................................70 ............................................................74 ...............................................................75 ...............................................76 .........................................78 .......................................79 ........................................................81 .....................................82 ...................................................................84 ......................................89 ...................................................................90
  • 3.
    Apostila Pessoal: http://www.youtube.com/user/ThePoluidor DESENVOLVIMENTODA ESFERA PELO PROCESSO DOS FUSOS TRAÇADO DA ESFERA PELO PROCESSO DAS ZONAS VARIANTES DO PROCESSO DAS ZONAS QUADRADO PARA REDONDO CONCÊNTRICO QUADRADO PARA REDONDO CONCÊNTRICO REDONDO PARA QUADRADO CONCÊNTRICO RETÂNGULO PARA REDONDO................................ RETÂNGULO PARA REDONDO - REDONDO PARA RETÂNGULO................................ QUADRADO PARA REDONDO EXCÊNTRICO QUADRADO PARA REDONDO EXCÊNTRICO RETÂNGULO PARA REDONDO................................ RETÂNGULO PARA REDONDO EXCÊNTRICO QUADRADO PARA REDONDO COMPLETAMENTE EXCÊNTRICO DESENVOLVIMENTO TOTAL DA PEÇA QUADRADO PARA REDONDO INCLINADO A 45º QUADRADO PARA REDONDO INCLINADO A 45º RETÂNGULO PARA REDONDO COM BASE (BOCA) REDONDA INCLINADA A 30º QUADRADO PARA REDONDO COM OS CANTOS ARRENDONDADOS INTERSEÇÃO DE CILINDRO COM CONE INTERSEÇÃO DE CONE COM CILINDRO INTERSEÇÃO DE CONE COM CILINDRO INTERSEÇÃO DE UM CONE COM UM CILINDRO COM EIXOS A 90º INTERSEÇÃO DE UM CONE COM CILINDRO COM EIXOS A 90º INTERSEÇÃO DE CONE COM CILINDRO COM EIXOS DIFERENTES DE 90º INTERSEÇÃO DE CONE COM CILINDRO COM EIXOS DIFERENTES DE 90º CONTINUAÇÃO................................................................ INTERSEÇÃO DE DOIS TRONCOS DE CONE COM EIXOS A 90º INTERSEÇÃO DE DOIS TRONCOS DE CONE COM EIXOS A 90º Apostila Pessoal: http://www.youtube.com/user/ThePoluidor DESENVOLVIMENTO DA ESFERA PELO PROCESSO DOS FUSOS................................................................ TRAÇADO DA ESFERA PELO PROCESSO DAS ZONAS ................................................................ VARIANTES DO PROCESSO DAS ZONAS................................................................................................ QUADRADO PARA REDONDO CONCÊNTRICO................................................................................................ QUADRADO PARA REDONDO CONCÊNTRICO - CONTINUAÇÃO................................................................ REDONDO PARA QUADRADO CONCÊNTRICO................................................................................................ ................................................................................................................................ CONTINUAÇÃO ................................................................................................ ................................................................................................................................ QUADRADO PARA REDONDO EXCÊNTRICO ................................................................................................ QUADRADO PARA REDONDO EXCÊNTRICO - CONTINUAÇÃO................................................................ ................................................................................................................................ RETÂNGULO PARA REDONDO EXCÊNTRICO................................................................................................ QUADRADO PARA REDONDO COMPLETAMENTE EXCÊNTRICO................................................................ DESENVOLVIMENTO TOTAL DA PEÇA................................................................................................ QUADRADO PARA REDONDO INCLINADO A 45º................................................................................................ QUADRADO PARA REDONDO INCLINADO A 45º - CONTINUAÇÃO ................................................................ RETÂNGULO PARA REDONDO COM BASE (BOCA) REDONDA INCLINADA A 30º ................................ QUADRADO PARA REDONDO COM OS CANTOS ARRENDONDADOS................................................................ INTERSEÇÃO DE CILINDRO COM CONE ................................................................................................ INTERSEÇÃO DE CONE COM CILINDRO ................................................................................................ INTERSEÇÃO DE CONE COM CILINDRO - CONTINUAÇÃO................................................................ INTERSEÇÃO DE UM CONE COM UM CILINDRO COM EIXOS A 90º-PROCESSO 1................................ INTERSEÇÃO DE UM CONE COM CILINDRO COM EIXOS A 90º - PROCESSO 2 ................................ CILINDRO COM EIXOS DIFERENTES DE 90º................................ INTERSEÇÃO DE CONE COM CILINDRO COM EIXOS DIFERENTES DE 90º................................ ................................................................................................................................ RONCOS DE CONE COM EIXOS A 90º ................................................................ INTERSEÇÃO DE DOIS TRONCOS DE CONE COM EIXOS A 90º - CONTINUAÇÃO................................ Apostila Pessoal: http://www.youtube.com/user/ThePoluidor 3 ..............................................91 .................................................................93 ...........................................................94 ...............................................96 ............................................97 ...............................................98 .........................................103 .....................................105 .........................................106 ...............................................107 ............................................109 .........................................110 ..............................................112 .........................................113 ..........................................................115 .......................................116 ...................................117 ..........................................119 ..................................120 ........................................................124 ........................................................126 .....................................................127 ...........................................128 ...............................................131 ........................................................133 ........................................................135 ......................................135 ..............................................136 ...........................................138
  • 4.
    Apostila Pessoal: http://www.youtube.com/user/ThePoluidor INTERSEÇÃODE DOIS TRONCOS DE CONE COM EIXOS DIFERENTES DE 90º TRONCO DE PIRÂMIDE DE BASE RETANGULAR BIFURCAÇÃO TUBO “CALÇA” CÔNICO TRANSFORMAÇÃO DE OVAL PARA REDONDO TRANSFORMAÇÃO DE OVAL PARA REDONDO INTERSEÇÃO DE UM CILINDRO POR OUTRO INCLINADO E EXCÊNTRICO FUNIL EXCÊNTRICO - MODÊLO 1 CAIXA DO PAINEL ELÉTRICO COM TAMPA E LATERAIS TIPO ALMOFADA CAIXA DO PAINEL ELÉTRICO DE POSTA EMBUTIDA TRONCO DE PIRÂMIDE DE BASES QUADRADAS TRONCO DE PIRÂMIDE DE BASES QUADRADAS CAIXA DE PROTEÇÃO PARA POLIAS CAIXA DE PROTEÇÃO PARA POLIAS REDUÇÃO Y PARA TUBULAÇÃO RETANGULAR POR UM PONTO Y DADO FORA DA RETA, FAZER PASSAR UMA PERPENDICULAR Apostila Pessoal: http://www.youtube.com/user/ThePoluidor INTERSEÇÃO DE DOIS TRONCOS DE CONE COM EIXOS DIFERENTES DE 90º................................ TRONCO DE PIRÂMIDE DE BASE RETANGULAR ................................................................................................ BIFURCAÇÃO TUBO “CALÇA” CÔNICO - PROCESSO 1................................................................ TRANSFORMAÇÃO DE OVAL PARA REDONDO - MODÊLO 1................................................................ TRANSFORMAÇÃO DE OVAL PARA REDONDO - MODÊLO 1 - CONTINUAÇÃO ................................ INTERSEÇÃO DE UM CILINDRO POR OUTRO INCLINADO E EXCÊNTRICO ................................ MODÊLO 1................................................................................................ CAIXA DO PAINEL ELÉTRICO COM TAMPA E LATERAIS TIPO ALMOFADA ................................ CAIXA DO PAINEL ELÉTRICO DE POSTA EMBUTIDA................................................................ TRONCO DE PIRÂMIDE DE BASES QUADRADAS ................................................................................................ TRONCO DE PIRÂMIDE DE BASES QUADRADAS - CONTINUAÇÃO................................................................ CAIXA DE PROTEÇÃO PARA POLIAS................................................................................................ CAIXA DE PROTEÇÃO PARA POLIAS - CONTINUAÇÃO ................................................................ REDUÇÃO Y PARA TUBULAÇÃO RETANGULAR ................................................................................................ POR UM PONTO Y DADO FORA DA RETA, FAZER PASSAR UMA PERPENDICULAR Apostila Pessoal: http://www.youtube.com/user/ThePoluidor 4 .................................................141 .......................................142 ............................................................146 ...............................................148 ...........................................149 .......................................................150 .................................................................153 .....................................................155 ...............................................................156 .......................................159 ....................................160 ..............................................................162 ..........................................................163 .......................................165 POR UM PONTO Y DADO FORA DA RETA, FAZER PASSAR UMA PERPENDICULAR
  • 5.
    Apostila Pessoal: http://www.youtube.com/user/ThePoluidor AB,reta dada. Y ponto fora da reta. Com ponta seca em pontos C e D. Em seguida, com ponta seca em que se cruzem no ponto E. A reta que une o ponto E com o ponto LEVANTAR UMA PERPENDICULAR NA EXTERMINDADE DE UMA RETA AB, reta dada. Com ponta seca em Continuando com a mesma abertura do compasso e ponta seca em seca em E (e mesma abertura do compasso) traçar o arco compasso e ponta seca em E e depois em linha que une o ponto C ao ponto DADO UM ÂNGULO ABC QUALQUER, TRAÇAR OUTRO IGUAL NA EXTREMIDADE DE UMA RETA Apostila Pessoal: http://www.youtube.com/user/ThePoluidor ponto fora da reta. Com ponta seca em Y, traçar dois arcos que cortem a reta nos . Em seguida, com ponta seca em C e depois em D, traçar dois arcos abaixo da reta com o ponto Y é a perpendicular procurada. LEVANTAR UMA PERPENDICULAR NA EXTERMINDADE DE UMA RETA , reta dada. Com ponta seca em A, e qualquer abertura do compasso traçar o arco Continuando com a mesma abertura do compasso e ponta seca em D, traçar o arco (e mesma abertura do compasso) traçar o arco F. Ainda com a mesma abertura do e depois em F, traçar dois arcos acima que se cruzem no ponto ao ponto A é a perpendicular procurada. DADO UM ÂNGULO ABC QUALQUER, TRAÇAR OUTRO IGUAL NA EXTREMIDADE DE UMA RETA Apostila Pessoal: http://www.youtube.com/user/ThePoluidor 5 , traçar dois arcos que cortem a reta nos , traçar dois arcos abaixo da reta AB, , e qualquer abertura do compasso traçar o arco CD. , traçar o arco E. Com ponta . Ainda com a mesma abertura do , traçar dois arcos acima que se cruzem no ponto G. A DADO UM ÂNGULO ABC QUALQUER, TRAÇAR OUTRO IGUAL NA EXTREMIDADE DE UMA RETA
  • 6.
    Apostila Pessoal: http://www.youtube.com/user/ThePoluidor ABC,ângulo dado. AB, reta dada. Com a ponta seca do compasso no vértice do ângulo dado, traçar um arco que corte seus dois lados nos pontos da reta (sem mudar a abertura do compasso) traçar outro arco. Em seguida, com abertura ponta seca em E, traçar outro arco que corte o primeiro no ponto da reta com F, obtém-se outro ângulo igual a TRAÇAR A BISSETRIZ DE UM ÂNGULO QUALQUER ABC, ângulo dado. Com abertura qualquer do compasso e ponta seca no vértice do ângulo dado, traçar um arco que corte seus dois lados nos pontos F, traçar outros dois arcos que se cruzem no ponto ponto G é a bissetriz. Apostila Pessoal: http://www.youtube.com/user/ThePoluidor , reta dada. Com a ponta seca do compasso no vértice do ângulo dado, traçar um arco que corte seus dois lados nos pontos E e F. Depois, com a ponta seca na extremidade de da reta (sem mudar a abertura do compasso) traçar outro arco. Em seguida, com abertura , traçar outro arco que corte o primeiro no ponto F. Ligando-se o se outro ângulo igual ao primeiro. TRAÇAR A BISSETRIZ DE UM ÂNGULO QUALQUER , ângulo dado. Com abertura qualquer do compasso e ponta seca no vértice do ângulo dado, traçar um arco que corte seus dois lados nos pontos E e F. Depois, com ponta seca em , traçar outros dois arcos que se cruzem no ponto G. A linha que liga o vértice Apostila Pessoal: http://www.youtube.com/user/ThePoluidor 6 , reta dada. Com a ponta seca do compasso no vértice do ângulo dado, traçar a na extremidade de A da reta (sem mudar a abertura do compasso) traçar outro arco. Em seguida, com abertura EF e se o A da extremidade , ângulo dado. Com abertura qualquer do compasso e ponta seca no vértice do ângulo dado, . Depois, com ponta seca em E e depois em . A linha que liga o vértice B do ângulo com o
  • 7.
    Apostila Pessoal: http://www.youtube.com/user/ThePoluidor TRAÇARDUAS PARALELAS A UMA DISTÂNCIA DADA AB, primeira paralela. Z, distância dada. Em dois locais quaisquer, próximos das extremidades da semi-reta AB, levantar duas perpendiculares ponta seca em C, marcar E. Com ponta seca Apostila Pessoal: http://www.youtube.com/user/ThePoluidor TRAÇAR DUAS PARALELAS A UMA DISTÂNCIA DADA , distância dada. Em dois locais quaisquer, próximos das extremidades da , levantar duas perpendiculares C e D. Depois, com abertura de compasso igual a . Com ponta seca D marcar F. A linha que liga E com F Apostila Pessoal: http://www.youtube.com/user/ThePoluidor 7 , distância dada. Em dois locais quaisquer, próximos das extremidades da . Depois, com abertura de compasso igual a Z e é paralela a AB.
  • 8.
    Apostila Pessoal: http://www.youtube.com/user/ThePoluidor TRAÇARUMA PARALELA A UMA RETA E QUE PASSE POR UM PONTO DADO FORA DA RETA AB, reta dada. Y ponto dado fora da reta. Com ponta seca em compasso, traçar um arco que corte a reta traçar o arco YD. Centrar em D ponto X. A reta XY é paralela a TRAÇAR A BISSETRIZ DE UM ÂNGULO CUJO VÉRTICE NÃO CONHECEMOS Apostila Pessoal: http://www.youtube.com/user/ThePoluidor TRAÇAR UMA PARALELA A UMA RETA E QUE PASSE POR UM PONTO DADO FORA DA RETA ponto dado fora da reta. Com ponta seca em Y e uma abertura qualquer do compasso, traçar um arco que corte a reta AB no ponto C. Com mesma abertur D e pegar a abertura DY, com essa abertura centrar em é paralela a AB e passa pelo ponto Y dado fora da reta. TRAÇAR A BISSETRIZ DE UM ÂNGULO CUJO VÉRTICE NÃO CONHECEMOS Apostila Pessoal: http://www.youtube.com/user/ThePoluidor 8 TRAÇAR UMA PARALELA A UMA RETA E QUE PASSE POR UM PONTO DADO FORA DA RETA e uma abertura qualquer do . Com mesma abertura centrar em C e , com essa abertura centrar em C e marcar o
  • 9.
    Apostila Pessoal: http://www.youtube.com/user/ThePoluidor ABe CD são os lados do ângulo de vértice desconhecido. Num ponto qualquer do lado um reta que toque o lado AB pontos G e H, marcando também o ponto e J, marcando também o ponto cruzem no ponto 3. Centrar em 4. Centrar em 2 e I e traçar dois arcos q que se cruzem no ponto 6. Ligar 3 e F com 6 de modo que se cruzem no ponto ângulo. DIVIDIR O ÂNGULO EM TRÊS PARTES IGUAIS ABC, ângulo dado. X, vértice do ângulo. Centrar em traçar o arco DE. Em seguida, com a mesma abertura, centrar em ponto G. Centrar em D com mesma abertura e marcar o ponto ângulo reto fica dividido em três partes iguais. Apostila Pessoal: http://www.youtube.com/user/ThePoluidor são os lados do ângulo de vértice desconhecido. Num ponto qualquer do lado AB formando a linha EF. Centrar em E e traçar um arco que toque os , marcando também o ponto 1. Centrar em F e traçar outro arco que toque os pontos , marcando também o ponto 2. Centrar no ponto 1 e depois em H e traçar dois arcos que se . Centrar em 1 e depois em G, e traçar outros dois arcos que se cruzem no ponto e traçar dois arcos que se cruzem no ponto 5. Centrar em 2 e . Ligar E com 4 e F com 5 de modo que se cruzem no ponto de modo que se cruzem no ponto 8. A linha de centro que liga 7 DIVIDIR O ÂNGULO EM TRÊS PARTES IGUAIS vértice do ângulo. Centrar em X e com uma abertura qualquer do compasso Em seguida, com a mesma abertura, centrar em E e traçar um arco marcando o com mesma abertura e marcar o ponto H. Ligando X ângulo reto fica dividido em três partes iguais. Apostila Pessoal: http://www.youtube.com/user/ThePoluidor 9 são os lados do ângulo de vértice desconhecido. Num ponto qualquer do lado CD levantar e traçar um arco que toque os rco que toque os pontos I e traçar dois arcos que se , e traçar outros dois arcos que se cruzem no ponto e J e traçar dois arcos de modo que se cruzem no ponto 7. Ligar E com a 8 é a bissetriz do e com uma abertura qualquer do compasso e traçar um arco marcando o com G e X com H o
  • 10.
    Apostila Pessoal: http://www.youtube.com/user/ThePoluidor TRAÇARUM LOSANGO E INSCREVER NELE UMA CIRCUNFERÊNCIA EM PERSPECTIVA AB diagonal maior. CD diagonal menor. Apostila Pessoal: http://www.youtube.com/user/ThePoluidor TRAÇAR UM LOSANGO E INSCREVER NELE UMA CIRCUNFERÊNCIA EM PERSPECTIVA diagonal menor. Apostila Pessoal: http://www.youtube.com/user/ThePoluidor 10 TRAÇAR UM LOSANGO E INSCREVER NELE UMA CIRCUNFERÊNCIA EM PERSPECTIVA
  • 11.
    Apostila Pessoal: http://www.youtube.com/user/ThePoluidor LigarA com C e A com D. Ligar lados do losango marcando os pontos Ligar D com F e C com H, marcando o ponto arco que ligue E com F. Centrar em um arco que ligue G com E. Centrar em a circunferência em perspectiva. TRAÇAR UMA LINHA TANGENTE A UMA CIRCUNFERÊNCIA DADA Traçar a circunferência e marcar nela o ponto ponto X. Centrar o compasso em mesma abertura do compasso marcar o ponto depois em 2 e traçar dois arcos que se cruzem no ponto pedida. Apostila Pessoal: http://www.youtube.com/user/ThePoluidor . Ligar B com C e B com D, formando assim o losango. Dividir ao meio os lados do losango marcando os pontos E, F, G e H. Ligar D com E e C com G, marcando o ponto , marcando o ponto J. Em seguida, centrar o compasso em . Centrar em C e traçar outro arco que ligue G com H. Centrar em . Centrar em J e traçar outro arco que ligue F com H, ficando assim pronta ferência em perspectiva. TRAÇAR UMA LINHA TANGENTE A UMA CIRCUNFERÊNCIA DADA Traçar a circunferência e marcar nela o ponto X. Ligar o ponto O (centro da circunferência) ao . Centrar o compasso em X e traçar um arco marcando o ponto 1. Centrar em mesma abertura do compasso marcar o ponto 2. Centrar em 2 e marcar o ponto e traçar dois arcos que se cruzem no ponto 4. A linha que liga 4 Apostila Pessoal: http://www.youtube.com/user/ThePoluidor 11 , formando assim o losango. Dividir ao meio os , marcando o ponto I. . Em seguida, centrar o compasso em D e traçar um . Centrar em I e traçar , ficando assim pronta (centro da circunferência) ao . Centrar em 1 e com a e marcar o ponto 3. Centrar em 3 e com X é a tangente
  • 12.
    Apostila Pessoal: http://www.youtube.com/user/ThePoluidor PORTRÊS PONTOS DADOS QUE NÃO ESTEJ CIRCUNFERÊNCIA ABC, pontos dados. Unir os pontos retas EF e GH de modo que se cruzem no ponto pelos pontos dados anteriormente. INSCREVER UMA CIRCUNFERÊNCIA EM UM TRIÂNGULO DADO Apostila Pessoal: http://www.youtube.com/user/ThePoluidor POR TRÊS PONTOS DADOS QUE NÃO ESTEJAM ALINHADOS, FAZER PASSAR UMA , pontos dados. Unir os pontos A, B e C pó meio de retas. Dividir estas retas ao meio e traçar as de modo que se cruzem no ponto 1. O ponto 1 é o centro da circunferência que passa tos dados anteriormente. INSCREVER UMA CIRCUNFERÊNCIA EM UM TRIÂNGULO DADO Apostila Pessoal: http://www.youtube.com/user/ThePoluidor 12 AM ALINHADOS, FAZER PASSAR UMA pó meio de retas. Dividir estas retas ao meio e traçar as é o centro da circunferência que passa
  • 13.
    Apostila Pessoal: http://www.youtube.com/user/ThePoluidor ABC,triângulo dado. Achar o meio do lado e E. Ligar D com C, e ligar E com circunferência. DIVIDIR UMA CIRCUNFERÊNCIA EM TRÊS PARTES IGUAIS E INSCREVER O TRIÂNGULO Traçada a circunferência, traçar também a linha abertura igual a B1, traçar o arco assim o triângulo. DIVIDIR UMA CIRCUNFERÊNCIA EM QUATRO PARTES IGUAIS E INSCREVER O QUADRADO Apostila Pessoal: http://www.youtube.com/user/ThePoluidor , triângulo dado. Achar o meio do lado AB e também o meio do lado AC, marcando os pontos com B, de modo que se cruzem no ponto 5. O ponto DIVIDIR UMA CIRCUNFERÊNCIA EM TRÊS PARTES IGUAIS E INSCREVER O TRIÂNGULO Traçada a circunferência, traçar também a linha AB. Depois, centrar o compasso em , traçar o arco CD. Ligar A com C e A com D. Finalmente, ligar DIVIDIR UMA CIRCUNFERÊNCIA EM QUATRO PARTES IGUAIS E INSCREVER O QUADRADO Apostila Pessoal: http://www.youtube.com/user/ThePoluidor 13 , marcando os pontos D . O ponto 5 é o centro da DIVIDIR UMA CIRCUNFERÊNCIA EM TRÊS PARTES IGUAIS E INSCREVER O TRIÂNGULO . Depois, centrar o compasso em B e com . Finalmente, ligar D com C, formando DIVIDIR UMA CIRCUNFERÊNCIA EM QUATRO PARTES IGUAIS E INSCREVER O QUADRADO
  • 14.
    Apostila Pessoal: http://www.youtube.com/user/ThePoluidor Traçadaa circunferência, traçar também as linhas e B com D, formando o quadrado dentro da circunferência. DIVIDIR UMA CIRCUNFERÊNCIA EM CINCO PARTES IGUAIS E INSCREVER O PENTÁGONO Traçada a circunferência, traçar também o diâmetro Dividir DB ao meio, marcando o ponto arco CF. Em seguida, com abertura igual à reta pontilhada e H. Com uma ponta em G (e mesma abertura anterior) marcar o ponto marque o ponto J. Ligar C com pentágono dentro da circunferência. Apostila Pessoal: http://www.youtube.com/user/ThePoluidor Traçada a circunferência, traçar também as linhas AB e CD. Ligar A com C e A com formando o quadrado dentro da circunferência. DIVIDIR UMA CIRCUNFERÊNCIA EM CINCO PARTES IGUAIS E INSCREVER O PENTÁGONO Traçada a circunferência, traçar também o diâmetro AB. Em seguida traçar a perpendicular ao meio, marcando o ponto E. Com uma ponta do compasso em E e outra em . Em seguida, com abertura igual à reta pontilhada FC e uma ponta em C, marcar os pontos (e mesma abertura anterior) marcar o ponto I. Com uma ponta em com H, H com J, J com I, I com G, G com C, ficando assim pronto o pentágono dentro da circunferência. Apostila Pessoal: http://www.youtube.com/user/ThePoluidor 14 com D. Ligar B com C DIVIDIR UMA CIRCUNFERÊNCIA EM CINCO PARTES IGUAIS E INSCREVER O PENTÁGONO . Em seguida traçar a perpendicular CD. e outra em C, traçar o , marcar os pontos G . Com uma ponta em H, , ficando assim pronto o
  • 15.
    Apostila Pessoal: http://www.youtube.com/user/ThePoluidor TRAÇADODO PENTÁGONO SENDO DADO O LADO AB, lado dado. Com uma ponta do compasso em Em seguida, com centro em A, traçar outra circunferência de modo que corte a primeira nos pontos C e D. Traçar a perpendicular CD Apostila Pessoal: http://www.youtube.com/user/ThePoluidor TRAÇADO DO PENTÁGONO SENDO DADO O LADO , lado dado. Com uma ponta do compasso em B e abertura igual a AB, traçar uma circunferência. , traçar outra circunferência de modo que corte a primeira nos pontos CD, depois, com centro em D ( e a mesma abertura anterior), traçar Apostila Pessoal: http://www.youtube.com/user/ThePoluidor 15 , traçar uma circunferência. , traçar outra circunferência de modo que corte a primeira nos pontos ( e a mesma abertura anterior), traçar
  • 16.
    Apostila Pessoal: http://www.youtube.com/user/ThePoluidor umaterceira circunferência, mar prolongar até tocar o lado da primeira circunferência, marcando o ponto prolongar até tocar o lado da segunda circunferência, marcando o ponto compasso no ponto 5 e abertura igual ao lado dado, traçar um arco que corte a reta ponta em 4, traçar outro arco que corte o primeiro no ponto com 5 e 5 com B. DIVIDIR UMA CIRCUNFERÊNCIA EM 6 PARTES IGUAIS E Traçada a circunferência, traçar também o diâmetro compasso, centro em A, traçar um arco que toque nos dois lados da circunferência marcando os pontos C e D. Mudando a ponta do compasso para lados da circunferência, marcando os pontos inscrito o hexágono dentro da circunferência. DIVIDIR UMA CIRCUNFERÊNCIA EM 10 PARTES IGUAIS E INSCREVER O DEC Apostila Pessoal: http://www.youtube.com/user/ThePoluidor uma terceira circunferência, marcando os pontos 1, 2 e 3. Ligar o ponto 3 prolongar até tocar o lado da primeira circunferência, marcando o ponto 4 prolongar até tocar o lado da segunda circunferência, marcando o ponto 5. Depois com a ponta do e abertura igual ao lado dado, traçar um arco que corte a reta , traçar outro arco que corte o primeiro no ponto 6. Unir A com B, A DIVIDIR UMA CIRCUNFERÊNCIA EM 6 PARTES IGUAIS E INSCREVER O HEXÁGONO Traçada a circunferência, traçar também o diâmetro AB. Depois, com a mesma abertura do , traçar um arco que toque nos dois lados da circunferência marcando os . Mudando a ponta do compasso para B, traçar outro arco que toque em outros dois lados da circunferência, marcando os pontos E e F. Ligar os pontos através de retas para que fique inscrito o hexágono dentro da circunferência. DIVIDIR UMA CIRCUNFERÊNCIA EM 10 PARTES IGUAIS E INSCREVER O DEC Apostila Pessoal: http://www.youtube.com/user/ThePoluidor 16 3 com o ponto 1 e 4. Ligar 2 com 1 e . Depois com a ponta do e abertura igual ao lado dado, traçar um arco que corte a reta CD. Com uma A com 4, 4 com 6, 6 INSCREVER O HEXÁGONO . Depois, com a mesma abertura do , traçar um arco que toque nos dois lados da circunferência marcando os , traçar outro arco que toque em outros dois . Ligar os pontos através de retas para que fique DIVIDIR UMA CIRCUNFERÊNCIA EM 10 PARTES IGUAIS E INSCREVER O DECÁGONO
  • 17.
    Apostila Pessoal: http://www.youtube.com/user/ThePoluidor Traçara circunferência e os diâmetros A, traçar dois arcos acima e abaixo da linha cortem os dois primeiros nos pontos Traçar uma perpendicular por estes pontos para determinar o meio de Com centro em 3 e abertura igual a Abrir o compasso com medida igual a marcar ao longo da circunferência para dividi através de retas. DIVIDIR UMA CIRCUNFERÊNCIA EM 9 PARTES IGUAIS E INSCREVER O ENEÁGONO Apostila Pessoal: http://www.youtube.com/user/ThePoluidor Traçar a circunferência e os diâmetros AB e CD e determinar o centro O. Depois, fazendo centro em , traçar dois arcos acima e abaixo da linha AB. Fazer centro em O e traçar outros dois arcos que cortem os dois primeiros nos pontos 1 e 2. uma perpendicular por estes pontos para determinar o meio de AO, marcando o ponto e abertura igual a 3-A, traçar um arco AO. Ligar 3 com C, determinando o ponto Abrir o compasso com medida igual a C-4, tacando a seguir o arco EF. Com esta mesma medida, marcar ao longo da circunferência para dividi-la em 10 partes iguais. Ligar finalmente estas partes DIVIDIR UMA CIRCUNFERÊNCIA EM 9 PARTES IGUAIS E INSCREVER O ENEÁGONO Apostila Pessoal: http://www.youtube.com/user/ThePoluidor 17 . Depois, fazendo centro em e traçar outros dois arcos que , marcando o ponto 3. , determinando o ponto 4. esta mesma medida, la em 10 partes iguais. Ligar finalmente estas partes DIVIDIR UMA CIRCUNFERÊNCIA EM 9 PARTES IGUAIS E INSCREVER O ENEÁGONO
  • 18.
    Apostila Pessoal: http://www.youtube.com/user/ThePoluidor Traçara circunferência e também os diâmetros (com a mesma abertura do compasso) traçar o arco centrar em D e traçar o arco EF 1G. A distância GA é igual a um dos lados que dividirá a circunferência em 9 partes iguais. Bastará, portanto, abrir o compasso com esta medida, centrar em assim sucessivamente. Depois, un da circunferência. Apostila Pessoal: http://www.youtube.com/user/ThePoluidor Traçar a circunferência e também os diâmetros AB e 1D, marcando também o centro (com a mesma abertura do compasso) traçar o arco OE. Abrir o compasso com medida igual a EF. Continuando com a mesma abertura, centrar em é igual a um dos lados que dividirá a circunferência em 9 partes iguais. Bastará, portanto, abrir o compasso com esta medida, centrar em 1 e marcar 2; centrar em assim sucessivamente. Depois, unir estes pontos através de retas, para inscrever o eneágono dentro Apostila Pessoal: http://www.youtube.com/user/ThePoluidor 18 , marcando também o centro O. Em seguida . Abrir o compasso com medida igual a DE, entrar em F e traçar o arco é igual a um dos lados que dividirá a circunferência em 9 partes iguais. Bastará, ; centrar em 2 e marcar 3 e ir estes pontos através de retas, para inscrever o eneágono dentro
  • 19.
    Apostila Pessoal: http://www.youtube.com/user/ThePoluidor TRAÇARO HEPTÁGONO PELO PROCESSO GERAL (Obs.: Este processo permite dividir a circunferência em qualquer número de partes iguais.) Traçar a circunferência e também os diâmetros circunferência a linha de diâmetro um ângulo qualquer. Abrir o compasso com uma medida qualquer e marcar na linha inclinada tantas vezes quantas se quer dividir a circunferência (no caso 7 vezes). Continuando, com o auxilio da régua e esquadro, ligar 7 a C centro e marcar nessa linha apenas o número em C e traçar um arco que corte o prolongamento do diâmetro Apostila Pessoal: http://www.youtube.com/user/ThePoluidor TRAÇAR O HEPTÁGONO PELO PROCESSO GERAL (Obs.: Este processo permite dividir a circunferência em qualquer número de partes iguais.) e também os diâmetros 1C e AB, prolongando um pouco para além da circunferência a linha de diâmetro AB. Depois, ao lado do diâmetro 1C, traçar outra linha formando um ângulo qualquer. Abrir o compasso com uma medida qualquer e marcar na linha inclinada ntas vezes quantas se quer dividir a circunferência (no caso 7 vezes). Continuando, com o auxilio C e mantendo a mesma inclinação, ligar os outros números à linha de centro e marcar nessa linha apenas o número 2. Abrir o compasso com a medida igual a e traçar um arco que corte o prolongamento do diâmetro AB. Centrar em 1 Apostila Pessoal: http://www.youtube.com/user/ThePoluidor 19 (Obs.: Este processo permite dividir a circunferência em qualquer número de partes iguais.) , prolongando um pouco para além da , traçar outra linha formando um ângulo qualquer. Abrir o compasso com uma medida qualquer e marcar na linha inclinada ntas vezes quantas se quer dividir a circunferência (no caso 7 vezes). Continuando, com o auxilio e mantendo a mesma inclinação, ligar os outros números à linha de . Abrir o compasso com a medida igual a 1C, centrar 1 e traçar outro arco
  • 20.
    Apostila Pessoal: http://www.youtube.com/user/ThePoluidor quecorte o primeiro, marcando o ponto tocar a circunferência, marcando o ponto À distância 1-2 é uma das partes que dividirá em 7 partes iguais. Atenção: sejam quantas forem às partes em que se queira dividir a circunferência, a linha que parte de ponto 2 do diâmetro vertical. TRAÇADO DA ELIPSE PONTO POR PONTO Apostila Pessoal: http://www.youtube.com/user/ThePoluidor que corte o primeiro, marcando o ponto D. Ligar D ao ponto 2 do diâmetro vertical e prolongar até ircunferência, marcando o ponto 2. é uma das partes que dividirá em 7 partes iguais. Atenção: sejam quantas forem às partes em que se queira dividir a circunferência, a linha que parte de D deverá sempre passar pelo TRAÇADO DA ELIPSE PONTO POR PONTO Apostila Pessoal: http://www.youtube.com/user/ThePoluidor 20 do diâmetro vertical e prolongar até é uma das partes que dividirá em 7 partes iguais. Atenção: sejam quantas forem às deverá sempre passar pelo
  • 21.
    Apostila Pessoal: http://www.youtube.com/user/ThePoluidor Traçam-seprimeiramente os eixos (cruzamento dos dois eixos), centra pontos são os focos da elipse. Na metade da reta c, d, e, f e g. Continuando, abre acima e abaixo do eixo horizontal; muda Depois abre-se o compasso com medida igual a modo que cortem os dois primeiros. Muda seguida unem-se os pontos com uma régua flexível. Obs. Os pontos A e B servem apenas para tomar medidas. Para traçar, usam DADO O EIXO MENOR AB, CONSTRUIR O ÓVULO Traça-se o eixo menor AB e divide traça-se uma circunferência, marcando o ponto da circunferência. Faz-se o mesmo partindo de centra-se em A e traça-se um arco que, partindo de Apostila Pessoal: http://www.youtube.com/user/ThePoluidor se primeiramente os eixos AB e CD. Depois abre-se o compasso com medida (cruzamento dos dois eixos), centra-se em C e traça-se um arco marcando os pontos pontos são os focos da elipse. Na metade da reta AB marcam-se vários pontos de igual medida . Continuando, abre-se o compasso com a medida Aa, centra-se em acima e abaixo do eixo horizontal; muda-se o compasso para F1 e traçam-se outros dois arcos. se o compasso com medida igual a aB, centra-se em F e traçam-se outros dois arcos de modo que cortem os dois primeiros. Muda-se para F1 e faz-se o mesmo e assim sucessivamente. Em se os pontos com uma régua flexível. servem apenas para tomar medidas. Para traçar, usam-se os focos DADO O EIXO MENOR AB, CONSTRUIR O ÓVULO e divide-se ao meio, por onde passará o eixo maior CD se uma circunferência, marcando o ponto 6. A seguir, liga-se A com 6 e prolonga se o mesmo partindo de B. Depois, abre-se o compasso co se um arco que, partindo de B pare na linha A6, marcando o ponto Apostila Pessoal: http://www.youtube.com/user/ThePoluidor 21 se o compasso com medida AO se um arco marcando os pontos F e F-1. Estes se vários pontos de igual medida a, b, se em F e traçam-se arcos se outros dois arcos. se outros dois arcos de se o mesmo e assim sucessivamente. Em se os focos F e F1. CD. Centra-se em 5 e e prolonga-se para além se o compasso com medida AB, , marcando o ponto 7. Muda-
  • 22.
    Apostila Pessoal: http://www.youtube.com/user/ThePoluidor seo compasso para B, traça-se outro arco que, partindo de Finalmente, centra-se no ponto DADO O EIXO MAIOR, TRAÇAR A OVAL DE DUAS CIRCUNFERÊNCIAS Traça-se o eixo maior AB e divide compasso em 1 e com abertura igual a para o ponto 2 e traça-se a segunda circunferência, marcando os pontos prolonga-se marcando o ponto 1 e prolonga-se marcando o ponto seguida, abre-se o compasso com medida igual a 6. Muda-se o compasso para o ponto oval. TRAÇAR A OVAL DE TRÊS CIRCUNFERÊNCIAS Apostila Pessoal: http://www.youtube.com/user/ThePoluidor se outro arco que, partindo de A, pare na linha B6, marcando o ponto se no ponto 6 e traça-se um arco que ligue 7 a 8, completando assim o óvulo. DADO O EIXO MAIOR, TRAÇAR A OVAL DE DUAS CIRCUNFERÊNCIAS e divide-se em três partes iguais, marcando os pontos e com abertura igual a A1, traça-se a primeira circunferência. Muda se a segunda circunferência, marcando os pontos 3 e 4 se marcando o ponto 5. Liga-se 3 com 2 prolonga-se, marcando o ponto se marcando o ponto 7. Liga-se 4 com 2 e prolonga-se marcando o ponto se o compasso com medida igual a 3,5, centra-se em 3 e traça-se em arco ligando se o compasso para o ponto 4 e traça-se outro arco, ligando 7 a 8 e completando assim a TRAÇAR A OVAL DE TRÊS CIRCUNFERÊNCIAS Apostila Pessoal: http://www.youtube.com/user/ThePoluidor 22 , marcando o ponto 8. , completando assim o óvulo. se em três partes iguais, marcando os pontos 1 e 2. Centra-se o se a primeira circunferência. Muda-se o compasso 4. Liga-se 3 com 1 e se, marcando o ponto 6. Liga-se 4 com se marcando o ponto 8. Em se em arco ligando 5 a completando assim a
  • 23.
    Apostila Pessoal: http://www.youtube.com/user/ThePoluidor Inicialmentetraça-se o eixo AB Abre-se o compasso com medida igual a Muda-se o compasso para 2 e traça se a terceira circunferência, marcando os pontos sentidos, marcando os pontos marcando os pontos D e E. Depois, liga 3 com 7 e também prolonga-se nos dois sentidos, marcando os pontos vértices da oval. Centra-se, portanto em Muda-se o compasso para G e com a mesma abertura traça Apostila Pessoal: http://www.youtube.com/user/ThePoluidor AB e divide-se em quatro partes iguais marcando os pontos se o compasso com medida igual a A1, centra-se em 1 e traça-se a primeira circunferência. e traça-se a segunda, marcando os pontos 4 e 5. Centra se a terceira circunferência, marcando os pontos 6 e 7 . Liga-se 1 com 4 e prolonga ntos D e C. Liga-se 3 com 6 e prolonga-se até cruzar com a primeira, . Depois, liga-se 1 com 5, prolonga-se e marca-se os pontos se nos dois sentidos, marcando os pontos G e H. Os pontos se, portanto em D e com abertura DC, traça-se um arco ligando e com a mesma abertura traça-se outro arco, ligando Apostila Pessoal: http://www.youtube.com/user/ThePoluidor 23 se em quatro partes iguais marcando os pontos 1, 2 e 3. se a primeira circunferência. . Centra-se em 3 e traça- e prolonga-se nos dois se até cruzar com a primeira, se os pontos F e G, liga-se . Os pontos D e G são os se um arco ligando C com E. se outro arco, ligando F com H.
  • 24.
    Apostila Pessoal: http://www.youtube.com/user/ThePoluidor TRAÇADODA ESPIRIAL DE DOIS CENTROS Primeiramente traça-se o eixo compasso no ponto 1 e com abertura igual a arco CD. Centra-se em D e faz- 1 e 2 e vão se traçando os arcos. TRAÇADO DA ESPIRAL DE TRÊS CENTROS Apostila Pessoal: http://www.youtube.com/user/ThePoluidor TRAÇADO DA ESPIRIAL DE DOIS CENTROS se o eixo AB. Depois no meio do eixo, marcam-se os pontos e com abertura igual a 1-2, traça-se o arco 2-C. Centra-se em -se outro arco DE. E assim por diante, centra-se alternativamente em e vão se traçando os arcos. TRAÇADO DA ESPIRAL DE TRÊS CENTROS Apostila Pessoal: http://www.youtube.com/user/ThePoluidor 24 se os pontos 1 e 2. Centra-se o se em 2 e traça-se o se alternativamente em
  • 25.
    Apostila Pessoal: http://www.youtube.com/user/ThePoluidor Constrói-seprimeiro um pequeno triângulo eqüilátero e marca 2 e prolonga-se. Liga-se 2 com 3 e faz-se o arco 1,3; centra-se em arco será sempre a continuidade do outro. TRAÇADO DA ESPIRAL DE QUATRO CENTROS Traça-se primeiramente um pequeno quadrado e marcam uma reta ligando 1 com 2, outra ligando Em seguida, centra-se o compasso em arco 3,2; centro em 1, arco 2,1 outro. TRAÇADO DA ESPIRAL POLICÊNTRICA Apostila Pessoal: http://www.youtube.com/user/ThePoluidor se primeiro um pequeno triângulo eqüilátero e marca-se os pontos 1, com 3 e prolonga-se. Liga-se 3 com 1 e prolonga-se. Depois, centra se em 2 faz-se o arco 3,2; centra-se em 1 faz-se o arco arco será sempre a continuidade do outro. TRAÇADO DA ESPIRAL DE QUATRO CENTROS se primeiramente um pequeno quadrado e marcam-se os pontos 1, 2, 3 , outra ligando 2 com 3; outra ligando 3 com 4 e outra ligando se o compasso em 4 e traça-se o arco 1,4; centro em 3, arco 1. Como nas figuras anteriores, um arco é sempre a continuidade do TRAÇADO DA ESPIRAL POLICÊNTRICA Apostila Pessoal: http://www.youtube.com/user/ThePoluidor 25 , 2 e 3. Liga-se 1 com se. Depois, centra-se em se o arco 2,1 e assim um 3, e 4. Depois, faz-se e outra ligando 4 com 1. , arco 4,3; centro em 2, . Como nas figuras anteriores, um arco é sempre a continuidade do
  • 26.
    Apostila Pessoal: http://www.youtube.com/user/ThePoluidor Desenha-seum hexágono e numeram prolongando) 1 com 6; 6 com 5 um tamanho determinado. Como nas outras espirais, centra centro em 2, arco 1,2; centro em 6, arco 5,6. DESENVOLVIMENTO LATERAL DE UM CILINDRO Apostila Pessoal: http://www.youtube.com/user/ThePoluidor se um hexágono e numeram-se os pontos de 1 a 6. Depois, traçam-se retas ligan 5; 5 com 4; 4 com 3; 3 com 2; 2 com 1; 1 com 6. Estas retas não tem um tamanho determinado. Como nas outras espirais, centra-se o compasso em 1 ; centro em 3, arco 2,3; centro em 4, arco 3,4; centro em 5, arco DESENVOLVIMENTO LATERAL DE UM CILINDRO Apostila Pessoal: http://www.youtube.com/user/ThePoluidor 26 se retas ligando (e . Estas retas não tem 1 e faz-se o arco 6,1; , arco 4,5; centro em
  • 27.
    Apostila Pessoal: http://www.youtube.com/user/ThePoluidor Asfiguras 31, 32 e 33 mostram o desenvolvimento lateral de um cilindro, que é um retângulo, cujo comprimento é igual ao diâmetro médio encontrado, mul chapas, tanto em funilaria industrial como em caldeiraria, deve indicado aqui pelas letras DM. Método para se encontrar o DM. Se o diâmetro indicado no desenho for interno, acrescenta-se uma vez a espessura do material e multiplica 1º exemplo: Diâmetro indicado no desenho 120mm interno; espessura do material, 3mm. 120 + 3 = 123. O número 123 é o DM encontrado e é ele que deve ser multiplicado por 3,142. 2º exemplo: O diâmetro indicado no desenho é 120mm externo: subtrai material. Assim, 120 – 3 = 117. O número 117 é o DM encontrado e é ele que deve ser multiplicado por 3,142. Obs.: Em chaparia é costume usar acrescentarmos 0,0004 (quatro décimos milésimos) ao 3,1416 obteremos o número 3,142 que dá uma melhor precisão ao diâmetro da peça que será confeccionada. Para confirmar seguem-se dois exemplos: 1º 120 x 3,14 = 376 2º 120 x 3,142 = 377 PLANIFICAÇÃO DE CILINDRO COM UMA BASE (BOCA) NÃO PARALELA Apostila Pessoal: http://www.youtube.com/user/ThePoluidor As figuras 31, 32 e 33 mostram o desenvolvimento lateral de um cilindro, que é um retângulo, cujo comprimento é igual ao diâmetro médio encontrado, multiplicado por 3,142. Em planificação de chapas, tanto em funilaria industrial como em caldeiraria, deve-se sempre usar o diâmetro médio, indicado aqui pelas letras DM. Método para se encontrar o DM. Se o diâmetro indicado no desenho se uma vez a espessura do material e multiplica-se por 3,142. : Diâmetro indicado no desenho 120mm interno; espessura do material, 3mm. 120 + 3 = 123. O número 123 é o DM encontrado e é ele que deve ser multiplicado por 3,142. : O diâmetro indicado no desenho é 120mm externo: subtrai-se uma vez a espessura do 3 = 117. O número 117 é o DM encontrado e é ele que deve ser multiplicado Obs.: Em chaparia é costume usar-se apenas o número 3,14 ao invés de 3,142. Entretanto se acrescentarmos 0,0004 (quatro décimos milésimos) ao 3,1416 obteremos o número 3,142 que dá uma melhor precisão ao diâmetro da peça que será confeccionada. se dois exemplos: PLANIFICAÇÃO DE CILINDRO COM UMA BASE (BOCA) NÃO PARALELA – PROCESSO 1 Apostila Pessoal: http://www.youtube.com/user/ThePoluidor 27 As figuras 31, 32 e 33 mostram o desenvolvimento lateral de um cilindro, que é um retângulo, cujo tiplicado por 3,142. Em planificação de se sempre usar o diâmetro médio, indicado aqui pelas letras DM. Método para se encontrar o DM. Se o diâmetro indicado no desenho se por 3,142. : Diâmetro indicado no desenho 120mm interno; espessura do material, 3mm. 120 + 3 = 123. O número 123 é o DM encontrado e é ele que deve ser multiplicado por 3,142. se uma vez a espessura do 3 = 117. O número 117 é o DM encontrado e é ele que deve ser multiplicado invés de 3,142. Entretanto se acrescentarmos 0,0004 (quatro décimos milésimos) ao 3,1416 obteremos o número 3,142 que dá PROCESSO 1
  • 28.
    Apostila Pessoal: http://www.youtube.com/user/ThePoluidor Acha-seo diâmetro médio e desenha o semicírculo 1-7, o qual será dividido em um número partir destes pontos serão levantadas perpendiculares que tocarão a parte inclinada do cilindro marcando-se os pontos que tocarão a parte inclinada do cilindro marcando 5’-6’-7’. A seguir, multiplica-se o DM por 3,142 e sobre uma reta que deverá ser traçada ao lado da fig. 34, marca-se o comprimento encontrado. Divide dobro das divisões feitas na fig. 34). Por estas divisões serão levantadas perp partindo dos pontos 1’-2’-3’-4’ horizontais que cruzarão com as verticais levantadas anteriormente, marcando os pontos 1” 4”-5”-6”-7”. Finalmente, unem-se estes pontos com o auxilio de uma régua flexível. Apostila Pessoal: http://www.youtube.com/user/ThePoluidor se o diâmetro médio e desenha-se inicialmente a vista de elevação (fig. 34). A seguir, traça 7, o qual será dividido em um número qualquer de partes iguais, 1 partir destes pontos serão levantadas perpendiculares que tocarão a parte inclinada do cilindro se os pontos que tocarão a parte inclinada do cilindro marcando-se os pontos 1’ se o DM por 3,142 e sobre uma reta que deverá ser traçada ao lado da se o comprimento encontrado. Divide-se esta reta em partes iguais (exatamente o dobro das divisões feitas na fig. 34). Por estas divisões serão levantadas perp 4’-5’-6’-7’ (localizados na parte inclinada do cilindro), traçam horizontais que cruzarão com as verticais levantadas anteriormente, marcando os pontos 1” es pontos com o auxilio de uma régua flexível. Apostila Pessoal: http://www.youtube.com/user/ThePoluidor 28 se inicialmente a vista de elevação (fig. 34). A seguir, traça-se qualquer de partes iguais, 1-2-3-4-5-6-7. A partir destes pontos serão levantadas perpendiculares que tocarão a parte inclinada do cilindro se os pontos 1’-2’-3’-4’- se o DM por 3,142 e sobre uma reta que deverá ser traçada ao lado da se esta reta em partes iguais (exatamente o dobro das divisões feitas na fig. 34). Por estas divisões serão levantadas perpendiculares. Depois, 7’ (localizados na parte inclinada do cilindro), traçam-se retas horizontais que cruzarão com as verticais levantadas anteriormente, marcando os pontos 1”-2”-3”-
  • 29.
    Apostila Pessoal: http://www.youtube.com/user/ThePoluidor DESENVOLVIMENTODE CILINDRO COM UMA BASE (BOCA) NÃO PARALELA Como sempre, acha-se primeiro o diâmetro como foi explicado nas figuras 32, 32 e 33. A seguir, desenha-se a vista de elevação d AC e divide-se em um número qualquer de partes iguais. Multiplica comprimento encontrado 1-1 sobre uma reta qualquer. Levantam Transporta-se com o compasso o arco iguais. Unem-se estas partes através das retas 1 1-1 no mesmo número de partes iguais e levantam horizontais traçadas anteriormente. Marcam régua flexível. Apostila Pessoal: http://www.youtube.com/user/ThePoluidor DESENVOLVIMENTO DE CILINDRO COM UMA BASE (BOCA) NÃO PARALELA se primeiro o diâmetro como foi explicado nas figuras 32, 32 e 33. A seguir, se a vista de elevação do cilindro e marca-se o ângulo de inclinação ABC se em um número qualquer de partes iguais. Multiplica-se o DM por 3,142 e marca 1 sobre uma reta qualquer. Levantam-se as perpendiculares 1 se com o compasso o arco AC para as verticais 1-7 e 1-14, dividindo se estas partes através das retas 1-8, 2-9, 3-10, 4-11, 5-12, 6-13, 7 1 no mesmo número de partes iguais e levantam-se perpendiculares que cruzarão com as horizontais traçadas anteriormente. Marcam-se os pontos de cruzamento e unem Apostila Pessoal: http://www.youtube.com/user/ThePoluidor 29 DESENVOLVIMENTO DE CILINDRO COM UMA BASE (BOCA) NÃO PARALELA – PROCESSO 2 se primeiro o diâmetro como foi explicado nas figuras 32, 32 e 33. A seguir, ABC. Traça-se o arco se o DM por 3,142 e marca-se o se as perpendiculares 1-7 e 1-14. 14, dividindo-os em partes 13, 7-14. Divide-se a reta pendiculares que cruzarão com as se os pontos de cruzamento e unem-se com uma
  • 30.
    Apostila Pessoal: http://www.youtube.com/user/ThePoluidor PLANIFICAÇÃODE CILINDRO COM UMA BASE (BOCA) NÃO PARALELA Muitas vezes, a chapa em que se está traçando a peça é pequena, sendo suficiente apenas para fazer o desenvolvimento, não tendo espaço para se traçar à vista de elevação do cilindro. Neste caso, utiliza-se o processo 3, que consiste em se traçar a vista de de chapa (em separado) com todos os detalhes já indicados nas figuras anteriores. Depois se traça a linha AB na chapa em que se está traçando a peça. Dividir perpendiculares. Então, abre-se o compasso com abertura igual a Apostila Pessoal: http://www.youtube.com/user/ThePoluidor PLANIFICAÇÃO DE CILINDRO COM UMA BASE (BOCA) NÃO PARALELA – PROCESSO 3 Muitas vezes, a chapa em que se está traçando a peça é pequena, sendo suficiente apenas para fazer o desenvolvimento, não tendo espaço para se traçar à vista de elevação do cilindro. Neste caso, se o processo 3, que consiste em se traçar a vista de elevação (fig. 38) em qualquer pedaço de chapa (em separado) com todos os detalhes já indicados nas figuras anteriores. Depois se traça a na chapa em que se está traçando a peça. Dividir-se-á em partes iguais e levantam se o compasso com abertura igual a 1A (fig. 38) e marca Apostila Pessoal: http://www.youtube.com/user/ThePoluidor 30 PROCESSO 3 Muitas vezes, a chapa em que se está traçando a peça é pequena, sendo suficiente apenas para fazer o desenvolvimento, não tendo espaço para se traçar à vista de elevação do cilindro. Neste caso, elevação (fig. 38) em qualquer pedaço de chapa (em separado) com todos os detalhes já indicados nas figuras anteriores. Depois se traça a á em partes iguais e levantam-se (fig. 38) e marca-se esta
  • 31.
    Apostila Pessoal: http://www.youtube.com/user/ThePoluidor medidano desenvolvimento (fig. 39). Volta desenvolvimento. Pega-se a medida marcando as medidas à esquerda e à direita da linha de centro PLANIFICAÇÃO DE CILINDRO COM AS DUAS BASES (BOCAS) INCLINADAS Apostila Pessoal: http://www.youtube.com/user/ThePoluidor medida no desenvolvimento (fig. 39). Volta-se ao perfil e pega-se a medida 2B se a medida 3C transportando-a também. E assim por diante, sempre rcando as medidas à esquerda e à direita da linha de centro 7G da fig 39. PLANIFICAÇÃO DE CILINDRO COM AS DUAS BASES (BOCAS) INCLINADAS Apostila Pessoal: http://www.youtube.com/user/ThePoluidor 31 2B passando-a para o a também. E assim por diante, sempre
  • 32.
    Apostila Pessoal: http://www.youtube.com/user/ThePoluidor Estapeça é bastante semelhante às que foram desenhadas anteriormente, com a única diferença de que tem as duas bocas inclinadas. Pelo próprio desenho desta página, verifica planificação. Basta que se divida o semicírculo marcando os pontos 1-2-3-4-5- Levantam-se perpendiculares também na parte que será desenvolvida (fig. 41). O cruzamento das linhas horizontais que partem da fig. 40, com as verticais da fig. 41 formam as linhas de desenvolvimento EF e CD. Obs.: Esta figura também pode ser desenvolvida transportando invés de se cruzarem as linhas. PLANIFICAÇÃO DE COTOVELO DE 45º Apostila Pessoal: http://www.youtube.com/user/ThePoluidor Esta peça é bastante semelhante às que foram desenhadas anteriormente, com a única diferença de bocas inclinadas. Pelo próprio desenho desta página, verifica planificação. Basta que se divida o semicírculo AB em partes iguais e se levantem perpendiculares, -6-7 e 1’-2’ -3’-4’-5’-6’-7’. iculares também na parte que será desenvolvida (fig. 41). O cruzamento das linhas horizontais que partem da fig. 40, com as verticais da fig. 41 formam as linhas de Esta figura também pode ser desenvolvida transportando-se as medidas com o compasso ao invés de se cruzarem as linhas. PLANIFICAÇÃO DE COTOVELO DE 45º Apostila Pessoal: http://www.youtube.com/user/ThePoluidor 32 Esta peça é bastante semelhante às que foram desenhadas anteriormente, com a única diferença de bocas inclinadas. Pelo próprio desenho desta página, verifica-se como é fácil a em partes iguais e se levantem perpendiculares, iculares também na parte que será desenvolvida (fig. 41). O cruzamento das linhas horizontais que partem da fig. 40, com as verticais da fig. 41 formam as linhas de medidas com o compasso ao
  • 33.
    Apostila Pessoal: http://www.youtube.com/user/ThePoluidor Ocotovelo de 45º é largamente utilizado em instalações industriais. Nas figuras anteriores mostrou-se como se desenvolve tubos com a face em grau, não como se faz o desenvolvimento, porque o cotovelo nada mãos é do que dois tubos desenvolvidos com o mesmo grau. Assim, dois tubos de 22,5º formam o cotovelo de 45º. Obs.: Os encanadores, pelo fato de trabalharem com tubos j modelos em chapa fina e para isso deverão medir o diâmetro externo do tubo e multiplicá 3,142. Apostila Pessoal: http://www.youtube.com/user/ThePoluidor O cotovelo de 45º é largamente utilizado em instalações industriais. Nas figuras anteriores se como se desenvolve tubos com a face em grau, não sendo necessário explicar como se faz o desenvolvimento, porque o cotovelo nada mãos é do que dois tubos desenvolvidos com o mesmo grau. Assim, dois tubos de 22,5º formam o cotovelo de 45º. Os encanadores, pelo fato de trabalharem com tubos já prontos, deverão desenvolver os modelos em chapa fina e para isso deverão medir o diâmetro externo do tubo e multiplicá Apostila Pessoal: http://www.youtube.com/user/ThePoluidor 33 O cotovelo de 45º é largamente utilizado em instalações industriais. Nas figuras anteriores sendo necessário explicar-se aqui como se faz o desenvolvimento, porque o cotovelo nada mãos é do que dois tubos desenvolvidos á prontos, deverão desenvolver os modelos em chapa fina e para isso deverão medir o diâmetro externo do tubo e multiplicá-lo por
  • 34.
    Apostila Pessoal: http://www.youtube.com/user/ThePoluidor PLANIFICAÇÃODE COTOVELO DE 90º Apostila Pessoal: http://www.youtube.com/user/ThePoluidor PLANIFICAÇÃO DE COTOVELO DE 90º Apostila Pessoal: http://www.youtube.com/user/ThePoluidor 34
  • 35.
    Apostila Pessoal: http://www.youtube.com/user/ThePoluidor Asfiguras 44 e 45 que representam o cotovelo de 90º, não precisam também de explicações. Basta que se desenvolvam dois tubos de 45º, como já foi explicado anteriormente, e solde-se um no outro. INTERSEÇÃO DE DOIS CILINDROS DE DIÂMETROS IGUAIS Apostila Pessoal: http://www.youtube.com/user/ThePoluidor As figuras 44 e 45 que representam o cotovelo de 90º, não precisam também de explicações. Basta que se desenvolvam dois tubos de 45º, como já foi explicado anteriormente, e INTERSEÇÃO DE DOIS CILINDROS DE DIÂMETROS IGUAIS Apostila Pessoal: http://www.youtube.com/user/ThePoluidor 35 As figuras 44 e 45 que representam o cotovelo de 90º, não precisam também de maiores explicações. Basta que se desenvolvam dois tubos de 45º, como já foi explicado anteriormente, e
  • 36.
    Apostila Pessoal: http://www.youtube.com/user/ThePoluidor Desenvolvimentodo furo: Traçar a linha pontos 1-2-3-4-5-6-7 e traçar perpendiculares por estes pontos. Traçar também as linhas DD’, OO’, NN’ e MM’. O cruzamento destas com as perpendiculares traçadas anteriormente formam a linha do furo. O desenvolvimento do cilindro inferior é feito da mesma forma como foram feitas as planificações anteriores. Apostila Pessoal: http://www.youtube.com/user/ThePoluidor Desenvolvimento do furo: Traçar a linha LP e com abertura de compasso igual a 4 7 e traçar perpendiculares por estes pontos. Traçar também as linhas . O cruzamento destas com as perpendiculares traçadas anteriormente formam dro inferior é feito da mesma forma como foram feitas as planificações Apostila Pessoal: http://www.youtube.com/user/ThePoluidor 36 ual a 4-5, marcar os 7 e traçar perpendiculares por estes pontos. Traçar também as linhas KK’, CC’, . O cruzamento destas com as perpendiculares traçadas anteriormente formam dro inferior é feito da mesma forma como foram feitas as planificações
  • 37.
    Apostila Pessoal: http://www.youtube.com/user/ThePoluidor INTERSEÇÃODE UM CILINDRO POR OUTRO DE DIÂMETRO IGUAL A interseção de dois cilindros saindo a 90º um do outro, também chamada “boca de lobo”, é uma das peças mais usadas em funilaria industrial e é de fácil confecção. Basta que se trace inicialmente à vista de elevação, e se divida o arco 5-6-7. A partir destes pontos levantam pontos 1’-2’-3’-4’-5’-6’-7’. A seguir acha encontrada marca-se em uma reta marcando-se os pontos M-N-O- Apostila Pessoal: http://www.youtube.com/user/ThePoluidor INTERSEÇÃO DE UM CILINDRO POR OUTRO DE DIÂMETRO IGUAL A interseção de dois cilindros saindo a 90º um do outro, também chamada “boca de lobo”, é uma adas em funilaria industrial e é de fácil confecção. Basta que se trace inicialmente à vista de elevação, e se divida o arco AB (fig. 49) em partes iguais e marquem-se os pontos 1 7. A partir destes pontos levantam-se perpendiculares até tocar o tubo superior, marcando os 7’. A seguir acha-se o diâmetro médio, multiplica-se por 3,142 e a medida se em uma reta CD na mesma direção de AB e divide-se em partes iguais -P-Q-R-S-R-Q-P-O-N-M. Apostila Pessoal: http://www.youtube.com/user/ThePoluidor 37 A interseção de dois cilindros saindo a 90º um do outro, também chamada “boca de lobo”, é uma adas em funilaria industrial e é de fácil confecção. Basta que se trace inicialmente se os pontos 1-2-3-4- tubo superior, marcando os se por 3,142 e a medida se em partes iguais
  • 38.
    Apostila Pessoal: http://www.youtube.com/user/ThePoluidor Apartir destes, levantam-se perpendiculares. Depois, partindo dos pontos 1’ linhas horizontais que cruzarão com as verticais e levantadas anteriormente, marcando os pontos 1”-2”-3”-4”-5”-6”-7” etc. Terminando, unem-se estes pontos com uma régua flexível. INTERSEÇÃO DE CILINDROS COM DIÂMETROS DIFERENTES Apostila Pessoal: http://www.youtube.com/user/ThePoluidor se perpendiculares. Depois, partindo dos pontos 1’-2’ linhas horizontais que cruzarão com as verticais e levantadas anteriormente, marcando os pontos s pontos com uma régua flexível. INTERSEÇÃO DE CILINDROS COM DIÂMETROS DIFERENTES Apostila Pessoal: http://www.youtube.com/user/ThePoluidor 38 2’-3’-4’ etc., traçam-se linhas horizontais que cruzarão com as verticais e levantadas anteriormente, marcando os pontos
  • 39.
    Apostila Pessoal: http://www.youtube.com/user/ThePoluidor Ainterseção de cilindros com diâmetros diferentes, saindo a 90º um do outro é feita da mesma forma como foi explicado nas figuras 49 e 50. A iguais, um tubo encaixa no outro até a metade e quando os diâmetros são diferentes isso não ocorre, como mostra a vista lateral (fig. 53) desenhada nesta página. Apostila Pessoal: http://www.youtube.com/user/ThePoluidor A interseção de cilindros com diâmetros diferentes, saindo a 90º um do outro é feita da mesma forma como foi explicado nas figuras 49 e 50. A única diferença é que quando os diâmetros são iguais, um tubo encaixa no outro até a metade e quando os diâmetros são diferentes isso não ocorre, como mostra a vista lateral (fig. 53) desenhada nesta página. Apostila Pessoal: http://www.youtube.com/user/ThePoluidor 39 A interseção de cilindros com diâmetros diferentes, saindo a 90º um do outro é feita da mesma única diferença é que quando os diâmetros são iguais, um tubo encaixa no outro até a metade e quando os diâmetros são diferentes isso não
  • 40.
    Apostila Pessoal: http://www.youtube.com/user/ThePoluidor INTERSEÇÃODE CILINDROS COM EIXOS EXCÊNTRIC Apostila Pessoal: http://www.youtube.com/user/ThePoluidor INTERSEÇÃO DE CILINDROS COM EIXOS EXCÊNTRICOS Apostila Pessoal: http://www.youtube.com/user/ThePoluidor 40
  • 41.
    Apostila Pessoal: http://www.youtube.com/user/ThePoluidor Oencontro das projeções das linhas horizontais da fig. 54 com as verticais da fig. 55 mostra claramente como se faz o desenvolvimento de cilindros com eixos fora de centro, não sendo necessário maiores explicações porque se verifica que é igual nas figuras 49 e 50. UNIÃO DE UM CILINDRO COM OUTROS DOIS, ENCONTRANDO MESMO PLANO Apostila Pessoal: http://www.youtube.com/user/ThePoluidor O encontro das projeções das linhas horizontais da fig. 54 com as verticais da fig. 55 mostra claramente como se faz o desenvolvimento de cilindros com eixos fora de centro, não sendo necessário maiores explicações porque se verifica que é igual à planificação anterior já explicada UNIÃO DE UM CILINDRO COM OUTROS DOIS, ENCONTRANDO-SE A LINHA DE CENTRO NO Apostila Pessoal: http://www.youtube.com/user/ThePoluidor 41 O encontro das projeções das linhas horizontais da fig. 54 com as verticais da fig. 55 mostra claramente como se faz o desenvolvimento de cilindros com eixos fora de centro, não sendo à planificação anterior já explicada SE A LINHA DE CENTRO NO
  • 42.
    Apostila Pessoal: http://www.youtube.com/user/ThePoluidor Desenha-seinicialmente a vista de elevação (Fig. 56) e num ponto qualquer do cilindro traça arco AB, o qual deve ser dividido em um número qualquer de partes iguais. Em seguida, por estas divisões traçam outros dois cilindros, marcando linha CD, cujo comprimento é, como se sabe, o perímetro do tubo do meio. Divide partes iguais marcando-se os pontos 1’, 2’, 3’, levantam-se linhas perpendiculares. Voltamos à fig. 56 e a partir do ponto 4 do cilindro 2 traçamos linhas horizontais que cortarão as verticais levantadas anteriormente. Passamos ao cilindro 1 e f encontro das horizontais com as verticais formam as linhas de interseção, ligados com a régua flexível, completando assim a fig. 57. Para uma melhor apresentação da peça, desenhamos também a vista lateral dos três cilindros rep INTERSEÇÃO DE TRÊS CILINDROS COM EIXOS EXCÊNTRICOS Apostila Pessoal: http://www.youtube.com/user/ThePoluidor se inicialmente a vista de elevação (Fig. 56) e num ponto qualquer do cilindro traça , o qual deve ser dividido em um número qualquer de partes iguais. Em seguida, por estas divisões traçam-se linhas perpendiculares que devem tocar os l outros dois cilindros, marcando-se os pontos 1, 2, 3, 4, 5, 6, 7. Então ao lado da fig. 56 traça , cujo comprimento é, como se sabe, o perímetro do tubo do meio. Divide se os pontos 1’, 2’, 3’, 4’, 5’, 6’, 7’, 6’, 5’, 4’, 3’, 2’, 1’ e por estes pontos se linhas perpendiculares. Voltamos à fig. 56 e a partir do ponto 4 do cilindro 2 traçamos linhas horizontais que cortarão as verticais levantadas anteriormente. Passamos ao cilindro 1 e fazemos o mesmo. Os pontos de encontro das horizontais com as verticais formam as linhas de interseção, ligados com a régua flexível, completando assim a fig. 57. Para uma melhor apresentação da peça, desenhamos também a vista lateral dos três cilindros representados na fig. 58. INTERSEÇÃO DE TRÊS CILINDROS COM EIXOS EXCÊNTRICOS Apostila Pessoal: http://www.youtube.com/user/ThePoluidor 42 se inicialmente a vista de elevação (Fig. 56) e num ponto qualquer do cilindro traça-se o se linhas perpendiculares que devem tocar os lados dos se os pontos 1, 2, 3, 4, 5, 6, 7. Então ao lado da fig. 56 traça-se a , cujo comprimento é, como se sabe, o perímetro do tubo do meio. Divide-se a linha CD em 4’, 5’, 6’, 7’, 6’, 5’, 4’, 3’, 2’, 1’ e por estes pontos Voltamos à fig. 56 e a partir do ponto 4 do cilindro 2 traçamos linhas horizontais que cortarão as azemos o mesmo. Os pontos de encontro das horizontais com as verticais formam as linhas de interseção, ligados com a régua flexível, completando assim a fig. 57. Para uma melhor apresentação da peça, desenhamos também
  • 43.
    Apostila Pessoal: http://www.youtube.com/user/ThePoluidor Odesenvolvimento desta peça faz com o cruzamento das linhas horizontais e verticais mostrando claramente a peça d Entretanto, quem está traçando pode preferir não cruzar as linhas e fazer o desenvolvimento transportando as medidas com o compasso. Para isso deverá traçar uma linha que chamaremos de linha de centro (LC) e marcar os pontos superior da peça, abrirá o compasso com abertura igual a na planificação marcando os pontos LC2 e marca-se na fig. 60, a partir da linha de centro os pontos pegando as medidas da fig. 59 e transportando mesma forma. Apostila Pessoal: http://www.youtube.com/user/ThePoluidor O desenvolvimento desta peça faz-se da mesma forma como foi explicado nas figuras 56,57 e 58, com o cruzamento das linhas horizontais e verticais mostrando claramente a peça d Entretanto, quem está traçando pode preferir não cruzar as linhas e fazer o desenvolvimento transportando as medidas com o compasso. Para isso deverá traçar uma linha que chamaremos de e marcar os pontos A-B-C-D-E-F-G-H-I-J-K-L-M. Então, para traçar a parte superior da peça, abrirá o compasso com abertura igual a LC1 da fig. 59 e esta medida será traçada na planificação marcando os pontos A1 e M1 na fig. 60. Volta-se à fig. 59, abre-se o compasso igual a se na fig. 60, a partir da linha de centro os pontos B2 e L2. E assim por diante, sempre pegando as medidas da fig. 59 e transportando-as par a fig. 60. A parte inferior também é feita da Apostila Pessoal: http://www.youtube.com/user/ThePoluidor 43 se da mesma forma como foi explicado nas figuras 56,57 e 58, com o cruzamento das linhas horizontais e verticais mostrando claramente a peça desenvolvida. Entretanto, quem está traçando pode preferir não cruzar as linhas e fazer o desenvolvimento transportando as medidas com o compasso. Para isso deverá traçar uma linha que chamaremos de . Então, para traçar a parte da fig. 59 e esta medida será traçada se o compasso igual a . E assim por diante, sempre as par a fig. 60. A parte inferior também é feita da
  • 44.
    Apostila Pessoal: http://www.youtube.com/user/ThePoluidor INTERSEÇÃODE UM CILINDRO POR OUTRO INCLIN Inicialmente, desenha-se o cilindro a perpendicular VZ e com o raio deste cilindro, traça cilindro Y o arco 1-7, o qual divide a mesma abertura de compasso e fazendo centro no ponto dividem em partes iguais, marcando marcando-se A-B-C-D-E. Então, a partir destes pontos, traçamos as linhas horizontais e paralelas ao longo do cilindro X. Depois, partindo dos pontos paralelas ao longo dele, até cruzarem com as horizontais traçadas no cilind pontos A-B-C-D-E-F-G, formando assim a linha de interseção dos dois cilindros. Para traçar o desenvolvimento (fig. 62), faz divisões levantam-se perpendiculares. Depois, Apostila Pessoal: http://www.youtube.com/user/ThePoluidor INTERSEÇÃO DE UM CILINDRO POR OUTRO INCLINADO se o cilindro X e depois o cilindro Y no grau desejado. No cilindro e com o raio deste cilindro, traça-se o arco VO. Continuando, traça , o qual divide-se em partes iguais, marcando-se os pontos a mesma abertura de compasso e fazendo centro no ponto V, traça-se o arco MN dividem em partes iguais, marcando-se os pontos 1-2-3-4. Projetam-se estes pontos para o arco . Então, a partir destes pontos, traçamos as linhas horizontais e paralelas ao . Depois, partindo dos pontos 1-2-3-4-5-6-7 do cilindro menor, traçam paralelas ao longo dele, até cruzarem com as horizontais traçadas no cilindro maior, marcando os , formando assim a linha de interseção dos dois cilindros. Para traçar o desenvolvimento (fig. 62), faz-se primeiro a linha CD a qual divide-se em partes iguais e pelas se perpendiculares. Depois, partindo dos pontos A-B-C-D Apostila Pessoal: http://www.youtube.com/user/ThePoluidor 44 no grau desejado. No cilindro X, traça-se . Continuando, traça-se no se os pontos 1-2-3-4-5-6-7. Com MN, o qual também se se estes pontos para o arco VO . Então, a partir destes pontos, traçamos as linhas horizontais e paralelas ao do cilindro menor, traçam-se linhas ro maior, marcando os , formando assim a linha de interseção dos dois cilindros. Para traçar o se em partes iguais e pelas D-E-F-G da fig. 61,
  • 45.
    Apostila Pessoal: http://www.youtube.com/user/ThePoluidor traçam-separalelas que cruzarão com as perpendiculares levantadas anteriormente e este cruzamento marca a linha de desenvolvimento do cilindro. COMPLEMENTO PARA “ BOCA DE LOBO “ Muitas vezes, depois de montada a tubulação verifica necessário ampliar o canal de passagem do ar. Para isso usa 63 e 64. Para traçar esta peça, desenha se o compasso com a medida desejada e fazendo centro em Faz-se uma reta ligando X a Y. Depois, colocando o esquadro em faz-se outra linha paralela a XY qual divide-se em partes iguais e pelas divisões traçam Apostila Pessoal: http://www.youtube.com/user/ThePoluidor se paralelas que cruzarão com as perpendiculares levantadas anteriormente e este cruzamento marca a linha de desenvolvimento do cilindro. COMPLEMENTO PARA “ BOCA DE LOBO “ Muitas vezes, depois de montada a tubulação verifica-se que a vazão de pressão é pouca, sendo necessário ampliar o canal de passagem do ar. Para isso usa-se o recurso apresentado nas figuras 63 e 64. Para traçar esta peça, desenha-se à vista de elevação dos dois tubos (fig. 63). A seguir, abre se o compasso com a medida desejada e fazendo centro em M, marcam-se as distâncias . Depois, colocando o esquadro em X, traça-se a linha XY marcando o ponto R e R liga-se a Y. A seguir, traça se em partes iguais e pelas divisões traçam-se paralelas, ligando Apostila Pessoal: http://www.youtube.com/user/ThePoluidor 45 se paralelas que cruzarão com as perpendiculares levantadas anteriormente e este se que a vazão de pressão é pouca, sendo se o recurso apresentado nas figuras s dois tubos (fig. 63). A seguir, abre- se as distâncias MX e MY. se a linha XL do ponto L . A seguir, traça-se o arco XL, o se paralelas, ligando XL ao lado YR,
  • 46.
    Apostila Pessoal: http://www.youtube.com/user/ThePoluidor marcando-seos pontos A-B-C- XY traça-se a linha JK e numera a linha ST. Em seguida, se pega sempre a partir da linha de base marcados unem-se com uma régua flexível. Então, abre Fig. 63 e centra-se em E’ e depois em para o outro lado da peça e centra cruzem no ponto 8. Une-se E desenvolvida. A fig. 65 mostra como fica a peça depois de montada. TRONCO DE CONE SAINDO DO CILINDRO COM EIXOS A 90º Apostila Pessoal: http://www.youtube.com/user/ThePoluidor -D-E e no outro lado os pontos F-G-H-I-J. Em qualquer ponto da linha e numera-se os pontos 1-2-3-4-5. Para fazer a planificação traça . Em seguida, se pega 5A-4B-3C-2D e 1E (uma por vez da fig. 63) e passa inha de base ST. Faz-se o mesmo para traçar a parte inferior. Os pontos se com uma régua flexível. Então, abre-se o compasso com medida igual à e depois em J’ e traçam-se dois arcos que se cruzem no ponto para o outro lado da peça e centra-se também em E’ e J’ e traçam-se outros dois arcos que se E com 6 e 6 com J. Une-se E com 8 e 8 com desenvolvida. A fig. 65 mostra como fica a peça depois de montada. TRONCO DE CONE SAINDO DO CILINDRO COM EIXOS A 90º Apostila Pessoal: http://www.youtube.com/user/ThePoluidor 46 . Em qualquer ponto da linha . Para fazer a planificação traça-se primeiro (uma por vez da fig. 63) e passa-se para a fig. 64, se o mesmo para traçar a parte inferior. Os pontos se o compasso com medida igual à MY da se dois arcos que se cruzem no ponto 6. Muda-se se outros dois arcos que se com J, ficando a peça
  • 47.
    Apostila Pessoal: http://www.youtube.com/user/ThePoluidor Desenha-sea vista de elevação (fig. 66). Divida perpendiculares que toquem a parte inferior do cone, numerando linha CA até encontrar o vértice marcando o ponto 2’. Liga-se S as outras divisões e marcam-se os pontos 4’-5’-6’ ao lado DB do cone, marcando se o arco BH o qual divide-se em partes iguais traçam-se os arcos DL-GK-FJ e traçam-se retas formando um leque que cortem os arcos traçados anteriormente. O encontro das retas com os arcos formam a linha sinuosa de desenvolvimento da peça. A fig. 68 mostra como fica peça depois de montada. Apostila Pessoal: http://www.youtube.com/user/ThePoluidor se a vista de elevação (fig. 66). Divida-se o arco AB em partes iguais e levantam perpendiculares que toquem a parte inferior do cone, numerando-se 1-2-3-4-5 encontrar o vértice S. Liga-se S ao ponto 2 e prolonga-se até tocar o lado do cilindro S ao ponto 3 e prolonga-se até tocar o ponto 3’. Faz se os pontos 4’-5’-6’-7’. Traçam-se retas horizontais ligando os pontos do cone, marcando E-F e G, abre-se o compasso com abertura igual a se em partes iguais 8-9-10-11-12-13-14 etc. (fig. 67). Centra e EI. Em seguida, partindo de S e passando pelas divisões do arco se retas formando um leque que cortem os arcos traçados anteriormente. O encontro das retas com os arcos formam a linha sinuosa de desenvolvimento da peça. A fig. 68 mostra como fica Apostila Pessoal: http://www.youtube.com/user/ThePoluidor 47 em partes iguais e levantam-se 5-6-7. Prolonga-se a se até tocar o lado do cilindro . Faz-se o mesmo com orizontais ligando os pontos se o compasso com abertura igual a SB e traça- etc. (fig. 67). Centra-se em S e e passando pelas divisões do arco BH se retas formando um leque que cortem os arcos traçados anteriormente. O encontro das retas com os arcos formam a linha sinuosa de desenvolvimento da peça. A fig. 68 mostra como fica a
  • 48.
    Apostila Pessoal: http://www.youtube.com/user/ThePoluidor DESENVOLVIMENTODE CONE Apostila Pessoal: http://www.youtube.com/user/ThePoluidor DESENVOLVIMENTO DE CONE – PROCESSO 1 Apostila Pessoal: http://www.youtube.com/user/ThePoluidor 48
  • 49.
    Apostila Pessoal: http://www.youtube.com/user/ThePoluidor Desenha-sea vista de elevação do cone (fig. 69). Depois, fazendo centro em compasso igual a AB traça-se o arco encontrado divide-se em um número qualquer de partes iguais (quanto mais divisões melhor) e com o auxilio do compasso marcam ligando D a A e C a A completando o desenvolvimento da fig.70. DESENVOLVIMENTO DE CONE Apostila Pessoal: http://www.youtube.com/user/ThePoluidor se a vista de elevação do cone (fig. 69). Depois, fazendo centro em se o arco CD. Multiplica-se o diâmetro da base por 3,14 e o produto se em um número qualquer de partes iguais (quanto mais divisões melhor) e com o auxilio do compasso marcam-se estas divisões no arco CD. Finalmente, traça completando o desenvolvimento da fig.70. DESENVOLVIMENTO DE CONE – PROCESSO 2 Apostila Pessoal: http://www.youtube.com/user/ThePoluidor 49 se a vista de elevação do cone (fig. 69). Depois, fazendo centro em A, com abertura de se o diâmetro da base por 3,14 e o produto se em um número qualquer de partes iguais (quanto mais divisões melhor) e . Finalmente, traça-se uma reta
  • 50.
    Apostila Pessoal: http://www.youtube.com/user/ThePoluidor Traça-sea vista de elevação do cone (fig. 71) e em sua base o arco iguais. Ao lado, com o mesmo comprimento de centro (LC) logo acima de A. Centra o compasso igual a uma das divisões feitas no arco Finalmente liga-se 1º a B. Obs.: A marcação com o compasso pode causar diferença ao comprimento da peça desenvolvida, daí ser necessário sempre multiplicar o diâmetro médio da base por 3,14 para conferir o desenvolvimento. Apostila Pessoal: http://www.youtube.com/user/ThePoluidor se a vista de elevação do cone (fig. 71) e em sua base o arco 1-7 o qual divide iguais. Ao lado, com o mesmo comprimento de A7, traça-se a reta B1 de modo que cruze a linha de . Centra-se em B e com abertura igual a B1 traça-se o arco o compasso igual a uma das divisões feitas no arco 1-7 e marcam-se estas divisões no arco A marcação com o compasso pode causar diferença ao comprimento da peça desenvolvida, daí ser necessário sempre multiplicar o diâmetro médio da base por 3,14 para conferir o Apostila Pessoal: http://www.youtube.com/user/ThePoluidor 50 o qual divide-se em partes de modo que cruze a linha de se o arco 1-1º. Abre-se se estas divisões no arco 1-1º. A marcação com o compasso pode causar diferença ao comprimento da peça desenvolvida, daí ser necessário sempre multiplicar o diâmetro médio da base por 3,14 para conferir o
  • 51.
    Apostila Pessoal: http://www.youtube.com/user/ThePoluidor DESENVOLVIMENTODE CONE INCLINADO Desenha-se a vista de elevação do cone (fig. 73) com a inclinação desejada e traça qual divide-se em partes iguais Apostila Pessoal: http://www.youtube.com/user/ThePoluidor DESENVOLVIMENTO DE CONE INCLINADO se a vista de elevação do cone (fig. 73) com a inclinação desejada e traça se em partes iguais 1-2-3-4-5-6-7. Prolonga-se a linha 1-7 até o ponto Apostila Pessoal: http://www.youtube.com/user/ThePoluidor 51 se a vista de elevação do cone (fig. 73) com a inclinação desejada e traça-se o arco 1-7, o até o ponto N e daí levanta-
  • 52.
    Apostila Pessoal: http://www.youtube.com/user/ThePoluidor seuma perpendicular até o ponto pontos A-B-C-D-E na base do cone. A partir destes pontos, traçam 7L. A seguir abre-se o compasso com uma das divisões do arco arco 1F8, numerando-se 8-9-10 retas ao vértice S. O encontro destas retas com os arcos traçados anteriormente forma a linha de desenvolvimento ML. TRAÇADO DO TRONCO DE CONE Apostila Pessoal: http://www.youtube.com/user/ThePoluidor se uma perpendicular até o ponto S. Centrando o compasso em N, traçam-se arcos marcando os na base do cone. A partir destes pontos, traçam-se os arcos 1F se o compasso com uma das divisões do arco 1-7 e marcam- 10-11-12-13-14-13-12-11-10-9-8. Ligam-se estes pontos através de . O encontro destas retas com os arcos traçados anteriormente forma a linha de TRAÇADO DO TRONCO DE CONE – PROCESSO 1 Apostila Pessoal: http://www.youtube.com/user/ThePoluidor 52 se arcos marcando os 1F-AG-BH-CI-DJ-EK- -se estas divisões no se estes pontos através de . O encontro destas retas com os arcos traçados anteriormente forma a linha de
  • 53.
    Apostila Pessoal: http://www.youtube.com/user/ThePoluidor Otronco de cone é provavelmente a peça mais usada nas indústrias, seja para reduzir uma tubulação, seja para escoamento de líquidos etc. É também uma das peças mais fáceis de serem traçadas. No exemplo presente, traça arco AB, o qual divide-se em partes iguais no ponto S que é vértice do cone. Fazendo centro em mesmo centro e partindo da base igual a uma das divisões do arco de elevação está dividida em oito partes iguais, evid Liga-se E ao vértice S, marcando o ponto a boca. TRAÇADO DO TRONCO DE CONE Apostila Pessoal: http://www.youtube.com/user/ThePoluidor O tronco de cone é provavelmente a peça mais usada nas indústrias, seja para reduzir uma tubulação, seja para escoamento de líquidos etc. É também uma das peças mais fáceis de serem traçadas. No exemplo presente, traça-se primeiro a vista de elevação (fig. 75) e em sua base maior o se em partes iguais 1-2-3-4-5-6-7-8-9. Prolonga-se a linha que é vértice do cone. Fazendo centro em S traça-se o arco EF a partir da base mesmo centro e partindo da base CD traça-se outro arco. A seguir abre-se o compasso com abertura igual a uma das divisões do arco AB e marcam-se o dobro destas divisões no arco de elevação está dividida em oito partes iguais, evidentemente, seu dobro é 16, como na fig. 76). , marcando o ponto C. Liga-se F ao vértice S, marcando o ponto TRAÇADO DO TRONCO DE CONE – PROCESSO 2 Apostila Pessoal: http://www.youtube.com/user/ThePoluidor 53 O tronco de cone é provavelmente a peça mais usada nas indústrias, seja para reduzir uma tubulação, seja para escoamento de líquidos etc. É também uma das peças mais fáceis de serem 75) e em sua base maior o se a linha AC e DB até tocar a partir da base AB. Com se o compasso com abertura se o dobro destas divisões no arco EF (Ex.: se a vista entemente, seu dobro é 16, como na fig. 76). , marcando o ponto H. O arco GH é
  • 54.
    Apostila Pessoal: http://www.youtube.com/user/ThePoluidor Traça-sea vista de elevação ABCD iguais 1-2-3-4-5-6-7-8-9. Prolongam vértice S. Abre-se o compasso com medida igual a medida igual a SC, traça-se o arco menor. A seguir, com abertura de compasso igual a uma das divisões do 1-9, marcam-se a partir da linha de centro, metade para cada lado (1 no arco maior determinando os pontos no arco menor. Liga-se o ponto figura. Apostila Pessoal: http://www.youtube.com/user/ThePoluidor ABCD. Na base maior traça-se o arco 1-9, o qual divide . Prolongam-se as linhas AC e BD de modo que se cruzem marcando a se o compasso com medida igual a SA e traça-se o arco maior. Com mesmo centro e se o arco menor. A seguir, com abertura de compasso igual a uma das se a partir da linha de centro, metade para cada lado (1 no arco maior determinando os pontos 9 e 9e. Liga-se o ponto 9 ao vértice S, marc se o ponto 9e ao vértice S, marcando o ponto G no arco menor, completando a Apostila Pessoal: http://www.youtube.com/user/ThePoluidor 54 , o qual divide-se em partes de modo que se cruzem marcando a se o arco maior. Com mesmo centro e se o arco menor. A seguir, com abertura de compasso igual a uma das se a partir da linha de centro, metade para cada lado (1-2-3-4-5-6-7-8-9) , marcando o ponto F no arco menor, completando a
  • 55.
    Apostila Pessoal: http://www.youtube.com/user/ThePoluidor DESENVOLVIMENTODO TRONCO DE CONE Desenha-se a vista de elevação (fig. 78). Ao lado, traça com abertura igual a EB, fazendo centro em igual a ED traça-se o arco menor. Multiplica produto encontrado divide-se por 2. O resultado encontrado divide Apostila Pessoal: http://www.youtube.com/user/ThePoluidor DESENVOLVIMENTO DO TRONCO DE CONE – PROCESSO 3 se a vista de elevação (fig. 78). Ao lado, traça-se a linha de centro FHC. Abre , fazendo centro em G traça-se o arco maior. Com mesmo centro e abertura se o arco menor. Multiplica-se o diâmetro médio da boca maior por 3,14 e o se por 2. O resultado encontrado divide-se em partes iguais e marcam Apostila Pessoal: http://www.youtube.com/user/ThePoluidor 55 . Abre-se o compasso se o arco maior. Com mesmo centro e abertura médio da boca maior por 3,14 e o se em partes iguais e marcam-
  • 56.
    Apostila Pessoal: http://www.youtube.com/user/ThePoluidor seestas partes a partir do ponto com abertura igual a H12 e fazendo centro em Liga-se 13 a G marcando o ponto no arco menor, completando a fig. 79. A fig. 80 mostra um funil que pode ser traçado por qu dos métodos apresentados até aqui. CONE CORTADO POR UM PLANO OBLÍQUO ENTRE A BASE E O VÉRTICE Apostila Pessoal: http://www.youtube.com/user/ThePoluidor se estas partes a partir do ponto F, assinalando 1-2-3-4-5-6-7-8-9-10-11-12. Abre e fazendo centro em H, marca-se o ponto 13 no outro lado do arco maior. marcando o ponto 14 no arco menor. Liga-se 12 a G marcando o ponto no arco menor, completando a fig. 79. A fig. 80 mostra um funil que pode ser traçado por qu dos métodos apresentados até aqui. CONE CORTADO POR UM PLANO OBLÍQUO ENTRE A BASE E O VÉRTICE Apostila Pessoal: http://www.youtube.com/user/ThePoluidor 56 . Abre-se o compasso no outro lado do arco maior. marcando o ponto 15 também no arco menor, completando a fig. 79. A fig. 80 mostra um funil que pode ser traçado por qualquer
  • 57.
    Apostila Pessoal: http://www.youtube.com/user/ThePoluidor Desenha-sea vista de elevação do cone (fig. 81) e o semicírculo iguais 1-2-3-4-5-6-7. Por estes pontos levantam serão elevadas até o vértice, marcando no plano oblíquo os pontos serão transportados para o lado o arco maior 1’-1’, o qual divide semicírculo 1-7. Numeram-se no arco maior os pontos destes pontos, traçam-se as retas em direção ao vértice E-F-G (do lado do cone) traçam cruzamento dos arcos com as retas marcam a linha de desenvolvimento do cone (fig. 82). TRONCO DE CONE CORTADO POR UM PLANO INCLINADO EM SU Apostila Pessoal: http://www.youtube.com/user/ThePoluidor se a vista de elevação do cone (fig. 81) e o semicírculo 1-7. O qual divide . Por estes pontos levantam-se verticais até tocar a base do cone e daí elas serão elevadas até o vértice, marcando no plano oblíquo os pontos A-B-C-D- serão transportados para o lado G7 do cone. Depois com abertura de compasso igual a , o qual divide-se em partes iguais, utilizando para isso uma das divisões do se no arco maior os pontos 1’-2’-3’-4’-5’-6’-7’-6’-5’- se as retas em direção ao vértice S. A seguir, partindo dos pontos (do lado do cone) traçam-se arcos que cortem as retas traçadas anteriormente. O cruzamento dos arcos com as retas marcam a linha de desenvolvimento do cone (fig. 82). TRONCO DE CONE CORTADO POR UM PLANO INCLINADO EM SUA PARTE MAIOR Apostila Pessoal: http://www.youtube.com/user/ThePoluidor 57 . O qual divide-se em partes e verticais até tocar a base do cone e daí elas -E-F-G. Estes pontos do cone. Depois com abertura de compasso igual a S7, traça-se se em partes iguais, utilizando para isso uma das divisões do -4’-3’-2’-1’ e a partir ndo dos pontos A-B-C-D- se arcos que cortem as retas traçadas anteriormente. O cruzamento dos arcos com as retas marcam a linha de desenvolvimento do cone (fig. 82). A PARTE MAIOR
  • 58.
    Apostila Pessoal: http://www.youtube.com/user/ThePoluidor Desenha-sea vista de elevação (fig. 83) e o semicírculo a base do cone e daí elevam-se todas as linhas até o vértice no plano inclinado, os quais serão também transportados para o lado compasso em S e com raio S7 traça 4’-5’-6’-7’-6’-5’-4’-3’-2’-1’. Partindo destes pontos, traçam partindo do lado 7-8 do cone, traçam cruzamento das retas com os arcos forma a linha de desenvolvimento. Finalmente, com raio traça-se o arco 8-9, boca menor do cone. Apostila Pessoal: http://www.youtube.com/user/ThePoluidor se a vista de elevação (fig. 83) e o semicírculo 1-7. Levantam-se perpendiculares até tocar se todas as linhas até o vértice S, marcando os pontos no plano inclinado, os quais serão também transportados para o lado 7-8 do cone. Centra traça-se o arco maior 1’-1’, o qual divide-se em partes iguais: . Partindo destes pontos, traçam-se retas em direção ao vértice. A seguir, do cone, traçam-se arcos que cortem as retas traçadas anteriormente. O cruzamento das retas com os arcos forma a linha de desenvolvimento. Finalmente, com raio nor do cone. Apostila Pessoal: http://www.youtube.com/user/ThePoluidor 58 se perpendiculares até tocar , marcando os pontos A-B-C-D-E-F-G do cone. Centra-se o se em partes iguais: 1’-2’-3’- se retas em direção ao vértice. A seguir, se arcos que cortem as retas traçadas anteriormente. O cruzamento das retas com os arcos forma a linha de desenvolvimento. Finalmente, com raio S8,
  • 59.
    Apostila Pessoal: http://www.youtube.com/user/ThePoluidor TRONCODE CONE COM A PARTE INFERIOR DESENVOLVIDA E ÂNGULO Apostila Pessoal: http://www.youtube.com/user/ThePoluidor TRONCO DE CONE COM A PARTE INFERIOR DESENVOLVIDA E ÂNGULO Apostila Pessoal: http://www.youtube.com/user/ThePoluidor 59
  • 60.
    Apostila Pessoal: http://www.youtube.com/user/ThePoluidor Aexplicação dada para o desenvolvimento das figuras anteriores, serve também para esta, não sendo necessário acrescentar nada. TRONCO DE CONE COM A PARTE SUPERIOR ENCAIXAR EM CILINDRO Apostila Pessoal: http://www.youtube.com/user/ThePoluidor A explicação dada para o desenvolvimento das figuras anteriores, serve também para esta, não sendo necessário acrescentar nada. TRONCO DE CONE COM A PARTE SUPERIOR INCLINADA E A INFERIOR CIRCULAR PARA Apostila Pessoal: http://www.youtube.com/user/ThePoluidor 60 A explicação dada para o desenvolvimento das figuras anteriores, serve também para esta, não INCLINADA E A INFERIOR CIRCULAR PARA
  • 61.
    Apostila Pessoal: http://www.youtube.com/user/ThePoluidor Peçaque pode ser desenvolvida como as anteriores, bastando acrescentar que as linhas que partem dos lados do cone e se encontram na linha de centro devem formar 90º com os lados do cone. Por B, traça-se a linha horizontal que servirá de base para o arco Também as figuras 89 e 90 podem ser desenvolvidas pelo mesmo processo. Apostila Pessoal: http://www.youtube.com/user/ThePoluidor Peça que pode ser desenvolvida como as anteriores, bastando acrescentar que as linhas que partem dos lados do cone e se encontram na linha de centro devem formar 90º com os lados do se a linha horizontal que servirá de base para o arco 1-7. Também as figuras 89 e 90 podem ser desenvolvidas pelo mesmo processo. Apostila Pessoal: http://www.youtube.com/user/ThePoluidor 61 Peça que pode ser desenvolvida como as anteriores, bastando acrescentar que as linhas AB e CD que partem dos lados do cone e se encontram na linha de centro devem formar 90º com os lados do
  • 62.
    Apostila Pessoal: http://www.youtube.com/user/ThePoluidor TRONCODE CLONE INCLINADO Apostila Pessoal: http://www.youtube.com/user/ThePoluidor TRONCO DE CLONE INCLINADO Apostila Pessoal: http://www.youtube.com/user/ThePoluidor 62
  • 63.
    Apostila Pessoal: http://www.youtube.com/user/ThePoluidorApostilaPessoal: http://www.youtube.com/user/ThePoluidorApostila Pessoal: http://www.youtube.com/user/ThePoluidor 63
  • 64.
    Apostila Pessoal: http://www.youtube.com/user/ThePoluidor TRONCODE CLONE INCLINADO Apostila Pessoal: http://www.youtube.com/user/ThePoluidor TRONCO DE CLONE INCLINADO - CONTINUAÇÃO Apostila Pessoal: http://www.youtube.com/user/ThePoluidor 64
  • 65.
    Apostila Pessoal: http://www.youtube.com/user/ThePoluidor TRONCODE CLONE INCLINADO Traça-se a vista de planta (fig. 93) e dividem 3; 3 a 4; 4 a 5; 5 a 6; etc., formando as linhas de triangulação. Para se obter a verdadeira grandeza da peça, traça a linha ABC (fig. 95) sendo a altura desejada marcada de compasso com a medida igual a qual deve ser ligado ao ponto passa-se para o fig. 95 centra assim sucessivamente vão-se transportando toda Apostila Pessoal: http://www.youtube.com/user/ThePoluidor CLONE INCLINADO – CONTINUAÇÃO se a vista de planta (fig. 93) e dividem-se ambas as bocas em partes iguais. Liga ; etc., formando as linhas de triangulação. Para se obter a verdadeira grandeza (fig. 95) sendo a altura desejada marcada de B até A compasso com a medida igual a 1-2 (da fig. 93), centra-se em B da fig. 95 e marca qual deve ser ligado ao ponto A. Volta-se a fig. 93, abre-se o compasso com medida igual a se para o fig. 95 centra-se em B e marca-se o ponto 2, elevando-o também ao ponto se transportando todas as medidas. Para traçar o desenvolvimento Apostila Pessoal: http://www.youtube.com/user/ThePoluidor 65 se ambas as bocas em partes iguais. Liga-se 1 a 2; 2 a ; etc., formando as linhas de triangulação. Para se obter a verdadeira grandeza A. A seguir abre-se o marca-se o ponto 1 o se o compasso com medida igual a 2-3, o também ao ponto A. E s as medidas. Para traçar o desenvolvimento
  • 66.
    Apostila Pessoal: http://www.youtube.com/user/ThePoluidor traça-seuma linha vertical e abre determinando os pontos 1 e 2 maior, centra-se no ponto 1 da fig. 96 traça compasso com medida igual a ponto 3, o qual liga-se ao ponto divisões da boca menor, centra 95, pega-se a distância 3A, centra 4. E Assim vai-se traçando o desenvolvi usar três compassos do seguinte modo; um deles fica aberto com medida igual a uma das divisões da boca menor. O outro com medida igual a uma das divisões da boca maior. O terceiro compasso é o que vai variar as aberturas no transporte das medidas da fig. 95 para a fig. 96. DESENVOLVIMENTO DE TUBO “CALÇA” COM BASES (BOCAS) PARALELAS E DIÂMETROS IGUAIS Apostila Pessoal: http://www.youtube.com/user/ThePoluidor se uma linha vertical e abre-se o compasso com medida 1A (fig. 95) e marca 2. Abre-se o compasso com medida igual a uma das divisões da boca da fig. 96 traça-se um pequeno arco. Passa-se para a fig. 95 abre compasso com medida igual a 2A, centra-se no ponto 2 da fig. 96 e traça-se outro arco, marcando o se ao ponto 2 através da linha pontilhada. Volta-se à fig. 95, divisões da boca menor, centra-se no ponto 2 da fig. 96 e traça-se um pequeno arco. Volta , centra-se no ponto 3 da fig. 96 e traça-se outro arco, marcando o ponto se traçando o desenvolvimento. De preferência, para esse tipo de traçado deve usar três compassos do seguinte modo; um deles fica aberto com medida igual a uma das divisões da boca menor. O outro com medida igual a uma das divisões da boca maior. O terceiro compasso é ai variar as aberturas no transporte das medidas da fig. 95 para a fig. 96. DESENVOLVIMENTO DE TUBO “CALÇA” COM BASES (BOCAS) PARALELAS E DIÂMETROS Apostila Pessoal: http://www.youtube.com/user/ThePoluidor 66 (fig. 95) e marca-se na fig.96 se o compasso com medida igual a uma das divisões da boca se para a fig. 95 abre-se o se outro arco, marcando o se à fig. 95, pega-se uma das se um pequeno arco. Volta-se a fig. se outro arco, marcando o ponto mento. De preferência, para esse tipo de traçado deve-se usar três compassos do seguinte modo; um deles fica aberto com medida igual a uma das divisões da boca menor. O outro com medida igual a uma das divisões da boca maior. O terceiro compasso é DESENVOLVIMENTO DE TUBO “CALÇA” COM BASES (BOCAS) PARALELAS E DIÂMETROS
  • 67.
    Apostila Pessoal: http://www.youtube.com/user/ThePoluidor Desenhadaa fig. 97, faz-se um uma de suas bocas superiores o arco iguais 1-2-3-4-5-6-7. Partindo destes pontos, traçam boca. Estas linhas serão prolongadas obedecendo a inclinação do tubo até tocar a divisão com o outro tubo e a metade da boca inferior, marcando os pontos 9, na qual marcam-se os pontos XY (fig. 98) a qual divide-se em partes iguais levantam-se perpendiculares. A seguir, abre-se o compasso com medida igual a primeira perpendicular da fig. 98, partindo da linha medida II-2, passa-se para a fig. 98 centra II’-2’ e assim sucessivamente sempre pegando as medidas na fig. 97 e centrando fig. 98, vão-se marcando os pontos de desenvolvimento, que deverão ser unidos por meio de uma régua flexível. Para se desenvolver a parte inferior procede Apostila Pessoal: http://www.youtube.com/user/ThePoluidor se um uma de suas bocas superiores o arco 1-7, o qual divide . Partindo destes pontos, traçam-se perpendiculares até a linha de base da boca. Estas linhas serão prolongadas obedecendo a inclinação do tubo até tocar a divisão com o outro tubo e a metade da boca inferior, marcando os pontos B-C-D-E-F-G. Traçar também a linha se os pontos I-II-III-IV-V-VI-VII. Para fazer o desenvolvimento, traça se em partes iguais I’-II’-III’-IV’-V’-VI’-VII’ etc., por estes pontos se o compasso com medida igual a 1-I da fig. 97 e marcam-se os pontos primeira perpendicular da fig. 98, partindo da linha XY. Volta-se à fig. 97 abre se para a fig. 98 centra-se na segunda vertical da linha XY marcando os pontos e assim sucessivamente sempre pegando as medidas na fig. 97 e centrando se marcando os pontos de desenvolvimento, que deverão ser unidos por meio de uma esenvolver a parte inferior procede-se da mesma forma. Apostila Pessoal: http://www.youtube.com/user/ThePoluidor 67 , o qual divide-se em partes se perpendiculares até a linha de base da boca. Estas linhas serão prolongadas obedecendo a inclinação do tubo até tocar a divisão com o . Traçar também a linha 8- . Para fazer o desenvolvimento, traça-se a linha etc., por estes pontos se os pontos I’-1’ na -se o compasso com marcando os pontos e assim sucessivamente sempre pegando as medidas na fig. 97 e centrando-se na linha XY da se marcando os pontos de desenvolvimento, que deverão ser unidos por meio de uma se da mesma forma.
  • 68.
    Apostila Pessoal: http://www.youtube.com/user/ThePoluidor TUBO“CALÇA” COM AS BASES (BOCAS) SUPERIORES INCLINADAS A 45º O desenvolvimento da parte superior desta peça pode ser feito do mesmo modo que o anterior. A parte inferior desenvolve-se como foi Apostila Pessoal: http://www.youtube.com/user/ThePoluidor TUBO “CALÇA” COM AS BASES (BOCAS) SUPERIORES INCLINADAS A 45º O desenvolvimento da parte superior desta peça pode ser feito do mesmo modo que o anterior. A se como foi explicado nas figuras 49 e 50. Apostila Pessoal: http://www.youtube.com/user/ThePoluidor 68 O desenvolvimento da parte superior desta peça pode ser feito do mesmo modo que o anterior. A
  • 69.
    Apostila Pessoal: http://www.youtube.com/user/ThePoluidor CURVADE GOMO COM UM GOMO INTEIRO E DOIS SEMIGOMOS Apostila Pessoal: http://www.youtube.com/user/ThePoluidor CURVA DE GOMO COM UM GOMO INTEIRO E DOIS SEMIGOMOS Apostila Pessoal: http://www.youtube.com/user/ThePoluidor 69
  • 70.
    Apostila Pessoal: http://www.youtube.com/user/ThePoluidor Processopara se achar com o compasso e semigomo: Centra-se em A e traça-s um arco. Centra primeiro no ponto 45º, dividindo destas partes em outras duas partes iguais, marcando os pontos correspondentes aos semigomos. CURVA DE GOMO COM TRÊS GOMOS INTEIROS E DOIS SEMIGOMOS Apostila Pessoal: http://www.youtube.com/user/ThePoluidor Processo para se achar com o compasso e semigomo: s um arco. Centra-se em B e traça-se outro arco de modo primeiro no ponto 45º, dividindo-se a curva em duas partes iguais. Depois, divide destas partes em outras duas partes iguais, marcando os pontos C e D que são os ângulos de 22,5º correspondentes aos semigomos. TRÊS GOMOS INTEIROS E DOIS SEMIGOMOS Apostila Pessoal: http://www.youtube.com/user/ThePoluidor 70 se outro arco de modo que corte o se a curva em duas partes iguais. Depois, divide-se cada uma que são os ângulos de 22,5º
  • 71.
    Apostila Pessoal: http://www.youtube.com/user/ThePoluidor Primeiramenteacha-se o ponto 45º. Depois acha ponto B no meio de CA. A distância se o compasso com a medida igual a 45º marca-se E. Centra-se em E e marca Apostila Pessoal: http://www.youtube.com/user/ThePoluidor se o ponto 45º. Depois acha-se o ponto A no meio de 45º e . A distância CB é o primeiro semigomo. Para se achar os outros gomos, abre medida igual a 45º A e centrando-se em B, marca-se D e marca-se F. Apostila Pessoal: http://www.youtube.com/user/ThePoluidor 71 no meio de 45º e C. Depois acha-se o é o primeiro semigomo. Para se achar os outros gomos, abre- D. Centra-se em D e
  • 72.
    Apostila Pessoal: http://www.youtube.com/user/ThePoluidor TRAÇADODE CILINDRO ENXERTADO EM CURVA DE GOMO OU “UNHA INCLINADA” Traçada a curva, traça-se também na linha partes iguais 1-2-3-4. Baixam- 6-7-8. Transportam-se estes pontos horizontalmente até a divisão do primeiro semigomo e depois com o auxílio do compasso, transportam centro da “unha” DE (fig.109) com a inclinação desejada e em sua boca traça qual também se divide em partes iguais marcando perpendiculares com a mesma inclinação de “unha” até que se cruzem com as linhas da curva. O cruzamento destas marcam a linha de interseção. O desenvolvimento (fig. 110) se faz de maneira já conhecida. Apostila Pessoal: http://www.youtube.com/user/ThePoluidor TRAÇADO DE CILINDRO ENXERTADO EM CURVA DE GOMO OU “UNHA INCLINADA” se também na linha AB (fig. 109) o semicírculo BC, o qual divide -se estes pontos para o semicírculo da curva, marcando os pontos se estes pontos horizontalmente até a divisão do primeiro semigomo e depois o compasso, transportam-se estes pontos ao longo da curva. Traça (fig.109) com a inclinação desejada e em sua boca traça-se o semicírculo qual também se divide em partes iguais marcando-se pontos. Por estes pontos, t perpendiculares com a mesma inclinação de “unha” até que se cruzem com as linhas da curva. O cruzamento destas marcam a linha de interseção. O desenvolvimento (fig. 110) se faz de maneira já Apostila Pessoal: http://www.youtube.com/user/ThePoluidor 72 TRAÇADO DE CILINDRO ENXERTADO EM CURVA DE GOMO OU “UNHA INCLINADA” , o qual divide-se em se estes pontos para o semicírculo da curva, marcando os pontos 5- se estes pontos horizontalmente até a divisão do primeiro semigomo e depois se estes pontos ao longo da curva. Traça-se a linha de se o semicírculo FG, o se pontos. Por estes pontos, traçam-se perpendiculares com a mesma inclinação de “unha” até que se cruzem com as linhas da curva. O cruzamento destas marcam a linha de interseção. O desenvolvimento (fig. 110) se faz de maneira já
  • 73.
    Apostila Pessoal: http://www.youtube.com/user/ThePoluidor TRAÇADODE CILINDRO ENXERTADO EM CURVA Apostila Pessoal: http://www.youtube.com/user/ThePoluidor TRAÇADO DE CILINDRO ENXERTADO EM CURVA DE GOMO OU “UNHA VERTICAL” Apostila Pessoal: http://www.youtube.com/user/ThePoluidor 73 DE GOMO OU “UNHA VERTICAL”
  • 74.
    Apostila Pessoal: http://www.youtube.com/user/ThePoluidor Traça-seda mesma forma da “unha inclinada”. Apostila Pessoal: http://www.youtube.com/user/ThePoluidor se da mesma forma da “unha inclinada”. Apostila Pessoal: http://www.youtube.com/user/ThePoluidor 74
  • 75.
    Apostila Pessoal: http://www.youtube.com/user/ThePoluidor “UNHA”COM BASE (BOCA) EM OPOSIÇÃO AO VÉRTICE “S” DA CURVA Apostila Pessoal: http://www.youtube.com/user/ThePoluidor “UNHA” COM BASE (BOCA) EM OPOSIÇÃO AO VÉRTICE “S” DA CURVA Apostila Pessoal: http://www.youtube.com/user/ThePoluidor 75
  • 76.
    Apostila Pessoal: http://www.youtube.com/user/ThePoluidor Tambémpara esta peça usam-se os mesmos processos anteriores. “UNHA” PARA CURVA PADRÃO (STANDARD) Apostila Pessoal: http://www.youtube.com/user/ThePoluidor se os mesmos processos anteriores. “UNHA” PARA CURVA PADRÃO (STANDARD) Apostila Pessoal: http://www.youtube.com/user/ThePoluidor 76
  • 77.
    Apostila Pessoal: http://www.youtube.com/user/ThePoluidor Porser uma curva forjada e não confeccionada de gomos, a curva Standard oferece maior facilidade para se desenvolver a unha. Por exemplo, as linhas A, B e C Apostila Pessoal: http://www.youtube.com/user/ThePoluidor ser uma curva forjada e não confeccionada de gomos, a curva Standard oferece maior facilidade (fig. 115) podem ser traçadas com o compasso. Apostila Pessoal: http://www.youtube.com/user/ThePoluidor 77 ser uma curva forjada e não confeccionada de gomos, a curva Standard oferece maior facilidade
  • 78.
    Apostila Pessoal: http://www.youtube.com/user/ThePoluidor CURVACÔNICA Apostila Pessoal: http://www.youtube.com/user/ThePoluidorApostila Pessoal: http://www.youtube.com/user/ThePoluidor 78
  • 79.
    Apostila Pessoal: http://www.youtube.com/user/ThePoluidor CURVACÔNICA - CONTINUAÇÃO Apostila Pessoal: http://www.youtube.com/user/ThePoluidor CONTINUAÇÃO Apostila Pessoal: http://www.youtube.com/user/ThePoluidor 79
  • 80.
    Apostila Pessoal: http://www.youtube.com/user/ThePoluidor Damesma forma que na curva normal, divide colocando números nas divisões: ponto 1’. Faz-se o mesmo partindo de o compasso em S abrir com medida igual a Ao lado da fig. 117, levanta-se a perpendicular com esta medida divide-se a linha com raios 1-1’, 2-2’, 3-3’, tangentes a elas trançam Estas mesmas circunferências traçam as linhas E-F-J-K e G-H-I-L. No prolongamento de cada uma delas, há um cruzamento, e nestes cruzamentos passam as divisões dos gomos. Explica Apostila Pessoal: http://www.youtube.com/user/ThePoluidor Da mesma forma que na curva normal, divide-se o arco AB (fig. 117) em quatro partes iguais, colocando números nas divisões: 1-2-3. Partindo de A, levanta-se uma perpendicular marcando o se o mesmo partindo de B, e marca-se o ponto 3’. Para achar o ponto abrir com medida igual a S3 e marcar na linha 45º. se a perpendicular CD (fig. 118), e abre-se o compasso na medida se a linha CD em 4 partes iguais. Netas divisões, traçam , tangentes a elas trançam-se as linhas MN e OP até cruzarem no vértice Estas mesmas circunferências traçam-se no eixo A-1’-2’-3’-B (fig. 117). Tangentes a elas traçam . No prolongamento de cada uma delas, há um cruzamento, e nestes cruzamentos passam as divisões dos gomos. Explica-se no desenho seguinte e desenvolvimento. Apostila Pessoal: http://www.youtube.com/user/ThePoluidor 80 (fig. 117) em quatro partes iguais, se uma perpendicular marcando o . Para achar o ponto 2’, basta centrar se o compasso na medida A1 e partes iguais. Netas divisões, traçam-se circunferências até cruzarem no vértice Q. (fig. 117). Tangentes a elas traçam-se . No prolongamento de cada uma delas, há um cruzamento, e nestes se no desenho seguinte e desenvolvimento.
  • 81.
    Apostila Pessoal: http://www.youtube.com/user/ThePoluidor DESENVOLVIMENTODA CURVA CÔNICA Para desenvolver a curva cônica, é preciso primeiro copiar a figura 136, sem as circunferências nela traçadas, devendo-se nela inscrever primeiramente o gomo outros gomos, completando assim a fig 119. Descreve partes iguais e projetam-se todos os pontos para o vértice. O cruzamento destas linhas com as linhas de divisão dos gomos marcam os pontos projetados para o lado 9B da fig. 1 arco 1’-1” ( fig 120) dividindo Apostila Pessoal: http://www.youtube.com/user/ThePoluidor DESENVOLVIMENTO DA CURVA CÔNICA Para desenvolver a curva cônica, é preciso primeiro copiar a figura 136, sem as circunferências nela se nela inscrever primeiramente o gomo EFGH e de forma invertida todos os outros gomos, completando assim a fig 119. Descreve-se então o arco 1-9, o qual divide se todos os pontos para o vértice. O cruzamento destas linhas com as linhas de divisão dos gomos marcam os pontos A, B, C, D, E, F, G, H, I. Estes pontos deverão ser da fig. 119. Então se abre o compasso com a distância ( fig 120) dividindo-se em partes iguais e projetando-se estas divisões para o vértice. Apostila Pessoal: http://www.youtube.com/user/ThePoluidor 81 Para desenvolver a curva cônica, é preciso primeiro copiar a figura 136, sem as circunferências nela e de forma invertida todos os , o qual divide-se em se todos os pontos para o vértice. O cruzamento destas linhas com as . Estes pontos deverão ser 19. Então se abre o compasso com a distância 9Q e traça-se o se estas divisões para o vértice.
  • 82.
    Apostila Pessoal: http://www.youtube.com/user/ThePoluidor Depoisa partir do lado 9B e centrando o compasso no vértice, traçam destes com as retas marcam as linhas de desenvolvimento dos gomos. Note ligado ao outro e o corte na chapa deve ser perfeito. CURVA CÔNICA PELO SISEMA DE TRIANGULAÇÃO Apostila Pessoal: http://www.youtube.com/user/ThePoluidor e centrando o compasso no vértice, traçam-se arcos e o cruzamento tes com as retas marcam as linhas de desenvolvimento dos gomos. Note- ligado ao outro e o corte na chapa deve ser perfeito. CURVA CÔNICA PELO SISEMA DE TRIANGULAÇÃO Apostila Pessoal: http://www.youtube.com/user/ThePoluidor 82 se arcos e o cruzamento -se que um gomo é
  • 83.
    Apostila Pessoal: http://www.youtube.com/user/ThePoluidorApostilaPessoal: http://www.youtube.com/user/ThePoluidorApostila Pessoal: http://www.youtube.com/user/ThePoluidor 83
  • 84.
    Apostila Pessoal: http://www.youtube.com/user/ThePoluidor CURVACÔNICA PELO SISEMA DE TRIANGULAÇÃO Para se achar as divisões dos gomos se então os tamanhos das bocas em S (fig. 121), abre-se com medida igual a que se cortem marcando o ponto compasso com medida FS centra centrando então em R2, traça-se o arc saber copiar ângulos, como foi explicado na fig. 5. Copiado o gomo, traçam semicircunferências, que serão unidas por linhas em ziguezague, cheias e pontilhadas. É preciso então achar as verdadeiras grandezas destas linhas e par isso procede reta e levanta-se na sua extremidade a perpendicular a medida igual a 2-13 (fig. 123) e centrando em perpendicular marcando o ponto de divisão do semicírculo menor até a base do gomo são as mesmas que vão dos pontos de divisão do semicírculo maior até a base do gomo achar as verdadeiras grandezas das linhas pontilhadas (fig. 124), proceda diferença de que as alturas 2- Apostila Pessoal: http://www.youtube.com/user/ThePoluidor CURVA CÔNICA PELO SISEMA DE TRIANGULAÇÃO – CONTINUAÇÃO Para se achar as divisões dos gomos A-B-C e D, usa-se o mesmo processo da curva normal. Marcam se então os tamanhos das bocas EF e GH e para achar a conicidade, centra-se primeiro o compasso se com medida igual a SG, centra-se em E e depois em G e traçam que se cortem marcando o ponto R1, e centrando em R1 traça-se o arco EG centra-se em F e depois H e traçam-se dois arcos marcando o ponto se o arco FH. Copia-se então o gomo B (fig. 123) e para isso é preciso saber copiar ângulos, como foi explicado na fig. 5. Copiado o gomo, traçam semicircunferências, que serão unidas por linhas em ziguezague, cheias e pontilhadas. É preciso achar as verdadeiras grandezas destas linhas e par isso procede-se como segue: traça se na sua extremidade a perpendicular OP (fig. 122). Então, abre (fig. 123) e centrando em O, marca-se o ponto 2’ e aí levanta perpendicular marcando o ponto 2. As alturas 2’-2, 3’-3, 4’-4, 5’-5, 6’-6 são as que vão dos pontos de divisão do semicírculo menor até a base do gomo 8-14, e as distâncias □9^13 são as mesmas que vão dos pontos de divisão do semicírculo maior até a base do gomo achar as verdadeiras grandezas das linhas pontilhadas (fig. 124), proceda-se as mesma forma com a -2’, 3-3’, 4-4’, 5-5’ e 6-6’ são as distâncias que vão do semicírculo Apostila Pessoal: http://www.youtube.com/user/ThePoluidor 84 se o mesmo processo da curva normal. Marcam- se primeiro o compasso e traçam-se dois arcos EG. Depois abre-se o se dois arcos marcando o ponto R2; (fig. 123) e para isso é preciso saber copiar ângulos, como foi explicado na fig. 5. Copiado o gomo, traçam-se nele duas semicircunferências, que serão unidas por linhas em ziguezague, cheias e pontilhadas. É preciso se como segue: traça-se uma (fig. 122). Então, abre-se o compasso com e aí levanta-se uma são as que vão dos pontos 9^13, 0-12-10 e 0-11 são as mesmas que vão dos pontos de divisão do semicírculo maior até a base do gomo 1-7. Para se as mesma forma com a distâncias que vão do semicírculo
  • 85.
    Apostila Pessoal: http://www.youtube.com/user/ThePoluidor maioraté a base 1-7 do gomo. Mostra gomo B. Para se desenvolver os gomos C DESENVOLVIMENTO DO GOMO A Apostila Pessoal: http://www.youtube.com/user/ThePoluidor do gomo. Mostra-se na página seguinte o desenvolvimento do gomo C e D proceda-se da mesma forma. DESENVOLVIMENTO DO GOMO A Apostila Pessoal: http://www.youtube.com/user/ThePoluidor 85 se na página seguinte o desenvolvimento do gomo A e do
  • 86.
    Apostila Pessoal: http://www.youtube.com/user/ThePoluidorApostilaPessoal: http://www.youtube.com/user/ThePoluidorApostila Pessoal: http://www.youtube.com/user/ThePoluidor 86
  • 87.
    Apostila Pessoal: http://www.youtube.com/user/ThePoluidor DESENVOLVIMENTODO GOMO B Apostila Pessoal: http://www.youtube.com/user/ThePoluidor DO GOMO B Apostila Pessoal: http://www.youtube.com/user/ThePoluidor 87
  • 88.
    Apostila Pessoal: http://www.youtube.com/user/ThePoluidorApostilaPessoal: http://www.youtube.com/user/ThePoluidorApostila Pessoal: http://www.youtube.com/user/ThePoluidor 88
  • 89.
    Apostila Pessoal: http://www.youtube.com/user/ThePoluidor DESENVOLVIMENTODE CÚPULA Apostila Pessoal: http://www.youtube.com/user/ThePoluidor DESENVOLVIMENTO DE CÚPULA Apostila Pessoal: http://www.youtube.com/user/ThePoluidor 89
  • 90.
    Apostila Pessoal: http://www.youtube.com/user/ThePoluidor DESENVOLVIMENTODE CÚPULA Apostila Pessoal: http://www.youtube.com/user/ThePoluidor DESENVOLVIMENTO DE CÚPULA - CONTINUAÇÃO Apostila Pessoal: http://www.youtube.com/user/ThePoluidor 90
  • 91.
    Apostila Pessoal: http://www.youtube.com/user/ThePoluidor Desenha-sea fig. 128 e divide-se a semicircunferência em 6 partes iguais, marcando os pontos 3-4-5-6-7. Transportam-se estes pontos para cima e com mesmo centro e com raio traçam-se três circunferências formando a fig. 129, a qual divide traça-se uma reta cujo comprimento deverá ser o produto da multiplicação d tubo por 3,142. Divide-se então esta reta em 16 partes iguais e por estas divisões levantam perpendiculares. Abre-se o compasso com medida igual a se as perpendiculares em três partes iguais 130). Centra-se o compasso na linha de centro da fig. 129 e abre centra-se no ponto 8 da fig. 130 e marcam O’; pega-se a medida OJ e marcam pega-se a medida OL, transportando o mesmo para todos os vãos e depois ligam DESENVOLVIMENTO DA ESFERA PELO PROCESSO DOS FUSOS Apostila Pessoal: http://www.youtube.com/user/ThePoluidor se a semicircunferência em 6 partes iguais, marcando os pontos se estes pontos para cima e com mesmo centro e com raio se três circunferências formando a fig. 129, a qual divide-se em 16 partes iguais. Ao lado se uma reta cujo comprimento deverá ser o produto da multiplicação do diâmetro externo do se então esta reta em 16 partes iguais e por estas divisões levantam se o compasso com medida igual a 6-7 (fig. 128) e com esta medida dividem se as perpendiculares em três partes iguais. Por estas divisões passam as retas se o compasso na linha de centro da fig. 129 e abre-se o compasso com medida da fig. 130 e marcam-se os pontos I e I. Volta-se à fig. 129 centra e marcam-se os pontos II e II na fig. 130. Volta-se novamente à fig. 129 , transportando-a também para a fig. 130, marcando os pontos o mesmo para todos os vãos e depois ligam-se os pontos com uma régua flexível. DESENVOLVIMENTO DA ESFERA PELO PROCESSO DOS FUSOS Apostila Pessoal: http://www.youtube.com/user/ThePoluidor 91 se a semicircunferência em 6 partes iguais, marcando os pontos 1-2- se estes pontos para cima e com mesmo centro e com raio 07 - 06 e 05 se em 16 partes iguais. Ao lado o diâmetro externo do se então esta reta em 16 partes iguais e por estas divisões levantam-se (fig. 128) e com esta medida dividem- . Por estas divisões passam as retas AB-CD e EF (fig. se o compasso com medida OG; se à fig. 129 centra-se no ponto se novamente à fig. 129 a também para a fig. 130, marcando os pontos III e III. Faz-se flexível.
  • 92.
    Apostila Pessoal: http://www.youtube.com/user/ThePoluidor Asexplicações dadas para desenvolver a cúpula servem para desenvolver a esfera. Evidentemente, deve-se desenvolver a parte abaixo da linha Apostila Pessoal: http://www.youtube.com/user/ThePoluidor As explicações dadas para desenvolver a cúpula servem para desenvolver a esfera. Evidentemente, se desenvolver a parte abaixo da linha XY igual à parte de cima. Apostila Pessoal: http://www.youtube.com/user/ThePoluidor 92 As explicações dadas para desenvolver a cúpula servem para desenvolver a esfera. Evidentemente,
  • 93.
    Apostila Pessoal: http://www.youtube.com/user/ThePoluidor TRAÇADODA ESFERA PELO PROCESSO DAS ZONAS Apostila Pessoal: http://www.youtube.com/user/ThePoluidor ESFERA PELO PROCESSO DAS ZONAS Apostila Pessoal: http://www.youtube.com/user/ThePoluidor 93
  • 94.
    Apostila Pessoal: http://www.youtube.com/user/ThePoluidor Bastaque se trace a esfera (fig. 134) e divida F e G com H. Cada uma destas divisões formam pequenos cones que serão desenvolvidos separadamente e depois unidos para f Para dar uma idéia melhor, unimos no outro desenho os diversos cones. VARIANTES DO PROCESSO DAS ZONAS Apostila Pessoal: http://www.youtube.com/user/ThePoluidor Basta que se trace a esfera (fig. 134) e divida-se em partes iguais. Ligue-se A com . Cada uma destas divisões formam pequenos cones que serão desenvolvidos separadamente e depois unidos para formar a esfera. Para dar uma idéia melhor, unimos no outro desenho os diversos cones. VARIANTES DO PROCESSO DAS ZONAS Apostila Pessoal: http://www.youtube.com/user/ThePoluidor 94 com B; C com D; E com . Cada uma destas divisões formam pequenos cones que serão desenvolvidos
  • 95.
    Apostila Pessoal: http://www.youtube.com/user/ThePoluidor Dependendoda espessura do material, podem depois soldar. Apostila Pessoal: http://www.youtube.com/user/ThePoluidor Dependendo da espessura do material, podem-se recortar as diversas divisões, numerando Apostila Pessoal: http://www.youtube.com/user/ThePoluidor 95 se recortar as diversas divisões, numerando-as para
  • 96.
    Apostila Pessoal: http://www.youtube.com/user/ThePoluidor QUADRADOPARA REDONDO CONCÊNTRICO Apostila Pessoal: http://www.youtube.com/user/ThePoluidor QUADRADO PARA REDONDO CONCÊNTRICO Apostila Pessoal: http://www.youtube.com/user/ThePoluidor 96
  • 97.
    Apostila Pessoal: http://www.youtube.com/user/ThePoluidor QUADRADOPARA REDONDO CONCÊNTRICO Apostila Pessoal: http://www.youtube.com/user/ThePoluidor QUADRADO PARA REDONDO CONCÊNTRICO - CONTINUAÇÃO Apostila Pessoal: http://www.youtube.com/user/ThePoluidor 97
  • 98.
    Apostila Pessoal: http://www.youtube.com/user/ThePoluidor Desenha-sea vista de planta (fig. 140) e divide ligadas aos cantos da parte quadrada. Para se achar a verdadeira grandeza da peça desenha altura normal da peça (fig. 142) e depois abre em E (fig. 142) e marca-se um ponto que será ligado ao ponto medida A’, a qual também é transportada para a fig. 142. Sendo a peça concêntrica, as linhas 1 e 4 são iguais. Deve-se transportar também o deslocamento da peça indicado na planta com a letra D e na fig. 142 com a letra centro G1. Abre-se então o compasso com medida marcam-se os pontos I e J. Vai- em I e depois em J e traçam-se dois aços que se cruzem na linha d Abre-se o compasso com medida arcos. Pega-se a medida 2F da fig. 142 centra que cruzem com os anteriores, por último se deverá usar a medida REDONDO PARA QUADRADO CONCÊNTRICO Apostila Pessoal: http://www.youtube.com/user/ThePoluidor se a vista de planta (fig. 140) e divide-se a boca redonda em partes iguais as quais serão ligadas aos cantos da parte quadrada. Para se achar a verdadeira grandeza da peça desenha altura normal da peça (fig. 142) e depois abre-se o compasso com medida A1 se um ponto que será ligado ao ponto F. Volta-se à fig. 140, pega , a qual também é transportada para a fig. 142. Sendo a peça concêntrica, as linhas 2 e 3 (fig. 140) tem a mesma dimensão, como também as linhas se transportar também o deslocamento da peça indicado na planta com a e na fig. 142 com a letra D¹. Para se fazer o desenvolvimento (fig. 143) traça se então o compasso com medida AH (fig. 140) centra-se no ponto -se à fig. 142 pega-se a medida 1F, passa-se para a fig. 143 centra se dois aços que se cruzem na linha de centro, marcando o ponto se o compasso com medida 1-2 (fig. 140), centra-se no ponto 1 da fig. 143 e traçam da fig. 142 centra-se em I e J da fig. 143 e traçam- que cruzem com os anteriores, marcando os pontos 2.E assim por diante até o final da peça, quando por último se deverá usar a medida AK e D¹ para concluir a peça. REDONDO PARA QUADRADO CONCÊNTRICO Apostila Pessoal: http://www.youtube.com/user/ThePoluidor 98 se a boca redonda em partes iguais as quais serão ligadas aos cantos da parte quadrada. Para se achar a verdadeira grandeza da peça desenha-se a A1 (fig. 140) centra-se se à fig. 140, pega-se a (fig. 140) tem a mesma dimensão, como também as linhas se transportar também o deslocamento da peça indicado na planta com a . Para se fazer o desenvolvimento (fig. 143) traça-se a linha de se no ponto G (fig. 143) e se para a fig. 143 centra-se e centro, marcando o ponto 1. da fig. 143 e traçam-se dois -se outros dois arcos .E assim por diante até o final da peça, quando
  • 99.
    Apostila Pessoal: http://www.youtube.com/user/ThePoluidor Processode traçagem igual ao da peça anterior. Na prática é necessário desenhar a vista de elevação como também toda a vista de planta sempre que a figura for concêntrica. Aqui ela é desenhada para maior nitidez da peça e melhor compreensão do observador. Apostila Pessoal: http://www.youtube.com/user/ThePoluidor Processo de traçagem igual ao da peça anterior. desenhar a vista de elevação como também toda a vista de planta sempre que a figura for concêntrica. Aqui ela é desenhada para maior nitidez da peça e melhor Apostila Pessoal: http://www.youtube.com/user/ThePoluidor 99 desenhar a vista de elevação como também toda a vista de planta sempre que a figura for concêntrica. Aqui ela é desenhada para maior nitidez da peça e melhor
  • 100.
    Apostila Pessoal: http://www.youtube.com/user/ThePoluidor QUADRADOPARA REDONDO COM O DIÂMETRO DA BASE (BOCA) REDONDA IGUAL A DO QUADRADO Apostila Pessoal: http://www.youtube.com/user/ThePoluidor QUADRADO PARA REDONDO COM O DIÂMETRO DA BASE (BOCA) REDONDA IGUAL A Apostila Pessoal: http://www.youtube.com/user/ThePoluidor 100 QUADRADO PARA REDONDO COM O DIÂMETRO DA BASE (BOCA) REDONDA IGUAL AO LADO
  • 101.
    Apostila Pessoal: http://www.youtube.com/user/ThePoluidorApostilaPessoal: http://www.youtube.com/user/ThePoluidorApostila Pessoal: http://www.youtube.com/user/ThePoluidor 101
  • 102.
    Apostila Pessoal: http://www.youtube.com/user/ThePoluidor QUADRADOPARA REDONDO COM O DIÂMETRO DA BASE (BOCA) REDONDA IGUAL AO LADO DO QUADRADO - CONTINUAÇÃO Apostila Pessoal: http://www.youtube.com/user/ThePoluidor QUADRADO PARA REDONDO COM O DIÂMETRO DA BASE (BOCA) REDONDA IGUAL AO LADO CONTINUAÇÃO Apostila Pessoal: http://www.youtube.com/user/ThePoluidor 102 QUADRADO PARA REDONDO COM O DIÂMETRO DA BASE (BOCA) REDONDA IGUAL AO LADO
  • 103.
    Apostila Pessoal: http://www.youtube.com/user/ThePoluidor Emquadrado para redondo ou retângulo para redondo, o encontro da linha ter sempre 90º. Neste caso de bocas com a mesma dimensão a linha igual à própria altura da peça. RETÂNGULO PARA REDONDO Apostila Pessoal: http://www.youtube.com/user/ThePoluidor Em quadrado para redondo ou retângulo para redondo, o encontro da linha D ter sempre 90º. Neste caso de bocas com a mesma dimensão a linha D (linha de deslocamento) é RETÂNGULO PARA REDONDO Apostila Pessoal: http://www.youtube.com/user/ThePoluidor 103 D com a linha L deve (linha de deslocamento) é
  • 104.
    Apostila Pessoal: http://www.youtube.com/user/ThePoluidorApostilaPessoal: http://www.youtube.com/user/ThePoluidorApostila Pessoal: http://www.youtube.com/user/ThePoluidor 104
  • 105.
    Apostila Pessoal: http://www.youtube.com/user/ThePoluidor RETÂNGULOPARA REDONDO Apostila Pessoal: http://www.youtube.com/user/ThePoluidor RETÂNGULO PARA REDONDO - CONTINUAÇÃO Apostila Pessoal: http://www.youtube.com/user/ThePoluidor 105
  • 106.
    Apostila Pessoal: http://www.youtube.com/user/ThePoluidor Muitasvezes, quando se vai traçar uma peça o espaço na chapa é pouco, não sendo possível traçar a fig. 150 do desenho anterior. Neste caso, usa se o lado AB da vista de planta até que tenha a altura d compasso no ponto A (fig. 152) descrevem redonda parem na linha AC e daí eles serão ligados ao ponto O resto é como nas figuras anteriores. REDONDO PARA RETÂNGULO Apostila Pessoal: http://www.youtube.com/user/ThePoluidor Muitas vezes, quando se vai traçar uma peça o espaço na chapa é pouco, não sendo possível traçar a fig. 150 do desenho anterior. Neste caso, usa-se o recurso apresentado na fig. 152, isto é, prolonga da vista de planta até que tenha a altura da peça (fig. 153) e então, centrando o (fig. 152) descrevem-se arcos que, partindo dos pontos de divisão da boca e daí eles serão ligados ao ponto E. O resto é como nas figuras anteriores. RETÂNGULO Apostila Pessoal: http://www.youtube.com/user/ThePoluidor 106 Muitas vezes, quando se vai traçar uma peça o espaço na chapa é pouco, não sendo possível traçar a se o recurso apresentado na fig. 152, isto é, prolonga- a peça (fig. 153) e então, centrando o se arcos que, partindo dos pontos de divisão da boca
  • 107.
    Apostila Pessoal: http://www.youtube.com/user/ThePoluidor QUADRADOPARA REDONDO EXCÊNTRICO Apostila Pessoal: http://www.youtube.com/user/ThePoluidor QUADRADO PARA REDONDO EXCÊNTRICO Apostila Pessoal: http://www.youtube.com/user/ThePoluidor 107
  • 108.
    Apostila Pessoal: http://www.youtube.com/user/ThePoluidorApostilaPessoal: http://www.youtube.com/user/ThePoluidorApostila Pessoal: http://www.youtube.com/user/ThePoluidor 108
  • 109.
    Apostila Pessoal: http://www.youtube.com/user/ThePoluidor QUADRADOPARA REDONDO EXCÊNTRICO Apostila Pessoal: http://www.youtube.com/user/ThePoluidor QUADRADO PARA REDONDO EXCÊNTRICO - CONTINUAÇÃO Apostila Pessoal: http://www.youtube.com/user/ThePoluidor 109
  • 110.
    Apostila Pessoal: http://www.youtube.com/user/ThePoluidor Comonas figuras anteriores, as distâncias transportadas para as linhas inferiores das figuras 161 e 162 e daí projetadas aos pontos única diferença é que a medida da linha de deslocamento (linha D) da parte que está a 90º com as bocas, é a própria altura da peça. RETÂNGULO PARA REDONDO Apostila Pessoal: http://www.youtube.com/user/ThePoluidor Como nas figuras anteriores, as distâncias D-1-2-3-4 são extraídas da vista de planta e transportadas para as linhas inferiores das figuras 161 e 162 e daí projetadas aos pontos única diferença é que a medida da linha de deslocamento (linha D) da parte que está a 90º com as a da peça. RETÂNGULO PARA REDONDO Apostila Pessoal: http://www.youtube.com/user/ThePoluidor 110 são extraídas da vista de planta e transportadas para as linhas inferiores das figuras 161 e 162 e daí projetadas aos pontos X e Y. A única diferença é que a medida da linha de deslocamento (linha D) da parte que está a 90º com as
  • 111.
    Apostila Pessoal: http://www.youtube.com/user/ThePoluidor Aparticularidade desta peça consiste em que o diâmetro da boca superior é maior que a largura do retângulo. Apostila Pessoal: http://www.youtube.com/user/ThePoluidor A particularidade desta peça consiste em que o diâmetro da boca superior é maior que a largura do Apostila Pessoal: http://www.youtube.com/user/ThePoluidor 111 A particularidade desta peça consiste em que o diâmetro da boca superior é maior que a largura do
  • 112.
    Apostila Pessoal: http://www.youtube.com/user/ThePoluidor RETÂNGULOPARA REDONDO EXCÊNTRICO Apostila Pessoal: http://www.youtube.com/user/ThePoluidor RETÂNGULO PARA REDONDO EXCÊNTRICO Apostila Pessoal: http://www.youtube.com/user/ThePoluidor 112
  • 113.
    Apostila Pessoal: http://www.youtube.com/user/ThePoluidor Aboca redonda é fora de centro, projetando comprimento. QUADRADO PARA REDONDO COMPLETAMENTE EXCÊNTRICO Apostila Pessoal: http://www.youtube.com/user/ThePoluidor A boca redonda é fora de centro, projetando-se para fora do retângulo no sentido de seu QUADRADO PARA REDONDO COMPLETAMENTE EXCÊNTRICO Apostila Pessoal: http://www.youtube.com/user/ThePoluidor 113 retângulo no sentido de seu
  • 114.
    Apostila Pessoal: http://www.youtube.com/user/ThePoluidor Quadradopara redondo completamente fora de centro. Neste caso é necessário achar a verdadeira grandeza de quase todas as linhas. A figura 177 mostra o desenvol Apostila Pessoal: http://www.youtube.com/user/ThePoluidor Quadrado para redondo completamente fora de centro. Neste caso é necessário achar a verdadeira grandeza de quase todas as linhas. A figura 177 mostra o desenvolvimento total da peça. Apostila Pessoal: http://www.youtube.com/user/ThePoluidor 114 Quadrado para redondo completamente fora de centro. Neste caso é necessário achar a verdadeira
  • 115.
    Apostila Pessoal: http://www.youtube.com/user/ThePoluidor DESENVOLVIMENTOTOTAL DA PEÇA Apostila Pessoal: http://www.youtube.com/user/ThePoluidor DESENVOLVIMENTO TOTAL DA PEÇA Apostila Pessoal: http://www.youtube.com/user/ThePoluidor 115
  • 116.
    Apostila Pessoal: http://www.youtube.com/user/ThePoluidor QUADRADOPARA REDONDO INCLINADO A 45º Apostila Pessoal: http://www.youtube.com/user/ThePoluidor QUADRADO PARA REDONDO INCLINADO A 45º Apostila Pessoal: http://www.youtube.com/user/ThePoluidor 116
  • 117.
    Apostila Pessoal: http://www.youtube.com/user/ThePoluidor QUADRADOPARA REDONDO INCLINADO A 45º Apostila Pessoal: http://www.youtube.com/user/ThePoluidor QUADRADO PARA REDONDO INCLINADO A 45º - CONTINUAÇÃO Apostila Pessoal: http://www.youtube.com/user/ThePoluidor 117
  • 118.
    Apostila Pessoal: http://www.youtube.com/user/ThePoluidorApostilaPessoal: http://www.youtube.com/user/ThePoluidorApostila Pessoal: http://www.youtube.com/user/ThePoluidor 118
  • 119.
    Apostila Pessoal: http://www.youtube.com/user/ThePoluidor RETÂNGULOPARA REDONDO COM BASE (BOCA) REDONDA INCLINADA A 30º Apostila Pessoal: http://www.youtube.com/user/ThePoluidor RETÂNGULO PARA REDONDO COM BASE (BOCA) REDONDA INCLINADA A 30º Apostila Pessoal: http://www.youtube.com/user/ThePoluidor 119 RETÂNGULO PARA REDONDO COM BASE (BOCA) REDONDA INCLINADA A 30º
  • 120.
    Apostila Pessoal: http://www.youtube.com/user/ThePoluidor QUADRADOPARA REDONDO COM OS CANTOS ARRENDONDADOS Apostila Pessoal: http://www.youtube.com/user/ThePoluidor QUADRADO PARA REDONDO COM OS CANTOS ARRENDONDADOS Apostila Pessoal: http://www.youtube.com/user/ThePoluidor 120
  • 121.
    Apostila Pessoal: http://www.youtube.com/user/ThePoluidorApostilaPessoal: http://www.youtube.com/user/ThePoluidorApostila Pessoal: http://www.youtube.com/user/ThePoluidor 121
  • 122.
    Apostila Pessoal: http://www.youtube.com/user/ThePoluidor QUADRADOOU RETÂNGULO PARA REDONDO COM AS BASES (BOCAS) A 90º UMA DA OUTRA Apostila Pessoal: http://www.youtube.com/user/ThePoluidor QUADRADO OU RETÂNGULO PARA REDONDO COM AS BASES (BOCAS) A 90º UMA DA OUTRA Apostila Pessoal: http://www.youtube.com/user/ThePoluidor 122 QUADRADO OU RETÂNGULO PARA REDONDO COM AS BASES (BOCAS) A 90º UMA DA OUTRA
  • 123.
    Apostila Pessoal: http://www.youtube.com/user/ThePoluidor QUADRADOOU RETÂNGULO PARA REDONDO COM AS BASES (BOCAS) A 90º UMA DA OUTRA - CONTINUAÇÃO Apostila Pessoal: http://www.youtube.com/user/ThePoluidor QUADRADO OU RETÂNGULO PARA REDONDO COM AS BASES (BOCAS) A 90º UMA DA OUTRA Apostila Pessoal: http://www.youtube.com/user/ThePoluidor 123 QUADRADO OU RETÂNGULO PARA REDONDO COM AS BASES (BOCAS) A 90º UMA DA OUTRA
  • 124.
    Apostila Pessoal: http://www.youtube.com/user/ThePoluidor Desenha-seprimeiro a vista de planta (fig. 190), prolongando um pouco a linha parte superior da circunferência em partes iguais. Ao lado desenha depois, centrando o compasso no ponto na linha AB e daí seguirão paralelas até a linha ponto E, determinando assim as linhas de verdadeira grandeza. O desenvolvimento faz ouros já conhecidos com a diferença de que ao chegar no ponto linha 4-5, que encontrará a linha de perfil e a linha 5-6 é a linha (fig. 191) cujo comprimento é o mesmo da linha igual a 7-8, centra-se primeiro no ponto 4. A vista em perspectiva (fig. 192) mostra como fica a peça depois de pronta. INTERSEÇÃO DE CILINDRO COM CONE Apostila Pessoal: http://www.youtube.com/user/ThePoluidor se primeiro a vista de planta (fig. 190), prolongando um pouco a linha parte superior da circunferência em partes iguais. Ao lado desenha-se a vista de perfil (fig. 189) e depois, centrando o compasso no ponto Z traçam-se arcos que partindo dos pontos e daí seguirão paralelas até a linha CD da vista de perfil. Estes pontos serão dirigidos ao , determinando assim as linhas de verdadeira grandeza. O desenvolvimento faz om a diferença de que ao chegar no ponto 4 (fig. 191), tem , que encontrará a linha 5-6, formando um ângulo de 90º. A linha 4-5 é a linha EC, também da vista de perfil. Continuando, le (fig. 191) cujo comprimento é o mesmo da linha 7-8 da fig. 190. Então com abertura de compasso se primeiro no ponto H e depois no ponto 4 e traçam-se no ponto vista em perspectiva (fig. 192) mostra como fica a peça depois de pronta. INTERSEÇÃO DE CILINDRO COM CONE Apostila Pessoal: http://www.youtube.com/user/ThePoluidor 124 se primeiro a vista de planta (fig. 190), prolongando um pouco a linha AB e dividindo a se a vista de perfil (fig. 189) e que partindo dos pontos 1-2-3-4, parem da vista de perfil. Estes pontos serão dirigidos ao , determinando assim as linhas de verdadeira grandeza. O desenvolvimento faz-se como (fig. 191), tem-se que traçar a é a linha CF da vista , também da vista de perfil. Continuando, levanta-se a linha GH da fig. 190. Então com abertura de compasso se no ponto 9 e liga-se H a
  • 125.
    Apostila Pessoal: http://www.youtube.com/user/ThePoluidorApostilaPessoal: http://www.youtube.com/user/ThePoluidorApostila Pessoal: http://www.youtube.com/user/ThePoluidor 125
  • 126.
    Apostila Pessoal: http://www.youtube.com/user/ThePoluidor INTERSEÇÃODE CONE COM CILINDRO Apostila Pessoal: http://www.youtube.com/user/ThePoluidor INTERSEÇÃO DE CONE COM CILINDRO Apostila Pessoal: http://www.youtube.com/user/ThePoluidor 126
  • 127.
    Apostila Pessoal: http://www.youtube.com/user/ThePoluidor INTERSEÇÃODE CONE COM CILINDRO Apostila Pessoal: http://www.youtube.com/user/ThePoluidor INTERSEÇÃO DE CONE COM CILINDRO - CONTINUAÇÃO Apostila Pessoal: http://www.youtube.com/user/ThePoluidor 127
  • 128.
    Apostila Pessoal: http://www.youtube.com/user/ThePoluidor Desenha-sea vista de planta (fig. 197) e divide vista de elevação (fig. 198), dividindo também aí a boca do cilindro em partes iguais. Volta de planta e, centrando o compasso no ponto 6-7 da boca do cilindro, marque esses mesmos pontos no lado perpendiculares que toquem no lado V-VI-VII, baixam-se perpendiculares ao longo do cilindro. Traçam com II, 3 com III, 4 com IV, 5 com com as verticais a linha de interseção. O desenvolvimento (fig. 199) é feito de maneira já conhecida. A vista em perspectiva (fig. 176) mostra como deve ficar peça depois de pronta. INTERSEÇÃO DE UM CONE COM UM CILINDRO COM EIXOS A 90º Apostila Pessoal: http://www.youtube.com/user/ThePoluidor se a vista de planta (fig. 197) e divide-se a boca do cilindro em partes iguais. Desenha vista de elevação (fig. 198), dividindo também aí a boca do cilindro em partes iguais. Volta de planta e, centrando o compasso no ponto X, traçam-se arcos que partindo dos pontos da boca do cilindro, marque esses mesmos pontos no lado Z da peça. Partindo daí traçam perpendiculares que toquem no lado AB da vista de elevação. Então, partindo dos pontos se perpendiculares ao longo do cilindro. Traçam-se horizontais ligando com V, 6 com VI e 7 com VII, marcando no encontro das horizontais com as verticais a linha de interseção. 9) é feito de maneira já conhecida. A vista em perspectiva (fig. 176) mostra como deve ficar peça depois de pronta. INTERSEÇÃO DE UM CONE COM UM CILINDRO COM EIXOS A 90º-PROCESSO 1 Apostila Pessoal: http://www.youtube.com/user/ThePoluidor 128 se a boca do cilindro em partes iguais. Desenha-se a vista de elevação (fig. 198), dividindo também aí a boca do cilindro em partes iguais. Volta-se a vista se arcos que partindo dos pontos 1-2-3-4-5- da peça. Partindo daí traçam-se da vista de elevação. Então, partindo dos pontos I-II-III-IV- se horizontais ligando 1 com I, 2 , marcando no encontro das horizontais A vista em perspectiva (fig. 176) mostra como deve ficar peça depois de pronta. PROCESSO 1
  • 129.
    Apostila Pessoal: http://www.youtube.com/user/ThePoluidorApostilaPessoal: http://www.youtube.com/user/ThePoluidorApostila Pessoal: http://www.youtube.com/user/ThePoluidor 129
  • 130.
    Apostila Pessoal: http://www.youtube.com/user/ThePoluidor INTERSEÇÃODE UM CONE COM UM CILINDRO COM EIXOS A CONTINUAÇÃO Desenham-se as vistas de planta e elevação. Divide partes iguais, obtendo os pontos encontrar o lado CD do cone, marcando aí os pontos verticais até tocar a linha de centro centrando o compasso no ponto linha de centro. Divide-se a semicircunferência iguais da anterior e traçam-se paralelas de modo que cruzem com os arcos traçados anteriormente, marcando os pontos 8-9-10-11 cruzem com as paralelas do cilindro na fig. 202 e o encontro das verticais com as horizontais forma Apostila Pessoal: http://www.youtube.com/user/ThePoluidor INTERSEÇÃO DE UM CONE COM UM CILINDRO COM EIXOS A 90º PROCESSO 1 se as vistas de planta e elevação. Divide-se a semicircunferência AB partes iguais, obtendo os pontos 1-2-3-4-5-6-7. Partindo destes pontos traçam do cone, marcando aí os pontos 1-2-3-4-5-6-7, destes pontos traçam verticais até tocar a linha de centro EF da fig. 201, marcando os pontos 1’-2’- centrando o compasso no ponto S, e partindo destes pontos traçam-se arcos de modo que cruzem a se a semicircunferência GH da vista de planta no mesmo número de partes se paralelas de modo que cruzem com os arcos traçados anteriormente, 11-12-13. Partindo destes pontos, levantam-se perpendiculares que cruzem com as paralelas do cilindro na fig. 202 e o encontro das verticais com as horizontais forma Apostila Pessoal: http://www.youtube.com/user/ThePoluidor 130 90º PROCESSO 1 - AB (fig. 202), em sete . Partindo destes pontos traçam-se paralelas até , destes pontos traçam-se linhas -3’-4’-5’-6’-7’. Então, de modo que cruzem a da vista de planta no mesmo número de partes se paralelas de modo que cruzem com os arcos traçados anteriormente, se perpendiculares que cruzem com as paralelas do cilindro na fig. 202 e o encontro das verticais com as horizontais forma
  • 131.
    Apostila Pessoal: http://www.youtube.com/user/ThePoluidor alinha de interseção. O desenvolvimento (fig. 203) é feito transportando compasso de modo já conhecido. INTERSEÇÃO DE UM CONE COM CILINDRO COM EIXOS A 90º Apostila Pessoal: http://www.youtube.com/user/ThePoluidor a linha de interseção. O desenvolvimento (fig. 203) é feito transportando-se as alturas com o modo já conhecido. INTERSEÇÃO DE UM CONE COM CILINDRO COM EIXOS A 90º - PROCESSO 2 Apostila Pessoal: http://www.youtube.com/user/ThePoluidor 131 se as alturas com o PROCESSO 2
  • 132.
    Apostila Pessoal: http://www.youtube.com/user/ThePoluidor Desenha-seapenas a vista de elevação e divide partes iguais. Os números 2’- marcando os pontos 2’’-3’’-4’’ descreve-se o arco 2A. Projeta Centra-se em 2’’ e com abertura Partindo daí, levanta-se uma perpendicular que corte a linha outros pontos P da linha de interseção. O desenvolvimento (fig. 204) é feito conhecido. Apostila Pessoal: http://www.youtube.com/user/ThePoluidor se apenas a vista de elevação e divide-se a semicircunferência em um número qualquer de -3’-4’-5’-6’ devem ser transportados para linha de centro do cone, 4’’-5’’-6’’. Centra-se o compasso no ponto 2’ e com abertura . Projeta-se o ponto A horizontalmente até que penetre um pouco no cone. e com abertura 2Y descreve-se um arco que corte a linha A marcando o ponto se uma perpendicular que corte a linha 2’’-2’ no ponto P da linha de interseção. O desenvolvimento (fig. 204) é feito Apostila Pessoal: http://www.youtube.com/user/ThePoluidor 132 se a semicircunferência em um número qualquer de devem ser transportados para linha de centro do cone, e com abertura 2’-2 horizontalmente até que penetre um pouco no cone. marcando o ponto A¹. P para encontrar os da linha de interseção. O desenvolvimento (fig. 204) é feito de modo bastante
  • 133.
    Apostila Pessoal: http://www.youtube.com/user/ThePoluidor INTERSEÇÃODE CONE COM CILINDRO COM EIXOS DIFERENTES DE 90º Apostila Pessoal: http://www.youtube.com/user/ThePoluidor INTERSEÇÃO DE CONE COM CILINDRO COM EIXOS DIFERENTES DE 90º Apostila Pessoal: http://www.youtube.com/user/ThePoluidor 133
  • 134.
    Apostila Pessoal: http://www.youtube.com/user/ThePoluidorApostilaPessoal: http://www.youtube.com/user/ThePoluidorApostila Pessoal: http://www.youtube.com/user/ThePoluidor 134
  • 135.
    Apostila Pessoal: http://www.youtube.com/user/ThePoluidor INTERSEÇÃODE CONE COM CILINDRO COM EIXOS DIFERENTES DE 90º CONTINUAÇÃO Desenham-se as vistas de planta e elevação da peça e divide em um número de partes iguais, traçando traçam-se as linhas C e D, as quais serão projetadas para a vista Centrando no ponto Y e com raio semicircunferência AB baixam desta partirão horizontais que cruzarão Estes pontos serão projetados para as linhas J’- K’- L’, traçando em seguida as linhas O cruzamento destas com as paralelas do cilind Apostila Pessoal: http://www.youtube.com/user/ThePoluidor INTERSEÇÃO DE CONE COM CILINDRO COM EIXOS DIFERENTES DE 90º se as vistas de planta e elevação da peça e divide-se a semicircunferência em um número de partes iguais, traçando-se em seguida linhas paralelas ao eixo do cilindro, , as quais serão projetadas para a vista de planta, marcando os pontos e com raio YF e YE traçam-se os arcos EF’. Então partindo da baixam-se perpendiculares até a vista de planta, traçando nelas a oval desta partirão horizontais que cruzarão os arcos traçados anteriormente, marcando os pontos Estes pontos serão projetados para as linhas C e D na vista de elevação, marcando os pontos , traçando em seguida as linhas JJ’-KK’-LL’. O cruzamento destas com as paralelas do cilindro marcam a linha de interseção. Apostila Pessoal: http://www.youtube.com/user/ThePoluidor 135 se a semicircunferência AB (fig. 207) se em seguida linhas paralelas ao eixo do cilindro, de planta, marcando os pontos EF. . Então partindo da se perpendiculares até a vista de planta, traçando nelas a oval 1-7 e os arcos traçados anteriormente, marcando os pontos GHI. na vista de elevação, marcando os pontos JKL e ro marcam a linha de interseção.
  • 136.
    Apostila Pessoal: http://www.youtube.com/user/ThePoluidor INTERSEÇÃODE DOIS TRONCOS DE CONE COM EIXOS A 90º Apostila Pessoal: http://www.youtube.com/user/ThePoluidor INTERSEÇÃO DE DOIS TRONCOS DE CONE COM EIXOS A 90º Apostila Pessoal: http://www.youtube.com/user/ThePoluidor 136
  • 137.
    Apostila Pessoal: http://www.youtube.com/user/ThePoluidorApostilaPessoal: http://www.youtube.com/user/ThePoluidorApostila Pessoal: http://www.youtube.com/user/ThePoluidor 137
  • 138.
    Apostila Pessoal: http://www.youtube.com/user/ThePoluidor INTERSEÇÃODE DOIS TRONCOS DE CONE COM EIXOS A 90º Desenham-se as vistas de planta e elevação. Na elevação dividem menor, no mesmo número de partes iguais. Unem Apostila Pessoal: http://www.youtube.com/user/ThePoluidor INTERSEÇÃO DE DOIS TRONCOS DE CONE COM EIXOS A 90º - CONTINUAÇÃO se as vistas de planta e elevação. Na elevação dividem-se as bocas menor, no mesmo número de partes iguais. Unem-se as divisões 1-1’, 2-2’, 3-3’, Apostila Pessoal: http://www.youtube.com/user/ThePoluidor 138 CONTINUAÇÃO se as bocas AB e CD do cone , 4-4’, etc., através de
  • 139.
    Apostila Pessoal: http://www.youtube.com/user/ThePoluidor retas.Partindo dos pontos 1 Transportam-se estes pontos até a linha de centro da vista de planta, marcando os pontos Partindo destes pontos traçam cone menor. Projetam-se estes pon pontos estes que serão unidos como uma régua flexível. O encontro destas com as linhas 3-3’ forma a linha de interseção. INTERSEÇÃO DE CONE COM CILINDRO, SENDO A BASE (BOCA) DO C CILINDRO Apostila Pessoal: http://www.youtube.com/user/ThePoluidor 1-2-3 traçam-se estes pontos até tocar o lado se estes pontos até a linha de centro da vista de planta, marcando os pontos Partindo destes pontos traçam-se arcos que formam os pontos I, J, H, ao cruzarem com as retas do se estes pontos para a vista de elevação marcando os pontos pontos estes que serão unidos como uma régua flexível. O encontro destas com as linhas forma a linha de interseção. INTERSEÇÃO DE CONE COM CILINDRO, SENDO A BASE (BOCA) DO CONE PARALELA A DO Apostila Pessoal: http://www.youtube.com/user/ThePoluidor 139 car o lado E do cone maior. se estes pontos até a linha de centro da vista de planta, marcando os pontos E, F, G. , ao cruzarem com as retas do tos para a vista de elevação marcando os pontos I1- J2 e H3, pontos estes que serão unidos como uma régua flexível. O encontro destas com as linhas 1-1’, 2-2’, ONE PARALELA A DO
  • 140.
    Apostila Pessoal: http://www.youtube.com/user/ThePoluidorApostilaPessoal: http://www.youtube.com/user/ThePoluidorApostila Pessoal: http://www.youtube.com/user/ThePoluidor 140
  • 141.
    Apostila Pessoal: http://www.youtube.com/user/ThePoluidor INTERSEÇÃODE DOIS TRONCOS DE CONE COM EIXOS DIFERENTES DE 90º Apostila Pessoal: http://www.youtube.com/user/ThePoluidor INTERSEÇÃO DE DOIS TRONCOS DE CONE COM EIXOS DIFERENTES DE 90º Apostila Pessoal: http://www.youtube.com/user/ThePoluidor 141
  • 142.
    Apostila Pessoal: http://www.youtube.com/user/ThePoluidor Asexplicações dadas para o desenvolvimento dos dois troncos de cone com eixos de 90º servem também para esta peça, com a diferença de que nesta divide necessário desenhar a boca CD semi-oval e não um semicírculo como na anterior. TRONCO DE PIRÂMIDE DE BASE RETANGULAR Apostila Pessoal: http://www.youtube.com/user/ThePoluidor As explicações dadas para o desenvolvimento dos dois troncos de cone com eixos de 90º servem também para esta peça, com a diferença de que nesta divide-se apenas a boca CD. Outro detalhe: Nesta figura, na vista de planta, desenha oval e não um semicírculo como na anterior. TRONCO DE PIRÂMIDE DE BASE RETANGULAR Apostila Pessoal: http://www.youtube.com/user/ThePoluidor 142 As explicações dadas para o desenvolvimento dos dois troncos de cone com eixos de 90º servem se apenas a boca AB não sendo anta, desenha-se uma
  • 143.
    Apostila Pessoal: http://www.youtube.com/user/ThePoluidor Desenham-seas vistas de planta e elevação, prolongando vértice V. Centra-se o compasso no ponto no ponto V e traça-se o arco maior, partindo da base inferior da pirâmide e com mesmo centro, outro arco partindo da base superior. Então, basta apenas colocar nestes arcos as medidas partindo dos pontos 2’ e 1’. TUBO DE BASE (BOCA) QUADRADA E PARALELA, SENDO A SUPERIOR MENOR E AO CONTRÁRIO DA INFERIOR Apostila Pessoal: http://www.youtube.com/user/ThePoluidor se as vistas de planta e elevação, prolongando-se as linhas dos lados, até formar o se o compasso no ponto X e traçam-se os arcos 1 e 2, até tocar a linha de centro. Centra se o arco maior, partindo da base inferior da pirâmide e com mesmo centro, outro arco partindo da base superior. Então, basta apenas colocar nestes arcos as medidas TUBO DE BASE (BOCA) QUADRADA E PARALELA, SENDO A SUPERIOR MENOR E AO Apostila Pessoal: http://www.youtube.com/user/ThePoluidor 143 se as linhas dos lados, até formar o , até tocar a linha de centro. Centra-se se o arco maior, partindo da base inferior da pirâmide e com mesmo centro, outro arco partindo da base superior. Então, basta apenas colocar nestes arcos as medidas AB e CD, TUBO DE BASE (BOCA) QUADRADA E PARALELA, SENDO A SUPERIOR MENOR E AO
  • 144.
    Apostila Pessoal: http://www.youtube.com/user/ThePoluidorApostilaPessoal: http://www.youtube.com/user/ThePoluidorApostila Pessoal: http://www.youtube.com/user/ThePoluidor 144
  • 145.
    Apostila Pessoal: http://www.youtube.com/user/ThePoluidor TUBODE BASES (BOCAS) RETANGULARES E PARALELAS CONCÊNTRICAS, TENDO A SUPERIOR SENTIDO CONTRÁRIO AO DA INFERIOR Apostila Pessoal: http://www.youtube.com/user/ThePoluidor TUBO DE BASES (BOCAS) RETANGULARES E PARALELAS CONCÊNTRICAS, TENDO A SUPERIOR SENTIDO CONTRÁRIO AO DA INFERIOR Apostila Pessoal: http://www.youtube.com/user/ThePoluidor 145 TUBO DE BASES (BOCAS) RETANGULARES E PARALELAS CONCÊNTRICAS, TENDO A
  • 146.
    Apostila Pessoal: http://www.youtube.com/user/ThePoluidor Desenha-sea planta e a elevação com as medidas naturais. Para o desenvolvimento, transportam as medidas diretamente da planta. A altura é a mesma da elevação não sendo necessário achar nem uma linha de verdadeira grandeza. BIFURCAÇÃO TUBO “CALÇA” CÔ Apostila Pessoal: http://www.youtube.com/user/ThePoluidor se a planta e a elevação com as medidas naturais. Para o desenvolvimento, transportam as medidas diretamente da planta. A altura é a mesma da elevação não sendo necessário achar nem uma linha de verdadeira grandeza. BIFURCAÇÃO TUBO “CALÇA” CÔNICO - PROCESSO 1 Apostila Pessoal: http://www.youtube.com/user/ThePoluidor 146 se a planta e a elevação com as medidas naturais. Para o desenvolvimento, transportam-se as medidas diretamente da planta. A altura é a mesma da elevação não sendo necessário achar nem
  • 147.
    Apostila Pessoal: http://www.youtube.com/user/ThePoluidorApostilaPessoal: http://www.youtube.com/user/ThePoluidorApostila Pessoal: http://www.youtube.com/user/ThePoluidor 147
  • 148.
    Apostila Pessoal: http://www.youtube.com/user/ThePoluidor TRANSFORMAÇÃODE OVAL PARA REDONDO Apostila Pessoal: http://www.youtube.com/user/ThePoluidor TRANSFORMAÇÃO DE OVAL PARA REDONDO - MODÊLO 1 Apostila Pessoal: http://www.youtube.com/user/ThePoluidor 148
  • 149.
    Apostila Pessoal: http://www.youtube.com/user/ThePoluidor TRANSFORMAÇÃODE OVAL PARA REDONDO Desenha-se a vista de planta (fig. 231) pelo sistema indicado na fig. 26. Divide quarto do redondo e um quarto do oval, numerando Traçam-se então as linhas de triangulação alinha AB da fig. 232 e daí elevadas ao ponto traçar o desenvolvimento e para isso deve aberto na medida 1-3, o outro na medida variáveis. Transportando-se as medidas da fig. 232 para o fig. 233 e para a parte oval as aberturas 1-3 e para a boca redonda as aberturas Apostila Pessoal: http://www.youtube.com/user/ThePoluidor TRANSFORMAÇÃO DE OVAL PARA REDONDO - MODÊLO 1 - CONTINUAÇÃO se a vista de planta (fig. 231) pelo sistema indicado na fig. 26. Divide- quarto do redondo e um quarto do oval, numerando-se no oval 1-3-5-7 no redondo se então as linhas de triangulação 1-2-3-4-5-6-7-8. Estas linhas são transportadas para da fig. 232 e daí elevadas ao ponto C. Estas são as linhas de verdadeira grandeza para se traçar o desenvolvimento e para isso deve-se, de preferência, usar três compassos. Um deles fica o outro na medida 2-4 e o outro transporta as medidas da fig. 232 que são se as medidas da fig. 232 para o fig. 233 e para a parte oval as aberturas e para a boca redonda as aberturas 2-4, obtém-se o desenvolvimento. Apostila Pessoal: http://www.youtube.com/user/ThePoluidor 149 CONTINUAÇÃO -se então apenas um no redondo 2-4-6-8. . Estas linhas são transportadas para . Estas são as linhas de verdadeira grandeza para se se, de preferência, usar três compassos. Um deles fica e o outro transporta as medidas da fig. 232 que são se as medidas da fig. 232 para o fig. 233 e para a parte oval as aberturas
  • 150.
    Apostila Pessoal: http://www.youtube.com/user/ThePoluidor INTERSEÇÃODE UM CILINDRO POR OUTRO INCLINADO E EXCÊNTRICO Apostila Pessoal: http://www.youtube.com/user/ThePoluidor INTERSEÇÃO DE UM CILINDRO POR OUTRO INCLINADO E EXCÊNTRICO Apostila Pessoal: http://www.youtube.com/user/ThePoluidor 150
  • 151.
    Apostila Pessoal: http://www.youtube.com/user/ThePoluidorApostilaPessoal: http://www.youtube.com/user/ThePoluidorApostila Pessoal: http://www.youtube.com/user/ThePoluidor 151
  • 152.
    Apostila Pessoal: http://www.youtube.com/user/ThePoluidor TUBOCOM BASE (BOCA) INFERIOR METADE RETANGULAR E SUPERIOR REDONDA Apostila Pessoal: http://www.youtube.com/user/ThePoluidor TUBO COM BASE (BOCA) INFERIOR METADE RETANGULAR E SUPERIOR REDONDA Apostila Pessoal: http://www.youtube.com/user/ThePoluidor 152 TUBO COM BASE (BOCA) INFERIOR METADE RETANGULAR E SUPERIOR REDONDA
  • 153.
    Apostila Pessoal: http://www.youtube.com/user/ThePoluidor FUNILEXCÊNTRICO - MODÊLO 1 Apostila Pessoal: http://www.youtube.com/user/ThePoluidor MODÊLO 1 Apostila Pessoal: http://www.youtube.com/user/ThePoluidor 153
  • 154.
    Apostila Pessoal: http://www.youtube.com/user/ThePoluidorApostilaPessoal: http://www.youtube.com/user/ThePoluidorApostila Pessoal: http://www.youtube.com/user/ThePoluidor 154
  • 155.
    Apostila Pessoal: http://www.youtube.com/user/ThePoluidor CAIXADO PAINEL ELÉTRICO COM TAMPA E LATERAIS TIPO ALMOFADA Apostila Pessoal: http://www.youtube.com/user/ThePoluidor CAIXA DO PAINEL ELÉTRICO COM TAMPA E LATERAIS TIPO ALMOFADA Apostila Pessoal: http://www.youtube.com/user/ThePoluidor 155
  • 156.
    Apostila Pessoal: http://www.youtube.com/user/ThePoluidor CAIXADO PAINEL ELÉTRICO DE POSTA EMBUTIDA A caixa é desenvolvida em uma só peça. Apostila Pessoal: http://www.youtube.com/user/ThePoluidor CAIXA DO PAINEL ELÉTRICO DE POSTA EMBUTIDA caixa é desenvolvida em uma só peça. Apostila Pessoal: http://www.youtube.com/user/ThePoluidor 156
  • 157.
    Apostila Pessoal: http://www.youtube.com/user/ThePoluidorApostilaPessoal: http://www.youtube.com/user/ThePoluidorApostila Pessoal: http://www.youtube.com/user/ThePoluidor 157
  • 158.
    Apostila Pessoal: http://www.youtube.com/user/ThePoluidor PIRÂMIDESEXCÊNTRICAS COM TODOS OS LADOS DESIGUAIS TRAÇADO PELO SISTEMA DO CRUZAMENTO DE DIAGONAIS Apostila Pessoal: http://www.youtube.com/user/ThePoluidor PIRÂMIDES EXCÊNTRICAS COM TODOS OS LADOS DESIGUAIS TRAÇADO PELO SISTEMA DO CRUZAMENTO DE DIAGONAIS Apostila Pessoal: http://www.youtube.com/user/ThePoluidor 158 PIRÂMIDES EXCÊNTRICAS COM TODOS OS LADOS DESIGUAIS TRAÇADO PELO SISTEMA DO
  • 159.
    Apostila Pessoal: http://www.youtube.com/user/ThePoluidor TRONCODE PIRÂMIDE DE BASES QUADRADAS Apostila Pessoal: http://www.youtube.com/user/ThePoluidor TRONCO DE PIRÂMIDE DE BASES QUADRADAS Apostila Pessoal: http://www.youtube.com/user/ThePoluidor 159
  • 160.
    Apostila Pessoal: http://www.youtube.com/user/ThePoluidor TRONCODE PIRÂMIDE DE BASES QUADRADAS Apostila Pessoal: http://www.youtube.com/user/ThePoluidor TRONCO DE PIRÂMIDE DE BASES QUADRADAS - CONTINUAÇÃO Apostila Pessoal: http://www.youtube.com/user/ThePoluidor 160
  • 161.
    Apostila Pessoal: http://www.youtube.com/user/ThePoluidor Desenham-seas vistas de planta e elevação. Na vista de planta traçam no ponto A. A seguir, abre-se o compasso com medida elevação (fig. 254) marca-se o ponto marca-se H. Liga-se F com H e prolonga Para o desenvolvimento traça- VF e centrando no ponto 2 traça centrando ainda no ponto 2 traça lados da pirâmide, fig. 253) e centrando marca-se o ponto 3. Faz-se o mesmo para o outro lado, marcando os pontos estes pontos ao ponto 2 ficando assim determinados os pontos desenvolvimento. Apostila Pessoal: http://www.youtube.com/user/ThePoluidor se as vistas de planta e elevação. Na vista de planta traçam-se diagonais que se cruzem se o compasso com medida AB e, centrando no ponto se o ponto F. Pega-se também a medida AD e, centrando no ponto e prolonga-se até cruzar com a linha de centro marcando o ponto -se inicialmente a linha 1-2. Então abre-se o compasso com medida traça-se o arco maior (fig. 255) pega-se também a medida traça-se o arco menor. Continuando pega-se a medida lados da pirâmide, fig. 253) e centrando no ponto 1, marca-se o ponto 2; centra se o mesmo para o outro lado, marcando os pontos 4 ficando assim determinados os pontos 6-7-8-9-10 Apostila Pessoal: http://www.youtube.com/user/ThePoluidor 161 se diagonais que se cruzem e, centrando no ponto E da vista de e, centrando no ponto G se até cruzar com a linha de centro marcando o ponto V. se o compasso com medida se também a medida VH e se a medida BC (um dos ; centra-se no ponto 2 e e 5 . Ligam-se todos 10 que completam o
  • 162.
    Apostila Pessoal: http://www.youtube.com/user/ThePoluidor CAIXADE PROTEÇÃO PARA POLIAS Apostila Pessoal: http://www.youtube.com/user/ThePoluidor CAIXA DE PROTEÇÃO PARA POLIAS Apostila Pessoal: http://www.youtube.com/user/ThePoluidor 162
  • 163.
    Apostila Pessoal: http://www.youtube.com/user/ThePoluidor CAIXADE PROTEÇÃO PARA POLIAS Traçada a Fig. 256, é preciso determinar o comprimento das laterais. Para isso, pode processos. Primeiro processo resultado X da divisão é a medida com a qual deve marca-se N. Como os diâmetros das polias são diferentes, deve Temos então a fórmula: D x = X 4 Exemplo: Suponhamos uma polia com 120mm de diâmetro. 1º) 120 x 3,14 = X Apostila Pessoal: http://www.youtube.com/user/ThePoluidor CAIXA DE PROTEÇÃO PARA POLIAS - CONTINUAÇÃO Traçada a Fig. 256, é preciso determinar o comprimento das laterais. Para isso, pode Primeiro processo: Multiplica-se o diâmetro D por 3,14 e o produto divide da divisão é a medida com a qual deve-se abrir o compasso, e centrando no ponto . Como os diâmetros das polias são diferentes, deve-se fazer uma conta para cada polia. D x 3,14 = X 4 Exemplo: Suponhamos uma polia com 120mm de diâmetro. = X Apostila Pessoal: http://www.youtube.com/user/ThePoluidor 163 Traçada a Fig. 256, é preciso determinar o comprimento das laterais. Para isso, pode-se usar dois por 3,14 e o produto divide-se por 4, o se abrir o compasso, e centrando no ponto M, se fazer uma conta para cada polia.
  • 164.
    Apostila Pessoal: http://www.youtube.com/user/ThePoluidor 4 2º)120 x 3,14 = 376,80 3º) 376,80 : 4 = 94,20 Resposta: 94,20 é a medida com a qual deve N. Segundo Processo: Multiplica para a mesma polia anterior: O raio de 120mm é 60mm. Exemplo Esta fórmula é mais rápida porque com uma única conta se acha a medida procurada. Obs.: o número 1,57 é constante valendo para qualquer raio, devendo portanto ser guardado de memória. Caso haja esquecimento basta se lembrar que 1,57 é a metade d mostra como deve ficar a peça depois de acabada. VISTAS DE FRENTE DE ALGUNS TIPOS DE ARREMATES E EMENDAS PARA CHAPAS FINAS (DE POUCA ESPESSURA) Embora existam outros tipos de emendas, os apresentados nesta página são os m funilaria industrial. Apostila Pessoal: http://www.youtube.com/user/ThePoluidor 120 x 3,14 = 376,80 376,80 : 4 = 94,20 94,20 é a medida com a qual deve-se abrir o compasso e centrar no ponto : Multiplica-se o raio por 1,57 e o resultado já é a medida procurada. Exemplo para a mesma polia anterior: O raio de 120mm é 60mm. Exemplo: 60 x 1,57 = 94,20 Esta fórmula é mais rápida porque com uma única conta se acha a medida procurada. Obs.: o número 1,57 é constante valendo para qualquer raio, devendo portanto ser guardado de memória. Caso haja esquecimento basta se lembrar que 1,57 é a metade de 3,14. A vista em perspectiva mostra como deve ficar a peça depois de acabada. VISTAS DE FRENTE DE ALGUNS TIPOS DE ARREMATES E EMENDAS PARA CHAPAS FINAS (DE Embora existam outros tipos de emendas, os apresentados nesta página são os m Apostila Pessoal: http://www.youtube.com/user/ThePoluidor 164 se abrir o compasso e centrar no ponto M marcando se o raio por 1,57 e o resultado já é a medida procurada. Exemplo Esta fórmula é mais rápida porque com uma única conta se acha a medida procurada. Obs.: o número 1,57 é constante valendo para qualquer raio, devendo portanto ser guardado de memória. e 3,14. A vista em perspectiva VISTAS DE FRENTE DE ALGUNS TIPOS DE ARREMATES E EMENDAS PARA CHAPAS FINAS (DE Embora existam outros tipos de emendas, os apresentados nesta página são os mais usados em
  • 165.
    Apostila Pessoal: http://www.youtube.com/user/ThePoluidor REDUÇÃOY PARA TUBULAÇÃO RETANGULAR Apostila Pessoal: http://www.youtube.com/user/ThePoluidor REDUÇÃO Y PARA TUBULAÇÃO RETANGULAR Apostila Pessoal: http://www.youtube.com/user/ThePoluidor 165
  • 166.
    Apostila Pessoal: http://www.youtube.com/user/ThePoluidorApostilaPessoal: http://www.youtube.com/user/ThePoluidorApostila Pessoal: http://www.youtube.com/user/ThePoluidor 166
  • 167.
    Apostila Pessoal: http://www.youtube.com/user/ThePoluidor REDUÇÃOY PARA TUBULAÇÃO RETANGULAR Apostila Pessoal: http://www.youtube.com/user/ThePoluidor REDUÇÃO Y PARA TUBULAÇÃO RETANGULAR - CONTINUAÇÃO Apostila Pessoal: http://www.youtube.com/user/ThePoluidor 167
  • 168.
    Apostila Pessoal: http://www.youtube.com/user/ThePoluidorApostilaPessoal: http://www.youtube.com/user/ThePoluidorApostila Pessoal: http://www.youtube.com/user/ThePoluidor 168