3




       Coletânea de Manuais
      Técnicos de Bombeiros   37




     SISTEMA DE COMANDO E
OPERAÇÕES EMEMERGÊNCIAS (SICOE)
COLETÂNEA DE MANUAIS
TÉCNICOS DE BOMBEIROS




                                             MANUAL DO SISTEMA DE
           MSICOE                          COMANDO E OPERAÇÕES EM
                                                EMERGÊNCIAS




                                                         1ª Edição
                                                            2006


                                                          Volume
                                                             37


 Os direitos autorais da presente obra
 pertencem ao Corpo de Bombeiros da
 Polícia Militar do Estado de São Paulo.
 Permitida a reprodução parcial ou total
 desde que citada a fonte.
                                                               PMESP
                                                                     CCB
COMISSÃO

                                 Comandante do Corpo de Bombeiros
                                  Cel PM Antonio dos Santos Antonio

                               Subcomandante do Corpo de Bombeiros
                                Cel PM Manoel Antônio da Silva Araújo

                                Chefe do Departamento de Operações
                                Ten Cel PM Marcos Monteiro de Farias

                    Comissão coordenadora dos Manuais Técnicos de Bombeiros
                                 Ten Cel Res PM Silvio Bento da Silva
                                Ten Cel PM Marcos Monteiro de Farias
                                       Maj PM Omar Lima Leal
                                   Cap PM José Luiz Ferreira Borges
                                    1º Ten PM Marco Antonio Basso

                                 Comissão de elaboração do Manual
                                  Cap PM Roberto Alboredo Sobrinho
                             Cap PM Alexandre Augusto Campos de Souza
                               1º Ten PM Marcos Vicente de Paulo Silva
                                      1º Ten PM Adriano Martins
                              1º Ten PM Eduardo Cimino Carvalho Júnior
                                 1º Ten PM Cristiana de Barros Lucena
                                     Subten PM Almir de Oliveira
                                    1º Sgt PM Mário César de Jesus
                                      Cb PM Geraldo Kendi Tsuji

                                  Comissão de Revisão de Português
                                     1º Ten PM Fauzi Salim Katibe
                                  1° Sgt PM Nelson Nascimento Filho
                                 2º Sgt PM Davi Cândido Borja e Silva
                                      Cb PM Fábio Roberto Bueno
                                     Cb PM Carlos Alberto Oliveira
                                    Sd PM Vitanei Jesus dos Santos




COLETÂNEA DE MANUAIS TÉCNICOS DE BOMBEIROS
PREFÁCIO - MTB


         No início do século XXI, adentrando por um novo milênio, o Corpo de Bombeiros
da Polícia Militar do Estado de São Paulo vem confirmar sua vocação de bem servir, por
meio da busca incessante do conhecimento e das técnicas mais modernas e atualizadas
empregadas nos serviços de bombeiros nos vários países do mundo.
         As atividades de bombeiros sempre se notabilizaram por oferecer uma
diversificada gama de variáveis, tanto no que diz respeito à natureza singular de cada uma
das ocorrências que desafiam diariamente a habilidade e competência dos nossos
profissionais, como relativamente aos avanços dos equipamentos e materiais especializados
empregados nos atendimentos.
         Nosso Corpo de Bombeiros, bem por isso, jamais descuidou de contemplar a
preocupação com um dos elementos básicos e fundamentais para a existência dos serviços,
qual seja: o homem preparado, instruído e treinado.
         Objetivando consolidar os conhecimentos técnicos de bombeiros, reunindo, dessa
forma, um espectro bastante amplo de informações que se encontravam esparsas, o
Comando do Corpo de Bombeiros determinou ao Departamento de Operações, a tarefa de
gerenciar o desenvolvimento e a elaboração dos novos Manuais Técnicos de Bombeiros.
          Assim, todos os antigos manuais foram atualizados, novos temas foram
pesquisados e desenvolvidos. Mais de 400 Oficiais e Praças do Corpo de Bombeiros,
distribuídos e organizados em comissões, trabalharam na elaboração dos novos Manuais
Técnicos de Bombeiros - MTB e deram sua contribuição dentro das respectivas
especialidades, o que resultou em 48 títulos, todos ricos em informações e com excelente
qualidade de sistematização das matérias abordadas.
          Na verdade, os Manuais Técnicos de Bombeiros passaram a ser contemplados na
continuação de outro exaustivo mister que foi a elaboração e compilação das Normas do
Sistema Operacional de Bombeiros (NORSOB), num grande esforço no sentido de evitar a
perpetuação da transmissão da cultura operacional apenas pela forma verbal, registrando e
consolidando esse conhecimento em compêndios atualizados, de fácil acesso e consulta, de
forma a permitir e facilitar a padronização e aperfeiçoamento dos procedimentos.
O Corpo de Bombeiros continua a escrever brilhantes linhas no livro de sua
história. Desta feita fica consignado mais uma vez o espírito de profissionalismo e
dedicação à causa pública, manifesto no valor dos que de forma abnegada desenvolveram e
contribuíram para a concretização de mais essa realização de nossa Organização.
          Os novos Manuais Técnicos de Bombeiros - MTB são ferramentas
importantíssimas que vêm juntar-se ao acervo de cada um dos Policiais Militares que
servem no Corpo de Bombeiros.
          Estudados e aplicados aos treinamentos,      poderão proporcionar inestimável
ganho de qualidade nos serviços prestados à população, permitindo o emprego das
melhores técnicas, com menor risco para vítimas e para os próprios Bombeiros, alcançando
a excelência em todas as atividades desenvolvidas e o cumprimento da nossa missão de
proteção à vida, ao meio ambiente e ao patrimônio.
          Parabéns ao Corpo de Bombeiros e a todos os seus integrantes pelos seus novos
Manuais Técnicos e, porque não dizer, à população de São Paulo, que poderá continuar
contando com seus Bombeiros cada vez mais especializados e preparados.


                                                          São Paulo, 02 de Julho de 2006.




                        Coronel PM ANTONIO DOS SANTOS ANTONIO
           Comandante do Corpo de Bombeiros da Polícia Militar do Estado de São Paulo
APRESENTAÇÃO


       O crescimento da sociedade, os avanços tecnológicos, a evolução e o surgimento de
novas especialidades nas atividades humanas e do próprio Corpo de Bombeiros que
atuando conjuntamente em emergências, tornavam mais abundantes e complexas a
administração e controle dos recursos empregados.

       Por conta desta diversidade e complexidade de meios empregados no atendimento
de emergências, necessitou-se de um método para fazer frente a esta nova dificuldade.

       Desta forma institui-se no CB, em 1997, o SICOE, Sistema de Comando em
Operações em Emergência, que visava esquematizar e ordenar emergências de todos os
portes, sendo fundamental para o sucesso das emergências e para a segurança dos
bombeiros.

       No ano de 1998, o então Ten Cel PM Jair Paca de Lima, em tema monográfico do
CSP, defendeu a abertura do sistema para adaptações necessárias, propôs alterações,
sugeriu a intensificação de treinamentos através da criação de estágios pela Escola de
Bombeiros para Oficiais Superiores e Capitães, além de ressaltar a importância do Sistema
para a resolução das emergências em todos os níveis.

       O SICOE foi implantado no Corpo de Bombeiros inicialmente de maneira informal,
tendo sido formalizado no final do ano de 2004 com a publicação da DIRETRIZ Nº CCB-
003/213/04.




COLETÂNEA DE MANUAIS TÉCNICOS DE BOMBEIROS
MSICOE – MANUAL DE ATENDIMENTO DO SISTEMA DE COMANDO E OPERAÇÕES EM EMERGÊNCIAS




                                                       SUMÁRIO

1.    CONCEITOS BÁSICOS E TERMINOLOGIA..............................................................................01
2.    O SISTEMA DE COMANDO E OPERÇÕES EM EMERGÊNCIAS – SICOE............................01
3.    LOGÍSTICA....................................................................................................................................05
4.    INFORMAÇÃO Á MÍDIA.............................................................................................................07
5.    SEGURANÇA DO TRABALHO...................................................................................................07
6.    ASSESSORIA TÉCNICA...............................................................................................................08
7.    COMANDANTE DOS SETORES (Chefe Operacional)................................................................08
8.    COMANDANTES DE SETOR.......................................................................................................09
9.    POSTO DE COMANDO (PC)........................................................................................................09
10. COMANDANTE DA EMERGÊNCIA...........................................................................................10
11. COMANDANTE DAS OPERAÇÕES............................................................................................10
12. ESTADO MAIOR DA EMERGÊNCIA.........................................................................................12
13. COLETES DE IDENTIFICAÇÃO.................................................................................................13
14. VIATURA DO COMANDO DE OPERAÇÕES NO CBM...........................................................14
15. ZONAS DE TRABALHO...............................................................................................................14
16. CAPACITAÇÃO PROFISSIONAL................................................................................................18
17. INSTRUÇÃO E SIMULADOS.......................................................................................................18
18. IDENTIFICAÇÃO DE MATERIAIS POR CORES.......................................................................22
19. FICHA DE CONTROLE HUMANO, MATERIAL E EQUIPAMENTOS-ANEXO “’A”...........26
20. SICOE – NÍVEL 1 – COMANDO DO OFICIAL DE ÁREA – ANEXO “B”.............................. 27
21. SISTEMA DE COMANDO E OPERAÇÕES EM EMERGÊNCIA – SICOE – ANEXO “C”......28
22. POSTO DE COMANDO DO CORPO DE BOMBEIROS – ANEXO “D”....................................29
23. MODELO DE RELATÓRIO – ANEXO “E”..................................................................................30
24. CONTROLE DE DISTRIBUIÇÕES DE FUNÇÕES E HTs – ANEXO “F”.................................33
25. CONTROLE DE EFETIVO – ANEXO “G”...................................................................................34
26. QUADRO TÁTICO – ANEXO “H”...............................................................................................35
27. PREFIXOS DAS VIATURAS – ANEXO “I”................................................................................38
28. BIBLIOGRAFIA.............................................................................................................................39



COLETÂNEA DE MANUAIS TÉCNICOS DE BOMBEIROS
MSICOE – MANUAL DE ATENDIMENTO DO SISTEMA DE COMANDO E OPERAÇÕES EM EMERGÊNCIAS                    1


1. Conceitos Básicos e Terminologia

           Para que o leitor possa estar familiarizado com os termos técnicos utilizados nas
operações, seguem abaixo os seus respectivos significados:

- Comandante da Emergência: É a maior autoridade do CB no local.

- Comandante das Operações: Oficiais Superior ou Intermediário escalado como Coordenador ou
Super-visor de Serviço de Operações;

- Estado Maior da Emergência: É composto pelos Oficiais do CB que comparecem ou que são
acionados para a ocorrência, bem como os que entram de sobreaviso por determinação do Cmt das
Operações, conforme segue:

•   O Oficial Superior (Coordenador de Operações) de Sobreaviso será o responsável pelo Plano de
    Operações Táticas;

•   Oficial Intermediário (Supervisor de Serviço) de Sobreaviso será o responsável pela segurança no
    Estado Maior da Emergência;

•   Os Oficiais Subalternos (Oficial de Área) serão os demais membros do Estado Maior da
    Emergência.

           Muitas vezes, dependendo da localidade, do momento da ocorrência, as funções serão
preenchidas conforme a disponibilidade do momento. Ex: Cmt da Emergência e Comandante das
Operações – Tenente Oficial de Área; Estado Maior – Todos os Sargentos disponíveis.




2. O SISTEMA DE COMANDO E OPERAÇÕES EM EMERGÊNCIAS – SICOE DO CORPO
DE BOMBEIROS DE SÃO PAULO

2.1 – Objetivos

           O Sistema de Comando e Operações em Emergências (SICOE) tem por finalidade definir
o escopo das autoridades e fixar responsabilidades. Permite a organização e coordenação do pessoal,
material e estratégia a serem empregadas na emergência, desenvolvendo esforços para rápida
resolução das táticas e buscando a eficiência no emprego de recursos humanos e materiais.



COLETÂNEA DE MANUAIS TÉCNICOS DE BOMBEIROS                                                     1
MSICOE – MANUAL DE ATENDIMENTO DO SISTEMA DE COMANDO E OPERAÇÕES EM EMERGÊNCIAS                        2

2.2 – Por quem é acionado?

             O Sistema é acionado mediante solicitação da guarnição envolvida, tendo como origem a
1ª viatura no local ou por meio das informações obtidas pelo Centro de Operações da UOp/CB
envolvida.

2.3 – Quando é acionado?

             O Sistema será acionado nas seguintes situações:

• Emergências que tenham um mínimo de vítimas que exijam a mobilização de recursos internos e
externos ao CB;

• que tenham importância estratégica na malha ferroviária, viária, de trânsito urbano ou rodoviário;

• que tenham importância estratégica no abastecimento de água potável, combustível, alimentação;

• que tragam, como conseqüência, pessoas desabrigadas;

• que mobilizem órgãos governamentais e não-governamentais, prefeituras, hospitais e ambulâncias,
que exijam uma coordenação mais ampla dos recursos;

• que sejam motivos de calamidade pública ou estado de sítio;

• que envolvam autoridades governamentais Federal, Estadual ou Municipal;

• que ofereçam um comprometimento ao meio ambiente, mananciais e recursos naturais;

• ocorrências com Produtos Perigosos, passíveis de vítimas ou abandono de vilas, distritos ou cidades.

2.4 - Área de abrangência

             Sua área de abrangência é estabelecida em nível de cidade e região

2.5 - Composição

           A composição do SICOE será a descrita no organograma do anexo “C”, conforme o nível
da ocorrência.

2.6 - Plano de operações táticas

             O Plano de Operações Táticas é a atividade desempenhada pelo Cmt das Operações em
um local de ocorrência durante a emergência, visando minimizar o perigo à vida e o prejuízo
material. É a escolha da aplicação das melhores técnicas a serem empregadas.
COLETÂNEA DE MANUAIS TÉCNICOS DE BOMBEIROS                                                        2
MSICOE – MANUAL DE ATENDIMENTO DO SISTEMA DE COMANDO E OPERAÇÕES EM EMERGÊNCIAS                     3

           Este plano deve conter as características do local, a descrição da emergência, vizinhanças
passíveis de interferência, as frentes da ocorrência, uma previsão de materiais e pessoal a ser
empregada; as tarefas em ordem de prioridade que foram ou devem ser distribuídas e para quem serão
distribuídas; uma checagem do desenvolvimento das operações para possível reavaliação do plano.

           O plano é dinâmico e deve estar sempre atualizado com as informações da ocorrência
fornecidas pelo encarregado das Informações, estar sempre a disposição o Quadro Tático da
Ocorrência, e ter acesso a todos os pontos envolvidos na ocorrência, visual ou via rádio, objetivando
uma maneabilidade rápida e eficaz para fazer frente a emergência.

           Fornece ao Cmt das Operações o panorama e o desenvolvimento da ocorrência, deixando
os dados disponíveis para eventuais consultas e possíveis deliberações.

2.7 - Fases de acionamento

           As ocorrências são atendidas basicamente pela viatura específica chamada, cuja área
pertença à ocorrência, na seguinte ordem:

• FASE 1 – 1º Socorro — Primeira Guarnição do CB no local. (Reforço).

• FASE 2 – Trem de Socorro - Cmt Sgt por solicitação do 1º Socorro (Apoio);

• O Oficial de Área do local da jurisdição;

• FASE 3 – Reforço/Apoio - Por solicitação do Oficial de Área;

• O Oficial de Área Reforço, com jurisdição mais próxima à emergência, atua no local sob orientação
do Oficial de Área mais antigo que comanda a ocorrência e o mais moderno preenche o quadro tático;

• FASE 4 - Reforço/Apoio - por solicitação do Oficial de Área da jurisdição, ou por evolução da
emergência;

• O Comandante de Operações dirige-se ao Posto de Comando já instalado, assume o Comando e
recebe todas as informações do Oficial escalado mais antigo que estiver presente;

• FASE 5 – Estabelece o Estado Maior Emergência:

 - suprimento;

 - informação;

COLETÂNEA DE MANUAIS TÉCNICOS DE BOMBEIROS                                                      3
MSICOE – MANUAL DE ATENDIMENTO DO SISTEMA DE COMANDO E OPERAÇÕES EM EMERGÊNCIAS                     4

 - comunicações (freqüência específica);

 - quadro tático;

 - coordenação dos setores geográficos




Quadro Tático:

           O quadro tático é o quadro em que se deve constar, por escrito em uma planilha, todas as
viaturas operando na emergência, suas localizações no terreno, guarnições, números de guarnições,
apoios externos, croqui do local, localização da emergência. vizinhanças e um plano de operações
táticas para aquela emergência. Sempre que existir um Plano Particular de Intervenção, o mesmo
deverá estar à disposição do Cmt das Operações.




                       Foto 01 – Quadro Tático




3 - LOGÍSTICA

           A logística é a composição dos recursos a serem mobilizados na ocorrência referentes ao
abastecimento, ao material, à alimentação e ao pessoal.

3.1 - Responsável pela logística

           O responsável pela logística é o encarregado pelo cumprimento e pelas providências para
a manutenção de todos os recursos humanos e de materiais para o controle efetivo da situação.


COLETÂNEA DE MANUAIS TÉCNICOS DE BOMBEIROS                                                      4
MSICOE – MANUAL DE ATENDIMENTO DO SISTEMA DE COMANDO E OPERAÇÕES EM EMERGÊNCIAS                      5

3.2 – Atribuições do responsável pela logística

• Controlar os recursos materiais e humanos localizados na emergência e o estacionamento de apoio;

• suprir de agentes extintores nas operações de incêndio;

• suprir a alimentação aos Bombeiros no local de emergência, após 04 horas de atuação;

• manter os efetivos-reserva em condições de substituição, após 08 horas de emprego;

• abastecimento de combustível, que pode ser feito no próprio local da ocorrência, ou nos postos de
abastecimento da Prefeitura ou do Estado estando, para isso, preparadas as requisições ou ofícios de
solicitação;

• estacionamento no local da emergência, conforme POP nº MOT-002;

• estacionamento de apoio;

• reserva estratégica;

• viatura do Posto de Comando;

• suprir e substituir EPI e EPR em local de ocorrência e mantê-los em condições de uso.




                                       Foto 02 – Apoio Logístico.

3.3 – Área de descanso e alimentação

               Visando cumprir os princípios estabelecidos nas normas que norteiam o SICOE, os quais
estabelecem períodos para descanso e alimentação do efetivo empregado conforme citado no item 3.2
deste manual, o responsável pela logística deverá preocupar-se em providenciar os meios para sua
realização.

3.3.1 – Área de descanso

               A área de descanso deverá estar localizada na zona fria, podendo ser utilizada uma
barraca ou mesmo um contêiner para abrigar a tropa, visando também fornecer privacidade aos

COLETÂNEA DE MANUAIS TÉCNICOS DE BOMBEIROS                                                     5
MSICOE – MANUAL DE ATENDIMENTO DO SISTEMA DE COMANDO E OPERAÇÕES EM EMERGÊNCIAS                     6

envolvidos, evitando assim a exposição de imagens de bombeiros descansando em locais impróprios
e diversos.




              Foto 03: Vista interna de barraca

3.3.2 – Alimentação

              Em virtude do fornecimento da alimentação estar vinculado aos municípios onde se
encontram instalados os Postos de Bombeiros, sua solicitação será feita de acordo com as
peculiaridades da região onde esteja funcionando o SICOE, sendo que as Unidades da Capital
poderão solicitar ao aprovisionamento do CBM e às Unidades da Grande São Paulo e Interior, de
acordo com planejamento próprio.

4 - INFORMAÇÃO A MÍDIA

              Propicia a centralização técnica das operações no Teatro de Operação, ligando-se com os
meios de comunicação e a mídia.

              O fornecimento de informações à imprensa deverá atender ao disposto no MTB 13 —
Informações à imprensa.




4.1 - Atribuições do responsável

• Orientar a população por meio da mídia;

• elaborar o boletim informativo a ser distribuído à imprensa;

• ser o porta-voz do Cmt de Operações.
COLETÂNEA DE MANUAIS TÉCNICOS DE BOMBEIROS                                                      6
MSICOE – MANUAL DE ATENDIMENTO DO SISTEMA DE COMANDO E OPERAÇÕES EM EMERGÊNCIAS                      7

5. SEGURANÇA DO TRABALHO

             É a tarefa de fiscalizar as operações no que diz respeito à segurança do pessoal
empregado; verificação das condições físicas das Guarnições; as condições do EPI e EPR; o emprego
e utilização dos mesmos; as medidas de segurança que estão sendo tomadas no emprego do material e
verificação das condições da edificação e vizinhança da emergência.

             A segurança do trabalho no serviço de bombeiros deverá atender ao disposto na NOB 13.

5.1 - Atribuições do responsável

• Isolar a área;

• verificar as condições de segurança do efetivo empregado;

• verificar se a tática empregada não oferece riscos aos Bombeiros no local;

• analisar se as condições estruturais do local não oferece risco à comunidade;

• verificar as probabilidades da extensão de danos ao meio ambiente;

• estabelecer os limites das zonas Quente / Morna / Fria no local da Emergência; e

• promover o abandono de área quando necessário.

6 - ASSESSORIA TÉCNICA

             É a tarefa de utilização de pessoal vinculado ou não ao CB, que possa, por sua capacidade
técnica, auxiliar no atendimento da ocorrência. Esse pessoal deve sempre se ligar ao Cmt das
Operações, fornecendo-lhe subsídios e sugestões para o emprego de pessoal e material na ocorrência,
bem como de atitudes e Procedimentos Operacionais que diminuam os prejuízos e aumentem a
segurança.




6.1 – Quem é o responsável?

             Devem ser contidos nesse grupo, os Oficiais e Praças do CB ou não, que, de folga,
dirigem-se ao local com a finalidade de colaborar podendo, também, ser utilizados para coordenação
do Estado Maior da Emergência.


COLETÂNEA DE MANUAIS TÉCNICOS DE BOMBEIROS                                                       7
MSICOE – MANUAL DE ATENDIMENTO DO SISTEMA DE COMANDO E OPERAÇÕES EM EMERGÊNCIAS                      8

6.2 - Atribuição do responsável

            Será o responsável pela crítica e avaliação das atividades na emergência, relatada ao Cmt
das Operações após o término da mesma, produzindo recomendações e visando ao aperfeiçoamento
do emprego de pessoal e material.

7 - COMANDANTE DAS OPERAÇÕES

            É o encarregado do Comando das frentes propriamente ditas. Tem, por atribuição,
controlar e organizar as atividades nos setores envolvidos na emergência, exercendo um Comando
móvel.

7.1 - Atribuições

• estabelecer o número de setores de acordo com as necessidades locais;

• estabelecer a fase tática da operação;

• transmitir ao Comandante da emergência as necessidades no local de ocorrência;

• controlar as comunicações no local entre os setores envolvidos;

• iniciar as atividades do Estado Maior da Emergência




8. COMANDANTE DE SETOR

   É o responsável direto e disciplinador das táticas em local de emergência com área geográfica
definida.

8.1 - Conceito de setor

            O setor é uma subdivisão da área, prédio, complexo, construtivo, estrada, galeria ou local
aberto onde uma guarnição do CB executa suas atividades.

8.2 - Atribuições

• Executar os trabalhos em razão da emergência, por meio da coordenação das guarnições localizadas
em um setor;



COLETÂNEA DE MANUAIS TÉCNICOS DE BOMBEIROS                                                       8
MSICOE – MANUAL DE ATENDIMENTO DO SISTEMA DE COMANDO E OPERAÇÕES EM EMERGÊNCIAS                    9

• transmitir ao Cmt das Operações as condições e necessidades de seu setor de trabalho, bem como a
evolução do quadro tático;

• analisar as condições de segurança em seu setor;

• zelar pelo cumprimento das ordens emanadas pelo Cmt das Operações;

• decidir pela fase tática do seu setor;

• observar o cumprimento dos POPs, Diretrizes e Normas do CB.

9. POSTO DE COMANDO (PC)

            O Posto de Comando é, a partir dessa fase, o local para onde deverão convergir todas as
comunicações da emergência.

9.1 – Atribuições

            Responsável pela catalogação, manutenção e expedição de todas as informações da
emergência para quem está de fora.

            Sempre que possível, deve ser um local ou uma viatura em que possa conter os dados da
ocorrência; que possa reunir pessoas no seu interior dotada de recursos que identifique o Comando de
Emergência e possibilite a articulação das comunicações.




                                 Foto 03 – Interior do Posto de Comando

9.3 – Comunicações

            A unificação das comunicações no local de ocorrência é de fundamental importância para
o êxito das operações, devendo ser preocupação do Cmt da Emergência e do Cmt das Operações em
qualquer que seja o nível de funcionamento do SICOE.
COLETÂNEA DE MANUAIS TÉCNICOS DE BOMBEIROS                                                     9
MSICOE – MANUAL DE ATENDIMENTO DO SISTEMA DE COMANDO E OPERAÇÕES EM EMERGÊNCIAS                  10

            Para os níveis 1 ( Comandado por Tenente ) e 2 (Comandado por Capitão) de
funcionamento do SICOE, nos quais, na prática, acaba ocorrendo acúmulo de funções de comando e
de Estado Maior da Emergência, não existindo um Oficial ou graduado designado, especificamente,
para função de comunicações. Esses Oficiais deverão estabelecer a freqüência a ser utilizada logo na
chegada das guarnições ao local de ocorrência, uma vez que é obrigatória a apresentação no posto de
comando.

            Para o nível 3 ( Comandado por Oficial Superior ) de funcionamento do SICOE será
designado um Oficial ou graduado especificamente para desempenhar a função de comunicações do
Estado Maior da Emergência, sendo que as comunicações devem ser centralizadas no Posto de
Comando, de forma a possibilitar o trânsito de comunicação entre todos os envolvidos no
atendimento da emergência e o posto de comando.

10. COMANDANTE DA EMERGÊNCIA

            O Comandante da Emergência, a mais alta patente do Corpo de Bombeiros,              é o
responsável por todas as atividades no local da emergência. Todas as suas observações e
determinações serão necessariamente dirigidas ao Cmt das Operações, que é o responsável
operacional da emergência.

11. COMANDANTE DAS OPERAÇÕES

            O Comandante das Operações é o responsável pela coordenação de toda a operação,
interligando o Estado Maior da Emergência ao Cmt da Emergência

11.1 Atribuições

• coordenar diretamente o trabalho do Estado Maior da Emergência;

• determinar a localização definitiva do Posto de Comando (PC);

• ratificar a área de estacionamento de apoio (definitivo);

• centralizar as comunicações com o Centro de Comunicações de Bombeiros;

• ligar-se ao Comandante de Operações,

• manter a segurança no local de emergência,

• divulgar as notícias do local da emergência,

COLETÂNEA DE MANUAIS TÉCNICOS DE BOMBEIROS                                                     10
MSICOE – MANUAL DE ATENDIMENTO DO SISTEMA DE COMANDO E OPERAÇÕES EM EMERGÊNCIAS                   11

• prever a manutenção e apoio de recursos no local de emergência;

• receber o material da área de estacionamento de apoio;

• planejar as operações;

• solicitar o apoio de outros órgãos externos ao CB;

• controlar o efetivo total empregado na operação.




                     Foto 04 – Cmt das Operações juntamente com outros órgãos.

12 - ESTADO MAIOR DA EMERGÊNCIA

            É denominado Estado Maior da Emergência para as atividades desempenhadas em apoio
ao Cmt de Operação durante o estabelecimento do Sistema de Comando e Operações em Emergência.

12.1 - Atribuições do Estado Maior da Emergência

• Distribuir e registrar os Hts no local de ocorrência;

• manter reserva estratégica de rádios;

• servir de elo de ligação entre o Comandante das Operações e outros órgãos envolvidos;

• disciplinar as comunicações providenciando que não haja interferências, garantindo a sua eficiência
e o trânsito das mensagens;

• por solicitação ou pelo desenvolvimento da ocorrência, dirige-se ao local o Oficial Superior -
Comandante das Operações - o qual terá no Posto de Cmdo todas as informações sobre a ocorrência


COLETÂNEA DE MANUAIS TÉCNICOS DE BOMBEIROS                                                      11
MSICOE – MANUAL DE ATENDIMENTO DO SISTEMA DE COMANDO E OPERAÇÕES EM EMERGÊNCIAS                     12

transmitida pelo Chefe Operacional que passará a ter função estritamente operacional. O Cmt de
Operações estabelecerá tanto os setores funcionais quanto os que houver necessidade, após assumir o
Cmdo.

• As ligações via Rádio se dão pela ordem:

- FASE 1 entre os Cmts de Guarnição:

- FASE 2 entre Cmt de Guarnição e Oficial de Área:

- FASE 3 entre Cmts de Área:

• por determinação do Chefe Operacional ou Comandante das Operações a partir dai:

• nas Unidades do Interior, as funções poderão ser desempenhadas de acordo com as características
da área e do pessoal envolvido e sempre que possível, as tarefas do Estado Maior da Emergência
deverão ser desempenhadas por Oficiais ou graduados disponíveis que tenham experiência:

• estabelece-se como níveis de ocorrência, para fins de avaliação em relação ao SICOE, como sendo:

- o Nível 1 - ocorrências em que são utilizadas Guarnições e comandadas por Tenente.

- o Nível 2 - ocorrências sob comando de Capitão (ou Oficial em função).

- o Nível 3 - ocorrências sob comando de Oficial Superior.

• em todos os níveis de ocorrência, há que se ter em mente os princípios básicos estabelecidos, como
instalação de um Posto de Comando, trânsito de Comunicações, manutenção de informações,
Segurança dos Trabalhos de Bombeiros, Plano de Atuação, avaliação da ocorrência e reestruturação;

• para fins de organização dos meios nos locais de emergência, tendo em vista o grande fluxo de
viaturas, pessoal, autoridades e outros ligados, ou não, à ocorrência, devem ser estabelecidas áreas de
trabalho, a fim de controlar quem pode ou deve estar próximo ou não da ocorrência, em função de sua
atividade ou grau da ligação com a emergência




13 - COLETES DE IDENTIFICAÇÃO

           Os principais benefícios no uso de coletes de identificação, em uma situação emergencial,
são a facilidade e a rapidez na localização dos integrantes do SICOE.
COLETÂNEA DE MANUAIS TÉCNICOS DE BOMBEIROS                                                        12
MSICOE – MANUAL DE ATENDIMENTO DO SISTEMA DE COMANDO E OPERAÇÕES EM EMERGÊNCIAS                  13

13.1 – Identificação pelas cores dos coletes

            As funções serão identificadas por cores de coletes, da seguinte forma:

• Comandante de Emergência - Colete vermelho;

• Comandante das Operações - Colete verde;

• Cmt de Setor - Colete amarelo;

• Pessoal de Segurança - Colete azul;

• Estado Maior da Emergência do SICOE - Colete identificando a função na emergência, com faixas
refletivas e escrito nas costas a respectiva função.

13.2 - Localização do material de identificação

            Todos os materiais necessários a essa identificação deverão estar à disposição no PC, na
Viatura correspondente.

14. VIATURA DO COMANDO DE OPERAÇÕES NO CBM

            No Comando de Bombeiros Metropolitano haverá uma viatura destinada ao Comando de
Operações (CO):




                           Foto 05 – Foto da Viatura do Posto de Comando.




15. ZONAS DE TRABALHO

            As chamadas zonas de trabalho têm sua aplicabilidade no atendimento a grandes
emergências e têm os seguintes objetivos:


COLETÂNEA DE MANUAIS TÉCNICOS DE BOMBEIROS                                                     13
MSICOE – MANUAL DE ATENDIMENTO DO SISTEMA DE COMANDO E OPERAÇÕES EM EMERGÊNCIAS                   14

• Auxiliar na manutenção de uma metodologia de atendimento de forma organizada e segura;

• reduzir os efeitos danosos da ocorrência a pessoas, meio ambiente e patrimônio;

• direcionar as operações e movimentos do incidente;

• minimizar o número de pessoas e equipamentos ao estritamente necessário;

• controlar o acesso das pessoas que podem ou devem estar próximo ou não da ocorrência, em função
de sua atividade ou grau de ligação com a emergência.

            As zonas de trabalho estão classificadas em 3 grupos: Zona Quente, Zona Morna e Zona
Fria.

15.1 – Zona Quente

            Área imediatamente circunvizinha ao incidente, que se estende até um limite que previna
os efeitos da ocorrência às pessoas ou equipamentos fora desta área.

            O acesso ao interior desta área deve ser limitado exclusivamente para aquelas pessoas que
especificamente vão atender a emergência, ou seja, guarnições de serviço e todo material necessário
para fazer frente ao fato. Poderão ou não entrar viaturas, como UR, PP, AG, e outros, quando
efetivamente empregados, após o que, deverão abandonar essa zona. Essa zona deverá ser
necessariamente demarcada e o Encarregado de Segurança do Estado Maior da Emergência é a quem
caberá orientar e controlar o acesso.




                                        Foto 06 – Zona Quente




COLETÂNEA DE MANUAIS TÉCNICOS DE BOMBEIROS                                                      14
MSICOE – MANUAL DE ATENDIMENTO DO SISTEMA DE COMANDO E OPERAÇÕES EM EMERGÊNCIAS                    15

15.2 - Zona morna

             Nesta área, deverão estar locados os equipamentos e pessoal para o suporte da Zona
Quente. Deve ser um local imediatamente anexo à Zona Quente devendo possibilitar a comunicação
e, sempre que possível, a observação da Zona Quente.

             Deve-se estabelecer nessa área um corredor de controle de acesso e saída de pessoal e
materiais.




                                        Foto 07 – Zona Morna

15.3 - Zona fria

             Nesta área estará o posto de comando, como também todos os suportes necessários para
controle do incidente.

             É o local de impedimento do acesso ao público, porém permitido a pessoas e a
autoridades que tenham relação com a ocorrência, mas que não atuarão diretamente na intervenção.

             Nesta área estarão os equipamentos de reserva e apoio médico de triagem.




                         Foto 08 – Posto Médico Avançado (Triagem de vítimas)

COLETÂNEA DE MANUAIS TÉCNICOS DE BOMBEIROS                                                    15
MSICOE – MANUAL DE ATENDIMENTO DO SISTEMA DE COMANDO E OPERAÇÕES EM EMERGÊNCIAS    16

                                   ZONAS DE TRABALHO




                        Linha
                                          Local da
                        Quente                                 Zona
                                        Emergência
                                       (Zona Quente)           Morna


                                                                       Linha
                                                                       Morna




    PONTOS DE ACESSO

                                                   ZONA FRIA

                                             Área de concentração

   POSTO MÉDICO                  Posto de Comando
     AVANÇADO                     e Estado Maior                 APOIO
                                                               LOGÍSTICO




COLETÂNEA DE MANUAIS TÉCNICOS DE BOMBEIROS                                        16
MSICOE – MANUAL DE ATENDIMENTO DO SISTEMA DE COMANDO E OPERAÇÕES EM EMERGÊNCIAS                     17

16. CAPACITAÇÃO PROFISSIONAL

             A capacitação para a aplicação do SICOE em local de ocorrência será realizada nos EAB
para o efetivo atual. Para o pessoal que entrar no CB, a partir da aplicação deste MTB, ficará por
conta dos cursos de formação.

             O currículo dos cursos e estágios de capacitação e estabelecimento das condições de sua
validação e avaliação de conhecimentos estarão previstas em ETB específicas.

17. INSTRUÇÃO E SIMULADOS

             Para instruções em sala de aula, o Bombeiro não utilizará EPI, somente será demonstrada
a utilização, ou será executado seu manuseio conforme a didática do instrutor (Ex: para treinamento
de uso de roupa nível “A” é necessário vesti-la, juntamente com o EPR).

             Para a execução do simulado, o EPI será estabelecido conforme cada emergência em Nota
de Instrução, de acordo com as zonas de trabalho (quente, morna e fria), como exemplo:

•   Incêndios: Capa (proteção térmica e física), capacete Gallet (proteção térmica e física), balaclava
    (proteção térmica), bota Servus ou bota cano longo (proteção térmica), cinto alemão com
    machado Ziegler (auxílio da linha da vida e pequenos arrombamentos), EPR completo (proteção
    respiratória), luvas de proteção (proteção física e térmica);
•   Produtos Perigosos: Roupa nível “A” (para proteção requerida do produto químico atendido),
    EPR completo (para autonomia de ar, não tendo contato com os gases emanados do produto
    químico);
•   Soterramentos e desabamentos: Capa (proteção física), capacete Gallet (proteção física), bota
    Servus ou bota cano longo (proteção física), cinto alemão (montagem da linha da vida), luvas de
    proteção (proteção física).

17.1 - Segurança

             Para garantir a segurança do bombeiro ou da guarnição, além do EPI escolhido de forma
correta, deverão ser providenciados os seguintes materiais: Bolsa de primeiros-socorros, cilindro de
O2 portátil, prancha longa e uma dupla de bombeiros guarnecendo uma UR ou AR, com a finalidade
de dar o pronto atendimento a qualquer instruendo que venha a se ferir durante os treinamentos
práticos, transportando ao Hospital mais próximo, conforme estabelecido previamente em Plano de
Segurança.



COLETÂNEA DE MANUAIS TÉCNICOS DE BOMBEIROS                                                        17
MSICOE – MANUAL DE ATENDIMENTO DO SISTEMA DE COMANDO E OPERAÇÕES EM EMERGÊNCIAS                    18

           Outro ponto importante é a segurança do local, que deverá ser totalmente isolado com
fitas de isolamento (ou afins), conforme distância estabelecida em detrimento do tipo de simulado ou
situação de emergência. As viaturas serão estacionadas conforme o POP específico.

17.2 - Desenvolvimento

           Para o sucesso do sistema é imprescindível o treinamento constante do usuário.
Recomenda-se que a Unidade operacional realize pelo menos 02 (dois) treinamentos completos
(teórico e prático) por ano para todo seu efetivo, tanto operacional como administrativo (eventuais
apoios).

           O primeiro treinamento, a critério de cada Unidade, seria realizado dentro do período do
1º semestre em grupos de 20 ou 30 bombeiros, e o segundo treinamento no 2º semestre, como
padronização do Corpo de Bombeiros, na semana prevencionista, no mês de novembro, com a
maioria do efetivo da unidade, ficando, ao seu critério, os demais treinamentos para o restante de seu
efetivo.

           Na realidade este item tem a simples finalidade de estabelecer um padrão de montagem de
treinamento, o que não limita cada Unidade de escolher suas principais emergências para simulação,
conforme suas próprias estatísticas.

17.3 - Treinamento

           O treinamento deverá ser o mais simplificado e objetivo possível, constando sempre,
conforme planejamento próprio de cada unidade, de aulas teóricas e avaliação, seguido de um
exercício prático para sedimentar o que foi estudado.

17.3.1 – Aulas Teóricas

           Durante as aulas teóricas todos os formulários abaixo descritos deverão ser preenchidos,
conforme os modelos deste MTB:

- Ficha de Controle Humano Material e Equipamento (anexo “A”);

- Organograma do SICOE nível 1 (anexo “B”);

- Controle de consumo de água na emergência (anexo “D”);

- Relatório (anexo “E”);


COLETÂNEA DE MANUAIS TÉCNICOS DE BOMBEIROS                                                       18
MSICOE – MANUAL DE ATENDIMENTO DO SISTEMA DE COMANDO E OPERAÇÕES EM EMERGÊNCIAS               19

- Controle de distribuição de HT’s (anexo “F”);

- Controle de efetivo (anexo “G”);

- Quadro Tático (anexo “H”);

- Controle de Viaturas (anexo “I”)




17.3.2 – Exercício Prático (simulado)

           Recomenda-se que cada grupo de instruendos seja formado por 20 (vinte) ou 30 (trinta)
bombeiros, de forma que eles possam constituir os grupos que atuam na ocorrência, como Estado
Maior ou Chefes de Setores.

           A instalação do SICOE é gradual e dinâmica, avolumando seus recursos humanos e
materiais na medida requerida de cada ocorrência. Nessa dinâmica, conforme efetivo disponível, as
ocorrências são classificadas por níveis de comando.

17.3.2.1 - Ocorrências NÍVEL 1

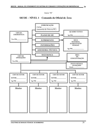
           Comandada por Oficial de Área, neste caso, muitas vezes no início das ocorrências, a
Guarnição de Comando de Área (formada por 03 homens) instala-se como Posto de Comando (PC),
onde teremos acúmulos de funções:

-Oficial de Área: Comandante da Emergência e Comandante das Operações;

-Auxiliar do Área: Anotador do Posto de Comando, além de recolher todas as planilhas das
guarnições que se apresentam, planilhas onde constam efetivo, materiais, quantidade de água etc
(anexo “A”);

-Motorista do Área: Digitador do Posto de Comando, que irá manusear o computador do mesmo,
digitalizando todas as informações transmitidas pelo anotador, facilitando a confecção do quadro
tático (anexo “H”), e Relatório Final . Esse integrante também terá o papel de Operador de rádio
(Centro de Operações do Posto de Comando), até a chegada da VTR específica Posto de Comando
(ou estabelecimento de um local ou barraca como Posto de Comando).

-Comandante de Guarnições: geralmente designado a Sargentos do Corpo de Bombeiros, estes serão
os chefes dos Setores. É bastante natural que o Cmt das Operações (nesse caso Oficial de Área)

COLETÂNEA DE MANUAIS TÉCNICOS DE BOMBEIROS                                                  19
MSICOE – MANUAL DE ATENDIMENTO DO SISTEMA DE COMANDO E OPERAÇÕES EM EMERGÊNCIAS                  20

convoque o graduado mais amigo, mais 02 auxiliares, para fazerem parte do Estado Maior,
acumulando todas as funções, dando ênfase, obviamente, à confecção do “Quadro Tático”, “Plano de
Operações Táticas” e organização da “Logística”.

-Guarnições de Unidade de Resgate: serão empregadas na montagem do Posto Médico Avançado
(PMA). O Graduado de maior antiguidade, auxiliado por outros 02 (dois) bombeiros organizarão o
PMA, refazendo as triagens feitas pelas demais guarnições (método START), priorizando o
transporte conforme as gravidades das vítimas, controlando a quantidade de vítimas por Hospitais e
por especialidade (dentro do possível).

             Durante a ocorrência, com a chegada da Vtr Posto de Comando com mais 02 (dois)
integrantes, teríamos:

-Motorista do Posto de Comando: passa a ser o Operador de rádio, fazendo com que o motorista da
Vtr Cmdo de Área fique responsável somente pela digitação das planilhas de controle; e

-Auxiliar do Posto de Comando: auxilia ao anotador na compilação de dados e recolhimento de
planilhas.

             Cada Cmt de Guarnição entregará uma ficha de controle de material (anexo “A”),
previamente preenchida, quando chegar à ocorrência, diretamente no Posto de Comando, para que o
Cmt das Operações tenha conhecimento da viatura, do efetivo e material de apoio (sendo
imediatamente computado pelo anotador do Posto de Comando). Entregará, também, outra ficha do
anexo “A” no final da ocorrência, para controle de água gasta na ocorrência determinando, assim, o
fim da atividade daquela viatura em emergência.

             Na medida em que as Guarnições vão chegando o Cmt da Operações (Of de Área), de
posse do croqui do local sinistrado, via rádio com o Posto de Comando ou pessoalmente, definirá
onde aquela guarnição recém chegada será empregada, bem como qual setor o Graduado irá chefiar.

             O organograma das ocorrências de NÍVEL 1 está demonstrado no anexo “B”.

17.3.2.2 - Ocorrência NÍVEL 2

             Esta situação é comandada pelo Supervisor de Serviço ou Cap PM. Como dito
anteriormente, o sistema é bastante dinâmico e, conforme a evolução da ocorrência, o Oficial de Área
poderá acionar o apoio do Supervisor de Serviço.



COLETÂNEA DE MANUAIS TÉCNICOS DE BOMBEIROS                                                     20
MSICOE – MANUAL DE ATENDIMENTO DO SISTEMA DE COMANDO E OPERAÇÕES EM EMERGÊNCIAS                  21

           Chegando ao local da ocorrência, o Supervisor de Serviço desloca-se ao PC e assume o
comando da emergência, tomando conhecimento das informações: Plano de Operações Táticas
(desenvolvido pelo Ten PM que comandava), Quadro Tático (quantidade e disposição do material
humano e equipamentos no teatro de operações). Nesse momento, estabelece novo Plano de
Operações Táticas ou permanece com aquele já estabelecido.

           Na maioria das vezes, não há uma chegada maciça de Oficiais para elaboração de um
Estado Maior completo. Sendo assim, simplesmente, o Supervisor passa a ser o Cmt da Emergência e
o Oficial de Área passa a ser somente o Cmt das Operações, permanecendo o organograma
basicamente igual ao anexo “B”. Na medida em que, conforme evolução da ocorrência, outros
Oficiais forem chegando como apoio, o Cmt da Emergência começa a substituir os graduados que,
até o momento, estavam como integrantes do Estado Maior e Chefes de Setores. Dá-se, então,
prioridade de substituição por Oficiais os setores mais críticos ou funções de Estado Maior de maior
responsabilidade, na seguinte ordem: Quadro Tático, Suprimentos, Segurança, Comunicação,
Informações.

17.3.2.3 - Ocorrência NÍVEL 3

           Esta situação é comandada pelo Coordenador Operacional ou Oficial Superior. Da mesma
forma, conforme a evolução da ocorrência, o Supervisor de Serviço aciona o Coordenador
Operacional.

           Chegando ao local da ocorrência, o Coordenador Operacional desloca-se ao PC e assume
o comando da emergência, tomando conhecimento das informações: Plano de Operações Táticas
(desenvolvido pelo Cap PM que comandava), Quadro Tático (quantidade e disposição do material
humano e equipamentos no teatro de operações). Nesse momento, estabelece novo Plano de
Operações Táticas ou permanece com aquele já estabelecido.

           Cabe salientar que, pelo tempo de acionamento, quando uma ocorrência atinge o NÍVEL
3, já houve tempo suficiente para que os Oficiais necessários na montagem de Estado Maior completo
cheguem ao local do fato. Será oportuno e conveniente, caso ainda haja necessidade, substituir os
graduados por Oficiais, remanejando esses graduados para os Setores deficientes de efetivo.

           Sendo assim, o organograma do SICOE apresenta-se conforme o anexo “C”, dispondo as
funções e responsabilidades, de acordo com efetivo disponível de Oficiais e Praças, consoante a
Diretriz CCB-003/213/04.



COLETÂNEA DE MANUAIS TÉCNICOS DE BOMBEIROS                                                     21
MSICOE – MANUAL DE ATENDIMENTO DO SISTEMA DE COMANDO E OPERAÇÕES EM EMERGÊNCIAS                        22

                                     QUESTÕES SOBRE O CAPÍTULO

1) Quem comanda uma ocorrência nível 2 ? Por quê ?

2) Quem é o responsável pelo rádio no início das operações na implantação do SICOE ?

3) Quem deve ser o coletor de informações e planilhas nas ocorrências NÍVEL 01 ?

4) Quantas vezes o Cmt da guarnição de AB entrega a ficha de controle Humano, material e
equipamento no PC ? Quando ?

5) Por que a Ficha de Controle de Humano, Material e Equipamento é importante para o sistema?



18. IDENTIFICAÇÃO DE MATERIAIS POR CORES

           Em uma grande ocorrência, por questões operacionais, muitas vezes os equipamentos das
VTR’s são recolhidos e redistribuídos para o efetivo operacional nos diversos setores de trabalho.

           Para fins de organização, necessário se faz identificar os diversos materiais por cores.

18.1 - Tabela de cores por Unidade.

           Cabe ressaltar que na tabela há cores repetidas, porém essa repetição ocorre entre
Unidades Operacionais que, por motivos territoriais, dificilmente trabalharão na mesma ocorrência.


                              UNIDADE                      COR

                                 1º GB                    Branca

                                 2º GB                    Verde

                                 3º GB                   Amarela

                                 4º GB                     Azul

                                 5º GB                  Vermelha

                                 6º GB                     Preta

                                 7º GB                   Prateada

                                 8º GB                     Bege

                                 9º GB                    Laranja


COLETÂNEA DE MANUAIS TÉCNICOS DE BOMBEIROS                                                            22
MSICOE – MANUAL DE ATENDIMENTO DO SISTEMA DE COMANDO E OPERAÇÕES EM EMERGÊNCIAS              23


                                10º GB                      Marron

                                11º GB                        Cinza

                                12º GB                       Verde

                                13º GB                         azul

                                14º GB                     vermelha

                                15º GB                        preta

                                16º GB                      prateada

                                17º GB                         ocre

                                18º GB                       laranja

                            Força Tarefa                    dourado



                                             Fonte: Elaborada pelos autores


18.2 - Quais equipamentos devem ser pintados (ou identificados por cores)

•   Lanternas: uma faixa de 05 cm no suporte ou corpo da lanterna;

•   Mangueiras: será feita uma faixa no tecido nas extremidades junto às empatações;

•   Cilindro de mergulho: pintura de uma faixa próximo ao registro/gargalo de aproximadamente 02
    cm;

•   Cilindro reserva de EPR: pintura de uma faixa próximo ao registro/gargalo de aproximadamente
    02 cm;

•   Suporte do EPR: uma faixa na base do suporte de aproximadamente 05 cm;

•   Máscara do EPR: uma faixa colorida em um dos tirantes de aproximadamente 02 cm;

•   Materiais de sapa em geral: pintura de uma faixa de 10 cm de largura;

•   Lonas: pintura de triângulos de aproximadamente 10 cm de lado nos 04 cantos da lona;



COLETÂNEA DE MANUAIS TÉCNICOS DE BOMBEIROS                                                 23
MSICOE – MANUAL DE ATENDIMENTO DO SISTEMA DE COMANDO E OPERAÇÕES EM EMERGÊNCIAS                 24

•   Desencarceradores e ferramentas, geradores, motosserras: pintura de uma faixa de
    aproximadamente 05 cm nos seus suportes;

•   Entre outros materiais.

            As pinturas ou identificações por cores devem ser sempre renovadas, em detrimento do
desgaste pelo uso, sob a possibilidade de participar de uma ocorrência com materiais não
identificados. Essa identificação ou manutenção deverão ser feitas nos dias de limpeza de material,
cabendo a cada PB a decisão de identificar outros materiais fora dos itens acima.

            No final das ocorrências ficará mais simples de recuperar os equipamentos de cada VTR,
caso os mesmos tenham sido reunidos pelo Comando da ocorrência, por meio do setor de suprimento
do Estado Maior, que terá formulário próprio de controle.




                               QUESTÕES SOBRE O CAPÍTULO

1) Por que devo identificar os materiais da minha VTR ?

2) Quando será feita a identificação dos equipamentos ?

3) Na ocorrência a quem eu devo me reportar para entregar e recuperar equipamento emprestado para
a emergência?




COLETÂNEA DE MANUAIS TÉCNICOS DE BOMBEIROS                                                    24
MSICOE – MANUAL DE ATENDIMENTO DO SISTEMA DE COMANDO E OPERAÇÕES EM EMERGÊNCIAS                         25

                                              Anexo “A”

   Ficha de controle Humano, Material e Equipamento
VTR:                          GB:                               PB:



 Guarnição: Oficial:             Sargentos:           Cabos:             Soldados:            Total:

Cursos:             Perícia               Terrestre                Csalt                         PP



Equipamentos e materiais:



Quantidade de LGE em litros



Desencarceradores       Marca: ________________

 Ferramenta combinada                  Alargador                Extensor                 Correntes



       Gerador                         Potência                                  Moto-abrasivo



                 EPR          Marca: _____________                             Cilindros reservas



Abastecimento:          Capacidade do tanque da VTR                                  Litros

Quantidade de reabastecimento                 Vezes

Quantidade total de água utilizada: ______________ litros

OBS:

Todas as informações referem-se ao efetivo e material específico da viatura. O campo “OBS” poderá
ser utilizado para complemento de informações, cursos, materiais, etc.




COLETÂNEA DE MANUAIS TÉCNICOS DE BOMBEIROS                                                             25
MSICOE – MANUAL DE ATENDIMENTO DO SISTEMA DE COMANDO E OPERAÇÕES EM EMERGÊNCIAS                   26


                                             Anexo “B”

           SICOE – NÍVEL 1 Comando do Oficial de Área

                                       COMUNICAÇÃO
                                 Cb/Sd ________________
                                 (motorista do Área ou PC)
                                                                            QUADRO TÁTICO
     CMT DA
   EMERGÊNCIA                         PLANO DE OP.                        Sgt PM_______________

Ten PM______________
                                      SUPRIMENTO                                ÁGUA
                                                                              MATERIAL
                                                                            ALIMENTAÇÃO
                                      INFORMAÇÕES                              PESSOAL

                                                                          Sgt PM_______________
                                  ASSESSORIA TÉCNICA

                                       SEGURANÇA                                 ÁREA
       CMT DE                                                                     DE
      OPERAÇÕES                                                              CONCENTRAÇÃO
 Ten PM_______________
                                                                             POSTO MÉDICO
                                                                                AVANÇADO
                                                                            Chefe:______________



  CMT DE SETOR             CMT DE SETOR                  CMT DE SETOR           CMT DE SETOR

SETOR:____________       SETOR:____________         SETOR:____________        SETOR:____________

Sgt PM ____________       Sgt PM ____________       Sgt PM ____________       Sgt PM ____________



     Missões:                  Missões:                    Missões:                Missões:




COLETÂNEA DE MANUAIS TÉCNICOS DE BOMBEIROS                                                    26
MSICOE – MANUAL DE ATENDIMENTO DO SISTEMA DE COMANDO E OPERAÇÕES EM EMERGÊNCIAS     27


                                                Anexo “C”



SISTEMA DE COMANDO E OPERAÇÕES EM EMERGÊNCIAS - SICOE



                                          COMUNICAÇÃO


            CMT
                                         PLANO DE OP.                QUADRO TÁTICO
             DA
         EMERGÊNCIA                      SUPRIMENTO                      ÁGUA
                                                                       MATERIAL
                                         INFORMAÇÕES                 ALIMENTAÇÃO
                                                                        PESSOAL
                                     ASSESSORIA TÉCNICA

                                          SEGURANÇA

              CMT                                                          ÁREA
               DE                                                           DE
           OPERAÇÕES                                                   CONCENTRAÇÃO




              CMT                    CMT                     CMT            CMT
               DE                     DE                      DE             DE
             SETOR                  SETOR                   SETOR          SETOR



          INCÊNDIO                INCÊNDIO               INCÊNDIO        INCÊNDIO
         SALVAMENTO              SALVAMENTO             SALVAMENTO      SALVAMENTO
           RESGATE                 RESGATE                RESGATE         RESGATE
              PP                      PP                     PP              PP




   COLETÂNEA DE MANUAIS TÉCNICOS DE BOMBEIROS                                         27
MSICOE – MANUAL DE ATENDIMENTO DO SISTEMA DE COMANDO E OPERAÇÕES EM EMERGÊNCIAS           28


                                             Anexo “D”

                POSTO DE COMANDO DO CORPO DE BOMBEIROS

                              CONSUMO DE ÁGUA NA EMERGÊNCIA

VIATURA               EMPRESA                 CAPACIDADE      QUANTIDADE DE     LITROS
                                                (em litros)   ABASTECIMENTO   CONSUMIDOS




                                   TOTAL




COLETÂNEA DE MANUAIS TÉCNICOS DE BOMBEIROS                                               28
MSICOE – MANUAL DE ATENDIMENTO DO SISTEMA DE COMANDO E OPERAÇÕES EM EMERGÊNCIAS         29

                                             Anexo “E”

                                 MODELO DE RELATÓRIO

                                             ENDEREÇO

ENDEREÇO:                                                          DATA:
BAIRRO :                                     CIDADE:



                                      TIPO DE OCORRÊNCIA
OCORRÊNCIA:

LOCAL:                                  DETALHAMENTO DO LOCAL:

CAUSA PROVÁVEL DO INCÊNDIO:

NOME PRODUTO PERIGOSO:                                     Nº DO PERIGOSO:


                                     HORÁRIOS
      ACIDENTE             AVISADO AO   CHEGADA DO CB                  DEIXADO EM
    ACONTECIDO                   CB                                    SEGURANÇA
                    HS                 HS                    HS                        HS


                                CONDIÇÕES CLIMÁTICAS
         TEMPO           DIREÇÃO DO VENTO        VELOCIDADE DO VENTO     TEMPERATURA




                             SITUAÇÃO NO LOCAL




MEDIDAS DE PRIMEIROS SOCORROS:




MEDIDAS DE COMBATE A INCÊNDIO/SALVAMENTO:




COLETÂNEA DE MANUAIS TÉCNICOS DE BOMBEIROS                                             29
MSICOE – MANUAL DE ATENDIMENTO DO SISTEMA DE COMANDO E OPERAÇÕES EM EMERGÊNCIAS        30

                                   Continuação do Anexo “E”

                                  PARTICIPANTES DA OPERAÇÃO
EMPRESAS                                                    ENCARREGADO   HT   LOCAL
              PREF   H. ACION   H CHEG   H SAÍDA     Nº
/ENTIDADES
              VIAT
                                                   HOMENS




                                   Continuação do Anexo “E”

COLETÂNEA DE MANUAIS TÉCNICOS DE BOMBEIROS                                         30
MSICOE – MANUAL DE ATENDIMENTO DO SISTEMA DE COMANDO E OPERAÇÕES EM EMERGÊNCIAS    31

                                   Continuação do Anexo “E”

                               AÇÕES EXECUTADAS NO LOCAL


                                     RELAÇÃO DE VÍTIMAS


               NOME                    SEXO     IDADE          CONDUZIDA




COLETÂNEA DE MANUAIS TÉCNICOS DE BOMBEIROS                                        31
MSICOE – MANUAL DE ATENDIMENTO DO SISTEMA DE COMANDO E OPERAÇÕES EM EMERGÊNCIAS                                32

                                                    Anexo “F”

                    POSTO DE COMANDO DO CORPO DE BOMBEIROS

                               CONTROLE DE DISTRIBUIÇÃO DE FUNÇÕES E HT’s


        FUNÇÃO                 NOME DE GUERRA             UNIDADE         SETOR DE TRABALHO           NÚMERO DO HT




                             TOTAL DE HT´s DISTRIBUÍDOS

FORMA DE PREENCHIMENTO:


- FUNÇÃO: RESPONSABILIDADE PELA QUAL RESPONDE (EXEMPLO): CMT DAS OPERAÇÕES, CHEFE DO SETOR
- SETOR DE TRABALHO: LOCAL ONDE ESTÁ ESCALADO (EXEMPLO): SETOR “A”, SEGURANÇA RUA “B”, SUPRIMENTO
- NÚMERO DO HT: Nº SEQUENCIAL QUE PASSA A SER O PREFIXO DO RÁDIO PORTÁTIL (EX): HT 01, HT 02, HT 04 etc




COLETÂNEA DE MANUAIS TÉCNICOS DE BOMBEIROS                                                                   32
MSICOE – MANUAL DE ATENDIMENTO DO SISTEMA DE COMANDO E OPERAÇÕES EM EMERGÊNCIAS    33

                                             Anexo “G”

                  POSTO DE COMANDO DO CORPO DE BOMBEIROS

                                      CONTROLE DE EFETIVO


  OPM       VTR     TEN CEL    MAJ       CAP        TEN     STEN   SGT   Cb       Sd




     TOTAL


                          TOTAL GERAL




COLETÂNEA DE MANUAIS TÉCNICOS DE BOMBEIROS                                        33
MSICOE – MANUAL DE ATENDIMENTO DO SISTEMA DE COMANDO E OPERAÇÕES EM EMERGÊNCIAS                          34

                                               Anexo “H”

                  POSTO DE COMANDO DO CORPO DE BOMBEIROS

                                           QUADRO TÁTICO


SITUAÇÃO GERAL:




PLANO DE OPERAÇÃO TÁTICA:




SETOR 1: LOCAL_______________________________________ SITUAÇÃO: ______________________________________


     CMT          EFETIVO       EQUIPAMENTOS                  MISSÃO                 TÁTICA EMPREGADA




SETOR 2: LOCAL_______________________________________ SITUAÇÃO: ______________________________________


     CMT          EFETIVO       EQUIPAMENTOS                  MISSÃO                 TÁTICA EMPREGADA




COLETÂNEA DE MANUAIS TÉCNICOS DE BOMBEIROS                                                           34
MSICOE – MANUAL DE ATENDIMENTO DO SISTEMA DE COMANDO E OPERAÇÕES EM EMERGÊNCIAS                          35

                                      Continuação do Anexo “H”




SETOR 3: LOCAL_______________________________________ SITUAÇÃO: ______________________________________


     CMT          EFETIVO       EQUIPAMENTOS                  MISSÃO                 TÁTICA EMPREGADA




SETOR 4: LOCAL_______________________________________ SITUAÇÃO: ______________________________________


     CMT          EFETIVO       EQUIPAMENTOS                  MISSÃO                 TÁTICA EMPREGADA




SETOR 5: LOCAL_______________________________________ SITUAÇÃO: ______________________________________


     CMT          EFETIVO       EQUIPAMENTOS                  MISSÃO                 TÁTICA EMPREGADA




                                      Continuação do Anexo “H”


COLETÂNEA DE MANUAIS TÉCNICOS DE BOMBEIROS                                                           35
MSICOE – MANUAL DE ATENDIMENTO DO SISTEMA DE COMANDO E OPERAÇÕES EM EMERGÊNCIAS    36

                                             CROQUI

Zona Quente




Zona Morna




Zona Fria




COLETÂNEA DE MANUAIS TÉCNICOS DE BOMBEIROS                                        36
MSICOE – MANUAL DE ATENDIMENTO DO SISTEMA DE COMANDO E OPERAÇÕES EM EMERGÊNCIAS                        37

                                                     Anexo “I”

                       POSTO DE COMANDO DO CORPO DE BOMBEIROS

                                            CONTROLE DE VIATURAS - PREFIXOS


 OPM     AB    ABS   ABSR   AT   CM    AC     AS   ASE   UR   USA    AG   PP    VO      AE   CA   TP   UT    MOB




TOTAIS


   TOTAL GERAL DE VTR

FORMA DE PREENCHIMENTO:


- PREECHA SOMENTE COM O NÚMERO DO PREFIXO NA RESPECTIVA COLUNA CONFORME O TIPO DE VTR
- SOME OS TOTAIS QUANTITATIVOS DE CADA COLUNA;
- SOME TODOS OS TOTAIS DAS COLUNAS PARA PREENCHER O TOTAL GERAL DE VTR




     COLETÂNEA DE MANUAIS TÉCNICOS DE BOMBEIROS                                                         37
MSICOE – MANUAL DE ATENDIMENTO DO SISTEMA DE COMANDO E OPERAÇÕES EM EMERGÊNCIAS           38

                   REFERÊNCIAS NORMATIVAS E BIBLIOGRÁFICAS




- DE LIMA, Jair Paca. Proposta de aperfeiçoamento do Sistema de Comando e Operações em
Emergências do Corpo de Bombeiros da Polícia Militar do Estado de São Paulo. Curso Superior
de Polícia – Centro de Aperfeiçoamento e Estudos Superiores, Polícia Militar do Estado de São
Paulo, 1998.

- Diretriz Nº CCB-003/213/04

- NOB Nº 42/04 – Sistema de Comando e Operações em Emergências (SICOE) do Corpo de
Bombeiros do Estado de São Paulo.




COLETÂNEA DE MANUAIS TÉCNICOS DE BOMBEIROS                                              38
O CONTEÚDO DESTE MANUAL TÉCNICO ENCONTRA-
SE SUJEITO À REVISÃO, DEVENDO SER DADO AMPLO
  CONHECIMENTO A TODOS OS INTEGRANTES DO
  CORPO DE BOMBEIROS, PARA APRESENTAÇÃO DE
SUGESTÕES POR MEIO DO ENDEREÇO ELETRÔNICO
         CCBSSECINC@POLMIL.SP.GOV.BR

Mtb 37 sistema de comando e operações emergenciais

  • 1.
    3 Coletânea de Manuais Técnicos de Bombeiros 37 SISTEMA DE COMANDO E OPERAÇÕES EMEMERGÊNCIAS (SICOE)
  • 2.
    COLETÂNEA DE MANUAIS TÉCNICOSDE BOMBEIROS MANUAL DO SISTEMA DE MSICOE COMANDO E OPERAÇÕES EM EMERGÊNCIAS 1ª Edição 2006 Volume 37 Os direitos autorais da presente obra pertencem ao Corpo de Bombeiros da Polícia Militar do Estado de São Paulo. Permitida a reprodução parcial ou total desde que citada a fonte. PMESP CCB
  • 3.
    COMISSÃO Comandante do Corpo de Bombeiros Cel PM Antonio dos Santos Antonio Subcomandante do Corpo de Bombeiros Cel PM Manoel Antônio da Silva Araújo Chefe do Departamento de Operações Ten Cel PM Marcos Monteiro de Farias Comissão coordenadora dos Manuais Técnicos de Bombeiros Ten Cel Res PM Silvio Bento da Silva Ten Cel PM Marcos Monteiro de Farias Maj PM Omar Lima Leal Cap PM José Luiz Ferreira Borges 1º Ten PM Marco Antonio Basso Comissão de elaboração do Manual Cap PM Roberto Alboredo Sobrinho Cap PM Alexandre Augusto Campos de Souza 1º Ten PM Marcos Vicente de Paulo Silva 1º Ten PM Adriano Martins 1º Ten PM Eduardo Cimino Carvalho Júnior 1º Ten PM Cristiana de Barros Lucena Subten PM Almir de Oliveira 1º Sgt PM Mário César de Jesus Cb PM Geraldo Kendi Tsuji Comissão de Revisão de Português 1º Ten PM Fauzi Salim Katibe 1° Sgt PM Nelson Nascimento Filho 2º Sgt PM Davi Cândido Borja e Silva Cb PM Fábio Roberto Bueno Cb PM Carlos Alberto Oliveira Sd PM Vitanei Jesus dos Santos COLETÂNEA DE MANUAIS TÉCNICOS DE BOMBEIROS
  • 4.
    PREFÁCIO - MTB No início do século XXI, adentrando por um novo milênio, o Corpo de Bombeiros da Polícia Militar do Estado de São Paulo vem confirmar sua vocação de bem servir, por meio da busca incessante do conhecimento e das técnicas mais modernas e atualizadas empregadas nos serviços de bombeiros nos vários países do mundo. As atividades de bombeiros sempre se notabilizaram por oferecer uma diversificada gama de variáveis, tanto no que diz respeito à natureza singular de cada uma das ocorrências que desafiam diariamente a habilidade e competência dos nossos profissionais, como relativamente aos avanços dos equipamentos e materiais especializados empregados nos atendimentos. Nosso Corpo de Bombeiros, bem por isso, jamais descuidou de contemplar a preocupação com um dos elementos básicos e fundamentais para a existência dos serviços, qual seja: o homem preparado, instruído e treinado. Objetivando consolidar os conhecimentos técnicos de bombeiros, reunindo, dessa forma, um espectro bastante amplo de informações que se encontravam esparsas, o Comando do Corpo de Bombeiros determinou ao Departamento de Operações, a tarefa de gerenciar o desenvolvimento e a elaboração dos novos Manuais Técnicos de Bombeiros. Assim, todos os antigos manuais foram atualizados, novos temas foram pesquisados e desenvolvidos. Mais de 400 Oficiais e Praças do Corpo de Bombeiros, distribuídos e organizados em comissões, trabalharam na elaboração dos novos Manuais Técnicos de Bombeiros - MTB e deram sua contribuição dentro das respectivas especialidades, o que resultou em 48 títulos, todos ricos em informações e com excelente qualidade de sistematização das matérias abordadas. Na verdade, os Manuais Técnicos de Bombeiros passaram a ser contemplados na continuação de outro exaustivo mister que foi a elaboração e compilação das Normas do Sistema Operacional de Bombeiros (NORSOB), num grande esforço no sentido de evitar a perpetuação da transmissão da cultura operacional apenas pela forma verbal, registrando e consolidando esse conhecimento em compêndios atualizados, de fácil acesso e consulta, de forma a permitir e facilitar a padronização e aperfeiçoamento dos procedimentos.
  • 5.
    O Corpo deBombeiros continua a escrever brilhantes linhas no livro de sua história. Desta feita fica consignado mais uma vez o espírito de profissionalismo e dedicação à causa pública, manifesto no valor dos que de forma abnegada desenvolveram e contribuíram para a concretização de mais essa realização de nossa Organização. Os novos Manuais Técnicos de Bombeiros - MTB são ferramentas importantíssimas que vêm juntar-se ao acervo de cada um dos Policiais Militares que servem no Corpo de Bombeiros. Estudados e aplicados aos treinamentos, poderão proporcionar inestimável ganho de qualidade nos serviços prestados à população, permitindo o emprego das melhores técnicas, com menor risco para vítimas e para os próprios Bombeiros, alcançando a excelência em todas as atividades desenvolvidas e o cumprimento da nossa missão de proteção à vida, ao meio ambiente e ao patrimônio. Parabéns ao Corpo de Bombeiros e a todos os seus integrantes pelos seus novos Manuais Técnicos e, porque não dizer, à população de São Paulo, que poderá continuar contando com seus Bombeiros cada vez mais especializados e preparados. São Paulo, 02 de Julho de 2006. Coronel PM ANTONIO DOS SANTOS ANTONIO Comandante do Corpo de Bombeiros da Polícia Militar do Estado de São Paulo
  • 6.
    APRESENTAÇÃO O crescimento da sociedade, os avanços tecnológicos, a evolução e o surgimento de novas especialidades nas atividades humanas e do próprio Corpo de Bombeiros que atuando conjuntamente em emergências, tornavam mais abundantes e complexas a administração e controle dos recursos empregados. Por conta desta diversidade e complexidade de meios empregados no atendimento de emergências, necessitou-se de um método para fazer frente a esta nova dificuldade. Desta forma institui-se no CB, em 1997, o SICOE, Sistema de Comando em Operações em Emergência, que visava esquematizar e ordenar emergências de todos os portes, sendo fundamental para o sucesso das emergências e para a segurança dos bombeiros. No ano de 1998, o então Ten Cel PM Jair Paca de Lima, em tema monográfico do CSP, defendeu a abertura do sistema para adaptações necessárias, propôs alterações, sugeriu a intensificação de treinamentos através da criação de estágios pela Escola de Bombeiros para Oficiais Superiores e Capitães, além de ressaltar a importância do Sistema para a resolução das emergências em todos os níveis. O SICOE foi implantado no Corpo de Bombeiros inicialmente de maneira informal, tendo sido formalizado no final do ano de 2004 com a publicação da DIRETRIZ Nº CCB- 003/213/04. COLETÂNEA DE MANUAIS TÉCNICOS DE BOMBEIROS
  • 7.
    MSICOE – MANUALDE ATENDIMENTO DO SISTEMA DE COMANDO E OPERAÇÕES EM EMERGÊNCIAS SUMÁRIO 1. CONCEITOS BÁSICOS E TERMINOLOGIA..............................................................................01 2. O SISTEMA DE COMANDO E OPERÇÕES EM EMERGÊNCIAS – SICOE............................01 3. LOGÍSTICA....................................................................................................................................05 4. INFORMAÇÃO Á MÍDIA.............................................................................................................07 5. SEGURANÇA DO TRABALHO...................................................................................................07 6. ASSESSORIA TÉCNICA...............................................................................................................08 7. COMANDANTE DOS SETORES (Chefe Operacional)................................................................08 8. COMANDANTES DE SETOR.......................................................................................................09 9. POSTO DE COMANDO (PC)........................................................................................................09 10. COMANDANTE DA EMERGÊNCIA...........................................................................................10 11. COMANDANTE DAS OPERAÇÕES............................................................................................10 12. ESTADO MAIOR DA EMERGÊNCIA.........................................................................................12 13. COLETES DE IDENTIFICAÇÃO.................................................................................................13 14. VIATURA DO COMANDO DE OPERAÇÕES NO CBM...........................................................14 15. ZONAS DE TRABALHO...............................................................................................................14 16. CAPACITAÇÃO PROFISSIONAL................................................................................................18 17. INSTRUÇÃO E SIMULADOS.......................................................................................................18 18. IDENTIFICAÇÃO DE MATERIAIS POR CORES.......................................................................22 19. FICHA DE CONTROLE HUMANO, MATERIAL E EQUIPAMENTOS-ANEXO “’A”...........26 20. SICOE – NÍVEL 1 – COMANDO DO OFICIAL DE ÁREA – ANEXO “B”.............................. 27 21. SISTEMA DE COMANDO E OPERAÇÕES EM EMERGÊNCIA – SICOE – ANEXO “C”......28 22. POSTO DE COMANDO DO CORPO DE BOMBEIROS – ANEXO “D”....................................29 23. MODELO DE RELATÓRIO – ANEXO “E”..................................................................................30 24. CONTROLE DE DISTRIBUIÇÕES DE FUNÇÕES E HTs – ANEXO “F”.................................33 25. CONTROLE DE EFETIVO – ANEXO “G”...................................................................................34 26. QUADRO TÁTICO – ANEXO “H”...............................................................................................35 27. PREFIXOS DAS VIATURAS – ANEXO “I”................................................................................38 28. BIBLIOGRAFIA.............................................................................................................................39 COLETÂNEA DE MANUAIS TÉCNICOS DE BOMBEIROS
  • 8.
    MSICOE – MANUALDE ATENDIMENTO DO SISTEMA DE COMANDO E OPERAÇÕES EM EMERGÊNCIAS 1 1. Conceitos Básicos e Terminologia Para que o leitor possa estar familiarizado com os termos técnicos utilizados nas operações, seguem abaixo os seus respectivos significados: - Comandante da Emergência: É a maior autoridade do CB no local. - Comandante das Operações: Oficiais Superior ou Intermediário escalado como Coordenador ou Super-visor de Serviço de Operações; - Estado Maior da Emergência: É composto pelos Oficiais do CB que comparecem ou que são acionados para a ocorrência, bem como os que entram de sobreaviso por determinação do Cmt das Operações, conforme segue: • O Oficial Superior (Coordenador de Operações) de Sobreaviso será o responsável pelo Plano de Operações Táticas; • Oficial Intermediário (Supervisor de Serviço) de Sobreaviso será o responsável pela segurança no Estado Maior da Emergência; • Os Oficiais Subalternos (Oficial de Área) serão os demais membros do Estado Maior da Emergência. Muitas vezes, dependendo da localidade, do momento da ocorrência, as funções serão preenchidas conforme a disponibilidade do momento. Ex: Cmt da Emergência e Comandante das Operações – Tenente Oficial de Área; Estado Maior – Todos os Sargentos disponíveis. 2. O SISTEMA DE COMANDO E OPERAÇÕES EM EMERGÊNCIAS – SICOE DO CORPO DE BOMBEIROS DE SÃO PAULO 2.1 – Objetivos O Sistema de Comando e Operações em Emergências (SICOE) tem por finalidade definir o escopo das autoridades e fixar responsabilidades. Permite a organização e coordenação do pessoal, material e estratégia a serem empregadas na emergência, desenvolvendo esforços para rápida resolução das táticas e buscando a eficiência no emprego de recursos humanos e materiais. COLETÂNEA DE MANUAIS TÉCNICOS DE BOMBEIROS 1
  • 9.
    MSICOE – MANUALDE ATENDIMENTO DO SISTEMA DE COMANDO E OPERAÇÕES EM EMERGÊNCIAS 2 2.2 – Por quem é acionado? O Sistema é acionado mediante solicitação da guarnição envolvida, tendo como origem a 1ª viatura no local ou por meio das informações obtidas pelo Centro de Operações da UOp/CB envolvida. 2.3 – Quando é acionado? O Sistema será acionado nas seguintes situações: • Emergências que tenham um mínimo de vítimas que exijam a mobilização de recursos internos e externos ao CB; • que tenham importância estratégica na malha ferroviária, viária, de trânsito urbano ou rodoviário; • que tenham importância estratégica no abastecimento de água potável, combustível, alimentação; • que tragam, como conseqüência, pessoas desabrigadas; • que mobilizem órgãos governamentais e não-governamentais, prefeituras, hospitais e ambulâncias, que exijam uma coordenação mais ampla dos recursos; • que sejam motivos de calamidade pública ou estado de sítio; • que envolvam autoridades governamentais Federal, Estadual ou Municipal; • que ofereçam um comprometimento ao meio ambiente, mananciais e recursos naturais; • ocorrências com Produtos Perigosos, passíveis de vítimas ou abandono de vilas, distritos ou cidades. 2.4 - Área de abrangência Sua área de abrangência é estabelecida em nível de cidade e região 2.5 - Composição A composição do SICOE será a descrita no organograma do anexo “C”, conforme o nível da ocorrência. 2.6 - Plano de operações táticas O Plano de Operações Táticas é a atividade desempenhada pelo Cmt das Operações em um local de ocorrência durante a emergência, visando minimizar o perigo à vida e o prejuízo material. É a escolha da aplicação das melhores técnicas a serem empregadas. COLETÂNEA DE MANUAIS TÉCNICOS DE BOMBEIROS 2
  • 10.
    MSICOE – MANUALDE ATENDIMENTO DO SISTEMA DE COMANDO E OPERAÇÕES EM EMERGÊNCIAS 3 Este plano deve conter as características do local, a descrição da emergência, vizinhanças passíveis de interferência, as frentes da ocorrência, uma previsão de materiais e pessoal a ser empregada; as tarefas em ordem de prioridade que foram ou devem ser distribuídas e para quem serão distribuídas; uma checagem do desenvolvimento das operações para possível reavaliação do plano. O plano é dinâmico e deve estar sempre atualizado com as informações da ocorrência fornecidas pelo encarregado das Informações, estar sempre a disposição o Quadro Tático da Ocorrência, e ter acesso a todos os pontos envolvidos na ocorrência, visual ou via rádio, objetivando uma maneabilidade rápida e eficaz para fazer frente a emergência. Fornece ao Cmt das Operações o panorama e o desenvolvimento da ocorrência, deixando os dados disponíveis para eventuais consultas e possíveis deliberações. 2.7 - Fases de acionamento As ocorrências são atendidas basicamente pela viatura específica chamada, cuja área pertença à ocorrência, na seguinte ordem: • FASE 1 – 1º Socorro — Primeira Guarnição do CB no local. (Reforço). • FASE 2 – Trem de Socorro - Cmt Sgt por solicitação do 1º Socorro (Apoio); • O Oficial de Área do local da jurisdição; • FASE 3 – Reforço/Apoio - Por solicitação do Oficial de Área; • O Oficial de Área Reforço, com jurisdição mais próxima à emergência, atua no local sob orientação do Oficial de Área mais antigo que comanda a ocorrência e o mais moderno preenche o quadro tático; • FASE 4 - Reforço/Apoio - por solicitação do Oficial de Área da jurisdição, ou por evolução da emergência; • O Comandante de Operações dirige-se ao Posto de Comando já instalado, assume o Comando e recebe todas as informações do Oficial escalado mais antigo que estiver presente; • FASE 5 – Estabelece o Estado Maior Emergência: - suprimento; - informação; COLETÂNEA DE MANUAIS TÉCNICOS DE BOMBEIROS 3
  • 11.
    MSICOE – MANUALDE ATENDIMENTO DO SISTEMA DE COMANDO E OPERAÇÕES EM EMERGÊNCIAS 4 - comunicações (freqüência específica); - quadro tático; - coordenação dos setores geográficos Quadro Tático: O quadro tático é o quadro em que se deve constar, por escrito em uma planilha, todas as viaturas operando na emergência, suas localizações no terreno, guarnições, números de guarnições, apoios externos, croqui do local, localização da emergência. vizinhanças e um plano de operações táticas para aquela emergência. Sempre que existir um Plano Particular de Intervenção, o mesmo deverá estar à disposição do Cmt das Operações. Foto 01 – Quadro Tático 3 - LOGÍSTICA A logística é a composição dos recursos a serem mobilizados na ocorrência referentes ao abastecimento, ao material, à alimentação e ao pessoal. 3.1 - Responsável pela logística O responsável pela logística é o encarregado pelo cumprimento e pelas providências para a manutenção de todos os recursos humanos e de materiais para o controle efetivo da situação. COLETÂNEA DE MANUAIS TÉCNICOS DE BOMBEIROS 4
  • 12.
    MSICOE – MANUALDE ATENDIMENTO DO SISTEMA DE COMANDO E OPERAÇÕES EM EMERGÊNCIAS 5 3.2 – Atribuições do responsável pela logística • Controlar os recursos materiais e humanos localizados na emergência e o estacionamento de apoio; • suprir de agentes extintores nas operações de incêndio; • suprir a alimentação aos Bombeiros no local de emergência, após 04 horas de atuação; • manter os efetivos-reserva em condições de substituição, após 08 horas de emprego; • abastecimento de combustível, que pode ser feito no próprio local da ocorrência, ou nos postos de abastecimento da Prefeitura ou do Estado estando, para isso, preparadas as requisições ou ofícios de solicitação; • estacionamento no local da emergência, conforme POP nº MOT-002; • estacionamento de apoio; • reserva estratégica; • viatura do Posto de Comando; • suprir e substituir EPI e EPR em local de ocorrência e mantê-los em condições de uso. Foto 02 – Apoio Logístico. 3.3 – Área de descanso e alimentação Visando cumprir os princípios estabelecidos nas normas que norteiam o SICOE, os quais estabelecem períodos para descanso e alimentação do efetivo empregado conforme citado no item 3.2 deste manual, o responsável pela logística deverá preocupar-se em providenciar os meios para sua realização. 3.3.1 – Área de descanso A área de descanso deverá estar localizada na zona fria, podendo ser utilizada uma barraca ou mesmo um contêiner para abrigar a tropa, visando também fornecer privacidade aos COLETÂNEA DE MANUAIS TÉCNICOS DE BOMBEIROS 5
  • 13.
    MSICOE – MANUALDE ATENDIMENTO DO SISTEMA DE COMANDO E OPERAÇÕES EM EMERGÊNCIAS 6 envolvidos, evitando assim a exposição de imagens de bombeiros descansando em locais impróprios e diversos. Foto 03: Vista interna de barraca 3.3.2 – Alimentação Em virtude do fornecimento da alimentação estar vinculado aos municípios onde se encontram instalados os Postos de Bombeiros, sua solicitação será feita de acordo com as peculiaridades da região onde esteja funcionando o SICOE, sendo que as Unidades da Capital poderão solicitar ao aprovisionamento do CBM e às Unidades da Grande São Paulo e Interior, de acordo com planejamento próprio. 4 - INFORMAÇÃO A MÍDIA Propicia a centralização técnica das operações no Teatro de Operação, ligando-se com os meios de comunicação e a mídia. O fornecimento de informações à imprensa deverá atender ao disposto no MTB 13 — Informações à imprensa. 4.1 - Atribuições do responsável • Orientar a população por meio da mídia; • elaborar o boletim informativo a ser distribuído à imprensa; • ser o porta-voz do Cmt de Operações. COLETÂNEA DE MANUAIS TÉCNICOS DE BOMBEIROS 6
  • 14.
    MSICOE – MANUALDE ATENDIMENTO DO SISTEMA DE COMANDO E OPERAÇÕES EM EMERGÊNCIAS 7 5. SEGURANÇA DO TRABALHO É a tarefa de fiscalizar as operações no que diz respeito à segurança do pessoal empregado; verificação das condições físicas das Guarnições; as condições do EPI e EPR; o emprego e utilização dos mesmos; as medidas de segurança que estão sendo tomadas no emprego do material e verificação das condições da edificação e vizinhança da emergência. A segurança do trabalho no serviço de bombeiros deverá atender ao disposto na NOB 13. 5.1 - Atribuições do responsável • Isolar a área; • verificar as condições de segurança do efetivo empregado; • verificar se a tática empregada não oferece riscos aos Bombeiros no local; • analisar se as condições estruturais do local não oferece risco à comunidade; • verificar as probabilidades da extensão de danos ao meio ambiente; • estabelecer os limites das zonas Quente / Morna / Fria no local da Emergência; e • promover o abandono de área quando necessário. 6 - ASSESSORIA TÉCNICA É a tarefa de utilização de pessoal vinculado ou não ao CB, que possa, por sua capacidade técnica, auxiliar no atendimento da ocorrência. Esse pessoal deve sempre se ligar ao Cmt das Operações, fornecendo-lhe subsídios e sugestões para o emprego de pessoal e material na ocorrência, bem como de atitudes e Procedimentos Operacionais que diminuam os prejuízos e aumentem a segurança. 6.1 – Quem é o responsável? Devem ser contidos nesse grupo, os Oficiais e Praças do CB ou não, que, de folga, dirigem-se ao local com a finalidade de colaborar podendo, também, ser utilizados para coordenação do Estado Maior da Emergência. COLETÂNEA DE MANUAIS TÉCNICOS DE BOMBEIROS 7
  • 15.
    MSICOE – MANUALDE ATENDIMENTO DO SISTEMA DE COMANDO E OPERAÇÕES EM EMERGÊNCIAS 8 6.2 - Atribuição do responsável Será o responsável pela crítica e avaliação das atividades na emergência, relatada ao Cmt das Operações após o término da mesma, produzindo recomendações e visando ao aperfeiçoamento do emprego de pessoal e material. 7 - COMANDANTE DAS OPERAÇÕES É o encarregado do Comando das frentes propriamente ditas. Tem, por atribuição, controlar e organizar as atividades nos setores envolvidos na emergência, exercendo um Comando móvel. 7.1 - Atribuições • estabelecer o número de setores de acordo com as necessidades locais; • estabelecer a fase tática da operação; • transmitir ao Comandante da emergência as necessidades no local de ocorrência; • controlar as comunicações no local entre os setores envolvidos; • iniciar as atividades do Estado Maior da Emergência 8. COMANDANTE DE SETOR É o responsável direto e disciplinador das táticas em local de emergência com área geográfica definida. 8.1 - Conceito de setor O setor é uma subdivisão da área, prédio, complexo, construtivo, estrada, galeria ou local aberto onde uma guarnição do CB executa suas atividades. 8.2 - Atribuições • Executar os trabalhos em razão da emergência, por meio da coordenação das guarnições localizadas em um setor; COLETÂNEA DE MANUAIS TÉCNICOS DE BOMBEIROS 8
  • 16.
    MSICOE – MANUALDE ATENDIMENTO DO SISTEMA DE COMANDO E OPERAÇÕES EM EMERGÊNCIAS 9 • transmitir ao Cmt das Operações as condições e necessidades de seu setor de trabalho, bem como a evolução do quadro tático; • analisar as condições de segurança em seu setor; • zelar pelo cumprimento das ordens emanadas pelo Cmt das Operações; • decidir pela fase tática do seu setor; • observar o cumprimento dos POPs, Diretrizes e Normas do CB. 9. POSTO DE COMANDO (PC) O Posto de Comando é, a partir dessa fase, o local para onde deverão convergir todas as comunicações da emergência. 9.1 – Atribuições Responsável pela catalogação, manutenção e expedição de todas as informações da emergência para quem está de fora. Sempre que possível, deve ser um local ou uma viatura em que possa conter os dados da ocorrência; que possa reunir pessoas no seu interior dotada de recursos que identifique o Comando de Emergência e possibilite a articulação das comunicações. Foto 03 – Interior do Posto de Comando 9.3 – Comunicações A unificação das comunicações no local de ocorrência é de fundamental importância para o êxito das operações, devendo ser preocupação do Cmt da Emergência e do Cmt das Operações em qualquer que seja o nível de funcionamento do SICOE. COLETÂNEA DE MANUAIS TÉCNICOS DE BOMBEIROS 9
  • 17.
    MSICOE – MANUALDE ATENDIMENTO DO SISTEMA DE COMANDO E OPERAÇÕES EM EMERGÊNCIAS 10 Para os níveis 1 ( Comandado por Tenente ) e 2 (Comandado por Capitão) de funcionamento do SICOE, nos quais, na prática, acaba ocorrendo acúmulo de funções de comando e de Estado Maior da Emergência, não existindo um Oficial ou graduado designado, especificamente, para função de comunicações. Esses Oficiais deverão estabelecer a freqüência a ser utilizada logo na chegada das guarnições ao local de ocorrência, uma vez que é obrigatória a apresentação no posto de comando. Para o nível 3 ( Comandado por Oficial Superior ) de funcionamento do SICOE será designado um Oficial ou graduado especificamente para desempenhar a função de comunicações do Estado Maior da Emergência, sendo que as comunicações devem ser centralizadas no Posto de Comando, de forma a possibilitar o trânsito de comunicação entre todos os envolvidos no atendimento da emergência e o posto de comando. 10. COMANDANTE DA EMERGÊNCIA O Comandante da Emergência, a mais alta patente do Corpo de Bombeiros, é o responsável por todas as atividades no local da emergência. Todas as suas observações e determinações serão necessariamente dirigidas ao Cmt das Operações, que é o responsável operacional da emergência. 11. COMANDANTE DAS OPERAÇÕES O Comandante das Operações é o responsável pela coordenação de toda a operação, interligando o Estado Maior da Emergência ao Cmt da Emergência 11.1 Atribuições • coordenar diretamente o trabalho do Estado Maior da Emergência; • determinar a localização definitiva do Posto de Comando (PC); • ratificar a área de estacionamento de apoio (definitivo); • centralizar as comunicações com o Centro de Comunicações de Bombeiros; • ligar-se ao Comandante de Operações, • manter a segurança no local de emergência, • divulgar as notícias do local da emergência, COLETÂNEA DE MANUAIS TÉCNICOS DE BOMBEIROS 10
  • 18.
    MSICOE – MANUALDE ATENDIMENTO DO SISTEMA DE COMANDO E OPERAÇÕES EM EMERGÊNCIAS 11 • prever a manutenção e apoio de recursos no local de emergência; • receber o material da área de estacionamento de apoio; • planejar as operações; • solicitar o apoio de outros órgãos externos ao CB; • controlar o efetivo total empregado na operação. Foto 04 – Cmt das Operações juntamente com outros órgãos. 12 - ESTADO MAIOR DA EMERGÊNCIA É denominado Estado Maior da Emergência para as atividades desempenhadas em apoio ao Cmt de Operação durante o estabelecimento do Sistema de Comando e Operações em Emergência. 12.1 - Atribuições do Estado Maior da Emergência • Distribuir e registrar os Hts no local de ocorrência; • manter reserva estratégica de rádios; • servir de elo de ligação entre o Comandante das Operações e outros órgãos envolvidos; • disciplinar as comunicações providenciando que não haja interferências, garantindo a sua eficiência e o trânsito das mensagens; • por solicitação ou pelo desenvolvimento da ocorrência, dirige-se ao local o Oficial Superior - Comandante das Operações - o qual terá no Posto de Cmdo todas as informações sobre a ocorrência COLETÂNEA DE MANUAIS TÉCNICOS DE BOMBEIROS 11
  • 19.
    MSICOE – MANUALDE ATENDIMENTO DO SISTEMA DE COMANDO E OPERAÇÕES EM EMERGÊNCIAS 12 transmitida pelo Chefe Operacional que passará a ter função estritamente operacional. O Cmt de Operações estabelecerá tanto os setores funcionais quanto os que houver necessidade, após assumir o Cmdo. • As ligações via Rádio se dão pela ordem: - FASE 1 entre os Cmts de Guarnição: - FASE 2 entre Cmt de Guarnição e Oficial de Área: - FASE 3 entre Cmts de Área: • por determinação do Chefe Operacional ou Comandante das Operações a partir dai: • nas Unidades do Interior, as funções poderão ser desempenhadas de acordo com as características da área e do pessoal envolvido e sempre que possível, as tarefas do Estado Maior da Emergência deverão ser desempenhadas por Oficiais ou graduados disponíveis que tenham experiência: • estabelece-se como níveis de ocorrência, para fins de avaliação em relação ao SICOE, como sendo: - o Nível 1 - ocorrências em que são utilizadas Guarnições e comandadas por Tenente. - o Nível 2 - ocorrências sob comando de Capitão (ou Oficial em função). - o Nível 3 - ocorrências sob comando de Oficial Superior. • em todos os níveis de ocorrência, há que se ter em mente os princípios básicos estabelecidos, como instalação de um Posto de Comando, trânsito de Comunicações, manutenção de informações, Segurança dos Trabalhos de Bombeiros, Plano de Atuação, avaliação da ocorrência e reestruturação; • para fins de organização dos meios nos locais de emergência, tendo em vista o grande fluxo de viaturas, pessoal, autoridades e outros ligados, ou não, à ocorrência, devem ser estabelecidas áreas de trabalho, a fim de controlar quem pode ou deve estar próximo ou não da ocorrência, em função de sua atividade ou grau da ligação com a emergência 13 - COLETES DE IDENTIFICAÇÃO Os principais benefícios no uso de coletes de identificação, em uma situação emergencial, são a facilidade e a rapidez na localização dos integrantes do SICOE. COLETÂNEA DE MANUAIS TÉCNICOS DE BOMBEIROS 12
  • 20.
    MSICOE – MANUALDE ATENDIMENTO DO SISTEMA DE COMANDO E OPERAÇÕES EM EMERGÊNCIAS 13 13.1 – Identificação pelas cores dos coletes As funções serão identificadas por cores de coletes, da seguinte forma: • Comandante de Emergência - Colete vermelho; • Comandante das Operações - Colete verde; • Cmt de Setor - Colete amarelo; • Pessoal de Segurança - Colete azul; • Estado Maior da Emergência do SICOE - Colete identificando a função na emergência, com faixas refletivas e escrito nas costas a respectiva função. 13.2 - Localização do material de identificação Todos os materiais necessários a essa identificação deverão estar à disposição no PC, na Viatura correspondente. 14. VIATURA DO COMANDO DE OPERAÇÕES NO CBM No Comando de Bombeiros Metropolitano haverá uma viatura destinada ao Comando de Operações (CO): Foto 05 – Foto da Viatura do Posto de Comando. 15. ZONAS DE TRABALHO As chamadas zonas de trabalho têm sua aplicabilidade no atendimento a grandes emergências e têm os seguintes objetivos: COLETÂNEA DE MANUAIS TÉCNICOS DE BOMBEIROS 13
  • 21.
    MSICOE – MANUALDE ATENDIMENTO DO SISTEMA DE COMANDO E OPERAÇÕES EM EMERGÊNCIAS 14 • Auxiliar na manutenção de uma metodologia de atendimento de forma organizada e segura; • reduzir os efeitos danosos da ocorrência a pessoas, meio ambiente e patrimônio; • direcionar as operações e movimentos do incidente; • minimizar o número de pessoas e equipamentos ao estritamente necessário; • controlar o acesso das pessoas que podem ou devem estar próximo ou não da ocorrência, em função de sua atividade ou grau de ligação com a emergência. As zonas de trabalho estão classificadas em 3 grupos: Zona Quente, Zona Morna e Zona Fria. 15.1 – Zona Quente Área imediatamente circunvizinha ao incidente, que se estende até um limite que previna os efeitos da ocorrência às pessoas ou equipamentos fora desta área. O acesso ao interior desta área deve ser limitado exclusivamente para aquelas pessoas que especificamente vão atender a emergência, ou seja, guarnições de serviço e todo material necessário para fazer frente ao fato. Poderão ou não entrar viaturas, como UR, PP, AG, e outros, quando efetivamente empregados, após o que, deverão abandonar essa zona. Essa zona deverá ser necessariamente demarcada e o Encarregado de Segurança do Estado Maior da Emergência é a quem caberá orientar e controlar o acesso. Foto 06 – Zona Quente COLETÂNEA DE MANUAIS TÉCNICOS DE BOMBEIROS 14
  • 22.
    MSICOE – MANUALDE ATENDIMENTO DO SISTEMA DE COMANDO E OPERAÇÕES EM EMERGÊNCIAS 15 15.2 - Zona morna Nesta área, deverão estar locados os equipamentos e pessoal para o suporte da Zona Quente. Deve ser um local imediatamente anexo à Zona Quente devendo possibilitar a comunicação e, sempre que possível, a observação da Zona Quente. Deve-se estabelecer nessa área um corredor de controle de acesso e saída de pessoal e materiais. Foto 07 – Zona Morna 15.3 - Zona fria Nesta área estará o posto de comando, como também todos os suportes necessários para controle do incidente. É o local de impedimento do acesso ao público, porém permitido a pessoas e a autoridades que tenham relação com a ocorrência, mas que não atuarão diretamente na intervenção. Nesta área estarão os equipamentos de reserva e apoio médico de triagem. Foto 08 – Posto Médico Avançado (Triagem de vítimas) COLETÂNEA DE MANUAIS TÉCNICOS DE BOMBEIROS 15
  • 23.
    MSICOE – MANUALDE ATENDIMENTO DO SISTEMA DE COMANDO E OPERAÇÕES EM EMERGÊNCIAS 16 ZONAS DE TRABALHO Linha Local da Quente Zona Emergência (Zona Quente) Morna Linha Morna PONTOS DE ACESSO ZONA FRIA Área de concentração POSTO MÉDICO Posto de Comando AVANÇADO e Estado Maior APOIO LOGÍSTICO COLETÂNEA DE MANUAIS TÉCNICOS DE BOMBEIROS 16
  • 24.
    MSICOE – MANUALDE ATENDIMENTO DO SISTEMA DE COMANDO E OPERAÇÕES EM EMERGÊNCIAS 17 16. CAPACITAÇÃO PROFISSIONAL A capacitação para a aplicação do SICOE em local de ocorrência será realizada nos EAB para o efetivo atual. Para o pessoal que entrar no CB, a partir da aplicação deste MTB, ficará por conta dos cursos de formação. O currículo dos cursos e estágios de capacitação e estabelecimento das condições de sua validação e avaliação de conhecimentos estarão previstas em ETB específicas. 17. INSTRUÇÃO E SIMULADOS Para instruções em sala de aula, o Bombeiro não utilizará EPI, somente será demonstrada a utilização, ou será executado seu manuseio conforme a didática do instrutor (Ex: para treinamento de uso de roupa nível “A” é necessário vesti-la, juntamente com o EPR). Para a execução do simulado, o EPI será estabelecido conforme cada emergência em Nota de Instrução, de acordo com as zonas de trabalho (quente, morna e fria), como exemplo: • Incêndios: Capa (proteção térmica e física), capacete Gallet (proteção térmica e física), balaclava (proteção térmica), bota Servus ou bota cano longo (proteção térmica), cinto alemão com machado Ziegler (auxílio da linha da vida e pequenos arrombamentos), EPR completo (proteção respiratória), luvas de proteção (proteção física e térmica); • Produtos Perigosos: Roupa nível “A” (para proteção requerida do produto químico atendido), EPR completo (para autonomia de ar, não tendo contato com os gases emanados do produto químico); • Soterramentos e desabamentos: Capa (proteção física), capacete Gallet (proteção física), bota Servus ou bota cano longo (proteção física), cinto alemão (montagem da linha da vida), luvas de proteção (proteção física). 17.1 - Segurança Para garantir a segurança do bombeiro ou da guarnição, além do EPI escolhido de forma correta, deverão ser providenciados os seguintes materiais: Bolsa de primeiros-socorros, cilindro de O2 portátil, prancha longa e uma dupla de bombeiros guarnecendo uma UR ou AR, com a finalidade de dar o pronto atendimento a qualquer instruendo que venha a se ferir durante os treinamentos práticos, transportando ao Hospital mais próximo, conforme estabelecido previamente em Plano de Segurança. COLETÂNEA DE MANUAIS TÉCNICOS DE BOMBEIROS 17
  • 25.
    MSICOE – MANUALDE ATENDIMENTO DO SISTEMA DE COMANDO E OPERAÇÕES EM EMERGÊNCIAS 18 Outro ponto importante é a segurança do local, que deverá ser totalmente isolado com fitas de isolamento (ou afins), conforme distância estabelecida em detrimento do tipo de simulado ou situação de emergência. As viaturas serão estacionadas conforme o POP específico. 17.2 - Desenvolvimento Para o sucesso do sistema é imprescindível o treinamento constante do usuário. Recomenda-se que a Unidade operacional realize pelo menos 02 (dois) treinamentos completos (teórico e prático) por ano para todo seu efetivo, tanto operacional como administrativo (eventuais apoios). O primeiro treinamento, a critério de cada Unidade, seria realizado dentro do período do 1º semestre em grupos de 20 ou 30 bombeiros, e o segundo treinamento no 2º semestre, como padronização do Corpo de Bombeiros, na semana prevencionista, no mês de novembro, com a maioria do efetivo da unidade, ficando, ao seu critério, os demais treinamentos para o restante de seu efetivo. Na realidade este item tem a simples finalidade de estabelecer um padrão de montagem de treinamento, o que não limita cada Unidade de escolher suas principais emergências para simulação, conforme suas próprias estatísticas. 17.3 - Treinamento O treinamento deverá ser o mais simplificado e objetivo possível, constando sempre, conforme planejamento próprio de cada unidade, de aulas teóricas e avaliação, seguido de um exercício prático para sedimentar o que foi estudado. 17.3.1 – Aulas Teóricas Durante as aulas teóricas todos os formulários abaixo descritos deverão ser preenchidos, conforme os modelos deste MTB: - Ficha de Controle Humano Material e Equipamento (anexo “A”); - Organograma do SICOE nível 1 (anexo “B”); - Controle de consumo de água na emergência (anexo “D”); - Relatório (anexo “E”); COLETÂNEA DE MANUAIS TÉCNICOS DE BOMBEIROS 18
  • 26.
    MSICOE – MANUALDE ATENDIMENTO DO SISTEMA DE COMANDO E OPERAÇÕES EM EMERGÊNCIAS 19 - Controle de distribuição de HT’s (anexo “F”); - Controle de efetivo (anexo “G”); - Quadro Tático (anexo “H”); - Controle de Viaturas (anexo “I”) 17.3.2 – Exercício Prático (simulado) Recomenda-se que cada grupo de instruendos seja formado por 20 (vinte) ou 30 (trinta) bombeiros, de forma que eles possam constituir os grupos que atuam na ocorrência, como Estado Maior ou Chefes de Setores. A instalação do SICOE é gradual e dinâmica, avolumando seus recursos humanos e materiais na medida requerida de cada ocorrência. Nessa dinâmica, conforme efetivo disponível, as ocorrências são classificadas por níveis de comando. 17.3.2.1 - Ocorrências NÍVEL 1 Comandada por Oficial de Área, neste caso, muitas vezes no início das ocorrências, a Guarnição de Comando de Área (formada por 03 homens) instala-se como Posto de Comando (PC), onde teremos acúmulos de funções: -Oficial de Área: Comandante da Emergência e Comandante das Operações; -Auxiliar do Área: Anotador do Posto de Comando, além de recolher todas as planilhas das guarnições que se apresentam, planilhas onde constam efetivo, materiais, quantidade de água etc (anexo “A”); -Motorista do Área: Digitador do Posto de Comando, que irá manusear o computador do mesmo, digitalizando todas as informações transmitidas pelo anotador, facilitando a confecção do quadro tático (anexo “H”), e Relatório Final . Esse integrante também terá o papel de Operador de rádio (Centro de Operações do Posto de Comando), até a chegada da VTR específica Posto de Comando (ou estabelecimento de um local ou barraca como Posto de Comando). -Comandante de Guarnições: geralmente designado a Sargentos do Corpo de Bombeiros, estes serão os chefes dos Setores. É bastante natural que o Cmt das Operações (nesse caso Oficial de Área) COLETÂNEA DE MANUAIS TÉCNICOS DE BOMBEIROS 19
  • 27.
    MSICOE – MANUALDE ATENDIMENTO DO SISTEMA DE COMANDO E OPERAÇÕES EM EMERGÊNCIAS 20 convoque o graduado mais amigo, mais 02 auxiliares, para fazerem parte do Estado Maior, acumulando todas as funções, dando ênfase, obviamente, à confecção do “Quadro Tático”, “Plano de Operações Táticas” e organização da “Logística”. -Guarnições de Unidade de Resgate: serão empregadas na montagem do Posto Médico Avançado (PMA). O Graduado de maior antiguidade, auxiliado por outros 02 (dois) bombeiros organizarão o PMA, refazendo as triagens feitas pelas demais guarnições (método START), priorizando o transporte conforme as gravidades das vítimas, controlando a quantidade de vítimas por Hospitais e por especialidade (dentro do possível). Durante a ocorrência, com a chegada da Vtr Posto de Comando com mais 02 (dois) integrantes, teríamos: -Motorista do Posto de Comando: passa a ser o Operador de rádio, fazendo com que o motorista da Vtr Cmdo de Área fique responsável somente pela digitação das planilhas de controle; e -Auxiliar do Posto de Comando: auxilia ao anotador na compilação de dados e recolhimento de planilhas. Cada Cmt de Guarnição entregará uma ficha de controle de material (anexo “A”), previamente preenchida, quando chegar à ocorrência, diretamente no Posto de Comando, para que o Cmt das Operações tenha conhecimento da viatura, do efetivo e material de apoio (sendo imediatamente computado pelo anotador do Posto de Comando). Entregará, também, outra ficha do anexo “A” no final da ocorrência, para controle de água gasta na ocorrência determinando, assim, o fim da atividade daquela viatura em emergência. Na medida em que as Guarnições vão chegando o Cmt da Operações (Of de Área), de posse do croqui do local sinistrado, via rádio com o Posto de Comando ou pessoalmente, definirá onde aquela guarnição recém chegada será empregada, bem como qual setor o Graduado irá chefiar. O organograma das ocorrências de NÍVEL 1 está demonstrado no anexo “B”. 17.3.2.2 - Ocorrência NÍVEL 2 Esta situação é comandada pelo Supervisor de Serviço ou Cap PM. Como dito anteriormente, o sistema é bastante dinâmico e, conforme a evolução da ocorrência, o Oficial de Área poderá acionar o apoio do Supervisor de Serviço. COLETÂNEA DE MANUAIS TÉCNICOS DE BOMBEIROS 20
  • 28.
    MSICOE – MANUALDE ATENDIMENTO DO SISTEMA DE COMANDO E OPERAÇÕES EM EMERGÊNCIAS 21 Chegando ao local da ocorrência, o Supervisor de Serviço desloca-se ao PC e assume o comando da emergência, tomando conhecimento das informações: Plano de Operações Táticas (desenvolvido pelo Ten PM que comandava), Quadro Tático (quantidade e disposição do material humano e equipamentos no teatro de operações). Nesse momento, estabelece novo Plano de Operações Táticas ou permanece com aquele já estabelecido. Na maioria das vezes, não há uma chegada maciça de Oficiais para elaboração de um Estado Maior completo. Sendo assim, simplesmente, o Supervisor passa a ser o Cmt da Emergência e o Oficial de Área passa a ser somente o Cmt das Operações, permanecendo o organograma basicamente igual ao anexo “B”. Na medida em que, conforme evolução da ocorrência, outros Oficiais forem chegando como apoio, o Cmt da Emergência começa a substituir os graduados que, até o momento, estavam como integrantes do Estado Maior e Chefes de Setores. Dá-se, então, prioridade de substituição por Oficiais os setores mais críticos ou funções de Estado Maior de maior responsabilidade, na seguinte ordem: Quadro Tático, Suprimentos, Segurança, Comunicação, Informações. 17.3.2.3 - Ocorrência NÍVEL 3 Esta situação é comandada pelo Coordenador Operacional ou Oficial Superior. Da mesma forma, conforme a evolução da ocorrência, o Supervisor de Serviço aciona o Coordenador Operacional. Chegando ao local da ocorrência, o Coordenador Operacional desloca-se ao PC e assume o comando da emergência, tomando conhecimento das informações: Plano de Operações Táticas (desenvolvido pelo Cap PM que comandava), Quadro Tático (quantidade e disposição do material humano e equipamentos no teatro de operações). Nesse momento, estabelece novo Plano de Operações Táticas ou permanece com aquele já estabelecido. Cabe salientar que, pelo tempo de acionamento, quando uma ocorrência atinge o NÍVEL 3, já houve tempo suficiente para que os Oficiais necessários na montagem de Estado Maior completo cheguem ao local do fato. Será oportuno e conveniente, caso ainda haja necessidade, substituir os graduados por Oficiais, remanejando esses graduados para os Setores deficientes de efetivo. Sendo assim, o organograma do SICOE apresenta-se conforme o anexo “C”, dispondo as funções e responsabilidades, de acordo com efetivo disponível de Oficiais e Praças, consoante a Diretriz CCB-003/213/04. COLETÂNEA DE MANUAIS TÉCNICOS DE BOMBEIROS 21
  • 29.
    MSICOE – MANUALDE ATENDIMENTO DO SISTEMA DE COMANDO E OPERAÇÕES EM EMERGÊNCIAS 22 QUESTÕES SOBRE O CAPÍTULO 1) Quem comanda uma ocorrência nível 2 ? Por quê ? 2) Quem é o responsável pelo rádio no início das operações na implantação do SICOE ? 3) Quem deve ser o coletor de informações e planilhas nas ocorrências NÍVEL 01 ? 4) Quantas vezes o Cmt da guarnição de AB entrega a ficha de controle Humano, material e equipamento no PC ? Quando ? 5) Por que a Ficha de Controle de Humano, Material e Equipamento é importante para o sistema? 18. IDENTIFICAÇÃO DE MATERIAIS POR CORES Em uma grande ocorrência, por questões operacionais, muitas vezes os equipamentos das VTR’s são recolhidos e redistribuídos para o efetivo operacional nos diversos setores de trabalho. Para fins de organização, necessário se faz identificar os diversos materiais por cores. 18.1 - Tabela de cores por Unidade. Cabe ressaltar que na tabela há cores repetidas, porém essa repetição ocorre entre Unidades Operacionais que, por motivos territoriais, dificilmente trabalharão na mesma ocorrência. UNIDADE COR 1º GB Branca 2º GB Verde 3º GB Amarela 4º GB Azul 5º GB Vermelha 6º GB Preta 7º GB Prateada 8º GB Bege 9º GB Laranja COLETÂNEA DE MANUAIS TÉCNICOS DE BOMBEIROS 22
  • 30.
    MSICOE – MANUALDE ATENDIMENTO DO SISTEMA DE COMANDO E OPERAÇÕES EM EMERGÊNCIAS 23 10º GB Marron 11º GB Cinza 12º GB Verde 13º GB azul 14º GB vermelha 15º GB preta 16º GB prateada 17º GB ocre 18º GB laranja Força Tarefa dourado Fonte: Elaborada pelos autores 18.2 - Quais equipamentos devem ser pintados (ou identificados por cores) • Lanternas: uma faixa de 05 cm no suporte ou corpo da lanterna; • Mangueiras: será feita uma faixa no tecido nas extremidades junto às empatações; • Cilindro de mergulho: pintura de uma faixa próximo ao registro/gargalo de aproximadamente 02 cm; • Cilindro reserva de EPR: pintura de uma faixa próximo ao registro/gargalo de aproximadamente 02 cm; • Suporte do EPR: uma faixa na base do suporte de aproximadamente 05 cm; • Máscara do EPR: uma faixa colorida em um dos tirantes de aproximadamente 02 cm; • Materiais de sapa em geral: pintura de uma faixa de 10 cm de largura; • Lonas: pintura de triângulos de aproximadamente 10 cm de lado nos 04 cantos da lona; COLETÂNEA DE MANUAIS TÉCNICOS DE BOMBEIROS 23
  • 31.
    MSICOE – MANUALDE ATENDIMENTO DO SISTEMA DE COMANDO E OPERAÇÕES EM EMERGÊNCIAS 24 • Desencarceradores e ferramentas, geradores, motosserras: pintura de uma faixa de aproximadamente 05 cm nos seus suportes; • Entre outros materiais. As pinturas ou identificações por cores devem ser sempre renovadas, em detrimento do desgaste pelo uso, sob a possibilidade de participar de uma ocorrência com materiais não identificados. Essa identificação ou manutenção deverão ser feitas nos dias de limpeza de material, cabendo a cada PB a decisão de identificar outros materiais fora dos itens acima. No final das ocorrências ficará mais simples de recuperar os equipamentos de cada VTR, caso os mesmos tenham sido reunidos pelo Comando da ocorrência, por meio do setor de suprimento do Estado Maior, que terá formulário próprio de controle. QUESTÕES SOBRE O CAPÍTULO 1) Por que devo identificar os materiais da minha VTR ? 2) Quando será feita a identificação dos equipamentos ? 3) Na ocorrência a quem eu devo me reportar para entregar e recuperar equipamento emprestado para a emergência? COLETÂNEA DE MANUAIS TÉCNICOS DE BOMBEIROS 24
  • 32.
    MSICOE – MANUALDE ATENDIMENTO DO SISTEMA DE COMANDO E OPERAÇÕES EM EMERGÊNCIAS 25 Anexo “A” Ficha de controle Humano, Material e Equipamento VTR: GB: PB: Guarnição: Oficial: Sargentos: Cabos: Soldados: Total: Cursos: Perícia Terrestre Csalt PP Equipamentos e materiais: Quantidade de LGE em litros Desencarceradores Marca: ________________ Ferramenta combinada Alargador Extensor Correntes Gerador Potência Moto-abrasivo EPR Marca: _____________ Cilindros reservas Abastecimento: Capacidade do tanque da VTR Litros Quantidade de reabastecimento Vezes Quantidade total de água utilizada: ______________ litros OBS: Todas as informações referem-se ao efetivo e material específico da viatura. O campo “OBS” poderá ser utilizado para complemento de informações, cursos, materiais, etc. COLETÂNEA DE MANUAIS TÉCNICOS DE BOMBEIROS 25
  • 33.
    MSICOE – MANUALDE ATENDIMENTO DO SISTEMA DE COMANDO E OPERAÇÕES EM EMERGÊNCIAS 26 Anexo “B” SICOE – NÍVEL 1 Comando do Oficial de Área COMUNICAÇÃO Cb/Sd ________________ (motorista do Área ou PC) QUADRO TÁTICO CMT DA EMERGÊNCIA PLANO DE OP. Sgt PM_______________ Ten PM______________ SUPRIMENTO ÁGUA MATERIAL ALIMENTAÇÃO INFORMAÇÕES PESSOAL Sgt PM_______________ ASSESSORIA TÉCNICA SEGURANÇA ÁREA CMT DE DE OPERAÇÕES CONCENTRAÇÃO Ten PM_______________ POSTO MÉDICO AVANÇADO Chefe:______________ CMT DE SETOR CMT DE SETOR CMT DE SETOR CMT DE SETOR SETOR:____________ SETOR:____________ SETOR:____________ SETOR:____________ Sgt PM ____________ Sgt PM ____________ Sgt PM ____________ Sgt PM ____________ Missões: Missões: Missões: Missões: COLETÂNEA DE MANUAIS TÉCNICOS DE BOMBEIROS 26
  • 34.
    MSICOE – MANUALDE ATENDIMENTO DO SISTEMA DE COMANDO E OPERAÇÕES EM EMERGÊNCIAS 27 Anexo “C” SISTEMA DE COMANDO E OPERAÇÕES EM EMERGÊNCIAS - SICOE COMUNICAÇÃO CMT PLANO DE OP. QUADRO TÁTICO DA EMERGÊNCIA SUPRIMENTO ÁGUA MATERIAL INFORMAÇÕES ALIMENTAÇÃO PESSOAL ASSESSORIA TÉCNICA SEGURANÇA CMT ÁREA DE DE OPERAÇÕES CONCENTRAÇÃO CMT CMT CMT CMT DE DE DE DE SETOR SETOR SETOR SETOR INCÊNDIO INCÊNDIO INCÊNDIO INCÊNDIO SALVAMENTO SALVAMENTO SALVAMENTO SALVAMENTO RESGATE RESGATE RESGATE RESGATE PP PP PP PP COLETÂNEA DE MANUAIS TÉCNICOS DE BOMBEIROS 27
  • 35.
    MSICOE – MANUALDE ATENDIMENTO DO SISTEMA DE COMANDO E OPERAÇÕES EM EMERGÊNCIAS 28 Anexo “D” POSTO DE COMANDO DO CORPO DE BOMBEIROS CONSUMO DE ÁGUA NA EMERGÊNCIA VIATURA EMPRESA CAPACIDADE QUANTIDADE DE LITROS (em litros) ABASTECIMENTO CONSUMIDOS TOTAL COLETÂNEA DE MANUAIS TÉCNICOS DE BOMBEIROS 28
  • 36.
    MSICOE – MANUALDE ATENDIMENTO DO SISTEMA DE COMANDO E OPERAÇÕES EM EMERGÊNCIAS 29 Anexo “E” MODELO DE RELATÓRIO ENDEREÇO ENDEREÇO: DATA: BAIRRO : CIDADE: TIPO DE OCORRÊNCIA OCORRÊNCIA: LOCAL: DETALHAMENTO DO LOCAL: CAUSA PROVÁVEL DO INCÊNDIO: NOME PRODUTO PERIGOSO: Nº DO PERIGOSO: HORÁRIOS ACIDENTE AVISADO AO CHEGADA DO CB DEIXADO EM ACONTECIDO CB SEGURANÇA HS HS HS HS CONDIÇÕES CLIMÁTICAS TEMPO DIREÇÃO DO VENTO VELOCIDADE DO VENTO TEMPERATURA SITUAÇÃO NO LOCAL MEDIDAS DE PRIMEIROS SOCORROS: MEDIDAS DE COMBATE A INCÊNDIO/SALVAMENTO: COLETÂNEA DE MANUAIS TÉCNICOS DE BOMBEIROS 29
  • 37.
    MSICOE – MANUALDE ATENDIMENTO DO SISTEMA DE COMANDO E OPERAÇÕES EM EMERGÊNCIAS 30 Continuação do Anexo “E” PARTICIPANTES DA OPERAÇÃO EMPRESAS ENCARREGADO HT LOCAL PREF H. ACION H CHEG H SAÍDA Nº /ENTIDADES VIAT HOMENS Continuação do Anexo “E” COLETÂNEA DE MANUAIS TÉCNICOS DE BOMBEIROS 30
  • 38.
    MSICOE – MANUALDE ATENDIMENTO DO SISTEMA DE COMANDO E OPERAÇÕES EM EMERGÊNCIAS 31 Continuação do Anexo “E” AÇÕES EXECUTADAS NO LOCAL RELAÇÃO DE VÍTIMAS NOME SEXO IDADE CONDUZIDA COLETÂNEA DE MANUAIS TÉCNICOS DE BOMBEIROS 31
  • 39.
    MSICOE – MANUALDE ATENDIMENTO DO SISTEMA DE COMANDO E OPERAÇÕES EM EMERGÊNCIAS 32 Anexo “F” POSTO DE COMANDO DO CORPO DE BOMBEIROS CONTROLE DE DISTRIBUIÇÃO DE FUNÇÕES E HT’s FUNÇÃO NOME DE GUERRA UNIDADE SETOR DE TRABALHO NÚMERO DO HT TOTAL DE HT´s DISTRIBUÍDOS FORMA DE PREENCHIMENTO: - FUNÇÃO: RESPONSABILIDADE PELA QUAL RESPONDE (EXEMPLO): CMT DAS OPERAÇÕES, CHEFE DO SETOR - SETOR DE TRABALHO: LOCAL ONDE ESTÁ ESCALADO (EXEMPLO): SETOR “A”, SEGURANÇA RUA “B”, SUPRIMENTO - NÚMERO DO HT: Nº SEQUENCIAL QUE PASSA A SER O PREFIXO DO RÁDIO PORTÁTIL (EX): HT 01, HT 02, HT 04 etc COLETÂNEA DE MANUAIS TÉCNICOS DE BOMBEIROS 32
  • 40.
    MSICOE – MANUALDE ATENDIMENTO DO SISTEMA DE COMANDO E OPERAÇÕES EM EMERGÊNCIAS 33 Anexo “G” POSTO DE COMANDO DO CORPO DE BOMBEIROS CONTROLE DE EFETIVO OPM VTR TEN CEL MAJ CAP TEN STEN SGT Cb Sd TOTAL TOTAL GERAL COLETÂNEA DE MANUAIS TÉCNICOS DE BOMBEIROS 33
  • 41.
    MSICOE – MANUALDE ATENDIMENTO DO SISTEMA DE COMANDO E OPERAÇÕES EM EMERGÊNCIAS 34 Anexo “H” POSTO DE COMANDO DO CORPO DE BOMBEIROS QUADRO TÁTICO SITUAÇÃO GERAL: PLANO DE OPERAÇÃO TÁTICA: SETOR 1: LOCAL_______________________________________ SITUAÇÃO: ______________________________________ CMT EFETIVO EQUIPAMENTOS MISSÃO TÁTICA EMPREGADA SETOR 2: LOCAL_______________________________________ SITUAÇÃO: ______________________________________ CMT EFETIVO EQUIPAMENTOS MISSÃO TÁTICA EMPREGADA COLETÂNEA DE MANUAIS TÉCNICOS DE BOMBEIROS 34
  • 42.
    MSICOE – MANUALDE ATENDIMENTO DO SISTEMA DE COMANDO E OPERAÇÕES EM EMERGÊNCIAS 35 Continuação do Anexo “H” SETOR 3: LOCAL_______________________________________ SITUAÇÃO: ______________________________________ CMT EFETIVO EQUIPAMENTOS MISSÃO TÁTICA EMPREGADA SETOR 4: LOCAL_______________________________________ SITUAÇÃO: ______________________________________ CMT EFETIVO EQUIPAMENTOS MISSÃO TÁTICA EMPREGADA SETOR 5: LOCAL_______________________________________ SITUAÇÃO: ______________________________________ CMT EFETIVO EQUIPAMENTOS MISSÃO TÁTICA EMPREGADA Continuação do Anexo “H” COLETÂNEA DE MANUAIS TÉCNICOS DE BOMBEIROS 35
  • 43.
    MSICOE – MANUALDE ATENDIMENTO DO SISTEMA DE COMANDO E OPERAÇÕES EM EMERGÊNCIAS 36 CROQUI Zona Quente Zona Morna Zona Fria COLETÂNEA DE MANUAIS TÉCNICOS DE BOMBEIROS 36
  • 44.
    MSICOE – MANUALDE ATENDIMENTO DO SISTEMA DE COMANDO E OPERAÇÕES EM EMERGÊNCIAS 37 Anexo “I” POSTO DE COMANDO DO CORPO DE BOMBEIROS CONTROLE DE VIATURAS - PREFIXOS OPM AB ABS ABSR AT CM AC AS ASE UR USA AG PP VO AE CA TP UT MOB TOTAIS TOTAL GERAL DE VTR FORMA DE PREENCHIMENTO: - PREECHA SOMENTE COM O NÚMERO DO PREFIXO NA RESPECTIVA COLUNA CONFORME O TIPO DE VTR - SOME OS TOTAIS QUANTITATIVOS DE CADA COLUNA; - SOME TODOS OS TOTAIS DAS COLUNAS PARA PREENCHER O TOTAL GERAL DE VTR COLETÂNEA DE MANUAIS TÉCNICOS DE BOMBEIROS 37
  • 45.
    MSICOE – MANUALDE ATENDIMENTO DO SISTEMA DE COMANDO E OPERAÇÕES EM EMERGÊNCIAS 38 REFERÊNCIAS NORMATIVAS E BIBLIOGRÁFICAS - DE LIMA, Jair Paca. Proposta de aperfeiçoamento do Sistema de Comando e Operações em Emergências do Corpo de Bombeiros da Polícia Militar do Estado de São Paulo. Curso Superior de Polícia – Centro de Aperfeiçoamento e Estudos Superiores, Polícia Militar do Estado de São Paulo, 1998. - Diretriz Nº CCB-003/213/04 - NOB Nº 42/04 – Sistema de Comando e Operações em Emergências (SICOE) do Corpo de Bombeiros do Estado de São Paulo. COLETÂNEA DE MANUAIS TÉCNICOS DE BOMBEIROS 38
  • 46.
    O CONTEÚDO DESTEMANUAL TÉCNICO ENCONTRA- SE SUJEITO À REVISÃO, DEVENDO SER DADO AMPLO CONHECIMENTO A TODOS OS INTEGRANTES DO CORPO DE BOMBEIROS, PARA APRESENTAÇÃO DE SUGESTÕES POR MEIO DO ENDEREÇO ELETRÔNICO CCBSSECINC@POLMIL.SP.GOV.BR