GILDO MONTENEGRO
DE
DESENHO
PROJETOS
EM ARQUITETURA• PROJETO DE PRODUTO• COMUNICAÇÃO VISUAL• DESIGN DE INTERIOR
,'
Blucher
TÉCNICAS DE APRESENTAÇÃO DE
PROJETOS• CRIATIVIDADE• ESBOÇO
• DESENHO DE OBSERVAÇÃO • CROQUI
• ESTRUTURA E ORGANIZAÇÃO DA
FORMA • GEOMETRIA DE 2D E 3D
i
Desenho
de Projetos
Blucher
Gildo A. Montenegro
Arquiteto. Ex-Professor dos Cursos de Arquitetura e
Design da Universidade Federal de Pernambuco
Desenho
de Projetos
Desenho de projetos
© 2007 Gildo A. Montenegro
7ª reimpressão - 2017
Editora Edgard Blücher Ltda.
Blucher
Rua Pedroso Alvarenga, 1245, 4° andar
04531-934 - São Paulo - SP - Brasil
Tel. : 55 l l 3078-5366
contato@blucher.com.br
www.blucher.com.br
Éproibida a reprodução total ou parcial por quaisquer
meios sem autorização escrita da editora.
Todos os direitos reservados pela Editora
Edgard Blücher Ltda.
FICHA CATALOGRÁFICA
Montenegro, Gildo A.
Desenho de projetos / Gildo A. Montenegro
1.ª ed. - São Paulo: Blucher, 2007
ISBN 978-85-212-0426-8
1. Arquitetura - projetos e plantas 2. Desenho
arquitetônico 1. Título
07-4119 CDD-729
Índices para catálogo sistemático:
1. Desenho de projetos: Arquitetura 729
2. Projetos: Desenho: Arquitetura 729
Desenho de proJ9tos
4<:1
Dimen são
Análise
V
Desenho de projetos vii
Apresentação
Este livro nasceu da percepção de que aqueles que desenham são
órfãos de um ensino que, com exceções aqui e ali, eliminou geometria,
desenho e arte do currículo do segundo grau. Como se os estudiosos e os
profissionais de Arquitetura, Projeto de Produto, Programação Visual, De-
sign de Interior, Publicidade e afins pudessem prescindir da representação
gráfica.
E, no entanto, ocorre a contradição: os cursos profissionais daquelas
áreas começam cobrando a realização de trabalhos gráficos de seus alu-
nos que, na maioria das vezes, jamais riscaram figuras além daquelas que
enchem seus cadernos e seus sonhos. Numa prova gritante da necessida-
de da Arte e do Desenho, que alguns burocratas fingem não ver.
Este livro foi desenvolvido com o propósito de ser útil a tais pessoas
que insistem em riscar. Ele não aprofunda os assuntos, pois sua pretensão
maior é a de orientar os primeiros passos. Ou traços. E estimular o leitor
para que avance, soltando o lápis e a imaginação.
A /IDA
COMO
ELA E'...
VÜÍ Desenho de prOj8tOS
O livro é dividido em sete capítulos, tendo cada um deles a indicação
de obras que aprofundam o conteúdo.
O Capítulo I trata do Desenho Artístico ou Desenho de Observação
como expressão individual e como experiência. Procura-se liberar a criati-
vidade e a imaginação, fazer experiências; literalmente, correr o risco em
seu duplo significado: o de arriscar, que envolve erros e acertos, e o de
riscar, traçar, deixar o lápis a riscar, a deslizar rapidamente e sem medo.
No Capítulo 2 estuda-se a Geometria Tridimensional ou a (mal) afa-
mada Geometria Descritiva procurando tirar, desde os primeiros traçados,
seu caráter de abstração teórica. Isto vem de mais de dois séculos e ne-
cessita adaptar-se ao mundo atual: a geometria aplicada à representação
técnica. Porém, sem com isto fechar o caminho para os poucos apaixo-
nados que irão se dedicar às geometrias: de duas e de três dimensões,
não-euclidianas, fractais, esféricas e outras mais.
O Capítulo 3 apresenta um resumo dos Sistemas de Representação
gráfica mais utilizados. Ele ensaia uma visão geral do assunto.
No Capítulo 4, sob o título de O Esboço Projetual, o livro orienta como
fazer o esboço com a finalidade de representação de projetos. Aí se aborda
a necessidade de habilidade manual no esboço e do domínio do lápis no
nascimento das primeiras idéias; em continuação, abordam-se algumas
técnicas de apresentação de projetos. E, indo além das normas, o livro
mostra como o desenho técnico a instrumento - habitualmente seco, pre-
ciso e neutro - merece receber um verniz artístico que valorize o projeto.
A Geometria Bidimensional ou Plana é tratada no Capítulo 5 como
ponto de partida para a criação de projetos. "Do nada nada se cria", lem-
brou-me a Ora. Gisele Carvalho, ex-aluna que foi além do professor (ele
se sente gratificado por ter realizado sua missão: estimular o potencial do
aluno). De fato, o futuro projetista necessita de um vocabulário de formas;
não para copiar, porém que lhe sirva de muleta para avançar nos primei-
ros esboços. Aqui, a muleta é um estágio provisório no resgate do poten-
cial artístico e criativo e, no entanto, esta orientação nem sempre é dada
ao aluno universitário. Como resultado, aquele potencial que repetidamen-
te aflorou no ensino pré-primário acaba por ser abafado e abandonado por
falta de uso e de estímulo.
Desenho de projetos ix
O Capítulo 6 mergulha no Projeto e na Criação. Criatividade é subs-
tantivo abstrato, pois o que subsiste é a criação, o projeto. O leitor encon-
tra observações de quem viveu de e na criação; minha experiência, limita-
da à Arquitetura e ensino, recebeu contribuições do publicitário e sobrinho
Humberto Montenegro; mais do primeiro (publicitário) que do segundo...
O livro se encerra com Estrutura e Organização da Forma no Capítu-
lo 7. Na primeira parte, conta-se como as estruturas de cobertas evoluíram
das vigas e abóbadas para as formas leves e autoportantes (que se sus-
tentam sem vigas). Na segunda parte se mostra como elementos simples
podem gerar projetos ricos e de que maneiras esses elementos podem ser
dispostos a fim de resultarem em projetos com harmonia, equilíbrio e pro-
porção. A Arte por si só não constitui um projeto, mas o projeto não pode
prescindir dela.
O autor fecha esta Apresentação pedindo que seus leitores enviem crí-
ticas e sugestões para o aperfeiçoamento da obra. Sem isto, ela arrisca-se
a ficar parada no tempo e no espaço e, no entanto, a vida é movimento.
Mexa-se!
Recife, março/2007
X Desenho de proJ9tos
Sobre o Autor J J
, f
Gildo Azevedo Montenegro foi professor
nos cursos de Arquitetura e de Design da
Universidade Federal de Pernambuco e mi-
nistrou cursos em dez estados brasileiros. É
graduado em Arquitetura e fez Especialização
em Expressão Gráfica na UFPE. Tem traba-
lhos publicados em jornais, em anais de con-
gressos científicos e em revistas técnicas do
Brasil e de Portugal. Sua linha atual de estu-
dos engloba aprendizagem, intuição, criativi-
dade e inteligência. Gosta de serrar madeira,
de fotografar e de colecionar piadas. Nasceu
na Paraíba e mora no Recife com a esposa e
uma filha; dois filhos moram fora de casa e
uma outra filha reside no exterior.
© Josenilson Santana
Livros publicados pela Editora Blucher, São Paulo:
• Desenho Arquitetônico, 1~ Edição 1978/4~ edição 2001, 23 reimpres-
sões;
• A Perspectiva dos Profissionais, 1983, 13 reimpressões;
• Ventilação e Cobertas, 1984, 7 reimpressões;
• A Invenção do Projeto, 1987, 3 reimpressões;
• Geometria Descritiva, 1991, 2 reimpressões;
• Inteligência Visual e 3D, 2005.
Livro publicado pela Editora SCHDS, Porto Alegre:
• Habilidades Espaciais: Exercícios para o Despertar de Idéias,
2003.
1
Desenho Artístico
O objetivo deste capítulo é mostrar
como EXPRESSAR UMA IDÉIA, como sin-
tetizar uma figura por meio de esboço rá-
pido e, para isto, o primeiro passo é perder
o medo de desenhar. Em outras palavras,
não se vai mostrar como copiar a forma
EXATA de objetos; isto se faz mais facil-
mente por meio de fotografia.
A criança risca livremente, faz gara-
tujas, pinta. Até que um dia ela chega à
adolescência e passa a querer imitar o de-
senho de alguém ou quer fazer um tipo de
desenho de que gosta. Em geral, a pessoa
não consegue e se sente frustrada. "Eu não
sei desenhar. Eu não dou para desenho". A
mensagem negativa entra fácil na cabeça.
E, como a imaginação sempre vence a luta
contra a razão, cria-se uma barreira mental
que inibe qualquer tentativa da razão.
2 Desenho de proJ9tos
É por aqui que este livro vai
mostrar que qualquer pessoa que
sabe escrever pode desenhar.
Vamos ver o que acontece na
vida do adolescente. Da mesma
maneira que não existem duas
pessoas iguais, também os dese-
nhos delas serão diferentes. Não
apenas suas mentes são diferen-
tes; suas experiências no mundo
e no desenho foram também dife-
rentes. Simplesmente, não pode
haver dois desenhos iguais feitos
por pessoas diferentes!
Outro aspecto a considerar é que há quem comece a desenhar fa-
zendo cópia de um grande artista; por exemplo, Da Vinci, Miguel Ângelo,
Dürer. Mas o que costuma aparecer nas reproduções de livros e revistas
são reproduções de trabalhos destes artistas já maduros, no auge de sua
expressão artística; são, portanto, obras-primas... de gênios da Arte!
É muito difícil que um principiante faça coisa igual. Já mostramos que
a cópia igual não tem sentido. Claro que um principiante com prática dese-
nhará tão bem como um artista experiente; é questão de persistência, de
dar tempo ao tempo. Mas o que se procura não é a cópia; é um trabalho
expressivo, pessoal e bem feito.
Por outro lado, a cópia pode ser aceita sob condições:
1. Como fase transitória e inicial na evolução do desenhante.
2. Sem se prender muito aos detalhes ou à imitação servil.
3. Como ponto de partida na busca de seu jeito pessoal de expressão.
Vamos falar do material de desenho, antes de começar a parte prática
e os exercícios.
Desenho artístico 3
OS PAPÉIS
O papel industrial ou papel tipo jornal é vendido em folhas de 66 x 96
cm, aproximadamente com gramatura (peso por metro quadrado) variável
e com cores que vão do branco ao creme claro.
Encontram-se no comércio papéis nos formatos A4 (21 O x 297 milí-
metros) ou A3 (420 x 297 milímetros) com papel de gramatura variando de
75 g/m2
(mais fino) a 92 g/m2
(mais encorpado ou espesso) sendo vendido
em folhas ou em blocos. A qualidade vai desde o papel usado comumen-
te para cópias até os papéis especiais para artes gráficas: Canson, Piraí,
Schoeller e outras marcas comerciais. Na linha de papéis transparentes ou
não opacos existem os papéis vegetais que, em geral, são pouco adequa-
dos para o desenho à mão livre.
Sugere-se a utilização do papel usado de um só lado (correspondência
postal inútil ou cópias defeituosas, por exemplo); use o lado em branco
para fazer esboços. Não se trata apenas de evitar o desperdício, mas de
poupar as árvores. Nem sempre temos consciência de que uma folha de
papel é feita de árvores derrubadas e de tratamentos químicos altamente
poluentes.
Existe ainda a opção do chamado papel madeira, cuja face áspera é
adequada para lápis macio, crayon, giz de cera ou pastel (ver adiante).
LÁPIS
NtwU:LZ
~ :
/~
Recomenda-se o lápis de madeira com graduação do grafite (miolo) na
graduação 8: de 28 até 68, todos bem macios. A graduação F é menos
macia e a do tipo H é bastante dura. Assim, estes dois tipos são inadequa-
dos para o desenho à mão livre.
4 Desenho de proJ9tos
Também inadequadas para o desenho à mão livre são as lapiseiras,
ou porta-lápis, que comportam minas de grafite de 0,3 até 9 milímetros. O
motivo é que a ponta sempre fina fere ou arranha o papel e não desliza ou
escorrega sobre ele.
O giz de cera é um bastão de cores diversas feito com pigmentos e
base oleosa. Pode ser adequado para desenhos grandes e esboços rápi-
dos feitos em papel de textura áspera.
O pastel é um bastão quadrado ou redondo, sendo igualmente cha-
mado de óleo seco. É semelhante ao giz de cera, porém mais macio e tem
maior variedade de cores.
O crayon (pronuncia-se CRÉION) é uma mistura de carvão ou pig-
mentos corantes caracterizada por cores fortes e pela macieza da textura.
Apresenta-se em lápis ou em barras quadradas de 4 milímetros. Dá exce-
lentes efeitos gráficos em papel áspero.
A aquarela dá belo efeito colorido por sua transparência e pode ser
aplicada em desenhos a lápis ou a crayon, porém exige técnica apurada e
papel especial. É pigmento sólido, em pastilhas, ou pastoso sob forma de
bisnagas. Existe também sob forma de bastão ou lápis solúvel em água.
Apresentamos uma série de exercícios que funcionam como treina-
mento da visão.
O objetivo é REFINAR, apurar a visão. Muitas vezes olhamos, mas não
vemos. Pequenos detalhes, formas e diferenças não são percebidos. Ou-
tro aspecto destes exercícios é fazer com que a mão seja LIVRE e LEVE de
modo que o traço corra, deslize, escorregue suavemente.
O lápis atua como uma bailarina, só que seus rastros ficam no papel.
Copi.e ccuta.
~ 11.0
~cu:bo ~
à. direJ;a..
Us--e íapi.s' ~
~ 28 <Xt. €8 .
Ntio u.s--e
~a../
~ . ~ ·- ·
•
-
/1
li;_
9
s
Desenho artístico 5
o
~
~
;<'
@
e t,
M I
Não leia o texto adiante antes de ter concluído seu desenho!
Depois de ter realizado o exercício n.? 1, faça este teste: no primeiro
quadrado seu desenho acompanha o pequeno círculo à direita? Você ob-
servou que ele está fora do centro, um pouco para baixo? Examine seus
esboços e refaça: uma, duas, três vezes.
Desenho é prática! Muita prática.
6 Desenho de proJ9tos
o
o
fl'X@!l'@ó@u@ L()--,
1'
z
Segw·r o 1 rt
orientaçdo do Gi (')
póq1Í7o onfen'or.
·+ ~
•
~
O exercício 3 - ver figura na página seguinte - envolve o adestra-
mento da visão e da mão/lápis. Em cada uma das figuras, deve-se colocar
um eixo vertical que servirá de apoio visual (nada de fazer medições!) para
o traçado da figura simétrica. Daí o nome de eixo de simetria dado a esta
linha.
.
1
''
 e:;'
1 , ...'
,'


'',
..,_,______,
Desenho artístico 7
------------. '
0 0 W l±J 0 ~f ~I 0 :1 @J%@!f'&ff
<§!!@ 4
0 D D D D D D D ~t ~~ ~-
~ D D D D D D D N~ ~ 1 , 4 eB
@DDDDDDD = ~~
1,.._.fü_:_8_B_B_B_6_6_6_. ~i~~
8
~ €B.
~pda. a ~ do ~ 1
nos ~ 2 , 3 e 4 . ..
• . . 12. repd'a_ do ~ #úYCto
1UrS ~ aduhJe de A 12. B.
No-s ~Sa.. 8 ~ a . ~ ~
~ 0
1, ~ ~ d e a_ ~ o
-1----
---~·-~· @ ~ cte ~ ª obter ~WA
UH! efe<Ío . , ~ , ,,_ ~
._.,.,,,.,.. ~tk.'t'a. ô ~ CdH, os .
· ,...,,.,_.,. ~ A e B. . ·
.~~-~· á.s"f' (n" ~ ~
pa4"Q... ~ 'ú<do 0-Ú para., ~ Ú!f1K ai;
téxl"u..ra,s, da. ~ ~ -
8 Desenho de proJ9tos
1 Vorioçoes nos 2
rb rr G:fl{]:[I ~~
Linhas suaves
e fáceis
Linhas em
gradação
~ .: 3
~ -
..,...,._,.,,,,"'~!a.·,..··"!"
4
~"""""'"""·";...,.,,,,.-.,
· tfQ' M ...,,,._r.'
~,:~ •,._.t 'r•~·,'~
... dá pancadas.
Linhas com
pressão
variável
o lápis ...
Linhas
oscilantes
e pesadas
... desliza e freia.
=:::::,::::==:
. . . . .
.,,.-,..('l....,,~~"',,at~,t·~ ..,')"'Jwll,&,ni.-..,c.,.,.-a,:........,.
~ ~-.....-·
--~-
--·
-
... desliza sobre lixa.
9 10
.... faz ziguezague
------- ---·-
------ - - ---
------- ----
..... ----------
12
... gira e desliza.
11- Lápis nas palmas
das mãos.
12- Linhas
interrompidas.
13- Linhas
onduladas.
... Invente!
1
4
3
1. Carimbo de isopor
2. Gota de tinta empurrada por cartão
3. Gota de tinta soprada com canudo
4. Caneta + tinta puxada com faca
Desenho artístico
2
·-::s.. ~ +·-Z.
--.:..~~
~~
--
9
10 Desenho de proJ9tos
TEXTURAS
Elas criam o efeito de contraste na figura, assunto que se estuda mais
adiante. O exercício 4 é feito para treinar a mão, dando-lhe mobilidade e
velocidade. Que serão extremamente úteis para os exercícios vindouros e
para a vida profissional.
Na metade inferior desta folha de exercícios, o leitor, depois de esco-
lher alguns exemplos apresentados nas duas páginas anteriores, fará suas
experimentações. Aí poderá soltar sua imaginação e criar outras variantes
de texturas.
Vale lembrar que texturas são perceptíveis pelo tato, sobretudo. Na
verdade, o que fazemos é a representação de texturas.
Exercício 5
Apanhar do chão (melhor do
que arrancar da árvore) uma folha
e desenhar
O CONTORNO e a
ESTRUTURA ou as nervuras.
Exercício 7
Desenho artístico 11
Exercício 6
Aqui não há possibilidade de você ar-
rancar, pois se trata de representar a árvore
inteira. O ideal é sentar num banco de praça
(poucos prédios possuem árvores, infeliz-
mente) e fazer vários esboços rápidos com
lápis 68. Depois mude de ponto de vista e
repita o exercício. Faça imagens de diver-
sos tamanhos e procure captar o conjunto
e a estrutura (tronco e ramos), se ela for vi-
sível. Em caso contrário, faça o contorno e
encaixe a estrutura em seu esboço.
Observar e representar obje-
tos do cotidiano: copos, móveis,
jarros, objetos da decoração, fru-
tas, tudo o que estiver disponível
em sua casa. Se preferir o am-
biente externo, esboce abrigos
de ônibus, orelhões, bancos de
praça, estátuas. E não esqueça
de colocar sombras.
12 Desenho de proJ9tos
@ @&tJfi1@ E O I'SCQ/lO
o ~ objeto pode
ser ~ c i o eut.
h-u,s-1'1t,ectiose~
(cui#ca) C,-U. •••
... pode ser ckrtacado
pc-r~ô ck
fê@!Pll41!fil
cont;..a o ~ ~ .
Bronco.o
Cloro. 1
C/or o .2
Néd/o.3
[scuro.4
Escvro.5
Pr·eto. €
Desenho artístico 13
Tons de claro-escuro
Divida a faixa em 7 partes e pinte
os espaços indo do branco até o cinza
e daí prosseguindo para o preto. Esta
faixa de tons ou de tonalidades lhe dá
a base para as variações do claro para
o escuro. Compare partes da figura an-
terior com os tons da faixa, de modo a
classificar cada porção.
Exercício 8
CRIAR LETRAS DE FANTASIA
É mais uma oportunidade de desenvolver sua imaginação. É comum
vermos produtos comerciais associados a uma caligrafia somente deles.
O texto que você está lendo é um exemplo de caligrafia de imprensa, onde
cada letra está sujeita a especificações relativas à largura, altura, espessu-
ra e inclinação.
A letra de fantasia é o oposto do tipo de imprensa: não está sujeita a
regras, exceto as de boa apresentação gráfica, que envolvem arte e ima-
ginação.
fANTAS~A:
PfaOC ESS'C>
c.R,'.A-T , V O
esPa~o
14 Desenho de proJ9tos
OBSERVAÇÕES
Se for fazer cópia, sugerimos que copie usando técnica diferente do
original. Se o original é uma tela a óleo, ela poderá ser reproduzida a lápis,
crayon ou nanquim em preto e branco ou com adição de apenas UMA cor.
Quando o original é um bico de pena, que ele seja copiado com lápis 68;
isto é, sempre alterando a técnica.
Outro procedimento válido é fazer a cópia restrita a uma parte do origi-
nal. Detalhar, por exemplo, a mão ou o rosto de uma figura de corpo inteiro
ou as dobras de um tecido ou roupa.
Convém que esta cópia seja feita em traços rápidos, já que o objetivo
é treinar a capacidade de ver e a liberdade do traço.
A liberdade do traço, a linha solta e rápida, é essencial e depende fun-
damentalmente de prática, de muita prática. Recomendamos que o leitor
esboce tudo aquilo que está na sua frente: outra pessoa, uma garrafa, um
copo, uma cadeira, tudo. A mão livre deve ter também assunto livre... em
qualquer lugar, com qualquer coisa que risque: caneta esferográfica, lápis,
um pedaço de carvão, batom, o escambau. Em qualquer papel: na toalha
ou papel da mesa do bar, no guardanapo, na caixa de fósforo. Em qualquer
lugar: na fila do banco, na sala de espera de um consultório, bom ... portas
de sanitários públicos devem ser evitadas pois, em geral, já estão empor-
calhadas! Aí vem uma dúvida: por que as portas das casas não são de-
coradas? Por que quadros têm de ser pendurados sempre nas paredes?
Seus esboços podem ser colados com fita adesiva nas portas... E sempre
renovados. Quem sabe se não é o começo de uma carreira artística? (Não
irei cobrar pelo conselho!).
Ainda que trabalhos de boa qualidade não surjam de imediato, a utili-
zação da linguagem do desenho libera emoções, tanto quanto a música.
É pena que este resultado seja pouco divulgado pelos psicólogos e pelos
professores. Esquece-se que a linguagem gestual (o que é o traço senão
um gesto que ficou gravado?) é usada pelo recém-nascido, muito antes da
linguagem falada. Dê a um bebê de 8 meses um pouco de tinta ou um toco
de giz e ele irá garatujar imediatamente; cabe aos pais fornecer jornal ou
papel barato, a fim de poupar a tinta das paredes.
Com o esboço rápido não vá o principiante querer realizar uma obra
de arte na primeira tentativa; pode ocorrer, mas é raro. O normal será você
acertar sempre, pois não há desenho errado, uma vez que o ponto funda-
Desenho artístico 15
mental no exercício é liberar o traço, perder o medo, a inibição de riscar. Se
o trabalho vai para uma exposição de arte é outra história. Então, vamos
meter o lápis no papel e gastar papel. Aliás, não é gasto; é investimento.
Treine sempre, muito e continuamente. Um dia você já lembrará de que
tinha medo de riscar.
O principiante deve estar ciente de que não existe esboço certo ou
errado. Se você riscou, está valendo, pois é uma etapa de seu desenvolvi-
mento. Então, vamos repetir e aperfeiçoar. A melhoria vem com a prática e
mais ligeiro do que você imagina.
O fato de você folhear livros e revistas de arte, freqüentar exposições,
assistir a filmes e conferências é uma boa ajuda; é o lado intelectual do
desenho. No final de cada capítulo, o leitor curioso encontra uma lista de
obras que merecem ser lidas. Mas a parte intelectual não deve se sobrepor
à prática do esboço.
Por falar em erro, é comum o principiante querer corrigir um traço
usando borracha. O errado é corrigir. Não faça isto! Seu esboço não está
errado, mas se não gostou de alguma coisa, FAÇA OUTRO! Borracha é
material proibido em desenho à mão livre.
Agora, dá para perceber por que a borracha não foi incluída na lista de
material do início do capítulo. Não compre e não use a do vizinho. A borra-
cha pega bem em pneus e em chinelos, mas em esboços é um desastre.
Desenhar no computador está da moda. É verdade que ainda não apa-
receu um bom artista que tenha aprendido a arte de desenhar num com-
putador. A tendência é que a tecnologia venha a evoluir até este ponto.
Por ora, ela não satisfaz, se bem que o computador é insubstituível para
muitos usos e usuários.
Alguns pensamentos do Professor Jorge Wagensberg, investigador e
cientista que reside em Barcelona:
• Um desenho é sempre uma compressão e, portanto, também é uma
compreensão.
• Ver é abrir a percepção.
• Mirar é fixar a vista.
• Observar é recriar a mirada.
16 Desenho de proJ9tos
Exercício 9
Receitas de cozinha geralmente apresentam lista de produtos e
uma seqüência de ações: apenas textos. Você já pensou em trans-
formar uma destas receitas em ilustrações com o mínimo de textos?
Exercício 10
Muitos livros de educação física orientam sob forma de prosa, porém
isto deixa muitos praticantes em dúvida. Tome um capítulo e apresente os
exercícios sob forma predominantemente ilustrada.
Exercício 11
Adapte o manual de usos de um liquidificador, de celular, de forno de
microondas para uma linguagem mais visual: muitas ilustrações e o míni-
mo de textos.
r::
I
I
1
1
1
1
I
I
I
I
Desenho artístico 17
Para se aprofundar:
Kimon Nicola'i'des - The Natural Way to Draw - Boston: Houghton Mifflin,
1969.
Excelente livro, apesar ou por causa de sua ambição de querer que o
Leitor se torne apreciador de Arte.
Betty Edwards - Desenhando Com o Lado Direito do Cérebro - Rio de
Janeiro: Ediouro, 1984.
Há outros livros e até revistas em fascículos de qualidade aceitável.
Geometria
tridimensional
19
O projetista costuma criar ambien-
tes ou objetos que são, em geral, tridi-
mensionais, ou seja, têm três medidas:
comprimento (x), largura ou profundida-
de (y) e altura (z).
Imagine um cubo:
Trata-se de um objeto tridimensio-
nal, porém ele está representado aqui
por meio de uma figura bidimensional.
y Propomos que faça esta experiên-
cia com um amigo: um dos dois ob-
serva um automóvel e o descreve por
meio de palavras, sem utilizar figuras,
imagens ou fotografias. A segunda pes-
soa recebe este texto e, sem ter visto o
automóvel, tenta desenhá-lo.
20 Desenho de proJ9tos
A parte final desta experiência acontece quando as duas pessoas com-
param os desenhos com o automóvel à sua frente. A surpresa é total! Da-
dos importantes foram omitidos; a descrição não corresponde às peças e
formas. Fica, então, comprovada a validade de antiga expressão popular:
uma imagem vale por mil palavras.
A importância da expressão gráfica precisa ser assimilada e assumida
pelo projetista, como sendo um dogma de fé.
Se o projetista cria formas, ele necessita saber representá-las. Sem
sua representação, um projeto não passa de fantasia, pouco importa sua
qualidade. Seria como uma partitura musical não escrita. Como vamos ter
idéia desta música sem ouvi-la ou, no caso de um músico treinado, sem
sequer vê-la transcrita?
Portanto, não basta ter a capacidade de criar formas. É preciso saber
representá-las, conhecer as regras ou os sistemas de representação grá-
fica.
Vamos começar estudando um destes sistemas, a chamada projeção
cavaleira, e mais adiante apresentaremos outros exemplos de representa-
ção gráfica.
Sugerimos iniciar preparando um cubo feito de sabão em barra, argila,
massa de modelar ou isopor (o material branco e esponjoso que é utilizado
em embalagens protetoras e que os químicos chamam de poliuretano ex-
pandido). O leitor utilizará o material mais facilmente disponível e com ele
modelará um cubo tendo 4 centímetros de aresta.
Numa folha de papel A4, o leitor desenha à mão livre ou a instrumentos
os eixos x, y e z como indicados na figura.
z
X y
Representação tndtmens1ona.l 21
Feito isto, marcam-se as arestas
do cubo nos três eixos como na figu-
ra à esquerda. Não são LADOS; esta
palavra é reservada para o quadra-
do, que tem quatro lados, enquanto
o cubo tem várias arestas. Conte-as,
por favor, em seu modelo.
Traçam-se linhas paralelas aos ei-
xos, passando pelos pontos já assina-
lados,
...e completa-se a representação
do cubo, sempre utilizando paralelas.
22 Desenho de proJ9tos
Agora você reforça as linhas vi-
síveis e tem o cubo representado no
papel, em duas dimensões, tendo em
suas mãos o modelo físico ou ma-
quete. Assim, você pode sobrepor o
modelo à vista superior desenhada e
observa que a base superior ou tam-
pa do cubo tem ângulos retos, ou de
90º, que formam um quadrado. Este
quadrado está representado em ver-
dadeira grandeza, que é um termo
técnico da Geometria Descritiva (GD).
As faces laterais e a frontal são
também quadrados em seu modelo,
mas não no seu desenho no papel.
Por que esta diferença entre os ângu-
los reais, no modelo, e na represen-
tação? É que a representação defor-
mou os ângulos das faces na figura
ao lado, portanto elas não estão em
verdadeira grandeza (VG).
X
z
y
Representação tnd1mens10nru 23
Para obter a VG da face frontal,
que está na figura ao lado, preenchi-
da por traços verticais paralelos, pas-
samos uma paralela ao eixo Y e leva-
mos os pontos .a e .b da base do cubo
para y1
por meio de perpendiculares.
Acima da reta Y1
, sobre as per-
pendiculares já traçadas, marcamos a
altura h do cubo ou aresta: ver figura
abaixo. Agora, temos o quadrado que
corresponde à face frontal do cubo
em VG, isto é, temos a projeção verti-
cal ou vista frontal do cubo.
24 Desenho de proJ9tos
marco~se
o/rC/rQ,
Obtemos a vista lateral direita da
mesma maneira:
Visto Super/or
Representação tnd1mens10nru 25
O cubo está representado na figura
abaixo como um volume, no centro da
imagem, tendo em sua volta as vistas
lateral direita, frontal e superior. A vista
superior, também chamada de proje-
ção horizontal ou projeção sobre o pla-
no horizontal, é obtida pelo prolonga-
mento das arestas verticais do cubo.
26 Desenho de proJ9tos
A figura abaixo mostra uma re-
presentação diferente do cubo, onde
a volumetria fica na parte inferior do
desenho:
O po/lto-c/2ove e'
(j'a!!f7(§!»§J(i[!]
o 9ur;:; esto'
fõzeado; e/'Jtoô
a t;,oo dp "
r€1pr8S{}/Jtocóo
e' C/mo 9uestoõ
de escoll!o.
Visto Supe,,-/or
Volt/metrio
A6s // vros
trod/c1oao1s o
,,
represG>n/c7çoõ
do cu6o ~~·
Representação tnd1mens10nru 27
Outra maneira de obter as faces la-
terais em VG é por meio de rotação; as
faces laterais giram até que fiquem de
frente para o observador, como na fi-
gura a seguir, portanto em VG, pois são
paralelas ao plano vertical.
Os livros tradicionais de GD cos-
tumam estudar rotação e rebatimento
como assuntos independentes. Na prá-
tica, isto não tem significado; são dois
rótulos para um único produto.
Voltemos ao modelo do cubo; nele vamos dar os dois
cortes indicados na figura ao lado, de modo a obter o mo-
delo ou maquete de uma poltrona. Feito isto, o leitor pode
começar desenhando o cubo inteiro como se viu na pági-
na 25 ou, se preferir, na figura da página 26.
4 2, 5
28 Desenho de proJ9tos
Exercício 1
A4
A figura abaixo orienta a coloca-
ção dos eixos na folha de formato A4,
de modo a evitar que as projeções ou
vistas fiquem fora do papel. Na parte
à direita desta mesma figura, mostra-
se o aspecto final das diversas vistas
a fim de orientar o principiante.
O leitor pode começar desenhando o cubo ainda inteiro e, em seguida,
fará a representação dos cortes indicados, de modo a obter as vistas da
poltrona.
A aprendizagem é mais bem retida quando o leitor aplica cores no
modelo e transporta este colorido para as vistas correspondentes. Para
fixar ainda mais o assunto, o leitor poderá fazer um modelo em cartolina ou
cartão, colando as faces recortadas por meio de abas ou de fita adesiva.
No final do capítulo, aparecem as soluções dos exercícios. O ideal é que
elas somente sejam consultadas após o leitor ter realizado seu traçado.
Exercício 2
13.5
A3 Escolo 1:10
Representação tnd1mens10nru 29
i)ados
Asse1?to 43x 43 cm
.4/tvro do assento 40 cm
'/ foto/ 80on
Pes 4x 4 cm
l3orn:? do encosto IS><! cffJ
Trata-se de representar uma cadei-
ra segundo o esboço e as medidas in-
dicadas.
Recomendamos utilizar o formato
A3 em função da existência de peças
de pequenas dimensões além de even-
tual complicação com o uso da escala
1:13 no formato A4.
• Desenhar a volumetria e as três vis-
tas da cadeira.
• Aplicar cores como no exercício an-
terior; dá melhor apresentação ao
desenho.
• Fazer maquete utilizando papelão
ondulado e palito de dentes.
Pode-se observar que o modelo não apresenta rigidez, é instável. Des-
cubra como fazer para que a cadeira fique estável. Isto lhe dará idéia do
comportamento das estruturas em geral.
Mais uma vez, recomendamos somente consultar as respostas que
estão no final do capítulo, após ter completado os desenhos com indica-
ção de legenda ou título de cada vista, escala utilizada, nome e assinatura
do desenhista, cidade, data, etc.
30 Desenho de proJ9tos
Exercício 3
A figura abaixo mostra um jipe esque-
matizado. O veículo ficou estacionado em
local deserto e as rodas sumiram; por ora,
vamos esquecê-las.
Sugere-se ampliar a figura central utili-
zando medidas compatíveis com o forma-
to A4 ou, se preferir, A3 e completá-la com
as vistas, segundo o diagrama adiante.
O objetivo deste exercício é desenhar
as vistas ou projeções e obter todas as
verdadeiras grandezas.
O capuz do motor e a capota pertencem a planos horizontais e, por
este motivo, estão representados por suas verdadeiras grandezas. O plano
ABCD ou radiador do jipe não está em verdadeira grandeza: observe que
as diagonais AC e DB têm medidas diferentes. Contudo, este plano ABCD
estará em verdadeira grandeza na vista frontal.
Representação tndtmens1ona.l 31
Para obter a verdadeira grandeza da porta do jipe você recorre à vista
lateral. Mas existe a opção de fazer uma rotação ou rebatimento da porta
em torno de seu eixo vertical na volumetria. Isto é mostrado na parte infe-
rior direita da figura: a linha horizontal~ na parte inferior da porta gira até
a posição ~1
. o mesmo traçado é aplicado aos pontos g_ e n, completando
a VG da porta.
,o
No Visto LateralDireito:
1 1.0
z
No Volt.1me tr/o :
A4 xt, 1
O pára-brisa não está em verdadeira grandeza nos desenhos, pois
ele é um plano oblíquo ou plano inclinado. No veículo real, ao ser retirada
a capota, o pára-brisa pode ser deitado ou rebatido sobre o capuz. Esta
operação geométrica é mostrada na parte direita da figura acima e deve
ser aplicada em seu desenho na vista superior ou na volumetria.
32 Desenho de proJ9tos
O ctJ.60 Psto' cortado
p o r um plano P.
Em G D S() d/2 (l i/e
o p a ,-.ft? cor t CYda (tlt./
secionodo) e· vmo
SEÇAV PLANA.
p
'
,·fv.-
~
' ,
' '
CORTAR ou SECIONAR envolve a determinação de pontos pertencen-
tes a linhas retas ou curvas e exige, em geral, a obtenção da verdadeira
grandeza da seção plana; é o que mostra a figura abaixo. Observa-se que
rebatimento e rotação são palavras diferentes para a mesma operação
gráfica.
Exercício 4
Esta é uma oportunidade de apli-
car seu conhecimento de verdadeira
grandeza, planificação, determina-
ção de vistas, etc.
O diagrama ao lado evita que o
traçado saia dos limites do papel.
Representação tnd1mens10nru 33
11.0
X
A4
34 Desenho de proJ9tos
Exercício 5
Até aqui o leitor tem exercitado sua habi-
lidade gráfica com figuras da vida cotidiana.
Chegou a hora de trabalhar com figuras geo-
métricas puramente abstratas.
Esta orientação não é aleatória ou nasci-
da de capricho pessoal. Há motivos para isto.
O primeiro é que objetos do cotidiano podem
ser imaginados e reconhecidos sob qualquer
ângulo ou ponto de vista; é o que os psicólo-
gos chamam de rotação mental, uma capa-
cidade mental que é mais bem desenvolvida
i
13. 0
O)
------;(
A4
nas pessoas dotadas de habilidades espaciais. Esta capacidade é funda-
mental para arquitetos e desenhistas industriais (designers) entre outros
profissionais.
O segundo motivo é uma afirmativa do filósofo e estudioso da Teoria
Geral dos Sistemas, Ludwig von Bertalanfy. Para ele, todo assunto novo
deve ser estudado inicialmente a partir de exemplos concretos e, somente
depois, analisado como abstração.
O terceiro motivo vem da convivência com estudantes. Seguidas ob-
servações nossas apontam para o crescimento da motivação quando se
utilizam assuntos da futura profissão. Por que não começar logo nas aulas
iniciais do curso? Eu me lembro ainda da impaciência de ter de esperar
quatro semestres do curso de Arquitetura, antes de ter contato com proje-
tos profissionais. Foi cansativo!
Exercício 6
,
/8. 0 1
/
6'xo ,,oa/'Cl
( plon/f'/car
------- --
A3
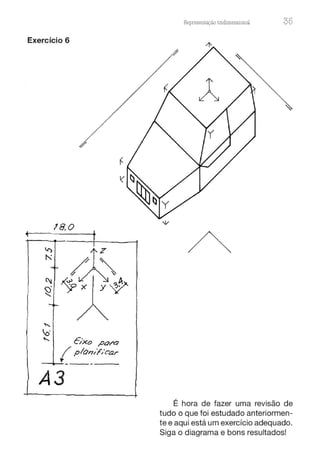
Representação tnd1mens10nru 35
É hora de fazer uma revisão de
tudo o que foi estudado anteriormen-
te e aqui está um exercício adequado.
Siga o diagrama e bons resultados!
36 Desenho de proJ9tos
Solur;õo
P!onif/caça-o
Escola 1: 2
- tnd1mens10nal
Representaçao 37
38 Desenho de proJ9tos
/
/!/
1 N,
1
" o
@J:t.@/J'<sll~llfJ
Soluçoô 4
Representação tnd1mens10nru 39
lJ E
40 Desenho de proJ9tos
/
/
'"" '
' )
"'· ,,
~~
Soluçaô@
De um plano poro outro:
Ouondo a f';guro e' dado
no plano horizontal - o
circunf'er@ncia oo lodo,
por exemplo - ... ~
4
Representação tndtmenstona.1 41
... levo-se o roio t1.
paro o p/0170
vertt'cal /(0pete-se
paro o m@dido m
e demo/s pootos:
L,gam -SP os
pontos obft'dos.
Esta construçóo aplico-S€' a 9uolqC/er
fi9uro (poróholo, no exemplo ao lodo) 0(./ q
pontos qooisq{/er. Com maior qucmtidode de
pontos aume11to o exahdcio do troçado.
Exerc/do proposto: Colocar os ,oaeus ao
jipe do póg/110 30, S{?ndo f.:: !JC_
2
O leitor que desenhou os exercícios propostos teve oportunidade de
adquirir os fundamentos da Geometria Descritiva. Para continuar o estudo
recomendamos:
Em nível médio:
Gildo A. Montenegro - Geometria Descritiva - São Paulo: Editora Edgard
Blücher, 2004 (2ª. reimpressão).
Ardevan Machado - Geometria Descritiva- São Paulo: Editora McGrawHill,
1983.
Álvaro José Rodrigues - Geometria Descritiva (vols. 1 e 2) - Rio de Janeiro:
Ao Livro Técnico, 1964 (esgotados).
Celso Wilmer- Geometria para Desenho Industrial - Rio de Janeiro: Editora
lnterciência, 1978. Apresenta problemas muito interessantes.
Para se aprofundar:
Angel Taibo Fernandez - Tratado de Geometria Descriptiva - Madrid: Edi-
tora Tebar Flores, 1983. Tem desenhos primorosos.
Fernando lzquierdo Asensi - Geometria Descriptiva Superior - Madrid,
Editorial Dossat, 1975.
Sistemas de
representação
43
Quando um objeto é colocado en-
tre uma fonte de luz e um anteparo
produz sombras. Na figura abaixo es-
tão ilustrados dois casos; na primeira
figura, aparece uma fonte central de
luz e na segunda, uma fonte muito
distante. No caso do sol, os raios de
luz são quase paralelos. Ocorrem, nos
dois casos, relações ou similaridades
geométricas entre a fonte de luz, o ob-
jeto e a sombra.
Em termos teóricos, existem analo-
gias entre o conceito de sombra e o de
projeção:
Fonte de luz e objeto ...... Sistema de projeção
Sombra................................. Projeção
Raio de luz.......................... Projetante
Anteparo .............................. Plano de projeção
Temos, assim, dois tipos de proje-
ção: a central e a paralela, que estão
detalhadas na página seguinte.
44 Desenho de proJ9tos
SISTEMAS DE /fsEPRESENTAÇAÕ
/
Ceome táa -• Rom? ob s t,ato e .
Projeft'vo Ceor/co do Geometno
Projeção
centrQ/
Projeção
Parole/o
metrio ~~
Ortogonal ~
~8
Tárnefrio
Qualquer
re/oçciõ e17fre
OS eÍ.)(OS
Oo/s eixos porale/os
aos plonos eleprojeção
Projeções sobre
2 O(I mais planos
Projeções sobre ~
U/v/plano ~
Relocoes ,denft'cas
nos tnfs eixos
!(e/ações ,dênficos 'Ó
em dot's eixos v
Re/o_coes dikrentes-
aos três eixos
Sistemas de representação 45
Exercício
Relacionar na figura abaixo as sombras com os objetos, considerando
que:
1. as sombras podem estar sobre uma parede/plano vertical ou sobre o
piso/plano horizontal;
2. os objetos podem estar em posição diferente da que aparecem na fi-
gura.
•Nenhum sistema de representação consegue captar todas as nuances
e detalhes de um projeto. Uma obra arquitetônica ultrapassa a represen-
tação tridimensional, pois envolve volumes, planos, cores, luz e sombra,
som, emoção, cheiros, evocações, conforto ambiental, fatores psicológi-
cos e estéticos, além de outros aspectos. É por este motivo que dizemos
que há enorme diferença entre planta/representação e obra arquitetônica.
Uma vez que o projeto transcende sua representação gráfica, con-
vém que esta apresentação seja a melhor possível, reunindo a base geo-
métrica e a representação artística. Daí a necessidade de o projetista,
seja de Desenho Industrial, seja de Arquitetura, ter bom domínio destes
fundamentos.
Para que ocorra este domínio convém que o projetista saiba passar,
sem esforço, de um sistema representacional para outro. Por exemplo, da
representação das vistas ortogonais (plantas, fachadas e cortes) para a
volumetria em projeção cavaleira ou isométrica, também, em perspectiva.
Um dos meios que a experiência do pó de giz me ensinou está nas
páginas adiante.
46 Desenho de proJ9tos
Sistemas de representação 47
Trata-se de uma malha isométrica à esquerda e outra ortogonal à direi-
ta. Esta página deve ser ampliada para o formato A4, de modo que adis-
tância entre pontos fique em torno de 8 milímetros. A partir daí, propomos
um exercício de esboço à mão livre, como está indicado a seguir.
1• Cdot:ar UH, p/mt,o <X<
~ ~ CóTk
z (tdw,ra): 8 ~
e y .: tó t1t.cfdaio-s.
(
2• Represe,trw ti#/
Cu.boC<JHt.~
ele 2 ~ P
~ ~wEr. 4 • ~ o
~/e..spe,/Aoe
~ o at.6o
ref
kk.d<J.
5 • Na ~ orhyo'1ta.i
~ O cubo
c?.fll3 ~ - ~ ,
~ e Ca.kra,/.
ó• ~ UH(,.(2.
~ de ,oa,lá..
1 • ~ a ~ 11.0 cndro Lado
do~-
8• ~ l a r 4 IXS'!as" ~
CÍ4. ~ -
9 . 6,,,(, ou1:ra, /o#ta, ~ Ul#f_
(-- &.~./icador eH(, ~ '
Jigura re/'/e,t:da. e ~ o-rú:,gCJ1taLS:
A idéia foi apresentada pela psicóloga MacFarlane Smith em seu livro
"Spatial Ability" de 1964. A autora usou repetidamente a malha ortogonal
em diversos testes de avaliação e me ocorreu alterar a proposta para fins
de desenvolvimento da visualização espacial.
48 Desenho de proJ9tos
Além de utilizar, quase simultaneamente, dois sistemas de represen-
tação, o aluno é induzido a imaginar e a representar o mesmo objeto visto
de outra posição, por meio de sua imagem refletida. Trata-se, pois, de
exercício de rotação mental de figura, uma habilidade espacial que veio a
ser amplamente estudada por Roger Shepard em sua obra de 1982, "Men-
tal lmages and Their Transformations".
Obtivemos excelentes resultados com a aplicação destas malhas em
cursos ministrados na PUC de Porto Alegre em 2005 e no curso de Arqui-
tetura da UFPE.
A chamada perspectiva aérea é termo consagrado entre os pinto-
res figurativos para a representação artística caracterizada pela perda
de nitidez do contorno e pelo esmaecimento das cores provocado pela
distância.
Por outro lado, em Geometria deve-se evitar a designação de perspec-
tiva cavaleira ou isométrica, pois estes sistemas de representação não têm
fugas, como se viu no quadro geral. Assim, o mais indicado será falar de
projeção cavaleira ou de projeção isométrica.
O estudo da perspectiva está fora do conteúdo desta obra, porém o
leitor encontra o assunto em nosso livro "A Perspectiva dos Profissionais"
(Editora Blucher) ou em tratados específicos nas boas bibliotecas; o livro
citado abrange o estudo geométrico de sombras e de projeções paralelas.
O professor Álvaro José Rodrigues publicou em 1948 um volume sobre
"Perspectiva Paralela", onde estuda amplamente este tipo de projeção,
porém é obra esgotada.
Outros sistemas de representação podem ser criados ou já existem,
porém as aplicações profissionais estão limitadas aos tipos já citados.
Oesboço
projetual
49
O projeto é uma alucinação controlada.
A frase acima é adaptação livre a partir de uma idéia
do pensador Jorge Wagensberg.
O título inicialmente pensado para este capítulo foi "O esboço arquite-
tônico". Mas há duas incorreções aí. Primeiro: as propostas e idéias lan-
çadas valem tanto para o projeto de Design como para o de Arquitetura.
Segundo: esse título poderia ser confundido com Desenho Arquitetônico.
Um projeto passa por etapas como:
1. O desejo do cliente ou do próprio arquiteto para fazer o projeto.
2. A coleta de dados: Para quê? Onde? Qual o programa ou lista de
necessidades? O que se fez antes num caso semelhante (coleta de
dados)?
3. As primeiras idéias afloram e são esboçadas: é o partido.
4. Refinamento dos esboços em busca de um projeto definido.
5. Escolha de um dos esboços para ser aperfeiçoado.
6. Primeiros traços do anteprojeto.
7. Correções e alterações no anteprojeto.
8. O projeto definitivo ou quase isso.
9. As especificações e os acabamentos.
1O.A aprovação do projeto pelo cliente e, posteriormente, pela buro-
cracia.
50 Desenho de proJ9tos
11.A construção ou execução. Que pode ser precedida de maquete ou de
protótipo.
12.Exame do projeto construído a fim de verificar erros e acertos. Esta
etapa é pouco praticada. Porém, se o projetista deseja crescer como
profissional, é de grande importância. Esta análise ensina muito e, se
exige autocrítica, em troca dá retorno futuro. O educador Paulo Freire
aconselhava: "É pensando a prática de hoje ou de ontem que se pode
melhorar a próxima prática."
A seqüência acima nem sempre ocorre, pois pode haver simultanei-
dade de etapas ou eliminação de algumas delas. Essas etapas podem ser
abreviadas em dois atos:
• Planificação e
• Execução.
Assim, o desenho é a conclusão da primeira etapa e o início da segun-
da, daí a importância da representação do projeto.
O termo representação significa NOVA apresentação, reapresenta-
ção; a apresentação primeira acontece na mente do projetista: é a cria-
ção, concepção ou "bolação" do projeto. Depois é que vem o traçado, a
re(a)presentação.
O desenho, portanto, torna presente uma coisa imaginada. E permite
ensinar ou comunicar a outros nossas idéias sobre um objeto ou projeto.
Comunicar a quem? A um cliente, a um examinador de concurso, a um
professor, a quem vai construir. Ou comunicar, gravar para si próprio a
evolução do processo criativo.
Os desenhos finais do projeto obedecem a códigos, normas e conven-
ções capazes de ter interpretação única em qualquer região ou país. Disto
trata um livro nosso - "Desenho Arquitetônico" - publicado pela Editora
Blucher.
Voltemos ao croqui, esboço projetual ou projeto preliminar. No começo
do projeto, as idéias são, em geral, difusas ou pouco precisas e os esbo-
ços refletem isto: traços são superpostos uns sobre os outros (Não se apa-
gam! Lembre-se.), expressando intenções que podem entrar em choque,
uma vez que são ainda pouco claras.
Oesboço pro13tual 51
Portanto, o esboço é um apoio ao processo de busca e a sua am-
bigüidade, ou até confusão, dá margem a outras idéias. Que se tornam
ponto de partida para novas formas e disposições. Estamos falando de
esboços feitos a lápis sobre papel. Aceitamos a modernidade do compu-
tador. Porém, no momento atual talvez ele não acompanhe a velocidade e
a flexibilidade da mente; ou não seja ainda tão simples e cômodo como o
lápis e papel.
Talvez nossa posição seja ditada por uma longa experiência anterior,
mas é inegável que o desenho à mão livre tem um valor simbólico e artís-
tico que máquina alguma consegue alcançar, porque ela não tem e não
sente emoção. Claro que para o materialista o que vale é a eficiência acima
de tudo; mas a vida tem um significado maior: não se mede em horas ou
anos. Aliás, nem se mede; desfruta-se, simplesmente. Claro que há quem
desfrute do computador...
Mais à frente, é possível que o computador acompanhe a mão e a
mente que criam em sincronia. Já foi dito que a mão é a parte visível do cé-
rebro. Ou talvez eu esteja defasado e os novos projetistas estejam fazendo
isto na tela, de modo pouco convencional!
Voltemos aos esboços... tradicionais. A flexibilidade e a multiplicidade
de alternativas nos projetos ficam evidentes nos concursos de projetos.
Um programa de necessidades, uma palavra, um conceito, podem dispa-
rar infinitas possibilidades criativas na mente do projetista.
Aqui está um exemplo elo-
qüente: Quantas alternativas o
leitor é capaz de esboçar como
interpretação desta figura? Como
figura bidimensional há poucas
alternativas, limitadas à junção
de polígonos. Se, porém, a figura
for considerada como uma vista
superior, as alternativas se multi-
plicam. Temos catalogadas mais
de 70 alternativas entre as nossas
próprias e as de alunos. Se o leitor
ficar restrito a 15 possibilidades ou
menos, sua habilidade espacial e
criativa poderá estar bloqueada.
52 Desenho de proJ9tos
Para desbloquear esta capacidade, sugerimos dois livros nossos: "A Inven-
ção do projeto" (publicado pela Editora Blucher de São Paulo) e " Habi-
lidades Espaciais: Exercícios para o Despertar de Idéias" (publicado pela
SCHDS de Porto Alegre). Para os que ficarem abaixo de 5 alternativas para
o exercício aqui proposto, sugere-se que sequer saiam de casa, pois se ar-
riscam a ficar perdidos na cidade.
O projeto desenhado supera a realidade, está acima e além dela. Isto
porque podemos riscar no papel coisas que a tecnologia existente ainda
não permite que se construa. Muitas das invenções de Da Vinci estavam
nesta situação; a figura abaixo é um outro exemplo.
Da Vinci dizia que só se conhece aquilo que se desenha bem; quer
dizer, aquilo que está bem representado. No Capítulo 2, o leitor teve opor-
tunidade de fazer esta experiência. O fato é que conhecer bem um objeto
permite que nos apropriemos dele, permite fazê-lo nosso, embora apenas
no papel, simbolicamente. Este é o sentido mágico do desenho. É possível
que esta posse, embora simbólica, tenha ocorrido ao homem pré-histórico
quando pintou grutas e paredes com figuras de animais. Aqueles que ele
queria caçar e apropriar-se.
Vale lembrar que psicólogos apontam para a existência de uma rela-
ção muito estreita entre habilidade manual e inteligência. Seria exagero
meu restringir a habilidade manual ao desenho e relacionar inteligência
com criatividade, mas alguma coisa fica no ar!
Oesboço pro.ieturu 53
Em meu modo de ver, o que o projetista (arquiteto ou designer) vende
não é o projeto. É a apresentação dele! É comum o cliente não ter noção
da qualidade do projeto antes de vê-lo executado; então, a apresentação
do projeto ganha pontos. E ganha mais quem apresenta melhor.
Por mais que o professor e o julgador de concursos digam que vêem
o conteúdo e não a apresentação do projeto, é inegável que uma apre-
sentação bem feita cativa o observador. Faça a pergunta a uma mulher e
ouça a resposta! Ou imagine um bolo velho, gelado, sem odor ao lado de
um outro mal saído do forno, bonito e cheiroso; qual você escolheria? "Por
favor, não me fale agora de calorias e de colesterol..."
Arquitetos, como Frank Lloyd Wright e Corbusier, comentaram em
suas autobiografias que o desenho de arquitetura não traduz o projeto
como ele foi pensado. Basta considerarmos que a Arquitetura transcende
a tridimensionalidade, que o projeto envolve jogo de volumes, texturas,
luz, sombra, cores, sons e cheiros, então o desenho é insuficiente como
representação. Daí a importância de representar, de esboçar bem.
Enquanto o desenho técnico é codificado e tem interpretação única, o
desenho à mão livre tem traços fortes ou suaves, hiatos de traços que o
observador completa em sua imaginação. O observador se faz cúmplice
do desenhador. Mas não apenas isto, porque a ambigüidade do esboço o
potencializa como ferramenta de criação, pois o esboço vago ou ambíguo
dá margem a interpretações diversas, dando oportunidade para o exercí-
cio da criatividade na busca de alternativas.
O croqui de observação desenvolve a capacidade de síntese, pois que
não sendo possível o detalhamento extenso, o desenhador seleciona o
caráter essencial do objeto. E ele tem, ainda, de escolher o ponto de vista
ou o melhor ângulo entre vários pontos possíveis.
Por ser seleção e síntese, o croqui acaba por sensibilizar a percepção,
já que o desenhador contempla e risca: a visão e a motricidade da mão se
exercem alternativamente durante a elaboração gráfica.
54 Desenho de proJ9tos
Passemos a ver exemplos acompanhados de comentários sobre dois
grupos de figuras. O primeiro apresenta desenhos à mão livre, enquanto
o segundo grupo, mais adiante, mostra a valorização do desenho técnico
quando conjugado com arte.
Nesta primeira figura, foi utilizada a técnica do crayon sobre papel ru-
goso a fim de destacar o caráter livre do traço. A figura apresenta diferen-
tes planos que são acentuados por meio de contraste entre eles. Vale a
pena comparar este esboço com o 1~ Exercício do Capítulo 2.
Oesboço pro.ieturu 55
Esboço rápido de dois pilares do interior do Templo da Sagrada Famí-
lia, em Barcelona. Utilizou-se caneta esferográfica nas figuras principais,
com a aplicação de hidrocor escuro no fundo, a fim de destacar as duas
estruturas, que mais parecem ramos de árvores.
56 Desenho de proJ9tos
Nesta página estão ilustradas técnicas diferentes. O automóvel é um
esboço rápido feito com utilização de lápis 48 sobre papel rugoso. A som-
bra do veículo evita que ele pareça flutuar, como foi o caso da poltrona
da figura anterior. Na jarra ou leiteira de porcelana foi usada a aquarela
sobre o mesmo papel. O contraste é dado pelo fundo escuro, acentuando
o branco do material. Enquanto aquele lápis pode ser aplicado sobre papel
liso, a aquarela não daria o mesmo efeito.
O esboço acima é do mesmo arquiteto que projetou a Torre de Eins-
tein, em Potsdam, na Alemanha: Erich Mendelsohn. A aparência contem-
porânea do esboço esconde o fato de ele datar de 1914; vale salientar a
liberdade, o traço rápido e solto do arquiteto. Esta é a única figura não
produzida pelo autor neste livro.
o
~
g
'°
o
'O
i
g.
01
-'2
58 Desenho de proJ9tos
O caráter simples da pracinha de cidade pequena reflete-se nesta figu-
ra econômica de traços e de detalhes. Não se utilizou sombra como realce
de volumes. Nota-se a liberdade do traço quanto à excessiva geometriza-
ção, porém sem prejuízo da compreensão do conjunto. Esboço feito sobre
papel vegetal com caneta n? 2 de ponta de feltro.
~'~
---
1 - 2cx:i7
Nesta figura, procurou-se realçar as linhas de construção das sombras
e dos volumes com finalidade didática. O Autor utilizou lápis 48 sobre pa-
pel rugoso; notar a gradação de luz nos diferentes planos. Sugere-se ao
leitor aplicar hidrocor amarelo nos planos voltados para a esquerda, a fim
de obter melhor resultado plástico da figura.
o
~
g
'°
o
'O
i
g.
01
CD
60 Desenho de proJ9tos
.:-·• .
As três perspectivas
desta página e da se-
guinte mostram como o
mesmo projeto pode ter
realçada sua verticalida-
de (na figura 3) ou sua
fachada principal (na vis-
ta 2) ou, ainda, destacar
igualmente duas facha-
das vizinhas (na vista 1).
O esboço ao lado dá os
pontos de vista utilizados
em cada perspectiva, to-
dos feitos com lápis 48
sobre papel rugoso.
®
Oesboço pro13tual 61
62 Desenho de proJ9tos
O objetivo desta ilustração é re-
alçar a volumetria do projeto em re-
lação às ruas do entorno, abstrain-
do eventuais construções vizinhas.
Traçado misto com aquarela e nan-
quim sobre papel vegetal.
Oesboço pro.ieturu 63
Os antigos romanos foram mestres em várias atividades, aí incluída a
construção civil, com destaque para as abóbadas e os arcos; muitos deles
ainda de pé após tantos séculos. A ilustração desta página foi adaptada
da obra do arqueólogo francês Auguste Choisy e evidencia como um de-
senho técnico pode ser didático e ter apresentação artística. Traçado feito
a instrumento sobre papel vegetal com caneta n". 2 de ponta de feltro e
sombreado com lápis 48.
64 Desenho de proJ9tos
As épuras ou traçados de Geometria Descritiva são geralmente secos
e sem vida. Aqui o Autor representa a interseção de um cubo e de uma
esfera. À esquerda, estão as projeções vertical e horizontal do conjunto e,
à direita, as mesmas projeções de cada sólido, isoladamente.
/
/
/
, ,
/
/ ~
Oesboço pro.ieturu 65
, ,
A
/
,, B
~
l) o
Uma linha em diagonal separa a
planta em duas regiões: A - Planta
com contorno de paredes em traço
grosso tendo seu interior preenchido
com tom médio e com sombras na
parte esquerda. B - Planta com pa-
redes de contorno grosso e espes-
sura não preenchida; parte da planta
apresenta sombras.
66 Desenho de proJ9tos
~D
:1
DO
DO
D
O
DO D
O
DO
D
As três fachadas se
referem à planta da fi-
gura anteriore mostram
apresentações diferen-
tes do mesmo projeto.
Na figura maior, vê-se
a fachada como ela é
representada conven-
cionalmente, porém
acrescida de sombras.
Que podem ser colori-
das, valorizando o tra-
çado e melhorando a
compreensão.
A figura central
corresponde à fachada
quando representada
com traço de espessu-
ra uniforme, resultando
em falta de contraste.
Na parte inferior, está a
representação conven-
cional, a fim de permitir
sua comparação com a
primeira figura.
Oesboço pro.ieturu 67
~AB
L_____ ___ ___.J -- - - - - - - - L------------
A
,-------------, --- ---------, ---------------
• 1l 1:
1 : 1 1 1
1 1 1 1 1
1 1 1 1 1
1 1 1 1 1
1 1 1 1 1
. 1 1 I 1 1
1 : 1
11
1 1 1 1 1
1 1 1 1 t
' - - ~ 1 1 1 1
PÚU4..Íá
..,__
B
Habitualmente, os cortes são representações meramente técnicas. Po-
rém, nada há que impeça o tratamento artístico - que pode ser o diferen-
cial do arquiteto - , valorizando o traçado e quebrando a monotonia.
68 Desenho de proJ9tos
Não chega a ser rara a
planta de coberta enrique-
cida com sombras, como
aqui. Isto melhora o aspecto,
facilita a leitura e a compre-
ensão. Notar a representa-
ção da fachada, à direita; é
recurso dispensável, desde
que o projeto seja apresen-
tado como conjunto comple-
to de plantas.
Mesmo a representação técnica de um viaduto e canal, como na figura
abaixo, merecem tratamento artístico que lhes tire a frieza e neutralidade.
Nota-se a aplicação de textura, como se indicou no Capítulo1, a fim de
criar contraste com as grandes dimensões da viga.
Geometria
bidimensional
•
69
70 Desenho de proJ9tos
... OU
~ -
: :.-::  · ·: ~-·.··.··.·::'· :-.-·~':_·:_:·_:~:::··.·.:·.~···-·::·,: ,:,.·.,·.
·'::
.,...!: : ··""=··.. . ·..··i·:_
;_~-__~-'.-~
.:
····;·"-:t·:·>_
i.:,.:.:.,...=
....:. ·· : · .:, ·. _.../--·
P~H,ã,olêM ck~
~ ºººOó
~
.........
..... ...
.~ ~
Geometna b1dtmens1ona.l 71
F··:(·,:,/,;{•••
.( ...~ .·-.-:~
.· ·. ,:.;:)." .. ·_.-'//?}
l ·.· DJií_;__
i_._•._) ••-· ·_._/_••-~_)_t
._:.,;::_· _
. .....:..
. ..:~
·:
UHlQ ~ de pontos
l.i.MUl, lut..h,a ~ ~
w s-tdo :
oG ~ ou lr-req.u.Lcv
72 Desenho de proJ9tos
-···-
tt#lalutha 1lúU.S
&teus12 ~ S'el"
~ d a a
p,arCu- de /,raças
o u ~ ~
1111••••...
Geometria b1d1mens10nru 73
- --- - - -
-- -
~ -
-
- -=
-- .:::=::::.::........---;§i
- ---===
~
-
= -
74 Desenho de proJ9tos
P01llos cri,a,u,, iksr5es'.·t)O pcr,úo está"
ua ~ da ai1)ua do ~~?-t
2) A ~ alÚM os P<V1eS de
p,011.ios e' a ~ ?
.J,..
• •
• •
f,,,,_._,,.__,,J t'ni C"
• ,LA,,/, e.,~,~ '
•
-------
-------
------
• o.spi,raladas' ------
• com ------
iu/:ervnlo - - -- - -
~ - - - - - -
'
------
------
Geometria b1d1mens10nru 75
... O U ~.
76 Desenho de proJ9tos
O PLANO
O ponto não tem dimensão (medida); a linha tem uma dimensão: o
comprimento ou extensão. Figuras que têm duas dimensões são chama-
das formas ou figuras planas.
Em Geometria, o plano é ilimitado; na vida cotidiana encontramos pla-
nos no tampo de uma mesa, na capa dura de um livro, no cartão de visitas.
O plano pode ser torcido, perfurado, entrelaçado, sólido, rígido, flexível,
opaco, translúcido, ou... ou...
As forut.a.s g'2~ p,crci,e#I ser: vM PurNo 1MAGl-
o / NAR!o Po!)E SER
• BA'sicAs ~ D FoR.uA!)o PoR
PONTOS
• DERII/A l>LIS
QQ~
• NAO REGULARES ~
~~
oo pof:)
RETAS
Há cursos e livros em que a disciplina de Desenho Geométrico é estu-
dada apenas como traçado geométrico. Este assunto encontra-se desen-
volvido em livros ora reeditados, ora encontrados em boas bibliotecas; os
mais conhecidos são:
Teodoro Braga - Desenho Geométrico
Álvaro Penteado - Desenho Geométrico
Benjamin de Araújo Carvalho -Desenho Geométrico - Rio de Janeiro:
Companhia Editora Nacional, 1961.
Félix O. Rivera - Desenho Geométrico - Porto Alegre: Editora FURG,
1986.
Alguns livros de Desenho Técnico costumam apresentar os traçados
básicos; é o caso de Thomas French e Albert Bachman.
A partir destas noções básicas, o leitor pode passar ao ponto principal,
que é COMO e ONDE vai aplicar sua criatividade: o estudo das transfor-
mações ou mudanças das formas. O assunto é inesgotável e o que se se-
gue deve ser visto apenas como sugestão para que, a partir delas, o leitor
use sua imaginação.
Geometria b1d1mens10nal 77
78 Desenho de proJ9tos
1
1 "
, ...~ I 1
/ / ' 
 { J 
"1 l 1
~/ 1 1
/ 1 1
/  l
1 , l
, ....,
'
J
I
/
I
l
I
- --- - - -
,
f :
 t 1 , -- ... 1
J ,.,.. } 1 J  1
1 r 1 I l 1
 I  I 1 /
j'  : i !
... ., 1
,.,
Afor#ta.
gll"'a. ...
DO
.. ,o.lg~
carks
ohlJtHr-se
D----
~o .
...e dei= a ~ FlO.QES/tR . . · · .o
Geometria b1d1mens10nru 79
Os
-t"~ ; .. , ~· ,~iÍ/"
u.,µ:;' o~-··
00
80 Desenho de proJ9tos
Geometna b1chmens10nal 81
O MÓDULO
Conta-se a história do macaco que aprendeu a digitar no teclado. Um
pesquisador tinha a esperança de que, datilografando ao acaso, o macaco
pudesse escrever uma peça de teatro. Ele conjeturava que o alfabeto, ten-
do apenas 26 letras, ensejaria a possibilidade de surgir um texto coerente
a longo prazo.
A conjetura é matematicamente falsa; na língua portuguesa há 150 mil
palavras e as combinações são tão variadas que a possibilidade de o ma-
caco escrever uma frase coerente é extremamente remota.
O que tem a ver esta história com o assunto? Duas coisas: 1. Que al-
guns descendentes do macaco evoluíram mentalmente, enquanto outros
se tornaram políticos; peritos em puxar a brasa para sua sardinha. 2. Que
o alfabeto é modular; portanto, toda a literatura universal também o é.
Números são também modulares; apenas 1Oalgarismos. A televisão é
modular: pontos alinhados. As fotos do universo interestelar obtidas por
naves espaciais são transmitidas por um computador modular e binário:
dois módulos apenas, o zero e o um. Nosso cérebro é modular: um arranjo
maravilhoso de 100 bilhões de neurônios.
A poeira, a lama, o universo inteiro é modular. Há infinitos módulos que
variam em cor, tamanho, forma e disposição. O módulo é a matéria do pro-
jeto arquitetônico ou outro, matéria para ser trabalhada pela imaginação,
pela criatividade, saindo do caminho bitolado e da tecnologia conhecida,
procurando soluções novas, arranjos inovadores.
Mas, calma! Dizem os sábios que nem os deuses nem os homens mol-
dam livremente a argila; apenas fazem os tijolos. Façamos tijolos, então;
com ordem e diversidade porque na Arte não há resposta única!
No livro de Gildo Montenegro - A Invenção do Projeto - São Paulo:
Editora Blucher, 2005 (5ª. reimpressão) há diversos exercícios para desen-
volver a criatividade. Se o leitor quiser avançar mais, o livro Habilidades Es-
paciais: Exercícios para o despertar de idéias, do mesmo autor, publicado
em Santa Maria, RS: Editora SCHDS, 2006, tem muito a oferecer.
Convencido estou de que há, pelo menos, duas coisas que não têm li-
mites: a criatividade das pessoas e a falta de vergonha de muitos políticos.
O leitor tem muito a perder no segundo caso e tudo a ganhar no primeiro.
82 Desenho de proJ9tos
.4 11la1Jta(01'"9-~ ô pkuo el1(
dúxde / o ~,,(ders
o paral,eiog~
Ma,/,/r,a,S uáo ~ a ~ ;
ao ~o, ~ de apoio.
Geometria b1d1mens10nru 83
COMPOSIÇÃO ou ORGANIZAÇÃO
Composição se aplica a assuntos como literatura, música, artes plás-
ticas; aqui ela se estende desde uma tela ou quadro até escultura, foto-
grafia, cinema, publicidade, moda, programação visual, projeto de produto
(objeto), projeto de arquitetura, de paisagismo, de urbanização.
É importante saber que a composição (há quem fale em "agenciamen-
to" em Arquitetura, rótulo novo para um produto milenar...), seja qual for a
área, é INTUITIVA, isto é, NÃO LÓGICA, não racional, num primeiro mo-
mento. Significa que a criação, a idéia, aparece no início de um processo
mental que não pode ainda ser seqüenciado pela lógica, pelo pensamento
racional, pela ciência ou pela tecnologia atual.
Um dos motivos é que a composição mexe com enorme quantidade
de variáveis. Elas não podem ser enquadradas num modelo matemático
pelo fato de se tratar de um processo CAÓTICO; exatamente como são o
clima e a economia.
Convém não interpretar o que foi dito no sentido de que a composição
ou organização seja louca e aleatória; ao contrário, ela deve ter disciplina,
ordem, organização. Parece contraditório, não é mesmo?
Antes de chegar a esta organização, devo lembrar que uma composi-
ção pode ser enriquecida pelo uso de CORES e que a APRESENTAÇÃO
influi bastante, em termos psicológicos, em sua aceitação. O profissional
de Arquitetura, de Design ou outro pode substituir no texto acima as pala-
vras "composição" por projeto e "aceitação" por venda, uma vez que ele
vive de vender seu peixe.
Uma composição se faz não somente com formas, mas também com o
VAZIO entre elas. Algumas leituras sobre o assunto são úteis, porém o trei-
namento/experiência, juntos com sentimento/emoção é que farão o leitor
dosar a fantasia, a imaginação e a criatividade com o disciplinamento que
deve existir numa composição.
As regras ou princípios que regulam uma composição podem ser resu-
midos a equilíbrio e harmonia, considerando aí incluídos: unidade, varieda-
de, contraste, simetria, proporção e ritmo.
84 Desenho de proJ9tos
SIMETRIA
Nosso corpo é simétrico... por fora; por dentro, ele é bem menos. Vale
observar que o próprio rosto, em fotografias, mostra que a simetria não
chega a requintes: há geralmente um olho mais baixo, ou mais estreito, ou
uma orelha menor.
Consideremos um ponto P e uma reta
R. Se repetirmos o afastamento de P para
R agora à direita de R, teremos um ponto
P' simétrico de P. E a reta R será o eixo
de simetria. Sugere-se ao aluno procurar
o eixo de simetria de:
Triângulo isósceles
Triângulo eqüilátero
Triângulo retângulo
Paralelogramo
Pentágono
Círculo
Observe que uma figura poderá ter
mais de um eixo de simetria.
Quando uma reta divide uma figura
plana em 2 partes iguais, ela conterá o
centro de gravidade da figura. No poliedro
regular, o centro de gravidade estará so-
bre o plano de simetria.
Esta figura não tem eixo de simetria;
ao fazê-la girar uma volta completa em
torno do ponto C, a figura coincide com
sua posição original. E o ponto C será o
centro de simetria destas figuras ou po-
sições.
As palavras AMA são simétricas em
relação à reta R. Mas cada palavra tem
seu próprio eixo de simetria.
p P'
o--- -- - - - --0
R
Geometria b1d1mens10nru 85
Diz-se que uma figura é con-
gruente se sofreu uma transforma-
ção em que as medidas e as formas
não se alteram. Trata-se de mudan-
ça de POSIÇÃO, apenas. Em geo-
metria se diz que é uma transforma-
ção ISOMÉTRICA, de ISO, igual e
METRON, medida.
Outros exemplos de figuras congruentes, ou seja, de transformações
isométricas.
Tipos de simetria
1.
Transformação ou
deslize
2.
Rotação
3.
Reflexão
4.
Dados
O ponto P, o
comprimento K e o
sentido D. Os pontos P
e P' são simétricos ou
isométricos.
O centro de rotação C,
o ângulo a e o sentido
anti-horário.
Eixo de reflexão R.
Reflexão com Deslize Eixo de reflexão R e
distância k.
Exemplo
ik
/
I
I
/
ºP
P'
P'
í'
I
I
e
/,,
d_____ºp
o p
1
1
1
1
1
1
1
1
1
J P'
Os 4 tipos de isometria, acima indicados, são os básicos. Eles podem
ser combinados.
86 Desenho de proJ9tos
Há diversos tipos de simetria; um estudo bem desenvolvido - do pon-
to de vista matemático, biológico e artístico - é feito por Hermann Weyl em
seu Iivro "Symmetry", escrito em 1951 e ainda hoje atual e interessante.
RITMO
É a repetição ou acentuação de um padrão. Ele cria contraste, quebra
a rotina, gera movimento.
Geometria b1d1mens10nru 87
(]) o po-nJ:o • .. ,. . .. . . .
dois !''L/YfA t"rn- '. -~,;' • •• :,:,;,,; •: • ,
/-"-"r &A/.J ~ • - -.••~J;;,. •
..::-:.:.t:1:.::
~ pon,to-s- ...~:·:=
..: .
~·dade de ~
® o traço COU1 ~ - ..
... dR ~
.. dRdfreçw// ~
... d . e ~ '
...d e ~
e de espesstU'-Q
•
1
DDDD
D D D
DDD
88 Desenho de proJ9tos
Exercícios propostos:
1. Quais letras minúsculas podem substituir outra (indicar uma)...
...sem alteração.
...com algum acréscimo.
...com retirada de uma parte.
2. Analisar as transformações existentes em uma logomarca (letra e/ou
símbolo).
3. Procurar palavras que possuam um eixo horizontal.
4. Brincar com palavras que possam ser lidas de cabeça para baixo; há
INFINITOS arranjos: basta usar a imaginação.
Para conhecer e PRATICAR mais:
1. lvens Fontoura - De composição da forma - Curitiba: Editora ltaipu,
1982. Esgotado; extremamente adequado.
2. Tai Hsuan An - Desenho e Organização Bi e Tridimensional da Forma
- Goiânia: Universidade Católica de Goiás, 1997. Direto ao que interes-
sa; muito bem ilustrado. Altamente recomendável.
3. Donis A. Dondis - A Primer of Visual Literacy - Cambridge: MIT Press,
1998. Teórico e muito bem organizado.
4. Wucius Wong - Princípios da Forma e do Desenho - São Paulo: Martins
Fontes: 2001. Extenso, com muitas ilustrações e bons comentários.
5. Luiz Antônio Vidal de Negreiros Gomes e Clarisse Gonçalves da Silva
Machado - Design: Experimentos em Desenho - Porto Alegre: UniRit-
ter, 2006. Breve e simples; útil ao professor e indispensável ao aluno.
Projeto:
. -
acnaçao
89
o
Criar é fácil quando é o que você faz natural-
mente, contudo muitas pessoas não o fazem, por-
que elas apenas reagem aos acontecimentos.
Sua opinião sobre você mesmo é irrelevante
para a criação.
Assimilar informação demais pode afogá-lo.
Use o sucesso e o insucesso como aconteci-
mentos que trazem conhecimentos novos.
Quanto mais você cria, mais será capaz de
criar.
Evite o excesso. Nem planejar demais, nem fi-
car sem plano algum.
Prazos devem ser cumpridos, porém podem
gerar tensões que consomem sua energia. Use-os
para organizar suas ações.
90 Desenho de proJ9tos
O realizador tem um nível definido de capacidades, enquanto o apren-
diz é capaz de ampliar suas capacidades, podendo inclusive superar o
realizador.
Muitas pessoas passam anos em escolas e muito daquilo que apren-
dem não tem utilidade para elas. A maioria não teve experiência alguma
com o processo criativo e não sabe que se trata de uma coisa nova para
ser aprendida.
MUDAR POR MUDAR
pode não funcionar
Suponha que você conhece suas tendências e as aplica na condução
de sua vida. Em algum momento, você acha que se mudar seus hábitos
poderá ser mais criativo. Mas, a menos que haja um motivo, não vale a
pena mudar.
Tentar viver por um ideal ou adaptar-se a padrões da família, de amigos
ou colegas é mudança temporária, porque não está relacionada com um
objetivo específico.
A mudança em si não é um objetivo; ela deve ser um subproduto de
criar o que você quer. Não existe um jeito de ser que produza realizações,
pois isto varia de pessoa a pessoa.
Cada indivíduo tem seu ritmo, disposição e jeito de aprender e de fazer
que é pessoal. Isto pode, eventualmente, gerar dificuldade para criar em
conjunto com outras pessoas.
COPIAR
O pintor Van Gogh só veio a ter seu talento reconhecido depois de mor-
to. Se antes houvesse sido feita uma pesquisa, talvez ela mostrasse que
cortar uma orelha ou viver em retiro ajudariam a pintar bem. Com certeza
foram muitos os artistas que tentaram imitar o estilo de Van Gogh, porém
não passaram de copiadores, sem originalidade e sem sucesso.
ProJ)to: a cnação 91
O que fica deste exemplo e de outros semelhantes é que a pessoa
verdadeiramente criativa é honesta; sua criação é natural, pessoal. Tentar
seguir um traço pessoal de outro apenas diminui quem você é.
Observe o que já foi feito, os projetos criados, como o autor/a chegou
àquele resultado. Aí jogue fora e faça o SEU projeto. Nunca copie! Um dia
alguém descobre e sua carreira está encerrada.
AVALIAR
Não se ocupe de avaliar qual trabalho seu é mais, ou menos, criativo.
Isto pode mudar com o tempo. Faça como o vendedor de carro usado:
cada carro é um caso. Que pode significar uma boa venda ou um desas-
tre. Na dúvida, crie sem se importar se é um grande projeto ou uma obra
pequena.
Esteja sempre aberto para ouvir outras pessoas, tanto de dentro como
de fora de seu ramo.
A SOLUÇÃO
Nada se cria do nada. Veja, leia sobre todos os assuntos; a bagagem
cultural faz a diferença nesta hora.
É possível amplificar pelo subconsciente uma coisa que você propôs
através do consciente. Mas a resposta não é imediata; você precisará ali-
mentar de dados (pesquisas) o consciente. Em algum momento imprevis-
to, a resposta virá. E não adianta procurar obsessivamente a solução, pois
isto perturba o trabalho da intuição.
Se a idéia não pipocar, esqueça; limpe a mesa, saia da rotina, vá dor-
mir, vá ver um filme ou exposição, vá ao bar, converse. Desligue o motor
de busca; não fique brigando com você mesmo. Quando você estiver pre-
parado, a idéia chega.
Um problema ou projeto raramente tem solução única. Desconfie sem-
pre da primeira idéia; alguém já deve ter tido.
92 Desenho de proJ9tos
Faça esboços, muitos esboços, depois analise, selecione ou siga outro
caminho.
Nunca fique 100% satisfeito. Pense no que você pode melhorar na
próxima vez.
COMO SE PROJETA?
Ensinar a projetar é tão difícil como pegar fumaça. Na verdade, é fácil
começar um projeto, planejar. Você organiza uma lista de necessidades ou
programa que o projeto deve atender, seleciona algumas variáveis entre as
mais de 5 mil disponíveis em Arquitetura (por exemplo: estrutura de ferro,
volume vertical, formas redondas) e faz um organograma (seqüência das
ligações/ relações entre as partes).
Há quem projete de dentro para fora, dos detalhes para o conjunto,
enquanto outros começam com um volume global e vão esquadrinhando
as partes, do geral para o específico. A matéria-prima do projeto pode
parecer ininteligível, ampla, vaga, sem consistência. Você sabe que fez
uma boa criação se, no final, tiver chegado a um projeto coerente e não ao
arco-íris.
SER INOVADOR
1. Quem anda nos trilhos chega ao mesmo destino dos demais;
2. Desenvolva, aperfeiçoe sua inovação. Esqueça uma eventual contribui-
ção à Arquitetura ou à cidade. Sua criatividade deve estar a serviço do
projeto;
3. Domine a arte de projetar. Mas não seja dominado por ela; o objetivo é
o projeto e não sua habilidade de fazê-lo.
Não existe parto cesariano em projeto. A criança, aliás, a criação não
tem dia, hora nem local para nascer. Portanto, ande sempre com papel e
caneta como o bandido anda com sua arma; a força dele está aí.
Bons projetos, em geral, não são fáceis. Eles exigem trabalho, pes-
quisa, aprendizagem, habilidade, ajustes. Administre seu trabalho e sua
equipe, se for o caso, para que tudo se ajuste à finalidade.
ProJeto: a enação 93
CONHECER-SE
Procure conhecer seu ritmo natural de trabalho, pois cada indivíduo
tem o seu próprio. Observe em que ritmo seu trabalho é mais efetivo. Há
os que trabalham dias seguidos, de manhã à noite, enquanto outros pre-
ferem trabalhar durante algumas horas a cada dia. Organize seu tempo e
dedique-se ao projeto, não ao seu brilho, ao seu marketing, ao seu ego ou
à sua habilidade.
É comum um profissional passar uma temporada sem trabalho e, de
repente, aparecerem dois ou três para serem entregues ontem. Aprenda a
se envolver com um deles durante algumas horas e, a seguir, trabalhar em
outro bem diferente.
A EQUIPE
Aceite e aprenda a trabalhar em equipe. Ela faz parte da vida e dá
possibilidade de obter bons resultados, porque numa boa equipe todos se
estimulam e as atuações de uns são compensadas ou reforçadas pelas de
outros. Claro que nem todas as pessoas se adaptam ao padrão da equi-
pe; nem sempre se trata de conflitos de personalidades, pois, em muitos
casos, a pessoa não sabe como atuar em grupo, uma vez que ela não foi
ensinada.
Numa equipe cabem vários tipos de atuação:
• O caçador: a onça que traz o projeto.
• O colaborador: o que se junta para ajudar no projeto. Nada tem a ver
com chefia ou hierarquia; prefiro falar de coordenação em lugar de
chefia.
• O animador: o que fala alto, o que valoriza o trabalho, o que conta pia-
das que reduzem o estresse. Eles são incompreendidos por aqueles
que ignoram o processo criativo. Considere o ateliê de Miguel Ângelo
ou Leonardo da Vinci; havia o caçador, que era também colaborador, o
mestre que pintava ou esculpia junto com outros bons artistas colabo-
radores, o animador e os aprendizes candidatos a mestres.
• O técnico: o publicitário que divulga a equipe, o engenheiro que dá
informação especializada, o analista de sistemas, o digitador (antigo
desenhista), o fotógrafo, etc.
• O apoiador: a recepcionista, a telefonista, a secretária, o pessoal da
copa e da limpeza, o office boy.
94 Desenho de proJ9tos
É essencial que todas as pessoas da equipe tenham idéia do objetivo
final, tenham interesse no projeto e estejam focadas no resultado. A habi-
lidade de trabalhar em grupo depende de cada pessoa, não de um chefe.
Um time vencedor é o que se importa com o resultado, sem culpas e sem
vaidades.
VENCER CONCURSOS
Uma boa experiência é (ou foi) a de arquitetos do Paraná Eles venciam
muitos concursos para projetos no Brasil inteiro. Como atuavam? Aberto
um concurso, os arquitetos se reuniam na sede do IAB (Instituto de Arqui-
tetos do Brasil); os interessados formavam um grupo e sorteavam um de-
les, a fim de ir fazer as inscrições e trazer as informações. Os custos eram
rateados pelo grupo. Cada arquiteto passava a trabalhar em seu escritório
e estabelecia-se data para uma discussão coletiva. Então cada esboço era
apresentado e o restante do grupo, bem conhecedor das exigências do
projeto, fazia comentários. Eram observações objetivas e oportunas, pois
vindas de conhecedores que estavam "vivendo" o projeto; cada escritório
fazia as adequações que julgasse válidas. Resultado final: os arquitetos do
Paraná ficaram conhecidos no resto do país como papa-concursos.
HABILIDADES
a desenvolver numa equipe
• A linguagem visual é o meio de expressão do projeto. O projetista deve
aprender a formar imagens mentais enquanto o outro fala. Experimente
este exercício: peça a uma pessoa que descreva detalhadamente um
ambiente, uma praça ou parque, faça esboços rápidos a partir daí;
depois vá ao local conferir. Isso significa transformar palavras em ima-
gens. O pensamento visual é uma fantástica ferramenta de criação.
• Pés no chão. Distinguir a realidade é uma importante habilidade por-
que vivemos num mundo onde existe a força da gravidade. A realidade
muda com o tempo e você deve pensar nos resultados que deseja
obter.
• Disciplina mental. Você deve aprender a focalizar e manter seu pensa-
mento em um assunto ou dois, sem se dispersar. É uma habilidade útil
em projetos de maturação longa.
ProJeto: a enação 95
DESAFIOS
Os esportes são um desafio que nunca acaba, pois o atleta procura a
cada dia melhorar seu desempenho. Há sempre coisas novas para apren-
der: um programa de computador, uma habilidade manual, um livro para
ler, uma receita para experimentar. Não basta olhar, tomar conhecimento;
é preciso se aprofundar, praticar, aperfeiçoar, aperfeiçoar-se continuada-
mente.
Construir uma carreira profissional, um relacionamento, um negócio,
um projeto complicado, a própria vida, exigem pensar em termos de longo
prazo. Ver a sua vida de uma perspectiva ampla e afastada permite-lhe
organizar ações e direções, definir suas metas para o ano vindouro e para
a década. Não é fácil, mas a menos que você dê o primeiro passo não
avançará um só milímetro.
Um bom ambiente, no projeto ou no escritório, não é aquele em que
você pode viver nele e, sim, aquele em que você quer viver nele. Trate bem
seu cliente, ouça-o, entenda seu mundo; do contrário, você jamais fará um
projeto onde ele queira viver.
Cada projeto é um mundo e o projeto de hoje pode contradizer o de
ontem, sem haver nada em comum entre eles. Nunca procure descobrir
qual é melhor ou pior. Você seria capaz de decidir qual língua - inglês,
francês ou português - é a melhor?
Não se pode comparar mesas com cadeiras; por que, então, comparar
projetos que são diferentes? A Bíblia contém ensinamentos sábios e um
deles fala que "na casa do Pai há muitas moradas". Significa que em nosso
universo há muitos mundos.
CONHECER-SE
Sócrates recomendava: "Conhece-te a ti mesmo." Na outra ponta,
"Quem sou eu?" pergunta o filósofo. E eu pergunto: quem quer saber? No
Oriente, cada um é Deus; no Ocidente, cada um é um pecador. Pode ser
uma boa idéia conhecer o que você faz, como faz, o que você quer criar, o
que você gosta ou não, conhecer seus ritmos, seus amores, opiniões, his-
tória, sua realidade atual. Mas isto nada diz sobre quem é você. Se você
observa a si mesmo, quem é o observador? Quem está sendo observado?
O autoconhecimento não é pré-requisito para criar, embora possa ser im-
portante.
96 Desenho de proJ9tos
ETAPAS NA CRIAÇÃO
O processo criativo é formado por etapas, porém a sequencia nem
sempre se repete. Portanto, esta forma não é uma fórmula e, se você se-
gui-la, estará trabalhando contra você mesmo. Você pode pensar nos pas-
sos do processo, porém somente depois de chegar ao resultado. O resul-
tado vem primeiro, o exame do processo será posterior.
Não especule com aquilo que você não conhece ou não tem; faça
observações. O desconhecido não se torna conhecido a partir da especu-
lação e isso pode levá-lo a distorcer a realidade.
Em lugar de realizar suas idéias, suas aspirações, seu altruísmo, o gran-
de amor da vida, as pessoas abafam seus desejos dentro de si mesmas.
Outras vão estudar soluções de problemas, tentam enganar a si mesmas
ao psicologizar e especular, ou se prendem a chavões, procuram encontrar
significado na vida ou a maneira correta de viver. Elas consomem suas vi-
das em conflitos e não sabem o que querem; buscam alívio apenas.
A CRIAÇÃO
Criar pode ser uma das mais profundas e mais características habilida-
des do homem. Dar à luz uma idéia, começar um processo que leva esta
idéia a ser realidade, ver a criação pronta é um grande presente da vida.
Criar abre janelas para universos que não existiam. A vida de quem cria
nunca é uma rotina. Há sempre algo novo para aprender, para criar, para
amar. Há novos envolvimentos, novos desafios, novas aberturas. É aí onde
brilha mais forte o espírito humano.
LEITURAS
Para conhecer mais sobre o assunto:
A Invenção do Projeto. Gildo A. Montenegro. São Paulo: Editora Blucher,
2006 (5~ ed.). O livro descreve o funcionamento do cérebro humano, ou
como se supõe que ele funciona, e está repleto de exercícios gráficos.
Criatividade: Projeto, Desenho, Produto. Luiz Vidal de Negreiros Gomes.
Santa Maria, RS: 2000. A obra descreve e exemplifica as etapas do pro-
cesso criativo.
Le Cri d'Archimede. Arthur Koestler. Paris: Calman-Lévy, 1965. Uma obra
clássica, bem documentada e de agradável leitura. Existe edição em inglês
com o titulo The Act of Creation.
Estrutura e
organização da forma
1ª. parte: Estruturas espaciais
97
A busca por um sistema construtivo
menos pesado acarretou o aparecimen-
to de construções laminares (lajes finas)
e de treliças espaciais. Os termos que
aparecem em negrito serão definidos
logo adiante.
A tesoura de telhado é uma treliça
plana (coplanar).
Treliça é uma estrutura formada por
triângulos articulados.
98 Desenho de proJ9tos
,- - - -
I
I
I
l i
/ 1 /
~
7 D a~
----
-,.
/ I . .._ _,"
---= ~
- -
A cargo Não
'H(k) ~ ~ / Ufa./ ..
f
Cary-0. - - ~ FLedt.a
1 1~
A finalidade da treliça é levar a
carga do telhado para o apoio (pilar,
coluna ou parede). Esta carga ou es-
forço deve ser, de preferência, verti-
cal, de modo a evitar flambagem do
apoio.
Flambagem: deformação lateral
provocada por compressão axial (no
eixo).
Nas construções antigas, as pa-
redes eram grossas a fim de absorver
os empuxos (ver figura) da coberta,
pois a estrutura do telhado não era
uma estrutura ou treliça em equilí-
brio.
A viga treliçada poupa material,
porém deve ser calculada tecnica-
mente; em grandes vãos, ela pode
provocar empuxos apreciáveis.
Viga: elemento estrutural, em ge-
ral de posição horizontal, que traba-
lha por flexão e transmite esforços
aos apoios. No caso de portas e ja-
nelas, chama-se de VERGA.
A viga treliçada é uma estru-
tura espacial, portanto, não pla-
na. Da viga treliçada para a co-
berta ou estrutura espacial é um
passo:
Estrutura e orgamzação da. forma. 99
Um excelente exercício para a percepção dos esforços nas estruturas
é fazê-las como maquete, em escala reduzida, utilizando macarrão. Com
o macarrão fino, de cerca de 1,5 milímetro de diâmetro, podem ser monta-
das varetas reunindo 3 ou mais macarrões por meio de cola branca, sendo
as articulações feitas com cola do tipo durepóxi. Considera-se a carga
capaz de iniciar a flambagem, ou seja, a carga suportada C dividida por P,
peso da estrutura de macarrão.*
Outro exercício proposto é fazer uma estrutura em balanço; aqui vale
o maior balanço. A extremidade livre não poderá ser um ponto (apenas
um macarrão) e o contrabalanço ou contrapeso NÃO poderá ser elemento
estranho à própria estrutura.
Fizemos isso em sala de aula limitando a quantidade de varetas ou ma-
carrões e havendo uma medida definida de fita adesiva; por exemplo: um
metro para cada equipe. A fita adesiva seria o único elemento de ligação
permitido.
O ponto forte destes exercícios é a percepção visual e física das ten-
sões nas estruturas e seu funcionamento elástico. A montagem vai exigir
habilidade manual, por conta da fragilidade do material. É trabalho indica-
do para ser feito por equipe de três pessoas.
*Proposta pelo professor Marcos Antônio Barros Santos, engenheiro, que vi em exposi-
ção de alunos do curso de Arquitetura da FACISA de Campina Grande, PB.
100 Desenho de proJ9tos
Bolonço Bolonço
O aluno poderá reproduzir estrutura existente em sua cidade ou reali-
zar pesquisa em livros, na Internet ou em ambos. Comumente os alunos se
envolvem neste trabalho, porque deixam de ser ouvintes passivos e pelo
fato de a situação imitar bem a realidade profissional.
O aperfeiçoamento do cálculo estrutural levou à formulação de alterna-
tivas que não se restringem aos planos paralelos.
Reticulado vem de "rete" - rede ou malha, que é formada por triângu-
los ou polígonos articulados. Significa dizer que "reticulado" nada tem a
ver com retas.
Os tipos mais comuns aparecem nas páginas a seguir.
Estrutura e orga.mzaç.ão da. forma.
í?Spoc10/ df>
dvos- d/reçoes
t-H'----,,r--++-+---,,.c---r-,,r-Supe~or
>CQrnoda
_____ __ _____ __ la/'er/or
(i)~~0--- ?--1--/
,,----:-4./
, ~ (
k':l?.l,0-l ~ C~'--0---
,:,,_", ~ ] J ~
/
(
', " ', / ', /
// ' ,,.' ', / ....'
' , '
,,, '/
,
/
'' /
J
Pkut,.Za
~ üll
~ .
À ~
~w.?a..dc,
espa_d,a/.·
101
102 Desenho de proJ9tos
Abóbada: estrutura curva ou plana que cobre um ambiente; ela pode
servir de apoio para um pavimento (piso), ponte, escada, etc.
Estrutura e orgaruzação da forma 103
f
Fre9,.iênct'<:>
As cúpulas constituem uma
arquitetura sem arquiteto; sua
origem se perde na noite dos
tempos quando o homem era
mais intuitivo e criativo. Elas
foram e ainda são construídas
por indígenas de vários conti-
nentes e pelos esquimós, todas
com requintes de extraordinária
adaptação ao ambiente.
e' o qvC'/rd1
dode
de d t'v/soê..r da
a resfa do
poliedro pr,'r) -
çlpo/.::: m / o
4
dct ~sfiyn,
neste
c aso.
8
_
[Ífç]~'
r
Foclroclo
Planto
!=achodo
Plonto
104 Desenho de proJ9tos
Aáóbodc,s lominor@s
;:áço m odelos de
papel vegeto! e
pinte-os.
Cobertos circulares
A
½ Planto
Corte A8
Focl!odo
Foc/2ado
obertos Suspenso
ou
otirontodos
Estrutura e orgaruzação da forma 105
Coberto suspensa
de curvatura simp!f?s Ver p. sequinte
Coberta de
dupla curvatura
Coberto
SdSpf?aso com
vdn"os ua/dodes
<)--1
Coberto
tensionodo
Junte 1moq1i7oç;óo e técoico
poro cr /or soluçoes
simples -e bon/tos.
Cober to
lorn/nor
tensioaoda
106 Desenho de proJ9tos
Tirantes
Cobe,to atJrontoda de vdo úoico
Detalhe
Plonto
Tirantes como /la
roda d@ bicic/eto
1
.
____________Jt 80 metrôS----t
1/2 Corte ½ Fo cnQdO
A beleza e a leveza das cascas (lajes de reduzida espessura) de con-
creto armado atraíram os arquitetos para o uso deste material. O concreto
juntava, ao mesmo tempo, a flexibilidade das formas e a facilidade de ser
levado à obra. Porém, logo se viu que os escoramentos, os andaimes e o
tempo de cura (endurecimento) encareciam a obra.
O concreto vem sendo
substituído, em muitos casos,
por estruturas metálicas de
dupla curvatura (a e b), tanto
laminares como plissadas ou
dobradas - ver figuras ante-
riores.
Estrutura e orgaruzação da forma 107
2ª parte: Composição ou organização tridimensional
. ( mo/'lUOI
Mac;ço industriO'I
de 6 furos
de Bfuros
Esta composição pode ser feita a
partir de
a. transformação de volumes
b. corte e montagem de volumes
c. simetria e suas variantes (ver Ca-
pítulo 5)
d. linhas retas ou curvas
Vamos estudar um caso real. Pare-
des são geralmente feitas de tijolos e há
diferentes tipos de tijolos, basicamente
os ilustrados acima.
O processo construtivo tem uma
tradição muito forte, portanto pouco su-
jeita à mudança. O material permanece
o mesmo há milênios: argila ou barro,
apesar de existirem alternativas como
gesso, cimento, pedra, solo-cimento.
Não se pensou seriamente em fazer ti-
jolos a partir dos rejeites da construção
ou de sucata em geral. Então, vejamos
mudança de forma:
Observe na página anterior que a
compatibilidade de medidas dá flexibili-
dade para a composição ou montagem
de sólidos, pois possibilita a expansão
em direções não-planares. Aqui uma
forma plana, por repetição, dá origem a
um volume:
108 Desenho de proJ9tos
Cor te
l~
• ½ porede
l
Combogo' verde
{1 i 1 1
'g l~,(b.l
~ -: ·_. ·._·:/ 1
' .. . ..
(l., .'-' . · ·
~ 1 1 1
Fachada(!)
Fachada com sombros
Vôlumetria e Planta
rP

Estrutura e orgaruzação da forma 109
O mesmo bloco,
quando cortado,
pe;m/t{) novos
orranjos:
4 a.Jvel'/orio trodicionol
pôde dor luqor a
outrC1~ formas-
d€> hjolos...
Vazio !)aro
tubulaçóo horizontal
1
... feitos Cóm outro~ motenais.
1
1 1
110 Desenho de proJ9tos
.4o cortar p(:?ças- ,ooro serem agrupados; temos de considero,
a compot/lúlidad@ de mt1didos. €xpmplos:
Compatíveis Ndo compatlvB1's:
o::>L
O'
Medidos compatíveis-,
porém falto de A
un,dode dos formos:
Falto de
equil/brio:
Formos em equilfbrio :
(__
•••
NO PLANO:
POSIÇÕES
RELATIV4S
!)€ FIGURAS
ãoda forma
Estrutura e orgaruzaç
• PONTO
DUPLO
111
112 Desenho de proJetos
4Cl
Holha trronqu/or
e circunferêncio
s@ cornhino m :
ou :
OU.'
r
/2 aóo'.bodo virtC10/
Cent,o
dG>
r otoçóo
Estrutura e orgamzaçfu da forma 113
Cúpulas virtuois
Leituras recomendadas:
Geodésicas & Cia - Victor Amaral Lotufo e
João Marcos Almeida Lopes - São Paulo: Edi-
tora Projeto, sem data.
Edros - Ricardo Sá - São Paulo: Editora Proje-
to, 1982.
Desenho e Organização Bi e Tridimensional da
Forma - Tai Hsuan An - Goiânia: Editora da
Universidade Católica de Goiás, 1997.
í2otoçoõ
em
torno
d« eixo
c.urvo
A geometria abrange MUITAS possibili-
dades criativas, de modo que se pode criar
sem complicar. Portanto, complicar pode ser
o resultado da falta de conhecimento geomé-
trico.
114 Desenho de proJetos
Po-c!emos cr/or
formas por
meio de CORTES:
Pt?doços soo
remowdos relocados.·
,
Com ocre'.scimo de
novos volumfJs.·
Composição sirneLrico
Composiçdo ossirnétr/co
Ô livro ocoba aqui.* Fico o
esperança df) que o leitor
faço DE(S)coLAR suo lmoginoçóo.
Bons ventos o (E)t.EVEM.
* O assunto apenas começou... t;;'ti}:,
Estrutura e orgaruzação da forma 115
O duplo e a compensação
É normal que o pensamento racional e o intuitivo convivam no mesmo
indivíduo. Menos comum é a posição extremada de ambos. Por exemplo:
que o bom matemático seja, em compensação, excelente poeta. Foi o
caso de Joaquim Cardoso, exímio calculista de estruturas arquitetônicas
pouco convencionais e autor de poesias de alta expressão. Outro caso é
do professor argentino Manoel Fernández Rodriguez, estudioso da Ho-
mologia que publicou livro excepcionalmente bem ilustrado e é cultor da
poesia, como revela o texto que se segue.
Para quê?
Veio de Kandahar para sua distante aldeia, próxima de Karachi. O an-
cião Dazrahel havia sido mestre chefe da olaria da corte afegã. Se para
os velhos amigos era inexplicável a volta do mestre oleiro à aldeia, ainda
maior o era a vida que levava entre eles.
Levantando-se com o sol, ele dirigia-se para a montanha a fim de bus-
car raízes secas para seu forno. Viam-no triturar e amassar a argila com
seus pés. Colhia uma massa informe de barro e a fixava habilmente em seu
torno. Com a cabeça entre as mãos, passava horas concentrado.
Porém, uma vez a inspiração chegou e dos dedos do genial ancião
surgiu um vaso extremamente belo.
Depois de 15 dias de secagem e convertida, depois da primeira forna-
da, em biscoito, o ancião apanhou seu barco e se dirigiu para mar adentro
a fim de, na ausência de poeira, realizar a esmaltagem.
Todos se perguntavam quem seria o grande senhor para o qual Daz-
rahel havia feito a jóia.
Ao entardecer do dia seguinte, viram o oleiro sair com um vulto debai-
xo de sua túnica e, com ele, já à noite, regressar à aldeia.
E assim, dia após dia. Intrigados, persuadiram um rapaz para espiar
o ancião. O rapaz, escondido atrás de arbustos, viu chegar o oleiro que,
abrindo sua túnica, pôs o inquietante vaso no chão à margem do caminho
e sentou junto dele.
116 Desenho de proJ9tos
Ao longe aparece um mendigo; o oleiro se levanta e, quando aquele se
aproxima, põe o vaso em suas mãos.
A estupefação toma conta do rapaz que se denuncia com uma expres-
são de assombro.
O ancião Dazrahel o chama e lhe diz, pausada e afetuosamente:
Desejarás fazer-me três perguntas:
- Por que não a vendo?
Para criar livremente.
- Por que me desfaço dela?
Para fazer outra melhor.
- Por que a dei a este homem?
Porque também o pobre tem direito à beleza.
Pela tradução <gildo.montenegro@gmail.com>
<gildomon@globo.com>

MONTENEGRO_Desenho_de_projetos.pdf

  • 1.
    GILDO MONTENEGRO DE DESENHO PROJETOS EM ARQUITETURA•PROJETO DE PRODUTO• COMUNICAÇÃO VISUAL• DESIGN DE INTERIOR ,' Blucher TÉCNICAS DE APRESENTAÇÃO DE PROJETOS• CRIATIVIDADE• ESBOÇO • DESENHO DE OBSERVAÇÃO • CROQUI • ESTRUTURA E ORGANIZAÇÃO DA FORMA • GEOMETRIA DE 2D E 3D
  • 2.
  • 3.
  • 4.
    Gildo A. Montenegro Arquiteto.Ex-Professor dos Cursos de Arquitetura e Design da Universidade Federal de Pernambuco Desenho de Projetos
  • 5.
    Desenho de projetos ©2007 Gildo A. Montenegro 7ª reimpressão - 2017 Editora Edgard Blücher Ltda. Blucher Rua Pedroso Alvarenga, 1245, 4° andar 04531-934 - São Paulo - SP - Brasil Tel. : 55 l l 3078-5366 contato@blucher.com.br www.blucher.com.br Éproibida a reprodução total ou parcial por quaisquer meios sem autorização escrita da editora. Todos os direitos reservados pela Editora Edgard Blücher Ltda. FICHA CATALOGRÁFICA Montenegro, Gildo A. Desenho de projetos / Gildo A. Montenegro 1.ª ed. - São Paulo: Blucher, 2007 ISBN 978-85-212-0426-8 1. Arquitetura - projetos e plantas 2. Desenho arquitetônico 1. Título 07-4119 CDD-729 Índices para catálogo sistemático: 1. Desenho de projetos: Arquitetura 729 2. Projetos: Desenho: Arquitetura 729
  • 6.
  • 8.
    Desenho de projetosvii Apresentação Este livro nasceu da percepção de que aqueles que desenham são órfãos de um ensino que, com exceções aqui e ali, eliminou geometria, desenho e arte do currículo do segundo grau. Como se os estudiosos e os profissionais de Arquitetura, Projeto de Produto, Programação Visual, De- sign de Interior, Publicidade e afins pudessem prescindir da representação gráfica. E, no entanto, ocorre a contradição: os cursos profissionais daquelas áreas começam cobrando a realização de trabalhos gráficos de seus alu- nos que, na maioria das vezes, jamais riscaram figuras além daquelas que enchem seus cadernos e seus sonhos. Numa prova gritante da necessida- de da Arte e do Desenho, que alguns burocratas fingem não ver. Este livro foi desenvolvido com o propósito de ser útil a tais pessoas que insistem em riscar. Ele não aprofunda os assuntos, pois sua pretensão maior é a de orientar os primeiros passos. Ou traços. E estimular o leitor para que avance, soltando o lápis e a imaginação. A /IDA COMO ELA E'...
  • 9.
    VÜÍ Desenho deprOj8tOS O livro é dividido em sete capítulos, tendo cada um deles a indicação de obras que aprofundam o conteúdo. O Capítulo I trata do Desenho Artístico ou Desenho de Observação como expressão individual e como experiência. Procura-se liberar a criati- vidade e a imaginação, fazer experiências; literalmente, correr o risco em seu duplo significado: o de arriscar, que envolve erros e acertos, e o de riscar, traçar, deixar o lápis a riscar, a deslizar rapidamente e sem medo. No Capítulo 2 estuda-se a Geometria Tridimensional ou a (mal) afa- mada Geometria Descritiva procurando tirar, desde os primeiros traçados, seu caráter de abstração teórica. Isto vem de mais de dois séculos e ne- cessita adaptar-se ao mundo atual: a geometria aplicada à representação técnica. Porém, sem com isto fechar o caminho para os poucos apaixo- nados que irão se dedicar às geometrias: de duas e de três dimensões, não-euclidianas, fractais, esféricas e outras mais. O Capítulo 3 apresenta um resumo dos Sistemas de Representação gráfica mais utilizados. Ele ensaia uma visão geral do assunto. No Capítulo 4, sob o título de O Esboço Projetual, o livro orienta como fazer o esboço com a finalidade de representação de projetos. Aí se aborda a necessidade de habilidade manual no esboço e do domínio do lápis no nascimento das primeiras idéias; em continuação, abordam-se algumas técnicas de apresentação de projetos. E, indo além das normas, o livro mostra como o desenho técnico a instrumento - habitualmente seco, pre- ciso e neutro - merece receber um verniz artístico que valorize o projeto. A Geometria Bidimensional ou Plana é tratada no Capítulo 5 como ponto de partida para a criação de projetos. "Do nada nada se cria", lem- brou-me a Ora. Gisele Carvalho, ex-aluna que foi além do professor (ele se sente gratificado por ter realizado sua missão: estimular o potencial do aluno). De fato, o futuro projetista necessita de um vocabulário de formas; não para copiar, porém que lhe sirva de muleta para avançar nos primei- ros esboços. Aqui, a muleta é um estágio provisório no resgate do poten- cial artístico e criativo e, no entanto, esta orientação nem sempre é dada ao aluno universitário. Como resultado, aquele potencial que repetidamen- te aflorou no ensino pré-primário acaba por ser abafado e abandonado por falta de uso e de estímulo.
  • 10.
    Desenho de projetosix O Capítulo 6 mergulha no Projeto e na Criação. Criatividade é subs- tantivo abstrato, pois o que subsiste é a criação, o projeto. O leitor encon- tra observações de quem viveu de e na criação; minha experiência, limita- da à Arquitetura e ensino, recebeu contribuições do publicitário e sobrinho Humberto Montenegro; mais do primeiro (publicitário) que do segundo... O livro se encerra com Estrutura e Organização da Forma no Capítu- lo 7. Na primeira parte, conta-se como as estruturas de cobertas evoluíram das vigas e abóbadas para as formas leves e autoportantes (que se sus- tentam sem vigas). Na segunda parte se mostra como elementos simples podem gerar projetos ricos e de que maneiras esses elementos podem ser dispostos a fim de resultarem em projetos com harmonia, equilíbrio e pro- porção. A Arte por si só não constitui um projeto, mas o projeto não pode prescindir dela. O autor fecha esta Apresentação pedindo que seus leitores enviem crí- ticas e sugestões para o aperfeiçoamento da obra. Sem isto, ela arrisca-se a ficar parada no tempo e no espaço e, no entanto, a vida é movimento. Mexa-se! Recife, março/2007
  • 11.
    X Desenho deproJ9tos Sobre o Autor J J , f Gildo Azevedo Montenegro foi professor nos cursos de Arquitetura e de Design da Universidade Federal de Pernambuco e mi- nistrou cursos em dez estados brasileiros. É graduado em Arquitetura e fez Especialização em Expressão Gráfica na UFPE. Tem traba- lhos publicados em jornais, em anais de con- gressos científicos e em revistas técnicas do Brasil e de Portugal. Sua linha atual de estu- dos engloba aprendizagem, intuição, criativi- dade e inteligência. Gosta de serrar madeira, de fotografar e de colecionar piadas. Nasceu na Paraíba e mora no Recife com a esposa e uma filha; dois filhos moram fora de casa e uma outra filha reside no exterior. © Josenilson Santana Livros publicados pela Editora Blucher, São Paulo: • Desenho Arquitetônico, 1~ Edição 1978/4~ edição 2001, 23 reimpres- sões; • A Perspectiva dos Profissionais, 1983, 13 reimpressões; • Ventilação e Cobertas, 1984, 7 reimpressões; • A Invenção do Projeto, 1987, 3 reimpressões; • Geometria Descritiva, 1991, 2 reimpressões; • Inteligência Visual e 3D, 2005. Livro publicado pela Editora SCHDS, Porto Alegre: • Habilidades Espaciais: Exercícios para o Despertar de Idéias, 2003.
  • 12.
    1 Desenho Artístico O objetivodeste capítulo é mostrar como EXPRESSAR UMA IDÉIA, como sin- tetizar uma figura por meio de esboço rá- pido e, para isto, o primeiro passo é perder o medo de desenhar. Em outras palavras, não se vai mostrar como copiar a forma EXATA de objetos; isto se faz mais facil- mente por meio de fotografia. A criança risca livremente, faz gara- tujas, pinta. Até que um dia ela chega à adolescência e passa a querer imitar o de- senho de alguém ou quer fazer um tipo de desenho de que gosta. Em geral, a pessoa não consegue e se sente frustrada. "Eu não sei desenhar. Eu não dou para desenho". A mensagem negativa entra fácil na cabeça. E, como a imaginação sempre vence a luta contra a razão, cria-se uma barreira mental que inibe qualquer tentativa da razão.
  • 13.
    2 Desenho deproJ9tos É por aqui que este livro vai mostrar que qualquer pessoa que sabe escrever pode desenhar. Vamos ver o que acontece na vida do adolescente. Da mesma maneira que não existem duas pessoas iguais, também os dese- nhos delas serão diferentes. Não apenas suas mentes são diferen- tes; suas experiências no mundo e no desenho foram também dife- rentes. Simplesmente, não pode haver dois desenhos iguais feitos por pessoas diferentes! Outro aspecto a considerar é que há quem comece a desenhar fa- zendo cópia de um grande artista; por exemplo, Da Vinci, Miguel Ângelo, Dürer. Mas o que costuma aparecer nas reproduções de livros e revistas são reproduções de trabalhos destes artistas já maduros, no auge de sua expressão artística; são, portanto, obras-primas... de gênios da Arte! É muito difícil que um principiante faça coisa igual. Já mostramos que a cópia igual não tem sentido. Claro que um principiante com prática dese- nhará tão bem como um artista experiente; é questão de persistência, de dar tempo ao tempo. Mas o que se procura não é a cópia; é um trabalho expressivo, pessoal e bem feito. Por outro lado, a cópia pode ser aceita sob condições: 1. Como fase transitória e inicial na evolução do desenhante. 2. Sem se prender muito aos detalhes ou à imitação servil. 3. Como ponto de partida na busca de seu jeito pessoal de expressão. Vamos falar do material de desenho, antes de começar a parte prática e os exercícios.
  • 14.
    Desenho artístico 3 OSPAPÉIS O papel industrial ou papel tipo jornal é vendido em folhas de 66 x 96 cm, aproximadamente com gramatura (peso por metro quadrado) variável e com cores que vão do branco ao creme claro. Encontram-se no comércio papéis nos formatos A4 (21 O x 297 milí- metros) ou A3 (420 x 297 milímetros) com papel de gramatura variando de 75 g/m2 (mais fino) a 92 g/m2 (mais encorpado ou espesso) sendo vendido em folhas ou em blocos. A qualidade vai desde o papel usado comumen- te para cópias até os papéis especiais para artes gráficas: Canson, Piraí, Schoeller e outras marcas comerciais. Na linha de papéis transparentes ou não opacos existem os papéis vegetais que, em geral, são pouco adequa- dos para o desenho à mão livre. Sugere-se a utilização do papel usado de um só lado (correspondência postal inútil ou cópias defeituosas, por exemplo); use o lado em branco para fazer esboços. Não se trata apenas de evitar o desperdício, mas de poupar as árvores. Nem sempre temos consciência de que uma folha de papel é feita de árvores derrubadas e de tratamentos químicos altamente poluentes. Existe ainda a opção do chamado papel madeira, cuja face áspera é adequada para lápis macio, crayon, giz de cera ou pastel (ver adiante). LÁPIS NtwU:LZ ~ : /~ Recomenda-se o lápis de madeira com graduação do grafite (miolo) na graduação 8: de 28 até 68, todos bem macios. A graduação F é menos macia e a do tipo H é bastante dura. Assim, estes dois tipos são inadequa- dos para o desenho à mão livre.
  • 15.
    4 Desenho deproJ9tos Também inadequadas para o desenho à mão livre são as lapiseiras, ou porta-lápis, que comportam minas de grafite de 0,3 até 9 milímetros. O motivo é que a ponta sempre fina fere ou arranha o papel e não desliza ou escorrega sobre ele. O giz de cera é um bastão de cores diversas feito com pigmentos e base oleosa. Pode ser adequado para desenhos grandes e esboços rápi- dos feitos em papel de textura áspera. O pastel é um bastão quadrado ou redondo, sendo igualmente cha- mado de óleo seco. É semelhante ao giz de cera, porém mais macio e tem maior variedade de cores. O crayon (pronuncia-se CRÉION) é uma mistura de carvão ou pig- mentos corantes caracterizada por cores fortes e pela macieza da textura. Apresenta-se em lápis ou em barras quadradas de 4 milímetros. Dá exce- lentes efeitos gráficos em papel áspero. A aquarela dá belo efeito colorido por sua transparência e pode ser aplicada em desenhos a lápis ou a crayon, porém exige técnica apurada e papel especial. É pigmento sólido, em pastilhas, ou pastoso sob forma de bisnagas. Existe também sob forma de bastão ou lápis solúvel em água. Apresentamos uma série de exercícios que funcionam como treina- mento da visão. O objetivo é REFINAR, apurar a visão. Muitas vezes olhamos, mas não vemos. Pequenos detalhes, formas e diferenças não são percebidos. Ou- tro aspecto destes exercícios é fazer com que a mão seja LIVRE e LEVE de modo que o traço corra, deslize, escorregue suavemente. O lápis atua como uma bailarina, só que seus rastros ficam no papel.
  • 16.
    Copi.e ccuta. ~ 11.0 ~cu:bo~ à. direJ;a.. Us--e íapi.s' ~ ~ 28 <Xt. €8 . Ntio u.s--e ~a../ ~ . ~ ·- · • - /1 li;_ 9 s Desenho artístico 5 o ~ ~ ;<' @ e t, M I Não leia o texto adiante antes de ter concluído seu desenho! Depois de ter realizado o exercício n.? 1, faça este teste: no primeiro quadrado seu desenho acompanha o pequeno círculo à direita? Você ob- servou que ele está fora do centro, um pouco para baixo? Examine seus esboços e refaça: uma, duas, três vezes. Desenho é prática! Muita prática.
  • 17.
    6 Desenho deproJ9tos o o fl'X@!l'@ó@u@ L()--, 1' z Segw·r o 1 rt orientaçdo do Gi (') póq1Í7o onfen'or. ·+ ~ • ~ O exercício 3 - ver figura na página seguinte - envolve o adestra- mento da visão e da mão/lápis. Em cada uma das figuras, deve-se colocar um eixo vertical que servirá de apoio visual (nada de fazer medições!) para o traçado da figura simétrica. Daí o nome de eixo de simetria dado a esta linha.
  • 18.
    . 1 '' e:;' 1 ,...' ,' '', ..,_,______, Desenho artístico 7 ------------. ' 0 0 W l±J 0 ~f ~I 0 :1 @J%@!f'&ff <§!!@ 4 0 D D D D D D D ~t ~~ ~- ~ D D D D D D D N~ ~ 1 , 4 eB @DDDDDDD = ~~ 1,.._.fü_:_8_B_B_B_6_6_6_. ~i~~ 8 ~ €B. ~pda. a ~ do ~ 1 nos ~ 2 , 3 e 4 . .. • . . 12. repd'a_ do ~ #úYCto 1UrS ~ aduhJe de A 12. B. No-s ~Sa.. 8 ~ a . ~ ~ ~ 0 1, ~ ~ d e a_ ~ o -1---- ---~·-~· @ ~ cte ~ ª obter ~WA UH! efe<Ío . , ~ , ,,_ ~ ._.,.,,,.,.. ~tk.'t'a. ô ~ CdH, os . · ,...,,.,_.,. ~ A e B. . · .~~-~· á.s"f' (n" ~ ~ pa4"Q... ~ 'ú<do 0-Ú para., ~ Ú!f1K ai; téxl"u..ra,s, da. ~ ~ -
  • 19.
    8 Desenho deproJ9tos 1 Vorioçoes nos 2 rb rr G:fl{]:[I ~~ Linhas suaves e fáceis Linhas em gradação ~ .: 3 ~ - ..,...,._,.,,,,"'~!a.·,..··"!" 4 ~"""""'"""·";...,.,,,,.-., · tfQ' M ...,,,._r.' ~,:~ •,._.t 'r•~·,'~ ... dá pancadas. Linhas com pressão variável o lápis ... Linhas oscilantes e pesadas ... desliza e freia. =:::::,::::==: . . . . . .,,.-,..('l....,,~~"',,at~,t·~ ..,')"'Jwll,&,ni.-..,c.,.,.-a,:........,. ~ ~-.....-· --~- --· - ... desliza sobre lixa. 9 10 .... faz ziguezague ------- ---·- ------ - - --- ------- ---- ..... ---------- 12 ... gira e desliza. 11- Lápis nas palmas das mãos. 12- Linhas interrompidas. 13- Linhas onduladas. ... Invente!
  • 20.
    1 4 3 1. Carimbo deisopor 2. Gota de tinta empurrada por cartão 3. Gota de tinta soprada com canudo 4. Caneta + tinta puxada com faca Desenho artístico 2 ·-::s.. ~ +·-Z. --.:..~~ ~~ -- 9
  • 21.
    10 Desenho deproJ9tos TEXTURAS Elas criam o efeito de contraste na figura, assunto que se estuda mais adiante. O exercício 4 é feito para treinar a mão, dando-lhe mobilidade e velocidade. Que serão extremamente úteis para os exercícios vindouros e para a vida profissional. Na metade inferior desta folha de exercícios, o leitor, depois de esco- lher alguns exemplos apresentados nas duas páginas anteriores, fará suas experimentações. Aí poderá soltar sua imaginação e criar outras variantes de texturas. Vale lembrar que texturas são perceptíveis pelo tato, sobretudo. Na verdade, o que fazemos é a representação de texturas. Exercício 5 Apanhar do chão (melhor do que arrancar da árvore) uma folha e desenhar O CONTORNO e a ESTRUTURA ou as nervuras.
  • 22.
    Exercício 7 Desenho artístico11 Exercício 6 Aqui não há possibilidade de você ar- rancar, pois se trata de representar a árvore inteira. O ideal é sentar num banco de praça (poucos prédios possuem árvores, infeliz- mente) e fazer vários esboços rápidos com lápis 68. Depois mude de ponto de vista e repita o exercício. Faça imagens de diver- sos tamanhos e procure captar o conjunto e a estrutura (tronco e ramos), se ela for vi- sível. Em caso contrário, faça o contorno e encaixe a estrutura em seu esboço. Observar e representar obje- tos do cotidiano: copos, móveis, jarros, objetos da decoração, fru- tas, tudo o que estiver disponível em sua casa. Se preferir o am- biente externo, esboce abrigos de ônibus, orelhões, bancos de praça, estátuas. E não esqueça de colocar sombras.
  • 23.
    12 Desenho deproJ9tos @ @&tJfi1@ E O I'SCQ/lO o ~ objeto pode ser ~ c i o eut. h-u,s-1'1t,ectiose~ (cui#ca) C,-U. ••• ... pode ser ckrtacado pc-r~ô ck fê@!Pll41!fil cont;..a o ~ ~ .
  • 24.
    Bronco.o Cloro. 1 C/or o.2 Néd/o.3 [scuro.4 Escvro.5 Pr·eto. € Desenho artístico 13 Tons de claro-escuro Divida a faixa em 7 partes e pinte os espaços indo do branco até o cinza e daí prosseguindo para o preto. Esta faixa de tons ou de tonalidades lhe dá a base para as variações do claro para o escuro. Compare partes da figura an- terior com os tons da faixa, de modo a classificar cada porção. Exercício 8 CRIAR LETRAS DE FANTASIA É mais uma oportunidade de desenvolver sua imaginação. É comum vermos produtos comerciais associados a uma caligrafia somente deles. O texto que você está lendo é um exemplo de caligrafia de imprensa, onde cada letra está sujeita a especificações relativas à largura, altura, espessu- ra e inclinação. A letra de fantasia é o oposto do tipo de imprensa: não está sujeita a regras, exceto as de boa apresentação gráfica, que envolvem arte e ima- ginação. fANTAS~A: PfaOC ESS'C> c.R,'.A-T , V O esPa~o
  • 25.
    14 Desenho deproJ9tos OBSERVAÇÕES Se for fazer cópia, sugerimos que copie usando técnica diferente do original. Se o original é uma tela a óleo, ela poderá ser reproduzida a lápis, crayon ou nanquim em preto e branco ou com adição de apenas UMA cor. Quando o original é um bico de pena, que ele seja copiado com lápis 68; isto é, sempre alterando a técnica. Outro procedimento válido é fazer a cópia restrita a uma parte do origi- nal. Detalhar, por exemplo, a mão ou o rosto de uma figura de corpo inteiro ou as dobras de um tecido ou roupa. Convém que esta cópia seja feita em traços rápidos, já que o objetivo é treinar a capacidade de ver e a liberdade do traço. A liberdade do traço, a linha solta e rápida, é essencial e depende fun- damentalmente de prática, de muita prática. Recomendamos que o leitor esboce tudo aquilo que está na sua frente: outra pessoa, uma garrafa, um copo, uma cadeira, tudo. A mão livre deve ter também assunto livre... em qualquer lugar, com qualquer coisa que risque: caneta esferográfica, lápis, um pedaço de carvão, batom, o escambau. Em qualquer papel: na toalha ou papel da mesa do bar, no guardanapo, na caixa de fósforo. Em qualquer lugar: na fila do banco, na sala de espera de um consultório, bom ... portas de sanitários públicos devem ser evitadas pois, em geral, já estão empor- calhadas! Aí vem uma dúvida: por que as portas das casas não são de- coradas? Por que quadros têm de ser pendurados sempre nas paredes? Seus esboços podem ser colados com fita adesiva nas portas... E sempre renovados. Quem sabe se não é o começo de uma carreira artística? (Não irei cobrar pelo conselho!). Ainda que trabalhos de boa qualidade não surjam de imediato, a utili- zação da linguagem do desenho libera emoções, tanto quanto a música. É pena que este resultado seja pouco divulgado pelos psicólogos e pelos professores. Esquece-se que a linguagem gestual (o que é o traço senão um gesto que ficou gravado?) é usada pelo recém-nascido, muito antes da linguagem falada. Dê a um bebê de 8 meses um pouco de tinta ou um toco de giz e ele irá garatujar imediatamente; cabe aos pais fornecer jornal ou papel barato, a fim de poupar a tinta das paredes. Com o esboço rápido não vá o principiante querer realizar uma obra de arte na primeira tentativa; pode ocorrer, mas é raro. O normal será você acertar sempre, pois não há desenho errado, uma vez que o ponto funda-
  • 26.
    Desenho artístico 15 mentalno exercício é liberar o traço, perder o medo, a inibição de riscar. Se o trabalho vai para uma exposição de arte é outra história. Então, vamos meter o lápis no papel e gastar papel. Aliás, não é gasto; é investimento. Treine sempre, muito e continuamente. Um dia você já lembrará de que tinha medo de riscar. O principiante deve estar ciente de que não existe esboço certo ou errado. Se você riscou, está valendo, pois é uma etapa de seu desenvolvi- mento. Então, vamos repetir e aperfeiçoar. A melhoria vem com a prática e mais ligeiro do que você imagina. O fato de você folhear livros e revistas de arte, freqüentar exposições, assistir a filmes e conferências é uma boa ajuda; é o lado intelectual do desenho. No final de cada capítulo, o leitor curioso encontra uma lista de obras que merecem ser lidas. Mas a parte intelectual não deve se sobrepor à prática do esboço. Por falar em erro, é comum o principiante querer corrigir um traço usando borracha. O errado é corrigir. Não faça isto! Seu esboço não está errado, mas se não gostou de alguma coisa, FAÇA OUTRO! Borracha é material proibido em desenho à mão livre. Agora, dá para perceber por que a borracha não foi incluída na lista de material do início do capítulo. Não compre e não use a do vizinho. A borra- cha pega bem em pneus e em chinelos, mas em esboços é um desastre. Desenhar no computador está da moda. É verdade que ainda não apa- receu um bom artista que tenha aprendido a arte de desenhar num com- putador. A tendência é que a tecnologia venha a evoluir até este ponto. Por ora, ela não satisfaz, se bem que o computador é insubstituível para muitos usos e usuários. Alguns pensamentos do Professor Jorge Wagensberg, investigador e cientista que reside em Barcelona: • Um desenho é sempre uma compressão e, portanto, também é uma compreensão. • Ver é abrir a percepção. • Mirar é fixar a vista. • Observar é recriar a mirada.
  • 27.
    16 Desenho deproJ9tos Exercício 9 Receitas de cozinha geralmente apresentam lista de produtos e uma seqüência de ações: apenas textos. Você já pensou em trans- formar uma destas receitas em ilustrações com o mínimo de textos? Exercício 10 Muitos livros de educação física orientam sob forma de prosa, porém isto deixa muitos praticantes em dúvida. Tome um capítulo e apresente os exercícios sob forma predominantemente ilustrada. Exercício 11 Adapte o manual de usos de um liquidificador, de celular, de forno de microondas para uma linguagem mais visual: muitas ilustrações e o míni- mo de textos. r:: I I 1 1 1 1 I I I I
  • 28.
    Desenho artístico 17 Parase aprofundar: Kimon Nicola'i'des - The Natural Way to Draw - Boston: Houghton Mifflin, 1969. Excelente livro, apesar ou por causa de sua ambição de querer que o Leitor se torne apreciador de Arte. Betty Edwards - Desenhando Com o Lado Direito do Cérebro - Rio de Janeiro: Ediouro, 1984. Há outros livros e até revistas em fascículos de qualidade aceitável.
  • 30.
    Geometria tridimensional 19 O projetista costumacriar ambien- tes ou objetos que são, em geral, tridi- mensionais, ou seja, têm três medidas: comprimento (x), largura ou profundida- de (y) e altura (z). Imagine um cubo: Trata-se de um objeto tridimensio- nal, porém ele está representado aqui por meio de uma figura bidimensional. y Propomos que faça esta experiên- cia com um amigo: um dos dois ob- serva um automóvel e o descreve por meio de palavras, sem utilizar figuras, imagens ou fotografias. A segunda pes- soa recebe este texto e, sem ter visto o automóvel, tenta desenhá-lo.
  • 31.
    20 Desenho deproJ9tos A parte final desta experiência acontece quando as duas pessoas com- param os desenhos com o automóvel à sua frente. A surpresa é total! Da- dos importantes foram omitidos; a descrição não corresponde às peças e formas. Fica, então, comprovada a validade de antiga expressão popular: uma imagem vale por mil palavras. A importância da expressão gráfica precisa ser assimilada e assumida pelo projetista, como sendo um dogma de fé. Se o projetista cria formas, ele necessita saber representá-las. Sem sua representação, um projeto não passa de fantasia, pouco importa sua qualidade. Seria como uma partitura musical não escrita. Como vamos ter idéia desta música sem ouvi-la ou, no caso de um músico treinado, sem sequer vê-la transcrita? Portanto, não basta ter a capacidade de criar formas. É preciso saber representá-las, conhecer as regras ou os sistemas de representação grá- fica. Vamos começar estudando um destes sistemas, a chamada projeção cavaleira, e mais adiante apresentaremos outros exemplos de representa- ção gráfica. Sugerimos iniciar preparando um cubo feito de sabão em barra, argila, massa de modelar ou isopor (o material branco e esponjoso que é utilizado em embalagens protetoras e que os químicos chamam de poliuretano ex- pandido). O leitor utilizará o material mais facilmente disponível e com ele modelará um cubo tendo 4 centímetros de aresta. Numa folha de papel A4, o leitor desenha à mão livre ou a instrumentos os eixos x, y e z como indicados na figura. z X y
  • 32.
    Representação tndtmens1ona.l 21 Feitoisto, marcam-se as arestas do cubo nos três eixos como na figu- ra à esquerda. Não são LADOS; esta palavra é reservada para o quadra- do, que tem quatro lados, enquanto o cubo tem várias arestas. Conte-as, por favor, em seu modelo. Traçam-se linhas paralelas aos ei- xos, passando pelos pontos já assina- lados, ...e completa-se a representação do cubo, sempre utilizando paralelas.
  • 33.
    22 Desenho deproJ9tos Agora você reforça as linhas vi- síveis e tem o cubo representado no papel, em duas dimensões, tendo em suas mãos o modelo físico ou ma- quete. Assim, você pode sobrepor o modelo à vista superior desenhada e observa que a base superior ou tam- pa do cubo tem ângulos retos, ou de 90º, que formam um quadrado. Este quadrado está representado em ver- dadeira grandeza, que é um termo técnico da Geometria Descritiva (GD). As faces laterais e a frontal são também quadrados em seu modelo, mas não no seu desenho no papel. Por que esta diferença entre os ângu- los reais, no modelo, e na represen- tação? É que a representação defor- mou os ângulos das faces na figura ao lado, portanto elas não estão em verdadeira grandeza (VG). X z y
  • 34.
    Representação tnd1mens10nru 23 Paraobter a VG da face frontal, que está na figura ao lado, preenchi- da por traços verticais paralelos, pas- samos uma paralela ao eixo Y e leva- mos os pontos .a e .b da base do cubo para y1 por meio de perpendiculares. Acima da reta Y1 , sobre as per- pendiculares já traçadas, marcamos a altura h do cubo ou aresta: ver figura abaixo. Agora, temos o quadrado que corresponde à face frontal do cubo em VG, isto é, temos a projeção verti- cal ou vista frontal do cubo.
  • 35.
    24 Desenho deproJ9tos marco~se o/rC/rQ, Obtemos a vista lateral direita da mesma maneira:
  • 36.
    Visto Super/or Representação tnd1mens10nru25 O cubo está representado na figura abaixo como um volume, no centro da imagem, tendo em sua volta as vistas lateral direita, frontal e superior. A vista superior, também chamada de proje- ção horizontal ou projeção sobre o pla- no horizontal, é obtida pelo prolonga- mento das arestas verticais do cubo.
  • 37.
    26 Desenho deproJ9tos A figura abaixo mostra uma re- presentação diferente do cubo, onde a volumetria fica na parte inferior do desenho: O po/lto-c/2ove e' (j'a!!f7(§!»§J(i[!] o 9ur;:; esto' fõzeado; e/'Jtoô a t;,oo dp " r€1pr8S{}/Jtocóo e' C/mo 9uestoõ de escoll!o. Visto Supe,,-/or Volt/metrio A6s // vros trod/c1oao1s o ,, represG>n/c7çoõ do cu6o ~~·
  • 38.
    Representação tnd1mens10nru 27 Outramaneira de obter as faces la- terais em VG é por meio de rotação; as faces laterais giram até que fiquem de frente para o observador, como na fi- gura a seguir, portanto em VG, pois são paralelas ao plano vertical. Os livros tradicionais de GD cos- tumam estudar rotação e rebatimento como assuntos independentes. Na prá- tica, isto não tem significado; são dois rótulos para um único produto. Voltemos ao modelo do cubo; nele vamos dar os dois cortes indicados na figura ao lado, de modo a obter o mo- delo ou maquete de uma poltrona. Feito isto, o leitor pode começar desenhando o cubo inteiro como se viu na pági- na 25 ou, se preferir, na figura da página 26. 4 2, 5
  • 39.
    28 Desenho deproJ9tos Exercício 1 A4 A figura abaixo orienta a coloca- ção dos eixos na folha de formato A4, de modo a evitar que as projeções ou vistas fiquem fora do papel. Na parte à direita desta mesma figura, mostra- se o aspecto final das diversas vistas a fim de orientar o principiante. O leitor pode começar desenhando o cubo ainda inteiro e, em seguida, fará a representação dos cortes indicados, de modo a obter as vistas da poltrona. A aprendizagem é mais bem retida quando o leitor aplica cores no modelo e transporta este colorido para as vistas correspondentes. Para fixar ainda mais o assunto, o leitor poderá fazer um modelo em cartolina ou cartão, colando as faces recortadas por meio de abas ou de fita adesiva. No final do capítulo, aparecem as soluções dos exercícios. O ideal é que elas somente sejam consultadas após o leitor ter realizado seu traçado.
  • 40.
    Exercício 2 13.5 A3 Escolo1:10 Representação tnd1mens10nru 29 i)ados Asse1?to 43x 43 cm .4/tvro do assento 40 cm '/ foto/ 80on Pes 4x 4 cm l3orn:? do encosto IS><! cffJ Trata-se de representar uma cadei- ra segundo o esboço e as medidas in- dicadas. Recomendamos utilizar o formato A3 em função da existência de peças de pequenas dimensões além de even- tual complicação com o uso da escala 1:13 no formato A4. • Desenhar a volumetria e as três vis- tas da cadeira. • Aplicar cores como no exercício an- terior; dá melhor apresentação ao desenho. • Fazer maquete utilizando papelão ondulado e palito de dentes. Pode-se observar que o modelo não apresenta rigidez, é instável. Des- cubra como fazer para que a cadeira fique estável. Isto lhe dará idéia do comportamento das estruturas em geral. Mais uma vez, recomendamos somente consultar as respostas que estão no final do capítulo, após ter completado os desenhos com indica- ção de legenda ou título de cada vista, escala utilizada, nome e assinatura do desenhista, cidade, data, etc.
  • 41.
    30 Desenho deproJ9tos Exercício 3 A figura abaixo mostra um jipe esque- matizado. O veículo ficou estacionado em local deserto e as rodas sumiram; por ora, vamos esquecê-las. Sugere-se ampliar a figura central utili- zando medidas compatíveis com o forma- to A4 ou, se preferir, A3 e completá-la com as vistas, segundo o diagrama adiante. O objetivo deste exercício é desenhar as vistas ou projeções e obter todas as verdadeiras grandezas. O capuz do motor e a capota pertencem a planos horizontais e, por este motivo, estão representados por suas verdadeiras grandezas. O plano ABCD ou radiador do jipe não está em verdadeira grandeza: observe que as diagonais AC e DB têm medidas diferentes. Contudo, este plano ABCD estará em verdadeira grandeza na vista frontal.
  • 42.
    Representação tndtmens1ona.l 31 Paraobter a verdadeira grandeza da porta do jipe você recorre à vista lateral. Mas existe a opção de fazer uma rotação ou rebatimento da porta em torno de seu eixo vertical na volumetria. Isto é mostrado na parte infe- rior direita da figura: a linha horizontal~ na parte inferior da porta gira até a posição ~1 . o mesmo traçado é aplicado aos pontos g_ e n, completando a VG da porta. ,o No Visto LateralDireito: 1 1.0 z No Volt.1me tr/o : A4 xt, 1 O pára-brisa não está em verdadeira grandeza nos desenhos, pois ele é um plano oblíquo ou plano inclinado. No veículo real, ao ser retirada a capota, o pára-brisa pode ser deitado ou rebatido sobre o capuz. Esta operação geométrica é mostrada na parte direita da figura acima e deve ser aplicada em seu desenho na vista superior ou na volumetria.
  • 43.
    32 Desenho deproJ9tos O ctJ.60 Psto' cortado p o r um plano P. Em G D S() d/2 (l i/e o p a ,-.ft? cor t CYda (tlt./ secionodo) e· vmo SEÇAV PLANA. p ' ,·fv.- ~ ' , ' ' CORTAR ou SECIONAR envolve a determinação de pontos pertencen- tes a linhas retas ou curvas e exige, em geral, a obtenção da verdadeira grandeza da seção plana; é o que mostra a figura abaixo. Observa-se que rebatimento e rotação são palavras diferentes para a mesma operação gráfica.
  • 44.
    Exercício 4 Esta éuma oportunidade de apli- car seu conhecimento de verdadeira grandeza, planificação, determina- ção de vistas, etc. O diagrama ao lado evita que o traçado saia dos limites do papel. Representação tnd1mens10nru 33 11.0 X A4
  • 45.
    34 Desenho deproJ9tos Exercício 5 Até aqui o leitor tem exercitado sua habi- lidade gráfica com figuras da vida cotidiana. Chegou a hora de trabalhar com figuras geo- métricas puramente abstratas. Esta orientação não é aleatória ou nasci- da de capricho pessoal. Há motivos para isto. O primeiro é que objetos do cotidiano podem ser imaginados e reconhecidos sob qualquer ângulo ou ponto de vista; é o que os psicólo- gos chamam de rotação mental, uma capa- cidade mental que é mais bem desenvolvida i 13. 0 O) ------;( A4 nas pessoas dotadas de habilidades espaciais. Esta capacidade é funda- mental para arquitetos e desenhistas industriais (designers) entre outros profissionais. O segundo motivo é uma afirmativa do filósofo e estudioso da Teoria Geral dos Sistemas, Ludwig von Bertalanfy. Para ele, todo assunto novo deve ser estudado inicialmente a partir de exemplos concretos e, somente depois, analisado como abstração. O terceiro motivo vem da convivência com estudantes. Seguidas ob- servações nossas apontam para o crescimento da motivação quando se utilizam assuntos da futura profissão. Por que não começar logo nas aulas iniciais do curso? Eu me lembro ainda da impaciência de ter de esperar quatro semestres do curso de Arquitetura, antes de ter contato com proje- tos profissionais. Foi cansativo!
  • 46.
    Exercício 6 , /8. 01 / 6'xo ,,oa/'Cl ( plon/f'/car ------- -- A3 Representação tnd1mens10nru 35 É hora de fazer uma revisão de tudo o que foi estudado anteriormen- te e aqui está um exercício adequado. Siga o diagrama e bons resultados!
  • 47.
    36 Desenho deproJ9tos Solur;õo P!onif/caça-o Escola 1: 2
  • 48.
  • 49.
    38 Desenho deproJ9tos / /!/ 1 N, 1 " o @J:t.@/J'<sll~llfJ Soluçoô 4
  • 50.
  • 51.
    40 Desenho deproJ9tos / / '"" ' ' ) "'· ,, ~~ Soluçaô@
  • 52.
    De um planoporo outro: Ouondo a f';guro e' dado no plano horizontal - o circunf'er@ncia oo lodo, por exemplo - ... ~ 4 Representação tndtmenstona.1 41 ... levo-se o roio t1. paro o p/0170 vertt'cal /(0pete-se paro o m@dido m e demo/s pootos: L,gam -SP os pontos obft'dos. Esta construçóo aplico-S€' a 9uolqC/er fi9uro (poróholo, no exemplo ao lodo) 0(./ q pontos qooisq{/er. Com maior qucmtidode de pontos aume11to o exahdcio do troçado. Exerc/do proposto: Colocar os ,oaeus ao jipe do póg/110 30, S{?ndo f.:: !JC_ 2 O leitor que desenhou os exercícios propostos teve oportunidade de adquirir os fundamentos da Geometria Descritiva. Para continuar o estudo recomendamos: Em nível médio: Gildo A. Montenegro - Geometria Descritiva - São Paulo: Editora Edgard Blücher, 2004 (2ª. reimpressão). Ardevan Machado - Geometria Descritiva- São Paulo: Editora McGrawHill, 1983. Álvaro José Rodrigues - Geometria Descritiva (vols. 1 e 2) - Rio de Janeiro: Ao Livro Técnico, 1964 (esgotados). Celso Wilmer- Geometria para Desenho Industrial - Rio de Janeiro: Editora lnterciência, 1978. Apresenta problemas muito interessantes. Para se aprofundar: Angel Taibo Fernandez - Tratado de Geometria Descriptiva - Madrid: Edi- tora Tebar Flores, 1983. Tem desenhos primorosos. Fernando lzquierdo Asensi - Geometria Descriptiva Superior - Madrid, Editorial Dossat, 1975.
  • 54.
    Sistemas de representação 43 Quando umobjeto é colocado en- tre uma fonte de luz e um anteparo produz sombras. Na figura abaixo es- tão ilustrados dois casos; na primeira figura, aparece uma fonte central de luz e na segunda, uma fonte muito distante. No caso do sol, os raios de luz são quase paralelos. Ocorrem, nos dois casos, relações ou similaridades geométricas entre a fonte de luz, o ob- jeto e a sombra. Em termos teóricos, existem analo- gias entre o conceito de sombra e o de projeção: Fonte de luz e objeto ...... Sistema de projeção Sombra................................. Projeção Raio de luz.......................... Projetante Anteparo .............................. Plano de projeção Temos, assim, dois tipos de proje- ção: a central e a paralela, que estão detalhadas na página seguinte.
  • 55.
    44 Desenho deproJ9tos SISTEMAS DE /fsEPRESENTAÇAÕ / Ceome táa -• Rom? ob s t,ato e . Projeft'vo Ceor/co do Geometno Projeção centrQ/ Projeção Parole/o metrio ~~ Ortogonal ~ ~8 Tárnefrio Qualquer re/oçciõ e17fre OS eÍ.)(OS Oo/s eixos porale/os aos plonos eleprojeção Projeções sobre 2 O(I mais planos Projeções sobre ~ U/v/plano ~ Relocoes ,denft'cas nos tnfs eixos !(e/ações ,dênficos 'Ó em dot's eixos v Re/o_coes dikrentes- aos três eixos
  • 56.
    Sistemas de representação45 Exercício Relacionar na figura abaixo as sombras com os objetos, considerando que: 1. as sombras podem estar sobre uma parede/plano vertical ou sobre o piso/plano horizontal; 2. os objetos podem estar em posição diferente da que aparecem na fi- gura. •Nenhum sistema de representação consegue captar todas as nuances e detalhes de um projeto. Uma obra arquitetônica ultrapassa a represen- tação tridimensional, pois envolve volumes, planos, cores, luz e sombra, som, emoção, cheiros, evocações, conforto ambiental, fatores psicológi- cos e estéticos, além de outros aspectos. É por este motivo que dizemos que há enorme diferença entre planta/representação e obra arquitetônica. Uma vez que o projeto transcende sua representação gráfica, con- vém que esta apresentação seja a melhor possível, reunindo a base geo- métrica e a representação artística. Daí a necessidade de o projetista, seja de Desenho Industrial, seja de Arquitetura, ter bom domínio destes fundamentos. Para que ocorra este domínio convém que o projetista saiba passar, sem esforço, de um sistema representacional para outro. Por exemplo, da representação das vistas ortogonais (plantas, fachadas e cortes) para a volumetria em projeção cavaleira ou isométrica, também, em perspectiva. Um dos meios que a experiência do pó de giz me ensinou está nas páginas adiante.
  • 57.
    46 Desenho deproJ9tos
  • 58.
    Sistemas de representação47 Trata-se de uma malha isométrica à esquerda e outra ortogonal à direi- ta. Esta página deve ser ampliada para o formato A4, de modo que adis- tância entre pontos fique em torno de 8 milímetros. A partir daí, propomos um exercício de esboço à mão livre, como está indicado a seguir. 1• Cdot:ar UH, p/mt,o <X< ~ ~ CóTk z (tdw,ra): 8 ~ e y .: tó t1t.cfdaio-s. ( 2• Represe,trw ti#/ Cu.boC<JHt.~ ele 2 ~ P ~ ~wEr. 4 • ~ o ~/e..spe,/Aoe ~ o at.6o ref kk.d<J. 5 • Na ~ orhyo'1ta.i ~ O cubo c?.fll3 ~ - ~ , ~ e Ca.kra,/. ó• ~ UH(,.(2. ~ de ,oa,lá.. 1 • ~ a ~ 11.0 cndro Lado do~- 8• ~ l a r 4 IXS'!as" ~ CÍ4. ~ - 9 . 6,,,(, ou1:ra, /o#ta, ~ Ul#f_ (-- &.~./icador eH(, ~ ' Jigura re/'/e,t:da. e ~ o-rú:,gCJ1taLS: A idéia foi apresentada pela psicóloga MacFarlane Smith em seu livro "Spatial Ability" de 1964. A autora usou repetidamente a malha ortogonal em diversos testes de avaliação e me ocorreu alterar a proposta para fins de desenvolvimento da visualização espacial.
  • 59.
    48 Desenho deproJ9tos Além de utilizar, quase simultaneamente, dois sistemas de represen- tação, o aluno é induzido a imaginar e a representar o mesmo objeto visto de outra posição, por meio de sua imagem refletida. Trata-se, pois, de exercício de rotação mental de figura, uma habilidade espacial que veio a ser amplamente estudada por Roger Shepard em sua obra de 1982, "Men- tal lmages and Their Transformations". Obtivemos excelentes resultados com a aplicação destas malhas em cursos ministrados na PUC de Porto Alegre em 2005 e no curso de Arqui- tetura da UFPE. A chamada perspectiva aérea é termo consagrado entre os pinto- res figurativos para a representação artística caracterizada pela perda de nitidez do contorno e pelo esmaecimento das cores provocado pela distância. Por outro lado, em Geometria deve-se evitar a designação de perspec- tiva cavaleira ou isométrica, pois estes sistemas de representação não têm fugas, como se viu no quadro geral. Assim, o mais indicado será falar de projeção cavaleira ou de projeção isométrica. O estudo da perspectiva está fora do conteúdo desta obra, porém o leitor encontra o assunto em nosso livro "A Perspectiva dos Profissionais" (Editora Blucher) ou em tratados específicos nas boas bibliotecas; o livro citado abrange o estudo geométrico de sombras e de projeções paralelas. O professor Álvaro José Rodrigues publicou em 1948 um volume sobre "Perspectiva Paralela", onde estuda amplamente este tipo de projeção, porém é obra esgotada. Outros sistemas de representação podem ser criados ou já existem, porém as aplicações profissionais estão limitadas aos tipos já citados.
  • 60.
    Oesboço projetual 49 O projeto éuma alucinação controlada. A frase acima é adaptação livre a partir de uma idéia do pensador Jorge Wagensberg. O título inicialmente pensado para este capítulo foi "O esboço arquite- tônico". Mas há duas incorreções aí. Primeiro: as propostas e idéias lan- çadas valem tanto para o projeto de Design como para o de Arquitetura. Segundo: esse título poderia ser confundido com Desenho Arquitetônico. Um projeto passa por etapas como: 1. O desejo do cliente ou do próprio arquiteto para fazer o projeto. 2. A coleta de dados: Para quê? Onde? Qual o programa ou lista de necessidades? O que se fez antes num caso semelhante (coleta de dados)? 3. As primeiras idéias afloram e são esboçadas: é o partido. 4. Refinamento dos esboços em busca de um projeto definido. 5. Escolha de um dos esboços para ser aperfeiçoado. 6. Primeiros traços do anteprojeto. 7. Correções e alterações no anteprojeto. 8. O projeto definitivo ou quase isso. 9. As especificações e os acabamentos. 1O.A aprovação do projeto pelo cliente e, posteriormente, pela buro- cracia.
  • 61.
    50 Desenho deproJ9tos 11.A construção ou execução. Que pode ser precedida de maquete ou de protótipo. 12.Exame do projeto construído a fim de verificar erros e acertos. Esta etapa é pouco praticada. Porém, se o projetista deseja crescer como profissional, é de grande importância. Esta análise ensina muito e, se exige autocrítica, em troca dá retorno futuro. O educador Paulo Freire aconselhava: "É pensando a prática de hoje ou de ontem que se pode melhorar a próxima prática." A seqüência acima nem sempre ocorre, pois pode haver simultanei- dade de etapas ou eliminação de algumas delas. Essas etapas podem ser abreviadas em dois atos: • Planificação e • Execução. Assim, o desenho é a conclusão da primeira etapa e o início da segun- da, daí a importância da representação do projeto. O termo representação significa NOVA apresentação, reapresenta- ção; a apresentação primeira acontece na mente do projetista: é a cria- ção, concepção ou "bolação" do projeto. Depois é que vem o traçado, a re(a)presentação. O desenho, portanto, torna presente uma coisa imaginada. E permite ensinar ou comunicar a outros nossas idéias sobre um objeto ou projeto. Comunicar a quem? A um cliente, a um examinador de concurso, a um professor, a quem vai construir. Ou comunicar, gravar para si próprio a evolução do processo criativo. Os desenhos finais do projeto obedecem a códigos, normas e conven- ções capazes de ter interpretação única em qualquer região ou país. Disto trata um livro nosso - "Desenho Arquitetônico" - publicado pela Editora Blucher. Voltemos ao croqui, esboço projetual ou projeto preliminar. No começo do projeto, as idéias são, em geral, difusas ou pouco precisas e os esbo- ços refletem isto: traços são superpostos uns sobre os outros (Não se apa- gam! Lembre-se.), expressando intenções que podem entrar em choque, uma vez que são ainda pouco claras.
  • 62.
    Oesboço pro13tual 51 Portanto,o esboço é um apoio ao processo de busca e a sua am- bigüidade, ou até confusão, dá margem a outras idéias. Que se tornam ponto de partida para novas formas e disposições. Estamos falando de esboços feitos a lápis sobre papel. Aceitamos a modernidade do compu- tador. Porém, no momento atual talvez ele não acompanhe a velocidade e a flexibilidade da mente; ou não seja ainda tão simples e cômodo como o lápis e papel. Talvez nossa posição seja ditada por uma longa experiência anterior, mas é inegável que o desenho à mão livre tem um valor simbólico e artís- tico que máquina alguma consegue alcançar, porque ela não tem e não sente emoção. Claro que para o materialista o que vale é a eficiência acima de tudo; mas a vida tem um significado maior: não se mede em horas ou anos. Aliás, nem se mede; desfruta-se, simplesmente. Claro que há quem desfrute do computador... Mais à frente, é possível que o computador acompanhe a mão e a mente que criam em sincronia. Já foi dito que a mão é a parte visível do cé- rebro. Ou talvez eu esteja defasado e os novos projetistas estejam fazendo isto na tela, de modo pouco convencional! Voltemos aos esboços... tradicionais. A flexibilidade e a multiplicidade de alternativas nos projetos ficam evidentes nos concursos de projetos. Um programa de necessidades, uma palavra, um conceito, podem dispa- rar infinitas possibilidades criativas na mente do projetista. Aqui está um exemplo elo- qüente: Quantas alternativas o leitor é capaz de esboçar como interpretação desta figura? Como figura bidimensional há poucas alternativas, limitadas à junção de polígonos. Se, porém, a figura for considerada como uma vista superior, as alternativas se multi- plicam. Temos catalogadas mais de 70 alternativas entre as nossas próprias e as de alunos. Se o leitor ficar restrito a 15 possibilidades ou menos, sua habilidade espacial e criativa poderá estar bloqueada.
  • 63.
    52 Desenho deproJ9tos Para desbloquear esta capacidade, sugerimos dois livros nossos: "A Inven- ção do projeto" (publicado pela Editora Blucher de São Paulo) e " Habi- lidades Espaciais: Exercícios para o Despertar de Idéias" (publicado pela SCHDS de Porto Alegre). Para os que ficarem abaixo de 5 alternativas para o exercício aqui proposto, sugere-se que sequer saiam de casa, pois se ar- riscam a ficar perdidos na cidade. O projeto desenhado supera a realidade, está acima e além dela. Isto porque podemos riscar no papel coisas que a tecnologia existente ainda não permite que se construa. Muitas das invenções de Da Vinci estavam nesta situação; a figura abaixo é um outro exemplo. Da Vinci dizia que só se conhece aquilo que se desenha bem; quer dizer, aquilo que está bem representado. No Capítulo 2, o leitor teve opor- tunidade de fazer esta experiência. O fato é que conhecer bem um objeto permite que nos apropriemos dele, permite fazê-lo nosso, embora apenas no papel, simbolicamente. Este é o sentido mágico do desenho. É possível que esta posse, embora simbólica, tenha ocorrido ao homem pré-histórico quando pintou grutas e paredes com figuras de animais. Aqueles que ele queria caçar e apropriar-se. Vale lembrar que psicólogos apontam para a existência de uma rela- ção muito estreita entre habilidade manual e inteligência. Seria exagero meu restringir a habilidade manual ao desenho e relacionar inteligência com criatividade, mas alguma coisa fica no ar!
  • 64.
    Oesboço pro.ieturu 53 Emmeu modo de ver, o que o projetista (arquiteto ou designer) vende não é o projeto. É a apresentação dele! É comum o cliente não ter noção da qualidade do projeto antes de vê-lo executado; então, a apresentação do projeto ganha pontos. E ganha mais quem apresenta melhor. Por mais que o professor e o julgador de concursos digam que vêem o conteúdo e não a apresentação do projeto, é inegável que uma apre- sentação bem feita cativa o observador. Faça a pergunta a uma mulher e ouça a resposta! Ou imagine um bolo velho, gelado, sem odor ao lado de um outro mal saído do forno, bonito e cheiroso; qual você escolheria? "Por favor, não me fale agora de calorias e de colesterol..." Arquitetos, como Frank Lloyd Wright e Corbusier, comentaram em suas autobiografias que o desenho de arquitetura não traduz o projeto como ele foi pensado. Basta considerarmos que a Arquitetura transcende a tridimensionalidade, que o projeto envolve jogo de volumes, texturas, luz, sombra, cores, sons e cheiros, então o desenho é insuficiente como representação. Daí a importância de representar, de esboçar bem. Enquanto o desenho técnico é codificado e tem interpretação única, o desenho à mão livre tem traços fortes ou suaves, hiatos de traços que o observador completa em sua imaginação. O observador se faz cúmplice do desenhador. Mas não apenas isto, porque a ambigüidade do esboço o potencializa como ferramenta de criação, pois o esboço vago ou ambíguo dá margem a interpretações diversas, dando oportunidade para o exercí- cio da criatividade na busca de alternativas. O croqui de observação desenvolve a capacidade de síntese, pois que não sendo possível o detalhamento extenso, o desenhador seleciona o caráter essencial do objeto. E ele tem, ainda, de escolher o ponto de vista ou o melhor ângulo entre vários pontos possíveis. Por ser seleção e síntese, o croqui acaba por sensibilizar a percepção, já que o desenhador contempla e risca: a visão e a motricidade da mão se exercem alternativamente durante a elaboração gráfica.
  • 65.
    54 Desenho deproJ9tos Passemos a ver exemplos acompanhados de comentários sobre dois grupos de figuras. O primeiro apresenta desenhos à mão livre, enquanto o segundo grupo, mais adiante, mostra a valorização do desenho técnico quando conjugado com arte. Nesta primeira figura, foi utilizada a técnica do crayon sobre papel ru- goso a fim de destacar o caráter livre do traço. A figura apresenta diferen- tes planos que são acentuados por meio de contraste entre eles. Vale a pena comparar este esboço com o 1~ Exercício do Capítulo 2.
  • 66.
    Oesboço pro.ieturu 55 Esboçorápido de dois pilares do interior do Templo da Sagrada Famí- lia, em Barcelona. Utilizou-se caneta esferográfica nas figuras principais, com a aplicação de hidrocor escuro no fundo, a fim de destacar as duas estruturas, que mais parecem ramos de árvores.
  • 67.
    56 Desenho deproJ9tos Nesta página estão ilustradas técnicas diferentes. O automóvel é um esboço rápido feito com utilização de lápis 48 sobre papel rugoso. A som- bra do veículo evita que ele pareça flutuar, como foi o caso da poltrona da figura anterior. Na jarra ou leiteira de porcelana foi usada a aquarela sobre o mesmo papel. O contraste é dado pelo fundo escuro, acentuando o branco do material. Enquanto aquele lápis pode ser aplicado sobre papel liso, a aquarela não daria o mesmo efeito.
  • 68.
    O esboço acimaé do mesmo arquiteto que projetou a Torre de Eins- tein, em Potsdam, na Alemanha: Erich Mendelsohn. A aparência contem- porânea do esboço esconde o fato de ele datar de 1914; vale salientar a liberdade, o traço rápido e solto do arquiteto. Esta é a única figura não produzida pelo autor neste livro. o ~ g '° o 'O i g. 01 -'2
  • 69.
    58 Desenho deproJ9tos O caráter simples da pracinha de cidade pequena reflete-se nesta figu- ra econômica de traços e de detalhes. Não se utilizou sombra como realce de volumes. Nota-se a liberdade do traço quanto à excessiva geometriza- ção, porém sem prejuízo da compreensão do conjunto. Esboço feito sobre papel vegetal com caneta n? 2 de ponta de feltro.
  • 70.
    ~'~ --- 1 - 2cx:i7 Nestafigura, procurou-se realçar as linhas de construção das sombras e dos volumes com finalidade didática. O Autor utilizou lápis 48 sobre pa- pel rugoso; notar a gradação de luz nos diferentes planos. Sugere-se ao leitor aplicar hidrocor amarelo nos planos voltados para a esquerda, a fim de obter melhor resultado plástico da figura. o ~ g '° o 'O i g. 01 CD
  • 71.
    60 Desenho deproJ9tos .:-·• . As três perspectivas desta página e da se- guinte mostram como o mesmo projeto pode ter realçada sua verticalida- de (na figura 3) ou sua fachada principal (na vis- ta 2) ou, ainda, destacar igualmente duas facha- das vizinhas (na vista 1). O esboço ao lado dá os pontos de vista utilizados em cada perspectiva, to- dos feitos com lápis 48 sobre papel rugoso. ®
  • 72.
  • 73.
    62 Desenho deproJ9tos O objetivo desta ilustração é re- alçar a volumetria do projeto em re- lação às ruas do entorno, abstrain- do eventuais construções vizinhas. Traçado misto com aquarela e nan- quim sobre papel vegetal.
  • 74.
    Oesboço pro.ieturu 63 Osantigos romanos foram mestres em várias atividades, aí incluída a construção civil, com destaque para as abóbadas e os arcos; muitos deles ainda de pé após tantos séculos. A ilustração desta página foi adaptada da obra do arqueólogo francês Auguste Choisy e evidencia como um de- senho técnico pode ser didático e ter apresentação artística. Traçado feito a instrumento sobre papel vegetal com caneta n". 2 de ponta de feltro e sombreado com lápis 48.
  • 75.
    64 Desenho deproJ9tos As épuras ou traçados de Geometria Descritiva são geralmente secos e sem vida. Aqui o Autor representa a interseção de um cubo e de uma esfera. À esquerda, estão as projeções vertical e horizontal do conjunto e, à direita, as mesmas projeções de cada sólido, isoladamente.
  • 76.
    / / / , , / / ~ Oesboçopro.ieturu 65 , , A / ,, B ~ l) o Uma linha em diagonal separa a planta em duas regiões: A - Planta com contorno de paredes em traço grosso tendo seu interior preenchido com tom médio e com sombras na parte esquerda. B - Planta com pa- redes de contorno grosso e espes- sura não preenchida; parte da planta apresenta sombras.
  • 77.
    66 Desenho deproJ9tos ~D :1 DO DO D O DO D O DO D As três fachadas se referem à planta da fi- gura anteriore mostram apresentações diferen- tes do mesmo projeto. Na figura maior, vê-se a fachada como ela é representada conven- cionalmente, porém acrescida de sombras. Que podem ser colori- das, valorizando o tra- çado e melhorando a compreensão. A figura central corresponde à fachada quando representada com traço de espessu- ra uniforme, resultando em falta de contraste. Na parte inferior, está a representação conven- cional, a fim de permitir sua comparação com a primeira figura.
  • 78.
    Oesboço pro.ieturu 67 ~AB L________ ___.J -- - - - - - - - L------------ A ,-------------, --- ---------, --------------- • 1l 1: 1 : 1 1 1 1 1 1 1 1 1 1 1 1 1 1 1 1 1 1 1 1 1 1 1 . 1 1 I 1 1 1 : 1 11 1 1 1 1 1 1 1 1 1 t ' - - ~ 1 1 1 1 PÚU4..Íá ..,__ B Habitualmente, os cortes são representações meramente técnicas. Po- rém, nada há que impeça o tratamento artístico - que pode ser o diferen- cial do arquiteto - , valorizando o traçado e quebrando a monotonia.
  • 79.
    68 Desenho deproJ9tos Não chega a ser rara a planta de coberta enrique- cida com sombras, como aqui. Isto melhora o aspecto, facilita a leitura e a compre- ensão. Notar a representa- ção da fachada, à direita; é recurso dispensável, desde que o projeto seja apresen- tado como conjunto comple- to de plantas. Mesmo a representação técnica de um viaduto e canal, como na figura abaixo, merecem tratamento artístico que lhes tire a frieza e neutralidade. Nota-se a aplicação de textura, como se indicou no Capítulo1, a fim de criar contraste com as grandes dimensões da viga.
  • 80.
  • 81.
    70 Desenho deproJ9tos ... OU ~ - : :.-:: · ·: ~-·.··.··.·::'· :-.-·~':_·:_:·_:~:::··.·.:·.~···-·::·,: ,:,.·.,·. ·':: .,...!: : ··""=··.. . ·..··i·:_ ;_~-__~-'.-~ .: ····;·"-:t·:·>_ i.:,.:.:.,...= ....:. ·· : · .:, ·. _.../--·
  • 82.
    P~H,ã,olêM ck~ ~ ºººOó ~ ......... ........ .~ ~ Geometna b1dtmens1ona.l 71 F··:(·,:,/,;{••• .( ...~ .·-.-:~ .· ·. ,:.;:)." .. ·_.-'//?} l ·.· DJií_;__ i_._•._) ••-· ·_._/_••-~_)_t ._:.,;::_· _ . .....:.. . ..:~ ·: UHlQ ~ de pontos l.i.MUl, lut..h,a ~ ~ w s-tdo : oG ~ ou lr-req.u.Lcv
  • 83.
    72 Desenho deproJ9tos -···- tt#lalutha 1lúU.S &teus12 ~ S'el" ~ d a a p,arCu- de /,raças o u ~ ~ 1111••••...
  • 84.
    Geometria b1d1mens10nru 73 ---- - - - -- - ~ - - - -= -- .:::=::::.::........---;§i - ---=== ~ - = -
  • 85.
    74 Desenho deproJ9tos P01llos cri,a,u,, iksr5es'.·t)O pcr,úo está" ua ~ da ai1)ua do ~~?-t 2) A ~ alÚM os P<V1eS de p,011.ios e' a ~ ? .J,.. • • • • f,,,,_._,,.__,,J t'ni C" • ,LA,,/, e.,~,~ ' • ------- ------- ------ • o.spi,raladas' ------ • com ------ iu/:ervnlo - - -- - - ~ - - - - - - ' ------ ------
  • 86.
  • 87.
    76 Desenho deproJ9tos O PLANO O ponto não tem dimensão (medida); a linha tem uma dimensão: o comprimento ou extensão. Figuras que têm duas dimensões são chama- das formas ou figuras planas. Em Geometria, o plano é ilimitado; na vida cotidiana encontramos pla- nos no tampo de uma mesa, na capa dura de um livro, no cartão de visitas. O plano pode ser torcido, perfurado, entrelaçado, sólido, rígido, flexível, opaco, translúcido, ou... ou... As forut.a.s g'2~ p,crci,e#I ser: vM PurNo 1MAGl- o / NAR!o Po!)E SER • BA'sicAs ~ D FoR.uA!)o PoR PONTOS • DERII/A l>LIS QQ~ • NAO REGULARES ~ ~~ oo pof:) RETAS Há cursos e livros em que a disciplina de Desenho Geométrico é estu- dada apenas como traçado geométrico. Este assunto encontra-se desen- volvido em livros ora reeditados, ora encontrados em boas bibliotecas; os mais conhecidos são: Teodoro Braga - Desenho Geométrico Álvaro Penteado - Desenho Geométrico Benjamin de Araújo Carvalho -Desenho Geométrico - Rio de Janeiro: Companhia Editora Nacional, 1961. Félix O. Rivera - Desenho Geométrico - Porto Alegre: Editora FURG, 1986. Alguns livros de Desenho Técnico costumam apresentar os traçados básicos; é o caso de Thomas French e Albert Bachman. A partir destas noções básicas, o leitor pode passar ao ponto principal, que é COMO e ONDE vai aplicar sua criatividade: o estudo das transfor- mações ou mudanças das formas. O assunto é inesgotável e o que se se- gue deve ser visto apenas como sugestão para que, a partir delas, o leitor use sua imaginação.
  • 88.
  • 89.
    78 Desenho deproJ9tos 1 1 " , ...~ I 1 / / ' { J "1 l 1 ~/ 1 1 / 1 1 / l 1 , l , ...., ' J I / I l I - --- - - - , f : t 1 , -- ... 1 J ,.,.. } 1 J 1 1 r 1 I l 1 I I 1 / j' : i ! ... ., 1 ,., Afor#ta. gll"'a. ... DO .. ,o.lg~ carks ohlJtHr-se D---- ~o . ...e dei= a ~ FlO.QES/tR . . · · .o
  • 90.
    Geometria b1d1mens10nru 79 Os -t"~; .. , ~· ,~iÍ/" u.,µ:;' o~-·· 00
  • 91.
    80 Desenho deproJ9tos
  • 92.
    Geometna b1chmens10nal 81 OMÓDULO Conta-se a história do macaco que aprendeu a digitar no teclado. Um pesquisador tinha a esperança de que, datilografando ao acaso, o macaco pudesse escrever uma peça de teatro. Ele conjeturava que o alfabeto, ten- do apenas 26 letras, ensejaria a possibilidade de surgir um texto coerente a longo prazo. A conjetura é matematicamente falsa; na língua portuguesa há 150 mil palavras e as combinações são tão variadas que a possibilidade de o ma- caco escrever uma frase coerente é extremamente remota. O que tem a ver esta história com o assunto? Duas coisas: 1. Que al- guns descendentes do macaco evoluíram mentalmente, enquanto outros se tornaram políticos; peritos em puxar a brasa para sua sardinha. 2. Que o alfabeto é modular; portanto, toda a literatura universal também o é. Números são também modulares; apenas 1Oalgarismos. A televisão é modular: pontos alinhados. As fotos do universo interestelar obtidas por naves espaciais são transmitidas por um computador modular e binário: dois módulos apenas, o zero e o um. Nosso cérebro é modular: um arranjo maravilhoso de 100 bilhões de neurônios. A poeira, a lama, o universo inteiro é modular. Há infinitos módulos que variam em cor, tamanho, forma e disposição. O módulo é a matéria do pro- jeto arquitetônico ou outro, matéria para ser trabalhada pela imaginação, pela criatividade, saindo do caminho bitolado e da tecnologia conhecida, procurando soluções novas, arranjos inovadores. Mas, calma! Dizem os sábios que nem os deuses nem os homens mol- dam livremente a argila; apenas fazem os tijolos. Façamos tijolos, então; com ordem e diversidade porque na Arte não há resposta única! No livro de Gildo Montenegro - A Invenção do Projeto - São Paulo: Editora Blucher, 2005 (5ª. reimpressão) há diversos exercícios para desen- volver a criatividade. Se o leitor quiser avançar mais, o livro Habilidades Es- paciais: Exercícios para o despertar de idéias, do mesmo autor, publicado em Santa Maria, RS: Editora SCHDS, 2006, tem muito a oferecer. Convencido estou de que há, pelo menos, duas coisas que não têm li- mites: a criatividade das pessoas e a falta de vergonha de muitos políticos. O leitor tem muito a perder no segundo caso e tudo a ganhar no primeiro.
  • 93.
    82 Desenho deproJ9tos .4 11la1Jta(01'"9-~ ô pkuo el1( dúxde / o ~,,(ders o paral,eiog~ Ma,/,/r,a,S uáo ~ a ~ ; ao ~o, ~ de apoio.
  • 94.
    Geometria b1d1mens10nru 83 COMPOSIÇÃOou ORGANIZAÇÃO Composição se aplica a assuntos como literatura, música, artes plás- ticas; aqui ela se estende desde uma tela ou quadro até escultura, foto- grafia, cinema, publicidade, moda, programação visual, projeto de produto (objeto), projeto de arquitetura, de paisagismo, de urbanização. É importante saber que a composição (há quem fale em "agenciamen- to" em Arquitetura, rótulo novo para um produto milenar...), seja qual for a área, é INTUITIVA, isto é, NÃO LÓGICA, não racional, num primeiro mo- mento. Significa que a criação, a idéia, aparece no início de um processo mental que não pode ainda ser seqüenciado pela lógica, pelo pensamento racional, pela ciência ou pela tecnologia atual. Um dos motivos é que a composição mexe com enorme quantidade de variáveis. Elas não podem ser enquadradas num modelo matemático pelo fato de se tratar de um processo CAÓTICO; exatamente como são o clima e a economia. Convém não interpretar o que foi dito no sentido de que a composição ou organização seja louca e aleatória; ao contrário, ela deve ter disciplina, ordem, organização. Parece contraditório, não é mesmo? Antes de chegar a esta organização, devo lembrar que uma composi- ção pode ser enriquecida pelo uso de CORES e que a APRESENTAÇÃO influi bastante, em termos psicológicos, em sua aceitação. O profissional de Arquitetura, de Design ou outro pode substituir no texto acima as pala- vras "composição" por projeto e "aceitação" por venda, uma vez que ele vive de vender seu peixe. Uma composição se faz não somente com formas, mas também com o VAZIO entre elas. Algumas leituras sobre o assunto são úteis, porém o trei- namento/experiência, juntos com sentimento/emoção é que farão o leitor dosar a fantasia, a imaginação e a criatividade com o disciplinamento que deve existir numa composição. As regras ou princípios que regulam uma composição podem ser resu- midos a equilíbrio e harmonia, considerando aí incluídos: unidade, varieda- de, contraste, simetria, proporção e ritmo.
  • 95.
    84 Desenho deproJ9tos SIMETRIA Nosso corpo é simétrico... por fora; por dentro, ele é bem menos. Vale observar que o próprio rosto, em fotografias, mostra que a simetria não chega a requintes: há geralmente um olho mais baixo, ou mais estreito, ou uma orelha menor. Consideremos um ponto P e uma reta R. Se repetirmos o afastamento de P para R agora à direita de R, teremos um ponto P' simétrico de P. E a reta R será o eixo de simetria. Sugere-se ao aluno procurar o eixo de simetria de: Triângulo isósceles Triângulo eqüilátero Triângulo retângulo Paralelogramo Pentágono Círculo Observe que uma figura poderá ter mais de um eixo de simetria. Quando uma reta divide uma figura plana em 2 partes iguais, ela conterá o centro de gravidade da figura. No poliedro regular, o centro de gravidade estará so- bre o plano de simetria. Esta figura não tem eixo de simetria; ao fazê-la girar uma volta completa em torno do ponto C, a figura coincide com sua posição original. E o ponto C será o centro de simetria destas figuras ou po- sições. As palavras AMA são simétricas em relação à reta R. Mas cada palavra tem seu próprio eixo de simetria. p P' o--- -- - - - --0 R
  • 96.
    Geometria b1d1mens10nru 85 Diz-seque uma figura é con- gruente se sofreu uma transforma- ção em que as medidas e as formas não se alteram. Trata-se de mudan- ça de POSIÇÃO, apenas. Em geo- metria se diz que é uma transforma- ção ISOMÉTRICA, de ISO, igual e METRON, medida. Outros exemplos de figuras congruentes, ou seja, de transformações isométricas. Tipos de simetria 1. Transformação ou deslize 2. Rotação 3. Reflexão 4. Dados O ponto P, o comprimento K e o sentido D. Os pontos P e P' são simétricos ou isométricos. O centro de rotação C, o ângulo a e o sentido anti-horário. Eixo de reflexão R. Reflexão com Deslize Eixo de reflexão R e distância k. Exemplo ik / I I / ºP P' P' í' I I e /,, d_____ºp o p 1 1 1 1 1 1 1 1 1 J P' Os 4 tipos de isometria, acima indicados, são os básicos. Eles podem ser combinados.
  • 97.
    86 Desenho deproJ9tos Há diversos tipos de simetria; um estudo bem desenvolvido - do pon- to de vista matemático, biológico e artístico - é feito por Hermann Weyl em seu Iivro "Symmetry", escrito em 1951 e ainda hoje atual e interessante. RITMO É a repetição ou acentuação de um padrão. Ele cria contraste, quebra a rotina, gera movimento.
  • 98.
    Geometria b1d1mens10nru 87 (])o po-nJ:o • .. ,. . .. . . . dois !''L/YfA t"rn- '. -~,;' • •• :,:,;,,; •: • , /-"-"r &A/.J ~ • - -.••~J;;,. • ..::-:.:.t:1:.:: ~ pon,to-s- ...~:·:= ..: . ~·dade de ~ ® o traço COU1 ~ - .. ... dR ~ .. dRdfreçw// ~ ... d . e ~ ' ...d e ~ e de espesstU'-Q • 1 DDDD D D D DDD
  • 99.
    88 Desenho deproJ9tos Exercícios propostos: 1. Quais letras minúsculas podem substituir outra (indicar uma)... ...sem alteração. ...com algum acréscimo. ...com retirada de uma parte. 2. Analisar as transformações existentes em uma logomarca (letra e/ou símbolo). 3. Procurar palavras que possuam um eixo horizontal. 4. Brincar com palavras que possam ser lidas de cabeça para baixo; há INFINITOS arranjos: basta usar a imaginação. Para conhecer e PRATICAR mais: 1. lvens Fontoura - De composição da forma - Curitiba: Editora ltaipu, 1982. Esgotado; extremamente adequado. 2. Tai Hsuan An - Desenho e Organização Bi e Tridimensional da Forma - Goiânia: Universidade Católica de Goiás, 1997. Direto ao que interes- sa; muito bem ilustrado. Altamente recomendável. 3. Donis A. Dondis - A Primer of Visual Literacy - Cambridge: MIT Press, 1998. Teórico e muito bem organizado. 4. Wucius Wong - Princípios da Forma e do Desenho - São Paulo: Martins Fontes: 2001. Extenso, com muitas ilustrações e bons comentários. 5. Luiz Antônio Vidal de Negreiros Gomes e Clarisse Gonçalves da Silva Machado - Design: Experimentos em Desenho - Porto Alegre: UniRit- ter, 2006. Breve e simples; útil ao professor e indispensável ao aluno.
  • 100.
    Projeto: . - acnaçao 89 o Criar éfácil quando é o que você faz natural- mente, contudo muitas pessoas não o fazem, por- que elas apenas reagem aos acontecimentos. Sua opinião sobre você mesmo é irrelevante para a criação. Assimilar informação demais pode afogá-lo. Use o sucesso e o insucesso como aconteci- mentos que trazem conhecimentos novos. Quanto mais você cria, mais será capaz de criar. Evite o excesso. Nem planejar demais, nem fi- car sem plano algum. Prazos devem ser cumpridos, porém podem gerar tensões que consomem sua energia. Use-os para organizar suas ações.
  • 101.
    90 Desenho deproJ9tos O realizador tem um nível definido de capacidades, enquanto o apren- diz é capaz de ampliar suas capacidades, podendo inclusive superar o realizador. Muitas pessoas passam anos em escolas e muito daquilo que apren- dem não tem utilidade para elas. A maioria não teve experiência alguma com o processo criativo e não sabe que se trata de uma coisa nova para ser aprendida. MUDAR POR MUDAR pode não funcionar Suponha que você conhece suas tendências e as aplica na condução de sua vida. Em algum momento, você acha que se mudar seus hábitos poderá ser mais criativo. Mas, a menos que haja um motivo, não vale a pena mudar. Tentar viver por um ideal ou adaptar-se a padrões da família, de amigos ou colegas é mudança temporária, porque não está relacionada com um objetivo específico. A mudança em si não é um objetivo; ela deve ser um subproduto de criar o que você quer. Não existe um jeito de ser que produza realizações, pois isto varia de pessoa a pessoa. Cada indivíduo tem seu ritmo, disposição e jeito de aprender e de fazer que é pessoal. Isto pode, eventualmente, gerar dificuldade para criar em conjunto com outras pessoas. COPIAR O pintor Van Gogh só veio a ter seu talento reconhecido depois de mor- to. Se antes houvesse sido feita uma pesquisa, talvez ela mostrasse que cortar uma orelha ou viver em retiro ajudariam a pintar bem. Com certeza foram muitos os artistas que tentaram imitar o estilo de Van Gogh, porém não passaram de copiadores, sem originalidade e sem sucesso.
  • 102.
    ProJ)to: a cnação91 O que fica deste exemplo e de outros semelhantes é que a pessoa verdadeiramente criativa é honesta; sua criação é natural, pessoal. Tentar seguir um traço pessoal de outro apenas diminui quem você é. Observe o que já foi feito, os projetos criados, como o autor/a chegou àquele resultado. Aí jogue fora e faça o SEU projeto. Nunca copie! Um dia alguém descobre e sua carreira está encerrada. AVALIAR Não se ocupe de avaliar qual trabalho seu é mais, ou menos, criativo. Isto pode mudar com o tempo. Faça como o vendedor de carro usado: cada carro é um caso. Que pode significar uma boa venda ou um desas- tre. Na dúvida, crie sem se importar se é um grande projeto ou uma obra pequena. Esteja sempre aberto para ouvir outras pessoas, tanto de dentro como de fora de seu ramo. A SOLUÇÃO Nada se cria do nada. Veja, leia sobre todos os assuntos; a bagagem cultural faz a diferença nesta hora. É possível amplificar pelo subconsciente uma coisa que você propôs através do consciente. Mas a resposta não é imediata; você precisará ali- mentar de dados (pesquisas) o consciente. Em algum momento imprevis- to, a resposta virá. E não adianta procurar obsessivamente a solução, pois isto perturba o trabalho da intuição. Se a idéia não pipocar, esqueça; limpe a mesa, saia da rotina, vá dor- mir, vá ver um filme ou exposição, vá ao bar, converse. Desligue o motor de busca; não fique brigando com você mesmo. Quando você estiver pre- parado, a idéia chega. Um problema ou projeto raramente tem solução única. Desconfie sem- pre da primeira idéia; alguém já deve ter tido.
  • 103.
    92 Desenho deproJ9tos Faça esboços, muitos esboços, depois analise, selecione ou siga outro caminho. Nunca fique 100% satisfeito. Pense no que você pode melhorar na próxima vez. COMO SE PROJETA? Ensinar a projetar é tão difícil como pegar fumaça. Na verdade, é fácil começar um projeto, planejar. Você organiza uma lista de necessidades ou programa que o projeto deve atender, seleciona algumas variáveis entre as mais de 5 mil disponíveis em Arquitetura (por exemplo: estrutura de ferro, volume vertical, formas redondas) e faz um organograma (seqüência das ligações/ relações entre as partes). Há quem projete de dentro para fora, dos detalhes para o conjunto, enquanto outros começam com um volume global e vão esquadrinhando as partes, do geral para o específico. A matéria-prima do projeto pode parecer ininteligível, ampla, vaga, sem consistência. Você sabe que fez uma boa criação se, no final, tiver chegado a um projeto coerente e não ao arco-íris. SER INOVADOR 1. Quem anda nos trilhos chega ao mesmo destino dos demais; 2. Desenvolva, aperfeiçoe sua inovação. Esqueça uma eventual contribui- ção à Arquitetura ou à cidade. Sua criatividade deve estar a serviço do projeto; 3. Domine a arte de projetar. Mas não seja dominado por ela; o objetivo é o projeto e não sua habilidade de fazê-lo. Não existe parto cesariano em projeto. A criança, aliás, a criação não tem dia, hora nem local para nascer. Portanto, ande sempre com papel e caneta como o bandido anda com sua arma; a força dele está aí. Bons projetos, em geral, não são fáceis. Eles exigem trabalho, pes- quisa, aprendizagem, habilidade, ajustes. Administre seu trabalho e sua equipe, se for o caso, para que tudo se ajuste à finalidade.
  • 104.
    ProJeto: a enação93 CONHECER-SE Procure conhecer seu ritmo natural de trabalho, pois cada indivíduo tem o seu próprio. Observe em que ritmo seu trabalho é mais efetivo. Há os que trabalham dias seguidos, de manhã à noite, enquanto outros pre- ferem trabalhar durante algumas horas a cada dia. Organize seu tempo e dedique-se ao projeto, não ao seu brilho, ao seu marketing, ao seu ego ou à sua habilidade. É comum um profissional passar uma temporada sem trabalho e, de repente, aparecerem dois ou três para serem entregues ontem. Aprenda a se envolver com um deles durante algumas horas e, a seguir, trabalhar em outro bem diferente. A EQUIPE Aceite e aprenda a trabalhar em equipe. Ela faz parte da vida e dá possibilidade de obter bons resultados, porque numa boa equipe todos se estimulam e as atuações de uns são compensadas ou reforçadas pelas de outros. Claro que nem todas as pessoas se adaptam ao padrão da equi- pe; nem sempre se trata de conflitos de personalidades, pois, em muitos casos, a pessoa não sabe como atuar em grupo, uma vez que ela não foi ensinada. Numa equipe cabem vários tipos de atuação: • O caçador: a onça que traz o projeto. • O colaborador: o que se junta para ajudar no projeto. Nada tem a ver com chefia ou hierarquia; prefiro falar de coordenação em lugar de chefia. • O animador: o que fala alto, o que valoriza o trabalho, o que conta pia- das que reduzem o estresse. Eles são incompreendidos por aqueles que ignoram o processo criativo. Considere o ateliê de Miguel Ângelo ou Leonardo da Vinci; havia o caçador, que era também colaborador, o mestre que pintava ou esculpia junto com outros bons artistas colabo- radores, o animador e os aprendizes candidatos a mestres. • O técnico: o publicitário que divulga a equipe, o engenheiro que dá informação especializada, o analista de sistemas, o digitador (antigo desenhista), o fotógrafo, etc. • O apoiador: a recepcionista, a telefonista, a secretária, o pessoal da copa e da limpeza, o office boy.
  • 105.
    94 Desenho deproJ9tos É essencial que todas as pessoas da equipe tenham idéia do objetivo final, tenham interesse no projeto e estejam focadas no resultado. A habi- lidade de trabalhar em grupo depende de cada pessoa, não de um chefe. Um time vencedor é o que se importa com o resultado, sem culpas e sem vaidades. VENCER CONCURSOS Uma boa experiência é (ou foi) a de arquitetos do Paraná Eles venciam muitos concursos para projetos no Brasil inteiro. Como atuavam? Aberto um concurso, os arquitetos se reuniam na sede do IAB (Instituto de Arqui- tetos do Brasil); os interessados formavam um grupo e sorteavam um de- les, a fim de ir fazer as inscrições e trazer as informações. Os custos eram rateados pelo grupo. Cada arquiteto passava a trabalhar em seu escritório e estabelecia-se data para uma discussão coletiva. Então cada esboço era apresentado e o restante do grupo, bem conhecedor das exigências do projeto, fazia comentários. Eram observações objetivas e oportunas, pois vindas de conhecedores que estavam "vivendo" o projeto; cada escritório fazia as adequações que julgasse válidas. Resultado final: os arquitetos do Paraná ficaram conhecidos no resto do país como papa-concursos. HABILIDADES a desenvolver numa equipe • A linguagem visual é o meio de expressão do projeto. O projetista deve aprender a formar imagens mentais enquanto o outro fala. Experimente este exercício: peça a uma pessoa que descreva detalhadamente um ambiente, uma praça ou parque, faça esboços rápidos a partir daí; depois vá ao local conferir. Isso significa transformar palavras em ima- gens. O pensamento visual é uma fantástica ferramenta de criação. • Pés no chão. Distinguir a realidade é uma importante habilidade por- que vivemos num mundo onde existe a força da gravidade. A realidade muda com o tempo e você deve pensar nos resultados que deseja obter. • Disciplina mental. Você deve aprender a focalizar e manter seu pensa- mento em um assunto ou dois, sem se dispersar. É uma habilidade útil em projetos de maturação longa.
  • 106.
    ProJeto: a enação95 DESAFIOS Os esportes são um desafio que nunca acaba, pois o atleta procura a cada dia melhorar seu desempenho. Há sempre coisas novas para apren- der: um programa de computador, uma habilidade manual, um livro para ler, uma receita para experimentar. Não basta olhar, tomar conhecimento; é preciso se aprofundar, praticar, aperfeiçoar, aperfeiçoar-se continuada- mente. Construir uma carreira profissional, um relacionamento, um negócio, um projeto complicado, a própria vida, exigem pensar em termos de longo prazo. Ver a sua vida de uma perspectiva ampla e afastada permite-lhe organizar ações e direções, definir suas metas para o ano vindouro e para a década. Não é fácil, mas a menos que você dê o primeiro passo não avançará um só milímetro. Um bom ambiente, no projeto ou no escritório, não é aquele em que você pode viver nele e, sim, aquele em que você quer viver nele. Trate bem seu cliente, ouça-o, entenda seu mundo; do contrário, você jamais fará um projeto onde ele queira viver. Cada projeto é um mundo e o projeto de hoje pode contradizer o de ontem, sem haver nada em comum entre eles. Nunca procure descobrir qual é melhor ou pior. Você seria capaz de decidir qual língua - inglês, francês ou português - é a melhor? Não se pode comparar mesas com cadeiras; por que, então, comparar projetos que são diferentes? A Bíblia contém ensinamentos sábios e um deles fala que "na casa do Pai há muitas moradas". Significa que em nosso universo há muitos mundos. CONHECER-SE Sócrates recomendava: "Conhece-te a ti mesmo." Na outra ponta, "Quem sou eu?" pergunta o filósofo. E eu pergunto: quem quer saber? No Oriente, cada um é Deus; no Ocidente, cada um é um pecador. Pode ser uma boa idéia conhecer o que você faz, como faz, o que você quer criar, o que você gosta ou não, conhecer seus ritmos, seus amores, opiniões, his- tória, sua realidade atual. Mas isto nada diz sobre quem é você. Se você observa a si mesmo, quem é o observador? Quem está sendo observado? O autoconhecimento não é pré-requisito para criar, embora possa ser im- portante.
  • 107.
    96 Desenho deproJ9tos ETAPAS NA CRIAÇÃO O processo criativo é formado por etapas, porém a sequencia nem sempre se repete. Portanto, esta forma não é uma fórmula e, se você se- gui-la, estará trabalhando contra você mesmo. Você pode pensar nos pas- sos do processo, porém somente depois de chegar ao resultado. O resul- tado vem primeiro, o exame do processo será posterior. Não especule com aquilo que você não conhece ou não tem; faça observações. O desconhecido não se torna conhecido a partir da especu- lação e isso pode levá-lo a distorcer a realidade. Em lugar de realizar suas idéias, suas aspirações, seu altruísmo, o gran- de amor da vida, as pessoas abafam seus desejos dentro de si mesmas. Outras vão estudar soluções de problemas, tentam enganar a si mesmas ao psicologizar e especular, ou se prendem a chavões, procuram encontrar significado na vida ou a maneira correta de viver. Elas consomem suas vi- das em conflitos e não sabem o que querem; buscam alívio apenas. A CRIAÇÃO Criar pode ser uma das mais profundas e mais características habilida- des do homem. Dar à luz uma idéia, começar um processo que leva esta idéia a ser realidade, ver a criação pronta é um grande presente da vida. Criar abre janelas para universos que não existiam. A vida de quem cria nunca é uma rotina. Há sempre algo novo para aprender, para criar, para amar. Há novos envolvimentos, novos desafios, novas aberturas. É aí onde brilha mais forte o espírito humano. LEITURAS Para conhecer mais sobre o assunto: A Invenção do Projeto. Gildo A. Montenegro. São Paulo: Editora Blucher, 2006 (5~ ed.). O livro descreve o funcionamento do cérebro humano, ou como se supõe que ele funciona, e está repleto de exercícios gráficos. Criatividade: Projeto, Desenho, Produto. Luiz Vidal de Negreiros Gomes. Santa Maria, RS: 2000. A obra descreve e exemplifica as etapas do pro- cesso criativo. Le Cri d'Archimede. Arthur Koestler. Paris: Calman-Lévy, 1965. Uma obra clássica, bem documentada e de agradável leitura. Existe edição em inglês com o titulo The Act of Creation.
  • 108.
    Estrutura e organização daforma 1ª. parte: Estruturas espaciais 97 A busca por um sistema construtivo menos pesado acarretou o aparecimen- to de construções laminares (lajes finas) e de treliças espaciais. Os termos que aparecem em negrito serão definidos logo adiante. A tesoura de telhado é uma treliça plana (coplanar). Treliça é uma estrutura formada por triângulos articulados.
  • 109.
    98 Desenho deproJ9tos ,- - - - I I I l i / 1 / ~ 7 D a~ ---- -,. / I . .._ _," ---= ~ - - A cargo Não 'H(k) ~ ~ / Ufa./ .. f Cary-0. - - ~ FLedt.a 1 1~ A finalidade da treliça é levar a carga do telhado para o apoio (pilar, coluna ou parede). Esta carga ou es- forço deve ser, de preferência, verti- cal, de modo a evitar flambagem do apoio. Flambagem: deformação lateral provocada por compressão axial (no eixo). Nas construções antigas, as pa- redes eram grossas a fim de absorver os empuxos (ver figura) da coberta, pois a estrutura do telhado não era uma estrutura ou treliça em equilí- brio. A viga treliçada poupa material, porém deve ser calculada tecnica- mente; em grandes vãos, ela pode provocar empuxos apreciáveis. Viga: elemento estrutural, em ge- ral de posição horizontal, que traba- lha por flexão e transmite esforços aos apoios. No caso de portas e ja- nelas, chama-se de VERGA.
  • 110.
    A viga treliçadaé uma estru- tura espacial, portanto, não pla- na. Da viga treliçada para a co- berta ou estrutura espacial é um passo: Estrutura e orgamzação da. forma. 99 Um excelente exercício para a percepção dos esforços nas estruturas é fazê-las como maquete, em escala reduzida, utilizando macarrão. Com o macarrão fino, de cerca de 1,5 milímetro de diâmetro, podem ser monta- das varetas reunindo 3 ou mais macarrões por meio de cola branca, sendo as articulações feitas com cola do tipo durepóxi. Considera-se a carga capaz de iniciar a flambagem, ou seja, a carga suportada C dividida por P, peso da estrutura de macarrão.* Outro exercício proposto é fazer uma estrutura em balanço; aqui vale o maior balanço. A extremidade livre não poderá ser um ponto (apenas um macarrão) e o contrabalanço ou contrapeso NÃO poderá ser elemento estranho à própria estrutura. Fizemos isso em sala de aula limitando a quantidade de varetas ou ma- carrões e havendo uma medida definida de fita adesiva; por exemplo: um metro para cada equipe. A fita adesiva seria o único elemento de ligação permitido. O ponto forte destes exercícios é a percepção visual e física das ten- sões nas estruturas e seu funcionamento elástico. A montagem vai exigir habilidade manual, por conta da fragilidade do material. É trabalho indica- do para ser feito por equipe de três pessoas. *Proposta pelo professor Marcos Antônio Barros Santos, engenheiro, que vi em exposi- ção de alunos do curso de Arquitetura da FACISA de Campina Grande, PB.
  • 111.
    100 Desenho deproJ9tos Bolonço Bolonço O aluno poderá reproduzir estrutura existente em sua cidade ou reali- zar pesquisa em livros, na Internet ou em ambos. Comumente os alunos se envolvem neste trabalho, porque deixam de ser ouvintes passivos e pelo fato de a situação imitar bem a realidade profissional. O aperfeiçoamento do cálculo estrutural levou à formulação de alterna- tivas que não se restringem aos planos paralelos. Reticulado vem de "rete" - rede ou malha, que é formada por triângu- los ou polígonos articulados. Significa dizer que "reticulado" nada tem a ver com retas. Os tipos mais comuns aparecem nas páginas a seguir.
  • 112.
    Estrutura e orga.mzaç.ãoda. forma. í?Spoc10/ df> dvos- d/reçoes t-H'----,,r--++-+---,,.c---r-,,r-Supe~or >CQrnoda _____ __ _____ __ la/'er/or (i)~~0--- ?--1--/ ,,----:-4./ , ~ ( k':l?.l,0-l ~ C~'--0--- ,:,,_", ~ ] J ~ / ( ', " ', / ', / // ' ,,.' ', / ....' ' , ' ,,, '/ , / '' / J Pkut,.Za ~ üll ~ . À ~ ~w.?a..dc, espa_d,a/.· 101
  • 113.
    102 Desenho deproJ9tos Abóbada: estrutura curva ou plana que cobre um ambiente; ela pode servir de apoio para um pavimento (piso), ponte, escada, etc.
  • 114.
    Estrutura e orgaruzaçãoda forma 103 f Fre9,.iênct'<:> As cúpulas constituem uma arquitetura sem arquiteto; sua origem se perde na noite dos tempos quando o homem era mais intuitivo e criativo. Elas foram e ainda são construídas por indígenas de vários conti- nentes e pelos esquimós, todas com requintes de extraordinária adaptação ao ambiente. e' o qvC'/rd1 dode de d t'v/soê..r da a resfa do poliedro pr,'r) - çlpo/.::: m / o 4 dct ~sfiyn, neste c aso. 8 _ [Ífç]~' r Foclroclo Planto !=achodo Plonto
  • 115.
    104 Desenho deproJ9tos Aáóbodc,s lominor@s ;:áço m odelos de papel vegeto! e pinte-os. Cobertos circulares A ½ Planto Corte A8 Focl!odo Foc/2ado
  • 116.
    obertos Suspenso ou otirontodos Estrutura eorgaruzação da forma 105 Coberto suspensa de curvatura simp!f?s Ver p. sequinte Coberta de dupla curvatura Coberto SdSpf?aso com vdn"os ua/dodes <)--1 Coberto tensionodo Junte 1moq1i7oç;óo e técoico poro cr /or soluçoes simples -e bon/tos. Cober to lorn/nor tensioaoda
  • 117.
    106 Desenho deproJ9tos Tirantes Cobe,to atJrontoda de vdo úoico Detalhe Plonto Tirantes como /la roda d@ bicic/eto 1 . ____________Jt 80 metrôS----t 1/2 Corte ½ Fo cnQdO A beleza e a leveza das cascas (lajes de reduzida espessura) de con- creto armado atraíram os arquitetos para o uso deste material. O concreto juntava, ao mesmo tempo, a flexibilidade das formas e a facilidade de ser levado à obra. Porém, logo se viu que os escoramentos, os andaimes e o tempo de cura (endurecimento) encareciam a obra. O concreto vem sendo substituído, em muitos casos, por estruturas metálicas de dupla curvatura (a e b), tanto laminares como plissadas ou dobradas - ver figuras ante- riores.
  • 118.
    Estrutura e orgaruzaçãoda forma 107 2ª parte: Composição ou organização tridimensional . ( mo/'lUOI Mac;ço industriO'I de 6 furos de Bfuros Esta composição pode ser feita a partir de a. transformação de volumes b. corte e montagem de volumes c. simetria e suas variantes (ver Ca- pítulo 5) d. linhas retas ou curvas Vamos estudar um caso real. Pare- des são geralmente feitas de tijolos e há diferentes tipos de tijolos, basicamente os ilustrados acima. O processo construtivo tem uma tradição muito forte, portanto pouco su- jeita à mudança. O material permanece o mesmo há milênios: argila ou barro, apesar de existirem alternativas como gesso, cimento, pedra, solo-cimento. Não se pensou seriamente em fazer ti- jolos a partir dos rejeites da construção ou de sucata em geral. Então, vejamos mudança de forma: Observe na página anterior que a compatibilidade de medidas dá flexibili- dade para a composição ou montagem de sólidos, pois possibilita a expansão em direções não-planares. Aqui uma forma plana, por repetição, dá origem a um volume:
  • 119.
    108 Desenho deproJ9tos Cor te l~ • ½ porede l Combogo' verde {1 i 1 1 'g l~,(b.l ~ -: ·_. ·._·:/ 1 ' .. . .. (l., .'-' . · · ~ 1 1 1 Fachada(!) Fachada com sombros Vôlumetria e Planta
  • 120.
    rP Estrutura e orgaruzaçãoda forma 109 O mesmo bloco, quando cortado, pe;m/t{) novos orranjos: 4 a.Jvel'/orio trodicionol pôde dor luqor a outrC1~ formas- d€> hjolos... Vazio !)aro tubulaçóo horizontal 1 ... feitos Cóm outro~ motenais. 1 1 1
  • 121.
    110 Desenho deproJ9tos .4o cortar p(:?ças- ,ooro serem agrupados; temos de considero, a compot/lúlidad@ de mt1didos. €xpmplos: Compatíveis Ndo compatlvB1's: o::>L O' Medidos compatíveis-, porém falto de A un,dode dos formos: Falto de equil/brio: Formos em equilfbrio : (__ •••
  • 122.
    NO PLANO: POSIÇÕES RELATIV4S !)€ FIGURAS ãodaforma Estrutura e orgaruzaç • PONTO DUPLO 111
  • 123.
    112 Desenho deproJetos 4Cl Holha trronqu/or e circunferêncio s@ cornhino m : ou : OU.'
  • 124.
    r /2 aóo'.bodo virtC10/ Cent,o dG> rotoçóo Estrutura e orgamzaçfu da forma 113 Cúpulas virtuois Leituras recomendadas: Geodésicas & Cia - Victor Amaral Lotufo e João Marcos Almeida Lopes - São Paulo: Edi- tora Projeto, sem data. Edros - Ricardo Sá - São Paulo: Editora Proje- to, 1982. Desenho e Organização Bi e Tridimensional da Forma - Tai Hsuan An - Goiânia: Editora da Universidade Católica de Goiás, 1997. í2otoçoõ em torno d« eixo c.urvo A geometria abrange MUITAS possibili- dades criativas, de modo que se pode criar sem complicar. Portanto, complicar pode ser o resultado da falta de conhecimento geomé- trico.
  • 125.
    114 Desenho deproJetos Po-c!emos cr/or formas por meio de CORTES: Pt?doços soo remowdos relocados.· , Com ocre'.scimo de novos volumfJs.· Composição sirneLrico Composiçdo ossirnétr/co Ô livro ocoba aqui.* Fico o esperança df) que o leitor faço DE(S)coLAR suo lmoginoçóo. Bons ventos o (E)t.EVEM. * O assunto apenas começou... t;;'ti}:,
  • 126.
    Estrutura e orgaruzaçãoda forma 115 O duplo e a compensação É normal que o pensamento racional e o intuitivo convivam no mesmo indivíduo. Menos comum é a posição extremada de ambos. Por exemplo: que o bom matemático seja, em compensação, excelente poeta. Foi o caso de Joaquim Cardoso, exímio calculista de estruturas arquitetônicas pouco convencionais e autor de poesias de alta expressão. Outro caso é do professor argentino Manoel Fernández Rodriguez, estudioso da Ho- mologia que publicou livro excepcionalmente bem ilustrado e é cultor da poesia, como revela o texto que se segue. Para quê? Veio de Kandahar para sua distante aldeia, próxima de Karachi. O an- cião Dazrahel havia sido mestre chefe da olaria da corte afegã. Se para os velhos amigos era inexplicável a volta do mestre oleiro à aldeia, ainda maior o era a vida que levava entre eles. Levantando-se com o sol, ele dirigia-se para a montanha a fim de bus- car raízes secas para seu forno. Viam-no triturar e amassar a argila com seus pés. Colhia uma massa informe de barro e a fixava habilmente em seu torno. Com a cabeça entre as mãos, passava horas concentrado. Porém, uma vez a inspiração chegou e dos dedos do genial ancião surgiu um vaso extremamente belo. Depois de 15 dias de secagem e convertida, depois da primeira forna- da, em biscoito, o ancião apanhou seu barco e se dirigiu para mar adentro a fim de, na ausência de poeira, realizar a esmaltagem. Todos se perguntavam quem seria o grande senhor para o qual Daz- rahel havia feito a jóia. Ao entardecer do dia seguinte, viram o oleiro sair com um vulto debai- xo de sua túnica e, com ele, já à noite, regressar à aldeia. E assim, dia após dia. Intrigados, persuadiram um rapaz para espiar o ancião. O rapaz, escondido atrás de arbustos, viu chegar o oleiro que, abrindo sua túnica, pôs o inquietante vaso no chão à margem do caminho e sentou junto dele.
  • 127.
    116 Desenho deproJ9tos Ao longe aparece um mendigo; o oleiro se levanta e, quando aquele se aproxima, põe o vaso em suas mãos. A estupefação toma conta do rapaz que se denuncia com uma expres- são de assombro. O ancião Dazrahel o chama e lhe diz, pausada e afetuosamente: Desejarás fazer-me três perguntas: - Por que não a vendo? Para criar livremente. - Por que me desfaço dela? Para fazer outra melhor. - Por que a dei a este homem? Porque também o pobre tem direito à beleza. Pela tradução <gildo.montenegro@gmail.com> <gildomon@globo.com>