SISTEMA DE TREINAMENTO EM
        SENSORES

 MANUAL DE EXPERIÊNCIAS

       ED-6800B
SISTEMA DE TREINAMENTO EM SENSORES

       MANUAL DE EXPERIÊNCIAS

            ED-6800B




                 1
ÍNDICE

Seção 1 - Características dos Sensores

  1-1    Sensores de Temperatura .......................................................................... 06
         1-1-1 Termopares ....................................................................................... 06
         1-1-2 Termistores ....................................................................................... 06
         1-1-3 Semicondutores de Junção P-N ....................................................... 08

  1-2    Foto Sensores ............................................................................................ 08
         1-2-1 LEDs e Foto Transistores ................................................................. 09
         1-2-2 CdS e Células Solares...................................................................... 09

  1-3    Sensores de Rotação ................................................................................ 10
         1-3-1 Encoder Tipo Magnético .................................................................... 10
         1-3-2 Encoder Tipo Ótico ........................................................................... 11

  1-4    Sensores de Vibração ................................................................................ 12
         1-4-1 Sensor Ultra-sônico .......................................................................... 12
         1-4-2 Sensor de Vibração .......................................................................... 13

  1-5    Sensores de Gás ....................................................................................... 13

  1-6    Sensores de Umidade ................................................................................ 14

  1-7    Sensores de Pressão ................................................................................ 15

  1-8    Sensores de Proximidade .......................................................................... 16
         1-8-1 Tipos e Características ..................................................................... 16
         1-8-2 Considerações no Uso de Sensores de Proximidade ...................... 18

  1-9    Sensores de efeito Hall .............................................................................. 19

  1-10 Chaves Sensoras ...................................................................................... 20
       1-10-1 Chave Reed .................................................................................... 20
       1-10-2 Chave de Mercúrio .......................................................................... 21
       1-10-3 Chave de Limite .............................................................................. 21

Seção 2 - Circuitos de Processamento das Saídas dos Sensores

  2-1    Circuitos com Amplificadores Operacionais .............................................. 23
         2-1-1 Amplificadores Inversores e Não Inversores ..................................... 23
         2-1-2 Offset da Saída DC ........................................................................... 24
         2-1-3 Amplificador Diferencial .................................................................... 25
         2-1-4 Comparador ...................................................................................... 26

  2-2    Circuitos Ponte ........................................................................................... 26

  2-3    Conversores A/D e D/A .............................................................................. 28
         2-3-1 Conversor A/D .................................................................................. 28
         2-3-2 Conversor D/A .................................................................................. 32

                                                               2
Seção 3 - Introdução do Sistema ED-6800B

  3-1   Informação Geral sobre ED-6800B ................................................................ 34
        3-1-1 Especificações ..................................................................................... 34
        3-1-2 Características do Sensor .................................................................... 37

  3-2   Informação Operacional ................................................................................. 39
        3-2-1 Cautela .................................................................................................. 39
        3-2-2 Unidades Sensora e Controles do Painel ............................................. 39

Seção 4 - Experimentos com Sensores

  4-1   Experimentos de Aplicação de Sensor de Temperatura ................................ 46
        4-1-1 Detecção da Saída de Termopar .......................................................... 46
        4-1-2 Detecção da Saída de Termistor ........................................................... 49
        4-1-3 Conversão Analógica para Digital de Dado ........................................... 52

  4-2   Aplicação de Foto Sensores .......................................................................... 54
        4-2-1 LEDs e Foto Sensores ......................................................................... 54
        4-2-2 Foto Chaves CdS e Foto Acopladores ................................................. 57

  4-3   Aplicações de Encoder de Rotação ............................................................... 60
        4-3-1 Detecção de Velocidade e Direção de Rotação ................................... 60
        4-3-2 Detecção de RPM e Posição Angular ................................................... 65

  4-4   Aplicações do Sensor de Vibração ................................................................ 66
        4-4-1 Transmissão e Recepção de Som Ultra-sônico ................................... 66
        4-4-2 Medida de Aceleração usando Sensor de Choque ............................... 69

  4-5   Aplicações de Sensor de Gás ........................................................................ 71
        4-5-1 Detecção de Gás .................................................................................. 71
        4-5-2 Alarme de Gás ...................................................................................... 75

  4-6   Aplicações de Sensor de Umidade ................................................................ 76

  4-7   Sensores de Pressão, Proximidade e Força Magnética ................................ 78
        4-7-1 Detecção de Pressão ........................................................................... 78
        4-7-2 Detecção de Proximidade ..................................................................... 81
        4-7-3 Detecção de Campo Magnético usando Sensor de Efeito Hall ............ 83

  4-8   Aplicações de Chave Sensora ....................................................................... 85
        4-8-1 Chaves Reed ........................................................................................ 85
        4-8-2 Chaves de Mercúrio .............................................................................. 87
        4-8-3 Chaves de Limite .................................................................................. 87




                                                              3
Seção 1
                     Características dos Sensores


      Um sensor ou um dispositivo de captação é um transdutor que converte um parâmetro
físico, tal como calor, luz ou movimento de um ponto de teste para uma forma adequada para
medida através do instrumento de medida. Na maioria dos casos, a conversão das saídas do
sensor é feita em alguns tipos de sinais elétricos. Portanto, é natural esperar que existem
circuitos eletrônicos envolvidos com o processamento dos sinais dos sensores.

     Existem vários tipos diferentes de sensores sendo utilizados na indústria. Além disso,
novos tipos de sensores estão sendo desenvolvidos. Os sensores são elementos chaves em
qualquer tipo de sistema de controle, automático ou manual. Em geral, um sensor pode ser
identificado como um sensor ativo ou passivo, dependendo se o sensor necessita ou não de
uma alimentação, além do sinal a ser medido.

     O Sistema de Treinamento em Sensores ED-6800B reúne todos os tipos de sensores
disponíveis na indústria e apresenta-os aos usuários através de teorias básicas, e experimentos
aplicativos práticos e compreensivos. A maneira como os materiais são apresentados neste
manual devem ser facilmente compreendidos e seguidos. Além disso, uma seção separada,
Seção 2, é dedicada ao detalhamento dos circuitos eletrônicos que são especialmente envolvidos
com o processamento dos sinais de saída dos sensores para o próximo estágio.

     O Sistema de Treinamento em Sensores ED-6800B consiste de vários componentes
principais como mostrados a seguir.

Unidades Principais:




                                              4
Acessórios                     Unidades Sensoras




Sistema ED-6800B Completo




                            5
1-1   Sensores de Temperatura

1-1-1 Termopares

Teoria

    Um termopar é um par de diferentes condutores unidos em dois pontos. Uma força elétrica,
com amplitude tipicamente em milivolts, é produzida na junção devido a efeitos termo-elétricos
quando as junções estão a certa temperatura. Um exemplo de par de condutores termopares
pode ser a combinação de cobre e constantano. Cada combinação única de materiais precisa
de uma tabela de conversão para converter as leituras de milivolts para temperaturas absolutas.
Uma construção típica e o conceito dos efeitos termo-elétricos são mostrados na Figura 1-1.




                     (a)                                               (b)


  Figura 1-1 Construção Típica de um Termopar e o Conceito dos Efeitos Termo-elétricos

Características

     Pequeno no tamanho, oferece uma ampla faixa de medida de temperatura, até várias
centenas de °C. Quando converter milivolts para graus, assegure-se de que não exista confusão
entre temperatura absoluta e aumento de temperatura.

Uso

      Principalmente aplicações industriais.

1-1-2 Termistores

Teoria

      A condutividade de materiais semicondutores varia significantemente com a temperatura.
Embora tal variação é, em geral, uma limitação do uso de dispositivos semicondutores em
alguns circuitos, esta propriedade dos semicondutores oferece utilidade em medidas de
temperatura. Um termistor é um componente eletrônico cuja resistência elétrica depende da
característica condutividade versus temperatura do semicondutor.
      Dois tipos de termistores estão disponíveis dependendo da direção da variação da
resistividade:
   - Tipo NTC (Coeficiente de Temperatura Negativa): A resistência de um termistor NTC diminui
   quando a temperatura aumenta.



                                               6
- Tipo PTC (Coeficiente de Temperatura Positivo): A resistência de um termistor PTC aumenta
   quando a temperatura aumenta.
      A resistência de um dispositivo NTC como uma função da temperatura é expressa como
a seguir:
                                                     1   1
                                     R = R 0 e B( T − T 0 )
Onde:
T = temperatura absoluta (K)
T0 = temperatura inicial (K)
R0 = resistência em T0
B = constante do termistor

      Da equação acima, o coeficiente resistência - temperatura é definido como:

                                    a = R . dR = − T2
                                        1
                                            dT
                                                   B



      Deve ser notado que a resistência é inversamente proporcional ao quadrado da temperatura.

Características

     As curvas características dos termistores NTC e PTC são mostradas na Figura 1-2. Devido
ao fato dos termistores dissiparem calor, a especificação de potência do termistor deve ser
considerada quando da escolha de um termistor. Potências típicas estão na faixa de algumas
dezenas de miliwatts a alguns watts.




                    (a)                                           (b)

                                     Figura 1-2 Termistor

Uso

     Os termistores são usados em circuitos eletrônicos como elementos de compensação
de temperatura. Os termistores PTC também são encontrados em circuitos de controle
automático de temperatura como uma fonte de calor controlada.




                                                 7
1-1-3 Semicondutores de Junção P-N

Teoria

     As características de um dispositivo de junção P-N variam como um função da temperatura.
Por exemplo, a corrente de emissor IE de um transistor é expressa como a seguir:
                                                      qVBE
                                       I E = I S (e    KT    − 1)

Onde:
IS = corrente de saturação determinado pela temperatura da junção
q = carga de um elétron (= 1.6 x 10-19 Coulomb)
K = constante de Boltzmann (= 1.38 x 10-23 J/K)
VBE = tensão direta base para emissor
T = temperatura absoluta (K)

     A equação acima implica na relação não linear entre a condutividade e a temperatura do
transistor. A Figura 1-3 mostra a estrutura interna de um sensor de temperatura de junção P-N.




                  (a)                                               (b)

                        Figura 1-3 Sensor de Temperatura de Junção P-N

Características

     Pequeno no tamanho, mas um sensor de temperatura de precisão. Resposta rápida. As
características de não linearidade devem ser compensadas pelo uso um amplificador operacional
apropriado. Faixa de medida relativamente estreita: 0 ~ 120°C.

Uso

      Propósito geral. Algumas vezes para instrumentação médica.

1-2   Foto Sensores

      Os foto sensores respondem a incidência de energia luminosa, e produzem um sinal
elétrico como resultado. A intensidade de um sinal de saída é proporcional a intensidade da luz.
Alguns foto sensores possuem incorporados transmissores e receptores de luz. Os foto
sensores podem ser classificados em termos do sensor ótico, infravermelho ou laser
dependendo dos comprimentos de onda utilizados.




                                                 8
1-2-1 LEDs e Foto Transistores

Teoria

     Na Figura 1-4, duas técnicas diferentes de detecção de um objeto são mostradas. No
primeiro método, Figura 1-4 (a), o sinal de luz transmitida a partir da fonte é interrompida pelo
objeto. Portanto, a detecção de um objeto é representada pela não existência da energia luminosa
no receptor ( foto transistor). De modo oposto, o segundo método é baseado na existência do
sinal de luz na extremidade receptora. Na Figura 1-4 (c), a fonte de luz e o receptor são
posicionados de tal modo que a partir da reflexão no objeto, a luz alcance o receptor.




              (a)                           (b)                               (c)

                    Figura 1-4 Detecção de um Objeto usando Foto Sensor

Características

     Sensores infravermelho ou laser são mais preferidos do que os sensores que trabalham
com espectros de luz visíveis, devido a performance superior dos sinais infravermelho ou laser
na presença de luz visível não desejada. Algumas vezes, a modulação de pulso com uma
detecção sincronizada é usada quando uma aplicação não pode tolerar nenhum erro. O método
(b) acima é mais fácil de se configurar do que o método (c). Entretanto, o método (c) oferece
melhor sensibilidade de distância com relação ao método (b). Em geral, os foto sensores são
menos sensíveis a temperatura ambiente. Entretanto, eles são mais sensíveis a sujeira e
vibração mecânica.

Uso

    Foto sensores são usados em chaves de proximidade, e na detecção de um objeto em
movimento. Os foto sensores também são usados nas medidas de distância.
1-2-2 CdS e Células Solares

Teoria

     Células CdS e Solar são usadas para detectar a intensidade de energia luminosa. Quando
uma aplicação precisa capturar imagens, um Videocon ou um dispositivo CCD pode ser usado
como foto sensor. Estes dispositivos são mais freqüentemente encontrados em câmeras de
vídeo. Mais informações sobre Células CdS e Solar são dadas na Figura 1-5.

Características

     Células CdS são disponíveis nas potências de algumas dezenas de miliwatts a alguns
watts. Algumas vezes este nível de potência é alto o bastante para que os sinais detectados
possam drenar um relê diretamente.


                                                  9
(b) CdS




            (a) CdS / Célula Solar                                 (b) Célula Solar

                     Figura 1-5 Células CdS e Solar como Foto Sensores

    Os ingredientes básicos das células solar são silício e gálio de alta pureza. A eficiência de
energia típica de uma célula solar é de cerca de 7 ~ 15%, e a densidade de potência é de
aproximadamente 100mW/cm2.

Uso

     As células CdS são encontradas em chaves de controle automáticas na iluminação de
ruas. Outras áreas de aplicações são como foto chaves em dispositivos de medida de
intensidade luminosa assim como em controladores de iluminação interiores automáticos.


1-3   Sensores de Rotação

      Encoders de rotação são usados tanto na detecção de posição angular de um disco
rotativo, como para ler a velocidade angular (em RPM) de um objeto em rotação. A detecção de
um movimento rotativo é feito por vários métodos diferentes: contato, magnético ou ótico. Os
tipos magnético ou ótico de detectores são discutidos nesta seção.

1-3-1 Encoder Tipo Magnético

Teoria

     Como mostrado na Figura 1-6 (b), um encoder rotativo tipo magnético faz uso de um
sensor Hall e um tambor magnético. O tambor magnético possui um certo número de pequenos
ímãs colocados numa certa ordem. O sensor Hall está localizado próximo ao tambor. Quando
o tambor gira, e os campos magnéticos dos pólos N- e S- do ímã passam pelo sensor Hall, a
resistência do sensor Hall varia e a variação é detectada, indicando que o tambor está em
movimento de rotação. Algumas vezes, este tipo de sistema é projetado para incluir sinais de
fase para determinar a direção de rotação também.

Características

     O sensor Hall é sensível as variações de temperatura. Portanto, um circuito de detecção
necessita possuir um amplificador diferencial, ou um circuito ponte. A vantagem deste tipo de
encoder é a durabilidade versus a vibração mecânica, além da performance superior em alta
velocidade. Além disso, enquadra-se bem em circuitos de servo controle do tipo digital porque
a saída é normalmente digital.


                                               10
Uso

     Detecção de velocidade de servo motores AC / DC. Medidas de RPM de motores em
geral.




                     (a)                                         (b)

                        Figura 1-6 Encoder Rotativo Tipo Magnético

1-3-2 Encoder Tipo Ótico

Teoria

     Um encoder rotativo ótico é um disco com um certo número de pequenos cortes retângulos
colocados ao redor do disco como mostrado na Figura 1-7. A luz emitida pela fonte é recebida
pelo sensor através do corte retângulo somente quando o corte está alinhado com a fonte e o
sensor. Um pulso é gerado quando a luz alcança o receptor. Como o disco gira, a velocidade
de rotação é interpretada pelo número de pulsos que ocorrem por minuto ou segundo. Portanto,
é óbvio que quando mais cortes no disco, a resolução da leitura de velocidade é melhor.
Entretanto, a contagem de pulso não transporta nenhuma informação relacionada a direção de
rotação. Tal informação é usualmente proporcionada por um outro sinal no encoder.




               (a)                                     (b)

                             Figura 1-7 Encoder Rotativo Ótico

Características

     Encoders óticos rotativos não são muito sensíveis a temperatura ou vibração mecânica.
O disco é leve, e portanto, ele pode começar a girar e parar sem atraso. Isto minimiza erros
nos dados. Além disso, é fácil girar o disco.




                                             11
Uso

      Detecção de velocidade e posição de pequenos motores DC e máquinas rotativas.

1-4      Sensores de Vibração

      Qualquer dispositivo que responda a vibração e produza um sinal que possa ser utilizado
é considerado como sensor de vibração. Por exemplo, um microfone e um transreceptor ultra-
sônico são sensores de vibração. Devido ao fato do ouvido humano não poder responder ao
sinal ultra-sônico, um sensor ultra-sônico é vantajoso quando a interferência de sinais audíveis
torna-se um problema. Por outro lado, um sensor sísmico que responde a freqüências muito
baixas de um terremoto é também um sensor de vibração.

1-4-1 Sensor Ultra-sônico

Teoria

     A estrutura interna e um circuito equivalente de um sensor ultra-sônico é mostrado na
Figura 1-8. Os elementos vibrantes são feitos de duas placas finas. Estas placas podem ser
tanto elementos piezoelétricos como a combinação de um piezoelétrico e uma placa de metal.
Estas placas começam a vibrar quando um sinal elétrico com uma freqüência próxima a
freqüência característica do elemento piezoelétrico é aplicada as placas. Como as placas vibram,
a energia é propagada através da tela.

      O processo de recepção é o oposto do processo de transmissão. Quando um sinal sonoro
ultra-sônico atinge o elemento piezoelétrico, o elemento gera um sinal elétrico que é idêntico à
freqüência do sinal recebido. A faixa de freqüência típica da operação de um sensor ultra-
sônico é de 38kHz ~ 45kHz.




           (a)                     (b)                          (c)

                              Figura 1-8 Um Sensor Ultra-sônico

Características

     Sinais ultra-sônico não interferem com outros sinais acústicos na faixa de áudio de 50Hz
a 15kHz. Além disso, sinais ultra-sônicos são menos susceptíveis a sinais que operem em
20kHz ou abaixo. Sinais ultra-sônicos exibem excelentes características de reflexão e são
insensíveis a presença de sujeira.

Uso

    Os sensores ultra-sônicos são usados na identificação de objetos, e em dispositivos de
medida de distância. Além disso, os sensores ultra-sônicos são encontrados em controladores
remotos, e em alguns equipamentos médicos.


                                              12
1-4-2 Sensor de Vibração

Teoria

     Os sensores de vibração respondem às ondas propagadas através do ar ou em outros
meios. Um exemplo é o microfone, que é um transdutor eletro acústico que responde as ondas
sonoras e as convertem para ondas elétricas. A estrutura interna de um microfone é mostrada
na Figura 1-9 (b).

     Um dispositivo similar ao microfone mas operando a uma freqüência muito baixa (faixa de
alguns Hz) é também um tipo de sensor de vibração. Quando um dispositivo deste tipo é
submetido a uma onda de choque, uma bobina móvel colocada dentro de um campo magnético
produz uma força eletromotriz. Este tipo de dispositivo é usado em levantamento topográfico.

     Um sensor de choque é construído baseado no efeito piezoelétrico. Uma tensão
piezoelétrica, que é proporcional a intensidade da onda de choque de entrada, é produzida na
freqüência característica do sensor.




                        (a)                       (b)                           (c)

                                 Figura 1-9 Sensores de Vibração
Características

     A saída típica de um microfone é cerca de 1mV ~ 10mV numa faixa de freqüência de 50Hz
~ 15kHz. A freqüência e a intensidade do sinal variam de acordo com as ondas sonoras. A
saída de freqüência de um microfone é uma representação exata da freqüência de uma fonte
sonora.

      A freqüência de saída de um sensor de choque baseado em piezoelétrico é a característica
de freqüência do próprio elemento piezoelétrico. Somente a amplitude do sinal varia dependendo
da amplitude da onda de choque de entrada. Um detector de choque requer um detector de
pico, porque encontrar o pico de um choque é o objetivo principal. A resposta em freqüência
típica de um elemento sensor é de algumas centenas de Hz a alguns kHz, e a amplitude pode
ser tão alta quanto algumas centenas de mV em nível de choque de 40G.
Uso

      Detecção de vibração: ................... sinais acústicos, sons subterrâneos.
      Detecção de choque: ..................... teste de queda, teste de aceleração.

1-5      Sensores de Gás

     Existe um certo número de diferentes sensores de gás disponíveis no mercado. O método
de detecção varia dependendo do tipo de sensor usado. Nesta seção, um sensor de gás baseado
em semicondutor é explicado.


                                                 13
Teoria

     O princípio de operação do sensor semicondutor TGS-813 é baseado nas propriedades
dos elementos Irídio (Ir) e Paládio (Pd). Como mostrado na Figura 1-10 (a), o elemento sensor
é essencialmente uma construção de uma bobina aquecedora embutida em SnO2. A bobina
aquecedora é feita de Ir e Pd. Quando a corrente flui na bobina aquecedora em uma dada
temperatura, o oxigênio retira os elétrons do doador na superfície do elemento semicondutor,
criando uma barreira de potencial. Devido a barreira de potencial dificultar o movimento dos
elétrons livres, a resistência elétrica do elemento aumenta.




       (a) Construção do Sensor de Gás TGS            (b) Características da Concentração
                                                          de Gás do TGS - 813

                  Figura 1-10 Construção e Características do Sensor de Gás

Características

      O sensor de gás apresenta uma resistência elétrica em uma dada concentração de gás
num ambiente limpo. A sensibilidade do sensor pode ser afetada pela temperatura e umidade
relativa ambientes. Portanto, a rede de compensação é necessária quando uma detecção
precisa é necessária. O sensor tipo TGS requer cerca de 2 ~ 3 minutos de aquecimento para
melhorar a precisão. Tipicamente, o resistência do elemento aumenta cerca de 20% após o
tempo de aquecimento.

Uso

      Detecção de LNG, LPG, gás metano, CO, H, etc.

1-6      Sensores de Umidade

Teoria

      A construção de um dos mais populares sensores de umidade é mostrada na Figura 1-11
(a). No centro está o elemento sensor construído em furos microscópicos. Estes furos são
feitos de óxidos de metal de MgCr2O4 e TiO2. O elemento sensor está posicionado entre dois
eletrodos que são fabricados de RuO2. Finalmente, um elemento aquecedor limpante cobre a
estrutura toda.




                                             14
(a) Construção de um Sensor de Umidade             (b) Características de Concentração
                                                          de Gás do TGS-813

               Figura 1-11 Estrutura do Sensor de Umidade e Características
                                  Umidade vs Resistência

     O tamanho dos furos na superfície do elemento sensor é da ordem de 1mm ou menor. A
condutividade entre dois eletrodos varia quando estes furos atraem misturas. A taxa de variação
da condutividade devido a alteração da umidade não é linear, e isto requer um amplificador de
compensação. O objetivo do aquecedor limpante é remover partículas indesejáveis coletados
pelo sensor.

Características

     O elemento sensor é conectado a uma fonte de tensão AC em série com um resistor. O
sinal de entrada é usualmente obtido em um ponto do divisor de tensão. Um amplificador
logarítmico é usado para linearizar a saída do sensor.

Uso

    Instrumentos de medida de umidade, sistema de controle de umidade e controle de
umidade em aplicações médicas.

1-7   Sensores de Pressão

     Dois tipos de sensores de pressão estão disponíveis neste momento: o primeiro tipo é a
célula de carga que é normalmente usada em balanças eletrônicas. O outro tipo é um sensor
baseado em tecnologia de estado sólido que é usado em medida de pressão de gás e líquido.
O sensor do tipo semicondutor de estado sólido é coberto nesta seção.

Teoria

     Sensores de pressão baseados em semicondutor fazem uso do efeito piezelétrico do
material semicondutor que exibe variação de resistência para uma dada pressão aplicada. A
Figura 1-12 mostra um tipo de sensor de pressão semicondutor no qual um diafragma de aço
inoxidável transmite a pressão para o chip semicondutor na extremidade. Na Figura 1-13, o
circuito mostrado é usado com o sensor para produzir um sinal detectável.




                                              15
(a)                                           (b)

 Figura 1-12 Diagrama de Construção do Sensor de Pressão Tipo Semicondutor de Estado
                                        Sólido




                            (a)                               (b)

              Figura 1-13 Circuito de Detecção da Saída do Sensor de Pressão

Características

     Este sensor é mecanicamente compacto e destinado a uma ampla faixa de aplicações.
Particularmente, o sensor trabalha muito bem na detecção de pressão de gases e líquidos.
Este sensor tem resposta rápida tipicamente na faixa de 1 a 10 milisegundos.

Uso

    Aplicações de controle de fluido, teste de fuga de fluido, verificação do nível e pressão de
um tanque de armazenamento.

1-8    Sensores de Proximidade

     A saída de um sensor de proximidade é do tipo liga e desliga o sinal. Por esta razão, um
sensor de proximidade é essencialmente uma chave de proximidade. Uma chave de proximidade
gera sinais de liga / desliga sem nenhum contato direto de um objeto.

1-8-1 Tipos e Características

(1) Chave de Proximidade Tipo Capacitância




                                              16
Teoria

     Este tipo de sensor detecta uma variação na reatância capacitiva dos eletrodos do sen-
sor. Como mostrado na Figura 1-14 (b), uma ponte balanceada com capacitores de referência
(Cs) e de detecção (Cd), comuta para um estado de desbalanceamento quando Cd varia
devido a proximidade de um objeto. Uma vez que a ponte é drenada para um estado de
desbalanceamento, a saída da ponte é direcionada aos terminais “a” e “b”.




                        (a)                                         (b)

                     Figura 1-14 Sensor de Proximidade Tipo Capacitivo

      Na Figura 1-14 (a), a capacitância entre o objeto e o eletrodo é calculada pela seguinte
equação quando a área da superfície de aproximação do objeto é muito maior que a área do
eletrodo.


                                     0.57A
                                C=     D ................(pF)

Onde:
A = área do eletrodo em cm2
D = distância entre o objeto e o eletrodo em cm

Características

      A faixa de detecção do sensor é tipicamente de alguns milímetros. Além disso, somente
objetos metálicos podem ser detectados. Um objeto com tamanho grande que apresente um
alto valor de capacitância com relação ao terra é detectado mais facilmente. Pelo motivo da
constante dielétrica do meio poder ser afetada pela umidade, operações errôneas podem ocorrer
quando este tipo de sensor é usado em ambiente com alta umidade.

(2) Sensores de Proximidade Tipo Oscilador

Teoria

     Este tipo de sensor possui um oscilador que oscila em uma freqüência constante. Quando
um objeto aproxima, a indutância da bobina de detecção varia e portanto, a freqüência do
oscilador também varia. Uma chave de proximidade tipo oscilador é mostrada na Figura 1-15.




                                                17
(a)                                                  (b)

                      Figura 1-15 Chave de Proximidade Tipo Oscilador

     A freqüência do oscilador e o Q do circuito são calculados pelas seguintes equações:

                                             1
                                     f=    2o LC
                                                   .............(Hz)
Onde:
L = indutância em Henry
C = capacitância em Farad

                                                        XL
                                               Q=       R

Ou

                                                        ZTANK
                                              Q=         XL

Onde:
R = resistência da bobina
ZTANK = impedância do circuito LC
XL = reatância indutiva da bobina (2πfL)

Características

  - Sensível a materiais magnéticos. Um sensor hermeticamente selado pode ser usado em
  líquidos tal como óleos.
  - Pode detectar pequenos objetos. No caso do objeto ser do tipo magnético, o sensor pode
  detectar objetos com dimensões de 10 x 10 x 1mm.
  - Resposta de freqüência relativamente rápida (100 ~ 900Hz).

1-8-2 Considerações no Uso de Sensores de Proximidade

    Os seguintes parâmetros podem ser considerados quando um sensor de proximidade é
considerado em uma aplicação.

Vantagens dos Sensores de Proximidade

  - Por não existir desgaste mecânico, a vida útil de uma chave de proximidade é muito longa.
  - Quando o objeto estiver bem posicionado dentro da faixa de detecção, o sensor pode
e detectar não somente a presença, mas também o movimento do objeto.
  - Por não existir partes em movimento, é muito fácil selar o sensor, protegendo-o do ambiente.
  - Certos tipos de chaves de proximidade respondem somente a materiais específicos. Tal
  propriedade pode ser utilizada para detectar tipos específicos de materiais.



                                                   18
Desvantagens dos Sensores de Proximidade

   - O desvio da temperatura ambiente pode causar falsa detecção.
   - Susceptividade a ruído externo.
   - Para controlar corrente ou tensão elevada, um buffer, tal como um relê, é necessário.
   - Requer alimentação para energizar o circuito sensor. A confiabilidade é reduzida devido ao
   aumento do número de componentes na unidade sensora.

Considerações no Uso de um Sensor de Proximidade

   - A fonte de alimentação usada no circuito sensor deve ter uma boa regulação.
   - Quando um sensor deve ser instalado em uma área quente, ou numa área com flutuação
   de temperatura significante, assegure-se de escolher o tipo correto de sensor para o dado
   ambiente.
   - Quando é necessário instalar um sensor próximo a uma área com pulsos de alta tensão
   ou campos intensos de RF, assegure-se de que as medidas necessárias contra
   interferências tenham sido feitas. O sensor selecionado deve ter uma boa imunidade a
r ruído.
   - Para o tipo magnético se sensores de proximidade, assegure-se de não existir outros
m materiais magnéticos ao redor do sensor, porque estes materiais podem causar falsas
d detecções.
   - Assegure-se de que os sensores usados estejam dentro dos seus limites de especificações.
   - A melhor prática para garantir a confiabilidade da operação é limitar a faixa de detecção ao
   máxima em cerca da metade das especificações do sensor.
   - Algumas chaves podem apresentar histerese - a distância de operação do liga e do desliga
   pode não ser a mesma.

1-9      Sensores de Efeito Hall

Teoria

     Se um objeto (metal ou semicondutor) transportando uma corrente I é colocada
transversalmente no campo magnético B, um campo elétrico, chamado tensão Hall, é induzida
sobre “a” e “b” na Figura 1-16 (b). Este campo elétrico é perpendicular em direção tanto com
relação a I como para B. Este fenômeno é conhecido como efeito Hall.
     Um elemento de resistência magnética é um semicondutor transportando corrente colocado
em um campo magnético. Uma força é exercida nos portadores de corrente apesar do portador
de corrente ser elétrons ou lacunas livres. Esta força modificará o caminho de deslocamento
das portadoras de tal modo que o comprimento do caminho será extendido. Por este motivo as
portadoras de corrente percorrerão uma distância maior, portanto o objeto apresentará uma
resistência maior.




                  (a)                                 (b)

                            Figura 1-16 Sensores Hall e Efeito Hall


                                               19
Dispositivos de efeito Hall são usados em uma configuração de 4 terminais balanceados,
ou com uma rede de compensação como mostrado na Figura 1-17.




              (a) Dispositivo Hall                      (b) Resistor Magnético

                     Figura 1-17 Exemplos de Aplicações de Dispositivo Hall de
                          4 Terminais e Resistor Magnético de 2 Terminais

Características

  - Sensores Hall são sensíveis a temperatura, portanto, um detector ponte ou uma
  rede de compensação é necessária.
  - Fácil de ser miniaturizado. Ideal como um componente periférico de um computador.
  - A saída mostra uma boa linearidade ao campo magnético.

Uso

       Medidores de fluxo, FDD e HDD, detecção de rotação de motor, VTR, medidas de corrente.


1-10     Chaves Sensoras

1-10-1 Chave Reed

Teoria

      Como mostrado na Figura 1-18 (b), uma chave reed possui dois contatos magnéticos
colocados dentro de um vidro que é selado com algum tipo de gás inerte ou vácuo. Quando um
ímã é aproximado da chave, os contatos que são fabricados de material magnético atraem-se
mutuamente. Algumas vezes, os contatos reed são envolvidos por uma bobina como mostrado
na Figura 1-18 (c). Neste caso, uma corrente DC é necessária para fechar os contatos. Este
tipo de dispositivo é chamado de relê reed. Uma chave reed e um ímã são normalmente usados
como sensor de proximidade.




               (a)                        (b)                        (c)

                               Figura 1-18 Chave Reed e Relê Reed



                                                20
Características

  - A performance do sensor não é crítica à temperatura e umidade ambiente.
  - Confiabilidade com relação ao bom contato.
  - Baixo custo.
  - Mantém o ímã permanente livre de entulhos de metal para evitar operação errônea.

1-10-2 Chave de Mercúrio

Teoria

     A chave de mercúrio faz uso da propriedade do mercúrio que é condutivo na forma líquida.
Como ilustrado na Figura 1-19, uma chave de mercúrio contém vários contatos elétricos e
uma pequena quantidade de mercúrio em um tubo de vidro selado. Dependendo do ângulo do
tubo, o mercúrio pode proporcionar conexão elétrica entre os dois contatos.




          (a) Uma Chave de Mercúrio                   (b) Operação Liga / Desliga de uma
                                                       Chave de Mercúrio

                     Figura 1-19 Construção de uma Chave de Mercúrio

Características

  - Excelente longevidade dos contatos.
  - Excelentes características de liga / desliga.

Uso

         Controle de posição horizontal, controle de posição em montagem de parede.

1-10-3 Chave de Limite

Teoria

       Chaves de limite são similares as micro chaves. Quando a alavanca sensora é
pressionada pelo movimento, os contatos internos fecham.




(a) Tipo Alavanca com Cilindro    (b) Tipo Alavanca     (c) Estrutura

                                 Figura 1-20 Chaves de Limite


                                               21
Características

     Não é necessário fonte de alimentação para operar as chaves de limite. Os contatos
podem transportar correntes elevadas. Além disso a operação liga / desliga é mais precisa que
as chaves push button normais.

Uso

      Circuitos de intertravamento, chaves de segurança em máquinas elétricas e mecânicas.




                                             22
Seção 2
        Circuitos de Processamento das Saídas dos
                         Sensores


2-1    Circuitos com Amplificadores Operacionais

     Um amplificador operacional (Amp. OP) é um circuito integrado analógico que executa
uma variedade de funções em circuitos eletrônicos. Aplicações típicas dos Amp. OP são como
amplificador de uso genérico, comparador, retificador de precisão, integrador, diferenciador e
amplificador de instrumentação.
     Como os sinais de saídas da maioria dos sensores são fracos, eles precisam ser
amplificados antes de serem processados por circuitos eletrônicos. Os Amp. OP são usados
para amplificar sinais fracos.

2-1-1 Amplificadores Inversores e Não Inversores

     A Figura 2-1 mostra o diagrama esquemático dos amplificadores básicos inversor e não-
inversor. Observe a relação de fase entre a entrada e a saída de cada amplificador. Como o
nome sugere, a saída do amplificador não-inversor está em fase com a entrada, enquanto
existe inversão de fase no amplificador inversor.




          (a) Amplificador Não-inversor                        (b) Amplifcador Inversor

                           Figura 2-1 O Esquema Básico de um Amp. OP

    Para o amplificador inversor da Figura 2-1 (b), os seguintes parâmetros são definidos
assumindo um amplificador ideal.

  - Ganho de loop aberto (AOL)......................... Infinito ()
  - Resistência de entrada.................................Infinito ()
  - Resistência de saída....................................Zero (0)
  - Quando Vin = 0, então Vout = 0

Exemplo

     Qual deve ser a tensão de saída V0 quando os seguintes parâmetros são dados para o
circuito da Figura 2-1 (b)?


                                                        23
Resistência de entrada R1 = 20kΩ
Resistência de realimentação R2 = 1MΩ
Tensão de entrada Vi = 10mV

Resposta

    O ganho de tensão de um loop fechado na Figura 2-1 (b) é expresso como:

                                             V0        R
                                    A CL =   Vi   = − R2
                                                       1



    Portanto, o ACL do circuito exemplo é 50, e a tensão de saída é 50mV (10mV x 50).

    2-1-2     Offset da Saída DC

     A saída de um Amp. OP ideal deve ser zero quando a entrada é zero. Entretanto, existe
uma pequena saída DC que aparece na saída de um Amp. OP prático mesmo que a entrada
seja zero. Isto porque um Amp. OP possui vários amplificadores com acoplamento DC internos,
e a performance destes amplificadores são afetados pelo desvio na temperatura de operação
e na tensão de alimentação. Além disso, para um amplificador inversor com a entrada não
inversora aterrada, existe uma pequena corrente de polarização fluindo através do terminal de
entrada (R1) e pelo resistor de realimentação (R2) como mostrado na Figura 2-2. Isto é na
verdade o mesmo que aplicar uma pequena tensão no terminal de entrada.

     A Figura 2-3 mostra uma rede de compensação de offset DC pela adição de R3 na entrada
não inversora. O valor de R3 deve ser igual a associação em paralelo dos resistores R1 e R2.


                                                  R1.R 2
                                        R3 =      R 1 +R2




       Figura 2-2 Corrente de Polarização de Entrada como um Amplificador Inversor

     Técnicas adicionais de compensação de offset DC são mostradas na Figura 2-4 (a) e (b).
Estes circuitos possuem ajuste variável do offset DC, e podem ser usados como circuitos
Clipper ou de Clamping também.




             Figura 2-3 Correção do Offset DC pela Adição de um Resistor Fixo


                                                  24
(a)                                              (b)

                                Figura 2-4 Circuitos com Offset Ajustável

2-1-3 Amplificador Diferencial

     Como o nome indica, um amplificador diferencial amplifica somente a diferença entre as
duas entradas (inversora e não inversora). Portanto, quando ambos os sinais de entrada são
aumentados ou diminuídos na mesma direção, a saída do amplificador diferencial mantém-se
a mesma. Os amplificadores diferenciais são críticos na detecção de sinais de fuga na presença
de ruído ou outros sinais de interferência que aparecem em ambas as entradas. Um amplificador
diferencial típico é mostrado na Figura 2-5.




                                     Figura 2-5 Amplificador Diferencial

      O sinal de entrada é aplicado às entradas inversora e não inversora. O amplificador
diferencial pode ser analisado observando uma entrada de cada vez. Quando o ponto V2’ é
aterrado e a entrada V2 está em zero, o amplificador é essencialmente o mesmo da Figura 2-
1 (b). A saída do amplificador nestas condições é:

                        R
             V 0 = −[ RV ]V1 ........................................................................
                       1



    A seguir, remova o aterramento de V2’ e curto-circuite a entrada V1 para configurar o
amplificador não inversor. A entrada real do terminal de entrada não inversor é:


                         R
             V Â2 = [ R2 +R3 ]V 2 ......................................................................
                          3




                                                               25
Portanto, a saída não inversora é:

                               RF                  RF      R3
                V 0 = [1 +     R 1 ]V 2
                                      Â   = [1 +   R1 ][ R2 +R 3    ]V2 ...................................

      Combinando as equações 2-1 e 2-3, a saída do amplificador diferencial torna-se:

                           R                   RF      R3
                V 0 = −[ RF ]V1 + [1 +
                          1                    R1 ][ R2 +R 3   ]V 2.......................................

      A equação 2-4 pode ser simplificada quando R1, R2, R3 e RF são idênticos (ganho 1).


                V 0 = V2 − V1 .........................................................................

     Este resultado indica claramente que a saída do amplificador diferencial é a diferença
entre as duas entradas. O amplificador diferencial de ganho unitário pode ser considerado
como um subtrator analógico.

2-1-4 Comparador

    Um circuito comparador de tensão compara os valores de duas tensões de entrada e
produz uma saída que indica a amplitude relativa das duas entradas. A indicação dos resultados
pode ser expressa em níveis lógicos 0 ou 1.

      Comparadores usando Amp. OP são mostrados na Figura 2-6.




                 (a)                                       (b)                                    (c)

                                   Figura 2-6 Circuitos Comparadores

      Na Figura 2-6 (a), quando a entrada é maior que o sinal de referência, a saída irá para +
Vsat, ou ficará próxima da tensão + de alimentação. De modo oposto, quando a entrada é
menor que a referência, a saída irá para -Vsat, ou ficará próxima da tensão - de alimentação. A
polaridade da saída do circuito na Figura 2-6 (b) será o oposto do circuito da Figura 2-6 (a).

     A saída do Amp. OP na Figura 2-6 (c) alimenta um diodo zener. Portanto, a saída do zener
representa o resultado da comparação. Este tipo de circuito é vantajoso quando a saída do
comparador faz interface com um circuito TTL. A tensão +Vs na circuito é +5V na aplicação
TTL.

2-2     Circuitos Ponte

    Um circuito ponte faz uso da técnica baseada no estado balanceado e não balanceado da
ponte. Um circuito ponte é mostrado na Figura 2-7.

                                                               26
Figura 2-7 Um Circuito Ponte

        Quando a ponte na Figura 2-7 é balanceada, as seguintes relações são mantidas.

   R        RX
a. RS
    B
        =   RA

b. IX . RA = IS . RB ou IX . RX = IS . RS

c. Ig = 0, portanto um curto no galvanômetro entre “a” e “b” não tem efeito em I T.

d. Independentemente da magnitude de IX e IS, o potencial em “a” e “b” são iguais.

     Para encontrar o valor de RX, a ponte deve ser primeiramente balanceada. Uma vez no
estado de balanceamento, RX pode ser encontrado a partir da relação acima.

        Portanto:

                                                              RS .R A
                                                 RX =          RB


    O estado desbalanceado do circuito ponte produz informações igualmente úteis. Por
exemplo, o valor de RX na ponte balanceada teve um pequeno aumento devido a alteração na
temperatura ambiente. Isto aumenta o potencial em “a”, e produz uma corrente Ig que flui de “a”
para “b”. No caso de RX ter decaído, a direção de Ig deve ser de “b” para “a”. Portanto,
monitorando-se o galvanômetro, qualquer modificação no circuito pode ser detectado.

Exemplo

     Calcule o resistor de balanceamento RS com os seguintes parâmetros para obter o estado
balanceado.

RA = 1kΩ = resistor de referência
RB = 1kΩ = resistor de referência
RX = 500Ω = resistência a medir
EB = 10V = tensão de alimentação da ponte (DC ou AC)

        A equação acima:
                                               R X .R B       500x1000
                                        RS =     RA       =     1000     = 500Ohms



                                                          27
Se a resistência a medir RX variar para 800Ω, qual deve ser a tensão sobre “a” - “b”?
                                          EB             10
                                 IX =   R A+R X   =   1000+800 ~5.5mA


                                          EB             10
                                 IS =   R B+R S   =   1000+500 ~6.6mA



ERA em “a” = IX . RA = 0.0055 x 1000 = 5.5V

ERB em “b” = IS . RB = 0.0066 x 1000 = 6.6V

Portanto, Va-b = 6.6 - 5.5 = 1.1V. A direção do fluxo de corrente é de “b” para “a”.

      No exercício acima, no caso de todos os resistores serem expostos às mesmas variações
ambientais e todos os resistores possuírem o mesmo coeficiente de temperatura, então não
existirá erro no circuito ponte.

2-3      Conversores A/D e D/A

2-3-1 Conversor A/D

     As saídas elétricas da maioria dos sensores são sinais analógicos. Para que sinais
analógicos sejam aceitos pelo sistema digital ou controladores micro processados, os sinais
analógicos devem ser convertidos em sinais digitais. Um conversor A/D é usado para este
objetivo.

Métodos de Conversão A/D

(1) Tipo Comparação Paralela

Teoria

     Um conversor A/D tipo comparação paralela é mostrada na Figura 2-8. Este tipo de técnica
de conversão, que é também chamada de conversão rápida, é a técnica de conversão mais
rápida disponível. Além disso, a teoria operacional é muito simples e fácil de ser compreendida.




                     Figura 2-8 Conversor A/D Tipo comparação Paralela


                                                       28
O divisor de tensão fornece uma referência para uma entrada de cada comparador de
tensão. O valor de referência para cada comparador é a tensão total entre +Ref e -Ref dividido
por n, que é o número de comparadores. Portanto, o valor de cada ponto do divisor de tensão
representa uma faixa específica do total de tensão fornecida. Todos os valores de resistores de
R0 a Rn devem ser idênticos. A chave de entrada é colocada para operar na velocidade do clock
do sistema.
     A tensão de entrada analógica vinda da chave de entrada é aplicada primeiramente ao
capacitor Amostrador / Retentor (Sample / Hold - S/H). A tensão de S/H é comparada com o
valor de referência em cada comparador. Como resultado, as saídas daqueles comparadores
em que o valor de referência é menor que a entrada analógica tornam-se alta. As saídas de
todos os outros comparadores mantém-se em zero. As saídas resultantes dos comparadores
são encaminhados para um encoder (circuitos lógicos) para gerar um sinal digital equivalente.
Uma comparação entre uma entrada analógica e uma forma de onda na Amostragem e
Retenção é mostrada na Figura 2-9 (a) e (b).




                   (a)                               (b)

Figura 2-9 Uma Entrada Analógica (a) e as Formas de Onda de Amostragem e Retenção (b)

Características

  - Como o conversor A/D paralelo é a técnica de conversão mais rápida disponível, é usada
  onde a velocidade é o item prioritário.
  - O número de comparadores necessários para produzir uma saída digital de n-bits é igual
  a 2n-1. Isto significa que o conversor A/D paralelo é prático para pequenos números de bits
  em aplicações reais.
  - Conversores A/D paralelo são caros.

(2) Tipo Dupla Integração

Teoria

     Como mostrado na Figura 2-10 (a), um conversor A/D de dupla integração consiste de
um seletor de entrada, um comparador e um contador / controlador lógico centralizado ao
redor de um integrador. A temporização e a forma de onda do integrador são mostradas na
Figura 2-10 (b).




                                              29
(a)                                                 (b)

                        Figura 2-10 Um Conversor A/D de Dupla Integração

    Para entender a operação do circuito, assuma que a chave S1 esteja habilitada quando a
carga do capacitor seja zero. Quando a integração começa e decorre-se um período de Tin
segundos, a carga coletada no capacitor é dada por:
                                Vin
                         Q1 =    R    .Tin.......................(Coulomb)

     Onde Vin é a tensão de entrada em volts e R é a resistência de entrada em ohms.

      A seguir, desabilite S1 e habilite S2, e aplique uma tensão de referência que possui polaridade
oposta até que a carga seja drenada para zero. Assumindo que o tempo deste processo seja
Tref segundos, a quantidade de carga drenada é expressa como:
                                Vref
                         Q2 =    R .T ref .....................(Coulomb)

     Onde Vref é dado em volts.

     Q1 e Q2 devem ser iguais na relação acima. Portanto:
                                                         Vref
                                                V in =   Tin .T ref

     Pode ser visto da equação acima que V in é proporcional a T ref. Contando-se T ref
precisamente, Vin pode ser expresso em formato digital.

Características

   - Circuito simples com alta resolução. Conveniente como medidores de painel digital em
   multímetros.
   - Ruído de alta freqüência é removido com períodos de integração relativamente longos.
   - Este circuito adapta-se somente a entradas DC. Quando um sinal AC deve ser medido,
   um circuito retificador preciso é necessário.

3) Tipo Aproximação Sucessiva

Teoria

     Um conversor A/D do tipo aproximação sucessiva consiste de um comparador, um
conversor D/A, registrador de aproximação sucessiva (SAR) e circuitos de controle. Tal
configuração é mostrada na Figura 2-11.




                                                         30
Figura 2-11 Diagrama em Bloco Funcional de um Conversor A/D de Aproximação Sucessiva

      Quando o conversor é habilitado e o sinal “iniciar conversão” é habilitado, o processo de
conversão começa. Primeiramente, o SAR gera um código que é equivalente a 1/2 do fundo de
escala da entrada analógica e envia o código para o conversor D/A. A seguir, o comparador
compara a entrada analógica e a saída do D/A. Se o sinal de entrada é maior que a saída do D/
A, “1” é armazenado no SAR como o bit mais significativo (MSB). Caso contrário, o SAR mantém
“0” em seu registrador. Neste momento, a unidade de controle habilita o próximo bit, e o
comparador repete o mesmo processo, armazenando “1” ou “0”. Este processo continua até
que o bit menos significativo (LSB) seja examinado. O processo de conversão passo-a-passo
de um conversor A/D de aproximação sucessiva de 6 bits é mostrada na Figura 2-12.




                                         Operação de    Conversor D/A      Nível de Entrada    Saída do
                                         Comparação    código de entrada      Analógico       Comparador

                                              1          100000(=32)            <45.5             1

                                             2           110000(=48)            <45.5             0

                                             3           101000(=40)            <45.5             1

                                             4           101100(=44)            <45.5             1

                                             5           101110(=46)            <45.5             0

                                             6           101101(=45)            <45.5             1




Figura 2-12 Processo de Conversão do Conversor A/D de Aproximação Sucessiva de 6 Bits

Características

  - Alta velocidade e alta resolução.
  - Baixo custo devido ao circuito simples.
  - Facilidade de integrar e interfacear com uma CPU.

     O tempo de conversão, TCONV, do conversor é expressa como a seguir.




                                                  31
TCONV = (TCOMP + TDA + TSAR) + N

Onde:
TCOMP = tempo de atraso do comparador
TDA = tempo de ajuste do comparador
TSAR = tempo de atraso do SAR
N = número de bits

2-3-2 Conversor D/A

     Os conversores D/A são mais simples que os conversores A/D, e não existem muitos
tipos diferentes. Além disso, o custo é praticamente o mesmo independentemente do número
de bits do sinal de entrada.
     Os conversores D/A são necessários onde os sinais digitalizados pelos conversores A/D
precisam ser convertidos de volta para sinais analógicos.

Teoria

    Um conversor D/A ponderado é mostrado na Figura 2-13. O conversor consiste de circuitos
chaveadores de entrada, um amplificador somador de corrente e um buffer de saída.




                       Figura 2-13 Conversor D/A com Resolução de 5 Bits

      A entrada digital de 5 bits na Figura 2-13 está em código binário, e o somador de corrente
na entrada do Amp. OP também deve trabalhar em formato binário. Portanto, quando a corrente
através do LSB (bit-a) é ia, os valores dos resistores de Ra a Re devem ser determinados para
satisfazerem as seguintes relações de corrente.

                        Eref
                 ia =   Ra
                             ...........................................corrente devido ao bit-a

                        Eref
                 ib =   Rb     = i a .2 1 ...............................corrente devido ao bit-b

                        Eref
                ic =    Rc     = i a .2 2 ...............................corrente devido ao bit-c
                        Eref
                id =    Rd     = i a .2 3 ...............................corrente devido ao bit-d
                        Eref
                ie =    Re     = i a .2 4 ...............................corrente devido ao bit-e


                                                             32
Uma vez que as correntes são somadas na entrada do amplificador, a corrente total Is é
convertida para tensão na saída do amplificador operacional. A tabela na Figura 2-14 ilustra a
conversão decimal para binária analógica.

               BINÁRIO (5 BITS)       DECIMAL                BINÁRIO (5 BITS)       DECIMAL

           e    d     c      b    a   (Analógico)        e   d      c      b    a   (Analógico)

           0    0     0      0    0       0              0   1      0      1    0       10

           0    0     0      0    1       *1             0   1      0      1    1       11

           0    0     0      1    0       *2             0   1      1      0    0       12

           0    0     0      1    1       3              0   1      1      0    1       13

           0    0     1      0    0       *4             0   1      1      1    0       14

           0    0     1      0    1       5              0   1      1      1    1       15

           0    0     1      1    0       6              1   0      0      0    0       16

           0    0     1      1    1       7                                              :

           0    1     0      0    0       *8             1   1      1      1    0       30

           0    1     0      0    1       9              1   1      1      1    1       31




    Nota: * denota o decimal equivalente a cada bit binário a ~ d

                                              Figura 2-4

Características

     O conversor D/A nesta seção possui velocidade de conversão similar ao conversor A/D
por aproximação sucessiva, mas com um circuito muito mais simples.




                                                    33
Seção 3

                 Introdução do Sistema ED-6800B



3-1    Informação Geral sobre ED-6800B

     O sistema de treinamento ED-6800B é uma ferramenta de aprendizado em sensores
compreensivo e potencial. O sistema consiste de 2 unidades principais e 8 unidades sensoras.
Uma das unidades principais é um amplificador operacional baseado em amplificador seguido
por um comparador. A outra unidade é uma unidade conversora de sinais A/D e D/A. Como as
unidades sensoras são disponibilizadas em formato modular, é fácil e conveniente expandir o
sistema quando mais módulos são necessários. A alimentação DC para a unidade sensoras é
fornecida pela unidade principal.

Unidades Principais

  a. Unidade Amplificador Operacional: Inversor, não inversor, diferencial, offset DC,
  comparador.
  b. Unidade conversora de Sinal: Conversor A/D, conversor D/A.

Unidades Sensoras

  a. SU-6803: Circuito ponte incorporado para medir / detectar temperatura (termopar e
  termistor).
  b. SU-6804: Foto sensores (LED, Foto Transistor, CdS).
  c. SU-6805: Encoder rotativo (RPM, sensor de posição).
  d. SU-6806: Sensor ultra-sônico e de vibração.
  e. SU-6807: Sensor de gás (LNG, LPG, Metano).
  f. SU-6808: Sensor de umidade.
  g. SU-6809: Sensor Hall, sensor de proximidade, sensor de pressão.
  h. SU-6810: Chave sensora (Chave Reed, Chave de Mercúrio, Chave de Limite).

Acessórios

  - Sensor Termopar: 1 peça
  - Sensor Termistor: 1 peça
  - Módulo LED: 1 peça
  - Sensor Foto Transistor: 1 peça
  - Sensor CdS: 1 peça
  - Módulo Lâmpada: 1 peça
  - Transdutor Ultra-sônico: 1 peça
  - Manual de Experimentos: 1 peça
  - Sensor de Choque: 1 peça
  - Conjunto de Teste de Queda do Sensor de Choque: 1 peça
  - Termômetro à Álcool: 1 peça
  - Compressor de Ar Manual: 1 peça
  - Fios de Conexão (Plug 2mm): 24 peças
  - Cabo de Dados: 1 peça
  - Cabo de Alimentação: 1 peça

3-1-1 Especificações



                                             34
(1) OU-6801 (Unidade Amp. OP)

  a. Modos de Acoplamento: ................................... AC e DC
  b. Modos do Circuito: ............................................ Inversor, Não Inversor, Diferencial,
                                                                        Offset DC, Comparador
  c. Controle de Offset DC: ..................................... -15V ~ 0V ~ +15V
  d. Saída de Alimentação DC:................................ ±15V, 0.3A (para unidades sensoras)
  e. Alimentação de Entrada: .................................. 110V / 220V AC - 50Hz ~ 60Hz
  f. Dimensões: ....................................................... 345(L) x 120(A) x 220(P)mm

(2) CU-6802 (Unidade Conversora de Sinal)

Conversor A/D

  a. Modo de Conversão: ......................................... Tipo Aproximação Sucessiva
  b. Entrada Analógica: ............................................ 0 ~ 10V DC
  c. Saída Digital: ..................................................... 8 Bits Nível TTL
  d. Velocidade de Conversão: ................................ Aprox. 100µs

Conversor D/A

  e. Modo de Conversão: ......................................... Somador de Corrente
  f. Entrada Digital: .................................................. 8 Bits Nível TTL
  g. Saída Analógica: ............................................... 0 ~ 10V DC
  h. Velocidade de Conversão: ................................ Aprox. 50µs

Especificação Geral

  i. Alimentação de Entrada: .................................... 110V / 220V AC - 50Hz ~ 60Hz
  j. Dimensões: ....................................................... 345(L) x 120(A) x 220(P)mm

(3) Unidades Sensoras

SU-6803 (Temperatura)

  a. Circuito Detector: .............................................. Ponte de Whetstone com Amplificador
                                                                       Sensor de Zero
  b. Fonte de Temperatura: ..................................... Aquecedor e Resfriador por Ventilador
  c. Faixa de Sensibilidade de Resistência: ............ 50Ω ~ 5kΩ
  d. Entrada de Controle do Aquecedor:.................. Nível Alto (5V ~ 15V DC)
  e. Entrada de Controle do Resfriador: .................. Nível Alto (5V ~ 15V DC)
  f. Dispositivos Sensores: ...................................... Termopar e Termistor
  g. Alimentação de Entrada: .................................. ±15V DC, 1A

SU-6804 (Foto Sensor)

  a. Nível de Polarização do Foto Sensor: ............... 0 ~ 30mA (DC, AC)
  b. Freqüência de Polarização AC: ........................ 100Hz ~ 10kHz
  c. Guia do Foto Sensor: ........................................ 0 ~ 200mm
  d. Foto Acoplador (Resposta): .............................. 0 ~ 1000 pulsos/s
  e. Dispositivos Sensores: ..................................... LED, Foto Transistor, CdS
  f. Alimentação de Entrada: ................................... ±15V DC, 1A

SU-6805 (Encoder Rotativo)

  a. Tensão de Entrada do Encoder: ....................... 5V DC
  b. Forma de Onda de Saída: ................................ Quadrada
  c. Fase de Saída: ................................................. A, B


                                                      35
d. Resolução: ....................................................... 100 pulsos / rotação
  e. Resposta: ......................................................... 25kHz
  f. Velocidade do Motor: .......................................... 0 ~ 4500 RPM
  g. Alimentação de Entrada: .................................. ±15V DC, 1A

SU-6806 (Sensor de Choque Ultra-sônico)

  - Sensor Ultra-sônico

  a. Freqüência Nominal: ......................................... 40kHz
  b. Sensibilidade: ................................................... Mais que -67dB
  c. Banda de Recepção: ........................................ Aprox. 6kHz (-74dB)
  d. Nível do Transmissor: ....................................... Mais que 110dB

  - Sensor de Choque

  e. Resposta em Ressonância: ............................. 2kHz ± 1kHz
  f. Duração da Ressonância: ................................. 10ms ~ 30ms
  g. Saída em Impacto de 40G: ............................... 0.4Vpp / 56kΩ mínimo
  h. Alimentação de Entrada: .................................. ±15V DC, 1A

SU-6807 (Sensor de Gás)

  a. Tensão do Circuito: ........................................... VC = 24V máximo (AC ou DC)
  b. Tensão do Aquecedor: ...................................... V H = 5V (AC ou DC)
  c. Gases Detectados: ........................................... LPG, LNG, Metano
  d. Faixa de Sensibilidade: ..................................... 500 ~ 10000 PPM
  e. Indicador de Nível: ............................................. 10 Passo de Nível Selecionável
  f. Tipo de Sensor: ................................................. Tipo Semicondutivo
  g. Alimentação de Entrada: .................................. ±15V DC, 1A

SU-6808 (Sensor de Umidade)

  a. Faixa de Umidade: ............................................ 30 ~ 90% RH
  b. Faixa de Temperatura de Operação: ................ 0 ~ 60°C
  c. Nível de Saída: .................................................. 1 ~ 3V DC (para 30 ~ 90% RH)
  d. Alimentação de Entrada: .................................. ±15V DC, 1A

SU-6809 (Sensores de Proximidade / Hall / Pressão)

  - Sensor Hall

  a. Material: ............................................................ GaAs
  b. Tensão Hall: ...................................................... 55 ~ 140mV
  c. Resistência de Entrada: ................................... 450 ~ 900Ω

  - Sensor de Proximidade

  d. Distância de Detecção: .................................... 5mm máximo
  e. Objeto Detectável: ............................................ Substância Magnética
  f. Freqüência de Resposta: .................................. 500Hz

  - Sensor de Pressão

  g. Faixa de Medida: ............................................... 0 ~ 1kg/cm 2
  h. Entrada Máxima: ............................................... 2kg/cm2
  i. Saída: ................................................................. Aprox. 1 ~ 5V
  j. Suprimento de Ar: .............................................. Compressor Manual


                                                         36
- Especificação Geral

  k. Alimentação de Entrada: ................................... ±15V DC, 1A

SU-6810 (Chaves Reed / Mercúrio / Limite)

  - Chave Sensora

  a. Chave Reed: ..................................................... SPST, 0.1A (24V)
  b. Chave de Mercúrio: ........................................... SPST, 1A (250V)
  c. Chave de Limite: ............................................... SPDT, 5A (250V)

  - Movimento Linear

  d. Distância do Movimento: .................................. 80mm
  e. Velocidade do Motor: ......................................... 0 ~ 60 RPM

  - Especificação Geral

  f. Alimentação de Entrada: ................................... ±15V DC, 1A

3-1-2 Características do Sensor

  (1) Sensor Termopar (6800-1)

  a. Características de Saída do Termopar: ............ 0 ~ 20mV / 0 ~ 500°C
  b. Faixa de Temperatura: ...................................... -100°C ~ +1000°C
  c. Material: ............................................................ CA (Chromel / Alumel)

  (2) Sensor Termistor (6800-2)

  a. Resistência à Temperatura Ambiente: .............. Aprox. 2kΩ
  b. Faixa de Temperatura: ...................................... -50°C ~ 110°C
  c. Características Resistência - Temperatura: ..... Aprox. 5kΩ ~ 500Ω / 0 ~ 100°C

  (3) Módulo LED (6800-3)

  a. Comprimento de Onda da Luz Emitida: ........... 940nm ± 2%
  b. Saída (Intensidade de Irradiação): .................... 1 ~ 10(I E) / 3 ~ 30mA(If)
  c. Corrente de Retorno Máxima: ........................... 30mA (para 60 segundos)

  (4) Módulo do Transistor Receptor (6800-4)

  a. Comprimento de Onda do Receptor: ............... 700nm ~ 950nm
  b. Relação Corrente / Distância da Luz (em 10IE):8 ~ 1mA / 3 ~ 40mm
  c. Sensibilidade Direcional Relativa: ..................... ±7° (em -3dB)

  (5) Módulo CdS (6800-5)

  a. Resistência (Escuro): ....................................... Maior que 1MΩ
  b. Resistência / Lux: ............................................. 10kΩ ~ 2kΩ / 1 ~ 100 Lux
  c. Capacidade: ..................................................... 90mW máximo

  (6) Transmissor Ultra-sônico (6800-8)

  a. Freqüência de Transmissão: ............................ 40kHz
  b. Pressão Acústica de Saída: ............................. Maior que 112dB




                                                          37
(7) Sensor de Choque (6800-9)

a. Saída:................................................................ Maior que 4Vpp com carga de 56k Ω
                                                                          (para choque 40G)
b. Freqüência de Ressonância: ............................ 2kHz ± 1kHz




Termômetro de Ácool




    Sensor de
   Temperatura            Foto Sensor (6800B3~5)          Transdutor Ultrasônico         Sensor de Choque
   (6800B1~2)




             Sistema de Treinamento                                      Caixa de Acessórios




                                                     38
3-2   Informação Operacional

3-2-1 Cautela

    As seguintes informações são necessárias para garantir uma operação segura e com
sucesso do sistema de treinamento em sensores.

   (1) A alimentação de ±15V das Unidades Sensoras é fornecida tanto pela Unidade de Amp.
Op (OU-6801B) como pela Unidade Conversora de Sinal (CU-6802). Caso necessário, uma
fonte externa DC simétrica pode ser usada.

   (2) As Unidades Principais são alimentadas pela tensão da rede de 110V ou 220V AC.
Assegure-se de que a configuração esteja correta para a dada tensão de alimentação. A seleção
de tensão da linha é feita na parte traseira da unidade.

  (3) Manipule todos os sensores com extrema cautela para evitar qualquer tipo de dano.

  (4) Todos os sensores devem retornar para suas posições de armazenamento após o uso.

  (5) Evite as seguintes condições de operação.
  - Ambientes muito quente ou a luz solar direta
  - Alta umidade (umidade relativa máxima de 85%)
  - Vibração
  - Sujeira excessiva

3-2-2 Unidades Sensora e Controles do Painel

(1) Unidade Amp. OP (OU-6801B)

    O painel frontal da Unidade Amp. OP é mostrado na Figura 3-1. A Unidade Amp. OP
consiste de um amplificador operacional e um comparador com offset DC. Os seguintes circuitos
podem ser montados usando a Unidade Amp. OP.

Amp. OP

  - Amplificador com acoplamento AC
  - Amplificador com acoplamento DC
  - Amplificador não inversor
  - Amplificador diferencial

Comparador / Offset DC

  - Experimentos de controle de offset zero DC
  - Circuitos comparadores




                                             39
Figura 3-1 Unidade Amp. OP (OU-6801B)


(2) Unidade Conversora de Sinal (CU-6802)

     A Unidade Conversora de Sinal é dividida nas seções conversor A/D e conversor D/A. As
entradas digitais são sinais de 8 bit com nível TTL. A entrada de referência do conversor é
ajustável. O painel frontal da unidade é mostrado na Figura 3-2.




                    Figura 3-2 Unidade Conversora de Sinal (CU-6802)




                                            40
Conversor A/D

  - Tipo de Conversão: Aproximação sucessiva
  - Entrada Analógica Máxima: 10V
  - Faixa de Ajuste da Referência do Conversor A/D: 10 ~ 100%

Conversor D/A

  - Saída Analógica Máxima: 10V
  - Faixa de Ajuste da Referência do Conversor D/A: 10 ~ 100%

(3) Unidade Sensora SU-6803

      Esta unidade contém o circuito ponte detector de sinal e um Amp. OP. O aquecedor e o
resfriador (ventilador) são usados com os sensores de temperatura. Estes aquecedor e
resfriador podem ser controlados externamente. A ponte interna à unidade é uma ponte de
resistores, e aceita qualquer tipo de sensor que apresente variação de resistência como
resultado da detecção. A faixa de resistência da ponte é de 500Ω a 10kΩ. A fonte DC da ponte
está incorporada ao circuito. Entretanto, existem terminais para proporcionar a alimentação
externa caso necessário. O painel frontal da unidade sensora é mostrado na Figura 3-3.




                           Figura 3-3 Unidade Sensora SU-6803


(4) Unidade Sensora SU-6804

     A Unidade Foto Sensora SU-6804 é usada quando experimentos com dispositivos foto
sensores são executados. A unidade fornece tensões de polarização AC e DC ajustáveis para
um LED. A faixa de freqüência ajustável da polarização AC é de 100Hz a 10kHz. O painel
frontal da Unidade Foto Sensora é mostrado no Figura 3-4.




                                            41
Figura 3-4 Unidade Sensora SU-6804

(5) Unidade Sensora SU-6805

     A Unidade SU-6805 é usada em experimentos com encoder rotativo. O encoder rotativo
usado na unidade é um tipo de encoder de alta resolução de 8 bits que produz 100 pulsos por
rotação. Para estabelecer o ponto de referência, uma saída de índice zero é fornecida. A resolução
de posição é equivalente a 360 graus dividido por 100 pulsos. O painel frontal da unidade é
mostrado na Figura 3-5.




                             Figura 3-5 Unidade Sensora SU-6805




                                               42
(6) Unidade Sensora SU-6806

     A Unidade Sensora SU-6806 é uma unidade de experimentos ultra-sônicos. A unidade
fornece fonte ultra-sônica de alta qualidade. Além dos experimentos ultra-sônicos, a unidade
também oferece experimentos relacionados com sinais acústicos, particularmente usando
um microfone. A freqüência ultra-sônica usada está em torno de 40kHz, e a unidade contém
um oscilador com uma freqüência de saída de 20 ~ 100kHz para gerar sinais ultra-sônicos. O
painel frontal da unidade é mostrado na Figura 3-6.




                            Figura 3-6 Unidade Sensora SU-6806


(7) Unidade Sensora SU-6807

     A Unidade Sensora de Gás SU-6807 é usada para detectar a presença de gases no ar. Os
tipos de gases que a unidade pode detectar são hidrogênio, LPG, LNG e metano. A unidade
pode determinar a quantidade de gás presente, e se a quantidade detectada ultrapassa o nível
pré-ajustado, e a unidade dispara um alarme. O detector usado é um tipo semicondutor que
exibe uma alteração na condutância. Uma vez que a alteração produz um sinal, ele é amplificado
por um amplificador diferencial. O painel frontal da unidade é mostrado na Figura 3-7.




                           Figura 3-7 Unidade Sensora SU-6807B


                                             43
(8) Unidade Sensora SU-6808B)

     A Unidade Sensora de Umidade SU-6808B mede a umidade relativa, não a umidade
absoluta. Um sensor tipo semicondutor é usado na unidade. Por causa das características de
saída do sensor ser logarítmica, a unidade sensora emprega um amplificador anti-logarítmico
para linearizar a saída. A alimentação para polarização do sensor semicondutor é AC, ao invés
de DC. Este sinal senoidal AC é gerado internamente. A freqüência do sinal de polarização é
determinada pelo valor de “R” no circuito. Na posição “A”, a freqüência é 1000Hz, e na posição
“B” a freqüência é reduzida para 500Hz. O painel frontal do SU-6808B é mostrado na Figura 3-
8.




                           Figura 3-8 Unidade Sensora SU-6808B


(9) Unidade Sensora SU-6809

      Como mostrado na Figura 3-9, a Unidade Sensora Hall / Proximidade / Pressão SU-6809
consiste de pequenos objetos a serem detectados (aço, plástico e ímã) e dos sensores. Estes
objetos são colocados num disco rotativo no qual a velocidade é controlada pelo usuário. Com
tal arranjo, é fácil executar uma variedade de experimentos relativos a movimento, distância e
pressão.

  - Sensor de Pressão: O sensor resplonde a pressão de um gás. A pressão é gerada usando
  um compressor manual que é fornecido como acessório. A pressão máxima obtida é de
1 1kgf/cm2

  - Sensor de Proximidade: Este sensor é um sensor tipo oscilação, e reage a proximidade de
  objetos metálicos ou magnéticos.

  - Sensor Hall: O sensor Hall detecta o campo magnético de um ímã do disco.

     Todos estes sensores requerem alimentação para funcionarem corretamente. Além disso
os sensores Hall e de pressão possuem amplificadores internos à unidade para detectar a
alteração na resistência.




                                             44
Figura 3-9 Unidade Sensora SU-6809

(10) Unidade Sensora SU-6810

    Contrário aos outros sensores, as chaves sensoras reed / mercúrio / limite não requerem
nenhuma detecção especial ou circuitos amplificadores. A alimentação não é necessária para
as chaves, e estas chaves são insensíveis a ruído. O painel frontal da unidade sensora é
mostrado na Figura 3-10.

   - Chave Reed: O contato reed que está dentro de um tubo de vidro é controlado pela aproxI
   mação de um imã. O retorno desta chave é lenta. Além disso a corrente de contato desta
  chave normalmente é pequena. Tipicamente a especificação é menor que 1A em 50V máximo

  - Chave de Mercúrio: O mercúrio dentro do tubo de vidro serve de ponte de conexão entre os
  dois pontos de contato. A chave de mercúrio é um sensor de posição.

  - Chave de Limite: Esta é uma micro chave com uma alavanca acoplada para que quando a
  alavanca seja pressionada, provoque o fechamento da micro chave. Normalmente, um rolete
  é encontrado na extremidade da alavanca para facilitar a operação.




                          Figura 3-10 Unidade Sensora SU-6810

                                            45
Seção 4
                      Experimentos com Sensores


4-1     Experimentos de Aplicação de Sensor de Temperatura

4-1-1 Detecção da Saída de Termopar

Objetivos

    Experimentar um sensor de temperatura usando um termopar. Experimentar as
características de um termistor NTC.

Revisão da Teoria

      A seguir é fornecido um comparativo entre o termopar e o termistor.

(1) Sensor Termopar (6800-1)

      Para as características de saída, veja a Figura 4-1 (a).




         (a) Características de Saída do Termopar (b) Características de Saída do Termistor

                       Figura 4-1 Características de Saída - Temperatura


(2) Sensor Termistor (6800-2)

      Para as características de saída, veja a Figura 4-1 (b).

     Como pode ser visto das curvas anteriores, um termopar gera uma tensão que é
proporcional a temperatura. Em um termistor, a saída é uma variação de resistência. A saída
do termopar deve necessitar de um amplificador e algum tipo de circuito de processamento do
sinal. Para o sensor termistor, um circuito ponte de resistor é normalmente necessário. Além
disso a não linearidade do termistor deve ser considerado em aplicações reais.

Equipamentos Necessários

  - Unidade Amp. OP OU-6801B: 1 peça
  - Unidade Sensora 6803: 1 peça


                                               46
- Sensor de Temperatura 6800-1: 1 peça
  - Multímetro Digital: 1 peça
  - Termômetro Digital: 1 peça
  - Ferro de Solda: 1 peça

Procedimento Experimental

  1. Prepare a Unidade Amp. OP. Mantenha a chave de alimentação desligada.
  2. Referindo-se a Figura 4-2, faça as conexões entre a unidade sensora e a unidade Amp.
  OP.




         (a) Amplificador do Sensor   (b) Amp. OP              (c) Comparador

                                        Figura 4-2

  3. Ligue a alimentação da unidade Amp. OP, e conecte um multímetro digital ao terminal de
  saída do Amp. OP. Selecione a faixa 200mV do multímetro.
  4. Verifique a leitura do termômetro digital e as saídas em volts do Amp. OP.

NOTA: Note que o ganho do Amp. OP é ajustado em 10. Para os cálculos do ganho, veja a
Figura 2-1.

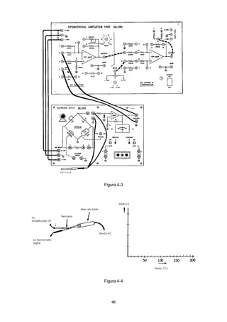
  5. Como mostrado na Figura 4-4, aplique calor ao termopar usando o ferro de solda. Desenhe
  um gráfico mostrando a relação entre a temperatura do termopar e a saída do Amp. OP.
  6. Considerando o ganho de 100 para os dois amplificadores em cascata, calcule a tensão
  de saída do termopar na temperatura ambiente usando o valor obtido no passo 4. Qual
  deveria ser o ganho se a saída do Amp. OP devesse ser 1V? Para ajustar o ganho, conecte
  os pinos 6 e 7 do Amp. OP, e ajuste o resistor variável de 500kW.
  7. Ajuste o ganho do amplificador para 50, e conecte a saída do Amp. OP ao comparador
  como mostrado na Figura 4-3.




                                            47
Figura 4-3




Figura 4-4



   48
9. Aplique calor ao termopar até que o LED verde na saída do comparador acenda.
  10. Repita os passos 8 e 9 para temperaturas diferentes.

Resumo

  1. A saída típica de um termopar é menor que algumas centenas de mV/°C. Portanto, a
  amplificação da tensão é necessária para processar a saída do termopar. O sensor termopar
  usado em 6800-1 possui saída de 40mV/°C.
  2. Quando usar um Amp. OP, esteja atento com a inversão de fase na saída do amplificador
  inversor.
  3. A saída do comparador depende do ajuste de referência na entrada. Por exemplo, para
  obter uma saída com entrada de 2V, a referência deve ser ajustado para 2V.

4-1-2 Detecção da Saída de Termistor

Objetivos

    Experimentar a saída de um resistor térmico usando ponte de Wheatstone.

Revisão da Teoria

     A resistência de um termistor varia com a temperatura. Para um termistor tipo coeficiente
de temperatura negativo (NTC), a resistência do termistor torna-se menor quando a temperatura
aumenta. A resistência do termistor do sistema ED-6800B é de 2kW na temperatura ambiente.
Portanto, quando a resistência varia para 1.9kW devido a alteração na temperatura, a taxa de
alteração é de 5%. Tal alteração pode ser detectada usando uma ponte mostrada na Figura 4-
5.




                                         Condição de Balanceamento
                                         da Ponte (Saída = Zero):

                                          Rs = Rx
                                          Rb Ra




                                         Figura 4-5

     Se a resistência do sensor é RX e o resistor de balanço da ponte é RS, a ponte pode ser
balanceada inicialmente ajustando Rs para obter saída zero. Qualquer alteração em Rx devido
a variação de temperatura após o balanço ser obtido aparece na saída da ponte. A sensibilidade
do detector ponte é normalmente muito boa.

Equipamentos Necessários

  - Unidade Amp. OP OU-6801B: 1 peça
  - Unidade Sensora SU-6803: 1 peça
  - Sensor Termistor 6800-2: 1 peça
  - Multímetro Analógico com Sensibilidade melhor que 20kW/V: 1 peça
  - Termômetro de Álcool (diâmetro 5 ~ 7mm): 1 peça




                                             49
Procedimento Experimental

  1. Prepare a Unidade Amp. OP. Mantenha-a desligada.
  2. Referindo-se a Figura 4-6, faça a conexão entre OU-6801B, SU-6803 e um multímetro.
  3. Meça a resistência do sensor termistor na temperatura ambiente usando o multímetro.
  Além disso, meça a temperatura ambiente real.
  4. Conecte o sensor termistor aos terminais de entrada SENSOR INPUT da unidade sensora.
  Ajuste de faixa de corrente do multímetro, que é colocado entre a saída da ponte e o terra,
  para 100mA.
  5. Ligue a alimentação da Unidade Amp. OP. Ajustando o controle BALANCE, ajuste a ponte
  para balancear e obter indicação de corrente igual a zero.
  6. Segure a extremidade do sensor com dois dedos por cerca de 30 segundos, e observe a
  alteração na leitura de corrente. No caso do ponteiro do multímetro mova para o sentido
  contrário, inverta a conexão do multímetro.




                                         Figura 4-6

  7. Faça a conexão entre a saída da ponte e a entrada do amplificador como indicado pela
  linha tracejada #1 na unidade sensora. Além disso, conecte um voltímetro (na faixa 3V) na
  saída do amplificador.
  8. A extremidade do sensor que foi aquecido pelos dedos deve ser resfriado até a temperatura
  ambiente. Assegure-se de que a indicação do multímetro seja zero. Caso contrário, reajuste
  a ponte. Toque na extremidade do sensor com os dois dedos novamente, e observe a
  indicação de corrente. Compare a leitura com a indicação no passo 6. Deve ser notado
  que o passo 7, que utiliza um amplificador, fornece uma resolução de sensibilidade melhor.



                                             50
9. Instale o termistor e um termômetro de álcool na placa de aquecimento da unidade sensora
  como mostrado na Figura 4-7 (a). Ligue o aquecedor. Referindo-se a Figura 4-7 (b), registre
  a temperatura e a corrente a cada 30 segundos durante um intervalo maior que 3 minutos.




                          (a)                                      (b)

                                         Figura 4-7

   10. Desligue o aquecedor. Registre a temperatura e a leitura de corrente a cada minuto por
   cerca de 10 minutos. Desenhe duas curvas como mostrado na Figura 4-7 (b).

NOTAS: Dependendo da condutividade térmica entre a fonte de calor e o objeto a ser aquecido,
as características de aquecimento e resfriamento não são necessariamente as mesmas.
Normalmente, o resfriamento leva mais tempo em convecção natural. Um resfriamento forçado
usando um ventilador reduzirá o tempo de resfriamento.

  11. Faça a conexão entre os pontos como indicado pelas linhas tracejadas 1, 2, 3 e 4. Ajuste
  a chave do resfriador para AUTO. Faça o balanceamento da ponte para a temperatura
  ambiente.
  12. Com o sensor de temperatura e o termômetro como na Figura 4-7 (a), ajuste a referência
  de entrada do comparador para -0.5V.

NOTAS: Quando a temperatura aumenta no sensor de temperatura, a saída da ponte aparece
como negativa. Isto porque o termistor usado possui coeficiente de temperatura negativo (NTC).
Para drenar o LED “+” na saída do comparador, a entrada de referência (polarização) é ajustada
para abaixo de 0 volts.

  13. Ligue o aquecedor. Encontre a temperatura em que o LED “+” acenda. Note que quando
  o LED “+” está aceso, indica que a temperatura está muito alta, o ventilador liga-se
  automaticamente. Isto porque o sistema está configurado para demonstrar o conceito de
  um controle automático.
  14. Reduza a tensão de referência gradualmente, e encontre a temperatura em que o
  ventilador começa a operar.
  15. Desligue o aquecedor, e aumente a tensão de referência gradualmente. Registre a saída
  do comparador vs. Temperatura.

Resumo

  1. A resolução da sensibilidade de temperatura é muito importante em sistemas de controle
  automático de temperatura. A resolução do sistema depende do projeto do sistema assim
  como das características do próprio sensor.
  2. No projeto de um sistema de controle de temperatura, a condutividade térmica do meio ao
  redor da fonte de calor deve ser considerada. Um exemplo de um sistema de controle
  automático de temperatura é o Controle Proporcional Integrativo e Derivativo (PID).



                                             51
3. A resistência térmica entre um sensor térmico e o objeto a ser medido deve ser minimizado
  para manter uma boa precisão. As seguintes dicas devem ajudar.
  - Maximize a área de contato entre o sensor e o objeto.
  - Aplique adesivo termicamente condutivo tal como silicone nas áreas de contato.
  - Quando medir a temperatura de um gás, assegure-se de posicionar o sensor no melhor
  local.
  - Se necessário, faça um acoplamento entre a fonte de calor e o objeto usando um material
  com boa condutividade térmica.

4-1-3 Conversão Analógica para Digital de Dado

Objetivos

    Aprender a técnica de conversão A/D dos dados de temperatura obtidos.

Revisão da Teoria

    Dados digitais são mais úteis que no formato analógico devido as seguintes razões:

  - É fácil de armazenar dados digitais, e os dados digitais são facilmente manipulados pelo
  computador.
  - Um sistema operacional pode ser usado para executar controles numéricos precisos usando
  dados digitais.
  - Como os dados digitais são baseados somente em 0 e 1, são mais imunes a ruídos.

     Um conversor A/D tipo comparação sucessiva com 8 bits é usado neste experimento. A
resolução, portanto, é 1/256 (ou 1/28) do fundo de escala. O valor de entrada analógico máximo
é 5V. Entretanto, um atenuador é fornecido para aceitar sinais de 10V. A entrada de referência
é ajustável para fornecer uma saída digital variável.

Equipamentos Necessários

  - Unidade Conversora de Sinal CU-6802: 1 peça
  - Unidade Sensora SU-6803: 1 peça
  - Multímetro Analógico: 1 peça
  - Sensor de Temperatura Tipo Termistor 6800-2: 1 peça
  - Termômetro de Álcool (diâmetro 5 ~ 7mm): 1 peça

Procedimento Experimental

  1. Mantenha a Unidade Conversora de Sinal desligada. Coloque a chave DATA HOLD em
  off.
  2. Referindo-se a Figura 4-8, faça as conexões do conversor de sinal e da unidade sensora.
  3. Mantenha a chave do aquecedor em OFF (AUTO) na unidade sensora. Coloque o sensor
  de temperatura e o termômetro verticalmente na placa de aquecimento.
  4. Ajuste a referência V do A/D e D/A para CAL. Ligue a alimentação, e verifique o multímetro
  analógico e os indicadores LED (D0 ~ D7) das entradas / saídas digitais com os terminais de
  entrada analógico curto circuitados entre si. Sem entrada analógica, todos os 8 bits da saída
  digital devem estar em nível baixo.
  5. Se a indicação digital for satisfatória no passo 4, remova o curto das entradas analógica.
  Meça a entrada analógica e as saídas digitais correspondentes à temperatura ambiente.




                                             52
Figura 4-8

6. Ligue o aquecedor na unidade sensora. A cada 10 ou 20 segundos, meça a temperatura,
entrada analógica e saída digital e preencha a tabela da Figura 4-9 com os resultados.
      Temp     Analógico                  Digital (8 bits)                   Observação

                           D7   D6   D5    D4        D3      D2   D1   D0

                                                                            Temp Ambiente




                                      Figura 4-9


                                           53
7. Desligue o aquecedor (coloque a chave na posição AUTO), e ligue o resfriador. Repita o
   passo 6 para as características de resfriamento. Meça a temperatura, entrada analógica e
   saída digital.
   8. Faça as conexões entre as saídas do conversor A/D e as entradas do conversor D/A
   como indicado pela linha tracejada na Figura 4-8. Compare os valores analógico e digital do
   conversor A/D com os correspondentes valores do conversor D/A. Os valores devem ser
   idênticos entre os dois dados analógicos assim como entre os dois dados digitais. Este
   experimento é executado com a referência de entrada na posição CAL.
   9. Repita os passos 6 e 7, e observe as entradas e saídas dos conversores A/D e D/A,
   assim como as leituras do multímetro. Veja a Figura 2-9 da seção 2-3.
   10. Posicione a chave DATA HOLD na posição HOLD para congelar a leitura corrente. Varie
   a temperatura na unidade sensora, e observe o multímetro analógico e a saída digital do
   conversor A/D. Quando a diferença entre as leituras analógica e digital aumenta, desligue
   momentaneamente o DATA HOLD. Verifique que as duas leituras são iguais.

Resumo

   1. Foi demonstrado através dos experimentos na seção 4-1-2 e 4-1-3 que a constante de
   tempo térmica não é necessariamente a mesma entre o aquecimento e o resfriamento. O
   aquecimento ou resfriamento forçado pode melhorar a resolução da constante de tempo
   térmica.
   2. A saída analógica do conversor D/A é um sinal do tipo degraus de escada que contém
   harmônicas. Para suavizar o sinal convertido, é necessário executar uma filtragem.
   3. É fácil de se congelar a indicação de um dado digital usando a função HOLD. Além disso,
   o dado digital pode ser facilmente armazenado em memória.
   4. A saída digital de 8 bits é obtida no modo paralelo neste experimento. Entretanto, no caso
   do dado digital necessitar ser enviado a uma longa distância, o dado é normalmente
   transmitido na forma serial através de um conversor paralelo para série. Neste caso, o dado
   paralelo é primeiramente amostrado, então cada dígito é enviado começando pelo LSB.

4-2    Aplicação de Foto Sensores

4-2-1 LEDs e Foto Sensores

Objetivos

     Entender a operação de um LED infravermelho e um transistor receptor na detecção de
objetos.

Revisão da Teoria

     Dois tipos de foto sensores são considerados nesta seção: detecção da interrupção de
luz entre uma fonte e o objeto, ou a recepção da luz refletida no objeto. Não importando que tipo
de detecção é usado, os seguintes parâmetros caracterizam a técnica de foto detecção.

   - Sensibilidade luminosa: Para uma dada fonte de luz, a sensibilidade depende da distância
   entre a fonte e o objeto assim como da sensibilidade do receptor.

   - Tempo de resposta: Uma lâmpada do tipo filamento possui um tempo de atraso devido ao
   tempo necessário para aquecer e resfriar o filamento. De modo contrário, uma fonte de luz
   baseada em semicondutor responde muito mais rápido quando a alimentação é ligada e
   desligada. A taxa de liga / desliga pode ser de algumas centenas de Hz a alguns MHz. O foto
   receptor possui características similares. Por exemplo, o tempo de resposta da célula CdS
   pode ser de alguns ms a algumas centenas de ms.

   - Comprimento de onda: Normalmente, os foto sensores respondem a comprimentos de
   onda de 750 ~ 950nm. Este comprimento de onda infravermelho é maior que o comprimento
   de onda da luz visível. Alguns sensores são projetados para responder ao comprimento de


                                               54
onda ultravioleta que é menor que o comprimento de onda da luz visível.

Equipamentos Necessários

  - Unidade Amp. OP OU-6801B: 1 peça
  - Unidade Sensora SU-6804: 1 peça
  - Multímetro Analógico: 1 peça
  - Módulo LED (fonte): 1 peça
  - Módulo Foto Transistor (receptor): 1 peça
  - Osciloscópio: 1 peça

Procedimento Experimental

  1. Desligue a Unidade Amp. OP. Faça as conexões das unidades de acordo com a Figura 4-
  11. Selecione a polarização (Bias) da unidade sensora para DC.
  2. Encaixe os módulos LED e foto transistor no guia de ajuste de distância. Ajuste a distância
  entre os dois módulos em 5mm. Ligue a alimentação.
  3. Ajuste o nível de polarização (BIAS) para aproximadamente 5 (meio). Usando a faixa x100
  do multímetro, meça a condutância entre o coletor e o emissor do foto transistor.




                         Figura 4-10 Módulos LED e Foto Transistor

  4. Mova o módulo receptor gradativamente para longe do módulo LED, e a cada 5mm meça
  a condutância como indicado no multímetro. Desenhe o gráfico mostrando as medidas
  incluindo o valor inicial.
  5. Aumente a polarização (BIAS) para o nível máximo (10), e repita o passo 4. Compare a
  sensibilidade entre os dois casos:
  - Para a dada distância, a polarização é incrementada por um fator 2.
  - Para a dada polarização, a distância é decrementada por um fator 2.
  Em que caso a sensibilidade é melhor?
  6. Conecte o plug do sensor receptor aos terminais R-device, e selecione o multímetro
  analógico para DC 15V. Conecte o voltímetro a saída do Foto sensor e ao GND.
  7. Ajuste o nível de polarização (BIAS) para 5. A cada incremento de 5mm, meça a tensão
  de saída do foto sensor, e desenhe uma curva mostrando a relação. Encontre a taxa de
  variação da tensão de saída como uma função da distância.
  8. Ajuste a distância entre a fonte e o receptor em 10mm. Obstrua a recepção do sinal
  colocando um pedaço de papel entre a fonte e o foto sensor, e verifique se a tensão de saída
  altera. No caso de alteração, explique o porquê.
  9. Desligue momentaneamente a Unidade Amp. OP, e altere a conexão conforme a Figura
  4-12.
  10. Ajuste a polarização (BIAS) do dispositivo T-Device da unidade sensora para AC 100Hz,
  e ajuste o nível de saída para 5. Ajuste o osciloscópio para mostrar sinal de 2V / 100Hz.
  11. Ajuste a distância entre o foto diodo e o sensor foto transistor para 5mm, e ligue o
  Unidade Amp. OP.




                                              55
Figura 4-11

12. Meça a tensão de saída pico-a-pico no osciloscópio. Meça a tensão de saída com o
multímetro a cada 5mm de intervalo, e desenhe a curva mostrando o resultado.




                                   Figura 4-12

                                       56
13. Altere a polarização (BIAS) para 1kHz, e repita o passo acima. Desenhe uma curva
  em linha tracejada na Figura 4-13. Meça a tensão de pico-a-pico no osciloscópio e esboce
  aforma de onda em uma folha de papel.




                                         Figura 4-13

  14. Ajuste o nível de polarização para 10, e repita os passos 11 e 12.
  15. Ajuste a distância entre a fonte e o receptor em 10mm. Obstrua a recepção do sinal
  colocando um pedaço de papel entre a fonte e o sensor, e verifique se a tensão de saída
  altera. Compare com o passo 8. No caso do resultado ser diferente, explique o porquê.

Resumo

  1. A tensão de entrada e a saída luminosa da fonte de luz possuem uma relação linear
  dentro dos limites. Portanto, quando a corrente de entrada na fonte é incrementada por um
  fator 2, a tensão de saída no receptor decrementa por um fator 2 também. De modo oposto,
  quando a distância é incrementada por um fator 2, a saída do receptor decrementa por um
  fator 1/4, ou inversamente proporcional ao quadrado da taxa de variação na distância.
  2. As características de alta freqüência de um sistema de transmissão é caracterizada
  aplicando-se uma onda quadrada à entrada. No caso das bordas agudas serem perdidas,
  significa que a resposta a alta freqüência do sistema é deficiente. As características de boa
  performance em alta freqüência são importantes para obter boa qualidade nas comunicações
       óticas.
  3. Os foto sensores devem ser isolados de luzes indesejadas. Por esta razão, foto sensores
  típicos utilizam detectores infravermelho. Além disso, sinais AC ou técnicas de modulação
  de pulso podem ser utilizadas. O uso de filtros apropriados também é eficiente na redução
  de ruído.

4-2-2 Foto Chaves CdS e Foto Acopladores

Objetivos

    Estudar as características das células CdS e dispositivos foto acopladores.

Revisão da Teoria

      A saída de uma célula CdS varia quando a intensidade da luz incidente varia. Esta
propriedade torna, em alguns casos, a célula CdS mais fácil de se utilizar do que um foto
transistor. Os projetistas podem selecionar os valores de resistência e corrente corretos a
partir dos catálogos dos fabricantes. Um exemplo de aplicação da uma célula CdS como uma
chave automática para iluminação de rua é mostrada na Figura 4-14.



                                             57
Figura 4-14

    As células CdS são essencialmente reles sem contato. Quando combinados com foto
acopladores, uma célula CdS pode servir como um controlador de volume eletrônico como
mostrado na Figura 4-15.




                         Figura 4-15 Controle de Volume sem Contato

     O tempo de resposta da célula CdS usada neste experimento é de aproximadamente
10ms, e a máxima sensibilidade é 520nm. Este comprimento de onda cobre a faixa de luz
visível, e portanto, este sensor pode ser usado também como medidor de exposição a luz.

Equipamentos Necessários

   - Unidade Amp. OP OU-6801B: 1 peça
   - Unidade Sensora SU-6804: 1 peça
   - Multímetro Analógico: 1 peça
   - Sensor CdS: 1 peça
   - Módulo Lâmpada Incandescente: 1 peça

Procedimento Experimental

   1. Mantenha a alimentação da Unidade Amp. OP desligada, e faça as conexões como
   mostrado na Figura 4-16. Ajuste a polarização (BIAS) do dispositivo T-Device da unidade
   sensora para DC, e ajuste o nível de polarização (BIAS) para o mínimo.
   2. Ajuste a distância entre os módulos lâmpada e CdS para cerca de 20mm, e ligue a
   alimentação.
   3. Meça a resistência da célula CdS com a polarização (BIAS) do dispositivo T-Device ajustado
   em 0. Aumente o nível de polarização lentamente, e meça a resistência com a polarização
   ajustada para 5 e 10.
   4. Cubra a lâmpada e o sensor CdS com um papel preto e repita os passos 2 e 3.

NOTAS: A razão de cobrir é que o sensor CdS responde a luz visível. Para que receba uma luz
específica, a cobertura é necessária para bloquear as luzes indesejáveis. Além disso, os sensores



                                               58
CdS são dispositivos lentos. Portanto, os sensores CdS são usados na detecção de sinais
luminosos com variação lenta.




                                      Figura 4-16

  5. Desligue momentaneamente a Unidade Amp. OP, e refaça as conexões conforme a Figura
  4-17. Conecte o pino 6 do Amp. OP ao pino 8. Ajuste a polarização para DC, e o nível de
  polarização para 0.




                                      Figura 4-17

                                           59
6. Ajuste a distância entre a lâmpada e a célula CdS em 5mm. Cubra a célula CdS
  parabloquear qualquer outra fonte de luz diferente da luz da lâmpada.
  7. Ligue a alimentação. Ajuste a polarização de offset para obter saída 0.
  8. Incremente a polarização do dispositivo T-Device de 1 até 10, e meça a saída do Amp.
  OP. Se a saída varia linearmente com a variação da polarização, então o fotoacoplamento
  está funcionando corretamente.

NOTAS: O brilho da lâmpada não é proporcional a tensão aplicada. Na maioria das aplicações,
os sinais de entrada dos foto acopladores são formas de onda do tipo de chaveamento. Portanto,
a velocidade de chaveamento é o parâmetro chave para o foto acoplador.

  9. Na Figura 4-16, ajuste a velocidade de rotação do disco para aproximadamente 30 RPM
  (uma revolução a cada 2 segundos), e aproxime o sensor CdS de tal maneira que possa
  receber o sinal luminoso emitido de dentro do disco. Observe a mudança de resistência
  usando um multímetro. Movimente o sensor de tal modo que receba o sinal luminoso de fora
  do disco. Aumente a velocidade do motor gradualmente, e observe a forma de onda no
  osciloscópio. Discuta a diferença na performance entre os sensores foto transistor e célula
  CdS, se existir.
  10. Conecte o sensor foto transistor como mostrado na Figura 4-12 e coloque o foto sensor
  onde existe uma lâmpada fora do disco. Aumente a velocidade do motor, e observe a forma
  de onda no osciloscópio. Ajuste a base de tempo do osciloscópio para CAL, e meça o
  período do sinal. Repita o experimento com o sensor CdS e compare os resultados.

Resumo

  1. Embora o sensor CdS seja um dispositivo lento, possui uma largura de banda ampla,
  tornando possível a transmissão de sinal analógico. O sensor CdS com potência relativamente
  alta (alguns watts) podem ativar um relê sem a amplificação do sinal do sensor.
  2. Um foto acoplador é usado onde isolação de segurança é necessária entre dois pontos
  diferentes de um circuito. Tal isolação é necessária para proteger os operadores e o
  equipamento.

4-3    Aplicações de Encoder de Rotação

4-3-1 Detecção de Velocidade e Direção de Rotação

Objetivos

    Aprender como medir velocidade de rotação e detecção de direção de rotação usando um
encoder rotativo.

Revisão da Teoria

    A informação de velocidade de rotação é usada para calcular a trabalho efetuado em uma
máquina rotativa, ou para controlar o sistema automaticamente. A seguir é fornecido um resumo
do encoder rotativo usado no sistema ED-6800B.

Características Elétricas

  - Tensão de Entrada: ............................................ 5V DC
  - Corrente de Saída: ............................................. 80mA
  - Forma de Onda de Saída: .................................. Quadrada
  - Número de Fases de Saída: ............................... 2 (A, B)
  - Resolução (P/R): ................................................ 100 pulsos por revolução
  - Sensor de Rotação: ........................................... Tipo foto




                                                      60
- Resposta: ........................................................... 25kHz

Características Mecânicas

  - Torque Inicial: ...................................................... 0.29mN.m (3gf.cm) máximo
  - Inércia: ................................................................ 3gf/cm2 máximo

    A relação de fase entre as saídas A e B do encoder é mostrada na Figura 4-18.




                            Figura 4-18 Fases de Saída do Encoder Rotativo

     O objetivo das duas fases é determinar a direção de rotação. Alguns encoder possuem a
saída Z. Esta saída é usada para estabelecer um ponto inicial. Um pulso aparece na saída Z a
cada revolução.
     O circuito de saída das saídas A e B é mostrada na Figura 4-19. O tipo de circuito da
Figura 4-19 (a) é usada no ED-6800B. Na Figura 4-20, um flip-flop J-K é usado para determinar
a direção de rotação.




                           (a)                                                (b) Coletor Aberto

                                                      Figura 4-19




                         Figura 4-20 Circuitos Lógicos de Direção de Rotação


                                                            61
Equipamentos Necessários

  - Unidade Conversora de Sinal CU-6802: 1 peça
  - Unidade Sensora SU-6804: 1 peça
  - Osciloscópio 20MHz, 2 canais: 1 peça
  - Multímetro Digital: 1 peça
  - Freqüencímetro 5MHz: 1 peça

Procedimento Experimental

  1. Mantenha a alimentação da Unidade Conversora de Sinal desligada, e faça as conexões
  conforme a Figura 4-21. Assegure-se de que a conexão entre o motor DC e o encoder
  rotativo esteja segura girando manualmente com cuidado.




                                        Figura 4-21

  2. Ajuste o V-Reference do conversor de sinal A/D para a posição CAL, e ajuste a velocidade
  do motor DC para 0.
  3. Ajuste o osciloscópio para medida de pulso de 5V, 10Hz ~ 5000Hz.
  4. Ajuste o multímetro digital para a faixa DC 0 ~ 12V, e conecte ao pontos de teste de
  tensão da entrada do motor. Também ajuste o freqüencímetro para medir ambas as saídas
  A e B.


                                            62
5. Ligue a Unidade Conversora de Sinal, e ajuste a velocidade do motor para a posição
  intermediária. Obtenha a saída do encoder no freqüencímetro e no osciloscópio. A forma de
  onda no osciloscópio deve ser a mesma das formas de onda A e B da Figura 4-18.
  6. Reduza a velocidade do motor para zero. Aumente um pouco a velocidade, e meça a
  tensão de entrada do motor DC e a freqüência da fase A do encoder. Desenhe um gráfico
  usando o formato dado na Figura 4-22.

NOTAS: A freqüência medida é equivalente a 100 pulsos por revolução do encoder rotativo.
Portanto, quando a velocidade do motor é 20 vezes por segundo, o freqüencímetro deve indicar
20 x 100 =2000. Além disso, a velocidade do motor em RPM pode ser calculado como:

                                              Frequ ˆncia_do_Encoder(Hz)
                                                  ¨e
                             RPM =     Contagem_de_Pulso_por_Volta_do_Encoder x60




                                                Figura 4-22

  7. Repita o passo 6, e preencha a tabela da Figura 4-23 com os valores binários do contador
  de 8 bits e o equivalente decimal nas várias tensões de entrada do motor.



                                                            Saída Digital 8 bits
             Tensão de
          Entrada do Motor
                             D7   D6       D5     D4        D3        D2           D1   D0   Valor Decimal


               0.0V


               0.5V


                1V


               1.5V


                2V


                 :




                                                Figura 4-23




                                                       63
Notas: A contagem de pulso do encoder é ponderado por um fator igual a 1/20 devido a limitação
de contagem do sistema de 8 bits que é 28 = 256 no máximo. Como a contagem de pulso do
encoder é muito maior que o número mostrado abaixo, a contagem de pulso precisa ser reduzida
antes de ser aplicada a entrada de 8 bits.
                                                  RPM_do_Encoder_x_100_pulsos
                         ¨ ˆncia_do_Encoder =
                     Freque                                  60

Exemplo

  Para velocidade do motor de 3000 RPM
  Freqüência do encoder = 5000 Hz
  Entrada de 8 bits = 5000 / 20 = 250

  8. Expresse a relação entre a entrada do motor e os valores decimais em um gráfico X-Y
  como especificado na Figura 4-24. Examine a linearidade da linha. Explique em que condições
  a não linearidade começa a aparecer.




                                         Figura 2-24




                                         Figura 4-25



                                             64
9. Ajuste a entrada do motor para 10V. Ajuste o V-Reference do conversor A/D de tal modo
  que o medidor analógico indique 5V. Reajuste a entrada do motor para 0V.
  10. Aumente a entrada do motor em incremento de 1 volt, e meça a saída do conversor D/A
  e desenhe o gráfico X-Y. Verifique se a saída é linear com relação a tensão de entrada do
  motor. Se não, explique por que.
  11. Defina a lógica do flip-flop J-K quando os sinais A e B da Figura 4-18 são aplicados ao
  circuito da Figura 4-20. A tabela verdade e símbolos lógicos do CI CMOS 4027 são mostrados
  na Figura 4-25.  

Resumo

  1. Um encoder rotativo, ou um taco sensor, é usado para detectar a velocidade e a direção
  de rotação das máquinas. Para melhorar a resolução, as saídas dos encoder são de 10 ~
  500 pulsos por revolução.

NOTAS: Quando a tensão de entrada do motor é ajustada para variar a velocidade do motor,
deve ser considerado que existe uma tensão morta abaixo da qual o motor não girará. A tensão
morta não é constante para um dado motor, mas varia dependendo da carga.

  2. Dois pulsos (A, B) com 90° de diferença de fase são fornecidos pelo encoder rotativo. A
  direção da rotação é determinada pela avaliação da diferença de fase mostrada na Figura 4-
  18 (A->B) ou B->A). A informação da fase detectada é processado através de um circuito
  lógico (Figura 4-20), ou um flip-flop (Figura 4-20). Na Figura 4-25, os símbolos lógicos e a
  tabela verdade do circuito da Figura 4-20 são apresentados.
  3. Se as saídas dos sensores são convertidos para o formato digital, os computadores
  podem ser usados para controlar o processo ou gerenciar os dados. Entretanto, no caso de
  um sinal de realimentação em um circuito de loop fechado precisa ser um sinal analógico,
  um conversor D/A é necessário para a conversão.

4-3-2 Detecção de RPM e Posição Angular

Objetivos

    Medir o RPM e a posição angular de um motor usando um encoder rotativo.

Revisão da Teoria

      A velocidade (RPM) e a informação de posição de uma máquina rotativa são importantes
parâmetros no controle de processo. O encoder usado neste experimento fornece uma saída
com 100 pulsos por revolução. Portanto, quando um motor gira a uma velocidade de 4000
RPM, o número de pulsos contados deve ser 24 x 106. Como um número muito grande não é
fácil de ser tratado, este número é processado através de um circuito divisor por 100.

      Para detectar a posição angular de um dado ponto, uma posição de referência deve ser
estabelecido primeiramente. Na Figura 4-26 e 4-27, uma técnica para determinação do índice
zero é mostrado. A resolução angular do arranjo na Figura 4-27 é 360° / 100° = 3.6° por pulso
quando o encoder fornece saída de 100 pulsos por revolução. Portanto, quando um motor
pára, e a contagem de pulso é 25 para o dado ponto, este ponto é a posição 3.6° x 25° = 90° a
partir do índice zero.




                     Figura 4-26 Sinais das Fases A, B e o Índice Zero


                                             65
Figura 4-27 Detecção do Sinal do Índice Zero através de um Sensor

Resumo

  1. O índice zero deste sistema é ajustado mecanicamente. Entretanto, o índice zero pode
  ser ajustado para qualquer posição se um contador é usado.
  2. Os encoders são encontrados em máquinas de controle numérico computadorizado (CNC)
  para controlar velocidade e posição.

4-4    Aplicações do Sensor de Vibração

4-4-1 Transmissão e Recepção de Som Ultra-sônico

Objetivos

    Entender as características de um transdutor ultra-sônico e sensor ultra-sônico.
Experimentar os fundamentos da comunicação ultra-sônica.

Revisão da Teoria

      Na Figura 4-28, um circuito equivalente e as características de reatância de um transdutor
ultra-sônico são mostrados.




      (a) Circuito Equivalente         (b) Características de Reatância




               (c) Sensor de Transmissão              (d) Sensor de Recepção
                     Figura 4-28 Características do Sensor Ultra-sônico



                                              66
A saída do gerador da Unidade Sensora, que é usada como entrada para o transdutor, é
um sinal de onda quadrada. Entretanto, a forma de onda da saída de uma onda sonora é
senoidal. Aterrando a entrada de controle interrompe-se a geração de onda quadrada. Quando
um sinal de onda quadrada, como mostrado na Figura 4-29 (a), de um gerador de funções é
aplicado para a entrada de controle, um sinal ultra-sônico como mostrado na Figura 4-29 (b)
pode ser obtido. Tal sinal é usado nas unidades de controle remoto nas aplicações comerciais.




                                        Figura 4-29

    O ganho do amplificador do sensor é da ordem de 100, e medindo-se a saída do
amplificador, pode-se determinar a sensibilidade do sensor.

Equipamentos Necessários

  - Unidade Amp. OP OU-6801B: 1 peça
  - Fonte de Alimentação Simétrica (0 ~ ±20V): 1 peça
  - Unidade Sensora SU-6806B: 1 peça
  - Osciloscópio, traço duplo: 1 peça
  - Gerador de Funções: 1 peça
  - Freqüencímetro: 1 peça

Procedimento Experimental

  1. Mantenha a fonte de alimentação desligada. Faça as conexões de acordo com a Figura 4-
  30. Ajuste o osciloscópio para 40kHz, 0.1V/DIV.




                                        Figura 4-30


                                             67
2. Ajuste o gerador para 40kHz, e ligue a chave do amplificador do sensor.
3. Ligue a alimentação, e aproxime o módulo de transmissão para próximo da unidade sensora,
e verifique no osciloscópio o sinal recebido. Varie a distância entre o transmissor e o recep-
tor e meça a tensão de pico-a-pico observada no osciloscópio. Registre estes valores na
Figura 4-31 na coluna 40kHz. Explique a relação entre a amplitude do sinal e a distância.
      Frequência /
                          20kHz   25kHz   30kHz    40kHz   50kHz   60kHz   70kHz    80kHz
       Distância


                     cm



                     cm



                     cm



                     cm


                                            Figura 4-31

4. Fixe a distância entre o transmissor e o receptor. Varie a freqüência do gerador como
indicado na Figura 4-31, e meça a tensão pico-a-pico. Registre os valores.
5. Para uma dada distância, transmita um sinal ultra-sônico através de objetos de metal
assim como de madeira, e observe a diferença no sinal recebido. Assegure-se de que os
objetos sejam posicionados de maneira que o receptor receba a maior parte do sinal refletido.
Explique porque existe diferença entre o metal e a madeira.
6. Desligue a alimentação, e conecte o gerador de funções com impedância de saída de
50W à entrada de controle do circuito gerador como mostrado na Figura 4-32.




                                            Figura 4-32




                                                  68
7. Ajuste o gerador de funções para saída de onda quadrada de 100Hz com 15Vpp. Ajuste o
  CH-1 do osciloscópio para medida de 100Hz, 0.1Vpp e o CH-2 para 100Hz, 0.2Vpp.
  8. Ligue a alimentação e também ligue a chave do amplificador do sensor. Aproxime o módulo
  transmissor do sensor, e observe a forma de onda no osciloscópio. Compare a diferença
  entre as formas de onda do CH-1 e CH-2.

Resumo

  1. A sensibilidade de um sensor ultra-sônico é maximizado quando é operado na freqüência
  de ressonância do sensor.
  2. Um sinal sonoro ultra-sônico pode ser recebido através de transmissão direta assim
  como por reflexão em um objeto. Quando maior a densidade do objeto refletor, maior a
  intensidade do sinal refletido.
  3. Controladores remotos utilizam sinais ultra-sônicos em formato codificado.

4-4-2 Medida de Aceleração usando Sensor de Choque

Objetivos

    Medir a aceleração de um objeto em queda usando sensor de choque.

Revisão da Teoria

     Quando estiver usando um sensor de choque, fique atento para as características
direcionais do sensor. Além disso, a faixa segura de medida de choque é importante. Exceder
o limite da faixa pode danificar permanentemente o sensor.
     Dois tipos de sensores de choque são mostrados na Figura 4-33. Um deles, o acelerômetro
piezoelétrico é usado neste experimento. Como a aceleração devido a um choque é apenas
instantâneo, é necessário capturar a tensão de pico produzida pelo elemento piezoelétrico. Um
circuito detector de pico como mostrado na Figura 4-34 é usado para este propósito.




            (a) Aceleração Tipo Piezelétrico      (b) Tipo Bobina Móvel
                                          Figura 4-33




                                         Figura 4-34


                                             69
O capacitor C1 no circuito detector de pico é descarregado por uma chave de reset antes
de um pico de tensão ser aplicado à entrada do amplificador. Como uma entrada é aplicada a
entrada não inversora, a saída carrega o C1 através de D1. No caso de uma entrada maior ser
aplicada enquanto C1 ainda estiver carregado, C1 será carregado pelo pico da nova entrada. A
carga de C1 é mantida por pelo menos alguns minutos devido a alta impedância de entrada do
amplificador buffer, evitando que se descarregue rapidamente.

    A seguir é fornecido uma breve especificação do sensor de choque.

  - Saída a Aceleração 40G: 0.4Vpp / 56kW
  - Freqüência de Ressonância: 2kHz ~ 1kHz
  - Duração da Ressonância: 10ms ~ 30ms para alcançar 50% do valor de pico
  - Impedância Interna: 150kW à 2kHz
  - Faixa de Temperatura: -20°C ~ 60°C
  - Dimensões: 35 x 14 x 15mm

Equipamentos Necessários

  - Unidade Amp. OP OU-6801B: 1 peça
  - Fonte de Alimentação Simétrica (0 ~ ±20V): 1 peça
  - Unidade Sensora SU-6806B: 1 peça
  - Osciloscópio: 1 peça
  - Multímetro: 1 peça

Procedimento Experimental

  1. Mantenha a fonte de alimentação desligada, e faça as conexões conforme a Figura 4-35.
  Conecte o sensor de choque à Ext Inp da unidade sensora. Mantenha a chave do sensor em
  OFF.




                                        Figura 4-35

  2. Ajuste o osciloscópio para 0.2V/DIV e 10ms/DIV.
  3. Ligue a alimentação. Posicione o acelerômetro de tal modo que a seta aponte para baixo.


                                            70
Aplique um choque moderado batendo sobre a mesa suavemente. Deixe o sensor cair a
  uma altura de aproximadamente 5cm, e observe a forma de onda do CH-1 do osciloscópio.
  4. Ajuste a faixa de entrada do osciloscópio de tal modo que a forma de onda de choque é de
  aproximadamente 2 ~ 3cm no osciloscópio.
  5. Ajuste o multímetro que está conectado a saída do detector de pico em 10V DC. Pressione
  Reset para descarregar C1.
  6. Monte o sensor de choque no acessório 6800-10 com a orientação correta da seta. Deixe
  o sensor cair de diferentes alturas como indicados na tabela a seguir em uma superfície
  dura, e registre a tensão de pico na tabela. Examine os resultados. A tensão de pico é
  proporcional à altura?



                     Comprimento / Saída   2cm        4cm       6cm        8cm


                      Pico da Tensão de
                            Saída




Resumo

  1. Um sensor de choque ;é um dispositivo direcional.
  2. Um sensor de choque pode ser convertido em um acelerômetro.
  3. A performance de um sensor de choque varia dependendo de como é instalado.


4-5     Aplicações de Sensor de Gás

4-5-1 Detecção de Gás

Objetivos

      Entender as características dos sensores de gás e suas aplicações.

Revisão da Teoria

     Existem muitos tipos diferentes de gases. Alguns dos mais conhecidos devem ser o gases
hidrogênio, monóxido de carbono, LPG, LNG e metano. Quando executar experimentos com
gases, o usuário deve tomar os seguintes cuidados:

  - Os gases podem explodir em certas condições. Além disso, alguns gases são nocivos a
  saúde humana. É muito importante que os experimentos sejam executados apenas com
  acompanhamento de um instrutor.
  - As características dos gases variam devido a temperatura ou umidade ambiente. Portanto,
  quando uma medida precisa é necessária, o sistema de detecção deve possuir um circuito
  de compensação para a variação da temperatura e umidade. Como exemplo, o desvio da
  resistência do sensor devido a temperatura e umidade é mostrado na Figura 4-36.
  - Os sensores precisam de um tempo de aquecimento quando as partes internas tenham
  ficado desligadas por muito tempo. As constantes de tempo de aquecimento do TGS-813 e
  TGS-109 são mostradas na Figura 4-37 (a) e (b).




                                                 71
R: Resistência do Sensor em 1000ppm
                                                                                  de Metano no Ar
                                                           R0: Resistência do Sensor em 1000ppm
                                                             de Metano no Ar à 20ºC e RH de 65%




                                 Figura 4-36




                                 Figura 4-37




(a) Circuito de Compensação do                 (b) Circuito de Compensação
 Tempo de Aquecimento                          da Temperatura / Umidade

                                 Figura 4-38




                                     72
Equipamentos Necessários

  - Unidade Amp. OP OU-6801B: 1 peça
  - Fonte de Alimentação Simétrica (0 ~ ±20V): 1 peça
  - Unidade Sensora SU-6807B: 1 peça
  - Multímetro Analógico: 1 peça
  - Isqueiro a Gás (sem bateria ou pedra)

Procedimento Experimental

NOTAS: O gás usado no experimento é inflamável. Não aproxime nenhum tipo de chama, ou
objeto com chama. Tenha sempre o máximo de cuidado ao manipular um gás. Alguns gases
também são tóxicos.

  1. Prepare a fonte de alimentação (±15V) e mantenha-a desligada.
  2. Meça a resistência sobre os pinos 6 e 8, ou pinos 4 e 7, do sensor de gás na unidade
  sensora e registre o valor na Figura 4-40 na coluna Resistência do Sensor Não Condutivo.
  3. Conecte o pino 1 ao 2 assim a tensão do aquecedor pode ser aplicado ao aquecedor.
  Também conecte o multímetro (faixa R x 10kΩ) nos pinos 6 e 8.
  4. Ligue a fonte de alimentação. Imediatamente leia o valor da resistência, e registre na
  segunda coluna da Figura 4-40. Continue a medir a resistência a cada minuto e registre os
  valores nos espaços apropriados. No caso da resistência variar com o tempo, explique o
  porquê.




                                                 Figura 4-39




                                                                  Resistência do Sensor Depois de Ligar
          Resistência do Sensor     Resistência do Sensor
                Desligado         Imediatamente Após Ligar
                                                               Após 1 min      Após 2 min       Após 3 min




                                                 Figura 4-40



                                                       73
5. Desligue a alimentação e refaça a configuração conforme a Figura 4-41. Ajuste o multímetro
 para a faixa de 10V ~ 15V DC.




                                         Figura 4-41

 6. Ligue novamente a alimentação. Obtenha a leitura do multímetro a cada 1 minuto e registre
 os valores na linha Ar Limpo da Figura 4-42.



                                           Após 1 min   Após 2 min

                            Ar Limpo

                          LPG (ou LNG)

                           Recuperado




                                         Figura 4-42

 7. Usando o isqueiro sem bateria ou pedra, descarregue um pouco de gás sobre o sensor.
 Obtenha as leituras do multímetro novamente, e registre os valores na linha LPG (ou LNG)
 da Figura 4-42.
 8. Pare de descarregar o gás sobre o sensor. Elimine o gás ao redor do sensor rapidamente
 (menos de 10s) injetando ar limpo sobre o sensor, e obtenha a leitura do multímetro como
 nos passos anteriores. Registre o valor na linha Recuperado da Figura 4-42.

Resumo

 1. Quando um sensor de gás é ligado a partir do estado frio, permita que aqueça (pelo
 menos 2 minutos) para estabilização. Na Figura 4-38 (a) é mostrado um circuito que reduz
 ou até elimina este tempo de aquecimento.
 2. As características de um sensor de gás varia devido a temperatura e umidade ambiente.
 Portanto, para medidas precisas, um circuito como mostrado na Figura 4-38 (b) é necessário.
 3. Quando usar um sensor de gás, considere as diferentes características de resposta de
 um sensor. Veja a Figura 1-10 (b).
 4. Atenção especial é necessária quando calibrar um sensor.

                                              74
4-5-2 Alarme de Gás

Objetivos

     Para entender os princípios de operação de um dispositivo de alarme contra gás.

Revisão da Teoria

      Confiabilidade é o parâmetro mais crítico em um dispositivo de alarme contra gás. Além
disso, o dispositivo deve oferecer algum tipo de ajuste de sensibilidade, porque a densidade e
tipo de gás poderá variar. Na unidade sensora SU-6807B, o nível de alarme é classificado de 1
a 10 em passos de 1, e o usuário pode selecionar o passo desejado. O alarme é expresso em
som de áudio assim como em uma lâmpada. O tipo de sensor de gás usado é um sensor tipo
semicondutor.
      Na Figura 4-43, um tipo diferente de sensor é mostrado. Como pode ser visto na Figura 4-
43 (b), o circuito de detecção é um circuito ponte com duas bobinas. A bobina C não é exposta
diretamente à amostra de gás, enquanto que a bobina D tem contato direto com o gás. Portanto,
quando um gás existe, a resistência da bobina D varia, causando uma situação de
desbalanceamento na ponte.
      O sinal detectado pela ponte é alimentado para processamento em um amplificador
diferencial. Embora muitos sensores funcionem com a alimentação AC, a fonte DC é usada no
experimento para conveniência. A alimentação do aquecedor TGS-813 é de 5V e é fornecido
pela fonte de +15V. O nível de detecção pode ser reajustado pelo resistor variável na entrada do
diferencial.




             (a) Sensor Tipo Contato                    (b) Circuito Detector Ponte

                                          Figura 4-43

Equipamentos Necessários

  - Unidade Amp. OP OU-6801B: 1 peça
  - Fonte de Alimentação Simétrica (0 ~ ±20V): 1 peça
  - Unidade Sensora SU-6807B: 1 peça
  - Isqueiro sem bateria ou pedra

Procedimento Experimental

CAUTELA: Observe as regras de segurança na seção 4-5-1.

  1. Mantenha a fonte de alimentação desligada. Faça as conexões da unidade sensora
  conforme a Figura 4-44. Note as conexões no amplificador diferencial, comparador e circuito
  de alarme.



                                              75
Figura 4-44

  2. Ajuste o nível de alarme para o máximo (10), e ligue a alimentação. Verifique o indicador
  de nível. O indicador LED não deve estar ligado se o ar estiver limpo.
  3. Espere por pelo menos 2 minutos. Descarregue um pouco de gás do isqueiro sobre o
  sensor durante um pequeno tempo, e observe o indicador de nível. Verifique se o indicador
  de nível varia a indicação quando a densidade de gás aumenta.
  4. Pare de descarregar gás. Espere até que o indicador de nível mostre zero. Altere o nível
  de alarme para um valor entre 3 e 5. Repita o passo 3. Quando o alarme disparar, aumente
  o nível de alarme ou pressione a tecla Reset para parar o alarme.
  5. Ajuste o offset DC do comparador e observe a saída do comparador como função da
  densidade de gás.

Resumo

  1. A resistência do sensor de gás tipo semicondutor diminui quando a densidade do gás
  aumenta. Isto depende das características de cada gás. Portanto, a indicação de densidade
  de gás deve ser acompanhada de informações do tipo de gás que está sendo medido.
  2. Um sistema de alarme de gás requer essencialmente boa confiabilidade porque ele está
  trabalhando com a vida humana.


4-6     Aplicações de Sensor de Umidade

Objetivos

      Entender as características de um sensor de umidade e suas aplicações.

Revisão da Teoria

      Os seguintes parâmetros devem ser considerados quando utilizar um sensor de umidade.

  - Faixa do sensor de umidade
  - Precisão do sensor
  - Método do sensor

    Um sensor de umidade é um dispositivo relativamente lento com as características como
mostradas na Figura 4-45.




                                             76
(a) Características de Resposta                          (b) Dependência da
  do Sensor de Umidade                                     Temperatura do
                                                            Sensor de Umidade
                                         Figura 4-45


Principais Componentes de um Sensor de Umidade:

  - Gerador: O gerador interno ao sensor de umidade é um oscilador senoidal. A freqüência de
  saída varia pela alteração dos resistores na circuito que determina a freqüência. Por exemplo,
  aproximadamente 1000Hz é obtido do circuito da Figura 4-46 quando os resistores R1A e
  R2A são selecionados. Quando R1B e R2B são selecionados, a freqüência será 500Hz.
  - Retificador: Este é um retificador de precisão que usar um amplificador operacional, e
  detecta a variação no sinal AC causado pela alteração da umidade relativa (RH).
  - Circuito Amp. OP: Proporciona ganho de aproximadamente 6.9.
  - Amperímetro: Um amplificador logarítmico que drena o circuito medidor para indicar a
  informação de umidade relativa.

Equipamentos Necessários

  - Unidade Amp. OP OU-6801B: 1 peça
  - Fonte de Alimentação Simétrica (0 ~ ±20V): 1 peça
  - Multímetro Analógico: 1 peça
  - Termômetro: 1 peça
  - Medidor de Umidade Padrão (STD): 1 peça

Procedimento Experimental

  1. Mantenha a fonte desligada. Faça as conexões da unidade sensora conforme a Figura 4-
  46. Ajuste o multímetro para 10V DC.
  2. Ligue a alimentação, e espere pelo menos 1 minuto para aquecimento. Compare a leitura
  da umidade relativa da unidade sensora com o medidor padrão de umidade. No caso da
  unidade sensora não indicar o mesmo valor, ajuste CAL para corrigir.




                                              77
3. Faça as leituras do multímetro, temperatura e umidade (unidade sensora), e registre os
  valores na coluna Estado Natural da Figura 4-47.


                                          Estado Natural        Umidade de 50%   Umidade de 80%


                 Temperatura Ambiente


                indicação do Multímetro

                 indicação de Umidade
                      do SU-6808

                Indicação de Umidade
                em um Medidor Padrão




                                                  Figura 4-47

  4. Aproxime o medidor de umidade da unidade sensora, e pulverize umidade até que o
  medidor indique aproximadamente 50% de umidade. Obtenha as mesmas leituras do passo
  3, e registre os valores na coluna 50% RH.
  5. Repita o passo 4 para 80% RH.
  6. Dos dados obtidos, discuta a causa do erro envolvido na unidade sensora.
  7. A partir dos dados da Figura 4-47, explique porque a taxa de variação na leitura do medidor
  é diferente da leitura do multímetro e do sensor de umidade.

Resumo

  1. A seguir estão as principais causas de erro no sensor de umidade.
       a. Variação nas características no elemento sensor
       b. Tolerância do circuito de compensação de temperatura
       c. Erro devido a não linearidade do circuito medidor
       d. Tolerância incorporada dos componentes utilizados

      Os itens a e d podem ser corrigidos na maioria das vezes com a calibração.

  2. A taxa de variação na resistência de um sensor de umidade tipo semicondutor não é
  linear. Portanto, este tipo de dispositivo requer um amplificador compensador.


4-7     Sensores de Pressão, Proximidade e Força Magnética

4-7-1 Detecção de Pressão

Objetivos

     Estudar a características de um sensor de pressão tipo semicondutor e um circuito chave
de pressão eletrônico.

Revisão da Teoria

     A célula de carga em uma balança eletrônica é essencialmente um sensor de pressão. O
interesse principal nesta seção é um sensor de pressão tipo semicondutor que é usado na
medida de pressão de gases. Para ter alguma idéia sobre magnitude de pressão, vamos
observar a pressão que um ser humano pode gerar. Se uma pessoa adulta com capacidade
respiratória de 4000 assopre ar através em um tubo que possui seção com área de 1cm2, a
pressão desenvolvida deve ser algo em torno de 200 ~ 250 g/cm2.


                                                           78
(1) Principais Características do Sensor da Unidade Sensora

  - Faixa de Medida de Pressão: 0 ~ 1kg/cm2
  - Máxima Pressão: Duas vezes a faixa de medida
  - Saída: Aproximadamente 1 ~ 5V (saída analógica)
  - Gases Detectáveis: Gases não corrosivos
  - Precisão da Detecção: Menos que 3% do fundo de escala
  - Características de Histerese: Menos que 2% na pressão especificada (saída ON/OFF)
  - Saída Pré-ajustada de Pressão: 1 ponto (saída de ponta ON/OFF)
  - Dimensões: 25(L) x 30(A) x 55(C)mm

(2) Considerações no Uso do Sensor de Pressão

  - Não aplique pressão que exceda a especificação. A saída de ponto ON/OFF é ajustada
  para 1kg/cm2, que é a máxima pressão que pode conseguir. Portanto, quando o LED indicador
  Det acender, não aplique mais pressão. Além disso, não altere o ajuste de pressão máxima.
  - A saída do sensor é um sinal analógico. A saída do ponto ON/OFF é usada para drenar o
  LED Det.
  - Assegure-se de que nenhum outro objeto a não ser ar entre na entrada de pressão.
  - Utilize somente o compressor manual fornecido com o sistema para gerar a pressão. Não
  utilize nenhum outro compressor com o sistema ED-6800B.
  - Feche a abertura do sensor quando não estiver em uso.

(3) Construção do Sensor




                                       Figura 4-48




                                       Figura 4-49




                                           79
Equipamentos Necessários

  - Unidade Amp. OP OU-6801B: 1 peça
  - Unidade Sensora SU-6809: 1 peça
  - Multímetro Analógico: 1 peça
  - Compressor Manual: 1 peça

Procedimento Experimental

  1. Com a Unidade Amp. OP desligada, configure os equipamentos como mostrado na Figura
  4-50. Remova a tampa da entrada de pressão do sensor e conecte o compressor manual.
  2. Mantenha as três chaves sensoras assim como a chave do motor em OFF, e ajuste o
  multímetro para 15V DC. Ligue a Unidade Amp. OP. Ajuste a polarização DC OFFSET BIAS
  para a posição 0.
  3. Abra o respiro do sensor de pressão para que não exista pressão no compressor manual.
  Ligue a alimentação do sensor de pressão.
  4. Comprima o ar usando o compressor manual até que a saída analógica do sensor de 3V
  seja indicada pelo multímetro.
  5. Verifique o LED + da saída do comparador. Deve estar aceso. Ajuste a polarização para
  +15V para acender o LED - .
  6. Aumente a pressão com o compressor manual. Quando a pressão é aumentada, o
  indicador LED voltará para o +.

NOTA: Note que a entrada é aplicada a entrada não inversora, e a referência é aplicada a
entrada inversora do comparador. Portanto, o LED + acenderá somente quando a entrada é
maior que a referência. Caso contrário, o LED - acenderá.




                                       Figura 4-50



                                           80
Figura 4-51

Resumo

  1. A precisão das medidas da Figura 4-51 pode ser avaliada usando um medidor de pressão
  preciso. Neste caso, o medidor de pressão e o sensor são acoplados em paralelo através
  do acoplador T.
  2. A pressão detectada pode ser avaliada com relação a pressão de referência. O resultado
  da comparação pode ser usado para corrigir automaticamente a pressão do sistema, ou
  para disparar um alarme.


4-7-2 Detecção de Proximidade

Objetivos

    Examinar a operação da chave de proximidade e sua resposta em freqüência.

Revisão da Teoria

     Uma chave de proximidade detecta a presença de um objeto e gera um sinal sem ter
contato direto com o objeto. De maneira geral, uma foto chave e uma chave sensora ultra-
sônica podem ser consideradas como chaves de proximidade. Uma chave de proximidade
pode ser classificada como tipo oscilação, ou como tipo de indução. Uma outra maneira de
classificar uma chave de proximidade é como tipo capacitivo ou tipo de indutância.

    A seguir é fornecido um resumo das especificações do sensor usado neste experimento.
Unidade Sensora SU-6809:

  - Distância de Detecção: 5mm
  - Tamanho do Objeto Detectável: Mínimo 25 x 25 x 1mm
  - Material Detectável: Material magnético. A distância de detecção diminuirá para um mate-
  rial não magnético.
  - Resposta em Freqüência: 500Hz
  - Histerese: Menos que 10% da distância de detecção típica
  - Tensão de Entrada: 12V ~ 24V DC
  - Corrente de Saída: 200mA DC Máximo
  - Dimensões: 17(L) x 17(A) x 35(P)mm

Considerações no Uso de um Sensor de Proximidade




                                            81
- A faixa de detecção diminui quando o objeto a detectar torna-se menor. No caso do objeto
  ser muito pequeno, não é possível detectá-lo.
  - Quando outros objetos metálicos estão próximos ao objeto a detectar, a probabilidade de
  uma detecção errônea aumenta. Além disso, a sensibilidade da detecção torna-se pior.
  - Quando instalar um sensor de proximidade, evite colocar em local com ruído elétrico ou
  sinais de interferência. No caso da saída ser DC, faça uma blindagem contra ruído da saída.
  - Para uma área com alta umidade ou mudança severa de temperatura, considere a redução
  da faixa de detecção.




                                        Figura 4-52

Equipamentos Necessários

  - Unidade Sensora SU-6809: 1 peça
  - OU-6801B ou CU-6802: 1 peça
  - Freqüencímetro: 1 peça

Procedimento Experimental

  1. Com a alimentação desligada, faça as conexões como indicado na Figura 4-53. Mantenha
  a chave do motor assim como três chaves sensora em OFF.
  2. Ajuste a velocidade do motor (SPEED) para 0, e ligue a chave de proximidade.




                                        Figura 4-53

  3. Coloque o objeto a ser detectado próximo a borda do disco rotativo, e ligue o motor. Gire
  o knob SPEED lentamente no sentido horário, e verifique se o LED Det acende quando os
  objetos passam pelo sensor de proximidade. Para que tipo de objeto o LED acende?
  4. Pare o motor quando o objeto de ferro alinhar-se com o sensor de proximidade. Aumente
  a distância entre o objeto e o sensor, e encontre a máxima distância de detecção.


                                             82
Resumo

  1. Deve ser considerado na escolha do sensor de proximidade que a faixa de detecção do
  sensor varia dependendo do tipo de material, tamanho do objeto e velocidade do movimento
  do objeto.

4-7-3 Detecção de Campo Magnético usando Sensor de Efeito Hall

Objetos

    Entender o princípio de operação e as aplicações do sensor Hall.

Revisão da Teoria

     Refira-se aos sensores magnéticos na introdução da seção 1.
     A saída de um sensor Hall pode ser processada para indicar a presença ou não de um
campo magnético, ou indicar a magnitude do campo. Ambas as aplicações são detalhadas
nesta seção.

1. Especificações do Sensor

  - Tipo: THS119
  - Material: GaAs
  - Tensão de Hall: 55mV ~ 140mV (5mA, 1kG)
  - Resistência de Entrada: 450Ω ~ 900Ω
  - Linearidade: 2% máximo
  - Coeficiente de Temperatura da Tensão de Hall: -0.06% / °C máximo
  - Corrente Máxima: 10mA

2. Esquema Interno do Sensor Hall SU-6809 é mostrado na Figura 4-54




                          Figura 4-54 Esquema do Sensor Hall

     As fontes de +15V e -15V são conectadas ao sensor através de resistores de 2W
krespectivamente. Portanto, quando a resistência do sensor interno for 750Ω, a corrente
fornecida deve ser:


                                            83
30[V]
                                  IC =   (2+2+0.75)[kOhms] ~6.3[mA]


  - U1 serve como buffer entre o sensor e a próximo estágio amplificador.
  - U2A é o amplificador de tensão Hall com ganho de tensão dado a seguir, e U2B serve
  como um buffer de saída.

                                                R7
                                         AV =   R5   = 500


  - U3 é um comparador para drenar os LEDs. As entradas de referência, A e B, são ajustadas
  para +2V. Como o ganho do amplificador de tensão é 500, o LED1 acenderá quando a
  tensão Hall, VH, exceder 2/500=4mV. Se a saída do sensor Hall é 100mV/kG, o campo
  magnético detectável que acenderá o LED é 2/100kG=20Gauss.

Equipamentos Necessários

  - Unidade Sensora SU-6809: 1 peça
  - OU-6801B: 1 peça
  - Fonte de Alimentação Simétrica (0 ~ ±20V): 1 peça
  - Multímetro Digital: 1 peça
  - Barra Magnética: 1 peça

Procedimento Experimental

  1. Com a alimentação do OU-6801B e a fonte de alimentação desligadas, faça as conexões
  como mostrado na Figura 4-55. Ajuste o multímetro para a faixa 20V DC. Mantenha todas as
  chaves, a chave do motor e as três chaves sensoras na posição OFF.
  2. Ligue a alimentação do OU-6801B e a fonte de alimentação.
  3. Ajuste a velocidade do motor para o mínimo (0), e ligue somente o sensor Hall.
  4. Coloque os objetos a detectar na borda do disco rotativo e ligue o motor. Gire o knob
  SPEED lentamente no sentido horário, e observe o momento que o LED acende. Explique
  que tipo de material faz com que o LED acende.
  5. Pare o disco quando o LED acender, e meça a tensão de saída.




                                         Figura 4-55

  6. Alinhe um ímã com o sensor Hall. Varie a distância entre o ímã e o sensor, e meça a
  tensão de saída a cada distância especificada na tabela a seguir. Caso necessário, retire o
  ímã do disco para conseguir a distância.


                                                84
Distância (mm)    3         6          9       12        15

                   Saída (V)




  7. Repita o passo 6 com uma barra magnética. Inverta a polaridade da barra relativa ao
  sensor, e observe a variação da saída.

Resumo

    Um sensor Hall fornece uma saída proporcional a magnitude do campo. Um sensor Hall
detecta não somente a presença de campo magnético, mas também a direção do campo.


4-8     Aplicações de Chave Sensora

4-8-1 Chaves Reed

Objetivos

      Entender as características da chave reed e suas aplicações.

Revisão da Teoria

     Refira-se a seção 1-10-1 para a estrutura básica de uma chave reed.
     A corrente de contato de uma chave reed está na faixa de 50mA ~ 500mA. Como o
fechamento do contato de uma chave reed não é executada por uma força mecânica forte,
mas por um campo magnético, muita corrente através do contato não é apropriado.

      Uma das vantagens da chave reed é a operação silenciosa sem comutação de contato.
Além disso, alta velocidade de operação é possível sem efeitos secundários. Como o contato
reed é colocado dentro de um recipiente com vácuo ou um gás, a vida do contato é extremamente
alta.

     A seguir é fornecido as especificações típicas de uma chave reed:
  - Corrente de Contato: 100mA DC máximo
  - Tensão ON / OFF de Contato: Menos que 28V DC ou 50V AC
  - Resistência de Contato: 150mΩ Máximo
  - Dimensões (Tubo de Vidro): 16mm comprimento x 3mm diâmetro

Equipamentos Necessários

  - Fonte de Alimentação Simétrica (0 ~ ±20V): 1 peça
  - Unidade Sensora SU-6810: 1 peça
  - Multímetro: 1 peça

Procedimento Experimental

  1. Com a unidade desligada, faça as conexões como mostrado na Figura 4-56. Ajuste o
  multímetro para a faixa R x 10.




                                             85
Figura 4-56

 2. Ligue a alimentação, e ajuste a velocidade através do controle localizado no canto esquerdo
 inferior da unidade sensora para a posição central.
 3. Usando as chaves CW e CCW, confirme a operação liga / desliga da chave reed. Ajuste
 a distância entre a chave reed e o ímã. Determine a máxima distância operacional entre o
 contato e o ímã.
 4. Investigue a máxima distância operacional com o ímã girado em 90 graus relativamente à
 chave, como mostrado na Figura 4-57 (b). No caso de existir diferença na distância máxima
 operacional entre o passo 3 e o passo 4, explique o porquê.




             (a) Operação Normal                           (b) Rotação de 90°

          Figura 4-57 Duas Orientações Diferentes entre a Chave Reed e o Ímã

Resumo

 1. A sensibilidade da chave reed depende da magnitude do campo magnético. Por causa da
 tolerância na máxima distância absoluta de operação, é recomendado que a operação seja
 efetuada a metade da distância máxima.
 2. Quando usar uma chave reed, fique atento para a orientação correta entre a chave e o
 ímã na Figura 4-58.




                                        Figura 4-58



                                             86
4-8-2 Chaves de Mercúrio

Objetivos

    Examinar as aplicações de uma chave de mercúrio.

Revisão da Teoria

     Uma chave de mercúrio faz uso de uma propriedade que o elemento mercúrio possui -
sua boa condutividade elétrica e alta tensão superficial. Uma certa quantia de mercúrio é
colocada dentro de um tubo de vidro com dois contatos metálicos separados um do outro.
Quando o tubo estiver em nível, o mercúrio forma uma ponte entre os dois pontos metálicos.
Entretanto, quando o tubo estiver inclinado, o mercúrio desloca-se para um dos lados e os dois
pontos metálicos não permanecem mais eletricamente conectados. A chaves de mercúrio
são usadas em aplicações de controle de nível, e como termostato na parede. O contato de
mercúrio é pequeno em tamanho, mas pode drenar uma quantia alta de corrente.

Equipamentos Necessários

  - Unidade Sensora SU-6810: 1 peça
  - Multímetro: 1 peça

Procedimento Experimental

  1. Retire a chave de mercúrio cuidadosamente da unidade sensora. Usando um multímetro,
  experimente a operação ON / OFF da chave de mercúrio.
  2. Quando a experiência tiver sido executada, assegure-se de que a chave seja
  adequadamente instalada na unidade sensora.

Resumo

  1. Quando fixar a chave de mercúrio em uma estrutura, assegure-se de não existir choque
  ou vibração na chave.
  2. Chaves de mercúrio são disponíveis em várias configurações de contato - simples ou
  múltiplas.

4-8-3 Chaves de Limite

Objetivos

    Examinar as características de uma chave de limite.

Revisão da Teoria

     Como existem diferentes tipos de chaves de limite, é importante que o tipo correto seja
selecionado para a dada aplicação. Alguns dos tipos diferentes de chaves de limite são
mostrados na Figura 4-59.
Equipamentos Necessários

  - Fonte de Alimentação Simétrica (0 ~ ±20V): 1 peça
  - Unidade Sensora SU-6810: 1 peça
  - Multímetro: 1 peça

Procedimento Experimental




                                             87
1. Com a alimentação desligada, faça as conexões mostradas na Figura 4-60. Ajuste a faixa
do multímetro para R x 10.
2. Ligue a alimentação, e ajuste a velocidade no controle do canto esquerdo inferior para a
posição central.
3. Pressione as chaves CW ou CCW, e observe a chave de limite sendo acionada e
desacionada.




   (a) Alavanca              (b) Êmbolo        (c) Haste Variável      (d) Rolamento
       com Rolamento                              com Rolamento            BI-direcional

                        Figura 4-59 Tipos de Chaves de Limite




                                      Figura 4-60

4. Um estado natural (não pressionado) da chave de limite é mostrada na Figura 4-61. Da
experiência do passo 3, preencha os espaços em branco com NC, NO e COM.




                                          88
Figura 4-61

Resumo

 1. Embora as chaves de limite sejam na verdade iguais as outras chaves mecânicas, as
 chaves limite são usadas para estabelecer os controles de movimento para as partes em
 movimento, ajustando os pontos limite de um sistema.
 2. As chaves de limite são usadas algumas vezes como chaves de intertravamento para
 aplicações de segurança. Portanto, as chaves de limite requerem boa confiabilidade.




                                         89
Minipa Indústria e Comércio Ltda.
Alameda dos Tupinás, 33 - Planalto Paulista - São Paulo - SP
                CNPJ: 43.743.749/0001-31
        Fone: (11) 5078-1850 - Fax: (11) 577-4766
             Site: http://www.minipa.com.br
             E-mail: minipa@minipa.com.br

Lab

  • 1.
    SISTEMA DE TREINAMENTOEM SENSORES MANUAL DE EXPERIÊNCIAS ED-6800B
  • 2.
    SISTEMA DE TREINAMENTOEM SENSORES MANUAL DE EXPERIÊNCIAS ED-6800B 1
  • 3.
    ÍNDICE Seção 1 -Características dos Sensores 1-1 Sensores de Temperatura .......................................................................... 06 1-1-1 Termopares ....................................................................................... 06 1-1-2 Termistores ....................................................................................... 06 1-1-3 Semicondutores de Junção P-N ....................................................... 08 1-2 Foto Sensores ............................................................................................ 08 1-2-1 LEDs e Foto Transistores ................................................................. 09 1-2-2 CdS e Células Solares...................................................................... 09 1-3 Sensores de Rotação ................................................................................ 10 1-3-1 Encoder Tipo Magnético .................................................................... 10 1-3-2 Encoder Tipo Ótico ........................................................................... 11 1-4 Sensores de Vibração ................................................................................ 12 1-4-1 Sensor Ultra-sônico .......................................................................... 12 1-4-2 Sensor de Vibração .......................................................................... 13 1-5 Sensores de Gás ....................................................................................... 13 1-6 Sensores de Umidade ................................................................................ 14 1-7 Sensores de Pressão ................................................................................ 15 1-8 Sensores de Proximidade .......................................................................... 16 1-8-1 Tipos e Características ..................................................................... 16 1-8-2 Considerações no Uso de Sensores de Proximidade ...................... 18 1-9 Sensores de efeito Hall .............................................................................. 19 1-10 Chaves Sensoras ...................................................................................... 20 1-10-1 Chave Reed .................................................................................... 20 1-10-2 Chave de Mercúrio .......................................................................... 21 1-10-3 Chave de Limite .............................................................................. 21 Seção 2 - Circuitos de Processamento das Saídas dos Sensores 2-1 Circuitos com Amplificadores Operacionais .............................................. 23 2-1-1 Amplificadores Inversores e Não Inversores ..................................... 23 2-1-2 Offset da Saída DC ........................................................................... 24 2-1-3 Amplificador Diferencial .................................................................... 25 2-1-4 Comparador ...................................................................................... 26 2-2 Circuitos Ponte ........................................................................................... 26 2-3 Conversores A/D e D/A .............................................................................. 28 2-3-1 Conversor A/D .................................................................................. 28 2-3-2 Conversor D/A .................................................................................. 32 2
  • 4.
    Seção 3 -Introdução do Sistema ED-6800B 3-1 Informação Geral sobre ED-6800B ................................................................ 34 3-1-1 Especificações ..................................................................................... 34 3-1-2 Características do Sensor .................................................................... 37 3-2 Informação Operacional ................................................................................. 39 3-2-1 Cautela .................................................................................................. 39 3-2-2 Unidades Sensora e Controles do Painel ............................................. 39 Seção 4 - Experimentos com Sensores 4-1 Experimentos de Aplicação de Sensor de Temperatura ................................ 46 4-1-1 Detecção da Saída de Termopar .......................................................... 46 4-1-2 Detecção da Saída de Termistor ........................................................... 49 4-1-3 Conversão Analógica para Digital de Dado ........................................... 52 4-2 Aplicação de Foto Sensores .......................................................................... 54 4-2-1 LEDs e Foto Sensores ......................................................................... 54 4-2-2 Foto Chaves CdS e Foto Acopladores ................................................. 57 4-3 Aplicações de Encoder de Rotação ............................................................... 60 4-3-1 Detecção de Velocidade e Direção de Rotação ................................... 60 4-3-2 Detecção de RPM e Posição Angular ................................................... 65 4-4 Aplicações do Sensor de Vibração ................................................................ 66 4-4-1 Transmissão e Recepção de Som Ultra-sônico ................................... 66 4-4-2 Medida de Aceleração usando Sensor de Choque ............................... 69 4-5 Aplicações de Sensor de Gás ........................................................................ 71 4-5-1 Detecção de Gás .................................................................................. 71 4-5-2 Alarme de Gás ...................................................................................... 75 4-6 Aplicações de Sensor de Umidade ................................................................ 76 4-7 Sensores de Pressão, Proximidade e Força Magnética ................................ 78 4-7-1 Detecção de Pressão ........................................................................... 78 4-7-2 Detecção de Proximidade ..................................................................... 81 4-7-3 Detecção de Campo Magnético usando Sensor de Efeito Hall ............ 83 4-8 Aplicações de Chave Sensora ....................................................................... 85 4-8-1 Chaves Reed ........................................................................................ 85 4-8-2 Chaves de Mercúrio .............................................................................. 87 4-8-3 Chaves de Limite .................................................................................. 87 3
  • 5.
    Seção 1 Características dos Sensores Um sensor ou um dispositivo de captação é um transdutor que converte um parâmetro físico, tal como calor, luz ou movimento de um ponto de teste para uma forma adequada para medida através do instrumento de medida. Na maioria dos casos, a conversão das saídas do sensor é feita em alguns tipos de sinais elétricos. Portanto, é natural esperar que existem circuitos eletrônicos envolvidos com o processamento dos sinais dos sensores. Existem vários tipos diferentes de sensores sendo utilizados na indústria. Além disso, novos tipos de sensores estão sendo desenvolvidos. Os sensores são elementos chaves em qualquer tipo de sistema de controle, automático ou manual. Em geral, um sensor pode ser identificado como um sensor ativo ou passivo, dependendo se o sensor necessita ou não de uma alimentação, além do sinal a ser medido. O Sistema de Treinamento em Sensores ED-6800B reúne todos os tipos de sensores disponíveis na indústria e apresenta-os aos usuários através de teorias básicas, e experimentos aplicativos práticos e compreensivos. A maneira como os materiais são apresentados neste manual devem ser facilmente compreendidos e seguidos. Além disso, uma seção separada, Seção 2, é dedicada ao detalhamento dos circuitos eletrônicos que são especialmente envolvidos com o processamento dos sinais de saída dos sensores para o próximo estágio. O Sistema de Treinamento em Sensores ED-6800B consiste de vários componentes principais como mostrados a seguir. Unidades Principais: 4
  • 6.
    Acessórios Unidades Sensoras Sistema ED-6800B Completo 5
  • 7.
    1-1 Sensores de Temperatura 1-1-1 Termopares Teoria Um termopar é um par de diferentes condutores unidos em dois pontos. Uma força elétrica, com amplitude tipicamente em milivolts, é produzida na junção devido a efeitos termo-elétricos quando as junções estão a certa temperatura. Um exemplo de par de condutores termopares pode ser a combinação de cobre e constantano. Cada combinação única de materiais precisa de uma tabela de conversão para converter as leituras de milivolts para temperaturas absolutas. Uma construção típica e o conceito dos efeitos termo-elétricos são mostrados na Figura 1-1. (a) (b) Figura 1-1 Construção Típica de um Termopar e o Conceito dos Efeitos Termo-elétricos Características Pequeno no tamanho, oferece uma ampla faixa de medida de temperatura, até várias centenas de °C. Quando converter milivolts para graus, assegure-se de que não exista confusão entre temperatura absoluta e aumento de temperatura. Uso Principalmente aplicações industriais. 1-1-2 Termistores Teoria A condutividade de materiais semicondutores varia significantemente com a temperatura. Embora tal variação é, em geral, uma limitação do uso de dispositivos semicondutores em alguns circuitos, esta propriedade dos semicondutores oferece utilidade em medidas de temperatura. Um termistor é um componente eletrônico cuja resistência elétrica depende da característica condutividade versus temperatura do semicondutor. Dois tipos de termistores estão disponíveis dependendo da direção da variação da resistividade: - Tipo NTC (Coeficiente de Temperatura Negativa): A resistência de um termistor NTC diminui quando a temperatura aumenta. 6
  • 8.
    - Tipo PTC(Coeficiente de Temperatura Positivo): A resistência de um termistor PTC aumenta quando a temperatura aumenta. A resistência de um dispositivo NTC como uma função da temperatura é expressa como a seguir: 1 1 R = R 0 e B( T − T 0 ) Onde: T = temperatura absoluta (K) T0 = temperatura inicial (K) R0 = resistência em T0 B = constante do termistor Da equação acima, o coeficiente resistência - temperatura é definido como: a = R . dR = − T2 1 dT B Deve ser notado que a resistência é inversamente proporcional ao quadrado da temperatura. Características As curvas características dos termistores NTC e PTC são mostradas na Figura 1-2. Devido ao fato dos termistores dissiparem calor, a especificação de potência do termistor deve ser considerada quando da escolha de um termistor. Potências típicas estão na faixa de algumas dezenas de miliwatts a alguns watts. (a) (b) Figura 1-2 Termistor Uso Os termistores são usados em circuitos eletrônicos como elementos de compensação de temperatura. Os termistores PTC também são encontrados em circuitos de controle automático de temperatura como uma fonte de calor controlada. 7
  • 9.
    1-1-3 Semicondutores deJunção P-N Teoria As características de um dispositivo de junção P-N variam como um função da temperatura. Por exemplo, a corrente de emissor IE de um transistor é expressa como a seguir: qVBE I E = I S (e KT − 1) Onde: IS = corrente de saturação determinado pela temperatura da junção q = carga de um elétron (= 1.6 x 10-19 Coulomb) K = constante de Boltzmann (= 1.38 x 10-23 J/K) VBE = tensão direta base para emissor T = temperatura absoluta (K) A equação acima implica na relação não linear entre a condutividade e a temperatura do transistor. A Figura 1-3 mostra a estrutura interna de um sensor de temperatura de junção P-N. (a) (b) Figura 1-3 Sensor de Temperatura de Junção P-N Características Pequeno no tamanho, mas um sensor de temperatura de precisão. Resposta rápida. As características de não linearidade devem ser compensadas pelo uso um amplificador operacional apropriado. Faixa de medida relativamente estreita: 0 ~ 120°C. Uso Propósito geral. Algumas vezes para instrumentação médica. 1-2 Foto Sensores Os foto sensores respondem a incidência de energia luminosa, e produzem um sinal elétrico como resultado. A intensidade de um sinal de saída é proporcional a intensidade da luz. Alguns foto sensores possuem incorporados transmissores e receptores de luz. Os foto sensores podem ser classificados em termos do sensor ótico, infravermelho ou laser dependendo dos comprimentos de onda utilizados. 8
  • 10.
    1-2-1 LEDs eFoto Transistores Teoria Na Figura 1-4, duas técnicas diferentes de detecção de um objeto são mostradas. No primeiro método, Figura 1-4 (a), o sinal de luz transmitida a partir da fonte é interrompida pelo objeto. Portanto, a detecção de um objeto é representada pela não existência da energia luminosa no receptor ( foto transistor). De modo oposto, o segundo método é baseado na existência do sinal de luz na extremidade receptora. Na Figura 1-4 (c), a fonte de luz e o receptor são posicionados de tal modo que a partir da reflexão no objeto, a luz alcance o receptor. (a) (b) (c) Figura 1-4 Detecção de um Objeto usando Foto Sensor Características Sensores infravermelho ou laser são mais preferidos do que os sensores que trabalham com espectros de luz visíveis, devido a performance superior dos sinais infravermelho ou laser na presença de luz visível não desejada. Algumas vezes, a modulação de pulso com uma detecção sincronizada é usada quando uma aplicação não pode tolerar nenhum erro. O método (b) acima é mais fácil de se configurar do que o método (c). Entretanto, o método (c) oferece melhor sensibilidade de distância com relação ao método (b). Em geral, os foto sensores são menos sensíveis a temperatura ambiente. Entretanto, eles são mais sensíveis a sujeira e vibração mecânica. Uso Foto sensores são usados em chaves de proximidade, e na detecção de um objeto em movimento. Os foto sensores também são usados nas medidas de distância. 1-2-2 CdS e Células Solares Teoria Células CdS e Solar são usadas para detectar a intensidade de energia luminosa. Quando uma aplicação precisa capturar imagens, um Videocon ou um dispositivo CCD pode ser usado como foto sensor. Estes dispositivos são mais freqüentemente encontrados em câmeras de vídeo. Mais informações sobre Células CdS e Solar são dadas na Figura 1-5. Características Células CdS são disponíveis nas potências de algumas dezenas de miliwatts a alguns watts. Algumas vezes este nível de potência é alto o bastante para que os sinais detectados possam drenar um relê diretamente. 9
  • 11.
    (b) CdS (a) CdS / Célula Solar (b) Célula Solar Figura 1-5 Células CdS e Solar como Foto Sensores Os ingredientes básicos das células solar são silício e gálio de alta pureza. A eficiência de energia típica de uma célula solar é de cerca de 7 ~ 15%, e a densidade de potência é de aproximadamente 100mW/cm2. Uso As células CdS são encontradas em chaves de controle automáticas na iluminação de ruas. Outras áreas de aplicações são como foto chaves em dispositivos de medida de intensidade luminosa assim como em controladores de iluminação interiores automáticos. 1-3 Sensores de Rotação Encoders de rotação são usados tanto na detecção de posição angular de um disco rotativo, como para ler a velocidade angular (em RPM) de um objeto em rotação. A detecção de um movimento rotativo é feito por vários métodos diferentes: contato, magnético ou ótico. Os tipos magnético ou ótico de detectores são discutidos nesta seção. 1-3-1 Encoder Tipo Magnético Teoria Como mostrado na Figura 1-6 (b), um encoder rotativo tipo magnético faz uso de um sensor Hall e um tambor magnético. O tambor magnético possui um certo número de pequenos ímãs colocados numa certa ordem. O sensor Hall está localizado próximo ao tambor. Quando o tambor gira, e os campos magnéticos dos pólos N- e S- do ímã passam pelo sensor Hall, a resistência do sensor Hall varia e a variação é detectada, indicando que o tambor está em movimento de rotação. Algumas vezes, este tipo de sistema é projetado para incluir sinais de fase para determinar a direção de rotação também. Características O sensor Hall é sensível as variações de temperatura. Portanto, um circuito de detecção necessita possuir um amplificador diferencial, ou um circuito ponte. A vantagem deste tipo de encoder é a durabilidade versus a vibração mecânica, além da performance superior em alta velocidade. Além disso, enquadra-se bem em circuitos de servo controle do tipo digital porque a saída é normalmente digital. 10
  • 12.
    Uso Detecção de velocidade de servo motores AC / DC. Medidas de RPM de motores em geral. (a) (b) Figura 1-6 Encoder Rotativo Tipo Magnético 1-3-2 Encoder Tipo Ótico Teoria Um encoder rotativo ótico é um disco com um certo número de pequenos cortes retângulos colocados ao redor do disco como mostrado na Figura 1-7. A luz emitida pela fonte é recebida pelo sensor através do corte retângulo somente quando o corte está alinhado com a fonte e o sensor. Um pulso é gerado quando a luz alcança o receptor. Como o disco gira, a velocidade de rotação é interpretada pelo número de pulsos que ocorrem por minuto ou segundo. Portanto, é óbvio que quando mais cortes no disco, a resolução da leitura de velocidade é melhor. Entretanto, a contagem de pulso não transporta nenhuma informação relacionada a direção de rotação. Tal informação é usualmente proporcionada por um outro sinal no encoder. (a) (b) Figura 1-7 Encoder Rotativo Ótico Características Encoders óticos rotativos não são muito sensíveis a temperatura ou vibração mecânica. O disco é leve, e portanto, ele pode começar a girar e parar sem atraso. Isto minimiza erros nos dados. Além disso, é fácil girar o disco. 11
  • 13.
    Uso Detecção de velocidade e posição de pequenos motores DC e máquinas rotativas. 1-4 Sensores de Vibração Qualquer dispositivo que responda a vibração e produza um sinal que possa ser utilizado é considerado como sensor de vibração. Por exemplo, um microfone e um transreceptor ultra- sônico são sensores de vibração. Devido ao fato do ouvido humano não poder responder ao sinal ultra-sônico, um sensor ultra-sônico é vantajoso quando a interferência de sinais audíveis torna-se um problema. Por outro lado, um sensor sísmico que responde a freqüências muito baixas de um terremoto é também um sensor de vibração. 1-4-1 Sensor Ultra-sônico Teoria A estrutura interna e um circuito equivalente de um sensor ultra-sônico é mostrado na Figura 1-8. Os elementos vibrantes são feitos de duas placas finas. Estas placas podem ser tanto elementos piezoelétricos como a combinação de um piezoelétrico e uma placa de metal. Estas placas começam a vibrar quando um sinal elétrico com uma freqüência próxima a freqüência característica do elemento piezoelétrico é aplicada as placas. Como as placas vibram, a energia é propagada através da tela. O processo de recepção é o oposto do processo de transmissão. Quando um sinal sonoro ultra-sônico atinge o elemento piezoelétrico, o elemento gera um sinal elétrico que é idêntico à freqüência do sinal recebido. A faixa de freqüência típica da operação de um sensor ultra- sônico é de 38kHz ~ 45kHz. (a) (b) (c) Figura 1-8 Um Sensor Ultra-sônico Características Sinais ultra-sônico não interferem com outros sinais acústicos na faixa de áudio de 50Hz a 15kHz. Além disso, sinais ultra-sônicos são menos susceptíveis a sinais que operem em 20kHz ou abaixo. Sinais ultra-sônicos exibem excelentes características de reflexão e são insensíveis a presença de sujeira. Uso Os sensores ultra-sônicos são usados na identificação de objetos, e em dispositivos de medida de distância. Além disso, os sensores ultra-sônicos são encontrados em controladores remotos, e em alguns equipamentos médicos. 12
  • 14.
    1-4-2 Sensor deVibração Teoria Os sensores de vibração respondem às ondas propagadas através do ar ou em outros meios. Um exemplo é o microfone, que é um transdutor eletro acústico que responde as ondas sonoras e as convertem para ondas elétricas. A estrutura interna de um microfone é mostrada na Figura 1-9 (b). Um dispositivo similar ao microfone mas operando a uma freqüência muito baixa (faixa de alguns Hz) é também um tipo de sensor de vibração. Quando um dispositivo deste tipo é submetido a uma onda de choque, uma bobina móvel colocada dentro de um campo magnético produz uma força eletromotriz. Este tipo de dispositivo é usado em levantamento topográfico. Um sensor de choque é construído baseado no efeito piezoelétrico. Uma tensão piezoelétrica, que é proporcional a intensidade da onda de choque de entrada, é produzida na freqüência característica do sensor. (a) (b) (c) Figura 1-9 Sensores de Vibração Características A saída típica de um microfone é cerca de 1mV ~ 10mV numa faixa de freqüência de 50Hz ~ 15kHz. A freqüência e a intensidade do sinal variam de acordo com as ondas sonoras. A saída de freqüência de um microfone é uma representação exata da freqüência de uma fonte sonora. A freqüência de saída de um sensor de choque baseado em piezoelétrico é a característica de freqüência do próprio elemento piezoelétrico. Somente a amplitude do sinal varia dependendo da amplitude da onda de choque de entrada. Um detector de choque requer um detector de pico, porque encontrar o pico de um choque é o objetivo principal. A resposta em freqüência típica de um elemento sensor é de algumas centenas de Hz a alguns kHz, e a amplitude pode ser tão alta quanto algumas centenas de mV em nível de choque de 40G. Uso Detecção de vibração: ................... sinais acústicos, sons subterrâneos. Detecção de choque: ..................... teste de queda, teste de aceleração. 1-5 Sensores de Gás Existe um certo número de diferentes sensores de gás disponíveis no mercado. O método de detecção varia dependendo do tipo de sensor usado. Nesta seção, um sensor de gás baseado em semicondutor é explicado. 13
  • 15.
    Teoria O princípio de operação do sensor semicondutor TGS-813 é baseado nas propriedades dos elementos Irídio (Ir) e Paládio (Pd). Como mostrado na Figura 1-10 (a), o elemento sensor é essencialmente uma construção de uma bobina aquecedora embutida em SnO2. A bobina aquecedora é feita de Ir e Pd. Quando a corrente flui na bobina aquecedora em uma dada temperatura, o oxigênio retira os elétrons do doador na superfície do elemento semicondutor, criando uma barreira de potencial. Devido a barreira de potencial dificultar o movimento dos elétrons livres, a resistência elétrica do elemento aumenta. (a) Construção do Sensor de Gás TGS (b) Características da Concentração de Gás do TGS - 813 Figura 1-10 Construção e Características do Sensor de Gás Características O sensor de gás apresenta uma resistência elétrica em uma dada concentração de gás num ambiente limpo. A sensibilidade do sensor pode ser afetada pela temperatura e umidade relativa ambientes. Portanto, a rede de compensação é necessária quando uma detecção precisa é necessária. O sensor tipo TGS requer cerca de 2 ~ 3 minutos de aquecimento para melhorar a precisão. Tipicamente, o resistência do elemento aumenta cerca de 20% após o tempo de aquecimento. Uso Detecção de LNG, LPG, gás metano, CO, H, etc. 1-6 Sensores de Umidade Teoria A construção de um dos mais populares sensores de umidade é mostrada na Figura 1-11 (a). No centro está o elemento sensor construído em furos microscópicos. Estes furos são feitos de óxidos de metal de MgCr2O4 e TiO2. O elemento sensor está posicionado entre dois eletrodos que são fabricados de RuO2. Finalmente, um elemento aquecedor limpante cobre a estrutura toda. 14
  • 16.
    (a) Construção deum Sensor de Umidade (b) Características de Concentração de Gás do TGS-813 Figura 1-11 Estrutura do Sensor de Umidade e Características Umidade vs Resistência O tamanho dos furos na superfície do elemento sensor é da ordem de 1mm ou menor. A condutividade entre dois eletrodos varia quando estes furos atraem misturas. A taxa de variação da condutividade devido a alteração da umidade não é linear, e isto requer um amplificador de compensação. O objetivo do aquecedor limpante é remover partículas indesejáveis coletados pelo sensor. Características O elemento sensor é conectado a uma fonte de tensão AC em série com um resistor. O sinal de entrada é usualmente obtido em um ponto do divisor de tensão. Um amplificador logarítmico é usado para linearizar a saída do sensor. Uso Instrumentos de medida de umidade, sistema de controle de umidade e controle de umidade em aplicações médicas. 1-7 Sensores de Pressão Dois tipos de sensores de pressão estão disponíveis neste momento: o primeiro tipo é a célula de carga que é normalmente usada em balanças eletrônicas. O outro tipo é um sensor baseado em tecnologia de estado sólido que é usado em medida de pressão de gás e líquido. O sensor do tipo semicondutor de estado sólido é coberto nesta seção. Teoria Sensores de pressão baseados em semicondutor fazem uso do efeito piezelétrico do material semicondutor que exibe variação de resistência para uma dada pressão aplicada. A Figura 1-12 mostra um tipo de sensor de pressão semicondutor no qual um diafragma de aço inoxidável transmite a pressão para o chip semicondutor na extremidade. Na Figura 1-13, o circuito mostrado é usado com o sensor para produzir um sinal detectável. 15
  • 17.
    (a) (b) Figura 1-12 Diagrama de Construção do Sensor de Pressão Tipo Semicondutor de Estado Sólido (a) (b) Figura 1-13 Circuito de Detecção da Saída do Sensor de Pressão Características Este sensor é mecanicamente compacto e destinado a uma ampla faixa de aplicações. Particularmente, o sensor trabalha muito bem na detecção de pressão de gases e líquidos. Este sensor tem resposta rápida tipicamente na faixa de 1 a 10 milisegundos. Uso Aplicações de controle de fluido, teste de fuga de fluido, verificação do nível e pressão de um tanque de armazenamento. 1-8 Sensores de Proximidade A saída de um sensor de proximidade é do tipo liga e desliga o sinal. Por esta razão, um sensor de proximidade é essencialmente uma chave de proximidade. Uma chave de proximidade gera sinais de liga / desliga sem nenhum contato direto de um objeto. 1-8-1 Tipos e Características (1) Chave de Proximidade Tipo Capacitância 16
  • 18.
    Teoria Este tipo de sensor detecta uma variação na reatância capacitiva dos eletrodos do sen- sor. Como mostrado na Figura 1-14 (b), uma ponte balanceada com capacitores de referência (Cs) e de detecção (Cd), comuta para um estado de desbalanceamento quando Cd varia devido a proximidade de um objeto. Uma vez que a ponte é drenada para um estado de desbalanceamento, a saída da ponte é direcionada aos terminais “a” e “b”. (a) (b) Figura 1-14 Sensor de Proximidade Tipo Capacitivo Na Figura 1-14 (a), a capacitância entre o objeto e o eletrodo é calculada pela seguinte equação quando a área da superfície de aproximação do objeto é muito maior que a área do eletrodo. 0.57A C= D ................(pF) Onde: A = área do eletrodo em cm2 D = distância entre o objeto e o eletrodo em cm Características A faixa de detecção do sensor é tipicamente de alguns milímetros. Além disso, somente objetos metálicos podem ser detectados. Um objeto com tamanho grande que apresente um alto valor de capacitância com relação ao terra é detectado mais facilmente. Pelo motivo da constante dielétrica do meio poder ser afetada pela umidade, operações errôneas podem ocorrer quando este tipo de sensor é usado em ambiente com alta umidade. (2) Sensores de Proximidade Tipo Oscilador Teoria Este tipo de sensor possui um oscilador que oscila em uma freqüência constante. Quando um objeto aproxima, a indutância da bobina de detecção varia e portanto, a freqüência do oscilador também varia. Uma chave de proximidade tipo oscilador é mostrada na Figura 1-15. 17
  • 19.
    (a) (b) Figura 1-15 Chave de Proximidade Tipo Oscilador A freqüência do oscilador e o Q do circuito são calculados pelas seguintes equações: 1 f= 2o LC .............(Hz) Onde: L = indutância em Henry C = capacitância em Farad XL Q= R Ou ZTANK Q= XL Onde: R = resistência da bobina ZTANK = impedância do circuito LC XL = reatância indutiva da bobina (2πfL) Características - Sensível a materiais magnéticos. Um sensor hermeticamente selado pode ser usado em líquidos tal como óleos. - Pode detectar pequenos objetos. No caso do objeto ser do tipo magnético, o sensor pode detectar objetos com dimensões de 10 x 10 x 1mm. - Resposta de freqüência relativamente rápida (100 ~ 900Hz). 1-8-2 Considerações no Uso de Sensores de Proximidade Os seguintes parâmetros podem ser considerados quando um sensor de proximidade é considerado em uma aplicação. Vantagens dos Sensores de Proximidade - Por não existir desgaste mecânico, a vida útil de uma chave de proximidade é muito longa. - Quando o objeto estiver bem posicionado dentro da faixa de detecção, o sensor pode e detectar não somente a presença, mas também o movimento do objeto. - Por não existir partes em movimento, é muito fácil selar o sensor, protegendo-o do ambiente. - Certos tipos de chaves de proximidade respondem somente a materiais específicos. Tal propriedade pode ser utilizada para detectar tipos específicos de materiais. 18
  • 20.
    Desvantagens dos Sensoresde Proximidade - O desvio da temperatura ambiente pode causar falsa detecção. - Susceptividade a ruído externo. - Para controlar corrente ou tensão elevada, um buffer, tal como um relê, é necessário. - Requer alimentação para energizar o circuito sensor. A confiabilidade é reduzida devido ao aumento do número de componentes na unidade sensora. Considerações no Uso de um Sensor de Proximidade - A fonte de alimentação usada no circuito sensor deve ter uma boa regulação. - Quando um sensor deve ser instalado em uma área quente, ou numa área com flutuação de temperatura significante, assegure-se de escolher o tipo correto de sensor para o dado ambiente. - Quando é necessário instalar um sensor próximo a uma área com pulsos de alta tensão ou campos intensos de RF, assegure-se de que as medidas necessárias contra interferências tenham sido feitas. O sensor selecionado deve ter uma boa imunidade a r ruído. - Para o tipo magnético se sensores de proximidade, assegure-se de não existir outros m materiais magnéticos ao redor do sensor, porque estes materiais podem causar falsas d detecções. - Assegure-se de que os sensores usados estejam dentro dos seus limites de especificações. - A melhor prática para garantir a confiabilidade da operação é limitar a faixa de detecção ao máxima em cerca da metade das especificações do sensor. - Algumas chaves podem apresentar histerese - a distância de operação do liga e do desliga pode não ser a mesma. 1-9 Sensores de Efeito Hall Teoria Se um objeto (metal ou semicondutor) transportando uma corrente I é colocada transversalmente no campo magnético B, um campo elétrico, chamado tensão Hall, é induzida sobre “a” e “b” na Figura 1-16 (b). Este campo elétrico é perpendicular em direção tanto com relação a I como para B. Este fenômeno é conhecido como efeito Hall. Um elemento de resistência magnética é um semicondutor transportando corrente colocado em um campo magnético. Uma força é exercida nos portadores de corrente apesar do portador de corrente ser elétrons ou lacunas livres. Esta força modificará o caminho de deslocamento das portadoras de tal modo que o comprimento do caminho será extendido. Por este motivo as portadoras de corrente percorrerão uma distância maior, portanto o objeto apresentará uma resistência maior. (a) (b) Figura 1-16 Sensores Hall e Efeito Hall 19
  • 21.
    Dispositivos de efeitoHall são usados em uma configuração de 4 terminais balanceados, ou com uma rede de compensação como mostrado na Figura 1-17. (a) Dispositivo Hall (b) Resistor Magnético Figura 1-17 Exemplos de Aplicações de Dispositivo Hall de 4 Terminais e Resistor Magnético de 2 Terminais Características - Sensores Hall são sensíveis a temperatura, portanto, um detector ponte ou uma rede de compensação é necessária. - Fácil de ser miniaturizado. Ideal como um componente periférico de um computador. - A saída mostra uma boa linearidade ao campo magnético. Uso Medidores de fluxo, FDD e HDD, detecção de rotação de motor, VTR, medidas de corrente. 1-10 Chaves Sensoras 1-10-1 Chave Reed Teoria Como mostrado na Figura 1-18 (b), uma chave reed possui dois contatos magnéticos colocados dentro de um vidro que é selado com algum tipo de gás inerte ou vácuo. Quando um ímã é aproximado da chave, os contatos que são fabricados de material magnético atraem-se mutuamente. Algumas vezes, os contatos reed são envolvidos por uma bobina como mostrado na Figura 1-18 (c). Neste caso, uma corrente DC é necessária para fechar os contatos. Este tipo de dispositivo é chamado de relê reed. Uma chave reed e um ímã são normalmente usados como sensor de proximidade. (a) (b) (c) Figura 1-18 Chave Reed e Relê Reed 20
  • 22.
    Características -A performance do sensor não é crítica à temperatura e umidade ambiente. - Confiabilidade com relação ao bom contato. - Baixo custo. - Mantém o ímã permanente livre de entulhos de metal para evitar operação errônea. 1-10-2 Chave de Mercúrio Teoria A chave de mercúrio faz uso da propriedade do mercúrio que é condutivo na forma líquida. Como ilustrado na Figura 1-19, uma chave de mercúrio contém vários contatos elétricos e uma pequena quantidade de mercúrio em um tubo de vidro selado. Dependendo do ângulo do tubo, o mercúrio pode proporcionar conexão elétrica entre os dois contatos. (a) Uma Chave de Mercúrio (b) Operação Liga / Desliga de uma Chave de Mercúrio Figura 1-19 Construção de uma Chave de Mercúrio Características - Excelente longevidade dos contatos. - Excelentes características de liga / desliga. Uso Controle de posição horizontal, controle de posição em montagem de parede. 1-10-3 Chave de Limite Teoria Chaves de limite são similares as micro chaves. Quando a alavanca sensora é pressionada pelo movimento, os contatos internos fecham. (a) Tipo Alavanca com Cilindro (b) Tipo Alavanca (c) Estrutura Figura 1-20 Chaves de Limite 21
  • 23.
    Características Não é necessário fonte de alimentação para operar as chaves de limite. Os contatos podem transportar correntes elevadas. Além disso a operação liga / desliga é mais precisa que as chaves push button normais. Uso Circuitos de intertravamento, chaves de segurança em máquinas elétricas e mecânicas. 22
  • 24.
    Seção 2 Circuitos de Processamento das Saídas dos Sensores 2-1 Circuitos com Amplificadores Operacionais Um amplificador operacional (Amp. OP) é um circuito integrado analógico que executa uma variedade de funções em circuitos eletrônicos. Aplicações típicas dos Amp. OP são como amplificador de uso genérico, comparador, retificador de precisão, integrador, diferenciador e amplificador de instrumentação. Como os sinais de saídas da maioria dos sensores são fracos, eles precisam ser amplificados antes de serem processados por circuitos eletrônicos. Os Amp. OP são usados para amplificar sinais fracos. 2-1-1 Amplificadores Inversores e Não Inversores A Figura 2-1 mostra o diagrama esquemático dos amplificadores básicos inversor e não- inversor. Observe a relação de fase entre a entrada e a saída de cada amplificador. Como o nome sugere, a saída do amplificador não-inversor está em fase com a entrada, enquanto existe inversão de fase no amplificador inversor. (a) Amplificador Não-inversor (b) Amplifcador Inversor Figura 2-1 O Esquema Básico de um Amp. OP Para o amplificador inversor da Figura 2-1 (b), os seguintes parâmetros são definidos assumindo um amplificador ideal. - Ganho de loop aberto (AOL)......................... Infinito () - Resistência de entrada.................................Infinito () - Resistência de saída....................................Zero (0) - Quando Vin = 0, então Vout = 0 Exemplo Qual deve ser a tensão de saída V0 quando os seguintes parâmetros são dados para o circuito da Figura 2-1 (b)? 23
  • 25.
    Resistência de entradaR1 = 20kΩ Resistência de realimentação R2 = 1MΩ Tensão de entrada Vi = 10mV Resposta O ganho de tensão de um loop fechado na Figura 2-1 (b) é expresso como: V0 R A CL = Vi = − R2 1 Portanto, o ACL do circuito exemplo é 50, e a tensão de saída é 50mV (10mV x 50). 2-1-2 Offset da Saída DC A saída de um Amp. OP ideal deve ser zero quando a entrada é zero. Entretanto, existe uma pequena saída DC que aparece na saída de um Amp. OP prático mesmo que a entrada seja zero. Isto porque um Amp. OP possui vários amplificadores com acoplamento DC internos, e a performance destes amplificadores são afetados pelo desvio na temperatura de operação e na tensão de alimentação. Além disso, para um amplificador inversor com a entrada não inversora aterrada, existe uma pequena corrente de polarização fluindo através do terminal de entrada (R1) e pelo resistor de realimentação (R2) como mostrado na Figura 2-2. Isto é na verdade o mesmo que aplicar uma pequena tensão no terminal de entrada. A Figura 2-3 mostra uma rede de compensação de offset DC pela adição de R3 na entrada não inversora. O valor de R3 deve ser igual a associação em paralelo dos resistores R1 e R2. R1.R 2 R3 = R 1 +R2 Figura 2-2 Corrente de Polarização de Entrada como um Amplificador Inversor Técnicas adicionais de compensação de offset DC são mostradas na Figura 2-4 (a) e (b). Estes circuitos possuem ajuste variável do offset DC, e podem ser usados como circuitos Clipper ou de Clamping também. Figura 2-3 Correção do Offset DC pela Adição de um Resistor Fixo 24
  • 26.
    (a) (b) Figura 2-4 Circuitos com Offset Ajustável 2-1-3 Amplificador Diferencial Como o nome indica, um amplificador diferencial amplifica somente a diferença entre as duas entradas (inversora e não inversora). Portanto, quando ambos os sinais de entrada são aumentados ou diminuídos na mesma direção, a saída do amplificador diferencial mantém-se a mesma. Os amplificadores diferenciais são críticos na detecção de sinais de fuga na presença de ruído ou outros sinais de interferência que aparecem em ambas as entradas. Um amplificador diferencial típico é mostrado na Figura 2-5. Figura 2-5 Amplificador Diferencial O sinal de entrada é aplicado às entradas inversora e não inversora. O amplificador diferencial pode ser analisado observando uma entrada de cada vez. Quando o ponto V2’ é aterrado e a entrada V2 está em zero, o amplificador é essencialmente o mesmo da Figura 2- 1 (b). A saída do amplificador nestas condições é: R V 0 = −[ RV ]V1 ........................................................................ 1 A seguir, remova o aterramento de V2’ e curto-circuite a entrada V1 para configurar o amplificador não inversor. A entrada real do terminal de entrada não inversor é: R V Â2 = [ R2 +R3 ]V 2 ...................................................................... 3 25
  • 27.
    Portanto, a saídanão inversora é: RF RF R3 V 0 = [1 + R 1 ]V 2 Â = [1 + R1 ][ R2 +R 3 ]V2 ................................... Combinando as equações 2-1 e 2-3, a saída do amplificador diferencial torna-se: R RF R3 V 0 = −[ RF ]V1 + [1 + 1 R1 ][ R2 +R 3 ]V 2....................................... A equação 2-4 pode ser simplificada quando R1, R2, R3 e RF são idênticos (ganho 1). V 0 = V2 − V1 ......................................................................... Este resultado indica claramente que a saída do amplificador diferencial é a diferença entre as duas entradas. O amplificador diferencial de ganho unitário pode ser considerado como um subtrator analógico. 2-1-4 Comparador Um circuito comparador de tensão compara os valores de duas tensões de entrada e produz uma saída que indica a amplitude relativa das duas entradas. A indicação dos resultados pode ser expressa em níveis lógicos 0 ou 1. Comparadores usando Amp. OP são mostrados na Figura 2-6. (a) (b) (c) Figura 2-6 Circuitos Comparadores Na Figura 2-6 (a), quando a entrada é maior que o sinal de referência, a saída irá para + Vsat, ou ficará próxima da tensão + de alimentação. De modo oposto, quando a entrada é menor que a referência, a saída irá para -Vsat, ou ficará próxima da tensão - de alimentação. A polaridade da saída do circuito na Figura 2-6 (b) será o oposto do circuito da Figura 2-6 (a). A saída do Amp. OP na Figura 2-6 (c) alimenta um diodo zener. Portanto, a saída do zener representa o resultado da comparação. Este tipo de circuito é vantajoso quando a saída do comparador faz interface com um circuito TTL. A tensão +Vs na circuito é +5V na aplicação TTL. 2-2 Circuitos Ponte Um circuito ponte faz uso da técnica baseada no estado balanceado e não balanceado da ponte. Um circuito ponte é mostrado na Figura 2-7. 26
  • 28.
    Figura 2-7 UmCircuito Ponte Quando a ponte na Figura 2-7 é balanceada, as seguintes relações são mantidas. R RX a. RS B = RA b. IX . RA = IS . RB ou IX . RX = IS . RS c. Ig = 0, portanto um curto no galvanômetro entre “a” e “b” não tem efeito em I T. d. Independentemente da magnitude de IX e IS, o potencial em “a” e “b” são iguais. Para encontrar o valor de RX, a ponte deve ser primeiramente balanceada. Uma vez no estado de balanceamento, RX pode ser encontrado a partir da relação acima. Portanto: RS .R A RX = RB O estado desbalanceado do circuito ponte produz informações igualmente úteis. Por exemplo, o valor de RX na ponte balanceada teve um pequeno aumento devido a alteração na temperatura ambiente. Isto aumenta o potencial em “a”, e produz uma corrente Ig que flui de “a” para “b”. No caso de RX ter decaído, a direção de Ig deve ser de “b” para “a”. Portanto, monitorando-se o galvanômetro, qualquer modificação no circuito pode ser detectado. Exemplo Calcule o resistor de balanceamento RS com os seguintes parâmetros para obter o estado balanceado. RA = 1kΩ = resistor de referência RB = 1kΩ = resistor de referência RX = 500Ω = resistência a medir EB = 10V = tensão de alimentação da ponte (DC ou AC) A equação acima: R X .R B 500x1000 RS = RA = 1000 = 500Ohms 27
  • 29.
    Se a resistênciaa medir RX variar para 800Ω, qual deve ser a tensão sobre “a” - “b”? EB 10 IX = R A+R X = 1000+800 ~5.5mA EB 10 IS = R B+R S = 1000+500 ~6.6mA ERA em “a” = IX . RA = 0.0055 x 1000 = 5.5V ERB em “b” = IS . RB = 0.0066 x 1000 = 6.6V Portanto, Va-b = 6.6 - 5.5 = 1.1V. A direção do fluxo de corrente é de “b” para “a”. No exercício acima, no caso de todos os resistores serem expostos às mesmas variações ambientais e todos os resistores possuírem o mesmo coeficiente de temperatura, então não existirá erro no circuito ponte. 2-3 Conversores A/D e D/A 2-3-1 Conversor A/D As saídas elétricas da maioria dos sensores são sinais analógicos. Para que sinais analógicos sejam aceitos pelo sistema digital ou controladores micro processados, os sinais analógicos devem ser convertidos em sinais digitais. Um conversor A/D é usado para este objetivo. Métodos de Conversão A/D (1) Tipo Comparação Paralela Teoria Um conversor A/D tipo comparação paralela é mostrada na Figura 2-8. Este tipo de técnica de conversão, que é também chamada de conversão rápida, é a técnica de conversão mais rápida disponível. Além disso, a teoria operacional é muito simples e fácil de ser compreendida. Figura 2-8 Conversor A/D Tipo comparação Paralela 28
  • 30.
    O divisor detensão fornece uma referência para uma entrada de cada comparador de tensão. O valor de referência para cada comparador é a tensão total entre +Ref e -Ref dividido por n, que é o número de comparadores. Portanto, o valor de cada ponto do divisor de tensão representa uma faixa específica do total de tensão fornecida. Todos os valores de resistores de R0 a Rn devem ser idênticos. A chave de entrada é colocada para operar na velocidade do clock do sistema. A tensão de entrada analógica vinda da chave de entrada é aplicada primeiramente ao capacitor Amostrador / Retentor (Sample / Hold - S/H). A tensão de S/H é comparada com o valor de referência em cada comparador. Como resultado, as saídas daqueles comparadores em que o valor de referência é menor que a entrada analógica tornam-se alta. As saídas de todos os outros comparadores mantém-se em zero. As saídas resultantes dos comparadores são encaminhados para um encoder (circuitos lógicos) para gerar um sinal digital equivalente. Uma comparação entre uma entrada analógica e uma forma de onda na Amostragem e Retenção é mostrada na Figura 2-9 (a) e (b). (a) (b) Figura 2-9 Uma Entrada Analógica (a) e as Formas de Onda de Amostragem e Retenção (b) Características - Como o conversor A/D paralelo é a técnica de conversão mais rápida disponível, é usada onde a velocidade é o item prioritário. - O número de comparadores necessários para produzir uma saída digital de n-bits é igual a 2n-1. Isto significa que o conversor A/D paralelo é prático para pequenos números de bits em aplicações reais. - Conversores A/D paralelo são caros. (2) Tipo Dupla Integração Teoria Como mostrado na Figura 2-10 (a), um conversor A/D de dupla integração consiste de um seletor de entrada, um comparador e um contador / controlador lógico centralizado ao redor de um integrador. A temporização e a forma de onda do integrador são mostradas na Figura 2-10 (b). 29
  • 31.
    (a) (b) Figura 2-10 Um Conversor A/D de Dupla Integração Para entender a operação do circuito, assuma que a chave S1 esteja habilitada quando a carga do capacitor seja zero. Quando a integração começa e decorre-se um período de Tin segundos, a carga coletada no capacitor é dada por: Vin Q1 = R .Tin.......................(Coulomb) Onde Vin é a tensão de entrada em volts e R é a resistência de entrada em ohms. A seguir, desabilite S1 e habilite S2, e aplique uma tensão de referência que possui polaridade oposta até que a carga seja drenada para zero. Assumindo que o tempo deste processo seja Tref segundos, a quantidade de carga drenada é expressa como: Vref Q2 = R .T ref .....................(Coulomb) Onde Vref é dado em volts. Q1 e Q2 devem ser iguais na relação acima. Portanto: Vref V in = Tin .T ref Pode ser visto da equação acima que V in é proporcional a T ref. Contando-se T ref precisamente, Vin pode ser expresso em formato digital. Características - Circuito simples com alta resolução. Conveniente como medidores de painel digital em multímetros. - Ruído de alta freqüência é removido com períodos de integração relativamente longos. - Este circuito adapta-se somente a entradas DC. Quando um sinal AC deve ser medido, um circuito retificador preciso é necessário. 3) Tipo Aproximação Sucessiva Teoria Um conversor A/D do tipo aproximação sucessiva consiste de um comparador, um conversor D/A, registrador de aproximação sucessiva (SAR) e circuitos de controle. Tal configuração é mostrada na Figura 2-11. 30
  • 32.
    Figura 2-11 Diagramaem Bloco Funcional de um Conversor A/D de Aproximação Sucessiva Quando o conversor é habilitado e o sinal “iniciar conversão” é habilitado, o processo de conversão começa. Primeiramente, o SAR gera um código que é equivalente a 1/2 do fundo de escala da entrada analógica e envia o código para o conversor D/A. A seguir, o comparador compara a entrada analógica e a saída do D/A. Se o sinal de entrada é maior que a saída do D/ A, “1” é armazenado no SAR como o bit mais significativo (MSB). Caso contrário, o SAR mantém “0” em seu registrador. Neste momento, a unidade de controle habilita o próximo bit, e o comparador repete o mesmo processo, armazenando “1” ou “0”. Este processo continua até que o bit menos significativo (LSB) seja examinado. O processo de conversão passo-a-passo de um conversor A/D de aproximação sucessiva de 6 bits é mostrada na Figura 2-12. Operação de Conversor D/A Nível de Entrada Saída do Comparação código de entrada Analógico Comparador 1 100000(=32) <45.5 1 2 110000(=48) <45.5 0 3 101000(=40) <45.5 1 4 101100(=44) <45.5 1 5 101110(=46) <45.5 0 6 101101(=45) <45.5 1 Figura 2-12 Processo de Conversão do Conversor A/D de Aproximação Sucessiva de 6 Bits Características - Alta velocidade e alta resolução. - Baixo custo devido ao circuito simples. - Facilidade de integrar e interfacear com uma CPU. O tempo de conversão, TCONV, do conversor é expressa como a seguir. 31
  • 33.
    TCONV = (TCOMP+ TDA + TSAR) + N Onde: TCOMP = tempo de atraso do comparador TDA = tempo de ajuste do comparador TSAR = tempo de atraso do SAR N = número de bits 2-3-2 Conversor D/A Os conversores D/A são mais simples que os conversores A/D, e não existem muitos tipos diferentes. Além disso, o custo é praticamente o mesmo independentemente do número de bits do sinal de entrada. Os conversores D/A são necessários onde os sinais digitalizados pelos conversores A/D precisam ser convertidos de volta para sinais analógicos. Teoria Um conversor D/A ponderado é mostrado na Figura 2-13. O conversor consiste de circuitos chaveadores de entrada, um amplificador somador de corrente e um buffer de saída. Figura 2-13 Conversor D/A com Resolução de 5 Bits A entrada digital de 5 bits na Figura 2-13 está em código binário, e o somador de corrente na entrada do Amp. OP também deve trabalhar em formato binário. Portanto, quando a corrente através do LSB (bit-a) é ia, os valores dos resistores de Ra a Re devem ser determinados para satisfazerem as seguintes relações de corrente. Eref ia = Ra ...........................................corrente devido ao bit-a Eref ib = Rb = i a .2 1 ...............................corrente devido ao bit-b Eref ic = Rc = i a .2 2 ...............................corrente devido ao bit-c Eref id = Rd = i a .2 3 ...............................corrente devido ao bit-d Eref ie = Re = i a .2 4 ...............................corrente devido ao bit-e 32
  • 34.
    Uma vez queas correntes são somadas na entrada do amplificador, a corrente total Is é convertida para tensão na saída do amplificador operacional. A tabela na Figura 2-14 ilustra a conversão decimal para binária analógica. BINÁRIO (5 BITS) DECIMAL BINÁRIO (5 BITS) DECIMAL e d c b a (Analógico) e d c b a (Analógico) 0 0 0 0 0 0 0 1 0 1 0 10 0 0 0 0 1 *1 0 1 0 1 1 11 0 0 0 1 0 *2 0 1 1 0 0 12 0 0 0 1 1 3 0 1 1 0 1 13 0 0 1 0 0 *4 0 1 1 1 0 14 0 0 1 0 1 5 0 1 1 1 1 15 0 0 1 1 0 6 1 0 0 0 0 16 0 0 1 1 1 7 : 0 1 0 0 0 *8 1 1 1 1 0 30 0 1 0 0 1 9 1 1 1 1 1 31 Nota: * denota o decimal equivalente a cada bit binário a ~ d Figura 2-4 Características O conversor D/A nesta seção possui velocidade de conversão similar ao conversor A/D por aproximação sucessiva, mas com um circuito muito mais simples. 33
  • 35.
    Seção 3 Introdução do Sistema ED-6800B 3-1 Informação Geral sobre ED-6800B O sistema de treinamento ED-6800B é uma ferramenta de aprendizado em sensores compreensivo e potencial. O sistema consiste de 2 unidades principais e 8 unidades sensoras. Uma das unidades principais é um amplificador operacional baseado em amplificador seguido por um comparador. A outra unidade é uma unidade conversora de sinais A/D e D/A. Como as unidades sensoras são disponibilizadas em formato modular, é fácil e conveniente expandir o sistema quando mais módulos são necessários. A alimentação DC para a unidade sensoras é fornecida pela unidade principal. Unidades Principais a. Unidade Amplificador Operacional: Inversor, não inversor, diferencial, offset DC, comparador. b. Unidade conversora de Sinal: Conversor A/D, conversor D/A. Unidades Sensoras a. SU-6803: Circuito ponte incorporado para medir / detectar temperatura (termopar e termistor). b. SU-6804: Foto sensores (LED, Foto Transistor, CdS). c. SU-6805: Encoder rotativo (RPM, sensor de posição). d. SU-6806: Sensor ultra-sônico e de vibração. e. SU-6807: Sensor de gás (LNG, LPG, Metano). f. SU-6808: Sensor de umidade. g. SU-6809: Sensor Hall, sensor de proximidade, sensor de pressão. h. SU-6810: Chave sensora (Chave Reed, Chave de Mercúrio, Chave de Limite). Acessórios - Sensor Termopar: 1 peça - Sensor Termistor: 1 peça - Módulo LED: 1 peça - Sensor Foto Transistor: 1 peça - Sensor CdS: 1 peça - Módulo Lâmpada: 1 peça - Transdutor Ultra-sônico: 1 peça - Manual de Experimentos: 1 peça - Sensor de Choque: 1 peça - Conjunto de Teste de Queda do Sensor de Choque: 1 peça - Termômetro à Álcool: 1 peça - Compressor de Ar Manual: 1 peça - Fios de Conexão (Plug 2mm): 24 peças - Cabo de Dados: 1 peça - Cabo de Alimentação: 1 peça 3-1-1 Especificações 34
  • 36.
    (1) OU-6801 (UnidadeAmp. OP) a. Modos de Acoplamento: ................................... AC e DC b. Modos do Circuito: ............................................ Inversor, Não Inversor, Diferencial, Offset DC, Comparador c. Controle de Offset DC: ..................................... -15V ~ 0V ~ +15V d. Saída de Alimentação DC:................................ ±15V, 0.3A (para unidades sensoras) e. Alimentação de Entrada: .................................. 110V / 220V AC - 50Hz ~ 60Hz f. Dimensões: ....................................................... 345(L) x 120(A) x 220(P)mm (2) CU-6802 (Unidade Conversora de Sinal) Conversor A/D a. Modo de Conversão: ......................................... Tipo Aproximação Sucessiva b. Entrada Analógica: ............................................ 0 ~ 10V DC c. Saída Digital: ..................................................... 8 Bits Nível TTL d. Velocidade de Conversão: ................................ Aprox. 100µs Conversor D/A e. Modo de Conversão: ......................................... Somador de Corrente f. Entrada Digital: .................................................. 8 Bits Nível TTL g. Saída Analógica: ............................................... 0 ~ 10V DC h. Velocidade de Conversão: ................................ Aprox. 50µs Especificação Geral i. Alimentação de Entrada: .................................... 110V / 220V AC - 50Hz ~ 60Hz j. Dimensões: ....................................................... 345(L) x 120(A) x 220(P)mm (3) Unidades Sensoras SU-6803 (Temperatura) a. Circuito Detector: .............................................. Ponte de Whetstone com Amplificador Sensor de Zero b. Fonte de Temperatura: ..................................... Aquecedor e Resfriador por Ventilador c. Faixa de Sensibilidade de Resistência: ............ 50Ω ~ 5kΩ d. Entrada de Controle do Aquecedor:.................. Nível Alto (5V ~ 15V DC) e. Entrada de Controle do Resfriador: .................. Nível Alto (5V ~ 15V DC) f. Dispositivos Sensores: ...................................... Termopar e Termistor g. Alimentação de Entrada: .................................. ±15V DC, 1A SU-6804 (Foto Sensor) a. Nível de Polarização do Foto Sensor: ............... 0 ~ 30mA (DC, AC) b. Freqüência de Polarização AC: ........................ 100Hz ~ 10kHz c. Guia do Foto Sensor: ........................................ 0 ~ 200mm d. Foto Acoplador (Resposta): .............................. 0 ~ 1000 pulsos/s e. Dispositivos Sensores: ..................................... LED, Foto Transistor, CdS f. Alimentação de Entrada: ................................... ±15V DC, 1A SU-6805 (Encoder Rotativo) a. Tensão de Entrada do Encoder: ....................... 5V DC b. Forma de Onda de Saída: ................................ Quadrada c. Fase de Saída: ................................................. A, B 35
  • 37.
    d. Resolução: .......................................................100 pulsos / rotação e. Resposta: ......................................................... 25kHz f. Velocidade do Motor: .......................................... 0 ~ 4500 RPM g. Alimentação de Entrada: .................................. ±15V DC, 1A SU-6806 (Sensor de Choque Ultra-sônico) - Sensor Ultra-sônico a. Freqüência Nominal: ......................................... 40kHz b. Sensibilidade: ................................................... Mais que -67dB c. Banda de Recepção: ........................................ Aprox. 6kHz (-74dB) d. Nível do Transmissor: ....................................... Mais que 110dB - Sensor de Choque e. Resposta em Ressonância: ............................. 2kHz ± 1kHz f. Duração da Ressonância: ................................. 10ms ~ 30ms g. Saída em Impacto de 40G: ............................... 0.4Vpp / 56kΩ mínimo h. Alimentação de Entrada: .................................. ±15V DC, 1A SU-6807 (Sensor de Gás) a. Tensão do Circuito: ........................................... VC = 24V máximo (AC ou DC) b. Tensão do Aquecedor: ...................................... V H = 5V (AC ou DC) c. Gases Detectados: ........................................... LPG, LNG, Metano d. Faixa de Sensibilidade: ..................................... 500 ~ 10000 PPM e. Indicador de Nível: ............................................. 10 Passo de Nível Selecionável f. Tipo de Sensor: ................................................. Tipo Semicondutivo g. Alimentação de Entrada: .................................. ±15V DC, 1A SU-6808 (Sensor de Umidade) a. Faixa de Umidade: ............................................ 30 ~ 90% RH b. Faixa de Temperatura de Operação: ................ 0 ~ 60°C c. Nível de Saída: .................................................. 1 ~ 3V DC (para 30 ~ 90% RH) d. Alimentação de Entrada: .................................. ±15V DC, 1A SU-6809 (Sensores de Proximidade / Hall / Pressão) - Sensor Hall a. Material: ............................................................ GaAs b. Tensão Hall: ...................................................... 55 ~ 140mV c. Resistência de Entrada: ................................... 450 ~ 900Ω - Sensor de Proximidade d. Distância de Detecção: .................................... 5mm máximo e. Objeto Detectável: ............................................ Substância Magnética f. Freqüência de Resposta: .................................. 500Hz - Sensor de Pressão g. Faixa de Medida: ............................................... 0 ~ 1kg/cm 2 h. Entrada Máxima: ............................................... 2kg/cm2 i. Saída: ................................................................. Aprox. 1 ~ 5V j. Suprimento de Ar: .............................................. Compressor Manual 36
  • 38.
    - Especificação Geral k. Alimentação de Entrada: ................................... ±15V DC, 1A SU-6810 (Chaves Reed / Mercúrio / Limite) - Chave Sensora a. Chave Reed: ..................................................... SPST, 0.1A (24V) b. Chave de Mercúrio: ........................................... SPST, 1A (250V) c. Chave de Limite: ............................................... SPDT, 5A (250V) - Movimento Linear d. Distância do Movimento: .................................. 80mm e. Velocidade do Motor: ......................................... 0 ~ 60 RPM - Especificação Geral f. Alimentação de Entrada: ................................... ±15V DC, 1A 3-1-2 Características do Sensor (1) Sensor Termopar (6800-1) a. Características de Saída do Termopar: ............ 0 ~ 20mV / 0 ~ 500°C b. Faixa de Temperatura: ...................................... -100°C ~ +1000°C c. Material: ............................................................ CA (Chromel / Alumel) (2) Sensor Termistor (6800-2) a. Resistência à Temperatura Ambiente: .............. Aprox. 2kΩ b. Faixa de Temperatura: ...................................... -50°C ~ 110°C c. Características Resistência - Temperatura: ..... Aprox. 5kΩ ~ 500Ω / 0 ~ 100°C (3) Módulo LED (6800-3) a. Comprimento de Onda da Luz Emitida: ........... 940nm ± 2% b. Saída (Intensidade de Irradiação): .................... 1 ~ 10(I E) / 3 ~ 30mA(If) c. Corrente de Retorno Máxima: ........................... 30mA (para 60 segundos) (4) Módulo do Transistor Receptor (6800-4) a. Comprimento de Onda do Receptor: ............... 700nm ~ 950nm b. Relação Corrente / Distância da Luz (em 10IE):8 ~ 1mA / 3 ~ 40mm c. Sensibilidade Direcional Relativa: ..................... ±7° (em -3dB) (5) Módulo CdS (6800-5) a. Resistência (Escuro): ....................................... Maior que 1MΩ b. Resistência / Lux: ............................................. 10kΩ ~ 2kΩ / 1 ~ 100 Lux c. Capacidade: ..................................................... 90mW máximo (6) Transmissor Ultra-sônico (6800-8) a. Freqüência de Transmissão: ............................ 40kHz b. Pressão Acústica de Saída: ............................. Maior que 112dB 37
  • 39.
    (7) Sensor deChoque (6800-9) a. Saída:................................................................ Maior que 4Vpp com carga de 56k Ω (para choque 40G) b. Freqüência de Ressonância: ............................ 2kHz ± 1kHz Termômetro de Ácool Sensor de Temperatura Foto Sensor (6800B3~5) Transdutor Ultrasônico Sensor de Choque (6800B1~2) Sistema de Treinamento Caixa de Acessórios 38
  • 40.
    3-2 Informação Operacional 3-2-1 Cautela As seguintes informações são necessárias para garantir uma operação segura e com sucesso do sistema de treinamento em sensores. (1) A alimentação de ±15V das Unidades Sensoras é fornecida tanto pela Unidade de Amp. Op (OU-6801B) como pela Unidade Conversora de Sinal (CU-6802). Caso necessário, uma fonte externa DC simétrica pode ser usada. (2) As Unidades Principais são alimentadas pela tensão da rede de 110V ou 220V AC. Assegure-se de que a configuração esteja correta para a dada tensão de alimentação. A seleção de tensão da linha é feita na parte traseira da unidade. (3) Manipule todos os sensores com extrema cautela para evitar qualquer tipo de dano. (4) Todos os sensores devem retornar para suas posições de armazenamento após o uso. (5) Evite as seguintes condições de operação. - Ambientes muito quente ou a luz solar direta - Alta umidade (umidade relativa máxima de 85%) - Vibração - Sujeira excessiva 3-2-2 Unidades Sensora e Controles do Painel (1) Unidade Amp. OP (OU-6801B) O painel frontal da Unidade Amp. OP é mostrado na Figura 3-1. A Unidade Amp. OP consiste de um amplificador operacional e um comparador com offset DC. Os seguintes circuitos podem ser montados usando a Unidade Amp. OP. Amp. OP - Amplificador com acoplamento AC - Amplificador com acoplamento DC - Amplificador não inversor - Amplificador diferencial Comparador / Offset DC - Experimentos de controle de offset zero DC - Circuitos comparadores 39
  • 41.
    Figura 3-1 UnidadeAmp. OP (OU-6801B) (2) Unidade Conversora de Sinal (CU-6802) A Unidade Conversora de Sinal é dividida nas seções conversor A/D e conversor D/A. As entradas digitais são sinais de 8 bit com nível TTL. A entrada de referência do conversor é ajustável. O painel frontal da unidade é mostrado na Figura 3-2. Figura 3-2 Unidade Conversora de Sinal (CU-6802) 40
  • 42.
    Conversor A/D - Tipo de Conversão: Aproximação sucessiva - Entrada Analógica Máxima: 10V - Faixa de Ajuste da Referência do Conversor A/D: 10 ~ 100% Conversor D/A - Saída Analógica Máxima: 10V - Faixa de Ajuste da Referência do Conversor D/A: 10 ~ 100% (3) Unidade Sensora SU-6803 Esta unidade contém o circuito ponte detector de sinal e um Amp. OP. O aquecedor e o resfriador (ventilador) são usados com os sensores de temperatura. Estes aquecedor e resfriador podem ser controlados externamente. A ponte interna à unidade é uma ponte de resistores, e aceita qualquer tipo de sensor que apresente variação de resistência como resultado da detecção. A faixa de resistência da ponte é de 500Ω a 10kΩ. A fonte DC da ponte está incorporada ao circuito. Entretanto, existem terminais para proporcionar a alimentação externa caso necessário. O painel frontal da unidade sensora é mostrado na Figura 3-3. Figura 3-3 Unidade Sensora SU-6803 (4) Unidade Sensora SU-6804 A Unidade Foto Sensora SU-6804 é usada quando experimentos com dispositivos foto sensores são executados. A unidade fornece tensões de polarização AC e DC ajustáveis para um LED. A faixa de freqüência ajustável da polarização AC é de 100Hz a 10kHz. O painel frontal da Unidade Foto Sensora é mostrado no Figura 3-4. 41
  • 43.
    Figura 3-4 UnidadeSensora SU-6804 (5) Unidade Sensora SU-6805 A Unidade SU-6805 é usada em experimentos com encoder rotativo. O encoder rotativo usado na unidade é um tipo de encoder de alta resolução de 8 bits que produz 100 pulsos por rotação. Para estabelecer o ponto de referência, uma saída de índice zero é fornecida. A resolução de posição é equivalente a 360 graus dividido por 100 pulsos. O painel frontal da unidade é mostrado na Figura 3-5. Figura 3-5 Unidade Sensora SU-6805 42
  • 44.
    (6) Unidade SensoraSU-6806 A Unidade Sensora SU-6806 é uma unidade de experimentos ultra-sônicos. A unidade fornece fonte ultra-sônica de alta qualidade. Além dos experimentos ultra-sônicos, a unidade também oferece experimentos relacionados com sinais acústicos, particularmente usando um microfone. A freqüência ultra-sônica usada está em torno de 40kHz, e a unidade contém um oscilador com uma freqüência de saída de 20 ~ 100kHz para gerar sinais ultra-sônicos. O painel frontal da unidade é mostrado na Figura 3-6. Figura 3-6 Unidade Sensora SU-6806 (7) Unidade Sensora SU-6807 A Unidade Sensora de Gás SU-6807 é usada para detectar a presença de gases no ar. Os tipos de gases que a unidade pode detectar são hidrogênio, LPG, LNG e metano. A unidade pode determinar a quantidade de gás presente, e se a quantidade detectada ultrapassa o nível pré-ajustado, e a unidade dispara um alarme. O detector usado é um tipo semicondutor que exibe uma alteração na condutância. Uma vez que a alteração produz um sinal, ele é amplificado por um amplificador diferencial. O painel frontal da unidade é mostrado na Figura 3-7. Figura 3-7 Unidade Sensora SU-6807B 43
  • 45.
    (8) Unidade SensoraSU-6808B) A Unidade Sensora de Umidade SU-6808B mede a umidade relativa, não a umidade absoluta. Um sensor tipo semicondutor é usado na unidade. Por causa das características de saída do sensor ser logarítmica, a unidade sensora emprega um amplificador anti-logarítmico para linearizar a saída. A alimentação para polarização do sensor semicondutor é AC, ao invés de DC. Este sinal senoidal AC é gerado internamente. A freqüência do sinal de polarização é determinada pelo valor de “R” no circuito. Na posição “A”, a freqüência é 1000Hz, e na posição “B” a freqüência é reduzida para 500Hz. O painel frontal do SU-6808B é mostrado na Figura 3- 8. Figura 3-8 Unidade Sensora SU-6808B (9) Unidade Sensora SU-6809 Como mostrado na Figura 3-9, a Unidade Sensora Hall / Proximidade / Pressão SU-6809 consiste de pequenos objetos a serem detectados (aço, plástico e ímã) e dos sensores. Estes objetos são colocados num disco rotativo no qual a velocidade é controlada pelo usuário. Com tal arranjo, é fácil executar uma variedade de experimentos relativos a movimento, distância e pressão. - Sensor de Pressão: O sensor resplonde a pressão de um gás. A pressão é gerada usando um compressor manual que é fornecido como acessório. A pressão máxima obtida é de 1 1kgf/cm2 - Sensor de Proximidade: Este sensor é um sensor tipo oscilação, e reage a proximidade de objetos metálicos ou magnéticos. - Sensor Hall: O sensor Hall detecta o campo magnético de um ímã do disco. Todos estes sensores requerem alimentação para funcionarem corretamente. Além disso os sensores Hall e de pressão possuem amplificadores internos à unidade para detectar a alteração na resistência. 44
  • 46.
    Figura 3-9 UnidadeSensora SU-6809 (10) Unidade Sensora SU-6810 Contrário aos outros sensores, as chaves sensoras reed / mercúrio / limite não requerem nenhuma detecção especial ou circuitos amplificadores. A alimentação não é necessária para as chaves, e estas chaves são insensíveis a ruído. O painel frontal da unidade sensora é mostrado na Figura 3-10. - Chave Reed: O contato reed que está dentro de um tubo de vidro é controlado pela aproxI mação de um imã. O retorno desta chave é lenta. Além disso a corrente de contato desta chave normalmente é pequena. Tipicamente a especificação é menor que 1A em 50V máximo - Chave de Mercúrio: O mercúrio dentro do tubo de vidro serve de ponte de conexão entre os dois pontos de contato. A chave de mercúrio é um sensor de posição. - Chave de Limite: Esta é uma micro chave com uma alavanca acoplada para que quando a alavanca seja pressionada, provoque o fechamento da micro chave. Normalmente, um rolete é encontrado na extremidade da alavanca para facilitar a operação. Figura 3-10 Unidade Sensora SU-6810 45
  • 47.
    Seção 4 Experimentos com Sensores 4-1 Experimentos de Aplicação de Sensor de Temperatura 4-1-1 Detecção da Saída de Termopar Objetivos Experimentar um sensor de temperatura usando um termopar. Experimentar as características de um termistor NTC. Revisão da Teoria A seguir é fornecido um comparativo entre o termopar e o termistor. (1) Sensor Termopar (6800-1) Para as características de saída, veja a Figura 4-1 (a). (a) Características de Saída do Termopar (b) Características de Saída do Termistor Figura 4-1 Características de Saída - Temperatura (2) Sensor Termistor (6800-2) Para as características de saída, veja a Figura 4-1 (b). Como pode ser visto das curvas anteriores, um termopar gera uma tensão que é proporcional a temperatura. Em um termistor, a saída é uma variação de resistência. A saída do termopar deve necessitar de um amplificador e algum tipo de circuito de processamento do sinal. Para o sensor termistor, um circuito ponte de resistor é normalmente necessário. Além disso a não linearidade do termistor deve ser considerado em aplicações reais. Equipamentos Necessários - Unidade Amp. OP OU-6801B: 1 peça - Unidade Sensora 6803: 1 peça 46
  • 48.
    - Sensor deTemperatura 6800-1: 1 peça - Multímetro Digital: 1 peça - Termômetro Digital: 1 peça - Ferro de Solda: 1 peça Procedimento Experimental 1. Prepare a Unidade Amp. OP. Mantenha a chave de alimentação desligada. 2. Referindo-se a Figura 4-2, faça as conexões entre a unidade sensora e a unidade Amp. OP. (a) Amplificador do Sensor (b) Amp. OP (c) Comparador Figura 4-2 3. Ligue a alimentação da unidade Amp. OP, e conecte um multímetro digital ao terminal de saída do Amp. OP. Selecione a faixa 200mV do multímetro. 4. Verifique a leitura do termômetro digital e as saídas em volts do Amp. OP. NOTA: Note que o ganho do Amp. OP é ajustado em 10. Para os cálculos do ganho, veja a Figura 2-1. 5. Como mostrado na Figura 4-4, aplique calor ao termopar usando o ferro de solda. Desenhe um gráfico mostrando a relação entre a temperatura do termopar e a saída do Amp. OP. 6. Considerando o ganho de 100 para os dois amplificadores em cascata, calcule a tensão de saída do termopar na temperatura ambiente usando o valor obtido no passo 4. Qual deveria ser o ganho se a saída do Amp. OP devesse ser 1V? Para ajustar o ganho, conecte os pinos 6 e 7 do Amp. OP, e ajuste o resistor variável de 500kW. 7. Ajuste o ganho do amplificador para 50, e conecte a saída do Amp. OP ao comparador como mostrado na Figura 4-3. 47
  • 49.
  • 50.
    9. Aplique calorao termopar até que o LED verde na saída do comparador acenda. 10. Repita os passos 8 e 9 para temperaturas diferentes. Resumo 1. A saída típica de um termopar é menor que algumas centenas de mV/°C. Portanto, a amplificação da tensão é necessária para processar a saída do termopar. O sensor termopar usado em 6800-1 possui saída de 40mV/°C. 2. Quando usar um Amp. OP, esteja atento com a inversão de fase na saída do amplificador inversor. 3. A saída do comparador depende do ajuste de referência na entrada. Por exemplo, para obter uma saída com entrada de 2V, a referência deve ser ajustado para 2V. 4-1-2 Detecção da Saída de Termistor Objetivos Experimentar a saída de um resistor térmico usando ponte de Wheatstone. Revisão da Teoria A resistência de um termistor varia com a temperatura. Para um termistor tipo coeficiente de temperatura negativo (NTC), a resistência do termistor torna-se menor quando a temperatura aumenta. A resistência do termistor do sistema ED-6800B é de 2kW na temperatura ambiente. Portanto, quando a resistência varia para 1.9kW devido a alteração na temperatura, a taxa de alteração é de 5%. Tal alteração pode ser detectada usando uma ponte mostrada na Figura 4- 5. Condição de Balanceamento da Ponte (Saída = Zero): Rs = Rx Rb Ra Figura 4-5 Se a resistência do sensor é RX e o resistor de balanço da ponte é RS, a ponte pode ser balanceada inicialmente ajustando Rs para obter saída zero. Qualquer alteração em Rx devido a variação de temperatura após o balanço ser obtido aparece na saída da ponte. A sensibilidade do detector ponte é normalmente muito boa. Equipamentos Necessários - Unidade Amp. OP OU-6801B: 1 peça - Unidade Sensora SU-6803: 1 peça - Sensor Termistor 6800-2: 1 peça - Multímetro Analógico com Sensibilidade melhor que 20kW/V: 1 peça - Termômetro de Álcool (diâmetro 5 ~ 7mm): 1 peça 49
  • 51.
    Procedimento Experimental 1. Prepare a Unidade Amp. OP. Mantenha-a desligada. 2. Referindo-se a Figura 4-6, faça a conexão entre OU-6801B, SU-6803 e um multímetro. 3. Meça a resistência do sensor termistor na temperatura ambiente usando o multímetro. Além disso, meça a temperatura ambiente real. 4. Conecte o sensor termistor aos terminais de entrada SENSOR INPUT da unidade sensora. Ajuste de faixa de corrente do multímetro, que é colocado entre a saída da ponte e o terra, para 100mA. 5. Ligue a alimentação da Unidade Amp. OP. Ajustando o controle BALANCE, ajuste a ponte para balancear e obter indicação de corrente igual a zero. 6. Segure a extremidade do sensor com dois dedos por cerca de 30 segundos, e observe a alteração na leitura de corrente. No caso do ponteiro do multímetro mova para o sentido contrário, inverta a conexão do multímetro. Figura 4-6 7. Faça a conexão entre a saída da ponte e a entrada do amplificador como indicado pela linha tracejada #1 na unidade sensora. Além disso, conecte um voltímetro (na faixa 3V) na saída do amplificador. 8. A extremidade do sensor que foi aquecido pelos dedos deve ser resfriado até a temperatura ambiente. Assegure-se de que a indicação do multímetro seja zero. Caso contrário, reajuste a ponte. Toque na extremidade do sensor com os dois dedos novamente, e observe a indicação de corrente. Compare a leitura com a indicação no passo 6. Deve ser notado que o passo 7, que utiliza um amplificador, fornece uma resolução de sensibilidade melhor. 50
  • 52.
    9. Instale otermistor e um termômetro de álcool na placa de aquecimento da unidade sensora como mostrado na Figura 4-7 (a). Ligue o aquecedor. Referindo-se a Figura 4-7 (b), registre a temperatura e a corrente a cada 30 segundos durante um intervalo maior que 3 minutos. (a) (b) Figura 4-7 10. Desligue o aquecedor. Registre a temperatura e a leitura de corrente a cada minuto por cerca de 10 minutos. Desenhe duas curvas como mostrado na Figura 4-7 (b). NOTAS: Dependendo da condutividade térmica entre a fonte de calor e o objeto a ser aquecido, as características de aquecimento e resfriamento não são necessariamente as mesmas. Normalmente, o resfriamento leva mais tempo em convecção natural. Um resfriamento forçado usando um ventilador reduzirá o tempo de resfriamento. 11. Faça a conexão entre os pontos como indicado pelas linhas tracejadas 1, 2, 3 e 4. Ajuste a chave do resfriador para AUTO. Faça o balanceamento da ponte para a temperatura ambiente. 12. Com o sensor de temperatura e o termômetro como na Figura 4-7 (a), ajuste a referência de entrada do comparador para -0.5V. NOTAS: Quando a temperatura aumenta no sensor de temperatura, a saída da ponte aparece como negativa. Isto porque o termistor usado possui coeficiente de temperatura negativo (NTC). Para drenar o LED “+” na saída do comparador, a entrada de referência (polarização) é ajustada para abaixo de 0 volts. 13. Ligue o aquecedor. Encontre a temperatura em que o LED “+” acenda. Note que quando o LED “+” está aceso, indica que a temperatura está muito alta, o ventilador liga-se automaticamente. Isto porque o sistema está configurado para demonstrar o conceito de um controle automático. 14. Reduza a tensão de referência gradualmente, e encontre a temperatura em que o ventilador começa a operar. 15. Desligue o aquecedor, e aumente a tensão de referência gradualmente. Registre a saída do comparador vs. Temperatura. Resumo 1. A resolução da sensibilidade de temperatura é muito importante em sistemas de controle automático de temperatura. A resolução do sistema depende do projeto do sistema assim como das características do próprio sensor. 2. No projeto de um sistema de controle de temperatura, a condutividade térmica do meio ao redor da fonte de calor deve ser considerada. Um exemplo de um sistema de controle automático de temperatura é o Controle Proporcional Integrativo e Derivativo (PID). 51
  • 53.
    3. A resistênciatérmica entre um sensor térmico e o objeto a ser medido deve ser minimizado para manter uma boa precisão. As seguintes dicas devem ajudar. - Maximize a área de contato entre o sensor e o objeto. - Aplique adesivo termicamente condutivo tal como silicone nas áreas de contato. - Quando medir a temperatura de um gás, assegure-se de posicionar o sensor no melhor local. - Se necessário, faça um acoplamento entre a fonte de calor e o objeto usando um material com boa condutividade térmica. 4-1-3 Conversão Analógica para Digital de Dado Objetivos Aprender a técnica de conversão A/D dos dados de temperatura obtidos. Revisão da Teoria Dados digitais são mais úteis que no formato analógico devido as seguintes razões: - É fácil de armazenar dados digitais, e os dados digitais são facilmente manipulados pelo computador. - Um sistema operacional pode ser usado para executar controles numéricos precisos usando dados digitais. - Como os dados digitais são baseados somente em 0 e 1, são mais imunes a ruídos. Um conversor A/D tipo comparação sucessiva com 8 bits é usado neste experimento. A resolução, portanto, é 1/256 (ou 1/28) do fundo de escala. O valor de entrada analógico máximo é 5V. Entretanto, um atenuador é fornecido para aceitar sinais de 10V. A entrada de referência é ajustável para fornecer uma saída digital variável. Equipamentos Necessários - Unidade Conversora de Sinal CU-6802: 1 peça - Unidade Sensora SU-6803: 1 peça - Multímetro Analógico: 1 peça - Sensor de Temperatura Tipo Termistor 6800-2: 1 peça - Termômetro de Álcool (diâmetro 5 ~ 7mm): 1 peça Procedimento Experimental 1. Mantenha a Unidade Conversora de Sinal desligada. Coloque a chave DATA HOLD em off. 2. Referindo-se a Figura 4-8, faça as conexões do conversor de sinal e da unidade sensora. 3. Mantenha a chave do aquecedor em OFF (AUTO) na unidade sensora. Coloque o sensor de temperatura e o termômetro verticalmente na placa de aquecimento. 4. Ajuste a referência V do A/D e D/A para CAL. Ligue a alimentação, e verifique o multímetro analógico e os indicadores LED (D0 ~ D7) das entradas / saídas digitais com os terminais de entrada analógico curto circuitados entre si. Sem entrada analógica, todos os 8 bits da saída digital devem estar em nível baixo. 5. Se a indicação digital for satisfatória no passo 4, remova o curto das entradas analógica. Meça a entrada analógica e as saídas digitais correspondentes à temperatura ambiente. 52
  • 54.
    Figura 4-8 6. Ligueo aquecedor na unidade sensora. A cada 10 ou 20 segundos, meça a temperatura, entrada analógica e saída digital e preencha a tabela da Figura 4-9 com os resultados. Temp Analógico Digital (8 bits) Observação D7 D6 D5 D4 D3 D2 D1 D0 Temp Ambiente Figura 4-9 53
  • 55.
    7. Desligue oaquecedor (coloque a chave na posição AUTO), e ligue o resfriador. Repita o passo 6 para as características de resfriamento. Meça a temperatura, entrada analógica e saída digital. 8. Faça as conexões entre as saídas do conversor A/D e as entradas do conversor D/A como indicado pela linha tracejada na Figura 4-8. Compare os valores analógico e digital do conversor A/D com os correspondentes valores do conversor D/A. Os valores devem ser idênticos entre os dois dados analógicos assim como entre os dois dados digitais. Este experimento é executado com a referência de entrada na posição CAL. 9. Repita os passos 6 e 7, e observe as entradas e saídas dos conversores A/D e D/A, assim como as leituras do multímetro. Veja a Figura 2-9 da seção 2-3. 10. Posicione a chave DATA HOLD na posição HOLD para congelar a leitura corrente. Varie a temperatura na unidade sensora, e observe o multímetro analógico e a saída digital do conversor A/D. Quando a diferença entre as leituras analógica e digital aumenta, desligue momentaneamente o DATA HOLD. Verifique que as duas leituras são iguais. Resumo 1. Foi demonstrado através dos experimentos na seção 4-1-2 e 4-1-3 que a constante de tempo térmica não é necessariamente a mesma entre o aquecimento e o resfriamento. O aquecimento ou resfriamento forçado pode melhorar a resolução da constante de tempo térmica. 2. A saída analógica do conversor D/A é um sinal do tipo degraus de escada que contém harmônicas. Para suavizar o sinal convertido, é necessário executar uma filtragem. 3. É fácil de se congelar a indicação de um dado digital usando a função HOLD. Além disso, o dado digital pode ser facilmente armazenado em memória. 4. A saída digital de 8 bits é obtida no modo paralelo neste experimento. Entretanto, no caso do dado digital necessitar ser enviado a uma longa distância, o dado é normalmente transmitido na forma serial através de um conversor paralelo para série. Neste caso, o dado paralelo é primeiramente amostrado, então cada dígito é enviado começando pelo LSB. 4-2 Aplicação de Foto Sensores 4-2-1 LEDs e Foto Sensores Objetivos Entender a operação de um LED infravermelho e um transistor receptor na detecção de objetos. Revisão da Teoria Dois tipos de foto sensores são considerados nesta seção: detecção da interrupção de luz entre uma fonte e o objeto, ou a recepção da luz refletida no objeto. Não importando que tipo de detecção é usado, os seguintes parâmetros caracterizam a técnica de foto detecção. - Sensibilidade luminosa: Para uma dada fonte de luz, a sensibilidade depende da distância entre a fonte e o objeto assim como da sensibilidade do receptor. - Tempo de resposta: Uma lâmpada do tipo filamento possui um tempo de atraso devido ao tempo necessário para aquecer e resfriar o filamento. De modo contrário, uma fonte de luz baseada em semicondutor responde muito mais rápido quando a alimentação é ligada e desligada. A taxa de liga / desliga pode ser de algumas centenas de Hz a alguns MHz. O foto receptor possui características similares. Por exemplo, o tempo de resposta da célula CdS pode ser de alguns ms a algumas centenas de ms. - Comprimento de onda: Normalmente, os foto sensores respondem a comprimentos de onda de 750 ~ 950nm. Este comprimento de onda infravermelho é maior que o comprimento de onda da luz visível. Alguns sensores são projetados para responder ao comprimento de 54
  • 56.
    onda ultravioleta queé menor que o comprimento de onda da luz visível. Equipamentos Necessários - Unidade Amp. OP OU-6801B: 1 peça - Unidade Sensora SU-6804: 1 peça - Multímetro Analógico: 1 peça - Módulo LED (fonte): 1 peça - Módulo Foto Transistor (receptor): 1 peça - Osciloscópio: 1 peça Procedimento Experimental 1. Desligue a Unidade Amp. OP. Faça as conexões das unidades de acordo com a Figura 4- 11. Selecione a polarização (Bias) da unidade sensora para DC. 2. Encaixe os módulos LED e foto transistor no guia de ajuste de distância. Ajuste a distância entre os dois módulos em 5mm. Ligue a alimentação. 3. Ajuste o nível de polarização (BIAS) para aproximadamente 5 (meio). Usando a faixa x100 do multímetro, meça a condutância entre o coletor e o emissor do foto transistor. Figura 4-10 Módulos LED e Foto Transistor 4. Mova o módulo receptor gradativamente para longe do módulo LED, e a cada 5mm meça a condutância como indicado no multímetro. Desenhe o gráfico mostrando as medidas incluindo o valor inicial. 5. Aumente a polarização (BIAS) para o nível máximo (10), e repita o passo 4. Compare a sensibilidade entre os dois casos: - Para a dada distância, a polarização é incrementada por um fator 2. - Para a dada polarização, a distância é decrementada por um fator 2. Em que caso a sensibilidade é melhor? 6. Conecte o plug do sensor receptor aos terminais R-device, e selecione o multímetro analógico para DC 15V. Conecte o voltímetro a saída do Foto sensor e ao GND. 7. Ajuste o nível de polarização (BIAS) para 5. A cada incremento de 5mm, meça a tensão de saída do foto sensor, e desenhe uma curva mostrando a relação. Encontre a taxa de variação da tensão de saída como uma função da distância. 8. Ajuste a distância entre a fonte e o receptor em 10mm. Obstrua a recepção do sinal colocando um pedaço de papel entre a fonte e o foto sensor, e verifique se a tensão de saída altera. No caso de alteração, explique o porquê. 9. Desligue momentaneamente a Unidade Amp. OP, e altere a conexão conforme a Figura 4-12. 10. Ajuste a polarização (BIAS) do dispositivo T-Device da unidade sensora para AC 100Hz, e ajuste o nível de saída para 5. Ajuste o osciloscópio para mostrar sinal de 2V / 100Hz. 11. Ajuste a distância entre o foto diodo e o sensor foto transistor para 5mm, e ligue o Unidade Amp. OP. 55
  • 57.
    Figura 4-11 12. Meçaa tensão de saída pico-a-pico no osciloscópio. Meça a tensão de saída com o multímetro a cada 5mm de intervalo, e desenhe a curva mostrando o resultado. Figura 4-12 56
  • 58.
    13. Altere apolarização (BIAS) para 1kHz, e repita o passo acima. Desenhe uma curva em linha tracejada na Figura 4-13. Meça a tensão de pico-a-pico no osciloscópio e esboce aforma de onda em uma folha de papel. Figura 4-13 14. Ajuste o nível de polarização para 10, e repita os passos 11 e 12. 15. Ajuste a distância entre a fonte e o receptor em 10mm. Obstrua a recepção do sinal colocando um pedaço de papel entre a fonte e o sensor, e verifique se a tensão de saída altera. Compare com o passo 8. No caso do resultado ser diferente, explique o porquê. Resumo 1. A tensão de entrada e a saída luminosa da fonte de luz possuem uma relação linear dentro dos limites. Portanto, quando a corrente de entrada na fonte é incrementada por um fator 2, a tensão de saída no receptor decrementa por um fator 2 também. De modo oposto, quando a distância é incrementada por um fator 2, a saída do receptor decrementa por um fator 1/4, ou inversamente proporcional ao quadrado da taxa de variação na distância. 2. As características de alta freqüência de um sistema de transmissão é caracterizada aplicando-se uma onda quadrada à entrada. No caso das bordas agudas serem perdidas, significa que a resposta a alta freqüência do sistema é deficiente. As características de boa performance em alta freqüência são importantes para obter boa qualidade nas comunicações óticas. 3. Os foto sensores devem ser isolados de luzes indesejadas. Por esta razão, foto sensores típicos utilizam detectores infravermelho. Além disso, sinais AC ou técnicas de modulação de pulso podem ser utilizadas. O uso de filtros apropriados também é eficiente na redução de ruído. 4-2-2 Foto Chaves CdS e Foto Acopladores Objetivos Estudar as características das células CdS e dispositivos foto acopladores. Revisão da Teoria A saída de uma célula CdS varia quando a intensidade da luz incidente varia. Esta propriedade torna, em alguns casos, a célula CdS mais fácil de se utilizar do que um foto transistor. Os projetistas podem selecionar os valores de resistência e corrente corretos a partir dos catálogos dos fabricantes. Um exemplo de aplicação da uma célula CdS como uma chave automática para iluminação de rua é mostrada na Figura 4-14. 57
  • 59.
    Figura 4-14 As células CdS são essencialmente reles sem contato. Quando combinados com foto acopladores, uma célula CdS pode servir como um controlador de volume eletrônico como mostrado na Figura 4-15. Figura 4-15 Controle de Volume sem Contato O tempo de resposta da célula CdS usada neste experimento é de aproximadamente 10ms, e a máxima sensibilidade é 520nm. Este comprimento de onda cobre a faixa de luz visível, e portanto, este sensor pode ser usado também como medidor de exposição a luz. Equipamentos Necessários - Unidade Amp. OP OU-6801B: 1 peça - Unidade Sensora SU-6804: 1 peça - Multímetro Analógico: 1 peça - Sensor CdS: 1 peça - Módulo Lâmpada Incandescente: 1 peça Procedimento Experimental 1. Mantenha a alimentação da Unidade Amp. OP desligada, e faça as conexões como mostrado na Figura 4-16. Ajuste a polarização (BIAS) do dispositivo T-Device da unidade sensora para DC, e ajuste o nível de polarização (BIAS) para o mínimo. 2. Ajuste a distância entre os módulos lâmpada e CdS para cerca de 20mm, e ligue a alimentação. 3. Meça a resistência da célula CdS com a polarização (BIAS) do dispositivo T-Device ajustado em 0. Aumente o nível de polarização lentamente, e meça a resistência com a polarização ajustada para 5 e 10. 4. Cubra a lâmpada e o sensor CdS com um papel preto e repita os passos 2 e 3. NOTAS: A razão de cobrir é que o sensor CdS responde a luz visível. Para que receba uma luz específica, a cobertura é necessária para bloquear as luzes indesejáveis. Além disso, os sensores 58
  • 60.
    CdS são dispositivoslentos. Portanto, os sensores CdS são usados na detecção de sinais luminosos com variação lenta. Figura 4-16 5. Desligue momentaneamente a Unidade Amp. OP, e refaça as conexões conforme a Figura 4-17. Conecte o pino 6 do Amp. OP ao pino 8. Ajuste a polarização para DC, e o nível de polarização para 0. Figura 4-17 59
  • 61.
    6. Ajuste adistância entre a lâmpada e a célula CdS em 5mm. Cubra a célula CdS parabloquear qualquer outra fonte de luz diferente da luz da lâmpada. 7. Ligue a alimentação. Ajuste a polarização de offset para obter saída 0. 8. Incremente a polarização do dispositivo T-Device de 1 até 10, e meça a saída do Amp. OP. Se a saída varia linearmente com a variação da polarização, então o fotoacoplamento está funcionando corretamente. NOTAS: O brilho da lâmpada não é proporcional a tensão aplicada. Na maioria das aplicações, os sinais de entrada dos foto acopladores são formas de onda do tipo de chaveamento. Portanto, a velocidade de chaveamento é o parâmetro chave para o foto acoplador. 9. Na Figura 4-16, ajuste a velocidade de rotação do disco para aproximadamente 30 RPM (uma revolução a cada 2 segundos), e aproxime o sensor CdS de tal maneira que possa receber o sinal luminoso emitido de dentro do disco. Observe a mudança de resistência usando um multímetro. Movimente o sensor de tal modo que receba o sinal luminoso de fora do disco. Aumente a velocidade do motor gradualmente, e observe a forma de onda no osciloscópio. Discuta a diferença na performance entre os sensores foto transistor e célula CdS, se existir. 10. Conecte o sensor foto transistor como mostrado na Figura 4-12 e coloque o foto sensor onde existe uma lâmpada fora do disco. Aumente a velocidade do motor, e observe a forma de onda no osciloscópio. Ajuste a base de tempo do osciloscópio para CAL, e meça o período do sinal. Repita o experimento com o sensor CdS e compare os resultados. Resumo 1. Embora o sensor CdS seja um dispositivo lento, possui uma largura de banda ampla, tornando possível a transmissão de sinal analógico. O sensor CdS com potência relativamente alta (alguns watts) podem ativar um relê sem a amplificação do sinal do sensor. 2. Um foto acoplador é usado onde isolação de segurança é necessária entre dois pontos diferentes de um circuito. Tal isolação é necessária para proteger os operadores e o equipamento. 4-3 Aplicações de Encoder de Rotação 4-3-1 Detecção de Velocidade e Direção de Rotação Objetivos Aprender como medir velocidade de rotação e detecção de direção de rotação usando um encoder rotativo. Revisão da Teoria A informação de velocidade de rotação é usada para calcular a trabalho efetuado em uma máquina rotativa, ou para controlar o sistema automaticamente. A seguir é fornecido um resumo do encoder rotativo usado no sistema ED-6800B. Características Elétricas - Tensão de Entrada: ............................................ 5V DC - Corrente de Saída: ............................................. 80mA - Forma de Onda de Saída: .................................. Quadrada - Número de Fases de Saída: ............................... 2 (A, B) - Resolução (P/R): ................................................ 100 pulsos por revolução - Sensor de Rotação: ........................................... Tipo foto 60
  • 62.
    - Resposta: ...........................................................25kHz Características Mecânicas - Torque Inicial: ...................................................... 0.29mN.m (3gf.cm) máximo - Inércia: ................................................................ 3gf/cm2 máximo A relação de fase entre as saídas A e B do encoder é mostrada na Figura 4-18. Figura 4-18 Fases de Saída do Encoder Rotativo O objetivo das duas fases é determinar a direção de rotação. Alguns encoder possuem a saída Z. Esta saída é usada para estabelecer um ponto inicial. Um pulso aparece na saída Z a cada revolução. O circuito de saída das saídas A e B é mostrada na Figura 4-19. O tipo de circuito da Figura 4-19 (a) é usada no ED-6800B. Na Figura 4-20, um flip-flop J-K é usado para determinar a direção de rotação. (a) (b) Coletor Aberto Figura 4-19 Figura 4-20 Circuitos Lógicos de Direção de Rotação 61
  • 63.
    Equipamentos Necessários - Unidade Conversora de Sinal CU-6802: 1 peça - Unidade Sensora SU-6804: 1 peça - Osciloscópio 20MHz, 2 canais: 1 peça - Multímetro Digital: 1 peça - Freqüencímetro 5MHz: 1 peça Procedimento Experimental 1. Mantenha a alimentação da Unidade Conversora de Sinal desligada, e faça as conexões conforme a Figura 4-21. Assegure-se de que a conexão entre o motor DC e o encoder rotativo esteja segura girando manualmente com cuidado. Figura 4-21 2. Ajuste o V-Reference do conversor de sinal A/D para a posição CAL, e ajuste a velocidade do motor DC para 0. 3. Ajuste o osciloscópio para medida de pulso de 5V, 10Hz ~ 5000Hz. 4. Ajuste o multímetro digital para a faixa DC 0 ~ 12V, e conecte ao pontos de teste de tensão da entrada do motor. Também ajuste o freqüencímetro para medir ambas as saídas A e B. 62
  • 64.
    5. Ligue aUnidade Conversora de Sinal, e ajuste a velocidade do motor para a posição intermediária. Obtenha a saída do encoder no freqüencímetro e no osciloscópio. A forma de onda no osciloscópio deve ser a mesma das formas de onda A e B da Figura 4-18. 6. Reduza a velocidade do motor para zero. Aumente um pouco a velocidade, e meça a tensão de entrada do motor DC e a freqüência da fase A do encoder. Desenhe um gráfico usando o formato dado na Figura 4-22. NOTAS: A freqüência medida é equivalente a 100 pulsos por revolução do encoder rotativo. Portanto, quando a velocidade do motor é 20 vezes por segundo, o freqüencímetro deve indicar 20 x 100 =2000. Além disso, a velocidade do motor em RPM pode ser calculado como: Frequ ˆncia_do_Encoder(Hz) ¨e RPM = Contagem_de_Pulso_por_Volta_do_Encoder x60 Figura 4-22 7. Repita o passo 6, e preencha a tabela da Figura 4-23 com os valores binários do contador de 8 bits e o equivalente decimal nas várias tensões de entrada do motor. Saída Digital 8 bits Tensão de Entrada do Motor D7 D6 D5 D4 D3 D2 D1 D0 Valor Decimal 0.0V 0.5V 1V 1.5V 2V : Figura 4-23 63
  • 65.
    Notas: A contagemde pulso do encoder é ponderado por um fator igual a 1/20 devido a limitação de contagem do sistema de 8 bits que é 28 = 256 no máximo. Como a contagem de pulso do encoder é muito maior que o número mostrado abaixo, a contagem de pulso precisa ser reduzida antes de ser aplicada a entrada de 8 bits. RPM_do_Encoder_x_100_pulsos ¨ ˆncia_do_Encoder = Freque 60 Exemplo Para velocidade do motor de 3000 RPM Freqüência do encoder = 5000 Hz Entrada de 8 bits = 5000 / 20 = 250 8. Expresse a relação entre a entrada do motor e os valores decimais em um gráfico X-Y como especificado na Figura 4-24. Examine a linearidade da linha. Explique em que condições a não linearidade começa a aparecer. Figura 2-24 Figura 4-25 64
  • 66.
    9. Ajuste aentrada do motor para 10V. Ajuste o V-Reference do conversor A/D de tal modo que o medidor analógico indique 5V. Reajuste a entrada do motor para 0V. 10. Aumente a entrada do motor em incremento de 1 volt, e meça a saída do conversor D/A e desenhe o gráfico X-Y. Verifique se a saída é linear com relação a tensão de entrada do motor. Se não, explique por que. 11. Defina a lógica do flip-flop J-K quando os sinais A e B da Figura 4-18 são aplicados ao circuito da Figura 4-20. A tabela verdade e símbolos lógicos do CI CMOS 4027 são mostrados na Figura 4-25.   Resumo 1. Um encoder rotativo, ou um taco sensor, é usado para detectar a velocidade e a direção de rotação das máquinas. Para melhorar a resolução, as saídas dos encoder são de 10 ~ 500 pulsos por revolução. NOTAS: Quando a tensão de entrada do motor é ajustada para variar a velocidade do motor, deve ser considerado que existe uma tensão morta abaixo da qual o motor não girará. A tensão morta não é constante para um dado motor, mas varia dependendo da carga. 2. Dois pulsos (A, B) com 90° de diferença de fase são fornecidos pelo encoder rotativo. A direção da rotação é determinada pela avaliação da diferença de fase mostrada na Figura 4- 18 (A->B) ou B->A). A informação da fase detectada é processado através de um circuito lógico (Figura 4-20), ou um flip-flop (Figura 4-20). Na Figura 4-25, os símbolos lógicos e a tabela verdade do circuito da Figura 4-20 são apresentados. 3. Se as saídas dos sensores são convertidos para o formato digital, os computadores podem ser usados para controlar o processo ou gerenciar os dados. Entretanto, no caso de um sinal de realimentação em um circuito de loop fechado precisa ser um sinal analógico, um conversor D/A é necessário para a conversão. 4-3-2 Detecção de RPM e Posição Angular Objetivos Medir o RPM e a posição angular de um motor usando um encoder rotativo. Revisão da Teoria A velocidade (RPM) e a informação de posição de uma máquina rotativa são importantes parâmetros no controle de processo. O encoder usado neste experimento fornece uma saída com 100 pulsos por revolução. Portanto, quando um motor gira a uma velocidade de 4000 RPM, o número de pulsos contados deve ser 24 x 106. Como um número muito grande não é fácil de ser tratado, este número é processado através de um circuito divisor por 100. Para detectar a posição angular de um dado ponto, uma posição de referência deve ser estabelecido primeiramente. Na Figura 4-26 e 4-27, uma técnica para determinação do índice zero é mostrado. A resolução angular do arranjo na Figura 4-27 é 360° / 100° = 3.6° por pulso quando o encoder fornece saída de 100 pulsos por revolução. Portanto, quando um motor pára, e a contagem de pulso é 25 para o dado ponto, este ponto é a posição 3.6° x 25° = 90° a partir do índice zero. Figura 4-26 Sinais das Fases A, B e o Índice Zero 65
  • 67.
    Figura 4-27 Detecçãodo Sinal do Índice Zero através de um Sensor Resumo 1. O índice zero deste sistema é ajustado mecanicamente. Entretanto, o índice zero pode ser ajustado para qualquer posição se um contador é usado. 2. Os encoders são encontrados em máquinas de controle numérico computadorizado (CNC) para controlar velocidade e posição. 4-4 Aplicações do Sensor de Vibração 4-4-1 Transmissão e Recepção de Som Ultra-sônico Objetivos Entender as características de um transdutor ultra-sônico e sensor ultra-sônico. Experimentar os fundamentos da comunicação ultra-sônica. Revisão da Teoria Na Figura 4-28, um circuito equivalente e as características de reatância de um transdutor ultra-sônico são mostrados. (a) Circuito Equivalente (b) Características de Reatância (c) Sensor de Transmissão (d) Sensor de Recepção Figura 4-28 Características do Sensor Ultra-sônico 66
  • 68.
    A saída dogerador da Unidade Sensora, que é usada como entrada para o transdutor, é um sinal de onda quadrada. Entretanto, a forma de onda da saída de uma onda sonora é senoidal. Aterrando a entrada de controle interrompe-se a geração de onda quadrada. Quando um sinal de onda quadrada, como mostrado na Figura 4-29 (a), de um gerador de funções é aplicado para a entrada de controle, um sinal ultra-sônico como mostrado na Figura 4-29 (b) pode ser obtido. Tal sinal é usado nas unidades de controle remoto nas aplicações comerciais. Figura 4-29 O ganho do amplificador do sensor é da ordem de 100, e medindo-se a saída do amplificador, pode-se determinar a sensibilidade do sensor. Equipamentos Necessários - Unidade Amp. OP OU-6801B: 1 peça - Fonte de Alimentação Simétrica (0 ~ ±20V): 1 peça - Unidade Sensora SU-6806B: 1 peça - Osciloscópio, traço duplo: 1 peça - Gerador de Funções: 1 peça - Freqüencímetro: 1 peça Procedimento Experimental 1. Mantenha a fonte de alimentação desligada. Faça as conexões de acordo com a Figura 4- 30. Ajuste o osciloscópio para 40kHz, 0.1V/DIV. Figura 4-30 67
  • 69.
    2. Ajuste ogerador para 40kHz, e ligue a chave do amplificador do sensor. 3. Ligue a alimentação, e aproxime o módulo de transmissão para próximo da unidade sensora, e verifique no osciloscópio o sinal recebido. Varie a distância entre o transmissor e o recep- tor e meça a tensão de pico-a-pico observada no osciloscópio. Registre estes valores na Figura 4-31 na coluna 40kHz. Explique a relação entre a amplitude do sinal e a distância. Frequência / 20kHz 25kHz 30kHz 40kHz 50kHz 60kHz 70kHz 80kHz Distância cm cm cm cm Figura 4-31 4. Fixe a distância entre o transmissor e o receptor. Varie a freqüência do gerador como indicado na Figura 4-31, e meça a tensão pico-a-pico. Registre os valores. 5. Para uma dada distância, transmita um sinal ultra-sônico através de objetos de metal assim como de madeira, e observe a diferença no sinal recebido. Assegure-se de que os objetos sejam posicionados de maneira que o receptor receba a maior parte do sinal refletido. Explique porque existe diferença entre o metal e a madeira. 6. Desligue a alimentação, e conecte o gerador de funções com impedância de saída de 50W à entrada de controle do circuito gerador como mostrado na Figura 4-32. Figura 4-32 68
  • 70.
    7. Ajuste ogerador de funções para saída de onda quadrada de 100Hz com 15Vpp. Ajuste o CH-1 do osciloscópio para medida de 100Hz, 0.1Vpp e o CH-2 para 100Hz, 0.2Vpp. 8. Ligue a alimentação e também ligue a chave do amplificador do sensor. Aproxime o módulo transmissor do sensor, e observe a forma de onda no osciloscópio. Compare a diferença entre as formas de onda do CH-1 e CH-2. Resumo 1. A sensibilidade de um sensor ultra-sônico é maximizado quando é operado na freqüência de ressonância do sensor. 2. Um sinal sonoro ultra-sônico pode ser recebido através de transmissão direta assim como por reflexão em um objeto. Quando maior a densidade do objeto refletor, maior a intensidade do sinal refletido. 3. Controladores remotos utilizam sinais ultra-sônicos em formato codificado. 4-4-2 Medida de Aceleração usando Sensor de Choque Objetivos Medir a aceleração de um objeto em queda usando sensor de choque. Revisão da Teoria Quando estiver usando um sensor de choque, fique atento para as características direcionais do sensor. Além disso, a faixa segura de medida de choque é importante. Exceder o limite da faixa pode danificar permanentemente o sensor. Dois tipos de sensores de choque são mostrados na Figura 4-33. Um deles, o acelerômetro piezoelétrico é usado neste experimento. Como a aceleração devido a um choque é apenas instantâneo, é necessário capturar a tensão de pico produzida pelo elemento piezoelétrico. Um circuito detector de pico como mostrado na Figura 4-34 é usado para este propósito. (a) Aceleração Tipo Piezelétrico (b) Tipo Bobina Móvel Figura 4-33 Figura 4-34 69
  • 71.
    O capacitor C1no circuito detector de pico é descarregado por uma chave de reset antes de um pico de tensão ser aplicado à entrada do amplificador. Como uma entrada é aplicada a entrada não inversora, a saída carrega o C1 através de D1. No caso de uma entrada maior ser aplicada enquanto C1 ainda estiver carregado, C1 será carregado pelo pico da nova entrada. A carga de C1 é mantida por pelo menos alguns minutos devido a alta impedância de entrada do amplificador buffer, evitando que se descarregue rapidamente. A seguir é fornecido uma breve especificação do sensor de choque. - Saída a Aceleração 40G: 0.4Vpp / 56kW - Freqüência de Ressonância: 2kHz ~ 1kHz - Duração da Ressonância: 10ms ~ 30ms para alcançar 50% do valor de pico - Impedância Interna: 150kW à 2kHz - Faixa de Temperatura: -20°C ~ 60°C - Dimensões: 35 x 14 x 15mm Equipamentos Necessários - Unidade Amp. OP OU-6801B: 1 peça - Fonte de Alimentação Simétrica (0 ~ ±20V): 1 peça - Unidade Sensora SU-6806B: 1 peça - Osciloscópio: 1 peça - Multímetro: 1 peça Procedimento Experimental 1. Mantenha a fonte de alimentação desligada, e faça as conexões conforme a Figura 4-35. Conecte o sensor de choque à Ext Inp da unidade sensora. Mantenha a chave do sensor em OFF. Figura 4-35 2. Ajuste o osciloscópio para 0.2V/DIV e 10ms/DIV. 3. Ligue a alimentação. Posicione o acelerômetro de tal modo que a seta aponte para baixo. 70
  • 72.
    Aplique um choquemoderado batendo sobre a mesa suavemente. Deixe o sensor cair a uma altura de aproximadamente 5cm, e observe a forma de onda do CH-1 do osciloscópio. 4. Ajuste a faixa de entrada do osciloscópio de tal modo que a forma de onda de choque é de aproximadamente 2 ~ 3cm no osciloscópio. 5. Ajuste o multímetro que está conectado a saída do detector de pico em 10V DC. Pressione Reset para descarregar C1. 6. Monte o sensor de choque no acessório 6800-10 com a orientação correta da seta. Deixe o sensor cair de diferentes alturas como indicados na tabela a seguir em uma superfície dura, e registre a tensão de pico na tabela. Examine os resultados. A tensão de pico é proporcional à altura? Comprimento / Saída 2cm 4cm 6cm 8cm Pico da Tensão de Saída Resumo 1. Um sensor de choque ;é um dispositivo direcional. 2. Um sensor de choque pode ser convertido em um acelerômetro. 3. A performance de um sensor de choque varia dependendo de como é instalado. 4-5 Aplicações de Sensor de Gás 4-5-1 Detecção de Gás Objetivos Entender as características dos sensores de gás e suas aplicações. Revisão da Teoria Existem muitos tipos diferentes de gases. Alguns dos mais conhecidos devem ser o gases hidrogênio, monóxido de carbono, LPG, LNG e metano. Quando executar experimentos com gases, o usuário deve tomar os seguintes cuidados: - Os gases podem explodir em certas condições. Além disso, alguns gases são nocivos a saúde humana. É muito importante que os experimentos sejam executados apenas com acompanhamento de um instrutor. - As características dos gases variam devido a temperatura ou umidade ambiente. Portanto, quando uma medida precisa é necessária, o sistema de detecção deve possuir um circuito de compensação para a variação da temperatura e umidade. Como exemplo, o desvio da resistência do sensor devido a temperatura e umidade é mostrado na Figura 4-36. - Os sensores precisam de um tempo de aquecimento quando as partes internas tenham ficado desligadas por muito tempo. As constantes de tempo de aquecimento do TGS-813 e TGS-109 são mostradas na Figura 4-37 (a) e (b). 71
  • 73.
    R: Resistência doSensor em 1000ppm de Metano no Ar R0: Resistência do Sensor em 1000ppm de Metano no Ar à 20ºC e RH de 65% Figura 4-36 Figura 4-37 (a) Circuito de Compensação do (b) Circuito de Compensação Tempo de Aquecimento da Temperatura / Umidade Figura 4-38 72
  • 74.
    Equipamentos Necessários - Unidade Amp. OP OU-6801B: 1 peça - Fonte de Alimentação Simétrica (0 ~ ±20V): 1 peça - Unidade Sensora SU-6807B: 1 peça - Multímetro Analógico: 1 peça - Isqueiro a Gás (sem bateria ou pedra) Procedimento Experimental NOTAS: O gás usado no experimento é inflamável. Não aproxime nenhum tipo de chama, ou objeto com chama. Tenha sempre o máximo de cuidado ao manipular um gás. Alguns gases também são tóxicos. 1. Prepare a fonte de alimentação (±15V) e mantenha-a desligada. 2. Meça a resistência sobre os pinos 6 e 8, ou pinos 4 e 7, do sensor de gás na unidade sensora e registre o valor na Figura 4-40 na coluna Resistência do Sensor Não Condutivo. 3. Conecte o pino 1 ao 2 assim a tensão do aquecedor pode ser aplicado ao aquecedor. Também conecte o multímetro (faixa R x 10kΩ) nos pinos 6 e 8. 4. Ligue a fonte de alimentação. Imediatamente leia o valor da resistência, e registre na segunda coluna da Figura 4-40. Continue a medir a resistência a cada minuto e registre os valores nos espaços apropriados. No caso da resistência variar com o tempo, explique o porquê. Figura 4-39 Resistência do Sensor Depois de Ligar Resistência do Sensor Resistência do Sensor Desligado Imediatamente Após Ligar Após 1 min Após 2 min Após 3 min Figura 4-40 73
  • 75.
    5. Desligue aalimentação e refaça a configuração conforme a Figura 4-41. Ajuste o multímetro para a faixa de 10V ~ 15V DC. Figura 4-41 6. Ligue novamente a alimentação. Obtenha a leitura do multímetro a cada 1 minuto e registre os valores na linha Ar Limpo da Figura 4-42. Após 1 min Após 2 min Ar Limpo LPG (ou LNG) Recuperado Figura 4-42 7. Usando o isqueiro sem bateria ou pedra, descarregue um pouco de gás sobre o sensor. Obtenha as leituras do multímetro novamente, e registre os valores na linha LPG (ou LNG) da Figura 4-42. 8. Pare de descarregar o gás sobre o sensor. Elimine o gás ao redor do sensor rapidamente (menos de 10s) injetando ar limpo sobre o sensor, e obtenha a leitura do multímetro como nos passos anteriores. Registre o valor na linha Recuperado da Figura 4-42. Resumo 1. Quando um sensor de gás é ligado a partir do estado frio, permita que aqueça (pelo menos 2 minutos) para estabilização. Na Figura 4-38 (a) é mostrado um circuito que reduz ou até elimina este tempo de aquecimento. 2. As características de um sensor de gás varia devido a temperatura e umidade ambiente. Portanto, para medidas precisas, um circuito como mostrado na Figura 4-38 (b) é necessário. 3. Quando usar um sensor de gás, considere as diferentes características de resposta de um sensor. Veja a Figura 1-10 (b). 4. Atenção especial é necessária quando calibrar um sensor. 74
  • 76.
    4-5-2 Alarme deGás Objetivos Para entender os princípios de operação de um dispositivo de alarme contra gás. Revisão da Teoria Confiabilidade é o parâmetro mais crítico em um dispositivo de alarme contra gás. Além disso, o dispositivo deve oferecer algum tipo de ajuste de sensibilidade, porque a densidade e tipo de gás poderá variar. Na unidade sensora SU-6807B, o nível de alarme é classificado de 1 a 10 em passos de 1, e o usuário pode selecionar o passo desejado. O alarme é expresso em som de áudio assim como em uma lâmpada. O tipo de sensor de gás usado é um sensor tipo semicondutor. Na Figura 4-43, um tipo diferente de sensor é mostrado. Como pode ser visto na Figura 4- 43 (b), o circuito de detecção é um circuito ponte com duas bobinas. A bobina C não é exposta diretamente à amostra de gás, enquanto que a bobina D tem contato direto com o gás. Portanto, quando um gás existe, a resistência da bobina D varia, causando uma situação de desbalanceamento na ponte. O sinal detectado pela ponte é alimentado para processamento em um amplificador diferencial. Embora muitos sensores funcionem com a alimentação AC, a fonte DC é usada no experimento para conveniência. A alimentação do aquecedor TGS-813 é de 5V e é fornecido pela fonte de +15V. O nível de detecção pode ser reajustado pelo resistor variável na entrada do diferencial. (a) Sensor Tipo Contato (b) Circuito Detector Ponte Figura 4-43 Equipamentos Necessários - Unidade Amp. OP OU-6801B: 1 peça - Fonte de Alimentação Simétrica (0 ~ ±20V): 1 peça - Unidade Sensora SU-6807B: 1 peça - Isqueiro sem bateria ou pedra Procedimento Experimental CAUTELA: Observe as regras de segurança na seção 4-5-1. 1. Mantenha a fonte de alimentação desligada. Faça as conexões da unidade sensora conforme a Figura 4-44. Note as conexões no amplificador diferencial, comparador e circuito de alarme. 75
  • 77.
    Figura 4-44 2. Ajuste o nível de alarme para o máximo (10), e ligue a alimentação. Verifique o indicador de nível. O indicador LED não deve estar ligado se o ar estiver limpo. 3. Espere por pelo menos 2 minutos. Descarregue um pouco de gás do isqueiro sobre o sensor durante um pequeno tempo, e observe o indicador de nível. Verifique se o indicador de nível varia a indicação quando a densidade de gás aumenta. 4. Pare de descarregar gás. Espere até que o indicador de nível mostre zero. Altere o nível de alarme para um valor entre 3 e 5. Repita o passo 3. Quando o alarme disparar, aumente o nível de alarme ou pressione a tecla Reset para parar o alarme. 5. Ajuste o offset DC do comparador e observe a saída do comparador como função da densidade de gás. Resumo 1. A resistência do sensor de gás tipo semicondutor diminui quando a densidade do gás aumenta. Isto depende das características de cada gás. Portanto, a indicação de densidade de gás deve ser acompanhada de informações do tipo de gás que está sendo medido. 2. Um sistema de alarme de gás requer essencialmente boa confiabilidade porque ele está trabalhando com a vida humana. 4-6 Aplicações de Sensor de Umidade Objetivos Entender as características de um sensor de umidade e suas aplicações. Revisão da Teoria Os seguintes parâmetros devem ser considerados quando utilizar um sensor de umidade. - Faixa do sensor de umidade - Precisão do sensor - Método do sensor Um sensor de umidade é um dispositivo relativamente lento com as características como mostradas na Figura 4-45. 76
  • 78.
    (a) Características deResposta (b) Dependência da do Sensor de Umidade Temperatura do Sensor de Umidade Figura 4-45 Principais Componentes de um Sensor de Umidade: - Gerador: O gerador interno ao sensor de umidade é um oscilador senoidal. A freqüência de saída varia pela alteração dos resistores na circuito que determina a freqüência. Por exemplo, aproximadamente 1000Hz é obtido do circuito da Figura 4-46 quando os resistores R1A e R2A são selecionados. Quando R1B e R2B são selecionados, a freqüência será 500Hz. - Retificador: Este é um retificador de precisão que usar um amplificador operacional, e detecta a variação no sinal AC causado pela alteração da umidade relativa (RH). - Circuito Amp. OP: Proporciona ganho de aproximadamente 6.9. - Amperímetro: Um amplificador logarítmico que drena o circuito medidor para indicar a informação de umidade relativa. Equipamentos Necessários - Unidade Amp. OP OU-6801B: 1 peça - Fonte de Alimentação Simétrica (0 ~ ±20V): 1 peça - Multímetro Analógico: 1 peça - Termômetro: 1 peça - Medidor de Umidade Padrão (STD): 1 peça Procedimento Experimental 1. Mantenha a fonte desligada. Faça as conexões da unidade sensora conforme a Figura 4- 46. Ajuste o multímetro para 10V DC. 2. Ligue a alimentação, e espere pelo menos 1 minuto para aquecimento. Compare a leitura da umidade relativa da unidade sensora com o medidor padrão de umidade. No caso da unidade sensora não indicar o mesmo valor, ajuste CAL para corrigir. 77
  • 79.
    3. Faça asleituras do multímetro, temperatura e umidade (unidade sensora), e registre os valores na coluna Estado Natural da Figura 4-47. Estado Natural Umidade de 50% Umidade de 80% Temperatura Ambiente indicação do Multímetro indicação de Umidade do SU-6808 Indicação de Umidade em um Medidor Padrão Figura 4-47 4. Aproxime o medidor de umidade da unidade sensora, e pulverize umidade até que o medidor indique aproximadamente 50% de umidade. Obtenha as mesmas leituras do passo 3, e registre os valores na coluna 50% RH. 5. Repita o passo 4 para 80% RH. 6. Dos dados obtidos, discuta a causa do erro envolvido na unidade sensora. 7. A partir dos dados da Figura 4-47, explique porque a taxa de variação na leitura do medidor é diferente da leitura do multímetro e do sensor de umidade. Resumo 1. A seguir estão as principais causas de erro no sensor de umidade. a. Variação nas características no elemento sensor b. Tolerância do circuito de compensação de temperatura c. Erro devido a não linearidade do circuito medidor d. Tolerância incorporada dos componentes utilizados Os itens a e d podem ser corrigidos na maioria das vezes com a calibração. 2. A taxa de variação na resistência de um sensor de umidade tipo semicondutor não é linear. Portanto, este tipo de dispositivo requer um amplificador compensador. 4-7 Sensores de Pressão, Proximidade e Força Magnética 4-7-1 Detecção de Pressão Objetivos Estudar a características de um sensor de pressão tipo semicondutor e um circuito chave de pressão eletrônico. Revisão da Teoria A célula de carga em uma balança eletrônica é essencialmente um sensor de pressão. O interesse principal nesta seção é um sensor de pressão tipo semicondutor que é usado na medida de pressão de gases. Para ter alguma idéia sobre magnitude de pressão, vamos observar a pressão que um ser humano pode gerar. Se uma pessoa adulta com capacidade respiratória de 4000 assopre ar através em um tubo que possui seção com área de 1cm2, a pressão desenvolvida deve ser algo em torno de 200 ~ 250 g/cm2. 78
  • 80.
    (1) Principais Característicasdo Sensor da Unidade Sensora - Faixa de Medida de Pressão: 0 ~ 1kg/cm2 - Máxima Pressão: Duas vezes a faixa de medida - Saída: Aproximadamente 1 ~ 5V (saída analógica) - Gases Detectáveis: Gases não corrosivos - Precisão da Detecção: Menos que 3% do fundo de escala - Características de Histerese: Menos que 2% na pressão especificada (saída ON/OFF) - Saída Pré-ajustada de Pressão: 1 ponto (saída de ponta ON/OFF) - Dimensões: 25(L) x 30(A) x 55(C)mm (2) Considerações no Uso do Sensor de Pressão - Não aplique pressão que exceda a especificação. A saída de ponto ON/OFF é ajustada para 1kg/cm2, que é a máxima pressão que pode conseguir. Portanto, quando o LED indicador Det acender, não aplique mais pressão. Além disso, não altere o ajuste de pressão máxima. - A saída do sensor é um sinal analógico. A saída do ponto ON/OFF é usada para drenar o LED Det. - Assegure-se de que nenhum outro objeto a não ser ar entre na entrada de pressão. - Utilize somente o compressor manual fornecido com o sistema para gerar a pressão. Não utilize nenhum outro compressor com o sistema ED-6800B. - Feche a abertura do sensor quando não estiver em uso. (3) Construção do Sensor Figura 4-48 Figura 4-49 79
  • 81.
    Equipamentos Necessários - Unidade Amp. OP OU-6801B: 1 peça - Unidade Sensora SU-6809: 1 peça - Multímetro Analógico: 1 peça - Compressor Manual: 1 peça Procedimento Experimental 1. Com a Unidade Amp. OP desligada, configure os equipamentos como mostrado na Figura 4-50. Remova a tampa da entrada de pressão do sensor e conecte o compressor manual. 2. Mantenha as três chaves sensoras assim como a chave do motor em OFF, e ajuste o multímetro para 15V DC. Ligue a Unidade Amp. OP. Ajuste a polarização DC OFFSET BIAS para a posição 0. 3. Abra o respiro do sensor de pressão para que não exista pressão no compressor manual. Ligue a alimentação do sensor de pressão. 4. Comprima o ar usando o compressor manual até que a saída analógica do sensor de 3V seja indicada pelo multímetro. 5. Verifique o LED + da saída do comparador. Deve estar aceso. Ajuste a polarização para +15V para acender o LED - . 6. Aumente a pressão com o compressor manual. Quando a pressão é aumentada, o indicador LED voltará para o +. NOTA: Note que a entrada é aplicada a entrada não inversora, e a referência é aplicada a entrada inversora do comparador. Portanto, o LED + acenderá somente quando a entrada é maior que a referência. Caso contrário, o LED - acenderá. Figura 4-50 80
  • 82.
    Figura 4-51 Resumo 1. A precisão das medidas da Figura 4-51 pode ser avaliada usando um medidor de pressão preciso. Neste caso, o medidor de pressão e o sensor são acoplados em paralelo através do acoplador T. 2. A pressão detectada pode ser avaliada com relação a pressão de referência. O resultado da comparação pode ser usado para corrigir automaticamente a pressão do sistema, ou para disparar um alarme. 4-7-2 Detecção de Proximidade Objetivos Examinar a operação da chave de proximidade e sua resposta em freqüência. Revisão da Teoria Uma chave de proximidade detecta a presença de um objeto e gera um sinal sem ter contato direto com o objeto. De maneira geral, uma foto chave e uma chave sensora ultra- sônica podem ser consideradas como chaves de proximidade. Uma chave de proximidade pode ser classificada como tipo oscilação, ou como tipo de indução. Uma outra maneira de classificar uma chave de proximidade é como tipo capacitivo ou tipo de indutância. A seguir é fornecido um resumo das especificações do sensor usado neste experimento. Unidade Sensora SU-6809: - Distância de Detecção: 5mm - Tamanho do Objeto Detectável: Mínimo 25 x 25 x 1mm - Material Detectável: Material magnético. A distância de detecção diminuirá para um mate- rial não magnético. - Resposta em Freqüência: 500Hz - Histerese: Menos que 10% da distância de detecção típica - Tensão de Entrada: 12V ~ 24V DC - Corrente de Saída: 200mA DC Máximo - Dimensões: 17(L) x 17(A) x 35(P)mm Considerações no Uso de um Sensor de Proximidade 81
  • 83.
    - A faixade detecção diminui quando o objeto a detectar torna-se menor. No caso do objeto ser muito pequeno, não é possível detectá-lo. - Quando outros objetos metálicos estão próximos ao objeto a detectar, a probabilidade de uma detecção errônea aumenta. Além disso, a sensibilidade da detecção torna-se pior. - Quando instalar um sensor de proximidade, evite colocar em local com ruído elétrico ou sinais de interferência. No caso da saída ser DC, faça uma blindagem contra ruído da saída. - Para uma área com alta umidade ou mudança severa de temperatura, considere a redução da faixa de detecção. Figura 4-52 Equipamentos Necessários - Unidade Sensora SU-6809: 1 peça - OU-6801B ou CU-6802: 1 peça - Freqüencímetro: 1 peça Procedimento Experimental 1. Com a alimentação desligada, faça as conexões como indicado na Figura 4-53. Mantenha a chave do motor assim como três chaves sensora em OFF. 2. Ajuste a velocidade do motor (SPEED) para 0, e ligue a chave de proximidade. Figura 4-53 3. Coloque o objeto a ser detectado próximo a borda do disco rotativo, e ligue o motor. Gire o knob SPEED lentamente no sentido horário, e verifique se o LED Det acende quando os objetos passam pelo sensor de proximidade. Para que tipo de objeto o LED acende? 4. Pare o motor quando o objeto de ferro alinhar-se com o sensor de proximidade. Aumente a distância entre o objeto e o sensor, e encontre a máxima distância de detecção. 82
  • 84.
    Resumo 1.Deve ser considerado na escolha do sensor de proximidade que a faixa de detecção do sensor varia dependendo do tipo de material, tamanho do objeto e velocidade do movimento do objeto. 4-7-3 Detecção de Campo Magnético usando Sensor de Efeito Hall Objetos Entender o princípio de operação e as aplicações do sensor Hall. Revisão da Teoria Refira-se aos sensores magnéticos na introdução da seção 1. A saída de um sensor Hall pode ser processada para indicar a presença ou não de um campo magnético, ou indicar a magnitude do campo. Ambas as aplicações são detalhadas nesta seção. 1. Especificações do Sensor - Tipo: THS119 - Material: GaAs - Tensão de Hall: 55mV ~ 140mV (5mA, 1kG) - Resistência de Entrada: 450Ω ~ 900Ω - Linearidade: 2% máximo - Coeficiente de Temperatura da Tensão de Hall: -0.06% / °C máximo - Corrente Máxima: 10mA 2. Esquema Interno do Sensor Hall SU-6809 é mostrado na Figura 4-54 Figura 4-54 Esquema do Sensor Hall As fontes de +15V e -15V são conectadas ao sensor através de resistores de 2W krespectivamente. Portanto, quando a resistência do sensor interno for 750Ω, a corrente fornecida deve ser: 83
  • 85.
    30[V] IC = (2+2+0.75)[kOhms] ~6.3[mA] - U1 serve como buffer entre o sensor e a próximo estágio amplificador. - U2A é o amplificador de tensão Hall com ganho de tensão dado a seguir, e U2B serve como um buffer de saída. R7 AV = R5 = 500 - U3 é um comparador para drenar os LEDs. As entradas de referência, A e B, são ajustadas para +2V. Como o ganho do amplificador de tensão é 500, o LED1 acenderá quando a tensão Hall, VH, exceder 2/500=4mV. Se a saída do sensor Hall é 100mV/kG, o campo magnético detectável que acenderá o LED é 2/100kG=20Gauss. Equipamentos Necessários - Unidade Sensora SU-6809: 1 peça - OU-6801B: 1 peça - Fonte de Alimentação Simétrica (0 ~ ±20V): 1 peça - Multímetro Digital: 1 peça - Barra Magnética: 1 peça Procedimento Experimental 1. Com a alimentação do OU-6801B e a fonte de alimentação desligadas, faça as conexões como mostrado na Figura 4-55. Ajuste o multímetro para a faixa 20V DC. Mantenha todas as chaves, a chave do motor e as três chaves sensoras na posição OFF. 2. Ligue a alimentação do OU-6801B e a fonte de alimentação. 3. Ajuste a velocidade do motor para o mínimo (0), e ligue somente o sensor Hall. 4. Coloque os objetos a detectar na borda do disco rotativo e ligue o motor. Gire o knob SPEED lentamente no sentido horário, e observe o momento que o LED acende. Explique que tipo de material faz com que o LED acende. 5. Pare o disco quando o LED acender, e meça a tensão de saída. Figura 4-55 6. Alinhe um ímã com o sensor Hall. Varie a distância entre o ímã e o sensor, e meça a tensão de saída a cada distância especificada na tabela a seguir. Caso necessário, retire o ímã do disco para conseguir a distância. 84
  • 86.
    Distância (mm) 3 6 9 12 15 Saída (V) 7. Repita o passo 6 com uma barra magnética. Inverta a polaridade da barra relativa ao sensor, e observe a variação da saída. Resumo Um sensor Hall fornece uma saída proporcional a magnitude do campo. Um sensor Hall detecta não somente a presença de campo magnético, mas também a direção do campo. 4-8 Aplicações de Chave Sensora 4-8-1 Chaves Reed Objetivos Entender as características da chave reed e suas aplicações. Revisão da Teoria Refira-se a seção 1-10-1 para a estrutura básica de uma chave reed. A corrente de contato de uma chave reed está na faixa de 50mA ~ 500mA. Como o fechamento do contato de uma chave reed não é executada por uma força mecânica forte, mas por um campo magnético, muita corrente através do contato não é apropriado. Uma das vantagens da chave reed é a operação silenciosa sem comutação de contato. Além disso, alta velocidade de operação é possível sem efeitos secundários. Como o contato reed é colocado dentro de um recipiente com vácuo ou um gás, a vida do contato é extremamente alta. A seguir é fornecido as especificações típicas de uma chave reed: - Corrente de Contato: 100mA DC máximo - Tensão ON / OFF de Contato: Menos que 28V DC ou 50V AC - Resistência de Contato: 150mΩ Máximo - Dimensões (Tubo de Vidro): 16mm comprimento x 3mm diâmetro Equipamentos Necessários - Fonte de Alimentação Simétrica (0 ~ ±20V): 1 peça - Unidade Sensora SU-6810: 1 peça - Multímetro: 1 peça Procedimento Experimental 1. Com a unidade desligada, faça as conexões como mostrado na Figura 4-56. Ajuste o multímetro para a faixa R x 10. 85
  • 87.
    Figura 4-56 2.Ligue a alimentação, e ajuste a velocidade através do controle localizado no canto esquerdo inferior da unidade sensora para a posição central. 3. Usando as chaves CW e CCW, confirme a operação liga / desliga da chave reed. Ajuste a distância entre a chave reed e o ímã. Determine a máxima distância operacional entre o contato e o ímã. 4. Investigue a máxima distância operacional com o ímã girado em 90 graus relativamente à chave, como mostrado na Figura 4-57 (b). No caso de existir diferença na distância máxima operacional entre o passo 3 e o passo 4, explique o porquê. (a) Operação Normal (b) Rotação de 90° Figura 4-57 Duas Orientações Diferentes entre a Chave Reed e o Ímã Resumo 1. A sensibilidade da chave reed depende da magnitude do campo magnético. Por causa da tolerância na máxima distância absoluta de operação, é recomendado que a operação seja efetuada a metade da distância máxima. 2. Quando usar uma chave reed, fique atento para a orientação correta entre a chave e o ímã na Figura 4-58. Figura 4-58 86
  • 88.
    4-8-2 Chaves deMercúrio Objetivos Examinar as aplicações de uma chave de mercúrio. Revisão da Teoria Uma chave de mercúrio faz uso de uma propriedade que o elemento mercúrio possui - sua boa condutividade elétrica e alta tensão superficial. Uma certa quantia de mercúrio é colocada dentro de um tubo de vidro com dois contatos metálicos separados um do outro. Quando o tubo estiver em nível, o mercúrio forma uma ponte entre os dois pontos metálicos. Entretanto, quando o tubo estiver inclinado, o mercúrio desloca-se para um dos lados e os dois pontos metálicos não permanecem mais eletricamente conectados. A chaves de mercúrio são usadas em aplicações de controle de nível, e como termostato na parede. O contato de mercúrio é pequeno em tamanho, mas pode drenar uma quantia alta de corrente. Equipamentos Necessários - Unidade Sensora SU-6810: 1 peça - Multímetro: 1 peça Procedimento Experimental 1. Retire a chave de mercúrio cuidadosamente da unidade sensora. Usando um multímetro, experimente a operação ON / OFF da chave de mercúrio. 2. Quando a experiência tiver sido executada, assegure-se de que a chave seja adequadamente instalada na unidade sensora. Resumo 1. Quando fixar a chave de mercúrio em uma estrutura, assegure-se de não existir choque ou vibração na chave. 2. Chaves de mercúrio são disponíveis em várias configurações de contato - simples ou múltiplas. 4-8-3 Chaves de Limite Objetivos Examinar as características de uma chave de limite. Revisão da Teoria Como existem diferentes tipos de chaves de limite, é importante que o tipo correto seja selecionado para a dada aplicação. Alguns dos tipos diferentes de chaves de limite são mostrados na Figura 4-59. Equipamentos Necessários - Fonte de Alimentação Simétrica (0 ~ ±20V): 1 peça - Unidade Sensora SU-6810: 1 peça - Multímetro: 1 peça Procedimento Experimental 87
  • 89.
    1. Com aalimentação desligada, faça as conexões mostradas na Figura 4-60. Ajuste a faixa do multímetro para R x 10. 2. Ligue a alimentação, e ajuste a velocidade no controle do canto esquerdo inferior para a posição central. 3. Pressione as chaves CW ou CCW, e observe a chave de limite sendo acionada e desacionada. (a) Alavanca (b) Êmbolo (c) Haste Variável (d) Rolamento com Rolamento com Rolamento BI-direcional Figura 4-59 Tipos de Chaves de Limite Figura 4-60 4. Um estado natural (não pressionado) da chave de limite é mostrada na Figura 4-61. Da experiência do passo 3, preencha os espaços em branco com NC, NO e COM. 88
  • 90.
    Figura 4-61 Resumo 1.Embora as chaves de limite sejam na verdade iguais as outras chaves mecânicas, as chaves limite são usadas para estabelecer os controles de movimento para as partes em movimento, ajustando os pontos limite de um sistema. 2. As chaves de limite são usadas algumas vezes como chaves de intertravamento para aplicações de segurança. Portanto, as chaves de limite requerem boa confiabilidade. 89
  • 91.
    Minipa Indústria eComércio Ltda. Alameda dos Tupinás, 33 - Planalto Paulista - São Paulo - SP CNPJ: 43.743.749/0001-31 Fone: (11) 5078-1850 - Fax: (11) 577-4766 Site: http://www.minipa.com.br E-mail: minipa@minipa.com.br