Curso de Microprocessadores
______________________________________________________________________________________________________
Página 8
I - CONCEITOS BÁSICOS
I.1 - HISTÓRICO
A história dos microprocessadores é brevemente resumida a seguir com o destaque de algumas datas
importantes:
Década de 40: è Válvula e Transistor (1948)
Década de 50: è Comercialização do transistor
Década de 60: è Circuitos Integrados SSI ("Small Scale Integrated")
Década de 70: è Circuitos Integrados MSI ("Medium Scale Integrated")
1971: => Circuitos Integrados LSI ("Large Scale Integrated")
=> INTEL 4004 (CPU do primeiro microcomputador de 4 bits)
1972: => INTEL 8008 (CPU do primeiro microcomputador de 8 bits)
1974: è INTEL 8080 (10 vezes mais rápido que o 8008)
=> MOTOROLA 6800
1976: => TEXAS 9800 (CPU do primeiro microcomputador de 16 bits)
1977: è MOSTEK 6502 ==> Apple I, II e II plus
è ZILOG Z80 ==> TRS-80
1978: => Circuitos Integrados VLSI ("Very Large Scale Integrated")
=> MOTOROLA 6809 (Melhor CPU de 8 bits do mercado)
è INTEL 8088/8086 (29.000 transistores integrados)
=> Microprocessadores BIT-SLICE (de 2 a 64 bits)
Década de 80:
1980: => MOTOROLA 68.000 (68.000 transistores integrados)
1981: => MOTOROLA 68.010
1982: => INTEL 80186/80188
=> INTEL 80286 (130.000 transistores integrados)
1984: => MOTOROLA 68.020
1985: => INTEL 80386 (ou 80386DX, ou i386)
1986: => MOTOROLA 68.030
1988: => INTEL 80386SX
1989: => INTEL i486 (1.200.000 transistores)
Década de 90:
1991: => INTEL i386SL, i486SX
ð Microprocessadores com tecnologia RISC
1992: => INTEL i486DX2/50 e i486DX2/66
1993: => INTEL Pentium
Curso de Microprocessadores
______________________________________________________________________________________________________
Página 9
1995: => INTEL Pentium Pro
1997: è INTEL Pentium II
Tendências:
ð Máquinas CISC ou Máquinas RISC
ð Pentium 166 Mhz è Pentium II a 300 Mhz
ð Máquina de Controle Seqüencial è Máquina de Controle Paralelo
ð Máquina de Arquitetura SIMD è Máquina de Arquitetura MIMD ("Data-Flow")
ð Arquiteturas orientadas p/ o HW è Arquiteturas orientadas p/ o SW
ð Máquinas processando texto è Máquinas processando dados multimídia
I.2 - CPU, MEMÓRIAS E DISPOSITIVOS DE ENTRADA/SAÍDA
Os próximos parágrafos procuram dar uma idéia da nomenclatura utilizada no restante deste documento e
introduzir os componentes principais da arquitetura de microcomputadores ou de circuitos controlados a
microprocessador.
HARDWARE: consiste de circuitos eletrônicos responsáveis pela execução direta de instruções em
linguagem de máquina: CIs, placa impressa, cabos, fontes de alimentação, etc.
SOFTWARE: consiste de algoritmos e suas representações no computador (programas).
FIRMWARE: consiste de um software embutido em circuitos eletrônicos.
É comum dizer que qualquer operação feita por software pode também ser construída por hardware e
qualquer instrução executada pelo hardware pode também ser simulada por software.
Um sistema de microcomputador típico é mostrado na figura 1. Basicamente, são três os componentes de
qualquer sistema controlado por microprocessador ou mesmo de um sistema de computação: Unidade
Central de Processamento (CPU), Memória e Dispositivos de Entrada/Saída (E/S).
A CPU tem finalidade óbvia, a de controlar o sistema como um todo. A memória serve para armazenar os
dados que serão manipulados e os dispositivos de E/S para a comunicação da máquina com o mundo
exterior (usuário).
Os vários tipos de Memória são definidos a seguir:
RAM - "Random Access Memory": memória de leitura/escrita, volátil, para armazenamento temporário de
programas e dados. O
riginalmente, o termo foi usado devido ao acesso direto a qualquer locação da
memória, o que não acontecia com memórias ditas offline, tais como fitas magnéticas, cujo acesso era
seqüencial.
RAM Estática - RAM com menor densidade e mais rápida que a RAM dinâmica. Não necessita de circuitos
adicionais em um microcomputador.
RAM Dinâmica - RAM com maior densidade e mais lenta que a RAM estática. Necessita de circuitos
adicionais de controle em um microcomputador.
ROM - "Read Only Memory": memória programada quando a pastilha é fabricada, não podendo ser
modificada. É usada para armazenamento permanente de programas e dados;
Curso de Microprocessadores
______________________________________________________________________________________________________
Página 10
PROM - "Programmable ROM": memória programada por um dispositivo programador de PROM.
Programável uma única vez;
EPROM - "Erasable PROM": memória que pode ser apagada e reprogramada várias vezes. Apagável pela
incidência de raios ultra-violeta e programável por um dispositivo programador de EPROM;
EEPROM - "Erasable Electrically PROM": memória EPROM eletricamente modificável, sem necessidade
de dispositivos externos apagadores ou programadores.
Os Dispositivos de Entrada/Saída são os componentes que viabilizam a interface com o usuário, tais
como: portas seriais, portas paralelas, conversores análogo-digitais, etc
Estes componentes são ligados através de um sistema de barramentos, o qual será explicado na próxima
seção.
Figura 1 – Sistema de Microcomputador Típico e suas Interfaces
Micropro-
cessador
(CPU)
Memória
EPROM
Memória
RAM
Interfaces de
Controle e
Sensorea-
mento
Interfaces
para
Memória
Secundária
Interfaces de
Interação c/
o Usuário
Barramento de Controle
Barramento de Dados
Barramento de Endereços
Monitor
CD-ROM R/W
Scanner
Imp. Matricial
Modem
Sensor Válvula
HD
Curso de Microprocessadores
______________________________________________________________________________________________________
Página 11
I.3 - SISTEMA DE BARRAMENTOS
Um sistema de barramentos é definido como um conjunto físico de linhas de sinal que possuem funções
específicas dentro do sistema.
O sistema de barramentos de um microcomputador é composto de 3 barramentos (ver figura 1)
independentes em suas funções elétricas: o barramento de endereços, o barramento de dados e o
barramento de controle.
O Barramento de Endereços é apenas de saída (em relação CPU) e define o caminho de comunicação
dentro do sistema.
O Barramento de Dados é bidirecional, sendo o meio de comunicação entre os componentes do sistema.
Na saída de dados da CPU, estes são gerados pelo microprocessador (CPU) e enviados à uma unidade que
é selecionada pelo barramento de endereços. Na entrada de dados, estes são gerados por uma unidade
particular e enviados ao microprocessador.
O Barramento de Controle, como o próprio nome indica, envia e recebe os sinais de controle necessários
à transferência de dados no sistema. Este barramento é composto, basicamente, de 4 tipos de sinais:
leitura de memória ativa, escrita de memória ativa, entrada através de dispositivo externo a
tivo e saída
através de dispositivo externo ativo.
I.4 - ARQUITETURA PADRÃO DE UM MICROPROCESSADOR
Depois de se examinar um sistema de microcomputador de forma global, nesta seção será apresentada a
arquitetura padrão de um microprocessador, exibida na figura 2. Destacam-se os seguintes blocos:
Registrador de Instrução (RI) - registrador que armazena a instrução sendo executada;
Contador de programa ("Program Counter - PC") - registrador que armazena o endereço de memória da
próxima instrução a ser executada;
Acumulador - registrador que contém o dado a ser processado;
Apontador de pilha ("Stack Pointer - SP") - registrador que aponta para o endereço de retorno de
subrotina, sendo este último armazenado em uma pilha na memória;
Unidade Lógica e Aritmética (ULA) - circuito combinacional utilizado para operações lógicas e
aritméticas envolvendo dois operandos;
Decodificador de instruções - circuito combinacional utilizado para determinar qual a próxima instrução a
ser executada. Isto é feito a partir do código de operação armazenado previamente no Registrador de
Instrução;
Unidade de controle - circuito seqüencial interno ao microprocessador utilizado para gerar os sinais de
controle necessários à execução da instrução previamente decodificada;
Registradores auxiliares - conjunto de registradores de rascunho que podem ser usados em conjunto ou
separadamente para operações intermediárias, sem que seja necessário o acesso sistemático à memória;
Curso de Microprocessadores
______________________________________________________________________________________________________
Página 12
Flags – conjunto de Flip-Flops destinados a guardar as condições resultantes da execução de instruções.
Tais flags são fundamentais no sentido em que se constituem no único mecanismo que o programador
Assembly dispõe para desvios de processamento e implementação de algoritmos.
Figura 2 – Arquitetura Padrão de um Microprocessador
I.5 - EXECUÇÃO DE INSTRUÇÕES EM MICROPROCESSADORES
Nesta seção serão dadas as explicações básicas para o entendimento dos microprocessadores mais
comuns do mercado.
Antes de mostrar o procedimento de execução de instruções é necessário detalhar alguns aspectos: os
flags de condição, o formato das instruções e as operações básicas (de leitura e escrita) de um
microprocessador.
Flags de Condição:
Um "flag" é "SETADO", forçando-se o bit de flag para "1" e é "RESETADO", forçando-se o bit de flag para
"0". Quando uma instrução afeta um flag este é alterado da seguinte maneira:
ZERO: Se o resultado da instrução tem valor 0,
Buffer de
Dados
Buffer de Endereço
Barramento de
Endereços
PC
SP
Registradores de
Rascunho
Acumulador
Unidade Lógica e
Aritmética (ALU)
Decodifi-
cador
Unidade de
Controle
Código de
Instrução
Informação
Comple-
mentar
RI X
Apontador
de Pilha
Contador de
Programa
R1
Rn
.
.
.
Barramento de
Dados
Sinais de
Controle
S
Z
CY
AC
P
Flags
Curso de Microprocessadores
______________________________________________________________________________________________________
Página 13
Código de Operação
Código de Operação
Info. Complementar
então Z è 1
senão Z è 0;
SINAL: Se o bit mais significativo do resultado da operação tem valor 1,
então S è 1
senão S è 0;
PARIDADE: Se a soma dos bits do resultado da operação é 0,
então P è 1 (paridade PAR)
senão P è 0 (paridade ÍMPAR);
CARRY: Se o resultado da instrução provoca um "carry" (na adição) ou um "borrow" (na subtração ou
comparação),
então C è 1
senão C è 0;
CARRY AUXILIAR: Se a instrução causou um carry do bit 3 para o bit 4,
então AC è 1
senão AC è 0.
Cada microprocessador tem seus próprios bits de flag. Os flags anteriormente mencionados são os mais
comuns de serem encontrados na maioria dos microprocessadores.
Mostra-se a seguir o formato de instrução, por exemplo, de um microprocessador de 8 bits. A partir deste
entendimento, pode-se por analogia, entender o formato de instruções de outros microprocessadores.
Assim, o formato de instrução do INTEL 8085 é utilizado como exemplo básico.
Formato de Instrução e dado no 8085
1. Instruções de um byte
D7 D6 D5 D4 D3 D2 D1 D0
Obs.: O endereço do primeiro byte das instruções é sempre usado como o endereço de instrução.
2. Instruções de dois bytes
D7 D6 D5 D4 D3 D2 D1 D0
D7 D6 D5 D4 D3 D2 D1 D0
3. Instruções de três bytes
Ex.: MOV R1,R2 ; R1 <- R2
Ex.: MVI R,dado ; R <- dado
Curso de Microprocessadores
______________________________________________________________________________________________________
Página 14
Código de Operação
Info. Complementar
Info. Complementar
D7 D6 D5 D4 D3 D2 D1 D0
D7 D6 D5 D4 D3 D2 D1 D0
D7 D6 D5 D4 D3 D2 D1 D0
Nas seções anteriores foram mostrados os componentes básicos de um circuito controlado a
microprocessador, a arquitetura padrão dos microprocessadores e a CPU do sistema. Isto era
indispensável para a compreensão do capítulo e do curso como um todo.
Ainda com o intuito de mostrar como instruções são executadas em microprocessadores, também se faz
necessário explicar as operações básicas de um computador ou circuito controlado a microprocessador.
Estas, são as operações de leitura de memória e escrita na memória.
Operações Básicas de um Computador:
Operação de Leitura:
1. A memória recebe o endereço e a solicitação de leitura;
2. A memória localiza a célula decodificando o endereço;
3. Operação de leitura propriamente dita;
4. Intervalo em que a memória não é acessível por razões técnicas ("Descanso").
Ciclo de Acesso à Memória: fases 1, 2 e 3
Ciclo da Memória: fases 1, 2, 3 e 4
Operação de Escrita:
1. A memória recebe o endereço, o dado e uma solicitação de escrita;
2. A memória localiza a célula decodificando o endereço;
3. Operação de escrita propriamente dita;
Ex.: LXI Rp, dado 16 ; Rh <- (byte3)
; Rl <- (byte 2)
Curso de Microprocessadores
______________________________________________________________________________________________________
Página 15
4. ("Descanso").
Obs.: A operação de leitura é muito mais freqüente que a operação de escrita.
Ciclo de Instrução
Uma instrução é executada por um microprocessador durante um intervalo de tempo particular à instrução,
chamado, CICLO DE INSTRUÇÃO. Um ciclo de instrução é composto de vários ciclos de máquina que
variam de acordo com a instrução. Cada ciclo de máquina, por sua vez tem a duração de vários períodos de
relógio. Em seguida, o ciclo de instrução é detalhado.
O formato da instrução em linguagem de máquina é mostrado a seguir. Com base neste formato pode-se
descrever textualmente o ciclo de instrução.
Linguagem de Máquina ==>
CICLO DE INSTRUÇÃO:
1. BUSCA
a) Envio de um endereço para a memória e execução de uma leitura;
b) Incremento do registrador de endereço de instrução;
2. EXECUÇÃO
a) Decodificação do código de operação;
b) Execução da instrução;
3. VOLTA PARA FASE 1
--> Pode haver desvio:
- Incondicional: o valor do registro de endereço de instrução é alterado;
- Condicional: se a condição é satisfeita, a seqüência linear é interrompida.
É importante ressaltar que cada ciclo de instrução é composto por vários ciclos de máquina..
A figura 3 procura ilustrar o procedimento de execução de um pequeno programa, passo-a-passo, já
armazenado na memória e a figura 4 mostra, sob a forma de diagrama de tempo, a execução da instrução
LDA 0420, com todos os seus ciclos de máquina e períodos de relógio.
Código de Operação Informação Complementar
Curso de Microprocessadores
______________________________________________________________________________________________________
Página 16
Figura 3 – Execução de Instruções por um Microprocessador Passo-a-Passo
Porta de
Entrada 01
Acumulador
Registrador de
Instrução
Porta de
Saída 10
Microprocessador
5
5
2
4
3
1
6
8
12
14
7
9
13
15
Caracter "A" do teclado
16
10 11
16
16
Caracter "A" para o
monitor de Vídeo
Memória de Dados
Endereço Conteúdo
2000 A
2001
2002
2003
Memória de Programa
Endereço Conteúdo
0100 IN
0101 01
0102 STA
0103 00
0104 20
0105 OUT
0106 10
0107 ...
5
Curso de Microprocessadores
______________________________________________________________________________________________________
Página 17
Figura 4 – Execução da Instrução LDA 0420
I.6 - ALGUMAS INSTRUÇÕES IMPORTANTES
Normalmente, pode-se separar as instruções de linguagem Assembly de um microprocessador em grupos.
Tais grupos podem ser generalizados para a maioria dos microprocessadores com algumas pequenas
diferenças. A título de exemplo, os grupos de instruções no 8085 são mostrados abaixo.
Ciclo
Busca Exec. Busca Exec.
Ciclo M1 Ciclo M2
RI <- LDA
1001
->1002
RI <- 04
Não
Usado
Não
Usado
1002
->1003
PC
Oper.
Fase Busca Exec. Busca Exec.
Ciclo M3 Ciclo M4
RI <- 20
1003
Bar.
Dados
<-(0420)
Não
Usado
A <-
(0420)
1004 1004
Busca do
Código de
Operação da
Instrução e
Transferência
deste código
para o
Registrador de
Instrução (RI)
Busca do
primeiro
byte do
endereço e
transferência
para dentro da
parte de
endereço do RI,
byte demenor
ordem
Busca do
segundo
byte
do endereço e
transferência
para dentro da
parte de
endereço do RI,
byte demaior
ordem
A parte de
endereço do RI é
depositada no
barramento de
endereços
Acumulador
recebe o conteúdo
da posição de
memória, cujo
endereço é 0420
RI
T1 T2 T3 T4 T5 T1 T2 T3 T4 T5 T1 T2 T3 T4 T5 T1 T2 T3 T4 T5
Curso de Microprocessadores
______________________________________________________________________________________________________
Página 18
Grupo de Transferência de Dados
Move dados entre registradores ou entre locações de memória e registradores;
Ex.: "MOVEs", "LOADs", "STOREs" e EXCHANGE;
Grupo Aritmético
"ADDs", "SUBTRACTs", "INCREMENTs" ou DECREMENTs" dados nos registradores ou na memória;
Grupo Lógico
"ANDs", "ORs", "XORs", "COMPAREs", "ROTATEs" ou "COMPLEMENTs" dados entre registradores ou
entre locações de memória e registradores;
Grupo de Salto
"JUMPs", "CALLs" e "RETs" condicionais ou incondicionais;
Grupo de Instruções de Pilha, E/S e Controle de Máquina
Inclui instruções de manutenção de pilha, leitura escrita na/da memória, "seta" ou lê máscaras de
interrupção, seta ou limpa "FLAGs"
I.7 - CAPACIDADE DE INTERRUPÇÃO
Uma das técnicas de Entrada/Saída de dados mais utilizadas na atualidade é a Interrupção. Seu uso
aplica-se tanto em computadores de um modo geral, como também no ambiente de automação industrial.
INTERRUPÇÃO (IRQ) é um sinal de hardware enviado por um dispositivo periférico necessitando de
imediata atenção da CPU. A utilização desta técnica, forçosamente, envolve sinais de hardware.
É comum em softwares de apoio tradicionais, como o Norton Utilities, observar a distinção entre
Interrupções por Hardware e por Software. Segundo nomenclatura da INTEL, a diferença básica é que na
Interrupção por Hardware, o endereço de salto, para o qual o microprocessador irá desviar o
processamento é predefinido pelo hardware do microprocessador, enquanto que na Interrupção por
Software, este endereço de salto pode ser alterado pelo usuário programador Assembly.
Um outro conceito relacionado as interrupções também merece ser comentado. É o mascaramento de
Interrupções. Existem as Interrupções Mascaráveis e as Interrupções Não Mascaráveis. Quando as
Interrupções são Mascaráveis o processador tem a capacidade de não aceitar o pedido de interrupção do
periférico, deixando-o pendente, de tal forma que possa atendê-lo um tempo depois. Já nas Interrupções
Não Mascaráveis, o processador não pode fazer isso, sendo obrigado a atender imediatamente a
solicitação de interrupção do periférico.
A fim de exemplificar estes conceitos e subsidiar as explicações sobre o mecanismo de Interrupção, é
fornecida a seguir a sintaxe e a semântica de uma instrução básica para o entendimento deste mecanismo,
a instrução RESTART.
Curso de Microprocessadores
______________________________________________________________________________________________________
Página 19
Instrução RST n (Restart)
RST é uma instrução CALL de propósito especial. RST "push" ou "empurra" bytes do Program Counter
(PC) sobre a pilha e então faz a CPU saltar para um dentre vários endereços predeterminados.
((SP) - 1) <-- (PCH)
((SP) - 2) <-- (PCL)
(SP) <-- (SP) - 2
(PC) <-- 8 * (NNN)
NNN - Número binário entre 000 e 111 (entre 0 e 7 em decimal)
SP - Stack Pointer
PCH - Byte mais significativo do Program Counter
PCL - Byte menos significativo do Program Counter
Ex.: Endereços de salto possíveis no INTEL 8085:
HEXADECIMAL DECIMAL RST
0000 0 0
0008 8 1
0010 16 2
0018 24 3
0020 32 4
0024 36 TRAP
0028 40 5
002C 44 5.5
0030 48 6
0034 52 6.5
0038 56 7
003C 60 7.5
Interrupções por Hardware:
Ex.: O 8085 inclui 4 sinais de entrada (hardware) que geram internamente instruções RST:
RST 5.5, RST 6.5 e RST 7.5 (Mascaráveis)
TRAP (não Mascarável)
Interrupções por Software:
Quando um dispositivo de E/S pede o serviço de interrupção e a IRQ está habilitada pelo sistema de
interrupção do processador, este reconhece o pedido e prepara suas linhas de dados para aceitar qualquer
instrução de um byte do dispositivo. RST é geralmente a instrução escolhida, pois é uma instrução CALL
de propósito especial que estabelece o retorno ao programa principal.
Ex.: O 8085 possui 1 entrada e 1 saída que implementa este tipo de interrupção
INTR – pino de entrada
INTA – pino de saída
Curso de Microprocessadores
______________________________________________________________________________________________________
Página 20
Para o processador não se confundir, ao receber dois pedidos de interrupção simultâneos, é provido um
mecanismo de prioridade que estabelece uma ordem no atendimento destes pedidos.
Prioridade das Interrupções no 8085
NOME PRIORIDADE ENDEREÇO DE SALTO (1) TIPO DE "TRIGGER"³
TRAP 1 0024H Pulso Positivo amostrado
até Alto Nível
RST 7.5 2 003CH Pulso Positivo "Latched"
RST 6.5 3 0034H Sensível a Nível (Alto)
RST 5.5 4 002CH Sensível a Nível (Alto)
INTR 5 (2) Sensível a Nível (Alto)
(1) – O processador coloca o conteúdo do Program Counter sobre a pilha, antes de saltar para o endereço
indicado
(2) - Depende da Instrução fornecida a CPU quando a Interrupção é reconhecida
A figura 5 ilustra o mecanismo de Interrupção no 8085. A figura 6 mostra o mesmo para o ZILOG Z80 e a
figura 7 exibe os circuitos integrados típicos dos ambientes INTEL e ZILOG. É importante ressaltar a
diferença entre os mecanismos de prioridade de interrupção das duas empresas.
Curso de Microprocessadores
______________________________________________________________________________________________________
Página 21
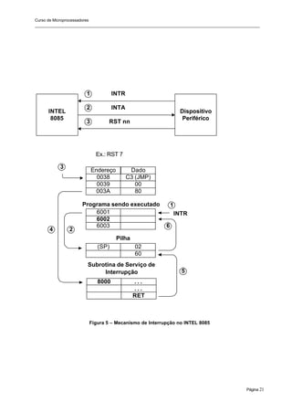
Figura 5 – Mecanismo de Interrupção no INTEL 8085
INTEL
8085
Dispositivo
Periférico
1
2
3
INTR
INTA
RST nn
6001
6002
6003
0038 C3 (JMP)
003A 80
Ex.: RST 7
INTR
(SP) 02
60
1
3
0039 00
4
5
6
Pilha
Subrotina de Serviço de
Interrupção
Programa sendo executado
8000 . . .
RET
. . .
Endereço Dado
2
Curso de Microprocessadores
______________________________________________________________________________________________________
Página 22
Figura 6 – Mecanismo de Interrupção (Modo 2) no ZILOG Z80
ZILOG
Z80
Dispositivo
Periférico
1
2
___
INT
____
INTA
4002
4003
4004
(SP) 04
40
2
5
4
1
Pilha
Subrotina de Serviço de
Interrupção
Programa sendo executado
8003
8005 60
8004 50
8006
6050 . . .
60XX RETI
. . .
Tabela de Endereços de
Interrupção
___
INT
I 80
Registrador da CPU
80 04
3
6
Curso de Microprocessadores
______________________________________________________________________________________________________
Página 23
Figura 7 – Mecanismos de Prioridade de Interrupção ZILOG e INTEL
8259 – Controlador de Prioridade de Interrupção (PIC)
8257 – Controlador de DMA Programável (PDC)
8272 – Controlador de Disco Flexível
8274 – Controlador Serial Multiprotocolo
8273 – Temporizador Programável
I.8 - TÉCNICAS DE ENTRADA E SAÍDA
Além da técnica de Interrupção detalhada na seção anterior, existem duas outras técnicas, também muito
utilizadas em sistemas de computação de um modo geral. São estas: "Polling" e Acesso Direto à Memória
(ou DMA – “Direct Access Memory”).
Z80
CPU
PIO DMA
8085
CPU
CTC SIO
8274 8253
8259
(PIC)
8257 8272
Mecanismo
"Daisy Chain"
Prioridade Fixa
Prioridade
Controlada
Barramentos
Barramentos
Curso de Microprocessadores
______________________________________________________________________________________________________
Página 24
"POLLING": É uma técnica de Entrada/Saída de dados onde a CPU, explicitamente, consulta o periférico
com o objetivo de saber se o mesmo possui dados para transmitir ou se está livre para os receber. Esta
técnica não envolve sinais de hardware e pode ser implementada por software;
ACESSO DIRETO À MEMÓRIA: É uma técnica de Entrada/Saída de dados onde a CPU não participa do
processo de transferência de dados, exceto no seu início e após o seu término. Um outro dispositivo
periférico é necessário, o chamado "Controlador de DMA", para assumir o controle dos barramentos do
sistema e controlar as transferências de dados.
Na maior parte dos casos, o uso desta técnica obriga o uso combinado das anteriores para que o processo
de transferência de dados seja iniciado e terminado corretamente. A figura 8 ilustra passo-a-passo o
procedimento de transferência de dados para a ou da memória, sem interferência da CPU.
Figura 8 – Entrada/Saída por Acesso Direto à Memória
1 – DRQ – “Data Request”: Solicitação de Acesso Direto à Memória feito pelo dispositivo periférico ao
Controlador de DMA (CDMA);
2 – HOLD – “Hold Request: Solicitação de controle de barramentos feito pelo CDMA ao processador;
3 – HLDA – “Hold Acknowledgement” – Resposta do processador ao CDMA, avisando que à partir daquele
momento, este poderá assumir o controle temporário dos barramentos para a transferência de
dados;
4 – DACK – “Data Acknowledgement” – Resposta do CDMA ao dispositivo periférico, avisando que assumiu
o controle dos barramentos e a transferência de dados poderá se iniciar.
A programação do CDMA consiste basicamente de informar o mesmo sobre o endereço inicial do bloco de
bytes a ser transferido, o sentido da transferência e o tamanho de bloco ou o endereço final. Depois que os
comandos são fornecidos ao dispositivo periférico o processo continua, sem interferência da CPU. Após a
transferência, o sinal DRQ é retirado, consequentemente, todos os outros sinais são retirados e a CPU
reassume o controle dos barramentos.
CPU
Memória Disp. 0
CDMA
Disp. 3 Disp. 2
Barramentos
Disp. 1
1
2
3
4
Driver Óptico
D
a
d
o
s
DRQ
DACK
HOLD
HOLDA
Curso de Microprocessadores
______________________________________________________________________________________________________
Página 25
II - OS MICROPROCESSADORES DA INTEL E AMD
II.1 - O 8086/8088
A figura 9 exibe o Diagrama em Blocos da Arquitetura do 8086.
II.1.1 - Arquitetura
Figura 9 – Arquitetura do 8086
Fonte: "The 8086 Book", Rector R. e Alexy G. - OSBORNE/McGraw-Hill
CS
DS
SS
ES
0000
0000
0000
0000
IP
SP
BH BL
DH DL
CH CL
AH AL
BP
SI
DI
ALU (Unidade Lógica e
Aritmética)
Unidade de Controle
Status
Registrador de Instrução
1
2
3
4
5
6
Unidade de Controle de
Barramento
Unidade de Execução Unidade de Interface de
Barramento
Fila de Código Objeto
de Instrução
0000
Curso de Microprocessadores
______________________________________________________________________________________________________
Página 26
Registradores do 8086/8088
Registrador Finalidade
AX = AH + AL Acumulador
BX = BH + BL Base (2º
acumulador)
CX = CH + CL Contador (usado em instruções de múltiplas interações)
DX = DH + DL Dado (algumas instruções movem dados de uma porta de E/S para a posição
de memória endereçada por DX)
SP Apontador de Pilha
BP Apontador de Base
SI Índice Fonte
DI Índice Destino
IP Apontador de Instrução
Flags H + Flags L Flags
CS Segmento de Código
DS Segmento de Dados
SS Segmento de Pilha
ES Segmento Extra
Observações:
1. O registrador SP está estreitamente ligado ao SS, em função das operações relacionadas à
manutenção da pilha;
2. O registrador IP está estreitamente ligado ao CS, em função das operações relacionadas à execução
de instruções;
3. O endereço fonte de um String de dados é obtido àpartir de SI + DS;
4. O endereço destino de um String de dados é obtido à partir de DI + DS.
II.1.2 - Características Gerais
Capacidade de Endereçamento:
20 bits de endereçamento => 1.0 Megabytes ou 512 Kwords
Operações com: Bit, Byte, Word e Bloco
Organização da Memória:
a) Física: => 2 x 512 Kbytes. End. Ímpar (D7 – D0)
End. Par (D15-D8)
b) Endereçamento relativo à base de endereços de Registradores de Segmento: Code (CS), Data (DS),
Stack (SS) e Extra (ES).
Endereço Registrador Conteúdo
End. da Memória de Programa IP 0 M M M M
Curso de Microprocessadores
______________________________________________________________________________________________________
Página 27
CS N N N N 0
(IP+CS) Endereço Final è P P P P M
End. da Memória de Dados XX 0 M M M M
DS N N N N 0
(XX+DS) Endereço Final è D D D D M
End. da Memória de Pilha XX 0 M M M M
SS N N N N 0
(XX+SS) Endereço Final è S S S S M
End. da Memória Extra XX 0 M M M M
ES N N N N 0
(XX+ES) Endereço Final è D D D D M
Observações:
1. Cada registrador de segmento (16 bits) identifica o início de um segmento 64 Kbytes. Como são 4
(quatro) os registradores de segmento, pode-se selecionar apenas um de 4 segmentos de 64 Kbytes
de cada vez. Isto significa que de 1 MBytes, têm-se apenas 1 de 16 possíveis segmentos endereçáveis
diretamente (1 MBytes / 64 Kbytes = 16);
2. XX pode ser um registrador qualquer da CPU, como por exemplo: IP, quantidade de 16 bits, DI ou SI,
BX, BP, etc.
c) Posições de FFFF0-FFFFF (32 Bytes) reservadas para “Reset” => Após o “Reset”, a CPU executa
sempre a instrução contida no endereço FFFFF0, onde normalmente existe um JUMP.
d) Posições de 00000-003FF (1024 Bytes) reservadas para operações com Interrupção => 256 possíveis
vetores de interrupção;
Endereçamento de Entrada/Saída
- 256 dispositivos diretamente;
- 64 Kbytes indiretamente
Tamanho dos Registradores Internos : 16 bits
Tamanho do Barramento de Dados: 16 bits
Coprocessador matemático: 8087
II.1.3 - Capacidade de Interrupção
1. Interrupções Predefinidas (requisitadas por hardware ou software)
De 0 a 31: IRQ 0 è Divisão por Zero
IRQ 1 è Passo-a-Passo
IRQ 2 è NMI (“Not Maskable Interrupt”)
. . .
2. Interrupções de Hardware (definidas pelo usuário)
Curso de Microprocessadores
______________________________________________________________________________________________________
Página 28
De 32 a 255: Solicitadas via pino INTR da CPU
Observação: O dispositivo solicitante deve colocar em D0-D7 (8 bits menos significativos do barramento de
dados) o Número de Interrupção para a CPU. A CPU multiplica este número por 4 e com o resultado,
endereça a posição de memória contendo o vetor correspondente na TABELA DE VETORES DE
INTERRUPÇÃO. A figura 10 ilustra estes conceitos.
Figura 10 – Busca da Rotina de Serviço de Interrupção no 8086
Dos 4 bytes do VETOR DE INTERRUPÇÃO, os 2 primeiros formam o conteúdo do IP (“Instruction Pointer”)
e 2 bytes restantes formam o conteúdo do CS - Registrador de Segmento de Código (“Code Segment”).
Desta maneira é formado o Endereço de Início da Rotina de Serviço de Interrupção.
3. Interrupções de Software (definidas pelo usuário)
De 32 a 255: Solicitadas via instrução "INT nn"
nn = Número da Interrupção a ser executada
Para finalizar este item deve-se comentar a posição do microprocessador 8088 em relação ao 8086.
00000
IP
CS
Rotina de Serviço
de Interrupção
003FF
Número de
Interrupção
x 4
IRET
1a. Instrução
Tabela de
Vetores de
Interrupção
Curso de Microprocessadores
______________________________________________________________________________________________________
Página 29
Sobre o 8088
Uma das únicas diferenças entre os dois processadores é a de que o barramento de dados no 8088 possui
um comprimento de 8 bits (o barramento do 8086 é de 16 bits). Este fato possibilitou aos fabricantes de
microcomputadores o aproveitamento quase total dos circuitos periféricos do 8080 (mais conhecidos e mais
baratos), reduzindo sobremaneira o custo final da máquina. Como o 8086, efetivamente, não era utilizado
como um microprocessador de 16 bits, propagandeou-se em larga escala que microcomputadores com
CPU 8088 possuíam o mesmo desempenho e mais baixo custo do que máquinas com CPU 8086. A
verdade é que o momento era de transição para uma CPU mais poderosa e os fabricantes de placas ainda
não haviam tomado uma posição definitiva à respeito.
Assim, o 8088 é arquiteturalmente (rodava os mesmos programas) igual ao 8086, com a diferença principal
apenas no comprimento do barramento de dados.
Sobre o par 80186/80188
Após os microprocessadores 8086 e 8088, a INTEL lançou o processador 80186, com desempenho cerca
de 30% superior ao 8086. O 80186 era um 8086 com novos blocos de hardware internos. Tal
microprocessador encontrou sua utilização na área de controle de processos, gerenciamento de terminais e
automação industrial. Entretanto, não fez sucesso comercial na área de microinformática, pois suas
melhorias em relação a software eram muito poucas.
A exemplo do par 8086/8088, uma CPU 80188 também foi produzida pela INTEL, com as mesmas
características do 80186, à exceção do barramento de dados, dimensionado para 8 bits
II.2 - O 80286
II.2.1 - Arquitetura e Características
O microprocessador 80286 surgiu com duas grandes novidades para a área de microinformática. A primeira
foi que o barramento de endereços da pastilha cresceu para 24 bits (não mais os 20 bits do 8086 e 80186),
o que implica em uma capacidade de endereçamento de 16 MBytes. A segunda foi a introdução de dois
modos de funcionamento da CPU: o MODO REAL (compatível com o 8086) e o MODO PROTEGIDO
(específico para o 286). Uma t
erceira inovação, o suporte a memória virtual (na época, não totalmente
explorada), permitia o endereçamento de até 1 Gigabytes. Os itens que se seguem procuram fornecer mais
detalhes sobre esta CPU.
Modo Real: Neste modo, o 80286 é compatível em software (a nível de código objeto) com o 8086/8088. O
fato de emular o 8086/8088 significa dizer que a memória a ser utilizada pelo programa não pode
ultrapassar 1.0 MBytes, consequentemente, não utilizando toda a capacidade de endereçamento
disponível. Sendo a CPU mais evoluída em hardware e permitindo a utilização de osciladores a cristal de
freqüências mais altas, sem dúvida máquinas com esta CPU, mesmo operando neste modo, possuíam
maior desempenho que os famosos XTs.
Modo Protegido: Neste modo, o 80286, também pode rodar programas 8086/8088 e além disso, rodar
programas escritos especificamente com o código fonte 80286. Neste modo, o 80286 automaticamente
mapea 1.0 Gigabytes de endereços virtuais por tarefa dentro de um espaço de endereço real de 16.0
Megabytes. No modo protegido, o 80286 provê proteção de memória para isolar o sistema operacional e
assegurar a privacidade de cada tarefa sendo executada. Assim, o 80286, foi especialmente otimizado para
suportar sistemas multitarefa e multiusuário.
Curso de Microprocessadores
______________________________________________________________________________________________________
Página 30
Registradores do 80286
Registrador Finalidade
AX = AH + AL Acumulador
BX = BH + BL Base (2º
acumulador)
CX = CH + CL Contador (usado em instruções de múltiplas interações)
DX = DH + DL Dado (algumas instruções movem dados de uma porta de E/S e a posição de
memória endereçada por DX)
SP Apontador de Pilha
BP Apontador de Base
SI Índice Fonte
DI Índice Destino
IP Apontador de Instrução
Flags H + Flags L Flags
CS Segmento de Código
DS Segmento de Dados
SS Segmento de Pilha
ES Segmento Extra
Observação: Exatamente os mesmos registradores do 8086
Capacidade de Endereçamento:
24 bits de endereço è 16.0 MBytes
Operações com: byte, word, double word, quad word, BCD, ASCII, apontador e ponto flutuante;
Relógio: 80286-4 ==> 4.0 Mhz
80286-6 ==> 6.0 Mhz
80286 ==> 8.0 Mhz
Curso de Microprocessadores
______________________________________________________________________________________________________
Página 31
80286x ==> 12.0 Mhz e 16 Mhz
Organização de Memória:
a) física è 2 x 8.0 MBytes;
b) Endereçamento:
31 16 15 0
Seletor de Segmento Offset
O seletor de segmento (16 bits) especifica um índice dentro de uma tabela em memória residente cujo
conteúdo é um endereço base de 24 bits. O endereço real de memória é obtido com a soma deste
endereço base (24 bits) mais o offset (16 bits), totalizando 24 bits de endereço.
c) Posições de 000000-0003FF (1024 bytes è 256 possíveis vetores de interrupção) reservadas, como no
8086, para operações com interrupção, no modo real;
d) Posições de FFFFF0-FFFFFF reservadas para "reset", no modo real;
Endereçamento de Entrada/Saída:
- 256 dispositivos diretamente;
- 64 Kbytes indiretamente
Tamanho dos Registradores Internos: 16 bits
Tamanho do Barramento de Dados: 16 bits
Coprocessador matemático: 80287
Capacidade de Processamento de Instruções: aprox. 1.5 MIPS
(80286 a 8 Mhz)
II.2.2 - Diferenças no Conjunto de Instruções
O conjunto de instruções do 80286 é dividido em sete categorias: transferência de dados, aritméticas,
deslocamento/lógicas, manipulação de strings, controle de transferência, de alto nível e de controle de
processador.
Entre as instruções adicionais podem ser citadas as seguintes:
PUSHA è salva o conteúdo da totalidade dos registradores;
POPA è restaura o conteúdo da totalidade dos registradores;
INS è entra string de caracteres;
OUTS è sai string de caracteres;
ENTER è chama procedure;
LEAVE è libera procedure;
e mais 15 instruções que somente podem ser executadas no modo protegido;
Curso de Microprocessadores
______________________________________________________________________________________________________
Página 32
II.2.3 - Implicações no Desempenho de um Microcomputador
Sistemas de microcomputador baseados no 80286 foram os primeiros sistemas com capacidade para rodar
sistemas o
peracionais de rede multiusuário e/ou multitarefa, na época, por exemplo, o Netware 2.x da
Novell, o qual era escrito em C e Assembly 80286. Tais sistemas, paulatinamente, passaram à função de
computador pessoal (“desktop”) e não mais a de servidor.
II.3 - OS 80386
II.3.1 - Diferenças de Arquitetura e Características
O microprocessador 80386 é compatível em software com o 8086. A INTEL optou por manter esta
compatibilidade para aproveitar toda a enorme base de software escrita para os 8086 e 80286. Sendo
assim, o 386 executa a maioria dos programas escritos para o 8086 e 80286, simplesmente por que este
emula estas CPUs, não fazendo uso de todas as suas capacidades.
Primeiro microprocessador de 32 bits da INTEL, o 80386 trouxe um novo modo de operação, em adição aos
dois modos do 80286 (Real e Protegido), o modo Virtual. O microprocessador abordado nos próximos
parágrafos é o 80386 mais potente da família, que na literatura é chamado de 80386DX, ou 80386 "Full" ou
ainda, como a INTEL o denominou, simplesmente, 80386.
Curso de Microprocessadores
______________________________________________________________________________________________________
Página 33
A figura 11 mostra os registradores do 80386.
Figura 11 – Registradores do 80386
No MODO REAL, o 80386 é compatível em software (a nível de código objeto) com o 8086/8088, inclusive
com a mesma limitação de memória (1.0 MBytes). Sendo a CPU mais evoluída em hardware (p.e.
registradores de 32 bits) e permitindo a utilização de osciladores a cristal de freqüências ainda mais altas
que os 80286, sem dúvida, máquinas com esta CPU possuem desempenho bem maior que os 286. Assim,
neste modo, o mecanismo de endereçamento, o tamanho de memória e a manipulação de interrupções são
todos idênticos ao modo real do 80286. As instruções 80386 também podem ser utilizadas neste modo.
No MODO PROTEGIDO, o 80386, se comporta exatamente como no modo de mesmo nome do 80286,
sendo que endereçará 4.0 Gigabytes de memória real (ao invés dos 16.0 MBytes do 80286) e 64 Terabytes
de memória virtual. Neste modo, o mecanismo de endereçamento também é diferente daquele utilizado no
80286. Enquanto no 80286 o endereço base é de 24 bits (aos quais são adicionados 16 bits de offset), no
80386 este endereço é de 32 bits (aos quais são adicionados 16 ou 32 bits de offset).
Quando operando no modo protegido, o 80386 pode fazer uso de uma técnica chamada de
SEGMENTAÇÃO. Esta técnica organiza a memória em módulos lógicos chamados segmentos. Este modo
de gerenciamento de memória provém a base para a proteção de segmentos de memória. Por exemplo,
uma tabela do sistema operacional pode residir em um segmento e, como tal, deve ser p
rotegido da
interferência de usuários não privilegiados, os quais poderiam "derrubar" o sistema.
Uma outra técnica útil de gerenciamento de memória para sistemas operacionais multitarefa em memória
virtual é a técnica chamada de PAGINAÇÃO. Independentemente da segmentação, a qual modulariza
programas e dados em segmentos de comprimento variável, a paginação divide programas em páginas
AH CS
SI
DI
BP
SP
AL
BH BL
CH CL
DH DL
0
31 7
15
SS
DS
ES
FS
GS
Código
Pilha
Dados
IP
FLAGS
EIP
EFlags
0
15
Registradores Gerais de
Endereço e Dados
Apontador de Instrução
e Registrador de Flags
Registradores Seletores
de Segmento
EAX
EBX
ECX
EDX
ESI
EDI
EBP
ESP
Curso de Microprocessadores
______________________________________________________________________________________________________
Página 34
uniformes múltiplas. Dessa forma, somente um pequeno número de páginas de cada tarefa precisa estar na
memória em um dado instante. A paginação é útil para o gerenciamento da memória física do sistema.
O 80386 possui 4 níveis de proteção otimizados para suportar as necessidades de sistemas operacionais
multitarefa, os quais devem proteger e isolar programas de usuários, uns d
os outros, e programas do
próprio sistema operacional, dos usuários. Tais níveis de proteção se constituem, em outras palavras, em
um sistema de privilégio hierárquico de 4 níveis:
PL=0 (mais privilegiado) - Núcleo do sistema operacional;
PL=1 - Serviços do Sistema Operacional;
PL=2 - Extensões do Sistema Operacional e
PL=3 - Aplicações.
Quando operando no MODO VIRTUAL, o 80386 permite a execução simultânea de aplicações 8086,
sistemas operacionais 8086 e suas aplicações, aplicações 80286 e, ainda, aplicações 80386. Assim, em
um computador 386 multiusuário, uma pessoa pode estar rodando uma planilha DOS, enquanto outra usa o
DOS e uma terceira roda múltiplos utilitários e aplicativos UNIX.
A MEMÓRIA CACHE é um bloco de memória RAM (do tipo estática) que, tendo tempo de acesso menor
que a memória principal (do tipo dinâmica), pode ser lido muito mais rapidamente. Assim, antes de se
executar um programa que está na memória principal, a região contendo o programa é transferida para a
memória cache e só então o programa é executado. Isto reduz drasticamente o tempo de acesso à RAM e
aumenta a velocidade de execução dos programas. No 80386, o uso de memória cache era opcional, isto
é, apenas algumas máquinas (dependendo do fabricante) incluíam uma pastilha controladora de memória
cache, o 82385 (gerenciavam até 256 Kbytes), e sua inclusão implicava em um aumento da placa mãe.
Esta pastilha só era encontrada nas últimas versões micros 386.
Características Principais:
Capacidade de Endereçamento:
32 bits de endereço è 4.0 Gigabytes
Operações com: bit, campos de bit, string de bits, byte, word, double word, quad word, BCD, ASCII,
apontador e ponto flutuante;
Relógio: 80386-12 è 12.5 Mhz
80386-16 è 16.0 Mhz
80386x è 20.0 Mhz
80386x è 33.0 Mhz
Am386-40 è 40.0 Mhz
Organização de Memória:
a) Física: è 2 x 2.0 Gigabytes;
è 4 x 1.0 Gigawords;
è 8 x 0.5 Gigalongwords
b) Endereçamento:
3 espaços de endereço ==> lógico, linear e físico
Endereçamento Lógico (ou Virtual): Consiste de um segmento seletor (14 bits) e de um offset
(soma de componentes de endereçamento: BASE, INDEX, DISPLACEMENT => 32 bits), totalizando 46
bits de endereçamento, consequentemente, um espaço de 64 Terabytes;
Curso de Microprocessadores
______________________________________________________________________________________________________
Página 35
Endereçamento Linear: A unidade de segmentação translaciona o endereço lógico para um
endereço linear de 32 bits, implicando em 4.0 Gigabytes;
Endereçamento Físico: Se a unidade de paginação não está habilitada, o endereço linear de 32
bits corresponde a um endereço físico, também de 4.0 Gigabytes.
c) Posições de 00000000-000003FF (1024 bytes è 256 possíveis vetores de interrupção) reservadas,
como no 8086 e 80286, para operações com interrupção, no modo real;
d) Posições de FFFFFFF0-FFFFFFFF reservadas para "reset", no modo real;
Endereçamento de Entrada/Saída:
- 256 dispositivos diretamente, como nos 8086 e 80286;
- 64 Kbytes indiretamente
Tamanho dos Registradores Internos: 32 bits
Tamanho do Barramento de Dados: 32 bits
Coprocessador matemático: 80387
Capacidade de Processamento de Instruções: aprox. 4.0 a 10.0 MIPS
(80386 32 bits em 16, 20 e 25 Mhz)
II.3.2 - Diferenças no Conjunto de Instruções
O conjunto de instruções do 80386 é dividido em nove categorias: transferência de dados, aritméticas,
deslocamento/lógicas, manipulação de strings, controle de transferência, suporte de linguagem de alto
nível, suporte de sistema operacional e de controle de processador. As diferenças no conjunto de
instruções estão intimamente ligadas às instruções de suporte de linguagem de alto nível e de sistema
operacional.
Uma das fraquezas do projeto 286 foi a sua incapacidade de emular o 8086, mantendo a proteção e a
memória virtual. Com o 286, só se poderia emular o 8086 se este estivesse no modo real, quando a
proteção está completamente desabilitada. O projeto do 386 corrigiu este problema e permitiu então que
várias tarefas 8086 sejam emuladas ao mesmo tempo no seu modo VIRTUAL.
A fim de fornecer compatibilidade em software com os 80286, o 80386 podia executar instruções de 16 bits
no modo real e no modo protegido. Prevendo a expansão para o 386, a INTEL, especificou para o 286 que
os bits não usados por um descritor de segmento deveriam ser posicionados em "0". O 386 interpreta isso
como um identificador de segmento 286. Assim, o processador examina o conteúdo de um bit D do
descritor de segmento. Se é "0", então todos os comprimentos de operando e endereços efetivos são
assumidos como de 16 bits (código 286). Se é 1, então o comprimento default é de 32 bits (código 386).
Independentemente da precisão default, o 80386 pode executar instruções de 16 ou 32 bits, através de um
prefixo automaticamente adicionado pelos montadores Assembly da INTEL.
Fonte: "80386 High Performance Microprocessor with Integrated Memory Management", INTEL Corporation
- Advance Information, october 1985;
Além das diferenças anteriormente mencionadas, pode-se ainda citar algumas outras:
1. O tempo de execução das instruções é diferente em vários casos. Na maior parte, o 386 é mais rápido
que o 286;
Curso de Microprocessadores
______________________________________________________________________________________________________
Página 36
2. Existem vários códigos indefinidos no 286 que, se executados, provocariam uma falha de código (INT
6). No 386 a instrução será executada;
3. O prefixo LOCK (impede que outros dispositivos acessem a memória do processador) para o 8086 é
irrestrito, mas para o 386 é proibido em várias instruções. O problema era que o uso indiscriminado do
LOCK resultava em que dispositivos eram inibidos por períodos inaceitavelmente longos. No ambiente
não protegido do 8086, cabia às aplicações não deixar que isto ocorresse. No ambiente protegido do
386, apenas algumas instruções podem ser precedidas deste prefixo, àquelas que não interferem com a
velocidade de execução de tarefas.
II.3.3 - Versões 80386, 80386SX e 80386SL
O 80386SX podia ser interfaceado a circuitos periféricos de 16 bits, mas roda os softwares de 32 bits
escritos para o 386, pois sua arquitetura interna é de 32 bits. O seu barramento de dados é de 16 bits (a
metade dos 32 bits do 80386). Endereça até 16 MBytes de memória real (bem menos que os 4 Gigabytes
do 80386). Era comercializado pela INTEL com relógio máximo de 33 Mhz. Sua capacidade de execução
de instruções varia entre 3 e 4 MIPS (menos da metade dos 11,4 MIPS do 80386 a 33 Mhz). O
coprocessador utilizado com o 386SX era o 80387SX.
O 80386SL era um microprocessador também derivado do 80386 e foi projetado especialmente para uso
em computadores portáteis ("Lap Tops"). Esta pastilha foi o resultado da integração de três circuitos: a
CPU 386SL, um controlador de barramento e um controlador de vídeo gráfico, diminuindo assim, o tamanho
e o peso do equipamento, além de proporcionar uma característica particular de economia de energia. A
memória real endereçável do 386SL era de 32 MBytes (16 MBytes a mais que o 386SX), sua freqüência de
operação era de 20 Mhz e o barramento de dados de 16 bits (como no 386SX). A unidade gerenciadora de
energia era capaz de baixar a zero a atividade na CPU, enquanto se lê a tela do micro ou no intervalo da
digitação. A aplicabilidade do 386SL em "lap Tops" foi indiscutível.
II.3.4 - Implicações no Desempenho de um Microcomputador
Com base nas explicações fornecidas nos itens anteriores pode-se dizer o seguinte:
A exemplo do que ocorreu com o 80286 em relação ao 8086, sistemas de microcomputador baseados no
80386, paulatinamente, passaram de servidores a desktops. Uma versão do Netware da Novell, a versão
3.12, até os dias atuais muito utilizada, usa toda a capacidade deste microprocessador, uma vez que foi
escrita em C e assembly 386.
O 80386 dispunha de um modo de execução muito melhor adaptado ao funcionamento multitarefa do que o
80286. Na época, sistemas baseados neste microprocessador eram os únicos capazes de suportar de uma
só vez os sistemas operacionais DOS, OS/2 e UNIX.
II.4 - OS I486
A INTEL, segundo decisão da justiça dos EUA, não pode registrar números, 386 e 486 p.e., como suas
marcas. Optou então, por acrescentar um "i" (i minúsculo) na frente dos números. Assim, 486, 80486 ou
i486 eram nomes encontrados na literatura para designar o mesmo processador. Inicialmente será
abordado o i486 e em seguida o i486SX.
Curso de Microprocessadores
______________________________________________________________________________________________________
Página 37
II.4.1 - Diferenças de Arquitetura e Características
A arquitetura interna do i486 foi otimizada em relação ao 80386 ou i386. Isto possibilitou a introdução na
pastilha de algo acima de um milhão de transistores (quatro vezes mais que o i386 possui). Os fabricantes
de computadores foram diretamente beneficiados por esta densidade de integração, uma vez que a placa
mãe sofreu uma redução significativa de tamanho e o processo de projeto e montagem foi simplificado.
Também o microcódigo de instruções foi otimizado, de forma a manter o máximo possível as operações no
interior da pastilha e, consequentemente, eram necessários menos ciclos de relógio para executar as
mesmas instruções que o i386 já executava. O 486 usa ambas as bordas do sinal de Relógio para a CPU,
enquanto os 286 e 386 usavam apenas uma borda.
Pode-se dizer que, a grosso modo, o ganho de desempenho veio, essencialmente, da memória cache e do
coprocessador (essencial em ambientes de CAD/CAM). Entretanto, em ambientes de microinformática,
considerados mais simples, que usam planilhas e bancos de dados, o ganho de desempenho com o uso
do coprocessador foi praticamente nulo.
O i486 incorpora o i386 com as suas instruções, memória cache de 8 Kbytes de RAM estática (mais rápida
que a dinâmica) e gerenciador próprio (80385) e coprocessador aritmético (80387). Foram adicionadas ao
conjunto de instruções do i386 cinco instruções: três para gerenciamento da memória cache e duas,
incluídas a pedido da Microsoft, para tratamento de tarefas concorrentes pelo OS/2. Como no i386, a
pastilha endereça diretamente até 4.0 Gigabytes e indiretamente até 64 Terabytes.
II.4.2 - Diferenças na Capacidade de Processamento
O i486 a 25 Mhz possui uma capacidade de processamento de instruções de aproximadamente 20.0 MIPs
(duas vezes mais rápido que um i386 nos mesmos 25 Mhz) e é totalmente compatível com este último.
Como mencionado, a capacidade de processamento do 486 foi amplamente influenciada pela memória
cache. Isto é detalhado a seguir.
Há muitas discussões sobre o melhor tamanho da memória cache, mesmo entre os fabricantes de
microcomputadores, por isso mesmo são oferecidas ao usuário as mais diferentes opções. Uma vez que
esta é a responsável direta pelo aumento de desempenho da máquina, uma escolha acertada poderia
beneficiar grandemente o usuário. O que se constata na literatura especializada é que o melhor tamanho
para a memória cache é o tamanho do maior programa que vai ser executado naquela máquina. Entretanto
pode-se tornar excessivamente caro colocar o máximo possível de memória cache, não compensando os
benefícios correspondentes.
O i486 permitiu memória cache externa, além dos 8 Kbytes internos. Assim, algumas máquinas eram
oferecidas com 256 Kbytes externos. Considerando-se o desempenho relativo a um XT 4.77 Mhz, pode-se
fornecer alguns dados de desempenho, como discriminados abaixo:
i486, 33 Mhz, cache externo de 64 Kbytes
Cache interno e externo desabilitado è 6,5 vezes mais rápido;
Somente cache externo habilitado è 26 vezes mais rápido;
Curso de Microprocessadores
______________________________________________________________________________________________________
Página 38
Somente cache interno habilitado è 38 vezes mais rápido;
Caches interno e externo habilitados è 72 vezes mais rápido;
Conclui-se destes dados que o cache interno é extremamente importante, mesmo sendo muito menor que
o externo. Isto se deve a sua lógica de construção e, obviamente, ao fato de estar dentro da própria pastilha
de CPU.
Quando se carrega um programa na memória cache e este é executado, considera-se que isto é um
"acerto" e cada vez que se deve movimentar um bloco da memória principal para a RAM de cache,
considera-se que isto é um "erro". Existe, portanto, uma taxa de acertos ("Hit Rate") relacionada com o
tamanho da memória cache. Um cache externo maior, evidentemente, possibilitará uma melhor taxa de
acertos, uma vez que poderá conter mais programas. Assim, a velocidade do cache interno aliada a uma
melhor taxa de acertos provida pelo cache externo, possibilitará um melhor desempenho da máquina como
um todo.
Sobre o i486SX
O i486Sx foi lançado pela INTEL para fazer frente a concorrência acirrada do microprocessador Am386-40
de 40 Mhz da Advanced Micro Devices (AMD), mais veloz que o seu microprocessador mais rápido, o i386
33 Mhz. Deve-se entender o "SX" com uma versão desprovida de algo que sua versão completa, ou "full", ou
ainda "DX", continha.
O i486SX possui um barramento de dados de 32 bits, exatamente como o i486. Isto não aconteceu com o
i386SX, o qual possui 16 bits para dados, 16 a menos que i386. Basicamente, o i486SX opera a uma taxa
de relógio de 20 Mhz e possui uma unidade de ponto flutuante interna (como o i486), mas esta encontra-se
desativada. Estes dois fatores levaram a uma diminuição no custo da pastilha de 60% em relação ao i486.
O i486SX, mesmo a 20 Mhz segundo a INTEL, era 45% mais rápido que o i386 (33 Mhz), com um custo
apenas 17 % superior. Já o i486 25 Mhz era 20% mais rápido que o i486SX (20 Mhz) e custava 270% mais
caro (custo em março de 1992). Um quadro exibido pela revista Micro Sistemas em março de 1992
mostrava o seguinte:
CPU (clock) Custo (US$) MIPs Custo do MIP (US$)
i386 (33) 214 11,4 18,77
i486SX(20) 250 16,5 15,15
i486 (25) 671 20,0 33,55
Sobre o i486 50 Mhz (i486/50 e i486DX2/50)
Em junho de 1991 a INTEL lançou o i486 50 Mhz e somente em junho de 1992 a revista PC Magazine
americana publicou testes de desempenho sobre as primeiras máquinas fabricadas com esta CPU. Antes
desta CPU, a líder em desempenho da INTEL era o i486 33 Mhz. Segundo a citada revista, o i486/50 é 30%
mais rápido que i486/33 a um custo (naquele ano) 10 a 20% maior. Uma observação importante é que
máquinas equipadas com esta CPU definitivamente não eram baratas, mas a relação custo beneficio em
relação ao i486/33 era atraente. Isto significou, em outras palavras, que se alguém estivesse disposto a
pagar o preço de uma máquina 486/33, era melhor que o fizesse por uma i486/50, em função da melhor
relação custo/benefício.
Curso de Microprocessadores
______________________________________________________________________________________________________
Página 39
Em março de 1992 a INTEL anunciou as chamadas pastilhas "Speed-Doubler". Tais pastilhas introduziram
opções de preço e desempenho nos i486. Uma dessas opções, é o i486DX2/50 que opera internamente a
50 Mhz, mas comunica-se com os barramentos a 25 Mhz. Isto permite o projeto de sistemas baseados,
externamente, no i486 25 Mhz, facilitando mais uma vez o dia-a-dia dos fabricantes de micro e
minicomputadores. A segunda opção é a pastilha "full" i486DX/50. Esta pastilha é 30% mais rápida que a
anterior.
Em linhas gerais, pode-se dizer que para máquinas necessitando de uma atividade de Entrada/Saída
intensa, como servidores de arquivos p.e., o i486DX2/50 não seria a primeira escolha. Já para máquinas
"stand-alone" em ambientes de CAD/CAM esta seria uma boa escolha.
O i486DX/50 contém basicamente a mesma lógica de processador que o i486DX/33, com coprocessador, 8
Kbytes de cache e 1,2 milhão d
e transistores, mas houve alguns refinamentos técnicos na parte de 50
Mhz, a qual usa um projeto de pastilha de três camadas e não de duas camadas como o i486DX/33.
Sobre os i486DX2/66 e i486DX4/100
Em novembro de 1992, foram disponibilizadas comercialmente máquinas sob controle da pastilha
i486DX2/66, ou seja, operando internamente a 66 Mhz e externamente a 33 Mhz. Testes preliminares
revelaram que esta pastilha é 30% mais rápida que o i486DX/50.
O i486DX4/100, possui um clock interno de 99 MHz, operando externamente a 33 MHz. Esta pastilha
entrou e saiu rapidamente do mercado, dando lugar aos microprocessadores da classe Pentium.
Algumas Observações:
Os problemas relacionados a estes microprocessadores são a quantidade de calor desprendida, que
precisa ser dissipada, e a emissão de sinais de alta frequência, podendo também sofrer interferências do
meio ambiente, como é o caso das televisões que emitem sinais na faixa de 54 a 890 Mhz. A partir dos
i486, os fabricantes iniciaram a utilização de ventiladores acoplados aos dissipadores, para reduzir os
efeitos da alta temperatura. Também alguns gabinetes são comercializados com algum tipo de blindagem
interna de modo a minimizar a influência das frequências externas.
Com a crescente demanda do mercado por redes de computadores e, consequentemente, por
equipamentos de gerenciamento e interconexão de tais redes, observou-se que as CPUs de pontes
(“Bridges”), roteadores (Routers”), ponte-roteadores (“Brouters”) e passarelas (“Gateways”) frequentemente,
são CPUs INTEL do tipo 286 e 386. Neste mercado, modelos mais sofisticados desses equipamentos
frequentemente fazem uso de CPUs MOTOROLA e alguns até mesmo de processadores RISC.
II.5 - OS PENTIUM, PENTIUM MMX E PRO
II.5.1 - Diferenças de Arquitetura e Características
Antes de iniciar as explicações sobre os Pentium MMX e PRO, é necessário mencionar os primeiros
microprocessadores da classe Pentium, os simplesmente Pentium (núcleo P54C).
Curso de Microprocessadores
______________________________________________________________________________________________________
Página 40
Os Pentium
Essencialmente, o Pentium consiste de dois processadores i486 em paralelo. Logo, mais instruções são
processadas ao mesmo tempo, tipicamente, o dobro. Pode-se destacar algumas características
importantes.
Figura 12 – Fotos dos Pentium 150 e 166 MHz
Figura 13 – Diagrama em Blocos do Pentium
Pipelines
O microprocessador Pentium é construído em torno de 2 pipelines (ou Pipes) inteiros (U e V), paralelos,
de propósito geral e 1 unidade com pipeline, de ponto flutuante. O pipe U é chamado de Principal e o
pipe V é chamado de Secundário. O Pipe U possue algumas limitações sobre instruções que executa. Os
dois Pipes tem cinco estágios cada um, como mostrado na figura 14.
O Pentium pode buscar até 2 instruções por ciclo. Durante a execução de uma instrução, as próximas
duas instruções são testadas. Se possível, a primeira é executada no Pipe U e a Segunda no Pipe V. Se
não é possível, uma instrução é passada ao Pipe U e nenhuma instrução é passada ao Pipe V. O
comportamento funcional das instruções nos dois Pipes é exatamente o mesmo de instruções executadas
sequencialmente.
Curso de Microprocessadores
______________________________________________________________________________________________________
Página 41
Caches
O Pentium possui um subsistema de cache interno com 2 conjuntos (um para instrução e outro para
dados) de caches associativos de 8 Kbytes. Como o cache de dados é disposto em 8 bancos, este pode
ser acessado simultaneamente por ambos os Pipes, desde que as referências sejam para bancos
diferentes.
Prebuscador de Instruções (“Instruction Prefetcher”)
O, aqui chamado, Prebuscador de Instruções possui 4 buffers de 32 Bytes. No estágio PF, dois buffers de
prebusca operam em conjunto com o buffer chamado BTB (“Branch Target Buffer “). Somente 1 dos
buffers de prebusca requisita prebuscas em um dado tempo. Se uma instrução de salto é buscada, o BTB
prevê se o salto ocorrerá ou não. Se o salto não vai ser executado tudo continua linearmente. Se é para ser
executado, o outro buffer de prebusca é habilitado e inicia a prebusca como se o salto fosse executado. Se
finalmente o salto não for realizado, os pipelines de instrução são limpos e a atividade de prebusca
recomeça. Como o cache de instruções e dados são separados, prebuscas de instruções não conflitam
com referências a dados para acesso ao cache.
O Pentium emprega um esquema de previsão dinâmica de saltos (“Dynamic Branch Prediction”). Se a
previsão é correta, não há penalidade na execução de uma instrução de salto. Se não é correta, as
penalidades são as seguintes:
1. 3 ciclos, se o JUMP condicional foi no Pipe U;
2. 4 ciclos, se o JUMP condicional foi no Pipe V e
3. 3 ciclos em qualquer dos Pipes para CALLs e instruções de JUMP incondicional.
Curso de Microprocessadores
______________________________________________________________________________________________________
Página 42
Figura 14 – Pipelines de Inteiros do Pentium
Write Buffers
O Pentium possui 2 buffers de escrita, um para cada Pipe (U ou V). A finalidade desses buffers é aumentar
o desempenho de escritas consecutivas na memória. Esses buffers de 64 bits são carregados
simultaneamente em um período de relógio. Escritas nesses buffers são enviadas para o barramento
externo do processador. Tais operações de escrita acontecem sempre na ordem em que ocorrem. Não são
possíveis leituras intermediárias.
Unidade de Ponto Flutuante
A Unidade de Ponto Flutuante do Pentium acrescenta um Pipeline de 3 estágios aos Pipes já mencionados
(U e V). As instruções de ponto flutuante seguem normalmente pelo pipeline até o estágio E (Execução).
Após este estágio, as instruções dispendem pelo menos um clock para cada um dos 3 estágios: X1, X2 e
WF. A maioria das instruções de ponto flutuante tem um período de latência superior a um período de
relógio. Entretanto, tal latência é escondida pela existência dos 3 estágios. Além disso, instruções com
inteiros (e não de ponto flutuante) são tratadas durante este período de latência. A figura 15 exibe a
integração dos Pipelines de Inteiros e Ponto Flutuante. Os 3 primeiros estágios do Pipe de Inteiros são
desacoplados do Pipe de Ponto Flutuante. Os dois últimos são integrados.
Pipe U Pipe V
Prefetch
(PF)
Estágio de
Decodifi-
cação 1
(DS1)
Estágio de
Decodifi-
cação 2
(DS2)
Estágio de
Decodifi-
cação 2
(DS2)
Execução Execução
Writeback Writeback
Curso de Microprocessadores
______________________________________________________________________________________________________
Página 43
Figura 15 – Integração dos Pipelines de Inteiros e de Ponto Flutuante do Pentium
Os Pentium MMX
Os microprocessadores Pentium com tecnologia chamada pela INTEL de MMX (algo como “Multimedia
Extensions”) trouxeram quatro enriquecimentos básicos de projeto arquitetônico:
1. Arquitetura SIMD;
2. 4 novos tipos de dados.
3. 8 registradores MMX de 64 bits e
4. 57 novas instruções;
Figura 16 – Foto do Pentium MMX – P55C
Como a própria INTEL propagandeia, esta mudança na arquitetura d
o processador foi a mais importante
desde o 80386, o qual extendeu a arquitetura de 16 para 32 bits e introduziu três modos de funcionamento
(real, protegido e virtual). Como de fato se verificou, tais mudanças foram incorporadas a todas as gerações
de processadores subsequentes da empresa.
Prefetch
(PF)
Estágio de
Decodifi-
cação 1
(DS1)
Estágio de
Decodifi-
cação 2
(DS2)
Execução Writeback
X1 X2 WF
Estágios do Pipe de Ponto Flutuante desacoplados
Estágios Integrados dos Pipes
Pipeline de Inteiros somente
Curso de Microprocessadores
______________________________________________________________________________________________________
Página 44
Segundo a INTEL, a definição desta tecnologia foi resultado de trabalho conjunto entre arquitetos de
microprocessadores e desenvolvedores de software. Dentre os softwares analisados, incluiram-se Gráficos,
Vídeo MPEG, Síntese de música, compressão de voz, reconhecimento de voz, processamento de
imagens, jogos e vídeo-conferência. O núcleo deste processador foi chamado de P55C.
Esta análise mostrou muitas características comuns entre as diversas categorias de software. Os atributos
chave para estas aplicações foram:
• Tipos de dados pequenos e inteiros (por exemplo: pixel gráfico de 8 bits, amostras de áudio de
16 bits);
• Loops pequenos altamente repetitivos;
• Multiplicações e acumulações frequentes;
• Algoritmos de computação intensiva;
• Operações altamente paralelas.
Assim, foi projetado um grupo de instruções novo, com instruções inteiras de propósito geral, visando a
otimização do processamento de tais aplicações.
Arquitetura SIMD (“Single Instruction Multiple Data”)
Técnicas SIMD foram utilizadas de forma a permitir que múltiplas peças de informação pudessem ser
processadas com uma única instrução, provendo um certo paralelismo, reduzindo loops de computação
intensiva e, consequentemente, aumentando o desempenho de aplicações multimídia e de comunicações.
Novos Tipos de Dados
O tipo de dado principal da arquitetura MMX é um pacote inteiro de ponto fixo, onde múltiplas palavras
inteiras são agrupadas em uma única quantidade de 64 bits. Estes pacotes são manipulados por
registradores MMX de 64 bits.
Como exemplo de benefício pode-se citar o pixel, geralmente representado em inteiros de 8 bits, ou bytes.
8 desses pixels podem ser “empacotados” em uma única quantidade de 64 bits e movidos para um
registrador MMX. Uma instrução MMX ao ser executada, busca 8 pixels de uma só vez, faz as operações
lógicas e aritméticas sobre os oito elementos e escreve o resultado em um outro registrador MMX.
A figura 17 exibe os novos tipos de dados do Pentium MMX.
Curso de Microprocessadores
______________________________________________________________________________________________________
Página 45
Packet Byte (8 elementos de 8 bits)
Packet Word (4 elementos de 16 bits)
Packet Doubleword (2 elementos de 32 bits)
Quadword (1 elemento de 64 bits)
0
63
63 0
31 7
31
63 0
31
63 0
Figura 17 – Novos Tipos de Dados do Pentium MMX
Registradores MMX
A figura 18 exibe o layout dos oito novos registradores MMX
0
63
MM0
MM7
Campo
TAG
Figura 18 – Registradores MMX
Curso de Microprocessadores
______________________________________________________________________________________________________
Página 46
Novas Instruções
As instruções MMX cobrem vários grupos funcionais, incluindo:
1. Operações aritméticas básicas;
2. Operações de comparação;
3. Instruções de conversão entre novos tipos de dados (“packets”) e de pequenos para grandes
tipos de dados;
4. Operações lógicas tais como: AND, OR, NOT e XOR;
5. Operações de Shift;
6. Instruções MOV para dados de 32 ou 64 bits;
As instruções lógicas e aritméticas são projetadas para suportar diferentes tipos de dados. Tais instruções
possuem um código de operação para cada tipo de dado suportado. Como resultado, as novas instruções
são implementadas com 57 códigos de operação. Um aspecto importante é que instruções MMX não são
privilegiadas, podendo ser usadas em aplicações, codificadores/decodificadores, algoritmos e drivers.
Categoria Mnemônico Nr. De Códigos de
Operação Diferentes
Descrição
PADD [B,W,D] 3 Add with wrap-around on [byte, word,
doubleword]
PADDS [B,W] 2 Add signed with saturation on [byte,
word]
PADDUS [B,W] 2 Add unsigned with saturation on [byte,
word]
PSUB [B,W,D] 3 Subtract with wrap-around on [byte,
word, doubleword]
PSUBS [B,W] 2 Subtract signed with saturation on [byte,
word]
PSUBUS [B,W] 2 Subtract unsigned with saturation on
[byte, word]
PMULHW 1 Packed multiply high on words
PMULLW 1 Packed multiply low on words
Aritmética
PMADDWD 1 Packed multiply on words and add
resulting pairs
PCMPEQ
[B,W,D]
3 Packed compare for equality [byte,
word, doubleword]
Comparação
PCMPGT
[B,W,D]
3 Packed compare greater than [byte,
word, doubleword]
PACKUSWB 1 Pack words into bytes (unsigned with
saturation)
PACKSS
[WB,DW]
2 Pack [words into bytes, doublewords
into words] (signed with saturation)
PUNPCKH
[BW,WD,DQ]
3 Unpack (interleave) high-order [bytes,
words, doublewords] from MMXTM
register
Conversão
PUNPCKL
[BW,WD,DQ]
3 Unpack (interleave) low-order [bytes,
words, doublewords] from MMX register
PAND 1 Bitwise AND
PANDN 1 Bitwise AND NOT
POR 1 Bitwise OR
Lógicas
PXOR 1 Bitwise XOR
Curso de Microprocessadores
______________________________________________________________________________________________________
Página 47
PSLL [W,D,Q] 6 Packed shift left logical [word,
doubleword, quadword] by amount
specified in MMX register or by
immediate value
PSRL [W,D,Q] 6 Packed shift right logical [word,
doubleword, quadword] by amount
specified in MMX register or by
immediate value
Shift
PSRA [W,D] 6 Packed shift right arithmetic [word,
doubleword] by amount specified in MMX
register or by immediate value
Transferência
de Dados
MOV [D,Q] 4 Move [doubleword, quadword] to MMX
register or from MMX register
Gerenciamen-
to de Estado
MMX e Ponto
Flutuante
EMMS 1 Empty MMX state
Pipeline Superescalar
Os Pentium MMX adicionam mais estágios ao pipeline. A integração do Pipe MMX com o Pipe de inteiros é
muito similar a do Pipe de Ponto Flutuante. A Figura 19 mostra esta estrutura de pipeline.
Os Pentium MMX adicionam um estágio de pipeline inteiro. Os bytes de instrução são prebuscados do
cache de código no estágio de prebusca PF e passados ao estágio de busca F. Quaisquer prefixos são
decodificados no estágio F.
MR/W Mex WM/M2
M3
WMul
PF F DS1 DS2 E WB
E1 E2
E1 E2 E3
Estágios do Pipe de MMX desacoplados
Estágios Integrados dos Pipes
Pipeline de Inteiros somente
Figura 19 – Estrutura Pipeline MMX
Curso de Microprocessadores
______________________________________________________________________________________________________
Página 48
O estágio F é desacoplado da decodificação de instruções por meio de um buffer FIFO (“First In, First Out”),
o qual está situado entre os estágios F e D1 (“Decode 1”). Esta FIFO mantém até 4 instruções.
A cada período de relógio, 2 instruções são colocadas nesta FIFO. Pares de instrução são colocados para
fora de F e dentro de D1. Uma v
ez que a taxa média de execução de instruções é menos que duas por
clock, a FIFO está normalmente cheia. Quando a FIFO está cheia, esta deve “bufferizar” qualquer “freio”
que pode ocorrer durante a busca de instrução. Esta FIFO previne, o estágio de Execução do pipe, de um
“freio” na execução de instruções.
Exemplos de Instruções MMX
Para ilustração, o tipo de dado será uma palavra de 16 bits (word), contudo a maioria das operações pode
ser realizada para 8 e 32 bits.
A figura 20 mostra uma operação de adição (PADD[W] - “Add with wrap-around on [word]”). São realizadas
4 adições de 8 elementos de 16 bits, cada uma independente da outra e em paralelo. Neste caso, o
resultado mais à direta excede o valor máximo representável em 16 bits e o 17º
bit é perdido.
Figura 20 – Instrução PADD[W]
A figura 21 mostra uma outra operação de adição (PADDUS[W] - “Add unsigned with saturation on [word]”).
Neste caso, uma saturação ocorre. Saturação significa que se a adição resulta em “overflow” ou a
subtração em “underflow”, o resultado é alterado para o maior ou para o menor valor representável,
respectivamente. Para uma operação sem sinal, com uma palavra de 16 bits, o maior e o menor valor são:
FFFFh e 0000h. Isto é importante para cálculos de pixels, onde a perda do 17º
bit poderia causar um pixel
preto logo após um pixel branco em um gráfico 3D.
a3 a2 a1 FFFF
b3 b2 b1 8000
a3+b3 a2+b2 a1+b1 7FFF
+ + + +
Curso de Microprocessadores
______________________________________________________________________________________________________
Página 49
Figura 21 – Instrução PADDUS[W]
Os novos games 3D manipulam objetos 3D. Estas computações, tipicamente, são baseadas em matrizes
4 x 4, as quais são multiplicadas por 4 vetores várias vezes. O vetor possui a informação de X, Y, Z e a
correção de perspectiva para cada pixel. A matriz 4 x 4 é usada para girar, escalonar, translacionar e
atualizar a informação de correção das perspectiva para cada pixel. Esta matriz é aplicada a muitos
vetores. A figura 22 mostra esses cálculos e o que faz a instrução PMADD.
Figura 22 – Instrução PMADD
Os Pentium PRO
Diferentemente dos 5 estágios do Pentium. O Pentium PRO possui um pipeline de 12 estágios,
desacoplado. Isto lhe confere um desempenho 33% superior ao Pentium comum. Sua microarquitetura
superescalar torna possível a execução de 2 instruções por clock. A figura 23 detalha este pipeline.
a3 a2 a1 FFFF
b3 b2 b1 8000
a3+b3 a2+b2 a1+b1 FFFF
+ + + +
=
a0 a1 a2 a3
b0 b1 b2 b3
c0 c1 c2 c3
d0 d1 d2 d3
x'
y'
z'
w'
x
y
z
1
x = a0.x + a1.y + a2.z + a3
Translação
Giro e Escala
Perspectiva
Curso de Microprocessadores
______________________________________________________________________________________________________
Página 50
O Pipeline do Processador Pentium PRO possui 3 unidades que se comunicam através de um Pool de
Instruções: A Unidade de Busca/Decodificação (ou “Front-End”), a Unidade de Despacho/Execução (ou
“Core”) e a Unidade de Retiro (ou “Retire”). A figura 24 exibe a ligação entre estas unidades.
Figura 23 – Pipeline do Pentium PRO
Figura 24 – As 3 unidades do Pentium PRO
A Unidade de Busca/Decodificação possue como entrada o conjunto de instruções de programa de
usuário armazenado no cache de instruções L1 (interno). Tal unidade decodifica este conjunto em uma
série de microperações que representam o fluxo de dados daquele conjunto.
BTB
0
BTB
1
IFU0 IFU1 IFU2 ID0 ID1 RAT
ROB
Rd
RS
Port
2
Port
0
Port
1
ROB
Wb
RRF
Port
3
Port
4
Unidade de
Busca/
Decodifica-
ção
Unidade de
Despacho/
Execução
Unidade de
Retiro
Pool de
Instruções
Curso de Microprocessadores
______________________________________________________________________________________________________
Página 51
A Unidade de Despacho/Execução aceita o fluxo de dados, esquematiza a execução das microperações
sujeitas a dependência de dados e disponibilidade de recursos. Em seguida, armazena o resultado dessas
execuções especulativas.
A Unidade de Retiro conhece como e quando confirmar do resultado especulativo temporário para um
estado arquitetural permanente.
A Unidade de Interface de Barramento responsável pela conexão das 3 unidades internas ao mundo
real. Esta unidade comunica-se diretamente com o cache L2 (externo), suportando até 4 acessos
concorrentes ao cache.
A figura 25 ilustra mais detalhadamente estes aspectos.
Figura 25 – As 3 unidades com Caches Unificados do Pentium PRO
Unidade de
Busca/
Decodifica-
ção
Unidade de
Despacho/
Execução
Unidade de
Retiro
Pool de
Instruções
Cache de Dados L1
Cache de
Instruções L1
Unidade de Interface de Barramento
Cache L2
Barramento
de Sistema
Curso de Microprocessadores
______________________________________________________________________________________________________
Página 52
Execução Dinâmica de Instruções
Execução Dinâmica, segundo a INTEL, é a combinação única de 3 técnicas de processamento:
• Predição de Múltiplos Saltos. Inicialmente o processador “olha” múltiplos passos atrás no software e
prediz quais saltos ou grupos de instruções, provavelmente, serão processadas;
• Análise do Fluxo de Dados. Em seguida, analisa quais instruções são dependentes do resultado ou
dados de outras instruções, para criar uma sequência otimizada de instruções;
• Execução Especulativa. As instruções são então “puxadas” especulativamente, com base no esquema
otimizado.
Arquitetura Superscalar
Arquitetura Superscalar é uma microarquitetura capaz de sinmultaneamente buscar, decodificar e executar
múltiplas operações inteiras por período d
e relógio. Tipicamente o Pentium PRO “percebe” entre 20 e 30
instruções na frente do IP (“Instruction Pointer”).
Suporte a Múltiplos Processadores
O barramento externo do Pentium PRO foi otimizado para suportar de 1 a 4 CPUs. A figura 26 ilustra este
fato.
Figura 26 – Esquema de Multiprocessamento do Pentium PRO
Curso de Microprocessadores
______________________________________________________________________________________________________
Página 53
II.5.2 - Benchmarks
Curso de Microprocessadores
______________________________________________________________________________________________________
Página 54
II.6 - OS PENTIUM II
Figura 27 – Substrato do Pentium II
II.6.1 - Arquitetura e Características
O Pentium II vem evoluindo continuamente, de acordo com os novos desenvolvimentos ou opções da INTEL.
Trataremos aqui da arquitetura inicial deste processador, cujo codinome ainda é “Klamath”.
A característica principal do Pentium II foi a incorporação da tecnologia MMX às Unidades de Execução do
processador Pentium PRO. Sendo assim, tornou-se recomendável tanto para servidores, quanto para
desktops. São discriminadas a seguir as principais características do Pentium II.
• Cache interno L1 32 Kbytes (16 K para instruções + 16 K para dados). Cache duas vezes maior que o
do Pentium PRO;
• Cache externo L2 é de 512 Kbytes em ½
velocidade (“half speed”), fazendo parte do cartucho de metal e
plástico que inclui o núcleo da CPU;
• Tecnologia de Processo de fabricação CMOS de 0,35 microns. A versão de 333 MHz usa o processo
de 0,25 microns;
• Encapsulamento em cartucho SEC (“Single-Edge Contact”) de 242 pinos, diferentemente do Pentium
PRO, o qual usava soquete ZIF (“Zero Force Insertion”);
• Suas primeiras versões, com arquitetura idêntica, operam nas velocidades de 233, 2
66, 300 e 333
MHz. Versões a 350 e 400 MHz, trazem ligeiras diferenças;
• Opera na velocidade interna de 66 MHz FSB (“Front-Side Bus”), exatamente como o Pentium PRO;
• Possui 5 unidades de execução, como no Pentium PRO;
• Alimentação de 2,8 Volts;
• Endereçamento físico de até 64 Gigabytes;
Curso de Microprocessadores
______________________________________________________________________________________________________
Página 55
• 7,5 milhões de transistores integrados;
• Suporte para até 2 processadores em uma placa, permitindo o multiprocessamento simétrico (“SMP”);
• Segundo a INTEL, sua arquitetura foi otimizada para aplicações de 32 bits;
• Usa a interface de barramento chamada SLOT 1, diferentemente do Socket 7 do Pentium MMX. A
interface SLOT 1 deverá ainda ser usada até o início do ano 2000 em versões mais avançadas deste
processador, tais como o Katmai 450 e 500 MHZ e o Coppermine 533 a 6xx MHz;
II.6.2 - Benchmarks
A Figura 28 apresenta o iCOMP 2.0 (Benmchmark Multimídia da INTEL) para várias versões do Pentium II,
excluindo-se a versão de 333 MHz. Em seguida, é exibida na Figura 29, uma CPU Pentium II na presença
de uma interface de aceleração gráfica AGP (“Advanced Graphics Port”) e na figura 30, um Benchmark
entre os processadores Pentium II e Celeron.
Figura 28 – Desempenho do Pentium II relativo aos Pentium MMX e PRO
Curso de Microprocessadores
______________________________________________________________________________________________________
Página 56
Figura 29 – Benchmarks de processadores INTEL, AMD e CYRIX
Fonte: www.tomshardware.com
Curso de Microprocessadores
______________________________________________________________________________________________________
Página 57
Figura 30 – Benchmarks de processadores Pentium II e Celeron
II.7 - ÚLTIMOS MICROPROCESSADORES DA INTEL
Linha Pentium III
Figura 31 – Foto do Pentium III
Curso de Microprocessadores
______________________________________________________________________________________________________
Página 58
Figura 32 – Arquitetura do Pentium III
Pentium III – Katmai
• Codnone KATMAI
• Terceira versão do Pentium II;
• Conjunto de Instruções com 70 novas instruções MMX2 ou KNI (“Katmai New Instructions”);
• Registradores de 128 bits;
• 512 K de cache nível 2;
• Arquitetura P6;
• Suporte a DirectX 6.1;
• Barramento do sistema de 100 e 133 MHz FSB;
• Versões de 450, 500, 533, 550, 600, 650, 677, 700, 750, 733, 750, 800, 850, 866 e 1000 MHz.
Pentium III - Coppermine
• Versão menor do KATMAI;
• Processo de fabricação CMOS de 0,18 microns;
• Conjunto de Instruções MMX2 ou KNI (“Katmai New Instructions”);
Curso de Microprocessadores
______________________________________________________________________________________________________
Página 59
• 256 KB de Cache L2 na velocidade do Clock e dentro da pastilha (on die);
• Arquitetura P6;
• Caminho de dados de 256 bits (mais do que os 64 bits dos Pentium II e III anteriores);
• 100 MHz FSB nas versões de 450 e 500 MHz.
Pentium III Xeon (Tanner) – 500 e 550 MHz)
• Pentium II Xeon com KNI;
• Suporte a operação com até 8 processadores;
• Encapsulamento SECC (Single Edge Contact Cartridge);
• 512 KB/1 MB/2 MB (500 MHz) e 512 KB (550 MHz) de cache em CSRAM L2, “full speed”, fora da
pastilha;
• 32 KB (16 K para dados + 16 K para instruções) de cache nível 1;
• 100 MHz FSB, indo para 133 MHz FSB;
Figura 33 – Foto do Pentium III Xeon
Linha CELERON
Figura 34 – Foto do Celeron
Curso de Microprocessadores
______________________________________________________________________________________________________
Página 60
CELERON (codnome Mendocino) (versão com 128 K de cache)
• Encapsulamento PPGA de 370 pinos (Plastic Pin Grid Array);
• Versões de 400 e 433 MHz em encapsulamento SEPP de 242 contactos (Single Edge Processor
Package)
• 128 KB de Cache L2 dentro da pastilha (“on-die”);
• 32 KB (16 K para dados + 16 K para instruções) de cache nível 1;
• Arquitetura P6 (do Pentium Pro)
• Barramento de sistema de 66 MHz FSB;
• Versões de 400, 433, 466, 500 e 533 MHz;
• Interface Slot 1 deverá ser abandonada, passando a slot 2;
Linha Pentium 4
Figura 35 – Foto do Pentium 4
Pentium 4
• Barramento de 400 MHz Front Side Bus de 128 bits de largura
• 20 KB de cache L1 e 256 KB ou 512 KB (versão 2,0 GHZ ou superior) de cache L2
• A ALU roda no dobro da velocidade do Clock
• Novo soquete 423 para simplificação do projeto da placa-mãe
• Frequência de relógio a partir de 1,5 GHz
• 20 estágios de pipeline (10 estágios no PIII)
• 144 novas instruções SSE2 and 128 bit MMX
• 42 millions of transistors
• Novo projeto de soquete de 478 pinos
• Dual Rambus memory channel com chipset i850
• Disponível no modo monoprocessador
Curso de Microprocessadores
______________________________________________________________________________________________________
Página 61
Figura 36 – Foto Substrato do Pentium 4
Curso de Microprocessadores
______________________________________________________________________________________________________
Página 62
Figura 37 – Arquitetura do Pentium 4
Curso de Microprocessadores
______________________________________________________________________________________________________
Página 63
Linha IA-64
ITANIUM (codnome Merced)
• Lançamento previsto para o ano 2000;
• Usará Interface SLOT M (nova);
• EPIC (“Explicit Parallel Instruction Computing”);
• 128 registradores de Inteiros;
• 128 registradores de Ponto Flutuante;
• Múltiplas Unidades de Inteiros e de Ponto Flutuante;
• Arquitetura de 64 bits (precisará de sistema operacional de 64 bits);
• Frequência de Relógio provável de 1 Ghertz;
• Mais de 30 milhões de transistores integrados;
• Processo de fabricação de 0,18 ou 0,13 microns.
Figura 38 – Foto do Itanium 2

Aula slides arquitetura microprocessadores .pdf

  • 1.
    Curso de Microprocessadores ______________________________________________________________________________________________________ Página8 I - CONCEITOS BÁSICOS I.1 - HISTÓRICO A história dos microprocessadores é brevemente resumida a seguir com o destaque de algumas datas importantes: Década de 40: è Válvula e Transistor (1948) Década de 50: è Comercialização do transistor Década de 60: è Circuitos Integrados SSI ("Small Scale Integrated") Década de 70: è Circuitos Integrados MSI ("Medium Scale Integrated") 1971: => Circuitos Integrados LSI ("Large Scale Integrated") => INTEL 4004 (CPU do primeiro microcomputador de 4 bits) 1972: => INTEL 8008 (CPU do primeiro microcomputador de 8 bits) 1974: è INTEL 8080 (10 vezes mais rápido que o 8008) => MOTOROLA 6800 1976: => TEXAS 9800 (CPU do primeiro microcomputador de 16 bits) 1977: è MOSTEK 6502 ==> Apple I, II e II plus è ZILOG Z80 ==> TRS-80 1978: => Circuitos Integrados VLSI ("Very Large Scale Integrated") => MOTOROLA 6809 (Melhor CPU de 8 bits do mercado) è INTEL 8088/8086 (29.000 transistores integrados) => Microprocessadores BIT-SLICE (de 2 a 64 bits) Década de 80: 1980: => MOTOROLA 68.000 (68.000 transistores integrados) 1981: => MOTOROLA 68.010 1982: => INTEL 80186/80188 => INTEL 80286 (130.000 transistores integrados) 1984: => MOTOROLA 68.020 1985: => INTEL 80386 (ou 80386DX, ou i386) 1986: => MOTOROLA 68.030 1988: => INTEL 80386SX 1989: => INTEL i486 (1.200.000 transistores) Década de 90: 1991: => INTEL i386SL, i486SX ð Microprocessadores com tecnologia RISC 1992: => INTEL i486DX2/50 e i486DX2/66 1993: => INTEL Pentium
  • 2.
    Curso de Microprocessadores ______________________________________________________________________________________________________ Página9 1995: => INTEL Pentium Pro 1997: è INTEL Pentium II Tendências: ð Máquinas CISC ou Máquinas RISC ð Pentium 166 Mhz è Pentium II a 300 Mhz ð Máquina de Controle Seqüencial è Máquina de Controle Paralelo ð Máquina de Arquitetura SIMD è Máquina de Arquitetura MIMD ("Data-Flow") ð Arquiteturas orientadas p/ o HW è Arquiteturas orientadas p/ o SW ð Máquinas processando texto è Máquinas processando dados multimídia I.2 - CPU, MEMÓRIAS E DISPOSITIVOS DE ENTRADA/SAÍDA Os próximos parágrafos procuram dar uma idéia da nomenclatura utilizada no restante deste documento e introduzir os componentes principais da arquitetura de microcomputadores ou de circuitos controlados a microprocessador. HARDWARE: consiste de circuitos eletrônicos responsáveis pela execução direta de instruções em linguagem de máquina: CIs, placa impressa, cabos, fontes de alimentação, etc. SOFTWARE: consiste de algoritmos e suas representações no computador (programas). FIRMWARE: consiste de um software embutido em circuitos eletrônicos. É comum dizer que qualquer operação feita por software pode também ser construída por hardware e qualquer instrução executada pelo hardware pode também ser simulada por software. Um sistema de microcomputador típico é mostrado na figura 1. Basicamente, são três os componentes de qualquer sistema controlado por microprocessador ou mesmo de um sistema de computação: Unidade Central de Processamento (CPU), Memória e Dispositivos de Entrada/Saída (E/S). A CPU tem finalidade óbvia, a de controlar o sistema como um todo. A memória serve para armazenar os dados que serão manipulados e os dispositivos de E/S para a comunicação da máquina com o mundo exterior (usuário). Os vários tipos de Memória são definidos a seguir: RAM - "Random Access Memory": memória de leitura/escrita, volátil, para armazenamento temporário de programas e dados. O riginalmente, o termo foi usado devido ao acesso direto a qualquer locação da memória, o que não acontecia com memórias ditas offline, tais como fitas magnéticas, cujo acesso era seqüencial. RAM Estática - RAM com menor densidade e mais rápida que a RAM dinâmica. Não necessita de circuitos adicionais em um microcomputador. RAM Dinâmica - RAM com maior densidade e mais lenta que a RAM estática. Necessita de circuitos adicionais de controle em um microcomputador. ROM - "Read Only Memory": memória programada quando a pastilha é fabricada, não podendo ser modificada. É usada para armazenamento permanente de programas e dados;
  • 3.
    Curso de Microprocessadores ______________________________________________________________________________________________________ Página10 PROM - "Programmable ROM": memória programada por um dispositivo programador de PROM. Programável uma única vez; EPROM - "Erasable PROM": memória que pode ser apagada e reprogramada várias vezes. Apagável pela incidência de raios ultra-violeta e programável por um dispositivo programador de EPROM; EEPROM - "Erasable Electrically PROM": memória EPROM eletricamente modificável, sem necessidade de dispositivos externos apagadores ou programadores. Os Dispositivos de Entrada/Saída são os componentes que viabilizam a interface com o usuário, tais como: portas seriais, portas paralelas, conversores análogo-digitais, etc Estes componentes são ligados através de um sistema de barramentos, o qual será explicado na próxima seção. Figura 1 – Sistema de Microcomputador Típico e suas Interfaces Micropro- cessador (CPU) Memória EPROM Memória RAM Interfaces de Controle e Sensorea- mento Interfaces para Memória Secundária Interfaces de Interação c/ o Usuário Barramento de Controle Barramento de Dados Barramento de Endereços Monitor CD-ROM R/W Scanner Imp. Matricial Modem Sensor Válvula HD
  • 4.
    Curso de Microprocessadores ______________________________________________________________________________________________________ Página11 I.3 - SISTEMA DE BARRAMENTOS Um sistema de barramentos é definido como um conjunto físico de linhas de sinal que possuem funções específicas dentro do sistema. O sistema de barramentos de um microcomputador é composto de 3 barramentos (ver figura 1) independentes em suas funções elétricas: o barramento de endereços, o barramento de dados e o barramento de controle. O Barramento de Endereços é apenas de saída (em relação CPU) e define o caminho de comunicação dentro do sistema. O Barramento de Dados é bidirecional, sendo o meio de comunicação entre os componentes do sistema. Na saída de dados da CPU, estes são gerados pelo microprocessador (CPU) e enviados à uma unidade que é selecionada pelo barramento de endereços. Na entrada de dados, estes são gerados por uma unidade particular e enviados ao microprocessador. O Barramento de Controle, como o próprio nome indica, envia e recebe os sinais de controle necessários à transferência de dados no sistema. Este barramento é composto, basicamente, de 4 tipos de sinais: leitura de memória ativa, escrita de memória ativa, entrada através de dispositivo externo a tivo e saída através de dispositivo externo ativo. I.4 - ARQUITETURA PADRÃO DE UM MICROPROCESSADOR Depois de se examinar um sistema de microcomputador de forma global, nesta seção será apresentada a arquitetura padrão de um microprocessador, exibida na figura 2. Destacam-se os seguintes blocos: Registrador de Instrução (RI) - registrador que armazena a instrução sendo executada; Contador de programa ("Program Counter - PC") - registrador que armazena o endereço de memória da próxima instrução a ser executada; Acumulador - registrador que contém o dado a ser processado; Apontador de pilha ("Stack Pointer - SP") - registrador que aponta para o endereço de retorno de subrotina, sendo este último armazenado em uma pilha na memória; Unidade Lógica e Aritmética (ULA) - circuito combinacional utilizado para operações lógicas e aritméticas envolvendo dois operandos; Decodificador de instruções - circuito combinacional utilizado para determinar qual a próxima instrução a ser executada. Isto é feito a partir do código de operação armazenado previamente no Registrador de Instrução; Unidade de controle - circuito seqüencial interno ao microprocessador utilizado para gerar os sinais de controle necessários à execução da instrução previamente decodificada; Registradores auxiliares - conjunto de registradores de rascunho que podem ser usados em conjunto ou separadamente para operações intermediárias, sem que seja necessário o acesso sistemático à memória;
  • 5.
    Curso de Microprocessadores ______________________________________________________________________________________________________ Página12 Flags – conjunto de Flip-Flops destinados a guardar as condições resultantes da execução de instruções. Tais flags são fundamentais no sentido em que se constituem no único mecanismo que o programador Assembly dispõe para desvios de processamento e implementação de algoritmos. Figura 2 – Arquitetura Padrão de um Microprocessador I.5 - EXECUÇÃO DE INSTRUÇÕES EM MICROPROCESSADORES Nesta seção serão dadas as explicações básicas para o entendimento dos microprocessadores mais comuns do mercado. Antes de mostrar o procedimento de execução de instruções é necessário detalhar alguns aspectos: os flags de condição, o formato das instruções e as operações básicas (de leitura e escrita) de um microprocessador. Flags de Condição: Um "flag" é "SETADO", forçando-se o bit de flag para "1" e é "RESETADO", forçando-se o bit de flag para "0". Quando uma instrução afeta um flag este é alterado da seguinte maneira: ZERO: Se o resultado da instrução tem valor 0, Buffer de Dados Buffer de Endereço Barramento de Endereços PC SP Registradores de Rascunho Acumulador Unidade Lógica e Aritmética (ALU) Decodifi- cador Unidade de Controle Código de Instrução Informação Comple- mentar RI X Apontador de Pilha Contador de Programa R1 Rn . . . Barramento de Dados Sinais de Controle S Z CY AC P Flags
  • 6.
    Curso de Microprocessadores ______________________________________________________________________________________________________ Página13 Código de Operação Código de Operação Info. Complementar então Z è 1 senão Z è 0; SINAL: Se o bit mais significativo do resultado da operação tem valor 1, então S è 1 senão S è 0; PARIDADE: Se a soma dos bits do resultado da operação é 0, então P è 1 (paridade PAR) senão P è 0 (paridade ÍMPAR); CARRY: Se o resultado da instrução provoca um "carry" (na adição) ou um "borrow" (na subtração ou comparação), então C è 1 senão C è 0; CARRY AUXILIAR: Se a instrução causou um carry do bit 3 para o bit 4, então AC è 1 senão AC è 0. Cada microprocessador tem seus próprios bits de flag. Os flags anteriormente mencionados são os mais comuns de serem encontrados na maioria dos microprocessadores. Mostra-se a seguir o formato de instrução, por exemplo, de um microprocessador de 8 bits. A partir deste entendimento, pode-se por analogia, entender o formato de instruções de outros microprocessadores. Assim, o formato de instrução do INTEL 8085 é utilizado como exemplo básico. Formato de Instrução e dado no 8085 1. Instruções de um byte D7 D6 D5 D4 D3 D2 D1 D0 Obs.: O endereço do primeiro byte das instruções é sempre usado como o endereço de instrução. 2. Instruções de dois bytes D7 D6 D5 D4 D3 D2 D1 D0 D7 D6 D5 D4 D3 D2 D1 D0 3. Instruções de três bytes Ex.: MOV R1,R2 ; R1 <- R2 Ex.: MVI R,dado ; R <- dado
  • 7.
    Curso de Microprocessadores ______________________________________________________________________________________________________ Página14 Código de Operação Info. Complementar Info. Complementar D7 D6 D5 D4 D3 D2 D1 D0 D7 D6 D5 D4 D3 D2 D1 D0 D7 D6 D5 D4 D3 D2 D1 D0 Nas seções anteriores foram mostrados os componentes básicos de um circuito controlado a microprocessador, a arquitetura padrão dos microprocessadores e a CPU do sistema. Isto era indispensável para a compreensão do capítulo e do curso como um todo. Ainda com o intuito de mostrar como instruções são executadas em microprocessadores, também se faz necessário explicar as operações básicas de um computador ou circuito controlado a microprocessador. Estas, são as operações de leitura de memória e escrita na memória. Operações Básicas de um Computador: Operação de Leitura: 1. A memória recebe o endereço e a solicitação de leitura; 2. A memória localiza a célula decodificando o endereço; 3. Operação de leitura propriamente dita; 4. Intervalo em que a memória não é acessível por razões técnicas ("Descanso"). Ciclo de Acesso à Memória: fases 1, 2 e 3 Ciclo da Memória: fases 1, 2, 3 e 4 Operação de Escrita: 1. A memória recebe o endereço, o dado e uma solicitação de escrita; 2. A memória localiza a célula decodificando o endereço; 3. Operação de escrita propriamente dita; Ex.: LXI Rp, dado 16 ; Rh <- (byte3) ; Rl <- (byte 2)
  • 8.
    Curso de Microprocessadores ______________________________________________________________________________________________________ Página15 4. ("Descanso"). Obs.: A operação de leitura é muito mais freqüente que a operação de escrita. Ciclo de Instrução Uma instrução é executada por um microprocessador durante um intervalo de tempo particular à instrução, chamado, CICLO DE INSTRUÇÃO. Um ciclo de instrução é composto de vários ciclos de máquina que variam de acordo com a instrução. Cada ciclo de máquina, por sua vez tem a duração de vários períodos de relógio. Em seguida, o ciclo de instrução é detalhado. O formato da instrução em linguagem de máquina é mostrado a seguir. Com base neste formato pode-se descrever textualmente o ciclo de instrução. Linguagem de Máquina ==> CICLO DE INSTRUÇÃO: 1. BUSCA a) Envio de um endereço para a memória e execução de uma leitura; b) Incremento do registrador de endereço de instrução; 2. EXECUÇÃO a) Decodificação do código de operação; b) Execução da instrução; 3. VOLTA PARA FASE 1 --> Pode haver desvio: - Incondicional: o valor do registro de endereço de instrução é alterado; - Condicional: se a condição é satisfeita, a seqüência linear é interrompida. É importante ressaltar que cada ciclo de instrução é composto por vários ciclos de máquina.. A figura 3 procura ilustrar o procedimento de execução de um pequeno programa, passo-a-passo, já armazenado na memória e a figura 4 mostra, sob a forma de diagrama de tempo, a execução da instrução LDA 0420, com todos os seus ciclos de máquina e períodos de relógio. Código de Operação Informação Complementar
  • 9.
    Curso de Microprocessadores ______________________________________________________________________________________________________ Página16 Figura 3 – Execução de Instruções por um Microprocessador Passo-a-Passo Porta de Entrada 01 Acumulador Registrador de Instrução Porta de Saída 10 Microprocessador 5 5 2 4 3 1 6 8 12 14 7 9 13 15 Caracter "A" do teclado 16 10 11 16 16 Caracter "A" para o monitor de Vídeo Memória de Dados Endereço Conteúdo 2000 A 2001 2002 2003 Memória de Programa Endereço Conteúdo 0100 IN 0101 01 0102 STA 0103 00 0104 20 0105 OUT 0106 10 0107 ... 5
  • 10.
    Curso de Microprocessadores ______________________________________________________________________________________________________ Página17 Figura 4 – Execução da Instrução LDA 0420 I.6 - ALGUMAS INSTRUÇÕES IMPORTANTES Normalmente, pode-se separar as instruções de linguagem Assembly de um microprocessador em grupos. Tais grupos podem ser generalizados para a maioria dos microprocessadores com algumas pequenas diferenças. A título de exemplo, os grupos de instruções no 8085 são mostrados abaixo. Ciclo Busca Exec. Busca Exec. Ciclo M1 Ciclo M2 RI <- LDA 1001 ->1002 RI <- 04 Não Usado Não Usado 1002 ->1003 PC Oper. Fase Busca Exec. Busca Exec. Ciclo M3 Ciclo M4 RI <- 20 1003 Bar. Dados <-(0420) Não Usado A <- (0420) 1004 1004 Busca do Código de Operação da Instrução e Transferência deste código para o Registrador de Instrução (RI) Busca do primeiro byte do endereço e transferência para dentro da parte de endereço do RI, byte demenor ordem Busca do segundo byte do endereço e transferência para dentro da parte de endereço do RI, byte demaior ordem A parte de endereço do RI é depositada no barramento de endereços Acumulador recebe o conteúdo da posição de memória, cujo endereço é 0420 RI T1 T2 T3 T4 T5 T1 T2 T3 T4 T5 T1 T2 T3 T4 T5 T1 T2 T3 T4 T5
  • 11.
    Curso de Microprocessadores ______________________________________________________________________________________________________ Página18 Grupo de Transferência de Dados Move dados entre registradores ou entre locações de memória e registradores; Ex.: "MOVEs", "LOADs", "STOREs" e EXCHANGE; Grupo Aritmético "ADDs", "SUBTRACTs", "INCREMENTs" ou DECREMENTs" dados nos registradores ou na memória; Grupo Lógico "ANDs", "ORs", "XORs", "COMPAREs", "ROTATEs" ou "COMPLEMENTs" dados entre registradores ou entre locações de memória e registradores; Grupo de Salto "JUMPs", "CALLs" e "RETs" condicionais ou incondicionais; Grupo de Instruções de Pilha, E/S e Controle de Máquina Inclui instruções de manutenção de pilha, leitura escrita na/da memória, "seta" ou lê máscaras de interrupção, seta ou limpa "FLAGs" I.7 - CAPACIDADE DE INTERRUPÇÃO Uma das técnicas de Entrada/Saída de dados mais utilizadas na atualidade é a Interrupção. Seu uso aplica-se tanto em computadores de um modo geral, como também no ambiente de automação industrial. INTERRUPÇÃO (IRQ) é um sinal de hardware enviado por um dispositivo periférico necessitando de imediata atenção da CPU. A utilização desta técnica, forçosamente, envolve sinais de hardware. É comum em softwares de apoio tradicionais, como o Norton Utilities, observar a distinção entre Interrupções por Hardware e por Software. Segundo nomenclatura da INTEL, a diferença básica é que na Interrupção por Hardware, o endereço de salto, para o qual o microprocessador irá desviar o processamento é predefinido pelo hardware do microprocessador, enquanto que na Interrupção por Software, este endereço de salto pode ser alterado pelo usuário programador Assembly. Um outro conceito relacionado as interrupções também merece ser comentado. É o mascaramento de Interrupções. Existem as Interrupções Mascaráveis e as Interrupções Não Mascaráveis. Quando as Interrupções são Mascaráveis o processador tem a capacidade de não aceitar o pedido de interrupção do periférico, deixando-o pendente, de tal forma que possa atendê-lo um tempo depois. Já nas Interrupções Não Mascaráveis, o processador não pode fazer isso, sendo obrigado a atender imediatamente a solicitação de interrupção do periférico. A fim de exemplificar estes conceitos e subsidiar as explicações sobre o mecanismo de Interrupção, é fornecida a seguir a sintaxe e a semântica de uma instrução básica para o entendimento deste mecanismo, a instrução RESTART.
  • 12.
    Curso de Microprocessadores ______________________________________________________________________________________________________ Página19 Instrução RST n (Restart) RST é uma instrução CALL de propósito especial. RST "push" ou "empurra" bytes do Program Counter (PC) sobre a pilha e então faz a CPU saltar para um dentre vários endereços predeterminados. ((SP) - 1) <-- (PCH) ((SP) - 2) <-- (PCL) (SP) <-- (SP) - 2 (PC) <-- 8 * (NNN) NNN - Número binário entre 000 e 111 (entre 0 e 7 em decimal) SP - Stack Pointer PCH - Byte mais significativo do Program Counter PCL - Byte menos significativo do Program Counter Ex.: Endereços de salto possíveis no INTEL 8085: HEXADECIMAL DECIMAL RST 0000 0 0 0008 8 1 0010 16 2 0018 24 3 0020 32 4 0024 36 TRAP 0028 40 5 002C 44 5.5 0030 48 6 0034 52 6.5 0038 56 7 003C 60 7.5 Interrupções por Hardware: Ex.: O 8085 inclui 4 sinais de entrada (hardware) que geram internamente instruções RST: RST 5.5, RST 6.5 e RST 7.5 (Mascaráveis) TRAP (não Mascarável) Interrupções por Software: Quando um dispositivo de E/S pede o serviço de interrupção e a IRQ está habilitada pelo sistema de interrupção do processador, este reconhece o pedido e prepara suas linhas de dados para aceitar qualquer instrução de um byte do dispositivo. RST é geralmente a instrução escolhida, pois é uma instrução CALL de propósito especial que estabelece o retorno ao programa principal. Ex.: O 8085 possui 1 entrada e 1 saída que implementa este tipo de interrupção INTR – pino de entrada INTA – pino de saída
  • 13.
    Curso de Microprocessadores ______________________________________________________________________________________________________ Página20 Para o processador não se confundir, ao receber dois pedidos de interrupção simultâneos, é provido um mecanismo de prioridade que estabelece uma ordem no atendimento destes pedidos. Prioridade das Interrupções no 8085 NOME PRIORIDADE ENDEREÇO DE SALTO (1) TIPO DE "TRIGGER"³ TRAP 1 0024H Pulso Positivo amostrado até Alto Nível RST 7.5 2 003CH Pulso Positivo "Latched" RST 6.5 3 0034H Sensível a Nível (Alto) RST 5.5 4 002CH Sensível a Nível (Alto) INTR 5 (2) Sensível a Nível (Alto) (1) – O processador coloca o conteúdo do Program Counter sobre a pilha, antes de saltar para o endereço indicado (2) - Depende da Instrução fornecida a CPU quando a Interrupção é reconhecida A figura 5 ilustra o mecanismo de Interrupção no 8085. A figura 6 mostra o mesmo para o ZILOG Z80 e a figura 7 exibe os circuitos integrados típicos dos ambientes INTEL e ZILOG. É importante ressaltar a diferença entre os mecanismos de prioridade de interrupção das duas empresas.
  • 14.
    Curso de Microprocessadores ______________________________________________________________________________________________________ Página21 Figura 5 – Mecanismo de Interrupção no INTEL 8085 INTEL 8085 Dispositivo Periférico 1 2 3 INTR INTA RST nn 6001 6002 6003 0038 C3 (JMP) 003A 80 Ex.: RST 7 INTR (SP) 02 60 1 3 0039 00 4 5 6 Pilha Subrotina de Serviço de Interrupção Programa sendo executado 8000 . . . RET . . . Endereço Dado 2
  • 15.
    Curso de Microprocessadores ______________________________________________________________________________________________________ Página22 Figura 6 – Mecanismo de Interrupção (Modo 2) no ZILOG Z80 ZILOG Z80 Dispositivo Periférico 1 2 ___ INT ____ INTA 4002 4003 4004 (SP) 04 40 2 5 4 1 Pilha Subrotina de Serviço de Interrupção Programa sendo executado 8003 8005 60 8004 50 8006 6050 . . . 60XX RETI . . . Tabela de Endereços de Interrupção ___ INT I 80 Registrador da CPU 80 04 3 6
  • 16.
    Curso de Microprocessadores ______________________________________________________________________________________________________ Página23 Figura 7 – Mecanismos de Prioridade de Interrupção ZILOG e INTEL 8259 – Controlador de Prioridade de Interrupção (PIC) 8257 – Controlador de DMA Programável (PDC) 8272 – Controlador de Disco Flexível 8274 – Controlador Serial Multiprotocolo 8273 – Temporizador Programável I.8 - TÉCNICAS DE ENTRADA E SAÍDA Além da técnica de Interrupção detalhada na seção anterior, existem duas outras técnicas, também muito utilizadas em sistemas de computação de um modo geral. São estas: "Polling" e Acesso Direto à Memória (ou DMA – “Direct Access Memory”). Z80 CPU PIO DMA 8085 CPU CTC SIO 8274 8253 8259 (PIC) 8257 8272 Mecanismo "Daisy Chain" Prioridade Fixa Prioridade Controlada Barramentos Barramentos
  • 17.
    Curso de Microprocessadores ______________________________________________________________________________________________________ Página24 "POLLING": É uma técnica de Entrada/Saída de dados onde a CPU, explicitamente, consulta o periférico com o objetivo de saber se o mesmo possui dados para transmitir ou se está livre para os receber. Esta técnica não envolve sinais de hardware e pode ser implementada por software; ACESSO DIRETO À MEMÓRIA: É uma técnica de Entrada/Saída de dados onde a CPU não participa do processo de transferência de dados, exceto no seu início e após o seu término. Um outro dispositivo periférico é necessário, o chamado "Controlador de DMA", para assumir o controle dos barramentos do sistema e controlar as transferências de dados. Na maior parte dos casos, o uso desta técnica obriga o uso combinado das anteriores para que o processo de transferência de dados seja iniciado e terminado corretamente. A figura 8 ilustra passo-a-passo o procedimento de transferência de dados para a ou da memória, sem interferência da CPU. Figura 8 – Entrada/Saída por Acesso Direto à Memória 1 – DRQ – “Data Request”: Solicitação de Acesso Direto à Memória feito pelo dispositivo periférico ao Controlador de DMA (CDMA); 2 – HOLD – “Hold Request: Solicitação de controle de barramentos feito pelo CDMA ao processador; 3 – HLDA – “Hold Acknowledgement” – Resposta do processador ao CDMA, avisando que à partir daquele momento, este poderá assumir o controle temporário dos barramentos para a transferência de dados; 4 – DACK – “Data Acknowledgement” – Resposta do CDMA ao dispositivo periférico, avisando que assumiu o controle dos barramentos e a transferência de dados poderá se iniciar. A programação do CDMA consiste basicamente de informar o mesmo sobre o endereço inicial do bloco de bytes a ser transferido, o sentido da transferência e o tamanho de bloco ou o endereço final. Depois que os comandos são fornecidos ao dispositivo periférico o processo continua, sem interferência da CPU. Após a transferência, o sinal DRQ é retirado, consequentemente, todos os outros sinais são retirados e a CPU reassume o controle dos barramentos. CPU Memória Disp. 0 CDMA Disp. 3 Disp. 2 Barramentos Disp. 1 1 2 3 4 Driver Óptico D a d o s DRQ DACK HOLD HOLDA
  • 18.
    Curso de Microprocessadores ______________________________________________________________________________________________________ Página25 II - OS MICROPROCESSADORES DA INTEL E AMD II.1 - O 8086/8088 A figura 9 exibe o Diagrama em Blocos da Arquitetura do 8086. II.1.1 - Arquitetura Figura 9 – Arquitetura do 8086 Fonte: "The 8086 Book", Rector R. e Alexy G. - OSBORNE/McGraw-Hill CS DS SS ES 0000 0000 0000 0000 IP SP BH BL DH DL CH CL AH AL BP SI DI ALU (Unidade Lógica e Aritmética) Unidade de Controle Status Registrador de Instrução 1 2 3 4 5 6 Unidade de Controle de Barramento Unidade de Execução Unidade de Interface de Barramento Fila de Código Objeto de Instrução 0000
  • 19.
    Curso de Microprocessadores ______________________________________________________________________________________________________ Página26 Registradores do 8086/8088 Registrador Finalidade AX = AH + AL Acumulador BX = BH + BL Base (2º acumulador) CX = CH + CL Contador (usado em instruções de múltiplas interações) DX = DH + DL Dado (algumas instruções movem dados de uma porta de E/S para a posição de memória endereçada por DX) SP Apontador de Pilha BP Apontador de Base SI Índice Fonte DI Índice Destino IP Apontador de Instrução Flags H + Flags L Flags CS Segmento de Código DS Segmento de Dados SS Segmento de Pilha ES Segmento Extra Observações: 1. O registrador SP está estreitamente ligado ao SS, em função das operações relacionadas à manutenção da pilha; 2. O registrador IP está estreitamente ligado ao CS, em função das operações relacionadas à execução de instruções; 3. O endereço fonte de um String de dados é obtido àpartir de SI + DS; 4. O endereço destino de um String de dados é obtido à partir de DI + DS. II.1.2 - Características Gerais Capacidade de Endereçamento: 20 bits de endereçamento => 1.0 Megabytes ou 512 Kwords Operações com: Bit, Byte, Word e Bloco Organização da Memória: a) Física: => 2 x 512 Kbytes. End. Ímpar (D7 – D0) End. Par (D15-D8) b) Endereçamento relativo à base de endereços de Registradores de Segmento: Code (CS), Data (DS), Stack (SS) e Extra (ES). Endereço Registrador Conteúdo End. da Memória de Programa IP 0 M M M M
  • 20.
    Curso de Microprocessadores ______________________________________________________________________________________________________ Página27 CS N N N N 0 (IP+CS) Endereço Final è P P P P M End. da Memória de Dados XX 0 M M M M DS N N N N 0 (XX+DS) Endereço Final è D D D D M End. da Memória de Pilha XX 0 M M M M SS N N N N 0 (XX+SS) Endereço Final è S S S S M End. da Memória Extra XX 0 M M M M ES N N N N 0 (XX+ES) Endereço Final è D D D D M Observações: 1. Cada registrador de segmento (16 bits) identifica o início de um segmento 64 Kbytes. Como são 4 (quatro) os registradores de segmento, pode-se selecionar apenas um de 4 segmentos de 64 Kbytes de cada vez. Isto significa que de 1 MBytes, têm-se apenas 1 de 16 possíveis segmentos endereçáveis diretamente (1 MBytes / 64 Kbytes = 16); 2. XX pode ser um registrador qualquer da CPU, como por exemplo: IP, quantidade de 16 bits, DI ou SI, BX, BP, etc. c) Posições de FFFF0-FFFFF (32 Bytes) reservadas para “Reset” => Após o “Reset”, a CPU executa sempre a instrução contida no endereço FFFFF0, onde normalmente existe um JUMP. d) Posições de 00000-003FF (1024 Bytes) reservadas para operações com Interrupção => 256 possíveis vetores de interrupção; Endereçamento de Entrada/Saída - 256 dispositivos diretamente; - 64 Kbytes indiretamente Tamanho dos Registradores Internos : 16 bits Tamanho do Barramento de Dados: 16 bits Coprocessador matemático: 8087 II.1.3 - Capacidade de Interrupção 1. Interrupções Predefinidas (requisitadas por hardware ou software) De 0 a 31: IRQ 0 è Divisão por Zero IRQ 1 è Passo-a-Passo IRQ 2 è NMI (“Not Maskable Interrupt”) . . . 2. Interrupções de Hardware (definidas pelo usuário)
  • 21.
    Curso de Microprocessadores ______________________________________________________________________________________________________ Página28 De 32 a 255: Solicitadas via pino INTR da CPU Observação: O dispositivo solicitante deve colocar em D0-D7 (8 bits menos significativos do barramento de dados) o Número de Interrupção para a CPU. A CPU multiplica este número por 4 e com o resultado, endereça a posição de memória contendo o vetor correspondente na TABELA DE VETORES DE INTERRUPÇÃO. A figura 10 ilustra estes conceitos. Figura 10 – Busca da Rotina de Serviço de Interrupção no 8086 Dos 4 bytes do VETOR DE INTERRUPÇÃO, os 2 primeiros formam o conteúdo do IP (“Instruction Pointer”) e 2 bytes restantes formam o conteúdo do CS - Registrador de Segmento de Código (“Code Segment”). Desta maneira é formado o Endereço de Início da Rotina de Serviço de Interrupção. 3. Interrupções de Software (definidas pelo usuário) De 32 a 255: Solicitadas via instrução "INT nn" nn = Número da Interrupção a ser executada Para finalizar este item deve-se comentar a posição do microprocessador 8088 em relação ao 8086. 00000 IP CS Rotina de Serviço de Interrupção 003FF Número de Interrupção x 4 IRET 1a. Instrução Tabela de Vetores de Interrupção
  • 22.
    Curso de Microprocessadores ______________________________________________________________________________________________________ Página29 Sobre o 8088 Uma das únicas diferenças entre os dois processadores é a de que o barramento de dados no 8088 possui um comprimento de 8 bits (o barramento do 8086 é de 16 bits). Este fato possibilitou aos fabricantes de microcomputadores o aproveitamento quase total dos circuitos periféricos do 8080 (mais conhecidos e mais baratos), reduzindo sobremaneira o custo final da máquina. Como o 8086, efetivamente, não era utilizado como um microprocessador de 16 bits, propagandeou-se em larga escala que microcomputadores com CPU 8088 possuíam o mesmo desempenho e mais baixo custo do que máquinas com CPU 8086. A verdade é que o momento era de transição para uma CPU mais poderosa e os fabricantes de placas ainda não haviam tomado uma posição definitiva à respeito. Assim, o 8088 é arquiteturalmente (rodava os mesmos programas) igual ao 8086, com a diferença principal apenas no comprimento do barramento de dados. Sobre o par 80186/80188 Após os microprocessadores 8086 e 8088, a INTEL lançou o processador 80186, com desempenho cerca de 30% superior ao 8086. O 80186 era um 8086 com novos blocos de hardware internos. Tal microprocessador encontrou sua utilização na área de controle de processos, gerenciamento de terminais e automação industrial. Entretanto, não fez sucesso comercial na área de microinformática, pois suas melhorias em relação a software eram muito poucas. A exemplo do par 8086/8088, uma CPU 80188 também foi produzida pela INTEL, com as mesmas características do 80186, à exceção do barramento de dados, dimensionado para 8 bits II.2 - O 80286 II.2.1 - Arquitetura e Características O microprocessador 80286 surgiu com duas grandes novidades para a área de microinformática. A primeira foi que o barramento de endereços da pastilha cresceu para 24 bits (não mais os 20 bits do 8086 e 80186), o que implica em uma capacidade de endereçamento de 16 MBytes. A segunda foi a introdução de dois modos de funcionamento da CPU: o MODO REAL (compatível com o 8086) e o MODO PROTEGIDO (específico para o 286). Uma t erceira inovação, o suporte a memória virtual (na época, não totalmente explorada), permitia o endereçamento de até 1 Gigabytes. Os itens que se seguem procuram fornecer mais detalhes sobre esta CPU. Modo Real: Neste modo, o 80286 é compatível em software (a nível de código objeto) com o 8086/8088. O fato de emular o 8086/8088 significa dizer que a memória a ser utilizada pelo programa não pode ultrapassar 1.0 MBytes, consequentemente, não utilizando toda a capacidade de endereçamento disponível. Sendo a CPU mais evoluída em hardware e permitindo a utilização de osciladores a cristal de freqüências mais altas, sem dúvida máquinas com esta CPU, mesmo operando neste modo, possuíam maior desempenho que os famosos XTs. Modo Protegido: Neste modo, o 80286, também pode rodar programas 8086/8088 e além disso, rodar programas escritos especificamente com o código fonte 80286. Neste modo, o 80286 automaticamente mapea 1.0 Gigabytes de endereços virtuais por tarefa dentro de um espaço de endereço real de 16.0 Megabytes. No modo protegido, o 80286 provê proteção de memória para isolar o sistema operacional e assegurar a privacidade de cada tarefa sendo executada. Assim, o 80286, foi especialmente otimizado para suportar sistemas multitarefa e multiusuário.
  • 23.
    Curso de Microprocessadores ______________________________________________________________________________________________________ Página30 Registradores do 80286 Registrador Finalidade AX = AH + AL Acumulador BX = BH + BL Base (2º acumulador) CX = CH + CL Contador (usado em instruções de múltiplas interações) DX = DH + DL Dado (algumas instruções movem dados de uma porta de E/S e a posição de memória endereçada por DX) SP Apontador de Pilha BP Apontador de Base SI Índice Fonte DI Índice Destino IP Apontador de Instrução Flags H + Flags L Flags CS Segmento de Código DS Segmento de Dados SS Segmento de Pilha ES Segmento Extra Observação: Exatamente os mesmos registradores do 8086 Capacidade de Endereçamento: 24 bits de endereço è 16.0 MBytes Operações com: byte, word, double word, quad word, BCD, ASCII, apontador e ponto flutuante; Relógio: 80286-4 ==> 4.0 Mhz 80286-6 ==> 6.0 Mhz 80286 ==> 8.0 Mhz
  • 24.
    Curso de Microprocessadores ______________________________________________________________________________________________________ Página31 80286x ==> 12.0 Mhz e 16 Mhz Organização de Memória: a) física è 2 x 8.0 MBytes; b) Endereçamento: 31 16 15 0 Seletor de Segmento Offset O seletor de segmento (16 bits) especifica um índice dentro de uma tabela em memória residente cujo conteúdo é um endereço base de 24 bits. O endereço real de memória é obtido com a soma deste endereço base (24 bits) mais o offset (16 bits), totalizando 24 bits de endereço. c) Posições de 000000-0003FF (1024 bytes è 256 possíveis vetores de interrupção) reservadas, como no 8086, para operações com interrupção, no modo real; d) Posições de FFFFF0-FFFFFF reservadas para "reset", no modo real; Endereçamento de Entrada/Saída: - 256 dispositivos diretamente; - 64 Kbytes indiretamente Tamanho dos Registradores Internos: 16 bits Tamanho do Barramento de Dados: 16 bits Coprocessador matemático: 80287 Capacidade de Processamento de Instruções: aprox. 1.5 MIPS (80286 a 8 Mhz) II.2.2 - Diferenças no Conjunto de Instruções O conjunto de instruções do 80286 é dividido em sete categorias: transferência de dados, aritméticas, deslocamento/lógicas, manipulação de strings, controle de transferência, de alto nível e de controle de processador. Entre as instruções adicionais podem ser citadas as seguintes: PUSHA è salva o conteúdo da totalidade dos registradores; POPA è restaura o conteúdo da totalidade dos registradores; INS è entra string de caracteres; OUTS è sai string de caracteres; ENTER è chama procedure; LEAVE è libera procedure; e mais 15 instruções que somente podem ser executadas no modo protegido;
  • 25.
    Curso de Microprocessadores ______________________________________________________________________________________________________ Página32 II.2.3 - Implicações no Desempenho de um Microcomputador Sistemas de microcomputador baseados no 80286 foram os primeiros sistemas com capacidade para rodar sistemas o peracionais de rede multiusuário e/ou multitarefa, na época, por exemplo, o Netware 2.x da Novell, o qual era escrito em C e Assembly 80286. Tais sistemas, paulatinamente, passaram à função de computador pessoal (“desktop”) e não mais a de servidor. II.3 - OS 80386 II.3.1 - Diferenças de Arquitetura e Características O microprocessador 80386 é compatível em software com o 8086. A INTEL optou por manter esta compatibilidade para aproveitar toda a enorme base de software escrita para os 8086 e 80286. Sendo assim, o 386 executa a maioria dos programas escritos para o 8086 e 80286, simplesmente por que este emula estas CPUs, não fazendo uso de todas as suas capacidades. Primeiro microprocessador de 32 bits da INTEL, o 80386 trouxe um novo modo de operação, em adição aos dois modos do 80286 (Real e Protegido), o modo Virtual. O microprocessador abordado nos próximos parágrafos é o 80386 mais potente da família, que na literatura é chamado de 80386DX, ou 80386 "Full" ou ainda, como a INTEL o denominou, simplesmente, 80386.
  • 26.
    Curso de Microprocessadores ______________________________________________________________________________________________________ Página33 A figura 11 mostra os registradores do 80386. Figura 11 – Registradores do 80386 No MODO REAL, o 80386 é compatível em software (a nível de código objeto) com o 8086/8088, inclusive com a mesma limitação de memória (1.0 MBytes). Sendo a CPU mais evoluída em hardware (p.e. registradores de 32 bits) e permitindo a utilização de osciladores a cristal de freqüências ainda mais altas que os 80286, sem dúvida, máquinas com esta CPU possuem desempenho bem maior que os 286. Assim, neste modo, o mecanismo de endereçamento, o tamanho de memória e a manipulação de interrupções são todos idênticos ao modo real do 80286. As instruções 80386 também podem ser utilizadas neste modo. No MODO PROTEGIDO, o 80386, se comporta exatamente como no modo de mesmo nome do 80286, sendo que endereçará 4.0 Gigabytes de memória real (ao invés dos 16.0 MBytes do 80286) e 64 Terabytes de memória virtual. Neste modo, o mecanismo de endereçamento também é diferente daquele utilizado no 80286. Enquanto no 80286 o endereço base é de 24 bits (aos quais são adicionados 16 bits de offset), no 80386 este endereço é de 32 bits (aos quais são adicionados 16 ou 32 bits de offset). Quando operando no modo protegido, o 80386 pode fazer uso de uma técnica chamada de SEGMENTAÇÃO. Esta técnica organiza a memória em módulos lógicos chamados segmentos. Este modo de gerenciamento de memória provém a base para a proteção de segmentos de memória. Por exemplo, uma tabela do sistema operacional pode residir em um segmento e, como tal, deve ser p rotegido da interferência de usuários não privilegiados, os quais poderiam "derrubar" o sistema. Uma outra técnica útil de gerenciamento de memória para sistemas operacionais multitarefa em memória virtual é a técnica chamada de PAGINAÇÃO. Independentemente da segmentação, a qual modulariza programas e dados em segmentos de comprimento variável, a paginação divide programas em páginas AH CS SI DI BP SP AL BH BL CH CL DH DL 0 31 7 15 SS DS ES FS GS Código Pilha Dados IP FLAGS EIP EFlags 0 15 Registradores Gerais de Endereço e Dados Apontador de Instrução e Registrador de Flags Registradores Seletores de Segmento EAX EBX ECX EDX ESI EDI EBP ESP
  • 27.
    Curso de Microprocessadores ______________________________________________________________________________________________________ Página34 uniformes múltiplas. Dessa forma, somente um pequeno número de páginas de cada tarefa precisa estar na memória em um dado instante. A paginação é útil para o gerenciamento da memória física do sistema. O 80386 possui 4 níveis de proteção otimizados para suportar as necessidades de sistemas operacionais multitarefa, os quais devem proteger e isolar programas de usuários, uns d os outros, e programas do próprio sistema operacional, dos usuários. Tais níveis de proteção se constituem, em outras palavras, em um sistema de privilégio hierárquico de 4 níveis: PL=0 (mais privilegiado) - Núcleo do sistema operacional; PL=1 - Serviços do Sistema Operacional; PL=2 - Extensões do Sistema Operacional e PL=3 - Aplicações. Quando operando no MODO VIRTUAL, o 80386 permite a execução simultânea de aplicações 8086, sistemas operacionais 8086 e suas aplicações, aplicações 80286 e, ainda, aplicações 80386. Assim, em um computador 386 multiusuário, uma pessoa pode estar rodando uma planilha DOS, enquanto outra usa o DOS e uma terceira roda múltiplos utilitários e aplicativos UNIX. A MEMÓRIA CACHE é um bloco de memória RAM (do tipo estática) que, tendo tempo de acesso menor que a memória principal (do tipo dinâmica), pode ser lido muito mais rapidamente. Assim, antes de se executar um programa que está na memória principal, a região contendo o programa é transferida para a memória cache e só então o programa é executado. Isto reduz drasticamente o tempo de acesso à RAM e aumenta a velocidade de execução dos programas. No 80386, o uso de memória cache era opcional, isto é, apenas algumas máquinas (dependendo do fabricante) incluíam uma pastilha controladora de memória cache, o 82385 (gerenciavam até 256 Kbytes), e sua inclusão implicava em um aumento da placa mãe. Esta pastilha só era encontrada nas últimas versões micros 386. Características Principais: Capacidade de Endereçamento: 32 bits de endereço è 4.0 Gigabytes Operações com: bit, campos de bit, string de bits, byte, word, double word, quad word, BCD, ASCII, apontador e ponto flutuante; Relógio: 80386-12 è 12.5 Mhz 80386-16 è 16.0 Mhz 80386x è 20.0 Mhz 80386x è 33.0 Mhz Am386-40 è 40.0 Mhz Organização de Memória: a) Física: è 2 x 2.0 Gigabytes; è 4 x 1.0 Gigawords; è 8 x 0.5 Gigalongwords b) Endereçamento: 3 espaços de endereço ==> lógico, linear e físico Endereçamento Lógico (ou Virtual): Consiste de um segmento seletor (14 bits) e de um offset (soma de componentes de endereçamento: BASE, INDEX, DISPLACEMENT => 32 bits), totalizando 46 bits de endereçamento, consequentemente, um espaço de 64 Terabytes;
  • 28.
    Curso de Microprocessadores ______________________________________________________________________________________________________ Página35 Endereçamento Linear: A unidade de segmentação translaciona o endereço lógico para um endereço linear de 32 bits, implicando em 4.0 Gigabytes; Endereçamento Físico: Se a unidade de paginação não está habilitada, o endereço linear de 32 bits corresponde a um endereço físico, também de 4.0 Gigabytes. c) Posições de 00000000-000003FF (1024 bytes è 256 possíveis vetores de interrupção) reservadas, como no 8086 e 80286, para operações com interrupção, no modo real; d) Posições de FFFFFFF0-FFFFFFFF reservadas para "reset", no modo real; Endereçamento de Entrada/Saída: - 256 dispositivos diretamente, como nos 8086 e 80286; - 64 Kbytes indiretamente Tamanho dos Registradores Internos: 32 bits Tamanho do Barramento de Dados: 32 bits Coprocessador matemático: 80387 Capacidade de Processamento de Instruções: aprox. 4.0 a 10.0 MIPS (80386 32 bits em 16, 20 e 25 Mhz) II.3.2 - Diferenças no Conjunto de Instruções O conjunto de instruções do 80386 é dividido em nove categorias: transferência de dados, aritméticas, deslocamento/lógicas, manipulação de strings, controle de transferência, suporte de linguagem de alto nível, suporte de sistema operacional e de controle de processador. As diferenças no conjunto de instruções estão intimamente ligadas às instruções de suporte de linguagem de alto nível e de sistema operacional. Uma das fraquezas do projeto 286 foi a sua incapacidade de emular o 8086, mantendo a proteção e a memória virtual. Com o 286, só se poderia emular o 8086 se este estivesse no modo real, quando a proteção está completamente desabilitada. O projeto do 386 corrigiu este problema e permitiu então que várias tarefas 8086 sejam emuladas ao mesmo tempo no seu modo VIRTUAL. A fim de fornecer compatibilidade em software com os 80286, o 80386 podia executar instruções de 16 bits no modo real e no modo protegido. Prevendo a expansão para o 386, a INTEL, especificou para o 286 que os bits não usados por um descritor de segmento deveriam ser posicionados em "0". O 386 interpreta isso como um identificador de segmento 286. Assim, o processador examina o conteúdo de um bit D do descritor de segmento. Se é "0", então todos os comprimentos de operando e endereços efetivos são assumidos como de 16 bits (código 286). Se é 1, então o comprimento default é de 32 bits (código 386). Independentemente da precisão default, o 80386 pode executar instruções de 16 ou 32 bits, através de um prefixo automaticamente adicionado pelos montadores Assembly da INTEL. Fonte: "80386 High Performance Microprocessor with Integrated Memory Management", INTEL Corporation - Advance Information, october 1985; Além das diferenças anteriormente mencionadas, pode-se ainda citar algumas outras: 1. O tempo de execução das instruções é diferente em vários casos. Na maior parte, o 386 é mais rápido que o 286;
  • 29.
    Curso de Microprocessadores ______________________________________________________________________________________________________ Página36 2. Existem vários códigos indefinidos no 286 que, se executados, provocariam uma falha de código (INT 6). No 386 a instrução será executada; 3. O prefixo LOCK (impede que outros dispositivos acessem a memória do processador) para o 8086 é irrestrito, mas para o 386 é proibido em várias instruções. O problema era que o uso indiscriminado do LOCK resultava em que dispositivos eram inibidos por períodos inaceitavelmente longos. No ambiente não protegido do 8086, cabia às aplicações não deixar que isto ocorresse. No ambiente protegido do 386, apenas algumas instruções podem ser precedidas deste prefixo, àquelas que não interferem com a velocidade de execução de tarefas. II.3.3 - Versões 80386, 80386SX e 80386SL O 80386SX podia ser interfaceado a circuitos periféricos de 16 bits, mas roda os softwares de 32 bits escritos para o 386, pois sua arquitetura interna é de 32 bits. O seu barramento de dados é de 16 bits (a metade dos 32 bits do 80386). Endereça até 16 MBytes de memória real (bem menos que os 4 Gigabytes do 80386). Era comercializado pela INTEL com relógio máximo de 33 Mhz. Sua capacidade de execução de instruções varia entre 3 e 4 MIPS (menos da metade dos 11,4 MIPS do 80386 a 33 Mhz). O coprocessador utilizado com o 386SX era o 80387SX. O 80386SL era um microprocessador também derivado do 80386 e foi projetado especialmente para uso em computadores portáteis ("Lap Tops"). Esta pastilha foi o resultado da integração de três circuitos: a CPU 386SL, um controlador de barramento e um controlador de vídeo gráfico, diminuindo assim, o tamanho e o peso do equipamento, além de proporcionar uma característica particular de economia de energia. A memória real endereçável do 386SL era de 32 MBytes (16 MBytes a mais que o 386SX), sua freqüência de operação era de 20 Mhz e o barramento de dados de 16 bits (como no 386SX). A unidade gerenciadora de energia era capaz de baixar a zero a atividade na CPU, enquanto se lê a tela do micro ou no intervalo da digitação. A aplicabilidade do 386SL em "lap Tops" foi indiscutível. II.3.4 - Implicações no Desempenho de um Microcomputador Com base nas explicações fornecidas nos itens anteriores pode-se dizer o seguinte: A exemplo do que ocorreu com o 80286 em relação ao 8086, sistemas de microcomputador baseados no 80386, paulatinamente, passaram de servidores a desktops. Uma versão do Netware da Novell, a versão 3.12, até os dias atuais muito utilizada, usa toda a capacidade deste microprocessador, uma vez que foi escrita em C e assembly 386. O 80386 dispunha de um modo de execução muito melhor adaptado ao funcionamento multitarefa do que o 80286. Na época, sistemas baseados neste microprocessador eram os únicos capazes de suportar de uma só vez os sistemas operacionais DOS, OS/2 e UNIX. II.4 - OS I486 A INTEL, segundo decisão da justiça dos EUA, não pode registrar números, 386 e 486 p.e., como suas marcas. Optou então, por acrescentar um "i" (i minúsculo) na frente dos números. Assim, 486, 80486 ou i486 eram nomes encontrados na literatura para designar o mesmo processador. Inicialmente será abordado o i486 e em seguida o i486SX.
  • 30.
    Curso de Microprocessadores ______________________________________________________________________________________________________ Página37 II.4.1 - Diferenças de Arquitetura e Características A arquitetura interna do i486 foi otimizada em relação ao 80386 ou i386. Isto possibilitou a introdução na pastilha de algo acima de um milhão de transistores (quatro vezes mais que o i386 possui). Os fabricantes de computadores foram diretamente beneficiados por esta densidade de integração, uma vez que a placa mãe sofreu uma redução significativa de tamanho e o processo de projeto e montagem foi simplificado. Também o microcódigo de instruções foi otimizado, de forma a manter o máximo possível as operações no interior da pastilha e, consequentemente, eram necessários menos ciclos de relógio para executar as mesmas instruções que o i386 já executava. O 486 usa ambas as bordas do sinal de Relógio para a CPU, enquanto os 286 e 386 usavam apenas uma borda. Pode-se dizer que, a grosso modo, o ganho de desempenho veio, essencialmente, da memória cache e do coprocessador (essencial em ambientes de CAD/CAM). Entretanto, em ambientes de microinformática, considerados mais simples, que usam planilhas e bancos de dados, o ganho de desempenho com o uso do coprocessador foi praticamente nulo. O i486 incorpora o i386 com as suas instruções, memória cache de 8 Kbytes de RAM estática (mais rápida que a dinâmica) e gerenciador próprio (80385) e coprocessador aritmético (80387). Foram adicionadas ao conjunto de instruções do i386 cinco instruções: três para gerenciamento da memória cache e duas, incluídas a pedido da Microsoft, para tratamento de tarefas concorrentes pelo OS/2. Como no i386, a pastilha endereça diretamente até 4.0 Gigabytes e indiretamente até 64 Terabytes. II.4.2 - Diferenças na Capacidade de Processamento O i486 a 25 Mhz possui uma capacidade de processamento de instruções de aproximadamente 20.0 MIPs (duas vezes mais rápido que um i386 nos mesmos 25 Mhz) e é totalmente compatível com este último. Como mencionado, a capacidade de processamento do 486 foi amplamente influenciada pela memória cache. Isto é detalhado a seguir. Há muitas discussões sobre o melhor tamanho da memória cache, mesmo entre os fabricantes de microcomputadores, por isso mesmo são oferecidas ao usuário as mais diferentes opções. Uma vez que esta é a responsável direta pelo aumento de desempenho da máquina, uma escolha acertada poderia beneficiar grandemente o usuário. O que se constata na literatura especializada é que o melhor tamanho para a memória cache é o tamanho do maior programa que vai ser executado naquela máquina. Entretanto pode-se tornar excessivamente caro colocar o máximo possível de memória cache, não compensando os benefícios correspondentes. O i486 permitiu memória cache externa, além dos 8 Kbytes internos. Assim, algumas máquinas eram oferecidas com 256 Kbytes externos. Considerando-se o desempenho relativo a um XT 4.77 Mhz, pode-se fornecer alguns dados de desempenho, como discriminados abaixo: i486, 33 Mhz, cache externo de 64 Kbytes Cache interno e externo desabilitado è 6,5 vezes mais rápido; Somente cache externo habilitado è 26 vezes mais rápido;
  • 31.
    Curso de Microprocessadores ______________________________________________________________________________________________________ Página38 Somente cache interno habilitado è 38 vezes mais rápido; Caches interno e externo habilitados è 72 vezes mais rápido; Conclui-se destes dados que o cache interno é extremamente importante, mesmo sendo muito menor que o externo. Isto se deve a sua lógica de construção e, obviamente, ao fato de estar dentro da própria pastilha de CPU. Quando se carrega um programa na memória cache e este é executado, considera-se que isto é um "acerto" e cada vez que se deve movimentar um bloco da memória principal para a RAM de cache, considera-se que isto é um "erro". Existe, portanto, uma taxa de acertos ("Hit Rate") relacionada com o tamanho da memória cache. Um cache externo maior, evidentemente, possibilitará uma melhor taxa de acertos, uma vez que poderá conter mais programas. Assim, a velocidade do cache interno aliada a uma melhor taxa de acertos provida pelo cache externo, possibilitará um melhor desempenho da máquina como um todo. Sobre o i486SX O i486Sx foi lançado pela INTEL para fazer frente a concorrência acirrada do microprocessador Am386-40 de 40 Mhz da Advanced Micro Devices (AMD), mais veloz que o seu microprocessador mais rápido, o i386 33 Mhz. Deve-se entender o "SX" com uma versão desprovida de algo que sua versão completa, ou "full", ou ainda "DX", continha. O i486SX possui um barramento de dados de 32 bits, exatamente como o i486. Isto não aconteceu com o i386SX, o qual possui 16 bits para dados, 16 a menos que i386. Basicamente, o i486SX opera a uma taxa de relógio de 20 Mhz e possui uma unidade de ponto flutuante interna (como o i486), mas esta encontra-se desativada. Estes dois fatores levaram a uma diminuição no custo da pastilha de 60% em relação ao i486. O i486SX, mesmo a 20 Mhz segundo a INTEL, era 45% mais rápido que o i386 (33 Mhz), com um custo apenas 17 % superior. Já o i486 25 Mhz era 20% mais rápido que o i486SX (20 Mhz) e custava 270% mais caro (custo em março de 1992). Um quadro exibido pela revista Micro Sistemas em março de 1992 mostrava o seguinte: CPU (clock) Custo (US$) MIPs Custo do MIP (US$) i386 (33) 214 11,4 18,77 i486SX(20) 250 16,5 15,15 i486 (25) 671 20,0 33,55 Sobre o i486 50 Mhz (i486/50 e i486DX2/50) Em junho de 1991 a INTEL lançou o i486 50 Mhz e somente em junho de 1992 a revista PC Magazine americana publicou testes de desempenho sobre as primeiras máquinas fabricadas com esta CPU. Antes desta CPU, a líder em desempenho da INTEL era o i486 33 Mhz. Segundo a citada revista, o i486/50 é 30% mais rápido que i486/33 a um custo (naquele ano) 10 a 20% maior. Uma observação importante é que máquinas equipadas com esta CPU definitivamente não eram baratas, mas a relação custo beneficio em relação ao i486/33 era atraente. Isto significou, em outras palavras, que se alguém estivesse disposto a pagar o preço de uma máquina 486/33, era melhor que o fizesse por uma i486/50, em função da melhor relação custo/benefício.
  • 32.
    Curso de Microprocessadores ______________________________________________________________________________________________________ Página39 Em março de 1992 a INTEL anunciou as chamadas pastilhas "Speed-Doubler". Tais pastilhas introduziram opções de preço e desempenho nos i486. Uma dessas opções, é o i486DX2/50 que opera internamente a 50 Mhz, mas comunica-se com os barramentos a 25 Mhz. Isto permite o projeto de sistemas baseados, externamente, no i486 25 Mhz, facilitando mais uma vez o dia-a-dia dos fabricantes de micro e minicomputadores. A segunda opção é a pastilha "full" i486DX/50. Esta pastilha é 30% mais rápida que a anterior. Em linhas gerais, pode-se dizer que para máquinas necessitando de uma atividade de Entrada/Saída intensa, como servidores de arquivos p.e., o i486DX2/50 não seria a primeira escolha. Já para máquinas "stand-alone" em ambientes de CAD/CAM esta seria uma boa escolha. O i486DX/50 contém basicamente a mesma lógica de processador que o i486DX/33, com coprocessador, 8 Kbytes de cache e 1,2 milhão d e transistores, mas houve alguns refinamentos técnicos na parte de 50 Mhz, a qual usa um projeto de pastilha de três camadas e não de duas camadas como o i486DX/33. Sobre os i486DX2/66 e i486DX4/100 Em novembro de 1992, foram disponibilizadas comercialmente máquinas sob controle da pastilha i486DX2/66, ou seja, operando internamente a 66 Mhz e externamente a 33 Mhz. Testes preliminares revelaram que esta pastilha é 30% mais rápida que o i486DX/50. O i486DX4/100, possui um clock interno de 99 MHz, operando externamente a 33 MHz. Esta pastilha entrou e saiu rapidamente do mercado, dando lugar aos microprocessadores da classe Pentium. Algumas Observações: Os problemas relacionados a estes microprocessadores são a quantidade de calor desprendida, que precisa ser dissipada, e a emissão de sinais de alta frequência, podendo também sofrer interferências do meio ambiente, como é o caso das televisões que emitem sinais na faixa de 54 a 890 Mhz. A partir dos i486, os fabricantes iniciaram a utilização de ventiladores acoplados aos dissipadores, para reduzir os efeitos da alta temperatura. Também alguns gabinetes são comercializados com algum tipo de blindagem interna de modo a minimizar a influência das frequências externas. Com a crescente demanda do mercado por redes de computadores e, consequentemente, por equipamentos de gerenciamento e interconexão de tais redes, observou-se que as CPUs de pontes (“Bridges”), roteadores (Routers”), ponte-roteadores (“Brouters”) e passarelas (“Gateways”) frequentemente, são CPUs INTEL do tipo 286 e 386. Neste mercado, modelos mais sofisticados desses equipamentos frequentemente fazem uso de CPUs MOTOROLA e alguns até mesmo de processadores RISC. II.5 - OS PENTIUM, PENTIUM MMX E PRO II.5.1 - Diferenças de Arquitetura e Características Antes de iniciar as explicações sobre os Pentium MMX e PRO, é necessário mencionar os primeiros microprocessadores da classe Pentium, os simplesmente Pentium (núcleo P54C).
  • 33.
    Curso de Microprocessadores ______________________________________________________________________________________________________ Página40 Os Pentium Essencialmente, o Pentium consiste de dois processadores i486 em paralelo. Logo, mais instruções são processadas ao mesmo tempo, tipicamente, o dobro. Pode-se destacar algumas características importantes. Figura 12 – Fotos dos Pentium 150 e 166 MHz Figura 13 – Diagrama em Blocos do Pentium Pipelines O microprocessador Pentium é construído em torno de 2 pipelines (ou Pipes) inteiros (U e V), paralelos, de propósito geral e 1 unidade com pipeline, de ponto flutuante. O pipe U é chamado de Principal e o pipe V é chamado de Secundário. O Pipe U possue algumas limitações sobre instruções que executa. Os dois Pipes tem cinco estágios cada um, como mostrado na figura 14. O Pentium pode buscar até 2 instruções por ciclo. Durante a execução de uma instrução, as próximas duas instruções são testadas. Se possível, a primeira é executada no Pipe U e a Segunda no Pipe V. Se não é possível, uma instrução é passada ao Pipe U e nenhuma instrução é passada ao Pipe V. O comportamento funcional das instruções nos dois Pipes é exatamente o mesmo de instruções executadas sequencialmente.
  • 34.
    Curso de Microprocessadores ______________________________________________________________________________________________________ Página41 Caches O Pentium possui um subsistema de cache interno com 2 conjuntos (um para instrução e outro para dados) de caches associativos de 8 Kbytes. Como o cache de dados é disposto em 8 bancos, este pode ser acessado simultaneamente por ambos os Pipes, desde que as referências sejam para bancos diferentes. Prebuscador de Instruções (“Instruction Prefetcher”) O, aqui chamado, Prebuscador de Instruções possui 4 buffers de 32 Bytes. No estágio PF, dois buffers de prebusca operam em conjunto com o buffer chamado BTB (“Branch Target Buffer “). Somente 1 dos buffers de prebusca requisita prebuscas em um dado tempo. Se uma instrução de salto é buscada, o BTB prevê se o salto ocorrerá ou não. Se o salto não vai ser executado tudo continua linearmente. Se é para ser executado, o outro buffer de prebusca é habilitado e inicia a prebusca como se o salto fosse executado. Se finalmente o salto não for realizado, os pipelines de instrução são limpos e a atividade de prebusca recomeça. Como o cache de instruções e dados são separados, prebuscas de instruções não conflitam com referências a dados para acesso ao cache. O Pentium emprega um esquema de previsão dinâmica de saltos (“Dynamic Branch Prediction”). Se a previsão é correta, não há penalidade na execução de uma instrução de salto. Se não é correta, as penalidades são as seguintes: 1. 3 ciclos, se o JUMP condicional foi no Pipe U; 2. 4 ciclos, se o JUMP condicional foi no Pipe V e 3. 3 ciclos em qualquer dos Pipes para CALLs e instruções de JUMP incondicional.
  • 35.
    Curso de Microprocessadores ______________________________________________________________________________________________________ Página42 Figura 14 – Pipelines de Inteiros do Pentium Write Buffers O Pentium possui 2 buffers de escrita, um para cada Pipe (U ou V). A finalidade desses buffers é aumentar o desempenho de escritas consecutivas na memória. Esses buffers de 64 bits são carregados simultaneamente em um período de relógio. Escritas nesses buffers são enviadas para o barramento externo do processador. Tais operações de escrita acontecem sempre na ordem em que ocorrem. Não são possíveis leituras intermediárias. Unidade de Ponto Flutuante A Unidade de Ponto Flutuante do Pentium acrescenta um Pipeline de 3 estágios aos Pipes já mencionados (U e V). As instruções de ponto flutuante seguem normalmente pelo pipeline até o estágio E (Execução). Após este estágio, as instruções dispendem pelo menos um clock para cada um dos 3 estágios: X1, X2 e WF. A maioria das instruções de ponto flutuante tem um período de latência superior a um período de relógio. Entretanto, tal latência é escondida pela existência dos 3 estágios. Além disso, instruções com inteiros (e não de ponto flutuante) são tratadas durante este período de latência. A figura 15 exibe a integração dos Pipelines de Inteiros e Ponto Flutuante. Os 3 primeiros estágios do Pipe de Inteiros são desacoplados do Pipe de Ponto Flutuante. Os dois últimos são integrados. Pipe U Pipe V Prefetch (PF) Estágio de Decodifi- cação 1 (DS1) Estágio de Decodifi- cação 2 (DS2) Estágio de Decodifi- cação 2 (DS2) Execução Execução Writeback Writeback
  • 36.
    Curso de Microprocessadores ______________________________________________________________________________________________________ Página43 Figura 15 – Integração dos Pipelines de Inteiros e de Ponto Flutuante do Pentium Os Pentium MMX Os microprocessadores Pentium com tecnologia chamada pela INTEL de MMX (algo como “Multimedia Extensions”) trouxeram quatro enriquecimentos básicos de projeto arquitetônico: 1. Arquitetura SIMD; 2. 4 novos tipos de dados. 3. 8 registradores MMX de 64 bits e 4. 57 novas instruções; Figura 16 – Foto do Pentium MMX – P55C Como a própria INTEL propagandeia, esta mudança na arquitetura d o processador foi a mais importante desde o 80386, o qual extendeu a arquitetura de 16 para 32 bits e introduziu três modos de funcionamento (real, protegido e virtual). Como de fato se verificou, tais mudanças foram incorporadas a todas as gerações de processadores subsequentes da empresa. Prefetch (PF) Estágio de Decodifi- cação 1 (DS1) Estágio de Decodifi- cação 2 (DS2) Execução Writeback X1 X2 WF Estágios do Pipe de Ponto Flutuante desacoplados Estágios Integrados dos Pipes Pipeline de Inteiros somente
  • 37.
    Curso de Microprocessadores ______________________________________________________________________________________________________ Página44 Segundo a INTEL, a definição desta tecnologia foi resultado de trabalho conjunto entre arquitetos de microprocessadores e desenvolvedores de software. Dentre os softwares analisados, incluiram-se Gráficos, Vídeo MPEG, Síntese de música, compressão de voz, reconhecimento de voz, processamento de imagens, jogos e vídeo-conferência. O núcleo deste processador foi chamado de P55C. Esta análise mostrou muitas características comuns entre as diversas categorias de software. Os atributos chave para estas aplicações foram: • Tipos de dados pequenos e inteiros (por exemplo: pixel gráfico de 8 bits, amostras de áudio de 16 bits); • Loops pequenos altamente repetitivos; • Multiplicações e acumulações frequentes; • Algoritmos de computação intensiva; • Operações altamente paralelas. Assim, foi projetado um grupo de instruções novo, com instruções inteiras de propósito geral, visando a otimização do processamento de tais aplicações. Arquitetura SIMD (“Single Instruction Multiple Data”) Técnicas SIMD foram utilizadas de forma a permitir que múltiplas peças de informação pudessem ser processadas com uma única instrução, provendo um certo paralelismo, reduzindo loops de computação intensiva e, consequentemente, aumentando o desempenho de aplicações multimídia e de comunicações. Novos Tipos de Dados O tipo de dado principal da arquitetura MMX é um pacote inteiro de ponto fixo, onde múltiplas palavras inteiras são agrupadas em uma única quantidade de 64 bits. Estes pacotes são manipulados por registradores MMX de 64 bits. Como exemplo de benefício pode-se citar o pixel, geralmente representado em inteiros de 8 bits, ou bytes. 8 desses pixels podem ser “empacotados” em uma única quantidade de 64 bits e movidos para um registrador MMX. Uma instrução MMX ao ser executada, busca 8 pixels de uma só vez, faz as operações lógicas e aritméticas sobre os oito elementos e escreve o resultado em um outro registrador MMX. A figura 17 exibe os novos tipos de dados do Pentium MMX.
  • 38.
    Curso de Microprocessadores ______________________________________________________________________________________________________ Página45 Packet Byte (8 elementos de 8 bits) Packet Word (4 elementos de 16 bits) Packet Doubleword (2 elementos de 32 bits) Quadword (1 elemento de 64 bits) 0 63 63 0 31 7 31 63 0 31 63 0 Figura 17 – Novos Tipos de Dados do Pentium MMX Registradores MMX A figura 18 exibe o layout dos oito novos registradores MMX 0 63 MM0 MM7 Campo TAG Figura 18 – Registradores MMX
  • 39.
    Curso de Microprocessadores ______________________________________________________________________________________________________ Página46 Novas Instruções As instruções MMX cobrem vários grupos funcionais, incluindo: 1. Operações aritméticas básicas; 2. Operações de comparação; 3. Instruções de conversão entre novos tipos de dados (“packets”) e de pequenos para grandes tipos de dados; 4. Operações lógicas tais como: AND, OR, NOT e XOR; 5. Operações de Shift; 6. Instruções MOV para dados de 32 ou 64 bits; As instruções lógicas e aritméticas são projetadas para suportar diferentes tipos de dados. Tais instruções possuem um código de operação para cada tipo de dado suportado. Como resultado, as novas instruções são implementadas com 57 códigos de operação. Um aspecto importante é que instruções MMX não são privilegiadas, podendo ser usadas em aplicações, codificadores/decodificadores, algoritmos e drivers. Categoria Mnemônico Nr. De Códigos de Operação Diferentes Descrição PADD [B,W,D] 3 Add with wrap-around on [byte, word, doubleword] PADDS [B,W] 2 Add signed with saturation on [byte, word] PADDUS [B,W] 2 Add unsigned with saturation on [byte, word] PSUB [B,W,D] 3 Subtract with wrap-around on [byte, word, doubleword] PSUBS [B,W] 2 Subtract signed with saturation on [byte, word] PSUBUS [B,W] 2 Subtract unsigned with saturation on [byte, word] PMULHW 1 Packed multiply high on words PMULLW 1 Packed multiply low on words Aritmética PMADDWD 1 Packed multiply on words and add resulting pairs PCMPEQ [B,W,D] 3 Packed compare for equality [byte, word, doubleword] Comparação PCMPGT [B,W,D] 3 Packed compare greater than [byte, word, doubleword] PACKUSWB 1 Pack words into bytes (unsigned with saturation) PACKSS [WB,DW] 2 Pack [words into bytes, doublewords into words] (signed with saturation) PUNPCKH [BW,WD,DQ] 3 Unpack (interleave) high-order [bytes, words, doublewords] from MMXTM register Conversão PUNPCKL [BW,WD,DQ] 3 Unpack (interleave) low-order [bytes, words, doublewords] from MMX register PAND 1 Bitwise AND PANDN 1 Bitwise AND NOT POR 1 Bitwise OR Lógicas PXOR 1 Bitwise XOR
  • 40.
    Curso de Microprocessadores ______________________________________________________________________________________________________ Página47 PSLL [W,D,Q] 6 Packed shift left logical [word, doubleword, quadword] by amount specified in MMX register or by immediate value PSRL [W,D,Q] 6 Packed shift right logical [word, doubleword, quadword] by amount specified in MMX register or by immediate value Shift PSRA [W,D] 6 Packed shift right arithmetic [word, doubleword] by amount specified in MMX register or by immediate value Transferência de Dados MOV [D,Q] 4 Move [doubleword, quadword] to MMX register or from MMX register Gerenciamen- to de Estado MMX e Ponto Flutuante EMMS 1 Empty MMX state Pipeline Superescalar Os Pentium MMX adicionam mais estágios ao pipeline. A integração do Pipe MMX com o Pipe de inteiros é muito similar a do Pipe de Ponto Flutuante. A Figura 19 mostra esta estrutura de pipeline. Os Pentium MMX adicionam um estágio de pipeline inteiro. Os bytes de instrução são prebuscados do cache de código no estágio de prebusca PF e passados ao estágio de busca F. Quaisquer prefixos são decodificados no estágio F. MR/W Mex WM/M2 M3 WMul PF F DS1 DS2 E WB E1 E2 E1 E2 E3 Estágios do Pipe de MMX desacoplados Estágios Integrados dos Pipes Pipeline de Inteiros somente Figura 19 – Estrutura Pipeline MMX
  • 41.
    Curso de Microprocessadores ______________________________________________________________________________________________________ Página48 O estágio F é desacoplado da decodificação de instruções por meio de um buffer FIFO (“First In, First Out”), o qual está situado entre os estágios F e D1 (“Decode 1”). Esta FIFO mantém até 4 instruções. A cada período de relógio, 2 instruções são colocadas nesta FIFO. Pares de instrução são colocados para fora de F e dentro de D1. Uma v ez que a taxa média de execução de instruções é menos que duas por clock, a FIFO está normalmente cheia. Quando a FIFO está cheia, esta deve “bufferizar” qualquer “freio” que pode ocorrer durante a busca de instrução. Esta FIFO previne, o estágio de Execução do pipe, de um “freio” na execução de instruções. Exemplos de Instruções MMX Para ilustração, o tipo de dado será uma palavra de 16 bits (word), contudo a maioria das operações pode ser realizada para 8 e 32 bits. A figura 20 mostra uma operação de adição (PADD[W] - “Add with wrap-around on [word]”). São realizadas 4 adições de 8 elementos de 16 bits, cada uma independente da outra e em paralelo. Neste caso, o resultado mais à direta excede o valor máximo representável em 16 bits e o 17º bit é perdido. Figura 20 – Instrução PADD[W] A figura 21 mostra uma outra operação de adição (PADDUS[W] - “Add unsigned with saturation on [word]”). Neste caso, uma saturação ocorre. Saturação significa que se a adição resulta em “overflow” ou a subtração em “underflow”, o resultado é alterado para o maior ou para o menor valor representável, respectivamente. Para uma operação sem sinal, com uma palavra de 16 bits, o maior e o menor valor são: FFFFh e 0000h. Isto é importante para cálculos de pixels, onde a perda do 17º bit poderia causar um pixel preto logo após um pixel branco em um gráfico 3D. a3 a2 a1 FFFF b3 b2 b1 8000 a3+b3 a2+b2 a1+b1 7FFF + + + +
  • 42.
    Curso de Microprocessadores ______________________________________________________________________________________________________ Página49 Figura 21 – Instrução PADDUS[W] Os novos games 3D manipulam objetos 3D. Estas computações, tipicamente, são baseadas em matrizes 4 x 4, as quais são multiplicadas por 4 vetores várias vezes. O vetor possui a informação de X, Y, Z e a correção de perspectiva para cada pixel. A matriz 4 x 4 é usada para girar, escalonar, translacionar e atualizar a informação de correção das perspectiva para cada pixel. Esta matriz é aplicada a muitos vetores. A figura 22 mostra esses cálculos e o que faz a instrução PMADD. Figura 22 – Instrução PMADD Os Pentium PRO Diferentemente dos 5 estágios do Pentium. O Pentium PRO possui um pipeline de 12 estágios, desacoplado. Isto lhe confere um desempenho 33% superior ao Pentium comum. Sua microarquitetura superescalar torna possível a execução de 2 instruções por clock. A figura 23 detalha este pipeline. a3 a2 a1 FFFF b3 b2 b1 8000 a3+b3 a2+b2 a1+b1 FFFF + + + + = a0 a1 a2 a3 b0 b1 b2 b3 c0 c1 c2 c3 d0 d1 d2 d3 x' y' z' w' x y z 1 x = a0.x + a1.y + a2.z + a3 Translação Giro e Escala Perspectiva
  • 43.
    Curso de Microprocessadores ______________________________________________________________________________________________________ Página50 O Pipeline do Processador Pentium PRO possui 3 unidades que se comunicam através de um Pool de Instruções: A Unidade de Busca/Decodificação (ou “Front-End”), a Unidade de Despacho/Execução (ou “Core”) e a Unidade de Retiro (ou “Retire”). A figura 24 exibe a ligação entre estas unidades. Figura 23 – Pipeline do Pentium PRO Figura 24 – As 3 unidades do Pentium PRO A Unidade de Busca/Decodificação possue como entrada o conjunto de instruções de programa de usuário armazenado no cache de instruções L1 (interno). Tal unidade decodifica este conjunto em uma série de microperações que representam o fluxo de dados daquele conjunto. BTB 0 BTB 1 IFU0 IFU1 IFU2 ID0 ID1 RAT ROB Rd RS Port 2 Port 0 Port 1 ROB Wb RRF Port 3 Port 4 Unidade de Busca/ Decodifica- ção Unidade de Despacho/ Execução Unidade de Retiro Pool de Instruções
  • 44.
    Curso de Microprocessadores ______________________________________________________________________________________________________ Página51 A Unidade de Despacho/Execução aceita o fluxo de dados, esquematiza a execução das microperações sujeitas a dependência de dados e disponibilidade de recursos. Em seguida, armazena o resultado dessas execuções especulativas. A Unidade de Retiro conhece como e quando confirmar do resultado especulativo temporário para um estado arquitetural permanente. A Unidade de Interface de Barramento responsável pela conexão das 3 unidades internas ao mundo real. Esta unidade comunica-se diretamente com o cache L2 (externo), suportando até 4 acessos concorrentes ao cache. A figura 25 ilustra mais detalhadamente estes aspectos. Figura 25 – As 3 unidades com Caches Unificados do Pentium PRO Unidade de Busca/ Decodifica- ção Unidade de Despacho/ Execução Unidade de Retiro Pool de Instruções Cache de Dados L1 Cache de Instruções L1 Unidade de Interface de Barramento Cache L2 Barramento de Sistema
  • 45.
    Curso de Microprocessadores ______________________________________________________________________________________________________ Página52 Execução Dinâmica de Instruções Execução Dinâmica, segundo a INTEL, é a combinação única de 3 técnicas de processamento: • Predição de Múltiplos Saltos. Inicialmente o processador “olha” múltiplos passos atrás no software e prediz quais saltos ou grupos de instruções, provavelmente, serão processadas; • Análise do Fluxo de Dados. Em seguida, analisa quais instruções são dependentes do resultado ou dados de outras instruções, para criar uma sequência otimizada de instruções; • Execução Especulativa. As instruções são então “puxadas” especulativamente, com base no esquema otimizado. Arquitetura Superscalar Arquitetura Superscalar é uma microarquitetura capaz de sinmultaneamente buscar, decodificar e executar múltiplas operações inteiras por período d e relógio. Tipicamente o Pentium PRO “percebe” entre 20 e 30 instruções na frente do IP (“Instruction Pointer”). Suporte a Múltiplos Processadores O barramento externo do Pentium PRO foi otimizado para suportar de 1 a 4 CPUs. A figura 26 ilustra este fato. Figura 26 – Esquema de Multiprocessamento do Pentium PRO
  • 46.
  • 47.
    Curso de Microprocessadores ______________________________________________________________________________________________________ Página54 II.6 - OS PENTIUM II Figura 27 – Substrato do Pentium II II.6.1 - Arquitetura e Características O Pentium II vem evoluindo continuamente, de acordo com os novos desenvolvimentos ou opções da INTEL. Trataremos aqui da arquitetura inicial deste processador, cujo codinome ainda é “Klamath”. A característica principal do Pentium II foi a incorporação da tecnologia MMX às Unidades de Execução do processador Pentium PRO. Sendo assim, tornou-se recomendável tanto para servidores, quanto para desktops. São discriminadas a seguir as principais características do Pentium II. • Cache interno L1 32 Kbytes (16 K para instruções + 16 K para dados). Cache duas vezes maior que o do Pentium PRO; • Cache externo L2 é de 512 Kbytes em ½ velocidade (“half speed”), fazendo parte do cartucho de metal e plástico que inclui o núcleo da CPU; • Tecnologia de Processo de fabricação CMOS de 0,35 microns. A versão de 333 MHz usa o processo de 0,25 microns; • Encapsulamento em cartucho SEC (“Single-Edge Contact”) de 242 pinos, diferentemente do Pentium PRO, o qual usava soquete ZIF (“Zero Force Insertion”); • Suas primeiras versões, com arquitetura idêntica, operam nas velocidades de 233, 2 66, 300 e 333 MHz. Versões a 350 e 400 MHz, trazem ligeiras diferenças; • Opera na velocidade interna de 66 MHz FSB (“Front-Side Bus”), exatamente como o Pentium PRO; • Possui 5 unidades de execução, como no Pentium PRO; • Alimentação de 2,8 Volts; • Endereçamento físico de até 64 Gigabytes;
  • 48.
    Curso de Microprocessadores ______________________________________________________________________________________________________ Página55 • 7,5 milhões de transistores integrados; • Suporte para até 2 processadores em uma placa, permitindo o multiprocessamento simétrico (“SMP”); • Segundo a INTEL, sua arquitetura foi otimizada para aplicações de 32 bits; • Usa a interface de barramento chamada SLOT 1, diferentemente do Socket 7 do Pentium MMX. A interface SLOT 1 deverá ainda ser usada até o início do ano 2000 em versões mais avançadas deste processador, tais como o Katmai 450 e 500 MHZ e o Coppermine 533 a 6xx MHz; II.6.2 - Benchmarks A Figura 28 apresenta o iCOMP 2.0 (Benmchmark Multimídia da INTEL) para várias versões do Pentium II, excluindo-se a versão de 333 MHz. Em seguida, é exibida na Figura 29, uma CPU Pentium II na presença de uma interface de aceleração gráfica AGP (“Advanced Graphics Port”) e na figura 30, um Benchmark entre os processadores Pentium II e Celeron. Figura 28 – Desempenho do Pentium II relativo aos Pentium MMX e PRO
  • 49.
    Curso de Microprocessadores ______________________________________________________________________________________________________ Página56 Figura 29 – Benchmarks de processadores INTEL, AMD e CYRIX Fonte: www.tomshardware.com
  • 50.
    Curso de Microprocessadores ______________________________________________________________________________________________________ Página57 Figura 30 – Benchmarks de processadores Pentium II e Celeron II.7 - ÚLTIMOS MICROPROCESSADORES DA INTEL Linha Pentium III Figura 31 – Foto do Pentium III
  • 51.
    Curso de Microprocessadores ______________________________________________________________________________________________________ Página58 Figura 32 – Arquitetura do Pentium III Pentium III – Katmai • Codnone KATMAI • Terceira versão do Pentium II; • Conjunto de Instruções com 70 novas instruções MMX2 ou KNI (“Katmai New Instructions”); • Registradores de 128 bits; • 512 K de cache nível 2; • Arquitetura P6; • Suporte a DirectX 6.1; • Barramento do sistema de 100 e 133 MHz FSB; • Versões de 450, 500, 533, 550, 600, 650, 677, 700, 750, 733, 750, 800, 850, 866 e 1000 MHz. Pentium III - Coppermine • Versão menor do KATMAI; • Processo de fabricação CMOS de 0,18 microns; • Conjunto de Instruções MMX2 ou KNI (“Katmai New Instructions”);
  • 52.
    Curso de Microprocessadores ______________________________________________________________________________________________________ Página59 • 256 KB de Cache L2 na velocidade do Clock e dentro da pastilha (on die); • Arquitetura P6; • Caminho de dados de 256 bits (mais do que os 64 bits dos Pentium II e III anteriores); • 100 MHz FSB nas versões de 450 e 500 MHz. Pentium III Xeon (Tanner) – 500 e 550 MHz) • Pentium II Xeon com KNI; • Suporte a operação com até 8 processadores; • Encapsulamento SECC (Single Edge Contact Cartridge); • 512 KB/1 MB/2 MB (500 MHz) e 512 KB (550 MHz) de cache em CSRAM L2, “full speed”, fora da pastilha; • 32 KB (16 K para dados + 16 K para instruções) de cache nível 1; • 100 MHz FSB, indo para 133 MHz FSB; Figura 33 – Foto do Pentium III Xeon Linha CELERON Figura 34 – Foto do Celeron
  • 53.
    Curso de Microprocessadores ______________________________________________________________________________________________________ Página60 CELERON (codnome Mendocino) (versão com 128 K de cache) • Encapsulamento PPGA de 370 pinos (Plastic Pin Grid Array); • Versões de 400 e 433 MHz em encapsulamento SEPP de 242 contactos (Single Edge Processor Package) • 128 KB de Cache L2 dentro da pastilha (“on-die”); • 32 KB (16 K para dados + 16 K para instruções) de cache nível 1; • Arquitetura P6 (do Pentium Pro) • Barramento de sistema de 66 MHz FSB; • Versões de 400, 433, 466, 500 e 533 MHz; • Interface Slot 1 deverá ser abandonada, passando a slot 2; Linha Pentium 4 Figura 35 – Foto do Pentium 4 Pentium 4 • Barramento de 400 MHz Front Side Bus de 128 bits de largura • 20 KB de cache L1 e 256 KB ou 512 KB (versão 2,0 GHZ ou superior) de cache L2 • A ALU roda no dobro da velocidade do Clock • Novo soquete 423 para simplificação do projeto da placa-mãe • Frequência de relógio a partir de 1,5 GHz • 20 estágios de pipeline (10 estágios no PIII) • 144 novas instruções SSE2 and 128 bit MMX • 42 millions of transistors • Novo projeto de soquete de 478 pinos • Dual Rambus memory channel com chipset i850 • Disponível no modo monoprocessador
  • 54.
  • 55.
  • 56.
    Curso de Microprocessadores ______________________________________________________________________________________________________ Página63 Linha IA-64 ITANIUM (codnome Merced) • Lançamento previsto para o ano 2000; • Usará Interface SLOT M (nova); • EPIC (“Explicit Parallel Instruction Computing”); • 128 registradores de Inteiros; • 128 registradores de Ponto Flutuante; • Múltiplas Unidades de Inteiros e de Ponto Flutuante; • Arquitetura de 64 bits (precisará de sistema operacional de 64 bits); • Frequência de Relógio provável de 1 Ghertz; • Mais de 30 milhões de transistores integrados; • Processo de fabricação de 0,18 ou 0,13 microns. Figura 38 – Foto do Itanium 2