Componente Curricular: PROJETOS ELÉTRICOS
Docente: PEDRO PACHECO BACHETI
Módulo: III
Semestre: 2015/1
Aluno (a): ________________________________________
SÃO MATEUS – 2015
CURSOTÉCNICOELETROTÉCNICA
Projetos Elétricos – Curso Técnico em Eletrotécnica – Escola Master Página 2
SUMÁRIO
1 CONCEITOS, ATRIBUIÇÕES E RESPONSABILIDADES...................................3
1.1 PROJETO.........................................................................................................3
1.2 ÉTICA...............................................................................................................4
1.3 RESPONSABILIDADE E COMPETÊNCIA PROFISSIONAL............................5
2 PROJETO ELÉTRICO PREDIAL .........................................................................6
2.1 CONCEITO.......................................................................................................6
2.2 ETAPAS DE PROJETO....................................................................................6
2.3 NORMATIZAÇÃO...........................................................................................10
2.4 CRITÉRIOS PARA ELABORAÇÃO ................................................................10
2.5 FLUXOGRAMA DE ELABORAÇÃO ...............................................................11
3 PREVISÃO DE CARGAS...................................................................................12
3.1 OBJETIVO......................................................................................................12
3.2 ESTIMATIVA PRELIMINAR............................................................................12
3.3 PREVISÃO DE CARGAS................................................................................13
4 DEMANDA .........................................................................................................16
5 DIVISÃO EM CIRCUITOS..................................................................................17
5.1 LOCAÇÃO DO PONTOS ELÉTRICOS...........................................................17
5.2 DIVISÃO DA INSTALAÇÃO EM CIRCUITOS .................................................19
5.3 QUADRO DE DISTRIBUIÇÃO DE CARGAS ..................................................21
5.4 DESENHO DA INSTALAÇÃO ELÉTRICA ......................................................23
5.5 DIAGRAMAS UNIFILARES ............................................................................25
6 FORNECIMENTO DE ENERGIA .......................................................................28
6.1 SISTEMAS DE DISTRIBUIÇÃO......................................................................28
6.2 DEFINIÇÕES..................................................................................................29
7 DIMENSIONAMENTO DE CONDUTORES ELÉTRICOS..................................30
7.1 OBJETIVOS ...................................................................................................30
7.2 CRITÉRIOS....................................................................................................30
8 DIMENSIONAMENTO DE ELETRODUTOS......................................................43
8.1 DEFINIÇÕES E TIPOS...................................................................................43
8.2 INSTALAÇÃO DE CONDUTORES EM ELETRODUTOS ...............................43
8.3 TAXA MÁXIMA DE OCUPAÇÃO ....................................................................44
8.4 DIMENSIONAMENTO....................................................................................45
8.5 CAIXAS DE DERIVAÇÃO...............................................................................47
9 DISPOSITIVOS DE PROTEÇÃO CONTRA SOBRECORRENTES...................48
10 ATERRAMENTO ............................................................................................49
10.1ATERRAMENTO ............................................................................................49
10.2EFEITOS DA CORRENTE ELÉTRICA SOBRE O CORPO HUMANO............50
10.3TENSÃO DE CONTATO.................................................................................51
10.4PROTEÇÃO CONTRA CHOQUES ELÉTRICOS............................................51
10.5DISJUNTORES DR ........................................................................................53
REFERÊNCIAS BIBLIOGRÁFICAS..........................................................................56
Projetos Elétricos – Curso Técnico em Eletrotécnica – Escola Master Página 3
1 CONCEITOS, ATRIBUIÇÕES E RESPONSABILIDADES
1.1 PROJETO
Projetar, no sentido mais geral do termo, é apresentar soluções possíveis de serem
implementadas para a resolução de determinados problemas e ou aprimoramentos
de implementações.
Ainda pode ser entendido como esboço de trabalho que se pretende realizar, que
pode utilizar metodologia e técnicas que permitam o melhor planejamento de
execução do mesmo.
O projeto elétrico se preocupa na definição da forma que a energia elétrica será
conduzida da rede de distribuição até os pontos de utilização em uma determinada
instalação favorecendo a segurança dos usuários e dos equipamentos presentes na
mesma. É, portanto, uma mediação entre duas situações ou dois estados, conforme
podemos verificar na FIG. 1.1
FIGURA 1.1
O “projeto” é, em essência, uma antecipação detalhada de uma solução que será
implementada para satisfazer determinado objetivo. Por esta razão, o projetista deve
preocupar-se com a sua viabilidade, tanto do ponto de vista técnico, como do ponto
de vista econômico.
Outro aspecto fundamental importância é a qualidade da solução apresentada.
Tendo em mente que em boa parte das ocasiões o projetista não estará presente na
implantação do projeto, ele deve questionar-se objetivamente:
- O projeto é perfeitamente compreensível e esclarecedor?
- O projeto apresenta um nível de detalhamento tal que garanta aos seus executores
e aos seus usuários que aquilo que está sendo executado na realidade corresponde
ao que foi idealizado no projeto?
Um projeto é o resultado de uma interação dos sujeitos envolvidos: cliente,
profissional projetista e entidades normatizadoras (associações normatizadoras,
órgãos do poder público, concessionárias, etc.). Esta interação é dinâmica e pode
ser representada pela FIG. 1.2.
Projetos Elétricos – Curso Técnico em Eletrotécnica – Escola Master Página 4
FIGURA 1.2
FIGURA 1.3
A FIG.1.3 mostra o projeto como solução de engenharia para problemas da
necessidade humana. Discriminando a metodologia para resolução de problemas, a
interligação da necessidade com o projeto e a execução da solução.
Um projeto dinâmico, portanto, pode sofrer revisões (alterações), entretanto o ideal é
que as revisões ocorram ainda na fase de projeto. Qualquer revisão, quer seja na
fase de projeto ou seja na fase de execução, deve ser devidamente analisada,
aprovada pelo projetista e registrada.
1.2 ÉTICA
No desempenho de suas tarefas, o Projetista assume uma postura profissional de
dimensão ética. Sendo um técnico, um especialista, estará sob sua responsabilidade
a análise de problemas complexos para os quais a sociedade espera soluções.
Projetos Elétricos – Curso Técnico em Eletrotécnica – Escola Master Página 5
Sendo um cidadão, terá em mente o fato de que, em geral, os seus projetos poderão
afetar a qualidade de vida de uma comunidade inteira ou parte dela. Daí, espera-se
que as suas atividades se realizem no mais elevado nível ético e moral, com
objetivos voltados para a segurança e benefício da humanidade.
Os CREA e CONFEA possuem o Código de Ética Profissional que é importante ser
consultado.
1.3 RESPONSABILIDADE E COMPETÊNCIA PROFISSIONAL
Para o desempenho profissional de suas atividades, o Projetista deverá obter
habilitação específica por meio de formação em centros educacionais especializados
(universidades, faculdades de engenharia, centros de educação tecnológica, escolas
técnicas, etc) e o registro no respectivo Conselho Profissional.
O registro profissional, no caso de cursos superiores e cursos técnicos da área de
engenharia, junto ao CREA – Conselho regional de Engenharia, Arquitetura e
Agronomia, confere ao profissional a habilitação necessária, especificando as áreas
e os limites de suas atribuições profissionais.
Segundo definição do próprio CREA, a função deste é atuar em defesa da
sociedade contra os maus profissionais, e não como associação de classe, como
poderia nos parecer a princípio. Para a defesa dos interesses dos técnicos e
engenheiros existem as Associações e Sindicatos.
Cada projeto terá o seu respectivo junto ao CREA, por meio de documento próprio
intitulado ART – Anotação de Responsabilidade Técnica. Nesta ocasião, o Conselho
verificará se o profissional está habilitado para aquela especialidade, fazendo a
respectiva anotação que passará a constar do acervo técnico do profissional.
A ART descreve o objeto do projeto, o qual, na forma da legislação em vigor, estará
sob responsabilidade do técnico.
Projetos Elétricos – Curso Técnico em Eletrotécnica – Escola Master Página 6
2 PROJETO ELÉTRICO PREDIAL
2.1 CONCEITO
Projetar uma instalação elétrica de um edifício consiste basicamente em:
- quantificar, determinar os tipos e localizar os pontos de utilização de energia
elétrica;
- dimensionar, definir o tipo e o caminhamento dos condutores e condutos;
- dimensionar, definir o tipo e a localização dos dispositivos de proteção, de
comando, de medição de energia elétrica e demais acessórios.
O objetivo de um projeto de instalações elétricas é garantir a transferência de
energia desde uma fonte, em geral a rede de distribuição da concessionária ou
geradores particulares, até os pontos de utilização (pontos de iluminação, tomadas,
motores, etc.). Para que isto se faça de maneira segura e eficaz é necessário que o
projeto seja elaborado, observando as prescrições das diversas normas técnicas
aplicáveis.
2.2 ETAPAS DE PROJETO
Sendo a representação escrita de uma instalação, o projeto consiste basicamente
em desenhos e documentos. De uma maneira geral, em um projeto de instalações
de edifícios coletivos, são necessários:
- ART
- Carta de Solicitação de Aprovação à Concessionária
- Memorial Descritivo
- Memorial de Cálculo:
Cálculo de Demanda
Dimensionamento dos Condutores
Dimensionamentos dos Condutos
Dimensionamento das Proteções
- Plantas:
Planta de Situação
Planta dos Pavimentos
- Esquemas Verticais (Prumadas):
Elétrica
Antena Coletiva
Porteiro Eletrônico
Outras Instalações Complementares (alarme, segurança, iluminação de
emergência, etc.)
- Quadros:
Quadros de Distribuição de Cargas
Diagramas Multifilares (ou Unifilares)
- Detalhes:
Ramal de entrada
Projetos Elétricos – Curso Técnico em Eletrotécnica – Escola Master Página 7
Caixa Seccionadora
Centros de medição
SPDA
Caixas de Passagem
Aterramentos
Outros (conforme necessidade)
- Convenções
- Especificações
- Lista de Materiais
Para satisfazer os documentos requisitados, o projeto pode ser dividido em etapas,
seguem algumas sugeridas a serem seguidas.
2.2.1 Informações Preliminares
Nesta etapa, projetista procurará obter das diversas fontes todas as informações
necessárias para a formação da concepção geral do projeto a ser desenvolvido, por
meio de:
- Planta de Situação:
Localização dos acessos à instalação, bem como da rede de distribuição de
energia elétrica da concessionária que atende o local, verificando a existência, tipo
de fornecimento, localização da mesma em relação à instalação e possíveis pontos
de derivação para o atendimento.
- Projeto arquitetônico:
Plantas, cortes, detalhes, fachadas, etc. Obtêm-se a partir daí todas as
dimensões, inclusive pé direito, de todos os recintos e áreas externas, bem como a
sua respectiva utilização.
- Projetos complementares:
Projeto estrutural, projetos de instalações sanitárias, de águas pluviais, de
combate a incêndio, de sonorização e outros. Neste ponto, devem ser observadas
possíveis restrições e interferências com vigas, pilares, espessura de lajes,
cruzamento de tubulações, localização de prumadas e quadros. Devemos ter em
mente que o projeto de instalações elétricas deve ser elaborado em harmonia com
os demais projetos de utilidades da instalação.
- Informações obtidas com o proprietário, arquiteto ou responsável:
Localização preferencial dos pontos de utilização conforme as necessidades
do proprietário;
Previsão de cargas ou aparelhos especiais como ar condicionado, aquecedor,
etc;
Previsão de utilização de determinadas linhas de materiais e sistemas de
instalações;
Previsão para futuros acréscimos de cargas e sistemas, previsão para
utilização de alimentação elétrica de segurança e/ou de substituição para
determinadas situações, locais ou cargas.
Projetos Elétricos – Curso Técnico em Eletrotécnica – Escola Master Página 8
2.2.2 Quantificação do Sistema
Com os dados obtidos nas informações preliminares, e de pose das normas técnicas
aplicáveis, no caso a NBR 5410/2004, o projetista estará em condições de fazer um
levantamento da previsão de cargas do projeto, tanto em termos da quantidade de
pontos de utilização, quanto da potência nominal dos mesmos.
- Previsão de tomadas;
- Previsão de iluminação;
- Previsão de cargas especiais: elevadores, bombas de recalque d’água, bombas de
drenagem, bombas de combate a incêndio, etc.
2.2.3 Determinação do Padrão de Atendimento
Concluída a etapa anterior, e tendo às mãos as normas técnicas da concessionária
local, o projetista determinará a demanda de cada consumidor da instalação e sua
respectiva categoria de atendimento conforme os padrões da concessionária.
Determinará igualmente a provável demanda e o padrão de entrada.
- Determinação da Demanda e da Categoria de Atendimento de cada consumidor
- Determinação da provável Demanda da Instalação e Classificação da Entrada de
Serviço.
2.2.4 Desenho das Plantas
Esta etapa compreende basicamente:
- Desenho dos pontos de utilização;
- Localização dos quadros de distribuição de luz (QL) e quadros de força (QF);
- Divisão de cargas em circuitos terminais;
- Desenho das tubulações dos circuitos terminais;
- Traçado da fiação dos circuitos terminais;
- Localização das caixas de passagem dos pavimentos e da prumada;
- Localização do Quadro Geral de Baixa Tensão, centros medidores, da caixa
seccionadora, do Ramal de Entrada e do Ponto de Entrega;
- Desenho das tubulações dos circuitos alimentadores;
- Desenho do Esquema Vertical (Prumada);
- Traçado da fiação dos circuitos alimentadores.
2.2.5 Dimensionamentos
Nesta etapa, serão feitos os dimensionamentos de todos os componentes do
projeto, calculados com base nos dados registrados nas etapas anteriores, nas
normas técnicas aplicáveis a cada caso e nas tabelas de fabricantes.
- Dimensionamento dos condutores;
- Dimensionamento das tubulações;
- Dimensionamento dos dispositivos de proteção;
- Dimensionamento dos Quadros.
Projetos Elétricos – Curso Técnico em Eletrotécnica – Escola Master Página 9
2.2.6 Quadros de Distribuição e Diagramas
Nesta etapa serão elaborados os Quadros de Distribuição de carga (tabelas), que
têm a função de representar a distribuição e o dimensionamento dos circuitos.
- Quadros de Distribuição de Carga;
- Diagramas Unifilares (ou multifilares) dos QL;
- Diagramas de Força e Comando dos Motores (QF);
- Diagrama Unifilar Geral.
2.2.7 Elaboração dos Detalhes Construtivos
O objetivo da elaboração dos detalhes construtivos é facilitar a interpretação do
projeto, permitindo, desta maneira, eu o mesmo seja fielmente executado. Vale
lembrar que quanto melhor detalhado está um projeto, melhor poderá ser a sua
execução.
2.2.8 Memorial Descritivo
O memorial descritivo tem por objetivo fazer uma descrição sucinta do projeto,
justificando, quando necessário, as soluções adotads. Ele é composto basicamente
dos seguintes itens:
- Dados básicos de identificação do projeto;
- Dados quantitativos do projeto;
- Descrição geral do projeto;
- Documentação do projeto.
2.2.9 Memorial de Cálculo
Neste documento, serão apresentados o resumo dos principais cálculos e
dimensionamentos:
- Cálculos das previsões de cargas;
- Determinação da provável Demanda;
- Dimensionamento de Condutores;
- Dimensionamento de Eletrodutos;
- Dimensionamento dos dispositivos de proteção.
2.2.10 Elaboração das Especificações Técnicas
As especificações técnicas detalham os tipos de materiais que serão empregados,
chegando ao nível de especificação do fabricante, prevendo, porém, o uso de
similares com a mesma qualificação técnica. Neste documento, também, em alguns
projetos, relacionam-se os serviços a executar, bem como os procedimentos de sua
execução, com a citação das respectivas normas técnicas.
2.2.11 Elaboração da Lista de Material
Listagem de todos os materiais que serão empregados na execução do projeto, com
as suas respectivas especificações e quantidades.
Projetos Elétricos – Curso Técnico em Eletrotécnica – Escola Master Página 10
2.2.12 ART
Anotação de Responsabilidade Técnica do responsável técnico pelo projeto junto à
jurisdição do CREA local.
2.2.13 Análise da Concessionária
Análise, pelo órgão técnico da concessionária local, da adequação do projeto às
normas técnicas e padrões de fornecimento. Em geral, esta análise fica limitada ao
cálculo da demanda, ao padrão de fornecimento, à entrada de serviço e à rede de
alimentadores até a chegada nos quadros terminais (prumada). É importante
observar que, em hipótese alguma, a análise e posterior aprovação por parte da
concessionária exime o projetista de sua responsabilidade técnica.
2.2.14 Revisão do Projeto (se necessário)
Possíveis adequações ou modificações para atender à padronização e normas da
concessionária.
2.2.15 Aprovação da Concessionária
Termo técnico que atesta que o projeto das instalações está de acordo com os
padrões e normas técnicas da concessionária, e com o qual o consumidor poderá
efetivar o pedido de ligação das instalações à rede de distribuição de energia.
2.3 NORMATIZAÇÃO
Um projeto e instalações elétricas de baixa tensão deve observar as normas
técnicas, de acordo com a atividade, segue algumas normas técnicas básicas
sugeridas:
ABNT:
- NBR 12483/1992 – Chuveiros elétricos – Padronização
- NBR 13418/1995 – Cabos resistentes ao fogo para instalações de segurança –
Especificação;
- NBR 13570/1996 – Instalações elétricas em locais de afluência de público –
Requisitos específicos;
- NBR 14011/1997 – Aquecedores instantâneos de água e torneiras elétricas –
Requisitos;
- NBR 5410/2004 – Instalações Elétricas de Baixa Tensão;
- NBR 5419/2005 – Proteção de estruturas contra descargas atmosféricas;
- NBR 13534/2008 – Instalações Elétricas de Baixa tensão – Requisitos específicos
para instalação em estabelecimentos assistenciais de saúde.
- NBR ISSO/CIE 8995-1/2013 – Iluminação de ambientes de trabalho.
2.4 CRITÉRIOS PARA ELABORAÇÃO
Na concepção do projeto de instalações elétricas, o projetista deve estar atento a
alguns critérios importantes, no que se refere à utilização das instalações projetadas:
- Acessibilidade:
Projetos Elétricos – Curso Técnico em Eletrotécnica – Escola Master Página 11
Todos os pontos de utilização projetados, bem como os dispositivos de
manobra e proteção, devem estar em locais perfeitamente acessíveis, que permitam
manobra adequada e eventuais manutenções.
- Flexibilidade e reserva de carga:
A instalação deve ser projetada de forma a permitir uma certa reserva para
acréscimos de cargas futuras e alguma flexibilidade para pequenas alterações.
- Confiabilidade:
As instalações devem ser projetadas em estreito atendimento às normas
técnicas, visando garantir o perfeito funcionamento dos componentes do sistema e a
integridade física dos seus usuários.
2.5 FLUXOGRAMA DE ELABORAÇÃO
O fluxograma básico de elaboração de um projeto é mostrado na FIG. 2.1. Observe-
se que o Anteprojeto contém apenas diretrizes gerais que serão seguidas no projeto.
Ele é o resultado do estudo preliminar feito pelo projetista com base nas solicitações
gerais do cliente e das condições locais. A partir daí, caso haja concordância do
cliente, inicia-se a fase de projeto propriamente dita.
FIGURA 2.1
Projetos Elétricos – Curso Técnico em Eletrotécnica – Escola Master Página 12
3 PREVISÃO DE CARGAS
3.1 OBJETIVO
Cada aparelho de utilização (lâmpadas, aparelhos de aquecimento d’água,
aparelhos eletrodomésticos, motores para máquinas diversas) solicita da rede
elétrica uma determinada potência. O objetivo da previsão de cargas é a
determinação de todos os pontos de utilização de energia elétrica (pontos de
consumo ou cargas) que farão parte da instalação. Ao final da previsão de cargas,
estarão definidas a potência, a quantidade e a localização de todos os pontos de
consumo de energia elétrica da instalação.
3.2 ESTIMATIVA PRELIMINAR
Consiste em um dado preliminar que poderá ser utilizado para consultas prévias às
concessionárias e também para subsidiar anteprojetos e orçamentos preliminares
para definir a viabilidade da obra.
A estimativa preliminar de cargas é feita com base na utilização da instalação
(residencial, comercial ou industrial) e na densidade de carga (W / m²). As tabelas
3.1 e 3.2, podem ser utilizadas como base para efetuar este levantamento preliminar
de cargas.
É importante ressaltar que os valores apresentados nas tabelas são estatísticos e
referem-se às cargas de iluminação e tomadas de uso geral (TUG), não incluindo,
portanto, as cargas de uso específico tais como, chuveiro e torneiras elétricas,
aparelhos e centrais de ar condicionado, e motores diversos (elevadores, bombas de
recalque d’água, etc.).
Projetos Elétricos – Curso Técnico em Eletrotécnica – Escola Master Página 13
TABELA 3.1
TABELA 3.2
3.3 PREVISÃO DE CARGAS
A carga a considerar para um equipamento de utilização é a potência nominal por
ele absorvida, dada pelo fabricante ou calculada a partir da tensão nominal, da
corrente nominal e do fator de potência, nos casos em que for dada a potência
nominal fornecida pelo equipamento (potência de saída), e não a absorvida, devem
ser considerados o rendimento e o fator de potência.
3.3.1 Iluminação
Para os aparelhos fixos de iluminação a descarga, a potência nominal a ser
considerada deve incluir a potência das lâmpadas, as perdas e o fator de potência
dos equipamentos auxiliares.
Em cada cômodo ou dependência deve ser previsto pelo menos um ponto de luz fixo
no teto, comandado por interruptor.
- Nas acomodações de hotéis, motéis e similares pode-se substituir o ponto de luz
fixo no teto por tomada de corrente, com potência mínima de 100VA, comandada
por interruptor de parede.
Projetos Elétricos – Curso Técnico em Eletrotécnica – Escola Master Página 14
- Admite-se que o ponto de luz fixo no teto seja substituído por ponto na parede em
espaços sob escada, depósitos, despensas, lavabos e varandas, desde que de
pequenas dimensões e onde a colocação do ponto no teto seja de difícil execução
ou não conveniente.
3.3.2 Pontos de tomada
Em locais de habitação, os pontos de tomada devem ser determinados e
dimensionados de acordo com:
- Número de pontos:
O número de pontos de tomadas deve ser determinado em função da destinação do
local e dos equipamentos elétricos que podem ser aí utilizados, observando-se no
mínimo os seguintes critérios:
a) Em banheiros, deve ser previsto pelo menos um ponto de tomada, próximo
ao lavatório.
b) Em cozinhas, copas, copas-cozinhas, áreas de serviço, cozinha-área de
serviço, lavanderias e locais análogos, deve ser previsto no mínimo um ponto
de tomada para cada 3,5m, ou fração, de perímetro, sendo que acima da
bancada da pia devem ser previstas no mínimo duas tomadas de corrente, no
mesmo ponto ou em pontos distintos.
c) Em varandas, deve ser previsto pelo menos um ponto de tomada.
d) Em salas e dormitórios devem ser previstos pelo menos um ponto de tomada
para cada 5 m, ou fração, de perímetro, devendo esses pontos ser espaçados
tão uniformemente quanto possível.
e) Em cada um dos demais cômodos e dependências de habitação devem ser
previstos pelo menos:
- um ponto de tomada, se a área do cômodo ou dependência for igual ou
inferior a 2,25 m². Admite-se que esse ponto seja posicionado externamente
ao cômodo ou dependência, a até 0,80 m no máximo de sua porta de acesso;
- um ponto de tomada, se a área do cômodo ou dependência for superior a
2,25 m² e igual ou inferior a 6m²;
- um ponto de tomada para cada 5m, ou fração, de perímetro, se a área do
cômodo ou dependência for superior a 6 m², devendo esses pontos ser
espaçados tão uniformemente quanto possível.
- Potências atribuíveis aos pontos de tomadas:
A potência a ser atribuída a cada ponto de tomada é função dos equipamentos que
ele poderá vir alimentar e não deve ser inferior aos seguintes valores mínimos:
a) Em banheiros, cozinhas, copas-cozinhas, áreas de serviço, lavanderias e
locais análogos, no mínimo 600 VA por ponto de tomada, até 03 pontos, e
100 VA por ponto para os excedentes, considerando-se cada um desses
ambientes separadamente. Quando o total de tomadas no conjunto desses
ambientes for superior a 06 pontos, e 100 VA por ponto para os excedentes,
sempre considerando cada um dos ambientes separadamente;
b) Nos demais cômodos ou dependências, no mínimo 100 VA por ponto de
tomada.
Segue abaixo a TAB. 3.3 contemplando potências típicas de alguns aparelhos
eletrodomésticos.
Projetos Elétricos – Curso Técnico em Eletrotécnica – Escola Master Página 15
TABELA 3.3
Projetos Elétricos – Curso Técnico em Eletrotécnica – Escola Master Página 16
4 DEMANDA
Se observarmos o funcionamento de uma instalação elétrica, seja ela residencial,
comercial ou industrial, poderemos constatar que a potência elétrica consumida pela
mesma é variável a cada instante. Tal fato ocorre porque as diversas cargas que
compõe esta instalação não estarão todas em funcionamento simultâneo. A potência
total solicitada pela instalação à rede a cada instante, será portanto, função da
quantidade de cargas em operação e da potência elétrica absorvida por cada uma
delas.
Desta forma, para a análise de uma instalação e a determinação da capacidade
(dimensionamento) dos condutores elétricos que alimentam os quadros de
distribuição e os quadros terminais, bem como o dimensionamento de seus
respectivos dispositivos de proteção, não seria razoável do ponto de vista técnico
econômico que se considerasse a carga utilizada como a instalada.
DEFINIÇÕES FUNDAMENTAIS
a) Carga ou Potência Instalada
É a soma das potências nominais de todos os aparelhos elétricos pertencentes a
uma instalação ou sistema. Entende-se por potência nominal aquela registrada na
placa do aparelho ou máquina. Na ausência deste dado, será considerada como
potência nominal, a potência atribuída no projeto para aquele determinado ponto
elétrico.
b) Demanda
É a potência elétrica realmente absorvida em um determinado instante por um
aparelho ou um sistema.
c) Demanda média
É a potência elétrica média absorvida durante um intervalo de tempo determinado.
Para este intervalo podem-se tomar 10 minutos, 15 minutos (mais comum), 30
minutos, etc., obtendo-se demandas de 10, 15, 30 minutos, etc.
d) Demanda máxima
É a maior de todas as demandas ocorridas em um período de tempo determinado. A
demanda máxima representa, portanto, a maior média de todas as demandas (10,
15 ou 30 minutos) verificadas em um dado período (um dia, uma semana, um mês,
um ano).
e) Demanda provável
É a demanda máxima da instalação. Este é o valor que será utilizado para o
dimensionamento dos condutores alimentadores e dos respectivos dispositivos de
proteção.
f) Fator de Demanda (FD)
É a razão entre a demanda máxima e a potência instalada. Mostrada na equação
abaixo:
Projetos Elétricos – Curso Técnico em Eletrotécnica – Escola Master Página 17
5 DIVISÃO EM CIRCUITOS
5.1 LOCAÇÃO DO PONTOS ELÉTRICOS
Ao fazer a locação dos pontos em plana, o projetista deverá estar atento às
seguintes recomendações:
a) Observar o projeto arquitetônico, o projeto estrutural e os demais projetos de
utilidades do edifício, evitando locar pontos elétricos sobe elementos
estruturais (pilares ou vigas de concreto) ou interferência com outras
instalações (por exemplo, com pontos dos projetos de instalações telefônicas,
hidráulicas, sanitárias, de combate a incêndio, de segurança patrimonial,
etc.);
b) Observar o layout detalhado no projeto de ambientação, ou, na ausência
deste, manter uma interlocução com o cliente, visando localizar os pontos de
maneira a:
- Distribuir uniformemente os pontos de iluminação geral e prever pontos de
iluminação para destaques específicos;
- Distribuir uniformemente as tomadas de uso geral;
- Prever a localização de tomadas sobre as eventuais bancadas existentes em
copas, cozinhas, áreas de serviço e banheiros (recomenda-se que sobe cada
bancada seja previsto no mínimo uma tomada de uso geral a 0,30 m de altura da
mesma);
- Localizar de maneira apropriada os comandos dos pontos de iluminação,
prevendo interruptores simples, duplos, triplos, paralelos ou intermediários onde
se fizer necessário.
c) No que se refere às instalações do condomínio, definir:
- A localização dos motores para elevadores, bombas de recalque d’água,
bombas de drenagem, bombas do sistema de combate a incêndio, bombas para
piscinas, portões de acesso, etc, bem como a localização dos seus respectivos
quadros de comando, observando as áreas específicas destinadas a estes fins e
as recomendações dos fabricantes destes equipamentos;
- Prever a utilização de minuteiras e/ou interruptores temporizados para o
comando dos pontos de iluminação de escadas, hall’s e circulações;
- Prever a utilização de interruptores diversos e/ou comandos nos próprios
quadros para os pontos de iluminação do subsolo, pavimento térreo, portaria,
áreas externas, jardins, piscinas, quadras esportivas, etc;
- Prever a utilização de porteiros eletrônicos, sinalizadores para acesso de
veículos, sinalizadores de obstáculos, alarmes, etc.
Exemplo:
As FIG. 5.1 e 5.2, e TAB. 5.1, exemplificam a locação dos pontos elétricos em um
pequeno apartamento.
Projetos Elétricos – Curso Técnico em Eletrotécnica – Escola Master Página 18
FIGURA 5.1
FIGURA 5.2
Projetos Elétricos – Curso Técnico em Eletrotécnica – Escola Master Página 19
TABELA 5.1
5.2 DIVISÃO DA INSTALAÇÃO EM CIRCUITOS
A divisão em circuitos terminais facilitará a operação e manutenção da instalação,
além de reduzir a interferência entre os pontos de utilização. Como consequência,
os circuitos terminais individualizados terão reduzidas a queda de tensão e a
corrente nominal, o que possibilitará o dimensionamento de condutores e
dispositivos de proteção de menor seção e capacidade nominal.
Cada Circuito terminal será ligado a um dispositivo de proteção. No caso das
instalações residenciais, poderão ser utilizados disjuntores termomagnéticos ou
disjuntores residuais diferenciais (DR).
OBJETIVOS
- Limitar as consequências de uma falta (curto circuito), a qual provocará apenas o
seccionamento do circuito defeituoso;
- Facilitar as verificações, os ensaios e a manutenção;
- Evitar os perigos que possam resultar da falha de um circuito único, como no caso
de iluminação.
RECOMENDAÇÕES
- Toda instalação deve ser dividida em circuitos, de forma que cada um possa ser
seccionado, sem risco de realimentação inadvertida por meio de outro circuito;
- Os circuitos terminais devem ser individualizados pela função dos equipamentos de
utilização que alimentam. Em particular, devem ser previstos circuitos distintos para
iluminação e tomadas de serviço;
- Devem ser previstos circuitos independentes para as tomadas de uso geral da
cozinha, copa e área de serviço;
- Equipamentos que absorvam corrente igual ou superior a 10 A devem possuir
tomada de uso específico;
- Deve ser previsto um circuito individual para cada tomada de uso específico (TUE);
- A potência dos circuitos, com exceção de circuitos exclusivos para TUE deve estar
limitada a 1200 VA em 127 V, ou 2200 VA em 220 V;
- Em instalações com 02 ou 03 fases, as cargas devem ser distribuídas
uniformemente entre as fases de modo a obter-se o maior equilíbrio possível.
TENSÃO DOS CIRCUITOS
Projetos Elétricos – Curso Técnico em Eletrotécnica – Escola Master Página 20
As FIG. 5.3, 5.4 e 5.5 ilustram as ligações dos circuitos presentes no quadro de
distribuição.
FIGURA 5.3
FIGURA 5.4
Projetos Elétricos – Curso Técnico em Eletrotécnica – Escola Master Página 21
FIGURA 5.5
5.3 QUADRO DE DISTRIBUIÇÃO DE CARGAS
Concluída a divisão de cargas em circuitos terminais, será identificado na planta, ao
lado de cada ponto de luz ou tomada, o número do seu respectivo circuito.
Os circuitos terminais terão sua origem, comando e proteção nos quadros. As partes
componentes de um quadro são:
- Disjuntor Geral;
- Barramento de interligação das fases;
- Disjuntores dos circuitos terminais;
- Barramento de neutro;
- Barramento de proteção;
As FIG. 5.6 e 5.7 mostram exemplos de quadros de distribuição.
Projetos Elétricos – Curso Técnico em Eletrotécnica – Escola Master Página 22
FIGURA 5.6
FIGURA 5.7
Projetos Elétricos – Curso Técnico em Eletrotécnica – Escola Master Página 23
5.4 DESENHO DA INSTALAÇÃO ELÉTRICA
Alguns exemplos de representações de circuitos e quadros de distribuição
localizados na planta baixa de instalações estão presentes nas FIG. 5.8, 5.9 e 5.10.
FIGURA 5.8
Projetos Elétricos – Curso Técnico em Eletrotécnica – Escola Master Página 24
FIGURA 5.9
Projetos Elétricos – Curso Técnico em Eletrotécnica – Escola Master Página 25
FIGURA 5.10
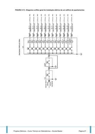
5.5 DIAGRAMAS UNIFILARES
Os diagramas unifilares são desenhos esquemáticos com objetivo de efetuar a
representação das ligações elétricas por meio de uma linha. Já os diagramas
multifilares utilizam mais de uma linha ou traço para efetuar a mesma representação.
Tais diagramas podem ser utilizados para indicar as ligações de quadros de
distribuição ou ainda o próprio sistema elétrico de entrada da concessionária que
chega a instalação.
As FIG. 5.11, 5.12 e 5.13 mostram alguns exemplos destes diagramas.
Projetos Elétricos – Curso Técnico em Eletrotécnica – Escola Master Página 26
FIGURA 5.11 - Diagrama Multifilar de um quadro de distribuição de circuitos
FIGURA 5.12 - Diagrama unifilar do quadro de distribuição de um apartamento
Projetos Elétricos – Curso Técnico em Eletrotécnica – Escola Master Página 27
FIGURA 5.13 - Diagrama unifilar geral da instalação elétrica de um edifício de apartamentos
Projetos Elétricos – Curso Técnico em Eletrotécnica – Escola Master Página 28
6 FORNECIMENTO DE ENERGIA
6.1 SISTEMAS DE DISTRIBUIÇÃO
As companhias concessionárias de energia estabelecem, por meio de suas normas
técnicas, os padrões, limites e tipos de fornecimento para unidades consumidoras
individuais e edificações coletivas, em função de suas potências instaladas e das
demandas máximas previstas.
A partir destes dados, define-se o atendimento será em tensão primária ou em
tensão secundária e, neste caso, o número de condutores que interliga a unidade
consumidora ao sistema de distribuição da concessionária, conforme sejam
consumidores monofásicos, bifásicos ou trifásicos.
Os sistemas de distribuição são caracterizados por sua tensão nominal, número de
condutores fases e neutro e pela frequência nominal, padronizada em 60 Hz no
Brasil.
A FIG. 6.1 apresenta exemplos de sistemas de distribuição em tensão secundária
mais usuais em nosso país.
FIGURA 6.1
Projetos Elétricos – Curso Técnico em Eletrotécnica – Escola Master Página 29
6.2 DEFINIÇÕES
As normas das concessionárias estabelecem as definições dos termos técnicos
utilizados, de forma a tornar clara a aplicação das recomendações nelas
estabelecidas. Estas definições têm por base as normas nacionais da ABNT, que
são complementadas por definições específicas de cada concessionária. São as
normas de referência nacional:
- NBR 5460: Eletrotécnica e Eletrônica – Sistemas Elétricos de Potência –
Terminologia;
- NBR 5463: Tarifas de Energia Elétrica – Terminologia;
- NBR 5473: Instalação Elétrica Predial – Terminologia.
Seguem abaixo alguns termos presentes na norma técnica da EDP – ESCELSA:
- Caixa de barramentos: caixa destinada a receber os condutores do ramal de
distribuição principal alojando barras de cobre em seu interior.
- Caixa de derivação: caixa destinada a receber os condutores do ramal principal de
distribuição alojando condutores flexíveis em seu interior.
- Circuito alimentador: condutores isolados, instalados entre a proteção geral e o
quadro de distribuição da unidade consumidora.
- Concessionária de Energia Elétrica: pessoa jurídica detentora de concessão
federal para explorar a prestação de serviços públicos de distribuição de energia
elétrica.
- Consumidor: Pessoa física ou jurídica de direito público ou privado, legalmente
representada que solicite o fornecimento, a contratação de energia ou o uso do
sistema elétrico à distribuidora, assumindo as obrigações decorrentes deste
atendimento à(s) sua(s) unidade(s), segundo disposto nos padrões e nos contratos.
- Edificação de Uso Individual: toda e qualquer construção em imóvel reconhecido
pelos poderes públicos constituindo uma única unidade de consumo.
- Edificações de Uso Coletivo: toda edificação com mais de uma unidade de
consumo e que dispõe de área de uso comum cujo consumo de energia elétrica
desta área comum seja de responsabilidade do condomínio juridicamente
constituído.
- Entrada de Serviço: conjunto de equipamentos, condutores e acessórios
compreendidos entre o ponto de derivação da rede secundária e a medição e
proteção, inclusive da unidade consumidora.
- Medidor de Energia Elétrica: aparelho destinado a medir e registrar o consumo de
energia elétrica ativa e/ou reativa, instalado pela concessionária.
- Ponto de Entrega: é o ponto de conexão do sistema elétrico da distribuidora com a
unidade consumidora e situa-se no limite da via pública com a propriedade onde
esteja localizada a unidade consumidora.
- Ramal de distribuição: conjunto de condutores e acessórios entre o barramento da
caixa de seccionamento até a caixa de medição.
- Ramal de Entrada: conjunto de eletrodutos, condutores elétricos e acessórios
instalados entre o ponto de entrega e a medição e proteção, inclusive.
- Ramal de Ligação: conjunto de condutores e seus acessórios instalados entre o
ponto de derivação da rede de distribuição secundária da concessionária e o ponto
de entrega.
Projetos Elétricos – Curso Técnico em Eletrotécnica – Escola Master Página 30
7 DIMENSIONAMENTO DE CONDUTORES ELÉTRICOS
7.1 OBJETIVOS
Dimensionar um circuito é definir a seção mínima dos condutores, de forma a
garantir que os mesmos suportem satisfatoriamente e simultaneamente as
condições de:
- Limite de temperatura, determinado pela capacidade de condução de corrente;
- Limite de queda de tensão;
- Capacidade dos dispositivos de proteção contra sobrecargas;
- Capacidade de condução da corrente de curto-circuito por tempo limitado.
Uma vez determinadas as seções dos condutores pelos critérios da capacidade de
corrente e do limite de queda de tensão, adota-se como resultado a maior seção,
e escolhe-se o condutor padronizado comercialmente, cuja seção nominal seja igual
ou superior à seção calculada.
A seguir veremos como analisar cada critério.
7.2 CRITÉRIOS
7.2.1 Capacidade de condução de corrente
Este critério, normalmente, é o ponto de partida natural do processo de
dimensionamento de condutores, considerado muitas vezes critério pivô.
Na seção 6.2.5 da NBR 5410/2004 encontramos as informações pertinentes a
aplicação deste critério de forma genérica, mas para fins didáticos serão utilizadas
quatro tabelas que estão identificadas neste documento como TAB. 7.2a, 7.2b, 7.2c
e 7.2d as quais mostram os valores de corrente elétrica já calculados para algumas
condições específicas.
A nível de projetos mais simples é suficiente para o dimensionamento, contudo, em
situações que possuam condições muito diferentes das prescritas nas tabelas, é
recomendado consultar a norma NBR 5410 e NBR 11301.
Como tais cálculos fogem do escopo do curso, eles não serão abordados.
A TAB. 7.1 mostra as temperaturas características dos condutores classificados
quanto ao tipo de isolação.
TABELA 7.1
Projetos Elétricos – Curso Técnico em Eletrotécnica – Escola Master Página 31
TABELA 7.2a – Capacidades de condução de corrente, em ampères, para os métodos de
referência A1, A2, B1, B2, C e D
A TAB. 7.2a respeita as seguintes condições:
Condutores: cobre e alumínio
Isolação: PVC
Temperatura do condutor: 70ºC
Temperaturas de referência do ambiente: 30ºC (ar), 20ºC (solo)
Projetos Elétricos – Curso Técnico em Eletrotécnica – Escola Master Página 32
TABELA 7.2b – Capacidades de condução de corrente, em ampères, para os métodos de
referência A1, A2, B1, B2, C e D
A TAB. 7.2b respeita as seguintes condições:
Condutores: cobre e alumínio
Isolação: EPR ou XLPE
Temperatura do condutor: 90ºC
Temperaturas de referência do ambiente: 30ºC (ar), 20ºC (solo)
Projetos Elétricos – Curso Técnico em Eletrotécnica – Escola Master Página 33
TABELA 7.2c – Capacidades de condução de corrente, em ampères, para os métodos de
referência E, F e G
A TAB. 7.2c respeita as seguintes condições:
Condutores: cobre e alumínio
Isolação: PVC
Temperatura do condutor: 70ºC
Temperaturas de referência do ambiente: 30ºC
Projetos Elétricos – Curso Técnico em Eletrotécnica – Escola Master Página 34
TABELA 7.2d – Capacidades de condução de corrente, em ampères, para os métodos de
referência E, F e G
A TAB. 7.2d respeita as seguintes condições:
Condutores: cobre e alumínio
Isolação: EPR ou XLPE
Temperatura do condutor: 90ºC
Temperaturas de referência do ambiente: 30ºC
Projetos Elétricos – Curso Técnico em Eletrotécnica – Escola Master Página 35
7.2.2 Limite de queda de tensão
A queda de tensão provocada pela passagem de corrente elétrica nos condutores
dos circuitos de uma instalação deve estar dentro de determinados limites máximos,
a fim de não prejudicar o funcionamento dos equipamentos de utilização ligados aos
circuitos terminais.
Os efeitos de uma queda de tensão acentuada nos circuitos alimentadores e
terminais de uma instalação levarão equipamentos a receber em seus terminais,
uma tensão inferior aos valores nominais. Isto é prejudicial ao desempenho dos
equipamentos, que além de não funcionarem satisfatoriamente (redução de
iluminância em circuitos de iluminação, redução de torque ou impossibilidade de
partida de motores, etc.), poderão ter sua vida útil reduzida.
A NBR 5410/2004 estabelece as faixas nominais de tensão dos sistemas elétricos,
conforme tabela 7.3 (anexo A da NBR5410/2004).
TABELA 7.3
A queda de tensão em uma instalação, considerada desde a origem da mesma até o
último ponto de utilização de qualquer circuito terminal, deverá estar dentro dos
limites prefixados pela TAB. 7.4. A referida tabela fixa os valores percentuais
máximos admissíveis para a queda de tensão, em função do valor da tensão
nominal, para os diversos tipos de instalação e cargas.
TABELA 7.4
Alínea Queda de tensão Descrição
a 7%
Calculados a partir dos terminais secundários do transformador MT/BT,
no caso de transformador de propriedade da(s) unidade(s)
consumidora(s)
b 7%
Calculados a partir dos terminais secundários do transformador MT/BT,
no caso da empresa distribuidora de eletricidade, quando o ponto de
entrega for aí localizado
c 5%
Calculados a partir do ponto de entrega, nos demais casos de ponto de
entrega com fornecimento em tensão secundária de distribuição
d 7%
Calculados a partir dos terminais de saída do gerador, no caso de grupo
gerador próprio
Notas:
1 Estes limites de queda de tensão são válidos quando a tensão nominal dos equipamentos
2 Nos casos das alíneas a, b,e d, quando as linhas principais da instalação tiverem comprimento
superior a 100m, as quedas podem ser aumentadas de 0,005% por metro de linha superior a 100m,
sem que, no entanto, essa suplementação seja superior a 0,5%.
3 Em caso algum a queda de tensão nos circuitos terminais pode ser superior a 4%.
Projetos Elétricos – Curso Técnico em Eletrotécnica – Escola Master Página 36
ROTEIRO PARA DIMENSIONAMENTO PELA QUEDA DE TENSÃO
a) Dados necessários
- Maneira de instalar do circuito
- Material do eletroduto (magnético ou não magnético)
- Tipo do circuito (monofásico, ou trifásico)
- Corrente de projeto (IP), em ampères
- Fator de potência médio, do circuito
- Comprimento (l), do circuito, em km
- Tipo de isolação do condutor
- Tensão (V) do circuito, em Volts
- Queda de tensão (e(%)), admissível
b) Cálculo da queda de tensão unitária
A queda de tensão unitária ( ), em Volts/ Ampère.km, do circuito, é calculada
pela expressão:
c) Escolha do condutor
Com o valor de calculado, entramos em uma das tabelas de queda de
tensão para condutores (ver tabelas 7.5, 7.6 e 7.7) que apresente as condições de
instalação indicadas no item a, e nesta encontramos o valor cuja queda de tensão
seja igual ou imediatamente inferior à calculada, encontrando daí a bitola nominal do
condutor correspondente.
Projetos Elétricos – Curso Técnico em Eletrotécnica – Escola Master Página 37
TABELA 7.5 - Queda de tensão unitária, em Volt/Ampère.km, condutores com isolação em PVC
Projetos Elétricos – Curso Técnico em Eletrotécnica – Escola Master Página 38
TABELA 7.6 - Queda de tensão unitária, em Volt/Ampère.km, condutores com isolação em EPR
Projetos Elétricos – Curso Técnico em Eletrotécnica – Escola Master Página 39
TABELA 7.7 - Queda de tensão unitária, em Volt/Ampère.km, condutores com isolação em EPR
7.2.3 Seções mínimas dos condutores
a) Seção mínima do condutor fase
A TAB. 7.8 (NBR 5410/2004) define os valores mínimos das seções para os
condutores fase, neutro e condutor de proteção (PE).
Projetos Elétricos – Curso Técnico em Eletrotécnica – Escola Master Página 40
TABELA 7.8 - Seções mínimas dos condutores
b) Seção do condutor neutro
O condutor neutro, se existir, deve possuir a mesma seção que o(s) condutor(es)
fase nos seguintes casos:
- Em circuitos monofásicos a 2 ou 3 condutores e bifásicos a 3 condutores, qualquer
que seja a seção;
- Em circuitos trifásicos, quando a seção dos condutores fase for inferior ou igual a
25 mm², em cobre ou alumínio;
- Em circuitos trifásicos, quando for prevista a presença de harmônicos, qualquer
que seja a seção.
A TAB. 7.9 (tabela 48 da NBR 5410/2004) define as seções mínimas do condutor
neutro em função do(s) condutor(es) fase. Os valores da tabela são aplicáveis
quando os condutores fase e neutro forem constituídos do mesmo metal.
Projetos Elétricos – Curso Técnico em Eletrotécnica – Escola Master Página 41
TABELA 7.9 – Seção reduzida do condutor neutro
c) Seção do condutor de proteção (PE)
Em um circuito terminal, o condutor de proteção liga as massas dos equipamentos
de utilização e, se for o caso, o terminal “terra” das tomadas de corrente ao terminal
de aterramento do quadro de distribuição respectivo.
A TAB. 7.10 (tabela 58 da NBR 5410/2004) apresenta a seção do condutor de
proteção em função dos condutores fase. Neste caso, os condutores fase e de
proteção tem que ser do mesmo material condutor.
TABELA 7.10 - Seção mínima do condutor de proteção
A seção de qualquer condutor de proteção que não faça parte do mesmo cabo ou
mesmo invólucro que os condutores vivos, devem ser, em qualquer caso, não
inferior à:
- 2,5 mm² em cobre / 16 mm² em alumínio, se possuir proteção mecânica;
- 4 mm² / 16 mm² em alumínio, se não possuir proteção mecânica.
Um condutor de proteção pode ser comum a vários circuitos.
Projetos Elétricos – Curso Técnico em Eletrotécnica – Escola Master Página 42
d) Seção do condutor de aterramento
O condutor de aterramento fará a interligação da barra de aterramento principal
ao(s) eletrodo(s) de aterramento, garantindo a continuidade elétrica do sistema de
aterramento.
As seções convencionais (circulares) dos condutores de aterramento enterrados no
solo estão definidas na TAB. 7.11 (tabela 44ª da NBR 5410/90).
TABELA 7.11 - Seções convencionais de condutores de aterramento
É importante salientar que apesar da TAB. 7.11 ter sido retirada da NBR 5410/1990
a qual não está mais em vigência, estes valores podem ser utilizados como
referência, tendo em vista que são valores convencionais e não fogem dos cálculos
sugeridos pela atualização da norma NBR 5410/2004.
Projetos Elétricos – Curso Técnico em Eletrotécnica – Escola Master Página 43
8 DIMENSIONAMENTO DE ELETRODUTOS
8.1 DEFINIÇÕES E TIPOS
O componente de uma instalação que propicia um meio envoltório, ou invólucro, aos
condutores elétricos é chamado conduto. Dentre os diversos tipos de condutos,
destacam-se os eletrodutos, como aqueles que tem maior aplicação nas
instalações elétricas, sobretudo nas instalações prediais. Em instalações comerciais
ou industriais, além dos eletrodutos, podemos encontrar outros tipos de condutos,
tais como calhas e bandejas metálicas, prateleiras, blocos alveolados, canaletas,
etc.
Tipos:
a) Quanto ao material
- Não metálicos: PVC, plástico com vibra de vidro, polipropileno, polietileno de alta
densidade e fibrocimento;
- Metálicos: aço carbono galvanizado ou esmaltado, alumínio e flexíveis de cobre
espiralado.
b) Quanto a flexibilidade
- Rígidos;
- Flexíveis.
c) Quanto à forma de conexão:
- Roscáveis;
- Soldáveis.
d) Quanto à espessura da parede:
- Leve;
- Semipesado;
- Pesado.
8.2 INSTALAÇÃO DE CONDUTORES EM ELETRODUTOS
Os eletrodutos, calhas e blocos alveolados podem conter condutores de mais de um
circuito, nos seguintes casos:
a) Quando as 03 condições seguintes forem simultaneamente satisfeitas:
- Os circuitos pertençam à mesma instalação, isto é, originem-se do mesmo
dispositivo geral de manobra e proteção, sem a interposição de equipamentos que
transformem a corrente elétrica;
- As seções nominais dos condutores fase estejam contidas em um intervalo de 03
valores normalizados sucessivos;
- Os condutores isolados e os cabos isolados tenham a mesma temperatura máxima
para serviço contínuo.
b) No caso dos circuitos de força e do comando e/ou sinalização de um mesmo
equipamento:
Nos eletrodutos, só devem ser instalados condutores isolados, cabos unipolares ou
cabos multipolares, admitindo-se a utilização de condutor nu em eletroduto isolante
exclusivo, quando tal condutor destinar-se a aterramento.
Projetos Elétricos – Curso Técnico em Eletrotécnica – Escola Master Página 44
8.3 TAXA MÁXIMA DE OCUPAÇÃO
As dimensões internas dos eletrodutos e respectivos acessórios de ligação devem
permitir instalar e retirar facilmente os condutores ou cabos após a instalação dos
eletrodutos e acessórios.
Desta forma, a taxa máxima de ocupação em relação à área de seção transversal
dos eletrodutos não deverá ser superior a:
- 53% no caso de 01 condutor ou cabo;
- 31% no caso de 02 condutores ou cabos;
- 40% no caso de 03 ou mais condutores ou cabos.
A FIG 8.1 ilustra a ocupação de eletrodutos.
FIGURA 8.1
A FIG. 8.2 representa o corte longitudinal e o corte transversal de um eletroduto,
onde temos:
- DE: Diâmetro externo;
- DI: Diâmetro interno;
- e: Espessura da parede; (e = DE – DI)
FIGURA 8.2
Projetos Elétricos – Curso Técnico em Eletrotécnica – Escola Master Página 45
8.4 DIMENSIONAMENTO
Roteiro para dimensionamento de eletrodutos
a) Determina-se a seção total ocupada pelos condutores, aplicando-se taelas de
fabricantes de condutores e cabos (ver TAB. 8.1);
b) Determina-se o diâmetro externo nominal do eletroduto (mm), consultando as
tabelas de fabricantes (ver TAB. 8.2 e 8.3) com o valor encontrado no item
anterior;
c) Caso os condutores instalados em um mesmo eletroduto sejam do mesmo
tipo e tenha seções nominais iguais, podem-se eliminar os itens “a” e “b”,
encontrando-se o diâmetro externo nominal do eletroduto em função da
quantidade e seção dos condutores, diretamente por tabelas específicas (ver
TAB. 8.4 e 8.5).
TABELA 8.1 – Dimensões totais dos condutores isolados
TABELA 8.2 - Eletrodutos de PVC rígido roscável
Projetos Elétricos – Curso Técnico em Eletrotécnica – Escola Master Página 46
TABELA 8.3 - Eletrodutos de aço carbono roscável - leve
TABELA 8.4 - Ocupação máxima dos eletrodutos de PVC por condutores de mesma bitola
(Fios ou Cabos unipolares 450/750 V BWF Antichama)
Projetos Elétricos – Curso Técnico em Eletrotécnica – Escola Master Página 47
TABELA 8.5 - Ocupação máxima dos eletrodutos de aço por condutores de mesma bitola (Fios
ou cabos unipolares 450/750 V BWF Antichama)
8.5 CAIXAS DE DERIVAÇÃO
As caixas de derivação têm funções de abrigar equipamentos, abrigar emendas de
condutores, limitar o comprimento de trechos de tubulação, ou ainda limitar o
número de curvas entre os diversos trechos de uma tubulação.
A FIG. 8.3 mostra alguns tipos de caixas de derivação.
FIGURA 8.3 - Caixas de Derivação
Projetos Elétricos – Curso Técnico em Eletrotécnica – Escola Master Página 48
9 DISPOSITIVOS DE PROTEÇÃO CONTRA SOBRECORRENTES
DEFINIÇÕES
a) Dispositivos de manobra ou de comando
São equipamentos elétricos destinados a ligar ou desligar um circuito em condições
normais de operação. Portanto, os dispositivos de manobra são dispositivos capazes
de estabelecer, conduzir e interromper a corrente elétrica de um ou mais circuitos,
dentro de seus valores nominais.
Como exemplo de dispositivos de manobra temos os interruptores, os disjuntores, as
chaves seccionadoras, os contatores, as chaves faca, os botões de comando
(botoeiras), etc.
É importante observar que tais equipamentos não têm a função de proteger os
circuitos, mas apenas e tão somente, comandá-los. Desta forma, a atuação destes
equipamentos não é automática, isto é, depende sempre da intervenção direta ou
indireta do operador.
Estes equipamentos são dimensionados, tomando-se por base as características
nominais do circuito ao qual estão conectados, tais como: tensão nominal, corrente
nominal, capacidade de ruptura, frequência, regime de carga, etc.
b) Dispositivos de proteção contra sobrecorrentes
São equipamentos elétricos capazes e estabelecer, conduzir e interromper em
condições normais de operação de um circuito, bem como estabelecer, conduzir e
interromper automaticamente correntes em condições anormais, de forma a, dentro
de condições especificadas, limitar a ocorrência desta grandeza em módulo e tempo
de duração.
Os dispositivos de proteção contra sobrecorrentes são capazes de proteger os
circuitos contra correntes de curto-circuito e/ou correntes de sobrecarga.
Como exemplos destes dispositivos podemos citar os disjuntores, os fusíveis, os
relês térmicos, etc.
c) Corrente nominal
A corrente nominal (In) de um dispositivo de manobra ou de proteção é o valor eficaz
da corrente de regime contínuo que o dispositivo é capaz de conduzir
indefinidamente, sem que a elevação de temperatura de suas diferentes partes
exceda os valores especificados em norma.
d) Sobrecorrentes
São correntes elétricas cujos valores excede o valor da corrente nominal. As
sobrecorrentes podem ser originadas por solicitação do circuito acima de suas
características de projeto (sobrecargas) ou por falta elétrica (curto-circuito).
e) Correntes de sobrecarga
As sobrecargas caracterizam-se por provocar no circuito correntes superiores à
corrente nominal, oriundas de solicitações dos equipamentos acima de suas
capacidades nominais. Este é o caso de motores acionando cargas permanentes ou
transitórias acima de sua potência nominal. As sobrecargas produzem a elevação da
corrente do circuito a valores, em geral, de algum percentual acima do valor nominal
e trazem efeitos térmicos prejudiciais ao sistema.
f) Correntes de curto-circuito
Projetos Elétricos – Curso Técnico em Eletrotécnica – Escola Master Página 49
10 ATERRAMENTO
10.1 ATERRAMENTO
Aterramento é a ligação elétrica intencional com a terra. Esta ligação visa propriciar
um meio favorável e seguro (de baixíssima resistência elétrica e robustez mecânica
conveniente) ao percurso de correntes elétricas perigosas e indesejáveis. É o caso
das descargas elétricas produzidas por fenômenos atmosféricos (raios) ou ainda por
ocasião das faltas elétricas.
Falta (elétrica) é o contato ou arco acidental entre as partes sob potenciais
diferentes, e/ou de uma ou mais dessas partes para terra, num sistema ou
equipamento elétrico energizado. Nesta ocasião e neste percurso, flui a correte de
falta, função da diferença de potencial para a terra e da resistência de falta.
As instalações elétricas estão sujeitas a defeitos como falhas de isolamento de
condutores ou partes energizadas que, em contato com superfícies condutoras,
poderão coloca-las sob um potencial elétrico diferente do da terra.
Por outro lado, algumas instalações utilizam a propriedade condutora da superfície
da terra como meio funcional.
TIPOS DE ATERRAMENTO
Em uma instalação elétrica, poderemos ter 02 tipos de aterramento:
a) Aterramento Funcional
O aterramento por razões funcionais deve ser utilizado para garantir o
funcionamento correto dos equipamentos, ou para permitir o funcionamento
adequado da instalação, o condutor neutro, assim denominado pois o seu potencial
elétrico é (teoricamente) nulo em relação ao potencial da terra.
b) Aterramento de Proteção
Ligação das massas (carcaças metálicas de quadros de distribuição, de
transformadores de motores, eletrodutos metálicos, etc.) e de elementos condutores
estranhos à instalação à terra, com o objetivo de garantir a proteção contra contatos
indiretos.
O condutor de proteção é representado pelas letras PE (Protection to Earth) e, em
condutores isolados, deve-se usar a cor verde ou verde-amarela.
COMPONENTES DE UM SISTEMA DE ATERRAMENTO
Conforme NBR 5410, todo e qualquer tipo de instalação elétrica predial deve possuir
um sistema de aterramento.
A FIG. 10.1 mostra os principais componentes do sistema de aterramento.
Projetos Elétricos – Curso Técnico em Eletrotécnica – Escola Master Página 50
FIGURA 10.1 - Componentes de um sistema de aterramento
10.2 EFEITOS DA CORRENTE ELÉTRICA SOBRE O CORPO HUMANO
A TAB. 10.1 apresenta os efeitos fisiológicos da corrente elétrica alternada de
frequência 15 a 100 Hz, trajeto mão esquerda – pés, em pessoas de, no mínimo, 50
kg.
TABELA 10.1 - Efeitos da corrente elétrica sobre o corpo humano
Projetos Elétricos – Curso Técnico em Eletrotécnica – Escola Master Página 51
10.3 TENSÃO DE CONTATO
Como já vimos anteriormente, na TAB. 10.1, a corrente elétrica e o tempo de sua
circulação através do corpo humano são grandezas mais consideráveis nos efeitos
dos choques elétricos sobre as pessoas.
Porém, o valor da corrente depende, naturalmente, da diferença de potencial a que
fica submetido o corpo humano por ocasião do choque elétrico, bem como da
impedância elétrica deste percurso, para a qual contribuem resistência do corpo
humano e a resistência de contato.
A tensão que pode existir acidentalmente entre 02 pontos simultaneamente
acessíveis é conhecida como Tensão de Contato. Em choque elétrico, a tensão de
contato é a diferença de potencial a que um pessoa fica sujeita ao tocar,
simultaneamente, em dois pontos que se encontram sob potenciais elétricos
diferentes.
A FIG. 10.2 ilustra esta situação.
FIGURA 10.2 - Tensão de contato e tensão de falta
10.4 PROTEÇÃO CONTRA CHOQUES ELÉTRICOS
Os choques elétricos podem ocorrer basicamente de 02 maneiras:
a) Contato direto
Contato de pessoas ou de animais domésticos com partes vivas da instalação.
A FIG. 10.3 ilustra o contato direto.
Projetos Elétricos – Curso Técnico em Eletrotécnica – Escola Master Página 52
FIGURA 10.3 - Choque elétrico por contato direto
b) Contato indireto
O contato de pessoas ou de animais domésticos com massas que ficaram
acidentalmente sob tensão.
A FIG. 10.4 ilustra o contato indireto.
FIGURA 10.4 - Choque elétrico por contato indireto
As medidas de proteção contra os choques elétricos podem ser classificadas como:
- Medidas de proteção ativas:
Ocorrerá o seccionamento automático da alimentação, visando impedir que uma
tensão de contato se mantenha por um tempo que possa resultar em risco de defeito
fisiológico perigoso para as pessoas ou animais domésticos.
Projetos Elétricos – Curso Técnico em Eletrotécnica – Escola Master Página 53
- Medidas de proteção passivas:
Visam limitar o valor da corrente elétrica que possa atravessar o corpo humano,
através de um eficiente aterramento das massas, bem como impedir, por meio da
isolação das partes vivas, de colocação de barreiras, de obstáculos e de
distanciamento, o contato com as partes energizadas.
10.5 DISJUNTORES DR
É um dispositivo constituído de um disjuntor termomagnético acoplado a um outro
dispositivo: o diferencial residual. Sendo assim, ele conjuga as duas funções.
- Proteção dos condutores do circuito contra sobrecarga e curto-circuito
- As pessoas contra choques elétricos
FIGURA 10.5
TIPOS DE DISJUNTORES DIFERENCIAIS RESIDUAIS
Os tipos mais usuais de disjuntores residuais de alta sensibilidade (no máximo 30
mA) existentes no mercado são:
- Bipolar
- Tetrapolar
Conforme mostrado na FIG. 10.6.
Projetos Elétricos – Curso Técnico em Eletrotécnica – Escola Master Página 54
FIGURA 10.6
A utilização de proteção diferencial residual (disjuntor ou interruptor) de alta
sensibilidade em circuitos terminais que sirvam a:
- Pontos de tomadas de corrente de uso geral e específico e pontos de iluminação
em cozinhas, copas-cozinhas, lavanderias, áreas de serviço, garagens e, no geral, a
todo local interno molhado em uso normal ou sujeito a lavagens;
- Pontos de tomadas de corrente em áreas externas;
- Pontos de tomadas de corrente que, embora instaladas em áreas internas, possam
alimentar equipamentos de uso em áreas externas;
- Pontos situados em locais contendo banheira ou chuveiro.
* Embora os circuitos não relacionados acima possam ser protegidos apenas por
disjuntores termomagnéticos, dependendo da realização de alguns cálculos, é mais
seguro e recomendável realizar a proteção contra choques elétricos de todos os
circuitos por meio do emprego de dispositivos DR.
A FIG. 10.7 ilustra o esquemático do quadro de distribuição com disjuntores DRs
instalados.
Projetos Elétricos – Curso Técnico em Eletrotécnica – Escola Master Página 55
FIGURA 10.7 - Desenho esquemático do quadro de distribuição
Projetos Elétricos – Curso Técnico em Eletrotécnica – Escola Master Página 56
REFERÊNCIAS BIBLIOGRÁFICAS
FILHO, Domingos L. L., Projetos de Instalações Elétricas Prediais. 6ª edição, 2001
Ed. Érica.
CAVALIN, Geraldo.CEVERLIN Severino. Instalações Elétricas Prediais. 5ª edição,
2001 Ed. Érica.
NBR-5410 edição 2004
PRYSMIAN, Instalações Elétricas Residenciais, 2006
Projetos Elétricos – Curso Técnico em Eletrotécnica – Escola Master Página 57
NORMAS TÉCNICAS E SIMBOLOGIA
Normas Técnicas
Sigla Significado e natureza
ABNT
Associação Brasileira de Normas Técnicas
Atua em todas as áreas técnicas do país. Os textos das normas são
adotados pelos órgãos governamentais (federais, estaduais e
municipais) e pelas firmas. Compõe-se de normas NB, TB
(terminologia), SB (simbologia), EB (especificação), MB (método de
ensaio) e PB (padronização).
NBR 5410 Instalações elétricas em baixa tensão
NBR 5361 Disjuntores de baixa tensão
NBR 5419 Proteção de estruturas contra descargas atmosféricas
NBR 5444 Símbolos gráficos p/instalações elétricas prediais
NBR 5461 Iluminação
NBR 5431
Caixas de derivação para uso em instal. Elétricas domésticas e
análogas
NBR 6235
Caixas de derivação para uso em instalações elétricas domésticas e
análogas
NBR 6689
Requisitos gerais para condutores de instalações elétricas domésticas e
análogas.
NBR 6150 Eletroduto de PVC rígido
NBR 8302 Luvas sem rosca e terminais sem rosca interna para eletroduto
NBR 5597
Eletroduto rígido de aço-carbono e acessórios com revestimento
protetor,com rosca
DIN
Deutsche Industrie Normen
Associação de normas industriais alemãs. Suas publicações são
devidamente coordenadas com as da VDE.
IEC
International Electrotechnical Comission
Comissão formada por representantes de todos os países
industrializados. As recomendações da IEC, publicadas por esta
Comissão, são parcialmente adotadas na íntegra pelos diversos países
ou, em outros casos, está se procedendo a uma aproximação ou
adaptação das normas nacionais ao texto destas internacionais.
NEMA
National Electrical Manufactures Association
Associação nacional dos fabricantes de material elétrico (EUA).
VDE
Verband Deutscher Elektrotechniker
Associação de normas alemãs, que publica normas e recomendações
da área de eletricidade.
Projetos Elétricos – Curso Técnico em Eletrotécnica – Escola Master Página 58
Simbologia
Tomada baixa a 300mm do piso acabado
Tomada média 1100 a 1300mm do piso acabado
Tomada alta a 2000mm do piso acabado
Tomada média fase/fase
Antena para rádio e TV
Cigarra
Campainha
Quadro anunciador
Condutor fase no eletroduto
Condutor neutro no eletroduto
Condutor de retorno no eletroduto
Condutor terra no eletroduto
Condutor fase no eletroduto (campainha)
Condutor de retorno no eletroduto (campainha)
Condutor neutro no eletroduto (campainha)
Condutores fase, neutro e terra, seção 2,5mm², pertencentes ao
circuito dois no eletroduto.
Caixa de passagem na parede
Eletroduto que sobe
Eletroduto que desce
Circuito que desce
Circuito que sobe
QLF terminal aparente
QLF terminal embutido
QLF geral aparente
Projetos Elétricos – Curso Técnico em Eletrotécnica – Escola Master Página 59
QLF geral embutido
Interruptor simples de uma seção
Interruptor simples de duas seções
Interruptor simples de três seções
Interruptor simples de uma seção conjugado com tomada
Interruptor paralelo de uma seção
Interruptor paralelo de duas seções
Interruptor paralelo de três seções
Interruptor bipolar
Interruptor intermediário
Pulsador de campainha
Botão de minuteria
Ponto de luz incandescente no teto
Ponto de luz incandescente na parede
Ponto de luz fluorescente no teto
Ponto de luz fluorescente na parede
Lâmpada de sinalização

Apostila projetos elétricos 2015 1

  • 1.
    Componente Curricular: PROJETOSELÉTRICOS Docente: PEDRO PACHECO BACHETI Módulo: III Semestre: 2015/1 Aluno (a): ________________________________________ SÃO MATEUS – 2015 CURSOTÉCNICOELETROTÉCNICA
  • 2.
    Projetos Elétricos –Curso Técnico em Eletrotécnica – Escola Master Página 2 SUMÁRIO 1 CONCEITOS, ATRIBUIÇÕES E RESPONSABILIDADES...................................3 1.1 PROJETO.........................................................................................................3 1.2 ÉTICA...............................................................................................................4 1.3 RESPONSABILIDADE E COMPETÊNCIA PROFISSIONAL............................5 2 PROJETO ELÉTRICO PREDIAL .........................................................................6 2.1 CONCEITO.......................................................................................................6 2.2 ETAPAS DE PROJETO....................................................................................6 2.3 NORMATIZAÇÃO...........................................................................................10 2.4 CRITÉRIOS PARA ELABORAÇÃO ................................................................10 2.5 FLUXOGRAMA DE ELABORAÇÃO ...............................................................11 3 PREVISÃO DE CARGAS...................................................................................12 3.1 OBJETIVO......................................................................................................12 3.2 ESTIMATIVA PRELIMINAR............................................................................12 3.3 PREVISÃO DE CARGAS................................................................................13 4 DEMANDA .........................................................................................................16 5 DIVISÃO EM CIRCUITOS..................................................................................17 5.1 LOCAÇÃO DO PONTOS ELÉTRICOS...........................................................17 5.2 DIVISÃO DA INSTALAÇÃO EM CIRCUITOS .................................................19 5.3 QUADRO DE DISTRIBUIÇÃO DE CARGAS ..................................................21 5.4 DESENHO DA INSTALAÇÃO ELÉTRICA ......................................................23 5.5 DIAGRAMAS UNIFILARES ............................................................................25 6 FORNECIMENTO DE ENERGIA .......................................................................28 6.1 SISTEMAS DE DISTRIBUIÇÃO......................................................................28 6.2 DEFINIÇÕES..................................................................................................29 7 DIMENSIONAMENTO DE CONDUTORES ELÉTRICOS..................................30 7.1 OBJETIVOS ...................................................................................................30 7.2 CRITÉRIOS....................................................................................................30 8 DIMENSIONAMENTO DE ELETRODUTOS......................................................43 8.1 DEFINIÇÕES E TIPOS...................................................................................43 8.2 INSTALAÇÃO DE CONDUTORES EM ELETRODUTOS ...............................43 8.3 TAXA MÁXIMA DE OCUPAÇÃO ....................................................................44 8.4 DIMENSIONAMENTO....................................................................................45 8.5 CAIXAS DE DERIVAÇÃO...............................................................................47 9 DISPOSITIVOS DE PROTEÇÃO CONTRA SOBRECORRENTES...................48 10 ATERRAMENTO ............................................................................................49 10.1ATERRAMENTO ............................................................................................49 10.2EFEITOS DA CORRENTE ELÉTRICA SOBRE O CORPO HUMANO............50 10.3TENSÃO DE CONTATO.................................................................................51 10.4PROTEÇÃO CONTRA CHOQUES ELÉTRICOS............................................51 10.5DISJUNTORES DR ........................................................................................53 REFERÊNCIAS BIBLIOGRÁFICAS..........................................................................56
  • 3.
    Projetos Elétricos –Curso Técnico em Eletrotécnica – Escola Master Página 3 1 CONCEITOS, ATRIBUIÇÕES E RESPONSABILIDADES 1.1 PROJETO Projetar, no sentido mais geral do termo, é apresentar soluções possíveis de serem implementadas para a resolução de determinados problemas e ou aprimoramentos de implementações. Ainda pode ser entendido como esboço de trabalho que se pretende realizar, que pode utilizar metodologia e técnicas que permitam o melhor planejamento de execução do mesmo. O projeto elétrico se preocupa na definição da forma que a energia elétrica será conduzida da rede de distribuição até os pontos de utilização em uma determinada instalação favorecendo a segurança dos usuários e dos equipamentos presentes na mesma. É, portanto, uma mediação entre duas situações ou dois estados, conforme podemos verificar na FIG. 1.1 FIGURA 1.1 O “projeto” é, em essência, uma antecipação detalhada de uma solução que será implementada para satisfazer determinado objetivo. Por esta razão, o projetista deve preocupar-se com a sua viabilidade, tanto do ponto de vista técnico, como do ponto de vista econômico. Outro aspecto fundamental importância é a qualidade da solução apresentada. Tendo em mente que em boa parte das ocasiões o projetista não estará presente na implantação do projeto, ele deve questionar-se objetivamente: - O projeto é perfeitamente compreensível e esclarecedor? - O projeto apresenta um nível de detalhamento tal que garanta aos seus executores e aos seus usuários que aquilo que está sendo executado na realidade corresponde ao que foi idealizado no projeto? Um projeto é o resultado de uma interação dos sujeitos envolvidos: cliente, profissional projetista e entidades normatizadoras (associações normatizadoras, órgãos do poder público, concessionárias, etc.). Esta interação é dinâmica e pode ser representada pela FIG. 1.2.
  • 4.
    Projetos Elétricos –Curso Técnico em Eletrotécnica – Escola Master Página 4 FIGURA 1.2 FIGURA 1.3 A FIG.1.3 mostra o projeto como solução de engenharia para problemas da necessidade humana. Discriminando a metodologia para resolução de problemas, a interligação da necessidade com o projeto e a execução da solução. Um projeto dinâmico, portanto, pode sofrer revisões (alterações), entretanto o ideal é que as revisões ocorram ainda na fase de projeto. Qualquer revisão, quer seja na fase de projeto ou seja na fase de execução, deve ser devidamente analisada, aprovada pelo projetista e registrada. 1.2 ÉTICA No desempenho de suas tarefas, o Projetista assume uma postura profissional de dimensão ética. Sendo um técnico, um especialista, estará sob sua responsabilidade a análise de problemas complexos para os quais a sociedade espera soluções.
  • 5.
    Projetos Elétricos –Curso Técnico em Eletrotécnica – Escola Master Página 5 Sendo um cidadão, terá em mente o fato de que, em geral, os seus projetos poderão afetar a qualidade de vida de uma comunidade inteira ou parte dela. Daí, espera-se que as suas atividades se realizem no mais elevado nível ético e moral, com objetivos voltados para a segurança e benefício da humanidade. Os CREA e CONFEA possuem o Código de Ética Profissional que é importante ser consultado. 1.3 RESPONSABILIDADE E COMPETÊNCIA PROFISSIONAL Para o desempenho profissional de suas atividades, o Projetista deverá obter habilitação específica por meio de formação em centros educacionais especializados (universidades, faculdades de engenharia, centros de educação tecnológica, escolas técnicas, etc) e o registro no respectivo Conselho Profissional. O registro profissional, no caso de cursos superiores e cursos técnicos da área de engenharia, junto ao CREA – Conselho regional de Engenharia, Arquitetura e Agronomia, confere ao profissional a habilitação necessária, especificando as áreas e os limites de suas atribuições profissionais. Segundo definição do próprio CREA, a função deste é atuar em defesa da sociedade contra os maus profissionais, e não como associação de classe, como poderia nos parecer a princípio. Para a defesa dos interesses dos técnicos e engenheiros existem as Associações e Sindicatos. Cada projeto terá o seu respectivo junto ao CREA, por meio de documento próprio intitulado ART – Anotação de Responsabilidade Técnica. Nesta ocasião, o Conselho verificará se o profissional está habilitado para aquela especialidade, fazendo a respectiva anotação que passará a constar do acervo técnico do profissional. A ART descreve o objeto do projeto, o qual, na forma da legislação em vigor, estará sob responsabilidade do técnico.
  • 6.
    Projetos Elétricos –Curso Técnico em Eletrotécnica – Escola Master Página 6 2 PROJETO ELÉTRICO PREDIAL 2.1 CONCEITO Projetar uma instalação elétrica de um edifício consiste basicamente em: - quantificar, determinar os tipos e localizar os pontos de utilização de energia elétrica; - dimensionar, definir o tipo e o caminhamento dos condutores e condutos; - dimensionar, definir o tipo e a localização dos dispositivos de proteção, de comando, de medição de energia elétrica e demais acessórios. O objetivo de um projeto de instalações elétricas é garantir a transferência de energia desde uma fonte, em geral a rede de distribuição da concessionária ou geradores particulares, até os pontos de utilização (pontos de iluminação, tomadas, motores, etc.). Para que isto se faça de maneira segura e eficaz é necessário que o projeto seja elaborado, observando as prescrições das diversas normas técnicas aplicáveis. 2.2 ETAPAS DE PROJETO Sendo a representação escrita de uma instalação, o projeto consiste basicamente em desenhos e documentos. De uma maneira geral, em um projeto de instalações de edifícios coletivos, são necessários: - ART - Carta de Solicitação de Aprovação à Concessionária - Memorial Descritivo - Memorial de Cálculo: Cálculo de Demanda Dimensionamento dos Condutores Dimensionamentos dos Condutos Dimensionamento das Proteções - Plantas: Planta de Situação Planta dos Pavimentos - Esquemas Verticais (Prumadas): Elétrica Antena Coletiva Porteiro Eletrônico Outras Instalações Complementares (alarme, segurança, iluminação de emergência, etc.) - Quadros: Quadros de Distribuição de Cargas Diagramas Multifilares (ou Unifilares) - Detalhes: Ramal de entrada
  • 7.
    Projetos Elétricos –Curso Técnico em Eletrotécnica – Escola Master Página 7 Caixa Seccionadora Centros de medição SPDA Caixas de Passagem Aterramentos Outros (conforme necessidade) - Convenções - Especificações - Lista de Materiais Para satisfazer os documentos requisitados, o projeto pode ser dividido em etapas, seguem algumas sugeridas a serem seguidas. 2.2.1 Informações Preliminares Nesta etapa, projetista procurará obter das diversas fontes todas as informações necessárias para a formação da concepção geral do projeto a ser desenvolvido, por meio de: - Planta de Situação: Localização dos acessos à instalação, bem como da rede de distribuição de energia elétrica da concessionária que atende o local, verificando a existência, tipo de fornecimento, localização da mesma em relação à instalação e possíveis pontos de derivação para o atendimento. - Projeto arquitetônico: Plantas, cortes, detalhes, fachadas, etc. Obtêm-se a partir daí todas as dimensões, inclusive pé direito, de todos os recintos e áreas externas, bem como a sua respectiva utilização. - Projetos complementares: Projeto estrutural, projetos de instalações sanitárias, de águas pluviais, de combate a incêndio, de sonorização e outros. Neste ponto, devem ser observadas possíveis restrições e interferências com vigas, pilares, espessura de lajes, cruzamento de tubulações, localização de prumadas e quadros. Devemos ter em mente que o projeto de instalações elétricas deve ser elaborado em harmonia com os demais projetos de utilidades da instalação. - Informações obtidas com o proprietário, arquiteto ou responsável: Localização preferencial dos pontos de utilização conforme as necessidades do proprietário; Previsão de cargas ou aparelhos especiais como ar condicionado, aquecedor, etc; Previsão de utilização de determinadas linhas de materiais e sistemas de instalações; Previsão para futuros acréscimos de cargas e sistemas, previsão para utilização de alimentação elétrica de segurança e/ou de substituição para determinadas situações, locais ou cargas.
  • 8.
    Projetos Elétricos –Curso Técnico em Eletrotécnica – Escola Master Página 8 2.2.2 Quantificação do Sistema Com os dados obtidos nas informações preliminares, e de pose das normas técnicas aplicáveis, no caso a NBR 5410/2004, o projetista estará em condições de fazer um levantamento da previsão de cargas do projeto, tanto em termos da quantidade de pontos de utilização, quanto da potência nominal dos mesmos. - Previsão de tomadas; - Previsão de iluminação; - Previsão de cargas especiais: elevadores, bombas de recalque d’água, bombas de drenagem, bombas de combate a incêndio, etc. 2.2.3 Determinação do Padrão de Atendimento Concluída a etapa anterior, e tendo às mãos as normas técnicas da concessionária local, o projetista determinará a demanda de cada consumidor da instalação e sua respectiva categoria de atendimento conforme os padrões da concessionária. Determinará igualmente a provável demanda e o padrão de entrada. - Determinação da Demanda e da Categoria de Atendimento de cada consumidor - Determinação da provável Demanda da Instalação e Classificação da Entrada de Serviço. 2.2.4 Desenho das Plantas Esta etapa compreende basicamente: - Desenho dos pontos de utilização; - Localização dos quadros de distribuição de luz (QL) e quadros de força (QF); - Divisão de cargas em circuitos terminais; - Desenho das tubulações dos circuitos terminais; - Traçado da fiação dos circuitos terminais; - Localização das caixas de passagem dos pavimentos e da prumada; - Localização do Quadro Geral de Baixa Tensão, centros medidores, da caixa seccionadora, do Ramal de Entrada e do Ponto de Entrega; - Desenho das tubulações dos circuitos alimentadores; - Desenho do Esquema Vertical (Prumada); - Traçado da fiação dos circuitos alimentadores. 2.2.5 Dimensionamentos Nesta etapa, serão feitos os dimensionamentos de todos os componentes do projeto, calculados com base nos dados registrados nas etapas anteriores, nas normas técnicas aplicáveis a cada caso e nas tabelas de fabricantes. - Dimensionamento dos condutores; - Dimensionamento das tubulações; - Dimensionamento dos dispositivos de proteção; - Dimensionamento dos Quadros.
  • 9.
    Projetos Elétricos –Curso Técnico em Eletrotécnica – Escola Master Página 9 2.2.6 Quadros de Distribuição e Diagramas Nesta etapa serão elaborados os Quadros de Distribuição de carga (tabelas), que têm a função de representar a distribuição e o dimensionamento dos circuitos. - Quadros de Distribuição de Carga; - Diagramas Unifilares (ou multifilares) dos QL; - Diagramas de Força e Comando dos Motores (QF); - Diagrama Unifilar Geral. 2.2.7 Elaboração dos Detalhes Construtivos O objetivo da elaboração dos detalhes construtivos é facilitar a interpretação do projeto, permitindo, desta maneira, eu o mesmo seja fielmente executado. Vale lembrar que quanto melhor detalhado está um projeto, melhor poderá ser a sua execução. 2.2.8 Memorial Descritivo O memorial descritivo tem por objetivo fazer uma descrição sucinta do projeto, justificando, quando necessário, as soluções adotads. Ele é composto basicamente dos seguintes itens: - Dados básicos de identificação do projeto; - Dados quantitativos do projeto; - Descrição geral do projeto; - Documentação do projeto. 2.2.9 Memorial de Cálculo Neste documento, serão apresentados o resumo dos principais cálculos e dimensionamentos: - Cálculos das previsões de cargas; - Determinação da provável Demanda; - Dimensionamento de Condutores; - Dimensionamento de Eletrodutos; - Dimensionamento dos dispositivos de proteção. 2.2.10 Elaboração das Especificações Técnicas As especificações técnicas detalham os tipos de materiais que serão empregados, chegando ao nível de especificação do fabricante, prevendo, porém, o uso de similares com a mesma qualificação técnica. Neste documento, também, em alguns projetos, relacionam-se os serviços a executar, bem como os procedimentos de sua execução, com a citação das respectivas normas técnicas. 2.2.11 Elaboração da Lista de Material Listagem de todos os materiais que serão empregados na execução do projeto, com as suas respectivas especificações e quantidades.
  • 10.
    Projetos Elétricos –Curso Técnico em Eletrotécnica – Escola Master Página 10 2.2.12 ART Anotação de Responsabilidade Técnica do responsável técnico pelo projeto junto à jurisdição do CREA local. 2.2.13 Análise da Concessionária Análise, pelo órgão técnico da concessionária local, da adequação do projeto às normas técnicas e padrões de fornecimento. Em geral, esta análise fica limitada ao cálculo da demanda, ao padrão de fornecimento, à entrada de serviço e à rede de alimentadores até a chegada nos quadros terminais (prumada). É importante observar que, em hipótese alguma, a análise e posterior aprovação por parte da concessionária exime o projetista de sua responsabilidade técnica. 2.2.14 Revisão do Projeto (se necessário) Possíveis adequações ou modificações para atender à padronização e normas da concessionária. 2.2.15 Aprovação da Concessionária Termo técnico que atesta que o projeto das instalações está de acordo com os padrões e normas técnicas da concessionária, e com o qual o consumidor poderá efetivar o pedido de ligação das instalações à rede de distribuição de energia. 2.3 NORMATIZAÇÃO Um projeto e instalações elétricas de baixa tensão deve observar as normas técnicas, de acordo com a atividade, segue algumas normas técnicas básicas sugeridas: ABNT: - NBR 12483/1992 – Chuveiros elétricos – Padronização - NBR 13418/1995 – Cabos resistentes ao fogo para instalações de segurança – Especificação; - NBR 13570/1996 – Instalações elétricas em locais de afluência de público – Requisitos específicos; - NBR 14011/1997 – Aquecedores instantâneos de água e torneiras elétricas – Requisitos; - NBR 5410/2004 – Instalações Elétricas de Baixa Tensão; - NBR 5419/2005 – Proteção de estruturas contra descargas atmosféricas; - NBR 13534/2008 – Instalações Elétricas de Baixa tensão – Requisitos específicos para instalação em estabelecimentos assistenciais de saúde. - NBR ISSO/CIE 8995-1/2013 – Iluminação de ambientes de trabalho. 2.4 CRITÉRIOS PARA ELABORAÇÃO Na concepção do projeto de instalações elétricas, o projetista deve estar atento a alguns critérios importantes, no que se refere à utilização das instalações projetadas: - Acessibilidade:
  • 11.
    Projetos Elétricos –Curso Técnico em Eletrotécnica – Escola Master Página 11 Todos os pontos de utilização projetados, bem como os dispositivos de manobra e proteção, devem estar em locais perfeitamente acessíveis, que permitam manobra adequada e eventuais manutenções. - Flexibilidade e reserva de carga: A instalação deve ser projetada de forma a permitir uma certa reserva para acréscimos de cargas futuras e alguma flexibilidade para pequenas alterações. - Confiabilidade: As instalações devem ser projetadas em estreito atendimento às normas técnicas, visando garantir o perfeito funcionamento dos componentes do sistema e a integridade física dos seus usuários. 2.5 FLUXOGRAMA DE ELABORAÇÃO O fluxograma básico de elaboração de um projeto é mostrado na FIG. 2.1. Observe- se que o Anteprojeto contém apenas diretrizes gerais que serão seguidas no projeto. Ele é o resultado do estudo preliminar feito pelo projetista com base nas solicitações gerais do cliente e das condições locais. A partir daí, caso haja concordância do cliente, inicia-se a fase de projeto propriamente dita. FIGURA 2.1
  • 12.
    Projetos Elétricos –Curso Técnico em Eletrotécnica – Escola Master Página 12 3 PREVISÃO DE CARGAS 3.1 OBJETIVO Cada aparelho de utilização (lâmpadas, aparelhos de aquecimento d’água, aparelhos eletrodomésticos, motores para máquinas diversas) solicita da rede elétrica uma determinada potência. O objetivo da previsão de cargas é a determinação de todos os pontos de utilização de energia elétrica (pontos de consumo ou cargas) que farão parte da instalação. Ao final da previsão de cargas, estarão definidas a potência, a quantidade e a localização de todos os pontos de consumo de energia elétrica da instalação. 3.2 ESTIMATIVA PRELIMINAR Consiste em um dado preliminar que poderá ser utilizado para consultas prévias às concessionárias e também para subsidiar anteprojetos e orçamentos preliminares para definir a viabilidade da obra. A estimativa preliminar de cargas é feita com base na utilização da instalação (residencial, comercial ou industrial) e na densidade de carga (W / m²). As tabelas 3.1 e 3.2, podem ser utilizadas como base para efetuar este levantamento preliminar de cargas. É importante ressaltar que os valores apresentados nas tabelas são estatísticos e referem-se às cargas de iluminação e tomadas de uso geral (TUG), não incluindo, portanto, as cargas de uso específico tais como, chuveiro e torneiras elétricas, aparelhos e centrais de ar condicionado, e motores diversos (elevadores, bombas de recalque d’água, etc.).
  • 13.
    Projetos Elétricos –Curso Técnico em Eletrotécnica – Escola Master Página 13 TABELA 3.1 TABELA 3.2 3.3 PREVISÃO DE CARGAS A carga a considerar para um equipamento de utilização é a potência nominal por ele absorvida, dada pelo fabricante ou calculada a partir da tensão nominal, da corrente nominal e do fator de potência, nos casos em que for dada a potência nominal fornecida pelo equipamento (potência de saída), e não a absorvida, devem ser considerados o rendimento e o fator de potência. 3.3.1 Iluminação Para os aparelhos fixos de iluminação a descarga, a potência nominal a ser considerada deve incluir a potência das lâmpadas, as perdas e o fator de potência dos equipamentos auxiliares. Em cada cômodo ou dependência deve ser previsto pelo menos um ponto de luz fixo no teto, comandado por interruptor. - Nas acomodações de hotéis, motéis e similares pode-se substituir o ponto de luz fixo no teto por tomada de corrente, com potência mínima de 100VA, comandada por interruptor de parede.
  • 14.
    Projetos Elétricos –Curso Técnico em Eletrotécnica – Escola Master Página 14 - Admite-se que o ponto de luz fixo no teto seja substituído por ponto na parede em espaços sob escada, depósitos, despensas, lavabos e varandas, desde que de pequenas dimensões e onde a colocação do ponto no teto seja de difícil execução ou não conveniente. 3.3.2 Pontos de tomada Em locais de habitação, os pontos de tomada devem ser determinados e dimensionados de acordo com: - Número de pontos: O número de pontos de tomadas deve ser determinado em função da destinação do local e dos equipamentos elétricos que podem ser aí utilizados, observando-se no mínimo os seguintes critérios: a) Em banheiros, deve ser previsto pelo menos um ponto de tomada, próximo ao lavatório. b) Em cozinhas, copas, copas-cozinhas, áreas de serviço, cozinha-área de serviço, lavanderias e locais análogos, deve ser previsto no mínimo um ponto de tomada para cada 3,5m, ou fração, de perímetro, sendo que acima da bancada da pia devem ser previstas no mínimo duas tomadas de corrente, no mesmo ponto ou em pontos distintos. c) Em varandas, deve ser previsto pelo menos um ponto de tomada. d) Em salas e dormitórios devem ser previstos pelo menos um ponto de tomada para cada 5 m, ou fração, de perímetro, devendo esses pontos ser espaçados tão uniformemente quanto possível. e) Em cada um dos demais cômodos e dependências de habitação devem ser previstos pelo menos: - um ponto de tomada, se a área do cômodo ou dependência for igual ou inferior a 2,25 m². Admite-se que esse ponto seja posicionado externamente ao cômodo ou dependência, a até 0,80 m no máximo de sua porta de acesso; - um ponto de tomada, se a área do cômodo ou dependência for superior a 2,25 m² e igual ou inferior a 6m²; - um ponto de tomada para cada 5m, ou fração, de perímetro, se a área do cômodo ou dependência for superior a 6 m², devendo esses pontos ser espaçados tão uniformemente quanto possível. - Potências atribuíveis aos pontos de tomadas: A potência a ser atribuída a cada ponto de tomada é função dos equipamentos que ele poderá vir alimentar e não deve ser inferior aos seguintes valores mínimos: a) Em banheiros, cozinhas, copas-cozinhas, áreas de serviço, lavanderias e locais análogos, no mínimo 600 VA por ponto de tomada, até 03 pontos, e 100 VA por ponto para os excedentes, considerando-se cada um desses ambientes separadamente. Quando o total de tomadas no conjunto desses ambientes for superior a 06 pontos, e 100 VA por ponto para os excedentes, sempre considerando cada um dos ambientes separadamente; b) Nos demais cômodos ou dependências, no mínimo 100 VA por ponto de tomada. Segue abaixo a TAB. 3.3 contemplando potências típicas de alguns aparelhos eletrodomésticos.
  • 15.
    Projetos Elétricos –Curso Técnico em Eletrotécnica – Escola Master Página 15 TABELA 3.3
  • 16.
    Projetos Elétricos –Curso Técnico em Eletrotécnica – Escola Master Página 16 4 DEMANDA Se observarmos o funcionamento de uma instalação elétrica, seja ela residencial, comercial ou industrial, poderemos constatar que a potência elétrica consumida pela mesma é variável a cada instante. Tal fato ocorre porque as diversas cargas que compõe esta instalação não estarão todas em funcionamento simultâneo. A potência total solicitada pela instalação à rede a cada instante, será portanto, função da quantidade de cargas em operação e da potência elétrica absorvida por cada uma delas. Desta forma, para a análise de uma instalação e a determinação da capacidade (dimensionamento) dos condutores elétricos que alimentam os quadros de distribuição e os quadros terminais, bem como o dimensionamento de seus respectivos dispositivos de proteção, não seria razoável do ponto de vista técnico econômico que se considerasse a carga utilizada como a instalada. DEFINIÇÕES FUNDAMENTAIS a) Carga ou Potência Instalada É a soma das potências nominais de todos os aparelhos elétricos pertencentes a uma instalação ou sistema. Entende-se por potência nominal aquela registrada na placa do aparelho ou máquina. Na ausência deste dado, será considerada como potência nominal, a potência atribuída no projeto para aquele determinado ponto elétrico. b) Demanda É a potência elétrica realmente absorvida em um determinado instante por um aparelho ou um sistema. c) Demanda média É a potência elétrica média absorvida durante um intervalo de tempo determinado. Para este intervalo podem-se tomar 10 minutos, 15 minutos (mais comum), 30 minutos, etc., obtendo-se demandas de 10, 15, 30 minutos, etc. d) Demanda máxima É a maior de todas as demandas ocorridas em um período de tempo determinado. A demanda máxima representa, portanto, a maior média de todas as demandas (10, 15 ou 30 minutos) verificadas em um dado período (um dia, uma semana, um mês, um ano). e) Demanda provável É a demanda máxima da instalação. Este é o valor que será utilizado para o dimensionamento dos condutores alimentadores e dos respectivos dispositivos de proteção. f) Fator de Demanda (FD) É a razão entre a demanda máxima e a potência instalada. Mostrada na equação abaixo:
  • 17.
    Projetos Elétricos –Curso Técnico em Eletrotécnica – Escola Master Página 17 5 DIVISÃO EM CIRCUITOS 5.1 LOCAÇÃO DO PONTOS ELÉTRICOS Ao fazer a locação dos pontos em plana, o projetista deverá estar atento às seguintes recomendações: a) Observar o projeto arquitetônico, o projeto estrutural e os demais projetos de utilidades do edifício, evitando locar pontos elétricos sobe elementos estruturais (pilares ou vigas de concreto) ou interferência com outras instalações (por exemplo, com pontos dos projetos de instalações telefônicas, hidráulicas, sanitárias, de combate a incêndio, de segurança patrimonial, etc.); b) Observar o layout detalhado no projeto de ambientação, ou, na ausência deste, manter uma interlocução com o cliente, visando localizar os pontos de maneira a: - Distribuir uniformemente os pontos de iluminação geral e prever pontos de iluminação para destaques específicos; - Distribuir uniformemente as tomadas de uso geral; - Prever a localização de tomadas sobre as eventuais bancadas existentes em copas, cozinhas, áreas de serviço e banheiros (recomenda-se que sobe cada bancada seja previsto no mínimo uma tomada de uso geral a 0,30 m de altura da mesma); - Localizar de maneira apropriada os comandos dos pontos de iluminação, prevendo interruptores simples, duplos, triplos, paralelos ou intermediários onde se fizer necessário. c) No que se refere às instalações do condomínio, definir: - A localização dos motores para elevadores, bombas de recalque d’água, bombas de drenagem, bombas do sistema de combate a incêndio, bombas para piscinas, portões de acesso, etc, bem como a localização dos seus respectivos quadros de comando, observando as áreas específicas destinadas a estes fins e as recomendações dos fabricantes destes equipamentos; - Prever a utilização de minuteiras e/ou interruptores temporizados para o comando dos pontos de iluminação de escadas, hall’s e circulações; - Prever a utilização de interruptores diversos e/ou comandos nos próprios quadros para os pontos de iluminação do subsolo, pavimento térreo, portaria, áreas externas, jardins, piscinas, quadras esportivas, etc; - Prever a utilização de porteiros eletrônicos, sinalizadores para acesso de veículos, sinalizadores de obstáculos, alarmes, etc. Exemplo: As FIG. 5.1 e 5.2, e TAB. 5.1, exemplificam a locação dos pontos elétricos em um pequeno apartamento.
  • 18.
    Projetos Elétricos –Curso Técnico em Eletrotécnica – Escola Master Página 18 FIGURA 5.1 FIGURA 5.2
  • 19.
    Projetos Elétricos –Curso Técnico em Eletrotécnica – Escola Master Página 19 TABELA 5.1 5.2 DIVISÃO DA INSTALAÇÃO EM CIRCUITOS A divisão em circuitos terminais facilitará a operação e manutenção da instalação, além de reduzir a interferência entre os pontos de utilização. Como consequência, os circuitos terminais individualizados terão reduzidas a queda de tensão e a corrente nominal, o que possibilitará o dimensionamento de condutores e dispositivos de proteção de menor seção e capacidade nominal. Cada Circuito terminal será ligado a um dispositivo de proteção. No caso das instalações residenciais, poderão ser utilizados disjuntores termomagnéticos ou disjuntores residuais diferenciais (DR). OBJETIVOS - Limitar as consequências de uma falta (curto circuito), a qual provocará apenas o seccionamento do circuito defeituoso; - Facilitar as verificações, os ensaios e a manutenção; - Evitar os perigos que possam resultar da falha de um circuito único, como no caso de iluminação. RECOMENDAÇÕES - Toda instalação deve ser dividida em circuitos, de forma que cada um possa ser seccionado, sem risco de realimentação inadvertida por meio de outro circuito; - Os circuitos terminais devem ser individualizados pela função dos equipamentos de utilização que alimentam. Em particular, devem ser previstos circuitos distintos para iluminação e tomadas de serviço; - Devem ser previstos circuitos independentes para as tomadas de uso geral da cozinha, copa e área de serviço; - Equipamentos que absorvam corrente igual ou superior a 10 A devem possuir tomada de uso específico; - Deve ser previsto um circuito individual para cada tomada de uso específico (TUE); - A potência dos circuitos, com exceção de circuitos exclusivos para TUE deve estar limitada a 1200 VA em 127 V, ou 2200 VA em 220 V; - Em instalações com 02 ou 03 fases, as cargas devem ser distribuídas uniformemente entre as fases de modo a obter-se o maior equilíbrio possível. TENSÃO DOS CIRCUITOS
  • 20.
    Projetos Elétricos –Curso Técnico em Eletrotécnica – Escola Master Página 20 As FIG. 5.3, 5.4 e 5.5 ilustram as ligações dos circuitos presentes no quadro de distribuição. FIGURA 5.3 FIGURA 5.4
  • 21.
    Projetos Elétricos –Curso Técnico em Eletrotécnica – Escola Master Página 21 FIGURA 5.5 5.3 QUADRO DE DISTRIBUIÇÃO DE CARGAS Concluída a divisão de cargas em circuitos terminais, será identificado na planta, ao lado de cada ponto de luz ou tomada, o número do seu respectivo circuito. Os circuitos terminais terão sua origem, comando e proteção nos quadros. As partes componentes de um quadro são: - Disjuntor Geral; - Barramento de interligação das fases; - Disjuntores dos circuitos terminais; - Barramento de neutro; - Barramento de proteção; As FIG. 5.6 e 5.7 mostram exemplos de quadros de distribuição.
  • 22.
    Projetos Elétricos –Curso Técnico em Eletrotécnica – Escola Master Página 22 FIGURA 5.6 FIGURA 5.7
  • 23.
    Projetos Elétricos –Curso Técnico em Eletrotécnica – Escola Master Página 23 5.4 DESENHO DA INSTALAÇÃO ELÉTRICA Alguns exemplos de representações de circuitos e quadros de distribuição localizados na planta baixa de instalações estão presentes nas FIG. 5.8, 5.9 e 5.10. FIGURA 5.8
  • 24.
    Projetos Elétricos –Curso Técnico em Eletrotécnica – Escola Master Página 24 FIGURA 5.9
  • 25.
    Projetos Elétricos –Curso Técnico em Eletrotécnica – Escola Master Página 25 FIGURA 5.10 5.5 DIAGRAMAS UNIFILARES Os diagramas unifilares são desenhos esquemáticos com objetivo de efetuar a representação das ligações elétricas por meio de uma linha. Já os diagramas multifilares utilizam mais de uma linha ou traço para efetuar a mesma representação. Tais diagramas podem ser utilizados para indicar as ligações de quadros de distribuição ou ainda o próprio sistema elétrico de entrada da concessionária que chega a instalação. As FIG. 5.11, 5.12 e 5.13 mostram alguns exemplos destes diagramas.
  • 26.
    Projetos Elétricos –Curso Técnico em Eletrotécnica – Escola Master Página 26 FIGURA 5.11 - Diagrama Multifilar de um quadro de distribuição de circuitos FIGURA 5.12 - Diagrama unifilar do quadro de distribuição de um apartamento
  • 27.
    Projetos Elétricos –Curso Técnico em Eletrotécnica – Escola Master Página 27 FIGURA 5.13 - Diagrama unifilar geral da instalação elétrica de um edifício de apartamentos
  • 28.
    Projetos Elétricos –Curso Técnico em Eletrotécnica – Escola Master Página 28 6 FORNECIMENTO DE ENERGIA 6.1 SISTEMAS DE DISTRIBUIÇÃO As companhias concessionárias de energia estabelecem, por meio de suas normas técnicas, os padrões, limites e tipos de fornecimento para unidades consumidoras individuais e edificações coletivas, em função de suas potências instaladas e das demandas máximas previstas. A partir destes dados, define-se o atendimento será em tensão primária ou em tensão secundária e, neste caso, o número de condutores que interliga a unidade consumidora ao sistema de distribuição da concessionária, conforme sejam consumidores monofásicos, bifásicos ou trifásicos. Os sistemas de distribuição são caracterizados por sua tensão nominal, número de condutores fases e neutro e pela frequência nominal, padronizada em 60 Hz no Brasil. A FIG. 6.1 apresenta exemplos de sistemas de distribuição em tensão secundária mais usuais em nosso país. FIGURA 6.1
  • 29.
    Projetos Elétricos –Curso Técnico em Eletrotécnica – Escola Master Página 29 6.2 DEFINIÇÕES As normas das concessionárias estabelecem as definições dos termos técnicos utilizados, de forma a tornar clara a aplicação das recomendações nelas estabelecidas. Estas definições têm por base as normas nacionais da ABNT, que são complementadas por definições específicas de cada concessionária. São as normas de referência nacional: - NBR 5460: Eletrotécnica e Eletrônica – Sistemas Elétricos de Potência – Terminologia; - NBR 5463: Tarifas de Energia Elétrica – Terminologia; - NBR 5473: Instalação Elétrica Predial – Terminologia. Seguem abaixo alguns termos presentes na norma técnica da EDP – ESCELSA: - Caixa de barramentos: caixa destinada a receber os condutores do ramal de distribuição principal alojando barras de cobre em seu interior. - Caixa de derivação: caixa destinada a receber os condutores do ramal principal de distribuição alojando condutores flexíveis em seu interior. - Circuito alimentador: condutores isolados, instalados entre a proteção geral e o quadro de distribuição da unidade consumidora. - Concessionária de Energia Elétrica: pessoa jurídica detentora de concessão federal para explorar a prestação de serviços públicos de distribuição de energia elétrica. - Consumidor: Pessoa física ou jurídica de direito público ou privado, legalmente representada que solicite o fornecimento, a contratação de energia ou o uso do sistema elétrico à distribuidora, assumindo as obrigações decorrentes deste atendimento à(s) sua(s) unidade(s), segundo disposto nos padrões e nos contratos. - Edificação de Uso Individual: toda e qualquer construção em imóvel reconhecido pelos poderes públicos constituindo uma única unidade de consumo. - Edificações de Uso Coletivo: toda edificação com mais de uma unidade de consumo e que dispõe de área de uso comum cujo consumo de energia elétrica desta área comum seja de responsabilidade do condomínio juridicamente constituído. - Entrada de Serviço: conjunto de equipamentos, condutores e acessórios compreendidos entre o ponto de derivação da rede secundária e a medição e proteção, inclusive da unidade consumidora. - Medidor de Energia Elétrica: aparelho destinado a medir e registrar o consumo de energia elétrica ativa e/ou reativa, instalado pela concessionária. - Ponto de Entrega: é o ponto de conexão do sistema elétrico da distribuidora com a unidade consumidora e situa-se no limite da via pública com a propriedade onde esteja localizada a unidade consumidora. - Ramal de distribuição: conjunto de condutores e acessórios entre o barramento da caixa de seccionamento até a caixa de medição. - Ramal de Entrada: conjunto de eletrodutos, condutores elétricos e acessórios instalados entre o ponto de entrega e a medição e proteção, inclusive. - Ramal de Ligação: conjunto de condutores e seus acessórios instalados entre o ponto de derivação da rede de distribuição secundária da concessionária e o ponto de entrega.
  • 30.
    Projetos Elétricos –Curso Técnico em Eletrotécnica – Escola Master Página 30 7 DIMENSIONAMENTO DE CONDUTORES ELÉTRICOS 7.1 OBJETIVOS Dimensionar um circuito é definir a seção mínima dos condutores, de forma a garantir que os mesmos suportem satisfatoriamente e simultaneamente as condições de: - Limite de temperatura, determinado pela capacidade de condução de corrente; - Limite de queda de tensão; - Capacidade dos dispositivos de proteção contra sobrecargas; - Capacidade de condução da corrente de curto-circuito por tempo limitado. Uma vez determinadas as seções dos condutores pelos critérios da capacidade de corrente e do limite de queda de tensão, adota-se como resultado a maior seção, e escolhe-se o condutor padronizado comercialmente, cuja seção nominal seja igual ou superior à seção calculada. A seguir veremos como analisar cada critério. 7.2 CRITÉRIOS 7.2.1 Capacidade de condução de corrente Este critério, normalmente, é o ponto de partida natural do processo de dimensionamento de condutores, considerado muitas vezes critério pivô. Na seção 6.2.5 da NBR 5410/2004 encontramos as informações pertinentes a aplicação deste critério de forma genérica, mas para fins didáticos serão utilizadas quatro tabelas que estão identificadas neste documento como TAB. 7.2a, 7.2b, 7.2c e 7.2d as quais mostram os valores de corrente elétrica já calculados para algumas condições específicas. A nível de projetos mais simples é suficiente para o dimensionamento, contudo, em situações que possuam condições muito diferentes das prescritas nas tabelas, é recomendado consultar a norma NBR 5410 e NBR 11301. Como tais cálculos fogem do escopo do curso, eles não serão abordados. A TAB. 7.1 mostra as temperaturas características dos condutores classificados quanto ao tipo de isolação. TABELA 7.1
  • 31.
    Projetos Elétricos –Curso Técnico em Eletrotécnica – Escola Master Página 31 TABELA 7.2a – Capacidades de condução de corrente, em ampères, para os métodos de referência A1, A2, B1, B2, C e D A TAB. 7.2a respeita as seguintes condições: Condutores: cobre e alumínio Isolação: PVC Temperatura do condutor: 70ºC Temperaturas de referência do ambiente: 30ºC (ar), 20ºC (solo)
  • 32.
    Projetos Elétricos –Curso Técnico em Eletrotécnica – Escola Master Página 32 TABELA 7.2b – Capacidades de condução de corrente, em ampères, para os métodos de referência A1, A2, B1, B2, C e D A TAB. 7.2b respeita as seguintes condições: Condutores: cobre e alumínio Isolação: EPR ou XLPE Temperatura do condutor: 90ºC Temperaturas de referência do ambiente: 30ºC (ar), 20ºC (solo)
  • 33.
    Projetos Elétricos –Curso Técnico em Eletrotécnica – Escola Master Página 33 TABELA 7.2c – Capacidades de condução de corrente, em ampères, para os métodos de referência E, F e G A TAB. 7.2c respeita as seguintes condições: Condutores: cobre e alumínio Isolação: PVC Temperatura do condutor: 70ºC Temperaturas de referência do ambiente: 30ºC
  • 34.
    Projetos Elétricos –Curso Técnico em Eletrotécnica – Escola Master Página 34 TABELA 7.2d – Capacidades de condução de corrente, em ampères, para os métodos de referência E, F e G A TAB. 7.2d respeita as seguintes condições: Condutores: cobre e alumínio Isolação: EPR ou XLPE Temperatura do condutor: 90ºC Temperaturas de referência do ambiente: 30ºC
  • 35.
    Projetos Elétricos –Curso Técnico em Eletrotécnica – Escola Master Página 35 7.2.2 Limite de queda de tensão A queda de tensão provocada pela passagem de corrente elétrica nos condutores dos circuitos de uma instalação deve estar dentro de determinados limites máximos, a fim de não prejudicar o funcionamento dos equipamentos de utilização ligados aos circuitos terminais. Os efeitos de uma queda de tensão acentuada nos circuitos alimentadores e terminais de uma instalação levarão equipamentos a receber em seus terminais, uma tensão inferior aos valores nominais. Isto é prejudicial ao desempenho dos equipamentos, que além de não funcionarem satisfatoriamente (redução de iluminância em circuitos de iluminação, redução de torque ou impossibilidade de partida de motores, etc.), poderão ter sua vida útil reduzida. A NBR 5410/2004 estabelece as faixas nominais de tensão dos sistemas elétricos, conforme tabela 7.3 (anexo A da NBR5410/2004). TABELA 7.3 A queda de tensão em uma instalação, considerada desde a origem da mesma até o último ponto de utilização de qualquer circuito terminal, deverá estar dentro dos limites prefixados pela TAB. 7.4. A referida tabela fixa os valores percentuais máximos admissíveis para a queda de tensão, em função do valor da tensão nominal, para os diversos tipos de instalação e cargas. TABELA 7.4 Alínea Queda de tensão Descrição a 7% Calculados a partir dos terminais secundários do transformador MT/BT, no caso de transformador de propriedade da(s) unidade(s) consumidora(s) b 7% Calculados a partir dos terminais secundários do transformador MT/BT, no caso da empresa distribuidora de eletricidade, quando o ponto de entrega for aí localizado c 5% Calculados a partir do ponto de entrega, nos demais casos de ponto de entrega com fornecimento em tensão secundária de distribuição d 7% Calculados a partir dos terminais de saída do gerador, no caso de grupo gerador próprio Notas: 1 Estes limites de queda de tensão são válidos quando a tensão nominal dos equipamentos 2 Nos casos das alíneas a, b,e d, quando as linhas principais da instalação tiverem comprimento superior a 100m, as quedas podem ser aumentadas de 0,005% por metro de linha superior a 100m, sem que, no entanto, essa suplementação seja superior a 0,5%. 3 Em caso algum a queda de tensão nos circuitos terminais pode ser superior a 4%.
  • 36.
    Projetos Elétricos –Curso Técnico em Eletrotécnica – Escola Master Página 36 ROTEIRO PARA DIMENSIONAMENTO PELA QUEDA DE TENSÃO a) Dados necessários - Maneira de instalar do circuito - Material do eletroduto (magnético ou não magnético) - Tipo do circuito (monofásico, ou trifásico) - Corrente de projeto (IP), em ampères - Fator de potência médio, do circuito - Comprimento (l), do circuito, em km - Tipo de isolação do condutor - Tensão (V) do circuito, em Volts - Queda de tensão (e(%)), admissível b) Cálculo da queda de tensão unitária A queda de tensão unitária ( ), em Volts/ Ampère.km, do circuito, é calculada pela expressão: c) Escolha do condutor Com o valor de calculado, entramos em uma das tabelas de queda de tensão para condutores (ver tabelas 7.5, 7.6 e 7.7) que apresente as condições de instalação indicadas no item a, e nesta encontramos o valor cuja queda de tensão seja igual ou imediatamente inferior à calculada, encontrando daí a bitola nominal do condutor correspondente.
  • 37.
    Projetos Elétricos –Curso Técnico em Eletrotécnica – Escola Master Página 37 TABELA 7.5 - Queda de tensão unitária, em Volt/Ampère.km, condutores com isolação em PVC
  • 38.
    Projetos Elétricos –Curso Técnico em Eletrotécnica – Escola Master Página 38 TABELA 7.6 - Queda de tensão unitária, em Volt/Ampère.km, condutores com isolação em EPR
  • 39.
    Projetos Elétricos –Curso Técnico em Eletrotécnica – Escola Master Página 39 TABELA 7.7 - Queda de tensão unitária, em Volt/Ampère.km, condutores com isolação em EPR 7.2.3 Seções mínimas dos condutores a) Seção mínima do condutor fase A TAB. 7.8 (NBR 5410/2004) define os valores mínimos das seções para os condutores fase, neutro e condutor de proteção (PE).
  • 40.
    Projetos Elétricos –Curso Técnico em Eletrotécnica – Escola Master Página 40 TABELA 7.8 - Seções mínimas dos condutores b) Seção do condutor neutro O condutor neutro, se existir, deve possuir a mesma seção que o(s) condutor(es) fase nos seguintes casos: - Em circuitos monofásicos a 2 ou 3 condutores e bifásicos a 3 condutores, qualquer que seja a seção; - Em circuitos trifásicos, quando a seção dos condutores fase for inferior ou igual a 25 mm², em cobre ou alumínio; - Em circuitos trifásicos, quando for prevista a presença de harmônicos, qualquer que seja a seção. A TAB. 7.9 (tabela 48 da NBR 5410/2004) define as seções mínimas do condutor neutro em função do(s) condutor(es) fase. Os valores da tabela são aplicáveis quando os condutores fase e neutro forem constituídos do mesmo metal.
  • 41.
    Projetos Elétricos –Curso Técnico em Eletrotécnica – Escola Master Página 41 TABELA 7.9 – Seção reduzida do condutor neutro c) Seção do condutor de proteção (PE) Em um circuito terminal, o condutor de proteção liga as massas dos equipamentos de utilização e, se for o caso, o terminal “terra” das tomadas de corrente ao terminal de aterramento do quadro de distribuição respectivo. A TAB. 7.10 (tabela 58 da NBR 5410/2004) apresenta a seção do condutor de proteção em função dos condutores fase. Neste caso, os condutores fase e de proteção tem que ser do mesmo material condutor. TABELA 7.10 - Seção mínima do condutor de proteção A seção de qualquer condutor de proteção que não faça parte do mesmo cabo ou mesmo invólucro que os condutores vivos, devem ser, em qualquer caso, não inferior à: - 2,5 mm² em cobre / 16 mm² em alumínio, se possuir proteção mecânica; - 4 mm² / 16 mm² em alumínio, se não possuir proteção mecânica. Um condutor de proteção pode ser comum a vários circuitos.
  • 42.
    Projetos Elétricos –Curso Técnico em Eletrotécnica – Escola Master Página 42 d) Seção do condutor de aterramento O condutor de aterramento fará a interligação da barra de aterramento principal ao(s) eletrodo(s) de aterramento, garantindo a continuidade elétrica do sistema de aterramento. As seções convencionais (circulares) dos condutores de aterramento enterrados no solo estão definidas na TAB. 7.11 (tabela 44ª da NBR 5410/90). TABELA 7.11 - Seções convencionais de condutores de aterramento É importante salientar que apesar da TAB. 7.11 ter sido retirada da NBR 5410/1990 a qual não está mais em vigência, estes valores podem ser utilizados como referência, tendo em vista que são valores convencionais e não fogem dos cálculos sugeridos pela atualização da norma NBR 5410/2004.
  • 43.
    Projetos Elétricos –Curso Técnico em Eletrotécnica – Escola Master Página 43 8 DIMENSIONAMENTO DE ELETRODUTOS 8.1 DEFINIÇÕES E TIPOS O componente de uma instalação que propicia um meio envoltório, ou invólucro, aos condutores elétricos é chamado conduto. Dentre os diversos tipos de condutos, destacam-se os eletrodutos, como aqueles que tem maior aplicação nas instalações elétricas, sobretudo nas instalações prediais. Em instalações comerciais ou industriais, além dos eletrodutos, podemos encontrar outros tipos de condutos, tais como calhas e bandejas metálicas, prateleiras, blocos alveolados, canaletas, etc. Tipos: a) Quanto ao material - Não metálicos: PVC, plástico com vibra de vidro, polipropileno, polietileno de alta densidade e fibrocimento; - Metálicos: aço carbono galvanizado ou esmaltado, alumínio e flexíveis de cobre espiralado. b) Quanto a flexibilidade - Rígidos; - Flexíveis. c) Quanto à forma de conexão: - Roscáveis; - Soldáveis. d) Quanto à espessura da parede: - Leve; - Semipesado; - Pesado. 8.2 INSTALAÇÃO DE CONDUTORES EM ELETRODUTOS Os eletrodutos, calhas e blocos alveolados podem conter condutores de mais de um circuito, nos seguintes casos: a) Quando as 03 condições seguintes forem simultaneamente satisfeitas: - Os circuitos pertençam à mesma instalação, isto é, originem-se do mesmo dispositivo geral de manobra e proteção, sem a interposição de equipamentos que transformem a corrente elétrica; - As seções nominais dos condutores fase estejam contidas em um intervalo de 03 valores normalizados sucessivos; - Os condutores isolados e os cabos isolados tenham a mesma temperatura máxima para serviço contínuo. b) No caso dos circuitos de força e do comando e/ou sinalização de um mesmo equipamento: Nos eletrodutos, só devem ser instalados condutores isolados, cabos unipolares ou cabos multipolares, admitindo-se a utilização de condutor nu em eletroduto isolante exclusivo, quando tal condutor destinar-se a aterramento.
  • 44.
    Projetos Elétricos –Curso Técnico em Eletrotécnica – Escola Master Página 44 8.3 TAXA MÁXIMA DE OCUPAÇÃO As dimensões internas dos eletrodutos e respectivos acessórios de ligação devem permitir instalar e retirar facilmente os condutores ou cabos após a instalação dos eletrodutos e acessórios. Desta forma, a taxa máxima de ocupação em relação à área de seção transversal dos eletrodutos não deverá ser superior a: - 53% no caso de 01 condutor ou cabo; - 31% no caso de 02 condutores ou cabos; - 40% no caso de 03 ou mais condutores ou cabos. A FIG 8.1 ilustra a ocupação de eletrodutos. FIGURA 8.1 A FIG. 8.2 representa o corte longitudinal e o corte transversal de um eletroduto, onde temos: - DE: Diâmetro externo; - DI: Diâmetro interno; - e: Espessura da parede; (e = DE – DI) FIGURA 8.2
  • 45.
    Projetos Elétricos –Curso Técnico em Eletrotécnica – Escola Master Página 45 8.4 DIMENSIONAMENTO Roteiro para dimensionamento de eletrodutos a) Determina-se a seção total ocupada pelos condutores, aplicando-se taelas de fabricantes de condutores e cabos (ver TAB. 8.1); b) Determina-se o diâmetro externo nominal do eletroduto (mm), consultando as tabelas de fabricantes (ver TAB. 8.2 e 8.3) com o valor encontrado no item anterior; c) Caso os condutores instalados em um mesmo eletroduto sejam do mesmo tipo e tenha seções nominais iguais, podem-se eliminar os itens “a” e “b”, encontrando-se o diâmetro externo nominal do eletroduto em função da quantidade e seção dos condutores, diretamente por tabelas específicas (ver TAB. 8.4 e 8.5). TABELA 8.1 – Dimensões totais dos condutores isolados TABELA 8.2 - Eletrodutos de PVC rígido roscável
  • 46.
    Projetos Elétricos –Curso Técnico em Eletrotécnica – Escola Master Página 46 TABELA 8.3 - Eletrodutos de aço carbono roscável - leve TABELA 8.4 - Ocupação máxima dos eletrodutos de PVC por condutores de mesma bitola (Fios ou Cabos unipolares 450/750 V BWF Antichama)
  • 47.
    Projetos Elétricos –Curso Técnico em Eletrotécnica – Escola Master Página 47 TABELA 8.5 - Ocupação máxima dos eletrodutos de aço por condutores de mesma bitola (Fios ou cabos unipolares 450/750 V BWF Antichama) 8.5 CAIXAS DE DERIVAÇÃO As caixas de derivação têm funções de abrigar equipamentos, abrigar emendas de condutores, limitar o comprimento de trechos de tubulação, ou ainda limitar o número de curvas entre os diversos trechos de uma tubulação. A FIG. 8.3 mostra alguns tipos de caixas de derivação. FIGURA 8.3 - Caixas de Derivação
  • 48.
    Projetos Elétricos –Curso Técnico em Eletrotécnica – Escola Master Página 48 9 DISPOSITIVOS DE PROTEÇÃO CONTRA SOBRECORRENTES DEFINIÇÕES a) Dispositivos de manobra ou de comando São equipamentos elétricos destinados a ligar ou desligar um circuito em condições normais de operação. Portanto, os dispositivos de manobra são dispositivos capazes de estabelecer, conduzir e interromper a corrente elétrica de um ou mais circuitos, dentro de seus valores nominais. Como exemplo de dispositivos de manobra temos os interruptores, os disjuntores, as chaves seccionadoras, os contatores, as chaves faca, os botões de comando (botoeiras), etc. É importante observar que tais equipamentos não têm a função de proteger os circuitos, mas apenas e tão somente, comandá-los. Desta forma, a atuação destes equipamentos não é automática, isto é, depende sempre da intervenção direta ou indireta do operador. Estes equipamentos são dimensionados, tomando-se por base as características nominais do circuito ao qual estão conectados, tais como: tensão nominal, corrente nominal, capacidade de ruptura, frequência, regime de carga, etc. b) Dispositivos de proteção contra sobrecorrentes São equipamentos elétricos capazes e estabelecer, conduzir e interromper em condições normais de operação de um circuito, bem como estabelecer, conduzir e interromper automaticamente correntes em condições anormais, de forma a, dentro de condições especificadas, limitar a ocorrência desta grandeza em módulo e tempo de duração. Os dispositivos de proteção contra sobrecorrentes são capazes de proteger os circuitos contra correntes de curto-circuito e/ou correntes de sobrecarga. Como exemplos destes dispositivos podemos citar os disjuntores, os fusíveis, os relês térmicos, etc. c) Corrente nominal A corrente nominal (In) de um dispositivo de manobra ou de proteção é o valor eficaz da corrente de regime contínuo que o dispositivo é capaz de conduzir indefinidamente, sem que a elevação de temperatura de suas diferentes partes exceda os valores especificados em norma. d) Sobrecorrentes São correntes elétricas cujos valores excede o valor da corrente nominal. As sobrecorrentes podem ser originadas por solicitação do circuito acima de suas características de projeto (sobrecargas) ou por falta elétrica (curto-circuito). e) Correntes de sobrecarga As sobrecargas caracterizam-se por provocar no circuito correntes superiores à corrente nominal, oriundas de solicitações dos equipamentos acima de suas capacidades nominais. Este é o caso de motores acionando cargas permanentes ou transitórias acima de sua potência nominal. As sobrecargas produzem a elevação da corrente do circuito a valores, em geral, de algum percentual acima do valor nominal e trazem efeitos térmicos prejudiciais ao sistema. f) Correntes de curto-circuito
  • 49.
    Projetos Elétricos –Curso Técnico em Eletrotécnica – Escola Master Página 49 10 ATERRAMENTO 10.1 ATERRAMENTO Aterramento é a ligação elétrica intencional com a terra. Esta ligação visa propriciar um meio favorável e seguro (de baixíssima resistência elétrica e robustez mecânica conveniente) ao percurso de correntes elétricas perigosas e indesejáveis. É o caso das descargas elétricas produzidas por fenômenos atmosféricos (raios) ou ainda por ocasião das faltas elétricas. Falta (elétrica) é o contato ou arco acidental entre as partes sob potenciais diferentes, e/ou de uma ou mais dessas partes para terra, num sistema ou equipamento elétrico energizado. Nesta ocasião e neste percurso, flui a correte de falta, função da diferença de potencial para a terra e da resistência de falta. As instalações elétricas estão sujeitas a defeitos como falhas de isolamento de condutores ou partes energizadas que, em contato com superfícies condutoras, poderão coloca-las sob um potencial elétrico diferente do da terra. Por outro lado, algumas instalações utilizam a propriedade condutora da superfície da terra como meio funcional. TIPOS DE ATERRAMENTO Em uma instalação elétrica, poderemos ter 02 tipos de aterramento: a) Aterramento Funcional O aterramento por razões funcionais deve ser utilizado para garantir o funcionamento correto dos equipamentos, ou para permitir o funcionamento adequado da instalação, o condutor neutro, assim denominado pois o seu potencial elétrico é (teoricamente) nulo em relação ao potencial da terra. b) Aterramento de Proteção Ligação das massas (carcaças metálicas de quadros de distribuição, de transformadores de motores, eletrodutos metálicos, etc.) e de elementos condutores estranhos à instalação à terra, com o objetivo de garantir a proteção contra contatos indiretos. O condutor de proteção é representado pelas letras PE (Protection to Earth) e, em condutores isolados, deve-se usar a cor verde ou verde-amarela. COMPONENTES DE UM SISTEMA DE ATERRAMENTO Conforme NBR 5410, todo e qualquer tipo de instalação elétrica predial deve possuir um sistema de aterramento. A FIG. 10.1 mostra os principais componentes do sistema de aterramento.
  • 50.
    Projetos Elétricos –Curso Técnico em Eletrotécnica – Escola Master Página 50 FIGURA 10.1 - Componentes de um sistema de aterramento 10.2 EFEITOS DA CORRENTE ELÉTRICA SOBRE O CORPO HUMANO A TAB. 10.1 apresenta os efeitos fisiológicos da corrente elétrica alternada de frequência 15 a 100 Hz, trajeto mão esquerda – pés, em pessoas de, no mínimo, 50 kg. TABELA 10.1 - Efeitos da corrente elétrica sobre o corpo humano
  • 51.
    Projetos Elétricos –Curso Técnico em Eletrotécnica – Escola Master Página 51 10.3 TENSÃO DE CONTATO Como já vimos anteriormente, na TAB. 10.1, a corrente elétrica e o tempo de sua circulação através do corpo humano são grandezas mais consideráveis nos efeitos dos choques elétricos sobre as pessoas. Porém, o valor da corrente depende, naturalmente, da diferença de potencial a que fica submetido o corpo humano por ocasião do choque elétrico, bem como da impedância elétrica deste percurso, para a qual contribuem resistência do corpo humano e a resistência de contato. A tensão que pode existir acidentalmente entre 02 pontos simultaneamente acessíveis é conhecida como Tensão de Contato. Em choque elétrico, a tensão de contato é a diferença de potencial a que um pessoa fica sujeita ao tocar, simultaneamente, em dois pontos que se encontram sob potenciais elétricos diferentes. A FIG. 10.2 ilustra esta situação. FIGURA 10.2 - Tensão de contato e tensão de falta 10.4 PROTEÇÃO CONTRA CHOQUES ELÉTRICOS Os choques elétricos podem ocorrer basicamente de 02 maneiras: a) Contato direto Contato de pessoas ou de animais domésticos com partes vivas da instalação. A FIG. 10.3 ilustra o contato direto.
  • 52.
    Projetos Elétricos –Curso Técnico em Eletrotécnica – Escola Master Página 52 FIGURA 10.3 - Choque elétrico por contato direto b) Contato indireto O contato de pessoas ou de animais domésticos com massas que ficaram acidentalmente sob tensão. A FIG. 10.4 ilustra o contato indireto. FIGURA 10.4 - Choque elétrico por contato indireto As medidas de proteção contra os choques elétricos podem ser classificadas como: - Medidas de proteção ativas: Ocorrerá o seccionamento automático da alimentação, visando impedir que uma tensão de contato se mantenha por um tempo que possa resultar em risco de defeito fisiológico perigoso para as pessoas ou animais domésticos.
  • 53.
    Projetos Elétricos –Curso Técnico em Eletrotécnica – Escola Master Página 53 - Medidas de proteção passivas: Visam limitar o valor da corrente elétrica que possa atravessar o corpo humano, através de um eficiente aterramento das massas, bem como impedir, por meio da isolação das partes vivas, de colocação de barreiras, de obstáculos e de distanciamento, o contato com as partes energizadas. 10.5 DISJUNTORES DR É um dispositivo constituído de um disjuntor termomagnético acoplado a um outro dispositivo: o diferencial residual. Sendo assim, ele conjuga as duas funções. - Proteção dos condutores do circuito contra sobrecarga e curto-circuito - As pessoas contra choques elétricos FIGURA 10.5 TIPOS DE DISJUNTORES DIFERENCIAIS RESIDUAIS Os tipos mais usuais de disjuntores residuais de alta sensibilidade (no máximo 30 mA) existentes no mercado são: - Bipolar - Tetrapolar Conforme mostrado na FIG. 10.6.
  • 54.
    Projetos Elétricos –Curso Técnico em Eletrotécnica – Escola Master Página 54 FIGURA 10.6 A utilização de proteção diferencial residual (disjuntor ou interruptor) de alta sensibilidade em circuitos terminais que sirvam a: - Pontos de tomadas de corrente de uso geral e específico e pontos de iluminação em cozinhas, copas-cozinhas, lavanderias, áreas de serviço, garagens e, no geral, a todo local interno molhado em uso normal ou sujeito a lavagens; - Pontos de tomadas de corrente em áreas externas; - Pontos de tomadas de corrente que, embora instaladas em áreas internas, possam alimentar equipamentos de uso em áreas externas; - Pontos situados em locais contendo banheira ou chuveiro. * Embora os circuitos não relacionados acima possam ser protegidos apenas por disjuntores termomagnéticos, dependendo da realização de alguns cálculos, é mais seguro e recomendável realizar a proteção contra choques elétricos de todos os circuitos por meio do emprego de dispositivos DR. A FIG. 10.7 ilustra o esquemático do quadro de distribuição com disjuntores DRs instalados.
  • 55.
    Projetos Elétricos –Curso Técnico em Eletrotécnica – Escola Master Página 55 FIGURA 10.7 - Desenho esquemático do quadro de distribuição
  • 56.
    Projetos Elétricos –Curso Técnico em Eletrotécnica – Escola Master Página 56 REFERÊNCIAS BIBLIOGRÁFICAS FILHO, Domingos L. L., Projetos de Instalações Elétricas Prediais. 6ª edição, 2001 Ed. Érica. CAVALIN, Geraldo.CEVERLIN Severino. Instalações Elétricas Prediais. 5ª edição, 2001 Ed. Érica. NBR-5410 edição 2004 PRYSMIAN, Instalações Elétricas Residenciais, 2006
  • 57.
    Projetos Elétricos –Curso Técnico em Eletrotécnica – Escola Master Página 57 NORMAS TÉCNICAS E SIMBOLOGIA Normas Técnicas Sigla Significado e natureza ABNT Associação Brasileira de Normas Técnicas Atua em todas as áreas técnicas do país. Os textos das normas são adotados pelos órgãos governamentais (federais, estaduais e municipais) e pelas firmas. Compõe-se de normas NB, TB (terminologia), SB (simbologia), EB (especificação), MB (método de ensaio) e PB (padronização). NBR 5410 Instalações elétricas em baixa tensão NBR 5361 Disjuntores de baixa tensão NBR 5419 Proteção de estruturas contra descargas atmosféricas NBR 5444 Símbolos gráficos p/instalações elétricas prediais NBR 5461 Iluminação NBR 5431 Caixas de derivação para uso em instal. Elétricas domésticas e análogas NBR 6235 Caixas de derivação para uso em instalações elétricas domésticas e análogas NBR 6689 Requisitos gerais para condutores de instalações elétricas domésticas e análogas. NBR 6150 Eletroduto de PVC rígido NBR 8302 Luvas sem rosca e terminais sem rosca interna para eletroduto NBR 5597 Eletroduto rígido de aço-carbono e acessórios com revestimento protetor,com rosca DIN Deutsche Industrie Normen Associação de normas industriais alemãs. Suas publicações são devidamente coordenadas com as da VDE. IEC International Electrotechnical Comission Comissão formada por representantes de todos os países industrializados. As recomendações da IEC, publicadas por esta Comissão, são parcialmente adotadas na íntegra pelos diversos países ou, em outros casos, está se procedendo a uma aproximação ou adaptação das normas nacionais ao texto destas internacionais. NEMA National Electrical Manufactures Association Associação nacional dos fabricantes de material elétrico (EUA). VDE Verband Deutscher Elektrotechniker Associação de normas alemãs, que publica normas e recomendações da área de eletricidade.
  • 58.
    Projetos Elétricos –Curso Técnico em Eletrotécnica – Escola Master Página 58 Simbologia Tomada baixa a 300mm do piso acabado Tomada média 1100 a 1300mm do piso acabado Tomada alta a 2000mm do piso acabado Tomada média fase/fase Antena para rádio e TV Cigarra Campainha Quadro anunciador Condutor fase no eletroduto Condutor neutro no eletroduto Condutor de retorno no eletroduto Condutor terra no eletroduto Condutor fase no eletroduto (campainha) Condutor de retorno no eletroduto (campainha) Condutor neutro no eletroduto (campainha) Condutores fase, neutro e terra, seção 2,5mm², pertencentes ao circuito dois no eletroduto. Caixa de passagem na parede Eletroduto que sobe Eletroduto que desce Circuito que desce Circuito que sobe QLF terminal aparente QLF terminal embutido QLF geral aparente
  • 59.
    Projetos Elétricos –Curso Técnico em Eletrotécnica – Escola Master Página 59 QLF geral embutido Interruptor simples de uma seção Interruptor simples de duas seções Interruptor simples de três seções Interruptor simples de uma seção conjugado com tomada Interruptor paralelo de uma seção Interruptor paralelo de duas seções Interruptor paralelo de três seções Interruptor bipolar Interruptor intermediário Pulsador de campainha Botão de minuteria Ponto de luz incandescente no teto Ponto de luz incandescente na parede Ponto de luz fluorescente no teto Ponto de luz fluorescente na parede Lâmpada de sinalização