CENTRO DE TREINAMENTO 
ROTAS DO SOPHO iS-3000 
A Philips Business Communications, ao elaborar esta apostila, teve como objetivo assegurar-lhe 
informações completas e precisas com a mais alta credibilidade. 
Logo, as informações desta apostila podem sofrer alterações sem aviso prévio. 
Se você descobrir algum erro ou omissão, ou desejar fazer alguma sugestão para melhorar a qualidade 
desta apostila, envia sua proposta para: 
PHILIPS BUSINESS COMMUNICATIONS 
Departamento de Marketing e Produtos 
RUA: VERBO DIVINO 1400 TÉRREO 
CEP 04719-002 - SÃO PAULO - SP 
ROTAS iS3000 
Versão Software 810 
(Edição : Março 2006) 
APOSTILA DE ROTAS DO PACOTE 810. 1 
Para uso do CENTRO DE TREINAMENTO PBC.
CENTRO DE TREINAMENTO 
ROTAS DO SOPHO iS-3000 
ÍNDICE DAS FACILIDADES DO SOPHO iS-3000 
DESCRITIVO PAG. 
REDE PUBLICA..................................................................................................................................6 
Segunda Rota...................................................................................................................................... 6 
Selecionada......................................................................................................................................... 6 
Rota 0.................................................................................................................................................. 6 
Rota 12................................................................................................................................................ 6 
Numero discado................................................................................................................................... 6 
Ramal.................................................................................................................................................. 6 
Primeira Rota Selecionada..................................................................................................................6 
MUDAR A CARACTERISTICAS GERAIS DA ROTA.................................................................................8 
CHRTCG:<ROUTE>,<GENERAL OPTIONS>,<GENERAL TONE>[,<CV>][ ,<BSPT>][ ,<CC-TABLE-NR>];..............8 
MUDAR A CARACTERISTICAS DE ROTA DE ENTRADA ....................................................................11 
CHRTCI: <ROUTE>,<INC-OPTS>,<TONE-AND-DDI-OPTS>[,[<TREE>][,[<A-QUEUE>] [,<BSPT>]]];....11 
MUDAR A CARACTERISTICAS DA ROTA DE SAIDA ..........................................................................15 
CHRTCO: <ROUTE>,<OUT-OPTS>,<ATF>[,<BSPT>];............................................................................15 
MUDAR A CARACTERISTICAS DE FEIXES (BUNDLE).........................................................................17 
CHBNDC:<UNIT+BUNDLE>,<DIR-AND-NEG>,<OPTIONS>,<CON-AND-SIG-TYPE>...........................17 
[,[<ALL-CALLS>][,<BSPT>]];....................................................................................................................17 
DESIGNAR FEIXE PARA UMA ROTA.....................................................................................................19 
ASBNDL: <ROUTE>,<BUNDLE>;.............................................................................................................19 
DESIGNAR NUMERO DO ESQUEMA DE NUMERAÇÃO INTERNO......................................................20 
ASINTN:<TREE>,<NUMBER>,<TRFC>,<RESULT-ID >[,[<DEST/NUMBER>][,<NUMBER-LENGTH>]]; 20 
MUDAR AS CARACTERÍSTICAS DO DESTINO.....................................................................................25 
CHDSTC: <DEST>,<TREE>,<FST-DT>,<SND-DT>,<ROUTE-TABLE>[,<ACC-REP>];..........................25 
MUDAR A TABELA DE ROTA.................................................................................................................27 
CHROTA :<ROUTE-TABLE>[,[<USER-TYPE>][,<SEQUENCE-TABLE>][,<UNIT>]];...............................27 
ROTA ANALÓGICA COM PLACA ATU-SS.............................................................................................30 
ATU-SS..................................................................................................................................................... 30 
VISTA DE FRENTE...................................................................................................................................30 
VISTA DE LADO........................................................................................................................................ 30 
CIRCUITO DE LINHA...................................................................................................................................... 30 
CIRCUITO DE MEDIÇÃO................................................................................................................................ 30 
ROTA ANALÓGICA COM PLACA ATU-LD.............................................................................................33 
ROTA DIGITAL COM PLACA DTU-PU CONFIGURADA COMO DTU-CA.............................................36 
PROJETAR A PLACA DTU-PU/CA PARA TRONCO DIGITAL R2/E1 (PADRÃO BRASIL)...................39 
Projetar a placa DTU-PU/CA:............................................................................................................39 
VERIFICAR AS MUDANÇAS PADRÃO, PROJETAR E ALTERAÇÕES DE BLOCO PARA A PLACA RST-OM..................39 
VERIFICAR AS MUDANÇAS PADRÃO, PROJETAR E ALTERAÇÕES DE BLOCO PARA A PLACA RST-IM....................40 
RDSI PRIMÁRIO DTU – PH COM PACOTE EURO-ISDN........................................................................42 
APOSTILA DE ROTAS DO PACOTE 810. 2 
Para uso do CENTRO DE TREINAMENTO PBC.
CENTRO DE TREINAMENTO 
ROTAS DO SOPHO iS-3000 
EXEMPLO DE PROGRAMAÇÃO DE UMA ROTA RDSI.........................................................................................42 
ENTRADAS DE REFERÊNCIA DE CLOCK DE LINHAS DIGITAIS.......................................................46 
DESIGNAR UNIDADE DE REFERÊNCIA DE CLOCK............................................................................................46 
Exemplo para iS3030.........................................................................................................................47 
Exemplo para iS3050 com PMC-MC.................................................................................................47 
Exemplo para iS3050 com CSN-BC..................................................................................................47 
Exemplo para iS3090 com SNS........................................................................................................47 
APOSTILA DE ROTAS DO PACOTE 810. 3 
Para uso do CENTRO DE TREINAMENTO PBC.
CENTRO DE TREINAMENTO 
ROTAS DO SOPHO iS-3000 
DESCRITIVO DOS COMANDOS PARA ROTAS / DPNSS 
Esta documentação descreve como criar Rotas, Feixes, Linhas, Destinos e Tabelas de Rotas, para rotas 
DPNSS. 
Siga passo a passo os comandos para criar Rotas,Feixes, Linhas, Código de Acesso, Tabela e Arvore de 
Análise. 
Comandos para criar/alterar Rotas: 
CRROUT - S45020 
Criar rota. 
CHRTCG - S45030 
Mudar as Caracteristicas Gerais da Rota. 
CHRTCI -S45040 
Mudar as Caracteristicas de Rota de Entrada. 
CHRTCO - S45050 
Mudar as Caracteristicas de Rota de Saida. 
Comandos para criar/alterar Feixes: 
CHBNDC -S45060 
Mudar as Caracteristicas do Feixe. 
ASBNDL - S45070 
Designar Feixe Para uma Rota 
Comandos para criar/alterar Tabela de Rotas: 
CHROTA - S45010 
Mudar a Tabela de Rotas. 
Comandos para criar/alterar Linhas e Destinos: 
ASLINE - S45080 
Designar a Linha Para o Feixe. 
CHDSTC - S45000 
Alterar Características do destino. 
Comandos para criar Código de Acesso para as Rotas : 
ASINTN - S40210 
Inserir Número no Esquema de Numeração Interna. 
Comandos para criar Arvore de Análise e Numeração Externa : 
ASEXTN -S40210 
Inserir Número no Esquema de Numeração Externa. 
Para Rotas Digitais os Seguintes Comandos São Necessários. 
Comandos para Designar a Relação da Placa e/ou Canais Virtuais : 
ASBRVC - S92500 
Designar Canal D 
Comandos para Mudar a Relação Feixe-DTU: 
CHBDTU - S45120 
Associar Bundle a DTU 
Comandos para Mudar a Identidade de Grupo: 
CHCLID - S21060 
Associar Bundle a DTU 
APOSTILA DE ROTAS DO PACOTE 810. 4 
Para uso do CENTRO DE TREINAMENTO PBC.
CENTRO DE TREINAMENTO 
ROTAS DO SOPHO iS-3000 
Comandos para Criar o Valor de Compatibilidade: 
CRCVAL -S32000 
Criar o Valor de Compatibilidade para Dados 
Comandos para Mudar Permissão de Conexão dos Pares de Cv: 
CHCVCA -S32020 
Criar o Valor de Compatibilidade para Dados 
APOSTILA DE ROTAS DO PACOTE 810. 5 
Para uso do CENTRO DE TREINAMENTO PBC.
CENTRO DE TREINAMENTO 
ROTAS DO SOPHO iS-3000 
Central 
Publica 
Central 
Publica 
Central 
A 
Central 
B 
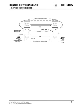
REDE PUBLICA 
Segunda Rota 
Selecionada 
Rota 0 
Rota 12 
Primeira Numero discado Rota Selecionada Ramal 
1234 
APOSTILA DE ROTAS DO PACOTE 810. 6 
Para uso do CENTRO DE TREINAMENTO PBC.
CENTRO DE TREINAMENTO 
ROTAS DO SOPHO iS-3000 
Rota 
Existe 
Sim 
Defina 
Características 
Gerais 
CHRTCG 
S45030 
Não 
Rota 
Unidirecional 
Não 
Crie a Rota 
CRROUT 
S45020 
Sim 
CHRTCO 
Para Rota 
Saída 
CHRTCI 
Para Rota 
Entrada 
Definina 
CHRTCI 
Entrada 
CHRTCO 
Saída 
Crie um 
Código de 
Acesso 
Designar um 
Feixe (Bundle) 
Para Rota 
ASBNDL 
Defina 
Características 
do Feixe 
CHBNDC 
Defina 
as linhas 
do Feixe 
ASLINE 
Pode ser omitido, mas não 
recomendavel. 
Se omitido, o padrão será 
Crie um 
Código de 
Acesso 
ASINTN 
S40210 
assumido. 
Características 
de destino 
CHDSTC 
S45000 
Tabela de 
Rota 
CHROTA 
Arvore 
Externa 
ASEXTN 
para 
analógico 
ou 
ASEXTP 
para digital 
APOSTILA DE ROTAS DO PACOTE 810. 7 
Para uso do CENTRO DE TREINAMENTO PBC.
CENTRO DE TREINAMENTO 
ROTAS DO SOPHO iS-3000 
MUDAR A CARACTERISTICAS GERAIS DA ROTA 
CHRTCG:<route>,<general options>,<general tone>[,<CV>][ ,<BSPT>][ ,<CC-table-nr>]; 
S45030: 
Se CV for omitido, o valor default projetado será assumido. 
ROUTE = Número da rota (0...254). 
GEN-OPTS = OPÇÕES GERAIS DE ROTA PQRSTUVW (0 = NÃO, 1 = SIM): 
P = PROTEÇÃO DE DADOS APLICADA. 
Se a opção for 1. Este tronco fica protegido contra intercalação, nenhum operador nem ramal com marca de 
facilidade 02 (Habilitado para intercalação) pode intercalar este tronco. 
Se a opção for 0. Não. A proteção depende do ramal conectado com a linha tronco. Se o ramal tem proteção 
de dados marca 04 (proteção de dados) ou 05 (Habilitado a discagem de proteção de dados) ambas as 
situações mencionadas são válidas. 
Q = ASSISTÊNCIA REQUERIDA. 
Se a opção for 1. Ligações DDI malsucedidas via linha tronco pode ser assistida. As ações em caso de 
Ligações DDI malsucedidas serão determinadas no comando CHRTCI TONE-AND-DDI-OPTS. Estas ações 
podem ser : roteadas para o operador / ramal noturno ou o envio de tons para a parte externa. 
Esta opção também é aplicada para ligações de saída, no caso de ligações de saída em série. 
Se a opção for 0. Não haverá redirecionamento das ligações para operadora ou ramal noturno, e será 
enviado o tom para a o chamador ( o tipo de tom será definido no comando CHRTCI parâmetro TONE-AND-DDI- 
OPTS. 
R = PERMITE CONFERÊNCIA. 
Se a opção for 1. Esta rota pode participar de uma conferência. O ramal de origem com FCM 00 pode iniciar 
a conferência: 
- ramal de origem e dois outros ramais. 
- ramal de origem, um segundo ramal e uma linha na rota com CHRTCG - GEN-OPTS (R = 1). 
- Uma chamada de entrada via linha com CHRTCI - INC-OPTS (R = 1), iniciado com o ramal de origem e uma 
chamada de saída com CHRTCO - OUT-OPTS (S = 1). 
Ambas as linhas externas devem ter em CHRTCG - GEN-OPTS (R = 1). 
- ramal de origem e duas chamadas de saída via linhas com CHRTCO - OUT-OPTS (S = 1) e linhas de saída 
devem em CHRTCG - GEN-OPTS (R = 1). 
Se opção for 0. Não pode participar de uma conferência. 
S = BILHETAGEM NA ROTA. 
Se a opção for 1 = sim. Permite bilhetagem para todas as chamadas de saída executadas pelas linhas desta 
rota. 
T = PÓSDISCAGEM POR IMPULSOS. 
Se a opção for 1. É possível enviar dígitos sobre a linha tronco no formato de impulso depois da conexão ter 
sido estabelecida (entrada ou saída). O SOPHO automaticamente regenera os dígitos no formato impulso. 
Somente no estado de consulta a pósdiscagem por impulso é permitida para ramais decádigos e MF, 
operadoras, Sopho-Sets ou KTLCs. 
U = PERMITE PÓSDISCAGEM EM MF. 
Se a opção for 1. É possível enviar dígitos sobre a linha tronco no formato de MF depois da conexão ter sido 
estabelecida (entrada ou saída). O SOPHO automaticamente regenera os dígitos no formato MF. 
Dois tipos de pósdiscagem em MF distintos: 
1 - Pósdiscagem Direta: sem entrar em consulta. 
Para ramal MF, a pósdicagem é sempre possível. 
Para ramal decádico, operadora, Sopho-Set ou KTLC, U = 1 
2 - Pósdiscagem em Consulta: 
Para ramal decádico, terminal RDSI, operadora, Sopho-Set ou KTLC, U = 1. 
Para ramal MF somente a opção de pósdiscagem direta é fornecida. 
APOSTILA DE ROTAS DO PACOTE 810. 8 
Para uso do CENTRO DE TREINAMENTO PBC.
CENTRO DE TREINAMENTO 
ROTAS DO SOPHO iS-3000 
V = PERMITE CONSULTA EM TRONCO. 
Se a opção for 1. Um sinal pode ser enviado sobre a linha de junção analógica para uma central oposta para 
invocar uma ação de consulta na C.P./PABX. (chamadas de entrada ou saída) Pode ser iniciado por ramal 
decádigo/MF, operadora, Sopho-Sets e KTLCs. 
W = ASSISTÊNCIA À OPERADORA FLEXÍVEL DISPONÍVEL. (0 = NÃO / 1 = SIM)? 
Usado em rotas DPNSS. Determina se usa ou não os pontos de assistência. 
X = VERIFICA TIME-BREAK CHECK (0=NÃO / 1=SIM)? 
Determina se a facilidade de time-break é aplicada para esta routa (se projetada). 
Y = Time-break enabled (0 =no /1 =yes )? 
Allows transit call to/from this route to become time-break users (if projected). 
FCM 55 'Time-break enabled must be assigned to the DNR of the extension which i 
submitted to time-break facility. 
Z = CNND name/number translation required (0=no /1=yes)? 
A = Network priority:intrusion (=break-in)and force release possible (0=no /1=yes)? 
B = Line park allowed (0=no /1=yes)? 
When this option is set and the BSP of the terminal connected to one of the line in this 
route has a Multi-line license,then the line can be parked and tone is given to the trunk-line, 
according to the general route characteristics hold-tone-type :the trunk-line status 
GEN-TONE = TIPOS DE TONS GERAIS PQRSTU: 
P = TIPO DE TOM ANTES DO ATENDIMENTO (2...5) 
Tipo de tom fornecido para a parte externa antes do atendimento ou assistência da chamada. 
Q = TIPO DE TOM APÓS O ATENDIMENTO (2...5) 
Tipo de tom fornecido para a parte externa após o atendimento ou assistência da chamada. 
R = TOM DURANTE A CONDIÇÃO DE RETENÇÃO. (0...3) 
Tipo de tom fornecido para a parte externa durante a condição de retenção. 
S = TIPO DE TOM PARA COB ANTES DO ATENDIMENTO (0...6) 
Tipo de tom fornecido para a parte externa durante a condição de COB antes do ínicio do atendimento ou 
assistência da operadora. 
T = TIPO DE TOM PARA COB DEPOIS DO ATENDIMENTO (0...6) 
Tipo de tom fornecido para a parte externa durante a condição de COB após o ínicio do atendimento ou 
assistência da operadora. 
A operadora, um ramal com FCM 29 (COB automático na origem) ou FCM 36 (Habilitado à início de COB) e 
prefixo de pós discagem ID.RES 102 (Iniciar COB) pode iniciar a situação de COB. Também pode ser 
configurado COB para DDI: veja DDI-OPTIONS. 
U = TOM PARA RECHAMADA ESPECIAL PARA OPERADORA (0...5) 
Tipo de tom fornecido para a parte externa durante no caso de rechamada especial de operadora. 
OS POSSÍVEIS TIPOS DE TONS SÃO: 
0 = Música em espera/sem tom. 
1 = Música em espera/tom de espera. 
2 = Sem tom. 
3 = Tom de espera. 
4 = Tom de chamada interna. 
5 = Tom de chamada externa. 
6 = Tom de ocupado. 
CV = VALOR DE COMPATIBILIDADE (0..254) 
Designado para todas as linhas da rota e é usado para permitir o uso destas linhas. Através da Permissão de 
Conexão CV-CV somente usuários compátiveis podem ser conectados. Isto se aplica para ambas chamadas 
de entrada e saída. 
APOSTILA DE ROTAS DO PACOTE 810. 9 
Para uso do CENTRO DE TREINAMENTO PBC.
CENTRO DE TREINAMENTO 
ROTAS DO SOPHO iS-3000 
BSPT = TIPO DE PERFIL DO SERVIÇO BÁSICO (0...99). 
Consultar tabela C.2. 
Não são em todos os casos que o parametro completo de BSPTs pode ser usado; isto depende do comando 
que será EXECUTADO. 
O valor 98 será o padrão (todos) BSPT. 
O valor 99 será usado para indicar todos os (conhecidos) BSPTs e podem apenas ser usados para as 
caracteristicas de comandos de mudança (CRBSPT). 
Quando o parametro for omitido (e isso será permitido) o padrão BSPT será assumido na maioria dos casos. 
APOSTILA DE ROTAS DO PACOTE 810. 10 
Para uso do CENTRO DE TREINAMENTO PBC.
CENTRO DE TREINAMENTO 
ROTAS DO SOPHO iS-3000 
MUDAR A CARACTERISTICAS DE ROTA DE ENTRADA 
CHRTCI: <ROUTE>,<INC-OPTS>,<TONE-AND-DDI-OPTS>[,[<TREE>][,[<A-QUEUE>] [,<BSPT>]]]; 
ROUTE = NÚMERO DA ROTA (0...254). 
INC-OPTS = OPÇÕES DE TRÁFEGO DE ENTRADA PQRSTU[VWXY] (0 = NÃO, 1 = SIM): 
P = ROTA DE TRÁFEGO DDR. 
Se a opção for 1. A informação enviada pela central oposta é analisada no SOPHO e possibilita o DDI. Um 
árvore especial para DDI deve ser designada onde as informações discadas são analisada. 
Se a opção for 0. Todas as chamadas nas linhas desta rota serão redirecionadas para a fila-A da operadora. 
Fila a ser definida. Neste caso as opções TUVW de ser omitidas. 
Q = PROTEGIDO CONTRA INTERCALAÇÃO. 
Se a opção for 1. A chamada de entrada via esta linha-tronco estarão protegidas contra intercalação de 
ramal e operadora. 
Se a opção for 0. A chamada de entrada só estará protegida quando conectada a uma ramal com proteção 
contra intercalação (FCM 03). 
A opção de Proteção de Dados anula a proteção contra intercalação. 
R = TRÂNSITO PERMITIDO. 
Se a opção for = 1. A chamada de entrada nas linhas desta rota podem ser transferida para um ramal ou 
operadora ou linha de saída (CHRTCO - OUT-OPTS, S = 1). Esta é uma chamada de trânsisto assistida. 
A chamada de trânsito não assistida também é possível para tráfego DDI-DDO. O código de acesso a tronco 
de saída deve ser incluido na árvore de análise para tráfego de entrada. 
Para algumas situações de conferência esta opção é também solicitada (veja CHRTCG - GEN-OPTS). 
Se a opção for = 0. A linha-tronco de entrada nunca poderá (assistida ou não assistida) ser conectada a uma 
linha-tronco de saída. 
S = INVESTIGAR CHAMADAS MALICIOSAS. 
Se a opção for 1. Será possível determinar a origem (externa) de chamada (entrada) maliciosa nesta rota. 
Para o usuário do SOPHO deve ser dado a possibilidade de solicitar a identificação da chamada originada. 
Depois da solicitação bem-sucedida todos os dados relativo a solicitação de investigar chamada maliciosa 
será armazenada no registro de bilhetagem. 
Dependendo da central oposta esta facilidade pode ser iniciada com ou sem o sinal de registro de 
rechamada. Se este sinal for usado, o CHBNDC - OPTIONS, Q = 1. 
T = PERMITE ANUNCIADOR. 
O anunciador deve ser dado quando um grupo de DAC disca para o anunciador que está projetado. Neste 
caso a opção "Permite Anunciador" não é checada, mas a opção "Atendimento Antes do Anunciador" deverá 
ser checada. Quando por exemplo um ramal livre é chamado, o anunciador deve ser dado (IAS) quando a 
opção for = 1. 
U = ATENDIMENTO ANTES DO ANUNCIADOR. 
Veja a opção T. 
V = Calling party control 
NOTA: SE P = 0 (NÃO), ENTÃO VWXY SERÃO OMITIDOS. 
W = REQUER TEMPO DE RETARDO DE DDR (SÓ PARA P = 1). 
Se a opção for 1. A central oposta deve estar configurada para temporizar o recebimento do primeiro tom de 
discar. Depois de expirar esta pausa o tom de discar será enviado para central oposta, que iniciará a 
temporização da discagem normal do DDI. 
APOSTILA DE ROTAS DO PACOTE 810. 11 
Para uso do CENTRO DE TREINAMENTO PBC.
CENTRO DE TREINAMENTO 
ROTAS DO SOPHO iS-3000 
X = VERIFICAÇÃO DE BLOQUEIO DE CHAMADAS PARA DDR. (SÓ PARA P = 1) 
Se a opção for 1. A chamada de entrada DDI será rejeitada se o destino da chamada for um ramal com FCM 
09 (Bloqueado para DDR). A ação de rejeição é determinada no CHRTCI - TONE-AND-DDI-OPTS. Se a 
chamada for redirecionada para a operadora, esta chamada pode ser transferida para o ramal requerido. 
Y = REQUER ESPERA EM CHAMADAS DDR. (SÓ PARA P = 1). 
Se a opção for 1. O tom de chamada de espera pode ser enviado para o ramal ocupado no caso de uma 
chamada DDR e esta chamada fica na fila COB deste ramal. Se o ramal estiver em consulta ou se o ramal 
possuir FCM 35 (protegido contra chamada em espera), este tom não será enviado. Se uma das partes 
existente na conexão possuir proteção de dados, o tom não será enviado. 
O COB inicia: 
1 - Se TONE-AND-DDI-OPTS, Q = 0 e T = 4 
2 - Se o ramal de destino possuir FCM 30 (COB automático no destino). 
Chamadas para uma fila COB de grupo, o membro que receberá o tom de espera será o membro que possuir 
a menor quantidade de chamadas em COB na sua fila. Se um outro membro do grupo ficar livre, esta 
chamada será redirecionada para ele. 
Durante o COB o tom de espera pode ser enviado para a parte chamadora externa. Isto deve ser definido no 
CHRTCG - GEN-TONE, R. 
Se a opção for = 0. O tom de espera não será enviado quando houver uma chamada DDR na fila COB. 
Todavia o tom de espera pode ser enviado depois da assistencia. Se a operadora ou outra parte transferir 
uma chamada de entrada para um ramal ocupado, o tom será enviado para o ramal ocupado. 
Uma chamada para MCNE ocupado, sempre resultará um tom de espera periodico. 
Z = PROTOCOLO SOCOTEL REDUZIDO. (SÓ PARA P = 1) 
Esta opção só é válida se o tipo de sinalização for Socotel. 
Se a opção for = 1, rota conectada a C.P. (só 4 dígitos). 
Se a opção for = 0, rota conectada a rede fechada (6 dígitos). 
TONE-AND-DDI-OPTS = TOM E DISCAGEM DIRETA NA OPÇÃO PQ[RSTUVWX]; 
P = TOM DE OCUPADO ANTES DO ATENDIMENTO (0 = NÃO, 1 = SIM) 
Se a opção for 1. O sinal de liberação (tom ocupado) será enviado para a parte externa, neste caso a 
liberação será antes da parte externa ser atendida. Somente é usado se a sinalização não pode gerar um 
sinal de liberação para trás antes do sinal de atendimento ser dado. 
Q = TOM DE OCUPADO DEPOIS DO ATENDIMENTO (0 = NÃO, 1 = SIM) 
Se a opção for 1. O sinal de liberação (tom ocupado) será enviado para a parte externa, neste caso a 
liberação (pelo destino da chamada entrada) será depois da parte externa ser atendida. Somente é usado se 
a sinalização não pode gerar um sinal de liberação para trás. 
R = TOM DE DDR PARA SER ENVIADO PARA PARTE EXTERNA (0...4) 
Esta opção somente será definida se a rota estiver definida para DDI (CHRTCI - INC-OPTS, P = 1). 
A definição deste parâmetro possibilita o envio do tipo de tom para o PABX oposto depois da ocupação da 
entrada pela linha por meio deste PABX. Depois de receber o tom a central oposta reconhece a informação 
discada para poder ser enviado a chamada-DDI. 
Este parâmetro somente é válido se neste trafego-DDI é sobre a linha-tronco. 
TIPOS DE TONS: 
0 = sem tom 
1 = tom de discar interno 
2 = tom de discar externo 
3 = tom de corrente de chamada interna 
4 = tom de corrente de chamada externa 
Nota:Se o tom-DDI para parte externa está configurada com tom de discar interno ou externo, o comando 
CHRTCI - INC-OPTS, V = 1. deve ser configurado. 
APOSTILA DE ROTAS DO PACOTE 810. 12 
Para uso do CENTRO DE TREINAMENTO PBC.
CENTRO DE TREINAMENTO 
ROTAS DO SOPHO iS-3000 
S = CLASSE DE TRÁFEGO (0...7) 
Designa a classe de tráfego para chamada de entrada. A conexão entre uma parte externa e um ramal ou um 
tronco (para trânsito) pode ser rejeitado se a classe de tráfego da chamada de entrada for insuficiente de 
acordo com a árvore de análise de DDI. 
T = AÇÃO QUANDO DDR PARA RAMAL OCUPADO (0...9) 
Define a ação a ser tomada quando uma chamada DDI encontra um ramal ocupado. 
U = AÇÃO QUANDO DA TEMPORIZAÇÃO DE DISCAGEM DE DDR (0...9) 
Define a ação a ser tomada quando os dígitos recebidos e não forma o resultado final e expira a tempo do 
DDI. 
V = AÇÃO QUANDO DA TEMPORIZAÇÃO DA CORRENTE DE CHAMADA DE DDR (0...9) 
Define a ação a ser tomada quando o número-DDI está completo mas o destino não atende dentro de um 
período de tempo. 
W = AÇÃO QUANDO DDR PARA NÚMERO NÃO ALOCADO (0...9) 
Define a ação a ser tomada quando a chamada DDI encontra um número fora de serviço ou grupo vazio. 
X = AÇÃO QUANDO CHAMADA DDR MAL SUCEDIDA (0...9) 
Define a ação a ser tomada quando a chamada DDI encontra um número bloqueado (ramal com FCM 09), 
uma linha longa (ramal com ramal distante FCM 15), congestionamento ou exesso de dígito. 
PARA TUVWX AS SEGUINTES AÇÕES SÃO POSSÍVEIS: 
0 = TOM OCUPADO PARA O CHAMADOR: 
1 = TOM DE NÚMERO INACESSÍVEL PARA O CHAMADOR: 
2 = DESCONECTAR PARA TRÁS: 
Tanto no diurno ou noturno a linha-tronco está desconectando para trás. 
3 = SEM AÇÃO. (NA CONDIÇÃO DIURNA OU NOTURNA). 
Se o ramal de destino está ocupado, a temporização de redirecionamento para a operadora será niciada Se 
este tempo é expirado a chamada será redirecionada para a operadora. 
4 = ESPERA AUTOMÁTICA QUANDO OCUPADO E ENVIA ATENDIMENTO. (NA CONDIÇÃO DIURNA OU 
NOTURNA). 
Se o ramal de destino está ocupado, um sinal de atendimento é enviado a linha-tronco e COB é iniciado para 
o ramal de destino. Esta situação de COB não há tempo de guarda e NÃO será redirecionada para à 
operadora se possível. 
5 = OPERADORA OU TOM OCUPADO. 
Diurno: Inicia a temporização de redirecionamento para operadora. Depois de expirado este tempo a 
chamada será redirecionada para a operadora. 
Noturno: Inicia a temporização do tom de corrente de chamada externa. 
Se expirar o tempo um tom de ocupado será enviado para a linha-tronco. 
Depois de expirado esta temporização o tom é terminado. 
6 = OPERADORA OU TOM DE NÚMERO INACESSÍVEL. 
Diurno: Inicia a temporização de redirecionamento para operadora. Depois de expirado este tempo a 
chamada será redirecionada para a operadora. 
Noturno: Inicia a temporização do tom de corrente de chamada externa. 
Se expirar o tempo um tom NU será enviado a linha-tronco. 
Depois de expirado esta temporização o tom é terminado. 
7 = OPERADORA OU DESCONECTAR PARA TRÁS. 
Diurno: Inicia a temporização de redirecionamento para operadora. Depois de expirado este tempo a 
chamada será redirecionada para a operadora. 
Noturno: Inicia a temporização do tom de corrente de chamada externa. 
Se expirar o tempo, a linha-tronco será liberada para trás. Isto só pode ser aplicado se TODOS os troncos na 
rota estão habilitado para gerar liberação para trás. 
8 = OPERADORA OU SEM AÇÃO. 
Diurno: Inicia a temporização de redirecionamento para operadora. Depois de expirado este tempo a 
chamada será redirecionada para a operadora. 
Noturno: veja sem ação (4) 
9 = OPERADORA OU RAMAL NOTURNO. 
Diurno: Inicia a temporização de redirecionamento para operadora. Depois de expirado este tempo a 
chamada será redirecionada para a operadora. 
Noturno: Inicia a temporização de redirecionamento para operadora / ramal noturno. Depois de expirado este 
tempo a chamada será redirecionada para ramal noturno. 
APOSTILA DE ROTAS DO PACOTE 810. 13 
Para uso do CENTRO DE TREINAMENTO PBC.
CENTRO DE TREINAMENTO 
ROTAS DO SOPHO iS-3000 
NOTA: Se uma chamada de entrada é assistida pela operadora / serviço noturno e a chamada é estendida 
para um ramal ocupado ou não atende, a chamada retorna para o (mesma) operadora / serviço noturno 
depois de projetar o temporização de retorno a operadora / serviço noturno NETIMER 022 (10...40):25. 
Se a chamada de entrada é estendida para uma chamada de busca-pessoa não atendida, a chamada será 
retornada para a operadora / serviço noturno depois de expirar o tempo de retorno de busca-pessoa para 
operadora / serviço noturno 
Se no CHRTCG - GEN-OPTS, Q = 0, o TONE-AND-DDI-OPTS não será usado. 
TREE = : NÚMERO DA ÁRVORE DE ANÁLISE DE ENTRADA (0...254). 
Está opção somente define se a rota é de DDI (CHRTCI - INC-OPTS, P = 1). 
A informação discada recebida na rota com tráfego DDI deve ser analisada em uma árvore especial. Pela 
configuração desta árvore será possível selecionar os DNRs que podem ser discados e também os códigos 
de acesso à tronco que são permitidos no caso de tráfego de trânsisto (CHRTCI - INC-OPTS, R = 1 e 
CHTRCO - OUT-OPTS, S = 1) pela rede totalmente integrada (FIN). 
A-QUEUE: = ROTA PARA A FILA-A DA OPERADORA (1...16). 
Define em qual fila-A (A1, A2, A3,..., A16 = Fila Geral A) a chamada de entrada será entrada se a rota não 
estiver definida como tráfego-DDI. 
Chamadas-DDI mal-sucedidas serão redirecionadas para fila-C da operadora. 
BSPT = TIPO DE PERFIL DO SERVIÇO BÁSICO (0...99). 
Consultar tabela C.2. 
APOSTILA DE ROTAS DO PACOTE 810. 14 
Para uso do CENTRO DE TREINAMENTO PBC.
CENTRO DE TREINAMENTO 
ROTAS DO SOPHO iS-3000 
MUDAR A CARACTERISTICAS DA ROTA DE SAIDA 
CHRTCO: <ROUTE>,<OUT-OPTS>,<ATF>[,<BSPT>]; 
ROUTE = NÚMERO DA ROTA (0...254). 
OUT-OPTS = OPÇÃO DE ROTA UNIDIRECIONAL DE SAÍDA PQRST (0 = NÃO, 1 = SIM). 
P = CONEXÃO DIRETA. 
Se a opção for 1. O caminho da voz entre o chamador e o tronco selecionado é estabelecida imediatamente 
depois de discado o código de acesso à tronco e o resto dos dígitos proveniente do ramal é transferido 
diretamente para o tronco sem regeneração de dígitos pelo SOPHO. Nenhuma análise externa ou repetição 
de código de acesso é possível . Esta opção somente é possível no caso de ramais MF porque somente 
estes ramais podem transferir diretamente dígitos por um caminho de voz. 
Se a opção for 0. A discagem pelo ramal é analisada na árvore DDO (indica a característica do destino) está 
análise é feita antes de estabelecer a conexão externa. É possível repetição de código de acesso. 
Q = PROTEGIDO CONTRA INTERCALAÇÃO EM CHAMADAS DE SAÍDA. 
Se a opção for 1. A chamada de saída para uma parte externa estará protegida contra intercalação. A 
tentativa por um ramal de usuário para obter uma conexão com um ramal ocupado com o tronco resultará tom 
de intercalação inacessível. A operadora pode intercalar esta conexão. 
Se a opção for 0. A chamada de saída não estará protegida contra intercalação exceto quando o ramal 
chamador estiver protegido contra intercalação (FCM 03). 
R = BOTÃO D PERMITIDO. 
Se a opção for 1. A operadora pode usar o botão-D para re-acesar o mesma linha-tronco se a chamada for 
mal-sucedida. 
Esta opção não pode ser usada se: 
Nenhum tráfego de saída na rota. 
Rotas com repetição de código de acesso. 
Rotas sem sinal parte chamadora no gancho. 
Ocupação de saída com retardo se aplicado. 
Para usar a facilidade de anular a ocupação pela operadora, está opção deve ser 1. Se a operadora discar o 
código de acesso à tronco e não houver linhas livres, primeiro o led de congestionamento acende. Depois 
algum tempo uma linha-tronco (na condição de conversação) aparece no visor. Agora a operadora pode 
escutar esta conexão e se necessitar, liberar a parte conectada com a linha-tronco. Através do botão-D a 
linha-tronco não será liberada mas o tom de discar será enviado à operadora. A operadora pode discar para 
uma parte externa por esta linha-tronco. 
Se a opção for 0. A operadora deve liberar a linha e novamente ocupar uma outra linha pela discagem do 
código de acesso à tronco. A facilidade de anular a ocupação pela operadora não pode ser usada. 
S = TRÂNSISTO PERMITIDO. 
Se a opção for 1. A chamada de entrada por uma linha com CHRTCI - INC-OPTS, R =1 (permite trânsisto 
de entrada) pode ser transferida para um ramal ou uma operadora para uma linha de rota de saída. 
Não assistência de trânsisto também é possível para tráfego DDI-DDO. Na árvore de análise para tráfego de 
entrada o código de acesso à tronco para tronco de saída deve ser incluído. 
Para algumas situações de conferência é requerido também CHRTCG - GEN-OPTS, R = 1. 
Se a opção for 0. A linha-tronco de saída nunca (assistida ou não assistida) será conectada com uma linha-tronco 
de entrada. 
T = IDENTIFICAÇÃO DA CENTRAL DE ORIGEM. 
Se a opção for 1. A unidade SOPHO primeiro envia o DNR para a parte chamadora para o PABX oposto 
antes de enviar os dígitos normais. 
ATF = BUSCA AUTOMÁTICA DE TRONCO (0...2): 
0 = NENHUMA BUSCA. 
1 = BUSCA POR ESPERA QUANDO OCUPADO (COB). 
Significa que depois da discagem do código ce acesso à tronco embora nenhuma linha-tronco na rota está 
livre. Nenhum tom de congestionamento será dado. Os dígitos externo pode já serem discados e tão longo 
uma linha esteja disponível os dígitos serão transmitidos. 
Esta facilidade somente é oferecida para ramais com prioridade (FCM 14). ATF somente é aplicado quando 
todas as rotas na tabela de seqüência estão reconhecidadas. Quando isto é verdadeiro, a ATF estará na 
primeira rota da tabela de seqüência. 
APOSTILA DE ROTAS DO PACOTE 810. 15 
Para uso do CENTRO DE TREINAMENTO PBC.
CENTRO DE TREINAMENTO 
ROTAS DO SOPHO iS-3000 
2 = BUSCA (ATF) POR RECHAMADA AUTOMÁTICA (ARB). 
Depois da discagem do código de acesso à tronco embora nunhuma linha-tronco na rota esteja livre, o tom de 
ocupado será dado. O ramal do usuário pode discar o prefixo de rechamada automática e tão logo uma linha 
esteja disponível o ramal do usuário começará a tocar. Depois do atendimento da linha-tronco disponível para 
o usuário, os dígitos externo podem ser discado. 
Se a repetição do código de acesso relacionado à um destino está designado a repetição do código de 
acesso para a rota deve prevalecer (veja CHDSTC - ACC-REP). 
BSPT = TIPO DE PERFIL DO SERVIÇO BÁSICO (0...99). 
Consultar tabela C.2. 
APOSTILA DE ROTAS DO PACOTE 810. 16 
Para uso do CENTRO DE TREINAMENTO PBC.
CENTRO DE TREINAMENTO 
ROTAS DO SOPHO iS-3000 
MUDAR A CARACTERISTICAS DE FEIXES (BUNDLE) 
CHBNDC:<UNIT+BUNDLE>,<DIR-AND-NEG>,<OPTIONS>,<CON-AND-SIG-TYPE> 
[,[<ALL-CALLS>][,<BSPT>]]; 
UNIT+BUNDLE = PARAMETRO COMPOSTO DE, FORMATO: UUBBB 
UU = Número da Unidade (1..14). 
Pode ser omitido para unidade simples (uma unidade). 
BBB = Bundle numero (0..254). 
Deve ser de 3 digitos número dentro do sistema de multi-unidade. 
DIR-AND-NEG = DIREÇÃO DO FEIXE E NEGOCIAÇÃO DO RDSI: P[Q] 
P = DIREÇÃO DO FEIXE: 
0 = Unidirecional de entrada. 
1 = Unidirecional de saída. 
2 = Bidirecional. 
Q = REGRA DE NEGOCIAÇÃO DO RDSI - Omitir quando o tipo de sinalização for não-RDSI 
0 = Qualquer canal-B. 
1 = Canal-B exclusivo. 
2 = Canal-B preferencial. 
OPTIONS = OPÇÕES DE FEIXE OPQ[RSTUVWXYZ] (0 = NÃO, 1 = SIM). 
Quando o feixe for unidirecional de saída, RSTUVWXYZ deve ser omitido. 
K = SUPERVISÃO DE LINHA LONGA. 
Se a opção for 1. O ramais com FCM 15 (Ramal distante) nunca poderão ser conectados para uma linha 
com feixe de tráfego de saída e chamadas de entrada nunca poderão ser conectadas para ramais com FCM 
15. 
DDI para ramais com FCM 15 não é possível e chamadas de entrada não podem ser transferida pela 
operadora para um ramal com FCM 15. 
DDO e discagem de saída via operadora não é permitido para um ramal com FCM 15. 
L = SUPERVISÃO DE BLOQUIEO DA LINHA DA CENTRAL. 
Se a opção for 1. O ramais com FCM 06 ((Bloqueado a conexão com linha tronco) nunca poderão ser 
conectados para uma linha em um feixe de tráfetgo de saída e chamadas de entrada nunca poderão ser 
conectadas para ramais com FCM 06. 
DDI para ramais com FCM 06 não é possível e chamadas de entrada não podem ser transferida pela 
operadora para um ramal com FCM 06. 
DDO e discagem de saída via operadora não é permitido para um ramal com FCM 06. 
M = REGISTRO DE RECHAMADA DISPONÍVEL. 
Se a opção for 1. Está opção somente pode ser usada em combinação com CHRTCI - INC-OPTS, S = 
1(Investigar chamadas maliciosas). E se a central oposta está apta para manusear esta facilidade. 
N = echo canceller connected 
O = ISDN date/time synchronisation 
P = TARIFAÇÃO DISPONÍVEL NO FEIXE. 
Se a opção for 1. É possível contar os pulsos que estão sendo enviados ao SOPHO. A operadora pode 
marca uma chamada para medição ou o ramal pode ter marca de medição com FCM 10. Nesta situação os 
pulsos são registrados no buffer-contador relacionado para este ramal. 
Q = APLICA DETEÇÃO DO PRIMEIRO TOM DE DISCAR. 
Se a opção for 1. O SOPHO espera para enviar o tom de discar pela central oposta depois do SOPHO 
reconhecer a ocupação da linha de saída. Depois de receber este tom de discar o SOPHO envia o resto da 
informação-discada. 
Se a opção for 0. O SOPHO não pode espera o tom de discar da central oposta. A informação-discada é 
enviada após ocupação da linha-tronco. 
APOSTILA DE ROTAS DO PACOTE 810. 17 
Para uso do CENTRO DE TREINAMENTO PBC.
CENTRO DE TREINAMENTO 
ROTAS DO SOPHO iS-3000 
R = PAUSA PARA DETEÇÃO DO PRIMEIRO TOM DE DISCAR. 
Se a opção for 1. Um tempo de retardo extra será requerido antes do (espera do primeiro tom de discar 
externo) procedimento de deteção ser inciado. O PABX oposto necessita de mais tempo para gerar o "tom de 
discar". 
S = PAUSA PARA DETEÇÃO DO SEGUNDO TOM DE DISCAR. 
Se a opção for 1. Um tempo de retardo extra será requerido antes do (espera do segundo tom de discar 
externo) procedimento de deteção ser inciado. O PABX oposto necessita de mais tempo para gerar o "tom de 
discar". 
T = CONEXÃO DIRETA PROVISÓRIA. 
Define se o SOPHO deve gerar tons "falsos" (explo.: tom de discar ) a fim de que seja enviado para o ramal 
chamador. Depois receber este tom de discar o usuário pode discar o número externo. 
Se a opção for 1. Os tons proveniente da central pública são enviados acusticamente para o usuário Um 
canal de retorno acústico está dispinível. 
Se a opção for 0. O tons são gerados pelo SOPHO. 
U = SENSÍVEL À ATENDIMENTO. (para Centrais Públicas com inversão de polaidade no atendimento) 
Esta opção está relacionada para bilhetagem / medição de chamadas de DDO nas linhas deste feixe. Se a 
facilidade de bilhetagem é usada para medir o intervalo de tempo de uma chamada de saída, a temporização 
é iniciada no momento da ocupação da linha de saída. 
Se a opção for 1. A temporização da bilhetagem é reiniciada depois do sinal de atendimento da central 
oposta. Isto somente pode ser aplicado se a central oposta enviar o sinal de atendimento. Poo outro lado 
nunhum registro de bilhetagem será gerado. 
Se a opção for 0. A bilhetagem será iniciada logo que a linha seja ocupada. 
V = ESPERA PARA ATENDENTIMENTO DE DDO. 
Se uma chamada DDO é feita, é possível detectar o atendimento da parte externa. 
Isto é possível nas linhas-tronco com um tipo de sinalização que suporte um sinal de atendimento. Se isto é 
certo este "sinal de atendimento" é retornado, isto não é muito necessário para comutar completamente o 
estado de conversação diretamente depois da regeneração do último dígito do número externo. 
Se a opção for 1. O SOPHO espera do sinal de atendimento antes da linha-tronco ser conectada para o 
ramal na fase de conversação. 
Se a opção for 0. A linha-tronco será diretamente conectada ao ramal depois da regeneração do último dígito 
sobre a linha-tronco. 
Está opção é também válida no caso de tráfego de trânsisto. 
Se a opção for 1. Este sinal de atendimento é retornado para o tronco de entrada, e é gerado tão logo o sinal 
de atendimento for recebido do tronco de saída. 
Se a opção for 0. Este sinal de atendimento é retornado para o tronco de entrada, e é gerado tão logo a 
análise da numeração (entrada) seja concluída para que o número recebido do tronco de entrada seja 
completado. 
W = TOM DE ROTEAMENTO. 
Se a opção for 1. Um tom de roteamento (tom número 27) é enviado para parte chamadora se a discagem 
do número externo estiver completa (DDO) mas nesse ponto não há ainda condição de conversação. A 
chamada ainda estará em processo de estabelecimento. 
Isto pode acontecer quando o sinal de atendimento da central destino ainda não recebeu ou todos os dígitos 
ainda não foram enviados para este destino. 
X = DETEÇÃO E ALARME DE TOM DE TRANSCOM. 
Se a opção for 1.Se a rota estiver conectada a um equipamento TRANSCOM. 
Y = Ddo send MFC area number 
Z = Ddo local ring tone provided 
CON-ADD-SIG-TYPE = CONEXÃO DO FEIXE E TIPO DE SINALIZAÇÃO PQ[Q] 
Isto indica para o SOPHO com qual tipo do tronco/linha de junção que está envolvido e qual o tipo de 
sinalização que deve ser usado neste tronco/linha de junção. 
P = TIPO DE CONEXÃO POSSÍVEL (0...4): 
0 = Linha de junção à quatro fios. 
1 = Linha CP à dois fios. 
2 = Linha de junção à dois fios. 
3 = Linha CP digital. 
4 = Linha de junção digital. 
APOSTILA DE ROTAS DO PACOTE 810. 18 
Para uso do CENTRO DE TREINAMENTO PBC.
CENTRO DE TREINAMENTO 
ROTAS DO SOPHO iS-3000 
QQ = TIPO DE SINALIZAÇÃO POSSÍVEL (0...15): 
0 = impulso. 8 = MFP (Impulso MF) 
1 = impulso, ententendo MF. 9 = MFC Socotel. 
2 = MF. 10 = DASS. 
3 = MFC. 11 = MFE. 
4 = Canal Comum. 12 = 1TR6. 
5 = MF após o atendimento. 13 = MFC-CSS1. 
6 = DPNSS-x (feixe deve estar designado para rota DPNSS) 14 = RDSI-A. 
7 = DPNSS-y (feixe deve estar designado para rota DPNSS) 15 = RDSI-B. 
O tipo de sinalização é importante em consideração com o protocolo de comunicação com a central oposta. 
ALL-CALLS = NÚMERO DE CHAMADAS PERMITIDAS NO FEIXE PARA UM DADO BSPT (0..254). 
Se for omitido, não haverá restrição no número de chamadas permitidas. 
BSPT = TIPO DE PERFIL DO SERVIÇO BÁSICO (0...99). 
Consultar tabela C.2. Número máximo de BSPTs para troncos. 
DESIGNAR FEIXE PARA UMA ROTA 
ASBNDL: <ROUTE>,<BUNDLE>; 
A característica do feixe (direção e tipo de sinalização desejada) pode ser mudada com o comando CHBNDC. 
Depois de ser designado para a rota. 
<ASBNDL:4,4; 
MOSTRAR OS DADOS DO FEIXE 
DIBNDL: <UNIT+BUNDLE>; 
CANCELAR O FEIXE DA ROTA 
DEBNDL: <ROUTE>,<BUNDLE>; 
APOSTILA DE ROTAS DO PACOTE 810. 19 
Para uso do CENTRO DE TREINAMENTO PBC.
CENTRO DE TREINAMENTO 
ROTAS DO SOPHO iS-3000 
DESIGNAR NUMERO DO ESQUEMA DE NUMERAÇÃO INTERNO 
ASINTN:<TREE>,<NUMBER>,<TRFC>,<RESULT-ID >[,[<DEST/NUMBER>][,<NUMBER-LENGTH>]]; 
TREE = NÚMERO DA ÁRVORE DE ANÁLISE (0...254). 
NUMBER Número interno (DNR) ou número externo ou código (1...6 dígitos). 
No comando ASINTN em combinação com identidade de resultado (result-ID) 104...115, 
este parâmetro deve ter um número de 6...12 dígitos de comprimento. 
TRFC Definir qual a classe de Tráfego que pode acessar o código de acesso . 
Classe de tráfego (0...7), veja tabela C.13. 
CLASSE DE 
TRÁFEGO DESCRIÇÃO 
0 Tráfego interno somente para operadora 
1 
Tráfego interno 
Acesso limitado a linha de junção 
Tráfego externo abreviado 
2 
Destino das classe de tráfego 1, mais: 
Acesso total a linha de junção 
Mais ramais discagem abreviada 
3 
Destino das classe de tráfego 2, mais: 
Acesso indireto ao tronco 
Mais ramais discagem abreviada 
4 
Destino das classe de tráfego 3, mais: 
Tráfego local 
Mais ramais discagem abreviada 
5 
Destino das classe de tráfego 4, mais: 
Tráfego DDD 
Mais ramais discagem abreviada 
6 
Destino das classe de tráfego 5, mais: 
Tráfego DDI 
Sem restrições 
7 Classe de tráfego da operadora 
Tabela C.13. Exemplo de alocação de classes de tráfego 
RESULT-ID ver tabela anexa: 
APOSTILA DE ROTAS DO PACOTE 810. 20 
Para uso do CENTRO DE TREINAMENTO PBC.
CENTRO DE TREINAMENTO 
ROTAS DO SOPHO iS-3000 
ID. 
DESCRIÇÃO 
TIPO DE DISCAGEM DE / ORIGEM 
RES. 0 1 2 3 4 5 6 7 DDI DDO 
DPNSS 
IN 
DPNSS 
OUT 
00* Local do segundo tom de discar - - - - - - - - - - - - - - - - - - X - - - - 
01 Sem resultado direto X X X X X X X - - X X X X 
10** Número interno X X X - - X @ X - - X - - X X 
11 Código geral para operadora (fila-M) X X - - - - X - - - - - - X - - X - - 
12 Prefixo busca-pessoa urgente X X X - - X - - - - - - X - - X X 
13 Prefixo busca-pessoa não urgente X X X - - X - - - - - - X - - X X 
20 Prefixo atendimento de busca-pessoa X - - - - - - - - - - - - - - - - - - X - - 
21 Código de acesso à tronco X X X - - X - - - - - - X - - X X 
22* Número externo - - - - - - - - - - - - - - - - - - X - - - - 
23** Discagem abreviada comum X X X - - - - - - - - - - - - - - X - - 
24** Discagem abreviada de grupo X X X - - - - - - - - - - - - - - - - - - 
25 Acesso número abreviado individual @@@- - - - - - - - - - - - - - - - - - 
26 Acesso último número externo @@@- - - - - - - - - - - - - - - - - - 
27 Siga-me ativado na origem @@- - - - - - - - - - - - - - - - - - - - 
28 Siga-me preparado na origem @@- - - - - - - - - - - - - - - - - - - - 
29 Siga-me ativado no destino X X - - - - - - - - - - - - - - - - - - - - 
30 
Cancelamento seletivo siga-me no 
destino X X - - - - - - - - - - - - - - - - - - - - 
31 Cancelamento geral siga-me no destino X X - - - - - - - - - - - - - - - - - - - - 
32 Cancelar siga-me na origem X X - - - - - - - - - - - - - - - - - - - - 
33 Captura geral X X - - - - - - - - - - - - - - - - - - - - 
34 Captura individual X X - - - - - - - - - - - - - - - - - - - - 
35 Ausente do grupo pelo membro @@- - - - - - - - - - - - - - - - - - - - 
36 Presente no grupo pelo membro @@- - - - - - - - - - - - - - - - - - - - 
37 Ausente do grupo pelo supervisor @@- - - - - - - - - - - - - - - - - - - - 
38 Presente no grupo pelo supervisor @@- - - - - - - - - - - - - - - - - - - - 
39 Acesso chefe secretária @@- - - - - - - - - - - - - - - - - - - - 
40 Chefe/secretária ausente @@- - - - - - - - - - - - - - - - - - - - 
41 Chefe/secretária presente @@- - - - - - - - - - - - - - - - - - - - 
42 Chefe/secretária completo - - - - - - - - - - - - - - X - - - - - - - - 
43 Prefixo de centro de custo X X X - - - - - - - - - - - - - - - - - - 
44 Ramal noturno ausente (INE/PLE) @@- - - - - - - - - - - - - - - - - - - - 
45 Ramal noturno presente (INE/PLE) @@- - - - - - - - - - - - - - - - - - - - 
46 Código discagem de CANS X - - - - - - - - - - - - - - - - - - - - - - 
X = Normalmente acessível a partir da origem de discagem 
@ = Normalmente acessível, mas deve ser designado na parte originadora marca de classe de 
facilidade apropiada ou configuração de facilidade de OM. 
* = Designado automáticamente com ASEXTN 
** = Designado com ASBLCK 
- - = Não acessível a partir do tipo de discagem ou da origem 
Tabela C.9. Identidades de Resultado 
APOSTILA DE ROTAS DO PACOTE 810. 21 
Para uso do CENTRO DE TREINAMENTO PBC.
CENTRO DE TREINAMENTO 
ROTAS DO SOPHO iS-3000 
ID. 
DESCRIÇÃO 
TIPO DE DISCAGEM DE / ORIGEM 
RES. 
0 1 2 3 4 5 6 7 DDI DDO 
DPNSS 
IN 
DPNSS 
OUT 
47 Código discado prioritário à operado M X X - - - - X - - - - - - X - - X - - 
48 Fila-A geral da operadora - - - - - - - - - - - - - - - - X - - X - - 
49 Fila-A1 da operadora - - - - - - - - - - - - - - - - X - - X - - 
50 Fila-A2 da operadora - - - - - - - - - - - - - - - - X - - X - - 
51 Fila-A3 da operadora - - - - - - - - - - - - - - - - X - - X - - 
52 Ramal de teste @- - - - - - - - - - - - - - - - - - - - - - 
53 Código de acesso de emergência X - - - - - - - - - - - - - - - - - - - - - - 
54 Discagem de proteção de dados @@- - - - - - - - - - - - - - - - - - - - 
55 Prefixo de conferência - -@- - - - - - - - - - - - - - - - - - - - 
56 Rechamada automática - - - - - - - - - - - - - - - - - - - - - - - - 
57 Cancelamento da rechamada automática X - - - - - - - - - - - - - - - - - - - - - - 
58 Intercalação - - - - - -@- - - - - - - - - - - - - - - - 
59 Código baypass - - - - - -@- - - - - - - - - - - - - - - - 
60 Investigar chamada maliciosa - -@ X - - - - - - - - - - - - - - - - - - 
61 Programação de ramal - - - - - - - - - - - - - - - - - - - - - - - - 
62 Discagem para serviço de quarto X X - - - - - - - - - - - - - - - - - - - - 
63 Discagem para lavanderia X X - - - - - - - - - - - - - - - - - - - - 
64 Discagem para informações X X - - - - - - - - - - - - - - - - - - - - 
65 Discagem para recepção X X - - - - - - - - - - - - - - - - - - - - 
66 Ativar não pertube @@- - - - - - - - - - - - - - - - - - - - 
67 Desativar não pertube @@- - - - - - - - - - - - - - - - - - - - 
68 Prefixo do conversor X X - - - - - - - - - - - - X - - - - - - 
69 Armazenar número abreviado individual @@- - - - - - - - - - - - - - - - - - - - 
70 Apagar número abreviado individual @@- - - - - - - - - - - - - - - - - - - - 
71 Substituir número abreviado individual @@- - - - - - - - - - - - - - - - - - - - 
72 Aumentar classe de tráfego @- - - - - - - - - - - - - - - - - - - - - - 
73 Baixar classe de tráfego @- - - - - - - - - - - - - - - - - - - - - - 
74 Nenhuma classe de tráfego selecionada @- - - - - - - - - - - - - - - - - - - - - - 
75 
Código de discagem de chamada em 
espera X X - - - - - - - - - - - - - - - - - - - - 
76 Mensagem em espera LED ligado tipo 0 X X - - - - - - - - - - - - - - - - - - - - 
77 Mensagem em espera LED ligado tipo 1 X X - - - - - - - - - - - - - - - - - - - - 
78 Mensagem em espera LED ligado tipo 2 X X - - - - - - - - - - - - - - - - - - - - 
79 Mens. em espera LED desligado tipo 0 X X - - - - - - - - - - - - - - - - - - - - 
X = Normalmente acessível a partir da origem de discagem 
@ = Normalmente acessível, mas deve ser designado na parte originadora marca de classe de 
facilidade apropiada ou configuração de facilidade de OM. 
* = Designado automáticamente com ASEXTN 
** = Designado com ASBLCK 
- - = Não acessível a partir do tipo de discagem ou da origem 
Tabela C.9. Identidades de Resultado 
APOSTILA DE ROTAS DO PACOTE 810. 22 
Para uso do CENTRO DE TREINAMENTO PBC.
CENTRO DE TREINAMENTO 
ROTAS DO SOPHO iS-3000 
ID. 
DESCRIÇÃO 
ORIGEM / TIPO DE DISCAGEM DE 
RES. 0 1 2 3 4 5 6 7 DDI DDO DPNSS 
IN 
DPNSS 
OUT 
80 Mens. em espera LED desligado tipo 1 X X - - - - - - - - - - - - - - - - - - - - 
81 Mens. em espera LED desligado tipo 2 X X - - - - - - - - - - - - - - - - - - - - 
82 Discagem TMS X - - - - - - - - - - - - - - - - - - X - - 
83 Siga-me de grupo ativado na origem @@- - - - - - - - - - - - - - - - - - - - 
84 Siga-me de grupo preparado na origem @@- - - - - - - - - - - - - - - - - - - - 
85 Cancelar siga-me de grupo na origem @@- - - - - - - - - - - - - - - - - - - - 
86 Siga-me de grupo ativado no destino X X - - - - - - - - - - - - - - - - - - - - 
87 
Cancelamento seletivo de siga-me de 
grupo no destino X X - - - - - - - - - - - - - - - - - - - - 
88 
Cancelamento geral de siga-me de 
grupo no destino X X - - - - - - - - - - - - - - - - - - - - 
89 Circuito de auto-atendimento discado - - - - - - - - - - - - - - - - X - - - - - - 
90 Mostrar COB para supervisor @- - - - - - - - - - - - - - - - - - - - - - 
91 Código de acesso à rede X X X - - X X - - - - X - - X - - 
92 
Código de acesso à Rede de Circuitos 
de Comutação de Dados (CSDN) @- - - - - - - - - - - - - - - - - - - - - - 
93 Dar uma linha - - - - X - - - - - - - - - - - - - - - - - - 
94 Iniciar pós-discagem - - X - - - - - - - - - - - - - - - - - - - - 
95 Consulta no inicio do tronco - - X X - - - - - - - - - - - - - - - - - - 
96 Consulta sobre tronco - - X X - - - - - - - - - - - - - - - - - - 
97 Discagem de rota alternativa X X X - - - - - - - - - - X - - X - - 
98 Ativar redirecionamento qdo. ocupado X X - - - - - - - - - - - - - - - - - - - - 
99 Cancelar redirecionamento qdo. ocupado X X - - - - - - - - - - - - - - - - - - - - 
100 Ativar siga-me fixo X X - - - - - - - - - - - - - - - - - - - - 
101 Iniciar chamada em espera - - - - - -@- - - - - - - - - - - - - - - - 
102 
Iniciar espera automatica quando 
ocupado (COB) - - - - - -@- - - - - - - - - - - - - - - - 
103 Código de cancelamento geral X X - - - - - - - - - - - - - - - - - - - - 
104 Mudar senha (TMS) X X - - - - - - - - - - - - - - - - - - - - 
105 Habilitar nível superior/inferior (TMS) X X - - - - - - - - - - - - - - - - - - - - 
106 Desabilitar nível superior/inferior (TMS) X X - - - - - - - - - - - - - - - - - - - - 
107 Classe de tráfego superior (TMS) X X - - - - - - - - - - - - - - - - - - - - 
108 Classe de tráfego inferior (TMS) X X - - - - - - - - - - - - - - - - - - - - 
109 Senha DDO do própio (TMS) X X - - - - - - - - - - - - - - - - - - - - 
110 Senha DDO de outro (TMS) X X X - - - - - - - - - - - - - - - - - - 
111 Módulo centro de custo X X X - - - - - - - - - - - - - - - - - - 
112 Validade do centro de custo (TMS) X X X - - - - - - - - - - - - - - - - - - 
X = Normalmente acessível a partir da origem de discagem 
@ = Normalmente acessível, mas deve ser designado na parte originadora marca de classe de 
facilidade apropiada ou configuração de facilidade de OM. 
* = Designado automáticamente com ASEXTN 
** = Designado com ASBLCK 
- - = Não acessível a partir do tipo de discagem ou da origem 
Tabela C.9. Identidades de Resultado 
APOSTILA DE ROTAS DO PACOTE 810. 23 
Para uso do CENTRO DE TREINAMENTO PBC.
CENTRO DE TREINAMENTO 
ROTAS DO SOPHO iS-3000 
ID. 
DESCRIÇÃO 
TIPO DE DISCAGEM DE / ORIGEM 
RES. 0 1 2 3 4 5 6 7 DDI DDO DPNSS 
IN 
DPNSS 
OUT 
113 Porta de acesso direto (TMS) X X X - - - - - - - - - - X - - X - - 
114 Porta de acesso de rechamada (TMS) X X X - - - - - - - - - - X - - X - - 
115 Cancelar chamada de rechamada (TMS) X X X - - - - - - - - - - X - - X - - 
116 Chamada privativa X X X - - - - - - - - - - - - - - - - - - 
117 Chamada direta X X - - - - - - - - - - - - - - - - - - - - 
118 Grupo de discagem de código reduzido X X - - - - - - - - - - - - - - - - - - - - 
119 Captura pelo número de grau X X - - - - - - - - - - - - - - - - - - - - 
120 Busca pessoa de voz urgente X X X - - X - - - - - - X - - X X 
121 Busca pessoa de voz não urgente X X X - - X - - - - - - X - - X X 
122 Busca pessoa que mostra ANT urgente 
ANT = Transmissão Automática Número X X X - - X - - - - - - X - - X X 
123 Busca pessoa mostra ANT não urgente X X X - - X - - - - - - X - - X X 
124 Busca pessoa não mostra ANT urgente X X X - - X - - - - - - X - - X X 
125 Busca pessoa não mostra ANT não 
urgente X X X - - X - - - - - - X - - X X 
126 Gravando no anunciador @- - - - - - - - - - - - - - - - - - - - - - 
127 Discagem gerenciamento do DAC @@- - - - - - - - - - - - - - - - - - - - 
128 Prefixo de grupo DAC diurno @@- - - - - - - - - - - - - - - - - - - - 
129 Prefixo de grupo DAC noturno @@- - - - - - - - - - - - - - - - - - - - 
130 Discagem sobre intercalação @@- - - - - - - - - - - - - - - - - - - - 
131 Armazenar em posição de chamada @@- - - - - - - - - - - - - - - - - - - - 
X = Normalmente acessível a partir da origem de discagem 
@ = Normalmente acessível, mas deve ser designado na parte originadora marca de classe de 
facilidade apropiada ou configuração de facilidade de OM. 
* = Designado automáticamente com ASEXTN 
** = Designado com ASBLCK 
- - = Não acessível a partir do tipo de discagem ou da origem 
Tabela C.9. Identidades de Resultado 
DEST/NUMBER Número de destino (0...254), no Esquema de Numeração, associar o código de 
acesso a um destino comando CHDSTC, que deve ser associado a uma tabela de 
rota comando CHROTA. 
APOSTILA DE ROTAS DO PACOTE 810. 24 
Para uso do CENTRO DE TREINAMENTO PBC.
CENTRO DE TREINAMENTO 
ROTAS DO SOPHO iS-3000 
MUDAR AS CARACTERÍSTICAS DO DESTINO 
CHDSTC: <DEST>,<TREE>,<FST-DT>,<SND-DT>,<ROUTE-TABLE>[,<ACC-REP>]; 
TREE = NÚMERO DA ÁRVORE DE ANÁLISE DDO (0..254) 
O número externo discado pelo ramal do usuário depois do código de acesso à tronco (analisado na árvore 
de discagem interna/consulta) pode ser analisada para determinar se é permitido a conexão para parte 
externa requerida. A conexão pode ser rejeitada se o número for não existente ou se a classe de tráfego do 
ramal é menor que a classe de tráfego requerida pela análise de resultado. Também a análise é necessária 
para determinar se um desvio na tabela de roteamento está presente na árvore externa, para 
reconhecimento das facilidades desejada no nó da rede, retardo na ocupação de saída, pausa RTCP, etc. 
FST-DT = OPÇÃO DE PRIMEIRO TOM DE DISCAR EXTERNO (0 = NÃO, 1 = SIM). 
Se a opção for 1. O SOPHO gera o primeiro tom de discar externo e envia-o para a parte originadora 
depois da discagem do código de acesso à tronco. Este tom é independente da central oposta. Se o 
SOPHO realmente aguarda o tom de discar da PABX oposto será determinado pelo CHBNDC - 
OPTIONS, T = 1. 
Se a opção for 0. Não haverá o primeiro tom de discar externo será enviado depois da discagem do 
código de acesso à tronco. 
SND-DT = OPÇÃO DO SEGUNDO TOM DE DISCAR EXTERNO (0 = NÃO, 1 = SIM). 
Se a opção for 1. O SOPHO gera o segundo tom de discar externo e envia-o para a parte do SOPHO da 
chamada da saída depois da discagem dos dígitos do número externo. O tom de discar local (dígitos do 
número externo antes do segundo tom de discar) é determinado na árvore DDO relacionada com este 
destino pelo comando OM ASEXTN. Se o "parâmetro tom de discar local" na árvore DDO for designado 
no valor 0 (zero) com o comando OM ASEXTN, o segundo tom de discar não será enviado para o 
iniciador. 
Se a opção for 0. o segundo tom de discar não será enviado para o iniciador. 
Se o segundo tom de discar externo está definido na árvore DDO, o SOPHO espera pelo tom de discar 
físico da central oposta antes de enviar a informação-discada remanecente para esta central, exceto 
quando a conversão de dígito na saída é aplicado. 
Isto é independente da geração do segundo tom de discar externo para parte iniciadora do SOPHO. 
ROUTE-TABLE = NÚMERO DA TABELA DE ROTA (0...254) 
Indica o valor padrão da tabela de rota (20). Isto contém até 5 tabelas assim chamado Tabelas de 
Seqüência. Cada tabela de seqüência contém uma lista de rotas para este destino (max. 8). Que tabela de 
seqüência é ativada depende da facilidade de temporização (ASFATI). O sistema seleciona a primeira 
rota da tabela de seqüência e a tenta estabelecer a chamada de saída. Quando isto não é possível 
(explo.: congestionamento, a segunda rota na tabela de seqüência será selecionada e o processo será 
repetido (roteamento alternativo). 
Quando a árvore de saída pertence a este destino e não contém tabela de rota, designado com ASEXTN 
ou ASEXTP, será usada a tabela de rota padrão. 
APOSTILA DE ROTAS DO PACOTE 810. 25 
Para uso do CENTRO DE TREINAMENTO PBC.
CENTRO DE TREINAMENTO 
ROTAS DO SOPHO iS-3000 
ACC-REP = CONTADOR DE REPETIÇÃO DO CÓDIGO DE ACESSO (0...6). 
Especifica o número de dígitos (de um código de acesso à tronco) que pode ser repetido sobre uma linha de 
junção depois do código de acesso ter sido discado. Assim que iniciar a contagem do último dígito de um 
código de acesso à tronco. A repetição dos dígitos serão transferidos sobre a linha de uma rota para o destino 
oposto. Esta repetição do código de acesso está relacionada para o destino e independe da rota que é usada 
para obter o destino especifico. 
A repetição dos dígitos são também enviado para trás dentro da árvore-DDO. Isto significa que para repetir o 
código de acesso, a repetição dos dígitos deve também produzir a primeira parte do número externo. 
Se este parâmetro é designado, repetição do código de acesso especificado no CHRTCO - OUT-OPTS, T = 
1, será prevalecido. 
APOSTILA DE ROTAS DO PACOTE 810. 26 
Para uso do CENTRO DE TREINAMENTO PBC.
CENTRO DE TREINAMENTO 
ROTAS DO SOPHO iS-3000 
MUDAR A TABELA DE ROTA 
CHROTA :<ROUTE-TABLE>[,[<USER-TYPE>][,<SEQUENCE-TABLE>][,<UNIT>]]; 
Este comando solicitará parâmetros adcionais: 
<ROUTE>,<PREF-CODE>,<TRFC>,[<SMART-BOX-EM>]; 
ROUTE-TABLE = NÚMERO DA TABELA DE ROTA (0...254). 
USER-TYPE = TIPO DE USUÁRIO: 
As rotas usadas para diferentes tipos de usuários podem ser diferentes. Portanto a rota que é entrada é 
válida para um ou mais tipos de usuários. Existem três tipos: 
0 = ramal normal. 
1 = operadora. 
2 = ramal prioritário (ramal com FCM 14). 
Se USER-TYPE for omitido. Todos os tipos de usuários serão colocados. 
SEQUENCE-TABLE = TABELA DE SEQÜÊNCIA, 
indica qual tabela de rota deve ser selecionada (1...5): 
1 = indica a tabela padrão, 
2...5 = pode ser usado para roteamente de menor custo (selecionado com facilidade de temporização - 
ASFATI 
Se SEQUENCE-TABLE for omitido. Será assumido.a tabela padrão (1). 
A tabela de seqüência tem o seguinte conteúdo: 
Ramal Normal Operadora Ramal Prioritário 
Rota P/N TRFC Merc Rota P/N TRFC Merc Rota P/N TRFC Merc 
R1 P 3 N R1 P 3 N R1 P 3 N 
R4 N 4 N R4 N 4 N R4 N 4 N 
R6 N 4 N R6 N 4 N R6 N 4 N 
Que contém: 
A configuração das rotas usada para ramais normais, operadoras e ramais prioritário. 
O sistema tenta fazer a chamada de saída com a primeiro número de rota. No congestionamento desta rota o 
sistema pula para a segunda entrada, etc. No máximo de 8 entradas pode ser definido por tabela. 
UNIT = NÚMERO DA UNIDADE (1...14) 
pode ser omitido no caso de uma unica unidade. 
<CHROTA:4,,1,1; 
Entre com dados da tabela de rota <ROUTE>,<PREF-CODE>,<TRFC>[,<SMART-BOX-EM>]:4,? 
ROUTE = NÚMERO DA ROTA DE DESTINO. 
PREF-CODE = CÓDIGO PREFENCIAL/NÃO PREFERENCIAL 
0 = não preferencial 
1 = preferencial 
Rota de segunda escolha ou não preferencial é uma rota com o mesmo código de acesso que só será 
acessada quando a Rota Preferencial estiver com todas as linhas ocupadas. 
APOSTILA DE ROTAS DO PACOTE 810. 27 
Para uso do CENTRO DE TREINAMENTO PBC.
CENTRO DE TREINAMENTO 
ROTAS DO SOPHO iS-3000 
TRFC = CLASSE DE TRÁFEGO (0...7) 
Classe de tráfego solicidado pela rota. Normalmente a classe de tráfego está em ordem ascendente na 
tabela de seqüência. A primeira rota selecionada (rota de menor custo) tem a menor classe de tráfego 
requerida, as alternativas (mais caras) requer uma alta classe de tráfego. 
SMART-BOX-EM = EMULAÇÃO DE CAIXA INTELIGENTE DO MERCURY (0 = NÃO, 1 = SIM). 
A opção será sempre 0 para o padrão Telebrás. 
Se a opção for 1. O sistema enviará o código de saída PIN solicitado para emulação de caixa inteligente do 
sistema Mercury, seguido pela identificação do chamador. 
<DIROTA:4; 
ROUTE-TABLE UNIT SEQUENCE-TABLE 
4 1 1 
NORMAL EXTENSION OPERATOR PRIORITY EXTENSION 
ROUTE PREF TRFC SMART ROUTE PREF TRFC SMART ROUTE PREF TRFC SMART 
4 n 5 No - - - - - - - - 
BSPT IBSC PRIORIDADE DESCRIÇÃO 
0 0 1 
64 kbit/s irrestrito = Transporta serviço definido pela 
CCITT/ETSI. Este IBSC for designado, por explo., para este 
ramais não-RDSI conectados para que uma LAM em modo 
transparente de 64Kbs. 
1 1 1 Conversa = Transporta tele-serviço definido pela 
CCITT/ETSI. Assim é projetado 
2 2 1 3,1 kHz audio. 
3 3 1 3,1 kHz audio não-RDSI. 
4 4 1 7 kHz audio = Tipo de serviço transportado, definido pela 
CCITT. 
5 5 1 Teletex = Tipo de tele-serviço, definido pela CCITT / ETSI. 
6 6 1 Telefax4 = Tipo de tele-serviço, definido pela CCITT / ETSI. 
7 7 1 Modo mixagem = Tipo de tele-serviço, definido pela CCITT / 
ETSI. 
8 8 1 Videotex = Tipo de tele-serviço, definido pela CCITT / ETSI. 
9 9 1 Televisão baixa resolução = Tipo de tele-serviço, definido 
DASS. 
10 10 1 Fernwirken = Tipo de tele-serviço, definido 1TR6. 
11 11 1 Grafik Telefon = Tipo de tele-serviço, definido 1TR6. 
12 12 1 Bildschirmtext = Tipo de tele-serviço, definido 1TR6. 
13 13 1 Bildtelefon Bild = Tipo de tele-serviço, definido 1TR6. 
14 14 1 SOPHO-S conversa 
15 15 1 SOPHO-S dados modem. 
16 16 1 X.21 = Tipo de tele-serviço, definido 1TR6. 
17 17 1 X.25 = Tipo de tele-serviço, definido 1TR6. 
18 18 1 Bildtelefon Ton = Tipo de tele-serviço, definido 1TR6. 
19 19 1 64 kbit/s irrestrito não-RDSI. 
20...93 Definido pelo usuário 2 Livre para uso (comando CRBSPT) 
94 0, 2, 3, 4, 5, 6, 7, 8, 9, 10, 11, 
12, 13, 15, 16, 17, 19 
2 Dados/ possibilidade de dados. 
95 1, 3, 4, 14, 18, 19 2 Voz/possibilidade de vox 
96 0, 2, 5, 6, 7, 8, 9, 10, 11, 12, 13, 
15, 16, 17 
3 Dados. 
97 1, 14, 18 3 Voz. 
98 0, 1, 2, 3, 4, 5, 6, 7, 8, 9, 10, 11, 
12, 13, 14, 15, 16, 17, 18, 19 
4 Qualquer um (padrão) 
99 Todos BSPTs 
NOTA: Em uma rota somente um BSPT com prioridade 2 é permitido. (LOBOUND 235) 
Tabela C.2. BSPTs. 
20..93 Os valores são para uso livre e não relacionados para um tipo especifico. 
APOSTILA DE ROTAS DO PACOTE 810. 28 
Para uso do CENTRO DE TREINAMENTO PBC.
CENTRO DE TREINAMENTO 
ROTAS DO SOPHO iS-3000 
APOSTILA DE ROTAS DO PACOTE 810. 29 
Para uso do CENTRO DE TREINAMENTO PBC.
CENTRO DE TREINAMENTO 
ROTAS DO SOPHO iS-3000 
Rota Analógica com Placa ATU-SS 
Exemplo: 
ATU-SS 
REDE PÚBLICA 
ANALÓGIA 
iS 3030 / 3050 
sinalização 
analógica 
Exemplo de utilização da placa ATU-SS 
FAA 
ASSINANTES EXTERNOS 
FBC 6 x LINHAS 
ENTRADA 
DE 
MEDIÇÃO 
ENTRADA E 
SAÍDA DE 
LINHAS 
AOC 
sinalização 
analógica 
SS 
VISTA DE FRENTE VISTA DE LADO 
CIRCUITO 
INTERNO 
Circuito de Medição 
Placa de Tronco ATU-SS 
Circuito de Linha 
MESA 
OPERADORA 
RAMAL DO PABX 
MD1 
GND1 
MD2 
GND2 
MD3 
GND3 
MD4 
GND4 
MD5 
GND5 
MD6 
GND6 
A 0 
B 0 
A 1 
B 1 
A 2 
B 2 
A 3 
B 3 
A 4 
B 4 
A 5 
B 5 
APOSTILA DE ROTAS DO PACOTE 810. 30 
Para uso do CENTRO DE TREINAMENTO PBC.
CENTRO DE TREINAMENTO 
ROTAS DO SOPHO iS-3000 
1. Criar o código de acesso para a rota (nosso exemplo rota 0): 
ASINTN:0,0,4,21,0; 
0 = Arvore de analise 0. 
0 = Código de acesso para a rota 0. 
4 = Classe de trafego para discar o código de acesso 0. 
21 = Result ID que representa a função de acesso a tronco. 
0 = Destino do código de acesso 0. 
2. Verifique se o código de acesso foi criado na árvore de analise 0: 
DINASD:0; 
3. Criar o destino da rota 0: 
CHDSTC:0,10,1,0,0; 
0 = Destino do código de acesso da rota 0. 
10 = Arvore de analise de saída da rota 0. 
1 = Detectar primeiro tom de discar na rota (1= sim / 0 = não). 
0 = Detectar segundo tom de discar na rota (1= sim / 0 = não). 
0 = Tabela de rota. 
Observação: criar a arvore de analise de saída número 10 através do comando 
ASEXTN. 
4. Criar a rota 0: 
CRROUT:0; 
5. Criar a tabela de rota para a rota 0: 
CHROTA:0, ,1; 
Parâmetros adicionais:0,1,4; 
0 = Tabela de rota. 
0 = Tipo de usuário (0 = ramal normal, 1 = operadora e 2 = ramal prioritário). 
1 = Seqüência de tabela. 
Parâmetros adicionais: 
0 = Rota 0. 
1 = Rota preferencial (1 = preferencial / 0 = não preferencial). 
4 = Classe de trafego para a tabela de rota. 
APOSTILA DE ROTAS DO PACOTE 810. 31 
Para uso do CENTRO DE TREINAMENTO PBC.
CENTRO DE TREINAMENTO 
ROTAS DO SOPHO iS-3000 
6. Criar características gerais da rota 0: 
CHRTCG:0,011101100,440511,0,98; 
7. Criar características de entrada da rota 0: 
CHRTCI:0,001100,00,,16,98; 
8. Criar características de saída da rota 0: 
CHRTCO:0,00110,2,98; 
9. Criar o feixe de linhas e configurar este feixe com as características de rota pública: 
Observação: Rota 0 e Feixe desta rota também 0. 
CHBNDC:0,2,010111000000,12,,98; 
10. Associar a rota 0 ao feixe de linhas 0: 
ASBNDL:0,0; 
11. Projetar uma placa de troncos ATU-SS: 
ASBRDS:11,4,23,3E05,255; 
12. Designar as linhas desta placa de troncos ATU-SS para o feixe de linhas da rota 0: 
ASLINE:0,1,11,4,0; 
ASLINE:0,2,11,4,1; 
ASLINE:0,3,11,4,2; 
ASLINE:0,4,11,4,3; 
ASLINE:0,5,11,4,4; 
ASLINE:0,6,11,4,5; 
13. Passar para a condição de instalada a placa ATU-SS e todos os seus 6 circuitos: 
SETINS:11,4; 
SETINS:11,4,0&&5; 
APOSTILA DE ROTAS DO PACOTE 810. 32 
Para uso do CENTRO DE TREINAMENTO PBC.
CENTRO DE TREINAMENTO 
ROTAS DO SOPHO iS-3000 
Rota Analógica com Placa ATU-LD 
Exemplo: 
ATU-LD 
RAMAL DO PABX 
iS 3030 / 3050 
sinalização 
analógica 
sinalização 
analógica 
ATU-LD 
RAMAL DO PABX 
iS 3030 / 3050 
sinalização 
analógica 
sinalização 
analógica 
Linha Particular - LP 
Exemplo de utilização da placa ATU-LD 
LD 
A 0 
B 0 
A 1 
B 1 
A 2 
B 2 
A 3 
B 3 
VISTA DE FRENTE 
Placas de tronco ATU-LD - PABX lado A e PABX lado B 
Conexão de duas placas ATU-LD. 
fio a 
fio b 
ATU-LD 
4 x LINHAS 
VISTA DE LADO 
LCD = Detector de Loop de Corrente 
PD = Detector de Polaridade 
FBC 
ENTRADA E 
SAÍDA DE 
LINHAS 
APOSTILA DE ROTAS DO PACOTE 810. 33 
Para uso do CENTRO DE TREINAMENTO PBC.
CENTRO DE TREINAMENTO 
ROTAS DO SOPHO iS-3000 
1. Criar o código de acesso para a rota (nosso exemplo rota 1): 
ASINTN:0,1,4,21,1; 
0 = Arvore de analise 0. 
1 = Código de acesso para a rota 1. 
4 = Classe de trafego para discar o código de acesso 1. 
21 = Result ID que representa a função de acesso a tronco. 
1 = Destino do código de acesso 1. 
2. Verifique se o código de acesso foi criado na árvore de analise 0: 
DINASD:0; 
3. Criar o destino da rota 0: 
CHDSTC:1,11,1,0,1; 
1 = Destino do código de acesso da rota 1. 
11 = Arvore de analise de saída da rota 1. 
1 = Detectar primeiro tom de discar na rota (1= sim / 0 = não). 
0 = Detectar segundo tom de discar na rota (1= sim / 0 = não). 
1 = Tabela de rota. 
Observação: criar a arvore de analise de saída número 11 através do comando 
ASEXTN. 
4. Criar a rota 1: 
CRROUT:1; 
5. Criar a tabela de rota para a rota 1: 
CHROTA:1, ,1; 
Parâmetros adicionais:1,1,4; 
1 = Tabela de rota. 
0 = Tipo de usuário (0 = ramal normal, 1 = operadora e 2 = ramal prioritário). 
1 = Seqüência de tabela. 
Parâmetros adicionais: 
1 = Rota 1. 
1 = Rota preferencial (1 = preferencial / 0 = não preferencial). 
4 = Classe de trafego para a tabela de rota. 
6. Criar características gerais da rota 1: 
CHRTCG:1,011101100,440511,0,98; 
APOSTILA DE ROTAS DO PACOTE 810. 34 
Para uso do CENTRO DE TREINAMENTO PBC.
CENTRO DE TREINAMENTO 
ROTAS DO SOPHO iS-3000 
7. Criar características de entrada da rota 1: 
CHRTCI:1,1010000000,002222222,12,16,98; 
Observação: criar a arvore de analise de entrada número 12 através do comando ASBLCK. 
8. Criar características de saída da rota 1: 
CHRTCO:1,00110,2,98; 
9. Criar o feixe de linhas e configurar este feixe com as características de rota tie line: 
Observação: Rota 1 e Feixe desta rota também 1. 
CHBNDC:1,2, 010111000000,22,,98; 
10. Associar a rota 1 ao feixe de linhas 1: 
ASBNDL:1,1; 
11. Projetar uma placa de troncos ATU-LD: 
ASBRDS:11,5,22,3B09,35; 
12. Designar as linhas desta placa de troncos ATU-LD para o feixe de linhas da rota1: 
ASLINE:1,1,11,5,0; 
ASLINE:1,2,11,5,1; 
ASLINE:1,3,11,5,2; 
ASLINE:1,4,11,5,3; 
13. Passar para a condição de instalada a placa ATU-LD e todos os seus 4 circuitos: 
SETINS:11,5; 
SETINS:11,5,0&&3; 
APOSTILA DE ROTAS DO PACOTE 810. 35 
Para uso do CENTRO DE TREINAMENTO PBC.
CENTRO DE TREINAMENTO 
ROTAS DO SOPHO iS-3000 
Rota Digital com Placa DTU-PU configurada como DTU-CA. 
Exemplo: 
DTU-PU 
REDE PÚBLICA 
DIGITAL 
RAMAL DO PABX 
iS 3030 / 3050 
sinalização 
analógica 
sinalização 
digital de canal 
associado - CA 
ASSINANTES EXTERNOS 
AOC 
MESA 
OPERADORA 
Exemplo de utilização da placa DTU-PU configurada como 
placa de tronco digital CA (DTU - CA Canal Associado). 
DTU-PU CONFIGURADA COMO DTU-CA 
ENTRADA DE 75 OHMS 
SAÍDA DE 75 OHMS 
SAÍDA DE SINAL DE CLOCK 
Localização do chave DIP e dos STRAPs na placa DTU - PU 
Chave DIP de configuração 
chave DIP 
STRAPs 
DTU - PU 
30 x LINHAS 
ENTRADA / SAÍDA DE 75 OU 120 OHMS 
Placa de tronco digital DTU - PU 
APOSTILA DE ROTAS DO PACOTE 810. 36 
Para uso do CENTRO DE TREINAMENTO PBC.
CENTRO DE TREINAMENTO 
ROTAS DO SOPHO iS-3000 
1. Criar o código de acesso para a rota (nosso exemplo rota 2): 
ASINTN:0,2,4,21,2; 
0 = Arvore de analise 0. 
2 = Código de acesso para a rota 2. 
4 = Classe de trafego para discar o código de acesso 1. 
21 = Result ID que representa a função de acesso a tronco. 
2 = Destino do código de acesso 2. 
2. Verifique se o código de acesso foi criado na árvore de analise 0: 
DINASD:0; 
3. Criar o destino da rota 2: 
CHDSTC:2,13,1,0,2; 
2 = Destino do código de acesso da rota 2. 
13 = Arvore de analise de saída da rota 2. 
1 = Detectar primeiro tom de discar na rota (1= sim / 0 = não). 
0 = Detectar segundo tom de discar na rota (1= sim / 0 = não). 
2 = Tabela de rota. 
Observação: criar a arvore de analise de saída número 13 através do comando 
ASEXTN. 
4. Criar a rota 2: 
CRROUT:2; 
5. Criar a tabela de rota para a rota 2: 
CHROTA:2, ,1; 
Parâmetros adicionais:2,1,4; 
2 = Tabela de rota. 
0 = Tipo de usuário (0 = ramal normal, 1 = operadora e 2 = ramal prioritário). 
1 = Seqüência de tabela. 
Parâmetros adicionais: 
2 = Rota 2. 
1 = Rota preferencial (1 = preferencial / 0 = não preferencial). 
4 = Classe de trafego para a tabela de rota. 
APOSTILA DE ROTAS DO PACOTE 810. 37 
Para uso do CENTRO DE TREINAMENTO PBC.
CENTRO DE TREINAMENTO 
ROTAS DO SOPHO iS-3000 
6. Criar características gerais da rota 2: 
CHRTCG:2,011000100,440440,0,98; 
7. Criar características de entrada da rota 2: 
CHRTCI:2,1010000000,010299999,14,16,98; 
Observação: criar a arvore de analise de entrada número 14 através do comando 
ASBLCK. 
8. Criar características de saída da rota 2: 
CHRTCO:2,00010,2,98; 
9. Criar o feixe de linhas e configurar este feixe com as características de rota digital: 
Observação: Rota 2 e Feixe desta rota também 2. 
CHBNDC:2,2, 000000000000,32,,98; 
10. Associar a rota 2 ao feixe de linhas 2: 
ASBNDL:2,2; 
11. Projetar uma placa de troncos DTU-CA: 
ASBRDS:11,5,25,5006,255; 
12. Designar as linhas desta placa de troncos DTU-CA para o feixe de linhas da rota 2: 
ASLINE:2,1,11,5,1; 
ASLINE:2,2,11,5,2; 
ASLINE:2,3,11,5,3; 
ASLINE:2,4,11,5,4; 
13. Passar para a condição de instalada a placa DTU-CA e os primeiros 4 circuitos: 
SETINS:11,5; 
SETINS:11,5,1&&4; 
APOSTILA DE ROTAS DO PACOTE 810. 38 
Para uso do CENTRO DE TREINAMENTO PBC.
CENTRO DE TREINAMENTO 
ROTAS DO SOPHO iS-3000 
Projetar a placa DTU-PU/CA para tronco digital R2/E1 (Padrão Brasil). 
Tipo de Placa Bloco de Sinalização Tipo de Hardware 
25 5006 255 
Projetar a placa DTU-PU/CA para tronco digital R2/E1 com bloqueio de ligações a cobrar 
para Ramais, para liberar ramais para receber ligações, dar marca de facilidade 53. 
Tipo de Placa Bloco de Sinalização Tipo de Hardware 
25 500A 255 
Projetar a placa DTU-PU/CA para tronco digital R2/E1 com bloqueio de ligações a cobrar 
para Ramais e Operadora, para liberar ramais para receber ligações, dar marca de facilidade 53. 
Tipo de Placa Bloco de Sinalização Tipo de Hardware 
25 500B 255 
Projetar a placa DTU-PU/CA: 
Shelf Placa Tipo Placa Bloco Sinalização Tipo de Hardware 
<ASBRDS:XXXX, XX, 25, 5006, 255; 
<DIPMPD:0,5006,,0 Para ler se existe mudança nos bits do bloco de sinalização. 
EXECUTED 
<DIPMPD:0,5006,,1 Para ler se existe mudança nos bytes do bloco de sinalização. 
SIG-GROUP ITEM-NBR DATA 
5006 1 255 
5006 2 0 
5006 8 0 
5006 9 0 
5006 10 0 
EXECUTED 
Para alterar via comando de OM: 
<CHPMPD:0,5006; 
Parâmetros adicionais: 
5006, 1, 1, 255; 
2, 1, 0; 
8, 1, 0; 
9, 1, 0; 
10, 1, 0; 
Verificar as mudanças padrão, projetar e alterações de bloco para a placa RST-OM. 
Projetar a placa RST-OM: 
Shelf Placa Tipo Placa Bloco Sinalização Tipo de Hardware 
<ASBRDS:XXXX, XX, 43, 150A, 83; 
APOSTILA DE ROTAS DO PACOTE 810. 39 
Para uso do CENTRO DE TREINAMENTO PBC.
CENTRO DE TREINAMENTO 
ROTAS DO SOPHO iS-3000 
<DIPMPD:0,150a,,0; Para ler se existe mudança nos bits do bloco de sinalização. 
SIG-GROUP ITEM-NBR DATA 
150A 2 0 
150A 4 1 
EXECUTED 
<DIPMPD:0,150a,,1; Para ler se existe mudança nos bytes do bloco de sinalização. 
SIG-GROUP ITEM-NBR DATA 
150A 0 26 
150A 2 150 
150A 3 150 
150A 4 255 
150A 5 7 
150A 6 3 
150A 7 8 
150A 8 4 
150A 10 9 
150A 11 2 
150A 12 11 
EXECUTED 
Para alterar via comando de OM: 
<CHPMPD:0,150A; 
Parâmetros adicionais: 
0, 1, 26; 
2, 1, 150; 
3, 1, 150; 
4, 1, 255; 
5, 1, 7; 
6, 1, 3; 
7, 1, 8; 
8, 1, 4; 
10, 1, 9; 
11, 1, 2; 
12, 1, 11; 
Verificar as mudanças padrão, projetar e alterações de bloco para a placa RST-IM. 
Projetar a placa: 
Shelf Placa Tipo Placa Bloco Sinalização Tipo de Hardware 
<ASBRDS:XXXX, XX, 41, 1504, 82; 
<DIPMPD:0,1504,,0 Para ler se existe mudança nos bits do bloco de sinalização. 
EXECUTED 
<DIPMPD:0,1504,,1 Para ler se existe mudança nos bytes do bloco de sinalização. 
APOSTILA DE ROTAS DO PACOTE 810. 40 
Para uso do CENTRO DE TREINAMENTO PBC.
CENTRO DE TREINAMENTO 
ROTAS DO SOPHO iS-3000 
SIG-GROUP ITEM-NBR DATA 
1504 0 26 
1504 2 150 
1504 3 150 
EXECUTED 
Para alterar via comando de OM: 
<CHPMPD:0,1504; 
Parâmetros adicionais: 
1504, 0, 1, 26; 
2, 1, 150; 
3, 1, 150; 
APOSTILA DE ROTAS DO PACOTE 810. 41 
Para uso do CENTRO DE TREINAMENTO PBC.
CENTRO DE TREINAMENTO 
ROTAS DO SOPHO iS-3000 
RDSI Primário DTU – PH com Pacote EURO-ISDN 
1) Setup da placa: 
- Dip switch: 1 a 6 em OFF; 7 e 8 em ON; 
- Selecionar impedância de 75 ou 120 ohms. 
2) Projetar uma DTU-PH como: ASBRDS:<shelf>,<brd_1>,18,5D08; 
OBS.: Este grupo de sinalização é usado no projeto padrão. 
3) Executar nas duas placas: 
SETINS:<shelf>,<brd>; 
SETINS:<shelf>,<brd>,0; 
4) Alterar características do bundle 0 para: 
CHBNDC: 0,12,010001100000000,315; 
5) Associar linhas para os canais B das placas DTU-PH: 
ASLINE: 0,<line>,<shelf>,<brd_1>, 0[,<b-channel>]; 
ASLINE: 2,<line>,<shelf>,<brd_2>, 0[,<b-channel>]; 
OBS.: Se <b-channel> for omitido, a linha será associada p/ todos os canais b. 
6) Para ler o status do canal B, executar: 
DISERV:<shelf>,<brd>, 0,<b-channel>sr; 
OBS.: 
- O status normal é “ free ” , e quando ocupado, “ busy “; 
- Quando não existir linha associada ao canal, será visualizado “ not usable “. 
Para designar números na arvore de análise externa utilizar comando: 
ASEXTP:<TREE> , <NUMBER> , <TRFC> , <MIN-LENGTH> ,<MAX-LENGTH>, <DIALTONE-PLACE> ; 
[ <PRE-DIGIT> ] [ , <POST-DIGIT> ] [ , <REST-MODE> ] [ , [ <INTR-ALL/CHARGED> ] ] ] , <ROUTE-TABLE> 
; 
omitir o pré digito e definir o pós digito. 
Exemplo: 
<ASEXTP:15,2,4,3,8,0; 
,1; 
Exemplo de programação de uma rota RDSI. 
Projetar Placa. 
<ASBRDS:11,19,18,5d08,255; 
Criar Rota. 
<CRROUT:16; 
Características gerais da Rota. 
<CHRTCG:16,01110000000,440440,0; 
Características de entrada da Rota. 
<CHRTCI:16,10110000001,111702312,26; 
APOSTILA DE ROTAS DO PACOTE 810. 42 
Para uso do CENTRO DE TREINAMENTO PBC.
CENTRO DE TREINAMENTO 
ROTAS DO SOPHO iS-3000 
Características de saída da Rota. 
<CHRTCO:16,00110,0; 
Designar Feixe (Bundle) para Rota. 
<ASBNDL:16,16; 
Características de Feixe (Bundle). 
<CHBNDC:16,22,010011000100000,315,,99; 
Criar código de Acesso. 
<ASINTN:0,*,4,21,16; 
Características de destino. 
<CHDSTC:16,16,10,16; 
Características da Tabela de Rota. 
<CHROTA:16; 
16,1,4; 
Designar Numeração Interna na Arvore de Analise de Entrada. 
<ASBLCK:26,30,1,4,10; 
<ASBLCK:26,310,1,4,10; 
<ASBLCK:26,3110,1,4,10; 
<ASINTN:26,3111,1,21,49,1; 
<ASBLCK:26,3112,1,4,10; 
<ASBLCK:26,3113,1,4,10; 
<ASBLCK:26,3114,1,4,10; 
<ASBLCK:26,3115,1,4,10; 
<ASBLCK:26,3116,1,4,10; 
<ASBLCK:26,3117,1,4,10; 
<ASBLCK:26,3118,1,4,10; 
<ASBLCK:26,3119,1,4,10; 
<ASBLCK:26,32,1,4,10; 
<ASBLCK:26,33,1,4,10; 
<ASBLCK:26,34,1,4,10; 
<ASBLCK:26,35,1,4,10; 
<ASBLCK:26,36,1,4,10; 
<ASBLCK:26,37,1,4,10; 
<ASBLCK:26,38,1,4,10; 
<ASBLCK:26,39,1,4,10; 
Designar Numeração Externa na Arvore de Analise de Saída. 
<ASEXTP:16,00,6,6,20,0; 
,1; 
<ASEXTP:16,01,5,9,20,0; 
,1; 
<ASEXTP:16,02,5,9,20,0; 
,1; 
<ASEXTP:16,03,5,9,20,0; 
,1; 
<ASEXTP:16,04,5,9,20,0; 
,1; 
<ASEXTP:16,05,5,9,20,0; 
,1; 
<ASEXTP:16,06,5,9,20,0; 
,1; 
APOSTILA DE ROTAS DO PACOTE 810. 43 
Para uso do CENTRO DE TREINAMENTO PBC.
CENTRO DE TREINAMENTO 
ROTAS DO SOPHO iS-3000 
<ASEXTP:16,07,5,9,20,0; 
,1; 
<ASEXTP:16,0800,4,1,11,0; 
,1; 
<ASEXTP:16,081,5,9,20,0; 
,1; 
<ASEXTP:16,082,5,9,20,0; 
,1; 
<ASEXTP:16,083,5,9,20,0; 
,1; 
<ASEXTP:16,084,5,9,20,0; 
,1; 
<ASEXTP:16,085,5,9,20,0; 
,1; 
<ASEXTP:16,086,5,9,20,0; 
,1; 
<ASEXTP:16,087,5,9,20,0; 
,1; 
<ASEXTP:16,088,5,9,20,0; 
,1; 
<ASEXTP:16,089,5,9,20,0; 
,1; 
<ASEXTP:16,09,5,9,11,0; 
,1; 
<ASEXTP:16,1,4,3,8,0; 
,1; 
<ASEXTP:16,2,4,3,8,0; 
,1; 
<ASEXTP:16,3,4,3,8,0; 
,1; 
<ASEXTP:16,4,4,3,8,0; 
,1; 
<ASEXTP:16,5,4,3,8,0; 
,1; 
<ASEXTP:16,6,4,3,8,0; 
,1; 
<ASEXTP:16,7,4,3,8,0; 
,1; 
<ASEXTP:16,8,4,3,8,0; 
,1; 
<ASEXTP:16,9,4,3,8,0; 
,1; 
Designar a Linha para o Feixe. 
<ASLINE:16,1601,11,19,0,1; 
<ASLINE:16,1602,11,19,0,2; 
<ASLINE:16,1603,11,19,0,3; 
<ASLINE:16,1604,11,19,0,4; 
<ASLINE:16,1605,11,19,0,5; 
<ASLINE:16,1606,11,19,0,6; 
<ASLINE:16,1607,11,19,0,7; 
<ASLINE:16,1608,11,19,0,8; 
<ASLINE:16,1609,11,19,0,9; 
<ASLINE:16,1610,11,19,0,10; 
<ASLINE:16,1611,11,19,0,11; 
<ASLINE:16,1612,11,19,0,12; 
<ASLINE:16,1613,11,19,0,13; 
APOSTILA DE ROTAS DO PACOTE 810. 44 
Para uso do CENTRO DE TREINAMENTO PBC.
CENTRO DE TREINAMENTO 
ROTAS DO SOPHO iS-3000 
<ASLINE:16,1614,11,19,0,14; 
<ASLINE:16,1615,11,19,0,15; 
<ASLINE:16,1617,11,19,0,17; 
<ASLINE:16,1618,11,19,0,18; 
<ASLINE:16,1619,11,19,0,19; 
<ASLINE:16,1620,11,19,0,20; 
<ASLINE:16,1621,11,19,0,21; 
<ASLINE:16,1622,11,19,0,22; 
<ASLINE:16,1623,11,19,0,23; 
<ASLINE:16,1624,11,19,0,24; 
<ASLINE:16,1625,11,19,0,25; 
<ASLINE:16,1626,11,19,0,26; 
<ASLINE:16,1627,11,19,0,27; 
<ASLINE:16,1628,11,19,0,28; 
<ASLINE:16,1629,11,19,0,29; 
<ASLINE:16,1630,11,19,0,30; 
<ASLINE:16,1631,11,19,0,31; 
Mudar a Condição de Circuito para Em Serviço (INS) 
<SETINS:11,19; 
<SETINS:11,19,0; 
APOSTILA DE ROTAS DO PACOTE 810. 45 
Para uso do CENTRO DE TREINAMENTO PBC.
CENTRO DE TREINAMENTO 
ROTAS DO SOPHO iS-3000 
ENTRADAS DE REFERÊNCIA DE CLOCK DE LINHAS DIGITAIS 
Designar Unidade de Referência de Clock 
ASCRUE : <CRUE-SHELF>,<CRUE-BRD>,<CRUE-CRT>[,<DTU-SHELF>,<DTU-BRD>[,<DTU-CRT]]; 
Os circuitos de referência de clock estão nas seguintes placas: 
Para sistemas CCS na placa SNS (conector coaxial superior é o circuito 48 e o inferior é o circuito 49) 
Para sistemas CPU3000/ME/MT na placa CSB-BC e na placa PMC-MC projetada como mestre no 
sistema (board-type 
92). (conector coaxial superior é o circuito 20 e o inferior é o circuito 21) 
Para sistemas CPS na placa CRU ou CSG. 
Em sistemas que possuem a placa BBR (DECT),de preferência a este clock que é mais preciso. 
Apagar Unidade de Referência de Clock 
DECRUE : <CRUE-SHELF>,<CRUE-BRD>,<CRUE-CRT>; 
Mostrar Unidade de Referência de Clock 
DICRUE : [<UNIT>]; 
Resposta: 
ASSIGNED CRUE CRUE FOR ATTACHED TRUNK 
PHYS. EQUIPMENT CRUE STATUS 
CONNECTION 
SHELF BRD CRT SHELF BRD SHELF BRD CURRENT 
USABILITY 
12 3 20 INS - * 
ASCRUE: <CRUE-SHELF>,<CRUE-BRD>,<CRUE-CRT>; 
CRUE-SHELF CM numero da shelf 
CRUE-BRD Placas SNS (5 ou 6), CSN-BC ou PMC-MC. 
CRUE-CRT Circuitos 48 ou 49 para SNS 
Circuitos 20 ou 21 para CSN-BC/PMC-MC 
SHELF: Posição na Shelf, formato UUCCS 
UU = unidade numero (1..14) 
Pode ser omitido em sistemas de unidade simples. 
CC = numero do gabinete (1..15) 
S = numero da Shelf (1..4) 
BRD: numero da placa (1..19) 
CRT: Numero do Circuito ou recurso da placa na Shelf (0..31) 
APOSTILA DE ROTAS DO PACOTE 810. 46 
Para uso do CENTRO DE TREINAMENTO PBC.
CENTRO DE TREINAMENTO 
ROTAS DO SOPHO iS-3000 
Exemplo para iS3030 
<ASCRUE:12,7,20; 
<SETINS:12,7,20; 
Exemplo para iS3050 com PMC-MC. 
<ASCRUE:11,17,20; 
<SETINS:11,17,20; 
Exemplo para iS3050 com CSN-BC. 
<ASCRUE:11,19,20; 
<SETINS:11,19,20; 
Exemplo para iS3090 com SNS. 
<ASCRUE:14,5,48; 
<SETINS:14,5,48; 
APOSTILA DE ROTAS DO PACOTE 810. 47 
Para uso do CENTRO DE TREINAMENTO PBC.

5 rotas

  • 1.
    CENTRO DE TREINAMENTO ROTAS DO SOPHO iS-3000 A Philips Business Communications, ao elaborar esta apostila, teve como objetivo assegurar-lhe informações completas e precisas com a mais alta credibilidade. Logo, as informações desta apostila podem sofrer alterações sem aviso prévio. Se você descobrir algum erro ou omissão, ou desejar fazer alguma sugestão para melhorar a qualidade desta apostila, envia sua proposta para: PHILIPS BUSINESS COMMUNICATIONS Departamento de Marketing e Produtos RUA: VERBO DIVINO 1400 TÉRREO CEP 04719-002 - SÃO PAULO - SP ROTAS iS3000 Versão Software 810 (Edição : Março 2006) APOSTILA DE ROTAS DO PACOTE 810. 1 Para uso do CENTRO DE TREINAMENTO PBC.
  • 2.
    CENTRO DE TREINAMENTO ROTAS DO SOPHO iS-3000 ÍNDICE DAS FACILIDADES DO SOPHO iS-3000 DESCRITIVO PAG. REDE PUBLICA..................................................................................................................................6 Segunda Rota...................................................................................................................................... 6 Selecionada......................................................................................................................................... 6 Rota 0.................................................................................................................................................. 6 Rota 12................................................................................................................................................ 6 Numero discado................................................................................................................................... 6 Ramal.................................................................................................................................................. 6 Primeira Rota Selecionada..................................................................................................................6 MUDAR A CARACTERISTICAS GERAIS DA ROTA.................................................................................8 CHRTCG:<ROUTE>,<GENERAL OPTIONS>,<GENERAL TONE>[,<CV>][ ,<BSPT>][ ,<CC-TABLE-NR>];..............8 MUDAR A CARACTERISTICAS DE ROTA DE ENTRADA ....................................................................11 CHRTCI: <ROUTE>,<INC-OPTS>,<TONE-AND-DDI-OPTS>[,[<TREE>][,[<A-QUEUE>] [,<BSPT>]]];....11 MUDAR A CARACTERISTICAS DA ROTA DE SAIDA ..........................................................................15 CHRTCO: <ROUTE>,<OUT-OPTS>,<ATF>[,<BSPT>];............................................................................15 MUDAR A CARACTERISTICAS DE FEIXES (BUNDLE).........................................................................17 CHBNDC:<UNIT+BUNDLE>,<DIR-AND-NEG>,<OPTIONS>,<CON-AND-SIG-TYPE>...........................17 [,[<ALL-CALLS>][,<BSPT>]];....................................................................................................................17 DESIGNAR FEIXE PARA UMA ROTA.....................................................................................................19 ASBNDL: <ROUTE>,<BUNDLE>;.............................................................................................................19 DESIGNAR NUMERO DO ESQUEMA DE NUMERAÇÃO INTERNO......................................................20 ASINTN:<TREE>,<NUMBER>,<TRFC>,<RESULT-ID >[,[<DEST/NUMBER>][,<NUMBER-LENGTH>]]; 20 MUDAR AS CARACTERÍSTICAS DO DESTINO.....................................................................................25 CHDSTC: <DEST>,<TREE>,<FST-DT>,<SND-DT>,<ROUTE-TABLE>[,<ACC-REP>];..........................25 MUDAR A TABELA DE ROTA.................................................................................................................27 CHROTA :<ROUTE-TABLE>[,[<USER-TYPE>][,<SEQUENCE-TABLE>][,<UNIT>]];...............................27 ROTA ANALÓGICA COM PLACA ATU-SS.............................................................................................30 ATU-SS..................................................................................................................................................... 30 VISTA DE FRENTE...................................................................................................................................30 VISTA DE LADO........................................................................................................................................ 30 CIRCUITO DE LINHA...................................................................................................................................... 30 CIRCUITO DE MEDIÇÃO................................................................................................................................ 30 ROTA ANALÓGICA COM PLACA ATU-LD.............................................................................................33 ROTA DIGITAL COM PLACA DTU-PU CONFIGURADA COMO DTU-CA.............................................36 PROJETAR A PLACA DTU-PU/CA PARA TRONCO DIGITAL R2/E1 (PADRÃO BRASIL)...................39 Projetar a placa DTU-PU/CA:............................................................................................................39 VERIFICAR AS MUDANÇAS PADRÃO, PROJETAR E ALTERAÇÕES DE BLOCO PARA A PLACA RST-OM..................39 VERIFICAR AS MUDANÇAS PADRÃO, PROJETAR E ALTERAÇÕES DE BLOCO PARA A PLACA RST-IM....................40 RDSI PRIMÁRIO DTU – PH COM PACOTE EURO-ISDN........................................................................42 APOSTILA DE ROTAS DO PACOTE 810. 2 Para uso do CENTRO DE TREINAMENTO PBC.
  • 3.
    CENTRO DE TREINAMENTO ROTAS DO SOPHO iS-3000 EXEMPLO DE PROGRAMAÇÃO DE UMA ROTA RDSI.........................................................................................42 ENTRADAS DE REFERÊNCIA DE CLOCK DE LINHAS DIGITAIS.......................................................46 DESIGNAR UNIDADE DE REFERÊNCIA DE CLOCK............................................................................................46 Exemplo para iS3030.........................................................................................................................47 Exemplo para iS3050 com PMC-MC.................................................................................................47 Exemplo para iS3050 com CSN-BC..................................................................................................47 Exemplo para iS3090 com SNS........................................................................................................47 APOSTILA DE ROTAS DO PACOTE 810. 3 Para uso do CENTRO DE TREINAMENTO PBC.
  • 4.
    CENTRO DE TREINAMENTO ROTAS DO SOPHO iS-3000 DESCRITIVO DOS COMANDOS PARA ROTAS / DPNSS Esta documentação descreve como criar Rotas, Feixes, Linhas, Destinos e Tabelas de Rotas, para rotas DPNSS. Siga passo a passo os comandos para criar Rotas,Feixes, Linhas, Código de Acesso, Tabela e Arvore de Análise. Comandos para criar/alterar Rotas: CRROUT - S45020 Criar rota. CHRTCG - S45030 Mudar as Caracteristicas Gerais da Rota. CHRTCI -S45040 Mudar as Caracteristicas de Rota de Entrada. CHRTCO - S45050 Mudar as Caracteristicas de Rota de Saida. Comandos para criar/alterar Feixes: CHBNDC -S45060 Mudar as Caracteristicas do Feixe. ASBNDL - S45070 Designar Feixe Para uma Rota Comandos para criar/alterar Tabela de Rotas: CHROTA - S45010 Mudar a Tabela de Rotas. Comandos para criar/alterar Linhas e Destinos: ASLINE - S45080 Designar a Linha Para o Feixe. CHDSTC - S45000 Alterar Características do destino. Comandos para criar Código de Acesso para as Rotas : ASINTN - S40210 Inserir Número no Esquema de Numeração Interna. Comandos para criar Arvore de Análise e Numeração Externa : ASEXTN -S40210 Inserir Número no Esquema de Numeração Externa. Para Rotas Digitais os Seguintes Comandos São Necessários. Comandos para Designar a Relação da Placa e/ou Canais Virtuais : ASBRVC - S92500 Designar Canal D Comandos para Mudar a Relação Feixe-DTU: CHBDTU - S45120 Associar Bundle a DTU Comandos para Mudar a Identidade de Grupo: CHCLID - S21060 Associar Bundle a DTU APOSTILA DE ROTAS DO PACOTE 810. 4 Para uso do CENTRO DE TREINAMENTO PBC.
  • 5.
    CENTRO DE TREINAMENTO ROTAS DO SOPHO iS-3000 Comandos para Criar o Valor de Compatibilidade: CRCVAL -S32000 Criar o Valor de Compatibilidade para Dados Comandos para Mudar Permissão de Conexão dos Pares de Cv: CHCVCA -S32020 Criar o Valor de Compatibilidade para Dados APOSTILA DE ROTAS DO PACOTE 810. 5 Para uso do CENTRO DE TREINAMENTO PBC.
  • 6.
    CENTRO DE TREINAMENTO ROTAS DO SOPHO iS-3000 Central Publica Central Publica Central A Central B REDE PUBLICA Segunda Rota Selecionada Rota 0 Rota 12 Primeira Numero discado Rota Selecionada Ramal 1234 APOSTILA DE ROTAS DO PACOTE 810. 6 Para uso do CENTRO DE TREINAMENTO PBC.
  • 7.
    CENTRO DE TREINAMENTO ROTAS DO SOPHO iS-3000 Rota Existe Sim Defina Características Gerais CHRTCG S45030 Não Rota Unidirecional Não Crie a Rota CRROUT S45020 Sim CHRTCO Para Rota Saída CHRTCI Para Rota Entrada Definina CHRTCI Entrada CHRTCO Saída Crie um Código de Acesso Designar um Feixe (Bundle) Para Rota ASBNDL Defina Características do Feixe CHBNDC Defina as linhas do Feixe ASLINE Pode ser omitido, mas não recomendavel. Se omitido, o padrão será Crie um Código de Acesso ASINTN S40210 assumido. Características de destino CHDSTC S45000 Tabela de Rota CHROTA Arvore Externa ASEXTN para analógico ou ASEXTP para digital APOSTILA DE ROTAS DO PACOTE 810. 7 Para uso do CENTRO DE TREINAMENTO PBC.
  • 8.
    CENTRO DE TREINAMENTO ROTAS DO SOPHO iS-3000 MUDAR A CARACTERISTICAS GERAIS DA ROTA CHRTCG:<route>,<general options>,<general tone>[,<CV>][ ,<BSPT>][ ,<CC-table-nr>]; S45030: Se CV for omitido, o valor default projetado será assumido. ROUTE = Número da rota (0...254). GEN-OPTS = OPÇÕES GERAIS DE ROTA PQRSTUVW (0 = NÃO, 1 = SIM): P = PROTEÇÃO DE DADOS APLICADA. Se a opção for 1. Este tronco fica protegido contra intercalação, nenhum operador nem ramal com marca de facilidade 02 (Habilitado para intercalação) pode intercalar este tronco. Se a opção for 0. Não. A proteção depende do ramal conectado com a linha tronco. Se o ramal tem proteção de dados marca 04 (proteção de dados) ou 05 (Habilitado a discagem de proteção de dados) ambas as situações mencionadas são válidas. Q = ASSISTÊNCIA REQUERIDA. Se a opção for 1. Ligações DDI malsucedidas via linha tronco pode ser assistida. As ações em caso de Ligações DDI malsucedidas serão determinadas no comando CHRTCI TONE-AND-DDI-OPTS. Estas ações podem ser : roteadas para o operador / ramal noturno ou o envio de tons para a parte externa. Esta opção também é aplicada para ligações de saída, no caso de ligações de saída em série. Se a opção for 0. Não haverá redirecionamento das ligações para operadora ou ramal noturno, e será enviado o tom para a o chamador ( o tipo de tom será definido no comando CHRTCI parâmetro TONE-AND-DDI- OPTS. R = PERMITE CONFERÊNCIA. Se a opção for 1. Esta rota pode participar de uma conferência. O ramal de origem com FCM 00 pode iniciar a conferência: - ramal de origem e dois outros ramais. - ramal de origem, um segundo ramal e uma linha na rota com CHRTCG - GEN-OPTS (R = 1). - Uma chamada de entrada via linha com CHRTCI - INC-OPTS (R = 1), iniciado com o ramal de origem e uma chamada de saída com CHRTCO - OUT-OPTS (S = 1). Ambas as linhas externas devem ter em CHRTCG - GEN-OPTS (R = 1). - ramal de origem e duas chamadas de saída via linhas com CHRTCO - OUT-OPTS (S = 1) e linhas de saída devem em CHRTCG - GEN-OPTS (R = 1). Se opção for 0. Não pode participar de uma conferência. S = BILHETAGEM NA ROTA. Se a opção for 1 = sim. Permite bilhetagem para todas as chamadas de saída executadas pelas linhas desta rota. T = PÓSDISCAGEM POR IMPULSOS. Se a opção for 1. É possível enviar dígitos sobre a linha tronco no formato de impulso depois da conexão ter sido estabelecida (entrada ou saída). O SOPHO automaticamente regenera os dígitos no formato impulso. Somente no estado de consulta a pósdiscagem por impulso é permitida para ramais decádigos e MF, operadoras, Sopho-Sets ou KTLCs. U = PERMITE PÓSDISCAGEM EM MF. Se a opção for 1. É possível enviar dígitos sobre a linha tronco no formato de MF depois da conexão ter sido estabelecida (entrada ou saída). O SOPHO automaticamente regenera os dígitos no formato MF. Dois tipos de pósdiscagem em MF distintos: 1 - Pósdiscagem Direta: sem entrar em consulta. Para ramal MF, a pósdicagem é sempre possível. Para ramal decádico, operadora, Sopho-Set ou KTLC, U = 1 2 - Pósdiscagem em Consulta: Para ramal decádico, terminal RDSI, operadora, Sopho-Set ou KTLC, U = 1. Para ramal MF somente a opção de pósdiscagem direta é fornecida. APOSTILA DE ROTAS DO PACOTE 810. 8 Para uso do CENTRO DE TREINAMENTO PBC.
  • 9.
    CENTRO DE TREINAMENTO ROTAS DO SOPHO iS-3000 V = PERMITE CONSULTA EM TRONCO. Se a opção for 1. Um sinal pode ser enviado sobre a linha de junção analógica para uma central oposta para invocar uma ação de consulta na C.P./PABX. (chamadas de entrada ou saída) Pode ser iniciado por ramal decádigo/MF, operadora, Sopho-Sets e KTLCs. W = ASSISTÊNCIA À OPERADORA FLEXÍVEL DISPONÍVEL. (0 = NÃO / 1 = SIM)? Usado em rotas DPNSS. Determina se usa ou não os pontos de assistência. X = VERIFICA TIME-BREAK CHECK (0=NÃO / 1=SIM)? Determina se a facilidade de time-break é aplicada para esta routa (se projetada). Y = Time-break enabled (0 =no /1 =yes )? Allows transit call to/from this route to become time-break users (if projected). FCM 55 'Time-break enabled must be assigned to the DNR of the extension which i submitted to time-break facility. Z = CNND name/number translation required (0=no /1=yes)? A = Network priority:intrusion (=break-in)and force release possible (0=no /1=yes)? B = Line park allowed (0=no /1=yes)? When this option is set and the BSP of the terminal connected to one of the line in this route has a Multi-line license,then the line can be parked and tone is given to the trunk-line, according to the general route characteristics hold-tone-type :the trunk-line status GEN-TONE = TIPOS DE TONS GERAIS PQRSTU: P = TIPO DE TOM ANTES DO ATENDIMENTO (2...5) Tipo de tom fornecido para a parte externa antes do atendimento ou assistência da chamada. Q = TIPO DE TOM APÓS O ATENDIMENTO (2...5) Tipo de tom fornecido para a parte externa após o atendimento ou assistência da chamada. R = TOM DURANTE A CONDIÇÃO DE RETENÇÃO. (0...3) Tipo de tom fornecido para a parte externa durante a condição de retenção. S = TIPO DE TOM PARA COB ANTES DO ATENDIMENTO (0...6) Tipo de tom fornecido para a parte externa durante a condição de COB antes do ínicio do atendimento ou assistência da operadora. T = TIPO DE TOM PARA COB DEPOIS DO ATENDIMENTO (0...6) Tipo de tom fornecido para a parte externa durante a condição de COB após o ínicio do atendimento ou assistência da operadora. A operadora, um ramal com FCM 29 (COB automático na origem) ou FCM 36 (Habilitado à início de COB) e prefixo de pós discagem ID.RES 102 (Iniciar COB) pode iniciar a situação de COB. Também pode ser configurado COB para DDI: veja DDI-OPTIONS. U = TOM PARA RECHAMADA ESPECIAL PARA OPERADORA (0...5) Tipo de tom fornecido para a parte externa durante no caso de rechamada especial de operadora. OS POSSÍVEIS TIPOS DE TONS SÃO: 0 = Música em espera/sem tom. 1 = Música em espera/tom de espera. 2 = Sem tom. 3 = Tom de espera. 4 = Tom de chamada interna. 5 = Tom de chamada externa. 6 = Tom de ocupado. CV = VALOR DE COMPATIBILIDADE (0..254) Designado para todas as linhas da rota e é usado para permitir o uso destas linhas. Através da Permissão de Conexão CV-CV somente usuários compátiveis podem ser conectados. Isto se aplica para ambas chamadas de entrada e saída. APOSTILA DE ROTAS DO PACOTE 810. 9 Para uso do CENTRO DE TREINAMENTO PBC.
  • 10.
    CENTRO DE TREINAMENTO ROTAS DO SOPHO iS-3000 BSPT = TIPO DE PERFIL DO SERVIÇO BÁSICO (0...99). Consultar tabela C.2. Não são em todos os casos que o parametro completo de BSPTs pode ser usado; isto depende do comando que será EXECUTADO. O valor 98 será o padrão (todos) BSPT. O valor 99 será usado para indicar todos os (conhecidos) BSPTs e podem apenas ser usados para as caracteristicas de comandos de mudança (CRBSPT). Quando o parametro for omitido (e isso será permitido) o padrão BSPT será assumido na maioria dos casos. APOSTILA DE ROTAS DO PACOTE 810. 10 Para uso do CENTRO DE TREINAMENTO PBC.
  • 11.
    CENTRO DE TREINAMENTO ROTAS DO SOPHO iS-3000 MUDAR A CARACTERISTICAS DE ROTA DE ENTRADA CHRTCI: <ROUTE>,<INC-OPTS>,<TONE-AND-DDI-OPTS>[,[<TREE>][,[<A-QUEUE>] [,<BSPT>]]]; ROUTE = NÚMERO DA ROTA (0...254). INC-OPTS = OPÇÕES DE TRÁFEGO DE ENTRADA PQRSTU[VWXY] (0 = NÃO, 1 = SIM): P = ROTA DE TRÁFEGO DDR. Se a opção for 1. A informação enviada pela central oposta é analisada no SOPHO e possibilita o DDI. Um árvore especial para DDI deve ser designada onde as informações discadas são analisada. Se a opção for 0. Todas as chamadas nas linhas desta rota serão redirecionadas para a fila-A da operadora. Fila a ser definida. Neste caso as opções TUVW de ser omitidas. Q = PROTEGIDO CONTRA INTERCALAÇÃO. Se a opção for 1. A chamada de entrada via esta linha-tronco estarão protegidas contra intercalação de ramal e operadora. Se a opção for 0. A chamada de entrada só estará protegida quando conectada a uma ramal com proteção contra intercalação (FCM 03). A opção de Proteção de Dados anula a proteção contra intercalação. R = TRÂNSITO PERMITIDO. Se a opção for = 1. A chamada de entrada nas linhas desta rota podem ser transferida para um ramal ou operadora ou linha de saída (CHRTCO - OUT-OPTS, S = 1). Esta é uma chamada de trânsisto assistida. A chamada de trânsito não assistida também é possível para tráfego DDI-DDO. O código de acesso a tronco de saída deve ser incluido na árvore de análise para tráfego de entrada. Para algumas situações de conferência esta opção é também solicitada (veja CHRTCG - GEN-OPTS). Se a opção for = 0. A linha-tronco de entrada nunca poderá (assistida ou não assistida) ser conectada a uma linha-tronco de saída. S = INVESTIGAR CHAMADAS MALICIOSAS. Se a opção for 1. Será possível determinar a origem (externa) de chamada (entrada) maliciosa nesta rota. Para o usuário do SOPHO deve ser dado a possibilidade de solicitar a identificação da chamada originada. Depois da solicitação bem-sucedida todos os dados relativo a solicitação de investigar chamada maliciosa será armazenada no registro de bilhetagem. Dependendo da central oposta esta facilidade pode ser iniciada com ou sem o sinal de registro de rechamada. Se este sinal for usado, o CHBNDC - OPTIONS, Q = 1. T = PERMITE ANUNCIADOR. O anunciador deve ser dado quando um grupo de DAC disca para o anunciador que está projetado. Neste caso a opção "Permite Anunciador" não é checada, mas a opção "Atendimento Antes do Anunciador" deverá ser checada. Quando por exemplo um ramal livre é chamado, o anunciador deve ser dado (IAS) quando a opção for = 1. U = ATENDIMENTO ANTES DO ANUNCIADOR. Veja a opção T. V = Calling party control NOTA: SE P = 0 (NÃO), ENTÃO VWXY SERÃO OMITIDOS. W = REQUER TEMPO DE RETARDO DE DDR (SÓ PARA P = 1). Se a opção for 1. A central oposta deve estar configurada para temporizar o recebimento do primeiro tom de discar. Depois de expirar esta pausa o tom de discar será enviado para central oposta, que iniciará a temporização da discagem normal do DDI. APOSTILA DE ROTAS DO PACOTE 810. 11 Para uso do CENTRO DE TREINAMENTO PBC.
  • 12.
    CENTRO DE TREINAMENTO ROTAS DO SOPHO iS-3000 X = VERIFICAÇÃO DE BLOQUEIO DE CHAMADAS PARA DDR. (SÓ PARA P = 1) Se a opção for 1. A chamada de entrada DDI será rejeitada se o destino da chamada for um ramal com FCM 09 (Bloqueado para DDR). A ação de rejeição é determinada no CHRTCI - TONE-AND-DDI-OPTS. Se a chamada for redirecionada para a operadora, esta chamada pode ser transferida para o ramal requerido. Y = REQUER ESPERA EM CHAMADAS DDR. (SÓ PARA P = 1). Se a opção for 1. O tom de chamada de espera pode ser enviado para o ramal ocupado no caso de uma chamada DDR e esta chamada fica na fila COB deste ramal. Se o ramal estiver em consulta ou se o ramal possuir FCM 35 (protegido contra chamada em espera), este tom não será enviado. Se uma das partes existente na conexão possuir proteção de dados, o tom não será enviado. O COB inicia: 1 - Se TONE-AND-DDI-OPTS, Q = 0 e T = 4 2 - Se o ramal de destino possuir FCM 30 (COB automático no destino). Chamadas para uma fila COB de grupo, o membro que receberá o tom de espera será o membro que possuir a menor quantidade de chamadas em COB na sua fila. Se um outro membro do grupo ficar livre, esta chamada será redirecionada para ele. Durante o COB o tom de espera pode ser enviado para a parte chamadora externa. Isto deve ser definido no CHRTCG - GEN-TONE, R. Se a opção for = 0. O tom de espera não será enviado quando houver uma chamada DDR na fila COB. Todavia o tom de espera pode ser enviado depois da assistencia. Se a operadora ou outra parte transferir uma chamada de entrada para um ramal ocupado, o tom será enviado para o ramal ocupado. Uma chamada para MCNE ocupado, sempre resultará um tom de espera periodico. Z = PROTOCOLO SOCOTEL REDUZIDO. (SÓ PARA P = 1) Esta opção só é válida se o tipo de sinalização for Socotel. Se a opção for = 1, rota conectada a C.P. (só 4 dígitos). Se a opção for = 0, rota conectada a rede fechada (6 dígitos). TONE-AND-DDI-OPTS = TOM E DISCAGEM DIRETA NA OPÇÃO PQ[RSTUVWX]; P = TOM DE OCUPADO ANTES DO ATENDIMENTO (0 = NÃO, 1 = SIM) Se a opção for 1. O sinal de liberação (tom ocupado) será enviado para a parte externa, neste caso a liberação será antes da parte externa ser atendida. Somente é usado se a sinalização não pode gerar um sinal de liberação para trás antes do sinal de atendimento ser dado. Q = TOM DE OCUPADO DEPOIS DO ATENDIMENTO (0 = NÃO, 1 = SIM) Se a opção for 1. O sinal de liberação (tom ocupado) será enviado para a parte externa, neste caso a liberação (pelo destino da chamada entrada) será depois da parte externa ser atendida. Somente é usado se a sinalização não pode gerar um sinal de liberação para trás. R = TOM DE DDR PARA SER ENVIADO PARA PARTE EXTERNA (0...4) Esta opção somente será definida se a rota estiver definida para DDI (CHRTCI - INC-OPTS, P = 1). A definição deste parâmetro possibilita o envio do tipo de tom para o PABX oposto depois da ocupação da entrada pela linha por meio deste PABX. Depois de receber o tom a central oposta reconhece a informação discada para poder ser enviado a chamada-DDI. Este parâmetro somente é válido se neste trafego-DDI é sobre a linha-tronco. TIPOS DE TONS: 0 = sem tom 1 = tom de discar interno 2 = tom de discar externo 3 = tom de corrente de chamada interna 4 = tom de corrente de chamada externa Nota:Se o tom-DDI para parte externa está configurada com tom de discar interno ou externo, o comando CHRTCI - INC-OPTS, V = 1. deve ser configurado. APOSTILA DE ROTAS DO PACOTE 810. 12 Para uso do CENTRO DE TREINAMENTO PBC.
  • 13.
    CENTRO DE TREINAMENTO ROTAS DO SOPHO iS-3000 S = CLASSE DE TRÁFEGO (0...7) Designa a classe de tráfego para chamada de entrada. A conexão entre uma parte externa e um ramal ou um tronco (para trânsito) pode ser rejeitado se a classe de tráfego da chamada de entrada for insuficiente de acordo com a árvore de análise de DDI. T = AÇÃO QUANDO DDR PARA RAMAL OCUPADO (0...9) Define a ação a ser tomada quando uma chamada DDI encontra um ramal ocupado. U = AÇÃO QUANDO DA TEMPORIZAÇÃO DE DISCAGEM DE DDR (0...9) Define a ação a ser tomada quando os dígitos recebidos e não forma o resultado final e expira a tempo do DDI. V = AÇÃO QUANDO DA TEMPORIZAÇÃO DA CORRENTE DE CHAMADA DE DDR (0...9) Define a ação a ser tomada quando o número-DDI está completo mas o destino não atende dentro de um período de tempo. W = AÇÃO QUANDO DDR PARA NÚMERO NÃO ALOCADO (0...9) Define a ação a ser tomada quando a chamada DDI encontra um número fora de serviço ou grupo vazio. X = AÇÃO QUANDO CHAMADA DDR MAL SUCEDIDA (0...9) Define a ação a ser tomada quando a chamada DDI encontra um número bloqueado (ramal com FCM 09), uma linha longa (ramal com ramal distante FCM 15), congestionamento ou exesso de dígito. PARA TUVWX AS SEGUINTES AÇÕES SÃO POSSÍVEIS: 0 = TOM OCUPADO PARA O CHAMADOR: 1 = TOM DE NÚMERO INACESSÍVEL PARA O CHAMADOR: 2 = DESCONECTAR PARA TRÁS: Tanto no diurno ou noturno a linha-tronco está desconectando para trás. 3 = SEM AÇÃO. (NA CONDIÇÃO DIURNA OU NOTURNA). Se o ramal de destino está ocupado, a temporização de redirecionamento para a operadora será niciada Se este tempo é expirado a chamada será redirecionada para a operadora. 4 = ESPERA AUTOMÁTICA QUANDO OCUPADO E ENVIA ATENDIMENTO. (NA CONDIÇÃO DIURNA OU NOTURNA). Se o ramal de destino está ocupado, um sinal de atendimento é enviado a linha-tronco e COB é iniciado para o ramal de destino. Esta situação de COB não há tempo de guarda e NÃO será redirecionada para à operadora se possível. 5 = OPERADORA OU TOM OCUPADO. Diurno: Inicia a temporização de redirecionamento para operadora. Depois de expirado este tempo a chamada será redirecionada para a operadora. Noturno: Inicia a temporização do tom de corrente de chamada externa. Se expirar o tempo um tom de ocupado será enviado para a linha-tronco. Depois de expirado esta temporização o tom é terminado. 6 = OPERADORA OU TOM DE NÚMERO INACESSÍVEL. Diurno: Inicia a temporização de redirecionamento para operadora. Depois de expirado este tempo a chamada será redirecionada para a operadora. Noturno: Inicia a temporização do tom de corrente de chamada externa. Se expirar o tempo um tom NU será enviado a linha-tronco. Depois de expirado esta temporização o tom é terminado. 7 = OPERADORA OU DESCONECTAR PARA TRÁS. Diurno: Inicia a temporização de redirecionamento para operadora. Depois de expirado este tempo a chamada será redirecionada para a operadora. Noturno: Inicia a temporização do tom de corrente de chamada externa. Se expirar o tempo, a linha-tronco será liberada para trás. Isto só pode ser aplicado se TODOS os troncos na rota estão habilitado para gerar liberação para trás. 8 = OPERADORA OU SEM AÇÃO. Diurno: Inicia a temporização de redirecionamento para operadora. Depois de expirado este tempo a chamada será redirecionada para a operadora. Noturno: veja sem ação (4) 9 = OPERADORA OU RAMAL NOTURNO. Diurno: Inicia a temporização de redirecionamento para operadora. Depois de expirado este tempo a chamada será redirecionada para a operadora. Noturno: Inicia a temporização de redirecionamento para operadora / ramal noturno. Depois de expirado este tempo a chamada será redirecionada para ramal noturno. APOSTILA DE ROTAS DO PACOTE 810. 13 Para uso do CENTRO DE TREINAMENTO PBC.
  • 14.
    CENTRO DE TREINAMENTO ROTAS DO SOPHO iS-3000 NOTA: Se uma chamada de entrada é assistida pela operadora / serviço noturno e a chamada é estendida para um ramal ocupado ou não atende, a chamada retorna para o (mesma) operadora / serviço noturno depois de projetar o temporização de retorno a operadora / serviço noturno NETIMER 022 (10...40):25. Se a chamada de entrada é estendida para uma chamada de busca-pessoa não atendida, a chamada será retornada para a operadora / serviço noturno depois de expirar o tempo de retorno de busca-pessoa para operadora / serviço noturno Se no CHRTCG - GEN-OPTS, Q = 0, o TONE-AND-DDI-OPTS não será usado. TREE = : NÚMERO DA ÁRVORE DE ANÁLISE DE ENTRADA (0...254). Está opção somente define se a rota é de DDI (CHRTCI - INC-OPTS, P = 1). A informação discada recebida na rota com tráfego DDI deve ser analisada em uma árvore especial. Pela configuração desta árvore será possível selecionar os DNRs que podem ser discados e também os códigos de acesso à tronco que são permitidos no caso de tráfego de trânsisto (CHRTCI - INC-OPTS, R = 1 e CHTRCO - OUT-OPTS, S = 1) pela rede totalmente integrada (FIN). A-QUEUE: = ROTA PARA A FILA-A DA OPERADORA (1...16). Define em qual fila-A (A1, A2, A3,..., A16 = Fila Geral A) a chamada de entrada será entrada se a rota não estiver definida como tráfego-DDI. Chamadas-DDI mal-sucedidas serão redirecionadas para fila-C da operadora. BSPT = TIPO DE PERFIL DO SERVIÇO BÁSICO (0...99). Consultar tabela C.2. APOSTILA DE ROTAS DO PACOTE 810. 14 Para uso do CENTRO DE TREINAMENTO PBC.
  • 15.
    CENTRO DE TREINAMENTO ROTAS DO SOPHO iS-3000 MUDAR A CARACTERISTICAS DA ROTA DE SAIDA CHRTCO: <ROUTE>,<OUT-OPTS>,<ATF>[,<BSPT>]; ROUTE = NÚMERO DA ROTA (0...254). OUT-OPTS = OPÇÃO DE ROTA UNIDIRECIONAL DE SAÍDA PQRST (0 = NÃO, 1 = SIM). P = CONEXÃO DIRETA. Se a opção for 1. O caminho da voz entre o chamador e o tronco selecionado é estabelecida imediatamente depois de discado o código de acesso à tronco e o resto dos dígitos proveniente do ramal é transferido diretamente para o tronco sem regeneração de dígitos pelo SOPHO. Nenhuma análise externa ou repetição de código de acesso é possível . Esta opção somente é possível no caso de ramais MF porque somente estes ramais podem transferir diretamente dígitos por um caminho de voz. Se a opção for 0. A discagem pelo ramal é analisada na árvore DDO (indica a característica do destino) está análise é feita antes de estabelecer a conexão externa. É possível repetição de código de acesso. Q = PROTEGIDO CONTRA INTERCALAÇÃO EM CHAMADAS DE SAÍDA. Se a opção for 1. A chamada de saída para uma parte externa estará protegida contra intercalação. A tentativa por um ramal de usuário para obter uma conexão com um ramal ocupado com o tronco resultará tom de intercalação inacessível. A operadora pode intercalar esta conexão. Se a opção for 0. A chamada de saída não estará protegida contra intercalação exceto quando o ramal chamador estiver protegido contra intercalação (FCM 03). R = BOTÃO D PERMITIDO. Se a opção for 1. A operadora pode usar o botão-D para re-acesar o mesma linha-tronco se a chamada for mal-sucedida. Esta opção não pode ser usada se: Nenhum tráfego de saída na rota. Rotas com repetição de código de acesso. Rotas sem sinal parte chamadora no gancho. Ocupação de saída com retardo se aplicado. Para usar a facilidade de anular a ocupação pela operadora, está opção deve ser 1. Se a operadora discar o código de acesso à tronco e não houver linhas livres, primeiro o led de congestionamento acende. Depois algum tempo uma linha-tronco (na condição de conversação) aparece no visor. Agora a operadora pode escutar esta conexão e se necessitar, liberar a parte conectada com a linha-tronco. Através do botão-D a linha-tronco não será liberada mas o tom de discar será enviado à operadora. A operadora pode discar para uma parte externa por esta linha-tronco. Se a opção for 0. A operadora deve liberar a linha e novamente ocupar uma outra linha pela discagem do código de acesso à tronco. A facilidade de anular a ocupação pela operadora não pode ser usada. S = TRÂNSISTO PERMITIDO. Se a opção for 1. A chamada de entrada por uma linha com CHRTCI - INC-OPTS, R =1 (permite trânsisto de entrada) pode ser transferida para um ramal ou uma operadora para uma linha de rota de saída. Não assistência de trânsisto também é possível para tráfego DDI-DDO. Na árvore de análise para tráfego de entrada o código de acesso à tronco para tronco de saída deve ser incluído. Para algumas situações de conferência é requerido também CHRTCG - GEN-OPTS, R = 1. Se a opção for 0. A linha-tronco de saída nunca (assistida ou não assistida) será conectada com uma linha-tronco de entrada. T = IDENTIFICAÇÃO DA CENTRAL DE ORIGEM. Se a opção for 1. A unidade SOPHO primeiro envia o DNR para a parte chamadora para o PABX oposto antes de enviar os dígitos normais. ATF = BUSCA AUTOMÁTICA DE TRONCO (0...2): 0 = NENHUMA BUSCA. 1 = BUSCA POR ESPERA QUANDO OCUPADO (COB). Significa que depois da discagem do código ce acesso à tronco embora nenhuma linha-tronco na rota está livre. Nenhum tom de congestionamento será dado. Os dígitos externo pode já serem discados e tão longo uma linha esteja disponível os dígitos serão transmitidos. Esta facilidade somente é oferecida para ramais com prioridade (FCM 14). ATF somente é aplicado quando todas as rotas na tabela de seqüência estão reconhecidadas. Quando isto é verdadeiro, a ATF estará na primeira rota da tabela de seqüência. APOSTILA DE ROTAS DO PACOTE 810. 15 Para uso do CENTRO DE TREINAMENTO PBC.
  • 16.
    CENTRO DE TREINAMENTO ROTAS DO SOPHO iS-3000 2 = BUSCA (ATF) POR RECHAMADA AUTOMÁTICA (ARB). Depois da discagem do código de acesso à tronco embora nunhuma linha-tronco na rota esteja livre, o tom de ocupado será dado. O ramal do usuário pode discar o prefixo de rechamada automática e tão logo uma linha esteja disponível o ramal do usuário começará a tocar. Depois do atendimento da linha-tronco disponível para o usuário, os dígitos externo podem ser discado. Se a repetição do código de acesso relacionado à um destino está designado a repetição do código de acesso para a rota deve prevalecer (veja CHDSTC - ACC-REP). BSPT = TIPO DE PERFIL DO SERVIÇO BÁSICO (0...99). Consultar tabela C.2. APOSTILA DE ROTAS DO PACOTE 810. 16 Para uso do CENTRO DE TREINAMENTO PBC.
  • 17.
    CENTRO DE TREINAMENTO ROTAS DO SOPHO iS-3000 MUDAR A CARACTERISTICAS DE FEIXES (BUNDLE) CHBNDC:<UNIT+BUNDLE>,<DIR-AND-NEG>,<OPTIONS>,<CON-AND-SIG-TYPE> [,[<ALL-CALLS>][,<BSPT>]]; UNIT+BUNDLE = PARAMETRO COMPOSTO DE, FORMATO: UUBBB UU = Número da Unidade (1..14). Pode ser omitido para unidade simples (uma unidade). BBB = Bundle numero (0..254). Deve ser de 3 digitos número dentro do sistema de multi-unidade. DIR-AND-NEG = DIREÇÃO DO FEIXE E NEGOCIAÇÃO DO RDSI: P[Q] P = DIREÇÃO DO FEIXE: 0 = Unidirecional de entrada. 1 = Unidirecional de saída. 2 = Bidirecional. Q = REGRA DE NEGOCIAÇÃO DO RDSI - Omitir quando o tipo de sinalização for não-RDSI 0 = Qualquer canal-B. 1 = Canal-B exclusivo. 2 = Canal-B preferencial. OPTIONS = OPÇÕES DE FEIXE OPQ[RSTUVWXYZ] (0 = NÃO, 1 = SIM). Quando o feixe for unidirecional de saída, RSTUVWXYZ deve ser omitido. K = SUPERVISÃO DE LINHA LONGA. Se a opção for 1. O ramais com FCM 15 (Ramal distante) nunca poderão ser conectados para uma linha com feixe de tráfego de saída e chamadas de entrada nunca poderão ser conectadas para ramais com FCM 15. DDI para ramais com FCM 15 não é possível e chamadas de entrada não podem ser transferida pela operadora para um ramal com FCM 15. DDO e discagem de saída via operadora não é permitido para um ramal com FCM 15. L = SUPERVISÃO DE BLOQUIEO DA LINHA DA CENTRAL. Se a opção for 1. O ramais com FCM 06 ((Bloqueado a conexão com linha tronco) nunca poderão ser conectados para uma linha em um feixe de tráfetgo de saída e chamadas de entrada nunca poderão ser conectadas para ramais com FCM 06. DDI para ramais com FCM 06 não é possível e chamadas de entrada não podem ser transferida pela operadora para um ramal com FCM 06. DDO e discagem de saída via operadora não é permitido para um ramal com FCM 06. M = REGISTRO DE RECHAMADA DISPONÍVEL. Se a opção for 1. Está opção somente pode ser usada em combinação com CHRTCI - INC-OPTS, S = 1(Investigar chamadas maliciosas). E se a central oposta está apta para manusear esta facilidade. N = echo canceller connected O = ISDN date/time synchronisation P = TARIFAÇÃO DISPONÍVEL NO FEIXE. Se a opção for 1. É possível contar os pulsos que estão sendo enviados ao SOPHO. A operadora pode marca uma chamada para medição ou o ramal pode ter marca de medição com FCM 10. Nesta situação os pulsos são registrados no buffer-contador relacionado para este ramal. Q = APLICA DETEÇÃO DO PRIMEIRO TOM DE DISCAR. Se a opção for 1. O SOPHO espera para enviar o tom de discar pela central oposta depois do SOPHO reconhecer a ocupação da linha de saída. Depois de receber este tom de discar o SOPHO envia o resto da informação-discada. Se a opção for 0. O SOPHO não pode espera o tom de discar da central oposta. A informação-discada é enviada após ocupação da linha-tronco. APOSTILA DE ROTAS DO PACOTE 810. 17 Para uso do CENTRO DE TREINAMENTO PBC.
  • 18.
    CENTRO DE TREINAMENTO ROTAS DO SOPHO iS-3000 R = PAUSA PARA DETEÇÃO DO PRIMEIRO TOM DE DISCAR. Se a opção for 1. Um tempo de retardo extra será requerido antes do (espera do primeiro tom de discar externo) procedimento de deteção ser inciado. O PABX oposto necessita de mais tempo para gerar o "tom de discar". S = PAUSA PARA DETEÇÃO DO SEGUNDO TOM DE DISCAR. Se a opção for 1. Um tempo de retardo extra será requerido antes do (espera do segundo tom de discar externo) procedimento de deteção ser inciado. O PABX oposto necessita de mais tempo para gerar o "tom de discar". T = CONEXÃO DIRETA PROVISÓRIA. Define se o SOPHO deve gerar tons "falsos" (explo.: tom de discar ) a fim de que seja enviado para o ramal chamador. Depois receber este tom de discar o usuário pode discar o número externo. Se a opção for 1. Os tons proveniente da central pública são enviados acusticamente para o usuário Um canal de retorno acústico está dispinível. Se a opção for 0. O tons são gerados pelo SOPHO. U = SENSÍVEL À ATENDIMENTO. (para Centrais Públicas com inversão de polaidade no atendimento) Esta opção está relacionada para bilhetagem / medição de chamadas de DDO nas linhas deste feixe. Se a facilidade de bilhetagem é usada para medir o intervalo de tempo de uma chamada de saída, a temporização é iniciada no momento da ocupação da linha de saída. Se a opção for 1. A temporização da bilhetagem é reiniciada depois do sinal de atendimento da central oposta. Isto somente pode ser aplicado se a central oposta enviar o sinal de atendimento. Poo outro lado nunhum registro de bilhetagem será gerado. Se a opção for 0. A bilhetagem será iniciada logo que a linha seja ocupada. V = ESPERA PARA ATENDENTIMENTO DE DDO. Se uma chamada DDO é feita, é possível detectar o atendimento da parte externa. Isto é possível nas linhas-tronco com um tipo de sinalização que suporte um sinal de atendimento. Se isto é certo este "sinal de atendimento" é retornado, isto não é muito necessário para comutar completamente o estado de conversação diretamente depois da regeneração do último dígito do número externo. Se a opção for 1. O SOPHO espera do sinal de atendimento antes da linha-tronco ser conectada para o ramal na fase de conversação. Se a opção for 0. A linha-tronco será diretamente conectada ao ramal depois da regeneração do último dígito sobre a linha-tronco. Está opção é também válida no caso de tráfego de trânsisto. Se a opção for 1. Este sinal de atendimento é retornado para o tronco de entrada, e é gerado tão logo o sinal de atendimento for recebido do tronco de saída. Se a opção for 0. Este sinal de atendimento é retornado para o tronco de entrada, e é gerado tão logo a análise da numeração (entrada) seja concluída para que o número recebido do tronco de entrada seja completado. W = TOM DE ROTEAMENTO. Se a opção for 1. Um tom de roteamento (tom número 27) é enviado para parte chamadora se a discagem do número externo estiver completa (DDO) mas nesse ponto não há ainda condição de conversação. A chamada ainda estará em processo de estabelecimento. Isto pode acontecer quando o sinal de atendimento da central destino ainda não recebeu ou todos os dígitos ainda não foram enviados para este destino. X = DETEÇÃO E ALARME DE TOM DE TRANSCOM. Se a opção for 1.Se a rota estiver conectada a um equipamento TRANSCOM. Y = Ddo send MFC area number Z = Ddo local ring tone provided CON-ADD-SIG-TYPE = CONEXÃO DO FEIXE E TIPO DE SINALIZAÇÃO PQ[Q] Isto indica para o SOPHO com qual tipo do tronco/linha de junção que está envolvido e qual o tipo de sinalização que deve ser usado neste tronco/linha de junção. P = TIPO DE CONEXÃO POSSÍVEL (0...4): 0 = Linha de junção à quatro fios. 1 = Linha CP à dois fios. 2 = Linha de junção à dois fios. 3 = Linha CP digital. 4 = Linha de junção digital. APOSTILA DE ROTAS DO PACOTE 810. 18 Para uso do CENTRO DE TREINAMENTO PBC.
  • 19.
    CENTRO DE TREINAMENTO ROTAS DO SOPHO iS-3000 QQ = TIPO DE SINALIZAÇÃO POSSÍVEL (0...15): 0 = impulso. 8 = MFP (Impulso MF) 1 = impulso, ententendo MF. 9 = MFC Socotel. 2 = MF. 10 = DASS. 3 = MFC. 11 = MFE. 4 = Canal Comum. 12 = 1TR6. 5 = MF após o atendimento. 13 = MFC-CSS1. 6 = DPNSS-x (feixe deve estar designado para rota DPNSS) 14 = RDSI-A. 7 = DPNSS-y (feixe deve estar designado para rota DPNSS) 15 = RDSI-B. O tipo de sinalização é importante em consideração com o protocolo de comunicação com a central oposta. ALL-CALLS = NÚMERO DE CHAMADAS PERMITIDAS NO FEIXE PARA UM DADO BSPT (0..254). Se for omitido, não haverá restrição no número de chamadas permitidas. BSPT = TIPO DE PERFIL DO SERVIÇO BÁSICO (0...99). Consultar tabela C.2. Número máximo de BSPTs para troncos. DESIGNAR FEIXE PARA UMA ROTA ASBNDL: <ROUTE>,<BUNDLE>; A característica do feixe (direção e tipo de sinalização desejada) pode ser mudada com o comando CHBNDC. Depois de ser designado para a rota. <ASBNDL:4,4; MOSTRAR OS DADOS DO FEIXE DIBNDL: <UNIT+BUNDLE>; CANCELAR O FEIXE DA ROTA DEBNDL: <ROUTE>,<BUNDLE>; APOSTILA DE ROTAS DO PACOTE 810. 19 Para uso do CENTRO DE TREINAMENTO PBC.
  • 20.
    CENTRO DE TREINAMENTO ROTAS DO SOPHO iS-3000 DESIGNAR NUMERO DO ESQUEMA DE NUMERAÇÃO INTERNO ASINTN:<TREE>,<NUMBER>,<TRFC>,<RESULT-ID >[,[<DEST/NUMBER>][,<NUMBER-LENGTH>]]; TREE = NÚMERO DA ÁRVORE DE ANÁLISE (0...254). NUMBER Número interno (DNR) ou número externo ou código (1...6 dígitos). No comando ASINTN em combinação com identidade de resultado (result-ID) 104...115, este parâmetro deve ter um número de 6...12 dígitos de comprimento. TRFC Definir qual a classe de Tráfego que pode acessar o código de acesso . Classe de tráfego (0...7), veja tabela C.13. CLASSE DE TRÁFEGO DESCRIÇÃO 0 Tráfego interno somente para operadora 1 Tráfego interno Acesso limitado a linha de junção Tráfego externo abreviado 2 Destino das classe de tráfego 1, mais: Acesso total a linha de junção Mais ramais discagem abreviada 3 Destino das classe de tráfego 2, mais: Acesso indireto ao tronco Mais ramais discagem abreviada 4 Destino das classe de tráfego 3, mais: Tráfego local Mais ramais discagem abreviada 5 Destino das classe de tráfego 4, mais: Tráfego DDD Mais ramais discagem abreviada 6 Destino das classe de tráfego 5, mais: Tráfego DDI Sem restrições 7 Classe de tráfego da operadora Tabela C.13. Exemplo de alocação de classes de tráfego RESULT-ID ver tabela anexa: APOSTILA DE ROTAS DO PACOTE 810. 20 Para uso do CENTRO DE TREINAMENTO PBC.
  • 21.
    CENTRO DE TREINAMENTO ROTAS DO SOPHO iS-3000 ID. DESCRIÇÃO TIPO DE DISCAGEM DE / ORIGEM RES. 0 1 2 3 4 5 6 7 DDI DDO DPNSS IN DPNSS OUT 00* Local do segundo tom de discar - - - - - - - - - - - - - - - - - - X - - - - 01 Sem resultado direto X X X X X X X - - X X X X 10** Número interno X X X - - X @ X - - X - - X X 11 Código geral para operadora (fila-M) X X - - - - X - - - - - - X - - X - - 12 Prefixo busca-pessoa urgente X X X - - X - - - - - - X - - X X 13 Prefixo busca-pessoa não urgente X X X - - X - - - - - - X - - X X 20 Prefixo atendimento de busca-pessoa X - - - - - - - - - - - - - - - - - - X - - 21 Código de acesso à tronco X X X - - X - - - - - - X - - X X 22* Número externo - - - - - - - - - - - - - - - - - - X - - - - 23** Discagem abreviada comum X X X - - - - - - - - - - - - - - X - - 24** Discagem abreviada de grupo X X X - - - - - - - - - - - - - - - - - - 25 Acesso número abreviado individual @@@- - - - - - - - - - - - - - - - - - 26 Acesso último número externo @@@- - - - - - - - - - - - - - - - - - 27 Siga-me ativado na origem @@- - - - - - - - - - - - - - - - - - - - 28 Siga-me preparado na origem @@- - - - - - - - - - - - - - - - - - - - 29 Siga-me ativado no destino X X - - - - - - - - - - - - - - - - - - - - 30 Cancelamento seletivo siga-me no destino X X - - - - - - - - - - - - - - - - - - - - 31 Cancelamento geral siga-me no destino X X - - - - - - - - - - - - - - - - - - - - 32 Cancelar siga-me na origem X X - - - - - - - - - - - - - - - - - - - - 33 Captura geral X X - - - - - - - - - - - - - - - - - - - - 34 Captura individual X X - - - - - - - - - - - - - - - - - - - - 35 Ausente do grupo pelo membro @@- - - - - - - - - - - - - - - - - - - - 36 Presente no grupo pelo membro @@- - - - - - - - - - - - - - - - - - - - 37 Ausente do grupo pelo supervisor @@- - - - - - - - - - - - - - - - - - - - 38 Presente no grupo pelo supervisor @@- - - - - - - - - - - - - - - - - - - - 39 Acesso chefe secretária @@- - - - - - - - - - - - - - - - - - - - 40 Chefe/secretária ausente @@- - - - - - - - - - - - - - - - - - - - 41 Chefe/secretária presente @@- - - - - - - - - - - - - - - - - - - - 42 Chefe/secretária completo - - - - - - - - - - - - - - X - - - - - - - - 43 Prefixo de centro de custo X X X - - - - - - - - - - - - - - - - - - 44 Ramal noturno ausente (INE/PLE) @@- - - - - - - - - - - - - - - - - - - - 45 Ramal noturno presente (INE/PLE) @@- - - - - - - - - - - - - - - - - - - - 46 Código discagem de CANS X - - - - - - - - - - - - - - - - - - - - - - X = Normalmente acessível a partir da origem de discagem @ = Normalmente acessível, mas deve ser designado na parte originadora marca de classe de facilidade apropiada ou configuração de facilidade de OM. * = Designado automáticamente com ASEXTN ** = Designado com ASBLCK - - = Não acessível a partir do tipo de discagem ou da origem Tabela C.9. Identidades de Resultado APOSTILA DE ROTAS DO PACOTE 810. 21 Para uso do CENTRO DE TREINAMENTO PBC.
  • 22.
    CENTRO DE TREINAMENTO ROTAS DO SOPHO iS-3000 ID. DESCRIÇÃO TIPO DE DISCAGEM DE / ORIGEM RES. 0 1 2 3 4 5 6 7 DDI DDO DPNSS IN DPNSS OUT 47 Código discado prioritário à operado M X X - - - - X - - - - - - X - - X - - 48 Fila-A geral da operadora - - - - - - - - - - - - - - - - X - - X - - 49 Fila-A1 da operadora - - - - - - - - - - - - - - - - X - - X - - 50 Fila-A2 da operadora - - - - - - - - - - - - - - - - X - - X - - 51 Fila-A3 da operadora - - - - - - - - - - - - - - - - X - - X - - 52 Ramal de teste @- - - - - - - - - - - - - - - - - - - - - - 53 Código de acesso de emergência X - - - - - - - - - - - - - - - - - - - - - - 54 Discagem de proteção de dados @@- - - - - - - - - - - - - - - - - - - - 55 Prefixo de conferência - -@- - - - - - - - - - - - - - - - - - - - 56 Rechamada automática - - - - - - - - - - - - - - - - - - - - - - - - 57 Cancelamento da rechamada automática X - - - - - - - - - - - - - - - - - - - - - - 58 Intercalação - - - - - -@- - - - - - - - - - - - - - - - 59 Código baypass - - - - - -@- - - - - - - - - - - - - - - - 60 Investigar chamada maliciosa - -@ X - - - - - - - - - - - - - - - - - - 61 Programação de ramal - - - - - - - - - - - - - - - - - - - - - - - - 62 Discagem para serviço de quarto X X - - - - - - - - - - - - - - - - - - - - 63 Discagem para lavanderia X X - - - - - - - - - - - - - - - - - - - - 64 Discagem para informações X X - - - - - - - - - - - - - - - - - - - - 65 Discagem para recepção X X - - - - - - - - - - - - - - - - - - - - 66 Ativar não pertube @@- - - - - - - - - - - - - - - - - - - - 67 Desativar não pertube @@- - - - - - - - - - - - - - - - - - - - 68 Prefixo do conversor X X - - - - - - - - - - - - X - - - - - - 69 Armazenar número abreviado individual @@- - - - - - - - - - - - - - - - - - - - 70 Apagar número abreviado individual @@- - - - - - - - - - - - - - - - - - - - 71 Substituir número abreviado individual @@- - - - - - - - - - - - - - - - - - - - 72 Aumentar classe de tráfego @- - - - - - - - - - - - - - - - - - - - - - 73 Baixar classe de tráfego @- - - - - - - - - - - - - - - - - - - - - - 74 Nenhuma classe de tráfego selecionada @- - - - - - - - - - - - - - - - - - - - - - 75 Código de discagem de chamada em espera X X - - - - - - - - - - - - - - - - - - - - 76 Mensagem em espera LED ligado tipo 0 X X - - - - - - - - - - - - - - - - - - - - 77 Mensagem em espera LED ligado tipo 1 X X - - - - - - - - - - - - - - - - - - - - 78 Mensagem em espera LED ligado tipo 2 X X - - - - - - - - - - - - - - - - - - - - 79 Mens. em espera LED desligado tipo 0 X X - - - - - - - - - - - - - - - - - - - - X = Normalmente acessível a partir da origem de discagem @ = Normalmente acessível, mas deve ser designado na parte originadora marca de classe de facilidade apropiada ou configuração de facilidade de OM. * = Designado automáticamente com ASEXTN ** = Designado com ASBLCK - - = Não acessível a partir do tipo de discagem ou da origem Tabela C.9. Identidades de Resultado APOSTILA DE ROTAS DO PACOTE 810. 22 Para uso do CENTRO DE TREINAMENTO PBC.
  • 23.
    CENTRO DE TREINAMENTO ROTAS DO SOPHO iS-3000 ID. DESCRIÇÃO ORIGEM / TIPO DE DISCAGEM DE RES. 0 1 2 3 4 5 6 7 DDI DDO DPNSS IN DPNSS OUT 80 Mens. em espera LED desligado tipo 1 X X - - - - - - - - - - - - - - - - - - - - 81 Mens. em espera LED desligado tipo 2 X X - - - - - - - - - - - - - - - - - - - - 82 Discagem TMS X - - - - - - - - - - - - - - - - - - X - - 83 Siga-me de grupo ativado na origem @@- - - - - - - - - - - - - - - - - - - - 84 Siga-me de grupo preparado na origem @@- - - - - - - - - - - - - - - - - - - - 85 Cancelar siga-me de grupo na origem @@- - - - - - - - - - - - - - - - - - - - 86 Siga-me de grupo ativado no destino X X - - - - - - - - - - - - - - - - - - - - 87 Cancelamento seletivo de siga-me de grupo no destino X X - - - - - - - - - - - - - - - - - - - - 88 Cancelamento geral de siga-me de grupo no destino X X - - - - - - - - - - - - - - - - - - - - 89 Circuito de auto-atendimento discado - - - - - - - - - - - - - - - - X - - - - - - 90 Mostrar COB para supervisor @- - - - - - - - - - - - - - - - - - - - - - 91 Código de acesso à rede X X X - - X X - - - - X - - X - - 92 Código de acesso à Rede de Circuitos de Comutação de Dados (CSDN) @- - - - - - - - - - - - - - - - - - - - - - 93 Dar uma linha - - - - X - - - - - - - - - - - - - - - - - - 94 Iniciar pós-discagem - - X - - - - - - - - - - - - - - - - - - - - 95 Consulta no inicio do tronco - - X X - - - - - - - - - - - - - - - - - - 96 Consulta sobre tronco - - X X - - - - - - - - - - - - - - - - - - 97 Discagem de rota alternativa X X X - - - - - - - - - - X - - X - - 98 Ativar redirecionamento qdo. ocupado X X - - - - - - - - - - - - - - - - - - - - 99 Cancelar redirecionamento qdo. ocupado X X - - - - - - - - - - - - - - - - - - - - 100 Ativar siga-me fixo X X - - - - - - - - - - - - - - - - - - - - 101 Iniciar chamada em espera - - - - - -@- - - - - - - - - - - - - - - - 102 Iniciar espera automatica quando ocupado (COB) - - - - - -@- - - - - - - - - - - - - - - - 103 Código de cancelamento geral X X - - - - - - - - - - - - - - - - - - - - 104 Mudar senha (TMS) X X - - - - - - - - - - - - - - - - - - - - 105 Habilitar nível superior/inferior (TMS) X X - - - - - - - - - - - - - - - - - - - - 106 Desabilitar nível superior/inferior (TMS) X X - - - - - - - - - - - - - - - - - - - - 107 Classe de tráfego superior (TMS) X X - - - - - - - - - - - - - - - - - - - - 108 Classe de tráfego inferior (TMS) X X - - - - - - - - - - - - - - - - - - - - 109 Senha DDO do própio (TMS) X X - - - - - - - - - - - - - - - - - - - - 110 Senha DDO de outro (TMS) X X X - - - - - - - - - - - - - - - - - - 111 Módulo centro de custo X X X - - - - - - - - - - - - - - - - - - 112 Validade do centro de custo (TMS) X X X - - - - - - - - - - - - - - - - - - X = Normalmente acessível a partir da origem de discagem @ = Normalmente acessível, mas deve ser designado na parte originadora marca de classe de facilidade apropiada ou configuração de facilidade de OM. * = Designado automáticamente com ASEXTN ** = Designado com ASBLCK - - = Não acessível a partir do tipo de discagem ou da origem Tabela C.9. Identidades de Resultado APOSTILA DE ROTAS DO PACOTE 810. 23 Para uso do CENTRO DE TREINAMENTO PBC.
  • 24.
    CENTRO DE TREINAMENTO ROTAS DO SOPHO iS-3000 ID. DESCRIÇÃO TIPO DE DISCAGEM DE / ORIGEM RES. 0 1 2 3 4 5 6 7 DDI DDO DPNSS IN DPNSS OUT 113 Porta de acesso direto (TMS) X X X - - - - - - - - - - X - - X - - 114 Porta de acesso de rechamada (TMS) X X X - - - - - - - - - - X - - X - - 115 Cancelar chamada de rechamada (TMS) X X X - - - - - - - - - - X - - X - - 116 Chamada privativa X X X - - - - - - - - - - - - - - - - - - 117 Chamada direta X X - - - - - - - - - - - - - - - - - - - - 118 Grupo de discagem de código reduzido X X - - - - - - - - - - - - - - - - - - - - 119 Captura pelo número de grau X X - - - - - - - - - - - - - - - - - - - - 120 Busca pessoa de voz urgente X X X - - X - - - - - - X - - X X 121 Busca pessoa de voz não urgente X X X - - X - - - - - - X - - X X 122 Busca pessoa que mostra ANT urgente ANT = Transmissão Automática Número X X X - - X - - - - - - X - - X X 123 Busca pessoa mostra ANT não urgente X X X - - X - - - - - - X - - X X 124 Busca pessoa não mostra ANT urgente X X X - - X - - - - - - X - - X X 125 Busca pessoa não mostra ANT não urgente X X X - - X - - - - - - X - - X X 126 Gravando no anunciador @- - - - - - - - - - - - - - - - - - - - - - 127 Discagem gerenciamento do DAC @@- - - - - - - - - - - - - - - - - - - - 128 Prefixo de grupo DAC diurno @@- - - - - - - - - - - - - - - - - - - - 129 Prefixo de grupo DAC noturno @@- - - - - - - - - - - - - - - - - - - - 130 Discagem sobre intercalação @@- - - - - - - - - - - - - - - - - - - - 131 Armazenar em posição de chamada @@- - - - - - - - - - - - - - - - - - - - X = Normalmente acessível a partir da origem de discagem @ = Normalmente acessível, mas deve ser designado na parte originadora marca de classe de facilidade apropiada ou configuração de facilidade de OM. * = Designado automáticamente com ASEXTN ** = Designado com ASBLCK - - = Não acessível a partir do tipo de discagem ou da origem Tabela C.9. Identidades de Resultado DEST/NUMBER Número de destino (0...254), no Esquema de Numeração, associar o código de acesso a um destino comando CHDSTC, que deve ser associado a uma tabela de rota comando CHROTA. APOSTILA DE ROTAS DO PACOTE 810. 24 Para uso do CENTRO DE TREINAMENTO PBC.
  • 25.
    CENTRO DE TREINAMENTO ROTAS DO SOPHO iS-3000 MUDAR AS CARACTERÍSTICAS DO DESTINO CHDSTC: <DEST>,<TREE>,<FST-DT>,<SND-DT>,<ROUTE-TABLE>[,<ACC-REP>]; TREE = NÚMERO DA ÁRVORE DE ANÁLISE DDO (0..254) O número externo discado pelo ramal do usuário depois do código de acesso à tronco (analisado na árvore de discagem interna/consulta) pode ser analisada para determinar se é permitido a conexão para parte externa requerida. A conexão pode ser rejeitada se o número for não existente ou se a classe de tráfego do ramal é menor que a classe de tráfego requerida pela análise de resultado. Também a análise é necessária para determinar se um desvio na tabela de roteamento está presente na árvore externa, para reconhecimento das facilidades desejada no nó da rede, retardo na ocupação de saída, pausa RTCP, etc. FST-DT = OPÇÃO DE PRIMEIRO TOM DE DISCAR EXTERNO (0 = NÃO, 1 = SIM). Se a opção for 1. O SOPHO gera o primeiro tom de discar externo e envia-o para a parte originadora depois da discagem do código de acesso à tronco. Este tom é independente da central oposta. Se o SOPHO realmente aguarda o tom de discar da PABX oposto será determinado pelo CHBNDC - OPTIONS, T = 1. Se a opção for 0. Não haverá o primeiro tom de discar externo será enviado depois da discagem do código de acesso à tronco. SND-DT = OPÇÃO DO SEGUNDO TOM DE DISCAR EXTERNO (0 = NÃO, 1 = SIM). Se a opção for 1. O SOPHO gera o segundo tom de discar externo e envia-o para a parte do SOPHO da chamada da saída depois da discagem dos dígitos do número externo. O tom de discar local (dígitos do número externo antes do segundo tom de discar) é determinado na árvore DDO relacionada com este destino pelo comando OM ASEXTN. Se o "parâmetro tom de discar local" na árvore DDO for designado no valor 0 (zero) com o comando OM ASEXTN, o segundo tom de discar não será enviado para o iniciador. Se a opção for 0. o segundo tom de discar não será enviado para o iniciador. Se o segundo tom de discar externo está definido na árvore DDO, o SOPHO espera pelo tom de discar físico da central oposta antes de enviar a informação-discada remanecente para esta central, exceto quando a conversão de dígito na saída é aplicado. Isto é independente da geração do segundo tom de discar externo para parte iniciadora do SOPHO. ROUTE-TABLE = NÚMERO DA TABELA DE ROTA (0...254) Indica o valor padrão da tabela de rota (20). Isto contém até 5 tabelas assim chamado Tabelas de Seqüência. Cada tabela de seqüência contém uma lista de rotas para este destino (max. 8). Que tabela de seqüência é ativada depende da facilidade de temporização (ASFATI). O sistema seleciona a primeira rota da tabela de seqüência e a tenta estabelecer a chamada de saída. Quando isto não é possível (explo.: congestionamento, a segunda rota na tabela de seqüência será selecionada e o processo será repetido (roteamento alternativo). Quando a árvore de saída pertence a este destino e não contém tabela de rota, designado com ASEXTN ou ASEXTP, será usada a tabela de rota padrão. APOSTILA DE ROTAS DO PACOTE 810. 25 Para uso do CENTRO DE TREINAMENTO PBC.
  • 26.
    CENTRO DE TREINAMENTO ROTAS DO SOPHO iS-3000 ACC-REP = CONTADOR DE REPETIÇÃO DO CÓDIGO DE ACESSO (0...6). Especifica o número de dígitos (de um código de acesso à tronco) que pode ser repetido sobre uma linha de junção depois do código de acesso ter sido discado. Assim que iniciar a contagem do último dígito de um código de acesso à tronco. A repetição dos dígitos serão transferidos sobre a linha de uma rota para o destino oposto. Esta repetição do código de acesso está relacionada para o destino e independe da rota que é usada para obter o destino especifico. A repetição dos dígitos são também enviado para trás dentro da árvore-DDO. Isto significa que para repetir o código de acesso, a repetição dos dígitos deve também produzir a primeira parte do número externo. Se este parâmetro é designado, repetição do código de acesso especificado no CHRTCO - OUT-OPTS, T = 1, será prevalecido. APOSTILA DE ROTAS DO PACOTE 810. 26 Para uso do CENTRO DE TREINAMENTO PBC.
  • 27.
    CENTRO DE TREINAMENTO ROTAS DO SOPHO iS-3000 MUDAR A TABELA DE ROTA CHROTA :<ROUTE-TABLE>[,[<USER-TYPE>][,<SEQUENCE-TABLE>][,<UNIT>]]; Este comando solicitará parâmetros adcionais: <ROUTE>,<PREF-CODE>,<TRFC>,[<SMART-BOX-EM>]; ROUTE-TABLE = NÚMERO DA TABELA DE ROTA (0...254). USER-TYPE = TIPO DE USUÁRIO: As rotas usadas para diferentes tipos de usuários podem ser diferentes. Portanto a rota que é entrada é válida para um ou mais tipos de usuários. Existem três tipos: 0 = ramal normal. 1 = operadora. 2 = ramal prioritário (ramal com FCM 14). Se USER-TYPE for omitido. Todos os tipos de usuários serão colocados. SEQUENCE-TABLE = TABELA DE SEQÜÊNCIA, indica qual tabela de rota deve ser selecionada (1...5): 1 = indica a tabela padrão, 2...5 = pode ser usado para roteamente de menor custo (selecionado com facilidade de temporização - ASFATI Se SEQUENCE-TABLE for omitido. Será assumido.a tabela padrão (1). A tabela de seqüência tem o seguinte conteúdo: Ramal Normal Operadora Ramal Prioritário Rota P/N TRFC Merc Rota P/N TRFC Merc Rota P/N TRFC Merc R1 P 3 N R1 P 3 N R1 P 3 N R4 N 4 N R4 N 4 N R4 N 4 N R6 N 4 N R6 N 4 N R6 N 4 N Que contém: A configuração das rotas usada para ramais normais, operadoras e ramais prioritário. O sistema tenta fazer a chamada de saída com a primeiro número de rota. No congestionamento desta rota o sistema pula para a segunda entrada, etc. No máximo de 8 entradas pode ser definido por tabela. UNIT = NÚMERO DA UNIDADE (1...14) pode ser omitido no caso de uma unica unidade. <CHROTA:4,,1,1; Entre com dados da tabela de rota <ROUTE>,<PREF-CODE>,<TRFC>[,<SMART-BOX-EM>]:4,? ROUTE = NÚMERO DA ROTA DE DESTINO. PREF-CODE = CÓDIGO PREFENCIAL/NÃO PREFERENCIAL 0 = não preferencial 1 = preferencial Rota de segunda escolha ou não preferencial é uma rota com o mesmo código de acesso que só será acessada quando a Rota Preferencial estiver com todas as linhas ocupadas. APOSTILA DE ROTAS DO PACOTE 810. 27 Para uso do CENTRO DE TREINAMENTO PBC.
  • 28.
    CENTRO DE TREINAMENTO ROTAS DO SOPHO iS-3000 TRFC = CLASSE DE TRÁFEGO (0...7) Classe de tráfego solicidado pela rota. Normalmente a classe de tráfego está em ordem ascendente na tabela de seqüência. A primeira rota selecionada (rota de menor custo) tem a menor classe de tráfego requerida, as alternativas (mais caras) requer uma alta classe de tráfego. SMART-BOX-EM = EMULAÇÃO DE CAIXA INTELIGENTE DO MERCURY (0 = NÃO, 1 = SIM). A opção será sempre 0 para o padrão Telebrás. Se a opção for 1. O sistema enviará o código de saída PIN solicitado para emulação de caixa inteligente do sistema Mercury, seguido pela identificação do chamador. <DIROTA:4; ROUTE-TABLE UNIT SEQUENCE-TABLE 4 1 1 NORMAL EXTENSION OPERATOR PRIORITY EXTENSION ROUTE PREF TRFC SMART ROUTE PREF TRFC SMART ROUTE PREF TRFC SMART 4 n 5 No - - - - - - - - BSPT IBSC PRIORIDADE DESCRIÇÃO 0 0 1 64 kbit/s irrestrito = Transporta serviço definido pela CCITT/ETSI. Este IBSC for designado, por explo., para este ramais não-RDSI conectados para que uma LAM em modo transparente de 64Kbs. 1 1 1 Conversa = Transporta tele-serviço definido pela CCITT/ETSI. Assim é projetado 2 2 1 3,1 kHz audio. 3 3 1 3,1 kHz audio não-RDSI. 4 4 1 7 kHz audio = Tipo de serviço transportado, definido pela CCITT. 5 5 1 Teletex = Tipo de tele-serviço, definido pela CCITT / ETSI. 6 6 1 Telefax4 = Tipo de tele-serviço, definido pela CCITT / ETSI. 7 7 1 Modo mixagem = Tipo de tele-serviço, definido pela CCITT / ETSI. 8 8 1 Videotex = Tipo de tele-serviço, definido pela CCITT / ETSI. 9 9 1 Televisão baixa resolução = Tipo de tele-serviço, definido DASS. 10 10 1 Fernwirken = Tipo de tele-serviço, definido 1TR6. 11 11 1 Grafik Telefon = Tipo de tele-serviço, definido 1TR6. 12 12 1 Bildschirmtext = Tipo de tele-serviço, definido 1TR6. 13 13 1 Bildtelefon Bild = Tipo de tele-serviço, definido 1TR6. 14 14 1 SOPHO-S conversa 15 15 1 SOPHO-S dados modem. 16 16 1 X.21 = Tipo de tele-serviço, definido 1TR6. 17 17 1 X.25 = Tipo de tele-serviço, definido 1TR6. 18 18 1 Bildtelefon Ton = Tipo de tele-serviço, definido 1TR6. 19 19 1 64 kbit/s irrestrito não-RDSI. 20...93 Definido pelo usuário 2 Livre para uso (comando CRBSPT) 94 0, 2, 3, 4, 5, 6, 7, 8, 9, 10, 11, 12, 13, 15, 16, 17, 19 2 Dados/ possibilidade de dados. 95 1, 3, 4, 14, 18, 19 2 Voz/possibilidade de vox 96 0, 2, 5, 6, 7, 8, 9, 10, 11, 12, 13, 15, 16, 17 3 Dados. 97 1, 14, 18 3 Voz. 98 0, 1, 2, 3, 4, 5, 6, 7, 8, 9, 10, 11, 12, 13, 14, 15, 16, 17, 18, 19 4 Qualquer um (padrão) 99 Todos BSPTs NOTA: Em uma rota somente um BSPT com prioridade 2 é permitido. (LOBOUND 235) Tabela C.2. BSPTs. 20..93 Os valores são para uso livre e não relacionados para um tipo especifico. APOSTILA DE ROTAS DO PACOTE 810. 28 Para uso do CENTRO DE TREINAMENTO PBC.
  • 29.
    CENTRO DE TREINAMENTO ROTAS DO SOPHO iS-3000 APOSTILA DE ROTAS DO PACOTE 810. 29 Para uso do CENTRO DE TREINAMENTO PBC.
  • 30.
    CENTRO DE TREINAMENTO ROTAS DO SOPHO iS-3000 Rota Analógica com Placa ATU-SS Exemplo: ATU-SS REDE PÚBLICA ANALÓGIA iS 3030 / 3050 sinalização analógica Exemplo de utilização da placa ATU-SS FAA ASSINANTES EXTERNOS FBC 6 x LINHAS ENTRADA DE MEDIÇÃO ENTRADA E SAÍDA DE LINHAS AOC sinalização analógica SS VISTA DE FRENTE VISTA DE LADO CIRCUITO INTERNO Circuito de Medição Placa de Tronco ATU-SS Circuito de Linha MESA OPERADORA RAMAL DO PABX MD1 GND1 MD2 GND2 MD3 GND3 MD4 GND4 MD5 GND5 MD6 GND6 A 0 B 0 A 1 B 1 A 2 B 2 A 3 B 3 A 4 B 4 A 5 B 5 APOSTILA DE ROTAS DO PACOTE 810. 30 Para uso do CENTRO DE TREINAMENTO PBC.
  • 31.
    CENTRO DE TREINAMENTO ROTAS DO SOPHO iS-3000 1. Criar o código de acesso para a rota (nosso exemplo rota 0): ASINTN:0,0,4,21,0; 0 = Arvore de analise 0. 0 = Código de acesso para a rota 0. 4 = Classe de trafego para discar o código de acesso 0. 21 = Result ID que representa a função de acesso a tronco. 0 = Destino do código de acesso 0. 2. Verifique se o código de acesso foi criado na árvore de analise 0: DINASD:0; 3. Criar o destino da rota 0: CHDSTC:0,10,1,0,0; 0 = Destino do código de acesso da rota 0. 10 = Arvore de analise de saída da rota 0. 1 = Detectar primeiro tom de discar na rota (1= sim / 0 = não). 0 = Detectar segundo tom de discar na rota (1= sim / 0 = não). 0 = Tabela de rota. Observação: criar a arvore de analise de saída número 10 através do comando ASEXTN. 4. Criar a rota 0: CRROUT:0; 5. Criar a tabela de rota para a rota 0: CHROTA:0, ,1; Parâmetros adicionais:0,1,4; 0 = Tabela de rota. 0 = Tipo de usuário (0 = ramal normal, 1 = operadora e 2 = ramal prioritário). 1 = Seqüência de tabela. Parâmetros adicionais: 0 = Rota 0. 1 = Rota preferencial (1 = preferencial / 0 = não preferencial). 4 = Classe de trafego para a tabela de rota. APOSTILA DE ROTAS DO PACOTE 810. 31 Para uso do CENTRO DE TREINAMENTO PBC.
  • 32.
    CENTRO DE TREINAMENTO ROTAS DO SOPHO iS-3000 6. Criar características gerais da rota 0: CHRTCG:0,011101100,440511,0,98; 7. Criar características de entrada da rota 0: CHRTCI:0,001100,00,,16,98; 8. Criar características de saída da rota 0: CHRTCO:0,00110,2,98; 9. Criar o feixe de linhas e configurar este feixe com as características de rota pública: Observação: Rota 0 e Feixe desta rota também 0. CHBNDC:0,2,010111000000,12,,98; 10. Associar a rota 0 ao feixe de linhas 0: ASBNDL:0,0; 11. Projetar uma placa de troncos ATU-SS: ASBRDS:11,4,23,3E05,255; 12. Designar as linhas desta placa de troncos ATU-SS para o feixe de linhas da rota 0: ASLINE:0,1,11,4,0; ASLINE:0,2,11,4,1; ASLINE:0,3,11,4,2; ASLINE:0,4,11,4,3; ASLINE:0,5,11,4,4; ASLINE:0,6,11,4,5; 13. Passar para a condição de instalada a placa ATU-SS e todos os seus 6 circuitos: SETINS:11,4; SETINS:11,4,0&&5; APOSTILA DE ROTAS DO PACOTE 810. 32 Para uso do CENTRO DE TREINAMENTO PBC.
  • 33.
    CENTRO DE TREINAMENTO ROTAS DO SOPHO iS-3000 Rota Analógica com Placa ATU-LD Exemplo: ATU-LD RAMAL DO PABX iS 3030 / 3050 sinalização analógica sinalização analógica ATU-LD RAMAL DO PABX iS 3030 / 3050 sinalização analógica sinalização analógica Linha Particular - LP Exemplo de utilização da placa ATU-LD LD A 0 B 0 A 1 B 1 A 2 B 2 A 3 B 3 VISTA DE FRENTE Placas de tronco ATU-LD - PABX lado A e PABX lado B Conexão de duas placas ATU-LD. fio a fio b ATU-LD 4 x LINHAS VISTA DE LADO LCD = Detector de Loop de Corrente PD = Detector de Polaridade FBC ENTRADA E SAÍDA DE LINHAS APOSTILA DE ROTAS DO PACOTE 810. 33 Para uso do CENTRO DE TREINAMENTO PBC.
  • 34.
    CENTRO DE TREINAMENTO ROTAS DO SOPHO iS-3000 1. Criar o código de acesso para a rota (nosso exemplo rota 1): ASINTN:0,1,4,21,1; 0 = Arvore de analise 0. 1 = Código de acesso para a rota 1. 4 = Classe de trafego para discar o código de acesso 1. 21 = Result ID que representa a função de acesso a tronco. 1 = Destino do código de acesso 1. 2. Verifique se o código de acesso foi criado na árvore de analise 0: DINASD:0; 3. Criar o destino da rota 0: CHDSTC:1,11,1,0,1; 1 = Destino do código de acesso da rota 1. 11 = Arvore de analise de saída da rota 1. 1 = Detectar primeiro tom de discar na rota (1= sim / 0 = não). 0 = Detectar segundo tom de discar na rota (1= sim / 0 = não). 1 = Tabela de rota. Observação: criar a arvore de analise de saída número 11 através do comando ASEXTN. 4. Criar a rota 1: CRROUT:1; 5. Criar a tabela de rota para a rota 1: CHROTA:1, ,1; Parâmetros adicionais:1,1,4; 1 = Tabela de rota. 0 = Tipo de usuário (0 = ramal normal, 1 = operadora e 2 = ramal prioritário). 1 = Seqüência de tabela. Parâmetros adicionais: 1 = Rota 1. 1 = Rota preferencial (1 = preferencial / 0 = não preferencial). 4 = Classe de trafego para a tabela de rota. 6. Criar características gerais da rota 1: CHRTCG:1,011101100,440511,0,98; APOSTILA DE ROTAS DO PACOTE 810. 34 Para uso do CENTRO DE TREINAMENTO PBC.
  • 35.
    CENTRO DE TREINAMENTO ROTAS DO SOPHO iS-3000 7. Criar características de entrada da rota 1: CHRTCI:1,1010000000,002222222,12,16,98; Observação: criar a arvore de analise de entrada número 12 através do comando ASBLCK. 8. Criar características de saída da rota 1: CHRTCO:1,00110,2,98; 9. Criar o feixe de linhas e configurar este feixe com as características de rota tie line: Observação: Rota 1 e Feixe desta rota também 1. CHBNDC:1,2, 010111000000,22,,98; 10. Associar a rota 1 ao feixe de linhas 1: ASBNDL:1,1; 11. Projetar uma placa de troncos ATU-LD: ASBRDS:11,5,22,3B09,35; 12. Designar as linhas desta placa de troncos ATU-LD para o feixe de linhas da rota1: ASLINE:1,1,11,5,0; ASLINE:1,2,11,5,1; ASLINE:1,3,11,5,2; ASLINE:1,4,11,5,3; 13. Passar para a condição de instalada a placa ATU-LD e todos os seus 4 circuitos: SETINS:11,5; SETINS:11,5,0&&3; APOSTILA DE ROTAS DO PACOTE 810. 35 Para uso do CENTRO DE TREINAMENTO PBC.
  • 36.
    CENTRO DE TREINAMENTO ROTAS DO SOPHO iS-3000 Rota Digital com Placa DTU-PU configurada como DTU-CA. Exemplo: DTU-PU REDE PÚBLICA DIGITAL RAMAL DO PABX iS 3030 / 3050 sinalização analógica sinalização digital de canal associado - CA ASSINANTES EXTERNOS AOC MESA OPERADORA Exemplo de utilização da placa DTU-PU configurada como placa de tronco digital CA (DTU - CA Canal Associado). DTU-PU CONFIGURADA COMO DTU-CA ENTRADA DE 75 OHMS SAÍDA DE 75 OHMS SAÍDA DE SINAL DE CLOCK Localização do chave DIP e dos STRAPs na placa DTU - PU Chave DIP de configuração chave DIP STRAPs DTU - PU 30 x LINHAS ENTRADA / SAÍDA DE 75 OU 120 OHMS Placa de tronco digital DTU - PU APOSTILA DE ROTAS DO PACOTE 810. 36 Para uso do CENTRO DE TREINAMENTO PBC.
  • 37.
    CENTRO DE TREINAMENTO ROTAS DO SOPHO iS-3000 1. Criar o código de acesso para a rota (nosso exemplo rota 2): ASINTN:0,2,4,21,2; 0 = Arvore de analise 0. 2 = Código de acesso para a rota 2. 4 = Classe de trafego para discar o código de acesso 1. 21 = Result ID que representa a função de acesso a tronco. 2 = Destino do código de acesso 2. 2. Verifique se o código de acesso foi criado na árvore de analise 0: DINASD:0; 3. Criar o destino da rota 2: CHDSTC:2,13,1,0,2; 2 = Destino do código de acesso da rota 2. 13 = Arvore de analise de saída da rota 2. 1 = Detectar primeiro tom de discar na rota (1= sim / 0 = não). 0 = Detectar segundo tom de discar na rota (1= sim / 0 = não). 2 = Tabela de rota. Observação: criar a arvore de analise de saída número 13 através do comando ASEXTN. 4. Criar a rota 2: CRROUT:2; 5. Criar a tabela de rota para a rota 2: CHROTA:2, ,1; Parâmetros adicionais:2,1,4; 2 = Tabela de rota. 0 = Tipo de usuário (0 = ramal normal, 1 = operadora e 2 = ramal prioritário). 1 = Seqüência de tabela. Parâmetros adicionais: 2 = Rota 2. 1 = Rota preferencial (1 = preferencial / 0 = não preferencial). 4 = Classe de trafego para a tabela de rota. APOSTILA DE ROTAS DO PACOTE 810. 37 Para uso do CENTRO DE TREINAMENTO PBC.
  • 38.
    CENTRO DE TREINAMENTO ROTAS DO SOPHO iS-3000 6. Criar características gerais da rota 2: CHRTCG:2,011000100,440440,0,98; 7. Criar características de entrada da rota 2: CHRTCI:2,1010000000,010299999,14,16,98; Observação: criar a arvore de analise de entrada número 14 através do comando ASBLCK. 8. Criar características de saída da rota 2: CHRTCO:2,00010,2,98; 9. Criar o feixe de linhas e configurar este feixe com as características de rota digital: Observação: Rota 2 e Feixe desta rota também 2. CHBNDC:2,2, 000000000000,32,,98; 10. Associar a rota 2 ao feixe de linhas 2: ASBNDL:2,2; 11. Projetar uma placa de troncos DTU-CA: ASBRDS:11,5,25,5006,255; 12. Designar as linhas desta placa de troncos DTU-CA para o feixe de linhas da rota 2: ASLINE:2,1,11,5,1; ASLINE:2,2,11,5,2; ASLINE:2,3,11,5,3; ASLINE:2,4,11,5,4; 13. Passar para a condição de instalada a placa DTU-CA e os primeiros 4 circuitos: SETINS:11,5; SETINS:11,5,1&&4; APOSTILA DE ROTAS DO PACOTE 810. 38 Para uso do CENTRO DE TREINAMENTO PBC.
  • 39.
    CENTRO DE TREINAMENTO ROTAS DO SOPHO iS-3000 Projetar a placa DTU-PU/CA para tronco digital R2/E1 (Padrão Brasil). Tipo de Placa Bloco de Sinalização Tipo de Hardware 25 5006 255 Projetar a placa DTU-PU/CA para tronco digital R2/E1 com bloqueio de ligações a cobrar para Ramais, para liberar ramais para receber ligações, dar marca de facilidade 53. Tipo de Placa Bloco de Sinalização Tipo de Hardware 25 500A 255 Projetar a placa DTU-PU/CA para tronco digital R2/E1 com bloqueio de ligações a cobrar para Ramais e Operadora, para liberar ramais para receber ligações, dar marca de facilidade 53. Tipo de Placa Bloco de Sinalização Tipo de Hardware 25 500B 255 Projetar a placa DTU-PU/CA: Shelf Placa Tipo Placa Bloco Sinalização Tipo de Hardware <ASBRDS:XXXX, XX, 25, 5006, 255; <DIPMPD:0,5006,,0 Para ler se existe mudança nos bits do bloco de sinalização. EXECUTED <DIPMPD:0,5006,,1 Para ler se existe mudança nos bytes do bloco de sinalização. SIG-GROUP ITEM-NBR DATA 5006 1 255 5006 2 0 5006 8 0 5006 9 0 5006 10 0 EXECUTED Para alterar via comando de OM: <CHPMPD:0,5006; Parâmetros adicionais: 5006, 1, 1, 255; 2, 1, 0; 8, 1, 0; 9, 1, 0; 10, 1, 0; Verificar as mudanças padrão, projetar e alterações de bloco para a placa RST-OM. Projetar a placa RST-OM: Shelf Placa Tipo Placa Bloco Sinalização Tipo de Hardware <ASBRDS:XXXX, XX, 43, 150A, 83; APOSTILA DE ROTAS DO PACOTE 810. 39 Para uso do CENTRO DE TREINAMENTO PBC.
  • 40.
    CENTRO DE TREINAMENTO ROTAS DO SOPHO iS-3000 <DIPMPD:0,150a,,0; Para ler se existe mudança nos bits do bloco de sinalização. SIG-GROUP ITEM-NBR DATA 150A 2 0 150A 4 1 EXECUTED <DIPMPD:0,150a,,1; Para ler se existe mudança nos bytes do bloco de sinalização. SIG-GROUP ITEM-NBR DATA 150A 0 26 150A 2 150 150A 3 150 150A 4 255 150A 5 7 150A 6 3 150A 7 8 150A 8 4 150A 10 9 150A 11 2 150A 12 11 EXECUTED Para alterar via comando de OM: <CHPMPD:0,150A; Parâmetros adicionais: 0, 1, 26; 2, 1, 150; 3, 1, 150; 4, 1, 255; 5, 1, 7; 6, 1, 3; 7, 1, 8; 8, 1, 4; 10, 1, 9; 11, 1, 2; 12, 1, 11; Verificar as mudanças padrão, projetar e alterações de bloco para a placa RST-IM. Projetar a placa: Shelf Placa Tipo Placa Bloco Sinalização Tipo de Hardware <ASBRDS:XXXX, XX, 41, 1504, 82; <DIPMPD:0,1504,,0 Para ler se existe mudança nos bits do bloco de sinalização. EXECUTED <DIPMPD:0,1504,,1 Para ler se existe mudança nos bytes do bloco de sinalização. APOSTILA DE ROTAS DO PACOTE 810. 40 Para uso do CENTRO DE TREINAMENTO PBC.
  • 41.
    CENTRO DE TREINAMENTO ROTAS DO SOPHO iS-3000 SIG-GROUP ITEM-NBR DATA 1504 0 26 1504 2 150 1504 3 150 EXECUTED Para alterar via comando de OM: <CHPMPD:0,1504; Parâmetros adicionais: 1504, 0, 1, 26; 2, 1, 150; 3, 1, 150; APOSTILA DE ROTAS DO PACOTE 810. 41 Para uso do CENTRO DE TREINAMENTO PBC.
  • 42.
    CENTRO DE TREINAMENTO ROTAS DO SOPHO iS-3000 RDSI Primário DTU – PH com Pacote EURO-ISDN 1) Setup da placa: - Dip switch: 1 a 6 em OFF; 7 e 8 em ON; - Selecionar impedância de 75 ou 120 ohms. 2) Projetar uma DTU-PH como: ASBRDS:<shelf>,<brd_1>,18,5D08; OBS.: Este grupo de sinalização é usado no projeto padrão. 3) Executar nas duas placas: SETINS:<shelf>,<brd>; SETINS:<shelf>,<brd>,0; 4) Alterar características do bundle 0 para: CHBNDC: 0,12,010001100000000,315; 5) Associar linhas para os canais B das placas DTU-PH: ASLINE: 0,<line>,<shelf>,<brd_1>, 0[,<b-channel>]; ASLINE: 2,<line>,<shelf>,<brd_2>, 0[,<b-channel>]; OBS.: Se <b-channel> for omitido, a linha será associada p/ todos os canais b. 6) Para ler o status do canal B, executar: DISERV:<shelf>,<brd>, 0,<b-channel>sr; OBS.: - O status normal é “ free ” , e quando ocupado, “ busy “; - Quando não existir linha associada ao canal, será visualizado “ not usable “. Para designar números na arvore de análise externa utilizar comando: ASEXTP:<TREE> , <NUMBER> , <TRFC> , <MIN-LENGTH> ,<MAX-LENGTH>, <DIALTONE-PLACE> ; [ <PRE-DIGIT> ] [ , <POST-DIGIT> ] [ , <REST-MODE> ] [ , [ <INTR-ALL/CHARGED> ] ] ] , <ROUTE-TABLE> ; omitir o pré digito e definir o pós digito. Exemplo: <ASEXTP:15,2,4,3,8,0; ,1; Exemplo de programação de uma rota RDSI. Projetar Placa. <ASBRDS:11,19,18,5d08,255; Criar Rota. <CRROUT:16; Características gerais da Rota. <CHRTCG:16,01110000000,440440,0; Características de entrada da Rota. <CHRTCI:16,10110000001,111702312,26; APOSTILA DE ROTAS DO PACOTE 810. 42 Para uso do CENTRO DE TREINAMENTO PBC.
  • 43.
    CENTRO DE TREINAMENTO ROTAS DO SOPHO iS-3000 Características de saída da Rota. <CHRTCO:16,00110,0; Designar Feixe (Bundle) para Rota. <ASBNDL:16,16; Características de Feixe (Bundle). <CHBNDC:16,22,010011000100000,315,,99; Criar código de Acesso. <ASINTN:0,*,4,21,16; Características de destino. <CHDSTC:16,16,10,16; Características da Tabela de Rota. <CHROTA:16; 16,1,4; Designar Numeração Interna na Arvore de Analise de Entrada. <ASBLCK:26,30,1,4,10; <ASBLCK:26,310,1,4,10; <ASBLCK:26,3110,1,4,10; <ASINTN:26,3111,1,21,49,1; <ASBLCK:26,3112,1,4,10; <ASBLCK:26,3113,1,4,10; <ASBLCK:26,3114,1,4,10; <ASBLCK:26,3115,1,4,10; <ASBLCK:26,3116,1,4,10; <ASBLCK:26,3117,1,4,10; <ASBLCK:26,3118,1,4,10; <ASBLCK:26,3119,1,4,10; <ASBLCK:26,32,1,4,10; <ASBLCK:26,33,1,4,10; <ASBLCK:26,34,1,4,10; <ASBLCK:26,35,1,4,10; <ASBLCK:26,36,1,4,10; <ASBLCK:26,37,1,4,10; <ASBLCK:26,38,1,4,10; <ASBLCK:26,39,1,4,10; Designar Numeração Externa na Arvore de Analise de Saída. <ASEXTP:16,00,6,6,20,0; ,1; <ASEXTP:16,01,5,9,20,0; ,1; <ASEXTP:16,02,5,9,20,0; ,1; <ASEXTP:16,03,5,9,20,0; ,1; <ASEXTP:16,04,5,9,20,0; ,1; <ASEXTP:16,05,5,9,20,0; ,1; <ASEXTP:16,06,5,9,20,0; ,1; APOSTILA DE ROTAS DO PACOTE 810. 43 Para uso do CENTRO DE TREINAMENTO PBC.
  • 44.
    CENTRO DE TREINAMENTO ROTAS DO SOPHO iS-3000 <ASEXTP:16,07,5,9,20,0; ,1; <ASEXTP:16,0800,4,1,11,0; ,1; <ASEXTP:16,081,5,9,20,0; ,1; <ASEXTP:16,082,5,9,20,0; ,1; <ASEXTP:16,083,5,9,20,0; ,1; <ASEXTP:16,084,5,9,20,0; ,1; <ASEXTP:16,085,5,9,20,0; ,1; <ASEXTP:16,086,5,9,20,0; ,1; <ASEXTP:16,087,5,9,20,0; ,1; <ASEXTP:16,088,5,9,20,0; ,1; <ASEXTP:16,089,5,9,20,0; ,1; <ASEXTP:16,09,5,9,11,0; ,1; <ASEXTP:16,1,4,3,8,0; ,1; <ASEXTP:16,2,4,3,8,0; ,1; <ASEXTP:16,3,4,3,8,0; ,1; <ASEXTP:16,4,4,3,8,0; ,1; <ASEXTP:16,5,4,3,8,0; ,1; <ASEXTP:16,6,4,3,8,0; ,1; <ASEXTP:16,7,4,3,8,0; ,1; <ASEXTP:16,8,4,3,8,0; ,1; <ASEXTP:16,9,4,3,8,0; ,1; Designar a Linha para o Feixe. <ASLINE:16,1601,11,19,0,1; <ASLINE:16,1602,11,19,0,2; <ASLINE:16,1603,11,19,0,3; <ASLINE:16,1604,11,19,0,4; <ASLINE:16,1605,11,19,0,5; <ASLINE:16,1606,11,19,0,6; <ASLINE:16,1607,11,19,0,7; <ASLINE:16,1608,11,19,0,8; <ASLINE:16,1609,11,19,0,9; <ASLINE:16,1610,11,19,0,10; <ASLINE:16,1611,11,19,0,11; <ASLINE:16,1612,11,19,0,12; <ASLINE:16,1613,11,19,0,13; APOSTILA DE ROTAS DO PACOTE 810. 44 Para uso do CENTRO DE TREINAMENTO PBC.
  • 45.
    CENTRO DE TREINAMENTO ROTAS DO SOPHO iS-3000 <ASLINE:16,1614,11,19,0,14; <ASLINE:16,1615,11,19,0,15; <ASLINE:16,1617,11,19,0,17; <ASLINE:16,1618,11,19,0,18; <ASLINE:16,1619,11,19,0,19; <ASLINE:16,1620,11,19,0,20; <ASLINE:16,1621,11,19,0,21; <ASLINE:16,1622,11,19,0,22; <ASLINE:16,1623,11,19,0,23; <ASLINE:16,1624,11,19,0,24; <ASLINE:16,1625,11,19,0,25; <ASLINE:16,1626,11,19,0,26; <ASLINE:16,1627,11,19,0,27; <ASLINE:16,1628,11,19,0,28; <ASLINE:16,1629,11,19,0,29; <ASLINE:16,1630,11,19,0,30; <ASLINE:16,1631,11,19,0,31; Mudar a Condição de Circuito para Em Serviço (INS) <SETINS:11,19; <SETINS:11,19,0; APOSTILA DE ROTAS DO PACOTE 810. 45 Para uso do CENTRO DE TREINAMENTO PBC.
  • 46.
    CENTRO DE TREINAMENTO ROTAS DO SOPHO iS-3000 ENTRADAS DE REFERÊNCIA DE CLOCK DE LINHAS DIGITAIS Designar Unidade de Referência de Clock ASCRUE : <CRUE-SHELF>,<CRUE-BRD>,<CRUE-CRT>[,<DTU-SHELF>,<DTU-BRD>[,<DTU-CRT]]; Os circuitos de referência de clock estão nas seguintes placas: Para sistemas CCS na placa SNS (conector coaxial superior é o circuito 48 e o inferior é o circuito 49) Para sistemas CPU3000/ME/MT na placa CSB-BC e na placa PMC-MC projetada como mestre no sistema (board-type 92). (conector coaxial superior é o circuito 20 e o inferior é o circuito 21) Para sistemas CPS na placa CRU ou CSG. Em sistemas que possuem a placa BBR (DECT),de preferência a este clock que é mais preciso. Apagar Unidade de Referência de Clock DECRUE : <CRUE-SHELF>,<CRUE-BRD>,<CRUE-CRT>; Mostrar Unidade de Referência de Clock DICRUE : [<UNIT>]; Resposta: ASSIGNED CRUE CRUE FOR ATTACHED TRUNK PHYS. EQUIPMENT CRUE STATUS CONNECTION SHELF BRD CRT SHELF BRD SHELF BRD CURRENT USABILITY 12 3 20 INS - * ASCRUE: <CRUE-SHELF>,<CRUE-BRD>,<CRUE-CRT>; CRUE-SHELF CM numero da shelf CRUE-BRD Placas SNS (5 ou 6), CSN-BC ou PMC-MC. CRUE-CRT Circuitos 48 ou 49 para SNS Circuitos 20 ou 21 para CSN-BC/PMC-MC SHELF: Posição na Shelf, formato UUCCS UU = unidade numero (1..14) Pode ser omitido em sistemas de unidade simples. CC = numero do gabinete (1..15) S = numero da Shelf (1..4) BRD: numero da placa (1..19) CRT: Numero do Circuito ou recurso da placa na Shelf (0..31) APOSTILA DE ROTAS DO PACOTE 810. 46 Para uso do CENTRO DE TREINAMENTO PBC.
  • 47.
    CENTRO DE TREINAMENTO ROTAS DO SOPHO iS-3000 Exemplo para iS3030 <ASCRUE:12,7,20; <SETINS:12,7,20; Exemplo para iS3050 com PMC-MC. <ASCRUE:11,17,20; <SETINS:11,17,20; Exemplo para iS3050 com CSN-BC. <ASCRUE:11,19,20; <SETINS:11,19,20; Exemplo para iS3090 com SNS. <ASCRUE:14,5,48; <SETINS:14,5,48; APOSTILA DE ROTAS DO PACOTE 810. 47 Para uso do CENTRO DE TREINAMENTO PBC.